Movatterモバイル変換


[0]ホーム

URL:


US9270411B2 - Indicating end of idle sequence by replacing certain code words with alternative code words - Google Patents

Indicating end of idle sequence by replacing certain code words with alternative code words
Download PDF

Info

Publication number
US9270411B2
US9270411B2US14/170,790US201414170790AUS9270411B2US 9270411 B2US9270411 B2US 9270411B2US 201414170790 AUS201414170790 AUS 201414170790AUS 9270411 B2US9270411 B2US 9270411B2
Authority
US
United States
Prior art keywords
idle
idle sequence
frame
sequence
code
Prior art date
Legal status (The legal status is an assumption and is not a legal conclusion. Google has not performed a legal analysis and makes no representation as to the accuracy of the status listed.)
Active, expires
Application number
US14/170,790
Other versions
US20150222387A1 (en
Inventor
Eyran Lida
Aviv Salamon
Current Assignee (The listed assignees may be inaccurate. Google has not performed a legal analysis and makes no representation or warranty as to the accuracy of the list.)
Valens Semiconductor Ltd
Original Assignee
Valens Semiconductor Ltd
Priority date (The priority date is an assumption and is not a legal conclusion. Google has not performed a legal analysis and makes no representation as to the accuracy of the date listed.)
Filing date
Publication date
Application filed by Valens Semiconductor LtdfiledCriticalValens Semiconductor Ltd
Priority to US14/170,790priorityCriticalpatent/US9270411B2/en
Assigned to VALENS SEMICONDUCTOR LTD.reassignmentVALENS SEMICONDUCTOR LTD.ASSIGNMENT OF ASSIGNORS INTEREST (SEE DOCUMENT FOR DETAILS).Assignors: LIDA, EYRAN, SALAMON, AVIV
Publication of US20150222387A1publicationCriticalpatent/US20150222387A1/en
Application grantedgrantedCritical
Publication of US9270411B2publicationCriticalpatent/US9270411B2/en
Activelegal-statusCriticalCurrent
Adjusted expirationlegal-statusCritical

Links

Images

Classifications

Definitions

Landscapes

Abstract

Methods and systems for indicating an end of an idle sequence, including: encoding a first frame, encoding a basic idle sequence including code words, producing an idle sequence by replacing certain M code words of the idle sequence with M alternative code words, and encoding a second frame. Each one of the M alternative code words appears in the basic idle sequence. And a second communication node, which is unable to determine a starting point of the second frame based only on a received idle sequence, is able to determine a start of the second frame based on a difference between the received idle sequence and the basic idle sequence.

Description

BACKGROUND
Various communication systems transmit packets from a first node (the transmitting node) to a second node (the receiving node) over a communication channel. The transmitting node typically includes an encoder and a transmitter, and the receiving node typically includes a detector and a decoder. In many communication systems, the packets are encoded utilizing line-codes, which are configured to suit the characteristics of the channel, and facilitate the operation of the detector. For example, line-codes characterized by high transition density facilitate better clock recovery. As another example, line-codes characterized by good DC-balance, usually indicated by low running disparity, are better suitable for communication channels with poor response to DC signals. DC-balanced line-codes also facilitate simpler coupling of the nodes to the communication channel (e.g. AC coupling rather than DC coupling).
In many communication systems, idle signals are transmitted during the gaps between packets. The duration of the gap between the packets may be unknown in advance, and the receiving node needs to determine the starting point of the following packet by identifying the end of the idle signal. Since the idle signals are utilized by the receiving node in order to maintain synchronization, the idle signals are usually configured to comply with the line-code related characteristics, such as running disparity and transition density.
BRIEF SUMMARY
In one embodiment, a communication node including an encoder and an idle sequence modifier. The encoder is configured to encode a first frame, a basic idle sequence, and a second frame. The first frame, the basic idle sequence, and the second frame include code words. The idle sequence modifier is configured to produce an idle sequence by replacing certain M code words of the basic idle sequence with M alternative code words. Each one of the M alternative code word appears in the basic idle sequence. And a second communication node, which is unable to determine a starting point of the second frame based only on the idle sequence, is able to determine the starting point of the second frame based on a difference between the idle sequence and the basic idle sequence.
In another embodiment, a method for indicating an end of an idle sequence includes: encoding a first frame, encoding a basic idle sequence including code words, producing an idle sequence by replacing certain M code words of the idle sequence with M alternative code words, and encoding a second frame. Each one of the M alternative code words appears in the basic idle sequence. And a second communication node, which is unable to determine a starting point of the second frame based only on a received idle sequence, is able to determine a start of the second frame based on a difference between the received idle sequence and the basic idle sequence.
In still another embodiment, a communication node including an encoder and an idle sequence modifier. The encoder is configured to encode a first frame, a basic idle sequence, and a second frame. The first frame, the basic idle sequence, and the second frame comprise symbols. The idle sequence modifier is configured to produce an idle sequence by replacing M certain symbols of the basic idle sequence with M alternative symbols. Each one of the M alternative symbols appears in the basic idle sequence. A second communication node, which is unable to determine a starting point of the second frame based only on a received idle sequence, is able to determine the starting point of the second frame based on a difference between the received idle sequence and the basic idle sequence.
BRIEF DESCRIPTION OF THE DRAWINGS
The embodiments are herein described, by way of example only, with reference to the accompanying drawings. In the drawings:
FIG. 1 illustrates one embodiment of a communication system;
FIG. 2 illustrates one embodiment of a method for encoding a frame;
FIG. 3 illustrates one embodiment of a method for encoding a frame having a header part and a payload part;
FIG. 4 illustrates one embodiment of a communication node;
FIG. 5 illustrates one embodiment of a method for encoding frames utilizing line-codes having different minimum Hamming distances;
FIG. 6 illustrates one embodiment of a communication node;
FIG. 7 illustrates one embodiment of a method for indicating the end of an idle sequence;
FIG. 8 illustrates one embodiment of a communication node;
FIG. 9 illustrates one embodiment of a communication system; and
FIG. 10 illustrates one embodiment of a method for indicating the end of an idle sequence.
DETAILED DESCRIPTION
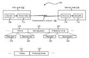
FIG. 1 illustrates one embodiment of acommunication system100. Thecommunication system100 includes afirst node102, which sends one or more frames over acommunication channel106, and asecond node104, which receives the frames. The first node includes anencoder108, which encodes the frames, and atransmitter110, which transmits the frames over the communication channel. Thesecond node104 includes adetector114, which detects the frames, and adecoder116, which decodes the frames. The first node sends aframe112, which includes afirst part118 and asecond part120. Theencoder108 encodes the first and second parts of the frame, utilizing first and second line-codes, respectively, and thedecoder116 decodes the first and second parts of the frame, utilizing the same first and second line-codes, respectively.
A line-code is a binary code, which encodes words of M binary symbols, referred to as input words, to words of N binary symbols, referred to as code words. The two values of the binary symbols are denoted herein as “one” (“1”) and “zero” (“0”). M is referred to as the input word length of the line-code, N is referred to as the code word length of the code, and the ratio of M divided by N is referred to as the rate R of the line-code. M is lower than N, and therefore R is less than 1. The output set of a line-code is the set of all code words that may be produced by the line-code, and is therefore a proper subset of the set of all 2N binary words of length N.
The first and second line-codes have input word lengths M′ and M″, respectively, binary code word lengths N′ and N″, respectively, and code rates R′ and R″, respectively. The first and second line-codes have minimum Hamming distances D′ and D″, respectively, where D″ is lower than D′.
In one embodiment, the “running disparity” at a certain binary symbol produced by the encoder is the difference between the number of “ones” and the number of “zeroes” produced by the encoder up to and including the certain symbol.
Theencoder108 maintains the running disparity over theframe112 bounded by a predetermined value K (i.e., the absolute value of the running disparity over the frame is maintained lower than or equal to K). In one example, K is lower than N′/2. Additionally or alternatively, K may be lower than N″/2.
In one example, the initial value of the running disparity is zero. In another example, the initial value of the running disparity is minus one. In one example, the running disparity is reset to its initial value every predetermined number of frames, which may be unlimited. The running disparity may be calculated at the end of each code word, or at each symbol.
In one example, K is lower than N′/4. Additionally or alternatively, K may be lower than N″/4. In one example, K is lower than 3. In one example, K is lower than 2. The disparity of a code word is the difference between the number of “ones” and the number of “zeroes” within the word. For example, the disparity of the code word 01101100 is zero, the disparity of the code word 01111100 is two, and the disparity of the code word 01001000 is minus four.
In one embodiment, the first and second line-codes facilitate maintaining the running disparity bounded by selecting the disparity of the current code word based on the running disparity at the end of the previous code word. For example, the encoder may select a code word with a zero or negative disparity when the running disparity is positive, and selects a code word with a zero or positive disparity when the running disparity is negative, thereby maintaining the running disparity bounded.
A “paired disparity” line-code is a line-code, where each input word is encoded either to a code word with a zero disparity, or to a code word selected from a set of code words containing at least one code word with a positive disparity and at least one code word with a negative disparity. A “balanced paired disparity” line-codes is a paired disparity line-codes, where each input word is encoded either to a code word with a zero disparity, or to a code word selected from a balanced pair of code words (i.e., a first code word with a positive disparity P, and a second code word with a negative disparity minus P).
In one embodiment, the first and second line-codes are paired disparity line-codes, and code word selection is based on the running disparity (i.e., when the running disparity is positive, the disparity of the next code is either zero or negative, and when the running disparity is negative, the disparity of the next code word is either zero or positive). Thereby, the absolute value of the running disparity is maintained lower than or equal to P, where P is the maximum absolute value of the disparities of all code words in the output set of the line-code. In one embodiment, the first and second line-codes are balanced paired disparity line-codes, and the encoder maintains the running disparity bounded between zero and P (inclusive) by selecting a code word with negative disparity only when the running disparity is positive. Alternatively, the encoder may maintain the running disparity between zero and minus P (inclusive), by selecting a code word with positive disparity only when the running disparity is negative. In one example, P equals 2, and the running disparity is maintained between zero and 2 (inclusive). Alternatively, the running disparity is maintained between zero and minus 2 (inclusive). In one example, the initial value of the running disparity is minus one, and the running disparity is maintained between minus one and plus one.
In one embodiment, the encoder selects the code words of the second part of the frame based on a running disparity, which is calculated from the beginning of the first part of the frame, thereby maintaining the running disparity bounded over the entire frame. The disparity of the first code word of the second frame is selected based on the running disparity calculated at the end of the first part of the frame, although the first and second parts of the frame are encoded with different line-codes. In one example, the first and second line-codes are balanced paired disparity line-codes, both with P equals 2, and the initial value of the running disparity is set to minus one. In this example, the running disparity is maintained between minus one and one (inclusive), and the absolute value of the running disparity is accordingly maintained lower than 2.
In some examples, N′ and N″ are equal, and therefore the first output set of the first line-code and the second output set of the second line-code are both subsets of the set of all binary words of length N′. Following are some examples regarding the relation between the first and second output sets. In all those examples, N′ and N″ are equal.
In one example, the first and second output sets are mutually exclusive to each other, i.e., they do not share any common code word. In another example, the first set and second output sets, are not exclusive to each other, i.e., they share at least one common code word.
In one example, the first output set is a subset of a second output set, M′ is lower than M″, and R′ is lower than R″. Accordingly, the first and second line-codes provide a trade-off between error resilience and bandwidth efficiency: the first line-code features better error resilience (D′ is higher), while the second line-code features better bandwidth efficiency (R′ is lower). In this example, the first line code may be utilized when higher error resilience is desired, thereby gaining the higher bandwidth efficiency of the second code whenever lower error resilience can be tolerated.
In one example, the first output set is not a subset of a second output set, i.e. the first output set includes at least one code word exclusive to the second output set.
The 8b/10b is a known family of balanced paired disparity line-codes with M=8, N=10, and P=2. In one example, the first output set is a subset of the output set of an 8b/10 line-code. Additionally or alternatively, the second output set may be a subset of the output set of an 8b/10 line-code.
In one embodiment, theencoder108 maintains over the frame transition density equal to or better than a predetermined transition density. The predetermined transition density may be at least one transition within any sequence of Z consecutive symbols. Z may equal 6, e.g., when the first and second output sets are subsets of the output set of the data and control words of an 8b/10 line-code. Z may also be lower than 6, e.g., when the first and second output sets are subsets of the output set of the data words of an 8b/10 line-code.
In one embodiment, theencoder108 maintains over the frame spectral uniformity equal to or better than a predetermined spectral uniformity. The encoder may receive words that are already selected to produce the required spectral uniformity. Additionally or alternatively, the encoder may randomize the stream of input words, thereby maintaining the spectral uniformity of the stream of encoded words.
In one example, thecommunication channel106 includes an optical fiber. Additionally or alternatively, the communication channel may include a conductive wire, a wireless channel, and/or any other suitable communication channel.
The second part of different frames may be encoded utilizing different line-codes, e.g. encoding the second part of some frames utilizing the first line-code, and the second part of other frames utilizing the second line-code. The line-code may be selected based on conditions of the communication channel, such as received signal level, received noise level, signal to noise ratio, symbol error rate, and/or any other suitable channel condition. For example, the first line-code may be selected only when its higher error resilience capability is required due to the channel condition (e.g. the symbol error rate is higher than some accepted value). In this example, the system may benefit from the higher bandwidth efficiency of the second line-code whenever allowed by the channel condition.
Additionally or alternatively, the line-code utilized for encoding the second part of the frame may be selected based on the type of the data contained therein. For example, the second part of the frame may be encoded utilizing the first line-code only when its higher error resilience capability is required due to the type of the data (e.g. the data is highly sensitive to errors). In one example, the line-code is selected based on both data type and channel condition.
In one example, the first part of the frame may include a header of the frame, and the second part of the frame may include a payload of the frame. The first part of the frame may include an indication of the line-code utilized for encoding the second part of the frame. Accordingly, the first part of the frame may contain an indication that the second part of the frame is encoded utilizing the second line-code. Thedecoder116 may select an appropriate line-code for decoding the second part of the frame based on the indication included in the first part of the frame.
In one embodiment, theencoder108 produces anidle sequence122, which resides between theframe112 and afollowing frame124. The idle sequence includes code words of length N_idle, which may optionally be equal to N′ or to N″. In one example, thesecond node104 cannot predict the starting point of thefollowing frame124, because the length of theidle sequence122 is unknown. In this example, thedetector114 detects theidle sequence122, and thedecoder116 identifies the end thereof, thereby determining the starting point of thefollowing frame124.
In one embodiment, theencoder108 maintains the absolute value of the running disparity over theidle sequence122 lower than or equal to K. K may optionally be lower than N_idle/2 or lower than N_idle/4.
In one embodiment, the idle sequence is composed of code words of a fourth line-code. The idle sequence may be produced by encoding a pseudo-random sequence of binary symbols utilizing the fourth line-code. Theencoder108 may select the disparity of the current code word based on the running disparity at the end of the previous code word, as explained above regarding the first and second line-codes.
In one embodiment, theencoder108 maintains the absolute running disparity over the frame and the idle sequence lower than or equal to K. Theencoder108 may select the disparity of the first code word of the idle sequence based on the running disparity calculated at the end of the frame, although the frame and the idle sequence are encoded with different line codes. In one example, the first, second, and fourth line-codes are balanced paired disparity line-codes with P equals two, the initial value of the running disparity is set to minus one, and the absolute value of the running disparity is maintained lower than 2, although the frame and the idle sequence may be encoded with different line codes.
In one embodiment, theencoder108 maintains the transition density over the idle sequence equal to or better than the predetermined transition density of at least one transition within any sequence of Z consecutive symbols. In one example, Z equals. In another example, Z is lower than 6.
In one embodiment, theencoder108 maintains the spectral uniformity over the idle sequence equal to or better than the predetermined spectral uniformity. The spectral uniformity of the idle sequence may result from the distribution of the output set of the fourth line-code, and/or from randomizing the input of the fourth line-code.
In one embodiment, theencoder108 maintains the running disparity, from the beginning of theframe112 to the end of thefollowing frame124, bounded by K (i.e., maintaining the absolute value of the running disparity lower than or equal to K). The running disparity may be maintained bounded over a sequence of theframe112, the followingframe124, and theidle sequence122. Additionally or alternatively, the running disparity may be maintained bounded over a sequence of theframe112 and thefollowing frame124, with no intermediate idle sequence.
In one embodiment, the following frame is encoded utilizing one or more line-codes, and theencoder108 selects the code words of the following frame based on a running disparity, which is calculated from the beginning of the frame, thereby maintaining the running disparity bounded by K over the stream of the code words of the frame and the following frame. The disparity of the first code word of the following frame is selected based on the running disparity calculated at the end of the frame, or at the end of the idle sequence, as applicable.
In one embodiment, the followingframe124 includes afirst part126 of the following frame, and asecond part128 of the following frame, andencoder108 encodes the first and second parts of the following frame utilizing the first line-code and a third line-code, respectively. The third line-code has input word length M′″, binary code word lengths N′″, and code rate R′″. The third line-code has a minimum Hamming distance D′″, where D′″ is lower than D″. Theencoder108 maintains the running disparity from the beginning of the frame to the end of the following frame bounded by K (i.e., the absolute value of the running disparity is maintained lower than or equal to K). In one example, the disparity of the first code word of the second part of the following frame is selected based on the running disparity calculated at the end of the first part of the second frame, although the first and the second parts of the following frame are encoded with different line codes. K may be lower than N′″/2 or lower than N′″/4, and N′″ may be equal to N′.
When N′″ is equal to N′, the first output set of the first line-code and the third output set of the third line-code are both subsets of the set of all binary words of length N′. In one example, where N′″ is equal to N′, the third output set of the third line-code is not a subset of the first output set of the first line-code (i.e., the third output set includes at least one code word exclusive to a first output set).
FIG. 2 illustrates one embodiment of a method for encoding a frame. The method may be performed by a first communication node, such as thefirst node102 inFIG. 1, and the frame may be theframe112 inFIG. 1. In addition, the method may be performed by any other communication node, or by any other suitable device. The method includes at least the following steps: Instep202, maintaining the running disparity over the frame bounded by a predetermined value K (i.e., the absolute value of the running disparity over the frame is maintained lower than or equal to K). Instep204, encoding the first part of the frame utilizing a first line-code. And instep206, encoding the second part of the frame utilizing a second line-code. The first and second line-codes have code word lengths N′ and N″, respectively, and minimum Hamming distances D′ and D″, respectively, where D″ is lower than D′. In one example, K is lower than N′/2. Additionally or alternatively, K may be lower than N″/2.
In one example, K is lower than N′/4. Additionally or alternatively, K may be lower than N″/4. In one example, K is lower than 3. In one example, K is lower than 2.
In some examples, N′ and N″ are equal. Following are some examples regarding the relation between the first and second output sets. In all those examples, N′ and N″ are equal. In one example, the first and second output sets are mutually exclusive to each other, i.e., they do not share any common code word. In another example, the first set and second output sets, are not exclusive to each other, i.e., they share at least one common code word. In one example, the first output set is a subset of a second output set. In one example, the first output set is not a subset of a second output set, i.e. the first output set includes at least one code word exclusive to the second output set.
In one embodiment, the first output set is a subset of the output set of an 8b/10b line-code. Additionally or alternatively, the second output set may be a subset of the output set of an 8b/10 line-code.
In one embodiment, the method illustrated inFIG. 2 further includes maintaining over the frame transition density equal to or better than a predetermined transition density, which may be at least one transition within any sequence of Z consecutive symbols. In one example, Z equals 6. In one example, Z is lower than 6.
In one embodiment, the method further includes maintaining over the frame spectral uniformity equal to or better than a predetermined spectral uniformity.
In one embodiment, the method optionally includes an additional step of transmitting the frame over a communication channel. The step of transmitting the frame may be performed by a transmitter, such as thetransmitter110 inFIG. 1, or by any other transmitter, or by any other suitable device.
The method may further include an optional step of detecting the frame and a step of decoding thereof, which may be performed by a second communication node, such as thesecond node104 inFIG. 1, or by any other communication node.
In one example, the first part of the frame may include the header of the frame, and the second part of the frame may include the payload of the frame. In one example, the second part of different frames may be encoded utilizing different line-codes. The line-code may be may be selected based on the type of the data carried by the certain frame, or by the state of the channel during the transmission of the certain frame, or by some combination thereof, or by any other suitable parameter. The first part of the certain frame may include an indication of the line-code utilized for encoding the second part of the certain frame, in order to facilitate utilization of an appropriate line-code for decoding the second part of the certain frame. Accordingly, the first part of the frame may contain an indication that the second part of the frame is encoded utilizing the second line-code.
In one embodiment, the method illustrated inFIG. 2 may further include an optional step of producing an idle sequence, which may be performed by an encoder, such as theencoder108 inFIG. 1, or by any other suitable encoder. The idle sequence may be theidle sequence122 inFIG. 1. The idle sequence includes code words of length N_idle, which may optionally be equal to N′ or to N″.
Additionally, the method may include an optional step of transmitting the idle sequence over the communication channel, which may be performed by a transmitter, such as thetransmitter110 inFIG. 1, or by any other transmitter, or by any other suitable device. The method may optionally further include a step of detecting the idle sequence, and a step of identifying the end of the idle sequence. The step of detecting the idle sequence may be performed by a detector, such as thedetector114 inFIG. 1, or by any other detector, or by any other suitable device; and the step of identifying the end of the idle sequence may be performed by a decoder, such as thedecoder116 inFIG. 1, or by any other decoder, or by any other suitable device. In one example, identifying of the end of the idle sequence facilitates determining the beginning of the following frame.
In one embodiment, the step of producing an idle sequence further includes maintaining the absolute running disparity over the idle sequence lower than the predetermined value K. In one example, K is lower than N_idle/2. In one example, K is lower than N_idle/4. In one embodiment, the idle sequence is produced of code words of a fourth line-code, e.g., by encoding a pseudo-random sequence of binary symbols utilizing the fourth line-code. In one embodiment, the method illustrated inFIG. 2 further includes maintaining the absolute running disparity over the frame and the idle sequence lower than K. In one embodiment, the step of producing an idle sequence further includes maintaining the transition density over the idle sequence equal to or better than the predetermined transition density. In one embodiment, the step of producing an idle sequence further includes maintaining the spectral uniformity over the idle sequence equal to or better than the predetermined spectral uniformity.
In one embodiment, the method illustrated inFIG. 2 includes an optional step of encoding a following frame, which may be performed by an encoder, such as theencoder108 inFIG. 1, or by any other encoder, or by any other suitable device. In addition, the following frame may be thefollowing frame124 inFIG. 1. In one example, theidle sequence122 resides between theframe112 and thefollowing frame124, and the step of encoding a following frame is accordingly performed after the step of producing an idle sequence. Additionally or alternatively, the following frame may adjacent to the frame, without an intermediate idle sequence, and the step of encoding a following frame may accordingly be performed directly after encoding the first frame, without performing the intermediate step of producing an idle sequence.
In one embodiment, the method include an optional step of transmitting the following frame over the communication channel, which may be performed by a transmitter, such as thetransmitter110 inFIG. 1, or by any other transmitter, or by any other suitable device. Additionally, the method may include an optional step of detecting the following frame and an optional step of decoding thereof. The step of detecting the following frame may be performed by a detector, such as thedetector114 inFIG. 1, or by any other detector, or by any other suitable device; and the step of decoding the following frame may be performed by a decoder, such as thedecoder116 inFIG. 1, or by any other decoder, or by any other suitable device.
In one embodiment, the method further includes maintaining the running disparity, from the beginning of the frame to the end of the following frame, bounded by K (i.e., maintaining the absolute value of the running disparity lower than or equal to K). The running disparity is maintained bounded over a sequence including the frame and the following frame, with or without intermediate idle sequence.
In one embodiment, the following frame includes first and second parts of the following frame, and the step of encoding the following frame includes a step of encoding the first part of the following frame utilizing the first line-code, and a step of encoding the second part of the following frame utilizing a third line-code. The third line-code has binary code word lengths N′″ and a minimum Hamming distance D′″, where D′″ is lower than D″. The method may further include maintaining the running disparity from the beginning of the frame to the end of the following frame bounded by K (i.e., maintaining the absolute value of the running disparity lower than or equal to K). In one example, K is lower than N′″/2. In one example, K is lower than N′″/4.
N′″ may be equal to N′. In one example, in which N′ and N′″ are equal, the third output set of the third line-code is not a subset of the first output set of the first line-code (i.e., the third output set includes at least one code word exclusive to a first output set).
FIG. 3 illustrates one embodiment of a method for encoding a frame having a header part and a payload part. The method illustrated inFIG. 3 includes at least the following steps: Instep302, encoding the header part utilizing a first code having a minimal Hamming distance D1. And instep304, encoding the payload part utilizing a second code having a minimal Hamming distance D2 higher than D1.
In one embodiment, the method further includes a step of transmitting the frame over a binary channel. In one embodiment, the first and second codes are first and second line-codes having binary code word lengths N1 and N2, respectively, and the method further includes maintaining the running disparity over the frame bounded by K (i.e., maintaining the absolute value of the running disparity lower than or equal to K). In one example, K is lower than N1/2. Additionally or alternatively, in one example, K is lower than N2/2. In one example, N2 equals N1.
FIG. 4 illustrates one embodiment of acommunication node400. Thecommunication node400 may be thefirst node102 ofFIG. 1. Thecommunication node400 includes anencoder402 encoding frames utilizing two or more line-codes, and atransmitter404 transmitting the frames over acommunication channel406. The frames are received by asecond communication node408. In one embodiment, each frame includes a header and a payload.
In one embodiment,encoder402 encodes the payloads of different frames utilizing different line-codes selected from the set of two or more line-codes, while the headers of the frames are encoded utilizing the same line-code, referred to as the first line-code. In one embodiment, a payload of a certain frame is encoded utilizing a line-code selected based on the type of the data within the payload of the certain frame. In one embodiment, the header of the certain frame includes an indication of the line-code utilized for encoding the payload of the certain frame, thereby facilitating thesecond communication node408 to decode the payload of the certain frame utilizing the respective line-code.
In one example, the set of two or more line-codes include the first line-code and a second line-code, having input word lengths M′ and M″, respectively, binary code word lengths N′ and N″, respectively, and code rates R′ and R″, respectively. The first and second line-codes have minimum Hamming distances D′ and D″, respectively, where D″ is lower than D′.
In one example, theencoder402 encodes afirst frame410, which includes afirst header412 and afirst payload414, and asecond frames416, which includes asecond header418 and asecond payload420. Theencoder402 encodes the first and second header utilizing the first line-code, and the first and second payloads utilizing the first and second line-codes, respectively.
In one example, the first line-code is selected for encoding the first payload based on a first data type of a first data included in the first payload, and the second line-code is selected for encoding the second payload based on a second data type of a second data included in the second payload.
In one example, the selection of a line-code for encoding the payload of a certain frame may be based only on the respective data type of the data included therein. In another example, line-code selection may be further based on other applicable criteria, such as a criterion based on the condition of the communication channel, or any other suitable criterion. The applicable criteria may be based on channel condition such as signal to noise ratio, symbol error rate, and/or any other suitable channel condition. However, in both examples the selection is affected by the respective data type.
In one example, thecommunication channel406 is characterized by first and second channel conditions, which are respectively associated with the transmission of the first and second frames. In this example, the first and second line-codes may be selected for encoding the first and second payloads, respectively, although the differences between the first and second channel conditions are not enough for implying selection of different line-codes.
In one embodiment, theencoder402 maintains the absolute value of the running disparity, form the beginning of the first frame to the end of the second frame, lower than or equal to a predetermined value K. In one example, K is lower than N′/2. Additionally or alternatively, in one example K is lower than N″/2.
In one example, K is lower than N′/4. Additionally or alternatively, K may be lower than N″/4. In one example, K is lower than 3. In one example, K is lower than 2.
In some examples, N′ and N″ are equal. Following are some examples regarding the relation between the first and second output sets. In all those examples, N′ and N″ are equal. In one example, the first and second output sets are mutually exclusive to each other, i.e., they do not share any common code word. In another example, the first set and second output sets, are not exclusive to each other, i.e., they share at least one common code word. In one example, the first output set is a subset of a second output set. In one example, the first output set is not a subset of a second output set.
In one embodiment, the first output set is a subset of the output set of an 8b/10 line-code. Additionally or alternatively, the second output set may be a subset of the output set of an 8b/10 line-code.
In one embodiment, theencoder402 maintains, from the beginning of the frame to the end of the second frame, transition density equal to or better than a predetermined transition density, which is at least one transition within any sequence of Z consecutive symbols. In one example, Z equals 6. In one example, Z is lower than 6. In one embodiment, theencoder402 maintains, from the beginning of the frame to the end of the second frame, spectral uniformity equal to or better than a predetermined spectral uniformity.
In one example, thecommunication channel406 includes an optical fiber. Additionally or alternatively, the communication channel may include a conductive wire, a wireless channel, and/or any other suitable communication channel. In one example, the first header includes an indication that the first payload is encoded utilizing the first line-code, and the second header includes an indication that the second payload is encoded utilizing the second line-code.
In one embodiment, theencoder402 produces anidle sequence422, which resides between thefirst frame410 and asecond frame416, and includes code words of length N_idle. In one example, N_idle may be equal to N′. Additionally or alternatively, N_idle may be equal to N″.
In one embodiment, theencoder402 maintains the absolute value of the running disparity, over the first frame, the idle sequence, and the second frame, lower than or equal to K. K may optionally be lower than N_idle/2, or lower than N_idle/4.
In one embodiment, theencoder402 maintains the transition density, over the first frame, the idle sequence, and the second frame, equal to or better than the predetermined transition density. In one embodiment, theencoder420 maintains the spectral uniformity over the first frame, the idle sequence, and the second frame, equal to or better than the predetermined spectral uniformity.
In one example, the set of two or more line-codes further includes a third line-code having input word length M′″, binary code word length N′″, code rate R′″, and minimum Hamming distance D′″, which is different from D″.
In one example, theencoder402 encodes athird frame424 including athird header426, andthird payload428, and thethird payload428 includes athird data430 having a third data type, and afourth data432 having a fourth data type.Encoder402 encodes thethird header426, thethird data430, and theforth data432, utilizing the first, second and third line-codes, respectively, which are selected for encoding thethird data430 and thefourth data432, respectively, based on a third and fourth data types, respectively.
In one example, D′″ is lower than D″, and R′″ is higher than R″. In this example the fourth data features higher bandwidth efficiency (R′″>R″) but lower error resilience (D′″>D″) than the third data. In another example the third line-code coincides with the first line-code, and D′″ is equal to D′.
FIG. 5 illustrates one embodiment of a method for encoding frames utilizing line-codes having different minimum Hamming distances. The method illustrated inFIG. 5 involves encoding at least first and second frames, utilizing at least first and second line-codes, and transmitting the frames over a communication channel. The method may be performed by a communication node such as thecommunication node400 inFIG. 4, or by other communication node, or by any other suitable device. In one example, the first and second frames include first and second headers, respectively, and first and second payloads, respectively. The first and second frames may be the first andsecond frames410 and416 inFIG. 4. The frames may be received by a second communication node, such as thesecond communication node408 inFIG. 4, or any other suitable device. The first and second line-codes have binary code word lengths N′ and N″, respectively, and minimum Hamming distances D′ and D″, respectively, where D″ is lower than D′.
In one embodiment, the method illustrated inFIG. 5 includes at least the following steps: In astep502, maintaining, from the beginning of the first frame to the end of a second frame, the absolute value of running disparity lower than or equal to a predetermined value K. In one example, K is lower than N′/2. Additionally or alternatively, K may be lower than N″/2. Instep504, encoding the first header utilizing the first line-code. Instep505, selecting the first line-code for encoding the first payload based on a first data type of a first data included in the first payload. Instep506, encoding the first payload utilizing the first line-code. Instep508, encoding the second header utilizing the first line-code. Instep509, selecting the second line-code for encoding the second payload based on a second data type of a second data included in the second payload. Instep510, encoding the second payload utilizing the second line-code. And instep512, transmitting the first and second frames over the communication channel.
In one example, the communication channel is characterized by first and second channel conditions, which are respectively associated with the transmission of the first and second frames. In this example, the first and second line-codes are selected for encoding the first and second payloads, respectively, although the differences between the first and second channel conditions are not enough for implying selection of different line-codes.
In one example, K is lower than N′/4. Additionally or alternatively, K may be lower than N″/4. K may optionally be is lower than 3, or lower than 2. In some examples, N′ and N″ are equal. Following are some examples regarding the relation between the first and second output sets. In all those examples, N′ and N″ are equal. In one example, the first and second output sets are mutually exclusive to each other, i.e., they do not share any common code word. In another example, the first set and second output sets, are not exclusive to each other, i.e., they share at least one common code word. In one example, the first output set is a subset of a second output set. In one example, the first output set is not a subset of a second output set. In one example, the first output set is a subset of the output set of an 8b/10 line-code. Additionally or alternatively, the second output set may be a subset of the output set of an 8b/10 line-code.
In one embodiment, the method illustrated inFIG. 5 further includes maintaining, from the beginning of the frame to the end of the second frame, transition density equal to or better than a predetermined transition density, which is at least one transition within any sequence of Z consecutive symbols. In one example, Z equals 6. In one example, Z is lower than 6.
In one embodiment, the method further includes maintaining, from the beginning of the frame to the end of the second frame, spectral uniformity equal to or better than a predetermined spectral uniformity.
In one example, the communication channel includes an optical fiber. Additionally or alternatively, the communication channel may include a conductive wire, a wireless channel, and/or any other suitable communication channel.
In one example, the first header includes an indication that the first payload is encoded utilizing the first line-code, and the second header includes an indication that the second payload is encoded utilizing the second line-code.
The method illustrated inFIG. 5 may further include an optional step of producing an idle sequence, which may be performed by an encoder, such as theencoder402 inFIG. 4, or by any other suitable encoder. The idle sequence may be theidle sequence422 inFIG. 4. The idle sequence includes code words of length N_idle, which may optionally be equal to N′ or to N″.
In one embodiment, the method further involves maintaining the absolute value of the running disparity, over the first frame, the idle sequence, and the second frame, lower than or equal to K. K may optionally be lower than N_idle/2, or lower than N_idle/4.
In one embodiment, the method further involves maintaining the transition density, over the first frame, the idle sequence, and the second frame, equal to or better than the predetermined transition density.
In one embodiment, the method further involves maintaining the spectral uniformity over the first frame, the idle sequence, and the second frame, equal to or better than the predetermined spectral uniformity.
In one example, the set of two or more line-codes further includes a third line-code having input word length M′″, binary code word length N′″, code rate R″, and minimum Hamming distance D′″, which is different from D″.
In one example, the method illustrated inFIG. 5 may further include an optional step of encoding a third frame including a third header and third payload. The step of encoding the third frame may be performed by an encoder, such as theencoder402 inFIG. 4, or by any other encoder, or by any other suitable device. In addition, the third frame may be thethird frame428 inFIG. 4. The third payload includes a third data and a fourth data, having third and fourth data types, respectively. The third header is encoded utilizing the first line-code, and the third and fourth data are encoded utilizing the second and third line-codes, respectively, which are selected based on a third and fourth data types, respectively. In one example, D′″ is lower than D″. In another example the third line-code coincides with the first line-code, and D′″ is equal to D′.
FIG. 6 illustrates one embodiment of acommunication node600. Thecommunication node600 may be thefirst node102 inFIG. 1, or thecommunication node400 inFIG. 4, or any other suitable communication node. Thecommunication node600 includes at least anencoder602 and anidle sequence modifier604. Thecommunication node600 may further include atransmitter606.
Theencoder602 encodes afirst frame608, a basicidle sequence610, and asecond frame612. Thefirst frame608, the basicidle sequence610, and thesecond frame612 include code words, and the length of the idle sequence (measured in words) is denoted by X. The code words may include binary symbols, i.e. symbols belonging to an alphabet consisting of two values. Alternatively, the symbols may belong to a non-binary alphabet, i.e. an alphabet consisting of more than two values.
Theidle sequence modifier604 modifies the basicidle sequence610 into anidle sequence614, by replacing M certain code words out of the X code words of the basic idle sequence with M alternative code words. The M alternative code words are not unique, i.e., each alternative code word belongs to the same output set as the code words of the idle sequence. Therefore, in one example, each alternative code word is equal to at least one code word of the idle sequence.
In one example, thefirst frame608, theidle sequence614, and thesecond frame612 are transmitted by thetransmitter606 over acommunication channel620, and received by asecond communication node622, which includes adetector624 and adecoder626. The detector produces a detectedfirst frame627, a detectedidle sequence628, and a detectedsecond frame629, also referred to as the received firsts frame, the received idle sequence, and the received second frame. The code words of the detected first frame, the detected idle sequence, and the detected second frame may include one or more erroneous detected symbols, i.e. detected symbols that are different from the respective transmitted symbols. The erroneous symbols are referred to as channel errors.
In one example, thesecond communication node622 does not know in advance the length X of the idle sequence, and therefore thedecoder624 does not know in advance the starting point of the detectedsecond frame629. Furthermore, thedecoder624 is unable to determine the starting point of the detectedsecond frame629 by inspecting the detectedidle sequence628 per se, since the idle sequence by itself does not indicate its end.
The code words of the basicidle sequence610 are known in advance to thesecond communication node622. For example, theencoder602 may produce the basic idle sequence utilizing a certain algorithm (e.g. a pseudo random symbol generator) and certain one or more parameters thereof (e.g. initial state of the generator), and the second communication node may produce an identical replica of the basic idle sequence by utilizing the same certain algorithm and the same certain one or more parameters thereof.
Thedecoder624 compares the detectedidle sequence628 with a replica of the basicidle sequence610, and determines the differences between respective code words of the two sequences, which are referred to as the detected differences. In case of no channel errors, the detected differences are identical to the differences between the code words of the basicidle sequence610 and the respective code words of theidle sequence614, the latter differences being accordingly referred to as the error-free differences. As explained above, the error-free differences include X-M zero words, and M non-zero words.
A sub-sequence of the error-free differences, which includes the M non-zero words, is referred to as the synchronization sequence. The synchronization sequence is located at a predetermined distance from the end of theidle sequence614, and the end of the detectedidle sequence628 may be determined by determining the presence of the synchronization sequence.
In one example, M equals one, and the synchronization sequence is a single non-zero word located at a predetermined distance from the end of the idle sequence, for example at the end of the idle sequence. In another example, M is higher than one, and the M non-zero code words are located at predetermined distances from the end of the idle sequence. The M non-zero code words may be consecutive, or not consecutive.
Theidle sequence modifier604 determines the value of each alternative code word to be different from the value of the respective certain code word within the basicidle sequence610, thereby resulting in the M non-zero words of the synchronization sequence. In one example, theidle sequence modifier604 determines the value of each alternative code word based only on the value of the respective basic code word appearing in the basicidle sequence610, thereby resulting in a deterministic synchronization sequence. In another example, theidle sequence modifier604 may determine the value of each alternative code word based also on other considerations, thereby resulting in different synchronization sequences. The other consideration may be, for example, line-code related considerations, such as running disparity.
The detected sequence of differences may include channel errors. However, in one example, the synchronization sequence facilitates detection thereof also in presence of channel errors, as long as the number of channel errors does not exceed a predetermined threshold.
The difference between the idle sequence and the basic idle sequence may be measured using Hamming distance. When the number of alternative code words is one, the decoder decides between to hypotheses: a first hypothesis that the received word represents an original code word of the basic idle sequence, and a second hypothesis that the received word represents an alternative code word. In this example, T is equal to the integer part of (D_idle 1)/2, where D_idle is the Hamming distance between the two hypotheses, i.e., the distance between the alternative code word and the respective code word in the basic idle sequence.
In one example, D_idle is equal to or higher than 3. In one example, the code words of the idle sequence have code word length N_idle, and D_idle is higher than or equal to N_idle/2. In one example, atleast N_idle 1 symbols, out of the N_idle symbols of the alternative code word, are different from the respective symbols of the certain code word. In this example, D_idle is higher than or equal toN_idle 1. In one example, all N_idle symbols of the alternative code word are different from the respective symbols of the certain code word. In this example, D_idle equals N_idle.
In one example, thecommunication channel606 includes an optical fiber. Additionally or alternatively, the communication channel may include a conductive wire, a wireless channel, and/or any other suitable communication channel.
In one embodiment, theencoder602 maintains over theidle sequence614 an absolute running disparity lower than or equal to K, which is lower than N_idle/2. In one example, K is lower than N_idle/4. In one example, K is lower than 3. In one example, K is lower than 2.
In one example, the first output set of the first line-code is a subset of the output set of all code words produced by an 8b/10 line-code. In this example, each code word of the basic idle sequence is included within an output set of all code words produced by an 8b/10 line-code. In one example, the alternative code words are also included within the first output set, and therefore each code word of the idle sequence is included within the output set output set of all code words produced by an 8b/10 line-code. In one example, the first line-code is an 8b/10 line-code.
FIG. 7 illustrates one embodiment of a method for indicating the end of an idle sequence. The method illustrated inFIG. 7 may be performed by thefirst communication node600 inFIG. 6. In addition, the method may be performed by any other communication node, or by any other suitable device. The method includes at least the following steps:
Instep702, encoding a first frame. Step702 may be performed by theencoder602 inFIG. 6, or by any other suitable encoder. Additionally, the first frame may be thefirst frame608 inFIG. 6.
Instep704, encoding a basic idle sequence, which includes code words. Step704 may be performed by theencoder602 inFIG. 6, or by any other suitable encoder. Additionally, the basic idle sequence may be the basicidle sequence610 inFIG. 6.
Instep706, producing an idle sequence by replacing certain M code words of the idle sequence with M alternative code words. Step706 may be performed by theidle sequence modifier604 inFIG. 6, or by any other suitable device. Additionally, the idle sequence may be theidle sequence614 inFIG. 6. The M alternative code words belong to the same output set as the code words of the idle sequence.
And in step710, encoding a second frame. Step710 may be performed by theencoder602 inFIG. 6, or by any other suitable encoder. Additionally, the second frame may be thesecond frame612 inFIG. 6.
The method illustrated inFIG. 7 may further includes an optional step of transmitting the first frame, the idle sequence, and the second frame over a communication channel, which may be performed by thetransmitter608 inFIG. 6, or by any other suitable transmitter. Furthermore, the communication channel may be thecommunication channel620 inFIG. 6, or any other suitable communication channel. The first frame, the idle sequence, and the second frame may be detected and decoded by a second communication node. The code words of the detected idle sequence may include one or more channel errors.
In one example, the second communication node is unable to determine the starting point of the detected second frame by inspection the detected idle sequence per se, because the second communication node does not know in advance the length of the idle sequence, and the idle sequence by itself does not indicate its end.
In one embodiment, the code words of the basic idle sequence are known in advance to the second communication node, which compares the received idle sequence with a replica of the basic idle sequence. Based on the sequence of differences between the received idle sequence and replica of the basic idle sequence, the second communication node determines the end of the detected idle sequence, thereby determining the starting point of the detected second frame. Furthermore, the second communication node should be able to determine the end of the detected idle sequence correctly, as long as the number of channel errors does not exceed a predetermined threshold.
In one example, the difference between the idle sequence and the basic idle sequence is measured using Hamming distance. When the idle sequence include a single alternative code word, T is equal to the integer part of (D_idle 1)/2, where D_idle is the Hamming distance between the alternative code word and the respective code word in the basic idle sequence. In this example, the second communication node is able to determine the end of the detected idle as long as the number of channel errors within the detected idle sequence is lower than D_idle/2.
In one example, D is equal to or higher than 3. In one example, the code words of the idle sequence have code word length N_idle, and D is higher than or equal to N_idle/2. In one example, D_idle is higher than or equal toN_idle−1. In one example, D_idle equals N_idle.
In one embodiment, the method further includes maintaining over the idle sequence an absolute running disparity lower than or equal to K, which is lower than N_idle/2.
K may optionally be lower than N_idle/4, lower than 3, or lower than 2.
In one example, each code word of the basic idle sequence is included within an output set consisting of all code words produced by an 8b/10 line code. In one example, each code word of the idle sequence is included within the output set output set of all code words produced by an 8b/10 line code.
In one embodiment, thestep704 of encoding the basic idle sequence further includes maintaining over the basic idle sequence transition density equal to or better than a predetermined transition density. In one example, the predetermined transition density is at least one transition within any sequence of 6 consecutive symbols. In one embodiment, thestep706 of producing the idle sequence further includes maintaining over theidle sequence614 transition density equal to or better than the predetermined transition density.
In one embodiment, thestep704 of encoding the basic idle sequence further includes maintaining over the frame spectral uniformity equal to or better than a predetermined spectral uniformity.
FIG. 8 illustrates one embodiment of acommunication node800. Thecommunication node800 may be thefirst node102 inFIG. 1, thecommunication node400 inFIG. 4, or any other suitable communication node. Thecommunication node800 includes at least anencoder802 and anidle sequence modifier804. In one embodiment, thecommunication node600 further includes atransmitter806.
In one example, theencoder802 encodes afirst frame808, a basicidle sequence810, and asecond frame812. Thefirst frame808, the basicidle sequence810, and thesecond frame812 include symbols. In one example, the symbols are binary symbols, i.e. symbols belonging to an alphabet consisting of two values. Alternatively, the symbols may belong to a non-binary alphabet, i.e. an alphabet consisting of more than two values.
In one embodiment, theidle sequence modifier804 modifies the basicidle sequence810 into anidle sequence814, by replacing M certain symbols of the basic idle sequence with M alternative symbols. The M alternative symbols belong to the same alphabet as the symbols of the idle sequence. Therefore, in one example, each alternative symbol is equal to at least one symbol of the idle sequence.
In one example, thefirst frame808, theidle sequence814, and thesecond frame812 are transmitted by thetransmitter806 over acommunication channel820, and received by asecond communication node822, which includes adetector824 and adecoder826. The detector produces a detectedfirst frame827, a detectedidle sequence828, and a detectedsecond frame829, also referred to as the received first frame, the received idle sequence, and the received second frame, respectively. In one example, the detected first frame, the detected idle sequence, and the detected second frame may include one or more channel errors.
In one example, thedecoder824 is unable to determine the starting point of the detectedsecond frame829 by inspection the detectedidle sequence828 per se, because thesecond communication node822 does not know in advance the length of the idle sequence, and the idle sequence by itself does not include an indication of its end.
In one embodiment, the code words of the basic idle sequence are known in advance to thesecond communication node822, and thedecoder824 compares the received idle sequence with a replica of the basic idle sequence. The sequence of differences between the received idle sequence and the basic idle sequence is referred to as the detected sequence of differences. The differences may be represented in binary symbols, where zero indicates no difference between the two symbols being compared. Thedecoder824 correlates the detected sequence of differences with a synchronization sequence, which represents the difference between the basic idle sequence and the idle sequence. Based on the correlation, the second communication node determines the end of the detected idle sequence, thereby determining the starting point of the detected second frame.
In one example, the synchronization sequence is a Barker sequence of length 13. The weight (i.e. number of non-zero symbols) of this synchronization sequence is 9, and its maximum side-lobe is one. Therefore, in this example, T is equal to 3.
In one embodiment, the difference between the received idle sequence and the basic idle sequence is determined by a detector configured to identify a synchronization sequence. In one example, the difference is a single symbol and deterministic, therefore the detector compares the symbol with the basic idle sequence. In another example, the difference is not deterministic, and the operation of the encoder is reconstructed in the receiver, which checks whether the hypothesis that the idle sequence ends at a certain symbol is correct, or the hypothesis that the idle sequence does not end at the certain symbol is correct.
FIG. 9 illustrates one embodiment of acommunication system900. Thecommunication system900 may be thecommunication system100 inFIG. 1, or any other suitable communication system. Thecommunication system900 includes at least afirst node902 and asecond node904. In embodiment, thefirst node902 includes anencoder906 and atransmitter908. In one example, thefirst node902 communicates with thesecond node904 over acommunication channel910. The second node may include adetector912 and adecoder914.
In one example, theencoder906 encodes afirst frame916, anidle sequence918, and a second frame920, utilizing one or more line-codes, and thetransmitter908 transmits them over thecommunication channel910. Thefirst frame916,idle sequence918, and second frame920 may be theframe112,idle sequence122, and followingframe124, respectively, inFIG. 1. The first frame, idle sequence, and second frame may be received (detected) by thedetector912 and decoded by thedecoder914, and the receivedfirst frame922, receivedidle sequence924, and receivedsecond frame926 may include channel errors. In one example, the length X of the idle sequence is not known in advance to thesecond node914.
In one example, theidle sequence918 is based on a basic idle930 having X code words, which is obtained utilizing a first line-code having a binary code word length N_idle. The idle sequence differs from the basic idle sequence in M out of the X code words. In one embodiment, theencoder906 determines X minus M code words of the idle sequence to be equal to the corresponding X minus M code words of a basic idle sequence. Theencoder906 further determines the remaining M code words of the idle sequence to be alternative code words, which are different from the corresponding M code words of the idle sequence. In one example, the M alternative code words are not unique, i.e., each alternative code word belongs to the same output set as the code words of the idle sequence. Therefore, in one example, each alternative code word is equal to at least one code word of the basic idle sequence. In one example, each alternative code word belongs to the same output set as the code words of the second frame. Therefore, in one example, each alternative code word is equal to at least one code word of the second frame.
In one example, M equals one, and the single alternative code word is located at a predetermined distance from the end of the idle sequence. In one example, the single alternative code word is located at the end of the idle sequence. In another example, M is higher than one. In one example, the M alternative code words are located at predetermined distances from the end of the idle sequence. The M alternative code words may be consecutive, or not consecutive.
In one embodiment, theencoder906 maintains over the idle sequence absolute value of running disparity lower than or equal to K. In one example K is lower than N_idle/2.
In one example, thefirst frame916,idle sequence918, and second frame920 are transmitted by thetransmitter908 over thecommunication channel910, and received by thesecond node904. Thedetector912 of the second node produces a detectedfirst frame622, a detectedidle sequence624, and a detectedsecond frame626, also referred to as the received firsts frame, the received idle sequence, and the received second frame. The code words of the detected first frame, the detected idle sequence, and the detected second frame may include one or more channel errors.
In one example, thesecond node904 does not know in advance the length X of theidle sequence918, and therefore thedecoder614 does not know in advance the starting point of the detectedsecond frame626. Furthermore, thedecoder614 is unable to determine the starting point of the detectedsecond frame626 by inspection the detectedidle sequence624 per se, since the idle sequence by itself does not indicates its end.
In one embodiment, the code words of the basic idle sequence are known in advance to thesecond node904. In one embodiment, thedecoder914 compares the detectedidle sequence624 with a replica of the basic idle sequence, thereby producing a detected sequence of differences, which is the sequence of differences between the code words of the detectedidle sequence624 and the respective code words of the basic idle sequence. Based on the detected sequence of differences, thedecoder914 determines the end of the detectedidle sequence624, thereby determining the starting point of the detectedsecond frame626. Furthermore, thedecoder914 should be able to determine the end of the detectedidle sequence624 correctly, as long as the number of channel errors within the detectedidle sequence624 does not exceed a predetermined threshold.
In one example, theencoder906 obtains the basicidle sequence930 by encoding the output of a pseudorandom bit generator. In one example, the pseudorandom bit generator starts at a predetermined state. Thedecoder914 may produce a replica of the basic idle sequence by utilizing the same pseudo random bit generator, starting at the same predetermined state.
In one example, the second frame920 includes a header and a payload. In one example, the encoder encodes the header utilizing a second line-code, and the first output set of all words of the first line-code and the second output set of all code words produced by the second line-code are mutually exclusive to each other.
In one example, theencoder906 encodes the payload utilizing a third line-code, and the third output set of all code words produced by the third line-code and the first output set have at least one common code word.
In one example, theencoder906 encodes the payload utilizing the first line-code.
In one example, theencoder906 encodes the payload utilizing a third line-code, and each one of the code words of the idle sequence belongs to a third output set of all code words produced by the third line-code.
In one example, the difference between the idle sequence and the basic idle sequence is measured using Hamming distance. When the idle sequence include a single alternative code word, thedecoder914 is able to determine the end of the detectedidle sequence924 as long as the number of channel errors within the detected idle sequence is lower than D_idle/2, where D_idle is the Hamming distance between the alternative code word and the respective code word in the basic idle sequence.
In one example, D_idle is equal to or higher than 3. In one example, D_idle is higher than or equal to N_idle/2. In one example, D_idle is higher than or equal toN_idle 1. In one example, D_idle equals N_idle.
In one example, thecommunication channel910 includes an optical fiber. Additionally or alternatively, the communication channel may include a conductive wire, a wireless channel, and/or any other suitable communication channel.
In one example, theencoder906 maintains the absolute value of the running disparity, from a beginning of a first frame to an end of the second frame, lower than or equal to K.
In one example, K is lower than N_idle/4. In one example, K is lower than 3. In one example, K is lower than 2.
In one example, the first output set of the first line-code is a subset of the output set of all code words of an 8b/10 line-code. In this example, each code word of the basic idle sequence is included within an output set of all code words produced by an 8b/10 line-code. In one example, the alternative code words are also included within the first output set, and therefore each code word of the idle sequence is included within the output set output set of all code words produced by an 8b/10 line-code. In one example, the first line-code is an 8b/10 line-code.
FIG. 10 illustrates one embodiment of a method for indicating the end of an idle sequence. The method illustrated inFIG. 10 may be performed by thefirst communication node900 inFIG. 9. In addition, the method may be performed by any other communication node, or by any other suitable device. The method involves encoding and transmitting a first frame, a second frame, and an idle sequence residing between the first frame and the second frame. The first frame, idle sequence, and second frame include code words. The code words of the idle sequence have binary code word length N_idle. The method includes at least the following steps: Instep1002, maintaining, from the beginning of the first frame to the end of the second frame, the absolute value of running disparity lower than or equal to K. In one example, K is lower than N_idle/2. Instep1004, encoding the first frame. Instep1006, encoding a basic idle sequence utilizing a first line-code having a binary code word length N_idle. Instep1008, producing an idle sequence by replacing M code words of the basic idle sequence with M alternative code words. In one example, each one of the M alternative code words is equal to at least one code word of the basic idle sequence. Instep1010, encoding the second frame. Instep1012, transmitting the first frame, the idle sequence, and the second frame over a communication channel. And instep1014, receiving the second frame by a second communication node. In one example, the second communication node is unable to determine a starting point of the second frame based only on the idle sequence and the second frame, but is able to determine the starting point of the second frame based on the difference between the basic idle sequence and the idle sequence. In one example, the difference between the basic idle sequence and the idle sequence facilitates determine the starting point of the second frame even in presence of one or more channel errors.
In one example, thestep1006 of encoding the basic idle sequence includes encoding the output of a pseudorandom bit generator, which may start at a predetermined state.
In one example, the header of the second frame is encoded utilizing a second line-code, where the first and second output sets of all code words of the first and second line-codes, respectively, are mutually exclusive to each other.
In one example, the payload of the second frame is encoded utilizing a third line-code, where the first and third output sets of all code words of the first and third line-codes, respectively, have at least one common code word.
In one example, the payload of the second frame is encoded utilizing the first line-code.
In one example, payload of the second frame is encoded utilizing a third line-code, where each one of the code words of the idle sequence belongs to a third output set of all code words of the third line-code.
In one example, the difference between the idle sequence and the basic idle sequence is measured using Hamming distance. When the idle sequence includes a single alternative code word, the second communication node is able to determine the end of the idle sequence as long as the number of channel errors within the idle sequence is lower than D_idle/2, where D_idle is the Hamming distance between the alternative code word and the respective code word in the basic idle sequence.
In one example, D_idle is equal to or higher than 3. In one example, D_idle is higher than or equal to N_idle/2. In one example, D_idle is higher than or equal toN_idle 1. In one example, D_idle equals N_idle.
In one example, K is lower than N_idle/4. K may optionally be lower than 3, or lower than 2.
In one example, the first output set of the first line-code is a subset of the output set of all code words produced by an 8b/10 line-code. In this example, each code word of the basic idle sequence is included within an output set of all code words produced by an 8b/10 line-code. In one example, the alternative code words are also included within the first output set, and therefore each code word of the idle sequence is included within the output set output set of all code words produced by an 8b/10 line-code. In one example, the first line-code is an 8b/10 line-code.
Herein, a predetermined value, such as a predetermined confidence level or a predetermined threshold, is a fixed value and/or a value determined any time before performing a calculation that compares a certain value with the predetermined value. A value is also considered to be a predetermined value when the logic, used to determine whether a threshold that utilizes the value is reached, is known before start of performing computations to determine whether the threshold is reached.
In this description, references to “one embodiment” mean that the feature being referred to may be included in at least one embodiment of the invention. Moreover, separate references to “one embodiment” or “some embodiments” in this description do not necessarily refer to the same embodiment. Additionally, references to “one embodiment” and “another embodiment” may not necessarily refer to different embodiments, but may be terms used, at times, to illustrate different aspects of an embodiment.
The embodiments of the invention may include any variety of combinations and/or integrations of the features of the embodiments described herein. Although some embodiments may depict serial operations, the embodiments may perform certain operations in parallel and/or in different orders from those depicted. Moreover, the use of repeated reference numerals and/or letters in the text and/or drawings is for the purpose of simplicity and clarity and does not in itself dictate a relationship between the various embodiments and/or configurations discussed. The embodiments are not limited in their applications to the details of the order or sequence of steps of operation of methods, or to details of implementation of devices, set in the description, drawings, or examples. Moreover, individual blocks illustrated in the figures may be functional in nature and therefore may not necessarily correspond to discrete hardware elements.
While the methods disclosed herein have been described and shown with reference to particular steps performed in a particular order, it is understood that these steps may be combined, sub-divided, and/or reordered to form an equivalent method without departing from the teachings of the embodiments. Accordingly, unless specifically indicated herein, the order and grouping of the steps is not a limitation of the embodiments. Furthermore, methods and mechanisms of the embodiments will sometimes be described in singular form for clarity. However, some embodiments may include multiple iterations of a method or multiple instantiations of a mechanism unless noted otherwise. For example, when a processor is disclosed in one embodiment, the scope of the embodiment is intended to also cover the use of multiple processors. Certain features of the embodiments, which may have been, for clarity, described in the context of separate embodiments, may also be provided in various combinations in a single embodiment. Conversely, various features of the embodiments, which may have been, for brevity, described in the context of a single embodiment, may also be provided separately or in any suitable sub-combination. Embodiments described in conjunction with specific examples are presented by way of example, and not limitation. Moreover, it is evident that many alternatives, modifications, and variations will be apparent to those skilled in the art. It is to be understood that other embodiments may be utilized and structural changes may be made without departing from the scope of the embodiments. Accordingly, this disclosure is intended to embrace all such alternatives, modifications, and variations that fall within the spirit and scope of the appended claims and their equivalents.

Claims (24)

What is claimed is:
1. A communication node comprising:
an encoder configured to encode a first frame, a basic idle sequence, and a second frame, wherein the first frame, the basic idle sequence, and the second frame comprise code words; and
an idle sequence modifier configured to produce an idle sequence by replacing certain M code words of the basic idle sequence with M alternative code words; wherein each one of the M alternative code word appears in the basic idle sequence; and a second communication node, which is unable to determine a starting point of the second frame based only on the idle sequence, is able to determine the starting point of the second frame based on a difference between the idle sequence and the basic idle sequence.
2. The communication node ofclaim 1, wherein the difference between the idle sequence and the basic idle sequence is measured using Hamming distance.
3. The communication node ofclaim 2, wherein the Hamming distance between the idle sequence and the basic idle sequence is equal to or higher than D_idle, and the second communication node is able to determine the start of the second frame as long as a number of channel errors in a received idle sequence is lower than D_idle/2.
4. The communication node ofclaim 3, wherein D_idle is equal to or higher than 3.
5. The communication node ofclaim 3, wherein the code words have length N_idle, and D_idle is higher than or equal to N_idle−2.
6. The communication node ofclaim 1, wherein the M alternative code words are located at M predetermined locations relative to end of the idle sequence.
7. The communication node ofclaim 1, wherein the encoder is further configured to utilize a line-code having a binary code word length N_idle for encoding the idle sequence.
8. The communication node ofclaim 1, wherein the encoder is configured to maintain over the idle sequence absolute value of running disparity lower than or equal to K, which is lower than N_idle/2.
9. The communication node ofclaim 8, wherein the running disparity at a certain symbol is a difference between number of ones and number of zeroes encoded up to and including the certain symbol.
10. The communication node ofclaim 8, wherein K is lower than N_idle/4.
11. The communication node ofclaim 8, wherein K is lower than 3.
12. A method for indicating an end of an idle sequence, comprising:
encoding a first frame;
encoding a basic idle sequence comprising code words;
producing an idle sequence by replacing certain M code words of the idle sequence with M alternative code words, wherein each one of the M alternative code words appears in the basic idle sequence; and
encoding a second frame;
wherein a second communication node, which is unable to determine a starting point of the second frame based only on a received idle sequence, is able to determine the starting point of the second frame based on a difference between the received idle sequence and the basic idle sequence.
13. The method ofclaim 12, wherein the difference between the idle sequence and the basic idle sequence is measured using Hamming distance.
14. The method ofclaim 13, wherein the Hamming distance between the idle sequence and the basic idle sequence is equal to or higher than D_idle, and the second communication node is able to determine the start of the second frame as long as a number of channel errors in the received idle sequence is lower than D_idle/2.
15. The method ofclaim 14, wherein D_idle is equal to or higher than 3.
16. The method ofclaim 14, wherein the code words have length N_idle, and D_idle is higher than or equal to N_idle−2.
17. The method ofclaim 12, wherein the M alternative code words are located at M predetermined locations relative to the end of the idle sequence.
18. The method ofclaim 12, wherein the encoder is further configured to utilize a line-code having a binary code word length N_idle for encoding the idle sequence.
19. The method ofclaim 18, wherein the encoder is configured to maintain over the idle sequence absolute value of running disparity lower than or equal to K, which is lower than N_idle/2.
20. The method ofclaim 19, wherein K is lower than N_idle/4.
21. The method ofclaim 19, wherein K is lower than 3.
22. A communication node comprising:
an encoder configured to encode a first frame, a basic idle sequence, and a second frame; wherein the first frame, the basic idle sequence, and the second frame comprise symbols; and
an idle sequence modifier configured to produce an idle sequence by replacing M certain symbols of the basic idle sequence with M alternative symbols;
wherein each one of the M alternative symbols appears in the basic idle sequence; and
a second communication node, which is unable to determine a starting point of the second frame based only on a received idle sequence, is able to determine the starting point of the second frame based on a difference between the received idle sequence and the basic idle sequence.
23. The communication node ofclaim 22, wherein the symbols are binary symbols.
24. The communication node ofclaim 22, wherein the difference is determined by a detector configured to identify a synchronization sequence.
US14/170,7902014-02-032014-02-03Indicating end of idle sequence by replacing certain code words with alternative code wordsActive2034-07-04US9270411B2 (en)

Priority Applications (1)

Application NumberPriority DateFiling DateTitle
US14/170,790US9270411B2 (en)2014-02-032014-02-03Indicating end of idle sequence by replacing certain code words with alternative code words

Applications Claiming Priority (1)

Application NumberPriority DateFiling DateTitle
US14/170,790US9270411B2 (en)2014-02-032014-02-03Indicating end of idle sequence by replacing certain code words with alternative code words

Publications (2)

Publication NumberPublication Date
US20150222387A1 US20150222387A1 (en)2015-08-06
US9270411B2true US9270411B2 (en)2016-02-23

Family

ID=53755721

Family Applications (1)

Application NumberTitlePriority DateFiling Date
US14/170,790Active2034-07-04US9270411B2 (en)2014-02-032014-02-03Indicating end of idle sequence by replacing certain code words with alternative code words

Country Status (1)

CountryLink
US (1)US9270411B2 (en)

Citations (27)

* Cited by examiner, † Cited by third party
Publication numberPriority datePublication dateAssigneeTitle
US4486739A (en)*1982-06-301984-12-04International Business Machines CorporationByte oriented DC balanced (0,4) 8B/10B partitioned block transmission code
US4620311A (en)1984-01-201986-10-28U.S. Philips CorporationMethod of transmitting information, encoding device for use in the method, and decoding device for use in the method
US5048062A (en)*1989-10-301991-09-10International Business Machines Corp.Transmitting commands over a serial link
US5305352A (en)1991-10-311994-04-19At&T Bell LaboratoriesCoded modulation with unequal error protection
US5784387A (en)*1994-10-311998-07-21International Business Machines CorporationMethod for detecting start-of-frame, end of frame and idle words in a data stream
US5852634A (en)1992-08-211998-12-22U.S. Philips CorporationData coding system
US6052411A (en)1998-04-062000-04-183Com CorporationIdle mode for digital subscriber line
US6088369A (en)*1997-05-282000-07-11Pmc-Sierra Ltd.Line coding technique for efficient transmission and delineation of encapsulated frames over high speed data links
EP1018815A2 (en)1999-01-052000-07-12Lucent Technologies Inc.Multiple program unequal error protection for digital audio broadcasting and other applications
US6198413B1 (en)*1999-07-012001-03-06International Business Machines CorporationPartitioned DC balanced (0,6) 16B/18B transmission code with error correction
US6347122B1 (en)1998-01-132002-02-12Agere Systems Guardian Corp.Optimal complement punctured convolutional codes for use in digital audio broadcasting and other applications
EP1303917A1 (en)2000-07-172003-04-23Koninklijke Philips Electronics N.V.Coding of data stream
WO2003069918A1 (en)2002-02-182003-08-21Koninklijke Philips Electronics N.V.Coding a data stream with unequal error protection
EP1381179A1 (en)2002-07-102004-01-14Matsushita Electric Industrial Co., Ltd.Method and apparatus for unequal error protection
US6747580B1 (en)*2003-06-122004-06-08Silicon Image, Inc.Method and apparatus for encoding or decoding data in accordance with an NB/(N+1)B block code, and method for determining such a block code
US6804805B2 (en)2000-06-272004-10-12Seagate Technology LlcMethod and apparatus for encoding with unequal protection in magnetic recording channels having concatenated error correction codes
US6876315B1 (en)*2004-03-122005-04-05International Business Machines CorporationDC-balanced 6B/8B transmission code with local parity
US6897793B1 (en)2004-04-292005-05-24Silicon Image, Inc.Method and apparatus for run length limited TMDS-like encoding of data
US7024653B1 (en)2000-10-302006-04-04Cypress Semiconductor CorporationArchitecture for efficient implementation of serial data communication functions on a programmable logic device (PLD)
US7076724B2 (en)2002-06-252006-07-11Lockheed Martin CorporationSystem and method for forward error correction
US7187307B1 (en)*2003-06-122007-03-06Silicon Image, Inc.Method and system for encapsulation of multiple levels of communication protocol functionality within line codes
US20080063375A1 (en)2001-06-212008-03-13Stmicroelectronics S.R.L.Data-file storage, particularly for MPEG format files
US20080101467A1 (en)2006-10-272008-05-01Radiospire Networks, Inc.Method and system for secure and efficient wireless transmission of HDCP-encrypted HDMI/DVI signals
WO2009087546A2 (en)2007-12-312009-07-16France TelecomUnequal error protection for wireless applications with cross layer design
US7599396B2 (en)2005-07-112009-10-06Magnalynx, Inc.Method of encoding and synchronizing a serial interface
US7760749B2 (en)2007-01-112010-07-20Via Technologies, Inc.Apparatus and method for deskewing 1000 BASE-T Ethernet physical layer signals
US7778242B1 (en)2001-11-272010-08-17Alcatel LucentProtecting content of a packet containing speech data using unequal error protection

Patent Citations (28)

* Cited by examiner, † Cited by third party
Publication numberPriority datePublication dateAssigneeTitle
US4486739A (en)*1982-06-301984-12-04International Business Machines CorporationByte oriented DC balanced (0,4) 8B/10B partitioned block transmission code
US4620311A (en)1984-01-201986-10-28U.S. Philips CorporationMethod of transmitting information, encoding device for use in the method, and decoding device for use in the method
US5048062A (en)*1989-10-301991-09-10International Business Machines Corp.Transmitting commands over a serial link
US5305352A (en)1991-10-311994-04-19At&T Bell LaboratoriesCoded modulation with unequal error protection
US5852634A (en)1992-08-211998-12-22U.S. Philips CorporationData coding system
US5784387A (en)*1994-10-311998-07-21International Business Machines CorporationMethod for detecting start-of-frame, end of frame and idle words in a data stream
US6088369A (en)*1997-05-282000-07-11Pmc-Sierra Ltd.Line coding technique for efficient transmission and delineation of encapsulated frames over high speed data links
US6347122B1 (en)1998-01-132002-02-12Agere Systems Guardian Corp.Optimal complement punctured convolutional codes for use in digital audio broadcasting and other applications
US6052411A (en)1998-04-062000-04-183Com CorporationIdle mode for digital subscriber line
EP1018815A2 (en)1999-01-052000-07-12Lucent Technologies Inc.Multiple program unequal error protection for digital audio broadcasting and other applications
US6198413B1 (en)*1999-07-012001-03-06International Business Machines CorporationPartitioned DC balanced (0,6) 16B/18B transmission code with error correction
US6804805B2 (en)2000-06-272004-10-12Seagate Technology LlcMethod and apparatus for encoding with unequal protection in magnetic recording channels having concatenated error correction codes
EP1303917A1 (en)2000-07-172003-04-23Koninklijke Philips Electronics N.V.Coding of data stream
US7024653B1 (en)2000-10-302006-04-04Cypress Semiconductor CorporationArchitecture for efficient implementation of serial data communication functions on a programmable logic device (PLD)
US20080063375A1 (en)2001-06-212008-03-13Stmicroelectronics S.R.L.Data-file storage, particularly for MPEG format files
US7778242B1 (en)2001-11-272010-08-17Alcatel LucentProtecting content of a packet containing speech data using unequal error protection
WO2003069918A1 (en)2002-02-182003-08-21Koninklijke Philips Electronics N.V.Coding a data stream with unequal error protection
US7296211B2 (en)2002-06-252007-11-13Lockheed Martin CorporationSystem and method for transferring data on a data link
US7076724B2 (en)2002-06-252006-07-11Lockheed Martin CorporationSystem and method for forward error correction
EP1381179A1 (en)2002-07-102004-01-14Matsushita Electric Industrial Co., Ltd.Method and apparatus for unequal error protection
US7187307B1 (en)*2003-06-122007-03-06Silicon Image, Inc.Method and system for encapsulation of multiple levels of communication protocol functionality within line codes
US6747580B1 (en)*2003-06-122004-06-08Silicon Image, Inc.Method and apparatus for encoding or decoding data in accordance with an NB/(N+1)B block code, and method for determining such a block code
US6876315B1 (en)*2004-03-122005-04-05International Business Machines CorporationDC-balanced 6B/8B transmission code with local parity
US6897793B1 (en)2004-04-292005-05-24Silicon Image, Inc.Method and apparatus for run length limited TMDS-like encoding of data
US7599396B2 (en)2005-07-112009-10-06Magnalynx, Inc.Method of encoding and synchronizing a serial interface
US20080101467A1 (en)2006-10-272008-05-01Radiospire Networks, Inc.Method and system for secure and efficient wireless transmission of HDCP-encrypted HDMI/DVI signals
US7760749B2 (en)2007-01-112010-07-20Via Technologies, Inc.Apparatus and method for deskewing 1000 BASE-T Ethernet physical layer signals
WO2009087546A2 (en)2007-12-312009-07-16France TelecomUnequal error protection for wireless applications with cross layer design

Non-Patent Citations (1)

* Cited by examiner, † Cited by third party
Title
A1 X. Widmer, Peter A. Franaszek (1983), "A DC-Balanced, Partitioned-Block, 8B/10B Transmission Code", IBM Journal of Research and Development 27 (5): 440.

Also Published As

Publication numberPublication date
US20150222387A1 (en)2015-08-06

Similar Documents

PublicationPublication DateTitle
US10411877B2 (en)Data transmitter and data receiver
RU2717544C1 (en)Variable lengths of sub-packets for splitting telegram in networks with low power consumption
US9401729B2 (en)Maintaining running disparity while utilizing different line-codes
US10735140B2 (en)Encoding and decoding using a polar code
US10651873B2 (en)Polar code successive cancellation list decoding
US9973300B2 (en)Modulation adaption method for multi-mode modems
US9407394B2 (en)Frequent flow control by replacing certain idle words with bitwise complement words
CN101983481B (en)Transmission device and method, reception device and method, and program
US11233532B2 (en)Information decoder for polar codes
CN111726878B (en) Method and device for detecting downlink control information
US9594719B2 (en)Seamless addition of high bandwidth lanes
WO2016095488A1 (en)False detection control information recognition method, device, and storage medium
US9270415B2 (en)Encoding payloads according to data types while maintaining running disparity
JP2017513307A5 (en)
US10305631B1 (en)System and method for frame synchronization
US9270411B2 (en)Indicating end of idle sequence by replacing certain code words with alternative code words
US9270403B2 (en)Indicating end of idle sequence by replacing expected code words while maintaining running disparity
JP2008530933A (en) Frame synchronization method and apparatus
Yao et al.Network coding tomography for network failures
CN104541469A (en)Method and apparatus for error recovery using information related to the transmitter
CN102265541B (en)Bler estimation method and communication device
RU136662U1 (en) DEVICE FOR EVALUATING THE ERROR PROBABILITY FOR A BIT WHEN CODING USING THE PARITY BIT
RU2643571C2 (en)Method of estimation of error per bit probability by results of decoding code words
CN110741698B (en)Method and apparatus for bit number calculation and scrambling of cyclic redundancy check/parity distributed polarization codes
JP2011041095A (en)Communication system

Legal Events

DateCodeTitleDescription
ASAssignment

Owner name:VALENS SEMICONDUCTOR LTD., ISRAEL

Free format text:ASSIGNMENT OF ASSIGNORS INTEREST;ASSIGNORS:LIDA, EYRAN;SALAMON, AVIV;REEL/FRAME:032217/0848

Effective date:20140203

STCFInformation on status: patent grant

Free format text:PATENTED CASE

MAFPMaintenance fee payment

Free format text:PAYMENT OF MAINTENANCE FEE, 4TH YEAR, LARGE ENTITY (ORIGINAL EVENT CODE: M1551); ENTITY STATUS OF PATENT OWNER: LARGE ENTITY

Year of fee payment:4

MAFPMaintenance fee payment

Free format text:PAYMENT OF MAINTENANCE FEE, 8TH YEAR, LARGE ENTITY (ORIGINAL EVENT CODE: M1552); ENTITY STATUS OF PATENT OWNER: LARGE ENTITY

Year of fee payment:8


[8]ページ先頭

©2009-2025 Movatter.jp