Movatterモバイル変換


[0]ホーム

URL:


US8985942B2 - Turbine exhaust case duct - Google Patents

Turbine exhaust case duct
Download PDF

Info

Publication number
US8985942B2
US8985942B2US13/539,610US201213539610AUS8985942B2US 8985942 B2US8985942 B2US 8985942B2US 201213539610 AUS201213539610 AUS 201213539610AUS 8985942 B2US8985942 B2US 8985942B2
Authority
US
United States
Prior art keywords
aft
duct
tec
shroud
flange assembly
Prior art date
Legal status (The legal status is an assumption and is not a legal conclusion. Google has not performed a legal analysis and makes no representation as to the accuracy of the status listed.)
Active, expires
Application number
US13/539,610
Other versions
US20140003922A1 (en
Inventor
William A. Daniels
John J. Korzendorfer
David A. Debyah
Scott A. Ladd
Current Assignee (The listed assignees may be inaccurate. Google has not performed a legal analysis and makes no representation or warranty as to the accuracy of the list.)
RTX Corp
Original Assignee
United Technologies Corp
Priority date (The priority date is an assumption and is not a legal conclusion. Google has not performed a legal analysis and makes no representation as to the accuracy of the date listed.)
Filing date
Publication date
Application filed by United Technologies CorpfiledCriticalUnited Technologies Corp
Priority to US13/539,610priorityCriticalpatent/US8985942B2/en
Assigned to UNITED TECHNOLOGIES CORPORATIONreassignmentUNITED TECHNOLOGIES CORPORATIONASSIGNMENT OF ASSIGNORS INTEREST (SEE DOCUMENT FOR DETAILS).Assignors: DANIELS, WILLIAM A., LADD, SCOTT A., KORZENDORFER, JOHN J., DEBYAH, DAVID A.
Priority to PCT/US2013/038751prioritypatent/WO2014007908A1/en
Publication of US20140003922A1publicationCriticalpatent/US20140003922A1/en
Application grantedgrantedCritical
Publication of US8985942B2publicationCriticalpatent/US8985942B2/en
Assigned to RAYTHEON TECHNOLOGIES CORPORATIONreassignmentRAYTHEON TECHNOLOGIES CORPORATIONCHANGE OF NAME (SEE DOCUMENT FOR DETAILS).Assignors: UNITED TECHNOLOGIES CORPORATION
Assigned to RAYTHEON TECHNOLOGIES CORPORATIONreassignmentRAYTHEON TECHNOLOGIES CORPORATIONCORRECTIVE ASSIGNMENT TO CORRECT THE AND REMOVE PATENT APPLICATION NUMBER 11886281 AND ADD PATENT APPLICATION NUMBER 14846874. TO CORRECT THE RECEIVING PARTY ADDRESS PREVIOUSLY RECORDED AT REEL: 054062 FRAME: 0001. ASSIGNOR(S) HEREBY CONFIRMS THE CHANGE OF ADDRESS.Assignors: UNITED TECHNOLOGIES CORPORATION
Assigned to RTX CORPORATIONreassignmentRTX CORPORATIONCHANGE OF NAME (SEE DOCUMENT FOR DETAILS).Assignors: RAYTHEON TECHNOLOGIES CORPORATION
Activelegal-statusCriticalCurrent
Adjusted expirationlegal-statusCritical

Links

Images

Classifications

Definitions

Landscapes

Abstract

An exhaust duct comprises a shroud body, a forward flange assembly, an aft flange assembly, an intermediate flange assembly, and a first plurality of bleed ports. The forward flange assembly extends radially inward from a forward shroud end for securing the forward shroud end downstream of a final turbine stage. The aft flange assembly extends circumferentially around and radially inward from an aft shroud end for securing the aft shroud end to an engine tail cone. The intermediate flange assembly is disposed forward of the aft flange assembly, and extends circumferentially around and radially inward from the shroud body for securing the shroud body to an engine bearing housing. The first plurality of bleed ports is disposed around the shroud body forward of a junction with the intermediate flange.

Description

STATEMENT OF GOVERNMENT INTEREST
This invention was made with government support under Contract No. F33657-88-C-0134 awarded by United States Air Force. The government has certain rights in the invention.
BACKGROUND
The described subject matter relates generally to turbine exhaust cases for gas turbine engines, and more specifically to exhaust ducts for turbine exhaust cases.
The aft exhaust region of a gas turbine engine, like many other areas in the engine power core, often experiences high thermal gradients across relatively small distances. High thermal gradients, particularly in relatively thin metal components can lead to fatigue cracking or other defects before the desired end of a product life cycle, leading to premature replacement or in-mission engine malfunction. Cracking can be exacerbated by engine vibration and rapid thermal cycling. Certain high performance turbine engines designed for rapidly changing thermal and operational conditions are thus particularly prone to these and similar defects.
SUMMARY
An exhaust duct comprises a shroud body, a forward flange assembly, an aft flange assembly, an intermediate flange assembly, and a first plurality of bleed ports. The forward flange assembly extends radially inward from a forward shroud end for securing the forward shroud end downstream of a final turbine stage. The aft flange assembly extends circumferentially around and radially inward from an aft shroud end for securing the aft shroud end to an engine tail cone. The intermediate flange assembly is disposed forward of the aft flange assembly, and extends circumferentially around and radially inward from the shroud body for securing the shroud body to an engine bearing housing. The first plurality of bleed ports is disposed around the shroud body forward of a junction with the intermediate flange.
A turbine exhaust case (TEC) duct assembly comprises a forward TEC duct, an aft TEC duct, and an engine tail cone. The aft TEC duct includes an aft TEC duct shroud body with an inwardly extending forward flange assembly securing a forward shroud end to the forward TEC duct. An inwardly extending aft flange assembly secures an aft shroud end to the engine tail cone. An inwardly extending intermediate flange assembly is provided for securing the aft TEC duct to an engine bearing housing. The shroud body includes a first plurality of bleed ports disposed forward of a junction of the shroud body and intermediate flange assembly.
BRIEF DESCRIPTION OF THE DRAWINGS
FIG. 1 is a schematic cross-section of a gas turbine engine.
FIG. 2A is a partial cross-section at a turbine exhaust case (TEC) duct assembly.
FIG. 2B depicts details around the partial cross-section ofFIG. 2A.
FIG. 3A is an isometric view of an example TEC duct.
FIG. 3B is a cross-section of the TEC duct ofFIG. 3A.
FIG. 4 shows details of an example bleed port on the TEC duct.
DETAILED DESCRIPTION
FIG. 1 includesgas turbine engine10,low spool12, low pressure compressor (LPC)14, low pressure turbine (LPT)16,low pressure shaft18,high spool20, high pressure compressor (HPC)22, high pressure turbine (HPT)24,high pressure shaft26,combustor28,nacelle30,propulsion fan32,fan shaft34, fandrive gear system36,planetary gear38,ring gear40,sun gear42, fanexit guide vanes44, turbine exhaust case (TEC)46, TEC exhaust struts/vanes48, TECouter case49, andexhaust tail cone50.
FIG. 1 is a cross-sectional view ofgas turbine engine10. In the example two-spool, high bypass turbofan configuration shown,low spool12 includes low pressure compressor (LPC)14 driven by via low pressure turbine (LPT)16 vialow pressure shaft18.High spool20 includes high pressure compressor (HPC)22 driven by high pressure turbine (HPT)24 via andhigh pressure shaft26.Low pressure18 andhigh pressure shaft26 are mounted coaxially and rotate at different speeds. The power core also includescombustor28 arranged in flow series between the compressor and turbine sections. Each of the LPC, HPC, HPT, and LPT is arranged into a number of alternating stages of bladed rotors and stator vanes.
Propulsion fan rotor32 drives air through the bypass duct coaxially oriented between the engine core andnacelle30. Fan rotor (or other propulsion stage)32 can be directly or indirectly rotationally coupled tolow pressure shaft18. In advanced designs, fandrive gear system36couples fan shaft34 tolow spool12, with respective planetary, ring, andsun gear mechanisms38,40 and42 providing independent fan speed control for reduced noise and improved operating efficiency. In more conventional turbofan designs, fandrive gear system36 is omitted andfan32 is driven directly as part oflow spool12. Fan exit guide vanes (FEGVs)44 are disposed betweennacelle30 and the engine core to reduce swirl and improve thrust performance through the bypass duct. High performance embodiments ofengine10 may optionally include a thrust augmenter (not shown) proximate the exhaust of the power core.
Turbine exhaust case (TEC)46 is disposed at an aft end of the power core ofengine10. Also visible inFIG. 1 are certain elements in or adjacent to TEC46, including TEC struts/vanes48, TECouter case49,exhaust tail cone50. More details of the area in and around TEC46 are shown inFIGS. 2A and 2B.
It will be recognized from the remainder of the description that the invention is by no means limited to the example two-spool high bypass turbofan engine shown inFIG. 1. By way of further non-limiting examples,fan rotor32 may additionally or alternatively include an unducted rotor, withturbine engine10 thereby operating as a turboprop or unducted turbofan engine. Alternatively,fan rotor32 may be absent, leavingnacelle30 covering only the engine core, withturbine engine10 thereby being configured as a turbojet or turboshaft engine.
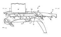
FIG. 2A depicts a cutaway of an aft end ofengine10 and includes TEC46, TEC struts/vanes48, TECouter case49,exhaust tail cone50, TECinner case52, bearinghousing54,aft TEC duct56,forward TEC duct58,aft shroud end60,forward shroud end62,strut cutout63,forward flange assembly64,aft flange66, riblet67,intermediate flange68,obtuse flange portion70,radial flange portion72, first bleedport74A, secondbleed port74B,flange connector75, and outerstiffening ring76.FIG. 2B is a more isometric view of that which is shown inFIG. 2A, and includes TEC46,exhaust tail cone50, TECinner case52, bearinghousing54,aft TEC duct56,aft shroud end60,forward shroud end62,strut cutout63,forward flange assembly64,aft flange66, riblet67,intermediate flange68,obtuse flange portion70,radial flange portion72, first bleedport74A, secondbleed port74B, andflange connector75, and outerstiffening ring76.
Generally speaking, combustion gases G exiting the final stage of a turbine section (e.g.,LPT16 inFIG. 1) enterTEC46, passing around a plurality of circumferentially distributed TEC struts/vanes48 and out overtail cone50.Struts48 extend radially between outer case49 (shown inFIG. 1) andinner case52. In certain embodiments,inner case52 and/orouter case49 may be integral with or cooperate withaft bearing housing54 to form part of the engine backbone and support the aft ends of the engine driveshafts (e.g.,shafts18,26 inFIG. 1). In this example configuration, the shownTEC strut48 is airfoil shaped, allowing it, along with at least some of the other distributed struts/vanes48, to simultaneously serve as a turbine exit guide vane. The airfoil shaped outer surface may be a structural characteristic of strut/vane48, or alternatively, strut/vane48 includes one or more radially extending internal structural members clad in a hollow element having an airfoil-shaped outer surface.
Aft TEC duct56 includes a shroud body having an axiallyaft shroud end60 and aforward shroud end62. In this particular example, forward shroud end62 may include a plurality of circumferentially distributedstrut cutouts63.Strut cutouts63 may be circumferentially distributed aroundforward end62 for engaging a corresponding plurality of struts/vanes48. Thus the shape ofstrut cutout63 may complement at least an aft portion of strut/vane48 to minimize leakage towardinner case52 and/or bearinghousing54.Aft TEC duct56 and forwardTEC duct58 can form a TEC duct assembly defining an inner flow boundary for exhaust gas G. This example combination defines the inner flow boundary of gasG leaving LPT16.Forward TEC duct58 may have corresponding strut cutouts (not numbered) aligned withstrut cutouts63, in which case the respective pairs of strut cutouts form passages through the boundary for each strut/vane48.Tail cone50 can also be secured to aft flange66 (described below) to further define the TEC duct assembly and inner flow boundary. The duct assembly may also engage a portion of bearinghousing54 to provide additional stability as noted below.
Aft TEC duct56 can includeforward flange assembly64 extending radially inward from theforward shroud end62.Forward flange assembly64 can join forward shroud end62 to a component disposed axially forward ofduct56 and downstream of a final turbine stage. The forwardly adjacent component, such asforward TEC duct58, may also include a corresponding flange (not numbered) to removably secure the two components together, minimizing gaps, particularly around strut/vane48 and strutcutout63, while strengthening the structural connection therebetween. As will be explained below, depending on the arrangement ofstrut cutouts63 for TEC struts/vanes48,forward flange assembly64 may be a single flange extending entirely circumferentially aroundforward shroud end62.Forward flange assembly64 may alternatively be a number of partial circumferentially distributed flange sections to accommodatestrut cutouts63. In certain embodiments, such as those with a single TEC duct,forward flange assembly64 can secure the duct directly adjacent to an outlet of the turbine.
Aft TEC duct56 can also includeaft flange66 extending circumferentially around and radially inward fromaft shroud end60.Aft flange66 can joinaft shroud end60 to an adjacent component axially aft thereof. In this example, the axially aft component isengine tail cone50. This extends the inner boundary of the exhaust path to the end of the power core.
In certain embodiments, aftTEC duct56 can also includeintermediate flange68 disposed at a midspan region ofaft TEC duct56. Here,intermediate flange68 includes a first end ofobtuse portion70 extending axially forward and radially inward fromaft shroud end60.Radial portion72 extends radially inward from a second opposing end ofobtuse portion70 and may occupy a radial plane substantially parallel to forward andaft flanges64,66.Radial portion72 ofintermediate flange68 can be configured to mount aftTEC duct56 to a centrally arranged structure, such as bearinghousing54. The connection may be direct or indirect, and may involve connection to TECinner case52.
Riblets67 can optionally extend axially along the inner gas path boundary along one or bothTEC ducts56,58. The circumferentially distributedriblets67, disposed circumferentially adjacent to one or both sides ofstrut cutouts63 can both reinforceducts56,58, as well as improve boundary flow.Aft TEC duct56 can include additional or alternative features visible inFIGS. 2A and/or2B, such asbleed ports74A,74B,outer stiffening ring76, and strutcutout stiffeners78. Utilizing one or more of these and other features, better shown and described in the following figures, can reduce the likelihood of premature defects without substantially increasing engine weight.
FIGS. 3A and 3B show aftTEC duct56,aft shroud end60,forward shroud end62,strut cutouts63,forward flange assembly64,aft flange66,riblets67,intermediate flange68,obtuse flange portion70,radial flange portion72,first bleed port74A,second bleed port74B,flange connector75, andouter stiffening ring76,forward flange segment77, strutcutout stiffening ribs78, inner obtuse flange end79A, and outerobtuse flange end79B.
FIG. 3A is an isometric view of an example embodiment ofaft TEC duct56.FIG. 3B is a cross-section taken acrossline3B-3B ofFIG. 3A. In certain embodiments, TEC46 (shown inFIGS. 2A and 2B) is a “rapid response” exhaust case, designed to quickly expand during rapidly changing thermal loads so as to increase peak performance and prevent problems from excessive interface gaps.Rapid response TEC46 can also reduce detection of thermal exhaust signatures by closely controlling the exhaust plume and minimizing thermal leakage between exhaust components while allowing for rapid thermal expansion and contraction.
One aspect of a “rapid response” TEC duct assembly can include aftTEC duct56 withintermediate flange68. As discussed above, certain embodiments ofintermediate flange68 can haveobtuse portion70 andradial portion72.Outer end79B ofobtuse flange portion70 extends towardinner end79A (and radial flange portion72) to form an interior angle withaft shroud end60. This angle may be between about 45° and about 75°. In certain embodiments, the interior angle is about 60°.
This arrangement controls radial and axial expansion/contraction ofaft TEC duct56 relative to surrounding components during periods of rapidly changing operational conditions, such as may be seen in military aircraft engines with a thrust augmenter. Controlling this growth reduces exhaust leaks at the various gaps, reducing the engine's thermal signature. However, in certain of these rapid response embodiments, thermal cracking can occur in aft TEC duct caused by excessive thermal gradients across and through the duct. As part of the inner flow path boundary, shroud ends60,62 are exposed to hot exhaust gas G (shown inFIG. 2A). Starting the augmenter (not shown) rapidly increases the temperature of gas G, thermally expanding shrouds of the outer TEC duct assembly. Stopping the augmenter quickly decreases these temperatures Thus during the times immediately after starting or stopping the augmenter, the temperature inside the ducts has not caught up to the outer surface temperature. Bulging and contraction ofaft TEC duct56 can result due to thermal cycling fatigue cracking.
Cracking is most prone to occur axially aft ofstrut cutouts63 near the junction ofaft shroud end60 andintermediate flange68. To reduce gradients between outer and inner regions, aftTEC duct56 can therefore include one ormore bleed ports74A,74B. A first plurality ofbleed ports74A can be circumferentially distributed equally aroundaft shroud end60 proximate midspan of the duct. In the example ofFIG. 3A,port74A is disposed axially aft ofstrut cutout63. In theevent strut48 also serves as a guide vane,ports74A may be circumferentially aligned relative to strutcutouts63. In one example,port74A is circumferentially aligned with the apex ofstrut cutout63. An additional plurality ofbleed ports74B can be optionally provided and disposed circumferentially intermediate adjacent ones of the first plurality ofbleed ports74A.Ports74A,74B may be axially disposed immediately forward of the junction ofintermediate flange68 andaft shroud end60.
Ports74A,74B can include at least one hole for providing turbine exhaust air radially inward fromaft TEC duct56, equalizing temperatures adjacent bearinghousing54 and/or inner TEC case52 (shown inFIGS. 2A and 2B). The hole can be directed generally between inner and outer regions ofTEC46 and more directly to impinge flowing exhaust gas G onto one or more flanges, such as intermediate flangeobtuse portion70. This reduces thermal differentials betweenintermediate flange68 andaft shroud end60, which lowers the magnitude and frequency of thermal cycling and the resultant incidence of low cycle fatigue. Further bleedports74A,74B may be provided elsewhere onaft TEC duct56 as needed to further reduce thermal cycling fatigue.
FIG. 3A shows eightstrut cutouts63 for eight corresponding struts/vanes48 (shown inFIG. 2A). With eightintermediate ports74B, there are a total of sixteenports74A,74B circumferentially distributed equally aroundaft shroud end60 in the example shown. However, this configuration will vary based on individual structural requirements relative to the arrangement of struts/vanes48, as well as on actual or expected thermal gradients around and throughaft TEC duct56.
Optionally, aftTEC duct56 can also include reinforcing structures or elements on one or both ofaft shroud end60 andforward shroud end62. InFIG. 3B, it can be seen thatflange connector75 joinsaft flange66 withouter end79B ofobtuse flange portion70, reinforcingaft shroud end60. Anouter stiffening ring76 can also be secured aft ofports74A,74B, allowing use of a thinner duct wall foraft shroud end60. Stiffeningribs78 can reinforce perimeters of respective strut cutouts63A, enabling thinner walls forforward shroud end62.
In the examples shown,forward flange assembly64 is made up of a plurality of circumferentially distributedforward flange segments77 for connection downstream of the final turbine stage (e.g., connection to forward TEC duct56). As noted above,forward flange assembly64 may alternatively be a monolithic flange.
FIG. 4 shows one example embodiment ofport74A/74B disposed forward ofouter stiffening ring76. In certain embodiments,port74A/74B includesbleed hole80 having an inlet on the gas path side (outer surface of aft shroud end60) and an outlet on the interior ofduct56. As shown inFIG. 3B, the outlet ofhole80 can be directed to impinge a portion of oncoming exhaust gas G ontointermediate flange68, and optionally onto flangeobtuse portion70. This increases the thermal response ofintermediate flange68, reducing the thermal gradient across the same.Port74A/74B can also optionally includescoop82 overhole80 to locally increase the pressure, and thus flow rate, of the entering portion of bleed gas G. As seen inFIG. 4, scoop82 forms opening84 which may be oriented toward oncoming exhaust gas G.
While the invention has been described with reference to an exemplary embodiment(s), it will be understood by those skilled in the art that various changes may be made and equivalents may be substituted for elements thereof without departing from the scope of the invention. In addition, many modifications may be made to adapt a particular situation or material to the teachings of the invention without departing from the essential scope thereof. Therefore, it is intended that the invention not be limited to the particular embodiment(s) disclosed, but that the invention will include all embodiments falling within the scope of the appended claims.
Discussion of Possible Embodiments
The following are non-exclusive descriptions of possible embodiments of the present invention.
An exhaust duct comprises a shroud body, a forward flange assembly, an aft flange assembly, an intermediate flange assembly, and a first plurality of bleed ports. The forward flange assembly extends radially inward from a forward shroud end for securing the forward shroud end downstream of a final turbine stage. The aft flange assembly extends circumferentially around and radially inward from an aft shroud end for securing the aft shroud end to an engine tail cone. The intermediate flange assembly is disposed forward of the aft flange assembly, and extends circumferentially around and radially inward from the shroud body for securing the shroud body to an engine bearing housing. The first plurality of bleed ports is disposed around the shroud body forward of a junction with the intermediate flange.
The apparatus of the preceding paragraph can optionally include, additionally and/or alternatively, any one or more of the following features, configurations and/or additional components:
    • the first plurality of bleed ports optionally are circumferentially distributed equally around the shroud body;
    • the first plurality of bleed ports optionally include at least one hole disposed radially outward from at least one surface of the shroud body;
    • the at least one hole is optionally shaped to impinge exhaust gas flow onto the at least one surface of the intermediate flange assembly;
    • the at least one surface of the intermediate flange assembly is optionally an obtuse surface angled axially forward and radially inward from the shroud body;
    • at least one of the first plurality of bleed ports optionally further includes a scoop arranged over the at least one hole, the scoop having an opening for facing a direction of oncoming exhaust gas flow;
    • the exhaust duct optionally further comprises a second plurality of bleed ports circumferentially intermediate adjacent ones of the first plurality of bleed ports;
    • the forward end of the shroud body optionally includes a plurality of circumferentially distributed strut cutouts, each strut cutout shaped to engage with an aft portion of a corresponding turbine exhaust case support strut;
    • at least one of the plurality of circumferentially distributed strut cutouts optionally includes a stiffener rib secured around a perimeter thereof;
    • at least one of the first plurality of bleed ports is optionally circumferentially aligned with a corresponding at least one of the plurality of circumferentially distributed strut cutouts;
    • the exhaust duct optionally further comprises a flange connector disposed radially inward of the shroud body, the connector joining the intermediate flange and the aft flange; and
    • the exhaust duct optionally further comprises an outer stiffener ring disposed axially around the shroud body aft of the first plurality of bleed ports, over the flange connector.
A turbine exhaust case (TEC) duct assembly comprises a forward TEC duct, an aft TEC duct, and an engine tail cone. The aft TEC duct includes an aft TEC duct shroud body with an inwardly extending forward flange assembly securing a forward shroud end to the forward TEC duct. An inwardly extending aft flange assembly secures an aft shroud end to the engine tail cone. An inwardly extending intermediate flange assembly is provided for securing the aft TEC duct to an engine bearing housing. The shroud body includes a first plurality of bleed ports disposed forward of a junction of the shroud body and intermediate flange assembly.
The apparatus of the preceding paragraph can optionally include, additionally and/or alternatively, any one or more of the following features, configurations and/or additional components:
    • respective outer surfaces of the forward TEC duct shroud body, the aft TEC duct shroud body, and the engine tail cone cooperate to define an inner exhaust gas path boundary;
    • the forward TEC duct optionally includes a first plurality of strut cutouts circumferentially distributed around an aft shroud end, and the aft TEC duct includes a second plurality of strut cutouts circumferentially distributed around the forward shroud end, and respective ones of the first and second pluralities of shroud body strut cutouts forming passages through the inner exhaust gas path boundary for circumferentially distributed TEC struts operating as exhaust guide vanes;
    • the intermediate flange assembly optionally extends circumferentially around and radially inward from the aft TEC duct shroud body, and at least one surface of the intermediate flange assembly is an obtuse surface angled axially forward and radially inward from the shroud body;
    • the plurality of bleed ports are optionally distributed equally around a circumference of the shroud body and include at least one hole in the shroud body disposed radially outward of at least one surface of the intermediate flange assembly, the at least one hole shaped to impinge exhaust gas flow onto the at least one surface of the intermediate flange assembly;
    • at least one of the plurality of bleed ports optionally further includes a scoop arranged over the at least one hole;
    • the scoop optionally has an opening for facing a direction of oncoming exhaust gas flow; and
    • the assembly optionally further comprises a flange connector disposed radially inward of the shroud body, the connector joining the intermediate flange assembly and the aft flange assembly.

Claims (20)

The invention claimed is:
1. An exhaust duct comprising:
a shroud body having a forward shroud end and an aft shroud end;
a forward flange assembly extending radially inward from the forward shroud end for securing the forward shroud end downstream of a final turbine stage;
an aft flange assembly extending circumferentially around and radially inward from the aft shroud end for securing the aft shroud end to an engine tail cone;
an intermediate flange assembly disposed forward of the aft flange assembly, and extending circumferentially around and radially inward from the shroud body for securing the shroud body to an engine bearing housing; and
a first plurality of bleed ports disposed on the shroud body forward of a junction with the intermediate flange assembly.
2. The exhaust duct ofclaim 1, wherein the first plurality of bleed ports are circumferentially distributed equally around the shroud body.
3. The exhaust duct ofclaim 1, wherein the first plurality of bleed ports include at least one hole disposed radially outward from at least one surface of the shroud body.
4. The exhaust duct ofclaim 3, wherein the at least one hole is shaped to impinge exhaust gas flow onto the at least one surface of the intermediate flange assembly.
5. The exhaust duct ofclaim 4, wherein the at least one surface of the intermediate flange assembly is an obtuse surface angled axially forward and radially inward from the shroud body.
6. The exhaust duct ofclaim 4, wherein at least one of the first plurality of bleed ports further includes a scoop arranged over the at least one hole, the scoop having an opening for facing the direction of oncoming exhaust gas flow.
7. The exhaust duct ofclaim 1, further comprising a second plurality of bleed ports circumferentially intermediate adjacent ones of the first plurality of bleed ports.
8. The exhaust duct ofclaim 1, wherein the forward shroud end includes a plurality of circumferentially distributed strut cutouts, each strut cutout shaped to engage with an aft portion of a corresponding turbine exhaust case support strut.
9. The exhaust duct ofclaim 8, wherein at least one of the plurality of circumferentially distributed strut cutouts includes a stiffener rib secured around a perimeter thereof.
10. The exhaust duct ofclaim 8, wherein at least one of the first plurality of bleed ports is circumferentially aligned with a corresponding at least one of the plurality of circumferentially distributed strut cutouts.
11. The exhaust duct ofclaim 1, further comprising a flange connector disposed radially inward of the shroud body, the connector joining the intermediate flange assembly and the aft flange assembly.
12. The exhaust duct ofclaim 11, further comprising an outer stiffener ring disposed axially around the shroud body aft of the first plurality of bleed ports, and over the flange connector.
13. A turbine exhaust case (TEC) duct assembly comprising:
a forward TEC duct;
an aft TEC duct including a shroud body with a first plurality of bleed ports, an inwardly extending forward flange assembly securing a forward shroud end to the forward TEC duct, an inwardly extending aft flange assembly, and an inwardly extending intermediate flange assembly for securing the aft TEC duct to an engine bearing housing, the first plurality of bleed ports disposed on the shroud body forward of a junction with the intermediate flange assembly; and
an engine tail cone secured to the aft TEC duct at the aft flange assembly.
14. The assembly ofclaim 13, wherein respective outer surfaces of the forward TEC duct shroud body, the aft TEC duct shroud body, and the engine tail cone cooperate to define an inner exhaust gas path boundary.
15. The assembly ofclaim 14, wherein the forward TEC duct includes a first plurality of strut cutouts circumferentially distributed around an aft shroud end, and the aft TEC duct includes a second plurality of strut cutouts circumferentially distributed around the forward shroud end, and wherein respective ones of the first and second pluralities of shroud body strut cutouts cooperate to form passages through the inner exhaust gas path boundary for circumferentially distributed TEC struts operating as exhaust guide vanes.
16. The assembly ofclaim 13, wherein the intermediate flange assembly extends circumferentially around and radially inward from the aft TEC duct shroud body, and at least one surface of the intermediate flange is an obtuse surface angled axially forward and radially inward from the shroud body.
17. The assembly ofclaim 16, wherein the first plurality of bleed ports are circumferentially distributed equally around the shroud body and include at least one hole in the shroud body disposed radially outward of at least one surface of the intermediate flange assembly, the at least one hole shaped to impinge exhaust gas flow onto the at least one surface of the intermediate flange assembly.
18. The assembly ofclaim 17, wherein at least one of the plurality of bleed ports further includes a scoop arranged over the at least one hole.
19. The assembly ofclaim 18, wherein the scoop has an opening for facing the direction of oncoming exhaust gas flow.
20. The assembly ofclaim 13, further comprising a flange connector disposed radially inward of the shroud body, the connector joining the intermediate flange assembly and the aft flange assembly.
US13/539,6102012-07-022012-07-02Turbine exhaust case ductActive2033-10-22US8985942B2 (en)

Priority Applications (2)

Application NumberPriority DateFiling DateTitle
US13/539,610US8985942B2 (en)2012-07-022012-07-02Turbine exhaust case duct
PCT/US2013/038751WO2014007908A1 (en)2012-07-022013-04-30Turbine exhaust case duct

Applications Claiming Priority (1)

Application NumberPriority DateFiling DateTitle
US13/539,610US8985942B2 (en)2012-07-022012-07-02Turbine exhaust case duct

Publications (2)

Publication NumberPublication Date
US20140003922A1 US20140003922A1 (en)2014-01-02
US8985942B2true US8985942B2 (en)2015-03-24

Family

ID=49778348

Family Applications (1)

Application NumberTitlePriority DateFiling Date
US13/539,610Active2033-10-22US8985942B2 (en)2012-07-022012-07-02Turbine exhaust case duct

Country Status (2)

CountryLink
US (1)US8985942B2 (en)
WO (1)WO2014007908A1 (en)

Cited By (2)

* Cited by examiner, † Cited by third party
Publication numberPriority datePublication dateAssigneeTitle
US20150143810A1 (en)*2013-11-222015-05-28Anil L. SalunkheIndustrial gas turbine exhaust system diffuser inlet lip
US11959390B2 (en)2022-08-092024-04-16Pratt & Whitney Canada Corp.Gas turbine engine exhaust case with blade shroud and stiffeners

Families Citing this family (11)

* Cited by examiner, † Cited by third party
Publication numberPriority datePublication dateAssigneeTitle
FR2978989B1 (en)*2011-08-122013-07-26Aircelle Sa EJECTION CONE FOR AIRCRAFT TURBOJET ENGINE
FR2988777B1 (en)*2012-03-292014-04-25Snecma Propulsion Solide INTEGRATION OF REAR BODY PARTS OF AERONAUTICAL MOTOR
US9631517B2 (en)*2012-12-292017-04-25United Technologies CorporationMulti-piece fairing for monolithic turbine exhaust case
US10330011B2 (en)*2013-03-112019-06-25United Technologies CorporationBench aft sub-assembly for turbine exhaust case fairing
FR3011035B1 (en)*2013-09-252015-10-09Snecma EXHAUST CASE COMPRISING A FLUID EVACUATION DEVICE, AND TURBOMACHINE
FR3026136B1 (en)*2014-09-192019-07-12Aircelle DYNAMIC ECOPE SYSTEM FOR AIRCRAFT TURBOMACHINE
US10100843B2 (en)*2015-02-162018-10-16United Technologies CorporationGas turbine engine front center body architecture
CN107532514B (en)*2015-03-102020-11-03Mra系统有限责任公司Acoustic liner for use in turbine engines
US10151325B2 (en)*2015-04-082018-12-11General Electric CompanyGas turbine diffuser strut including a trailing edge flap and methods of assembling the same
DE102016213810A1 (en)*2016-07-272018-02-01MTU Aero Engines AG Cladding element for a turbine intermediate housing
US12264592B2 (en)*2023-07-072025-04-01Pratt & Whitney Canada Corp.Local vibration damping for gas turbine engine housing

Citations (14)

* Cited by examiner, † Cited by third party
Publication numberPriority datePublication dateAssigneeTitle
US4920742A (en)1988-05-311990-05-01General Electric CompanyHeat shield for gas turbine engine frame
US5362204A (en)1992-09-261994-11-08Asea Brown Boveri Ltd.Gas turbine with flanged-on exhaust gas casing
US5634767A (en)1996-03-291997-06-03General Electric CompanyTurbine frame having spindle mounted liner
US20040255573A1 (en)2003-06-232004-12-23Pratt & Whitney Canada Corp.Combined exhaust duct and mixer for a gas turbine engine
US7055305B2 (en)2002-02-092006-06-06Alstom Technology LtdExhaust gas housing of a thermal engine
US7100358B2 (en)2004-07-162006-09-05Pratt & Whitney Canada Corp.Turbine exhaust case and method of making
US20080041033A1 (en)2006-08-182008-02-21Eric DurocherGas turbine engine exhaust duct ventilation
US20080307795A1 (en)2007-06-132008-12-18SnecmaExhaust casing hub comprising stress-distributing ribs
US7712315B2 (en)2006-04-202010-05-11United Technologies CorporationAugmentor variable vane flame stabilization
US7798765B2 (en)2007-04-122010-09-21United Technologies CorporationOut-flow margin protection for a gas turbine engine
US20100275614A1 (en)2009-04-302010-11-04Pratt & Whitney Canada Corp.Structural reinforcement strut for gas turbine case
US7857594B2 (en)2006-11-282010-12-28Pratt & Whitney Canada Corp.Turbine exhaust strut airfoil profile
US7950236B2 (en)2006-09-112011-05-31Pratt & Whitney Canada Corp.Exhaust duct and tail cone attachment of aircraft engines
US8083465B2 (en)2008-09-052011-12-27United Technologies CorporationRepaired turbine exhaust strut heat shield vanes and repair methods

Patent Citations (14)

* Cited by examiner, † Cited by third party
Publication numberPriority datePublication dateAssigneeTitle
US4920742A (en)1988-05-311990-05-01General Electric CompanyHeat shield for gas turbine engine frame
US5362204A (en)1992-09-261994-11-08Asea Brown Boveri Ltd.Gas turbine with flanged-on exhaust gas casing
US5634767A (en)1996-03-291997-06-03General Electric CompanyTurbine frame having spindle mounted liner
US7055305B2 (en)2002-02-092006-06-06Alstom Technology LtdExhaust gas housing of a thermal engine
US20040255573A1 (en)2003-06-232004-12-23Pratt & Whitney Canada Corp.Combined exhaust duct and mixer for a gas turbine engine
US7100358B2 (en)2004-07-162006-09-05Pratt & Whitney Canada Corp.Turbine exhaust case and method of making
US7712315B2 (en)2006-04-202010-05-11United Technologies CorporationAugmentor variable vane flame stabilization
US20080041033A1 (en)2006-08-182008-02-21Eric DurocherGas turbine engine exhaust duct ventilation
US7950236B2 (en)2006-09-112011-05-31Pratt & Whitney Canada Corp.Exhaust duct and tail cone attachment of aircraft engines
US7857594B2 (en)2006-11-282010-12-28Pratt & Whitney Canada Corp.Turbine exhaust strut airfoil profile
US7798765B2 (en)2007-04-122010-09-21United Technologies CorporationOut-flow margin protection for a gas turbine engine
US20080307795A1 (en)2007-06-132008-12-18SnecmaExhaust casing hub comprising stress-distributing ribs
US8083465B2 (en)2008-09-052011-12-27United Technologies CorporationRepaired turbine exhaust strut heat shield vanes and repair methods
US20100275614A1 (en)2009-04-302010-11-04Pratt & Whitney Canada Corp.Structural reinforcement strut for gas turbine case

Non-Patent Citations (1)

* Cited by examiner, † Cited by third party
Title
The International Search Report mailed Aug. 23, 2013 for International application No. PCT/US2013/038751.

Cited By (3)

* Cited by examiner, † Cited by third party
Publication numberPriority datePublication dateAssigneeTitle
US20150143810A1 (en)*2013-11-222015-05-28Anil L. SalunkheIndustrial gas turbine exhaust system diffuser inlet lip
US9598981B2 (en)*2013-11-222017-03-21Siemens Energy, Inc.Industrial gas turbine exhaust system diffuser inlet lip
US11959390B2 (en)2022-08-092024-04-16Pratt & Whitney Canada Corp.Gas turbine engine exhaust case with blade shroud and stiffeners

Also Published As

Publication numberPublication date
WO2014007908A1 (en)2014-01-09
US20140003922A1 (en)2014-01-02

Similar Documents

PublicationPublication DateTitle
US8985942B2 (en)Turbine exhaust case duct
EP2937515B1 (en)Gas turbine engine with non-axisymmetric surface contoured vane platform
EP2961943B1 (en)Method and apparatus for handling pre-diffuser flow to a bearing compartment
EP1939397B1 (en)Turbine nozzle with bullnose step-down platform
EP2472062B1 (en)Gas turbine engine and airfoil
EP3066318B1 (en)Inner diffuser case for a gas turbine engine
EP2372102A2 (en)Rotor blade platform of a gas turbine engine
EP2948636B1 (en)Gas turbine engine component having contoured rib end
EP2551458A2 (en)Blade Cooling and Sealing System
EP3056712B1 (en)Turbine engine with a turbo-compressor
EP3056669B1 (en)Turbine engine with a turbo-compressor
CN107091122B (en)Turbine engine airfoil with cooling
EP3000966B1 (en)Method and assembly for reducing secondary heat in a gas turbine engine
US10378453B2 (en)Method and assembly for reducing secondary heat in a gas turbine engine
EP3392472B1 (en)Compressor section for a gas turbine engine, corresponding gas turbine engine and method of operating a compressor section in a gas turbine engine
US20220090504A1 (en)Rotor blade for a gas turbine engine having a metallic structural member and a composite fairing

Legal Events

DateCodeTitleDescription
ASAssignment

Owner name:UNITED TECHNOLOGIES CORPORATION, CONNECTICUT

Free format text:ASSIGNMENT OF ASSIGNORS INTEREST;ASSIGNORS:DANIELS, WILLIAM A.;KORZENDORFER, JOHN J.;DEBYAH, DAVID A.;AND OTHERS;SIGNING DATES FROM 20120608 TO 20120625;REEL/FRAME:028475/0659

STCFInformation on status: patent grant

Free format text:PATENTED CASE

MAFPMaintenance fee payment

Free format text:PAYMENT OF MAINTENANCE FEE, 4TH YEAR, LARGE ENTITY (ORIGINAL EVENT CODE: M1551); ENTITY STATUS OF PATENT OWNER: LARGE ENTITY

Year of fee payment:4

ASAssignment

Owner name:RAYTHEON TECHNOLOGIES CORPORATION, MASSACHUSETTS

Free format text:CHANGE OF NAME;ASSIGNOR:UNITED TECHNOLOGIES CORPORATION;REEL/FRAME:054062/0001

Effective date:20200403

ASAssignment

Owner name:RAYTHEON TECHNOLOGIES CORPORATION, CONNECTICUT

Free format text:CORRECTIVE ASSIGNMENT TO CORRECT THE AND REMOVE PATENT APPLICATION NUMBER 11886281 AND ADD PATENT APPLICATION NUMBER 14846874. TO CORRECT THE RECEIVING PARTY ADDRESS PREVIOUSLY RECORDED AT REEL: 054062 FRAME: 0001. ASSIGNOR(S) HEREBY CONFIRMS THE CHANGE OF ADDRESS;ASSIGNOR:UNITED TECHNOLOGIES CORPORATION;REEL/FRAME:055659/0001

Effective date:20200403

MAFPMaintenance fee payment

Free format text:PAYMENT OF MAINTENANCE FEE, 8TH YEAR, LARGE ENTITY (ORIGINAL EVENT CODE: M1552); ENTITY STATUS OF PATENT OWNER: LARGE ENTITY

Year of fee payment:8

ASAssignment

Owner name:RTX CORPORATION, CONNECTICUT

Free format text:CHANGE OF NAME;ASSIGNOR:RAYTHEON TECHNOLOGIES CORPORATION;REEL/FRAME:064714/0001

Effective date:20230714


[8]ページ先頭

©2009-2025 Movatter.jp