Movatterモバイル変換


[0]ホーム

URL:


US8858638B2 - Spinal implant - Google Patents

Spinal implant
Download PDF

Info

Publication number
US8858638B2
US8858638B2US13/897,728US201313897728AUS8858638B2US 8858638 B2US8858638 B2US 8858638B2US 201313897728 AUS201313897728 AUS 201313897728AUS 8858638 B2US8858638 B2US 8858638B2
Authority
US
United States
Prior art keywords
implant
vertebra
bearing surface
lower bearing
terminal part
Prior art date
Legal status (The legal status is an assumption and is not a legal conclusion. Google has not performed a legal analysis and makes no representation as to the accuracy of the status listed.)
Expired - Fee Related
Application number
US13/897,728
Other versions
US20130253652A1 (en
Inventor
Gary Karlin Michelson
Current Assignee (The listed assignees may be inaccurate. Google has not performed a legal analysis and makes no representation or warranty as to the accuracy of the list.)
Warsaw Orthopedic Inc
Original Assignee
Warsaw Orthopedic Inc
Priority date (The priority date is an assumption and is not a legal conclusion. Google has not performed a legal analysis and makes no representation as to the accuracy of the date listed.)
Filing date
Publication date
Family has litigation
First worldwide family litigation filedlitigationCriticalhttps://patents.darts-ip.com/?family=23914883&utm_source=google_patent&utm_medium=platform_link&utm_campaign=public_patent_search&patent=US8858638(B2)"Global patent litigation dataset” by Darts-ip is licensed under a Creative Commons Attribution 4.0 International License.
Application filed by Warsaw Orthopedic IncfiledCriticalWarsaw Orthopedic Inc
Priority to US13/897,728priorityCriticalpatent/US8858638B2/en
Assigned to SDGI HOLDINGS, INC.reassignmentSDGI HOLDINGS, INC.ASSIGNMENT OF ASSIGNORS INTEREST (SEE DOCUMENT FOR DETAILS).Assignors: MICHELSON, GARY KARLIN
Assigned to WARSAW ORTHOPEDIC, INC.reassignmentWARSAW ORTHOPEDIC, INC.MERGER (SEE DOCUMENT FOR DETAILS).Assignors: SDGI HOLDINGS, INC.
Publication of US20130253652A1publicationCriticalpatent/US20130253652A1/en
Application grantedgrantedCritical
Publication of US8858638B2publicationCriticalpatent/US8858638B2/en
Anticipated expirationlegal-statusCritical
Expired - Fee Relatedlegal-statusCriticalCurrent

Links

Images

Classifications

Definitions

Landscapes

Abstract

The present application is directed to interbody spinal fusion implants having a structural configuration that provides for the maintaining and creating of the normal anatomic angular relationship of two adjacent vertebrae of the spine to maintain and create spinal lordosis. The spinal fusion implants are sized to fit within the disc space created by the removal of disc material between two adjacent vertebrae and conform wholly or in part to the disc space created. The spinal fusion implants of the present invention have upper and lower surfaces that form a support structure for bearing against the end plates of the adjacent vertebrae. The upper and lower surfaces are disposed in a converging angular relationship to each other such that the implants have an overall “wedged-shape” in an elevational side view. The angular relationship of the upper and lower surfaces places and maintains the vertebrae adjacent to those surfaces in an angular relationship to each other, creating and maintaining the desired lordosis.

Description

This application is a continuation of application Ser. No. 13/235,998, filed Sep. 19, 2011, now U.S. Pat. No. 8,444,696; which is a continuation of application Ser. No. 12/807,489, filed Sep. 7, 2010, now U.S. Pat. No. 8,021,430; which is a continuation of application Ser. No. 10/926,766, filed Aug. 26, 2004, now U.S. Pat. No. 7,789,914; which is a continuation of application Ser. No. 10/237,751, filed Sep. 9, 2002; which is a continuation of application Ser. No. 09/412,090, filed Oct. 4, 1999, now U.S. Pat. No. 6,447,544; which is a continuation of application Ser. No. 08/813,283, filed Mar. 10, 1997, now U.S. Pat. No. 6,302,914; which is a divisional of application Ser. No. 08/482,146, filed Jun. 7, 1995, now U.S. Pat. No. 5,609,635; all of which are incorporated herein by reference.
BACKGROUND OF THE INVENTION
1. Field of the Invention
The present invention relates generally to interbody spinal fusion implants, and in particular to spinal fusion implants configured to restore and maintain two adjacent vertebrae of the spine in correct anatomical angular relationship.
2. Description of the Prior Art
Both the cervical and lunbar areas of the human spine are, in a healthy state, lordotic such that they are curved convex forward. It is not uncommon that in degenerative conditions of the spine that lordosis is lost. This effectively shortens the spinal canal which decreases its capacity. Further, the absence of lordosis moves the spinal cord anteriorly where it may be compressed against the posterior portions of the vertebral bodies and discs. Finally, such a loss of lordosis disturbs the overall mechanics of the spine which may cause cascading degenerative changes throughout the adjacent spinal segments.
The surgical treatment of those degenerative conditions of the spine in which the spinal discs are in various states of collapse, and out of lordosis, commonly involves spinal fusion. That is the joining together of adjacent vertebrae through an area of shared bone. When the shared bone is in the area previously occupied by the intervertebral disc that is referred to as an interbody fusion. Further history in this regard is provided in application Ser. No. 08/263,952 entitled Artificial Spinal Fusion Implants (“Parent Application”) incorporated herein by reference.
The Parent Application taught the use of artificial spinal fusion implants that were capable of being placed between adjacent vertebrae, and which implants were capable of containing and providing fusion promoting substances including bone at the fusion site. These devices were further capable of restoring the height of the disc space and of supporting the spine, and were self-stabilizing as well as being stabilizing to the spinal area where implanted.
SUMMARY OF THE INVENTION
The present invention is directed to interbody spinal fusion implants having a structural configuration that provides for the maintaining and creating of the normal anatomic angular relationship of two adjacent vertebrae of the spine to maintain and create spinal lordosis. The spinal fusion implants of the present invention are sized to fit within the disc space created by the removal of disc material between two adjacent vertebrae and conform wholly or in part to the disc space created. The spinal fusion implants of the present invention have upper and lower surfaces that form a support structure for bearing against the end plates of the adjacent vertebrae. In the preferred embodiments, the upper and lower surfaces are disposed in a converging angular relationship to each other such that the implants of the present invention have an overall “wedged-shape” in an elevational side view. The angular relationship of the upper and lower surfaces places and maintains the vertebrae adjacent to those surfaces in an angular relationship to each other, creating and maintaining the desired lordosis.
The implants of the present invention may have surface irregularities to increase their surface area, and/or to further engage the adjacent vertebrae and to enhance stability. The lordotic implants of the present invention may have surface irregularities that are uniform in height along the longitudinal axis of the upper and lower vertebrae engaging surfaces, or may increase in height from one end of the implant to the other. That is, the implant body and the surface formed and the projections may be similarly wedged. The outer contour of the surface projections may be more or less rectangular while the underlying implant may be wedge-shaped; or the reverse wherein the underlying implant body is more or less rectangular while the contour of the surface projections are wedge-shaped from one end of the implant to the other.
The implants of the present invention have various faces which may be curved so as to conform to the shape of the vertebral surfaces adjacent to the area of the disc removal. Specifically the upper and/or lower surfaces may be convex, and/or the front and/or rear surfaces may be convex. The surfaces of the implants of the present invention may have openings which may or may not pass all the way through them, and a central chamber in communication to the surface through holes. The openings may be of random sizes, and/or shapes, and/or distributions. The implants themselves may be composed of materials, and/or have surface treatments, to encourage microscopic bone ingrowth into the implants.
In the performing of a posterior lumbar interbody fusion, it is not possible to replace the removed portions of the disc, if a total nuclear discectomy has been performed, with a single large implant as the delicate dural sac containing the spinal cord, and the nerve roots cover at all times at least some portion of the posterior disc space. As set forth in the Parent Application, the use of “modular implants” is appropriate in such cases. The modular implants being approximately as long as the depth of the disc material removed, but being considerably narrower, such that they can be introduced into the disc space from the posterior aspect to either side of the dural sac, and then aligned side to side within the disc space so that a number of them each having a length consistent with the depth of the disc removed in that area would in combination have a width equal to the width of the disc material removed.
The modular implants of the present invention may be generally wedge-shaped and may have upper and lower surfaces conforming to the contours of the vertebral endplates, which contours include but are not limited to being relatively flat or convex. As the disc spaces in the lumbar spine are generally lordotic, said implants in the preferred embodiment would be taller anteriorly, that is at the implant's insertion end, and less tall posteriorly, that is at the implant's trailing end. To introduce an implant that is taller at its insertion end than the space available at the posterior aspect of the disc space, even when that disc space is optimally distracted, is problematic.
The modular implants of the present invention provide two solutions to the problem. In the first embodiment, the modular implants may have a reduced size at their insertion end, including but not limited to a bullet nose, a convexity, and a chamfer to a smaller front surface. This then provides that the implant has an area small enough to be introduced into the posterior aspect of the disc space when the disc space is adequately distracted and the contour of that specialized leading portion of the implant is such that it then allows for a ramping up of the adjacent vertebrae relative to the implant as the implant is advanced forward into the disc space.
The implants of the present invention provide a second solution to this same problem. In the preferred embodiment of the modular implant, the implant is again wedge-shaped in the side elevational view and is taller at its insertion end than at its trailing end. However, the implant incorporates at its trailing end a means for engaging insertion instrumentation such as the box and threaded opening configuration disclosed in the Parent Application. Since in the preferred embodiment these implants are wedge-shaped in the side elevational view when upright but are generally rectangular when viewed from the top plan view, these implants are therefore designed to be introduced into the disc space on their side such that the side walls of the implants are adjacent to the end plates of the adjacent vertebrae. The implants have a side-to-side dimension that is less than the dimension through the insertion end of the implant when upright. It is possible to easily insert these implants with them on their side and then to use the insertion instrument engaged to the implant to rotate the implants ninety degrees into the fully upright position, once they have been fully inserted. Once inserted, the upper and lower surfaces are adjacent to the endplates of the adjacent vertebrae and create and maintain the desired angular relationship of the adjacent vertebrae as the upper and lower walls are angled with respect to each other.
In an alternative embodiment of the present invention, a mechanical implant which may be inserted in a collapsed position and which may then be adjusted to increase in height so as to provide for the optimal restoration of the height of the space between the adjacent vertebrae is disclosed. The mechanical implant may be wedge-shaped, and have upper and lower surfaces, the contours of which generally conform to the contacted areas of the adjacent vertebral endplates and which contours may include but are not limited to being relatively flat, or convex. Further, the mechanical implant may be wedge-shaped or generally rectangular, but capable of increasing in both height and the extent of wedging when adjusted. This may easily be achieved by having one of the two wedge mechanisms employed in the example given being larger, or steeper than the other. Alternatively, a single wedge may be utilized, and if it is desired to achieved increased height at one end of the implant while restricting the height at the other, then the end of the implant may incorporate a hinge means and the height expansion at the other end achieved by drawing a wedge member, bar, ball, or other means from the far end toward the hinged end so as to drive said upper and lower surfaces apart in a wedged fashion.
In an alternative embodiment of the present invention, an implant having a mechanically deployable bone engaging means is taught. Such an implant is generally wedge-shaped in the side elevational view and has upper and lower surfaces generally conforming to the contour of the vertebral endplates where contacted by the implant, and which upper and lower surfaces may be but are not limited to being either flat or convex. The use of such deployable bone engaging means are particularly of value in that the largest possible implant may be inserted into a disc space and the vertebral engaging means, which if fixed to the surface would have blocked the insertion of the implant, may then be deployed after the insertion such that the distance from the tip of the upper and lower boite engagement means exceeds the height of the space available for insertion. Such a feature is of particular value when the implant itself is wedge-shaped as the considerable compressive loads across the lumbar spine would tend to drive a wedge-shaped implants out of the disc space.
OBJECTS OF THE PRESENT INVENTION
It is an object of the present invention to provide a spinal fusion implant that is easily inserted into the spine, having a tapered leading end;
It is another object of the present invention to provide a spinal fusion implant that tapers in height from one end to the other consistent with the taper of a normal spinal disc;
It is yet another object of the present invention to provide a spinal fusion implant that is capable of maintaining anatomic alignment and lordosis of two adjacent vertebrae during the spinal fusion process;
It is still another object of the present invention to provide a spinal fusion implant that is self stabilizing within the spine;
It is yet another object of the present invention to provide a spinal fusion implant that is capable of providing stability between adjacent vertebrae when inserted;
It is further another object of the present invention to provide a spinal fusion implant that is capable of spacing apart and supporting adjacent vertebrae in an angular relationship during the spinal fusion process;
It is still further another object of the present invention to provide a spinal fusion implant that fits between to adjacent vertebrae and preserves the end plants of those vertebrae; and
It is another object of the present invention to provide a spinal fusion implant having a shape which conforms to the endplates of the adjacent vertebrae; and
These and other objects of the present invention will become apparent from a review of the accompanying drawings and the detailed description of the drawings.
BRIEF DESCRIPTION OF THE DRAWINGS
FIG. 1 is a perspective view of the lordotic interbody spinal fusion implant of the present invention with a slidable door shown in a partially open position providing access to the internal chamber of the implant.
FIG. 2 is a top plan view of the lordotic interbody spinal fusion implant of the present invention.
FIG. 3 is a left side elevational view of the lordotic interbody spinal fusion implant of the present invention.
FIG. 4 is a right side elevational view of the lordotic interbody spinal fusion implant of the present invention.
FIG. 5 is a front end view of the lordotic interbody spinal fusion implant of the present invention showing the slidable door in a partially open position.
FIG. 6 is a rear end view of the lordotic interbody spinal fusion implant of the present invention showing the means for engaging insertion instrumentation.
FIG. 7 is an enlarged fragmentary view along line7 ofFIG. 2 illustrating the bone engaging surface configuration of the lordotic interbody spinal fusion implant of the present invention.
FIG. 7A is an elevational side view of a segment of the spinal column having the lordotic implant of the present invention inserted in the disc space at different disc levels between adjacent vertebrae to restore and maintain the correct anatomical alignment of the adjacent vertebrae.
FIG. 8 is a top plan view of an alternative embodiment of the lordotic interbody spinal fusion implant of the present invention.
FIG. 9 is a left side elevational view of the lordotic interbody spinal fusion implant ofFIG. 8.
FIG. 10 is a front end view of the lordotic interbody spinal fusion implant ofFIG. 8.
FIG. 11 is a rear end view of the lordotic interbody spinal fusion implant ofFIG. 8 showing the means for engaging insertion instrumentation.
FIG. 12 is an enlarged fragmentary view alongline12 ofFIG. 8 illustrating the surface configuration the lordotic interbody spinal fusion implant of the present invention.
FIG. 13 is a top plan view of an alternative embodiment of the lordotic interbody spinal fusion implant of the present invention made of a mesh-like material.
FIG. 14 is a left side elevational view of the lordotic interbody spinal fusion implant ofFIG. 13.
FIG. 15 is a front end view of the lordotic interbody spinal fusion implant ofFIG. 13.
FIG. 16 is a rear end view of the lordotic interbody spinal fusion implant ofFIG. 13 showing the means for engaging insertion instrumentation.
FIG. 17 is an enlarged fragmentary view alongline17 ofFIG. 13 illustrating the surface configuration of the lordotic interbody spinal fusion implant of the present invention.
FIG. 18 is a perspective view of an alternative embodiment of the lordotic interbody spinal fusion implant of the present invention.
FIG. 19 is a top plan view of the lordotic interbody spinal fusion implant ofFIG. 18.
FIG. 20 is a left side elevational view of the lordotic interbody spinal fusion implant ofFIG. 18.
FIG. 21 is a rear end view of the lordotic interbody spinal fusion implant ofFIG. 18.
FIG. 22 is a front end view of the lordotic interbody spinal fusion implant ofFIG. 18.
FIG. 23 is an enlarged fragmentary view alongline23 ofFIG. 22 illustrating the surface configuration the lordotic interbody spinal fusion implant of the present invention.
FIG. 24 is a top plan view of an alternative embodiment of the lordotic interbody spinal fusion implant of the present invention.
FIG. 25 is a left side elevational view of the lordotic interbody spinal fusion implant ofFIG. 24.
FIG. 26 is a rear end view of the lordotic interbody spinal fusion implant ofFIG. 24.
FIG. 27 is a front end view of the lordotic interbody spinal fusion implant ofFIG. 24.
FIG. 28 is an enlarged fragmentary view alongline28 of the lordotic interbody spinal fusion implant ofFIG. 24 illustrating the surface configuration of the lordotic interbody spinal fusion implant of the present invention.
FIG. 29 is a sectional view along lines29-29 ofFIG. 28 the lordotic interbody spinal fusion implant of the present invention.
FIG. 30 is a side elevational view of a segment of the human spinal column shown with an alternative embodiment of the lordotic spinal fusion implant of the present invention that is adjustable and expandable shown in sectional view inserted in the disc space levels to restore and maintain the correct anatomical alignment of the adjacent vertebrae.
FIG. 31 is a side cross sectional view of, an alternative embodiment of the lordotic implant of the present invention having movable projections, in the form ofspikes708, which are movable from a first position within theimplant700 to a second position extending to the exterior of the implant.
FIG. 32 is a perspective view of the embodiment ofFIG. 31.
DETAILED DESCRIPTION OF THE PREFERRED EMBODIMENT
Referring toFIGS. 1 through 7 the lordotic interbody spinal fusion implant of the present invention for use in the disc space between two adjacent vertebrae, generally referred to by the numeral100, is shown. Theimplant100 has a generally rectangular configuration, having anupper surface112 and alower surface114. In the preferred embodiment, the upper andlower surfaces112 and114 ofimplant100 are disposed in a converging angular relationship toward each other such that theimplant100 appears “wedge-shaped” from a side elevational view as shown inFIGS. 3 and 4. The upper andlower surfaces112 and114 have an interior surface which form a support structure for bearing against the endplates of the adjacent vertebrae between which theimplant100 is inserted. The angular relationship of the upper andlower surfaces112 and114 places and maintains the vertebrae adjacent to those surfaces in an angular relationship, creating and maintaining the desired lordosis of the spine.
The upper andlower surfaces112 and114 of theimplant100 may be flat or curved to conform to the shape of the end plates of the adjacent vertebrae between which theimplant100 is inserted. Theimplant100 conforms to the shape of the nucleus pulposus and a portion of the annulus fibrosus removed from the vertebrae. The upper andlower surfaces112 and114 comprise surface roughenings that provide a surface suitable for engaging the adjacent vertebrae to stabilize theimplant100 within the disc space once surgically implanted. The surface roughenings of the upper andlower surfaces112 and114 comprise asurface knurling121 and/or grooves.
Referring toFIG. 7, an enlarged fragmentary view of thesurface knurling121 of theimplant100 is shown as a diamond-shaped bone engaging pattern. Theimplant100 may havesurface knurling121 throughout the entire upper andlower surfaces112 and114, throughout only a portion of the upper andlower surfaces112 and114, or any combination thereof, without departing from the scope of the present invention. It is also appreciated that thesurface knurling121 may have various configuration other than the configuration shown.
In this embodiment, theimplant100 is hollow and comprises a plurality ofopenings115 of passing through the upper andlower surfaces112 and114 and into a centralhollow chamber116. Theopenings115 provide for bone growth to occur from the vertebrae through theopenings115 to theinternal chamber116. While theopenings115 have been shown in the drawings as being circular, it is appreciated that theopenings115 may have any shape, size, configuration or distribution suitable for use in a spinal implant without departing from the scope of the present invention. For example, the openings may have a tear-drop configuration as shown in opening115ainFIGS. 1 and 2. The upper andlower surfaces112 and114 of theimplant100 are supported and spaced apart by aside wall118, which may also comprise a plurality ofopenings122.
Theimplant100 has aninsertion end120 and a trailingend130 both of which may be curved or flat. The trailingend130 of the implant may be convex to conform to the curvature of the vertebrae and has a means for engaging an implant insertion instrument comprising adepressed portion124 with a central threadedopening126 for receiving the engaging end of a driving instrument. Theinsertion end120 of theimplant100 comprises anaccess opening132 and aslidable door134 which closes theopening132. Theslidable door134 covers theopening132 into thechamber116 and permits the insertion of autogenous bone material into thechamber116.
In use, theslidable door134 is placed in the open position for loading material into thechamber116. Theslideable door134 has adepression136 for facilitating the opening and closing of thedoor134. Theinternal chamber116 can be filled and hold any natural or artificial osteoconductive, osteoinductive, osteogenic, or other fusion enhancing material. Some examples of such materials are bone harvested from the patient, or bone growth inducing material such as, but not limited to, hydroxyapatite, hydroxyapatite tricalcium phosphate; or bone morphogenic protein. Theimplant100 itself is made of material appropriate for human implantation such as titanium and/or may be made of, and/or filled and/or coated with a bone ingrowth inducing material such as, but not limited to, hydroxyapatite or hydroxyapatite tricalcium phosphate or any other osteoconductive, osteoinductive, osteogenic, or other fusion enhancing material.
The fusion enhancing material that is packed within thechamber116 of theimplant100 serves to promote bone ingrowth between theimplant100 and the adjacent vertebrae. Once the bone ingrowth occurs, theimplant100 will be a permanent fixture preventing dislodgement of the implant as well as preventing any movement between the adjacent vertebrae.
Theslidable door134 is then closed prior to implantation. In the closed position, the slideable door conforms to the curvature of theinsertion end120 of theimplant100. Various methods of packing theimplant100 with the autogenous bone material may be used to obtain a completely packedimplant100.
The method of inserting theimplant100 is set forth in detail in application Ser. No. 08/263,952, incorporated herein by reference. The threaded end of a driving instrument is attached to the threadedopening126 in the trailingend130 of theimplant100 and the fitting of the driving instrument into thedepressed portion124 prevents movement of theimplant100 in relationship to the driving instrument. Theimplant100 is then placed at the entrance to the disc space between the two adjacent vertebrae V. The driver instrument is then tapped with a hammer sufficiently hard enough to drive theimplant100 into the disc space.
The size of theimplant100 is substantially the same size as the disc material that it is replacing and thus will be larger or smaller depending on the amount of disc material removed to create the disc space in which it is to be used. In the preferred embodiment in regard to the lumbar spine theimplant100 has a width W approximately 28-48 mm wide, approximately 36 mm being preferred. Theimplant100 has a height H conforming to the restoration of the anatomic height of the disc space the average height would range from 8-16 mm, with 10-12 of which being the preferred average height. The depth D along mid-longitudinal axis MLA would at its maximum range from 20 to 34 mm with 26 to 32 being the preferred maximum depth. In the cervical spine the width of the implant is in the range of approximately 14-28 mm, with the preferred width being 18-22 mm. The implant has a height in the range of approximately 5-10 mm with the preferred height being 6-8 mm. The implant has a depth in the range of approximately 11-21 mm with the preferred depth being 11-13 mm.
Referring toFIG. 7A, a side elevational view of the lateral aspect of a segment of the spinal column S is shown with theimplant100 inserted in the disc space D2between two adjacent vertebrae V2and V3. Theimplant100 is inserted in the direction of arrow A into the disc space D2and maintains the two vertebrae V2and V3in angular relationship to each other such that the natural lordosis of that segment of the spinal column S is restored. The forward advancement of theimplant100 is blocked by the natural bone processes B in the endplates of the vertebrae V2and V3. Backing out of theimplant100 is prevented by the bone engagingsurface knurling121 of the upper andlower surfaces112 and114.
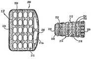
Referring toFIGS. 8-12, an alternative embodiment of the lordotic interbody spinal fusion implant of the present invention, generally referred to by the numeral200, is shown. Theimplant200 has a similar overall configuration as theimplant100 described above. In the preferred embodiment, theimplant200 is solid and comprises a plurality ofchannels215 passing from theupper surface212 to thelower surface214 through theimplant200. Thechannels215 provide for bone ingrowth and facilitate the incorporation of theimplant200 into the spinal fusion mass. The channels may also be loaded with fusion promoting materials such as those described above, prior to implantation. It is appreciated that thechannels215 need not pass all the way through theimplant200, but can have a configuration similar to wells, which may hold fusion promoting materials and permit bone ingrowth into the upper andlower surfaces212 and214 of theimplant200.
In addition to thechannels215, theimplant200 may havesmall openings222 on theside wall218 which may or may not pass through theentire implant200. Thesame openings222 may be in communication with thechannels215 such that bone ingrowth may occur from theopenings222 to thechannels215 to lock theimplant200 into the fusion mass. If theopenings222 do not pass through theentire implant200, they may function as small wells for holding fusion promoting materials or described above.
In the preferred embodiment ofimplant200, thechannels215 have a diameter in the range of 0.1 mm to 6 mm, with 2-3 mm being the preferred diameter. Theopenings222 have a diameter in the range of 0.1 mm to 6 mm, with 1-3 mm being the preferred diameter range. It is appreciated that although thechannels215 andopenings222 are shown having a generally rounded configuration, it is within the scope of the present invention that thechannels215 andopenings222 may have any size, shape, configuration, and distribution suitable for the intended purpose.
Theimplant200, has a plurality ofratchetings250 on the upper andlower surface212 and214 for engaging the bone of the adjacent vertebrae. Theratchetings250 comprise abone engaging edge252 andangled segment254.
Referring specifically toFIG. 9, theimplant200 has a wedge-shaped elevational side view in which the trailingend230 is taller than theinsertion end220. The plurality ofratchetings250 are oriented in the direction of theinsertion end220 to provide for a one-way insertion of theimplant200 as thebone engaging edge252, or ridge, engages the vertebrae and prevents the implant from backing out once implanted. Alternatively, the trailing end ratchetings could be of a lessor height such that the overall shape of the ratchetings as a group is convex.
Referring toFIG. 11, the trailingend230 ofimplant200 has means for engaging insertion instrumentation comprising athread opening226 as described above forimplant100.
Referring toFIG. 12, an enlarged fragmentary view alongline12 ofFIG. 8 illustrating the surface configuration theimplant200 is shown. The upper andlower surfaces212 and214 ofimplant200, in addition to the ratcheting250 comprise aporous texture260 to present an irregular surface to the bone to promote bone ingrowth. Theporous texture260 is also able to hold fusion promoting materials and provides for an increased surface area to engage the bone in the fusion process and to provide further stability. Theporous texture260 may also be present on theside walls218. It is appreciated that the outer surface and/or theentire implant200, may comprise any other porous material or roughened surface sufficient to hold fusion promoting substances and/or allow for bone ingrowth and/or engage the bone during the fusion process. Theimplant200 may be further coated with bioactive fusion promoting substances including, but not limited to, hydroxyapatite compounds, osteogenic proteins and bone morphogenic proteins or may be from bioabsorbable material.
Referring toFIGS. 13-17, an alternative embodiment of the lordotic interbody spinal fusion implant, generally referred to by the numeral300, is shown. Theimplant300 is made of a mesh-like material comprising strands, which may be made of metal, that are pressed together and molded. The upper andlower surfaces312 and314 may be convex and conform to the natural surface curvature of the end plates of the vertebrae. In addition, theentire implant300 may be molded to a shape that conforms to the shape of the disc space created by the removal of disc material from between two adjacent vertebrae. In this manner, theimplant300 has curved upper andlower surfaces312 and314, acurved side wall318 and chamfered edges319.
Referring toFIG. 7A, theimplant300 is shown inserted in the direction of arrow A into the disc space D1between adjacent vertebrae V1and V2. Theimplant300 conforms to the endplates of the adjacent vertebrae V1and V2as the upper andlower surfaces312 and314 are convex, and theside walls318 are curved to conform to the natural curvature of the vertebrae V1and V2. In this manner, theimplant300 has the same dimensions as the disc material removed from between the two adjacent vertebrae V1and V2.
Theimplant300 may be made wholly or in part of a solid material and/or a porous material, and/or a mesh-like material. Theimplant300 may have a surface comprising of a porous material, a mesh-like material, or have a surface that is roughened. It is appreciated that theimplant300 may be solid or may be partially hollow and include at least one internal chamber in communication with said upper and lower surfaces.
As shown inFIG. 17, the mesh-like material comprises strands that are formed and pressed together such thatinterstices339, capable of retaining fusion promoting material and for allowing for bone ingrowth, are present between the strands in at least the outer surface ofimplant300. Alternatively, it is appreciated that theimplant300 may be made of a cancellous material, similar in configuration to human cancellous bone, having interstices allowing for bone ingrowth. As theimplant300 may be made entirely or in part of the cancellous material, the interstices may be present in the outer surface of theimplant300 and/or within the entire implant to promote bone ingrowth and hold bone fusion promoting materials.
Referring toFIGS. 18-23 an alternative embodiment of the implant of the present invention, generally referred to by the numeral400, is disclosed. Theimplant400 has a substantially rectangular shape having upper andlower surfaces412 and414. The upper andlower surfaces412 and414 support the adjacent vertebrae and are disposed in a converging angular relationship to each other in the same manner described above.
Theimplant400 has a width W that is substantially less than the width of the implants100-300 such that a series ofsuch implants400 are used as the interbody spinal implant, each placed closely adjacent to one another to approximate the size of the removed disc. The size of theimplant400 is approximately 26 millimeters in length and is wide enough so that four of them will substantially fill the intervertebral space, depending on which vertebrae are fused.
In the performing of a posterior lumbar interbody fusion, it is not possible to replace the removed portions of the disc, if a total nuclear discectomy has been performed, with a single large implant as the, delicate dural sac containing the spinal cord and nerve roots covers at all times at least some portion of the posterior disc space. The use ofmodular implants400 that are inserted separately into the disc space is appropriate in such case. Themodular implants400 being approximately as long as the depth of the disc material removed, but being considerably narrower, such that they could be introduced into the disc space from the posterior aspect to either side of the dural sac, and then realigned side to side with the disc space so that a number of them each having a length consistent with the depth of the disc removed in that area would in combination have a width equal to the width of the disc material removed. As the disc spaces in the lumbar spine are generally lordotic, theinsertion end420 of themodular implants400 would have to be taller and less tall posteriorly at the trailingend430.
To introduce themodular implant400 that is taller at itsinsertion end420 than the space available at the posterior aspect of the disc space, even when that disc space is optimally distracted, is problematic. Themodular implants400 of provide two solutions to the problem. Themodular implants400 may have a reduced size at theirinsertion end420, including but not limited to, a bullet nose, a convexity, and a chamfer to a smaller front surface. This then provides that theimplant400 has an area small enough to be introduced into the posterior aspect of the disc space when the disc space is adequately distracted and the contour of that specialized insertion end of theimplant400 is such that it then allows for a ramping up of the adjacent vertebrae relative to theimplant400 as the implant is advanced forward into the disc space.
Alternatively, or in combination with the above, since in the preferred embodiment theimplants400 are wedge-shaped in the side elevational view when upright but are generally rectangular when viewed from the top plan view, these implants may be introduced into the disc space on their side such that the side walls of the implants are adjacent to the end plates of the adjacent vertebrae. Theimplants400 have a side-to-side dimension that is less than the dimension through the insertion end of theimplant400 when upright. It is possible to easily insert theimplant400 first on their side and then to use the insertion instrument engaged to theimplant400 to rotate the implant ninety degrees into the fully upright position, once it has been fully inserted. Once inserted, the upper andlower surfaces412 and414 are adjacent to the endplates of the adjacent vertebrae and create and maintain the desired angular relationship of the adjacent vertebrae as the upper andlower surfaces412 and414 of theimplant400 are angled with respect to each other.
Theimplant400 haslarge openings415 in the form of rectangular slots for holding fusion promoting materials to promote bone growth from the vertebrae through the upper andlower surfaces412 and414 and into the interior of theimplant400. As theimplant400 is modular and more than one is implanted at a time, thelarge openings415 are also present in theside walls418 of theimplant400 to provide for bone growth from one implant to another implant such that after successful fusion, themodular implants400 are interconnected to form a single unit.
Referring toFIG. 21, the trailingend430 of theimplant400 is shown having an insertion instrument engaging means comprising arectangular slot424 and threadedopening426.
Referring toFIG. 23, an enlarged fragmentary view alongline23 ofFIG. 22 illustrating the surface configuration theimplant400 is shown. The surface configuration of theimplant400 is the same as theporous texture260 described above.
Referring toFIG. 24, an alternative embodiment of the lordotic interbody spinal fusion implant of the present invention, generally referred to by the numeral500, is shown. Theimplant500 is a modular implant and has a similar overall configuration asimplant400. Theimplant500 instead of havingslots415 has an upper andlower surfaces512 and514 that are capable of receiving and holding bone, or other materials capable of participating in the fusion process and/or capable of promoting bone ingrowth. In the preferred embodiment, the upper andlower surfaces512 and514 comprise a plurality ofposts540 that are spaced apart to provide a plurality ofinterstices542 which are partial wells with incomplete walls capable of holding and retaining milled bone material or any artificial bone ingrowth promoting material. Theimplant500 may be prepared for implantation by grouting or otherwise coating thesurface538 with the appropriate fusion promoting substances.
Referring toFIGS. 28 and 29, an enlarged view of theupper surface512 of theimplant500 and a partial cross section thereof are shown. In the preferred embodiment, theposts540 have ahead portion544 of a larger diameter than the remainder of theposts540, and each of theinterstices542 is the reverse configuration of theposts544, having a bottom546 that is wider than theentrance548 to theinterstices542. Such a configuration of theposts540 andinterstices542 aids in the retention of bone material in thesurface538 of theimplant500 and further assists in the locking of theimplant500 into the bone fusion mass created from the bone ingrowth. As the bone ingrowth at the bottom546 of theinterstices542 is wider than theentrance548, the bone ingrowth cannot exit from theentrance548 and is locked within theinterstice542. Thesurface538 of theimplant500 provides for an improvement in the available amount of surface area which may be still further increased by rough finishing, flocking or otherwise producing a non smooth surface.
In the preferred embodiment, theposts540 have a maximum diameter in the range of approximately 0.1-2 mm and a height of approximately 0.1-2 mm and are spaced apart a distance of 0.1-2 mm such that theinterstices542 have a width in the range of approximately 0.1 to 2 mm. The post sizes, shapes, and distributions may be varied within the same implant.
It is appreciated that theimplant500 shares the same structure and features of theimplant400 described above.
FIG. 30 is a side elevational view of a segment of the human spinal column S shown in lordosis with an alternative embodiment of the lordotic spinal fusion implant referred to by the numeral600, that is adjustable and expandable shown inserted in a space to restore and maintain the correct anatomical alignment of the adjacent vertebrae. Theimplant600 comprises alower member682 and anupper member684 which when fitted together form an essentially rectangular implant. Theupper member684 and thelower member682 have hollow portions that face one another and receive taperedwedges686 and688 that fit within the hollow portion of the upper andlower members682 and684. The upper andlower members682 and684 each have a wedgedinterior surface689aand689bwhich are angled towards the interior of theimplant600. Thewedges682 and684 are such that at their large end, they are higher than the combined hollow space between the upper andlower members684 and682, and shallower at the other end than the hollow space between the upper and lower members.
Thewedges686 and688 have a central threadedopening690 and692 in alignment with each other for receiving threadedscrew694. As thescrew694 is threaded into theopening690, thewedges686 and688 abut the interior slopedsurfaces689aand689bof the upper andlower members682 and684. As thescrew694 is turned, thewedges686 and688 are drawn together, and the sloped portions of the wedges force theupper member682 away from thelower member684. As the interior slopedsurfaces689aand689bhave a greater slope near the trailingend630, than near theinsertion end620, the upper andlower members682 and684 are forced apart more at theinsertion end620 than at the trailingend630. As a result, the upper andlower members682 and684 are disposed at a converging angular relationship to each other and support the adjacent vertebrae V1and V2in the same angular relationship.
Referring toFIG. 31, an alternative embodiment of the implant of the present invention, generally referred to by the numeral700, is shown. Theimplant700 has movable projections, in the form ofspikes708, which are movable from a first position within theimplant700 to a second position extending outside of the implant. Theimplant700 is of a generally rectangular configuration, having atop surface702 and abottom surface704 of the implant withslots706 for permittingpivotal member707 havingspikes708 at their ends to project through saidslots706. Thespikes708 are pinned at oneend710 within theimplant700.
Theimplant700 has opposing wedge shapedmembers712 and714 having a central threadedopening716 for receiving a threadedscrew718 having ahead720 and aslot722. Thewedges712 and714 are facing each other so that upon turning of thescrew718, will the twowedges712 and714 are drawn together to cause thespikes708 to pivot about theirend710 and project to the exterior of theimplant700 through the alignedslots706. Theimplant700 may comprise a series ofholes724 on its surfaces for promoting bone ingrowth and fusion.
In use, after the removal of the disc material, theimplant700 with thespikes708 in their withdrawn position, is inserted into the disc space. Then thescrew718 is turned until thespikes708 are forced to enter the vertebrae and theimplant700 is thus held firmly in place.
While the invention has been described with regards to the preferred embodiment and a number of alternative embodiments, it is recognized that other embodiments of the present invention may be devised which would not depart from the scope of the present invention.

Claims (12)

I claim:
1. A spinal fusion implant for insertion between a first vertebra and a second vertebra adjacent the first vertebra, the first vertebra having a generally vertically extending first peripheral wall and a first endplate and the second vertebra having a generally vertically extending second peripheral wall and a second endplate, wherein the implant comprises:
a first terminal part defining a trailing face, a first bearing surface adapted to bear against a portion of the first endplate, and an opposite second bearing surface adapted to bear against a portion of the second endplate, said trailing face extending between said first bearing surface and said second bearing surface, said trailing face having a recessed portion and a threaded opening configured to receive an insertion instrument for inserting said implant between the first vertebra and the second vertebra;
a second terminal part opposite said first terminal part, said second terminal part having an insertion face extending between a third bearing surface adapted to bear against a portion of the first endplate and a fourth bearing surface adapted to bear against a portion of the second endplate, said implant having a longitudinal axis extending through said trailing face of said first terminal part and said insertion face of said second terminal part, and having a cross section in a first plane extending through said first bearing surface and said second bearing surface, and along the longitudinal axis, said implant having a length between said trailing face of said first terminal part and said insertion face of said second terminal part and parallel to the longitudinal axis, said implant having a width and a height each perpendicular to the length of said implant, the width of said implant being greater than the height of said implant;
a first side and an opposite second side, said first side and said second side extending from said first terminal part to said second terminal part, portions of said first side and said second side being substantially flat, said substantially flat portions intersecting a second plane that is perpendicular to the first plane and extends through said insertion face and said trailing face, wherein said substantially flat portions of said first side and said second side are symmetrical about the first plane;
an opening between said trailing face and said insertion face and between said first and second sides to permit for the growth of bone through said implant from the first vertebra to the second vertebra;
upper and lower bearing surfaces each having a length measured parallel to the longitudinal axis of said implant, said upper bearing surface being adapted to bear against a portion of the first endplate, said lower bearing surface being adapted to bear against a portion of the second endplate, said upper and lower bearing surfaces having portions proximate each of said first and second sides and being convex along the entire length of said upper and lower bearing surfaces relative to the second plane and in a direction parallel to the longitudinal axis, said convex portions of said upper and lower bearing surfaces having a convex curvature generally conforming to the first and second endplates, respectively, said trailing face having a height less than and measured parallel to a maximum height measured between said upper and lower bearing surfaces proximate one of said first and second sides;
a top including said first bearing surface, said third bearing surface, and said upper bearing surface, a bottom including said second bearing surface, said fourth bearing surface, and said lower bearing surface, said top and said bottom each having portions proximate each of said first and second sides and being convex relative to the second plane and in the direction parallel to the longitudinal axis, said convex portions of said top and said bottom having a convex curvature generally conforming to the first and second endplates, respectively, along a majority of the length of said implant, said convex portions of said top and said bottom including said convex portions of said upper and lower bearing surfaces, said opening extending through said implant from said top to said bottom;
ratchetings on each of said upper and lower bearing surfaces adapted to engage the first vertebra and the second vertebra, respectively, each of said ratchetings having a ridge oriented in a direction generally parallel to the width of said implant, said ratchetings on each of said upper and lower bearing surfaces having a forward facing facet facing an insertion direction and angled to afford forward movement of said implant and a rearward facing facet angled to prevent said implant from backing out in a direction opposite to the insertion direction; and
said opening of said implant being adapted to hold bone fusion promoting materials.
2. The implant ofclaim 1, wherein said implant has a plurality of openings between said trailing face and said insertion face and between said first and second sides to permit for the growth of bone through said implant from the first vertebra to the second vertebra.
3. The implant ofclaim 1, wherein said convex portions of said upper and lower bearing surfaces are convex along a continuous uninterrupted majority of the lengths of said upper and lower bearing surfaces, said convex portions of said upper and lower bearing surfaces being immediately adjacent said first and second sides.
4. A spinal fusion implant for insertion between a first vertebra and a second vertebra adjacent the first vertebra, the first vertebra having a generally vertically extending first peripheral wall and a first endplate and the second vertebra having a generally vertically extending second peripheral wall and a second endplate, wherein the implant comprises:
a first terminal part defining a trailing face, a first bearing surface adapted to bear against a portion of the first endplate, and an opposite second bearing surface adapted to bear against a portion of the second endplate, said trailing face extending between said first bearing surface and said second bearing surface, said trailing face having a recessed portion and a threaded opening configured to receive an insertion instrument for inserting said implant between the first vertebra and the second vertebra;
a second terminal part opposite said first terminal part, said second terminal part having an insertion face extending between a third bearing surface adapted to bear against a portion of the first endplate and a fourth bearing surface adapted to bear against a portion of the second endplate, said implant having a longitudinal axis extending through said trailing face of said first terminal part and said insertion face of said second terminal part, and having a cross section in a first plane extending through said first bearing surface and said second bearing surface, and along the longitudinal axis, said implant having a length between said trailing face of said first terminal part and said insertion face of said second terminal part and parallel to the longitudinal axis, said implant having a width and a height each perpendicular to the length of said implant;
a first side and an opposite second side, said first side and said second side extending from said first terminal part to said second terminal part, portions of said first side and said second side being substantially flat, said substantially flat portions intersecting a second plane that is perpendicular to the first plane and extends through said insertion face and said trailing face, wherein said substantially flat portions of said first side and said second side are symmetrical about the first plane;
an opening between said trailing face and said insertion face and between said first and second sides to permit for the growth of bone through said implant from the first vertebra to the second vertebra;
upper and lower bearing surfaces each having a length measured parallel to the longitudinal axis of said implant, said upper bearing surface being adapted to bear against a portion of the first endplate, said lower bearing surface being adapted to bear against a portion of the second endplate, said upper and lower bearing surfaces having portions proximate each of said first and second sides and being convex along the entire length of said upper and lower bearing surfaces relative to the second plane and in a direction parallel to the longitudinal axis, said convex portions of said upper and lower bearing surfaces having a convex curvature generally conforming to the first and second endplates, respectively, the width of said implant being greater than the height measured between said upper and lower bearing surfaces proximate one of said first and second sides of said implant;
a top including said first bearing surface, said third bearing surface, and said upper bearing surface, a bottom including said second bearing surface, said fourth bearing surface, and said lower bearing surface, said top and said bottom each having portions proximate each of said first and second sides and being convex relative to the second plane and in the direction parallel to the longitudinal axis, said convex portions of said top and said bottom having a convex curvature generally conforming to the first and second endplates, respectively, along a majority of the length of said implant, said convex portions of said top and said bottom including said convex portions of said upper and lower bearing surfaces, said opening extending through said implant from said top to said bottom;
ratchetings on each of said upper and lower bearing surfaces adapted to engage the first vertebra and the second vertebra, respectively, each of said ratchetings having a ridge oriented in a direction generally parallel to the width of said implant, said ratchetings on each of said upper and lower bearing surfaces having a forward facing facet facing an insertion direction and angled to afford forward movement of said implant and a rearward facing facet angled to prevent said implant from backing out in a direction opposite to the insertion direction; and
said opening of said implant being adapted to hold bone fusion promoting materials.
5. The implant ofclaim 4, wherein said implant has a plurality of openings between said trailing face and said insertion face and between said first and second sides to permit for the growth of bone through said implant from the first vertebra to the second vertebra.
6. The implant ofclaim 4, wherein said convex portions of said upper and lower bearing surfaces are convex along a continuous uninterrupted majority of the lengths of said upper and lower bearing surfaces, said convex portions of said upper and lower bearing surfaces being immediately adjacent said first and second sides.
7. A lordotic spinal fusion implant for insertion between a first vertebra and a second vertebra adjacent the first vertebra, the first vertebra having a generally vertically extending first peripheral wall and a first endplate and the second vertebra having a generally vertically extending second peripheral wall and a second endplate, wherein the implant comprises:
a first terminal part defining a trailing face, a first bearing surface adapted to bear against a portion of the first endplate, and an opposite second bearing surface adapted to bear against a portion of the second endplate, said trailing face extending between said first bearing surface and said second bearing surface;
a second terminal part opposite said first terminal part, said second terminal part having an insertion face extending between a third bearing surface adapted to bear against a portion of the first endplate and a fourth bearing surface adapted to bear against a portion of the second endplate, said implant having a longitudinal axis extending through said trailing face of said first terminal part and said insertion face of said second terminal part, and having a cross section in a first plane extending through said first bearing surface and said second bearing surface, and along the longitudinal axis, said implant having a length between said trailing face of said first terminal part and said insertion face of said second terminal part and parallel to the longitudinal axis, said implant having a width and a height each perpendicular to the length of said implant;
a first side and an opposite second side, said first side and said second side extending from said first terminal part to said second terminal part, portions of said first side and said second side being substantially flat, said substantially flat portions intersecting a second plane that is perpendicular to the first plane and extends through said insertion face and said trailing face, wherein said substantially flat portions of said first side and said second side are symmetrical about the first plane, said implant being adapted to be inserted between the first vertebra and the second vertebra with said first side and said second side of said implant being oriented toward the first endplate and the second endplate, respectively, and then rotated ninety degrees into an upright position, said trailing face having a recessed portion intersecting each of said first and second sides and being configured to receive an insertion instrument for inserting said implant between the first vertebra and the second vertebra;
an opening between said trailing face and said insertion face and between said first and second sides to permit for the growth of bone through said implant from the first vertebra to the second vertebra;
upper and lower bearing surfaces each having a length measured parallel to the longitudinal axis of said implant, said upper bearing surface being adapted to bear against a portion of the first endplate, said lower bearing surface being adapted to bear against a portion of the second endplate, said upper and lower bearing surfaces having portions proximate each of said first and second sides and being convex along the entire length of said upper and lower bearing surfaces relative to the second plane and in a direction parallel to the longitudinal axis, said convex portions of said upper and lower bearing surfaces having a convex curvature generally conforming to the first and second endplates, respectively, said trailing face having a height less than and measured parallel to a maximum height measured between said upper and lower bearing surfaces proximate one of said first and second sides, said upper and lower bearing surfaces being disposed in a converging angular relationship toward each other such that said implant appears wedge-shaped from a side view, the converging angular relationship of said upper and lower bearing surfaces maintaining the first vertebra and the second vertebra adjacent to said upper and lower bearing surfaces in an angular relationship to maintain the desired lordosis between the first vertebra and the second vertebra;
a top including said first bearing surface, said third bearing surface, and said upper bearing surface, a bottom including said second bearing surface, said fourth bearing surface, and said lower bearing surface, said top and said bottom each having portions proximate each of said first and second sides and being convex relative to the second plane and in the direction parallel to the longitudinal axis, said convex portions of said top and said bottom having a convex curvature generally conforming to the first and second endplates, respectively, along a majority of the length of said implant, said convex portions of said top and said bottom including said convex portions of said upper and lower bearing surfaces, said opening extending through said implant from said top to said bottom;
ratchetings on each of said upper and lower bearing surfaces adapted to engage the first vertebra and the second vertebra, respectively, each of said ratchetings having a ridge oriented in a direction generally parallel to the width of said implant, said ratchetings on each of said upper and lower bearing surfaces having a forward facing facet facing an insertion direction and angled to afford forward movement of said implant and a rearward facing facet angled to prevent said implant from backing out in a direction opposite to the insertion direction; and
said opening of said implant being adapted to hold bone fusion promoting materials.
8. The implant ofclaim 7, wherein said implant has a plurality of openings between said trailing face and said insertion face and between said first and second sides to permit for the growth of bone through said implant from the first vertebra to the second vertebra.
9. The implant ofclaim 7, wherein said convex portions of said upper and lower bearing surfaces are convex along a continuous uninterrupted majority of the lengths of said upper and lower bearing surfaces, said convex portions of said upper and lower bearing surfaces being immediately adjacent said first and second sides.
10. A spinal fusion implant for insertion between a first vertebra and a second vertebra adjacent the first vertebra, the first vertebra having a generally vertically extending first peripheral wall and a first endplate and the second vertebra having a generally vertically extending second peripheral wall and a second endplate, wherein the implant comprises:
a first terminal part defining a trailing face, a first bearing surface adapted to bear against a portion of the first endplate, and an opposite second bearing surface adapted to bear against a portion of the second endplate, said trailing face extending between said first bearing surface and said second bearing surface;
a second terminal part opposite said first terminal part, said second terminal part having an insertion face extending between a third bearing surface adapted to bear against a portion of the first endplate and a fourth bearing surface adapted to bear against a portion of the second endplate, said implant having a longitudinal axis extending through said trailing face of said first terminal part and said insertion face of said second terminal part, and having a cross section in a first plane extending through said first bearing surface and said second bearing surface, and along the longitudinal axis, said implant having a length between said trailing face of said first terminal part and said insertion face of said second terminal part and parallel to the longitudinal axis, said implant having a width and a height each perpendicular to the length of said implant;
a first side and an opposite second side, said first side and said second side extending from said first terminal part to said second terminal part, portions of said first side and said second side being substantially flat, said substantially flat portions intersecting a second plane that is perpendicular to the first plane and extends through said insertion face and said trailing face, wherein said substantially flat portions of said first side and said second side are symmetrical about the first plane, said implant being adapted to be inserted between the first vertebra and the second vertebra with said first side and said second side of said implant being oriented toward the first endplate and the second endplate, respectively, and then rotated ninety degrees into an upright position, said trailing face having a recessed portion intersecting each of said first and second sides and being configured to receive an insertion instrument for inserting said implant between the first vertebra and the second vertebra;
an opening between said trailing face and said insertion face and between said first and second sides to permit for the growth of bone through said implant from the first vertebra to the second vertebra;
upper and lower bearing surfaces each having a length measured parallel to the longitudinal axis of said implant, said upper bearing surface being adapted to bear against a portion of the first endplate, said lower bearing surface being adapted to bear against a portion of the second endplate, said upper and lower bearing surfaces having portions proximate each of said first and second sides and being convex along the entire length of said upper and lower bearing surfaces relative to the second plane and in a direction parallel to the longitudinal axis, said convex portions of said upper and lower bearing surfaces having a convex curvature generally conforming to the first and second endplates, respectively, said trailing face having a height less than and measured parallel to a maximum height measured between said upper and lower bearing surfaces proximate one of said first and second sides;
a top including said first bearing surface, said third bearing surface, and said upper bearing surface, a bottom including said second bearing surface, said fourth bearing surface, and said lower bearing surface, said top and said bottom each having portions proximate each of said first and second sides and being convex relative to the second plane and in the direction parallel to the longitudinal axis, said convex portions of said top and said bottom having a convex curvature generally conforming to the first and second endplates, respectively, along a majority of the length of said implant, said convex portions of said top and said bottom including said convex portions of said upper and lower bearing surfaces, said opening extending through said implant from said top to said bottom;
ratchetings on each of said upper and lower bearing surfaces adapted to engage the first vertebra and the second vertebra, respectively, each of said ratchetings having a ridge oriented in a direction generally parallel to the width of said implant, said ratchetings on each of said upper and lower bearing surfaces having a forward facing facet facing an insertion direction and angled to afford forward movement of said implant and a rearward facing facet angled to prevent said implant from backing out in a direction opposite to the insertion direction; and
said opening of said implant being adapted to hold bone fusion promoting materials.
11. The implant ofclaim 10, wherein said implant has a plurality of openings between said trailing face and said insertion face and between said first and second sides to permit for the growth of bone through said implant from the first vertebra to the second vertebra.
12. The implant ofclaim 10, wherein said convex portions of said upper and lower bearing surfaces are convex along a continuous uninterrupted majority of the lengths of said upper and lower bearing surfaces, said convex portions of said upper and lower bearing surfaces being immediately adjacent said first and second sides.
US13/897,7281995-06-072013-05-20Spinal implantExpired - Fee RelatedUS8858638B2 (en)

Priority Applications (1)

Application NumberPriority DateFiling DateTitle
US13/897,728US8858638B2 (en)1995-06-072013-05-20Spinal implant

Applications Claiming Priority (8)

Application NumberPriority DateFiling DateTitle
US08/482,146US5609635A (en)1988-06-281995-06-07Lordotic interbody spinal fusion implants
US08/813,283US6302914B1 (en)1995-06-071997-03-10Lordotic interbody spinal fusion implants
US09/412,090US6447544B1 (en)1995-06-071999-10-04Lordotic interbody spinal fusion implants
US10/237,751US7503933B2 (en)1995-06-072002-09-09Lordotic interbody spinal fusion implants
US10/926,766US7789914B2 (en)1995-06-072004-08-26Implant having arcuate upper and lower bearing surfaces along a longitudinal axis
US12/807,489US8021430B2 (en)1995-06-072010-09-07Anatomic spinal implant having anatomic bearing surfaces
US13/235,998US8444696B2 (en)1995-06-072011-09-19Anatomic spinal implant having anatomic bearing surfaces
US13/897,728US8858638B2 (en)1995-06-072013-05-20Spinal implant

Related Parent Applications (1)

Application NumberTitlePriority DateFiling Date
US13/235,998ContinuationUS8444696B2 (en)1995-06-072011-09-19Anatomic spinal implant having anatomic bearing surfaces

Publications (2)

Publication NumberPublication Date
US20130253652A1 US20130253652A1 (en)2013-09-26
US8858638B2true US8858638B2 (en)2014-10-14

Family

ID=23914883

Family Applications (8)

Application NumberTitlePriority DateFiling Date
US08/482,146Expired - LifetimeUS5609635A (en)1988-06-281995-06-07Lordotic interbody spinal fusion implants
US08/813,283Expired - LifetimeUS6302914B1 (en)1995-06-071997-03-10Lordotic interbody spinal fusion implants
US09/412,090Expired - LifetimeUS6447544B1 (en)1995-06-071999-10-04Lordotic interbody spinal fusion implants
US10/237,751Expired - Fee RelatedUS7503933B2 (en)1995-06-072002-09-09Lordotic interbody spinal fusion implants
US10/926,766Expired - Fee RelatedUS7789914B2 (en)1995-06-072004-08-26Implant having arcuate upper and lower bearing surfaces along a longitudinal axis
US12/807,489Expired - Fee RelatedUS8021430B2 (en)1995-06-072010-09-07Anatomic spinal implant having anatomic bearing surfaces
US13/235,998Expired - Fee RelatedUS8444696B2 (en)1995-06-072011-09-19Anatomic spinal implant having anatomic bearing surfaces
US13/897,728Expired - Fee RelatedUS8858638B2 (en)1995-06-072013-05-20Spinal implant

Family Applications Before (7)

Application NumberTitlePriority DateFiling Date
US08/482,146Expired - LifetimeUS5609635A (en)1988-06-281995-06-07Lordotic interbody spinal fusion implants
US08/813,283Expired - LifetimeUS6302914B1 (en)1995-06-071997-03-10Lordotic interbody spinal fusion implants
US09/412,090Expired - LifetimeUS6447544B1 (en)1995-06-071999-10-04Lordotic interbody spinal fusion implants
US10/237,751Expired - Fee RelatedUS7503933B2 (en)1995-06-072002-09-09Lordotic interbody spinal fusion implants
US10/926,766Expired - Fee RelatedUS7789914B2 (en)1995-06-072004-08-26Implant having arcuate upper and lower bearing surfaces along a longitudinal axis
US12/807,489Expired - Fee RelatedUS8021430B2 (en)1995-06-072010-09-07Anatomic spinal implant having anatomic bearing surfaces
US13/235,998Expired - Fee RelatedUS8444696B2 (en)1995-06-072011-09-19Anatomic spinal implant having anatomic bearing surfaces

Country Status (10)

CountryLink
US (8)US5609635A (en)
EP (2)EP1829503B1 (en)
JP (2)JPH11506658A (en)
KR (1)KR100383413B1 (en)
CN (1)CN1167391C (en)
AT (1)ATE360402T1 (en)
AU (1)AU722080B2 (en)
CA (1)CA2223964C (en)
DE (3)DE69637048T2 (en)
WO (1)WO1996040015A1 (en)

Cited By (22)

* Cited by examiner, † Cited by third party
Publication numberPriority datePublication dateAssigneeTitle
US9707100B2 (en)2015-06-252017-07-18Institute for Musculoskeletal Science and Education, Ltd.Interbody fusion device and system for implantation
US9788971B1 (en)2013-05-222017-10-17Nuvasive, Inc.Expandable fusion implant and related methods
US9801734B1 (en)2013-08-092017-10-31Nuvasive, Inc.Lordotic expandable interbody implant
US9931224B2 (en)2009-11-052018-04-03DePuy Synthes Products, Inc.Self-pivoting spinal implant and associated instrumentation
US10022245B2 (en)2012-12-172018-07-17DePuy Synthes Products, Inc.Polyaxial articulating instrument
US10195053B2 (en)2009-09-182019-02-05Spinal Surgical Strategies, LlcBone graft delivery system and method for using same
US10245159B1 (en)2009-09-182019-04-02Spinal Surgical Strategies, LlcBone graft delivery system and method for using same
US10966843B2 (en)2017-07-182021-04-06DePuy Synthes Products, Inc.Implant inserters and related methods
US10973656B2 (en)2009-09-182021-04-13Spinal Surgical Strategies, Inc.Bone graft delivery system and method for using same
US11045331B2 (en)2017-08-142021-06-29DePuy Synthes Products, Inc.Intervertebral implant inserters and related methods
US11554020B2 (en)2020-09-082023-01-17Life Spine, Inc.Expandable implant with pivoting control assembly
US11602440B2 (en)2020-06-252023-03-14Life Spine, Inc.Expandable implant assembly
US11602439B2 (en)2020-04-162023-03-14Life Spine, Inc.Expandable implant assembly
US11857432B2 (en)2020-04-132024-01-02Life Spine, Inc.Expandable implant assembly
US11872143B2 (en)2016-10-252024-01-16Camber Spine Technologies, LLCSpinal fusion implant
US11877935B2 (en)2016-10-182024-01-23Camber Spine Technologies, LLCImplant with deployable blades
US11896494B2 (en)2017-07-102024-02-13Life Spine, Inc.Expandable implant assembly
US11986398B2 (en)2013-03-132024-05-21Life Spine, Inc.Expandable implant assembly
US12042395B2 (en)2019-06-112024-07-23Life Spine, Inc.Expandable implant assembly
US12138179B2 (en)2019-06-102024-11-12Life Spine, Inc.Expandable implant assembly with compression features
US12193948B2 (en)2013-03-132025-01-14Life Spine, Inc.Expandable implant assembly
US12336917B2 (en)2020-05-152025-06-24Life Spine, Inc.Steerable implant assembly

Families Citing this family (1027)

* Cited by examiner, † Cited by third party
Publication numberPriority datePublication dateAssigneeTitle
US5609635A (en)*1988-06-281997-03-11Michelson; Gary K.Lordotic interbody spinal fusion implants
CA1333209C (en)*1988-06-281994-11-29Gary Karlin MichelsonArtificial spinal fusion implants
US5769897A (en)*1991-12-131998-06-23Haerle; AntonSynthetic bone
US6066175A (en)*1993-02-162000-05-23Henderson; Fraser C.Fusion stabilization chamber
US6245072B1 (en)1995-03-272001-06-12Sdgi Holdings, Inc.Methods and instruments for interbody fusion
US6206922B1 (en)1995-03-272001-03-27Sdgi Holdings, Inc.Methods and instruments for interbody fusion
US5782919A (en)1995-03-271998-07-21Sdgi Holdings, Inc.Interbody fusion device and method for restoration of normal spinal anatomy
ES2236792T3 (en)*1995-03-272005-07-16Sdgi Holdings, Inc. IMPLANTS OF SPINAL FUSION AND INSTRUMENTS FOR INSERTION AND REVIEW.
US7291149B1 (en)1995-06-072007-11-06Warsaw Orthopedic, Inc.Method for inserting interbody spinal fusion implants
US5989289A (en)1995-10-161999-11-23Sdgi Holdings, Inc.Bone grafts
US6423095B1 (en)*1995-10-162002-07-23Sdgi Holdings, Inc.Intervertebral spacers
DE19541114A1 (en)*1995-10-261997-04-30Artos Med Produkte Intervertebral implant
US5752955A (en)*1995-10-301998-05-19Fastenetix, L.L.C.Sliding shaft variable length cross-link device for use with dual rod apparatus
US5814084A (en)*1996-01-161998-09-29University Of Florida Tissue Bank, Inc.Diaphysial cortical dowel
US5865845A (en)*1996-03-051999-02-02Thalgott; John S.Prosthetic intervertebral disc
CA2199462C (en)*1996-03-142006-01-03Charles J. WinslowMethod and instrumentation for implant insertion
US5718717A (en)1996-08-191998-02-17Bonutti; Peter M.Suture anchor
FR2753368B1 (en)*1996-09-131999-01-08Chauvin Jean Luc EXPANSIONAL OSTEOSYNTHESIS CAGE
US5782832A (en)*1996-10-011998-07-21Surgical Dynamics, Inc.Spinal fusion implant and method of insertion thereof
WO1998017209A2 (en)*1996-10-231998-04-30Sdgi Holdings, Inc.Spinal spacer
US20050165483A1 (en)*2004-01-272005-07-28Ray Eddie F.IiiBone grafts
US6416515B1 (en)1996-10-242002-07-09Spinal Concepts, Inc.Spinal fixation system
EP0934026B1 (en)1996-10-242009-07-15Zimmer Spine Austin, IncApparatus for spinal fixation
US5776135A (en)*1996-12-231998-07-07Third Millennium Engineering, LlcSide mounted polyaxial pedicle screw
US5961554A (en)*1996-12-311999-10-05Janson; Frank SIntervertebral spacer
US7201751B2 (en)*1997-01-022007-04-10St. Francis Medical Technologies, Inc.Supplemental spine fixation device
US7959652B2 (en)*2005-04-182011-06-14Kyphon SarlInterspinous process implant having deployable wings and method of implantation
US20080086212A1 (en)*1997-01-022008-04-10St. Francis Medical Technologies, Inc.Spine distraction implant
US6695842B2 (en)*1997-10-272004-02-24St. Francis Medical Technologies, Inc.Interspinous process distraction system and method with positionable wing and method
US20080039859A1 (en)*1997-01-022008-02-14Zucherman James FSpine distraction implant and method
US8128661B2 (en)*1997-01-022012-03-06Kyphon SarlInterspinous process distraction system and method with positionable wing and method
US6068630A (en)*1997-01-022000-05-30St. Francis Medical Technologies, Inc.Spine distraction implant
US7306628B2 (en)*2002-10-292007-12-11St. Francis Medical TechnologiesInterspinous process apparatus and method with a selectably expandable spacer
US5749916A (en)*1997-01-211998-05-12Spinal InnovationsFusion implant
DE29703043U1 (en)*1997-02-201997-04-24Signus Medizintechnik GmbH, 63755 Alzenau Spinal implant
US5897593A (en)*1997-03-061999-04-27Sulzer Spine-Tech Inc.Lordotic spinal implant
AU744371B2 (en)*1997-04-252002-02-21Stryker European Holdings I, LlcTwo-part intersomatic implant
US6641614B1 (en)1997-05-012003-11-04Spinal Concepts, Inc.Multi-variable-height fusion device
US6045579A (en)1997-05-012000-04-04Spinal Concepts, Inc.Adjustable height fusion device
US5810819A (en)*1997-05-151998-09-22Spinal Concepts, Inc.Polyaxial pedicle screw having a compression locking rod gripping mechanism
US5785711A (en)*1997-05-151998-07-28Third Millennium Engineering, LlcPolyaxial pedicle screw having a through bar clamp locking mechanism
US6585770B1 (en)1997-06-022003-07-01Sdgi Holdings, Inc.Devices for supporting bony structures
US5928243A (en)1997-07-161999-07-27Spinal Concepts, Inc.Pedicle probe and depth gage
US6030389A (en)1997-08-042000-02-29Spinal Concepts, Inc.System and method for stabilizing the human spine with a bone plate
US6454769B2 (en)*1997-08-042002-09-24Spinal Concepts, Inc.System and method for stabilizing the human spine with a bone plate
FR2767675B1 (en)*1997-08-261999-12-03Materiel Orthopedique En Abreg INTERSOMATIC IMPLANT AND ANCILLARY OF PREPARATION SUITABLE FOR ALLOWING ITS POSITION
US6053921A (en)1997-08-262000-04-25Spinal Concepts, Inc.Surgical cable system and method
US5964769A (en)1997-08-261999-10-12Spinal Concepts, Inc.Surgical cable system and method
US8291572B2 (en)1997-08-272012-10-23Rti Biologics, Inc.Multi-component cortical bone assembled implant
WO1999009914A1 (en)1997-08-271999-03-04University Of Florida Tissue Bank, Inc.Cortical bone cervical smith-robinson fusion implant
US7048762B1 (en)1997-08-272006-05-23Regeneration Technologies, Inc.Elongated cortical bone implant
US6004326A (en)*1997-09-101999-12-21United States SurgicalMethod and instrumentation for implant insertion
US5865848A (en)*1997-09-121999-02-02Artifex, Ltd.Dynamic intervertebral spacer and method of use
US6511509B1 (en)*1997-10-202003-01-28LifenetTextured bone allograft, method of making and using same
US6648916B1 (en)1997-12-102003-11-18Sdgi Holdings, Inc.Osteogenic fusion device
AU1831999A (en)*1997-12-181999-07-05Comfort Biomedical, Inc.Bone augmentation for prosthetic implants and the like
US6214049B1 (en)1999-01-142001-04-10Comfort Biomedical, Inc.Method and apparatus for augmentating osteointegration of prosthetic implant devices
US6086613A (en)*1997-12-232000-07-11Depuy Acromed, Inc.Spacer assembly for use in spinal surgeries
US6482233B1 (en)1998-01-292002-11-19Synthes(U.S.A.)Prosthetic interbody spacer
US6986788B2 (en)*1998-01-302006-01-17Synthes (U.S.A.)Intervertebral allograft spacer
US7087082B2 (en)*1998-08-032006-08-08Synthes (Usa)Bone implants with central chambers
USRE38614E1 (en)1998-01-302004-10-05Synthes (U.S.A.)Intervertebral allograft spacer
US6045551A (en)1998-02-062000-04-04Bonutti; Peter M.Bone suture
DE19807236C2 (en)*1998-02-202000-06-21Biedermann Motech Gmbh Intervertebral implant
US6736849B2 (en)1998-03-112004-05-18Depuy Products, Inc.Surface-mineralized spinal implants
US6224631B1 (en)*1998-03-202001-05-01Sulzer Spine-Tech Inc.Intervertebral implant with reduced contact area and method
FR2784282B1 (en)1998-10-092001-03-23Dimso Sa SPINAL OSTEOSYNTHESIS SYSTEM WITH IMPROVED RIGIDITY
US6241769B1 (en)1998-05-062001-06-05Cortek, Inc.Implant for spinal fusion
US6083228A (en)*1998-06-092000-07-04Michelson; Gary K.Device and method for preparing a space between adjacent vertebrae to receive an insert
EP1681021A3 (en)*1998-06-092009-04-15Warsaw Orthopedic, Inc.Abrading element for preparing a space between adjacent vertebral bodies
DE19826619A1 (en)*1998-06-171999-12-30Ulrich Gmbh & Co Kg Implant for the fusion of two vertebrae
DE19827515A1 (en)*1998-06-221999-12-23Ulrich Gmbh & Co Kg Implant for the fusion of two vertebrae
US6086593A (en)1998-06-302000-07-11Bonutti; Peter M.Method and apparatus for use in operating on a bone
DK1100417T3 (en)1998-08-032004-08-02Synthes Ag Intervertebral allograft spacer
US20060241763A1 (en)*1998-08-032006-10-26Synthes (Usa)Multipiece bone implant
US6099531A (en)*1998-08-202000-08-08Bonutti; Peter M.Changing relationship between bones
FR2782632B1 (en)1998-08-282000-12-29Materiel Orthopedique En Abreg EXPANSIBLE INTERSOMATIC FUSION CAGE
FR2782914B1 (en)*1998-09-042000-12-01Dimso Sa INTERSOMATIC CAGE TYPE IMPLANT, ESPECIALLY FOR CERVICAL VERTEBRES
US6117174A (en)*1998-09-162000-09-12Nolan; Wesley A.Spinal implant device
US6159211A (en)*1998-10-222000-12-12Depuy Acromed, Inc.Stackable cage system for corpectomy/vertebrectomy
US6193757B1 (en)1998-10-292001-02-27Sdgi Holdings, Inc.Expandable intervertebral spacers
FR2787017B1 (en)1998-12-112001-04-27Dimso Sa INTERVERTEBRAL DISC PROSTHESIS WITH IMPROVED MECHANICAL BEHAVIOR
FR2788686B1 (en)*1999-01-262001-06-08Scient X INTERSOMATIC IMPLANT WITH SAGITTAL INTRODUCTION SUITABLE FOR LATERAL SHIFT IN THE FRONTAL PLANE
US6325827B1 (en)1999-02-012001-12-04Blacksheep Technologies, Inc.Intervertebral implant
US6929662B1 (en)1999-02-042005-08-16Synthes (Usa)End member for a bone fusion implant
US6245108B1 (en)*1999-02-252001-06-12SpinecoSpinal fusion implant
US6113638A (en)1999-02-262000-09-05Williams; Lytton A.Method and apparatus for intervertebral implant anchorage
US6241770B1 (en)*1999-03-052001-06-05Gary K. MichelsonInterbody spinal fusion implant having an anatomically conformed trailing end
CA2363254C (en)*1999-03-072009-05-05Discure Ltd.Method and apparatus for computerized surgery
US6442814B1 (en)1999-04-232002-09-03Spinal Concepts, Inc.Apparatus for manufacturing a bone dowel
US6557226B1 (en)1999-04-232003-05-06Michael E. LandryApparatus for manufacturing a bone dowel
US6342074B1 (en)1999-04-302002-01-29Nathan S. SimpsonAnterior lumbar interbody fusion implant and method for fusing adjacent vertebrae
AU4988700A (en)1999-05-052000-11-17Gary K. MichelsonSpinal fusion implants with opposed locking screws
EP1198208B1 (en)*1999-05-052013-07-10Warsaw Orthopedic, Inc.Nested interbody spinal fusion implants
US6214050B1 (en)1999-05-112001-04-10Donald R. HueneExpandable implant for inter-bone stabilization and adapted to extrude osteogenic material, and a method of stabilizing bones while extruding osteogenic material
US6520991B2 (en)1999-05-112003-02-18Donald R. HueneExpandable implant for inter-vertebral stabilization, and a method of stabilizing vertebrae
US6491724B1 (en)*1999-08-132002-12-10Bret FerreeSpinal fusion cage with lordosis correction
US6419704B1 (en)1999-10-082002-07-16Bret FerreeArtificial intervertebral disc replacement methods and apparatus
US6969404B2 (en)*1999-10-082005-11-29Ferree Bret AAnnulus fibrosis augmentation methods and apparatus
FR2794362B1 (en)*1999-06-022001-09-21Henry Graf INTERVERTEBRAL IMPLANT AND POSITIONING ASSEMBLY OF SUCH AN IMPLANT
US6277149B1 (en)*1999-06-082001-08-21Osteotech, Inc.Ramp-shaped intervertebral implant
US6770096B2 (en)*1999-07-012004-08-03Spinevision S.A.Interbody spinal stabilization cage and spinal stabilization method
FR2897259B1 (en)2006-02-152008-05-09Ldr Medical Soc Par Actions Si INTERSOMATIC TRANSFORAMINAL CAGE WITH INTERBREBAL FUSION GRAFT AND CAGE IMPLANTATION INSTRUMENT
US6368343B1 (en)2000-03-132002-04-09Peter M. BonuttiMethod of using ultrasonic vibration to secure body tissue
US6447516B1 (en)1999-08-092002-09-10Peter M. BonuttiMethod of securing tissue
US6793677B2 (en)*1999-08-132004-09-21Bret A. FerreeMethod of providing cells and other biologic materials for transplantation
US6755863B2 (en)*1999-10-082004-06-29Bret A. FerreeRotator cuff repair using engineered tissues
US6685695B2 (en)*1999-08-132004-02-03Bret A. FerreeMethod and apparatus for providing nutrition to intervertebral disc tissue
US7201776B2 (en)*1999-10-082007-04-10Ferree Bret AArtificial intervertebral disc replacements with endplates
US7435260B2 (en)1999-08-132008-10-14Ferree Bret AUse of morphogenetic proteins to treat human disc disease
US6454804B1 (en)1999-10-082002-09-24Bret A. FerreeEngineered tissue annulus fibrosis augmentation methods and apparatus
US6231610B1 (en)*1999-08-252001-05-15Allegiance CorporationAnterior cervical column support device
DE60030989T2 (en)*1999-08-262007-05-24Warsaw Orthopedic, Inc., Warsaw DEVICE FOR IMPLANTING FUSION CAGE
WO2001015639A1 (en)1999-09-012001-03-08Sharkey Hugh RIntervertebral spacer implant
US20040186573A1 (en)*1999-10-082004-09-23Ferree Bret A.Annulus fibrosis augmentation methods and apparatus
US7060100B2 (en)*1999-10-082006-06-13Ferree Bret AArtificial disc and joint replacements with modular cushioning components
US20030026788A1 (en)*1999-10-082003-02-06Ferree Bret A.Use of extracellular matrix tissue to preserve cultured cell phenotype
US6432107B1 (en)2000-01-152002-08-13Bret A. FerreeEnhanced surface area spinal fusion devices
US20040122424A1 (en)*2000-01-152004-06-24Ferree Bret A.Enhanced surface area spinal fusion devices and alignment apparatus therefor
US6645247B2 (en)*1999-10-082003-11-11Bret A. FerreeSupplementing engineered annulus tissues with autograft of allograft tendons
US6648920B2 (en)*1999-10-082003-11-18Bret A. FerreeNatural and synthetic supplements to engineered annulus and disc tissues
US20030004574A1 (en)*1999-10-082003-01-02Ferree Bret A.Disc and annulus augmentation using biologic tissue
US7201774B2 (en)*1999-10-082007-04-10Ferree Bret AArtificial intervertebral disc replacements incorporating reinforced wall sections
US20040172019A1 (en)*1999-10-082004-09-02Ferree Bret A.Reinforcers for artificial disc replacement methods and apparatus
US6648919B2 (en)*1999-10-142003-11-18Bret A. FerreeTransplantation of engineered meniscus tissue to the intervertebral disc
CA2387042A1 (en)*1999-10-202001-04-26Sdgi Holdings, Inc.Impacted orthopedic bone support implant
US6530929B1 (en)1999-10-202003-03-11Sdgi Holdings, Inc.Instruments for stabilization of bony structures
US6764491B2 (en)1999-10-212004-07-20Sdgi Holdings, Inc.Devices and techniques for a posterior lateral disc space approach
WO2001028469A2 (en)*1999-10-212001-04-26Sdgi Holdings, Inc.Devices and techniques for a posterior lateral disc space approach
US6830570B1 (en)1999-10-212004-12-14Sdgi Holdings, Inc.Devices and techniques for a posterior lateral disc space approach
US6592624B1 (en)1999-11-242003-07-15Depuy Acromed, Inc.Prosthetic implant element
WO2001037728A1 (en)1999-11-242001-05-31Nuvasive, Inc.Electromyography system
US6827740B1 (en)*1999-12-082004-12-07Gary K. MichelsonSpinal implant surface configuration
US7115143B1 (en)*1999-12-082006-10-03Sdgi Holdings, Inc.Orthopedic implant surface configuration
US6648915B2 (en)*1999-12-232003-11-18John A. SazyIntervertebral cage and method of use
US20010032017A1 (en)*1999-12-302001-10-18Alfaro Arthur A.Intervertebral implants
US6447512B1 (en)2000-01-062002-09-10Spinal Concepts, Inc.Instrument and method for implanting an interbody fusion device
US6331179B1 (en)2000-01-062001-12-18Spinal Concepts, Inc.System and method for stabilizing the human spine with a bone plate
US7635390B1 (en)2000-01-142009-12-22Marctec, LlcJoint replacement component having a modular articulating surface
US6635073B2 (en)2000-05-032003-10-21Peter M. BonuttiMethod of securing body tissue
EP1645248B8 (en)*2000-02-042010-06-16Warsaw Orthopedic, Inc.Expandable interbody spinal fusion implant having pivotally attached blocker
US6709458B2 (en)*2000-02-042004-03-23Gary Karlin MichelsonExpandable push-in arcuate interbody spinal fusion implant with tapered configuration during insertion
US6500205B1 (en)*2000-04-192002-12-31Gary K. MichelsonExpandable threaded arcuate interbody spinal fusion implant with cylindrical configuration during insertion
US6814756B1 (en)2000-02-042004-11-09Gary K. MichelsonExpandable threaded arcuate interbody spinal fusion implant with lordotic configuration during insertion
US6716247B2 (en)2000-02-042004-04-06Gary K. MichelsonExpandable push-in interbody spinal fusion implant
ATE293940T1 (en)*2000-02-042005-05-15Michelson Gary K EXPANDABLE INTERSPINAL FUSION IMPLANT
ATE390100T1 (en)2000-02-222008-04-15Warsaw Orthopedic Inc SPINAL IMPLANT AND INTRODUCTION DEVICE
US7182781B1 (en)2000-03-022007-02-27Regeneration Technologies, Inc.Cervical tapered dowel
US7169183B2 (en)*2000-03-142007-01-30Warsaw Orthopedic, Inc.Vertebral implant for promoting arthrodesis of the spine
AR027685A1 (en)2000-03-222003-04-09Synthes Ag METHOD AND METHOD FOR CARRYING OUT
US6350283B1 (en)*2000-04-192002-02-26Gary K. MichelsonBone hemi-lumbar interbody spinal implant having an asymmetrical leading end and method of installation thereof
US7462195B1 (en)2000-04-192008-12-09Warsaw Orthopedic, Inc.Artificial lumbar interbody spinal implant having an asymmetrical leading end
FR2808995B1 (en)2000-05-182003-02-21Aesculap Sa INTERSOMATIC CAGE WITH UNIFIED GRAFT
EP1284707A4 (en)2000-05-302003-06-25Paul S LinImplant for placement between cervical vertebrae
US6579318B2 (en)2000-06-122003-06-17Ortho Development CorporationIntervertebral spacer
USD493225S1 (en)2000-06-122004-07-20Ortho Development CorporationImplant
US7018416B2 (en)*2000-07-062006-03-28Zimmer Spine, Inc.Bone implants and methods
US6808537B2 (en)2000-07-072004-10-26Gary Karlin MichelsonExpandable implant with interlocking walls
US6730127B2 (en)2000-07-102004-05-04Gary K. MichelsonFlanged interbody spinal fusion implants
AU2001280962A1 (en)*2000-08-012002-02-13Regeneration Technologies, Inc.Diaphysial cortical dowel
DE60139262D1 (en)*2000-08-282009-08-27Disc Dynamics Inc SYSTEM FOR RECONSTRUCTING JOINT SURFACES OF MAMMALS
US8628575B2 (en)2000-08-292014-01-14Nabil L. MuhannaVertebral body replacement and method of use
US6761738B1 (en)*2000-09-192004-07-13Sdgi Holdings, Inc.Reinforced molded implant formed of cortical bone
HUP0003833A2 (en)*2000-09-282002-04-29Miklós HorváthImplant for replacing of vertebral disc
US6572654B1 (en)2000-10-042003-06-03Albert N. SantilliIntervertebral spacer
ATE334644T1 (en)*2000-10-112006-08-15Michael D Mason INTEGRATED FUSION DEVICE
US20030120274A1 (en)*2000-10-202003-06-26Morris John W.Implant retaining device
CA2428546A1 (en)2000-11-132002-05-16Frank H. Boehm, Jr.Device and method for lumbar interbody fusion
US6666891B2 (en)2000-11-132003-12-23Frank H. Boehm, Jr.Device and method for lumbar interbody fusion
US6773460B2 (en)*2000-12-052004-08-10Roger P. JacksonAnterior variable expandable fusion cage
US20020169507A1 (en)*2000-12-142002-11-14David MaloneInterbody spine fusion cage
US6692501B2 (en)*2000-12-142004-02-17Gary K. MichelsonSpinal interspace shaper
US6520993B2 (en)2000-12-292003-02-18Depuy Acromed, Inc.Spinal implant
US6986772B2 (en)*2001-03-012006-01-17Michelson Gary KDynamic lordotic guard with movable extensions for creating an implantation space posteriorly in the lumbar spine
DE60224850T2 (en)*2001-02-042009-01-22Warsaw Orthopedic, Inc., Warsaw Instrumentation for introducing and positioning an expandable intervertebral fusion implant
WO2002098332A1 (en)*2001-02-162002-12-12Sulzer Spine-Tech Inc.Bone implants and methods
JP4790917B2 (en)*2001-02-232011-10-12独立行政法人科学技術振興機構 Artificial vertebral body
US6673075B2 (en)2001-02-232004-01-06Albert N. SantilliPorous intervertebral spacer
US20020120335A1 (en)*2001-02-282002-08-29Angelucci Christopher M.Laminoplasty implants and methods of use
US6896680B2 (en)*2001-03-012005-05-24Gary K. MichelsonArcuate dynamic lordotic guard with movable extensions for creating an implantation space posteriorly in the lumbar spine
AU2002247230B9 (en)2001-03-012007-05-10Warsaw Orthopedic, Inc.Dynamic lordotic guard with movable extensions for creating an implantation space posteriorly in the lumbar spine and method for use thereof
US6478822B1 (en)*2001-03-202002-11-12Spineco, Inc.Spherical spinal implant
US6899734B2 (en)2001-03-232005-05-31Howmedica Osteonics Corp.Modular implant for fusing adjacent bone structure
US7128760B2 (en)*2001-03-272006-10-31Warsaw Orthopedic, Inc.Radially expanding interbody spinal fusion implants, instrumentation, and methods of insertion
US6749636B2 (en)*2001-04-022004-06-15Gary K. MichelsonContoured spinal fusion implants made of bone or a bone composite material
US6890355B2 (en)*2001-04-022005-05-10Gary K. MichelsonArtificial contoured spinal fusion implants made of a material other than bone
US6989031B2 (en)*2001-04-022006-01-24Sdgi Holdings, Inc.Hemi-interbody spinal implant manufactured from a major long bone ring or a bone composite
WO2002080823A1 (en)*2001-04-042002-10-17Rapp Lawrence GInterbody spinal fusion device
US20120330420A1 (en)*2001-05-012012-12-27Amedica CorporationSpinal fusion implants
US7695521B2 (en)2001-05-012010-04-13Amedica CorporationHip prosthesis with monoblock ceramic acetabular cup
EP2055267B1 (en)*2001-05-012013-04-17Amedica CorporationRadiolucent bone graft
US7776085B2 (en)*2001-05-012010-08-17Amedica CorporationKnee prosthesis with ceramic tibial component
US20050177238A1 (en)*2001-05-012005-08-11Khandkar Ashok C.Radiolucent bone graft
US6974480B2 (en)2001-05-032005-12-13Synthes (Usa)Intervertebral implant for transforaminal posterior lumbar interbody fusion procedure
US6719794B2 (en)*2001-05-032004-04-13Synthes (U.S.A.)Intervertebral implant for transforaminal posterior lumbar interbody fusion procedure
FR2824261B1 (en)2001-05-042004-05-28Ldr Medical INTERVERTEBRAL DISC PROSTHESIS AND IMPLEMENTATION METHOD AND TOOLS
EP1408874B1 (en)*2001-06-142012-08-08Amedica CorporationMetal-ceramic composite articulation
DE10129993C2 (en)*2001-06-182003-05-08Erkan Dirik Intervertebral implant
EP1417000B1 (en)2001-07-112018-07-11Nuvasive, Inc.System for determining nerve proximity during surgery
FR2827156B1 (en)2001-07-132003-11-14Ldr Medical VERTEBRAL CAGE DEVICE WITH MODULAR FASTENING
US6471725B1 (en)*2001-07-162002-10-29Third Millenium Engineering, LlcPorous intervertebral distraction spacers
FR2828398B1 (en)*2001-08-082003-09-19Jean Taylor VERTEBRA STABILIZATION ASSEMBLY
US6635087B2 (en)2001-08-292003-10-21Christopher M. AngelucciLaminoplasty implants and methods of use
US20030055503A1 (en)*2001-09-192003-03-20O'neil Michael J.Alignment verification device and method of use
JP2005503857A (en)2001-09-252005-02-10ヌバシブ, インコーポレイテッド Systems and methods for performing surgical procedures and surgical diagnosis
US7766947B2 (en)*2001-10-312010-08-03Ortho Development CorporationCervical plate for stabilizing the human spine
US8025684B2 (en)*2001-11-092011-09-27Zimmer Spine, Inc.Instruments and methods for inserting a spinal implant
US6669699B2 (en)*2001-11-302003-12-30Spinecore, Inc.Distraction instrument for use in anterior cervical fixation surgery
US20030105466A1 (en)*2001-11-302003-06-05Ralph James D.Spacer device and insertion instrument for use in anterior cervical fixation surgery
US6719765B2 (en)2001-12-032004-04-13Bonutti 2003 Trust-AMagnetic suturing system and method
US6979353B2 (en)2001-12-032005-12-27Howmedica Osteonics Corp.Apparatus for fusing adjacent bone structures
US6855167B2 (en)*2001-12-052005-02-15Osteotech, Inc.Spinal intervertebral implant, interconnections for such implant and processes for making
US6740118B2 (en)*2002-01-092004-05-25Sdgi Holdings, Inc.Intervertebral prosthetic joint
US7708776B1 (en)2002-01-162010-05-04Nuvasive, Inc.Intervertebral disk replacement system and methods
US8137402B2 (en)*2002-01-172012-03-20Concept Matrix LlcVertebral defect device
US7011684B2 (en)*2002-01-172006-03-14Concept Matrix, LlcIntervertebral disk prosthesis
US7105023B2 (en)*2002-01-172006-09-12Concept Matrix, L.L.C.Vertebral defect device
FR2835179B1 (en)*2002-01-282004-04-02Hassan Razian INTERVERTEBRAL CAGE
US6923830B2 (en)2002-02-022005-08-02Gary K. MichelsonSpinal fusion implant having deployable bone engaging projections
AU2003215099A1 (en)*2002-02-072003-09-02Ebi, L.P.Anterior spinal implant
US7527649B1 (en)2002-02-152009-05-05Nuvasive, Inc.Intervertebral implant and related methods
AR038680A1 (en)2002-02-192005-01-26Synthes Ag INTERVERTEBRAL IMPLANT
FR2836373B1 (en)*2002-02-262005-03-25Materiel Orthopedique En Abreg CONNECTING INTERSOMATIC IMPLANTS FOR INSERTING BONE GRAFT FOR REALIZING INTERVERTEBRAL FUSION, INSTRUMENTS FOR CONNECTING THESE IMPLANTS
EP1482877B1 (en)2002-03-112007-05-30Spinal Concepts Inc.Instrumentation for implanting spinal implant devices
DE50210270D1 (en)*2002-03-122007-07-19Cervitech Inc Intervertebral prosthesis, especially for the cervical spine
RU2303422C2 (en)*2002-03-122007-07-27Сервитек Инк.Intervertebral prosthesis and system of intervertebral prostheses, in peculiar case, for cervical department of vertebral column
US7309358B2 (en)2002-03-212007-12-18Warsaw Orthopedic, Inc.Vertebral body and disc space replacement devices
US6758862B2 (en)2002-03-212004-07-06Sdgi Holdings, Inc.Vertebral body and disc space replacement devices
US6991653B2 (en)*2002-03-212006-01-31Sdgi Holdings, Inc.Vertebral body and disc space replacement devices
US20040010315A1 (en)*2002-03-292004-01-15Song John K.Self-expanding intervertebral device
US7717959B2 (en)*2002-03-302010-05-18Lytton WilliamIntervertebral device and method of use
KR100498755B1 (en)*2002-05-062005-07-01김철생Intervertebral fusion cage
US7674297B2 (en)*2002-06-142010-03-09U.S. Spinal Technologies, LlcAnatomic vertebral cage
US7582058B1 (en)2002-06-262009-09-01Nuvasive, Inc.Surgical access system and related methods
US6793678B2 (en)2002-06-272004-09-21Depuy Acromed, Inc.Prosthetic intervertebral motion disc having dampening
US6682564B1 (en)2002-07-022004-01-27Luis DuarteIntervertebral support device and related methods
FR2844179B1 (en)*2002-09-102004-12-03Jean Taylor POSTERIOR VERTEBRAL SUPPORT KIT
US7309359B2 (en)*2003-08-212007-12-18Warsaw Orthopedic, Inc.Allogenic/xenogenic implants and methods for augmenting or repairing intervertebral discs
AU2003226586A1 (en)2002-09-192004-04-08Malan De VilliersIntervertebral prosthesis
US20040092929A1 (en)*2002-09-272004-05-13Zindrick Michael R.Spinal plate with means to secure a graft
US6712852B1 (en)*2002-09-302004-03-30Depuy Spine, Inc.Laminoplasty cage
US8137284B2 (en)2002-10-082012-03-20Nuvasive, Inc.Surgical access system and related methods
DE10248171A1 (en)*2002-10-162004-05-13Advanced Medical Technologies Ag Implant for placement between vertebrae of the spine
US7063725B2 (en)2002-10-212006-06-20Sdgi Holdings, Inc.Systems and techniques for restoring and maintaining intervertebral anatomy
US7125425B2 (en)*2002-10-212006-10-24Sdgi Holdings, Inc.Systems and techniques for restoring and maintaining intervertebral anatomy
US7232463B2 (en)*2002-10-232007-06-19U.S. Spinal Technologies, LlcIntervertebral cage designs
US8048117B2 (en)2003-05-222011-11-01Kyphon SarlInterspinous process implant and method of implantation
US7497859B2 (en)*2002-10-292009-03-03Kyphon SarlTools for implanting an artificial vertebral disk
US20080021468A1 (en)*2002-10-292008-01-24Zucherman James FInterspinous process implants and methods of use
US7083649B2 (en)2002-10-292006-08-01St. Francis Medical Technologies, Inc.Artificial vertebral disk replacement implant with translating pivot point
US20060271194A1 (en)*2005-03-222006-11-30St. Francis Medical Technologies, Inc.Interspinous process implant having deployable wing as an adjunct to spinal fusion and method of implantation
US7273496B2 (en)*2002-10-292007-09-25St. Francis Medical Technologies, Inc.Artificial vertebral disk replacement implant with crossbar spacer and method
US7549999B2 (en)*2003-05-222009-06-23Kyphon SarlInterspinous process distraction implant and method of implantation
US20060264939A1 (en)*2003-05-222006-11-23St. Francis Medical Technologies, Inc.Interspinous process implant with slide-in distraction piece and method of implantation
US8070778B2 (en)*2003-05-222011-12-06Kyphon SarlInterspinous process implant with slide-in distraction piece and method of implantation
US8147548B2 (en)2005-03-212012-04-03Kyphon SarlInterspinous process implant having a thread-shaped wing and method of implantation
US6966929B2 (en)*2002-10-292005-11-22St. Francis Medical Technologies, Inc.Artificial vertebral disk replacement implant with a spacer
US7931674B2 (en)*2005-03-212011-04-26Kyphon SarlInterspinous process implant having deployable wing and method of implantation
FR2846550B1 (en)2002-11-052006-01-13Ldr Medical INTERVERTEBRAL DISC PROSTHESIS
CA2735324A1 (en)*2002-11-052004-05-21Spineology, Inc.A semi-biological intervertebral disc replacement system
US7766973B2 (en)*2005-01-192010-08-03Gi Dynamics, Inc.Eversion resistant sleeves
AU2003297195A1 (en)*2002-12-172004-07-22Amedica CorporationTotal disc implant
US7192447B2 (en)2002-12-192007-03-20Synthes (Usa)Intervertebral implant
US7500991B2 (en)2002-12-312009-03-10Depuy Acromed, Inc.Banana cage
US7691057B2 (en)2003-01-162010-04-06Nuvasive, Inc.Surgical access system and related methods
USD557417S1 (en)2003-01-162007-12-11Concept Matrix, LlcDisk prosthesis
ZA200506029B (en)2003-01-312006-10-25Spinalmotion IncSpinal Midline Indicator
WO2004066884A1 (en)2003-01-312004-08-12Spinalmotion, Inc.Intervertebral prosthesis placement instrument
US7828849B2 (en)*2003-02-032010-11-09Warsaw Orthopedic, Inc.Expanding interbody implant and articulating inserter and method
CA2515247C (en)*2003-02-062010-10-05Synthes (U.S.A.)Intervertebral implant
USD493533S1 (en)2003-02-142004-07-27Nuvasive, Inc.Intervertebral implant
AU2004212942A1 (en)2003-02-142004-09-02Depuy Spine, Inc.In-situ formed intervertebral fusion device
US7819801B2 (en)2003-02-272010-10-26Nuvasive, Inc.Surgical access system and related methods
US20050049590A1 (en)*2003-03-072005-03-03Neville AlleyneSpinal implant with securement spikes
US7824444B2 (en)2003-03-202010-11-02Spineco, Inc.Expandable spherical spinal implant
WO2004084742A1 (en)*2003-03-242004-10-07Theken Surgical LlcSpinal implant adjustment device
US7819903B2 (en)2003-03-312010-10-26Depuy Spine, Inc.Spinal fixation plate
US6893465B2 (en)*2003-03-312005-05-17Shi, Tain-YewVividly simulated prosthetic intervertebral disc
US7060097B2 (en)*2003-03-312006-06-13Depuy Spine, Inc.Method and apparatus for implant stability
US20040199256A1 (en)*2003-04-042004-10-07Chao-Jan WangSupport device for supporting between spinal vertebrae
EP1610740A4 (en)2003-04-042009-04-08Theken Disc LlcArtificial disc prosthesis
US20170020683A1 (en)2003-04-212017-01-26Rsb Spine LlcBone plate stabilization system and method for its use
US7419505B2 (en)*2003-04-222008-09-02Fleischmann Lewis WCollapsible, rotatable, and tiltable hydraulic spinal disc prosthesis system with selectable modular components
US7575599B2 (en)2004-07-302009-08-18Spinalmotion, Inc.Intervertebral prosthetic disc with metallic core
US7442211B2 (en)2003-05-272008-10-28Spinalmotion, Inc.Intervertebral prosthetic disc
US10052211B2 (en)2003-05-272018-08-21Simplify Medical Pty Ltd.Prosthetic disc for intervertebral insertion
CA2528154A1 (en)*2003-06-032005-01-06Osteotech, Inc.Bioimplant with nonuniformly configured protrusions on the load bearing surfaces thereof
US7336753B2 (en)*2003-06-262008-02-26Marvell International Ltd.Transmitter
US20040267367A1 (en)2003-06-302004-12-30Depuy Acromed, IncIntervertebral implant with conformable endplate
US20060229627A1 (en)2004-10-292006-10-12Hunt Margaret MVariable angle spinal surgery instrument
US7806932B2 (en)2003-08-012010-10-05Zimmer Spine, Inc.Spinal implant
US20060229729A1 (en)*2003-08-052006-10-12Gordon Charles RExpandable intervertebral implant for use with instrument
US7753958B2 (en)*2003-08-052010-07-13Gordon Charles RExpandable intervertebral implant
US7799082B2 (en)2003-08-052010-09-21Flexuspine, Inc.Artificial functional spinal unit system and method for use
US7909869B2 (en)2003-08-052011-03-22Flexuspine, Inc.Artificial spinal unit assemblies
US7204853B2 (en)*2003-08-052007-04-17Flexuspine, Inc.Artificial functional spinal unit assemblies
US7316714B2 (en)*2003-08-052008-01-08Flexuspine, Inc.Artificial functional spinal unit assemblies
US20050033429A1 (en)*2003-08-052005-02-10Kuo Robert W. H.Spinal expansion apparatus
US20050038516A1 (en)2003-08-142005-02-17Mark SpoonamoreIntervertebral disk prosthesis and method
US20050038511A1 (en)*2003-08-152005-02-17Martz Erik O.Transforaminal lumbar interbody fusion (TLIF) implant, surgical procedure and instruments for insertion of spinal implant in a spinal disc space
US7226482B2 (en)*2003-09-022007-06-05Synthes (U.S.A.)Multipiece allograft implant
US20050055099A1 (en)*2003-09-092005-03-10Ku David N.Flexible spinal disc
JP4463819B2 (en)2003-09-252010-05-19ヌヴァシヴ インコーポレイテッド Surgical access system
US7905840B2 (en)*2003-10-172011-03-15Nuvasive, Inc.Surgical access system and related methods
US8821553B2 (en)2003-09-302014-09-02X-Spine Systems, Inc.Spinal fusion system utilizing an implant plate having at least one integral lock
US8062367B2 (en)2003-09-302011-11-22X-Spine Systems, Inc.Screw locking mechanism and method
US9078706B2 (en)*2003-09-302015-07-14X-Spine Systems, Inc.Intervertebral fusion device utilizing multiple mobile uniaxial and bidirectional screw interface plates
US7641701B2 (en)*2003-09-302010-01-05X-Spine Systems, Inc.Spinal fusion system and method for fusing spinal bones
US7041137B2 (en)*2003-10-072006-05-09Lanx, LlcSpinal implant
WO2005041816A2 (en)*2003-10-202005-05-12Blackstone Medical, Inc.Vertebral body replacement apparatus and method
US7520899B2 (en)*2003-11-052009-04-21Kyphon SarlLaterally insertable artificial vertebral disk replacement implant with crossbar spacer
US20050149192A1 (en)*2003-11-202005-07-07St. Francis Medical Technologies, Inc.Intervertebral body fusion cage with keels and implantation method
US7837732B2 (en)*2003-11-202010-11-23Warsaw Orthopedic, Inc.Intervertebral body fusion cage with keels and implantation methods
US7670377B2 (en)*2003-11-212010-03-02Kyphon SarlLaterally insertable artifical vertebral disk replacement implant with curved spacer
US20050283237A1 (en)*2003-11-242005-12-22St. Francis Medical Technologies, Inc.Artificial spinal disk replacement device with staggered vertebral body attachments
US20050154462A1 (en)*2003-12-022005-07-14St. Francis Medical Technologies, Inc.Laterally insertable artificial vertebral disk replacement implant with translating pivot point
US7481839B2 (en)*2003-12-022009-01-27Kyphon SarlBioresorbable interspinous process implant for use with intervertebral disk remediation or replacement implants and procedures
US20050143826A1 (en)*2003-12-112005-06-30St. Francis Medical Technologies, Inc.Disk repair structures with anchors
US7569074B2 (en)*2003-12-112009-08-04Warsaw Orthopedic, Inc.Expandable intervertebral implant
US8333985B2 (en)2004-01-272012-12-18Warsaw Orthopedic, Inc.Non-glycerol stabilized bone graft
CA2555026A1 (en)2004-01-302005-08-18Osteotech, Inc.Stacking implants for spinal fusion
US20050171550A1 (en)*2004-01-302005-08-04Sdgi Holdings, Inc.Anatomic implants designed to minimize instruments and surgical techniques
EP2113227B1 (en)2004-02-042015-07-29LDR MedicalIntervertebral disc prosthesis
FR2865629B1 (en)2004-02-042007-01-26Ldr Medical INTERVERTEBRAL DISC PROSTHESIS
US7846183B2 (en)2004-02-062010-12-07Spinal Elements, Inc.Vertebral facet joint prosthesis and method of fixation
EP1713408B1 (en)2004-02-092010-09-15DePuy Spine, Inc.Systems for spinal surgery
US8273129B2 (en)*2004-02-102012-09-25Atlas Spine, Inc.PLIF opposing wedge ramp
US7850733B2 (en)*2004-02-102010-12-14Atlas Spine, Inc.PLIF opposing wedge ramp
US7211112B2 (en)*2004-02-102007-05-01Atlas SpineSpinal fusion device
US7247169B1 (en)*2004-02-232007-07-24Aesculap Implant Systems, Inc.Kit of spine gauge blocks and a tool assembly
US8636802B2 (en)2004-03-062014-01-28DePuy Synthes Products, LLCDynamized interspinal implant
US8140489B2 (en)*2004-03-242012-03-20Oracle International CorporationSystem and method for analyzing content on a web page using an embedded filter
NZ550331A (en)*2004-03-262009-09-25Synthes UsaAllograft implant
US7918891B1 (en)*2004-03-292011-04-05Nuvasive Inc.Systems and methods for spinal fusion
FR2869528B1 (en)2004-04-282007-02-02Ldr Medical INTERVERTEBRAL DISC PROSTHESIS
US7544208B1 (en)2004-05-032009-06-09Theken Spine, LlcAdjustable corpectomy apparatus
US8083746B2 (en)*2004-05-072011-12-27Arthrex, Inc.Open wedge osteotomy system and surgical method
US7585316B2 (en)*2004-05-212009-09-08Warsaw Orthopedic, Inc.Interspinous spacer
CN2707201Y (en)*2004-06-212005-07-06李孔嘉 Spinal Reconstruction Repositioner
US8172904B2 (en)2004-06-302012-05-08Synergy Disc Replacement, Inc.Artificial spinal disc
MXPA06014714A (en)2004-06-302007-06-22Synergy Disc Replacement IncArtificial spinal disc.
US7678148B2 (en)*2004-07-232010-03-16Warsaw Orthopedic, Inc.Expandable spinal implant having interlocking geometry for structural support
US7585326B2 (en)2004-08-062009-09-08Spinalmotion, Inc.Methods and apparatus for intervertebral disc prosthesis insertion
US8444693B2 (en)2004-08-092013-05-21Si-Bone Inc.Apparatus, systems, and methods for achieving lumbar facet fusion
US8414648B2 (en)2004-08-092013-04-09Si-Bone Inc.Apparatus, systems, and methods for achieving trans-iliac lumbar fusion
US20070156241A1 (en)*2004-08-092007-07-05Reiley Mark ASystems and methods for the fixation or fusion of bone
US8425570B2 (en)2004-08-092013-04-23Si-Bone Inc.Apparatus, systems, and methods for achieving anterior lumbar interbody fusion
US9662158B2 (en)*2004-08-092017-05-30Si-Bone Inc.Systems and methods for the fixation or fusion of bone at or near a sacroiliac joint
US9949843B2 (en)2004-08-092018-04-24Si-Bone Inc.Apparatus, systems, and methods for the fixation or fusion of bone
US20060036251A1 (en)2004-08-092006-02-16Reiley Mark ASystems and methods for the fixation or fusion of bone
US8388667B2 (en)2004-08-092013-03-05Si-Bone, Inc.Systems and methods for the fixation or fusion of bone using compressive implants
US20180228621A1 (en)2004-08-092018-08-16Mark A. ReileyApparatus, systems, and methods for the fixation or fusion of bone
US8470004B2 (en)2004-08-092013-06-25Si-Bone Inc.Apparatus, systems, and methods for stabilizing a spondylolisthesis
US7641690B2 (en)*2004-08-232010-01-05Abdou M SamyBone fixation and fusion device
US7931688B2 (en)2004-08-252011-04-26Spine Wave, Inc.Expandable interbody fusion device
DE102004041354A1 (en)*2004-08-252006-03-30Buck, Alfred Implant for surgical use in humans or vertebrates
US7799081B2 (en)*2004-09-142010-09-21Aeolin, LlcSystem and method for spinal fusion
WO2006034436A2 (en)2004-09-212006-03-30Stout Medical Group, L.P.Expandable support device and method of use
US7481840B2 (en)*2004-09-292009-01-27Kyphon SarlMulti-piece artificial spinal disk replacement device with selectably positioning articulating element
US20060069438A1 (en)*2004-09-292006-03-30Zucherman James FMulti-piece artificial spinal disk replacement device with multi-segmented support plates
US7575600B2 (en)*2004-09-292009-08-18Kyphon SarlArtificial vertebral disk replacement implant with translating articulation contact surface and method
US7883543B2 (en)*2004-10-012011-02-08Spinal Generations, LlcVertebral prosthesis and spinal fixation system
WO2006042241A2 (en)2004-10-082006-04-20Nuvasive, Inc.Surgical access system and related methods
WO2006042335A1 (en)*2004-10-082006-04-20Sdgi Holdings, Inc.Interior connecting interbody cage insertional tools, methods and devices
US20060085077A1 (en)*2004-10-182006-04-20Ebi, L.P.Intervertebral implant and associated method
US8721722B2 (en)2004-10-182014-05-13Ebi, LlcIntervertebral implant and associated method
US7988699B2 (en)*2004-10-192011-08-02Warsaw Orthopedic, Inc.Adjustable instrumentation for spinal implant insertion
USD524942S1 (en)2005-05-232006-07-11Felix Brent ASurgical implant
US7794500B2 (en)*2004-10-272010-09-14Felix Brent ASurgical implant
US8597360B2 (en)2004-11-032013-12-03Neuropro Technologies, Inc.Bone fusion device
US7875080B2 (en)*2004-11-102011-01-25Warsaw Orthopedic, Inc.Intervertebral spacer
WO2006058221A2 (en)2004-11-242006-06-01Abdou Samy MDevices and methods for inter-vertebral orthopedic device placement
US20060116766A1 (en)*2004-12-012006-06-01Jean-Philippe LemaireAnterior lumbar interbody implant
US20070038303A1 (en)*2006-08-152007-02-15Ebi, L.P.Foot/ankle implant and associated method
US7879109B2 (en)2004-12-082011-02-01Biomet Manufacturing Corp.Continuous phase composite for musculoskeletal repair
US8535357B2 (en)2004-12-092013-09-17Biomet Sports Medicine, LlcContinuous phase compositions for ACL repair
WO2006066228A2 (en)*2004-12-162006-06-22Innovative Spinal TechnologiesExpandable implants for spinal disc replacement
US7736380B2 (en)2004-12-212010-06-15Rhausler, Inc.Cervical plate system
FR2879436B1 (en)2004-12-222007-03-09Ldr Medical INTERVERTEBRAL DISC PROSTHESIS
AU2006203906A1 (en)*2005-01-082006-07-13Alphaspine, Inc.Modular disc device
US20060167547A1 (en)*2005-01-212006-07-27Loubert SuddabyExpandable intervertebral fusion implants having hinged sidewalls
WO2008016687A2 (en)*2006-08-022008-02-07Ibalance Medical, Inc.Method and apparatus for performing a high tibial, dome osteotomy
US7967823B2 (en)*2005-01-312011-06-28Arthrex, Inc.Method and apparatus for performing an open wedge, high tibial osteotomy
US7935119B2 (en)2005-01-312011-05-03Ibalance Medical, Inc.Method for performing an open wedge, high tibial osteotomy
US8496662B2 (en)*2005-01-312013-07-30Arthrex, Inc.Method and apparatus for forming a wedge-like opening in a bone for an open wedge osteotomy
US8771279B2 (en)2005-01-312014-07-08Arthrex, Inc.Method and apparatus for performing an osteotomy in bone
US8906026B2 (en)2005-01-312014-12-09Arthrex, Inc.Method and apparatus for performing an open wedge, high tibial osteotomy
US8540777B2 (en)*2005-01-312013-09-24Arthrex, Inc.Method and apparatus for performing an open wedge, high tibial osteotomy
US8083797B2 (en)2005-02-042011-12-27Spinalmotion, Inc.Intervertebral prosthetic disc with shock absorption
CA2597228C (en)*2005-02-092014-07-22Ibalance Medical, Inc.Multi-part implant for open wedge knee osteotomies
US20080039944A1 (en)*2005-02-172008-02-14Malandain Hugues FPercutaneous Spinal Implants and Methods
US20060184248A1 (en)*2005-02-172006-08-17Edidin Avram APercutaneous spinal implants and methods
US8034080B2 (en)2005-02-172011-10-11Kyphon SarlPercutaneous spinal implants and methods
US8096994B2 (en)*2005-02-172012-01-17Kyphon SarlPercutaneous spinal implants and methods
US20070055237A1 (en)*2005-02-172007-03-08Edidin Avram APercutaneous spinal implants and methods
US8097018B2 (en)*2005-02-172012-01-17Kyphon SarlPercutaneous spinal implants and methods
US8007521B2 (en)*2005-02-172011-08-30Kyphon SarlPercutaneous spinal implants and methods
US8157841B2 (en)*2005-02-172012-04-17Kyphon SarlPercutaneous spinal implants and methods
US20080288078A1 (en)*2005-02-172008-11-20Kohm Andrew CPercutaneous spinal implants and methods
US8038698B2 (en)*2005-02-172011-10-18Kphon SarlPercutaneous spinal implants and methods
US8100943B2 (en)2005-02-172012-01-24Kyphon SarlPercutaneous spinal implants and methods
US20070276493A1 (en)*2005-02-172007-11-29Malandain Hugues FPercutaneous spinal implants and methods
US8057513B2 (en)*2005-02-172011-11-15Kyphon SarlPercutaneous spinal implants and methods
US7998174B2 (en)2005-02-172011-08-16Kyphon SarlPercutaneous spinal implants and methods
US20070276372A1 (en)*2005-02-172007-11-29Malandain Hugues FPercutaneous Spinal Implants and Methods
US7988709B2 (en)*2005-02-172011-08-02Kyphon SarlPercutaneous spinal implants and methods
US8029567B2 (en)*2005-02-172011-10-04Kyphon SarlPercutaneous spinal implants and methods
US7267690B2 (en)*2005-03-092007-09-11Vertebral Technologies, Inc.Interlocked modular disc nucleus prosthesis
US20060235403A1 (en)2005-03-172006-10-19Jason BlainFlanged interbody fusion device with locking plate
US7435261B1 (en)*2005-03-242008-10-14Frank CastroSpinal implant and method of using spinal implant
US8361149B2 (en)2005-03-242013-01-29Cardinal Spine, LlcWedge-like spinal implant
US8673006B2 (en)2005-03-242014-03-18Igip, LlcSpinal implant
US8226718B2 (en)*2005-03-242012-07-24Cardinal Spine, LlcSpinal implant and method of using spinal implant
US9456907B1 (en)2005-03-242016-10-04Igip, LlcExtendable spinal implant
US8246683B2 (en)*2005-03-242012-08-21Cardinal Spine, LlcSpinal implant
US8016887B1 (en)2005-03-242011-09-13Cardinal Spine, LlcSpinal implant with overlay
US8986383B2 (en)2005-03-242015-03-24Igip, LlcEnd cap and connector for a spinal implant
US20060241757A1 (en)*2005-03-312006-10-26Sdgi Holdings, Inc.Intervertebral prosthetic device for spinal stabilization and method of manufacturing same
CA2603400C (en)2005-04-012015-11-24Ibalance Medical, Inc.Method and apparatus for performing an open wedge, high tibial osteotomy
US7959675B2 (en)*2005-04-082011-06-14G&L Consulting, LlcSpine implant insertion device and method
US7942903B2 (en)2005-04-122011-05-17Moskowitz Ahmnon DBi-directional fixating transvertebral body screws and posterior cervical and lumbar interarticulating joint calibrated stapling devices for spinal fusion
US11903849B2 (en)2005-04-122024-02-20Moskowitz Family LlcIntervertebral implant and tool assembly
US8034079B2 (en)*2005-04-122011-10-11Warsaw Orthopedic, Inc.Implants and methods for posterior dynamic stabilization of a spinal motion segment
US7740794B1 (en)2005-04-182010-06-22Biomet Sports Medicine, LlcMethods of making a polymer and ceramic composite
WO2006116761A2 (en)*2005-04-272006-11-02Stout Medical Group, L.P.Expandable support device and methods of use
US7727233B2 (en)*2005-04-292010-06-01Warsaw Orthopedic, Inc.Spinous process stabilization devices and methods
US8147547B2 (en)*2005-04-292012-04-03Warsaw Orthopedic, Inc.Spinal implant
US7655043B2 (en)*2005-04-292010-02-02Warsaw Orthopedic, Inc.Expandable spinal implant and associated instrumentation
US8617248B2 (en)2005-05-062013-12-31Titan Spine, LlcSpinal implant having variable ratios of the integration surface area to the axial passage area
US8403991B2 (en)2005-05-062013-03-26Titan Spine LlcImplant with critical ratio of load bearing surface area to central opening area
US9168147B2 (en)2005-05-062015-10-27Titan Spine, LlcSelf-deploying locking screw retention device
US8545568B2 (en)2005-05-062013-10-01Titan Spine, LlcMethod of using instruments and interbody spinal implants to enhance distraction
US7662186B2 (en)*2005-05-062010-02-16Titan Spine, LlcAnterior interbody spinal implant
US8758442B2 (en)2005-05-062014-06-24Titan Spine, LlcComposite implants having integration surfaces composed of a regular repeating pattern
US8435302B2 (en)2005-05-062013-05-07Titan Spine, LlcInstruments and interbody spinal implants enhancing disc space distraction
US8551176B2 (en)*2005-05-062013-10-08Titan Spine, LlcSpinal implant having a passage for enhancing contact between bone graft material and cortical endplate bone
US8480749B2 (en)2005-05-062013-07-09Titan Spine, LlcFriction fit and vertebral endplate-preserving spinal implant
US8585767B2 (en)2005-05-062013-11-19Titan Spine, LlcEndplate-preserving spinal implant with an integration plate having durable connectors
US8591590B2 (en)2005-05-062013-11-26Titan Spine, LlcSpinal implant having a transverse aperture
US8262737B2 (en)2005-05-062012-09-11Titan Spine, LlcComposite interbody spinal implant having openings of predetermined size and shape
US8758443B2 (en)2005-05-062014-06-24Titan Spine, LlcImplants with integration surfaces having regular repeating surface patterns
US8562684B2 (en)2005-05-062013-10-22Titan Spine, LlcEndplate-preserving spinal implant with an integration plate having a roughened surface topography
US8814939B2 (en)2005-05-062014-08-26Titan Spine, LlcImplants having three distinct surfaces
US8585765B2 (en)2005-05-062013-11-19Titan Spine, LlcEndplate-preserving spinal implant having a raised expulsion-resistant edge
US8992622B2 (en)2005-05-062015-03-31Titan Spine, LlcInterbody spinal implant having a roughened surface topography
US11096796B2 (en)2005-05-062021-08-24Titan Spine, LlcInterbody spinal implant having a roughened surface topography on one or more internal surfaces
US9125756B2 (en)2005-05-062015-09-08Titan Spine, LlcProcesses for producing regular repeating patterns on surfaces of interbody devices
US8562685B2 (en)2005-05-062013-10-22Titan Spine, LlcSpinal implant and integration plate for optimizing vertebral endplate contact load-bearing edges
US8585766B2 (en)2005-05-062013-11-19Titan Spine, LlcEndplate-preserving spinal implant with an integration plate having durable connectors
US20120312779A1 (en)2005-05-062012-12-13Titian Spine, LLCMethods for manufacturing implants having integration surfaces
EP1887986A4 (en)*2005-05-242012-05-02Vertebral Technologies IncInterlocked modular disc nucleus prosthesis
ITRM20050265A1 (en)*2005-05-272006-11-28Enrico Russo MODULAR PROSTHESIS REFINED FOR OSTEOSYNTHESIS, IN PARTICULAR FOR THE OSTEOSYNTHESIS OF THE HUMERUS.
US8092548B2 (en)*2005-06-222012-01-10Warsaw Orthopedic, Inc.Osteograft treatment to promote osteoinduction and osteograft incorporation
FR2887434B1 (en)2005-06-282008-03-28Jean Taylor SURGICAL TREATMENT EQUIPMENT OF TWO VERTEBRATES
US20090054987A1 (en)*2005-07-052009-02-26Spinefrontier LlsSpinal fusion assembly
EP1903949A2 (en)2005-07-142008-04-02Stout Medical Group, L.P.Expandable support device and method of use
US8623088B1 (en)2005-07-152014-01-07Nuvasive, Inc.Spinal fusion implant and related methods
US7867277B1 (en)2005-07-152011-01-11Nuvasive Inc.Spinal fusion implant and related methods
FR2888489B1 (en)*2005-07-182008-05-16Abbott Spine Sa INTERVERTEBRAL DISC PROSTHESIS WITH ANCHORING MEANS
US20070027544A1 (en)*2005-07-282007-02-01Altiva CorporationSpinal cage implant
FR2891135B1 (en)2005-09-232008-09-12Ldr Medical Sarl INTERVERTEBRAL DISC PROSTHESIS
US7815682B1 (en)2005-09-242010-10-19Nuvasive, Inc.Spinal fusion implant and related methods
US7618459B2 (en)*2005-09-262009-11-17Infinity Orthopedics Ltd.Universal spinal disc implant system
US20070093897A1 (en)*2005-10-212007-04-26Stryker Spine (In France)System and method for fusion cage implantation
US8357181B2 (en)*2005-10-272013-01-22Warsaw Orthopedic, Inc.Intervertebral prosthetic device for spinal stabilization and method of implanting same
US20070123923A1 (en)*2005-11-302007-05-31Lindstrom Curtis CImplantable medical device minimizing rotation and dislocation
FR2893838B1 (en)2005-11-302008-08-08Ldr Medical Soc Par Actions Si PROSTHESIS OF INTERVERTEBRAL DISC AND INSTRUMENTATION OF INSERTION OF THE PROSTHESIS BETWEEN VERTEBRATES
US7674294B2 (en)*2005-12-012010-03-09Warsaw Orthopedic, Inc.End device for a vertebral implant
US7594932B2 (en)*2005-12-292009-09-29International Spinal Innovations, LlcApparatus for anterior intervertebral spinal fixation and fusion
US8062372B2 (en)*2005-12-292011-11-22Industrial Technology Research InstituteSpinal fusion device
US7935148B2 (en)*2006-01-092011-05-03Warsaw Orthopedic, Inc.Adjustable insertion device for a vertebral implant
US20070161962A1 (en)*2006-01-092007-07-12Edie Jason ADevice and method for moving fill material to an implant
US20070173823A1 (en)2006-01-182007-07-26Sdgi Holdings, Inc.Intervertebral prosthetic device for spinal stabilization and method of implanting same
US8083795B2 (en)*2006-01-182011-12-27Warsaw Orthopedic, Inc.Intervertebral prosthetic device for spinal stabilization and method of manufacturing same
US20070191838A1 (en)*2006-01-272007-08-16Sdgi Holdings, Inc.Interspinous devices and methods of use
US7682376B2 (en)*2006-01-272010-03-23Warsaw Orthopedic, Inc.Interspinous devices and methods of use
US7691130B2 (en)2006-01-272010-04-06Warsaw Orthopedic, Inc.Spinal implants including a sensor and methods of use
US20070198090A1 (en)*2006-02-032007-08-23Abdou M SUse of Carbon Nanotubes in the Manufacture of Orthopedic Implants
US8252058B2 (en)*2006-02-162012-08-28Amedica CorporationSpinal implant with elliptical articulatory interface
US20070198093A1 (en)*2006-02-172007-08-23Amedica CorporationSpinal implant with offset keels
EP1988855A2 (en)*2006-02-272008-11-12Synthes GmbHIntervertebral implant with fixation geometry
US8409290B2 (en)*2006-03-082013-04-02Seaspine, Inc.Interbody device for spinal applications
US8118869B2 (en)2006-03-082012-02-21Flexuspine, Inc.Dynamic interbody device
US20070213826A1 (en)2006-03-082007-09-13Seaspine, Inc.Intervertebral spacer and insertion tool providing multiple angles of insertion
US8262698B2 (en)*2006-03-162012-09-11Warsaw Orthopedic, Inc.Expandable device for insertion between anatomical structures and a procedure utilizing same
WO2007113807A2 (en)*2006-04-052007-10-11Impliant Ltd.Fixation of spinal prosthesis
WO2007121320A2 (en)2006-04-122007-10-25Spinalmotion, Inc.Posterior spinal device and method
FR2899788B1 (en)*2006-04-132008-07-04Jean Taylor TREATMENT EQUIPMENT FOR VERTEBRATES, COMPRISING AN INTEREPINOUS IMPLANT
US8118844B2 (en)2006-04-242012-02-21Warsaw Orthopedic, Inc.Expandable device for insertion between anatomical structures and a procedure utilizing same
US20070270961A1 (en)*2006-04-252007-11-22Sdgi Holdings, Inc.Spinal implant with deployable and retractable barbs
US8353962B2 (en)*2006-04-282013-01-15Concept Matrix, LlcDual composition vertebral defect device
US8048118B2 (en)2006-04-282011-11-01Warsaw Orthopedic, Inc.Adjustable interspinous process brace
US20070270824A1 (en)*2006-04-282007-11-22Warsaw Orthopedic, Inc.Interspinous process brace
CN101478934B (en)*2006-04-282012-08-08香港大学Bioengineered intervertebral discs and methods of making
US7658766B2 (en)*2006-05-012010-02-09Warsaw Orthopedic, Inc.Intervertebral implants with covered inner chamber and methods of use
US20070255414A1 (en)*2006-05-012007-11-01Sdgi Holdings, Inc.Intervertebral implants with one or more covers and methods of use
EP2023864B1 (en)2006-05-012019-07-10Stout Medical Group, L.P.Expandable support device
US8062337B2 (en)*2006-05-042011-11-22Warsaw Orthopedic, Inc.Expandable device for insertion between anatomical structures and a procedure utilizing same
US8002837B2 (en)2006-05-192011-08-23Pioneer Surgical TechnologySpinal stabilization device and methods
US8147517B2 (en)*2006-05-232012-04-03Warsaw Orthopedic, Inc.Systems and methods for adjusting properties of a spinal implant
US20070276496A1 (en)*2006-05-232007-11-29Sdgi Holdings, Inc.Surgical spacer with shape control
TWM303719U (en)*2006-05-302007-01-01Kung-Chia LiSpine repositioning device capable of being placed medicament therein
US8303601B2 (en)*2006-06-072012-11-06Stryker SpineCollet-activated distraction wedge inserter
US8226722B2 (en)*2006-06-082012-07-24Francis PflumSac for use in spinal surgery
US10143560B2 (en)2006-06-082018-12-04Francis PflumSac for use in spinal surgery
US7780676B2 (en)2006-07-112010-08-24Ebi, LlcIntervertebral implantation apparatus
US7951200B2 (en)*2006-07-122011-05-31Warsaw Orthopedic, Inc.Vertebral implant including preformed osteoconductive insert and methods of forming
USD741488S1 (en)2006-07-172015-10-20Nuvasive, Inc.Spinal fusion implant
US8048119B2 (en)*2006-07-202011-11-01Warsaw Orthopedic, Inc.Apparatus for insertion between anatomical structures and a procedure utilizing same
WO2008019049A2 (en)*2006-08-032008-02-14Ibalance Medical Inc.Method and apparatus for performing an open wedge, high tibial osteotomy
US20080154314A1 (en)*2006-08-162008-06-26Mcdevitt Dennis MComposite interference screw for attaching a graft ligament to a bone, and other apparatus for making attachments to bone
US8894661B2 (en)2007-08-162014-11-25Smith & Nephew, Inc.Helicoil interference fixation system for attaching a graft ligament to a bone
US9526525B2 (en)2006-08-222016-12-27Neuropro Technologies, Inc.Percutaneous system for dynamic spinal stabilization
US8043377B2 (en)*2006-09-022011-10-25Osprey Biomedical, Inc.Implantable intervertebral fusion device
US20080086115A1 (en)*2006-09-072008-04-10Warsaw Orthopedic, Inc.Intercostal spacer device and method for use in correcting a spinal deformity
US8506636B2 (en)2006-09-082013-08-13Theken Spine, LlcOffset radius lordosis
US20080077150A1 (en)*2006-09-222008-03-27Linh NguyenSteerable rasp/trial member inserter and method of use
WO2008039508A2 (en)2006-09-272008-04-03Ibalance Medical, Inc.Method and apparatus for performing an open wedge, high tibial osteotomy
ES2335931T3 (en)*2006-09-272010-04-06K2M, Inc. SPACER BETWEEN VERTEBRAL BODIES.
US20080082172A1 (en)*2006-09-292008-04-03Jackson Roger PInterspinous process spacer
US8641764B2 (en)*2006-10-112014-02-04G&L Consulting, LlcSpine implant insertion device and method
US8097019B2 (en)2006-10-242012-01-17Kyphon SarlSystems and methods for in situ assembly of an interspinous process distraction implant
US8275594B2 (en)*2006-10-302012-09-25The Regents Of The University Of MichiganEngineered scaffolds for intervertebral disc repair and regeneration and for articulating joint repair and regeneration
FR2908035B1 (en)*2006-11-082009-05-01Jean Taylor INTEREPINE IMPLANT
US20080114455A1 (en)*2006-11-152008-05-15Warsaw Orthopedic, Inc.Rotating Interspinous Process Devices and Methods of Use
US7879104B2 (en)*2006-11-152011-02-01Warsaw Orthopedic, Inc.Spinal implant system
US9737414B2 (en)2006-11-212017-08-22Vertebral Technologies, Inc.Methods and apparatus for minimally invasive modular interbody fusion devices
US8409209B2 (en)*2006-11-222013-04-02Arthrex, Inc.Method and apparatus for performing an open wedge, high tibial osteotomy
US20080208197A1 (en)*2006-11-302008-08-28Kelly AmmannMethod and apparatus for performing an open wedge, high tibial osteotomy
WO2008070027A2 (en)*2006-12-012008-06-12Ibalance Medical, Inc.Method and apparatus for performing an open wedge, low femoral osteotomy
WO2008070863A2 (en)2006-12-072008-06-12Interventional Spine, Inc.Intervertebral implant
US20080140085A1 (en)*2006-12-112008-06-12G&L Consulting, LlcSteerable spine implant insertion device and method
US7955392B2 (en)2006-12-142011-06-07Warsaw Orthopedic, Inc.Interspinous process devices and methods
US8097037B2 (en)*2006-12-202012-01-17Depuy Spine, Inc.Methods and devices for correcting spinal deformities
US9039768B2 (en)2006-12-222015-05-26Medos International SarlComposite vertebral spacers and instrument
US7959677B2 (en)2007-01-192011-06-14Flexuspine, Inc.Artificial functional spinal unit system and method for use
US20080183292A1 (en)*2007-01-292008-07-31Warsaw Orthopedic, Inc.Compliant intervertebral prosthetic devices employing composite elastic and textile structures
US8372157B2 (en)*2007-02-122013-02-12Warsaw Orthopedic, Inc.Joint revision implant
US8465546B2 (en)2007-02-162013-06-18Ldr MedicalIntervertebral disc prosthesis insertion assemblies
USD566842S1 (en)2007-02-192008-04-15Zimmer Spine, Inc.Spinal implant
USD595853S1 (en)*2007-02-272009-07-07Zimmer Spine, Inc.Spinal implant
US8673005B1 (en)2007-03-072014-03-18Nuvasive, Inc.System and methods for spinal fusion
US20080243252A1 (en)*2007-04-022008-10-02Centra-Fuse, Inc.Spinal implant system
US20080306598A1 (en)*2007-04-022008-12-11Eric HansenSpinal implant with biologic sponge
US20080262621A1 (en)*2007-04-172008-10-23K2M, Inc.I-beam spacer
US8241357B2 (en)*2007-04-252012-08-14Jmea CorporationProsthesis with a selectively applied bone growth promoting agent
US8257395B2 (en)*2007-09-212012-09-04Jmea CorporationSpinal fixation with selectively applied bone growth promoting agent
US20090048675A1 (en)*2007-04-252009-02-19Bhatnagar Mohit KSpinal Fusion Implants with Selectively Applied Bone Growth Promoting Agent
WO2008153732A1 (en)*2007-05-222008-12-18Vg Innovations, LlcMethod and apparatus for spinal facet fusion
US8480715B2 (en)*2007-05-222013-07-09Zimmer Spine, Inc.Spinal implant system and method
US7967867B2 (en)2007-05-312011-06-28Spine Wave, Inc.Expandable interbody fusion device
FR2916956B1 (en)2007-06-082012-12-14Ldr Medical INTERSOMATIC CAGE, INTERVERTEBRAL PROSTHESIS, ANCHORING DEVICE AND IMPLANTATION INSTRUMENTATION
US8900307B2 (en)2007-06-262014-12-02DePuy Synthes Products, LLCHighly lordosed fusion cage
US8142508B1 (en)2007-07-022012-03-27Theken Spine, LlcSpinal cage having deployable member which is removable
US8864829B1 (en)2007-07-022014-10-21Theken Spine, LlcSpinal cage having deployable member
US12186201B2 (en)2007-07-022025-01-07Theken Spine, LlcSpinal cage having deployable member
US10342674B2 (en)2007-07-022019-07-09Theken Spine, LlcSpinal cage having deployable member
US8545562B1 (en)2007-07-022013-10-01Theken Spine, LlcDeployable member for use with an intervertebral cage
US8292958B1 (en)2007-07-022012-10-23Theken Spine, LlcSpinal cage having deployable member
US20090012620A1 (en)*2007-07-062009-01-08Jim YoussefImplantable Cervical Fusion Device
US20100268339A1 (en)*2007-07-102010-10-21Malinin Theodore IIntervertebral Spinal Implant and Method of Making the Same
EP2208481B1 (en)2007-07-272016-12-28R Tree Innovations, LLCInter-Body Implantation System
US8709054B2 (en)2007-08-072014-04-29Transcorp, Inc.Implantable vertebral frame systems and related methods for spinal repair
WO2009021144A2 (en)*2007-08-072009-02-12Transcorp, Inc.Device for variably adjusting intervertebral distraction and lordosis
US20090043391A1 (en)2007-08-092009-02-12Spinalmotion, Inc.Customized Intervertebral Prosthetic Disc with Shock Absorption
US8808380B2 (en)*2007-08-272014-08-19William Casey FoxMethod and apparatus for an osteotomy fixation or arthrodesis cage
US8430882B2 (en)*2007-09-132013-04-30Transcorp, Inc.Transcorporeal spinal decompression and repair systems and related methods
WO2009036367A1 (en)*2007-09-132009-03-19Transcorp, Inc.Transcorporeal spinal decompression and repair system and related method
WO2009036360A1 (en)*2007-09-132009-03-19Transcorp, Inc.Device and method for tissue retraction in spinal surgery
US20090088604A1 (en)*2007-09-282009-04-02David LowryVertebrally-mounted tissue retractor and method for use in spinal surgery
US8167950B2 (en)2007-10-112012-05-01International Spinal Innovations, LlcMinimally invasive lateral intervertbral fixation system, device and method
US8523912B2 (en)*2007-10-222013-09-03Flexuspine, Inc.Posterior stabilization systems with shared, dual dampener systems
US8162994B2 (en)*2007-10-222012-04-24Flexuspine, Inc.Posterior stabilization system with isolated, dual dampener systems
US20090105834A1 (en)2007-10-222009-04-23Spinalmotion, Inc.Dynamic Spacer Device and Method for Spanning a Space Formed upon Removal of an Intervertebral Disc
US8267965B2 (en)*2007-10-222012-09-18Flexuspine, Inc.Spinal stabilization systems with dynamic interbody devices
US8182514B2 (en)*2007-10-222012-05-22Flexuspine, Inc.Dampener system for a posterior stabilization system with a fixed length elongated member
US8157844B2 (en)*2007-10-222012-04-17Flexuspine, Inc.Dampener system for a posterior stabilization system with a variable length elongated member
US8187330B2 (en)*2007-10-222012-05-29Flexuspine, Inc.Dampener system for a posterior stabilization system with a variable length elongated member
WO2009055541A1 (en)*2007-10-232009-04-30K2M, Inc.Implant insertion tool
US20090112266A1 (en)*2007-10-252009-04-30Industrial Technology Research InstituteSpinal dynamic stabilization device
FR2923156B1 (en)*2007-11-052010-08-13Medicrea International INTERVERTEBRAL IMPLANT FOR IMMOBILIZING A VERTEBRA IN RELATION TO ANOTHER
US8267997B2 (en)*2007-11-122012-09-18Theken Spine, LlcVertebral interbody compression implant
JP2011502708A (en)2007-11-162011-01-27ジンテス ゲゼルシャフト ミット ベシュレンクテル ハフツング Low profile intervertebral implant
EP2227181A1 (en)*2007-11-272010-09-15Transcorp, Inc.Methods and systems for repairing an intervertebral disc using a transcorporal approach
DE102007056993A1 (en)*2007-11-272009-06-04Kilian Kraus Bone-contacting implants
WO2009070721A1 (en)*2007-11-282009-06-04Pioneer Surgical Technology, IncDevice for securing an implant to tissue
US9101491B2 (en)2007-12-282015-08-11Nuvasive, Inc.Spinal surgical implant and related methods
CA2781407A1 (en)2008-01-142009-07-23Michael P. BrenzelApparatus and methods for fracture repair
EP2237748B1 (en)2008-01-172012-09-05Synthes GmbHAn expandable intervertebral implant
US20090198241A1 (en)*2008-02-042009-08-06Phan Christopher USpine distraction tools and methods of use
US20090198338A1 (en)*2008-02-042009-08-06Phan Christopher UMedical implants and methods
US8088163B1 (en)2008-02-062012-01-03Kleiner Jeffrey BTools and methods for spinal fusion
US8267939B2 (en)2008-02-282012-09-18Stryker SpineTool for implanting expandable intervertebral implant
US8083796B1 (en)2008-02-292011-12-27Nuvasive, Inc.Implants and methods for spinal fusion
EP2249747B1 (en)*2008-03-072013-12-25Synthes GmbHExpandable interbody spacer device
US8764833B2 (en)2008-03-112014-07-01Spinalmotion, Inc.Artificial intervertebral disc with lower height
US8114136B2 (en)*2008-03-182012-02-14Warsaw Orthopedic, Inc.Implants and methods for inter-spinous process dynamic stabilization of a spinal motion segment
US20090248092A1 (en)2008-03-262009-10-01Jonathan BellasPosterior Intervertebral Disc Inserter and Expansion Techniques
US8313528B1 (en)2008-03-272012-11-20Spinelogik, Inc.Intervertebral fusion device and method of use
US8333804B1 (en)2008-03-272012-12-18Spinelogik, Inc.Intervertebral fusion device and method of use
US20090248163A1 (en)*2008-03-312009-10-01King Emily ESpinal surgery interbody
US8936641B2 (en)2008-04-052015-01-20DePuy Synthes Products, LLCExpandable intervertebral implant
US9034038B2 (en)2008-04-112015-05-19Spinalmotion, Inc.Motion limiting insert for an artificial intervertebral disc
EP2278941A1 (en)2008-05-052011-02-02Spinalmotion Inc.Polyaryletherketone artificial intervertebral disc
US9398926B2 (en)*2008-05-052016-07-26Industrial Technology Research InstituteInterspinous stabilization device
US20210378834A1 (en)2008-05-222021-12-09Spinal Surgical Strategies, Inc., A Nevada Corporation D/B/A Kleiner Device LabsSpinal fusion cage system with inserter
US20090326657A1 (en)*2008-06-252009-12-31Alexander GrinbergPliable Artificial Disc Endplate
US9220603B2 (en)2008-07-022015-12-29Simplify Medical, Inc.Limited motion prosthetic intervertebral disc
EP2299944A4 (en)2008-07-172013-07-31Spinalmotion Inc SYSTEM FOR INSTALLING ARTIFICIAL INTERVERTEBRAL DISCS
EP2299941A1 (en)2008-07-182011-03-30Spinalmotion Inc.Posterior prosthetic intervertebral disc
EP2303196B1 (en)*2008-07-232018-10-24Marc I. MalbergModular nucleus pulposus prosthesis
US9364338B2 (en)2008-07-232016-06-14Resspond Spinal SystemsModular nucleus pulposus prosthesis
US20100030549A1 (en)*2008-07-312010-02-04Lee Michael MMobile device having human language translation capability with positional feedback
US8808294B2 (en)2008-09-092014-08-19William Casey FoxMethod and apparatus for a multiple transition temperature implant
USD853560S1 (en)2008-10-092019-07-09Nuvasive, Inc.Spinal implant insertion device
US8147554B2 (en)*2008-10-132012-04-03Globus Medical, Inc.Intervertebral spacer
USD621509S1 (en)2008-10-152010-08-10Nuvasive, Inc.Intervertebral implant
WO2010048396A2 (en)2008-10-232010-04-29Linares Maedical Devices, LlcSupport insert associated with spinal vertebrae
US20100106252A1 (en)*2008-10-292010-04-29Kohm Andrew CSpinal implants having multiple movable members
US8114131B2 (en)*2008-11-052012-02-14Kyphon SarlExtension limiting devices and methods of use for the spine
CN102256570B (en)2008-11-072015-09-02斯恩蒂斯有限公司 Spacer and connecting plate assembly between vertebral bodies
DE102009014184A1 (en)*2008-11-072010-05-20Advanced Medical Technologies Ag Implant for fusion of spinal segments
WO2010056895A1 (en)2008-11-122010-05-20Stout Medical Group, L.P.Fixation device and method
US20100211176A1 (en)2008-11-122010-08-19Stout Medical Group, L.P.Fixation device and method
US8080062B2 (en)*2008-12-022011-12-20Warsaw Orthopedic, Inc.Intervertebral implant with fixation mechanism
US20100145451A1 (en)*2008-12-042010-06-10Derek DeeJoint support and subchondral support system
US10610364B2 (en)2008-12-042020-04-07Subchondral Solutions, Inc.Method for ameliorating joint conditions and diseases and preventing bone hypertrophy
US8366748B2 (en)2008-12-052013-02-05Kleiner JeffreyApparatus and method of spinal implant and fusion
US9717403B2 (en)2008-12-052017-08-01Jeffrey B. KleinerMethod and apparatus for performing retro peritoneal dissection
US8864654B2 (en)2010-04-202014-10-21Jeffrey B. KleinerMethod and apparatus for performing retro peritoneal dissection
US8216316B2 (en)*2008-12-172012-07-10X-Spine Systems, Inc.Prosthetic implant with biplanar angulation and compound angles
US12279964B2 (en)2008-12-182025-04-224Web, LlcImplants having bone growth promoting agents and methods of using such implants to repair bone structures
WO2010080511A1 (en)2008-12-182010-07-154-Web Spine, Inc.Truss implant
US10045860B2 (en)*2008-12-192018-08-14Amicus Design Group, LlcInterbody vertebral prosthetic device with self-deploying screws
AU2009329873A1 (en)2008-12-262011-11-03Scott SpannMinimally-invasive retroperitoneal lateral approach for spinal surgery
US8157865B2 (en)*2009-01-222012-04-17Stephen HochschulerApparatus and method for stabilizing adjacent bone portions
US9247943B1 (en)2009-02-062016-02-02Kleiner Intellectual Property, LlcDevices and methods for preparing an intervertebral workspace
USD656610S1 (en)2009-02-062012-03-27Kleiner Jeffrey BSpinal distraction instrument
US8349015B2 (en)*2009-02-112013-01-08Howmedica Osteonics Corp.Intervertebral implant with integrated fixation
EP2395932A4 (en)2009-02-122013-07-24Ind Tech Res InstSpinal dynamic stabilization device
US8397051B2 (en)*2009-02-232013-03-12Autonomy, Inc.Hybrid hash tables
USD754346S1 (en)2009-03-022016-04-19Nuvasive, Inc.Spinal fusion implant
US8870957B2 (en)*2009-03-042014-10-28Amendia, Inc.Implant for mammalian bony segment stabilization
US9757164B2 (en)*2013-01-072017-09-12Spinal Simplicity LlcInterspinous process implant having deployable anchor blades
US9861399B2 (en)2009-03-132018-01-09Spinal Simplicity, LlcInterspinous process implant having a body with a removable end portion
WO2010107692A1 (en)2009-03-162010-09-23Synthes Usa, LlcSystem and method for stabilizing vertebrae in spine surgery through a lateral access channel
US9220547B2 (en)2009-03-272015-12-29Spinal Elements, Inc.Flanged interbody fusion device
US9526620B2 (en)2009-03-302016-12-27DePuy Synthes Products, Inc.Zero profile spinal fusion cage
US9408715B2 (en)2009-04-152016-08-09DePuy Synthes Products, Inc.Arcuate fixation member
US8641766B2 (en)*2009-04-152014-02-04DePuy Synthes Products, LLCArcuate fixation member
US9050194B2 (en)*2009-05-062015-06-09Stryker SpineExpandable spinal implant apparatus and method of use
US8372117B2 (en)*2009-06-052013-02-12Kyphon SarlMulti-level interspinous implants and methods of use
US8157842B2 (en)*2009-06-122012-04-17Kyphon SarlInterspinous implant and methods of use
KR101687435B1 (en)2009-07-062016-12-19신세스 게엠바하Expandable fixation assemblies
ES2563172T3 (en)2009-07-092016-03-11R Tree Innovations, Llc Flexible intersomatic implant
US20110029085A1 (en)*2009-07-312011-02-03Warsaw Orthopedic, Inc.Flexible spinal implant
EP2835113B1 (en)2009-08-102016-05-25Howmedica Osteonics Corp.Intervertebral implant with integrated fixation
US20110040384A1 (en)*2009-08-142011-02-17Junn Fredrick SImplantable prosthetic cage
CN105326585B (en)2009-09-172018-12-11Ldr控股公司Intervertebral implant with extensible bone anchoring element
US20170238984A1 (en)2009-09-182017-08-24Spinal Surgical Strategies, LlcBone graft delivery device with positioning handle
US9173694B2 (en)2009-09-182015-11-03Spinal Surgical Strategies, LlcFusion cage with combined biological delivery system
US9060877B2 (en)2009-09-182015-06-23Spinal Surgical Strategies, LlcFusion cage with combined biological delivery system
US9629729B2 (en)2009-09-182017-04-25Spinal Surgical Strategies, LlcBiological delivery system with adaptable fusion cage interface
USD723682S1 (en)2013-05-032015-03-03Spinal Surgical Strategies, LlcBone graft delivery tool
US8685031B2 (en)2009-09-182014-04-01Spinal Surgical Strategies, LlcBone graft delivery system
US9186193B2 (en)2009-09-182015-11-17Spinal Surgical Strategies, LlcFusion cage with combined biological delivery system
USD750249S1 (en)2014-10-202016-02-23Spinal Surgical Strategies, LlcExpandable fusion cage
US20110238183A1 (en)*2009-09-262011-09-29Maly Richard SInterbody Fusion Device
US20110077686A1 (en)*2009-09-292011-03-31Kyphon SarlInterspinous process implant having a compliant spacer
USD731063S1 (en)2009-10-132015-06-02Nuvasive, Inc.Spinal fusion implant
US20110098817A1 (en)*2009-10-282011-04-28Warsaw Orthopedic, Inc.Sacro-iliac joint implant system and method
US8771317B2 (en)*2009-10-282014-07-08Warsaw Orthopedic, Inc.Interspinous process implant and method of implantation
EP2496187B1 (en)2009-11-032016-12-21Howmedica Osteonics Corp.Intervertebral implant with integrated fixation
US8764806B2 (en)2009-12-072014-07-01Samy AbdouDevices and methods for minimally invasive spinal stabilization and instrumentation
US9393129B2 (en)2009-12-102016-07-19DePuy Synthes Products, Inc.Bellows-like expandable interbody fusion cage
US9480511B2 (en)2009-12-172016-11-01Engage Medical Holdings, LlcBlade fixation for ankle fusion and arthroplasty
WO2011080535A1 (en)2009-12-312011-07-07Lrd MedicalAnchoring device, intervertebral implant and implantation instrument
US20110172775A1 (en)*2010-01-072011-07-14Eric FlickingerInterbody implant with graft retaining bone cap
US9421109B2 (en)2010-01-132016-08-23Jcbd, LlcSystems and methods of fusing a sacroiliac joint
US9381045B2 (en)2010-01-132016-07-05Jcbd, LlcSacroiliac joint implant and sacroiliac joint instrument for fusing a sacroiliac joint
CA3002234C (en)2010-01-132020-07-28Jcbd, LlcSacroiliac joint fixation fusion system
US8317831B2 (en)*2010-01-132012-11-27Kyphon SarlInterspinous process spacer diagnostic balloon catheter and methods of use
WO2014015309A1 (en)2012-07-202014-01-23Jcbd, LlcOrthopedic anchoring system and methods
US9333090B2 (en)2010-01-132016-05-10Jcbd, LlcSystems for and methods of fusing a sacroiliac joint
US8114132B2 (en)*2010-01-132012-02-14Kyphon SarlDynamic interspinous process device
US9427324B1 (en)2010-02-222016-08-30Spinelogik, Inc.Intervertebral fusion device and method of use
US8147526B2 (en)2010-02-262012-04-03Kyphon SarlInterspinous process spacer diagnostic parallel balloon catheter and methods of use
US9579188B2 (en)2010-03-102017-02-28Smith & Nephew, Inc.Anchor having a controlled driver orientation
US9775702B2 (en)2010-03-102017-10-03Smith & Nephew, Inc.Composite interference screws and drivers
US8979865B2 (en)2010-03-102015-03-17Smith & Nephew, Inc.Composite interference screws and drivers
US9308080B2 (en)2010-03-102016-04-12Smith & Nephew Inc.Composite interference screws and drivers
EP2547292B1 (en)*2010-03-162019-04-24Pinnacle Spine Group, LLCNtervertebral implants and graft delivery systems
US8535380B2 (en)2010-05-132013-09-17Stout Medical Group, L.P.Fixation device and method
US8425569B2 (en)2010-05-192013-04-23Transcorp, Inc.Implantable vertebral frame systems and related methods for spinal repair
US20110301709A1 (en)*2010-06-032011-12-08Kilian KrausIntervertebral implant
US9907560B2 (en)2010-06-242018-03-06DePuy Synthes Products, Inc.Flexible vertebral body shavers
US8979860B2 (en)2010-06-242015-03-17DePuy Synthes Products. LLCEnhanced cage insertion device
US8623091B2 (en)2010-06-292014-01-07DePuy Synthes Products, LLCDistractible intervertebral implant
EP3017793A3 (en)2010-07-152016-08-17Spine Wave, Inc.A plastically deformable inter-osseous device
US8814908B2 (en)2010-07-262014-08-26Warsaw Orthopedic, Inc.Injectable flexible interspinous process device system
CN101889915B (en)*2010-07-272012-09-12中国人民解放军第二军医大学Artificial vertebral lamina
US9402734B2 (en)2010-07-302016-08-02Igip, LlcSpacer for spinal implant
US8956415B2 (en)2010-08-152015-02-17Warsaw Orthopedic, Inc.Vertebral implant
US8678821B2 (en)*2010-08-172014-03-25Warsaw Orthopedic, Inc.Dental implant with hinged stablizing arms
EP2608747A4 (en)2010-08-242015-02-11Flexmedex LlcSupport device and method for use
US20120078372A1 (en)2010-09-232012-03-29Thomas GamacheNovel implant inserter having a laterally-extending dovetail engagement feature
US20120078373A1 (en)2010-09-232012-03-29Thomas GamacheStand alone intervertebral fusion device
US11529241B2 (en)2010-09-232022-12-20DePuy Synthes Products, Inc.Fusion cage with in-line single piece fixation
US8603175B2 (en)2010-09-302013-12-10Stryker SpineMethod of inserting surgical implant with guiding rail
US8858637B2 (en)2010-09-302014-10-14Stryker SpineSurgical implant with guiding rail
US8425529B2 (en)2010-09-302013-04-23Stryker SpineInstrument for inserting surgical implant with guiding rail
US9402732B2 (en)2010-10-112016-08-02DePuy Synthes Products, Inc.Expandable interspinous process spacer implant
US20120116457A1 (en)*2010-11-062012-05-10Limited Liability Company;Stabilizer for assisting stabilization of a spinal implant and method of using the stabilizer
US9149286B1 (en)2010-11-122015-10-06Flexmedex, LLCGuidance tool and method for use
EP2651341B1 (en)2010-12-162017-01-04Engage Medical Holdings, LLCArthroplasty systems and methods
WO2012088238A2 (en)2010-12-212012-06-28Synthes Usa, LlcIntervertebral implants, systems, and methods of use
US9241809B2 (en)2010-12-212016-01-26DePuy Synthes Products, Inc.Intervertebral implants, systems, and methods of use
US9358122B2 (en)2011-01-072016-06-07K2M, Inc.Interbody spacer
US8801793B2 (en)*2011-01-182014-08-12Warsaw Orthopedic, Inc.Interbody containment implant
FR2971145B1 (en)*2011-02-032014-04-25Medicrea International CORPORATE IMPLANT
WO2012105647A1 (en)*2011-02-042012-08-09Hoya株式会社Implement for surgery
US9271765B2 (en)*2011-02-242016-03-01Spinal Elements, Inc.Vertebral facet joint fusion implant and method for fusion
US8740949B2 (en)2011-02-242014-06-03Spinal Elements, Inc.Methods and apparatus for stabilizing bone
MX344606B (en)2011-03-112016-12-20Smith & Nephew IncTrephine.
EP3485851B1 (en)*2011-03-222021-08-25DePuy Synthes Products, LLCUniversal trial for lateral cages
US8388687B2 (en)2011-03-252013-03-05Flexuspine, Inc.Interbody device insertion systems and methods
US8591548B2 (en)2011-03-312013-11-26Warsaw Orthopedic, Inc.Spinous process fusion plate assembly
US8790406B1 (en)2011-04-012014-07-29William D. SmithSystems and methods for performing spine surgery
WO2012139022A2 (en)*2011-04-072012-10-11Kube Richard AInterbody cage for spinal fusion and method of implanting interbody cages into spines
US8591549B2 (en)2011-04-082013-11-26Warsaw Orthopedic, Inc.Variable durometer lumbar-sacral implant
US8795368B2 (en)*2011-04-272014-08-05Warsaw Orthopedic, Inc.Expandable implant system and methods of use
US9017412B2 (en)2011-04-292015-04-28Life Spine, Inc.Spinal interbody implant with bone screw retention
AU2012267924B2 (en)2011-06-072016-08-11Smith & Nephew, Inc.Surgical anchor delivery system
EP2720628B1 (en)2011-06-172021-08-11Jcbd, LlcSacroiliac joint implant system
DE102011079821A1 (en)*2011-07-262013-01-31Rita Leibinger GmbH & Co. KG Tibial implant for tightening the patellar ligaments
US9186252B2 (en)2011-07-262015-11-17Rita Leibinger GmbH & Co. KGTibia implant for tightening the patella tendons
US10420654B2 (en)2011-08-092019-09-24Neuropro Technologies, Inc.Bone fusion device, system and method
WO2013023096A1 (en)2011-08-092013-02-14Neuropro Technologies, Inc.Bone fusion device, system and method
US9358123B2 (en)2011-08-092016-06-07Neuropro Spinal Jaxx, Inc.Bone fusion device, apparatus and method
EP2729092B1 (en)2011-08-162016-09-21Stryker European Holdings I, LLCExpandable implant
US9610109B2 (en)*2011-08-162017-04-04Howmedica Osteonics Corp.Wedge shaped fracture fixation devices and methods for using the same
CN103987326B (en)2011-08-192016-06-08诺威适有限公司 Surgical retractor system and method of use
US8685096B2 (en)2011-08-232014-04-01Amendia, Inc.Lumbar fusion device
EP2747682A4 (en)2011-08-232015-01-21Flexmedex LlcTissue removal device and method
US9113972B2 (en)2011-08-242015-08-25Pioneer Surgical Technology, Inc.Apparatus and methods for immobilization and fusion of a synovial joint
US9149365B2 (en)2013-03-052015-10-06Globus Medical, Inc.Low profile plate
US9237957B2 (en)2011-09-162016-01-19Globus Medical, Inc.Low profile plate
US10245155B2 (en)2011-09-162019-04-02Globus Medical, Inc.Low profile plate
US9770340B2 (en)2011-09-162017-09-26Globus Medical, Inc.Multi-piece intervertebral implants
US9398960B2 (en)2011-09-162016-07-26Globus Medical, Inc.Multi-piece intervertebral implants
US10881526B2 (en)2011-09-162021-01-05Globus Medical, Inc.Low profile plate
US9539109B2 (en)2011-09-162017-01-10Globus Medical, Inc.Low profile plate
US9204975B2 (en)2011-09-162015-12-08Globus Medical, Inc.Multi-piece intervertebral implants
US8961606B2 (en)2011-09-162015-02-24Globus Medical, Inc.Multi-piece intervertebral implants
US9248028B2 (en)2011-09-162016-02-02DePuy Synthes Products, Inc.Removable, bone-securing cover plate for intervertebral fusion cage
US9681959B2 (en)2011-09-162017-06-20Globus Medical, Inc.Low profile plate
US9848994B2 (en)2011-09-162017-12-26Globus Medical, Inc.Low profile plate
US8845728B1 (en)2011-09-232014-09-30Samy AbdouSpinal fixation devices and methods of use
WO2013052807A2 (en)2011-10-052013-04-11H. Lee Moffitt Cancer Center And Research Institute, Inc.Bone fusion system
US9132021B2 (en)2011-10-072015-09-15Pioneer Surgical Technology, Inc.Intervertebral implant
USD739935S1 (en)2011-10-262015-09-29Spinal Elements, Inc.Interbody bone implant
US9198765B1 (en)2011-10-312015-12-01Nuvasive, Inc.Expandable spinal fusion implants and related methods
US8992619B2 (en)2011-11-012015-03-31Titan Spine, LlcMicrostructured implant surfaces
US9615856B2 (en)2011-11-012017-04-11Imds LlcSacroiliac fusion cage
US9254130B2 (en)2011-11-012016-02-09Hyun BaeBlade anchor systems for bone fusion
US9380932B1 (en)2011-11-022016-07-05Pinnacle Spine Group, LlcRetractor devices for minimally invasive access to the spine
US9468536B1 (en)2011-11-022016-10-18Nuvasive, Inc.Spinal fusion implants and related methods
USD675320S1 (en)2011-11-032013-01-29Nuvasive, Inc.Intervertebral implant
US9526627B2 (en)2011-11-172016-12-27Exactech, Inc.Expandable interbody device system and method
HK1197964A2 (en)2011-12-032015-02-27DePuy Synthes Products, Inc.Safe cutting heads and systems for fast removal of a target tissue
US9622786B2 (en)2012-01-092017-04-18Apifix Ltd.Spinal cage
US9198764B2 (en)*2012-01-312015-12-01Blackstone Medical, Inc.Intervertebral disc prosthesis and method
US8512409B1 (en)2012-02-102013-08-20Integral Spine Solutions, Inc.Implant with outwardly extending fixation elements
US9233007B2 (en)2012-02-132016-01-12Blue Tip Biologics, LlcExpandable self-anchoring interbody cage for orthopedic applications
US20130226240A1 (en)2012-02-222013-08-29Samy AbdouSpinous process fixation devices and methods of use
FR2987256B1 (en)2012-02-242014-08-08Ldr Medical ANCHORING DEVICE FOR INTERVERTEBRAL IMPLANT, INTERVERTEBRAL IMPLANT AND IMPLANTATION INSTRUMENTATION
US9271836B2 (en)2012-03-062016-03-01DePuy Synthes Products, Inc.Nubbed plate
US8778026B2 (en)2012-03-092014-07-15Si-Bone Inc.Artificial SI joint
US9044321B2 (en)2012-03-092015-06-02Si-Bone Inc.Integrated implant
US10363140B2 (en)2012-03-092019-07-30Si-Bone Inc.Systems, device, and methods for joint fusion
US9510953B2 (en)2012-03-162016-12-06Vertebral Technologies, Inc.Modular segmented disc nucleus implant
ES2770824T3 (en)2012-03-192020-07-03Amicus Design Group Llc Intervertebral fusion prosthetic and orthopedic device with self-deploying anchors
US9566165B2 (en)2012-03-192017-02-14Amicus Design Group, LlcInterbody vertebral prosthetic and orthopedic fusion device with self-deploying anchors
CA2880825C (en)2012-03-202021-03-16Titan Spine, LlcFriction-fit spinal endplate and endplate-preserving method
US10238382B2 (en)2012-03-262019-03-26Engage Medical Holdings, LlcBlade anchor for foot and ankle
US9693876B1 (en)2012-03-302017-07-04Ali H. MESIWALASpinal fusion implant and related methods
US9615934B2 (en)*2012-04-062017-04-11Sanjay K. KHURANAProtective cover for interbody fusion devices
US10159583B2 (en)2012-04-132018-12-25Neuropro Technologies, Inc.Bone fusion device
US9532883B2 (en)2012-04-132017-01-03Neuropro Technologies, Inc.Bone fusion device
US9622876B1 (en)2012-04-252017-04-18Theken Spine, LlcExpandable support device and method of use
EP3818947B1 (en)2012-05-042023-08-30SI-Bone, Inc.Fenestrated implant
EP2877127B1 (en)2012-07-262019-08-21Synthes GmbHExpandable implant
US8814912B2 (en)2012-07-272014-08-26Zimmer Spine, Inc.Bone stabilization member with bone screw retention mechanism
US9295561B2 (en)*2012-08-142016-03-29Hieu T. BallInterbody spacer
US9198767B2 (en)2012-08-282015-12-01Samy AbdouDevices and methods for spinal stabilization and instrumentation
US9987142B2 (en)2012-08-312018-06-05Institute for Musculoskeletal Science and Education, Ltd.Fixation devices for anterior lumbar or cervical interbody fusion
US20140114382A1 (en)*2012-09-102014-04-24Keun-Young Anthony KimStimulating bone growth and controlling spinal cord pain
JP6310922B2 (en)2012-09-252018-04-11フォー−ウェブ・インコーポレイテッド Programmable graft and method of using a programmable graft to repair bone structure
US12115071B2 (en)2012-09-252024-10-154Web, LlcProgrammable intramedullary implants and methods of using programmable intramedullary implants to repair bone structures
EP2716261A1 (en)2012-10-022014-04-09Titan Spine, LLCImplants with self-deploying anchors
US9498349B2 (en)2012-10-092016-11-22Titan Spine, LlcExpandable spinal implant with expansion wedge and anchor
US9320617B2 (en)2012-10-222016-04-26Cogent Spine, LLCDevices and methods for spinal stabilization and instrumentation
US10182921B2 (en)2012-11-092019-01-22DePuy Synthes Products, Inc.Interbody device with opening to allow packing graft and other biologics
US9095385B2 (en)2012-11-212015-08-04K2M, Inc.Adjustable spinal implant insertion instrument
USD731061S1 (en)2012-11-282015-06-02Nuvasive, Inc.Intervertebral implant
US9907654B2 (en)*2012-12-112018-03-06Dr. H.C. Robert Mathys StiftungBone substitute and method for producing the same
US8663332B1 (en)2012-12-132014-03-04Ouroboros Medical, Inc.Bone graft distribution system
US9492288B2 (en)2013-02-202016-11-15Flexuspine, Inc.Expandable fusion device for positioning between adjacent vertebral bodies
US9717601B2 (en)2013-02-282017-08-01DePuy Synthes Products, Inc.Expandable intervertebral implant, system, kit and method
US9522070B2 (en)2013-03-072016-12-20Interventional Spine, Inc.Intervertebral implant
US10342675B2 (en)2013-03-112019-07-09Stryker European Holdings I, LlcExpandable implant
US10327910B2 (en)2013-03-142019-06-25X-Spine Systems, Inc.Spinal implant and assembly
WO2014159739A1 (en)2013-03-142014-10-02Pinnacle Spine Group, LlcInterbody implants and graft delivery systems
US9820784B2 (en)2013-03-142017-11-21Spinal Elements, Inc.Apparatus for spinal fixation and methods of use
US9421044B2 (en)2013-03-142016-08-23Spinal Elements, Inc.Apparatus for bone stabilization and distraction and methods of use
KR20150130528A (en)2013-03-152015-11-234웹, 인코포레이티드Traumatic bone fracture repair systems and methods
WO2014143894A1 (en)2013-03-152014-09-18NuTech Spine, Inc.Anterior lumbar fusion method and device
EP2967900B1 (en)*2013-03-152023-10-04Revivo Medical, LLCIntervertebral cage
US9155531B2 (en)2013-03-152015-10-13Smith & Nephew, Inc.Miniaturized dual drive open architecture suture anchor
US11311312B2 (en)2013-03-152022-04-26Medtronic, Inc.Subcutaneous delivery tool
WO2014145902A1 (en)2013-03-152014-09-18Si-Bone Inc.Implants for spinal fixation or fusion
US9826986B2 (en)2013-07-302017-11-28Jcbd, LlcSystems for and methods of preparing a sacroiliac joint for fusion
US9700356B2 (en)2013-07-302017-07-11Jcbd, LlcSystems for and methods of fusing a sacroiliac joint
US9510872B2 (en)2013-03-152016-12-06Jcbd, LlcSpinal stabilization system
US9717539B2 (en)2013-07-302017-08-01Jcbd, LlcImplants, systems, and methods for fusing a sacroiliac joint
CA2906531C (en)2013-03-152020-10-06Neuropro Technologies, Inc.Bodiless bone fusion device, apparatus and method
US10245087B2 (en)2013-03-152019-04-02Jcbd, LlcSystems and methods for fusing a sacroiliac joint and anchoring an orthopedic appliance
WO2014169058A1 (en)2013-04-092014-10-16Smith & Nephew, IncOpen-architecture interference screw
US10532203B2 (en)*2013-05-062020-01-14Medtronic, Inc.Substernal electrical stimulation system
FR3005569B1 (en)2013-05-162021-09-03Ldr Medical VERTEBRAL IMPLANT, VERTEBRAL IMPLANT FIXATION DEVICE AND IMPLANTATION INSTRUMENTATION
DE102014209882A1 (en)*2013-05-232014-11-27Ceram Tec Gmbh Ceramic component with pore channels
EP3021768B1 (en)2013-07-192020-08-19DePuy Synthes Products, Inc.An anti-clogging device for a vacuum-assisted, tissue removal system
US9186259B2 (en)2013-09-092015-11-17Ouroboros Medical, Inc.Expandable trials
US9456856B2 (en)2013-09-262016-10-04Warsaw Orthopedic, Inc.Intrabody osteotomy implant and methods of use
US9839450B2 (en)2013-09-272017-12-12Spinal Elements, Inc.Device and method for reinforcement of a facet
US9456855B2 (en)2013-09-272016-10-04Spinal Elements, Inc.Method of placing an implant between bone portions
USD745159S1 (en)2013-10-102015-12-08Nuvasive, Inc.Intervertebral implant
US11147688B2 (en)2013-10-152021-10-19Si-Bone Inc.Implant placement
US9839448B2 (en)2013-10-152017-12-12Si-Bone Inc.Implant placement
US9198774B2 (en)*2013-11-212015-12-01Perumala CorporationIntervertebral disk cage and stabilizer
US10478313B1 (en)2014-01-102019-11-19Nuvasive, Inc.Spinal fusion implant and related methods
US9730802B1 (en)2014-01-142017-08-15Nuvasive, Inc.Spinal fusion implant and related methods
US9615935B2 (en)2014-01-302017-04-11Titan Spine, LlcThermally activated shape memory spring assemblies for implant expansion
FR3016793B1 (en)2014-01-302021-05-07Ldr Medical ANCHORING DEVICE FOR SPINAL IMPLANT, SPINAL IMPLANT AND IMPLANTATION INSTRUMENTATION
US9877759B2 (en)2014-02-062018-01-30Life Spine, Inc.Foot implant for bone fixation
US9889014B2 (en)2014-02-062018-02-13Life Spine, Inc.Implant for bone fixation
CA2945519A1 (en)*2014-04-092015-10-15Matthew ACKERMANImplantable bone grafting devices, systems, and methods
US9517144B2 (en)2014-04-242016-12-13Exactech, Inc.Limited profile intervertebral implant with incorporated fastening mechanism
US10398565B2 (en)2014-04-242019-09-03Choice Spine, LlcLimited profile intervertebral implant with incorporated fastening and locking mechanism
FR3020756B1 (en)2014-05-062022-03-11Ldr Medical VERTEBRAL IMPLANT, VERTEBRAL IMPLANT FIXATION DEVICE AND IMPLANT INSTRUMENTATION
US9801546B2 (en)2014-05-272017-10-31Jcbd, LlcSystems for and methods of diagnosing and treating a sacroiliac joint disorder
AU2015269383B2 (en)2014-06-042017-12-07Wenzel Spine, Inc.Bilaterally expanding intervertebral body fusion device
US9662226B2 (en)*2014-07-282017-05-30Warsaw Orthopedic, Inc.Spinal implant system and method
US9649200B2 (en)*2014-07-282017-05-16Wasaw Orthopedic, Inc.Spinal implant system and method
US10322009B2 (en)2014-08-012019-06-18H. Lee Moffitt Cancer Center And Research Institute, Inc.Expandable intervertebral cage
CN104207867B (en)*2014-08-132017-02-22中国科学院福建物质结构研究所Low-modulus medical implant porous scaffold structure
US10034769B2 (en)2014-08-262018-07-31Atlas Spine, Inc.Spinal implant device
US11478275B2 (en)2014-09-172022-10-25Spinal Elements, Inc.Flexible fastening band connector
JP6542362B2 (en)*2014-09-182019-07-10エスアイ−ボーン・インコーポレイテッドSi−Bone, Inc. Matrix implant
US10166033B2 (en)2014-09-182019-01-01Si-Bone Inc.Implants for bone fixation or fusion
US9867718B2 (en)2014-10-222018-01-16DePuy Synthes Products, Inc.Intervertebral implants, systems, and methods of use
CN104434346A (en)*2014-11-122015-03-25杨述华Cervical vertebra interbody fusion cage
CN104434345B (en)*2014-11-122017-10-27杨述华A kind of cervical fusion cage and preparation method thereof
USD858769S1 (en)2014-11-202019-09-03Nuvasive, Inc.Intervertebral implant
KR101524532B1 (en)*2014-12-012015-06-01조대진Intervertebral cage for spinal implant
AU2016200195B2 (en)2015-01-142020-07-02Vb Spine Us Opco LlcSpinal implant with fluid delivery capabilities
AU2016200179B2 (en)2015-01-142020-09-17Stryker European Operations Holdings LlcSpinal implant with porous and solid surfaces
US9060876B1 (en)2015-01-202015-06-23Ouroboros Medical, Inc.Stabilized intervertebral scaffolding systems
US20160213405A1 (en)*2015-01-272016-07-28K2M, Inc.Vertebral plate systems and methods of use
AU2016212009C1 (en)2015-01-272021-02-25Spinal Elements, Inc.Facet joint implant
US10028841B2 (en)2015-01-272018-07-24K2M, Inc.Interbody spacer
WO2016137983A1 (en)2015-02-242016-09-01X-Spine Systems, Inc.Modular interspinous fixation system with threaded component
US10117752B2 (en)2015-02-262018-11-06Uncinate Joint, LlcUncinate joint stabilizers and associated systems and methods
US10433829B2 (en)2015-02-262019-10-08Uncinate Joint, LlcStabilization of cervical spine utilizing stabilization of uncinate joints and across disc space
US11426290B2 (en)2015-03-062022-08-30DePuy Synthes Products, Inc.Expandable intervertebral implant, system, kit and method
CN104706446A (en)*2015-03-242015-06-17李鹏Bionic bone trabecula cervical vertebral fusion cage and manufacturing method thereof
US10376206B2 (en)2015-04-012019-08-13Si-Bone Inc.Neuromonitoring systems and methods for bone fixation or fusion procedures
US10555818B2 (en)2015-04-232020-02-11Institute for Musculoskeletal Science and Education, Ltd.Spinal fusion implant for oblique insertion
US20160310287A1 (en)*2015-04-272016-10-27Donald Steven CorenmanArtificial Disc and Method for Relief of Lower Back Pain
US10709570B2 (en)2015-04-292020-07-14Institute for Musculoskeletal Science and Education, Ltd.Implant with a diagonal insertion axis
JP6768001B2 (en)2015-04-292020-10-14インスティテュート フォー マスキュロスケレタル サイエンス アンド エジュケイション,リミテッド Coiled implants and systems and how to make them
US10492921B2 (en)2015-04-292019-12-03Institute for Musculoskeletal Science and Education, Ltd.Implant with arched bone contacting elements
US10449051B2 (en)2015-04-292019-10-22Institute for Musculoskeletal Science and Education, Ltd.Implant with curved bone contacting elements
CA2930123A1 (en)2015-05-182016-11-18Stryker European Holdings I, LlcPartially resorbable implants and methods
CN104921848A (en)*2015-06-022015-09-23北京纳通科技集团有限公司Interbody fusion cage
US9913727B2 (en)2015-07-022018-03-13Medos International SarlExpandable implant
US10857003B1 (en)2015-10-142020-12-08Samy AbdouDevices and methods for vertebral stabilization
USD797290S1 (en)2015-10-192017-09-12Spinal Surgical Strategies, LlcBone graft delivery tool
WO2017074278A1 (en)*2015-10-262017-05-04Tobb Ekonomi Ve Teknoloji UniversitesiAn expandable cage
EP3380025B1 (en)2015-11-252021-01-27Subchondral Solutions, Inc.Devices for repairing anatomical joint conditions
CN105559950B (en)*2016-02-032018-02-02北京纳通科技集团有限公司Fusion device
US10856992B2 (en)2016-04-272020-12-08AOD Holdings, LLCImplant device(s) including tapered protrusions and method(s) for inserting the same into bone
US10201416B2 (en)2016-05-162019-02-12Boston Scientific Scimed, Inc.Replacement heart valve implant with invertible leaflets
WO2017205863A1 (en)*2016-05-272017-11-30Mobarn Medical Devices, LlcInterbody fusion cages
US20170367839A1 (en)2016-06-232017-12-28VGI Medical, LLCMethod and apparatus for spinal facet fusion
EP3474784A2 (en)2016-06-282019-05-01Eit Emerging Implant Technologies GmbHExpandable and angularly adjustable intervertebral cages with articulating joint
US11510788B2 (en)2016-06-282022-11-29Eit Emerging Implant Technologies GmbhExpandable, angularly adjustable intervertebral cages
US10265189B2 (en)*2016-09-132019-04-23Warsaw Orthopedic, Inc.Interbody spinal fusion device
WO2018053403A1 (en)2016-09-162018-03-22Mirus LlcInterbody fusion devices and related methods of manufacture
US9883953B1 (en)2016-09-212018-02-06Integrity Implants Inc.Stabilized laterovertically-expanding fusion cage systems with tensioner
US10390955B2 (en)2016-09-222019-08-27Engage Medical Holdings, LlcBone implants
USD809661S1 (en)*2016-10-252018-02-06Corelink, LlcCervical interbody spacer
US10478312B2 (en)2016-10-252019-11-19Institute for Musculoskeletal Science and Education, Ltd.Implant with protected fusion zones
US10973648B1 (en)2016-10-252021-04-13Samy AbdouDevices and methods for vertebral bone realignment
US10449060B2 (en)2016-10-252019-10-22Institute for Musculoskeletal Science and Education, Ltd.Spinal fusion implant
US11033394B2 (en)2016-10-252021-06-15Institute for Musculoskeletal Science and Education, Ltd.Implant with multi-layer bone interfacing lattice
US10744000B1 (en)2016-10-252020-08-18Samy AbdouDevices and methods for vertebral bone realignment
US10537436B2 (en)2016-11-012020-01-21DePuy Synthes Products, Inc.Curved expandable cage
CN106943213A (en)*2016-11-302017-07-14重庆润泽医药有限公司A kind of bionical Invasive lumbar fusion device
US10888433B2 (en)2016-12-142021-01-12DePuy Synthes Products, Inc.Intervertebral implant inserter and related methods
JP7085554B2 (en)2017-01-102022-06-16インテグリティ インプランツ インコーポレイテッド Deployable intervertebral fusion device
US10213321B2 (en)2017-01-182019-02-26Neuropro Technologies, Inc.Bone fusion system, device and method including delivery apparatus
US10729560B2 (en)2017-01-182020-08-04Neuropro Technologies, Inc.Bone fusion system, device and method including an insertion instrument
US10973657B2 (en)2017-01-182021-04-13Neuropro Technologies, Inc.Bone fusion surgical system and method
US10111760B2 (en)2017-01-182018-10-30Neuropro Technologies, Inc.Bone fusion system, device and method including a measuring mechanism
US10111755B2 (en)2017-02-242018-10-30Warsaw, Orthopedic, Inc.Expanding interbody implant and articulating inserter and methods of use
US10456272B2 (en)2017-03-032019-10-29Engage Uni LlcUnicompartmental knee arthroplasty
US11540928B2 (en)2017-03-032023-01-03Engage Uni LlcUnicompartmental knee arthroplasty
US10631881B2 (en)2017-03-092020-04-28Flower Orthopedics CorporationPlating depth gauge and countersink instrument
US11324606B2 (en)2017-03-102022-05-10Gary A. ZwickSpinal interbody cage comprising a bulk interbody cage, a top face, a bottom face, pillars, and slots
EP3592283B1 (en)2017-03-102024-05-08Alps Holding LlcHard-tissue implant comprising a bulk implant, a face, pillars, slots, and at least one support member
US10667924B2 (en)2017-03-132020-06-02Institute for Musculoskeletal Science and Education, Ltd.Corpectomy implant
US10357377B2 (en)2017-03-132019-07-23Institute for Musculoskeletal Science and Education, Ltd.Implant with bone contacting elements having helical and undulating planar geometries
US10213317B2 (en)2017-03-132019-02-26Institute for Musculoskeletal Science and EducationImplant with supported helical members
US10512549B2 (en)2017-03-132019-12-24Institute for Musculoskeletal Science and Education, Ltd.Implant with structural members arranged around a ring
EP3381412B1 (en)2017-03-292023-10-18Stryker European Operations Holdings LLCSpinal implant system
US10376385B2 (en)2017-04-052019-08-13Globus Medical, Inc.Decoupled spacer and plate and method of installing the same
US11452608B2 (en)2017-04-052022-09-27Globus Medical, Inc.Decoupled spacer and plate and method of installing the same
US10470894B2 (en)2017-04-062019-11-12Warsaw Orthopedic, Inc.Expanding interbody implant and articulating inserter and methods of use
US10716553B2 (en)2017-04-192020-07-21Pantheon Spinal, LlcSpine surgery retractor system and related methods
US10398563B2 (en)2017-05-082019-09-03Medos International SarlExpandable cage
EP3415108B1 (en)2017-05-252024-09-04Stryker European Operations Holdings LLCFusion cage with integrated fixation and insertion features
US11344424B2 (en)2017-06-142022-05-31Medos International SarlExpandable intervertebral implant and related methods
WO2019010252A2 (en)2017-07-042019-01-10Conventus Orthopaedics, Inc. APPARATUS AND METHODS FOR TREATING BONES
US10940016B2 (en)2017-07-052021-03-09Medos International SarlExpandable intervertebral fusion cage
US11006981B2 (en)2017-07-072021-05-18K2M, Inc.Surgical implant and methods of additive manufacturing
CN111031969A (en)2017-07-242020-04-17整体植入有限公司 Surgical implants and related methods
US10765525B2 (en)2017-07-272020-09-08University Of Maryland, BaltimoreInterbody cage with spill-free biological material compartment
US10709578B2 (en)2017-08-252020-07-14Integrity Implants Inc.Surgical biologics delivery system and related methods
WO2019051260A1 (en)*2017-09-082019-03-14Pioneer Surgical Technology, Inc.Intervertebral implants, instruments, and methods
USD829909S1 (en)*2017-09-122018-10-02NuTech Spine, Inc.Spinal implant
US10603055B2 (en)2017-09-152020-03-31Jcbd, LlcSystems for and methods of preparing and fusing a sacroiliac joint
EP3459502B1 (en)2017-09-202024-05-22Stryker European Operations Holdings LLCSpinal implants
US10828077B2 (en)2017-09-222020-11-10Howmedica Osteonics Corp.Distal radius wedge screw
US11116519B2 (en)2017-09-262021-09-14Si-Bone Inc.Systems and methods for decorticating the sacroiliac joint
USD907771S1 (en)2017-10-092021-01-12Pioneer Surgical Technology, Inc.Intervertebral implant
CN107625564A (en)*2017-10-202018-01-26常州华森医疗器械有限公司Lumbar intervertebral fusion device
US10744001B2 (en)2017-11-212020-08-18Institute for Musculoskeletal Science and Education, Ltd.Implant with improved bone contact
US10940015B2 (en)2017-11-212021-03-09Institute for Musculoskeletal Science and Education, Ltd.Implant with improved flow characteristics
US10932917B2 (en)*2017-12-302021-03-02Charles GilbrideImplant bone on-growth structures and methods
EP3737339B1 (en)2018-01-112024-06-05K2M, Inc.Implants and instruments with flexible features
US10893953B2 (en)2018-01-292021-01-19Seth NeubardtSide pocket spinal fusion cage
US10695192B2 (en)2018-01-312020-06-30Institute for Musculoskeletal Science and Education, Ltd.Implant with internal support members
EP3755273B1 (en)2018-02-222025-04-30Warsaw Orthopedic, Inc.Expandable spinal implant system
US11806250B2 (en)2018-02-222023-11-07Warsaw Orthopedic, Inc.Expandable spinal implant system and method of using same
CN111655203A (en)*2018-02-222020-09-11华沙整形外科股份有限公司 Expandable spinal implant system and method of use
US10993814B2 (en)*2018-02-272021-05-04Life Spine, Inc.Height adjustable spine implant
JP7572857B2 (en)2018-03-012024-10-24インテグリティ インプランツ インコーポレイテッド Expandable Fusion Device with Independent Deployment System
ES3011907T3 (en)2018-03-282025-04-08Si Bone IncThreaded implants for use across bone segments
US11278427B2 (en)2018-04-102022-03-22Gary A. Zick, Trustee Of The Everest Trust Uta April 20, 2017Spinal interbody cage comprising top and bottom faces with mesh structures, pillars and slots
US10722378B2 (en)*2018-08-212020-07-28Warsaw Orthopedic, Inc.Surgical implant including a body portion and at least one attached tier
US10849758B2 (en)2018-08-222020-12-01Institute for Musculoskeletal Science and Education, Ltd.Spinal fusion implant
US11234838B2 (en)2018-09-072022-02-01Additive Implants, Inc.Dynamic intervertebral spacer implant
US10299938B1 (en)2018-09-072019-05-28John R. EhteshamiDynamic intervertebral spacer implant
IL261820B2 (en)*2018-09-162024-08-01Cartiheal 2009 Ltd Optimal cage systems encourage repairs and bone connections
AU2019342137A1 (en)2018-09-202021-03-25Spinal Elements, Inc.Spinal implant device
US11179248B2 (en)2018-10-022021-11-23Samy AbdouDevices and methods for spinal implantation
US11446156B2 (en)2018-10-252022-09-20Medos International SarlExpandable intervertebral implant, inserter instrument, and related methods
US11684482B2 (en)2018-12-202023-06-27Additive Implants, Inc.Spondylolisthesis system and methods
EP4613244A2 (en)2019-02-142025-09-10SI-Bone Inc.Implants for spinal fixation and or fusion
US11369419B2 (en)2019-02-142022-06-28Si-Bone Inc.Implants for spinal fixation and or fusion
US11219531B2 (en)2019-04-102022-01-11Wenzel Spine, Inc.Rotatable intervertebral spacing implant
USD948048S1 (en)2019-04-262022-04-05Warsaw Orthopedic, Inc.Surgical implant
USD955579S1 (en)2019-04-262022-06-21Warsaw Orthopedic, Inc.Surgical implant
US11173043B1 (en)2019-05-172021-11-16Joseph T. RobbinsSpinal interbody implants
BR112021022695A2 (en)2019-05-222021-12-28Spinal Elements Inc Bone tethering and bone tethering inserter
US11457959B2 (en)2019-05-222022-10-04Spinal Elements, Inc.Bone tie and bone tie inserter
JP7335428B2 (en)2019-09-112023-08-29アルプス ホールディング エルエルシー An implant comprising a first set and a second set of pillars for attaching a tendon or ligament to hard tissue
US11534307B2 (en)2019-09-162022-12-27K2M, Inc.3D printed cervical standalone implant
US11123201B2 (en)2019-09-242021-09-21Additive Implants, Inc.Intervertebral spacer
WO2021061205A1 (en)2019-09-252021-04-01Mirus, LlcInterbody lattice structure
WO2021097438A1 (en)2019-11-152021-05-204Web, Inc.Piezoelectric coated implants and methods of using piezoelectric coated implants to repair bone structures
JP7646654B2 (en)2019-11-212025-03-17エスアイ-ボーン・インコーポレイテッド Rod coupling assembly for bone stabilization construct - Patent application
AU2020392121B2 (en)2019-11-272025-05-22Si-Bone, Inc.Bone stabilizing implants and methods of placement across SI joints
EP4072452A4 (en)2019-12-092023-12-20SI-Bone, Inc.Sacro-iliac joint stabilizing implants and methods of implantation
US11707361B2 (en)2020-02-052023-07-25K2M, Inc.Flexible interbody implant
WO2021163313A1 (en)2020-02-142021-08-19Spinal Elements, Inc.Bone tie methods
US11957600B2 (en)2020-02-182024-04-16Mirus LlcAnterior lumbar interbody fusion device with bidirectional screws
US11426286B2 (en)2020-03-062022-08-30Eit Emerging Implant Technologies GmbhExpandable intervertebral implant
EP4178496A4 (en)2020-07-082024-08-144Web, Inc.Implants having bone growth promoting agents contained within biodegradable materials
EP4171448A4 (en)2020-07-202025-02-12Integrity Implants Inc. EXPANDABLE FUSION DEVICE WITH INDEPENDENT EXPANSION SYSTEMS
CN114099089A (en)*2020-08-282022-03-01北京智塑健康科技有限公司 an intervertebral fusion device
US11963881B2 (en)2020-11-052024-04-23Warsaw Orthopedic, Inc.Expandable inter-body device, system, and method
US11638653B2 (en)2020-11-052023-05-02Warsaw Orthopedic, Inc.Surgery instruments with a movable handle
US11376134B1 (en)2020-11-052022-07-05Warsaw Orthopedic, Inc.Dual expanding spinal implant, system, and method of use
US12318308B2 (en)2020-11-052025-06-03Warsaw Orthopedic, Inc.Dual expandable inter-body device
US11833059B2 (en)2020-11-052023-12-05Warsaw Orthopedic, Inc.Expandable inter-body device, expandable plate system, and associated methods
US11517363B2 (en)2020-11-052022-12-06Warsaw Orthopedic, Inc.Screw driver and complimentary screws
US11395743B1 (en)2021-05-042022-07-26Warsaw Orthopedic, Inc.Externally driven expandable interbody and related methods
US11291554B1 (en)2021-05-032022-04-05Medtronic, Inc.Unibody dual expanding interbody implant
US12171439B2 (en)2020-11-052024-12-24Warsaw Orthopedic, Inc.Protected drill
US11517443B2 (en)2020-11-052022-12-06Warsaw Orthopedic, Inc.Dual wedge expandable implant, system and method of use
US12121453B2 (en)2020-11-052024-10-22Warsaw Orthopedic, Inc.Dual wedge expandable implant with eyelets, system, and method of use
US11285014B1 (en)2020-11-052022-03-29Warsaw Orthopedic, Inc.Expandable inter-body device, system, and method
US12239544B2 (en)2020-11-052025-03-04Warsaw Orthopedic, Inc.Rhomboid shaped implants
USD942623S1 (en)2020-11-132022-02-01Mirus LlcSpinal implant
USD942011S1 (en)2020-11-132022-01-25Mirus LlcSpinal implant
USD944400S1 (en)2020-11-132022-02-22Mirus LlcSpinal implant
USD942624S1 (en)2020-11-132022-02-01Mirus LlcSpinal implant
US11911284B2 (en)2020-11-192024-02-27Spinal Elements, Inc.Curved expandable interbody devices and deployment tools
EP4259015A4 (en)2020-12-092024-09-11SI-Bone, Inc. SACROILIAC JOINT STABILIZATION IMPLANTS AND METHODS OF IMPLANTATION
WO2022133456A1 (en)2020-12-172022-06-23Spinal Elements, Inc.Spinal implant device
US11850160B2 (en)2021-03-262023-12-26Medos International SarlExpandable lordotic intervertebral fusion cage
US11752009B2 (en)2021-04-062023-09-12Medos International SarlExpandable intervertebral fusion cage
US12268614B2 (en)2021-06-242025-04-08Warsaw Orthopedic, Inc.Interbody implant with adjusting shims
US12295865B2 (en)2021-06-242025-05-13Warsaw Orthopedic, Inc.Expandable interbody implant and corresponding inserter
US11612499B2 (en)2021-06-242023-03-28Warsaw Orthopedic, Inc.Expandable interbody implant
WO2022271280A1 (en)2021-06-242022-12-29Warsaw Orthopedic, Inc.Expandable interbody implant and corresponding surgical tool
US11730608B2 (en)2021-07-132023-08-22Warsaw Orthopedic, Inc.Monoblock expandable interbody implant
US20230165690A1 (en)*2021-11-292023-06-01Spinal Elements, Inc.Spinal implant device
US11712346B2 (en)*2021-12-022023-08-01Globus Medical, Inc.Expandable fusion device with integrated deployable retention spikes
US12369952B2 (en)2021-12-102025-07-29Spinal Elements, Inc.Bone tie and portal
US11850163B2 (en)2022-02-012023-12-26Warsaw Orthopedic, Inc.Interbody implant with adjusting shims
US12090064B2 (en)2022-03-012024-09-17Medos International SarlStabilization members for expandable intervertebral implants, and related systems and methods
WO2024119139A1 (en)2022-12-012024-06-06Percheron Spine, LlcSpinal implant and delivery system
US12133664B2 (en)2022-12-132024-11-05Spinal Simplicity, LlcMedical implant
WO2025038769A1 (en)2023-08-152025-02-20Si-Bone Inc.Pelvic stabilization implants, methods of use and manufacture

Citations (165)

* Cited by examiner, † Cited by third party
Publication numberPriority datePublication dateAssigneeTitle
US2677369A (en)1952-03-261954-05-04Fred L KnowlesApparatus for treatment of the spinal column
US3298372A (en)1963-12-171967-01-17Feinberg MauriceSurgical hydrocephalus shunt sleeve for placement in a vertebra
US3605123A (en)*1969-04-291971-09-20Melpar IncBone implant
US3649806A (en)*1970-12-161972-03-14Dieter KonigProcess and apparatus for material excavation by beam energy
US3848601A (en)*1972-06-141974-11-19G MaMethod for interbody fusion of the spine
US3867728A (en)1971-12-301975-02-25Cutter LabProsthesis for spinal repair
US3875595A (en)1974-04-151975-04-08Edward C FroningIntervertebral disc prosthesis and instruments for locating same
US3905047A (en)1973-06-271975-09-16Posta Jr John JImplantable ceramic bone prosthesis
US3948262A (en)1969-04-011976-04-06Alza CorporationNovel drug delivery device
US3952334A (en)1974-11-291976-04-27General Atomic CompanyBiocompatible carbon prosthetic devices
US3987499A (en)1973-08-101976-10-26Sybron CorporationSurgical implant and method for its production
USD245259S (en)*1976-01-291977-08-02Zimmer U.S.A. Inc.Tibial prosthesis
US4070514A (en)1973-06-051978-01-24The United States Of America As Represented By The United States Department Of EnergyMethod of fabricating graphite for use as a skeletal prosthesis and product thereof
FR2372622A1 (en)1976-12-031978-06-30Fassio BernardIntervertebral prosthesis for surgical use - has flat semicircular disc with hemispherical boss each side to support between vertebrae
US4168326A (en)1975-10-181979-09-18Ernst Leitz Wetzlar, GmbhProsthesis parts provided with a coating of a bio-active material, process of making same, and method of using them for bone replacement
DE2910627A1 (en)1979-03-171980-09-25Schuett & Grundei SanitaetImplant which can be used as replacement for spongy bones - is built up from tolerated fibres which are implanted in bone cut=out
US4309777A (en)*1980-11-131982-01-12Patil Arun AArtificial intervertebral disc
US4349921A (en)1980-06-131982-09-21Kuntz J DavidIntervertebral disc prosthesis
US4355428A (en)*1976-07-021982-10-26S.A. Benoist Girard & CieSurgical prosthesis with grainy surface
US4401112A (en)1980-09-151983-08-30Rezaian Seyed MSpinal fixator
US4405319A (en)1980-04-081983-09-20Renal Systems, Inc.Porous titanium coating for blood access device
US4439152A (en)1982-03-041984-03-27Small Irwin AMethod of jawbone abutment implant for dental prostheses and implant device
JPS6031706A (en)1983-07-301985-02-18池田物産株式会社Headrest apparatus
US4501269A (en)*1981-12-111985-02-26Washington State University Research Foundation, Inc.Process for fusing bone joints
JPS6043984A (en)1983-08-201985-03-08Matsushita Electric Ind Co LtdVideo tape recorder
US4507115A (en)1981-04-011985-03-26Olympus Optical Co., Ltd.Medical capsule device
US4535485A (en)1982-03-121985-08-20Medical Biological Sciences, Inc.Polymeric acrylic prothesis
US4542539A (en)*1982-03-121985-09-24Artech Corp.Surgical implant having a graded porous coating
US4545374A (en)1982-09-031985-10-08Jacobson Robert EMethod and instruments for performing a percutaneous lumbar diskectomy
US4547390A (en)1982-03-121985-10-15Medical Biological Sciences, Inc.Process of making implantable prosthesis material of modified polymeric acrylic (PMMA) beads coated with PHEMA and barium sulfate
US4553273A (en)1983-11-231985-11-19Henry Ford HospitalVertebral body prosthesis and spine stabilizing method
US4554914A (en)1983-10-041985-11-26Kapp John PProsthetic vertebral body
US4566466A (en)1984-04-161986-01-28Ripple Dale BSurgical instrument
EP0179695A1 (en)1984-09-261986-04-30Pierre KehrVertebral prosthesis, in particular for cervical vertebrae
US4599086A (en)1985-06-071986-07-08Doty James RSpine stabilization device and method
US4604995A (en)1984-03-301986-08-12Stephens David CSpinal stabilizer
US4608052A (en)*1984-04-251986-08-26Minnesota Mining And Manufacturing CompanyImplant with attachment surface
US4634720A (en)1985-02-191987-01-06The Dow Chemical CompanyProcess for the preparation of hard tissue prosthetics
US4636217A (en)1985-04-231987-01-13Regents Of The University Of MinnesotaAnterior spinal implant
US4636526A (en)1985-02-191987-01-13The Dow Chemical CompanyComposites of unsintered calcium phosphates and synthetic biodegradable polymers useful as hard tissue prosthetics
US4645503A (en)1985-08-271987-02-24Orthomatrix Inc.Moldable bone-implant material
US4655777A (en)1983-12-191987-04-07Southern Research InstituteMethod of producing biodegradable prosthesis and products therefrom
US4661536A (en)1985-02-191987-04-28The Dow Chemical CompanyProcess for the preparation of hard tissue prosthetics
US4673409A (en)*1984-04-251987-06-16Minnesota Mining And Manufacturing CompanyImplant with attachment surface
JPS62155846A (en)1985-12-271987-07-10京セラ株式会社 Lumbar interspinous block
US4693721A (en)1984-10-171987-09-15Paul DucheynePorous flexible metal fiber material for surgical implantation
DE3608163A1 (en)1986-03-121987-09-24Walter A Dr Med LaabsDevice for dynamically/rigidly locking the distal and proximal parts of fractured bones
US4698375A (en)1985-02-191987-10-06The Dow Chemical CompanyComposites of unsintered calcium phosphates and synthetic biodegradable polymers useful as hard tissue prosthetics
US4713076A (en)*1984-04-191987-12-15Klaus DraenertCoating composition and anchorage component for surgical implants
US4714469A (en)*1987-02-261987-12-22Pfizer Hospital Products Group, Inc.Spinal implant
DE3620549A1 (en)1986-06-191987-12-23S & G Implants Gmbh IMPLANT FOR FIXING NEXT SPINE BONES OF THE SPINE
US4721103A (en)1985-01-311988-01-26Yosef FreedlandOrthopedic device
EP0260044A1 (en)1986-08-291988-03-16John Anthony Norman ShepperdSpinal implant
US4743256A (en)1985-10-041988-05-10Brantigan John WSurgical prosthetic implant facilitating vertebral interbody fusion and method
US4759766A (en)1984-09-041988-07-26Humboldt-Universitaet Zu BerlinIntervertebral disc endoprosthesis
US4759769A (en)1987-02-121988-07-26Health & Research Services Inc.Artificial spinal disc
US4763644A (en)1984-02-281988-08-16Webb Peter JSpinal fixation
US4820305A (en)1986-11-031989-04-11Harms JuergenPlace holder, in particular for a vertebra body
US4828563A (en)*1985-06-181989-05-09Dr. Muller-Lierheim AgImplant
US4834757A (en)*1987-01-221989-05-30Brantigan John WProsthetic implant
US4863477A (en)*1987-05-121989-09-05Monson Gary LSynthetic intervertebral disc prosthesis
US4865603A (en)*1988-02-041989-09-12Joint Medical Products CorporationMetallic prosthetic devices having micro-textured outer surfaces
US4877020A (en)1984-11-301989-10-31Vich Jose M OApparatus for bone graft
WO1990000037A1 (en)1988-06-281990-01-11Michelson Gary KArtificial spinal fusion implants
US4904261A (en)1987-08-061990-02-27A. W. Showell (Surgicraft) LimitedSpinal implants
US4911718A (en)1988-06-101990-03-27University Of Medicine & Dentistry Of N.J.Functional and biocompatible intervertebral disc spacer
US4936848A (en)1989-09-221990-06-26Bagby George WImplant for vertebrae
US4955908A (en)1987-07-091990-09-11Sulzer Brothers LimitedMetallic intervertebral prosthesis
US4961740A (en)1988-10-171990-10-09Surgical Dynamics, Inc.V-thread fusion cage and method of fusing a bone joint
US5015247A (en)1988-06-131991-05-14Michelson Gary KThreaded spinal implant
US5055104A (en)1989-11-061991-10-08Surgical Dynamics, Inc.Surgically implanting threaded fusion cages between adjacent low-back vertebrae by an anterior approach
US5062845A (en)1989-05-101991-11-05Spine-Tech, Inc.Method of making an intervertebral reamer
US5071437A (en)*1989-02-151991-12-10Acromed CorporationArtificial disc
US5108435A (en)*1989-09-281992-04-28Pfizer Hospital Products Group, Inc.Cast bone ingrowth surface
US5122130A (en)1988-03-231992-06-16Waldemar Link Gmbh & Co.Forceps for inserting intervertebral device
US5123926A (en)*1991-02-221992-06-23Madhavan PisharodiArtificial spinal prosthesis
EP0493698A1 (en)1990-12-191992-07-08Anton Prof. Dr. HärleBone replacement
US5147402A (en)*1990-12-051992-09-15Sulzer Brothers LimitedImplant for ingrowth of osseous tissue
US5171278A (en)1991-02-221992-12-15Madhavan PisharodiMiddle expandable intervertebral disk implants
WO1993001771A1 (en)1991-07-221993-02-04Calcitek, Inc.Spinal disk implant
US5190548A (en)1991-04-101993-03-02Linvatec CorporationSurgical reamer
US5192327A (en)*1991-03-221993-03-09Brantigan John WSurgical prosthetic implant for vertebrae
JPH05208029A (en)1992-01-311993-08-20Kyocera Corp Artificial vertebral body spacer
US5246530A (en)*1990-04-201993-09-21Dynamet IncorporatedMethod of producing porous metal surface
US5246458A (en)1992-10-071993-09-21Graham Donald VArtificial disk
US5250061A (en)1988-09-081993-10-05Michelson Gary KRing currette
US5258031A (en)1992-01-061993-11-02Danek MedicalIntervertebral disk arthroplasty
US5258043A (en)1987-07-201993-11-02Regen CorporationMethod for making a prosthetic intervertebral disc
US5290312A (en)*1991-09-031994-03-01AlphatecArtificial vertebral body
US5304191A (en)1993-02-121994-04-19Midas Rex Pneumatic Tools, Inc.Surgical instrument with rotatable indexing footed attachment
US5306309A (en)*1992-05-041994-04-26Calcitek, Inc.Spinal disk implant and implantation kit
US5306308A (en)1989-10-231994-04-26Ulrich GrossIntervertebral implant
CA1328957C (en)1988-08-181994-05-03University Of Medicine And Dentistry Of New JerseyFunctional and biocompatible intervertebral disc spacer containing elastomeric material of varying hardness
EP0599419A2 (en)1992-11-261994-06-01ESKA Implants GmbH & Co.Disk-shaped implant for reinforcing adjacent vertebrae
US5360430A (en)1993-07-291994-11-01Lin Chih IIntervertebral locking device
US5370697A (en)1992-04-211994-12-06Sulzer Medizinaltechnik AgArtificial intervertebral disk member
EP0627204A2 (en)1993-06-041994-12-07ESKA Implants GmbH & Co.Implant for reinforcing adjacent vertebrae
US5397364A (en)*1993-10-121995-03-14Danek Medical, Inc.Anterior interbody fusion device
WO1995008306A1 (en)1993-09-211995-03-30Synthes Ag, ChurImplant for the intervertebral space
EP0646366A1 (en)1993-10-011995-04-05Acromed CorporationSpinal implant
US5425772A (en)*1993-09-201995-06-20Brantigan; John W.Prosthetic implant for intervertebral spinal fusion
US5443514A (en)*1993-10-011995-08-22Acromed CorporationMethod for using spinal implants
US5445639A (en)1989-05-101995-08-29Spine-Tech, Inc.Intervertebral reamer construction
US5458638A (en)*1989-07-061995-10-17Spine-Tech, Inc.Non-threaded spinal implant
US5458643A (en)*1991-03-291995-10-17Kyocera CorporationArtificial intervertebral disc
US5484437A (en)1988-06-131996-01-16Michelson; Gary K.Apparatus and method of inserting spinal implants
US5489307A (en)1993-02-101996-02-06Spine-Tech, Inc.Spinal stabilization surgical method
US5499984A (en)1994-04-071996-03-19Snap-On IncorporatedUniversal modular reamer system
US5514180A (en)1994-01-141996-05-07Heggeness; Michael H.Prosthetic intervertebral devices
US5534028A (en)1993-04-201996-07-09Howmedica, Inc.Hydrogel intervertebral disc nucleus with diminished lateral bulging
WO1996022747A1 (en)1995-01-241996-08-01Stryker CorporationInterbody cavity type implant, and instrumentation and method for positioning same
US5554191A (en)*1994-01-261996-09-10BiomatIntersomatic vertebral cage
US5571190A (en)1993-08-201996-11-05Heinrich UlrichImplant for the replacement of vertebrae and/or stabilization and fixing of the spinal column
US5571109A (en)1993-08-261996-11-05Man Ceramics GmbhSystem for the immobilization of vertebrae
US5593409A (en)*1988-06-131997-01-14Sofamor Danek Group, Inc.Interbody spinal fusion implants
USD377527S (en)*1994-06-031997-01-21Sofamor Danek Group, Inc.Artificial spinal infusion implant
US5607424A (en)*1995-04-101997-03-04Tropiano; PatrickDomed cage
US5609635A (en)*1988-06-281997-03-11Michelson; Gary K.Lordotic interbody spinal fusion implants
US5609637A (en)1993-07-091997-03-11Biedermann; LutzSpace keeper, in particular for an intervertebral disk
US5609636A (en)*1994-05-231997-03-11Spine-Tech, Inc.Spinal implant
US5645596A (en)1993-07-071997-07-08Asahi Kogaku Kogyo Kabushiki KaishaCeramic vertebrae prosthesis
US5653763A (en)*1996-03-291997-08-05Fastenetix, L.L.C.Intervertebral space shape conforming cage device
US5658335A (en)1995-03-091997-08-19Cohort Medical Products Group, Inc.Spinal fixator
US5665122A (en)1995-01-311997-09-09Kambin; ParvizExpandable intervertebral cage and surgical method
US5669909A (en)*1995-03-271997-09-23Danek Medical, Inc.Interbody fusion device and method for restoration of normal spinal anatomy
US5683463A (en)*1993-08-061997-11-04Advanced Technical FabricationIntersomatic vertebral column implant
US5683394A (en)*1995-09-291997-11-04Advanced Spine Fixation Systems, Inc.Fusion mass constrainer
US5766252A (en)*1995-01-241998-06-16Osteonics Corp.Interbody spinal prosthetic implant and method
US5769897A (en)*1991-12-131998-06-23Haerle; AntonSynthetic bone
US5800547A (en)1994-08-201998-09-01Schafer Micomed GmbhVentral intervertebral implant
US5824094A (en)1997-10-171998-10-20Acromed CorporationSpinal disc
US5861041A (en)1997-04-071999-01-19Arthit SitisoIntervertebral disk prosthesis and method of making the same
US5888223A (en)*1995-12-081999-03-30Bray, Jr.; Robert S.Anterior stabilization device
US5888227A (en)*1995-10-201999-03-30Synthes (U.S.A.)Inter-vertebral implant
US5893890A (en)1994-03-181999-04-13Perumala CorporationRotating, locking intervertebral disk stabilizer and applicator
US5906616A (en)*1994-09-151999-05-25Surgical Dynamics, Inc.Conically shaped anterior fusion cage and method of implantation
US5980522A (en)1994-07-221999-11-09Koros; TiborExpandable spinal implants
US6059829A (en)*1995-03-082000-05-09SyntheseIntervertebral implant
USD425989S (en)*1996-07-152000-05-30Sofamor Danek Holdings, Inc.Artificial spinal fusion implant
US6071310A (en)*1997-05-202000-06-06George J. PichaSpinal implant
US6143033A (en)*1998-01-302000-11-07Synthes (Usa)Allogenic intervertebral implant
US6149689A (en)*1995-11-222000-11-21Eska Implants Gmbh & Co.Implant as bone replacement
US6159214A (en)1996-07-312000-12-12Michelson; Gary K.Milling instrumentation and method for preparing a space between adjacent vertebral bodies
US6200347B1 (en)*1999-01-052001-03-13LifenetComposite bone graft, method of making and using same
US6241771B1 (en)*1997-08-132001-06-05Cambridge Scientific, Inc.Resorbable interbody spinal fusion devices
US6251140B1 (en)*1998-05-272001-06-26Nuvasive, Inc.Interlocking spinal inserts
US6258125B1 (en)*1998-08-032001-07-10Synthes (U.S.A.)Intervertebral allograft spacer
US6277149B1 (en)*1999-06-082001-08-21Osteotech, Inc.Ramp-shaped intervertebral implant
US6558423B1 (en)1999-05-052003-05-06Gary K. MichelsonInterbody spinal fusion implants with multi-lock for locking opposed screws
US6572654B1 (en)*2000-10-042003-06-03Albert N. SantilliIntervertebral spacer
US6613091B1 (en)*1995-03-272003-09-02Sdgi Holdings, Inc.Spinal fusion implants and tools for insertion and revision
USD503801S1 (en)*2004-04-052005-04-05Roger P. JacksonInterbody spacer for spinal implantation
US6964687B1 (en)*1999-07-092005-11-15Scient'xAnatomical interbody implant and gripper for same
US6989031B2 (en)*2001-04-022006-01-24Sdgi Holdings, Inc.Hemi-interbody spinal implant manufactured from a major long bone ring or a bone composite
US7018418B2 (en)*2001-01-252006-03-28Tecomet, Inc.Textured surface having undercut micro recesses in a surface
US7056342B2 (en)*1998-10-302006-06-06Sdgi Holdings, Inc.Self-broaching, rotatable, push-in interbody spinal fusion implant and method for deployment thereof
US7169183B2 (en)*2000-03-142007-01-30Warsaw Orthopedic, Inc.Vertebral implant for promoting arthrodesis of the spine
US20110022160A1 (en)*2009-07-242011-01-27Boston Scientific Scimed, Inc.Medical Devices Having an Inorganic Coating Layer Formed by Atomic Layer Deposition
US8343219B2 (en)*2007-06-082013-01-01Ldr MedicalIntersomatic cage, intervertebral prosthesis, anchoring device and implantation instruments
US8343220B2 (en)*1999-05-052013-01-01Warsaw Orthopedic, Inc.Nested interbody spinal fusion implants
US8372423B2 (en)*2009-11-252013-02-12Healionics CorporationImplantable medical devices having microporous surface layers and method for reducing foreign body response to the same
US8409292B2 (en)*1995-06-072013-04-02Warsaw Orthopedic, Inc.Spinal fusion implant
US8632604B2 (en)*2009-10-222014-01-21Depuy International LimitedMedical implant device
EP2703580A1 (en)2012-08-282014-03-05Faber, SylkeSlipform device for producing concrete safety walls
US8679118B2 (en)*1995-06-072014-03-25Warsaw Orthopedic, Inc.Spinal implants

Family Cites Families (8)

* Cited by examiner, † Cited by third party
Publication numberPriority datePublication dateAssigneeTitle
US494261A (en)*1893-03-28Toy parachute
GB564591A (en)1943-01-281944-10-04Courtaulds LtdImprovements in the manufacture and production of artificial threads, filaments and the like
SU1107854A1 (en)*1983-03-301984-08-15Харьковский Научно-Исследовательский Институт Ортопедии И Травматологии Им.Проф.М.И.СитенкоSpine fixative
DE3820549A1 (en)1988-06-161989-12-21Fraunhofer Ges Forschung METHOD AND DEVICE FOR EXAMINING MEMBRANE SURFACES
US5195090A (en)*1991-07-091993-03-16At&T Bell LaboratoriesWireless access telephone-to-telephone network interface architecture
FR2703580B1 (en)*1993-03-031997-10-17Gilles Robert Cervical interbody fusion cage.
EP1482877B1 (en)*2002-03-112007-05-30Spinal Concepts Inc.Instrumentation for implanting spinal implant devices
US6630395B1 (en)2002-10-242003-10-07International Business Machines CorporationMethods for fabricating electrical connections to semiconductor structures incorporating low-k dielectric materials

Patent Citations (195)

* Cited by examiner, † Cited by third party
Publication numberPriority datePublication dateAssigneeTitle
US2677369A (en)1952-03-261954-05-04Fred L KnowlesApparatus for treatment of the spinal column
US3298372A (en)1963-12-171967-01-17Feinberg MauriceSurgical hydrocephalus shunt sleeve for placement in a vertebra
US3948262A (en)1969-04-011976-04-06Alza CorporationNovel drug delivery device
US3605123A (en)*1969-04-291971-09-20Melpar IncBone implant
US3649806A (en)*1970-12-161972-03-14Dieter KonigProcess and apparatus for material excavation by beam energy
US3867728A (en)1971-12-301975-02-25Cutter LabProsthesis for spinal repair
US3848601A (en)*1972-06-141974-11-19G MaMethod for interbody fusion of the spine
US4070514A (en)1973-06-051978-01-24The United States Of America As Represented By The United States Department Of EnergyMethod of fabricating graphite for use as a skeletal prosthesis and product thereof
US3905047A (en)1973-06-271975-09-16Posta Jr John JImplantable ceramic bone prosthesis
US3987499A (en)1973-08-101976-10-26Sybron CorporationSurgical implant and method for its production
US3875595A (en)1974-04-151975-04-08Edward C FroningIntervertebral disc prosthesis and instruments for locating same
US3952334A (en)1974-11-291976-04-27General Atomic CompanyBiocompatible carbon prosthetic devices
US4168326A (en)1975-10-181979-09-18Ernst Leitz Wetzlar, GmbhProsthesis parts provided with a coating of a bio-active material, process of making same, and method of using them for bone replacement
USD245259S (en)*1976-01-291977-08-02Zimmer U.S.A. Inc.Tibial prosthesis
US4355428A (en)*1976-07-021982-10-26S.A. Benoist Girard & CieSurgical prosthesis with grainy surface
FR2372622A1 (en)1976-12-031978-06-30Fassio BernardIntervertebral prosthesis for surgical use - has flat semicircular disc with hemispherical boss each side to support between vertebrae
DE2910627A1 (en)1979-03-171980-09-25Schuett & Grundei SanitaetImplant which can be used as replacement for spongy bones - is built up from tolerated fibres which are implanted in bone cut=out
US4405319A (en)1980-04-081983-09-20Renal Systems, Inc.Porous titanium coating for blood access device
US4349921A (en)1980-06-131982-09-21Kuntz J DavidIntervertebral disc prosthesis
US4401112A (en)1980-09-151983-08-30Rezaian Seyed MSpinal fixator
US4309777A (en)*1980-11-131982-01-12Patil Arun AArtificial intervertebral disc
US4507115A (en)1981-04-011985-03-26Olympus Optical Co., Ltd.Medical capsule device
US4501269A (en)*1981-12-111985-02-26Washington State University Research Foundation, Inc.Process for fusing bone joints
US4439152A (en)1982-03-041984-03-27Small Irwin AMethod of jawbone abutment implant for dental prostheses and implant device
US4547390A (en)1982-03-121985-10-15Medical Biological Sciences, Inc.Process of making implantable prosthesis material of modified polymeric acrylic (PMMA) beads coated with PHEMA and barium sulfate
US4535485A (en)1982-03-121985-08-20Medical Biological Sciences, Inc.Polymeric acrylic prothesis
US4542539A (en)*1982-03-121985-09-24Artech Corp.Surgical implant having a graded porous coating
US4545374A (en)1982-09-031985-10-08Jacobson Robert EMethod and instruments for performing a percutaneous lumbar diskectomy
JPS6031706A (en)1983-07-301985-02-18池田物産株式会社Headrest apparatus
JPS6043984A (en)1983-08-201985-03-08Matsushita Electric Ind Co LtdVideo tape recorder
US4554914A (en)1983-10-041985-11-26Kapp John PProsthetic vertebral body
US4553273A (en)1983-11-231985-11-19Henry Ford HospitalVertebral body prosthesis and spine stabilizing method
US4655777A (en)1983-12-191987-04-07Southern Research InstituteMethod of producing biodegradable prosthesis and products therefrom
US4763644A (en)1984-02-281988-08-16Webb Peter JSpinal fixation
US4604995A (en)1984-03-301986-08-12Stephens David CSpinal stabilizer
US4566466A (en)1984-04-161986-01-28Ripple Dale BSurgical instrument
US4713076A (en)*1984-04-191987-12-15Klaus DraenertCoating composition and anchorage component for surgical implants
US4608052A (en)*1984-04-251986-08-26Minnesota Mining And Manufacturing CompanyImplant with attachment surface
US4673409A (en)*1984-04-251987-06-16Minnesota Mining And Manufacturing CompanyImplant with attachment surface
US4759766A (en)1984-09-041988-07-26Humboldt-Universitaet Zu BerlinIntervertebral disc endoprosthesis
EP0179695A1 (en)1984-09-261986-04-30Pierre KehrVertebral prosthesis, in particular for cervical vertebrae
US4693721A (en)1984-10-171987-09-15Paul DucheynePorous flexible metal fiber material for surgical implantation
US4877020A (en)1984-11-301989-10-31Vich Jose M OApparatus for bone graft
US4721103A (en)1985-01-311988-01-26Yosef FreedlandOrthopedic device
US4698375A (en)1985-02-191987-10-06The Dow Chemical CompanyComposites of unsintered calcium phosphates and synthetic biodegradable polymers useful as hard tissue prosthetics
US4636526A (en)1985-02-191987-01-13The Dow Chemical CompanyComposites of unsintered calcium phosphates and synthetic biodegradable polymers useful as hard tissue prosthetics
US4634720A (en)1985-02-191987-01-06The Dow Chemical CompanyProcess for the preparation of hard tissue prosthetics
US4661536A (en)1985-02-191987-04-28The Dow Chemical CompanyProcess for the preparation of hard tissue prosthetics
US4636217A (en)1985-04-231987-01-13Regents Of The University Of MinnesotaAnterior spinal implant
US4599086A (en)1985-06-071986-07-08Doty James RSpine stabilization device and method
US4828563A (en)*1985-06-181989-05-09Dr. Muller-Lierheim AgImplant
US4645503A (en)1985-08-271987-02-24Orthomatrix Inc.Moldable bone-implant material
US4743256A (en)1985-10-041988-05-10Brantigan John WSurgical prosthetic implant facilitating vertebral interbody fusion and method
JPS62155846A (en)1985-12-271987-07-10京セラ株式会社 Lumbar interspinous block
DE3608163A1 (en)1986-03-121987-09-24Walter A Dr Med LaabsDevice for dynamically/rigidly locking the distal and proximal parts of fractured bones
DE3620549A1 (en)1986-06-191987-12-23S & G Implants Gmbh IMPLANT FOR FIXING NEXT SPINE BONES OF THE SPINE
EP0260044A1 (en)1986-08-291988-03-16John Anthony Norman ShepperdSpinal implant
US4863476A (en)1986-08-291989-09-05Shepperd John A NSpinal implant
US4820305A (en)1986-11-031989-04-11Harms JuergenPlace holder, in particular for a vertebra body
US4834757A (en)*1987-01-221989-05-30Brantigan John WProsthetic implant
US4878915A (en)1987-01-221989-11-07Brantigan John WSurgical prosthetic implant facilitating vertebral interbody fusion
US4759769A (en)1987-02-121988-07-26Health & Research Services Inc.Artificial spinal disc
US4714469A (en)*1987-02-261987-12-22Pfizer Hospital Products Group, Inc.Spinal implant
US4863477A (en)*1987-05-121989-09-05Monson Gary LSynthetic intervertebral disc prosthesis
US4955908A (en)1987-07-091990-09-11Sulzer Brothers LimitedMetallic intervertebral prosthesis
US5258043A (en)1987-07-201993-11-02Regen CorporationMethod for making a prosthetic intervertebral disc
US4904261A (en)1987-08-061990-02-27A. W. Showell (Surgicraft) LimitedSpinal implants
WO1989009035A1 (en)1987-09-111989-10-05Brantigan John WSurgical prosthetic implant facilitating vertebral interbody fusion
US4865603A (en)*1988-02-041989-09-12Joint Medical Products CorporationMetallic prosthetic devices having micro-textured outer surfaces
US5122130A (en)1988-03-231992-06-16Waldemar Link Gmbh & Co.Forceps for inserting intervertebral device
US4911718A (en)1988-06-101990-03-27University Of Medicine & Dentistry Of N.J.Functional and biocompatible intervertebral disc spacer
US5484437A (en)1988-06-131996-01-16Michelson; Gary K.Apparatus and method of inserting spinal implants
US5015247A (en)1988-06-131991-05-14Michelson Gary KThreaded spinal implant
US5593409A (en)*1988-06-131997-01-14Sofamor Danek Group, Inc.Interbody spinal fusion implants
US7066961B2 (en)*1988-06-282006-06-27Gary Karlin MichelsonSpinal implant
EP0425542B1 (en)1988-06-281995-03-01Karlin Technology, Inc.Artificial spinal fusion implants
WO1990000037A1 (en)1988-06-281990-01-11Michelson Gary KArtificial spinal fusion implants
US5609635A (en)*1988-06-281997-03-11Michelson; Gary K.Lordotic interbody spinal fusion implants
US5522899A (en)*1988-06-281996-06-04Sofamor Danek Properties, Inc.Artificial spinal fusion implants
US6733535B2 (en)*1988-06-282004-05-11Sdgi Holdings, Inc.Spinal fusion implant having a trailing end adapted to engage an insertion device
US6478823B1 (en)*1988-06-282002-11-12Sofamor Danek Holdings, Inc.Artificial spinal fusion implants
US6447547B1 (en)*1988-06-282002-09-10Sofamor Danek Group, Inc.Artificial spinal fusion implants
US5776199A (en)*1988-06-281998-07-07Sofamor Danek PropertiesArtificial spinal fusion implants
CA1328957C (en)1988-08-181994-05-03University Of Medicine And Dentistry Of New JerseyFunctional and biocompatible intervertebral disc spacer containing elastomeric material of varying hardness
US5250061A (en)1988-09-081993-10-05Michelson Gary KRing currette
US4961740B1 (en)1988-10-171997-01-14Surgical Dynamics IncV-thread fusion cage and method of fusing a bone joint
US4961740A (en)1988-10-171990-10-09Surgical Dynamics, Inc.V-thread fusion cage and method of fusing a bone joint
US5026373A (en)1988-10-171991-06-25Surgical Dynamics, Inc.Surgical method and apparatus for fusing adjacent bone structures
US5071437A (en)*1989-02-151991-12-10Acromed CorporationArtificial disc
US5445639A (en)1989-05-101995-08-29Spine-Tech, Inc.Intervertebral reamer construction
US5062845A (en)1989-05-101991-11-05Spine-Tech, Inc.Method of making an intervertebral reamer
US6149686A (en)*1989-07-062000-11-21Sulzer Spine-Tech Inc.Threaded spinal implant with bone ingrowth openings
US5489308A (en)*1989-07-061996-02-06Spine-Tech, Inc.Spinal implant
US5458638A (en)*1989-07-061995-10-17Spine-Tech, Inc.Non-threaded spinal implant
US4936848A (en)1989-09-221990-06-26Bagby George WImplant for vertebrae
US5108435A (en)*1989-09-281992-04-28Pfizer Hospital Products Group, Inc.Cast bone ingrowth surface
US5306308A (en)1989-10-231994-04-26Ulrich GrossIntervertebral implant
US5055104A (en)1989-11-061991-10-08Surgical Dynamics, Inc.Surgically implanting threaded fusion cages between adjacent low-back vertebrae by an anterior approach
US5246530A (en)*1990-04-201993-09-21Dynamet IncorporatedMethod of producing porous metal surface
US5147402A (en)*1990-12-051992-09-15Sulzer Brothers LimitedImplant for ingrowth of osseous tissue
EP0493698A1 (en)1990-12-191992-07-08Anton Prof. Dr. HärleBone replacement
US5171278A (en)1991-02-221992-12-15Madhavan PisharodiMiddle expandable intervertebral disk implants
US5123926A (en)*1991-02-221992-06-23Madhavan PisharodiArtificial spinal prosthesis
US5192327A (en)*1991-03-221993-03-09Brantigan John WSurgical prosthetic implant for vertebrae
US5458643A (en)*1991-03-291995-10-17Kyocera CorporationArtificial intervertebral disc
US5190548A (en)1991-04-101993-03-02Linvatec CorporationSurgical reamer
WO1993001771A1 (en)1991-07-221993-02-04Calcitek, Inc.Spinal disk implant
US5306307A (en)*1991-07-221994-04-26Calcitek, Inc.Spinal disk implant
US5290312A (en)*1991-09-031994-03-01AlphatecArtificial vertebral body
US5769897A (en)*1991-12-131998-06-23Haerle; AntonSynthetic bone
US5258031A (en)1992-01-061993-11-02Danek MedicalIntervertebral disk arthroplasty
JPH05208029A (en)1992-01-311993-08-20Kyocera Corp Artificial vertebral body spacer
US5370697A (en)1992-04-211994-12-06Sulzer Medizinaltechnik AgArtificial intervertebral disk member
US5306309A (en)*1992-05-041994-04-26Calcitek, Inc.Spinal disk implant and implantation kit
US5246458A (en)1992-10-071993-09-21Graham Donald VArtificial disk
EP0599419A2 (en)1992-11-261994-06-01ESKA Implants GmbH & Co.Disk-shaped implant for reinforcing adjacent vertebrae
US5489307A (en)1993-02-101996-02-06Spine-Tech, Inc.Spinal stabilization surgical method
US5304191A (en)1993-02-121994-04-19Midas Rex Pneumatic Tools, Inc.Surgical instrument with rotatable indexing footed attachment
US5534028A (en)1993-04-201996-07-09Howmedica, Inc.Hydrogel intervertebral disc nucleus with diminished lateral bulging
EP0627204A2 (en)1993-06-041994-12-07ESKA Implants GmbH & Co.Implant for reinforcing adjacent vertebrae
US5645596A (en)1993-07-071997-07-08Asahi Kogaku Kogyo Kabushiki KaishaCeramic vertebrae prosthesis
US5609637A (en)1993-07-091997-03-11Biedermann; LutzSpace keeper, in particular for an intervertebral disk
US5360430A (en)1993-07-291994-11-01Lin Chih IIntervertebral locking device
US5683463A (en)*1993-08-061997-11-04Advanced Technical FabricationIntersomatic vertebral column implant
US5571190A (en)1993-08-201996-11-05Heinrich UlrichImplant for the replacement of vertebrae and/or stabilization and fixing of the spinal column
US5571109A (en)1993-08-261996-11-05Man Ceramics GmbhSystem for the immobilization of vertebrae
US5425772A (en)*1993-09-201995-06-20Brantigan; John W.Prosthetic implant for intervertebral spinal fusion
US5888224A (en)1993-09-211999-03-30Synthesis (U.S.A.)Implant for intervertebral space
WO1995008306A1 (en)1993-09-211995-03-30Synthes Ag, ChurImplant for the intervertebral space
CA2151481A1 (en)1993-09-211995-03-30Louis Francois Charles BeckersImplant for the intervertebral space
US5443514A (en)*1993-10-011995-08-22Acromed CorporationMethod for using spinal implants
EP0646366A1 (en)1993-10-011995-04-05Acromed CorporationSpinal implant
US5397364A (en)*1993-10-121995-03-14Danek Medical, Inc.Anterior interbody fusion device
US5514180A (en)1994-01-141996-05-07Heggeness; Michael H.Prosthetic intervertebral devices
US5554191A (en)*1994-01-261996-09-10BiomatIntersomatic vertebral cage
US5893890A (en)1994-03-181999-04-13Perumala CorporationRotating, locking intervertebral disk stabilizer and applicator
US5499984A (en)1994-04-071996-03-19Snap-On IncorporatedUniversal modular reamer system
US5658337A (en)*1994-05-231997-08-19Spine-Tech, Inc.Intervertebral fusion implant
US5609636A (en)*1994-05-231997-03-11Spine-Tech, Inc.Spinal implant
USD377527S (en)*1994-06-031997-01-21Sofamor Danek Group, Inc.Artificial spinal infusion implant
US5980522A (en)1994-07-221999-11-09Koros; TiborExpandable spinal implants
US5800547A (en)1994-08-201998-09-01Schafer Micomed GmbhVentral intervertebral implant
US7608105B2 (en)*1994-09-152009-10-27Howmedica Osteonics Corp.Methods of inserting conically-shaped fusion cages
US5906616A (en)*1994-09-151999-05-25Surgical Dynamics, Inc.Conically shaped anterior fusion cage and method of implantation
WO1996022747A1 (en)1995-01-241996-08-01Stryker CorporationInterbody cavity type implant, and instrumentation and method for positioning same
US5766252A (en)*1995-01-241998-06-16Osteonics Corp.Interbody spinal prosthetic implant and method
US5665122A (en)1995-01-311997-09-09Kambin; ParvizExpandable intervertebral cage and surgical method
US6059829A (en)*1995-03-082000-05-09SyntheseIntervertebral implant
US5658335A (en)1995-03-091997-08-19Cohort Medical Products Group, Inc.Spinal fixator
US6613091B1 (en)*1995-03-272003-09-02Sdgi Holdings, Inc.Spinal fusion implants and tools for insertion and revision
US5669909A (en)*1995-03-271997-09-23Danek Medical, Inc.Interbody fusion device and method for restoration of normal spinal anatomy
US5984967A (en)1995-03-271999-11-16Sdgi Holdings, Inc.Osteogenic fusion devices
US5782919A (en)*1995-03-271998-07-21Sdgi Holdings, Inc.Interbody fusion device and method for restoration of normal spinal anatomy
US5607424A (en)*1995-04-101997-03-04Tropiano; PatrickDomed cage
US8679118B2 (en)*1995-06-072014-03-25Warsaw Orthopedic, Inc.Spinal implants
US8409292B2 (en)*1995-06-072013-04-02Warsaw Orthopedic, Inc.Spinal fusion implant
US7503933B2 (en)*1995-06-072009-03-17Warsaw Orthopedic, Inc.Lordotic interbody spinal fusion implants
US7789914B2 (en)*1995-06-072010-09-07Warsaw Orthopedic, Inc.Implant having arcuate upper and lower bearing surfaces along a longitudinal axis
US8021430B2 (en)*1995-06-072011-09-20Warsaw Orthopedic, Inc.Anatomic spinal implant having anatomic bearing surfaces
US8444696B2 (en)*1995-06-072013-05-21Warsaw Orthopedic, Inc.Anatomic spinal implant having anatomic bearing surfaces
US6447544B1 (en)*1995-06-072002-09-10Gary Karlin MichelsonLordotic interbody spinal fusion implants
US6302914B1 (en)*1995-06-072001-10-16Gary Karlin MichelsonLordotic interbody spinal fusion implants
US5683394A (en)*1995-09-291997-11-04Advanced Spine Fixation Systems, Inc.Fusion mass constrainer
US5888227A (en)*1995-10-201999-03-30Synthes (U.S.A.)Inter-vertebral implant
US6149689A (en)*1995-11-222000-11-21Eska Implants Gmbh & Co.Implant as bone replacement
US5888223A (en)*1995-12-081999-03-30Bray, Jr.; Robert S.Anterior stabilization device
US5653763A (en)*1996-03-291997-08-05Fastenetix, L.L.C.Intervertebral space shape conforming cage device
USD425989S (en)*1996-07-152000-05-30Sofamor Danek Holdings, Inc.Artificial spinal fusion implant
US6159214A (en)1996-07-312000-12-12Michelson; Gary K.Milling instrumentation and method for preparing a space between adjacent vertebral bodies
US5861041A (en)1997-04-071999-01-19Arthit SitisoIntervertebral disk prosthesis and method of making the same
US6071310A (en)*1997-05-202000-06-06George J. PichaSpinal implant
US6346122B1 (en)*1997-05-202002-02-12George J. PichaSpinal implant
US6241771B1 (en)*1997-08-132001-06-05Cambridge Scientific, Inc.Resorbable interbody spinal fusion devices
US5824094A (en)1997-10-171998-10-20Acromed CorporationSpinal disc
US6143033A (en)*1998-01-302000-11-07Synthes (Usa)Allogenic intervertebral implant
US6251140B1 (en)*1998-05-272001-06-26Nuvasive, Inc.Interlocking spinal inserts
US6258125B1 (en)*1998-08-032001-07-10Synthes (U.S.A.)Intervertebral allograft spacer
US7056342B2 (en)*1998-10-302006-06-06Sdgi Holdings, Inc.Self-broaching, rotatable, push-in interbody spinal fusion implant and method for deployment thereof
US6200347B1 (en)*1999-01-052001-03-13LifenetComposite bone graft, method of making and using same
US8343220B2 (en)*1999-05-052013-01-01Warsaw Orthopedic, Inc.Nested interbody spinal fusion implants
US6558423B1 (en)1999-05-052003-05-06Gary K. MichelsonInterbody spinal fusion implants with multi-lock for locking opposed screws
US7033394B2 (en)*1999-05-052006-04-25Sdgi Holdings, Inc.Interbody spinal fusion implants with end cap for locking vertebral body penetrating members
US6277149B1 (en)*1999-06-082001-08-21Osteotech, Inc.Ramp-shaped intervertebral implant
US6530955B2 (en)*1999-06-082003-03-11Osteotech, Inc.Ramp-shaped intervertebral implant
US6964687B1 (en)*1999-07-092005-11-15Scient'xAnatomical interbody implant and gripper for same
US7169183B2 (en)*2000-03-142007-01-30Warsaw Orthopedic, Inc.Vertebral implant for promoting arthrodesis of the spine
US6572654B1 (en)*2000-10-042003-06-03Albert N. SantilliIntervertebral spacer
US7018418B2 (en)*2001-01-252006-03-28Tecomet, Inc.Textured surface having undercut micro recesses in a surface
US6989031B2 (en)*2001-04-022006-01-24Sdgi Holdings, Inc.Hemi-interbody spinal implant manufactured from a major long bone ring or a bone composite
USD503801S1 (en)*2004-04-052005-04-05Roger P. JacksonInterbody spacer for spinal implantation
US8343219B2 (en)*2007-06-082013-01-01Ldr MedicalIntersomatic cage, intervertebral prosthesis, anchoring device and implantation instruments
US20110022160A1 (en)*2009-07-242011-01-27Boston Scientific Scimed, Inc.Medical Devices Having an Inorganic Coating Layer Formed by Atomic Layer Deposition
US8632604B2 (en)*2009-10-222014-01-21Depuy International LimitedMedical implant device
US8372423B2 (en)*2009-11-252013-02-12Healionics CorporationImplantable medical devices having microporous surface layers and method for reducing foreign body response to the same
EP2703580A1 (en)2012-08-282014-03-05Faber, SylkeSlipform device for producing concrete safety walls

Non-Patent Citations (25)

* Cited by examiner, † Cited by third party
Title
Amendment in Reexam Control No. 95/002,380, filed Feb. 19, 2013, 15 pages.
Brandt, L., et al.; A Dowell Inserter for Anterior Cervical Interbody Fusion; J. Neurosurg. 61:793-794 (Oct. 1984).
Corrected Petition for Inter PartesReview of United States Patent No. 8,444,696 Pursuant to 35 U.S.C. §§ 311-319, 37 C.F.R. § 42; dated Jul. 9, 2013; 508 pages.
Corrected Petition for Inter PartesReview of United States Patent No. 8,444,696 Pursuant to 35 U.S.C. §§ 311-319, 37 C.F.R. § 42; dated Jul. 9, 2013; 570 pages.
Decision Expunging Papers in Reexamination Control No. 95/002,380, Mar. 26, 2013, 4 pages.
Decision Instituting Inter Partes Review for U.S. Patent No. 8,444,696 under 27 C.F.R. § 42.108; IPR2013-00395; Dec. 20, 2013; 18 pages.
Decision Instituting Inter Partes Review for U.S. Patent No. 8,444,696 under 27 C.F.R. § 42.108; IPR2013-00396; Dec. 20, 2013; 17 pages.
European Search Report dated Jan. 12, 2000 for European Patent Application No. 96918001 in the name of Gary Karlin Michelson.
Office Action from Reexamination Proceeding No. 95/002,380; mailed Nov. 29, 2012; 18 pages.
Official Communication from the Canadian Intellectual Property Office dated Jan. 31, 2002 from corresponding Canadian Patent Application No. 2,223,964.
Petition for Inter PartesReview of United States Patent No. 8,444,696 Pursuant to 35 U.S.C. §§ 311-319, 37 C.F.R. § 42; dated Jun. 27, 2013; 64 pages.
Petition for Inter PartesReview of United States Patent No. 8,444,696 Pursuant to 35 U.S.C. §§ 311-319, 37 C.F.R. § 42; dated Jun. 27, 2013; 65 pages.
Petitioner's Reply to Patent Owner's Response; with Exhibits; IPR2013-00395; dated Jun. 2, 2014; 583 pages.
Petitioner's Reply to Patent Owner's Response; with Exhibits; IPR2013-00396; dated Jun. 2, 2014; 640 pages.
Petitioner's Response to the Motion for Observation Regarding Cross-Examination of Dr. Brantigan; IPR2013-00395; dated Jul. 10, 2014; 7 pages.
Petitioner's Response to the Motion for Observation Regarding Cross-Examination of Dr. Brantigan; IPR2013-00396; dated Jul. 10, 2014; 5 pages.
Request for Inter Partes Reexamination of U.S. Patent No. 8,021,430, dated Sep. 14, 2012, 477 pages.
Tech. Mitt. Krupp, Nickel-Titanium Spacers for Partial Stiffening of the Spinal Column-Problems Involved, Manufacture, Pretesting, and Clinical Use; vol. 42 (1984), No. 1, pp. 24-38; including translation pp. 5-27.
Third Party Comments in Reexam Control No. 95/002,380, filed Mar. 21, 2013, 52 pages.
Warsaw Orthopedic, Inc., v. Nuvasive, Inc.; Complaint for Patent Infringement and Jury Demand; Case No. 3:12CV 438; Aug. 17, 2012; 7 pages.
Warsaw Orthopedic, Inc., v. Nuvasive, Inc.; Plaintiff's Disclosure of Asserted Claims and Infringement Contentions Re U.S. Patent No. 8,444,696; Case No. 3:12-cv-02738-CAB (MDD); May 23, 2013; 31 pages.
Warsaw's Motion for Observation Regarding Cross-Examination of Dr. Brantigan; with Exhibits; IPR2013-00395; dated Jun. 26, 2014; 340 pages.
Warsaw's Motion for Observation Regarding Cross-Examination of Dr. Brantigan; with Exhibits; IPR2013-00396; dated Jun. 26, 2014; 321 pages.
Warsaw's Patent Owner Response; with Exhibits; IPR2013-00395; Apr. 11, 2014; 391 pages.
Warsaw's Patent Owner Response; with Exhibits; IPR2013-00396; Apr. 11, 2014; 370 pages.

Cited By (35)

* Cited by examiner, † Cited by third party
Publication numberPriority datePublication dateAssigneeTitle
US10195053B2 (en)2009-09-182019-02-05Spinal Surgical Strategies, LlcBone graft delivery system and method for using same
US11660208B2 (en)2009-09-182023-05-30Spinal Surgical Strategies, Inc.Bone graft delivery system and method for using same
US10973656B2 (en)2009-09-182021-04-13Spinal Surgical Strategies, Inc.Bone graft delivery system and method for using same
US10245159B1 (en)2009-09-182019-04-02Spinal Surgical Strategies, LlcBone graft delivery system and method for using same
US10792166B2 (en)2009-11-052020-10-06DePuy Synthes Products, Inc.Self-pivoting spinal implant and associated instrumentation
US10195049B2 (en)2009-11-052019-02-05DePuy Synthes Products, Inc.Self-pivoting spinal implant and associated instrumentation
US9931224B2 (en)2009-11-052018-04-03DePuy Synthes Products, Inc.Self-pivoting spinal implant and associated instrumentation
US11712349B2 (en)2009-11-052023-08-01DePuy Synthes Products, Inc.Self-pivoting spinal implant and associated instrumentation
US10022245B2 (en)2012-12-172018-07-17DePuy Synthes Products, Inc.Polyaxial articulating instrument
US12193948B2 (en)2013-03-132025-01-14Life Spine, Inc.Expandable implant assembly
US11986398B2 (en)2013-03-132024-05-21Life Spine, Inc.Expandable implant assembly
US10219915B1 (en)2013-05-222019-03-05Nuvasive, Inc.Expandable fusion implant and related methods
US9788971B1 (en)2013-05-222017-10-17Nuvasive, Inc.Expandable fusion implant and related methods
US10492924B2 (en)2013-08-092019-12-03Nuvasive, Inc.Lordotic expandable interbody implant
US12213893B2 (en)2013-08-092025-02-04Nuvasive, Inc.Lordotic expandable interbody implant and method of using same
US9801734B1 (en)2013-08-092017-10-31Nuvasive, Inc.Lordotic expandable interbody implant
US11696836B2 (en)2013-08-092023-07-11Nuvasive, Inc.Lordotic expandable interbody implant
US9707100B2 (en)2015-06-252017-07-18Institute for Musculoskeletal Science and Education, Ltd.Interbody fusion device and system for implantation
US12329656B2 (en)2016-10-182025-06-17Camber Spine Technologies, LLCImplant with deployable blades
US11877935B2 (en)2016-10-182024-01-23Camber Spine Technologies, LLCImplant with deployable blades
US11872143B2 (en)2016-10-252024-01-16Camber Spine Technologies, LLCSpinal fusion implant
US11896494B2 (en)2017-07-102024-02-13Life Spine, Inc.Expandable implant assembly
US10966843B2 (en)2017-07-182021-04-06DePuy Synthes Products, Inc.Implant inserters and related methods
US11690734B2 (en)2017-08-142023-07-04DePuy Synthes Products, Inc.Intervertebral implant inserters and related methods
US11045331B2 (en)2017-08-142021-06-29DePuy Synthes Products, Inc.Intervertebral implant inserters and related methods
US12138179B2 (en)2019-06-102024-11-12Life Spine, Inc.Expandable implant assembly with compression features
US12042395B2 (en)2019-06-112024-07-23Life Spine, Inc.Expandable implant assembly
US11857432B2 (en)2020-04-132024-01-02Life Spine, Inc.Expandable implant assembly
US12138178B2 (en)2020-04-162024-11-12Life Spine, Inc.Expandable implant assembly
US11602439B2 (en)2020-04-162023-03-14Life Spine, Inc.Expandable implant assembly
US12336917B2 (en)2020-05-152025-06-24Life Spine, Inc.Steerable implant assembly
US11602440B2 (en)2020-06-252023-03-14Life Spine, Inc.Expandable implant assembly
US12427033B2 (en)2020-06-252025-09-30Life Spine, Inc.Expandable implant assembly
US11554020B2 (en)2020-09-082023-01-17Life Spine, Inc.Expandable implant with pivoting control assembly
US12364610B2 (en)2020-09-082025-07-22Life Spine, Inc.Expandable implant with pivoting control assembly

Also Published As

Publication numberPublication date
CA2223964C (en)2004-01-27
CN1167391C (en)2004-09-22
AU722080B2 (en)2000-07-20
DE69637048T2 (en)2007-08-16
DE29623362U1 (en)1998-03-26
EP0840580B1 (en)2007-04-25
US7789914B2 (en)2010-09-07
US5609635A (en)1997-03-11
EP0840580A4 (en)2000-08-09
DE69637048D1 (en)2007-06-06
CA2223964A1 (en)1996-12-19
JPH11506658A (en)1999-06-15
EP1829503A2 (en)2007-09-05
EP1829503B1 (en)2009-09-16
US7503933B2 (en)2009-03-17
EP1829503A3 (en)2007-09-19
DE69638030D1 (en)2009-10-29
CN1190880A (en)1998-08-19
KR100383413B1 (en)2004-02-19
US20110004310A1 (en)2011-01-06
US6302914B1 (en)2001-10-16
US20050038512A1 (en)2005-02-17
US20120071982A1 (en)2012-03-22
US8444696B2 (en)2013-05-21
AU6036496A (en)1996-12-30
US20030040798A1 (en)2003-02-27
ATE360402T1 (en)2007-05-15
KR19990022608A (en)1999-03-25
JP2007236972A (en)2007-09-20
US8021430B2 (en)2011-09-20
EP0840580A1 (en)1998-05-13
US20130253652A1 (en)2013-09-26
WO1996040015A1 (en)1996-12-19
US6447544B1 (en)2002-09-10

Similar Documents

PublicationPublication DateTitle
US8858638B2 (en)Spinal implant
US7691148B2 (en)Frusto-conical spinal implant
US20050113916A1 (en)Expandable spinal implant
EP1328217A2 (en)Osteogenic fusion devices
CA2447257C (en)Modular lordotic interbody spinal fusion implant
AU733977B2 (en)Lordotic interbody spinal fusion implants
AU743813B2 (en)Translateral spinal implant

Legal Events

DateCodeTitleDescription
ASAssignment

Owner name:SDGI HOLDINGS, INC., DELAWARE

Free format text:ASSIGNMENT OF ASSIGNORS INTEREST;ASSIGNOR:MICHELSON, GARY KARLIN;REEL/FRAME:030447/0952

Effective date:20050517

Owner name:WARSAW ORTHOPEDIC, INC., INDIANA

Free format text:MERGER;ASSIGNOR:SDGI HOLDINGS, INC.;REEL/FRAME:030448/0013

Effective date:20060428

FEPPFee payment procedure

Free format text:MAINTENANCE FEE REMINDER MAILED (ORIGINAL EVENT CODE: REM.)

LAPSLapse for failure to pay maintenance fees

Free format text:PATENT EXPIRED FOR FAILURE TO PAY MAINTENANCE FEES (ORIGINAL EVENT CODE: EXP.); ENTITY STATUS OF PATENT OWNER: LARGE ENTITY

STCHInformation on status: patent discontinuation

Free format text:PATENT EXPIRED DUE TO NONPAYMENT OF MAINTENANCE FEES UNDER 37 CFR 1.362

FPLapsed due to failure to pay maintenance fee

Effective date:20181014


[8]ページ先頭

©2009-2025 Movatter.jp