Movatterモバイル変換


[0]ホーム

URL:


US8712383B1 - Tactile output device for computing device notifications - Google Patents

Tactile output device for computing device notifications
Download PDF

Info

Publication number
US8712383B1
US8712383B1US13/529,704US201213529704AUS8712383B1US 8712383 B1US8712383 B1US 8712383B1US 201213529704 AUS201213529704 AUS 201213529704AUS 8712383 B1US8712383 B1US 8712383B1
Authority
US
United States
Prior art keywords
alert
computing device
signal
tactile
event
Prior art date
Legal status (The legal status is an assumption and is not a legal conclusion. Google has not performed a legal analysis and makes no representation as to the accuracy of the status listed.)
Active, expires
Application number
US13/529,704
Inventor
Barry Hayes
Peter Dolan
Current Assignee (The listed assignees may be inaccurate. Google has not performed a legal analysis and makes no representation or warranty as to the accuracy of the list.)
Google LLC
Original Assignee
Google LLC
Priority date (The priority date is an assumption and is not a legal conclusion. Google has not performed a legal analysis and makes no representation as to the accuracy of the date listed.)
Filing date
Publication date
Application filed by Google LLCfiledCriticalGoogle LLC
Priority to US13/529,704priorityCriticalpatent/US8712383B1/en
Assigned to GOOGLE INC.reassignmentGOOGLE INC.ASSIGNMENT OF ASSIGNORS INTEREST (SEE DOCUMENT FOR DETAILS).Assignors: DOLAN, PETER, HAYES, BARRY
Application grantedgrantedCritical
Publication of US8712383B1publicationCriticalpatent/US8712383B1/en
Assigned to GOOGLE LLCreassignmentGOOGLE LLCCHANGE OF NAME (SEE DOCUMENT FOR DETAILS).Assignors: GOOGLE INC.
Activelegal-statusCriticalCurrent
Adjusted expirationlegal-statusCritical

Links

Images

Classifications

Definitions

Landscapes

Abstract

In general, this disclosure describes techniques for providing a user with an alert device that provides alert options indicatives of events associated with applications or actions of a computing device. The provided alert options may be such that they do not create additional distractions, and eliminate the need for the user to have to constantly check for upcoming appointments or events. Specifically, a user can utilize a device to receive alerts from an associated computing device. The alerts may be associated with applications and actions running on the computing device.

Description

TECHNICAL FIELD
The disclosure relates to notifications associated with computing devices.
BACKGROUND
Computing devices often allow users to set up alerts associated with certain events. Often the reminders are audible, or in some cases distracting and noticeable. The user may at times wish to not be distracted or cause a distraction, and may thus be forced to turn off audible notifications. User may either miss an important notification or constantly check his or her computing device to see if an important event is coming up, thus causing additional distractions.
SUMMARY
In general, this disclosure describes techniques for providing a user with an alert device that provides alert options indicative of events associated with applications or actions of a computing device. The provided alert options may be such that they do not create additional distractions, and eliminate the need for the user to have to constantly check for upcoming appointments or events (e.g., calls, messages, e-mails, or the like). According to these techniques, a user can utilize a device (e.g., a tactile device) to receive alerts from an associated computing device (e.g., mobile phone, remote computer, or the like). The alerts may be associated with applications and actions (e.g., calendar events and reminders, e-mail, and the like) running on the computing device. According to these techniques, a computing device running an application or action may communicate an alert corresponding to an event associated with the application or action to an alert device, where the alert indicates to the user the occurrence of the event. The alerts may be set up in advance on the computing device, and the alert device may be associated with the computing device to receive a signal to output the appropriate alert.
In one example, the disclosure is directed to a method comprising receiving, by an alert device, a notification signal communicated by a computing device, wherein the notification signal is indicative of an event, and wherein the alert device is communicatively coupled with the computing device, responsive to receiving the notification signal, selecting, by the alert device, a tactile signal from a plurality of tactile signals based on the notification signal, wherein the tactile signal differs in at least one of intensity and pattern from another tactile signal in the plurality of tactile signals, and outputting the tactile signal indicative of the received notification and detectable by a user of the computing device.
In another example, the disclosure is directed to a device comprising one or more processors, a communication interface operable by the one or more processors to receive a notification signal communicated by a computing device, wherein the notification signal is indicative of an event, and wherein the device is communicatively coupled with the computing device, and wherein the one or more processors is configured to, responsive to receiving the notification signal, select a tactile signal out of a plurality of tactile signals based at least in part on the event and to output the tactile signal indicative of the received notification and detectable by a user of the computing device, wherein the tactile signal differs in at least one of intensity and pattern from another tactile signal in the plurality of tactile signals.
In another example, the disclosure is direction to a computer-readable storage medium, in a device, encoded with instructions that, when executed, cause one or more processors to perform operations comprising receiving a notification signal communicated by a computing device, wherein the notification signal is indicative of an event, and wherein the device is communicatively coupled with the computing device, responsive to receiving a notification signal, selecting a tactile signal out of a plurality of tactile signals based at least in part on the event, wherein the tactile signal differs in at least one of intensity and pattern from another tactile signal in the plurality of tactile signals, and outputting the tactile signal indicative of the received notification and detectable by a user of the computing device.
The details of one or more examples are set forth in the accompanying drawings and the description below. Other features, objects, and advantages will be apparent from the description and drawings, and from the claims.
BRIEF DESCRIPTION OF DRAWINGS
FIG. 1A is a block diagram illustrating an example system according to some aspects of the disclosure.
FIG. 1B is a graphical diagram illustrating an example computing device communicating with an example alert device according to some aspects of the disclosure.
FIG. 2A is a block diagram illustrating further details of one example of the computing device shown inFIG. 1 according to some aspects of the disclosure.
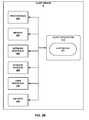
FIG. 2B is a block diagram illustrating further details of one example of the alert device shown inFIG. 1 according to some aspects of the disclosure.
FIG. 3 is a flow diagram illustrating example operation of a computing device in communicating with a destination based on navigation information according to some aspects of the disclosure.
DETAILED DESCRIPTION
Computing devices, such as mobile devices, often provide users with the convenience of alerting their users to events in applications, e.g., reminders of upcoming appointments, newly received e-mails or voicemails/text messages, and the like. For example, when setting up an appointment in a calendar, a user may request a reminder at some time interval before the appointment, e.g., 30 minutes, 1 day, and so forth. Often, the reminders and alerts are audible or noticeable and therefore distracting. However, in certain situations, a user may wish to turn off the audio alert (e.g., during a meeting, in the movies, and so forth). The user may still wish to know when and if he/she receives a new message or has an upcoming appointment. What users frequently do, when distracting alerts are turned off, is to check their mobile devices to see if they have an upcoming appointment or a missed call/message/e-mail. This can cause additional distractions.
In general, this disclosure describes techniques for providing a user with an alert device that provides alert options indicative of events associated with applications or actions of a computing device. The provided alert options may be such that they do not create additional distractions, and eliminate the need for the user to have to constantly check for upcoming appointments or events (e.g., calls, messages, e-mails, or the like). According to these techniques, a user can utilize a device (e.g., a tactile device) to receive alerts from an associated computing device (e.g., mobile phone, remote computer, or the like). The alerts may be associated with applications and actions (e.g., calendar events and reminders, e-mail, and the like) running on the computing device. According to these techniques, a computing device running an application or action may communicate an alert corresponding to an event associated with the application or action to an alert device, where the alert indicates to the user the occurrence of the event. The alerts may be set up in advance on the computing device, and the alert device may be associated with the computing device to receive a signal to output the appropriate alert.
The techniques of this disclosure provide a user with the ability to receive alerts from an alert device indicative of events corresponding to applications or actions running on a computing device. The user may associate the alert device with the computing device, such that alerts corresponding to applications running on the computing device may be output by the alert device. When the user wishes to turn off distracting alerts of the computing device, the alert device may be enabled, such that when an alert comes up on the computing device, the alert device may output a corresponding alert. The user may set a different alert for each application or event. The alerts may be inaudible, for example, pressure, vibrations, or the like. In one example, the alert may be a subtle and gentle signal (e.g., pressure) applied by the alert device such that the alert may not be noticeable by itself, but the user may notice the transition and/or the explicit focus brought by the application of the signal.
In one example, as noted above, the user of a computing device may set an alert for one or more applications running on a computing device (e.g., reminders, timers, or the like) or may enable alerts for applications (e.g., email, text message, or voicemail notifications, or the like). The user may also associate an alert device with the computing device, such that when alerts occur on the computing device, the alert device receives a signal indicating an alert, which the alert device may then output according to the settings selected by the user.
In one example, the user may utilize the computing device to indicate switching to an alert mode that utilizes the alert device, e.g., select in settings the alert device. In another example, the computing device may switch automatically to an alert mode that utilizes the alert device when certain settings are detected, e.g., selection of “silent” or “tactile” mode.
In one example, the user may set up a calendar appointment or event, and set an alert, where the alert may serve as an appointment reminder for the user. The alert may be set for a time interval leading up to the appointment, for example, 30 minutes before the appointment time. When it is time for the alert, e.g., 30 minutes before the appointment time, and while the computing device is set to utilize the alert device for outputting alerts, the user may receive a tactile alert.
In other examples, the tactile alert may be used to act as a notification to alert the user that there are unread emails in the user's inbox, or text messages, or to indicate an incoming phone call. In this manner, the user may not need to look at his/her device or the different applications to determine whether something is coming up or an event has occurred.
According to techniques of this disclosure, the tactile alerts may be output by the alert device, which may be a stand-alone object or incorporated into another device. For example, the alert device may be a dedicated wristband. In another example, the alert device may be incorporated into a watch, a bracelet, jewelry, a trinket, a charm, or another existing object that the user wears or utilizes. As noted above, the alert device may be associated with the user's computing device, such that when an alert comes up on a computing device application, the computing device communicates a signal to the alert device, which provides some form of tactile feedback (e.g., pressure, vibration, and the like).
In some examples, the tactile alert may be variable, and may depend on the associated application. For example, a tactile alert associated with a calendar event may be different from a tactile alert associated with an incoming call. In some examples, the tactile alert may also vary according to urgency, such as the time remaining until the occurrence of the event. For example, a tactile alert associated with a reminder 30 minutes prior to a calendar event may be different (e.g., a more intense tactile alert) from a tactile alert associated with a reminder that is one day prior to an event. The variations in the tactile alerts may be customizable by the user. For example, the user may assign different tactile alerts (e.g., intensity, pattern, etc.) to different contacts in user's phone book, such that the use can without looking determine a group of contacts associated with the tactile alert.
In one example, the alert device may be a wrist band, and may have a plate that presses into the user's wrist to alert the user to events associated with user's mobile phone. The amount of pressure may indicate the urgency of an event or the type of event. For example, alerts for incoming phone calls may cause stronger pressure to be exerted by the alert device than alerts for a text message. In another example, the tactile alert may be a vibration, and different vibration patterns and/or intensity may be used to indicate the type of associated event and/or urgency. In one example, the alert device may comprise passive pressure plates, which may provide alerts in the form of passive pressure.
The computing device and the alert device may communicate in one of several ways. For example, the communication may be achieved over a Bluetooth® connection. In other examples, the alert device may be built into or may include a data connection capable of communicating with the computing device over a data transmission scheme (e.g., WiFi). In some examples, the computing device may communicate directly with the alert device or through a remote device.
FIG. 1 is a block diagram illustrating anexample system2 in accordance with one or more aspects of this disclosure. As illustrated inFIG. 1,communication system2 may includecomputing device4,alert device6, andnetwork10. In one example,alert device6 may be a stand-alone device or object or may be incorporated into another device or object.Computing device4 may includealert setup application114, andalert device6 may includealert application214, the operation of each of which will be described in more detail below.Computing device4 andalert device6 may be separate objects, so that, for example,alert device6 is not incorporated intocomputing device4.
In some examples,computing device4 may comprise, but is not limited to, a mobile device. For example,computing device4 may comprise or be part of a wireless communication device (e.g., wireless mobile handset or device), a video telephone, a digital multimedia player, a personal digital assistant (PDA), a video game console, a laptop computer, a tablet computer, or other devices. For purposes of illustration only,computing devices4 may at times be described in this disclosure as a mobile device or mobile phone device, but aspects of this disclosure should not be considered limited to mobile phone devices.
As noted above,alert device6 may be a stand-alone object or may be part of another device. In one example,alert device6 may be a wrist band or a device that is in direct contact with the user, and may have a portion, e.g., an outer surface, which may be in contact with the user's skin and may utilize some type of tactile signaling (e.g., pressure, vibration, haptic feedback, and the like) to alert the user with events associated withcomputing device4. In other examples,alert device6 is not worn by or in direct contact with the user. For example,alert device6 may be a charm attached to the user's purse or bag, or may be a device that the user may leave on a table that the user is using. In some examples,alert device6 may be built into another device. For example,alert device6 may be built into a wrist watch, or may be built into the steering wheel or the driver's seat of an automotive vehicle, so thatalert device6 may provide haptic feedback to the user regarding events associated withcomputing device4 while the user is driving. Variations of the tactile signal may be utilized to indicate different types of alerts or events. The variation may depend on the urgency of an event or on the type of event. In some examples,alert device6 may not provide a visual indication of alerts of events associated withcomputing device4. In some examples,alert device6 may not include a display (e.g., a screen) for providing visual indication of alerts of events associated withcomputing device4.
In one example,computing device4 andalert device6 may include Wi-Fi, Bluetooth, or other wireless communication capabilities, and may be configured to communicate over anetwork10.Computing device4 andalert device6 may utilizenetwork10 to communicate with each other and other devices. For example,computing device4 may communicate a signal to alertdevice6 indicating occurrence of an event, and alert device may as a result output an alert to the user.
In one example, the user ofcomputing device4 may associate computingdevice4 withalert device6, such that alerts associated with applications running oncomputing device4 are output byalert device6. In one example,computing device4 andalert device6 may be associated using one of several methods such as, for example, using Bluetooth pairing, configuring their IP addresses, using near-field communication to configure the connection, printing a QR-code printed for one device with the device information and read by the other device to set up the connection, and so forth. For example, using the Bluetooth pairing, each ofcomputing device4 andalert device6 may go into a discovery mode, then each of the devices may transmit a secret key between them and provide the user with a request to verify that both devices have the same secret key, or the verification may be performed automatically.
In one example, the alerts associated with applications running oncomputing device4 may be set up by the user, e.g., event reminders in calendar application, timers, alarm clock, and the like. In another example, the alerts may be associated with normal operation of certain applications, e.g., incoming call, text message, voicemail, or the like. In some examples, the alerts may be set up through a separate application associated withalert setup application114, or may be set up within the applications themselves. For example, alerts for the calendar may be set up fromalert setup application114 or alerts may be generally enabled throughalert setup application114 and specific alerts set up within the corresponding applications (e.g., calendar). In another example, a user may turn on a silent mode forcomputing device4, which may automatically turn on an alert mode that forwards alerts fromcomputing device4 to alertdevice6.
In one example,computing device4 andalert device6 may communicate directly throughnetwork10, such as via peer-to-peer communication (e.g., via Bluetooth). In another example,computing device4 andalert device6 may communicate through a server. In this example, requests and information communicated by either device may be communicated to a server and retrieved from the server. The following discussion describes the techniques of the disclosure using the example where computing devices communicate directly throughnetwork10, but it should be understood that the techniques may be implemented such that the computing devices communicate through a central server.
In one example,computing device4 may have one or more applications running that usually provide some type of a notice or alert to the user associated with its operation. However, the user may wish to turn off alerts associated withcomputing device4 as they may be distracting. In one example, when the user turns off the regular alerts oncomputing device4, alerts may be automatically forwarded to alertdevice6, upon enablingalert setup application114. In another example, when the user turns off alerts oncomputing device4, the user may also enable alert forwarding fromalert setup application114 or directly from the applications. In one example, alerts associated with all applications running oncomputing device4 may be forwarded to alertdevice6. In another example, the user may select which applications running oncomputing device4 should forward alerts to alertdevice6. In some examples, when the user setscomputing device4 to silent mode, alerts may be automatically forwarded to alertdevice6.
In one example, during the operation of an applicationrunning computing device4 an event may occur that may require an alert. During normal operation,computing device4 may output an audible alert or an alert that is noticeable to the user, either audibly or visually. During a mode, where alerts may be turned off oncomputing device4 or configured by the user to forward some or all alerts, alerts associated with applications running oncomputing device4 may be forwarded to alertdevice6. In one example,alert device6 may output one type of alert for all alerts forwarded by computingdevice4. In another example,alert device6 may output alerts that vary from one application to another, and may also vary based on other criteria (e.g., urgency).
Alert device6 may receive from computing device4 a signal indicating an alert that is being forwarded.Alert device6 may determine the type of corresponding output alert based on the signal. The type of output alert may depend on the configuration of alerts oncomputing device4. In one example,alert device6 may output the same type of alert for all received signals. In this example, the signal may simply indicate that an alert is required, and may be the same regardless of the associated application running oncomputing device4. In another example,alert device6 may output a different alert based on the received signal. In one example, the signal sent by computingdevice4 may contain the type of alert to output (e.g., intensity, frequency, or the like). In another example, the signal sent by computingdevice4 may contain information about the associated application and type of event or its urgency, andalert application214 ofalert device6 may determine the type of alert to output based on the information in the received signal.Alert device6 may then output the appropriate type of alert, which may controlled byalert application214, which may control an alert output mechanism according to the type of alert. The alert output mechanism may be a portion ofalert device6 that is in contact with the user and may provide a mechanical or tactile output (e.g., vibration, haptic feedback, etc.) corresponding to the alert. In some examples, certain characteristics of the tactile output may relay certain information to the user. For example, a tactile output having a specific intensity level may be selected, so that more intense tactile output may indicate a more urgent matter having a higher level of importance (e.g., incoming phone call from an important contact, calendar event that is very soon, or the like). In another example, a tactile output having a specific pattern may be selected, so that the tactile pattern may indicate the type of associated application so that, for example, an alert associated with a phone application may have a different tactile pattern than an alert associated with a text messaging application. In one example, different types of tactile output and the corresponding characteristics may be set up by the user oncomputing device4 or onalert device6. In other examples, characteristics of the tactile output may indicate the identity of an originator of an incoming call tocomputing device4, or the identity of a sender of a text message tocomputing device4.
In some examples, the tactile output may vary in intensity based on the urgency of the alert. For example, the tactile output for an alert alerting the user to an event occurring in 24 hours may be less intense than the tactile output for an alert alerting the user to an event occurring in an hour, which in turn may be less intense than the tactile output for an alert alerting the user to an event occurring in 5 minutes. Alternatively, alerts may be associated with a level of importance (e.g., low importance, normal importance, and high importance), and tactile outputs for alerts associated with high importance may be more intense than tactile outputs for alerts associated with normal importance.
FIG. 1B is a graphical diagram illustrating anexample computing device4 communicating with anexample alert device6. As shown in the specific example ofFIG. 1B,computing device4 may be a mobile computing device, such as a mobile phone, andalert device6 may be a wristband ofwristwatch12.Computing device4 may communicate alert8 to alertdevice6, and, in response to receiving alert8,alert device6 may output a tactile signal. For example, the tactile signal outputted byalert device6 may be vibrations or other haptic feedback that may causealert device6 and/orwristwatch12 to also vibrate and provide haptic feedback in response to receivingalert8.
FIG. 2A is a block diagram illustrating further details ofcomputing device4 shown inFIG. 1.FIG. 2A illustrates only one particular example ofcomputing device4, and many other example embodiments ofcomputing device4 may be used in other instances. As shown in the example ofFIG. 2A,computing device4 includes one ormore processors122,memory124, a network interface126, one ormore storage devices128, user interface130, and anoptional battery132. For example, if computingdevice4 comprises a mobile device,computing device4 may includebattery132. Each ofcomponents122,124,126,128,130, and132 may be interconnected via one or more buses for inter-component communications.Processors122 may be configured to implement functionality and/or process instructions for execution withincomputing device4.Processors122 may be capable of processing instructions stored inmemory124 or instructions stored onstorage devices128.
User interface130 may include, for example, a monitor or other display device for presentation of visual information to a user ofcomputing device4. User interface130 may further include one or more input devices to enable a user to input data, such as a manual keyboard, mouse, touchpad, trackpad, etc. In some examples, user interface130 may comprise a presence-sensitive user interface device such as, for example, a touch screen, which may be used both to receive and process user input and also to display output information. User interface130 may further include printers or other devices to output information. In various instances in the description contained herein, references made to user interface130 may refer to portions of user interface130 (e.g., touch screen) that provide user input functionality. In one example, user interface130 may be a touch screen that is responsive to tactile input by the user (e.g., by user's finger or stylus pen). User interface130 may include soft buttons and/or hard buttons, which may be utilized by a user to provide input and/or make selections.
Memory124 may be configured to store information withincomputing device4 during operation.Memory124 may, in some examples, be described as a computer-readable storage medium. In some examples,memory124 is a temporary memory, meaning that a primary purpose ofmemory124 is not long-term storage.Memory124 may also be described as a volatile memory, meaning thatmemory124 does not maintain stored contents when the computer is turned off. Examples of volatile memories include random access memories (RAM), dynamic random access memories (DRAM), static random access memories (SRAM), and other forms of volatile memories known in the art. In some examples,memory124 may be used to store program instructions for execution byprocessors122.Memory124 may be used by software or applications running on computing device4 (e.g.,alert setup application114 shown inFIG. 1) to temporarily store information during program execution.
Storage devices128 may also include one or more computer-readable storage media.Storage devices128 may be configured to store larger amounts of information thanmemory124.Storage devices128 may further be configured for long-term storage of information. In some examples,storage devices128 may comprise non-volatile storage elements. Examples of such non-volatile storage elements may include magnetic hard discs, optical discs, floppy discs, flash memories, or forms of electrically programmable memories (EPROM) or electrically erasable and programmable (EEPROM) memories.
Computing device4 also includes network interface126.Computing device4 may utilize network interface126 to communicate with external devices (e.g., one ormore servers8, other computing devices) via one or more networks (e.g., network10), such as one or more wireless/wired networks.Computing device4 may utilize network interface126 in response to execution of one or more applications that require transferring data to and/or from other devices (e.g., other devices, servers, or the like).Computing device4 may include Wi-Fi or Bluetooth capabilities, for example, which may be configurable to establish communication with alert device6 (FIG. 1) through network interface126.
Any applications implemented within or executed by computing device4 (e.g., alert setup application114) may be implemented or contained within, operable by, executed by, and/or be operatively coupled toprocessors122,memory124, network interface126,storage devices128, and/or user interface130.
In one example,computing device4 may includealert setup application114, which may generate signals corresponding to alerts associated with one or more applications running oncomputing device4.Alert setup application114 may includealert setup module142, which may generate the appropriate alert and corresponding signal based on settings of one or more applications running oncomputing device4. The settings may be the settings of the application (e.g., incoming call, calendar event reminders, or the like) or may be configured by the user (e.g., alerts based on the contact, alerts based on urgency, or the like). For example, alerts for all phone calls may be the same by default, or the user may assign different alerts (e.g., different intensities of alerts or different patterns of alerts) for different contacts. In another example, alerts for upcoming events on a calendar may all be the same by default, or may be configured by the user to vary based on urgency, how soon the event is, an assigned importance of the event, and the like.
In one example, during implementation or execution ofalert setup application114,alert setup module142 may be operable byprocessors122 to determine when computingdevice4 is operating in a mode that corresponds to utilizing alerts such that events associated with applications running oncomputing device4 may be output using a dedicated alert device (e.g., alert device6).Alert setup application114 may receive from an application an indication of an alert.Alert setup application114 may then generate a signal indicative of the alert, and cause it to be communicated to the alert device through network interface126. In one example, the same alert may be utilized for all applications, where an alert may indicate to a user that an event associated with an application has occurred. In another example, the alert may vary based on certain characteristics. For example, the alert may vary based on the type of associated application or on the urgency of the event. In one example, the generated signal indicative of the alert may include the type of alert to output by the alert device, where the alert device outputs the alert included in the signal. In another example, the generated signal may be indicative of the event and/or application for which an alert is desired, and the alert device may determine the type of alert to output.
Processor122 may be operable to execute one or more algorithms including, for example, an alert setup algorithm. In one example, the alert setup algorithm may generate signals indicative of alerts associated with applications running oncomputing device4 according to the techniques of this disclosure. In some examples, the algorithm may determine the type of alert for which an indicative signal is to be generated, by determining the type of event for which an alert is to be out to the user. Furthermore, the alert setup algorithm may provide the appropriate generated signal to a communication module (not shown) to transmit the generated alert to the alert device.
FIG. 2B is a block diagram illustrating further details of one example of the alert device shown inFIG. 1.FIG. 2B illustrates only one particular example ofalert device6, and many other example embodiments ofalert device6 may be used in other instances. As shown in the example ofFIG. 2B,alert device6 includes one ormore processors222,memory224, a network interface226, one ormore storage devices228, user interface230, andbattery232. For example, ifalert device6 comprises a standalone device or may be part of another device, wherealert device6 may be in contact with the user. In one example, wherealert device6 is part of another device, at least some of the components ofalert device6 may be in common with the other device of whichalert device6 is part. Each ofcomponents222,224,226,228,230, and232 may be interconnected via one or more buses for inter-component communications.Processors222 may be configured to implement functionality and/or process instructions for execution withinalert device6.Processors222 may be capable of processing instructions stored inmemory224 or instructions stored onstorage devices228. Each ofcomponents222,224,226,228,230, and232 may be generally similar tocomponents122,124,126,128,130, and132 ofcomputing device4 ofFIG. 2A.
In one example,alert device6 may include an alert output mechanism (not shown), which may be in contact with the user and may provide mechanic or tactile output corresponding to alerts in accordance with techniques of this disclosure. In some examples,memory224 may be used to store program instructions for execution byprocessors222.Memory224 may be used by software or applications running on alert device6 (e.g.,alert application214 shown inFIG. 1) to temporarily store information during program execution.
Alert device6 also includes network interface226.Alert device6 may utilize network interface226 to communicate with external devices (e.g., computing device4) via one or more networks (e.g., network10), such as one or more wireless/wired networks.Alert device6 may utilize network interface226 in response to execution of one or more applications that require transferring data to and/or from other devices (e.g., other devices, servers, or the like).Alert device6 may include Wi-Fi or Bluetooth capabilities, for example, which may be configurable to establish communication with computing device4 (FIG. 1) through network interface226.
Any applications implemented within or executed by alert device6 (e.g., alert application214) may be implemented or contained within, operable by, executed by, and/or be operatively coupled toprocessors222,memory224, network interface226,storage devices228, and/or user interface230.
In one example,alert device6 may includealert application214, which may receive signals corresponding to alerts associated with one or more applications running oncomputing device4, and output the appropriate alerts to the user.Alert application214 may includealert module242, which may utilize the received signal to generate the appropriate tactile output corresponding to the signal and the alert. In one example, the received signal may indicate the type of output alert, wherealert module242 may control the alert output mechanism based on the alert indicated in the received signal. The indicated alert may be the same for all events and/or applications ofcomputing device4 or may vary from one application to another and/or one event to another. In another example, the received signal may indicate an event associated with an application or the application for which an alert is needed. In this example,alert module242 may determine the output alert corresponding to the event and/or application, then control the alert output mechanism accordingly.
Computing device4 may be associated withalert device6, as discussed above. In one example, the user may utilizecomputing device4 to configurealert device6, where the configuration may include the events and/or applications associated withcomputing device4 and the corresponding alerts. In another example, the user may configure alert settings directly onalert device6.
In one example, during implementation or execution ofalert application214,alert module242 may be operable byprocessors222 to receive an indication thatcomputing device4 is operating in a mode that corresponds to utilizing alerts such that events associated with applications running oncomputing device4 may be output usingalert device6. In another example,alert device6 may start receiving alert signals fromcomputing device4 without first receiving an indication of operating in alert mode.
Alert application214 may receive from a signal indicative of an alert.Alert application214 may determine the appropriate tactile output based on the alert and output it by controlling the alert output mechanism. In one example, the same alert may be utilized for all applications, where an alert may indicate to a user that an event associated with an application has occurred. In another example, the alert may vary based on certain characteristics. For example, the alert may vary based on the type of associated application or on the urgency of the event. In one example, the generated signal indicative of the alert may include the type of alert to be output byalert device6, wherealert application214 causes the alert included in the signal to be output. In another example, the generated signal may be indicative of the event and/or application for which an alert is desired, then alertapplication214 may determine the type of alert to output based on the signal.
Processor222 may execute one or more algorithms including, for example, an alert algorithm. In one example, the alert algorithm may determine an alert based on received signals indicative of alerts associated with applications running oncomputing device4 according to the techniques of this disclosure. In some examples, the algorithm may determine the type of alert indicated by the signal received fromcomputing device4, or may determine the alert based on the type of event for which an alert is to be output to the user based on information about the event and/or application included in the signal.
FIG. 3 is a flow diagram illustrating a method that may be performed by an alert device in accordance with one or more aspects of the present disclosure. For example, the illustrated example method may be performed, at least in part, by alert device6 (FIGS. 1 and 2B). In some examples, a computer-readable storage medium (e.g., a medium included instorage device228 ofFIG. 2B) may be encoded with instructions that, when executed, cause one or more processors (e.g., processor222) to perform one or more of the acts illustrated in the method ofFIGS. 1 and 2B.
The method ofFIG. 3 includes establishing, by an alert device (e.g., alert device6), communication with a computing device (e.g., computing device4) (302). The establishment of the communication may be the result of the user of the computing device setting up the connection between the computing device and the alert device, such that alerts associated with applications and events running or occurring on the computing device, while in a certain alert mode (e.g., quiet or silent) may be output as a tactile output by the alert device. Therefore, the alert device may be communicatively coupled to the computing device via a communication channel (e.g., communication network10).
The method may further include wirelessly receiving, by the alert device, a notification signal communicated by the computing device (304). The notification signal may be indicative of an event, from the computing device. In this manner, the control of the alerts output by the alert device are controlled by the user's input at the computing device. The method may further include responsive to receiving the notification signal, selecting, by the alert device, a tactile signal from a plurality of tactile signals based on the notification signal, wherein the tactile signal differs in at least one of intensity and pattern from another tactile signal in the plurality of tactile signals (306). The method may also include outputting the tactile signal indicative of the received notification and detectable by the user of the computing device (308). The tactile signal may be output by a mechanism of the alert device that is controlled by an alert module, where the mechanism may be in contact with the user, such that when the user feels the tactile output that is based on the received notification and therefore the alert, the user is notified with minimal distraction of the associated event and/or application.
In some examples, the computing device may be a mobile phone. In some examples, the alert device may receive the notification signal from a server device, from the Internet, through a local network, or directly from the computing device via peer-to-peer communications. In some examples, selecting the tactile signal may further include determining a type associated with the notification signal, wherein the type depends on one of a plurality of applications associated with the mobile device, and selecting the tactile signal from a plurality of tactile signals based on the determined type.
In some examples, selecting the tactile signal may be based at least in part on a time remaining until the event, or may be based at least in part on a level of importance of the event. In some examples, the event may include the computing device receiving an incoming call, and selecting the tactile signal may be based at least in part on an identity of an originator of the incoming call. In some examples, the event may include the computing device receiving a message, and selecting the tactile signal may be based at least in part on an identity of a sender of the message. In some examples, selecting the tactile signal may further include selecting the tactile signal having a specific intensity level based on the event. In some examples, selecting the tactile signal may further include selecting the tactile signal having a specific pattern based on the event. In some examples, the tactile signal comprises haptic feedback.
The techniques described in this disclosure may be implemented, at least in part, in hardware, software, firmware, or any combination thereof. For example, various aspects of the described techniques may be implemented within one or more processors, including one or more microprocessors, digital signal processors (DSPs), application specific integrated circuits (ASICs), field programmable gate arrays (FPGAs), or any other equivalent integrated or discrete logic circuitry, as well as any combinations of such components. The term “processor” or “processing circuitry” may generally refer to any of the foregoing logic circuitry, alone or in combination with other logic circuitry, or any other equivalent circuitry. A control unit including hardware may also perform one or more of the techniques of this disclosure.
Such hardware, software, and firmware may be implemented within the same device or within separate devices to support the various techniques described in this disclosure. In addition, any of the described units, modules or components may be implemented together or separately as discrete but interoperable logic devices. Depiction of different features as modules or units is intended to highlight different functional aspects and does not necessarily imply that such modules or units must be realized by separate hardware, firmware, or software components. Rather, functionality associated with one or more modules or units may be performed by separate hardware, firmware, or software components, or integrated within common or separate hardware, firmware, or software components.
The techniques described in this disclosure may also be embodied or encoded in an article of manufacture including a computer-readable medium encoded with instructions. Instructions embedded or encoded in an article of manufacture including a computer-readable medium encoded, may cause one or more programmable processors, or other processors, to implement one or more of the techniques described herein, such as when instructions included or encoded in the computer-readable medium are executed by the one or more processors. Computer readable storage media may include random access memory (RAM), read only memory (ROM), programmable read only memory (PROM), erasable programmable read only memory (EPROM), electronically erasable programmable read only memory (EEPROM), flash memory, a hard disk, a compact disc ROM (CD-ROM), a floppy disk, a cassette, magnetic media, optical media, or other computer readable media. In some examples, an article of manufacture may include one or more computer-readable storage media.
In some examples, a computer-readable storage media may include non-transitory media. The term “non-transitory” may indicate that the storage medium is not embodied in a carrier wave or a propagated signal. In certain examples, a non-transitory storage medium may store data that can, over time, change (e.g., in RAM or cache).
Various aspects of this disclosure have been described. These and other aspects are within the scope of the following claims.

Claims (21)

The invention claimed is:
1. A method comprising:
wirelessly receiving, by an alert device, a notification signal communicated by a computing device, wherein:
the notification signal is indicative of an event and a level of urgency associated with the event,
the alert device is external to the computing device, and
the alert device is wirelessly and communicatively coupled with the computing device;
determining, by the alert device and based on one of a plurality of applications executable by the computing device, a type associated with the notification signal;
responsive to receiving the notification signal, selecting, by the alert device and based on the level of urgency associated with the event indicated by the notification signal and on the type associated with the notification signal, a tactile signal having at least a specified level of intensity, wherein the tactile signal is selected from a plurality of tactile signals each having a respective level of intensity, and wherein the specified level of intensity of the tactile signal differs from the respective level of intensity of another tactile signal from the plurality of tactile signals; and
outputting, by the alert device, the tactile signal at the specified level of intensity, wherein the tactile signal is detectable by a user of the computing device.
2. The method ofclaim 1, wherein the computing device comprises a mobile phone.
3. The method ofclaim 1, wherein the notification signal is wirelessly received from a server device.
4. The method ofclaim 1, wherein the notification signal is wirelessly received through a local network.
5. The method ofclaim 1, wherein the notification signal is wirelessly received by the alert device directly from the computing device via peer-to-peer communication.
6. The method ofclaim 1, wherein the alert device is a stand-alone device.
7. The method ofclaim 1, wherein the alert device is built into another device.
8. The method ofclaim 1, wherein selecting the tactile signal is based at least in part on a time remaining until occurrence of the event.
9. The method ofclaim 1, wherein selecting the tactile signal is based at least in part on a level of importance of the event.
10. The method ofclaim 1, wherein:
the event is an incoming call being received by the computing device; and
selecting the tactile signal is based at least in part on an identity of an originator of the incoming call.
11. The method ofclaim 1, wherein:
the event is a receipt of a message by the computing device; and
selecting the tactile signal is based at least in part on an identity of a sender of the message.
12. The method ofclaim 1, wherein the tactile signal includes a specific signal pattern based on the event.
13. The method ofclaim 1, wherein the tactile signal comprises haptic feedback.
14. A device comprising:
one or more processors; and
a communication interface operable by the one or more processors to wirelessly receive a notification signal communicated by a computing device, wherein the notification signal is indicative of an event and a level of urgency associated with the event, wherein the device is external to the computing device, and wherein the device is wirelessly and communicatively coupled with the computing device,
wherein the one or more processors are configured to, responsive to receiving the notification signal, determine, based on one of a plurality of applications executable by the computing device, a type associated with the notification signal, and select, based on the level of urgency associated with the event indicated by the notification signal and on the type associated with the notification signal, a tactile signal having at least a specified level of intensity, wherein the tactile signal is selected from a plurality of tactile signals each having a respective level of intensity, and wherein the specified level of intensity of the tactile signal differs from the respective level of intensity of another tactile signal from the plurality of signals, and wherein the one or more professors are further configured to output the tactile signal at the specified level of intensity, wherein the tactile signal is detectable by a user of the computing device.
15. The device ofclaim 14, wherein the tactile signal is selected by the one or more processors based at least in part on a time remaining until occurrence of the event.
16. The device ofclaim 14, wherein the tactile signal is selected by the one or more processors based at least in part on a level of importance of the event.
17. The device ofclaim 14, wherein:
the event is an incoming call being received by the computing device; and
the tactile signal is selected by the one or more processors based at least in part on an identity of an originator of the incoming call.
18. The device ofclaim 14, wherein:
the event is a receipt of a message by the computing device; and
the tactile signal is selected by the one or more processors based at least in part on an identity of a sender of the message.
19. The device ofclaim 14, wherein the tactile signal includes a specific signal pattern based on the event.
20. The device ofclaim 14, wherein the tactile signal comprises haptic feedback.
21. A non-transitory computer-readable storage medium encoded with instructions that, when executed, cause one or more processors to perform operations comprising:
wirelessly receiving a notification signal communicated by a computing device,
wherein the notification signal is indicative of an event and a level of urgency associated with the event,
wherein the device is external to the computing device, and
wherein the device is wirelessly and communicatively coupled with the computing device;
determining, based on one of a plurality of applications executable by the computing device, a type associated with the notification signal;
responsive to receiving the notification signal, selecting, based on the level of urgency associated with the event indicated by the notification signal and on the type associated with the notification signal, a tactile signal having at least a specified level of intensity, wherein the tactile signal is selected from a plurality of tactile signals each having a respective level of intensity, and wherein the specified level of intensity of the tactile signal differs from the respective level of intensity of another tactile signal of the plurality of tactile signals; and
outputting the tactile signal at the specified level of intensity, wherein the tactile signal is detectable by a user of the computing device.
US13/529,7042012-06-212012-06-21Tactile output device for computing device notificationsActive2032-08-17US8712383B1 (en)

Priority Applications (1)

Application NumberPriority DateFiling DateTitle
US13/529,704US8712383B1 (en)2012-06-212012-06-21Tactile output device for computing device notifications

Applications Claiming Priority (1)

Application NumberPriority DateFiling DateTitle
US13/529,704US8712383B1 (en)2012-06-212012-06-21Tactile output device for computing device notifications

Publications (1)

Publication NumberPublication Date
US8712383B1true US8712383B1 (en)2014-04-29

Family

ID=50514300

Family Applications (1)

Application NumberTitlePriority DateFiling Date
US13/529,704Active2032-08-17US8712383B1 (en)2012-06-212012-06-21Tactile output device for computing device notifications

Country Status (1)

CountryLink
US (1)US8712383B1 (en)

Cited By (18)

* Cited by examiner, † Cited by third party
Publication numberPriority datePublication dateAssigneeTitle
US20140273975A1 (en)*2013-03-142014-09-18Motorola Mobility LlcNotification Handling System and Method
US20160246378A1 (en)*2015-02-252016-08-25Immersion CorporationSystems and methods for providing context-sensitive haptic notification frameworks
US9448755B2 (en)*2013-12-282016-09-20Intel CorporationWearable electronic device having heterogeneous display screens
US9553625B2 (en)2014-09-272017-01-24Apple Inc.Modular functional band links for wearable devices
US9886842B2 (en)*2013-12-042018-02-06Samsung Electronics Co., Ltd.Wearable device and method for providing message of wearable device
US9912364B2 (en)2015-06-252018-03-06International Business Machines CorporationMobile application interaction guide via tactile feedback
CN108492535A (en)*2018-03-132018-09-04宁夏宁信信息科技有限公司A kind of household appliance monitoring method and device
JP2019133693A (en)*2014-09-022019-08-08アップル インコーポレイテッドApple Inc.Semantic framework for variable haptic output
US10412208B1 (en)*2014-05-302019-09-10Apple Inc.Notification systems for smart band and methods of operation
JP2020076779A (en)*2018-11-072020-05-21チソット・エス アー How to broadcast a message on your watch
JP2020076778A (en)*2018-11-072020-05-21チソット・エス アーMethod for broadcasting alert descriptive of notification message
US10692333B2 (en)2016-06-122020-06-23Apple Inc.Devices, methods, and graphical user interfaces for providing haptic feedback
US10901514B2 (en)2016-09-062021-01-26Apple Inc.Devices, methods, and graphical user interfaces for generating tactile outputs
US10901513B2 (en)2016-09-062021-01-26Apple Inc.Devices, methods, and graphical user interfaces for haptic mixing
US10938767B2 (en)*2017-03-142021-03-02Google LlcOutputting reengagement alerts by a computing device
US11009957B2 (en)2017-06-272021-05-18Ford Global Technologies, LlcHaptic device operation
US11314330B2 (en)2017-05-162022-04-26Apple Inc.Tactile feedback for locked device user interfaces
US11379041B2 (en)2016-06-122022-07-05Apple Inc.Devices, methods, and graphical user interfaces for providing haptic feedback

Citations (7)

* Cited by examiner, † Cited by third party
Publication numberPriority datePublication dateAssigneeTitle
US6650746B1 (en)*2000-06-302003-11-18Nortel Networks LimitedUrgency of call indication to called party through distinctive notification
US20070105533A1 (en)*2004-07-122007-05-10Research In Motion LimitedDelayed user notification of events in a mobile device
US7257200B2 (en)*2005-04-262007-08-14Xerox CorporationAutomated notification systems and methods
US20070210908A1 (en)*2005-01-052007-09-13Daniel PuttermanMethods and apparatus for providing notifications in a media system
US20080167006A1 (en)*2007-01-052008-07-10Primax Electronics Ltd.Communication device
US8116826B2 (en)*2007-06-292012-02-14Nokia CorporationMethods, apparatuses and computer program products for automatic adjustment of call and message alert levels for missed/rejected calls/messages
US20120108215A1 (en)*2010-10-292012-05-03Nader KameliRemote notification device

Patent Citations (7)

* Cited by examiner, † Cited by third party
Publication numberPriority datePublication dateAssigneeTitle
US6650746B1 (en)*2000-06-302003-11-18Nortel Networks LimitedUrgency of call indication to called party through distinctive notification
US20070105533A1 (en)*2004-07-122007-05-10Research In Motion LimitedDelayed user notification of events in a mobile device
US20070210908A1 (en)*2005-01-052007-09-13Daniel PuttermanMethods and apparatus for providing notifications in a media system
US7257200B2 (en)*2005-04-262007-08-14Xerox CorporationAutomated notification systems and methods
US20080167006A1 (en)*2007-01-052008-07-10Primax Electronics Ltd.Communication device
US8116826B2 (en)*2007-06-292012-02-14Nokia CorporationMethods, apparatuses and computer program products for automatic adjustment of call and message alert levels for missed/rejected calls/messages
US20120108215A1 (en)*2010-10-292012-05-03Nader KameliRemote notification device

Cited By (41)

* Cited by examiner, † Cited by third party
Publication numberPriority datePublication dateAssigneeTitle
US20140280578A1 (en)*2013-03-142014-09-18Motorola Mobility LlcNotification Handling System and Method
US9402167B2 (en)*2013-03-142016-07-26Google Technology Holdings LLCNotification handling system and method
US20140273975A1 (en)*2013-03-142014-09-18Motorola Mobility LlcNotification Handling System and Method
US20160309445A1 (en)*2013-03-142016-10-20Google Technology Holdings LLCNotification handling system and method
US9832753B2 (en)*2013-03-142017-11-28Google LlcNotification handling system and method
US9886842B2 (en)*2013-12-042018-02-06Samsung Electronics Co., Ltd.Wearable device and method for providing message of wearable device
US9448755B2 (en)*2013-12-282016-09-20Intel CorporationWearable electronic device having heterogeneous display screens
US10412208B1 (en)*2014-05-302019-09-10Apple Inc.Notification systems for smart band and methods of operation
AU2023204608B2 (en)*2014-09-022024-07-11Apple Inc.Semantic framework for variable haptic output
US20210192904A1 (en)*2014-09-022021-06-24Apple Inc.Semantic Framework for Variable Haptic Output
JP2019133693A (en)*2014-09-022019-08-08アップル インコーポレイテッドApple Inc.Semantic framework for variable haptic output
US20200111334A1 (en)*2014-09-022020-04-09Apple Inc.Semantic Framework for Variable Haptic Output
US12300095B2 (en)2014-09-022025-05-13Apple Inc.Semantic framework for variable haptic output
CN115756154A (en)*2014-09-022023-03-07苹果公司 A semantic framework for variable haptic output
US10977911B2 (en)*2014-09-022021-04-13Apple Inc.Semantic framework for variable haptic output
US11790739B2 (en)*2014-09-022023-10-17Apple Inc.Semantic framework for variable haptic output
US9553625B2 (en)2014-09-272017-01-24Apple Inc.Modular functional band links for wearable devices
US20160246378A1 (en)*2015-02-252016-08-25Immersion CorporationSystems and methods for providing context-sensitive haptic notification frameworks
US9917610B2 (en)2015-06-252018-03-13International Business Machines CorporationMobile application interaction guide via tactile feedback
US9912364B2 (en)2015-06-252018-03-06International Business Machines CorporationMobile application interaction guide via tactile feedback
US10692333B2 (en)2016-06-122020-06-23Apple Inc.Devices, methods, and graphical user interfaces for providing haptic feedback
US11735014B2 (en)2016-06-122023-08-22Apple Inc.Devices, methods, and graphical user interfaces for providing haptic feedback
US11379041B2 (en)2016-06-122022-07-05Apple Inc.Devices, methods, and graphical user interfaces for providing haptic feedback
US12190714B2 (en)2016-06-122025-01-07Apple Inc.Devices, methods, and graphical user interfaces for providing haptic feedback
US11037413B2 (en)2016-06-122021-06-15Apple Inc.Devices, methods, and graphical user interfaces for providing haptic feedback
US12353631B2 (en)2016-06-122025-07-08Apple Inc.Devices, methods, and graphical user interfaces for providing haptic feedback
US11468749B2 (en)2016-06-122022-10-11Apple Inc.Devices, methods, and graphical user interfaces for providing haptic feedback
US10901513B2 (en)2016-09-062021-01-26Apple Inc.Devices, methods, and graphical user interfaces for haptic mixing
US11662824B2 (en)2016-09-062023-05-30Apple Inc.Devices, methods, and graphical user interfaces for generating tactile outputs
US10901514B2 (en)2016-09-062021-01-26Apple Inc.Devices, methods, and graphical user interfaces for generating tactile outputs
US11221679B2 (en)2016-09-062022-01-11Apple Inc.Devices, methods, and graphical user interfaces for generating tactile outputs
US10938767B2 (en)*2017-03-142021-03-02Google LlcOutputting reengagement alerts by a computing device
US11314330B2 (en)2017-05-162022-04-26Apple Inc.Tactile feedback for locked device user interfaces
US11009957B2 (en)2017-06-272021-05-18Ford Global Technologies, LlcHaptic device operation
CN108492535B (en)*2018-03-132020-10-16宁夏宁信信息科技有限公司Household appliance monitoring method and device
CN108492535A (en)*2018-03-132018-09-04宁夏宁信信息科技有限公司A kind of household appliance monitoring method and device
US11050872B2 (en)2018-11-072021-06-29Tissot SaMethod for broadcasting an alert descriptive of a notification message
JP7007346B2 (en)2018-11-072022-01-24チソット・エス アー How to broadcast a message on your watch
JP7007345B2 (en)2018-11-072022-01-24チソット・エス アー How to broadcast descriptive alerts for notification messages
JP2020076778A (en)*2018-11-072020-05-21チソット・エス アーMethod for broadcasting alert descriptive of notification message
JP2020076779A (en)*2018-11-072020-05-21チソット・エス アー How to broadcast a message on your watch

Similar Documents

PublicationPublication DateTitle
US8712383B1 (en)Tactile output device for computing device notifications
CN104272854B (en) System and method for providing notification
US20220405411A1 (en)Configuring Context-based Restrictions for a Computing Device
US8749349B2 (en)Method apparatus and computer program
CN103026740B (en)For the method and apparatus advising message fragment
US7996046B2 (en)Smart alert charms for wireless devices
US10206057B2 (en)User-selectable environments for mobile communications devices
US20070275767A1 (en)Temporary modification of a user profile in an electronic device
US9119009B1 (en)Transmitting audio control data to a hearing aid
CN109314733B (en) A method and apparatus for coordinating notifications
US11206508B2 (en)Electronic device and method for managing operation thereof while operating vehicle
KR20130137098A (en)Generating context-based options for responding to a notification
US20150271110A1 (en)Automated status based connection handling
US20160309022A1 (en)System and method for identifying a triggering condition for a reminder to commence a live communications session
US20140222951A1 (en)Apparatus and method for syncing device notifications
US20160286366A1 (en)Method for generating notification and a mobile device and system using the same
US20150111619A1 (en)Method and Apparatus for Informing a User Through Haptic Signals
US8190126B1 (en)Covert mode communication
US12341740B2 (en)Central notification management
CA2653027C (en)Temporary modification of a user profile in an electronic device
US20070184859A1 (en)Method of managing messages which have been sent by a electronic device
US20080160978A1 (en)Apparatus, Method, And Computer Program Product For Outputting Data
KR101014715B1 (en) Mobile terminal and its schedule alarm and incoming notification signal automatic change method
US20130086525A1 (en)Method, Apparatus, Computer Program and User Interface
CA2615553C (en)System and method for controlling an alarm for an electronic device

Legal Events

DateCodeTitleDescription
ASAssignment

Owner name:GOOGLE INC., CALIFORNIA

Free format text:ASSIGNMENT OF ASSIGNORS INTEREST;ASSIGNORS:HAYES, BARRY;DOLAN, PETER;SIGNING DATES FROM 20120530 TO 20120614;REEL/FRAME:028580/0113

STCFInformation on status: patent grant

Free format text:PATENTED CASE

ASAssignment

Owner name:GOOGLE LLC, CALIFORNIA

Free format text:CHANGE OF NAME;ASSIGNOR:GOOGLE INC.;REEL/FRAME:044277/0001

Effective date:20170929

MAFPMaintenance fee payment

Free format text:PAYMENT OF MAINTENANCE FEE, 4TH YEAR, LARGE ENTITY (ORIGINAL EVENT CODE: M1551)

Year of fee payment:4

MAFPMaintenance fee payment

Free format text:PAYMENT OF MAINTENANCE FEE, 8TH YEAR, LARGE ENTITY (ORIGINAL EVENT CODE: M1552); ENTITY STATUS OF PATENT OWNER: LARGE ENTITY

Year of fee payment:8


[8]ページ先頭

©2009-2025 Movatter.jp