Movatterモバイル変換


[0]ホーム

URL:


US8639623B2 - Transaction processing - Google Patents

Transaction processing
Download PDF

Info

Publication number
US8639623B2
US8639623B2US13/531,905US201213531905AUS8639623B2US 8639623 B2US8639623 B2US 8639623B2US 201213531905 AUS201213531905 AUS 201213531905AUS 8639623 B2US8639623 B2US 8639623B2
Authority
US
United States
Prior art keywords
cardholder
rule
rules
template
card
Prior art date
Legal status (The legal status is an assumption and is not a legal conclusion. Google has not performed a legal analysis and makes no representation as to the accuracy of the status listed.)
Expired - Lifetime
Application number
US13/531,905
Other versions
US20120330839A1 (en
Inventor
Stephen Kavanagh
Conor Clarke
Kleron Guilfoyle
Patrick Brosnan
Current Assignee (The listed assignees may be inaccurate. Google has not performed a legal analysis and makes no representation or warranty as to the accuracy of the list.)
Orbis Patents Ltd
Original Assignee
Orbis Patents Ltd
Priority date (The priority date is an assumption and is not a legal conclusion. Google has not performed a legal analysis and makes no representation as to the accuracy of the date listed.)
Filing date
Publication date
Application filed by Orbis Patents LtdfiledCriticalOrbis Patents Ltd
Priority to US13/531,905priorityCriticalpatent/US8639623B2/en
Publication of US20120330839A1publicationCriticalpatent/US20120330839A1/en
Priority to US14/079,711prioritypatent/US10089618B2/en
Application grantedgrantedCritical
Publication of US8639623B2publicationCriticalpatent/US8639623B2/en
Anticipated expirationlegal-statusCritical
Expired - Lifetimelegal-statusCriticalCurrent

Links

Images

Classifications

Definitions

Landscapes

Abstract

A transaction processing system for the real time authorization of payment transactions, The system comprises a verification system (4) connected to an issuer card management system (3). A cardholder can access the system via an interface (2) which can be for example the Internet, a wireless device, telephone, or a branch visit. The interface allows the cardholder to input rules governing how their credit card transactions are to be authorized. When the cardholder initiates a purchase transaction with their credit card, an authorization request is passed from the card network to the verification system which executes the rules created by the cardholder in order to approve or deny the transaction.

Description

CROSS-REFERENCE TO RELATED APPLICATIONS
This is a continuation of U.S. application Ser. No. 10/735,642, filed Dec. 16, 2003, which is a continuation of PCT/IE02/00093, filed Jun. 27, 2002 and published in English, which is a continuation of U.S. application Ser. No. 12/461,289, filed Aug. 6, 2009, all of which are incorporated herein by reference in their entireties.
BACKGROUND OF THE INVENTION
1. Field of the Invention
The invention relates to real time authorization of transactions using non-cash payment instruments such as credit cards and debit cards.
2. Related Art
While there has been much discussion in recent years concerning card-not-present (and particularly Internet shopping) fraud, in fact the bulk of credit card fraud arises from card-present transactions. For example, card “skimming” often results in a fraudulent card being produced and used, possibly in a different country from where the skimming occurred. Another example is mail interception, in which cards are stolen from the postal system as they are en route to the customer.
While the losses arising from fraud are very considerable, efforts to date at providing new systems to reduce fraud have met with only limited success. In one approach marketed by the company Orbiscom™ a “disposable” card, number is issued to which limited use conditions are applied. This approach appears to be of benefit for Internet transactions, however it is generally believed to be of little benefit for card present transactions.
In another approach, “neural intelligence” is used by the issuer to monitor proposed transactions and to block those which do not appear to fit a usage pattern for the cardholders. These systems monitor patterns of usage and on the basis of this monitoring, determine when usage is out of the ordinary. While this appears to be a very helpful approach, it suffers from practical problems. For example, a cardholder may find to his or her embarrassment and inconvenience that he or she can not use a card when on holiday in a foreign country. The overall impression the cardholder has is that he or she is not in control and does not understand how his or her transactions are controlled.
The invention is therefore directed towards providing a system and method for real time processing of transactions to reduce overall fraud. Another object is to help ensure that cardholders are more in control of how their cards are used and that they are informed of what is happening.
SUMMARY OF THE INVENTION
According to the invention, there is provided a transaction processing system comprising an interface for receiving authorization requests, an interface for transmitting authorization outputs, and a processing means comprising means for determining from authorization request data if the system output should be positive or negative, characterized in that the processing means comprises:
    • a setup means comprising means for storing transaction conditions associated with particular customers, and
    • authorization means for dynamically retrieving a transaction condition associated with the customer of each authorization request on a per-transaction basis and for applying said conditions to the authorization request.
In one embodiment the setup means comprises an interface comprising means for allowing each customer to define said conditions.
In one embodiment said interface comprises a Web server.
In another embodiment the setup means comprises means for storing predefined template conditions, and for allowing a customer to select predefined template conditions for his or her card.
In a further embodiment the setup means comprises a fraud manager interface comprising means for allowing a fraud manager with access control to define said template conditions.
In one embodiment the predefined template condition comprises specific placeholders for conditions, values and logical operators.
In one embodiment the setup means comprises input means for allowing a customer to input customer specified parameters to the predefined template conditions.
In another embodiment each template comprises an associated action which is the action to be taken if, upon evaluation, the template condition evaluates to “true”.
In a further embodiment at least some of the conditions are in the form of program code rules.
In one embodiment the setup means comprises means for maintaining a rule database.
In one embodiment the rule database comprises means for storing rules in a format which is indexed on a particular customer or customer card number.
In another embodiment said rules comprise system, product and customer rules.
In one embodiment said rules are stored in a format which does not require parsing of logical string-based expressions for processing.
In one embodiment the authorization means comprises means for automatically transmitting a notification to a customer under control of the conditions.
In another embodiment the authorization means comprises means for receiving confirmation of authorization from a customer in response to a notification.
In a further embodiment the authorization means comprises means for successively applying system-level, card product-level, and the customer conditions upon receipt of an authorization request.
In another embodiment the authorization request interface comprises a network interface for interfacing with a card payment network.
In one embodiment the authorization request interface comprises a network interface for interfacing with an issuer front end system.
In one embodiment the output interface further comprises a card management system interface means for interfacing with an issuer card management system.
In one embodiment the network interface comprises means for communicating over Transfer Control Protocol/Internet Protocol (“TCP/IP”), X.25, Serial, Modern, Systems Network Architecture (“SNA”) or any other communication format.
In a further embodiment the network interface comprises for converting received messages into a general standard data format.
In another embodiment the network interface comprises a communication header module for converting received messages into a standardized data sequence of bytes.
In one embodiment the card management system interface comprises a protocol header module comprising means for converting a standardized sequence of bytes received from the network interface into an internal format for processing.
In another embodiment the card management system interface comprises a protocol header module comprising means for converting a standardized sequence of bytes received from a communications header module into an internal format for processing.
In a further embodiment the communication header and the protocol header modules comprise means for sequentially checking for, receiving, converting and routing messages and data.
In one embodiment the communication header and protocol header modules comprise means for routing transaction requests and responses between the card payment network and card management system.
In one embodiment the authorization means comprises means for updating the rules database in real time.
In another embodiment the authorization means comprises means for automatically transmitting a notification to a fraud manager if a possible fraud is detected.
In a further embodiment the setup means comprises means for automatically transmitting a notification to a customer if a possible fraud is detected.
In one embodiment the authorization means comprises means for automatically transmitting a notification to a customer if an authorization request is rejected.
In another embodiment the authorization means comprises means for automatically transmitting a notification to a customer if a request is authorized, allowing a customer to maintain a local log of authorized requests.
In a further embodiment the setup means comprises means for controlling customer activation of a card.
In one embodiment said controlling means comprises an on-line banking interface.
In another embodiment said controlling means comprises an Automated Teller Machine (“ATM”) interface.
In a further embodiment the authorization means comprises means for receiving a cardholder request that a card be deactivated.
In one embodiment said means comprises means for receiving a Short Message Service (“SMS”) from a cardholder.
According to another aspect of the invention, there is provided A transaction processing method carried by a verification system, and comprising the steps of:
    • (i) receiving a transaction condition associated with a customer;
    • (ii) writing said condition to a condition database also storing conditions associated with other customers;
    • (iii) receiving a transaction authorization request from a transaction network;
    • (iv) processing said received authorization request by dynamically retrieving a condition associated with the customer of the authorization request on a per transaction basis;
    • (v) applying said condition and determining from the authorization request data if the requested transaction should be approved or denied.
BRIEF DESCRIPTION OF THE DRAWINGS
The invention will be more clearly understood from the following description of some embodiments thereof, given by way of example only with reference to the accompanying drawings in which:—
FIG. 1 is a flow diagram illustrating signal transfers for transaction processing of the invention;
FIGS. 2(a),2(b) and2(c) are block diagrams illustrating alternative arrangements for connecting the components of a verification system of the invention;
FIG. 3 is a diagram showing interaction between a front end system and a card management system;
FIGS. 4,5, and6 are flow diagrams showing signaling at a lower level;
FIG. 7 is a flow diagram illustrating processing steps in more detail;
FIG. 8 is a diagram illustrating a database object containing templates and cardholder rules;
FIGS. 9 to 13 are diagrams illustrating interactions between a fraud manager and a rule database;
FIGS. 14 and 15 are diagrams showing interactions between a fraud manager and a Web server;
FIGS. 16 to 27 are diagrams showing interaction between people of various roles and systems of the invention; and
FIGS. 28,29, and30 are sample screen shots for system displays.
DETAILED DESCRIPTION OF THE PREFERRED EMBODIMENTS
Referring toFIG. 1, in overview, in a step A, acardholder system1 accesses abanking interface2 via the Internet, although it may alternatively be via wireless device, telephone or branch visit. Thebanking interface2 is operated by an issuing bank of which the cardholder is a customer. Theinterface2 is connected to anissuing system3, in turn connected to averification system4. Theinterface2 allows the cardholder to input rules governing how credit card transactions with her card are to be authorized. These rules can be set according to a wide variety of parameters such as:—
deny if merchant is located outside of Ireland,
deny if the transaction amount exceeds EUR300, or
notify me by SMS for every transaction greater than EUR100.
The rules are updated to the verification system in a step B, and are maintained in a rule database. They can be dynamically varied by the cardholder or by issuer personnel such as a fraud manager.
In a step C the cardholder initiates a purchase transaction with her card, the transaction being handled by amerchant system5. In a step D themerchant system5 forwards the transaction details to an acquiringsystem6, which in step E forwards an authorization request to acard network device7. In a step F theverification system4 executes the rules created by the cardholder in order to pass on or deny the transaction. If passed on, theissuing system3 is updated in a step G, otherwise a deny signal is transmitted in a step H.
It will be appreciated that the systems and method allow the cardholder to be involved in the overall authorization cycle so that usage control is tailored to his or her requirements.
This opens up other services in addition to effective fraud control. For example, a rule may require for an SMS notification to be forwarded to a parent every time a card is used. This allows parents to continually monitor and track usage for parental control and information purposes. In effect, suitable rules can cause a full audit trail to be generated in real time, when the information is required and is of most benefit.
We shall refer to the sequence ofFIG. 1 as being the ‘authorization chain’. It can be described as a chain because it consists of the Merchant requesting an authorization from an Acquirer; an Acquirer requesting an authorization from the network and the network requesting authorization from the Issuer.
This invention inserts into this chain a device whose function is to implement Cardholder authorization rules. This device is located at an Issuer's premises or at a remote location and is connected to the Issuer's systems using secure communication means.
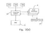
FIGS. 2(a),2(b) and2(c) show three alternative arrangements for integrating the verification system into an authorization system. The main components are the verification system (also referred to as the rule processor)4, the card management (Issuer) system (CMS)3, and optionally a front end system (FES)10.
The function of therule processor4 is to decide whether a particular request should be passed on to the issuer or declined based on the processing of system, product and cardholder rules. The rule processor makes this decision by evaluating rules on the authorization request. These rules are read in from a rule database. Three types of rules can be entered into the rule database:
Rules that must be evaluated on every authorization request—‘System Rules’
Rules that must be evaluated on authorization requests that relate to payment cards that form part of a particular product (“Product Rules”).
Rules that must be evaluated on authorization requests that are for particular payment cards—‘Cardholder Rules’.
TheCMS3 is the terminal device in the authorization chain. Authorization request responses are generated by this device. TheFES10 interfaces with the card payment network and receives authorization requests. Therule processor4 further comprises an SMS/Email gateway19 which allows email SMS, Electronic Message Service (“EMS”), Multimedia Messaging Service (“MMS”) or any other communication format messages to be sent to the cardholders or received from the cardholders.
Referring toFIG. 2(a) therule processor4 is connected between theFES10 and theCMS3. The correspondingFIG. 3 illustrates the flow of requests in this embodiment. In the normal mode of operation, an authorization request received from the card payment network moves from theFES10 and into therule processor4. The rule processor decides whether the authorization request is sent on to theCMS3, or whether an authorization request response—a decline—is sent back to the network side device. The system also supports a bypass mode of operation used by default if a malfunction or failure is detected in the rule processor. In the bypass mode requests are routed directly from the FES to the CMS.
Referring toFIG. 2(b), in another embodiment therule processor4 is interfaced to theFES10. In operation, authorization requests from the card payment network received by theFES10 are routed to therule processor4. The rule processor applies rules to the requests and sends them back into the FES which decides whether or not to route them to theCMS3.
Referring toFIG. 2(c), in another embodiment authorization requests are accepted from the card payment network into therule processor4, where rules are applied to the requests. The rule processor then routes permitted authorization requests to theCMS3.
The verification system (or rule processor) of the present invention is designed to integrate flexibly into existing card management (Issuer) systems. While it is possible to include additional functionality by adding more features to a particular ‘card management system’ because each card management system is different such an approach is problematic. The verification system is designed to be placed in the authorization chain as a separate entity within that chain. However, in order to integrate the verification system into existing card management systems significant communications issues must be addressed.
FIGS. 4 to 6 illustrate the communication modules and routing processes of the invention.
ISO8583 is used over many different types of communications media, depending on the equipment that is being used and the preferences of the institutions involved. These media include:
TCP/IP
X.25
SNA
Serial Line
Modem
Messages that are sent between entities involved in the authorization process are standardized according to the ISO8583 standard—“Bank card originated messages—Interchange message specifications—Content for financial transactions’. To facilitate connection and integration of the verification system of the invention into an existing authorization chain a module which converts messages from any particular medium into a “stream of bytes” is used. This module is a CH (Communications Header).
Referring toFIG. 4 an ISO8583 Message is read by a CH (Communications Header) from whatever form of communications channel the incoming messages are arriving on. The message is converted into a sequence of bytes and passed to a PH (Protocol Header) module. The CH is a module that sends and receives data without regard to the content. It understands and implements the specifics needed to handle connections over different media—e.g. TCP/IP, X.25, Serial and Modem. It provides common functions for the set-up, management and teardown of open connections. The PH layer converts the message from a specific 8583-message implementation into an internal ‘Normalized’ form. This form is independent of any vendor specific implementations.
After being processed by a ‘Test Rules’ process of the rule processor (described later) the message is converted from the ‘Normalized’ form back into a specific 8583 implementation via the PH layer, and then is sent to its destination via the CH layer.
Referring toFIG. 5 the CH connects to its PH module. It then attempts to connect to its 8583 source using the specified method (TCP/IP, X.25 or Serial). It then checks whether there are any bytes ready to be accepted from the PH module. If there are no bytes available it immediately checks whether there are any available from the 8583 source. If there are none, it immediately goes back to check whether there are any bytes available from the PH and proceeds as before.
If there are bytes available from the PH, they are read, and sent to the 8583 source, and then checks are made for bytes being available from 8583 source and PH as before.
If there are bytes available from the 8583 source, they are read, and sent to the PH, and then checks are made for bytes being available from the PH and the 8583 source as before.
ISO8583 is a standard that describes the messaging that is used to allow organizations to exchange messages that relate to ‘Bank Cards’. This specification although complete in many ways is interpreted differently by different organizations. The differences relate for example to the specific meaning of a field, or the choice of field to hold a particular piece of data or how a particular response is to be interpreted. For the invention, the implication of this problem is that a message from one source may differ significantly from a message from another source, not because of any difference in the core transaction details, but because of differences between the organizations that are feeding the transactions into the verification system.
Because of this, a technique is presented for converting many known implementations of ISO8583 into a single generalized format. Examples of 8583 protocol implementations include:
Vendor ImplementationDescription
VISA BASE IVisa Credit Card implementation
MasterCard CISMasterCard Credit Card implementation
BASH 24 Host ISOACI Credit Card implementation
Europay Host EMMasterCard Credit & Debit Card
implementation
VISA SMSVisa Debit Card implementation
MasterCard MDSMasterCard Debit Card implementation
Referring toFIG. 6 the PH initially connects to a ‘Test Rules’ process of the rule processor. It then connects to the CH. It checks whether there are any bytes available from the CH. If there are not, it immediately checks whether there are any messages available from the Application Process. If there are none, it goes back to check for bytes from the CH and so on.
If there are bytes available from the CH, they are read and converted into a message. At this stage, the message is in the format of a vendor specific implementation of ISO8583. This message is then converted into a normalized form using transformations that are specific to this specific PH. These transformations are very much related to each vendor's implementation and thus can be arbitrarily complicated. For example, a particular field may be broken down in a particular manner by a vendor implementation.
After the normalized message is generated, it is sent to the application process. The PH then goes back to checking for bytes from the CH.
If a message is available from an application, it is read and converted to de-normalized form using PH transformations. It is then converted into a sequence of bytes and passed to the CH. The PH then goes back to checking for bytes from the CH.
Referring toFIG. 7 the authorization cycle or “Test Rules” process of the rule processor is shown in more detail. The request is generated instep101. If the number prefix is that of a valid product (step102) instep104 system rules are applied. If the rules apply110, product rules are applied to theauthorization request105. If not, the system proceeds to applying rules to determine if there is a “decline”113. If the product rules apply111, the cardholder rules are applied to theauthorization request106. If not, the system proceeds to applying rules to determine if there is a “decline”113. If the cardholder rules apply112, the system proceeds to applying rules to determine if there is a “decline”113. If the output is negative in step113 a decline response is generated. Otherwise, instep105 product rules are applied. If the output is negative, again a decline response is generated. Otherwise, the Cardholder rules are applied instep106. Again, this may provide a positive or a negative outcome. If the result ofstep113 is not negative (i.e., positive), the system proceeds to apply rules and determine if response is “pass to issuer”114. If the result is not negative (i.e., positive), the system proceeds to apply rules and determine if response is “advise fraud manager”115. If the result is positive, the system proceeds to create afraud queue item109. If the prefix is not avalid product102, the system proceeds to determine if the issuer is configured so that transactions are declined103. If not, the system proceeds to pass toissuer108.
The three possible outcomes of application of the sequence of three sets of rules are:
decline,
approve and pass to CMS, and
create fraud queue item.
The third outcome causes an item to be added to a fraud queue. In this embodiment, a decline outcome may cause a message to be sent to the Cardholder (steps116,117,118).
Process Messages According to Defined Rules
The Cardholder can communicate through the Issuer's computer system. The Cardholder communicates with the Issuer's computer system through whatever means the Issuer's computer system supports—e.g. Internet, phone, Wireless Application Protocol (“WAP”). By doing this, the Cardholder can enter a set of rules. A rule may be in the form of
IF (Condition) THEN (Action)
Each Condition can be a set of comparisons separated by AND and OR. Each comparison compares an authorization request data element with a value. An example of a condition would be:
Amount>“100.00” AND (MerchantCountry=“IE” OR MerchantCountry=“UK”)
This example condition would apply whenever the transaction amount is greater than 100 and the Merchant is registered in Ireland or the UK.
Each action is one of three choices—either ‘decline’ or ‘accept’ or ‘advise Fraud Manager or advise Cardholder in the event of an automatic confirmation system being implemented’. The term ‘decline’ means to not send the request onwards to the CMS, but to send an authorization rejection back towards the Acquirer. The term ‘accept’ means to send the authorization request on towards the Issuer. The term ‘advise Fraud Manager’ means to send a message to a Fraud Manager about the authorization.
In addition to cardholder rules, the Fraud Manager in the issuing institution can also enter rules. These rules can be entered at three levels. The first of these is the set of rules that are run for every transaction that passes through the system—these are termed ‘system’ rules. The second of these is the set of rules that are run for each ‘product’ that the issuing institution markets. A product in this sense is a set of credit card number ranges that are grouped together. The third of these is the set of ‘template rules’ for a particular product. These are pre-written rules that a Cardholder who has a card from particular product can ‘opt into’ without having to write the rule themselves.
The invention allows complex rules to be built and enables them to be executed in a very time-efficient manner by using template rules.
Each template is built in response to Fraud Manager inputs by the Fraud Manager and is given an index number (#1, #2, . . . ). Each template comprises a set of empty placeholders for up to ten conditions. Each condition comprises the following:
Template index NumberUnique identifier for this template.
Field NumberNumber of field in message
E.g. ‘Field32 could be Merchant Country’
Relational OperatorRelational operator to apply to field
E.g.—‘equals’/‘docs not equal’/‘is less
than’/‘is greater than’
ValueValue to compare against
Logical OperatorOperator to use with next condition
E.g.—‘AND’/‘OR’
Also associated with each template is an ‘Action’. This is the action to take if the condition evaluates to ‘True’. Each action is composed of the following elements:
EventEvent that should take place
E.g.—‘Decline’/‘Approve’/‘Advise’
DirectionDirection to send message
E.g.—‘Forward’/‘Back’
ResponseValue to set in ‘Response Code’ field of message.
CodeE.g.—‘01—refer to Card Issuer’
Each template also includes ‘Notification’ fields. These fields indicate whether an Email or SMS notification should be sent if the condition above evaluates to ‘True’.
Cardholder Rules
Each cardholder rule comprises a reference to a template and any information required by that template. Accordingly, the fields involved are:
Card NumberThe unique number of the card
TemplateThe number of the template to which this rule refers.
Parameter1If any conditions for this template require a parameter
(e.g. Template condition is ‘Amount >=
User_Specified_Amount), the first of these parameters
is stored here.
Parameter2As Parameter1 above.
SMS AddressSMS Address of this cardholder if required.
EmailEmail Address of this cardholder if required.
Address
SequenceSequence in which the rules associated with this
cardholder should be executed.
All of the cardholder rules in the system are stored in the system database and are indexed and clustered on card number.
Real Time—not Batch
The invention allows Cardholders and Fraud Managers to view and modify rules while, at the same time, processing authorization transactions using these rules. Updates to the rules can be made in real time with the effect of such a change being immediate.
In order to allow this to occur, ‘database transactions’ are defined for the purposes of reading and updating the table in which rules are stored. The purpose of these transactions is to allow updates to rules to occur in the moments between one authorization transaction and the next.
Processing Efficiency
The processing efficiency of the system is based upon the time taken to read all rules related to a particular card out of the database and the time taken to computationally apply the rules to the transaction in hand.
Having cardholder rules refer to templates rather than exist in a stand-alone manner makes each cardholder rule very small (<100 bytes). This means that a minimal amount of disk space will be used per rule, and so more rules can be read per database read.
By clustering the cardholder rules within the database on Card Number, all rules related to a particular Cardholder can be read in one disk read by the database.
By allowing templates to have specific placeholders for conditions, values and logical operators there is no requirement for the normal parsing of logical string-based expressions. Processing can proceed without the need for intensive string parsing.
Referring toFIG. 8, an example of a database object containing two templates and two sets of Cardholder rules is illustrated.
Template #1 contains the rule:
IF (Field32=‘Africa’ OR Field32=‘Asia’ OR Field32=‘Australia’)
THEN
Sent Decline Back withResponse Code 2
Send SMS and Email to Cardholder
Template #2 contains the rule:
IF (Field41.2=‘20’ OR Field41.2=‘20)
THEN
Send Decline Back withResponse Code 2
Cardholder Rules for card ‘1234123412341234’:
IF (Card Number is ‘1234123412341234’)
Apply Template 1 with no parameters,
and SMS Address 0872337868
and Email Address joebloggs@aol.com
Apply Template 2 with no parameters,
and no SMS Address
and no Email Address
Cardholder Rules for card ‘9999999999999999’:
IF (Card Number is ‘9999999999999999’)
Apply Template 1 with no parameters,
and SMS Address 0872337868
and Email Address joebloggs@aol.com
FIGS. 9 to 25 illustrate how Issuer Personnel and Cardholders interact with the rule processor.
Users of the system are as follows:
UserRole
CardholderThe Cardholder is a person who holds a credit card,
which has been issued by the Issuer, The invention
primarily allows the Cardholder to add rules that
control how his/her card is used.
Fraud ManagerThe Fraud Manager is an employee of the Issuer.
The invention allows this person to add rules to
particular control how particular credit card products
operate. This can be done in order to reduce Fraud,
or in order to create new types of credit card
products with different operating profiles.
CSRThe Customer Service Representatives answer
queries from Cardholders. The invention allows
CSRs to perform all of the tasks that a Cardholder
can perform. Also, the CSR is able to view details on
the authorization requests and responses for
particular cards over given time periods.
TechnicalThe Technical Operator is responsible for starting
Operatorand stopping the system, editing database data,
applying new configuration data to the system and
checking the status of the system.
AuditorThe Auditor is allowed see, at a great level of detail
the decisions being made by the system, and is able
to trace these decisions back to individual messages
and rules.
The Fraud Manager is that person in the Issuing Institution whose function is to track and minimize the incidence of fraud in the institution. This person and the Cardholder are the prime users of thesystem4. The Fraud Manager configures thesystem4 according to the needs of the Issuer.FIGS. 9 to 15 illustrate some interactions of the Fraud Manager with the system.
Fraud Manager Adds or Modifies Products (FIG. 9)
The Fraud Manager must define those products that the Issuer uses. A product is a set of credit cards that a Fraud Manager wishes to view as a single entity for the purpose of applying rules to them. These may in fact be individual products that the Issuer offers its customers (e.g. Standard Card, Gold Card, Platinum Card,) or they may be collections or subsets of same.
Fraud Manager Adds or Modifies BIN (FIG. 10)
Each Issuer has a set of allocated credit card number prefixes (Bank Identifier Numbers or ‘BIN’s). In the natural course of events, it divides these up between the products that it creates. For instance, it might create a student credit card product, a normal credit card product and a gold credit card product. These products, and their associated BIN's are entered into the system as part of the product definitions.
Fraud Manager Modifies System or Product or Template Rules (FIG. 11)
The Fraud Manager can add rules to thesystem4 of types ‘System’, ‘Product’ or ‘Template’. Rules lie at the core of thesystem4 and are in three types. Each rule type is applied in the following order to each authorization request message:
System Rules are applied to all messages arriving from the network.
Product Rules are applied to all messages in particular BIN ranges arriving from Network.
Cardholder rules are applied to all messages that relate to a particular credit card number. A Cardholder rule can be created in one of two ways:
It can be created by the Fraud Manager as a template rule, and can then be opted into by the cardholder. For example, the Fraud Manager might create a template rule that defines how to reject a transaction if the Merchant is not a European merchant. A Cardholder might then be asked whether they wanted to ‘switch on’ this rule on their card. If they decide to, a new rule is generated for them, based on the template rule.
The Cardholder can generate it directly.
Fraud Manager Modifies Rule Sequence (FIG. 12)
The order of execution within each set of rules (system, product and cardholder) can be modified by the Fraud Manager as required.
Fraud Manager Views Cardholder Rules (FIG. 13)
The Fraud Manager can view but not modify Cardholder rules. A “PAN”, is the industry term for a credit card number (“Primary Account Number”).
Fraud Manager Reviews Fraud Queue and Acknowledges an Item (FIG. 14)
A fraud queue is a queue of issues that Fraud Managers go through on a regular basis. These issues are those items that have matched rules whose action was ‘Advise Fraud Manager’ or ‘Decline’. Each item on the fraud queue has to be acknowledged by a Fraud Manager. Several different Fraud Managers can be looking at the fraud queue and acknowledging items at the same time.
Fraud Manager Requests Report (FIG. 15)
The Fraud Manager can get various reports from thesystem4. These can relate to fraud queue, activated rules, tracked rules, active rules, and suspended rules.
Fraud Manager Sets Up System Options (FIG. 16)
There are various system settings that the Fraud Manager needs to set up. These settings are global, i.e. in that they apply to all products.
Monitor Only without Declining
Archival Options—when to archive and how old items must be before they are archived.
FIGS. 16 and 17 illustrate how a cardholder can interact with the system. The Cardholders can enter rules themselves. One way that they can do this is by choosing to have a particular rule from a template enabled. The list of templates available to a Cardholder whose payment card is part of a particular product might be:
Deny Access Outside Ireland
Deny Access Outside Europe
Deny Access Outside Europe and US
Deny Access to Internet Merchants
Deny All Transactions unless Specified
Deny All Internet Transactions unless Specified
Allow One-Time Transaction for (£50, £100, .English Pound.500, £1000)
Alternatively, the Cardholder can define a Rule from scratch in the same way that the Fraud Manager defines one.
Cardholder Requests List of Templates Available for Credit Card Number, and adds One (FIG. 16)
The invention provides the interface to the Issuer's online banking system. This interface is web-based, although it is not expected that the web interlace is delivered directly to the Cardholder. Rather, it is expected that the web-based interface is driven by the Issuer's computer systems. Here a list of template rules is provided, from which the Cardholder can add one or more for their particular credit card.
Cardholder Requests List of Current Rules for Cardholder and can Delete One (FIG. 17)
Referring toFIG. 17, the Cardholder requests a list of current rules available and selects the option to delete one. The Cardholder requests the set of rules that are set up for a particular Personal Account Number (“PAN”). The Cardholder can then optionally delete one of these rules.
The Cardholder generates a new rule rather than choosing from a list of pre-defined template rules and applies this rule to the credit card.
As shown inFIG. 18 the system supports access by a Customer Service Representative. The Issuer's CSR (Customer Service Representative) can perform all functions that a Cardholder can perform as well as one other. The same interface is used for CSR functions as is provided for Cardholder functions. It is expected that an Issuer's existing CSR application will be integrated to allow this extra functionality.
Referring toFIG. 18, the CSR can see logged activity for a credit card number over a time range. The CSR can look into a particular item and see the underlying message if available.
Functional Requirement—Allow Auditor to Verify Integrity of System
The Issuer's auditors—internal and external—must be able to see how and why the software functions in the way that it does. The overall functionality of the system is to allow Issuers and Cardholders to selectively decline transactions, so the reason for a transaction either being declined or not has to be clear to an Auditor.
Auditor Views Transaction Log(FIG. 19) The Auditor can look into the transaction log to see the detail of the processing of the system.
Auditor Examines One Particular Set of Rules in Detail (FIG. 20)
The Auditor can enable rule tracking, which enables the Auditor to track all of the decisions relating to a particular rule. When rule tracking is switched on the Auditor will see each condition being tested and the result of the test.
Functional Requirement—Allow Technical Team to Control and Configure System
The Technical Operator has the job of configuring the system for use, and maintaining it thereafter. Most of this configuration resides in the database. However, it would be inefficient for the processing nodes to have to read their own configuration from the database. Instead their configuration is loaded into a local database on each processing node. This means that there is a requirement for parts of the database to be loaded into the local database on each processing node by the Technical Operator.
Technical Operator Modifies Database Through Web Browser (FIG. 21)
The Technical Operator can modify all tables in the database through a web browser.
Technical Operator Starts/Stops Processing Nodes (FIG. 22)
The Technical Operator uses an application to allow the starting and stopping of each processingnode15.
Technical Operator Sends New Configuration to the Processing Nodes (FIG. 23)
The technical operator must instruct the processing nodes to begin using the new registry that they have been sent, This is achieved with this use case.
Technical Operator Triggers the Processing Nodes to Begin Using a New Configuration (FIG. 24)
The technical operator must instruct the processing nodes to begin using the new registry that they have been sent, This is achieved with this use case.
O&M Node Checks Status of Processing Nodes (FIG. 25)
The O&M Node sends a status request message once every 10 seconds to each O&M node. The O&M node replies with a response, and on the basis of this, the O&M Node database entry is updated.
Functional Requirement—Perform all System Maintenance Functions Automatically
At the end of each period (such as a day), thesystem4 must run several procedures automatically.
Database is Backed up (FIG. 26)
The database is backed up to tape on a nightly basis.
Database is Restored (FIG. 27)
The data on tape can be restored into the database.
Thesystem4 generates a large number of messages and logged items. These objects are taken out of the database after they have been there for a period of time in order to prevent the database from growing too large. Over time, the expired rules (rules that are past the end of their stop date) must be archived. Management information (MIS) reports are run from a different database server. Entities relevant to MIS reports are copied into a separate database.
Fraud Alarm/Rejection Alarm/Authorization Confirmation
This invention allows notifications (SMS/email) that are sent to cardholders to serve different functions:
They can be configured to act as a ‘Fraud Alarm’
Rules are set within the rule processor to prevent fraud. When a rule infringement and possible fraud is detected, a fraud alarm can be triggered and a notification sent to the cardholder in order to alert them of possible fraud.
They can be configured to act as a ‘Rejection Alarm’
A notification can be sent to alert the cardholder about a transaction that has been declined for a reason other than the infringement of a rule. For instance, if the card management system decides that a particular transaction would push a cardholder over their credit limit, it normally does this silently. However, the invention can be configured to see this rejection and to send a message to the cardholder informing them of the rejection.
They can be configured to act as an ‘Authorization Confirmation’
A notification can be sent to a cardholder whenever a transaction is approved. A cardholder may wish to use this feature to maintain an email log of all transactions on a card.
The invention can be configured to see all approvals and to send a message to the cardholder informing them of the approval.
Card Activation
Much credit card fraud exists in the form of “Mail Fraud”. This fraud occurs when a fraudster intercepts a latter containing a credit card, which is on the way to a cardholder.
In order to eliminate this form of fraud, thesystem4 can establish rules denying the use of each recently issued credit card until an activation event occurs. This activation event can have a number of forms:
The cardholder goes to an ATM machine and enters the new card followed by the allocated Personal Identification Number (“PIN”). A transaction is then sent to the issuing bank from the ATM. This transaction is specially formatted to that when the transaction goes through to the processor of the invention, the processor deactivates the rule that is denying the card use. The card is thus “Activated”.
Alternatively the cardholder could use his/her computer to access and switch off the rule that is denying the card's use. The card can be thus activated.
Online-Banking Access
The invention allows rules to be accessed by Cardholders through an online banking platform. The online banking platform is responsible for construction of credit card management web page. The online banking platform calls the verification system in order construct the required web page.
The verification system of the invention provides four services to the online banking platform to aid it in constructing the card management web page:
List all rules that a Cardholder can switch on.
Display all rules that a Cardholder can switch off.
Switch a rule on.
Switch a rule off.
Referring toFIG. 28, a screen of theinterface2 is shown, the screen shown is an example of a basic rule activation screen. The customer can access this screen through their online banking channel, at an ATM, or through a customer representative. This basic rule activation is part of the existing renewal or registration process. For example the Issuer may inform the Cardholder that their card will not operate in a specific geographic region that may be sensitive to fraud unless the Cardholder informs them to the contrary by telephone or online that there are specific countries that they wish to “turn on”.
In another application, as shown inFIG. 29, a customer segment uses the verification system through the card product they have chosen to use i.e. where the card product has predetermined parameters e.g. transaction type or geographic set to Issuer determined defaults when the card is issued but changed by the Cardholder to suit their own particular requirements whether it is security or control they are concerned about.
These products are designed for Cardholders who may wish to have more active participation in how a card is used, for example, an ancillary card issued by a parent to a child where the parent wishes to control how, where and when the card is used by the child.FIG. 29 illustrates an example of a parent controlled teenager card and how the verification system enhances the security and control for the parent.
The card product design of this particular customer segment would be driven by specific customer needs for credit control and security. An example of this would be a corporate Card Manager as detailed inFIG. 30. Designed for the corporate market where a financial controller may wish to centrally control the individual usage profiles of the company's payment card base using rules similar to previous examples. Rules could also exclude specific merchants or alternatively may allow the card to be used only at specific merchants i.e. as a controlled purchasing card.
Transaction rules form an important part of the operation of card management systems by card issuers. These are rules that are usually applied at either a system level i.e. a rule that will apply to all cards issued by that institution or at a product level i.e. a rule that will apply to a particular card product such as a Gold Card. An example of a rule might be to deny or refer all transactions from a country that is deemed to be a particular hotspot for card fraud.
It will be appreciated that the invention allows the cardholder to control what happens in the authorization process via the establishment of a rule set that will apply to all cardholder's transaction. The cardholder can remotely create, delete or amend rules e.g. through online banking channels. In addition the invention at the Issuers discretion allows for the cardholder to be alerted in real-time of a rule infringement thus alerting him to potential misuse of their payment card and allows them to respond automatically to this alert in real-time to confirm their authenticity thus allowing the transaction to proceed.
It is expected that the invention will reduce and displace the incidence of fraud in payment card networks. It effectively helps manage the risk of card fraud. The system can be used as a complementary technology and as such the card Issuers can implement it as another line of defense in the fight against fraud.
The invention is not limited to the embodiments described but may be varied in construction and detail.

Claims (28)

The invention claimed is:
1. A system for processing requests to authorize financial transactions, comprising:
a receiver configured to receive authorization requests from merchants for financial transactions on payment cards;
a database configured to store a plurality of cardholder rules, wherein each cardholder rule, from the plurality of cardholder rules, is associated with at least one payment card of a customer;
a processor configured to identify a positive or negative authorization response based on the received authorization requests, the processor comprising:
(i) a setup module configured to:
select a template, from a plurality of pre-defined templates, wherein each template, from the plurality of templates, specifies at least one action and at least one notification that defines at least one template rule;
receive information to populate a template to generate at least one cardholder rule, wherein the information includes at least one of a transaction amount, relational operators, and logical operators;
select at least one cardholder rule associated with at least one payment card of a customer; and
associate the at least one template rule of a selected template with a payment card of a customer;
(ii) an authorization module configured to dynamically retrieve the at least one cardholder rule associated with a payment card of a customer of each received authorization request on a per-transaction basis, for applying the retrieved at least one cardholder rule to the corresponding authorization request, for executing the at least one cardholder rule with reference to the at least one template rule, and for implementing the action and the notification defining the at least one template rule; and
a transmitter configured to transmit the identified positive or negative authorization response.
2. The system ofclaim 1, wherein
the database is configured to store system rules which apply to all transactions and product rules which apply to groups of payment cards,
the database is configured to index stored cardholder rules based on an associated payment card number, and
the authorization module is further configured to retrieve the system rules and the product rules and to successively apply the system, product, and cardholder rules upon the receipt of an authorization request.
3. The system ofclaim 1, wherein the setup module is further configured to enable a user to define a template.
4. The system ofclaim 1, wherein the plurality of cardholder rules are stored in a format which does not require parsing of logical string-based expressions for processing.
5. The system ofclaim 1, wherein the authorization module is further configured to receive confirmation of authorization from a customer in response to a notification.
6. The system ofclaim 1, further comprising:
a network interface for a card payment network; and
a card management system interface for an issuer card management system.
7. The system ofclaim 5, wherein the network interface and the card management system interface each include a communication header module configured to convert received messages into a standardized data sequence of bytes.
8. The system ofclaim 6, wherein the network interface and the card management system interface each include a protocol header module configured to convert the standardized data sequence of bytes into an internal format for processing.
9. The system ofclaim 7, wherein the communication header module and the protocol header module are further configured to sequentially check for, receive, convert, and route messages and data.
10. The system ofclaim 7, wherein the communication header module and the protocol header module are further configured to route transaction requests and responses between the card payment network and the issuer card management system.
11. The system ofclaim 1, wherein the transmitter is further configured to transmit at least one of (i) a notification to at least one of a user or a corresponding customer once a possible fraud is detected and (ii) an authorization response to the corresponding customer.
12. The system ofclaim 1, wherein the setup module is further configured to provide at least one of an online banking interface and an automated teller machine interface.
13. The system ofclaim 1, wherein the receiver is further configured to receive a customer request that a payment card be deactivated.
14. The system ofclaim 1, wherein the receiver is further configured to receive a short message service (SMS) message from a customer to deactivate a payment card.
15. A method for processing requests to authorize financial transactions, comprising:
storing, in a database, a plurality of cardholder rules, wherein each cardholder rule, from the plurality of cardholder rules, is associated with at least one payment card of a customer;
selecting a template, from a plurality of pre-defined templates, wherein each template, from the plurality of pre-defined templates, specifies at least one action and at least one notification that defines at least one template rule;
populating the template with information to generate at least one cardholder rule, wherein the information includes at least one of a transaction amount, relational operators, and logical operators,
selecting at least one cardholder rule associated with at least one payment card of the customer,
receiving, by a receiving device, authorization requests from merchants for financial transactions on payment cards;
identifying, by a processor, positive or negative authorization responses based on received authorization requests by (i) dynamically retrieving the at least one cardholder rule associated with a payment card of a customer of each received authorization request on a per-transaction basis, (ii) applying the retrieved at least one cardholder rule to the corresponding authorization request, (iii) executing the at least one cardholder rule with reference to the at least one template rule and (iv) implementing the action and the notification defining the at least one template rule; and
transmitting, by a transmitting device, the identified positive or negative authorization response.
16. The method ofclaim 15, further comprising:
storing, in the database, system rules which apply to all transactions and product rules which apply to groups of cards,
indexing, in the database, stored cardholder rules based on an associated payment card number,
retrieving the system rules and the product rules, and
successively applying the system, product, and cardholder rules upon the receipt of an authorization request.
17. The system ofclaim 15, wherein selecting a template includes the defining of a template by a user.
18. The method ofclaim 15, further comprising storing the cardholder rules in a format which does not require parsing of logical string-based expressions for processing.
19. The method ofclaim 15, further comprising receiving confirmation of authorization from a customer in response to a notification.
20. The method ofclaim 15, further comprising:
interfacing, by a network interface, a card payment network, and
interfacing, by a card management system, an issuer card management system.
21. The method ofclaim 20, further comprising converting received messages into a standardized data sequence of bytes.
22. The method ofclaim 21, further comprising converting the standardized data sequence of bytes into an internal format for processing.
23. The method ofclaim 20, further comprising routing transaction requests and responses between the card payment network and the issuer card management system.
24. The method ofclaim 20, further comprising transmitting at least one of (i) a notification to at least one of a user or a corresponding customer once a possible fraud is detected and (ii) an authorization response to the corresponding customer.
25. The method ofclaim 20, further comprising providing at least one of an online banking interface and an automated teller machine interface.
26. The method ofclaim 20, further comprising receiving a customer request that a payment card be deactivated.
27. The method ofclaim 20, further comprising receiving a short message service (SMS) message from a customer to deactivate a payment card.
28. A non-transitory computer readable storage medium encoded with instructions that, when executed by a computer, cause the computer to execute the steps of:
selecting a template, from a plurality of pre-defined templates, wherein each template, from the plurality of pre-defined templates, specifies at least one action and at least one notification that defines at least one template rule;
populating the template with information to generate at least one cardholder rule, wherein the information includes at least one of a transaction amount, relational operators, and logical operators;
selecting at least one cardholder rule associated with at least one payment card of the customer;
associating the at least one cardholder rule with a payment card of a customer;
dynamically retrieving, on a per-transaction basis, the at least one cardholder rule associated with a payment card of a customer of authorization requests received from a merchant;
applying the retrieved at least one cardholder rule to a corresponding authorization request;
executing the at least one cardholder rule with reference to the at least one template rule;
implementing the action and the notification defining the at least one template rule; and
transmitting, by a transmitting device, an identified positive or negative authorization response.
US13/531,9052001-06-272012-06-25Transaction processingExpired - LifetimeUS8639623B2 (en)

Priority Applications (2)

Application NumberPriority DateFiling DateTitle
US13/531,905US8639623B2 (en)2001-06-272012-06-25Transaction processing
US14/079,711US10089618B2 (en)2001-06-272013-11-14Transaction processing

Applications Claiming Priority (6)

Application NumberPriority DateFiling DateTitle
IE200105942001-06-27
IE2001/05942001-06-27
PCT/IE2002/000093WO2003001866A1 (en)2001-06-272002-06-27Transcation processing
US10/735,642US20040128243A1 (en)2001-06-272003-12-16Transaction processing
US12/461,289US8229854B2 (en)2001-06-272009-08-06Transaction processing
US13/531,905US8639623B2 (en)2001-06-272012-06-25Transaction processing

Related Parent Applications (2)

Application NumberTitlePriority DateFiling Date
US12/461,289ContinuationUS8229854B2 (en)2001-06-272009-08-06Transaction processing
US12/461,289DivisionUS8229854B2 (en)2001-06-272009-08-06Transaction processing

Related Child Applications (1)

Application NumberTitlePriority DateFiling Date
US14/079,711ContinuationUS10089618B2 (en)2001-06-272013-11-14Transaction processing

Publications (2)

Publication NumberPublication Date
US20120330839A1 US20120330839A1 (en)2012-12-27
US8639623B2true US8639623B2 (en)2014-01-28

Family

ID=11042804

Family Applications (5)

Application NumberTitlePriority DateFiling Date
US10/735,642AbandonedUS20040128243A1 (en)2001-06-272003-12-16Transaction processing
US11/643,939AbandonedUS20070198411A1 (en)2001-06-272006-12-22Transaction processing
US12/461,289Expired - Fee RelatedUS8229854B2 (en)2001-06-272009-08-06Transaction processing
US13/531,905Expired - LifetimeUS8639623B2 (en)2001-06-272012-06-25Transaction processing
US14/079,711Expired - LifetimeUS10089618B2 (en)2001-06-272013-11-14Transaction processing

Family Applications Before (3)

Application NumberTitlePriority DateFiling Date
US10/735,642AbandonedUS20040128243A1 (en)2001-06-272003-12-16Transaction processing
US11/643,939AbandonedUS20070198411A1 (en)2001-06-272006-12-22Transaction processing
US12/461,289Expired - Fee RelatedUS8229854B2 (en)2001-06-272009-08-06Transaction processing

Family Applications After (1)

Application NumberTitlePriority DateFiling Date
US14/079,711Expired - LifetimeUS10089618B2 (en)2001-06-272013-11-14Transaction processing

Country Status (4)

CountryLink
US (5)US20040128243A1 (en)
EP (1)EP1402486A1 (en)
IE (1)IE20020534A1 (en)
WO (1)WO2003001866A1 (en)

Cited By (15)

* Cited by examiner, † Cited by third party
Publication numberPriority datePublication dateAssigneeTitle
WO2018128736A1 (en)2017-01-042018-07-12Mastercard International IncorporatedMethod and system for secured merchant verification
CN105046481B (en)*2015-04-292018-08-14丁超A kind of system and method that internet business is independently paid
WO2019103792A1 (en)2017-11-212019-05-31Mastercard International IncorporatedMethod and system for real time installment options on inter and intra-bank transactions
US10339518B2 (en)2014-10-132019-07-02Mastercard International IncorporatedMethod and system for direct carrier billing
US10430795B2 (en)2015-11-182019-10-01Mastercard International IncorporatedRules engine for applying rules from a reviewing network to signals from an originating network
US10769626B2 (en)2015-12-172020-09-08Mastercard International IncorporatedMethod and system for distribution, use and validation of electronic entitlement certificates
US11004071B2 (en)2015-09-092021-05-11Pay with Privacy, Inc.Systems and methods for automatically securing and validating multi-server electronic communications over a plurality of networks
US11080714B2 (en)2016-05-272021-08-03Mastercard International IncorporatedSystems and methods for providing stand-in authorization
US11423408B2 (en)2015-11-182022-08-23Mastercard International IncorporatedRules engine for applying rules from a reviewing network to signals from an originating network
US11620651B2 (en)2019-07-112023-04-04Mastercard International IncorporatedMethod and system for blocking and unblocking merchants for future transactions
US11775977B1 (en)2022-07-072023-10-03Lithic, Inc.Systems and methods for dynamic authorization of virtual bank account transactions
US11930014B2 (en)2021-09-292024-03-12Bank Of America CorporationInformation security using multi-factor authorization
US11971862B1 (en)2022-09-202024-04-30Lithic, Inc.Processing transactions with idempotency in real-time ledgers
US11972425B1 (en)2019-08-302024-04-30Wells Fargo Bank, N.A.Systems and methods for account verification
US12033122B2 (en)2022-07-072024-07-09Lithic, Inc.Systems and methods for configuring serverless authorization stream access (ASA) for virtual bank account transactions

Families Citing this family (136)

* Cited by examiner, † Cited by third party
Publication numberPriority datePublication dateAssigneeTitle
US6636833B1 (en)1998-03-252003-10-21Obis Patents Ltd.Credit card system and method
PL351167A1 (en)1999-04-132003-03-24Orbis Patents LtdSystem for carrying on financial operation in person vs. person, person vs. company, company vs. person and company vs. company relationships
US8571975B1 (en)1999-11-242013-10-29Jpmorgan Chase Bank, N.A.System and method for sending money via E-mail over the internet
US10592901B2 (en)2001-06-042020-03-17Orbis Patents, Ltd.Business-to-business commerce using financial transaction numbers
WO2003001866A1 (en)2001-06-272003-01-09Snapcount LimitedTranscation processing
US7389275B2 (en)2002-03-052008-06-17Visa U.S.A. Inc.System for personal authorization control for card transactions
CA2406880A1 (en)*2002-10-042004-04-04Ibm Canada Limited-Ibm Canada LimiteeMethod and apparatus for an ecommerce message using sms
GB0308102D0 (en)*2003-04-082003-05-14Secure Transaction Proc LtdSystem for secure transactions
US7472827B2 (en)*2004-05-172009-01-06American Express Travel Related Services Company, Inc.Limited use PIN system and method
AU2004100722B4 (en)*2004-08-312005-11-24Markets-Alert Pty LtdA Security System
AU2005279689B2 (en)*2004-08-312008-04-10Markets-Alert Pty LtdA security system
JP2006139591A (en)*2004-11-122006-06-01Fujitsu Ltd Process synchronous certification system and process synchronous certification method
EP1846878A1 (en)2005-02-102007-10-24Norkom Alchemist LimitedA transaction data processing system
US7357310B2 (en)2005-03-112008-04-15Gerry CalabreseMobile phone charge card notification and authorization method
CN101558414A (en)*2005-07-152009-10-14革新货币公司System and method for user selection of fraud detection rules
US7383988B2 (en)*2005-08-312008-06-10Metavante CorporationSystem and method for locking and unlocking a financial account card
US7818264B2 (en)2006-06-192010-10-19Visa U.S.A. Inc.Track data encryption
US20070100773A1 (en)*2006-08-112007-05-03Regions Asset CompanyTransaction security system having user defined security parameters
US8175961B2 (en)2006-11-172012-05-08Visa International Service AssociationMethod and system for using payment history for conducting commercial transactions
US8924295B2 (en)2007-01-032014-12-30At&T Intellectual Property I, L.P.User terminal location based credit card authorization servers, systems, methods and computer program products
US7594605B2 (en)*2007-01-102009-09-29At&T Intellectual Property I, L.P.Credit card transaction servers, methods and computer program products employing wireless terminal location and registered purchasing locations
US8010428B2 (en)*2007-09-262011-08-30Visa Usa Inc.Form factor identification
US20090106151A1 (en)*2007-10-172009-04-23Mark Allen NelsenFraud prevention based on risk assessment rule
US20090125440A1 (en)*2007-11-132009-05-14Mr. Joon MaengMethod and system for approving credit card transactions
AP2010005322A0 (en)*2007-12-112010-08-31Xs Innovation Holdings LtdAccount risk management and authorization system for preventing unauthorized usage of accounts.
US8145569B2 (en)*2007-12-132012-03-27Google Inc.Multiple party on-line transactions
US20100063903A1 (en)*2008-03-102010-03-11Thayne WhippleHierarchically applied rules engine ("hare")
CA2722951A1 (en)*2008-04-292009-11-05Visa U.S.A. Inc.Authorization system with split messaging
US8682717B2 (en)*2008-04-302014-03-25Visa U.S.A. Inc.System and method for processing field 55 customer exclusive data
US7962390B2 (en)*2008-06-052011-06-14Visa Usa Inc.Field 55 data relationships
US20100005029A1 (en)*2008-07-032010-01-07Mark Allen NelsenRisk management workstation
US20230014116A1 (en)*2008-08-122023-01-19Truist BankAutomated webpage confirmation and on-line authentication processes
US8447669B2 (en)2008-08-262013-05-21Visa U.S.A. Inc.System and method for implementing financial assistance programs
US20100114768A1 (en)2008-10-312010-05-06Wachovia CorporationPayment vehicle with on and off function
US10867298B1 (en)2008-10-312020-12-15Wells Fargo Bank, N.A.Payment vehicle with on and off function
US8725601B2 (en)2008-11-212014-05-13Pscu Financial ServicesMethod and apparatus for consumer driven protection for payment card transactions
US8756082B1 (en)*2008-11-252014-06-17Allstate Insurance CompanyVirtuous cycle business growth
GB2466810A (en)*2009-01-082010-07-14Visa Europe LtdProcessing payment authorisation requests
US8140418B1 (en)*2009-01-092012-03-20Apple Inc.Cardholder-not-present authorization
US8364593B2 (en)*2009-06-302013-01-29Visa International Service AssociationIntelligent authentication
US10438181B2 (en)*2009-07-222019-10-08Visa International Service AssociationAuthorizing a payment transaction using seasoned data
US7992781B2 (en)2009-12-162011-08-09Visa International Service AssociationMerchant alerts incorporating receipt data
US8429048B2 (en)2009-12-282013-04-23Visa International Service AssociationSystem and method for processing payment transaction receipts
US20110302084A1 (en)*2010-06-022011-12-08Stefan Melik-AslanianSystem and method for immediate replacement of lost or stolen credit cards/debit cards
WO2011159775A2 (en)*2010-06-152011-12-22Visa International Service AssociationMethod and system for customizing fraud rules
US9619801B2 (en)*2010-08-022017-04-11Stanton Management Group, Inc.User positive approval and authentication services (UPAAS)
AU2011316955B2 (en)2010-10-202016-12-01Playspan Inc.Flexible monetization service apparatuses, methods and systems
US20120116964A1 (en)*2010-11-052012-05-10Onbest Technology Holdings LimitedMethod and system of transaction cards management through business network
US20120123941A1 (en)*2010-11-172012-05-17American Express Travel Related Services Company, Inc.Internet facilitation of fraud services
US10204327B2 (en)2011-02-052019-02-12Visa International Service AssociationMerchant-consumer bridging platform apparatuses, methods and systems
US9953334B2 (en)2011-02-102018-04-24Visa International Service AssociationElectronic coupon issuance and redemption apparatuses, methods and systems
CN106803175B (en)2011-02-162021-07-30维萨国际服务协会Snap mobile payment device, method and system
US10586227B2 (en)2011-02-162020-03-10Visa International Service AssociationSnap mobile payment apparatuses, methods and systems
CN103635920A (en)2011-02-222014-03-12维萨国际服务协会Universal electronic payment apparatuses, methods and systems
US8751381B2 (en)2011-02-232014-06-10Mastercard International IncorporatedDemand deposit account payment system
AU2012223415B2 (en)2011-02-282017-05-18Visa International Service AssociationSecure anonymous transaction apparatuses, methods and systems
US9996838B2 (en)2011-03-042018-06-12Visa International Service AssociationCloud service facilitator apparatuses, methods and systems
US10210497B2 (en)2011-04-062019-02-19OnDot Systems, Inc.System and method for cashless peer-to-peer payment
US9760861B2 (en)*2011-04-292017-09-12Visa International Service AssociationFraud detection system automatic rule population engine
US9129321B2 (en)2011-04-292015-09-08Visa International Service AssociationFraud detection system audit capability
US10380570B2 (en)2011-05-022019-08-13Ondot System, Inc.System and method for secure communication for cashless transactions
WO2012155081A1 (en)2011-05-112012-11-15Visa International Service AssociationElectronic receipt manager apparatuses, methods and systems
AU2012261904A1 (en)2011-06-032013-11-28Visa International Service AssociationVirtual wallet card selection apparatuses, methods and systems
WO2013006725A2 (en)2011-07-052013-01-10Visa International Service AssociationElectronic wallet checkout platform apparatuses, methods and systems
US9582598B2 (en)2011-07-052017-02-28Visa International Service AssociationHybrid applications utilizing distributed models and views apparatuses, methods and systems
US9355393B2 (en)2011-08-182016-05-31Visa International Service AssociationMulti-directional wallet connector apparatuses, methods and systems
US10438176B2 (en)2011-07-172019-10-08Visa International Service AssociationMultiple merchant payment processor platform apparatuses, methods and systems
US10242358B2 (en)2011-08-182019-03-26Visa International Service AssociationRemote decoupled application persistent state apparatuses, methods and systems
US10318941B2 (en)2011-12-132019-06-11Visa International Service AssociationPayment platform interface widget generation apparatuses, methods and systems
US10825001B2 (en)2011-08-182020-11-03Visa International Service AssociationMulti-directional wallet connector apparatuses, methods and systems
US9710807B2 (en)2011-08-182017-07-18Visa International Service AssociationThird-party value added wallet features and interfaces apparatuses, methods and systems
US10460378B1 (en)2011-09-122019-10-29OnDot Systems, Inc.Payment card policy enforcement
US9117225B2 (en)2011-09-162015-08-25Visa International Service AssociationApparatuses, methods and systems for transforming user infrastructure requests inputs to infrastructure design product and infrastructure allocation outputs
US10223730B2 (en)2011-09-232019-03-05Visa International Service AssociationE-wallet store injection search apparatuses, methods and systems
US11354723B2 (en)2011-09-232022-06-07Visa International Service AssociationSmart shopping cart with E-wallet store injection search
US9953378B2 (en)2012-04-272018-04-24Visa International Service AssociationSocial checkout widget generation and integration apparatuses, methods and systems
WO2013090611A2 (en)2011-12-132013-06-20Visa International Service AssociationDynamic widget generator apparatuses, methods and systems
US10223710B2 (en)2013-01-042019-03-05Visa International Service AssociationWearable intelligent vision device apparatuses, methods and systems
US10262148B2 (en)2012-01-092019-04-16Visa International Service AssociationSecure dynamic page content and layouts apparatuses, methods and systems
US11308227B2 (en)2012-01-092022-04-19Visa International Service AssociationSecure dynamic page content and layouts apparatuses, methods and systems
AU2013214801B2 (en)2012-02-022018-06-21Visa International Service AssociationMulti-source, multi-dimensional, cross-entity, multimedia database platform apparatuses, methods and systems
US9928518B1 (en)*2012-05-112018-03-27Amazon Technologies, Inc.Transaction processing using mobile devices
GB2502565A (en)2012-05-312013-12-04IbmProviding event-processing rules in an event-processing environment
WO2013187889A1 (en)*2012-06-132013-12-19Empire Technology Development LlcTransactional permissions
US20190147450A1 (en)2012-06-192019-05-16Ondot SystemReal-time enrichment of raw merchant data from iso transactions on data communication networks for preventing false declines in fraud prevention systems
US11636489B2 (en)2013-10-192023-04-25Ondot Systems Inc.System and method for authorizing a transaction based on dynamic location updates from a user device
US11899711B2 (en)2012-06-192024-02-13Ondot Systems Inc.Merchant logo detection artificial intelligence (AI) for injecting user control to ISO back-end transaction approvals between acquirer processors and issuer processors over data communication networks
US12112300B2 (en)2012-06-192024-10-08OnDot Systems, Inc.Injecting user control for card-on-file merchant data and implicitly-identified recurring payment transaction parameters between acquirer processors and issuer processors over data communication networks
BG111283A (en)*2012-08-072014-02-28Димитър АПОСТОЛОВMethod and system for an interim analysis, control and authorization of electronic payments
US10026119B2 (en)2012-09-102018-07-17Google LlcEfficient transfer of funds between accounts
US10163108B1 (en)2013-02-282018-12-25OnDot Systems, Inc.Transparently reconstructing sniffed network traffic over a back-end data communications network to reconstruct payment card transactions for generating user notifications during transactions
US10282709B2 (en)2013-04-052019-05-07Visa International Service AssociationProcessor issuer detection and user level stand-in authorization
US8690054B1 (en)2013-05-292014-04-08The Toronto-Dominion BankSystem and method for chip-enabled card transaction processing and alert communication
US9832646B2 (en)*2013-09-132017-11-28Network Kinetix, LLCSystem and method for an automated system for continuous observation, audit and control of user activities as they occur within a mobile network
US9532227B2 (en)*2013-09-132016-12-27Network Kinetix, LLCSystem and method for an automated system for continuous observation, audit and control of user activities as they occur within a mobile network
US10769613B1 (en)2013-10-222020-09-08Ondot Systems, IncDelegate cards
US10043182B1 (en)2013-10-222018-08-07Ondot System, Inc.System and method for using cardholder context and preferences in transaction authorization
US10380564B1 (en)2013-12-052019-08-13Square, Inc.Merchant performed banking-type transactions
GB2529378A (en)*2014-06-052016-02-24Mastercard International IncMethod and system for providing a payment card
CN105591999A (en)*2014-10-202016-05-18阿里巴巴集团控股有限公司Verification method and device
MX2014015834A (en)*2014-12-182016-06-17Ivan Mauricio Gonzalez CoronaSystem and method for the authorisation of simple, sequential and parallel requests, comprising means for authorisation using previously defined parameters.
US9264461B1 (en)*2015-01-162016-02-16Stephen James Van de WeteringMethods and systems for a personal data sharing app
WO2016116943A2 (en)*2015-01-232016-07-28Al Rafae Badr MFront end transaction system
US11216468B2 (en)2015-02-082022-01-04Visa International Service AssociationConverged merchant processing apparatuses, methods and systems
US11429975B1 (en)2015-03-272022-08-30Wells Fargo Bank, N.A.Token management system
US11170364B1 (en)2015-07-312021-11-09Wells Fargo Bank, N.A.Connected payment card systems and methods
US11854016B1 (en)*2016-04-052023-12-26Jpmorgan Chase Bank, N.A.Method and system for implementing performance and volume testing for credit card authorization systems
US11886611B1 (en)2016-07-012024-01-30Wells Fargo Bank, N.A.Control tower for virtual rewards currency
US11386223B1 (en)2016-07-012022-07-12Wells Fargo Bank, N.A.Access control tower
US12130937B1 (en)2016-07-012024-10-29Wells Fargo Bank, N.A.Control tower for prospective transactions
US10992679B1 (en)2016-07-012021-04-27Wells Fargo Bank, N.A.Access control tower
US11615402B1 (en)2016-07-012023-03-28Wells Fargo Bank, N.A.Access control tower
US11935020B1 (en)2016-07-012024-03-19Wells Fargo Bank, N.A.Control tower for prospective transactions
EP3285220A1 (en)2016-08-182018-02-21Mastercard International IncorporatedTransaction control management
US10021056B2 (en)*2016-09-122018-07-10International Business Machines CorporationDynamic e-mail chain participant manager
US10375078B2 (en)2016-10-102019-08-06Visa International Service AssociationRule management user interface
WO2018129392A1 (en)*2017-01-052018-07-12Financialapps, LlcSystem and method for aggregating and analyzing financial data
CN106845995B (en)*2017-01-192018-05-04飞天诚信科技股份有限公司A kind of Bluetooth intelligent card and its method for controlling transaction risk
US11023873B1 (en)*2017-03-312021-06-01Square, Inc.Resources for peer-to-peer messaging
US11556936B1 (en)2017-04-252023-01-17Wells Fargo Bank, N.A.System and method for card control
US10453056B2 (en)2017-06-292019-10-22Square, Inc.Secure account creation
US11062388B1 (en)2017-07-062021-07-13Wells Fargo Bank, N.AData control tower
US11188887B1 (en)2017-11-202021-11-30Wells Fargo Bank, N.A.Systems and methods for payment information access management
US11068569B2 (en)*2017-12-222021-07-20Barracuda Networks, Inc.Method and apparatus for human activity tracking and authenticity verification of human-originated digital assets
US11233700B2 (en)2018-08-032022-01-25Visa International Service AssociationMethod, system, and computer program product for configuring a gateway
KR20200034020A (en)2018-09-122020-03-31삼성전자주식회사Electronic apparatus and control method thereof
SG10201809808UA (en)*2018-11-052020-06-29Mastercard International IncMethod and system for translating transaction messages
US11580543B2 (en)*2019-01-032023-02-14Mastercard International IncorporatedMethods, systems and computer program products for implementing pre-authorized payment transactions
US11475516B2 (en)*2019-05-232022-10-18Comenity LlcDistributed risk rules
SG10201911045RA (en)2019-11-222021-06-29Mastercard Asia Pacific Pte LtdElectronic system and computerized method for controlling operation of service devices
US20210365922A1 (en)*2020-05-202021-11-25Wells Fargo Bank, N.A.Device controls
US10992606B1 (en)2020-09-042021-04-27Wells Fargo Bank, N.A.Synchronous interfacing with unaffiliated networked systems to alter functionality of sets of electronic assets
US11954680B2 (en)*2020-10-232024-04-09Mastercard International IncorporatedDevices, methods and computer readable mediums for providing access control
US11546338B1 (en)2021-01-052023-01-03Wells Fargo Bank, N.A.Digital account controls portal and protocols for federated and non-federated systems and devices
US20230316283A1 (en)*2022-04-012023-10-05Jpmorgan Chase Bank, N.A.Systems and methods for merchant integration to track orders and shipment status
US12155641B1 (en)2022-04-152024-11-26Wells Fargo Bank, N.A.Network access tokens and meta-application programming interfaces for enhanced inter-enterprise system data promulgation and profiling

Citations (37)

* Cited by examiner, † Cited by third party
Publication numberPriority datePublication dateAssigneeTitle
US4408203A (en)1978-01-091983-10-04Mastercard International, Inc.Security system for electronic funds transfer system
US4874932A (en)1987-09-261989-10-17Omron Tateisi Electronics Co.Card authorization terminal
US5208446A (en)1991-09-191993-05-04Martinez Jerry RMethod and apparatus for validating credit information during home delivery of order
US5263164A (en)*1991-01-091993-11-16Verifone, Inc.Method and structure for determining transaction system hardware and software configurations
US5388148A (en)1991-08-121995-02-07Seiderman; AbeCellular telephone calling system using credit card validation
WO1995026536A1 (en)1994-03-281995-10-05Robert Waxman, Inc.Interactive product selection and purchasing system
EP0745961A2 (en)1995-05-311996-12-04AT&T IPM Corp.Transaction authorization and alert system
US5659779A (en)*1994-04-251997-08-19The United States Of America As Represented By The Secretary Of The NavySystem for assigning computer resources to control multiple computer directed devices
EP0813173A2 (en)1996-06-141997-12-17Hitachi, Ltd.Electronic purse application system and method thereof
JPH10143572A (en)1996-09-121998-05-29N T T Data Tsushin KkPrepaid card system, prepaid card and recording medium
US5819226A (en)*1992-09-081998-10-06Hnc Software Inc.Fraud detection using predictive modeling
US5903830A (en)1996-08-081999-05-11Joao; Raymond AnthonyTransaction security apparatus and method
US5963925A (en)*1996-10-091999-10-05Visa International Service AssociationElectronic statement presentment system
WO2000002150A1 (en)1998-07-012000-01-13Webcard Inc.Transaction authorisation method
US6029154A (en)1997-07-282000-02-22Internet Commerce Services CorporationMethod and system for detecting fraud in a credit card transaction over the internet
WO2000049586A1 (en)1999-02-182000-08-24Orbis Patents LimitedCredit card system and method
WO2000063855A1 (en)1999-04-192000-10-26Barton Peter RImproved system and method for anonymous transactions
US6173269B1 (en)1998-12-162001-01-09Zowi.Com, IncMethod and apparatus for executing electronic commercial transactions with minors
US6233588B1 (en)*1998-12-022001-05-15Lenel Systems International, Inc.System for security access control in multiple regions
US6282522B1 (en)1997-04-302001-08-28Visa International Service AssociationInternet payment system using smart card
WO2001065511A2 (en)*2000-03-012001-09-07Passgate CorporationMethod, system and computer readable medium for web site account and e-commerce management from a central location
US20020143634A1 (en)*2001-03-302002-10-03Kumar K. AnandWireless payment system
US20020160771A1 (en)1999-12-302002-10-31Massie Rodney ESystem and method of transmitting data messages between subscriber units communicating with/between Complementary/Disparate Networks
EP1265200A1 (en)2001-06-042002-12-11Orbis Patents LimitedCredit card system and method
US20020198806A1 (en)1998-04-242002-12-26First Data CorporationSystems and methods for accessing and modifying usage parameters associated with a financial transaction account
US20030028481A1 (en)*1998-03-252003-02-06Orbis Patents, Ltd.Credit card system and method
US20030158759A1 (en)2002-01-242003-08-21Robert KannenbergMethod of modifying software by defining business rules
US6725300B1 (en)*1998-06-302004-04-20Seiko Epson CorporationControl device for controlling the transmission and receipt of data and a method of determining the transmitter and the receiver of the data
US6748367B1 (en)*1999-09-242004-06-08Joonho John LeeMethod and system for effecting financial transactions over a public network without submission of sensitive information
US20050027617A1 (en)1996-01-172005-02-03Privacy Infrastructure, Inc.Third party privacy system
US6871221B1 (en)*2000-01-212005-03-22Scriptlogic CorporationMethod and apparatus to manage network client logon scripts using a graphical management and administration tool
US6970837B1 (en)1996-09-042005-11-29Walker Digital, LlcMethods and apparatus wherein a buyer arranges to purchase a first product using a communication network and subsequently takes possession of a substitute product at a retailer
US7113930B2 (en)*2001-02-232006-09-26Hewlett-Packard Development Company, L.P.Conducting transactions
US7263506B2 (en)*2000-04-062007-08-28Fair Isaac CorporationIdentification and management of fraudulent credit/debit card purchases at merchant ecommerce sites
US20080091582A1 (en)1998-04-242008-04-17First Data CorporationSystems and methods for redeeming rewards associated with accounts
US7403922B1 (en)1997-07-282008-07-22Cybersource CorporationMethod and apparatus for evaluating fraud risk in an electronic commerce transaction
US8229854B2 (en)*2001-06-272012-07-24Orbiscom LimitedTransaction processing

Family Cites Families (2)

* Cited by examiner, † Cited by third party
Publication numberPriority datePublication dateAssigneeTitle
US5917489A (en)*1997-01-311999-06-29Microsoft CorporationSystem and method for creating, editing, and distributing rules for processing electronic messages
US6338050B1 (en)*1998-11-162002-01-08Trade Access, Inc.System and method for providing and updating user supplied context for a negotiations system

Patent Citations (38)

* Cited by examiner, † Cited by third party
Publication numberPriority datePublication dateAssigneeTitle
US4408203A (en)1978-01-091983-10-04Mastercard International, Inc.Security system for electronic funds transfer system
US4874932A (en)1987-09-261989-10-17Omron Tateisi Electronics Co.Card authorization terminal
US5263164A (en)*1991-01-091993-11-16Verifone, Inc.Method and structure for determining transaction system hardware and software configurations
US5388148A (en)1991-08-121995-02-07Seiderman; AbeCellular telephone calling system using credit card validation
US5208446A (en)1991-09-191993-05-04Martinez Jerry RMethod and apparatus for validating credit information during home delivery of order
US5819226A (en)*1992-09-081998-10-06Hnc Software Inc.Fraud detection using predictive modeling
WO1995026536A1 (en)1994-03-281995-10-05Robert Waxman, Inc.Interactive product selection and purchasing system
US5659779A (en)*1994-04-251997-08-19The United States Of America As Represented By The Secretary Of The NavySystem for assigning computer resources to control multiple computer directed devices
EP0745961A2 (en)1995-05-311996-12-04AT&T IPM Corp.Transaction authorization and alert system
US20050027617A1 (en)1996-01-172005-02-03Privacy Infrastructure, Inc.Third party privacy system
EP0813173A2 (en)1996-06-141997-12-17Hitachi, Ltd.Electronic purse application system and method thereof
US5903830A (en)1996-08-081999-05-11Joao; Raymond AnthonyTransaction security apparatus and method
US6970837B1 (en)1996-09-042005-11-29Walker Digital, LlcMethods and apparatus wherein a buyer arranges to purchase a first product using a communication network and subsequently takes possession of a substitute product at a retailer
JPH10143572A (en)1996-09-121998-05-29N T T Data Tsushin KkPrepaid card system, prepaid card and recording medium
US5963925A (en)*1996-10-091999-10-05Visa International Service AssociationElectronic statement presentment system
US6282522B1 (en)1997-04-302001-08-28Visa International Service AssociationInternet payment system using smart card
US7403922B1 (en)1997-07-282008-07-22Cybersource CorporationMethod and apparatus for evaluating fraud risk in an electronic commerce transaction
US6029154A (en)1997-07-282000-02-22Internet Commerce Services CorporationMethod and system for detecting fraud in a credit card transaction over the internet
US20030028481A1 (en)*1998-03-252003-02-06Orbis Patents, Ltd.Credit card system and method
US20080091582A1 (en)1998-04-242008-04-17First Data CorporationSystems and methods for redeeming rewards associated with accounts
US20020198806A1 (en)1998-04-242002-12-26First Data CorporationSystems and methods for accessing and modifying usage parameters associated with a financial transaction account
US6725300B1 (en)*1998-06-302004-04-20Seiko Epson CorporationControl device for controlling the transmission and receipt of data and a method of determining the transmitter and the receiver of the data
WO2000002150A1 (en)1998-07-012000-01-13Webcard Inc.Transaction authorisation method
US6233588B1 (en)*1998-12-022001-05-15Lenel Systems International, Inc.System for security access control in multiple regions
US6173269B1 (en)1998-12-162001-01-09Zowi.Com, IncMethod and apparatus for executing electronic commercial transactions with minors
WO2000049586A1 (en)1999-02-182000-08-24Orbis Patents LimitedCredit card system and method
WO2000063855A1 (en)1999-04-192000-10-26Barton Peter RImproved system and method for anonymous transactions
US6748367B1 (en)*1999-09-242004-06-08Joonho John LeeMethod and system for effecting financial transactions over a public network without submission of sensitive information
US20020160771A1 (en)1999-12-302002-10-31Massie Rodney ESystem and method of transmitting data messages between subscriber units communicating with/between Complementary/Disparate Networks
US6871221B1 (en)*2000-01-212005-03-22Scriptlogic CorporationMethod and apparatus to manage network client logon scripts using a graphical management and administration tool
WO2001065511A2 (en)*2000-03-012001-09-07Passgate CorporationMethod, system and computer readable medium for web site account and e-commerce management from a central location
US6879965B2 (en)*2000-03-012005-04-12Passgate CorporationMethod, system and computer readable medium for web site account and e-commerce management from a central location
US7263506B2 (en)*2000-04-062007-08-28Fair Isaac CorporationIdentification and management of fraudulent credit/debit card purchases at merchant ecommerce sites
US7113930B2 (en)*2001-02-232006-09-26Hewlett-Packard Development Company, L.P.Conducting transactions
US20020143634A1 (en)*2001-03-302002-10-03Kumar K. AnandWireless payment system
EP1265200A1 (en)2001-06-042002-12-11Orbis Patents LimitedCredit card system and method
US8229854B2 (en)*2001-06-272012-07-24Orbiscom LimitedTransaction processing
US20030158759A1 (en)2002-01-242003-08-21Robert KannenbergMethod of modifying software by defining business rules

Non-Patent Citations (3)

* Cited by examiner, † Cited by third party
Title
"Chapter 3: Flow of Control"; Apr. 7, 2001; pp. 1-8.*
Business Editors & Telecommunications Writers: "Deversifd Transactns: Diversified Transactions debuts Translink to boost bank credit card profits"; May 29, 1991, p. 1.
Business Editors/Computer Writers; "NCR Corp2: NCR System 3600 is Platform for Enterprise-Wide Computing: Massively Parallel System Ideal for Decision Support and Transaction Processing, Exley says"; May 13, 1991; p. 1-2.

Cited By (23)

* Cited by examiner, † Cited by third party
Publication numberPriority datePublication dateAssigneeTitle
US10339518B2 (en)2014-10-132019-07-02Mastercard International IncorporatedMethod and system for direct carrier billing
CN105046481B (en)*2015-04-292018-08-14丁超A kind of system and method that internet business is independently paid
US11741468B2 (en)2015-09-092023-08-29Lithic, Inc.Systems and methods for automatically securing and validating multi-server electronic communications over a plurality of networks
US11741469B2 (en)2015-09-092023-08-29Lithic, Inc.Systems and methods for automatically securing and validating multi-server electronic communications over a plurality of networks
US11699154B2 (en)2015-09-092023-07-11Lithic, Inc.Systems and methods for automatically securing and validating multi-server electronic communications over a plurality of networks
US11568406B2 (en)2015-09-092023-01-31Lithic, Inc.Systems and methods for automatically securing and validating multi-server electronic communications over a plurality of networks
US11276061B2 (en)2015-09-092022-03-15Lithic, Inc.Systems and methods for automatically securing and validating multi-server electronic communications over a plurality of networks
US11004071B2 (en)2015-09-092021-05-11Pay with Privacy, Inc.Systems and methods for automatically securing and validating multi-server electronic communications over a plurality of networks
US11222341B2 (en)2015-11-182022-01-11Mastercard International IncorporatedRules engine for applying rules from a reviewing network to signals from an originating network
US11423408B2 (en)2015-11-182022-08-23Mastercard International IncorporatedRules engine for applying rules from a reviewing network to signals from an originating network
US10430795B2 (en)2015-11-182019-10-01Mastercard International IncorporatedRules engine for applying rules from a reviewing network to signals from an originating network
US10769626B2 (en)2015-12-172020-09-08Mastercard International IncorporatedMethod and system for distribution, use and validation of electronic entitlement certificates
US11080714B2 (en)2016-05-272021-08-03Mastercard International IncorporatedSystems and methods for providing stand-in authorization
US10740757B2 (en)2017-01-042020-08-11Mastercard International IncorporatedMethod and system for secured merchant verification
WO2018128736A1 (en)2017-01-042018-07-12Mastercard International IncorporatedMethod and system for secured merchant verification
WO2019103792A1 (en)2017-11-212019-05-31Mastercard International IncorporatedMethod and system for real time installment options on inter and intra-bank transactions
US11620651B2 (en)2019-07-112023-04-04Mastercard International IncorporatedMethod and system for blocking and unblocking merchants for future transactions
US11972425B1 (en)2019-08-302024-04-30Wells Fargo Bank, N.A.Systems and methods for account verification
US11930014B2 (en)2021-09-292024-03-12Bank Of America CorporationInformation security using multi-factor authorization
US11775977B1 (en)2022-07-072023-10-03Lithic, Inc.Systems and methods for dynamic authorization of virtual bank account transactions
US12033122B2 (en)2022-07-072024-07-09Lithic, Inc.Systems and methods for configuring serverless authorization stream access (ASA) for virtual bank account transactions
US12190325B2 (en)2022-07-072025-01-07Lithic, Inc.Systems and methods for dynamic authorization of virtual bank account transactions
US11971862B1 (en)2022-09-202024-04-30Lithic, Inc.Processing transactions with idempotency in real-time ledgers

Also Published As

Publication numberPublication date
WO2003001866A1 (en)2003-01-09
US20070198411A1 (en)2007-08-23
US20140201079A1 (en)2014-07-17
US20120330839A1 (en)2012-12-27
US20100017328A1 (en)2010-01-21
US8229854B2 (en)2012-07-24
US10089618B2 (en)2018-10-02
IE20020534A1 (en)2002-12-30
US20040128243A1 (en)2004-07-01
EP1402486A1 (en)2004-03-31

Similar Documents

PublicationPublication DateTitle
US8639623B2 (en)Transaction processing
US8036981B2 (en)System and apparatus for transaction fraud processing
US10127554B2 (en)Fraud early warning system and method
US8793189B2 (en)System for personal authorization control for card transactions
US8463702B2 (en)Global compliance processing system for a money transfer system
US7660764B2 (en)Service charge adjustment platform
US11908029B2 (en)Machine and process for managing a service account
US8606662B2 (en)Methods and systems for managing co-brand proprietary financial transaction processing
US20160224980A1 (en)Configurable system and apparatus for rendering payment decisions and triggering actions
US20050165680A1 (en)System and method of registering a vendor with a subscriber account within an electronic bill payment system
US20060015450A1 (en)Financial services network and associated processes
US20110016050A1 (en)System and method for verification, authentication, and notification of transactions
US20040199470A1 (en)Electronic transaction notification system and method
US20120203689A1 (en)Real-Time Account Communication
US20120189110A1 (en)Machine and Process for Accepting Customer Payments and Placing Orders
US11922488B2 (en)Purchase management system and method
US20030141361A1 (en)Monetary transaction information delivery system
CN114897533A (en)Risk control method, device, medium and computer equipment based on business behaviors
US12026767B2 (en)Purchase management system and method
US20230126855A1 (en)Omnichannel system and a method for providing financial and bank services
CA2542988A1 (en)Method and system for real time financial transaction alert
EP3991118A1 (en)System and method for processing payment transactions via blockchain network
KR20020050689A (en)Method of using card that discerns services using the secret number

Legal Events

DateCodeTitleDescription
STCFInformation on status: patent grant

Free format text:PATENTED CASE

FPAYFee payment

Year of fee payment:4

MAFPMaintenance fee payment

Free format text:PAYMENT OF MAINTENANCE FEE, 8TH YEAR, LARGE ENTITY (ORIGINAL EVENT CODE: M1552); ENTITY STATUS OF PATENT OWNER: LARGE ENTITY

Year of fee payment:8

FEPPFee payment procedure

Free format text:MAINTENANCE FEE REMINDER MAILED (ORIGINAL EVENT CODE: REM.); ENTITY STATUS OF PATENT OWNER: LARGE ENTITY


[8]ページ先頭

©2009-2025 Movatter.jp