Movatterモバイル変換


[0]ホーム

URL:


US8578191B2 - Dynamic fabric plane allocation for power savings - Google Patents

Dynamic fabric plane allocation for power savings
Download PDF

Info

Publication number
US8578191B2
US8578191B2US12/797,996US79799610AUS8578191B2US 8578191 B2US8578191 B2US 8578191B2US 79799610 AUS79799610 AUS 79799610AUS 8578191 B2US8578191 B2US 8578191B2
Authority
US
United States
Prior art keywords
switching portion
distributed network
network switch
switch
utilization value
Prior art date
Legal status (The legal status is an assumption and is not a legal conclusion. Google has not performed a legal analysis and makes no representation as to the accuracy of the status listed.)
Active, expires
Application number
US12/797,996
Other versions
US20110307718A1 (en
Inventor
Gunes Aybay
Jaya Bandyopadhyay
Current Assignee (The listed assignees may be inaccurate. Google has not performed a legal analysis and makes no representation or warranty as to the accuracy of the list.)
Juniper Networks Inc
Original Assignee
Juniper Networks Inc
Priority date (The priority date is an assumption and is not a legal conclusion. Google has not performed a legal analysis and makes no representation as to the accuracy of the date listed.)
Filing date
Publication date
Application filed by Juniper Networks IncfiledCriticalJuniper Networks Inc
Priority to US12/797,996priorityCriticalpatent/US8578191B2/en
Assigned to JUNIPER NETWORKS, INC.reassignmentJUNIPER NETWORKS, INC.ASSIGNMENT OF ASSIGNORS INTEREST (SEE DOCUMENT FOR DETAILS).Assignors: AYBAY, GUNES, BANDYOPADHYAY, JAYA
Publication of US20110307718A1publicationCriticalpatent/US20110307718A1/en
Application grantedgrantedCritical
Publication of US8578191B2publicationCriticalpatent/US8578191B2/en
Activelegal-statusCriticalCurrent
Adjusted expirationlegal-statusCritical

Links

Images

Classifications

Definitions

Landscapes

Abstract

In one embodiment, a method includes accessing a first utilization value, accessing a second utilization value, defining a third utilization value, and sending to a first switching portion of a distributed network switch a deactivate signal in response to the third utilization value. The first utilization value is associated with the first switching portion of the distributed network switch. The second utilization value is associated with a second switching portion of the distributed network switch. The third utilization value is associated with the second switching portion of the distributed network switch and is based on the first utilization parameter and the second utilization parameter. The first switching portion of the distributed network switch ceases communication within the distributed network switch in response to the deactivate signal.

Description

BACKGROUND
One or more embodiments relate generally to dynamic power management within a distributed network switch including a group of network switching portions. More specifically, one or more embodiments relate to monitoring utilization and/or capacity parameters of one or more switching portions within a distributed network switch and dynamically activating and/or deactivating communication at one or more of the switching portions to dynamically manage the power consumption within the distributed network switch.
Known methods of communications network power management of network switches implement power management at the individual network switches. Power management of network switches within a communications network is typically limited to minor variations in the operational state of each individual network switch because each network switch within a communications network is typically managed or maintained by distributed protocols such as spanning tree and distributed routing protocols and have limited information related to the operational state of the other network switches within the communications network. Thus, the network switches within the communications network are typically unable to efficiently manage power consumption within the communications network.
SUMMARY
In one embodiment, a method includes accessing a first utilization value, accessing a second utilization value, defining a third utilization value, and sending to a first switching portion of a distributed network switch a deactivate signal in response to the third utilization value. The first utilization value is associated with the first switching portion of the distributed network switch. The second utilization value is associated with a second switching portion of the distributed network switch. The third utilization value is associated with the second switching portion of the distributed network switch and is based on the first utilization parameter and the second utilization parameter. The first switching portion of the distributed network switch ceases communication within the distributed network switch in response to the deactivate signal.
BRIEF DESCRIPTION OF THE DRAWINGS
FIG. 1 is a schematic block diagram of a distributed network switch and a group of servers, according to an embodiment.
FIG. 2 is a schematic block diagram of a distributed network switch including a switch fabric and a group of access switches, according to an embodiment.
FIG. 3 is a schematic block diagram of an access switch, according to an embodiment.
FIG. 4 is a schematic block diagram of a switch module, according to an embodiment.
FIG. 5 is a schematic block diagram of a switch device, according to an embodiment.
FIG. 6 is a schematic block diagram of a switch device, according to another embodiment.
FIG. 7 is a schematic block diagram of a memory including a table configured to store state information related to switching portions of a distributed network switch, according to an embodiment.
FIGS. 8A-8E are schematic block diagrams that illustrate communications planes within a distributed network switch, according to an embodiment.
FIG. 9 is a flow chart of a method of disabling a switching portion within a distributed network switch, according to an embodiment.
FIG. 10 is a flow chart of a method of determining whether a switching portion within a distributed network switch can be disabled, according to an embodiment.
FIG. 11 is a schematic block diagram that illustrates a distributed network switch in which switching portions have been disabled, according to an embodiment.
FIG. 12 is a schematic block diagram that illustrates a distributed network switch in which other switching portions have been disabled, according to an embodiment.
FIG. 13 is a flow chart of a method of enabling a disabled switching portion within a distributed network switch, according to an embodiment.
DETAILED DESCRIPTION
One or more embodiments can provide dynamic power management within a communications network such as a distributed network switch. A distributed network switch can be a portion of a communications network that is configured to switch or route data (e.g., via data packets, data streams, data cells and/or virtual circuits) within the communications network. A distributed network switch can include multiple switch modules each with one or more switch devices that switch or route data within the distributed network switch. For example, a switch module can be a switch chassis including multiple switch devices such as line cards. Each line card can include multiple communication modules that communicate (e.g., send and/or receive electrical and/or optical signals representing data symbols) with other communication modules at line cards of other switch chassis and/or that same switch chassis.
A distributed network switch can include multiple stages. For example, a distributed network switch can include edge devices such as access switches that are configured to communicate with computing devices such as computer servers (e.g., web servers, database servers, file servers, storage devices and/or other computer servers) and a single-hop core of the distributed network switch. An access switch can receive data from a source computer server connected to that access switch and can forward that data to the single-hop core of the distributed network switch. The single-hop core of the distributed network switch can route or switch the data to another access switch, which can forward the data to a destination computer server connected to that access switch. In some embodiments, an access switch can switch or route data from a source computer server to a destination computer server without forwarding the data to the single-hop core of the distributed network switch if both the source computer server and the destination computer server are connected to that access switch.
In some embodiments, a distributed network switch can include access switches (as discussed above) that are connected to a multistage switch fabric. Data received from source computer servers connected to the access switches can be forwarded to the multistage switch fabric, and the multistage switch fabric can switch or route the data to other access switch to be forwarded to destination computer servers. In some embodiments, an access switch can switch or route data from a source computer server to a destination computer server without forwarding the data to the switch fabric of the distributed network switch if both the source computer server and the destination computer server are connected to that access switch.
In some embodiments, a distributed network switch can include multiple stages. For example, a distributed network switch can include edge devices such as access switches that are configured to communicate with computing devices such as computer servers (e.g., web servers, database servers, file servers, storage devices and/or other computer servers) and aggregation and/or core stages of the distributed network switch. An access switch can receive data from a source computer server connected to that access switch and can forward that data to the aggregation and/or core stages of the distributed network switch. The aggregation and/or core stages of the distributed network switch can route or switch the data to another access switch, which can forward the data to a destination computer server connected to that access switch. In some embodiments, an access switch can switch or route data from a source computer server to a destination computer server without forwarding the data to aggregation and/or core stages of the distributed network switch if both the source computer server and the destination computer server are connected to that access switch.
Dynamic power management can include altering an operational state of one or more switching portions (or elements) of a distributed network switch. For example, dynamic power management can include altering (e.g., increasing or decreasing) a symbol rate at two switch portions of a distributed network switch that are operatively coupled via a link (e.g., an electrical or optical connection) to alter an amount of electrical power consumed (or used) by those two switching portions of the distributed network switch. More specifically, for example, the switching portions can be electrical and/or optical communication modules including transmitter, receiver and/or transceiver modules such as serializers/deserializers (“SerDeses”) and optical modules including XFP, SFP+, QSFP, CXP and/or other (e.g., standard, custom or application-specific) single-lane or multi-lane optical modules. Reducing the symbol rate (e.g., a bit rate) at which the two switching portions of the distributed network switch communicate via the link typically reduces the amount of electrical power consumed by the two switching portions. Conversely, increasing the symbol rate (e.g., a bit rate) at which the two switching portions of the distributed network switch communicate via the link typically increases the amount of electrical power consumed by the two switching portions. For links implemented using parallel optical modules that can transmit and/or receive multiple optical lanes over a parallel optical cable or multiple wavelengths of light (e.g., electromagnetic radiation) over a single fiber, reducing the number of active optical lanes through which the two switching portions of the distributed network switch communicate via the link typically reduces the amount of electrical power consumed by the two switching portions. Conversely, increasing the number of active optical lanes through which the two switching portions of the distributed network switch communicate via the link typically increases the amount of electrical power consumed by the two switching portions. As used herein, a switching portion of a distributed network switch can be a switch module (e.g., a chassis including multiple switch devices), a switch device (e.g., a line card within a chassis), a communication module, physical or logical links or channels of a communication module, and/or other components or elements of a distributed network switch.
Furthermore, dynamic power management (e.g., altering an operational state of one or more switching portions (or elements) of a distributed network switch) can include disabling and/or enabling one or more switching portions of the distributed network switch during operation of the distributed network switch. For example, a communication module can communicate with another communication module using a coding protocol such as a differential coding protocol in which the communication modules send symbols in a regular pattern even when no data is being communicated from one communication module to another. These communication modules consume or use electrical power even when they are not transmitting data. Accordingly, disabling these communication modules when they are unused within a distributed switch network can result in decreased power consumption within the distributed network switch. When these communication modules can be used within the distributed network switch, they can be enabled. Thus, power consumption can be dynamically managed within the distributed network switch.
In one embodiment, a distributed network switch includes (or is operatively coupled to) a control module. The control module monitors various operational parameters of the switching portions of the distributed network switch and provides control signals and/or control commands to the switching portions of the distributed network switch. For example, the control module can monitor operational parameters including: current total capacity (e.g., an amount of data that can be transferred in a given time) of the distributed network switch and each switching portion of the distributed network switch; current utilization (e.g., used capacity) of the distributed network switch and of the distributed network switch and each switching portion of the distributed network switch; current available capacity (e.g., unused capacity) of the distributed network switch and each switching portion of the distributed network switch; and/or historic total capacity, utilization, and/or available capacity of the distributed network switch and each switching portion of the distributed network switch. Additionally, the control module can provide control commands to switching portions of the distributed network switch such as: switching or routing parameters (e.g., rules for routing data); availability or state information (e.g., disabled, enabled, partially operational, capacity, utilization, etc.) related to switching portions of the of the distributed network switch; disable or enable commands; increase or decrease symbol rate commands; and/or other control commands.
The control module can dynamically manage the power used by the distributed network switch by determining which switching portions of the distributed network switch can be disabled, enabled, have an increased or decreased symbol rate, and/or have some other operational state altered based on the operational parameters monitored by the control module, and then altering those operational states. Because the control module can access operational parameters of the switching portions of the distributed network switch, the control module can determine which operational states of switching portions can be altered and what effect such alteration will have on other switching portions. Accordingly, the control module can alter operational states of the other switching portions to enable the distributed network switch to continue to operate properly after altering operational states of one or more switching portions.
For example, the control module can determine that a chassis of the distributed network switch has a low current utilization and that utilization of the chassis has been historically low. Furthermore, the control module can determine that three of four access switches coupled to that chassis also have low current utilization. Thus, the control module can send one or more control commands to disable (or deactivate) one or more communication modules at each of the three access switches and at the line cards of the chassis to reduce power consumption of the distributed network switch. Additionally, the control module can send one or more control commands to alter switching or routing tables at switching portions of the distributed network switch to reflect that the disabled communication module are disabled, indicating that switching portions should not send data to or from those communication modules.
Moreover, the control module can detect an increase in the amount or rate of data sent from or to computer servers connected to the three access switches (e.g., by comparing current utilization to historic or previous utilization), and in response can send one or more control commands to enable (or activate) one or more communication modules at each of the three access switches and at the line cards of the chassis to provide sufficient current capacity within the distributed network switch to switch or route the data. After the communication module are enabled, the control module can send one or more control commands to alter switching or routing tables at switching portions of the distributed network switch to reflect that the enabled communication module are enabled, indicating that switching portions may send data to or from those communication modules.
As used in this specification, the singular forms “a,” “an” and “the” include plural referents unless the context clearly dictates otherwise. Thus, for example, the term “a switch module” is intended to mean a single switch module or multiple switch modules; and “memory” is intended to mean one or more memories, or a combination thereof.
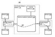
FIG. 1 is a schematic block diagram of a distributed network switch and a group of servers, according to an embodiment. Access switches111 and112 andcommunications network170 are switching portions of distributednetwork switch110.Control module180 is a control module operatively coupled to (or associated with) distributednetwork switch110.Servers122 and124 andservers142 and144 are operatively coupled to accessswitches111 and112, respectively.Servers122,124,142 and144 can communicate data with one another (e.g., send data packets, data cells, data stream and/or other data) via distributednetwork switch110. In some embodiments, distributed network switch can be operatively coupled to another communications network such as an intranet or internet via a gateway, bridge, router, switch or other network device (not shown). For example, distributednetwork switch110 can be operatively coupled to the Internet via a gateway (not shown) that is operatively coupled to accessswitch111;servers122,124,142 and144 can communicate with computing devices via distributednetwork switch110 and the gateway.
As illustrated inFIG. 1,servers122,124,142 and144 can communicate with one another via access switches111 and112 andcommunications network170.Communications network170 can be any communications network configured to transmit data between multiple network device (e.g., switching portions such as access switches111 and112). For example,communications network170 can be an Ethernet network including edge devices, aggregation switches and one or more core switches. In some embodiments,communications network170 can be a multistage switch fabric, a single-hop core, and/or some other communications network.
FIG. 2 is a schematic block diagram of distributednetwork switch200 includingswitch fabric270 andaccess switches211 and212, according to an embodiment. Access switches211 and212 inFIG. 2 are analogous to accessswitches111 and112 inFIG. 1. Similarly,control module280 is analogous to control module180 (discussed in more detail herein below) and is included as a portion ofswitch fabric270.Switch fabric270 is a communications network. More specifically,switch fabric270 is a multistage switch fabric including parallel or redundant links to each ofaccess switches211 and212. In some embodiments,switch fabric270 can be based on a Clos network architecture (e.g., a non-blocking Clos network, a strictly non-blocking Clos network, a Benes network). In some embodiments, a network architecture such as, for example, a Clos network and/or a Benes network can be reconfigurable (e.g., rearrangeable). In some embodiments,switch fabric270 can include one or more multi-stage switches (not shown) that each include one or more switch fabrics. In some embodiments,switch fabric270 can be a cell-based switch fabric. In some embodiments,switch fabric270 can be a packet-based (e.g. Ethernet) switch fabric.
Switch modules221 and231 are first-stage and third-stage switch modules, and switchmodules241 and251 are second-stage switch modules. In other words, data received intoswitch fabric270 via access switches211 and212 are first forwarded to the first-stage portion ofswitch modules221 and/or231. The data are then forwarded to theswitch modules241 and/or251, and then to the third-stage portion ofswitch modules221 and/or231. The data are finally forwarded to accessswitches211 and/or212 from the third-stage portion ofswitch modules221 and/or231.
FIG. 3 is a schematic block diagram of an access switch, according to an embodiment.Access switch318 includes communication modules CM31 and CM32 andmanagement module381. Although not illustrated inFIG. 3,access switch318 also includes a processor and a memory. Communication modules CM31 and CM32 can be electrical and/or optical communication modules including transmitter, receiver and/or transceiver modules such as SerDeses and optical modules including XFP, SFP+, QSFP, CXP and/or other (e.g., standard, custom or application-specific) optical modules. In some embodiments, communication module CM31 can be one type of communication module (e.g., an electrical communication module) and communication module CM32 can be another type of communication module (e.g., an optical communication module). Communication modules CM31 and CM32 can be coupled to communication modules of other switching portions of a distributed network switch and or computing devices. For example, communication module CM31 can be operatively coupled to a network interface card (“NIC”) of a computing device via an electrical cable (not shown) and communication module CM32 can be operatively coupled to a communication module at a switch module via an optical cable. A processor (not illustrated) ataccess switch318 can process data (e.g., data packet or data cell) received at one of communication modules CM31 and CM32 and forward the data via the other of communication modules CM31 and CM32.
Communication modules CM31 and CM32 can define (or use) one or more physical channels and/or one or more logical channels within (or associated with) each physical channel. For example, communication module CM31 can define (or use) four physical optical channels and each physical optical channel can include four logical channels. Each physical optical channel can be defined by an optical source such as a laser diode and/or an optical receiver. Thus, each physical optical channel can be operatively coupled to another communication module such as, for example, a communication module at a location other than the same access switch (or a physical optical channel of another communication module) via an optical cable. In some embodiments, each physical optical channel can be defined by more than one optical source or optical receiver. Each physical optical channel can be separated into four logical channels using a multiple access scheme such as, for example, a time division multiple access scheme. In some embodiments, multiple logical channels associated with a physical optical channel can be implemented using, multiple laser sources (e.g., an array of vertical-cavity surface-emitting lasers (VCSELs)) and/or multiple optical receivers (e.g. a P-I-N array). For example, signals of a first logical channel within a physical optical channel can be defined by a first laser source, and signals of a second logical channel (parallel with the first logical channel) within the physical optical channel can be defined by a second laser source. The signals of the first logical channel can be received at a first optical receiver and signals of the second logical channel can be received at a second optical receiver. In some embodiments, each optical channel can be separated into two or more logical channels that are each defined, for example, using different wavelengths. In such embodiments, the logical channels can be defined using, for example, wave-division multiplexing (WDM) technology (e.g. coarse wavelength division multiplexing (CWDM) technology, dense wavelength division multiplexing (DWDM) technology).
Management module381 can be a hardware module such as a processor or a software module hosted at a processor, and is configured to control or manage communication modules CM31 and CM32. For example,management module381 can alter an operational state of communication modules CM31 and/or CM32. More specifically,management module381 can enable or disable communication modules CM31 and CM32, increase or decrease a symbol rate of communication modules CM31 and CM32 (that is increase a symbol rate at which data is sent and/or received by communication modules CM31 and CM32), enable or disable one or more physical channels associated with communication modules CM31 and CM32, and/or enable or disable one or more logical channels associated with communication modules CM31 and CM32.
Additionally,management module381 can monitor, store and/or log operational parameters of access switch318 (e.g., store current and/or historic operational parameters at a memory) including, for example: current total capacity (e.g., an amount of data that can be transferred in a given time) ofaccess switch318 and/or communication modules CM31 and CM32; current utilization (e.g., used capacity) ofaccess switch318 and/or communication modules CM31 and CM32; current available capacity (e.g., unused capacity) ofaccess switch318 and/or communication modules CM31 and CM32; and/or historic total capacity, utilization, and/or available capacity ofaccess switch318 and/or communication modules CM31 and CM32.Management module381 can access the operational parameters to manageaccess switch318. For example,management module381 can alter an operational state of communication modules CM31 and/or CM32 based on one or more operational parameters.
In some embodiments,management module381 can communicate with a control module of a distributed network switch (e.g.,control module180 ofFIG. 1 orcontrol module280 ofFIG. 2). In other words,management module381 can receive control signals and/or commands from a control module and can send responses to the control module. For example,management module381 can send operational parameters (or signals representing values of operational parameters) or current operational state information to a control module in response to one or more control commands querying operational parameters ofaccess switch318 and/or communication modules CM31 and/or CM32. Similarly,management module381 can send an acknowledge response (e.g., an indication of success, failure, or error) to a control module in response to one or more control commands from the control module indicating that an operational state ofaccess switch318 and/or communication modules CM31 and/or CM32 should be altered. Thus, the control module can change an operational state ofaccess switch318 and/or communication modules CM31 and/or CM32. Furthermore, the control module can send one or more control commands indicating an operational state of other switching portions of a distributed network switch tomanagement module381.Management module381 can, for example, store information related to the operational state of the other switching portions of the distributed network switch at a memory of access switch318 (or management module381) and a processor ataccess switch318 or management module381 (not shown) can access the operational state information to determine whether data should be sent to a particular switching portion or via a particular physical or logical channel.
In some alternative embodiments, the access switch does not include a management module. Rather a control module of a distributed network switch can communicate directly (e.g., not through management module381) with communication modules (e.g., communication modules CM31 and/or CM32) and/or other components (not shown inFIG. 3) of the access switch to access operational parameters, to access current operational state information, and/or to change an operational state of the access switch, communication modules, and/or other components of the access switch.
FIG. 4 is a schematic block diagram of a switch module, according to an embodiment.Switch module421 includesswitch devices422 and423,power module491, andmanagement module482. Additionally,switch module421 can include a processor (not shown), a memory (not shown), and/or other components (not shown).Switch devices422 and423 can be, for example, line cards and/or other devices withinswitch module421 configured to switch and/or route data within a distributed network switch includingswitch module421. For example,switch devices422 and423 can include communication modules and a processor configured to switch or route data within a distributed network switch.FIG. 5 is a schematic block diagram of a switch device, according to an embodiment.Switch device524 includes communication modules CM51, CM52, CM53 and CM54, andmemory587. Additionally,switch device524 can include a processor (not shown) and/or other components (not shown) operatively coupled to one or more of communication modules CM51, CM52, CM53 and CM54 andmemory587.
Communication modules CM51, CM52, CM53 and CM54 are similar to communication modules CM31 and CM32 discussed above in relation toFIG. 3, and can be operatively coupled to communication modules of an access switch or another switch device to establish a link (or communication link) betweenswitch device524 and the access switch or other switch device. Said differently, communication modules CM51, CM52, CM53 and/or CM54 can be coupled to other communication modules such as communication modules outsideswitch device524 via a cable (e.g., an electrical cable or an optical cable) to define one or more physical and/or logical channels betweenswitch device524 and one or more access switches and/or other switch devices within a distributed switch network.
Memory587 can store data or information related to an operational state of other communication modules to which communication modules CM51, CM52, CM53 and/or CM54 are operatively coupled. For example,memory587 can include a table with entries corresponding to (or associated with) the communication modules to which communication modules CM51, CM52, CM53 and/or CM54 are operatively coupled. In some embodiments, the entries of the table can correspond to operational states of other switching portions, physical channels, logical channels, and/or other links. A processor (not shown) atswitch device524 can access an entry atmemory587 to determine whether data can be sent to or received from a particular communication module or via a particular physical or logical channel based on a value of that entry.FIG. 7 is a schematic block diagram of a memory including a table configured to store state information related to switching portions of a distributed network switch, according to an embodiment.Memory787 is an example ofmemory587.
Table61 ofmemory787 includes entries with values representing an operational state (indicated in column712) of a communication module (or other switching portion) to which each of communication modules CM51, CM52, CM53 and CM54 (indicated in column711) ofFIG. 5 is operatively coupled. The top-most entry ofcolumn712 corresponds to the communication module operatively coupled to communication module CM51 as indicated by the identifier ID CM51 incolumn711. Proceeding downward, the next entry incolumn712 corresponds to the communication module operatively coupled to communication module CM52 as indicated by the identifier ID CM52 incolumn711; the next entry corresponds to the communication module operatively coupled to communication module CM53 as indicated by the identifier ID CM53 incolumn711; and the final entry corresponds to the communication module operatively coupled to communication module CM54 as indicated by the identifier ID CM54 incolumn711. Thus, the communication modules respectively operatively coupled to communication modules CM51, CM52 and CM54 are active (or enabled), and the communication module operatively coupled to communication module CM53 is inactive (or disabled). Accordingly, a processor (not shown) atswitch device524 can access table T61 to determine that data should not be sent (or received) via communication module CM53.
In some embodiments, an access switch or switch module can include a memory similar tomemory787 to store operational states of communication modules or other switching portions of a distributed network switch to which that access switch or switch module is operatively coupled. In some embodiments, table T61 includes a single column with entries having values representing an operational state of a communication module to which each of a group of communication modules is operatively coupled. The location or index of each entry can implicitly indicate to which control module that entry is related. For example, the first entry can be related to one communication module, the second entry can be related to another communication module, and the last entry can be related to yet another communication module.
FIG. 6 is a schematic block diagram of another switch device, according to an embodiment.Switch device625 is similar to switchdevice524 illustrated inFIG. 5. For example, communication modules CM65, CM66, CM67 and CM68 are similar to communication modules CM51, CM52, CM53 and CM54, andmemory687 is similar tomemory587.Switch device625 includesmanagement module692, which is similar tomanagement module381 discussed above in relation toFIG. 3.
More specifically,management module692 can be a hardware module such as a processor or a software module hosted at a processor and is configured to control or manageswitch device625 and/or communication modules CM65, CM66, CM67 and/or CM68. For example,management module692 can alter an operational state of communication modules CM65, CM66, CM67 and/or CM68. In other words,management module692 can, for example, enable or disable communication modules CM65, CM66, CM67 and/or CM68, increase or decrease a symbol rate of communication modules CM65, CM66, CM67 and/or CM68 (e.g., a symbol rate at which data is sent and/or received by communication modules CM65, CM66, CM67 and/or CM68), enable or disable one or more physical channels associated with communication modules CM65, CM66, CM67 and/or CM68, enable or disable one or more logical channels associated with communication modules CM65, CM66, CM67 and/or CM68, and/or update entries atmemory687 associated with other switching portions of a distributed network switch, physical or logical channels, and/or other entries. Additionally,management module692 can monitor, store and/or log operational parameters of switch device625 (e.g., store current and/or historic operational parameters at a memory such as memory687). Furthermore,management module692 can communicate with a control module of a distributed network switch and/or management modules of a switch module (e.g., a switch module within whichswitch device625 is housed or hosted).
Returning toFIG. 4,management module482 is operatively coupled topower module491 andswitch devices422 and423.Power module491 is operatively coupled to switchdevices422 and423.Management module482 is similar tomanagement module381 discussed in relation toFIG. 3 andmanagement module692 discussed in relation toFIG. 6. More specifically,management module482 can be a hardware module such as a processor or a software module hosted at a processor and is configured to control or manageswitch devices422 and/or423 (e.g., communication modules ofswitch devices422 and/or423). For example,management module482 can alter an operational state ofswitch devices422 and/or423 (e.g., communication modules ofswitch devices422 and/or423). In other words,management module482 can, for example, enable or disableswitch devices422 and/or423 (e.g., communication modules ofswitch devices422 and/or423), increase or decrease a symbol rate of data sent and/or received byswitch devices422 and/or423 (e.g., sent by communication modules ofswitch devices422 and/or423), enable or disable one or more physical channels associated with communication modules switchdevices422 and/or423 (e.g., communication modules ofswitch devices422 and/or423), enable or disable one or more logical channels associated withswitch devices422 and/or423 (e.g., communication modules ofswitch devices422 and/or423), and/or update entries associated with other switching portions of a distributed network switch, physical or logical channels, and/or other entries at a memory (not shown) ofswitch module421 and/orswitch devices422 and/or423. Additionally,management module482 can monitor, store and/or log operational parameters ofswitch module421 and/orswitch devices422 and/or423 (e.g., store current and/or historic operational parameters at a memory). Furthermore,management module482 can communicate with a control module of a distributed network switch and/or management modules ofswitch devices422 and/or423.
Moreover,management module482 can provide control commands and/or control signals topower module491.Power module491 can be a power supply such as a transformer or DC-DC converter that provides operational power to switchdevices422 and423.Management module482 can provide control commands and/or control signals topower module491 to enable and/or disable operational power to one or more ofswitch devices422 and/or423. For example, ifmanagement module482 determines (e.g., based on operational parameters ofswitch module421 and/orswitch devices422 and/or423, or in response to a control command from a control module of a distributed network switch) thatswitch device422 should be disabled,management module482 can send a control signal (e.g., change a voltage or logic level of a control pin) topower module491 to disable operational power output to switchdevice422. Similarly, ifmanagement module482 determines thatswitch device422 should be enabled,management module482 can send a control signal topower module491 to enable operational power output to switchdevice422. In some embodiments,power module491 can provide more granular power management. For example,power module491 can separately provide power to each component (e.g., communication module) ofswitch devices422 and423. Thus,management module482 can provide control signals and/or control commands topower module491 to enable, disable, or otherwise alter power output to individual components ofswitch devices422 and423 and/or to switchdevices422 and423.
In some alternative embodiments, the switch module does not include a management module. Rather a control module of a distributed network switch can communicate directly (e.g., not through management module482) with switch devices, a power module and/or other components (not shown inFIG. 4) of the switch module to access operational parameters, to access current operational state information, and/or to change an operational state of the switch module, the switch devices, the power module, and/or other components of the switch module and/or the switch devices.
Referring now toFIG. 1,data path161 illustrates a path of data sent fromserver122 toserver144. Data is received ataccess switch111 fromserver122, and access switch111 forwards the data tocommunications network170.Communications network170 switches or routes the data to accessswitch112, and access switch112 forwards the data toserver144.
In some embodiments, access switches111 and112 communicate withservers122,124,142 and144 via one protocol and/or physical layer, and communicate withcommunications network170 via another protocol and/or physical layer. For example, access switches111 and112 can communicate withservers122,124,142 and144 using a data packet protocol, such as the Internet Protocol (“IP”), and withcommunications network170 using a cell-based (e.g., fixed length data cells) protocol. Furthermore, the physical layer (e.g., physical connections) betweenservers122,124,142 and144 andaccess switches111 and112 can be electrical and the physical layer betweenaccess switches111 and112 andcommunications network170 can be optical. Thus, referring todata path161,server122 can send an IP data packet indicating thatserver144 is the destination of the data packet to accessswitch111.Access switch111 can receive the IP data packet, separate the data packet into cells, and send the cells tocommunications network170.Communications network170 can switch or route the cells to accessswitch112, andaccess switch112 can combine (or reassemble) the cells into an IP data packet.Access switch112 can then forward the IP data packet toserver144.
In some embodiments, access switches111 and112 can communicate withservers122,124,142 and144 andcommunications network170 using a common protocol, and switching portions (e.g., stages) withincommunications network170 can communicate using a different protocol. Thus, referring again todata path161,access switch111 can forward an IP data packet received fromserver122 tocommunications network170. A switching portion ofcommunications network170 operatively coupled to accessswitch111 can separate the data packet into cells, and the cells can be forwarded to a switching portion ofcommunications network170 operatively coupled to accessswitch112. That switching portion can combine (or reassemble) the cells into an IP data packet, and forward the IP data packet toserver144 viaaccess switch112. In some embodiments, access switches111 and112 can process data received (e.g., data packets) fromservers122,124,142 and144 before that data is provided tocommunications network170. For example, access switches111 and112 can classify data packets, queue packets at ingress and egress ports, determine switching portions ofcommunications network170 to which data packets are to be forwarded, mirror packets, perform packet accounting, and/or otherwise process data packets.
Furthermore, in some embodiments, access switches111 and112 can communicate withservers122,124,142 and144 andcommunications network170 using a common protocol, and switching portions (e.g., stages) withincommunications network170 can communicate using that same protocol. For example, access switches111 and112 can communicate withservers122,124,142 and144 andcommunications network170 using an Ethernet protocol, and switching portions (e.g., stages) withincommunications network170 can communicate using an Ethernet protocol. In other words, access switches111 and112,servers122,124,142 and144, and switching portions withincommunications network170 can all be Ethernet devices.
Control module180 can be, for example, a computing device (e.g., a computer including a processor and a memory), a processor such as a general-purpose processor, application-specific integrated circuit (“ASIC”), and/or a field-programmable gate array (“FPGA”) withincommunications network170, and/or a software module hosted at (or operating on) a processor in communication with distributed network switch110 (or switching portions of distributed network switch110).Control module180 is operatively coupled to the switching portions of distributednetwork switch110. As illustrated inFIG. 1,control module180 is connected tocommunications network170. Thus,control module180 can communicate with switching portions of distributednetwork switch110 such as access switches111 and112 viacommunications network170. In other words, control signals and/or control commands can be sent from (and responses received at)control module180 to switching portions of distributednetwork switch110 viacommunications network170 via the same communication links (or paths) through which data are switched or routed within distributednetwork switch110. For example, control signals and/or control commands can be sent (and responses received) using out-of-band communications within distributednetwork switch110. Said differently,control module180 can be operatively coupled to the switching portions of distributednetwork switch110 via a logical control plane. In some embodiments,control module180 can be physically coupled to the switching portions of distributednetwork switch110; said differently,control module180 can be physically connected to all or some of the switching portions of distributednetwork switch110 via a physical control plane. In some embodiments,control module180 can be physically coupled to (e.g., via the logical control plane) some switching portions of distributednetwork switch110 and logically coupled to other switching portions of distributednetwork switch110.
Control module180 can monitor various operational parameters of the switching portions of the distributed network switch and provide control signals and/or control commands to the switching portions (e.g., access switches111 and112 and other switching portions of communications network170) of the distributed network switch. For example,control module180 can communicate with (e.g., send control command to and/or receive responses from) a switching portion via a management module of that switching portion. In some embodiments, one or more switching portions do not include management modules, andcontrol module180 can communicate directly with those switching portions.
Control module180 can monitor operational parameters, for example, ataccess switches111 and112 including: current total capacity (e.g., an amount of data that can be transferred in a given time) ofaccess switches111 and112; current utilization (e.g., used capacity) ofaccess switches111 and112; current available capacity (e.g., unused capacity) ofaccess switches111 and112; and/or historic total capacity, utilization, and/or available capacity ofaccess switches111 and112. Additionally,control module180 can provide control commands to accessswitches111 and112, for example, such as: switching or routing parameters (e.g., rules for routing data); availability or state information (e.g., disabled, enabled, partially operational, capacity, utilization, etc.) related to switching portions of the of distributednetwork switch110; disable or enable commands; increase or decrease symbol rate commands; and/or other control commands.
As discussed above,control module180 can dynamically manage the power used by distributednetwork switch110 by determining which switching portions of distributednetwork switch110 can be disabled, enabled, have an increased or decreased symbol rate, and/or have some other operational state altered based on the operational parameters monitored by the control module, and then by altering those operational states. Becausecontrol module180 can access operational parameters of the switching portions of distributednetwork switch110,control module180 can determine which operational states of switching portions can be altered and what effect such alteration will have on other switching portions. Accordingly,control180 module can alter operational states of the other switching portions to enable distributednetwork switch110 to continue to operate properly after altering operational states of one or more switching portions.
FIGS. 8A-8E are schematic block diagrams that illustrate communications planes within a distributed network switch, according to an embodiment. Distributednetwork switch800 includes access switches AS811-AS818 and switch modules SM821, SM831, SM841 and SM851. Switch module SM821 includes switch devices SD822 and SD823, which include communication modules CM824 and CM825 and communication modules CM826 and CM827, respectively. Switch module SM831 includes switch devices SD832 and SD833, which include communication modules CM834 and CM835 and communication modules CM836 and CM837, respectively. Switch module SM841 includes switch devices SD842 and SD843, which include communication modules CM844 and CM845 and communication modules CM846 and CM847, respectively. Switch module SM851 includes switch devices SD852 and SD853, which include communication modules CM854 and CM855 and communication modules CM856 and CM857, respectively.
The connections between switching portions of distributednetwork switch800 can be referred to as links or communication links. Links can be physical or logical channels between communication modules and/or other switching portions, as discussed above. Furthermore, each link can include one or more than one physical and/or logical channel. Thus, each line illustrated inFIGS. 8A-8E representing a link can include multiple channels or communication paths.
Each of access switches AS811-AS818 are operatively coupled to each of switch modules SM821 and SM831 vialinks897. Similarly, switch module SM821 is operatively coupled to switch module SM841 vialinks898, and switch module SM831 is operatively coupled to switch module SM851 vialinks899. The configuration of the switching elements (e.g., access switches, switch modules, switch devices and communication modules and links) of distributednetwork switch800 defines multiple redundant or parallel planes of links (or communication planes) via which computer servers or other devices (not shown) operatively coupled to access switches AS811-AS818 can communicate.
FIGS. 8B-8E illustrate various communication planes of distributednetwork switch800, labeled P1-P8. For example,FIG. 8B illustrates planes P1 and P2. Each link between access switches AS811-AS818 and switch module SM831 can be removed, and at least one communication path exists for any computer server or other device (not shown) operatively coupled to one or more of access switches AS811-AS818 via plane P1. That is, a combination of links and switching portions of distributed network switch800 (e.g., via switch modules SM821 and SM841) exists by which any computer server or other device (not shown) operatively coupled to one or more of access switches AS811-AS818 can communicate with any other computer server or other device (not shown) operatively couple to one or more of access switches AS811-AS818. Similarly, each link between access switches AS811-AS818 and switch module SM821 can be removed, and at least one communication path exists for any computer server or other device (not shown) operatively coupled to one or more of access switches AS811-AS818 via plane P2.
Furthermore, forFIGS. 8C-8E, each link between access switches AS811-AS818 and switch module SM831 can be removed, and at least one communication path exists for any computer server or other device (not shown) operatively coupled to one or more of access switches AS811-AS818 via planes P3, P5 and P7. Moreover, each link between access switches AS811-AS818 and switch module SM821 can be removed, and at least one communication path exists for any computer server or other device (not shown) operatively coupled to one or more of access switches AS811-AS818 via plane P4, P6 and P8.
Because multiple communication planes exist in distributednetwork switch800, an operational state of one or more links can be altered, depending on utilization of links or switching portions of distributednetwork switch800. The operational state of the link or links can be altered to manage power consumed by distributednetwork switch800. In other words, as utilization decreases, switching portions of distributednetwork switch800 can be disabled (or taken off-line), for example, by a control module associated with distributednetwork switch800 to disable links and reduce power consumption. Similarly, as utilization increases, switching portions of distributednetwork switch800 can be enabled (or taken on-line), for example, by a control module associated with distributednetwork switch800 to provide additional capacity in (or through) distributednetwork switch800, which results in increased power consumption.
As discussed above, switching elements can be enabled or disabled at various granularities: an entire switch module or access switch can be enabled or disabled; a switch device of a switch module can be enabled or disabled; one or more communication modules of an access switch; switch module or switch device can be enabled or disabled; and/or individual physical or logical channels of a communication module can be enabled or disabled. Additionally, symbol rates can be increased or decreased to manage power.
Accordingly, a control module (not shown inFIGS. 8A-8E) associated with distributednetwork switch800 can monitor operational parameters of switching portions of distributednetwork switch800 and provide control signals and/or control commands to those switching portions to detect and change operational states of those switching portions during operation of distributednetwork switch800. Power consumption of distributednetwork switch800 can, thus, be varied or managed dynamically during operation of distributednetwork switch800 in response to changes in utilization or load of distributednetwork switch800.
FIG. 9 is a flow chart of a method of disabling a switching portion within a distributed network switch, according to an embodiment.Method900 can be implemented, for example, as a software module (e.g., source code, object code, one or more scripts, or instructions) stored at a memory and operable to be executed and/or interpreted or compiled at a processor operatively coupled to the memory at a control module so some other portion of a distributed network switch. For example, processor-executable instructions stored at a memory of a control module can be executed at a processor at the control module to cause the processor to execute the steps ofmethod900. In some embodiments,method900 can be implemented as one or more hardware modules such as, for example, an ASIC, an FPGA, a processor, or other hardware module at a control module. In some embodiments,method900 can be implemented as a combination of one or more hardware modules and software modules at a control module.
Utilization for a component (i.e., a switching portion) of a distributed network switch is determined, at910. For example, a control module of a distributed network switch can send a control command (e.g., via a control plane such as a logical control plane within a distributed network switch) including a request to access (e.g., read) a value of a utilization operational parameter of a switch device or some other switching portion to a management module operatively coupled to the switch device or directly to the control module. In some embodiments, a component can push (e.g., send) a utilization value to a control module. The utilization value can then be stored, for example, at a memory of or accessible to the control module, at920. If the distributed network switch includes more components, steps910 and920 can be repeated, at930, for each component of the distributed network switch.
In some embodiments, utilization values are polled (e.g., by a control module) or pushed (e.g., from switching portions to a control module) at constant intervals. For example, utilization values can be requested every 100 ms. In some embodiments, a rate at which utilization values are polled or pushed can be dependant upon (e.g., vary based on) current utilization, past utilization, predicted future utilization, current capacity, past capacity, predicted future capacity, and/or upon other values or parameters associated with one or more switching portions of a distributed network switch and/or with a distributed network switch. For example, a utilization values can be polled or pushed more frequently if current utilization is high.
Furthermore, in some embodiments, a rate at which utilization values are polled or pushed can be dependant upon (e.g., vary based on) a rate of change to one or more values or parameters associated with one or more switching portions of a distributed network switch and/or with a distributed network switch such as a rate of change in one or more utilization values and/or one or more capacity values. For example, utilization values can be polled or pushed more frequently when the rate of change of a utilization value is high such that a control module of a distributed network switch can receive and process utilization values at a sufficient rate to cause the distributed network switch to respond (e.g., change an operational state of one or more switching portions) to variations or changes in network utilization (or traffic) at a rate that is faster than those variations in network utilization. Said differently, a control module can receive utilization values at dynamically varying rates that are sufficiently frequent to allow the control module to adjust capacity in the distributed network switch (e.g., by enabling disabled switching portions) without blocking or disrupting network traffic (e.g., data transmitted through the distributed network switch).
In some embodiments, not every component of a distributed network switch is monitored or managed. In other words, a control module, for example, performingprocess900 can determine and/or store utilization values for some components of the distributed network switch, but not for other components of the distributed network switch. Thus, steps910 and920 can be performed for some, but not all of the components of a distributed network switch.
After a utilization value has been determined for each component (e.g., each managed component), at930, the utilization values can be aggregated to determine utilization values for the distributed network switch, at940. For example, the utilization values for communication modules of a switch device can be aggregated to determine a utilization value for that switch device. Similarly, utilization values for communication modules of an access switch can be aggregated to determine a utilization value for that access switch. Furthermore, utilization values for communication modules that are operatively coupled via a link (e.g., a physical or logical channel between the communication modules) can be aggregated to determine a utilization value for that link. Additionally, utilization values for any other components that are included within other components (e.g., utilization values for switching portions, such as switch devices, that are included in other switching portions, such as switch modules) can be aggregated to determine utilization values for the other components.
After utilization values for component(s) are determined (e.g., directly atsteps910,920 and930 and/or indirectly at step940), operational states of the component(s) can be altered, atsteps950,960,970 and980. At950, a controlmodule implementing method900, for example, can determine whether a component can be disabled or taken off-line.FIG. 10, for example, is a flow chart of a method of determining whether a switching portion within a distributed network switch can be disabled, according to an embodiment.Method1000 can be implemented, for example, as a software module (e.g., source code, object code, one or more scripts, or instructions) stored at a memory and operable to be executed and/or interpreted or compiled at a processor operatively coupled to the memory at a control module so some other portion of a distributed network switch. For example, processor-executable instructions stored at a memory of a control module can be executed at a processor at the control module to cause the processor to execute the steps ofmethod1000. In some embodiments,method1000 can be implemented as one or more hardware modules such as, for example, an ASIC, an FPGA, a processor, or other hardware module at a control module. In some embodiments,method1000 can be implemented as a combination of one or more hardware modules and software modules at a control module.
Source components of the candidate component (i.e., the component to whichmethod1000 is applied) are identified, at1010. Source components are those components within a distributed network switch from which the candidate component receives data. Thus, at1010, the components that provide data to the candidate component within the distributed network switch are identified. Similarly, at1020, other components (i.e., components other than the candidate component) that receive data from the source components are identified. The source components and other components can be identified using a variety of methods. For example, a control module can store at a memory switching or routing information (e.g., tables) associated with each component (i.e., switching portion) of a distributed network switch. The control module can then access this information to determine which components send and/or receive data to and/or from other components. In some embodiments, a control module can query the components using control signals and/or control commands to determine which components send and/or receive data to and/or from other components. For example, a control module can send to a component a control command including a request that that component determine whether that component sends data to a candidate component. Alternatively, a control module can access switching information stored at a memory of a component using, for example, direct memory access (“DMA”) via a control plane of the distributed network switch to determine whether that component sends data to a candidate component.
After these components have been identified, utilization values at the other components (i.e., the components other than the candidate component that receive data from the source components) are determined in the absence of the candidate component, at1030. In other words, utilization values are calculated based on, for example, utilization values of the other components and the candidate component. For example, the utilization value of the candidate component can be divided equally among the other components to estimate the increase in utilization the other component will experience if the candidate component is take off-line (i.e., is disabled).
In some embodiments, a capacity value representing a capacity of the distributed network switch, a component, and/or a collection of components is determined based on the absence of the candidate component, at1040. Thus, this capacity value represents the capacity or the amount of data the distributed network switch, the component, and/or the collection of components can transmit (or handle) during a time period if the candidate component is taken off-line. If the utilization of the distributed network switch, the component, and/or the collection of components is within a threshold or buffer of the determined capacity, at1050, the determined capacity value can be stored, at1060, and the candidate component can be taken off-line. In other words, if capacity of the distributed network switch, the component, and/or the collection of components is greater than the utilization of the distributed network switch, the component, and/or the collection of components by a buffer or threshold, then the component can be taken off-line. If the utilization of the distributed network switch, the component, and/or the collection of components is not within a threshold or buffer of the determined capacity, at1050, the candidate component cannot be taken off-line. Said differently, if capacity of the distributed network switch, the component, and/or the collection of components is not greater than the utilization of the distributed network switch, the component, and/or the collection of components by a buffer or threshold, then the component cannot be taken off-line.
The threshold can be, for example, an amount of utilization that is based on the current utilization or capacity of the distributed network switch, the component, and/or the collection of components. For example, the threshold can be between 50% and 20% of the current utilization. The threshold provides for sufficient additional capacity in the distributed network switch, the component, and/or the collection of components such that the utilization of the distributed network switch, the component, and/or the collection of components can increase without bringing off-line components on-line. In other words, the threshold maintains a capacity buffer in the distributed network switch, the component, and/or the collection of components such that variations in the utilization (or load or demand) of the distributed network switch, the component, and/or the collection of components do not disrupt operation of the distributed network switch, the component, and/or the collection of components.
Returning toFIG. 9, if it is determined at950 that the component cannot be taken off-line,method900 continues to980, at which it is determined whether there are additional components. If there are additional components,method900 continues again to950. If there are no additional components,method900 continues to910.
If, however, it is determined at950 that the component can be taken off-line, other components of the distributed network switch are notified that the component will be taken off-line and/or of changes in the distributed network switch that will result from the component being taken off-line, at960. A control module of a distributed network switch, for example, implementingmethod900 can send control commands to other components of the distributed network switch to notify those components that the component will be take off-line. For example, a control command can include an instruction to update a table within a memory of a component to indicate that the operational state of the component is off-line or disabled. Thus, data will not be sent to the component. In some embodiments, notifying other components can include sending an updated utilization value and/or capacity value (e.g., from a control module via a control command) for one or more components in the distributed network switch to other components.
After other components are notified that the component will be taken off-line, the component is taken off-line, at970. For example, a control module can send a control command to the component including an instruction to disable operational power to the component. Thus, operational power is saved by disabling the component. In some embodiments, a first portion of operational power is no longer provided to the component, and a second portion of operational power is provided to the component. The first portion of operational power can be for operation of, for example, a communication module such as an optical transceiver, and the second portion of operational power can be for operation of a management module. The management module can continue to operate after the communication module has been disabled such that the management module can enable the communication module at a later time.Method900 then continues to980, at which it is determined whether there are additional components. If there are additional components,method900 continues again to950. If there are no additional components,method900 continues to910.
In some embodiments,methods900 and/or1000 can include more or fewer steps than illustrated inFIGS. 9 and 10. For example,method900 can include initializing a control module with initial utilization and/or capacity values. Additionally, in some embodiments, steps ofmethods900 and1000 can be rearranged. Furthermore,methods900 and1000 are applicable to changes in operational state of one or more components other than disabling a component. For example,methods900 and1000 are applicable to changing a symbol rate associated with a component and to disabling physical and/or logical channels of a communication module or a link between two communication modules. More over, althoughmethods900 and1000 are discussed primarily with reference to a component, these methods are applicable to an entire distributed network switch, multiple components, and/or a group or groups of components.
FIG. 11 is a schematic block diagram that illustrates a distributed network switch in which switching portions have been disabled, according to an embodiment. Distributed network switch800 (discussed above in relation toFIGS. 8A-8E) is illustrated inFIG. 11 after various switching portions or components of distributednetwork switch800 have been disabled. For example, communication modules CM834, CM836 and CM846 have been disabled. Thus, a link associated with a communication module of each of access switches AS811, AS812, AS815, AS816, and AS817 have been disabled. As a result, access switches AS811, AS812, AS815, AS816, and AS817 are illustrated with single rather than redundant paths to switch modules SM821 or SM831. Additionally, links between communication modules CM834, CM836 and CM846 and other communication modules within distributednetwork switch800 are no longer active and are not illustrated inFIG. 11.
Similarly,FIG. 12 is a schematic block diagram that illustrates a distributed network switch in which other switching portions have been disabled, according to an embodiment. For example, communication modules CM854, CM856 and CM857 have been disabled. Thus, links between communication modules CM834, CM836 and CM846 and other communication modules within distributednetwork switch800 are no longer active and are not illustrated inFIG. 12.
FIG. 13 is a flow chart of a method of enabling a disabled switching portion within a distributed network switch, according to an embodiment.Method1300 can be implemented, for example, as a software module (e.g., source code, object code, one or more scripts, or instructions) stored at a memory and operable to be executed and/or interpreted or compiled at a processor operatively coupled to the memory at a control module so some other portion of a distributed network switch. For example, processor-executable instructions stored at a memory of a control module can be executed at a processor at the control module to cause the processor to execute the steps ofmethod1300. In some embodiments,method900 can be implemented as one or more hardware modules such as, for example, an ASIC, an FPGA, a processor, or other hardware module at a control module. In some embodiments,method1300 can be implemented as a combination of one or more hardware modules and software modules at a control module.
Utilization for a component (i.e., a switching portion) of a distributed network switch is determined, at1310. For example, a control module of a distributed network switch can send a control command including a request to access (e.g., read) a value of a utilization operational parameter of a switch device to a management module operatively coupled to the switch device. The utilization value can then be stored, for example, at a memory of or accessible to the control module, at1320. If there are more components in the distributed network switch, at1330,steps1310 and1320 can be repeated, at1330, for each component of the distributed network switch. In some embodiments, not every component of a distributed network switch is monitored or managed. In other words, a control module, for example, performingprocess1300 can determine and/or store utilization values for some components of the distributed network switch, but not for other components of the distributed network switch. Thus, steps1310 and1320 can be performed for some, but not all of the components of a distributed network switch.
After a utilization value has been determined for each component (e.g., each managed component), at1330, an indication of increased utilization at a component is received, at1340. For example, an access switch can send a notification to a control module that a computer server operatively coupled to that access server is sending an increasing amount of data. In some embodiments, a control module can poll components or request information related to increases in utilization without receiving an indication of increased utilization. In some embodiments, an access switch can send or provide in response to a control command query an indication that ingress queues or ports receiving data at an increased and/or increasing rate.
In some embodiments, the indication of an increased utilization can be received in response to the utilization values determined atsteps1310,1320 and1330. For example, a control module can analyze the utilization values (and/or aggregate utilization values) by comparing those values to a capacity value related to a capacity of a distributed network switch, multiple components, and/or a group or groups of components. If utilization value is not greater than the capacity value by a threshold or buffer value, the indication of increased utilization can be generated and/or received. If the utilization value is greater than the capacity value by a threshold or buffer value, the indication of increased utilization can be suppressed and/or not received.
In some embodiments, an indication associated with a rate of increase of a utilization value can be generated and/or received in response to the utilization values determined atsteps1310,1320 and1330. In other words, the indication can provide an indication that a utilization value is increasing or decreasing at a rate greater than or less than a threshold. Furthermore, if the utilization value is increasing toward a capacity value at a rate or by an amount greater than a threshold, an indication of increased or increasing utilization can be generated and/or received.
In response to the indication of increased utilization, an off-line component (e.g., a candidate component) can be selected, at1350, to be enabled or brought on-line. For example, a candidate component can be a component that is operatively coupled (or can be operatively coupled when on-line) to source components of the component that is experiencing an increased or increasing utilization (e.g., a loaded component). Thus, by bringing the candidate component on-line, the capacity of the distributed network switch and/or a group or groups of components can be increased and a portion of the utilization (e.g., data or data traffic) of the loaded component can be handled or processed by the candidate component. After the candidate component is selected, the candidate component is brought on-line, at1360, and a new capacity value for the distributed network switch and/or a group or groups of components can be determined (or calculated) and stored at a memory, for example, of a communication module, at1370.
If the utilization (e.g., of the distributed network switch and/or a group or groups of components) is within a threshold or buffer of the capacity, at1380,method1300 can stop. In other words, if capacity of the distributed network switch and/or a group or groups of components is greater than the utilization of the distributed network switch and/or a group or groups of components by a buffer or threshold, thenmethod1300 is complete. If the utilization of the distributed network switch and/or a group or groups of components is not within a threshold or buffer of the capacity, at1380,method1300 can return to step1350 to select another off-line component as another candidate component to be brought on-line. Said differently, if capacity of the distributed network switch and/or a group or groups of components is not greater than the utilization of the distributed network switch and/or a group or groups of components by a buffer or threshold, then another off-line component can be brought on-line to further increase the capacity of the distributed network switch and/or a group or groups of components and/or reduce the utilization of a loaded component.
In some embodiments,method1300 can include more or fewer steps than illustrated inFIG. 13.Method1300 can include, for example, notifying components of a distributed network switch that a candidate component will be brought on-line and/or of changes to the distributed network switch that will result from a candidate component being brought on-line. For example, a control module can update switching or routing tables at components via control commands to indicate that the operational state of a component has changed from off-line to on-line.
Additionally, in some embodiments, steps ofmethod1300 can be rearranged. For example, a controlmodule implementing method1300 can determine a sufficient number of off-line components to bring on-line such that capacity (e.g., of the distributed network switch and/or a group or groups of components) is greater than utilization by a threshold before bringing any of the off-line components on-line or notifying other components of changes to the distributed network switch. Thus, multiple candidate (or off-line) components can be brought on-line substantially simultaneously.
Furthermore,method1300 is applicable to changes in operational state of one or more components other than disabling a component. For example,method1300 is applicable to changing a symbol rate associated with a component and to disabling physical and/or logical channels of a communication module or a link between two communication modules. More over, althoughmethod1300 is discussed primarily with reference to a component, these methods are applicable to an entire distributed network switch, multiple components, and/or a group or groups of components.
Some embodiments described herein relate to a computer storage product with a computer-readable medium (also can be referred to as a processor-readable medium) having instructions or computer code thereon for performing various computer-implemented operations. The media and computer code (also can be referred to as code) may be those designed and constructed for the specific purpose or purposes. Examples of computer-readable media include, but are not limited to: magnetic storage media such as hard disks, floppy disks, and magnetic tape; optical storage media such as Compact Disc/Digital Video Discs (CD/DVDs), Compact Disc-Read Only Memories (CD-ROMs), and holographic devices; magneto-optical storage media such as optical disks; carrier wave signal processing modules; and hardware devices that are specially configured to store and execute program code, such as Application-Specific Integrated Circuits (ASICs), Programmable Logic Devices (PLDs), and Read-Only Memory (ROM) and Random-Access Memory (RAM) devices.
A processor can be, for example, a single physical processor such as a general-purpose processor, an ASIC, a PLD, or a FPGA having a single processing core or a group of processing cores. In some embodiments, a processor can be a group or cluster of processors such as a group of physical processors operatively coupled to a shared clock or synchronization signal, a shared memory, a shared memory bus, and/or a shared data bus. In other words, a processor can be a group of processors in a multi-processor computing device. In some embodiments, a processor can be a group of distributed processors (e.g., computing devices with one or more physical processors) operatively coupled one to another via a communications network. Said differently, a processor can be a group of distributed processors in communication one with another via a communications network. In some embodiments, a processor can be a combination of such processors. For example, a processor can be a group of distributed computing devices, where each computing device includes a group of physical processors sharing a memory bus and each physical processor includes a group of processing cores.
Examples of computer code include, but are not limited to, micro-code or micro-instructions, machine instructions, such as produced by a compiler, code used to produce a web service, and files containing higher-level instructions that are executed by a computer using an interpreter. For example, embodiments may be implemented using Java, C++, or other programming languages (e.g., object-oriented programming languages) and development tools. Additional examples of computer code include, but are not limited to, control signals, encrypted code, and compressed code.
While various embodiments have been described above, it should be understood that they have been presented by way of example only, not limitation, and various changes in form and details may be made. Any portion of the apparatus and/or methods described herein may be combined in any combination, except mutually exclusive combinations. The embodiments described herein can include various combinations and/or sub-combinations of the functions, components and/or features of the different embodiments described.

Claims (18)

What is claimed is:
1. A method, comprising:
accessing a first utilization value associated with a first switching portion of a distributed network switch;
accessing a second utilization value associated with a second switching portion of the distributed network switch;
defining a third utilization value associated with the second switching portion of the distributed network switch, the third utilization value based on the first utilization value and the second utilization value;
sending to the first switching portion of the distributed network switch a deactivate signal in response to the third utilization value, the first switching portion of the distributed network switch ceasing communication within the distributed network switch in response to the deactivate signal; and
updating a forwarding entry associated with the first switching portion of the distributed network switch at a forwarding table associated with a third switching portion of the distributed network switch such that a value of the forwarding entry indicates the first switching portion of the distributed network switch is deactivated.
2. The method ofclaim 1, further comprising determining, before the sending, that the third utilization value is less than a capacity value associated with the distributed network switch by at least a threshold value, the sending being in response to the determining.
3. The method ofclaim 1, wherein the first utilization value is associated with the first switching portion during a first period and the second utilization value is associated with the second switching portion during the first period, the method further comprising:
accessing a fourth utilization value at a memory of a management module associated with the distributed network switch, the fourth utilization value defined by an aggregate of a utilization value associated with the first switching portion during a second period before the first period and a utilization value associated with the second switching portion during the second period; and
determining, before the sending, that the third utilization value is less than the fourth utilization value by at least a threshold value, the sending being in response to the determining.
4. The method ofclaim 1, wherein the third utilization value is an estimate of a utilization of the second switching portion of the distributed network switch in the absence of the first switching portion of the distributed network switch from the distributed network switch.
5. The method ofclaim 1, wherein:
the distributed network switch is a multi-stage switch fabric;
the first switching portion of the distributed network switch is a first switching portion of a stage of the multi-stage switch fabric; and
the second switching portion of the distributed network switch is a second switching portion of the stage of the multi-stage switch fabric.
6. The method ofclaim 1, further comprising:
detecting, after the sending to the first switching portion of the distributed network switch the deactivate signal, an increase in a fourth utilization value associated with the second switching portion of the distributed network switch;
sending, in response to the detecting, to the first switching portion of the distributed network switch an activate signal, the first switching portion of the distributed network switch resuming communication within the distributed network switch in response to the activate signal; and
updating the forwarding entry associated with the first switching portion of the distributed network switch at the forwarding table associated with the third switching portion of the distributed network switch such that the value of the forwarding entry indicates the first switching portion of the distributed network switch is activated.
7. The method ofclaim 1, further comprising:
defining a capacity value associated with the distributed network switch based on the absence of the first switching portion of the distributed network switch from the distributed network switch;
storing the capacity value at a memory of a management module associated with the distributed network switch; and
determining, before the sending, that the third utilization value is less than the capacity value by at least a threshold value, the sending being in response to the determining.
8. The method ofclaim 1, further comprising:
aggregating the first utilization value and the second utilization value to define a fourth utilization value associated with a utilization of the distributed network switch;
storing the fourth utilization value at a memory of a management module associated with the distributed network switch; and
determining, before the sending, that the third utilization value is less than the fourth utilization value by at least a threshold value, the sending being in response to the determining.
9. A system, comprising:
a first switching portion operatively coupled to a distributed network switch and configured to define a utilization value associated with the first switching portion;
a second switching portion operatively coupled to the distributed network switch and configured to define a utilization value associated with the second switching portion;
a third switching portion operatively coupled to the distributed network switch, the third switching portion in communication with the first switching portion and the second switching portion via the distributed network switch; and
a control module operatively coupled to the first switching portion and to the second switching portion, the control module configured to receive the utilization value associated with the first switching portion from the first switching portion, the control module configured to receive the utilization value associated with the second switching portion from the second switching portion, the control module configured to deactivate at least one of the first switching portion or the second switching portion based on the utilization value associated with the first switching portion and the utilization value associated with the second switching portion, the control module configured to update a forwarding entry associated with the first switching portion at a forwarding table stored at a memory of the third switching portion such that the third switching portion ceases communication with the first switching portion.
10. The system ofclaim 9, wherein:
the distributed network switch includes a multi-stage switch fabric; the first switching portion of the distributed network switch is a first switching portion of a first stage of the multi-stage switch fabric;
the second switching portion of the distributed network switch is a second switching portion of the first stage of the multi-stage switch fabric; and
the third switching portion of the distributed network switch is a first switching portion of a second stage of the multi-stage switch fabric.
11. The system ofclaim 9, wherein:
the utilization value associated with the first switching portion is a first utilization value associated with the first switching portion;
the utilization value associated with the second switching portion is a second utilization value associated with the first switching portion;
the control module is configured to receive the second utilization value associated with the first switching portion from the first switching portion; and
the control module is configured to receive the second utilization value associated with the second switching portion from the second switching portion, the control module configured to deactivate at least one of the first switching portion or the second switching portion based on the second utilization value associated with the first switching portion and the second utilization value associated with the second switching portion, the control module configured to update a forwarding entry associated with the at least one deactivated switching portion at a forwarding table stored at a memory of the third switching portion such that the third switching portion ceases communication with the at least one switching portion.
12. The system ofclaim 9, wherein:
the first switching portion includes a management module in communication with the control module; and
the second switching portion includes a management module in communication with the control module.
13. A method, comprising:
receiving a utilization value associated with each switching portion from a plurality of switching portions of a distributed network switch;
defining, at a first time, an aggregate utilization value based on the utilization value of each switching portion from the plurality of switching portions;
accessing a capacity value at a memory of a management module associated with the distributed network switch, the capacity value being defined at a second time before the first time;
sending, after the defining and the accessing, an activate signal to a first switching portion of the distributed network switch if the aggregate utilization value is not less than the capacity value by a threshold value, the first switching portion deactivated at the first time, the aggregate utilization value not including a utilization value of the first switching portion; and
updating, after the sending, a forwarding entry associated the first switching portion at a forwarding table associated with a second switching portion of the distributed network switch such that a value of the forwarding entry indicates the first switching portion of the distributed network switch is activated, the second switching portion activated at the first time.
14. The method ofclaim 13, wherein the capacity value is a first capacity value associated with the distributed network switch at a third time before the first time, the method further comprising:
determining a second capacity value associated with the distributed network switch after the sending; and
storing the second capacity value at the memory of the management module.
15. The method ofclaim 13, wherein:
the distributed network switch is a multi-stage switch fabric;
the first switching portion of the distributed network switch is a switching portion of a first stage of the multi-stage switch fabric;
the plurality of switching portions of the distributed network switch is a plurality of switching portions of the first stage of the multi-stage switch fabric; and
the second switching portion of the distributed network switch is a first switching portion of a second stage of the multi-stage switch fabric.
16. The method ofclaim 13, further comprising selecting, before the sending, the first switching portion from a plurality of deactivated switching portions within the distributed network switch such that a projected aggregate utilization value is less than the capacity value by the threshold value, the projected aggregate utilization value based on the utilization value of each switching portion from the plurality of switching portions and a projected utilization of the first switching portion, the selecting based on a capacity of the first switching portion.
17. The method ofclaim 13, wherein the sending is at a third time, the method further comprising:
selecting, before the third time, the first switching portion from a plurality of deactivated switching portions;
determining, before the third time, that a first projected aggregate utilization value is not less than the capacity value by the threshold value, the first projected aggregate utilization value based on the utilization value of each switching portion from the plurality of switching portions and a projected utilization of the first switching portion;
selecting, before the third time, a third switching portion of the distributed network switch from a plurality of deactivated switching portions within the distributed network switch such that a second projected aggregate utilization value is less than the capacity value by the threshold value,
the projected aggregate utilization value based on the utilization value of each switching portion from the plurality of switching portions, the projected utilization of the first switching portion and a projected utilization of the third switching portion;
sending an activate signal to the third switching portion of the distributed network switch after the selecting of the third switching portion; and
updating, after the sending, a forwarding entry associated the third switching portion at a forwarding table associated with the second switching portion of the distributed network switch such that a value of the forwarding entry indicates the third switching portion of the distributed network switch is activated.
18. The method ofclaim 13, wherein:
the distributed network switch is a multi-stage switch fabric;
the first switching portion of the distributed network switch is a first line card within a chassis of the multi-stage switch fabric;
the second switching portion of the distributed network switch is a second line card within the chassis of the multi-stage switch fabric; and
the plurality of switching portions of the distributed network switch is a plurality of line cards within the chassis of the multi-stage switch fabric.
US12/797,9962010-06-102010-06-10Dynamic fabric plane allocation for power savingsActive2031-10-03US8578191B2 (en)

Priority Applications (1)

Application NumberPriority DateFiling DateTitle
US12/797,996US8578191B2 (en)2010-06-102010-06-10Dynamic fabric plane allocation for power savings

Applications Claiming Priority (1)

Application NumberPriority DateFiling DateTitle
US12/797,996US8578191B2 (en)2010-06-102010-06-10Dynamic fabric plane allocation for power savings

Publications (2)

Publication NumberPublication Date
US20110307718A1 US20110307718A1 (en)2011-12-15
US8578191B2true US8578191B2 (en)2013-11-05

Family

ID=45097211

Family Applications (1)

Application NumberTitlePriority DateFiling Date
US12/797,996Active2031-10-03US8578191B2 (en)2010-06-102010-06-10Dynamic fabric plane allocation for power savings

Country Status (1)

CountryLink
US (1)US8578191B2 (en)

Cited By (3)

* Cited by examiner, † Cited by third party
Publication numberPriority datePublication dateAssigneeTitle
US20140269765A1 (en)*2013-03-152014-09-18Cognitive Electronics, Inc.Broadcast Network
US20150113307A1 (en)*2012-03-292015-04-23Intel CorporationLink power management in an i/o interconnect
US9934181B2 (en)2012-02-082018-04-03Intel CorporationPCI express tunneling over a multi-protocol I/O interconnect

Families Citing this family (9)

* Cited by examiner, † Cited by third party
Publication numberPriority datePublication dateAssigneeTitle
EP2452250B1 (en)*2010-07-082015-09-09Nec CorporationMethod of supporting power control in a communication network
US9246994B2 (en)*2011-06-232016-01-26Telefonaktiebolaget L M Ericsson (Publ)Method and system for distributing a network application among a plurality of network sites on a shared network
US9178808B2 (en)*2011-12-062015-11-03International Business Machines CorporationDistributing functions in a distributed and embedded environment
US10257596B2 (en)*2012-02-132019-04-09Ciena CorporationSystems and methods for managing excess optical capacity and margin in optical networks
US9363162B1 (en)*2013-10-212016-06-07Google Inc.Determining WCMP link capacities in multi-stage networks
JP2017098588A (en)*2014-02-202017-06-01日本電気株式会社Communication system, radio communication device, and radio communication method
FR3036239B1 (en)*2015-05-132018-07-06Bull Sas NETWORK OF EQUIPMENTS INTERCONNECTED BY SWITCHES INTEGRATING ROUTING TABLES
US10986043B1 (en)*2018-03-302021-04-20Facebook, Inc.Distributed network switches of data centers
US12321213B1 (en)*2022-12-192025-06-03Juniper Networks, Inc.Power management of a network device

Citations (28)

* Cited by examiner, † Cited by third party
Publication numberPriority datePublication dateAssigneeTitle
US5502689A (en)1992-07-211996-03-26Advanced Micro Devices, Inc.Clock generator capable of shut-down mode and clock generation method
US5524096A (en)1995-06-291996-06-04Micron Quantum Devices, Inc.Circuit for generating a delayed standby signal in response to an external standby command
US6308240B1 (en)1998-03-122001-10-23Cisco Technology, Inc.Power management system for modular electronics
US6446213B1 (en)1997-09-012002-09-03Kabushiki Kaisha ToshibaSoftware-based sleep control of operating system directed power management system with minimum advanced configuration power interface (ACPI)-implementing hardware
US20020138777A1 (en)2001-03-212002-09-26Apple Computer Inc.Method and apparatus for saving power in pipelined processors
US20040044915A1 (en)2002-07-022004-03-04International Business Machines CorportationProcessor with demand-driven clock throttling power reduction
US20040163001A1 (en)2003-02-142004-08-19Bodas Devadatta V.Enterprise power and thermal management
US20050097371A1 (en)2003-10-312005-05-05Broyles Paul J.CPU chip having registers therein for reporting maximum CPU power and temperature ratings
US6907534B2 (en)2001-06-292005-06-14Hewlett-Packard Development Company, L.P.Minimizing power consumption in pipelined circuit by shutting down pipelined circuit in response to predetermined period of time having expired
US20050215275A1 (en)2004-03-262005-09-29Broadcom CorporationLow-power mode clock management for wireless communication devices
US6985969B1 (en)1998-03-262006-01-10National Semiconductor CorporationReceiving data on a networked computer in a reduced power state
US6996651B2 (en)2002-07-292006-02-07Freescale Semiconductor, Inc.On chip network with memory device address decoding
US20060080560A1 (en)2004-10-122006-04-13Via Technologies, Inc.Idling a processor pipeline
US20060156041A1 (en)2005-01-072006-07-13Lee ZaretskySystem and method for power management of plural information handling systems
US20060206730A1 (en)2005-03-082006-09-14Cartes Andrew CMethods and systems for allocating power to an electronic device
US20060206737A1 (en)2005-03-142006-09-14Samsung Electronics Co., Ltd.Processor with variable wake-up and sleep latency and method for managing power therein
US7139860B2 (en)2002-07-292006-11-21Freescale Semiconductor Inc.On chip network with independent logical and physical layers
US7154902B1 (en)2002-10-212006-12-26Force10 Networks, Inc.Epoch-based packet switching
US20070074054A1 (en)2005-09-272007-03-29Chieh Lim SClock gated pipeline stages
US20070124684A1 (en)*2005-11-302007-05-31Riel Henri Han VAutomatic power saving in a grid environment
US7228441B2 (en)2000-09-272007-06-05Huron Ip LlcMulti-server and multi-CPU power management system and method
US7287148B2 (en)2000-01-312007-10-23Intel CorporationUnified shared pipeline allowing deactivation of RISC/DSP units for power saving
US20070266264A1 (en)2006-05-122007-11-15Saul LewitesMethod and apparatus for managing power in a processing system with multiple partitions
US7320080B2 (en)2003-10-152008-01-15Intel CorporationPower management over switching fabrics
US7353415B2 (en)2005-04-112008-04-01Dell Products L.P.System and method for power usage level management of blades installed within blade servers
US7356033B2 (en)2002-11-212008-04-08Lucent Technologies Inc.Method and apparatus for performing network routing with use of power efficient TCAM-based forwarding engine architectures
US20090119396A1 (en)*2007-11-072009-05-07Brocade Communications Systems, Inc.Workload management with network dynamics
US8457121B1 (en)*2006-08-012013-06-04Hewlett-Packard Development Company, L.P.Heterogeneous network switch system

Patent Citations (28)

* Cited by examiner, † Cited by third party
Publication numberPriority datePublication dateAssigneeTitle
US5502689A (en)1992-07-211996-03-26Advanced Micro Devices, Inc.Clock generator capable of shut-down mode and clock generation method
US5524096A (en)1995-06-291996-06-04Micron Quantum Devices, Inc.Circuit for generating a delayed standby signal in response to an external standby command
US6446213B1 (en)1997-09-012002-09-03Kabushiki Kaisha ToshibaSoftware-based sleep control of operating system directed power management system with minimum advanced configuration power interface (ACPI)-implementing hardware
US6308240B1 (en)1998-03-122001-10-23Cisco Technology, Inc.Power management system for modular electronics
US6985969B1 (en)1998-03-262006-01-10National Semiconductor CorporationReceiving data on a networked computer in a reduced power state
US7287148B2 (en)2000-01-312007-10-23Intel CorporationUnified shared pipeline allowing deactivation of RISC/DSP units for power saving
US7228441B2 (en)2000-09-272007-06-05Huron Ip LlcMulti-server and multi-CPU power management system and method
US20020138777A1 (en)2001-03-212002-09-26Apple Computer Inc.Method and apparatus for saving power in pipelined processors
US6907534B2 (en)2001-06-292005-06-14Hewlett-Packard Development Company, L.P.Minimizing power consumption in pipelined circuit by shutting down pipelined circuit in response to predetermined period of time having expired
US20040044915A1 (en)2002-07-022004-03-04International Business Machines CorportationProcessor with demand-driven clock throttling power reduction
US7139860B2 (en)2002-07-292006-11-21Freescale Semiconductor Inc.On chip network with independent logical and physical layers
US6996651B2 (en)2002-07-292006-02-07Freescale Semiconductor, Inc.On chip network with memory device address decoding
US7154902B1 (en)2002-10-212006-12-26Force10 Networks, Inc.Epoch-based packet switching
US7356033B2 (en)2002-11-212008-04-08Lucent Technologies Inc.Method and apparatus for performing network routing with use of power efficient TCAM-based forwarding engine architectures
US20040163001A1 (en)2003-02-142004-08-19Bodas Devadatta V.Enterprise power and thermal management
US7320080B2 (en)2003-10-152008-01-15Intel CorporationPower management over switching fabrics
US20050097371A1 (en)2003-10-312005-05-05Broyles Paul J.CPU chip having registers therein for reporting maximum CPU power and temperature ratings
US20050215275A1 (en)2004-03-262005-09-29Broadcom CorporationLow-power mode clock management for wireless communication devices
US20060080560A1 (en)2004-10-122006-04-13Via Technologies, Inc.Idling a processor pipeline
US20060156041A1 (en)2005-01-072006-07-13Lee ZaretskySystem and method for power management of plural information handling systems
US20060206730A1 (en)2005-03-082006-09-14Cartes Andrew CMethods and systems for allocating power to an electronic device
US20060206737A1 (en)2005-03-142006-09-14Samsung Electronics Co., Ltd.Processor with variable wake-up and sleep latency and method for managing power therein
US7353415B2 (en)2005-04-112008-04-01Dell Products L.P.System and method for power usage level management of blades installed within blade servers
US20070074054A1 (en)2005-09-272007-03-29Chieh Lim SClock gated pipeline stages
US20070124684A1 (en)*2005-11-302007-05-31Riel Henri Han VAutomatic power saving in a grid environment
US20070266264A1 (en)2006-05-122007-11-15Saul LewitesMethod and apparatus for managing power in a processing system with multiple partitions
US8457121B1 (en)*2006-08-012013-06-04Hewlett-Packard Development Company, L.P.Heterogeneous network switch system
US20090119396A1 (en)*2007-11-072009-05-07Brocade Communications Systems, Inc.Workload management with network dynamics

Non-Patent Citations (12)

* Cited by examiner, † Cited by third party
Title
Final Office Action mailed Feb. 13, 2012 for U.S. Appl. No. 12/347,688 (16 pages).
Final Office Action mailed Nov. 1, 2011 for U.S. Appl. No. 12/347,680 (13 pages).
Final Office Action mailed Oct. 25, 2011 for U.S. Appl. No. 12/350,729 (26 pages).
Final Office Action mailed Sep. 21, 2010 for U.S. Appl. No. 12/350,729 (17 pages).
Non Final Office Action mailed Apr. 1, 2011 for U.S. Appl. No. 12/350,729 (18 pages).
Office Action mailed Mar. 31, 2010 for U.S. Appl. No. 12/350,729 (15 pages).
Office Action mailed May 10, 2011 for U.S. Appl. No. 12/347,688 (13 pages).
Office Action mailed May 11, 2011 for U.S. Appl. No. 12/347,680 (15 pages).
Office Action mailed Oct. 13, 2011 for U.S. Appl. No. 12/347,688 (14 pages).
U.S. Appl. No. 12/347,680, filed Dec. 31, 2008, entitled "Methods and Apparatus for Provisioning and Managing Power" (28 pgs).
U.S. Appl. No. 12/347,688, filed Dec. 31, 2008, entitled "Methods and Apparatus for Provisioning and Managing Power" (27 pgs).
U.S. Appl. No. 12/350,729, filed Jan. 8, 2009, entitled "Methods and Apparatus For Power Management Associated With a Switch Fabric" (43 pgs).

Cited By (6)

* Cited by examiner, † Cited by third party
Publication numberPriority datePublication dateAssigneeTitle
US9934181B2 (en)2012-02-082018-04-03Intel CorporationPCI express tunneling over a multi-protocol I/O interconnect
US10387348B2 (en)2012-02-082019-08-20Intel CorporationPCI express tunneling over a multi-protocol I/O interconnect
US10884965B2 (en)2012-02-082021-01-05Intel CorporationPCI express tunneling over a multi-protocol I/O interconnect
US20150113307A1 (en)*2012-03-292015-04-23Intel CorporationLink power management in an i/o interconnect
US9600060B2 (en)*2012-03-292017-03-21Intel CorporationLink power management in an I/O interconnect
US20140269765A1 (en)*2013-03-152014-09-18Cognitive Electronics, Inc.Broadcast Network

Also Published As

Publication numberPublication date
US20110307718A1 (en)2011-12-15

Similar Documents

PublicationPublication DateTitle
US8578191B2 (en)Dynamic fabric plane allocation for power savings
US7869439B1 (en)Varying packet switch behavior based on a quantity of virtual interfaces associated with a virtual switch
EP3238392B1 (en)Technologies for medium grained adaptive routing in high-performance network fabrics
US9197539B2 (en)Multicast miss notification for a distributed network switch
US7952997B2 (en)Congestion management groups
US20040190502A1 (en)System and method for centralized, intelligent proxy driver for a switch fabric
EP1501247B1 (en)Software configurable cluster-based router using stock personal computers as cluster nodes
US8462636B2 (en)Systems and methods for communication of management traffic over link aggregation group interface for a network element with distributed architecture
US9473833B2 (en)Systems and methods for increasing bandwidth in a computer network
US11228524B1 (en)Methods and apparatus for efficient use of link aggregation groups
US9166868B2 (en)Distributed control plane for link aggregation
US20180351812A1 (en)Technologies for dynamic bandwidth management of interconnect fabric
Baziana et al.Collision-free distributed MAC protocol for passive optical intra-rack data center networks
US20150301571A1 (en)Methods and apparatus for dynamic mapping of power outlets
US10412673B2 (en)Power-efficient activation of multi-lane ports in a network element
US20150180779A1 (en)System and method for power reduction in network equipment
Miyazaki et al.High speed 100GE adaptive link rate switching for energy consumption reduction
KR20140036622A (en)Apparatus and method for lane fault recovery of multi-lane based ethernet
Ohsita et al.Optical data center networks: Architecture, performance, and energy efficiency
Hou et al.Resource management and control in converged optical data center networks: survey and enabling technologies
Bergman et al.Optical switching performance metrics for scalable data centers
US9749223B2 (en)Linear path protection in a centralized controller environment
US20250155959A1 (en)Bias in powering down links to a switch (in redundant topologies), allow full switch shutdown for power saving
US12219304B2 (en)Packet switched quantum network
YuanA Novel Architecture, Topology, and Flow Control for Data Center Networks

Legal Events

DateCodeTitleDescription
ASAssignment

Owner name:JUNIPER NETWORKS, INC., CALIFORNIA

Free format text:ASSIGNMENT OF ASSIGNORS INTEREST;ASSIGNORS:AYBAY, GUNES;BANDYOPADHYAY, JAYA;REEL/FRAME:024517/0715

Effective date:20100518

STCFInformation on status: patent grant

Free format text:PATENTED CASE

FPAYFee payment

Year of fee payment:4

MAFPMaintenance fee payment

Free format text:PAYMENT OF MAINTENANCE FEE, 8TH YEAR, LARGE ENTITY (ORIGINAL EVENT CODE: M1552); ENTITY STATUS OF PATENT OWNER: LARGE ENTITY

Year of fee payment:8

MAFPMaintenance fee payment

Free format text:PAYMENT OF MAINTENANCE FEE, 12TH YEAR, LARGE ENTITY (ORIGINAL EVENT CODE: M1553); ENTITY STATUS OF PATENT OWNER: LARGE ENTITY

Year of fee payment:12


[8]ページ先頭

©2009-2025 Movatter.jp