Movatterモバイル変換


[0]ホーム

URL:


US8500537B2 - Group play of a lottery game - Google Patents

Group play of a lottery game
Download PDF

Info

Publication number
US8500537B2
US8500537B2US12/600,422US60042208AUS8500537B2US 8500537 B2US8500537 B2US 8500537B2US 60042208 AUS60042208 AUS 60042208AUS 8500537 B2US8500537 B2US 8500537B2
Authority
US
United States
Prior art keywords
group
lottery
player
round
game
Prior art date
Legal status (The legal status is an assumption and is not a legal conclusion. Google has not performed a legal analysis and makes no representation as to the accuracy of the status listed.)
Expired - Fee Related, expires
Application number
US12/600,422
Other versions
US20110059786A1 (en
Inventor
Jay S. Walker
Michael W. Patterson
Nancy Palumbo
Stephen C. Tulley
Current Assignee (The listed assignees may be inaccurate. Google has not performed a legal analysis and makes no representation or warranty as to the accuracy of the list.)
Inventor Holdings LLC
Original Assignee
Walker Digital LLC
Priority date (The priority date is an assumption and is not a legal conclusion. Google has not performed a legal analysis and makes no representation as to the accuracy of the date listed.)
Filing date
Publication date
Application filed by Walker Digital LLCfiledCriticalWalker Digital LLC
Priority to US12/600,422priorityCriticalpatent/US8500537B2/en
Assigned to WALKER DIGITAL, LLCreassignmentWALKER DIGITAL, LLCASSIGNMENT OF ASSIGNORS INTEREST (SEE DOCUMENT FOR DETAILS).Assignors: TULLEY, STEPHEN C., PALUMBO, NANCY, WALKER, JAY S.
Publication of US20110059786A1publicationCriticalpatent/US20110059786A1/en
Application grantedgrantedCritical
Publication of US8500537B2publicationCriticalpatent/US8500537B2/en
Assigned to INVENTOR HOLDINGS, LLCreassignmentINVENTOR HOLDINGS, LLCASSIGNMENT OF ASSIGNORS INTEREST (SEE DOCUMENT FOR DETAILS).Assignors: WALKER DIGITAL, LLC
Expired - Fee Relatedlegal-statusCriticalCurrent
Adjusted expirationlegal-statusCritical

Links

Images

Classifications

Definitions

Landscapes

Abstract

Methods and systems for facilitating play of group lottery games are described. In an embodiment, a process includes establishing at least two groups for play of a group lottery game, wherein each group includes a plurality of players. The method also includes determining at least one winning player from each group of a first round of the multiplayer lottery game, and advancing each of the winning players to a second round.

Description

CROSS-REFERENCE TO RELATED APPLICATIONS
This application claims the benefit of priority of PCT Application No. PCT/US08/63933 filed May 16, 2008, entitled GROUP PLAY OF A LOTTERY GAME, which is hereby incorporated by reference in its entirety.
PCT Application No. PCT/US08/63933 claims the benefit of priority of U.S. Provisional Patent Application No. 60/938,666, filed May 17, 2007, which is hereby incorporated by reference in its entirety.
FIELD OF THE INVENTION
The present disclosure relates to systems and methods for conducting group play of multiplayer lottery games.
BRIEF DESCRIPTION OF THE FIGURES
FIG. 1 illustrates an embodiment of a system or network environment including a plurality of lottery retailer terminals, a communications network, and a controller;
FIG. 2 is a simplified block diagram of an embodiment of exemplary components of a lottery retailer terminal;
FIG. 3 is a simplified block diagram illustrating an embodiment of exemplary components of a lottery operator controller;
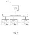
FIG. 4 is a simplified block diagram of an example of a lottery game system including a lottery server in communication with a plurality of player communication devices through a communications network;
FIG. 5 is an exemplary embodiment of a multiplayer lottery game ticket for a plurality of players of a group according to the invention that includes an activation code portion and a plurality of player portions having player access codes;
FIGS. 6A to 6G are examples representing various graphical user interfaces that may be accessed and utilized by lottery game players to perform various tasks associated with multiplayer lottery game play;
FIG. 7 is a simplified flowchart of an embodiment of a process for determining which particular players of a plurality of groups of players will be permitted to go onto a further round of lottery game play;
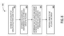
FIG. 8 is a simplified flowchart of an embodiment of a process for providing a prize for a group or team of players who satisfied group play prize criteria;
FIG. 9 is a tabular representation of an embodiment of a Player database;
FIG. 10 is a tabular representation of an embodiment of a Group database;
FIG. 11 is a tabular representation of an embodiment of a Group Play Games database;
FIG. 12 is a tabular representation of an embodiment of a Group Play Payout database; and
FIG. 13 is a tabular representation of an embodiment of a Group Play Ticket Status database.
DETAILED DESCRIPTION
Many domestic and international jurisdictions currently offer some form of lottery game. Traditionally, such games may include instant lottery games (for example “scratch-off” games) and/or on-line lottery games (for example, periodic draw games such as 6/49 lotto, pick-3, Powerball™, and the like). Generally, jurisdictions operate lottery games to generate revenues which may be subsequently utilized by (or on behalf of) the lottery jurisdiction to fund general and/or specific civic initiatives (for example to provide capital for infrastructure improvements, funding for education initiatives, and the like). Given the societal benefits that lottery proceeds serve to fund, lottery operators have sought to maximize sales, and thus the overall return to their constituents. As a result, lottery operators are continually seeking new ways to expand and retain the overall population of lottery players.
It would thus be beneficial to provide systems and methods for conducting lottery games that differ from traditional lottery games (for example, the instant and/or periodic draw games mentioned above). A benefit of such an approach would be to appeal to certain players who might not otherwise view traditional lottery product offerings as compelling, valuable, and/or entertaining. Accordingly, this disclosure includes descriptions of various non-limiting embodiments that facilitate play of a lottery game with a team or group aspect. That is, group play, team play, and/or other type of multiplayer play of a lottery game are facilitated in accordance with the processes and systems disclosed herein. A plurality of players may be regarded as or associated as a team (in competition with another team), or as a group (in competition with another group or team), and may play a lottery game to win prizes (e.g. cash and/or merchandise prizes) as described below.
A lottery ticket may be defined as a voucher or ticket that contains one or more lottery entries which are eligible to be redeemed for a lottery payout or prize. For example, a traditional lottery ticket includes a set of numbers that may, in whole or in part, match a set of winning numbers that have been drawn at random by a lottery operator. An “instant win” or “scratch” ticket is a winning lottery ticket if it contains matching symbols, instant win symbols, or any markings indicating that it is a winning ticket, according to the rules of the game embodied by that lottery ticket.
A newly purchased lottery ticket has a redemption value that is unknown to a customer at the time of purchase. The lottery ticket may be of the type requiring a drawing, in which a customer may choose a set of numbers that he thinks will match with a set of numbers drawn at a later date. Alternately (or in addition), the lottery ticket may comprise an “instant win” or “scratch” type lottery entry, in which a winning or losing result can be determined immediately after purchase.
A lottery retailer may be defined as a merchant who sells lottery tickets at a particular location, verifies and/or authenticates winning lottery tickets, and redeems authenticated winning tickets for an eligible prize. In some embodiments, the lottery retailer also facilitates activation of a team or group lottery game by accepting entries from players, some of whom may be required to activate a lottery game for a group or for a team of players, as explained below. Examples of various lottery retailers include, but are not limited to, convenience stores, gas stations, and supermarkets.
Customers may also purchase and, in some cases, redeem lottery tickets at automated lottery terminals. An automated lottery terminal is an electronic device that may be capable of automatically reading some or all of the information located on (or otherwise embodied by) a lottery ticket (for example, sense and translate mark information selected by customer with a #2 pencil on a lottery entry form, read a bar code, read a ticket identifier, and the like). Such a device may also be used (either alone or in combination with another device, such as a controller) to determine the validity and redemption value, for example, of a lottery ticket, as well as to sell and print new lottery tickets. As will be explained in more detail below, an automated lottery terminal may be connected via a communications network to a lottery controller.
1. Lottery Communications Network
FIG. 1 illustrates a system ornetwork environment100 that includes a plurality of lottery retailer terminals102-1 to102-N, acommunications network104 and acontroller106. Generally, any or all of the retailer terminals102-1 to102-N may operate to: (i) receive information associated with one or more lottery tickets including such data as: (a) ticket and/or lottery entry identifier(s), (b) entry indicia, and (c) redemption values (payout values); (ii) transmit any or all of the received information to thecontroller106 via thecommunications network104; and (iii) output information including such data as: (d) information defining lottery entries for individuals and/or groups and (e) information associated with one or more groups or teams and/or redemption values.
In general, each retailer terminal102-1 to102-N shown inFIG. 1 will correspond to (or be associated with) a particular lottery retailer. For example, retailer terminal1 (102-1) ofFIG. 1 may be associated with a first lottery retailer such as a convenience store, and retailer terminal2 (102-2) ofFIG. 1 may be associated with a second lottery retailer such as a supermarket. It should be understood that any number of lottery retailer terminals might be employed in asystem100, along with any number ofcorresponding controllers106.
Thecontroller106 may operate to: (i) receive, determine and/or store information associated with one or more lottery tickets including such data as: (a) ticket/entry identifier(s) and (b) entry indicia; (ii) determine a redemption value (for example, a prize amount) associated with a lottery ticket; (iii) receive a redemption request associated with the lottery ticket; (iv) determine a time associated with the redemption request; and (v) transmit an indication of the redemption value to a lottery retailer terminal (for example, for output to a display accessible by a lottery player and/or by a lottery terminal operator).
The retailer terminal102-1 ofFIG. 1 may be configured to perform some or all of the functions of thecontroller106. Thus, in some embodiments, thecontroller106 and the lottery retailer terminal102-1 (or another given retailer terminal and controller pairing) may be considered as the same “device”.
Generally, as explained above, the communications network ofFIG. 1 may include one or more local and/or wide-area network(s), proprietary and/or public network(s) (for example, the Internet) for facilitating two-way data communications between the retailer terminals102-1 to102-N and thecontroller106. The lottery controller may communicate with lottery retailer terminals directly or indirectly, via a wired or wireless medium such as the Internet, via a local area network (LAN), via a wide area network (WAN), via an Ethernet, via a Token Ring, a telephone line, a cable line, a radio channel, an optical communications line, a satellite communications link, or via any appropriate communications means or combination of communications means. Any number and type of devices may be in communication with the lottery controller, and communication between the lottery retailer terminals and thelottery controller106 may be direct or indirect, such as over the Internet through a Web site maintained by computer on a remote server, or over an online data network including commercial online service providers, bulletin board systems and the like. In some embodiments, the devices may communicate with one another over RF, cable TV, satellite links and the like. A variety of communications protocols may be part of any such communications system, including but not limited to: Ethernet (or IEEE 802.3), SAP, ATP, Bluetooth and TCP/IP.
Those skilled in the art will understand that devices in communication with each other need not be continually transmitting to each other. On the contrary, such devices need only transmit to each other as necessary, and may actually refrain from exchanging data most of the time. For example, a device in communication with another device via the Internet may not transmit data to the other device for days or weeks at a time. In some embodiments, a server computer may not be necessary and/or preferred. For example, methods described herein may be practiced on a stand-alone device and/or a device in communication only with one or more other devices. In such an embodiment, any functions described as performed by the computer or data described as stored on the computer may instead be performed by or stored on one or more other devices.
2. Lottery Retailer Terminal
FIG. 2 is a block diagram of some exemplary components of alottery retailer terminal200. Thelottery retailer terminal200 may include one or more processor(s)202 such as theIntel® CORE 2 DUO™ processor, manufactured by INTEL Corporation, or other processors manufactured by other companies, such as the AMD Athlon 64™ processor manufactured by the Advance Micro Devices company. Generally, the processor is operative to perform or process instructions, and in particular, to operate in accordance with the various methods described herein. For example, theprocessor202 may be operable to allow thelottery retailer terminal200 to transmit data to (and receive data from) thecontroller106 ofFIG. 1. More specifically, theprocessor202 may enable the transmission of data defining or identifying a lottery ticket or entry.
Accordingly, thelottery retailer terminal200 may further include one or more input device(s)204. The input devices may include components such as an optical scanner and/or a barcode scanner, for reading and/or for deriving information associated with a lottery entry. For example, a lottery ticket may include registration marks, authenticity data, various codes, micro-printed indicia, one or more sense marks, and/or other lottery indicia that must be read, for example, to distinguish between one or more lottery entries (which may all be contained on one lottery ticket, for example). Examples of additional input devices include, but are not limited to, a keypad, a mouse, an image capturing device (for example, an optical character recognition (OCR) device), a biometric reader, a portable storage device (for example, a memory stick), and the like.
According to some embodiments, the lottery retailer terminal input device(s)204 may comprise or include a clock. The clock may be employed to detect, derive and/or append time and/or date information for use by thecontroller106 to: (i) create a data record corresponding to lottery tickets or lottery entries purchased at thelottery retailer terminal200, and/or (ii) to determine redemption time and/or date information associated with lottery tickets and/or lottery entries, and/or (iii) determine whether a lottery player has redeemed a lottery ticket that, for example, enables him to proceed to a second round of a lottery game. Details of specific processes concerning team or group lottery play and redemption of winning lottery tickets are presented in more detail below.
Thelottery retailer terminal200 ofFIG. 2 may further include one or more output device(s)206. Such output device(s)206 may include such components as a display for outputting information to a lottery player and/or to a terminal operator (for example, aggregate performance information and/or payout amounts), one or more benefit output devices (for example, a cash drawer, a currency dispenser), a printer for producing a physical record (such as a paper slip, receipt, ticket, voucher, coupon, and the like) that defines a lottery ticket or lottery entry, an audio/video output device(s), and the like.
Thelottery retailer terminal200 may also include one or more communications port(s)208, such as a serial port, modem or the like. Generally, thecommunications port208 is operable to facilitate two-way data communications between thelottery retailer terminal200 and thecontroller106 shown inFIG. 1, but may be used to facilitate data communications between other devices as well. In some embodiments, thecommunications port208 may facilitate the transmission of information between thelottery retailer terminal200 and a player device such as a personal digital assistant (PDA), cell phone and/or a dedicated device (for example, a proprietary electronic and/or digital device).
Thelottery retailer terminal200 may further include adata storage device210 such as a hard disk, optical or magnetic media, random access memory (RAM) and/or read-only memory (ROM), or the like memory device. Generally, the lottery retailer terminaldata storage device210 stores a software program, the software program enabling theprocessor202 of theretailer terminal200 to perform various functions including some or all of the various processes or steps described herein. For example, as noted above with respect toFIG. 1, theretailer terminal200 can be configured to perform some or all of the functions of the controller (and vice versa) such that thecontroller106 and the lottery retailer terminal200 (or, referring toFIG. 1, a given lottery terminal and controller pairing) may be considered as the same “device”. An example retailer terminal available in the marketplace and that may be adapted to perform various functions described herein is the EXTREMA® clerk-operated lottery terminal, distributed by Scientific Games Corporation of Alpharetta, Ga.
In some embodiments, a lottery sales device may be utilized in place of alottery retailer terminal200. Such a lottery sales device may be implemented as a system controller, a dedicated hardware circuit, an appropriately programmed general-purpose computer, or any other equivalent electronic, mechanical or electro-mechanical device. Thus, in various embodiments, a lottery sales device may comprise, for example, a Video Lottery Terminal (VLT) that may include a touch sensitive screen for use by a player, a personal computer (capable of communication with a remote lottery server), a vending machine, a telephone, or a portable handheld device (for example, a device similar to a personal digital assistant (PDA) or other analog or digital communications device). The lottery sales device may comprise any or all of the devices of the aforementioned systems. In some embodiments, a user device such as a PDA, cell phone, and/or portable gaming unit (e.g. the Playstation™ Portable (PSP™), distributed by Sony Corporation) may be used in place of, or in addition to, some or all of the device components.
3. Lottery Operator Controller
FIG. 3 is a block diagram illustrating an embodiment of the components of alottery operator controller300. Similar to thelottery retailer terminal200 ofFIG. 2, thelottery operator controller300 may include one or more processors such as theIntel® CORE 2 DUO™ processor, manufactured by INTEL Corporation, or other processors manufactured by other companies, such as the AMD Athlon 64™ processor manufactured by the Advance Micro Devices company. Such aprocessor302 functions to process instructions, and in particular, to operate in accordance with various methods described herein. For example, theprocessor302 may operate to allow thelottery operator controller300 to transmit data to (and receive data from) thelottery retailer terminal200 shown inFIG. 2. More specifically, thecontroller processor302 may enable the transmission of data defining or identifying a particular lottery ticket or entry, as well as information defining a payout or prize associated with that lottery ticket to a specific one of the lottery retailer terminals102-1 to102-N shown in thelottery network100 ofFIG. 1. Thus, thelottery operator controller300 may be implemented as a system controller, a dedicated hardware circuit, an appropriately programmed general-purpose computer (for example, a lottery server), or any other equivalent electronic, mechanical or electro-mechanical device. In various embodiments, a lottery operator controller may comprise, for example, a personal computer (which communicates with a remote lottery sales terminal) or a mainframe computer.
Thelottery operator controller300 may further include one or more input device(s)304. Examples of such input devices include a keypad, a mouse, a touch-screen, a random number generator, a microphone, and other digital or analog input devices. The lottery operator controller input device(s)304 may comprise or include a clock. As described above, the clock may be employed to derive time and/or date information for use by thelottery controller300 to generate a data record corresponding to lottery tickets or lottery entries purchased at thelottery retailer terminal200, and/or to determine redemption time and/or date information associated with lottery tickets and/or lottery entries, and/or to determine whether a team or group of lottery players have purchased and/or redeemed one or more tickets.
Thelottery operator controller300 may further include one or more output device(s)306. Examples ofoutput devices306 include a monitor or other display for outputting information to a user of the lottery operator controller (for example, for displaying information such as statistical or sales data, win and loss information and/or payout amounts), a printer for producing a physical record (for example, a report, a paper slip, a voucher, a coupon, a ticket) of such data, and the like. In addition, thelottery operator controller300 may include one ormore communications ports308, such as a serial port, modem or the like, operable to facilitate two-way data communications between theoperator controller300 and one or morelottery retailer terminals200, as described above with respect toFIGS. 1 and 2.
Thelottery operator controller300 may also include a data storage device310 (such as a hard disk or hard drive, a media-based (removable) memory, or the like). The lottery operator controllerdata storage device310 stores at least onesoftware program312, which includes a program to enable theprocessor302 to perform some or all of the various steps and functions of at least one implementation of the methods described in detail herein. In addition, the lottery operator controllerdata storage device310 may operate to store various databases, for example, aplayer database314, agroup database316, a group play games database318, a group playgames payout database320, and a group playticket status database322. Thelottery player database314 may include player identifier data and contact information, and data associated with one or more groups of players, which will be explained in detail below. Thegroup database316 may include group identifiers, group names, a group leader player identifier, and other information associated with one or more groups. The group play games database318 may include a group play game identifier, group play game name, a group play game type, and game rules, for example. The group playgames payout database320 may include group play game identifiers, group play payout criteria, and group game payout information. The group playticket status database322 may include data of a particular group including a group identifier, a group play game identifier, group member ticket identifiers, group member ticket indicia, and group member ticket status.
The lottery operator controller may include a lottery ticket server device that is located at a lottery ticket printing facility, and may also function to manage the ticket printing process. The lottery operator controller may also function to facilitate organizing lottery players into teams or groups.
4. Multiplayer Lottery Game System
FIG. 4 is a simplified block diagram of an example of a multiplayerlottery game system400 that includes alottery server402 in communication with a plurality of player communication devices406-1,406-2 to406-N through acommunications network404. The player communication devices406-1 to406-N may include such devices as pagers, personal computers, handheld display devices, personal digital assistants (PDA's), set-top display devices, cellular telephones that include a display, and/or proprietary digital communications devices. Such player communication devices could be used to submit required player information to the lottery server, provide sufficient information to permit the player to follow and enjoy multiplayer lottery game play, and/or in some cases to authorize necessary or desired changes in the lottery game play.
For example, a player communication device406-1 may be used to communicate player identifying information and player selections to thelottery server402. Thelottery server402 may comprise a computer device, such as a Web server, operated on behalf of or, in conjunction with, a lottery authority. Thelottery server402 operates, for example, to obtain information and to set up lottery game player groups, to determine lottery outcome data, and to communicate instructions and lottery information (that may include the lottery outcome data) to the player communication devices406-1 to406-N of players actively participating in the same lottery game.
Communications between thelottery server402 and the player communication devices406-1 to406-N may be facilitated by way of acommunications network404, which may be a computer network such as the World Wide Web, the Internet, a local area network, postal mail, or any combination thereof. In accordance with the processes described herein, a plurality of player communication devices406-1 to406-N may be located remotely from thelottery server402, for example, at a home of a player or at a lottery agent.
Thelottery server402 may comprise any computing device operable to administer lottery games in accordance with the methods described herein. Thus, thelottery server402 may be configured in a manner similar to thelottery operator controller300 described above with reference toFIG. 3. In particular, thelottery server402 preferably includes a Central Processing Unit (CPU) that includes a clock associated therewith, and operates to execute instructions of a program stored in memory (e.g. Read Only Memory (ROM)). During execution of the program instructions, the CPU temporarily stores information in the Random Access Memory (RAM). In addition, the CPU may be coupled to a data storage device (not shown) and/or transaction processor. The data storage device may include one or more of a player database, a group database, a group play games database, a group play games payout database, and a group play ticket status database. Other databases could also be stored for use by the transaction processor and/or the CPU. In general, the transaction processor may be utilized to manage the contents of the data storage device.
In order to communicate with the player communication devices406-1-406-N, thelottery server402 preferably includes a communication port (not shown). The communication port may be coupled to both the CPU and the data storage device. Thus, the CPU can control the communication port to receive information from the data storage device and to transmit the information to the player communication devices. Information may also be received from the player communication devices via the communication port. Note that the communication path between the communication port and the communication devices need not be hardwired. As noted above, the communication devices may include a personal computer, a pager, a handheld device including a display (for example, such as a PDA), or a cellular telephone, and some or all such devices may employ wireless communication components and/or protocols.
In addition, optionally in communication with the CPU of theLottery Server402 is a Random Number Generator (RNG) for providing random outcomes for the multiplayer lottery game play. Under control of a program stored, for example, in a storage device or in ROM, the CPU initiates the RNG to generate a random number that could be used to determine winning lottery outcomes. The CPU may also be responsive to, for example, a signal from the player communication device (for example, a player's personal computer).
5. Other Devices
In some embodiments, a kiosk (not shown) may be configured to execute or assist in the execution of various lottery game processes. A kiosk could comprise a processor and a storage device or memory as described above. A kiosk may also include various input devices (such as a keyboard, a mouse, buttons, an optical scanner for reading barcodes or other indicia, a CCD camera, and the like), output devices (like a display screen and/or audio speakers), benefit output devices (such as a coin tray and/or a currency dispenser), communications ports, and the like. A kiosk may be configured to communicate with a lottery controller or lottery server. In some embodiments, kiosks may execute or assist in the execution of various lottery functions, as described herein.
Lottery players may also use one or more computing devices to obtain more information about the lottery games, and/or the specific lottery game that the player is playing. For example, a player may utilize a personal computer to access a web site that contains group lottery game instructions, team lottery game round information, winning lottery entry payout information, aggregated group play information, and the like.
6. Exemplary Lottery Entries
FIG. 5 depicts an example of a multiplayer or grouplottery game ticket500 for a lottery game to be played by a group of players (or a team of players). This example of a group or multiplayerlottery game ticket500 includes a group activation slip502 (or other embodiment of an indicia) for the group itself, and four respective player portions504-1,504-2,504-3 and504-4 for each individual member (lottery player) of the group. Thegroup activation slip502 includes an indication of thelottery game506, aninstructions section508, a group activation identifier510 (which may be an alpha-numeric identifier), an indication of an estimate of thejackpot512, and other information514 (which may include lottery game rules, or an indication of where a player can find the rules) and/or a date and time of activation or purchase.
Each of the lottery game player slips504-1 to504-4 of this example includes aplayer ticket identifier516, alottery game description518, aunique player identifier520, a barcode andserial number522, and may include other information such as lottery game rules and the like. The multiplayer orgroup lottery ticket500 illustrated byFIG. 5 may be purchased at a lottery retailer, for example, and this particular example of a multiplayer lottery ticket accommodates up to four players. One skilled in the art will recognize that other group lottery game tickets could provide for more or less lottery game players, and could include more or less information as appropriate for a particular type of group lottery game. In addition, agroup lottery ticket500 may include one or more security features such as micro-printed portions, embedded security threads, and/or holograms, to prevent or deter counterfeiting of lottery tickets.
A lottery player may purchase such a lottery ticket at a retail location having a lottery retailer terminal200 (seeFIG. 2) configured to printed the grouplottery game ticket500 at the time of purchase. Thus, the lottery retailer terminal may include an integral printer device, or a printer may be a peripheral device or anoutput device206 capable of printing group lottery game tickets. In addition, a lottery player may be permitted to purchase such tickets electronically using a player communication device (seeFIG. 4) and also print them by using a personal printer device, such as a computer printer and the like, that is in communication with the player communication device. In some embodiments, the printer devices are capable of printing group lottery game ticket data that is capable of being scanned by various scanning devices such as bar code scanners and the like. Such devices may also be capable of printing security features on group lottery game tickets such as specific patterns, and/or micro-printed data, and/or designs and/or alpha-numeric codes, and the like.
It should be understood that, in some embodiments, a lottery game player purchases a group member lottery entry with a personal device, and thus may not be provided with a physical lottery ticket. Instead, an electronic version of the multiplayer lottery ticket or portions thereof may be provided to the player, for example, via electronic mail to an email account of the lottery player. Of course, the player could print out such an electronic version of the multiplayer lottery ticket, for example, by using a home computer and printer.
FIGS. 6A to 6G provide examples of web pages that may be accessed by lottery game players to purchase lottery game entries, to sign up for multiplayer lottery game play, to find lottery game information, to select a group of players, to customize lottery game aspects, and to track performance of multiplayer game play, and the like. In particular,FIG. 6A depicts an exemplary web page for a lottery game authority that includes links to information pertaining to instant/other games that are onsale602, provides winning numbers andpayout information604 for lottery games that have had drawings completed, and alink606 to a multiplayer lottery game called “Monopoly”. If a lottery player clicks on the link to themultiplayer lottery game606, then a sign uppage610 such as that shown inFIG. 6B may appear, which illustrates an exemplary sign up interface including a “Sign Up”box612 that allows a player to create a user account and to indicate at least onepreference614 for receiving game information. If a player already has a user account and is playing a multiplayer lottery game, the player may be provided with alogin interface620 shown inFIG. 6C for use in accessing an online multiplayer game.
FIG. 6D depicts anexemplary interface621 that includes amenu622 that allows a player to input agroup identifier624 andplayer identifier626, and to customize aspects of game play. To customize aspects of lottery game play, the player may be able to select a token or other icon (e.g. an avatar) representing the player from aselection menu628 and/or a game board theme or design from asecond selection menu630.
FIGS. 6E to 6G depict examples of displays, game information, game events, and interface elements in accordance with various described embodiments.FIG. 6E shows an initiallottery game board650 wherein the multiplayer lottery game that has not yet been played by the four players, Maria, Jim, Thomas and Sue. As shown,FIG. 6E includes: a depiction of a “Weekday Multiplayer Monopoly”game board652; a team name654 (“Highridge Moguls”); a total team pointsfield656, indicating a total number of points earned by the group, which may be applicable in determining an aggregate performance associated with the multiplayer group as a whole;statistical data fields658 indicating values associated with individual game performance parameters associated with the group or team, which may also be applicable in determining an aggregate performance associated with the multiplayer group as a whole and; individual team player pointsfield660, indicating individual values which may be applicable in determining individual members' performance in the multiplayer game relative to other members of the group and/or other members of other groups/teams.FIG. 6F illustrates the lottery multiplayer game662 (ofFIG. 6E) in progress. In particular, thegame board664 shows theicons666,668,670 and672 are being moved around the board, and includes anindication674 that the player “Thomas” has landed on St. James Avenue. At this stage of play, no team points676 have been awarded.FIG. 6G illustrates the same game instance at an advanced stage, wherein the “Highridge Moguls” have accumulated70 team points682, and various statistics of team play684 have been accumulated. For example, Sue has accumulated a total value of 2080 points, Jim a total value of 326 points, Thomas a total value of 95 points, and Maria is in the lead with a total value of 8080 points. In addition, at this stage of the game,FIG. 6G shows that a Community Chest card has been drawn686.
7. Processes for Group Lottery Play
FIG. 7 is a simplified flowchart of an embodiment of aprocess700 for determining which particular player(s) of a plurality of groups of players will be permitted to go onto a further round of lottery game play. It should be understood that the processes described herein may include steps (or elements thereof) that may not be necessary, and that the illustrated steps may be performed in any practicable order.
Theprocess700 includes establishing702 a plurality of groups of lottery game players for a particular lottery game. Next, at least one winning player is determined704 for each group of players. The process also includes permitting each winning player to advance to a second round of thelottery game706. A prize may or may not be awarded to the winning player at this stage.
In this embodiment, at least one first round of lottery game play is used to determine a winner (at least one winning player) for each group or team participating in the at least one round (for example, based on criteria appropriate to the lottery game and/or the lottery game theme utilized, such as a total number of points earned). The winner or qualifier of the group of players for each group is then permitted to advance, or is advanced, to participate in at least one additional (a second) round of play. For example, each winning player of the first round could be notified by email, telephone, and/or regular mail (depending on the type of multiplayer lottery game being played) that he or she has qualified to advance to a second round of game play. The second round of play may include group play of the same lottery game, or a related lottery game, or a different lottery game. In addition, qualifying players may be organized into multiple (new) groups comprised of winning players from the first round of game play (for example, players may be organized into groups randomly, by geographical region, and/or based on some other criteria) for the second round of play. In addition, one or more additional rounds of lottery game play may occur (e.g., after a second round), depending on the type of lottery game. Advancement of lottery players may occur in a manner similar to how teams advance in a tournament (such as the NCAA basketball tournament), wherein a winner of a particular round is paired to compete with another winner of that tournament stage round. Such pairings may be scheduled to occur simultaneously (for example, the second round may be a drawing that occurs on Monday night at 8 pm) or may be staggered (for example, selected pairings of players are notified that they are scheduled to play on particular weekday nights chosen from the weekdays occurring from Jul. 1 to Jul. 15, 2008, after which third round winning players will be announced and prizes will be awarded).
In some embodiments, play of the first (or qualifying) round(s) may differ from play of the second or later or additional round(s). For instance, at least one player in a qualifying round may earn a prize (for example, an instant cash prize based on an in-game event associated with the first round), even if the particular player does not advance any further in that lottery game (e.g. into one or more round(s) of lottery game play). However, prizes in the subsequent round (for example, in which only players qualifying in the earlier round may participate) may only be given to one player.
A plurality of groups of players may be participating in any given round of lottery game play. In addition, play of the lottery game may be fully or partially automated, such that game play may proceed without player interaction, or with only minimal player interaction. For example, in some configurations, a player may simply elect to periodically observe his or her progress or status with respect to the initial round of lottery game play.
In some embodiments, information about game play (for example, indications of results, game status, prizes, scores, game play events, and the like) may be transmitted (or otherwise indicated) to one or more lottery players of a group (for example, via email, telephone, wireless PDA, and/or web page).
The play of the group lottery game may not depend on any predetermined outcomes. That is, a winning outcome of a group lottery game may be determined based on events that occur during game play by players of that lottery game. In addition, play of the lottery game may be presented in accordance with and/or based on a desired theme, such as a board game (for example, Monopoly), a puzzle game (for example, crossword puzzles, Sudoku, and the like), a sports game (for example, football, basketball, golf, baseball, a car or horse race), and the like. In an illustrative example, group play of a lottery game may be provided with a board game theme and may occur between several individual players/members having formed a group/team.
Each player of a plurality of lottery game players may be associated with a respective (for example, unique) player number or other identifier. Other embodiments having a plurality of players (for example, a group or team playing together) may be associated with a respective (for example, unique) number that identifies that plurality of players as a group or team (and, optionally, the particular game and/or instance of the game that they are playing).
FIG. 8 is a simplified flowchart of an embodiment of aprocess800 for providing a prize for each lottery player of a group or team of players that satisfies predetermined prize criteria. The process includes establishing802 a plurality of groups or teams of players. For example, a method may include receiving lottery entry data from a plurality of lottery players, and then establishing a plurality of groups based on the lottery entry data so that each group includes two or more players. After at least one initial round of lottery game play, the process determines804 an aggregate performance value, or overall score, for each group or team of players (e.g. by determining, for each individual group, the point value(s) infield682 and/or infield684 ofFIG. 6G). The example method is further shown to include determining806 that at least one of the groups satisfied predetermined group play prize criteria based on the aggregate performance values associated with the groups playing the multiplayer lottery game. The process is further shown to include providing808 the prize to the group or groups having been determined (at806) to have satisfied the prize criteria. The aggregate performance value of a group may be based on various criteria, such as a group score obtained by playing one or more lottery games, a group satisfying a predetermined condition (such as the players of a group participating in a minimum number of lottery games), or a group satisfying a predetermined condition within a predetermined period of time (for example, a group of players having achieved a group score greater than one-thousand points in each of ten group lottery games occurring/played within a calendar month). Other group play prize criteria may be used. In addition, group play prize criteria may be posted or otherwise communicated to lottery players so that the players are aware of goals that could be achieved as a team.
In some embodiments, only a specific player of a group or team may activate a lottery game for or on behalf of the entire group. In other embodiments, any one player of the group may activate the group lottery game. In yet other embodiments, more than one player is required to activate the lottery game.
A group lottery game may be ongoing (for example, play may occur every day, or every weekday), and players may elect to activate their participation in any desired instance of the lottery game. In one embodiment, activation and/or lottery game play must take place within a particular time period and/or by a specified date and/or time. In some embodiments, a purchased lottery ticket or activation slip may expire after a predetermined period of time from the time/date of purchase, and/or at a specified date/time. For example, a group of players may purchase a lottery ticket for a group lottery game that occurs every weekday, and the group may activate the group lottery ticket for any weekday they choose within 30 days of the ticket's initial purchase or the ticket will expire.
Group lottery play may take place on the day (and/or in the session, if multiple sessions are conducted each day) of activation. In some embodiments, a player (or group or team of players) may activate a ticket for lottery game play at a future date.
As explained above, group lottery game play may occur over multiple rounds.
Not all of the players of a group or team (and, optionally, no players of the group) may need to actively participate in play of the lottery game. In some embodiments, at least one player must be logged into a lottery game system (for example, via a web site) for play to take place for the corresponding group of lottery game players.
Play may be automated according to rules deemed appropriate for automated play. For example, automated lottery game play of a lottery board game may be conducted for multiple players based on default rules (for example, default options may be specified where decisions otherwise would be required in live or non-automated play).
At least one round of multiple rounds of lottery game play may allow for individual and/or group prizes. Various rules and/or conditions for determining whether a prize has been won in the lottery game may be employed. For example, a prize may be awarded to an individual player based on multiple events in the same or multiple rounds of a lottery game (for example, in the same round, a player satisfies a first condition during a first turn, and then satisfies a second condition during a second turn). Prizes may be awarded to each member of a group based on an aggregate performance of the group (for example, a team or group score), and/or on the group collectively meeting a predetermined condition (or conditions) (for example, at least two players roll 6's in the same round). Individual and group prizes may be based on criteria corresponding to a predetermined period of time (for example, a player may win a prize for having the highest average (or actual) score during a designated month).
Prize conditions may be configured to encourage at least one lottery player of a group to log in to and/or to interact with a lottery game system (for example, if a lottery player is logged in to a lottery game web site when a specified event takes place, that player wins a prize).
In some embodiments, a player may be permitted to customize or configure aspects of group lottery game play.
In some embodiments, if a winner of a group who advances to an additional round of play wins the additional round(s), then every member of the group receives a prize or other benefit.
8. Database Examples
FIG. 9 is a tabular representation of an embodiment of aPlayer database900 that may be utilized by alottery server402 or alottery operator controller300. In general, a Lottery Player database such as that shown inFIG. 9 stores information corresponding to (or associated with) individual lottery players and their associated groups.
Referring toFIG. 9, theLottery Player database900 includes aplayer identifier field902 for storing unique data identifying the particular lottery player, aplayer name field904, a player contact information field906 (for storing contact information such as player address, email address, phone number and the like), and player/member group identifier fields908 to908-N for storing unique one or more unique identifier(s) that link the player to one or more particular groups or teams of (multiple) players. Thus, a player may belong to one group of players, or may belong to several groups, e.g. depending on rules, personal preferences and/or the types of multiplayer lottery games offered.
Each record ofFIG. 9, depicted as rows900-1 to900-N, thus contains information associated with an individual lottery player participating in one or more multiplayer lottery games. For example, row900-1 contains information associated with Susan Jones including a player identifier, contact information and data indicating that she is a member of at least two groups identified by a player/member group identifier shown in fields908-1 and908-N. Data for the other players depicted in the database900 (for Thomas Smith, Margret Reed and John Andrews of rows R900-2, R900-3 and R900-N) shows that each of these players is a member of at least one group (see column908).
FIG. 10 is a tabular representation of an embodiment of aGroup database1000 that may be utilized by alottery server402 or alottery operator controller300. In general, alottery Group database1000 such as that shown inFIG. 10 stores data associated with individual groups of lottery players, each individual group comprising at least two individual players.
Referring toFIG. 10, thelottery Group database1000 includes aGroup Identifier field1002 for storing a unique group identifier that identifies particular lottery groups, aGroup Name field1004, a Group LeaderPlayer identifier field1006, a Maximum Allowable Players/Members field1008, and a Quantity/Currently Active Players/Members field1010 for storing a value indicative of how many players are presently associated with a particular group. Thus, for any particular group, the Maximum Allowable Players/Members field1008 may store an indication of a limit to the number of players that may belong to one group of players, which e.g. may be dependent on the type (or instance) of multiplayer lottery game that the particular group has signed up to play.
Each record of thelottery Group database1000 ofFIG. 10, depicted as rows1000-1 to1000-N, thus contains information associated with each group participating in at least one type of multiplayer lottery game. For example, row1000-1 contains information associated with group of players nicknamed “The Fab Fifteen”, which is shown to currently include 11 active members. In addition, thedatabase1000 ofFIG. 10 depicts data for two other groups, including row R1000-2 for the “Local 2211 Locomotives” group having 215 members, and row R1000-N for the “Metropolitan Fanatics” having 10 members, for use by a lottery server to administer various aspects of multiplayer lottery games.
FIG. 11 is a tabular representation of an embodiment of a GroupPlay Games database1100 that may be utilized by alottery server402 or alottery operator controller300. In general, a lottery GroupPlay Games database1100 such as that shown inFIG. 11 stores data that associates groups of lottery players with particular types (or available instances) of multiplayer lottery games and the rules corresponding each type of multiplayer lottery game.
Referring toFIG. 11, the lottery GroupPlay Games database1100 includes a Group PlayGame Identifier field1102 for identifying a particular type of game (e.g. as defined by one or more rule(s) associated with the game), a Group PlayGame Name field1104, a Group PlayGame Type field1106, and Group Play Game Rules fields1108 to1108-N. Thus, for any particular lottery game, a lottery server can access the Group Play Games database to determine whether it is a competitive, collaborative, or combination type of lottery game, and utilize one or more rule(s) associated with the particular game/game type to administer instances of the associated lottery game (e.g. to determine one or more winning individual(s) and/or group(s)).
Each row ofFIG. 11, depicted as rows1100-1 to1100-N, thus contains information associated with each type of multiplayer lottery game that is offered by a lottery administrator. For example, row1100-1 contains information pertinent to the “Mid-Day Monopolization” lottery game, which is a competitive game governed by the rules shown incolumns1108 to1108-N. In addition, the GroupPlay Games database1100 ofFIG. 11 depicts data for two other multiplayer lottery games, the “Match & Win” collaborative type of lottery game of row R1100-2, and the “Predict & Win” game, which is a combination competitive and collaborative type of game having rules shown infields1108 to1108-N of row R1100-N. Thus, the data in each row ofFIG. 11 is utilized by a lottery server, for example, to administer the various types of multiplayer lottery games offered by a lottery operator.
FIG. 12 is a tabular representation of an embodiment of a GroupPlay Payout database1200 that may be utilized by alottery server402 or alottery operator controller300. In general, the GroupPlay Payout database1200 ofFIG. 12 contains payout criteria and the types of group play lottery game payouts available for players who meet the payout criteria (e.g. based on one or more rule(s) associated with a particular game type and/or game instance).
Referring toFIG. 12, the Group PlayGames Payout database1200 includes a Group PlayGame Identifier field1202 for storing unique Group Play Game Identifiers that identify each type of game that may be played (e.g. offered in a particular lottery jurisdiction), Group PlayPayout Criteria fields1004 to1004-N, and GroupGame Payout fields1006 to1006-N. Thus, for any particular type of lottery game, there may be one or more payout criteria, and one or more group game lottery payouts available to winning players of any particular group or team of players, dependent on the satisfaction of the one or more payout criteria associated with the particular type of lottery game.
Each row ofFIG. 12, depicted as rows1200-1 to1200-N, thus contains group play payout criteria and group game payouts associated with each type of multiplayer game offered by the lottery operator. For example, row1200-1 contains information associated with the group play game “GPG-001”, which is the “Mid-Day Monopolization” game (seeFIG. 11). If a player of that game meetsCriteria 1 shown incolumn1204 by completing play with the greatest total assets of his group, for example, then that player wins an individual bonus (i.e. secondary) round entry as shown incolumn1206 of row R1200-1. Furthermore, if any player completes play having acquired all the utilities (see field1204-N of R1200-1), then each player of that group wins a five dollar cash prize (see field1206-N of R1200-1). Thedatabase1200 ofFIG. 12 also depicts data for two other Group Play Games, GPG-002 and GPG-00N, which correspond to the “Match & Win” and “Predict & Win” games, respectively, shown inFIG. 11. Similar to the description of the “Mid-Day Monopolization” game data above, if a player of a group matches any of the winning criteria shown infields1204 to12-4-N, that player wins the payout(s) shown in the corresponding fields1206-1206-N. Thus, a lottery server utilizes the data in the Group PlayGames Payout database1200 to award appropriate prizes to players of various multiplayer lottery games who match the winning criteria (Group play payout criteria).
FIG. 13 is a tabular representation of an embodiment of a Group PlayTicket Status database1300 that may be utilized by alottery server402 or alottery operator controller300. In general, a lottery Group PlayTicket Status database1300 such as that shown inFIG. 13 stores data associated with a particular group of players associated with a particular group play game type as well an instance of the group play game of the group play game type and includes data associated with each member/player (and/or one or more associated member/player lottery entries) of that group.
Referring toFIG. 13, the lottery Group PlayTicket Status database1300 includes aGroup Identifier1302, a GroupPlay Game identifier1304 and a Group Play Game Instance identifier1305. In this example, the Group Identifier is “ABC-276543C” which corresponds to the group named “The Fab Fifteen” shown in the group database ofFIG. 10. The Group Play ticket Status database also includes aMember Ticket identifier1306 field, Member Ticket Indicia fields1308 to1308-N, MemberTicket Result field1310, and a MemberTicket Status field1312. Thus, in theexample database1300 ofFIG. 13, a lottery server may utilize the data to determine the status of any particular lottery ticket for any particular member of this group.
For example, the groupplay game identifier1304 of “GPG-002” ofFIG. 13 corresponds to a “Match & Win” game, and the GroupPlay Game database1100 depicted inFIG. 11 includes an entry for “GPG-002” (see row R1100-2) indicating that the “Match & Win” game is a collaborative type group play game wherein player numbers are compared/matched to drawn numbers (see GroupPlay Game Rule 1 to Rule N (columns1108 and1108-N)). In addition, the GroupPlay Payout database1200 ofFIG. 12 indicates, in row R1200-2, thegroup payout criteria 1 to N (columns1204 and1204-N) that players must satisfy in order to obtain any of the possiblegroup game payouts 1 to N. In this example for the “Match & Win” game GPG-002, each player of the group receives a payout of two dollars if the ratio of total group numbers to matched numbers is less than 3.5 to 1. And/or if the total quantity of matched numbers is greater than 40 and the group size is less than 15, the group game payout N is twenty dollars per group. Thus, the data contained in the GroupPlay Games database1100, in the GroupPlay Payout database1200, and in the Group PlayTicket Status database1300 can be used together, for example, to determine when and/or if a player or players has won a prize and/or has advanced to a secondary round of multiplayer lottery game play.
Referring again toFIG. 13, each member record shown in rows1300-1 to1300-N contains information associated with each member or player of a particular group (in this example, the group “The Fab Fifteen”). For example, row1300-1 contains information associated with ticket identifier ABC-276543C-011, which is associated with Susan Jones (see also thePlayer Database900 ofFIG. 9). The data in this row indicates that Susan Jones matched 2 of 6 indicia and that her member ticket status is “pending/unredeemed” to indicate that she has a winning ticket and has not yet redeemed it. In addition, thedatabase1300 depicts data for three additional member tickets, including row R1300-2 which has a status of “closed” to indicate a non-winning entry, R1300-3 which also has a status of “closed” to indicate a non-winning entry, and R1300-N which has a status of “redeemed/closed” to indicate a winning entry for which a prize has been claimed. It should be understood that in some embodiments of multiplayer lottery games, a player is required to tender his or her multiplayer game lottery ticket to a lottery retailer or other designated agent in order to redeem a winning ticket. In some embodiments, to be eligible for a prize, a players' lottery ticket identifier must match data stored in the Group Play Games Payout database, which includes a record of all lottery tickets valid for redemption. Such a group play payout database may be populated immediately following (or concurrent with) a lottery drawing, for example.
9. Example Embodiments
A. Weekday Multiplayer Monopoly
The following description includes illustrative examples of some of the systems, methods, and apparatus contemplated by this disclosure, which are not limiting to any particular embodiment. References to specific requirements in these examples are not requirements for all embodiments described in this disclosure.
Weekday Multiplayer Monopoly is an exciting new variation of the classic board game that uses an online ticket purchased at retail for a group play game that plays out on the Web (the internet). The game play rules are similar to those of an actual Monopoly game with no pre-determined outcomes. In an implementation, Weekday Multiplayer Monopoly features two rounds of daily play, 10 AM-4 PM and 7 PM-9 PM, every Monday through Friday.
Each Weekday Multiplayer Monopoly ticket purchased by a player includes a group activation slip with a group play activation number on it, and four individual player slips, each containing a unique player number (for example, seeFIG. 5). A player forms a group or team by choosing three friends/colleagues and giving each of the group members one of the play slips. The individual holding the group activation slip is responsible for activating the game for the whole group. It is contemplated that a player can use the ticket for any Weekday Multiplayer Monopoly game within one year of the date of ticket purchase.
Once a game date has been selected, in accordance with this illustrative example, the person responsible for activation must do so prior to 9:15 AM on the selected date of game play. In this example, group activation must occur prior to any individual group member logging-on to play. (Some embodiments, of course, do not require these specific exemplary timing limitations). Upon activation, the activating group member may configure some of the basic aspects of game play. For example, he or she can select a specific date for group play, assign a team name to the group, upload a group logo, and the like.
Once the activating group member has logged-in, and the game has been configured for the group, game play automatically commences at 10 AM on the selected day of game play. If at that time the other group members have not logged-in and provided their access codes, the game simply begins playing (automatically) on behalf of those players, who may later log-in and check game status.
Part1—The Daytime Round—10 AM-4 PM
Throughout the day, each group member can follow the scoring of their group via their home or work computers. Players can also sign-up to receive e-mails or text messages of updated game scores throughout the day.
The daytime tournament offers several different ways to win cash and prizes on both a group basis and on an individual basis. For example, the Weekday Multiplayer Monopoly daytime round may feature various bonuses, including e.g.:
    • “Free Parking Group Bonuses”, which e.g. allow the entire group to win cash prizes during designated times of the day.
    • “Savvy Traveler Bonus”. E.g. a player who manages to consecutively land on all four Railroad properties in a single trip around the game board instantly wins a large cash prize.
    • “Travel & Utilities Mogul Bonus”. E.g. a player who finishes the daytime game having acquired and retained all Utility and Railroad properties also receives an instant cash prize.
    • “Instant-Win Chance and Community Chest Cards”. E.g. from time to time within the daytime game, certain Chance and Community Chest cards can award instant cash prizes.
    • Periodic team performance bonuses for every member of a group including “Team of the Week”, “Team of the Month”, and the like. Such bonuses could be based on predetermined criteria, such as the number of active or inactive lottery players in the group, the number of participating lottery players of the group in a predetermined time period, group and/or individual point totals and/or the amount of money spent by the group purchasing and playing multiplayer games within a predetermine time period; and
    • Daily performance bonuses for group total houses built, group total times past “Go”, and the like.
In this particular example, Weekday Multiplayer Monopoly plays as an actual board game would play. There are no pre-determined outcomes. The first round (day tournament) of game play determines a first round winner for each group based on a game play algorithm and the basic rules of classic Monopoly. Individual group winners are determined based on their total asset value including cash and properties at the conclusion of the daytime game (or at 4:00 PM, whichever is first). Once group winners are determined, those winners are “promoted” or “advanced” to the evening (or “big money”) round of play. In some embodiments, the player who is the team winner of the group is able to access the evening round by utilizing the previously provided player access codes and/or daytime tournament game results.
Part 2—The Evening Tournament
In one embodiment, the second round of play, which may be referred to as the evening tournament, begins at 7:00 PM and ends at 9:00 PM. During this round, players are randomly teamed up for multiple, fast-paced games, which play throughout the evening. At the end of the two-hour series of games, the individual with the greatest overall cumulative asset value total wins the top available (pari-mutuel) prize. In some implementations, as a group incentive, if your group member wins the grand prize, all members of the team win individual cash prizes as well.
Weekday Multiplayer Monopoly uses a pre-established Lottery Website as an electronic game board enabling players to monitor scores and view their games as they unfold throughout the day.
The game allows individuals to name their team, track the scores of other Weekday Multiplayer Monopoly teams in the area, receive bonus points for consistent team play and win cash prizes.
B. Match & Win/Group Fantasy Play
In an implementation, a Group Fantasy Play lottery game enables individual lottery players to participate in group games, such as office pools, in a unique, new and easy way. An online group lottery ticket configuration and tracking system can be used by an individual player to assemble groups of friends or colleagues to play lottery games together, and to monitor group play activity in an easy fashion. In addition, such an implementation permits group play to be monitored over the course of several drawings (and/or over time), and provides a way to monitor payouts and merchandise awards that accumulate over time based on the group's overall performance.
In addition to playing for the big game jackpot, the Group Fantasy Play game can include an ongoing monthly fantasy prize play component, In some embodiments, this ongoing play component allows the “group” to select a specific fantasy prize (or equivalent cash value) which all group members can qualify to win based on the group's overall monthly performance relative to other, similar-sized groups.
When an individual player registers a group online at the lottery's Group Fantasy Play website, group members can select their numbers in advance for each individual drawing, or the system can select numbers automatically on the players' behalf via a quick pick option. Once the players' numbers are selected, in one implementation, the system will store and track the information for all of the group's entries in a web-based group file. For each individual lottery game drawing, the group's numbers will be checked automatically for each individual entry of the group/pool of entries, with e-mail and/or text-based alerts sent to one, some, or all group members when any amount is won.
An individual player who coordinates the lottery purchase for the group may be deemed the “group administrator” or “team leader”, and in some implementations may receive jackpot alerts from the lottery reminding him or her e.g. that the jackpot is over a certain amount, that a lottery drawing is imminent, etc. For example, a lottery server may generate and transmit a jackpot alert every time the jackpot reaches or exceeds $100 million dollars. The group can also use a group-based subscription and/or conditional element that enables teams to be entered only if and when the jackpot is over a certain dollar amount. For example, a group might designate a minimum jackpot amount of $50 million dollars to enable the lottery administrator to automatically enter the group in that lottery game instance. The lottery operator may also be able to incentivize the group administrators by rewarding them with prizes when the group play levels reach or exceed a certain dollar volume, and/or play frequency, and the like.
11. Rules of Interpretation
Numerous embodiments have been described, and are presented for illustrative purposes only. The described embodiments are not intended to be limiting in any sense. The processes described are widely applicable to numerous embodiments, as is readily apparent from the disclosure herein. These embodiments are described in sufficient detail to enable those skilled in the art to practice the invention, and it is to be understood that other embodiments may be utilized and that structural, logical, software, electrical and other changes may be made without departing from the scope of the present invention. Accordingly, those skilled in the art will recognize that the present processes may be practiced with various modifications and alterations. Although particular features may be described with reference to one or more particular embodiments or figures that form a part of the present disclosure, and in which are shown, by way of illustration, specific embodiments, it should be understood that such features are not limited to usage in the one or more particular embodiments or figures with reference to which they are described. The present disclosure is thus neither a literal description of all embodiments nor a listing of features that must be present in all embodiments.
The terms “an embodiment”, “embodiment”, “embodiments”, “the embodiment”, “the embodiments”, “an embodiment”, “some embodiments”, “an example embodiment”, “at least one embodiment”, “one or more embodiments” and “one embodiment” mean “one or more (but not necessarily all) embodiments” unless expressly specified otherwise. The terms “including”, “comprising” and variations thereof mean “including but not limited to”, unless expressly specified otherwise.
The term “consisting of” and variations thereof mean “including and limited to”, unless expressly specified otherwise.
The enumerated listing of items does not imply that any or all of the items are mutually exclusive. The enumerated listing of items does not imply that any or all of the items are collectively exhaustive of anything, unless expressly specified otherwise. The enumerated listing of items does not imply that the items are ordered in any manner according to the order in which they are enumerated.
The term “comprising at least one of” followed by a listing of items does not imply that a component or subcomponent from each item in the list is required. Rather, it means that one or more of the items listed may comprise the item specified. For example, if it is said “wherein A comprises at least one of: a, b and c” it is meant that (i) A may comprise a, (ii) A may comprise b, (iii) A may comprise c, (iv) A may comprise a and b, (v) A may comprise a and c, (vi) A may comprise b and c, or (vii) A may comprise a, b and c.
The terms “a”, “an” and “the” mean “one or more”, unless expressly specified otherwise.
The term “based on” means “based at least on”, unless expressly specified otherwise.
The methods described herein (regardless of whether they are referred to as methods, processes, algorithms, calculations, and the like) inherently include one or more steps. Therefore, all references to a “step” or “steps” of such a method have antecedent basis in the mere recitation of the term ‘method’ or a like term. Accordingly, any reference in a claim to a ‘step’ or ‘steps’ of a method is deemed to have sufficient antecedent basis.
Headings of sections provided in this document and the title are provided for convenience only, and are not to be taken as limiting the disclosure in any way.
Devices that are in communication with each other need not be in continuous communication with each other, unless expressly specified otherwise. In addition, devices that are in communication with each other may communicate directly or indirectly through one or more intermediaries.
A description of an embodiment with several components in communication with each other does not imply that all such components are required, or that each of the disclosed components must communicate with every other component. On the contrary a variety of optional components are described to illustrate the wide variety of possible embodiments.
Further, although process steps, method steps, algorithms or the like may be described in a sequential order, such processes, methods and algorithms may be configured to work in alternate orders. In other words, any sequence or order of steps that may be described in this document does not, in and of itself, indicate a requirement that the steps be performed in that order. The steps of processes described herein may be performed in any order that is practical. Further, some steps may be performed simultaneously despite being described or implied as occurring non-simultaneously (e.g., because one step is described after the other step). Moreover, the illustration of a process by its depiction in a drawing does not imply that the illustrated process is exclusive of other variations and modifications thereto, does not imply that the illustrated process or any of its steps are necessary to the invention, and does not imply that the illustrated process is preferred.
It will be readily apparent that the various methods and algorithms described herein may be implemented by, for example, appropriately programmed general purpose computers and computing devices. Typically a processor (such as a microprocessor or controller device) will receive instructions from a memory or like storage device, and execute those instructions, thereby performing a process defined by those instructions. Further, programs that implement such methods and algorithms may be stored and transmitted using a variety of known media.
When a single device or article is described herein, it will be readily apparent that more than one device/article (whether or not they cooperate) may be used in place of a single device/article. Similarly, where more than one device or article is described herein (whether or not they cooperate), it will be readily apparent that a single device/article may be used in place of the more than one device or article.
The functionality and/or the features of a device may be alternatively embodied by one or more other devices which are not explicitly described as having such functionality/features. Thus, other embodiments need not include the device itself.
The term “computer-readable medium” as used herein refers to any medium that participates in providing data (such as instructions and the like) that may be read by a computer, a processor or a like device. Such a medium may take many forms, including but not limited to, non-volatile media, volatile media, and transmission media. Non-volatile media include, for example, optical or magnetic disks and other persistent memory. Volatile media may include dynamic random access memory (DRAM), which typically constitutes the main memory. Transmission media may include coaxial cables, copper wire and fiber optics, including the wires or other pathways that comprise a system bus coupled to the processor. Communications may occur via acoustic waves, light waves and electromagnetic emissions, such as those generated during radio frequency (RF) and infrared (IR) data communications. Common forms of computer-readable media include, for example, a floppy disk, a flexible disk, hard disk, magnetic tape, any other magnetic medium, a CD-ROM, DVD, any other optical medium, punch cards, paper tape, any other physical medium with patterns of holes, a RAM, a PROM, an EPROM, a FLASH-EEPROM, any other memory chip or cartridge, a carrier wave, or any other medium from which a computer can read.
Various forms of computer readable media may be involved in carrying sequences of instructions to a processor. For example, sequences of instruction may be delivered from RAM to a processor, may be carried over a wireless transmission medium, and/or may be formatted according to numerous formats, standards or protocols, such as Transmission Control Protocol, Internet Protocol (TCP/IP), Wi-Fi, Bluetooth, TDMA, CDMA, Wi-MAX and 3G.
Where databases are described, it will be understood by one of ordinary skill in the art that alternative database structures to those described may be readily employed, and that other memory structures besides databases may be readily employed. Any schematic illustrations and accompanying descriptions of any sample databases presented herein are illustrative arrangements for stored representations of information. Any number of other arrangements may be employed besides those suggested by the tables shown. Similarly, any illustrated entries of the databases represent exemplary information only; those skilled in the art will understand that the number and content of the entries can be different from those illustrated herein. Further, despite any depiction of the databases as tables, other formats (including relational databases, object-based models and/or distributed databases) could be used to store and manipulate the data types described herein. Likewise, object methods or behaviors of a database can be used to implement the processes of the present invention. In addition, the databases may, in a known manner, be stored locally or remotely from a device that accesses data in such a database.
It should also be understood that, to the extent that any term recited in the claims is referred to elsewhere in this document in a manner consistent with a single meaning, that is done for the sake of clarity only, and it is not intended that any such term be so restricted, by implication or otherwise, to that single meaning. Finally, unless a claim element is defined by reciting the word “means” and a function without reciting any structure, it is not intended that the scope of any claim element be interpreted based on the application of 35 U.S.C. §112, sixth paragraph.
The systems and processes described herein are exemplary embodiments, and those skilled in the art will note that various substitutions and modifications may be made to those embodiments without departing from the spirit and scope of the present invention.

Claims (15)

What is claimed is:
1. A method, comprising:
establishing, by a lottery controller device in communication with at least one retailer device, at least two groups for play of a group lottery game, wherein each group comprises a plurality of players;
determining, by the lottery controller device, at least one winning player from each group of a first round of the group lottery game;
advancing, by the lottery controller device, each of the winning players to a second round;
establishing, by the lottery controller device for the second round, at least one second group comprising winning players of the first round;
determining, by the lottery controller device from each second group, at least one winning player of the second round;
awarding, by the lottery controller device, a prize to each winning player of the second round;
determining, by the lottery controller device for a winning player of the second round, a player who was in a group with the winning player in the first round, wherein the player did not advance to the second round; and
awarding, by the lottery controller device, a prize to the player who was in the group with the winning player in the first round.
2. The method ofclaim 1, in which determining at least one winning player for each group for the first round comprises comparing lottery entry data for each player of each group to at least one winning lottery ticket criteria.
3. The method ofclaim 1, further comprising awarding a prize to each member of the group associated with a grand prize winning player.
4. The method ofclaim 1, in which determining at least one winning player from each group of a first round comprises basing a winning outcome for the winning player on at least one event occurring during group lottery game play.
5. The method ofclaim 1, further comprising receiving player identification data and group identification data from at least one of a retailer device or a player device.
6. The method ofclaim 1, further comprising storing group play lottery data in a group play ticket status database.
7. The method ofclaim 6, wherein the group play lottery data comprises at least one of a group identifier, a group play game identifier, a group play game instance identifier, group member ticket indicia, or group member ticket status data.
8. A method, comprising:
establishing at least two groups for play of a group lottery game, wherein each group comprises a plurality of players;
determining, by a lottery controller device in communication with at least one retailer device, at least one winning player from each group of a first round of the group lottery game;
advancing, by the lottery controller device, each of the winning players to a second round; and
awarding, by the lottery controller device, a group performance bonus for each player of a group that meets at least one predetermined criterion for aggregate performance by the group as a whole.
9. The method ofclaim 8, wherein the at least one predetermined criterion comprises a number of players in the group.
10. The method ofclaim 8, wherein the at least one predetermined criterion comprises a number of participating players of the group in a predetermined time period.
11. The method ofclaim 8, wherein the at least one predetermined criterion comprises an amount of money spent by the group playing group lottery games in a predetermined time period.
12. The method ofclaim 8, wherein the at least one predetermined criterion comprises an aggregate point total earned by a plurality of players of the group in the group lottery game.
13. The method ofclaim 8, wherein awarding a group performance bonus for each player of a group that meets at least one predetermined criterion comprises:
determining, by the lottery controller device, a measure of performance of a plurality of players of the group as a whole;
determining, by the lottery controller device, that the measure of performance of the plurality of players of the group as a whole satisfies the at least one predetermined criterion; and
awarding the group performance bonus to each of the plurality of players.
14. An apparatus, comprising:
a processor;
a communication device operatively coupled to the processor; and
a data storage device operatively coupled to the processor and containing instructions configured to direct the processor to:
establish at least two groups for play of a group lottery game, wherein each group comprises a plurality of players;
determine at least one winning player from each group of a first round of the group lottery game;
advance each of the winning players to a second round;
establish, for the second round, at least one second group comprising winning players of the first round;
determine, from each second group, at least one winning player of the second round;
award a prize to each winning player of the second round;
determine, for a winning player of the second round, a player who was in a group with the winning player in the first round, wherein the player did not advance to the second round; and
award a prize to the player who was in the group with the winning player in the first round.
15. The apparatus ofclaim 14, further comprising a printer configured for producing a group play lottery ticket.
US12/600,4222007-05-172008-05-16Group play of a lottery gameExpired - Fee RelatedUS8500537B2 (en)

Priority Applications (1)

Application NumberPriority DateFiling DateTitle
US12/600,422US8500537B2 (en)2007-05-172008-05-16Group play of a lottery game

Applications Claiming Priority (3)

Application NumberPriority DateFiling DateTitle
US93866607P2007-05-172007-05-17
PCT/US2008/063933WO2008144536A1 (en)2007-05-172008-05-16Group play of lottery game
US12/600,422US8500537B2 (en)2007-05-172008-05-16Group play of a lottery game

Publications (2)

Publication NumberPublication Date
US20110059786A1 US20110059786A1 (en)2011-03-10
US8500537B2true US8500537B2 (en)2013-08-06

Family

ID=39639331

Family Applications (2)

Application NumberTitlePriority DateFiling Date
US12/600,422Expired - Fee RelatedUS8500537B2 (en)2007-05-172008-05-16Group play of a lottery game
US13/950,579AbandonedUS20130310133A1 (en)2007-05-172013-07-25Group play of a lottery game

Family Applications After (1)

Application NumberTitlePriority DateFiling Date
US13/950,579AbandonedUS20130310133A1 (en)2007-05-172013-07-25Group play of a lottery game

Country Status (2)

CountryLink
US (2)US8500537B2 (en)
WO (1)WO2008144536A1 (en)

Cited By (7)

* Cited by examiner, † Cited by third party
Publication numberPriority datePublication dateAssigneeTitle
US20130273994A1 (en)*2012-04-162013-10-17Sportzerry, Inc.Systems and methods for a combination lottery and fantasy sports league
WO2016149761A1 (en)*2015-03-262016-09-29Tms Global Services Pty LtdInteractive loyalty system and method for lotteries
US9589418B2 (en)2012-07-192017-03-07Philip Paul GivantSpecialized slot machine for conducting a wagering game using real time or live action event content
US11557179B2 (en)2012-07-192023-01-17Philip Paul GivantSpecialized slot machine for conducting a wagering fantasy sports tournament
USD1035697S1 (en)*2016-09-222024-07-16IgtDisplay screen or portion thereof with a graphical user interface
US12354445B2 (en)2012-07-192025-07-08Philip Paul GivantSpecialized slot machine for conducting a wagering fantasy sports tournament
US12400524B2 (en)2012-07-192025-08-26Philip Paul GivantSpecialized slot machine for conducting a wagering game using a card system for real time or live action event content

Families Citing this family (21)

* Cited by examiner, † Cited by third party
Publication numberPriority datePublication dateAssigneeTitle
US7798896B2 (en)2000-09-272010-09-21Milestone Entertainment LlcApparatus, systems and methods for implementing enhanced gaming and prizing parameters in an electronic environment
US8393946B2 (en)*2001-09-262013-03-12Milestone Entertainment LlcApparatus and method for game play in an electronic environment
US8727853B2 (en)2000-09-272014-05-20Milestone Entertainment, LLCMethods and apparatus for enhanced play in lottery and gaming environments
US9626837B2 (en)2001-09-262017-04-18Milestone Entertainment LlcSystem for game play in an electronic environment
US11875642B2 (en)2004-09-012024-01-16Milestone Entertainment, LLCSystems for implementing enhanced gaming and prizing parameters in an electronic environment
US9773373B2 (en)2004-09-012017-09-26Milestone Entertainment LlcSystems for implementing enhanced gaming and prizing parameters in an electronic environment
US8535134B2 (en)2008-01-282013-09-17Milestone Entertainment LlcMethod and system for electronic interaction in a multi-player gaming system
US8517811B2 (en)*2009-05-262013-08-27Pollard Banknote Limited PartnershipMethod of playing a lottery game including a group-based second chance game
US20110207515A1 (en)*2010-02-192011-08-25Bravura ConsultingMethod for a lottery game
US20110207516A1 (en)*2010-02-192011-08-25Bravura ConsultingMethod for a lottery game
US8512123B2 (en)2011-02-072013-08-20Scientific Games International, Inc.Method and associated lottery game card/ticket for play of multiple game components
CA2837904C (en)*2011-06-022020-09-15Interprovincial Lottery CorporationManaging group play in lottery draws
US9339733B2 (en)2013-05-222016-05-17Wesley John BoudvilleBarcode-based methods to enhance mobile multiplayer games
US20150050976A1 (en)*2013-08-152015-02-19Gtech CorporationSystem and Method for Facilitating the Operation of a Combined Lottery/Bonus Game with Rewards
US10071305B2 (en)2014-10-102018-09-11Scientific Games International, Inc.Method and system for conducting and linking play of a lottery game with a televised game show simultaneously with a play-at-home version of the game show
WO2016055988A1 (en)2014-10-102016-04-14Scientific Games Holdings LimitedMethod and system to conduct a bonus game that links separate primary lottery games
WO2016055985A1 (en)2014-10-102016-04-14Scientific Games Holdings LimitedMethod and system for conducting and linking a televised game show with play of a lottery game
JP6271612B2 (en)*2016-02-092018-01-31株式会社ドリーム・プランニング Equity table issuing device, equity table issuing method, and computer program
US11430292B2 (en)2020-06-042022-08-30Shneider Ramson ThomasBiometric-data-acquisition-based arrangements between online consultant and online user
US11741792B2 (en)2021-08-162023-08-29Brian J. HudsonLottery system and method
US20230410611A1 (en)*2022-06-192023-12-21Christopher GovrikLottery ticket contract system and service

Citations (169)

* Cited by examiner, † Cited by third party
Publication numberPriority datePublication dateAssigneeTitle
US4157829A (en)1975-01-281979-06-12System Operations, Inc.Instant lottery game employing vending machines which are centrally controlled by computers
EP0032410A1 (en)1980-01-101981-07-22Jacques De BruynTelephonic betting system for lotto or other authorized games of chance
US4317957A (en)1980-03-101982-03-02Marvin SendrowSystem for authenticating users and devices in on-line transaction networks
GB2121569A (en)1982-05-121983-12-21Bally Mfg CorpSystem guaranteeing integrity of a gambling system
US4467424A (en)1979-12-171984-08-21Hedges Richard ARemote gaming system
US4494197A (en)1980-12-111985-01-15Seymour TroyAutomatic lottery system
GB2148135A (en)1983-09-141985-05-30Igt Reno NevElectronic video lottery system
US4531187A (en)1982-10-211985-07-23Uhland Joseph CGame monitoring apparatus
EP0106187B1 (en)1982-10-091985-11-21Feldmühle AktiengesellschaftPiston with a member in partially stabilized zirconia
US4593904A (en)1984-03-191986-06-10Syntech International, Inc.Player interactive video gaming device
US4652998A (en)1984-01-041987-03-24Bally Manufacturing CorporationVideo gaming system with pool prize structures
US4669731A (en)1985-01-111987-06-02Kabushiki Kaisha UniversalSlot machine which pays out upon predetermined number of consecutive lost games
US4689742A (en)1980-12-111987-08-25Seymour TroyAutomatic lottery system
US4698564A (en)1980-05-201987-10-06Slavin Sidney HSpinning optics device
US4755941A (en)1985-09-061988-07-05Lorenzo BacchiSystem for monitoring the movement of money and chips on a gaming table
US4760527A (en)1983-04-051988-07-26Sidley Joseph D HSystem for interactively playing poker with a plurality of players
US4764666A (en)1987-09-181988-08-16Gtech CorporationOn-line wagering system with programmable game entry cards
US4805907A (en)1985-03-081989-02-21Sigma Enterprises, IncorporatedSlot machine
US4837728A (en)1984-01-251989-06-06IgtMultiple progressive gaming system that freezes payouts at start of game
US4842278A (en)1986-06-021989-06-27Victor MarkowiczHierarchical lottery network with selection from differentiated playing pools
US4856787A (en)1986-02-051989-08-15Yuri ItkisConcurrent game network
US4880237A (en)1987-11-301989-11-14Ryutaro KishishitaTokenless slot machine system
US4951039A (en)1988-04-181990-08-21Motorola, Inc.Animated data display interleaving
US4982337A (en)1987-12-031991-01-01Burr Robert LSystem for distributing lottery tickets
EP0405776A2 (en)1989-06-091991-01-02Interactive Network, Inc.Remote gaming system playable by several participants
US4991848A (en)1989-08-071991-02-12Bally Manufacturing CorporationGaming machine with a plateaued pay schedule
US5038022A (en)1989-12-191991-08-06Lucero James LApparatus and method for providing credit for operating a gaming machine
US5042809A (en)1990-11-201991-08-27Richardson Joseph JComputerized gaming device
US5069453A (en)1990-01-051991-12-03John R. KozaTicket apparatus with a transmitter
US5083271A (en)1984-06-271992-01-21John A. KlayhTournament data system with game score communication between remote player terminal and central computer
US5096195A (en)1988-08-041992-03-17Elbit Computers Ltd.Electronic gaming apparatus
EP0478412A1 (en)1990-09-111992-04-01Milos BlazevicInstallation for remote and direct participation in casino games
US5112050A (en)1990-01-051992-05-12John R. KozaBroadcast lottery
US5119295A (en)1990-01-251992-06-02Telecredit, Inc.Centralized lottery system for remote monitoring or operations and status data from lottery terminals including detection of malfunction and counterfeit units
US5123649A (en)1991-07-011992-06-23Bally Manufacturing CorporationGaming machine with dynamic pay schedule
US5179517A (en)1988-09-221993-01-12Bally Manufacturing CorporationGame machine data transfer system utilizing portable data units
US5178390A (en)1991-01-281993-01-12Kabushiki Kaisha UniversalGame machine
US5223698A (en)1991-04-051993-06-29Telecredit, Inc.Card-activated point-of-sale lottery terminal
US5239165A (en)1991-04-111993-08-24Spectra-Physics Scanning Systems, Inc.Bar code lottery ticket handling system
US5253275A (en)1991-01-071993-10-12H. Lee BrowneAudio and video transmission and receiving system
US5259613A (en)1992-04-081993-11-09Rio Hotel Casino, Inc.Casino entertainment system
US5276312A (en)1990-12-101994-01-04Gtech CorporationWagering system using smartcards for transfer of agent terminal data
US5275400A (en)1992-06-111994-01-04Gary WeingardtPari-mutuel electronic gaming
US5277424A (en)1992-07-081994-01-11United Gaming, Inc.Video gaming device utilizing player-activated variable betting
US5283734A (en)1986-03-101994-02-01Kohorn H VonSystem and method of communication with authenticated wagering participation
US5287269A (en)1990-07-091994-02-15Boardwalk/Starcity CorporationApparatus and method for accessing events, areas and activities
US5290033A (en)1992-12-021994-03-01Bittner Harold GGaming machine and coupons
FR2697653A1 (en)1992-11-041994-05-06Info Telecom Electronic game of chance device.
US5324035A (en)1991-12-021994-06-28Infinational Technologies, Inc.Video gaming system with fixed pool of winning plays and global pool access
US5330185A (en)1993-03-301994-07-19Interlott, Inc.Method and apparatus for random play of lottery games
US5377975A (en)1992-05-061995-01-03Clapper, Jr.; Ronald C.Electronic gaming apparatus and method
US5380007A (en)1994-01-211995-01-10Travis; Christopher P.Video lottery gaming device
US5393057A (en)1992-02-071995-02-28Marnell, Ii; Anthony A.Electronic gaming apparatus and method
US5398932A (en)1993-12-211995-03-21Video Lottery Technologies, Inc.Video lottery system with improved site controller and validation unit
US5401024A (en)1994-05-091995-03-28Wms Gaming Inc.Keno type video gaming device
US5407199A (en)1993-05-281995-04-18Vegas Pull Tabs, Inc.Interactive games and method of playing
US5413357A (en)1992-07-061995-05-09Nsm AktiengesellschaftProgram controlled entertainment and game apparatus
US5415416A (en)1990-03-061995-05-16Lottotron Inc.Computerized lottery wagering system
US5417424A (en)1993-09-281995-05-23Gtech CorporationPlayer operated win checker appended to lottery agent terminal
US5429361A (en)1991-09-231995-07-04Bally Gaming International, Inc.Gaming machine information, communication and display system
US5436367A (en)1988-07-201995-07-25Sanko Company, LimitedIntermediates for certain 4-oxoquinoline-3-carboxylic acid derivatives
US5457306A (en)1989-12-191995-10-10Scotch Twist, Inc.Gaming machine system operable with general purpose charge cards
US5470079A (en)1994-06-161995-11-28Bally Gaming International, Inc.Game machine accounting and monitoring system
US5518253A (en)1992-06-051996-05-21Pocock; TerrenceTelevised bingo game system
US5536008A (en)1992-05-061996-07-16Clapper, Jr.; Ronald C.Electronic gaming apparatus and method
US5551692A (en)1994-08-021996-09-03Casino Coin Company, Inc.Electronic game promotion device
US5564700A (en)1995-02-101996-10-15Trump Taj Mahal AssociatesProportional payout method for progressive linked gaming machines
US5569082A (en)1995-04-061996-10-29Kaye; PerryPersonal computer lottery game
US5570885A (en)1995-02-211996-11-05Ornstein; Marvin A.Electronic gaming system and method for multiple play wagering
US5580311A (en)1995-03-171996-12-03Haste, Iii; Thomas E.Electronic gaming machine and method
US5586936A (en)1994-09-221996-12-24Mikohn Gaming CorporationAutomated gaming table tracking system and method therefor
US5595538A (en)1995-03-171997-01-21Haste, Iii; Thomas E.Electronic gaming machine and method
US5609337A (en)1992-05-061997-03-11Clapper, Jr.; Ronald C.Gaming ticket dispenser apparatus and method of play
US5613912A (en)1995-04-051997-03-25Harrah's ClubBet tracking system for gaming tables
US5621200A (en)1994-06-221997-04-15Panda Eng., Inc.Electronic verification machine for validating a medium having conductive material printed thereon
US5634012A (en)1994-11-231997-05-27Xerox CorporationSystem for controlling the distribution and use of digital works having a fee reporting mechanism
US5647798A (en)1995-03-101997-07-15Slingo, Inc.Apparatus for playing bingo on a slot machine
US5647592A (en)1996-08-021997-07-15Zdi GamingMethod, apparatus and pull-tab gaming set for use in a progressive pull-tab game
US5651548A (en)1995-05-191997-07-29Chip Track InternationalGaming chips with electronic circuits scanned by antennas in gaming chip placement areas for tracking the movement of gaming chips within a casino apparatus and method
US5657899A (en)1995-09-141997-08-19Cory Consultants, Inc.System for and method of dispensing lottery tickets
US5697844A (en)1986-03-101997-12-16Response Reward Systems, L.C.System and method for playing games and rewarding successful players
US5707285A (en)1996-04-021998-01-13Place; VaughnMethod and apparatus for random prize selection in wagering games
US5735432A (en)1995-09-141998-04-07Cory Consultants, Inc.System for and method of dispensing lottery tickets
US5735742A (en)1995-09-201998-04-07Chip Track InternationalGaming table tracking system and method
US5741183A (en)1994-10-121998-04-21Acres Gaming Inc.Method and apparatus for operating networked gaming devices
US5743800A (en)1994-10-181998-04-28B.C.D. Mecanique Ltee.Auxiliary game with random prize generation
US5758875A (en)1996-01-111998-06-02Silicon Gaming, Inc.Dynamic rate control method and apparatus for electronically played games and gaming machines
US5762552A (en)1995-12-051998-06-09Vt Tech Corp.Interactive real-time network gaming system
US5766075A (en)1996-10-031998-06-16Harrah's Operating Company, Inc.Bet guarantee system
US5768382A (en)1995-11-221998-06-16Walker Asset Management Limited PartnershipRemote-auditing of computer generated outcomes and authenticated biling and access control system using cryptographic and other protocols
US5770533A (en)1994-05-021998-06-23Franchi; John FrancoOpen architecture casino operating system
US5772509A (en)1996-03-251998-06-30Casino Data SystemsInteractive gaming device
US5781647A (en)1995-10-051998-07-14Digital Biometrics, Inc.Gambling chip recognition system
US5779548A (en)1994-06-281998-07-14Sega Enterprises, Ltd.Game apparatus and method of replaying game
US5779549A (en)1996-04-221998-07-14Walker Assest Management Limited ParnershipDatabase driven online distributed tournament system
USRE35864E (en)1992-06-111998-07-28Weingardt; GaryPari-mutuel electronic and live table gaming
US5788573A (en)1996-03-221998-08-04International Game TechnologyElectronic game method and apparatus with hierarchy of simulated wheels
US5803808A (en)1995-08-181998-09-08John M. StrisowerCard game hand counter/decision counter device
US5816917A (en)1995-08-111998-10-06Kelmer; AaronFloppy-disk entertainment and gambling system for personal computers
US5816919A (en)1990-03-061998-10-06Lottotron, Inc.Computer lottery wagering system
US5830067A (en)1995-09-271998-11-03Multimedia Games, Inc.Proxy player machine
US5830063A (en)1993-08-271998-11-03Byrne; Christopher RussellMethod for playing a gambling game
US5833538A (en)1996-08-201998-11-10Casino Data SystemsAutomatically varying multiple theoretical expectations on a gaming device: apparatus and method
US5848932A (en)1994-09-231998-12-15Anchor GamingMethod of playing game and gaming games with an additional payout indicator
US5871398A (en)1995-06-301999-02-16Walker Asset Management Limited PartnershipOff-line remote system for lotteries and games of skill
US5910048A (en)1996-11-291999-06-08Feinberg; IsadoreLoss limit method for slot machines
US5919090A (en)1995-09-141999-07-06Grips Electronic GmbhApparatus and method for data gathering in games of chance
US5951397A (en)1992-07-241999-09-14International Game TechnologyGaming machine and method using touch screen
US5970143A (en)1995-11-221999-10-19Walker Asset Management LpRemote-auditing of computer generated outcomes, authenticated billing and access control, and software metering system using cryptographic and other protocols
US5980384A (en)1997-12-021999-11-09Barrie; Robert P.Gaming apparatus and method having an integrated first and second game
US5999808A (en)1995-12-121999-12-07Aeris Communications, Inc.Wireless gaming method
US6001016A (en)1996-12-311999-12-14Walker Asset Management Limited PartnershipRemote gaming device
US6012983A (en)1996-12-302000-01-11Walker Asset Management Limited PartnershipAutomated play gaming device
US6024643A (en)1997-03-042000-02-15Intel CorporationPlayer profile based proxy play
US6050895A (en)1997-03-242000-04-18International Game TechnologyHybrid gaming apparatus and method
US6077163A (en)1997-06-232000-06-20Walker Digital, LlcGaming device for a flat rate play session and a method of operating same
US6168522B1 (en)1998-03-312001-01-02Walker Digital, LlcMethod and apparatus for operating a gaming device to dispense a specified amount
US6193606B1 (en)1997-06-302001-02-27Walker Digital, LlcElectronic gaming device offering a game of knowledge for enhanced payouts
US6203428B1 (en)1999-09-092001-03-20Wms Gaming Inc.Video gaming device having multiple stacking features
US6234900B1 (en)1997-08-222001-05-22Blake CumbersPlayer tracking and identification system
US6273820B1 (en)1999-02-042001-08-14Haste, Iii Thomas E.Virtual player gaming method
US6306038B1 (en)1996-09-272001-10-23Multimedia Games, Inc.Gaming system for remote players
US6315662B1 (en)1998-12-222001-11-13Walker Digital, LlcSystem and method for automatically initiating game play on an electronic gaming device
US6318721B1 (en)1998-06-272001-11-20Igt-Uk LimitedApparatus for detecting the illumination of a player-operated gaming machine button
US6336636B1 (en)1999-03-242002-01-08Smart Industries CorporationMethod of extending playing time in a coin-operated crane game
US6343989B1 (en)2000-03-222002-02-05Micheal W. WoodMethod of tracking and using player error during the play of a casino game
US20020022512A1 (en)2000-08-102002-02-21Konami CorporationGame machine
US20020037760A1 (en)*2000-09-252002-03-28Yuya KawamuraPrediction method and storage medium
US6389538B1 (en)1998-08-132002-05-14International Business Machines CorporationSystem for tracking end-user electronic content usage
US20020058542A1 (en)2000-09-182002-05-16Roethel John EdwardAdd 'em up video poker
US6394899B1 (en)1999-10-292002-05-28Stephen Tobin WalkerMethod of playing a knowledge based wagering game
US6402614B1 (en)1995-06-302002-06-11Walker Digital, LlcOff-line remote system for lotteries and games of skill
US6402148B1 (en)2001-01-182002-06-11Hank SaruwatariMethod of playing a casino card game
US20020082775A1 (en)2000-06-162002-06-27Meadows James W.Personal golfing assistant
US20020090986A1 (en)1998-12-232002-07-11Ingenio, Filiale De Loto-Quebec Inc.Computer gambling game
US20020112171A1 (en)1995-02-132002-08-15Intertrust Technologies Corp.Systems and methods for secure transaction management and electronic rights protection
US20020143875A1 (en)2001-03-272002-10-03Hemisphere IiMethod and apparatus for sharing information using a handheld device
US20020155875A1 (en)2000-01-182002-10-24Valery LevitanCoin and bill video game terminal system
WO2002100494A1 (en)2001-06-122002-12-19Walker Digital, LlcMethod for playing automated games
US6508709B1 (en)1999-06-182003-01-21Jayant S. KarmarkarVirtual distributed multimedia gaming method and system based on actual regulated casino games
US6508710B1 (en)1999-12-272003-01-21Virtgame Corp.Gaming system with location verification
US20030028480A1 (en)2001-08-062003-02-06International Game TechnologyAlternative player tracking techniques
FR2815214B1 (en)2000-10-112003-02-07Freever METHOD FOR ENABLING MOBILE TELEPHONE USERS TO PARTICIPATE IN A PRIZE DRAW GAME
WO2003017178A1 (en)2001-08-152003-02-27Walker Digital, LlcMethod for automated play of lottery games
US6527638B1 (en)1994-03-112003-03-04Walker Digital, LlcSecure improved remote gaming system
US6578735B1 (en)2000-02-022003-06-17Ewald MothwurfMethod and an apparatus for promoting a product or brand
US20030144053A1 (en)2002-01-252003-07-31Michaelson Richard E.Gaming with fee-type wagering
US6605001B1 (en)1999-04-232003-08-12Elia Rocco TarantinoDice game in which categories are filled and scores awarded
US20030162582A1 (en)2002-02-222003-08-28Gordon Stephen E.Repeat spin button device for a gaming machine
WO2003089090A1 (en)2002-04-182003-10-30Walker Digital, LlcMethod and apparatus for automatic gaming
WO2003089086A1 (en)2002-04-192003-10-30Walker Digital, LlcMethod for employing flat rate play
US20030224854A1 (en)2002-05-312003-12-04Joao Raymond AnthonyApparatus and method for facilitating gaming activity and/or gambling activity
WO2004014506A1 (en)2002-08-072004-02-19Walker Digital, LlcSystem and method for remote automated play of a gaming device
US6695700B2 (en)1997-12-312004-02-24Walker Digital, LlcMethod and apparatus for directing a game in accordance with speed of play
US6709331B2 (en)2001-01-122004-03-23King Show Games, LlcMethod and apparatus for aggregating gaming event participation
US6712695B2 (en)2000-01-252004-03-30Atronic International AgJackpot system
US6722983B2 (en)2001-09-212004-04-20IgtGaming device having multiple selectable changing awards
US6726563B1 (en)2000-09-082004-04-27IgtGaming device having a selectively accessible bonus scheme
US6733389B2 (en)2000-10-122004-05-11IgtGaming device having a first game scheme involving a symbol generator, a second game and a first game terminator
US6769983B2 (en)2001-03-012004-08-03IgtBonus game
US6830514B2 (en)*2001-12-132004-12-14Scientific Games Royalty CorporationSystem and method for playing a lottery-type game
US6896616B2 (en)1997-08-072005-05-24Casino Data SystemsCashless gaming system: apparatus and method
US6935949B1 (en)2002-04-292005-08-30Charles S. MurphyContinuous play slot machine and retrofit kit
US20060040730A1 (en)1997-06-232006-02-23Walker Jay SSystems, methods and apparatus for facilitating a flat rate play session on a gaming device and example player interfaces to facilitate such
US20060074504A1 (en)*2004-10-052006-04-06Maul Kenneth LMethod for conducting sports tournaments with wagering
US7140964B2 (en)1997-06-232006-11-28Walker Digital, LlcGaming device for a flat rate play session and a method of operating same
US7210141B1 (en)1998-07-212007-04-24Touchtunes Music CorporationSystem for remote loading of objects or files in order to update software
US7503851B2 (en)2004-11-122009-03-17Walker Digital, LlcBudget-defined flat rate play contract parameters
US7798895B2 (en)*2003-11-142010-09-21Scientific Games International, Inc.Lottery and gaming systems for playing wagering game with enhanced prize structure derived from multiple plays

Family Cites Families (8)

* Cited by examiner, † Cited by third party
Publication numberPriority datePublication dateAssigneeTitle
JP3202906B2 (en)*1995-10-202001-08-27富士写真光機株式会社 Drive mechanism for taking lens
US20030064807A1 (en)*2001-09-252003-04-03Walker Jay S.Method and apparatus for linked play gaming
US6026643A (en)*1997-12-162000-02-22Itt Manufacturing Enterprises, Inc.Master cylinder
US6719138B2 (en)*2001-08-062004-04-13Austin KathleenDevice and method for covering a baby's bottle
US20040137980A1 (en)*2003-01-102004-07-15Aenlle William M.User participation in event at computer network site
US20060082056A1 (en)*2004-05-072006-04-20Kane Steven NMethod and apparatus for conducting a game tournament
US9406201B2 (en)*2009-02-232016-08-02Bally Gaming, Inc.Presenting group wagering games and awards
US20140080579A1 (en)*2012-09-172014-03-20Wms Gaming, Inc.Rewarding Player Referrals in a Wagering Game

Patent Citations (188)

* Cited by examiner, † Cited by third party
Publication numberPriority datePublication dateAssigneeTitle
US4157829A (en)1975-01-281979-06-12System Operations, Inc.Instant lottery game employing vending machines which are centrally controlled by computers
US4467424A (en)1979-12-171984-08-21Hedges Richard ARemote gaming system
EP0032410A1 (en)1980-01-101981-07-22Jacques De BruynTelephonic betting system for lotto or other authorized games of chance
US4317957A (en)1980-03-101982-03-02Marvin SendrowSystem for authenticating users and devices in on-line transaction networks
US4698564A (en)1980-05-201987-10-06Slavin Sidney HSpinning optics device
US4689742A (en)1980-12-111987-08-25Seymour TroyAutomatic lottery system
US4494197A (en)1980-12-111985-01-15Seymour TroyAutomatic lottery system
GB2121569A (en)1982-05-121983-12-21Bally Mfg CorpSystem guaranteeing integrity of a gambling system
EP0106187B1 (en)1982-10-091985-11-21Feldmühle AktiengesellschaftPiston with a member in partially stabilized zirconia
US4531187A (en)1982-10-211985-07-23Uhland Joseph CGame monitoring apparatus
US4760527A (en)1983-04-051988-07-26Sidley Joseph D HSystem for interactively playing poker with a plurality of players
GB2148135A (en)1983-09-141985-05-30Igt Reno NevElectronic video lottery system
US4652998A (en)1984-01-041987-03-24Bally Manufacturing CorporationVideo gaming system with pool prize structures
US4837728A (en)1984-01-251989-06-06IgtMultiple progressive gaming system that freezes payouts at start of game
US4593904A (en)1984-03-191986-06-10Syntech International, Inc.Player interactive video gaming device
US5083271A (en)1984-06-271992-01-21John A. KlayhTournament data system with game score communication between remote player terminal and central computer
US4669731A (en)1985-01-111987-06-02Kabushiki Kaisha UniversalSlot machine which pays out upon predetermined number of consecutive lost games
US4805907A (en)1985-03-081989-02-21Sigma Enterprises, IncorporatedSlot machine
US4755941A (en)1985-09-061988-07-05Lorenzo BacchiSystem for monitoring the movement of money and chips on a gaming table
US4856787A (en)1986-02-051989-08-15Yuri ItkisConcurrent game network
US4856787B1 (en)1986-02-051997-09-23Fortunet IncConcurrent game network
US5283734A (en)1986-03-101994-02-01Kohorn H VonSystem and method of communication with authenticated wagering participation
US5697844A (en)1986-03-101997-12-16Response Reward Systems, L.C.System and method for playing games and rewarding successful players
US4842278A (en)1986-06-021989-06-27Victor MarkowiczHierarchical lottery network with selection from differentiated playing pools
US4764666A (en)1987-09-181988-08-16Gtech CorporationOn-line wagering system with programmable game entry cards
US4880237A (en)1987-11-301989-11-14Ryutaro KishishitaTokenless slot machine system
US4982337A (en)1987-12-031991-01-01Burr Robert LSystem for distributing lottery tickets
US4951039A (en)1988-04-181990-08-21Motorola, Inc.Animated data display interleaving
US5436367A (en)1988-07-201995-07-25Sanko Company, LimitedIntermediates for certain 4-oxoquinoline-3-carboxylic acid derivatives
US5096195A (en)1988-08-041992-03-17Elbit Computers Ltd.Electronic gaming apparatus
US5179517A (en)1988-09-221993-01-12Bally Manufacturing CorporationGame machine data transfer system utilizing portable data units
EP0405776A2 (en)1989-06-091991-01-02Interactive Network, Inc.Remote gaming system playable by several participants
US4991848A (en)1989-08-071991-02-12Bally Manufacturing CorporationGaming machine with a plateaued pay schedule
US5038022A (en)1989-12-191991-08-06Lucero James LApparatus and method for providing credit for operating a gaming machine
US5457306A (en)1989-12-191995-10-10Scotch Twist, Inc.Gaming machine system operable with general purpose charge cards
US5069453A (en)1990-01-051991-12-03John R. KozaTicket apparatus with a transmitter
US5112050A (en)1990-01-051992-05-12John R. KozaBroadcast lottery
US5119295A (en)1990-01-251992-06-02Telecredit, Inc.Centralized lottery system for remote monitoring or operations and status data from lottery terminals including detection of malfunction and counterfeit units
US5415416A (en)1990-03-061995-05-16Lottotron Inc.Computerized lottery wagering system
US5816919A (en)1990-03-061998-10-06Lottotron, Inc.Computer lottery wagering system
US5287269A (en)1990-07-091994-02-15Boardwalk/Starcity CorporationApparatus and method for accessing events, areas and activities
EP0478412A1 (en)1990-09-111992-04-01Milos BlazevicInstallation for remote and direct participation in casino games
EP0487446A2 (en)1990-11-201992-05-27Joseph James RichardsonComputerized gaming device
US5042809A (en)1990-11-201991-08-27Richardson Joseph JComputerized gaming device
US5276312A (en)1990-12-101994-01-04Gtech CorporationWagering system using smartcards for transfer of agent terminal data
US5253275A (en)1991-01-071993-10-12H. Lee BrowneAudio and video transmission and receiving system
US5178390A (en)1991-01-281993-01-12Kabushiki Kaisha UniversalGame machine
US5223698A (en)1991-04-051993-06-29Telecredit, Inc.Card-activated point-of-sale lottery terminal
US5239165A (en)1991-04-111993-08-24Spectra-Physics Scanning Systems, Inc.Bar code lottery ticket handling system
US5123649A (en)1991-07-011992-06-23Bally Manufacturing CorporationGaming machine with dynamic pay schedule
US5429361A (en)1991-09-231995-07-04Bally Gaming International, Inc.Gaming machine information, communication and display system
US5324035A (en)1991-12-021994-06-28Infinational Technologies, Inc.Video gaming system with fixed pool of winning plays and global pool access
US5393057A (en)1992-02-071995-02-28Marnell, Ii; Anthony A.Electronic gaming apparatus and method
US5259613A (en)1992-04-081993-11-09Rio Hotel Casino, Inc.Casino entertainment system
US5377975A (en)1992-05-061995-01-03Clapper, Jr.; Ronald C.Electronic gaming apparatus and method
US5609337A (en)1992-05-061997-03-11Clapper, Jr.; Ronald C.Gaming ticket dispenser apparatus and method of play
US5536008A (en)1992-05-061996-07-16Clapper, Jr.; Ronald C.Electronic gaming apparatus and method
US5749784A (en)1992-05-061998-05-12Clapper, Jr.; Ronald C.Electronic gaming apparatus and method
US5518253A (en)1992-06-051996-05-21Pocock; TerrenceTelevised bingo game system
USRE35864E (en)1992-06-111998-07-28Weingardt; GaryPari-mutuel electronic and live table gaming
US5275400A (en)1992-06-111994-01-04Gary WeingardtPari-mutuel electronic gaming
US5413357A (en)1992-07-061995-05-09Nsm AktiengesellschaftProgram controlled entertainment and game apparatus
US5277424A (en)1992-07-081994-01-11United Gaming, Inc.Video gaming device utilizing player-activated variable betting
US5951397A (en)1992-07-241999-09-14International Game TechnologyGaming machine and method using touch screen
FR2697653A1 (en)1992-11-041994-05-06Info Telecom Electronic game of chance device.
US5290033A (en)1992-12-021994-03-01Bittner Harold GGaming machine and coupons
US5330185A (en)1993-03-301994-07-19Interlott, Inc.Method and apparatus for random play of lottery games
US5407199A (en)1993-05-281995-04-18Vegas Pull Tabs, Inc.Interactive games and method of playing
US5830063A (en)1993-08-271998-11-03Byrne; Christopher RussellMethod for playing a gambling game
US20050014553A1 (en)1993-08-272005-01-20Byrne Christopher RussellMethod and apparatus for playing a gambling game
US5417424A (en)1993-09-281995-05-23Gtech CorporationPlayer operated win checker appended to lottery agent terminal
US5398932A (en)1993-12-211995-03-21Video Lottery Technologies, Inc.Video lottery system with improved site controller and validation unit
US5380007A (en)1994-01-211995-01-10Travis; Christopher P.Video lottery gaming device
US6527638B1 (en)1994-03-112003-03-04Walker Digital, LlcSecure improved remote gaming system
US5770533A (en)1994-05-021998-06-23Franchi; John FrancoOpen architecture casino operating system
US5401024A (en)1994-05-091995-03-28Wms Gaming Inc.Keno type video gaming device
US5470079A (en)1994-06-161995-11-28Bally Gaming International, Inc.Game machine accounting and monitoring system
US5621200A (en)1994-06-221997-04-15Panda Eng., Inc.Electronic verification machine for validating a medium having conductive material printed thereon
US5779548A (en)1994-06-281998-07-14Sega Enterprises, Ltd.Game apparatus and method of replaying game
US5551692A (en)1994-08-021996-09-03Casino Coin Company, Inc.Electronic game promotion device
US5586936A (en)1994-09-221996-12-24Mikohn Gaming CorporationAutomated gaming table tracking system and method therefor
US5848932A (en)1994-09-231998-12-15Anchor GamingMethod of playing game and gaming games with an additional payout indicator
US6565434B1 (en)1994-10-122003-05-20Acres Gaming, Inc.Method and apparatus for promoting play on a network of gaming devices
US5741183A (en)1994-10-121998-04-21Acres Gaming Inc.Method and apparatus for operating networked gaming devices
US5743800A (en)1994-10-181998-04-28B.C.D. Mecanique Ltee.Auxiliary game with random prize generation
US6139430A (en)1994-10-182000-10-31Bcd Mecanique LteeAuxiliary game with random prize generation
US6146270A (en)1994-10-182000-11-14Bcd Mecanique LteeAuxiliary game with random prize generation
US5634012A (en)1994-11-231997-05-27Xerox CorporationSystem for controlling the distribution and use of digital works having a fee reporting mechanism
US5564700A (en)1995-02-101996-10-15Trump Taj Mahal AssociatesProportional payout method for progressive linked gaming machines
US20020112171A1 (en)1995-02-132002-08-15Intertrust Technologies Corp.Systems and methods for secure transaction management and electronic rights protection
US5570885A (en)1995-02-211996-11-05Ornstein; Marvin A.Electronic gaming system and method for multiple play wagering
US5647798A (en)1995-03-101997-07-15Slingo, Inc.Apparatus for playing bingo on a slot machine
US5580311A (en)1995-03-171996-12-03Haste, Iii; Thomas E.Electronic gaming machine and method
US5595538A (en)1995-03-171997-01-21Haste, Iii; Thomas E.Electronic gaming machine and method
US5613912A (en)1995-04-051997-03-25Harrah's ClubBet tracking system for gaming tables
US5569082A (en)1995-04-061996-10-29Kaye; PerryPersonal computer lottery game
US5651548A (en)1995-05-191997-07-29Chip Track InternationalGaming chips with electronic circuits scanned by antennas in gaming chip placement areas for tracking the movement of gaming chips within a casino apparatus and method
US6402614B1 (en)1995-06-302002-06-11Walker Digital, LlcOff-line remote system for lotteries and games of skill
US6024640A (en)1995-06-302000-02-15Walker Asset Management Limited PartnershipOff-line remote lottery system
US5871398A (en)1995-06-301999-02-16Walker Asset Management Limited PartnershipOff-line remote system for lotteries and games of skill
US5816917A (en)1995-08-111998-10-06Kelmer; AaronFloppy-disk entertainment and gambling system for personal computers
US5803808A (en)1995-08-181998-09-08John M. StrisowerCard game hand counter/decision counter device
US5657899A (en)1995-09-141997-08-19Cory Consultants, Inc.System for and method of dispensing lottery tickets
US5735432A (en)1995-09-141998-04-07Cory Consultants, Inc.System for and method of dispensing lottery tickets
US5919090A (en)1995-09-141999-07-06Grips Electronic GmbhApparatus and method for data gathering in games of chance
US5915588A (en)1995-09-141999-06-29Cory Consultants, Inc.System for and method of dispensing lottery tickets
US5735742A (en)1995-09-201998-04-07Chip Track InternationalGaming table tracking system and method
US5830067A (en)1995-09-271998-11-03Multimedia Games, Inc.Proxy player machine
US5781647A (en)1995-10-051998-07-14Digital Biometrics, Inc.Gambling chip recognition system
US5768382A (en)1995-11-221998-06-16Walker Asset Management Limited PartnershipRemote-auditing of computer generated outcomes and authenticated biling and access control system using cryptographic and other protocols
US5970143A (en)1995-11-221999-10-19Walker Asset Management LpRemote-auditing of computer generated outcomes, authenticated billing and access control, and software metering system using cryptographic and other protocols
US5762552A (en)1995-12-051998-06-09Vt Tech Corp.Interactive real-time network gaming system
US5999808A (en)1995-12-121999-12-07Aeris Communications, Inc.Wireless gaming method
US5758875A (en)1996-01-111998-06-02Silicon Gaming, Inc.Dynamic rate control method and apparatus for electronically played games and gaming machines
US5788573A (en)1996-03-221998-08-04International Game TechnologyElectronic game method and apparatus with hierarchy of simulated wheels
US5772509A (en)1996-03-251998-06-30Casino Data SystemsInteractive gaming device
US5707285C1 (en)1996-04-022002-07-23Vaughn PlaceMethod and apparatus for random prize selection in wagering games
US5707285A (en)1996-04-021998-01-13Place; VaughnMethod and apparatus for random prize selection in wagering games
US5779549A (en)1996-04-221998-07-14Walker Assest Management Limited ParnershipDatabase driven online distributed tournament system
US5647592A (en)1996-08-021997-07-15Zdi GamingMethod, apparatus and pull-tab gaming set for use in a progressive pull-tab game
US5833538A (en)1996-08-201998-11-10Casino Data SystemsAutomatically varying multiple theoretical expectations on a gaming device: apparatus and method
US6306038B1 (en)1996-09-272001-10-23Multimedia Games, Inc.Gaming system for remote players
US5766075A (en)1996-10-031998-06-16Harrah's Operating Company, Inc.Bet guarantee system
US5910048A (en)1996-11-291999-06-08Feinberg; IsadoreLoss limit method for slot machines
US6634942B2 (en)1996-12-302003-10-21Jay S. WalkerSystem and method for automated play of multiple gaming devices
US6244957B1 (en)1996-12-302001-06-12Walker Digital, LlcAutomated play gaming device
US6969317B2 (en)1996-12-302005-11-29Walker Digital, LlcSystem and method for automated play of multiple gaming devices
US6012983A (en)1996-12-302000-01-11Walker Asset Management Limited PartnershipAutomated play gaming device
US6001016A (en)1996-12-311999-12-14Walker Asset Management Limited PartnershipRemote gaming device
US6024643A (en)1997-03-042000-02-15Intel CorporationPlayer profile based proxy play
US6050895A (en)1997-03-242000-04-18International Game TechnologyHybrid gaming apparatus and method
US6319127B1 (en)1997-06-232001-11-20Walker Digital, LlcGaming device for a flat rate play session and a method of operating same
US6077163A (en)1997-06-232000-06-20Walker Digital, LlcGaming device for a flat rate play session and a method of operating same
US20060040730A1 (en)1997-06-232006-02-23Walker Jay SSystems, methods and apparatus for facilitating a flat rate play session on a gaming device and example player interfaces to facilitate such
US7156739B2 (en)1997-06-232007-01-02Walker Digital, LlcGaming device for a flat rate play session and a method of operating same
US7140964B2 (en)1997-06-232006-11-28Walker Digital, LlcGaming device for a flat rate play session and a method of operating same
US6331144B1 (en)1997-06-302001-12-18Walker Digital, LlcElectronic gaming device offering a game of knowledge for enhanced payouts
US6193606B1 (en)1997-06-302001-02-27Walker Digital, LlcElectronic gaming device offering a game of knowledge for enhanced payouts
US6896616B2 (en)1997-08-072005-05-24Casino Data SystemsCashless gaming system: apparatus and method
US6234900B1 (en)1997-08-222001-05-22Blake CumbersPlayer tracking and identification system
US5980384A (en)1997-12-021999-11-09Barrie; Robert P.Gaming apparatus and method having an integrated first and second game
US6695700B2 (en)1997-12-312004-02-24Walker Digital, LlcMethod and apparatus for directing a game in accordance with speed of play
US6168522B1 (en)1998-03-312001-01-02Walker Digital, LlcMethod and apparatus for operating a gaming device to dispense a specified amount
US6318721B1 (en)1998-06-272001-11-20Igt-Uk LimitedApparatus for detecting the illumination of a player-operated gaming machine button
US7210141B1 (en)1998-07-212007-04-24Touchtunes Music CorporationSystem for remote loading of objects or files in order to update software
US6389538B1 (en)1998-08-132002-05-14International Business Machines CorporationSystem for tracking end-user electronic content usage
US6315662B1 (en)1998-12-222001-11-13Walker Digital, LlcSystem and method for automatically initiating game play on an electronic gaming device
US20020090986A1 (en)1998-12-232002-07-11Ingenio, Filiale De Loto-Quebec Inc.Computer gambling game
US7008317B2 (en)1998-12-232006-03-07Ingenio, Filiale De Loto-Quebec Inc.Computer gambling game
US6273820B1 (en)1999-02-042001-08-14Haste, Iii Thomas E.Virtual player gaming method
US6336636B1 (en)1999-03-242002-01-08Smart Industries CorporationMethod of extending playing time in a coin-operated crane game
US6605001B1 (en)1999-04-232003-08-12Elia Rocco TarantinoDice game in which categories are filled and scores awarded
US6508709B1 (en)1999-06-182003-01-21Jayant S. KarmarkarVirtual distributed multimedia gaming method and system based on actual regulated casino games
US6203428B1 (en)1999-09-092001-03-20Wms Gaming Inc.Video gaming device having multiple stacking features
US6394899B1 (en)1999-10-292002-05-28Stephen Tobin WalkerMethod of playing a knowledge based wagering game
US6508710B1 (en)1999-12-272003-01-21Virtgame Corp.Gaming system with location verification
US20020155875A1 (en)2000-01-182002-10-24Valery LevitanCoin and bill video game terminal system
US6712695B2 (en)2000-01-252004-03-30Atronic International AgJackpot system
US6578735B1 (en)2000-02-022003-06-17Ewald MothwurfMethod and an apparatus for promoting a product or brand
US6343989B1 (en)2000-03-222002-02-05Micheal W. WoodMethod of tracking and using player error during the play of a casino game
US20020082775A1 (en)2000-06-162002-06-27Meadows James W.Personal golfing assistant
US20020022512A1 (en)2000-08-102002-02-21Konami CorporationGame machine
US6726563B1 (en)2000-09-082004-04-27IgtGaming device having a selectively accessible bonus scheme
US20020058542A1 (en)2000-09-182002-05-16Roethel John EdwardAdd 'em up video poker
US20020037760A1 (en)*2000-09-252002-03-28Yuya KawamuraPrediction method and storage medium
FR2815214B1 (en)2000-10-112003-02-07Freever METHOD FOR ENABLING MOBILE TELEPHONE USERS TO PARTICIPATE IN A PRIZE DRAW GAME
US6733389B2 (en)2000-10-122004-05-11IgtGaming device having a first game scheme involving a symbol generator, a second game and a first game terminator
US6709331B2 (en)2001-01-122004-03-23King Show Games, LlcMethod and apparatus for aggregating gaming event participation
US6402148B1 (en)2001-01-182002-06-11Hank SaruwatariMethod of playing a casino card game
US6769983B2 (en)2001-03-012004-08-03IgtBonus game
US20020143875A1 (en)2001-03-272002-10-03Hemisphere IiMethod and apparatus for sharing information using a handheld device
WO2002100494A1 (en)2001-06-122002-12-19Walker Digital, LlcMethod for playing automated games
US20030028480A1 (en)2001-08-062003-02-06International Game TechnologyAlternative player tracking techniques
WO2003017178A1 (en)2001-08-152003-02-27Walker Digital, LlcMethod for automated play of lottery games
US6722983B2 (en)2001-09-212004-04-20IgtGaming device having multiple selectable changing awards
US6830514B2 (en)*2001-12-132004-12-14Scientific Games Royalty CorporationSystem and method for playing a lottery-type game
US20030144053A1 (en)2002-01-252003-07-31Michaelson Richard E.Gaming with fee-type wagering
US20030162582A1 (en)2002-02-222003-08-28Gordon Stephen E.Repeat spin button device for a gaming machine
WO2003089090A1 (en)2002-04-182003-10-30Walker Digital, LlcMethod and apparatus for automatic gaming
WO2003089086A1 (en)2002-04-192003-10-30Walker Digital, LlcMethod for employing flat rate play
US6935949B1 (en)2002-04-292005-08-30Charles S. MurphyContinuous play slot machine and retrofit kit
US20030224854A1 (en)2002-05-312003-12-04Joao Raymond AnthonyApparatus and method for facilitating gaming activity and/or gambling activity
WO2004014506A1 (en)2002-08-072004-02-19Walker Digital, LlcSystem and method for remote automated play of a gaming device
US7798895B2 (en)*2003-11-142010-09-21Scientific Games International, Inc.Lottery and gaming systems for playing wagering game with enhanced prize structure derived from multiple plays
US20060074504A1 (en)*2004-10-052006-04-06Maul Kenneth LMethod for conducting sports tournaments with wagering
US7503851B2 (en)2004-11-122009-03-17Walker Digital, LlcBudget-defined flat rate play contract parameters
US7887414B2 (en)2004-11-122011-02-15IgtBudget-defined flat rate play contract parameters
US7914374B2 (en)2004-11-122011-03-29Walker Digital, LlcBudget-defined flat rate play contract parameters

Non-Patent Citations (175)

* Cited by examiner, † Cited by third party
Title
"Agent Speaks Directly to the Customer on the Screen", ISND News, Mar. 1, 1989, vol. 2, No. 4, 2 pp.
"Harrah's Reno Uses Hybrid ISDN to Attract Customers", Viewtext, Mar. 1989, Vo. 10, No. 3, 2 pp.
"Interactive Network (IN) announced Tues . . .", Communications Daily, Nov. 30, 1994, vol. 14, No. 230, 1 pg.
"Interactive Network Forms Real-Time Gambling Subsidiary", Newsbyte News Network, Dec. 7, 1994, 2 pp.
"Interactive Network Launches Wagering Unit", Multimedia Business Report, Dec. 2, 1994, 1 pg.
"Interactive Network Sets Up Gaming Subsidiary", Interactive Facts, Dec. 1994, vol. 1, No. 25, 2 pp.
"Mimio(TM) Turns a Dry Erase Board into an Electronic Whiteboard", Dukane Corporation Audio Visual Division, [retrieved in 2002], no URL available, 1 pg.
"Mimio™ Turns a Dry Erase Board into an Electronic Whiteboard", Dukane Corporation Audio Visual Division, [retrieved in 2002], no URL available, 1 pg.
"Mirnio™ Turns a Dry Erase Board into an Electronic Whiteboard", Dukane Corporation Audiop Visual Division, [retrieved in 2002], no URL available, 1 pg.
"Station Announces Formation of GameCase Live, LLC and Release of Remote Play eSlots for In-Room Gaming Applications", PR Newswire, Jun. 6, 2001, Section: Financial News, 2 pp.
"TLC: The Secret World of Gambling: Casino Surveillance", Copyright 2000, The Discovery Channel, (http // www tlc discover com/tlcpages/gambling/eyesky thml), 2 pp.
"TLC: The Secret World of Gambling; Casino Surveillance", Copyright 2000, The Discovery Channel, (http://www.tlc.discover.com/tlcpages/gambling/eyesky.thml), 2 pp.
Brochure: "Oasis Electronic Pull-Tab Network", Copyright 1993 Infinational Technologies, Inc., 9 pp.
Brochure: "Oasis Electronic Pull-Tab Network", Copyright 1993, Infinational Technologies, Inc., 9 pp.
Cave, Kathy, "The Lake Effect", Milwaukee Journal Sentinel, Mar. 27, 1996, Section: News, p. 8.
Conniff, Michael, "Don't Bet Against Harrah's When it Comes to ISDN", Electronic Service Update, May 1, 1989, 3 pp.
Davy, K., "Big Ichigekil Pachi-Slot Taikouryku Universal Museum—Reader Review", Copyright 1995-2001, Game FAQs, 2 pp.
Dvorak, John C., "Gambling on a PC near you.", PC Magazine, May 16, 1995, vol. 14, No. 9, p. 89, 1 pg.
Email: "We Have Added a New 'Auto-Spin' Feature . . .", slotmachine @ searchout com, (http // www searchout com), Sep. 17, 1999, 1 pg.
Fallstrom, Bob "Symphony of Trees is sure to be a dazzling delight", Herald & Review, published Nov. 17, 1992, 5 pp.
Goosnes, Michael, "Laser Beam and Transpatent Senors", (http // atlas web ern ch atlas TP NEW HTML/tp9new/node253 html) 3 pp.
Goosnes, Michael, "Laser Beam and Transpatent Sensors", (http://atlas web ern ch atlas TP NEW HTML/tp9new/node253.html) 3 pp. Jan. 27, 1995.
Grochowski, John, "Computers Help Learn Winning Strategy", Chicago Sun-Times, Jun. 30, 1995, Section Weekend Plus, Gaming, p. 13, NC, 2 pp.
Grochowski, John, "Slot Tourney Prospers Under Indiana Rules", Chicago Sun-Times, Apr. 6, 1997, Section: SHO, CASINOS, p. 15, NC., 1 pg.
Hawley, David, "Those One-Armed Bandits; Slot Machine Tournaments Lure Throngs to Midwest Casinos", The Houston Chronicle, Apr. 9, 1996, Section: Houston, p. 3.
International Preliminary Examination Report for Application No. PCT/US02/26202, dated Apr. 14, 2004, 4 pp.
International Preliminary Examination Report for PCT Application No. PCT/US02/14231, dated Dec. 1, 2003, 4 pp.
International Preliminary Examination Report for PCT Application No. PCT/US03/08540, dated Sep. 13, 2004, 4 pp.
International Search Report for PCT/US08/63933 mailed Sep. 11, 2008, 2 pp.
Interview Summary for U.S. Appl. No. 09/879,299, dated Sep. 11, 2001, 2 pp.
Interview Summary for U.S. Appl. No. 09/879,299, dated Sep. 14, 2001, 3 pp.
Interview Summary for U.S. Appl. No. 09/930,717, dated Aug. 2, 2004, 4 pp.
Interview Summary for U.S. Appl. No. 09/930,717, dated Dec. 13, 2002, 3 pp.
Interview Summary for U.S. Appl. No. 09/930,717, dated Oct. 7, 2003, 2 pp.
Interview Summary for U.S. Appl. No. 10/001,089, dated Aug. 12, 2004, 4 pp.
Interview Summary for U.S. Appl. No. 10/159,722 dated Dec. 4, 2002, 3 pp.
Interview Summary for U.S. Appl. No. 10/159,722, dated May 6, 2004, 3 pp.
Interview Summary for U.S. Appl. No. 10/159,722, dated Nov. 20, 2002, 3 pp.
Interview Summary for U.S. Appl. No. 10/159,722, dated Nov. 4, 2002, 4 pp.
Mayo, Michael, "Win-Or-Lose Cruise", Sun Sentinel, Dec. 28, 1994, Section: Sports, 3 pp.
Murray, Raphel, "Casinos Gamble On Direct Mail; Atlantic City Casinos; Retail; Industry Overview", Direct Marketing Magazine, Feb. 1992, vol. 54, No. 10, p. 32, ISSN: 0012-3188, 4 pp.
Notice of Allowability for U.S. Appl. No. 08/774,487, dated Jul. 19, 1999, 1 pg.
Notice of Allowability for U.S. Appl. No. 08/880,838, dated Dec. 6, 1999, 1 pg.
Notice of Allowability for U.S. Appl. No. 09/437,204, dated Jan. 29, 2001, 3 pp.
Notice of Allowability for U.S. Appl. No. 09/518,760, dated Aug. 10, 2001, 1 pg.
Notice of Allowability for U.S. Appl. No. 09/879,299, dated Apr. 23, 2003, 2 pp.
Notice of Allowability for U.S. Appl. No. 09/879,299, dated Aug. 14, 2002. 3 pp.
Notice of Allowability for U.S. Appl. No. 09/930,717, dated Mar. 18, 2005, 6 pp.
Notice of Allowability for U.S. Appl. No. 10/001,089, dated Jun. 28, 2006, 7 pp.
Notice of Allowability for U.S. Appl. No. 10/159,722, dated Jul. 28, 2005, 4 pp.
Notice of Allowability for U.S. Appl. No. 10/159,722, dated Nov. 30, 2004, 4 pp.
Notice of Allowability for U.S. Appl. No. 11/217,588, dated Jun. 13, 2008, 2 pp.
Notice of Allowability for U.S. Appl. No. 11/217,588, dated Nov. 19, 2007, 2 pp.
Notice of Allowability for U.S. Appl. No. 11/424,000, dated Feb. 20, 2008, 3 pp.
Notice of Allowability for U.S. Appl. No. 11/424,000, dated Jun. 16, 2008, 4 pp.
Notice of Allowability U.S. Appl. No. 09/879,299, dated Jun. 13, 2002, 3 pp.
Notice of Allowance for U.S. Appl. No. 10/420,066 mailed Mar. 18, 2011, 8 pp.
Notice of Allowance for U.S. Appl. No. 10/636,520 mailed Sep. 30, 2010, 8 pp.
Notice of Allowance for U.S. Appl. No. 10/986,529, mailed Jul. 22, 2011, 8 pp.
Notice of Allowance for U.S. Appl. No. 10/986,529, mailed Oct. 27, 2011, 6 pp.
Notice of Allowance for U.S. Appl. No. 11/422,817 mailed Mar. 31, 2010, 6 pp.
Notice of Allowance for U.S. Appl. No. 11/422,821 mailed Mar. 31, 2010, 6 pp.
Notice of Allowance for U.S. Appl. No. 11/423,043 mailed Oct. 28, 2010, 7 pp.
Notice of Allowance for U.S. Appl. No. 11/423,055 mailed Apr. 11, 2011, 7 pp.
Notice of Allowance for U.S. Appl. No. 11/423,055 mailed Dec. 17, 2010, 4 pp.
Notice of Allowance for U.S. Appl. No. 11/423,055 mailed Feb. 2, 2012, 7 pp.
Notice of Allowance for U.S. Appl. No. 11/423,055 mailed Oct. 25, 2011, 8 pp.
Notice of Allowance for U.S. Appl. No. 11/424,000, dated Aug. 8, 2008, 6 pp.
Notice of Allowance for U.S. Appl. No. 11/424,006 mailed Jun. 5, 2009, 6 pp.
Notice of Allowance for U.S. Appl. No. 11/424,009 mailed Oct. 17, 2008, 6 pp.
Notice of Allowance for U.S. Appl. No. 11/425,037, mailed Dec. 30, 2010, 5 pp.
Notice of Allowance for U.S. Appl. No. 11/428,601 mailed Jan. 28, 2010, 6 pp.
Notice of Allowance for U.S. Appl. No. 11/428,642 mailed Aug. 5, 2011, 8 pp.
Notice of Allowance for U.S. Appl. No. 11/462,877, mailed Apr. 18, 2011, 7 pp.
Office Action for U.S. Appl. 11/428,601, dated Apr. 28, 2008, 8 pp.
Office Action for U.S. Appl. No. 08/774,487, dated Dec. 22, 1998, 6 pp.
Office Action for U.S. Appl. No. 08/880,838, Oct. 6, 1999, 4 pp.
Office Action for U.S. Appl. No. 09/437,204, dated Jun. 21, 2000, 8 pp.
Office Action for U.S. Appl. No. 09/518,760, dated May 9, 2001, 7pp.
Office Action for U.S. Appl. No. 09/879,299, dated Apr. 23, 2002, 5 pp.
Office Action for U.S. Appl. No. 09/879,299, dated Aug. 29, 2001, 6 pp.
Office Action for U.S. Appl. No. 09/930,717, dated Jul. 16, 2003, 6 pp.
Office Action for U.S. Appl. No. 09/930,717, dated Mar. 31, 2004, 8 pp.
Office Action for U.S. Appl. No. 09/930,717, dated Sep. 23, 2002, 7 pp.
Office Action for U.S. Appl. No. 09/930,717, dated Sep. 23, 2004, 5pp.
Office Action for U.S. Appl. No. 10/001,089, dated Apr. 6, 2004, 11 pp.
Office Action for U.S. Appl. No. 10/001,089, dated Jul. 11, 2005, 23 pp.
Office Action for U.S. Appl. No. 10/001,089, dated Sep. 12, 2003, 9 pp.
Office Action for U.S. Appl. No. 10/159,722, dated Feb. 24, 2004, 8 pp.
Office Action for U.S. Appl. No. 10/159,722, dated Sep. 24, 2002, 5 pp.
Office Action for U.S. Appl. No. 10/331,438, dated Apr. 4, 2007, 14 pp.
Office Action for U.S. Appl. No. 10/331,438, dated Dec. 21, 2007, 13 pp.
Office Action for U.S. Appl. No. 10/331,438, dated Jun. 20, 2006, 6 pp.
Office Action for U.S. Appl. No. 10/331,438, dated May 3, 2006, 6 pp.
Office Action for U.S. Appl. No. 10/420,066 mailed Oct. 1, 2010, 11 pp.
Office Action for U.S. Appl. No. 10/420,066 mailed Oct. 17, 2008, 10 pp.
Office Action for U.S. Appl. No. 10/420,066, dated Jan. 8, 2008, 7 pp.
Office Action for U.S. Appl. No. 10/420,066, dated Jul. 13, 2007, 12 pp.
Office Action for U.S. Appl. No. 10/420,066, dated Sep. 22, 2006, 11 pp.
Office Action for U.S. Appl. No. 10/635,986, dated Feb. 29, 2008, 9 pp.
Office Action for U.S. Appl. No. 10/636,520 mailed Jan. 15, 2009, 11 pp.
Office Action for U.S. Appl. No. 10/636,520 mailed Nov. 18, 2009, 13 pp.
Office Action for U.S. Appl. No. 10/636,520, dated Jul. 9, 2008, 14 pp.
Office Action for U.S. Appl. No. 10/636,520, dated Oct. 9, 2007, 10 pp.
Office Action for U.S. Appl. No. 10/985,131, dated Nov. 3, 2005, 4 pp.
Office Action for U.S. Appl. No. 10/986,529, mailed Dec. 12, 2010, 8 pp.
Office Action for U.S. Appl. No. 10/986,529, mailed Feb. 2, 2009, 12 pp.
Office Action for U.S. Appl. No. 10/986,529, mailed Jun. 29, 2008, 11 pp.
Office Action for U.S. Appl. No. 10/986,529, mailed Oct. 9, 2007, 10 pp.
Office Action for U.S. Appl. No. 11/217,588, dated Jan. 12, 2007, 14 pp.
Office Action for U.S. Appl. No. 11/217,588, dated Sep. 26, 2007, 11 pp.
Office Action for U.S. Appl. No. 11/422,817 mailed Mar. 31, 2010, 9 pp.
Office Action for U.S. Appl. No. 11/422,821 mailed Aug. 26, 2009, 21 pp.
Office Action for U.S. Appl. No. 11/422,822 mailed Sep. 17, 2008, 7 pp.
Office Action for U.S. Appl. No. 11/423,037 mailed Dec. 9, 2008, 13 pp.
Office Action for U.S. Appl. No. 11/423,037, dated Jan. 25, 2008, 6 pp.
Office Action for U.S. Appl. No. 11/423,037, dated Jun. 20, 2007, 8 pp.
Office Action for U.S. Appl. No. 11/423,043 mailed Dec. 21, 2009, 9 pp.
Office Action for U.S. Appl. No. 11/423,043 mailed Jul. 13, 2010, 7 pp.
Office Action for U.S. Appl. No. 11/423,043 mailed Jul. 20, 2009, 6 pp.
Office Action for U.S. Appl. No. 11/423,043, dated May 28, 2008, 6 pp.
Office Action for U.S. Appl. No. 11/423,055 mailed Aug. 4, 2010, 10 pp.
Office Action for U.S. Appl. No. 11/423,055 mailed Aug. 4, 2010, 16 pp.
Office Action for U.S. Appl. No. 11/424,000, dated Sep. 21, 2007, 4 pp.
Office Action for U.S. Appl. No. 11/424,006, dated Apr. 14, 2008, 5 pp.
Office Action for U.S. Appl. No. 11/424,009 mailed Jan. 16, 2008, 9 pp.
Office Action for U.S. Appl. No. 11/424,009 mailed May 25, 2007, 7 pp.
Office Action for U.S. Appl. No. 11/424,430 mailed Apr. 15, 2010, 6 pp.
Office Action for U.S. Appl. No. 11/424,435 mailed Feb. 2, 2010, 13 pp.
Office Action for U.S. Appl. No. 11/424,435 mailed Jan. 23, 2009, 7 pp.
Office Action for U.S. Appl. No. 11/424,441 mailed Apr. 21, 2010, 7 pp.
Office Action for U.S. Appl. No. 11/425,037, dated Apr. 29, 2008, 10 pp.
Office Action for U.S. Appl. No. 11/425,037, dated Jun. 1, 2010, 10 pp.
Office Action for U.S. Appl. No. 11/425,037, dated Sep. 9, 2010, 12 pp.
Office Action for U.S. Appl. No. 11/428,599, dated Apr. 17, 2007, 4 pp.
Office Action for U.S. Appl. No. 11/428,599, dated Dec. 20, 2007, 7 pp.
Office Action for U.S. Appl. No. 11/428,601 mailed Jul. 21, 2009, 13 pp.
Office Action for U.S. Appl. No. 11/428,601 mailed Oct. 29, 2008, 9 pp.
Office Action for U.S. Appl. No. 11/428,601, dated Apr. 20, 2007, 5 pp.
Office Action for U.S. Appl. No. 11/428,601, dated Jan. 8, 2008, 5 pp.
Office Action for U.S. Appl. No. 11/428,638 mailed Mar. 16, 2011, 12 pp.
Office Action for U.S. Appl. No. 11/428,638 mailed Oct. 4, 2010, 12 pp.
Office Action for U.S. Appl. No. 11/428,638 mailed Sep. 14, 2011, 11 pp.
Office Action for U.S. Appl. No. 11/428,642 mailed May 13, 2011, 13 pp.
Office Action for U.S. Appl. No. 11/428,642 mailed Oct. 6, 2010, 9 pp.
Office Action for U.S. Appl. No. 11/456,726, dated Jun. 6, 2008, 7 pp.
Office Action for U.S. Appl. No. 11/462,756, dated Jul. 9, 2008, 9 pp.
Office Action for U.S. Appl. No. 11/462,756, dated Mar. 25, 2008, 6 pp.
Office Action for U.S. Appl. No. 11/462,850, dated Mar. 14, 2008, 5 pp.
Office Action for U.S. Appl. No. 11/462,877, mailed Feb. 9, 2010, 8 pp.
Office Action for U.S. Appl. No. 11/462,877, mailed Jan. 7, 2011, 6 pp.
Office Action for U.S. Appl. No. 11/462,877, mailed Jul. 9, 2010, 7 pp.
Office Action for U.S. Appl. No. 11/691,065 mailed Apr. 27, 2010, 12 pp.
Office Action for U.S. Appl. No. 11/691,065 mailed Aug. 19, 2010, 11 pp.
Office Action for U.S. Appl. No. 11/691,065 mailed Feb. 17, 2011, 4 pp.
Office Action for U.S. Appl. No. 11/691,065 mailed Sep. 2, 2010, 8 pp.
Parets, Robyn Taylor, "The Newer DEAL", International Gaming and Wagering Business, Apr. 1997, Sec. p. 27, ISSN: 8750-8222, 4 pp.
Pledger, Marcia, "Going for the Gold at Slot Tournaments", Las Vegas Review-Journal Dec. 24, 1995, p. 5.L., 4 pp.
Ritchie, Lauren, "Orange Man Sought in Betting Probe", Orlando Sentinel Tribune, May 30, 1990, Section: Local & State, 3 pp.
Supplementary European Search Report for EP 02 75 2846, dated Aug. 24, 2006, 2 pp.
The International Search Report for PCT Application No. PCT/US02/14231, dated Jul. 8, 2002, 7 pp.
The International Search Report for PCT Application No. PCT/US02/26202, dated Oct. 2, 2002, 7 pp.
The International Search Report for PCT Application No. PCT/US03/08540, dated Jun. 19, 2003, 5 pp.
The International Search Report for PCT Application No. PCT/US03/12271, dated Sep. 15, 2003, 8 pp.
The International Search Report for PCT Application No. PCT/US03/24789, dated Jan. 13, 2004, 7 pp.
U.S. Appl. No. 08/766,576, "Secure Improved Remote Gaming System", filed Dec. 6, 1996. 81 pp.
U.S. Appl. No. 09/218,258, entitled "System and Method for Automatically Initiating Game Play on an Electronic Gaming Device", filed Dec. 6, 1996, 35 pp.
Website, "Extending the Casino Floor", Game Cast Live, (http // www gamecastlive com/presentation/toronto-files/slide0012 htm), download date: Jun. 6, 2001, 10 pp.
Website, "Extending the Casino Floor", Game Cast Live, (http://www.gamecastlive.com/presentation/toronto—files/slide0012.htm), download date: Jun. 6, 2001, 10 pp.
Website: "Bingo Network Gaming International", Network Gaming International Corp.-Bingo-Links, (http//network-bingo com/bingo htm), Nov. 13, 1996, 5 pp.
Website: "Bingo-Network Gaming International:", Network Gaming International Corp., (http // network-bingo com/bingo htm), download date: Nov. 13, 1996, 5 pp.
Written Opinion for PCT Application No. PCT/US02/14231, Apr. 7, 2003, 4 pp.
Written Opinion for PCT Application No. PCT/US02/26202, dated Apr. 29, 2003, 6 pp.
Written Opinion for PCT Application No. PCT/US03/08540, dated Jan. 27, 2004, 5 pp.
Written Opinion for PCT/US08/63933 mailed Sep. 11, 2008, 9 pp.

Cited By (15)

* Cited by examiner, † Cited by third party
Publication numberPriority datePublication dateAssigneeTitle
US20130273994A1 (en)*2012-04-162013-10-17Sportzerry, Inc.Systems and methods for a combination lottery and fantasy sports league
US20150105134A1 (en)*2012-04-162015-04-16Skyboxx Sports, LlcSystems and methods for a combination lottery and fantasy sports league
US11557179B2 (en)2012-07-192023-01-17Philip Paul GivantSpecialized slot machine for conducting a wagering fantasy sports tournament
US9589418B2 (en)2012-07-192017-03-07Philip Paul GivantSpecialized slot machine for conducting a wagering game using real time or live action event content
US10460568B2 (en)2012-07-192019-10-29Philip Paul GivantSpecialized slot machine for conducting a wagering tournament game using real time or live action event content
US11270556B2 (en)2012-07-192022-03-08Philip Paul GivantSpecialized slot machine for conducting a wagering game using real time or live action event content
US11861987B2 (en)2012-07-192024-01-02Philip Paul GivantSpecialized slot machine for conducting a wagering game using real time or live action event content
US12254749B2 (en)2012-07-192025-03-18Philip Paul GivantSpecialized slot machine for conducting a wagering game using real time or live action event content
US12354445B2 (en)2012-07-192025-07-08Philip Paul GivantSpecialized slot machine for conducting a wagering fantasy sports tournament
US12400524B2 (en)2012-07-192025-08-26Philip Paul GivantSpecialized slot machine for conducting a wagering game using a card system for real time or live action event content
WO2016149761A1 (en)*2015-03-262016-09-29Tms Global Services Pty LtdInteractive loyalty system and method for lotteries
USD1035697S1 (en)*2016-09-222024-07-16IgtDisplay screen or portion thereof with a graphical user interface
USD1035696S1 (en)*2016-09-222024-07-16IgtDisplay screen or portion thereof with a graphical user interface
USD1035698S1 (en)*2016-09-222024-07-16IgtDisplay screen or portion thereof with a graphical user interface
USD1041493S1 (en)*2016-09-222024-09-10IgtDisplay screen or portion thereof with a graphical user interface

Also Published As

Publication numberPublication date
US20110059786A1 (en)2011-03-10
WO2008144536A1 (en)2008-11-27
US20130310133A1 (en)2013-11-21

Similar Documents

PublicationPublication DateTitle
US8500537B2 (en)Group play of a lottery game
US8226465B2 (en)Systems and methods for rewarding group participation in lottery games
US9792765B2 (en)Method and apparatus for providing player incentives
US8708795B2 (en)Method and system for facilitating extended play of a wagering game
US7727063B2 (en)Methods and apparatus for lottery game play aggregation
CN101472651B (en)Method for conducting a game of chance
CA2759835C (en)Game ticket apparatus including network communication of information on the game to other players
US20040229677A1 (en)Gaming system and method
US8272936B2 (en)Systems and methods for determining a lottery winner based on a plurality of lottery tickets
US20080026810A1 (en)Premiums for early redemption of lottery entries
US20100113124A1 (en)User-selected risk-reward tradeoffs in lotteries and other wagering games
US20170256123A1 (en)System for mapping and converting one or more matrices
US8435108B2 (en)Lottery game apparatus including the accumulation of player points
WO2004105902A1 (en)Gaming system and method
US10916095B2 (en)Lottery game providing a chance to win a jackpot at a reduced cost to the player, with an increased revenue to the operator and ticket retailer
AU2009242584B2 (en)Method and apparatus for providing player incentives
CA2759853A1 (en)Game apparatus including the accumulation of player points
WO2008016346A1 (en)Premiums for early redemption of lottery entries

Legal Events

DateCodeTitleDescription
ASAssignment

Owner name:WALKER DIGITAL, LLC, CONNECTICUT

Free format text:ASSIGNMENT OF ASSIGNORS INTEREST;ASSIGNORS:WALKER, JAY S.;TULLEY, STEPHEN C.;PALUMBO, NANCY;AND OTHERS;SIGNING DATES FROM 20100326 TO 20100422;REEL/FRAME:024284/0166

ASAssignment

Owner name:INVENTOR HOLDINGS, LLC, CONNECTICUT

Free format text:ASSIGNMENT OF ASSIGNORS INTEREST;ASSIGNOR:WALKER DIGITAL, LLC;REEL/FRAME:034760/0871

Effective date:20131101

REMIMaintenance fee reminder mailed
LAPSLapse for failure to pay maintenance fees

Free format text:PATENT EXPIRED FOR FAILURE TO PAY MAINTENANCE FEES (ORIGINAL EVENT CODE: EXP.)

STCHInformation on status: patent discontinuation

Free format text:PATENT EXPIRED DUE TO NONPAYMENT OF MAINTENANCE FEES UNDER 37 CFR 1.362

FPLapsed due to failure to pay maintenance fee

Effective date:20170806


[8]ページ先頭

©2009-2025 Movatter.jp