Movatterモバイル変換


[0]ホーム

URL:


US8475452B2 - Instruments and methods for thermal tissue treatment - Google Patents

Instruments and methods for thermal tissue treatment
Download PDF

Info

Publication number
US8475452B2
US8475452B2US12/033,987US3398708AUS8475452B2US 8475452 B2US8475452 B2US 8475452B2US 3398708 AUS3398708 AUS 3398708AUS 8475452 B2US8475452 B2US 8475452B2
Authority
US
United States
Prior art keywords
electrode
tissue
irrigant
electrosurgical instrument
active electrode
Prior art date
Legal status (The legal status is an assumption and is not a legal conclusion. Google has not performed a legal analysis and makes no representation as to the accuracy of the status listed.)
Expired - Fee Related, expires
Application number
US12/033,987
Other versions
US20080208189A1 (en
Inventor
Robert A. Van Wyk
Yuval Carmel
Anatoly Shkvarunets
Current Assignee (The listed assignees may be inaccurate. Google has not performed a legal analysis and makes no representation or warranty as to the accuracy of the list.)
ElectroMedical Assoc LLC
Original Assignee
ElectroMedical Assoc LLC
Priority date (The priority date is an assumption and is not a legal conclusion. Google has not performed a legal analysis and makes no representation as to the accuracy of the date listed.)
Filing date
Publication date
Priority to US12/033,987priorityCriticalpatent/US8475452B2/en
Application filed by ElectroMedical Assoc LLCfiledCriticalElectroMedical Assoc LLC
Priority to EP08730326.9Aprioritypatent/EP2124792B1/en
Priority to EP12194298.1Aprioritypatent/EP2601902A1/en
Priority to PCT/US2008/054500prioritypatent/WO2008103777A1/en
Publication of US20080208189A1publicationCriticalpatent/US20080208189A1/en
Assigned to ELECTROMEDICAL ASSOCIATES LLCreassignmentELECTROMEDICAL ASSOCIATES LLCASSIGNMENT OF ASSIGNORS INTEREST (SEE DOCUMENT FOR DETAILS).Assignors: SHKVARUNETS, ANATOLY, CARMEL, YUVAL, VAN WYK, ROBERT A.
Priority to US13/905,774prioritypatent/US9827033B2/en
Publication of US8475452B2publicationCriticalpatent/US8475452B2/en
Application grantedgrantedCritical
Priority to US15/815,010prioritypatent/US20180071008A1/en
Expired - Fee Relatedlegal-statusCriticalCurrent
Adjusted expirationlegal-statusCritical

Links

Images

Classifications

Definitions

Landscapes

Abstract

Disclosed herein are high efficiency surgical devices and methods of using same using radio frequency (RF) electrical power and/or electrically heated filaments to destroy tumors, form lesions, denaturize, desiccate, coagulate and ablate soft tissues, as well as to drill, cut, resect and vaporize soft tissues. According to the principles of this invention, the electrosurgical instruments can be used with externally supplied conductive or non-conductive liquids, as well as without externally supplied liquids, a mode of operation often referred to as “dry field” environment.

Description

PRIORITY
This application claims the benefit of U.S. Provisional Application No. 60/902,548 filed Feb. 21, 2007, the entire contents of which are incorporated by reference herein.
FIELD OF THE INVENTION
The present invention relates generally to the field of thermal tissue treatment, and more particularly, to high efficiency surgical instruments and methods which use radio frequency (RF) electrical power and/or electrically heated filaments to destroy tumors, form lesions, denaturize, desiccate, coagulate and ablate soft tissues, as well as to drill, cut, resect and vaporize soft tissues. According to the principles of this invention, the electrosurgical instruments of the present invention can be used to thermally treat target tissues of interest, either at the tissue surface, below the tissue surface or at a site remote therefrom, using externally supplied conductive or non-conductive fluids, as well as without externally supplied liquids, a mode of operation often referred to as “dry field” environment.
BACKGROUND OF THE INVENTION
Electrosurgical procedures are advantageous since they generally reduce patient bleeding and trauma. The devices used are electrically energized, typically using an RF generator operating at a frequency that ranges between 100 kHz to over 4 MHz. Due to their ability to provide beneficial outcomes with reduced patient pain and recuperation time, electrosurgical devices have recently gained significant popularity recently. In common terminology and as used herein, the term “electrode” can refer to one or more components of an electrosurgical device (such as an “active electrode” or a “return electrode”) or to the entire device, as in an “ablator electrode” or “cutting electrode”. Electrosurgical devices may also be referred to as electrosurgical “probes” or “instruments”.
Many types of electrosurgical instruments are currently in use, and can be divided into two general categories: monopolar devices and bipolar devices. In the context of monopolar electrosurgical devices, the RF current generally flows from an exposed active electrode, through the patient's body, to a passive, return current electrode that is externally attached to a suitable location on the patient body. In this manner, the patient's body becomes part of the return current circuit. In the context of bipolar electrosurgical devices, both the active and the return current electrodes are exposed, and are typically positioned in close proximity to each other, more frequently mounted on the same instrument. The RF current flows from the active electrode to the return electrode through the nearby tissue and conductive fluids.
The need to effectively yet minimally invasively treat tumor tissue from a patient's body arises in the context of many medical practice areas, including, but not limited to, oncology, ear nose and throat (ENT), urology, gynecology, laparoscopy and general surgery. More specifically, there is often a need to denaturize, desiccate or coagulate tissue and destroy tumors in the liver, kidney, breast, lung, bone, lymph nodes, nerve ganglia and other organs. Such procedures are collectively referred to as tissue ablation or lesion formation, and are often used to destroy tumors without radical surgery. In such cases, an effective treatment is one in which the tumor itself, and perhaps a small margin of tissue around the tumor, is affected. The affected tumor tissue is not immediately removed. Over time, the dead tissue will naturally shrink, dissolve and, in some cases, be gradually replaced by scar tissue.
Although the benefits of these procedures are well recognized by those of skill in the art, current electrosurgical instruments and procedures suffer from very significant deficiencies. Quite often existing instruments are composed of one or more needles which are electrically energized by radiofrequency. As a result, the energy deposition in the tissue is concentrated close to where the needle is positioned, leading to overheating in the immediate region and under-heating in areas farther away. The result is a highly non-homogeneous energy deposition and highly non-homogeneous lesion. It is inherently impossible to accurately control the shape and size of the lesion formed with existing instruments because the energy deposition and heating occurs from the inside out. However, in order to destroy a tumor, it is often necessary, yet undesirable, to also destroy a large margin of healthy tissue around the tumor. As a result the current processes are inefficient, require high power levels and therefore can lead to unnecessary complications and undesired side effects. In some cases, additional return electrodes (also called grounding pads or patient electrodes) are needed in order to safely handle the high energy and high current required to perform the procedure. One such system marketed by Boston Scientific (Natick, Mass.) for lever ablation uses four patient electrodes simultaneously.
In view of these and other deficiencies, there is a need in the art for improved electrosurgical instruments that are capable of creating uniform lesions of a desired size and shape, capable of treating tissue and tumors from the outside in rather than from the inside out, and capable of treating large and non uniform tumors and leaving healthy tissue unharmed. There is also a need in the art for a high efficiency electrosurgical instrument capable of destroying the tumor at relatively low power, thereby increasing patient safety and efficacy and reducing undesired side effects.
SUMMARY OF THE INVENTION
It is accordingly an object of the present invention to provide a highly efficient, minimally invasive surgical instrument capable of overcoming the deficiencies discussed above. More particularly, in view of the ever-present need in the art for improvements in electrode design, it is an object of the present invention to provide a highly efficient and efficacious electrosurgical instrument suitable for the thermal treatment of tumors, more particularly a radiofrequency electrosurgical device adapted for enhanced lesion formation.
Electrosurgical instruments of the present invention may be designed to be inserted directly, to penetrate the patient tissue at the desired location, or alternatively to be introduced into the patient body through a cannula, a resectoscope, an endoscope or an opening in the body.
In certain embodiments, the electrosurgical instruments of the present invention may optionally be provided with means for externally supplying irrigation liquid, either electrically conductive or non-conductive, to the surgical site. In other embodiments, the electrosurgical instrument of the present invention may be designed to function in the absence of an external source of fluids, relying instead on the tissue properties or endogenous bodily fluids. As noted above, this mode of operation is sometimes referred to as “dry field”.
In further embodiments, the electrosurgical instrument of the present invention may optionally be equipped with irrigation, aspiration or both, as well as oscillatory or imitational motion.
The electrosurgical instrument of the present invention may be either monopolar or bipolar electrodes and may optionally be equipped with one or more floating elements. “Floating” electrodes for electrosurgery are described in co-pending U.S. patent application Ser. Nos. 10/911,309 (published as US 2005-0065510) and 11/136,514 (published as US 2005-023446), the contents of which are incorporated by reference herein in their entirety.
In yet further embodiments, the electrosurgical instrument of the present invention may include an advanced active electrode designed to operate at high temperatures for improved efficiency.
In yet further embodiments, the electrosurgical instrument of the present invention may be provided with one or more high-powered sources of non-coherent radiation to affect tissue surfaces.
In yet further embodiments, the electrosurgical instrument of the present invention may be designed to operate without contact between the electrode and the tissue surface.
It will be understood by those skilled in the art that one or more aspects of this invention can meet certain objectives, while one or more other aspects can meet certain other objectives. Each objective may not apply equally, in all its respects, to every aspect of this invention. As such, the following objects should be viewed in the alternative with respect to any one aspect of this invention:
Thus, it is an object of the present invention to provide an electrosurgical instrument for thermal tissue treatment composed of:
    • (a) an elongate shaft having a proximal end configured for connection to a power source and a distal end having an electrode assembly mounted thereto;
    • (b) an electrode assembly comprising an active electrode, a floating electrode, and an insulator separating the active and floating electrodes and defining a cavity therebetween;
    • (c) a means for supplying an irrigant to the cavity;
wherein the insulator is formed from a nonconductive dielectric material while said active and floating electrodes are formed from an electrically conductive material;
wherein the active and floating electrodes are positioned in close proximity to each other;
wherein the active electrode is connected via cabling disposed within said shaft to said power source while the floating electrode is not connected to a power source such that powering of the active electrode results in flow of current from the active electrode to said floating electrode via the irrigant, thereby resulting in the heating of the irrigant and the generation of steam;
wherein the heated irrigant and steam contacts target tissue so as to thermally treat the target tissue of interest.
It is a further object of the present invention to provide an electrosurgical instrument for sub-surface thermal treatment of target tissue composed of:
    • (a) an elongate shaft having a proximal end configured for connection to a power source and a distal end having an electrode assembly mounted thereto;
    • (b) an electrode assembly including (i) an insulating tubular member, (ii) an active electrode disposed at the distal tip of the insulating tubular member and connected via cabling disposed within the shaft to said power source, and (iii) a tubular conductive member concentrically disposed about the insulating tubular member; and
    • (c) a switching means for alternately connecting and disconnecting the conductive member to a power source;
wherein the insulating tubular member is formed from a nonconductive dielectric material while the active electrode and said conductive member are formed from an electrically conductive material;
wherein the active and floating electrodes are positioned in close proximity to each other but are prevented by the insulator from directly contacting each other; and
wherein the active electrode takes the form of a tapered conical member that is sufficiently sharp to permit insertion of the electrode assembly into the target tissue.
It is yet a further object of the present invention to provide a method for thermally treating a target tissue in the body of a patient including the steps of:
    • (a) introducing an electrosurgical instrument the present invention into the patient such that the electrode assembly is in close contact with the target tissue;
    • (b) supplying an irrigant to the cavity defined between the active and floating electrodes; and
    • (c) applying a high-frequency voltage to the active electrode;
wherein the high frequency voltage results not only in the flow of current among active electrode, floating electrode and target tissue but further results in the boiling of irrigant, such that expanding steam and heated irrigant flow from the cavity to the target tissue site, thereby thermally treating the target tissue.
The present invention relates generally to the field of thermal tissue treatment, and more particularly, to high efficiency surgical instruments and methods which use radio frequency (RF) electrical power and/or electrically heated filaments to destroy tumors, form lesions, denaturize, desiccate, coagulate and ablate soft tissues, as well as to drill, cut, resect and vaporize soft tissues. According to the principles of this invention, the surgical instruments of the present invention can be used with externally supplied conductive or non-conductive liquids, as well as without externally supplied liquids, a mode of operation often referred to as “dry field” environment.
In one embodiment, the present invention provides a high efficiency electrosurgical instrument particularly suited to surface treatment of tissues, such a tumor tissues, the instrument including an active end having radiused corners and composed of a unique combination of active electrode, insulator, floating electrode and return electrode that limit sparking and tissue vaporization. Illustrative examples of this object are set forth inFIGS. 1-22.
In another embodiment, the present invention provides a high efficiency electrosurgical instrument wherein the active electrode and floating electrode interact to boil an exogenous irrigant therebetween such that lesion formation is accomplished primarily by steam and heated fluid which contact the tissue. Illustrative examples of this object are set forth inFIGS. 23-29.
In yet another embodiment, the present invention provides a high efficiency electrosurgical instrument particularly suited to sub-surface tissue treatment, the instrument including a switching means that allows a circumferential electrode to function as a floating electrode when drilling into the tissue, and subsequently as an active electrode to thermally treat tissue when in close proximity to a target site. Illustrative examples of this object are set forth inFIGS. 30-32.
In a further embodiment, the present invention provides a high efficiency electrosurgical instrument particularly suited to sub-surface tissue treatment, wherein the instrument uses heated irrigant and steam generated within the probe to thermally treat tissue in close proximity. In one embodiment, the heating occurs within the instrument tip, between an active tip electrode and a floating electrode in contact with the tissue. Illustrative examples of this object are set forth inFIGS. 33-36.
In yet a further embodiment, the present invention provides a high efficiency electrosurgical instrument particularly suited to sub-surface tissue treatment, the instrument including an active electrode is inserted into the tissue and a return electrode positioned on the surface of the organ in close proximity to the active electrode so as to focus the current flow in the desired region. Illustrative examples of this object are set forth inFIGS. 37-38.
In yet a further embodiment, the present invention provides a high efficiency electrosurgical instrument particularly suited to thermal tissue treatment, the instrument composed of a monopolar probe with low-flow irrigation to prevent tissue charring. Illustrative examples of this object are set forth inFIGS. 39-41.
In yet a further embodiment, the present invention provides a high efficiency electrosurgical instrument particularly suited to thermal tissue treatment, wherein the instrument includes a heated filament to generate plasma channels between the filament and the surface. Illustrative examples of this object are set forth inFIGS. 42-60.
In yet a further embodiment, the present invention provides a minimally invasive instrument particularly suited to thermal tissue treatment, wherein the instrument includes a heated filament emitting electromagnetic radiation in the form of a non-coherent infra-red, ultraviolet and/or visible spectrum to achieve thermal surface treatment and lesion formation. Illustrative examples of this object are set forth inFIGS. 61-62.
These and other objects and features of the invention will become more fully apparent when the following detailed description is read in conjunction with the accompanying figures and/or examples. However, it is to be understood that both the foregoing summary of the invention and the following detailed description are of a preferred embodiment and not restrictive of the invention or other alternate embodiments of the invention. In particular, while the invention is described herein with reference to a number of specific embodiments, it will be appreciated that the description is illustrative of the invention and is not constructed as limiting of the invention. Various modifications and applications may occur to those who are skilled in the art, without departing from the spirit and the scope of the invention, as described by the appended claims. Likewise, other objects, features, benefits and advantages of the present invention will be apparent from this summary and certain embodiments described below, and will be readily apparent to those skilled in the art having knowledge of electrode design. Such objects, features, benefits and advantages will be apparent from the above in conjunction with the accompanying examples, data, figures and all reasonable inferences to be drawn there-from, alone or with consideration of the references incorporated herein.
BRIEF DESCRIPTION OF THE DRAWINGS
Various aspects and applications of the present invention will become apparent to the skilled artisan upon consideration of the brief description of the figures and the detailed description of the present invention and its preferred embodiments which follows:
FIG. 1 is a plan view of an insulator for a lesion forming electrosurgical instrument formed in accordance with the principles of this invention.
FIG. 2 is a side elevational view of the objects ofFIG. 1.
FIG. 3 is a bottom side plan view of the objects ofFIG. 1.
FIG. 4 is a perspective view of the objects ofFIG. 1.
FIG. 5 is an axial sectional view of the objects ofFIG. 1 at location A-A ofFIG. 1.
FIG. 6 is a side elevational sectional view of the objects ofFIG. 1 at location B-B ofFIG. 1.
FIG. 7 is a plan view of an active electrode for a lesion forming electrosurgical instrument formed in accordance with the principles of this invention.
FIG. 8 is a side elevational view of the objects ofFIG. 7.
FIG. 9 is a perspective view of the objects ofFIG. 7.
FIG. 10 is a distal axial view of the objects ofFIG. 7.
FIG. 11 is a plan view of a floating electrode for a lesion forming electrosurgical instrument formed in accordance with the principles of this invention.
FIG. 12 is a side elevational view of the objects ofFIG. 11.
FIG. 13 is a bottom side plan view of the objects ofFIG. 11.
FIG. 14 is a perspective view of the objects ofFIG. 11.
FIG. 15 is an axial view of the objects ofFIG. 11.
FIG. 16 is a plan view of a distal portion of a lesion forming electrosurgical instrument formed in accordance with the principles of this invention.
FIG. 17 is a side elevational view of the objects ofFIG. 16.
FIG. 18 is a bottom side plan view of the objects ofFIG. 16.
FIG. 19 is a perspective view of the objects ofFIG. 16.
FIG. 20 is an axial sectional view of the objects ofFIG. 16 at location C-C ofFIG. 17.
FIG. 21 is a side elevational sectional view of the objects ofFIG. 16 at location D-D ofFIG. 16.
FIG. 22 is an axial sectional view of the objects ofFIG. 16 during use showing current flow.
FIG. 23 is a plan view of a distal portion of an alternate embodiment electrosurgical instrument adapted for thermal tissue treatment near a tissue surface.
FIG. 24 is a side elevational view of the objects ofFIG. 23.
FIG. 25 is a bottom side plan view of the objects ofFIG. 23.
FIG. 26 is a side elevational sectional view of the objects ofFIG. 23 at location B-B ofFIG. 23.
FIG. 27 is an axial sectional view of the objects ofFIG. 23 at location E-E ofFIG. 24.
FIG. 28 is an axial sectional view of the objects ofFIG. 23 in use in a dry field environment.
FIG. 29 is an axial sectional view of the objects ofFIG. 23 in use in a conductive fluid environment.
FIG. 30 is a perspective view of a distal portion of an alternate embodiment RF electrosurgical instrument adapted for thermal tissue treatment at a location remote from the tissue surface (e.g., sub-surface).
FIG. 31 is a plan view of the objects ofFIG. 30.
FIG. 32 is a side elevational sectional view of the objects ofFIG. 30 at location A-A ofFIG. 31.
FIG. 33 is a perspective view of a distal portion of an alternate embodiment RF electrosurgical instrument adapted for thermal tissue treatment at a location remote from the tissue surface (e.g., sub-surface).
FIG. 34 is a plan view of the objects ofFIG. 33.
FIG. 35 is a side elevational sectional view of the objects ofFIG. 34 at location A-A ofFIG. 34.
FIG. 36 is a sectional view of the objects ofFIG. 33 during use.
FIG. 37 is a side elevational view of the distal portion of an alternate embodiment.
FIG. 38 is a side elevational view of the distal portion of an alternate embodiment.
FIG. 39 is a perspective view of the distal portion of an alternate embodiment.
FIG. 40 is a plan view of the objects ofFIG. 38
FIG. 41 is a side elevational sectional view of the objects ofFIG. 38 at location A-A ofFIG. 39 during use.
FIG. 42 is a perspective view of an alternate embodiment probe.
FIG. 43 is a plan view of the objects ofFIG. 42.
FIG. 44 is a side elevational view of the objects ofFIG. 42.
FIG. 45 is an expanded view of the distal portion of the instrument ofFIG. 42.
FIG. 46 is a side elevational sectional view of the objects ofFIG. 44 at location A-A ofFIG. 45.
FIG. 47 is a side elevational sectional view of the objects ofFIG. 44 at location B-B ofFIG. 45.
FIG. 48 is an axial sectional view of the objects ofFIG. 44 at location C-C ofFIG. 45.
FIG. 49 is a perspective view of the objects ofFIG. 45.
FIG. 50 is a side elevational sectional view of the distal portion of the instrument ofFIG. 42 in use.
FIG. 51 is a schematic representation of the probe ofFIG. 42 in use.
FIG. 52(a) is a schematic representation of the distal end portion of the instrument ofFIG. 42.FIG. 52(b) is an axial sectional view of the objects ofFIG. 51(a) at location A-A ofFIG. 51(a).FIG. 52(c) is an axial sectional view of an alternate embodiment at location A-A ofFIG. 51(a).
FIG. 53 is a schematic representation of a distal portion of an alternate embodiment having a coil filament.
FIG. 54 is a schematic representation of a distal portion of an alternate embodiment having a filament integral with the conductive members.
FIG. 55 is a schematic representation of a distal portion of an alternate embodiment which uses micro-sparking between the conductive members rather than a filament.
FIG. 56 is a schematic representation of a distal portion of an alternate embodiment which uses a UV lamp as a heat source.
FIG. 57 is a schematic representation of a distal portion of an alternate embodiment which has no filament for micro-sparking.
FIG. 58 is a schematic representation of a distal portion of an alternate embodiment which uses dielectric breakdown to produce micro-sparking.
FIG. 59 is a schematic representation of a distal portion of an alternate embodiment which does not use an external power source for micro-sparking or heating a filament.
FIG. 60(a) is a schematic representation of a distal portion of an alternate embodiment which is configured for gas flow outward from the instrument tip.FIG. 60(b) is a schematic representation of a distal portion of an alternate embodiment which is configured for gas flow inward from the instrument tip.
FIG. 61 is a schematic representation of an alternate embodiment for treating a cavity in a body using a miniature electromagnetic energy source.
FIG. 62 is a schematic representation of an alternate embodiment for treating a surface using a miniature electromagnetic energy source.
DESCRIPTION OF THE PREFERRED EMBODIMENTS
This present invention constitutes a marked improvement in the field of electrosurgery, more particularly, to high efficiency electrosurgical surgical instruments and methods which use radio frequency (RF) electrical power and/or electrically heated filaments to destroy tumors, form lesions, denaturize, desiccate, coagulate and ablate soft tissues, as well as to drill, cut, resect and vaporize soft tissues.
Although any methods and materials similar or equivalent to those described herein can be used in the practice or testing of embodiments of the present invention, the preferred methods, devices, and materials are now described. However, before the present materials and methods are described, it is to be understood that this invention is not limited to the particular compositions, methodologies or protocols herein described, as these may vary in accordance with routine experimentation and optimization. It is also to be understood that the terminology used in the description is for the purpose of describing the particular versions or embodiments only, and is not intended to limit the scope of the present invention which will be limited only by the appended claims.
Elements of the Present Invention
In the context of the present invention, the following definitions apply:
The words “a”, “an”, and “the” as used herein mean “at least one” unless otherwise specifically indicated.
In common terminology and as used herein, the term “electrode” may refer to one or more components of an electrosurgical device (such as an active electrode or a return electrode) or to the entire device, as in an “ablator electrode” or “cutting electrode”. Such electrosurgical devices are often interchangeably referred to herein as electrosurgical “probes” or “instruments”.
The present invention makes reference to an “active electrode” or “active element”. As used herein, the term “active electrode” refers to one or more conductive elements formed from any suitable metallic material, such as stainless steel, nickel, titanium, tungsten, and the like, connected, for example via cabling disposed within the elongated proximal portion of the instrument, to a power supply, for example, an externally disposed electrosurgical generator, and capable of generating an electric field.
The present invention makes reference to a “floating electrode” or “floating element”. As used herein, the term “floating electrode” refers to one or more conductive elements formed from any suitable metallic material, such as stainless steel, nickel, titanium, tungsten, and the like, that, while disconnected from any power supply, is nevertheless but capable of intensifying the electric field in proximity to the active electrode and aid in bubble retention when the instrument is used to vaporize tissue.
The present invention makes reference to a “filament”. As used herein, the term filament refers to one or more electrically powered conductive elements resistively heated to high temperatures.
The present invention makes reference to a “return electrode”. As used herein, the term “return electrode” refers to one or more powered conductive elements formed from any suitable metallic material, such as stainless steel, nickel, titanium, tungsten, and the like, to which current flows after passing from the active electrode(s) and through the plasma field.
The term “proximal” refers to that end or portion which is situated closest to the user; in other words, the proximal end of an electrosurgical instrument of the instant invention will typically include the handle portion.
The term “distal” refers to that end or portion situated farthest away from the user; in other words, the distal end of an electrosurgical instrument of the instant invention will typically include the active electrode portion.
The present invention makes reference to the thermal treatment of tissue, more preferably soft tissue, even more preferably tumor tissue. As used herein, the term “tissue” refers to biological tissues, generally defined as a collection of interconnected cells that perform a similar function within an organism. Four basic types of tissue are found in the bodies of all animals, including the human body and lower multicellular organisms such as insects, including epithelium, connective tissue, muscle tissue, and nervous tissue. These tissues make up all the organs, structures and other body contents. The present invention is not limited in terms of the tissue to be treated but rather has broad application to the thermal treatment of any target tissue with particular applicability to the ablation, removal and/or destruction of benign and cancerous tumors.
The instant invention has both human medical and veterinary applications. Accordingly, the terms “subject” and “patient” are used interchangeably herein to refer to the person or animal being treated or examined. Exemplary animals include house pets, farm animals, and zoo animals. In a preferred embodiment, the subject is a mammal.
Unless otherwise defined, all technical and scientific terms used herein have the same meaning as commonly understood by one of ordinary skill in the art to which this invention belongs. In case of conflict, the present specification, including definitions, will control.
Utilities of the Present Invention
As noted above, the present invention is directed to high efficiency monopolar or bipolar electrosurgical instruments and methods which utilize radio frequency (RF) energy, electrically energized filaments, and/or non-coherent radiation emitted by heated filaments to destroy tumors, form lesions, denaturize, desiccate, coagulate and ablate soft tissues, as well as to drill, cut, resect and vaporize soft tissues, with or without externally supplied liquids, having particular utility in the context of oncology, ear nose and throat (ENT), urology, gynecology, and laparoscopy, as well as general surgery.
Certain embodiments of the electrosurgical instrument of the present invention find particular utility in the treatment of tissue surfaces. Others are configured for sub-surface tissue treatment. Similarly, while some embodiments utilize the endogenous fluid of a “wet field” environment to transmit current to target sites, others require an exogenous irrigant. In certain embodiments, the irrigant is heated to the boiling point, whereby thermal tissue treatment arises through direct contact with either the boiling liquid itself or steam associated therewith.
As described in further detail below, in one aspect, the present invention expands on the floating electrode concept. For example, the present invention relates to the design and deployment of novel “floating electrode” electrosurgical instruments that use steam/hot fluid to thermally treat target tissue, both at the surface and below the surface.
A further aspect of the present invention involves the construction and use of hybrid monopolar/bipolar electrosurgical instruments that combine features of monopolar and bipolar instruments to concentrate the energy in the desired region of the tissue to be treated. More particularly, the present invention relates to the discovery of a new type of electrosurgical device, a hybrid between monopolar and bipolar instruments, that results in a novel electrosurgical therapeutic approach for the thermal treatment of tissue. Unlike a bipolar instrument, wherein the return electrode is mounted on the same shaft as the active electrode, according to the principles of this invention, the return electrode is not mounted on the same shaft. Unlike monopolar instruments, wherein the return electrode is mounted on the patient body far away from the surgical site, according to the principles of this invention, the return electrode may be mounted on the patient body close to the surgical site.
Such devices, according to the principles of the present invention, constitute hybrid instruments in the sense that the return electrode size, shape and location is playing a critically important, and beneficial role in distributing and focusing the RF current in the desired area. For illustration purposes of this concept, consider a case of treating a breast tumor. The return electrode may be externally attached to the skin of the patient breast being treated, and the instrument itself is inserted into the breast tissue/tumor, in close proximity to the return electrode. When energized, the RF energy is concentrated in the desired tissue/tumor region depending on the medical needs. More specifically, a specially designed return electrode (size, shape and position) and a specially designed active electrode(s) are used to optimize the energy distribution in the tissue over the desired area.
Usually the return (ground) electrode plays a “passive” role in electrosurgery in the sense that it does not effect the electrical energy distribution in the vicinity of the “active” electrode—the area where the tissue is being treated. This is a consequence of the return electrode being positioned too far away from the area being treated. In contrast, if the main active electrode is in close proximity of the surface of the body (skin), then positioning of a specially designed return electrode on the skin near area being treated can substantially and favorably effect the electrical energy distribution in the tissue. Moreover, the shape and position of return electrode can be changed during procedure for the purpose of optimizing the clinical effects. The devices may be used in conjunction with various fluids, bodily fluids or dry fields. This unexpected discovery provides a new modality, or a new method of electrosurgical therapeutic approach for the thermal treatment of tissue.
In a further aspect, the present invention relates to electrosurgical instruments that use hot filaments to generate plasma which may then be used to deliver energy for the thermal treatment of tissue. More particularly, the present invention relates to the discovery of a new type of plasma-based electrosurgical device that utilizes a hot filament (300-900° C.) to enhance plasma generation efficiency, ionization, arcing/sparking and effectiveness. In prior art plasma-based electrosurgical devices, like the argon beam coagulators mentioned above, a sufficiently high electrical voltage must be applied to the electrode, the voltage exceeding the breakdown threshold (electrical strength) of the gaseous gap, at which point an electrical breakdown (ionization) takes place forming plasma channels between the electrode and the tissue. The present invention utilizes a much more efficient approach to achieve gas ionization (plasma formation). In particular, the present invention uses schemes to substantially and permanently reduce the electrical breakdown threshold of the gaseous media between the electrode and the surface of the tissue. In this manner, the plasma can be generated efficiently at lower voltages (0.5-3 kV) than otherwise possible. According to the principles of this invention, this can be achieved, for example, by using a hot filament (electrode) to substantially reduce the electrical breakdown threshold of the gaseous gap between the electrode and the surface of the tissue. This result arises from the substantial enhancement of the probability of electron emission from the heated filament. The filament also enhances the intensity of the RF field in its vicinity, making it easier to maintain the plasma discharge. The heated filament also heats at least part of the discharge volume up to a high temperature and also seeds the discharge channel with ionized particles making it easier to support the discharge.
The instruments according to the principles of this invention may operate without gas flow, with a gas flow and with a reversed gas flow (gas suction). The instruments can operate in various fluids like liquid, gas or air or a combination of all the above at various pressures, including atmospheric pressure. The instruments according to the principles of this invention may operate in electrically conductive, such as saline, or non conductive fluids. Various embodiments are illustrated, as examples, inFIGS. 42 to 60, the details of which are discussed in further detail below. In all embodiments, a portion of the tissue surface can be coated with a thin layer of material with low potential of ionization. This material can be continuously evaporated to seed the discharge channel with neutral particles having low potential of ionization, again lowering the threshold for generating and maintaining the plasma channel. In this manner, the present invention provides a novel electrosurgical therapeutic approach for the thermal treatment of tissue, an approach that may be used in conjunction with various irrigants, fluids, and bodily fluids or, alternatively, in a dry environment.
In yet a further aspect, the present invention relates to the delivery of energy generated by an electrically heated filament to thermally treat target tissue. More particularly, the present invention relates to the discovery of a new type of minimally invasive instrument, based on miniature, intense sources of electromagnetic radiation in the form of non-coherent infra-red, visible and/or ultraviolet generated by an electrically heated filament mounted inside a disposable instrument. The instruments based on the principles of this invention can treat either large or small tissue areas, depending on the designs.
Specifically, in order to create a lesion close to an outer or an inner surface of tissue, the tissue has to be heated. The heating takes place if the tissue surface absorbs energy. The energy according to the principles of this invention is a non-coherent electromagnetic energy, such as infrared (IR), visible (V) and ultraviolet (UV) radiation, radiated by a filament heated to temperatures of approximately 500-2200° C. This radiation is absorbed by the surface of the tissue, heats the surface and adjacent layer of the tissue creating layer of surface lesion. The surface temperature rises as a function of time, tissue properties, area of absorption, radiation power, and distance between the filament and the tissue. By controlling the power of the source and distance to the surface of tissue, one can control the temperature of the layer of the tissue as well as the thickness of the lesion layer. Illustrative embodiments of such a device, using the above principles, are described in further detail below. In all embodiments, the source of radiation is an electrically heated open or encapsulated filament, heated to temperatures of approximately 500-2200° C., producing non-coherent IR, visible and UV radiation of enough power. The media between source and surface can be gaseous or liquid (conductive or non conductive), bodily fluids, solid or combination of above. Gas ventilation and liquid circulation, aspiration and irrigation may be used for cooling and/or removing byproducts and/or debris.
As an example, two embodiments are illustrated inFIGS. 61 & 62, discussed in greater detail below. The embodiment shown inFIG. 61 includes an inflated transparent flexible bag with the heated filament source of non-coherent radiation inside, and also gas ventilation/circulation for cooling. The embodiment shown inFIG. 62 includes a directed movable energy source configured like a headlight (projector), with or without ventilation. However, many other embodiments may utilize the same principles of this invention. For example: (a) elongated miniature linear versions (b), encapsulated or non-encapsulated heated filament for insertion directly into tissue; (c) Filament/heater coated with an insulator; (d) an external filament/energy source coupled via a fiber optic to bring the energy into the desired area to be treated; (e) same of the above with channels in insulators for additional driving of RF current, monopolar and/or bipolar; (f) various geometries of the above instrument, like cylindrical, linear, spherical, curvilinear, polygonal and or combinations of the above; (g) embodiments can include a flexible bag with controlled transparency and gas ventilation for cooling; (h) miniature versions and combinations of the above. Thus, the present invention provides a new therapeutic approach for thermal tissue treatment, a method that may be used in conjunction with various fluids, bodily fluids or dry fields.
The tissue treatment instruments of the present invention may be used in conjunction with existing diagnostic and imaging technologies, for example imaging systems including, but not limited to, MRI, CT, PET, x-ray, fluoroscopic, and ultrasound. Such imaging technology may be used to monitor the introduction and operation of the instruments of the present invention. For example, existing imaging systems may be used to determine location of target tissue, to confirm accuracy of instrument positioning, to assess the degree of thermal tissue treatment (e.g., sufficiency of tissue removal), to determine if subsequent procedures are required, and to assist in the atraumatic removal of the instrument.
As noted above, the instruments of the present invention find utility in thermal tissue treatment, more particularly in thermal treatment of tumor tissue, both benign and cancerous, to destroy tumors, form lesions, denaturize, desiccate, coagulate and/or ablate tumor tissues, as well as to drill, cut, resect and vaporize tumor tissues, with or without externally supplied liquids. Though the present invention is not particularly limited to the treatment of any one specific disease or the removal of any one specific type of tumor, the instruments of the present invention nevertheless find particular utility in the treatment and removal of liver, breast, bladder and spinal tumors, uterine fibroids, ovarian cysts, and colon polyps as well as the treatment of noncancerous conditions such as endometriosis.
Illustrative Embodiments of the Present Invention
Hereinafter, the present invention is described in more detail by reference to the exemplary embodiments. However, the following examples only illustrate aspects of the invention and in no way are intended to limit the scope of the present invention. As such, embodiments similar or equivalent to those described herein can be used in the practice or testing of the present invention.
Referring toFIGS. 1 through 6, which depict an insulator of an electrosurgical instrument of the present invention that is particularly suited to thermally treating patient tissue,insulator20 has adistal end portion22, aproximal end portion24 andmid-portions26.Distal end portion22 has formed in its proximal face cylindrical recesses28.Proximal end portion24 has axialcylindrical openings30 axially aligned withrecesses28. Mid-portions26 have formed inlower surface32channels34.Insulator20 is made from a suitable dielectric material, examples of which include, but are not limited to, alumina, zirconia, and high-temperature polymers.
Referring toFIG. 7 through 10, which depict an active electrode of an electrosurgical instrument of the present invention that is particularly suited to thermally treating patient tissue,active electrode40 has a distal portion forming parallelcylindrical portions42 connected byflange44 toproximal conductor46.Electrode40 may be formed from any suitable metallic material, examples of which include, but are not limited to, stainless steel, nickel, titanium, tungsten, and the like.
FIGS. 11 through 15 depict a floating electrode for an electrosurgical instrument of the present invention that is particularly suited to thermally treating patient tissue. As shown herein, the floatingelectrode50 forms adjacent channels having acommon flange52, andlateral flanges54 andwall56.Flanges52 and54 have ends58 formed to a radius. However, the present invention is not limited to the depicted design and includes alternate floating electrode embodiments, such as those described in co-pending U.S. patent application Ser. Nos. 10/911,309 (published as US 2005-0065510) and 11/136,514 (published as US 2005-023446) cited above, the contents of which are incorporated by reference herein in their entirety. Referring now toFIGS. 16 to 21, which depict a distal portion of an electrosurgical instrument of the present invention formed from the components ofFIGS. 1 through 15, the distal portion ofprobe60 is an assembly in whichdistal portions42 ofactive electrode40 are positioned withinchannel portions34 ofinsulator30. Floatingelectrode50 is positioned betweendistal portion22 andproximal portion24 ofinsulator20.Dielectric coating62covers flange44 andconductor46 ofactive electrode40.Conductor40 is connected by means within theprobe60 and electrical cable to a suitable electrosurgical generator.
FIG. 22 depictsprobe60 in use, fully or partially submerged in irrigant (either endogenous to site or exogenously supplied).Flanges52 and54 of floatingelectrode50 contact the tissue.Distal portions42 ofactive electrode40 may contact the tissue, or may contact the fluid in a gap between theelectrode40 and the tissue. Fluid surrounding the distal end ofprobe60 is conductive. It may be supplied to the site as a conductive liquid such as standard saline, or may be supplied to the site as a non-conductive irrigant such as water, the fluid becoming conductive by contamination by body fluids such as blood, or by ablation by-products.
During use, current (indicated by arrows) flows fromactive electrode40 to a return electrode (not shown), either at a remote site or mounted on theinstrument60. Current flows fromdistal portions42 ofactive electrode40 through tissue in contact with or in close proximity toportions42. Some current flows through the tissue to the return electrode. A portion of the current flows through the tissue to radiusedportions58 offlanges52 and54 of floatingelectrode50 in contact with the tissue to portions of floatingelectrode50 in lower potential portions of the electric field. This current then flows from floatingelectrode50 to conductive fluid in contact therewith, and then through the fluid to the return electrode. The efficiency ofprobe60 for thermally treating tissue is enhanced by the elimination of regions of high current density. Such regions of high current density cause boiling of irrigant in close proximity, and arcing through the steam bubbles formed so as to vaporize tissue. The absence of these regions allows the device to be used at higher power levels for more rapid tissue treatment without creating these undesirable vaporizing sparks. Specifically, portions offlanges52 and54 which contact tissue are radiused so as to eliminate sharp corners which create regions of high current density. In addition,portions42 ofactive electrode40 are also rounded to eliminate sharp edges which create regions of high current density.
FIGS. 23 through 27 depict the distal portion of another thermal treatment electrosurgical instrument of the present invention.Probe70 has a planaractive electrode72 suspended by distaldielectric end piece74 and proximaldielectric end piece76 in an inverted channel formed by floatingelectrode78. Lateral edges80 ofactive electrode72, and edges82 of floatingelectrode78 are radiused.Lower surface86 ofactive electrode72 is recesseddistance88 from the plane ofedges82 of floatingelectrode78. Conductor means90 withinprobe70 and cabling connectactive electrode72 to a suitable electrosurgical generator.Tubular member92 is connected by means withinprobe70 to an external conductive irrigant source.
Although the active electrode assembly is depicted as a having a square/rectangular profile and/or cross-section, the invention is not limited to the depicted configuration. So long as a particular configuration provides the requisite confined space, more particularly the presence of a fluid-fillable cavity defined between the active and floating electrodes, other geometries may be contemplated including, but not limited to, electrode assemblies having rounded, circular, elliptical, and polygonal profiles.
Referring now toFIG. 28, which depictsprobe70 in use in a “dry field”,conductive irrigant96 may be supplied bytubular member92 to the interior of the distal portion ofprobe70, between the upper surface ofactive electrode72 and the interior surface of floatingelectrode78. Current (indicated by arrows) flows fromactive electrode72 to a return electrode, either remotely located or onprobe70. A portion of the current flows through conductive liquid surroundingactive electrode72 to floatingelectrode78 and therethrough to tissue in contact with or close proximity to edges82. Current flowing from the floatingelectrode78 to the tissue in this manner is conducted through direct contact or through conductive fluid in close proximity. A second portion of the current flows from theactive electrode72 to the tissue through conductive fluid betweenactive electrode72 and the tissue. Current flowing throughconductive irrigant96 heats irrigant96 primarily in the regions in whichactive electrode72 and floatingelectrode78 are in close proximity. If the current flow is sufficiently high related to the flow rate ofconductive irrigant96, boiling ofirrigant96 occurs. Expanding steam and irrigant flow fromtubular member92 causes heated liquid and steam to flow into the region betweenactive electrode72 and the tissue. Thermal treatment of the tissue is accomplished through contact with heated liquid and steam, and through flow of current. The relative proportion of the two depends on the power supplied and the flow rate ofconductive irrigant96.
FIG. 29 depictsprobe70 in use in a conductive liquid environment.Conductive irrigant96 is supplied bytubular member92 to the interior of the distal portion ofprobe70, between the upper surface ofactive electrode72 and the interior surface of floatingelectrode78. Current flows fromactive electrode72 to a return electrode, either remotely located or onprobe70. A portion of the current flows through conductive liquid surroundingactive electrode72 to floatingelectrode78 and therethrough to conductive liquid in contact with the exterior surfaces of floatingelectrode78. A second portion of the current flows from theactive electrode72 to the tissue through conductive fluid betweenactive electrode72 and the tissue. Current flowing throughconductive irrigant96 heats irrigant96 primarily in the regions in whichactive electrode72 and floatingelectrode78 are in close proximity. If the current flow is sufficiently high related to the flow rate ofconductive irrigant96, boiling ofirrigant96 occurs. Expanding steam and irrigant flow fromtubular member92 causes heated liquid and steam to flow into the region betweenactive electrode72 and the target tissue. Thermal treatment of the tissue is accomplished through contact with heated liquid and steam, and through flow of current. The relative proportion of the two depends on the power supplied and the flow rate ofconductive irrigant96. As with theinstrument60 previously herein described,probe70 is designed to minimize or eliminate regions of high current density which cause arcing and tissue vaporization. Particularly, edges82 of floatingelectrode78 which contact target tissue are rounded to eliminate regions of high current density and arcing which may result therefrom. Also, lateral edges80 ofactive electrode72 are radiused to prevent arcing betweenactive electrode72 and the tissue or betweenelectrode72 and floatingelectrode78.Lower surface86 ofactive electrode72 does not have features such as grooves, protuberances, recesses which increase current density, but is smooth. These features, individually and/or in combination, allowprobe70 to be used at higher power levels for more rapid tissue treatment without arcing and the resulting undesirable tissue vaporization.
FIGS. 30 through 32 depict the distal portion of an electrosurgical instrument of the present invention that is particularly suited to the thermal treatment of tissue, more particularly sub-surface tissue treatment. While the previous embodiments are designed for surface treatment,electrosurgical instrument100 thermally treats tissue into which it is inserted.Probe100 is formed from adielectric tube102 having a sharpened, tapered or conicaldistal end104 that facilitates atraumatic insertion into the target tissue. Todistal end104 is mountedactive electrode106 connected byconductor108 insulated bydielectric coating109 and means withinprobe100 and cabling to a suitable electrosurgical generator. Tubularconductive member110 is assembled todielectric tube102 near its distal end, and connected byconductor112 insulated withdielectric coating114 to a control element in the handle portion ofprobe100. The control element has a first position in whichconductor112 is not connected to the electrosurgical generator, and a second position in which theconductor112 is connected to the generator output such that when the generator is activated RF voltage is applied tomember110.
During use,probe100, while energized, is first inserted into the tissue,tubular member110 functioning as a floating electrode, the switching means being in its first position. Whenprobe100 is inserted to the desired depth, switching means is put in its second position and RF energy is supplied toconductive member110 so as to treat tissue in close proximity.
FIGS. 33 through 35 depict another embodiment of an electrosurgical instrument of the present invention that is particularly suited to thermal treatment of tissue into which it is inserted.Probe120, the distal portion of which is shown has a first conductivetubular member122 having adistal end124 in which is mounteddielectric member126.Member122 has a plurality of ports orperforations128. Secondtubular member130 is coaxially positioned withinmember122, and has adistal end132 positioned within a recess indielectric member126. Secondtubular member130 withlumen133 has a plurality ofperforations134.Proximal end136 ofmember122 is mounted totubular member138, the distal end of firsttubular member138 and proximal portion ofmember122 are covered bydielectric coating140. Secondtubular member130 is connected by means withinprobe120 and cabling to a suitable electrosurgical generator.Region142 is defined by the interior surface of firsttubular member122 and the exterior surface of secondtubular member130. Secondtubular member130 is connected by means withinprobe120 and tubing to an external source for conductive irrigant.
Referring now toFIG. 36 depicting a portion ofprobe120 during use,probe120 is inserted into tissue to be thermally treated.Conductive irrigant150 is supplied to lumen133 of secondtubular member130.Lumen133,perforations134,region142, andperforations128 together form a flow path forirrigant150 fromlumen133 of secondtubular member130 to region144 between the external surface ofprobe120 and the tissue into which it is inserted. Current flows from secondtubular member132 which acts as an active electrode, throughconductive irrigant150 to firsttubular member122, and therethrough to adjacent tissue via conductive irrigant in the gap betweenprobe120 and the tissue, and finally to a return electrode (not shown), either remotely located or onprobe120. Firsttubular member122 is not connected to the electrosurgical unit, but has a floating potential between that of the active electrode (second tubular member130) and the tissue. Current flowing throughirrigant150 inregion142 heats the irrigant causing it to boil.Irrigant150 flowing fromregion142 throughperforations128 is a two-phase mixture of steam and liquid which heats tissue with which it is in contact. The relative portions of steam and liquid are determined by the flow rate ofirrigant150, and by the applied power level. Decreasing the power or increasing the flow rate will cause the liquid phase to increase. Tissue thermally treated byprobe120 is heated by the irrigant and by resistive heating caused by current flow. The RF energy supplied to probe120 has characteristics selected to minimize arcing within bubbles in the irrigant, and betweenmember122 and adjacent tissue.
FIG. 37 is an illustrative example of the above-described hybrid electrosurgical instrument of the present invention. In particular, the instrument ofFIG. 37 includes anactive electrode400 which is embedded in thetumor406 and a return electrode402 on the instrument which contacts a free surface of the tissue near the tumor so as to concentrate thecurrent flow404 between the active and return electrodes, through the tumor.
An alternate embodiment of the above-described hybrid electrosurgical instrument of the present invention is depicted inFIG. 38. The instrument ofFIG. 38 includes anactive electrode410 which is embedded in the tumor416 and areturn electrode412 not on the instrument which contacts a free surface of the tissue near the tumor so as to concentrate thecurrent flow414 between the active410 and returnelectrodes412, through the tumor.
FIGS. 39 through 41 depict thedistal portion500 of an alternate embodiment designed to be embedded in a tumor512 to go undergo treatment, the probe having a tubular active electrode502 covered bydielectric coating508 except for uninsulated portion510 withperforations504 such that irrigant506 supplied to the active electrode flows from the electrode throughperforations504 so as to prevent desiccation and burning of tissue in contact with the electrode. In an alternate embodiment also designed to be embedded in a tumor to go undergo treatment, the probe distal portion construction is identical to that ofdistal portion500, with the exception that uninsulated portion510 of active electrode502 is formed from a porous metallic material andperforations504 are eliminated. Irrigant supplied to the active electrode flows from the electrode502 through the porous material so as to prevent desiccation and burning of tissue in contact with the electrode. In yet another embodiment,perforations504 are eliminated, and irrigant is supplied to the site by an annular passage between active electrode502 anddielectric coating508. As with the previous embodiments, irrigant so supplied prevents desiccation and burning of tissue in contact with the electrode.
Most widely used electro surgical electrodes—ablators, coagulators, evaporators, cutters, electrodes for lesion forming and electrodes for treatment of tumors (often referred to as tumor ablation) need to be very close to or in direct contact with the tissue being treated in order to be effective. Electrosurgical instruments like the Argon Beam Coagulator (Conmed Corporation, Utica, N.Y.) and other similar devices operate without direct contact with the tissue. These instruments employ a gaseous gap between the instrument's electrode and the tissue. The electrode is insulated, and high voltage is applied to the gaseous gap between electrode and the surface of the tissue. If sufficiently high voltage is applied to the electrode, the electric field exceeds the breakdown threshold (electrical strength) of the gaseous gap, and electrical breakdown takes place forming a plasma channel between the electrode and the tissue. This electrically conductive plasma channel acts as a non-contact extension of the electrode, allowing treatment at a “stand-off” distance. Instruments based on this scheme, sometimes referred to as plasma torches, generally require very high voltages (up to 10-20 kV), which are beyond the capability of standard, general purpose, commonly available electrosurgical radio-frequency (RF) generators. In addition, plasma torches require specially shaped electrodes, a flow of gas (usually a noble gas jet), a specially designed nozzle to control the gas flow, and high voltage circuitry to bring high voltage to the proximity of the surgical field.
Advanced, non-contact, plasma-based electrosurgical instruments constructed in accordance with the principles of this invention may be operated in the plasma torch regime yet are compatible with “standard” electrosurgical RF generators. The electrosurgical instruments of the present invention (which may be single-use disposables) can operate without a gas flow, with a gas flow and with a reversed gas flow (gas suction). The electrosurgical instruments of the present invention substantially and permanently reduce the electrical breakdown threshold of the gaseous gap between the electrode and the surface of the tissue. In addition, the plasma can be generated efficiently at low voltages (0.5-2 kV), thereby allowing for the use of general purpose, standard electrosurgical RF generators. Among the factors employed to achieve this goal are increasing the probability of electron emission from electrode; heating at least part of the discharge volume; seeding the discharge channel with ionized particles; filling the discharge channel with gas having a low rate of attraction of electrons; and seeding the discharge channel with neutral particles with low potential of ionization.
Referring now toFIGS. 42 through 44 which depict an embodiment of an electrosurgical instrument of the present invention that utilizes a hot filament to generate plasma channel particularly suited to the thermal treatment of surfaces,probe200 has aproximal portion202 forming a handle having aproximal end204 from which passeselectrical cable206 which is connected to a suitable electrosurgical generator, and adistal end208 from which protrudes elongated instrumentdistal portion210.Portion210 has aproximal end212 mounted to handleportion202, and adistal end220.Activation button216 controls the electrosurgical generator to whichprobe200 is connected bycable206.Handle portion202 containsbatteries218.
Referring now toFIGS. 45 through 49 depicting the active distal end of220 ofdistal portion210 ofprobe200, elongatedtubular member222 withlumen223 has mounted to its distal end closed-end tubular member224 to which is mountedinsulator226.Insulator226 has afirst recess228 formed coaxial withinsulator226,recess228 having aplanar surface230.Surface230 has formed thereinsecond recess232.Insulator226 has formed thereinpassages234 betweensecond recess232 andsurface234 ofinsulator226.Filament wire236 is connected bytubular members238 towires240 inlumen223 oftubular member222,wires240 being connected by circuitry withinhandle portion202 tobatteries218, and bycable206 to the electrosurgical generator such thatdepressing activation button216 causesbatteries218 to supply the battery voltage tofilament236, and the electrosurgical generator to supply RF voltage tofilament236.Insulation242 coverswires240.Insulation244 covers the proximal portion oftubular members238, and the distal portion ofwires240.
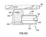
FIG. 50 depictsprobe200 in use thermally treating a tissue surface. Direct current power supplied bybatteries218heats filament wire236 which also heats air and other gasses in proximity tofilament wire236. RF power from the electrosurgical generator is also applied tofilament wire236. The high temperature offilament236 increases the ease with which electrons may be ejected fromfilament236. Heating of the air and other gases in proximity to filament236 decreases the resistance of the air and gases to electrical breakdown. These two effects together allow the formation of plasma channels through the air and gases in the gap betweenfilament wire236 and tissue in close proximity. Power transmitted through these channels interacts with the surface of the tissue thermally treating the tissue and desiccating tissue near the surface.Movement250 ofprobe200 relative to the tissue creates a linear region of treatment,depth252 of the thermal effect being determined by the applied power and the rate ofmovement250.
Referring now toFIG. 51 depicting a schematic representation ofprobe200 in use,electrosurgical generator260 is connected bywire262 to returnelectrode pad264, and bywire265 tofirst wire241 ofwires240 connected tobatteries218 andfilament236 indistal end assembly220. Heating offilament236 by power frombatteries218 and RF power fromgenerator260 together producearcs266 betweenfilament236 and tissue in close proximity. Desiccation by heat fromarcs266 createslocal layer268 of dry insulating tissue.Secondary arcing270 may occur beneathlayer268. Current272 flows from the region near arcs266 through the tissue to returnelectrode264.
FIG. 52 schematically depictsdistal end assembly220 ofprobe200.Batteries218 viawires240 andconductive members238 tofilament236.Wire265 conducts power from the RF generator tofirst wire241 and therefrom viaconductive member238 tofilament236. Power frombatteries218 heats the filament. Power from the RF generator causes arcing266 and produces the desired clinical effect.FIG. 52 (B) and (C) show thatinsulator226 may have a variety of cross-sections. However, those shown are merely illustrative and not intended to limit the scope of the invention.
FIG. 53 depicts an alternate embodiment ofdistal end assembly220 ofprobe200.Filament236 has a coil for enhanced heating of theregion surrounding filament236 for increased probe efficiency.
FIG. 54 depicts an alternate embodiment ofdistal end assembly220 ofprobe200 in which filament236 is integral withconductive members238, the filament portion being of a reduced cross-section.
FIG. 55 depicts an alternate embodiment ofdistal end assembly220 ofprobe200 in which the filament has been deleted.Conductive members238 have distal ends which are in sufficiently close proximity to produce micro-arcing276 therebetween when voltage frompower supply218 is applied.
FIG. 56 depicts an alternate embodiment ofdistal end assembly220 ofprobe200 in which heating at the distal region of the probe is accomplished by aUV lamp278 connected to power supply276, rather than by a filament.
FIG. 57 depicts an alternate embodiment ofdistal end assembly220 ofprobe200 in which theconductive member238 has a sharpened distal end having a low included angle so that the distal portion is heated to an elevated temperature byarcs266. Heating of the distal portion is enhanced byinsulator226 which closely conforms tomember238 so as to prevent radiant or convective heat loss frommember238.
FIG. 58 depicts an alternate embodiment ofdistal end assembly220 ofprobe200 in whichconductive member238 has a sharpened distal end which is in contact with a portion ofinsulator226 such that dielectric breakdown produces micro-sparking which heats theregion causing arcs266 to occur.
FIG. 59 depicts an alternate embodiment ofdistal end assembly220 ofprobe200 in whichconductive member280, connected viaresistor282 to wire262 of the return electrode circuit, is positioned in close proximity tomember238 such that micro-arcing occurs betweenmembers280 and238, the micro-arcing producing sufficient heat to allow arcing266.Resistor282 limits current throughmember280.
As noted above, the embodiment depicted inFIG. 60 corresponds to a new type of minimally invasive instrument, based on miniature, intense sources of infra-red, visible and ultra violet generated by an electrically heated filament mounted inside a disposable instrument. More particularly,FIG. 60 depicts an alternate embodiment ofdistal end assembly220 ofprobe200 configured for gas flow through the distal portion ofprobe200. InFIG. 60(a) gas292 supplied tonozzle290 floods the area aroundfilament236 and arcs266. InFIG. 60(b) air and gases294 surroundingarcs266 andfilament236 are evacuated throughnozzle290.
As noted above,FIG. 61 depicts analternate embodiment600 for treating a surface in a body cavity in which a source of electromagnetic energy, which, in this case is a miniature high-intensityinfrared lamp602 is positioned within a transparentinflatable bag606. The assembly is positioned within a body cavity to be thermally treated.Gas604 is injected into the bag causing it to inflate and conform to the tissue surface. TheIR lamp602 is energized causing heating of the tissue in contact with thebag604. Gas flow into and out of the bag is maintained during treatment.
FIG. 62 depicts an alternate embodiment for treating a surface using a probe having at its distal tip700 a miniature infrared lamp702, alens704 and a reflector706 for directingheat708 from the lamp to the tissue surface. The profiles of reflector706 andlens704 together determine the energy distribution. In a preferred embodiment the profiles of reflector706 andlens704 together produce a uniform distribution across the distal opening oftip700. In other embodiments, the profiles can cooperate to form distributions such as a concentrated spot, line, annulus, or other predetermined desired profile.
INDUSTRIAL APPLICABILITY
The minimally invasive monopolar and bipolar electrosurgical instruments of the present invention find utility in the area of remote tissue ablation and lesion formation, to destroy tumors, form lesions, denaturize, desiccate, coagulate and ablate soft tissues, as well as to drill, cut, resect and vaporize soft tissues, with or without externally supplied conductive or non-conductive liquids (i.e., in the context of both wet and dry field electrosurgery). More particularly, the electrosurgical instruments of the present invention are designed to heat tissue from the outside in, to provide homogeneous energy deposition using less power, which in turn yields a highly homogeneous lesion.
In this manner, the electrosurgical instruments of the present invention allow one to effectively and efficiently control of the shape and size of the lesion formed, to thereby avoid unnecessary complications and undesired side effects. Such instruments are particularly useful in the context of oncological, ENT, urological, gynecological, and laparascopic procedures, as well as in the context of general surgery.
All patents and publications mentioned herein are incorporated by reference in their entirety. Nothing herein is to be construed as an admission that the invention is not entitled to antedate such disclosure by virtue of prior invention.
While the invention has been described in detail and with reference to specific embodiments thereof, it is to be understood that the foregoing description is exemplary and explanatory in nature and is intended to illustrate the invention and its preferred embodiments. Through routine experimentation, one skilled in the art will readily recognize that various changes and modifications can be made therein without departing from the spirit and scope of the invention.
Other advantages and features will become apparent from the claims filed hereafter, with the scope of such claims to be determined by their reasonable equivalents, as would be understood by those skilled in the art. Thus, the invention is intended to be defined not by the above description, but by the following claims and their equivalents.

Claims (24)

What is claimed is:
1. An electrosurgical instrument for thermal tissue treatment comprising:
a. an elongate shaft having a proximal end, a distal end and a longitudinal axis, wherein said proximal end is configured for connection to a power source and said a distal end is configured for connection to an electrode assembly;
b. an electrode assembly mounted to the distal end of said elongate shaft, said electrode assembly comprising:
i. an insulator formed from a nonconductive dielectric material and comprising discrete proximal and distal portions, wherein said proximal and distal portions comprise opposed walls that extend laterally away from and transverse to said elongate shaft;
ii. a planar active electrode formed from an electrically conductive material, connected via cabling disposed within said elongate shaft to a power source, and comprising top and bottom surfaces and an edge surface extending therebetween, wherein said active electrode extends between said proximal and distal insulator portions; and
iii. a floating electrode positioned in close proximity to said active electrode, wherein said floating electrode is formed from an electrically conductive material, is not directly electrically connected to either the elongate shaft or a power source, and shields said top surface and at least a portion of said edge surface of said active electrode; wherein said floating electrode extends between said proximal and distal insulator portions to form an inverted open fluid-fillable cavity in which said active electrode is suspended; and
c. a tubular member for supplying an irrigant directly to said inverted open fluid-fillable cavity;
wherein the distalmost end of said active electrode is laterally recessed relative to the distalmost end of the floating electrode;
further wherein powering of said active electrode in the presence of said irrigant results in flow of current from said active electrode to said floating electrode, heating of said irrigant and generation of steam within said inverted open fluid-fillable cavity, wherein said heated irrigant and steam flow out of said inverted open fluid-fillable cavity and thermally treat target tissue upon contact.
2. The electrosurgical instrument ofclaim 1, wherein said planar active electrode projects into said insulator distal portion.
3. The electrosurgical instrument ofclaim 2, wherein said planar active electrode penetrates said proximal insulator portion.
4. The electrosurgical instrument ofclaim 1, wherein said inverted open fluid-fillable cavity comprises a top portion having two pair of opposed walls depending therefrom.
5. The electrosurgical instrument ofclaim 4, wherein said opposed insulator walls constitute the first pair of opposed walls of said inverted open fluid-fillable cavity.
6. The electrosurgical instrument ofclaim 4, wherein said floating electrode comprises a flat base and first and second lateral flanges normal to said flat base that constitute the second pair of opposed walls of said inverted open fluid-fillable cavity.
7. The electrosurgical instrument ofclaim 6, wherein said tubular member for supplying irrigant includes an irrigation port disposed in the flat base of said floating electrode.
8. The electrosurgical instrument ofclaim 1, wherein:
a. said inverted open fluid-fillable cavity comprises a top portion having two pair of opposed walls depending therefrom;
b. said proximal and distal insulator portions comprise a pair of planar walls that constitute the first pair of opposed walls of said inverted open fluid-fillable cavity;
c. said floating electrode comprises a flat base and first and second lateral flanges normal to said flat base that constitute the second pair of opposed walls of said inverted open fluid-fillable cavity; and
d. said tubular member for supplying irrigant comprises a receiving port disposed in the flat base of said floating electrode.
9. The electrosurgical instrument ofclaim 1, wherein treated tissue comprises tumor tissue.
10. The electrosurgical instrument ofclaim 1, wherein said thermal treatment results in tumor destruction, lesion formation, or the denaturization, dessication, coagulation or ablation of tumor tissue.
11. The electrosurgical instrument ofclaim 1, further comprising a return electrode.
12. The electrosurgical instrument ofclaim 1, wherein said active electrode and floating electrode have radiused lateral edges.
13. A method for thermally treating a target tissue in the body of a patient comprising the step of:
a. introducing the electrosurgical instrument ofclaim 1 into the patient such that the electrode assembly is in close contact with the target tissue;
b. supplying said irrigant to the inverted open fluid-fillable cavity formed by said insulator and said floating electrode; and
c. applying a high-frequency voltage to said active electrode;
wherein said high frequency voltage results not only in the flow of current among said active electrode, said floating electrode and said target tissue but further results in the boiling of said irrigant, such that expanding steam and said heated irrigant flow from the inverted open fluid-fillable cavity to the target tissue site, thereby thermally treating said target tissue.
14. The method ofclaim 13, wherein said instrument further comprises a return electrode disposed thereon.
15. The method ofclaim 13, wherein said target tissue is a tumor.
16. The method ofclaim 15, wherein the electrode assembly is placed in direct contact with the surface of the tumor.
17. The method ofclaim 15, wherein the electrode assembly embedded in the tumor tissue.
18. The method ofclaim 15, wherein the electrode assembly is provided with a means to facilitate atraumatic insertion into said tumor.
19. The method ofclaim 15, wherein said means comprises a sharp, tapered conical tip provided at the distal end of said electrode assembly.
20. The method ofclaim 13, further comprising the step of applying a return electrode to a free surface of tissue near a tumor so as to concentrate current flow between the active and return electrodes, through the tumor.
21. The method ofclaim 13, wherein said high-frequency voltage comprises RF energy.
22. The method ofclaim 13, wherein said introduction step (a) is monitored with the use of an external imaging system.
23. The method ofclaim 22, wherein said imaging system is selected from the group consisting of MRI, CT, PET, ultrasound, x-ray, and fluoroscope.
24. The method ofclaim 13, wherein the sufficiency of the thermal treatment of said target tissue is determined by means of an external imaging system.
US12/033,9872007-02-212008-02-20Instruments and methods for thermal tissue treatmentExpired - Fee RelatedUS8475452B2 (en)

Priority Applications (6)

Application NumberPriority DateFiling DateTitle
US12/033,987US8475452B2 (en)2007-02-212008-02-20Instruments and methods for thermal tissue treatment
EP08730326.9AEP2124792B1 (en)2007-02-212008-02-21Instruments for thermal tissue treatment
EP12194298.1AEP2601902A1 (en)2007-02-212008-02-21Instruments for thermal tissue treatment
PCT/US2008/054500WO2008103777A1 (en)2007-02-212008-02-21Instruments and methods for thermal tissue treatment
US13/905,774US9827033B2 (en)2007-02-212013-05-30Instruments and methods for thermal tissue treatment
US15/815,010US20180071008A1 (en)2007-02-212017-11-16Instruments and methods for thermal tissue treatment

Applications Claiming Priority (2)

Application NumberPriority DateFiling DateTitle
US90254807P2007-02-212007-02-21
US12/033,987US8475452B2 (en)2007-02-212008-02-20Instruments and methods for thermal tissue treatment

Related Child Applications (1)

Application NumberTitlePriority DateFiling Date
US13/905,774DivisionUS9827033B2 (en)2007-02-212013-05-30Instruments and methods for thermal tissue treatment

Publications (2)

Publication NumberPublication Date
US20080208189A1 US20080208189A1 (en)2008-08-28
US8475452B2true US8475452B2 (en)2013-07-02

Family

ID=39627632

Family Applications (2)

Application NumberTitlePriority DateFiling Date
US12/033,987Expired - Fee RelatedUS8475452B2 (en)2007-02-212008-02-20Instruments and methods for thermal tissue treatment
US13/905,774Expired - Fee RelatedUS9827033B2 (en)2007-02-212013-05-30Instruments and methods for thermal tissue treatment

Family Applications After (1)

Application NumberTitlePriority DateFiling Date
US13/905,774Expired - Fee RelatedUS9827033B2 (en)2007-02-212013-05-30Instruments and methods for thermal tissue treatment

Country Status (3)

CountryLink
US (2)US8475452B2 (en)
EP (2)EP2601902A1 (en)
WO (1)WO2008103777A1 (en)

Cited By (13)

* Cited by examiner, † Cited by third party
Publication numberPriority datePublication dateAssigneeTitle
US10004558B2 (en)2009-01-122018-06-26Ethicon Endo-Surgery, Inc.Electrical ablation devices
US10105141B2 (en)2008-07-142018-10-23Ethicon Endo-Surgery, Inc.Tissue apposition clip application methods
US10206709B2 (en)2012-05-142019-02-19Ethicon LlcApparatus for introducing an object into a patient
US10258406B2 (en)2011-02-282019-04-16Ethicon LlcElectrical ablation devices and methods
US10278761B2 (en)2011-02-282019-05-07Ethicon LlcElectrical ablation devices and methods
US10314603B2 (en)2008-11-252019-06-11Ethicon LlcRotational coupling device for surgical instrument with flexible actuators
US10314649B2 (en)2012-08-022019-06-11Ethicon Endo-Surgery, Inc.Flexible expandable electrode and method of intraluminal delivery of pulsed power
US10342598B2 (en)2012-08-152019-07-09Ethicon LlcElectrosurgical system for delivering a biphasic waveform
US10478248B2 (en)2007-02-152019-11-19Ethicon LlcElectroporation ablation apparatus, system, and method
US10492880B2 (en)2012-07-302019-12-03Ethicon LlcNeedle probe guide
US10779882B2 (en)2009-10-282020-09-22Ethicon Endo-Surgery, Inc.Electrical ablation devices
US20210228258A1 (en)*2018-06-062021-07-29Robert F. RiouxPortable wound treatment system
US11484191B2 (en)2013-02-272022-11-01Cilag Gmbh InternationalSystem for performing a minimally invasive surgical procedure

Families Citing this family (56)

* Cited by examiner, † Cited by third party
Publication numberPriority datePublication dateAssigneeTitle
EP2170022A1 (en)*2008-09-252010-03-31Max-Planck-Gesellschaft zur Förderung der Wissenschaften e.V.Plasma applicator and corresponding method
US9561066B2 (en)2008-10-062017-02-07Virender K. SharmaMethod and apparatus for tissue ablation
US10695126B2 (en)2008-10-062020-06-30Santa Anna Tech LlcCatheter with a double balloon structure to generate and apply a heated ablative zone to tissue
US10064697B2 (en)2008-10-062018-09-04Santa Anna Tech LlcVapor based ablation system for treating various indications
US9700365B2 (en)2008-10-062017-07-11Santa Anna Tech LlcMethod and apparatus for the ablation of gastrointestinal tissue
US9561068B2 (en)2008-10-062017-02-07Virender K. SharmaMethod and apparatus for tissue ablation
US8821486B2 (en)2009-11-132014-09-02Hermes Innovations, LLCTissue ablation systems and methods
US8540708B2 (en)2008-10-212013-09-24Hermes Innovations LlcEndometrial ablation method
US9662163B2 (en)2008-10-212017-05-30Hermes Innovations LlcEndometrial ablation devices and systems
US8197476B2 (en)2008-10-212012-06-12Hermes Innovations LlcTissue ablation systems
US8197477B2 (en)2008-10-212012-06-12Hermes Innovations LlcTissue ablation methods
US8382753B2 (en)2008-10-212013-02-26Hermes Innovations, LLCTissue ablation methods
US8500732B2 (en)*2008-10-212013-08-06Hermes Innovations LlcEndometrial ablation devices and systems
WO2010120847A1 (en)*2009-04-142010-10-21Old Dominion University Research FoundationSystem and method for applying plasma sparks to tissue
US8083737B2 (en)2009-08-262011-12-27Tyco Healthcare Group LpGas-enhanced surgical instrument with mechanism for cylinder puncture
CN102711640B (en)*2009-10-262015-04-08爱马仕创新有限公司Endometrial ablation devices and system
US8715278B2 (en)2009-11-112014-05-06Minerva Surgical, Inc.System for endometrial ablation utilizing radio frequency
US11896282B2 (en)2009-11-132024-02-13Hermes Innovations LlcTissue ablation systems and method
US8529562B2 (en)2009-11-132013-09-10Minerva Surgical, IncSystems and methods for endometrial ablation
US9289257B2 (en)2009-11-132016-03-22Minerva Surgical, Inc.Methods and systems for endometrial ablation utilizing radio frequency
US9028483B2 (en)2009-12-182015-05-12Ethicon Endo-Surgery, Inc.Surgical instrument comprising an electrode
WO2011133767A1 (en)2010-04-222011-10-27Electromedical Associates, LlcFlexible electrosurgical ablation and aspiration electrode with beveled active surface
US9643255B2 (en)2010-04-222017-05-09Electromedical Associates, LlcFlexible electrosurgical ablation and aspiration electrode with beveled active surface
US8992521B2 (en)2010-04-222015-03-31Electromedical Associates, LlcFlexible electrosurgical ablation and aspiration electrode with beveled active surface
JP2013526343A (en)2010-05-112013-06-24エレクトロメディカル・アソシエイツ・リミテッド・ライアビリティ・カンパニー Brazing electrosurgical device
US8956348B2 (en)2010-07-212015-02-17Minerva Surgical, Inc.Methods and systems for endometrial ablation
US9510897B2 (en)2010-11-052016-12-06Hermes Innovations LlcRF-electrode surface and method of fabrication
GB2487199A (en)*2011-01-112012-07-18Creo Medical LtdElectrosurgical device with fluid conduit
US9049987B2 (en)2011-03-172015-06-09Ethicon Endo-Surgery, Inc.Hand held surgical device for manipulating an internal magnet assembly within a patient
JP6318088B2 (en)2011-07-262018-04-25アンフォラ メディカル, インコーポレイテッド Apparatus and method for modulating pelvic nerve tissue
US20130269705A1 (en)2012-04-162013-10-17Thomas C. KochemVariable stiffness flexure
US9078662B2 (en)*2012-07-032015-07-14Ethicon Endo-Surgery, Inc.Endoscopic cap electrode and method for using the same
US9888954B2 (en)2012-08-102018-02-13Cook Medical Technologies LlcPlasma resection electrode
GB201215095D0 (en)2012-08-242012-10-10Gyrus Medical LtdElectrosurgical system
CA2884145C (en)*2012-09-112017-03-14American Eagle Instruments, Inc.Electrical discharge irrigator apparatus and method
US10898705B2 (en)2012-09-112021-01-26G&H Technologies, LlcElectrical discharge irrigator apparatus and method
EP3964151A3 (en)2013-01-172022-03-30Virender K. SharmaApparatus for tissue ablation
US9333111B2 (en)2013-02-042016-05-10Hologic, Inc.Fundus bumper mechanical reference for easier mechanism deployment
US9895192B2 (en)2013-03-132018-02-20Hologic, Inc.Intrauterine treatment device with articulating array
US9901394B2 (en)2013-04-042018-02-27Hermes Innovations LlcMedical ablation system and method of making
US9649125B2 (en)2013-10-152017-05-16Hermes Innovations LlcLaparoscopic device
DE202013010300U1 (en)*2013-11-152015-02-16Hebumedical Gmbh Needle-shaped instrument for radiofrequency thermotherapy
WO2015120079A1 (en)2014-02-042015-08-13Amphora Medical, Inc.Devices and methods for treating conditions caused by affarent nerve signals
JP2017516620A (en)2014-05-232017-06-22アンフォラ メディカル, インコーポレイテッド Methods and devices for treatment of pelvic conditions
US10492856B2 (en)2015-01-262019-12-03Hermes Innovations LlcSurgical fluid management system and method of use
CN107708591B (en)2015-04-292020-09-29席勒斯科技有限公司Medical ablation device and method of use
US10052149B2 (en)2016-01-202018-08-21RELIGN CorporationArthroscopic devices and methods
CN109561899A (en)2016-04-222019-04-02锐凌公司Arthroscope device and method
US12364537B2 (en)2016-05-022025-07-22Santa Anna Tech LlcCatheter with a double balloon structure to generate and apply a heated ablative zone to tissue
US11331140B2 (en)2016-05-192022-05-17Aqua Heart, Inc.Heated vapor ablation systems and methods for treating cardiac conditions
CN109661209A (en)2016-07-012019-04-19锐凌公司Arthroscope device and method
US12023082B2 (en)*2017-10-062024-07-02Medtronic Advanced Energy LlcHemostatic thermal sealer
EP3801324B1 (en)2018-06-012025-05-28Aqua Medical, Inc.Vapor generation and delivery systems
CN110179540B (en)*2019-05-312024-02-23广东伊丽汇美容科技有限公司Electrode, negative pressure and infrared integrated operation head of human body nursing instrument
US11554214B2 (en)2019-06-262023-01-17Meditrina, Inc.Fluid management system
CN113796949B (en)*2021-09-262025-04-25上海宏桐实业有限公司 A pulsed electric field ablation system and control method thereof

Citations (38)

* Cited by examiner, † Cited by third party
Publication numberPriority datePublication dateAssigneeTitle
US2448741A (en)1945-04-251948-09-07American Cystoscope Makers IncEndoscopic surgical instrument
US3856015A (en)1972-01-211974-12-24J IglesiasStabilized cutting loop for resectoscope
US3901242A (en)1974-05-301975-08-26Storz Endoskop GmbhElectric surgical instrument
US4674499A (en)1980-12-081987-06-23Pao David S CCoaxial bipolar probe
US4682596A (en)1984-05-221987-07-28Cordis CorporationElectrosurgical catheter and method for vascular applications
US4726370A (en)1985-02-091988-02-23Olympus Optical Co., Ltd.Resectoscope device
US4917082A (en)1988-06-021990-04-17Circon CorporationResectoscope electrode
US5195959A (en)1991-05-311993-03-23Paul C. SmithElectrosurgical device with suction and irrigation
US5277696A (en)1991-11-191994-01-11Delma Elektro- Und Medizinische Apparatebau Gesellschaft MbhMedical high frequency coagulation instrument
US5314459A (en)1990-01-231994-05-24Cardiac Pacemakers, Inc.Defibrillation electrode system having smooth current distribution with floating electrode
US5782829A (en)1995-12-061998-07-21Northgate Technologies IncorporatedResectoscope electrode assembly and methods of use
US6033400A (en)1996-04-192000-03-07Circon CorporationShaped electrode for a resectoscope
US6066134A (en)1992-01-072000-05-23Arthrocare CorporationMethod for electrosurgical cutting and ablation
US6113597A (en)1992-01-072000-09-05Arthrocare CorporationElectrosurgical systems and methods for urological and gynecological procedures
US6169926B1 (en)1998-02-272001-01-02James A. BakerRF electrode array for low-rate collagen shrinkage in capsular shift procedures and methods of use
US6197025B1 (en)1994-09-302001-03-06Circon CorporationGrooved slider electrode for a resectoscope
US20020038122A1 (en)2000-09-242002-03-28Medtronic, Inc.Surgical micro-resecting instrument with electrocautery feature
US6391025B1 (en)1993-05-102002-05-21Arthrocare CorporationElectrosurgical scalpel and methods for tissue cutting
US6419684B1 (en)2000-05-162002-07-16Linvatec CorporationEnd-cutting shaver blade for axial resection
US6565560B1 (en)1997-07-182003-05-20Gyrus Medical LimitedElectrosurgical instrument
US6575968B1 (en)1992-01-072003-06-10Arthrocare Corp.Electrosurgical system for treating the spine
US20040030330A1 (en)2002-04-182004-02-12Brassell James L.Electrosurgery systems
US20040049183A1 (en)2000-11-032004-03-11Ellman Alan G.Electrosurgical tonsilar and adenoid electrode
US20040106919A1 (en)1993-08-232004-06-03Hood Larry L.Thermokeratoplasty system with a power supply that can determine a wet or dry cornea
US6796982B2 (en)2001-06-052004-09-28Electrosurgery Associates, LlcInstant ignition electrosurgical probe and method for electrosurgical cutting and ablation
US20040193150A1 (en)1999-10-052004-09-30Oratec Interventions, Inc.Surgical instrument for ablation and aspiration
US6840937B2 (en)2001-10-182005-01-11Electrosurgery Associates, LlcElectrosurgical ablator with aspiration
US20050065510A1 (en)*2003-08-112005-03-24Yuval CarmelElectrosurgical device with floating-potential electrodes
US6899712B2 (en)2000-01-102005-05-31Hydrocision, Inc.Surgical instruments with integrated electrocautery
US6921399B2 (en)2001-11-022005-07-26Electrosurgery Associates, LlcHigh efficiency electrosurgery probe
US6921398B2 (en)2001-06-042005-07-26Electrosurgery Associates, LlcVibrating electrosurgical ablator
US6955676B2 (en)1999-06-222005-10-18Senorx, Inc.Shaped scalpel
US20050234446A1 (en)2003-08-112005-10-20Van Wyk Robert AElectrosurgical device with floating-potential electrode and methods of using same
US7066936B2 (en)2004-06-072006-06-27Ethicon, Inc.Surgical cutting and tissue vaporizing instrument
US20060224154A1 (en)2001-12-072006-10-05Shadduck John HMedical instrument and method of use
US20060259031A1 (en)2005-05-132006-11-16Electrosurgery Associates, LlcElectrosurgical ablation electrode with aspiration and method for using same
US20060293653A1 (en)2005-05-212006-12-28Van Wyk Robert AElectrosurgical device
US7166103B2 (en)2001-10-012007-01-23Electrosurgery Associates, LlcHigh efficiency electrosurgical ablator with electrode subjected to oscillatory or other repetitive motion

Family Cites Families (4)

* Cited by examiner, † Cited by third party
Publication numberPriority datePublication dateAssigneeTitle
US5746272A (en)*1996-09-301998-05-05Johnson & Johnson Professional, Inc.Investment casting
KR100466866B1 (en)*2003-04-242005-01-24전명기Electrode for radiofrequency tissue ablation
TWI225160B (en)2003-07-312004-12-11Delta Electronics IncProjection system and optical path transfer device thereof
US20100042088A1 (en)2008-08-142010-02-18Arts Gene HSurgical Gas Plasma Ignition Apparatus and Method

Patent Citations (38)

* Cited by examiner, † Cited by third party
Publication numberPriority datePublication dateAssigneeTitle
US2448741A (en)1945-04-251948-09-07American Cystoscope Makers IncEndoscopic surgical instrument
US3856015A (en)1972-01-211974-12-24J IglesiasStabilized cutting loop for resectoscope
US3901242A (en)1974-05-301975-08-26Storz Endoskop GmbhElectric surgical instrument
US4674499A (en)1980-12-081987-06-23Pao David S CCoaxial bipolar probe
US4682596A (en)1984-05-221987-07-28Cordis CorporationElectrosurgical catheter and method for vascular applications
US4726370A (en)1985-02-091988-02-23Olympus Optical Co., Ltd.Resectoscope device
US4917082A (en)1988-06-021990-04-17Circon CorporationResectoscope electrode
US5314459A (en)1990-01-231994-05-24Cardiac Pacemakers, Inc.Defibrillation electrode system having smooth current distribution with floating electrode
US5195959A (en)1991-05-311993-03-23Paul C. SmithElectrosurgical device with suction and irrigation
US5277696A (en)1991-11-191994-01-11Delma Elektro- Und Medizinische Apparatebau Gesellschaft MbhMedical high frequency coagulation instrument
US6575968B1 (en)1992-01-072003-06-10Arthrocare Corp.Electrosurgical system for treating the spine
US6066134A (en)1992-01-072000-05-23Arthrocare CorporationMethod for electrosurgical cutting and ablation
US6113597A (en)1992-01-072000-09-05Arthrocare CorporationElectrosurgical systems and methods for urological and gynecological procedures
US6391025B1 (en)1993-05-102002-05-21Arthrocare CorporationElectrosurgical scalpel and methods for tissue cutting
US20040106919A1 (en)1993-08-232004-06-03Hood Larry L.Thermokeratoplasty system with a power supply that can determine a wet or dry cornea
US6197025B1 (en)1994-09-302001-03-06Circon CorporationGrooved slider electrode for a resectoscope
US5782829A (en)1995-12-061998-07-21Northgate Technologies IncorporatedResectoscope electrode assembly and methods of use
US6033400A (en)1996-04-192000-03-07Circon CorporationShaped electrode for a resectoscope
US6565560B1 (en)1997-07-182003-05-20Gyrus Medical LimitedElectrosurgical instrument
US6169926B1 (en)1998-02-272001-01-02James A. BakerRF electrode array for low-rate collagen shrinkage in capsular shift procedures and methods of use
US6955676B2 (en)1999-06-222005-10-18Senorx, Inc.Shaped scalpel
US20040193150A1 (en)1999-10-052004-09-30Oratec Interventions, Inc.Surgical instrument for ablation and aspiration
US6899712B2 (en)2000-01-102005-05-31Hydrocision, Inc.Surgical instruments with integrated electrocautery
US6419684B1 (en)2000-05-162002-07-16Linvatec CorporationEnd-cutting shaver blade for axial resection
US20020038122A1 (en)2000-09-242002-03-28Medtronic, Inc.Surgical micro-resecting instrument with electrocautery feature
US20040049183A1 (en)2000-11-032004-03-11Ellman Alan G.Electrosurgical tonsilar and adenoid electrode
US6921398B2 (en)2001-06-042005-07-26Electrosurgery Associates, LlcVibrating electrosurgical ablator
US6796982B2 (en)2001-06-052004-09-28Electrosurgery Associates, LlcInstant ignition electrosurgical probe and method for electrosurgical cutting and ablation
US7166103B2 (en)2001-10-012007-01-23Electrosurgery Associates, LlcHigh efficiency electrosurgical ablator with electrode subjected to oscillatory or other repetitive motion
US6840937B2 (en)2001-10-182005-01-11Electrosurgery Associates, LlcElectrosurgical ablator with aspiration
US6921399B2 (en)2001-11-022005-07-26Electrosurgery Associates, LlcHigh efficiency electrosurgery probe
US20060224154A1 (en)2001-12-072006-10-05Shadduck John HMedical instrument and method of use
US20040030330A1 (en)2002-04-182004-02-12Brassell James L.Electrosurgery systems
US20050065510A1 (en)*2003-08-112005-03-24Yuval CarmelElectrosurgical device with floating-potential electrodes
US20050234446A1 (en)2003-08-112005-10-20Van Wyk Robert AElectrosurgical device with floating-potential electrode and methods of using same
US7066936B2 (en)2004-06-072006-06-27Ethicon, Inc.Surgical cutting and tissue vaporizing instrument
US20060259031A1 (en)2005-05-132006-11-16Electrosurgery Associates, LlcElectrosurgical ablation electrode with aspiration and method for using same
US20060293653A1 (en)2005-05-212006-12-28Van Wyk Robert AElectrosurgical device

Cited By (15)

* Cited by examiner, † Cited by third party
Publication numberPriority datePublication dateAssigneeTitle
US10478248B2 (en)2007-02-152019-11-19Ethicon LlcElectroporation ablation apparatus, system, and method
US10105141B2 (en)2008-07-142018-10-23Ethicon Endo-Surgery, Inc.Tissue apposition clip application methods
US11399834B2 (en)2008-07-142022-08-02Cilag Gmbh InternationalTissue apposition clip application methods
US10314603B2 (en)2008-11-252019-06-11Ethicon LlcRotational coupling device for surgical instrument with flexible actuators
US10004558B2 (en)2009-01-122018-06-26Ethicon Endo-Surgery, Inc.Electrical ablation devices
US10779882B2 (en)2009-10-282020-09-22Ethicon Endo-Surgery, Inc.Electrical ablation devices
US10258406B2 (en)2011-02-282019-04-16Ethicon LlcElectrical ablation devices and methods
US10278761B2 (en)2011-02-282019-05-07Ethicon LlcElectrical ablation devices and methods
US10206709B2 (en)2012-05-142019-02-19Ethicon LlcApparatus for introducing an object into a patient
US11284918B2 (en)2012-05-142022-03-29Cilag GmbH InlernationalApparatus for introducing a steerable camera assembly into a patient
US10492880B2 (en)2012-07-302019-12-03Ethicon LlcNeedle probe guide
US10314649B2 (en)2012-08-022019-06-11Ethicon Endo-Surgery, Inc.Flexible expandable electrode and method of intraluminal delivery of pulsed power
US10342598B2 (en)2012-08-152019-07-09Ethicon LlcElectrosurgical system for delivering a biphasic waveform
US11484191B2 (en)2013-02-272022-11-01Cilag Gmbh InternationalSystem for performing a minimally invasive surgical procedure
US20210228258A1 (en)*2018-06-062021-07-29Robert F. RiouxPortable wound treatment system

Also Published As

Publication numberPublication date
US20080208189A1 (en)2008-08-28
US9827033B2 (en)2017-11-28
EP2124792B1 (en)2013-09-18
WO2008103777A1 (en)2008-08-28
EP2601902A1 (en)2013-06-12
US20140018786A1 (en)2014-01-16
EP2124792A1 (en)2009-12-02

Similar Documents

PublicationPublication DateTitle
US8475452B2 (en)Instruments and methods for thermal tissue treatment
US8348944B2 (en)Electrosurgical device having floating-potential electrode and bubble trap
US7566333B2 (en)Electrosurgical device with floating-potential electrode and methods of using the same
US7563261B2 (en)Electrosurgical device with floating-potential electrodes
US20210007787A1 (en)System and Method for Electrosurgical Conductive Gas Cutting for Improving Eschar, Sealing Vessels and Tissues
JP4261070B2 (en) System for electrosurgical treatment of submucosa
US20090264878A1 (en)Devices and methods for ablating and removing a tissue mass
US9888954B2 (en)Plasma resection electrode
JP2001522252A (en) Shaped electrodes and methods for electrosurgical cutting and ablation
KR19990028365A (en) Electrosurgical surgical instruments
JP2002514097A (en) Planar resection probe and method for electrosurgical cutting and resection
JPH11501555A (en) Electrosurgical cutting and resection system and method
US20140364844A1 (en)Miniaturized dual-mode electrosurgical device and methods of using same
JP2021526051A (en) Electric surgical instruments
US20180071008A1 (en)Instruments and methods for thermal tissue treatment

Legal Events

DateCodeTitleDescription
ASAssignment

Owner name:ELECTROMEDICAL ASSOCIATES LLC, MARYLAND

Free format text:ASSIGNMENT OF ASSIGNORS INTEREST;ASSIGNORS:CARMEL, YUVAL;SHKVARUNETS, ANATOLY;VAN WYK, ROBERT A.;REEL/FRAME:022397/0844;SIGNING DATES FROM 20090304 TO 20090311

Owner name:ELECTROMEDICAL ASSOCIATES LLC,MARYLAND

Free format text:ASSIGNMENT OF ASSIGNORS INTEREST;ASSIGNORS:CARMEL, YUVAL;SHKVARUNETS, ANATOLY;VAN WYK, ROBERT A.;SIGNING DATES FROM 20090304 TO 20090311;REEL/FRAME:022397/0844

Owner name:ELECTROMEDICAL ASSOCIATES LLC, MARYLAND

Free format text:ASSIGNMENT OF ASSIGNORS INTEREST;ASSIGNORS:CARMEL, YUVAL;SHKVARUNETS, ANATOLY;VAN WYK, ROBERT A.;SIGNING DATES FROM 20090304 TO 20090311;REEL/FRAME:022397/0844

STCFInformation on status: patent grant

Free format text:PATENTED CASE

FEPPFee payment procedure

Free format text:PAT HOLDER CLAIMS SMALL ENTITY STATUS, ENTITY STATUS SET TO SMALL (ORIGINAL EVENT CODE: LTOS); ENTITY STATUS OF PATENT OWNER: SMALL ENTITY

REMIMaintenance fee reminder mailed
FPAYFee payment

Year of fee payment:4

SULPSurcharge for late payment
FEPPFee payment procedure

Free format text:MAINTENANCE FEE REMINDER MAILED (ORIGINAL EVENT CODE: REM.); ENTITY STATUS OF PATENT OWNER: SMALL ENTITY

LAPSLapse for failure to pay maintenance fees

Free format text:PATENT EXPIRED FOR FAILURE TO PAY MAINTENANCE FEES (ORIGINAL EVENT CODE: EXP.); ENTITY STATUS OF PATENT OWNER: SMALL ENTITY

STCHInformation on status: patent discontinuation

Free format text:PATENT EXPIRED DUE TO NONPAYMENT OF MAINTENANCE FEES UNDER 37 CFR 1.362

FPLapsed due to failure to pay maintenance fee

Effective date:20210702


[8]ページ先頭

©2009-2025 Movatter.jp