Movatterモバイル変換


[0]ホーム

URL:


US8398627B2 - Electrosurgical generator and system - Google Patents

Electrosurgical generator and system
Download PDF

Info

Publication number
US8398627B2
US8398627B2US12/621,935US62193509AUS8398627B2US 8398627 B2US8398627 B2US 8398627B2US 62193509 AUS62193509 AUS 62193509AUS 8398627 B2US8398627 B2US 8398627B2
Authority
US
United States
Prior art keywords
output
outputs
phase
generator
voltage
Prior art date
Legal status (The legal status is an assumption and is not a legal conclusion. Google has not performed a legal analysis and makes no representation as to the accuracy of the status listed.)
Active, expires
Application number
US12/621,935
Other versions
US20100114090A1 (en
Inventor
John Roland Hosier
Current Assignee (The listed assignees may be inaccurate. Google has not performed a legal analysis and makes no representation or warranty as to the accuracy of the list.)
Gyrus Medical Ltd
Original Assignee
Gyrus Medical Ltd
Priority date (The priority date is an assumption and is not a legal conclusion. Google has not performed a legal analysis and makes no representation as to the accuracy of the date listed.)
Filing date
Publication date
Priority claimed from GBGB0809461.7Aexternal-prioritypatent/GB0809461D0/en
Application filed by Gyrus Medical LtdfiledCriticalGyrus Medical Ltd
Priority to US12/621,935priorityCriticalpatent/US8398627B2/en
Assigned to GYRUS MEDICAL LIMITEDreassignmentGYRUS MEDICAL LIMITEDASSIGNMENT OF ASSIGNORS INTEREST (SEE DOCUMENT FOR DETAILS).Assignors: HOSIER, JOHN ROLAND
Publication of US20100114090A1publicationCriticalpatent/US20100114090A1/en
Application grantedgrantedCritical
Publication of US8398627B2publicationCriticalpatent/US8398627B2/en
Activelegal-statusCriticalCurrent
Adjusted expirationlegal-statusCritical

Links

Images

Classifications

Definitions

Landscapes

Abstract

An electrosurgical system has an electrosurgical generator with a multiple-phase RF output stage coupled to a multiple-electrode electrosurgical instrument. The instrument has three treatment electrodes each of which is coupled to a respective generator output driven from, for instance, a three-phase output transformer. Continuous RF output voltage waveforms are simultaneously delivered to respective generator outputs at the operating frequency, each waveform being phase-displaced with respect to the other waveforms. The magnitude of the RF output voltage waveform delivered to at least one of the generator outputs is sufficient to cause tissue vaporisation at the respective treatment electrodes when the system is used for tissue treatment. Also disclosed is an electrosurgical generator in combination with an instrument having both bipolar coagulation electrodes and a remote return pad, the generator including means for varying the RF voltage outputs to vary the relative preponderance of bipolar and monopolar coagulation.

Description

CROSS-REFERENCE TO RELATED APPLICATIONS
This application is a continuation-in-part of application Ser. No. 12/453,698, filed May 19, 2009 now U.S. Pat. No. 8,303,583, which claims the benefit of Provisional Application No. 61/136,109, filed Aug. 12, 2008, and further claims priority to Great Britain Application No. 0809461.7, filed May 23, 2008, the entire contents of each of which are hereby incorporated by reference in this application.
FIELD OF THE INVENTION
This invention relates to an electrosurgical generator, and to an electrosurgical system comprising a generator and an electrosurgical instrument with at least three treatment electrodes. Such systems are commonly used for the cutting and/or coagulation of tissue in surgical intervention, most commonly in minimally invasive surgery as well as in laparoscopic or “open” surgery.
BACKGROUND OF THE INVENTION
Amongst known electrosurgical generators is a generator which provides different radio frequency (RF) output waveforms for tissue cutting, for tissue coagulation, and for blended cutting and coagulation, the latter being performed by rapidly alternating between a waveform suitable for cutting and a waveform suitable for coagulation. U.S. Pat. No. 6,416,509 (Goble et al) and U.S. Pat. No. 3,885,569 (Judson) disclose such generators.
WO-A-96/37156 (Issa) discloses a resectoscope having an electrode assembly with two loop electrodes. RF cut and coagulation currents are supplied simultaneously to the loop electrodes from an output transformer unit, the current passing through the patient to a grounding or return pad placed against the patient's skin.
U.S. Pat. No. 6,966,907 (Goble) teaches a generator delivering cutting and coagulating waveforms by alternating constantly between a waveform limited to a first predetermined voltage threshold value and one limited to a second, different, predetermined threshold value to form a blended signal. The disclosed system also includes means for feeding the waveform to an instrument having three or more electrodes such that a cutting RF waveform is delivered between a first pair of electrodes and a coagulating waveform is delivered between a second pair of electrodes.
SUMMARY OF THE INVENTION
The present invention provides an improved generator and system for simultaneously delivering RF output voltage waveforms across at least three outputs or instrument electrodes. In particular, according to a first aspect of the invention, an electrosurgical system comprises an electrosurgical generator for generating RF power at a generator operating frequency and an electrosurgical instrument coupled to the generator, wherein the generator comprises a multiple-phase RF output stage having at least three outputs for coupling to respective electrodes of an electrosurgical instrument for delivering RF power to the electrodes, the configuration of the output stage being such that respective RF output voltage waveforms are simultaneously delivered across each pair of the said three outputs at the operating frequency, each such waveform being phase-displaced with respect to the waveforms delivered across the respective other pairs of the three outputs, wherein the electrosurgical instrument has at least three treatment electrodes each of which is coupled to a respective one of the generator outputs for receiving RF power from the output stage of the generator, and wherein the generator is constructed and arranged such that the magnitude of the RF output voltage waveform delivered to at least one pair of the said generator outputs is sufficient to cause tissue vaporisation at the respective treatment electrodes when the system is used for tissue treatment. The phase displacement of the waveform delivered across each such respective pair of outputs with respect to the waveforms delivered across the other output pairs is typically between 10° and 170° in each case. Phase displacement of the waveform delivered across each such respective pair of outputs with respect to the waveforms delivered across the other output pairs is preferably 120° in each case.
The generator output stage may have first, second and third outputs and may be configured such that the ratio of (a) the magnitude of each of the RF output voltage waveforms delivered between the first and the second outputs and between the first and the third outputs, and (b) the magnitude of the RF output voltage waveform delivered across the second and the third outputs, is between 2 and 4. By connecting the three outputs to three respective electrodes of an electrosurgical instrument for cutting and coagulation, with the first output connected to a central cutting electrode and the second and third outputs connected to adjoining coagulation electrodes, the generator allows simultaneous cutting and coagulation, the central electrode cutting or vaporizing tissue by virtue of a high voltage cutting waveform, at least 250 volts RMS, being developed on the cutting electrode with respect to one or both coagulation electrodes, and a lower threshold voltage waveform, typically between 100 and 150 volts RMS, being developed between the coagulation electrodes.
The versatility of the generator may be increased if it has a fourth output, constituting a neutral output, the output stage being configured such that the phase displacement of the three RF output voltage waveforms delivered between (i) each of the first, second and third outputs respectively and (ii) the fourth output with respect to each other is substantially 120°.
According to a further aspect of the invention there is provided an electrosurgical system comprising an electrosurgical generator for generating radio frequency (RF) power at a generator operating frequency, an electrosurgical instrument and a remote return pad, the electrosurgical instrument and the remote return pad both being coupled to the generator, the electrosurgical instrument including at least three tissue treatment electrodes, a first tissue treatment electrode being a cutting electrode and second and third tissue treatment electrodes being coagulation electrodes, wherein the generator comprises a multiple-phase RF output stage having at least four outputs, three outputs being coupled to respective electrodes of the electrosurgical instrument for delivering RF power to the electrodes and the fourth output being coupled to the remote return pad, the configuration of the output stage being such that respective RF output voltage waveforms are simultaneously delivered across each pair of the said four outputs at the operating frequency, each such waveform being phase-displaced with respect to the waveforms delivered across the respective other pairs of the four outputs, wherein the generator is constructed and arranged such that the magnitude of the RF output voltage waveform delivered between the first electrode and one or both of the second and third electrodes is sufficient to cause tissue vaporisation at the respective tissue treatment electrodes when the system is used for tissue treatment, and wherein there is provided means for varying the RF output voltage delivered between either of the second and third outputs and the fourth output as compared with the RF output voltage delivered between the second and third outputs.
In this way, the instrument can perform bipolar coagulation between the second and third electrodes, and simultaneous monopolar coagulation between one or both of the second and third electrodes and the remote return pad. By varying the relative voltages as described above, the proportions of bipolar and monopolar coagulation can be adjusted. The provision of a remote return pad is well known for use with monopolar instruments. In this instance, the term “remote return pad” is meant to include such conventional monopolar return pads, although the provision of the additional bipolar electrodes means that the operation is not strictly monopolar in that more than one electrode will interact with the return pad.
In the preferred generator, the output stage comprises a multiple-phase output transformer, each phase having a primary winding and a secondary winding, and the phases being magnetically linked. Conveniently, the means for varying the RF output voltage comprises a drive circuit coupled to the primary windings for feeding time-varying mutually phase-displaced drive currents to the primary windings. The operating frequency is preferably between 75 kHz and 1 MHz, and typically in the region of from 200 kHz to 450 kHz. The transformer is advantageously a three-phase transformer, the secondary windings having ends forming the above-mentioned outputs of the generator. The windings of the three phases may share a common transformer core made of ferrite material, or each pair of phases may share a respective one of three annular ferrite cores. In the case of at least three phases sharing a common core, the core preferably comprises a monolithic core member having at least three limbs each carrying windings of one respective phase, the core further having an interconnecting bridge which magnetically connects the limbs. Each of the three limbs are of substantially equal cross section. In the case of a three-phase system, the monolithic ferrite core member is preferably “E”-shaped. As an alternative, the transformer core comprises three ferrite rings each carrying the windings of two phases, the windings of each phase being wound around two of the three rings.
Accordingly, the invention also provides an electrosurgical generator having a three-phase output stage with a three-phase output transformer having a ferrite core. In particular, according to a second aspect of the invention, an electrosurgical generator for generating RF power at a generator operating frequency comprises a multiple-phase RF output stage having at least three outputs for coupling to respective electrodes of an electrosurgical instrument for delivering RF power to the electrodes, the configuration of the output stage being such that respective RF output voltage waveforms are simultaneously delivered across each pair of the said three outputs at the operating frequency, each such waveform being phase-displaced with respect to the waveforms delivered across the respective other pairs of the three outputs; and wherein the output stage comprises a multiple-phase output transformer which has windings forming at least three phases and comprises a transformer core including at least one ferrite core member; and the transformer is constructed to provide at least three magnetic circuits, each magnetic circuit being inductively linked to the windings of at least two of the three phases.
In the preferred generator a drive circuit is coupled to the primary windings of the transformer and may be configured so as to synthesise phase-displaced RF waveforms directly. To do this, the drive circuit typically comprises a plurality of semiconductor switching devices coupled to a DC power supply of the generator and to the primary windings. In this case, the output stage advantageously includes, in each phase, a respective resonant circuit connected to at least one of the switching devices and the primary winding associated with that phase. In this way it is possible to smooth the switching waveforms to be more nearly sinusoidal in the primary windings and, in particular, to avoid applying third harmonic components to the three-phase transformer.
The preferred generator further comprises a control circuit connected to the switching devices, the arrangement being such that control pulses are fed to the switching devices at a predetermined repetition rate to drive them alternately to conducting and non-conducting states in a phase-displaced sequence. This causes alternating currents to be fed through the primary windings at the generator operating frequency, the current in each primary winding being correspondingly phase-displaced with respect to the currents in the other primary windings. It is by arranging for the resonant circuits to be tuned to the operating frequency that harmonics associated with the switched currents can be significantly reduced, so that the primary currents are substantially sinusoidal.
The switching devices may be arranged in pairs, each pair comprising a first transistor and a second transistor, e.g. insulated-gate bipolar transistors (IGBTs), connected in series between opposite polarity supply rails of the DC power supply and having a common connection coupled to one end of a respective primary winding. The control circuit, in this case, is configured to feed control pulses to the first and second transistors so as to drive them in opposition at the operating frequency.
The amplitude of the alternating primary currents may be varied by varying the width of the control pulses. The control circuit is preferably arranged to drive the switching devices in a 120° phase-displaced sequence.
In order to provide the higher voltage cut waveform referred to above simultaneously with a coagulation waveform, the transformer secondary windings of the preferred generator have different numbers of turns in order that the RF output voltage developed across at least one pair of the outputs is higher than that developed across another pair of the outputs.
A star-connected arrangement of transformer secondary windings is preferred in order that the generator can, if required, drive a monopolar arrangement in which a return pad is connected to the common, neutral node of the interconnected secondary windings. In this case, the secondary winding of a first phase of the transformer has a greater number of turns than each of those of the second and third phases. This means way that the RF voltage developed between the cutting electrode and at least one of the coagulating electrodes of a three-electrode instrument can be at least double that simultaneously developed between the coagulating electrodes.
As an alternative, the generator output stage has delta-connected secondary windings, the cutting electrode of the three-electrode instrument being coupled to the junction of the secondary windings of the first and second phases, and the coagulating electrodes being coupled to the junctions of the second and third phase secondary windings and of the third and first phase secondary windings respectively. In this case, each of the first and second phase secondary windings has a greater number of turns than the third phase secondary winding so that when substantially equal drive currents are fed through the primary windings, the RF voltage developed between the cutting electrode and at least one of the coagulating electrodes is greater than that simultaneously developed between the coagulating electrodes.
Conveniently at least one of the secondary windings comprises a plurality of series connected windings, and the means for varying the RF output voltage comprises means for switching one or more of the series connected windings into and out of connection with the other windings.
Preferably, the electrosurgical system includes a controller for controlling the switching means for varying the RF output voltage, and wherein the controller conveniently controls the switching means such that the voltage between the first and second outputs remains substantially unchanged when the voltage between the second and fourth outputs is varied. Preferably, the controller controls the switching means such that the voltage between the first and third outputs also remains substantially unchanged when the voltage between the third and fourth outputs is varied.
According to one arrangement, the system also includes means for measuring a parameter of the tissue being treated, and wherein the means for varying the RF output voltage is controlled in response to the measured parameter. Preferably the measured parameter is the impedance of the tissue being treated. In this way, the electrosurgical instrument can automatically adjust the proportion of monopolar coagulation as compared with the bipolar coagulation, in response to the detected impedance of the tissue.
The three phase output can be used to drive two-electrode instruments by simply connecting the instrument electrodes to two of the phases on the secondary side, leaving the third secondary winding unconnected. Depending on the voltage output required, the switching waveforms produced by the drive circuit may be altered such that the two connected phases operate in 180° opposition (i.e. with a mutual phase displacement of 180°).
According to a further aspect of the invention, there is provided an electrosurgical generator for generating RF power at a generator operating frequency, wherein the generator comprises a multiple-phase RF output stage having at least three outputs for coupling to respective electrodes of an electrosurgical instrument for delivering RF power to the electrodes, the configuration of the output stage being such that respective RF output voltage waveforms are simultaneously delivered across each pair of the said three outputs at the operating frequency, each such waveform being phase-displaced with respect to the waveforms delivered across the respective other pairs of the three outputs, wherein the output stage comprises: a multiple-phase output transformer, each phase having a primary winding and a secondary winding, the phases being magnetically linked; and a drive circuit coupled to the primary windings for feeding time-varying mutually phase-displaced drive currents to the primary windings, and wherein the transformer core includes a monolithic ferrite core member having at least three limbs each carrying at least one winding, and an interconnecting bridge magnetically connecting the limbs, the said three limbs being of substantially equal cross-section.
According to yet another aspect of the invention, there is provided an electrosurgical generator for generating RF power at a generator operating frequency, wherein the generator comprises a multiple-phase RF output stage having at least three outputs for coupling to respective electrodes of an electrosurgical instrument for delivering RF power to the electrodes, the configuration of the output stage being such that respective RF output voltage waveforms are simultaneously delivered across each pair of the said three outputs at the operating frequency, each such waveform being phase-displaced with respect to the waveforms delivered across the respective other pairs of the three outputs; and wherein the output stage comprises a multiple-phase output transformer each phase having a primary winding and a secondary winding, the phases being magnetically linked; and a drive circuit coupled to the primary windings for feeding time-varying mutually phase-displaced drive currents to the primary windings, and wherein the transformer has a core which comprises at least three independent magnetic circuits each carrying the windings of two phases, the windings of each phase being wound around two of the three independent magnetic circuits.
The invention will be described below by way of example with reference to the drawings.
BRIEF DESCRIPTION OF THE DRAWINGS
FIG. 1 is a diagram illustrating the principle of an electrosurgical system incorporating a generator in accordance with the invention;
FIGS. 2A,2B and2C are vectoral representations of voltages developed at outputs of the generator shown inFIG. 1;
FIG. 3 is a diagram including simplified representations of the circuits of an RF output stage and a drive circuit of the generator;
FIG. 4 is a side elevation of a three-phase transformer used in the generator;
FIG. 5 is a diagram showing an alternative three-phase transformer;
FIG. 6 is a circuit diagram of the RF output stage primary side;
FIG. 7 is a circuit diagram of the RF output stage secondary side;
FIGS. 8A to 8F are waveform diagrams indicative of control pulses for controlling electronic switches of the drive circuit and showing voltage waveforms applied to primary windings of a three-phase transformer forming part of the output stage;
FIG. 9 is a simplified circuit diagram of the drive circuit;
FIG. 10 is a simplified circuit diagram of one phase of an alternative drive circuit;
FIG. 11 is a simplified circuit diagram of a feedback stage of the generator;
FIG. 12 is a block diagram of a control section of the generator;
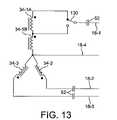
FIG. 13 is a circuit diagram showing a modified RF output stage secondary side;
FIG. 14 is a diagram of another alternative RF output stage;
FIG. 15 is a set of three waveform diagrams illustrating control pulses for controlling electronic switches of the RF output stage ofFIG. 14 when used to power a two-electrode instrument;
FIG. 16 is a simplified circuit diagram of a circuit for use with the RF output stage shown inFIG. 14, for driving a high power two-electrode electrosurgical instrument;
FIG. 17 is a block diagram of a further alternative generator in accordance with the invention;
FIG. 17A is a diagram of a single-phase RF switching circuit forming part of the generator ofFIG. 17;
FIG. 18 is a vector diagram representing voltages developed at the outputs of the generator shown inFIG. 17;
FIG. 19 is a circuit diagram of an alternative RF output stage secondary side to that ofFIG. 7; and
FIG. 20 is a diagram showing an alternative electrosurgical system to that ofFIG. 1.
DETAILED DESCRIPTION OF THE INVENTION
Referring toFIG. 1, an electrosurgical system has anelectrosurgical generator10 in accordance with the invention and anelectrosurgical instrument12 having first, second, andthird electrodes14A,14B,14C.
Thegenerator10 has anRF output stage16 with four output lines18-1,18-2,18-3,18-4 coupled torespective output connections20 on the generator casing, to which electrosurgical instruments can be connected. In the example illustrated inFIG. 1, the electrosurgical instrument is one that operates on a bipolar principle and is shown connected to thegenerator10. (Only the tip of the instrument is shown inFIG. 1.) In this instrument, thefirst electrode14A is a central tissue-cutting or vaporising electrode connected to a first output line18-1 of theRF output stage16 when the instrument is connected to thegenerator10. The second andthird electrodes14B,14C, located on opposite sides of the cuttingelectrode14A, are tissue-coagulating electrodes coupled to second and third output-lines18-2,18-3 of the output stage.
Tissue cutting is achieved when a relatively high RF potential is applied to the cuttingelectrode14A with respect to one or both of the coagulatingelectrodes14B,14C, which act as return electrodes in this case. Generally, a voltage difference of between 250V and 400V RMS is used, preferably between 290V and 350V RMS. For tissue coagulation, a lower RF voltage is used, typically 120V RMS or less. The frequency of operation of the present generator 200 kHz, but high frequencies may be used depending on the performance of the semiconductor devices used in the generator.
The generator can be set to deliver appropriate RF cutting and coagulation voltages on its output lines18-1,18-2,8-3. When the user intends the instrument to cut tissue, a cutting RF signal is applied between output line18-1 and each of output lines18-2 and18-3. Conversely, when the user requires tissue coagulation, the generator is set to apply a coagulating RF waveform between output lines18-2 and18-3, i.e. between the coagulatingelectrodes14B,14C. It is also possible to apply different blended RF waveforms so that cutting and coagulating signals are applied to the respective electrodes simultaneously in differing proportions.
The fourth output line18-4 of the generator allows connection of a patient return pad for monopolar operation, as is well known in the art. By providing means for varying the RF output voltage delivered between output lines18-3 and18-4 as compared with output lines18-2 and18-3, the proportion of bipolar and monopolar coagulation can be adjusted with respect to one another.
In accordance with the invention, the output stages are configured such that the respective output voltage waveforms are applied simultaneously to the three output lines18-1 to18-3 at a common operating frequency but phase-displaced with respect to each other, as shown by the vector diagram ofFIG. 2A. Referring toFIG. 2A, the vectors DA, DB and DC are equally angularly phased-displaced with respect to each other, the angular spacing being 120°. Accordingly, the RF voltage applied to the first output line18-1 is shown by vector DA whilst that applied to output18-2 is shown by vector DB and is timed so as to be 120° phase-displaced with respect to the waveform represented by vector DA. Similarly, the RF voltage applied to output line18-3, represented by vector DC, is timed so as to be 120° phase-displaced with respect to both vectors DA and DB.
In this embodiment, the fourth output line18-4 is connected such that it may be represented by a neutral point D in the vector diagram ofFIG. 2A, this being achieved by configuring the output stage as a three-phase RF transformer with star-connected secondary windings, as already described in more detail hereinafter. It will be understood, however, that with the connections described above with reference toFIG. 1, the RF potential appearing between theelectrodes14A-14C of theinstrument12 correspond to the differences between the voltages delivered on output lines18-1,18-2,18-3, as illustrated by the difference-voltage vector diagram ofFIG. 2B. Specifically, in operation, a cutting potential exists between the cuttingelectrode14A and afirst coagulation electrode14B, as indicated by the vector BA inFIG. 2B. Similarly, a cutting potential exists between the cuttingelectrode14A and the other coagulatingelectrode14C as indicated by the vector AC. A coagulating potential exists between the two coagulatingelectrodes14B,14C, as indicated by the vector CB. That the cutting voltage potentials are higher than the coagulating potential is the result of the magnitude of the RF voltage applied to the output line18-1 with respect to the neutral point being greater than those applied to the output lines18-2,18-3. The way in which this is achieved is described hereinafter.
In practice, the cutting effect may be reduced by periodically reducing each of the voltages delivered on the output lines18-1,18-2,18-3 to yield reduced magnitude voltage vectors B′ A′, A′ C′ and C′ B′, as shown inFIG. 2C. Typically, cutting is performed by applying the vector combination shown by the vectors BA, AC, CB for a period of 10 ms and the lower-voltage vector pattern B′ A′, A′ C′ and C′ B′ for a period of 40 ms in a 50 ms cycle. In other words, in this preferred embodiment, although the ratios between the magnitudes of the respective voltages delivered between the output terminals18-1,18-2,18-3 remains the same, the output voltage differences required for tissue cutting are maintained only on a duty cycle of, in this case, 20%. For the other 80% of the 50 ms cycle, the voltage differences are sufficient only for coagulation. The duty cycle is variable depending on the degrees of cutting and coagulation required. If coagulation only is required, the generator is set to produce the lower-voltage outputs represented by the vectors B′ A′, A′ C′ and C′ B′.
Referring toFIG. 3, the RF output stage comprises a three-phase transformer30 having first, second, and third primary-windings/secondary-winding pairs or “phases”. InFIG. 3, primary and secondary windings of the first phase are shown by the reference numerals32-1 and34-1 respectively. Similarly, the primary and secondary winding of the second and third phases are indicated respectively by the reference numerals32-2,34-2 and32-3,34-3. It should be noted that the primary windings32-1,32-2,32-3 have equal numbers of turns. However, the secondary winding34-1 of the first phase has more turns than each of the secondary windings34-2,34-3 of the second and third phases, the preferred ratio of the numbers of turns being 4.3.
In the preferred generator, all three pairs of primary and secondary windings32-1,34-1;32-2,34-2;32-3,34-3 are wound on a common transformer core. As shown inFIG. 4, each primary-secondary pair has a respective coil former38-1,38-2,38-3, each former, and hence the respective primary and secondary windings, encircling a respective one of three limbs36-1,36-2,36-3 of the core, the limbs being arranged in parallel and each having their ends magnetically linked by core bridge members36-4,36-5. In practice, the core36 comprises two E-shaped components, each arm of each E-shaped component forming half of one of the limbs of the core and abutting one of the arms of the other E-shaped component, the abutment lines being visible as joins40 inFIG. 4. Significantly, the limbs36-1,36-2,36-3 of the core are all of equal cross sectional area and the primary-secondary pairs are matched sets. The core components are made of ferrite material, the material being selected according to the frequency of operation of the generator.
With the transformer construction described above, all three core limbs are directly magnetically linked so that a magnetic flux generated in any one limb gives rise to a magnetic flux in the two other limbs. In an alternative transformer, each primary-secondary pair or “phase” shares each of twocore components42A,42B,42C with only a respective one of the other phases, as shown inFIG. 5. In this alternative transformer, the transformer core is made up of a plurality, here three, ferrite toroids each constituting a respective magnetic circuit. The windings of each phase44-1,44-2,44-3 each links two toroids, in an equiangular triangular configuration, as shown inFIG. 5.
With both transformer constructions described above with reference toFIGS. 4 and 5, it is the transformer core arrangement that provides the magnetic circuits, the transformer core in each case providing at least three magnetic circuits.
Referring again toFIG. 3, the primary windings32-1,32-2,32-3 are interconnected in a delta-configuration incorporating series-resonant capacitor inductor pairs46-1,46-2,46-3 tuned to the generator operating frequency. This delta configuration is seen more clearly in the circuit diagram ofFIG. 6, which also shows the magnetic circuit represented by the transformer core as atriangular loop48 interconnecting the three primary windings32-1,32-2,32-3. As will be seen fromFIGS. 3 and 6, each side of the primary delta circuit comprises the series combination of one of the primary windings and one of the series resonant capacitor-inductor pairs. The vertices represented by the interconnections of the three sides are coupled to respective switchedlines50A,50B,50C, which connect thetransformer30 to adrive circuit51.
In contrast, on the secondary side, the secondary windings34-1,34-2,34-3 are star-connected, as shown more clearly inFIG. 7, each primary winding being coupled to a respective output line18-1,18-2,18-3 via a respective isolatingcapacitor52. It will be noted that the first secondary winding34-1 is shown as two winding sections to represent a greater number of turns of this winding compared to the second and third secondary windings34-2,34-3. It is possible to provide a further output line from the tap between the two sections of the first primary winding34-1 as an alternative output for multiple-electrode coagulating instruments requiring three simultaneously delivered coagulating waveforms.
RF drive waveforms for the transformer output stage are synthesised directly at the operating frequency by a bank of six switching devices arranged in pairs SW1, SW4; SW2, SW5; SW3, SW6, the two switching devices of each pair being connected in series and the pairs being connected in parallel with each other across a variableDC power supply60. The junction between the switching devices of each pair is connected to a respective switchedline50A,50B,50C, as shown inFIG. 3. The switching devices SW1-SW6 are semiconductor switching devices such as bipolar or field-effect transistors (e.g. IGBTs or MOSFETs) and they form part of thedrive circuit51 for the transformer output stage, each switching devices being driven between its conducting state and its non-conducting state by control pulses from acontrol unit65 of the generator. Thecontrol unit65 controls both the switching devices SW1-SW6, viaswitch control lines66, and thepower supply60, via a powersupply control line67.
The switching sequence undertaken by the bank of switching device SW1-SW6 is as shown in Table 1 below.
TABLE 1
Steps/degreesSW1SW2SW3SW4SW5SW6
1/0ONOFFONOFFONOFF
2/60ONOFFOFFOFFONON
3/120ONONOFFOFFOFFON
4/180OFFONOFFONOFFON
5/240OFFONONONOFFOFF
6/300OFFOFFONONONOFF
Back to 1
The references to switching angles of 0°, 60°, 120°, 180°, 240° and 360°, in Table 1 are references to phase angles with respect to a complete cycle at the operating frequency. It will be seen that the switches of each pair are driven to their conducting and non-conducting states in opposition or anti-phase. The phase displacement between each pair is 120°, as will be seen by comparingFIGS. 8A,8B and8C. Specifically, switch SW1 conducts between 0° and 180°, switch SW2 conducts between 120° and 300°, and switch SW3 conducts from 240°, through 360°, to 60°. When switches SW1, SW2, and SW3 are conducting, their counterparts SW4, SW5, SW6 are non-conducting and vice versa. It will be understood that, given that each primary winding32-1,32-2,32-3 is connected between two respective pairs of switching devices, the current through each primary winding and series-resonant circuit combination follows a pattern according to the difference between the switching pulse sequences of the two pairs, as shown inFIGS. 8D,8E, and8F. The fact that the switches SW1-SW6 connect each switchedline50A-50C alternately to a positive supply rail and a negative supply rail of thepower supply60 has the effect of placing a voltage square wave on each switched line. In effect, therefore, square waves are incident across each resonant circuit46-1,46-2,46-3. The effect of these resonant circuits is to transform the square switching waveform substantially to a sinusoidal one at each transformer primary winding32-1,32-2,32-3.
As described above, the primary windings of thetransformer30 are arranged in delta configuration and the secondary windings are arranged in star configuration. In practice, either delta or star configuration can be used for either the primary circuit or the secondary circuit, although the star-connected secondary configuration has the advantage of providing a neutral point for monopolar electrosurgical systems. In either case, it is possible to arrange for an RF voltage of greater magnitude at one output compared with the other outputs for simultaneous tissue cutting and coagulation.
Two phase energisation of the transformer, i.e. without simultaneous cut and coagulation outputs, may be achieved by driving two of the phases of thetransformer30 with a phase shift of 180° with respect to each other, the third phase being left open circuit. Such two-phase energisation is still possible with a delta-connected secondary by driving the ends of the third winding with the same signal, effectively putting a “shorted turn” on the transformer if left connected. Such a two-phase system may be used with a bipolar instrument having two electrodes or a resistive cutting loop as will be described below with reference toFIGS. 14,15 and16.
In the preferred generator, the drive circuit consists of an integrated circuit power module such as the FSAM10SH60 available from Fairchild Semiconductor Corporation.FIG. 9 is a simplified circuit diagram of the module. The module has three high-voltage side switching devices SW1, SW2, SW3 in the form of IGBTs and three low-voltage side switching devices SW4, SW5, SW6, also IGBTs, the IGBTs being arranged in pairs to provide three switchedlines50A,50B,50C, as described above. Each IGBT is driven by an integrated circuit within the module. Specifically, the high-voltage side IGBTs SW1, SW2, SW3 are driven by respective high-voltage ICs80,81,82, while the low-voltage side IGBTs are drive from a signal low-voltage IC83. The ICs80-83 have sixsignal inputs85, one for each IGBT, allowing individual control of the IGBTs using control pulses from thecontrol stage65 over control lines66 (seeFIG. 3).
With regard to the drive circuit switching devices, as an alternative to paired switching devices, the switched lines may be driven by three semiconducting switching devices, i.e. one device per phase. Referring toFIG. 10 (which shows only one of three phases), in each phase asingle MOSFET70 drives a parallel-resonant network comprising aninductor72 and acapacitor74 into resonance at their resonant frequency (which is the operating frequency of the generator). The resulting alternating signal is applied to the respective primary winding32-1 of theoutput stage transformer30. The same configuration is reproduced in the second and third phases, switching of the three MOSFETs being phased-displaced to produce a three-phase output as described above with reference toFIGS. 3 and 8A to8F.
The output of the generator is monitored to set current and voltage limits. Referring toFIG. 11, currents are monitored in each phase using toroidalcurrent transformers88A,88B,88C each having a primary winding connected in series in a respective output line89-1,89-2,89-3. The secondary windings of the toroidalcurrent transformers88A-88C are coupled torectifier circuitry90 which includes output diodes so that the voltage obtained at theoutput82 of the rectifier circuitry represents the highest of the three-phase currents in output lines18-1,18-2,18-3. This current signal is applied to afirst comparator94 which produces a current sensing output SIwhen the current representation online92 exceeds a predetermined threshold representing a generator output current threshold. Only a singlevoltage sensing transformer94 is used, its primary winding being coupled across two of the output lines18-1,18-2. As in the case of the current sensing circuits, the transformer secondary winding is coupled to arectifier96, the rectified output-voltage-representative signal on therectifier output line98 being applied to twocomparators97,98, one setting a coagulation voltage threshold and the other setting a cut voltage threshold to produce respective coagulation voltage and cut voltage sensing signals SVCOAGand SVCUT. These current and voltage sensing signals are fed back to the control stage65 (seeFIG. 3) onsensing lines100.
Thecontrol stage65 will now be described in more detail with reference toFIG. 12. In the preferred generator, the control stage is implemented in a CPLD (complex programmable logic device) comprising a number of “macro cell” registers which, in combination with AND/OR gates allows Boolean equations to be implemented, a compiler taking a script file or a schematic which is boolean to a sum of products. The CPLD produces control pulses for driving the switching devices SW1-SW6 (FIG. 3) to synthesise phase-displaced RF waveforms. It will be understood that such waveforms may be generated in a variety of ways, the CPLD being only one possible device.
Referring toFIG. 12, a number of logic blocks are implemented using the CPLD to produce the required control pulses. Several of the blocks are clocked by a 25MHz clock110.
In a masterpulse timing counter112, the 25 MHz clock signal is divided by 120 to yield the generator operating frequency of 208 kHz. During each RF cycle of the operating frequency, the count output counts up at 25 MHz from 0 to 120 before being reset, and six output registers are configured to be set and reset at counts corresponding to 0° and 180° for the first phase switching devices, at 120° and 300° for the second phase switching devices and at 240° and 60° for the third-phase switching devices, thereby producing six control waveforms on the master pulsetiming counter outputs112A that correspond to the three waveforms described above with reference toFIGS. 8A to 8C, and their three inverses. These register outputs are fed to a first set of six inputs of acontrol pulse generator114.
Control of the generator output voltage and output current is effected by applying pulse width modulation to the control signals for the switching devices SW1-SW6 (FIG. 3) in response to the sensing signals fed back from the output current and voltage sensing circuitry described above with reference toFIG. 11. The sensing signals SVCOAG, SVCUTand SIare fed torespective inputs116A of anevent detectors section116 of the CPLD. Depending on the mode setting online118, the event detectors produce “RF event” signals on two event detector outputs116B,116C when either the cut voltage sensing signal SVCUTor the coagulation voltage sensing signal SVCOAGindicates that the cut output voltage threshold or the coagulation output voltage threshold respectively has been exceeded. RF event signals are also produced onoutputs116B,116C if the output current threshold, as indicated by sensing signal SIindicates that the output current threshold has been exceeded.
A first RF event signal, produced on thefirst output116B of theevent detector circuit116 is fed to apulse width counter120 configured to generate an event value signal on itsoutput120A which has a normal value when no RF “events” are detected and a value which deviates from the normal value by an amount depending on the length of time that the sensing signals oninputs116A of the event detectors are indicative of a threshold having been exceeded. The event values are fed to apulse width modulator122 which has threeoutputs122A coupled to a second set of threeinputs114B of thecontrol pulse generator114 that constitute blocking inputs. Thepulse width modulator122 operates to convert the event values into variable width blocking pulses that are timed so that, when combined with the basic timing sequences fed to the control pulse generator onlines112A, the widths of the control pulses fed from theoutputs114C of the control pulse generator to the bank of switching devices SW1-SW6 (seeFIG. 3) are decreased when RF events are detected.
In this connection, as described above, the switching devices of each pair of the bank of switching devices SW1-SW6 are driven in anti-phase, i.e. 180° out of phase with each other so that, in voltage terms, the junction of the two devices of each pair is alternately pulled to the voltages of the positive and negative supply rails of the power supply60 (FIG. 3). The width of each period of conduction of each switching device is reduced by reducing the width of the control pulses as described above. The configuration of thepulse width modulator122 and thecontrol pulse generator114 is such that the blocking pulses on the blockingpulse inputs114B of thecontrol pulse generator114 have the effect of retarding the leading edge of each control pulse and advancing the trailing edge of each such pulse, as shown by the dotted lines inFIGS. 8A,8B and8C. It will be appreciated, therefore, that for each pair of switching devices SW1, SW4; SW2, SW5; SW3, SW6 there are periods when one of the devices is conducting and the other is non-conducting, periods when neither of the two devices is conducting, and periods when the other device is conducting and the first device is non-conducting. In the periods when neither device is conducting, no current is supplied from the power supply via the respective switching device pair. Accordingly, when an “event” is detected, power to all three transformer phases is reduced to a degree depending on the duration of the event, thereby reducing the output power of the generator until the output voltage or output current no longer exceeds the relevant threshold.
One of the functions of theevent detector stage116 is to synchronise the RF event signal onoutput116B with the RF cycles generated by the masterpulse timing counter112 insofar as the RF event signal duration is sufficient to produce blocking pulses of the required length. The RF event may occur at any time in the RF cycle and may be of short duration compared to the RF cycle time. On such occasions the event detector stage stores the occurrence of the event and is cleared at the end of every RF cycle.
The pulse width modulation process just described allows the generator circuitry to react very rapidly to over-voltage or over-current events. Further, slower output power reduction is obtained by feeding a second RF event signal from thesecond output116C of theevent detector stage116 to interrupt the power supply, causing the voltage fed to the bank of switching devices SW1-SW6 to reduce. In this case, the synchronisation of the RF event signal on thesecond output116C of theevent detector stage116 is matched to the cycling time of control circuitry within the power supply. Basic power setting is achieved through a powersetting control section124 of the CPLD, which hasinputs124A responsive to control settings on a front panel of the generator. Blending of output voltage combinations, as described above with reference toFIG. 2C, may be produced by constantly alternating the mode setting input online118 to theevent detector116, according to a predetermined duty cycle and/or by automatically alternating the PSUsetting control section124 in order to reduce the supply voltage produced by the variable DC power supply60 (seeFIG. 3), again, according to the predetermined duty cycle.
As a further alternative mode of operation for pure coagulation of tissue, the first output line18-1 of theRF output stage16 may be coupled to the secondary winding34-1 by a switching device, specifically a relay, wired to couple the output line18-1 alternatively to the end of the star-connected first secondary winding34-1 or to a tap between the two parts34-1A,34-1B of the winding, as shown inFIG. 13. The winding part34-1B nearest the star point has the same number of turns as the second and third secondary windings34-2,34-3 so that, when theswitch130 is in a “coagulation” position, voltages appropriate for coagulation only are delivered between the three output lines18-1,18-2, and18-3 (and with respect to the neutral output line18-4, if used). In this case, the vector diagram of the RF difference voltages on output lines18-1,18-2 and18-3 is in the form of an equilateral triangle, each difference voltage having a magnitude of about 120 volts RMS. As previously described, neutral output line18-4 can be connected to a remote return pad, and the voltage supplied to output line18-4 can be adjusted to vary the amount of monopolar coagulation that is desired. The voltage can be varied by means of the pulse width modulation previously described, using switching devices SW1-SW6. Alternatively, the secondary windings may be in the form of a plurality of series connected windings, which can be switched into and out of circuit to vary the voltages produced. The switching of the windings can be controlled such that when the voltage between the bipolar coagulation electrodes and the remote return pad is varied, the voltage between the cutting electrode and the bipolar coagulation electrodes remains substantially unchanged. In this way, the effectiveness of the tissue cutting action of the instrument is not compromised when adjustments are made between the monopolar and bipolar coagulation effect.
Another enhancement is that a parameter of the tissue being treated can be measured, such as tissue impedance, and the variation between the bipolar and monopolar effect can be varied in response to changes in the parameter. In this way, an automatic change to the coagulation depth can be made in response to the tissue impedance indicating that such a change would be beneficial.
The generator may be configured to drive two-electrode instruments, as shown inFIG. 14. Only the first34-1 and one other34-3 of the secondary windings of thetransformer30 are connected to theinstrument12A, the remaining secondary winding34-2 being left not connected. It is preferred that arelay135 is incorporated in series in the second-phase primary circuit, i.e. the phase in which the secondary winding is not connected.
The waveforms driving the switching devices SW1-SW6 of thedrive circuit51 may remain as described above with reference toFIGS. 8A to 8F but, preferably, are modified such that those of the third phase (and the second phase, if desired) are driven in direct 180° antiphase with respect to the first phase, as shown inFIG. 15. It can be seen that there is a driving waveform, i.e. the difference between drive inputs A and B, across the first primary winding32-1, whereas the third primary winding32-3 has the same waveform across it, but inverted. The secondary primary winding has both ends at the same potential, therefore no voltage is developed across it. The flux from the other two windings are in opposition in the central limb36-2 (FIG. 4) of the transformer core. Although this results largely in cancellation of magnetic flux components from the other limbs36-1,36-3, therelay135 is included to avoid imbalances owing to small variations in the winding characteristics.
Providing for a two-electrode generator mode further increases the versatility of the generator insofar as it may be used to power a bipolar loop electrode instrument such as that disclosed in U.S. Pat. No. 7,211,081 the disclosure of which is incorporated herein by reference. Referring toFIG. 16, an energy storage capacitor orcapacitors136 is included across the supply rails of the variableDC power supply60, together with apotential divider138 which feeds the inputs of twocomparators140A,140B for sensing upper and lower supply voltage thresholds using different reference voltage inputs V1and V2. The comparator outputs are coupled to an RS register in the control unit65 (FIG. 14) of the generator for enabling and disabling the generation of RF power via thedrive circuit51. In operation of the circuit ofFIG. 16, thepower supply16 initially charges up thecapacitor136 until the supply voltage across thepotential divider138 reaches an upper threshold value at which thefirst comparator140A changes state (typically when the supply voltage is 135 volts) whereupon theregister142 enables the RF generation process with the result that a high current (typically 12 amps) is delivered across the electrodes of theinstrument12A, which are immersed in saline at the operation site. This initial high current burst reduces the voltage on thecapacitor136 to a lower level (about 105 volts), whereupon thesecond comparator140B changes state and theregister142 stops of the RF generation process. With the RF output stopped, thepower supply60 once again charges up thecapacitor136 so that the voltage increases so as to return to the point at which thefirst comparator140A trips once again, causing the RF generation process to be restarted. In practice, owing to the high current level passed through the saline between the electrodes of theinstrument12A, the saline is vaporised and a plasma is produced, thereby presenting a higher impedance to the RF output stage. This, in turn, means that the voltage across thecapacitor136 and, therefore, across thedrive circuit51 is maintained at the upper threshold (135 volts) and the plasma is maintained between the instrument electrodes.
In a further alternative generator in accordance with the invention, phase-displaced RF output voltage waveforms are produced using two single-phase output transformers driven with orthogonal drive waveforms, as shown inFIGS. 17 and 18.
Referring toFIG. 17, the configuration of the generator is similar to that described above with reference toFIGS. 3 and 9 to12 insofar as three output lines18-1,18-2,18-3 deliver RF output voltage waveforms from transformersecondary windings145A,145B. The output windings and interconnections of the generator ofFIG. 17 are shown by way of example only. The respective transformerprimary windings147A,147B are driven via LC filtering components bydrive circuitry51A,51B which directly synthesises RF square-wave drive waveforms (typically having a peak-to-peak amplitude of 2V). As in the generator described above with reference toFIG. 3, thedrive circuitry51A,51B includes semiconductor switching devices SW connected in a bridge configuration, as shown inFIG. 17A. Acontrol unit65 drives the switching devices SW of the switching circuitry (FIG. 17A) and pulse-width-modulates the drive signals to the switching devices in response to RF voltage andcurrent sensing inputs149A,149B,150A,150B which, in this case, are taken from the secondary side and primary side respectively of the transformer output stage. Auser interface155 coupled to thecontrol unit65 allows dosage, intensity and waveform selection viacontrol line155A and receives treatment progression data from thecontrol unit65 viaoutput line155B. Furthermore, as in the embodiment described above with reference toFIG. 12, AC-mains-drivenpower supply circuitry152A,152B controls output power by controlling supply voltages in response to event signals from thecontrol unit65 viademand lines154A,154B. Each power supply circuit comprises an adjustable-DC-output rectifier, and DC power measurement signals picked up from the powersupply circuitry outputs1520 are fed viafurther sensing lines65M,65N to thecontrol unit65.
The main differences between this generator and that described above with reference toFIGS. 3 and 9 to12 are that it has a first single-phase drive circuit51A synthesising drive signals for a first single-phase transformer156A, the secondary winding145A of which is coupled to a cutting output line18-1, whereas a second, independently controlled single-phase drive circuit51B synthesises an RF drive waveform which is orthogonal to that generated by thefirst drive circuit51A, for a second single-phase transformer156B the secondary of which has respective ends coupled to second and third output lines18-2,18-3 for connection to coagulation electrodes. Note that the secondary winding145B of thesecond transformer156B has a central tap158 which is connected to the opposite end of the secondary winding145A of thefirst transformer156A from the first RF output line18-1.
Bearing in mind that the waveforms developed across the twosecondary windings145A,145B are phase-displaced by 90° with respect to each other, it will be appreciated that, using the tap158 as a reference, a vectoral representation of the output voltages on the output lines18-1,18-2,18-3 is in the form of a “T”, as shown inFIG. 18. (InFIG. 18, the “T” appears inverted, because the voltages on the second and third output lines18-2,18-3 (A′, A″) appear at the bottom of the diagram.) The output voltages developed between the output lines18-1,18-2,18-3 are phase-displaced according to a triangular vector pattern, in the same way as described above with reference toFIG. 2B.
In this embodiment, thepower supply circuitry152 consists of two separately controllable DCpower supply units152A,152B each driving arespective drive circuit51A,51B. This means that the magnitude of the cutting voltage output waveform, which is the output waveform obtained from thefirst transformer156A and is determined, in part, by the number of turns on its secondary winding154A, is controllable separately from the magnitude of the coagulation voltage delivered between output lines18-2,18-3 via thesecond transformer156B. The number of turns of the secondary winding145B is set to produce a coagulation voltage which is much lower than the cut voltage developed between, respectively, the two output line pairs18-1,18-2 and18-1,18-3.
As will be evident from this description, alteration of the cutting voltage amplitude causes no alteration in the coagulation voltage amplitude VCOAG3 inFIG. 18. Alterations to the coagulation voltage amplitude VCOAG3 cause minor percentage changes to the relatively larger cutting voltages VCUT1 and VCUT2, and these are independently compensated for within the control circuitry by adjustment of the RF square-wave output from thefirst drive circuit51A, determined by the DC voltage supplied from the firstpower supply unit152A.
For multi-phase coagulation without cutting, thefirst drive circuit51A, which synthesizes cutting voltage, is operated at slightly less than one third of the amplitude used for cutting in order to match the voltage amplitude synthesized by the coagulation-onlydrive circuit51B. This results in three equal-amplitude RF coagulation voltages VCOAG1, VCOAG2 and VCOAG3 as shown inFIG. 18, each phase-displaced by 120° with respect to the others.
Rapid output voltage adjustment can be performed, as described above with reference toFIGS. 11 and 12, by pulse width modulation or by interrupting individual RF cycles. The generator may optionally include a local closed loop, as shown, to regulate the DC power applied to the RF switching stages.
In a further alternative generator, not shown in the drawings, a 3-phase output transformer may have star-connected primary windings. In this case, each switching device pair SW1, SW4; SW2, SW5; SW3, SW6 of thedrive circuit51 described above with reference toFIG. 3 has itsrespective output line50A,50B,50C connected to one primary winding32-1,32-2,32-3 only. A half-bridge bus capacitor leg connected in parallel with the switching device pairs has a central node coupled to the star point formed by interconnecting the other ends of the three primary windings32-1,32-2,32-3. The half-bridge bus capacitor leg consists of two large capacitors connected in series across the power supply rails, each with a DC biasing resistor coupled across it in parallel, the star point being connected to the central junction of the two capacitors and the two resistors.
FIG. 19 shows an alternative RF output stage secondary side, in which the secondary windings are star connected, in a similar manner toFIG. 7 as previously described. The first secondary winding34-1 is represented by two windings as before, the windings being designated L9 and L10 inFIG. 19. The second secondary winding34-2 is formed as four series-connected winding portions L5, L6, L7, L8. The third secondary winding34-3 is also formed of four series-connected winding portions, L1, L2, L3, L4. Aswitch controller170 is connected to individual switches S1 to S8 present on the second and third secondary windings34-2,34-3, the switches S1 to S8 respectively interconnecting the winding portions in each series-connected chain L1-L4; L5-L8 so as to be able to selectively connect and disconnect the individual winding portions L1 to L8; specifically by connecting each winding portion in the chain or shorting it out, according to signals from thecontroller170. In a similar manner,switch controller171 is connected to individual switch S9 present on the first secondary winding34-1, the switch S9 being able to selectively connect and disconnect the winding portion L9, by either coupling it in series with the other winding portion L10 of the first secondary winding31-1 or shorting it out.
The first output18-1 is connected to thefirst electrode14A as shown inFIG. 20, and the output lines18-2,18-3 are connected to the second andthird electrodes14B,14C, in exactly the same way as described with reference toFIG. 1. However, the instrument ofFIG. 20 is also provided with aremote return pad172, for attachment to the patient at a site remote from the tissue to be treated. The neutral output18-4 is taken from the centre of the star configuration, and is connected to theremote return pad172.
The operation of the arrangement ofFIGS. 19 and 20 will now be described. The output stage delivers RF output voltages on outputs18-1,18-2,18-3,18-4 toelectrodes14A,14B,14C and thereturn pad172 respectively, in the same way as previously described with reference toFIGS. 7 and 13. The voltage differentials between the respective outputs and electrodes are as described and represented earlier with reference to the vector diagrams ofFIGS. 2A,2B,2C. However, the voltage differentials can be varied by theswitch controllers170,171 as follows.Switch unit170 sends signals to individual switches S1 to S8 to selectively connect or disconnect windings L1 to L8 as desired. This means that the number of turns in the secondary windings34-2,34-3 can be varied in a number of discrete selections depending on the combination of windings L1 to L8 that are selected to be connected in series. Similarly,switch controller171 sends signals to switch S9 to switch in and switch out series winding portion L9 within the secondary winding34-1. The effect of these changes will be that the voltage differential between neutral output18-4 and the other outputs can be varied. In particular, the voltage differential between the neutral output18-4 and the second and third outputs18-2,18-3 can be varied, and this has the effect of moving the neutral point D inFIG. 2A up and down the vertical line DA inFIG. 2A.
The effect of varying the neutral point with respect to the other outputs will be that the ratio will change between that proportion of the voltage differential that is supplied between thebipolar coagulation electrodes14B,14C and that supplied between the coagulation electrodes and theremote pad172. This will accordingly affect whether the action of theinstrument12 will be largely bipolar, largely monopolar (i.e. between the electrodes on the instrument and the remote return pad), or a proportion of both. By using theswitch controllers170,171 to vary the respective voltages, the relative proportions between the bipolar and monopolar tissue effects can be selected and varied.
Theswitch controllers170,171 can be manually operated by the user of the instrument, or automatically controlled in response to a measured parameter of the tissue being treated, such as tissue impedance. When the tissue impedance indicates that more monopolar tissue effect would be desirable (i.e. in the case of a low impedance indicating tissue bleeding), the switchingcontrollers170,171 can be automatically adjusted to increase the monopolar tissue effect. Conversely, when the measured tissue impedance indicates that more bipolar tissue effect would be desirable (i.e. a higher impedance indicating less tissue bleeding), thecontrollers170,171 can be automatically adjusted to increase the bipolar tissue effect. In this way, the electrosurgical system reacts automatically to changes in the tissue being treated, avoiding the need for the operator to manually adjust the system.

Claims (11)

1. An electrosurgical system comprising:
an electrosurgical generator for generating radio frequency (RF) power at a generator operating frequency,
an electrosurgical instrument, and
a remote return pad,
the electrosurgical instrument and the remote return pad both being coupled to the generator, the electrosurgical instrument including at least three tissue treatment electrodes,
a first tissue treatment electrode being a cutting electrode and second and third tissue treatment electrodes being coagulation electrodes,
the generator comprising a multiple-phase RF output stage having at least four outputs, three of the outputs being coupled to respective electrodes of the electrosurgical instrument for delivering RF power to the electrodes and the fourth output being coupled to the remote return pad,
the multiple-phase RF output stage configured such that continuous RF output voltage waveforms are simultaneously delivered across the at least four outputs at the operating frequency, such that the waveforms delivered across a pair of the at least four outputs is phase-displaced with respect to the waveforms delivered across a different pair of the at least four outputs,
the generator being configured so that an RF output voltage waveform delivered between the first tissue treatment electrode and at least one of the second and third tissue treatment electrodes has a magnitude that is sufficient to cause tissue vaporisation at the respective tissue treatment electrodes used for tissue vaporisation treatment when the electrosurgical system is used for such tissue treatment, and
a circuit for varying a relative preponderance of monopolar and bipolar coagulation by, respectively, varying the RF output voltage delivered between either of the second and third outputs and the fourth output as compared with the RF output voltage delivered between the second and third outputs.
US12/621,9352008-05-232009-11-19Electrosurgical generator and systemActive2031-01-06US8398627B2 (en)

Priority Applications (1)

Application NumberPriority DateFiling DateTitle
US12/621,935US8398627B2 (en)2008-05-232009-11-19Electrosurgical generator and system

Applications Claiming Priority (6)

Application NumberPriority DateFiling DateTitle
GB0809461.72008-05-23
GBGB0809461.72008-05-23
GBGB0809461.7AGB0809461D0 (en)2008-05-232008-05-23An electrosurgical generator and system
US13610908P2008-08-122008-08-12
US12/453,698US8303583B2 (en)2008-05-232009-05-19Electrosurgical generator and system
US12/621,935US8398627B2 (en)2008-05-232009-11-19Electrosurgical generator and system

Related Parent Applications (1)

Application NumberTitlePriority DateFiling Date
US12/453,698Continuation-In-PartUS8303583B2 (en)2008-05-232009-05-19Electrosurgical generator and system

Publications (2)

Publication NumberPublication Date
US20100114090A1 US20100114090A1 (en)2010-05-06
US8398627B2true US8398627B2 (en)2013-03-19

Family

ID=42132329

Family Applications (1)

Application NumberTitlePriority DateFiling Date
US12/621,935Active2031-01-06US8398627B2 (en)2008-05-232009-11-19Electrosurgical generator and system

Country Status (1)

CountryLink
US (1)US8398627B2 (en)

Cited By (12)

* Cited by examiner, † Cited by third party
Publication numberPriority datePublication dateAssigneeTitle
US9050113B2 (en)2010-01-152015-06-09Medtronic Advanced Energy LlcElectrosurgical devices, electrosurgical unit and methods of use thereof
US9116179B2 (en)2012-12-172015-08-25Covidien LpSystem and method for voltage and current sensing
US9204921B2 (en)2012-12-132015-12-08Cook Medical Technologies LlcRF energy controller and method for electrosurgical medical devices
US9364277B2 (en)2012-12-132016-06-14Cook Medical Technologies LlcRF energy controller and method for electrosurgical medical devices
US9636165B2 (en)2013-07-292017-05-02Covidien LpSystems and methods for measuring tissue impedance through an electrosurgical cable
US9863983B2 (en)2012-12-172018-01-09Covidien LpSystem and method for voltage and current sensing
US9872719B2 (en)2013-07-242018-01-23Covidien LpSystems and methods for generating electrosurgical energy using a multistage power converter
US10278764B2 (en)2014-12-022019-05-07Covidien LpElectrosurgical generators and sensors
US10281496B2 (en)2014-12-022019-05-07Covidien LpElectrosurgical generators and sensors
US10292753B2 (en)2014-12-022019-05-21Covidien LpElectrosurgical generators and sensors
US10908187B2 (en)2016-05-022021-02-02Covidien LpCurrent sensor with reduced voltage coupling
US12226143B2 (en)2020-06-222025-02-18Covidien LpUniversal surgical footswitch toggling

Families Citing this family (18)

* Cited by examiner, † Cited by third party
Publication numberPriority datePublication dateAssigneeTitle
WO2005050151A1 (en)2003-10-232005-06-02Sherwood Services AgThermocouple measurement circuit
US7396336B2 (en)2003-10-302008-07-08Sherwood Services AgSwitched resonant ultrasonic power amplifier system
US8262652B2 (en)2009-01-122012-09-11Tyco Healthcare Group LpImaginary impedance process monitoring and intelligent shut-off
US8685015B2 (en)*2009-09-242014-04-01Covidien LpSystem and method for multi-pole phase-shifted radio frequency application
US9144455B2 (en)2010-06-072015-09-29Just Right Surgical, LlcLow power tissue sealing device and method
US9039694B2 (en)*2010-10-222015-05-26Just Right Surgical, LlcRF generator system for surgical vessel sealing
JP6328425B2 (en)*2010-11-052018-05-23エシコン・エンド−サージェリィ・インコーポレイテッドEthicon Endo−Surgery,Inc. Surgical instrument with modular end effector and detection mechanism
US9872723B2 (en)2013-09-242018-01-23Covidien LpSurgical instruments, systems, and methods incorporating wireless bi-directional communication
US10695119B2 (en)2013-09-242020-06-30Covidien LpPower and bi directional data interface assembly and surgical system including the same
US10188446B2 (en)2013-10-162019-01-29Covidien LpResonant inverter
US10105172B2 (en)2013-10-162018-10-23Covidien LpRadiofrequency amplifier impedance optimization
US20160030104A1 (en)*2014-08-012016-02-04Covidien LpMethods for improving high frequency leakage of electrosurgical generators
RU2737328C2 (en)*2015-12-282020-11-27Иновио Фармасьютикалз, Инк.Electroporation device with an improved signal generator
US10582962B2 (en)*2016-01-232020-03-10Covidien LpSystem and method for harmonic control of dual-output generators
US10637293B2 (en)*2016-09-302020-04-28University Of Tennessee Research FoundationDual-frequency mode transmitter for wireless power transfer
USD904611S1 (en)2018-10-102020-12-08Bolder Surgical, LlcJaw design for a surgical instrument
USD934423S1 (en)2020-09-112021-10-26Bolder Surgical, LlcEnd effector for a surgical device
USD1046129S1 (en)2021-04-142024-10-08Bolder Surgical, LlcEnd effector for a surgical instrument

Citations (27)

* Cited by examiner, † Cited by third party
Publication numberPriority datePublication dateAssigneeTitle
US1926689A (en)*1931-05-181933-09-12Bbc Brown Boveri & CieTransformer system
US3885569A (en)1972-11-211975-05-27Birtcher CorpElectrosurgical unit
US4085603A (en)1974-05-211978-04-25Jaroslav VanekMethod of making V-shaped magnetic circuit elements
JPS5989405A (en)1982-06-231984-05-23Hitachi LtdThree-phase transformer
US4532924A (en)1980-05-131985-08-06American Hospital Supply CorporationMultipolar electrosurgical device and method
US4572190A (en)1983-05-261986-02-25Cgr/MevHyperthermia apparatus
EP0518565A1 (en)1991-06-101992-12-16Gec Alsthom LimitedMethod of making distribution transformers
US5383917A (en)*1991-07-051995-01-24Jawahar M. DesaiDevice and method for multi-phase radio-frequency ablation
GB2281863A (en)1993-09-111995-03-22John Hugh Davey WaltonMedical diathermy apparatus
US5540682A (en)*1994-01-191996-07-30Smiths Industries Public Limited CompanyElectrosurgery apparatus
GB2299216A (en)1995-03-211996-09-25John Hugh Davey WaltonPolyphase ring core transformer and electrical power converter arrangement
WO1996037156A1 (en)1995-05-221996-11-28Issa Muta MResectoscope electrode assembly with simultaneous cutting and coagulation
WO1998011938A1 (en)1996-09-231998-03-26Uab Research FoundationCardiac electrode catheter
GB2331247A (en)1997-11-131999-05-19John Hugh Davey WaltonSurgical diathermy apparatus
WO1999056647A1 (en)1998-05-051999-11-11Cardiac Pacemakers, Inc.Rf ablation apparatus having high output impedance drivers
US6054914A (en)1998-07-062000-04-25Midcom, Inc.Multi-layer transformer having electrical connection in a magnetic core
US6269009B1 (en)1997-09-232001-07-31John Hugh Davey WaltonCompact polyphase electrical power converter having a single ferromagnetic core
US6416509B1 (en)1995-06-232002-07-09Gyrus Medical LimitedElectrosurgical generator and system
US20030163124A1 (en)2001-08-272003-08-28Goble Coliin C.O.Electrosurgical generator and system
US20030199868A1 (en)1991-07-052003-10-23Desai Jawahar M.Device and method for multi-phase radio-frequency ablation
US20040032315A1 (en)2002-08-192004-02-19Lewis IllingworthVariable inductor responsive to AC current level
US20060015095A1 (en)2002-05-272006-01-19Kai DesingerDevice for electrosurgically destroying body tissue
WO2006086882A1 (en)2005-02-172006-08-24Baylis Medical Company Inc.Electrosurgical device and method
US20070088413A1 (en)2005-10-192007-04-19Thermage, Inc.Treatment apparatus and methods for delivering energy at multiple selectable depths in tissue
US20070203482A1 (en)*2006-02-272007-08-30Moshe Ein-GalBlended monopolar and bipolar application of RF energy
WO2008101356A1 (en)2007-02-252008-08-28Baylis Medical Company Inc.Methods for control of energy delivery to multiple energy delivery devices
US20080287948A1 (en)*2007-05-042008-11-20Gyrus Medical LimitedElectrosurgical system

Patent Citations (29)

* Cited by examiner, † Cited by third party
Publication numberPriority datePublication dateAssigneeTitle
US1926689A (en)*1931-05-181933-09-12Bbc Brown Boveri & CieTransformer system
US3885569A (en)1972-11-211975-05-27Birtcher CorpElectrosurgical unit
US4085603A (en)1974-05-211978-04-25Jaroslav VanekMethod of making V-shaped magnetic circuit elements
US4532924A (en)1980-05-131985-08-06American Hospital Supply CorporationMultipolar electrosurgical device and method
JPS5989405A (en)1982-06-231984-05-23Hitachi LtdThree-phase transformer
US4572190A (en)1983-05-261986-02-25Cgr/MevHyperthermia apparatus
EP0518565A1 (en)1991-06-101992-12-16Gec Alsthom LimitedMethod of making distribution transformers
US5383917A (en)*1991-07-051995-01-24Jawahar M. DesaiDevice and method for multi-phase radio-frequency ablation
US20030199868A1 (en)1991-07-052003-10-23Desai Jawahar M.Device and method for multi-phase radio-frequency ablation
GB2281863A (en)1993-09-111995-03-22John Hugh Davey WaltonMedical diathermy apparatus
US5540682A (en)*1994-01-191996-07-30Smiths Industries Public Limited CompanyElectrosurgery apparatus
GB2299216A (en)1995-03-211996-09-25John Hugh Davey WaltonPolyphase ring core transformer and electrical power converter arrangement
WO1996037156A1 (en)1995-05-221996-11-28Issa Muta MResectoscope electrode assembly with simultaneous cutting and coagulation
US6416509B1 (en)1995-06-232002-07-09Gyrus Medical LimitedElectrosurgical generator and system
WO1998011938A1 (en)1996-09-231998-03-26Uab Research FoundationCardiac electrode catheter
US6269009B1 (en)1997-09-232001-07-31John Hugh Davey WaltonCompact polyphase electrical power converter having a single ferromagnetic core
GB2331247A (en)1997-11-131999-05-19John Hugh Davey WaltonSurgical diathermy apparatus
WO1999056647A1 (en)1998-05-051999-11-11Cardiac Pacemakers, Inc.Rf ablation apparatus having high output impedance drivers
US6171305B1 (en)*1998-05-052001-01-09Cardiac Pacemakers, Inc.RF ablation apparatus and method having high output impedance drivers
US6054914A (en)1998-07-062000-04-25Midcom, Inc.Multi-layer transformer having electrical connection in a magnetic core
US20030163124A1 (en)2001-08-272003-08-28Goble Coliin C.O.Electrosurgical generator and system
US6966907B2 (en)*2001-08-272005-11-22Gyrus Medical LimitedElectrosurgical generator and system
US20060015095A1 (en)2002-05-272006-01-19Kai DesingerDevice for electrosurgically destroying body tissue
US20040032315A1 (en)2002-08-192004-02-19Lewis IllingworthVariable inductor responsive to AC current level
WO2006086882A1 (en)2005-02-172006-08-24Baylis Medical Company Inc.Electrosurgical device and method
US20070088413A1 (en)2005-10-192007-04-19Thermage, Inc.Treatment apparatus and methods for delivering energy at multiple selectable depths in tissue
US20070203482A1 (en)*2006-02-272007-08-30Moshe Ein-GalBlended monopolar and bipolar application of RF energy
WO2008101356A1 (en)2007-02-252008-08-28Baylis Medical Company Inc.Methods for control of energy delivery to multiple energy delivery devices
US20080287948A1 (en)*2007-05-042008-11-20Gyrus Medical LimitedElectrosurgical system

Non-Patent Citations (2)

* Cited by examiner, † Cited by third party
Title
Search Report issued in corresponding International Application No. PCT/GB2009/001292 (Date Search Completed: Sep. 18, 2009).
Search Report issued in U.K. Priority Application No. GB0809461.7 (Date of Search: Sep. 29, 2008).

Cited By (19)

* Cited by examiner, † Cited by third party
Publication numberPriority datePublication dateAssigneeTitle
US9050113B2 (en)2010-01-152015-06-09Medtronic Advanced Energy LlcElectrosurgical devices, electrosurgical unit and methods of use thereof
US11419661B2 (en)2010-01-152022-08-23Medtronic Advanced Energy, LlcElectrosurgical devices, electrosurgical unit and methods of use thereof
US9943356B2 (en)2010-01-152018-04-17Medtronic Advanced Energy LlcElectrosurgical devices, electrosurgical unit and methods of use thereof
US9204921B2 (en)2012-12-132015-12-08Cook Medical Technologies LlcRF energy controller and method for electrosurgical medical devices
US9364277B2 (en)2012-12-132016-06-14Cook Medical Technologies LlcRF energy controller and method for electrosurgical medical devices
US9116179B2 (en)2012-12-172015-08-25Covidien LpSystem and method for voltage and current sensing
US9366703B2 (en)2012-12-172016-06-14Covidien LpSystem and method for voltage and current sensing
US9863983B2 (en)2012-12-172018-01-09Covidien LpSystem and method for voltage and current sensing
US9872719B2 (en)2013-07-242018-01-23Covidien LpSystems and methods for generating electrosurgical energy using a multistage power converter
US11135001B2 (en)2013-07-242021-10-05Covidien LpSystems and methods for generating electrosurgical energy using a multistage power converter
US9655670B2 (en)2013-07-292017-05-23Covidien LpSystems and methods for measuring tissue impedance through an electrosurgical cable
US9636165B2 (en)2013-07-292017-05-02Covidien LpSystems and methods for measuring tissue impedance through an electrosurgical cable
US10278764B2 (en)2014-12-022019-05-07Covidien LpElectrosurgical generators and sensors
US10281496B2 (en)2014-12-022019-05-07Covidien LpElectrosurgical generators and sensors
US10292753B2 (en)2014-12-022019-05-21Covidien LpElectrosurgical generators and sensors
US10987154B2 (en)2014-12-022021-04-27Covidien LpElectrosurgical generators and sensors
US10908187B2 (en)2016-05-022021-02-02Covidien LpCurrent sensor with reduced voltage coupling
US11703525B2 (en)2016-05-022023-07-18Covidien LpCurrent sensor with reduced voltage coupling
US12226143B2 (en)2020-06-222025-02-18Covidien LpUniversal surgical footswitch toggling

Also Published As

Publication numberPublication date
US20100114090A1 (en)2010-05-06

Similar Documents

PublicationPublication DateTitle
US8398627B2 (en)Electrosurgical generator and system
US8303583B2 (en)Electrosurgical generator and system
US8298226B2 (en)Electrosurgical generator and system
AU2007200272B2 (en)Dual synchro-resonant electrosurgical apparatus with bi-directional magnetic coupling
CN106994041B (en) Dual Output Electrosurgical Generators and Electrosurgical Systems
CN103635157B (en) An electrosurgical device with real-time radiofrequency tissue energy control
US6238387B1 (en)Electrosurgical generator
US8685015B2 (en)System and method for multi-pole phase-shifted radio frequency application
CN204542358U (en)Electrosurgical system
US9155585B2 (en)Battery-powered electrosurgical forceps with multi-turn selectable-ratio transformer
US20030181898A1 (en)RF filter for an electrosurgical generator
RU2464950C2 (en)Circuit for radio-frequency devices, applied for live tissues, and device containing said circuit
AU2014200201A1 (en)Crest-factor control of phase-shifted inverter
JP3636511B2 (en) Electrosurgical equipment
CN104901630A (en)Radio frequency adjustable phase difference power amplifier circuit realizing linear ablation
CN117042706A (en)Power unit for delivering coherent sinusoidal burst irreversible electroporation energy to biological tissue
KR101093014B1 (en) Skin care treatment device using 3-phase high frequency
CN115361000B (en)Device for applying electric field to human body and electric field therapeutic apparatus
Dong et al.Design of bipolar pulse generator topology based on Marx supplied by double power
RU2241502C1 (en)Magnetotherapeutic device
JP2023093347A (en)Generator for supplying to medical instrument

Legal Events

DateCodeTitleDescription
ASAssignment

Owner name:GYRUS MEDICAL LIMITED,UNITED KINGDOM

Free format text:ASSIGNMENT OF ASSIGNORS INTEREST;ASSIGNOR:HOSIER, JOHN ROLAND;REEL/FRAME:023816/0840

Effective date:20091214

Owner name:GYRUS MEDICAL LIMITED, UNITED KINGDOM

Free format text:ASSIGNMENT OF ASSIGNORS INTEREST;ASSIGNOR:HOSIER, JOHN ROLAND;REEL/FRAME:023816/0840

Effective date:20091214

STCFInformation on status: patent grant

Free format text:PATENTED CASE

FPAYFee payment

Year of fee payment:4

MAFPMaintenance fee payment

Free format text:PAYMENT OF MAINTENANCE FEE, 8TH YEAR, LARGE ENTITY (ORIGINAL EVENT CODE: M1552); ENTITY STATUS OF PATENT OWNER: LARGE ENTITY

Year of fee payment:8

MAFPMaintenance fee payment

Free format text:PAYMENT OF MAINTENANCE FEE, 12TH YEAR, LARGE ENTITY (ORIGINAL EVENT CODE: M1553); ENTITY STATUS OF PATENT OWNER: LARGE ENTITY

Year of fee payment:12


[8]ページ先頭

©2009-2025 Movatter.jp