Movatterモバイル変換


[0]ホーム

URL:


US8265957B2 - Methods, systems, and computer-readable media for disease management - Google Patents

Methods, systems, and computer-readable media for disease management
Download PDF

Info

Publication number
US8265957B2
US8265957B2US11/778,695US77869507AUS8265957B2US 8265957 B2US8265957 B2US 8265957B2US 77869507 AUS77869507 AUS 77869507AUS 8265957 B2US8265957 B2US 8265957B2
Authority
US
United States
Prior art keywords
handheld
monitoring device
medical testing
portable medical
patient
Prior art date
Legal status (The legal status is an assumption and is not a legal conclusion. Google has not performed a legal analysis and makes no representation as to the accuracy of the status listed.)
Expired - Fee Related, expires
Application number
US11/778,695
Other versions
US20080177570A1 (en
Inventor
Ari Craine
Current Assignee (The listed assignees may be inaccurate. Google has not performed a legal analysis and makes no representation or warranty as to the accuracy of the list.)
AT&T Intellectual Property I LP
Original Assignee
AT&T Intellectual Property I LP
Priority date (The priority date is an assumption and is not a legal conclusion. Google has not performed a legal analysis and makes no representation as to the accuracy of the date listed.)
Filing date
Publication date
Application filed by AT&T Intellectual Property I LPfiledCriticalAT&T Intellectual Property I LP
Priority to US11/778,695priorityCriticalpatent/US8265957B2/en
Assigned to AT&T INTELLECTUAL PROPERTY, INC.reassignmentAT&T INTELLECTUAL PROPERTY, INC.ASSIGNMENT OF ASSIGNORS INTEREST (SEE DOCUMENT FOR DETAILS).Assignors: CRAINE, ARI
Publication of US20080177570A1publicationCriticalpatent/US20080177570A1/en
Priority to US13/557,755prioritypatent/US20120290318A1/en
Application grantedgrantedCritical
Publication of US8265957B2publicationCriticalpatent/US8265957B2/en
Expired - Fee Relatedlegal-statusCriticalCurrent
Adjusted expirationlegal-statusCritical

Links

Images

Classifications

Definitions

Landscapes

Abstract

Methods, systems, and computer-readable media provide for disease management. According to embodiments, a method for providing social interaction between a first handheld medical testing and monitoring device and a second handheld medical testing and monitoring device is provided. According to the method, at least one of a social networking profile and a diagnostic profile is received from the first handheld medical testing and monitoring device. A second user associated with the second handheld medical testing and monitoring device is selected based on the at least one of the social networking profile and the diagnostic profile. A user list at the first handheld medical testing and monitoring device is populated with a unique identifier enabling communication between a first user associated with the first handheld medical testing and monitoring device and the second user associated with the second handheld medical testing and monitoring device.

Description

CROSS-REFERENCE TO RELATED APPLICATIONS
The present application claims priority to U.S. provisional patent application Ser. No. 60/881,081, filed on Jan. 18, 2007, which is hereby incorporated herein by reference.
TECHNICAL FIELD
This application relates generally to the field of medical devices. More specifically, the disclosure provided herein relates to the field of medical devices for disease management.
BACKGROUND
Active disease management generally requires a constant exchange of information between a patient, the patient's family, a caregiver, and a health-care professional (e.g., a physician). The health-care professional may seek regular diagnostic information regarding one or more conditions. The patient, the patient's family, and/or the caregiver may seek feedback associated with any changes in the diagnostic information. Acquiring regular diagnostic information, however, generally presents a significant challenge, especially for a health-care professional. For example, the patient may not be able to visit the health-care professional at adequate intervals due to time and/or cost constraints. A handheld medical testing and monitoring device may provide a cost-effective means with which to ensure constant communication between the patient and the health-care professional. An exemplary handheld medical testing and monitoring device is ONETOUCH, which is manufactured by JOHNSON AND JOHNSON.
The handheld medical testing and monitoring device may be configured to acquire diagnostic data related to a given condition at a given interval. For example, a diabetes-related monitoring device, such as ONETOUCH, may test the blood glucose level of a patient by collecting blood via a lancet prick and testing the collected blood. After the handheld medical testing and monitoring device acquires the blood glucose level of the patient, the handheld medical testing and monitoring device may transmit the blood glucose level over a network to a remote computer where the data is analyzed by, for example, the remote computer and/or a health-care professional. Based on patient's blood glucose level, the health-care professional may provide feedback, such as updated care information, to the patient, the patient's family, and/or the caregiver. Therefore, with the handheld medical testing and monitoring device, the health-care professional may remotely gather regular diagnostic information from the patient. With the regular diagnostic information, the health-care professional may timely provide the patient, the patient's family, and/or the caregiver potentially life-saving feedback in response to changes in the patient's diagnostic information.
SUMMARY
Embodiments of the disclosure presented herein include methods, systems, and computer-readable media for disease management. According to a first aspect, a method for providing social interaction between a first handheld medical testing and monitoring device and a second handheld medical testing and monitoring device is provided. According to the method, at least one of a social networking profile and a diagnostic profile is received from the first handheld medical testing and monitoring device. A second user associated with the second handheld medical testing and monitoring device is selected based on the at least one of the social networking profile and the diagnostic profile. A user list at the first handheld medical testing and monitoring device is populated with a unique identifier enabling communication between a first user associated with the first handheld medical testing and monitoring device and the second user associated with the second handheld medical testing and monitoring device.
According to a second aspect, a system for providing social interaction between a first handheld medical testing and monitoring device and a second handheld medical testing and monitoring device is provided. The system includes a memory and a processor functionally coupled to the memory. The memory stores a program containing code for providing social interaction between a first handheld medical testing and monitoring device and a second handheld medical testing and monitoring device. The processor is responsive to computer-executable instructions contained in the program and is operative to receive at least one of a social networking profile and a diagnostic profile from the first handheld medical testing and monitoring device, determine a second user associated with the second handheld medical testing and monitoring device based on the at least one of the social networking profile and the diagnostic profile, and populate a user list at the first handheld medical testing and monitoring device with a unique identifier enabling communication between a first user associated with the first handheld medical testing and monitoring device and the second user associated with the second handheld medical testing and monitoring device.
According to a third aspect, a computer-readable medium having instructions stored thereon for execution by a processor to perform a method for providing social interaction between a first handheld medical testing and monitoring device and a second handheld medical testing and monitoring device is provided. According to the method, at least one of a social networking profile and a diagnostic profile is received from the first handheld medical testing and monitoring device. A second user associated with the second handheld medical testing and monitoring device is determined based on the at least one of the social networking profile and the diagnostic profile. A user list at the first handheld medical testing and monitoring device is populated with a unique identifier enabling communication between a first user associated with the first handheld medical testing and monitoring device and the second user associated with the second handheld medical testing and monitoring device.
Other systems, methods, and/or computer program products according to embodiments will be or become apparent to one with skill in the art upon review of the following drawings and detailed description. It is intended that all such additional systems, methods, and/or computer program products be included within this description, be within the scope of the present invention, and be protected by the accompanying claims.
BRIEF DESCRIPTION OF THE DRAWINGS
FIG. 1 is a block diagram illustrating a glucose monitoring system, in accordance with exemplary embodiments.
FIG. 2 is a block diagram illustrating a handheld glucose monitor, in accordance with exemplary embodiments.
FIG. 3 is a block diagram illustrating an advertising system including thehandheld glucose monitor102, in accordance with exemplary embodiments.
FIG. 4 is a flow diagram illustrating a method for receiving targeted advertising at a handheld glucose monitor, in accordance with exemplary embodiments.
FIG. 5 is a block diagram illustrating a claims tracking system including thehandheld glucose monitor102, in accordance with exemplary embodiments.
FIG. 6 is a flow diagram illustrating a method for generating cost data related to a diagnostic profile of a user, in accordance with exemplary embodiments.
FIG. 7 is a block diagram illustrating a social networking system including a first handheld glucose monitor and a second handheld glucose monitor, in accordance with exemplary embodiments.
FIG. 8 is a flow diagram illustrating a method for providing social interaction between the first handheld glucose monitor and the second handheld glucose monitor, in accordance with exemplary embodiments.
DETAILED DESCRIPTION
The following detailed description is directed to methods, systems, and computer-readable media for disease management. In the following detailed description, references are made to the accompanying drawings that form a part hereof, and which are shown by way of illustration specific embodiments or examples.
For the sake of simplicity and without limitation, an invasive blood glucose monitor is illustrated in exemplary embodiments described herein. However, it will be appreciated by those of ordinary skill in the art that the described embodiments may be applicable for noninvasive blood glucose monitors, other suitable blood analyte monitors, and other suitable invasive and noninvasive medical testing and monitoring devices. Examples of other blood analyte monitors include, but are not limited to, monitors for testing cholesterol, triglycerides, and uric acid. Examples of other medical testing and monitoring devices include, but are not limited to, devices for testing and monitoring blood pressure, electrocardiogram (“ECG” or “EKG”) activity, and heart rate.
Referring now to the drawings, it is to be understood that like numerals represent like elements through the several figures, and that not all components and/or steps described and illustrated with reference to the figures are required for all embodiments.FIG. 1 is a block diagram illustrating aglucose monitoring system100, in accordance with exemplary embodiments. Theglucose monitoring system100 includes ahandheld glucose monitor102, which is described in greater detail below. Thehandheld glucose monitor102 is coupled to aglucose monitoring unit104 via anetwork106. According to exemplary embodiments, thehandheld glucose monitor102 is configured to collect a blood sample from auser108 through, for example, a lancing device (not shown) on thehandheld glucose monitor102. After the blood sample is collected, thehandheld glucose monitor102 may process the collected blood sample to obtain a blood glucose level, which may then be transmitted to theglucose monitoring unit104. According to exemplary embodiments, theglucose monitoring unit104 is a computing device configured to receive blood glucose levels of theuser108 from thehandheld glucose monitor102 over thenetwork106. Communications between thehandheld glucose monitor102 and theglucose monitoring unit104 may be encrypted to prevent an eavesdropper from accessing private medical information transmitted between thehandheld glucose monitor102 and theglucose monitoring unit104.
As illustrated inFIG. 1, thehandheld glucose monitor102 includes anetwork adapter110, anadvertising module112, aclaims tracking module114, and asocial networking module116. Thenetwork adapter110 enables thehandheld glucose monitor102 to communicate with theglucose monitoring unit104 over thenetwork106. Examples of thenetwork adapter110 may include, but are not limited to, a modem, a radio frequency (“RF”) or infrared (“IR”) transceiver, a telephonic interface, a bridge, a router, or a network card. Thenetwork106 may include a wireless network such as, but not limited to, a Wireless Local Area Network (“WLAN”) such as a WI-FI network, a Wireless Wide Area Network (“WWAN”), a Wireless Personal Area Network (“WPAN”) such as BLUETOOTH, a Wireless Metropolitan Area Network (“WMAN”) such a WiMAX network, or a cellular network. Alternatively, thenetwork106 may be a wired network such as, but not limited to, a Wide Area Network (“WAN”) such as the Internet, a Local Area Network (“LAN”) such as the Ethernet, a wired Personal Area Network (“PAN”), or a wired Metropolitan Area Network (“MAN”). It will be apparent to one of ordinary skill in the art that theglucose monitoring unit104 may also include a network adapter, such as thenetwork adapter110.
According to exemplary embodiments, theadvertising module112, which is described in greater detail with respect toFIGS. 3 and 4, enables the handheld glucose monitor102 to receive targeted advertising, such as targetedadvertising308. In one embodiment, the targetedadvertising308 is displayed via a display (not shown) on thehandheld glucose monitor102. The targetedadvertising308 may be targeted based on an advertising profile, such as anadvertising profile302, of theuser108. Theadvertising profile302 may include any suitable criteria of theuser108 including, but not limited to, the user's age, location, and health condition. In one embodiment, the user's location may be determined using a positioning device (not shown), such as a global positioning system (“GPS”) device, in thehandheld glucose monitor102. The targetedadvertising308 may provide a means by which the handheld glucose monitor102 is subsidized, thereby making the handheld glucose monitor102 more affordable for more users.
According to exemplary embodiments, theclaims tracking module114, which is described in greater detail with respect toFIGS. 4 and 5, enables theuser108 to track cost savings and/or increases in response to the improving or declining health condition of theuser108. In one embodiment, after the handheld glucose monitor102 determines the blood glucose level of theuser108, theclaims tracking module114 may determine that the health condition of theuser108 has improved over a given period of time. In response to the health condition of theuser108 improving, theclaims tracking module114 may display real and/or potential cost data, such ascost data506, to theuser108 via thehandheld glucose monitor102. In one embodiment, thecost data506 is displayed via a display (not shown) on thehandheld glucose monitor102. Thecost data506 may include, but is not limited to, decreases in visits with the health-care professional, decreases in drug usage related to regulating blood glucose levels, and decreases in overall insurance costs related to the improving health condition of theuser108. In further embodiments, theclaims tracking module114 may be aided by diagnostic data provided by theglucose monitoring unit104 over thenetwork106. For example, theglucose monitoring unit104 may track the blood glucose levels of theuser108 over a period of time to determine whether the health condition of theuser108 has improved.
According to exemplary embodiments, thesocial networking module116, which is described in greater detail below with respect toFIGS. 7 and 8, enables theuser108 to find targeted “buddies” (also known as “peers,” “contacts,” “friends,” and the like) from a social network of buddies including theuser108. Each buddy may be associated with a screen name or other unique identification (“ID”). A plurality of screen names may populate a buddy list with which theuser108 can use to communicate with buddies within the social network. In one embodiment, thesocial networking module116 automatically finds at least one buddy based on a social networking profile, such as social networking profiles702aand702b, of theuser108. The social networking profiles702aand702bmay include any suitable social criteria of theuser108 including, but not limited to, the user's age, location, and health condition. For example, thesocial networking module116 may automatically find at least one buddy who is approximately the user's age, is within a given distance of the user's location, and shares at least one of the user's health conditions. In one embodiment, the user's location may be determined using a positioning device (not shown), such as a global positioning system (“GPS”) device, in thehandheld glucose monitor102. Thesocial networking module116 may enable the exchange of medical information, such as information related to living with diabetes, and non-medical information, such information related to the newest blockbuster movie.
It should be appreciated by those of ordinary skill in the art that two or more of theadvertising module112, theclaims tracking module114, and thesocial networking module116 may be utilized in conjunction to provide additional capabilities to theuser108, in accordance with exemplary embodiments. In one example, the same profile containing information related to theuser108, such as the user's age, location, and health condition, may be used by theadvertising module112 for providing targeted advertising and by thesocial networking module116 for finding targeted buddies. In another example, targeted advertising provided by theadvertising module112 to theuser108 may be provided to other users on the buddy list of theuser108. In yet another example, cost savings data provided to theuser108 via theclaims tracking module114 may be shared with other users utilizing thesocial networking module116. Other implementations utilizing two or more of theadvertising module112, theclaims tracking module114, and thesocial networking module116 will become apparent to those of ordinary skill in the art in view of the present disclosure.
FIG. 2 and the following discussion are intended to provide a brief, general description of a suitable computing environment in which embodiments of the handheld glucose monitor102 may be implemented. While embodiments will be described in the general context of program modules that execute in conjunction with an application program that runs on an operating system on a computer system, those skilled in the art will recognize that the embodiments may also be implemented in combination with other program modules.
Generally, program modules include routines, programs, components, data structures, and other types of structures that perform particular tasks or implement particular abstract data types. Moreover, those skilled in the art will appreciate that embodiments may be practiced with other computer system configurations, including hand-held devices, multiprocessor systems, microprocessor-based or programmable consumer electronics, minicomputers, mainframe computers, and the like. The embodiments may also be practiced in distributed computing environments where tasks are performed by remote processing devices that are linked through a communications network. In a distributed computing environment, program modules may be located in both local and remote memory storage devices.
FIG. 2 is a block diagram illustrating thehandheld glucose monitor102, in accordance with exemplary embodiments. The handheld glucose monitor102 includes aprocessing unit202, amemory204, aninput interface adapter206, anoutput interface adapter208, and thenetwork adapter110, each of which is operatively connected to a system bus210. The bus210 enables bi-directional communication between theprocessing unit202, thememory204, theinput interface adapter206, theoutput interface adapter208, and thenetwork adapter110. In further embodiments, the handheld glucose monitor102 may be embodied within or coupled to any suitable portable computing devices including, but not limited to, laptop computers, personal digital assistants, cellular phones, and mobile media players configured to output audio, video, and other multimedia.
Theprocessing unit202 may be a standard central processor that performs arithmetic and logical operations, a more specific purpose programmable logic controller (“PLC”), a programmable gate array, or other type of processor known to those skilled in the art and suitable for controlling the operation of the server computer. Processing units are well-known in the art, and therefore not described in further detail herein.
Thememory204 communicates with theprocessing unit202 via the system bus210. In one embodiment, thememory204 is operatively connected to a memory controller (not shown) that enables communication with theprocessing unit202 via the system bus210. Thememory204 includes theadvertising module112, theclaims tracking module114, and thesocial networking module116 ofFIG. 1. Theadvertising module112 is described in greater detail below with respect toFIGS. 3 and 4. Theclaims tracking module114 is described in greater detail below with respect toFIGS. 5 and 6. Thesocial networking module116 is described in greater detail below with respect toFIGS. 7 and 8. In exemplary embodiments, one or more of theadvertising module112, theclaims tracking module114, and thesocial networking module116 are embodied in computer-readable media containing instructions that, when executed by theprocessing unit202, perform a method as described in greater detail below with respect toFIGS. 4,6, and8, respectively. According to further embodiments, theadvertising module112, theclaims tracking module114, and thesocial networking module116 may be embodied in hardware, software, firmware, or any combination thereof.
By way of example, and not limitation, computer-readable media may comprise computer storage media and communication media. Computer storage media includes volatile and non-volatile, removable and non-removable media implemented in any method or technology for storage of information such as computer-readable instructions, data structures, program modules, or other data. Computer storage media includes, but is not limited to, RAM, ROM, Erasable Programmable ROM (“EPROM”), Electrically Erasable Programmable ROM (“EEPROM”), flash memory or other solid state memory technology, CD-ROM, digital versatile disks (“DVD”), or other optical storage, magnetic cassettes, magnetic tape, magnetic disk storage or other magnetic storage devices, or any other medium which can be used to store the desired information and which can be accessed by thehandheld glucose monitor102.
Theinput interface adapter206 receives data input from theuser108. The data may be input via any suitable input device, such as a keyboard or a stylus. The input devise may also be a medical testing device, such as a lancing device for collecting blood. Theoutput interface adapter208 outputs data to theuser108. The data may be output via any suitable output device, such as a display and a speaker. The input and output devices may be embodied within a single unit, such as a touch-screen display. The input and output devices may be embodied within or coupled to thehandheld glucose monitor102.
FIG. 3 is a block diagram illustrating an exemplary embodiment of anadvertising system300 including thehandheld glucose monitor102. As illustrated inFIG. 3, the handheld glucose monitor102 includes theadvertising module112 described inFIGS. 1 and 2. Theadvertising module112 includes theadvertising profile302 and adiagnostic profile304 of theuser108. Theadvertising system300 includes anadvertising supply module306. The handheld glucose monitor102 is coupled to theadvertising supply module306 via thenetwork106. In one embodiment, theadvertising supply module306 is embodied within theglucose monitoring unit104. In further embodiments, theadvertising supply module306 is separate from theglucose monitoring unit104.
Theadvertising profile302 may include any suitable advertising-related information about theuser108, such as the user's age, location, and health condition. Thediagnostic profile304 includes any suitable diagnostic data, such as the user's current and archived blood glucose levels, collected from theuser108 by thehandheld glucose monitor102, according to one embodiment. The archived blood glucose levels may include blood glucose levels collected within any suitable time frames.
In one embodiment, theadvertising module112 transmits theadvertising profile302 and thediagnostic profile304 to theadvertising supply module306 over thenetwork106. In response to receiving theadvertising profile302 and thediagnostic profile304, theadvertising supply module306 determines which advertisements to transmit to theuser108 based on theadvertising profile302 and thediagnostic profile304. These selected advertisements are referred to herein as the targetedadvertising308. According to exemplary embodiments, theadvertising supply module306 transmits the targetedadvertising308 to the handheld glucose monitor102 via thenetwork106. In one embodiment, the targetedadvertising308 is stored in thememory204. The targetedadvertising308 may be output to theuser108 using any suitable output device, such as a display or a speaker, embodied within or coupled to thehandheld glucose monitor102.
In one embodiment, advertisers and/or marketers may configure one or more parameters associated with theadvertising supply module306. For example, theadvertising supply module306 may include parameters specifying which content in theadvertising profile302 and thediagnostic profile304 that would trigger theadvertising supply module306 to transmit the targetedadvertising308 to theuser108 via thehandheld glucose monitor102. In one embodiment, the user may also configure one or more of the parameters. For example, the user may configure parameters to refuse advertising.
In one embodiment, the targetedadvertising308 is automatically provided to theuser108 via the handheld glucose monitor102 without intervention from theuser108. Examples of the targetedadvertising308 include, but are not limited to, condition-related medical products, condition-related clothing, condition-related foods, and miscellaneous personal care items. For a diabetic, for example, the condition-related medical products may include glucose test strips and insulin, and the condition-related foods may include sugar-free and low-carbohydrate foods.
By automatically providing the targetedadvertising308 to theuser108, the handheld glucose monitor102 may be financially supported by those advertisers and/or marketers providing the targetedadvertising308. For example, the advertisings and/or marketers may pay advertising fees for theadvertising supply module306 to transmit the targetedadvertising308 to thehandheld glucose monitor102. Those advertising fees may be used to subsidize the cost of thehandheld glucose monitor102.
FIG. 4 is a flow diagram illustrating amethod400 for receiving targetedadvertising308 at the handheld glucose monitor, in accordance with exemplary embodiments. According to themethod400, theadvertising module112 transmits (at402) theadvertising profile302 and thediagnostic profile304 to theadvertising supply module306. Theadvertising profile302 may include any suitable advertising-related information about theuser108, such as the user's age, location, and health condition. Thediagnostic profile304 may include any suitable diagnostic data related to theuser108, such as the user's current and archived blood glucose levels, gathered by thehandheld glucose monitor102, according to one embodiment. The transmission of theadvertising profile302 and thediagnostic profile304 may be initiated by theuser108 or automatically transmitted at given times or in response to given actions of theuser108.
According to exemplary embodiments, theadvertising supply module306 determines the targetedadvertising308 to transmit to the handheld glucose monitor102 based on theadvertising profile302 and thediagnostic profile304. In one example, the targetedadvertising308 may include businesses at or near the location of theuser108 provided in theadvertising profile302. In another example, the targetedadvertising308 may include medical products related to the diagnostic information provided in thediagnostic profile304. Theadvertising module112 receives (at404) the targetedadvertising308 from theadvertising supply module306. Theadvertising module112 outputs (at406) the targetedadvertising308 to theuser108 via any suitable output device, such as a display or a speaker, embodied within or coupled to thehandheld glucose monitor102.
FIG. 5 is a block diagram illustrating an exemplary embodiment of aclaims tracking system500 including thehandheld glucose monitor102. The handheld glucose monitor102 includes theclaims tracking module114 described inFIGS. 1 and 2. As illustrated inFIG. 5, theclaims tracking module114 includes aclaims tracking profile502 and thediagnostic profile304. Theclaims tracking system500 includes a costdata supply module504. The handheld glucose monitor102 is coupled to the costdata supply module504 via thenetwork106. In one embodiment, the costdata supply module504 is embodied within theglucose monitoring unit104. In further embodiments, the costdata supply module504 is separate from theglucose monitoring unit104.
Theclaims tracking profile502 may include any suitable claims tracking information about theuser108, such as the cost of office visits, the cost of medications, and other health-related costs. The health-related costs may be based on a current fee schedule or historic data based on what theuser108 paid in the past. The health-related costs may further be based on insurance-related costs, such as premiums, deductibles, and other out-of-pocket expenses. In one embodiment, theclaims tracking profile502 may include information regarding the insurance coverage (e.g., the name of the provider and the type of coverage) of theuser108. As previously described, thediagnostic profile304 may include any suitable diagnostic data related to theuser108, such as the user's current and archived blood glucose levels, gathered by thehandheld glucose monitor102, according to one embodiment.
In one embodiment, theclaims tracking module114 transmits theclaims tracking profile502 and thediagnostic profile304 to the costdata supply module504 over thenetwork106. In response to receiving theclaims tracking profile502 and thediagnostic profile304, the costdata supply module504 determines thecost data506 related to theuser108 based on theclaims tracking profile502 and thediagnostic profile304 of theuser108. In one example, an improvement in the blood glucose level of theuser108 as shown in thediagnostic profile304 may yield a decrease in the amount of drugs utilized by theuser108. Thus, depending on the information provided in theclaims tracking profile502, the decrease in the amount of drugs utilized by theuser108 may also yield a cost savings to theuser108. In another example, a worsening in the blood glucose level of theuser108 as shown in thediagnostic profile304 may yield an increase in the amount of drugs utilized by theuser108. Thus, depending on the information provided in theclaims tracking profile502, the increase in the amount of drugs utilized by theuser108 may yield a cost increase to theuser108. According to exemplary embodiments, the cost savings and increase determined based on theclaims tracking profile502 and thediagnostic profile304 are reflected in thecost data506.
In one embodiment, the costdata supply module504 transmits thecost data506 to the handheld glucose monitor102 via thenetwork106. In one embodiment, thecost data506 is stored in thememory204. Thememory204 may store thecost data506 for any suitable time period. Thecost data506 may be output to theuser108 using any suitable output device, such as a display or a speaker, embodied within or coupled to thehandheld glucose monitor102. Thecost data506 output to theuser108 may include current cost data as well as historic cost data. By concurrently displaying thecost data506 over an extended time period, theuser108 can easily view and compare fluctuations in health-related costs over the time period. Thecost data506 may be displayed in any suitable multimedia format, including, but not limited to, video, pictures, graphics, sound, and text.
Thecost data506 may include direct cost savings/increases and indirect cost savings/increases. Exemplary direct cost savings/increases may include, but are not limited to, a reduction or increase of emergency room (“ER”) visits, a reduction or increase in medical supplies, and a reduction or increase in treatment and medication costs. Exemplary indirect cost savings/increases may include, but are not limited to, reduction or increase in missed time at work and a reduction or increase in disability costs. In one embodiment, thecost data506 is determined based on a single user, such as theuser108. In further embodiments, thecost data506 is aggregated based on a plurality of users. Thecost data506 may be output along with national averages of data related to thecost data506 to provide a comparison between thecost data506 and the national averages.
FIG. 6 is a flow diagram illustrating amethod600 for generating cost data, such as thecost data506, related to thediagnostic profile304 of theuser108, in accordance with exemplary embodiments. A handheld medical testing and monitoring device, such as thehandheld glucose monitor102, collects (at602) diagnostic data related to theuser108. In one embodiment, the collected diagnostic data is stored within thediagnostic profile304. The handheld glucose monitor102 may collect, for example, the current blood glucose level of theuser108. In one embodiment, theuser108 utilizes a lancing device (not shown) on the handheld glucose monitor102 to draw blood for blood glucose testing. Theclaims tracking module114 transmits (at604) via thenetwork106 theclaims tracking profile502 and thediagnostic profile304 to the costdata supply module504.
In response to receiving theclaims tracking profile502 and thediagnostic profile304, the costdata supply module504 determines thecost data506 related to theuser108 based on theclaims tracking profile502 and thediagnostic profile304 of theuser108. Thediagnostic profile304 may indicate the health condition of the user. Theclaims tracking profile502 may provide claims tracking information (e.g., the cost of office visits, the cost of medications, and other health-related costs). Thecost data506 may indicate, for example, a cost savings or a cost increase, based on theclaims tracking profile502 and thediagnostic profile304. Theclaims tracking module114 receives (at606) thecost data506 from the costdata supply module504. Theclaims tracking module114 outputs (at608) thecost data506 to theuser108 using any suitable output device, such as a display or a speaker, embodied within or coupled to thehandheld glucose monitor102.
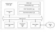
FIG. 7 is a block diagram illustrating an exemplary embodiment of asocial networking system700 including a first handheld glucose monitor102aand a second handheld glucose monitor102b. As illustrated inFIG. 7, the first handheld glucose monitor102aincludes a first social networking module116a, and the second handheld glucose monitor102bincludes a secondsocial networking module116b. Thesocial networking system700 further includes asocial management module704. The handheld glucose monitors102aand102bare coupled to thesocial management module704 via thenetwork106. In one embodiment, thesocial management module704 is embodied within theglucose monitoring unit104. In further embodiments, thesocial management module704 is separate from theglucose monitoring unit104.
According to exemplary embodiments, the first social networking module116aincludes the firstsocial networking profile702aand a firstdiagnostic profile304a. The firstsocial networking profile702aand the firstdiagnostic profile304aare associated with afirst user108a. The secondsocial networking module116bincludes the secondsocial networking profile702band a seconddiagnostic profile304b. The secondsocial networking profile702band the seconddiagnostic profile304bare associated with asecond user108b. The social networking profiles702aand702bmay include medical information, such as insulin dosages of theusers108aand108b, respectively, and non-medical information, such as hobbies of theusers108aand108b, respectively. In one embodiment, the social networking profiles702aand702bmay include similar information provided in theadvertising profile302 and theclaims tracking profile502, such as the users' ages, locations, health conditions, and health care costs. The firstdiagnostic profile304aincludes diagnostic data about thefirst user108acollected by the first handheld glucose monitor102a. The seconddiagnostic profile304bincludes diagnostic data about thesecond user108bcollected by the second handheld glucose monitor102b. An example of diagnostic data collected by the handheld glucose monitors102aand102bincludes the current blood glucose levels of theusers108aand108b, respectively.
According to exemplary embodiments, thesocial management module704 coordinates communications between a plurality of users, such as theusers108aand108b, over thenetwork106. For example, thesocial management module704 may coordinate communications between thefirst user108aand thesecond user108bvia the first handheld glucose monitor102aand the second handheld glucose monitor102b, respectively. Exemplary communications may include, but are not limited to, text messages, electronic mail (“email”), photos, audio messages, and video messages. By incorporating a social networking component into the handheld glucose monitors102aand102b, theusers108aand108bmay enjoy a richer experience than simply testing their blood glucose levels.
In one embodiment, thefirst user108ais identified by a first buddy name or other unique identifier (“ID”), and thesecond user108bis identified by a second buddy name or other unique ID. The use of buddy names may enable theusers108aand108bto communicate with each other anonymously. For example, if thefirst user108adesires to send a communication to thesecond user108b, thesocial networking system700 may be configured such that thefirst user108asends the communication to thesecond user108busing only the second buddy name. That is, the second buddy name may hide personal information of thesecond user108b, such as the user's name, address, and phone number.
In one embodiment, when a user, such as thefirst user108a, desires to participate in thesocial networking system700, thefirst user108aregisters with thesocial management module704. In one embodiment, the process for registering thefirst user108aincludes choosing a buddy name and transmitting the firstsocial networking profile702aand the firstdiagnostic profile304ato thesocial management module704. In further embodiments, thefirst user108amay establish a new profile with thesocial management module704 during the registration process or decide to send one or the other of the firstsocial networking profile702aand the firstdiagnostic profile304a. In one embodiment, thesocial management module704 searches for one or more other users on thenetwork106 based on the firstsocial networking profile702a. Thesocial management module704 may search under any suitable criteria including, but not limited to, a similar medical condition, a similar location, and/or similar hobbies. In one embodiment, thesocial management module704 searches the other users dynamically. For example, thesocial management module704 may dynamically retrieve the secondsocial networking profile702band the seconddiagnostic profile304bfrom the second handheld glucose monitor102bto compare with the firstsocial networking profile702aand the firstdiagnostic profile304a. In further embodiments, thesocial management module704 searches a database containing data of the other users. For example, the database may be previously populated with the secondsocial networking profile702band the seconddiagnostic profile304b, so that a comparison may be made with the firstsocial networking profile702aand the firstdiagnostic profile304awithout dynamically retrieving the secondsocial networking profile702band the seconddiagnostic profile304b.
When thesocial management module704 finds one or more users, such as thesecond user108b, with similar criteria to thefirst user108a, thesocial management module704 populates a buddy list associated with thefirst user108awith the buddy name of thesecond user108b. To facilitate a more active social network, thesocial management module704 may automatically populate the buddy list associated with thefirst user108awith at least one user, such as thesecond user108b.
If, for example, thesecond user108bmatches thefirst user108aunder the criteria utilized by thesocial management module704, then thesocial management module704 may populate buddy lists on the first handheld glucose monitor102aand the second handheld glucose monitor102b. The buddy lists may be accessible through input and output interfaces, such as a stylus and a display, on the handheld glucose monitors102aand102b. In one embodiment, each buddy name on the buddy list is associated with a buddy profile, which is associated with a user, such as theusers108aand108b. For example, thefirst user108amay desire to share her location, medical condition, and the firstdiagnostic profile304a. If thefirst user108ais on the buddy list of thesecond user108b, then thesecond user108bmay be able to view the buddy profile of thefirst user108a. In particular, thesecond user108bmay be able to view the progress of thefirst user108aby accessing the firstdiagnostic profile304a. If the firstdiagnostic profile304aindicates that the health condition of thefirst user108ahas improved, then thesecond user108bmay send a communication of congratulations to thefirst user108a. If, on the other hand, the firstdiagnostic profile304a indicates that the health condition of thefirst user108ahas not improved or worsened, then thesecond user108bmay send a communication of encouragement to thefirst user108a. The communications sent between users, such as theusers108aand108b, may be manually entered or selected from a plurality of pre-defined communications. By enabling the sharing of thediagnostic profile304 between users, such as theusers108aand108b, thesocial management module704 may create a collaborative wellness network promoting behavioral modification.
FIG. 8 is a flow diagram illustrating amethod800 for providing social interaction between the first handheld glucose monitor102aand the second handheld glucose monitor102b, in accordance with exemplary embodiments. According to themethod800, thesocial management module704 receives (at802) the firstsocial networking profile702aand the firstdiagnostic profile304afrom the first handheld glucose monitor102a. Thesocial management module704 selects (at804) thesecond user108b, who is associated with the secondsocial networking profile702band the seconddiagnostic profile304b. In one embodiment, thesecond user108bmay be selected because of similarities between the firstsocial networking profile702aand the secondsocial networking profile702b, as well as similarities between the firstdiagnostic profile304aand the seconddiagnostic profile304b.
In one embodiment, thesocial management module704 dynamically retrieves the secondsocial networking profile702band the seconddiagnostic profile304bfrom the second handheld glucose monitor102bto compare with the firstsocial networking profile702aand the firstdiagnostic profile304a. In further embodiments, the firstsocial networking profile702aand the firstdiagnostic profile304aare compared with a database that is previously populated with the secondsocial networking profile702band the seconddiagnostic profile304b.
Thesocial management module704 determines (at806) whethersecond user108bhas allowed the sharing of the secondsocial networking profile702band/or the seconddiagnostic profile304b. In one embodiment, thesecond user108bmay decide which portions, if any, of the secondsocial networking profile702band the seconddiagnostic profile304bto share. For example, thesecond user108bmay not want to share certain personal data.
If thesecond user108bhas allowed sharing, thesocial management module704 populates (at808) a user list (e.g., a buddy list) at the first handheld glucose monitor102awith a unique identifier (e.g., buddy name), the secondsocial networking profile702b, and the seconddiagnostic profile304bassociated with thesecond user108b. If thesecond user108bhas not allowed sharing, thesocial management module704 populates (at810) the user list at the first handheld glucose monitor102awith the unique identifier associated with thesecond user108b, but without the secondsocial networking profile702band the seconddiagnostic profile304b. The unique identifier may enable thefirst user108ato communicate with thesecond user108bvia the first handheld glucose monitor102a. In further embodiments, in response to populating the user list at the first handheld glucose monitor102aof thefirst user108a, thesocial management module704 populates a user list at the second handheld glucose monitor102bof thesecond user108b. For example, the user list at the second handheld glucose monitor102bmay be populated with a unique identifier associated with thefirst user108a, the firstsocial networking profile702a, and/or the firstdiagnostic profile304aassociated with thefirst user108amay be populated in a user list at the second handheld glucose monitor102bdepending on whether thefirst user108ahas allowed or not allowed sharing.
Although the subject matter presented herein has been described in conjunction with one or more particular embodiments and implementations, it is to be understood that the embodiments defined in the appended claims are not necessarily limited to the specific structure, configuration, or functionality described herein. Rather, the specific structure, configuration, and functionality are disclosed as example forms of implementing the claims.
The subject matter described above is provided by way of illustration only and should not be construed as limiting. Various modifications and changes may be made to the subject matter described herein without following the example embodiments and applications illustrated and described, and without departing from the true spirit and scope of the embodiments, which is set forth in the following claims.

Claims (20)

1. A method for providing social interaction between a first handheld and portable medical testing and monitoring device and a second handheld and portable medical testing and monitoring device, comprising:
receiving a social networking profile from the first handheld and portable medical testing and monitoring device associated with a first patient, the first handheld and portable medical testing and monitoring device configured to acquire first diagnostic data regarding the first patient and transmit the first diagnostic data over a network to a first healthcare provider;
generating, through the first handheld and portable medical testing and monitoring device, a diagnostic profile of the first patient, the diagnostic profile containing current and archived diagnostic information of the first patient including the first diagnostic data, the diagnostic profile stored on the first handheld and portable medical testing and monitoring device;
receiving the diagnostic profile from the first handheld and portable medical testing and monitoring device;
selecting a second patient associated with the second handheld and portable medical testing and monitoring device based on the social networking profile and the diagnostic profile indicating compatibility between the first patient and the second patient, the second handheld and portable medical testing and monitoring device configured to acquire second diagnostic data regarding the second patient and transmit the second diagnostic data over the network to a second health-care provider; and
populating a user list at the second handheld and portable medical testing and monitoring device with a unique identifier of the first patient enabling the second patient to communicate with the first patient, via the unique identifier, by way of the second handheld and portable medical testing and monitoring device.
6. The method ofclaim 1, further comprising:
receiving a selection of the unique identifier in a graphical user interface displayed on the second handheld and portable medical testing and monitoring device;
in response to receiving the selection of the unique identifier, displaying in the graphical user interface a plurality of communications related to changes to the diagnostic profile associated with the unique identifier, the plurality of communications including communications of encouragement and communications of congratulations;
receiving, through the graphical user interface, a selection of at least one of the plurality of communications; and
in response to receiving, through the graphical user interface, the selection of the at least one of the plurality of communications, transmitting the at least one of the plurality of communications from the second handheld and portable medical testing and monitoring device to the first handheld and portable medical testing and monitoring device.
8. A system for providing social interaction between a first handheld and portable medical testing and monitoring device and a second handheld and portable medical testing and monitoring device, comprising:
a memory for storing a program containing code for providing social interaction between the first handheld and portable medical testing and monitoring device and the second handheld and portable medical testing and monitoring device;
a processor functionally coupled to the memory, the processor being responsive to computer-executable instructions contained in the program and operative to at least:
receive a social networking profile from the first handheld and portable medical testing and monitoring device associated with a first patient, the first handheld and portable medical testing and monitoring device configured to acquire first diagnostic data regarding the first patient and transmit the first diagnostic data over a network to a first healthcare provider,
generate, through the first handheld and portable medical testing and monitoring device, a diagnostic profile of the first patient, the diagnostic profile containing current and archived diagnostic information of the first patient including the first diagnostic data, the diagnostic profile stored on the first handheld and portable medical testing and monitoring device,
receive the diagnostic profile from the first handheld and portable medical testing and monitoring device,
select a second patient associated with the second handheld and portable medical testing and monitoring device based on the at least one of the social networking profile and the diagnostic profile indicating compatibility between the first patient and the second patient, the second handheld and portable medical testing and monitoring device configured to acquire second diagnostic data regarding the second patient and transmit the second diagnostic data over the network to a second health-care provider, and
populate a user list at the second handheld and portable medical testing and monitoring device with a unique identifier of the first patient enabling the second patient to communicate with the first patient, via the unique identifier, by way of the second handheld and portable medical testing and monitoring device.
12. The system ofclaim 8, wherein the processor is further operative to at least:
receive a selection of the unique identifier in a graphical user interface displayed on the first handheld and portable medical testing and monitoring device,
in response to receiving the selection of the unique identifier, display in the graphical user interface a plurality of communications related to changes to the diagnostic profile, the plurality of communications including communications of encouragement and communications of congratulations,
receive, through the graphical user interface, a selection of at least one of the plurality of communications; and
in response to receiving, through the graphical user interface, the selection of the at least one of the plurality of communications, transmit the at least one of the plurality of communications from the second handheld and portable medical testing and monitoring device to the first handheld and portable medical testing and monitoring device.
14. A computer-readable medium having instructions stored thereon for execution by a processor to perform a method for providing social interaction between a first handheld and portable medical testing and monitoring device and a second handheld and portable medical testing and monitoring device, the method comprising:
receiving a social networking profile from the first handheld and portable medical testing and monitoring device associated with a first patient, the first handheld and portable medical testing and monitoring device configured to acquire first diagnostic data regarding the first patient and transmit the first diagnostic data over a network to a first healthcare provider;
generating, through the first handheld and portable medical testing and monitoring device, a diagnostic profile of first patient, the diagnostic profile containing current and archived diagnostic information of the first patient including the first diagnostic data, the diagnostic profile stored on the first handheld and portable medical testing and monitoring device;
receiving the diagnostic profile from the first handheld and portable medical testing and monitoring device;
selecting a second patient associated with the second handheld and portable medical testing and monitoring device based on the at least one of the social networking profile and the diagnostic profile indicating compatibility between the first patient and the second patient, the second handheld and portable medical testing and monitoring device configured to acquire second diagnostic data regarding the second patient and transmit the second diagnostic data over the network to a second health-care provider; and
populating a user list at the second handheld and portable medical testing and monitoring device with a unique identifier of the first patient enabling the second patient to communicate with the first patient, via the unique identifier, by way of the second handheld and portable medical testing and monitoring device.
19. The computer-readable medium ofclaim 14, the method further comprising:
receiving a selection of the unique identifier in a graphical user interface displayed on the first handheld and portable medical testing and monitoring device;
in response to receiving the selection of the unique identifier, displaying in the graphical user interface a plurality of communications related to changes to the diagnostic profile, the plurality of communications including communications of encouragement and communications of congratulations; and
receiving, through the graphical user interface, a selection of at least one of the plurality of communications; and
in response to receiving, through the graphical user interface, the selection of the at least one of the plurality of communications, transmitting the at least one of the plurality of communications from the second handheld and portable medical testing and monitoring device to the first handheld and portable medical testing and monitoring device.
US11/778,6952007-01-182007-07-17Methods, systems, and computer-readable media for disease managementExpired - Fee RelatedUS8265957B2 (en)

Priority Applications (2)

Application NumberPriority DateFiling DateTitle
US11/778,695US8265957B2 (en)2007-01-182007-07-17Methods, systems, and computer-readable media for disease management
US13/557,755US20120290318A1 (en)2007-01-182012-07-25Methods, Systems, and Computer-Readable Media for Disease Management

Applications Claiming Priority (2)

Application NumberPriority DateFiling DateTitle
US88108107P2007-01-182007-01-18
US11/778,695US8265957B2 (en)2007-01-182007-07-17Methods, systems, and computer-readable media for disease management

Related Child Applications (1)

Application NumberTitlePriority DateFiling Date
US13/557,755DivisionUS20120290318A1 (en)2007-01-182012-07-25Methods, Systems, and Computer-Readable Media for Disease Management

Publications (2)

Publication NumberPublication Date
US20080177570A1 US20080177570A1 (en)2008-07-24
US8265957B2true US8265957B2 (en)2012-09-11

Family

ID=39642137

Family Applications (2)

Application NumberTitlePriority DateFiling Date
US11/778,695Expired - Fee RelatedUS8265957B2 (en)2007-01-182007-07-17Methods, systems, and computer-readable media for disease management
US13/557,755AbandonedUS20120290318A1 (en)2007-01-182012-07-25Methods, Systems, and Computer-Readable Media for Disease Management

Family Applications After (1)

Application NumberTitlePriority DateFiling Date
US13/557,755AbandonedUS20120290318A1 (en)2007-01-182012-07-25Methods, Systems, and Computer-Readable Media for Disease Management

Country Status (1)

CountryLink
US (2)US8265957B2 (en)

Cited By (14)

* Cited by examiner, † Cited by third party
Publication numberPriority datePublication dateAssigneeTitle
US20130042117A1 (en)*2011-08-112013-02-14Roche Diagnostics Operations, Inc.Cryptographic data distribution and revocation for handheld medical devices
US20150202531A1 (en)*2014-01-212015-07-23Danielle Marie StaleyWecovery- MMORPG
US9129054B2 (en)2012-09-172015-09-08DePuy Synthes Products, Inc.Systems and methods for surgical and interventional planning, support, post-operative follow-up, and, functional recovery tracking
US20160011162A1 (en)*2012-04-162016-01-14Eugenio MinvielleLogistic Transport System for Nutritional Substances
US9414623B2 (en)2012-04-162016-08-16Eugenio MinvielleTransformation and dynamic identification system for nutritional substances
US9429920B2 (en)2012-04-162016-08-30Eugenio MinvielleInstructions for conditioning nutritional substances
US9436170B2 (en)2012-04-162016-09-06Eugenio MinvielleAppliances with weight sensors for nutritional substances
US9460633B2 (en)2012-04-162016-10-04Eugenio MinvielleConditioner with sensors for nutritional substances
US9497990B2 (en)2012-04-162016-11-22Eugenio MinvielleLocal storage and conditioning systems for nutritional substances
US9528972B2 (en)2012-04-162016-12-27Eugenio MinvielleDynamic recipe control
US9541536B2 (en)2012-04-162017-01-10Eugenio MinviellePreservation system for nutritional substances
US9564064B2 (en)2012-04-162017-02-07Eugenio MinvielleConditioner with weight sensors for nutritional substances
US10219531B2 (en)2012-04-162019-03-05Iceberg Luxembourg S.A.R.L.Preservation system for nutritional substances
US10867708B2 (en)2015-07-102020-12-15Fresenius Medical Care Holdings, Inc.Social virtual dialysis clinic

Families Citing this family (10)

* Cited by examiner, † Cited by third party
Publication numberPriority datePublication dateAssigneeTitle
US8423378B1 (en)*2008-07-242013-04-16Ideal Life, Inc.Facilitating health care management of subjects
US8462160B2 (en)*2008-12-312013-06-11Facebook, Inc.Displaying demographic information of members discussing topics in a forum
US20110125844A1 (en)*2009-05-182011-05-26Telcordia Technologies, Inc. mobile enabled social networking application to support closed, moderated group interactions for purpose of facilitating therapeutic care
US9110517B2 (en)2009-09-142015-08-18Broadcom CorporationSystem and method for generating screen pointing information in a television
US9483622B1 (en)2010-01-112016-11-01Humana Inc.Pain visualization system and method
US20120066140A1 (en)*2010-09-142012-03-15Nokia CorporationMethod and apparatus for monitoring adherence to prescribed regimens
KR101643976B1 (en)2011-10-272016-08-10엠파이어 테크놀로지 디벨롭먼트 엘엘씨Low complexity and power efficient error correction coding schemes
KR101302120B1 (en)*2011-11-182013-09-12동국대학교 경주캠퍼스 산학협력단The apparatus and method of augmented reality in bodily tissue with social network service moudule
US11032855B2 (en)2016-10-182021-06-08Dexcom, Inc.System and method for communication of analyte data
EP3915475B1 (en)*2016-10-182024-09-04Dexcom, Inc.System and method for communication of analyte data

Citations (8)

* Cited by examiner, † Cited by third party
Publication numberPriority datePublication dateAssigneeTitle
US6039688A (en)*1996-11-012000-03-21Salus Media Inc.Therapeutic behavior modification program, compliance monitoring and feedback system
US6494830B1 (en)2000-06-222002-12-17Guidance Interactive Technologies, Inc.Handheld controller for monitoring/using medical parameters
US6641533B2 (en)1998-08-182003-11-04Medtronic Minimed, Inc.Handheld personal data assistant (PDA) with a medical device and method of using the same
US6931328B2 (en)2002-11-082005-08-16Optiscan Biomedical Corp.Analyte detection system with software download capabilities
US7041468B2 (en)2001-04-022006-05-09Therasense, Inc.Blood glucose tracking apparatus and methods
US7156809B2 (en)1999-12-172007-01-02Q-Tec Systems LlcMethod and apparatus for health and disease management combining patient data monitoring with wireless internet connectivity
US7179226B2 (en)2001-06-212007-02-20Animas CorporationSystem and method for managing diabetes
US20070061393A1 (en)*2005-02-012007-03-15Moore James FManagement of health care data

Family Cites Families (8)

* Cited by examiner, † Cited by third party
Publication numberPriority datePublication dateAssigneeTitle
US6602469B1 (en)*1998-11-092003-08-05Lifestream Technologies, Inc.Health monitoring and diagnostic device and network-based health assessment and medical records maintenance system
US7024369B1 (en)*2000-05-312006-04-04International Business Machines CorporationBalancing the comprehensive health of a user
US20020111826A1 (en)*2000-12-072002-08-15Potter Jane I.Method of administering a health plan
US20040078228A1 (en)*2002-05-312004-04-22Fitzgerald DavidSystem for monitoring healthcare patient encounter related information
US20040128163A1 (en)*2002-06-052004-07-01Goodman Philip HoldenHealth care information management apparatus, system and method of use and doing business
US20040236602A1 (en)*2003-05-202004-11-25Greene Jeffrey C.Methods for improving the clinical outcome of patient care and for reducing overall health care costs
US20070276203A1 (en)*2005-04-142007-11-29Aaron DayMethod and System for Improving Health Status of Members of an Entity
US20070299698A1 (en)*2006-05-312007-12-27Sudhir AnandaraoSystems and methods for optimizing a health benefits process

Patent Citations (8)

* Cited by examiner, † Cited by third party
Publication numberPriority datePublication dateAssigneeTitle
US6039688A (en)*1996-11-012000-03-21Salus Media Inc.Therapeutic behavior modification program, compliance monitoring and feedback system
US6641533B2 (en)1998-08-182003-11-04Medtronic Minimed, Inc.Handheld personal data assistant (PDA) with a medical device and method of using the same
US7156809B2 (en)1999-12-172007-01-02Q-Tec Systems LlcMethod and apparatus for health and disease management combining patient data monitoring with wireless internet connectivity
US6494830B1 (en)2000-06-222002-12-17Guidance Interactive Technologies, Inc.Handheld controller for monitoring/using medical parameters
US7041468B2 (en)2001-04-022006-05-09Therasense, Inc.Blood glucose tracking apparatus and methods
US7179226B2 (en)2001-06-212007-02-20Animas CorporationSystem and method for managing diabetes
US6931328B2 (en)2002-11-082005-08-16Optiscan Biomedical Corp.Analyte detection system with software download capabilities
US20070061393A1 (en)*2005-02-012007-03-15Moore James FManagement of health care data

Cited By (22)

* Cited by examiner, † Cited by third party
Publication numberPriority datePublication dateAssigneeTitle
US20130042117A1 (en)*2011-08-112013-02-14Roche Diagnostics Operations, Inc.Cryptographic data distribution and revocation for handheld medical devices
US8667293B2 (en)*2011-08-112014-03-04Roche Diagnostics Operations, Inc.Cryptographic data distribution and revocation for handheld medical devices
US9528972B2 (en)2012-04-162016-12-27Eugenio MinvielleDynamic recipe control
US9541536B2 (en)2012-04-162017-01-10Eugenio MinviellePreservation system for nutritional substances
US20160011162A1 (en)*2012-04-162016-01-14Eugenio MinvielleLogistic Transport System for Nutritional Substances
US9414623B2 (en)2012-04-162016-08-16Eugenio MinvielleTransformation and dynamic identification system for nutritional substances
US9429920B2 (en)2012-04-162016-08-30Eugenio MinvielleInstructions for conditioning nutritional substances
US9436170B2 (en)2012-04-162016-09-06Eugenio MinvielleAppliances with weight sensors for nutritional substances
US9460633B2 (en)2012-04-162016-10-04Eugenio MinvielleConditioner with sensors for nutritional substances
US9497990B2 (en)2012-04-162016-11-22Eugenio MinvielleLocal storage and conditioning systems for nutritional substances
US10219531B2 (en)2012-04-162019-03-05Iceberg Luxembourg S.A.R.L.Preservation system for nutritional substances
US9564064B2 (en)2012-04-162017-02-07Eugenio MinvielleConditioner with weight sensors for nutritional substances
US9129054B2 (en)2012-09-172015-09-08DePuy Synthes Products, Inc.Systems and methods for surgical and interventional planning, support, post-operative follow-up, and, functional recovery tracking
US9700292B2 (en)2012-09-172017-07-11DePuy Synthes Products, Inc.Systems and methods for surgical and interventional planning, support, post-operative follow-up, and functional recovery tracking
US10166019B2 (en)2012-09-172019-01-01DePuy Synthes Products, Inc.Systems and methods for surgical and interventional planning, support, post-operative follow-up, and, functional recovery tracking
US10595844B2 (en)2012-09-172020-03-24DePuy Synthes Products, Inc.Systems and methods for surgical and interventional planning, support, post-operative follow-up, and functional recovery tracking
US11749396B2 (en)2012-09-172023-09-05DePuy Synthes Products, Inc.Systems and methods for surgical and interventional planning, support, post-operative follow-up, and, functional recovery tracking
US11798676B2 (en)2012-09-172023-10-24DePuy Synthes Products, Inc.Systems and methods for surgical and interventional planning, support, post-operative follow-up, and functional recovery tracking
US11923068B2 (en)2012-09-172024-03-05DePuy Synthes Products, Inc.Systems and methods for surgical and interventional planning, support, post-operative follow-up, and functional recovery tracking
US20150202531A1 (en)*2014-01-212015-07-23Danielle Marie StaleyWecovery- MMORPG
US10867708B2 (en)2015-07-102020-12-15Fresenius Medical Care Holdings, Inc.Social virtual dialysis clinic
US12183470B2 (en)2015-07-102024-12-31Fresenius Medical Care Holdings, Inc.Social virtual medical clinic

Also Published As

Publication numberPublication date
US20080177570A1 (en)2008-07-24
US20120290318A1 (en)2012-11-15

Similar Documents

PublicationPublication DateTitle
US8265957B2 (en)Methods, systems, and computer-readable media for disease management
Laffel et al.Effect of continuous glucose monitoring on glycemic control in adolescents and young adults with type 1 diabetes: a randomized clinical trial
Khatri et al.Racial/ethnic disparities in unintentional fatal and nonfatal emergency medical services–attended opioid overdoses during the COVID-19 pandemic in Philadelphia
JP7576601B2 (en) Systems and methods for remote prescribing of drug administration regimens - Patents.com
US11430570B2 (en)System and method for mobile platform designed for digital health management and support for remote patient monitoring
US8737971B2 (en)Universal personal diagnostics platform
TWI549091B (en)Cloud systems for providing health-related services in a communication network and methods thereof
US9836581B2 (en)Method for modeling behavior and health changes
US20170007762A1 (en)Infusion of insulin into a patient and diabetes mellitus medical methods based on the patients monitored analyte concentration
Foster et al.Remote monitoring of patient-and family-generated health data in pediatrics
Moran et al.Implementation of Global Hearts hypertension control programs in 32 low-and middle-income countries: JACC International
US20060212316A1 (en)Monitoring and feedback wireless medical system and method
CN116134531A (en) Analyte monitoring systems, devices and methods
KR20190105124A (en)Presentation of physiological data
Aleppo et al.Comprehensive telehealth model to support diabetes self-management
Mehta et al.Effect of text messaging and behavioral interventions on COVID-19 vaccination uptake: a randomized clinical trial
Dillmann et al.Feasibility of real-time continuous glucose monitoring telemetry system in an inpatient diabetes unit: a pilot study
Lee et al.Feasibility of electronic health record assessment of 6 pediatric type 1 diabetes self-management habits and their association with glycemic outcomes
EP3847667A1 (en)Health monitoring system having portable health monitoring devices and method therefor
Fleming et al.Review and evaluation of mHealth apps in solid organ transplantation: past, present, and future
US20150379212A1 (en)System and methods for enhanced management of patient care and communication
Marcus et al.Making PrEP easy
Messer et al.Increasing use of diabetes devices: what do health care professionals need?
ChamberlainContinuous glucose monitoring systems: categories and features
WoodwardHome monitoring with IT-supported specialist management versus home monitoring alone in patients with heart failure: design and baseline results of the SUPPORT-HF 2 randomized trial

Legal Events

DateCodeTitleDescription
ASAssignment

Owner name:AT&T INTELLECTUAL PROPERTY, INC., DELAWARE

Free format text:ASSIGNMENT OF ASSIGNORS INTEREST;ASSIGNOR:CRAINE, ARI;REEL/FRAME:019564/0117

Effective date:20070716

FEPPFee payment procedure

Free format text:PAYOR NUMBER ASSIGNED (ORIGINAL EVENT CODE: ASPN); ENTITY STATUS OF PATENT OWNER: LARGE ENTITY

ZAAANotice of allowance and fees due

Free format text:ORIGINAL CODE: NOA

ZAABNotice of allowance mailed

Free format text:ORIGINAL CODE: MN/=.

STCFInformation on status: patent grant

Free format text:PATENTED CASE

FPAYFee payment

Year of fee payment:4

MAFPMaintenance fee payment

Free format text:PAYMENT OF MAINTENANCE FEE, 8TH YEAR, LARGE ENTITY (ORIGINAL EVENT CODE: M1552); ENTITY STATUS OF PATENT OWNER: LARGE ENTITY

Year of fee payment:8

FEPPFee payment procedure

Free format text:MAINTENANCE FEE REMINDER MAILED (ORIGINAL EVENT CODE: REM.); ENTITY STATUS OF PATENT OWNER: LARGE ENTITY

LAPSLapse for failure to pay maintenance fees

Free format text:PATENT EXPIRED FOR FAILURE TO PAY MAINTENANCE FEES (ORIGINAL EVENT CODE: EXP.); ENTITY STATUS OF PATENT OWNER: LARGE ENTITY

STCHInformation on status: patent discontinuation

Free format text:PATENT EXPIRED DUE TO NONPAYMENT OF MAINTENANCE FEES UNDER 37 CFR 1.362

FPLapsed due to failure to pay maintenance fee

Effective date:20240911


[8]ページ先頭

©2009-2025 Movatter.jp