Movatterモバイル変換


[0]ホーム

URL:


US8147438B2 - Adjustable wrist brace - Google Patents

Adjustable wrist brace
Download PDF

Info

Publication number
US8147438B2
US8147438B2US12/828,763US82876310AUS8147438B2US 8147438 B2US8147438 B2US 8147438B2US 82876310 AUS82876310 AUS 82876310AUS 8147438 B2US8147438 B2US 8147438B2
Authority
US
United States
Prior art keywords
securing
support
wrist brace
loops
support casing
Prior art date
Legal status (The legal status is an assumption and is not a legal conclusion. Google has not performed a legal analysis and makes no representation as to the accuracy of the status listed.)
Active
Application number
US12/828,763
Other versions
US20110130694A1 (en
Inventor
Bonnie Livolsi
Eileen Zirpolo-Kisco
Nancy Randall
Current Assignee (The listed assignees may be inaccurate. Google has not performed a legal analysis and makes no representation or warranty as to the accuracy of the list.)
DJO LLC
Original Assignee
DJO LLC
Priority date (The priority date is an assumption and is not a legal conclusion. Google has not performed a legal analysis and makes no representation as to the accuracy of the date listed.)
Filing date
Publication date
Application filed by DJO LLCfiledCriticalDJO LLC
Priority to US12/828,763priorityCriticalpatent/US8147438B2/en
Publication of US20110130694A1publicationCriticalpatent/US20110130694A1/en
Assigned to DJO, LLCreassignmentDJO, LLCASSIGNMENT OF ASSIGNORS INTEREST (SEE DOCUMENT FOR DETAILS).Assignors: RANDALL, NANCY, ZIRPOLO-KISCO, EILEEN, LIVOLSI, BONNIE
Application grantedgrantedCritical
Publication of US8147438B2publicationCriticalpatent/US8147438B2/en
Assigned to THE BANK OF NEW YORK MELLON, AS SECOND LIEN AGENTreassignmentTHE BANK OF NEW YORK MELLON, AS SECOND LIEN AGENTSECURITY AGREEMENTAssignors: DJO, LLC, EMPI, INC., ENCORE MEDICAL ASSET CORPORATION, RICKO INTERNATIONAL, LLC
Assigned to WELLS FARGO BANK, NATIONAL ASSOCIATION, AS THE COLLATERAL AGENTreassignmentWELLS FARGO BANK, NATIONAL ASSOCIATION, AS THE COLLATERAL AGENTSECURITY INTEREST (SEE DOCUMENT FOR DETAILS).Assignors: DJO, LLC, EMPI, INC., ENCORE MEDICAL ASSET CORPORATION, ENCORE MEDICAL, L.P., Rikco International, LLC
Assigned to MACQUARIE US TRADING LLC, AS COLLATERAL AGENTreassignmentMACQUARIE US TRADING LLC, AS COLLATERAL AGENTSECURITY AGREEMENTAssignors: DJO, LLC, EMPI, INC., ENCORE MEDICAL ASSET CORPORATION, ENCORE MEDICAL, L.P., Rikco International, LLC
Assigned to THE BANK OF NEW YORK MELLON, AS THIRD LIEN AGENTreassignmentTHE BANK OF NEW YORK MELLON, AS THIRD LIEN AGENTSECURITY AGREEMENTAssignors: DJO, LLC, EMPI, INC., ENCORE MEDICAL ASSET CORPORATION, ENCORE MEDICAL, L.P., Rikco International, LLC
Assigned to THE BANK OF NEW YORK MELLON, AS SECOND LIEN AGENTreassignmentTHE BANK OF NEW YORK MELLON, AS SECOND LIEN AGENTSECURITY AGREEMENTAssignors: DJO, LLC, EMPI, INC., ENCORE MEDICAL ASSET CORPORATION, ENCORE MEDICAL, L.P., Rikco International, LLC
Assigned to ENCORE MEDICAL ASSET CORPORATION, DJO, LLC, EMPI, INC., Rikco International, LLCreassignmentENCORE MEDICAL ASSET CORPORATIONRELEASE BY SECURED PARTY (SEE DOCUMENT FOR DETAILS).Assignors: THE BANK OF NEW YORK MELLON, AS SECOND LIEN AGENT
Assigned to EMPI, INC., ENCORE MEDICAL ASSET CORPORATION, DJO, LLC, ENCORE MEDICAL, L.P., Rikco International, LLCreassignmentEMPI, INC.RELEASE BY SECURED PARTY (SEE DOCUMENT FOR DETAILS).Assignors: THE BANK OF NEW YORK MELLON AS THIRD LIEN AGENT
Assigned to EMPI, INC., ENCORE MEDICAL ASSET CORPORATION, DJO, LLC, ENCORE MEDICAL, L.P., Rikco International, LLCreassignmentEMPI, INC.RELEASE BY SECURED PARTY (SEE DOCUMENT FOR DETAILS).Assignors: MACQUARIE US TRADING LLC AS COLLATERAL AGENT
Assigned to EMPI, INC., ENCORE MEDICAL ASSET CORPORATION, DJO, LLC, ENCORE MEDICAL, L.P., Rikco International, LLCreassignmentEMPI, INC.RELEASE BY SECURED PARTY (SEE DOCUMENT FOR DETAILS).Assignors: THE BANK OF NEW YORK MELLON AS SECOND LIEN AGENT
Assigned to EMPI, INC., ENCORE MEDICAL ASSET CORPORATION, DJO, LLC, ENCORE MEDICAL, L.P., Rikco International, LLCreassignmentEMPI, INC.RELEASE BY SECURED PARTY (SEE DOCUMENT FOR DETAILS).Assignors: WELLS FARGO BANK, NATIONAL ASSOCIATION AS COLLATERAL AGENT
Assigned to JPMORGAN CHASE BANK, N.A., AS ADMINISTRATIVE AGENTreassignmentJPMORGAN CHASE BANK, N.A., AS ADMINISTRATIVE AGENTSECURITY INTEREST (SEE DOCUMENT FOR DETAILS).Assignors: DJO, LLC
Activelegal-statusCriticalCurrent
Anticipated expirationlegal-statusCritical

Links

Images

Classifications

Definitions

Landscapes

Abstract

Provided herein are wrist braces with improved adjustability and performance features. An exemplary wrist brace includes a flexible support casing to enclose a user's wrist; securing loops, mounted substantially along and extending outwardly from the support casing; an elastic securing member passing through at least one of the securing loops; and a puller, attached to the ends of the elastic securing member, configured to adjustably tension the elastic securing member with respect to the casing.

Description

CROSS-REFERENCE TO RELATED APPLICATION
This application claims the benefit of U.S. Provisional Application Ser. No. 61/270,109, filed Jul. 2, 2009, the entire contents of which are incorporated herein by reference.
BACKGROUND
Many individuals suffer from physiological conditions of the upper extremities, including the arm, wrist and hand. For example, carpal tunnel syndrome, which is triggered by pressure on the median nerve, often results in numbness and difficulty with manual tasks and affects many in the general population. Other common conditions include hand and wrist sprains, strains, tendonitis, and nerve compression.
For many affected individuals, the additional support provided to the arm, wrist and hand by a supportive brace may alleviate the pain and degradation of function that may be associated with these physiological conditions. Supportive braces are also often used by athletes and other individuals to improve performance and prevent damage to the joints, muscles, nerves and tissues of the upper extremities.
Existing braces, however, fail to provide support devices that address the needs and desires of users and care providers. For example, Harris et al. (U.S. Pat. No. 5,769,804) describe a carpal tunnel syndrome wrist brace that is secured about a user's wrist by a number of non-elastic laces, threaded through eyelets embedded within a rigid shell and attached to several attachment straps. This brace exhibits a number of disadvantages. First, the use of a rigid shell and non-elastic laces limits the ability of the wrist brace to conform to different user body types and to provide adjustable support for different physiological conditions. Second, the threading of the non-elastic laces through the eyelets is cumbersome because the eyelets are embedded within the shell. Threading laces through embedded eyelets also introduces regions of uneven pressure on the user's skin that may result in irritation and pain.
In another example, Hely (U.S. Pat. No. 6,893,410) describes a brace which is attached to a user's wrist via tightening strands that are anchored in a holder and threaded through openings within the holder. This brace suffers from several of the same disadvantages described above, including impaired adjustability due to the anchored tightening strands, the embedded openings and the uneven pressure caused by the threading of the strands through the openings. Additionally, neither of these braces provides an inner layer that is conformable to a user's skin, nor is dimensioned to provide advantageous supportive forces along a length of a user's arm.
SUMMARY
The apparatus described herein addresses these and other limitations of the prior art by providing wrist braces with improved adjustability and performance features, thereby improving patient compliance. Additionally, use of the wrist braces disclosed herein may decrease the likelihood of complications arising from over-use of a brace. Such risks may include weakness in proximal muscles or the improper formation of scar tissue during healing. The improved ease of consistent and reliable reattachment of the wrist braces described herein may help users overcome the fear of not being able to correctly re-attach the brace after removal, thereby encouraging users to wear the brace in accordance with their treatment program and avoid over-use of the brace.
In one aspect, the apparatus described herein provides a wrist brace, including a flexible support casing having first and second longitudinal edges that are drawn together to enclose a user's wrist; a first plurality of securing loops, each having a lower rim and an upper rim, the lower rim being secured to the support casing and the upper rim extending outwardly from the support casing; at least one elastic securing member, having a first end, a second end and a middle portion, wherein the middle portion passes through at least one of the first plurality of securing loops without passing through the support casing; and a puller, attached to the first and second ends of the at least one elastic securing member, the puller being configured to adjustably tension the at least one elastic securing member with respect to the casing.
The securing loops are attached to the support casing in a position that makes them easily accessible to the elastic securing members. In one aspect, these components provide easier application of the wrist brace and more tailored contouring than conventional braces. In certain embodiments, the lower rims are secured to the support casing proximate the first edge. In certain embodiments, the upper rims extend outwardly from the first edge. The Securing loops may be molded in a unitary structure, wherein a plurality of loops are co-molded with a loop support portion. The loop support portion may be attached to the support casing.
In certain exemplary embodiments, the middle portion of the at least one elastic securing member passes through at least two of the first plurality of securing loops, thereby forming a loop opposite the puller. In certain embodiments, the wrist brace includes a plurality of elastic securing members wherein the first and second ends of each elastic securing member are attached to the puller.
The wrist brace may also include a second plurality of securing loops, each having a lower rim secured to the support casing and an upper rim extending outwardly from the support casing. In some such implementations, the middle portion of the at least one elastic securing member passes through at least one of the second plurality of securing loops. In certain embodiments, the middle portion of each elastic securing member passes through at least two of the second plurality of securing loops. As with the first plurality of securing loops, the second plurality of securing loops may also be molded in a unitary structure that is attached to the support casting. The second plurality of securing loops may be secured to the support casing proximate the second edge, and the upper rims may extend outwardly from the second edge.
In certain implementations, the first edge includes an edge of a removable pod unit connected to the support casing. The pod unit may be adjustably connected to the support casing. The first and/or second loop support portions may be secured to the support casing by a removable pod unit, and the first and/or second edges may include an edge of a removable pod unit. In certain implementations, the support casing comprises an inner layer constructed of a material that contours to the user's wrist. The material may be nylon foam. The support casing may extend along a user's arm to a position about mid-way between the user's elbow and wrist. The wrist brace may also include a strap that fits adjustably between a user's thumb and index finger.
BRIEF DESCRIPTION OF THE DRAWINGS
The foregoing and other objects and advantages will be appreciated more fully from the following further description thereof, with reference to the accompanying drawings wherein:
FIG. 1A is a view of a wrist brace including a support seam, prior to insertion of a user's wrist;
FIGS. 1B-1C are medial and lateral side views of the wrist brace ofFIG. 1A;
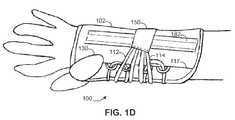
FIG. 1D is a perspective view of a wrist brace in a support configuration on a user's wrist;
FIG. 2A is a view of a wrist brace including a pod unit, prior to insertion of a user's wrist;
FIG. 2B is a lateral side view of the wrist brace ofFIG. 2A;
FIGS. 3A-3D are views of puller assemblies;
FIGS. 4A-4B are plan and elevation views, respectively, of a loop structure; and
FIG. 5 is a deconstructed view of layers of a wrist brace assembly proximate to a longitudinal edge.
DETAILED DESCRIPTION
Described herein is a wrist support apparatus configured to provide adjustable and customizable support to a patient's wrist and lower arm. To provide an overall understanding of the apparatus, certain illustrative examples are herein described, and more particularly set forth in the figures. However, it will be understood by one of ordinary skill in the art that the apparatus described herein can be adapted and modified for other suitable applications, and that such other additions and modifications will not depart from the scope thereof.
FIG. 1A is a view of awrist brace100, with asupport seam117, prior to insertion of a user's wrist. Thewrist brace100 includes asupport casing102, a first plurality of securing loops104-110, a second plurality of securing loops140-146, two elastic securingmembers112 and114 and apuller assembly148. Thewrist brace100 inFIG. 1A is intended to be worn on a user's right arm, but construction of a left wrist brace is entirely analogous and is easily understood by one of ordinary skill in the art with the aid of this disclosure.
Thesupport casing102 includes a sheet offlexible support material129 having twolongitudinal edges118 and120. In use, a user's wrist is inserted into thewrist brace100 and the twolongitudinal edges118 and120 are drawn together, thereby closing theflexible support material129 of thewrist brace100 around the user's wrist. In use, thelongitudinal edges118 and120 may overlap, or may remain spaced apart. Atongue122 overlays the user's wrist and connects the twolongitudinal edges118 and120 to create asleeve131 through which the user's arm protrudes. The user inserts the wrist into thewrist brace100 via thesleeve131 created by the combination of thesupport casing102 and thetongue122. Thetongue122 is constructed of any suitably flexible material (such as a polypropylene fabric, or nylon or cotton stockinette), which may also have advantageous properties such as breathability, moisture wicking, and cushioning. Thetongue122 is comprised of a single sheet of material, or may be comprised of multiple material sections or straps (such as a double layer of stockinette material). In some implementations, thewrist brace100 does not include atongue122. In certain implementations, thetongue122 is stitched to the support casing so that the seam is positioned between thetongue122 and thesupport casing102, thus avoiding any skin irritation that may result from direct contact between the skin and the seam. In certain implementations, thetongue122 is attached to thesupport casing102 at a first distance from thelongitudinal edge118 and a second distance, different from the first distance, from thelongitudinal edge120.
Thesupport casing102 is flexible, and is constructed of a layer or layers of materials of varying properties. In an embodiment, thesupport casing102 includes aninner layer124 positioned adjacent to a user's skin (or proximal to an adjacent layer). Theinner layer124 may include a material capable of contouring to a user's wrist, hand or arm. In an embodiment, theinner layer124 includes a nylon foam. As discussed above with reference to thetongue122, the material or materials comprising theinner layer124 may also have advantageous properties such as breathability, moisture wicking and cushioning. Theinner layer124 may also include a region or regions for applying a medicament or other treatment to the user's skin. For example, thesupport casing102 may include a pocket that holds a heat or cold source for applying heat or cold therapy to a user's skin. The heat or cold source may be integral or insertable into thesupport casing102. One or more outer layers ofsupport casing102 may be made of any of a number of materials, including a felted or woven fabric, or a flexible plastic or other synthetic material. Additionally, the edges ofsupport casing102 may be finished (e.g., by sewing, gluing, fusing or another suitable finishing technique) or encased in a material such as a fabric or synthetic binding.
Support casing102 may also include pockets between or within the layers for stiff support inserts which may provide additional support to a user's hand or wrist. For example, thewrist brace100 may include a palmer stay pocket180 (FIG. 1B). In certain implementations, a palmer stay is made of metal or stiff plastic, and is inserted into the longitudinalpalmer stay pocket180 in thesupport casing102. The palmer stay may be customized or contoured to fit a user's arm and wrist (e.g., with a bend in the stay positioned to support a user's palmer crease, and aligned with the user's forearm). Additional foam padding may be included in the support casing between the palmer stay and the user's skin, and the palmer stay may have rounded edges and corners to avoid damaging the soft goods of thewrist brace100 and to reduce the risk of accidentally injuring a user. The palmer stay may be permanently installed in thewrist brace100, or may be removable from thewrist brace100. In certain implementation, the palmer stay is snugly encased in a pocket of thesupport casing102, with an opening at the bottom of thepalmer stay pocket180 proximal to the user's forearm. This opening may be adjustably closed by a piece of hook and loop material, or any other suitable mechanism.
As another example of a stiff support insert, thewrist brace100 may include a longitudinal dorsal stay, instead of or in addition to a palmer stay. In certain implementations, the dorsal stay is a flat member made of metal or stiff plastic, which can be customized and bent to the user's therapeutic requirements and also provide sufficiently rigid support during use. In certain implementations, the dorsal stay is snugly encased in a dorsal stay casing182 (FIG. 1D) that is adjustably attachable to thesupport casing102. The dorsal stay casing182 includes a strip of loop material and a strip of hook material secured “back-to-back,” such that, in use, the hook side of the hook material attaches to theouter surface128 of thesupport casing102, the loop side of the of loop material faces away from theouter surface128, and the dorsal stay is sandwiched between the hook material and the loop material. In certain implementations, the strip of loop material includes the same material used in at least a portion of theouter surface128 of thesupport casing102. When theouter surface128 includes a material that engages with the hook side of the hook material, the entire dorsal stay assembly, including the dorsal stay and thedorsal stay casing182, can be adjustably positioned on and secured to theouter surface128 of thesupport casing102. The position of the dorsal stay assembly can be adjusted to provide customized support and fit for a particular user, and in particular, can be adjustably positioned proximally and distally to achieve a desired control of the user's range of wrist motion. The dorsal stay assembly can also be removed completely from thewrist brace100, for example, when a user is in a rehabilitation phase of treatment. The contact surface area between thedorsal stay casing182 and theouter surface128 can be selected to provide a secure connection so that the dorsal stay assembly remains in the desired position when longitudinal and lateral forces are exerted on thewrist brace100 during normal use. Since the dorsal stay assembly is positioned on theouter surface128 of thesupport casing102, the risks of undesirable friction and compression between the dorsal stay assembly and the user's skin are reduced. Moreover, the sandwich construction of the dorsal stay assembly has a low profile, reducing the risk that the dorsal stay assembly or thewrist brace100 will catch or snag on objects in the user's environment.
Thesupport casing102 has alongitudinal length126. Different embodiments of thewrist brace100 may differ in thelongitudinal length126, depending upon the physiological condition of a user and the type of support desired. Thelongitudinal length126 may be chosen so that thewrist brace100 extends along a user's arm to a position about mid-way between the user's elbow and wrist. This length may provide advantageous support to a user's hand and wrist by providing supportive forces from the user's forearm.
Thesupport casing102 also includes anouter surface128. As discussed in additional detail below, theouter surface128 includes anattachment region133 which includes connective material, such as hook-and-loop material, to attach various elements of thewrist brace100. Theattachment region133 of theouter surface128 may include a connective material capable of adjustable attachment to at least one other element of thewrist brace100. In an embodiment, anattachment region133 of theouter surface128 includes any one or more of a snap, fastener, buckle, tie, spring clip, bandage clip, cleat, zipper, button or adhesive. Anattachment region133 of theouter surface128 may be capable of attachment to more than one element of thewrist brace100, as discussed in additional detail below.
As shown inFIG. 1A, thesupport casing102 also includes astrap130. In use, thestrap130 fits between a user's thumb and index finger. Thestrap130 may be constructed of any suitable material, including materials that provide reduced irritation due to friction. Afirst end132 of thestrap130 attaches to thesupport casing102. This attachment may be adjustable, for example, by attaching thefirst end132 to an attachment region of theouter surface128 as discussed above. In an embodiment, thefirst end132 of thestrap130 is adjustably attachable to more than one location on thewrist brace100, as discussed in additional detail below. By the adjustable attachment of thestrap130, thewrist brace100 can be adjusted to fit users with different physiological dimensions, as well as users participating in different types of manual activity. Additionally, adjustment of the elements of thewrist brace100, including thestrap130, provides different supportive forces to the arm, wrist and hand to achieve different preventative and/or therapeutic goals. As illustrated inFIG. 1A, thestrap130 is a continuous extension of thesupport casing102. Thestrap130 may have a narrowing between thefirst end132 and thesecond end134 to more comfortably seat thestrap130 between the user's thumb and index finger during use. Thestrap130 may include a separate connector portion (not shown), which may be a strip of hook material stitched to the end of thestrap130 and which is attachable to theouter surface128 of thesupport casing102. In an embodiment, thestrap130 is attachable to thesupport casing102 at asecond end134 by any of the attachment methods described herein.
Thewrist brace100 includes a first plurality of securing loops104-110. As depicted inFIG. 1A, the securing loops104-110 are attached to the outer surface of thesupport casing102, for example, along thesupport seam117 between asupport strip119 and theouter surface128 and proximal to thelongitudinal edge120. The securing loops may also be fastened directly to thesupport casing102 without asupport seam117.
In an embodiment, the securing loops104-110 are permanently attached to thesupport casing102 via thesupport seam117. Thesupport seam117 reinforces the attachment of the securing loops104-110 to thesupport casing102. The support seam may be a sewn seam, a glued seam, a fused seam, or any other method of attachment within a layer of thesupport casing102 or between layers of thesupport casing102. In an embodiment, thesupport seam117 is a sewn seam connecting theinner layer124 to an outer layer of thesupport casing102. The support seam may include asupport strip119, which may be sewn, glued, fused, or otherwise permanently and securely attached to thesupport casing102. Exemplary support strips are constructed of a sturdy material suitable for anchoring the securing loops104-110 to the support casing, and may also include stiffening members (e.g., stays) for providing additional rigid or semi-rigid support to the user's wrist. The four securing loops104-110 depicted inFIG. 1A represent an illustrative number and arrangement of a first plurality of securing loops, and embodiments may include any number and arrangement of securing loops and may be spaced at equal or unequal intervals along alongitudinal edge120 of thewrist brace100. Support strips are discussed in additional detail below.
Each of the securing loops104-110 is secured to and extends outwardly from thewrist brace100. As shown, the securing loops each are secured to thesupport casing102 near a lower rim, leaving a free upper rim, the upper rims of the securing loops thus being in an elevated position relative to thesupport casing102. As discussed above, the outward extension and elevated position of the securing loops104-110 provides for greater ease of adjustment than the embedded eyelets of conventional braces and reduces uneven pressure when the brace is in use. Additionally, the use of securing loops, such as the securing loops104-110, may reduce undesirable friction between various elements of the wrist brace (e.g., friction between the securingmembers112 and114 and thesupport casing102 or the tongue122). These improvements may result in a number of benefits, including improved user compliance due to reduced irritation and increased durability of thewrist brace100.
A securing loop may be constructed from any of a number of materials, including rigid or semi-rigid plastic, metal, textile or woven material, or a combination thereof. For example, a securing loop may be a rigid plastic D-shaped loop. Conventional metal eyelets, as used in existing braces, would tear the material of thesupport casing102 and would leave metal edges exposed to the patient's skin when mounted in the manner illustrated inFIG. 1A, and are thus not readily adapted for use as the securing loops described herein, The material or materials included in a securing loop are selected based on the material included in a securing member (e.g., the securingmembers112 and114) to provide complementary functional benefits, as discussed further below. In an embodiment, different securing loops are constructed of different materials and/or are different shapes. A securing loop is attached to the wrist brace100 (e.g., to theouter surface128 of the support casing102) by any of a number of attachment methods, including embedding in a seam, a sewn attachment, an intermediate connector, gluing, fusing, and stapling, to name a few. In particular, the securing loops104-110 havelower rims104b-110bthat are permanently secured to thewrist brace100, such as by stitching or gluing near or on thelower rims104b-110b. The loops haveupper rims104a-110athat extend from the surface of thesupport casing102 in a free, elevated position relative to thesupport casing102, providing freer access to the securingmembers112 and114 than is provided in prior art devices having embedded eyelets. Additionally, thelower rims104b-110bare secured to thewrist brace100 away from thelongitudinal edge120, so that the securing loops104-110 do not extend beyond thelongitudinal edge120. In certain implementations, the securing loops are each separately secured to the brace. In alternative implementations, the securing loops are co-molded as a unitary structure with a loop support portion. An example is shown inFIGS. 4A-4B and5, described below.
Thewrist brace100 further includes two securingmembers112 and114. The securingmember112 includes afirst end152, asecond end154 and amiddle portion153, and the securingmember114 includes afirst end156, asecond end158 and amiddle portion157. Each of themiddle portions153 and157 of the securingmembers112 and114, respectively, passes through at least two of the securing loops104-110. As shown, themiddle portion153 of the securingmember112 forms a loop that spans between and passes through the securingloops104 and106, and themiddle portion157 of the securingmember114 forms a loop that spans between and passes through the securingloops108 and110. The securingmembers112 and114 are each an elastic member, such as an elastic cable, an elastic strip, a rubber or stretchable synthetic, or a transparent elastic, and may include portions that are braided, knitted or woven. In an embodiment, a securing member includes an elastic blend. The cross-section of each of the securing members may be any of a number of shapes, including circular, oval, flat, tubular, or any suitable shape. The cross-sectional shape and/or material composing a securing member may be chosen to be complementary to the shape and/or material composing a securing loop, for example, to reduce undesirable frictional contact between the securing member and securing loop when a user adjusts thewrist brace100. A complementary design of securing member and securing loop shape and/or material may provide improved friction characteristics that provide a comfortable fit and help prevent shifting of thewrist brace100 when secured to a user.
Thewrist brace100 further includes a second plurality of securing loops140-146. As illustrated inFIG. 1A, the second plurality of securing loops140-146 are attached to thesupport casing102 along the edge ofsupport seam121 between thesupport strip123 and thesupport casing102, and proximal to thelongitudinal edge118. Thesupport seam121 and the attachment of the securing loops140-146 may take the form of any of the attachments described herein for thesupport seam117 and the securing loops104-110. For example, as shown, the second plurality of securing loops have upper rims that extend outwardly from and are secured in an elevated position relative to thesupport casing102 and thelongitudinal edge118. Such embodiments provide improved ease of access and use, as described above. Further, thesupport strip123 may include any of the support strip features described herein.
The securing loops140-146 are constructed in accordance with the embodiments described above with reference to the securing loops104-110. In use, the middle portion of each of the securingmembers112 and114 spans between and passes through at least one of a second plurality of securing loops. As shown inFIG. 1A, themiddle portion153 of the securingmember112 passes through the securingloops140 and142 and themiddle portion157 of the securingmember114 passes through the securingloops144 and146. The four securing loops140-146 depicted inFIG. 1A represent an illustrative number and arrangement of a second plurality of securing loops, and embodiments may include any number and arrangement of securing loops as discussed above with reference to the first plurality of securing loops104-110. In certain embodiments, the number of securing loops used in the first plurality of securing loops is different from the number of securing loops used in the second plurality of securing loops.
Thewrist brace100 also includes apuller assembly148. Thepuller assembly148 includes the securingmembers112 and114 and apuller150. Thepuller150 includes aproximal end150aand adistal end150b. As shown inFIG. 1A, the first ends152 and154 and the second ends156 and158 of the securingmembers112 and114, respectively, are attached to thepuller150 at theproximal end150a. This attachment could be performed by any of a number of methods, including embedding an end of a securing member in a seam, a sewn attachment, a glued or fused attachment, an intermediate connector, or any other suitable attachment method. Thepuller150 is used to adjustably tension the securingmembers112 and114. The attachment between the first ends152 and156 and the second ends154 and158 and theproximal end150aof thepuller150 is sufficient to withstand the adjustable tensioning forces applied to the securingmembers112 and114 when the wrist brace is in use. Additionally, thepuller150 is constructed of one or more layers of durable material that can withstand the forces exerted on theproximal end150aof thepuller150 by the securingmembers112 and114 and the forces exerted on thedistal end150bof thepuller150 by the user when using thepuller150 to adjust thewrist brace100 during use.
A surface of thepuller150 includes an attachment region for connecting to an attachment region of theouter surface128 of thesupport casing102. For example, a surface of thepuller150 may include a region of hook-and-loop material capable of attachment to a complementary region of the outer surface128 (such as the attachment region133). By the adjustable attachment of thepuller150, thewrist brace100 can be further adjusted to fit users with different physiological dimensions, as well as users participating in different types of physical activity. The adjustability of the connection between thepuller150 and thesupport casing102 may be selected based on hook-and-loop dimensions. For example, a large region of hook-and-loop material included in theattachment region133 on theouter surface128 may allow for more possible locations and orientations of the connection between thepuller150 and theouter surface128 than a small region of hook-and-loop material. Additionally, the location of the attachment regions on each of thepuller150 and the support casing102 (e.g., the attachment region133) provides constraints on the adjustability of the connection between thepuller150 and thesupport casing102. In certain implementations, substantially all of theouter surface128 of thesupport casing102 is included in theattachment region133. Attaching thepuller150 to different attachment regions (e.g., the attachment region133) of thesupport casing102 provides different therapeutic benefits to a user of thewrist brace100 by enabling the application of different forces via the tension of the securing members, discussed in additional detail below.
A puller, such as thepuller150, may also include attachment regions on multiple faces to allow the puller to attach to thesupport casing102 in different orientations. Such attachment regions may allow multiple elements of thewrist brace100 to attach in varying configurations according to a user's preferences and goals. In an embodiment, thepuller150 includes an attachment region on the face of thepuller150 opposite theattachment region149 to enable both faces to attach to thesupport casing102 and achieve the first and second support configurations described below, for example. The puller may also include attachment regions to which thestrap130 of thewrist brace100 may attach.
Thepuller150 is designed to be grasped and manipulated by a user, as discussed below. Thepuller150 may take any of a number of suitable shapes, including a rectangle, a loop, or any curved shape. In certain implementations, thedistal end150bof thepuller150 is rounded. Thepuller150 may be largely planar or substantially three-dimensional (e.g., a cylinder or rectangular solid), and may include any of a number of design elements for ergonomic use in the manner described below. In certain implementations, thepuller150 is constructed as layers of different materials, including a hook-and-loop material as described above, and has a low profile to avoid catching or snagging on objects in the user's environment when thewrist brace100 is in use.
FIGS. 1B-1C are medial and lateral side views ofwrist brace100. The position and orientation of the support seams117 and121 are positioned to be therapeutically-suitable. When a user's wrist is inserted in the support casing102 (e.g., by inserting the hand in the direction of the arrow160), thesupport casing102 will substantially enclose the user's wrist. Thestrap130 is adjustably attached to another portion of thewrist brace100, for example, thesupport casing102. When attached, thestrap130 is strapped to thesupport casing102 in position between a user's thumb and forefinger, helping secure thewrist brace100 to the user's arm by reducing relative motion between thewrist brace100 and the user's arm in both the longitudinal and transverse directions. The location of the point of attachment may be adjustable to accommodate differently-proportioned users, and may be selectively unattached.
Applying a force to thepuller150 in the direction of the arrow162 (i.e., outwardly from the wrist brace100) will increase the tension on the elastic securingmembers112 and114. Changing the direction and magnitude of the applied force will adjust the tension of the securing members. A desired tension on each of the securingmembers112 and114 (including magnitude and direction) is achieved by the attachment of thepuller150 to thesupport casing102. As shown, thepuller150 is attached to the outer surface of thesupport casing102. In a first support configuration, a force is applied in the direction of thearrow162, then in the direction of thearrow168 in order to “wrap” the securingmembers112 and114 around the user's wrist, whereupon thepuller150 is attached to thesupport casing102 to secure the brace to the wrist. In use, the elastic securingmembers112 and114 mold around the wrist and securely fasten the brace. The elasticity of the securing members thus provides a more adjustable fit than is provided by braces that use conventional shoelace-type straps.
FIG. 1D is a perspective view of awrist brace100 in a preferred second support configuration on a user's wrist. To configure thewrist brace100 in this second support configuration (different from the first configuration described above), a force is applied in the direction of thearrow162, then in the direction of thearrow164 in order to tension the securingmembers112 and114 by “folding” them back upon themselves, whereupon thepuller150 is attached to thesupport casing102.FIG. 1D is a perspective view of awrist brace100 in this second support configuration on a user's wrist. As shown, thepuller150 tensions the securingmembers112 and114, then attaches to thesupport casing102 to maintain the securingmembers112 and114 in a tensioned state. In the configuration depicted inFIG. 1D, both thepuller150 and thestrap130 are attached to thewrist brace100 at various points on the outer surface of thesupport casing102, as is a pod unit (not shown). In embodiments that include multiple pullers (e.g., the pullers300-304 depicted inFIGS. 3A-3D, respectively), the pullers may attach, separately and spaced apart, to the other components of thewrist brace100 described herein.
FIG. 2A is a view of awrist brace200 including apod unit216, prior to insertion of a user's wrist. As depicted inFIG. 2A, the securing loops204-210 are secured to thepod unit216 along alongitudinal edge236. The securing loops204-210 extend outwardly from thepod unit216. In an embodiment, securing loops secured to a pod unit are in an elevated position relative to the surface and/or edge of the pod unit. The securingmembers212 and214 pass through the securing loops in the manner described above with reference toFIG. 1A. InFIG. 2A, thepod unit216 is depicted as separated from thesupport casing202 for illustrative purposes. When thewrist brace200 is in use, thepod unit216 is attached to thesupport casing202. Thepod unit216 is attachable to theouter surface228 of thesupport casing202. In an embodiment, thepod unit216 is adjustably connected to thesupport casing202. The adjustable connection of thepod unit216 to thesupport casing202 in thewrist brace200 may include an adjustable position, an adjustable orientation, or a combination of the two. A surface of thepod unit216 includes an attachment region for connecting to an attachment region of theouter surface228 of thesupport casing202. For example, a surface of the pod unit216 (facing thesupport casing202, opposite the outer pod surface238) includes a region of hook-and-loop material capable of attachment to a complementary region of the outer surface228 (such as the attachment region233). By the adjustable attachment of thepod unit216, thewrist brace200 can be further adjusted to fit users with different physiological dimensions, as well as users participating in different types of manual activity, as described above with reference to the adjustable attachment of thepuller150 to thesupport casing102 in thewrist brace100 ofFIGS. 1A-1D.
In an alternate embodiment, apod unit216 is permanently fixed to thesupport casing202 of thewrist brace200, for example, by stitching, stapling or gluing, and may serve to provide a support seam or strip (such assupport seam117 orsupport strip119 of thewrist brace100.) In embodiments that employ a permanent support seam, such as thewrist brace100, or a permanently fixed pod unit (e.g., the pod unit216), the elasticity of the securing members provides sufficient adjustability for most users.
The lateral side view ofwrist brace200 depicted inFIG. 2B illustrates a configuration in which apod unit216 is attached to thesupport casing202. This attachment may be in accordance with any of the attachment mechanisms described herein, including a permanent attachment or an adjustable attachment. The position of thepod unit216 on the support casing is purely illustrative. In an embodiment, the pod unit is capable of placement at multiple locations and in multiple orientations with respect to thesupport casing202 in thewrist brace200.
FIGS. 3A-3D are views of puller assemblies300-306 that may be used with the braces described above. The puller assemblies300-306 are each configured to be used in any of the wrist braces described herein. Each of the puller assemblies300-306 includes at least one puller and at least one securing member, which may be individually constructed and attached together in accordance with any of the embodiments described herein, including those described above forpuller assembly148,puller150 and securingmembers112 and114.
FIG. 3A depicts apuller assembly300 which includes twopullers308 and310 and four securing members312-318. Each of the securingmembers312 and314 is attached at both ends to thepuller308, and each of the securingmembers316 and318 is attached at both ends to thepuller310. Thepuller assembly300 may be used instead of, or in addition to, thepuller assembly150 in thewrist brace100. In an embodiment, the four securing members312-318 each pass through one of the securing loops104-110. The choice of which securing member passes through which securing loop depends upon the support forces desired to achieve a user's therapeutic goals.
FIG. 3B depicts apuller assembly302 which includes twopullers320 and322 and three securing members324-328. Both ends of the securingmembers324 and326 are attached to thepuller320 and both ends of the securingmember328 are attached to thepuller322. Each of the securing members324-328 is capable of being passed through at least one securing loop to tension a wrist brace in the manner described above with reference to the securingmembers112 and114.
FIG. 3C depicts apuller assembly304 which includes twopullers330 and332 and three securing members334-338. Both ends of the securingmember334 are attached to thepuller330, and both ends of the securingmember338 are attached to thepuller332. Afirst end340 of the securingmember336 is attached to thepuller330, and asecond end342 of the securingmember336 is attached to thepuller332.
FIG. 3D depicts apuller assembly306 which includes apuller344, a securingmember346 and a puller loop348. The puller loop348 may be constructed of a rigid plastic or metal material, or a flexible material, and may take the form of any of the securing loops described herein. Thefirst end350 of the securingmember346 and thesecond end352 of the securingmember346 are permanently attached to thepuller344. This attachment may take the form of any of the attachment techniques described above with reference topuller150 and securingmembers112 and114. The middle portion354 of the securingmember346 passes through the puller loop348. The puller loop348 and its attachment to thepuller344 may take the form of any of the attachment techniques described above with reference to the securing loops104-110. In use, the middle portion354 is capable of sliding within puller loop348 as the direction of the tensioning force applied to the securingmember346 by thepuller344 is changed, which changes the distribution of the supportive forces applied by the brace to the user's wrist. A puller may also include more than one puller loop.
As described above, securing loops, such as the securing loops104-110 of the wrist brace100 (FIG. 1A), the securing loops140-146 of the wrist brace100 (FIG. 1A), and/or the securing loops204-210 of the wrist brace200 (FIG. 2A), may be co-molded as a unitary structure with a loop support portion.FIGS. 4A-4B depict plan and elevation views, respectively, of aloop structure400 joining the securing loops104-110 with aloop support portion402. Theloop structure400 may be made of one or more durable and flexible materials, such as nylon or another plastic, and may be constructed by molding or other machining. Theloop structure400 may be co-extruded or co-molded into a unitary piece. In certain embodiments, theloop support portion402 is made of a nylon plastic capable of being stitched through. The securing loop side of theloop support portion402 includes the indentations412-416, and the opposite side of theloop support portion402 includes the indentations418-422.
The shape and structure of theloop support portion402, including the size and location of the securing loops104-110, the indentations412-416 and the indentations418-422, improves the flexibility and reduces the weight and amount of material of theloop structure400. Theloop support portion402 has a length that is sized to span the longitudinal distance approximately from a user's wrist to the middle of a user's forearm, and to space the securing loops104-110 approximately equally along that length. In certain implementations, the length of the support portion402 (i.e., the distance from the end nearest the securingloop104 to the end nearest the securing loop110) is in the range of approximately 6 cm to approximately 15 cm. The length of thesupport portion402 is sufficient to allow the tensioning forces from the securing members to provide support to a therapeutically-appropriate span of the user's wrist and forearm. In certain implementations, the longitudinal spacing between the centers of each of the securing loops104-110 is in the range of approximately 15 mm to approximately 60 mm. The longitudinal spacing of the securing loops is selected based on the length of the wrist brace, the distance over which the brace is to be tightly secured to the user's arm and wrist by the securing members, and the number of securing loops desired. In certain implementations, the outer radius of each of the securing loops104-110 is in the range of approximately 3 mm to approximately 11 mm, and the inner radius of each of the securing loops104-110 is in the range of approximately 2 mm to approximately 8 mm. The dimensions for the inner and outer radii of the securing loops104-110 are selected to be complementary to the dimensions of the securing members (e.g., the securingmembers112 and114 ofFIG. 1A). In certain implementations, the first indentations412-416 have radii in the range of approximately 8 mm to approximately 24 mm. In certain implementations, the second indentations have radii in the range of approximately 2 mm to approximately 12 mm.
In certain implementations, theloop structure400 is included in thewrist brace100 according to the sandwich construction illustrated inFIG. 5, which depicts a semi-exploded view of thesupport casing102 ofFIG. 1, including the securingloop104 and a portion of thelongitudinal edge120. A surface of thesupport casing102 is overlaid with astay member504, theloop structure400, and thesupport strip119. Thestay member504 is a rigid or semi-rigid longitudinal support, and may take the form of any of the stays described herein or known in the art. To assemble thewrist brace100 in accordance with the construction illustrated inFIG. 5, a firstlongitudinal edge524 of thesupport strip119 is attached to the support casing102 (e.g., via stitching). A secondlongitudinal edge526 of thesupport strip119 is attached to thesupport casing102 by stitching alinear support seam117 through thesupport strip119 and theloop support portion402. Athird edge528 of thesupport strip119 may be attached to thesupport casing102, or may be left open to allow thestay member504 to be removed or repositioned (the same is true for the edge of thesupport strip119 opposite to thethird edge528, not shown).
When assembled, thelower rim104bof the securingloop104 is secured to the support casting102 via theloop support portion402, and theupper rim104aextends outwardly from thesupport seam117 and thesupport casing102. Thestay member504 is snugly secured in the pocket created between thesupport strip119 and thesupport casing102. The indentations412-416 (FIG. 4A) allow thesupport seam117 to go through the material of thesupport portion402 for the sections of thesupport seam117 proximal to one of the securing loops104-110, but not go through thesupport portion402 for the sections of thesupport seam117 not proximal to one of the securing loops104-110 (i.e., when thesupport seam117 is between two securing loops). Thesupport seam117 thus alternatingly stitches thesupport portion402 directly to thesupport strip119 and thesupport casing102, and encases thesupport portion402 between thesupport strip119 without stitching into thesupport portion402. This construction helps maintain a tight and substantially flat interface between the secondlongitudinal edge526 of thesupport strip119 and thesupport casing102, reducing the risk of catching or snagging thewrist brace100 or abrading a user if the secondlongitudinal edge526 were elevated from thesupport casing102. Securing theloop support portion402 to thesupport casing102 may be advantageous over implementations in which the securing loops104-110 are each attached directly and separately to the support casing. In use, theloop support portion402 absorbs the torsional forces exerted on the securing loops104-110 by the securingmember112 instead of translating these forces directly to thesupport casing102, which may weaken the connection (e.g., stitching or adhesive) between the securing loops104-110 and thesupport casing102. Replacing multiple separate loops with asingle loop structure400 improves the manufacturability of thewrist brace100. AlthoughFIGS. 4A-4B and5 have been described with reference to the securing loops104-110 of thewrist brace100, loop support structures like theloop structure400 may also be used to provide the securing loops140-146 of the wrist brace100 (FIG. 1A), and the securing loops204-208 of the wrist brace200 (FIG. 2A).
It is to be understood that while certain forms of the wrist brace have been illustrated and described herein, it is not to be limited to the specific forms or arrangement of parts described and shown. Those skilled in the art will know or be able to ascertain using no more than routine experimentation, many equivalents to the embodiments and practices described herein. Accordingly, it will be understood that the invention is not to be limited to the embodiments disclosed herein.

Claims (25)

What is claimed is:
1. A wrist brace, comprising:
a flexible support casing including first and second longitudinal edges that are drawn together to enclose a user's wrist;
a first plurality of securing loops, each having a lower rim and an upper rim, the lower rim being secured to the support casing and the upper rim extending outwardly from the support casing;
at least one elastic securing member having a first end, a second end and a middle portion, wherein the middle portion passes through at least one of the first plurality of securing loops without passing through the support casing; and
a puller, attached to the first and second ends of the at least one elastic securing member, the puller being configured to adjustably tension the at least one elastic securing member with respect to the casing.
2. The wrist brace ofclaim 1, wherein the lower rims of the first plurality of loops are secured to the support casing proximate to the first edge.
3. The wrist brace ofclaim 2, the upper rims of the first plurality of loops extending outwardly from the first edge.
4. The wrist brace ofclaim 1, wherein a first loop support portion joins the first plurality of loops into a unitary structure.
5. The wrist brace ofclaim 4, wherein securing a lower rim of each of the first plurality of securing loops to the support casing comprises securing the lower rim to the first loop support portion, and securing the first loop support portion to the support casing.
6. The wrist brace ofclaim 4, wherein the first edge comprises an edge of a removable pod unit connected to the support casing and the first loop support portion is secured to the support casing by the removable pod unit.
7. The wrist brace ofclaim 1, further comprising a second plurality of securing loops, each having a lower rim and an upper rim, the lower rim being secured to the support casing and the upper rim extending outwardly from the support casing.
8. The wrist brace ofclaim 7, the lower rims of the second plurality of loops being secured to the support casing proximate the second edge.
9. The wrist brace ofclaim 7, further comprising a second loop support portion that joins the second plurality of loops into a unitary structure.
10. The wrist brace ofclaim 9, wherein securing a lower rim of each of the second plurality of securing loops to the support casing comprises securing the lower rim to the second loop support portion, and securing the second loop support portion to the support casing.
11. The wrist brace ofclaim 7, the upper rims of the second plurality of loops extending outwardly from the second edge.
12. The wrist brace ofclaim 11, wherein the second edge comprises an edge of a removable pod unit connected to the support casing and the second loop support portion is secured to the support casing by the removable pod unit.
13. The wrist brace ofclaim 1, comprising a plurality of elastic securing members wherein the first and second ends of each elastic securing member are attached to the puller.
14. The wrist brace ofclaim 1, wherein the middle portion of the at least one elastic securing member passes through at least two of the first plurality of securing loops.
15. The wrist brace ofclaim 7, wherein the middle portion of the at least one elastic securing member passes through at least one of the second plurality of securing loops.
16. The wrist brace ofclaim 15, wherein the middle portion of each elastic securing member passes through at least two of the second plurality of securing loops.
17. The wrist brace ofclaim 1, wherein the support casing comprises an inner layer constructed of a material that contours to the user's wrist.
18. The wrist brace ofclaim 17, wherein the material is a nylon foam.
19. The wrist brace ofclaim 1, further comprising a strap that fits adjustably between a user's thumb and index finger.
20. A wrist brace, comprising:
a flexible support casing including first and second longitudinal edges that are drawn together to enclose a user's wrist;
a first plurality of securing loops, joined by a first loop support portion into a unitary structure, the first loop support portion secured to the support casing;
at least one elastic securing member having a first end, a second end and a middle portion, wherein the middle portion passes through at least one of the first plurality of securing loops without passing through the support casing; and
a puller, attached to the first and second ends of the at least one elastic securing member, the puller being configured to adjustably tension the at least one elastic securing member with respect to the casing.
21. The wrist brace ofclaim 20, wherein the first edge comprises an edge of a removable pod unit connected to the support casing and the first loop support portion is secured to the support casing by the removable pod unit.
22. The wrist brace ofclaim 20, further comprising a second plurality of securing loops, joined by a second loop support portion into a unitary structure, the second loop support portion secured to the support casing.
23. The wrist brace ofclaim 22, wherein the second edge comprises an edge of a removable pod unit connected to the support casing and the second loop support portion is secured to the support casing by the removable pod unit.
24. The wrist brace ofclaim 20, comprising a plurality of elastic securing members wherein the first and second ends of each elastic securing member are attached to the puller.
25. The wrist brace ofclaim 20, wherein the middle portion of the at least one elastic securing member passes through at least two of the first plurality of securing loops.
US12/828,7632009-07-022010-07-01Adjustable wrist braceActiveUS8147438B2 (en)

Priority Applications (1)

Application NumberPriority DateFiling DateTitle
US12/828,763US8147438B2 (en)2009-07-022010-07-01Adjustable wrist brace

Applications Claiming Priority (2)

Application NumberPriority DateFiling DateTitle
US27010909P2009-07-022009-07-02
US12/828,763US8147438B2 (en)2009-07-022010-07-01Adjustable wrist brace

Publications (2)

Publication NumberPublication Date
US20110130694A1 US20110130694A1 (en)2011-06-02
US8147438B2true US8147438B2 (en)2012-04-03

Family

ID=44069412

Family Applications (1)

Application NumberTitlePriority DateFiling Date
US12/828,763ActiveUS8147438B2 (en)2009-07-022010-07-01Adjustable wrist brace

Country Status (1)

CountryLink
US (1)US8147438B2 (en)

Cited By (13)

* Cited by examiner, † Cited by third party
Publication numberPriority datePublication dateAssigneeTitle
US20140330188A1 (en)*2013-05-032014-11-06Bryan E. KilbeyWrist Orthotic Including Adjustable Ulna Gap
USD834208S1 (en)2017-03-102018-11-20Tactile Systems Technology, Inc.Chest and arm garment
US10278881B1 (en)2013-12-122019-05-07Ermi, Inc.Devices and methods for assisting pronation and/or supination
US10772753B2 (en)2015-11-202020-09-15Medical Specialties, Inc.Universal wrist brace with enhanced lacing
US10835406B2 (en)2016-08-312020-11-17Ortho SystemsAdjustable wrist brace
US20210077290A1 (en)*2014-11-052021-03-18Rainier van BeekOrthotic device for inhibiting a subject's chest expansion
US10966857B2 (en)2015-11-202021-04-06Medical Specialties, Inc.Wrist brace with enhanced lacing
US11058599B2 (en)2015-10-052021-07-13Tactile Systems Technology, Inc.Adjustable compression garment
US11154452B2 (en)2016-01-212021-10-26Tactile Systems Technology, Inc.Compression garment system
US11246735B2 (en)2016-06-282022-02-15H. Mark Estrada, JR.Conforming rigid cast, brace and splint comprising a curable polymeric material
US11311422B1 (en)*2016-09-162022-04-26Amerx Health Care Corp.Compression garment
US11648172B2 (en)2017-11-062023-05-16Tactile Systems Technology, Inc.Compression garment systems
US12403029B1 (en)2020-03-042025-09-02Preferred Prescription, Inc.Dual-handed wrist brace with enhanced thumb support

Families Citing this family (16)

* Cited by examiner, † Cited by third party
Publication numberPriority datePublication dateAssigneeTitle
US8303527B2 (en)2007-06-202012-11-06Exos CorporationOrthopedic system for immobilizing and supporting body parts
CN102421394B (en)2009-02-242015-04-01伊克索斯有限责任公司 Composites for Custom Fit Products
USD663850S1 (en)2010-08-182012-07-17Exos CorporationLong thumb spica brace
USD665088S1 (en)*2010-08-182012-08-07Exos CorporationWrist brace
USD663851S1 (en)2010-08-182012-07-17Exos CorporationShort thumb spica brace
DE102011004039B4 (en)*2011-02-142013-02-21Adidas Ag Wrist protection for a sports glove
USD687556S1 (en)2012-02-142013-08-06Exos CorporationBOXER'S fracture brace
US9295748B2 (en)2012-07-312016-03-29Exos LlcFoam core sandwich splint
US9408738B2 (en)2012-08-012016-08-09Exos LlcOrthopedic brace for animals
US10918561B2 (en)*2012-09-142021-02-16Recovery Force, LLCCompression device
US9655761B2 (en)2012-11-122017-05-23Djo, LlcOrthopedic back brace
US9387109B2 (en)*2013-03-272016-07-12Craig KeoshianCarpal tunnel brace
US10092437B2 (en)*2014-11-102018-10-09Nike, Inc.Forearm and wrist support sleeve
USD790716S1 (en)*2015-11-132017-06-273M Innovative Properties CompanyBrace
USD876651S1 (en)*2018-04-122020-02-25Indalo Studio Inc.Wrist splint
USD1073961S1 (en)*2022-06-162025-05-06Bullseye Brace, Inc.Carpometacarpal thumb brace

Citations (17)

* Cited by examiner, † Cited by third party
Publication numberPriority datePublication dateAssigneeTitle
US2206404A (en)*1938-04-251940-07-02Walter J JonesWrist splint
US4508110A (en)1983-09-141985-04-02Modglin Michael DBody jacket
US4854309A (en)1988-05-061989-08-08Akron City HospitalFlexible wrist splint
EP0842645A1 (en)1996-11-191998-05-20Mueller Sports Medicine, Inc.Adjustable size ankle brace
US5769804A (en)*1996-07-261998-06-23Becton Dickinson And CompanyCarpal tunnel syndrome wrist brace
US5982285A (en)1998-05-141999-11-09Bueche; Kenneth M.Compliance monitoring system
US6024715A (en)1998-07-132000-02-15Maxwell; RichardWrist brace
US6142966A (en)1999-08-052000-11-07Weber Orthopedic, Inc.Wrist orthosis
US6398748B1 (en)1999-03-162002-06-04Robert B. WilsonSplint bandage and method
US6540705B2 (en)2001-02-222003-04-01Core Products International, Inc.Ankle brace providing upper and lower ankle adjustment
US6893410B1 (en)2002-12-042005-05-17Weber Orthopedic Inc.Multi-adjustable wrist brace
US6960176B1 (en)2004-02-232005-11-01Weber Orthopedic Inc.Reinforced wrist brace with gang connected multiple straps
US20060069335A1 (en)*2004-09-272006-03-30John FritschWrist brace
US7033331B1 (en)2003-01-212006-04-25Weber Orthopedic Inc.Reinforced wrist brace with multiple straps
US7056298B1 (en)2005-06-172006-06-06Weber Orthopedic Inc.Thumb brace
US20090012438A1 (en)*2005-05-032009-01-08Gian Luigi FrangiOrthopaedic Support for Immobilizing the Thumb
US7874997B2 (en)*2004-09-222011-01-25Sports & Supports LimitedMedical product, also for sports use, and relative manufacturing method

Patent Citations (17)

* Cited by examiner, † Cited by third party
Publication numberPriority datePublication dateAssigneeTitle
US2206404A (en)*1938-04-251940-07-02Walter J JonesWrist splint
US4508110A (en)1983-09-141985-04-02Modglin Michael DBody jacket
US4854309A (en)1988-05-061989-08-08Akron City HospitalFlexible wrist splint
US5769804A (en)*1996-07-261998-06-23Becton Dickinson And CompanyCarpal tunnel syndrome wrist brace
EP0842645A1 (en)1996-11-191998-05-20Mueller Sports Medicine, Inc.Adjustable size ankle brace
US5982285A (en)1998-05-141999-11-09Bueche; Kenneth M.Compliance monitoring system
US6024715A (en)1998-07-132000-02-15Maxwell; RichardWrist brace
US6398748B1 (en)1999-03-162002-06-04Robert B. WilsonSplint bandage and method
US6142966A (en)1999-08-052000-11-07Weber Orthopedic, Inc.Wrist orthosis
US6540705B2 (en)2001-02-222003-04-01Core Products International, Inc.Ankle brace providing upper and lower ankle adjustment
US6893410B1 (en)2002-12-042005-05-17Weber Orthopedic Inc.Multi-adjustable wrist brace
US7033331B1 (en)2003-01-212006-04-25Weber Orthopedic Inc.Reinforced wrist brace with multiple straps
US6960176B1 (en)2004-02-232005-11-01Weber Orthopedic Inc.Reinforced wrist brace with gang connected multiple straps
US7874997B2 (en)*2004-09-222011-01-25Sports & Supports LimitedMedical product, also for sports use, and relative manufacturing method
US20060069335A1 (en)*2004-09-272006-03-30John FritschWrist brace
US20090012438A1 (en)*2005-05-032009-01-08Gian Luigi FrangiOrthopaedic Support for Immobilizing the Thumb
US7056298B1 (en)2005-06-172006-06-06Weber Orthopedic Inc.Thumb brace

Cited By (22)

* Cited by examiner, † Cited by third party
Publication numberPriority datePublication dateAssigneeTitle
US10045876B2 (en)*2013-05-032018-08-14Bryan E. KilbeyWrist orthotic including adjustable ulna gap
US20140330188A1 (en)*2013-05-032014-11-06Bryan E. KilbeyWrist Orthotic Including Adjustable Ulna Gap
US10278881B1 (en)2013-12-122019-05-07Ermi, Inc.Devices and methods for assisting pronation and/or supination
US11826274B1 (en)2013-12-122023-11-28Ermi LlcDevices and methods for assisting extension and/or flexion
US11666501B2 (en)2013-12-122023-06-06Ermi LlcDevices and methods for assisting pronation and/or supination
US20210077290A1 (en)*2014-11-052021-03-18Rainier van BeekOrthotic device for inhibiting a subject's chest expansion
US11058599B2 (en)2015-10-052021-07-13Tactile Systems Technology, Inc.Adjustable compression garment
US11944585B2 (en)2015-10-052024-04-02Tactile Systems Technology, Inc.Adjustable compression garment
US10772753B2 (en)2015-11-202020-09-15Medical Specialties, Inc.Universal wrist brace with enhanced lacing
US11883316B2 (en)2015-11-202024-01-30Medical Specialties, Inc.Wrist brace with enhanced lacing
US10966857B2 (en)2015-11-202021-04-06Medical Specialties, Inc.Wrist brace with enhanced lacing
US11660221B2 (en)2015-11-202023-05-30Medical Specialities, Inc.Universal wrist brace with enhanced lacing
US11154452B2 (en)2016-01-212021-10-26Tactile Systems Technology, Inc.Compression garment system
US11246735B2 (en)2016-06-282022-02-15H. Mark Estrada, JR.Conforming rigid cast, brace and splint comprising a curable polymeric material
US11963899B2 (en)2016-06-282024-04-23H. Mark Estrada, JR.Conforming rigid cast, brace and splint comprising a curable polymeric material
US10835406B2 (en)2016-08-312020-11-17Ortho SystemsAdjustable wrist brace
US11311422B1 (en)*2016-09-162022-04-26Amerx Health Care Corp.Compression garment
USD879981S1 (en)2017-03-102020-03-31Tactile Systems Technology, Inc.Chest and arm garment
USD834208S1 (en)2017-03-102018-11-20Tactile Systems Technology, Inc.Chest and arm garment
US11648172B2 (en)2017-11-062023-05-16Tactile Systems Technology, Inc.Compression garment systems
US12377013B2 (en)2017-11-062025-08-05Tactile Systems Technology, Inc.Compression garment systems
US12403029B1 (en)2020-03-042025-09-02Preferred Prescription, Inc.Dual-handed wrist brace with enhanced thumb support

Also Published As

Publication numberPublication date
US20110130694A1 (en)2011-06-02

Similar Documents

PublicationPublication DateTitle
US8147438B2 (en)Adjustable wrist brace
US5656023A (en)Adjustable knee support
US10517749B2 (en)Orthopedic back brace
US11660221B2 (en)Universal wrist brace with enhanced lacing
US7780614B2 (en)Orthopedic supports and method of using same
US7083586B2 (en)Patellofemoral brace
AU2012240521B2 (en)Adjustable brace apparatus
US6190344B1 (en)Orthopaedic support fastening system
US20180153723A1 (en)Shoulder and Arm Orthosis
US10092433B2 (en)Support
US20030050586A1 (en)Orthopedic supports
JP2016526112A (en) Ankle orthosis
WO2015017665A2 (en)Protective sheath
KR102444298B1 (en) Trunk supporter and wear comprising same
US20080070760A1 (en)Weighted sleeve
JP2000037409A (en) Ankle orthosis
JP2000037407A (en) Laminated orthosis
KR200305905Y1 (en)Spine correcting belt used as stomach band
US11564825B2 (en)Lumbar-supporting back-bracing apparatus and methods

Legal Events

DateCodeTitleDescription
ASAssignment

Owner name:DJO, LLC, CALIFORNIA

Free format text:ASSIGNMENT OF ASSIGNORS INTEREST;ASSIGNORS:LIVOLSI, BONNIE;ZIRPOLO-KISCO, EILEEN;RANDALL, NANCY;SIGNING DATES FROM 20110114 TO 20110914;REEL/FRAME:027739/0465

STCFInformation on status: patent grant

Free format text:PATENTED CASE

ASAssignment

Owner name:THE BANK OF NEW YORK MELLON, AS SECOND LIEN AGENT,

Free format text:SECURITY AGREEMENT;ASSIGNORS:DJO, LLC;EMPI, INC.;ENCORE MEDICAL ASSET CORPORATION;AND OTHERS;REEL/FRAME:028078/0320

Effective date:20120320

ASAssignment

Owner name:WELLS FARGO BANK, NATIONAL ASSOCIATION, AS THE COL

Free format text:SECURITY INTEREST;ASSIGNORS:DJO, LLC;EMPI, INC.;ENCORE MEDICAL ASSET CORPORATION;AND OTHERS;REEL/FRAME:035614/0001

Effective date:20150507

ASAssignment

Owner name:DJO, LLC, CALIFORNIA

Free format text:RELEASE BY SECURED PARTY;ASSIGNOR:THE BANK OF NEW YORK MELLON, AS SECOND LIEN AGENT;REEL/FRAME:035706/0457

Effective date:20150507

Owner name:EMPI, INC., MINNESOTA

Free format text:RELEASE BY SECURED PARTY;ASSIGNOR:THE BANK OF NEW YORK MELLON, AS SECOND LIEN AGENT;REEL/FRAME:035706/0457

Effective date:20150507

Owner name:ENCORE MEDICAL ASSET CORPORATION, CALIFORNIA

Free format text:RELEASE BY SECURED PARTY;ASSIGNOR:THE BANK OF NEW YORK MELLON, AS SECOND LIEN AGENT;REEL/FRAME:035706/0457

Effective date:20150507

Owner name:RIKCO INTERNATIONAL, LLC, WISCONSIN

Free format text:RELEASE BY SECURED PARTY;ASSIGNOR:THE BANK OF NEW YORK MELLON, AS SECOND LIEN AGENT;REEL/FRAME:035706/0457

Effective date:20150507

Owner name:THE BANK OF NEW YORK MELLON, AS THIRD LIEN AGENT,

Free format text:SECURITY AGREEMENT;ASSIGNORS:DJO, LLC;EMPI, INC.;ENCORE MEDICAL ASSET CORPORATION;AND OTHERS;REEL/FRAME:035707/0498

Effective date:20150507

Owner name:MACQUARIE US TRADING LLC, AS COLLATERAL AGENT, ILL

Free format text:SECURITY AGREEMENT;ASSIGNORS:DJO, LLC;EMPI, INC.;ENCORE MEDICAL ASSET CORPORATION;AND OTHERS;REEL/FRAME:035707/0398

Effective date:20150507

Owner name:THE BANK OF NEW YORK MELLON, AS SECOND LIEN AGENT,

Free format text:SECURITY AGREEMENT;ASSIGNORS:DJO, LLC;EMPI, INC.;ENCORE MEDICAL ASSET CORPORATION;AND OTHERS;REEL/FRAME:035707/0454

Effective date:20150507

FPAYFee payment

Year of fee payment:4

ASAssignment

Owner name:RIKCO INTERNATIONAL, LLC, CALIFORNIA

Free format text:RELEASE BY SECURED PARTY;ASSIGNOR:MACQUARIE US TRADING LLC AS COLLATERAL AGENT;REEL/FRAME:048655/0067

Effective date:20190222

Owner name:ENCORE MEDICAL ASSET CORPORATION, CALIFORNIA

Free format text:RELEASE BY SECURED PARTY;ASSIGNOR:MACQUARIE US TRADING LLC AS COLLATERAL AGENT;REEL/FRAME:048655/0067

Effective date:20190222

Owner name:DJO, LLC, CALIFORNIA

Free format text:RELEASE BY SECURED PARTY;ASSIGNOR:MACQUARIE US TRADING LLC AS COLLATERAL AGENT;REEL/FRAME:048655/0067

Effective date:20190222

Owner name:ENCORE MEDICAL, L.P., CALIFORNIA

Free format text:RELEASE BY SECURED PARTY;ASSIGNOR:MACQUARIE US TRADING LLC AS COLLATERAL AGENT;REEL/FRAME:048655/0067

Effective date:20190222

Owner name:EMPI, INC., CALIFORNIA

Free format text:RELEASE BY SECURED PARTY;ASSIGNOR:MACQUARIE US TRADING LLC AS COLLATERAL AGENT;REEL/FRAME:048655/0067

Effective date:20190222

Owner name:RIKCO INTERNATIONAL, LLC, CALIFORNIA

Free format text:RELEASE BY SECURED PARTY;ASSIGNOR:THE BANK OF NEW YORK MELLON AS THIRD LIEN AGENT;REEL/FRAME:048608/0932

Effective date:20190222

Owner name:DJO, LLC, CALIFORNIA

Free format text:RELEASE BY SECURED PARTY;ASSIGNOR:THE BANK OF NEW YORK MELLON AS THIRD LIEN AGENT;REEL/FRAME:048608/0932

Effective date:20190222

Owner name:ENCORE MEDICAL, L.P., CALIFORNIA

Free format text:RELEASE BY SECURED PARTY;ASSIGNOR:THE BANK OF NEW YORK MELLON AS THIRD LIEN AGENT;REEL/FRAME:048608/0932

Effective date:20190222

Owner name:EMPI, INC., CALIFORNIA

Free format text:RELEASE BY SECURED PARTY;ASSIGNOR:THE BANK OF NEW YORK MELLON AS THIRD LIEN AGENT;REEL/FRAME:048608/0932

Effective date:20190222

Owner name:ENCORE MEDICAL ASSET CORPORATION, CALIFORNIA

Free format text:RELEASE BY SECURED PARTY;ASSIGNOR:THE BANK OF NEW YORK MELLON AS THIRD LIEN AGENT;REEL/FRAME:048608/0932

Effective date:20190222

Owner name:ENCORE MEDICAL ASSET CORPORATION, CALIFORNIA

Free format text:RELEASE BY SECURED PARTY;ASSIGNOR:THE BANK OF NEW YORK MELLON AS SECOND LIEN AGENT;REEL/FRAME:050129/0262

Effective date:20190222

Owner name:DJO, LLC, CALIFORNIA

Free format text:RELEASE BY SECURED PARTY;ASSIGNOR:THE BANK OF NEW YORK MELLON AS SECOND LIEN AGENT;REEL/FRAME:050129/0262

Effective date:20190222

Owner name:EMPI, INC., CALIFORNIA

Free format text:RELEASE BY SECURED PARTY;ASSIGNOR:THE BANK OF NEW YORK MELLON AS SECOND LIEN AGENT;REEL/FRAME:050129/0262

Effective date:20190222

Owner name:RIKCO INTERNATIONAL, LLC, CALIFORNIA

Free format text:RELEASE BY SECURED PARTY;ASSIGNOR:THE BANK OF NEW YORK MELLON AS SECOND LIEN AGENT;REEL/FRAME:050129/0262

Effective date:20190222

Owner name:ENCORE MEDICAL, L.P., CALIFORNIA

Free format text:RELEASE BY SECURED PARTY;ASSIGNOR:THE BANK OF NEW YORK MELLON AS SECOND LIEN AGENT;REEL/FRAME:050129/0262

Effective date:20190222

ASAssignment

Owner name:ENCORE MEDICAL, L.P., CALIFORNIA

Free format text:RELEASE BY SECURED PARTY;ASSIGNOR:WELLS FARGO BANK, NATIONAL ASSOCIATION AS COLLATERAL AGENT;REEL/FRAME:048672/0661

Effective date:20190222

Owner name:EMPI, INC., CALIFORNIA

Free format text:RELEASE BY SECURED PARTY;ASSIGNOR:WELLS FARGO BANK, NATIONAL ASSOCIATION AS COLLATERAL AGENT;REEL/FRAME:048672/0661

Effective date:20190222

Owner name:ENCORE MEDICAL ASSET CORPORATION, CALIFORNIA

Free format text:RELEASE BY SECURED PARTY;ASSIGNOR:WELLS FARGO BANK, NATIONAL ASSOCIATION AS COLLATERAL AGENT;REEL/FRAME:048672/0661

Effective date:20190222

Owner name:RIKCO INTERNATIONAL, LLC, CALIFORNIA

Free format text:RELEASE BY SECURED PARTY;ASSIGNOR:WELLS FARGO BANK, NATIONAL ASSOCIATION AS COLLATERAL AGENT;REEL/FRAME:048672/0661

Effective date:20190222

Owner name:DJO, LLC, CALIFORNIA

Free format text:RELEASE BY SECURED PARTY;ASSIGNOR:WELLS FARGO BANK, NATIONAL ASSOCIATION AS COLLATERAL AGENT;REEL/FRAME:048672/0661

Effective date:20190222

MAFPMaintenance fee payment

Free format text:PAYMENT OF MAINTENANCE FEE, 8TH YEAR, LARGE ENTITY (ORIGINAL EVENT CODE: M1552); ENTITY STATUS OF PATENT OWNER: LARGE ENTITY

Year of fee payment:8

MAFPMaintenance fee payment

Free format text:PAYMENT OF MAINTENANCE FEE, 12TH YEAR, LARGE ENTITY (ORIGINAL EVENT CODE: M1553); ENTITY STATUS OF PATENT OWNER: LARGE ENTITY

Year of fee payment:12

ASAssignment

Owner name:JPMORGAN CHASE BANK, N.A., AS ADMINISTRATIVE AGENT, ILLINOIS

Free format text:SECURITY INTEREST;ASSIGNOR:DJO, LLC;REEL/FRAME:066186/0659

Effective date:20240103


[8]ページ先頭

©2009-2025 Movatter.jp