Movatterモバイル変換


[0]ホーム

URL:


US7859740B2 - Stiction mitigation with integrated mech micro-cantilevers through vertical stress gradient control - Google Patents

Stiction mitigation with integrated mech micro-cantilevers through vertical stress gradient control
Download PDF

Info

Publication number
US7859740B2
US7859740B2US12/275,366US27536608AUS7859740B2US 7859740 B2US7859740 B2US 7859740B2US 27536608 AUS27536608 AUS 27536608AUS 7859740 B2US7859740 B2US 7859740B2
Authority
US
United States
Prior art keywords
component
layer
mems device
restoration
mems
Prior art date
Legal status (The legal status is an assumption and is not a legal conclusion. Google has not performed a legal analysis and makes no representation as to the accuracy of the status listed.)
Expired - Fee Related, expires
Application number
US12/275,366
Other versions
US20100128337A1 (en
Inventor
Yeh-Jiun Tung
Current Assignee (The listed assignees may be inaccurate. Google has not performed a legal analysis and makes no representation or warranty as to the accuracy of the list.)
SnapTrack Inc
Original Assignee
Qualcomm MEMS Technologies Inc
Priority date (The priority date is an assumption and is not a legal conclusion. Google has not performed a legal analysis and makes no representation as to the accuracy of the date listed.)
Filing date
Publication date
Application filed by Qualcomm MEMS Technologies IncfiledCriticalQualcomm MEMS Technologies Inc
Priority to US12/275,366priorityCriticalpatent/US7859740B2/en
Assigned to QUALCOMM MEMS TECHNOLOGIES, INC.reassignmentQUALCOMM MEMS TECHNOLOGIES, INC.ASSIGNMENT OF ASSIGNORS INTEREST (SEE DOCUMENT FOR DETAILS).Assignors: TUNG, YEH-JIUN
Priority to CN2009801266300Aprioritypatent/CN102089700A/en
Priority to PCT/US2009/050172prioritypatent/WO2010006213A1/en
Priority to EP09790246Aprioritypatent/EP2318876A1/en
Priority to KR1020117002811Aprioritypatent/KR20110038126A/en
Priority to JP2011517636Aprioritypatent/JP5404780B2/en
Publication of US20100128337A1publicationCriticalpatent/US20100128337A1/en
Priority to US12/975,119prioritypatent/US20110090554A1/en
Publication of US7859740B2publicationCriticalpatent/US7859740B2/en
Application grantedgrantedCritical
Assigned to SNAPTRACK, INC.reassignmentSNAPTRACK, INC.ASSIGNMENT OF ASSIGNORS INTEREST (SEE DOCUMENT FOR DETAILS).Assignors: QUALCOMM MEMS TECHNOLOGIES, INC.
Expired - Fee Relatedlegal-statusCriticalCurrent
Adjusted expirationlegal-statusCritical

Links

Images

Classifications

Definitions

Landscapes

Abstract

The present disclosure relates to the mitigation of stiction in MEMS devices. In some embodiments, a MEMS device may be provided with one or more restoration features that provide an assisting mechanical force for mitigating stiction. The restoration feature may be implemented as one or more deflectable elements, where the deflectable elements may have various configurations or shapes, such as a chevron, cross, and the like. For example, the restoration feature can be a cantilever that deflects when at least one component comes into contact or proximity with another component. Multiple restoration features also may be employed and placed strategically within the MEMS device to maximize their effectiveness in mitigating stiction.

Description

CROSS-REFERENCE TO RELATED APPLICATIONS
This application claims priority to U.S. Provisional Patent Application No. 61/080,005 filed on Jul. 11, 2008, entitled “STICTION MITIGATION WITH INTEGRATED MECH MICRO-CANTILEVERS THROUGH VERTICAL STRESS GRADIENT CONTROL,” by Yeh-Jiun Tung, which is incorporated herein by reference in its entirety.
BACKGROUND
1. Field
The present disclosure relates to micro-electromechanical systems. More particularly, some embodiments relate to systems and methods for improving the micro-electromechanical operation of interferometric modulators.
2. Description of the Related Technology
Micro-electromechanical systems (MEMS) include micro mechanical elements, actuators, and electronics. Micromechanical elements may be created using deposition, etching, and/or other micromachining processes that etch away parts of substrates and/or deposited material layers or that add layers to form electrical and electromechanical devices. One type of MEMS device is called an interferometric modulator.
An interferometric modulator or interferometric light modulator refers to a device that selectively absorbs and/or reflects light using the principles of optical interference. An interferometric modulator may comprise a pair of conductive plates, one or both of which may be transparent and/or reflective in whole or part and capable of relative motion upon application of an appropriate electrical signal.
One plate may comprise a stationary layer deposited on a substrate and the other plate may comprise a metallic membrane separated from the stationary layer by an air gap. The position of one plate in relation to another can change the optical interference of light incident on the interferometric modulator. Such devices have a wide range of applications, and it would be beneficial in the art to utilize and/or modify the characteristics of these types of devices so that their features can be exploited in improving existing products and creating new products that have not yet been developed.
SUMMARY
In one embodiment, a micro-electromechanical (MEMS) device comprises a first component, a second component, and at least one restoration feature. The second component is movable relative to the first component in a first direction. The at least one restoration feature may be on the second component and can apply a restoring force to the second component in a second direction opposite to the first direction. The at least one restoration feature comprises at least one deflecting portion that borders an opening through the second component and extends towards the first component when the first and second components are apart from each other.
In an embodiment, a micro-electromechanical (MEMS) apparatus comprises: means for partially reflecting light; means for reflecting light, wherein the reflecting means is movable in a first direction relative to the partially reflecting means; and means for applying a restoring force to the reflecting means, the restoring means on the reflecting means, the restoring force in a second direction opposite to the first direction, the restoring means bordering an opening through the reflecting means and extending towards the partially reflecting means when the partially reflecting means and the reflecting means are apart from each other.
In another embodiment, a method of fabricating a micro electromechanical systems (MEMS) device comprises: forming an electrode layer over a substrate; depositing a sacrificial layer over the electrode layer; depositing a reflective layer over the sacrificial layer; forming a plurality of support structures, said support structures extending through the sacrificial layer; depositing a mechanical layer over the plurality of support structures; and patterning the mechanical layer to form at least one restoration feature from etch holes in the mechanical layer.
BRIEF DESCRIPTION OF THE DRAWINGS
FIG. 1 is an isometric view depicting a portion of one embodiment of an interferometric modulator display in which a movable reflective layer of a first interferometric modulator is in a relaxed position and a movable reflective layer of a second interferometric modulator is in an actuated position.
FIG. 2 is a system block diagram illustrating one embodiment of an electronic device incorporating a 3×3 interferometric modulator display.
FIG. 3 is a diagram of movable mirror position versus applied voltage for one exemplary embodiment of an interferometric modulator ofFIG. 1.
FIG. 4 is an illustration of a set of row and column voltages that may be used to drive an interferometric modulator display.
FIG. 5A illustrates one exemplary frame of display data in the 3×3 interferometric modulator display ofFIG. 2.
FIG. 5B illustrates one exemplary timing diagram for row and column signals that may be used to write the frame ofFIG. 5A.
FIGS. 6A and 6B are system block diagrams illustrating an embodiment of a visual display device comprising a plurality of interferometric modulators.
FIG. 7A is a cross section of the device ofFIG. 1.
FIG. 7B is a cross section of an alternative embodiment of an interferometric modulator.
FIG. 7C is a cross section of another alternative embodiment of an interferometric modulator.
FIG. 7D is a cross section of yet another alternative embodiment of an interferometric modulator.
FIG. 7E is a cross section of an additional alternative embodiment of an interferometric modulator.
FIG. 8A is a side cross-sectional view of an embodiment of the interferometric modulator including restoration features with the modulator shown in the undriven state.
FIG. 8B is a side cross-sectional view of the embodiment ofFIG. 9A in the driven state.
FIGS. 8C-F show side cross-sectional views of various embodiments of the interferometric modulator including restoration features with the modulator shown in the undriven state.
FIGS. 8G-J show top cross-sectional views of various embodiments of the restoration features.
FIG. 8K illustrates a perspective view of a generally circular restoration feature in accordance with certain embodiments described herein.
FIGS. 9A-H are schematic cross-sections depicting certain steps in the fabrication of an array of MEMS devices.
FIGS. 10A-D show exemplary simulation models of a portion of the restoration features in the driven and undriven state.
DETAILED DESCRIPTION OF THE PREFERRED EMBODIMENTS
The present disclosure relates to the mitigation of stiction in MEMS devices. In MEMS devices, stiction can cause a movable component in a device to stick temporarily or permanently, and thus, may cause the device to fail or operate improperly.
In certain embodiments described herein, a MEMS device may be provided with one or more restoration features that provide an assisting mechanical force for mitigating stiction. For example, in some embodiments, the restoration feature is a cantilever that deflects when at least one component comes into contact or proximity with another component. This deflection of the restoration feature results in a restoration force that is applied in a direction generally opposite to the direction of movement of the at least one component.
The restoration feature may be implemented as one or more deflectable elements, where the deflectable elements may have various configurations or shapes, such as a chevron, cross, and the like. Multiple restoration features also may be employed and placed strategically within the MEMS device to maximize their effectiveness in mitigating stiction.
Furthermore, the restoration feature may have benefits beyond mitigating stiction. For example, holes or slots formed in the at least one component to create the restoration feature can provide a conduit for etchant and the removal of a sacrificial layer during fabrication. As such, the restoration feature may provide a combination of functions not limited to mitigating stiction. For example, the restoration features may be useful to reduce snap in and to modify hysteretic behavior. This may be useful for characteristics such as providing additional control of the displayed color of a device. As another example, the restoration feature may provide a mechanism for reducing or increasing response time by inhibiting actuation and enhancing release of the device.
In some embodiments, one or more restoration features may be fabricated into one or more components of a MEMS device using various techniques. For example, the restoration feature may be fabricated by including a stress gradient in a direction generally perpendicular to the component and selectively patterning release structures (e.g., holes or slots) in the component, such that a portion of the elements of the restoration feature deflect in a direction generally perpendicular to the component. Different layers of materials to obtain desired restoration forces and shapes may be employed. For illustrative purposes, certain embodiments of these restoration features may be described in applications for an optical interferometric modulator (IMOD) MEMS device.
The following detailed description is directed to certain specific embodiments. However, the teachings of the present disclosure can be implemented in a multitude of different ways. In this description, reference is made to the drawings wherein like parts are designated with like numerals throughout. The embodiments may be implemented in any device that is configured to display an image, whether in motion (e.g., video) or stationary (e.g., still image), and whether textual or pictorial. More particularly, it is contemplated that the embodiments may be implemented in or associated with a variety of electronic devices such as, but not limited to, mobile telephones, wireless devices, personal data assistants (PDAs), hand-held or portable computers, GPS receivers/navigators, cameras, MP3 players, camcorders, game consoles, wrist watches, clocks, calculators, television monitors, flat panel displays, computer monitors, auto displays (e.g., odometer display, etc.), cockpit controls and/or displays, display of camera views (e.g., display of a rear view camera in a vehicle), electronic photographs, electronic billboards or signs, projectors, architectural structures, packaging, and aesthetic structures (e.g., display of images on a piece of jewelry). MEMS devices of similar structure to those described herein can also be used in non-display applications such as in electronic switching devices.
The figures are provided to illustrate various embodiments. In particular,FIGS. 1-7 illustrate various aspects of an interferometric modulator display and display system.FIGS. 8A-8K are then provided to illustrate various embodiments of one or more restoration features that may be employed in various interferometric modulators.FIGS. 9A-9H illustrate a fabrication process of the interferometric modulator including the restoration features. These figures will now be further described below.
Referring now toFIG. 1, an interferometric modulator display embodiment comprising an interferometric MEMS display element is illustrated. In these devices, the pixels are in either a bright or dark state. In the bright (on or open) state, the display element reflects a large portion of incident visible light to a user. When in the dark (off or closed) state, the display element reflects little incident visible light to the user. Depending on the embodiment, the light reflectance properties of the on and off states may be reversed. MEMS pixels can be configured to reflect predominantly at selected colors, allowing for a color display in addition to black and white.
FIG. 1 is an isometric view depicting two adjacent pixels in a series of pixels of a visual display, wherein each pixel comprises a MEMS interferometric modulator. In some embodiments, an interferometric modulator display comprises a row/column array of these interferometric modulators. Each interferometric modulator includes a pair of reflective layers positioned at a variable and controllable distance from each other to form a resonant optical gap with at least one variable dimension. In one embodiment, one of the reflective layers may be moved between two positions. In the first position, referred to herein as the relaxed position, the movable reflective layer is positioned at a relatively large distance from a fixed partially reflective layer. In the second position, referred to herein as the actuated position, the movable reflective layer is positioned more closely adjacent to the partially reflective layer. Incident light that reflects from the two layers interferes constructively or destructively depending on the position of the movable reflective layer, producing either an overall reflective or non-reflective state for each pixel.
The depicted portion of the pixel array inFIG. 1 includes two adjacentinterferometric modulators12aand12b. In theinterferometric modulator12aon the left, a movablereflective layer14ais illustrated in a relaxed position at a predetermined distance from anoptical stack16a, which includes a partially reflective layer. In theinterferometric modulator12bon the right, the movablereflective layer14bis illustrated in an actuated position adjacent to theoptical stack16b.
The optical stacks16aand16b(collectively referred to as optical stack16), as referenced herein, typically comprise several fused layers, which can include an electrode layer, such as indium tin oxide (ITO), a partially reflective layer, such as chromium, and a transparent dielectric. Theoptical stack16 is thus electrically conductive, partially transparent, and partially reflective, and may be fabricated, for example, by depositing one or more of the above layers onto atransparent substrate20. The partially reflective layer can be formed from a variety of materials that are partially reflective such as various metals, semiconductors, and dielectrics. The partially reflective layer can be formed of one or more layers of materials, and each of the layers can be formed of a single material or a combination of materials.
In some embodiments, the layers of theoptical stack16 are patterned into parallel strips, and may form row electrodes in a display device as described further below. The movablereflective layers14a,14bmay be formed as a series of parallel strips of a deposited metal layer or layers (orthogonal to the row electrodes of16a,16b) deposited on top ofposts18 and an intervening sacrificial material deposited between theposts18. When the sacrificial material is etched away, the movablereflective layers14a,14bare separated from theoptical stacks16a,16bby a definedgap19. A highly conductive and reflective material such as aluminum may be used for thereflective layers14, and these strips may form column electrodes in a display device.
With no applied voltage, thegap19 remains between the movablereflective layer14aandoptical stack16a, with the movablereflective layer14ain a mechanically relaxed state, as illustrated by thepixel12ainFIG. 1. However, when a potential difference is applied to a selected row and column, the capacitor formed at the intersection of the row and column electrodes at the corresponding pixel becomes charged, and electrostatic forces pull the electrodes together. If the voltage is high enough, the movablereflective layer14 is deformed and is forced against theoptical stack16. A dielectric layer (not illustrated in this Figure) within theoptical stack16 may prevent shorting and control the separation distance betweenlayers14 and16, as illustrated bypixel12bon the right inFIG. 1. The behavior is the same regardless of the polarity of the applied potential difference. In this way, row/column actuation that can control the reflective vs. non-reflective pixel states is analogous in many ways to that used in conventional LCD and other display technologies.
FIGS. 2 through 5B illustrate one exemplary process and system for using an array of interferometric modulators in a display application.FIG. 2 is a system block diagram illustrating one embodiment of an electronic device that may incorporate aspects of the invention. In the exemplary embodiment, the electronic device includes aprocessor21 which may be any general purpose single- or multi-chip microprocessor such as an ARM, Pentium®, Pentium II®, Pentium III®, Pentium IV®, Pentium® Pro, an 8051, a MIPS®, a Power PC®, an ALPHA°, or any special purpose microprocessor such as a digital signal processor, microcontroller, or a programmable gate array. As is conventional in the art, theprocessor21 may be configured to execute one or more software modules. In addition to executing an operating system, the processor may be configured to execute one or more software applications, including a web browser, a telephone application, an email program, or any other software application.
In one embodiment, theprocessor21 is also configured to communicate with anarray driver22. In one embodiment, thearray driver22 includes arow driver circuit24 and acolumn driver circuit26 that provide signals to a display array orpanel30. The cross section of the array illustrated inFIG. 1 is shown by the lines1-1 inFIG. 2. For MEMS interferometric modulators, the row/column actuation protocol may take advantage of a hysteresis property of these devices illustrated inFIG. 3. It may require, for example, a 10 volt potential difference to cause a movable layer to deform from the relaxed state to the actuated state. However, when the voltage is reduced from that value, the movable layer maintains its state as the voltage drops back below 10 volts. In the exemplary embodiment ofFIG. 3, the movable layer does not relax completely until the voltage drops below 2 volts. Thus, there exists a window of applied voltage, about 3 to 7 V in the example illustrated inFIG. 3, within which the device is stable in either the relaxed or actuated state. This is referred to herein as the hysteresis window or stability window. For a display array having the hysteresis characteristics ofFIG. 3, the row/column actuation protocol can be designed such that during row strobing, pixels in the strobed row that are to be actuated are exposed to a voltage difference of about 10 volts, and pixels that are to be relaxed are exposed to a voltage difference of close to zero volts. After the strobe, the pixels are exposed to a steady state voltage difference of about 5 volts such that they remain in whatever state the row strobe put them in. After being written, each pixel sees a potential difference within the stability window of 3-7 volts in this example. This feature makes the pixel design illustrated inFIG. 1 stable under the same applied voltage conditions in either an actuated or relaxed pre-existing state. Since each pixel of the interferometric modulator, whether in the actuated or relaxed state, is essentially a capacitor formed by the fixed and moving reflective layers, this stable state can be held at a voltage within the hysteresis window with almost no power dissipation. Essentially no current flows into the pixel if the applied potential is fixed.
In typical applications, a display frame may be created by asserting the set of column electrodes in accordance with the desired set of actuated pixels in the first row. A row pulse is then applied to therow 1 electrode, actuating the pixels corresponding to the asserted column lines. The asserted set of column electrodes is then changed to correspond to the desired set of actuated pixels in the second row. A pulse is then applied to therow 2 electrode, actuating the appropriate pixels inrow 2 in accordance with the asserted column electrodes. Therow 1 pixels are unaffected by therow 2 pulse, and remain in the state they were set to during therow 1 pulse. This may be repeated for the entire series of rows in a sequential fashion to produce the frame. Generally, the frames are refreshed and/or updated with new display data by continually repeating this process at some desired number of frames per second. A wide variety of protocols for driving row and column electrodes of pixel arrays to produce display frames are also well known and may be used in conjunction with the present invention.
FIGS. 4,5A, and5B illustrate one possible actuation protocol for creating a display frame on the 3×3 array ofFIG. 2.FIG. 4 illustrates a possible set of column and row voltage levels that may be used for pixels exhibiting the hysteresis curves ofFIG. 3. In theFIG. 4 embodiment, actuating a pixel involves setting the appropriate column to −Vbias, and the appropriate row to +ΔV, which may correspond to −5 volts and +5 volts, respectively. Relaxing the pixel is accomplished by setting the appropriate column to +Vbias, and the appropriate row to the same +ΔV, producing a zero volt potential difference across the pixel. In those rows where the row voltage is held at zero volts, the pixels are stable in whatever state they were originally in, regardless of whether the column is at +Vbias, or −Vbias. As is also illustrated inFIG. 4, it will be appreciated that voltages of opposite polarity than those described above can be used, e.g., actuating a pixel can involve setting the appropriate column to +Vbias, and the appropriate row to −ΔV. In this embodiment, releasing the pixel is accomplished by setting the appropriate column to −Vbias, and the appropriate row to the same −ΔV, producing a zero volt potential difference across the pixel.
FIG. 5B is a timing diagram showing a series of row and column signals applied to the 3×3 array ofFIG. 2 which will result in the display arrangement illustrated inFIG. 5A, where actuated pixels are non-reflective. Prior to writing the frame illustrated inFIG. 5A, the pixels can be in any state, and in this example, all the rows are at 0 volts, and all the columns are at +5 volts. With these applied voltages, all pixels are stable in their existing actuated or relaxed states.
In theFIG. 5A frame, pixels (1, 1), (1, 2), (2, 2), (3, 2) and (3, 3) are actuated. To accomplish this, during a line time forrow 1,columns 1 and 2 are set to −5 volts, andcolumn 3 is set to +5 volts. This does not change the state of any pixels, because all the pixels remain in the 3-7 volt stability window.Row 1 is then strobed with a pulse that goes from 0, up to 5 volts, and back to zero. This actuates the (1, 1) and (1, 2) pixels and relaxes the (1, 3) pixel. No other pixels in the array are affected. To setrow 2 as desired,column 2 is set to −5 volts, andcolumns 1 and 3 are set to +5 volts. The same strobe applied to row 2 will then actuate pixel (2, 2) and relax pixels (2, 1) and (2, 3). Again, no other pixels of the array are affected.Row 3 is similarly set by settingcolumns 2 and 3 to −5 volts, andcolumn 1 to +5 volts. Therow 3 strobe sets therow 3 pixels as shown inFIG. 5A. After writing the frame, the row potentials are zero, and the column potentials can remain at either +5 or −5 volts, and the display is then stable in the arrangement ofFIG. 5A. It will be appreciated that the same procedure can be employed for arrays of dozens or hundreds of rows and columns. It will also be appreciated that the timing, sequence, and levels of voltages used to perform row and column actuation can be varied widely within the general principles outlined above, and the above example is exemplary only, and any actuation voltage method can be used with the systems and methods described herein.
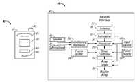
FIGS. 6A and 6B are system block diagrams illustrating an embodiment of adisplay device40. Thedisplay device40 can be, for example, a cellular or mobile telephone. However, the same components ofdisplay device40 or slight variations thereof are also illustrative of various types of display devices such as televisions and portable media players.
Thedisplay device40 includes ahousing41, adisplay30, anantenna43, aspeaker45, aninput device48, and amicrophone46. Thehousing41 is generally formed from any of a variety of manufacturing processes as are well known to those of skill in the art, including injection molding and vacuum forming. In addition, thehousing41 may be made from any of a variety of materials, including, but not limited to, plastic, metal, glass, rubber, and ceramic, or a combination thereof. In one embodiment, thehousing41 includes removable portions (not shown) that may be interchanged with other removable portions of different color, or containing different logos, pictures, or symbols.
Thedisplay30 ofexemplary display device40 may be any of a variety of displays, including a bi-stable display, as described herein. In other embodiments, thedisplay30 includes a flat-panel display, such as plasma, EL, OLED, STN LCD, or TFT LCD as described above, or a non-flat-panel display, such as a CRT or other tube device, as is well known to those of skill in the art. However, for purposes of describing the present embodiment, thedisplay30 includes an interferometric modulator display, as described herein.
The components of one embodiment ofexemplary display device40 are schematically illustrated inFIG. 6B. The illustratedexemplary display device40 includes ahousing41 and can include additional components at least partially enclosed therein. For example, in one embodiment, theexemplary display device40 includes anetwork interface27 that includes anantenna43, which is coupled to atransceiver47. Thetransceiver47 is connected to aprocessor21, which is connected toconditioning hardware52. Theconditioning hardware52 may be configured to condition a signal (e.g., filter a signal). Theconditioning hardware52 is connected to aspeaker45 and amicrophone46. Theprocessor21 is also connected to aninput device48 and adriver controller29. Thedriver controller29 is coupled to aframe buffer28 and to anarray driver22, which in turn is coupled to adisplay array30. Apower supply50 provides power to all components as required by the particularexemplary display device40 design.
Thenetwork interface27 includes theantenna43 and thetransceiver47 so that theexemplary display device40 can communicate with one or more devices over a network. In one embodiment, thenetwork interface27 may also have some processing capabilities to relieve requirements of theprocessor21. Theantenna43 is any antenna known to those of skill in the art for transmitting and receiving signals. In one embodiment, the antenna transmits and receives RF signals according to the IEEE 802.11 standard, including IEEE 802.11(a), (b), or (g). In another embodiment, the antenna transmits and receives RF signals according to the BLUETOOTH standard. In the case of a cellular telephone, the antenna is designed to receive CDMA, GSM, AMPS, or other known signals that are used to communicate within a wireless cell phone network. Thetransceiver47 pre-processes the signals received from theantenna43 so that they may be received by and further manipulated by theprocessor21. Thetransceiver47 also processes signals received from theprocessor21 so that they may be transmitted from theexemplary display device40 via theantenna43.
In an alternative embodiment, thetransceiver47 can be replaced by a receiver. In yet another alternative embodiment,network interface27 can be replaced by an image source, which can store or generate image data to be sent to theprocessor21. For example, the image source can be a digital video disc (DVD) or a hard-disc drive that contains image data, or a software module that generates image data.
Processor21 generally controls the overall operation of theexemplary display device40. Theprocessor21 receives data, such as compressed image data from thenetwork interface27 or an image source, and processes the data into raw image data or into a format that is readily processed into raw image data. Theprocessor21 then sends the processed data to thedriver controller29 or to framebuffer28 for storage. Raw data typically refers to the information that identifies the image characteristics at each location within an image. For example, such image characteristics can include color, saturation, and gray-scale level.
In one embodiment, theprocessor21 includes a microcontroller, CPU, or logic unit to control operation of theexemplary display device40.Conditioning hardware52 generally includes amplifiers and filters for transmitting signals to thespeaker45, and for receiving signals from themicrophone46.Conditioning hardware52 may be discrete components within theexemplary display device40, or may be incorporated within theprocessor21 or other components.
Thedriver controller29 takes the raw image data generated by theprocessor21 either directly from theprocessor21 or from theframe buffer28 and reformats the raw image data appropriately for high speed transmission to thearray driver22. Specifically, thedriver controller29 reformats the raw image data into a data flow having a raster-like format, such that it has a time order suitable for scanning across thedisplay array30. Then thedriver controller29 sends the formatted information to thearray driver22. Although adriver controller29, such as a LCD controller, is often associated with thesystem processor21 as a stand-alone Integrated Circuit (IC), such controllers may be implemented in many ways. They may be embedded in theprocessor21 as hardware, embedded in theprocessor21 as software, or fully integrated in hardware with thearray driver22.
Typically, thearray driver22 receives the formatted information from thedriver controller29 and reformats the video data into a parallel set of waveforms that are applied many times per second to the hundreds and sometimes thousands of leads coming from the display's x-y matrix of pixels.
In one embodiment, thedriver controller29,array driver22, anddisplay array30 are appropriate for any of the types of displays described herein. For example, in one embodiment,driver controller29 is a conventional display controller or a bi-stable display controller (e.g., an interferometric modulator controller). In another embodiment,array driver22 is a conventional driver or a bi-stable display driver (e.g., an interferometric modulator display). In one embodiment, adriver controller29 is integrated with thearray driver22. Such an embodiment is common in highly integrated systems such as cellular phones, watches, and other small area displays. In yet another embodiment,display array30 is a typical display array or a bi-stable display array (e.g., a display including an array of interferometric modulators).
Theinput device48 allows a user to control the operation of theexemplary display device40. In one embodiment,input device48 includes a keypad, such as a QWERTY keyboard or a telephone keypad, a button, a switch, a touch-sensitive screen, or a pressure- or heat-sensitive membrane. In one embodiment, themicrophone46 is an input device for theexemplary display device40. When themicrophone46 is used to input data to the device, voice commands may be provided by a user for controlling operations of theexemplary display device40.
Power supply50 can include a variety of energy storage devices as are well known in the art. For example, in one embodiment,power supply50 is a rechargeable battery, such as a nickel-cadmium battery or a lithium ion battery. In another embodiment,power supply50 is a renewable energy source, a capacitor, or a solar cell including a plastic solar cell, and solar-cell paint. In another embodiment,power supply50 is configured to receive power from a wall outlet.
In some embodiments, control programmability resides, as described above, in a driver controller which can be located in several places in the electronic display system. In some embodiments, control programmability resides in thearray driver22. Those of skill in the art will recognize that the above-described optimizations may be implemented in any number of hardware and/or software components and in various configurations.
The details of the structure of interferometric modulators that operate in accordance with the principles set forth above may vary widely. For example,FIGS. 7A-7E illustrate five different embodiments of the movablereflective layer14 and its supporting structures.FIG. 7A is a cross section of the embodiment ofFIG. 1, where a strip ofmetal material14 is deposited on orthogonally extending supports18. InFIG. 7B, the moveablereflective layer14 is attached to supports at the corners only, ontethers32. InFIG. 7C, the moveablereflective layer14 is suspended from adeformable layer34, which may comprise a flexible metal. Thedeformable layer34 connects, directly or indirectly, to thesubstrate20 around the perimeter of thedeformable layer34. These connections are herein referred to as support posts. The embodiment illustrated inFIG. 7D has support post plugs42 upon which thedeformable layer34 rests. The movablereflective layer14 remains suspended over the gap, as inFIGS. 7A-7C, but thedeformable layer34 does not form the support posts by filling holes between thedeformable layer34 and theoptical stack16. Rather, the support posts are formed of a planarization material, which is used to form support post plugs42. The embodiment illustrated inFIG. 7E is based on the embodiment shown inFIG. 7D, but may also be adapted to work with any of the embodiments illustrated inFIGS. 7A-7C, as well as additional embodiments not shown. In the embodiment shown inFIG. 7E, an extra layer of metal or other conductive material has been used to form abus structure44. This allows signal routing along the back of the interferometric modulators, eliminating a number of electrodes that may otherwise have had to be formed on thesubstrate20.
In embodiments such as those shown inFIG. 7, the interferometric modulators function as direct-view devices, in which images are viewed from the front side of thetransparent substrate20, the side opposite to that upon which the modulator is arranged. In these embodiments, thereflective layer14 optically shields the portions of the interferometric modulator on the side of the reflective layer opposite thesubstrate20, including thedeformable layer34. This allows the shielded areas to be configured and operated upon without negatively affecting the image quality. Such shielding allows thebus structure44 inFIG. 7E, which provides the ability to separate the optical properties of the modulator from the electromechanical properties of the modulator, such as addressing and the movements that result from that addressing. This separable modulator architecture allows the structural design and materials used for the electromechanical aspects and the optical aspects of the modulator to be selected and to function independently of each other. Moreover, the embodiments shown inFIGS. 7C-7E have additional benefits deriving from the decoupling of the optical properties of thereflective layer14 from its mechanical properties, which are carried out by thedeformable layer34. This allows the structural design and materials used for thereflective layer14 to be optimized with respect to the optical properties, and the structural design and materials used for thedeformable layer34 to be optimized with respect to desired mechanical properties.
The restoration features513 can provide, among other things, additional force to separate thedeformable layer506 from thestationary layer502, and this additional force can mitigate or overcome the adhesion forces. As will be described below in detail, the restoration features513 are provided to help the recovery of thedeformable layer506 from its driven state to the undriven state by applying an additional force onto thedeformable layer506 in the direction away from thestationary layer502.
For example, in the illustrated embodiment shown inFIG. 8A, in the undriven state, a portion of the restoration features513 may curl or curve toward thestationary layer502 and thus extend into the air gap between thedeformable layer506 and thestationary layer502. As will be described more fully below, this portion may result from a stress gradient that can be fabricated into at least the portion of thedeformable layer506 and/or thestationary layer502, which comprise the deflectingportions515.
When undriven, thedeformable layer506 may be apart from thestationary layer502 and the deflectingportions515 of restoration features513 may extend towards the stationary layer502 (e.g., into the region betweenstationary layer502 and deformable layer506). When driven, thedeformable layer506 deforms into the driven state illustrated inFIG. 8B. The deflecting portions of515 of restoration features513 deform by contact of thedeformable layer506 and thus conform to shape of thestationary layer502 that comes in contact with restoration features513. For example, in certain embodiments, the restoration features513 may deflect into the substantially flat configuration shown inFIG. 8B. In certain embodiments, the restoration features513 may deflect into other configurations, such as curved or bowed shapes depending on the contact area ofdeformable layer506. In their deflected state, the restoration features513 may provide a potential assisting force that can mitigate or prevent stiction.
In certain embodiments, the deflectingportions515 do not completely close theopenings517 when thedeformable layer506 is in the driven state. In other embodiments, the deflectingportions515 are deformed to nearly close or completely close theopenings517 when thedeformable layer506 is in the driven state.
The restoration features513 deflected, even in a flat configuration, will have a tendency to return to their normal deflected configuration, e.g., having a portion that tends to extend back into the interferometric cavity as shown inFIG. 8A. This tendency can produce a force that tends to assist thedeformable layer506 to return to its undriven state. Therefore, when thedeformed layer506 begins to move from the deformed state back to its undriven state, the force of the restoration features513 can help mitigate stiction and/or speed of the recovery of thedeformable layer506.
The restoration features513 may be configured with various sizes. For example, as shown in the figures, the deflectingportions515 may be a cantilever having a length that partially spans the gap betweendeformable layer506 and thestationary layer502. In other embodiments, the deflectingportions515 may be cantilevers that are long enough to contact or come into near contact with thestationary layer502 even in their undriven state. These different sizes of the deflectingportions515 can be useful to reduce snap in and to control the hysteretic behavior of the device. Alternatively, different lengths of deflectingportions515 may be utilized in order to modify the actuation and release times of the device during operation. In order to minimize impact on optical or color performance, various restoration features513 may be located in regions that are not within the viewable area of the device.
One skilled in the art will recognize that the restoration features513 may not have the exact configuration as illustrated inFIGS. 8A-8K. Many different types of structures may be employed as the restoration features513. Additionally, different materials can also be employed.
For the sake of convenience, the term restoration feature can refer to any and all mechanisms having the function of exerting a restoration force that assists thedeformed layer506 in returning to its undriven state. Although two restoration features513 are illustrated inFIGS. 8A-8D, a single restoration feature (such as inFIGS. 8E-8F) or any number of restoration features may be employed. For example, multiple restoration features513 can be arranged across various areas of thedeformable layer506. In particular, the restoration features513 may be placed in a specific area on thedeformable layer506, or may be placed to provide relatively even restoration forces over a wide area on thedeformable layer506.
In addition, the restoration features513 can be configured to provide different strengths of restoration forces depending on their location on thedeformable layer506. The size, placement and strength of the restoration features513 can all be varied according to the desired characteristics of theinterferometric modulator501. In certain embodiments the initial voltage input may be adjusted in order to drive theinterferometric modulators501 to their fully driven state, as the restoration features513 may create an increased amount of resistance against the driven state ofmodulators501.
In addition, the restoration features513 may include one or more layers coated by an anti-stiction polymer coating, which can reduce the degree of adhesion between thedeformable layer506 and thestationary layer502 when in contact with each other. The restoration features513 may also be textured or have a roughened surface to reduce contact area, and thus, the amount of adhesion between thedeformable layer506 and thestationary layer502 when in contact.
In order to illustrate various embodiments of the restoration features513,FIGS. 8A-K will now be further described.FIGS. 8A and 8B illustrate an embodiment of theinterferometric modulator501, which includes the restoration features513. The restoration features513 may extend from thedeformable layer506. Accordingly, when theinterferometric modulator501 is driven from its undriven state (FIG. 8A) to the driven state (FIG. 8B), the restoration features513 are deflected from their normal configuration to a relatively flat configuration. In some embodiments, the restoration features513 may be configured to deflect only partially (rather than completely flat), and thus, define a gap or minimum distance (not shown) between thestationary layer502 and the portions of thedeformable layer506 not contacting thestationary layer502 when theinterferometric modulator501 is in the driven state.
In another embodiment as illustrated inFIG. 8C, the restoration features513 may be formed on the top surface of thestationary layer502. In another embodiment illustrated inFIG. 8D, the restoration features513 may be positioned on both thedeformable layer506 and thestationary layer502. Although not illustrated, the restoration features513 may extend from various sub-layers, if any, of thedeformable layer506 or from various sub-layers of thestationary layer502 orsubstrate500.
As shown inFIGS. 8E-F, the restoration features513 may be positioned in various positions, such as a central portion ofdeformable layer506 orstationary layer502. For example, the restoration features513 may be positioned in the center portion of thedeformable layer506 in some embodiments since the restoration force in thedeformed layer506 may be at a minimum in the center as compared to the restoration force nearer the edges of thedeformable layer506 adjacent theposts504. The restoration features513 can be positioned in a variety of locations on thestationary layer502, or thedeformable layer506, or both.
FIGS. 8G-J show top cross-sectional views of various embodiments of the restoration features513 andFIG. 8K shows a perspective view of another embodiment. In the illustrated embodiment ofFIGS. 8G-J, the restoration features513 are located generally on thedeformable layer506 between the support posts504 (only onepost504 is labeled on the figure for clarity) on a portion of thedeformable layer506 which interacts with incident light. For example, as shown inFIG. 8G, the restoration features513 can be on a central portion of thedeformable layer506 between the support posts504. Optionally, the restoration features513 can positioned on other portions of thedeformable layer506 which do not significantly interact with incident light, such that the existence of the restoration features513 does not affect the optical characteristics of theinterferometric modulator501. For example, the restoration features513 can be on a peripheral portion of thedeformable layer506 near the support posts504. In still another embodiment (not illustrated), the restoration features513 can be positioned on both the central and peripheral portions of thedeformable layer506 with respect to the support posts504.
The surface of the restoration features513 may be generally smooth or planar, or the surface of the restoration features513 may be rough, bumpy or embossed. In certain embodiments, the restoration features513 may be shaped to maintain a tilt or rounded shape when deflected, and thus, the restoration features513 in their driven state may not necessarily be flattened. In certain embodiments, the restoration features513 can be configured to provide a reduced area of contact between thedeformable layer506 and thestationary layer502.
In certain embodiments, the restoration features513 can comprise the same materials as either thedeformable layer506 or thestationary layer502 from which the restoration features513 are formed. The restoration features513 can be made from various materials, including, but not limited to, a metal, an alloy, a dielectric material, and an elastomeric material. For example, such materials may include metals including aluminum, semiconductors, oxides of metals or semiconductors, nitrides of metals or semiconductors, and oxynitrides of metals or semiconductors. Restoration features513 can be any material that substantially do not affect or only insignificantly affect the electrical or optical characteristics of the MEMS device such asinterferometric modulator501. In addition, various masking or color adjustments can be made to areas below and around the restoration features513 on thestationary layer502. For example, portions of thestationary layer502 may be colored or darkened to help compensate for any optical effects of the restoration features513.
In one embodiment, the restoration features513 are optically transparent to the light modulated by theinterferometric modulator501. For example, in certain embodiments, in which the restoration features513 are on thestationary layer502 of theinterferometric modulator501, the restoration features513 can be transparent to the light being modulated. Optionally, in the case where the modulated light includes visible light, the transparent material that can be used for the restoration features513 includes, for example, oxides of metals or semiconductors, nitrides of metals or semiconductors, and oxynitrides of metals or semiconductors. In certain embodiments, the restoration features513 generally operate like the materials from which it is formed. For example, the restoration features on the deformable layer506bof theinterferometric modulator501 can be reflective to the light being modulated. In certain embodiments in which the optical properties of the restoration features513 are disruptive or otherwise interfere with the optical performance of theinterferometric modulator501, the restoration features can be configured or sized to have a minimal effect on the operation of theinterferometric modulator501.
In another embodiment, the restoration features513 may be made of a material that absorbs the light modulated by theinterferometric modulator501. In another embodiment, the restoration features513 may be covered with such a light absorbing material. Optionally, in the case where the modulated light includes visible light, the light absorbing material that can be used for the restoration features513 includes, for example, polymeric materials or metals, such as chrome, nickel, titanium, molybdenum, etc.
In still another embodiment, the restoration features513 may be made of a material that reflects the light modulated by theinterferometric modulator501. The restoration features513 may be covered with such a light reflecting material. Optionally, in the case where the modulated light includes visible light, the light reflecting material that can be used for the restoration features513 includes, for example, polymeric materials or metals, such as silver, aluminum, gold, platinum, etc.
Multiple restoration features513 can be used. Thus, several of the restoration features513 can be fabricated to provide the landing surfaces of the layers of theinterferometric modulator501. The multiple restoration features513 may be arranged to be at at least one location in order to minimize a probability of stiction (e.g., between thedeformable layer506 and the stationary layer502). For example, the restoration features513 may be spaced as remote as possible from one another on thedeformable layer506 or can be positioned at least a threshold distance from one or more of the support structures between thedeformable layer506 and thestationary layer502
The restoration features513 may have any cross-sectional shape. As shown inFIGS. 8G-K, the cross-sectional shape of the restoration features513 can have one or more shapes, examples of which include but are not limited to: generally semi-triangular, generally semi-chevron-like, generally semi-tabbed-like, generally semi-circular, generally semi-oval, generally semi-rectangular, generally semi-pentagonal, generally X-shaped, and so forth.FIG. 8G shows a top view of a plurality of restoringfeatures513 generally grouped in pairs in regions of thedeformable layer506 spaced away from theposts504. The opening517 (freely movable portion with respect to the deformable layer506) of each restoringfeature513 is generally semi-chevron-like or V-shaped and the deflectingportions515a,515brestoring features513 are generally semi-triangular-shaped.
WhileFIG. 8G shows theopenings517 of the restoringfeatures513 being separated from one another by aportion519 of thedeformable layer506, other embodiments have two ormore deflecting portions515 bordering thesame opening517. For example, certain embodiments can have a generally X-shaped opening517 (e.g., theopenings517 ofFIG. 8G without the portions519) which is bounded by the two deflectingportions515a,515b.
InFIG. 8H, theopening517 has a generally cross-like shape, and four deflectingportions515a,515b,515c,515dborder theopening517. InFIG. 8I, the restoringfeatures513 comprise generallyU-shaped openings517 with generally rectangular-shapeddeflecting portions515a,515b. In certain other embodiments, theopening517 can be generally H-shaped, with the two deflectingportions515a,515bbordering theopening517. As noted, the deflectingportions515a,515bmay be configured with different lengths that can span all or part of the gap between thedeformable layer506 and thestationary layer502. Accordingly, this variation in length of the deflectingportions515a,515bmay be useful in configuring the amount of applied force and timing of when these portions apply the force. Such variation in length may be useful for modifying color control of the device and/or modifying actuation and release time of the device during operation.
InFIG. 8J, theopenings517 have a generally curved shaped, and the deflectingportions515a,515bhave a curved edge (e.g., are generally semicircular-shaped). InFIG. 8K, theopening517 has a generally circular shape, and the deflectingportion515 is a generally circular region of thedeformable layer506 bordering theopening517. As described more fully below, upon forming theopening517 through thedeformable layer506, stress gradients in the portion of thedeformable layer506 bordering theopening517 are curled towards thestationary layer502, thereby forming the deflectingportion515.
The restoration features513 can be fabricated in various configurations and made of various compounds as discussed above, for example, by utilizing the presently existing techniques of depositing and selectively etching a material. For example, the restoration features513 can also be created from deformations of the layers of the interferometric modulator301. In another embodiment, the restoration features513 can be created using conventional semiconductor manufacturing techniques.
The restoration features513 may be fabricated into one or more components of a MEMS device using various techniques. In general, the restoration features513 may be fabricated based on a stress gradient configured into at least the portions of thedeformable layer506, which comprise the deflectingportions515 and/or thestationary layer502. In some embodiments, the restoration features513 may be formed by selectively patterning release structures (e.g., holes or slots forming the opening517) in thedeformable layer506 and/or thestationary layer502, such that one ormore deflecting portions515 of therestoration feature513 undergo a deflection having a component in a direction generally away from the layer which contacts the restoration features513 (e.g., a direction generally perpendicular to the layer in which therestoration feature513 is formed). Different layers of materials to obtain desired restoration forces and shapes may be employed.
Therestoration feature513 may have benefits beyond mitigating stiction. For example, holes or slots formed in the at least one component (e.g., the deformable layer506) to create therestoration feature513 can provide a conduit for etchant and the removal of a sacrificial layer during fabrication. An embodiment of a processing flow for a MEMS device will now be described with reference toFIGS. 9A-9H.
Semiconductor manufacturing techniques may be used in the fabrication processes, such as photolithography, deposition, masking, etching (e.g., dry methods such as plasma etch and wet methods), etc. Deposition includes dry methods such as chemical vapor deposition (CVD, including plasma-enhanced CVD and thermal CVD) and sputter coating, and wet methods such as spin coating.
In one embodiment, a method of manufacturing an interferometric modulator, such as those described above, is described with respect toFIGS. 9A-9H. InFIG. 9A, anelectrode layer52 has been deposited on asubstrate50 and a partiallyreflective layer54 has been deposited over theelectrode layer52. The partiallyreflective layer54 and theelectrode layer52 are then patterned and etched to formgaps56 which may define strip electrodes formed from theelectrode layer52. In addition, thegap56 may comprise, as it does in the illustrated embodiment, an area in which theelectrode layer52 and the partiallyreflective layer54 have been removed from underneath the location where a support structure will be formed. In other embodiments, the partiallyreflective layer54 and theelectrode layer52 are only patterned and etched to form the strip electrodes, and the partiallyreflective layer54 andelectrode layer52 may thus extend underneath some or all of the support structures. In one embodiment, theelectrode layer52 comprises indium-tin-oxide (ITO). In one embodiment, the partiallyreflective layer54 comprises a layer of chromium (Cr). In other embodiments, the placement of thelayers52 and54 may be reversed, such that the partiallyreflective layer54 is located underneath theelectrode layer52. In another embodiment, a single layer (not shown) may serve as both the electrode layer and the partially reflective layer. In other embodiments, only one of theelectrode layer52 or the partiallyreflective layer54 may be fowled.
InFIG. 9B, adielectric layer58 has been deposited over the patternedelectrode layer52 and partiallyreflective layer54. In one embodiment, thedielectric layer58 may comprise SiO2. In further embodiments, one or more etch stop layers (not shown) may be deposited over the dielectric layer. These etch stop layers may protect the dielectric layer during the patterning of overlying layers. In one embodiment, a etch stop layer comprising Al2O3may be deposited over thedielectric layer58. In a further embodiment, an additional layer of SiO2may be deposited over the etch stop layer.
InFIG. 9C, asacrificial layer60 has been deposited over thedielectric layer58. In one embodiment, thesacrificial layer60 comprises molybdenum (Mo) or silicon (Si), but other materials may be appropriate. Advantageously, thesacrificial layer60 is selectively etchable with respect to the layers surrounding thesacrificial layer60. Amovable layer62, in the illustrated embodiment ofFIG. 9C, taking the faun of areflective layer62, has been deposited over thesacrificial layer60 and is configured to be movable relative to the partiallyreflective layer54 once thesacrificial layer60 is removed. In certain embodiments, this movable layer will comprise a conductive material. In the illustrated embodiment, unlike the partiallyreflective layer54, thelayer62 need not transmit any light through the layer, and thus advantageously comprises a material with high reflectivity. In one embodiment, thelayer62 comprises aluminum (Al), as aluminum has both very high reflectivity and acceptable mechanical properties. In other embodiments, reflective materials such as silver and gold may be used in thelayer62. In further embodiments, particularly in non-optical MEMS devices in which thelayer62 need not be reflective, other materials, such as nickel and copper may be used in thelayer62.
InFIG. 9D, thesacrificial layer60 and thelayer62 have been patterned and etched to formapertures64 which extend through thesacrificial layer62 andreflective layer60. In the illustrated embodiment, theseapertures64 are preferably tapered to facilitate continuous and conformal deposition of overlying layers.
With respect toFIG. 9E, alayer70 can be deposited over the patternedlayer62 andsacrificial layer60. Thislayer70 may be used to form support posts located throughout an array of MEMS devices. In embodiments in which the MEMS devices being fabricated comprise interferometric modulator elements (such asmodulator elements12aand12bofFIG. 1), some of the support posts (such as thesupport structures18 ofFIG. 1) will be located at the edges of the upper movable electrodes (such as the movablereflective layer14 ofFIG. 1) of those interferometric modulator elements. In addition, these support posts may also be formed in the interior of the resulting interferometric modulator elements, away from the edges of the upper movable electrode, such that they support a central or interior section of the upper movable electrode.
InFIG. 9F, thepost layer70 has been patterned and etched to form apost structure72. In addition, the illustratedpost structure72 has a peripheral portion which extends horizontally over the underlying layers; this horizontally-extending peripheral portion will be referred to herein as awing portion74. As with the patterning and etching of thesacrificial layer60, theedges75 of thepost structure72 are preferably tapered or beveled in order to facilitate deposition of overlying layers.
Because thelayer62 was deposited prior to the deposition of thepost layer70, thelayer62 may serve as an etch stop during the etching process used to form thepost structure72, as the portion of the post structure being etched is isolated from the underlyingsacrificial layer60 by thelayer62, even though other portions of thepost layer70 are in contact with thesacrificial layer60. Thus, an etch process can be used to form thepost structures72 which would otherwise etch thesacrificial layer60, as well.
Variations to the above process may be made, as well. In one embodiment, thelayer62 may be deposited after the patterning and etching of thesacrificial layer60, such that thepost layer70 may be completely isolated from thesacrificial layer60, even along the sloped sidewalls of the apertures in thesacrificial layer60. Such an embodiment provides an etch stop protecting thepost structure72 during the release etch to remove thesacrificial layer60. In another embodiment, thepost layer70 may be deposited over a patternedsacrificial layer60 prior to the deposition of thelayer62. Such an embodiment may be used if thesacrificial layer60 will not be excessively consumed during the etching of thepost structure72, even without an etch stop.
InFIG. 9G, amechanical layer78 has been deposited over thepost structures72 and the exposed portions of thelayer62. In certain embodiments, in which thelayer62 provides the reflective portion of the interferometric modulator element, themechanical layer78 may advantageously be selected for its mechanical properties, without regard for the reflectivity. In one embodiment, themechanical layer78 advantageously comprises nickel (Ni), although various other materials, such as Al, may be suitable. For convenience, the combination of themechanical layer78 and thelayer62 may be referred to collectively as the deformable electrode or deformablereflective layer80.
After deposition of themechanical layer78, themechanical layer78 is patterned and etched to form desired structures. In particular, themechanical layer78 may be patterned and etched to form gaps which define electrodes which are strips of the mechanical layer which are electrically isolated from one another.
Theunderlying layer62 may also be patterned and etched to remove the exposed portions of thelayer62. In one embodiment, this may be done via a single patterning and etching process. In other embodiments, two different etches may be performed in succession, although the same mask used to pattern and etch themechanical layer78 may be left in place and used to selectively etch thelayer62. In one particular embodiment, in which themechanical layer78 comprises Ni and thelayer62 comprises Al, the Ni may be etched by a Nickel Etch (which generally comprise nitric acid, along with other components), and the Al may be etched by either a phosphoric/acetic acid etch or a PAN (phosphoric/acetic/nitric acid) etch. A PAN etch may be used to etch Al in this embodiment, even though it may etch the underlyingsacrificial layer60 as well, because the deformablereflective layer80 has already been formed over thesacrificial layer60, and the desired spacing between the deformablereflective layer80 and underlying layers has thus been obtained. Any extra etching of thesacrificial layer60 during this etch will not have a detrimental effect on the finished interferometric modulator.
InFIG. 9H, it can be seen that the deformable electrode orreflective layer80, which comprises themechanical layer78 and thelayer62, has also been patterned and etched to form etch holes82. A release etch is then performed to selectively remove thesacrificial layer60, forming acavity84 which permits the deformablereflective layer80 to deform toward theelectrode layer52 upon application of appropriate voltage. In one embodiment, the release etch comprises a XeF2etch, which will selectively remove sacrificial materials like Mo, W, or polysilicon without significantly attacking surrounding materials such as Al, SiO2, Ni, or Al2O3. The etch holes82, along with the gaps between the strip electrodes formed from themechanical layer78, advantageously permit exposure of thesacrificial layer60 to the release etch.
As noted above, restoration features513 can be fabricated by patterning etch holes82 into suitable shapes and dimensions to formopenings517 and deflectingportions515, such as those shown inFIGS. 8A-8K. Thus, in some embodiments, the restoration features may be etched into themechanical layer78 and the etched portion of themechanical layer78 can serve as etch holes that are used in this fabrication process as part of the release etch.
The above-described modifications can help remove process variability and lead to a more robust design and fabrication. Additionally, while the above aspects have been described in terms of selected embodiments of the interferometric modulator, one of skill in the art will appreciate that many different embodiments of interferometric modulators may benefit from the above aspects. Of course, as will be appreciated by one of skill in the art, additional alternative embodiments of the interferometric modulator can also be employed. The various layers of interferometric modulators can be made from a wide variety of conductive and non-conductive materials that are generally well known in the art of semi-conductor and electro-mechanical device fabrication.
Referring now toFIGS. 10A-D, these figures illustrate exemplary simulation models of the restoration features513 anddeformable layer506. In the simulations shown, a quarter model of the restoration features513 anddeformable layer506 was used due to the symmetry of a pixel. In the examples shown, therestoration feature513 has been modeled as an cross shaped or X-shaped feature (e.g., similar to that shown inFIGS. 8G and 8H) having legs that are approximately 6 microns long and theopenings517 may be approximately 2 microns in width.
InFIGS. 10A-10B, a quarter of therestoration feature513 is shown in its undriven, unactuated state. To help illustrate the deflection of therestoration feature513 in its undriven state,FIGS. 10A-10B are shaded to indicate different vertical heights of portions of therestoration feature513. InFIG. 10A, the simulation assumed that thedeformable layer506 did not include a secondary local layer around therestoration feature513. InFIG. 10B, the simulation assumed that thedeformable layer506 included a secondary local layer, such as an oxide, patterned concentrically around therestoration feature513 thus causing therestoration feature513 to deform or deflect further in its undriven or unactuated state in comparison to the simulation shown inFIG. 10A.
InFIGS. 10C-10D, the quarter of the restoration is shown in its driven or actuated state. As noted, under actuation, strain energy is induced in the restoration features513. The magnitude of strain energy is indicated inFIGS. 10C-10D by differences in shading. The strain energy is stored in therestoration feature513 and is released when the Vbiasvoltage applied to the pixel is reduced. When released, the strain energy may thus aid in the restoration of thedeformable layer506 and therestoration feature513 to the unactuated or undriven state. Accordingly, in some embodiments, it may be desirable to maximize the strain energy in certain areas of thedeformable layer506 and therestoration feature513 to increase the restoring force that is applied.
FIG. 10C shows thedeformable layer506 and therestoration feature513 fromFIG. 10A, but in the actuated or driven state.FIG. 10D, shows thedeformable layer506 and therestoration feature513 fromFIG. 10B, but in the actuated or driven state. As shown inFIG. 10D, the addition of a secondary oxide layer may enhance the effect of the restoration feature, since the deformation of the restoration feature is larger, thus resulting in higher strain energy being stored. These models are merely exemplary, and other configurations are within embodiments of the present disclosure.
While the above detailed description has shown, described, and pointed out novel features of the invention as applied to various embodiments, it will be understood that various omissions, substitutions, and changes in the form and details of the device or process illustrated may be made by those skilled in the art without departing from the spirit of the invention. As will be recognized, the present invention may be embodied within a form that does not provide all of the features and benefits set forth herein, as some features may be used or practiced separately from others.

Claims (31)

US12/275,3662008-07-112008-11-21Stiction mitigation with integrated mech micro-cantilevers through vertical stress gradient controlExpired - Fee RelatedUS7859740B2 (en)

Priority Applications (7)

Application NumberPriority DateFiling DateTitle
US12/275,366US7859740B2 (en)2008-07-112008-11-21Stiction mitigation with integrated mech micro-cantilevers through vertical stress gradient control
KR1020117002811AKR20110038126A (en)2008-07-112009-07-09 Static friction mitigation by integral mechanical microcantilever with vertical stress gradient control
PCT/US2009/050172WO2010006213A1 (en)2008-07-112009-07-09Stiction mitigation with integrated mech micro-cantilevers through vertical stress gradient control
EP09790246AEP2318876A1 (en)2008-07-112009-07-09Stiction mitigation with integrated mech micro-cantilevers through vertical stress gradient control
CN2009801266300ACN102089700A (en)2008-07-112009-07-09 Mitigation of stiction by vertical stress gradient control with an integrated mechanical microcantilever
JP2011517636AJP5404780B2 (en)2008-07-112009-07-09 Stiction relaxation using product mechanical microcantilever with vertical stress gradient control
US12/975,119US20110090554A1 (en)2008-07-112010-12-21Stiction mitigation with integrated mech micro-cantilevers through vertical stress gradient control

Applications Claiming Priority (2)

Application NumberPriority DateFiling DateTitle
US8000508P2008-07-112008-07-11
US12/275,366US7859740B2 (en)2008-07-112008-11-21Stiction mitigation with integrated mech micro-cantilevers through vertical stress gradient control

Related Child Applications (1)

Application NumberTitlePriority DateFiling Date
US12/975,119ContinuationUS20110090554A1 (en)2008-07-112010-12-21Stiction mitigation with integrated mech micro-cantilevers through vertical stress gradient control

Publications (2)

Publication NumberPublication Date
US20100128337A1 US20100128337A1 (en)2010-05-27
US7859740B2true US7859740B2 (en)2010-12-28

Family

ID=41130483

Family Applications (2)

Application NumberTitlePriority DateFiling Date
US12/275,366Expired - Fee RelatedUS7859740B2 (en)2008-07-112008-11-21Stiction mitigation with integrated mech micro-cantilevers through vertical stress gradient control
US12/975,119AbandonedUS20110090554A1 (en)2008-07-112010-12-21Stiction mitigation with integrated mech micro-cantilevers through vertical stress gradient control

Family Applications After (1)

Application NumberTitlePriority DateFiling Date
US12/975,119AbandonedUS20110090554A1 (en)2008-07-112010-12-21Stiction mitigation with integrated mech micro-cantilevers through vertical stress gradient control

Country Status (6)

CountryLink
US (2)US7859740B2 (en)
EP (1)EP2318876A1 (en)
JP (1)JP5404780B2 (en)
KR (1)KR20110038126A (en)
CN (1)CN102089700A (en)
WO (1)WO2010006213A1 (en)

Cited By (12)

* Cited by examiner, † Cited by third party
Publication numberPriority datePublication dateAssigneeTitle
US8659816B2 (en)2011-04-252014-02-25Qualcomm Mems Technologies, Inc.Mechanical layer and methods of making the same
US20140092110A1 (en)*2012-10-012014-04-03Qualcomm Mems Technologies, Inc.Electromechanical systems device with protrusions to provide additional stable states
US8736939B2 (en)2011-11-042014-05-27Qualcomm Mems Technologies, Inc.Matching layer thin-films for an electromechanical systems reflective display device
US8797632B2 (en)2010-08-172014-08-05Qualcomm Mems Technologies, Inc.Actuation and calibration of charge neutral electrode of a display device
US8817357B2 (en)2010-04-092014-08-26Qualcomm Mems Technologies, Inc.Mechanical layer and methods of forming the same
US8964280B2 (en)2006-06-302015-02-24Qualcomm Mems Technologies, Inc.Method of manufacturing MEMS devices providing air gap control
US8963159B2 (en)2011-04-042015-02-24Qualcomm Mems Technologies, Inc.Pixel via and methods of forming the same
WO2015047764A1 (en)2013-09-302015-04-02Pixtronix, Inc.Movable mems element with stiction mitigating spring
US9057872B2 (en)2010-08-312015-06-16Qualcomm Mems Technologies, Inc.Dielectric enhanced mirror for IMOD display
US9134527B2 (en)2011-04-042015-09-15Qualcomm Mems Technologies, Inc.Pixel via and methods of forming the same
US9372338B2 (en)2014-01-172016-06-21Qualcomm Mems Technologies, Inc.Multi-state interferometric modulator with large stable range of motion
US9452923B2 (en)*2012-12-202016-09-27Infineon Technologies Dresden GmbhMethod for manufacturing a micromechanical system comprising a removal of sacrificial material through a hole in a margin region

Families Citing this family (19)

* Cited by examiner, † Cited by third party
Publication numberPriority datePublication dateAssigneeTitle
EP2183623A1 (en)2007-07-312010-05-12Qualcomm Mems Technologies, Inc.Devices for enhancing colour shift of interferometric modulators
US7999635B1 (en)2008-07-292011-08-16Silicon Laboratories Inc.Out-of plane MEMS resonator with static out-of-plane deflection
US8358266B2 (en)2008-09-022013-01-22Qualcomm Mems Technologies, Inc.Light turning device with prismatic light turning features
US20100051089A1 (en)*2008-09-022010-03-04Qualcomm Mems Technologies, Inc.Light collection device with prismatic light turning features
US8270056B2 (en)2009-03-232012-09-18Qualcomm Mems Technologies, Inc.Display device with openings between sub-pixels and method of making same
CN102449512A (en)2009-05-292012-05-09高通Mems科技公司Illumination devices and methods of fabrication thereof
US8270062B2 (en)2009-09-172012-09-18Qualcomm Mems Technologies, Inc.Display device with at least one movable stop element
US8488228B2 (en)2009-09-282013-07-16Qualcomm Mems Technologies, Inc.Interferometric display with interferometric reflector
CN103380394B (en)2010-12-202017-03-22追踪有限公司Systems and methods for MEMS light modulator arrays with reduced acoustic emission
US8555720B2 (en)2011-02-242013-10-15Freescale Semiconductor, Inc.MEMS device with enhanced resistance to stiction
US8596123B2 (en)2011-05-052013-12-03Freescale Semiconductor, Inc.MEMS device with impacting structure for enhanced resistance to stiction
US8471641B2 (en)2011-06-302013-06-25Silicon Laboratories Inc.Switchable electrode for power handling
US8760751B2 (en)2012-01-262014-06-24Qualcomm Mems Technologies, Inc.Analog IMOD having a color notch filter
US20130293556A1 (en)*2012-05-032013-11-07Qualcomm Mems Technologies, Inc.Apparatus for positioning interferometric modulator based on programmable mechanical forces
KR101941167B1 (en)2012-11-132019-01-22삼성전자주식회사Micro optical switch device, Image display apparatus comprising micro optical switch device and Method of manufacturing micro optical switch device
US9170421B2 (en)2013-02-052015-10-27Pixtronix, Inc.Display apparatus incorporating multi-level shutters
BR102013026634A2 (en)2013-10-162015-08-25Abx En Ltda Eight Thermodynamic Transformation Differential Thermal Machine and Control Process
JP6588773B2 (en)*2015-09-012019-10-09アズビル株式会社 Micromechanical device and manufacturing method thereof
WO2019090057A1 (en)*2017-11-022019-05-09Nextinput, Inc.Sealed force sensor with etch stop layer

Citations (217)

* Cited by examiner, † Cited by third party
Publication numberPriority datePublication dateAssigneeTitle
US3247392A (en)1961-05-171966-04-19Optical Coating Laboratory IncOptical coating and assembly used as a band pass interference filter reflecting in the ultraviolet and infrared
US3728030A (en)1970-06-221973-04-17Cary InstrumentsPolarization interferometer
US3955190A (en)1972-09-111976-05-04Kabushiki Kaisha Suwa SeikoshaElectro-optical digital display
US4403248A (en)1980-03-041983-09-06U.S. Philips CorporationDisplay device with deformable reflective medium
US4441789A (en)1980-03-311984-04-10Jenoptik Jena GmbhResonance absorber
US4441791A (en)1980-09-021984-04-10Texas Instruments IncorporatedDeformable mirror light modulator
US4560435A (en)1984-10-011985-12-24International Business Machines CorporationComposite back-etch/lift-off stencil for proximity effect minimization
US4655554A (en)1985-03-061987-04-07The United States Of America As Represented By The Secretary Of The Air ForceSpatial light modulator having a capacitively coupled photoconductor
US4786128A (en)1986-12-021988-11-22Quantum Diagnostics, Ltd.Device for modulating and reflecting electromagnetic radiation employing electro-optic layer having a variable index of refraction
US4859060A (en)1985-11-261989-08-22501 Sharp Kabushiki KaishaVariable interferometric device and a process for the production of the same
US4925259A (en)1988-10-201990-05-15The United States Of America As Represented By The United States Department Of EnergyMultilayer optical dielectric coating
US4954789A (en)1989-09-281990-09-04Texas Instruments IncorporatedSpatial light modulator
US4956619A (en)1988-02-191990-09-11Texas Instruments IncorporatedSpatial light modulator
US4973131A (en)1989-02-031990-11-27Mcdonnell Douglas CorporationModulator mirror
US4982184A (en)1989-01-031991-01-01General Electric CompanyElectrocrystallochromic display and element
US5022745A (en)1989-09-071991-06-11Massachusetts Institute Of TechnologyElectrostatically deformable single crystal dielectrically coated mirror
US5028939A (en)1988-08-231991-07-02Texas Instruments IncorporatedSpatial light modulator system
US5062689A (en)1990-08-211991-11-05Koehler Dale RElectrostatically actuatable light modulating device
US5091983A (en)1987-06-041992-02-25Walter LukoszOptical modulation apparatus and measurement method
US5096279A (en)1984-08-311992-03-17Texas Instruments IncorporatedSpatial light modulator and method
US5170283A (en)1991-07-241992-12-08Northrop CorporationSilicon spatial light modulator
US5315370A (en)1991-10-231994-05-24Bulow Jeffrey AInterferometric modulator for optical signal processing
US5381232A (en)1992-05-191995-01-10Akzo Nobel N.V.Fabry-perot with device mirrors including a dielectric coating outside the resonant cavity
US5452138A (en)1991-07-311995-09-19Texas Instruments IncorporatedDeformable mirror device with integral color filter
US5471341A (en)1991-07-171995-11-28Optron Systems, Inc.Membrane light modulating systems
US5526172A (en)1993-07-271996-06-11Texas Instruments IncorporatedMicrominiature, monolithic, variable electrical signal processor and apparatus including same
US5559358A (en)1993-05-251996-09-24Honeywell Inc.Opto-electro-mechanical device or filter, process for making, and sensors made therefrom
US5561523A (en)1994-02-171996-10-01Vaisala OyElectrically tunable fabry-perot interferometer produced by surface micromechanical techniques for use in optical material analysis
US5636052A (en)1994-07-291997-06-03Lucent Technologies Inc.Direct view display based on a micromechanical modulation
US5646729A (en)1993-01-131997-07-08Vaisala OySingle-channel gas concentration measurement method and apparatus using a short-resonator Fabry-Perot interferometer
US5646768A (en)1994-07-291997-07-08Texas Instruments IncorporatedSupport posts for micro-mechanical devices
US5661592A (en)1995-06-071997-08-26Silicon Light MachinesMethod of making and an apparatus for a flat diffraction grating light valve
US5665997A (en)1994-03-311997-09-09Texas Instruments IncorporatedGrated landing area to eliminate sticking of micro-mechanical devices
US5699181A (en)1995-07-271997-12-16Samsung Electronics Co., Ltd.Deformable mirror device and manufacturing method thereof
US5710656A (en)1996-07-301998-01-20Lucent Technologies Inc.Micromechanical optical modulator having a reduced-mass composite membrane
US5719068A (en)1994-11-251998-02-17Semiconductor Energy Laboratory Co., Ltd.Method for anisotropic etching conductive film
US5734177A (en)1995-10-311998-03-31Sharp Kabushiki KaishaSemiconductor device, active-matrix substrate and method for fabricating the same
US5786927A (en)1997-03-121998-07-28Lucent Technologies Inc.Gas-damped micromechanical structure
US5808781A (en)1996-02-011998-09-15Lucent Technologies Inc.Method and apparatus for an improved micromechanical modulator
US5818095A (en)1992-08-111998-10-06Texas Instruments IncorporatedHigh-yield spatial light modulator with light blocking layer
US5825528A (en)1995-12-261998-10-20Lucent Technologies Inc.Phase-mismatched fabry-perot cavity micromechanical modulator
US5838484A (en)1996-08-191998-11-17Lucent Technologies Inc.Micromechanical optical modulator with linear operating characteristic
US5867302A (en)1997-08-071999-02-02Sandia CorporationBistable microelectromechanical actuator
US5914804A (en)1998-01-281999-06-22Lucent Technologies IncDouble-cavity micromechanical optical modulator with plural multilayer mirrors
US5920418A (en)1994-06-211999-07-06Matsushita Electric Industrial Co., Ltd.Diffractive optical modulator and method for producing the same, infrared sensor including such a diffractive optical modulator and method for producing the same, and display device including such a diffractive optical modulator
US5961848A (en)1994-11-101999-10-05Thomson-CsfProcess for producing magnetoresistive transducers
US6028689A (en)1997-01-242000-02-22The United States Of America As Represented By The Secretary Of The Air ForceMulti-motion micromirror
US6040937A (en)1994-05-052000-03-21Etalon, Inc.Interferometric modulation
US6046659A (en)1998-05-152000-04-04Hughes Electronics CorporationDesign and fabrication of broadband surface-micromachined micro-electro-mechanical switches for microwave and millimeter-wave applications
US6100861A (en)1998-02-172000-08-08Rainbow Displays, Inc.Tiled flat panel display with improved color gamut
US6242932B1 (en)1999-02-192001-06-05Micron Technology, Inc.Interposer for semiconductor components having contact balls
US20010003487A1 (en)1996-11-052001-06-14Mark W. MilesVisible spectrum modulator arrays
US6262697B1 (en)1998-03-202001-07-17Eastman Kodak CompanyDisplay having viewable and conductive images
US20010028503A1 (en)2000-03-032001-10-11Flanders Dale C.Integrated tunable fabry-perot filter and method of making same
US20010043171A1 (en)2000-02-242001-11-22Van Gorkom Gerardus Gegorius PetrusDisplay device comprising a light guide
US6327071B1 (en)1998-10-162001-12-04Fuji Photo Film Co., Ltd.Drive methods of array-type light modulation element and flat-panel display
US6335235B1 (en)1999-08-172002-01-01Advanced Micro Devices, Inc.Simplified method of patterning field dielectric regions in a semiconductor device
US6356378B1 (en)1995-06-192002-03-12Reflectivity, Inc.Double substrate reflective spatial light modulator
US6384952B1 (en)1997-03-272002-05-07Mems Optical Inc.Vertical comb drive actuated deformable mirror device and method
US20020054424A1 (en)1994-05-052002-05-09Etalon, Inc.Photonic mems and structures
US20020070931A1 (en)2000-07-032002-06-13Hiroichi IshikawaOptical multilayer structure, optical switching device, and image display
US20020075555A1 (en)1994-05-052002-06-20Iridigm Display CorporationInterferometric modulation of radiation
EP1227346A2 (en)1996-09-232002-07-31Qinetiq LimitedMulti layer interference coatings
US6433917B1 (en)2000-11-222002-08-13Ball Semiconductor, Inc.Light modulation device and system
US6438282B1 (en)1998-01-202002-08-20Seiko Epson CorporationOptical switching device and image display device
US6452712B2 (en)1995-12-012002-09-17Seiko Epson CorporationMethod of manufacturing spatial light modulator and electronic device employing it
US20020146200A1 (en)2001-03-162002-10-10Kudrle Thomas DavidElectrostatically actuated micro-electro-mechanical devices and method of manufacture
US6466354B1 (en)2000-09-192002-10-15Silicon Light MachinesMethod and apparatus for interferometric modulation of light
US20020149828A1 (en)1994-05-052002-10-17Miles Mark W.Controlling micro-electro-mechanical cavities
US20020154422A1 (en)2001-04-232002-10-24Sniegowski Jeffry J.Surface micromachined optical system with reinforced mirror microstructure
US20030016428A1 (en)2001-07-112003-01-23Takahisa KatoLight deflector, method of manufacturing light deflector, optical device using light deflector, and torsion oscillating member
US20030035196A1 (en)2001-08-172003-02-20Walker James A.Optical modulator and method of manufacture thereof
US20030043157A1 (en)1999-10-052003-03-06Iridigm Display CorporationPhotonic MEMS and structures
US20030053078A1 (en)2001-09-172003-03-20Mark MisseyMicroelectromechanical tunable fabry-perot wavelength monitor with thermal actuators
US6556338B2 (en)2000-11-032003-04-29Intpax, Inc.MEMS based variable optical attenuator (MBVOA)
US6574033B1 (en)2002-02-272003-06-03Iridigm Display CorporationMicroelectromechanical systems device and method for fabricating same
US20030119221A1 (en)2001-11-092003-06-26Coventor, Inc.Trilayered beam MEMS device and related methods
US6597490B2 (en)1995-09-292003-07-22Coretek, Inc.Electrically tunable fabry-perot structure utilizing a deformable multi-layer mirror and method of making the same
US20030138669A1 (en)2001-12-072003-07-24Rie KojimaInformation recording medium and method for producing the same
US6608268B1 (en)2002-02-052003-08-19Memtronics, A Division Of Cogent Solutions, Inc.Proximity micro-electro-mechanical system
US6632698B2 (en)2001-08-072003-10-14Hewlett-Packard Development Company, L.P.Microelectromechanical device having a stiffened support beam, and methods of forming stiffened support beams in MEMS
US20030202265A1 (en)2002-04-302003-10-30Reboa Paul F.Micro-mirror device including dielectrophoretic liquid
US20030202266A1 (en)2002-04-302003-10-30Ring James W.Micro-mirror device with light angle amplification
US6657832B2 (en)2001-04-262003-12-02Texas Instruments IncorporatedMechanically assisted restoring force support for micromachined membranes
US6661561B2 (en)2001-03-262003-12-09Creo Inc.High frequency deformable mirror device
US6674562B1 (en)1994-05-052004-01-06Iridigm Display CorporationInterferometric modulation of radiation
US20040008438A1 (en)2002-06-042004-01-15Nec CorporationTunable filter, manufacturing method thereof and optical switching device comprising the tunable filter
US20040008396A1 (en)2002-01-092004-01-15The Regents Of The University Of CaliforniaDifferentially-driven MEMS spatial light modulator
US20040027701A1 (en)2001-07-122004-02-12Hiroichi IshikawaOptical multilayer structure and its production method, optical switching device, and image display
US20040027671A1 (en)2002-08-092004-02-12Xingtao WuTunable optical filter
US6698295B1 (en)2000-03-312004-03-02Shipley Company, L.L.C.Microstructures comprising silicon nitride layer and thin conductive polysilicon layer
US20040043552A1 (en)2000-12-152004-03-04Strumpell Mark H.Surface micro-planarization for enhanced optical efficiency and pixel performance in SLM devices
US20040058532A1 (en)2002-09-202004-03-25Miles Mark W.Controlling electromechanical behavior of structures within a microelectromechanical systems device
US20040075967A1 (en)2002-10-212004-04-22Hrl Laboratories, LlcVariable capacitance membrane actuator for wide band tuning of microstrip resonators and filters
US20040076802A1 (en)2000-12-222004-04-22Tompkin Wayne RobertDecorative foil
US20040080035A1 (en)2002-10-242004-04-29Commissariat A L'energie AtomiqueIntegrated electromechanical microstructure comprising pressure adjusting means in a sealed cavity and pressure adjustment process
US20040100594A1 (en)2002-11-262004-05-27Reflectivity, Inc., A California CorporationSpatial light modulators with light absorbing areas
US20040100677A1 (en)2000-12-072004-05-27Reflectivity, Inc., A California CorporationSpatial light modulators with light blocking/absorbing areas
US20040125282A1 (en)2002-12-272004-07-01Wen-Jian LinOptical interference color display and optical interference modulator
US20040125281A1 (en)2002-12-252004-07-01Wen-Jian LinOptical interference type of color display
US20040147198A1 (en)2003-01-292004-07-29Prime View International Co., Ltd.Optical-interference type display panel and method for making the same
US20040145811A1 (en)2003-01-292004-07-29Prime View International Co., Ltd.Optical-interference type reflective panel and method for making the same
US20040175577A1 (en)2003-03-052004-09-09Prime View International Co., Ltd.Structure of a light-incidence electrode of an optical interference display plate
US6794119B2 (en)2002-02-122004-09-21Iridigm Display CorporationMethod for fabricating a structure for a microelectromechanical systems (MEMS) device
US20040184134A1 (en)2003-01-162004-09-23Tomohiro MakigakiOptical modulator, display device and manufacturing method for same
US20040207897A1 (en)2003-04-212004-10-21Wen-Jian LinMethod for fabricating an interference display unit
US20040209195A1 (en)2003-04-212004-10-21Wen-Jian LinMethod for fabricating an interference display unit
US6813059B2 (en)2002-06-282004-11-02Silicon Light Machines, Inc.Reduced formation of asperities in contact micro-structures
US20040217919A1 (en)2003-04-302004-11-04Arthur PiehlSelf-packaged optical interference display device having anti-stiction bumps, integral micro-lens, and reflection-absorbing layers
US20040218251A1 (en)2003-04-302004-11-04Arthur PiehlOptical interference pixel display with charge control
US20050003667A1 (en)2003-05-262005-01-06Prime View International Co., Ltd.Method for fabricating optical interference display cell
US6841081B2 (en)2003-06-092005-01-11Taiwan Semiconductor Manufacturing Co. LtdMethod for manufacturing reflective spatial light modulator mirror devices
US6844959B2 (en)2002-11-262005-01-18Reflectivity, IncSpatial light modulators with light absorbing areas
US20050035699A1 (en)2003-08-152005-02-17Hsiung-Kuang TsaiOptical interference display panel
US20050036095A1 (en)2003-08-152005-02-17Jia-Jiun YehColor-changeable pixels of an optical interference display panel
US6862127B1 (en)2003-11-012005-03-01Fusao IshiiHigh performance micromirror arrays and methods of manufacturing the same
US20050046919A1 (en)2003-08-292005-03-03Sharp Kabushiki KaishaInterferometric modulator and display unit
US20050046948A1 (en)2003-08-262005-03-03Wen-Jian LinInterference display cell and fabrication method thereof
US20050046922A1 (en)2003-09-032005-03-03Wen-Jian LinInterferometric modulation pixels and manufacturing method thereof
US6870654B2 (en)2003-05-262005-03-22Prime View International Co., Ltd.Structure of a structure release and a method for manufacturing the same
US20050068627A1 (en)2003-08-112005-03-31Ryosuke NakamuraTunable optical filter and method of manufacturing same
US20050078348A1 (en)2003-09-302005-04-14Wen-Jian LinStructure of a micro electro mechanical system and the manufacturing method thereof
US6882461B1 (en)2004-02-182005-04-19Prime View International Co., LtdMicro electro mechanical system display cell and method for fabricating thereof
US6882458B2 (en)2003-04-212005-04-19Prime View International Co., Ltd.Structure of an optical interference display cell
US20050179378A1 (en)2004-02-172005-08-18Hiroshi OookaOrganic electroluminescent display device
US6940630B2 (en)2003-05-012005-09-06University Of Florida Research Foundation, Inc.Vertical displacement device
US20050195462A1 (en)2004-03-052005-09-08Prime View International Co., Ltd.Interference display plate and manufacturing method thereof
US6952303B2 (en)2003-08-292005-10-04Prime View International Co., LtdInterferometric modulation pixels and manufacturing method thereof
JP2005279831A (en)2004-03-292005-10-13Sony CorpMems element, optical mems element, diffraction type optical mems element and laser display
US6958847B2 (en)2004-01-202005-10-25Prime View International Co., Ltd.Structure of an optical interference display unit
US6980350B2 (en)2004-03-102005-12-27Prime View International Co., Ltd.Optical interference reflective element and repairing and manufacturing methods thereof
US6983135B1 (en)2002-11-112006-01-03Marvell International, Ltd.Mixer gain calibration method and apparatus
US20060007517A1 (en)2004-07-092006-01-12Prime View International Co., Ltd.Structure of a micro electro mechanical system
US20060017379A1 (en)2004-07-232006-01-26Au Optronics Corp.Dual-sided display
US20060017689A1 (en)2003-04-302006-01-26Faase Kenneth JLight modulator with concentric control-electrode structure
US20060024880A1 (en)2004-07-292006-02-02Clarence ChuiSystem and method for micro-electromechanical operation of an interferometric modulator
US7006272B2 (en)2003-09-262006-02-28Prime View International Co., Ltd.Color changeable pixel
US20060066641A1 (en)2004-09-272006-03-30Gally Brian JMethod and device for manipulating color in a display
US20060066599A1 (en)2004-09-272006-03-30Clarence ChuiReflective display pixels arranged in non-rectangular arrays
US20060066936A1 (en)2004-09-272006-03-30Clarence ChuiInterferometric optical modulator using filler material and method
US20060065940A1 (en)2004-09-272006-03-30Manish KothariAnalog interferometric modulator device
US20060067649A1 (en)2004-09-272006-03-30Ming-Hau TungApparatus and method for reducing slippage between structures in an interferometric modulator
US20060066640A1 (en)2004-09-272006-03-30Manish KothariDisplay region architectures
US7027204B2 (en)2003-09-262006-04-11Silicon Light Machines CorporationHigh-density spatial light modulator
US20060077156A1 (en)2004-09-272006-04-13Clarence ChuiMEMS device having deformable membrane characterized by mechanical persistence
US20060077155A1 (en)2004-09-272006-04-13Clarence ChuiReflective display device having viewable display on both sides
US7046422B2 (en)2003-10-162006-05-16Fuji Photo Film Co., Ltd.Reflection-type light modulating array element and exposure apparatus
EP1122577B1 (en)2000-01-262006-08-02Eastman Kodak CompanySpatial light modulator with conformal grating device
US20060220160A1 (en)2003-08-192006-10-05Miles Mark WStructure of a structure release and a method for manufacturing the same
US7119945B2 (en)2004-03-032006-10-10Idc, LlcAltering temporal response of microelectromechanical elements
US7130104B2 (en)2004-09-272006-10-31Idc, LlcMethods and devices for inhibiting tilting of a mirror in an interferometric modulator
US7184195B2 (en)2005-06-152007-02-27Miradia Inc.Method and structure reducing parasitic influences of deflection devices in an integrated spatial light modulator
US7184202B2 (en)2004-09-272007-02-27Idc, LlcMethod and system for packaging a MEMS device
US7198873B2 (en)2003-11-182007-04-03Asml Netherlands B.V.Lithographic processing optimization based on hypersampled correlations
US20070077525A1 (en)2005-10-052007-04-05Hewlett-Packard Development Company LpMulti-level layer
US20070086078A1 (en)2005-02-232007-04-19Pixtronix, IncorporatedCircuits for controlling display apparatus
US7221495B2 (en)2003-06-242007-05-22Idc LlcThin film precursor stack for MEMS manufacturing
US20070121118A1 (en)2005-05-272007-05-31Gally Brian JWhite interferometric modulators and methods for forming the same
US20070138608A1 (en)2005-12-202007-06-21Kabushiki Kaisha ToshibaDevice with beam structure, and semiconductor device
US7245285B2 (en)2004-04-282007-07-17Hewlett-Packard Development Company, L.P.Pixel device
US20070177247A1 (en)1998-04-082007-08-02Miles Mark WMethod and device for modulating light with multiple electrodes
US20070216987A1 (en)2005-02-232007-09-20Pixtronix, IncorporatedMethods and apparatus for actuating displays
US20070249081A1 (en)2006-04-192007-10-25Qi LuoNon-planar surface structures and process for microelectromechanical systems
US20070247401A1 (en)2006-04-192007-10-25Teruo SasagawaMicroelectromechanical device and method utilizing nanoparticles
US7289259B2 (en)2004-09-272007-10-30Idc, LlcConductive bus structure for interferometric modulator array
US7302157B2 (en)2004-09-272007-11-27Idc, LlcSystem and method for multi-level brightness in interferometric modulation
US20070279729A1 (en)2006-06-012007-12-06Manish KothariAnalog interferometric modulator device with electrostatic actuation and release
US20070285761A1 (en)2006-01-272007-12-13Fan ZhongMEMS device with integrated optical element
US20080002299A1 (en)2006-06-302008-01-03Seagate Technology LlcHead gimbal assembly to reduce slider distortion due to thermal stress
US20080013145A1 (en)2004-09-272008-01-17Idc, LlcMicroelectromechanical device with optical function separated from mechanical and electrical function
US20080013144A1 (en)2004-09-272008-01-17Idc, LlcMicroelectromechanical device with optical function separated from mechanical and electrical function
US7321457B2 (en)2006-06-012008-01-22Qualcomm IncorporatedProcess and structure for fabrication of MEMS device having isolated edge posts
US7321456B2 (en)2004-09-272008-01-22Idc, LlcMethod and device for corner interferometric modulation
US7327510B2 (en)2004-09-272008-02-05Idc, LlcProcess for modifying offset voltage characteristics of an interferometric modulator
US20080037093A1 (en)1994-05-052008-02-14Idc, LlcMethod and device for multi-color interferometric modulation
US20080055707A1 (en)2006-06-282008-03-06Lior KogutSupport structure for free-standing MEMS device and methods for forming the same
US20080088904A1 (en)1993-03-172008-04-17Idc, LlcMethod and device for modulating light with semiconductor substrate
US20080088912A1 (en)1994-05-052008-04-17Idc, LlcSystem and method for a mems device
US20080088910A1 (en)1994-05-052008-04-17Idc, LlcSystem and method for a mems device
US20080088911A1 (en)1994-05-052008-04-17Idc, LlcSystem and method for a mems device
US20080094690A1 (en)2006-10-182008-04-24Qi LuoSpatial Light Modulator
US20080106782A1 (en)1994-05-052008-05-08Idc, LlcSystem and method for a mems device
US7372613B2 (en)2004-09-272008-05-13Idc, LlcMethod and device for multistate interferometric light modulation
US7385744B2 (en)2006-06-282008-06-10Qualcomm Mems Technologies, Inc.Support structure for free-standing MEMS device and methods for forming the same
US20080186581A1 (en)2007-02-012008-08-07Qualcomm IncorporatedModulating the intensity of light from an interferometric reflector
US7420725B2 (en)2004-09-272008-09-02Idc, LlcDevice having a conductive light absorbing mask and method for fabricating same
US20080239455A1 (en)2007-03-282008-10-02Lior KogutMicroelectromechanical device and method utilizing conducting layers separated by stops
US7436573B2 (en)2003-02-122008-10-14Texas Instruments IncorporatedElectrical connections in microelectromechanical devices
US20080278787A1 (en)2007-05-092008-11-13Qualcomm IncorporatedMicroelectromechanical system having a dielectric movable membrane and a mirror
US20080278788A1 (en)2007-05-092008-11-13Qualcomm IncorporatedMicroelectromechanical system having a dielectric movable membrane and a mirror
US20080283374A1 (en)*2007-05-172008-11-20Matsushita Electric Industrial Co., Ltd.Electromechanical element, driving method of the electromechanical element and electronic equipment provided with the same
US7460292B2 (en)2005-06-032008-12-02Qualcomm Mems Technologies, Inc.Interferometric modulator with internal polarization and drive method
US20080316566A1 (en)2007-06-192008-12-25Qualcomm IncorporatedHigh aperture-ratio top-reflective am-imod displays
US20080316568A1 (en)2007-06-212008-12-25Qualcomm IncorporatedInfrared and dual mode displays
US20090009845A1 (en)2007-07-022009-01-08Qualcomm IncorporatedMicroelectromechanical device with optical function separated from mechanical and electrical function
US7476327B2 (en)2004-05-042009-01-13Idc, LlcMethod of manufacture for microelectromechanical devices
US20090073539A1 (en)2007-09-142009-03-19Qualcomm IncorporatedPeriodic dimple array
US20090073534A1 (en)2007-09-142009-03-19Donovan LeeInterferometric modulator display devices
US7513327B1 (en)2005-10-132009-04-07Kent PetersonSystem for converting a recreational vehicle
US20090103166A1 (en)2007-10-232009-04-23Qualcomm Mems Technologies, Inc.Adjustably transmissive mems-based devices
US7527995B2 (en)2004-09-272009-05-05Qualcomm Mems Technologies, Inc.Method of making prestructure for MEMS systems
US7532377B2 (en)1998-04-082009-05-12Idc, LlcMovable micro-electromechanical device
US7542189B2 (en)2005-09-272009-06-02Canon Kabushiki KaishaLight scanning apparatus and image forming apparatus using the light scanning apparatus
US20090147343A1 (en)2007-12-072009-06-11Lior KogutMems devices requiring no mechanical support
US7550810B2 (en)2006-02-232009-06-23Qualcomm Mems Technologies, Inc.MEMS device having a layer movable at asymmetric rates
US7554714B2 (en)2004-09-272009-06-30Idc, LlcDevice and method for manipulation of thermal response in a modulator
US7564612B2 (en)2004-09-272009-07-21Idc, LlcPhotonic MEMS and structures
US20090213451A1 (en)2006-06-302009-08-27Qualcomm Mems Technology, Inc.Method of manufacturing mems devices providing air gap control
US20090225395A1 (en)2008-03-072009-09-10Qualcomm Mems Technologies, Inc.Interferometric modulator in transmission mode
US20090231666A1 (en)2008-02-222009-09-17Sauri GudlavalletiMicroelectromechanical device with thermal expansion balancing layer or stiffening layer
US20090251761A1 (en)2008-04-022009-10-08Kasra KhazeniMicroelectromechanical systems display element with photovoltaic structure
US20090257105A1 (en)2008-04-102009-10-15Qualcomm Mems Technologies, Inc.Device having thin black mask and method of fabricating the same
US7612933B2 (en)2008-03-272009-11-03Qualcomm Mems Technologies, Inc.Microelectromechanical device with spacing layer
US20090323153A1 (en)2008-06-252009-12-31Qualcomm Mems Technologies, Inc.Backlight displays
US20090323166A1 (en)2008-06-252009-12-31Qualcomm Mems Technologies, Inc.Backlight displays
US20090323165A1 (en)2008-06-252009-12-31Qualcomm Mems Technologies, Inc.Method for packaging a display device and the device obtained thereof
US20100039370A1 (en)1996-12-192010-02-18Idc, LlcMethod of making a light modulating display device and associated transistor circuitry and structures thereof

Family Cites Families (29)

* Cited by examiner, † Cited by third party
Publication numberPriority datePublication dateAssigneeTitle
US2590906A (en)*1946-11-221952-04-01Farrand Optical Co IncReflection interference filter
US4497974A (en)*1982-11-221985-02-05Exxon Research & Engineering Co.Realization of a thin film solar cell with a detached reflector
US4498953A (en)*1983-07-271985-02-12At&T Bell LaboratoriesEtching techniques
US5083857A (en)*1990-06-291992-01-28Texas Instruments IncorporatedMulti-level deformable mirror device
US7898722B2 (en)*1995-05-012011-03-01Qualcomm Mems Technologies, Inc.Microelectromechanical device with restoring electrode
US6849471B2 (en)*2003-03-282005-02-01Reflectivity, Inc.Barrier layers for microelectromechanical systems
JPH0918020A (en)*1995-06-281997-01-17Nippondenso Co LtdSemiconductor dynamic quantity sensor and manufacture thereof
US5870221A (en)*1997-07-251999-02-09Lucent Technologies, Inc.Micromechanical modulator having enhanced performance
US6031653A (en)*1997-08-282000-02-29California Institute Of TechnologyLow-cost thin-metal-film interference filters
US8928967B2 (en)*1998-04-082015-01-06Qualcomm Mems Technologies, Inc.Method and device for modulating light
JP3669207B2 (en)*1999-06-042005-07-06オムロン株式会社 Micro relay
US6351329B1 (en)*1999-10-082002-02-26Lucent Technologies Inc.Optical attenuator
US6519073B1 (en)*2000-01-102003-02-11Lucent Technologies Inc.Micromechanical modulator and methods for fabricating the same
US6594059B2 (en)*2001-07-162003-07-15Axsun Technologies, Inc.Tilt mirror fabry-perot filter system, fabrication process therefor, and method of operation thereof
GB2381834B (en)*2001-09-072004-08-25Avon Polymer Prod LtdNoise and vibration suppressors
US6965468B2 (en)*2003-07-032005-11-15Reflectivity, IncMicromirror array having reduced gap between adjacent micromirrors of the micromirror array
AU2003260825A1 (en)*2002-09-192004-04-08Koninklijke Philips Electronics N.V.Switchable optical element
JP4406549B2 (en)*2003-09-222010-01-27富士フイルム株式会社 Light modulation element, light modulation array element, and exposure apparatus using the same
US7372348B2 (en)*2004-08-202008-05-13Palo Alto Research Center IncorporatedStressed material and shape memory material MEMS devices and methods for manufacturing
KR100648310B1 (en)*2004-09-242006-11-23삼성전자주식회사 Color conversion device using the brightness information of the image and display device having the same
US20080068697A1 (en)*2004-10-292008-03-20Haluzak Charles CMicro-Displays and Their Manufacture
WO2007110928A1 (en)*2006-03-282007-10-04Fujitsu LimitedMovable element
US7477440B1 (en)*2006-04-062009-01-13Miradia Inc.Reflective spatial light modulator having dual layer electrodes and method of fabricating same
US7417784B2 (en)*2006-04-192008-08-26Qualcomm Mems Technologies, Inc.Microelectromechanical device and method utilizing a porous surface
EP1883239A1 (en)*2006-07-242008-01-30Nagravision S.A.Method for storing and operating a broadcasted event
TWI331231B (en)*2006-08-042010-10-01Au Optronics CorpColor filter and frbricating method thereof
EP2183623A1 (en)*2007-07-312010-05-12Qualcomm Mems Technologies, Inc.Devices for enhancing colour shift of interferometric modulators
KR20100084518A (en)*2007-09-172010-07-26퀄컴 엠이엠스 테크놀로지스, 인크.Semi-transparent/transflective lighted interferometric modulator devices
US20090078316A1 (en)*2007-09-242009-03-26Qualcomm IncorporatedInterferometric photovoltaic cell

Patent Citations (263)

* Cited by examiner, † Cited by third party
Publication numberPriority datePublication dateAssigneeTitle
US3247392A (en)1961-05-171966-04-19Optical Coating Laboratory IncOptical coating and assembly used as a band pass interference filter reflecting in the ultraviolet and infrared
US3728030A (en)1970-06-221973-04-17Cary InstrumentsPolarization interferometer
US3955190A (en)1972-09-111976-05-04Kabushiki Kaisha Suwa SeikoshaElectro-optical digital display
US4403248A (en)1980-03-041983-09-06U.S. Philips CorporationDisplay device with deformable reflective medium
US4441789A (en)1980-03-311984-04-10Jenoptik Jena GmbhResonance absorber
US4441791A (en)1980-09-021984-04-10Texas Instruments IncorporatedDeformable mirror light modulator
US5096279A (en)1984-08-311992-03-17Texas Instruments IncorporatedSpatial light modulator and method
US4560435A (en)1984-10-011985-12-24International Business Machines CorporationComposite back-etch/lift-off stencil for proximity effect minimization
US4655554A (en)1985-03-061987-04-07The United States Of America As Represented By The Secretary Of The Air ForceSpatial light modulator having a capacitively coupled photoconductor
US4859060A (en)1985-11-261989-08-22501 Sharp Kabushiki KaishaVariable interferometric device and a process for the production of the same
US4786128A (en)1986-12-021988-11-22Quantum Diagnostics, Ltd.Device for modulating and reflecting electromagnetic radiation employing electro-optic layer having a variable index of refraction
US5091983A (en)1987-06-041992-02-25Walter LukoszOptical modulation apparatus and measurement method
US4956619A (en)1988-02-191990-09-11Texas Instruments IncorporatedSpatial light modulator
US5028939A (en)1988-08-231991-07-02Texas Instruments IncorporatedSpatial light modulator system
US4925259A (en)1988-10-201990-05-15The United States Of America As Represented By The United States Department Of EnergyMultilayer optical dielectric coating
US4982184A (en)1989-01-031991-01-01General Electric CompanyElectrocrystallochromic display and element
US4973131A (en)1989-02-031990-11-27Mcdonnell Douglas CorporationModulator mirror
US5022745A (en)1989-09-071991-06-11Massachusetts Institute Of TechnologyElectrostatically deformable single crystal dielectrically coated mirror
US4954789A (en)1989-09-281990-09-04Texas Instruments IncorporatedSpatial light modulator
US5062689A (en)1990-08-211991-11-05Koehler Dale RElectrostatically actuatable light modulating device
US5471341A (en)1991-07-171995-11-28Optron Systems, Inc.Membrane light modulating systems
US5170283A (en)1991-07-241992-12-08Northrop CorporationSilicon spatial light modulator
US5452138A (en)1991-07-311995-09-19Texas Instruments IncorporatedDeformable mirror device with integral color filter
US5315370A (en)1991-10-231994-05-24Bulow Jeffrey AInterferometric modulator for optical signal processing
US5381232A (en)1992-05-191995-01-10Akzo Nobel N.V.Fabry-perot with device mirrors including a dielectric coating outside the resonant cavity
US5818095A (en)1992-08-111998-10-06Texas Instruments IncorporatedHigh-yield spatial light modulator with light blocking layer
US5646729A (en)1993-01-131997-07-08Vaisala OySingle-channel gas concentration measurement method and apparatus using a short-resonator Fabry-Perot interferometer
US20080088904A1 (en)1993-03-172008-04-17Idc, LlcMethod and device for modulating light with semiconductor substrate
US5559358A (en)1993-05-251996-09-24Honeywell Inc.Opto-electro-mechanical device or filter, process for making, and sensors made therefrom
US5526172A (en)1993-07-271996-06-11Texas Instruments IncorporatedMicrominiature, monolithic, variable electrical signal processor and apparatus including same
US5561523A (en)1994-02-171996-10-01Vaisala OyElectrically tunable fabry-perot interferometer produced by surface micromechanical techniques for use in optical material analysis
EP0668490B1 (en)1994-02-171999-09-08Vaisala OyjElectrically tunable fabry-perot interferometer produced by surface micromechanical techniques for use in optical material analysis
US5665997A (en)1994-03-311997-09-09Texas Instruments IncorporatedGrated landing area to eliminate sticking of micro-mechanical devices
US6867896B2 (en)1994-05-052005-03-15Idc, LlcInterferometric modulation of radiation
US20020149828A1 (en)1994-05-052002-10-17Miles Mark W.Controlling micro-electro-mechanical cavities
US20020075555A1 (en)1994-05-052002-06-20Iridigm Display CorporationInterferometric modulation of radiation
US6674562B1 (en)1994-05-052004-01-06Iridigm Display CorporationInterferometric modulation of radiation
US7460291B2 (en)1994-05-052008-12-02Idc, LlcSeparable modulator
US6710908B2 (en)1994-05-052004-03-23Iridigm Display CorporationControlling micro-electro-mechanical cavities
US20020126364A1 (en)1994-05-052002-09-12Iridigm Display Corporation, A Delaware CorporationInterferometric modulation of radiation
US6650455B2 (en)1994-05-052003-11-18Iridigm Display CorporationPhotonic mems and structures
US7123216B1 (en)1994-05-052006-10-17Idc, LlcPhotonic MEMS and structures
US7372619B2 (en)1994-05-052008-05-13Idc, LlcDisplay device having a movable structure for modulating light and method thereof
US20080106782A1 (en)1994-05-052008-05-08Idc, LlcSystem and method for a mems device
US20040240032A1 (en)1994-05-052004-12-02Miles Mark W.Interferometric modulation of radiation
US6680792B2 (en)1994-05-052004-01-20Iridigm Display CorporationInterferometric modulation of radiation
US20050002082A1 (en)1994-05-052005-01-06Miles Mark W.Interferometric modulation of radiation
US20080088912A1 (en)1994-05-052008-04-17Idc, LlcSystem and method for a mems device
US6040937A (en)1994-05-052000-03-21Etalon, Inc.Interferometric modulation
US20080088910A1 (en)1994-05-052008-04-17Idc, LlcSystem and method for a mems device
US6055090A (en)1994-05-052000-04-25Etalon, Inc.Interferometric modulation
US20080088911A1 (en)1994-05-052008-04-17Idc, LlcSystem and method for a mems device
US20020054424A1 (en)1994-05-052002-05-09Etalon, Inc.Photonic mems and structures
US20080037093A1 (en)1994-05-052008-02-14Idc, LlcMethod and device for multi-color interferometric modulation
US5920418A (en)1994-06-211999-07-06Matsushita Electric Industrial Co., Ltd.Diffractive optical modulator and method for producing the same, infrared sensor including such a diffractive optical modulator and method for producing the same, and display device including such a diffractive optical modulator
US5636052A (en)1994-07-291997-06-03Lucent Technologies Inc.Direct view display based on a micromechanical modulation
US5646768A (en)1994-07-291997-07-08Texas Instruments IncorporatedSupport posts for micro-mechanical devices
US5961848A (en)1994-11-101999-10-05Thomson-CsfProcess for producing magnetoresistive transducers
US5719068A (en)1994-11-251998-02-17Semiconductor Energy Laboratory Co., Ltd.Method for anisotropic etching conductive film
US7126738B2 (en)1995-05-012006-10-24Idc, LlcVisible spectrum modulator arrays
US7236284B2 (en)1995-05-012007-06-26Idc, LlcPhotonic MEMS and structures
US5661592A (en)1995-06-071997-08-26Silicon Light MachinesMethod of making and an apparatus for a flat diffraction grating light valve
US6356378B1 (en)1995-06-192002-03-12Reflectivity, Inc.Double substrate reflective spatial light modulator
US6947200B2 (en)1995-06-192005-09-20Reflectivity, IncDouble substrate reflective spatial light modulator with self-limiting micro-mechanical elements
US5699181A (en)1995-07-271997-12-16Samsung Electronics Co., Ltd.Deformable mirror device and manufacturing method thereof
US6597490B2 (en)1995-09-292003-07-22Coretek, Inc.Electrically tunable fabry-perot structure utilizing a deformable multi-layer mirror and method of making the same
US5734177A (en)1995-10-311998-03-31Sharp Kabushiki KaishaSemiconductor device, active-matrix substrate and method for fabricating the same
US6452712B2 (en)1995-12-012002-09-17Seiko Epson CorporationMethod of manufacturing spatial light modulator and electronic device employing it
US5825528A (en)1995-12-261998-10-20Lucent Technologies Inc.Phase-mismatched fabry-perot cavity micromechanical modulator
US5808781A (en)1996-02-011998-09-15Lucent Technologies Inc.Method and apparatus for an improved micromechanical modulator
US5710656A (en)1996-07-301998-01-20Lucent Technologies Inc.Micromechanical optical modulator having a reduced-mass composite membrane
US5838484A (en)1996-08-191998-11-17Lucent Technologies Inc.Micromechanical optical modulator with linear operating characteristic
EP1227346A2 (en)1996-09-232002-07-31Qinetiq LimitedMulti layer interference coatings
US20010003487A1 (en)1996-11-052001-06-14Mark W. MilesVisible spectrum modulator arrays
US20090080060A1 (en)1996-12-192009-03-26Idc, LlcSeparable modulator
US20100039370A1 (en)1996-12-192010-02-18Idc, LlcMethod of making a light modulating display device and associated transistor circuitry and structures thereof
US6028689A (en)1997-01-242000-02-22The United States Of America As Represented By The Secretary Of The Air ForceMulti-motion micromirror
US5786927A (en)1997-03-121998-07-28Lucent Technologies Inc.Gas-damped micromechanical structure
US6384952B1 (en)1997-03-272002-05-07Mems Optical Inc.Vertical comb drive actuated deformable mirror device and method
US5867302A (en)1997-08-071999-02-02Sandia CorporationBistable microelectromechanical actuator
US6438282B1 (en)1998-01-202002-08-20Seiko Epson CorporationOptical switching device and image display device
US5914804A (en)1998-01-281999-06-22Lucent Technologies IncDouble-cavity micromechanical optical modulator with plural multilayer mirrors
US6100861A (en)1998-02-172000-08-08Rainbow Displays, Inc.Tiled flat panel display with improved color gamut
US6262697B1 (en)1998-03-202001-07-17Eastman Kodak CompanyDisplay having viewable and conductive images
US7532377B2 (en)1998-04-082009-05-12Idc, LlcMovable micro-electromechanical device
US7554711B2 (en)1998-04-082009-06-30Idc, Llc.MEMS devices with stiction bumps
US20070177247A1 (en)1998-04-082007-08-02Miles Mark WMethod and device for modulating light with multiple electrodes
US6046659A (en)1998-05-152000-04-04Hughes Electronics CorporationDesign and fabrication of broadband surface-micromachined micro-electro-mechanical switches for microwave and millimeter-wave applications
US6327071B1 (en)1998-10-162001-12-04Fuji Photo Film Co., Ltd.Drive methods of array-type light modulation element and flat-panel display
US6242932B1 (en)1999-02-192001-06-05Micron Technology, Inc.Interposer for semiconductor components having contact balls
US6335235B1 (en)1999-08-172002-01-01Advanced Micro Devices, Inc.Simplified method of patterning field dielectric regions in a semiconductor device
US20030043157A1 (en)1999-10-052003-03-06Iridigm Display CorporationPhotonic MEMS and structures
EP1122577B1 (en)2000-01-262006-08-02Eastman Kodak CompanySpatial light modulator with conformal grating device
US20010043171A1 (en)2000-02-242001-11-22Van Gorkom Gerardus Gegorius PetrusDisplay device comprising a light guide
US20010028503A1 (en)2000-03-032001-10-11Flanders Dale C.Integrated tunable fabry-perot filter and method of making same
US6698295B1 (en)2000-03-312004-03-02Shipley Company, L.L.C.Microstructures comprising silicon nitride layer and thin conductive polysilicon layer
US20020070931A1 (en)2000-07-032002-06-13Hiroichi IshikawaOptical multilayer structure, optical switching device, and image display
US6466354B1 (en)2000-09-192002-10-15Silicon Light MachinesMethod and apparatus for interferometric modulation of light
US6556338B2 (en)2000-11-032003-04-29Intpax, Inc.MEMS based variable optical attenuator (MBVOA)
US6433917B1 (en)2000-11-222002-08-13Ball Semiconductor, Inc.Light modulation device and system
US20040100677A1 (en)2000-12-072004-05-27Reflectivity, Inc., A California CorporationSpatial light modulators with light blocking/absorbing areas
US20040043552A1 (en)2000-12-152004-03-04Strumpell Mark H.Surface micro-planarization for enhanced optical efficiency and pixel performance in SLM devices
US20040076802A1 (en)2000-12-222004-04-22Tompkin Wayne RobertDecorative foil
US20020146200A1 (en)2001-03-162002-10-10Kudrle Thomas DavidElectrostatically actuated micro-electro-mechanical devices and method of manufacture
US6661561B2 (en)2001-03-262003-12-09Creo Inc.High frequency deformable mirror device
US20020154422A1 (en)2001-04-232002-10-24Sniegowski Jeffry J.Surface micromachined optical system with reinforced mirror microstructure
US6657832B2 (en)2001-04-262003-12-02Texas Instruments IncorporatedMechanically assisted restoring force support for micromachined membranes
EP1275997B1 (en)2001-07-112007-06-20Canon Kabushiki KaishaLight deflector, method of manufacturing light deflector, optical device using light deflector, and torsion oscillating member
US20030016428A1 (en)2001-07-112003-01-23Takahisa KatoLight deflector, method of manufacturing light deflector, optical device using light deflector, and torsion oscillating member
US20040027701A1 (en)2001-07-122004-02-12Hiroichi IshikawaOptical multilayer structure and its production method, optical switching device, and image display
US6632698B2 (en)2001-08-072003-10-14Hewlett-Packard Development Company, L.P.Microelectromechanical device having a stiffened support beam, and methods of forming stiffened support beams in MEMS
US20030035196A1 (en)2001-08-172003-02-20Walker James A.Optical modulator and method of manufacture thereof
US20030053078A1 (en)2001-09-172003-03-20Mark MisseyMicroelectromechanical tunable fabry-perot wavelength monitor with thermal actuators
US20030119221A1 (en)2001-11-092003-06-26Coventor, Inc.Trilayered beam MEMS device and related methods
US20030138669A1 (en)2001-12-072003-07-24Rie KojimaInformation recording medium and method for producing the same
US20040008396A1 (en)2002-01-092004-01-15The Regents Of The University Of CaliforniaDifferentially-driven MEMS spatial light modulator
US6608268B1 (en)2002-02-052003-08-19Memtronics, A Division Of Cogent Solutions, Inc.Proximity micro-electro-mechanical system
US6794119B2 (en)2002-02-122004-09-21Iridigm Display CorporationMethod for fabricating a structure for a microelectromechanical systems (MEMS) device
US6574033B1 (en)2002-02-272003-06-03Iridigm Display CorporationMicroelectromechanical systems device and method for fabricating same
US20030202265A1 (en)2002-04-302003-10-30Reboa Paul F.Micro-mirror device including dielectrophoretic liquid
US20030202266A1 (en)2002-04-302003-10-30Ring James W.Micro-mirror device with light angle amplification
US20040008438A1 (en)2002-06-042004-01-15Nec CorporationTunable filter, manufacturing method thereof and optical switching device comprising the tunable filter
US6813059B2 (en)2002-06-282004-11-02Silicon Light Machines, Inc.Reduced formation of asperities in contact micro-structures
US20040027671A1 (en)2002-08-092004-02-12Xingtao WuTunable optical filter
US20040058532A1 (en)2002-09-202004-03-25Miles Mark W.Controlling electromechanical behavior of structures within a microelectromechanical systems device
US7400488B2 (en)2002-10-212008-07-15Hrl Laboratories, LlcVariable capacitance membrane actuator for wide band tuning of microstrip resonators and filters
US20040075967A1 (en)2002-10-212004-04-22Hrl Laboratories, LlcVariable capacitance membrane actuator for wide band tuning of microstrip resonators and filters
US20040080035A1 (en)2002-10-242004-04-29Commissariat A L'energie AtomiqueIntegrated electromechanical microstructure comprising pressure adjusting means in a sealed cavity and pressure adjustment process
US20070020948A1 (en)2002-10-302007-01-25Arthur PiehlSelf-packaged optical interference display device having anti-stiction bumps, integral micro-lens, and reflection-absorbing layers
US6983135B1 (en)2002-11-112006-01-03Marvell International, Ltd.Mixer gain calibration method and apparatus
US6844959B2 (en)2002-11-262005-01-18Reflectivity, IncSpatial light modulators with light absorbing areas
US20040100594A1 (en)2002-11-262004-05-27Reflectivity, Inc., A California CorporationSpatial light modulators with light absorbing areas
US20050024557A1 (en)2002-12-252005-02-03Wen-Jian LinOptical interference type of color display
US20040125281A1 (en)2002-12-252004-07-01Wen-Jian LinOptical interference type of color display
US6912022B2 (en)2002-12-272005-06-28Prime View International Co., Ltd.Optical interference color display and optical interference modulator
US20040125282A1 (en)2002-12-272004-07-01Wen-Jian LinOptical interference color display and optical interference modulator
US20040184134A1 (en)2003-01-162004-09-23Tomohiro MakigakiOptical modulator, display device and manufacturing method for same
US7034981B2 (en)2003-01-162006-04-25Seiko Epson CorporationOptical modulator, display device and manufacturing method for same
US20040147198A1 (en)2003-01-292004-07-29Prime View International Co., Ltd.Optical-interference type display panel and method for making the same
US20040145811A1 (en)2003-01-292004-07-29Prime View International Co., Ltd.Optical-interference type reflective panel and method for making the same
US7436573B2 (en)2003-02-122008-10-14Texas Instruments IncorporatedElectrical connections in microelectromechanical devices
US20040175577A1 (en)2003-03-052004-09-09Prime View International Co., Ltd.Structure of a light-incidence electrode of an optical interference display plate
US20050168849A1 (en)2003-04-212005-08-04Prime View International Co., Ltd.Method for fabricating an interference display unit
US6882458B2 (en)2003-04-212005-04-19Prime View International Co., Ltd.Structure of an optical interference display cell
US20040209195A1 (en)2003-04-212004-10-21Wen-Jian LinMethod for fabricating an interference display unit
US20040207897A1 (en)2003-04-212004-10-21Wen-Jian LinMethod for fabricating an interference display unit
US20040217919A1 (en)2003-04-302004-11-04Arthur PiehlSelf-packaged optical interference display device having anti-stiction bumps, integral micro-lens, and reflection-absorbing layers
US20060017689A1 (en)2003-04-302006-01-26Faase Kenneth JLight modulator with concentric control-electrode structure
EP1473581A3 (en)2003-04-302006-03-22Hewlett-Packard Development Company, L.P.Optical interference pixel display with charge control
US20040218251A1 (en)2003-04-302004-11-04Arthur PiehlOptical interference pixel display with charge control
US6940630B2 (en)2003-05-012005-09-06University Of Florida Research Foundation, Inc.Vertical displacement device
US6870654B2 (en)2003-05-262005-03-22Prime View International Co., Ltd.Structure of a structure release and a method for manufacturing the same
US20050003667A1 (en)2003-05-262005-01-06Prime View International Co., Ltd.Method for fabricating optical interference display cell
US6841081B2 (en)2003-06-092005-01-11Taiwan Semiconductor Manufacturing Co. LtdMethod for manufacturing reflective spatial light modulator mirror devices
US7221495B2 (en)2003-06-242007-05-22Idc LlcThin film precursor stack for MEMS manufacturing
US20050068627A1 (en)2003-08-112005-03-31Ryosuke NakamuraTunable optical filter and method of manufacturing same
US20050035699A1 (en)2003-08-152005-02-17Hsiung-Kuang TsaiOptical interference display panel
US20050036095A1 (en)2003-08-152005-02-17Jia-Jiun YehColor-changeable pixels of an optical interference display panel
US20060220160A1 (en)2003-08-192006-10-05Miles Mark WStructure of a structure release and a method for manufacturing the same
US20050046948A1 (en)2003-08-262005-03-03Wen-Jian LinInterference display cell and fabrication method thereof
US20050046919A1 (en)2003-08-292005-03-03Sharp Kabushiki KaishaInterferometric modulator and display unit
US6952303B2 (en)2003-08-292005-10-04Prime View International Co., LtdInterferometric modulation pixels and manufacturing method thereof
US20050046922A1 (en)2003-09-032005-03-03Wen-Jian LinInterferometric modulation pixels and manufacturing method thereof
US7027204B2 (en)2003-09-262006-04-11Silicon Light Machines CorporationHigh-density spatial light modulator
US7006272B2 (en)2003-09-262006-02-28Prime View International Co., Ltd.Color changeable pixel
US20050078348A1 (en)2003-09-302005-04-14Wen-Jian LinStructure of a micro electro mechanical system and the manufacturing method thereof
US7046422B2 (en)2003-10-162006-05-16Fuji Photo Film Co., Ltd.Reflection-type light modulating array element and exposure apparatus
US6862127B1 (en)2003-11-012005-03-01Fusao IshiiHigh performance micromirror arrays and methods of manufacturing the same
US7198873B2 (en)2003-11-182007-04-03Asml Netherlands B.V.Lithographic processing optimization based on hypersampled correlations
US6958847B2 (en)2004-01-202005-10-25Prime View International Co., Ltd.Structure of an optical interference display unit
US20050179378A1 (en)2004-02-172005-08-18Hiroshi OookaOrganic electroluminescent display device
US6882461B1 (en)2004-02-182005-04-19Prime View International Co., LtdMicro electro mechanical system display cell and method for fabricating thereof
US7119945B2 (en)2004-03-032006-10-10Idc, LlcAltering temporal response of microelectromechanical elements
US20050195462A1 (en)2004-03-052005-09-08Prime View International Co., Ltd.Interference display plate and manufacturing method thereof
US6980350B2 (en)2004-03-102005-12-27Prime View International Co., Ltd.Optical interference reflective element and repairing and manufacturing methods thereof
JP2005279831A (en)2004-03-292005-10-13Sony CorpMems element, optical mems element, diffraction type optical mems element and laser display
US7245285B2 (en)2004-04-282007-07-17Hewlett-Packard Development Company, L.P.Pixel device
US7476327B2 (en)2004-05-042009-01-13Idc, LlcMethod of manufacture for microelectromechanical devices
US20090068781A1 (en)2004-05-042009-03-12Idc, LlcMethod of manufacture for microelectromechanical devices
US20060007517A1 (en)2004-07-092006-01-12Prime View International Co., Ltd.Structure of a micro electro mechanical system
US20060017379A1 (en)2004-07-232006-01-26Au Optronics Corp.Dual-sided display
US20060024880A1 (en)2004-07-292006-02-02Clarence ChuiSystem and method for micro-electromechanical operation of an interferometric modulator
EP1855142A2 (en)2004-07-292007-11-14Idc, LlcSystem and method for micro-electromechanical operating of an interferometric modulator
US7527995B2 (en)2004-09-272009-05-05Qualcomm Mems Technologies, Inc.Method of making prestructure for MEMS systems
US7554714B2 (en)2004-09-272009-06-30Idc, LlcDevice and method for manipulation of thermal response in a modulator
US20100085626A1 (en)2004-09-272010-04-08Qualcomm Mems Technologies, Inc.Apparatus and method for reducing slippage between structures in an interferometric modulator
US7302157B2 (en)2004-09-272007-11-27Idc, LlcSystem and method for multi-level brightness in interferometric modulation
US20100080890A1 (en)2004-09-272010-04-01Qualcomm Mems Technologies, Inc.Apparatus and method for reducing slippage between structures in an interferometric modulator
US20060077156A1 (en)2004-09-272006-04-13Clarence ChuiMEMS device having deformable membrane characterized by mechanical persistence
US20090279162A1 (en)2004-09-272009-11-12Idc, LlcPhotonic mems and structures
US20080013145A1 (en)2004-09-272008-01-17Idc, LlcMicroelectromechanical device with optical function separated from mechanical and electrical function
US20080013144A1 (en)2004-09-272008-01-17Idc, LlcMicroelectromechanical device with optical function separated from mechanical and electrical function
US20090213450A1 (en)2004-09-272009-08-27Idc, LlcSupport structures for electromechanical systems and methods of fabricating the same
US7321456B2 (en)2004-09-272008-01-22Idc, LlcMethod and device for corner interferometric modulation
US7327510B2 (en)2004-09-272008-02-05Idc, LlcProcess for modifying offset voltage characteristics of an interferometric modulator
US20090201566A1 (en)2004-09-272009-08-13Idc, LlcDevice having a conductive light absorbing mask and method for fabricating same
US20080055706A1 (en)2004-09-272008-03-06Clarence ChuiReflective display device having viewable display on both sides
US7564612B2 (en)2004-09-272009-07-21Idc, LlcPhotonic MEMS and structures
US20080080043A1 (en)2004-09-272008-04-03Idc, LlcConductive bus structure for interferometric modulator array
US7492503B2 (en)2004-09-272009-02-17Idc, LlcSystem and method for multi-level brightness in interferometric modulation
US20060066640A1 (en)2004-09-272006-03-30Manish KothariDisplay region architectures
US7130104B2 (en)2004-09-272006-10-31Idc, LlcMethods and devices for inhibiting tilting of a mirror in an interferometric modulator
US20060066599A1 (en)2004-09-272006-03-30Clarence ChuiReflective display pixels arranged in non-rectangular arrays
US20060077155A1 (en)2004-09-272006-04-13Clarence ChuiReflective display device having viewable display on both sides
US7289259B2 (en)2004-09-272007-10-30Idc, LlcConductive bus structure for interferometric modulator array
US7184202B2 (en)2004-09-272007-02-27Idc, LlcMethod and system for packaging a MEMS device
US7372613B2 (en)2004-09-272008-05-13Idc, LlcMethod and device for multistate interferometric light modulation
US20080110855A1 (en)2004-09-272008-05-15Idc, LlcMethods and devices for inhibiting tilting of a mirror in an interferometric modulator
US20080112035A1 (en)2004-09-272008-05-15Idc, LlcMethods and devices for inhibiting tilting of a movable element in a mems device
US20060066936A1 (en)2004-09-272006-03-30Clarence ChuiInterferometric optical modulator using filler material and method
US7385762B2 (en)2004-09-272008-06-10Idc, LlcMethods and devices for inhibiting tilting of a mirror in an interferometric modulator
US20060065940A1 (en)2004-09-272006-03-30Manish KothariAnalog interferometric modulator device
US20090135465A1 (en)2004-09-272009-05-28Idc, LlcSystem and method for multi-level brightness in interferometric modulation
US7420725B2 (en)2004-09-272008-09-02Idc, LlcDevice having a conductive light absorbing mask and method for fabricating same
US20060067649A1 (en)2004-09-272006-03-30Ming-Hau TungApparatus and method for reducing slippage between structures in an interferometric modulator
US20080247028A1 (en)2004-09-272008-10-09Idc, LlcMethod and device for multistate interferometric light modulation
US20060066641A1 (en)2004-09-272006-03-30Gally Brian JMethod and device for manipulating color in a display
US20070086078A1 (en)2005-02-232007-04-19Pixtronix, IncorporatedCircuits for controlling display apparatus
US20070216987A1 (en)2005-02-232007-09-20Pixtronix, IncorporatedMethods and apparatus for actuating displays
US20070121118A1 (en)2005-05-272007-05-31Gally Brian JWhite interferometric modulators and methods for forming the same
US7460292B2 (en)2005-06-032008-12-02Qualcomm Mems Technologies, Inc.Interferometric modulator with internal polarization and drive method
US7184195B2 (en)2005-06-152007-02-27Miradia Inc.Method and structure reducing parasitic influences of deflection devices in an integrated spatial light modulator
US7542189B2 (en)2005-09-272009-06-02Canon Kabushiki KaishaLight scanning apparatus and image forming apparatus using the light scanning apparatus
US20070077525A1 (en)2005-10-052007-04-05Hewlett-Packard Development Company LpMulti-level layer
US7513327B1 (en)2005-10-132009-04-07Kent PetersonSystem for converting a recreational vehicle
US20070138608A1 (en)2005-12-202007-06-21Kabushiki Kaisha ToshibaDevice with beam structure, and semiconductor device
US20070285761A1 (en)2006-01-272007-12-13Fan ZhongMEMS device with integrated optical element
US7550810B2 (en)2006-02-232009-06-23Qualcomm Mems Technologies, Inc.MEMS device having a layer movable at asymmetric rates
US20090256218A1 (en)2006-02-232009-10-15Qualcomm Mems Technologies, Inc.Mems device having a layer movable at asymmetric rates
US20070247401A1 (en)2006-04-192007-10-25Teruo SasagawaMicroelectromechanical device and method utilizing nanoparticles
US20070249081A1 (en)2006-04-192007-10-25Qi LuoNon-planar surface structures and process for microelectromechanical systems
US7321457B2 (en)2006-06-012008-01-22Qualcomm IncorporatedProcess and structure for fabrication of MEMS device having isolated edge posts
US20100118382A1 (en)2006-06-012010-05-13Qualcomm Mems Technologies, Inc.Analog interferometric modulator device with electrostatic actuation and release
US20070279729A1 (en)2006-06-012007-12-06Manish KothariAnalog interferometric modulator device with electrostatic actuation and release
US7385744B2 (en)2006-06-282008-06-10Qualcomm Mems Technologies, Inc.Support structure for free-standing MEMS device and methods for forming the same
US20080055707A1 (en)2006-06-282008-03-06Lior KogutSupport structure for free-standing MEMS device and methods for forming the same
US20090213451A1 (en)2006-06-302009-08-27Qualcomm Mems Technology, Inc.Method of manufacturing mems devices providing air gap control
US20090273823A1 (en)2006-06-302009-11-05Qualcomm Mems Technologies, Inc.Method of manufacturing mems devices providing air gap control
US20080002299A1 (en)2006-06-302008-01-03Seagate Technology LlcHead gimbal assembly to reduce slider distortion due to thermal stress
US20080094690A1 (en)2006-10-182008-04-24Qi LuoSpatial Light Modulator
US7629197B2 (en)2006-10-182009-12-08Qualcomm Mems Technologies, Inc.Spatial light modulator
US20080186581A1 (en)2007-02-012008-08-07Qualcomm IncorporatedModulating the intensity of light from an interferometric reflector
US20080239455A1 (en)2007-03-282008-10-02Lior KogutMicroelectromechanical device and method utilizing conducting layers separated by stops
US20080278787A1 (en)2007-05-092008-11-13Qualcomm IncorporatedMicroelectromechanical system having a dielectric movable membrane and a mirror
US20090273824A1 (en)2007-05-092009-11-05Qualcomm Mems Techologies, Inc.Electromechanical system having a dielectric movable membrane
US20080278788A1 (en)2007-05-092008-11-13Qualcomm IncorporatedMicroelectromechanical system having a dielectric movable membrane and a mirror
US20080283374A1 (en)*2007-05-172008-11-20Matsushita Electric Industrial Co., Ltd.Electromechanical element, driving method of the electromechanical element and electronic equipment provided with the same
US20080316566A1 (en)2007-06-192008-12-25Qualcomm IncorporatedHigh aperture-ratio top-reflective am-imod displays
US20080316568A1 (en)2007-06-212008-12-25Qualcomm IncorporatedInfrared and dual mode displays
US20090009845A1 (en)2007-07-022009-01-08Qualcomm IncorporatedMicroelectromechanical device with optical function separated from mechanical and electrical function
US20090073539A1 (en)2007-09-142009-03-19Qualcomm IncorporatedPeriodic dimple array
US20090073534A1 (en)2007-09-142009-03-19Donovan LeeInterferometric modulator display devices
US20090103166A1 (en)2007-10-232009-04-23Qualcomm Mems Technologies, Inc.Adjustably transmissive mems-based devices
US20090147343A1 (en)2007-12-072009-06-11Lior KogutMems devices requiring no mechanical support
US20090231666A1 (en)2008-02-222009-09-17Sauri GudlavalletiMicroelectromechanical device with thermal expansion balancing layer or stiffening layer
US20090225395A1 (en)2008-03-072009-09-10Qualcomm Mems Technologies, Inc.Interferometric modulator in transmission mode
US7612933B2 (en)2008-03-272009-11-03Qualcomm Mems Technologies, Inc.Microelectromechanical device with spacing layer
US20100014148A1 (en)2008-03-272010-01-21Qualcomm Mems Technologies, Inc.Microelectromechanical device with spacing layer
US20090251761A1 (en)2008-04-022009-10-08Kasra KhazeniMicroelectromechanical systems display element with photovoltaic structure
US20090257105A1 (en)2008-04-102009-10-15Qualcomm Mems Technologies, Inc.Device having thin black mask and method of fabricating the same
US20090323165A1 (en)2008-06-252009-12-31Qualcomm Mems Technologies, Inc.Method for packaging a display device and the device obtained thereof
US20090323166A1 (en)2008-06-252009-12-31Qualcomm Mems Technologies, Inc.Backlight displays
US20090323153A1 (en)2008-06-252009-12-31Qualcomm Mems Technologies, Inc.Backlight displays

Non-Patent Citations (13)

* Cited by examiner, † Cited by third party
Title
Conner, "Hybrid Color Display Using Optical Interference Filter Array," SID Digest, pp. 577-580 (1993).
Feenstra et al., Electrowetting displays, Liquivista BV, 16 pp., Jan. 2006.
ISR and WO dated Oct. 16, 2009 in PCT/US09/050172.
Jerman et al., "A Miniature Fabry-Perot Interferometer with a Corrugated Silicon Diaphragm Support", (1988).
Jerman et al., "Miniature Fabry-Perot Interferometers Micromachined in Silicon for Use in Optical Fiber WDM Systems," Transducers, San Francisco, Jun. 24-27, 1991, Proceedings on the Int'l. Conf. on Solid State Sensors and Actuators, vol. CONF. 6, Jun. 24, 1991, pp. 372-375.
Kowarz et al., Conformal grating electromechanical system (GEMS) for high-speed digital light modulation, Proceedings of the IEEEE 15th. Annual International Conference on Micro Electro Mechanical Systems, MEMS 2002, pp. 568-573.
Lezec, Submicrometer dimple array based interference color field displays and sensors, Nano Lett. 7(2):329-333, Dec. 23, 2006.
Longhurst, 1963, Chapter IX: Multiple Beam Interferometry, in Geometrical and Physical Optics, pp. 153-157.
Miles, A New Reflective FPD Technology Using Interferometric Modulation, Journal of the SID, 5/4, 1997.
Miles, Interferometric modulation: MOEMS as an enabling technology for high performance reflective displays, Proceedings of SPIE, vol. 4985, pp. 131-139, 2003.
Pape et al., Characteristics of the deformable mirror device for optical information processing, Optical Engineering, 22(6):676-681, Nov.-Dec. 1983.
Taii et al., "A transparent sheet display by plastic MEMS," Journal of the SID 14(8):735-741, 2006.
Tolansky, 1948, Chapter II: Multiple-Beam Interference, in Multiple-bean Interferometry of Surfaces and Films, Oxford at the Clarendon Press, pp. 8-11.

Cited By (14)

* Cited by examiner, † Cited by third party
Publication numberPriority datePublication dateAssigneeTitle
US8964280B2 (en)2006-06-302015-02-24Qualcomm Mems Technologies, Inc.Method of manufacturing MEMS devices providing air gap control
US8817357B2 (en)2010-04-092014-08-26Qualcomm Mems Technologies, Inc.Mechanical layer and methods of forming the same
US8797632B2 (en)2010-08-172014-08-05Qualcomm Mems Technologies, Inc.Actuation and calibration of charge neutral electrode of a display device
US9057872B2 (en)2010-08-312015-06-16Qualcomm Mems Technologies, Inc.Dielectric enhanced mirror for IMOD display
US8963159B2 (en)2011-04-042015-02-24Qualcomm Mems Technologies, Inc.Pixel via and methods of forming the same
US9134527B2 (en)2011-04-042015-09-15Qualcomm Mems Technologies, Inc.Pixel via and methods of forming the same
US8659816B2 (en)2011-04-252014-02-25Qualcomm Mems Technologies, Inc.Mechanical layer and methods of making the same
US8736939B2 (en)2011-11-042014-05-27Qualcomm Mems Technologies, Inc.Matching layer thin-films for an electromechanical systems reflective display device
US9081188B2 (en)2011-11-042015-07-14Qualcomm Mems Technologies, Inc.Matching layer thin-films for an electromechanical systems reflective display device
US20140092110A1 (en)*2012-10-012014-04-03Qualcomm Mems Technologies, Inc.Electromechanical systems device with protrusions to provide additional stable states
US9096419B2 (en)*2012-10-012015-08-04Qualcomm Mems Technologies, Inc.Electromechanical systems device with protrusions to provide additional stable states
US9452923B2 (en)*2012-12-202016-09-27Infineon Technologies Dresden GmbhMethod for manufacturing a micromechanical system comprising a removal of sacrificial material through a hole in a margin region
WO2015047764A1 (en)2013-09-302015-04-02Pixtronix, Inc.Movable mems element with stiction mitigating spring
US9372338B2 (en)2014-01-172016-06-21Qualcomm Mems Technologies, Inc.Multi-state interferometric modulator with large stable range of motion

Also Published As

Publication numberPublication date
EP2318876A1 (en)2011-05-11
WO2010006213A1 (en)2010-01-14
JP5404780B2 (en)2014-02-05
US20110090554A1 (en)2011-04-21
CN102089700A (en)2011-06-08
US20100128337A1 (en)2010-05-27
JP2011528623A (en)2011-11-24
KR20110038126A (en)2011-04-13

Similar Documents

PublicationPublication DateTitle
US7859740B2 (en)Stiction mitigation with integrated mech micro-cantilevers through vertical stress gradient control
US7652814B2 (en)MEMS device with integrated optical element
US7385744B2 (en)Support structure for free-standing MEMS device and methods for forming the same
US7747109B2 (en)MEMS device having support structures configured to minimize stress-related deformation and methods for fabricating same
US7835061B2 (en)Support structures for free-standing electromechanical devices
US7587104B2 (en)MEMS device fabricated on a pre-patterned substrate
US8270056B2 (en)Display device with openings between sub-pixels and method of making same
US8081370B2 (en)Support structures for electromechanical systems and methods of fabricating the same
EP2246726B1 (en)System and method for micro-electromechanical operating of an interferometric modulator
US8270062B2 (en)Display device with at least one movable stop element
US20070279730A1 (en)Process and structure for fabrication of mems device having isolated egde posts
WO2008121543A2 (en)Microelectromechanical device and method utilizing conducting layers separated by stops
JP2011528623A5 (en)
WO2007100457A2 (en)Electrical conditioning of mems device and insulating layer thereof
EP2012169A2 (en)MEMS devices having improved uniformity and methods for making them
US7625825B2 (en)Method of patterning mechanical layer for MEMS structures
US8547626B2 (en)Mechanical layer and methods of shaping the same

Legal Events

DateCodeTitleDescription
ASAssignment

Owner name:QUALCOMM MEMS TECHNOLOGIES, INC., CALIFORNIA

Free format text:ASSIGNMENT OF ASSIGNORS INTEREST;ASSIGNOR:TUNG, YEH-JIUN;REEL/FRAME:021880/0204

Effective date:20081120

FPAYFee payment

Year of fee payment:4

ASAssignment

Owner name:SNAPTRACK, INC., CALIFORNIA

Free format text:ASSIGNMENT OF ASSIGNORS INTEREST;ASSIGNOR:QUALCOMM MEMS TECHNOLOGIES, INC.;REEL/FRAME:039891/0001

Effective date:20160830

FEPPFee payment procedure

Free format text:MAINTENANCE FEE REMINDER MAILED (ORIGINAL EVENT CODE: REM.); ENTITY STATUS OF PATENT OWNER: LARGE ENTITY

LAPSLapse for failure to pay maintenance fees

Free format text:PATENT EXPIRED FOR FAILURE TO PAY MAINTENANCE FEES (ORIGINAL EVENT CODE: EXP.); ENTITY STATUS OF PATENT OWNER: LARGE ENTITY

STCHInformation on status: patent discontinuation

Free format text:PATENT EXPIRED DUE TO NONPAYMENT OF MAINTENANCE FEES UNDER 37 CFR 1.362

FPLapsed due to failure to pay maintenance fee

Effective date:20181228


[8]ページ先頭

©2009-2025 Movatter.jp