Movatterモバイル変換


[0]ホーム

URL:


US7757717B2 - Microfluidic devices with separable actuation and fluid-bearing modules - Google Patents

Microfluidic devices with separable actuation and fluid-bearing modules
Download PDF

Info

Publication number
US7757717B2
US7757717B2US10/877,691US87769104AUS7757717B2US 7757717 B2US7757717 B2US 7757717B2US 87769104 AUS87769104 AUS 87769104AUS 7757717 B2US7757717 B2US 7757717B2
Authority
US
United States
Prior art keywords
fluid
fluid transport
containment
actuation
elements
Prior art date
Legal status (The legal status is an assumption and is not a legal conclusion. Google has not performed a legal analysis and makes no representation as to the accuracy of the status listed.)
Expired - Fee Related, expires
Application number
US10/877,691
Other versions
US20050247358A1 (en
Inventor
Richard P. Welle
Current Assignee (The listed assignees may be inaccurate. Google has not performed a legal analysis and makes no representation or warranty as to the accuracy of the list.)
AEEROSPACE Corp
Aerospace Corp
Original Assignee
Aerospace Corp
Priority date (The priority date is an assumption and is not a legal conclusion. Google has not performed a legal analysis and makes no representation as to the accuracy of the date listed.)
Filing date
Publication date
Application filed by Aerospace CorpfiledCriticalAerospace Corp
Assigned to AEEROSPACE CORPORATION, THEreassignmentAEEROSPACE CORPORATION, THEASSIGNMENT OF ASSIGNORS INTEREST (SEE DOCUMENT FOR DETAILS).Assignors: WELLE, RICHARD P.
Priority to US10/877,691priorityCriticalpatent/US7757717B2/en
Priority to JP2007513234Aprioritypatent/JP5057968B2/en
Priority to PCT/US2005/015979prioritypatent/WO2005111435A2/en
Priority to EP05746774Aprioritypatent/EP1759120A4/en
Priority to US11/150,551prioritypatent/US7650910B2/en
Priority to US11/150,558prioritypatent/US7686040B2/en
Priority to US11/190,312prioritypatent/US7721762B2/en
Publication of US20050247358A1publicationCriticalpatent/US20050247358A1/en
Priority to US11/690,115prioritypatent/US8642353B2/en
Priority to US12/749,350prioritypatent/US8066031B2/en
Priority to US12/786,344prioritypatent/US8156964B2/en
Priority to US12/839,339prioritypatent/US8245731B2/en
Publication of US7757717B2publicationCriticalpatent/US7757717B2/en
Application grantedgrantedCritical
Priority to US14/140,303prioritypatent/US9468867B2/en
Expired - Fee Relatedlegal-statusCriticalCurrent
Adjusted expirationlegal-statusCritical

Links

Images

Classifications

Definitions

Landscapes

Abstract

A fluid transport/containment apparatus includes a fluid-bearing module and an actuation module. The fluid-bearing module includes a substrate and fluid transport/containment elements distributed therein, with one or more of the fluid transport/containment elements having microfluidic dimensions. The actuation module is detachably secured to the fluid-bearing module such that the actuation elements are operatively interfaced with the fluid transport/containment elements.

Description

CROSS-REFERENCE TO RELATED APPLICATIONS
This application is a continuation-in-part of U.S. patent application Ser. No. 10/843,515 entitled “Phase-Change Valve Apparatuses” filed on May 10, 2004, which is incorporated herein by reference in its entirety. This application is related to U.S. patent application serial number 10/877,602 entitled “Microfluidic Valve Apparatuses With Separable Actuation And Fluid-Bearing Modules,” filed on May 24, 2004.
TECHNICAL FIELD
The invention relates generally to devices and valves for controlling fluid flow and, in particular, to microfluidic devices and valves.
BACKGROUND ART
Developments in miniaturization and large-scale integration in fluidics have led to the concept of creating an entire chemistry or biology laboratory on a fluidic analog of the electronic microchip. Such integrated microfluidic devices (known as Micro Total Analysis Systems, or μTAS) are seen as key to automating and reducing costs in many biological analysis applications, including genetic analyses and medical diagnostics. When conducting such biological analyses, however, it is often important to avoid the possibility of cross-contamination between separate samples. For example, if the same instrument is used for analyzing a series of blood samples from separate patients, it is considered completely unacceptable for any residue from one sample to remain in the instrument where it might contaminate a later sample. This has led to the design of instruments where all components that may come into contact with the sample are removable, and are either disposed of or cleaned.
A microfluidic device should be fully capable of manipulating multiple fluids. Manipulation includes a number of functions such as storage, transport, heating, cooling, and mixing. Performing these functions requires that the microfluidic device include not only flow channels, but also at least valves, pumps, heaters, and coolers. Although all these functions have been demonstrated with varying degrees of success on microfluidic devices, valves and pumps have typically been complex devices, which are difficult to manufacture. Unfortunately, this leads to high fabrication costs, which generally make it impractical to manufacture the devices to be disposable.
Thus, a need exists for a microfluidic device that is capable of performing various manipulations on fluids while also being manufacturable in a manner suitable for the devices to be disposable.
BRIEF DESCRIPTION OF THE DRAWINGS
FIGS. 1A and 1B schematically illustrate front and side views of an example embodiment of an actuation module;
FIGS. 2A and 2B schematically illustrate front and side views of an example embodiment of a fluid-bearing module;
FIGS. 3A and 3B show front and side views of an example embodiment of a multi-functional microfluidic device;
FIG. 3C shows a side view of an example embodiment of a multi-functional microfluidic device which includes two actuation modules and a fluid-bearing module;
FIG. 4 is a cross-sectional side view of an example thermal control component;
FIGS. 5A and 5B are top and cross-sectional side views of an example valve component;
FIGS. 6A and 6B are front and side views of an example pump component;
FIGS. 7A and 7B are front and side views of an example pump component including an electromechanical actuation mechanism;
FIGS. 8A and 8B are front and side views of an example pump component including an electromagnetic actuation mechanism;
FIGS. 9A and 9B are front and side views of an example pump component including a thermal actuation mechanism;
FIGS. 10A and 10B are front and side views of another example pump component including a thermal actuation mechanism;
FIGS. 11A and 11B are front and side views of an example embodiment of a valve apparatus shown in its open position;
FIGS. 12A and 12B are front and side views of the valve apparatus ofFIGS. 11A and 11B shown in its closed position;
FIGS. 13A and 13B are front and side views of an example embodiment of a valve apparatus including a wicking mechanism;
FIGS. 14A and 14B are front and side views of an example embodiment of a valve apparatus including a capillary action mechanism;
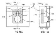
FIGS. 15A and 15B are front and side views of an example embodiment of a valve apparatus, including a pumping mechanism with a flexible diaphragm, in its open configuration;
FIGS. 16A and 16B show the valve apparatus ofFIGS. 15A and 15B in its closed configuration;
FIGS. 17A and 17B are front and side views of an example embodiment of a valve apparatus, including a pumping mechanism with a flexible diaphragm, in its closed configuration;
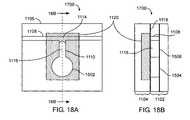
FIGS. 18A and 18B show the valve apparatus ofFIGS. 17A and 17B in its open configuration; and
FIGS. 19 and 20 show an example embodiment of a valve apparatus, with a Peltier-actuated valve in series with a bi-stable valve, in its open and closed configurations, respectively.
DISCLOSURE OF INVENTION
For purposes of this description, a “microfluidic” device or valve has one or more channels with at least one dimension less than 1 mm.
According to various embodiments of the present invention, a microfluidic device is provided by two operatively interfaced modules, namely, a fluid-bearing module and an actuator module. The fluid-bearing module incorporates fluid transport/containment elements and other elements that may come into contact with fluids. The actuator module incorporates actuation mechanisms for fluid transport and control. The two modules are brought together into contact for use. The modules are detachably secured to each other thereby allowing the fluid-bearing module, when it is no longer needed, to be separated from the actuator module and disposed of. The actuator module, on the other hand, is reusable with another fluid-bearing module, eliminating in many instances the possibility of cross-contamination between fluids in the two fluid-bearing modules.
FIGS. 1A and 1B schematically illustrate an example embodiment of anactuation module100 incorporating actuation elements embedded within asubstrate102. Example actuation elements include, but are not limited to, Peltier heater/coolers104, i.e., Peltier (thermoelectric) junctions for heating and cooling,resistive heaters106,electromagnetic coils108 for creating electric and magnetic fields, andmechanical plungers110 for deforming a surface of a fluid-bearing module (discussed below). In this example, theactuation module100 also includes one or more sensing elements, suchoptical sensors112,thermal sensors114, andelectrical sensors116. In this example, theactuation module100 has a substantiallyflat face118 with which the fluid-bearing module (discussed below) is operatively interfaced. In various embodiments, the actuation and sensing elements are distributed in a well-defined pattern on, or in close proximity to, the substantiallyflat face118. In this illustrated example, the actuation elements are distributed in a regular array pattern. It should be appreciated, however, that the actuation elements can also be distributed in an irregular pattern.
FIGS. 2A and 2B schematically illustrate an example embodiment of a fluid-bearingmodule200 incorporating fluid transport/containment elements within asubstrate202. By way of example, thesubstrate202 is made from a polymeric material that is easily molded, e.g., molding flow channels using polydimethylsiloxane elastomer (PDMS). Example transport/containment elements include, but are not limited to, flowchannels204,sample inlet ports206 andoutlet ports208, reagent reservoirs orstorage cells210, as well as other cells and elements such as mixing and reaction cells, thermal cycling cells, embedded magnets, and sensing cells. In this example, the fluid-bearingmodule200 has a substantiallyflat face218 with which theactuation module100 is operatively interfaced. In various embodiments, the elements in the fluid-bearingmodule200 are distributed in a well-defined pattern on, or in close proximity to, the substantiallyflat face218. In this illustrated example, the transport/containment elements are distributed such that they mate or interface with their corresponding actuation element on theactuation module100. In this example, not all actuation elements on theactuation module100 are mated with fluid elements on the fluid-bearingmodule200. Some actuation elements are surplus for the fluid-bearing module used in this example, but may be used with a fluid-bearing module having a different layout. By providing an excess of actuation elements on the actuation module, the microfluidic device can be reconfigured for a different application simply by using a fluid-bearing module with a different layout. In this example, there is also an identification element224 (a barcode, for example) on the fluid-bearingmodule200, and areader element122 on theactuation module100 which allow the control system for theactuation module100 to determine the configuration of the fluid-bearingmodule200. In this example,registration markers120 and220 are provided on theactuation module100 and the fluid-bearingmodule200, respectively, to ensure that when the two modules are brought into contact, the various elements are in proper alignment so that the actuation and sensing elements in theactuation module100 can act on the appropriate fluid transport and containment elements in the fluid-bearingmodule200.
FIGS. 3A and 3B show an example embodiment of a multi-functionalmicrofluidic device300 which includes theactuation module100 and the fluid-bearingmodule200 in their assembled configuration. In this example embodiment, the fluid-bearingmodule200 also includes a cover222 (e.g., a cover sheet) to enclose the flow channels and prevent fluids contained within the flow channels from coming into contact with theactuation module100. Alternatively or additionally, theactuation module100 can be coated with a protective layer (e.g., a disposable protective layer or an easily-cleaned protective layer) to facilitate restoring the cleanliness of theactuation module100 in the event it should become contaminated with fluids.
In this example embodiment, theactuation module100 and the fluid-bearingmodule200 are detachably secured together with aclamp mechanism302. For the multi-functionalmicrofluidic device300 and its components, proper operation of the components requires that the fluid-bearingmodule200 be in good thermal and/or mechanical contact with theactuation module100. In this example, the fluid-bearingmodule200 is held in place on theactuation module100 by theclamp mechanism302. It should be noted, however, that if the fluid-bearingmodule200 is fabricated using a flexible material such as PDMS, for example, it may be possible to trap small air bubbles between the two modules, which may limit thermal conduction across the interface. In an alternative configuration for assembling the two modules, theactuation module100 is provided with a plurality of small holes in thesurface118 that mates with the fluid-bearingmodule200. The holes are connected to a vacuum source (not shown). When the two modules are mated, a seal is created at the edge of the interface (with an o-ring, for example), and the vacuum source is used to remove air from the space between the two modules. The resulting vacuum ensures good thermal contact while also holding the two modules together.
In an example embodiment, a fluid transport/containment apparatus includes: a fluid-bearing module including a substrate and fluid transport/containment elements distributed therein, one or more of the fluid transport/containment elements having microfluidic dimensions; and an actuation module including actuation elements, the actuation module being detachably secured to the fluid-bearing module such that the actuation elements are operatively interfaced with the fluid transport/containment elements.
FIG. 3C shows an example embodiment of a multi-functionalmicrofluidic device300′ which includes twoactuation modules100′ and a fluid-bearingmodule200′ in their assembled configuration. In this embodiment, additional functionality is provided by fabricating the fluid-bearingmodule200′ with fluid-bearing elements on two faces, and with at least oneflow channel226 through the module connecting the fluid-bearing elements on the two faces. This not only allows doubling of the number of fluid bearing elements in any given area, but also allows the flow channels to cross one-another without intersecting, leading to the possibility of much more complex geometries, with consequent increases in functionality. In this example embodiment, the twoactuation modules100′ are configured to separately actuate the fluid-bearing elements on the two sides of the fluid-bearingmodule200′.
Various components shown in the above-discussed figures are described in detail in the following sections.
Thermal Control Component
FIG. 4 illustrates an example embodiment of athermal control component400, which includes a fluid-bearingmodule402 and athermal module404 shown assembled. The fluid-bearingmodule402 includes asubstrate406 and a thermalcontrol volume element408 recessed into thesubstrate406. By way of example, thesubstrate406 is made of a material such as polydimethylsiloxane (PDMS) with a low thermal conductivity compared to the fluid in the thermalcontrol volume element408. In this example, the thermalcontrol volume element408 is enclosed by bonding acover layer410 to the fluid-bearingmodule402. For example, thecover layer410 is a thin membrane of a material with a relatively high thermal conductivity (for example, 2-micron-thick stainless steel). In an example embodiment, the thermalcontrol volume element408 has a depth less than 25 microns. Greater depths are also possible, but may lead to longer thermal equilibration times.
Thethermal module404 includes a heating/cooling element412 and is detachably secured to the fluid-bearingmodule402 such that the heating/cooling element412 is thermally coupled to the thermalcontrol volume element408. In this example embodiment, the heating/cooling element412 is a thermoelectric (Peltier) device of a geometry designed to ensure substantially uniform heating or cooling of the thermal control volume. In this example, the Peltier device includes alayer414 of a material of high electrical and thermal conductivity (silver, for example) sandwiched betweenlayers416 and418 of n-type and p-type semiconductor thermoelectric materials (bismuth telluride (BiTe), for example). In this example, these layers are in turn sandwiched between twolayers420 and422 of a material with high electrical and thermal conductivity (copper, for example) to provide electrical contacts to the thermoelectric material. In this example, the resulting five-layer sandwich structure is mounted on aheat sink424 formed of a high-thermal-conductivity material426 (such as copper, or a thermally conducting ceramic). If the heat sink material is electrically conducting, then it must also be coated with an electrically insulating material (athin glass layer428, for example) to prevent the heat sink from shorting the Peltier junction. If the fluid-bearing module is covered by a layer of electrically conducting material, then either the fluid-bearing module, or the thermal module, or both, must be coated with an electrically insulating layer, glass for example, to prevent a short across the Peltier junction. The heat-sink layer may also include aregion430 of low thermal conductivity adjacent to the center layer of the five-layer Peltier sandwich structure. The outer surface of the heat-sink layer is preferably maintained at a constant temperature.
Operation of thethermal control component400 is enabled when the fluid-bearingmodule402 is brought into contact and properly aligned, with thethermal module404. As shown inFIG. 4, the thermalcontrol volume element408 on the fluid-bearingmodule402 is adjacent to, and in good thermal contact with, the heating/cooling element412 on thethermal module404.
The five-layer Peltier sandwich structure controls the temperature of the thermalcontrol volume element408 in a substantially uniform manner as follows. An electric current is caused to flow through the sandwich in a direction from the n-type semiconductor through the silver layer to the p-type semiconductor. This will cause heat to be absorbed due to the Peltier effect at both faces of the silver layer. Since the thermal conductivity of silver is at least two orders of magnitude higher than the thermal conductivities of the materials surrounding it (including BiTe, the fluid, and the substrate of the fluid-bearing module402), the temperature of the silver will be approximately uniform. The Peltier effect will also cause heat to be released at each of the junctions between the BiTe and the copper layers. This heat will be dissipated by thermal conduction through the copper conduction layer into the heat-sink layer. The temperature of the silver layer will thus be maintained at a uniform value lower than the temperature of the heat-sink layer. The minimum temperature that can be maintained in the silver layer is limited by thermal conduction in all adjacent layers, and by ohmic heating in the BiTe layers, but it is sufficiently low to freeze water-based fluids when the heat sink is maintained at normal room temperatures. Running the electric current in the reverse direction, from the p-type semiconductor through the silver layer to the n-type semiconductor, will produce the opposite effect. Heat will be released at the two faces of the silver layer and absorbed at the copper-BiTe interfaces. The silver layer can thus be maintained at a uniform temperature higher than the temperature of the heat sink. The maximum temperature is limited by thermal conduction in all adjacent layers (but not by ohmic heating in the BiTe which, in this case, contributes to higher temperatures), but is sufficiently high to boil water-based fluids when the heat sink is maintained at normal room temperature. The temperature of the silver layer can thus be maintained at any value within a useful range through the process of controlling the direction and magnitude of the current through the sandwich structure. Assembling the two modules together assures that there will be good thermal contact between the thermal control volume and the silver layer. As such, the temperature of the fluid in the thermal control volume will also be maintained at a uniform value within this useful range. In various embodiments, the thermalcontrol volume element408 has a small dimension in the direction perpendicular to the plane of interface between the two modules to ensure that thermal equilibrium is reach quickly. For example, with a thermal control volume depth of 10 microns, and acover layer410 made of stainless steel 2 microns thick, a water-based fluid in the thermalcontrol volume element408 will come into equilibrium with the heating/cooling element412 in less than 100 ms.
Temperature control in this system can be realized by using the Seebeck effect. In this case, the current in the system is momentarily turned off. The Seebeck effect generates a potential difference across the sandwich structure that is a function only of the temperature difference between the silver layer and the two copper conduction layers. Alternatively, the temperature difference can also be obtained, without shutting off the current, by measuring the voltage-current characteristics of the system.
In some applications where cooling below ambient temperature is not a requirement, the Peltier sandwich structure can be replaced by an ohmic heater. In various embodiments, the fluid-bearingmodule402 containing the thermalcontrol volume element408 can be used interchangeably with athermal module404 containing either a Peltier sandwich structure or an ohmic heater.
In an example embodiment, a thermal control apparatus includes: a fluid-bearing module including a substrate and a thermal control volume element recessed into the substrate, the thermal control volume element having microfluidic dimensions; and a thermal module including a heating/cooling element, the thermal module being detachably secured to the fluid-bearing module such that the heating/cooling element is thermally coupled to the thermal control volume element.
Valve Component
FIGS. 5A and 5B illustrate an example embodiment of avalve component500, which includes a fluid-bearingmodule502 and athermal module504 shown assembled. The fluid-bearingmodule502 includes asubstrate506 and aflow channel element508 recessed into thesubstrate506. By way of example, thesubstrate506 is made of a material such as polydimethylsiloxane (PDMS) with a low thermal conductivity compared to the fluid in theflow channel element508. In this example, theflow channel element508 is enclosed by bonding acover layer510 to the fluid-bearingmodule502. For example, thecover layer510 is a thin membrane of a material with a relatively high thermal conductivity (for example, 2-micron-thick stainless steel). In an example embodiment, theflow channel element508 has a depth less than 25 microns. Greater depths are also possible, but may lead to longer actuation times for the valve.
Thethermal module504 includes a heating/cooling element512 (e.g., embedded on a surface of a substrate) and is detachably secured to the fluid-bearingmodule502 such that the heating/cooling element512 is thermally coupled to theflow channel element508. In this example embodiment, the heating/cooling element512 is a thermoelectric (Peltier) device of a geometry designed to ensure rapid heating or cooling of the flow channel. The Peltier device can be in the five-layer configuration described above with reference toFIG. 4 or, alternatively, since there is no need to maintain a uniform temperature over an extended area, the silver layer may be eliminated, leaving the four-layer sandwich structure illustrated inFIGS. 5A and 5B. By way of example, this four-layer configuration includeslayers516 and518 of n-type and p-type semiconductor thermoelectric materials (bismuth telluride (BiTe), for example), which are in turn sandwiched between twolayers520 and522 of a material with high electrical and thermal conductivity (copper, for example) to provide electrical contacts to the thermoelectric material. In this example, the four-layer sandwich structure is mounted on aheat sink524 formed of a high-thermal-conductivity material526 (such as copper, or a thermally conducting ceramic). If the heat sink material is electrically conducting, then it must also be coated with an electrically insulating material (athin glass layer528, for example) to prevent the heat sink from shorting the Peltier junction. If the fluid-bearing module is covered by a layer of electrically conducting material, then either the fluid-bearing module, or the actuation module, or both, must be coated with an electrically insulating layer, glass for example, to prevent a short across the Peltier junction. The heat-sink layer may also include aregion530 of low thermal conductivity adjacent to the center layer of the four-layer Peltier sandwich structure. The outer surface of the heat-sink layer is preferably maintained at a constant temperature.
To operate thevalve component500, the fluid-bearingmodule502 is brought into contact with thethermal module504 such that theflow channel element508 is in good thermal contact with the thermal actuation element. The valve is closed by using the Peltier device to cool the flow channel below the freezing point of the fluid. When the fluid freezes, the solid plug formed will block further flow in the channel. The valve is opened either by reversing the current in the Peltier device to heat the channel, thereby melting the plug, or by turning off the power to the Peltier device and letting the flow channel heat by conduction from the surrounding material. The time required to actuate the valve depends on the dimensions of the valve. By way of example, a valve for a water-based fluid with a flow channel depth of 10 microns, and a stainless steel cover layer of 2 microns thickness, can be closed or opened in less than 10 ms.
Thus, in an example embodiment, a thermal control apparatus includes: a fluid-bearing module including a substrate and a flow channel recessed into the substrate, the flow channel having microfluidic dimensions; and a thermal module including a Peltier device, the thermal module being detachably secured to the fluid-bearing module such that the Peltier device is thermally coupled to the flow channel.
In another example embodiment, a valve apparatus includes: a fluid-bearing module including a substrate, and a flow channel formed in the substrate, the flow channel having microfluidic dimensions; and an actuation module detachably secured to the fluid-bearing module, the actuation module including a Peltier device adjacent to the flow channel, the Peltier device being controllable to change a phase of a material in the flow channel, thereby providing a phase-change valve.
Pump Component
FIGS. 6A and 6B illustrate an example embodiment of apump component600 which includes a fluid-bearingmodule602 and anactuation module604 shown assembled; as described above, themodules602 and604 are detachably secured to each other. The fluid-bearingmodule602 includes asubstrate606. Amain flow channel608, acontrol channel610, and avariable volume cell612 are recessed into thesubstrate606 as shown. Acover layer614 is bonded over thesubstrate606. Theactuation module604 includes twovalves620 and622, e.g., Peltier-actuated valves as described above, and a mechanism (not shown in this figure) for varying a volume of thevariable volume cell612 which is connected to themain flow channel608 between the twovalves620 and622. In this example, the variable-volume cell is shown connected to the main flow channel by a control channel. It should be appreciated that the variable-volume cell could also be in line with the main flow channel such that a separate control channel is unnecessary. It is also possible to effect pumping action by increasing and decreasing the volume of the main flow channel itself.
In an example embodiment, a pump apparatus includes: a fluid-bearing module including a main flow channel and a variable volume cell that meet at a junction, at least one of the main flow channel and/or the variable volume cell having microfluidic dimensions; and an actuation module detachably secured to the fluid-bearing module, the actuation module including two valves positioned adjacent to the main flow channel at opposite sides of the junction, the two valves being selectively controllable to open or close the main flow channel at the opposite sides of the junction, the actuation module including a mechanism for changing a volume of the variable volume cell such that, in conjunction with selectively controlling the two valves, a pump is provided.
Various mechanisms can be used to effect the volume change while maintaining the ability to separate the fluid-containing module from the actuation module.
Electromechanical Actuation Mechanism
FIGS. 7A and 7B illustrate an example embodiment of apump component700 which includes a fluid-bearingmodule702 and anactuation module704 shown assembled; as described above, themodules702 and704 are detachably secured to each other. The fluid-bearingmodule702 includes asubstrate706. Amain flow channel708, acontrol channel710, and avariable volume cell712 are recessed into thesubstrate706 as shown. Acover layer714 is bonded over thesubstrate706. Theactuation module704 includes two valves720 and722 (not shown inFIG. 7B for clarity), e.g., Peltier-actuated valves as described above, and anelectromechanical actuation mechanism724 for varying the volume of thevariable volume cell712 which is connected to themain flow channel708 between the twovalves720 and722. In this example, theelectromechanical actuation mechanism724 includes aplunger member726 and adrive mechanism728. The fluid-bearingmodule702 includes aflexible membrane730 positioned adjacent to theelectromechanical actuation mechanism724 as shown. By way of example, theflexible membrane730 is spring loaded such that if deformed it will tend to return to the relaxed position. In an example embodiment, theactuation module704 contains a movable plunger configured so that when the two modules are assembled, and the plunger is extended, it will deform the flexible membrane over the variable-volume cell, thereby decreasing its volume. When the plunger is retracted, the spring load on the flexible membrane will force it to return to its relaxed position, thereby restoring the original volume of the cell. By way of example, starting with the plunger retracted, the inlet valve closed, and the outlet valve open, pumping action is accomplished through the following sequence of steps:
  • 1. Extend the plunger.
  • 2. Close the outlet valve.
  • 3. Open the inlet valve.
  • 4. Retract the plunger.
  • 5. Close the inlet valve.
  • 6. Open the outlet valve.
    After step 6, the pump has been restored to its original configuration, and this sequence of steps can be repeated as often as necessary to pump the desired volume of fluid. For clarity, thevariable volume cell712 is shown as separated from themain flow channel708 and connected by thecontrol channel710. Thevariable volume cell712 can also be built directly in line with themain flow channel708. In certain applications, it may be advantageous to use themain flow channel708 itself as the “variable volume cell”. In each case, theplunger member726 on theactuation module704 can be positioned, sized, and shaped appropriately for the location, size, and shape of thevariable volume cell712 on the fluid-bearingmodule702. It should also be recognized that this pump is symmetric and can pump fluid in either direction by selecting which of the two valves is considered the inlet and which the outlet valve.
    Electromagnetic Actuation Mechanism
FIGS. 8A and 8B illustrate an example embodiment of apump component800 which includes a fluid-bearingmodule802 and anactuation module804 shown assembled; as described above, themodules802 and804 are detachably secured to each other. The fluid-bearingmodule802 includes asubstrate806. Amain flow channel808, acontrol channel810, and avariable volume cell812 are recessed into thesubstrate806 as shown. Acover layer814 is bonded over thesubstrate806. Theactuation module804 includes twovalves820 and822 (not shown inFIG. 8B for clarity), e.g., Peltier-actuated valves as described above, and anelectromagnetic actuation mechanism824 for varying the volume of thevariable volume cell812 which is connected to themain flow channel808 between the twovalves820 and822. In this example, theelectromagnetic actuation mechanism824 includes anelectromagnetic coil826 and thereby avoids any potential issues that may be caused by having a moving component on theactuation module804. In this example embodiment, the fluid-bearingmodule802 includes apermanent magnet828 embedded in thesubstrate806 adjacent to thevariable volume cell812. In this embodiment, the fluid-bearingmodule802 includes aflexible membrane830 separating thepermanent magnet828 from thevariable volume cell812 such that the fluid does not come into contact with the magnet, but such that movement of the magnet toward or away from theactuation module804 will cause the volume of thevariable volume cell812 to decrease or increase respectively. In this example embodiment, when the fluid-bearingmodule802 is brought into contact with theactuation module804, the Peltier heaters/coolers820 and822 are used to open and close the inlet and outlet valves, while the electromagnetic element (the electromagnetic coil826) in theactuation module804 is used alternately to push and pull thepermanent magnet828 in the fluid-bearingmodule802 so as to alternately increase and decrease the volume of thevariable volume cell812. By way of example, starting with the electromagnet off, the inlet valve closed, and the outlet valve open, pumping action is accomplished through the following sequence of steps:
  • 1. Attract the permanent magnet.
  • 2. Close the outlet valve.
  • 3. Open the inlet valve.
  • 4. Repel the permanent magnet.
  • 5. Close the inlet valve.
  • 6. Open the outlet valve.
    This sequence of steps can be repeated as often as necessary to pump the desired volume of fluid. As described above with reference toFIGS. 7A and 7B, thevariable volume cell812 can be either in line with themain flow channel808, or connected to it by thecontrol channel810. It should also be recognized that this pump is symmetric and can pump fluid in either direction by selecting which of the two valves is considered the inlet and which the outlet valve.
    Thermal Actuation Mechanism
FIGS. 9A and 9B illustrate an example embodiment of apump component900 which includes a fluid-bearingmodule902 and anactuation module904 shown assembled; as described above, themodules902 and904 are detachably secured to each other. The fluid-bearingmodule902 includes asubstrate906. Amain flow channel908, acontrol channel910, and avariable volume cell912 are recessed into thesubstrate906 as shown. Acover layer914 is bonded over thesubstrate906. Theactuation module904 includes twovalves920 and922 (not shown inFIG. 9B for clarity), e.g., Peltier-actuated valves as described above, and athermal actuation mechanism924 for varying the volume of thevariable volume cell912 which is connected to themain flow channel908 between the twovalves920 and922. In this example, thethermal actuation mechanism924 includes athermal control element926, e.g., a Peltier heating/cooling element. In this example embodiment, afirst control fluid932 fills a portion of thecontrol channel910 near the intersection with themain flow channel908. In this example, thefirst control fluid932 is immiscible with the fluid being pumped. In this example, thefirst control fluid932 has a very low vapor pressure so that it will not substantially evaporate over the shelf life of any device incorporating this pump. An example of a fluid satisfying these requirements is a vacuum pump oil. In this example, asecond control fluid934 partially fills thevariable volume cell912 and thecontrol channel910, as shown, up to the interface with thefirst control fluid932. In this example, thesecond control fluid934 is immiscible with thefirst control fluid932. In this example, thesecond control fluid934 is a liquid that will evaporate at a temperature not far above the normal ambient temperature of the valve. An example of such a fluid is water. When thesecond control fluid934 is heated, some of the liquid evaporates, forcing thefirst control fluid932 to move toward themain flow channel908. This effectively decreases the volume of themain flow channel908.
In this example embodiment, theactuation module904 incorporates three Peltier heating/cooling elements. These elements are distributed in a pattern such that when the twomodules902 and904 of thepump component900 are assembled, two of the Peltier heating/cooling elements are adjacent to themain flow channel908, one on each side of the intersection with thecontrol channel910. The third Peltier heating/cooling element is positioned so that it will control the temperature of thevariable volume cell912. For operation, the twomodules902 and904 of thepump component900 are assembled. By way of example, starting with thesecond control fluid934 at room temperature, the inlet valve closed, and the outlet valve open, pumping action is accomplished through the following sequence of steps:
  • 1. Heat and evaporate the second control fluid.
  • 2. Close the outlet valve.
  • 3. Open the inlet valve.
  • 4. Cool and condense the second control fluid.
  • 5. Close the inlet valve.
  • 6. Open the outlet valve.
    This sequence of steps can be repeated as often as necessary to pump the desired volume of fluid. It should also be recognized that this pump is symmetric and can pump fluid in either direction by selecting which of the two valves is considered the inlet and which the outlet valve.
For this pump, when it is stored for a long period of time, normal variations in the temperature of the environment may lead to evaporation of some of thesecond control fluid934, resulting in thefirst control fluid932 being pushed into themain flow channel908, and possibly allowing loss of thesecond control fluid934. To address this concern, thefirst control fluid932 can be provided as a substance that is solid at the normal environmental temperature of the valve, but which melts at a moderate temperature. An example of such a bi-phase material is a paraffin wax. Such a configuration is discussed below.
FIGS. 10A and 10B illustrate an example embodiment of apump component1000 which is similar to the pump component900 (FIGS. 9A and 9B) except as now described. In this example embodiment, a firstbi-phase material936 and a secondbi-phase material938 are provided in thecontrol channel910 andvariable volume cell912 as shown. In this example embodiment, theactuation module904 includes aheating element940 positioned as shown to heat the firstbi-phase material936 to cause it to melt when the pump is being used. The pump would then cycle as above. When pumping action is completed, the firstbi-phase material936 is allowed to cool and solidify, again trapping the secondbi-phase material938 in thecontrol channel910. Alternatively, a secondbi-phase material938 having a relatively low vapor pressure can be used to pump the firstbi-phase material936 back and forth. For example, if the secondbi-phase material938 is a paraffin wax, it will be solid at the normal environmental temperature of the valve, and there is no risk of evaporation or loss. The valve is cycled by heating the paraffin to melting, which causes a 2-3% volume increase, followed by cooling to solidification, which reverses the volume increase. This volume change is much smaller than can be obtained using the liquid-vapor phase change, but it is more precise, and would be adequate in some applications. Also, paraffin wax can be used for both the first and secondbi-phase materials936 and938, with no distinct boundary between them. Using water for the secondbi-phase material938 gives a greater volume change (about 9%) than with paraffin wax, but the phase change occurs at a temperature probably below the normal environmental temperature of the valve, so it would require that the thermal control element be a Peltier device. Finally, although not as efficient, a pump component can be provided using thermal expansion and contraction of the secondbi-phase material938 without involving a phase change.
In another variation, the first control fluid is replaced with a flexible diaphragm. In this configuration, the control channel is separated from the main flow channel by a flexible diaphragm such that when the diaphragm is forced to move, the volume of the main flow channel can be increased or decreased. The closed control channel is partially filled with a control fluid, such as water, that will vaporize on heating and condense on cooling. Pumping action is accomplished by the same 6-step sequence described above. Using a flexible diaphragm in place of the first control fluid provides more flexibility in the choice of the second control fluid since it is no longer necessary to avoid miscible fluids, and the possibility of loss of fluid is reduced.
Bi-Stable Valve Component
In some applications, it is useful to have a valve that will remain in either the open or closed position without application of power. According to various embodiments of the present invention, an electrically actuated bi-stable valve (e.g., microvalve) uses a phase-change control fluid to alternately block and unblock the flow of a working fluid through the valve. The control fluid is introduced from a side channel, and is pumped into or out of a main flow channel when the control fluid is in a liquid state.
FIGS. 11A and 11B illustrate an example embodiment of avalve apparatus1100 which includes a fluid-bearingmodule1102 and anactuation module1104 shown assembled; as described above, themodules1102 and1104 are detachably secured to each other. The fluid-bearingmodule1102 includes asubstrate1106. In an example embodiment, thesubstrate1106 is made of a material with a low thermal conductivity (PDMS, for example). Amain flow channel1108, acontrol channel1110, and areservoir1112 are recessed into thesubstrate1106 as shown. In this example embodiment, themain flow channel1108 traverses thevalve apparatus1100 in a straight, horizontal path, and thecontrol channel1110 provides a path from a junction1114 (between themain flow channel1108 and the control channel1110) to thereservoir1112. In this example, thevalve apparatus1100 includes abi-phase material1116, which is substantially or completely contained within thereservoir1112 and thecontrol channel1110 when thevalve apparatus1100 is in its open state. Thebi-phase material1116 is a substance that melts at a temperature above the normal ambient temperature of thevalve apparatus1100. Acover layer1118 is bonded over thesubstrate1106.
In this example embodiment, theactuation module1104 includes athermal control element1120 positioned such that when the two modules are assembled, thethermal control element1120 can heat theentire reservoir1112, as well as thecontrol channel1110 and a portion of themain flow channel1108 to a temperature above the melting point of thebi-phase material1116. By way of example, thethermal control element1120 can be a simple resistance heater, in which case the heat dissipates by conduction to the environment after thethermal control element1120 is turned off, allowing thebi-phase material1116 to re-solidify. Alternatively, thethermal control element1120 can be a Peltier junction, in which case, thebi-phase material1116 can be cooled and solidified by reversing the current and operating the Peltier junction as a cooler. In this example embodiment, thevalve apparatus1100 includes a pump mechanism (not shown in this figure) for pumping thebi-phase material1116 into or out of thejunction1114. As described herein, various pump mechanisms including, but not limited to, plunger actuation mechanisms, electromagnetic actuation mechanisms, or thermal phase-change actuation mechanisms can be used.
When thevalve apparatus1100 is in its open state, thebi-phase material1116 is solid, and does not block themain flow channel1108. In order to close thevalve apparatus1100, the entire region occupied by thebi-phase material1116, as well as thejunction1114, is heated to a temperature above the melting point of thebi-phase material1116. After changing phase into a “control fluid”, thebi-phase material1116 is then pumped toward themain flow channel1108 until thebi-phase material1116 completely fills thejunction1114 between the twochannels1108 and1110 and possibly some additional portion of themain flow channel1108. Thethermal control element1120 is then turned off and thebi-phase material1116 is allowed to solidify. Referring toFIGS. 12A and 12B, flow of a working fluid (not shown) through thevalve apparatus1100 is blocked by asolid plug1122 of thebi-phase material1116, and thevalve apparatus1100 is thus in a closed state. In either the open or closed state, thebi-phase material1116 is normally solid; it is heated to its melting point only for the purpose of switching the state of thevalve apparatus1100. To reopen thevalve apparatus1100, thethermal control element1120 is again used to melt thebi-phase material1116. Once again as a “control fluid”, thebi-phase material1116 is then pumped back into thereservoir1112, and again allowed to cool and solidify. Thevalve apparatus1100 is thus restored to the open configuration (FIGS. 11A and 11B). Thevalve apparatus1100 can be repeatedly cycled with the application of power, but no power is required to maintain thevalve apparatus1100 in either the open or closed state. Provided nobi-phase material1116 is lost during cycling, there is no fundamental limit to the number of times thevalve apparatus1100 can be cycled.
In an example embodiment, a valve apparatus includes: a fluid-bearing module including a substrate, channels formed in the substrate, at least one of the channels having microfluidic dimensions, the channels including a main flow channel and a control channel that meet at a junction, and a bi-phase material within the control channel; and an actuation module detachably secured to the fluid-bearing module, the actuation module including a heating element adjacent to the control channel and the junction, the heating element being controllable to generate sufficient energy to cause the bi-phase material to transition from a solid phase to a liquid phase, and a pumping mechanism for selectively forcing the bi-phase material either into or out of the junction when the bi-phase material is in the liquid phase, thereby providing a bi-stable, phase-change valve.
In some applications, it may be desirable to store fluids in a storage cell on a microfluidic device for an extended period until the device is needed. When the device is used, the fluids are released, for example, to act as reagents for analyzing a sample. Once the fluids have been released and used, there is no need to re-seal the storage cell. For such applications it would be useful to have a single-use bi-stable valve.
In various embodiments, valve apparatuses are configured such that they remain closed until actuated, and then switch to an open position and remain there. By way of example, such “single use” valve apparatuses can be used to seal fluids into a closed volume (e.g., storage of fluids on a microfluidic device) for long periods of time.FIGS. 13A and 13B illustrate an example embodiment of avalve apparatus1300 which is similar to the valve apparatus1100 (FIGS. 11A,11B,12A and12B) except as now described. In this example embodiment, the fluid-bearingmodule1102 includes anend volume1302 filled with a porous material1304 (e.g., a wick) that is easily wetted bybi-phase material1116 in the liquid phase. In this valve, thebi-phase material1116 is initially provided in a solidified form that blocks thejunction1114 between themain flow channel1108 and thecontrol channel1110. Thebi-phase material1116, in its initial solid phase, also fills thecontrol channel1110 except for theend volume1302. The fluid-bearingmodule1102 mates (operatively interfaces) with theactuation module1104 which includes thethermal control element1120 to heat thebi-phase material1116. Thevalve apparatus1300 is actuated by heating thebi-phase material1116. When thebi-phase material1116 is liquefied, it is pulled by wicking action into theend volume1302 at the end of thecontrol channel1110, and thereby drawn out of themain flow channel1108. Thethermal control element1120 is then switched to cool the control fluid, which then solidifies. Thevalve apparatus1300 is open in this configuration, and working fluid is free to pass through themain flow channel1108.
In an example embodiment, a valve apparatus includes: a fluid-bearing module including a substrate, channels formed in the substrate, at least one of the channels having microfluidic dimensions, the channels including a main flow channel and a control channel that meet at a junction, a bi-phase material within the control channel, and a mechanism for wicking the bi-phase material out of the junction when the bi-phase material is in a liquid phase; and an actuation module detachably secured to the fluid-bearing module, the actuation module including a heating element adjacent to the control channel and the junction, the heating element being controllable to generate sufficient energy to cause the bi-phase material to transition from a solid phase to the liquid phase, thereby providing a single-use, phase-change valve.
In a variation on this valve, the porous material is replaced by a plurality of microchannels significantly smaller than the control channel.FIGS. 14A and 14B illustrate an example embodiment of avalve apparatus1400 which is similar to the valve apparatus1100 (FIGS. 11A,11B,12A and12B) except as now described. In this example embodiment, the fluid-bearingmodule1102 includes a plurality ofmicrochannels1402 positioned within thecontrol channel1110. Themicrochannels1402 are initially empty of thebi-phase material1116. When thevalve apparatus1400 is heated to melt thebi-phase material1116, the resulting control fluid flows into themicrochannels1402 by capillary action, drawing the control fluid out of themain flow channel1108. Thethermal control element1120 is then turned off, allowing the control fluid to solidify, leaving thevalve apparatus1400 in the open configuration.
In various embodiments, a single-use bi-stable valve apparatus is initially open. In such embodiments, application of power causes the valve apparatus to close, and it remains closed after the power is turned off.FIGS. 15A,15B,16A and16B illustrate an example embodiment of avalve apparatus1500 which is similar to the valve apparatus1100 (FIGS. 11A,11B,12A and12B) except as now described. In this example embodiment, the fluid-bearingmodule1102 includes acontrol volume1502, at least one side of which is closed by a flexible diaphragm1504 (e.g., a spring-loaded metal diaphragm), and acover layer1506. Thecontrol channel1110 leads to thecontrol volume1502 which are both filled with thebi-phase material1116. However, thejunction1114 is not filled, and working fluid is free to flow through thevalve apparatus1500. More specifically, thecontrol volume1502 is filled to the point where theflexible diaphragm1504 is pushed outward (FIGS. 15A and 15B), under stress, resulting in thecontrol volume1502 being larger than it would be in a relaxed state. Because thebi-phase material1116 is solid, theflexible diaphragm1504 is unable to move toward its relaxed state and stays in the pushed outward position. Thevalve apparatus1500 is actuated by heating thecontrol volume1502, thecontrol channel1110, and thejunction1114 to a temperature above the melting point of thebi-phase material1116. Thediaphragm1504 then relaxes, decreasing the size of thecontrol volume1502, and causing the fluid to flow into thejunction1114. Thethermal control element1120 is then switched to cool causing the control fluid to solidify. Thevalve apparatus1500 is now stable in the closed position, as shown inFIGS. 16A and 16B, with no further requirement for application of power.
In an example embodiment, a valve apparatus includes: a fluid-bearing module including a substrate, channels formed in the substrate, at least one of the channels having microfluidic dimensions, the channels including a main flow channel and a control channel that meet at a junction, a bi-phase material within the control channel, and a flexible diaphragm adjacent to the bi-phase material, the flexible diaphragm being biased to push the bi-phase material into the junction when the bi-phase material is in a liquid phase; and an actuation module detachably secured to the fluid-bearing module, the actuation module including a heating element adjacent to the control channel and the junction, the heating element being controllable to generate sufficient energy to cause the bi-phase material to transition from a solid phase to the liquid phase, thereby providing a single-use, phase-change valve.
A similar pumping methodology can be applied to making a single-use bi-stable valve apparatus this is initially closed.FIGS. 17A,17B,18A and18B illustrate an example embodiment of avalve apparatus1700 which is similar to the valve apparatus1500 (FIGS. 15A,15B,16A and16B) except as now described. In this example embodiment, thebi-phase material1116 initially fills thecontrol volume1502, thecontrol channel1110, and thejunction1114 such that flow of working fluid through themain flow channel1108 is blocked. In this example embodiment, thecontrol volume1502 is under filled, with the diaphragm being deflected inward against a spring load. When power is applied to heat and melt thebi-phase material1116, thediaphragm1504 relaxes, causing thecontrol volume1502 to increase, and pulling the control fluid out of themain flow channel1108. Power is then switched to cool and solidify the control fluid, leaving thevalve apparatus1700 in the configuration shown inFIGS. 18A and 18B, where the working fluid is free to flow.
In an example embodiment, a valve apparatus including: a fluid-bearing module including a substrate, channels formed in the substrate, at least one of the channels having microfluidic dimensions, the channels including a main flow channel and a control channel that meet at a junction, and a bi-phase material within the control channel, and a flexible diaphragm adjacent to the bi-phase material, the flexible diaphragm being biased to pull the bi-phase material out of the junction when the bi-phase material is in a liquid phase; and an actuation module detachably secured to the fluid-bearing module, the actuation module including a heating element adjacent to the control channel and the junction, the heating element being controllable to generate sufficient energy to cause the bi-phase material to transition from a solid phase to the liquid phase, thereby providing a single-use, phase-change valve.
In each of the previously described embodiments, valve switching involves changing thebi-phase material1116 to the liquid phase, which potentially could get washed downstream in themain flow channel1108. This can be a problem if there are places downstream in the system where particles of solidbi-phase material1116 might block small flow channels, or might interfere with a chemical or biological process or analysis. Loss of control fluid is likely if there is any flow through the valve while it is being cycled. In various embodiments, this potential problem is addressed by providing the valve apparatus with a second valve, of another type, in series with the bi-stable valve. This makes it possible to ensure that there is no pressure drop and no flow in the bi-stable valve when it is being cycled. By way of example, and referring toFIG. 19, a valve apparatus1900 (similar to the valve apparatus1100) includes a Peltier-actuatedvalve1902 in series with the bi-stable valve. In this figure, the bi-stable valve is in the open configuration. To close the bi-stable valve, power is first applied to close the Peltier-actuatedvalve1902. This stops all flow in the system. The bi-stable valve is then cycled as described above. After the control fluid has solidified, the Peltier-actuatedvalve1902 can be turned off. This reconfigures thevalve apparatus1900 to the closed configuration shown inFIG. 20. Thevalve apparatus1900 is stable in the closed position with no power being applied. To reopen thevalve apparatus1900, power is again applied first to close the Peltier-actuatedvalve1902. This ensures that there is no pressure drop across the bi-stable valve. The bi-stable valve is then cycled as described above, without concern that there will be a sudden rush of the working fluid that might wash some of the control fluid downstream. After the bi-stable valve has completed cycling and the control fluid is solidified, the Peltier-actuatedvalve1902 can be turned off, allowing the fluid to flow. The Peltier-actuatedvalve1902 can be combined with any bi-stable valve including but not limited to the embodiments described above.
Although the present invention has been described in terms of the example embodiments above, numerous modifications and/or additions to the above-described embodiments would be readily apparent to one skilled in the art. It is intended that the scope of the present invention extend to all such modifications and/or additions.

Claims (53)

1. A fluid transport/containment apparatus comprising:
a fluid-bearing module including a substrate and fluid transport/containment elements therein, wherein at least one of the fluid transport/containment elements has a predefined microfluidic dimension;
a reusable actuation module including actuation elements, the actuation module being detachably secured to the fluid-bearing module such that the actuation elements are operatively interfaced with the fluid transport/containment elements,
at least one fluid transport/containment element comprising a valve, and at least one actuation element comprising a thermal actuation device operatively interfaced with the valve; and
a fluid impermeable layer sealing the fluid transport/containment elements to prevent fluid within the fluid-bearing module from coming into contact with the actuation module,
the fluid impermeable layer configured to provide thermal contact between the thermal actuation device and the valve.
50. A fluid transport/containment apparatus comprising:
a replaceable fluid-bearing module including a substrate and a pattern of fluid transport/containment elements distributed therein, wherein at least one of the fluid transport/containment elements has a predefined microfluidic dimension;
a reusable actuation module including actuation elements, the actuation module being detachably secured to the replaceable fluid-bearing module such that only certain of the actuation elements are operatively interfaced with the fluid transport/containment elements,
at least one fluid transport/containment element comprising a valve, and at least one actuation element comprising a thermal actuation device operatively interfaced with the valve; and
a fluid impermeable layer sealing the fluid transport/containment elements to prevent fluid within the fluid-bearing module from coming into contact with the actuation module,
the fluid impermeable layer configured to provide thermal contact between the thermal actuation device and the valve.
US10/877,6912004-05-102004-06-24Microfluidic devices with separable actuation and fluid-bearing modulesExpired - Fee RelatedUS7757717B2 (en)

Priority Applications (12)

Application NumberPriority DateFiling DateTitle
US10/877,691US7757717B2 (en)2004-05-102004-06-24Microfluidic devices with separable actuation and fluid-bearing modules
JP2007513234AJP5057968B2 (en)2004-05-102005-05-09 Microfluidic device having separable operating module and fluid holding module
PCT/US2005/015979WO2005111435A2 (en)2004-05-102005-05-09Microfluidic devices with separable actuation and fluid-bearing modules
EP05746774AEP1759120A4 (en)2004-05-102005-05-09Microfluidic devices with separable actuation and fluid-bearing modules
US11/150,551US7650910B2 (en)2004-06-242005-06-09Electro-hydraulic valve apparatuses
US11/150,558US7686040B2 (en)2004-06-242005-06-09Electro-hydraulic devices
US11/190,312US7721762B2 (en)2004-06-242005-07-26Fast acting valve apparatuses
US11/690,115US8642353B2 (en)2004-05-102007-03-22Microfluidic device for inducing separations by freezing and associated method
US12/749,350US8066031B2 (en)2004-06-242010-03-29Electro-hydraulic devices
US12/786,344US8156964B2 (en)2004-06-242010-05-24Fast acting valve apparatuses
US12/839,339US8245731B2 (en)2004-05-102010-07-19Microfluidic devices with separable actuation and fluid-bearing modules
US14/140,303US9468867B2 (en)2004-05-102013-12-24Microfluidic device for inducing separations by freezing and associated method

Applications Claiming Priority (2)

Application NumberPriority DateFiling DateTitle
US10/843,515US7694694B2 (en)2004-05-102004-05-10Phase-change valve apparatuses
US10/877,691US7757717B2 (en)2004-05-102004-06-24Microfluidic devices with separable actuation and fluid-bearing modules

Related Parent Applications (2)

Application NumberTitlePriority DateFiling Date
US10/843,515Continuation-In-PartUS7694694B2 (en)2004-05-102004-05-10Phase-change valve apparatuses
US10/877,602Continuation-In-PartUS7757716B2 (en)2004-05-102004-06-24Microfluidic valve apparatuses with separable actuation and fluid-bearing modules

Related Child Applications (5)

Application NumberTitlePriority DateFiling Date
US11/150,551Continuation-In-PartUS7650910B2 (en)2004-06-242005-06-09Electro-hydraulic valve apparatuses
US11/150,558Continuation-In-PartUS7686040B2 (en)2004-06-242005-06-09Electro-hydraulic devices
US11/190,312Continuation-In-PartUS7721762B2 (en)2004-06-242005-07-26Fast acting valve apparatuses
US11/690,115Continuation-In-PartUS8642353B2 (en)2004-05-102007-03-22Microfluidic device for inducing separations by freezing and associated method
US12/839,339ContinuationUS8245731B2 (en)2004-05-102010-07-19Microfluidic devices with separable actuation and fluid-bearing modules

Publications (2)

Publication NumberPublication Date
US20050247358A1 US20050247358A1 (en)2005-11-10
US7757717B2true US7757717B2 (en)2010-07-20

Family

ID=35238347

Family Applications (5)

Application NumberTitlePriority DateFiling Date
US10/843,515Expired - Fee RelatedUS7694694B2 (en)2004-05-102004-05-10Phase-change valve apparatuses
US10/877,602Expired - Fee RelatedUS7757716B2 (en)2004-05-102004-06-24Microfluidic valve apparatuses with separable actuation and fluid-bearing modules
US10/877,691Expired - Fee RelatedUS7757717B2 (en)2004-05-102004-06-24Microfluidic devices with separable actuation and fluid-bearing modules
US12/759,493Expired - Fee RelatedUS8240336B2 (en)2004-05-102010-04-13Phase-change valve apparatuses
US12/839,339Expired - Fee RelatedUS8245731B2 (en)2004-05-102010-07-19Microfluidic devices with separable actuation and fluid-bearing modules

Family Applications Before (2)

Application NumberTitlePriority DateFiling Date
US10/843,515Expired - Fee RelatedUS7694694B2 (en)2004-05-102004-05-10Phase-change valve apparatuses
US10/877,602Expired - Fee RelatedUS7757716B2 (en)2004-05-102004-06-24Microfluidic valve apparatuses with separable actuation and fluid-bearing modules

Family Applications After (2)

Application NumberTitlePriority DateFiling Date
US12/759,493Expired - Fee RelatedUS8240336B2 (en)2004-05-102010-04-13Phase-change valve apparatuses
US12/839,339Expired - Fee RelatedUS8245731B2 (en)2004-05-102010-07-19Microfluidic devices with separable actuation and fluid-bearing modules

Country Status (2)

CountryLink
US (5)US7694694B2 (en)
WO (1)WO2005111434A2 (en)

Cited By (3)

* Cited by examiner, † Cited by third party
Publication numberPriority datePublication dateAssigneeTitle
US20080230490A1 (en)*2004-05-102008-09-25Welle Richard PMicrofluidic Device for Inducing Separations by Freezing and Associated Method
US20100200093A1 (en)*2004-05-102010-08-12The Aerospace CorporationPhase-Change Valve Apparatuses
US20100229986A1 (en)*2004-06-242010-09-16The Aerospace CorporationFast Acting Valve Apparatuses

Families Citing this family (52)

* Cited by examiner, † Cited by third party
Publication numberPriority datePublication dateAssigneeTitle
EP1547688A1 (en)*2003-12-232005-06-29STMicroelectronics S.r.l.Microfluidic device and method of locally concentrating electrically charged substances in a microfluidic device
US7686040B2 (en)*2004-06-242010-03-30The Aerospace CorporationElectro-hydraulic devices
US7650910B2 (en)*2004-06-242010-01-26The Aerospace CorporationElectro-hydraulic valve apparatuses
JP4784510B2 (en)*2004-12-172011-10-05ブラザー工業株式会社 Valve and actuator using capillary electrowetting phenomenon
KR100668335B1 (en)*2005-04-022007-01-12삼성전자주식회사 Micro valve with magnetic wax plug and flow control method using magnetic wax
KR100846501B1 (en)*2006-11-092008-07-17삼성전자주식회사 Valve unit and fluid treatment device having same
US20080163946A1 (en)*2006-12-282008-07-10The Trustees Of California State UniversityMagnetically controlled valve for flow manipulation in polymer microfluidic devices
WO2009066237A2 (en)*2007-11-222009-05-28Koninklijke Philips Electronics N.V.Valve for a microfluidic system
KR101578149B1 (en)*2009-01-292015-12-17삼성전자주식회사 Valve unit for microfluid control and manufacturing method thereof
JP5819290B2 (en)*2009-06-032015-11-24コーニンクレッカ フィリップス エヌ ヴェKoninklijke Philips N.V. Valve with material with variable degree of permeability
DE102009035291B4 (en)*2009-07-302011-09-01Karlsruher Institut für Technologie Device for producing a microfluidic channel structure in a chamber, method for its production and its use
DE102009035292A1 (en)*2009-07-302011-02-03Karlsruher Institut für Technologie Device for controlling the flow of fluids through microfluidic channels, methods of their operation and their use
DE102009045685A1 (en)*2009-10-142011-04-21Robert Bosch Gmbh Microfluidic chip
DE102010028012A1 (en)2010-04-212011-10-27Qiagen Gmbh Liquid control for micro flow system
DE102011015184B4 (en)*2010-06-022013-11-21Thinxxs Microtechnology Ag Device for transporting small volumes of a fluid, in particular micropump or microvalve
US20110312078A1 (en)*2010-06-172011-12-22Geneasys Pty LtdMicrofluidic device for detecting target nucleic acid sequences in mitochondrial dna
CN101968131B (en)*2010-09-212013-04-24中国科学院上海微系统与信息技术研究所Capillary micro valve based on phase-substituted triggering and application thereof
US8887619B2 (en)2011-10-282014-11-18Medtronic, Inc.Removable heat management for recharge coils
US10322288B2 (en)*2011-10-282019-06-18Medtronic, Inc.Heat management for recharge coils for implantable medical devices
WO2014018971A1 (en)2012-07-272014-01-30Thoratec CorporationResonant power transfer systems with protective algorithm
US8721057B2 (en)2012-10-112014-05-13Xerox CorporationSystem for transporting phase change ink using a thermoelectric device
US10047730B2 (en)2012-10-122018-08-14Woodward, Inc.High-temperature thermal actuator utilizing phase change material
US10859194B2 (en)2013-05-202020-12-08Steere Enterprises, Inc.Clean air duct and retaining clip and assembly thereof
US11325123B2 (en)2013-08-022022-05-10The Board Of Trustees Of The Leland Stanford Junior UniversityFlow regulation in fluidic systems using a phase-change material at system ports
CN105813754B (en)2013-09-162018-12-14生命科技股份有限公司Apparatus, system, and method for providing thermal uniformity to a thermal cycler
JP6535679B2 (en)2014-02-182019-06-26ライフ テクノロジーズ コーポレーション Device, system and method for providing expandable thermal cyclers and isolating thermoelectric devices
WO2015179098A1 (en)2014-05-212015-11-26Integenx Inc.Fluidic cartridge with valve mechanism
US9995411B1 (en)2014-07-162018-06-12National Technology & Engineering Solutions Of Sandia, LlcHigh-temperature, adhesive-based microvalves and uses thereof
WO2016065073A1 (en)2014-10-222016-04-28Integenx Inc.Systems and methods for sample preparation, processing and analysis
WO2016090286A1 (en)2014-12-052016-06-09University Of Florida Research Foundation, Inc.3d printing using phase changing materials as support
US11097268B2 (en)2015-01-302021-08-24Hewlett-Packard Development Company, L.P.Microfluidic flow control
WO2016122643A1 (en)*2015-01-302016-08-04Hewlett-Packard Development Company, L.P.Diagnostic chip
WO2016130953A1 (en)2015-02-132016-08-18University Of Florida Research Foundation, Inc.High speed 3d printing system for wound and tissue replacement
JP6998215B2 (en)2015-05-082022-02-10ユニバーシティ オブ フロリダ リサーチ ファンデーション インコーポレーティッド Growth medium for 3D cell culture
US10864520B2 (en)2015-07-222020-12-15The University Of North Carolina At Chapel HillFluidic devices with freeze-thaw valves with ice-nucleating agents and related methods of operation and analysis
US11027483B2 (en)*2015-09-032021-06-08University Of Florida Research Foundation, Inc.Valve incorporating temporary phase change material
WO2017066127A1 (en)2015-10-122017-04-20Alliance For Sustainable Energy, LlcSolar thermoelectricity via advanced latent heat storage
WO2017096263A1 (en)2015-12-042017-06-08University Of Florida Research Foundation, IncorporatedCrosslinkable or functionalizable polymers for 3d printing of soft materials
US10720823B1 (en)*2016-01-152020-07-21University Of Southern CaliforniaFerrofluid liquid spring with magnets between coils inside an enclosed chamber for vibration energy harvesting
CN109415722A (en)2016-01-292019-03-01普瑞珍生物系统公司Isotachophoresis for nucleic acid purification
US11124644B2 (en)2016-09-012021-09-21University Of Florida Research Foundation, Inc.Organic microgel system for 3D printing of silicone structures
DE102016217241A1 (en)*2016-09-092018-03-15Fraunhofer-Gesellschaft zur Förderung der angewandten Forschung e.V. Adhesive element and valve assembly
EP3554990A4 (en)2017-02-152019-12-25Hewlett-Packard Development Company, L.P. MICROFLUIDIC VALVE
CA3071816A1 (en)2017-08-022019-02-07Purigen Biosystems, Inc.Systems, devices, and methods for isotachophoresis
US10738903B2 (en)*2018-08-292020-08-11International Business Machines CorporationMicrofluidic relief valve
CN109225366B (en)*2018-10-122023-10-03大连海事大学High-flux cell separation device and method based on nano-micron combined channel alternating dielectrophoresis
US11187345B2 (en)2019-02-272021-11-30Hamilton Sundstrand CorporationParaffin actuated diaphragm valve
WO2021000074A1 (en)*2019-06-292021-01-07瑞声声学科技(深圳)有限公司Vibration motor
CN110596113B (en)*2019-10-122021-08-20燕山大学 Electroosmotic mixing efficiency measuring device
US11581828B2 (en)*2021-05-052023-02-14Enervibe LtdElectromagnetic vibration and energy harvester having vibrating body, magnets and stationary magnet and hinge
WO2024020373A2 (en)*2022-07-182024-01-25Mammoth Biosciences, Inc.Devices, systems and methods for analysis of nucleic acids
US11883879B1 (en)*2022-09-072024-01-30Additive Technologies, LLCSystem and method for controlling flow through a 3D printer

Citations (80)

* Cited by examiner, † Cited by third party
Publication numberPriority datePublication dateAssigneeTitle
US2910836A (en)1957-08-121959-11-03Minnesota Mining & MfgFluid heating and cooling apparatus
US2928253A (en)1958-04-071960-03-15Whirlpool CoThermoelectric apparatus for cooling and heating liquids
US3111813A (en)1958-12-041963-11-26Siemens Elektrogeraete GmbhPeltier cooling apparatus
US3197342A (en)1961-09-261965-07-27Jr Alton Bayne NeildArrangement of thermoelectric elements for improved generator efficiency
US3397860A (en)1966-04-191968-08-20Case Co J IValve for concrete pump or similar machine
US3779814A (en)1972-12-261973-12-18Monsanto CoThermoelectric devices utilizing electrically conducting organic salts
US4476685A (en)1981-05-111984-10-16Extracorporeal Medical Specialties, Inc.Apparatus for heating or cooling fluids
US4938258A (en)1987-04-301990-07-03Smc CorporationPower supply system for solenoid valves
US4989626A (en)1988-11-111991-02-05Hitachi, Ltd.Apparatus for and method of controlling the opening and closing of channel for liquid
US5101848A (en)1990-03-091992-04-07Hitachi, Ltd.Shut off apparatus for a fluid passage, method for controlling the same, and method for confirming closing of the same
US5249929A (en)1989-08-111993-10-05The Dow Chemical CompanyLiquid chromatographic pump
US5603351A (en)1995-06-071997-02-18David Sarnoff Research Center, Inc.Method and system for inhibiting cross-contamination in fluids of combinatorial chemistry device
US5662143A (en)*1996-05-161997-09-02Gasonics InternationalModular gas box system
US5795788A (en)1993-06-051998-08-18Glaxo Group LimitedLiquid flow management means
US5849208A (en)*1995-09-071998-12-15Microfab Technoologies, Inc.Making apparatus for conducting biochemical analyses
US5975856A (en)1997-10-061999-11-02The Aerospace CorporationMethod of pumping a fluid through a micromechanical valve having N-type and P-type thermoelectric elements for heating and cooling a fluid between an inlet and an outlet
US5988197A (en)1995-02-131999-11-23Bio MerieuxFreeze valve and treatment enclosure controlled by at least one such valve
US5993634A (en)1995-05-091999-11-30Curagen CorporationApparatus and method for the generation, separation, detection, and recognition of biopolymer fragments
US6007302A (en)1997-10-061999-12-28The Aerospace CorporationMechanical valve having n-type and p-type thermoelectric elements for heating and cooling a fluid between an inlet and an outlet in a fluid pump
US6086740A (en)1998-10-292000-07-11Caliper Technologies Corp.Multiplexed microfluidic devices and systems
US6100463A (en)1997-11-182000-08-08The Boeing CompanyMethod for making advanced thermoelectric devices
US6149123A (en)1996-09-272000-11-21Redwood Microsystems, Inc.Integrated electrically operable micro-valve
US6283718B1 (en)1999-01-282001-09-04John Hopkins UniversityBubble based micropump
US6282907B1 (en)1999-12-092001-09-04International Business Machines CorporationThermoelectric cooling apparatus and method for maximizing energy transport
US6311713B1 (en)1998-06-222001-11-06Niilo KaartinenFreeze valve
US6328070B2 (en)*1999-03-012001-12-11Abb Offshore Systems Inc.Valve arrangement for controlling hydraulic fluid flow to a subsea system
US20020007858A1 (en)*1999-06-282002-01-24Yang XuStream switching system
US6344325B1 (en)1996-09-252002-02-05California Institute Of TechnologyMethods for analysis and sorting of polynucleotides
US6349740B1 (en)*1999-04-082002-02-26Abbott LaboratoriesMonolithic high performance miniature flow control unit
US20020029814A1 (en)1999-06-282002-03-14Marc UngerMicrofabricated elastomeric valve and pump systems
US6382254B1 (en)2000-12-122002-05-07Eastman Kodak CompanyMicrofluidic valve and method for controlling the flow of a liquid
US6408878B2 (en)1999-06-282002-06-25California Institute Of TechnologyMicrofabricated elastomeric valve and pump systems
US20020124879A1 (en)*2001-01-082002-09-12Shay KaplanApparatus, and method for propelling fluids
US20020127736A1 (en)2000-10-032002-09-12California Institute Of TechnologyMicrofluidic devices and methods of use
US20020143437A1 (en)2001-03-282002-10-03Kalyan HandiqueMethods and systems for control of microfluidic devices
US20020144738A1 (en)1999-06-282002-10-10California Institute Of TechnologyMicrofabricated elastomeric valve and pump systems
US20020145231A1 (en)2001-04-062002-10-10Quake Stephen R.High throughput screening of crystallization of materials
US20020148234A1 (en)2001-02-092002-10-17Bell Lon E.Efficiency thermoelectrics utilizing convective heat flow
US20020150683A1 (en)2000-11-022002-10-17Troian Sandra M.Method and device for controlling liquid flow on the surface of a microfluidic chip
US6467275B1 (en)2000-12-072002-10-22International Business Machines CorporationCold point design for efficient thermoelectric coolers
US20020166585A1 (en)*2000-11-062002-11-14Nanostream, Inc.Microfluidic regulating device
US20030008308A1 (en)2001-04-062003-01-09California Institute Of TechnologyNucleic acid amplification utilizing microfluidic devices
US20030019522A1 (en)2001-07-262003-01-30Gene ParunakMethods and systems for fluid control in microfluidic devices
US6521188B1 (en)2000-11-222003-02-18Industrial Technology Research InstituteMicrofluidic actuator
US6536476B2 (en)2001-01-222003-03-25National Institute Of Advanced Industrial Science And TechnologyFlow rate-controlling method and microvalve therefor
US6540895B1 (en)1997-09-232003-04-01California Institute Of TechnologyMicrofabricated cell sorter for chemical and biological materials
US20030061687A1 (en)2000-06-272003-04-03California Institute Of Technology, A California CorporationHigh throughput screening of crystallization materials
US20030080442A1 (en)2001-08-302003-05-01Fluidigm Corp.Electrostatic/electrostrictive actuation of elastomer structures using compliant electrodes
US6557575B1 (en)2001-11-192003-05-06Waters Investments LimitedFluid flow control freeze/thaw valve for narrow bore capillaries or microfluidic devices
US6561479B1 (en)2000-08-232003-05-13Micron Technology, Inc.Small scale actuators and methods for their formation and use
US20030096310A1 (en)2001-04-062003-05-22California Institute Of TechnologyMicrofluidic free interface diffusion techniques
US20030106799A1 (en)2001-12-062003-06-12Nanostream, IncAdhesiveless microfluidic device fabrication
US6599098B2 (en)2001-12-312003-07-29Industrial Technology Research InstituteThermolysis reaction actuating pump
US6598403B1 (en)2002-04-112003-07-29International Business Machines CorporationNanoscopic thermoelectric refrigerators
US20030152463A1 (en)2001-12-212003-08-14Michael ShulerSelf priming micropump
US6637210B2 (en)2001-02-092003-10-28Bsst LlcThermoelectric transient cooling and heating systems
US6658860B2 (en)2002-02-152003-12-09Mcgrew Stephen P.Counter-flow heat pump
US20030231967A1 (en)2002-05-132003-12-18Khalil NajafiMicropump assembly for a microgas chromatograph and the like
US6679279B1 (en)2002-07-102004-01-20Motorola, Inc.Fluidic valve having a bi-phase valve element
US20040073175A1 (en)2002-01-072004-04-15Jacobson James D.Infusion system
US20040084647A1 (en)2000-09-202004-05-06Josef BedenValve
US20040086871A1 (en)*2002-10-312004-05-06Schembri Carol T.Test strips including flexible array substrates and method of hybridization
US20040115731A1 (en)2001-04-062004-06-17California Institute Of TechnologyMicrofluidic protein crystallography
US6767706B2 (en)2000-06-052004-07-27California Institute Of TechnologyIntegrated active flux microfluidic devices and methods
US20040179975A1 (en)2002-07-262004-09-16Cox David M.Microfluidic device including displaceable material trap, and system
US20040219732A1 (en)2002-11-042004-11-04The Regents Of The University Of MichiganThermal micro-valves for micro-integrated devices
US6857449B1 (en)1998-01-202005-02-22Caliper Life Sciences, Inc.Multi-layer microfluidic devices
US6877528B2 (en)*2002-04-172005-04-12Cytonome, Inc.Microfluidic system including a bubble valve for regulating fluid flow through a microchannel
US6880576B2 (en)2001-06-072005-04-19Nanostream, Inc.Microfluidic devices for methods development
US6959555B2 (en)2001-02-092005-11-01Bsst LlcHigh power density thermoelectric systems
US20050247356A1 (en)2004-05-102005-11-10Welle Richard PPhase-change valve apparatuses
US20050249607A1 (en)2004-05-102005-11-10Klee Matthew SApparatus and method for pumping microfluidic devices
US20050260081A1 (en)2001-08-312005-11-24Kabushiki Kaisha ToshibaVacuum pumping system and method for monitoring of the same
US20050284527A1 (en)2004-06-242005-12-29The Aerospace CorporationElectro-hydraulic devices
US20050284511A1 (en)2004-06-242005-12-29The Aerospace CorporationFast acting valve apparatuses
US20050284526A1 (en)2004-06-242005-12-29The Aerospace CorporationElectro-hydraulic valve apparatuses
US6981522B2 (en)2001-06-072006-01-03Nanostream, Inc.Microfluidic devices with distributing inputs
US7128081B2 (en)2002-12-092006-10-31Waters Investments LimitedPeltier based freeze-thaw valves and method of use
US7241421B2 (en)2002-09-272007-07-10Ast Management Inc.Miniaturized fluid delivery and analysis system
US20070227592A1 (en)2004-05-102007-10-04E2V Biosensors LimitedValve for a Microfluidic Device

Family Cites Families (9)

* Cited by examiner, † Cited by third party
Publication numberPriority datePublication dateAssigneeTitle
US3212272A (en)*1957-07-301965-10-19Rca CorpThermoelectric apparatus
US4920264A (en)*1989-01-171990-04-24Sri InternationalMethod for preparing samples for mass analysis by desorption from a frozen solution
DE4013696A1 (en)*1989-05-051990-11-08Asta Pharma Ag SALTS OF AZELASTIN WITH IMPROVED PURPOSES
US5128081A (en)*1989-12-051992-07-07Arch Development CorporationMethod of making nanocrystalline alpha alumina
US5699157A (en)1996-07-161997-12-16Caliper Technologies Corp.Fourier detection of species migrating in a microchannel
US6120985A (en)*1997-10-312000-09-19Bbi Bioseq, Inc.Pressure-enhanced extraction and purification
US6387234B1 (en)*1998-08-312002-05-14Iowa State University Research Foundation, Inc.Integrated multiplexed capillary electrophoresis system
US20050086830A1 (en)*2003-10-242005-04-28Zukor Kenneth S.Processing cap assembly for isolating contents of a container
US8642353B2 (en)*2004-05-102014-02-04The Aerospace CorporationMicrofluidic device for inducing separations by freezing and associated method

Patent Citations (92)

* Cited by examiner, † Cited by third party
Publication numberPriority datePublication dateAssigneeTitle
US2910836A (en)1957-08-121959-11-03Minnesota Mining & MfgFluid heating and cooling apparatus
US2928253A (en)1958-04-071960-03-15Whirlpool CoThermoelectric apparatus for cooling and heating liquids
US3111813A (en)1958-12-041963-11-26Siemens Elektrogeraete GmbhPeltier cooling apparatus
US3197342A (en)1961-09-261965-07-27Jr Alton Bayne NeildArrangement of thermoelectric elements for improved generator efficiency
US3397860A (en)1966-04-191968-08-20Case Co J IValve for concrete pump or similar machine
US3779814A (en)1972-12-261973-12-18Monsanto CoThermoelectric devices utilizing electrically conducting organic salts
US4476685A (en)1981-05-111984-10-16Extracorporeal Medical Specialties, Inc.Apparatus for heating or cooling fluids
US4938258A (en)1987-04-301990-07-03Smc CorporationPower supply system for solenoid valves
US4989626A (en)1988-11-111991-02-05Hitachi, Ltd.Apparatus for and method of controlling the opening and closing of channel for liquid
US5249929A (en)1989-08-111993-10-05The Dow Chemical CompanyLiquid chromatographic pump
US5101848A (en)1990-03-091992-04-07Hitachi, Ltd.Shut off apparatus for a fluid passage, method for controlling the same, and method for confirming closing of the same
US5795788A (en)1993-06-051998-08-18Glaxo Group LimitedLiquid flow management means
US6159744A (en)1993-06-052000-12-12Glaxo Group LimitedLiquid flow management means
US5988197A (en)1995-02-131999-11-23Bio MerieuxFreeze valve and treatment enclosure controlled by at least one such valve
US5993634A (en)1995-05-091999-11-30Curagen CorporationApparatus and method for the generation, separation, detection, and recognition of biopolymer fragments
US5603351A (en)1995-06-071997-02-18David Sarnoff Research Center, Inc.Method and system for inhibiting cross-contamination in fluids of combinatorial chemistry device
US5849208A (en)*1995-09-071998-12-15Microfab Technoologies, Inc.Making apparatus for conducting biochemical analyses
US5662143A (en)*1996-05-161997-09-02Gasonics InternationalModular gas box system
US6344325B1 (en)1996-09-252002-02-05California Institute Of TechnologyMethods for analysis and sorting of polynucleotides
US6149123A (en)1996-09-272000-11-21Redwood Microsystems, Inc.Integrated electrically operable micro-valve
US6540895B1 (en)1997-09-232003-04-01California Institute Of TechnologyMicrofabricated cell sorter for chemical and biological materials
US6007302A (en)1997-10-061999-12-28The Aerospace CorporationMechanical valve having n-type and p-type thermoelectric elements for heating and cooling a fluid between an inlet and an outlet in a fluid pump
US5975856A (en)1997-10-061999-11-02The Aerospace CorporationMethod of pumping a fluid through a micromechanical valve having N-type and P-type thermoelectric elements for heating and cooling a fluid between an inlet and an outlet
US6100463A (en)1997-11-182000-08-08The Boeing CompanyMethod for making advanced thermoelectric devices
US6857449B1 (en)1998-01-202005-02-22Caliper Life Sciences, Inc.Multi-layer microfluidic devices
US6311713B1 (en)1998-06-222001-11-06Niilo KaartinenFreeze valve
US6086740A (en)1998-10-292000-07-11Caliper Technologies Corp.Multiplexed microfluidic devices and systems
US6283718B1 (en)1999-01-282001-09-04John Hopkins UniversityBubble based micropump
US6328070B2 (en)*1999-03-012001-12-11Abb Offshore Systems Inc.Valve arrangement for controlling hydraulic fluid flow to a subsea system
US6349740B1 (en)*1999-04-082002-02-26Abbott LaboratoriesMonolithic high performance miniature flow control unit
US6793753B2 (en)1999-06-282004-09-21California Institute Of TechnologyMethod of making a microfabricated elastomeric valve
US20030019833A1 (en)1999-06-282003-01-30California Institute Of TechnologyMicrofabricated elastomeric valve and pump systems
US6408878B2 (en)1999-06-282002-06-25California Institute Of TechnologyMicrofabricated elastomeric valve and pump systems
US20020029814A1 (en)1999-06-282002-03-14Marc UngerMicrofabricated elastomeric valve and pump systems
US20020007858A1 (en)*1999-06-282002-01-24Yang XuStream switching system
US20020144738A1 (en)1999-06-282002-10-10California Institute Of TechnologyMicrofabricated elastomeric valve and pump systems
US6282907B1 (en)1999-12-092001-09-04International Business Machines CorporationThermoelectric cooling apparatus and method for maximizing energy transport
US20040248167A1 (en)2000-06-052004-12-09Quake Stephen R.Integrated active flux microfluidic devices and methods
US6767706B2 (en)2000-06-052004-07-27California Institute Of TechnologyIntegrated active flux microfluidic devices and methods
US20030061687A1 (en)2000-06-272003-04-03California Institute Of Technology, A California CorporationHigh throughput screening of crystallization materials
US20030089865A1 (en)2000-08-232003-05-15Eldridge Jerome M.Small scale actuators and methods for their formation and use
US6561479B1 (en)2000-08-232003-05-13Micron Technology, Inc.Small scale actuators and methods for their formation and use
US20040084647A1 (en)2000-09-202004-05-06Josef BedenValve
US20020127736A1 (en)2000-10-032002-09-12California Institute Of TechnologyMicrofluidic devices and methods of use
US7216660B2 (en)2000-11-022007-05-15Princeton UniversityMethod and device for controlling liquid flow on the surface of a microfluidic chip
US20020150683A1 (en)2000-11-022002-10-17Troian Sandra M.Method and device for controlling liquid flow on the surface of a microfluidic chip
US6619311B2 (en)2000-11-062003-09-16Nanostream, Inc.Microfluidic regulating device
US20020166585A1 (en)*2000-11-062002-11-14Nanostream, Inc.Microfluidic regulating device
US6521188B1 (en)2000-11-222003-02-18Industrial Technology Research InstituteMicrofluidic actuator
US6467275B1 (en)2000-12-072002-10-22International Business Machines CorporationCold point design for efficient thermoelectric coolers
US6382254B1 (en)2000-12-122002-05-07Eastman Kodak CompanyMicrofluidic valve and method for controlling the flow of a liquid
US6453928B1 (en)*2001-01-082002-09-24Nanolab Ltd.Apparatus, and method for propelling fluids
US20020124879A1 (en)*2001-01-082002-09-12Shay KaplanApparatus, and method for propelling fluids
US6536476B2 (en)2001-01-222003-03-25National Institute Of Advanced Industrial Science And TechnologyFlow rate-controlling method and microvalve therefor
US20020148234A1 (en)2001-02-092002-10-17Bell Lon E.Efficiency thermoelectrics utilizing convective heat flow
US6959555B2 (en)2001-02-092005-11-01Bsst LlcHigh power density thermoelectric systems
US6637210B2 (en)2001-02-092003-10-28Bsst LlcThermoelectric transient cooling and heating systems
US20020143437A1 (en)2001-03-282002-10-03Kalyan HandiqueMethods and systems for control of microfluidic devices
US20030096310A1 (en)2001-04-062003-05-22California Institute Of TechnologyMicrofluidic free interface diffusion techniques
US20030008308A1 (en)2001-04-062003-01-09California Institute Of TechnologyNucleic acid amplification utilizing microfluidic devices
US20040115731A1 (en)2001-04-062004-06-17California Institute Of TechnologyMicrofluidic protein crystallography
US20020145231A1 (en)2001-04-062002-10-10Quake Stephen R.High throughput screening of crystallization of materials
US6981522B2 (en)2001-06-072006-01-03Nanostream, Inc.Microfluidic devices with distributing inputs
US6880576B2 (en)2001-06-072005-04-19Nanostream, Inc.Microfluidic devices for methods development
US6575188B2 (en)2001-07-262003-06-10Handylab, Inc.Methods and systems for fluid control in microfluidic devices
US20030019522A1 (en)2001-07-262003-01-30Gene ParunakMethods and systems for fluid control in microfluidic devices
US20030080442A1 (en)2001-08-302003-05-01Fluidigm Corp.Electrostatic/electrostrictive actuation of elastomer structures using compliant electrodes
US20050260081A1 (en)2001-08-312005-11-24Kabushiki Kaisha ToshibaVacuum pumping system and method for monitoring of the same
US6557575B1 (en)2001-11-192003-05-06Waters Investments LimitedFluid flow control freeze/thaw valve for narrow bore capillaries or microfluidic devices
US20030106799A1 (en)2001-12-062003-06-12Nanostream, IncAdhesiveless microfluidic device fabrication
US20030152463A1 (en)2001-12-212003-08-14Michael ShulerSelf priming micropump
US6599098B2 (en)2001-12-312003-07-29Industrial Technology Research InstituteThermolysis reaction actuating pump
US20040073175A1 (en)2002-01-072004-04-15Jacobson James D.Infusion system
US6658860B2 (en)2002-02-152003-12-09Mcgrew Stephen P.Counter-flow heat pump
US6598403B1 (en)2002-04-112003-07-29International Business Machines CorporationNanoscopic thermoelectric refrigerators
US6877528B2 (en)*2002-04-172005-04-12Cytonome, Inc.Microfluidic system including a bubble valve for regulating fluid flow through a microchannel
US7008193B2 (en)2002-05-132006-03-07The Regents Of The University Of MichiganMicropump assembly for a microgas chromatograph and the like
US20030231967A1 (en)2002-05-132003-12-18Khalil NajafiMicropump assembly for a microgas chromatograph and the like
US6679279B1 (en)2002-07-102004-01-20Motorola, Inc.Fluidic valve having a bi-phase valve element
US20040179975A1 (en)2002-07-262004-09-16Cox David M.Microfluidic device including displaceable material trap, and system
US7241421B2 (en)2002-09-272007-07-10Ast Management Inc.Miniaturized fluid delivery and analysis system
US20040086871A1 (en)*2002-10-312004-05-06Schembri Carol T.Test strips including flexible array substrates and method of hybridization
US20040219732A1 (en)2002-11-042004-11-04The Regents Of The University Of MichiganThermal micro-valves for micro-integrated devices
US7195036B2 (en)2002-11-042007-03-27The Regents Of The University Of MichiganThermal micro-valves for micro-integrated devices
US7128081B2 (en)2002-12-092006-10-31Waters Investments LimitedPeltier based freeze-thaw valves and method of use
US20050249607A1 (en)2004-05-102005-11-10Klee Matthew SApparatus and method for pumping microfluidic devices
US20050247357A1 (en)2004-05-102005-11-10Welle Richard PMicrofluidic valve apparatuses with separable actuation and fluid-bearing modules
US20050247356A1 (en)2004-05-102005-11-10Welle Richard PPhase-change valve apparatuses
US20070227592A1 (en)2004-05-102007-10-04E2V Biosensors LimitedValve for a Microfluidic Device
US20050284526A1 (en)2004-06-242005-12-29The Aerospace CorporationElectro-hydraulic valve apparatuses
US20050284511A1 (en)2004-06-242005-12-29The Aerospace CorporationFast acting valve apparatuses
US20050284527A1 (en)2004-06-242005-12-29The Aerospace CorporationElectro-hydraulic devices

Non-Patent Citations (2)

* Cited by examiner, † Cited by third party
Title
Ozaki, "Pumping mechanism using periodic phase changes of a fluid," Micro Electro Mechanical Systems, 1995, MEMS '95, Proceedings, IEEE, 31-36 (Jan. 29-Feb. 2, 1995).
W. Y. Sim, et al., "A phase-change type micropump with aluminum flap valves," J. Micromech. Microeng., 13 (2003) 286-294 (published Jan. 29, 2003).

Cited By (7)

* Cited by examiner, † Cited by third party
Publication numberPriority datePublication dateAssigneeTitle
US20080230490A1 (en)*2004-05-102008-09-25Welle Richard PMicrofluidic Device for Inducing Separations by Freezing and Associated Method
US20100200093A1 (en)*2004-05-102010-08-12The Aerospace CorporationPhase-Change Valve Apparatuses
US20110210082A9 (en)*2004-05-102011-09-01Welle Richard PMicrofluidic Device for Inducing Separations by Freezing and Associated Method
US8240336B2 (en)2004-05-102012-08-14The Aerospace CorporationPhase-change valve apparatuses
US8642353B2 (en)2004-05-102014-02-04The Aerospace CorporationMicrofluidic device for inducing separations by freezing and associated method
US20100229986A1 (en)*2004-06-242010-09-16The Aerospace CorporationFast Acting Valve Apparatuses
US8156964B2 (en)2004-06-242012-04-17The Aerospace CorporationFast acting valve apparatuses

Also Published As

Publication numberPublication date
US20050247356A1 (en)2005-11-10
US20100200093A1 (en)2010-08-12
US7694694B2 (en)2010-04-13
US20050247357A1 (en)2005-11-10
US7757716B2 (en)2010-07-20
US8245731B2 (en)2012-08-21
US20050247358A1 (en)2005-11-10
WO2005111434A2 (en)2005-11-24
US20110100495A1 (en)2011-05-05
WO2005111434A3 (en)2007-10-18
US8240336B2 (en)2012-08-14

Similar Documents

PublicationPublication DateTitle
US7757717B2 (en)Microfluidic devices with separable actuation and fluid-bearing modules
US8066031B2 (en)Electro-hydraulic devices
US7650910B2 (en)Electro-hydraulic valve apparatuses
Jiang et al.Closed-loop electroosmotic microchannel cooling system for VLSI circuits
Ogden et al.Review on miniaturized paraffin phase change actuators, valves, and pumps
KR100610908B1 (en) Electrically operated integrated microvalve
US8156964B2 (en)Fast acting valve apparatuses
US6994314B2 (en)Valves activated by electrically active polymers or by shape-memory materials, device containing same and method for using same
EP3153750B1 (en)Shape memory alloy actuated valve assembly
US20040013536A1 (en)Micro-fluidic pump
US20120207625A1 (en)Thermally driven knudsen pump
Megnin et al.Shape memory alloy based controllable multi-port microvalve
Anderson et al.Thermally-actuated microfluidic systems
WO2005111755A2 (en)Microfluidic valve apparatuses with separable actuation and fluid-bearing modules
WO2005111435A2 (en)Microfluidic devices with separable actuation and fluid-bearing modules
Neumann et al.Design and characterization of a platform for thermal actuation of up to 588 microfluidic valves
JP5550014B2 (en) Micropump and liquid feed control device
Welle et al.Peltier-actuated microvalve performance optimization
CA2420948A1 (en)Micro-fluidic pump
KulkarniDesign, Fabrication and Testing of an Electrically Controlled Microfluidic Capillary Microvalve Based on Hydrophobicity
LiuBubble-actuated microfluidic switch
LiuBubble Actuated Microfluidic Switch
Cui et al.The study on MEMS-based micro pump technology
TW200410896A (en)Configurable micro flowguide device

Legal Events

DateCodeTitleDescription
ASAssignment

Owner name:AEEROSPACE CORPORATION, THE, CALIFORNIA

Free format text:ASSIGNMENT OF ASSIGNORS INTEREST;ASSIGNOR:WELLE, RICHARD P.;REEL/FRAME:015524/0802

Effective date:20040624

STCFInformation on status: patent grant

Free format text:PATENTED CASE

FPAYFee payment

Year of fee payment:4

FEPPFee payment procedure

Free format text:MAINTENANCE FEE REMINDER MAILED (ORIGINAL EVENT CODE: REM.)

FEPPFee payment procedure

Free format text:7.5 YR SURCHARGE - LATE PMT W/IN 6 MO, SMALL ENTITY (ORIGINAL EVENT CODE: M2555)

MAFPMaintenance fee payment

Free format text:PAYMENT OF MAINTENANCE FEE, 8TH YR, SMALL ENTITY (ORIGINAL EVENT CODE: M2552)

Year of fee payment:8

FEPPFee payment procedure

Free format text:MAINTENANCE FEE REMINDER MAILED (ORIGINAL EVENT CODE: REM.); ENTITY STATUS OF PATENT OWNER: SMALL ENTITY

LAPSLapse for failure to pay maintenance fees

Free format text:PATENT EXPIRED FOR FAILURE TO PAY MAINTENANCE FEES (ORIGINAL EVENT CODE: EXP.); ENTITY STATUS OF PATENT OWNER: SMALL ENTITY

STCHInformation on status: patent discontinuation

Free format text:PATENT EXPIRED DUE TO NONPAYMENT OF MAINTENANCE FEES UNDER 37 CFR 1.362

FPLapsed due to failure to pay maintenance fee

Effective date:20220720


[8]ページ先頭

©2009-2025 Movatter.jp