
















| TABLE 1 | |
| Feature Type | Definition |
| Tool Bars | Horizontal command containers above the document |
| area. | |
| Accelerators | Keyboard shortcuts for commands |
| Menu Items | Pop-up or drop-down menu choices that third parties can |
| add to well-known, named menu attachments in the | |
| platform | |
| Themes | A data-driven way to provide overrides for well-known |
| resources of the platform, such as default buttons or | |
| default style sheet | |
| TABLE 2 | |
| Feature Type | Definition |
| Services | Services are objects that extend existing objects (such as |
| the application, window, or document) in the application | |
| or platform's Object Model. For example, editing | |
| functions use Object Model Attachments attached to the | |
| window or document that maintain document context | |
| and editing state per-window. These can also include | |
| Object Model Attachments attached to the application | |
| (such as a spellchecker dictionary object) | |
| TABLE 3 | |
| Feature Type | Definition |
| Content Classes | Allow extension writers to define new types of XML |
| documents with new schemas. | |
| Offline Data | Allow for extension writers to define store replication |
| Sources | instructions in an EDF. |
| TABLE 4 | |
| Attribute | Definition |
| urn | ID for the extension. It allows extension writers to specify |
| relative locations for content in EDFs without using relative | |
| paths or fixed URLs. It also allows hosting administrators | |
| to move around extensions on servers without breaking | |
| any links. | |
| name | Name that can be used in a status bar or message display |
| version | Vendor-determined version number for the extension. |
| lastUpdate | Date/time that the EDF was last modified. |
| description | Brief description of the extension. |
| Where | ||||
| When | stored on | |||
| Group name | downloaded | the client | Packaging | Content |
| Required | Downloaded before any | NetDocs | All required | DLLs included so that |
| other files in the | package | files in an | a user will not have to | |
| extension. | cache | extension are | wait for a prolonged | |
| packaged | period of time before | |||
| together as a | clicking on a UI | |||
| CAB* file. | element | |||
| Offline | Offline files start getting | NetDocs | File are sent | Bulk of the UI files. |
| downloaded as soon as | package | down | ||
| Required are down. | cache | individually. | ||
| Providing the user stays | ||||
| on line long enough, | ||||
| these files will all get | ||||
| downloaded and will | ||||
| later be available for | ||||
| offline use. | ||||
| On demand | Only downloaded when | NetDocs | Files are sent | To avoid using up disk |
| they are requested for | package | down | space on the client, | |
| the first time. | cache | individually. | advanced features can | |
| be put in this category. | ||||
| Online only | Downloaded on | WinInet | Files are sent | Content that is not to |
| demand. Content is | Cache | down | be provided offline. | |
| only available when the | individually | Examples include help | ||
| user is online. | pages and other | |||
| content that can | ||||
| consume a large | ||||
| amount of disk space. | ||||
| *CAB stands for the CABinet technology that Internet Explorer uses to package bits for download. CAB files average from 2 to 3:1 compression, and are optimized for quick expansion. CAB files have the added security benefit that they are easily signed. | ||||
| <?xml version=”1.0”?> | ||
| <Package> | ||
| <Files> |
| <Group Name= “required”> |
| <File Name = “bar.dll”/> | |
| <File Name = “foo.dll”/> |
| <Dependencies> |
| <File Name= “bar.dll”/> |
| </Dependencies> |
| </File> | |
| <File Name= “myextension.edf”/> | |
| <File Name= “errorhandling.gif”> |
| </Group> ... |
| </Files> |
| </Package> | ||
| Attribute | Type | Required | Description |
| extensionURN | uri | Y | Identifier for an extension. |
| There may be more than one | |||
| entry for a given extension | |||
| urn in a single catalog | |||
| representing different | |||
| versions, languages, etc. | |||
| name | String | N | Friendly name for an |
| extension. | |||
| packageURN | uri | Y | Required urn for the package. |
| Package urn corresponds to a | |||
| discrete set of bits. It is | |||
| different from the extension | |||
| urn: For each user, the | |||
| extension urn (name) | |||
| corresponds to a specific set | |||
| of files based upon language | |||
| preferences and version. This | |||
| means that, for shared | |||
| machines, different users may | |||
| have different extensionURN | |||
| to packageURN maps based | |||
| upon their preferences. | |||
| packageURL | uri | Y | url of the digitally signed |
| compressed file containing | |||
| the PKG file is required. | |||
| language | String | N | Language is an optional |
| language specifier. | |||
| version | String | N | Version is an optional version |
| specifier | |||
| defaultLanguage | String | N | DefaultLanguage is an |
| optional attribute specifying | |||
| the default language package. | |||
| For a given version of an | |||
| extension, there should be | |||
| only one entry with | |||
| DefaultLanguage attribute. | |||
| defaultVersion | String | N | DefaultVersion is an optional |
| attribute specifying default | |||
| version for an extension. For | |||
| a given extension urn and | |||
| language attribute there | |||
| should be only one entry with | |||
| DefaultVersion attribute. | |||
| <edf:extension name= “retail extension” urn= “extension.retail.com”> |
| <edf:menus> |
| <edf:menuurl= “url1.htm”/> | |
| <edf:menuurl= “url2.htm”/> |
| </edf:menus> | |
| <edf:toolbars> |
| <edf:toolbarurl= “url3.htm”/> |
| </edf:toolbars> |
| </edf:/extension> |
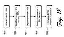
| Attachment Point | Purpose | ||
| URL | Loads the URL and exposes the top | ||
| level XML node as a member of the | |||
| collection | |||
| Context | For every member, it gets the | ||
| “expression” attribute and binds to it. If | |||
| the expression evaluates to true, then | |||
| the member is exposed. | |||
| EDF | Same as the URL AP, but also exposes a | ||
| fabricated member with data to create | |||
| an APP based on the URL and URN | |||
| (which exists in the XML DOM). | |||
| Merge | Takes zero or more Attachment Points | ||
| (of any type) and merges them together. | |||
| The order and continuity of the original | |||
| collections will be maintained. | |||
| Filter | Monitors a single Attachment Point and | ||
| only exposes those nodes that match the | |||
| specified name. The order of the | |||
| original collection will be maintained. | |||
| Duplicate | Monitors a single Attachment Point and | ||
| filters out any duplicates. A duplicate is | |||
| defined to be having the same URN | |||
| attribute. If no URN attribute is present | |||
| then the node is exposed. Order of the | |||
| original collection will be maintained. | |||
| Explode | Monitors a single Attachment Point and | ||
| for every member exposes the children | |||
| of that member as its members. The | |||
| order of the original collection will be | |||
| maintained as well as the order of the | |||
| children within the nodes. | |||
| Link | Monitors a single Attachment Point and | ||
| for every member looks for a URL | |||
| attribute and creates a URL AP and | |||
| merges it into itself. If the optional | |||
| include Content is set to true, it will | |||
| merge the original collection in as well. | |||
| Order | Monitors a single Attachment Point. | ||
| For every member, it gets three | |||
| attributes: id, before and after. Based | |||
| on this information, it reorders the | |||
| members as specified. If no ordering | |||
| information is supplied, the order of the | |||
| original collection will be maintained. | |||
| EDFHub | This Attachment Point is the central | ||
| merge point that represents all the EDF | |||
| points. | |||
| Application Number | Priority Date | Filing Date | Title |
|---|---|---|---|
| US10/953,933US7392522B2 (en) | 2000-06-21 | 2004-09-29 | Architectures for and methods of providing network-based software extensions |
| Application Number | Priority Date | Filing Date | Title |
|---|---|---|---|
| US09/599,812US6874143B1 (en) | 2000-06-21 | 2000-06-21 | Architectures for and methods of providing network-based software extensions |
| US10/953,933US7392522B2 (en) | 2000-06-21 | 2004-09-29 | Architectures for and methods of providing network-based software extensions |
| Application Number | Title | Priority Date | Filing Date |
|---|---|---|---|
| US09/599,812ContinuationUS6874143B1 (en) | 2000-06-21 | 2000-06-21 | Architectures for and methods of providing network-based software extensions |
| Publication Number | Publication Date |
|---|---|
| US20050044524A1 US20050044524A1 (en) | 2005-02-24 |
| US7392522B2true US7392522B2 (en) | 2008-06-24 |
| Application Number | Title | Priority Date | Filing Date |
|---|---|---|---|
| US09/599,812Expired - LifetimeUS6874143B1 (en) | 2000-06-21 | 2000-06-21 | Architectures for and methods of providing network-based software extensions |
| US10/953,933Expired - Fee RelatedUS7392522B2 (en) | 2000-06-21 | 2004-09-29 | Architectures for and methods of providing network-based software extensions |
| Application Number | Title | Priority Date | Filing Date |
|---|---|---|---|
| US09/599,812Expired - LifetimeUS6874143B1 (en) | 2000-06-21 | 2000-06-21 | Architectures for and methods of providing network-based software extensions |
| Country | Link |
|---|---|
| US (2) | US6874143B1 (en) |
| Publication number | Priority date | Publication date | Assignee | Title |
|---|---|---|---|---|
| US20040268344A1 (en)* | 2001-03-08 | 2004-12-30 | Sridhar Obilisetty | Centrally managed and distributed applications |
| US20060048146A1 (en)* | 2004-08-24 | 2006-03-02 | Lg Electronics Inc. | Forcibly downloading program in mobile communications terminal |
| US20070130197A1 (en)* | 2005-12-02 | 2007-06-07 | Guard Insurance Group | System and method to track the status, physical location, and logical location of workflow objects in a workflow cycle |
| US20070192339A1 (en)* | 2006-01-30 | 2007-08-16 | International Business Machines Corporation | Extensible user interface framework for a componentized application environment |
| US20070261066A1 (en)* | 2006-04-21 | 2007-11-08 | Hiroyuki Miyamoto | Method and system for extension registry filtering |
| US20070277170A1 (en)* | 2006-05-25 | 2007-11-29 | International Business Machines Corporation | Merger driven application installation |
| US20080127055A1 (en)* | 2006-09-07 | 2008-05-29 | Microsoft Corporation | Application proxy |
| US20080127053A1 (en)* | 2006-09-07 | 2008-05-29 | Microsoft Corporation | Controlling application features |
| US20080127054A1 (en)* | 2006-09-07 | 2008-05-29 | Microsoft Corporation | Connecting with an application instance |
| US20090119661A1 (en)* | 2007-11-06 | 2009-05-07 | Bernoth Andrew J | Method and System for Providing a Filter for a Router |
| US20100037217A1 (en)* | 2008-08-07 | 2010-02-11 | International Business Machines Corporation | Computer program product for evaluating the workloads of installation plans in quantity by building a pre-requisite relation knowledge-base |
| US7721281B1 (en)* | 2005-07-01 | 2010-05-18 | Cisco Technology, Inc. | Methods and apparatus for securing local application execution |
| US20100257518A1 (en)* | 2009-04-02 | 2010-10-07 | International Business Machines Corporation | Automatically recommending an upgrade approach for a customizable software product |
| US20110173560A1 (en)* | 2003-03-28 | 2011-07-14 | Microsoft Corporation | Electronic Form User Interfaces |
| US20120268463A1 (en)* | 2009-11-24 | 2012-10-25 | Ice Edge Business Solutions | Securely sharing design renderings over a network |
| US20130080878A1 (en)* | 2007-10-26 | 2013-03-28 | International Business Machines Corporation | System for Processing Mixed-Format Files |
| US20140173582A1 (en)* | 2006-10-03 | 2014-06-19 | Salesforce. Com, Inc. | Methods and systems for upgrading and installing application packages to an application platform |
| US8892993B2 (en) | 2003-08-01 | 2014-11-18 | Microsoft Corporation | Translation file |
| US8918729B2 (en) | 2003-03-24 | 2014-12-23 | Microsoft Corporation | Designing electronic forms |
| US9189571B2 (en) | 2011-06-11 | 2015-11-17 | Ice Edge Business Solutions, Ltd. | Automated re-use of structural components |
| US9210234B2 (en) | 2005-12-05 | 2015-12-08 | Microsoft Technology Licensing, Llc | Enabling electronic documents for limited-capability computing devices |
| US20160034266A1 (en)* | 2012-03-27 | 2016-02-04 | Microsoft Technology Licensing, Llc | Dynamic plugin(s) for cloud application(s) |
| US9268760B2 (en) | 2003-08-06 | 2016-02-23 | Microsoft Technology Licensing, Llc | Correlation, association, or correspondence of electronic forms |
| US9519407B2 (en) | 2008-03-11 | 2016-12-13 | Ice Edge Business Solutions, Ltd. | Automatically creating and modifying furniture layouts in design software |
| US9536340B2 (en) | 2004-08-17 | 2017-01-03 | Dirtt Environmental Solutions, Ltd. | Software incorporating efficient 3-D rendering |
| US10469473B2 (en)* | 2016-08-31 | 2019-11-05 | Hewlett Packard Enterprise Development Lp | Network authentication system extensions |
| US10970084B2 (en)* | 2018-05-16 | 2021-04-06 | Sage (Uk) Ltd. | Application deployment |
| US11416235B2 (en)* | 2017-09-28 | 2022-08-16 | Oracle International Corporation | System and method for managed server independence for deployment of software applications and libraries |
| Publication number | Priority date | Publication date | Assignee | Title |
|---|---|---|---|---|
| US6425126B1 (en)* | 1999-05-19 | 2002-07-23 | International Business Machines Corporation | Apparatus and method for synchronizing software between computers |
| US7770102B1 (en) | 2000-06-06 | 2010-08-03 | Microsoft Corporation | Method and system for semantically labeling strings and providing actions based on semantically labeled strings |
| US7712024B2 (en) | 2000-06-06 | 2010-05-04 | Microsoft Corporation | Application program interfaces for semantically labeling strings and providing actions based on semantically labeled strings |
| US7788602B2 (en)* | 2000-06-06 | 2010-08-31 | Microsoft Corporation | Method and system for providing restricted actions for recognized semantic categories |
| US7716163B2 (en) | 2000-06-06 | 2010-05-11 | Microsoft Corporation | Method and system for defining semantic categories and actions |
| US7421645B2 (en) | 2000-06-06 | 2008-09-02 | Microsoft Corporation | Method and system for providing electronic commerce actions based on semantically labeled strings |
| US7624356B1 (en) | 2000-06-21 | 2009-11-24 | Microsoft Corporation | Task-sensitive methods and systems for displaying command sets |
| US6883168B1 (en) | 2000-06-21 | 2005-04-19 | Microsoft Corporation | Methods, systems, architectures and data structures for delivering software via a network |
| US7000230B1 (en) | 2000-06-21 | 2006-02-14 | Microsoft Corporation | Network-based software extensions |
| US7890947B2 (en)* | 2000-10-13 | 2011-02-15 | Sony Corporation | System, method and apparatus for embedded firmware code update |
| US7003551B2 (en)* | 2000-11-30 | 2006-02-21 | Bellsouth Intellectual Property Corp. | Method and apparatus for minimizing storage of common attachment files in an e-mail communications server |
| US7797431B2 (en)* | 2001-02-09 | 2010-09-14 | Willard Case | Enhanced data exchange and functionality control system and method |
| US7249190B2 (en)* | 2001-02-09 | 2007-07-24 | Comlet Technologies, Llc. | Enhanced data exchange and presentation/communication system |
| JP2002318692A (en)* | 2001-04-19 | 2002-10-31 | Sony Corp | Installation support system, installation support device, installation support method, program for supporting installation and recording medium in which the same program is recorded |
| US7778816B2 (en)* | 2001-04-24 | 2010-08-17 | Microsoft Corporation | Method and system for applying input mode bias |
| JP4165796B2 (en)* | 2001-08-15 | 2008-10-15 | 株式会社スクウェア・エニックス | Client, data download method, program, and recording medium |
| US7552222B2 (en) | 2001-10-18 | 2009-06-23 | Bea Systems, Inc. | Single system user identity |
| US7546606B2 (en)* | 2001-10-18 | 2009-06-09 | Bea Systems, Inc. | System and method using a connector architecture for application integration |
| US7137004B2 (en) | 2001-11-16 | 2006-11-14 | Microsoft Corporation | Manifest-based trusted agent management in a trusted operating system environment |
| AU2002366938A1 (en)* | 2001-12-14 | 2003-07-09 | Spl Innotech Pte Ltd. | System, method and apparatus for multimedia display |
| US7000228B2 (en)* | 2002-01-17 | 2006-02-14 | Sun Microsystems, Inc. | Online upgrade of container-based software components |
| JP3932477B2 (en)* | 2002-01-29 | 2007-06-20 | ソニー株式会社 | Information processing system, information processing apparatus and method, and program |
| US7516447B2 (en) | 2002-02-22 | 2009-04-07 | Bea Systems, Inc. | Methods and apparatus for building, customizing and using software abstractions of external entities |
| US7640504B2 (en)* | 2002-04-22 | 2009-12-29 | Hewlett-Packard Development Company, L.P. | Method and system for exporting menu objects to a peripheral using a direct data entry structure |
| US7155438B2 (en) | 2002-05-01 | 2006-12-26 | Bea Systems, Inc. | High availability for event forwarding |
| US20040078440A1 (en)* | 2002-05-01 | 2004-04-22 | Tim Potter | High availability event topic |
| US7257645B2 (en) | 2002-05-01 | 2007-08-14 | Bea Systems, Inc. | System and method for storing large messages |
| US8135772B2 (en)* | 2002-05-01 | 2012-03-13 | Oracle International Corporation | Single servlets for B2B message routing |
| US7526519B2 (en)* | 2002-05-01 | 2009-04-28 | Bea Systems, Inc. | High availability application view deployment |
| US7424717B2 (en) | 2002-05-01 | 2008-09-09 | Bea Systems, Inc. | Systems and methods for business process plug-in development |
| US7676538B2 (en) | 2002-05-02 | 2010-03-09 | Bea Systems, Inc. | Systems and methods for application view transactions |
| US7222148B2 (en) | 2002-05-02 | 2007-05-22 | Bea Systems, Inc. | System and method for providing highly available processing of asynchronous service requests |
| US7484224B2 (en)* | 2002-05-02 | 2009-01-27 | Bae Systems, Inc. | Adapter deployment without recycle |
| US7493628B2 (en) | 2002-05-02 | 2009-02-17 | Bea Systems, Inc. | Shared common connection factory |
| US7325194B2 (en) | 2002-05-07 | 2008-01-29 | Microsoft Corporation | Method, system, and apparatus for converting numbers between measurement systems based upon semantically labeled strings |
| US7707496B1 (en) | 2002-05-09 | 2010-04-27 | Microsoft Corporation | Method, system, and apparatus for converting dates between calendars and languages based upon semantically labeled strings |
| US7707024B2 (en)* | 2002-05-23 | 2010-04-27 | Microsoft Corporation | Method, system, and apparatus for converting currency values based upon semantically labeled strings |
| US7742048B1 (en) | 2002-05-23 | 2010-06-22 | Microsoft Corporation | Method, system, and apparatus for converting numbers based upon semantically labeled strings |
| US7281245B2 (en)* | 2002-06-05 | 2007-10-09 | Microsoft Corporation | Mechanism for downloading software components from a remote source for use by a local software application |
| US7827546B1 (en)* | 2002-06-05 | 2010-11-02 | Microsoft Corporation | Mechanism for downloading software components from a remote source for use by a local software application |
| US7356537B2 (en) | 2002-06-06 | 2008-04-08 | Microsoft Corporation | Providing contextually sensitive tools and help content in computer-generated documents |
| US7716676B2 (en) | 2002-06-25 | 2010-05-11 | Microsoft Corporation | System and method for issuing a message to a program |
| US7392479B2 (en) | 2002-06-27 | 2008-06-24 | Microsoft Corporation | System and method for providing namespace related information |
| US7209915B1 (en) | 2002-06-28 | 2007-04-24 | Microsoft Corporation | Method, system and apparatus for routing a query to one or more providers |
| EP1395006B1 (en)* | 2002-08-29 | 2007-02-21 | Hewlett-Packard Company | Method and apparatus for data distribution through a network |
| US7263697B2 (en)* | 2003-01-17 | 2007-08-28 | Sap Aktiengesellschaft | Composite computer program extensions |
| US7783614B2 (en)* | 2003-02-13 | 2010-08-24 | Microsoft Corporation | Linking elements of a document to corresponding fields, queries and/or procedures in a database |
| US7774697B2 (en) | 2003-02-25 | 2010-08-10 | Bea Systems, Inc. | System and method for structuring distributed applications |
| US7584474B2 (en) | 2003-02-25 | 2009-09-01 | Bea Systems, Inc. | Systems and methods for transaction chaining |
| US7293038B2 (en)* | 2003-02-25 | 2007-11-06 | Bea Systems, Inc. | Systems and methods for client-side filtering of subscribed messages |
| US20050022164A1 (en)* | 2003-02-25 | 2005-01-27 | Bea Systems, Inc. | Systems and methods utilizing a workflow definition language |
| US7539985B2 (en)* | 2003-02-26 | 2009-05-26 | Bea Systems, Inc. | Systems and methods for dynamic component versioning |
| US7650276B2 (en) | 2003-02-26 | 2010-01-19 | Bea Systems, Inc. | System and method for dynamic data binding in distributed applications |
| US8032860B2 (en)* | 2003-02-26 | 2011-10-04 | Oracle International Corporation | Methods for type-independent source code editing |
| US7707564B2 (en) | 2003-02-26 | 2010-04-27 | Bea Systems, Inc. | Systems and methods for creating network-based software services using source code annotations |
| US20040230955A1 (en)* | 2003-02-26 | 2004-11-18 | Bea Systems, Inc. | System for multi-language debugging |
| US7076772B2 (en)* | 2003-02-26 | 2006-07-11 | Bea Systems, Inc. | System and method for multi-language extensible compiler framework |
| US7636722B2 (en)* | 2003-02-28 | 2009-12-22 | Bea Systems, Inc. | System and method for describing application extensions in XML |
| US7444620B2 (en)* | 2003-02-28 | 2008-10-28 | Bea Systems, Inc. | Systems and methods for a common runtime container framework |
| US20040172584A1 (en)* | 2003-02-28 | 2004-09-02 | Microsoft Corporation | Method and system for enhancing paste functionality of a computer software application |
| US7650592B2 (en) | 2003-03-01 | 2010-01-19 | Bea Systems, Inc. | Systems and methods for multi-view debugging environment |
| US7181739B1 (en)* | 2003-03-14 | 2007-02-20 | Novell, Inc. | Installation relationship database |
| US7275244B1 (en)* | 2003-03-18 | 2007-09-25 | Microsoft Corporation | System and method for incrementally saving web files to a web server using file hash values |
| US20060179431A1 (en)* | 2003-03-19 | 2006-08-10 | Unisys Corporation | Rules-based deployment of computing components |
| US7370066B1 (en) | 2003-03-24 | 2008-05-06 | Microsoft Corporation | System and method for offline editing of data files |
| US7275216B2 (en) | 2003-03-24 | 2007-09-25 | Microsoft Corporation | System and method for designing electronic forms and hierarchical schemas |
| CN101699505B (en) | 2003-04-25 | 2016-02-17 | 苹果公司 | A kind of network media system |
| US20040215534A1 (en) | 2003-04-25 | 2004-10-28 | Apple Computer, Inc. | Method and system for network-based allowance control |
| US7711550B1 (en) | 2003-04-29 | 2010-05-04 | Microsoft Corporation | Methods and system for recognizing names in a computer-generated document and for providing helpful actions associated with recognized names |
| US7558841B2 (en) | 2003-05-14 | 2009-07-07 | Microsoft Corporation | Method, system, and computer-readable medium for communicating results to a data query in a computer network |
| US7222339B2 (en)* | 2003-06-13 | 2007-05-22 | Intel Corporation | Method for distributed update of firmware across a clustered platform infrastructure |
| US7739588B2 (en) | 2003-06-27 | 2010-06-15 | Microsoft Corporation | Leveraging markup language data for semantically labeling text strings and data and for providing actions based on semantically labeled text strings and data |
| US7178102B1 (en) | 2003-12-09 | 2007-02-13 | Microsoft Corporation | Representing latent data in an extensible markup language document |
| US7404195B1 (en) | 2003-12-09 | 2008-07-22 | Microsoft Corporation | Programmable object model for extensible markup language markup in an application |
| US7487515B1 (en) | 2003-12-09 | 2009-02-03 | Microsoft Corporation | Programmable object model for extensible markup language schema validation |
| US7434157B2 (en) | 2003-12-09 | 2008-10-07 | Microsoft Corporation | Programmable object model for namespace or schema library support in a software application |
| US7509573B1 (en) | 2004-02-17 | 2009-03-24 | Microsoft Corporation | Anti-virus security information in an extensible markup language document |
| US20050182617A1 (en)* | 2004-02-17 | 2005-08-18 | Microsoft Corporation | Methods and systems for providing automated actions on recognized text strings in a computer-generated document |
| US7607126B2 (en)* | 2004-05-21 | 2009-10-20 | Bea Systems, Inc. | System and method for external override of annotations |
| US8487879B2 (en) | 2004-10-29 | 2013-07-16 | Microsoft Corporation | Systems and methods for interacting with a computer through handwriting to a screen |
| CN101057230A (en)* | 2004-11-12 | 2007-10-17 | 佳思腾软件公司 | Data processing device, document processing device, and document processing method |
| EP1672486A1 (en)* | 2004-12-15 | 2006-06-21 | Sony Ericsson Mobile Communications AB | Method and device for permitting secure use of program modules |
| US20060199599A1 (en)* | 2005-01-03 | 2006-09-07 | Arun Gupta | Method for setting communication device and communication device thereof |
| US7937651B2 (en) | 2005-01-14 | 2011-05-03 | Microsoft Corporation | Structural editing operations for network forms |
| US20060158023A1 (en)* | 2005-01-14 | 2006-07-20 | The Boler Company | Continuous radius axle and fabricated spindle assembly |
| US7343364B2 (en)* | 2005-02-04 | 2008-03-11 | Efunds Corporation | Rules-based system architecture and systems using the same |
| CN101176079B (en)* | 2005-03-16 | 2011-12-07 | 航空照片技术有限公司 | Method for distributing computing between server and client |
| US7519562B1 (en)* | 2005-03-31 | 2009-04-14 | Amazon Technologies, Inc. | Automatic identification of unreliable user ratings |
| US8010515B2 (en)* | 2005-04-15 | 2011-08-30 | Microsoft Corporation | Query to an electronic form |
| US20070006166A1 (en)* | 2005-06-20 | 2007-01-04 | Seagate Technology Llc | Code coverage for an embedded processor system |
| US8200975B2 (en) | 2005-06-29 | 2012-06-12 | Microsoft Corporation | Digital signatures for network forms |
| US7661074B2 (en)* | 2005-07-01 | 2010-02-09 | Microsoft Corporation | Keyboard accelerator |
| US7992085B2 (en) | 2005-09-26 | 2011-08-02 | Microsoft Corporation | Lightweight reference user interface |
| US7788590B2 (en)* | 2005-09-26 | 2010-08-31 | Microsoft Corporation | Lightweight reference user interface |
| US7730164B1 (en) | 2005-11-23 | 2010-06-01 | Adobe Systems Incorporated | Bootstrap approaches to downloading data in response to a download indication |
| US9286308B2 (en) | 2005-12-22 | 2016-03-15 | Alan Joshua Shapiro | System and method for metadata modification |
| CN101390050B (en) | 2005-12-22 | 2018-04-24 | 艾伦·J·薛比洛 | Apparatus and method for selectively allocating software resources by subtractive installation |
| US20070150889A1 (en) | 2005-12-22 | 2007-06-28 | Shapiro Alan J | Method and apparatus for panoplex generation and gryphing |
| US8108851B2 (en)* | 2006-01-30 | 2012-01-31 | International Business Machines Corporation | External registration for function configuration within a client platform application |
| EP1818820A1 (en)* | 2006-02-03 | 2007-08-15 | Research In Motion Limited | System and method for installing custom services on a component-based application platform |
| CN101018217A (en)* | 2006-02-10 | 2007-08-15 | 朗迅科技公司 | Electronic tray exchange method for the radio network application processor system |
| US20070240134A1 (en)* | 2006-02-28 | 2007-10-11 | Joydeep Buragohain | Software packaging model supporting multiple entity types |
| US8522228B1 (en) | 2006-03-31 | 2013-08-27 | Vmware, Inc. | Updating software on dormant disks |
| US7823145B1 (en)* | 2006-03-31 | 2010-10-26 | Vmware, Inc. | Updating software on dormant disks |
| US8875135B2 (en)* | 2006-04-17 | 2014-10-28 | Cisco Systems, Inc. | Assigning component operations of a task to multiple servers using orchestrated web service proxy |
| US20080209052A1 (en)* | 2007-02-22 | 2008-08-28 | Radialpoint Inc. | System and Method for Delivering Value Added Services from Services Providers |
| US9720671B2 (en)* | 2008-06-17 | 2017-08-01 | Microsoft Technology Licensing, Llc | Installation of customized applications |
| US20090313743A1 (en)* | 2008-06-20 | 2009-12-24 | Craig Jason Hofmeyer | Pants with saggy pants control system |
| US9009082B1 (en) | 2008-06-30 | 2015-04-14 | Amazon Technologies, Inc. | Assessing user-supplied evaluations |
| US8145750B2 (en)* | 2008-11-24 | 2012-03-27 | At&T Intellectual Property I, Lp | Detecting hidden shared dependencies through covert channels |
| US8667483B2 (en)* | 2009-03-25 | 2014-03-04 | Microsoft Corporation | Device dependent on-demand compiling and deployment of mobile applications |
| US20100251099A1 (en)* | 2009-03-26 | 2010-09-30 | David Makower | Schema Validation for Submissions of Digital Assets for Network-Based Distribution |
| US20100299219A1 (en)* | 2009-05-25 | 2010-11-25 | Cortes Ricardo D | Configuration and Management of Add-ons to Digital Application Programs for Network-Based Distribution |
| US9729609B2 (en)* | 2009-08-07 | 2017-08-08 | Apple Inc. | Automatic transport discovery for media submission |
| US8381206B2 (en)* | 2009-12-22 | 2013-02-19 | Sap Ag | System and method for extending computerized applications |
| US9224119B2 (en)* | 2010-02-02 | 2015-12-29 | International Business Machines Corporation | Architecting and defining extensible methods and processes to build hybrid solutions |
| US9053241B2 (en)* | 2010-06-11 | 2015-06-09 | Hewlett-Packard Development Company, L.P. | Scripting application with role identification |
| US8677346B1 (en)* | 2011-09-27 | 2014-03-18 | Symantec Corporation | Providing installer package information to a user |
| US10423719B2 (en)* | 2013-02-19 | 2019-09-24 | International Business Machines Corporation | Dynamic loading of tabular data |
| US9116713B1 (en)* | 2013-03-12 | 2015-08-25 | Emc Corporation | System and method for expression evaluation in a distributed networking environment |
| CN103246533B (en)* | 2013-04-11 | 2017-03-29 | 小米科技有限责任公司 | A kind of method for adding plug-in unit in address list, device and equipment |
| US20140359605A1 (en)* | 2013-05-30 | 2014-12-04 | Microsoft Corporation | Bundle package signing |
| US9323514B2 (en) | 2013-05-30 | 2016-04-26 | Microsoft Technology Licensing, Llc | Resource package indexing |
| US8918775B1 (en)* | 2013-07-12 | 2014-12-23 | Ca, Inc. | Dynamic release control of software application version changes |
| US10599860B2 (en)* | 2014-05-22 | 2020-03-24 | Tata Consultancy Services Limited | Accessing enterprise data |
| US9652214B1 (en)* | 2015-12-18 | 2017-05-16 | Sap Se | Pluggable extension of software applications |
| Publication number | Priority date | Publication date | Assignee | Title |
|---|---|---|---|---|
| US4201978A (en) | 1978-10-19 | 1980-05-06 | NCR Canada Ltd. -- NCR Canada Ltee | Document processing system |
| US4498147A (en) | 1982-11-18 | 1985-02-05 | International Business Machines Corporation | Methodology for transforming a first editable document form prepared with a batch text processing system to a second editable document form usable by an interactive or batch text processing system |
| US4514800A (en) | 1981-05-22 | 1985-04-30 | Data General Corporation | Digital computer system including apparatus for resolving names representing data items and capable of executing instructions belonging to general instruction sets |
| US4564752A (en) | 1982-12-23 | 1986-01-14 | Ncr Canada Ltd | Concurrent, image-based, reject-re-entry system and method |
| US4641274A (en) | 1982-12-03 | 1987-02-03 | International Business Machines Corporation | Method for communicating changes made to text form a text processor to a remote host |
| US4674040A (en) | 1984-12-26 | 1987-06-16 | International Business Machines Corporation | Merging of documents |
| US4723211A (en) | 1984-08-30 | 1988-02-02 | International Business Machines Corp. | Editing of a superblock data structure |
| US4739477A (en) | 1984-08-30 | 1988-04-19 | International Business Machines Corp. | Implicit creation of a superblock data structure |
| JPS6385960U (en) | 1986-11-26 | 1988-06-04 | ||
| US4815029A (en) | 1985-09-23 | 1989-03-21 | International Business Machines Corp. | In-line dynamic editor for mixed object documents |
| US4847749A (en) | 1986-06-13 | 1989-07-11 | International Business Machines Corporation | Job interrupt at predetermined boundary for enhanced recovery |
| US4910663A (en) | 1987-07-10 | 1990-03-20 | Tandem Computers Incorporated | System for measuring program execution by replacing an executable instruction with interrupt causing instruction |
| US4933880A (en) | 1988-06-15 | 1990-06-12 | International Business Machines Corp. | Method for dynamically processing non-text components in compound documents |
| US4962475A (en) | 1984-12-26 | 1990-10-09 | International Business Machines Corporation | Method for generating a document utilizing a plurality of windows associated with different data objects |
| US5025484A (en) | 1987-12-11 | 1991-06-18 | Kabushiki Kaisha Toshiba | Character reader device |
| US5072412A (en) | 1987-03-25 | 1991-12-10 | Xerox Corporation | User interface with multiple workspaces for sharing display system objects |
| US5179703A (en) | 1987-11-17 | 1993-01-12 | International Business Machines Corporation | Dynamically adaptive environment for computer programs |
| US5182709A (en) | 1986-03-31 | 1993-01-26 | Wang Laboratories, Inc. | System for parsing multidimensional and multidirectional text into encoded units and storing each encoded unit as a separate data structure |
| US5187786A (en) | 1991-04-05 | 1993-02-16 | Sun Microsystems, Inc. | Method for apparatus for implementing a class hierarchy of objects in a hierarchical file system |
| US5191645A (en) | 1991-02-28 | 1993-03-02 | Sony Corporation Of America | Digital signal processing system employing icon displays |
| US5195183A (en) | 1989-01-31 | 1993-03-16 | Norand Corporation | Data communication system with communicating and recharging docking apparatus for hand-held data terminal |
| US5204947A (en) | 1990-10-31 | 1993-04-20 | International Business Machines Corporation | Application independent (open) hypermedia enablement services |
| US5206951A (en) | 1987-08-21 | 1993-04-27 | Wang Laboratories, Inc. | Integration of data between typed objects by mutual, direct invocation between object managers corresponding to object types |
| US5218672A (en) | 1990-01-19 | 1993-06-08 | Sony Corporation Of America | Offline editing system with user interface for controlling edit list generation |
| US5222160A (en) | 1989-12-28 | 1993-06-22 | Fujitsu Limited | Document revising system for use with document reading and translating system |
| US5228100A (en) | 1989-07-10 | 1993-07-13 | Hitachi, Ltd. | Method and system for producing from document image a form display with blank fields and a program to input data to the blank fields |
| US5237680A (en) | 1990-09-27 | 1993-08-17 | Sun Microsystems, Inc. | Method for incremental rename propagation between hierarchical file name spaces |
| US5249275A (en) | 1986-04-21 | 1993-09-28 | Texas Instruments Incorporated | Apparatus and method enabling a compiled program to exactly recreate its source code |
| US5274803A (en) | 1991-04-26 | 1993-12-28 | Sun Microsystems, Inc. | Method and apparatus for aligning a restored parent environment to its child environments with minimal data loss |
| US5297249A (en) | 1990-10-31 | 1994-03-22 | International Business Machines Corporation | Hypermedia link marker abstract and search services |
| US5297283A (en) | 1989-06-29 | 1994-03-22 | Digital Equipment Corporation | Object transferring system and method in an object based computer operating system |
| US5313631A (en) | 1991-05-21 | 1994-05-17 | Hewlett-Packard Company | Dual threshold system for immediate or delayed scheduled migration of computer data files |
| US5313646A (en) | 1989-02-24 | 1994-05-17 | Sun Microsystems, Inc. | Method and apparatus for translucent file system |
| US5317686A (en) | 1990-09-10 | 1994-05-31 | Lotus Development Corporation | Data processing apparatus and method for a reformattable multidimensional spreadsheet |
| US5333317A (en) | 1989-12-22 | 1994-07-26 | Bull Hn Information Systems Inc. | Name resolution in a directory database |
| US5339423A (en) | 1989-06-16 | 1994-08-16 | International Business Machines Corporation | System for accessing objects external to an application using tables containing path definitions |
| US5339424A (en) | 1991-04-19 | 1994-08-16 | Mitsubishi Denki Kabushiki Kaisha | System and method for compiling and executing a computer program written in more than one programming language |
| US5341478A (en) | 1990-08-14 | 1994-08-23 | Digital Equipment Corporation | Methods and apparatus for providing dynamic invocation of applications in a distributed heterogeneous environment |
| US5369778A (en) | 1987-08-21 | 1994-11-29 | Wang Laboratories, Inc. | Data processor that customizes program behavior by using a resource retrieval capability |
| US5369766A (en) | 1993-03-25 | 1994-11-29 | Taligent, Inc. | Object-oriented loader system with support for different load formats |
| US5371675A (en) | 1992-06-03 | 1994-12-06 | Lotus Development Corporation | Spreadsheet program which implements alternative range references |
| US5377323A (en) | 1991-09-13 | 1994-12-27 | Sun Microsytems, Inc. | Apparatus and method for a federated naming system which can resolve a composite name composed of names from any number of disparate naming systems |
| US5379419A (en) | 1990-12-07 | 1995-01-03 | Digital Equipment Corporation | Methods and apparatus for accesssing non-relational data files using relational queries |
| US5381547A (en) | 1989-11-29 | 1995-01-10 | Siemens Aktiengesellschaft | Method for dynamically linking definable program elements of an interactive data processing system |
| US5390325A (en) | 1992-12-23 | 1995-02-14 | Taligent, Inc. | Automated testing system |
| US5396623A (en) | 1992-10-30 | 1995-03-07 | Bmc Software Inc. | Method for editing the contents of a DB2 table using an editproc manager |
| US5408665A (en) | 1993-04-30 | 1995-04-18 | Borland International, Inc. | System and methods for linking compiled code with extended dictionary support |
| US5410688A (en) | 1989-07-21 | 1995-04-25 | Hewlett-Packard Company | Distributed object based systems for communicating object data among different storage domains |
| US5410646A (en) | 1991-01-31 | 1995-04-25 | Park City Group, Inc. | System and method for creating, processing, and storing forms electronically |
| US5412772A (en) | 1992-10-13 | 1995-05-02 | Novell, Inc. | System for permitting a view of an object or a user interface to be exchanged between operating system environments |
| US5434975A (en) | 1992-09-24 | 1995-07-18 | At&T Corp. | System for interconnecting a synchronous path having semaphores and an asynchronous path having message queuing for interprocess communications |
| US5436637A (en) | 1993-03-05 | 1995-07-25 | Borland International, Inc. | Graphical user interface system and methods for improved user feedback |
| US5438659A (en) | 1992-10-08 | 1995-08-01 | Hewlett-Packard Company | Object-action user interface management system |
| US5440744A (en) | 1990-08-14 | 1995-08-08 | Digital Equipment Corporation | Methods and apparatus for implementing server functions in a distributed heterogeneous environment |
| US5446842A (en) | 1993-02-26 | 1995-08-29 | Taligent, Inc. | Object-oriented collaboration system |
| US5455875A (en) | 1992-12-15 | 1995-10-03 | International Business Machines Corporation | System and method for correction of optical character recognition with display of image segments according to character data |
| US5459865A (en) | 1993-04-05 | 1995-10-17 | Taligent Inc. | Runtime loader |
| US5481722A (en) | 1991-08-19 | 1996-01-02 | Sun Microsystems, Inc. | Method and apparatus for merging change control delta structure files of a source module from a parent and a child development environment |
| US5497489A (en) | 1987-05-05 | 1996-03-05 | Menne; David M. | Data storage and retrieval systems having labelling for data |
| US5504898A (en) | 1994-06-20 | 1996-04-02 | Candle Distributed Solutions, Inc. | Threaded environment for AS/400 |
| US5517655A (en) | 1991-04-26 | 1996-05-14 | Hewlett-Packard Company | Method for monitoring transactions in an object-oriented environment |
| US5535389A (en) | 1993-01-26 | 1996-07-09 | International Business Machines Corporation | Business process objects with associated attributes such as version identifier |
| US5542070A (en) | 1993-05-20 | 1996-07-30 | Ag Communication Systems Corporation | Method for rapid development of software systems |
| US5550976A (en) | 1992-12-08 | 1996-08-27 | Sun Hydraulics Corporation | Decentralized distributed asynchronous object oriented system and method for electronic data management, storage, and communication |
| US5551035A (en) | 1989-06-30 | 1996-08-27 | Lucent Technologies Inc. | Method and apparatus for inter-object communication in an object-oriented program controlled system |
| US5555325A (en) | 1993-10-22 | 1996-09-10 | Lockheed Martin Federal Systems, Inc. | Data capture variable priority method and system for managing varying processing capacities |
| US5572643A (en) | 1995-10-19 | 1996-11-05 | Judson; David H. | Web browser with dynamic display of information objects during linking |
| US5572648A (en) | 1993-01-19 | 1996-11-05 | Canon Kabushiki Kaisha | System for simultaneously displaying a static tool palette having predefined windowing tool functions and a dynamic tool palette which changes windowing tool functons in accordance with a context of an executed application program |
| US5577252A (en) | 1993-07-28 | 1996-11-19 | Sun Microsystems, Inc. | Methods and apparatus for implementing secure name servers in an object-oriented system |
| US5581760A (en) | 1992-07-06 | 1996-12-03 | Microsoft Corporation | Method and system for referring to and binding to objects using identifier objects |
| US5581686A (en) | 1992-12-01 | 1996-12-03 | Microsoft Corporation | Method and system for in-place interaction with contained objects |
| US5602996A (en) | 1993-01-27 | 1997-02-11 | Apple Computer, Inc. | Method and apparatus for determining window order when one of multiple displayed windows is selected |
| US5608720A (en) | 1993-03-09 | 1997-03-04 | Hubbell Incorporated | Control system and operations system interface for a network element in an access system |
| US5625783A (en) | 1994-12-13 | 1997-04-29 | Microsoft Corporation | Automated system and method for dynamic menu construction in a graphical user interface |
| US5627979A (en) | 1994-07-18 | 1997-05-06 | International Business Machines Corporation | System and method for providing a graphical user interface for mapping and accessing objects in data stores |
| US5630126A (en) | 1994-12-13 | 1997-05-13 | International Business Machines Corp. | Systems and methods for integrating computations into compound documents |
| US5634121A (en) | 1995-05-30 | 1997-05-27 | Lockheed Martin Corporation | System for identifying and linking domain information using a parsing process to identify keywords and phrases |
| US5640544A (en) | 1991-12-28 | 1997-06-17 | Nec Corporation | Computer network having an asynchronous document data management system |
| US5644738A (en) | 1995-09-13 | 1997-07-01 | Hewlett-Packard Company | System and method using context identifiers for menu customization in a window |
| US5649099A (en) | 1993-06-04 | 1997-07-15 | Xerox Corporation | Method for delegating access rights through executable access control program without delegating access rights not in a specification to any intermediary nor comprising server security |
| US5659729A (en) | 1996-02-01 | 1997-08-19 | Sun Microsystems, Inc. | Method and system for implementing hypertext scroll attributes |
| US5664178A (en) | 1992-07-06 | 1997-09-02 | Microsoft Corporation | Method and system for organizing internal structure of a file |
| US5668966A (en) | 1994-02-15 | 1997-09-16 | International Business Machines Corporation | System and method for direct manipulation of search predicates using a graphical user interface |
| US5669005A (en) | 1993-05-10 | 1997-09-16 | Apple Computer, Inc. | System for automatically embedding or incorporating contents added to a document |
| US5689667A (en) | 1995-06-06 | 1997-11-18 | Silicon Graphics, Inc. | Methods and system of controlling menus with radial and linear portions |
| US5704029A (en) | 1994-05-23 | 1997-12-30 | Wright Strategies, Inc. | System and method for completing an electronic form |
| US5706501A (en) | 1995-02-23 | 1998-01-06 | Fuji Xerox Co., Ltd. | Apparatus and method for managing resources in a network combining operations with name resolution functions |
| US5717939A (en) | 1991-11-18 | 1998-02-10 | Compaq Computer Corporation | Method and apparatus for entering and manipulating spreadsheet cell data |
| US5721824A (en) | 1996-04-19 | 1998-02-24 | Sun Microsystems, Inc. | Multiple-package installation with package dependencies |
| US5742504A (en) | 1995-11-06 | 1998-04-21 | Medar, Inc. | Method and system for quickly developing application software for use in a machine vision system |
| US5745712A (en) | 1990-10-31 | 1998-04-28 | Borland International, Inc. | Graphical programming system and methods for assisting a user with creating screen objects on a screen device |
| US5745683A (en) | 1995-07-05 | 1998-04-28 | Sun Microsystems, Inc. | System and method for allowing disparate naming service providers to dynamically join a naming federation |
| US5748807A (en) | 1992-10-09 | 1998-05-05 | Panasonic Technologies, Inc. | Method and means for enhancing optical character recognition of printed documents |
| EP0841615A2 (en) | 1996-11-08 | 1998-05-13 | International Computers Limited | Updating mechanism for software |
| US5758184A (en) | 1995-04-24 | 1998-05-26 | Microsoft Corporation | System for performing asynchronous file operations requested by runnable threads by processing completion messages with different queue thread and checking for completion by runnable threads |
| US5758358A (en) | 1996-01-29 | 1998-05-26 | Microsoft Corporation | Method and system for reconciling sections of documents |
| US5761408A (en) | 1996-01-16 | 1998-06-02 | Parasoft Corporation | Method and system for generating a computer program test suite using dynamic symbolic execution |
| US5761683A (en) | 1996-02-13 | 1998-06-02 | Microtouch Systems, Inc. | Techniques for changing the behavior of a link in a hypertext document |
| US5764984A (en) | 1993-02-26 | 1998-06-09 | International Business Machines Corporation | System for multiple co-existing operating system personalities on a microkernel |
| US5764985A (en) | 1994-12-13 | 1998-06-09 | Microsoft Corp | Notification mechanism for coordinating software extensions |
| US5778402A (en) | 1995-06-07 | 1998-07-07 | Microsoft Corporation | Method and system for auto-formatting a document using an event-based rule engine to format a document as the user types |
| US5778372A (en) | 1996-04-18 | 1998-07-07 | Microsoft Corporation | Remote retrieval and display management of electronic document with incorporated images |
| US5784555A (en) | 1996-04-18 | 1998-07-21 | Microsoft Corporation | Automation and dial-time checking of system configuration for internet |
| US5790796A (en)* | 1996-06-14 | 1998-08-04 | Symantec Corporation | Polymorphic package files to update software components |
| US5798757A (en) | 1993-12-15 | 1998-08-25 | Borland International, Inc. | Methods and interface for building command expressions in a computer system |
| US5802304A (en) | 1996-04-18 | 1998-09-01 | Microsoft Corporation | Automatic dialer responsive to network programming interface access |
| US5806079A (en) | 1993-11-19 | 1998-09-08 | Smartpatents, Inc. | System, method, and computer program product for using intelligent notes to organize, link, and manipulate disparate data objects |
| US5815830A (en) | 1994-12-23 | 1998-09-29 | Anthony; Andre Charles | Automatic generation of hypertext links to multimedia topic objects |
| US5826265A (en) | 1996-12-06 | 1998-10-20 | International Business Machines Corporation | Data management system having shared libraries |
| US5835777A (en) | 1996-03-20 | 1998-11-10 | Hewlett-Packard Company | Method of automatically generating a software installation package |
| US5838906A (en) | 1994-10-17 | 1998-11-17 | The Regents Of The University Of California | Distributed hypermedia method for automatically invoking external application providing interaction and display of embedded objects within a hypermedia document |
| US5845077A (en) | 1995-11-27 | 1998-12-01 | Microsoft Corporation | Method and system for identifying and obtaining computer software from a remote computer |
| US5845090A (en) | 1994-02-14 | 1998-12-01 | Platinium Technology, Inc. | System for software distribution in a digital computer network |
| US5854630A (en) | 1996-07-01 | 1998-12-29 | Sun Microsystems, Inc. | Prospective view for web backtrack |
| US5859973A (en) | 1996-08-21 | 1999-01-12 | International Business Machines Corporation | Methods, system and computer program products for delayed message generation and encoding in an intermittently connected data communication system |
| US5862372A (en) | 1994-11-16 | 1999-01-19 | Morris; Robert M. | Visually oriented computer implemented application development system utilizing standardized objects and multiple views |
| US5864819A (en) | 1996-11-08 | 1999-01-26 | International Business Machines Corporation | Internal window object tree method for representing graphical user interface applications for speech navigation |
| WO1999024945A1 (en) | 1997-11-12 | 1999-05-20 | Koninklijke Philips Electronics N.V. | Software update manager |
| US5907704A (en) | 1995-04-03 | 1999-05-25 | Quark, Inc. | Hierarchical encapsulation of instantiated objects in a multimedia authoring system including internet accessible objects |
| US5910895A (en) | 1997-06-13 | 1999-06-08 | Teradyne, Inc. | Low cost, easy to use automatic test system software |
| US5911776A (en) | 1996-12-18 | 1999-06-15 | Unisys Corporation | Automatic format conversion system and publishing methodology for multi-user network |
| US5915112A (en) | 1996-01-02 | 1999-06-22 | International Business Machines Corporation | Remote procedure interface with support for multiple versions |
| US5922072A (en) | 1997-01-03 | 1999-07-13 | Ncr Corporation | Method and apparatus for creating alternate boot environments in a computer |
| US5929858A (en) | 1995-04-04 | 1999-07-27 | Fujitsu Limited | Device for aiding analysis of infeasible solution and unbounded solution |
| US5940075A (en) | 1997-09-30 | 1999-08-17 | Unisys Corp. | Method for extending the hypertext markup language (HTML) to support enterprise application data binding |
| US5950010A (en) | 1996-11-25 | 1999-09-07 | J.D. Edwards World Source Co. | System and method for customized application package building and installation |
| US5956481A (en) | 1997-02-06 | 1999-09-21 | Microsoft Corporation | Method and apparatus for protecting data files on a computer from virus infection |
| US5960199A (en) | 1996-11-12 | 1999-09-28 | International Business Machines Corporation | Model trace view for object-oriented systems |
| US5963964A (en) | 1996-04-05 | 1999-10-05 | Sun Microsystems, Inc. | Method, apparatus and program product for updating visual bookmarks |
| US5974454A (en)* | 1997-11-14 | 1999-10-26 | Microsoft Corporation | Method and system for installing and updating program module components |
| WO1999056207A1 (en) | 1998-04-30 | 1999-11-04 | Intervu, Inc. | System and method for automated identification, retrieval and installation of software components |
| US5982370A (en) | 1997-07-18 | 1999-11-09 | International Business Machines Corporation | Highlighting tool for search specification in a user interface of a computer system |
| US5987480A (en) | 1996-07-25 | 1999-11-16 | Donohue; Michael | Method and system for delivering documents customized for a particular user over the internet using imbedded dynamic content |
| US5991731A (en) | 1997-03-03 | 1999-11-23 | University Of Florida | Method and system for interactive prescription and distribution of prescriptions in conducting clinical studies |
| US5991877A (en) | 1997-04-03 | 1999-11-23 | Lockheed Martin Corporation | Object-oriented trusted application framework |
| US5991710A (en) | 1997-05-20 | 1999-11-23 | International Business Machines Corporation | Statistical translation system with features based on phrases or groups of words |
| US5995103A (en) | 1996-05-10 | 1999-11-30 | Apple Computer, Inc. | Window grouping mechanism for creating, manipulating and displaying windows and window groups on a display screen of a computer system |
| US6005570A (en) | 1993-03-05 | 1999-12-21 | Inprise Corporation | Graphical user interface system and methods for improved user feedback |
| US6014135A (en) | 1997-04-04 | 2000-01-11 | Netscape Communications Corp. | Collaboration centric document processing environment using an information centric visual user interface and information presentation method |
| US6016520A (en) | 1995-07-14 | 2000-01-18 | Microsoft Corporation | Method of viewing at a client viewing station a multiple media title stored at a server and containing a plurality of topics utilizing anticipatory caching |
| US6018743A (en) | 1996-10-04 | 2000-01-25 | International Business Machines Corporation | Framework for object-oriented interface to record file data |
| US6026416A (en) | 1996-05-30 | 2000-02-15 | Microsoft Corp. | System and method for storing, viewing, editing, and processing ordered sections having different file formats |
| US6026379A (en) | 1996-06-17 | 2000-02-15 | Verifone, Inc. | System, method and article of manufacture for managing transactions in a high availability system |
| US6031989A (en) | 1997-02-27 | 2000-02-29 | Microsoft Corporation | Method of formatting and displaying nested documents |
| US6035309A (en) | 1993-02-09 | 2000-03-07 | International Business Machines Corporation | System and method for editing and viewing a very wide flat file |
| US6035297A (en) | 1996-12-06 | 2000-03-07 | International Business Machines Machine | Data management system for concurrent engineering |
| US6044205A (en) | 1996-02-29 | 2000-03-28 | Intermind Corporation | Communications system for transferring information between memories according to processes transferred with the information |
| US6052531A (en)* | 1998-03-25 | 2000-04-18 | Symantec Corporation | Multi-tiered incremental software updating |
| US6052710A (en) | 1996-06-28 | 2000-04-18 | Microsoft Corporation | System and method for making function calls over a distributed network |
| US6054987A (en) | 1998-05-29 | 2000-04-25 | Hewlett-Packard Company | Method of dynamically creating nodal views of a managed network |
| JP2000132436A (en) | 1998-10-29 | 2000-05-12 | Hitachi Ltd | Program and file generation management method for offline terminals |
| US6072870A (en) | 1996-06-17 | 2000-06-06 | Verifone Inc. | System, method and article of manufacture for a gateway payment architecture utilizing a multichannel, extensible, flexible architecture |
| US6078924A (en) | 1998-01-30 | 2000-06-20 | Aeneid Corporation | Method and apparatus for performing data collection, interpretation and analysis, in an information platform |
| US6078327A (en) | 1997-09-11 | 2000-06-20 | International Business Machines Corporation | Navigating applications and objects in a graphical user interface |
| US6078326A (en) | 1996-04-23 | 2000-06-20 | Roku Technologies, L.L.C. | System and method providing centricity user environment |
| US6081610A (en) | 1995-12-29 | 2000-06-27 | International Business Machines Corporation | System and method for verifying signatures on documents |
| US6084585A (en) | 1998-07-29 | 2000-07-04 | International Business Machines Corp. | System for directly accessing fields on electronic forms |
| US6088708A (en) | 1997-01-31 | 2000-07-11 | Microsoft Corporation | System and method for creating an online table from a layout of objects |
| US6091417A (en) | 1998-03-16 | 2000-07-18 | Earthlink Network, Inc. | Graphical user interface |
| US6094657A (en) | 1997-10-01 | 2000-07-25 | International Business Machines Corporation | Apparatus and method for dynamic meta-tagging of compound documents |
| US6098081A (en) | 1996-05-06 | 2000-08-01 | Microsoft Corporation | Hypermedia navigation using soft hyperlinks |
| US6097382A (en) | 1998-05-12 | 2000-08-01 | Silverstream Software, Inc. | Method and apparatus for building an application interface |
| US6108637A (en) | 1996-09-03 | 2000-08-22 | Nielsen Media Research, Inc. | Content display monitor |
| US6108783A (en) | 1998-02-11 | 2000-08-22 | International Business Machines Corporation | Chameleon hashing and signatures |
| US6115646A (en) | 1997-12-18 | 2000-09-05 | Nortel Networks Limited | Dynamic and generic process automation system |
| US6122647A (en) | 1998-05-19 | 2000-09-19 | Perspecta, Inc. | Dynamic generation of contextual links in hypertext documents |
| US6121965A (en) | 1997-10-17 | 2000-09-19 | Lucent Technologies Inc. | User interface for graphical application tool |
| US6144969A (en) | 1996-02-09 | 2000-11-07 | Sony Corporation | File name conversion |
| US6151624A (en) | 1998-02-03 | 2000-11-21 | Realnames Corporation | Navigating network resources based on metadata |
| US6154128A (en) | 1997-05-21 | 2000-11-28 | Sun Microsystems, Inc. | Automatic building and distribution of alerts in a remote monitoring system |
| US6163772A (en) | 1996-06-17 | 2000-12-19 | Hewlett-Packard Company | Virtual point of sale processing using gateway-initiated messages |
| US6167523A (en) | 1997-05-05 | 2000-12-26 | Intel Corporation | Method and apparatus for forms data validation and processing control |
| US6167521A (en) | 1997-08-29 | 2000-12-26 | International Business Machines Corporation | Securely downloading and executing code from mutually suspicious authorities |
| US6182095B1 (en) | 1998-04-30 | 2001-01-30 | General Electric Capital Corporation | Document generator |
| US6188401B1 (en) | 1998-03-25 | 2001-02-13 | Microsoft Corporation | Script-based user interface implementation defining components using a text markup language |
| US6192367B1 (en) | 1998-11-23 | 2001-02-20 | International Business Machines Corporation | Data file editor presenting semi-formatted view |
| US6191797B1 (en) | 1996-05-22 | 2001-02-20 | Canon Kabushiki Kaisha | Expression tree optimization for processing obscured graphical objects |
| US6195661B1 (en) | 1988-07-15 | 2001-02-27 | International Business Machines Corp. | Method for locating application records in an interactive-services database |
| US6199204B1 (en) | 1998-01-28 | 2001-03-06 | International Business Machines Corporation | Distribution of software updates via a computer network |
| US6209128B1 (en) | 1998-06-05 | 2001-03-27 | International Business Machines Corporation | Apparatus and method for providing access to multiple object versions |
| US6216152B1 (en) | 1997-10-27 | 2001-04-10 | Sun Microsystems, Inc. | Method and apparatus for providing plug in media decoders |
| US6219698B1 (en) | 1997-12-19 | 2001-04-17 | Compaq Computer Corporation | Configuring client software using remote notification |
| US6225996B1 (en) | 1998-02-20 | 2001-05-01 | Corel Corporation | System and method for displaying a current value of a cell of a document |
| US6235027B1 (en) | 1999-01-21 | 2001-05-22 | Garrett D. Herzon | Thermal cautery surgical forceps |
| WO2001044934A1 (en) | 1999-12-15 | 2001-06-21 | Sun Microsystems, Inc. | Preparation of a software configuration using an xml type programming language |
| US6253374B1 (en) | 1998-07-02 | 2001-06-26 | Microsoft Corporation | Method for validating a signed program prior to execution time or an unsigned program at execution time |
| US6253366B1 (en) | 1999-03-31 | 2001-06-26 | Unisys Corp. | Method and system for generating a compact document type definition for data interchange among software tools |
| US20010007109A1 (en) | 1999-12-14 | 2001-07-05 | Thomas Lange | Method and system for inserting a data object into a computer-generated document using a text instruction |
| US6263313B1 (en) | 1998-08-13 | 2001-07-17 | International Business Machines Corporation | Method and apparatus to create encoded digital content |
| JP3191429B2 (en) | 1992-09-02 | 2001-07-23 | 富士通テン株式会社 | Electronic device insertion / ejection device |
| US6266810B1 (en) | 1997-04-17 | 2001-07-24 | Matsushita Electric Industrial Co., Ltd. | Remote program downloading system and apparatus |
| US6268852B1 (en) | 1997-06-02 | 2001-07-31 | Microsoft Corporation | System and method for facilitating generation and editing of event handlers |
| US6272506B1 (en) | 1997-09-12 | 2001-08-07 | Doxis, Llc | Computerized verification form processing system and method |
| US6275599B1 (en) | 1998-08-28 | 2001-08-14 | International Business Machines Corporation | Compressed image authentication and verification |
| US6275227B1 (en) | 1998-02-09 | 2001-08-14 | International Business Machines Corporation | Computer system and method for controlling the same utilizing a user interface control integrated with multiple sets of instructional material therefor |
| US6281896B1 (en) | 1998-03-31 | 2001-08-28 | International Business Machines Corporation | Data processor controlled interface with multiple tree of elements views expandable into individual detail views |
| US6282711B1 (en) | 1999-08-10 | 2001-08-28 | Hewlett-Packard Company | Method for more efficiently installing software components from a remote server source |
| US6286033B1 (en) | 2000-04-28 | 2001-09-04 | Genesys Telecommunications Laboratories, Inc. | Method and apparatus for distributing computer integrated telephony (CTI) scripts using extensible mark-up language (XML) for mixed platform distribution and third party manipulation |
| US6292897B1 (en) | 1997-11-03 | 2001-09-18 | International Business Machines Corporation | Undeniable certificates for digital signature verification |
| US20010024195A1 (en) | 2000-03-21 | 2001-09-27 | Keisuke Hayakawa | Page information display method and device and storage medium storing program for displaying page information |
| US6297819B1 (en) | 1998-11-16 | 2001-10-02 | Essential Surfing Gear, Inc. | Parallel web sites |
| US6300948B1 (en) | 1996-09-17 | 2001-10-09 | Scott D. Geller | Methods and systems for user interfaces and constraint handling in configuration software |
| US6307955B1 (en) | 1998-12-18 | 2001-10-23 | Topaz Systems, Inc. | Electronic signature management system |
| US6308273B1 (en) | 1998-06-12 | 2001-10-23 | Microsoft Corporation | Method and system of security location discrimination |
| US6308179B1 (en) | 1998-08-31 | 2001-10-23 | Xerox Corporation | User level controlled mechanism inter-positioned in a read/write path of a property-based document management system |
| US6311271B1 (en) | 1997-02-13 | 2001-10-30 | International Business Machines Corporation | How to sign digital streams |
| US20010037345A1 (en) | 2000-03-21 | 2001-11-01 | International Business Machines Corporation | Tagging XML query results over relational DBMSs |
| US6321259B1 (en) | 1998-10-02 | 2001-11-20 | Nortel Networks Limited | Attribute inheritance schema for network switches |
| US6321334B1 (en) | 1998-07-15 | 2001-11-20 | Microsoft Corporation | Administering permissions associated with a security zone in a computer system security model |
| US6327628B1 (en) | 2000-05-19 | 2001-12-04 | Epicentric, Inc. | Portal server that provides a customizable user Interface for access to computer networks |
| US6331864B1 (en) | 1997-09-23 | 2001-12-18 | Onadime, Inc. | Real-time multimedia visual programming system |
| US20010054004A1 (en) | 2000-06-07 | 2001-12-20 | Powers Arthur C. | Method of direct communication between a business and its customers |
| US20010056429A1 (en) | 2000-03-23 | 2001-12-27 | Moore Reagan W. | Persistent archives |
| US20010056460A1 (en) | 2000-04-24 | 2001-12-27 | Ranjit Sahota | Method and system for transforming content for execution on multiple platforms |
| US20020010743A1 (en) | 2000-02-11 | 2002-01-24 | Ryan Mark H. | Method and system for distributing and collecting spreadsheet information |
| US20020010746A1 (en) | 2000-02-14 | 2002-01-24 | Jilk David J. | System, method, apparatus and computer program product for operating a web site by electronic mail |
| US6342907B1 (en) | 1998-10-19 | 2002-01-29 | International Business Machines Corporation | Specification language for defining user interface panels that are platform-independent |
| US6343149B1 (en) | 1998-05-13 | 2002-01-29 | Oki Electric Industry Co, Ltd. | Document character reading system |
| US6343302B1 (en) | 1997-02-13 | 2002-01-29 | Yahoo! Inc. | Remote web site authoring system and method |
| US20020013788A1 (en) | 1998-11-10 | 2002-01-31 | Pennell Mark E. | System and method for automatically learning information used for electronic form-filling |
| US6345278B1 (en) | 1998-06-04 | 2002-02-05 | Collegenet, Inc. | Universal forms engine |
| US6345361B1 (en) | 1998-04-06 | 2002-02-05 | Microsoft Corporation | Directional set operations for permission based security in a computer system |
| US6347323B1 (en) | 1999-03-26 | 2002-02-12 | Microsoft Corporation | Robust modification of persistent objects while preserving formatting and other attributes |
| US6349408B1 (en) | 1998-03-23 | 2002-02-19 | Sun Microsystems, Inc. | Techniques for implementing a framework for extensible applications |
| US20020023113A1 (en) | 2000-08-18 | 2002-02-21 | Jeff Hsing | Remote document updating system using XML and DOM |
| US6351574B1 (en) | 1998-12-11 | 2002-02-26 | International Business Machines Corporation | Interactive verification of OCRed characters |
| US20020026441A1 (en) | 2000-06-05 | 2002-02-28 | Ali Kutay | System and method for integrating multiple applications |
| US20020026461A1 (en) | 2000-06-05 | 2002-02-28 | Ali Kutay | System and method for creating a source document and presenting the source document to a user in a target format |
| US6353926B1 (en) | 1998-07-15 | 2002-03-05 | Microsoft Corporation | Software update notification |
| US6356906B1 (en) | 1999-07-26 | 2002-03-12 | Microsoft Corporation | Standard database queries within standard request-response protocols |
| US6357038B1 (en) | 1998-04-13 | 2002-03-12 | Adobe Systems Incorporated | Cross platform and cross operating system macros |
| US20020032590A1 (en) | 2000-03-28 | 2002-03-14 | International Business Machines Corporation | E-market architecture for supporting multiple roles and reconfigurable business porcesses |
| US20020032706A1 (en) | 1999-12-23 | 2002-03-14 | Jesse Perla | Method and system for building internet-based applications |
| US20020032768A1 (en) | 2000-04-10 | 2002-03-14 | Voskuil Erik K. | Method and system for configuring remotely located applications |
| US20020035579A1 (en) | 2000-09-12 | 2002-03-21 | Wang Wayne W. | Transform rule generator for web-based markup languages |
| US20020035581A1 (en) | 2000-06-06 | 2002-03-21 | Microsoft Corporation | Application program interfaces for semantically labeling strings and providing actions based on semantically labeled strings |
| US6366912B1 (en) | 1998-04-06 | 2002-04-02 | Microsoft Corporation | Network security zones |
| US6366907B1 (en) | 1999-12-15 | 2002-04-02 | Napster, Inc. | Real-time search engine |
| US6367013B1 (en) | 1995-01-17 | 2002-04-02 | Eoriginal Inc. | System and method for electronic transmission, storage, and retrieval of authenticated electronic original documents |
| US20020040469A1 (en) | 2000-06-03 | 2002-04-04 | International Business Machines Corporation | System and method for the configuration of software products |
| US6369841B1 (en) | 1996-01-25 | 2002-04-09 | Siemens Aktiengesellschaft | Graphical user interface for the programming of programmable controllers |
| US6374402B1 (en) | 1998-11-16 | 2002-04-16 | Into Networks, Inc. | Method and apparatus for installation abstraction in a secure content delivery system |
| US6381742B2 (en) | 1998-06-19 | 2002-04-30 | Microsoft Corporation | Software package management |
| US6381743B1 (en) | 1999-03-31 | 2002-04-30 | Unisys Corp. | Method and system for generating a hierarchial document type definition for data interchange among software tools |
| US20020057297A1 (en) | 2000-06-12 | 2002-05-16 | Tom Grimes | Personalized content management |
| US6393456B1 (en) | 1998-11-30 | 2002-05-21 | Microsoft Corporation | System, method, and computer program product for workflow processing using internet interoperable electronic messaging with mime multiple content type |
| US6396488B1 (en) | 1999-01-04 | 2002-05-28 | Corel Inc. | System and method for determining a path in a graphical diagram |
| US20020070973A1 (en) | 1998-03-23 | 2002-06-13 | Croley James E. | Method of entering, updating and display of related data on a single screen page |
| US6408311B1 (en) | 1999-06-30 | 2002-06-18 | Unisys Corp. | Method for identifying UML objects in a repository with objects in XML content |
| US20020078074A1 (en) | 2000-05-30 | 2002-06-20 | Cho Charles J. | Method and system for facilitating networked information exchange |
| US20020078103A1 (en) | 2000-12-20 | 2002-06-20 | Gorman William Phillip | Wizard development kit |
| JP2002183652A (en) | 2000-12-19 | 2002-06-28 | Nippon Yunishisu Kk | Work flow item slip forming system |
| US6414700B1 (en) | 1998-07-21 | 2002-07-02 | Silicon Graphics, Inc. | System for accessing a large number of menu items using a zoned menu bar |
| US6421656B1 (en) | 1998-10-08 | 2002-07-16 | International Business Machines Corporation | Method and apparatus for creating structure indexes for a data base extender |
| US6425125B1 (en) | 1999-03-30 | 2002-07-23 | Microsoft Corporation | System and method for upgrading client software |
| US20020100027A1 (en) | 2000-07-26 | 2002-07-25 | International Business Machines Corporation | Method of externalizing relational and ASN.1-formatted data into XML format |
| US6429885B1 (en) | 1998-10-30 | 2002-08-06 | Sony Corporation | GUI resource editor for an embedded system |
| US6434563B1 (en) | 1999-01-21 | 2002-08-13 | Simple.Com, Inc. | WWW browser configured to provide a windowed content manifestation environment |
| US6434564B2 (en) | 1997-08-22 | 2002-08-13 | Sap Aktiengesellschaft | Browser for hierarchical structures |
| US20020112224A1 (en) | 2001-01-31 | 2002-08-15 | International Business Machines Corporation | XML data loading |
| US6442755B1 (en) | 1998-07-07 | 2002-08-27 | United Video Properties, Inc. | Electronic program guide using markup language |
| US6442563B1 (en) | 1998-04-30 | 2002-08-27 | Enterworks | Workflow management system, method, and medium that morphs work items |
| US6446110B1 (en) | 1999-04-05 | 2002-09-03 | International Business Machines Corporation | Method and apparatus for representing host datastream screen image information using markup languages |
| US6449617B1 (en) | 1999-06-15 | 2002-09-10 | Microsoft Corporation | Edit command delegation program for editing electronic files |
| US20020129056A1 (en) | 2000-12-11 | 2002-09-12 | Conant Michael V. | Method and apparatus for electronic negotiation of document content |
| US20020133484A1 (en) | 1999-12-02 | 2002-09-19 | International Business Machines Corporation | Storing fragmented XML data into a relational database by decomposing XML documents with application specific mappings |
| US6457009B1 (en) | 1998-11-09 | 2002-09-24 | Denison W. Bollay | Method of searching multiples internet resident databases using search fields in a generic form |
| US6460058B2 (en) | 1996-12-06 | 2002-10-01 | Microsoft Corporation | Object-oriented framework for hyperlink navigation |
| US6463419B1 (en) | 2000-03-07 | 2002-10-08 | Chartering Solutions | Internet system for exchanging and organizing vessel transport information |
| US20020152222A1 (en) | 2000-11-15 | 2002-10-17 | Holbrook David M. | Apparatus and method for organizing and-or presenting data |
| US20020152244A1 (en) | 2000-12-22 | 2002-10-17 | International Business Machines Corporation | Method and apparatus to dynamically create a customized user interface based on a document type definition |
| US6470349B1 (en) | 1999-03-11 | 2002-10-22 | Browz, Inc. | Server-side scripting language and programming tool |
| US20020156929A1 (en) | 2001-04-23 | 2002-10-24 | International Business Machines Corporation | XML-based system and method for collaborative web-based design and verification of system-on-a-chip |
| US20020156846A1 (en) | 2000-04-28 | 2002-10-24 | Jai Rawat | Intelligent client-side form filler |
| US6473800B1 (en) | 1998-07-15 | 2002-10-29 | Microsoft Corporation | Declarative permission requests in a computer system |
| US6476828B1 (en) | 1999-05-28 | 2002-11-05 | International Business Machines Corporation | Systems, methods and computer program products for building and displaying dynamic graphical user interfaces |
| US6477544B1 (en) | 1999-07-16 | 2002-11-05 | Microsoft Corporation | Single instance store for file systems |
| US6480860B1 (en) | 1999-02-11 | 2002-11-12 | International Business Machines Corporation | Tagged markup language interface with document type definition to access data in object oriented database |
| US20020174417A1 (en) | 2001-03-30 | 2002-11-21 | Michael Sijacic | Defining and creating custom data fields within process management software |
| US20020174147A1 (en) | 2000-05-19 | 2002-11-21 | Zhi Wang | System and method for transcoding information for an audio or limited display user interface |
| US6487566B1 (en) | 1998-10-05 | 2002-11-26 | International Business Machines Corporation | Transforming documents using pattern matching and a replacement language |
| US6490601B1 (en) | 1999-01-15 | 2002-12-03 | Infospace, Inc. | Server for enabling the automatic insertion of data into electronic forms on a user computer |
| US20020184219A1 (en) | 2001-05-31 | 2002-12-05 | International Business Machines Corporation | System, method, and computer program product for reformatting non-XML data for use with internet based systems |
| US20020188613A1 (en) | 2001-06-07 | 2002-12-12 | Krishneadu Chakraborty | Method and apparatus for runtime merging of hierarchical trees |
| US20020188597A1 (en) | 2000-09-01 | 2002-12-12 | Jonathan Kern | Methods and systems for linking tasks to workflow |
| US20020194219A1 (en) | 2001-04-17 | 2002-12-19 | Bradley George Wesley | Method and system for cross-platform form creation and deployment |
| US20020196288A1 (en) | 2000-02-02 | 2002-12-26 | Ramin Emrani | Method and apparatus for converting text files into hierarchical charts as a learning aid |
| US20020198891A1 (en) | 2001-06-14 | 2002-12-26 | International Business Machines Corporation | Methods and apparatus for constructing and implementing a universal extension module for processing objects in a database |
| US20020198935A1 (en) | 2001-06-25 | 2002-12-26 | Crandall Steven Allen | Methods and systems for validating the fields of a form |
| US20020196281A1 (en) | 1999-08-17 | 2002-12-26 | Kevin Forbes Audleman | Generating a graphical user interface from a command syntax for managing multiple computer systems as one computer system |
| US6502101B1 (en) | 2000-07-13 | 2002-12-31 | Microsoft Corporation | Converting a hierarchical data structure into a flat data structure |
| US6502103B1 (en) | 1999-06-14 | 2002-12-31 | International Business Machines Corporation | Providing composed containers and data objects to support multiple resources |
| US6501864B1 (en) | 1995-07-31 | 2002-12-31 | Fujitsu Limited | Data medium handling apparatus and data medium handling method |
| US20030004951A1 (en) | 2000-02-04 | 2003-01-02 | Sandip Chokshi | Automated client-server data validation |
| US6505230B1 (en) | 1999-05-14 | 2003-01-07 | Pivia, Inc. | Client-server independent intermediary mechanism |
| US6505300B2 (en) | 1998-06-12 | 2003-01-07 | Microsoft Corporation | Method and system for secure running of untrusted content |
| US20030007000A1 (en) | 2001-06-13 | 2003-01-09 | Worldcom, Inc. | Method, system and program product for viewing and manipulating graphical objects representing hierarchically arranged elements of a modeled environment |
| US6507856B1 (en) | 1999-01-05 | 2003-01-14 | International Business Machines Corporation | Dynamic business process automation system using XML documents |
| US20030018668A1 (en) | 2001-07-20 | 2003-01-23 | International Business Machines Corporation | Enhanced transcoding of structured documents through use of annotation techniques |
| US20030020746A1 (en) | 2001-01-31 | 2003-01-30 | Computer Associates Think, Inc. | System and method for dynamically generating a web page |
| US20030023641A1 (en) | 2001-07-27 | 2003-01-30 | Gorman William Phillip | Web page authoring tool |
| US6516322B1 (en) | 2000-04-28 | 2003-02-04 | Microsoft Corporation | XML-based representation of mobile process calculi |
| US20030026507A1 (en) | 2001-07-31 | 2003-02-06 | International Business Machines Corporation | Sorting images for improved data entry productivity |
| US20030025732A1 (en) | 2001-07-31 | 2003-02-06 | Prichard Scot D. | Method and apparatus for providing customizable graphical user interface and screen layout |
| US6519617B1 (en) | 1999-04-08 | 2003-02-11 | International Business Machines Corporation | Automated creation of an XML dialect and dynamic generation of a corresponding DTD |
| US20030037303A1 (en) | 2001-08-03 | 2003-02-20 | Bodlaender Maarten Peter | Method of and system for updating a document |
| US20030046665A1 (en) | 2001-02-28 | 2003-03-06 | Thomas Ilin | Reusable software component for textually supplementing, modifying, evaluating and processing procedural logic for a compiled host program at run-time |
| US20030043986A1 (en) | 2001-09-05 | 2003-03-06 | International Business Machines Corporation | Method and apparatus for calendar based call control |
| US20030048301A1 (en) | 2001-03-23 | 2003-03-13 | Menninger Anthony Frank | System, method and computer program product for editing supplier site information in a supply chain management framework |
| US20030055828A1 (en) | 2001-03-29 | 2003-03-20 | Koch Kevin S. | Methods for synchronizing on-line and off-line transcript projects |
| US20030056198A1 (en) | 2001-09-20 | 2003-03-20 | International Business Machines Corporation | SQL debugging using XML dataflows |
| US20030061386A1 (en) | 2001-09-24 | 2003-03-27 | International Business Machines Corp. | Method and system of use of transcode directives for distributed control of transcoding servers |
| US20030061567A1 (en) | 2001-09-05 | 2003-03-27 | International Business Machines Corporation | Apparatus and method for protecting entries in a form using access rights information |
| US6546546B1 (en) | 1999-05-19 | 2003-04-08 | International Business Machines Corporation | Integrating operating systems and run-time systems |
| USRE38070E1 (en) | 1995-06-29 | 2003-04-08 | Microsoft Corporation | Cryptography system and method for providing cryptographic services for a computer application |
| US6549922B1 (en) | 1999-10-01 | 2003-04-15 | Alok Srivastava | System for collecting, transforming and managing media metadata |
| US6549878B1 (en) | 1998-12-31 | 2003-04-15 | Microsoft Corporation | System and method for editing a spreadsheet via an improved editing and cell selection model |
| US6549221B1 (en) | 1999-12-09 | 2003-04-15 | International Business Machines Corp. | User interface management through branch isolation |
| US6553402B1 (en) | 1999-05-05 | 2003-04-22 | Nextpage, Inc. | Method for coordinating activities and sharing information using a data definition language |
| US20030084424A1 (en) | 2001-07-26 | 2003-05-01 | Reddy Sreedhar Sannareddy | Pattern-based comparison and merging of model versions |
| US6560620B1 (en) | 1999-08-03 | 2003-05-06 | Aplix Research, Inc. | Hierarchical document comparison system and method |
| US6563514B1 (en) | 2000-04-13 | 2003-05-13 | Extensio Software, Inc. | System and method for providing contextual and dynamic information retrieval |
| US6571253B1 (en) | 2000-04-28 | 2003-05-27 | International Business Machines Corporation | Hierarchical view of data binding between display elements that are organized in a hierarchical structure to a data store that is also organized in a hierarchical structure |
| US6578144B1 (en) | 1999-03-23 | 2003-06-10 | International Business Machines Corporation | Secure hash-and-sign signatures |
| JP2003173288A (en) | 2001-12-06 | 2003-06-20 | Sharp Corp | Organizer of download information by browser |
| US6584548B1 (en) | 1999-07-22 | 2003-06-24 | International Business Machines Corporation | Method and apparatus for invalidating data in a cache |
| US20030120671A1 (en) | 2001-12-21 | 2003-06-26 | Xmlcities, Inc. | Extensible stylesheet designs in visual graphic environments |
| US20030120578A1 (en) | 2001-12-21 | 2003-06-26 | Peter Newman | System and methods for electronic securities underwriting and electronic dissemination of annual financial and disclosure information from issuers to information repositories in accordance with U.S. securities laws and regulations |
| US20030120651A1 (en) | 2001-12-20 | 2003-06-26 | Microsoft Corporation | Methods and systems for model matching |
| US20030120659A1 (en) | 2000-03-20 | 2003-06-26 | Sridhar Mandayam Anandampillai | Systems for developing websites and methods therefor |
| US6585778B1 (en) | 1999-08-30 | 2003-07-01 | International Business Machines Corporation | Enforcing data policy using style sheet processing |
| US20030126555A1 (en) | 2002-01-03 | 2003-07-03 | International Business Machines Corporation | Enhanced attribute prompting in browser clients |
| US6589290B1 (en) | 1999-10-29 | 2003-07-08 | America Online, Inc. | Method and apparatus for populating a form with data |
| US20030128196A1 (en) | 1999-05-25 | 2003-07-10 | Paul Lapstun | Computer system interface surface with reference points and sensor with identifier |
| US20030135825A1 (en) | 2001-12-05 | 2003-07-17 | Matthew Gertner | Dynamically generated mark-up based graphical user interfaced with an extensible application framework with links to enterprise resources |
| US6598219B1 (en) | 1998-11-30 | 2003-07-22 | International Business Machines Corporation | Method and mechanism for a task oriented XML data model |
| US20030140132A1 (en) | 2002-01-22 | 2003-07-24 | Yves-Andre Champagne | Method and apparatus for updating network device configuration information in a network management system |
| US6603489B1 (en) | 2000-02-09 | 2003-08-05 | International Business Machines Corporation | Electronic calendaring system that automatically predicts calendar entries based upon previous activities |
| US6604099B1 (en) | 2000-03-20 | 2003-08-05 | International Business Machines Corporation | Majority schema in semi-structured data |
| US6606606B2 (en) | 1998-11-09 | 2003-08-12 | Onecore Financial Network, Inc. | Systems and methods for performing integrated financial transaction |
| EP0961197B1 (en) | 1998-05-29 | 2003-08-13 | Hewlett-Packard Company, A Delaware Corporation | A user interface mechanism for manipulating context in computer management applications |
| US6609200B2 (en) | 1996-12-20 | 2003-08-19 | Financial Services Technology Consortium | Method and system for processing electronic documents |
| US20030158897A1 (en) | 2000-05-09 | 2003-08-21 | Viryanet Ltd. | Networked platform for creating and supporting communities |
| US6611843B1 (en) | 2000-10-26 | 2003-08-26 | Docent, Inc. | Specification of sub-elements and attributes in an XML sub-tree and method for extracting data values therefrom |
| US6611822B1 (en) | 1999-05-05 | 2003-08-26 | Ac Properties B.V. | System method and article of manufacture for creating collaborative application sharing |
| US6611840B1 (en) | 2000-01-21 | 2003-08-26 | International Business Machines Corporation | Method and system for removing content entity object in a hierarchically structured content object stored in a database |
| US6613098B1 (en) | 1999-06-15 | 2003-09-02 | Microsoft Corporation | Storage of application specific data in HTML |
| US6615276B1 (en) | 2000-02-09 | 2003-09-02 | International Business Machines Corporation | Method and apparatus for a centralized facility for administering and performing connectivity and information management tasks for a mobile user |
| US20030167277A1 (en) | 2001-07-10 | 2003-09-04 | Anders Hejlsberg | Application program interface for network software platform |
| US20030182268A1 (en) | 2002-03-18 | 2003-09-25 | International Business Machines Corporation | Method and system for storing and querying of markup based documents in a relational database |
| US20030182327A1 (en) | 2002-03-20 | 2003-09-25 | Srinivasan Ramanujam | Synchronizing data shared between two devices independent of any other devices that may also share the data |
| US6629109B1 (en) | 1999-03-05 | 2003-09-30 | Nec Corporation | System and method of enabling file revision management of application software |
| US20030187756A1 (en) | 2001-12-27 | 2003-10-02 | Klivington Eva T. | Electronic realty and transaction system and method therein |
| US20030187930A1 (en) | 2002-03-27 | 2003-10-02 | International Business Machines Corporation | Messaging system and method with transcoder filtering of baseline message representations |
| US20030188260A1 (en) | 2002-03-26 | 2003-10-02 | Jensen Arthur D | Method and apparatus for creating and filing forms |
| US6631497B1 (en) | 1999-07-19 | 2003-10-07 | International Business Machines Corporation | Binding data from data source to cells in a spreadsheet |
| US6631519B1 (en) | 2000-03-30 | 2003-10-07 | Microsoft Corporation | Automated schema and interface generation |
| US20030192008A1 (en) | 2000-09-16 | 2003-10-09 | Hong_Kyu Lee | System and method for comprising manual function for managing a form |
| US20030189593A1 (en) | 2001-01-05 | 2003-10-09 | Yarvin Curtis G. | Method and apparatus for dynamically updating a markup language based user interface |
| US6632251B1 (en) | 1996-07-03 | 2003-10-14 | Polydoc N.V. | Document producing support system |
| US6635089B1 (en) | 1999-01-13 | 2003-10-21 | International Business Machines Corporation | Method for producing composite XML document object model trees using dynamic data retrievals |
| US20030204814A1 (en) | 1999-09-27 | 2003-10-30 | Sara Elo | System & method for creating, editing, an on-line publication |
| US20030204511A1 (en) | 2002-04-30 | 2003-10-30 | Microsoft Corporation | System and method for viewing relational data using a hierarchical schema |
| US6643684B1 (en) | 1998-10-08 | 2003-11-04 | International Business Machines Corporation | Sender- specified delivery customization |
| US6643652B2 (en) | 2000-01-14 | 2003-11-04 | Saba Software, Inc. | Method and apparatus for managing data exchange among systems in a network |
| US20030205615A1 (en) | 2002-05-02 | 2003-11-06 | International Business Machines Corporation | Smart business card system |
| US20030212664A1 (en) | 2002-05-10 | 2003-11-13 | Martin Breining | Querying markup language data sources using a relational query processor |
| US6651217B1 (en) | 1999-09-01 | 2003-11-18 | Microsoft Corporation | System and method for populating forms with previously used data values |
| US6654932B1 (en) | 1999-08-03 | 2003-11-25 | International Business Machines Corporation | Validating data within container objects handled by view controllers |
| US6654737B1 (en) | 2000-05-23 | 2003-11-25 | Centor Software Corp. | Hypertext-based database architecture |
| US6658417B1 (en) | 1997-12-31 | 2003-12-02 | International Business Machines Corporation | Term-based methods and apparatus for access to files on shared storage devices |
| US6658622B1 (en) | 1998-12-14 | 2003-12-02 | International Business Machines Corporation | Self-diagnosing and self-correcting data entry components with dependency behavior |
| US20030225829A1 (en) | 2002-05-22 | 2003-12-04 | Sony Corporation | System and method for platform and language-independent development and delivery of page-based content |
| US20030225768A1 (en) | 2002-06-03 | 2003-12-04 | Microsoft Corporation | Workload analysis tool for relational databases |
| US20030226132A1 (en) | 2001-05-11 | 2003-12-04 | David Tondreau | Method and system for transforming legacy software applications into modern object-oriented systems |
| US20030226111A1 (en) | 2002-06-03 | 2003-12-04 | Steve Wirts | Application development acceleration employing declarative user interfaces |
| US20030225469A1 (en) | 2002-04-15 | 2003-12-04 | Deremer Robert A. | Methods and apparatus for process, factory-floor, environmental, computer aided manufacturing-based or other control system with unified messaging interface |
| US20030233644A1 (en) | 2002-06-17 | 2003-12-18 | Microsoft Corporation | System and method for manipulating offline software |
| US20030233374A1 (en) | 2002-03-14 | 2003-12-18 | Ulrich Spinola | Dynamic workflow process |
| US6668369B1 (en) | 1999-12-29 | 2003-12-23 | International Business Machines Corporation | Software debugging tool for displaying dynamically written software code |
| US20030236859A1 (en) | 2002-06-19 | 2003-12-25 | Alexander Vaschillo | System and method providing API interface between XML and SQL while interacting with a managed object environment |
| US20030237047A1 (en) | 2002-06-18 | 2003-12-25 | Microsoft Corporation | Comparing hierarchically-structured documents |
| US20030237046A1 (en) | 2002-06-12 | 2003-12-25 | Parker Charles W. | Transformation stylesheet editor |
| US20040003353A1 (en) | 2002-05-14 | 2004-01-01 | Joey Rivera | Workflow integration system for automatic real time data management |
| US20040002939A1 (en) | 2002-06-28 | 2004-01-01 | Microsoft Corporation | Schemaless dataflow within an XML storage solution |
| US20040003389A1 (en) | 2002-06-05 | 2004-01-01 | Microsoft Corporation | Mechanism for downloading software components from a remote source for use by a local software application |
| US20040003031A1 (en) | 2002-06-26 | 2004-01-01 | International Business Machines Corporation | Running dynamic web pages off-line with a wizard |
| US6675202B1 (en) | 2000-05-30 | 2004-01-06 | Cary D. Perttunen | Methods, articles and apparatus for providing a browsing session |
| US20040010752A1 (en) | 2002-07-09 | 2004-01-15 | Lucent Technologies Inc. | System and method for filtering XML documents with XPath expressions |
| US20040024842A1 (en) | 2002-07-31 | 2004-02-05 | Sap Aktiengesellschaft | Validation framework for validating markup page input on a client computer |
| US6691281B1 (en) | 1999-06-15 | 2004-02-10 | Microsoft Corporation | Publishing/republishing data tables in HTML documents while maintaining formatting and functionality for restoring back the data tables |
| US6691230B1 (en) | 1998-10-15 | 2004-02-10 | International Business Machines Corporation | Method and system for extending Java applets sand box with public client storage |
| US20040030991A1 (en) | 2002-04-22 | 2004-02-12 | Paul Hepworth | Systems and methods for facilitating automatic completion of an electronic form |
| US6697944B1 (en) | 1999-10-01 | 2004-02-24 | Microsoft Corporation | Digital content distribution, transmission and protection system and method, and portable device for use therewith |
| US20040039990A1 (en) | 2002-03-30 | 2004-02-26 | Xorbix Technologies, Inc. | Automated form and data analysis tool |
| US6701486B1 (en) | 1999-07-29 | 2004-03-02 | Grischa Corporation | Method, apparatus, and computer program product for automatic page suppression in forms |
| US6701434B1 (en) | 1999-05-07 | 2004-03-02 | International Business Machines Corporation | Efficient hybrid public key signature scheme |
| US20040044965A1 (en) | 2002-04-30 | 2004-03-04 | Haruhiko Toyama | Structured document edit apparatus, structured document edit method, and program product |
| US20040044961A1 (en) | 2002-08-28 | 2004-03-04 | Leonid Pesenson | Method and system for transformation of an extensible markup language document |
| US6704906B1 (en) | 1999-03-27 | 2004-03-09 | Movaris, Inc. | Self-directed routable electronic form system and method |
| US6711679B1 (en) | 1999-03-31 | 2004-03-23 | International Business Machines Corporation | Public key infrastructure delegation |
| US20040059754A1 (en) | 2002-07-13 | 2004-03-25 | Lauren Barghout | Perceptual information processing system |
| US6720985B1 (en) | 1999-09-17 | 2004-04-13 | Silverbrook Research Pty Ltd | Method and system for object selection |
| US20040073565A1 (en) | 2000-10-31 | 2004-04-15 | Kaufman Michael Philip | System and method for generating automatic user interface for arbitrarily complex or large databases |
| US20040073868A1 (en) | 2002-08-27 | 2004-04-15 | Clark Easter | Method and system for compliance forms and compliance forms user interface |
| US6725426B1 (en) | 2000-03-17 | 2004-04-20 | Broadvision, Inc. | Mechanism for translating between word processing documents and XML documents |
| US20040078756A1 (en) | 2002-10-15 | 2004-04-22 | Napper Jonathon Leigh | Method of improving recognition accuracy in form-based data entry systems |
| US6728755B1 (en) | 2000-09-26 | 2004-04-27 | Hewlett-Packard Development Company, L.P. | Dynamic user profiling for usability |
| US20040083426A1 (en) | 2002-10-25 | 2004-04-29 | Smita Sahu | System and method for generating pre-populated forms |
| US20040088647A1 (en) | 2002-11-06 | 2004-05-06 | Miller Adrian S. | Web-based XML document processing system |
| US6735721B1 (en) | 2000-06-21 | 2004-05-11 | Bellsouth Intellectual Property Corporation | System and method for message handling |
| US20040093596A1 (en) | 2002-10-31 | 2004-05-13 | Canon Kabushiki Kaisha | Information processing apparatus having a capability of halting a printing process for off-line processing, and method and program for controlling printing process including halting the printing process for off-ling processing |
| US20040107367A1 (en) | 2001-02-09 | 2004-06-03 | Friedrich Kisters | Method, arrangement and secure medium for authentication of a user |
| US6748385B1 (en) | 1998-02-10 | 2004-06-08 | National Broadcasting Company, Inc. | Dynamic insertion and updating of hypertext links for internet servers |
| US6751777B2 (en) | 1998-10-19 | 2004-06-15 | International Business Machines Corporation | Multi-target links for navigating between hypertext documents and the like |
| US20040117769A1 (en) | 2002-12-16 | 2004-06-17 | International Business Machines Corporation | Visual debugger for stylesheets |
| US6754874B1 (en) | 2002-05-31 | 2004-06-22 | Deloitte Development Llc | Computer-aided system and method for evaluating employees |
| US20040123277A1 (en) | 2002-12-18 | 2004-06-24 | Schrader Stuart Lyle | Method, system and computer product for parsing binary data |
| US6757868B1 (en) | 1998-06-22 | 2004-06-29 | International Business Machines Corporation | Programmatic switching of arbitrary HTML forms |
| US6760723B2 (en) | 2000-01-31 | 2004-07-06 | Commvault Systems Inc. | Storage management across multiple time zones |
| US6763343B1 (en) | 1999-09-20 | 2004-07-13 | David M. Brooke | Preventing duplication of the data in reference resource for XML page generation |
| US20040146199A1 (en) | 2003-01-29 | 2004-07-29 | Kathrin Berkner | Reformatting documents using document analysis information |
| US6772139B1 (en) | 1998-10-05 | 2004-08-03 | Smith, Iii Julius O. | Method and apparatus for facilitating use of hypertext links on the world wide web |
| US6772165B2 (en) | 2000-05-16 | 2004-08-03 | O'carroll Garrett | Electronic document processing system and method for merging source documents on a node-by-node basis to generate a target document |
| US6774926B1 (en) | 1999-09-03 | 2004-08-10 | United Video Properties, Inc. | Personal television channel system |
| US6779154B1 (en) | 2000-02-01 | 2004-08-17 | Cisco Technology, Inc. | Arrangement for reversibly converting extensible markup language documents to hypertext markup language documents |
| US20040163041A1 (en) | 2003-02-13 | 2004-08-19 | Paterra, Inc. | Relational database structures for structured documents |
| US6782144B2 (en) | 2001-03-12 | 2004-08-24 | Multiscan Corp. | Document scanner, system and method |
| US6781609B1 (en) | 2000-05-09 | 2004-08-24 | International Business Machines Corporation | Technique for flexible inclusion of information items and various media types in a user interface |
| US20040172442A1 (en) | 2001-06-27 | 2004-09-02 | Ripley John R. | System and Method for Sharing Data Between Hierarchical Databases |
| US6799299B1 (en) | 1999-09-23 | 2004-09-28 | International Business Machines Corporation | Method and apparatus for creating stylesheets in a data processing system |
| US20040189716A1 (en) | 2003-03-24 | 2004-09-30 | Microsoft Corp. | System and method for designing electronic forms and hierarchical schemas |
| US20040188762A1 (en) | 2003-03-24 | 2004-09-30 | Yasuhiro Shimamoto | Semiconductor device and manufacturing method thereof |
| US20040194035A1 (en) | 2003-03-31 | 2004-09-30 | Amit Chakraborty | Systems and methods for automatic form segmentation for raster-based passive electronic documents |
| US6801929B1 (en) | 1998-09-01 | 2004-10-05 | Bigfix, Inc. | Relevance clause for computed relevance messaging |
| US20040205525A1 (en) | 2001-04-30 | 2004-10-14 | Murren Brian T. | Automatic identification of form contents |
| US20040205671A1 (en) | 2000-09-13 | 2004-10-14 | Tatsuya Sukehiro | Natural-language processing system |
| US20040205534A1 (en) | 2000-05-16 | 2004-10-14 | Koelle Steven K. | System and method for providing access to forms and maintaining the data used to complete the forms |
| US20040205605A1 (en) | 2002-03-12 | 2004-10-14 | International Business Machines Corporation | Method and system for stylesheet rule creation, combination, and removal |
| US20040205592A1 (en) | 2001-08-23 | 2004-10-14 | Xmlcities, Inc. | Method and apparatus for extensible stylesheet designs |
| US20040205653A1 (en) | 2001-12-17 | 2004-10-14 | Workshare Technology, Ltd. | Method and system for document collaboration |
| US20040205571A1 (en) | 2002-03-12 | 2004-10-14 | International Business Machines Corporation | Method and system for stylesheet-centric editing |
| US20040205473A1 (en) | 2000-01-27 | 2004-10-14 | Gwyn Fisher | Method and system for implementing an enterprise information portal |
| US20040210599A1 (en) | 1999-07-26 | 2004-10-21 | Microsoft Corporation | Methods and apparatus for parsing extensible markup language (XML) data streams |
| US20040221238A1 (en) | 2000-06-13 | 2004-11-04 | Chris Cifra | Automatic generation of programs with GUI controls for interactively setting or viewing values |
| US20040221245A1 (en) | 2000-12-27 | 2004-11-04 | Justin Chickles | Graphical user interface including palette windows with an improved navigation interface |
| US6816849B1 (en) | 1998-05-26 | 2004-11-09 | Gerald B. Halt, Jr. | Advanced internet interface |
| US20040237030A1 (en) | 2003-05-19 | 2004-11-25 | Malkin Wayne Allan | System and method of implementing calculation fields in an electronic form |
| US20040268229A1 (en) | 2003-06-27 | 2004-12-30 | Microsoft Corporation | Markup language editing with an electronic form |
| US20050005248A1 (en) | 2000-06-21 | 2005-01-06 | Microsoft Corporation | Task-sensitive methods and systems for displaying command sets |
| US20050004893A1 (en) | 2003-07-02 | 2005-01-06 | Sangroniz James M. | Workflow management devices and systems, and workflow assignment and management methods |
| US6845499B2 (en) | 2001-01-31 | 2005-01-18 | I2 Technologies Us, Inc. | System and method for developing software applications using an extended XML-based framework |
| US6845380B2 (en) | 2002-03-04 | 2005-01-18 | Hewlett-Packard Development Company, L.P. | Method and system of valuing transformation between extensible markup language (XML) documents |
| US20050015732A1 (en) | 2000-09-14 | 2005-01-20 | Microsoft Corporation | Mapping tool graphical user interface |
| US20050015279A1 (en) | 2003-05-21 | 2005-01-20 | Rucker Donald W. | Service order system and user interface for use in healthcare and other fields |
| US6847387B2 (en) | 1997-01-21 | 2005-01-25 | International Business Machines Corporation | Menu management mechanism that displays menu items based on multiple heuristic factors |
| US6848078B1 (en) | 1998-11-30 | 2005-01-25 | International Business Machines Corporation | Comparison of hierarchical structures and merging of differences |
| US20050022115A1 (en) | 2001-05-31 | 2005-01-27 | Roberts Baumgartner | Visual and interactive wrapper generation, automated information extraction from web pages, and translation into xml |
| US20050027757A1 (en) | 2002-12-19 | 2005-02-03 | Rick Kiessig | System and method for managing versions |
| US20050033728A1 (en) | 2000-06-21 | 2005-02-10 | Microsoft Corporation | Methods, systems, architectures and data structures for delivering software via a network |
| US20050038711A1 (en) | 2003-08-13 | 2005-02-17 | Merwin Marlelo | Method for advertising for sale classroom materials and services |
| US20050055627A1 (en) | 1997-03-07 | 2005-03-10 | Signaturemail.Com, Llc | System and method for personalizing electronic mail messages |
| US20050060324A1 (en) | 2002-11-13 | 2005-03-17 | Jerry Johnson | System and method for creation and maintenance of a rich content or content-centric electronic catalog |
| US6871220B1 (en) | 1998-10-28 | 2005-03-22 | Yodlee, Inc. | System and method for distributed storage and retrieval of personal information |
| US20050065933A1 (en) | 2003-09-22 | 2005-03-24 | Thomas Goering | System and method for customizing form elements in a form building application |
| US20050065936A1 (en) | 2003-09-22 | 2005-03-24 | Thomas Goering | System and method for reusing form elements in a form building application |
| US20050066287A1 (en) | 2003-09-11 | 2005-03-24 | Tattrie Scott I. | User-friendly data binding, such as drag-and-drop data binding in a workflow application |
| US6874130B1 (en) | 2000-02-17 | 2005-03-29 | International Business Machines Corporation | Copy/move graphical user interface apparatus and method |
| US20050071752A1 (en) | 2003-09-24 | 2005-03-31 | Marlatt Jane E. | Forms management system |
| US20050076049A1 (en) | 2003-10-02 | 2005-04-07 | Marwan Qubti | Business workflow database and user system |
| US20050091305A1 (en) | 1998-10-23 | 2005-04-28 | General Magic | Network system extensible by users |
| US20050091285A1 (en) | 2003-10-23 | 2005-04-28 | Krishnan Prasanna V. | Promotion and demotion techniques to facilitate file property management between object systems |
| US6889359B1 (en) | 1999-10-07 | 2005-05-03 | International Business Machines Corporation | Method for providing a visual representation of dynamic HTML table attributes |
| US20050102612A1 (en) | 2003-11-06 | 2005-05-12 | International Business Machines Corporation | Web-enabled XML editor |
| US20050102370A1 (en) | 2003-10-23 | 2005-05-12 | Yun Lin | Truth on client persistent caching |
| US20050108104A1 (en) | 2003-11-14 | 2005-05-19 | Katherine Woo | Integrating third party shopping cart applications with an online payment service |
| US20050108624A1 (en) | 2003-11-13 | 2005-05-19 | International Business Machines Corporation | Lightweight form pattern validation |
| US6901403B1 (en) | 2000-03-02 | 2005-05-31 | Quovadx, Inc. | XML presentation of general-purpose data sources |
| US20050138086A1 (en) | 2003-12-23 | 2005-06-23 | Sap Aktiengesellschaft | Cross-system update method and system |
| US6915454B1 (en) | 2001-06-12 | 2005-07-05 | Microsoft Corporation | Web controls validation |
| US20050171746A1 (en) | 1995-01-17 | 2005-08-04 | Intertech Ventures, Ltd. | Network models of complex systems |
| US6931532B1 (en) | 1999-10-21 | 2005-08-16 | International Business Machines Corporation | Selective data encryption using style sheet processing |
| US6941511B1 (en) | 2000-08-31 | 2005-09-06 | International Business Machines Corporation | High-performance extensible document transformation |
| US6941521B2 (en) | 2002-03-29 | 2005-09-06 | Intel Corporation | Method for dynamically generating a user interface from XML-based documents |
| US6941510B1 (en) | 2000-06-06 | 2005-09-06 | Groove Networks, Inc. | Method and apparatus for efficient management of XML documents |
| US20050198125A1 (en) | 2004-01-26 | 2005-09-08 | Macleod Beck Christopher C. | Methods and system for creating and managing identity oriented networked communication |
| US20050198247A1 (en) | 2000-07-11 | 2005-09-08 | Ciena Corporation | Granular management of network resources |
| US6948135B1 (en) | 2000-06-21 | 2005-09-20 | Microsoft Corporation | Method and systems of providing information to computer users |
| US6948133B2 (en) | 2001-03-23 | 2005-09-20 | Siemens Medical Solutions Health Services Corporation | System for dynamically configuring a user interface display |
| US6950980B1 (en) | 2000-05-31 | 2005-09-27 | International Business Machines Corporation | System, method, and program product for saving a submitted form of a web page |
| US20050223320A1 (en) | 1996-09-09 | 2005-10-06 | Microsoft Corporation | Automatic layout of content in a design for a medium |
| US20050223063A1 (en) | 2004-03-31 | 2005-10-06 | Bay-Wei Chang | Quick reply form |
| US20050240876A1 (en) | 2001-10-31 | 2005-10-27 | Qcorps Residential, Inc. | System and method for generating XSL transformation documents |
| US6961897B1 (en) | 1999-06-14 | 2005-11-01 | Lockheed Martin Corporation | System and method for interactive electronic media extraction for web page generation |
| US6968505B2 (en) | 2001-04-27 | 2005-11-22 | International Business Machines Corporation | Use of conceptual diagrams to support relationships between launchpads and its wizards |
| US6968503B1 (en) | 2000-03-09 | 2005-11-22 | Quovadx, Inc. | XML user interface for a workflow server |
| US20050268222A1 (en) | 2004-05-26 | 2005-12-01 | Cheng Kai M | Method of creating, processing and storing HTML documents |
| US20060020586A1 (en) | 2000-03-03 | 2006-01-26 | Michel Prompt | System and method for providing access to databases via directories and other hierarchical structures and interfaces |
| US6993714B2 (en) | 2002-10-03 | 2006-01-31 | Microsoft Corporation | Grouping and nesting hierarchical namespaces |
| US6996776B1 (en) | 2000-05-16 | 2006-02-07 | International Business Machines Corporation | Method and system for SGML-to-HTML migration to XML-based system |
| US20060031757A9 (en) | 2003-06-11 | 2006-02-09 | Vincent Winchel T Iii | System for creating and editing mark up language forms and documents |
| US20060036995A1 (en) | 2000-12-27 | 2006-02-16 | Justin Chickles | Search window for adding program elements to a program |
| US7003722B2 (en) | 2003-02-28 | 2006-02-21 | Microsoft Corporation | Method and system for converting a schema-based hierarchical data structure into a flat data structure |
| US20060041838A1 (en) | 2004-08-23 | 2006-02-23 | Sun Microsystems, Inc. | System and method for automatically generating XML schema for validating XML input documents |
| US20060059434A1 (en) | 2004-09-16 | 2006-03-16 | International Business Machines Corporation | System and method to capture and manage input values for automatic form fill |
| US20060069605A1 (en) | 2004-09-29 | 2006-03-30 | Microsoft Corporation | Workflow association in a collaborative application |
| US7024417B1 (en) | 2002-11-14 | 2006-04-04 | Hyperion Solutions Corporation | Data mining framework using a signature associated with an algorithm |
| US7032170B2 (en) | 2002-06-03 | 2006-04-18 | General Electric Company | Creating data structures from a form file and creating a web page in conjunction with corresponding data structures |
| US20060085409A1 (en) | 2000-06-28 | 2006-04-20 | Microsoft Corporation | Method and apparatus for information transformation and exchange in a relational database environment |
| US7036072B1 (en) | 2001-12-18 | 2006-04-25 | Jgr Acquisition, Inc. | Method and apparatus for declarative updating of self-describing, structured documents |
| US7039875B2 (en) | 2000-11-30 | 2006-05-02 | Lucent Technologies Inc. | Computer user interfaces that are generated as needed |
| US20060101037A1 (en) | 2004-11-11 | 2006-05-11 | Microsoft Corporation | Application programming interface for text mining and search |
| US7051273B1 (en) | 1990-11-30 | 2006-05-23 | Microsoft Corporation | Customizing forms in an electronic mail system utilizing custom field behaviors and user defined operations |
| US7058663B2 (en) | 2001-03-13 | 2006-06-06 | Koninklijke Philips Electronics, N.V. | Automatic data update |
| US7065493B1 (en) | 2000-04-06 | 2006-06-20 | International Business Machines Corporation | Workflow system and method |
| US20060143220A1 (en) | 2003-12-31 | 2006-06-29 | Spencer Herman Jr | Software application framework using meta-data defined object definitions |
| US7080325B2 (en) | 2002-02-22 | 2006-07-18 | Call-Tell Llc | Graphical device for comprehensive viewing and input of variable data via a browser-based display |
| US7086009B2 (en) | 2001-06-22 | 2006-08-01 | Invensys Systems, Inc. | Customizable system for creating supervisory process control and manufacturing information applications |
| US7088374B2 (en) | 2003-03-27 | 2006-08-08 | Microsoft Corporation | System and method for managing visual structure, timing, and animation in a graphics processing system |
| US7100147B2 (en) | 2001-06-28 | 2006-08-29 | International Business Machines Corporation | Method, system, and program for generating a workflow |
| US7103611B2 (en) | 2003-05-01 | 2006-09-05 | Oracle International Corporation | Techniques for retaining hierarchical information in mapping between XML documents and relational data |
| US7107521B2 (en) | 2001-07-03 | 2006-09-12 | International Business Machines Corporation | XSL dynamic inheritance |
| US7106888B1 (en) | 1999-05-25 | 2006-09-12 | Silverbrook Research Pty Ltd | Signature capture via interface surface |
| US7107282B1 (en) | 2002-05-10 | 2006-09-12 | Oracle International Corporation | Managing XPath expressions in a database system |
| US7152205B2 (en) | 2000-12-18 | 2006-12-19 | Siemens Corporate Research, Inc. | System for multimedia document and file processing and format conversion |
| US7168035B1 (en) | 2003-06-11 | 2007-01-23 | Microsoft Corporation | Building a view on markup language data through a set of components |
| US20070036433A1 (en) | 2005-08-15 | 2007-02-15 | Microsoft Corporation | Recognizing data conforming to a rule |
| US20070050719A1 (en) | 1999-05-07 | 2007-03-01 | Philip Lui | System and method for dynamic assistance in software applications using behavior and host application models |
| US7190376B1 (en) | 1999-03-16 | 2007-03-13 | Canon Kabushiki Kaisha | Method of compiling compositing expressions for optimised rendering |
| US7191394B1 (en) | 2000-06-21 | 2007-03-13 | Microsoft Corporation | Authoring arbitrary XML documents using DHTML and XSLT |
| US20070061467A1 (en) | 2005-09-15 | 2007-03-15 | Microsoft Corporation | Sessions and session states |
| US20070061706A1 (en) | 2005-09-14 | 2007-03-15 | Microsoft Corporation | Mapping property hierarchies to schemas |
| US7236982B2 (en) | 2003-09-15 | 2007-06-26 | Pic Web Services, Inc. | Computer systems and methods for platform independent presentation design |
| EP1076290B1 (en) | 1999-08-10 | 2007-08-01 | Sun Microsystems, Inc. | Method for on-demand network application download and execution |
| US20070208606A1 (en) | 2000-04-07 | 2007-09-06 | Jpmorgan Chase Bank, N.A. | Workflow management system and method |
| US7272789B2 (en) | 2002-11-18 | 2007-09-18 | Typefi Systems Pty. Ltd. | Method of formatting documents |
| US7313758B2 (en) | 2002-04-24 | 2007-12-25 | Canon Kabushiki Kaisha | Markup-language document formatting in memory-constrained environment |
| US7316003B1 (en) | 2002-12-18 | 2008-01-01 | Oracle International Corp. | System and method for developing a dynamic web page |
| US7318237B2 (en) | 1998-10-28 | 2008-01-08 | Bea Systems, Inc. | System and method for maintaining security in a distributed computer network |
| US7334178B1 (en) | 2005-09-09 | 2008-02-19 | Xsigo Systems | Randomized self-checking test system |
| US7350141B2 (en) | 2000-06-21 | 2008-03-25 | Microsoft Corporation | User interface for integrated spreadsheets and word processing tables |
| Publication number | Priority date | Publication date | Assignee | Title |
|---|---|---|---|---|
| US533424A (en)* | 1895-02-05 | Grease-separator | ||
| DE4013462A1 (en)* | 1990-04-27 | 1991-11-07 | Heidelberger Druckmasch Ag | DEVICE FOR LACQUERING PRINTED SHEETS ON PRINTING MACHINES |
| WO1999046853A1 (en) | 1998-03-13 | 1999-09-16 | Matsushita Electric Industrial Co., Ltd. | Amplifying circuit and optical receiver comprising the same |
| US6560616B1 (en)* | 1999-03-26 | 2003-05-06 | Microsoft Corporation | Robust modification of persistent objects while preserving formatting and other attributes |
| US7010580B1 (en)* | 1999-10-08 | 2006-03-07 | Agile Software Corp. | Method and apparatus for exchanging data in a platform independent manner |
| US7519905B2 (en)* | 1999-10-12 | 2009-04-14 | Webmd Corp. | Automatic formatting and validating of text for a markup language graphical user interface |
| US6853997B2 (en)* | 2000-06-29 | 2005-02-08 | Infoglide Corporation | System and method for sharing, mapping, transforming data between relational and hierarchical databases |
| US20020032692A1 (en)* | 2000-09-08 | 2002-03-14 | Atsuhito Suzuki | Workflow management method and workflow management system of controlling workflow process |
| US6850939B2 (en)* | 2000-11-30 | 2005-02-01 | Projectvillage | System and method for providing selective data access and workflow in a network environment |
| US7120699B2 (en)* | 2001-09-20 | 2006-10-10 | Ricoh Company, Ltd. | Document controlled workflow systems and methods |
| US8381091B2 (en)* | 2002-09-16 | 2013-02-19 | International Business Machines Corporation | Real-time method, system and program product for collecting web form data |
| Publication number | Priority date | Publication date | Assignee | Title |
|---|---|---|---|---|
| US4201978A (en) | 1978-10-19 | 1980-05-06 | NCR Canada Ltd. -- NCR Canada Ltee | Document processing system |
| US4514800A (en) | 1981-05-22 | 1985-04-30 | Data General Corporation | Digital computer system including apparatus for resolving names representing data items and capable of executing instructions belonging to general instruction sets |
| US4498147A (en) | 1982-11-18 | 1985-02-05 | International Business Machines Corporation | Methodology for transforming a first editable document form prepared with a batch text processing system to a second editable document form usable by an interactive or batch text processing system |
| US4641274A (en) | 1982-12-03 | 1987-02-03 | International Business Machines Corporation | Method for communicating changes made to text form a text processor to a remote host |
| US4564752A (en) | 1982-12-23 | 1986-01-14 | Ncr Canada Ltd | Concurrent, image-based, reject-re-entry system and method |
| US4723211A (en) | 1984-08-30 | 1988-02-02 | International Business Machines Corp. | Editing of a superblock data structure |
| US4739477A (en) | 1984-08-30 | 1988-04-19 | International Business Machines Corp. | Implicit creation of a superblock data structure |
| US4962475A (en) | 1984-12-26 | 1990-10-09 | International Business Machines Corporation | Method for generating a document utilizing a plurality of windows associated with different data objects |
| US4674040A (en) | 1984-12-26 | 1987-06-16 | International Business Machines Corporation | Merging of documents |
| US4815029A (en) | 1985-09-23 | 1989-03-21 | International Business Machines Corp. | In-line dynamic editor for mixed object documents |
| US5182709A (en) | 1986-03-31 | 1993-01-26 | Wang Laboratories, Inc. | System for parsing multidimensional and multidirectional text into encoded units and storing each encoded unit as a separate data structure |
| US5249275A (en) | 1986-04-21 | 1993-09-28 | Texas Instruments Incorporated | Apparatus and method enabling a compiled program to exactly recreate its source code |
| US4847749A (en) | 1986-06-13 | 1989-07-11 | International Business Machines Corporation | Job interrupt at predetermined boundary for enhanced recovery |
| JPS6385960U (en) | 1986-11-26 | 1988-06-04 | ||
| US5072412A (en) | 1987-03-25 | 1991-12-10 | Xerox Corporation | User interface with multiple workspaces for sharing display system objects |
| US5497489A (en) | 1987-05-05 | 1996-03-05 | Menne; David M. | Data storage and retrieval systems having labelling for data |
| US4910663A (en) | 1987-07-10 | 1990-03-20 | Tandem Computers Incorporated | System for measuring program execution by replacing an executable instruction with interrupt causing instruction |
| US5206951A (en) | 1987-08-21 | 1993-04-27 | Wang Laboratories, Inc. | Integration of data between typed objects by mutual, direct invocation between object managers corresponding to object types |
| US5369778A (en) | 1987-08-21 | 1994-11-29 | Wang Laboratories, Inc. | Data processor that customizes program behavior by using a resource retrieval capability |
| US5179703A (en) | 1987-11-17 | 1993-01-12 | International Business Machines Corporation | Dynamically adaptive environment for computer programs |
| US5025484A (en) | 1987-12-11 | 1991-06-18 | Kabushiki Kaisha Toshiba | Character reader device |
| US4933880A (en) | 1988-06-15 | 1990-06-12 | International Business Machines Corp. | Method for dynamically processing non-text components in compound documents |
| US6195661B1 (en) | 1988-07-15 | 2001-02-27 | International Business Machines Corp. | Method for locating application records in an interactive-services database |
| US5195183A (en) | 1989-01-31 | 1993-03-16 | Norand Corporation | Data communication system with communicating and recharging docking apparatus for hand-held data terminal |
| US5313646A (en) | 1989-02-24 | 1994-05-17 | Sun Microsystems, Inc. | Method and apparatus for translucent file system |
| US5339423A (en) | 1989-06-16 | 1994-08-16 | International Business Machines Corporation | System for accessing objects external to an application using tables containing path definitions |
| US5297283A (en) | 1989-06-29 | 1994-03-22 | Digital Equipment Corporation | Object transferring system and method in an object based computer operating system |
| US5551035A (en) | 1989-06-30 | 1996-08-27 | Lucent Technologies Inc. | Method and apparatus for inter-object communication in an object-oriented program controlled system |
| US5228100A (en) | 1989-07-10 | 1993-07-13 | Hitachi, Ltd. | Method and system for producing from document image a form display with blank fields and a program to input data to the blank fields |
| US5410688A (en) | 1989-07-21 | 1995-04-25 | Hewlett-Packard Company | Distributed object based systems for communicating object data among different storage domains |
| US5381547A (en) | 1989-11-29 | 1995-01-10 | Siemens Aktiengesellschaft | Method for dynamically linking definable program elements of an interactive data processing system |
| US5333317A (en) | 1989-12-22 | 1994-07-26 | Bull Hn Information Systems Inc. | Name resolution in a directory database |
| US5222160A (en) | 1989-12-28 | 1993-06-22 | Fujitsu Limited | Document revising system for use with document reading and translating system |
| US5218672A (en) | 1990-01-19 | 1993-06-08 | Sony Corporation Of America | Offline editing system with user interface for controlling edit list generation |
| US5440744A (en) | 1990-08-14 | 1995-08-08 | Digital Equipment Corporation | Methods and apparatus for implementing server functions in a distributed heterogeneous environment |
| US5341478A (en) | 1990-08-14 | 1994-08-23 | Digital Equipment Corporation | Methods and apparatus for providing dynamic invocation of applications in a distributed heterogeneous environment |
| US5317686A (en) | 1990-09-10 | 1994-05-31 | Lotus Development Corporation | Data processing apparatus and method for a reformattable multidimensional spreadsheet |
| US5237680A (en) | 1990-09-27 | 1993-08-17 | Sun Microsystems, Inc. | Method for incremental rename propagation between hierarchical file name spaces |
| US5297249A (en) | 1990-10-31 | 1994-03-22 | International Business Machines Corporation | Hypermedia link marker abstract and search services |
| US5204947A (en) | 1990-10-31 | 1993-04-20 | International Business Machines Corporation | Application independent (open) hypermedia enablement services |
| US5745712A (en) | 1990-10-31 | 1998-04-28 | Borland International, Inc. | Graphical programming system and methods for assisting a user with creating screen objects on a screen device |
| US7051273B1 (en) | 1990-11-30 | 2006-05-23 | Microsoft Corporation | Customizing forms in an electronic mail system utilizing custom field behaviors and user defined operations |
| US5379419A (en) | 1990-12-07 | 1995-01-03 | Digital Equipment Corporation | Methods and apparatus for accesssing non-relational data files using relational queries |
| US5410646A (en) | 1991-01-31 | 1995-04-25 | Park City Group, Inc. | System and method for creating, processing, and storing forms electronically |
| US5191645A (en) | 1991-02-28 | 1993-03-02 | Sony Corporation Of America | Digital signal processing system employing icon displays |
| US5187786A (en) | 1991-04-05 | 1993-02-16 | Sun Microsystems, Inc. | Method for apparatus for implementing a class hierarchy of objects in a hierarchical file system |
| US5339424A (en) | 1991-04-19 | 1994-08-16 | Mitsubishi Denki Kabushiki Kaisha | System and method for compiling and executing a computer program written in more than one programming language |
| US5517655A (en) | 1991-04-26 | 1996-05-14 | Hewlett-Packard Company | Method for monitoring transactions in an object-oriented environment |
| US5274803A (en) | 1991-04-26 | 1993-12-28 | Sun Microsystems, Inc. | Method and apparatus for aligning a restored parent environment to its child environments with minimal data loss |
| US5313631A (en) | 1991-05-21 | 1994-05-17 | Hewlett-Packard Company | Dual threshold system for immediate or delayed scheduled migration of computer data files |
| US5481722A (en) | 1991-08-19 | 1996-01-02 | Sun Microsystems, Inc. | Method and apparatus for merging change control delta structure files of a source module from a parent and a child development environment |
| US5377323A (en) | 1991-09-13 | 1994-12-27 | Sun Microsytems, Inc. | Apparatus and method for a federated naming system which can resolve a composite name composed of names from any number of disparate naming systems |
| US5717939A (en) | 1991-11-18 | 1998-02-10 | Compaq Computer Corporation | Method and apparatus for entering and manipulating spreadsheet cell data |
| US5640544A (en) | 1991-12-28 | 1997-06-17 | Nec Corporation | Computer network having an asynchronous document data management system |
| US5371675A (en) | 1992-06-03 | 1994-12-06 | Lotus Development Corporation | Spreadsheet program which implements alternative range references |
| US5664178A (en) | 1992-07-06 | 1997-09-02 | Microsoft Corporation | Method and system for organizing internal structure of a file |
| US5842018A (en) | 1992-07-06 | 1998-11-24 | Microsoft Corporation | Method and system for referring to and binding to objects using identifier objects |
| US5581760A (en) | 1992-07-06 | 1996-12-03 | Microsoft Corporation | Method and system for referring to and binding to objects using identifier objects |
| US5682536A (en) | 1992-07-06 | 1997-10-28 | Microsoft Corporation | Method and system for referring to and binding to objects using identifier objects |
| US5689703A (en) | 1992-07-06 | 1997-11-18 | Microsoft Corporation | Method and system for referring to and binding to objects using identifier objects |
| US5740439A (en) | 1992-07-06 | 1998-04-14 | Microsoft Corporation | Method and system for referring to and binding to objects using identifier objects |
| JP3191429B2 (en) | 1992-09-02 | 2001-07-23 | 富士通テン株式会社 | Electronic device insertion / ejection device |
| US5434975A (en) | 1992-09-24 | 1995-07-18 | At&T Corp. | System for interconnecting a synchronous path having semaphores and an asynchronous path having message queuing for interprocess communications |
| US5438659A (en) | 1992-10-08 | 1995-08-01 | Hewlett-Packard Company | Object-action user interface management system |
| US5748807A (en) | 1992-10-09 | 1998-05-05 | Panasonic Technologies, Inc. | Method and means for enhancing optical character recognition of printed documents |
| US5412772A (en) | 1992-10-13 | 1995-05-02 | Novell, Inc. | System for permitting a view of an object or a user interface to be exchanged between operating system environments |
| US5396623A (en) | 1992-10-30 | 1995-03-07 | Bmc Software Inc. | Method for editing the contents of a DB2 table using an editproc manager |
| US5581686A (en) | 1992-12-01 | 1996-12-03 | Microsoft Corporation | Method and system for in-place interaction with contained objects |
| US5801701A (en) | 1992-12-01 | 1998-09-01 | Microsoft Corporation | Method and system for in-place interaction with contained objects |
| US5550976A (en) | 1992-12-08 | 1996-08-27 | Sun Hydraulics Corporation | Decentralized distributed asynchronous object oriented system and method for electronic data management, storage, and communication |
| US5455875A (en) | 1992-12-15 | 1995-10-03 | International Business Machines Corporation | System and method for correction of optical character recognition with display of image segments according to character data |
| US5390325A (en) | 1992-12-23 | 1995-02-14 | Taligent, Inc. | Automated testing system |
| US5572648A (en) | 1993-01-19 | 1996-11-05 | Canon Kabushiki Kaisha | System for simultaneously displaying a static tool palette having predefined windowing tool functions and a dynamic tool palette which changes windowing tool functons in accordance with a context of an executed application program |
| US5535389A (en) | 1993-01-26 | 1996-07-09 | International Business Machines Corporation | Business process objects with associated attributes such as version identifier |
| US5602996A (en) | 1993-01-27 | 1997-02-11 | Apple Computer, Inc. | Method and apparatus for determining window order when one of multiple displayed windows is selected |
| US6035309A (en) | 1993-02-09 | 2000-03-07 | International Business Machines Corporation | System and method for editing and viewing a very wide flat file |
| US5446842A (en) | 1993-02-26 | 1995-08-29 | Taligent, Inc. | Object-oriented collaboration system |
| US5764984A (en) | 1993-02-26 | 1998-06-09 | International Business Machines Corporation | System for multiple co-existing operating system personalities on a microkernel |
| US5436637A (en) | 1993-03-05 | 1995-07-25 | Borland International, Inc. | Graphical user interface system and methods for improved user feedback |
| US6005570A (en) | 1993-03-05 | 1999-12-21 | Inprise Corporation | Graphical user interface system and methods for improved user feedback |
| US5608720A (en) | 1993-03-09 | 1997-03-04 | Hubbell Incorporated | Control system and operations system interface for a network element in an access system |
| US5369766A (en) | 1993-03-25 | 1994-11-29 | Taligent, Inc. | Object-oriented loader system with support for different load formats |
| US5459865A (en) | 1993-04-05 | 1995-10-17 | Taligent Inc. | Runtime loader |
| US5408665A (en) | 1993-04-30 | 1995-04-18 | Borland International, Inc. | System and methods for linking compiled code with extended dictionary support |
| US5669005A (en) | 1993-05-10 | 1997-09-16 | Apple Computer, Inc. | System for automatically embedding or incorporating contents added to a document |
| US5542070A (en) | 1993-05-20 | 1996-07-30 | Ag Communication Systems Corporation | Method for rapid development of software systems |
| US5649099A (en) | 1993-06-04 | 1997-07-15 | Xerox Corporation | Method for delegating access rights through executable access control program without delegating access rights not in a specification to any intermediary nor comprising server security |
| US5577252A (en) | 1993-07-28 | 1996-11-19 | Sun Microsystems, Inc. | Methods and apparatus for implementing secure name servers in an object-oriented system |
| US5555325A (en) | 1993-10-22 | 1996-09-10 | Lockheed Martin Federal Systems, Inc. | Data capture variable priority method and system for managing varying processing capacities |
| US6389434B1 (en) | 1993-11-19 | 2002-05-14 | Aurigin Systems, Inc. | System, method, and computer program product for creating subnotes linked to portions of data objects after entering an annotation mode |
| US5806079A (en) | 1993-11-19 | 1998-09-08 | Smartpatents, Inc. | System, method, and computer program product for using intelligent notes to organize, link, and manipulate disparate data objects |
| US5798757A (en) | 1993-12-15 | 1998-08-25 | Borland International, Inc. | Methods and interface for building command expressions in a computer system |
| US5845090A (en) | 1994-02-14 | 1998-12-01 | Platinium Technology, Inc. | System for software distribution in a digital computer network |
| US5668966A (en) | 1994-02-15 | 1997-09-16 | International Business Machines Corporation | System and method for direct manipulation of search predicates using a graphical user interface |
| US5704029A (en) | 1994-05-23 | 1997-12-30 | Wright Strategies, Inc. | System and method for completing an electronic form |
| US5504898A (en) | 1994-06-20 | 1996-04-02 | Candle Distributed Solutions, Inc. | Threaded environment for AS/400 |
| US5627979A (en) | 1994-07-18 | 1997-05-06 | International Business Machines Corporation | System and method for providing a graphical user interface for mapping and accessing objects in data stores |
| US5838906A (en) | 1994-10-17 | 1998-11-17 | The Regents Of The University Of California | Distributed hypermedia method for automatically invoking external application providing interaction and display of embedded objects within a hypermedia document |
| US5862372A (en) | 1994-11-16 | 1999-01-19 | Morris; Robert M. | Visually oriented computer implemented application development system utilizing standardized objects and multiple views |
| US5630126A (en) | 1994-12-13 | 1997-05-13 | International Business Machines Corp. | Systems and methods for integrating computations into compound documents |
| US5764985A (en) | 1994-12-13 | 1998-06-09 | Microsoft Corp | Notification mechanism for coordinating software extensions |
| US5625783A (en) | 1994-12-13 | 1997-04-29 | Microsoft Corporation | Automated system and method for dynamic menu construction in a graphical user interface |
| US5815830A (en) | 1994-12-23 | 1998-09-29 | Anthony; Andre Charles | Automatic generation of hypertext links to multimedia topic objects |
| US20050171746A1 (en) | 1995-01-17 | 2005-08-04 | Intertech Ventures, Ltd. | Network models of complex systems |
| US6367013B1 (en) | 1995-01-17 | 2002-04-02 | Eoriginal Inc. | System and method for electronic transmission, storage, and retrieval of authenticated electronic original documents |
| US5706501A (en) | 1995-02-23 | 1998-01-06 | Fuji Xerox Co., Ltd. | Apparatus and method for managing resources in a network combining operations with name resolution functions |
| US5907704A (en) | 1995-04-03 | 1999-05-25 | Quark, Inc. | Hierarchical encapsulation of instantiated objects in a multimedia authoring system including internet accessible objects |
| US5929858A (en) | 1995-04-04 | 1999-07-27 | Fujitsu Limited | Device for aiding analysis of infeasible solution and unbounded solution |
| US5758184A (en) | 1995-04-24 | 1998-05-26 | Microsoft Corporation | System for performing asynchronous file operations requested by runnable threads by processing completion messages with different queue thread and checking for completion by runnable threads |
| US5634121A (en) | 1995-05-30 | 1997-05-27 | Lockheed Martin Corporation | System for identifying and linking domain information using a parsing process to identify keywords and phrases |
| US5689667A (en) | 1995-06-06 | 1997-11-18 | Silicon Graphics, Inc. | Methods and system of controlling menus with radial and linear portions |
| US5778402A (en) | 1995-06-07 | 1998-07-07 | Microsoft Corporation | Method and system for auto-formatting a document using an event-based rule engine to format a document as the user types |
| USRE38070E1 (en) | 1995-06-29 | 2003-04-08 | Microsoft Corporation | Cryptography system and method for providing cryptographic services for a computer application |
| US5745683A (en) | 1995-07-05 | 1998-04-28 | Sun Microsystems, Inc. | System and method for allowing disparate naming service providers to dynamically join a naming federation |
| US6016520A (en) | 1995-07-14 | 2000-01-18 | Microsoft Corporation | Method of viewing at a client viewing station a multiple media title stored at a server and containing a plurality of topics utilizing anticipatory caching |
| US6501864B1 (en) | 1995-07-31 | 2002-12-31 | Fujitsu Limited | Data medium handling apparatus and data medium handling method |
| US5644738A (en) | 1995-09-13 | 1997-07-01 | Hewlett-Packard Company | System and method using context identifiers for menu customization in a window |
| US5572643A (en) | 1995-10-19 | 1996-11-05 | Judson; David H. | Web browser with dynamic display of information objects during linking |
| US5742504A (en) | 1995-11-06 | 1998-04-21 | Medar, Inc. | Method and system for quickly developing application software for use in a machine vision system |
| US5845077A (en) | 1995-11-27 | 1998-12-01 | Microsoft Corporation | Method and system for identifying and obtaining computer software from a remote computer |
| US6081610A (en) | 1995-12-29 | 2000-06-27 | International Business Machines Corporation | System and method for verifying signatures on documents |
| US5915112A (en) | 1996-01-02 | 1999-06-22 | International Business Machines Corporation | Remote procedure interface with support for multiple versions |
| US5761408A (en) | 1996-01-16 | 1998-06-02 | Parasoft Corporation | Method and system for generating a computer program test suite using dynamic symbolic execution |
| US6369841B1 (en) | 1996-01-25 | 2002-04-09 | Siemens Aktiengesellschaft | Graphical user interface for the programming of programmable controllers |
| US5758358A (en) | 1996-01-29 | 1998-05-26 | Microsoft Corporation | Method and system for reconciling sections of documents |
| US5659729A (en) | 1996-02-01 | 1997-08-19 | Sun Microsystems, Inc. | Method and system for implementing hypertext scroll attributes |
| US6144969A (en) | 1996-02-09 | 2000-11-07 | Sony Corporation | File name conversion |
| US5761683A (en) | 1996-02-13 | 1998-06-02 | Microtouch Systems, Inc. | Techniques for changing the behavior of a link in a hypertext document |
| US6044205A (en) | 1996-02-29 | 2000-03-28 | Intermind Corporation | Communications system for transferring information between memories according to processes transferred with the information |
| US5835777A (en) | 1996-03-20 | 1998-11-10 | Hewlett-Packard Company | Method of automatically generating a software installation package |
| US5963964A (en) | 1996-04-05 | 1999-10-05 | Sun Microsystems, Inc. | Method, apparatus and program product for updating visual bookmarks |
| US5778372A (en) | 1996-04-18 | 1998-07-07 | Microsoft Corporation | Remote retrieval and display management of electronic document with incorporated images |
| US5784555A (en) | 1996-04-18 | 1998-07-21 | Microsoft Corporation | Automation and dial-time checking of system configuration for internet |
| US5802304A (en) | 1996-04-18 | 1998-09-01 | Microsoft Corporation | Automatic dialer responsive to network programming interface access |
| US5721824A (en) | 1996-04-19 | 1998-02-24 | Sun Microsystems, Inc. | Multiple-package installation with package dependencies |
| US6078326A (en) | 1996-04-23 | 2000-06-20 | Roku Technologies, L.L.C. | System and method providing centricity user environment |
| US6098081A (en) | 1996-05-06 | 2000-08-01 | Microsoft Corporation | Hypermedia navigation using soft hyperlinks |
| US5995103A (en) | 1996-05-10 | 1999-11-30 | Apple Computer, Inc. | Window grouping mechanism for creating, manipulating and displaying windows and window groups on a display screen of a computer system |
| US6191797B1 (en) | 1996-05-22 | 2001-02-20 | Canon Kabushiki Kaisha | Expression tree optimization for processing obscured graphical objects |
| US6026416A (en) | 1996-05-30 | 2000-02-15 | Microsoft Corp. | System and method for storing, viewing, editing, and processing ordered sections having different file formats |
| US5790796A (en)* | 1996-06-14 | 1998-08-04 | Symantec Corporation | Polymorphic package files to update software components |
| US6163772A (en) | 1996-06-17 | 2000-12-19 | Hewlett-Packard Company | Virtual point of sale processing using gateway-initiated messages |
| US6072870A (en) | 1996-06-17 | 2000-06-06 | Verifone Inc. | System, method and article of manufacture for a gateway payment architecture utilizing a multichannel, extensible, flexible architecture |
| US6026379A (en) | 1996-06-17 | 2000-02-15 | Verifone, Inc. | System, method and article of manufacture for managing transactions in a high availability system |
| US6052710A (en) | 1996-06-28 | 2000-04-18 | Microsoft Corporation | System and method for making function calls over a distributed network |
| US5854630A (en) | 1996-07-01 | 1998-12-29 | Sun Microsystems, Inc. | Prospective view for web backtrack |
| US6632251B1 (en) | 1996-07-03 | 2003-10-14 | Polydoc N.V. | Document producing support system |
| US5987480A (en) | 1996-07-25 | 1999-11-16 | Donohue; Michael | Method and system for delivering documents customized for a particular user over the internet using imbedded dynamic content |
| US5859973A (en) | 1996-08-21 | 1999-01-12 | International Business Machines Corporation | Methods, system and computer program products for delayed message generation and encoding in an intermittently connected data communication system |
| US6108637A (en) | 1996-09-03 | 2000-08-22 | Nielsen Media Research, Inc. | Content display monitor |
| US20050223320A1 (en) | 1996-09-09 | 2005-10-06 | Microsoft Corporation | Automatic layout of content in a design for a medium |
| US6300948B1 (en) | 1996-09-17 | 2001-10-09 | Scott D. Geller | Methods and systems for user interfaces and constraint handling in configuration software |
| US6018743A (en) | 1996-10-04 | 2000-01-25 | International Business Machines Corporation | Framework for object-oriented interface to record file data |
| US5864819A (en) | 1996-11-08 | 1999-01-26 | International Business Machines Corporation | Internal window object tree method for representing graphical user interface applications for speech navigation |
| US5999740A (en) | 1996-11-08 | 1999-12-07 | International Computers Limited | Updating mechanism for software |
| EP0841615A2 (en) | 1996-11-08 | 1998-05-13 | International Computers Limited | Updating mechanism for software |
| US5960199A (en) | 1996-11-12 | 1999-09-28 | International Business Machines Corporation | Model trace view for object-oriented systems |
| US5950010A (en) | 1996-11-25 | 1999-09-07 | J.D. Edwards World Source Co. | System and method for customized application package building and installation |
| US5826265A (en) | 1996-12-06 | 1998-10-20 | International Business Machines Corporation | Data management system having shared libraries |
| US6460058B2 (en) | 1996-12-06 | 2002-10-01 | Microsoft Corporation | Object-oriented framework for hyperlink navigation |
| US6035297A (en) | 1996-12-06 | 2000-03-07 | International Business Machines Machine | Data management system for concurrent engineering |
| US5911776A (en) | 1996-12-18 | 1999-06-15 | Unisys Corporation | Automatic format conversion system and publishing methodology for multi-user network |
| US6609200B2 (en) | 1996-12-20 | 2003-08-19 | Financial Services Technology Consortium | Method and system for processing electronic documents |
| US5922072A (en) | 1997-01-03 | 1999-07-13 | Ncr Corporation | Method and apparatus for creating alternate boot environments in a computer |
| US6847387B2 (en) | 1997-01-21 | 2005-01-25 | International Business Machines Corporation | Menu management mechanism that displays menu items based on multiple heuristic factors |
| US6088708A (en) | 1997-01-31 | 2000-07-11 | Microsoft Corporation | System and method for creating an online table from a layout of objects |
| US5956481A (en) | 1997-02-06 | 1999-09-21 | Microsoft Corporation | Method and apparatus for protecting data files on a computer from virus infection |
| US6311271B1 (en) | 1997-02-13 | 2001-10-30 | International Business Machines Corporation | How to sign digital streams |
| US6343302B1 (en) | 1997-02-13 | 2002-01-29 | Yahoo! Inc. | Remote web site authoring system and method |
| US6581061B2 (en) | 1997-02-13 | 2003-06-17 | Yahoo!, Inc. | Remote web site authoring system and method |
| US6031989A (en) | 1997-02-27 | 2000-02-29 | Microsoft Corporation | Method of formatting and displaying nested documents |
| US5991731A (en) | 1997-03-03 | 1999-11-23 | University Of Florida | Method and system for interactive prescription and distribution of prescriptions in conducting clinical studies |
| US20050055627A1 (en) | 1997-03-07 | 2005-03-10 | Signaturemail.Com, Llc | System and method for personalizing electronic mail messages |
| US5991877A (en) | 1997-04-03 | 1999-11-23 | Lockheed Martin Corporation | Object-oriented trusted application framework |
| US6014135A (en) | 1997-04-04 | 2000-01-11 | Netscape Communications Corp. | Collaboration centric document processing environment using an information centric visual user interface and information presentation method |
| US6266810B1 (en) | 1997-04-17 | 2001-07-24 | Matsushita Electric Industrial Co., Ltd. | Remote program downloading system and apparatus |
| US6167523A (en) | 1997-05-05 | 2000-12-26 | Intel Corporation | Method and apparatus for forms data validation and processing control |
| US5991710A (en) | 1997-05-20 | 1999-11-23 | International Business Machines Corporation | Statistical translation system with features based on phrases or groups of words |
| US6154128A (en) | 1997-05-21 | 2000-11-28 | Sun Microsystems, Inc. | Automatic building and distribution of alerts in a remote monitoring system |
| US6268852B1 (en) | 1997-06-02 | 2001-07-31 | Microsoft Corporation | System and method for facilitating generation and editing of event handlers |
| US5910895A (en) | 1997-06-13 | 1999-06-08 | Teradyne, Inc. | Low cost, easy to use automatic test system software |
| US5982370A (en) | 1997-07-18 | 1999-11-09 | International Business Machines Corporation | Highlighting tool for search specification in a user interface of a computer system |
| US6434564B2 (en) | 1997-08-22 | 2002-08-13 | Sap Aktiengesellschaft | Browser for hierarchical structures |
| US6167521A (en) | 1997-08-29 | 2000-12-26 | International Business Machines Corporation | Securely downloading and executing code from mutually suspicious authorities |
| US6078327A (en) | 1997-09-11 | 2000-06-20 | International Business Machines Corporation | Navigating applications and objects in a graphical user interface |
| US6272506B1 (en) | 1997-09-12 | 2001-08-07 | Doxis, Llc | Computerized verification form processing system and method |
| US6331864B1 (en) | 1997-09-23 | 2001-12-18 | Onadime, Inc. | Real-time multimedia visual programming system |
| US5940075A (en) | 1997-09-30 | 1999-08-17 | Unisys Corp. | Method for extending the hypertext markup language (HTML) to support enterprise application data binding |
| US6094657A (en) | 1997-10-01 | 2000-07-25 | International Business Machines Corporation | Apparatus and method for dynamic meta-tagging of compound documents |
| US6121965A (en) | 1997-10-17 | 2000-09-19 | Lucent Technologies Inc. | User interface for graphical application tool |
| US6216152B1 (en) | 1997-10-27 | 2001-04-10 | Sun Microsystems, Inc. | Method and apparatus for providing plug in media decoders |
| US6292897B1 (en) | 1997-11-03 | 2001-09-18 | International Business Machines Corporation | Undeniable certificates for digital signature verification |
| WO1999024945A1 (en) | 1997-11-12 | 1999-05-20 | Koninklijke Philips Electronics N.V. | Software update manager |
| US5974454A (en)* | 1997-11-14 | 1999-10-26 | Microsoft Corporation | Method and system for installing and updating program module components |
| US6115646A (en) | 1997-12-18 | 2000-09-05 | Nortel Networks Limited | Dynamic and generic process automation system |
| US6219698B1 (en) | 1997-12-19 | 2001-04-17 | Compaq Computer Corporation | Configuring client software using remote notification |
| US6658417B1 (en) | 1997-12-31 | 2003-12-02 | International Business Machines Corporation | Term-based methods and apparatus for access to files on shared storage devices |
| US6199204B1 (en) | 1998-01-28 | 2001-03-06 | International Business Machines Corporation | Distribution of software updates via a computer network |
| US6078924A (en) | 1998-01-30 | 2000-06-20 | Aeneid Corporation | Method and apparatus for performing data collection, interpretation and analysis, in an information platform |
| US6151624A (en) | 1998-02-03 | 2000-11-21 | Realnames Corporation | Navigating network resources based on metadata |
| US6275227B1 (en) | 1998-02-09 | 2001-08-14 | International Business Machines Corporation | Computer system and method for controlling the same utilizing a user interface control integrated with multiple sets of instructional material therefor |
| US6748385B1 (en) | 1998-02-10 | 2004-06-08 | National Broadcasting Company, Inc. | Dynamic insertion and updating of hypertext links for internet servers |
| US6108783A (en) | 1998-02-11 | 2000-08-22 | International Business Machines Corporation | Chameleon hashing and signatures |
| US6225996B1 (en) | 1998-02-20 | 2001-05-01 | Corel Corporation | System and method for displaying a current value of a cell of a document |
| US6091417A (en) | 1998-03-16 | 2000-07-18 | Earthlink Network, Inc. | Graphical user interface |
| US20020070973A1 (en) | 1998-03-23 | 2002-06-13 | Croley James E. | Method of entering, updating and display of related data on a single screen page |
| US6349408B1 (en) | 1998-03-23 | 2002-02-19 | Sun Microsystems, Inc. | Techniques for implementing a framework for extensible applications |
| US6052531A (en)* | 1998-03-25 | 2000-04-18 | Symantec Corporation | Multi-tiered incremental software updating |
| US6188401B1 (en) | 1998-03-25 | 2001-02-13 | Microsoft Corporation | Script-based user interface implementation defining components using a text markup language |
| US6281896B1 (en) | 1998-03-31 | 2001-08-28 | International Business Machines Corporation | Data processor controlled interface with multiple tree of elements views expandable into individual detail views |
| US20010022592A1 (en) | 1998-03-31 | 2001-09-20 | Claudia Alimpich | Data processor controlled interface with multiple tree of elements views expandable into individual detail views |
| US6345361B1 (en) | 1998-04-06 | 2002-02-05 | Microsoft Corporation | Directional set operations for permission based security in a computer system |
| US6366912B1 (en) | 1998-04-06 | 2002-04-02 | Microsoft Corporation | Network security zones |
| US6357038B1 (en) | 1998-04-13 | 2002-03-12 | Adobe Systems Incorporated | Cross platform and cross operating system macros |
| US6442563B1 (en) | 1998-04-30 | 2002-08-27 | Enterworks | Workflow management system, method, and medium that morphs work items |
| US6182095B1 (en) | 1998-04-30 | 2001-01-30 | General Electric Capital Corporation | Document generator |
| WO1999056207A1 (en) | 1998-04-30 | 1999-11-04 | Intervu, Inc. | System and method for automated identification, retrieval and installation of software components |
| US6097382A (en) | 1998-05-12 | 2000-08-01 | Silverstream Software, Inc. | Method and apparatus for building an application interface |
| US6343149B1 (en) | 1998-05-13 | 2002-01-29 | Oki Electric Industry Co, Ltd. | Document character reading system |
| US6122647A (en) | 1998-05-19 | 2000-09-19 | Perspecta, Inc. | Dynamic generation of contextual links in hypertext documents |
| US6816849B1 (en) | 1998-05-26 | 2004-11-09 | Gerald B. Halt, Jr. | Advanced internet interface |
| EP0961197B1 (en) | 1998-05-29 | 2003-08-13 | Hewlett-Packard Company, A Delaware Corporation | A user interface mechanism for manipulating context in computer management applications |
| US6054987A (en) | 1998-05-29 | 2000-04-25 | Hewlett-Packard Company | Method of dynamically creating nodal views of a managed network |
| US6345278B1 (en) | 1998-06-04 | 2002-02-05 | Collegenet, Inc. | Universal forms engine |
| US6209128B1 (en) | 1998-06-05 | 2001-03-27 | International Business Machines Corporation | Apparatus and method for providing access to multiple object versions |
| US6308273B1 (en) | 1998-06-12 | 2001-10-23 | Microsoft Corporation | Method and system of security location discrimination |
| US6505300B2 (en) | 1998-06-12 | 2003-01-07 | Microsoft Corporation | Method and system for secure running of untrusted content |
| US6381742B2 (en) | 1998-06-19 | 2002-04-30 | Microsoft Corporation | Software package management |
| US6757868B1 (en) | 1998-06-22 | 2004-06-29 | International Business Machines Corporation | Programmatic switching of arbitrary HTML forms |
| US6253374B1 (en) | 1998-07-02 | 2001-06-26 | Microsoft Corporation | Method for validating a signed program prior to execution time or an unsigned program at execution time |
| US6442755B1 (en) | 1998-07-07 | 2002-08-27 | United Video Properties, Inc. | Electronic program guide using markup language |
| US20030051243A1 (en) | 1998-07-07 | 2003-03-13 | United Video Properties, Inc. | Electronic program guide using markup language |
| US6321334B1 (en) | 1998-07-15 | 2001-11-20 | Microsoft Corporation | Administering permissions associated with a security zone in a computer system security model |
| US6353926B1 (en) | 1998-07-15 | 2002-03-05 | Microsoft Corporation | Software update notification |
| US6473800B1 (en) | 1998-07-15 | 2002-10-29 | Microsoft Corporation | Declarative permission requests in a computer system |
| US6414700B1 (en) | 1998-07-21 | 2002-07-02 | Silicon Graphics, Inc. | System for accessing a large number of menu items using a zoned menu bar |
| US6084585A (en) | 1998-07-29 | 2000-07-04 | International Business Machines Corp. | System for directly accessing fields on electronic forms |
| US6345256B1 (en) | 1998-08-13 | 2002-02-05 | International Business Machines Corporation | Automated method and apparatus to package digital content for electronic distribution using the identity of the source content |
| US6263313B1 (en) | 1998-08-13 | 2001-07-17 | International Business Machines Corporation | Method and apparatus to create encoded digital content |
| US6275599B1 (en) | 1998-08-28 | 2001-08-14 | International Business Machines Corporation | Compressed image authentication and verification |
| US6308179B1 (en) | 1998-08-31 | 2001-10-23 | Xerox Corporation | User level controlled mechanism inter-positioned in a read/write path of a property-based document management system |
| US6801929B1 (en) | 1998-09-01 | 2004-10-05 | Bigfix, Inc. | Relevance clause for computed relevance messaging |
| US6321259B1 (en) | 1998-10-02 | 2001-11-20 | Nortel Networks Limited | Attribute inheritance schema for network switches |
| US6772139B1 (en) | 1998-10-05 | 2004-08-03 | Smith, Iii Julius O. | Method and apparatus for facilitating use of hypertext links on the world wide web |
| US6487566B1 (en) | 1998-10-05 | 2002-11-26 | International Business Machines Corporation | Transforming documents using pattern matching and a replacement language |
| US6643684B1 (en) | 1998-10-08 | 2003-11-04 | International Business Machines Corporation | Sender- specified delivery customization |
| US6421656B1 (en) | 1998-10-08 | 2002-07-16 | International Business Machines Corporation | Method and apparatus for creating structure indexes for a data base extender |
| US6691230B1 (en) | 1998-10-15 | 2004-02-10 | International Business Machines Corporation | Method and system for extending Java applets sand box with public client storage |
| US6751777B2 (en) | 1998-10-19 | 2004-06-15 | International Business Machines Corporation | Multi-target links for navigating between hypertext documents and the like |
| US6342907B1 (en) | 1998-10-19 | 2002-01-29 | International Business Machines Corporation | Specification language for defining user interface panels that are platform-independent |
| US20050091305A1 (en) | 1998-10-23 | 2005-04-28 | General Magic | Network system extensible by users |
| US7318237B2 (en) | 1998-10-28 | 2008-01-08 | Bea Systems, Inc. | System and method for maintaining security in a distributed computer network |
| US6871220B1 (en) | 1998-10-28 | 2005-03-22 | Yodlee, Inc. | System and method for distributed storage and retrieval of personal information |
| JP2000132436A (en) | 1998-10-29 | 2000-05-12 | Hitachi Ltd | Program and file generation management method for offline terminals |
| US6429885B1 (en) | 1998-10-30 | 2002-08-06 | Sony Corporation | GUI resource editor for an embedded system |
| US6457009B1 (en) | 1998-11-09 | 2002-09-24 | Denison W. Bollay | Method of searching multiples internet resident databases using search fields in a generic form |
| US6606606B2 (en) | 1998-11-09 | 2003-08-12 | Onecore Financial Network, Inc. | Systems and methods for performing integrated financial transaction |
| US20020013788A1 (en) | 1998-11-10 | 2002-01-31 | Pennell Mark E. | System and method for automatically learning information used for electronic form-filling |
| US6374402B1 (en) | 1998-11-16 | 2002-04-16 | Into Networks, Inc. | Method and apparatus for installation abstraction in a secure content delivery system |
| US6297819B1 (en) | 1998-11-16 | 2001-10-02 | Essential Surfing Gear, Inc. | Parallel web sites |
| US6192367B1 (en) | 1998-11-23 | 2001-02-20 | International Business Machines Corporation | Data file editor presenting semi-formatted view |
| US6598219B1 (en) | 1998-11-30 | 2003-07-22 | International Business Machines Corporation | Method and mechanism for a task oriented XML data model |
| US6393456B1 (en) | 1998-11-30 | 2002-05-21 | Microsoft Corporation | System, method, and computer program product for workflow processing using internet interoperable electronic messaging with mime multiple content type |
| US6848078B1 (en) | 1998-11-30 | 2005-01-25 | International Business Machines Corporation | Comparison of hierarchical structures and merging of differences |
| US6351574B1 (en) | 1998-12-11 | 2002-02-26 | International Business Machines Corporation | Interactive verification of OCRed characters |
| US6658622B1 (en) | 1998-12-14 | 2003-12-02 | International Business Machines Corporation | Self-diagnosing and self-correcting data entry components with dependency behavior |
| US6307955B1 (en) | 1998-12-18 | 2001-10-23 | Topaz Systems, Inc. | Electronic signature management system |
| US6549878B1 (en) | 1998-12-31 | 2003-04-15 | Microsoft Corporation | System and method for editing a spreadsheet via an improved editing and cell selection model |
| US6396488B1 (en) | 1999-01-04 | 2002-05-28 | Corel Inc. | System and method for determining a path in a graphical diagram |
| US6507856B1 (en) | 1999-01-05 | 2003-01-14 | International Business Machines Corporation | Dynamic business process automation system using XML documents |
| US6635089B1 (en) | 1999-01-13 | 2003-10-21 | International Business Machines Corporation | Method for producing composite XML document object model trees using dynamic data retrievals |
| US6490601B1 (en) | 1999-01-15 | 2002-12-03 | Infospace, Inc. | Server for enabling the automatic insertion of data into electronic forms on a user computer |
| US6434563B1 (en) | 1999-01-21 | 2002-08-13 | Simple.Com, Inc. | WWW browser configured to provide a windowed content manifestation environment |
| US6235027B1 (en) | 1999-01-21 | 2001-05-22 | Garrett D. Herzon | Thermal cautery surgical forceps |
| US6480860B1 (en) | 1999-02-11 | 2002-11-12 | International Business Machines Corporation | Tagged markup language interface with document type definition to access data in object oriented database |
| US6629109B1 (en) | 1999-03-05 | 2003-09-30 | Nec Corporation | System and method of enabling file revision management of application software |
| US6470349B1 (en) | 1999-03-11 | 2002-10-22 | Browz, Inc. | Server-side scripting language and programming tool |
| US7190376B1 (en) | 1999-03-16 | 2007-03-13 | Canon Kabushiki Kaisha | Method of compiling compositing expressions for optimised rendering |
| US6578144B1 (en) | 1999-03-23 | 2003-06-10 | International Business Machines Corporation | Secure hash-and-sign signatures |
| US6347323B1 (en) | 1999-03-26 | 2002-02-12 | Microsoft Corporation | Robust modification of persistent objects while preserving formatting and other attributes |
| US6704906B1 (en) | 1999-03-27 | 2004-03-09 | Movaris, Inc. | Self-directed routable electronic form system and method |
| US6425125B1 (en) | 1999-03-30 | 2002-07-23 | Microsoft Corporation | System and method for upgrading client software |
| US6381743B1 (en) | 1999-03-31 | 2002-04-30 | Unisys Corp. | Method and system for generating a hierarchial document type definition for data interchange among software tools |
| US6253366B1 (en) | 1999-03-31 | 2001-06-26 | Unisys Corp. | Method and system for generating a compact document type definition for data interchange among software tools |
| US6711679B1 (en) | 1999-03-31 | 2004-03-23 | International Business Machines Corporation | Public key infrastructure delegation |
| US6446110B1 (en) | 1999-04-05 | 2002-09-03 | International Business Machines Corporation | Method and apparatus for representing host datastream screen image information using markup languages |
| US6519617B1 (en) | 1999-04-08 | 2003-02-11 | International Business Machines Corporation | Automated creation of an XML dialect and dynamic generation of a corresponding DTD |
| US6611822B1 (en) | 1999-05-05 | 2003-08-26 | Ac Properties B.V. | System method and article of manufacture for creating collaborative application sharing |
| US6553402B1 (en) | 1999-05-05 | 2003-04-22 | Nextpage, Inc. | Method for coordinating activities and sharing information using a data definition language |
| US20070050719A1 (en) | 1999-05-07 | 2007-03-01 | Philip Lui | System and method for dynamic assistance in software applications using behavior and host application models |
| US6701434B1 (en) | 1999-05-07 | 2004-03-02 | International Business Machines Corporation | Efficient hybrid public key signature scheme |
| US6505230B1 (en) | 1999-05-14 | 2003-01-07 | Pivia, Inc. | Client-server independent intermediary mechanism |
| US6546546B1 (en) | 1999-05-19 | 2003-04-08 | International Business Machines Corporation | Integrating operating systems and run-time systems |
| US7106888B1 (en) | 1999-05-25 | 2006-09-12 | Silverbrook Research Pty Ltd | Signature capture via interface surface |
| US20030128196A1 (en) | 1999-05-25 | 2003-07-10 | Paul Lapstun | Computer system interface surface with reference points and sensor with identifier |
| US6476828B1 (en) | 1999-05-28 | 2002-11-05 | International Business Machines Corporation | Systems, methods and computer program products for building and displaying dynamic graphical user interfaces |
| US6502103B1 (en) | 1999-06-14 | 2002-12-31 | International Business Machines Corporation | Providing composed containers and data objects to support multiple resources |
| US6961897B1 (en) | 1999-06-14 | 2005-11-01 | Lockheed Martin Corporation | System and method for interactive electronic media extraction for web page generation |
| US6449617B1 (en) | 1999-06-15 | 2002-09-10 | Microsoft Corporation | Edit command delegation program for editing electronic files |
| US6613098B1 (en) | 1999-06-15 | 2003-09-02 | Microsoft Corporation | Storage of application specific data in HTML |
| US6691281B1 (en) | 1999-06-15 | 2004-02-10 | Microsoft Corporation | Publishing/republishing data tables in HTML documents while maintaining formatting and functionality for restoring back the data tables |
| US6408311B1 (en) | 1999-06-30 | 2002-06-18 | Unisys Corp. | Method for identifying UML objects in a repository with objects in XML content |
| US6477544B1 (en) | 1999-07-16 | 2002-11-05 | Microsoft Corporation | Single instance store for file systems |
| US6631497B1 (en) | 1999-07-19 | 2003-10-07 | International Business Machines Corporation | Binding data from data source to cells in a spreadsheet |
| US6584548B1 (en) | 1999-07-22 | 2003-06-24 | International Business Machines Corporation | Method and apparatus for invalidating data in a cache |
| US20060069985A1 (en) | 1999-07-26 | 2006-03-30 | Microsoft Corporation | Parsing extensible markup language (XML) data streams |
| US6356906B1 (en) | 1999-07-26 | 2002-03-12 | Microsoft Corporation | Standard database queries within standard request-response protocols |
| US20040210599A1 (en) | 1999-07-26 | 2004-10-21 | Microsoft Corporation | Methods and apparatus for parsing extensible markup language (XML) data streams |
| US6701486B1 (en) | 1999-07-29 | 2004-03-02 | Grischa Corporation | Method, apparatus, and computer program product for automatic page suppression in forms |
| US6654932B1 (en) | 1999-08-03 | 2003-11-25 | International Business Machines Corporation | Validating data within container objects handled by view controllers |
| US6560620B1 (en) | 1999-08-03 | 2003-05-06 | Aplix Research, Inc. | Hierarchical document comparison system and method |
| US6282711B1 (en) | 1999-08-10 | 2001-08-28 | Hewlett-Packard Company | Method for more efficiently installing software components from a remote server source |
| EP1076290B1 (en) | 1999-08-10 | 2007-08-01 | Sun Microsystems, Inc. | Method for on-demand network application download and execution |
| US20020196281A1 (en) | 1999-08-17 | 2002-12-26 | Kevin Forbes Audleman | Generating a graphical user interface from a command syntax for managing multiple computer systems as one computer system |
| US6585778B1 (en) | 1999-08-30 | 2003-07-01 | International Business Machines Corporation | Enforcing data policy using style sheet processing |
| US6651217B1 (en) | 1999-09-01 | 2003-11-18 | Microsoft Corporation | System and method for populating forms with previously used data values |
| US6774926B1 (en) | 1999-09-03 | 2004-08-10 | United Video Properties, Inc. | Personal television channel system |
| US6720985B1 (en) | 1999-09-17 | 2004-04-13 | Silverbrook Research Pty Ltd | Method and system for object selection |
| US6763343B1 (en) | 1999-09-20 | 2004-07-13 | David M. Brooke | Preventing duplication of the data in reference resource for XML page generation |
| US6799299B1 (en) | 1999-09-23 | 2004-09-28 | International Business Machines Corporation | Method and apparatus for creating stylesheets in a data processing system |
| US20030204814A1 (en) | 1999-09-27 | 2003-10-30 | Sara Elo | System & method for creating, editing, an on-line publication |
| US6549922B1 (en) | 1999-10-01 | 2003-04-15 | Alok Srivastava | System for collecting, transforming and managing media metadata |
| US6697944B1 (en) | 1999-10-01 | 2004-02-24 | Microsoft Corporation | Digital content distribution, transmission and protection system and method, and portable device for use therewith |
| US6889359B1 (en) | 1999-10-07 | 2005-05-03 | International Business Machines Corporation | Method for providing a visual representation of dynamic HTML table attributes |
| US6931532B1 (en) | 1999-10-21 | 2005-08-16 | International Business Machines Corporation | Selective data encryption using style sheet processing |
| US6589290B1 (en) | 1999-10-29 | 2003-07-08 | America Online, Inc. | Method and apparatus for populating a form with data |
| US20020133484A1 (en) | 1999-12-02 | 2002-09-19 | International Business Machines Corporation | Storing fragmented XML data into a relational database by decomposing XML documents with application specific mappings |
| US20030014397A1 (en) | 1999-12-02 | 2003-01-16 | International Business Machines Corporation | Generating one or more XML documents from a relational database using XPath data model |
| US20020156772A1 (en) | 1999-12-02 | 2002-10-24 | International Business Machines | Generating one or more XML documents from a single SQL query |
| US6636845B2 (en) | 1999-12-02 | 2003-10-21 | International Business Machines Corporation | Generating one or more XML documents from a single SQL query |
| US6643633B2 (en) | 1999-12-02 | 2003-11-04 | International Business Machines Corporation | Storing fragmented XML data into a relational database by decomposing XML documents with application specific mappings |
| US6549221B1 (en) | 1999-12-09 | 2003-04-15 | International Business Machines Corp. | User interface management through branch isolation |
| US20010007109A1 (en) | 1999-12-14 | 2001-07-05 | Thomas Lange | Method and system for inserting a data object into a computer-generated document using a text instruction |
| WO2001044934A1 (en) | 1999-12-15 | 2001-06-21 | Sun Microsystems, Inc. | Preparation of a software configuration using an xml type programming language |
| US6366907B1 (en) | 1999-12-15 | 2002-04-02 | Napster, Inc. | Real-time search engine |
| US20020032706A1 (en) | 1999-12-23 | 2002-03-14 | Jesse Perla | Method and system for building internet-based applications |
| US6668369B1 (en) | 1999-12-29 | 2003-12-23 | International Business Machines Corporation | Software debugging tool for displaying dynamically written software code |
| US6643652B2 (en) | 2000-01-14 | 2003-11-04 | Saba Software, Inc. | Method and apparatus for managing data exchange among systems in a network |
| US6611840B1 (en) | 2000-01-21 | 2003-08-26 | International Business Machines Corporation | Method and system for removing content entity object in a hierarchically structured content object stored in a database |
| US20040205473A1 (en) | 2000-01-27 | 2004-10-14 | Gwyn Fisher | Method and system for implementing an enterprise information portal |
| US6760723B2 (en) | 2000-01-31 | 2004-07-06 | Commvault Systems Inc. | Storage management across multiple time zones |
| US6779154B1 (en) | 2000-02-01 | 2004-08-17 | Cisco Technology, Inc. | Arrangement for reversibly converting extensible markup language documents to hypertext markup language documents |
| US20020196288A1 (en) | 2000-02-02 | 2002-12-26 | Ramin Emrani | Method and apparatus for converting text files into hierarchical charts as a learning aid |
| US20030004951A1 (en) | 2000-02-04 | 2003-01-02 | Sandip Chokshi | Automated client-server data validation |
| US6615276B1 (en) | 2000-02-09 | 2003-09-02 | International Business Machines Corporation | Method and apparatus for a centralized facility for administering and performing connectivity and information management tasks for a mobile user |
| US6603489B1 (en) | 2000-02-09 | 2003-08-05 | International Business Machines Corporation | Electronic calendaring system that automatically predicts calendar entries based upon previous activities |
| US20020010743A1 (en) | 2000-02-11 | 2002-01-24 | Ryan Mark H. | Method and system for distributing and collecting spreadsheet information |
| US20020010746A1 (en) | 2000-02-14 | 2002-01-24 | Jilk David J. | System, method, apparatus and computer program product for operating a web site by electronic mail |
| US6874130B1 (en) | 2000-02-17 | 2005-03-29 | International Business Machines Corporation | Copy/move graphical user interface apparatus and method |
| US6901403B1 (en) | 2000-03-02 | 2005-05-31 | Quovadx, Inc. | XML presentation of general-purpose data sources |
| US20060020586A1 (en) | 2000-03-03 | 2006-01-26 | Michel Prompt | System and method for providing access to databases via directories and other hierarchical structures and interfaces |
| US6463419B1 (en) | 2000-03-07 | 2002-10-08 | Chartering Solutions | Internet system for exchanging and organizing vessel transport information |
| US6968503B1 (en) | 2000-03-09 | 2005-11-22 | Quovadx, Inc. | XML user interface for a workflow server |
| US6725426B1 (en) | 2000-03-17 | 2004-04-20 | Broadvision, Inc. | Mechanism for translating between word processing documents and XML documents |
| US6604099B1 (en) | 2000-03-20 | 2003-08-05 | International Business Machines Corporation | Majority schema in semi-structured data |
| US20030120659A1 (en) | 2000-03-20 | 2003-06-26 | Sridhar Mandayam Anandampillai | Systems for developing websites and methods therefor |
| US20010024195A1 (en) | 2000-03-21 | 2001-09-27 | Keisuke Hayakawa | Page information display method and device and storage medium storing program for displaying page information |
| US20010037345A1 (en) | 2000-03-21 | 2001-11-01 | International Business Machines Corporation | Tagging XML query results over relational DBMSs |
| US6963875B2 (en) | 2000-03-23 | 2005-11-08 | General Atomics | Persistent archives |
| US20010056429A1 (en) | 2000-03-23 | 2001-12-27 | Moore Reagan W. | Persistent archives |
| US20050198086A1 (en) | 2000-03-23 | 2005-09-08 | Moore Reagan W. | Persistent archives |
| US20020032590A1 (en) | 2000-03-28 | 2002-03-14 | International Business Machines Corporation | E-market architecture for supporting multiple roles and reconfigurable business porcesses |
| US6631519B1 (en) | 2000-03-30 | 2003-10-07 | Microsoft Corporation | Automated schema and interface generation |
| US7065493B1 (en) | 2000-04-06 | 2006-06-20 | International Business Machines Corporation | Workflow system and method |
| US20070208606A1 (en) | 2000-04-07 | 2007-09-06 | Jpmorgan Chase Bank, N.A. | Workflow management system and method |
| US20020032768A1 (en) | 2000-04-10 | 2002-03-14 | Voskuil Erik K. | Method and system for configuring remotely located applications |
| US6563514B1 (en) | 2000-04-13 | 2003-05-13 | Extensio Software, Inc. | System and method for providing contextual and dynamic information retrieval |
| US20050114757A1 (en) | 2000-04-24 | 2005-05-26 | Ranjit Sahota | Method and system for transforming content for execution on multiple platforms |
| US20010056460A1 (en) | 2000-04-24 | 2001-12-27 | Ranjit Sahota | Method and system for transforming content for execution on multiple platforms |
| US6571253B1 (en) | 2000-04-28 | 2003-05-27 | International Business Machines Corporation | Hierarchical view of data binding between display elements that are organized in a hierarchical structure to a data store that is also organized in a hierarchical structure |
| US6516322B1 (en) | 2000-04-28 | 2003-02-04 | Microsoft Corporation | XML-based representation of mobile process calculi |
| US6286033B1 (en) | 2000-04-28 | 2001-09-04 | Genesys Telecommunications Laboratories, Inc. | Method and apparatus for distributing computer integrated telephony (CTI) scripts using extensible mark-up language (XML) for mixed platform distribution and third party manipulation |
| US20020156846A1 (en) | 2000-04-28 | 2002-10-24 | Jai Rawat | Intelligent client-side form filler |
| US20030158897A1 (en) | 2000-05-09 | 2003-08-21 | Viryanet Ltd. | Networked platform for creating and supporting communities |
| US6781609B1 (en) | 2000-05-09 | 2004-08-24 | International Business Machines Corporation | Technique for flexible inclusion of information items and various media types in a user interface |
| US6996776B1 (en) | 2000-05-16 | 2006-02-07 | International Business Machines Corporation | Method and system for SGML-to-HTML migration to XML-based system |
| US6772165B2 (en) | 2000-05-16 | 2004-08-03 | O'carroll Garrett | Electronic document processing system and method for merging source documents on a node-by-node basis to generate a target document |
| US20040205534A1 (en) | 2000-05-16 | 2004-10-14 | Koelle Steven K. | System and method for providing access to forms and maintaining the data used to complete the forms |
| US6327628B1 (en) | 2000-05-19 | 2001-12-04 | Epicentric, Inc. | Portal server that provides a customizable user Interface for access to computer networks |
| US20020174147A1 (en) | 2000-05-19 | 2002-11-21 | Zhi Wang | System and method for transcoding information for an audio or limited display user interface |
| US6654737B1 (en) | 2000-05-23 | 2003-11-25 | Centor Software Corp. | Hypertext-based database architecture |
| US6675202B1 (en) | 2000-05-30 | 2004-01-06 | Cary D. Perttunen | Methods, articles and apparatus for providing a browsing session |
| US20020078074A1 (en) | 2000-05-30 | 2002-06-20 | Cho Charles J. | Method and system for facilitating networked information exchange |
| US6950980B1 (en) | 2000-05-31 | 2005-09-27 | International Business Machines Corporation | System, method, and program product for saving a submitted form of a web page |
| US20020040469A1 (en) | 2000-06-03 | 2002-04-04 | International Business Machines Corporation | System and method for the configuration of software products |
| US20020169789A1 (en) | 2000-06-05 | 2002-11-14 | Ali Kutay | System and method for accessing, organizing, and presenting data |
| US20020026441A1 (en) | 2000-06-05 | 2002-02-28 | Ali Kutay | System and method for integrating multiple applications |
| US20020026461A1 (en) | 2000-06-05 | 2002-02-28 | Ali Kutay | System and method for creating a source document and presenting the source document to a user in a target format |
| US6941510B1 (en) | 2000-06-06 | 2005-09-06 | Groove Networks, Inc. | Method and apparatus for efficient management of XML documents |
| US20020035581A1 (en) | 2000-06-06 | 2002-03-21 | Microsoft Corporation | Application program interfaces for semantically labeling strings and providing actions based on semantically labeled strings |
| US20010054004A1 (en) | 2000-06-07 | 2001-12-20 | Powers Arthur C. | Method of direct communication between a business and its customers |
| US20020057297A1 (en) | 2000-06-12 | 2002-05-16 | Tom Grimes | Personalized content management |
| US20040221238A1 (en) | 2000-06-13 | 2004-11-04 | Chris Cifra | Automatic generation of programs with GUI controls for interactively setting or viewing values |
| US6735721B1 (en) | 2000-06-21 | 2004-05-11 | Bellsouth Intellectual Property Corporation | System and method for message handling |
| US20070074106A1 (en) | 2000-06-21 | 2007-03-29 | Microsoft Corporation | Authoring Arbitrary XML Documents Using DHTML and XSLT |
| US20060026534A1 (en) | 2000-06-21 | 2006-02-02 | Microsoft Corporation | Providing information to computer users |
| US7346610B2 (en) | 2000-06-21 | 2008-03-18 | Microsoft Corporation | Methods and systems of providing information to computer users |
| US20050033728A1 (en) | 2000-06-21 | 2005-02-10 | Microsoft Corporation | Methods, systems, architectures and data structures for delivering software via a network |
| US20050005248A1 (en) | 2000-06-21 | 2005-01-06 | Microsoft Corporation | Task-sensitive methods and systems for displaying command sets |
| US6948135B1 (en) | 2000-06-21 | 2005-09-20 | Microsoft Corporation | Method and systems of providing information to computer users |
| US7350141B2 (en) | 2000-06-21 | 2008-03-25 | Microsoft Corporation | User interface for integrated spreadsheets and word processing tables |
| US7191394B1 (en) | 2000-06-21 | 2007-03-13 | Microsoft Corporation | Authoring arbitrary XML documents using DHTML and XSLT |
| US20060085409A1 (en) | 2000-06-28 | 2006-04-20 | Microsoft Corporation | Method and apparatus for information transformation and exchange in a relational database environment |
| US20050198247A1 (en) | 2000-07-11 | 2005-09-08 | Ciena Corporation | Granular management of network resources |
| US6502101B1 (en) | 2000-07-13 | 2002-12-31 | Microsoft Corporation | Converting a hierarchical data structure into a flat data structure |
| US20020100027A1 (en) | 2000-07-26 | 2002-07-25 | International Business Machines Corporation | Method of externalizing relational and ASN.1-formatted data into XML format |
| US20020023113A1 (en) | 2000-08-18 | 2002-02-21 | Jeff Hsing | Remote document updating system using XML and DOM |
| US6941511B1 (en) | 2000-08-31 | 2005-09-06 | International Business Machines Corporation | High-performance extensible document transformation |
| US20020188597A1 (en) | 2000-09-01 | 2002-12-12 | Jonathan Kern | Methods and systems for linking tasks to workflow |
| US20020035579A1 (en) | 2000-09-12 | 2002-03-21 | Wang Wayne W. | Transform rule generator for web-based markup languages |
| US20040205671A1 (en) | 2000-09-13 | 2004-10-14 | Tatsuya Sukehiro | Natural-language processing system |
| US20050015732A1 (en) | 2000-09-14 | 2005-01-20 | Microsoft Corporation | Mapping tool graphical user interface |
| US20030192008A1 (en) | 2000-09-16 | 2003-10-09 | Hong_Kyu Lee | System and method for comprising manual function for managing a form |
| US6728755B1 (en) | 2000-09-26 | 2004-04-27 | Hewlett-Packard Development Company, L.P. | Dynamic user profiling for usability |
| US6611843B1 (en) | 2000-10-26 | 2003-08-26 | Docent, Inc. | Specification of sub-elements and attributes in an XML sub-tree and method for extracting data values therefrom |
| US20040073565A1 (en) | 2000-10-31 | 2004-04-15 | Kaufman Michael Philip | System and method for generating automatic user interface for arbitrarily complex or large databases |
| US20020152222A1 (en) | 2000-11-15 | 2002-10-17 | Holbrook David M. | Apparatus and method for organizing and-or presenting data |
| US7039875B2 (en) | 2000-11-30 | 2006-05-02 | Lucent Technologies Inc. | Computer user interfaces that are generated as needed |
| US20020129056A1 (en) | 2000-12-11 | 2002-09-12 | Conant Michael V. | Method and apparatus for electronic negotiation of document content |
| US7152205B2 (en) | 2000-12-18 | 2006-12-19 | Siemens Corporate Research, Inc. | System for multimedia document and file processing and format conversion |
| JP2002183652A (en) | 2000-12-19 | 2002-06-28 | Nippon Yunishisu Kk | Work flow item slip forming system |
| US20020078103A1 (en) | 2000-12-20 | 2002-06-20 | Gorman William Phillip | Wizard development kit |
| US20020152244A1 (en) | 2000-12-22 | 2002-10-17 | International Business Machines Corporation | Method and apparatus to dynamically create a customized user interface based on a document type definition |
| US20040221245A1 (en) | 2000-12-27 | 2004-11-04 | Justin Chickles | Graphical user interface including palette windows with an improved navigation interface |
| US20060036995A1 (en) | 2000-12-27 | 2006-02-16 | Justin Chickles | Search window for adding program elements to a program |
| EP1221661A3 (en) | 2001-01-05 | 2005-03-02 | Openwave Systems Inc. | Method and apparatus for dynamically updating a HTML based user interface |
| US20030189593A1 (en) | 2001-01-05 | 2003-10-09 | Yarvin Curtis G. | Method and apparatus for dynamically updating a markup language based user interface |
| US20020112224A1 (en) | 2001-01-31 | 2002-08-15 | International Business Machines Corporation | XML data loading |
| US6631379B2 (en) | 2001-01-31 | 2003-10-07 | International Business Machines Corporation | Parallel loading of markup language data files and documents into a computer database |
| US6845499B2 (en) | 2001-01-31 | 2005-01-18 | I2 Technologies Us, Inc. | System and method for developing software applications using an extended XML-based framework |
| US20030020746A1 (en) | 2001-01-31 | 2003-01-30 | Computer Associates Think, Inc. | System and method for dynamically generating a web page |
| US20040107367A1 (en) | 2001-02-09 | 2004-06-03 | Friedrich Kisters | Method, arrangement and secure medium for authentication of a user |
| US20030046665A1 (en) | 2001-02-28 | 2003-03-06 | Thomas Ilin | Reusable software component for textually supplementing, modifying, evaluating and processing procedural logic for a compiled host program at run-time |
| US6782144B2 (en) | 2001-03-12 | 2004-08-24 | Multiscan Corp. | Document scanner, system and method |
| US7058663B2 (en) | 2001-03-13 | 2006-06-06 | Koninklijke Philips Electronics, N.V. | Automatic data update |
| US20030048301A1 (en) | 2001-03-23 | 2003-03-13 | Menninger Anthony Frank | System, method and computer program product for editing supplier site information in a supply chain management framework |
| US6948133B2 (en) | 2001-03-23 | 2005-09-20 | Siemens Medical Solutions Health Services Corporation | System for dynamically configuring a user interface display |
| US20030055828A1 (en) | 2001-03-29 | 2003-03-20 | Koch Kevin S. | Methods for synchronizing on-line and off-line transcript projects |
| US20020174417A1 (en) | 2001-03-30 | 2002-11-21 | Michael Sijacic | Defining and creating custom data fields within process management software |
| US20020194219A1 (en) | 2001-04-17 | 2002-12-19 | Bradley George Wesley | Method and system for cross-platform form creation and deployment |
| US20020156929A1 (en) | 2001-04-23 | 2002-10-24 | International Business Machines Corporation | XML-based system and method for collaborative web-based design and verification of system-on-a-chip |
| US6968505B2 (en) | 2001-04-27 | 2005-11-22 | International Business Machines Corporation | Use of conceptual diagrams to support relationships between launchpads and its wizards |
| US20040205525A1 (en) | 2001-04-30 | 2004-10-14 | Murren Brian T. | Automatic identification of form contents |
| US20030226132A1 (en) | 2001-05-11 | 2003-12-04 | David Tondreau | Method and system for transforming legacy software applications into modern object-oriented systems |
| US20020184219A1 (en) | 2001-05-31 | 2002-12-05 | International Business Machines Corporation | System, method, and computer program product for reformatting non-XML data for use with internet based systems |
| US20050022115A1 (en) | 2001-05-31 | 2005-01-27 | Roberts Baumgartner | Visual and interactive wrapper generation, automated information extraction from web pages, and translation into xml |
| US20020188613A1 (en) | 2001-06-07 | 2002-12-12 | Krishneadu Chakraborty | Method and apparatus for runtime merging of hierarchical trees |
| US6915454B1 (en) | 2001-06-12 | 2005-07-05 | Microsoft Corporation | Web controls validation |
| US20030007000A1 (en) | 2001-06-13 | 2003-01-09 | Worldcom, Inc. | Method, system and program product for viewing and manipulating graphical objects representing hierarchically arranged elements of a modeled environment |
| US20020198891A1 (en) | 2001-06-14 | 2002-12-26 | International Business Machines Corporation | Methods and apparatus for constructing and implementing a universal extension module for processing objects in a database |
| US7086009B2 (en) | 2001-06-22 | 2006-08-01 | Invensys Systems, Inc. | Customizable system for creating supervisory process control and manufacturing information applications |
| US20020198935A1 (en) | 2001-06-25 | 2002-12-26 | Crandall Steven Allen | Methods and systems for validating the fields of a form |
| US20040172442A1 (en) | 2001-06-27 | 2004-09-02 | Ripley John R. | System and Method for Sharing Data Between Hierarchical Databases |
| US7100147B2 (en) | 2001-06-28 | 2006-08-29 | International Business Machines Corporation | Method, system, and program for generating a workflow |
| US7107521B2 (en) | 2001-07-03 | 2006-09-12 | International Business Machines Corporation | XSL dynamic inheritance |
| US20030167277A1 (en) | 2001-07-10 | 2003-09-04 | Anders Hejlsberg | Application program interface for network software platform |
| US20030018668A1 (en) | 2001-07-20 | 2003-01-23 | International Business Machines Corporation | Enhanced transcoding of structured documents through use of annotation techniques |
| US20030084424A1 (en) | 2001-07-26 | 2003-05-01 | Reddy Sreedhar Sannareddy | Pattern-based comparison and merging of model versions |
| US20030023641A1 (en) | 2001-07-27 | 2003-01-30 | Gorman William Phillip | Web page authoring tool |
| US20030026507A1 (en) | 2001-07-31 | 2003-02-06 | International Business Machines Corporation | Sorting images for improved data entry productivity |
| US20030025732A1 (en) | 2001-07-31 | 2003-02-06 | Prichard Scot D. | Method and apparatus for providing customizable graphical user interface and screen layout |
| US20030037303A1 (en) | 2001-08-03 | 2003-02-20 | Bodlaender Maarten Peter | Method of and system for updating a document |
| US20040205592A1 (en) | 2001-08-23 | 2004-10-14 | Xmlcities, Inc. | Method and apparatus for extensible stylesheet designs |
| US20030061567A1 (en) | 2001-09-05 | 2003-03-27 | International Business Machines Corporation | Apparatus and method for protecting entries in a form using access rights information |
| US20030043986A1 (en) | 2001-09-05 | 2003-03-06 | International Business Machines Corporation | Method and apparatus for calendar based call control |
| US20030056198A1 (en) | 2001-09-20 | 2003-03-20 | International Business Machines Corporation | SQL debugging using XML dataflows |
| US20030061386A1 (en) | 2001-09-24 | 2003-03-27 | International Business Machines Corp. | Method and system of use of transcode directives for distributed control of transcoding servers |
| US6996781B1 (en) | 2001-10-31 | 2006-02-07 | Qcorps Residential, Inc. | System and method for generating XSL transformation documents |
| US20050240876A1 (en) | 2001-10-31 | 2005-10-27 | Qcorps Residential, Inc. | System and method for generating XSL transformation documents |
| US20030135825A1 (en) | 2001-12-05 | 2003-07-17 | Matthew Gertner | Dynamically generated mark-up based graphical user interfaced with an extensible application framework with links to enterprise resources |
| JP2003173288A (en) | 2001-12-06 | 2003-06-20 | Sharp Corp | Organizer of download information by browser |
| US20040205653A1 (en) | 2001-12-17 | 2004-10-14 | Workshare Technology, Ltd. | Method and system for document collaboration |
| US7036072B1 (en) | 2001-12-18 | 2006-04-25 | Jgr Acquisition, Inc. | Method and apparatus for declarative updating of self-describing, structured documents |
| US20030120651A1 (en) | 2001-12-20 | 2003-06-26 | Microsoft Corporation | Methods and systems for model matching |
| US7080083B2 (en) | 2001-12-21 | 2006-07-18 | Kim Hong J | Extensible stylesheet designs in visual graphic environments |
| US7146564B2 (en) | 2001-12-21 | 2006-12-05 | Xmlcities, Inc. | Extensible stylesheet designs using meta-tag and/or associated meta-tag information |
| US20030120671A1 (en) | 2001-12-21 | 2003-06-26 | Xmlcities, Inc. | Extensible stylesheet designs in visual graphic environments |
| US20030120578A1 (en) | 2001-12-21 | 2003-06-26 | Peter Newman | System and methods for electronic securities underwriting and electronic dissemination of annual financial and disclosure information from issuers to information repositories in accordance with U.S. securities laws and regulations |
| US20030120686A1 (en) | 2001-12-21 | 2003-06-26 | Xmlcities, Inc. | Extensible stylesheet designs using meta-tag and/or associated meta-tag information |
| US20030187756A1 (en) | 2001-12-27 | 2003-10-02 | Klivington Eva T. | Electronic realty and transaction system and method therein |
| US20030126555A1 (en) | 2002-01-03 | 2003-07-03 | International Business Machines Corporation | Enhanced attribute prompting in browser clients |
| US20030140132A1 (en) | 2002-01-22 | 2003-07-24 | Yves-Andre Champagne | Method and apparatus for updating network device configuration information in a network management system |
| US7080325B2 (en) | 2002-02-22 | 2006-07-18 | Call-Tell Llc | Graphical device for comprehensive viewing and input of variable data via a browser-based display |
| US6845380B2 (en) | 2002-03-04 | 2005-01-18 | Hewlett-Packard Development Company, L.P. | Method and system of valuing transformation between extensible markup language (XML) documents |
| US20040205571A1 (en) | 2002-03-12 | 2004-10-14 | International Business Machines Corporation | Method and system for stylesheet-centric editing |
| US20040205605A1 (en) | 2002-03-12 | 2004-10-14 | International Business Machines Corporation | Method and system for stylesheet rule creation, combination, and removal |
| US20030233374A1 (en) | 2002-03-14 | 2003-12-18 | Ulrich Spinola | Dynamic workflow process |
| US20030182268A1 (en) | 2002-03-18 | 2003-09-25 | International Business Machines Corporation | Method and system for storing and querying of markup based documents in a relational database |
| US20030182327A1 (en) | 2002-03-20 | 2003-09-25 | Srinivasan Ramanujam | Synchronizing data shared between two devices independent of any other devices that may also share the data |
| US20030188260A1 (en) | 2002-03-26 | 2003-10-02 | Jensen Arthur D | Method and apparatus for creating and filing forms |
| US20030187930A1 (en) | 2002-03-27 | 2003-10-02 | International Business Machines Corporation | Messaging system and method with transcoder filtering of baseline message representations |
| US6941521B2 (en) | 2002-03-29 | 2005-09-06 | Intel Corporation | Method for dynamically generating a user interface from XML-based documents |
| US20040039990A1 (en) | 2002-03-30 | 2004-02-26 | Xorbix Technologies, Inc. | Automated form and data analysis tool |
| US20030225469A1 (en) | 2002-04-15 | 2003-12-04 | Deremer Robert A. | Methods and apparatus for process, factory-floor, environmental, computer aided manufacturing-based or other control system with unified messaging interface |
| US20040030991A1 (en) | 2002-04-22 | 2004-02-12 | Paul Hepworth | Systems and methods for facilitating automatic completion of an electronic form |
| US7313758B2 (en) | 2002-04-24 | 2007-12-25 | Canon Kabushiki Kaisha | Markup-language document formatting in memory-constrained environment |
| US20040044965A1 (en) | 2002-04-30 | 2004-03-04 | Haruhiko Toyama | Structured document edit apparatus, structured document edit method, and program product |
| US20030204511A1 (en) | 2002-04-30 | 2003-10-30 | Microsoft Corporation | System and method for viewing relational data using a hierarchical schema |
| US20030205615A1 (en) | 2002-05-02 | 2003-11-06 | International Business Machines Corporation | Smart business card system |
| US20030212664A1 (en) | 2002-05-10 | 2003-11-13 | Martin Breining | Querying markup language data sources using a relational query processor |
| US7107282B1 (en) | 2002-05-10 | 2006-09-12 | Oracle International Corporation | Managing XPath expressions in a database system |
| US20040003353A1 (en) | 2002-05-14 | 2004-01-01 | Joey Rivera | Workflow integration system for automatic real time data management |
| US20030225829A1 (en) | 2002-05-22 | 2003-12-04 | Sony Corporation | System and method for platform and language-independent development and delivery of page-based content |
| US6754874B1 (en) | 2002-05-31 | 2004-06-22 | Deloitte Development Llc | Computer-aided system and method for evaluating employees |
| US20030225768A1 (en) | 2002-06-03 | 2003-12-04 | Microsoft Corporation | Workload analysis tool for relational databases |
| US7032170B2 (en) | 2002-06-03 | 2006-04-18 | General Electric Company | Creating data structures from a form file and creating a web page in conjunction with corresponding data structures |
| US20030226111A1 (en) | 2002-06-03 | 2003-12-04 | Steve Wirts | Application development acceleration employing declarative user interfaces |
| US20040003389A1 (en) | 2002-06-05 | 2004-01-01 | Microsoft Corporation | Mechanism for downloading software components from a remote source for use by a local software application |
| US20030237046A1 (en) | 2002-06-12 | 2003-12-25 | Parker Charles W. | Transformation stylesheet editor |
| US20030233644A1 (en) | 2002-06-17 | 2003-12-18 | Microsoft Corporation | System and method for manipulating offline software |
| US7062764B2 (en) | 2002-06-17 | 2006-06-13 | Microsoft Corporation | System and method for manipulating offline software |
| US20030237047A1 (en) | 2002-06-18 | 2003-12-25 | Microsoft Corporation | Comparing hierarchically-structured documents |
| US20030236859A1 (en) | 2002-06-19 | 2003-12-25 | Alexander Vaschillo | System and method providing API interface between XML and SQL while interacting with a managed object environment |
| US20040003031A1 (en) | 2002-06-26 | 2004-01-01 | International Business Machines Corporation | Running dynamic web pages off-line with a wizard |
| US20040002939A1 (en) | 2002-06-28 | 2004-01-01 | Microsoft Corporation | Schemaless dataflow within an XML storage solution |
| US20040010752A1 (en) | 2002-07-09 | 2004-01-15 | Lucent Technologies Inc. | System and method for filtering XML documents with XPath expressions |
| US20040059754A1 (en) | 2002-07-13 | 2004-03-25 | Lauren Barghout | Perceptual information processing system |
| US20040024842A1 (en) | 2002-07-31 | 2004-02-05 | Sap Aktiengesellschaft | Validation framework for validating markup page input on a client computer |
| US20040073868A1 (en) | 2002-08-27 | 2004-04-15 | Clark Easter | Method and system for compliance forms and compliance forms user interface |
| US20040044961A1 (en) | 2002-08-28 | 2004-03-04 | Leonid Pesenson | Method and system for transformation of an extensible markup language document |
| US6993714B2 (en) | 2002-10-03 | 2006-01-31 | Microsoft Corporation | Grouping and nesting hierarchical namespaces |
| US20040078756A1 (en) | 2002-10-15 | 2004-04-22 | Napper Jonathon Leigh | Method of improving recognition accuracy in form-based data entry systems |
| US20040083426A1 (en) | 2002-10-25 | 2004-04-29 | Smita Sahu | System and method for generating pre-populated forms |
| US20040093596A1 (en) | 2002-10-31 | 2004-05-13 | Canon Kabushiki Kaisha | Information processing apparatus having a capability of halting a printing process for off-line processing, and method and program for controlling printing process including halting the printing process for off-ling processing |
| US20040088647A1 (en) | 2002-11-06 | 2004-05-06 | Miller Adrian S. | Web-based XML document processing system |
| US20050060324A1 (en) | 2002-11-13 | 2005-03-17 | Jerry Johnson | System and method for creation and maintenance of a rich content or content-centric electronic catalog |
| US7024417B1 (en) | 2002-11-14 | 2006-04-04 | Hyperion Solutions Corporation | Data mining framework using a signature associated with an algorithm |
| US7272789B2 (en) | 2002-11-18 | 2007-09-18 | Typefi Systems Pty. Ltd. | Method of formatting documents |
| US20040117769A1 (en) | 2002-12-16 | 2004-06-17 | International Business Machines Corporation | Visual debugger for stylesheets |
| US7316003B1 (en) | 2002-12-18 | 2008-01-01 | Oracle International Corp. | System and method for developing a dynamic web page |
| US20040123277A1 (en) | 2002-12-18 | 2004-06-24 | Schrader Stuart Lyle | Method, system and computer product for parsing binary data |
| US20050027757A1 (en) | 2002-12-19 | 2005-02-03 | Rick Kiessig | System and method for managing versions |
| US20040146199A1 (en) | 2003-01-29 | 2004-07-29 | Kathrin Berkner | Reformatting documents using document analysis information |
| US20040163041A1 (en) | 2003-02-13 | 2004-08-19 | Paterra, Inc. | Relational database structures for structured documents |
| US7003722B2 (en) | 2003-02-28 | 2006-02-21 | Microsoft Corporation | Method and system for converting a schema-based hierarchical data structure into a flat data structure |
| US20070101280A1 (en) | 2003-03-24 | 2007-05-03 | Microsoft Corporation | Closer Interface for Designing Electronic Forms and Hierarchical Schemas |
| US20070100877A1 (en) | 2003-03-24 | 2007-05-03 | Microsoft Corporation | Building Electronic Forms |
| US20070094589A1 (en) | 2003-03-24 | 2007-04-26 | Microsoft Corporation | Incrementally Designing Electronic Forms and Hierarchical Schemas |
| US20040189716A1 (en) | 2003-03-24 | 2004-09-30 | Microsoft Corp. | System and method for designing electronic forms and hierarchical schemas |
| US20040188762A1 (en) | 2003-03-24 | 2004-09-30 | Yasuhiro Shimamoto | Semiconductor device and manufacturing method thereof |
| US7088374B2 (en) | 2003-03-27 | 2006-08-08 | Microsoft Corporation | System and method for managing visual structure, timing, and animation in a graphics processing system |
| US20040194035A1 (en) | 2003-03-31 | 2004-09-30 | Amit Chakraborty | Systems and methods for automatic form segmentation for raster-based passive electronic documents |
| US7103611B2 (en) | 2003-05-01 | 2006-09-05 | Oracle International Corporation | Techniques for retaining hierarchical information in mapping between XML documents and relational data |
| US20040237030A1 (en) | 2003-05-19 | 2004-11-25 | Malkin Wayne Allan | System and method of implementing calculation fields in an electronic form |
| US20050015279A1 (en) | 2003-05-21 | 2005-01-20 | Rucker Donald W. | Service order system and user interface for use in healthcare and other fields |
| US7168035B1 (en) | 2003-06-11 | 2007-01-23 | Microsoft Corporation | Building a view on markup language data through a set of components |
| US20060031757A9 (en) | 2003-06-11 | 2006-02-09 | Vincent Winchel T Iii | System for creating and editing mark up language forms and documents |
| US20040268229A1 (en) | 2003-06-27 | 2004-12-30 | Microsoft Corporation | Markup language editing with an electronic form |
| US20050004893A1 (en) | 2003-07-02 | 2005-01-06 | Sangroniz James M. | Workflow management devices and systems, and workflow assignment and management methods |
| US20050038711A1 (en) | 2003-08-13 | 2005-02-17 | Merwin Marlelo | Method for advertising for sale classroom materials and services |
| US20050066287A1 (en) | 2003-09-11 | 2005-03-24 | Tattrie Scott I. | User-friendly data binding, such as drag-and-drop data binding in a workflow application |
| US7236982B2 (en) | 2003-09-15 | 2007-06-26 | Pic Web Services, Inc. | Computer systems and methods for platform independent presentation design |
| US20050065933A1 (en) | 2003-09-22 | 2005-03-24 | Thomas Goering | System and method for customizing form elements in a form building application |
| US20050065936A1 (en) | 2003-09-22 | 2005-03-24 | Thomas Goering | System and method for reusing form elements in a form building application |
| US20050071752A1 (en) | 2003-09-24 | 2005-03-31 | Marlatt Jane E. | Forms management system |
| US20050076049A1 (en) | 2003-10-02 | 2005-04-07 | Marwan Qubti | Business workflow database and user system |
| US20050091285A1 (en) | 2003-10-23 | 2005-04-28 | Krishnan Prasanna V. | Promotion and demotion techniques to facilitate file property management between object systems |
| US20050102370A1 (en) | 2003-10-23 | 2005-05-12 | Yun Lin | Truth on client persistent caching |
| US20050102612A1 (en) | 2003-11-06 | 2005-05-12 | International Business Machines Corporation | Web-enabled XML editor |
| US20050108624A1 (en) | 2003-11-13 | 2005-05-19 | International Business Machines Corporation | Lightweight form pattern validation |
| US20050108104A1 (en) | 2003-11-14 | 2005-05-19 | Katherine Woo | Integrating third party shopping cart applications with an online payment service |
| US20050138086A1 (en) | 2003-12-23 | 2005-06-23 | Sap Aktiengesellschaft | Cross-system update method and system |
| US20060143220A1 (en) | 2003-12-31 | 2006-06-29 | Spencer Herman Jr | Software application framework using meta-data defined object definitions |
| US20050198125A1 (en) | 2004-01-26 | 2005-09-08 | Macleod Beck Christopher C. | Methods and system for creating and managing identity oriented networked communication |
| US20050223063A1 (en) | 2004-03-31 | 2005-10-06 | Bay-Wei Chang | Quick reply form |
| US20050268222A1 (en) | 2004-05-26 | 2005-12-01 | Cheng Kai M | Method of creating, processing and storing HTML documents |
| US20060041838A1 (en) | 2004-08-23 | 2006-02-23 | Sun Microsystems, Inc. | System and method for automatically generating XML schema for validating XML input documents |
| US20060059434A1 (en) | 2004-09-16 | 2006-03-16 | International Business Machines Corporation | System and method to capture and manage input values for automatic form fill |
| US20060069605A1 (en) | 2004-09-29 | 2006-03-30 | Microsoft Corporation | Workflow association in a collaborative application |
| US20060101037A1 (en) | 2004-11-11 | 2006-05-11 | Microsoft Corporation | Application programming interface for text mining and search |
| US20070036433A1 (en) | 2005-08-15 | 2007-02-15 | Microsoft Corporation | Recognizing data conforming to a rule |
| US7334178B1 (en) | 2005-09-09 | 2008-02-19 | Xsigo Systems | Randomized self-checking test system |
| US20070061706A1 (en) | 2005-09-14 | 2007-03-15 | Microsoft Corporation | Mapping property hierarchies to schemas |
| US20070061467A1 (en) | 2005-09-15 | 2007-03-15 | Microsoft Corporation | Sessions and session states |
| Title |
|---|
| "Architecture for a Dynamic Information Area Control" IBM Technical Disclosure Bulletin, IBM Corp. New Yrok US, vol. 37 No. 10, Jan. 10, 1994, pp. 245-246. |
| "Enter Key", Retrieved from the Internet at http://systems.webopedia.com/TERM/Enter<SUB>-</SUB>key.html on Dec. 20, 2006. |
| "Microsoft Visual Basic 5.0 Programmer's Guide 1997"; pp. 578-579; Redmond WA 98052-6399. |
| "Microsoft Visual Basic 5.0 Programmer's Guide", Microsoft Press, (1997), pp. 42-43, 54-58. |
| "Netscape Communicator 4.61 for OS/2 Warp" Netscapte Communication Corporation, Software 1999, The whole software release & "Netscape-Version 4.6 [en]-010615" Netscape Screenhot Oct. 2, 2002. |
| "Netscape window" Netscape Screenshot Oct. 2, 2002. |
| "SmartUpdate Developer's Guide" Netscapte Communication Corporation, Online Mar. 11, 1999 retrieved from the Internet on Dec. 8, 2000: http://developer.netscape.com:80/docs/manuals/communicator/jarman/index.htm> 83 pages. |
| "Store and Organize Related Files in a Binder," Getting Results with Microsoft Office, 1990, pp. 109-112. |
| "Webopedia Computer Dictionary" retrieved on May 9, 2006, at <<http://www.pewebopedia.com/TERM/OLE.html>>, Jupitermedia Corporation, 2006, pp. 07. |
| "Whitehill Composer" Whitehill Technologies Inc. 2 pages. |
| "Enter Key", Retrieved from the Internet at http://systems.webopedia.com/TERM/Enter—key.html on Dec. 20, 2006. |
| "Microsoft Word 2000 Screenshoots", Word,(2000), 1-17. |
| "Microsoft Word 2000 Screenshots", (2000), 11-17. |
| "Microsoft Word 2000", Screenshot, (1999), 1-5. |
| "X-Form 1.0", W3C,(Jul. 16, 2001). |
| Adams, Susie et al., "BizTalk Unleashed", Sams publishing, 2002, first printing Mar. 2001,(3/2001), 1-2, 31-138. |
| Alschuler; "A Tour of Xmetal" O'Reilly XML.COM 'Online Jul. 14, 1999 XP002230081 retrieved from the internet Feb. 5, 2003: <URL:http//www.xml.com/pub/a/SeyboldReport/ip0311025.html>. |
| Alschuler; "A Tour of Xmetal" O'Reilly XML.COM ′Online Jul. 14, 1999 XP002230081 retrieved from the internet Feb. 5, 2003: <URL:http//www.xml.com/pub/a/SeyboldReport/ip0311025.html>. |
| Altova et al. XML Spy, XML integrated Development Environments, Altova Inc., 2002, pp. 1-18. |
| Altova, "Altova Tools for XPath 1.0/2.0", Altova, 1-12. |
| Altova, et al., "User and Reference Manual Version 4.4", www.xmlspy.com, May 24, 2007, 1-565. |
| Altova, Inc., "XML Spy 4.0 Manual," Altova Inc. & Altova GmbH, coyright 1998-2001, Chapters 1, 2, and 6, encompassing pages 1-17, 18-90, and 343-362. |
| Anat, Eyal et al., "Integrating and Customizing Hererogeneous E-Commerce Applications", The VLDB Journal-The International Journal on Very Large Data Bases, vol. 10, Issue 1, (Aug. 2001), 16-38. |
| Atova, "User Reference manual Version 4.4, XML Spy suite 4.4," Atova Ges.m.b.H and Altova, Inc., May 24, 2002, pages cover, copyright p. 1-565. |
| Au et al.; "Netscape Communicator's Collapsible Toolbars" CHI'98 Human Factors in Computing Systems Conference Proceedings, Los Angeles CA, Apr. 1998, pp. 81-86. |
| Barker et al., "Creating In-Line Objects Within An Integrated Editing Environment," IBM Technical Disclosure Bulletin, vol. 27, No. 5, Oct. 1984, p. 2962. |
| Battle et al., "Flexible Information Presentation with XML" 1998 The Institution of Electrical Engineers, 6 pages. |
| Beauchemin, Dave "Using InfoPath to Create Smart Forms", Retrieved from the Internet at http:/www.microsoft.com/office/infopath/prodinfo/using.mspx on Jan. 21, 2007,(Mar. 27, 2003). |
| Begun, Andrew et al., "Support and Troubleshooting for XML Schemas in InfoPath 2003", Microsoft Office InfoPath 2003 Technical Articles, Retrieved from the Internet at http://msdn2.microsoft.com/en-us/library/aa168241(office.11,d=printer).aspx on Jan. 21, 2007,(Aug. 2004). |
| Ben-Natan, Provisional U.S. Appl. No. 60/203,081, filed May 9, 2000, entitled "Internet platform for creating and supporting communities". |
| Berg A., "Naming and Binding: Monikers" Inside OLE, 1995, Chapter 9, pp. 431-490. |
| Borland, Russo "Running Microsoft Word 97", 314-315, 338, 361-362, 390, and 714-719. |
| Brabrand, et al., "Power Forms Declarative Client-side Form Field Validation", (2002), 1-20. |
| Brogden ; "Arbortext Adept 8 Editor Review" O'Reilly XML.COM 'Online! Sep. 22, 1999 XP002230080 retrieved from the Internet Feb. 5, 2003; <URL:http://www.xml.com/pub/a/1999/09/adept/AdeptRvw.htm>. |
| Bruce Halberg et al, "Using Microsoft Excel 97", Published 1997, Bestseller Edition, Pertinent pp. 1-9, 18-25, 85-89, 98-101;106-113, 124-127, 144-147, 190-201, 209-210, 218-227, 581-590, 632-633, 650-655, 712-714. |
| Chen, Yi et al.; "XKvalidator: A Constraint Validator for XML" CIKM '02, Copyright 2002, ACM 1-58113-492-4-02-0011, Nov. 2002, pp. 446-452. |
| Cheng, Ya Bing et al.; "Designing Valid XML Views" ER 2002, LNCS 2503 2002, Springer-Verlag Berlin Heidelberg 2002. pp. 463-477. |
| Chien, Shu-Yao et al.; "Efficient Management of Multiversion Documents by Object Referencing" Proceedings of the 27th VLDB Conference, 2001, pp. 291-300. |
| Chien, Shu-Yao et al.; "Efficient Schemes for Managing Mulitversion XML Documents" VLDB Journal, 2002, pp. 332-352. |
| Chien, Shu-Yao et al.; "Storing and Querying Multiversion XML Documents using Durable Node Numbers" IEEE 2002, pp. 232-241. |
| Chien, Shu-Yao et al.; "XML Document Versioning" SIGMOD Record vol. 30 No. 3, Sep. 2001, pp. 46-53. |
| Chuang, Tyng-Ruey; "Generic Validation of Structural Content with Parametric Modules" ICFP '01, Sep. 2001, Copyright 2001, ACM 1-58113-415-0/01/0009, pp. 98-109. |
| Ciancarini, Paolo et al.; "Managing Complex Documents Over the WWW: A Case Study for XML" Transactions on Knowledge and Data Engineering, vol. I. 11 No. 4, Jul./Aug. 1999. pp. 629-938. |
| Clapp D., "The NeXT Appliction Kit Part I: Non-Responsive Classes," The NeXT Bible 1990, Chapter 16, pp. 275-293. |
| Clark, J. et al.; "XML Path Language (XPath) Version 1.0" W3C (MIT Inria Kejo), Nov. 16, 1999, pp. 1-49. |
| Clark, James; "XSL Transformation (XSLT) Version 1.0" W3C (MIT Inria Kejo), Nov. 16, 1999 pp. 1-156. |
| Clarke, P.; "From Small Beginnings" Knowledge Management Nov. 2001, pp. 28-30. |
| Cover, XML Forms Architecture, retrieved at << http://xml.coverpages.org/xfa.html>> on Aug. 17, 2006, Coverpages, Jun. 16, 1999. |
| Cybook, Inc.: "Copying the Search Form to Services-based Web Sites" INternet Article, (online) Jul. 26, 2004.*the whole document*. |
| Davidow; "XML Editors: Allegations of Functionality in Search of Reality" Internet 'Online! 1999 XP002230082 retrieved from the Internet <URL:http://www.ivritype.com/xml/>. |
| Davidow; "XML Editors: Allegations of Functionality in Search of Reality" Internet ′Online! 1999 XP002230082 retrieved from the Internet <URL:http://www.ivritype.com/xml/>. |
| Dayton et al.; "Photo Shop 5/5.5 Wow! Book" 2000 Peachpit Press pp. 8-17. |
| Description of Whitehill Composer software product producted by Whitehill Technologies Inc. available at <http://www.xml.com/pub/p/221> accessed on, Apr. 2004, two pages. |
| DiLascia et al., "Sweeper" Microsoft Interactive Developer, vol. 1, No. 1, 1996, 27 pages. |
| Dodds, "Toward an XPath API", xml.com,(May 7, 2001), 1-3. |
| Dubinko, Micah "XForms and Microsoft InfoPath", Retrieved from the Internet at http://www.xml.com/lpt/a/1311 on Jan. 21, 2007,(Oct. 29, 2003). |
| Dyck; "XML Spy Tops as XML Editor" http://www.eweek.com/article2/0395972404100.asp Nov. 2002, 4 pages. |
| Excel Developer Tip (hereinafter "Excel"), "Determining the Data Type of a Cell", May 13, 1998, p. 1 (available at http://jwalk.com/ss//excel/tips/tip62.htm). |
| Grosso, et al., "XML Fragment Interchange", W3C,(Feb. 2001), 1-28. |
| Halberg, Bruce et al., "Using Microsoft Excel 97", (1997), 191-201, 213-219. |
| Hall; "Agent-based Software Configuration and Deployment" Thesis of the University of Colorado Online, Dec. 31, 1999, retrieved from the Internet on Nov. 7, 2003: <http://www.cs.colorado.edu/users/rickhall/documents/ThesisFinal.pdf> 169 pages. |
| Han et al., WebSplitter: A Unified XML Framework for Multi-Device Collaborative Web Browsing, 2000, ACM Conference on Cimputer Supported Cooperative Work, 10 pages. |
| Hardy et al.; "Mapping and Displaying Structural Transformations between XML and PDF" DocEng '02, Nov. 8-9, 2002, Copyright 2002, ACM 1-58113-597-7/02/0011, pp. 95-102. |
| Haukeland ; "Tsbiff-tildeslash biff-version 1.2.1" Internet Document [Online] Jun. 1999 URL: http://web.archive.org/web/19990912001527/http://www.tildeslash.com/tsbiff/. |
| Herzner et al., "CDRAM- Compound Document Access and Management. An Object-Oriented Approach" Multimedia Systems Interactions and Applications, 1992, Chapter 3, pp. 17-36. |
| Hoffman, Michael "Architecture of Microsoft Office InfoPath 2003", Microsoft Office InfoPath 2003 Technical Articles, Retrieved from the Internet at http://msdn2.microsoft.com/en-us/library/aa219024(office.11,d=printer).aspx on Jan. 21, 2007,(Jun. 2003). |
| Hwang et al.; "Micro-Firewalls for Dynamic Network Security with Distributed Intrusion Detection"; IEEE INternational Symposium on Network Computing and Applications; 2001; pp. 68-79. |
| IBM; Stack Algorithm for Extractin Subtree from Serialized Tree, Mar. 1, 1994, TDB-ACC-NONN94033, 3 pages. |
| Ixia Soft, "Streamlining content, retrieval, and publishing ont he Web using TEXTML Server and SML Spy 4 Suite in an Integrated, Web publishing environment," (Partner's Whitepaper, published on the Web as of Jun. 6, 2002, downloaded pp. 1-16. |
| Kaiya et al.; "Specifying Runtime Environments and Functionalities of Downloadable Components Under the Sandbox Mode"; International Symposium on Principles of Software Evolution; 2000; pp. 138-142. |
| Kanemoto Hirotaka et al; "An Efficiently Updatable Index Scheme for Structured Documents" IEEE, 1998, pp. 991-996. |
| Kim, Sangg-Kyun et al.; "Immediate and Partial Validation Mechanism for the Conflict Resolution of Update Operations in XML Databases" WAIM 2002, LNCS 2419, 2002, Springer-Veriag Berlin Heidelberg 2002, pp. 387-439. |
| Kobayashi et al., "An Update on BTRON-specification OS Development" IEEE 1991 pp. 132-140. |
| Komatsu, N. et al. A proposal o; "A Proposal on Digital Watermark in Document Image Communication and Its Application to Realizing a Signature" Electronics and Communications in Japan Part I: Communications vol. 73 No. 5, May 1990, pp. 22-33. |
| Kutay, U.S. Appl. No. 60/209,713, filed Jun. 5, 2000, entitled, "Methods and systems for accessing, organizing presenting and viewing data". |
| Laura Acklen and Read Gilgen, "Using Corel Wordperfect 9", 251-284, 424-434, 583-586 (1998). |
| LeBlond et al, "PC Magazine Guide to Quattro Pro for Windows", pp. 9-11, 42-61, Ziff-Davis Press, Copyright 1993 by the LeBlond Group. |
| Lehtonen, Miro et al., "A Dynamic User Interface for Document Assembly", Department of Computer Science, University of Helsinki,(Nov. 2002). |
| Macromedia, Inc.: "Dreamweaver Technote, Changes in Copying and pasting in Dreamweaver 4" Internet Article (online). *the whole document*. |
| Mansfield, "Excel 97 for Busy People", Published by Osborne/McGraw-Hill 1997 pp. 48-50. |
| McCright, J.S.; "New Tool Kit to Link Groove with Microsoft Sharepoint" eWeek Enterprise News & Reviews Ziff Davis Media Inc., Jul. 2002, 1 page. |
| Microsoft Corporation, "Microsoft Computer Dictionary" Microsoft Press, Fifth Edition, p. 149. |
| Microsoft Word 2000 (see Screen Shot "About Microsoft Word") Published 1983-1999 and Microsoft Excel 2000 (see Screen Shot "About Microsoft Excel") Published 1988-1999, Three pages. |
| Moore, U.S. Appl. No. 60/191,662, filed Mar. 23, 2000, entitled "Collection-based presistent digital archives". |
| Musgrave; "Networking Technology-Impact and Opportunities" Survey and Statistical Computing 1996, Proceedings of the Second ASC International Conference, Sep. 1996, pp. 369-378. London UK. |
| Nelson, Joe "Client-side Form Validation Using JavaScript", Developer Advisory, (Sep. 21, 2001). |
| Nelson, Mark; "Validation with MSXML and XML Schema" Windows Developer Magazine, Jan. 2002, pp. 35-38. |
| Noore, A.; "A Secure Conditional Access System Using Digital Signature and Encryption" 2003 Digest of Technical Paper, International Conference on Consumer Electronics, Jun. 2003, pp. 220-221. |
| OMG XML Metadata Inerchange (XMI) Specification Version 1.2 Jan. 2002. |
| Pacheco et al.; "Delphi 5 Developer's Guide" Sams Publishing, 1999, Chapter 31,Section: Data Streaming, 6 pages. |
| Pacheco, Xavier et al., "Delphi 5 Developer's Guide", Sams Publishing. Chapter 31, Section: Data Streaming,(1999),4. |
| Peterson B. , "Unix Variants," Unix Review, vol. 10, No. 4, Apr. 1992, pp. 29-31. |
| Pike et al., "Plan 9 from Bell Labs" UKUUG, Summer 1990, 10 pages. |
| Pike et al., "The Use of Name Spaces in Plan 9," Operating Systems Review Vol. 27, No. 2, Apr. 1993, pp. 72-76. |
| Prevelakis et al.; "Sandboxing Applications"; Proceedings of the Freenix Track;2001; pp. 119-126. |
| Rado, Dave: "How to create a template that makes it easy for users to "fill in the blanks", without doing any programming" Microsoft Word MVP Faq Site, (online) Apr. 30, 2004, the whole document. |
| Raggett, "HTML Tables", retrieved on Aug. 6, 2006, at <<http:www.//is-edu.hcmuns.edu.vn/WebLib/books/Web/Tet/html3-tables.html>>, W3C Internet Draft, Jul. 7, 1995, pp. 1-12. |
| Raman, T.V., et al., "XForms 1.0", (Dec. 2001),Section 1-12.2.3 & Appendices A-G. |
| Rapaport; "Gel more from SharePoint" Transform Magazine, vol. 11 No. 3 Mar. 2002, pp. 1315. |
| Rees, Michael J., "Evolving the Browser Towards a Standard User Interface Architecture", School of Information Technology, Bond University, Australia,(2001). |
| Rogge Bories et al.; "Validating MPEG-21 Encapsulated Functional Metadata" IEEE 2002, pp. 209-212. |
| Schmid et al.; "Protection Data from Malicious Software"; 18th Annual Computer Security Application Conference; 2002; pp. 199-208. |
| Singh, Darshan "Microsoft InfoPath 2003 By Example", Retrieved from the Internet at http://www.perfectxml.com/InfoPath.asp on Jan. 21, 2007,(Apr. 20, 2003). |
| Staneck W., "Internal and External Media", Electronic Publishing Unleashed, 1995, Chapter 22, pp. 510-542. |
| Stylusstudio, "StylusStudio: XPath Tools", 2004-2007, StylusStudio, 1-14. |
| Sun Q. et al.; "A robust and Secure Media Signature Scheme for JPEG Images" Proceedings of 2002 IEEE Workshop on Multimedia Signal Processing, Dec. 2002, pp. 296-299. |
| Sutanthavibul Supoj et al.; "XFIG Version 3.2 Patchlevel 2 (Jul. 2, 1998) Users Manual (Edition 1.0)" Internet Document [Online] Jul. 2, 1998 XP002229137 Retrieved from the Internet: <URL:http://www.ice.mtu.edu/online<SUB>-</SUB>docs/xfig332/> [retrieved on Jan. 28, 2003]. |
| Sutanthavibul Supoj et al.; "XFIG Version 3.2 Patchlevel 2 (Jul. 2, 1998) Users Manual (Edition 1.0)" Internet Document [Online] Jul. 2, 1998 XP002229137 Retrieved from the Internet: <URL:http://www.ice.mtu.edu/online—docs/xfig332/> [retrieved on Jan. 28, 2003]. |
| Tomimori et al.; "An Efficient and Flexible Access Control Framework for Java Programs in Mobile Terminals"; 22nd International Conference on Distributed Computing Systems Workshops; 2002; pp. 777-782. |
| Trupin J., "The Visual Programmer," Microsoft Systems Journal, Apr. 1996, pp. 103-105. |
| U.S. Appl. No. 60/209,713, filed Jan. 1, 1990, Kutay et al. |
| Udell, Jon "InfoPath and XForms", Retrieved from the Internet at http://weblog.infoworld.com/udell/2003/02/26.html,(Feb. 26, 2003). |
| Usdin, et al.; "XML: Not a Silver Bullet But a Great Pipe Wrench" Standardview vol. 6. No. 3, Sep. 1998, pp. 125-132. |
| Van Hoff et al.; "The Open Software Description Format" Online Aug. 13, 1997, retrieved from the Internet on Nov. 7, 2003: <http://www.w3.org/TR/NOTE-OSD>, 11 pages. |
| Vasters, Clemens F., "BizTalk Server 2000 A Beginner's Guide", Osborne/McGraw-Hill,(2001), 1-2, 359-402. |
| Verlamis Iraklis et al.; "Bridging XML-Schema and relational databases. A System for generating and manipulating relational databases using valid XML documents." DocEng '01, Nov. 9-10, 2001, Copyright 2001, ACM 1-58113-432-0/01/0011, pp. 105-114. |
| Villard, et al., "An Incremental XSLT Transformation Processor for XML Document Manipulation", http://www2002.org/CDROM/refereed/321, Printed on May 18, 2007,(May 2002), 25 pages. |
| Williams et al.; "The Component Object Model" A Technical Overview Microsoft Corp., Oct. 1994, pp. 1-14. |
| Wong, Raymond K. et al.; "Managing and Querying Multi-Version XML Data with Update Logging" DocEng '02, Nov. 8-9, 2002, Copyright 2002, ACM ACM 1-58113-594-7/02/0011, pp. 74-81. |
| XMLSPY, "XmlSpy 2004 Enterprise Edition Manual", Altova,(May 17, 2004), 1-25, 220-225. |
| Zdonik S., "Object Management System Concepts," ACM, 1984, pp. 13-19. |
| Publication number | Priority date | Publication date | Assignee | Title |
|---|---|---|---|---|
| US20040268344A1 (en)* | 2001-03-08 | 2004-12-30 | Sridhar Obilisetty | Centrally managed and distributed applications |
| US8918729B2 (en) | 2003-03-24 | 2014-12-23 | Microsoft Corporation | Designing electronic forms |
| US9229917B2 (en) | 2003-03-28 | 2016-01-05 | Microsoft Technology Licensing, Llc | Electronic form user interfaces |
| US20110173560A1 (en)* | 2003-03-28 | 2011-07-14 | Microsoft Corporation | Electronic Form User Interfaces |
| US8892993B2 (en) | 2003-08-01 | 2014-11-18 | Microsoft Corporation | Translation file |
| US9239821B2 (en) | 2003-08-01 | 2016-01-19 | Microsoft Technology Licensing, Llc | Translation file |
| US9268760B2 (en) | 2003-08-06 | 2016-02-23 | Microsoft Technology Licensing, Llc | Correlation, association, or correspondence of electronic forms |
| US9536340B2 (en) | 2004-08-17 | 2017-01-03 | Dirtt Environmental Solutions, Ltd. | Software incorporating efficient 3-D rendering |
| US20060048146A1 (en)* | 2004-08-24 | 2006-03-02 | Lg Electronics Inc. | Forcibly downloading program in mobile communications terminal |
| US7770166B2 (en)* | 2004-08-24 | 2010-08-03 | Lg Electronics Inc. | Forcibly downloading program in mobile communications terminal |
| US7721281B1 (en)* | 2005-07-01 | 2010-05-18 | Cisco Technology, Inc. | Methods and apparatus for securing local application execution |
| US20070130197A1 (en)* | 2005-12-02 | 2007-06-07 | Guard Insurance Group | System and method to track the status, physical location, and logical location of workflow objects in a workflow cycle |
| US8838466B2 (en)* | 2005-12-02 | 2014-09-16 | Guard Insurance Group | System and method to track the status, physical location, and logical location of workflow objects in a workflow cycle |
| US9210234B2 (en) | 2005-12-05 | 2015-12-08 | Microsoft Technology Licensing, Llc | Enabling electronic documents for limited-capability computing devices |
| US7765485B2 (en)* | 2006-01-30 | 2010-07-27 | International Business Machines Corporation | Extensible user interface framework for a componentized application environment |
| US20070192339A1 (en)* | 2006-01-30 | 2007-08-16 | International Business Machines Corporation | Extensible user interface framework for a componentized application environment |
| US20070261066A1 (en)* | 2006-04-21 | 2007-11-08 | Hiroyuki Miyamoto | Method and system for extension registry filtering |
| US8132188B2 (en)* | 2006-04-21 | 2012-03-06 | International Business Machines Corporation | Method and system for extension registry filtering |
| US20070277170A1 (en)* | 2006-05-25 | 2007-11-29 | International Business Machines Corporation | Merger driven application installation |
| US20080127053A1 (en)* | 2006-09-07 | 2008-05-29 | Microsoft Corporation | Controlling application features |
| US20080127054A1 (en)* | 2006-09-07 | 2008-05-29 | Microsoft Corporation | Connecting with an application instance |
| US7908580B2 (en)* | 2006-09-07 | 2011-03-15 | Microsoft Corporation | Connecting an integrated development environment with an application instance |
| US20080127055A1 (en)* | 2006-09-07 | 2008-05-29 | Microsoft Corporation | Application proxy |
| US8850388B2 (en) | 2006-09-07 | 2014-09-30 | Microsoft Corporation | Controlling application features |
| US9348576B2 (en)* | 2006-10-03 | 2016-05-24 | Salesforce.Com, Inc. | Methods and systems for upgrading and installing application packages to an application platform |
| US9870218B2 (en) | 2006-10-03 | 2018-01-16 | Salesforce.Com Inc. | Methods and systems for upgrading and installing application packages to an application platform |
| US20140173582A1 (en)* | 2006-10-03 | 2014-06-19 | Salesforce. Com, Inc. | Methods and systems for upgrading and installing application packages to an application platform |
| US10831462B2 (en) | 2006-10-03 | 2020-11-10 | Salesforce.Com, Inc. | Methods and systems for upgrading and installing application packages to an application platform |
| US8683313B2 (en)* | 2007-10-26 | 2014-03-25 | International Business Machines Corporation | System for processing mixed-format files |
| US20130080878A1 (en)* | 2007-10-26 | 2013-03-28 | International Business Machines Corporation | System for Processing Mixed-Format Files |
| US20090119661A1 (en)* | 2007-11-06 | 2009-05-07 | Bernoth Andrew J | Method and System for Providing a Filter for a Router |
| US8443359B2 (en)* | 2007-11-06 | 2013-05-14 | International Business Machines Corporation | Method and system for providing a filter for a router |
| US9519407B2 (en) | 2008-03-11 | 2016-12-13 | Ice Edge Business Solutions, Ltd. | Automatically creating and modifying furniture layouts in design software |
| US20100037217A1 (en)* | 2008-08-07 | 2010-02-11 | International Business Machines Corporation | Computer program product for evaluating the workloads of installation plans in quantity by building a pre-requisite relation knowledge-base |
| US8230418B2 (en)* | 2008-08-07 | 2012-07-24 | International Business Machines Corporation | Computer program product for evaluating the workloads of installation plans in quantity by building a pre-requisite relation knowledge-base |
| CN101859254A (en)* | 2009-04-02 | 2010-10-13 | 国际商业机器公司 | Automatically recommending upgrade approach for customizable software product |
| US20100257518A1 (en)* | 2009-04-02 | 2010-10-07 | International Business Machines Corporation | Automatically recommending an upgrade approach for a customizable software product |
| US8402452B2 (en)* | 2009-04-02 | 2013-03-19 | International Business Machines Corporation | Automatically recommending an upgrade approach for a customizable software product |
| US9245064B2 (en)* | 2009-11-24 | 2016-01-26 | Ice Edge Business Solutions | Securely sharing design renderings over a network |
| US20120268463A1 (en)* | 2009-11-24 | 2012-10-25 | Ice Edge Business Solutions | Securely sharing design renderings over a network |
| US9189571B2 (en) | 2011-06-11 | 2015-11-17 | Ice Edge Business Solutions, Ltd. | Automated re-use of structural components |
| US20160034266A1 (en)* | 2012-03-27 | 2016-02-04 | Microsoft Technology Licensing, Llc | Dynamic plugin(s) for cloud application(s) |
| US9740469B2 (en)* | 2012-03-27 | 2017-08-22 | Microsoft Technology Licensing, Llc | Dynamic plugin(s) for cloud application(s) |
| US20170329592A1 (en)* | 2012-03-27 | 2017-11-16 | Microsoft Technology Licensing, Llc | Dynamic plugin(s) for cloud application(s) |
| US10740078B2 (en) | 2012-03-27 | 2020-08-11 | Microsoft Technology Licensing, Llc | Dynamic plugin(s) for cloud application(s) |
| US10469473B2 (en)* | 2016-08-31 | 2019-11-05 | Hewlett Packard Enterprise Development Lp | Network authentication system extensions |
| US11416235B2 (en)* | 2017-09-28 | 2022-08-16 | Oracle International Corporation | System and method for managed server independence for deployment of software applications and libraries |
| US10970084B2 (en)* | 2018-05-16 | 2021-04-06 | Sage (Uk) Ltd. | Application deployment |
| Publication number | Publication date |
|---|---|
| US6874143B1 (en) | 2005-03-29 |
| US20050044524A1 (en) | 2005-02-24 |
| Publication | Publication Date | Title |
|---|---|---|
| US7392522B2 (en) | Architectures for and methods of providing network-based software extensions | |
| US7979856B2 (en) | Network-based software extensions | |
| US8074217B2 (en) | Methods and systems for delivering software | |
| US8099664B2 (en) | Dynamic help user interface control with secured customization | |
| US9870218B2 (en) | Methods and systems for upgrading and installing application packages to an application platform | |
| US9430193B2 (en) | Interface for a computer platform | |
| US20070220429A1 (en) | Layered customization of a help user interface | |
| JP5787963B2 (en) | Computer platform programming interface | |
| US7370066B1 (en) | System and method for offline editing of data files | |
| CN101611422A (en) | Web data usage platform | |
| US7383535B1 (en) | System and method for implementing code hooks in a web-based environment | |
| BRPI0111802B1 (en) | NETWORK-BASED SOFTWARE EXTENSION DISTRIBUTION METHOD | |
| Rayns et al. | Introduction to CICS Dynamic Scripting | |
| Chou | A package management system for Web based applications |
| Date | Code | Title | Description |
|---|---|---|---|
| STCF | Information on status: patent grant | Free format text:PATENTED CASE | |
| FPAY | Fee payment | Year of fee payment:4 | |
| AS | Assignment | Owner name:MICROSOFT TECHNOLOGY LICENSING, LLC, WASHINGTON Free format text:ASSIGNMENT OF ASSIGNORS INTEREST;ASSIGNOR:MICROSOFT CORPORATION;REEL/FRAME:034541/0477 Effective date:20141014 | |
| FPAY | Fee payment | Year of fee payment:8 | |
| FEPP | Fee payment procedure | Free format text:MAINTENANCE FEE REMINDER MAILED (ORIGINAL EVENT CODE: REM.); ENTITY STATUS OF PATENT OWNER: LARGE ENTITY | |
| LAPS | Lapse for failure to pay maintenance fees | Free format text:PATENT EXPIRED FOR FAILURE TO PAY MAINTENANCE FEES (ORIGINAL EVENT CODE: EXP.); ENTITY STATUS OF PATENT OWNER: LARGE ENTITY | |
| STCH | Information on status: patent discontinuation | Free format text:PATENT EXPIRED DUE TO NONPAYMENT OF MAINTENANCE FEES UNDER 37 CFR 1.362 | |
| FP | Lapsed due to failure to pay maintenance fee | Effective date:20200624 |