Movatterモバイル変換


[0]ホーム

URL:


US7363129B1 - Apparatus, system and method that interfaces with an automobile engine control unit - Google Patents

Apparatus, system and method that interfaces with an automobile engine control unit
Download PDF

Info

Publication number
US7363129B1
US7363129B1US11/620,633US62063307AUS7363129B1US 7363129 B1US7363129 B1US 7363129B1US 62063307 AUS62063307 AUS 62063307AUS 7363129 B1US7363129 B1US 7363129B1
Authority
US
United States
Prior art keywords
ecu
pairing
protocol
received
controller
Prior art date
Legal status (The legal status is an assumption and is not a legal conclusion. Google has not performed a legal analysis and makes no representation as to the accuracy of the status listed.)
Expired - Fee Related
Application number
US11/620,633
Inventor
Daniel Barnicle
Joseph A. Mancuso
Peter J. Ryan
Current Assignee (The listed assignees may be inaccurate. Google has not performed a legal analysis and makes no representation or warranty as to the accuracy of the list.)
Moon Valley Software
Original Assignee
Moon Valley Software
Priority date (The priority date is an assumption and is not a legal conclusion. Google has not performed a legal analysis and makes no representation as to the accuracy of the date listed.)
Filing date
Publication date
Application filed by Moon Valley SoftwarefiledCriticalMoon Valley Software
Priority to US11/620,633priorityCriticalpatent/US7363129B1/en
Assigned to MOON VALLEY SOFTWAREreassignmentMOON VALLEY SOFTWAREASSIGNMENT OF ASSIGNORS INTEREST (SEE DOCUMENT FOR DETAILS).Assignors: BARNICLE, DANIEL, MR., MANCUSO, JOSEPH A., MR., RYAN, PETER J., MR.
Priority to PCT/US2008/050334prioritypatent/WO2008083412A1/en
Priority to US12/106,929prioritypatent/US20080195299A1/en
Application grantedgrantedCritical
Publication of US7363129B1publicationCriticalpatent/US7363129B1/en
Expired - Fee Relatedlegal-statusCriticalCurrent
Anticipated expirationlegal-statusCritical

Links

Images

Classifications

Definitions

Landscapes

Abstract

The present embodiments provide methods, apparatuses, and systems that interface with automobile Engine Control Units (ECU). In some embodiments, methods are provided that communicate with an ECU by establishing a wireless communication link with a remote device, coupling with an ECU, pairing the remote device with the ECU, identifying a protocol to communicate with the ECU, and transferring communications between the remote device and the ECU.

Description

FIELD OF THE INVENTION
The present invention relates generally to an automobile Engine Control Unit (ECU), and more particularly to interfacing with an ECU.
BACKGROUND
Car manufacturers began installing on-board computers in consumer vehicles in the early 1980s. The original purpose of these systems was to help tune fuel injection engine. Over the next two decades, on-board computers, commonly known as Engine Control Units (ECUs), were employed for an expanding number of uses.
Some diagnostic tools are available that can directly communicate with the ECUs. Typically, however, these diagnostic tools have limited use and are generally only available for professional mechanics. These tools are often bulky, expensive, and complex in their use.
SUMMARY OF THE EMBODIMENT
The present invention advantageously addresses the needs above as well as other needs through the provisions of methods, apparatuses, and systems that interface with automobile Engine Control Units (ECU). In some embodiments, methods are provided that communicate with an ECU by establishing a wireless communication link with a remote device; coupling with an ECU; pairing the remote device with the ECU; identifying a protocol to communicate with the ECU; and transferring communications between the remote device and the ECU.
Other embodiments provide apparatuses that communicate with an ECU. Some of the apparatuses comprise a transceiver; a controller coupled with the transceiver such that the transceiver receives communications from the controller and externally transmits the communications, and further receives and forwards received external communications to the controller; an interface coupled between the controller and the ECU, where the interface interfaces communications between the controller and the ECU.
Still further embodiments provide methods of communicating with an ECU. Some of these methods receive a pairing connection command; receive a pairing request from a remote device; determine whether the pairing request is received within a pairing threshold time since the receiving of the connection command; and pair the remote device with an ECU when it is determined that the pairing request is received within the pairing threshold time.
A better understanding of the features and advantages of the present invention will be obtained by reference to the following detailed description of the invention and accompanying drawings which set forth an illustrative embodiment in which the principles of the invention are utilized.
BRIEF DESCRIPTION OF THE DRAWINGS
The above and other aspects, features and advantages of the present embodiments will be more apparent from the following more particular description thereof, presented in conjunction with the following drawings wherein:
FIG. 1 depicts a simplified block diagram of an ECU system according to some embodiments;
FIG. 2 depicts a simplified block diagram of the ECU system ofFIG. 1 according to some embodiments that includes an ECU interface system coupled between an ECU of an automobile and a user device;
FIG. 3 depicts a simplified block diagram of a controller according to some embodiments;
FIG. 4 depicts a simplified schematic diagram of an example implementation of a voltage level adjustment circuitry according to some embodiments;
FIG. 5 depicts a simplified block diagram of a controller implemented according to some embodiments through a single integrated circuit microcontroller;
FIGS. 6-14 show simplified schematic diagrams of interface circuitry according to some embodiments and the coupling of the interface circuitry with the controller;
FIGS. 15-16 show pin layouts of the ECU connector and a connector to couple between the voltage adjustment circuit and the communication module;
FIG. 17 depicts a simplified schematic diagram of a reset circuitry that can be employed to maintain a reset signal for a desired period of time;
FIG. 18 depicts a simplified flow diagram of a process in transferring communications between a user device and an ECU of an automobile or other relevant device;
FIG. 19 shows a simplified flow diagram of a process of implementing one or more steps of the process ofFIG. 18 according to some embodiments;
FIGS. 20-23 depict further detailed flow diagrams of processes that can be used in implementing one or more steps of the processes ofFIGS. 18 and 19;
FIG. 24 depicts a simplified graphical representation of a theoretical VPW data signal and a hypothetical example of an actual VPW data signal; and
FIG. 25 depicts a simplified graphical representation of a theoretical PWM data signal.
Corresponding reference characters indicate corresponding components throughout the several views of the drawings. Skilled artisans will appreciate that elements in the figures are illustrated for simplicity and clarity and have not necessarily been drawn to scale. For example, the dimensions of some of the elements in the figures may be exaggerated relative to other elements to help to improve understanding of various embodiments of the present invention. Also, common but well-understood elements that are useful or necessary in a commercially feasible embodiment are often not depicted in order to facilitate a less obstructed view of these various embodiments of the present invention.
DETAILED DESCRIPTION
The present embodiments provide methods, systems and apparatuses for communicating with an Engine Control Unit (ECU) of an automobile. Automobile ECUs can provide information about an automobile and its operation, such as diagnostics of emissions, control of ignition and cam timing, fuel intake, the monitoring of components or devices of the automobile to sense fluid levels and other system components, and the programming of those components to improve, alter and/or optimize performance. Often the ECU is utilized in identifying problems with an automobile and/or to optimize or enhance performance.
FIG. 1 depicts a simplified block diagram of anECU system120 according to some embodiments. TheECU system120 includes anECU interface system122 coupled between anECU124 of an automobile and auser interface device126 providing communication between the ECU and the user interface device. Theuser interface device126 can be substantially any device capable of providing a user with information, such as a computer, laptop computer, personal digital assistant, cell phone, and/or other relevant user devices. TheECU interface system122 identifies an appropriate protocol to communicate with theECU124, and converts communications from theuser device126 into the appropriate protocol and similarly converts communications from the ECU received in the ECU protocol into a format that can be interpreted by the user device. In some embodiments, the user device stores and runs user interface programming that displays a user interface on the user device aiding the user in establishing and maintaining a connection with theECU interface system122, and/or in retrieving information from and issuing commands to theECU124. The user interface can be windows based providing one or more windows, and the user can interact with the interface through buttons, keys, pointing devices and/or other relevant user interface devices.
There are several different protocols used by different types of ECUs. In the United States, there is a set of standards, the On-Board Diagnostics II (OBD-II) standards that represent a set of independent communications protocols utilized by ECUs. Some of these protocols include Controller Area Network (CAN), International Standards Organization (ISO) 9141, Pulse Width Modulation (PWM), Variable Pulse Width (VPW), Keyword Protocol (KWP 2000) and/or other relevant protocols. Further, some of these protocols have variations, such as fast or slow initialization, varying baud rates and the like.
FIG. 2 depicts a simplified block diagram of theECU system120 ofFIG. 1 according to some embodiments that includes anECU interface system122 coupled between anECU124 of an automobile and auser device126. TheECU interface system122 in some embodiments includes acontroller222, auser device interface224, anECU interface226, one ormore power sources230, and in some instances, an activation and/orpairing button236. Thecontroller222 couples with theuser device interface224, theECU interface226 and theactivation button236. In operation, theuser device126 communicates one or more commands and/or requests to theECU interface system122. The command is received through theuser device interface224 and is forwarded to the controller. The controller formats the command according to an identified protocol utilized by the ECU124 and forwards the formatted command to theECU interface226 that communicates the command to theECU124. Similarly, the ECU issues responses to the commands or requests that are received by thecontroller222 through the ECU interface. The controller formats the responses and forwards the responses to theuser device126 through theuser device interface224.
Theuser device interface224 can be implemented in part through physical wiring (e.g., RS-232, optical, etc.), wireless transmission and/or connection (e.g., cellular, Bluetooth, infrared, optical, etc.) and/or other relevant methods of communication. In some implementations, theuser device interface224 includes acommunication module240, such as a Bluetooth module or other communication module and/or combinations of modules that can communicate with theuser device126 over wireless or wired communication links. Further, a voltagelevel adjustment circuitry242 can be included in some implementations to adjust voltage levels of signals communicated between thecontroller222 and thecommunication module240 when needed. For example, in some instances a Bluetooth module may operate at a voltage level that is different than the operating voltage level of thecontroller222 and as such the voltage level of the signals from the controller to the Bluetooth module are adjusted (e.g., reduced) by the voltagelevel adjustment circuitry242. Additionally or alternatively, the voltage levels of communications from the Bluetooth module may be adjusted (e.g., increased) by the voltage level adjustment circuitry on route to the controller. Thepower source230 can provide one or more voltage levels to the components of theECU interface system122. Further, one or more voltage regulators can be cooperated with the controller and/or interfaces as further described below.
TheECU interface226 can include aconnector250 that couples with the ECU124 (or connector coupled with the ECU) of the automobile, andinterface circuitry252 that couples between theconnector250 and thecontroller222. In some embodiments, the connector is an OBD-II connector according to Society of Automotive Engineers (SAE) J1962 standards. Theinterface circuitry252 can in some implementations provide some protocol conversion and/or provide other relevant voltage level adjustments, biasing and/or other relevant circuitry.
Thecontroller222 can be substantially any relevant controller capable of controlling the communication between theuser device126 and theECU124. In some implementations, the controller can be a computer, laptop, one or more microprocessors, one or more microcontrollers, state machines or other relevant controllers. In some instances, the controller is implemented at least in part through an integrated circuit that provides the desired protocol conversion and communication control. For example, the controller may be implemented at least in part through a ELM327 microcontroller and/or other similar microcontrollers manufactured by Elm Electronics of Canada, a Peripheral Interface Controller (PIC), such as a PIC18F2580, PIC18F248 and/or other relevant controllers manufactured by Microchip Technologies, Inc. of Chandler, Ariz., and/or other such controllers or combinations of controllers.
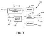
Communications from theuser device126 are received by thecontroller222 and formatted to be passed to theECU124. The formatting in part utilizes an appropriate protocol for the ECU and formats the communication according to the protocol.FIG. 3 depicts a simplified block diagram of acontroller222 according to some embodiments. The controller includes a command andprotocol interpreter322,memory324, a first controller interface326 (e.g., an RS232 interface or other similar data interconnection interface), and a second controller interface330 (e.g., an OBD interface). Some embodiments optionally further include operatingindicators332 and/or outputs to drive indicators (e.g., LEDs and/or other such indicators).
A timing orclock signal340 is received by the command andprotocol interpreter322 providing timing to the operation of thecontroller222. The command andprotocol interpreter322 determines an appropriate protocol to utilize with a coupled ECU, and configures commands and/or requests according to the identified protocol and/or configures replies from the ECU to be forwarded to theuser device126 through thecommunication module240. Thefirst controller interface326 couples with theuser device interface224, and includes at least oneinput342 to receive communications from the client device and at least oneoutput344 to forward communications to the user devices. Similarly, thesecond controller interface330 couples with theECU interface226, and includes at least oneinput346 to receive communications from the ECU and at least oneoutput348 to forward communications to the ECU.
In many instances thecontroller222 is implemented through a single Integrated Chip (IC) and includes processing and/or programming capabilities through the command andprotocol interpreter322. Thememory324 can store executables, software, firmware, data, readable instructions, data structures, program modules and/or parameters for use in implementing the transfer of communications. Further, the memory can include substantially any processor-readable or computer-readable media that can be accessed by the command and protocol interpreter, and can include volatile and/or nonvolatile media, buffers, registers, arrays and/or other memory structures. In some embodiments, some or all of the memory can be external to thecontroller222.
As described above, theuser device interface224 can include the voltagelevel adjustment circuitry242 and acommunication module240. In some embodiments, the communication module wirelessly communicates with the user device, such as through Bluetooth wireless communication and/or connection. In some instances, the Bluetooth module can be implemented through a Blue Smirf Bluetooth chip, manufactured by Spark Fun of Boulder, Colo.; a BR-C30 Bluetooth module, manufactured by Blue Radios of Englewood, Colo.; anABM 450 Bluetooth module, manufactured by Air Logic of Seoul, Korea; an ABM 600-1 Bluetooth module, manufactured by Air Logic; and/or other relevant Bluetooth transceivers. The Bluetooth module allows theECU interface system122 to wirelessly communicate with the user device having Bluetooth wireless communication capabilities. Further in some implementations, a ground plane is positioned beneath the Bluetooth module, and an antenna is coupled with the Bluetooth module. In those instances where the Bluetooth module is mounted on a circuit board with thecontroller222, the antenna can be formed and/or placed on the board. Additionally in some embodiments, a spacing is maintained around the antenna (e.g., a spacing of about 8 mm) that is substantially free of metallic components.
Some embodiments additionally include the optional voltagelevel adjustment circuitry242 that provides voltage level adjustments of signals communicated between thecontroller222 and thecommunication module240.FIG. 4 depicts a simplified schematic diagram of an example implementation of the voltagelevel adjustment circuitry242 according to some embodiments. The voltagelevel adjustment circuitry242 in these embodiments includes a down-voltage adjustment circuitry422 and an tip-voltage adjustment circuitry424. The down-voltage adjustment circuitry comprises aserial resistor430 coupled between thecontroller222 and a base of afirst transistor432. Afirst voltage resistor434 couples between the collector of the first transistor and afirst voltage source440, such as about 3V voltage source. The collector of the first transistor further couples with the base of asecond transistor436. The collector of the second transistor coupled with asecond voltage resistor438 that couples with the first voltage source. The collector of the second transistor further couples with thecommunication module240 over acommunication receiving line464. The emitters of the two transistors couple with ground or other reference voltage.
The up-voltage adjustment circuit424 includes afirst transistor450 with the collector coupled with thecontroller222. Athird voltage resistor452 couples between the base and a secondreference voltage source442, such as a 5V voltage source. The base of the first transistor couples with the collector of asecond transistor454. Afourth voltage resistor456 couples between the secondreference voltage source442 and the collector of thesecond transistor454. Aserial resistor458 couples between the base of the second transistor and thecommunication module240 establishing acommunication transmitting line466. The emitters of the two transistors couple with ground or other reference voltage.
Thevoltage adjustment circuitry242 provides voltage level conversions or adjustments for communications between thecommunication module240 and thecontroller222. For example, when the communication module comprises a Bluetooth module that operates at a reference voltage of about 3.3V and the controller is a microcontroller operating at a reference voltage of about 5V, the down-voltage adjustment circuitry422 reduces the voltage level of communications from thecontroller222 prior to being received at the Bluetooth module. Similarly, the up-voltage adjustment circuitry424 increases the voltage level of communications from the Bluetooth module prior to being received at thecontroller222. In some implementations, thetransistors432,436,450 and/or454 can be NPN transistors, such as 2N3904 transistors or other relevant transistors. Further, in some implementations the resistance values for thevoltage adjustment circuitry242 can be about 4.7KΩ.
Thevoltage adjustment circuitry242, however, can vary depending on thecontroller222 and/orcommunication module240 being utilized. For example, alternatively or additionally the voltage adjustment circuitry can be implemented by and/or include an intermediate chip that performs voltage adjustments, such as a MAX232 chip installed between thecontroller222 and thecommunication module240 and/or a serial cable or other wiring (e.g., RS232 cable). Similarly, theinterface circuitry252 can also vary depending on thecontroller222,connector250 and/orECU124.
FIG. 5 depicts a simplified block diagram of acontroller222 implemented according to some embodiments through a single integrated circuit microcontroller. Thecontroller222 includes a number of inputs and outputs. In some implementations, the controller includes twenty eight (28) input and/or output pins. These pins can include positive supply voltage (VDD)530; ground voltage reference (VSS)531,532; digital I/O, in-circuit debugger pin, interrupt-on-change pin, ICSP programming data (RB7/PGD)533; digital I/O, in-circuit debugger pin, interrupt-on-change pin, ICSP programming clock (RB6/PGC)534; digital I/O, interrupt-on-change pin, low-voltage ICSP, programming enable (RB5/PGM)535; digital I/O, interrupt-on-change pin (RB4)536; digital I/O, receive signal for CAN bus (RB3/CANRX)537; digital I/O, transmit signal for CAN bus, external interrupt2 (RB2/CANTX/INT2)538; digital I/O, external interrupt1 (RB1/INT1)539; digital I/O, external interrupt0 (RB0/INT0)540; digital I/O, analog input4, SPI slave select input, low-voltage detect input (RA5/AN4/SS*/LVD)541; digital I/O, Timer0 (RA4/TOCK1)542; digital I/O, analog input3, A/D reference voltage (high input) (RA3/AN3/VREF+)543; digital I/O, analog input2, A/D reference voltage (low input) (RA2/AN2/VREF−)544; digital I/O, analog input1 (RA1/AN1)545; digital input/output, Analog input0 comparator voltage reference output (RA0/AN0/CVREF)546; oscillator crystal or external clock output or general purpose input/output (OSC2/CLKO/RA6)547; oscillator crystal or external clock input (OSC1/CLK1)548; master clear (input) (MCLR*) or programming voltage output (VPP)549; digital I/O, USART asynchronous receive, USART synchronous data (RC7/RX/DT)550; digital I/O, USART asynchronous transmit, USART synchronous clock (RC6/TX/CK)551; digital I/O, SPI data out (RC5/SDO)552; digital I/O, SPI data in, I2C data I/O (RC4/SDI/SDA)553; digital I/O, synchronous serial clock input/output for SIP mode, synchronous serial clock input/output for I2C mode (RC3/SCK/SCL)554; digital I/O, Capture1 input/compare1 output/PWM1 output (RC2/CCP1)555; digital I/O, timer1 oscillator input (RC1/T1OSI)556; and digital I/O, Timer1 oscillator output, Timer1/Timer3 external clock input (RC0/T1OSO/T1CK1)557. Other pins can additionally or alternatively be included.
FIGS. 6-14 show simplified schematic diagrams of theinterface circuitry252 according to some embodiments and the coupling of the interface circuitry with thecontroller222. For simplicity, thecontroller222 is not shown inFIGS. 6-14 and the coupling is identified by reference numbers of the pin connections of thecontroller222 depicted inFIG. 5.FIGS. 15-16 show pin layouts of theECU connector250 and aconnector1620 to couple between thevoltage adjustment circuit242 and thecommunication module240. Referring toFIGS. 5 and 6, the RB7/PGD pin533 couples with a first reference voltage622 (e.g., 5V) through afirst switch624. In some embodiments, the first switch can be the activation orpairing button236 that actives theECU interface system122 as described further below. The RB6/PGC pin534 couples with the RA4/T0CK1 pin542 through adiode626 and aresistor628. In some instances the diode is an LED or other such diode (e.g., a green diode) providing information about the operation of theECU interface system122, and/or the resistor can have a value of 470Ω. The RA4/TOCK1 pin542 further couples with aground pin1526 of theECU connector250.
Referring toFIGS. 5 and 7, the RA0/AN0/CVREF pin546 couples with a battery voltage read pin (Vbat)1540 through afirst resistor724, and with ground through asecond resistor726 coupled in parallel with acapacitor730. The battery voltage readVbat pin1540 is a pin of theECU connector250 that couples with theECU124 such that the RA0/AN0/CVREF pin546 can receive measured data from the ECU. Referring toFIGS. 5 and 8, anoscillator crystal822 couples between the OSC2/CLKO/RA6 pin547 and the OSC1/CLK1 pin548 providing timing to thecontroller222. Further a pair ofcapacitors824,826 can couple between the OSC2/CLK0/RA6 pin547 and ground and the OSC1/CLK1 pin548 and ground. The crystal can provide substantially any relevant oscillation signal, and in some embodiments is greater than 1 MHz, for example, the crystal can provide a 4 MHz signal, a 20 MHz signal or other relevant oscillation signal(s). Further, the pair of capacitors can, in some implementations for example, have capacitances of 20 pF.
Referring toFIGS. 5,9 and15, RB1/INT1 pin539 and the RB0/INT0 pin540 can drive the ISO 9141 and ISO 14230 (KWP 2000) protocol buses. The RB1/INT1 pin539 can provide a protocol output that couples with the base of afirst transistor922 through aresistor924. The collector of thetransistor922 couples with an ISO_L line928 that further couples with anISO_L pin1536 of theconnector250 to drive the ISO 9141 and/or KWP 2000 buses on theECU124. In driving the ISO 9141 bus, some embodiments are configured such that communications are sent at a maximum interval of 5 seconds in order to keep the bus alive. The collector further couples withVbat pin1540 of aconnector250 through aresistor926. Similarly, the RB0/INT0 pin540 provides a secondary protocol output that couples with the base of asecond transistor930 through aresistor932. The collector of thetransistor930 couples with anISO_K line934 that further couples with anISO_K pin1534 of theconnector250 to drive the ISO 9141 and/or KWP 2000 buses on theECU124. The collector further couples with theVbat pin1540 of aconnector250 through aresistor936. The RC1/T1OSI pin556 provides an input for ISO 9141 and KWP 2000 protocols and, in some instances, is derived from theISO_K line934. In some embodiments, the RC1/T1OSI pin556 couples with theISO_K line934 between a pair ofresistors940,942. In an example implementation according to some embodiments, the transistors can be 2N3904 transistors, and theresistors926 and936 can be about 510Ω,resistors924 and932 can be about 2.2KΩ,resistor940 can be about 47KΩ andresistor942 can be about 22KΩ.
Referring toFIGS. 5,10 and15, the RA1/AN1 pin545 provides an output used to control a voltage supplied to a J1850 Bus+ output at the RA0/AN0/CVREF pin546. For example, in some instances a nominal 8V is used for J1850 VPW, while 5V is used with J1850 PWM protocol communications. The RA1/AN1 pin545 couples with a base offirst transistor1022 through a resistive network of four resistors in series1024-1027 with aresistor1028 between the first andsecond resistors1024 and1025 to ground. Thefirst transistor1022 further couples with avoltage regulator1032 the couples with a second reference voltage1034 (e.g., 12V reference voltage) with an adjustment input connected between the second andthird resistors1025 and1026. Further, the RA2/AN2/VREF− pin544 couples with the base of asecond transistor1040 through aresistor1042. The collector of the transistor further couples with the base of thefirst transistor1022 through aresistor1044. The first transistor further couples with aJ1850+ pin1524 of theconnector250 through adiode1046. In some implementations thefirst transistor1022 can be a 2N3906 transistor, thesecond transistor1040 can be a 2N3904 transistor, the voltage regulator can be a U2LM317L regulator, thediode1046 can be a 1N4148 diode, the first, second andfifth resistors1024,1025 and1028, respectively, can have a about 470Ω resistance, thethird resistor1026 can be about 240%, thefourth resistor1027 can be about 10KΩ, and theresistors1042 and1044 can be approximately 4.7KΩ.
Referring toFIGS. 5,11 and15, the RC3/SCK/SCL pin554 (Jbus−) is an output that drives the J1850 Bus− line of theECU124. The Jbus− pin554 couples with the base of afirst transistor1122 through afirst resistor1124. The collector of the first transistor couples with the J1850−pin1522 of theconnector250. Further, the RC2/CCP1 pin555 (PWMin) is an input for J1850 PWM protocol communications and couples with the collector of asecond transistor1126 and thefirst reference voltage622 through a pull-tip resistor1130. A base of the second transistor couples with a collector of athird transistor1140 and afirst base resistor1132 further couples between the base and emitter of the second transistor. The emitter of the third transistor further couples with theJ1850+ pin1524 of theconnector250 through aresistor1142. Asecond base resistor1144 couples between the emitter and the base of the third transistor. The base of the third transistor further couples through adiode1150 and aresistor1152 to the J1850+ pin of theconnector250 and in some embodiments to thefirst reference voltage622 through a pull-upresistor1154. The pull-upresistor1154 can provide an idling voltage of about 5V and an active voltage of about 0V for PWM signaling that can in part avoid the J1850− bus from staying at a 0V and consequently being in an active state when not desired. In an example implementation according to some embodiments, the first and second transistors can be implemented with 2N3904 transistors and the third transistor can be a 2N3906 transistor, theresistors1124,1130,1154 could be about 4.7KΩ, thefirst base resistor1132 and theresistor1142 can be about 10KΩ, thesecond base resistor1144 can be about 100KΩ and theresistor1152 could be about 22KΩ.
Referring toFIGS. 5,12 and15, some embodiments employ aCAN transceiver1220, that in some instances is implemented in part through an integrated circuit, such as an MCP2551 chip or other relevant CAN transceiver, that provides protocol conversion for one or more of the CAN protocols (e.g., CAN (ISO 15765-4)-11 bit ID, 500 Kbaud (CAN-F11); CAN (ISO 15765-4)-29 bit ID, 500 Kbaud (CAN-F29); CAN (ISO 15765-4)-11 bit ID, 250 Kbaud (CAN-S11); CAN (ISO 15765-4)-29 bit ID, 250 Kbaud (CAN-S29)). The CAN transceiver can include aTX pin1222, aVSS pin1224, aVCC pin1226, anRX pin1230, aVREF pin1232, aCAN_L pin1234, aCAN_H pin1236 and anRS pin8.
TheTX pin1222 couples with the RB2/CANTX/INT2 pin538 of thecontroller222 that transmits CAN protocol communications to theCAN transceiver1220. TheRX pin1230 couples with the RB3/CANRX pin1237 of thecontroller222 to forward CAN communications received from the ECU to thecontroller222. TheVSS pin1224 couples with ground and theVCC pin1226 couples with thefirst reference voltage622 with acapacitor1244 coupled between theVCC pin1226 and ground. TheRS pin1240 couples through a resistor1250 to ground. TheCAN_L pin1234 couples with aCAN_L pin1530 of theconnector250 and theCAN_H pin1236 couples with aCAN_H pin1526 of theconnector250 to establish the communication path between theTX pin1222 andRX pin1230 and theECU124. In some embodiments theCAN_H pin1236 can further couple with ground through aresistor1252 andcapacitor1254 and similarly theCAN_L1234 pin can couple with ground through aresistor1256 andcapacitor1258. In an example implementation according to some embodiments, theCAN transceiver1220 can be implemented with an MCP2551 transceiver, thecapacitor1244 can be approximately 0.1 μF, the resistor1250 can be about 4.7KΩ, theresistors1252 and1256 can be approximately 100KΩ, and thecapacitors1254 and1258 can be about 560 pF. Further, in some instances, theconnector250 complies with the SAE J1962 standard.
In some embodiments, theinterface circuitry252 can include additional voltage regulators to define reference voltages, such as a reference voltage for the controller222 (e.g., at 5V) and a reference voltage for the communication module240 (e.g., at about 3V).FIGS. 13 and 14 show simplified schematic diagrams ofvoltage regulator circuits1320 and1422, respectively. Referring toFIG. 13, avoltage regulator1322 has in input coupled with the second reference voltage1034 (e.g., 12V), with the battery voltage readVbat pin1540 coupled to the second reference voltage through adiode1324. An output of the regulator generates the first reference voltage622 (e.g., about 5V), and is further coupled to with a diode1326 (e.g., an LED) andresistor1330 to ground with a capacitor1332 in parallel with the diode and resistor. In an example implementation thevoltage regulator1322 can be an LM7805 regulator or other relevant voltage regulator with the diode being a 1N4001 diode, theLED1326 can be a red LED, theresistor1330 can be about 470Ω and the capacitor can be about 0.1 μF. Thevoltage regulator1422 ofFIG. 14 similarly can couple with thesecond reference voltage1034 and generate athird reference voltage1424, such as about a 3V reference voltage. The input and output can each couple with acapacitor1430,1432 having values, for example, of about 0.1 μF. Thevoltage regulator1422 can be implemented with a 78RM33 regulator or other relevant regulator. The 5V and3V regulators1322 and1422, respectively, can be used for power. As described above, the regulators used to implement thevoltage regulator circuitry1320 and1420 are not critical, and in some embodiments, the regulators attempt to supply about 500 mA of current.
FIG. 16 shows a simplified schematic pin layout for aconnector1620 to thecommunication module240 according to some embodiments allowing communication between thecontroller222 and thecommunication module240, for example, based on the RS-232 interface standard. This communication can be implemented, for example, at about 115200 bps. As described above, thevoltage adjustment circuit242 can couple with this connector to establish communication with the communication module. Theconnector1620 includes a receivecommunication pin1624 that couples with the communication receiveline464 of the down-voltage voltage adjustment circuitry422 (seeFIG. 4) and similarly includes a transmitcommunication pin1626 that couples with thecommunication transmission line466 of the voltage adjustment circuitry. Areference voltage pin1630 can further be included that can couple with thereference voltage1424 of the 3Vvoltage regulator circuitry1420. Areset pin1632 can additionally be included that instructs the communication module to reset. In some implementations it can be beneficial to bias this reset pin and/or maintain a reset signal for a period of time.FIG. 17 depicts a simplified schematic diagram of areset circuitry1720 that can be employed to maintain and/or extend a duration of a reset signal for a desired period of time. For example, with some Bluetooth modules it can be beneficial to maintain a high reset signal for at least 5 ms, for example, on start-up. Thereset circuitry1720 outputs the reset signal1724 from between aresistor1726 andcapacitor1730 with the resistor coupled to a reference voltage (e.g., reference voltage1424) and the capacitor couples with ground. Thereset pin1632 receives a full voltage at startup and then decays. The resistor-capacitor network of thereset circuitry1720 can help to maintain a high voltage for a longer period of time. In some implementations, theresistor1726 can be about 1 MΩ and the capacitor can be about 0.1 μF.
FIG. 18 depicts a simplified flow diagram of aprocess1820 in transferring communications between auser device126 and anECU124 of an automobile or other relevant device. Instep1822,user device126 initiates a communication with anECU interface system122. The initiation between the user device and the ECU interface system can include pairing the user device with the ECU interface system. This pairing can include identifying the user device and/or a user device identification, identifying a communication protocol, establishing other communication parameters and/or providing an authentication or authorization to pair with the ECU interface system. The authorization can include forwarding an access code (e.g., a predefined limited number of digits code, such as a four digit numerical code or a code designated by the user). The access code can be forwarded upon initial request for pairing and/or in response to a request from the ECU interface system. In some instances the access code is associated with the ECU, such as generated by the ECU, based on an identification number of the ECU and/or other such associate. In pairing the access code can be confirmed by the ECU. Further, the pairing may be similar or substantially the same pairing as employed in communicating between two wireless Bluetooth capable devices. In some instances the Bluetooth devices generate a secure connection through the initial pairing process where one or both devices use an access or Personal Identification Number (PIN) code that is entered, which is used by internal algorithms to generate a secure key, which is then used to authenticate the devices when connect.
Theprocess1820 can further optionally includestep1824 that provides addition security by preventing communication with theECU124 until a user triggers anactivation button236. Typically, the activation button is physically coupled with theECU interface system122 and as such provides some protection from unauthorized access to an ECU. For example, in some implementations as introduced above, theECU interface system122 has relatively small dimensions, in part by employing IC devices to establish a desired small size, that allow the ECU interface system to be mounted within an automobile and coupled with the ECU (e.g., through a in-dash board, under-dash board or other such ECU connector). As such, an unauthorized user could not gain access to the ECU without being able access the interior of the automobile.
Upon detection of the selection of the activation button instep1824, the process continues to step1826 where theECU interface system122 establishes a communication link between theuser device126 and theECU124. This establishment of the communication link can be in response to a command from the user device and/or in response to the pairing, authentication and/or pressing of the activation button. In some implementations the pairing is limit to a predefined duration of time following the activation of thebutton236. For example, the pairing has to be started and/or completed within one minute of pressing the button. Instep1830, a communication, such as a command, is received from the user device that is to be forwarded to and performed by the ECU. Instep1832, the ECU interface system forwards the communication and/or command to the ECU. Instep1834, the ECU interface system receives a response from the ECU to the communication and/or command. The pairing in some embodiments activates a Bluetooth device within range of the installed Bluetooth module to set up a communication link. Security and/or the safety of the driver may be compromised, however, if outside devices were permitted to access an automobile's ECU, where such a connection, for example, could potentially be used to turn off an automobile's engine remotely while in operation. Some embodiments employ a kind of firewall or security barrier in setting up a paired connection between the ECU interface system (and/or the ECU) and the user device that received signals from the ECU interface system. An example of this security is the use of the optionalpairing activation button236 that when activated opens a predefined window of time to allow a user device to initiate and/or achieve the pairing with the ECU interface system. In some implementations, the Bluetooth module can freely send signals from the user device to thecontroller222, but the controller does not respond until the button is pushed and/or pairing has been established.
Still referring toFIG. 18, upon receipt of the response,step1836 is entered where the ECU interface system forwards the response to the user device, so the user device, for example, can print and/or display the response. Theprocess1820 then returns to step1830 to receive further communications/commands from the user device for the ECU. Alternatively, the ECU interface system can terminate the communication link with the user device by unpairing with the user device. In some instances, the communication received instep1830 can be instructions to terminate the pairing skipping to step1840.
As described above, theECU interface system122 typically formats, translates and/or converts the communications and/or commands from theuser device126 into a desired protocol that can be accurately interpreted by theECU124. This protocol conversion can occur instep1832. Similarly, theECU interface system122 receives communications from the ECU in the protocol and translates the communication from the protocol to a format that is readily received and utilized by theuser device126.
FIG. 19 shows a simplified flow diagram of aprocess1920 of implementing one or more steps of theprocess1820 ofFIG. 18 according to some embodiments. Instep1922, the process determines whether a communication initiation command or other relevant predefined command is received. In some implementations the communication initiation command is a predefined sequence of bits, a predefined character and/or other identifier. For example, the process can wait until a “$” command is received. In some instances, this predefined command is generated by the user device in response to a user requesting to initiate communication. Once the predefined command is receivedstep1924 is entered where a request and/or command to be forwarded to theECU124 is received. This step can be configured to wait until a predefined number of bits, bytes or other relevant amount of information is received indicating a complete request or command has been received. Additionally or alternatively,step1924 continues to wait until a carriage return or other indication (e.g., a known sequence of bits or the like) that the request or command is received. Instep1926 it is determined whether the protocol (e.g., the OBDII protocol) that the ECU is using is known.
When the protocol is not known,step1930 is entered where a command is generated to initiate a protocol search. Instep1932, a protocol check is performed in an attempt to identify one or more protocols compatible with the ECU and an appropriate protocol is selected. Alternatively, when the protocol is known instep1926, the process continues to step1934 where the appropriate protocol is selected and/or confirmed. Instep1936 the request or command is sent to theECU124 using the proper protocol. Instep1940, the process waits until a complete reply is received from the ECU. Again, the determination of a complete reply can be determined based on one or more factors such as a predefined number and/or sequence of bits, carriage return and/or other indications.
Instep1942 the data of the received reply is stored. Typically, the data is stored in a buffer, multi-dimensional buffer, register or other relevant memory. Instep1944, the reply data is formatted for thecommunication module240 and forwarded to the communication module for transferring to the user device. For example, when the communication module is a Bluetooth module, the data of the response can be forwarded one or more bytes at a time to be wirelessly transmitted to the Bluetooth enableduser device126.
FIGS. 20-23 depict further detailed flow diagrams ofprocesses2020,2120,2220,2320, respectively, of implementing one or more steps of theprocesses1820 and/or1920 ofFIGS. 18 and 19, respectively. Referring toFIG. 21, atstep2022 in implementing the pairing between theuser device126 and theECU interface system122 it is determined whether threshold pairing time period has elapsed. In some instances, a timer is activated upon an initial request to pair and/or upon pressing theactivation button236. When the pairing time threshold has not elapsed the process continues to step2026. This pairing threshold time period can provide added security to the ECU interface system. By limiting an ability of user devices to pair with theECU interface system122 and/orECU124 by a window of time, unauthorized access can be significantly reduced. For example, the pairing threshold period can be defined as 2 minutes, 1 minute or other relevant time periods from the time theactivation button236 is press to limit when a user device can pair with the ECU interface system. Alternatively, when the pairing time threshold has elapsedstep2024 is entered where it is further determined whether theuser device126 was paired with theECU interface system122 and whether a command was sent by the user device while paired.
Instep2026, the process enters a main processing or programming loop. Instep2030 it is determined whether a command, request or other relevant communication was previously received from the user device. When it is determined that a command was not received from theuser device step2032 is entered where it is determined whether the user device is paired with theECU interface system122. In instances where the user device is paired the process may continue tooptional step2034 to determine whether theactivation button236 was pressed prior to pairing.Step2036 is entered when it is determined instep2030 that a command was received from the user device or when it is determined instep2034 that the activation button was not pressed prior to pairing. Instep2036 theECU interface system122 outputs a confirmation communication to the user device, such as a return and/or new line commands that can be printed and/or displayed by the user device.
Instep2040 it is determined whether the pairing time threshold elapsed or expired prior to a command, request or other relevant communication being received from theuser device126. When the pairing time threshold has elapsed the process returns to step2022 and/or terminates. Alternatively, the process continues to step2042 where a communication is received. Instep2044 it is determined whether the communication is a function command or second predefined request or command. The second predefined request or command can be a predefined sequence of bits, a predefined character and/or other identifier(s). For example, the process can determine whether a “&” command is received. In some instances, this second predefined command is generated by the user device in response to a user request, such as a command sent by the user device when the user requests to close the communication with theECU interface system122. Further in some instances, when the second predefined command is detected the ECU interface system to take predefined actions or implement certain functions instep2046, such as causing thecontroller222 to reset itself and disable communication with theECU124. The process can then terminate and/or return tostep2022.
When it is determined instep2044 that the command is not the second predefined command,step2050 is entered to determine whether the communication is and/or includes a third predefined command or request. Similar to the second predefined command, the third predefined command can be a predefined sequence of bits, a predefined character and/or other identifier(s). For example, the process can determine whether a “?” command is received. In some instances, this third predefined command is generated by theuser device126 in response to a user device and/or user querying theECU interface system122 to identify and/or determine which protocol is being used by theECU124. When the third predefined command is receivedstep2052 is entered where the ECU interface system identifies the protocol and returns an indication of the protocol. In some instances, as described below, the ECU interface system can return a number value corresponding to one of a plurality of protocols. The process then returns to step2040.
Alternatively, when the communication does not include the third predefined command,step2054 is entered to determine whether the communication includes and/or is the communication initiation command (e.g., “$” command). When the communication is not the communication initiation command the process returns to step2040. Alternatively, theprocess2020 continues to theprocess2120 ofFIG. 21.
Referring toFIG. 21, in step2122 a pairing flag or other indication is set indicating that a pairing with the user device has been established. In some instances, an LED or other indicator is activated acknowledging the pairing. Instep2124, a predefined number of characters are received from the user device, such as a two characters. Instep2126 it is determined whether the received characters include a null character (e.g., “0” character) or an end of command/request (or completed send) character such as a carriage return character (e.g., “13” character, where 13 represents 0x0D in hexadecimals, which typically defines a carriage return). When neither of the characters is the null or end ofcommand character step2130 is entered to determine whether a number of stored command bytes is less than a threshold limit (e.g., less than 20, less 7 or less than another relevant limit). When the number of command bytes is less than the threshold the process continues to step2132 where the characters received instep2124 are stored and the number of stored command bytes is incremented. In some implementations, thecontroller222 receives two ASCII characters and converts them into a single byte representing those two characters (e.g., in some instances a parse-nibbles( ) program is activated to implement the conversion). Certain characters are represented in ASCII by two characters and are converted into a single byte in order to be communicated with the controller. The characters in the byte form can be stored duringstep2132 in an array (e.g., a “prompt_bytes” array) that stores the valid command bytes, and where a “prompt_length” parameter is incremented instep2132 to track the number of command bytes that are stored and used instep2130. Together the prompt_bytes array and prompt_length parameter can make up a counter and a buffer. Typically the array and/or buffer is part of thecontroller222; however, they can be external to the controller. Additionally, some embodiments can further include one or more timers that can be used, in part, to identify one or more timeout periods at the end of the message, such as followingsteps2130 and/or2132 so that the controller does not hang waiting for the next bit that may never come.
Still referring toFIG. 21, when it is determined instep2126 that one of the received characters is a null or end of command character theprocess2120 alternatively continues to step2134 to determine whether either of the characters is the end of command character. When neither of the characters are the end of command character the process returns to step2124. The lack of the end of command character indicates that there is no valid command byte from the user device, nor is it a byte that indicates termination (as with the end of command character, e.g., “13”). In some instances, the null character (e.g., “0” character) directs the process to continue the loop sequence.
When it is determined instep2134 that one of the characters is the end of command character thestep2136 is entered to determine whether the protocol for communicating with the ECU is known. For example, a numerical value can be used to represent the plurality of available protocols and an additional value (e.g., a zero (0) protocol value) can define that the protocol is unknown. When the protocol is unknown (e.g., the protocol value is set to a “0”) theprocess2120 continues to process2220 ofFIG. 22. Alternatively, when the protocol is known, the process continues to process2320 ofFIG. 23.
Referring toFIG. 22, in step2222 a command is formatted (e.g., a {0x01, 0x00} command) and forwarded to a command buffer of thecontroller222. Instep2224, a Cyclic Redundancy Check (CRC), checksum or other relevant corruption detect scheme is generated for a first protocol (e.g., the PWM protocol). In step2226 a request and/or command is transferred to theECU124 and a reply from the ECU is received if a reply is communicated. Instep2230 it is determined whether a reply from the ECU was received. When a reply is receivedstep2232 is entered where the protocol to communicate with theECU124 is confirmed as the first protocol (e.g., PWM protocol) and a protocol indicator is set (e.g., a protocol value can be set to a “1” value indicating the PWM protocol) noting and/or registering the protocol, and theprocess2220 returns to theprocess2020 ofFIG. 20. In some embodiments, the use of the protocol value or flag, or similar flag can be used as an interrupt to simplify protocol routines and allow the protocol routines to be at least partially distinct. For example, when the protocol is a PWM the PWM protocol flag can trigger an interrupt and direct thecontroller222 to execute the relevant PWM code; else when the protocol is VPW, interrupt and execute the relevant VPW code; else when the protocol is ISO 9141-2, interrupt and execute the relevant ISO 9141-2 code, etc.
Still referring toFIG. 22, when it is determined instep2230 that a reply is not received, the process continues to step2234 where a CRC is calculated for a second protocol message (e.g., for the VPW protocol). In step2236 a second protocol request and/or command is transferred to theECU124 and a reply from the ECU is received when a reply is communicated. Instep2240 it is determined whether a reply from the ECU was received. When a reply is receivedstep2242 is entered where the protocol to communicate with theECU124 is confirmed as the second protocol (e.g., VPW) and a protocol indicator is set (e.g., a protocol value can be set to a “2” value indicating the VPW protocol), and theprocess2220 returns to theprocess2020 ofFIG. 20. In some embodiments, a Capture-Compare PWM (CCP) module of the PIC18F2580 is used to capture the VPW characteristics when decoding. The decoding process utilizes a toggle variable that keeps track of which pulses corresponded to which voltage levels of the J1850 bus. In some instances, the toggle variable can be a simpler implementation. A filter can additionally or alternatively be utilized with one or both of the VPW and PWM processing to limit the storage of messages to those messages that contained a predefined or specific header or one of a plurality of predefined header(s).
When it is determined instep2240 that a reply is not received, the process continues to step2244 where the ISO bus is initialized using slow techniques as is known in the art. Instep2246, the process determines whether the ISO bus initialized properly. When the ISO bus is initialized properly step2250 is entered to determine whether the two keybytes from the ECU are equal to 08 hexadecimal or 94 hexadecimal. When the two keybytes are determined to be 08 or 94 hex,step2252 is entered where the protocol is confirmed as a third protocol (e.g., ISO9141), the protocol indicator is set (e.g., a protocol value can be set to a “3” value indicating the ISO9141 protocol), and a checksum is calculated for a message for the third protocol. Alternatively, when 8 keybytes are not used,step2254 is entered where the protocol is confirmed as a fourth protocol (e.g., the KWP 2000-slow protocol) and the protocol indicator is set (e.g., a protocol value can be set to a “4” value indicating the KWP 2000-slow protocol).
Referring back tostep2246, when it is determined that the ISO bus failed to initialize properly the process skips to step2256 where the ISO bus is initialized using the fast technique as is known in the art. Instep2260 it is determined whether the ISO bus initialized properly. When the ISO bus fails to initialize properly, theprocess2220 continues to step2340 of theprocess2320 ofFIG. 23. Alternatively,step2262 is entered where the protocol is confirmed as a fifth protocol (e.g., KWP 2000-fast protocol) and the protocol indicator is set (e.g., a protocol value can be set to a “5” value indicating the KWP 2000-fast protocol).
Followingsteps2254 and2262 the process continues to step2264 where a checksum is calculated for a message for a KWP 2000 protocol.Step2266 is entered followingstep2252 orstep2264 and a request or command is forwarded to the ECU according to the appropriately identified protocol, and a reply is received when a reply is sent. Instep2270, the reply is configured to be forwarded to the communication module and transmitted to the user device. In some instances, the communication is formatted, for example, with carriage return (e.g., “\r”) and/or a new line command (e.g., “\n”) between each reply when more than one reply is received from the ECU and/or forwarded to the user device. In step2272 a command is issued by thecontroller222 to maintain the ISO bus active. For example, a keep_alive( ) function can be activated that keeps the ISO bus from timing out. Followingstep2272 theprocess2220 returns to theprocess2020 ofFIG. 20.
Referring toFIG. 23, when it is determined instep2136 that the protocol for communicating with the ECU is known, step322 of theprocess2320 is entered where the number of stored command bytes (e.g., the prompt_length parameter) and bytes are transferred to command lengths and bytes to be displayed. Instep2324, the known protocol is selected and the protocol indicator is set to an appropriate value. Instep2326, one or more CRC and/or checksums are calculated for non-CAN protocols. Instep2330 commands are forwarded to theECU124 using the known protocol. Instep2332, responses are received when valid responses are transmitted from the ECU and the responses are buffered. Instep2334, the responses are formatted to be transferred to thecommunication module240 and transmitted to the user device so that the responses can be printed and/or displayed. In some embodiments, the communication is formatted, for example, with a carriage return (e.g., “\r”) and/or a new line command (e.g., “\n”) between each response when more than one response is received from the ECU and/or forwarded to the user device.
Still referring toFIG. 23, when it is determined instep2260 of theprocess2220 ofFIG. 22 that the ISO bus failed to initialize properly using the fast technique,step2340 of theprocess2320 is entered where a sixth protocol is selected (e.g., aCAN 11 bit/500 kbps protocol) and the command/request is initialized according to the sixth protocol. Instep2342 the command is forwarded out on the CAN lines to theECU124. Instep2344, one or more responses from the ECU are received when the ECU returns responses. Instep2346 it is determined whether a response was received. When a response was received the process continues to step2348 where the protocol is confirmed as the sixth protocol (e.g.,CAN 11 bit/500 kbps) and the protocol indicator is set (e.g., a protocol value can be set to a “6”).
The process continues to step2350 when it is determined instep2346 that a response was not received. In step2350 a seventh protocol is selected (e.g., aCAN 29 bit/500 kbps protocol) and the command/request is initialized according to the seventh protocol. Instep2352 the command is forwarded out to theECU124. Instep2354, one or more responses from the ECU are received when the ECU returns responses. Instep2356 it is determined whether a response was received. When a response was received the process continues to step2358 where the protocol is confirmed as the seventh protocol (e.g.,CAN 29 bit/500 kbps) and the protocol indicator is set (e.g., a protocol value can be set to a “7”).
When it is determined instep2356 that a response was not received, the process continues to step2360 where an eighth protocol is selected (e.g., aCAN 11 bit/250 kbps protocol) and the command/request is initialized according to the eighth protocol. Instep2362 the command is forwarded out to theECU124. Instep2364, one or more responses from the ECU are received when the ECU returns responses. Instep2366 it is determined whether a response was received. When a response was received the process continues to step2368 where the protocol is confirmed as the eighth protocol (e.g.,CAN 11 bit/250 kbps) and the protocol indicator is set (e.g., a protocol value can be set to an “8”).
Alternatively, when it is determined instep2366 that a response was not received, the process continues to step2370 where a ninth protocol is selected (e.g., aCAN 29 bit/250 kbps protocol) and the command/request is initialized according to the eighth protocol. Instep2372 the command is forwarded out to theECU124. Instep2374, one or more responses from the ECU are received when the ECU returns responses. Instep2376 it is determined whether a response was received. When it is determined that a response is not received and error message is generated and forwarded to the user device instep2382. When a response was received the process continues to step2378 where the protocol is confirmed as the ninth protocol (e.g.,CAN 29 bit/250 kbps) and the protocol indicator is set (e.g., a protocol value can be set to a “9”).
Still referring toFIG. 23, followingsteps2348,2358,2368 and2378,step2384 is entered where the responses are formatted to be transferred to thecommunication module240 and transmitted to the user device so that the responses can be printed and/or displayed, and theprocess2320 returns to theprocess2020 ofFIG. 20. In some embodiments, the communication is formatted, for example, with a carriage return (e.g., “\r”) and/or a new line command (e.g., “\n”) between each response when more than one response is received from the ECU and/or forwarded to the user device. More or fewer protocols can be identified depending on theECU124.
In monitoring and/or detecting communications from theECU124, some embodiments track logic level transitions (e.g., rising and/or falling edges) of the received signals to determine bit information. For example, the VPW protocol specifications indicate that one (1) bit and zero (0) bit information is defined by modulating the signal to have relatively long pulses (e.g., durations of 128 μs) and relatively short pulses (e.g., durations of 64 μs) to distinguish between the bit types. It was determined, however, that the actual pulse widths of signals can vary widely and still meet specification standards such that short pulses can have durations between 48-96 μs, while long pulses could have durations between 96-148 μS making it difficult to distinguish between pulses.
FIG. 24 depicts a simplified graphical representation of a theoretical VPW data signal2422 and an example of an actual VPW data signal2424. When the VPW signal received was ideal or substantially ideal, thewave2422 could be sampled2428, for example, at a 32 μS offset near a middle of the pulse allowing accurate detection of the pulse durations. In attempting to sample theactual signal2424 with the same 32 μs offset, one or more pulses can be missed, such as the forthlow pulse2426.
In some embodiments, however, when decoding a VPW signal the rising edges (e.g., risingedges2430 and2432) and falling edges (e.g., fallingedges2434 and2436) are detected. A time is noted or recorded for each rising and falling edge and a time difference can be determined between corresponding rising and falling edges (e.g.,2430 and2434, and2432 and2436). Based on the calculated time difference a determination can be made whether the pulse represents a long pulse or a short pulse. In some implementations, when the time difference is less than 96 μS the pulse is defined as a short pulse, and when the time difference is greater than 96 μs the pulse is defined as a long pulse. The structure of the VPW signal has astart bit2440 that is 200 μs in duration allowing the system to accurately identify the start pulse and coordinate the rising and falling edges. By detecting the rising and falling edges some embodiments can accurately decode the VPW signal.
Attempting to distinguish between one (1) and zero (0) bits for PWM signals can also introduce errors. In a theoretical PWM signal, data bits are defined during 24 μs periods that are defined by three 8 μS sections. The first 8 μs section is high and the last 8 μs section is low. Thecenter 8 μs section effectively determines the characteristics of the bit such that when center section is high it defines a first type of bit (e.g., a zero (0) bit) and when the center section is low it defines the second type of bit (e.g., a one (1) bit).
FIG. 25 depicts a simplified graphical representation of a theoretical PWM data signal2522. Astart bit2524 for PWM signals on the positive differential bus is high for 32 μs and low for 16 μs identifying the start of the signal and allowing for coordination between rising and falling edges and/or detection of each bit of information encoded on the signal. The risingedges2526 occur 24 μs apart2630, while the fallingedges2528 can occur at 16 μs, 24 μs and 32 μs apart in time from each other (2532,2534 and2536, respectively).
Sampling can be used with the offset at about 12 μs. Sampling at these rates, however, can be difficult and/or more complex circuitry and/or processing would be employed in the ECU interface system to achieve sampling at these rates. Similarly, attempting to detect the rising and falling edges and determining time differences can also be employed. Typically, a relatively high speed processor would be employed to achieve the processing rates to accurately detect the differences in pulses.
Some embodiments, however, reduce the processing requirements and/or sampling rates by detecting each fallingedge2528. A time is noted for each falling edge. A difference is calculated between each falling edge. When the determined difference between two consecutive falling edges is approximately 32 μs (indicated by reference numeral2540) the PWM signal is defining a first bit type (e.g., a zero (0) bit). Similarly, when the determined difference between two consecutive falling edges is approximately 16 μs (indicated by reference numeral2542) the PWM signal is defining a second bit type (e.g., a one (1) bit). Additionally, when the determined difference between two consecutive falling edges is approximately 24 μs (indicated by reference numeral2544), the bit being defined is undetermined and the bit data corresponding to this time is dependent on the value of the previous bit, such that a bit data having a detected 24 μs duration between falling edges can be equated toprevious bit2550. This provides for accurate decoding of the PWM signal while significantly reducing the processing requirements and/or speed. Some embodiments additionally or alternatively mask the command bytes to obtain one bit at time when outputting a signal on the PWM line. This masking can effectively reduce the number of buffers needed.
As described above, in some embodiments theECU interface system122 is implemented with relatively small dimensions and/or profile. Some of these embodiments, in part, make use of integrated circuits and/or surface mount components, such as utilizing integrated circuit microcontrollers for the controller222 (e.g., PIC18F2580 and/or PIC18F248). Further, the communication module in some is implemented, in some embodiments, through a Bluetooth transceiver chip (e.g., BR-C30 Bluetooth module, ABM-450, −600 Bluetooth modules and/or other chip transceivers (where some Bluetooth modules may support multiple wireless connections)). Achieving the relatively small dimensions allows the ECU interface system to be easily transported and utilized and further can be connected and left connected with a automobile's ECU without interfering with the operation of the automobile.
As described above, some embodiments determine which protocol an ECU uses. It can also dictate that the determination is performed in a particular order. This order can include sending out a specific message using each protocol, one at a time, until a response is received. The non-CAN communication protocols fit into one of two categories: in the first, most of the process is defined, for example based on RS232 serial communication and/or taken care of by documented means. The ISO 9141-2 and KWP 2000 protocols may fall into the first category. Their communication occurs serially by means of an RS 232 connection at, for example, a 10400 baud rate. The programming solution provided in some embodiments for these protocols involved the initialization that prepares the ECU to enter a diagnostic mode. The KWP 2000 slow initialization uses the same or a similar process as the ISO9141-2 protocol, while the KWP 2000 fast initialization is different. In some instances, timing can be managed in part by outputting pins with high and low voltages and using a delay to achieve the correct timing.
Other protocols fall into a secondary category. For example, the PWM and VPW protocols fall into the second category. Typically each message includes a start bit, an active pulse for a specific amount of time as defined in the SAE J1850 standard. For PWM, some embodiments further output the messages one bit at a time, by using a bit mask so the device would look at one bit per byte at a time. The transmission of each bit is effectively defined and/or separated into three parts, where as described above, the first part is high, the last part is low and the second part contains the characteristic of the bit. For example, when the bit is a one (1) bit the line transitions low during the second part, and alternatively when the bit is a zero (0) the line remains high. In some embodiments, a delay is utilized to generate timing. For VPW, the outbound command is converted from bytes to bits. After the start bit, the line oscillates low to high, starting with low and ending high. If the bit is a one (1) and the line was low, the line delays for a relatively long period of time, and when the line is high, the line delays for a relatively short period of time. The opposite can be applied for zero (0) bits such that when the line is low it delays for a relatively short time, and when the line is high it delays for a relatively long time.
When receiving PWM data characteristics of the message can be determined when timing of the falling edges of the signal are captured. The corresponding time of the falling edges can be stored (e.g., in a buffer) and a difference is used to determine the bits. A difference that is relatively short (e.g., around 16 μs) indicates a first type of bit (e.g., a one (1) bit), a difference that is relatively long (e.g., around 32 μs) indicates a second bit type (e.g., a zero (0) bit), and a difference that is about between the short and long periods (e.g., around 24 μs) depends on the prior bit(s). When a prior difference time period is also 24 μs duration the bit value is chained down until a non-24 μs pulse was detected. For example, with pulse times of 16, 16, 24, 32, 16, 32, 24, 24, 16, 24, the corresponding bits would be 1, 1, 1, 0, 1, 0, 0, 0, 1, 1. The third bit gets set to the same value as the second bit. The eighth bit gets set to the seventh bit, which gets set to the sixth bit (that is, the bits are chained). In parsing PWM signals data can in some instances be received too fast. Some embodiments employ a CCP module on and/or cooperated with thecontroller222 to capture the rising and falling edges of the signal and store the corresponding time in a buffer. This allows for the calculation of the differences between rise and fall edges to determine bit values.
In detecting VPW signals, a CCP module can be used to capture the rising and falling edges of the pulses. When a rising edge is encountered, the CCP module is switched to look for a falling edge, and when a falling edge is encountered the CCP module is again switched back to look for a rising edge. Time periods between rising and falling edges are determined and a value of about 96 μs is used to distinguish between short and long pulses. Typically, a first pulse of the message is going to be low providing a matching or reference to match the short and long pulses to 1 and 0 bits depending on whether the line was supposed to be high at that time or not. Some embodiments further convert the bits to bytes for both PWM and VPW to allow printing more easily.
The evaluation of the CAN protocols can be considered some what of a hybrid. A CAN module for the controller can be employed to avoid processing information at the bit level. A control structure is provided to deal with the four types of CAN message and respond appropriately.
In some instances, with the protocols set to send data and capable of receiving data, a determination of the protocol is initiated, as described above. In brief, a response request indicates that the protocol responding is the correct protocol to use. Once the proper protocol is known, discovered and/or provided, communication between theECU interface system122 and theECU124 can occur. These communications typically include gathering one or more commands and/or requests from theuser device126. In some instances, the controller applies a correct header to a communication with the ECU and an appropriate error checking byte, typically, at the end. The ECU interface system then sends a command using the correct protocol to the ECU. A timer can be activated in response to the forwarding of the command allowing the ECU a predefined amount of time to respond before timing out, and thus, indicating that no data is to be received. In many instances, however, several communications back-and-forth will occur on any given protocol's bus.
Further in some embodiments, the ECU interface system evaluates communications on the appropriate protocol bus to identify communications intended for the user device and/or ECU interface system. The ECU interface system receives a completed message, in some cases does not parse it completely. In some instances, when the first two bytes did not match the bytes specified by the SAE J1979 standard for diagnostic tools, the ECU interface system can disregard the message. Similarly in some embodiments, the ECU interface system can also disregard messages that are not at least five bytes long (three for the header, one for error checking, and at least one for data). Once it is determined the communications from the ECU pass one or both of these conditions and/or other relevant conditions, the communications are stored, for example, in a multi-dimensional array used as a buffer. Once messages are not received for a certain amount of time, referred to in some instances as a time-out period, the content of the buffer are printed out. The ECU interface system completes the process by sending a carriage return, new line or other relevant indicator (e.g., a “>” indicator) to the user device, indicating that the ECU interface system is ready to receive the next command.
As described above, some embodiments further provide protection and/or a safety net in pairing with the ECU interface system. This can be important in some instances, such as in some embodiments that utilize wireless communication, such as Bluetooth communication. A device-enable and/oractivation button236 can cause an interrupt to occur allowing a user device to establish a connection with the ECU as long as the pairing occurs within a prescribed time period (e.g., within 5 minutes, one minute, 30 seconds, or other relevant time periods). When the user device does not attempt to communicate with the ECU within the time limit, it and other devices are prevented from accessing the ECU and will not be allowed to communicate with the ECU again until the activation button is pressed. In some implementations, the user device is initially paired with the Bluetooth module and then thepairing activation button236 is pressed such that thecontroller222 allows theuser device126 to communicate with theECU124. When the user device closes its connection, a command is forwarded to the ECU interface system that locks thecontroller222 preventing accessed until the activation button is pressed again.
Many diagnostic tools have limited use and are generally only available for professional mechanics. These tools are often bulky, expensive, and complex in their use, limiting their appeal for the general consumer. The present embodiments provide a diagnostic tool that can be owned and utilized by the average automobile owner. TheECU interface system122 transmits data to and from theECU124 of an automobile or other device at the proper voltages and timings for one or more of at least each of the nine communication protocols within the OBD-II standard. Further, the ECU interface system enables secure wireless communication while having very small dimensions and profile.
Further, the present embodiments provide an easy-to-use method for accessing and making use of diagnostic information. Additionally, many embodiments are compact and some can be directly connected or plugged into the ECU port underneath the dash of an automobile and kept there. Still further, some embodiments employ Bluetooth wireless communication, so that theECU interface system122 can communicate wirelessly to a cell phone, Personal Digital Assistant (PDA), laptop computer, on-board navigation system and/or other devices. The ECU interface system paired with a user interface on the laptop, cell phone, PDA, navigation device and/or other devices, permits the average automobile owner to monitor the performance of an automobile, identify the source or sources of mechanical problems, control the display of dashboard alerts such as the “Check Engine” light, and/or other functions. In addition, the Bluetooth 2.0 capability achieved through some Bluetooth modules according to some embodiments allows for the use as a wireless control hub that would permit integration of other Bluetooth-enabled mobile and on-board devices.
The controller222 (which can be implemented through a microcontroller in some embodiments) provides a way to communicate between an ECU and Bluetooth module and the Bluetooth module provides communication between the ECU interface system and a client or user device. Further, the controller permits an OBDII scanner to communicate with an ECU, while some embodiments further integrate a means of making thecontroller222 secure for pairing with Bluetooth enabled user devices. Commands are recognized in some implementations to allow interfacing with the user device using customized commands and/or language (e.g., “$”, “?” and/or “&” commands). The Bluetooth module provides a way to wirelessly communicate between controller and user device. The activation button enhances security by granting access from the user device to the ECU. The voltage level circuitry adjusts voltages in the exchange between the ECU and the controller and/or the Bluetooth module and the controller (e.g., voltages adjusted using signaling transistors to match appropriate levels for the controller and Bluetooth module).
As described above, some embodiments can identify a protocol to be used with an ECU. This protocol identification can include sending a series of messages corresponding to each protocol in a prescribed order, where in some instances, such as for some protocols, the prescribed order proceeds according to existing standard, while other protocols are defined by the ECU interface system. A response to a protocol inquiry typically dictates which protocol the ECU is using. Once an appropriate protocol is identified (either by detecting the protocol, being informed of the protocol (e.g., by the user) and/or knowing the protocol (e.g., based on prior coupling and/or pairing with the ECU, where in some embodiments, the protocol for one or more previous ECUs can be stored)), data can be sent and received using the appropriate protocol (with, in some embodiments, a different on-board communication system conforming to each protocol), where commands are received from the user device and sent on the appropriate protocol to the ECU. The interface system waits for a response if any, tests the response to verify that the ECU interface system is the intended receiver (e.g., looking for header information, identifier or other verification), stores multiple messages in a multidimensional buffer, and prints or forwards responses back to the user device.
While the invention herein disclosed has been described by means of specific embodiments and applications thereof, numerous modifications and variations could be made thereto by those skilled in the art without departing from the scope of the invention set forth in the claims.

Claims (17)

US11/620,6332007-01-052007-01-05Apparatus, system and method that interfaces with an automobile engine control unitExpired - Fee RelatedUS7363129B1 (en)

Priority Applications (3)

Application NumberPriority DateFiling DateTitle
US11/620,633US7363129B1 (en)2007-01-052007-01-05Apparatus, system and method that interfaces with an automobile engine control unit
PCT/US2008/050334WO2008083412A1 (en)2007-01-052008-01-05Apparatus, system and method that inferfaces with an automobile engine control unit
US12/106,929US20080195299A1 (en)2007-01-052008-04-21Apparatus, system and method that interfaces with an automobile engine control unit

Applications Claiming Priority (1)

Application NumberPriority DateFiling DateTitle
US11/620,633US7363129B1 (en)2007-01-052007-01-05Apparatus, system and method that interfaces with an automobile engine control unit

Related Child Applications (1)

Application NumberTitlePriority DateFiling Date
US12/106,929ContinuationUS20080195299A1 (en)2007-01-052008-04-21Apparatus, system and method that interfaces with an automobile engine control unit

Publications (1)

Publication NumberPublication Date
US7363129B1true US7363129B1 (en)2008-04-22

Family

ID=39310240

Family Applications (2)

Application NumberTitlePriority DateFiling Date
US11/620,633Expired - Fee RelatedUS7363129B1 (en)2007-01-052007-01-05Apparatus, system and method that interfaces with an automobile engine control unit
US12/106,929AbandonedUS20080195299A1 (en)2007-01-052008-04-21Apparatus, system and method that interfaces with an automobile engine control unit

Family Applications After (1)

Application NumberTitlePriority DateFiling Date
US12/106,929AbandonedUS20080195299A1 (en)2007-01-052008-04-21Apparatus, system and method that interfaces with an automobile engine control unit

Country Status (2)

CountryLink
US (2)US7363129B1 (en)
WO (1)WO2008083412A1 (en)

Cited By (97)

* Cited by examiner, † Cited by third party
Publication numberPriority datePublication dateAssigneeTitle
US20070234420A1 (en)*2004-04-272007-10-04Novotney Donald JMethod and system for authenticating an accessory
US20080195299A1 (en)*2007-01-052008-08-14Moon Valley Software, An Arizona CorporationApparatus, system and method that interfaces with an automobile engine control unit
US20080287074A1 (en)*2007-05-162008-11-20Oliver David GrunholdCell phone based vehicle control system
US20090013253A1 (en)*2006-09-112009-01-08Apple Inc.Method and system for controlling video selection and playback in a portable media player
US20090043444A1 (en)*2007-08-022009-02-12North-Line Canada Ltd.System and method for interfacing between an on-board diagnostic output and a distance measuring instrument input
US20090043904A1 (en)*2007-08-102009-02-12Yamaha Marine Kabushiki KaishaConnection device and program
US20090083834A1 (en)*2005-01-072009-03-26Apple Inc.Accessory authentication for electronic devices
US20090150072A1 (en)*2007-12-102009-06-11Denso CorporationRewrite apparatus
US20090284476A1 (en)*2008-05-132009-11-19Apple Inc.Pushing a user interface to a remote device
US20090299506A1 (en)*2004-04-272009-12-03Apple Inc.Method and system for transferring status information between a media player and an accessory
US20090315498A1 (en)*2008-06-232009-12-24Young-Chun JeungData transfer between motors
US7664581B2 (en)*2003-10-162010-02-16Robert Bosch GmbhMethod and device for changing over a first mode of a control device to a second mode, via a data bus
US20100049350A1 (en)*2006-05-222010-02-25Apple Inc.Method and system for transferring stored data between a media player and an accessory
US20100166085A1 (en)*2006-05-242010-07-01Citibank N.A.Lin network, integrated circuit and method therefor
US20100205450A1 (en)*2009-02-092010-08-12Sarnacke James GVehicle diagnostic tool with copy protection and automatic identification of vehicle ecus and fault display
US20100293462A1 (en)*2008-05-132010-11-18Apple Inc.Pushing a user interface to a remote device
US20110125940A1 (en)*2007-10-262011-05-26Axel AueCommunication system having a can bus and a method for operating such a communication system
US20110145863A1 (en)*2008-05-132011-06-16Apple Inc.Pushing a graphical user interface to a remote device with display rules provided by the remote device
US20110202236A1 (en)*2009-03-192011-08-18Mario GalassoMethods and apparatus for suspension adjustment
US8082376B2 (en)2004-04-272011-12-20Apple Inc.Communication between an accessory and a media player with multiple protocol versions
US8095716B2 (en)2006-06-272012-01-10Apple Inc.Method and system for communicating capability information from an accessory to a media player
US8099536B2 (en)2004-04-272012-01-17Apple Inc.Communication between an accessory and a media player with general and accessory lingoes
US8112567B2 (en)2006-09-112012-02-07Apple, Inc.Method and system for controlling power provided to an accessory
US8171195B2 (en)2004-04-272012-05-01Apple Inc.Media player communication with an accessory using a display remote lingo
US8208853B2 (en)2008-09-082012-06-26Apple Inc.Accessory device authentication
US8238811B2 (en)2008-09-082012-08-07Apple Inc.Cross-transport authentication
US8299894B1 (en)*2008-02-292012-10-30John SemeniukVehicle unlocking systems
US20120303145A1 (en)*2010-02-132012-11-29Bae Systems PlcControl of safety critical operations
US20130103286A1 (en)*2011-10-202013-04-25Ford Global Technologies, LlcSystem and method for supplying fuel to an engine via multiple fuel paths
US20130144447A1 (en)*2011-12-022013-06-06Norbert J. SimperCross communication arrangement for multiple solid state power controller channels
US8463953B2 (en)2010-08-182013-06-11Snap-On IncorporatedSystem and method for integrating devices for servicing a device-under-service
US8560168B2 (en)2010-08-182013-10-15Snap-On IncorporatedSystem and method for extending communication range and reducing power consumption of vehicle diagnostic equipment
US8656062B2 (en)*2010-08-182014-02-18Snap-On IncorporatedSystem and method for wireless pairing via wired connection
US8754779B2 (en)2010-08-182014-06-17Snap-On IncorporatedSystem and method for displaying input data on a remote display device
US8983785B2 (en)2010-08-182015-03-17Snap-On IncorporatedSystem and method for simultaneous display of waveforms generated from input signals received at a data acquisition device
US9013323B2 (en)2013-03-152015-04-21Crown Equipment CorporationPairing of a battery monitor to a communication device
US20150197160A1 (en)*2014-01-152015-07-16Bayerische Motoren Werke AktiengesellschaftDevice for switching a mode of a vehicle
US9117321B2 (en)2010-08-182015-08-25Snap-On IncorporatedMethod and apparatus to use remote and local control modes to acquire and visually present data
US9131376B2 (en)2012-04-202015-09-08Bank Of America CorporationProximity-based dynamic vehicle navigation
US9140325B2 (en)2009-03-192015-09-22Fox Factory, Inc.Methods and apparatus for selective spring pre-load adjustment
US9176651B2 (en)2008-05-132015-11-03Apple Inc.Pushing a user interface to a remote device
US9186949B2 (en)2009-03-192015-11-17Fox Factory, Inc.Methods and apparatus for suspension adjustment
US9311115B2 (en)2008-05-132016-04-12Apple Inc.Pushing a graphical user interface to a remote device with display rules provided by the remote device
US20160164701A1 (en)*2014-12-042016-06-09Stmicroelectronics (Rousset) SasTransmission and Reception Methods for a Binary Signal on a Serial Link
US9422018B2 (en)2008-11-252016-08-23Fox Factory, Inc.Seat post
US9553970B2 (en)2009-09-242017-01-24Dock-N-Lock LlcCell phone system for enabling and disabling a vehicle
US9633492B2 (en)2010-08-182017-04-25Snap-On IncorporatedSystem and method for a vehicle scanner to automatically execute a test suite from a storage card
US9650094B2 (en)2010-07-022017-05-16Fox Factory, Inc.Lever assembly for positive lock adjustable seatpost
AU2013353748B2 (en)*2012-12-042017-08-31Blutip Power Technologies Inc.Improving engine performance by adjusting angular position sensor signal timing
US9908488B2 (en)*2015-04-062018-03-06Jessie James ShaferWireless electrical interface system
US20180137692A1 (en)*2016-11-152018-05-17Inrix Inc.Program and vehicle interaction
US9982621B2 (en)*2012-04-242018-05-29Mtu Friedrichshafen GmbhMethod for operating an internal combustion engine, internal combustion engine and maintenance system for an internal combustion engine, self-executable computer program product and non-volatile storage medium
US10029172B2 (en)2008-11-252018-07-24Fox Factory, Inc.Methods and apparatus for virtual competition
US10037633B2 (en)2015-08-052018-07-31EZ Lynk SEZCSystem and method for real time wireless ECU monitoring and reprogramming
US10040329B2 (en)2009-01-072018-08-07Fox Factory, Inc.Method and apparatus for an adjustable damper
US10047817B2 (en)2009-01-072018-08-14Fox Factory, Inc.Method and apparatus for an adjustable damper
US10060499B2 (en)2009-01-072018-08-28Fox Factory, Inc.Method and apparatus for an adjustable damper
US10072724B2 (en)2008-08-252018-09-11Fox Factory, Inc.Methods and apparatus for suspension lock out and signal generation
US10086670B2 (en)2009-03-192018-10-02Fox Factory, Inc.Methods and apparatus for suspension set up
US10094443B2 (en)2009-01-072018-10-09Fox Factory, Inc.Bypass for a suspension damper
US10160511B2 (en)2009-01-072018-12-25Fox Factory, Inc.Method and apparatus for an adjustable damper
US10216796B2 (en)2015-07-292019-02-26Snap-On IncorporatedSystems and methods for predictive augmentation of vehicle service procedures
US10330171B2 (en)2012-05-102019-06-25Fox Factory, Inc.Method and apparatus for an adjustable damper
US10358180B2 (en)2017-01-052019-07-23Sram, LlcAdjustable seatpost
US10400847B2 (en)2009-01-072019-09-03Fox Factory, Inc.Compression isolator for a suspension damper
US10406883B2 (en)2009-10-132019-09-10Fox Factory, Inc.Methods and apparatus for controlling a fluid damper
US10415662B2 (en)2009-01-072019-09-17Fox Factory, Inc.Remotely operated bypass for a suspension damper
US10516768B2 (en)2015-11-112019-12-24Snap-On IncorporatedMethods and systems for switching vehicle data transmission modes based on detecting a trigger and a request for a vehicle data message
US20200045751A1 (en)*2018-07-312020-02-06Roku, Inc.More secure device pairing
US10586217B2 (en)*2006-06-132020-03-10Cell Assist, LLCAutomotive ECU mobile phone interface
US10614640B2 (en)2015-08-052020-04-07EZ Lynk SEZCSystem and method for real time wireless ECU monitoring and reprogramming
US10643158B2 (en)2016-04-012020-05-05Snap-On IncorporatedTechnician timer
US10677309B2 (en)2011-05-312020-06-09Fox Factory, Inc.Methods and apparatus for position sensitive suspension damping
US10692051B2 (en)2017-02-082020-06-23Snap-On IncorporatedMethod and system for displaying vehicle service information based on ordered group of information set identifiers
US10697514B2 (en)2010-01-202020-06-30Fox Factory, Inc.Remotely operated bypass for a suspension damper
US10731724B2 (en)2009-10-132020-08-04Fox Factory, Inc.Suspension system
US10733548B2 (en)2017-06-162020-08-04Snap-On IncorporatedTechnician assignment interface
US10737546B2 (en)2016-04-082020-08-11Fox Factory, Inc.Electronic compression and rebound control
US10821795B2 (en)2009-01-072020-11-03Fox Factory, Inc.Method and apparatus for an adjustable damper
CN112799375A (en)*2020-12-252021-05-14安徽工业大学 A vehicle bus detection system and method
US11012146B2 (en)2019-02-112021-05-18Pratt & Whitney Canada Corp.System and method for aircraft data transmission
US11210871B2 (en)2015-08-052021-12-28EZ Lynk SEZCSystem and method for remote emissions control unit monitoring and reprogramming
US11279199B2 (en)2012-01-252022-03-22Fox Factory, Inc.Suspension damper with by-pass valves
US11299233B2 (en)2009-01-072022-04-12Fox Factory, Inc.Method and apparatus for an adjustable damper
US11306798B2 (en)2008-05-092022-04-19Fox Factory, Inc.Position sensitive suspension damping with an active valve
US20220153281A1 (en)*2019-08-142022-05-19Honda Motor Co., Ltd.Information provision system, information terminal, and information provision method
US11367033B2 (en)2011-06-302022-06-21Xrs CorporationFleet vehicle management systems and methods
US11374809B2 (en)*2015-01-012022-06-28Harman Becker Automotive Systems GmbhAuxiliary device to enhance native in-vehicle systems by adding interfaces and computational power
US11429936B2 (en)2015-10-022022-08-30Snap-On IncorporatedSystem and method for dynamically-changeable displayable pages with vehicle service information
US11430273B2 (en)2015-08-052022-08-30EZ Lynk SEZCApparatus and method for remote ELD monitoring and ECU reprogramming
US11499601B2 (en)2009-01-072022-11-15Fox Factory, Inc.Remotely operated bypass for a suspension damper
USRE49381E1 (en)*2015-04-062023-01-241A Smart Start, LlcWireless electrical interface system
US11907055B2 (en)*2019-07-102024-02-20Fanuc CorporationController, diagnosis method, and diagnosis program
USRE49976E1 (en)2016-06-302024-05-21Shenzhen Carku Technology Co., Ltd.Battery clamp
US12122205B2 (en)2009-01-072024-10-22Fox Factory, Inc.Active valve for an internal bypass
US12373800B2 (en)2015-10-022025-07-29Snap-On IncorporatedMethod and system for augmenting real-fix tips with additional content
USRE50619E1 (en)2013-01-072025-10-07Shenzen Carku Technology Co., Ltd.Emergency power source

Families Citing this family (12)

* Cited by examiner, † Cited by third party
Publication numberPriority datePublication dateAssigneeTitle
JP4618279B2 (en)*2007-08-162011-01-26ソニー株式会社 Remote control system, receiving device and electronic device
WO2009060863A1 (en)*2007-11-072009-05-14Nec CorporationPairing system, pairing management device, pairing method, and program
WO2012167343A1 (en)2010-10-282012-12-13Gestion André & Paquerette LtéeDevice and method for managing an electronic control unit of a vehicle
US8744731B2 (en)*2010-11-152014-06-03Governors America Corp.Electronic digital governor and method of assembly
DE102011079402A1 (en)*2011-07-192013-01-24Bayerische Motoren Werke Aktiengesellschaft Control device for a motor vehicle, programming device and programming system
US20130079973A1 (en)*2011-09-242013-03-28Taif UniversitySystem for Communicating A Vehicle Position and Speed During Accident
KR101987226B1 (en)*2012-11-202019-06-11엘지이노텍 주식회사The gateway system having the communication module and the method for driving the gateway system
US9532225B2 (en)*2014-06-122016-12-27General Electric CompanySecure pairing of end user devices with instruments
US9854442B2 (en)*2014-11-172017-12-26GM Global Technology Operations LLCElectronic control unit network security
US20180032421A1 (en)*2016-07-292018-02-01Wipro LimitedMethod and system for debugging automotive applications in an electronic control unit of an automobile
US10496575B1 (en)*2019-06-122019-12-03National Chin-Yi University Of TechnologyMulti-protocol determining method based on CAN bus
US12246661B1 (en)2022-06-142025-03-11Tracy Ward JordanVehicle-tracking wiring harness

Citations (11)

* Cited by examiner, † Cited by third party
Publication numberPriority datePublication dateAssigneeTitle
US20020133273A1 (en)2001-03-142002-09-19Lowrey Larkin HillInternet-based vehicle-diagnostic system
US20030231118A1 (en)2002-06-122003-12-18Kitson Fredrick L.Wireless link for car diagnostics
US6687584B2 (en)2001-12-312004-02-03Innova Electronics CorporationAutomotive code reader
US20040024502A1 (en)*1999-07-302004-02-05Oshkosh Truck CorporationEquipment service vehicle with remote monitoring
US20050119809A1 (en)2001-09-212005-06-02Chen Ieon C.Method and system for computer network implemented vehicle diagnostics
US20050192727A1 (en)*1994-05-092005-09-01Automotive Technologies International Inc.Sensor Assemblies
US20050207936A1 (en)*2004-03-182005-09-22Berryhill Ross CSystem for diagnosing reagent solution quality
US20050216145A1 (en)*2004-03-232005-09-29Bellinger Steven MVehicle powertrain torsional processing system
US20060090077A1 (en)*2001-01-042006-04-27Little Lincoln MSystem and method for authorizing transfer of software into embedded systems
US7089099B2 (en)*2004-07-302006-08-08Automotive Technologies International, Inc.Sensor assemblies
US7103460B1 (en)*1994-05-092006-09-05Automotive Technologies International, Inc.System and method for vehicle diagnostics

Family Cites Families (6)

* Cited by examiner, † Cited by third party
Publication numberPriority datePublication dateAssigneeTitle
WO1996027513A1 (en)*1995-03-031996-09-12Qualcomm IncorporatedMethod and apparatus for monitoring parameters of vehicle electronic control units
CA2425985C (en)*2000-10-132013-01-08Paxgrid Telemetric Systems Inc.Automotive telemetry protocol
KR100499944B1 (en)*2002-07-292005-07-07현대모비스 주식회사self diagnosis system for automobile using telematics apparatus
JP4239941B2 (en)*2004-09-222009-03-18トヨタ自動車株式会社 Remote operation control device and remote operation control method
KR20060032871A (en)*2004-10-132006-04-18공형직 Vehicle real-time wireless diagnostic system
US7363129B1 (en)*2007-01-052008-04-22Moon Valley SoftwareApparatus, system and method that interfaces with an automobile engine control unit

Patent Citations (12)

* Cited by examiner, † Cited by third party
Publication numberPriority datePublication dateAssigneeTitle
US20050192727A1 (en)*1994-05-092005-09-01Automotive Technologies International Inc.Sensor Assemblies
US7103460B1 (en)*1994-05-092006-09-05Automotive Technologies International, Inc.System and method for vehicle diagnostics
US20040024502A1 (en)*1999-07-302004-02-05Oshkosh Truck CorporationEquipment service vehicle with remote monitoring
US20060090077A1 (en)*2001-01-042006-04-27Little Lincoln MSystem and method for authorizing transfer of software into embedded systems
US20020133273A1 (en)2001-03-142002-09-19Lowrey Larkin HillInternet-based vehicle-diagnostic system
US20050119809A1 (en)2001-09-212005-06-02Chen Ieon C.Method and system for computer network implemented vehicle diagnostics
US6687584B2 (en)2001-12-312004-02-03Innova Electronics CorporationAutomotive code reader
USRE39619E1 (en)2001-12-312007-05-08Innova Electronics CorporationAutomotive code reader
US20030231118A1 (en)2002-06-122003-12-18Kitson Fredrick L.Wireless link for car diagnostics
US20050207936A1 (en)*2004-03-182005-09-22Berryhill Ross CSystem for diagnosing reagent solution quality
US20050216145A1 (en)*2004-03-232005-09-29Bellinger Steven MVehicle powertrain torsional processing system
US7089099B2 (en)*2004-07-302006-08-08Automotive Technologies International, Inc.Sensor assemblies

Non-Patent Citations (19)

* Cited by examiner, † Cited by third party
Title
Air Logic Co., Ltd., "Bluetooth Module Application Note," Class 1, Bluetooth Module Production Information Data Sheet, Aug. 2004, 9 pages.
Autoenginuity, LLC, "OBD 2 Scan Tool-Professional PC and PDA Diagnostics," http://www.autoenginuity.com/index.html, Copyright 2003-2007, printed May 8, 2007, 2 pages.
Burger, Guido, "Bluetooth Project Based on OBD-2 Chipset," www.blueobd.com/, Copyright 2007-2007, printed May 8, 2007, 3 pages.
Carcheckup LLC, "Know Before You Go!" http://www.carcheckup.com/, Copyright 2002-2007,printed May 8, 2007, 2 pages.
Carmd.com Corporation, "About the Product-How to Use," CarMD.com, http:www.carmd.com/AboutTheProduct/HowToUse.aspx, Copyright 2005-2007, printed May 8, 2007, 2 pages.
Davis, "CarChip All-in-one Driving and Engine Performance Monitor," Davis Automotive, http://www.davisnet.com/drive/products/carchip.asp, printed May 11, 2007, 3 pages.
Ebay Motors, OBDII Scan Tool Bluetooth ISO Wireless, http://cgi.ebay.com/ebaymotors/OBDII-OBD-II-OBD2-2-Scan-Tools, date first learned of publication: Jun. 8, 2007, 6 pages.
Elm Electronics, "ELM327 OBD to RS232 Interpreter," (Quick Summary), www.elmelectronics.com, Copyright 2005, 5 pages.
Elm Electronics, "ELM327 OBD to RS232 Interpreter,"(Data Sheet), www.elmelectronics.com, Copyright 2005, 43 pages.
I+ME ACTIA, "Blue XS Prototype," www.ime-actia.com, printed May 14, 2007, 2 pages.
IDSC Holdings, LLC. "PN 125033 Blue-Link?", Nexiq Technologies, http://www.nexiq.com/catalog/product<SUB>-</SUB>detail.asp?GID=6&item<SUB>-</SUB>Id=8, Copyright 2007, printed May 11, 2007, 2 pages.
KBM Systems Ltd., "OBDKey Product Range:: OBD Bluetooth," http://obdkey.com/obd<SUB>-</SUB>bluetooth<SUB>-</SUB>info.asp?, Copyright 2007, printed May 7, 2007, 2 pages.
Microchip Technology Inc., "PIC18FXX8 Data Sheet," 28/40-Pin High-Performance, Enhanced Flash Microcontrollers with CAN Module, Aug. 29, 2006, pp. 1-200.
Microchip Technology Inc., "PIC18FXX8 Data Sheet," 28/40-Pin High-Performance, Enhanced Flash Microcontrollers with CAN Module, Aug. 29, 2006, pp. 201-402.
Mobile Computing Solutions, Bluetooth OBD II Interface, http://store.mo-co-so.com/bluetooth-obd-ii-interface-p-31.html, date first learned of publication: Jun. 8, 2007, 2 pages.
Performance Scan, LLC., "Digimoto 5.0 DigiScan Bluetooth Package," Digimoto, http://www.digimoto.com/shop/pc-25-4-digimoto-50-digiscan-bluetooth-package.aspx, Copyright 2006, printed May 11, 2007, 1 page.
Scantool.net, "ElmScan 5 Wireless," http://www.scantool.net/products/product<SUB>-</SUB>info.php?cPath=8<SUB>-</SUB>6&product<SUB>-</SUB>id=37, printed May 8, 2007, 1 page.
UKOBD, Ltd., MBD3200BT mOByDic Bluetooth Interface, http://www.ukobd.co.uk, date first learned of publication: Jun. 8, 2007, 2 pages.
Vital Engineering Limited, "The Car-Pal OBD-II Vehicle Interface Unit," http://www.vitalengineering.co.uk, Copyright 2006, printed May 7, 2007, 3 pages.

Cited By (219)

* Cited by examiner, † Cited by third party
Publication numberPriority datePublication dateAssigneeTitle
US7664581B2 (en)*2003-10-162010-02-16Robert Bosch GmbhMethod and device for changing over a first mode of a control device to a second mode, via a data bus
US8171194B2 (en)2004-04-272012-05-01Apple Inc.Accessory communication with a media player using a display remote lingo
US20070234420A1 (en)*2004-04-272007-10-04Novotney Donald JMethod and system for authenticating an accessory
US8099536B2 (en)2004-04-272012-01-17Apple Inc.Communication between an accessory and a media player with general and accessory lingoes
US8402187B2 (en)2004-04-272013-03-19Apple Inc.Method and system for transferring button status information between a media player and an accessory
US8386680B2 (en)2004-04-272013-02-26Apple Inc.Communication between an accessory and a media player with multiple protocol versions and extended interface lingo
US8117651B2 (en)2004-04-272012-02-14Apple Inc.Method and system for authenticating an accessory
US8285901B2 (en)2004-04-272012-10-09Apple Inc.Communication between an accessory and a media player using an extended interface lingo
US8239595B2 (en)2004-04-272012-08-07Apple Inc.Communication between a media player and an accessory with an extended interface mode
US8082376B2 (en)2004-04-272011-12-20Apple Inc.Communication between an accessory and a media player with multiple protocol versions
US20090299506A1 (en)*2004-04-272009-12-03Apple Inc.Method and system for transferring status information between a media player and an accessory
US8171195B2 (en)2004-04-272012-05-01Apple Inc.Media player communication with an accessory using a display remote lingo
US8135891B2 (en)2004-04-272012-03-13Apple Inc.Method and system for transferring button status information between a media player and an accessory
US9223958B2 (en)2005-01-072015-12-29Apple Inc.Accessory authentication for electronic devices
US8161567B2 (en)2005-01-072012-04-17Apple Inc.Accessory authentication for electronic devices
US8763079B2 (en)2005-01-072014-06-24Apple Inc.Accessory authentication for electronic devices
US20090083834A1 (en)*2005-01-072009-03-26Apple Inc.Accessory authentication for electronic devices
US9754099B2 (en)2005-01-072017-09-05Apple Inc.Accessory authentication for electronic devices
US10049206B2 (en)2005-01-072018-08-14Apple Inc.Accessory authentication for electronic devices
US20100049350A1 (en)*2006-05-222010-02-25Apple Inc.Method and system for transferring stored data between a media player and an accessory
US8006019B2 (en)2006-05-222011-08-23Apple, Inc.Method and system for transferring stored data between a media player and an accessory
US20100166085A1 (en)*2006-05-242010-07-01Citibank N.A.Lin network, integrated circuit and method therefor
US8750415B2 (en)*2006-05-242014-06-10Freescale Semiconductor, Inc.LIN network, integrated circuit and method therefor
US10586217B2 (en)*2006-06-132020-03-10Cell Assist, LLCAutomotive ECU mobile phone interface
US8095716B2 (en)2006-06-272012-01-10Apple Inc.Method and system for communicating capability information from an accessory to a media player
US9160541B2 (en)2006-06-272015-10-13Apple Inc.Method and system for authenticating an accessory
US8370555B2 (en)2006-06-272013-02-05Apple Inc.Method and system for allowing a media player to determine if it supports the capabilities of an accessory
US8590036B2 (en)2006-06-272013-11-19Apple Inc.Method and system for authenticating an accessory
US8112567B2 (en)2006-09-112012-02-07Apple, Inc.Method and system for controlling power provided to an accessory
US20090013253A1 (en)*2006-09-112009-01-08Apple Inc.Method and system for controlling video selection and playback in a portable media player
US20080195299A1 (en)*2007-01-052008-08-14Moon Valley Software, An Arizona CorporationApparatus, system and method that interfaces with an automobile engine control unit
US7725129B2 (en)*2007-05-162010-05-25Oliver David GrunholdCell phone based vehicle control system
US20080287074A1 (en)*2007-05-162008-11-20Oliver David GrunholdCell phone based vehicle control system
US8447464B2 (en)*2007-08-022013-05-21North-Line Canada Ltd.System and method for interfacing between an on-board diagnostic output and a distance measuring instrument input
US20090043444A1 (en)*2007-08-022009-02-12North-Line Canada Ltd.System and method for interfacing between an on-board diagnostic output and a distance measuring instrument input
US8510456B2 (en)*2007-08-102013-08-13Yamaha Hatsudoki Kabushiki KaishaConnection device and program
US20090043904A1 (en)*2007-08-102009-02-12Yamaha Marine Kabushiki KaishaConnection device and program
US9832038B2 (en)*2007-10-262017-11-28Robert Bosch GmbhCommunication system having a can bus and a method for operating such a communication system
US20110125940A1 (en)*2007-10-262011-05-26Axel AueCommunication system having a can bus and a method for operating such a communication system
US8185305B2 (en)*2007-12-102012-05-22Denso CorporationRewrite apparatus
US20090150072A1 (en)*2007-12-102009-06-11Denso CorporationRewrite apparatus
US8299894B1 (en)*2008-02-292012-10-30John SemeniukVehicle unlocking systems
US11306798B2 (en)2008-05-092022-04-19Fox Factory, Inc.Position sensitive suspension damping with an active valve
US9875006B2 (en)2008-05-132018-01-23Apple Inc.Pushing a graphical user interface to a remote device with display rules provided by the remote device
US9471207B2 (en)2008-05-132016-10-18Apple Inc.Pushing a user interface to a remote device that controls multiple displays
US20090284476A1 (en)*2008-05-132009-11-19Apple Inc.Pushing a user interface to a remote device
US9335907B2 (en)2008-05-132016-05-10Apple Inc.User interface including content from an accessory
US9311115B2 (en)2008-05-132016-04-12Apple Inc.Pushing a graphical user interface to a remote device with display rules provided by the remote device
US9285968B2 (en)2008-05-132016-03-15Apple Inc.User interface including content from a remote device
US8970647B2 (en)2008-05-132015-03-03Apple Inc.Pushing a graphical user interface to a remote device with display rules provided by the remote device
US20100293462A1 (en)*2008-05-132010-11-18Apple Inc.Pushing a user interface to a remote device
US9176651B2 (en)2008-05-132015-11-03Apple Inc.Pushing a user interface to a remote device
US9870130B2 (en)2008-05-132018-01-16Apple Inc.Pushing a user interface to a remote device
US20110145863A1 (en)*2008-05-132011-06-16Apple Inc.Pushing a graphical user interface to a remote device with display rules provided by the remote device
US8504646B2 (en)*2008-06-232013-08-06Sntech, Inc.Data transfer between motors
US20090315498A1 (en)*2008-06-232009-12-24Young-Chun JeungData transfer between motors
US11162555B2 (en)2008-08-252021-11-02Fox Factory, Inc.Methods and apparatus for suspension lock out and signal generation
US10550909B2 (en)2008-08-252020-02-04Fox Factory, Inc.Methods and apparatus for suspension lock out and signal generation
US10072724B2 (en)2008-08-252018-09-11Fox Factory, Inc.Methods and apparatus for suspension lock out and signal generation
US8509691B2 (en)2008-09-082013-08-13Apple Inc.Accessory device authentication
US8634761B2 (en)2008-09-082014-01-21Apple Inc.Cross-transport authentication
US8238811B2 (en)2008-09-082012-08-07Apple Inc.Cross-transport authentication
US8208853B2 (en)2008-09-082012-06-26Apple Inc.Accessory device authentication
US11961602B2 (en)2008-11-252024-04-16Fox Factory, Inc.Methods and apparatus for virtual competition
US10537790B2 (en)2008-11-252020-01-21Fox Factory, Inc.Methods and apparatus for virtual competition
US9422018B2 (en)2008-11-252016-08-23Fox Factory, Inc.Seat post
US10029172B2 (en)2008-11-252018-07-24Fox Factory, Inc.Methods and apparatus for virtual competition
US11021204B2 (en)2008-11-252021-06-01Fox Factory, Inc.Seat post
US10472013B2 (en)2008-11-252019-11-12Fox Factory, Inc.Seat post
US11897571B2 (en)2008-11-252024-02-13Fox Factory, Inc.Seat post
US11043294B2 (en)2008-11-252021-06-22Fox Factoory, Inc.Methods and apparatus for virtual competition
US12170137B2 (en)2008-11-252024-12-17Fox Factory, Inc.Methods and apparatus for virtual competition
US11875887B2 (en)2008-11-252024-01-16Fox Factory, Inc.Methods and apparatus for virtual competition
US11257582B2 (en)2008-11-252022-02-22Fox Factory, Inc.Methods and apparatus for virtual competition
US11869651B2 (en)2008-11-252024-01-09Fox Factory, Inc.Methods and apparatus for virtual competition
US12033739B2 (en)2008-11-252024-07-09Fox Factory, Inc.Methods and apparatus for virtual competition
US11299233B2 (en)2009-01-072022-04-12Fox Factory, Inc.Method and apparatus for an adjustable damper
US11173765B2 (en)2009-01-072021-11-16Fox Factory, Inc.Method and apparatus for an adjustable damper
US10723409B2 (en)2009-01-072020-07-28Fox Factory, Inc.Method and apparatus for an adjustable damper
US12257871B2 (en)2009-01-072025-03-25Fox Factory, Inc.Method and apparatus for an adjustable damper
US10670106B2 (en)2009-01-072020-06-02Fox Factory, Inc.Method and apparatus for an adjustable damper
US11976706B2 (en)2009-01-072024-05-07Fox Factory, Inc.Remotely operated bypass for a suspension damper
US11890908B2 (en)2009-01-072024-02-06Fox Factory, Inc.Method and apparatus for an adjustable damper
US10781879B2 (en)2009-01-072020-09-22Fox Factory, Inc.Bypass for a suspension damper
US11660924B2 (en)2009-01-072023-05-30Fox Factory, Inc.Method and apparatus for an adjustable damper
US10400847B2 (en)2009-01-072019-09-03Fox Factory, Inc.Compression isolator for a suspension damper
US12134293B2 (en)2009-01-072024-11-05Fox Factory, Inc.Method and apparatus for an adjustable damper
US11549565B2 (en)2009-01-072023-01-10Fox Factory, Inc.Method and apparatus for an adjustable damper
US11519477B2 (en)2009-01-072022-12-06Fox Factory, Inc.Compression isolator for a suspension damper
US10800220B2 (en)2009-01-072020-10-13Fox Factory, Inc.Method and apparatus for an adjustable damper
US12122205B2 (en)2009-01-072024-10-22Fox Factory, Inc.Active valve for an internal bypass
US11499601B2 (en)2009-01-072022-11-15Fox Factory, Inc.Remotely operated bypass for a suspension damper
US10807433B2 (en)2009-01-072020-10-20Fox Factory, Inc.Method and apparatus for an adjustable damper
US10814689B2 (en)2009-01-072020-10-27Fox Factory, Inc.Method and apparatus for an adjustable damper
US12091122B2 (en)2009-01-072024-09-17Fox Factory, Inc.Method and apparatus for an adjustable damper
US11866120B2 (en)2009-01-072024-01-09Fox Factory, Inc.Method and apparatus for an adjustable damper
US10040329B2 (en)2009-01-072018-08-07Fox Factory, Inc.Method and apparatus for an adjustable damper
US11408482B2 (en)2009-01-072022-08-09Fox Factory, Inc.Bypass for a suspension damper
US10047817B2 (en)2009-01-072018-08-14Fox Factory, Inc.Method and apparatus for an adjustable damper
US10060499B2 (en)2009-01-072018-08-28Fox Factory, Inc.Method and apparatus for an adjustable damper
US11168758B2 (en)2009-01-072021-11-09Fox Factory, Inc.Method and apparatus for an adjustable damper
US10821795B2 (en)2009-01-072020-11-03Fox Factory, Inc.Method and apparatus for an adjustable damper
US11794543B2 (en)2009-01-072023-10-24Fox Factory, Inc.Method and apparatus for an adjustable damper
US10094443B2 (en)2009-01-072018-10-09Fox Factory, Inc.Bypass for a suspension damper
US12044286B2 (en)2009-01-072024-07-23Fox Factory, Inc.Compression isolator for a suspension damper
US12371122B2 (en)2009-01-072025-07-29Fox Factory, Inc.Method and apparatus for an adjustable damper
US10160511B2 (en)2009-01-072018-12-25Fox Factory, Inc.Method and apparatus for an adjustable damper
US12377699B2 (en)2009-01-072025-08-05Fox Factory, Inc.Method and apparatus for an adjustable damper
US10415662B2 (en)2009-01-072019-09-17Fox Factory, Inc.Remotely operated bypass for a suspension damper
US10336148B2 (en)2009-01-072019-07-02Fox Factory, Inc.Method and apparatus for an adjustable damper
US10336149B2 (en)2009-01-072019-07-02Fox Factory, Inc.Method and apparatus for an adjustable damper
US20100205450A1 (en)*2009-02-092010-08-12Sarnacke James GVehicle diagnostic tool with copy protection and automatic identification of vehicle ecus and fault display
US8589018B2 (en)*2009-02-092013-11-19Idsc Holdings, LlcVehicle diagnostic tool with copy protection and automatic identification of vehicle ECUs and fault display
US10591015B2 (en)2009-03-192020-03-17Fox Factory, Inc.Methods and apparatus for suspension adjustment
US11920655B2 (en)2009-03-192024-03-05Fox Factory, Inc.Methods and apparatus for suspension adjustment
US9140325B2 (en)2009-03-192015-09-22Fox Factory, Inc.Methods and apparatus for selective spring pre-load adjustment
US10414236B2 (en)2009-03-192019-09-17Fox Factory, Inc.Methods and apparatus for selective spring pre-load adjustment
US10145435B2 (en)2009-03-192018-12-04Fox Factory, Inc.Methods and apparatus for suspension adjustment
US11413924B2 (en)2009-03-192022-08-16Fox Factory, Inc.Methods and apparatus for selective spring pre-load adjustment
US10086670B2 (en)2009-03-192018-10-02Fox Factory, Inc.Methods and apparatus for suspension set up
US20110202236A1 (en)*2009-03-192011-08-18Mario GalassoMethods and apparatus for suspension adjustment
US10036443B2 (en)*2009-03-192018-07-31Fox Factory, Inc.Methods and apparatus for suspension adjustment
US11619278B2 (en)2009-03-192023-04-04Fox Factory, Inc.Methods and apparatus for suspension adjustment
US12103349B2 (en)2009-03-192024-10-01Fox Factory, Inc.Methods and apparatus for selective spring pre-load adjustment
US9186949B2 (en)2009-03-192015-11-17Fox Factory, Inc.Methods and apparatus for suspension adjustment
US12163569B2 (en)2009-03-192024-12-10Fox Factory, Inc.Methods and apparatus for suspension adjustment
US9682604B2 (en)2009-03-192017-06-20Fox Factory, Inc.Methods and apparatus for selective spring pre-load adjustment
US9523406B2 (en)2009-03-192016-12-20Fox Factory, Inc.Methods and apparatus for suspension adjustment
US11655873B2 (en)2009-03-192023-05-23Fox Factory, Inc.Methods and apparatus for suspension adjustment
US9553970B2 (en)2009-09-242017-01-24Dock-N-Lock LlcCell phone system for enabling and disabling a vehicle
US10406883B2 (en)2009-10-132019-09-10Fox Factory, Inc.Methods and apparatus for controlling a fluid damper
US11859690B2 (en)2009-10-132024-01-02Fox Factory, Inc.Suspension system
US11279198B2 (en)2009-10-132022-03-22Fox Factory, Inc.Methods and apparatus for controlling a fluid damper
US10731724B2 (en)2009-10-132020-08-04Fox Factory, Inc.Suspension system
US12005755B2 (en)2009-10-132024-06-11Fox Factory, Inc.Methods and apparatus for controlling a fluid damper
US11708878B2 (en)2010-01-202023-07-25Fox Factory, Inc.Remotely operated bypass for a suspension damper
US10697514B2 (en)2010-01-202020-06-30Fox Factory, Inc.Remotely operated bypass for a suspension damper
US9383740B2 (en)*2010-02-132016-07-05Bae Systems PlcControl of safety critical operations
US20120303145A1 (en)*2010-02-132012-11-29Bae Systems PlcControl of safety critical operations
US9650094B2 (en)2010-07-022017-05-16Fox Factory, Inc.Lever assembly for positive lock adjustable seatpost
US11866110B2 (en)2010-07-022024-01-09Fox Factory, Inc.Lever assembly for positive lock adjustable seat post
US10843753B2 (en)2010-07-022020-11-24Fox Factory, Inc.Lever assembly for positive lock adjustable seat post
US10086892B2 (en)2010-07-022018-10-02Fox Factory, Inc.Lever assembly for positive lock adjustable seat post
US8656062B2 (en)*2010-08-182014-02-18Snap-On IncorporatedSystem and method for wireless pairing via wired connection
US9304062B2 (en)2010-08-182016-04-05Snap-On IncorporatedSystem and method for extending communication range and reducing power consumption of vehicle diagnostic equipment
US8463953B2 (en)2010-08-182013-06-11Snap-On IncorporatedSystem and method for integrating devices for servicing a device-under-service
US8560168B2 (en)2010-08-182013-10-15Snap-On IncorporatedSystem and method for extending communication range and reducing power consumption of vehicle diagnostic equipment
US9117321B2 (en)2010-08-182015-08-25Snap-On IncorporatedMethod and apparatus to use remote and local control modes to acquire and visually present data
US9633492B2 (en)2010-08-182017-04-25Snap-On IncorporatedSystem and method for a vehicle scanner to automatically execute a test suite from a storage card
US8983785B2 (en)2010-08-182015-03-17Snap-On IncorporatedSystem and method for simultaneous display of waveforms generated from input signals received at a data acquisition device
US8935440B2 (en)2010-08-182015-01-13Snap-On IncorporatedSystem and method for integrating devices for servicing a device-under-service
US8754779B2 (en)2010-08-182014-06-17Snap-On IncorporatedSystem and method for displaying input data on a remote display device
US10677309B2 (en)2011-05-312020-06-09Fox Factory, Inc.Methods and apparatus for position sensitive suspension damping
US11796028B2 (en)2011-05-312023-10-24Fox Factory, Inc.Methods and apparatus for position sensitive suspension damping
US11367033B2 (en)2011-06-302022-06-21Xrs CorporationFleet vehicle management systems and methods
US11958328B2 (en)2011-09-122024-04-16Fox Factory, Inc.Methods and apparatus for suspension set up
US10759247B2 (en)2011-09-122020-09-01Fox Factory, Inc.Methods and apparatus for suspension set up
US9080517B2 (en)*2011-10-202015-07-14Ford Global Technologies, LlcSystem and method for supplying fuel to an engine via multiple fuel paths
US20130103286A1 (en)*2011-10-202013-04-25Ford Global Technologies, LlcSystem and method for supplying fuel to an engine via multiple fuel paths
US20130144447A1 (en)*2011-12-022013-06-06Norbert J. SimperCross communication arrangement for multiple solid state power controller channels
US9178355B2 (en)*2011-12-022015-11-03Hamilton Sundstrand CorporationCross communication arrangement for multiple solid state power controller channels
US11279199B2 (en)2012-01-252022-03-22Fox Factory, Inc.Suspension damper with by-pass valves
US11760150B2 (en)2012-01-252023-09-19Fox Factory, Inc.Suspension damper with by-pass valves
US9131376B2 (en)2012-04-202015-09-08Bank Of America CorporationProximity-based dynamic vehicle navigation
US9215590B2 (en)2012-04-202015-12-15Bank Of America CorporationAuthentication using vehicle data pairing
US9982621B2 (en)*2012-04-242018-05-29Mtu Friedrichshafen GmbhMethod for operating an internal combustion engine, internal combustion engine and maintenance system for an internal combustion engine, self-executable computer program product and non-volatile storage medium
US10330171B2 (en)2012-05-102019-06-25Fox Factory, Inc.Method and apparatus for an adjustable damper
US10859133B2 (en)2012-05-102020-12-08Fox Factory, Inc.Method and apparatus for an adjustable damper
US12038062B2 (en)2012-05-102024-07-16Fox Factory, Inc.Method and apparatus for an adjustable damper
US11629774B2 (en)2012-05-102023-04-18Fox Factory, Inc.Method and apparatus for an adjustable damper
AU2013353748B2 (en)*2012-12-042017-08-31Blutip Power Technologies Inc.Improving engine performance by adjusting angular position sensor signal timing
USRE50619E1 (en)2013-01-072025-10-07Shenzen Carku Technology Co., Ltd.Emergency power source
US9013323B2 (en)2013-03-152015-04-21Crown Equipment CorporationPairing of a battery monitor to a communication device
US9699818B2 (en)2013-03-152017-07-04Crown Equipment CorporationPairing of a battery monitor to a communication device
US20150197160A1 (en)*2014-01-152015-07-16Bayerische Motoren Werke AktiengesellschaftDevice for switching a mode of a vehicle
US9751422B2 (en)*2014-01-152017-09-05Bayerische Motoren Werke AktiengesellschaftDevice for switching a mode of a vehicle
US10361890B2 (en)*2014-12-042019-07-23Stmicroelectronics (Rousset) SasTransmission and reception methods for a binary signal on a serial link
US20160164701A1 (en)*2014-12-042016-06-09Stmicroelectronics (Rousset) SasTransmission and Reception Methods for a Binary Signal on a Serial Link
US10122552B2 (en)*2014-12-042018-11-06Stmicroelectronics (Rousset) SasTransmission and reception methods for a binary signal on a serial link
US10616006B2 (en)*2014-12-042020-04-07Stmicroelectronics (Rousset) SasTransmission and reception methods for a binary signal on a serial link
US11374809B2 (en)*2015-01-012022-06-28Harman Becker Automotive Systems GmbhAuxiliary device to enhance native in-vehicle systems by adding interfaces and computational power
USRE49381E1 (en)*2015-04-062023-01-241A Smart Start, LlcWireless electrical interface system
US9908488B2 (en)*2015-04-062018-03-06Jessie James ShaferWireless electrical interface system
USRE49398E1 (en)*2015-04-062023-01-311A Smart Start LlcWireless electrical interface system
US11755593B2 (en)2015-07-292023-09-12Snap-On IncorporatedSystems and methods for predictive augmentation of vehicle service procedures
US10216796B2 (en)2015-07-292019-02-26Snap-On IncorporatedSystems and methods for predictive augmentation of vehicle service procedures
US10984004B2 (en)2015-07-292021-04-20Snap-On IncorporatedSystems and methods for predictive augmentation of vehicle service procedures
US12229149B2 (en)2015-07-292025-02-18Snap-On IncorporatedSystems and methods for predictive augmentation of vehicle service procedures
US10037633B2 (en)2015-08-052018-07-31EZ Lynk SEZCSystem and method for real time wireless ECU monitoring and reprogramming
US10621796B2 (en)2015-08-052020-04-14EZ Lynk SEZCSystem and method for real time wireless ECU monitoring and reprogramming
US11210871B2 (en)2015-08-052021-12-28EZ Lynk SEZCSystem and method for remote emissions control unit monitoring and reprogramming
US10614640B2 (en)2015-08-052020-04-07EZ Lynk SEZCSystem and method for real time wireless ECU monitoring and reprogramming
US11430273B2 (en)2015-08-052022-08-30EZ Lynk SEZCApparatus and method for remote ELD monitoring and ECU reprogramming
US11670119B2 (en)2015-08-052023-06-06EZ Lynk SEZCSystem and method for remote emissions control unit monitoring and reprogramming
US12373800B2 (en)2015-10-022025-07-29Snap-On IncorporatedMethod and system for augmenting real-fix tips with additional content
US11429936B2 (en)2015-10-022022-08-30Snap-On IncorporatedSystem and method for dynamically-changeable displayable pages with vehicle service information
US10516768B2 (en)2015-11-112019-12-24Snap-On IncorporatedMethods and systems for switching vehicle data transmission modes based on detecting a trigger and a request for a vehicle data message
US10643158B2 (en)2016-04-012020-05-05Snap-On IncorporatedTechnician timer
US11995583B2 (en)2016-04-012024-05-28Snap-On IncorporatedTechnician timer
US11472252B2 (en)2016-04-082022-10-18Fox Factory, Inc.Electronic compression and rebound control
US10737546B2 (en)2016-04-082020-08-11Fox Factory, Inc.Electronic compression and rebound control
USRE49976E1 (en)2016-06-302024-05-21Shenzhen Carku Technology Co., Ltd.Battery clamp
US11373459B2 (en)*2016-11-152022-06-28Runway Growth Credit Fund Inc.Program and vehicle interaction
US20180137692A1 (en)*2016-11-152018-05-17Inrix Inc.Program and vehicle interaction
US10358180B2 (en)2017-01-052019-07-23Sram, LlcAdjustable seatpost
US11738817B2 (en)2017-01-052023-08-29Sram, LlcAdjustable seatpost
US12162554B2 (en)2017-01-052024-12-10Sram, LlcAdjustable seatpost
US10692051B2 (en)2017-02-082020-06-23Snap-On IncorporatedMethod and system for displaying vehicle service information based on ordered group of information set identifiers
US11681989B2 (en)2017-02-082023-06-20Snap-On IncorporatedMethod and system for displaying vehicle service information based on ordered group of information set identifiers
US10733548B2 (en)2017-06-162020-08-04Snap-On IncorporatedTechnician assignment interface
US20200045751A1 (en)*2018-07-312020-02-06Roku, Inc.More secure device pairing
US11212847B2 (en)*2018-07-312021-12-28Roku, Inc.More secure device pairing
US11889566B2 (en)2018-07-312024-01-30Roku, Inc.Customized device pairing based on device features
US11012146B2 (en)2019-02-112021-05-18Pratt & Whitney Canada Corp.System and method for aircraft data transmission
US11907055B2 (en)*2019-07-102024-02-20Fanuc CorporationController, diagnosis method, and diagnosis program
US12151686B2 (en)*2019-08-142024-11-26Honda Motor Co., Ltd.Information provision system, information terminal, and information provision method
US20220153281A1 (en)*2019-08-142022-05-19Honda Motor Co., Ltd.Information provision system, information terminal, and information provision method
CN112799375B (en)*2020-12-252021-12-10安徽工业大学 A vehicle bus detection system and method
CN112799375A (en)*2020-12-252021-05-14安徽工业大学 A vehicle bus detection system and method

Also Published As

Publication numberPublication date
US20080195299A1 (en)2008-08-14
WO2008083412A1 (en)2008-07-10

Similar Documents

PublicationPublication DateTitle
US7363129B1 (en)Apparatus, system and method that interfaces with an automobile engine control unit
US9836904B2 (en)Key fob dongle
US10434827B2 (en)Method for configuring a tyre pressure sensor
US20050171662A1 (en)Method and apparatus for wireless networks in wheel alignment systems
US20200361253A1 (en)Identification configuration method and apparatus, and terminal
US10755506B2 (en)System and method for pairing a key with a vehicle via a vehicle communications port by a dongle
US20090150118A1 (en)Method and apparatus for secure wireless tracking and control
US9762419B2 (en)Edge-based communication with a plurality of slave devices
US7647147B2 (en)Multi-platform data communication interface with self-recognizing and self-learning of the host vehicle
US20220139137A1 (en)System, method and apparatus for multi-vendor rolling code keyless entry and for identifying and storing key information and creating duplicate keys and remote entry devices
US20090043444A1 (en)System and method for interfacing between an on-board diagnostic output and a distance measuring instrument input
US20210035390A1 (en)System and method for pairing a key with a vehicle via a vehicle communications port by a dongle
US9384604B1 (en)Transfer dongle for stored vehicle information
US20140316639A1 (en)Data conversion apparatus and method of using a cell phone to update fault code data and maintain vehicles using on-board diagnostic systems
CN106485814A (en)A kind of automobile remote-control matching process
CN114416622A (en)Single bus communication system and method
CN110572821A (en)Method and system for activating vehicle-mounted unit and activation equipment
US12083990B2 (en)Ethernet-based vehicle control system and method
US20040199701A1 (en)Bus system and method for exchanging data
US20240190186A1 (en)System and method for setting tire sensor identification code
CN202345413U (en)Automobile electronic combined instrument capable of performing offline parameter calibration through key operation
KR100394480B1 (en)Remote controlling unmanned parking control system
CN110606023B (en)Electronic rearview mirror rotation control method, device, equipment and medium
US20230315666A1 (en)Method for recognizing another electronic device by using plurality of interfaces, and electronic device therefor
US6212450B1 (en)Data carrier system

Legal Events

DateCodeTitleDescription
ASAssignment

Owner name:MOON VALLEY SOFTWARE, CALIFORNIA

Free format text:ASSIGNMENT OF ASSIGNORS INTEREST;ASSIGNORS:BARNICLE, DANIEL, MR.;MANCUSO, JOSEPH A., MR.;RYAN, PETER J., MR.;REEL/FRAME:018895/0731

Effective date:20070105

REMIMaintenance fee reminder mailed
FPAYFee payment

Year of fee payment:4

SULPSurcharge for late payment
REMIMaintenance fee reminder mailed
LAPSLapse for failure to pay maintenance fees
STCHInformation on status: patent discontinuation

Free format text:PATENT EXPIRED DUE TO NONPAYMENT OF MAINTENANCE FEES UNDER 37 CFR 1.362

FPLapsed due to failure to pay maintenance fee

Effective date:20160422


[8]ページ先頭

©2009-2025 Movatter.jp