Movatterモバイル変換


[0]ホーム

URL:


US7359011B2 - Reflection-type liquid crystal display device - Google Patents

Reflection-type liquid crystal display device
Download PDF

Info

Publication number
US7359011B2
US7359011B2US10/810,483US81048304AUS7359011B2US 7359011 B2US7359011 B2US 7359011B2US 81048304 AUS81048304 AUS 81048304AUS 7359011 B2US7359011 B2US 7359011B2
Authority
US
United States
Prior art keywords
light
reflection
liquid crystal
plate
crystal display
Prior art date
Legal status (The legal status is an assumption and is not a legal conclusion. Google has not performed a legal analysis and makes no representation as to the accuracy of the status listed.)
Expired - Fee Related, expires
Application number
US10/810,483
Other versions
US20040223094A1 (en
Inventor
Tetsuya Hamada
Kunihiro Tashiro
Mari Sugawara
Toshihiro Suzuki
Current Assignee (The listed assignees may be inaccurate. Google has not performed a legal analysis and makes no representation or warranty as to the accuracy of the list.)
Sharp Corp
Original Assignee
Sharp Corp
Priority date (The priority date is an assumption and is not a legal conclusion. Google has not performed a legal analysis and makes no representation as to the accuracy of the date listed.)
Filing date
Publication date
Application filed by Sharp CorpfiledCriticalSharp Corp
Assigned to FUJITSU DISPLAY TECHNOLOGIES CORPORATIONreassignmentFUJITSU DISPLAY TECHNOLOGIES CORPORATIONASSIGNMENT OF ASSIGNORS INTEREST (SEE DOCUMENT FOR DETAILS).Assignors: HAMADA, TETSUYA, SUGAWARA, MARI, SUZUKI, TOSHIHIRO, TASHIRO, KUNIHIRO, YOSHIDA, HIDEFUMI
Publication of US20040223094A1publicationCriticalpatent/US20040223094A1/en
Assigned to FUJITSU LIMITEDreassignmentFUJITSU LIMITEDASSIGNMENT OF ASSIGNORS INTEREST (SEE DOCUMENT FOR DETAILS).Assignors: FUJITSU DISPLAY TECHNOLOGIES CORPORATION
Assigned to SHARP KABUSHIKI KAISHAreassignmentSHARP KABUSHIKI KAISHAASSIGNMENT OF ASSIGNORS INTEREST (SEE DOCUMENT FOR DETAILS).Assignors: FUJITSU LIMITED
Priority to US11/983,869priorityCriticalpatent/US20080074591A1/en
Application grantedgrantedCritical
Publication of US7359011B2publicationCriticalpatent/US7359011B2/en
Priority to US13/081,576prioritypatent/US8134661B2/en
Adjusted expirationlegal-statusCritical
Expired - Fee Relatedlegal-statusCriticalCurrent

Links

Images

Classifications

Definitions

Landscapes

Abstract

To suppress a decrease in the contrast caused by the reflection on the interface to the air layer without decreasing the quality of display. A reflection-type liquid crystal display device includes a light guide plate having a polarizing element stuck or adhered thereto on the side facing a reflection-type liquid crystal display panel, a source of light arranged on an end surface side of the light guide plate, and the reflection-type liquid crystal display panel arranged maintaining a predetermined gap relative to the light guide plate, wherein a light-diffusing function is imparted to the surface of the reflection-type liquid crystal display panel on the side facing the light guide plate.

Description

BACKGROUND OF THE INVENTION
1. Field of the Invention
This invention relates to a reflection-type liquid crystal display device and, particularly, to a reflection-type liquid crystal display device used for low-power-consumption units such as portable terminals and having a feature in the constitution for suppressing a decrease in the contrast caused by the reflection on the interface without decreasing the quality of display.
2. Description of the Related Art
Owing to their features such as small in size, light in weight and low power consumption, the liquid crystal display devices have been widely used as data equipment terminals, TVs, portable data equipment terminals, display monitors such as video cameras, etc.
The liquid crystal material does not emit the light by itself and a source of light is necessary when it is used as a display device. In the case of a reflection-type liquid crystal display device used as a low-power-consumption unit such as a portable terminal, in particular, the indoor illumination serves as a source of light or a front light unit is used as a source of light (see, for example, JP-A-2001-108986).
Here, a conventional reflection-type liquid crystal display device will be described with reference toFIG. 17.
FIG. 17 is a sectional view schematically illustrating a conventional reflection-type liquid crystal display device comprising afront light unit90 and a liquidcrystal display panel80 constituted by a liquid crystal layer82 held between aTFT substrate81 and a CF (color filter)substrate83, which are firmly held face to face by aframe85 maintaining a small gap or anair layer96.
Thefront light unit90 includes asource91 of light, alight guide plate93 and areflector92 for reflecting and collecting light from thesource91 of light toward thelight guide plate93. Aprism94 is engraved in the surface of thelight guide plate93, i.e., on the side of the viewer, and light being guided is partly reflected toward the liquidcrystal display panel80.
Usually, further, areflection prevention film95 is provided on the back surface of thefront light unit90 and a polarizingplate84 is provided on the front surface side of the liquidcrystal display panel80.
The pitch of theprism94 is so set relative to the pixel pitch of the liquidcrystal display panel80 that moiré fringes appear little.
For example, the prism pitch is set to be equal to the pixel pitch so that the moiré pitch becomes an infinity or is so set that the moiré pitch becomes very fine.
In general, further, the liquidcrystal display panel80 is so constructed as to elevate the reflection factor in order to realize bright display. In the use of small devices such as cell phones and PDAs, in particular, the designing aims at accomplishing a very high reflection factor since the viewing angle need not be broad.
In this reflection-type liquid crystal display device, a circularly polarizing plate is usually used, the circularly polarizing plate being made up of a retardation plate and a polarizing plate. When no retardation is occurred in the liquid crystal display panel or when light is reflected in front of the liquid crystal display panel, however, the reflected light is absorbed by the circularly polarizing plate and does not go out.
This is because the circularly polarizing plate converts, first, the incident light into linearly polarized light through the polarizing plate and converts, next, the light into circularly polarized light through the retardation plate. The circularly polarized light reflected by the interface falls again on the retardation plate and is converted into linearly polarized light with its direction of polarization being turned by 90 degrees. The reflected light which is the linearly polarized light turned by 90 degrees is absorbed by the polarizing plate and does not go out.
The structure for arranging the circularly polarizing plate can be contrived in the following three types as illustrated inFIG. 18.
FIG. 18A is a view schematically illustrating the constitution of when the circularly polarizing plate is stuck to the side of the liquid crystal display panel, in which the circularly polarizingplate100 comprising a polarizingplate101 and aretardation plate102 is stuck onto the display surface of the liquidcrystal display panel80 by using asticking agent103, and anair layer96 exists relative to thelight guide plate93.
FIG. 18B is a view schematically illustrating the constitution of when the circularly polarizing plate is stuck to the side of the light guide plate, in which the circularly polarizingplate100 comprising the polarizingplate101 and theretardation plate102 is stuck onto the back surface of thelight guide plate93 by using thesticking agent104, and theair layer96 exists relative to the liquidcrystal display panel80.
FIG. 18C is a view schematically illustrating the constitution of when both surfaces of the circularly polarizing plate are stuck, in which the circularly polarizingplate100 comprising the polarizingplate101 and theretardation plate102 is stuck onto the back surface of thelight guide plate93 and to the liquidcrystal display panel80 by using thesticking agents103 and104. In this case, there exists no air layer.
FIG. 19 is a diagram illustrating the reflected light components on the interfaces to the air layer.
Theair layer96 in the above constitution has a refractive index n2=1, and constituent members such as the liquidcrystal display panel80, circular polarizingplate100,light guide plate93 andsticking agents103,104 have refractive indexes n1and n3of about 1.4 to about 1.6. Therefore, the greatest difference in the refractive index exists on the interfaces among the constituent members and theair layer96, and theincident light105 is greatly refracted by the interfaces.
The reflection increases on the interface as the refraction increases. As the refraction exceeds a critical angle, further, a total reflection takes place and the contrast decreases.
In the constitution illustrated in, for example,FIG. 18A, the contrast is only about 5 to about 10. The low contrast narrows the range of reproducing colors, and the quality of display is very poor.
In principle, therefore, the constitution ofFIG. 18C is desired. However, when thelight guide plate93 and the liquidcrystal display panel80 having different coefficients of thermal expansion are stuck together, there occurs peeling due to thermal shock. Or, when the rigid bodies are stuck together, air bubbles tend to infiltrate. Therefore, the use of this constitution involves difficulty except the small devices.
It has therefore been proposed to use the constitution ofFIG. 18B in which the circularly polarizingplate100 is stuck to thelight guide plate93, enabling thelight106 reflected by the interface to theair layer96 to be absorbed by the polarizingplate101 that constitutes the circularly polarizingplate100 to thereby enhance the contrast (see, for example, JP-A-11-259007).
However, the above constitution ofFIG. 18B is accompanied by a problem of conspicuous interference rainbow due to moiré fringes between theprism94 of thelight guide plate93 and the pixels of the liquidcrystal display panel80, and due to interference between the reflection structure of the liquidcrystal display panel80 and the pixels.
The cause is attributed to a decrease in the diffusing light component stemming from a decrease in the angle of light guided through thelight guide plate93 as a result of sticking the circular polarizingplate100 onto thelight guide plate93.
When the diffusing light component is strong, on the other hand, the moiré fringes and interference fringes are averaged and are weakened.
There still remains a problem of a decrease in the contrast sincelight107 refracted in excess of a critical angle by the interface to theair layer96 is totally reflected.
There further exists a problem in that the circularly polarizingplate100 and the liquidcrystal display panel80 are abraded by the external pressure of input using a pen, and the circularly polarizingplate100 is scarred.
SUMMARY OF THE INVENTION
It is therefore an object of this invention to suppress a decrease in the contrast caused by the reflection by the interfaces to the air layer without decreasing the quality of display.
FIG. 1 is a view of constitution illustrating a principle of the invention. Means for solving the problem of the invention will now be described with reference toFIG. 1.
To solve the above problem, the invention provides a reflection-type liquid crystal display device comprising:
alight guide plate2 having a polarizingelement4 stuck or adhered thereto on the side facing a reflection-type liquidcrystal display panel1;
asource3 of light arranged on an end surface side of thelight guide plate2; and
the reflection-type liquidcrystal display panel1 arranged maintaining a predetermined gap relative to thelight guide plate2; wherein
a light-diffusing function is imparted to the surface of the reflection-type liquidcrystal display panel1 on the side facing thelight guide plate2.
Thus, the light-diffusing function is imparted to the surface of the reflection-type liquidcrystal display panel1 on the side facing thelight guide plate2. Therefore, light incident on the reflection-type liquidcrystal display panel1 may generate interference rainbow due to the interference between the reflection surface in the liquidcrystal display panel1 and the pixel unit. However, a diffusion member or a ruggedness in the surface of the reflection-type liquidcrystal display panel1 diffuses the interference rainbow. Therefore, the interference rainbow is weakened before it is seen by the viewer.
Here, the word “stick” means the sticking by using a sheet-like sticking layer and the word “adhesion” means the adhesion by using a gel-like adhering member such as an adhesive.
To impart the light-diffusing function, in this case, the surface of the reflection-type liquidcrystal display panel1 may be roughened as designated at 5, or the surface of the reflection-type liquidcrystal display panel1 may be stuck with a film having a light-diffusing function comprising, for example, a sticking layer containing a light-diffusing material and a triacetyl cellulose (TAC) film.
It is desired that the film having the light-diffusing function is subjected to the reflection-preventing treatment on the side of the interface to the air layer.
Or, a member having a light-diffusing function may be interposed between thepolarizing element4 and thelight guide plate2. In this case, the light-diffusing material may be contained in at least one of a plurality of sticking layers constituting thepolarizing element4 and, particularly, in a sticking layer on the side close to thelight guide plate2 and, most preferably, in the sticking layer that comes in contact with thelight guide plate2.
Or, the outer surface of thepolarizing element4 stuck or adhered to thelight guide plate2 may be roughened.
In this case, light from thesource3 of light is reflected and collected by thereflector6 and is guided to thelight guide plate2. Here, light reflected by the prism surfaces on the surface of thelight guide plate2 goes out of the light guiding conditions and goes out of thelight guide plate2 to form a ray A of light heading toward the panel surface on the back surface side of thelight guide plate2. The ray A of light is reflected by the back surface of thelight guide plate2, and light A′ reflected by the surface passes through the surface of thelight guide plate2 and enters as a ray C of light to the viewer's eyes. Here, however, the light reflected by the surface becomes diffused light B since the diffusing material or ruggedness is formed on the back surface of thelight guide plate2.
When the ray A′ of light having a pattern of the prism pitch is converted into a ray B of light, the pattern of the prism pitch is maintained but the conversion is in a direction in which the distribution of light is uniformed. Therefore, the ray C of light contains moiré fringes due to the ray B of light and the prism of thelight guide plate2, and the intensity of moiré fringes is small.
In this case, too, it is desired that thepolarizing element4 is subjected to the reflection-prevention treatment on the side of the interface to the air layer.
The light-diffusing function may be provided on both the side of thelight conductor plate2 and the side of the reflection-type liquidcrystal display panel1.
The invention is further concerned with a reflection-type liquidcrystal display panel1 wherein at least the reflection-type liquidcrystal display panel1, a first retardation plate, a second retardation plate, a polarizing plate and alight guide plate2 are laminated in this order, the first retardation plate is stuck or adhered to the reflection-type liquidcrystal display panel1, the second retardation plate and the polarizing plate are stuck or adhered to thelight guide plate2, and a circular polarizer is constituted by the first retardation plate, second retardation plate and polarizing plate.
In this case, the first retardation plate is stuck to the reflection-type liquidcrystal display panel1 to prevent the reflection, to prevent the scars and to impart the diffusing function. Further, the second retardation plate and the polarizing plate are stuck to thelight guide plate2 to bring the light going out from the second retardation plate close to the circularly polarized light, so that the reflection by the interface to the air layer is absorbed as much as possible by the polarizing plate, or wavelength dispersion in the in-plane retardation is decreased so that light reflected by the reflection-type liquidcrystal display panel1 is efficiently absorbed by the polarizing plate.
Further, the circular polarizer is constituted by the first retardation plate, second retardation plate and polarizing plate to bring the total in-plane retardation of the first retardation plate and of the second retardation plate to be a desired retardation, i.e., to be not smaller than 95 nm but not larger than 195 nm, which is one-fourth the range of visible light wavelengths, to render the light going out from the first retardation plate to be a circularly polarized light, so that the light reflected by the reflection-type liquidcrystal display panel1 is efficiently absorbed by the polarizing plate.
The circular polarizer stands for an element that converts the polarized state of the incident light into nearly a circular polarization. Even when the polarized state of light going out is deviated from the circular polarization, the device can be regarded to be the circular polarizer if the light emitted to the viewer is turned by about 90 degrees and is linearly polarized in relation to the reflection-type liquidcrystal display panel1.
The above constitution makes it possible to decrease the intensity of reflection of black display and to enhance the contrast.
That is, the light going out from the first retardation plate constituting the interface to the air layer is deviated from the circularly polarized light. When the reflection by the interface is compared with the light reflected by the reflection-type liquidcrystal display panel1, however, the latter one has a large intensity of reflection, and the contrast can be enhanced when the light going out from the second retardation plate is circularly polarized.
In this case, in constituting a λ/4 plate by selecting the sum of in-plane retardations of the first retardation plate and of the second retardation plate to be not smaller than 95 nm but not larger than 195 nm, which is one-fourth the region of visible light wavelengths, it is desired that the angle subtended by the delay phase axes of the first retardation plate and of the second retardation plate is selected to be not smaller than 0 degree but not larger than 30 degrees.
Desirably, in this case, the in-plane retardation of the first retardation plate is decreased as small as possible to bring the in-plane retardation of the second retardation plate close to one-fourth the region of the visible light wavelengths.
If the delay phase axes of the first retardation plate and of the second retardation plate are nearly in parallel with each other, the in-plane retardations thereof may be added up to constitute the circular polarizer. If the retardation remains in the direction of thickness, the light deviates from the circular polarization. The deviation, however, can be corrected by selecting the angle subtended by the delay phase axes to be not smaller than 0 degree but not larger than 30 degrees.
Relying upon this constitution, the light going out from the second retardation plate is circularly polarized or the light emitted to the viewer is turned by about 90 degrees so as to be linearly polarized in relation to the reflection-type crystal panel1, to thereby enhance the contrast.
When the retardation remains in the direction of thickness, the light is deviated from the linearly deviated light that is turned by 90 degrees. When the device is so constituted as to decrease the intensity of reflection, however, the action is the same and the device can be regarded to be the circular polarizer.
Or, in constituting a λ/4 plate by selecting the difference of in-plane retardations between the first retardation plate and the second retardation plate to be not smaller than 95 nm but not larger than 195 nm, which is one-fourth the region of visible light wavelengths, it is desired that the angle subtended by delay phase axes of the first retardation plate and of the second retardation plate is selected to be not smaller than 60 degree but not larger than 90 degrees.
When the delay phase axes of the first retardation plate and of the second retardation plate are nearly at right angles, the respective in-plane retardations may be subtracted to constitute the circular polarizer. When the retardation remains in the direction of thickness, however, the light deviates from the circular polarization. The deviation, however, can be corrected by deviating the delay phase axes by about 30 degrees from the state of right angles, i.e, by selecting the angle subtended by the delay phase axes to be not smaller than 60 degrees but not larger than 90 degrees.
With this constitution, too, the light going out from the second retardation plate can be circularly polarized or the light emitted to the viewer can be turned by about 90 degrees so as to be linearly polarized in relation to the reflection-type liquidcrystal display panel1 to thereby enhance the contrast.
In this case, too, when the retardation remains in the direction of thickness, the light is deviated from the linearly deviated light that is turned by 90 degrees. When the device is so constituted as to decrease the intensity of reflection, however, the action is the same and the device can be regarded to be the circular polarizer.
In the above constitutions, it is desired the angle subtended by the absorption axis of the polarizer plate and by the delay phase axis of the second retardation plate is θ and that the angle subtended by the absorption axis of the polarizer plate and by the delay phase axis of the first retardation plate is about 2θ+45 degrees.
Relying upon the above constitution, a wide-band λ/4 plate can be constituted by using the second retardation plate as the λ/2 plate and the first retardation plate as the λ/4 plate.
That is, by selecting the angle subtended by the absorption axis of the polarizing plate and by the delay phase axis of the first retardation plate to be about 2θ+45 degrees, the λ/2 plate works to turn the direction of linear polarization symmetrically to the delay phase axis irrespective of the direction of the delay phase axis, and the λ/4 plate works to circularly polarize the linearly polarized light that is incident from a direction of roughly 45 degrees or 135 degrees relative to the delay axis.
Owing to this constitution, the wavelength dispersion in the in-plane retardation is decreased, and the light reflected by the reflection-type liquidcrystal display panel1 is efficiently absorbed by the polarizing plate.
In this constitution, the reflection by the interface to the air layer cannot be suppressed. When the reflection by the interface is compared with the light reflected by the reflection-type liquidcrystal display panel1, however, the latter one has a large strength of reflection and the contrast can be enhanced.
In the above constitution, further, it is desired to arrange a third retardation plate having an in-plane retardation of not smaller than 190 nm but not larger than 390 nm which is one-half the region of visible light wavelengths between the polarizing plate and the second retardation plate.
Owing to the above constitution, it is allowed to constitute a wide-band λ/4 plate or a wide-band λ/4 plate and an optical compensation plate by using the first to third retardation plates decreasing the wavelength dispersion in the in-plane retardation enabling the light reflected by the reflection-type liquidcrystal display panel1 to be efficiently absorbed by the polarizing plate.
If the in-plate retardation of the first retardation plate is decreased as small as possible, the light going out from the second retardation plate can be brought close to the circularly polarized light, and a large proportion of light reflected by the interface to the air layer can be absorbed by the polarizing plate enabling the contrast to be further enhanced.
Here, the optical compensation is to cancel a positive retardation that generates in the direction of thickness of the reflection-type liquidcrystal display panel1 relying upon a negative retardation that generates in the direction of thickness of the retardation plate.
In this case, it is desired that the angle subtended by the absorption axis of the polarizing plate and by the delay phase axis of the third retardation plate is θ, the angle subtended by the absorption axis of the polarizing plate and by the delay phase axis of the second retardation plate is roughly 2θ+45 degrees, and the difference in the in-plane retardation between the third retardation plate and the first and the second retardation plates is not smaller than 95 nm but is not larger than 195 nm, which is one-fourth the region of visible light wavelengths.
Owing to this constitution, the λ/2 plate is constituted by the third retardation plate, the λ/4 plate is constituted by the first and the second retardation plates, and the wide-band λ/4 plate is constituted by the first to third retardation plates.
Here, desirably, the in-plane retardation of the first retardation plate is decreased as small as possible to bring the in-plane retardation of the second retardation plate close to one-fourth the region of visible light wavelengths.
Or, it is desired that the angle subtended by the absorption axis of the polarizing plate and by the delay phase axis of the third retardation plate is θ, the angle subtended by the absorption axis of the polarizing plate and by the delay phase axis of the second retardation plate is roughly 2θ+45 degrees, the delay phase axis of the second retardation plate and delay phase axis of the first retardation plate are nearly at right angles with each other, and the difference in the in-plane retardation between the second retardation plate and the first retardation plate is not smaller than 95 nm but is not larger than 195 nm, which is one-fourth the region of visible light wavelengths.
Owing to this constitution, the λ/2 plate is constituted by the second and the third retardation plates, the λ/4 plate is constituted by the first retardation plate, and the wide-band λ/4 plate is combined with the optical compensation plate.
Namely, the second retardation plate is equivalent to two pieces of λ/4 plates having the same delay phase axis, the wide-band λ/4 plate is constituted by the third retardation plate and by the one λ/4 plate, and the optical compensation plate is constituted by the first retardation plate and by the other λ/4 plate.
As a result, the wavelength dispersion in the in-plane retardation is decreased, the light reflected by the reflection-type liquidcrystal display panel1 is efficiently absorbed by the polarizing plate, and the retardation is cancelled in the direction of thickness of the liquid crystal layer that is vertically aligned. This will now be described.
In the vertically aligned mode using the circularly polarizing plate, the display is black when no voltage is applied or the applied voltage is smaller than a threshold value. Therefore, the in-plane retardation becomes roughly zero, and the contrast can, in principle, be enhanced. In the horizontally aligned mode using the circularly polarizing plate, on the other hand, the display is black when a voltage is applied. Therefore, the in-plane retardation becomes a minimum which, however, is not zero, and the contrast becomes relatively low.
This is because in the horizontally aligned mode, a strong anchoring effect is produced by the alignment film, and the liquid crystal layer is not raised on the interface of the substrate even after the voltage is applied.
Even in the vertically aligned mode, the retardation generates in the direction of thickness for the incident light that is tilted. However, the in-plane retardations are cancelled by each other if there is arranged an optical compensation plate which is equivalent to the constitution in which two pieces of λ/4 plates are so arranged that the delay phase axes thereof are at right angles. Therefore, the retardation in the direction of thickness can be used for optically compensating the reflection-type liquidcrystal display panel1.
By combining the wide-band λ/4 plate and the optical compensation plate together as described above, the light emitted to the viewer is turned by about 90 degrees and is linearly polarized in relation to the reflection-type liquidcrystal display panel1, which, therefore, can be regarded as a circular polarizer as a whole.
This constitution is not capable of suppressing the reflection by the interface to the air layer. When the reflection by the interface is compared with the light reflected by the reflection-type liquidcrystal display panel1, however, the latter one has a large intensity of reflection, and a high contrast is maintained.
In the above constitution, further, it is desired to arrange the third retardation plate and a fourth retardation plate having an in-plane retardation of not smaller than 190 nm but not larger than 390 nm, which is one-half the region of visible light wavelengths, between the polarizing plate and the second retardation plate. Then, the wide-band λ/4 plate and the optical compensation plate are constituted by the first to the fourth retardation plates.
Owing to this constitution, the wavelength dispersion in the in-plane retardation is decreased, the light reflected by the reflection-type liquidcrystal display panel1 is efficiently absorbed by the polarizing plate, and the retardation is cancelled in the direction of thickness of the liquid crystal layer that is vertically aligned.
If the in-plate retardation of the first retardation plate is decreased as small as possible, the light going out from the second retardation plate can be brought close to the circularly polarized light, and a large proportion of light reflected by the interface to the air layer can be absorbed by the polarizing plate to maintain the highest contrast.
In this case, it is desired that the angle subtended by the absorption axis of the polarizing plate and by the delay phase axis of the fourth retardation plate is θ, the angle subtended by the absorption axis of the polarizing plate and by the delay phase axis of the third retardation plate is roughly 2θ+45 degrees, the delay phase axis of the third retardation plate and the delay phase axis of the second retardation plate are nearly at right angles, and the difference in the in-plane retardation between the third retardation plate and the first and the second retardation plates is not smaller than 95 nm but is not larger than 195 nm, which is one-fourth the region of visible light wavelengths.
Owing to this constitution, the λ/2 plate is constituted by the third and fourth retardation plates, the λ/4 plate is constituted by the first and the second retardation plates, and the wide-band λ/4 plate is combined with the optical compensation plate.
Here, desirably, the in-plane retardation of the first retardation plate is decreased as small as possible to bring the in-plane retardation of the second retardation plate close to one-fourth the region of visible light wavelengths.
In the above constitutions, further, it is desired to use an undrawn film as the first retardation plate.
That is, to suppress the reflection by the interface to the air layer, the light going out from the second retardation plate must be circularly polarized. With the constitution in which the first retardation plate is disposed between the second retardation plate and the reflection-type liquidcrystal display panel1, however, the light is deviated from the circular polarization.
To increase the contrast by decreasing the deviation, it is desired to decrease the in-plane retardation of the first retardation plate as small as possible to bring the in-plane retardation of the second retardation plate close to one-fourth the region of the visible light wavelengths. For this purpose, the undrawn film is used as the first retardation plate so that the in-plane retardation becomes about several nanometers, and the in-plane retardation of the second retardation plate is brought close to ¼ the region of the visible light wavelengths. Then, the light going out from the second retardation plate becomes close to the circularly polarized light, and a large proportion of light reflected by the interface to the air layer is absorbed by the polarizing plate to maintain a high contrast.
In the above constitutions, further, it is desired that a reflection-preventing film is provided on the surface of at least the first retardation plate.
Usually, it is ideal if the reflection-preventing film is formed on the interfaces of both the first retardation plate and the circularly polarizing plate. However, the reflection-preventing film may be formed on the surface of at least the first retardation plate. This decreases the reflection by the interface down to be nearly 0 to ¼, suppressing a decrease in the contrast caused by the total reflection.
Here, priority is given to the surface of the first retardation plate since the surface of the first retardation plate is the interface which totally reflects the light, first. Namely, this efficiently suppresses the total reflection.
In the above constitutions, further, it is desired that the sticking layer provided between the polarizing plate and thelight guide plate2 has a light-diffusing function.
When the display shading such as Newton rings or moiré fringes is produced due chiefly to the light guide late2, the light-diffusing function is imparted by the above constitution to the interface on the side of thelight guide plate2 to relax the display shading.
Imparting the light-diffusion function is effective in relaxing the display shading, which at the same time, however, causes a decrease in the contrast or causes blurred image. Therefore, the light-diffusing function should be imparted to only a minimum degree that is needed.
In the above constitutions, further, it is desired that the sticking layer provided between the first retardation plate and the reflection-type liquidcrystal display panel1 has a light-diffusing function.
When the display shading is produced due chiefly to the refection-type liquidcrystal display panel1, such as interference fringes with the reflection electrodes of the reflection-type liquidcrystal display panel1, the light-diffusing function is imparted by the above constitution to the interface on the side of the reflection-type liquidcrystal display panel1 to relax the display shading.
In this case, too, imparting the light-diffusion function is effective in relaxing the display shading, which at the same time, however, causes a decrease in the contrast or causes blurred image. Therefore, the light-diffusing function should be imparted to only a minimum degree that is needed.
In the above constitutions, further, it is desired that the opposing surfaces of the first retardation plate and of the second retardation plate are smooth.
There is a method of imparting the light-diffusing function by rendering rugged the interface that comes in contact with the air layer. Upon employing the rugged structure, however, the circularly polarizing plate and the reflection-type liquidcrystal display panel1 are abraded by the external pressure of input by using a pen, and their interfaces are scarred.
By forming smooth surfaces, however, the interfaces are not scarred even when an external pressure is exerted due to input by using a pen.
In the above constitutions, further, it is desired that a viewing angle control plate is disposed between thelight guide plate2 and the reflection-type liquidcrystal display panel1 to diffuse the light incident from a particular direction.
The display shading is chiefly caused by a diffraction phenomenon due to the neighboring light. For example, the diffraction is seen from a given direction despite the prism shape of thelight guide plate2 is optimized so that the diffraction will not been seen from the direction of front surface.
The diffraction phenomenon occurs in a direction in which the phases of neighboring light are in match, i.e., in a direction in which the intervals become integer numbers of times of the wavelength. Therefore, even if the prism pitch is so designed that the phase of light is deviated relative to the front surface, the diffraction phenomenon occurs in a direction in which the light phases are in match.
In this case, the diffraction phenomenon can be relaxed by using the sticking agent having a light-diffusing function resulting, however, in a trade-off with a decrease in the contrast and blurred image due to multiple diffusion. Therefore, the light-diffusing function must be controlled.
By using the viewing angle control plate that diffuses the light incident from a particular direction as in this constitution, however, it is allowed to impart the light-diffusing function in only a particular direction in which the diffraction phenomenon appears conspicuously. There is no light-diffusing function in the direction of the viewer which is the front surface, suppressing a decrease in the contrast and suppressing the blurring of image.
BRIEF DESCRIPTION OF THE DRAWINGS
FIG. 1 is a view of constitution illustrating a principle of the invention;
FIG. 2 is a sectional view schematically illustrating a reflection-type liquid crystal display device according to a first embodiment of the invention;
FIG. 3 is a sectional view schematically illustrating the reflection-type liquid crystal display device according to a second embodiment of the invention;
FIG. 4 is a sectional view schematically illustrating the reflection-type liquid crystal display device according to a third embodiment of the invention;
FIG. 5 is a sectional view schematically illustrating a major portion of the reflection-type liquid crystal display device according to a fourth embodiment of the invention;
FIG. 6 is a sectional view schematically illustrating a major portion of the reflection-type liquid crystal display device according to a fifth embodiment of the invention;
FIG. 7 is a sectional view schematically illustrating the reflection-type liquid crystal display device according to a sixth embodiment of the invention;
FIGS. 8A and 8B are views illustrating the reflection-type liquid crystal display device according to a seventh embodiment of the invention;
FIGS. 9A and 9B are views illustrating the reflection-type liquid crystal display device according to an eighth embodiment of the invention;
FIGS. 10A and 10B are views illustrating the reflection-type liquid crystal display device according to a ninth embodiment of the invention;
FIGS. 11A and 11B are views illustrating the reflection-type liquid crystal display device according to a tenth embodiment of the invention;
FIGS. 12A and 12B are diagrams illustrating the intensity of reflection and the contrast at a pole angle of 45 degrees of when the in-plane retardation of the second retardation plate is set to be 132 nm in the reflection-type liquid crystal display device according to the tenth embodiment of the invention;
FIGS. 13A and 13B are diagrams illustrating the intensity of reflection and the contrast at a pole angle of 45 degrees of when the in-plane retardation of the second retardation plate is set to be 138 nm in the reflection-type liquid crystal display device according to the tenth embodiment of the invention;
FIGS. 14A and 14B are diagrams illustrating the intensity of reflection and the contrast at a pole angle of 45 degrees of when the in-plane retardation of the second retardation plate is set to be 143 nm in the reflection-type liquid crystal display device according to the tenth embodiment of the invention;
FIG. 15 is a diagram illustrating the Newton rings or moiré interference fringes at various haze values, and the results of improvement in the interference rainbow;
FIG. 16 is a diagram illustrating the diffusion characteristics of a viewing angle control plate;
FIG. 17 is a sectional view schematically illustrating a conventional reflection-type liquid crystal display device;
FIGS. 18A,18B and18C are views illustrating arrangement structures of the circularly polarizing plates; and
FIG. 19 is a diagram illustrating the light components reflected by the interfaces to the air layer.
DESCRIPTION OF THE PREFERRED EMBODIMENTS
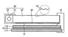
A reflection-type liquid crystal display device according to a first embodiment of the invention will now be described with reference toFIG. 2.
FIG. 2 is a sectional view schematically illustrating the reflection-type liquid crystal display device according to the first embodiment of the present invention, which comprises a frontlight unit20, and a liquidcrystal display panel10 constituted by aliquid crystal layer12 held between aTFT substrate11 having an alignment film provided on a glass substrate via a reflection electrode and aCF substrate13 having an alignment film provided on a glass substrate via a transparent electrode. The frontlight unit20 and the liquidcrystal display panel10 are firmly held by aframe15 being opposed to each other maintaining a small gap of not larger than, for example, 1 mm.
The frontlight unit20 includes asource21 of light constituted by a cold cathode tube containing Ar or Ne gas and a trace amount of Hg, areflector22 for reflecting and collecting the light from thesource21 of light toward a light guide plate (manufactured by Fujitsu Kasei Co.)23, and alight guide plate23. Apolarizing element30 is stuck to the back surface of thelight guide plate23 which is on the side of the liquid crystal display panel by using a sticking agent.
Aprism24 is engraved in the surface of thelight guide plate23 which is on the side of the viewer to reflect part of the light which guided toward the liquidcrystal display panel10.
In this case, the pitch of theprism24 is so set relative to the pixel pitch of the liquidcrystal display panel10 that the moiré fringes are seen little.
Further, the surface of the liquidcrystal display panel10 is blasted with sand to constitute arough surface14 with fine scars having a depth between the vertex and the valley of ruggedness of not larger than 100 μm.
The degree of scars may be of such a level that generate interference rainbow or moiré fringes of a tolerable level. For example, the haze H (cloudiness value) may be about 50% or smaller. If the haze is too large, the brightness and contrast decrease, and the display is blurred, too.
The haze (cloudiness value) H is an index represented by a ratio of a diffusion transmission factor Td[%] and a total light ray transmission factor Tt[%] that are measured by using an integrating ball-type light ray transmission factor-measuring apparatus, and is given by,
H[%]=(Td/Tt)×100
and is indicated down to the first decimal place.
When thepolarizing element30 is provided on the side of thelight guide plate23 to enhance the contrast according to the first embodiment of the invention, the light incident upon the liquidcrystal display panel10 generates interference rainbow due to the interference of the reflection surface in the liquidcrystal display panel10 with the pixel portion. However, the interference rainbow is diffused by therough surface14 formed on the surface of the liquidcrystal display panel10 and enters in decreased amounts into the viewer's eyes.
Next, the reflection-type liquid crystal display device according to a second embodiment of the present invention will be described with reference toFIG. 3.
FIG. 3 is a sectional view schematically illustrating the reflection-type liquid crystal display device according to the second embodiment of the invention. The basic constitution is the same as that of the reflection-type liquid crystal display device of the above first embodiment. In the second embodiment, however, the surface of the liquidcrystal display panel10 is not roughened as designated atrough surface14 but is, instead, provided with a light-diffusingfilm31 which comprises aTAC film32 and asticking layer33 containing a light-diffusing material.
The light-diffusing material, in this case, may be, for example, TiOxand its amount can be determined to maintain a balance in the effects for decreasing the blurring amount of image, moiré fringes and interference rainbow, and may be such that H≦50[%].
In this case, too, the interference rainbow is diffused by the light-diffusingfilm31 provided on the surface of the liquidcrystal display panel10, and enters in decreased amounts into the viewer's eyes.
Next, the reflection-type liquid crystal display device according to a third embodiment of the present invention will be described with reference toFIG. 4.
FIG. 4 is a sectional view schematically illustrating the reflection-type liquid crystal display device according to the third embodiment of the invention. The basic constitution is the same as that of the reflection-type liquid crystal display device of the above first embodiment. In the third embodiment, however, the surface of the liquidcrystal display panel10 is not roughened as designated atrough surface14 and, besides, thepolarizing element30 is stuck to thelight guide plate23 by using asticking layer34 containing a light-diffusing material.
In the third embodiment, the light directed by theprism24 toward the side of the liquid crystal display panel is diffused by thesticking layer34 containing the light-diffusing material provided on the back surface of thelight guide plate23, and is converted in a direction in which the distribution of light is uniformed, and the moiré intensity is weakened.
Next, the reflection-type liquid crystal display device according to a fourth embodiment of the present invention will be described with reference toFIG. 5.
FIG. 5 is a sectional view schematically illustrating a major portion of the reflection-type liquid crystal display device according to the fourth embodiment of the invention. The basic constitution is the same as that of the third embodiment. Therefore, described below is the constitution of the polarizing element only which makes a difference.
Thepolarizing element40 of this case is a polarizing plate constituted by a plurality of pieces of retardation films, i.e., constituted by a λ/4plate41, asticking layer42, a λ/2plate43, asticking layer44, a TAC/PVA/TAC film45 and asticking layer46 containing a light-diffusing material, which are stuck to thelight guide plate23 by thesticking layer46 containing the light-diffusing material.
In the fourth embodiment, the light-diffusing material is contained in the sticking layer closest to thelight guide plate23. The light emitted going out from thelight guide plate23 toward the liquidcrystal display panel10 is reflected by the interface due to a difference in the refractive index between thelight guide plate23 and thepolarizing element40, and becomes a cause of moiré fringes. By containing the light-diffusing material in the sticking layer of the side close to thelight guide plate23, however, the light reflected by the interface is diffused at a place where the reflection takes place first on the interface, and the moiré intensity is effectively weakened.
Next, the reflection-type liquid crystal display device according to a fifth embodiment of the present invention will be described with reference toFIG. 6.
FIG. 6 is a sectional view schematically illustrating a major portion of the reflection-type liquid crystal display device according to the fifth embodiment of the invention. The basic constitution is the same as that of the third embodiment. Therefore, described below is the constitution of the polarizing element only which makes a difference.
Thepolarizing element50 of this case, too, is a polarizing plate constituted by a plurality of pieces of retardation films, i.e., constituted by a λ/4plate51 of which the surface is roughened (AG-treated: anti-glare-treated), asticking layer52, a λ/2plate53, asticking layer54, a TAC/PVA/TAC film55 and asticking layer56, which are stuck to thelight guide plate23 by thesticking layer56.
The constitution of the fifth embodiment is suited in a case where the light reflected by the interface on the side close to thelight guide plate23 is relatively weak, and the light reflected by the interface of thepolarizing element50 relative to the air layer is large.
Next, the reflection-type liquid crystal display device according to a sixth embodiment of the present invention will be described with reference toFIG. 7.
FIG. 7 is a sectional view schematically illustrating the reflection-type liquid crystal display device according to the sixth embodiment of the invention. The basic constitution is the same as that of the third embodiment. In the sixth embodiment, however, the light-diffusingfilm31 comprising theTAC film32 and thesticking layer33 containing the light-diffusing material is provided on the surface of the liquidcrystal display panel10, too, like in the above second embodiment.
In the sixth embodiment, the moiré fringes of thelight guide plate23 itself are decreased by the diffusing action of thesticking layer34 containing the light-diffusing material on the side of thepolarizing element30 while the interference rainbow is effectively decreased by the diffusing action of thesticking layer33 containing the light-diffusing material on the side of the liquidcrystal display panel10.
The moiré fringes of thelight guide plate23 and of the liquidcrystal display panel10, too, can be decreased by the diffusing action of the two.
In this case, the degree of diffusion or haze (cloudiness value) of thesticking layer34 containing the light-diffusing material on the side of thelight guide plate23 may be smaller than the degree of diffusion of the third to the fifth embodiments that use the abovesingle sticking layer34 containing the light-diffusing material.
Next, the reflection-type liquid crystal display device according to a seventh embodiment of the present invention will be described with reference toFIGS. 8A and 8B. Described below are, however, the constitutions of the polarizing element and the light-diffusing films only.
FIG. 8A is a view illustrating a modified example of thepolarizing element40 constituted by a λ/4plate41, asticking layer42, a λ/2plate43, asticking layer44, a TAC/PVA/TAC film45 and asticking layer46 containing a light-diffusing material, and, further, having a reflection-preventing film47 provided on the surface of the λ/4plate41 on the surface of thepolarizing element40.
The reflection-preventing film47 works to suppress the reflection on the interface to the air layer on the side of thelight guide plate23, and decreases the moiré fringes and improves the contrast.
Namely, light emitted to the liquidcrystal display panel10 from thelight guide plate23 is reflected by the surface of the liquidcrystal display panel10. In the case of the black display, the reflected light is absorbed by thepolarizing element40 to produce a black display.
However, the light that is reflected by the interface of thepolarizing element40 to the air layer does not travel toward the liquidcrystal display panel10 but travels toward the viewer. This light is viewed being added up to the light of the black display and, hence, black is seen floating. However, provision of the reflection-preventing film47 lowers the reflection by the interface, and a high contrast is maintained.
FIG. 8B is a view illustrating a modified example of the light-diffusingfilm31 having a reflection-preventingfilm35 provided on the surface of the light-diffusingfilm31 which is constituted by theTAC film32 and thesticking layer33 containing the light-diffusing material.
In this case, too, the reflection-preventingfilm35 suppresses the reflection by the interface to the air layer on the side of the liquidcrystal display panel10, decreasing the moiré fringes and enhancing the contrast.
Next, described below with reference toFIGS. 9A and 9B is the reflection-type liquid crystal display device according to an eighth embodiment of the invention. The basic constitution is the same as that of the above first embodiment. Therefore, described below chiefly is the constitution of the polarizing element.
FIG. 9A is a view schematically illustrating the constitution of the reflection-type liquid crystal display device according to the eighth embodiment of the invention. Afirst retardation plate61 is stuck onto the liquidcrystal display panel10 by using a stickingmaterial62 containing the light-diffusing material, and a reflection-preventingfilm63 is provided on thefirst retardation plate61.
On the other hand, apolarizing plate66 to which asecond retardation plate64 is stuck with thesticking layer65, is stuck to thelight guide plate23 through thesticking layer67 containing the light-diffusing material, and the two are opposed to each other via anair layer68.
In this case, acircular polarizer69 is constituted by thefirst retardation plate61,second retardation plate64 andpolarizing plate66.
When thefirst retardation plate61 has a retardation A, the retardation of thesecond retardation plate64 is set to be λ/4 plate±A, so that they as a whole work as a λ/4 plate.
Or, thefirst retardation plate61 may be the λ/4 plate and thesecond retardation plate64 may be the λ/2 plate, so that they as a whole work as a wide-band λ/4 plate.
In the eighth embodiment, thefirst retardation plate61 is stuck to the liquidcrystal display panel10 to prevent the reflection, to prevent the scars and to impart the diffusing function. Further, thesecond retardation plate64 and thepolarizing plate66 are stuck to thelight guide plate23 to bring the light going out from thesecond retardation plate64 close to the circularly polarized light, enabling a large proportion of light reflected by the interface to the air layer to be absorbed by thepolarizing plate66 thereby to enhance the contrast.
Or, the whole plates are rendered to work as a wide-band λ/4 plate to decrease the wavelength dispersion in the in-plane retardation, enabling the light reflected by the liquidcrystal display panel10 to be efficiently absorbed by thepolarizing plate66.
Next, described below with reference toFIGS. 10A and10B is the reflection-type liquid crystal display device according to a ninth embodiment of the invention. The basic constitution is the same as that of the above eighth embodiment. In this case, a third retardation plate is inserted between the second retardation plate and the polarizing plate.
FIG. 10A is a view schematically illustrating the constitution of the reflection-type liquid crystal display device according to the ninth embodiment of the invention. Like in the above eighth embodiment, thefirst retardation plate61 is stuck onto the liquidcrystal display panel10 by using the stickingmaterial62 containing the light-diffusing material, and the reflection-preventingfilm63 is provided on thefirst retardation plate61.
On the other hand, athird retardation plate70 is stuck between thesecond retardation plate64 and thepolarizing plate66 by using thesticking layer65 and thesticking layer71, which are, then, stuck to thelight guide plate23 with thesticking layer67 containing the light-diffusing material, and the two are opposed to each other via theair layer68.
In this case, thecircular polarizer69 is constituted by thefirst retardation plate61, thesecond retardation plate64, thethird retardation plate70 and thepolarizing plate66.
When thefirst retardation plate61 has a retardation A, the retardation of thesecond retardation plate64 is set to be λ/4 plate±A, and thethird retardation plate70 is a λ/2 plate so that they as a whole work as a wide-band λ/4 plate.
Or, thefirst retardation plate61 is the λ/4 plate, thesecond retardation plate64 is the λ/2 plate and thethird retardation plate70 is the λ/2 plate so that they as a whole work as a wide-band λ/4 plate and as an optical compensation plate.
In the ninth embodiment, the wavelength dispersion in the in-plane retardation is decreased so that the light reflected by the reflection-type liquidcrystal display panel1 is efficiently absorbed by the polarizing plate.
Prevention of reflection, prevention of scars, diffusing function and the action of bringing the light going out from thesecond retardation plate64 close to the circularly polarized light, are the same as those of the eighth embodiment described above.
Next, described below with reference toFIGS. 11A and 11B is the reflection-type liquid crystal display device according to a tenth embodiment of the invention. The basic constitution is the same as that of the above eighth embodiment. In this case, the third retardation plate and a fourth retardation plate are inserted between the second retardation plate and the polarizing plate.
FIG. 11A is a view schematically illustrating the constitution of the reflection-type liquid crystal display device according to the tenth embodiment of the invention. Like in the above eighth embodiment, thefirst retardation plate61 is stuck onto the liquidcrystal display panel10 by using the stickingmaterial62 containing the light-diffusing material, and the reflection-preventingfilm63 is provided on thefirst retardation plate61.
On the other hand, thethird retardation plate70 and thefourth retardation plate72 are stuck between thesecond retardation plate64 and thepolarizing plate66 by using thesticking layer65, thesticking layer71 and asticking layer73, which are, then, stuck to thelight guide plate23 with thesticking layer67 containing the light-diffusing material, and the two are opposed to each other via theair layer68.
In this case, thecircular polarizer69 is constituted by thefirst retardation plate61, thesecond retardation plate64, thethird retardation plate70, thefourth retardation plate72 and thepolarizing plate66.
The tenth embodiment will now be described in detail concerning its constitution inclusive of delay phase axes and the effect.
In this case, first, thefirst retardation plate61 is made of an undrawn TAC film having an in-plane retardation of several nanometers, e.g., 5.5 nm, the surface of the TAC film being subjected to the hard-coat low-reflection (HCLR) treatment to form a smooth reflection-preventingfilm63.
Thesecond retardation plate64, on the other hand, has an in-plane retardation of 132 to 143 nm so as to approach λ/4, and the angle subtended by the delay phase axis of thefirst retardation plate61 and by the delay phase axis of thesecond retardation plate64 is selected to be 0 degree to 180 degrees.
The in-plane retardations of thethird retardation plate70 and of thefourth retardation plate72 are 275 nm, respectively. The angle θ subtended by the absorption axis of thepolarizing plate66 and by the delay phase axis of thefourth retardation plate72 is selected to be 10 degrees, the angle subtended by the delay phase axis of thefourth retardation plate72 and by the delay phase axis of thethird retardation plate70 is selected to be 55 degrees, and the angle subtended by the delay phase axis of thethird retardation plate70 and by the delay phase axis of thesecond retardation plate64 is selected to be 90 degrees.
Therefore, the angle subtended by the absorption axis of thepolarizing plate66 and by the delay phase axis of thethird retardation plate70 is 65 degrees, i.e., 2θ+45 degrees.
FIGS. 12A to 14B illustrate the results of measuring the reflection intensity and the contrast at a pole angle of 45 degrees of the reflection-type liquid crystal display devices.
The reflection intensities shown in the drawings are those of the black display based on a standard white plate, while the contrasts represent the ratio of reflection intensities of black and white displays.
Here, as for the retardation in the direction of thickness, ΔRth=0 nm represents a case where the absolute value of the retardation ΔRthLCof the liquid crystal layer is in agreement with the absolute value of the retardation ΔRthFof the retardation plate, ΔRth=−50 nm represents a case where the retardation ΔRthLCof the liquid crystal layer is smaller by 50 nm than the retardation ΔRthFof the retardation plate, and ΔRth=50 nm represents a case where the retardation ΔRthLCof the liquid crystal layer is larger by 50 nm than the retardation ΔRthFof the retardation plate.
Namely, an ideal optical compensation in the vertical alignment mode is ΔRth=0 nm. When there is a dispersion in the thickness of the liquid crystal layer and in the retardation plate, however, ΔRthundergoes a change. Therefore, an optimum value is found in a range of ΔRth=±50 nm presuming that the sum of dispersion in the film thickness is about ±10% at the greatest.
Here, the retardation in the direction of thickness is presumed to be 137.5 nm to 275 nm for the liquid crystal layer and 137.5 nm to 275 nm for the retardation plate.
The liquid crystal layer is vertically aligned. Therefore, if the refractive index of the liquid crystal molecules in the direction of major is denoted by ne, the refractive index of the liquid crystal molecules in the direction of minor axis by noand the light path of the liquid crystal layer or cell gap by dLC, then the retardation ΔRthLCof the liquid crystal layer is given by,
ΔRthLC=(ne−nodLC=Δn×dLC
When the reflection electrode has a rugged structure, however, the liquid crystal layer is aligned in a tilted manner, and the light path dLCdiffers depending upon the light that is incident and the light that is going out. Therefore, the refractive index n and the light path dLCmust be corrected.
On the other hand, if the refractive indexes of the retardation plate in the plane directions are denoted by nxand ny, the refractive index in the direction of thickness by nzand the light path in the retardation plate or film thickness by dF, then, the retardation ΔRthFof the retardation plate is given by,
ΔRthF[(nx+ny)/2−nz]×dF
FIGS. 12A and 12B are diagrams illustrating the results of measurement of when the in-plane retardation of the second retardation plate is 132 nm. Here, the visible light wavelength λ is set to be 550 nm which is close to a peak of visual sensitivity, and corresponds to a value obtained by subtracting the in-plane retardation 5.5 nm of the TAC film which is the first retardation plate from 137.5 nm which is the retardation of λ/4.
When ΔRth=0 nm, the angle subtended by the delay phase axis of the first retardation plate and by the delay phase axis of the second retardation plate is 0 degree or 180 degrees, and the reflection intensity of black display is a minimum and the contrast CR is a maximum. When ΔRth=±50 nm, the subtended angle is 30 degrees or 150 degrees, i.e., 0 degrees (180 degrees)±30 degrees, and the reflection intensity of black display is a minimum and CR is a maximum.
This means that when there is no deviation in the retardation in the direction of thickness, the delay phase axes are nearly in parallel and the incident light is circularly polarized. When there is a deviation in the retardation in the direction of thickness, the deviation in the retardation can be corrected by deviating the delay phase axes within a range of roughly 30 degrees from a parallel state.
FIGS. 13A and 13B illustrate the results of measurement of when the in-plane retardation of the second retardation plate is 138 nm. In this case, too, the visible light wavelength λ is selected to be 550 nm which is close to a peak of visual sensitivity, and corresponds to 137.5 nm of the retardation of λ/4 without taking into consideration the in-plane retardation of the TAC film which is the first retardation plate.
When ΔRth=0 nm, there is no great difference over the whole angular range. When ΔRth=±50 nm, on the other hand, the reflection intensity of black display becomes a minimum and CR a maximum at a subtended angle of 45 degrees or 135 degrees.
This means that when there is no deviation in the retardation in the direction of thickness, the incident light on the average is deviated from the circularly polarized light in all directions. When there is a deviation in the retardation in the direction of thickness, the deviation in the retardation can be corrected by further deviating the delay phase axes from the parallel state.
Here, however, the retardation conditions for the liquid crystal layer and the retardation plates have been so set that ΔRth=0 nm. Therefore, no advantage is obtained when ΔRth=0 nm but advantage is obtained only when ΔRthis deviated. A maximum CR obtained by this constitution is 1/10 to 1/20 that of the case of when the in-plane retardation of the second retardation plate shown inFIG. 12 is 132 nm.
FIGS. 14A and 14B illustrate the results of measurement of when the in-plane retardation of the second retardation plate is 143 nm. In this case, too, the visible light wavelength λ is selected to be 550 nm which is close to a peak if visual sensitivity and which corresponds to a value obtained by adding the in-plane retardation 5.5 nm of the TAC film which is the first retardation plate to 137.5 nm which is the retardation of λ/4.
When ΔRth=0 nm, the reflection intensity of black display is a minimum and the contrast CR is a maximum at an angle of 90 degrees subtended by the delay phase axis of the first retardation plate and by the delay phase axis of the second retardation plate. When ΔRth=±50 nm, on the other hand, the reflection intensity of black display is a minimum and CR is a maximum at a subtended angle of 60 degrees or 120 degrees, i.e., at 90 degrees±30 degrees.
This means that when there is no deviation in the retardation in the direction of thickness, the incident light is circularly polarized when the delay phase angles are at right angles. When there is a deviation in the retardation in the direction of thickness, the deviation in the retardation can be corrected by further deviating the delay phase axes in a range of about 30 degrees from the state where the delay phase axes are intersecting at right angles.
From the results ofFIGS. 12A to 14B, it can be comprehended that the contrast CR is greatly improved by constituting thecircular polarizer69 by taking the TAC film that serves as the first retardation plate into consideration, i.e., by constituting thecircular polarizer69 by taking into consideration the in-plane retardations and delay phase axes of the first retardation plate and of the second retardation plate.
Next, described below is the reflection-type liquid crystal display device according to an eleventh embodiment of the invention.
The reflection-type liquid crystal display device of the eleventh embodiment is the one in which the reflection-preventingfilm63 is removed from the surface of thefirst retardation plate61 of the tenth embodiment.
Here, the in-plane retardation of thesecond retardation plate64 is 132 nm, and the angle subtended by the delay phase axes of thefirst retardation plate61 and of thesecond retardation plate64 is 0 degree. Measurement of the reflection intensity at a pole angle of 45 degrees indicates that the reflection intensity of black display at ΔRth=0 nm is about 4 times as great as that of the tenth embodiment but CR is one-fourth.
This indicates that the interface to the air layer dominates the reflection by the interface, and the contrast can be improved to a considerable degree if the reflection by the interface is suppressed by using the reflection-preventing film.
The reflection-type liquid crystal display device of the eleventh embodiment exhibits inferior characteristics to the liquid crystal display device of the tenth embodiment but features an enhanced contrast compared to that of the prior art.
Next, the reflection-type liquid crystal display device according to a twelfth embodiment of the invention will be described with reference toFIG. 15.
The reflection-type liquid crystal display device according to the twelfth embodiment is the one in which thesticking layer62 containing the light-diffusing material on the side of the liquidcrystal display panel10 and thesticking layer67 containing the light-diffusing material on the side of thelight guide plate23 have haze values (cloudiness values) of 20[%] to 60[%] of the reflection-type liquid crystal display device of the tenth embodiment.
FIG. 15 is a diagram which illustrates the results of improvement in the Newton rings or moiré interference fringes at each of the haze values and the interference rainbow due to the reflection electrode.
For comparison, there are fabricated a reflection-type liquid crystal display device without light-diffusing materials in the respective sticking layers and a reflection-type liquid crystal display device having fine ruggedness formed on the surface of thefirst retardation plate61 and subjected to the anti-glare (AG) treatment only.
As will be obvious from the drawing, use of thesticking layer67 containing the light-diffusing material on the side of thelight guide plate23 decreases the display shading such as Newton rings and moiré fringes caused chiefly by the light guide plate. On the other hand, use of thesticking layer61 containing the light-diffusing material on the side of the liquidcrystal display panel10 decreases the display shade caused chiefly by the reflection-type liquid crystal display panel, such as interference rainbow due to the reflection electrode.
Here, the light-diffusing function increases with an increase in the haze values enabling the display shading to be further decreased. If the haze value is increased to be not smaller than 60[%], however, the contrast decreases and the image is further blurred.
It is therefore desired that the sticking layer containing the light-diffusing material having such a diffusion degree that the haze value is about 40[%], is used for both or for at least either one of thesticking layer62 containing the light-diffusing material on the side of the liquidcrystal display panel10 and thesticking layer67 containing the light-diffusing material on the side of thelight guide plate23.
The display shading is observed in the reflection-type liquid crystal display devices for comparison without the light-diffusing material in the sticking layers.
Decreased interference fringes are exhibited by the reflection-type liquid crystal display devices which have fine ruggedness formed on the surface of thefirst retardation plate61 and which are subjected to the anti-glare (AG) treatment. However, scars occur due to the abrasion of thefirst retardation plate61 having ruggedness in the surface and the abrasion of the second retardation plate having a flat surface.
Described below next with reference toFIG. 16 is the reflection-type liquid crystal display device according to a thirteenth embodiment of the invention.
The reflection-type liquid crystal display device of the thirteenth embodiment is the same as that of the above tenth embodiment except that a viewingangle control plate74 such as LUMISTY (trade name, manufactured by Sumitomo Kagaku Co.) for diffusing an incident beam from a particular direction is arranged between thelight guide plate23 and thepolarizing plate66.
FIG. 16 is a diagram illustrating the diffusion characteristics of the viewingangle control plate74. The viewingangle control plate74 is so designed as to permit the transmission of light incident within a range of ±25 degrees from the direction perpendicular to the substrate and to diffuse the light incident in a range of ±25 to 55 degrees.
Though the angular range of diffusion can be arbitrarily set, the angle is set within the above range since the occurrence of display shading is conspicuous in the above angular range.
This is because, the display shading is caused by the diffraction phenomenon and the diffraction is seen from a certain direction even if the prism shape is optimized so that the diffraction will not be seen from the direction of front surface.
As a result of observing how the display shading can be seen, it is learned that, though the display is slightly shaded, the contrast is high and the image is not blurred within a range of ±25 degrees from the direction perpendicular to the substrate which is the direction from the viewer. In the range of ±25 to 55 degrees, further, the display shading is not almost seen decreasing the offensive feeling caused by the display shading in the visible range.
Though various embodiments of the invention was described above, it should be noted that the invention is in no way limited to the constitutions of the above embodiments only but can be modified in a variety of ways.
In the first embodiment, for example, the surface of the liquid crystal display panel is scarred by blasting the sand. However, the scars can be formed not only by the sand blasting.
In the above embodiments, further, the polarizing plate and the light guide plate are stuck together, and the retardation plate and the liquid crystal display panel are stuck together, by using sticking layers. However, the polarizing plate and the light guide plate, and the retardation plate and the liquid crystal display panel, may be stuck together not only by using the sticking layers but also by using an adhesive such as a UV-curable adhesive.
Further, though not described in detail, the constitutions of the eighth and the ninth embodiments comply with that of the above tenth embodiment, and the constitutions described in the Section of “Summary of the Invention” can be employed.
According to the invention, as described above, since moiré frigges and the interference rainbow can be decreased, it is possible to improve the quality of display in the reflection-type liquid crystal display device using the front light unit. Therefore, the invention contributes largely toward particularly realizing the reflection-type liquid crystal display device with high quality of display for middle-sized and large-sized display.

Claims (1)

1. A reflection-type liquid crystal display device comprising:
a light guide plate having a polarizing element stuck or adhered thereto on the side facing a reflection-type liquid crystal display panel, the polarizing element maintaining a predetermined air gap relative to the reflection-type liquid crystal display panel;
a source of light arranged on an end surface side of the light guide plate; and
a light-diffusing function imparted to the surface of the reflection-type liquid crystal display panel on the side facing the light guide plate,
wherein the reflection-type liquid crystal display panel has a rough surface on the side facing the light guide plate, and a haze (H) defined as an index represented by a ratio of a diffusion transmission factor (Td) and a total light ray transmission factor (Tt) is given by:

H[%]=(Td/Tt)×100,
US10/810,4832003-03-312004-03-26Reflection-type liquid crystal display deviceExpired - Fee RelatedUS7359011B2 (en)

Priority Applications (2)

Application NumberPriority DateFiling DateTitle
US11/983,869US20080074591A1 (en)2003-03-312007-11-13Reflection-type liquid crystal display device
US13/081,576US8134661B2 (en)2003-03-312011-04-07Reflection-type liquid crystal display device

Applications Claiming Priority (2)

Application NumberPriority DateFiling DateTitle
JP2003095011AJP4294992B2 (en)2003-03-312003-03-31 Reflective liquid crystal display
JP2003-0950112003-03-31

Related Child Applications (1)

Application NumberTitlePriority DateFiling Date
US11/983,869DivisionUS20080074591A1 (en)2003-03-312007-11-13Reflection-type liquid crystal display device

Publications (2)

Publication NumberPublication Date
US20040223094A1 US20040223094A1 (en)2004-11-11
US7359011B2true US7359011B2 (en)2008-04-15

Family

ID=33407437

Family Applications (3)

Application NumberTitlePriority DateFiling Date
US10/810,483Expired - Fee RelatedUS7359011B2 (en)2003-03-312004-03-26Reflection-type liquid crystal display device
US11/983,869AbandonedUS20080074591A1 (en)2003-03-312007-11-13Reflection-type liquid crystal display device
US13/081,576Expired - Fee RelatedUS8134661B2 (en)2003-03-312011-04-07Reflection-type liquid crystal display device

Family Applications After (2)

Application NumberTitlePriority DateFiling Date
US11/983,869AbandonedUS20080074591A1 (en)2003-03-312007-11-13Reflection-type liquid crystal display device
US13/081,576Expired - Fee RelatedUS8134661B2 (en)2003-03-312011-04-07Reflection-type liquid crystal display device

Country Status (4)

CountryLink
US (3)US7359011B2 (en)
JP (1)JP4294992B2 (en)
KR (1)KR100809794B1 (en)
TW (1)TWI235972B (en)

Cited By (31)

* Cited by examiner, † Cited by third party
Publication numberPriority datePublication dateAssigneeTitle
US20060066783A1 (en)*2004-09-272006-03-30Sampsell Jeffrey BMethods and devices for lighting displays
US20060077522A1 (en)*2004-09-272006-04-13Manish KothariMethod and device for compensating for color shift as a function of angle of view
US20060261337A1 (en)*2005-05-202006-11-23Sanyo Epson Imaging Devices Corp.Display device
US20080084602A1 (en)*2006-10-062008-04-10Gang XuInternal optical isolation structure for integrated front or back lighting
US20080100900A1 (en)*2006-10-272008-05-01Clarence ChuiLight guide including optical scattering elements and a method of manufacture
US20080252815A1 (en)*2007-04-132008-10-16Wintek CorporationPolarization structure and liquid crystal display device having the same
US20080267572A1 (en)*2007-04-302008-10-30Qualcomm Mems Technologies, Inc.Dual film light guide for illuminating displays
US20080309850A1 (en)*2005-05-202008-12-18Sanyo Electric Co., Ltd.Display device
US20090067190A1 (en)*2006-01-242009-03-12Kimoto Co., Ltd.Optical Film and Backlight Unit Using the Same
US20090097100A1 (en)*2004-09-272009-04-16Idc, LlcOptical films for controlling angular characteristics of displays
US20090147332A1 (en)*2007-12-072009-06-11Quanlcomm IncorporatedDecoupled holographic film and diffuser
US20090201571A1 (en)*2008-02-122009-08-13Qualcomm Mems Technologies, Inc.Integrated front light diffuser for reflective displays
US7603001B2 (en)2006-02-172009-10-13Qualcomm Mems Technologies, Inc.Method and apparatus for providing back-lighting in an interferometric modulator display device
US20090255569A1 (en)*2008-04-112009-10-15Qualcomm Mems Technologies, Inc.Method to improve pv aesthetics and efficiency
US20090296193A1 (en)*2008-05-282009-12-03Qualcomm Mems Technologies, Inc.Front Light Devices and Methods of Fabrication Thereof
US7706050B2 (en)2004-03-052010-04-27Qualcomm Mems Technologies, Inc.Integrated modulator illumination
US7710636B2 (en)2004-09-272010-05-04Qualcomm Mems Technologies, Inc.Systems and methods using interferometric optical modulators and diffusers
US20100141557A1 (en)*2006-10-062010-06-10Qualcomm Mems Technologies, Inc.Light guide
US7766498B2 (en)2006-06-212010-08-03Qualcomm Mems Technologies, Inc.Linear solid state illuminator
US7777954B2 (en)*2007-01-302010-08-17Qualcomm Mems Technologies, Inc.Systems and methods of providing a light guiding layer
US7845841B2 (en)2006-08-282010-12-07Qualcomm Mems Technologies, Inc.Angle sweeping holographic illuminator
US8040589B2 (en)2008-02-122011-10-18Qualcomm Mems Technologies, Inc.Devices and methods for enhancing brightness of displays using angle conversion layers
US8045252B2 (en)2004-02-032011-10-25Qualcomm Mems Technologies, Inc.Spatial light modulator with integrated optical compensation structure
US8049951B2 (en)2008-04-152011-11-01Qualcomm Mems Technologies, Inc.Light with bi-directional propagation
US8107155B2 (en)2006-10-062012-01-31Qualcomm Mems Technologies, Inc.System and method for reducing visual artifacts in displays
US8368981B2 (en)2006-10-102013-02-05Qualcomm Mems Technologies, Inc.Display device with diffractive optics
US8902484B2 (en)2010-12-152014-12-02Qualcomm Mems Technologies, Inc.Holographic brightness enhancement film
US8979349B2 (en)2009-05-292015-03-17Qualcomm Mems Technologies, Inc.Illumination devices and methods of fabrication thereof
US9019183B2 (en)2006-10-062015-04-28Qualcomm Mems Technologies, Inc.Optical loss structure integrated in an illumination apparatus
US9025235B2 (en)2002-12-252015-05-05Qualcomm Mems Technologies, Inc.Optical interference type of color display having optical diffusion layer between substrate and electrode
US20190302348A1 (en)*2018-04-022019-10-03E Ink Holdings Inc.Reflective display device and method of manufacturing the same

Families Citing this family (34)

* Cited by examiner, † Cited by third party
Publication numberPriority datePublication dateAssigneeTitle
JP2006323305A (en)*2005-05-202006-11-30Sanyo Epson Imaging Devices CorpDisplay device
EP1930718B1 (en)*2005-08-262014-11-19CCS Inc.Inspection device with light irradiation device
JP2007279323A (en)*2006-04-052007-10-25Toshiba Matsushita Display Technology Co LtdLiquid crystal display device
CN101334558B (en)*2007-06-292011-04-20群康科技(深圳)有限公司Backlight module group and LCD device
GB2453323A (en)*2007-10-012009-04-08Sharp KkFlexible backlight arrangement and display
KR101977250B1 (en)*2012-11-302019-08-28엘지디스플레이 주식회사Stereoscopic Image Display Device and Manufacturing Method the same
KR102004763B1 (en)2013-05-302019-07-29삼성전기주식회사Dispersion solution for preparing resin-inorganic particle composite, and method for forming the dispersion solution
CN103969896B (en)*2014-04-142016-02-10京东方科技集团股份有限公司A kind of flexible display panels and flexible display
TWI622733B (en)2016-01-182018-05-01元太科技工業股份有限公司Light emitting device and light guide plate thereof
EP3458897B1 (en)2016-05-192025-04-02RealD Spark, LLCWide angle imaging directional backlights
US20210199879A1 (en)2017-05-082021-07-01Reald Spark, LlcOptical stack for imaging directional backlights
CN116841075A (en)*2017-05-082023-10-03瑞尔D斯帕克有限责任公司Optical stack for directional display
TWI878209B (en)2017-09-152025-04-01美商瑞爾D斯帕克有限責任公司Display device and a view angle control optical element for application to a display device
US10976578B2 (en)2018-01-252021-04-13Reald Spark, LlcReflective optical stack for privacy display
KR102759510B1 (en)2018-01-252025-02-04리얼디 스파크, 엘엘씨 Touchscreen for privacy display
EP3769516B1 (en)2018-03-222025-06-25RealD Spark, LLCOptical waveguide for directional backlight
US11079645B2 (en)2018-06-292021-08-03Reald Spark, LlcStabilization for privacy display
WO2020018552A1 (en)2018-07-182020-01-23Reald Spark, LlcOptical stack for switchable directional display
JP6873203B2 (en)*2018-09-192021-05-19シャープ株式会社 Reflective liquid crystal display device
US11106103B2 (en)2018-10-032021-08-31Reald Spark, LlcPrivacy display apparatus controlled in response to environment of apparatus
US11092852B2 (en)2018-11-072021-08-17Reald Spark, LlcDirectional display apparatus
US10976588B2 (en)*2018-12-182021-04-13Gentex CorporationConcealed displays
TW202102883A (en)2019-07-022021-01-16美商瑞爾D斯帕克有限責任公司Directional display apparatus
US11733578B2 (en)2019-11-132023-08-22ReaID Spark, LLCDisplay device with uniform off-axis luminance reduction
CN114761844A (en)2019-12-102022-07-15瑞尔D斯帕克有限责任公司Control of reflection of display device
CN113076785A (en)*2020-01-062021-07-06广州印芯半导体技术有限公司Optical sensing system and nanostructure layer
WO2021222606A1 (en)2020-04-302021-11-04Reald Spark, LlcDirectional display apparatus
EP4189447A4 (en)2020-07-292024-07-31RealD Spark, LLCPupillated illumination apparatus
EP4189285A4 (en)2020-07-292024-07-24RealD Spark, LLC REAR LIGHTING FOR A SWITCHABLE DIRECTION INDICATOR
US11892717B2 (en)2021-09-302024-02-06Reald Spark, LlcMarks for privacy display
WO2023154217A1 (en)2022-02-092023-08-17Reald Spark, LlcObserver-tracked privacy display
EP4505240A1 (en)2022-04-072025-02-12RealD Spark, LLCDirectional display apparatus
WO2024226506A1 (en)2023-04-252024-10-31Reald Spark, LlcSwitchable privacy display
WO2025030030A2 (en)2023-08-032025-02-06Reald Spark, LlcPrivacy displays

Citations (16)

* Cited by examiner, † Cited by third party
Publication numberPriority datePublication dateAssigneeTitle
JPH11259007A (en)1998-03-101999-09-24Sony CorpReflection type display device
JPH11344707A (en)1998-06-021999-12-14Nissha Printing Co LtdIllumination device for reflection type liquid crystal display
JP2000131667A (en)1998-10-222000-05-12Hitachi Ltd Liquid crystal display
JP2000155315A (en)1998-09-142000-06-06Sharp Corp Front light and reflective liquid crystal display
US6196692B1 (en)*1998-04-172001-03-06Nitto Denko CorporationLight conductive plate , surface light source device, and reflection type liquid-crystal display
JP2001108986A (en)1999-10-012001-04-20Seiko Epson Corp Electro-optical devices and electronic equipment
US6266108B1 (en)*1997-03-252001-07-24Sony CorporationReflective liquid crystal display device with a panel, a light guide plate and polarizing plate
US20010046134A1 (en)*2000-04-272001-11-29Dai Nippon Printing Co., Ltd.Directional diffusing film
JP2002006143A (en)2000-06-262002-01-09Nitto Denko Corp Light guide plate, surface light source device and reflection type liquid crystal display device
US20020015123A1 (en)*1997-09-252002-02-07Dai Nippon Printing Co., Ltd.Polarizing plate having a light diffusing layer
US20020015314A1 (en)2000-06-262002-02-07Nitto Denko CorporationLight pipe, plane light source unit and reflection type liquid-crystal display device
US6507378B1 (en)*1998-05-112003-01-14Nitto Denki CorporationReflection type liquid-crystal display unit
JP2003066236A (en)2001-08-272003-03-05Nitto Denko Corp Light guide plate, polarization plane light source device and reflection type liquid crystal display device
US6734934B2 (en)*2002-01-092004-05-11Alps Electric Co., Ltd.External reflective type liquid crystal display having substrate with light scattering surface and reflector with irregular surface
US6866393B2 (en)*2000-07-052005-03-15Nitto Denko CorporationReflective liquid crystal display
US7030944B2 (en)*1998-12-142006-04-18Nec Lcd Technologies, Ltd.Liquid crystal display device with roughened surfaces to reduce moiré fringe effects

Family Cites Families (7)

* Cited by examiner, † Cited by third party
Publication numberPriority datePublication dateAssigneeTitle
US5245456A (en)*1990-10-241993-09-14Nitto Denko CorporationBirefringent film with nx >nz >ny, process for producing the same, retardation film, elliptically polarizing plate, and liquid crystal display
US6392727B1 (en)*1998-12-312002-05-21Honeywell International Inc.Reduced reflectance polarized display
US6933991B2 (en)*1999-01-222005-08-23White Electronic Designs Corp.Super bright low reflectance liquid crystal display
JP2002311432A (en)2001-04-132002-10-23Kyocera Corp Reflective liquid crystal display
JP2003043480A (en)2001-07-312003-02-13Optrex CorpReflection type liquid crystal display device
JP2003043482A (en)2001-08-012003-02-13Fuji Photo Film Co LtdReflection type liquid crystal display device
KR100875869B1 (en)*2001-10-092008-12-24데이진 가부시키가이샤 Use of liquid crystal display device and retardation film used therein

Patent Citations (18)

* Cited by examiner, † Cited by third party
Publication numberPriority datePublication dateAssigneeTitle
US6266108B1 (en)*1997-03-252001-07-24Sony CorporationReflective liquid crystal display device with a panel, a light guide plate and polarizing plate
US20020015123A1 (en)*1997-09-252002-02-07Dai Nippon Printing Co., Ltd.Polarizing plate having a light diffusing layer
US6108059A (en)1998-03-102000-08-22Sony CorporationReflective display having a laminated structure of a polarizer and quarter wave plate being attached to a light guide plate
JPH11259007A (en)1998-03-101999-09-24Sony CorpReflection type display device
US6196692B1 (en)*1998-04-172001-03-06Nitto Denko CorporationLight conductive plate , surface light source device, and reflection type liquid-crystal display
US6507378B1 (en)*1998-05-112003-01-14Nitto Denki CorporationReflection type liquid-crystal display unit
JPH11344707A (en)1998-06-021999-12-14Nissha Printing Co LtdIllumination device for reflection type liquid crystal display
JP2000155315A (en)1998-09-142000-06-06Sharp Corp Front light and reflective liquid crystal display
US6340999B1 (en)*1998-09-142002-01-22Sharp Kabushiki KaishaFront light, and reflective type LCD including same
JP2000131667A (en)1998-10-222000-05-12Hitachi Ltd Liquid crystal display
US7030944B2 (en)*1998-12-142006-04-18Nec Lcd Technologies, Ltd.Liquid crystal display device with roughened surfaces to reduce moiré fringe effects
JP2001108986A (en)1999-10-012001-04-20Seiko Epson Corp Electro-optical devices and electronic equipment
US20010046134A1 (en)*2000-04-272001-11-29Dai Nippon Printing Co., Ltd.Directional diffusing film
US20020015314A1 (en)2000-06-262002-02-07Nitto Denko CorporationLight pipe, plane light source unit and reflection type liquid-crystal display device
JP2002006143A (en)2000-06-262002-01-09Nitto Denko Corp Light guide plate, surface light source device and reflection type liquid crystal display device
US6866393B2 (en)*2000-07-052005-03-15Nitto Denko CorporationReflective liquid crystal display
JP2003066236A (en)2001-08-272003-03-05Nitto Denko Corp Light guide plate, polarization plane light source device and reflection type liquid crystal display device
US6734934B2 (en)*2002-01-092004-05-11Alps Electric Co., Ltd.External reflective type liquid crystal display having substrate with light scattering surface and reflector with irregular surface

Cited By (51)

* Cited by examiner, † Cited by third party
Publication numberPriority datePublication dateAssigneeTitle
US9025235B2 (en)2002-12-252015-05-05Qualcomm Mems Technologies, Inc.Optical interference type of color display having optical diffusion layer between substrate and electrode
US9019590B2 (en)2004-02-032015-04-28Qualcomm Mems Technologies, Inc.Spatial light modulator with integrated optical compensation structure
US8045252B2 (en)2004-02-032011-10-25Qualcomm Mems Technologies, Inc.Spatial light modulator with integrated optical compensation structure
US8111445B2 (en)2004-02-032012-02-07Qualcomm Mems Technologies, Inc.Spatial light modulator with integrated optical compensation structure
US7706050B2 (en)2004-03-052010-04-27Qualcomm Mems Technologies, Inc.Integrated modulator illumination
US8111446B2 (en)2004-09-272012-02-07Qualcomm Mems Technologies, Inc.Optical films for controlling angular characteristics of displays
US20060077522A1 (en)*2004-09-272006-04-13Manish KothariMethod and device for compensating for color shift as a function of angle of view
US8861071B2 (en)2004-09-272014-10-14Qualcomm Mems Technologies, Inc.Method and device for compensating for color shift as a function of angle of view
US20060066783A1 (en)*2004-09-272006-03-30Sampsell Jeffrey BMethods and devices for lighting displays
US7750886B2 (en)2004-09-272010-07-06Qualcomm Mems Technologies, Inc.Methods and devices for lighting displays
US20090097100A1 (en)*2004-09-272009-04-16Idc, LlcOptical films for controlling angular characteristics of displays
US7710636B2 (en)2004-09-272010-05-04Qualcomm Mems Technologies, Inc.Systems and methods using interferometric optical modulators and diffusers
US7630123B2 (en)2004-09-272009-12-08Qualcomm Mems Technologies, Inc.Method and device for compensating for color shift as a function of angle of view
US20080309850A1 (en)*2005-05-202008-12-18Sanyo Electric Co., Ltd.Display device
US8536568B2 (en)2005-05-202013-09-17Sanyo Electric Co., Ltd.Display device
US20060261337A1 (en)*2005-05-202006-11-23Sanyo Epson Imaging Devices Corp.Display device
US8970104B2 (en)2005-05-202015-03-03Epson Imaging Devices CorporationDisplay device
US9357612B2 (en)2005-05-202016-05-31Epson Imaging Devices CorporationDisplay device
US8841837B2 (en)2005-05-202014-09-23Epson Imaging Devices CorporationDisplay device
US7847883B2 (en)2005-05-202010-12-07Epson Imaging Devices CorporationReflective liquid crystal display device
US20090067190A1 (en)*2006-01-242009-03-12Kimoto Co., Ltd.Optical Film and Backlight Unit Using the Same
US7603001B2 (en)2006-02-172009-10-13Qualcomm Mems Technologies, Inc.Method and apparatus for providing back-lighting in an interferometric modulator display device
US7766498B2 (en)2006-06-212010-08-03Qualcomm Mems Technologies, Inc.Linear solid state illuminator
US7845841B2 (en)2006-08-282010-12-07Qualcomm Mems Technologies, Inc.Angle sweeping holographic illuminator
US8872085B2 (en)2006-10-062014-10-28Qualcomm Mems Technologies, Inc.Display device having front illuminator with turning features
US20100141557A1 (en)*2006-10-062010-06-10Qualcomm Mems Technologies, Inc.Light guide
US7855827B2 (en)2006-10-062010-12-21Qualcomm Mems Technologies, Inc.Internal optical isolation structure for integrated front or back lighting
US8107155B2 (en)2006-10-062012-01-31Qualcomm Mems Technologies, Inc.System and method for reducing visual artifacts in displays
US9019183B2 (en)2006-10-062015-04-28Qualcomm Mems Technologies, Inc.Optical loss structure integrated in an illumination apparatus
US20080084602A1 (en)*2006-10-062008-04-10Gang XuInternal optical isolation structure for integrated front or back lighting
US8368981B2 (en)2006-10-102013-02-05Qualcomm Mems Technologies, Inc.Display device with diffractive optics
US7864395B2 (en)2006-10-272011-01-04Qualcomm Mems Technologies, Inc.Light guide including optical scattering elements and a method of manufacture
US20080100900A1 (en)*2006-10-272008-05-01Clarence ChuiLight guide including optical scattering elements and a method of manufacture
US7777954B2 (en)*2007-01-302010-08-17Qualcomm Mems Technologies, Inc.Systems and methods of providing a light guiding layer
US20080252815A1 (en)*2007-04-132008-10-16Wintek CorporationPolarization structure and liquid crystal display device having the same
US20080267572A1 (en)*2007-04-302008-10-30Qualcomm Mems Technologies, Inc.Dual film light guide for illuminating displays
US7733439B2 (en)2007-04-302010-06-08Qualcomm Mems Technologies, Inc.Dual film light guide for illuminating displays
US20090147332A1 (en)*2007-12-072009-06-11Quanlcomm IncorporatedDecoupled holographic film and diffuser
US8798425B2 (en)2007-12-072014-08-05Qualcomm Mems Technologies, Inc.Decoupled holographic film and diffuser
US8068710B2 (en)2007-12-072011-11-29Qualcomm Mems Technologies, Inc.Decoupled holographic film and diffuser
US20090201571A1 (en)*2008-02-122009-08-13Qualcomm Mems Technologies, Inc.Integrated front light diffuser for reflective displays
US8300304B2 (en)2008-02-122012-10-30Qualcomm Mems Technologies, Inc.Integrated front light diffuser for reflective displays
US8040589B2 (en)2008-02-122011-10-18Qualcomm Mems Technologies, Inc.Devices and methods for enhancing brightness of displays using angle conversion layers
US20090255569A1 (en)*2008-04-112009-10-15Qualcomm Mems Technologies, Inc.Method to improve pv aesthetics and efficiency
US8049951B2 (en)2008-04-152011-11-01Qualcomm Mems Technologies, Inc.Light with bi-directional propagation
US8346048B2 (en)2008-05-282013-01-01Qualcomm Mems Technologies, Inc.Front light devices and methods of fabrication thereof
US20090296193A1 (en)*2008-05-282009-12-03Qualcomm Mems Technologies, Inc.Front Light Devices and Methods of Fabrication Thereof
US8979349B2 (en)2009-05-292015-03-17Qualcomm Mems Technologies, Inc.Illumination devices and methods of fabrication thereof
US9121979B2 (en)2009-05-292015-09-01Qualcomm Mems Technologies, Inc.Illumination devices and methods of fabrication thereof
US8902484B2 (en)2010-12-152014-12-02Qualcomm Mems Technologies, Inc.Holographic brightness enhancement film
US20190302348A1 (en)*2018-04-022019-10-03E Ink Holdings Inc.Reflective display device and method of manufacturing the same

Also Published As

Publication numberPublication date
KR100809794B1 (en)2008-03-04
US20110181815A1 (en)2011-07-28
US20040223094A1 (en)2004-11-11
KR20040088380A (en)2004-10-16
US20080074591A1 (en)2008-03-27
JP2004302135A (en)2004-10-28
TW200426730A (en)2004-12-01
JP4294992B2 (en)2009-07-15
TWI235972B (en)2005-07-11
US8134661B2 (en)2012-03-13

Similar Documents

PublicationPublication DateTitle
US7359011B2 (en)Reflection-type liquid crystal display device
KR100472893B1 (en)Reflective display device and prism array sheet
CN101300521B (en)Liquid crystal display device having a plurality of pixel electrodes
JP2022543020A (en) Optical Stack for Privacy Display
KR100859301B1 (en)Liquid crystal display device
CN101512400B (en)Polarization control system and display device
US20090040440A1 (en)Color compensation multi-layered member for display apparatus, optical filter for display apparatus having the same and display apparatus having the same
JP5091368B2 (en) LCD panel
KR20010076263A (en)Optical film and liquid-crystal display device
JP2009282424A (en)Liquid crystal display, electronic equipment, and polarizing body
US5721600A (en)Reflective liquid crystal display with optical compensation plates
WO2014196528A1 (en)Liquid crystal display device
KR20020073404A (en)Optical film and liquid-crystal display device
JP2001228315A (en) Reflector and liquid crystal display
JP2006501516A (en) Liquid crystal display
JP2012022336A (en)Optical film and liquid crystal display device
JP4805335B2 (en) Reflective liquid crystal display
TWI781837B (en)Display
JP2002116435A (en)Display device
JP2012145943A (en)Optical film for reducing color shift for liquid crystal display device and liquid crystal display device having the film
JP2001194529A (en) Optical path conversion polarizing plate
JP2003195053A (en) Polarizing plate and liquid crystal display
US20240329471A1 (en)Marks for Angular Optical Filters
JP2007155968A (en) Liquid crystal display
JP2003279986A (en) Liquid crystal display and electronic equipment

Legal Events

DateCodeTitleDescription
ASAssignment

Owner name:FUJITSU DISPLAY TECHNOLOGIES CORPORATION, JAPAN

Free format text:ASSIGNMENT OF ASSIGNORS INTEREST;ASSIGNORS:HAMADA, TETSUYA;TASHIRO, KUNIHIRO;SUGAWARA, MARI;AND OTHERS;REEL/FRAME:015565/0618

Effective date:20040317

ASAssignment

Owner name:FUJITSU LIMITED,JAPAN

Free format text:ASSIGNMENT OF ASSIGNORS INTEREST;ASSIGNOR:FUJITSU DISPLAY TECHNOLOGIES CORPORATION;REEL/FRAME:016345/0310

Effective date:20050630

Owner name:FUJITSU LIMITED, JAPAN

Free format text:ASSIGNMENT OF ASSIGNORS INTEREST;ASSIGNOR:FUJITSU DISPLAY TECHNOLOGIES CORPORATION;REEL/FRAME:016345/0310

Effective date:20050630

ASAssignment

Owner name:SHARP KABUSHIKI KAISHA,JAPAN

Free format text:ASSIGNMENT OF ASSIGNORS INTEREST;ASSIGNOR:FUJITSU LIMITED;REEL/FRAME:016345/0210

Effective date:20050701

Owner name:SHARP KABUSHIKI KAISHA, JAPAN

Free format text:ASSIGNMENT OF ASSIGNORS INTEREST;ASSIGNOR:FUJITSU LIMITED;REEL/FRAME:016345/0210

Effective date:20050701

STCFInformation on status: patent grant

Free format text:PATENTED CASE

FEPPFee payment procedure

Free format text:PAYOR NUMBER ASSIGNED (ORIGINAL EVENT CODE: ASPN); ENTITY STATUS OF PATENT OWNER: LARGE ENTITY

FPAYFee payment

Year of fee payment:4

CCCertificate of correction
FEPPFee payment procedure

Free format text:PAYER NUMBER DE-ASSIGNED (ORIGINAL EVENT CODE: RMPN); ENTITY STATUS OF PATENT OWNER: LARGE ENTITY

Free format text:PAYOR NUMBER ASSIGNED (ORIGINAL EVENT CODE: ASPN); ENTITY STATUS OF PATENT OWNER: LARGE ENTITY

FPAYFee payment

Year of fee payment:8

FEPPFee payment procedure

Free format text:MAINTENANCE FEE REMINDER MAILED (ORIGINAL EVENT CODE: REM.); ENTITY STATUS OF PATENT OWNER: LARGE ENTITY

LAPSLapse for failure to pay maintenance fees

Free format text:PATENT EXPIRED FOR FAILURE TO PAY MAINTENANCE FEES (ORIGINAL EVENT CODE: EXP.); ENTITY STATUS OF PATENT OWNER: LARGE ENTITY

STCHInformation on status: patent discontinuation

Free format text:PATENT EXPIRED DUE TO NONPAYMENT OF MAINTENANCE FEES UNDER 37 CFR 1.362

FPLapsed due to failure to pay maintenance fee

Effective date:20200415


[8]ページ先頭

©2009-2025 Movatter.jp