Movatterモバイル変換


[0]ホーム

URL:


US7184824B2 - Method and system for examining tissue according to the dielectric properties thereof - Google Patents

Method and system for examining tissue according to the dielectric properties thereof
Download PDF

Info

Publication number
US7184824B2
US7184824B2US10/965,752US96575204AUS7184824B2US 7184824 B2US7184824 B2US 7184824B2US 96575204 AUS96575204 AUS 96575204AUS 7184824 B2US7184824 B2US 7184824B2
Authority
US
United States
Prior art keywords
tissue
probe
electrical
examination
pulse
Prior art date
Legal status (The legal status is an assumption and is not a legal conclusion. Google has not performed a legal analysis and makes no representation as to the accuracy of the status listed.)
Expired - Lifetime
Application number
US10/965,752
Other versions
US20050107718A1 (en
Inventor
Dan Hashimshony
Current Assignee (The listed assignees may be inaccurate. Google has not performed a legal analysis and makes no representation or warranty as to the accuracy of the list.)
Dune Medical Devices Ltd
Original Assignee
Dune Medical Devices Ltd
Priority date (The priority date is an assumption and is not a legal conclusion. Google has not performed a legal analysis and makes no representation as to the accuracy of the date listed.)
Filing date
Publication date
Application filed by Dune Medical Devices LtdfiledCriticalDune Medical Devices Ltd
Priority to US10/965,752priorityCriticalpatent/US7184824B2/en
Publication of US20050107718A1publicationCriticalpatent/US20050107718A1/en
Priority to US11/705,143prioritypatent/US8019411B2/en
Application grantedgrantedCritical
Publication of US7184824B2publicationCriticalpatent/US7184824B2/en
Priority to US11/797,167prioritypatent/US8032211B2/en
Priority to US11/797,166prioritypatent/US20080287750A1/en
Assigned to OXFORD FINANCE LLC, AS COLLATERAL AGENT AND AS LENDERreassignmentOXFORD FINANCE LLC, AS COLLATERAL AGENT AND AS LENDERSECURITY INTEREST (SEE DOCUMENT FOR DETAILS).Assignors: DUNE MEDICAL DEVICES LTD., DUNE MEDICAL DEVICES, INC.
Assigned to DUNE MEDICAL DEVICES LTD., DUNE MEDICAL DEVICES, INC.reassignmentDUNE MEDICAL DEVICES LTD.RELEASE BY SECURED PARTY (SEE DOCUMENT FOR DETAILS).Assignors: OXFORD FINANCE LLC, AS COLLATERAL AGENT AND LENDER
Assigned to DUNE MEDICAL DEVICES LTD.reassignmentDUNE MEDICAL DEVICES LTD.ASSIGNMENT OF ASSIGNORS INTEREST (SEE DOCUMENT FOR DETAILS).Assignors: DUNE MEDICAL DEVICES LTD.
Anticipated expirationlegal-statusCritical
Expired - Lifetimelegal-statusCriticalCurrent

Links

Images

Classifications

Definitions

Landscapes

Abstract

A probe, method and system for examining tissue in order to differentiate it from other tissue according to the dielectric properties of the examined tissue are provided. The probe includes an inner conductor, having a plurality of sharp, thin, conductive spikes, at a proximal end with respect to a tissue for examination, the plurality of sharp, thin, conductive spikes being operative to enhance the electrical fringe fields, where interaction with the tissue for examination occurs. The method includes: applying the probe to the tissue to be examined, such that the probe generates an electrical fringe field in the zone of the examined tissue and produces a reflected pulse therefrom with negligible radiation penetrating into the tissue itself; detecting the reflected electrical pulse; and comparing electrical characteristics of the reflected electrical pulse with respect to the applied electrical pulse to provide an indication of the dielectric properties of the examined tissue.

Description

CROSS REFERENCE TO RELATED APPLICATION
This application is a continuation of U.S. patent application Ser. No. 10/035,428, filed on Jan. 4, 2002, now U.S. Pat. No. 6,813,515, issued on Nov. 2, 2004.
FIELD AND BACKGROUND OF THE INVENTION
The present invention relates to a method and apparatus for examining tissue in order to differentiate the examined tissue from other tissue according to the dielectric properties of the examined tissue. The invention is particularly useful to differentiate cancerous tissue, particularly breast cancer tissue, from normal, healthy tissue.
Breast cancer is the second leading cause of cancer deaths in women today (after lung cancer) and is the second most common form of cancer among women (after skin cancer). According to the World Health Organization, more than 1.2 million people will be diagnosed with breast cancer this year worldwide. The American Cancer Society estimates that in 2001, approximately 192,200 new cases of invasive breast cancer (Stages I–IV) will be diagnosed among women in the United States; and another 46,400 women will be diagnosed with ductal carcinoma in situ (DCIS), a non-invasive breast cancer. Though much less common, breast cancer also occurs in men, it being estimated that 1,500 cases will be diagnosed in men in 2001. It is further estimated that 40,600 deaths will occur in 2001 from breast cancer (40,200 among women, 400 among men) in the United States. The incidence rate of breast cancer (number of new breast cancers per 100,000 women) increased by approximately 4% during the 1980s but leveled off, to 100.6 cases per 100,000 women, in the 1990s. The death rates from breast cancer also declined significantly between 1992 and 1996, with the largest decreases being among younger women. Medical experts attribute the decline in breast cancer deaths to earlier detection and more effective treatments.
Mammography is currently the best available screening modality for early detection of breast cancer. If the mammography finds a subspecies legion, the individual is directed to undergo a biopsy or other advanced screening methods, like ultrasound or MRI CT etc. Only 20% of the women that undergo a biopsy proceed to a surgical treatment. The traditional method for histological confirmation involves open surgery biopsy. An alternative is image guided biopsy, which is less invasive and more costly. The total number of breast biopsies in the U.S. is about 1.2 M per year. The open biopsy itself is a surgical procedure in which the breast is open and the tumor or lump is taken out, preferably fully.
The traditional method of biopsy, however, is not always successful and fails to successfully remove the appropriate lesion in about 0.5–17% of the cases. Some of the reasons given for unsuccessful biopsies include: 1) poor radiological placement of the localization wire; 2) preoperative and intraoperative dislodgment of the wire; 3) surgical inaccuracy and inadequacy in excising the appropriate tissue; 4) failure to obtain a specimen radiograph; and 5) failure by the pathologist to locate the focus of the disease when searching through a larger tissue sample provided by the surgeon.
All of the above reasons stem from a fundamental problem that during the surgery, the surgeon does not have a real time indication or delineation of the tumor. Because of the difficulty in precisely delineating the cancerous tissue, the surgeon may cut out more than was really necessary to better assure that the entire tumor was removed.
Today, women with stage I and stage II breast cancer are candidates for treatment with modified radical mastectomy and with immediate reconstruction. Breast-conserving therapy (BCT) is also available. Breast conservation therapy consists of surgical removal of a breast nodule and of the auxiliary fat pad containing the auxiliary lymph nodes (about a quarter of the breast). This is followed by radiation therapy to the breast and auxiliary areas in some cases. In this type of operation, precise margin assessment or delineation of the cancerous tissue during the operation is crucial to the success of the procedure since the goal is to remove the tumor completely while minimizing damage to the breast.
This trade-off between complete removal of the tumor, and conservation of the breast, is usually difficult to optimize because the surgeon generally does not know the actual margins of the tumor. If the surgeon were able to clearly delineate the tumor margins during the operation by an on-line margin detector, this trade-off could be better optimized.
The ability of recognizing cancer cells, and especially breast cancer cells, using bioimpedance is well established in the biomedical literature5,6,7,8. The usual method for measuring bioimpedance is by introducing a sample into a special chamber and applying an AC current through it while recording the voltage across the sample at each frequency9,10. More modern methods rely on multiple electrode matrices which are connected with the human body and measure physiological and pathological changes. Some of the methods aim to localize tumor cells inside the human body and to form an image11,12. Although this method is approved by the FDA, it lacks the necessary accuracy for a screening device mainly because of the inherent limitations of long wavelengths and noise from the contact electrodes.
Another technique, based on magnetic13bioimpedance, measures the bioimpedance by magnetic induction. This technique consists of a single coil acting as both an electromagnetic source and a receiver operating typically in thefrequency range 1–10 MHz. When the coil is placed in a fixed geometric relationship to a conducting body, the alternating electric field in the coil generates electrical eddy current. A change in the bioimpedance induces changes in the eddy current, and as a result, a change in the magnetic field of those eddy currents. The coil acts as a receiver to detect such changes. Experiments with this technique achieved sensitivity of 95%, and specificity of 69%, distinguishing between 1% metastasis tumor and 20% metastasis tumor. Distinguishing between tumor and normal tissue is even better.
Although the exact mechanism responsible for tissue impedance at certain frequencies is not completely understood, the general mechanism14,15is well explained by semi-empirical models that are supported by experiments16,17,18.
Variations in electrical impedance of the human tissue are described in the patent literature to provide indications of tumors, lesions and other abnormalities. For example, U.S. Pat. Nos. 4,291,708; 4,458,694; 4,537,203; 4,617,939 and 4,539,640 exemplify prior art systems for tissue characterization by using multi-element probes which are pressed against the skin of the patient and measure impedance of the tissue to generate a two-dimensional impedance map. Other prior techniques of this type are described in WO 01/43630; U.S. Pat. Nos. 4,291,708 and U.S. 5,143,079. However, the above devices use a set of electrodes that must be electrically contacted with the tissue or body, and therefore the contact is usually a source of noise and also limits maneuverability of the probe over the organ.
Other prior patents, for example U.S. Pat. Nos. 5,807,257; 5,704,355 and 6,061,589 use millimeter and microwave devices to measure bioimpedance and to detect abnormal tissue. These methods direct a free propagating radiation, or a guided radiation via waveguide, onto the organ. The radiation is focused on a relatively small volume inside the organ, and the reflected radiation is then measured. However, these methods lack accuracy and spatial resolution since they are limited by the diffraction limit.
Another prior art technique is based on measurement of the resonance frequency of a resonator as influenced by the tissue impedance. This technique also uses radiation from an antenna, usually a small dipole antenna attached to a coaxial line. Although non-contact, the device actually measures average values inside the organ, and its ability to detect small tumor is doubtful. Similar prior art is described in Xu, Y., et al. “Theoretical and Experimental Study of Measurement of Microwave Permitivity using Open Ended Elliptical Coaxial Probes”. IEEE Trans AP-40(1), January 1992, pp 143–150.3. U.S. Pat. No. 6,109,270 (2000 NASA) describes a measurement concept with a multi-modality instrument for tissue identification in real-time neuro-surgical applications.
Other known prior art includes an open-ended coaxial2,3,4probe having a center conducting wire surrounding by an insulator and enclosed in an external shield. This type of tip generates both a near field evanescent wave and a far field propagating wave. The propagating wave is undesirable because it interferes with the near field evanescent wave. In order to minimizes the propagating wave, researchers attempted to use coaxial cable with smaller and smaller diameters. But eventually large energy losses and difficult construction limited this direction.
Other existing medical instruments provide general diagnoses for the detection of interfaces between different types of tissues, such as cancerous tissue and healthy tissue, etc. However, such detections have been limited clinically to pre-operative scans, or demand large scanning multi-million-dollar machines, like the MRI, CT, and Mammography. Furthermore, real-time attempts to use these detecting methods are very sensitive to movement of the body, and cannot really be used to position the cutting knife or the biopsy needle. Existing devices provide diagnostic data of limited use since the tissues sampled or removed, depends entirely upon the accuracy with which the localization provided by the preoperative CT, MRI, or US scan is translated to the intracranial biopsy site. Any movement of the organ or the localization device results in an error in biopsy localization. Also, no information about the tissue being cut by the needle or knife is provided.
Detecting breast cancer tissues by measuring bioimpedance is thus well established, and the ability of this technique for delineating cancerous cells inside the body has been proved. However, there is currently no reliable real-time bioimpedance measuring device of sufficiently high accuracy for local tissue characterization and of a spatial resolution comparable to that provided by mammography.
SUMMARY OF THE INVENTION
An object of the present invention is to provide a probe, a method, and also a system, having advantages in one or more of the above respects for examining tissue in order to differentiate the examined tissue from other tissue according to the dielectric properties of the examined tissue. Another object of the invention is to provide a method and system enabling more precise differentiation in a real-time manner of cancerous tissue from healthy, normal tissue.
According to one broad aspect of the present invention, there is provided a probe for examining tissue in order to differentiate it from other tissue according to the dielectric properties of the examined tissue, the probe comprising:
an inner conductor, which defines a general diameter section and a proximal end with respect to a tissue for examination;
an insulation layer, which substantially surrounds the inner conductor; and
an outer conductor, which substantially surrounds the inner conductor and the insulator layer,
the probe being configured for applying an electric pulse to the tissue for examination, generating electrical fringe fields in the tissue, in a near field, responsive to the electric pulse, applied thereto, thus producing a reflected electric pulse from the tissue for examination,
wherein the inner conductor includes at least one section of a different cross-section from that of the general diameter section, the different cross section leading to sharp edges,
wherein concentrated electrical charges at the sharp edges enhance the electrical fringe fields at the proximal end, where interaction with the tissue for examination occurs,
and wherein the at least one section of the different cross-section comprises a plurality of sharp, thin, conductive spikes, which enhance the electrical fringe fields at the proximal end, where the interaction with the tissue for examination occurs.
According to a more specific aspect of the present invention, there is provided a method of examining tissue in order to differentiate it from other tissue according to the dielectric properties of the examined tissue, comprising: providing a probe having an inner conductor insulated from, and enclosed by, an outer conductor open at one end and extending slightly past the inner conductor in the axial direction, to define an open cavity at one end of the probe; applying the probe to the tissue to be examined such that the examined tissue closes the open cavity at the one end of the probe; applying, via a transmission line at the opposite end of the probe, an electrical pulse which generates an electrical fringe field in the cavity closed by the examined tissue, and which produces a reflected electrical pulse therefrom; detecting the reflected electrical pulse; and comparing electrical characteristics of the reflected electrical pulse with respect to the applied electrical pulse to provide an indication of the dielectric properties of the examined tissue.
The electrical fringe field is an electrical field that exists at the edges of a charged conductor. Usually an electrical fringe field is a DC field, but in the present case, it is a time-dependent field since its source is a voltage pulse. The open cavity defined by the inner and outer conductors serves as a small capacitor probe in which the electrical fringing field is generated between the inner and outer conductors. When a pulse is transmitted through the transmission line to the probe open cavity of the probe closed by the tissue being examined, the pulse is reflected back to the transmission line. Generally speaking, the reflection depends on the impedance of the region at the open cavity of the probe, which impedance depends on the dielectric properties of the examined tissue closing the open end of the cavity. Accordingly, the reflected pulse carries with it information about the dielectric properties of the examined tissue. These properties produce a change in the time-domain-profile of the reflected pulse.
The electrical characteristics of the reflected electrical pulse are compared with those of the applied (incident) electrical pulse by sampling both electrical pulses at a plurality of spaced time intervals, e.g., every 0.2 nanoseconds, and comparing the voltage magnitudes of the two electrical pulses at the spaced time intervals. Both pulses are then transformed by a FFT function to the frequency domain, i.e., amplitude and phase for each frequency. The reflection coefficient is then calculated in the frequency domain; and the frequency dependent complex impedance of the tissue is then calculated using the theoretical relation between impedance and reflection.
It will thus be seen that when the examined tissue is placed in the region of the open cavity define by the inner and outer conductors of the probe, the electrical fringe field penetrates into the open cavity. This penetration is due to the relatively low conductivity of the tissue. Since the electrical fringe field penetrates the tissue, the build-up profile of the electrical fringe field depends on the dielectrical properties of the tissue which produce the changes in the reflected electrical pulse generated by the application of the applied (incident) electrical pulse to the open cavity.
According to further features in the preferred embodiments of the invention described below, the inner conductor includes a tip within the open cavity, which tip is formed with at least two different diameters for enhancing the electrical fringe field. Preferably, the tip of the inner conductor carries a plurality of sharp, thin, electrically-conductive projections, or spikes, for enhancing the electrical fringe field. In the preferred embodiment described below the thickness of these projections or spikes, when used, is from a few microns to about 200 microns.
Preferably, the above-obtained electrical characteristics of the examined tissue are compared with previously stored dielectric projections of known normal and cancerous tissues to constitute a first level of characterization of the examined tissue. A second level of characterization of the examined tissue may be effected to reduce ambiguities by comparing the Cole-Cole parameters of the examined tissue with those previously stored of known normal and cancerous tissues. A third level of characterization of the examined tissue may be effected to further reduce ambiguities by comparing similarities between three-dimensional curves of the examined tissue with those previously stored of known normal and cancerous tissues.
As will be described more particularly below, the method of the present invention, being based on the generation of an electrical fringe field with negligible radiation penetrating into the tissue itself, eliminates almost completely the propagating wave, while the evanescent wave reflections are reduced significantly.
The method of the present invention is thus to be distinguished from prior art, such as U.S. Pat. No. 6,173,604, which utilizes a scanning microwave microscope having a sharpened conducting tip extending through the end wall of a resonator, to reduce the effect of the propagating wave. Such a known probe, cannot be used to measure biological tissue without harming the tissue itself; furthermore, the evanescent wave of such a known probe will penetrate into the whole human body. Also, since such a known technique relies on average power measurement, and not on voltage measurement, it is not able to calculate dielectric properties in the time domain. Also, the frequency range in such method is in the microwave region of the electromagnetic spectrum. Further differences are that it is not flexible and cannot be hand-held.
Still further features and advantages of the invention will be apparent from the description below.
BRIEF DESCRIPTION OF THE DRAWINGS
The invention is herein described, by way of example only, with reference to the accompanying drawings. With specific reference now to the drawings in detail, it is stressed that the particulars shown are by way of example and for purposes of illustrative discussion of the preferred embodiments of the present invention only, and are presented in the cause of providing what is believed to be the most useful and readily understood description of the principles and conceptual aspects of the invention. In this regard, no attempt is made to show structural details of the invention in more detail than is necessary for a fundamental understanding of the invention, the description taken with the drawings making apparent to those skilled in the art how the several forms of the invention may be embodied in practice.
In the drawings:
FIGS. 1a–cillustrate three prior art probes for examining tissue in order to differentiate it from other tissue according to the dielectric properties of the examined tissue;
FIG. 2 schematically illustrates one form of probe constructed in accordance with the present invention for examining tissue in order to differentiate it from other tissue according to the dielectric properties of the examined tissue;
FIGS. 3a3bare diagrams helpful in explaining the present invention,
FIG. 4 diagrammatically illustrates a probe constructed in accordance with one embodiment of the invention;
FIG. 5 diagrammatically illustrates a probe constructed in accordance with another embodiment of the invention;
FIG. 6 diagrammatically illustrates a probe constructed in accordance with the invention connected to an external unit by a flexible coaxial line;
FIG. 7 diagrammatically illustrates the components of the external unit in the system ofFIG. 6;
FIG. 8 illustrates the connector between the external unit components and the coaxial line to the probe inFIGS. 4 and 5;
FIGS. 9a9billustrate the digitizing process of both the incident and reflected signals, and the resulting data array;
FIGS. 10a10dare graphs illustrating the manner of comparing the, electrical characteristics of reflected pulse produced by the examined tissue with the incident pulse applied to the examined tissue;
FIG. 11 illustrates a typical incident pulse and a typical reflected pulse whose electrical characteristics are compared; and
FIG. 12 are waveforms helpful in explaining the manner in which the electrical characteristic of the incident and reflected electrical pulses are compared.
PRIOR ART PROBE CONSTRUCTIONS
FIGS. 1a1cillustrate typical prior art constructions of probes for examining tissue as briefly discussed above.
Thus,FIG. 1aillustrates aprior art probe2 including an outerelectrical conductor2aand an innerelectrical conductor2binsulated from the outer conductor by a dielectric2c.When an electrical pulse is applied to end2fof theprobe2, thetissue2eclosing theopen cavity2dof the probe will generate a reflected pulse. The generation of such a reflected pulse, however, will involve both near field and far field radiation because the ends of the twoconductors2a,2bterminate in the same plane. The reflection mechanism is strongly dependent on the reflection of the far field, so that the dielectric parameters of the generated reflected pulse are actually averaged over the relatively large body oftissue2e,with no enhancement of the electric field near the sampled tissue.
FIG. 1billustrates aprobe3 of a similar construction, except that theouter conductor3ais provided with anoutturned flange3gengaged by the examinedtissue3e.The reflection mechanism inprobe3 illustrated inFIG. 1bwill therefore be similar to that described above with respect toprobe2 inFIG. 1a.
FIG. 1cillustrates aprobe4 similar to that described inFIG. 1a,except that theouter conductor4ais formed with an end wall4ghaving asmall opening4htherein, and theinner conductor4cis formed with a sharpenedtip4iextending throughopening4hin the end wall of the outer conductor. Such a construction produces a resonator which does reduce the propagating wave. However, this probe construction cannot be effectively used to measure biological tissue without harming the tissue. In addition, the evanescent wave produced by that probe will penetrate into the whole human body. Further, such a probe relies on average power measurement, and not on voltage measurement, and therefore it is incapable of calculating dielectric properties in the time domain. Moreover, such a probe generally operates in the microwave region of the electromagnetic spectrum. Finally, such probes are generally not flexible and cannot be hand-held.
PREFERRED EMBODIMENTS OF THE PRESENT INVENTION
FIG. 2 illustrates a probe constructed in accordance with the present invention and, which provides one or more advantages, in the above respects with respect, to the prior art constructions illustrated inFIGS. 1a–1c.
The probe illustrated inFIG. 2, and therein generally designated10, also includes anouter conductor11 and aninner conductor12 insulated from the outer conductor by a body ofinsulation13. For example, theouter conductor11 may be of aluminum, theinner conductor12 of copper, and the dielectric13 of a fluorinated polymer, such as “Teflon”™. The inner and outer conductors are open at one end to define anopen cavity14 which is applied to, and closed by, thetissue15 being examined. In this case, however, the open end of theouter conductor11 extends slightly past theinner conductor12 in the axial direction, such that theinner conductor12 terminates inwardly of the outer conductor within theopen cavity14.
Preferably, the end of theinsulation body13 defining theopen cavity14 is covered by a thin, soft layer ofinsulation16, such as a silicone film, e.g., applied by dipping or spraying.
The probe illustrated inFIG. 2 is used in the same manner as described above with respect toFIG. 1a,in that theopen cavity14 of the probe is applied against thetissue15 being examined such that the tissue closes the open cavity. However, since thetissue15 is deformable by the end of the probe, and since theinner conductor12 terminates inwardly of theouter conductor11, a portion of the tissue is caused to penetrate within the open cavity, as shown at15a.
Other differences in the probe illustrated inFIG. 2, over the prior art construction illustrated inFIG. 1a,are that theouter conductor11 is tapered at theouter end11a,and the tip of theinner conductor12 within theopen cavity14 is reduced in diameter to form a large-diameter section12a,a small-diameter section12b,relatively sharpannular edges12cand12dat the juncture of these two sections, and a sharpannular edge12eat the outer tip ofsection12b,all within theopen cavity14.
At the opposite end, the probe is connected to anSMA type jack17, and to anSMA type connector18.
As one example, the length of the probe may be 10 mm and have an outer diameter of 3.5 mm; theinner conductor12 may be of a length of 9 mm and of a diameter of 1.0 mm, whereas its tip may be of a length of 1 mm and a diameter of 0.1 mm; and thethin insulation layer16 may be of silicone rubber or of a varnish and have a thickness of approximately 30 μm.
Such a probe construction provides a number of advantages. Thus, the generation of the reflected pulse produced in theopen cavity14 is accompanied by negligible radiation penetrating into the body connected to the examinedtissue15. In addition, the provision of the two diameters in theinner conductor12, particularly the sharpannular edges12c,12dand12eof the twoconductor sections12a,12bwithin theopen cavity14, produces a concentrated electrical charge at these edges which enhances the electrical field between the inner conductor and the outer conductor precisely in the region receiving the examinedtissue15. Therefore, most of the energy dissipation in the probe illustrated inFIG. 2 takes place within thesmall portion15aof the examined tissue penetrating into theopen cavity14 of the probe; the remaining energy is reflected back to the transmission line connected to the opposite end of the probe. In addition, the enhancement of the electrical field in the tissue zone leaves almost no energy outside that zone to penetrate into the body of the tissue.
Although the exact theoretical calculation is quite difficult, the physical mechanism of the operation of the probe illustrated inFIG. 2 can be illustrated by the two cases diagrammatically illustrated inFIGS. 3aand3b.
FIG. 3aillustrates a theoretically ideal case for examining tissue, wherein the aprobe20 includes aclosed cavity24 defined by anouter conductor21 having anend wall21a,and aninner conductor22. An examinedtissue25 is placed completely within theclosed cavity24. Since the tip of theinner conductor22 is surrounded by thetissue25, it is clear that no radiation leakage can occur outside of the cavity which is fully closed by theouter conductor21. The reflected pulse will therefore be influenced by the impedance of the examinedtissue25. Such a construction might be practical in off-line testing of biological tissue, but not in applications requiring on-line or real-time testing of tissue where the tissue to be examined is still connected to the main tissue body.
FIG. 3billustrates a case wherein the examinedtissue25 is completely within anopen cavity24′ defined by theouter conductor21 and theinner conductor22, but here the outer conductor extends for a considerable distance past the inner conductor so as to fully enclose the tissue being examined. In such a construction, the radiation leak is again negligible, but the construction is not practical for real-time examination of tissue since the length of the open cavity is too long for the examined (living) tissue to penetrate into it as shown without separating it from the main tissue body.
FIG. 4 illustrates a probe construction according to the present invention and similar to that ofFIG. 2. Thus, probe30 also includes anouter conductor31 and aninner conductor32 insulated therefrom byinsultation33 and terminating slightly inwardly of the outer conductor so as to define anopen cavity34 to be penetrated by the body of thetissue35 being examined. Also in the probe illustrated inFIG. 3, as inFIG. 2, the tip of theinner conductor32 within theopen cavity34 is reduced in diameter to define a large-diameter section32a,being a general diameter section, a small-diameter section32b,and sharpannular edges32c,32dand32e,enhancing the electrical field within thecavity34.
Inprobe30 illustrated inFIG. 4, the tissue end of theouter conductor31, which defines theopen cavity34, is reduced in diameter to define a taperedsection31band a relativelysmall diameter opening31cfor receiving the body oftissue35 being examined. However, the deformability oftissue35 permits a significant portion thereof, shown at35a,to enter thecavity34, and thus to influence the reflected pulse generated therein.
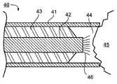
FIG. 5 illustrates anotherprobe40 constructed according to the present invention in that it also includes anouter conductor41 and aninner conductor42 insulated therefrom byinsulation43, with the inner conductor terminating inwardly of the outer conductor to define anopen cavity44 for receiving thetissue45 to be examined, similar to the construction ofFIG. 2. In this case, however, the electrical fringe field within thecavity44 is enhanced by providing the tip of theinner conductor42, located within theopen cavity44, with a plurality of sharps thin, projections or spikes46. Preferably, projections or spikes46 are from a few microns to a few tens of microns in diameter, and are of an electrically-conductive material such as stainless, copper, aluminum, graphite nanotubes, etc.
FIG. 6 illustrates an assembly including aprobe50, such as that illustrated inFIG. 4, coupled to one end of a flexiblecoaxial line51; the opposite end ofcoaxial line51 is connected to anexternal unit52 for supplying the pulses to the probe. Theexternal unit52 is more particularly illustrated inFIG. 7, as including acomputer53, apulse source54 and a digitizingunit55.
When connected to theprobe50, theline51 is as close as possible to an ideal open line. In general, the electric field mode over the aperture defined by the open cavity (e.g.34,FIG. 4) at the probe (30,FIG. 4), and closed by the examined tissue (15) in the coaxial mode is given by the following equation:
Er=−V/[rlog(b/a)]  (Eq. 1)
where: “V” is the voltage between the central and outer conductors is the inner conductor radius; and “b” is the outer conductor radius. When the inner conductor is formed with the sharp annular edges in the open cavity (e.g., edges12c12e,FIG. 2, or edges32c32e,FIG. 4), to enhance the electrical field within the open cavity, the radius “a” should be appropriately modified.
When the inner conductor ends before the end of the line as shown, the electric field in the open-cavity zone formed at the end of the line is the fringing field of the coaxial mode; in that case there is no far field radiation and almost no near-field outside the coaxial line.
Also, when the tip of the inner conductor is reduced in diameter as shown inFIG. 2 orFIG. 4, and particularly when it is connected to much thinner elements such as the plurality of projections or spikes as shown inFIG. 5, the electric field mode around those elements is changed from the coaxial mode to a modified coaxial mode, producing a much stronger electrical fringing field near the elements. The deformation of the biological tissue allows it to penetrate into the space of the open cavity at the end of the probe between the center conductor and the outer conductor. In this way, a small portion of the biological tissue is placed in the electric fringing field and is responsible for most of the reflection of the applied voltage pulse back into thetransmission line51. Most of the reflection thus occurs inside the probe itself; also both the evanescent waves and the propagating waves are substantially eliminated. The output impedance of the probe thus depends to a great extent on the impedance of the biological tissue. As a result, the reflected pulse detected by the probe is dependent substantially on the dielectric properties of the tissue itself, and not, as in the case where the tissue is sampled by a conventional open-ended coaxial line, on the dielectric properties of the surroundings. This allows the sampled tissue impedance to be calculated without affecting, or being affected by, the surrounding tissues.
As shown inFIG. 7, two sets ofwires56,57 connect thecomputer53 to thepulse source unit54 and the digitizingunit55. One set ofwires56 are the timing control wires used to transmit trigger signals to thepulse source unit54 and the digitizingunit55; whereas the other set ofwires57 are the data transfer wires used to transfer data from and to thecomputer53.
Thecomputer53 controls the pulse durations and repetition rates, as well as the pulse voltage. Preferably, the pulses should have a duration of the order of nanoseconds or picoseconds. The repetition rates may be of a few Herz to a few giga-Herz.
FIG. 8 illustrates the electrical connections between the flexiblecoaxial line51 connected at one end to thepulse source unit54 and the digitizingunit55, and at the opposite end to theprobe50. As shown inFIG. 8, these connections are made by a T-connector58 having oneleg58aconnected to thecoaxial line51, asecond leg58bconnected to thepulse source unit54, and athird leg58cconnected to the digitizingunit55.
The pulses generated in thepulse source unit54 are split byconnector58 into two signals. One signal goes to the digitizingunit55, and the other to probe50 via thecoaxial line51. The voltage pulses (e.g., 4–10 volts) reach theprobe50 and are reflected back from its tip according to the dielectric properties of the examined tissue closing the open cavity (e.g.,34,FIG. 4) at the end of the probe (30,FIG. 4). The reflected pulses are also split by the T-connector58, a part being directed to thepulse source54, and another part to the digitizingunit55. The part of the reflected pulse received by thepulse source54 could be absorbed by a resistor, or reflected back, if desired to provide multiple reflections in order to enhance the tissue effect on the signal as more particularly described below.
Digitizingunit55 samples, at a plurality of spaced time intervals, both the incident electrical pulse, namely that applied to theprobe50, and the reflected pulse reflected by the examined tissue closing the cavity at the end of the probe.FIG. 9aillustrates the sampling process, wherein it will be seen that samples of the voltage levels are taken of the two pulses over a plurality of spaced time intervals. For example, the sampling rate may be 5 GHz, providing 200 picosecond samples.FIG. 9billustrates a typical data array produced as a result of this sampling operation.
Each data array contains two voltage pulses, i.e., incident and reflected. The computer program divides the data array into two equal arrays, each array now corresponding to one pulse.
The two time-domain arrays are now transformed to the frequency domain by a conventional FFT program, which is a standard tool for transforming time domain signals to the frequency domain.FIG. 10aillustrates the phase graph (phase, frequency) of the reflected pulse, whereasFIG. 10billustrates the same graph for the incident pulse.FIG. 10cillustrates an example of the two pulses at the real-amplitude frequency graph; andFIG. 10dillustrates actual measurements of the incident pulse and the reflected pulse.
The above-described procedure is repeated, e.g., 1,000–10,000 times, for each measurement point. This result is 1,000–10,000 pairs of arrays, all of which are saved and transmitted to the analysis program of thecomputer53.
Computer53 compares the electrical characteristics of the reflected electrical pulse with respect to those of the incident (applied) electrical pulse to provide an indication of the dielectric properties of the examined tissue. This is done by sampling both electrical pulses at a plurality of spaced time intervals, and comparing the voltage magnitudes of the two electrical pulses at the spaced time intervals.
The foregoing comparison is made in a three-level analysis according to: (1) a dielectric function calculation, (2) a Cole-Cole parameters calculation, and (3) three-dimensional similarities.
In the dielectric function calculation analysis, the theoretical value of the reflection coefficient Γ can be given by the following equation:
Γ=[Z1−Z0]/[Z1+Z0]  (Eq.2)
where: Z1is the impedance of the probe plus the impedance of the examined tissue; and Z0is the impedance of the transmission line.
Since Z1is a dielectric function of the examined tissue, the dielectric function can be calculated from the function Z1. In a normal incident pulse, Z=∈1/2. So when Γ is known, ∈(ω) of the tissue can be calculated by the equation:
∈(ω)=Z0(Γ+1(1−Γ)  (Eq.3)
where: Γ is the theoretical reflection coefficient; Z0is the cable and empty probe impedance; Z1is the tissue impedance; and ∈(ω) is the tissue dielectric function.
The experimental reflection coefficient R(ω) is calculated from the following relation of the measured signals at the frequency domain:
R(ω)=E(ω)reflected/E(ω)incident  (Eq.4)
where: E(ω)reflected is the reflected signal array; and E(ω)incident is the incident signal array at the respective frequency (ω).
After the dielectric function of the examined tissue is calculated, it is analyzed according to the following considerations:
The computer calculated the values of extreme point (Peaks) and special features, like the frequency at which the extreme points appear, the amplitude of the peaks, the average value of the function, the integral under the real part of the dielectric function, the average value of the derivative, the maximum derivative, and the roots of the function. All these values are transferred as an array to the decision-making program routine. For each value the statistical variance is also calculated.
When the impedance of the source is much larger than the impedance of the cable, typically 50 ohms, the reflected pulse will be reflected again and will reach the probe. The multiply reflection can be described by Γn, where “n” is the number of the reflections. Providing such multiple-reflections produces enormous enhancements of the examined tissue parameters since the effect of the bio-tissue impedance is now multiplied. In the multiple-reflection mode, the 5threflection is preferably used to characterize the tissue. The logic of the calculations is the same as in the case of first reflection.
In the Cole-Cole Parameter analysis the Cole-Cole parameters τ and α of the sampled tissue are calculated from the dielectric function as follows:
ɛ=ɛ+Δɛ1+(jωτc)1-α,Δɛ=ɛs-ɛ(Eq.5)
Where: e is the dielectric function of the sample; ∈ is the dielectric function at infinite frequency=constant; ∈0is the dielectric function under dc field=constant; and j is (−1)^1/2
For each value, the statistical variance is also calculated. After calculation, the Cole-Cole parameters are transferred to the decision-making program routine.
In the 3D similarities analysis the dielectric function is drawn as a 3D curve in the 3D phase space constituted of the real-part dielectric function, the imaginary-part dielectric function, and the frequency. The 3D curves are analyzed with respect to total volume, extreme points, curvature, and cross-section as a function of frequency and overlapping, and are computed with previously stored values of known normal and cancerous tissues. The 3D volumes are displayed at the user interface together with pre-measured known-tissue volumes.
The decision making routine compares the results from the three levels of analysis and the existing data from the memory bank. In the memory bank, data from known types of tissue is recorded, together with the tissue type name and the statistical variance. The statistical variance is used to define a volume surrounding the curve.
The matching condition is a standard statistical process which compares two sets of data. It uses all data for comparison. For example, if the data matches data from a previously taken memory bank data, the program displays the type of tissue from which the databank sample was taken.
In case there is no match between stored (known) tissue data and the examined tissue data, the most similar stored tissue data is chosen as characterizing the examined tissue. The most similar tissue is chosen according to the distance (in the phase space) between the two measured points; alternatively, a user defined criterion may be applied. The user may decide to find similarities, at certain measurement points, based on one, two, or more specific calculated parameters, ignoring all the others. For example the user may decide to find similarities only according to the frequency at which a peak appears in the real-part of the dielectric function.
The decision making routine also compares the last-point measured to the currently measured point. The result of that process is to indicate merely how similar the two points are to each other, without knowing the type of tissue of the last point. The distance between two data points is considered as usually in statistics, and the decisions are displayed on the screen together with all data parameters.
FIG. 11 shows a pair of pulses as measured by the digitizing unit. The first one is the incident (applied) pulse, and the second one is the reflected pulse. τ1 is the duration of the first pulse; τ2 is the duration of the reflected pulse; and τ3 is the time interval between the pulses. The time interval is the transit time for the pulse to reach the probe and back. This time is equal to 2 LE/c, where “L” is the length of the cable, “E” is the dielectric constant of the cable insulator, and “c” is the light velocity. The data acquisition time of this pair is about 10 nsec. In that time interval, any mechanical movement is insignificant; accordingly, any movement of the operator's hand, or of the body containing the tissue to be examined, will not affect the measurement.
FIG. 12 illustrates a plurality of pairs of such pulses wherein ti(of t1−tn) is the time at which the peak of the incident pulse appears in the digitizing unit. Therefore, tiis the time between pairs. Generally, tiis different fron ti+j(“i” and “j” are index numbers) since there is relative movement between the probe and the tissue.
By repeating this procedure according to the present invention, many pair of pulses are collected and the amplitude and phase of each pair is calculated separately, which thereby eliminates the phase noise existing in the usual way of measurements.
Although the invention has been described in conjunction with specific embodiments thereof, it is evident that many alternatives, modifications and variations will be apparent to those skilled in the art. Accordingly, it is intended to embrace all such alternatives, modifications and variations that fall within the spirit and broad scope of the appended claims. All publications, patents, patent applications and sequences identified by their accession numbers mentioned in this specification are herein incorporated in their entirety by reference into the specification, to the same extent as if each individual publication, patent, patent application or sequence identified by their accession number was specifically and individually indicated to be incorporated herein by reference. In addition, citation or identification of any reference in this application shall not be construed as an admission that such reference is available as prior art to the present invention.
REFERENCES
1. D. J. Winchester and D. P. Winchester. Atlas of Clinical Oncology Breast Cancer. B. C. Decker, Inc. 2000.
2. M. A. Stuchly, et al., “Measurement of Radio Frequency Permitivity of Biological Tissues With an Open-Ended Coaxial Line: Part I and II,” IEEE Trans, Microwave Theory Tech., Vol. MTT-30, pp. 82–92, April 1980.
3. D. Misra, et al., “Non-Invasive Electrical Characterization of Materials at Microwave Frequencies Using Open Ended Coaxial Line: Test of an improved calibration technique.” IEEE Trans. Microwave theory tech. Volume MTT-38, pp. 8–13, January 1990.
4. E. C. Burdette, et al., “In Vivo Probe Measurement Technique for Determining Properties at VHF Trough Microwave Frequencies,” IEEE Trans. Microwave Theory Tech. Vol. MTT-28, pp. 414–427, January 1980.
5. Surowiex, A. J. et al., 1988, Dielectric Properties of Breast Carcinoma and the Surrounding Tissues, IEEE Trans. Biomed. Eng. 35(4):257–262.
6. Heintz, J. & O. Minet, 1995 Dielectric Properties of Female Breast Tumors, In Ninth International Conference on Electrical Bio-Impedance, Heidelberg.
7 Lies, D. et al., 1998 Clinical Study on Electrical Impedance Method Used Diagnosis of Breast Diasi. In Tenth International Conference on Electrical Bio-Impedance. Barcelona.
8. Morimoto, et al., Measurement of Electrical Bio-Impedance of Breast Tumors, Eu. Serg. Res. 2292:86–92, 1990.
9. S. Grimnes & O. G. Martinsen. “Bioimpedance and Bioelectricity Basic. Academic Press 2000.
10. Kinouch, Y et al., Fast In-Vivo Measurement of Local Tissue Impedance Using Needle Electrodes, Med. Biol Eng. Comput. 35(9):486–492, 1997.
11. Yuken Ohmine, et al., Non-Invasive Measurement of the Electrical Bio-Impedance of Breast Tumors, Anti Cancer Research 20:1941–1946 (2000).
12. Lever-Moskovitz, O. 1996. T-Scan: A New Imaging Method for Breast Cancer Detection Without X-Ray. RSNA., '96, Chicago.
13. Dexter, G. et al, “In-Vivo Measurement of Tumor Conductiveness With Magnetic Bioimpedance Method”, IEEE Trans Biomedical Engine”, Vol. 47 No. 10 October 2000.
14. Prthig, R., (1978), Dielectric and Electronic Properties of Biological Materials, John Wiley, New York.
15. Schanna, O. F. et al., (1978), Impedance Measurement in Biological Cell. John Wiley, New York.
16. H. P. Schwan, Mechanisms Responsible for Electrical Properties of Tissue and Cell Suspensions, Med. Prog. Tech. 19:163–165, 1993.
17. Fricke, H. The Theory of Electrolytic Polarization. Philosophical Magazine 1932; (97):310–318.
18. Cole K S (1972) Membranes, Ions (1978) and Impulses. University of California Press, Berkeley.
19. Cole, K. S &. Cole. R. H 1941, Dispersion and Absorption in Dielectrics. J. Chem. Phys. 9:341–351.
20. Juan R. Mosig, et al., Reflection of An Open-Ended Coaxial Line and Application to Nondestructive Measurement of Materials. IEEE Trans. Inst. Measr. Vol. IM-30, No. 1, March 1981.
21. U.S. Pat. No. 6,173,604.
22. Xu, Y., et al. “Theoretical and Experimental Study of Measurement of Microwave Permitivity Using Open Ended Elliptical Coaxial Probes”. IEEE Trans AP-40(1), January 1992, pp 143–150.3.
23. Proakis, John G., Digital Signal Processing,Chapter 4, Prentice-Hall International Inc.

Claims (5)

1. A probe for tissue examination by dielectric properties, the probe comprising:
an inner conductor, which defines a general diameter section and a proximal end with respect to a tissue for examination;
an insulation layer, which substantially surrounds the inner conductor; and
an outer conductor, which substantially surrounds the inner conductor and the insulation layer,
the probe being configured for applying an electric pulse to the tissue for examination, generating electrical fringe fields in the tissue, in a near field, responsive to the electric pulse, applied thereto, thus producing a reflected electric pulse from the tissue for examination,
wherein the inner conductor includes at least one section of a different cross-section from that of the general diameter section, the different cross section leading to sharp edges,
wherein concentrated electrical charges at the sharp edges enhance the electrical fringe fields at the proximal end, where interaction with the tissue for examination occurs,
and wherein the at least one section of the different cross-section comprises a plurality of sharp, thin, conductive spikes, which enhance the electrical fringe fields at the proximal end, where the interaction with the tissue for examination occurs.
US10/965,7522002-01-042004-10-18Method and system for examining tissue according to the dielectric properties thereofExpired - LifetimeUS7184824B2 (en)

Priority Applications (4)

Application NumberPriority DateFiling DateTitle
US10/965,752US7184824B2 (en)2002-01-042004-10-18Method and system for examining tissue according to the dielectric properties thereof
US11/705,143US8019411B2 (en)2002-01-042007-02-12Probes, systems, and methods for examining tissue according to the dielectric properties thereof
US11/797,167US8032211B2 (en)2002-01-042007-05-01Probes, systems, and methods for examining tissue according to the dielectric properties thereof
US11/797,166US20080287750A1 (en)2002-01-042007-05-01Ergonomic probes

Applications Claiming Priority (2)

Application NumberPriority DateFiling DateTitle
US10/035,428US6813515B2 (en)2002-01-042002-01-04Method and system for examining tissue according to the dielectric properties thereof
US10/965,752US7184824B2 (en)2002-01-042004-10-18Method and system for examining tissue according to the dielectric properties thereof

Related Parent Applications (3)

Application NumberTitlePriority DateFiling Date
US10/035,428ContinuationUS6813515B2 (en)2002-01-042002-01-04Method and system for examining tissue according to the dielectric properties thereof
US10/035,428Continuation-In-PartUS6813515B2 (en)2002-01-042002-01-04Method and system for examining tissue according to the dielectric properties thereof
US11/797,167Continuation-In-PartUS8032211B2 (en)2002-01-042007-05-01Probes, systems, and methods for examining tissue according to the dielectric properties thereof

Related Child Applications (1)

Application NumberTitlePriority DateFiling Date
US11/705,143Continuation-In-PartUS8019411B2 (en)2002-01-042007-02-12Probes, systems, and methods for examining tissue according to the dielectric properties thereof

Publications (2)

Publication NumberPublication Date
US20050107718A1 US20050107718A1 (en)2005-05-19
US7184824B2true US7184824B2 (en)2007-02-27

Family

ID=21882622

Family Applications (2)

Application NumberTitlePriority DateFiling Date
US10/035,428Expired - LifetimeUS6813515B2 (en)2002-01-042002-01-04Method and system for examining tissue according to the dielectric properties thereof
US10/965,752Expired - LifetimeUS7184824B2 (en)2002-01-042004-10-18Method and system for examining tissue according to the dielectric properties thereof

Family Applications Before (1)

Application NumberTitlePriority DateFiling Date
US10/035,428Expired - LifetimeUS6813515B2 (en)2002-01-042002-01-04Method and system for examining tissue according to the dielectric properties thereof

Country Status (8)

CountryLink
US (2)US6813515B2 (en)
EP (1)EP1460936B1 (en)
JP (1)JP4271581B2 (en)
AT (1)ATE387141T1 (en)
AU (1)AU2002360209A1 (en)
DE (2)DE02795418T1 (en)
ES (1)ES2302865T3 (en)
WO (1)WO2003060462A2 (en)

Cited By (62)

* Cited by examiner, † Cited by third party
Publication numberPriority datePublication dateAssigneeTitle
US20060264738A1 (en)*2003-07-242006-11-23Dune Medical Devices Ltd.Method and apparatus for examining a substance, particularly tissue, to characterize its type
US20060276781A1 (en)*2004-04-292006-12-07Van Der Weide Daniel WCannula cooling and positioning device
US20070016180A1 (en)*2004-04-292007-01-18Lee Fred T JrMicrowave surgical device
US20070019199A1 (en)*2005-07-252007-01-25The Wisconsin Alumni Research FoundationMethods, systems, and computer program products for optimization of probes for spectroscopic measurement in turbid media
US20070032747A1 (en)*2005-08-042007-02-08Dune Medical Devices Ltd.Tissue-characterization probe with effective sensor-to-tissue contact
US20070032739A1 (en)*2005-08-042007-02-08Dune Medical Devices Ltd.Device for forming an effective sensor-to-tissue contact
US20070179397A1 (en)*2002-01-042007-08-02Dune Medical Devices Ltd.Probes, systems, and methods for examining tissue according to the dielectric properties thereof
US20070232932A1 (en)*2006-03-172007-10-04Duke UniversityMonte Carlo based model of fluorescence in turbid media and methods and systems for using same to determine intrinsic fluorescence of turbid media
US20070255169A1 (en)*2001-11-192007-11-01Dune Medical Devices Ltd.Clean margin assessment tool
US20070282318A1 (en)*2006-05-162007-12-06Spooner Gregory JSubcutaneous thermolipolysis using radiofrequency energy
US20070288079A1 (en)*2006-03-242007-12-13MicrablateEnergy delivery system and uses thereof
US20080021343A1 (en)*2002-01-042008-01-24Dune Medical Devices Ltd.Probes, systems, and methods for examining tissue according to the dielectric properties thereof
US20080039718A1 (en)*2006-08-122008-02-14PhilometronPlatform for detection of tissue structure change
US20080119921A1 (en)*2004-04-292008-05-22MicrablateAir-core microwave ablation antennas
US20080147056A1 (en)*2006-07-142008-06-19MicrablateEnergy delivery systems and uses thereof
US20080154090A1 (en)*2005-01-042008-06-26Dune Medical Devices Ltd.Endoscopic System for In-Vivo Procedures
US20080214953A1 (en)*2007-03-012008-09-04Dune Medical Devices Ltd.Tissue-characterization system and method
US20080270091A1 (en)*2007-02-232008-10-30Nirmala RamanujamScaling method for fast monte carlo simulation of diffuse reflectance spectra from multi-layered turbid media and methods and systems for using same to determine optical properties of multi-layered turbid medium from measured diffuse reflectance
US7467015B2 (en)2004-04-292008-12-16Neuwave Medical, Inc.Segmented catheter for tissue ablation
US20090015826A1 (en)*2006-03-302009-01-15Duke UniversityOptical assay system for intraoperative assessment of tumor margins
WO2009010960A2 (en)2007-07-162009-01-22Dune Medical Devices Ltd.Medical device and method for use in tissue characterization and treatment
US20090062637A1 (en)*2005-03-292009-03-05Dune Medical Devices Ltd.Electromagnetic Sensors for Tissue Characterization
US20090187109A1 (en)*2001-11-192009-07-23Dune Medical Devices Ltd.Method and apparatus for examining tissue for predefined target cells, particularly cancerous cells, and a probe useful in such method and apparatus
US20100049004A1 (en)*2008-04-212010-02-25Philometron, Inc.Metabolic energy monitoring system
US7720532B2 (en)2004-03-232010-05-18Dune Medical Ltd.Clean margin assessment tool
US20100131031A1 (en)*2008-11-272010-05-27Lifewave, Ltd.Methods of diagnosis and treatment of wounds, methods of screening for electrical markers for wounds prognosis in patients
US7904145B2 (en)2004-03-232011-03-08Dune Medical Devices Ltd.Clean margin assessment tool
US20110059016A1 (en)*2007-09-272011-03-10Nirmala RamanujamOptical assay system with a multi-probe imaging array
US20110105865A1 (en)*2008-04-242011-05-05Duke UniversityDiffuse reflectance spectroscopy device for quantifying tissue absorption and scattering
US20110112435A1 (en)*2007-09-282011-05-12Nirmala RamanujamSystems and methods for spectral analysis of a tissue mass using an instrument, an optical probe, and a monte carlo or a diffusion algorithm
US20110152853A1 (en)*2009-12-182011-06-23Prakash ManleyMicrowave Ablation System With Dielectric Temperature Probe
EP2418599A2 (en)2006-12-122012-02-15Dune Medical Devices Ltd.Graphical user interfaces (gui), methods and apparatus for data presentation
WO2012059929A1 (en)2010-11-032012-05-10Sensible Medical Innovations Ltd.Electromagnetic probes, methods for fabrication thereof, and systems which use such electromagnetic probes
WO2013105086A1 (en)2012-01-052013-07-18Sensible Medical Innovations Ltd.Electromagnetic (em) probes, methods of using such em probes and systems which use such electromagnetic em probes
US20130190646A1 (en)*2010-07-212013-07-25Kyma Medical Technologies Ltd.Implantable Dielectrometer
US8568404B2 (en)2010-02-192013-10-29Covidien LpBipolar electrode probe for ablation monitoring
WO2013164827A2 (en)2012-05-032013-11-07Sensible Medical Innovations Ltd.Patches for the attachment of electromagnetic (em) probes
WO2014009893A1 (en)2012-07-122014-01-16Dune Medical Devices Ltd.Medical device for use in tissue characterization and treatment
US8672932B2 (en)2006-03-242014-03-18Neuwave Medical, Inc.Center fed dipole for use with tissue ablation systems, devices and methods
US9008756B2 (en)2008-06-112015-04-14Dune Medical Devices Ltd.Mapping system and method for mapping a target containing tissue
US9091637B2 (en)2009-12-042015-07-28Duke UniversitySmart fiber optic sensors systems and methods for quantitative optical spectroscopy
US9119649B2 (en)2009-07-282015-09-01Neuwave Medical, Inc.Energy delivery systems and uses thereof
US9192438B2 (en)2011-12-212015-11-24Neuwave Medical, Inc.Energy delivery systems and uses thereof
US20170181658A1 (en)*2014-07-082017-06-29Infineon Technologies Ag300 MHz to 3 THz Electromagnetic Wave Sensor for Determining an Interstitial Fluid Parameter in Vivo
US9750425B2 (en)2004-03-232017-09-05Dune Medical Devices Ltd.Graphical user interfaces (GUI), methods and apparatus for data presentation
US9757098B2 (en)2007-07-162017-09-12Dune Medical Devices Ltd.Medical device and method for use in tissue characterization and treatment
US9861440B2 (en)2010-05-032018-01-09Neuwave Medical, Inc.Energy delivery systems and uses thereof
US9901362B2 (en)2007-07-162018-02-27Dune Medical Devices Ltd.Medical device and method for use in tissue characterization and treatment
US9999353B2 (en)2007-07-162018-06-19Dune Medical Devices Ltd.Medical device and method for use in tissue characterization and treatment
US10342614B2 (en)2004-04-292019-07-09Wisconsin Alumni Research FoundationTriaxial antenna for microwave tissue ablation
US10363092B2 (en)2006-03-242019-07-30Neuwave Medical, Inc.Transmission line with heat transfer ability
US10531917B2 (en)2016-04-152020-01-14Neuwave Medical, Inc.Systems and methods for energy delivery
US10548485B2 (en)2015-01-122020-02-04Zoll Medical Israel Ltd.Systems, apparatuses and methods for radio frequency-based attachment sensing
US10588599B2 (en)2008-05-272020-03-17Zoll Medical Israel Ltd.Methods and systems for determining fluid content of tissue
US10680324B2 (en)2013-10-292020-06-09Zoll Medical Israel Ltd.Antenna systems and devices and methods of manufacture thereof
US10952792B2 (en)2015-10-262021-03-23Neuwave Medical, Inc.Energy delivery systems and uses thereof
US11013420B2 (en)2014-02-052021-05-25Zoll Medical Israel Ltd.Systems, apparatuses and methods for determining blood pressure
US11020002B2 (en)2017-08-102021-06-01Zoll Medical Israel Ltd.Systems, devices and methods for physiological monitoring of patients
US11259715B2 (en)2014-09-082022-03-01Zoll Medical Israel Ltd.Monitoring and diagnostics systems and methods
US11389235B2 (en)2006-07-142022-07-19Neuwave Medical, Inc.Energy delivery systems and uses thereof
US11672596B2 (en)2018-02-262023-06-13Neuwave Medical, Inc.Energy delivery devices with flexible and adjustable tips
US11832879B2 (en)2019-03-082023-12-05Neuwave Medical, Inc.Systems and methods for energy delivery

Families Citing this family (67)

* Cited by examiner, † Cited by third party
Publication numberPriority datePublication dateAssigneeTitle
US20080287750A1 (en)*2002-01-042008-11-20Dune Medical Devices Ltd.Ergonomic probes
WO2006072947A2 (en)*2005-01-042006-07-13Dune Medical Devices Ltd.Endoscopic system for in-vivo procedures
US6813515B2 (en)*2002-01-042004-11-02Dune Medical Devices Ltd.Method and system for examining tissue according to the dielectric properties thereof
FR2835732B1 (en)*2002-02-112004-11-12Spinevision DEVICE FOR TRACKING THE PENETRATION OF A PENETRATION MEANS IN ANATOMICAL ELEMENTS
US7630759B2 (en)*2002-05-202009-12-08Epi-Sci, LlcMethod and system for detecting electrophysiological changes in pre-cancerous and cancerous breast tissue and epithelium
US8262575B2 (en)*2002-05-202012-09-11Epi-Sci, LlcMethod and system for detecting electrophysiological changes in pre-cancerous and cancerous tissue
US6922586B2 (en)*2002-05-202005-07-26Richard J. DaviesMethod and system for detecting electrophysiological changes in pre-cancerous and cancerous tissue
US7106043B1 (en)2002-09-172006-09-12Bioluminate, Inc.Low capacitance measurement probe
EP1653852A4 (en)*2003-07-242010-06-09Dune Medical Devices LtdMethod and apparatus for examining a substance,particularly tissue, to characterize its type
JP4232688B2 (en)*2003-07-282009-03-04株式会社村田製作所 Coaxial probe
AU2003904264A0 (en)*2003-08-112003-08-28Brain Research InstituteApparatus and method for direct detection of electrical activity of electrically excitable tissues in biological organisms
US8805480B2 (en)*2004-05-262014-08-12Medical Device Innovations LimitedTissue detection and ablation apparatus and apparatus and method for actuating a tuner
US20060079774A1 (en)*2004-10-082006-04-13Wendell AndersonMicrowave biopsy probe
US7668667B2 (en)*2005-03-072010-02-23Microstrain, Inc.Miniature stimulating and sensing system
US9254163B2 (en)2005-12-062016-02-09St. Jude Medical, Atrial Fibrillation Division, Inc.Assessment of electrode coupling for tissue ablation
US8603084B2 (en)2005-12-062013-12-10St. Jude Medical, Atrial Fibrillation Division, Inc.System and method for assessing the formation of a lesion in tissue
US8403925B2 (en)2006-12-062013-03-26St. Jude Medical, Atrial Fibrillation Division, Inc.System and method for assessing lesions in tissue
BRPI0621017A2 (en)2005-12-062011-11-29St Jude Medical Atrial Fibrill Div tissue ablation electrode junction evaluation
US9492226B2 (en)2005-12-062016-11-15St. Jude Medical, Atrial Fibrillation Division, Inc.Graphical user interface for real-time RF lesion depth display
US8406866B2 (en)2005-12-062013-03-26St. Jude Medical, Atrial Fibrillation Division, Inc.System and method for assessing coupling between an electrode and tissue
US10362959B2 (en)2005-12-062019-07-30St. Jude Medical, Atrial Fibrillation Division, Inc.System and method for assessing the proximity of an electrode to tissue in a body
US8998890B2 (en)2005-12-062015-04-07St. Jude Medical, Atrial Fibrillation Division, Inc.Assessment of electrode coupling for tissue ablation
DE102006022875A1 (en)*2006-05-152007-12-06Olympus Winter & Ibe Gmbh Control device and use for puncture through the abdominal wall
US20080103529A1 (en)*2006-10-262008-05-01Old Dominion UniversityApparatus and methods for performing cellular electro-manipulations
GB0704650D0 (en)*2007-03-092007-04-18Medical Device Innovations LtdTissue classifying apparatus
JP4992086B2 (en)*2007-03-122012-08-08国立大学法人 名古屋工業大学 Quality evaluation method for alcoholic beverages
US9513699B2 (en)*2007-10-242016-12-06Invention Science Fund I, LLMethod of selecting a second content based on a user's reaction to a first content
US8290578B2 (en)*2007-12-282012-10-16St. Jude Medical, Atrial Fibrillation Division, Inc.Method and apparatus for complex impedance compensation
US9204927B2 (en)2009-05-132015-12-08St. Jude Medical, Atrial Fibrillation Division, Inc.System and method for presenting information representative of lesion formation in tissue during an ablation procedure
EP2282811B1 (en)*2008-05-072017-02-22St. Jude Medical ABAn implantable medical device for classifying arrhythmia events
DE102008064405A1 (en)2008-06-022009-12-10Rohde & Schwarz Gmbh & Co. Kg Measuring device and method for determining tissue parameters
JP5077171B2 (en)2008-09-242012-11-21富士通株式会社 Aperture antenna
US10820825B2 (en)*2008-10-222020-11-03Cornell UniversityMethod and device for evaluation of local tissue's biological or biomechanical character
US8386010B2 (en)*2008-10-232013-02-26Covidien LpSurgical tissue monitoring system
US9468758B2 (en)2008-11-272016-10-18E-Qure Corp.Wound diagnosis
US9844347B2 (en)2009-02-132017-12-19The Ohio State UniversityElectromagnetic system and method
WO2010120847A1 (en)*2009-04-142010-10-21Old Dominion University Research FoundationSystem and method for applying plasma sparks to tissue
CN102573622B (en)2009-08-032016-01-27沙丘医疗设备有限公司For the electromagnetic transducer measured experimenter
CN102770085B (en)2009-08-032015-06-10沙丘医疗设备有限公司Surgical tool
DE102010039797A1 (en)*2010-08-262012-03-01Hahn-Schickard-Gesellschaft für angewandte Forschung e.V.Apparatus for invasive characterization of biological materials, comprises signal generator for generating time varying periodic or non-periodic signal
US10201383B2 (en)*2013-03-152019-02-12Retrovascular, Inc.Methods for tissue ablation measurement and control and devices thereof
US10064630B2 (en)*2013-03-152018-09-04Teleflex Medical Devices S.À R.L.Driver assemblies, drivers, intraosseous devices, and methods for determining voltages and/or impedances in biological material
US9271890B1 (en)2014-02-112016-03-01Compression Kinetics, Inc.Compression garment apparatus
US11672729B2 (en)2014-02-112023-06-13Koya Medical, Inc.Compression garment
US9320451B2 (en)*2014-02-272016-04-26Kimberly-Clark Worldwide, Inc.Methods for assessing health conditions using single coil magnetic induction tomography imaging
DE102015119180A1 (en)*2015-11-062017-05-11Infineon Technologies Ag Electromagnetic wave sensor to determine a hydration status of body tissue in vivo
US11249068B2 (en)2015-11-092022-02-15Ohio State Innovation FoundationNon-invasive method for detecting a deadly form of malaria
EP3435855B1 (en)*2016-03-292023-05-10The Board of Trustees of the Leland Stanford Junior UniversityProximity sensor circuits and related sensing methods
CN106073704B (en)2016-05-312020-07-21北京水木天蓬医疗技术有限公司Probe and manufacturing method thereof
DE112018005767T5 (en)2017-11-072020-10-22Evanesc Therapeutics, Inc. Device for the treatment of tumors using evanescent waves
US20220125510A1 (en)*2020-10-262022-04-28Evanesc Therapeutics, Inc.Apparatus for application of evanescent waves to biological tissues
EP3801242A1 (en)*2018-05-312021-04-14Brisby, HelenaSystems and methods for assessing a physiological property of a biological tissue based on its microwave transmission properties
US11246505B2 (en)2018-11-012022-02-15Biosense Webster (Israel) Ltd.Using radiofrequency (RF) transmission system to find opening in tissue wall
JP2019093146A (en)*2018-12-132019-06-20パルティ、ヨーラムApparatus and methods for treating tumor with alternating electric field and for selecting treatment frequency based on estimated cell size
US12262976B2 (en)2019-03-132025-04-01Blossom Innovations LlcDevices, systems and methods for tissue analysis, location determination and therapy thereof using optical radiation
US20220354425A1 (en)*2019-10-022022-11-10Trustees Of Dartmouth CollegeDielectric transmission probes and methods of using the same
US11191446B2 (en)*2019-11-272021-12-07Blossom Innovations, LLCDevices, systems and methods for tissue analysis, locaton determination and tissue ablation
TR202003070A2 (en)*2020-02-282021-09-21Istanbul Teknik Ueniversitesi Bilimsel Ararstirma Proje Birim TISSUE ANALYSIS DEVICE AND TISSUE ANALYSIS METHOD FOR THE CHARACTERIZATION OF PROSTATE CANCER WITH MICROWAVE
US20230152262A1 (en)*2020-04-062023-05-18Nippon Telegraph And Telephone CorporationDielectric Spectroscopic Measurement Device and Method
EP4138607B1 (en)2020-07-232025-09-24Koya Medical, Inc.Quick connect anchoring buckle
EP4297640A4 (en)2021-05-252024-11-13American University Of Beirut NON-INVASIVE ELECTROMAGNETIC SYSTEM FOR DIAGNOSIS AND MONITORING OF IN-VIVO AND EX-VIVO SKIN ABNORMALS
US20220409123A1 (en)*2021-06-252022-12-29Koya Medical, Inc.Lymphatic diagnostic device
CN114010178B (en)*2021-10-142025-07-11安徽医科大学 Biological tissue dielectric property measurement probe and calibration method, equipment and medium thereof
CN114188691B (en)*2021-11-302023-02-24赛莱克斯微系统科技(北京)有限公司Manufacturing method of air core micro-coaxial transmission line and biosensor
US20250076234A1 (en)*2022-01-062025-03-06Nippon Telegraph And Telephone CorporationDielectric Spectroscopy Sensor
EP4245237A1 (en)2022-03-172023-09-20Erbe Elektromedizin GmbHElectrosurgical system and method for testing the electrical connection between a neutral electrode and a patient
EP4265211A1 (en)2022-04-212023-10-25Erbe Elektromedizin GmbHElectrical surgery system and method for determining an electrode type of a neutral electrode

Citations (24)

* Cited by examiner, † Cited by third party
Publication numberPriority datePublication dateAssigneeTitle
US4291708A (en)1977-11-021981-09-29Yeda Research & Development Co. Ltd.Apparatus and method for detection of tumors in tissue
US4344440A (en)1980-04-011982-08-17Trygve AabyMicroprobe for monitoring biophysical phenomena associated with cardiac and neural activity
US4458694A (en)1977-11-021984-07-10Yeda Research & Development Co., Ltd.Apparatus and method for detection of tumors in tissue
US4537203A (en)1980-10-211985-08-27Tokyo Shibaura Denki Kabushiki KaishaAbnormal cell detecting device
US4539640A (en)1982-01-121985-09-03Tasc Ltd.Reconstruction system and methods for impedance imaging
US4617939A (en)1982-04-301986-10-21The University Of SheffieldTomography
DE3637549A1 (en)1986-11-041988-05-11Hans Dr Med RosenbergerMeasuring device for testing the dielectric properties of biological tissues
US5143079A (en)1989-08-021992-09-01Yeda Research And Development Company LimitedApparatus for detection of tumors in tissue
US5227730A (en)*1992-09-141993-07-13Kdc Technology Corp.Microwave needle dielectric sensors
US5704355A (en)1994-07-011998-01-06Bridges; Jack E.Non-invasive system for breast cancer detection
US5744971A (en)*1994-09-091998-04-28Chan; Tsing Yee AmyDevice and apparatus for measuring dielectric properties of materials
US5821410A (en)*1996-09-201998-10-13Regents Of The University Of CaliforniaScanning tip microwave near field microscope
US5829437A (en)1994-07-011998-11-03Interstitial, Inc.Microwave method and system to detect and locate cancers in heterogenous tissues
US5900618A (en)*1997-08-261999-05-04University Of MarylandNear-field scanning microwave microscope having a transmission line with an open end
US6026323A (en)*1997-03-202000-02-15Polartechnics LimitedTissue diagnostic system
US6061589A (en)1994-07-012000-05-09Interstitial, Inc.Microwave antenna for cancer detection system
US6109270A (en)1997-02-042000-08-29The United States Of America As Represented By The Administrator Of The National Aeronautics And Space AdministrationMultimodality instrument for tissue characterization
US6173604B1 (en)1996-09-202001-01-16The Regents Of The University Of CaliforniaScanning evanescent electro-magnetic microscope
US6233479B1 (en)1998-09-152001-05-15The Regents Of The University Of CaliforniaMicrowave hematoma detector
WO2001065240A1 (en)2000-03-032001-09-07Teraview LimitedImaging apparatus and method
US6287302B1 (en)*1999-06-142001-09-11Fidus Medical Technology CorporationEnd-firing microwave ablation instrument with horn reflection device
US6370426B1 (en)*1999-04-202002-04-09Nova Technology CorporationMethod and apparatus for measuring relative hydration of a substrate
US6597185B1 (en)*2000-09-202003-07-22Neocera, Inc.Apparatus for localized measurements of complex permittivity of a material
US20030187366A1 (en)2002-01-042003-10-02Dune Medical Devices Ltd.Method and system for examining tissue according to the dielectric properties thereof

Family Cites Families (2)

* Cited by examiner, † Cited by third party
Publication numberPriority datePublication dateAssigneeTitle
US5277730A (en)*1987-12-161994-01-11At&T Bell LaboratoriesMethods of recoating spliced lengths of optical fibers
US5807708A (en)*1996-07-301998-09-15Millennium Pharmaceuticals, Inc.Conservin nucleic acid molecules and compositions

Patent Citations (26)

* Cited by examiner, † Cited by third party
Publication numberPriority datePublication dateAssigneeTitle
US4291708A (en)1977-11-021981-09-29Yeda Research & Development Co. Ltd.Apparatus and method for detection of tumors in tissue
US4458694A (en)1977-11-021984-07-10Yeda Research & Development Co., Ltd.Apparatus and method for detection of tumors in tissue
US4344440A (en)1980-04-011982-08-17Trygve AabyMicroprobe for monitoring biophysical phenomena associated with cardiac and neural activity
US4537203A (en)1980-10-211985-08-27Tokyo Shibaura Denki Kabushiki KaishaAbnormal cell detecting device
US4539640A (en)1982-01-121985-09-03Tasc Ltd.Reconstruction system and methods for impedance imaging
US4617939A (en)1982-04-301986-10-21The University Of SheffieldTomography
DE3637549A1 (en)1986-11-041988-05-11Hans Dr Med RosenbergerMeasuring device for testing the dielectric properties of biological tissues
US5143079A (en)1989-08-021992-09-01Yeda Research And Development Company LimitedApparatus for detection of tumors in tissue
US5227730A (en)*1992-09-141993-07-13Kdc Technology Corp.Microwave needle dielectric sensors
US5704355A (en)1994-07-011998-01-06Bridges; Jack E.Non-invasive system for breast cancer detection
US5807257A (en)1994-07-011998-09-15Interstitial, Inc.Breast cancer detection, imaging and screening by electromagnetic millimeter waves
US6061589A (en)1994-07-012000-05-09Interstitial, Inc.Microwave antenna for cancer detection system
US5829437A (en)1994-07-011998-11-03Interstitial, Inc.Microwave method and system to detect and locate cancers in heterogenous tissues
US5744971A (en)*1994-09-091998-04-28Chan; Tsing Yee AmyDevice and apparatus for measuring dielectric properties of materials
US5821410A (en)*1996-09-201998-10-13Regents Of The University Of CaliforniaScanning tip microwave near field microscope
US6173604B1 (en)1996-09-202001-01-16The Regents Of The University Of CaliforniaScanning evanescent electro-magnetic microscope
US6109270A (en)1997-02-042000-08-29The United States Of America As Represented By The Administrator Of The National Aeronautics And Space AdministrationMultimodality instrument for tissue characterization
US6026323A (en)*1997-03-202000-02-15Polartechnics LimitedTissue diagnostic system
US5900618A (en)*1997-08-261999-05-04University Of MarylandNear-field scanning microwave microscope having a transmission line with an open end
US6233479B1 (en)1998-09-152001-05-15The Regents Of The University Of CaliforniaMicrowave hematoma detector
US6370426B1 (en)*1999-04-202002-04-09Nova Technology CorporationMethod and apparatus for measuring relative hydration of a substrate
US6287302B1 (en)*1999-06-142001-09-11Fidus Medical Technology CorporationEnd-firing microwave ablation instrument with horn reflection device
WO2001065240A1 (en)2000-03-032001-09-07Teraview LimitedImaging apparatus and method
US6597185B1 (en)*2000-09-202003-07-22Neocera, Inc.Apparatus for localized measurements of complex permittivity of a material
US20030187366A1 (en)2002-01-042003-10-02Dune Medical Devices Ltd.Method and system for examining tissue according to the dielectric properties thereof
US6813515B2 (en)*2002-01-042004-11-02Dune Medical Devices Ltd.Method and system for examining tissue according to the dielectric properties thereof

Non-Patent Citations (5)

* Cited by examiner, † Cited by third party
Title
Burdette et al. "In Vivo Probe Measurement Technique for Determining Dielectric Properties at VFW Through Microwave Frequencies", IEEE Trans. on Microwave Theory & Techniques, MTT-28(4): 414-427, 1980.
Misra et al. "Noninvasive Electrical Characterization of Materials at Microwave Frequencies Using An Open-Ended Coaxial Line: Test of An Improved Calibration Technique", IEEE Trans. On Microwave Theory & Techniques, 38(1): 8-13, 1990.
Mosig et al. "Reflection of An Open-Ended Coaxial Line", IEEE Trans. on Instr. & Measur., IM-30(1): 46-51, 1981.
Stuchly et al. "Measurement of Radio Frequency Permittivity of Biological Tissues With An Open-Ended Coaxial Line: Part II-Experimental Results", IEEE Trans. on Microwave Theory & Techniques, MTT-30(1): 87-91, 1982.
Xu et al. "Measurement of Microwave Permittivity Using Open Ended Elliptical Coaxial Probes", IEEE Trans. on Microwave Theory & Techniques, 40(1): 143-150, 1992.

Cited By (123)

* Cited by examiner, † Cited by third party
Publication numberPriority datePublication dateAssigneeTitle
US9226979B2 (en)2001-11-192016-01-05Dune Medical Devices Ltd.Method and apparatus for examining tissue for predefined target cells, particularly cancerous cells, and a probe useful in such method and apparatus
US8195282B2 (en)2001-11-192012-06-05Dune Medical Devices LtdMethod and apparatus for examining tissue for predefined target cells, particularly cancerous cells, and a probe useful in such method and apparatus
US20090187109A1 (en)*2001-11-192009-07-23Dune Medical Devices Ltd.Method and apparatus for examining tissue for predefined target cells, particularly cancerous cells, and a probe useful in such method and apparatus
US20070255169A1 (en)*2001-11-192007-11-01Dune Medical Devices Ltd.Clean margin assessment tool
US20080021343A1 (en)*2002-01-042008-01-24Dune Medical Devices Ltd.Probes, systems, and methods for examining tissue according to the dielectric properties thereof
US8019411B2 (en)2002-01-042011-09-13Dune Medical Devices Ltd.Probes, systems, and methods for examining tissue according to the dielectric properties thereof
US8032211B2 (en)2002-01-042011-10-04Dune Medical Devices Ltd.Probes, systems, and methods for examining tissue according to the dielectric properties thereof
US20070179397A1 (en)*2002-01-042007-08-02Dune Medical Devices Ltd.Probes, systems, and methods for examining tissue according to the dielectric properties thereof
US7809425B2 (en)2003-07-242010-10-05Dune Medical Devices Ltd.Method and apparatus for examining a substance, particularly tissue, to characterize its type
US20060264738A1 (en)*2003-07-242006-11-23Dune Medical Devices Ltd.Method and apparatus for examining a substance, particularly tissue, to characterize its type
US11179053B2 (en)2004-03-232021-11-23Dilon Medical Technologies Ltd.Graphical user interfaces (GUI), methods and apparatus for data presentation
US7720532B2 (en)2004-03-232010-05-18Dune Medical Ltd.Clean margin assessment tool
US7904145B2 (en)2004-03-232011-03-08Dune Medical Devices Ltd.Clean margin assessment tool
US9750425B2 (en)2004-03-232017-09-05Dune Medical Devices Ltd.Graphical user interfaces (GUI), methods and apparatus for data presentation
US10342614B2 (en)2004-04-292019-07-09Wisconsin Alumni Research FoundationTriaxial antenna for microwave tissue ablation
US20080119921A1 (en)*2004-04-292008-05-22MicrablateAir-core microwave ablation antennas
US20070016180A1 (en)*2004-04-292007-01-18Lee Fred T JrMicrowave surgical device
US20060276781A1 (en)*2004-04-292006-12-07Van Der Weide Daniel WCannula cooling and positioning device
US7467015B2 (en)2004-04-292008-12-16Neuwave Medical, Inc.Segmented catheter for tissue ablation
US20080154090A1 (en)*2005-01-042008-06-26Dune Medical Devices Ltd.Endoscopic System for In-Vivo Procedures
US20090062637A1 (en)*2005-03-292009-03-05Dune Medical Devices Ltd.Electromagnetic Sensors for Tissue Characterization
US7899515B2 (en)2005-03-292011-03-01Dune Medical Devices Ltd.Electromagnetic sensors for tissue characterization
US20070019199A1 (en)*2005-07-252007-01-25The Wisconsin Alumni Research FoundationMethods, systems, and computer program products for optimization of probes for spectroscopic measurement in turbid media
US7835786B2 (en)2005-07-252010-11-16Wisconsin Alumni Research FoundationMethods, systems, and computer program products for optimization of probes for spectroscopic measurement in turbid media
US8721565B2 (en)2005-08-042014-05-13Dune Medical Devices Ltd.Device for forming an effective sensor-to-tissue contact
US9526460B2 (en)2005-08-042016-12-27Dune Medical Devices Ltd.Tissue-characterization probe with effective sensor-to-tissue contact
US20070032739A1 (en)*2005-08-042007-02-08Dune Medical Devices Ltd.Device for forming an effective sensor-to-tissue contact
US8116845B2 (en)2005-08-042012-02-14Dune Medical Devices Ltd.Tissue-characterization probe with effective sensor-to-tissue contact
US20070032747A1 (en)*2005-08-042007-02-08Dune Medical Devices Ltd.Tissue-characterization probe with effective sensor-to-tissue contact
US20070232932A1 (en)*2006-03-172007-10-04Duke UniversityMonte Carlo based model of fluorescence in turbid media and methods and systems for using same to determine intrinsic fluorescence of turbid media
US7818154B2 (en)2006-03-172010-10-19Duke UniversityMonte Carlo based model of fluorescence in turbid media and methods and systems for using same to determine intrinsic fluorescence of turbid media
US10363092B2 (en)2006-03-242019-07-30Neuwave Medical, Inc.Transmission line with heat transfer ability
US11944376B2 (en)2006-03-242024-04-02Neuwave Medical, Inc.Transmission line with heat transfer ability
US8672932B2 (en)2006-03-242014-03-18Neuwave Medical, Inc.Center fed dipole for use with tissue ablation systems, devices and methods
US20070288079A1 (en)*2006-03-242007-12-13MicrablateEnergy delivery system and uses thereof
US20090015826A1 (en)*2006-03-302009-01-15Duke UniversityOptical assay system for intraoperative assessment of tumor margins
US20100301229A1 (en)*2006-03-302010-12-02Nirmala RamanujamOptical assay system for intraoperative assessment of tumor margins
US7952704B2 (en)2006-03-302011-05-31Duke UniversityOptical assay system for intraoperative assessment of tumor margins
US7751039B2 (en)2006-03-302010-07-06Duke UniversityOptical assay system for intraoperative assessment of tumor margins
US20070282318A1 (en)*2006-05-162007-12-06Spooner Gregory JSubcutaneous thermolipolysis using radiofrequency energy
US11596474B2 (en)2006-07-142023-03-07Neuwave Medical, Inc.Energy delivery systems and uses thereof
US20080147056A1 (en)*2006-07-142008-06-19MicrablateEnergy delivery systems and uses thereof
US11389235B2 (en)2006-07-142022-07-19Neuwave Medical, Inc.Energy delivery systems and uses thereof
US10376314B2 (en)2006-07-142019-08-13Neuwave Medical, Inc.Energy delivery systems and uses thereof
US11576723B2 (en)2006-07-142023-02-14Neuwave Medical, Inc.Energy delivery systems and uses thereof
US11576722B2 (en)2006-07-142023-02-14Neuwave Medical, Inc.Energy delivery systems and uses thereof
US20100324415A1 (en)*2006-08-122010-12-23Philometron, Inc.Platform for detection of tissue structure change
US20080039718A1 (en)*2006-08-122008-02-14PhilometronPlatform for detection of tissue structure change
EP2418599A2 (en)2006-12-122012-02-15Dune Medical Devices Ltd.Graphical user interfaces (gui), methods and apparatus for data presentation
US20080270091A1 (en)*2007-02-232008-10-30Nirmala RamanujamScaling method for fast monte carlo simulation of diffuse reflectance spectra from multi-layered turbid media and methods and systems for using same to determine optical properties of multi-layered turbid medium from measured diffuse reflectance
US20080214953A1 (en)*2007-03-012008-09-04Dune Medical Devices Ltd.Tissue-characterization system and method
US8147423B2 (en)2007-03-012012-04-03Dune Medical Devices, Ltd.Tissue-characterization system and method
EP2535006A2 (en)2007-07-162012-12-19Dune Medical Devices Ltd.Medical device for tissue characterization and treatment
US9301734B2 (en)2007-07-162016-04-05Dune Medical Devices Ltd.Medical device and method for use in tissue characterization and treatment
WO2009010960A2 (en)2007-07-162009-01-22Dune Medical Devices Ltd.Medical device and method for use in tissue characterization and treatment
US9901362B2 (en)2007-07-162018-02-27Dune Medical Devices Ltd.Medical device and method for use in tissue characterization and treatment
US9999353B2 (en)2007-07-162018-06-19Dune Medical Devices Ltd.Medical device and method for use in tissue characterization and treatment
US9757098B2 (en)2007-07-162017-09-12Dune Medical Devices Ltd.Medical device and method for use in tissue characterization and treatment
US20100168611A1 (en)*2007-07-162010-07-01Dan HashimshonyMedical device and method for use in tissue characterization and treatment
US20110059016A1 (en)*2007-09-272011-03-10Nirmala RamanujamOptical assay system with a multi-probe imaging array
US9820655B2 (en)2007-09-282017-11-21Duke UniversitySystems and methods for spectral analysis of a tissue mass using an instrument, an optical probe, and a Monte Carlo or a diffusion algorithm
US20110112435A1 (en)*2007-09-282011-05-12Nirmala RamanujamSystems and methods for spectral analysis of a tissue mass using an instrument, an optical probe, and a monte carlo or a diffusion algorithm
US8690769B2 (en)2008-04-212014-04-08Philometron, Inc.Metabolic energy monitoring system
US20100049004A1 (en)*2008-04-212010-02-25Philometron, Inc.Metabolic energy monitoring system
US20110105865A1 (en)*2008-04-242011-05-05Duke UniversityDiffuse reflectance spectroscopy device for quantifying tissue absorption and scattering
US10588599B2 (en)2008-05-272020-03-17Zoll Medical Israel Ltd.Methods and systems for determining fluid content of tissue
US9008756B2 (en)2008-06-112015-04-14Dune Medical Devices Ltd.Mapping system and method for mapping a target containing tissue
US20100131031A1 (en)*2008-11-272010-05-27Lifewave, Ltd.Methods of diagnosis and treatment of wounds, methods of screening for electrical markers for wounds prognosis in patients
US8855779B2 (en)2008-11-272014-10-07Adb International Group Inc.Methods of diagnosis and treatment of wounds, methods of screening for electrical markers for wounds prognosis in patients
US11013557B2 (en)2009-07-282021-05-25Neuwave Medical, Inc.Energy delivery systems and uses thereof
US9566115B2 (en)2009-07-282017-02-14Neuwave Medical, Inc.Energy delivery systems and uses thereof
US10357312B2 (en)2009-07-282019-07-23Neuwave Medical, Inc.Energy delivery systems and uses thereof
US9119649B2 (en)2009-07-282015-09-01Neuwave Medical, Inc.Energy delivery systems and uses thereof
US9877783B2 (en)2009-07-282018-01-30Neuwave Medical, Inc.Energy delivery systems and uses thereof
US10660609B2 (en)2009-12-012020-05-26Zoll Medical Israel Ltd.Methods and systems for determining fluid content of tissue
US11471127B2 (en)2009-12-012022-10-18Zoll Medical Israel Ltd.Methods and systems for determining fluid content of tissue
US12064284B2 (en)2009-12-012024-08-20Zoll Medical Israel Ltd.Methods and systems for determining fluid content of tissue
US9091637B2 (en)2009-12-042015-07-28Duke UniversitySmart fiber optic sensors systems and methods for quantitative optical spectroscopy
US8882759B2 (en)2009-12-182014-11-11Covidien LpMicrowave ablation system with dielectric temperature probe
US9968401B2 (en)2009-12-182018-05-15Covidien LpMicrowave ablation system with dielectric temperature probe
US20110152853A1 (en)*2009-12-182011-06-23Prakash ManleyMicrowave Ablation System With Dielectric Temperature Probe
US8568404B2 (en)2010-02-192013-10-29Covidien LpBipolar electrode probe for ablation monitoring
US9839477B2 (en)2010-02-192017-12-12Covidien LpBipolar electrode probe for ablation monitoring
US12376903B2 (en)2010-05-032025-08-05Neuwave Medical, Inc.Energy delivery systems and uses thereof
US9872729B2 (en)2010-05-032018-01-23Neuwave Medical, Inc.Energy delivery systems and uses thereof
US11490960B2 (en)2010-05-032022-11-08Neuwave Medical, Inc.Energy delivery systems and uses thereof
US10603106B2 (en)2010-05-032020-03-31Neuwave Medical, Inc.Energy delivery systems and uses thereof
US10524862B2 (en)2010-05-032020-01-07Neuwave Medical, Inc.Energy delivery systems and uses thereof
US9861440B2 (en)2010-05-032018-01-09Neuwave Medical, Inc.Energy delivery systems and uses thereof
US20160073924A1 (en)*2010-07-212016-03-17Kyma Medical Technologies Ltd.Implantable dielectrometer
US20130190646A1 (en)*2010-07-212013-07-25Kyma Medical Technologies Ltd.Implantable Dielectrometer
US9788752B2 (en)*2010-07-212017-10-17Zoll Medical Israel Ltd.Implantable dielectrometer
US10136833B2 (en)2010-07-212018-11-27Zoll Medical Israel, Ltd.Implantable radio-frequency sensor
US9220420B2 (en)*2010-07-212015-12-29Kyma Medical Technologies Ltd.Implantable dielectrometer
WO2012059929A1 (en)2010-11-032012-05-10Sensible Medical Innovations Ltd.Electromagnetic probes, methods for fabrication thereof, and systems which use such electromagnetic probes
US11638607B2 (en)2011-12-212023-05-02Neuwave Medical, Inc.Energy delivery systems and uses thereof
US10667860B2 (en)2011-12-212020-06-02Neuwave Medical, Inc.Energy delivery systems and uses thereof
US9192438B2 (en)2011-12-212015-11-24Neuwave Medical, Inc.Energy delivery systems and uses thereof
WO2013105086A1 (en)2012-01-052013-07-18Sensible Medical Innovations Ltd.Electromagnetic (em) probes, methods of using such em probes and systems which use such electromagnetic em probes
US11266350B2 (en)2012-05-032022-03-08Sensible Medical Innovations Ltd.Adhesive patches for the attachment of radiofrequency (RF) electromagnetic (EM) cup-shaped probe with radiation absorbing material
WO2013164827A2 (en)2012-05-032013-11-07Sensible Medical Innovations Ltd.Patches for the attachment of electromagnetic (em) probes
WO2014009893A1 (en)2012-07-122014-01-16Dune Medical Devices Ltd.Medical device for use in tissue characterization and treatment
EP3536247A1 (en)2012-07-122019-09-11Dune Medical Devices Ltd.Medical device for use in tissue characterization and treatment
US11108153B2 (en)2013-10-292021-08-31Zoll Medical Israel Ltd.Antenna systems and devices and methods of manufacture thereof
US10680324B2 (en)2013-10-292020-06-09Zoll Medical Israel Ltd.Antenna systems and devices and methods of manufacture thereof
US11539125B2 (en)2013-10-292022-12-27Zoll Medical Israel Ltd.Antenna systems and devices, and methods of manufacture thereof
US11883136B2 (en)2014-02-052024-01-30Zoll Medical Israel Ltd.Systems, apparatuses and methods for determining blood pressure
US11013420B2 (en)2014-02-052021-05-25Zoll Medical Israel Ltd.Systems, apparatuses and methods for determining blood pressure
US20170181658A1 (en)*2014-07-082017-06-29Infineon Technologies Ag300 MHz to 3 THz Electromagnetic Wave Sensor for Determining an Interstitial Fluid Parameter in Vivo
US10856767B2 (en)*2014-07-082020-12-08Infineon Technologies Ag300 MHz to 3 THz electromagnetic wave sensor for determining an interstitial fluid parameter in vivo
US11259715B2 (en)2014-09-082022-03-01Zoll Medical Israel Ltd.Monitoring and diagnostics systems and methods
US12414695B2 (en)2015-01-122025-09-16Zoll Medical Israel Ltd.Systems, apparatuses and methods for radio frequency-based attachment sensing
US11241158B2 (en)2015-01-122022-02-08Zoll Medical Israel Ltd.Systems, apparatuses and methods for radio frequency-based attachment sensing
US10548485B2 (en)2015-01-122020-02-04Zoll Medical Israel Ltd.Systems, apparatuses and methods for radio frequency-based attachment sensing
US10952792B2 (en)2015-10-262021-03-23Neuwave Medical, Inc.Energy delivery systems and uses thereof
US11678935B2 (en)2015-10-262023-06-20Neuwave Medical, Inc.Energy delivery systems and uses thereof
US10531917B2 (en)2016-04-152020-01-14Neuwave Medical, Inc.Systems and methods for energy delivery
US11395699B2 (en)2016-04-152022-07-26Neuwave Medical, Inc.Systems and methods for energy delivery
US11872012B2 (en)2017-08-102024-01-16Zoll Medical Israel Ltd.Systems, devices and methods for physiological monitoring of patients
US11020002B2 (en)2017-08-102021-06-01Zoll Medical Israel Ltd.Systems, devices and methods for physiological monitoring of patients
US11672596B2 (en)2018-02-262023-06-13Neuwave Medical, Inc.Energy delivery devices with flexible and adjustable tips
US12171490B2 (en)2018-02-262024-12-24Neuwave Medical, Inc.Energy delivery devices with flexible and adjustable tips
US11832879B2 (en)2019-03-082023-12-05Neuwave Medical, Inc.Systems and methods for energy delivery

Also Published As

Publication numberPublication date
EP1460936A4 (en)2005-04-13
AU2002360209A8 (en)2003-07-30
HK1069967A1 (en)2005-06-10
ES2302865T3 (en)2008-08-01
EP1460936A2 (en)2004-09-29
AU2002360209A1 (en)2003-07-30
US20050107718A1 (en)2005-05-19
EP1460936B1 (en)2008-02-27
ATE387141T1 (en)2008-03-15
DE60225336T2 (en)2009-02-26
JP2005514996A (en)2005-05-26
WO2003060462A2 (en)2003-07-24
JP4271581B2 (en)2009-06-03
WO2003060462A3 (en)2003-12-31
US20030187366A1 (en)2003-10-02
DE60225336D1 (en)2008-04-10
DE02795418T1 (en)2005-06-23
US6813515B2 (en)2004-11-02

Similar Documents

PublicationPublication DateTitle
US7184824B2 (en)Method and system for examining tissue according to the dielectric properties thereof
US8019411B2 (en)Probes, systems, and methods for examining tissue according to the dielectric properties thereof
US8032211B2 (en)Probes, systems, and methods for examining tissue according to the dielectric properties thereof
US8865076B2 (en)Methods for detection and characterization of abnormal tissue and cells using an electrical system
US7809425B2 (en)Method and apparatus for examining a substance, particularly tissue, to characterize its type
US7082325B2 (en)Method and apparatus for examining a substance, particularly tissue, to characterize its type
US10610122B2 (en)Linear velocity imaging tomography
Mirbeik-Sabzevari et al.Tumor detection using millimeter-wave technology: Differentiating between benign lesions and cancer tissues
Lee et al.Bioimpedance: novel use of a minimally invasive technique for cancer localization in the intact prostate
US11759184B2 (en)Apparatus, system and method for diagnostic imaging forceps
US20110105948A1 (en)Electrical Impedance Sensing Biopsy Sampling Device And Method
US20150038872A1 (en)Multiple-electrode electrical impedance sensing biopsy sampling device and method
RU2381008C1 (en)Method of measuring electrodynamic parametres of biological tissues and device for implementation thereof
Meani et al.Electrical impedance spectroscopy for ex-vivo breast cancer tissues analysis
US20080171949A1 (en)Intraoperative electromagnetic apparatus and related technology
HK1069967B (en)System for examining tissue according to the dielectric properties thereof
Balasena et al.The opportunity of magnetic induction tomography modality in breast cancer detection
AU4755602A (en)Apparatus for tissue type recognition using multiple measurement techniques
WO2020026214A1 (en)Electronic system and probe for detection of tumour masses

Legal Events

DateCodeTitleDescription
STCFInformation on status: patent grant

Free format text:PATENTED CASE

FPAYFee payment

Year of fee payment:4

FPAYFee payment

Year of fee payment:8

ASAssignment

Owner name:OXFORD FINANCE LLC, AS COLLATERAL AGENT AND AS LEN

Free format text:SECURITY INTEREST;ASSIGNORS:DUNE MEDICAL DEVICES LTD.;DUNE MEDICAL DEVICES, INC.;REEL/FRAME:043647/0301

Effective date:20170530

MAFPMaintenance fee payment

Free format text:PAYMENT OF MAINTENANCE FEE, 12TH YR, SMALL ENTITY (ORIGINAL EVENT CODE: M2553)

Year of fee payment:12

ASAssignment

Owner name:DUNE MEDICAL DEVICES, INC., PENNSYLVANIA

Free format text:RELEASE BY SECURED PARTY;ASSIGNOR:OXFORD FINANCE LLC, AS COLLATERAL AGENT AND LENDER;REEL/FRAME:053376/0194

Effective date:20200430

Owner name:DUNE MEDICAL DEVICES LTD., ISRAEL

Free format text:RELEASE BY SECURED PARTY;ASSIGNOR:OXFORD FINANCE LLC, AS COLLATERAL AGENT AND LENDER;REEL/FRAME:053376/0194

Effective date:20200430

ASAssignment

Owner name:DUNE MEDICAL DEVICES LTD., VIRGINIA

Free format text:ASSIGNMENT OF ASSIGNORS INTEREST;ASSIGNOR:DUNE MEDICAL DEVICES LTD.;REEL/FRAME:053376/0227

Effective date:20200401


[8]ページ先頭

©2009-2025 Movatter.jp