Movatterモバイル変換


[0]ホーム

URL:


US7155380B2 - System and method for designing a logical model of a distributed computer system and deploying physical resources according to the logical model - Google Patents

System and method for designing a logical model of a distributed computer system and deploying physical resources according to the logical model
Download PDF

Info

Publication number
US7155380B2
US7155380B2US11/008,685US868504AUS7155380B2US 7155380 B2US7155380 B2US 7155380B2US 868504 AUS868504 AUS 868504AUS 7155380 B2US7155380 B2US 7155380B2
Authority
US
United States
Prior art keywords
module
instances
model
logical
port
Prior art date
Legal status (The legal status is an assumption and is not a legal conclusion. Google has not performed a legal analysis and makes no representation as to the accuracy of the status listed.)
Expired - Lifetime, expires
Application number
US11/008,685
Other versions
US20050102538A1 (en
Inventor
Galen C. Hunt
Aamer Hydrie
Robert V. Welland
Bassam Tabbara
Steven P. Levi
Jakob Rehof
Current Assignee (The listed assignees may be inaccurate. Google has not performed a legal analysis and makes no representation or warranty as to the accuracy of the list.)
ServiceNow Inc
Original Assignee
Microsoft Corp
Priority date (The priority date is an assumption and is not a legal conclusion. Google has not performed a legal analysis and makes no representation as to the accuracy of the date listed.)
Filing date
Publication date
Application filed by Microsoft CorpfiledCriticalMicrosoft Corp
Priority to US11/008,685priorityCriticalpatent/US7155380B2/en
Publication of US20050102538A1publicationCriticalpatent/US20050102538A1/en
Application grantedgrantedCritical
Publication of US7155380B2publicationCriticalpatent/US7155380B2/en
Assigned to MICROSOFT TECHNOLOGY LICENSING, LLCreassignmentMICROSOFT TECHNOLOGY LICENSING, LLCASSIGNMENT OF ASSIGNORS INTEREST (SEE DOCUMENT FOR DETAILS).Assignors: MICROSOFT CORPORATION
Assigned to SERVICENOW, INC.reassignmentSERVICENOW, INC.ASSIGNMENT OF ASSIGNORS INTEREST (SEE DOCUMENT FOR DETAILS).Assignors: MICROSOFT TECHNOLOGY LICENSING, LLC
Assigned to SERVICENOW, INC.reassignmentSERVICENOW, INC.CORRECTIVE ASSIGNMENT TO CORRECT THE RECORDAL TO REMOVE INADVERTENTLY RECOREDED PROPERTIES SHOWN IN ATTACHED SHEET PREVIOUSLY RECORDED AT REEL: 047681 FRAME: 0916. ASSIGNOR(S) HEREBY CONFIRMS THE ASSIGNMENT.Assignors: MICROSOFT TECHNOLOGY LICENSING, LLC
Adjusted expirationlegal-statusCritical
Expired - Lifetimelegal-statusCriticalCurrent

Links

Images

Classifications

Definitions

Landscapes

Abstract

A system facilitates the design and implementation of large-scale applications, such as Internet Services and Websites, for distributed computer systems, such as server data centers, Internet data centers (IDCs), Web farms, and the like. The system has a modeling system and a deployment system. The modeling system permits developers to architect the hardware and software used to implement the applications in an abstract manner. The modeling system defines a set of components used to describe the functionality of an application. The model components are arranged and interconnected to form a scale-independent logical model of the application. Once a logical model is created, the deployment system uses the logical model to automatically deploy various computer/software resources to implement the application. The deployment system converts each of the model components into one or more instances that correspond to physical resources.

Description

RELATED APPLICATIONS
This application is a continuation of U.S. patent application Ser. No. 09/696,707, filed on Oct. 24, 2000 now U.S. Pat. No. 6,907,395, entitled “System and Method for Designing a Logical Model of a Distributed Computer System and Deploying Physical Resources According to the Logical Model” and naming Robert Welland, Galen Hunt, Aamer Hydrie, Steven Levi, Jakob Rehof and Bassam Tabbara as inventors, the disclosure of which is hereby incorporated herein by reference.
TECHNICAL FIELD
This invention relates to distributed computer systems, such as Internet-based Services or Websites. More particularly, this invention pertains to a way to convert a logical, scale-independent model of an application for a distributed computer system to an actual physical configuration.
BACKGROUND
It is no secret that Internet usage has exploded over the past few years and continues to grow rapidly. People have become very comfortable with many services offered on the World Wide Web (or simply “Web”), such as electronic mail, online shopping, gathering news and information, listening to music, viewing video clips, looking for jobs, and so forth. To keep pace with the growing demand for Internet-based services, there has been tremendous growth in the computer systems dedicated to hosting Websites, providing backend services for those sites, and storing data associated with the sites.
One type of distributed computer system is an Internet data center (IDC), which is a specifically designed complex that houses many computers for hosting Internet-based services. IDCs, which also go by the names “Webfarms” and “server farms”, typically house hundreds to thousands of computers in climate-controlled, physically secure buildings. These computers are interconnected to run one or more programs supporting one or more Internet services or Websites. IDCs provide reliable Internet access, reliable power supplies, and a secure operating environment.
FIG. 1 shows anInternet data center100. It hasmany server computers102 arranged in a specially constructed room. The computers are general-purpose computers, typically configured as servers. An Internet data center may be constructed to house a single site for a single entity (e.g., a data center for Yahoo! or MSN), or to accommodate multiple sites for multiple entities (e.g., an Exodus center that host sites for multiple companies).
The IDC100 is illustrated with three entities that share the computer resources: entity A, entity B, and entity C. These entities represent various companies that want a presence on the Web. The IDC100 has a pool ofadditional computers104 that may be used by the entities at times of heavy traffic. For example, an entity engaged in online retailing may experience significantly more demand during the Christmas season. The additional computers give the IDC flexibility to meet this demand.
While there are often many computers, an Internet service or Website may only run a few programs. For instance, one Website may have 2000–3000 computers that run only 10–20 distinct software components. Computers may be added daily to provide scalability as the Website receives increasingly more visitors, but the underlying programs change less frequently. Rather, there are simply more computers running the same software in parallel to accommodate the increased volume of visitors.
Today, there is no conventional way to architect Internet Services in a way that abstracts the functionality of the Service from the underlying physical deployment. Little thought has gone into how to describe a complete Internet Service in any manner, let alone a scale-invariant manner. At best, Internet Service operators might draft a document that essentially shows each and every computer, software program, storage device, communication link, and operational relationship in the Website as of a specific time and date. The downside with such physical schematics is, of course, that the document is always out of date, must be updated as the Service grows in physical resources and hence, it is of limited usefulness as a management tool. Furthermore, while a human may understand such a document, it holds no meaning to a computer.
Moreover, managing the physical resources of the distributed computer system for an Internet Service is difficult today. Decisions such as when to add (or remove) computers to carry out portions of the Internet Service are made by human operators. Often times, these decisions are made based on the operators' experience in running the Internet Service. Unfortunately, with the rapid growth of services, there is a shortage of qualified operators who can make real-time decisions affecting the operation of a Website. Accordingly, it would be beneficial if some of the managerial aspects of running a Internet service could be automated.
SUMMARY
A system facilitates the design and implementation of large-scale distributed computer applications, such as Internet Services and Websites. The applications are implemented as software distributed over many interconnected computer nodes, such as server data centers, Internet data centers (IDCs), Web farms, and the like.
The system has a modeling system and a deployment system. The modeling system permits developers to architect the hardware and software used to implement the applications in an abstract manner. The modeling system defines a set of components used to describe the functionality of an application in a logical, scale-independent manner. In the described implementation, the modeling system defines several model components: a module, a port, and a wire. The model also admits an unlimited set of model extensions including, but not limited to stores, event sources, event sinks, and event wires.
The module is the basic functional unit and represents a container of behavior that may be implemented by one or more computers running one or more software programs. For instance, in the context of a Website, one module might represent a front end that renders HTML pages, another module might represent a login database, and another module might represent a mailbox program. A port is a service access point for the module. All communications into and out of the module go through a port. A wire is the logical binding that defines an allowed communication route between two ports.
While the model consists of the three basic components described above (namely modules, ports, and wires), the model can be augmented with numerous extensions, specializations of the basic components. For example, a store is a basic unit of storage and a specialization of the module. A store represents a logical amount of storage, which may be implemented by any number of physical disks or other storage media. Like the module, the store represents behavior, in this case, the ability to save and retrieve data. Also like the module, the store can communicate with other modules and stores through ports and wires. A store differs from a module in that it is labeled with additional attributes such as the amount of storage required, required access speed, or a minimum number of outstanding storage requests. The store extends the model by adding a specialized type of module with additional semantic information.
The model can be further augmented with ports extensions. For example, an event source and an event sink are used for discrete semantic messaging between modules and module extensions, such as stores. Event sinks are specialized ports in that they are communication access points between model components, but with additional semantics, namely the specific events.
The model can also be augmented with wires extensions. For example, an event wire is a logical connection between event sources and event sinks, and carries event messages used to inform modules and implement policy. While most wire extensions allow communication at run time, it is possible for some wire extensions to transfer data only at compile or initialization time.
The model components are arranged and interconnected to form a scale-independent model of the application. Each component specifies some functionality of the application.
Once a logical model is created, the deployment system uses the logical model to automatically deploy various computer/software resources to implement the application. The deployment system converts each of the model components into one or more instances that correspond to physical resources. As one example, the resources correspond to computer nodes of a distributed computer system that are loaded with specific types of software to implement the function represented by the model components. The deployment system initially installs the application and then dynamically and automatically modifies the resources used to implement the application in an ongoing basis as the operating parameters of the application change.
In one implementation, the deployment system includes a service running state to store the logical model and track instances of the model components as they are created (or destroyed). A resource manager tracks the computer nodes available for allocation and tracks the nodes as they are allocated to correlate the nodes with the instances. The deployment system further includes a loader to load software onto newly allocated computer nodes to implement the logical functions represented by the model components.
BRIEF DESCRIPTION OF THE DRAWINGS
FIG. 1 illustrates a conventional Internet data center (IDC).
FIG. 2 illustrates a set of model components that form the building blocks for modeling an Internet Service, along with the associated schema.
FIG. 3 illustrates a database application for an Internet Service that is modeled in terms of the components.
FIG. 4 illustrates an Internet-based email Internet Service.
FIG. 5 is a block diagram of a computer that may be used to implement the modeling software for modeling an Internet Service.
FIG. 6 is a flow diagram of a process for modeling an Internet Service.
FIG. 7 is a block diagram of a deployment system that converts a logical model to a fully functioning physical implementation
FIG. 8 illustrates a translation of the logical model into real-world instances.
FIG. 9 illustrates exemplary data records of an instance database used to store the real-world instances.
FIG. 10 is a flow diagram of a process for deploying resources for the application based on the logical model.
DETAILED DESCRIPTION
A design system for designing applications of distributed computer systems includes a modeling system and a deployment system. The modeling system permits developers of applications for distributed computer systems (e.g., server data centers, Internet data centers (IDCs), Web farms, and the like) to architect the hardware and software in an abstract manner. The modeling system defines a set of components used to describe the functionality of an application in a logical, scale-independent manner. An “application” within this context refers to an entire service hosted on the distributed computers. For instance, an Internet data center may host a Website for an online retailer, where the application entails the entire software and hardware configuration that implements the online retailer's Internet presence. The application might include, for example, a front end to handle client requests, an order processing system, a billing system, an inventory system, and a database system.
The model components are arranged and interconnected to form a scale-independent model of the application. Each component specifies some functionality of the application. The model can then be used to construct a scalable physical blueprint in terms of which machines run which pieces of software to form the application.
The deployment system uses the logical model to deploy various computer/software resources in real-time as the applications need them. The deployment system converts each of the model components into one or more instances that correspond to physical resources. The deployment system tracks the instances and all available resources. The deployment system decides when resources should be added (or removed) and monitors the current state of implementation. The deployment system installs the application and then dynamically and automatically modifies the resources used to implement the application in an ongoing basis as the operating parameters of the application change.
The design system is described in the context of Internet Services and Websites, such as might be deployed in Internet data centers, because modeling Internet Services represents one suitable use of the system. However, the design system may be implemented to model other large size and scalable applications for computer systems. Accordingly, the design system can be implemented in a wide variety of ways, including Internet-based implementations and non-Internet-based implementations.
Model Components and Schema
The modeling system defines several model components that form the building blocks of a logical, scale-independent application: a module, a port, and a wire. It also defines a set of model extensions including, but not limited to: a store, an event source, an event sink, and an event wire. In a design tool, the components are represented pictorially as graphical elements or symbols that may be arranged and interconnected to create scale-independent models of Website applications. The graphical elements have an associated schema that dictates how the functional operations being represented by the graphical elements are to be specified.
FIG. 2 illustrates a set ofmodel components200 that form the building blocks of logical, scale-independent Internet Services. The components include a module, as represented by modules202(A)–202(C),ports206,wires208, and extensions such as astore204,event sources210, event sinks212, andevent wires214. Thecomponents200 are arranged in a no particular manner other than to foster discussion of their individual traits.
Amodule202 represents a basic unit of functionality for the Internet Service. It is a logical entity that represents some portion of the application as might be deployed at the IDC, but it does not necessarily have a physical manifestation. The module often corresponds to a software program that handles a logical set of tasks for the Service. For instance, one module might represent a front end for a Website, another module might represent a login database, and another module might represent an electronic mail program.
Eachmodule202 is a container of behavior. A simple module is indivisible and has associated a unique identifier. Modules can be nested into a hierarchy of modules to form more complex behaviors. In a module hierarchy, the leaf modules are simple modules, and the non-leaf modules are compound modules.
Eachmodule202 defines a unit of scaling. While one module logically represents a functional operation of the Service, the module may be deployed to any number of computers when actually implemented. In this way, the module is scale-independent, allowing the number of underlying computers used to implement the module to change at over time. When converted to a physical implementation, “module instances” are created from the modules. The module instances are assigned a unique identifier and maintain ancestral data regarding which module created them. The module instances of simple modules are often called “engines”, which are software programs that run on an individual computer.
Extensions to the model are additional components that specialize the role, behavior, and possibly graphical representation of the base components. Exemplary extensions include, but are not limited to,store204,event source210,event sink212, andevent wire214.
Astore204 is the most basic unit of storage. It represents a logical storage partition, which may be implemented by any number of physical disks or other storage media.
Aport206 is a service access point (SAP) for amodule202 orstore204. All service-related communications into and out of a module go through aport206. Eachport206 has a “type”, which is a set of attributes describing format, semantics, protocol, and so forth. At runtime, the port represents a set of physical ports associated with the instantiated engines of the modules. Note that a given module might have any number of ports representing different services or functionality provided by the module.
Awire208 is the logical binding that defines an allowable communication route between twoports206. Eachwire208 can be type-checked (i.e., with respect to protocols, roles) and defines protocol configuration constraints (e.g., HTTP requires TCP, TCP requires IP, etc.).
Event sources210 and event sinks212 are used for discrete semantic messaging between modules and module extensions, such as stores. Anevent wire214 is a logical connection between sources and sinks, and carries event messages used to inform modules or module extensions and implement policy (e.g., scaling, fail-over, monitoring, application processes, etc.).
The event sources210 and event sinks212, together with theports206, collectively form interfaces for communications to and from themodules202 and module extensions, such asstores204. The event sources and sinks may be implemented as ports that are configured for message handling.
Themodel components200 are depicted as graphical icons or symbols that may be selected and interconnected using a modeling system (described below in more detail). In the illustrated example, themodules202 are depicted as blocks, thestore204 is depicted as a disk storage icon, and theports206 are depicted as spherical knobs projecting from the modules or module extensions, such as stores. Additionally, thewires208 are depicted as bold lines, theevent sources210 are depicted as triangles pointing away from the module or module extension, the event sinks212 are depicted as triangles pointing toward the module or module extension, and theevent wire214 is depicted as a dashed line.
The graphical icons have an associated schema that dictates how the functional operations being represented by the icons are to be specified. For instance, a module icon may have a predefined schema that specifies the hardware and software resources used to implement the functionality represented by the module. Thus, a module for a database function might have characteristics pertaining to the kind of database (e.g., relational), the data structure (e.g., tables, relationships), software (e.g., SQL), software version, and so forth.
FIG. 2 also illustrates the schema underlying the graphical elements as exemplary data structures associated with the model components. Module202(A) has an associatedstructure220 that contains various characteristics for the module, such as functionality, processing requirements, software, and so forth. Modules202(B) and202(C) have similar structures (not shown). Model extensions also have associated structures. Thestore204 has acorresponding structure222 that defines the requirements for storage. Thestore schema structure222 might include, for example, the kind of storage (e.g., disk), the storage format, and so on.
Eachport206 has a schema structure, as represented bystructure224, which dictates the port's type. Eachwire208 is also associated with a schema structure, such asstructure226, which outlines the protocols implemented by the connection. Similar schema structures may also be provide for event sources event sinks, and event wires.
Using the model components, a developer can logically describe and configure scale-independent Internet Service prior to physically laying them out in Internet data centers. The developer drafts a model using a user interface to select and interconnect the model components. Once constructed, the modeling software generates the Internet Service based on the depicted model and the underlying schema. The Service may subsequently be converted into a physical blueprint that details the computers and software needed to implement the Service for a specified number of clients.
The scale-invariant nature of the modeling system allows Internet Service developers to focus only on designing software for a specific functional task (e.g., front end, login database, email program, etc.). All external communications can then be expressed in terms of transmitting to and receiving from one or more associated ports. In this manner, the Service developers need not worry about how many machines will be used to run the module, or how other modules of the scale-independent Internet Service are being configured.
Exemplary Module and Application
FIG. 3 shows a fault-tolerant SQL (structure query language)database module300 to demonstrate how the model components may be organized and connected to represent a portion of an application. In this example, thedatabase module300 represents a SQL database that may be used independently or as a component in a larger application. TheSQL database module300 has a module interface composed of asingle port302 that implements the TDS (Tabular Data Stream) protocol.
TheSQL database module300 is a compound module made up of three simple modules: a fail-overpolicy module310, aprimary SQL module312, and asecondary SQL module314. The primary and secondary SQL modules represent dual programs that operate in parallel so that, in the event that theprimary module312 crashes, thesecondary module314 can assume the role without loss of service. Thedatabase module300 also has adata store316 that represents the memory storage for the SQL database module.
Theprimary SQL module312 has a module interface that includes afirst port320 for communicating with thecompound module port302 and asecond port322 for communicating with thestore316. Theprimary SQL module312 also has anevent source324 and anevent sink326 for handling event messages from the fail-overpolicy module310. Similarly, thesecondary SQL module314 has a module interface with afirst port330 for communicating with thecompound module port302, asecond port332 for communicating with thestore316, and anevent sink334 for receiving events from the fail-overpolicy module310. Awire336 interconnects the externalcompound module port302 with theports320 and330 of the primary and secondary SQL modules, respectively.
Thestore316 has aport340 to communicate with the primary312 and secondary314 SQL modules and an event sink342 to receive event messages from the fail-overpolicy module310. Awire344 interconnects thestore port340 with theports322 and332 of the primary and secondary SQL modules, respectively.
The fail-overpolicy module310 has a module interface that includes three event sources and one event sink. Anevent sink350 receives a “fail” event from theevent source324 of theprimary SQL module312 via anevent wire352 when the primary SQL module experiences some failure. In response to receiving a “fail” event, the fail-overpolicy module310 concurrently issues a first event to stop the failedprimary module312, another event to assign thesecondary module314 as the new owner of thestore316, and a third event to start thesecondary module314. The “stop” event is issued via anevent source354 over anevent wire356 to theevent sink326 of theprimary SQL module312. The “stop” event directs theprimary SQL module312 to halt operation.
The fail-overpolicy module310 issues an “assign owner” (AO) event from anevent source358, over the event wire360 to the event sink342 of thestore316. The assign owner event directs the storage mechanisms to switch to allowing access by thesecondary SQL module314, rather than theprimary SQL module312. The fail-overpolicy module310 also issues a “start” event fromevent source362 overevent wire364 to theevent sink334 of thesecondary module314. The start event directs the secondary SQL module to start operation in place of the primary SQL module.
TheSQL database module300 illustrates how the base model components and exemplary model extensions—modules, ports, wires, stores, event sources, event sinks, and event wires—may be arranged and interconnected to form a complex module. The developer specifies the characteristics associated with each component according to the prescribed schema. The complex module may in turn be added to other simple or complex modules to form other complex modules. Eventually, the largest complex module becomes the Internet Service, which may then be used to form a blueprint for deploying to the data center.
FIG. 4 shows asimplified application400 for an online retailer. Theapplication400 includes afront end module402, acatalog module404, anorder processing module406, and afulfillment module408. Theapplication400 also includes acustomer database410 and the fault-tolerantSQL database module300. Notice that theSQL database module300 is the same as that shown inFIG. 3 to illustrate how complex modules can be nested into even greater complex modules to form an application.
Thefront end module402 handles requests from clients who wish to shop with the online retailer. Thefront end module402 has aport420 that accommodates communications with external clients using the TCP/IP protocol over the Internet. Thefront end module402 also has anorder port422 to define a communication exchange with theorder processing module406 and acatalog port424 for communication flow to thecatalog module404. Theports422 and424 may be configured according to any of a variety of types, which support any of a number of protocols including SOAP, TCP, or UDP. Anevent sink426 is also provided to receive a “new product” message from thecatalog module404 when a new product has been added to the catalog.
Thecatalog module404 provides catalog information that may be served by the front end to the requesting clients. Thecatalog module404 has afront end port430 connected via awire432 to thecatalog port424 of thefront end module402. Thefront end port430 has a type that matches thecatalog port424. Thecatalog module404 also has anevent source434 for communicating the “new product” messages overwire436 to theevent sink426 of thefront end module402.
ASQL port438 interfaces thecatalog module404 with theSQL database module300. TheSQL port438 has a type that utilizes the TDS protocol for the communication exchange with theexternal port302 of theSQL database300.
Theorder processing module406 has afront end port440 to define a communication interface with thefront end module402 via awire442. Theorder processing module406 also has afulfillment port444 to facilitate communication with thefulfillment module408 overwire446 and adatabase port448 to facilitate communication with thecustomer database410 viawire450.
Anevent source452 is provided at theorder processing module406 to pass “order complete” events to thefulfillment module408 viawire454. These events inform thefulfillment module408 that an order is complete and ready to be filled. Asecond event source456 passes “new account” events to thecustomer database410 viawire458 whenever a new customer orders a product.
Thefulfillment module408 has anorder port460 to provide access to thewire446 to theorder processing module406 and adatabase port462 to interface with thecustomer database410. Thefulfillment module408 also has anevent sink464 to receive the “order complete” events from theorder processing module406.
Thecustomer database410 has anorder port470 to provide access towire450 and afulfillment port472 to facilitate communication with thefulfillment module408 viawire474. Thecustomer database410 further has anevent sink476 to receive the “new account” events from theorder processing module406.
The modeling approach illustrated inFIGS. 3 and 4 is tremendously beneficial because it allows developers and IDC operators to view the entire Internet Service in terms of functional pieces independent of deployment scale. The onlineretailer Internet Service400, for example, requires a front end unit, a catalog unit, an order processing unit, and a fulfillment unit regardless of whether the retailer is handling 100 hits a day or 10 million hits per day.
The scale-independent nature frees the developer to focus on his/her little piece of the Service. For instance, a developer assigned the task of building thefront end module402 need only be concerned with writing software code to facilitate response/reply exchanges. Any communication to and from the module is defined in terms of order-related data being passed to theorder processing module406 via theorder port422 and product data being received from thecatalog module404 via thecatalog port424. The developer defines the data flow to and from theorder port422 and thecatalog port424 according to their respective associated protocol types.
TheInternet Service400 can then be used to construct a computer system that hosts the online retailer. Initially, the online retailer may not receive very much traffic, especially if launched away from the Christmas season. So, perhaps thefront end module402 deploys initially to only a few computers to handle the light traffic from the Internet. But, suppose that over time the site becomes more popular and the Christmas season is fast approaching. In this situation, the online retailer may authorize the IDC operator to add many more computers for the front end tasks. These computers are equipped with software and configured to accept HTTP requests for product information and to serve Web pages containing the product information. The computers are added (or removed) as needed, without altering the basic description of theInternet Service400.
Computer-Based Modeling System and Method
FIG. 5 shows anexemplary computer system500 that implements modeling software used to design Internet Services. The modeling computer may be implemented as one of the nodes in a Internet Service, or as a separate computer not included as one of the nodes. The modeling computer has aprocessor502, volatile memory504 (e.g., RAM), and non-volatile memory506 (e.g., ROM, Flash, hard disk, optical, RAID memory, etc.). Themodeling computer500 runs anoperating system510 andmodeling system512.
For purposes of illustration,operating system510 andmodeling system512 are illustrated as discrete blocks stored in thenon-volatile memory506, although it is recognized that such programs and components reside at various times in different storage components of thecomputer500 and are executed by theprocessor502. Generally, these software components are stored innon-volatile memory506 and from there, are loaded at least partially into the volatilemain memory504 for execution on theprocessor502.
Themodeling system512 includes a user interface514 (e.g., a graphical UI) that presents the pictorial icons of the model components516 (e.g., modules, ports, sources, sinks, etc.), acomponent schema database518, a logical-to-physical converter520, and an instance-trackingdatabase522. Themodeling system512 allows a developer to design an Internet Service by defining modules, ports, wires, and event message schemes. Theuser interface514 presents symbols of thecomponents516, such as the symbols shown inFIGS. 2–4, and permits the developer to arrange and interconnect them. TheUI514 may even support conventional UI techniques as drag-and-drop operations.
The symbols depicted on the screen represent anunderlying schema518 that is used to define the model. For instance, a block-like module symbol is associated with the characteristics of the functionality that the module is to represent in the Internet Service. Thus, the developer may define a database module that has characteristics pertaining to the kind of database (e.g., relational), the data structure (e.g., tables, relationships), software (e.g., SQL), software version, and so forth. Accordingly, by drafting the model on the UI, the developer is architecting the entire schema that will be used to design the scale-independent Internet Service.
Once the Internet Service is created, the logical-to-physical converter520 converts the Service to a physical blueprint that details the number of computers, software components, physical ports, and so forth. The converter takes various parameters—such as how many site visitors are expected, memory requirements, bandwidth requirements, processing capabilities, and the like—and scales the Internet Service according to theschema518 created by the developer. Theconverter520 specifies the number of computers needed to implement each module, the number of disks to accommodate the stores, and the types of communications protocols among the modules and stores. The identity of every component instance is recorded in an instance-trackingdatabase522. Instances in the instance-trackingdatabase522 include those for modules, port, wires, and instances of model extensions such as stores, event ports, and event wires.
In one embodiment, the developer writes management policy, which issues commands on theschema518 to create new instances of modules, port, and wires to deploy the Internet Service. Developers may choose to write management policy instead of using fully automatic logical-to-physical converter520 when they want finer control over the growth and management of the Internet Service. The management code issues commands using the namespace defined by theschema518, but the commands operate on individual module, port, and wire instances. The commands are still dispatched through theconverter520, which allocates nodes to the management policy. Whether operating automatically or driven by management policy code, theconverter520 records in the instance-trackingdatabase522 the individual instances of modules, port, and wires.
In this manner, the modeling system changes the development effort from a node-centric approach for architecting Internet Services to an application-centric approach. Within conventional node-centric methodology, the focus was on the computers and how they were laid out. The Internet Service was then loaded onto the nodes in an ad hoc manner. With the new application-centric approach, the focus is initially on the Internet Service itself. The physical nodes used to implement the Internet Service are derived in terms of the Service schema once it is specified. The instance-trackingdatabase522 gives both developers and operators information about how many instances of each module are running at any time and how the modules are connected using port instances and wires instances within the Service schema.
FIG. 6 shows a method for modeling a scale-independent Internet Service. Themethod600 may be implemented, for example, by themodeling system512 executing on themodeling computer500. In such an implementation, the method is implemented in software that, when executed oncomputer500, performs the operations illustrated as blocks inFIG. 6.
Atblock602, themodeling system512 allows the developer to define the modules and extensions, such as stores, that form the functional elements of the Internet Service. TheUI514 enables the developer to create modules and extensions, such as stores, and to define their characteristics as prescribed by a predetermined schema. This entry process begins to construct the logical building blocks of the Service.
Atblock604, themodeling system512 enables the developer to define the ports for the modules and module extensions, such as stores. The developer selects the type of ports. The modeling system ensures compatibility of ports that are connected to one another. Atblock606, the developer also defines other extensions, such as events that may be passed among modules and module extensions, such as stores. For example, the developer creates event sources and event sinks to accommodate the various events. Atblock608, the developer uses themodeling system512 to interconnect the ports with wires and the port extensions, such as event sources/sinks with wire extensions, such as event wires. By joining the various modules and module extensions, such as stores, the developer effectively forms a logical representation of the Internet Service.
At block610, themodeling system512 generates an Internet Service using the graphical representation constructed by the developer through its associated schema. Themodeling system512 generates the logical specifications associated with the graphical model, including the characteristics of the modules and module extensions, such as stores, as well as the types of the ports and port extensions, such as event sources/sinks. The Internet Service provides a complete logical representation of the Service that will eventually be implemented at the Internet data center. The Internet Service description may be stored on disk or some other form of computer-readable medium (block612).
Atblock614, themodeling system512 converts the Internet Service description to a physical blueprint that specifies the computers, the software run by each of the computers, and the interconnections among the computers. This physical blueprint may be used by the operator to install and manage the Internet Service.
Computer-Based Deployment System and Method
Once a logical model is created, an automatic computer-based deployment system uses the logical model to deploy various computer/software resources to implement the Internet Service. The deployment system converts each of the model components into one or more instances that correspond to physical resources, such as nodes of a distributed computer system that are loaded with specific types of software to implement the function represented by the model components. The deployment system initially installs an Internet Service in the physical resources according to the logical model. It then dynamically and automatically modifies the resources used to implement the Internet Service in an ongoing basis as the operating parameters of the application change.
In one embodiment, the deployment system installs an Internet Service under the direction of management policy code authored by the Service developers. When operated under the direction of management code, the deployment system creates instances as instructed by the management code. The management code assumes partial or complete responsibility for monitoring the Service and determining when instances should be created and destroyed.
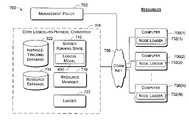
FIG. 7 shows adeployment system700 that converts the logical model to a fully functioning physical implementation. Thedeployment system700 includesmanagement policy702, a core logical-to-physical converter704, and hardware/software resources706 that are all interconnected via a wireless and/or wire-based communication network708 (e.g., a LAN, a WAN, intranet, Internet, combinations thereof, etc.). In this example, the hardware/software resources are illustrated as computer nodes of a distributed computer system, as represented by computers706(1),706(2), . . . ,706(N). Themanagement policy702 andcore converter704 may be implemented on one or more computers, which may or may not be part of the nodes in the distributed computer system.
For purposes of discussion, thedeployment system700 is described in the context of an Internet Service that is executed at an Internet data center having an abundance of generic computer nodes. The nodes can be allocated to one or more Internet Services from a reserve pool of nodes, as illustrated inFIG. 1.
Themanagement policy702 implements one or more policies devised by the developer or operator of the Internet Service. The policies specify when instances derived from the logical model should be created, manipulated, and destroyed. The management policy monitors various events generated by the nodes and implements policy decisions regarding how to handle the events. By specifying when and which instances should be created (or destroyed), themanagement policy702 effectively dictates when hardware/software resources706 should be added (or removed) to support the changing demands of the Internet Service.
Thecore converter704 implements the policy decisions made by themanagement policy702. Theruntime converter704 has aservice running state710 that tracks all instances of the model components currently in existence. That is, theservice running state710 tracks the elements in the physical world with respect to the logical model. Theservice running state710 maintains a copy of the logical model, such asonline retailing model400 ofFIG. 4. The logical model is created by the modeling system described above with respect toFIGS. 5 and 6. The current instances are maintained in the instance-trackingdatabase522. The records in instance-trackingdatabase522 include such information as identity of the instance, the name of the logical component from which it is derived, the node on which it is running, the network addresses representing the ports of the modules and module extensions, such as stores, type of software loaded on the node, various protocols supported by the instance, and so forth. The instance-trackingdatabase522 tracks not only module instances, but also port instances, wire instances, and can also track instances of extensions such as stores, event ports, and event wires.
The instances are derived from the logical model. Themanagement policy702 articulates the number of instances of each model component used to implement the Internet Service at any given time. For example, suppose the Internet Service requires one hundred computers to effectively implement a front end that handles site traffic at 99.9% efficiency with each computer running at 70% utilization. Themanagement policy702 might further specify that more computers should be added if some policy threshold is met (e.g., efficiency rating drops below some threshold or computer utilization rises above some threshold) or removed if another threshold is met.
Aresource manager716 tracks all of the physical resources available to the Internet Service. These resources include computer nodes, storage, software, and so forth. Records identifying all of the resources are kept in theresource database718. For instance, there might be one record for each computer node, storage device, and software module in the Internet data center. The records contain such information as the identity of the allocated nodes, computing characteristics and capabilities, the application(s) to which they are allocated, the date and time of allocation, and so forth.
Theresource manager716 allocates the resources as needed or requested by the Internet Service according to the policy implemented by thepolicy manager702. The allocation depends upon the availability of resources at the time of request. Theresource manager716 may also recover resources that are no longer needed by the Internet Service and return the resources to the pool of available resources.
Upon allocation (or recovery) of a resource, theresource manager716 posts a record to theresource database718 reflecting which resource is allocated to (or recovered from) which Internet Service. As an example, when an Internet Service desires more nodes for the front end tasks, theresource manager716 allocates one or more free nodes from the pool of resources to the Internet service.
The core logical-to-physical converter704 manages the creation of new instances in the physical world from the model components specified in thelogical model400 through aloader722. Aloader722 carries out the configuration of newly allocated resources to the functions dictated by the new instances. In this manner, when another instance of a component is desired, the management policy720 communicates with theresource manager716 to allocate a node from the resource pool and with theloader722 to load the appropriate software programs onto the node.
Thenode loader732 performs the actual loading tasks specified by theloader722 in thecore converter704. It is the local code on an otherwise generic node to which theruntime loader722 may communicate when configuring the node.
FIG. 8 shows an example of a portion of thelogical model400 ofFIG. 4 being converted into actual instances. To illustrate the conversion, thefront end module402 and theorder processing module406 are extracted from the online retailer service application400 (FIG. 4). Awire442 interconnects the two modules by logically coupling theports422 and440.
Thefront end module402 in the logical model translates to one or more computer nodes in the physical world that runs software for handling client queries. These physical instances are represented diagrammatically by the rectangles with ovals. Here, based on a policy, thefront end module402 is converted into multiple front end instances800(1),800(2),800(3), . . . ,800(J), which each corresponds in one-to-one fashion with a computer node loaded with software used to implement the front end of the service. Theorder processing module406 translates to one or more computer nodes that run a program for processing client orders. InFIG. 8, theorder processing module406 is converted into plural order processing instances802(1),802(2), . . . ,802(K).
Theports422 and440 represent network ports with protocols and roles within protocols in the logical world. They translate to the physical world as a set of network addresses used to communicate with the software at the respective modules. For instance, the physical translation of alogical port422 might be IP Port804(n), using HTTP (hypertext transport protocol). InFIG. 8, one logical port in the logical model is converted to a port address for each instance of the module.Logical port422 converts into physical address ports804(1)–804(J) andlogical port440 converts into physical ports806(1)–806(K).
Thewire442 represents a set of ports with allowable communication connections. It translates to a physical mesh of all possible communication wires between the instances of each port. The maximum number of physical lines created from onewire442 is determined as the cross product of the number of instances of each port. InFIG. 8, thewire442 can convert to a physical connection between every port instance804(1)–804(J) of thefront end module402 and every port instance806(1)–806(K) of theorder processing module406. The number of actual physical connections created from thewire442 is determined by themanagement policy702.
FIG. 9 illustratesexemplary records900 in the instance-trackingdatabase522 that tracks the instances derived from thelogical model400. In this example, the database is a relational database that stores records in tables, and the records may be linked to one another via relationships. Here, there are three tables: a module table902, a port table904, and a wire table906. Each table holds one record for a corresponding instance of the logical model. Each record has a number of fields relating to the type of information that is being tracked for each instance.
The module table902 tracks instances of modules in the logical model. There is one record for each module instance. Thus, with respect to the front end module ofFIG. 8, there are “J” records in the module table902 corresponding to the “J” front end instances800(1)–800(J). Each record in the module table902 contains an instance ID to identify the individual instance, an identity of the module component from which the instance is derived, a node ID to identify the computer node to which the instance is associated, the type of software loaded on the node to implement the module functionality, a software ID, an identity of the various ports to the modules, and various protocols supported by the module instance. It is noted that other implementations may include additional fields or fewer fields than those illustrated.
The port table904 tracks instances of the port in the logical model, such asports422 and440 inFIG. 8. A record from this table includes such information as the port ID, the model component identity, a node ID, the network address represented by the port, the instance ID of the corresponding instance, the protocol used by the port, and an ID of the wire to which the port is connected. Again, more or fewer fields may be used in other implementations.
The wire table906 tracks instances of the wires in the logical model, such aswire442 inFIG. 8. A record in the wire table includes a wire ID, a model component identity, the protocol supported by the wire, and information to identify each of the ports on the wire, such as a node ID, a port ID, and an instance ID.
Notice that the three tables can be correlated with one another via various relationships. For example, the module table902 and the port table904 are related by various data fields, such as the port ID field and the instance ID field. The wire table906 correlates with the port table904 via wire ID and port ID and with the module table902 via instance ID. Notice also that the tables have a node ID field that provides a reference into the resource database by identifying which node the instance is associated with.
It is noted that the illustrated arrangement of the database is merely for discussion purposes. Many other table arrangements with more or fewer tables than illustrated may be used in other implementations.
FIG. 10 shows amethod1000 for deploying resources for an Internet Service based on the logical model. Themethod1000 is implemented by thedeployment system700 ofFIG. 7 and hence can be embodied as software that, when executed on one or more computers, performs the operations illustrated as blocks inFIG. 10.
Atblock1002, themanagement policy702 monitors various operating parameters and listens for events from theindividual nodes706 or the core logical-to-physical converter704. Themanagement policy702 evaluates the parameters and events against the policy backdrop to determine whether the current physical implementation is satisfactorily supporting the Internet Service, or whether a new instance of some component should be added (block1004). It is noted that the continuing process is described in the context of adding a new instance. However, the policy may alternatively dictate that one or more instances should be removed. Removal of instances is somewhat easier in that instances are deleted from the instance-trackingdatabase522 and the computer nodes are returned to the additional pool for reallocation.
Assuming that a new instance is desired (i.e., the “yes” branch from block1004), themanagement policy702 consults theservice running state710 to understand the current number and arrangement of instances (block1006). Themanagement policy702 can request various types of information of theservice running state710, such as:
How many instances of a given module?
What nodes are associated with a given model component?
Which ports are attached to a given wire?
What is the network address of a node?
What wire is attached to a port on a given component?
What components does a given component own?
Depending upon the event or operating condition, themanagement policy702 can request information on a particular module in thelogical model400. For example, assume that an event has been received from a front end node indicating that the utilization has risen to above 90%. In response, a policy specifying the addition of another instance at such utilization levels is triggered. Themanagement policy702 asks theservice running state710 how many instances of the front end module currently exist, and information regarding how to specify an instance for the front end module.
Atblock1008, themanagement policy702 calls theresource manager716 to request allocation of a new node (assuming one is available). Theresource manager716 examines the resources using data from theresource database718 and allocates a new node that is currently available from a pool of free nodes. Theresource manager716 records the allocation in theresource database718, identifying which node is allocated, what application it is being allocated to, the date and time that it is allocated, and so forth.
Atblock1010, themanagement policy702 calls theloader722 to install software onto the allocated node and configure the node to perform the functions represented by the logical module from which the instance is created. In response, theloader722 initializes the node by communicating with thenode loader732 of the new node via thenetwork708 to install the appropriate software; such an operation might install an image of an operating system (e.g., Windows NT server operating system from Microsoft Corporation). Theloader722 then loads the appropriate software and configures the node to perform the functions represented by the logical model component from which the instance is derived. For example, for an instance of an SQL module in thelogical model400, thenode loader732 loads SQL server software. Theloader722 registers the physical port addresses with theservice running state710, which records the new instance in the instance-trackingdatabase522.
Atblock1012, theservice running state710 is notified when the newly allocated and configured node is up and running. Theservice running state710 records a new instance of the logical model in the instance-trackingdatabase522. The record reflects an ID of the instance, the name of the logical component from which it is derived, the allocated node, the network addresses of the node, software type and IDs, various protocols supported by the instance, and so on.
Atblock1014, themanagement policy702 is notified by the core logical-to-physical converter704 that a new instance is up and running. The new instance should relieve the event or operating condition to bring operation back into compliance with the policy.
CONCLUSION
Although the description above uses language that is specific to structural features and/or methodological acts, it is to be understood that the invention defined in the appended claims is not limited to the specific features or acts described. Rather, the specific features and acts are disclosed as exemplary forms of implementing the invention.

Claims (26)

15. An apparatus comprising:
means for logical modeling of an application for a distributed computer system, the logical modeling means having at least one module that represents a functional behavior of the application, at least one port that represents a communication access point for the module, and at least one wire that represents a logical connection between the port of the module and a port of another module;
a first structure to store module information pertaining to one or more module instances of the module that correspond to physical resources used to implement the functional behavior represented by the module;
a second structure to store port information pertaining to one or more port instances of the port; and
a third structure to store wire information pertaining to one or more wire instances of the wire.
US11/008,6852000-10-242004-12-09System and method for designing a logical model of a distributed computer system and deploying physical resources according to the logical modelExpired - LifetimeUS7155380B2 (en)

Priority Applications (1)

Application NumberPriority DateFiling DateTitle
US11/008,685US7155380B2 (en)2000-10-242004-12-09System and method for designing a logical model of a distributed computer system and deploying physical resources according to the logical model

Applications Claiming Priority (2)

Application NumberPriority DateFiling DateTitle
US09/696,707US6907395B1 (en)2000-10-242000-10-24System and method for designing a logical model of a distributed computer system and deploying physical resources according to the logical model
US11/008,685US7155380B2 (en)2000-10-242004-12-09System and method for designing a logical model of a distributed computer system and deploying physical resources according to the logical model

Related Parent Applications (1)

Application NumberTitlePriority DateFiling Date
US09/696,707ContinuationUS6907395B1 (en)2000-10-242000-10-24System and method for designing a logical model of a distributed computer system and deploying physical resources according to the logical model

Publications (2)

Publication NumberPublication Date
US20050102538A1 US20050102538A1 (en)2005-05-12
US7155380B2true US7155380B2 (en)2006-12-26

Family

ID=34550170

Family Applications (3)

Application NumberTitlePriority DateFiling Date
US09/696,707Expired - LifetimeUS6907395B1 (en)2000-10-242000-10-24System and method for designing a logical model of a distributed computer system and deploying physical resources according to the logical model
US11/008,685Expired - LifetimeUS7155380B2 (en)2000-10-242004-12-09System and method for designing a logical model of a distributed computer system and deploying physical resources according to the logical model
US11/008,730AbandonedUS20050125212A1 (en)2000-10-242004-12-09System and method for designing a logical model of a distributed computer system and deploying physical resources according to the logical model

Family Applications Before (1)

Application NumberTitlePriority DateFiling Date
US09/696,707Expired - LifetimeUS6907395B1 (en)2000-10-242000-10-24System and method for designing a logical model of a distributed computer system and deploying physical resources according to the logical model

Family Applications After (1)

Application NumberTitlePriority DateFiling Date
US11/008,730AbandonedUS20050125212A1 (en)2000-10-242004-12-09System and method for designing a logical model of a distributed computer system and deploying physical resources according to the logical model

Country Status (1)

CountryLink
US (3)US6907395B1 (en)

Cited By (46)

* Cited by examiner, † Cited by third party
Publication numberPriority datePublication dateAssigneeTitle
US20030217129A1 (en)*2002-05-152003-11-20Lucent Technologies Inc.Self-organizing intelligent network architecture and methodology
US20030217125A1 (en)*2002-05-152003-11-20Lucent Technologies, Inc.Intelligent end user gateway device
US20080134136A1 (en)*2006-12-052008-06-05Petersen Peter HSoftware model normalization and mediation
US20080134137A1 (en)*2006-12-052008-06-05Petersen Peter HSoftware model skinning
US20090007095A1 (en)*2007-06-262009-01-01Microsoft CorporationExtensible data driven deployment system
US20090112559A1 (en)*2007-10-262009-04-30Microsoft CorporationModel-driven, repository-based application monitoring system
US20090113327A1 (en)*2007-10-262009-04-30Microsoft CorporationUser interface mapping modules to deployment targets
US20090157872A1 (en)*2007-10-232009-06-18Microsoft CorporationModel-based composite application platform
US20090165021A1 (en)*2007-10-232009-06-25Microsoft CorporationModel-Based Composite Application Platform
US7567504B2 (en)2003-06-302009-07-28Microsoft CorporationNetwork load balancing with traffic routing
US20090193426A1 (en)*2008-01-282009-07-30Microsoft CorporationSystem and method for describing applications for manageability and efficient scale-up deployment
US7574343B2 (en)2000-10-242009-08-11Microsoft CorporationSystem and method for logical modeling of distributed computer systems
US7590736B2 (en)2003-06-302009-09-15Microsoft CorporationFlexible network load balancing
US7606898B1 (en)2000-10-242009-10-20Microsoft CorporationSystem and method for distributed management of shared computers
US7606929B2 (en)2003-06-302009-10-20Microsoft CorporationNetwork load balancing with connection manipulation
US7613822B2 (en)2003-06-302009-11-03Microsoft CorporationNetwork load balancing with session information
US7630877B2 (en)2003-03-062009-12-08Microsoft CorporationArchitecture for distributed computing system and automated design, deployment, and management of distributed applications
US7636917B2 (en)2003-06-302009-12-22Microsoft CorporationNetwork load balancing with host status information
US20090327493A1 (en)*2008-06-272009-12-31Microsoft CorporationData Center Scheduler
US7669235B2 (en)2004-04-302010-02-23Microsoft CorporationSecure domain join for computing devices
US7684964B2 (en)2003-03-062010-03-23Microsoft CorporationModel and system state synchronization
US7689676B2 (en)2003-03-062010-03-30Microsoft CorporationModel-based policy application
US7778422B2 (en)2004-02-272010-08-17Microsoft CorporationSecurity associations for devices
US7792931B2 (en)2003-03-062010-09-07Microsoft CorporationModel-based system provisioning
US7797147B2 (en)2005-04-152010-09-14Microsoft CorporationModel-based system monitoring
US20100281456A1 (en)*2007-07-092010-11-04Alon EizenmanSystem and method for application process automation over a computer network
US7926070B2 (en)2007-10-262011-04-12Microsoft CorporationPerforming requested commands for model-based applications
US7941309B2 (en)2005-11-022011-05-10Microsoft CorporationModeling IT operations/policies
US7970892B2 (en)2007-06-292011-06-28Microsoft CorporationTuning and optimizing distributed systems with declarative models
US7974939B2 (en)2007-10-262011-07-05Microsoft CorporationProcessing model-based commands for distributed applications
US20110209140A1 (en)*2010-02-252011-08-25Microsoft CorporationAutomated deployment and servicing of distributed applications
US8024396B2 (en)2007-04-262011-09-20Microsoft CorporationDistributed behavior controlled execution of modeled applications
US8099720B2 (en)2007-10-262012-01-17Microsoft CorporationTranslating declarative models
US8181151B2 (en)2007-10-262012-05-15Microsoft CorporationModeling and managing heterogeneous applications
US8225308B2 (en)2007-10-262012-07-17Microsoft CorporationManaging software lifecycle
US8230386B2 (en)2007-08-232012-07-24Microsoft CorporationMonitoring distributed applications
US8239505B2 (en)2007-06-292012-08-07Microsoft CorporationProgressively implementing declarative models in distributed systems
US8396949B2 (en)2010-06-032013-03-12Microsoft CorporationMetadata driven automatic deployment of distributed server systems
US8489728B2 (en)2005-04-152013-07-16Microsoft CorporationModel-based system monitoring
US8549513B2 (en)2005-06-292013-10-01Microsoft CorporationModel-based virtual system provisioning
US8745577B2 (en)2010-09-292014-06-03International Business Machines CorporationEnd to end automation of application deployment
US20170192765A1 (en)*2015-12-312017-07-06Box, Inc.Dynamic code component deployment in cloud-based service platforms
US10166470B2 (en)2008-08-012019-01-01International Business Machines CorporationMethod for providing a virtual world layer
US10369473B2 (en)2008-07-252019-08-06International Business Machines CorporationMethod for extending a virtual environment through registration
US10424101B2 (en)2008-07-172019-09-24International Business Machines CorporationSystem and method for enabling multiple-state avatars
US11164122B2 (en)*2011-11-282021-11-02Cyber Observer Ltd.Controlling system and method

Families Citing this family (120)

* Cited by examiner, † Cited by third party
Publication numberPriority datePublication dateAssigneeTitle
US6985722B1 (en)*1998-09-252006-01-10Soma Networks, Inc.Telecommunication services
US7228363B1 (en)*2000-04-052007-06-05Rockwell Automation Technologies, Inc.Pointbus architecture and automatic sequential addressing
US6907395B1 (en)*2000-10-242005-06-14Microsoft CorporationSystem and method for designing a logical model of a distributed computer system and deploying physical resources according to the logical model
US7093288B1 (en)2000-10-242006-08-15Microsoft CorporationUsing packet filters and network virtualization to restrict network communications
US6915338B1 (en)*2000-10-242005-07-05Microsoft CorporationSystem and method providing automatic policy enforcement in a multi-computer service application
CA2398443C (en)*2000-11-222009-07-07Ntt Docomo, Inc.Method and device for controlling network access
US7243374B2 (en)2001-08-082007-07-10Microsoft CorporationRapid application security threat analysis
US7054934B2 (en)*2001-10-262006-05-30Hewlett-Packard Development Company, L.P.Tailorable optimization using model descriptions of services and servers in a computing environment
US7035930B2 (en)*2001-10-262006-04-25Hewlett-Packard Development Company, L.P.Method and framework for generating an optimized deployment of software applications in a distributed computing environment using layered model descriptions of services and servers
US7039705B2 (en)*2001-10-262006-05-02Hewlett-Packard Development Company, L.P.Representing capacities and demands in a layered computing environment using normalized values
US7213065B2 (en)*2001-11-082007-05-01Racemi, Inc.System and method for dynamic server allocation and provisioning
US7020586B2 (en)*2001-12-172006-03-28Sun Microsystems, Inc.Designing a data center
US7203924B2 (en)*2002-04-302007-04-10Microsoft CorporationBehavioral analysis for message-passing application programs
US7703077B2 (en)*2002-04-302010-04-20Microsoft CorporationProgramming model to detect deadlocks in concurrent programs
GB0213073D0 (en)*2002-06-072002-07-17Hewlett Packard CoMethod of maintaining availability of requested network resources
US7072960B2 (en)*2002-06-102006-07-04Hewlett-Packard Development Company, L.P.Generating automated mappings of service demands to server capacities in a distributed computer system
US7225118B2 (en)*2002-10-312007-05-29Hewlett-Packard Development Company, L.P.Global data placement
KR101044173B1 (en)*2003-03-062011-06-24마이크로소프트 코포레이션 Methods and apparatus, resource managers, and computer readable recording media for designing, deploying, and managing distributed applications on a distributed computing system
US20050091215A1 (en)*2003-09-292005-04-28Chandra Tushar D.Technique for provisioning storage for servers in an on-demand environment
US7797669B1 (en)2004-02-132010-09-14Microsoft CorporationAnalysis of distributed software systems via specification substitution
US8655756B2 (en)*2004-06-042014-02-18Sap AgConsistent set of interfaces derived from a business object model
US20050283348A1 (en)*2004-06-172005-12-22International Business Machines CorporationServiceability framework for an autonomic data centre
US7925727B2 (en)*2004-07-292011-04-12Nortel Networks LimitedMethod and apparatus for efficient communication of management data in a telecommunications network
US8433768B1 (en)*2004-10-142013-04-30Lockheed Martin CorporationEmbedded model interaction within attack projection framework of information system
JPWO2006043308A1 (en)*2004-10-182008-05-22富士通株式会社 Operation management program, operation management method, and operation management apparatus
WO2006043309A1 (en)*2004-10-182006-04-27Fujitsu LimitedOperation management program, operation management method, and operation management apparatus
WO2006043307A1 (en)*2004-10-182006-04-27Fujitsu LimitedOperation management program, operation management method, and operation management apparatus
US7802144B2 (en)*2005-04-152010-09-21Microsoft CorporationModel-based system monitoring
US20060235664A1 (en)*2005-04-152006-10-19Microsoft CorporationModel-based capacity planning
US20070005320A1 (en)*2005-06-292007-01-04Microsoft CorporationModel-based configuration management
US8321831B2 (en)2005-12-302012-11-27Sap AgArchitectural design for internal projects application software
US8316344B2 (en)2005-12-302012-11-20Sap AgSoftware model deployment units
US8326703B2 (en)2005-12-302012-12-04Sap AgArchitectural design for product catalog management application software
US8396731B2 (en)2005-12-302013-03-12Sap AgArchitectural design for service procurement application software
US8448137B2 (en)2005-12-302013-05-21Sap AgSoftware model integration scenarios
US8522194B2 (en)*2005-12-302013-08-27Sap AgSoftware modeling
US20080275713A9 (en)*2005-12-302008-11-06Shai AlfandaryArchitectural design for physical inventory application software
US8402426B2 (en)2005-12-302013-03-19Sap AgArchitectural design for make to stock application software
US8380553B2 (en)2005-12-302013-02-19Sap AgArchitectural design for plan-driven procurement application software
US8660904B2 (en)2005-12-302014-02-25Sap AgArchitectural design for service request and order management application software
US8327319B2 (en)2005-12-302012-12-04Sap AgSoftware model process interaction
US8370794B2 (en)2005-12-302013-02-05Sap AgSoftware model process component
US8676617B2 (en)2005-12-302014-03-18Sap AgArchitectural design for self-service procurement application software
US8407664B2 (en)*2005-12-302013-03-26Sap AgSoftware model business objects
US8326702B2 (en)2006-03-302012-12-04Sap AgProviding supplier relationship management software application as enterprise services
US8438119B2 (en)2006-03-302013-05-07Sap AgFoundation layer for services based enterprise software architecture
US8396761B2 (en)2006-03-302013-03-12Sap AgProviding product catalog software application as enterprise services
US8442850B2 (en)2006-03-302013-05-14Sap AgProviding accounting software application as enterprise services
US8538864B2 (en)2006-03-302013-09-17Sap AgProviding payment software application as enterprise services
US8396749B2 (en)2006-03-302013-03-12Sap AgProviding customer relationship management application as enterprise services
US7904909B1 (en)*2006-03-312011-03-08Emc CorporationArchitecture for using a model-based approach for managing resources in a networked environment
US8321832B2 (en)*2006-03-312012-11-27Sap AgComposite application modeling
US8312416B2 (en)2006-04-132012-11-13Sap AgSoftware model business process variant types
US20070276945A1 (en)*2006-05-232007-11-29Microsoft CorporationFault-Tolerant Resource Committal
US20080040455A1 (en)*2006-08-082008-02-14Microsoft CorporationModel-based deployment and configuration of software in a distributed environment
US7743244B2 (en)*2006-10-312010-06-22Hewlett-Packard Development Company, L.P.Computer system model generation with tracking of actual computer system configuration
CN101071409A (en)*2007-04-132007-11-14曲卫晶Block-model computer and operating system
WO2008134831A1 (en)*2007-05-032008-11-13Francisco MathieuMethod for development of applications to interact with internet
US10339227B1 (en)2007-06-082019-07-02Google LlcData center design
US8150948B2 (en)*2007-06-222012-04-03Microsoft CorporationComplex software deployment
US8856332B2 (en)2007-10-092014-10-07International Business Machines CorporationIntegrated capacity and architecture design tool
US9003054B2 (en)*2007-10-252015-04-07Microsoft Technology Licensing, LlcCompressing null columns in rows of the tabular data stream protocol
US20090113292A1 (en)*2007-10-262009-04-30Microsoft CorporationFlexibly editing heterogeneous documents
US20090112932A1 (en)*2007-10-262009-04-30Microsoft CorporationVisualizing key performance indicators for model-based applications
US8671032B2 (en)2007-12-312014-03-11Sap AgProviding payment software application as enterprise services
US8510143B2 (en)2007-12-312013-08-13Sap AgArchitectural design for ad-hoc goods movement software
US20090171811A1 (en)*2007-12-312009-07-02Peter Markus AArchitectural Design For Product Catalog Management Application Software
US8315900B2 (en)2007-12-312012-11-20Sap AgArchitectural design for self-service procurement application software
US8401936B2 (en)2007-12-312013-03-19Sap AgArchitectural design for expense reimbursement application software
US8671034B2 (en)2007-12-312014-03-11Sap AgProviding human capital management software application as enterprise services
US8447657B2 (en)2007-12-312013-05-21Sap AgArchitectural design for service procurement application software
US8671033B2 (en)*2007-12-312014-03-11Sap AgArchitectural design for personnel events application software
US9268843B2 (en)*2008-06-272016-02-23Cbs Interactive Inc.Personalization engine for building a user profile
US8214346B2 (en)*2008-06-272012-07-03Cbs Interactive Inc.Personalization engine for classifying unstructured documents
US8386325B2 (en)2008-09-182013-02-26Sap AgArchitectural design for plan-driven procurement application software
US8326706B2 (en)2008-09-182012-12-04Sap AgProviding logistics execution application as enterprise services
US8321250B2 (en)2008-09-182012-11-27Sap AgArchitectural design for sell from stock application software
US8352338B2 (en)2008-09-182013-01-08Sap AgArchitectural design for time recording application software
US8315926B2 (en)2008-09-182012-11-20Sap AgArchitectural design for tax declaration application software
US8595077B2 (en)2008-09-182013-11-26Sap AgArchitectural design for service request and order management application software
US8374896B2 (en)2008-09-182013-02-12Sap AgArchitectural design for opportunity management application software
US8818884B2 (en)2008-09-182014-08-26Sap AgArchitectural design for customer returns handling application software
US8401928B2 (en)2008-09-182013-03-19Sap AgProviding supplier relationship management software application as enterprise services
US8359218B2 (en)2008-09-182013-01-22Sap AgComputer readable medium for implementing supply chain control using service-oriented methodology
US8380549B2 (en)2008-09-182013-02-19Sap AgArchitectural design for embedded support application software
US20100070395A1 (en)*2008-09-182010-03-18Andreas ElkelesArchitectural design for payroll processing application software
US8424059B2 (en)*2008-09-222013-04-16International Business Machines CorporationCalculating multi-tenancy resource requirements and automated tenant dynamic placement in a multi-tenant shared environment
US8401908B2 (en)2008-12-032013-03-19Sap AgArchitectural design for make-to-specification application software
US8738476B2 (en)*2008-12-032014-05-27Sap AgArchitectural design for selling standardized services application software
US8321308B2 (en)2008-12-032012-11-27Sap AgArchitectural design for manual invoicing application software
US8321306B2 (en)2008-12-032012-11-27Sap AgArchitectural design for selling project-based services application software
US8311904B2 (en)2008-12-032012-11-13Sap AgArchitectural design for intra-company stock transfer application software
US8635585B2 (en)*2009-02-142014-01-21International Business Machines CorporationCapturing information accessed, updated and created by processes and using the same for validation of consistency
US8589863B2 (en)*2008-12-112013-11-19International Business Machines CorporationCapturing information accessed, updated and created by services and using the same for validation of consistency
US8671035B2 (en)2008-12-112014-03-11Sap AgProviding payroll software application as enterprise services
US20100235231A1 (en)*2009-01-302010-09-16Cbs Interactive, Inc.Lead acquisition, promotion and inventory management system and method
US9497039B2 (en)2009-05-282016-11-15Microsoft Technology Licensing, LlcAgile data center network architecture
US8178997B2 (en)2009-06-152012-05-15Google Inc.Supplying grid ancillary services using controllable loads
US20110106501A1 (en)*2009-10-292011-05-05Christian Thomas WAutomated design of an it infrastructure
US9391716B2 (en)*2010-04-052016-07-12Microsoft Technology Licensing, LlcData center using wireless communication
US20120200206A1 (en)*2011-02-072012-08-09Dell Products L.P.System and method for designing a configurable modular data center
US9778915B2 (en)2011-02-282017-10-03Microsoft Technology Licensing, LlcDistributed application definition
US9990184B2 (en)*2011-03-252018-06-05Microsoft Technology Licensing, LlcDistributed component model
US20120254109A1 (en)*2011-03-282012-10-04Microsoft CorporationDistributed component runtime
US9465589B2 (en)2011-04-052016-10-11Microsoft Technology Licensing, LlcStateful component authoring and execution
US8789179B2 (en)*2011-10-282014-07-22Novell, Inc.Cloud protection techniques
US9009500B1 (en)2012-01-182015-04-14Google Inc.Method of correlating power in a data center by fitting a function to a plurality of pairs of actual power draw values and estimated power draw values determined from monitored CPU utilization of a statistical sample of computers in the data center
US8713152B2 (en)2012-03-022014-04-29Microsoft CorporationManaging distributed applications using structural diagrams
US9229771B2 (en)2012-03-082016-01-05Microsoft Technology Licensing, LlcCloud bursting and management of cloud-bursted applications
CN102833096B (en)*2012-08-062016-06-29杭州华三通信技术有限公司The high-availability system of a kind of low cost realizes method and device
US9444896B2 (en)2012-12-052016-09-13Microsoft Technology Licensing, LlcApplication migration between clouds
US9501298B2 (en)2013-01-312016-11-22Hewlett-Packard Development Company, L.P.Remotely executing operations of an application using a schema that provides for executable scripts in a nodal hierarchy
CN104980454B (en)2014-04-022019-08-06腾讯科技(深圳)有限公司A kind of resource data sharing method, server and system
US9417896B2 (en)*2014-05-192016-08-16International Business Machines CorporationAllocating hypervisor resources
CN105518669B (en)2014-07-152020-02-07微软技术许可有限责任公司Data model change management
WO2016008088A1 (en)2014-07-152016-01-21Microsoft Technology Licensing, LlcData retrieval across multiple models
CN105518671B (en)*2014-07-152019-09-03微软技术许可有限责任公司 Manage multiple data models on a data storage system
EP3170101B1 (en)2014-07-152020-10-07Microsoft Technology Licensing, LLCData model indexing for model queries
US9985953B2 (en)*2014-11-102018-05-29Amazon Technologies, Inc.Desktop application fulfillment platform with multiple authentication mechanisms
US9954751B2 (en)2015-05-292018-04-24Microsoft Technology Licensing, LlcMeasuring performance of a network using mirrored probe packets

Citations (93)

* Cited by examiner, † Cited by third party
Publication numberPriority datePublication dateAssigneeTitle
US5031089A (en)1988-12-301991-07-09United States Of America As Represented By The Administrator, National Aeronautics And Space AdministrationDynamic resource allocation scheme for distributed heterogeneous computer systems
US5220621A (en)1990-08-011993-06-15International Business Machines CorporationCharacter recognition system using the generalized hough transformation and method
US5430810A (en)1990-11-201995-07-04Imra America, Inc.Real time implementation of the hough transform
US5475817A (en)1991-02-251995-12-12Hewlett-Packard CompanyObject oriented distributed computing system processing request to other object model with code mapping by object managers located by manager of object managers
US5748958A (en)1996-04-301998-05-05International Business Machines CorporationSystem for utilizing batch requests to present membership changes to process groups
US5768271A (en)1996-04-121998-06-16Alcatel Data Networks Inc.Virtual private network
US5801970A (en)1995-12-061998-09-01Martin Marietta CorporationModel-based feature tracking system
US5826015A (en)1997-02-201998-10-20Digital Equipment CorporationMethod and apparatus for secure remote programming of firmware and configurations of a computer over a network
US5845277A (en)1996-12-191998-12-01Mci Communications CorporationProduction of statistically-based network maps
US5872914A (en)1995-08-311999-02-16International Business Machines CorporationMethod and apparatus for an account managed object class model in a distributed computing environment
US5895499A (en)1995-07-031999-04-20Sun Microsystems, Inc.Cross-domain data transfer using deferred page remapping
US5948055A (en)1996-08-291999-09-07Hewlett-Packard CompanyDistributed internet monitoring system and method
US5960371A (en)1997-09-041999-09-28Schlumberger Technology CorporationMethod of determining dips and azimuths of fractures from borehole images
WO1999063439A1 (en)1998-06-041999-12-09Shunra Software Ltd.Apparatus and method for testing network applications
US6047325A (en)1997-10-242000-04-04Jain; LalitNetwork device for supporting construction of virtual local area networks on arbitrary local and wide area computer networks
US6070243A (en)1997-06-132000-05-30Xylan CorporationDeterministic user authentication service for communication network
US6108699A (en)1997-06-272000-08-22Sun Microsystems, Inc.System and method for modifying membership in a clustered distributed computer system and updating system configuration
US6111993A (en)1997-01-162000-08-29Honda Giken Kogyo Kabushiki KaishaStraight line detecting method
US6115393A (en)1991-04-122000-09-05Concord Communications, Inc.Network monitoring
US6125447A (en)1997-12-112000-09-26Sun Microsystems, Inc.Protection domains to provide security in a computer system
US6141749A (en)1997-09-122000-10-31Lucent Technologies Inc.Methods and apparatus for a computer network firewall with stateful packet filtering
US6151688A (en)1997-02-212000-11-21Novell, Inc.Resource management in a clustered computer system
US6178529B1 (en)1997-11-032001-01-23Microsoft CorporationMethod and system for resource monitoring of disparate resources in a server cluster
US6192401B1 (en)1997-10-212001-02-20Sun Microsystems, Inc.System and method for determining cluster membership in a heterogeneous distributed system
US6208345B1 (en)1998-04-152001-03-27Adc Telecommunications, Inc.Visual data integration system and method
US6212559B1 (en)1998-10-282001-04-03Trw Inc.Automated configuration of internet-like computer networks
US6230312B1 (en)1998-10-022001-05-08Microsoft CorporationAutomatic detection of per-unit location constraints
US6259448B1 (en)1998-06-032001-07-10International Business Machines CorporationResource model configuration and deployment in a distributed computer network
US6263089B1 (en)1997-10-032001-07-17Nippon Telephone And Telegraph CorporationMethod and equipment for extracting image features from image sequence
US6266707B1 (en)1998-08-172001-07-24International Business Machines CorporationSystem and method for IP network address translation and IP filtering with dynamic address resolution
US20010019554A1 (en)2000-03-062001-09-06Yuji NomuraLabel switch network system
US6311144B1 (en)1998-05-132001-10-30Nabil A. Abu El AtaMethod and apparatus for designing and analyzing information systems using multi-layer mathematical models
US6324571B1 (en)1998-09-212001-11-27Microsoft CorporationFloating single master operation
US6336171B1 (en)1998-12-232002-01-01Ncr CorporationResource protection in a cluster environment
US6360265B1 (en)1998-07-082002-03-19Lucent Technologies Inc.Arrangement of delivering internet protocol datagrams for multimedia services to the same server
US6366578B1 (en)1998-04-032002-04-02Verticle Networks, Inc.Systems and methods for multiple mode voice and data communications using intelligently bridged TDM and packet buses and methods for implementing language capabilities using the same
US6370573B1 (en)1999-08-312002-04-09Accenture LlpSystem, method and article of manufacture for managing an environment of a development architecture framework
US6389464B1 (en)1997-06-272002-05-14Cornet Technology, Inc.Device management system for managing standards-compliant and non-compliant network elements using standard management protocols and a universal site server which is configurable from remote locations via internet browser technology
US6393456B1 (en)1998-11-302002-05-21Microsoft CorporationSystem, method, and computer program product for workflow processing using internet interoperable electronic messaging with mime multiple content type
US6393474B1 (en)1998-12-312002-05-213Com CorporationDynamic policy management apparatus and method using active network devices
US20020095524A1 (en)2000-06-072002-07-18Sanghvi Ashvinkumar J.Method and apparatus for applying policies
US6427163B1 (en)1998-07-102002-07-30International Business Machines CorporationHighly scalable and highly available cluster system management scheme
US6449641B1 (en)1997-10-212002-09-10Sun Microsystems, Inc.Determining cluster membership in a distributed computer system
US6466932B1 (en)1998-08-142002-10-15Microsoft CorporationSystem and method for implementing group policy
US6466984B1 (en)1999-07-022002-10-15Cisco Technology, Inc.Method and apparatus for policy-based management of quality of service treatments of network data traffic flows by integrating policies with application programs
US6466978B1 (en)1999-07-282002-10-15Matsushita Electric Industrial Co., Ltd.Multimedia file systems using file managers located on clients for managing network attached storage devices
US6470332B1 (en)1999-05-192002-10-22Sun Microsystems, Inc.System, method and computer program product for searching for, and retrieving, profile attributes based on other target profile attributes and associated profiles
US6480955B1 (en)1999-07-092002-11-12Lsi Logic CorporationMethods and apparatus for committing configuration changes to managed devices prior to completion of the configuration change
US6484261B1 (en)1998-02-172002-11-19Cisco Technology, Inc.Graphical network security policy management
US6487622B1 (en)1999-10-282002-11-26Ncr CorporationQuorum arbitrator for a high availability system
US6493715B1 (en)2000-01-122002-12-10International Business Machines CorporationDelivery of configuration change in a group
US6496187B1 (en)1998-02-172002-12-17Sun Microsystems, Inc.Graphics system configured to perform parallel sample to pixel calculation
US20020194369A1 (en)2001-03-202002-12-19Worldcom, Inc.Policy-based synchronization of per-class resources between routers in a data network
US6510154B1 (en)1995-11-032003-01-21Cisco Technology, Inc.Security system for network address translation systems
US6510509B1 (en)1999-03-292003-01-21Pmc-Sierra Us, Inc.Method and apparatus for high-speed network rule processing
US6519615B1 (en)1996-10-112003-02-11Sun Microsystems, Inc.Method and system for leasing storage
US20030041139A1 (en)2001-08-142003-02-27Smartpipes, IncorporatedEvent management for a remote network policy management system
US6529953B1 (en)1999-12-172003-03-04Reliable Network SolutionsScalable computer network resource monitoring and location system
US6549516B1 (en)1999-07-022003-04-15Cisco Technology, Inc.Sending instructions from a service manager to forwarding agents on a need to know basis
US6564261B1 (en)1999-05-102003-05-13Telefonaktiebolaget Lm Ericsson (Publ)Distributed system to intelligently establish sessions between anonymous users over various networks
US6584499B1 (en)1999-07-092003-06-24Lsi Logic CorporationMethods and apparatus for performing mass operations on a plurality of managed devices on a network
US20030120763A1 (en)2001-12-202003-06-26Volpano Dennis MichaelPersonal virtual bridged local area networks
US6587876B1 (en)1999-08-242003-07-01Hewlett-Packard Development CompanyGrouping targets of management policies
US20030126230A1 (en)2001-12-282003-07-03International Business Machines CorporationMethod and system for transmitting information across a firewall
US6598173B1 (en)1997-05-132003-07-22Micron Technology, Inc.Method of remote access and control of environmental conditions
US6601101B1 (en)2000-03-152003-07-293Com CorporationTransparent access to network attached devices
US6606708B1 (en)1997-09-262003-08-12Worldcom, Inc.Secure server architecture for Web based data management
US20030154404A1 (en)2001-08-142003-08-14Smartpipes, IncorporatedPolicy engine for modular generation of policy for a flat, per-device database
US6609213B1 (en)2000-08-102003-08-19Dell Products, L.P.Cluster-based system and method of recovery from server failures
US6609148B1 (en)1999-11-102003-08-19Randy SaloClients remote access to enterprise networks employing enterprise gateway servers in a centralized data center converting plurality of data requests for messaging and collaboration into a single request
US6615256B1 (en)1999-11-292003-09-02Microsoft CorporationQuorum resource arbiter within a storage network
US6631141B1 (en)1999-05-272003-10-07Ibm CorporationMethods, systems and computer program products for selecting an aggregator interface
US20030206548A1 (en)2002-05-062003-11-06Vinay BannaiLogical port system and method
US6651101B1 (en)1998-12-042003-11-18Cisco Technology, Inc.Method and apparatus for identifying network data traffic flows and for applying quality of service treatments to the flows
US6684335B1 (en)1999-08-192004-01-27Epstein, Iii Edwin A.Resistance cell architecture
US6691168B1 (en)1998-12-312004-02-10Pmc-SierraMethod and apparatus for high-speed network rule processing
US6694436B1 (en)1998-05-222004-02-17ActivcardTerminal and system for performing secure electronic transactions
US20040054791A1 (en)2002-09-172004-03-18Krishnendu ChakrabortySystem and method for enforcing user policies on a web server
US6718379B1 (en)2000-06-092004-04-06Advanced Micro Devices, Inc.System and method for network management of local area networks having non-blocking network switches configured for switching data packets between subnetworks based on management policies
US6717949B1 (en)1998-08-312004-04-06International Business Machines CorporationSystem and method for IP network address translation using selective masquerade
US20040078787A1 (en)2002-07-192004-04-22Michael BorekSystem and method for troubleshooting, maintaining and repairing network devices
US6728885B1 (en)1998-10-092004-04-27Networks Associates Technology, Inc.System and method for network access control using adaptive proxies
US6748447B1 (en)2000-04-072004-06-08Network Appliance, Inc.Method and apparatus for scalable distribution of information in a distributed network
US6754716B1 (en)2000-02-112004-06-22Ensim CorporationRestricting communication between network devices on a common network
US6769008B1 (en)2000-01-102004-07-27Sun Microsystems, Inc.Method and apparatus for dynamically altering configurations of clustered computer systems
US6801528B2 (en)2002-07-032004-10-05Ericsson Inc.System and method for dynamic simultaneous connection to multiple service providers
US6801937B1 (en)2000-05-312004-10-05International Business Machines CorporationMethod, system and program products for defining nodes to a cluster
US6804783B1 (en)1996-10-172004-10-12Network Engineering SoftwareFirewall providing enhanced network security and user transparency
US6862613B1 (en)2000-01-102005-03-01Sun Microsystems, Inc.Method and apparatus for managing operations of clustered computer systems
US6904458B1 (en)2000-04-262005-06-07Microsoft CorporationSystem and method for remote management
US6907395B1 (en)*2000-10-242005-06-14Microsoft CorporationSystem and method for designing a logical model of a distributed computer system and deploying physical resources according to the logical model
US6957186B1 (en)1999-05-272005-10-18Accenture LlpSystem method and article of manufacture for building, managing, and supporting various components of a system
US7054943B1 (en)2000-04-282006-05-30International Business Machines CorporationMethod and apparatus for dynamically adjusting resources assigned to plurality of customers, for meeting service level agreements (slas) with minimal resources, and allowing common pools of resources to be used across plural customers on a demand basis

Family Cites Families (77)

* Cited by examiner, † Cited by third party
Publication numberPriority datePublication dateAssigneeTitle
US4200770A (en)*1977-09-061980-04-29Stanford UniversityCryptographic apparatus and method
US4424414A (en)*1978-05-011984-01-03Board Of Trustees Of The Leland Stanford Junior UniversityExponentiation cryptographic apparatus and method
ATE208067T1 (en)*1991-03-182001-11-15Echelon Corp PROGRAMMING LANGUAGE STRUCTURES FOR A NETWORK FOR TRANSMITTING, SENSING AND CONTROLLING INFORMATION
JPH076026A (en)*1993-05-281995-01-10Xerox CorpMethod for guarantee of interchangeablity of configuration management and component and method for exclusion of non- interchangeability of resident software and migration software
US5628030A (en)*1994-03-241997-05-06Multi-Tech Systems, Inc.Virtual modem driver apparatus and method
US5872928A (en)*1995-02-241999-02-16Cabletron Systems, Inc.Method and apparatus for defining and enforcing policies for configuration management in communications networks
US5724508A (en)*1995-03-091998-03-03Insoft, Inc.Apparatus for collaborative computing
GB2309558A (en)*1996-01-261997-07-30IbmLoad balancing across the processors of a server computer
US5796830A (en)*1996-07-291998-08-18International Business Machines CorporationInteroperable cryptographic key recovery system
GB9626241D0 (en)*1996-12-181997-02-05Ncr Int IncSecure data processing method and system
US6049528A (en)*1997-06-302000-04-11Sun Microsystems, Inc.Trunking ethernet-compatible networks
US6185308B1 (en)*1997-07-072001-02-06Fujitsu LimitedKey recovery system
US6041054A (en)*1997-09-242000-03-21Telefonaktiebolaget Lm EricssonEfficient transport of internet protocol packets using asynchronous transfer mode adaptation layer two
US6182275B1 (en)*1998-01-262001-01-30Dell Usa, L.P.Generation of a compatible order for a computer system
US6208649B1 (en)*1998-03-112001-03-27Cisco Technology, Inc.Derived VLAN mapping technique
US6691148B1 (en)*1998-03-132004-02-10Verizon Corporate Services Group Inc.Framework for providing quality of service requirements in a distributed object-oriented computer system
JPH11275068A (en)*1998-03-201999-10-08Fujitsu Ltd Key management server, chat system terminal device, chat system, and recording medium
US6393386B1 (en)*1998-03-262002-05-21Visual Networks Technologies, Inc.Dynamic modeling of complex networks and prediction of impacts of faults therein
US6311217B1 (en)1998-06-042001-10-30Compaq Computer CorporationMethod and apparatus for improved cluster administration
US6336138B1 (en)*1998-08-252002-01-01Hewlett-Packard CompanyTemplate-driven approach for generating models on network services
US6038322A (en)*1998-10-202000-03-14Cisco Technology, Inc.Group key distribution
US6691165B1 (en)*1998-11-102004-02-10Rainfinity, Inc.Distributed server cluster for controlling network traffic
JP3820777B2 (en)*1998-11-122006-09-13富士ゼロックス株式会社 Private key deposit system and method
US6341356B1 (en)*1999-03-252002-01-22International Business Machines CorporationSystem for I/O path load balancing and failure which can be ported to a plurality of operating environments
JP2000322288A (en)*1999-05-062000-11-24Fujitsu Ltd DISTRIBUTED OBJECT DEVELOPMENT SYSTEM, AND COMPUTER-READABLE RECORDING MEDIUM RECORDING PROGRAM FOR CAUSING COMPUTER TO EXECUTE DISTRIBUTED OBJECT DEVELOPMENT
US6944183B1 (en)*1999-06-102005-09-13AlcatelObject model for network policy management
US6968371B1 (en)1999-06-232005-11-22Clearwire CorporationDesign for scalable network management systems
US6505244B1 (en)*1999-06-292003-01-07Cisco Technology Inc.Policy engine which supports application specific plug-ins for enforcing policies in a feedback-based, adaptive data network
US6351685B1 (en)*1999-11-052002-02-26International Business Machines CorporationWireless communication between multiple intelligent pickers and with a central job queue in an automated data storage library
US7315801B1 (en)*2000-01-142008-01-01Secure Computing CorporationNetwork security modeling system and method
US6983317B1 (en)*2000-02-282006-01-03Microsoft CorporationEnterprise management system
US6701363B1 (en)*2000-02-292004-03-02International Business Machines CorporationMethod, computer program product, and system for deriving web transaction performance metrics
US6678821B1 (en)*2000-03-232004-01-13E-Witness Inc.Method and system for restricting access to the private key of a user in a public key infrastructure
US6868062B1 (en)*2000-03-282005-03-15Intel CorporationManaging data traffic on multiple ports
US6574195B2 (en)*2000-04-192003-06-03Caspian Networks, Inc.Micro-flow management
WO2001084313A2 (en)*2000-05-022001-11-08Sun Microsystems, Inc.Method and system for achieving high availability in a networked computer system
EP1158740B1 (en)*2000-05-242009-09-16Sony Deutschland GmbHQuality of Service negotiation
US7032031B2 (en)*2000-06-232006-04-18Cloudshield Technologies, Inc.Edge adapter apparatus and method
US8443035B2 (en)*2000-09-012013-05-14OP40 Holding, Inc.System and method for collaboration using web browsers
JP2002108910A (en)*2000-09-272002-04-12Nec Soft LtdEnciphered filing system, enciphered file retrieving method and computer readable recording medium
US6886038B1 (en)*2000-10-242005-04-26Microsoft CorporationSystem and method for restricting data transfers and managing software components of distributed computers
US6853841B1 (en)*2000-10-252005-02-08Sun Microsystems, Inc.Protocol for a remote control device to enable control of network attached devices
US7003574B1 (en)*2000-11-012006-02-21Microsoft CorporationSession load balancing and use of VIP as source address for inter-cluster traffic through the use of a session identifier
US6985956B2 (en)*2000-11-022006-01-10Sun Microsystems, Inc.Switching system
WO2002048910A2 (en)*2000-12-142002-06-20Appilog Logview Ltd.System for collecting, correlating, querying and viewing topology information
US20030046615A1 (en)*2000-12-222003-03-06Alan StoneSystem and method for adaptive reliability balancing in distributed programming networks
US7003562B2 (en)*2001-03-272006-02-21Redseal Systems, Inc.Method and apparatus for network wide policy-based analysis of configurations of devices
US7162634B2 (en)*2001-04-182007-01-09Thomson LicensingMethod for providing security on a powerline-modem network
US7194439B2 (en)*2001-04-302007-03-20International Business Machines CorporationMethod and system for correlating job accounting information with software license information
US20030014644A1 (en)*2001-05-022003-01-16Burns James E.Method and system for security policy management
US7013462B2 (en)*2001-05-102006-03-14Hewlett-Packard Development Company, L.P.Method to map an inventory management system to a configuration management system
US20030008712A1 (en)*2001-06-042003-01-09Playnet, Inc.System and method for distributing a multi-client game/application over a communications network
US20030009559A1 (en)*2001-07-092003-01-09Naoya IkedaNetwork system and method of distributing accesses to a plurality of server apparatus in the network system
US7174379B2 (en)*2001-08-032007-02-06International Business Machines CorporationManaging server resources for hosted applications
US7043393B2 (en)*2001-08-152006-05-09National Instruments CorporationSystem and method for online specification of measurement hardware
US20030041159A1 (en)*2001-08-172003-02-27David TinsleySystems and method for presenting customizable multimedia presentations
CA2357087C (en)*2001-09-062009-07-21Cognos IncorporatedDeployment manager for organizing and deploying an application in a distributed computing environment
US6980978B2 (en)*2001-09-072005-12-27International Business Machines CorporationSite integration management system for operational support service in an internet data center
US7191429B2 (en)*2001-09-282007-03-13Manyeta Informatique Inc.System and method for managing architectural layers within a software model
US7194616B2 (en)*2001-10-272007-03-20International Business Machines CorporationFlexible temporary capacity upgrade/downgrade in a computer system without involvement of the operating system
US7188335B1 (en)*2001-12-282007-03-06Trilogy Development Group, Inc.Product configuration using configuration patterns
US6990666B2 (en)*2002-03-182006-01-24Surgient Inc.Near on-line server
US20040002878A1 (en)*2002-06-282004-01-01International Business Machines CorporationMethod and system for user-determined authentication in a federated environment
US7505872B2 (en)*2002-09-112009-03-17International Business Machines CorporationMethods and apparatus for impact analysis and problem determination
US6847970B2 (en)*2002-09-112005-01-25International Business Machines CorporationMethods and apparatus for managing dependencies in distributed systems
US7689676B2 (en)*2003-03-062010-03-30Microsoft CorporationModel-based policy application
US7072807B2 (en)*2003-03-062006-07-04Microsoft CorporationArchitecture for distributed computing system and automated design, deployment, and management of distributed applications
US7890543B2 (en)*2003-03-062011-02-15Microsoft CorporationArchitecture for distributed computing system and automated design, deployment, and management of distributed applications
US8122106B2 (en)*2003-03-062012-02-21Microsoft CorporationIntegrating design, deployment, and management phases for systems
US7350186B2 (en)*2003-03-102008-03-25International Business Machines CorporationMethods and apparatus for managing computing deployment in presence of variable workload
EP1625472A2 (en)*2003-03-312006-02-15System Management Arts, Inc.Method and apparatus for multi-realm system modeling
US7606929B2 (en)*2003-06-302009-10-20Microsoft CorporationNetwork load balancing with connection manipulation
US20060025984A1 (en)*2004-08-022006-02-02Microsoft CorporationAutomatic validation and calibration of transaction-based performance models
US8627149B2 (en)*2004-08-302014-01-07International Business Machines CorporationTechniques for health monitoring and control of application servers
US7333000B2 (en)*2004-11-122008-02-19Afco Systems Development, Inc.Tracking system and method for electrically powered equipment
US7350068B2 (en)*2005-04-222008-03-25International Business Machines CorporationServer blade network boot method that minimizes required network bandwidth
US7805496B2 (en)*2005-05-102010-09-28International Business Machines CorporationAutomatic generation of hybrid performance models

Patent Citations (95)

* Cited by examiner, † Cited by third party
Publication numberPriority datePublication dateAssigneeTitle
US5031089A (en)1988-12-301991-07-09United States Of America As Represented By The Administrator, National Aeronautics And Space AdministrationDynamic resource allocation scheme for distributed heterogeneous computer systems
US5220621A (en)1990-08-011993-06-15International Business Machines CorporationCharacter recognition system using the generalized hough transformation and method
US5430810A (en)1990-11-201995-07-04Imra America, Inc.Real time implementation of the hough transform
US5475817A (en)1991-02-251995-12-12Hewlett-Packard CompanyObject oriented distributed computing system processing request to other object model with code mapping by object managers located by manager of object managers
US6115393A (en)1991-04-122000-09-05Concord Communications, Inc.Network monitoring
US5895499A (en)1995-07-031999-04-20Sun Microsystems, Inc.Cross-domain data transfer using deferred page remapping
US5872914A (en)1995-08-311999-02-16International Business Machines CorporationMethod and apparatus for an account managed object class model in a distributed computing environment
US6510154B1 (en)1995-11-032003-01-21Cisco Technology, Inc.Security system for network address translation systems
US5801970A (en)1995-12-061998-09-01Martin Marietta CorporationModel-based feature tracking system
US5768271A (en)1996-04-121998-06-16Alcatel Data Networks Inc.Virtual private network
US5748958A (en)1996-04-301998-05-05International Business Machines CorporationSystem for utilizing batch requests to present membership changes to process groups
US5948055A (en)1996-08-291999-09-07Hewlett-Packard CompanyDistributed internet monitoring system and method
US6519615B1 (en)1996-10-112003-02-11Sun Microsystems, Inc.Method and system for leasing storage
US6804783B1 (en)1996-10-172004-10-12Network Engineering SoftwareFirewall providing enhanced network security and user transparency
US5845277A (en)1996-12-191998-12-01Mci Communications CorporationProduction of statistically-based network maps
US6111993A (en)1997-01-162000-08-29Honda Giken Kogyo Kabushiki KaishaStraight line detecting method
US5826015A (en)1997-02-201998-10-20Digital Equipment CorporationMethod and apparatus for secure remote programming of firmware and configurations of a computer over a network
US6151688A (en)1997-02-212000-11-21Novell, Inc.Resource management in a clustered computer system
US6353898B1 (en)1997-02-212002-03-05Novell, Inc.Resource management in a clustered computer system
US6338112B1 (en)1997-02-212002-01-08Novell, Inc.Resource management in a clustered computer system
US6598173B1 (en)1997-05-132003-07-22Micron Technology, Inc.Method of remote access and control of environmental conditions
US6070243A (en)1997-06-132000-05-30Xylan CorporationDeterministic user authentication service for communication network
US6108699A (en)1997-06-272000-08-22Sun Microsystems, Inc.System and method for modifying membership in a clustered distributed computer system and updating system configuration
US6389464B1 (en)1997-06-272002-05-14Cornet Technology, Inc.Device management system for managing standards-compliant and non-compliant network elements using standard management protocols and a universal site server which is configurable from remote locations via internet browser technology
US5960371A (en)1997-09-041999-09-28Schlumberger Technology CorporationMethod of determining dips and azimuths of fractures from borehole images
US6141749A (en)1997-09-122000-10-31Lucent Technologies Inc.Methods and apparatus for a computer network firewall with stateful packet filtering
US6606708B1 (en)1997-09-262003-08-12Worldcom, Inc.Secure server architecture for Web based data management
US6263089B1 (en)1997-10-032001-07-17Nippon Telephone And Telegraph CorporationMethod and equipment for extracting image features from image sequence
US6449641B1 (en)1997-10-212002-09-10Sun Microsystems, Inc.Determining cluster membership in a distributed computer system
US6192401B1 (en)1997-10-212001-02-20Sun Microsystems, Inc.System and method for determining cluster membership in a heterogeneous distributed system
US6047325A (en)1997-10-242000-04-04Jain; LalitNetwork device for supporting construction of virtual local area networks on arbitrary local and wide area computer networks
US6178529B1 (en)1997-11-032001-01-23Microsoft CorporationMethod and system for resource monitoring of disparate resources in a server cluster
US6125447A (en)1997-12-112000-09-26Sun Microsystems, Inc.Protection domains to provide security in a computer system
US6496187B1 (en)1998-02-172002-12-17Sun Microsystems, Inc.Graphics system configured to perform parallel sample to pixel calculation
US6484261B1 (en)1998-02-172002-11-19Cisco Technology, Inc.Graphical network security policy management
US6366578B1 (en)1998-04-032002-04-02Verticle Networks, Inc.Systems and methods for multiple mode voice and data communications using intelligently bridged TDM and packet buses and methods for implementing language capabilities using the same
US6208345B1 (en)1998-04-152001-03-27Adc Telecommunications, Inc.Visual data integration system and method
US6311144B1 (en)1998-05-132001-10-30Nabil A. Abu El AtaMethod and apparatus for designing and analyzing information systems using multi-layer mathematical models
US6694436B1 (en)1998-05-222004-02-17ActivcardTerminal and system for performing secure electronic transactions
US6259448B1 (en)1998-06-032001-07-10International Business Machines CorporationResource model configuration and deployment in a distributed computer network
WO1999063439A1 (en)1998-06-041999-12-09Shunra Software Ltd.Apparatus and method for testing network applications
US6360265B1 (en)1998-07-082002-03-19Lucent Technologies Inc.Arrangement of delivering internet protocol datagrams for multimedia services to the same server
US6427163B1 (en)1998-07-102002-07-30International Business Machines CorporationHighly scalable and highly available cluster system management scheme
US6466932B1 (en)1998-08-142002-10-15Microsoft CorporationSystem and method for implementing group policy
US6266707B1 (en)1998-08-172001-07-24International Business Machines CorporationSystem and method for IP network address translation and IP filtering with dynamic address resolution
US6717949B1 (en)1998-08-312004-04-06International Business Machines CorporationSystem and method for IP network address translation using selective masquerade
US6324571B1 (en)1998-09-212001-11-27Microsoft CorporationFloating single master operation
US6230312B1 (en)1998-10-022001-05-08Microsoft CorporationAutomatic detection of per-unit location constraints
US6728885B1 (en)1998-10-092004-04-27Networks Associates Technology, Inc.System and method for network access control using adaptive proxies
US6212559B1 (en)1998-10-282001-04-03Trw Inc.Automated configuration of internet-like computer networks
US6393456B1 (en)1998-11-302002-05-21Microsoft CorporationSystem, method, and computer program product for workflow processing using internet interoperable electronic messaging with mime multiple content type
US6651101B1 (en)1998-12-042003-11-18Cisco Technology, Inc.Method and apparatus for identifying network data traffic flows and for applying quality of service treatments to the flows
US6336171B1 (en)1998-12-232002-01-01Ncr CorporationResource protection in a cluster environment
US6393474B1 (en)1998-12-312002-05-213Com CorporationDynamic policy management apparatus and method using active network devices
US6691168B1 (en)1998-12-312004-02-10Pmc-SierraMethod and apparatus for high-speed network rule processing
US6510509B1 (en)1999-03-292003-01-21Pmc-Sierra Us, Inc.Method and apparatus for high-speed network rule processing
US6564261B1 (en)1999-05-102003-05-13Telefonaktiebolaget Lm Ericsson (Publ)Distributed system to intelligently establish sessions between anonymous users over various networks
US6470332B1 (en)1999-05-192002-10-22Sun Microsystems, Inc.System, method and computer program product for searching for, and retrieving, profile attributes based on other target profile attributes and associated profiles
US6631141B1 (en)1999-05-272003-10-07Ibm CorporationMethods, systems and computer program products for selecting an aggregator interface
US6957186B1 (en)1999-05-272005-10-18Accenture LlpSystem method and article of manufacture for building, managing, and supporting various components of a system
US6466984B1 (en)1999-07-022002-10-15Cisco Technology, Inc.Method and apparatus for policy-based management of quality of service treatments of network data traffic flows by integrating policies with application programs
US6549516B1 (en)1999-07-022003-04-15Cisco Technology, Inc.Sending instructions from a service manager to forwarding agents on a need to know basis
US6584499B1 (en)1999-07-092003-06-24Lsi Logic CorporationMethods and apparatus for performing mass operations on a plurality of managed devices on a network
US6480955B1 (en)1999-07-092002-11-12Lsi Logic CorporationMethods and apparatus for committing configuration changes to managed devices prior to completion of the configuration change
US6466978B1 (en)1999-07-282002-10-15Matsushita Electric Industrial Co., Ltd.Multimedia file systems using file managers located on clients for managing network attached storage devices
US6684335B1 (en)1999-08-192004-01-27Epstein, Iii Edwin A.Resistance cell architecture
US6587876B1 (en)1999-08-242003-07-01Hewlett-Packard Development CompanyGrouping targets of management policies
US6370573B1 (en)1999-08-312002-04-09Accenture LlpSystem, method and article of manufacture for managing an environment of a development architecture framework
US6487622B1 (en)1999-10-282002-11-26Ncr CorporationQuorum arbitrator for a high availability system
US6609148B1 (en)1999-11-102003-08-19Randy SaloClients remote access to enterprise networks employing enterprise gateway servers in a centralized data center converting plurality of data requests for messaging and collaboration into a single request
US6615256B1 (en)1999-11-292003-09-02Microsoft CorporationQuorum resource arbiter within a storage network
US6529953B1 (en)1999-12-172003-03-04Reliable Network SolutionsScalable computer network resource monitoring and location system
US6769008B1 (en)2000-01-102004-07-27Sun Microsystems, Inc.Method and apparatus for dynamically altering configurations of clustered computer systems
US6862613B1 (en)2000-01-102005-03-01Sun Microsystems, Inc.Method and apparatus for managing operations of clustered computer systems
US6493715B1 (en)2000-01-122002-12-10International Business Machines CorporationDelivery of configuration change in a group
US6754716B1 (en)2000-02-112004-06-22Ensim CorporationRestricting communication between network devices on a common network
US20010019554A1 (en)2000-03-062001-09-06Yuji NomuraLabel switch network system
US6601101B1 (en)2000-03-152003-07-293Com CorporationTransparent access to network attached devices
US6748447B1 (en)2000-04-072004-06-08Network Appliance, Inc.Method and apparatus for scalable distribution of information in a distributed network
US6904458B1 (en)2000-04-262005-06-07Microsoft CorporationSystem and method for remote management
US7054943B1 (en)2000-04-282006-05-30International Business Machines CorporationMethod and apparatus for dynamically adjusting resources assigned to plurality of customers, for meeting service level agreements (slas) with minimal resources, and allowing common pools of resources to be used across plural customers on a demand basis
US6801937B1 (en)2000-05-312004-10-05International Business Machines CorporationMethod, system and program products for defining nodes to a cluster
US20020095524A1 (en)2000-06-072002-07-18Sanghvi Ashvinkumar J.Method and apparatus for applying policies
US6718379B1 (en)2000-06-092004-04-06Advanced Micro Devices, Inc.System and method for network management of local area networks having non-blocking network switches configured for switching data packets between subnetworks based on management policies
US6609213B1 (en)2000-08-102003-08-19Dell Products, L.P.Cluster-based system and method of recovery from server failures
US6907395B1 (en)*2000-10-242005-06-14Microsoft CorporationSystem and method for designing a logical model of a distributed computer system and deploying physical resources according to the logical model
US20020194369A1 (en)2001-03-202002-12-19Worldcom, Inc.Policy-based synchronization of per-class resources between routers in a data network
US20030154404A1 (en)2001-08-142003-08-14Smartpipes, IncorporatedPolicy engine for modular generation of policy for a flat, per-device database
US20030041139A1 (en)2001-08-142003-02-27Smartpipes, IncorporatedEvent management for a remote network policy management system
US20030120763A1 (en)2001-12-202003-06-26Volpano Dennis MichaelPersonal virtual bridged local area networks
US20030126230A1 (en)2001-12-282003-07-03International Business Machines CorporationMethod and system for transmitting information across a firewall
US20030206548A1 (en)2002-05-062003-11-06Vinay BannaiLogical port system and method
US6801528B2 (en)2002-07-032004-10-05Ericsson Inc.System and method for dynamic simultaneous connection to multiple service providers
US20040078787A1 (en)2002-07-192004-04-22Michael BorekSystem and method for troubleshooting, maintaining and repairing network devices
US20040054791A1 (en)2002-09-172004-03-18Krishnendu ChakrabortySystem and method for enforcing user policies on a web server

Non-Patent Citations (6)

* Cited by examiner, † Cited by third party
Title
Li Hsiang-Ling et al.; "Hardware Design of a 2-D Motion Estimation System Based on the Hough Transform" IEEE 1998 16 pages.
Liu et al., "Visualization in Network Topology Optimization", ACM, 1992, pp. 131-138.
Smith et al.; "Distributed Management of Future Global Multi-Service Networks" British Telecommunications EngineeringLondon GB v. 13 part 3 Oct. 1, 1994 pp. 221-226.
Somers Ferga; "Hybrid: Unifying Centralised and Distributed Network Management using Intelligent Agents" IEEE Network Operations and Management Symposium Kyoto Apr. 15-19, 1996. pp. 34-43.
Svend Frolund & Pankah Garg, "Design-Time Simulation of a Large-Scale, Distrubuted object System" ACM 1998, pp. 374-400.
Webster's Seventh New Collegiate Dictionary. G. C. Merriam Co. Copyright 1971 pp. 438 and 767.

Cited By (74)

* Cited by examiner, † Cited by third party
Publication numberPriority datePublication dateAssigneeTitle
US7739380B2 (en)2000-10-242010-06-15Microsoft CorporationSystem and method for distributed management of shared computers
US7711121B2 (en)2000-10-242010-05-04Microsoft CorporationSystem and method for distributed management of shared computers
US7606898B1 (en)2000-10-242009-10-20Microsoft CorporationSystem and method for distributed management of shared computers
US7574343B2 (en)2000-10-242009-08-11Microsoft CorporationSystem and method for logical modeling of distributed computer systems
US20030217125A1 (en)*2002-05-152003-11-20Lucent Technologies, Inc.Intelligent end user gateway device
US20030217129A1 (en)*2002-05-152003-11-20Lucent Technologies Inc.Self-organizing intelligent network architecture and methodology
US7792931B2 (en)2003-03-062010-09-07Microsoft CorporationModel-based system provisioning
US7886041B2 (en)2003-03-062011-02-08Microsoft CorporationDesign time validation of systems
US7689676B2 (en)2003-03-062010-03-30Microsoft CorporationModel-based policy application
US7684964B2 (en)2003-03-062010-03-23Microsoft CorporationModel and system state synchronization
US7890543B2 (en)2003-03-062011-02-15Microsoft CorporationArchitecture for distributed computing system and automated design, deployment, and management of distributed applications
US7890951B2 (en)2003-03-062011-02-15Microsoft CorporationModel-based provisioning of test environments
US7630877B2 (en)2003-03-062009-12-08Microsoft CorporationArchitecture for distributed computing system and automated design, deployment, and management of distributed applications
US8122106B2 (en)2003-03-062012-02-21Microsoft CorporationIntegrating design, deployment, and management phases for systems
US7613822B2 (en)2003-06-302009-11-03Microsoft CorporationNetwork load balancing with session information
US7606929B2 (en)2003-06-302009-10-20Microsoft CorporationNetwork load balancing with connection manipulation
US7590736B2 (en)2003-06-302009-09-15Microsoft CorporationFlexible network load balancing
US7636917B2 (en)2003-06-302009-12-22Microsoft CorporationNetwork load balancing with host status information
US7567504B2 (en)2003-06-302009-07-28Microsoft CorporationNetwork load balancing with traffic routing
US7778422B2 (en)2004-02-272010-08-17Microsoft CorporationSecurity associations for devices
US7669235B2 (en)2004-04-302010-02-23Microsoft CorporationSecure domain join for computing devices
US7797147B2 (en)2005-04-152010-09-14Microsoft CorporationModel-based system monitoring
US8489728B2 (en)2005-04-152013-07-16Microsoft CorporationModel-based system monitoring
US8549513B2 (en)2005-06-292013-10-01Microsoft CorporationModel-based virtual system provisioning
US10540159B2 (en)2005-06-292020-01-21Microsoft Technology Licensing, LlcModel-based virtual system provisioning
US9811368B2 (en)2005-06-292017-11-07Microsoft Technology Licensing, LlcModel-based virtual system provisioning
US9317270B2 (en)2005-06-292016-04-19Microsoft Technology Licensing, LlcModel-based virtual system provisioning
US7941309B2 (en)2005-11-022011-05-10Microsoft CorporationModeling IT operations/policies
US8930890B2 (en)*2006-12-052015-01-06International Business Machines CorporationSoftware model skinning
US8756561B2 (en)2006-12-052014-06-17International Business Machines CorporationSoftware model normalization and mediation
US20080134136A1 (en)*2006-12-052008-06-05Petersen Peter HSoftware model normalization and mediation
US20080134137A1 (en)*2006-12-052008-06-05Petersen Peter HSoftware model skinning
US8024396B2 (en)2007-04-262011-09-20Microsoft CorporationDistributed behavior controlled execution of modeled applications
US8302092B2 (en)2007-06-262012-10-30Microsoft CorporationExtensible data driven deployment system
US20090007095A1 (en)*2007-06-262009-01-01Microsoft CorporationExtensible data driven deployment system
US8239505B2 (en)2007-06-292012-08-07Microsoft CorporationProgressively implementing declarative models in distributed systems
US7970892B2 (en)2007-06-292011-06-28Microsoft CorporationTuning and optimizing distributed systems with declarative models
US8099494B2 (en)2007-06-292012-01-17Microsoft CorporationTuning and optimizing distributed systems with declarative models
US20100281456A1 (en)*2007-07-092010-11-04Alon EizenmanSystem and method for application process automation over a computer network
US8898620B2 (en)2007-07-092014-11-25Nolio Ltd.System and method for application process automation over a computer network
US8230386B2 (en)2007-08-232012-07-24Microsoft CorporationMonitoring distributed applications
US20090165021A1 (en)*2007-10-232009-06-25Microsoft CorporationModel-Based Composite Application Platform
US8751626B2 (en)2007-10-232014-06-10Microsoft CorporationModel-based composite application platform
US20090157872A1 (en)*2007-10-232009-06-18Microsoft CorporationModel-based composite application platform
US8181151B2 (en)2007-10-262012-05-15Microsoft CorporationModeling and managing heterogeneous applications
US7974939B2 (en)2007-10-262011-07-05Microsoft CorporationProcessing model-based commands for distributed applications
US8225308B2 (en)2007-10-262012-07-17Microsoft CorporationManaging software lifecycle
US8099720B2 (en)2007-10-262012-01-17Microsoft CorporationTranslating declarative models
US7814198B2 (en)2007-10-262010-10-12Microsoft CorporationModel-driven, repository-based application monitoring system
US20090112559A1 (en)*2007-10-262009-04-30Microsoft CorporationModel-driven, repository-based application monitoring system
US8306996B2 (en)2007-10-262012-11-06Microsoft CorporationProcessing model-based commands for distributed applications
US7926070B2 (en)2007-10-262011-04-12Microsoft CorporationPerforming requested commands for model-based applications
US8443347B2 (en)2007-10-262013-05-14Microsoft CorporationTranslating declarative models
US20090113327A1 (en)*2007-10-262009-04-30Microsoft CorporationUser interface mapping modules to deployment targets
US8046692B2 (en)2007-10-262011-10-25Microsoft CorporationUser interface mapping modules to deployment targets
US20090193426A1 (en)*2008-01-282009-07-30Microsoft CorporationSystem and method for describing applications for manageability and efficient scale-up deployment
US8893141B2 (en)2008-01-282014-11-18Microsoft CorporationSystem and method for describing applications for manageability and efficient scale-up deployment
US20090327493A1 (en)*2008-06-272009-12-31Microsoft CorporationData Center Scheduler
US7860973B2 (en)2008-06-272010-12-28Microsoft CorporationData center scheduler
US7984156B2 (en)2008-06-272011-07-19Microsoft CorporationData center scheduler
US20110066728A1 (en)*2008-06-272011-03-17Microsoft CorporationData Center Scheduler
US10424101B2 (en)2008-07-172019-09-24International Business Machines CorporationSystem and method for enabling multiple-state avatars
US10369473B2 (en)2008-07-252019-08-06International Business Machines CorporationMethod for extending a virtual environment through registration
US10166470B2 (en)2008-08-012019-01-01International Business Machines CorporationMethod for providing a virtual world layer
US9952852B2 (en)2010-02-252018-04-24Microsoft Technology Licensing, LlcAutomated deployment and servicing of distributed applications
US8627309B2 (en)2010-02-252014-01-07Microsoft CorporationAutomated deployment and servicing of distributed applications
US9152402B2 (en)2010-02-252015-10-06Microsoft Technology Licensing Llc.Automated deployment and servicing of distributed applications
US20110209140A1 (en)*2010-02-252011-08-25Microsoft CorporationAutomated deployment and servicing of distributed applications
US8396949B2 (en)2010-06-032013-03-12Microsoft CorporationMetadata driven automatic deployment of distributed server systems
US9251165B2 (en)2010-09-292016-02-02International Business Machines CorporationEnd to end automation of application deployment
US8745577B2 (en)2010-09-292014-06-03International Business Machines CorporationEnd to end automation of application deployment
US11164122B2 (en)*2011-11-282021-11-02Cyber Observer Ltd.Controlling system and method
US20170192765A1 (en)*2015-12-312017-07-06Box, Inc.Dynamic code component deployment in cloud-based service platforms
US10585710B2 (en)*2015-12-312020-03-10Box, Inc.Dynamic code component deployment in cloud-based service platforms

Also Published As

Publication numberPublication date
US20050102538A1 (en)2005-05-12
US6907395B1 (en)2005-06-14
US20050125212A1 (en)2005-06-09

Similar Documents

PublicationPublication DateTitle
US7155380B2 (en)System and method for designing a logical model of a distributed computer system and deploying physical resources according to the logical model
US6915338B1 (en)System and method providing automatic policy enforcement in a multi-computer service application
US7574343B2 (en)System and method for logical modeling of distributed computer systems
US11481244B2 (en)Methods and systems that verify endpoints and external tasks in release-pipeline prior to execution
US6976262B1 (en)Web-based enterprise management with multiple repository capability
US7788375B2 (en)Coordinating the monitoring, management, and prediction of unintended changes within a grid environment
US7590623B2 (en)Automated management of software images for efficient resource node building within a grid environment
US7490265B2 (en)Recovery segment identification in a computing infrastructure
US8843561B2 (en)Common cluster model for configuring, managing, and operating different clustering technologies in a data center
US7793308B2 (en)Setting operation based resource utilization thresholds for resource use by a process
US20020019864A1 (en)System and method for managing the configuration of hierarchically networked data processing devices
US20060080667A1 (en)Method and apparatus for applying policies
JP2007500383A (en) Application start protocol
JP2007518169A (en) Maintaining application behavior within a sub-optimal grid environment
US8065346B1 (en)Graphical user interface architecture for namespace and storage management
US7877695B2 (en)Tailored object
US7590618B2 (en)System and method for providing location profile data for network nodes
CN102790788B (en)Grid resource management system
EP1061445A2 (en)Web-based enterprise management with transport neutral client interface
US7979870B1 (en)Method and system for locating objects in a distributed computing environment
US20050283531A1 (en)Method and apparatus for combining resource properties and device operations using stateful Web services
Chien et al.Resource management in the entropia system
Woo et al.DOVE-G: Design and Implementation of Distributed Object-Oriented Virtual Environment on Grid
JP2003084992A (en) RPC connection program between client and server

Legal Events

DateCodeTitleDescription
STCFInformation on status: patent grant

Free format text:PATENTED CASE

FPAYFee payment

Year of fee payment:4

FPAYFee payment

Year of fee payment:8

ASAssignment

Owner name:MICROSOFT TECHNOLOGY LICENSING, LLC, WASHINGTON

Free format text:ASSIGNMENT OF ASSIGNORS INTEREST;ASSIGNOR:MICROSOFT CORPORATION;REEL/FRAME:034543/0001

Effective date:20141014

MAFPMaintenance fee payment

Free format text:PAYMENT OF MAINTENANCE FEE, 12TH YEAR, LARGE ENTITY (ORIGINAL EVENT CODE: M1553)

Year of fee payment:12

ASAssignment

Owner name:SERVICENOW, INC., CALIFORNIA

Free format text:ASSIGNMENT OF ASSIGNORS INTEREST;ASSIGNOR:MICROSOFT TECHNOLOGY LICENSING, LLC;REEL/FRAME:047681/0916

Effective date:20181115

ASAssignment

Owner name:SERVICENOW, INC., CALIFORNIA

Free format text:CORRECTIVE ASSIGNMENT TO CORRECT THE RECORDAL TO REMOVE INADVERTENTLY RECOREDED PROPERTIES SHOWN IN ATTACHED SHEET PREVIOUSLY RECORDED AT REEL: 047681 FRAME: 0916. ASSIGNOR(S) HEREBY CONFIRMS THE ASSIGNMENT;ASSIGNOR:MICROSOFT TECHNOLOGY LICENSING, LLC;REEL/FRAME:049797/0119

Effective date:20181115


[8]ページ先頭

©2009-2025 Movatter.jp