Movatterモバイル変換


[0]ホーム

URL:


US7049190B2 - Method for forming ZnO film, method for forming ZnO semiconductor layer, method for fabricating semiconductor device, and semiconductor device - Google Patents

Method for forming ZnO film, method for forming ZnO semiconductor layer, method for fabricating semiconductor device, and semiconductor device
Download PDF

Info

Publication number
US7049190B2
US7049190B2US10/390,563US39056303AUS7049190B2US 7049190 B2US7049190 B2US 7049190B2US 39056303 AUS39056303 AUS 39056303AUS 7049190 B2US7049190 B2US 7049190B2
Authority
US
United States
Prior art keywords
zno
film
buffer layer
semiconductor layer
flow rate
Prior art date
Legal status (The legal status is an assumption and is not a legal conclusion. Google has not performed a legal analysis and makes no representation as to the accuracy of the status listed.)
Expired - Fee Related
Application number
US10/390,563
Other versions
US20040038446A1 (en
Inventor
Katsutoshi Takeda
Masao Isomura
Current Assignee (The listed assignees may be inaccurate. Google has not performed a legal analysis and makes no representation or warranty as to the accuracy of the list.)
Sanyo Electric Co Ltd
Original Assignee
Sanyo Electric Co Ltd
Priority date (The priority date is an assumption and is not a legal conclusion. Google has not performed a legal analysis and makes no representation as to the accuracy of the date listed.)
Filing date
Publication date
Priority claimed from JP2002072906Aexternal-prioritypatent/JP3819793B2/en
Priority claimed from JP2003058611Aexternal-prioritypatent/JP2004006686A/en
Application filed by Sanyo Electric Co LtdfiledCriticalSanyo Electric Co Ltd
Assigned to SANYO ELECTRIC CO., LTD.reassignmentSANYO ELECTRIC CO., LTD.ASSIGNMENT OF ASSIGNORS INTEREST (SEE DOCUMENT FOR DETAILS).Assignors: ISOMUREA, MASAO, TAKEDA, KATSUTOSHI
Assigned to SANYO ELECTRIC CO., LTD.reassignmentSANYO ELECTRIC CO., LTD.CORRECTIVE ASSIGNMENT TO CORRECT THE NAME OF THE CONVEYING PARTY REEL: 014270 FRAME: 0887Assignors: ISOMURA, MASAO, TAKEDA, KATSUTOSHI
Publication of US20040038446A1publicationCriticalpatent/US20040038446A1/en
Application grantedgrantedCritical
Publication of US7049190B2publicationCriticalpatent/US7049190B2/en
Anticipated expirationlegal-statusCritical
Expired - Fee Relatedlegal-statusCriticalCurrent

Links

Images

Classifications

Definitions

Landscapes

Abstract

A ZnO buffer layer having an electric conductivity of 1×10−9S/cm or lower or alternatively a ZnO buffer layer having a diffraction peak of a crystal face other than (002) and (004) in X-ray diffraction is formed on a substrate by sputtering. A ZnO semiconductor layer is formed on the ZnO buffer layer. The ZnO semiconductor layer is formed under the condition that the flow rate ratio of an oxygen gas in a sputtering gas is lower than that in the formation of the ZnO buffer layer.

Description

BACKGROUND OF THE INVENTION
The present invention relates to: a method for forming a ZnO (zinc oxide) film; a method for forming a ZnO semiconductor layer; a method for fabricating a semiconductor device, such as a light emitting device, a light receiving device, and a thin film transistor (TFT), comprising a ZnO semiconductor layer; and a semiconductor device comprising a ZnO semiconductor layer.
ZnO semiconductors are in direct transitions and have the feature that the bandgap is wide (not less than 3.4 eV). Thus, application of the ZnO semiconductors to semiconductor devices, such as light emitting or receiving devices for emitting or receiving light in blue through ultraviolet ranges and TFTs, is under consideration.
Known methods for forming a ZnO semiconductor layer include MBE, sputtering, and laser ablation. Recently, for the purpose of improving the crystallinity of ZnO semiconductor layers, formation of a ZnO semiconductor layer via a buffer layer is under consideration.
It is disclosed that when a ZnO light emitting layer is formed via a ZnO buffer layer containing impurities such as Al and Mg, the ZnO light emitting layer is formed in good crystallinity (for example, JP-A-2000-244014). It is also disclosed that when a ZnO semiconductor layer is formed via a ZnO buffer layer formed at a temperature lower than that in the formation of the semiconductor layer, the ZnO semiconductor layer is formed in good crystallinity (for example, JP-A-2001-287998).
Nevertheless, in the above-mentioned prior art using a buffer layer containing impurities, a source for the impurities such as Al and Mg needs to be provided separately. This causes the problem of an increase in the fabrication cost. Further, when the buffer layer containing impurities is formed by sputtering, a ZnO film containing impurities is formed also on the wall and the like of the process chamber. Thus, in case that the buffer layer and the ZnO light emitting layer are formed in the same process chamber, during the formation of the ZnO light emitting layer, the impurities such as Al and Mg can be released into the process chamber from the ZnO film having been deposited on the wall and the like, whereby these undesired impurities can be incorporated into the ZnO light emitting layer. Further, the impurities contained in the buffer layer can diffuse into the ZnO light emitting layer, whereby these undesired impurities can be incorporated into the ZnO light emitting layer. As a result of incorporation of these undesired impurities, the light emitting characteristics of the light emitting layer can be degraded. In order to reduce such incorporation of the undesired impurities, a process chamber for buffer layer formation and a process chamber for light emitting layer formation may be provided separately. Nevertheless, this causes the problem of an increase in the apparatus cost and, hence, in the fabrication cost.
On the other hand, in the prior art using a buffer layer formed at a lower temperature, the incorporation of undesired impurities is reduced. Nevertheless, the temperature is different between the buffer layer formation and the semiconductor layer formation. Accordingly, in case that the ZnO buffer layer and the ZnO semiconductor layer are formed in the same process chamber, a time for raising the temperature of the substrate is necessary after the completion of the buffer layer formation and before the beginning of the semiconductor layer formation. This causes the problem of an increase in the necessary process time and, hence, in the fabrication cost. In order to improve the throughput, a process chamber for buffer layer formation and a process chamber for semiconductor layer formation may be provided separately. Nevertheless, this causes similarly the problem of an increase in the apparatus cost and, hence, in the fabrication cost.
Electronic devices, such as a TFT, a light emitting device, a piezoelectric device, are constructed by stacking thin films having different electric conductivities, such as an insulating film, a semiconductor film, and a conductor film. ZnO is used for forming insulating films, semiconductor films, and conductor films. When an electronic device is constructed using ZnO, the electronic device is constructed by stacking a ZnO film and other films composed of substances having electric conductivities different from that of ZnO or alternatively by stacking a plurality of ZnO films having electric conductivities different from each other. When a plurality of such ZnO films having different electric conductivities are formed by sputtering, each ZnO film is formed using one of ZnO targets different from each other in the amount of doped impurities (such as Al and Ga) so that the carrier density may be adjusted in each ZnO film.
Nevertheless, the prior art method for forming thin films having different electric conductivities needs the preparation of a plurality of substances (ZnO and other substances having electric conductivities different from that of ZnO) or alternatively a plurality of ZnO targets different in the impurity concentration. This causes an increase in the material cost or in the number of fabrication processes, and thereby results in the problem of a higher cost of the electronic devices.
BRIEF SUMMARY OF THE INVENTION
The invention has been devised with considering such a situation. An object of the invention is to provide a method for forming a ZnO semiconductor layer having good crystallinity at a low cost.
Another object of the invention is to provide a method for fabricating a semiconductor device comprising a ZnO semiconductor layer having good crystallinity at a low cost.
Further another object of the invention is to provide a semiconductor device comprising a ZnO semiconductor layer having good crystallinity.
Further another object of the invention is to provide a method for easily forming a plurality of ZnO films having different electric conductivities at a reduced material cost.
Further another object of the invention is to provide a method for easily fabricating a semiconductor device comprising a ZnO film having an electric conductivity which varies continuously in the film thickness direction starting from the substrate side.
A method for forming a ZnO semiconductor layer according to a first aspect comprises the steps of forming, on a substrate, a ZnO buffer layer having an electric conductivity of 1×10−9S/cm or lower; and forming a ZnO semiconductor layer on the ZnO buffer layer; or alternatively comprises the steps of forming, on a substrate, a ZnO buffer layer having a diffraction peak of a crystal face other than (002) and (004), more specifically, a peak of (103) or (112), in X-ray diffraction; and forming a ZnO semiconductor layer on the ZnO buffer layer.
In the method for forming a ZnO semiconductor layer according to the first aspect, a ZnO buffer layer having an electric conductivity of 1×10−9S/cm or lower or alternatively a ZnO buffer layer having a peak other than (002) and (004) is formed on a substrate, and then a ZnO semiconductor layer is formed on the ZnO buffer layer. Accordingly, formed is a ZnO semiconductor layer having good crystallinity and an improved mobility. The reason of this is interpreted as follows.
The ZnO buffer layer having an electric conductivity of 1×10−9S/cm or lower or alternatively the ZnO buffer layer having a peak other than (002) and (004) contains large crystal grains. These large crystal grains are distributed somewhat apart from each other. Then, a ZnO semiconductor layer carries out crystal growth starting from these large crystal grains serving as the nuclei of crystal in the ZnO buffer layer. At that time, the large crystal grains are distributed somewhat apart from each other in the ZnO buffer layer. This reduces the mutual blockage of the crystal growth due to the mutual collision of adjacent crystal grains during the crystal growth. As a result, a ZnO semiconductor grows in a large grain size. Further, the ZnO buffer layer is a non-doped layer containing no undesired impurities such as Al and Mg. This avoids the characteristics degradation in the ZnO semiconductor layer due to the incorporation of undesired impurities. Furthermore, the buffer layer is formed from the same material as that of the semiconductor layer. Thus, the junction between the buffer layer and the semiconductor layer constitutes a homojunction which results in good lattice matching. As a result, formed is a ZnO semiconductor layer having good crystallinity and an improved mobility.
A method for forming a ZnO semiconductor layer according to a second aspect is a method for forming a ZnO semiconductor layer on a substrate by sputtering, comprising the steps of forming a ZnO buffer layer on the substrate by using a sputtering gas containing oxygen; and forming a ZnO semiconductor layer on the ZnO buffer layer under the condition that the flow rate ratio of the oxygen gas in the sputtering gas is lower than that in the formation of the ZnO buffer layer.
In the method for forming a ZnO semiconductor layer according to the second aspect, a ZnO buffer layer is formed on the substrate under the condition that the flow rate ratio of the oxygen gas in the sputtering gas is higher. Accordingly, large crystal grains are formed in the ZnO buffer layer. These large crystal grains are distributed not close to but somewhat apart from each other. Further, a ZnO semiconductor layer is formed under the condition that the flow rate ratio of the oxygen gas is lower than that in the formation of the ZnO buffer layer. Accordingly, the formed ZnO semiconductor has a higher electric conductivity than the ZnO buffer layer, and thereby serves as a semiconductor. At that time, the ZnO semiconductor layer carries out crystal growth starting from the large crystal grains serving as the nuclei of crystal in the ZnO buffer layer, while the large crystal grains are distributed somewhat apart from each other in the ZnO buffer layer. This reduces the mutual blockage of the crystal growth due to the mutual collision of adjacent crystal grains during the crystal growth. As a result, a ZnO semiconductor grows in a large grain size. Further, the ZnO buffer layer is a non-doped layer containing no undesired impurities such as Al and Mg. This avoids the characteristics degradation in the ZnO semiconductor layer due to the incorporation of undesired impurities. Furthermore, the buffer layer is formed from the same material as that of the semiconductor layer. Thus, the junction between the buffer layer and the semiconductor layer constitutes a homojunction which results in good lattice matching. As a result, formed is a ZnO semiconductor layer having good crystallinity and an improved mobility.
Preferably in the second aspect, the ZnO buffer layer is formed with the flow rate ratio of the oxygen gas in the sputtering gas being adjusted such that the electric conductivity becomes 1×10−9S/cm or lower or alternatively that a diffraction peak of a crystal face other than (002) and (004), more specifically a peak of (103) or (112), appears in X-ray diffraction. In this case, the formed ZnO buffer layer contains larger crystal grains, while adjacent crystal grains are distributed sufficiently apart from each other. This improves efficiently the crystallinity and the mobility of the ZnO semiconductor layer. In this case, the ZnO buffer layer is formed preferably with the flow rate ratio of the oxygen gas of 20% or higher. The flow rate ratio of the oxygen gas of 20% or higher permits the formation of a ZnO buffer layer having an electric conductivity of 1×10−9S/cm or lower or alternatively a ZnO buffer layer having a peak other than (002) and (004). Thus, formed is a ZnO semiconductor layer having good crystallinity and a high mobility. Further, the film thickness of the ZnO buffer layer is preferably 500 nm or more. The film thickness of 500 nm or more permits the layer to function as a sufficient buffer layer. Thus, formed is a ZnO semiconductor layer having good crystallinity and a high mobility. Further, it is preferable that the ZnO buffer layer and the ZnO semiconductor layer are formed successively. This configuration reduces the formation time and, hence, the fabrication cost. In this case, the successive formation is carried out preferably with the flow rate ratio of the oxygen gas in the sputtering gas being decreased gradually. This configuration also reduces the formation time and, hence, the fabrication cost. Further, the ZnO buffer layer and the ZnO semiconductor layer are formed preferably in a same process chamber. This configuration reduces the number of process chambers, and hence reduces the apparatus cost and the fabrication cost.
A method for fabricating a semiconductor device according to a third aspect comprises the steps of forming, on a substrate, a ZnO buffer layer having an electric conductivity of 1×10−9S/cm or lower; and forming a ZnO semiconductor layer on the ZnO buffer layer; or alternatively comprises the steps of forming, on a substrate, a ZnO buffer layer having a diffraction peak of a crystal face other than (002) and (004), more specifically a peak of (103) or (112), in X-ray diffraction; and forming a ZnO semiconductor layer on the ZnO buffer layer.
In the method for fabricating a semiconductor device according to the third aspect, a ZnO buffer layer having an electric conductivity of 1×10−9S/cm or lower or alternatively a ZnO buffer layer having a peak other than (002) and (004) is formed on a substrate, and then a ZnO semiconductor layer is formed on the ZnO buffer layer. Accordingly, as described above in the first aspect, formed is a ZnO semiconductor layer having good crystallinity and an improved mobility. This permits the fabrication of a semiconductor device comprising a ZnO semiconductor layer having such good characteristics.
A method for fabricating a semiconductor device according to a fourth aspect is a method for fabricating a semiconductor device having a ZnO semiconductor layer formed by sputtering, comprising the steps of forming a ZnO buffer layer on a substrate by using a sputtering gas containing oxygen; and forming a ZnO semiconductor layer on the ZnO buffer layer under the condition that the flow rate ratio of the oxygen gas in the sputtering gas is lower than that in the formation of the ZnO buffer layer.
In the method for fabricating a semiconductor device according to the fourth aspect, as described above in the second aspect, formed is a ZnO semiconductor layer having good crystallinity and an improved mobility. This permits inexpensive fabrication of a semiconductor device comprising a ZnO semiconductor layer having such good characteristics.
Preferably, in the fourth aspect, the ZnO buffer layer is formed with the flow rate ratio of the oxygen gas being adjusted such that the electric conductivity becomes 1×10−9S/cm or lower or alternatively that a diffraction peak of a crystal face other than (002) and (004), more specifically a peak of (103) or (112), appears in X-ray diffraction. In this case, the formed ZnO buffer layer contains larger crystal grains, while adjacent crystal grains are distributed sufficiently apart from each other. This permits efficient fabrication of a semiconductor device comprising a ZnO semiconductor layer having much improved crystallinity and mobility. In this case, the ZnO buffer layer is formed preferably with the flow rate ratio of the oxygen gas in the sputtering gas of 20% or higher. The flow rate ratio of the oxygen gas of 20% or higher permits the formation of a ZnO buffer layer having an electric conductivity of 1×10−9S/cm or lower or alternatively a ZnO buffer layer having a peak other than (002) and (004). Thus, fabricated is a semiconductor device comprising a ZnO semiconductor layer having good crystallinity and a high mobility. Further, the film thickness of the ZnO buffer layer is preferably 500 nm or more. The film thickness of 500 nm or more permits the layer to function as a sufficient buffer layer. Thus, fabricated is a semiconductor device comprising a ZnO semiconductor layer having good crystallinity and a high mobility.
A semiconductor device according to a fifth aspect comprises: a substrate; a ZnO layer formed on the substrate and having an electric conductivity of 1×10−9S/cm or lower; and a ZnO semiconductor layer formed on the ZnO layer; or alternatively comprises: a substrate; a ZnO layer formed on the substrate and having a diffraction peak of a crystal face other than (002) and (004), more specifically a peak of (103) or (112), in X-ray diffraction; and a ZnO semiconductor layer formed on the ZnO layer.
The semiconductor device according to the fifth aspect comprises a ZnO semiconductor layer formed on a ZnO buffer layer having an electric conductivity of 1×10−9S/cm or lower or alternatively on a ZnO buffer layer having a peak other than (002) and (004). Accordingly, as described above in the first aspect, the ZnO semiconductor layer has good crystallinity and an improved mobility. This provides a semiconductor device having good characteristics.
A method for forming a ZnO film according to a sixth aspect is a method for forming a ZnO film by sputtering, wherein: non-doped ZnO is used as a target; an inert gas, an oxygen gas, or a mixture gas between an inert gas and an oxygen gas is used as a sputtering gas; and the flow rate ratio of the oxygen gas in the sputtering gas is changed during the film formation.
In the method for forming a ZnO film according to the sixth aspect, the electric conductivity of the formed ZnO film varies depending on the flow rate ratio of the oxygen gas in the sputtering gas during the ZnO film formation. This permits the adjustment of the electric conductivity of the ZnO film by using non-doped ZnO as the only target material and by changing the flow rate ratio of the oxygen gas. The sole use of ZnO reduces the material cost, and further avoids the necessity of changing the target. This reduces the number of fabrication processes. Further, since the electric conductivity is adjusted by changing the flow rate ratio of the oxygen gas, a plurality of ZnO films having different electric conductivities can be formed easily. This avoids a cost increase in electronic devices comprising ZnO films, and further increases the degree of freedom in the design of electronic devices. It should be noted that when the flow rate ratio of the oxygen gas in the sputtering gas is set at 100%, the sputtering gas is composed solely of an oxygen gas, and that when the flow rate ratio of the oxygen gas is set at 0%, the sputtering gas is composed solely of an inert gas.
In the sixth aspect, the flow rate ratio of the oxygen gas is changed continuously. In case that the flow rate ratio of the oxygen gas in the sputtering gas is continuously increased during the formation of a ZnO film, the electric conductivity of the formed ZnO film decreases continuously. In case that the flow rate ratio of the oxygen gas is continuously decreased, the electric conductivity of the formed ZnO film increases continuously. This permits easy formation of a ZnO film having an electric conductivity which varies continuously in the film thickness direction. This permits easy and low-cost formation of a stacked film having an LDD (lightly doped drain)/semiconductor film (active layer) structure.
In the sixth aspect, the flow rate ratio of the oxygen gas is increased and decreased alternately. For example, a first ZnO film is formed at a high flow rate ratio of the oxygen gas in the sputtering gas, and then a second ZnO film is formed on the first ZnO film at a low flow rate ratio of the oxygen gas. In this case, the first ZnO film has a lower electric conductivity than the second ZnO film. As such, ZnO films having a high electric conductivity and ZnO films having a low electric conductivity can easily be stacked alternately. This permits easy and low-cost formation of a stacked structure composed of a plurality of ZnO films having different electric conductivities.
A method for fabricating a semiconductor device according to a seventh aspect is a method for fabricating a semiconductor device wherein ZnO films are stacked on a substrate by sputtering whereby a source electrode, a drain electrode, and a gate electrode are provided, the method comprising the steps of using non-doped ZnO as a target, and using an inert gas, an oxygen gas, or a mixture gas between an inert gas and an oxygen gas as a sputtering gas, and thereby starting the formation of a first ZnO film by sputtering with a sputtering gas composed of the oxygen gas or the mixture gas; forming a second ZnO film by sputtering with the flow rate ratio of the oxygen gas in the sputtering gas being decreased continuously; forming a groove for dividing the second ZnO film; providing a gate electrode over the groove via an insulating layer; and providing, on the second ZnO film, a source electrode and a drain electrode so as to face to each other with the groove between.
In the method for fabricating a semiconductor device according to the seventh aspect, after the formation of the first ZnO film, the second ZnO film is formed with the flow rate ratio of the oxygen gas being decreased continuously. Accordingly, the electric conductivity of the second ZnO film increases continuously in the film thickness direction starting from the substrate side. As a result, the high-electric conductivity regions on the source electrode side and the drain electrode side of the second ZnO film serve as a source region and a drain region. Further, the lower-electric conductivity region on the first ZnO film side of the second ZnO film serves as an LDD region.
The above and further objects and features of the invention will more fully be apparent from the following detailed description with accompanying drawings.
BRIEF DESCRIPTION OF THE SEVERAL VIEWS OF THE DRAWINGS
FIG. 1 is a cross sectional view of a structure illustrating a method for forming a ZnO semiconductor layer according to the invention;
FIG. 2 is a characteristics diagram showing the relation between the electric conductivity of a ZnO film (film thickness: 200 nm) and the flow rate ratio of the oxygen gas;
FIG. 3 is a characteristics diagram showing the relation between the electric conductivity of a ZnO film (film thickness: 500 nm) and the flow rate ratio of the oxygen gas;
FIG. 4 is a characteristics diagram showing the relation between the electric conductivity of a ZnO film (film thickness: 1000 nm) and the flow rate ratio of the oxygen gas;
FIG. 5 shows characteristics diagrams showing the characterization result of a ZnO film (film thickness: 200 nm) by X-ray diffraction;
FIG. 6 shows characteristics diagrams showing the characterization result of a ZnO film (film thickness: 500 nm) by X-ray diffraction;
FIG. 7 shows characteristics diagrams showing the characterization result of a ZnO film (film thickness: 1000 nm) by X-ray diffraction;
FIGS. 8A–8C shows SEM image photographs of a ZnO film (flow rate ratio of the oxygen gas: 0%);
FIGS. 9A–9C shows SEM image photographs of a ZnO film (flow rate ratio of the oxygen gas: 25%);
FIGS. 10A–10C shows SEM image photographs of a ZnO film (flow rate ratio of the oxygen gas: 100%);
FIG. 11 shows schematic views of surface SEM photographs of a ZnO film;
FIG. 12 is a characteristics diagram showing the characterization result of the crystallinity of a ZnO film by X-ray diffraction;
FIG. 13 shows characteristics diagrams showing the characterization result of a stacked film composed of glass/ZnO buffer layer/ZnO semiconductor layer by X-ray diffraction;
FIGS. 14A–14B shows SEM image photographs of a stacked film composed of glass/ZnO buffer layer/ZnO semiconductor layer;
FIG. 15 is a schematic view showing the state of crystal growth according to the invention;
FIG. 16 is a schematic view showing the state of crystal growth according to an example for comparison;
FIG. 17 is a characteristics diagram showing the relation between the mobility of a stacked film composed of glass/ZnO buffer layer/ZnO semiconductor layer and the film thickness of the ZnO buffer layer;
FIG. 18 is a characteristics diagram showing the relation between the carrier density in a stacked film composed of glass/ZnO buffer layer/ZnO semiconductor layer and the film thickness of the ZnO buffer layer;
FIGS. 19(a)–(d) shows a process diagram showing a method for fabricating a semiconductor device (FET) according to the invention;
FIGS. 20(a)–(d) shows a process diagram showing a method for fabricating a semiconductor device (light emitting diode) according to the invention;
FIGS. 21(a)–(c) shows cross sectional views of a structure illustrating a method for forming a ZnO film according to the invention;
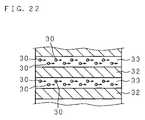
FIG. 22 is a schematic view showing a multi-layer ZnO film according to the invention;
FIGS. 23(a)–(c) shows a process diagram showing a method for fabricating a semiconductor device (FET) according to the invention; and
FIGS. 24(a)–(c) shows a process diagram showing a method for fabricating a semiconductor device (FET) according to the invention.
DETAILED DESCRIPTION OF THE INVENTION
The invention is described below in detail with reference to the drawings showing the embodiments.
(Embodiment 1)
FIG. 1 is a cross sectional view of a structure illustrating a method for forming a ZnO semiconductor layer according toEmbodiment 1 of the invention. Referring to the figure, numeral1 indicates a substrate. The substrate may be composed of a glass substrate, a sapphire substrate, a quartz substrate, a silicon substrate, a fused quartz substrate, or the like, and not limited to these.Numeral2 indicates a ZnO buffer layer.Numeral3 indicates a ZnO semiconductor layer. In the present embodiment, theZnO buffer layer2 is formed by sputtering at a high flow rate ratio of the oxygen gas, while theZnO semiconductor layer3 is formed by sputtering at a low flow rate ratio of the oxygen gas.
The influence of the flow rate ratio of the oxygen gas in the sputtering gas to the crystallinity of the ZnO film is described below in detail.
FIGS. 2,3, and4 are characteristics diagrams showing the relation between the electric conductivity of a ZnO film having a thickness of 200 nm, 500 nm, and 1000 nm and the flow rate ratio of the oxygen gas in case that the ZnO film has been formed on a glass substrate at a diverse flow rate ratio of the oxygen gas in the sputtering gas. The condition of formation is shown in Table 1. The sputtering gas used was a mixture gas between Ar gas and O2gas. The formation of the ZnO film was carried out using an RF magnetron sputtering apparatus.
TABLE 1
TargetNon-Doped ZnO
Substrate
300° C.
Temperature
RF Power100 W
Pressure0.6 Pa
Sputtering GasAr:0~15 sccm
O2:0~15 sccm
{open oversize bracket}Ar flow rate and O2flow rate are controlled {close oversize bracket}
so that total flow rate is 15 sccm

As shown inFIGS. 2–4, the electric conductivity of the formed ZnO film depends strongly on the flow rate ratio of the oxygen gas in the sputtering gas. That is, with increasing flow rate ratio of the oxygen gas, the electric conductivity decreases, and hence the ZnO film has a higher resistance. The reason of this is thought that when the amount of oxygen increases in the ZnO film, donors due to oxygen defects are reduced whereby the electric conductivity decreases. Further, the ZnO film having a thickness of 200 nm does not fall below the electric conductivity of 1×10−9S/cm even when the flow rate ratio of the oxygen gas is increased as high as possible (FIG. 2). However, an electric conductivity of 1×10−9S/cm or lower is reached when the flow rate ratio of the oxygen gas is 20% or higher for the ZnO film having a thickness of 500 nm (FIG. 3) or alternatively when the flow rate ratio of the oxygen gas is 10% or higher for the ZnO film having a thickness of 1000 nm (FIG. 4). The ZnO semiconductor layer according to the invention indicates that having n-type or p-type electric conductivity. The value of this electric conductivity is, for example, 1×10−9S/cm or higher. Such a ZnO semiconductor layer is formed at a very low flow rate ratio of the oxygen gas in the sputtering gas. The result of a Hall effect measurement has shown that the film formed at a low flow rate ratio of the oxygen gas and thereby having a high electric conductivity has n-type electric conductivity.
FIGS. 5,6, and7 are characteristics diagrams showing the result of the X-ray diffraction (XRD) characterization of the crystallinity of the above-mentioned ZnO films having a thickness of 200 nm, 500 nm, and 1000 nm in case that the formation was carried out at the flow rate ratio of the oxygen gas of 0%, 25%, and 100%. Each diagram shows a measured XRD spectrum.
At a high flow rate ratio of the oxygen gas (25% and 100%), the ZnO films having a thickness of 500 nm and 1000 nm have a diffraction peak of (103) or (112) of a ZnO crystal face other than (002) and (004) in the XRD characterization.
FIGS. 8A–8C,9A–9C, and10A–10C are photographs showing SEM images (secondary electron images) of the surface and the cross section of each of the above-mentioned ZnO films.FIG. 11 shows schematic views of the obtained SEM photographs of the ZnO films formed at the flow rate ratio of the oxygen gas of 0%, 25%, and 100%. InFIG. 11, region A indicates a crystal region composed of a large crystal grain of a size of 40 nm or larger. Region B indicates a aggregated region composed of small crystal grains (of a size less than 20 nm). A low flow rate ratio of the oxygen gas produces many small crystal grains distributed close to each other, while a high rate ratio of the oxygen gas produces large crystal grains separated somewhat apart from each other.
FIG. 12 is a characteristics diagram showing the result of the XRD characterization of the crystallinity of the ZnO film having a thickness of 200 nm shown inFIG. 2. Each curve shows a measured XRD spectrum. In the figure, the value associated with each spectrum indicates the flow rate ratio of the oxygen gas in the sputtering gas during the film formation. As seen fromFIG. 12, a peak caused by the (002) face is observed in every ZnO film. Further, the peak height increases with increasing flow rate ratio of the oxygen gas. In particular, at flow rate ratios of the oxygen gas of 50% or higher, the peak height increases notably. This indicates notable improvement in the crystallinity.
Table 2 shows the summary of the result of the characterization of the crystallinity and the grain size of the ZnO films formed at various flow rate ratios of the oxygen gas shown inFIG. 12. In the characterization of the crystallinity, the peak height for the (002) face of the ZnO film obtained at the flow rate ratio of the oxygen gas of 100% is normalized to 100, whereby the peak height for the (002) face of each sample is shown by a relative value. The grain size was obtained from the SEM photographs.
TABLE 2
Flow Rate Ratio of01025355075100
Oxygen Gas (%)
Peak Height for (002)201718193169100
Face (%)
Grain size (nm)40406767707580
As described above, when a ZnO film is formed by sputtering, the grain size increases with increasing flow rate ratio of the oxygen gas in the sputtering gas. Further, at high flow rate ratios of the oxygen gas, obtained is a film having a peak of (103) or (112) other than (002) and (004) in the X-ray diffraction pattern. Furthermore, at high flow rate ratios of the oxygen gas, obtained is a film having a higher peak of the (002) face.
In the application to a buffer layer, preferable is a film which has a large grain size and in which the crystal grains are distributed apart from each other. Thus, when a buffer layer comprising crystal grains is used, a semiconductor layer carries out crystal growth starting from the crystal grains serving as the nuclei of crystal in the buffer layer. At that time, when a buffer layer the crystal grains of which are distributed somewhat apart from each other is used, reduced is the mutual blockage of the crystal growth due to the mutual collision of adjacent crystal grains during the crystal growth. As a result, a semiconductor layer grows in a large grain size. In contrast, when many crystal grains are distributed close each other in the buffer layer, the mutual collision of adjacent crystal grains during the crystal growth causes the mutual blockage of the crystal growth. Thus, crystals having a large grain size are difficult to grow. Further, a larger size of the crystal grains serving as the nuclei of crystal results in a larger grain size of the crystals having grown from the nuclei.
Furthermore, the buffer layer is formed from the same ZnO material as that of the semiconductor layer. This avoids the problem of diffusion, or the like, of undesired impurities from the buffer layer. This permits the formation of a ZnO semiconductor layer having good characteristics.
Accordingly, when a ZnO film which has been formed at a high flow rate ratio of the oxygen gas in the sputtering gas and in which large crystal grains are distributed somewhat apart from each other is used as a buffer layer, and when a ZnO semiconductor layer is formed on this film, a ZnO semiconductor layer having a large grain size and hence good crystallinity is expectedly obtained.
More specifically, such a ZnO buffer layer in which large crystal grains are distributed somewhat apart from each other is expected to be preferably composed of a ZnO film having an electric conductivity of 1×10−9S/cm or lower or alternatively a ZnO film having a diffraction peak (for example, of (103) or (112)) of a crystal face other than (002) and (004) in X-ray diffraction.
The ZnO film having an electric conductivity of 1×10−9S/cm or lower has high crystallinity as shown inFIG. 12. Further, in the film, large crystal grains are distributed somewhat apart from each other as shown inFIG. 11. Further, as seen from the results ofFIGS. 5–10, in the ZnO film having a peak (for example, of (103) or (112)) other than (002) and (004), a larger residual stress is present in the film, while large crystal grains are distributed somewhat apart from each other, in comparison with the case of a ZnO film having the peaks of (002) and (004) solely.
Accordingly, such a ZnO film having an electric conductivity of 1×10−9S/cm or lower or alternatively a ZnO film having a peak other than (002) and (004) is preferable as a buffer layer. The ZnO film having an electric conductivity of 1×10−9S/cm or lower is formed, for example, by sputtering at a flow rate ratio of the oxygen gas of 20% or higher. The lower limit of the electric conductivity of the ZnO buffer layer formable by adjusting the flow rate ratio of the oxygen gas is approximately 1×10−12S/cm which is obtained at the flow rate ratio of the oxygen gas of 100%. Further, the ZnO film having a peak of (103) or (112) other than (002) and (004) is formed, for example, by sputtering at a flow rate ratio of the oxygen gas of 25% or higher. However, the formation of the ZnO buffer layer having the above-mentioned configuration is not limited to this, and can be carried out by controlling other conditions, such as the input power and the pressure, or a combination of these conditions.
EXAMPLE 1
In Example 1, aZnO buffer layer2 and aZnO semiconductor layer3 were formed on aglass substrate1 by sputtering under the condition shown in Table 3.
TABLE 3
SubstrateRFAr FlowO2FlowThick-
TemperaturePowerPressureRateRateness
(° C.)(W)(Pa)(sccm)(sccm)(nm)
Buffer3001000.60~150~15500
Layeror
800
Semi-3001000.6150200
conductor
Layer
*In formation of buffer layer, Ar flow rate + O2flow rate = 15 sccm
TheZnO buffer layer2 and theZnO semiconductor layer3 were formed successively in the same sputtering chamber by maintaining the substrate temperature at constant at 300° C. and by changing the sputtering gas without stopping the electric discharge. In the formation of theZnO buffer layer2, plural kinds of ZnO buffer layers2 were formed using a mixture gas between Ar gas and O2gas as the sputtering gas, at a constant total flow rate of the sputtering gas of 15 sccm, at various flow rate ratios of the oxygen gas of 25%, 50%, and 100%, into various film thickness values of 500 nm and 800 nm. Then, aZnO semiconductor layer3 was formed on each of the plural kinds of ZnO buffer layers2 under the same condition (flow rate ratio of the oxygen gas of 0% and film thickness of 200 nm).
As an example for comparison, fabricated is a sample in which aZnO buffer layer2 is not formed and in which aZnO semiconductor layer3 is formed directly on asubstrate1 under the same condition as that of Table 3.
FIGS. 13,14A and14B, show the results of characterization of the crystallinity and the SEM image photographs of the surface and the cross section for Sample 1 (flow rate ratio of the oxygen gas of 25% and film thickness of 800 nm) and Sample 2 (flow rate ratio of the oxygen gas of 100% and film thickness of 500 nm) fabricated as such.FIG. 13 further shows the results of characterization of the crystallinity of the example for comparison.
Further, electron mobility was measured for Sample 3 (flow rate ratio of the oxygen gas of 25% and film thickness of 500 nm), Sample 4 (flow rate ratio of the oxygen gas of 50% and film thickness of 500 nm), and Sample 5 (flow rate ratio of the oxygen gas of 100% and film thickness of 500 nm) according to the invention, as well as the example for comparison. The measurement results are shown in Table 4. It should be noted that the ZnO semiconductor layers3 are of n type, and hence that the electron mobility was measured.
TABLE 4
ComparisonSample 3Sample 4Sample 5
Mobility5357280
(cm2/Vs)
As seen from Table 4, the samples according to the invention had higher electron mobility values than the example for comparison. In particular, inSamples 4 and 5 in which the ZnO buffer layer was formed at a flow rate ratio of the oxygen gas of 50% or higher, a high electron mobility of 72 cm2/V·s or higher was obtained. Accordingly, a flow rate ratio of the oxygen gas of 50% or higher is preferable in the formation of the ZnO buffer layer.
The reason why a higher electron mobility than that of the example for comparison was obtained in the samples according to the invention is concluded that theZnO semiconductor layer3 in the samples according to the invention carried out crystal growth starting from the crystal grains serving as the nuclei of crystal in theZnO buffer layer2, and thereby that the grain size in the samples was larger than in the example for comparison.
FIG. 15 is a schematic view showing the state of crystal growth according to the invention.FIG. 16 is a schematic view showing the state of crystal growth according to an example for comparison. In the example for comparison, crystal grains have grown in columnar shapes, while the grain size is small. In the invention, large crystal grains D have grown starting from the nuclei composed of large crystal grains C distributed somewhat apart from each other in theZnO buffer layer2, whereby theZnO semiconductor layer3 has been formed.
Further, as shown inFIG. 12, in aZnO buffer layer2 formed at a high flow rate ratio of the oxygen gas, good crystallinity is obtained, and the grain size is large in theZnO buffer layer2, and further crystal grains are distributed sufficiently apart from each other. Alternatively, when the formation is carried out at a flow rate ratio of the oxygen gas of 20% or higher, obtained is aZnO buffer layer2 having an electric conductivity of 1×10−9S/cm or lower. Further, when the formation is carried out at a flow rate ratio of the oxygen gas of 25% or higher, obtained is aZnO buffer layer2 having a peak other than (002) and (004). In such ZnO buffer layers2, the grain size is large, and crystal grains are distributed sufficiently apart from each other. Thus, when aZnO semiconductor layer3 is formed on such aZnO buffer layer2, reduced is the mutual blockage of the crystal growth due to the mutual collision of adjacent crystal grains during the crystal growth. This permits large crystal grains to grow, and hence results in a high electron mobility.
Further, the buffer layer is composed of non-doped ZnO containing no undesired impurities. This avoids the formation of a ZnO film containing undesired impurities, on the wall and the like of the process chamber. This avoids the mixing, into theZnO semiconductor layer3, of the impurities from the ZnO film deposited on the wall and the like or theZnO buffer layer2, and thereby provides aZnO semiconductor layer3 of high quality.
Furthermore, since the buffer layer is composed of non-doped ZnO as described above, theZnO buffer layer2 and theZnO semiconductor layer3 can be formed in the same sputtering process chamber. This avoids the necessity of providing separately a process chamber for buffer layer formation and a process chamber for semiconductor layer formation. This reduces the apparatus cost and, hence, the fabrication cost. Further, theZnO buffer layer2 and theZnO semiconductor layer3 are formed successively without changing the substrate temperature. This reduces the fabrication time and, hence, the fabrication cost.
EXAMPLE 2
In Example 2, aZnO buffer layer2 and aZnO semiconductor layer3 were formed on aglass substrate1 by sputtering under the condition shown in Table 5. The mobility and the carrier density of the obtained stacked film were measured by Hall effect measurement.
TABLE 5
SubstrateRFAr FlowO2FlowThick-
TemperaturePowerPressureRateRateness
(° C.)(W)(Pa)(sccm)(sccm)(nm)
Buffer3001000.6015100~
Layer2000
Semi-3001000.6150 200
conductor
Layer
The difference of Example 2 from Example 1 was that the flow rate ratio of the oxygen gas in the sputtering gas was maintained constant at 100% during the formation of theZnO buffer layer2 and that the film thickness of theZnO buffer layer2 was changed in a range from 100 nm to 2000 nm.FIG. 17 shows the relation between the mobility of the stacked film composed ofZnO buffer layer2/ZnO semiconductor layer3 and the film thickness of theZnO buffer layer2.FIG. 18 shows the relation between the carrier density in the stacked film and the film thickness of theZnO buffer layer2. Also in the present example, theZnO semiconductor layer3 is of n type, and hence the electron mobility was measured for the mobility.
As shown inFIG. 17, in case that the film thickness of theZnO buffer layer2 is 500 nm or more, obtained is an improved electron mobility of 70 cm2/V·s or higher in the stacked film. Further, in case that the film thickness of theZnO buffer layer2 is 1000 nm or more, obtained is an improved electron mobility of 80 cm2/V·s or higher in the stacked film.
As shown inFIG. 18, the carrier density in the stacked film does not depend on the film thickness of theZnO buffer layer2, and is substantially constant at approximately 5×1017cm−3.
From these results, the film thickness of theZnO buffer layer2 is preferably 500 nm or more and, more preferably, 1000 nm or more. The reason for this is expectedly concluded that the film thickness of theZnO buffer layer2 preferably of 500 nm or more and, more preferably, of 1000 nm or more causes the size of the crystal grains in theZnO buffer layer2 to be sufficiently large, and thereby causes the size of the crystal grains in theZnO semiconductor layer3 growing from the crystal grains serving as the nuclei of crystal in theZnO buffer layer2 to be large.
In case that the film thickness of theZnO buffer layer2 exceeds 5000 nm, ridges and depressions appear in the surface of theZnO buffer layer2, whereby the flatness is lost. When aZnO semiconductor layer3 is formed on theZnO buffer layer2 having such a surface shape, similar ridges and depressions appear also in the surface of theZnO semiconductor layer3. This degrades the device characteristics when a semiconductor device is formed. Thus, in order that such degradation is avoided in the device characteristics, the film thickness of theZnO buffer layer2 is set preferably to be 5000 nm or thinner.
(Embodiment 2)
Described below is a method for fabricating a semiconductor device according to an embodiment of the invention.
FIG. 19 is a process diagram showing a method for fabricating a semiconductor device according toEmbodiment 2. The present embodiment is described for the case that a TFT is fabricated as the semiconductor device.
On aglass substrate11 cleaned in advance, aZnO buffer layer12 having a film thickness of 500 nm or more is formed by sputtering at a flow rate ratio of the oxygen gas of 20% or higher. Then, aZnO semiconductor layer13 having a film thickness of approximately 200 nm is formed successively using Ar gas solely as the sputtering gas. At this time, theZnO buffer layer12 and theZnO semiconductor layer13 are formed at the same substrate temperature successively. At that time, theZnO buffer layer12 and theZnO semiconductor layer13 may be formed successively by changing the sputtering gas without stopping the electric discharge. Alternatively, after the formation of theZnO buffer layer12, the electric discharge may be stopped temporarily, then the sputtering gas may be changed, and then theZnO semiconductor layer13 may be formed. Further, theZnO buffer layer12 and theZnO semiconductor layer13 are formed in the same sputtering process chamber. After that, the stacked film composed of theZnO buffer layer12 and theZnO semiconductor layer13 is patterned into the shape of an island by lithography or the like (FIG. 19(a)).
Then, aSiN film14 having a thickness of approximately 500 nm serving as a gate insulating film is formed by RF plasma CVD (FIG. 19(b)). Then, the portions of theSiN film14 corresponding to the source region and the drain region of theZnO semiconductor13 are removed by etching (FIG. 19(c)). Finally, asource electrode15S, adrain electrode15D, and agate electrode15G composed of Al are formed by vacuum deposition, whereby a TFT is completed according to the present embodiment (FIG. 19(d)).
As described above, the method for fabricating a semiconductor device according to the present embodiment comprises the steps of forming aZnO buffer layer12 on asubstrate11 at a high flow rate ratio of the oxygen gas in the sputtering gas; and then forming aZnO semiconductor layer13 on theZnO buffer layer12 under the condition that the flow rate ratio of the oxygen gas is lower than that in the formation of theZnO buffer layer12.
As described above, when theZnO buffer layer12 is formed at a flow rate ratio of the oxygen gas of 20% or higher, large crystal grains are formed in theZnO buffer layer12. Further, adjacent crystal grains are distributed not close to but somewhat apart from each other. As such, the flow rate ratio of the oxygen gas is set at 20% or higher, formed is aZnO buffer layer12 having an electric conductivity of 1×10−9S/cm or lower or alternatively aZnO buffer layer12 having a peak other than (002) and (004). Accordingly, large crystal grains are formed in theZnO buffer layer12. Further, adjacent crystal grains are distributed not close to but somewhat apart from each other.
Then, theZnO semiconductor layer13 carries out crystal growth starting from the crystal grains serving as the nuclei of crystal in theZnO buffer layer12, while these crystal grains are distributed somewhat apart from each other in theZnO buffer layer12. This reduces the mutual blockage of the crystal growth due to the mutual collision of adjacent crystal grains during the crystal growth. As a result, theZnO semiconductor layer13 grows in a large grain size. Furthermore, theZnO buffer layer12 is formed from the same material as that of theZnO semiconductor layer13. Thus, the junction between theZnO buffer layer12 and theZnO semiconductor layer13 constitutes a homojunction which results in good lattice matching. Thus, theZnO semiconductor layer13 grows in an improved grain size. This permits the fabrication of a semiconductor device (TFT) comprising aZnO semiconductor layer13 having good crystallinity and an improved mobility.
Further, theZnO buffer layer12 is composed of non-doped ZnO containing no undesired impurities. This avoids the formation of a ZnO film containing undesired impurities, on the wall and the like of the process chamber. This avoids the mixing, into theZnO semiconductor layer13, of the impurities from the ZnO film deposited on the wall and the like or theZnO buffer layer12, and thereby provides aZnO semiconductor layer13 of high quality.
Furthermore, since theZnO buffer layer12 is composed of non-doped ZnO as described above, theZnO buffer layer12 and theZnO semiconductor layer13 can be formed in the same sputtering process chamber. This avoids the necessity of providing separately a process chamber for buffer layer formation and a process chamber for semiconductor layer formation. This reduces the apparatus cost and, hence, the fabrication cost.
Further, theZnO buffer layer12 and theZnO semiconductor layer13 are formed successively without changing the substrate temperature. This reduces the fabrication time and, hence, the fabrication cost.
As such, the present embodiment permits the fabrication of a TFT comprising a channel composed of aZnO semiconductor layer13 having good crystallinity and a high mobility, and thereby provides a TFT having good characteristics.
EXAMPLE 3
In an example of the present embodiment, aZnO buffer layer12 and aZnO semiconductor layer13 were formed under the condition shown in Table 6, whereby a TFT was fabricated. Also in the present example, an RF magnetron sputtering apparatus was used, whereby theZnO buffer layer12 and theZnO semiconductor layer13 were formed in the same process chamber at the same substrate temperature (300° C.). The sputtering gas used was a mixture gas between Ar gas and O2gas. In the formation of theZnO buffer layer12, the flow rate ratio of the oxygen gas was 100%, while in the formation of theZnO semiconductor layer13, the flow rate ratio of the oxygen gas was 0%. As an example for comparison, a TFT was fabricated without aZnO buffer layer12 with the other condition having been the same as the present example.
TABLE 6
SubstrateRFAr FlowO2FlowThick-
TemperaturePowerPressureRateRateness
(° C.)(W)(Pa)(sccm)(sccm)(nm)
Buffer3001000.60151000
Layer
Semi-3001000.6160200
conductor
Layer
As a result, the TFT according to the present example had a filed effect mobility of approximately 2 cm2/V·s, while the TFT according to the example for comparison had a filed effect mobility as low as approximately 0.2 cm2/V·s. This is expectedly because that the ZnO semiconductor layer according to the present example has better crystallinity than the ZnO semiconductor layer according to the example for comparison.
(Embodiment 3)
Described below is another method for fabricating a semiconductor device according to an embodiment of the invention.
FIG. 20 is a process diagram showing a method for fabricating a semiconductor device according to the present embodiment. The present embodiment is described for the case that a light emitting diode is fabricated as the semiconductor device.
On asapphire substrate21 cleaned in advance, aZnO buffer layer22 having a film thickness of 1 μm is formed by sputtering at a flow rate ratio of the oxygen gas of 20% or higher. Then, aZnO semiconductor layer23 having a film thickness of 1 μm is formed successively using Ar gas solely as the sputtering gas (FIG. 20(a)). Here, theZnO semiconductor layer23 is of n type as described above.
TheZnO buffer layer22 and theZnO semiconductor layer23 are formed in the same sputtering process chamber. At that time, theZnO buffer layer22 and theZnO semiconductor layer23 may be formed successively at a constant substrate temperature by changing solely the sputtering gas without stopping the electric discharge. Alternatively, after the formation of theZnO buffer layer22, the electric discharge may be stopped temporarily, then the sputtering gas may be changed, and then theZnO semiconductor layer23 may be formed.
Then, a ZnOactive layer24 having a thickness of approximately 0.2 μm is formed on the n-typeZnO semiconductor layer23. The formation of the ZnOactive layer24 is carried out by MBE, whereby the ZnOactive layer24 doped with Ga is formed. The amount of the doped Ga in the ZnOactive layer24 is preferably in a range from 1×1017cm−3to 1×1015cm−3. Another group-13 element such as Al may be doped in place of Ga. Then, a p-type ZnO layer25 doped with N is formed on the ZnOactive layer24 by MBE (FIG. 20(b)).
After that, a part of the p-type ZnO layer25 and the ZnOactive layer24 is removed by etching, whereby a part of the n-type ZnO layer23 is exposed. This forms an n-electrode formation region23A (FIG. 20(c)). Finally,electrodes26 composed of Al are formed on the n-electrode formation region23A of the n-type ZnO layer23 and on the p-type ZnO layer25 by vacuum deposition, whereby a light emitting diode is completed (FIG. 20(d)).
The present embodiment also comprises the steps of: forming aZnO buffer layer22 on asubstrate21 at a high flow rate ratio of the oxygen gas in the sputtering gas; and then forming aZnO semiconductor layer23 on theZnO buffer layer22 under the condition that the flow rate ratio of the oxygen gas is lower than that in the formation of theZnO buffer layer22.
As described above, when theZnO buffer layer22 is formed at a flow rate ratio of the oxygen gas of 20% or higher, large crystal grains are formed in theZnO buffer layer22. Further, adjacent crystal grains are distributed not close to but somewhat apart from each other. As such, the flow rate ratio of the oxygen gas is set at 20% or higher, formed is aZnO buffer layer22 having an electric conductivity of 1×10−9S/cm or lower or alternatively aZnO buffer layer22 having a peak other than (002) and (004). Accordingly, large crystal grains are formed in theZnO buffer layer22. Further, adjacent crystal grains are distributed not close to but somewhat apart from each other.
Then, theZnO semiconductor layer23 carries out crystal growth starting from the crystal grains serving as the nuclei of crystal in theZnO buffer layer22, while these crystal grains are distributed somewhat apart from each other in theZnO buffer layer22. This reduces the mutual blockage of the crystal growth due to the mutual collision of adjacent crystal grains during the crystal growth. As a result, theZnO semiconductor layer23 grows in a large grain size. Furthermore, theZnO buffer layer22 is formed from the same material as that of theZnO semiconductor layer23. Thus, the junction between theZnO buffer layer22 and theZnO semiconductor layer23 constitutes a homojunction which results in good lattice matching. Thus, theZnO semiconductor layer23 grows in an improved grain size. This permits the fabrication of a semiconductor device (light emitting diode) comprising aZnO semiconductor layer23 having good crystallinity and an improved mobility.
Further, theZnO buffer layer22 is composed of non-doped ZnO containing no undesired impurities. This avoids the formation of a ZnO film containing undesired impurities, on the wall and the like of the process chamber. This avoids the mixing, into theZnO semiconductor layer23, of the impurities from the ZnO film deposited on the wall and the like or theZnO buffer layer22, and thereby provides aZnO semiconductor layer23 of high quality.
As described above, the ZnOactive layer24 and the p-typeZnO semiconductor layer25 are formed on the n-typeZnO semiconductor layer23 having a large grain size and having no mixing of undesired impurities. This improves the characteristics of the ZnOactive layer24 and the p-typeZnO semiconductor layer25. Accordingly, the present embodiment provides a light emitting diode having good device characteristics.
Furthermore, since theZnO buffer layer22 is composed of non-doped ZnO as described above, theZnO buffer layer22 and theZnO semiconductor layer23 can be formed in the same sputtering process chamber. This avoids the necessity of providing separately a process chamber for buffer layer formation and a process chamber for semiconductor layer formation. This reduces the apparatus cost and, hence, the fabrication cost. Further, theZnO buffer layer22 and theZnO semiconductor layer23 are formed successively without changing the substrate temperature. This reduces the fabrication time and, hence, the fabrication cost.
Described below are Embodiments 4 and 5 which use the fact that the electric conductivity of a formed ZnO film can be changed easily and accurately in a wide range by using a non-doped ZnO target and changing the flow rate ratio of the oxygen gas in the sputtering gas (seeFIGS. 2–4). InEmbodiments 4 and 5, a ZnO film is formed on a glass substrate by using a known RF sputtering apparatus. Non-doped ZnO (99.99%) is used as a target, while Ar gas and O2gas are used as sputtering gas. The conditions for ZnO film formation are a substrate temperature of 300° C., a pressure of 0.5 Pa, and an RF power density of 10 W/Cm2.
(Embodiment 4)
FIG. 21 is a diagram illustrating the processes that a multi-layer film composed of ZnO films having different electric conductivities is formed by a method for forming a ZnO film according toEmbodiment4 of the invention.
Afirst ZnO film32 having a film thickness of 100 Å is formed on one side of aglass substrate31 at a flow rate ratio of the oxygen gas in the sputtering gas of 100% (FIG. 21(a)). Then, the electric discharge is turned off. After the flow rate ratio of the oxygen gas is reduced to 0%, the electric discharge is restarted, whereby asecond ZnO film33 having a film thickness of 100 Å is formed on the first ZnO film32 (FIG. 21(b)). In a similar manner, afirst ZnO film32 and asecond ZnO film33 are stacked alternately (FIG. 21(c)).
The multi-layer ZnO film formed by the above-mentioned method is composed of stacked layers offirst ZnO films32 having a high resistance andsecond ZnO films33 having a low resistance. Accordingly, thesecond ZnO films33,33, . . . are insulated by thefirst ZnO films32,32, . . . .FIG. 22 is a schematic view showing a multi-layer ZnO film formed as described above. In the figure, numeral30 indicates an electron contributing to the electric conduction. Eachelectron30 travels within thesecond ZnO film33 where theelectron30 is present, and does not move through afirst ZnO film32 to anothersecond ZnO film33. That is, theelectrons30,30, are confined in eachsecond ZnO film33. This avoids a reduction in the mobility due to impurity scattering. Thus, this multi-layer film has a high electron mobility.
As a result, the present embodiment permits easy and low-cost fabrication of an electronic device (such as a TFT) comprising a multi-layer film of different electric conductivities and thereby having a high electron mobility.
(Embodiment 5)
FIGS. 23 and 24 are process diagrams showing a method for fabricating a semiconductor device (an FET comprising a stacked film having LDD/semiconductor film structure) according to Embodiment 5 of the invention.
AZnO semiconductor film42 having a film thickness of 200 nm is formed on one side of aglass substrate41 at a flow rate ratio of the oxygen gas in the sputtering gas of 3% (FIG. 23(a)). Then, without the electric discharge being turned off, the flow rate ratio of the oxygen gas is reduced continuously from 3% to 0%, whereby an LDD/source-drain film43 having a film thickness of 10 nm is formed on the ZnO semiconductor film42 (FIG. 23(b)). Then, a part of the LDD/source-drain film43 is removed by etching with dilute hydrochloric acid, whereby a groove43ais formed (FIG. 23(c)).
SiN is deposited onto the LDD/source-drain film43 and the groove43aby plasma CVD, whereby an insulatingfilm50 having a film thickness of500 nm is formed (FIG. 24(a)). Then, the portion of the insulatingfilm50 covering the LDD/source-drain film43 is solely removed by etching, whereby an insulatinglayer44 having its base on the groove43ais formed (FIG. 24(b)). Finally, Al films are formed on the LDD/source-drain film43 and the insulatinglayer44, whereby asource electrode45 and adrain electrode46 are formed on the LDD/source-drain film43, while agate electrode47 is formed on the insulating layer44 (FIG. 24(c)).
In the film forming method as described above, a ZnO semiconductor film is formed on the n typeZnO semiconductor film42 with the flow rate ratio of the oxygen gas being reduced continuously from 3% to 0%, the LDD/source-drain film43 varying continuously from n type to n+ type is easily stacked.
Further, since the film is formed with the flow rate ratio of the oxygen gas being reduced continuously, the LDD/source-drain film43 has an electric conductivity increasing continuously in the film thickness direction starting from the substrate side. Thus, the regions on thesource electrode45 side and thedrain electrode46 side of the LDD/source-drain film43 have a high electric conductivity and serve as a source region and a drain region. Further, the region on theZnO semiconductor film42 side of the LDD/source-drain film43 has a lower electric conductivity than the source region and the drain region, and serves as an LDD region. As a result, an FET comprising a stacked film having LDD/semiconductor film structure is fabricated easily at a low cost.
In the FET formed as described above, the electric field in the vicinity of the drain electrode is alleviated by the LDD/semiconductor film structure. This avoids the performance degradation of the FET due to hot electrons (carriers accelerated to a high speed are injected to the insulatinglayer44 and thereby serve as fixed charges).
In the above-mentioned embodiments, an RF sputtering apparatus has been used, while O2gas and Ar gas have been used as the sputtering gas. However, a DC sputtering apparatus, an ECR sputtering apparatus, or a helicon plasma wave sputtering apparatus may be used, while O2gas and an inert gas, such as He gas, Ne gas, and Kr gas, may be used as the sputtering gas.
Further, the description has been made for the case that the semiconductor device is a TFT and a light emitting diode. However, the semiconductor device according to the invention is not limited to these, and the invention is applicable to other semiconductor devices such as an optical sensor.
As described above, a method for forming a ZnO semiconductor layer according to the invention permits the formation of a ZnO semiconductor layer having a large grain size and an improved mobility, and further reduces the fabrication cost.
A method for fabricating a semiconductor device according to the invention permits the fabrication of a semiconductor device comprising a ZnO semiconductor layer having a large grain size and an improved mobility, and thereby improves the device characteristics. Further, the method reduces the fabrication cost.
A semiconductor device according to the invention comprises a ZnO semiconductor layer having a large grain size and an improved mobility, and thereby provides a semiconductor device with improved device characteristics.
A method for forming a ZnO film according to the invention permits the formation of a plurality of ZnO films having different electric conductivities at a reduced material cost. Further, the method permits the formation of a ZnO film having an electric conductivity varying continuously in the film thickness direction. Furthermore the method permits the alternate stacking of ZnO films having a low electric conductivity and ZnO films having a high electric conductivity.
A method for fabricating a semiconductor device according to the invention permits easy and low-material-cost fabrication of a semiconductor device comprising a ZnO film having an electric conductivity varying continuously in the film thickness direction.
As this invention may be embodied in several forms without departing from the spirit of essential characteristics thereof, the present embodiment is therefore illustrative and not restrictive, since the scope of the invention is defined by the appended claims rather than by the description preceding them, and all changes that fall within metes and bounds of the claims, or equivalence of such metes and bounds thereof are therefore intended to be embraced by the claims.

Claims (4)

US10/390,5632002-03-152003-03-17Method for forming ZnO film, method for forming ZnO semiconductor layer, method for fabricating semiconductor device, and semiconductor deviceExpired - Fee RelatedUS7049190B2 (en)

Applications Claiming Priority (6)

Application NumberPriority DateFiling DateTitle
JP2002072906AJP3819793B2 (en)2002-03-152002-03-15 Film-forming method and semiconductor device manufacturing method
JP2002-0729062002-03-15
JP20020847702002-03-26
JP2002-0847702002-03-26
JP2003-0586112003-03-05
JP2003058611AJP2004006686A (en)2002-03-262003-03-05Method of forming zinc oxide semiconductor layer, method of manufacturing semiconductor device, and semiconductor device

Publications (2)

Publication NumberPublication Date
US20040038446A1 US20040038446A1 (en)2004-02-26
US7049190B2true US7049190B2 (en)2006-05-23

Family

ID=28046087

Family Applications (1)

Application NumberTitlePriority DateFiling Date
US10/390,563Expired - Fee RelatedUS7049190B2 (en)2002-03-152003-03-17Method for forming ZnO film, method for forming ZnO semiconductor layer, method for fabricating semiconductor device, and semiconductor device

Country Status (2)

CountryLink
US (1)US7049190B2 (en)
CN (1)CN1445821A (en)

Cited By (1793)

* Cited by examiner, † Cited by third party
Publication numberPriority datePublication dateAssigneeTitle
US20060170067A1 (en)*2005-02-032006-08-03Semiconductor Energy Laboratory Co., Ltd.Electronic device, semiconductor device and manufacturing method thereof
US20060186804A1 (en)*2005-02-182006-08-24Semiconductor Energy Laboratory Co., Ltd.Semiconductor device and method for manufacturing the same
US20070072439A1 (en)*2005-09-292007-03-29Semiconductor Energy Laboratory Co., Ltd.Semiconductor device and manufacturing method thereof
US20070108446A1 (en)*2005-11-152007-05-17Semiconductor Energy Laboratory Co., Ltd.Semiconductor device and manufacturing method thereof
US20080117952A1 (en)*2006-11-172008-05-22Jordan Luis GSelf-supporting simplex packets
US20080296568A1 (en)*2007-05-292008-12-04Samsung Electronics Co., LtdThin film transistors and methods of manufacturing the same
US20080296569A1 (en)*2003-09-182008-12-04Industrial Technology Research InstituteCompound semiconductor material and method for forming an active layer of a thin film transistor device
US20090002590A1 (en)*2007-06-292009-01-01Semiconductor Energy Laboratory Co., Ltd.Semiconductor device
US20090073325A1 (en)*2005-01-212009-03-19Semiconductor Energy Laboratory Co., Ltd.Semiconductor device and method for manufacturing the same, and electric device
US20090283762A1 (en)*2008-05-162009-11-19Semiconductor Energy Laboratory Co., Ltd.Semiconductor device and manufacturing method of the same
US20100025678A1 (en)*2008-07-312010-02-04Shunpei YamazakiSemiconductor device and method for manufacturing the same
US20100025679A1 (en)*2008-07-312010-02-04Semiconductor Energy Laboratory Co., Ltd.Semiconductor device and method for manufacturing the same
US20100025676A1 (en)*2008-07-312010-02-04Semiconductor Energy Laboratory Co., Ltd.Semiconductor device and manufacturing method thereof
US20100025675A1 (en)*2008-07-312010-02-04Semiconductor Energy Laboratory Co., Ltd.Semiconductor device and method for manufacturing the same
US20100032665A1 (en)*2008-08-082010-02-11Semiconductor Energy Laboratory Co., Ltd.Semiconductor device and method for manufacturing the same
US20100032666A1 (en)*2008-08-082010-02-11Shunpei YamazakiSemiconductor device and manufacturing method thereof
US20100043117A1 (en)*2008-08-192010-02-25Mary Elizabeth HildebrandtConvertible Head And Neck Supporting Apparel
US20100051949A1 (en)*2008-09-012010-03-04Semiconductor Energy Laboratory Co., Ltd.Semiconductor device and method for manufacturing the same
US20100055832A1 (en)*2008-09-012010-03-04Semiconductor Energy Laboratory Co., Ltd.Method for manufacturing semiconductor device
US20100065838A1 (en)*2008-09-122010-03-18Semiconductor Energy Laboratory Co., Ltd.Semiconductor device and method for manufacturing the same
US20100065842A1 (en)*2008-09-122010-03-18Semiconductor Energy Laboratory Co., Ltd.Semiconductor device and manufacturing method thereof
US20100065840A1 (en)*2008-09-122010-03-18Semiconductor Energy Laboratory Co., Ltd.Display device
US20100072469A1 (en)*2008-09-192010-03-25Semiconductor Energy Laboratory Co., Ltd.Display device and manufacturing method of the same
US20100072468A1 (en)*2008-09-192010-03-25Semiconductor Energy Laboratory Co., Ltd.Display device
US20100072467A1 (en)*2008-09-192010-03-25Semiconductor Energy Laboratory Co., Ltd.Semiconductor device
US20100072470A1 (en)*2008-09-192010-03-25Semiconductor Energy Laboratory Co., Ltd.Display device
US20100078787A1 (en)*2008-10-012010-04-01Semiconductor Energy Laboratory Co., Ltd.Semiconductor device
US20100084653A1 (en)*2008-10-032010-04-08Semiconductor Energy Laboratory Co., Ltd.Display device
US20100084654A1 (en)*2008-10-082010-04-08Semiconductor Energy Laboratory Co., Ltd.Display device
US20100084652A1 (en)*2008-10-032010-04-08Semiconductor Energy Laboratory Co., Ltd.Display device
US20100090217A1 (en)*2008-10-102010-04-15Semiconductor Energy Laboratory Co., Ltd.Semiconductor device and manufacturing method thereof
US20100099217A1 (en)*2005-01-282010-04-22Semiconductor Energy Laboratory Co., Ltd.Semiconductor Device, Electronic Device, and Method of Manufacturing Semiconductor Device
US20100096654A1 (en)*2008-10-162010-04-22Semiconductor Energy Laboratory Co., Ltd.Light-emitting display device
US20100099216A1 (en)*2008-10-222010-04-22Semiconductor Energy Laboratory Co., Ltd.Method for manufacturing semiconductor device
US20100102315A1 (en)*2008-10-242010-04-29Semiconductor Energy Laboratory Co., Ltd.Method for manufacturing semiconductor device
US20100102313A1 (en)*2008-10-242010-04-29Semiconductor Energy Laboratory Co., Ltd.Semiconductor device and method for manufacturing the same
US20100105164A1 (en)*2008-10-242010-04-29Semiconductor Energy Laboratory Co., Ltd.Method for manufacturing semiconductor device
US20100110623A1 (en)*2008-10-312010-05-06Semiconductor Energy Laboratory Co., Ltd.Driver circuit and display device
US20100109003A1 (en)*2008-10-312010-05-06Semiconductor Energy Laboratory Co., Ltd.Semiconductor device and method for manufacturing the same
US20100117074A1 (en)*2008-11-072010-05-13Semiconductor Energy Laboratory Co., Ltd.Semiconductor device and method for manufacturing the same
US20100117077A1 (en)*2008-11-072010-05-13Shunpei YamazakiSemiconductor device and manufacturing method thereof
US20100117073A1 (en)*2008-11-072010-05-13Shunpei YamazakiSemiconductor device and method for manufacturing the same
US20100117076A1 (en)*2008-11-072010-05-13Semiconductor Energy Laboratory Co., Ltd.Semiconductor device and method for manufacturing the semiconductor device
US20100117078A1 (en)*2008-11-132010-05-13Semiconductor Energy Laboratory Co., Ltd.Semiconductor device and method for manufacturing the same
US20100117075A1 (en)*2008-11-072010-05-13Semiconductor Energy Laboratory Co., Ltd.Semiconductor device
US20100117079A1 (en)*2008-11-132010-05-13Semiconductor Energy Laboratory Co., Ltd.Semiconductor device and method for manufacturing the same
US20100117086A1 (en)*2008-11-072010-05-13Semiconductor Energy Laboratory Co., Ltd.Semiconductor device and method for manufacturing the semiconductor device
US20100123130A1 (en)*2008-11-202010-05-20Semiconductor Energy Laboratory Co., Ltd.Semiconductor device and method for manufacturing the same
US20100133530A1 (en)*2008-11-282010-06-03Semiconductor Energy Laboratory Co., Ltd.Semiconductor device and method for manufacturing the same
US20100134735A1 (en)*2008-11-282010-06-03Semiconductor Energy Laboratory Co., Ltd.Photosensor and display device
US20100134397A1 (en)*2008-11-282010-06-03Semiconductor Energy Laboratory Co., Ltd.Liquid crystal display device
US20100133531A1 (en)*2008-12-012010-06-03Semiconductor Energy Laboratory Co., Ltd.Semiconductor device and manufacturing method thereof
US20100134710A1 (en)*2008-12-032010-06-03Semiconductor Energy Laboratory Co., Ltd.Liquid crystal display device
US20100140613A1 (en)*2008-12-052010-06-10Semiconductor Energy Laboratory Co., Ltd.Semiconductor device
US20100155719A1 (en)*2008-12-192010-06-24Junichiro SakataMethod for manufacturing semiconductor device
US20100159639A1 (en)*2008-12-192010-06-24Semiconductor Energy Laboratory Co., Ltd.Method for manufacturing transistor
US20100163867A1 (en)*2008-12-262010-07-01Shunpei YamazakiSemiconductor device, method for manufacturing the same, and electronic device having the same
US20100163874A1 (en)*2008-12-242010-07-01Semiconductor Energy Laboratory Co., Ltd.Driver circuit and semiconductor device
US20100167464A1 (en)*2008-12-252010-07-01Semiconductor Energy Laboratory Co., Ltd.Semiconductor device and manufacturing method thereof
US20100165255A1 (en)*2008-12-252010-07-01Semiconductor Energy Laboratory Co., Ltd.Semiconductor device and manufacturing method thereof
US20100163866A1 (en)*2008-12-252010-07-01Semiconductor Energy Laboratory Co., Ltd.Semiconductor device and manufacturing method thereof
US20100181565A1 (en)*2009-01-162010-07-22Semiconductor Energy Laboratory Co., Ltd.Semiconductor device and manufacturing method thereof
US20100187523A1 (en)*2009-01-232010-07-29Semiconductor Energy Laboratory Co., Ltd.Semiconductor device and method for manufacturing the same
US20100193783A1 (en)*2009-01-302010-08-05Semiconductor Energy Laboratory Co., Ltd.Semiconductor device and method for manufacturing the same
US20100205519A1 (en)*2005-09-212010-08-12Semiconductor Energy Laboratory Co., Ltd.Cyclic redundancy check circuit and semiconductor device having the cyclic redundancy check circuit
US20100202090A1 (en)*2009-02-092010-08-12Semiconductor Energy Laboratory Co., Ltd.Protection circuit, semiconductor device, photoelectric conversion device, and electronic device
US20100207117A1 (en)*2009-02-132010-08-19Semiconductor Energy Laboratory Co., Ltd.Transistor, semiconductor device including the transistor, and manufacturing method of the transistor and the semiconductor device
US20100207118A1 (en)*2009-02-132010-08-19Semiconductor Energy Laboratory Co., Ltd.Transistor, semiconductor device including the transistor, and manufacturing method of the transistor and the semiconductor device
US20100213460A1 (en)*2009-02-202010-08-26Semiconductor Energy Laboratory Co., Ltd.Thin film transistor, method for manufacturing the same, and semiconductor device
US20100213461A1 (en)*2009-02-252010-08-26Semiconductor Energy Laboratory Co., Ltd.Semiconductor device and manufacturing method thereof
US20100219410A1 (en)*2009-02-272010-09-02Semiconductor Energy Laboratory Co., Ltd.Semiconductor device and manufacturing method thereof
US20100224873A1 (en)*2009-03-062010-09-09Semiconductor Energy Laboratory Co., Ltd.Semiconductor device and method for manufacturing the same
US20100224872A1 (en)*2009-03-052010-09-09Semiconductor Energy Laboratory Co., Ltd.Semiconductor device and method for manufacturing the same
US20100224880A1 (en)*2009-03-052010-09-09Semiconductor Energy Laboratory Co., Ltd.Semiconductor device
US20100233847A1 (en)*2009-03-122010-09-16Hiroki OharaMethod for manufacturing semiconductor device
US20100233848A1 (en)*2009-03-132010-09-16Semiconductor Energy Laboratory Co., Ltd.Semiconductor device and method for manufacturing the semiconductor device
US20100244031A1 (en)*2009-03-302010-09-30Semiconductor Energy Laboratory Co., Ltd.Semiconductor device and method for manufacturing the same
US20100244020A1 (en)*2009-03-262010-09-30Semiconductor Energy Laboratory Co., Ltd.Semiconductor device and method for manufacturing the same
US20100244029A1 (en)*2009-03-272010-09-30Semiconductor Energy Laboratory Co., Ltd.Semiconductor device
US20100252827A1 (en)*2009-04-022010-10-07Semiconductor Energy Laboratory Co., Ltd.Semiconductor device and method for manufacturing the same
US20100252826A1 (en)*2008-10-032010-10-07Semiconductor Energy Laboratory Co., Ltd.Display device and method for manufacturing the same
US20100252832A1 (en)*2009-04-022010-10-07Semiconductor Energy Laboratory Co., Ltd.Semiconductor device and method for manufacturing the same
US20100279474A1 (en)*2009-05-012010-11-04Semiconductor Energy Laboratory Co., Ltd.Method for manufacturing semiconductor device
US20100301329A1 (en)*2009-05-292010-12-02Semiconductor Energy Laboratory Co., Ltd.Semiconductor device and manufacturing method thereof
US20100301328A1 (en)*2009-05-292010-12-02Semiconductor Energy Laboratory Co., Ltd.Semiconductor device and method for manufacturing the same
US20100304529A1 (en)*2009-05-292010-12-02Semiconductor Energy Laboratory Co., Ltd.Semiconductor device and manufacturing method thereof
US20100307774A1 (en)*2008-01-242010-12-09Tinnen Baard MartinDevice and method for isolating a section of a wellbore
US20110003428A1 (en)*2009-06-302011-01-06Semiconductor Energy Laboratory Co., Ltd.Method for manufacturing semiconductor device
US20110003429A1 (en)*2009-07-032011-01-06Semiconductor Energy Laboratory Co., Ltd.Method for manufacturing semiconductor device
US20110000175A1 (en)*2009-07-012011-01-06Husqvarna Consumer Outdoor Products N.A. Inc.Variable speed controller
US20110003430A1 (en)*2009-07-032011-01-06Semiconductor Energy Laboratory Co., Ltd.Manufacturing method of semiconductor device
US20110003418A1 (en)*2009-07-032011-01-06Semiconductor Energy Laboratory Co., Ltd.Display device including transistor and manufacturing method thereof
US20110008930A1 (en)*2009-06-302011-01-13Semiconductor Energy Laboratory Co., Ltd.Method for manufacturing semiconductor device
US20110006301A1 (en)*2009-07-102011-01-13Semiconductor Energy Laboratory Co., Ltd.Semiconductor device and manufacturing method the same
US20110012112A1 (en)*2009-07-182011-01-20Semiconductor Energy Laboratory Co., Ltd.Semiconductor device and method for manufacturing semiconductor device
US20110012117A1 (en)*2009-07-182011-01-20Semiconductor Energy Laboratory Co., Ltd.Semiconductor device and method for manufacturing semiconductor device
US20110014745A1 (en)*2009-07-172011-01-20Semiconductor Energy Laboratory Co., Ltd.Method of manufacturing semiconductor device
US20110012106A1 (en)*2009-07-172011-01-20Semiconductor Energy Laboratory Co., Ltd.Semiconductor device and manufacturing method thereof
US20110012116A1 (en)*2009-07-182011-01-20Semiconductor Energy Laboratory Co., Ltd.Semiconductor device and method for manufacturing the same
US20110017995A1 (en)*2009-07-232011-01-27Semiconductor Energy Laboratory Co., Ltd.Semiconductor device and method for manufacturing the same
US20110018915A1 (en)*2009-07-242011-01-27Semiconductor Energy Laboratory Co., Ltd.Semiconductor device
US20110024750A1 (en)*2009-07-312011-02-03Semiconductor Energy Laboratory Co., Ltd.Semiconductor device and method for manufacturing the same
US20110024740A1 (en)*2009-07-312011-02-03Semiconductor Energy Laboratory Co., Ltd.Semiconductor device and manufacturing method thereof
US20110024751A1 (en)*2009-07-312011-02-03Semiconductor Energy Laboratory Co., Ltd.Semiconductor device and manufacturing method thereof
US20110031498A1 (en)*2009-08-072011-02-10Semiconductor Energy Laboratory Co., Ltd.Semiconductor device and method for manufacturing the same
US20110031491A1 (en)*2009-07-312011-02-10Semiconductor Energy Laboratory Co., Ltd.Semiconductor device and manufacturing method thereof
US20110031492A1 (en)*2009-08-072011-02-10Semiconductor Energy Laboratory Co., Ltd.Semiconductor device and method for manufacturing semiconductor device
US20110031496A1 (en)*2009-08-072011-02-10Semiconductor Energy Laboratory Co., Ltd.Light-emitting device and manufacturing method thereof
US20110031494A1 (en)*2006-10-312011-02-10Semiconductor Energy Laboratory Co., Ltd.Manufacturing method of semiconductor device and semiconductor device
US20110031497A1 (en)*2009-08-072011-02-10Semiconductor Energy Laboratory Co., Ltd.Semiconductor device and method for manufacturing the same
US20110032444A1 (en)*2009-08-072011-02-10Semiconductor Energy Laboratory Co., Ltd.Semiconductor device and manufacturing method thereof
US20110032435A1 (en)*2006-04-062011-02-10Semiconductor Energy Laboratory Co., Ltd.Liquid crystal display device, semiconductor device, and electronic appliance
US20110053322A1 (en)*2009-06-302011-03-03Semiconductor Energy Laboratory Co., Ltd.Semiconductor device and method for manufacturing the same
US20110049518A1 (en)*2009-09-022011-03-03Semiconductor Energy Laboratory Co., Ltd.Semiconductor device including a transistor, and manufacturing method of semiconductor device
US20110057865A1 (en)*2009-09-042011-03-10Semiconductor Energy Laboratory Co., Ltd.Display device and electronic device including the same
US20110057188A1 (en)*2009-09-042011-03-10Semiconductor Energy Laboratory Co., Ltd.Semiconductor device and method for manufacturing same
US20110059575A1 (en)*2009-09-042011-03-10Semiconductor Energy Laboratory Co., Ltd.Manufacturing method of semiconductor device
US20110057187A1 (en)*2009-09-042011-03-10Semiconductor Energy Laboratory Co., Ltd.Light-emitting device and method for manufacturing the same
US20110058116A1 (en)*2009-09-042011-03-10Semiconductor Energy Laboratory Co., Ltd.Liquid crystal display device and method for manufacturing the same
US20110057918A1 (en)*2009-09-042011-03-10Semiconductor Energy Laboratory Co., Ltd.Display device and electronic device
US20110057186A1 (en)*2009-09-042011-03-10Semiconductor Energy Laboratory Co., Ltd.Transistor and display device
US20110062436A1 (en)*2009-09-162011-03-17Semiconductor Energy Laboratory Co., Ltd.Transistor and display device
US20110064186A1 (en)*2009-09-162011-03-17Semiconductor Energy Laboratory Co., Ltd.Driver circuit, display device including the driver circuit, and electronic device including the display device
US20110062433A1 (en)*2009-09-162011-03-17Semiconductor Energy Laboratory Co., Ltd.Semiconductor device and manufacturing method thereof
US20110063262A1 (en)*2009-09-162011-03-17Semiconductor Energy Laboratory Co., Ltd.Semiconductor display device
US20110062992A1 (en)*2009-09-162011-03-17Semiconductor Energy Laboratory Co., Ltd.Logic circuit, light emitting device, semiconductor device, and electronic device
US20110062435A1 (en)*2009-09-162011-03-17Semiconductor Energy Laboratory Co., Ltd.Semiconductor device and method for manufacturing the same
US20110068852A1 (en)*2009-09-242011-03-24Semiconductor Energy Laboratory Co., Ltd.Semiconductor device, power circuit, and manufacturing mkethod of semiconductor device
US20110068335A1 (en)*2009-09-242011-03-24Semiconductor Energy Laboratory Co., Ltd.Oxide semiconductor film and semiconductor device
US20110070693A1 (en)*2009-09-242011-03-24Semiconductor Energy Laboratory Co., Ltd.Method for manufacturing oxide semiconductor film and method for manufacturing semiconductor device
US20110068388A1 (en)*2009-09-242011-03-24Semiconductor Energy Laboratory Co., Ltd.Semiconductor device and method for manufacturing the same
US20110068334A1 (en)*2009-09-242011-03-24Semiconductor Energy Laboratory Co., Ltd.Semiconductor device
US20110069047A1 (en)*2009-09-242011-03-24Semiconductor Energy Laboratory Co., Ltd.Display device
US20110073991A1 (en)*2009-09-302011-03-31Semiconductor Energy Laboratory Co., Ltd.Redox capacitor and manufacturing method thereof
US20110079778A1 (en)*2009-10-052011-04-07Semiconductor Energy Laboratory Co., Ltd.Semiconductor device and manufacturing method thereof
US20110079777A1 (en)*2009-10-012011-04-07Semiconductor Energy Laboratory Co., Ltd.Semiconductor device and method for manufacturing the same
US20110084263A1 (en)*2009-10-092011-04-14Semiconductor Energy Laboratory Co., Ltd.Semiconductor device and manufacturing method thereof
US20110084265A1 (en)*2009-10-092011-04-14Semiconductor Energy Laboratory Co., Ltd.Light-emitting display device and electronic device including the same
US20110084271A1 (en)*2009-10-142011-04-14Semiconductor Energy Laboratory Co., Ltd.Semiconductor device and manufacturing method thereof
US20110085104A1 (en)*2009-10-092011-04-14Semiconductor Energy Laboratory Co., Ltd.Liquid crystal display device and electronic device including the same
US20110085635A1 (en)*2009-10-092011-04-14Semiconductor Energy Laboratory Co., Ltd.Shift register and display device and driving method thereof
US20110084268A1 (en)*2009-10-092011-04-14Semiconductor Energy Laboratory Co., Ltd.Semiconductor device
US20110084270A1 (en)*2009-10-092011-04-14Semiconductor Energy Laboratory Co., Ltd.Semiconductor device and method for manufacturing the semiconductor device
US20110084272A1 (en)*2009-10-092011-04-14Semiconductor Energy Laboratory Co., Ltd.Semiconductor device and method for manufacturing the same
US20110084264A1 (en)*2009-10-082011-04-14Semiconductor Energy Laboratory Co., Ltd.Oxide semiconductor layer and semiconductor device
US20110084269A1 (en)*2009-10-092011-04-14Semiconductor Energy Laboratory Co., Ltd.Semiconductor device and method for manufacturing the semiconductor device
US20110084266A1 (en)*2009-10-082011-04-14Semiconductor Energy Laboratory Co., Ltd.Semiconductor device, display device, and electronic appliance
US20110089414A1 (en)*2009-10-162011-04-21Semiconductor Energy Laboratory Co., Ltd.Semiconductor device and manufacturing method thereof
US20110090204A1 (en)*2009-10-162011-04-21Semiconductor Energy Laboratory Co., Ltd.Liquid crystal display device and electronic apparatus having the same
US20110090416A1 (en)*2009-10-212011-04-21Semiconductor Energy Laboratory Co., Ltd.Liquid crystal display device and electronic device including the same
US20110090207A1 (en)*2009-10-212011-04-21Semiconductor Energy Laboratory Co., Ltd.Display device and electronic device including display device
US20110090006A1 (en)*2009-10-212011-04-21Semiconductor Energy Laboratory Co., Ltd.Analog circuit and semiconductor device
US20110089975A1 (en)*2009-10-162011-04-21Semiconductor Energy Laboratory Co., Ltd.Logic circuit and semiconductor device
US20110089416A1 (en)*2009-10-212011-04-21Semiconductor Energy Laboratory Co., Ltd.Semiconductor device and method for manufacturing the same
US20110102409A1 (en)*2009-10-302011-05-05Semiconductor Energy Laboratory Co., Ltd.Driver circuit, display device including the driver circuit, and electronic device including the display device
US20110101356A1 (en)*2009-10-302011-05-05Semiconductor Energy Laboratory Co., Ltd.Transistor
US20110101334A1 (en)*2009-10-302011-05-05Semiconductor Energy Laboratory Co., Ltd.Semiconductor device
US20110102697A1 (en)*2009-10-302011-05-05Semiconductor Energy Laboratory Co., Ltd.Semiconductor device and method for manufacturing the same
US20110101332A1 (en)*2009-10-292011-05-05Semiconductor Energy Laboratory Co., Ltd.Semiconductor device
US20110102018A1 (en)*2009-10-302011-05-05Semiconductor Energy Laboratory Co., Ltd.Logic circuit and semiconductor device
US20110101338A1 (en)*2009-10-302011-05-05Semiconductor Energy Laboratory Co., Ltd.Non-linear element, display device including non-linear element, and electronic device including display device
US20110101331A1 (en)*2009-10-302011-05-05Semiconductor Energy Laboratory Co., Ltd.Semiconductor device
US20110102696A1 (en)*2009-10-302011-05-05Semiconductor Energy Laboratory Co., Ltd.Liquid crystal display device, driving method of the same, and electronic appliance including the same
US20110101339A1 (en)*2009-10-302011-05-05Semiconductor Energy Laboratory Co., Ltd.Semiconductor device
US20110101336A1 (en)*2009-10-302011-05-05Semiconductor Energy Laboratory Co., Ltd.Power diode, rectifier, and semiconductor device including the same
US20110101942A1 (en)*2009-10-302011-05-05Semiconductor Energy Laboratory Co., Ltd.Voltage regulator circuit
US20110101337A1 (en)*2009-10-302011-05-05Semiconductor Energy Laboratory Co., Ltd.Transistor
US20110108706A1 (en)*2009-11-062011-05-12Semiconductor Energy Laboratory Co., Ltd.Semiconductor device and operating method thereof
US20110108837A1 (en)*2009-11-062011-05-12Semiconductor Energy Laboratory Co., Ltd.Semiconductor device and manufacturing method thereof
US20110109351A1 (en)*2009-11-062011-05-12Semiconductor Energy Laboratory Co., Ltd.Semiconductor device and manufacturing method thereof
US20110108833A1 (en)*2009-11-062011-05-12Semiconductor Energy Laboratory Co., Ltd.Semiconductor device
US20110108836A1 (en)*2009-11-062011-05-12Semiconductor Energy Laboratory Co., Ltd.Semiconductor device
US20110108834A1 (en)*2009-11-062011-05-12Semiconductor Energy Laboratory Co., Ltd.Semiconductor device
US20110111558A1 (en)*2009-11-062011-05-12Semiconductor Energy Laboratory Co., Ltd.Method for manufacturing semiconductor element and semiconductor device, and deposition apparatus
US20110109592A1 (en)*2009-11-062011-05-12Semiconductor Energy Laboratory Co., Ltd.Display device
US20110114945A1 (en)*2009-11-132011-05-19Semiconductor Energy Laboratory Co., Ltd.Semiconductor device and manufacturing method thereof
US20110114944A1 (en)*2009-11-132011-05-19Semiconductor Energy Laboratory Co., Ltd.Sputtering target and manufacturing method thereof, and transistor
US20110114999A1 (en)*2009-11-132011-05-19Semiconductor Energy Laboratory Co., Ltd.Sputtering target and method for manufacturing the same, and transistor
US20110114946A1 (en)*2009-11-182011-05-19Semiconductor Energy Laboratory Co., Ltd.Memory device
US20110114480A1 (en)*2009-11-132011-05-19Semiconductor Energy Laboratory Co., Ltd.Method for packaging target material and method for mounting target
US20110114943A1 (en)*2009-11-132011-05-19Semiconductor Energy Laboratory Co., Ltd.Semiconductor device and manufacturing method thereof
US20110114941A1 (en)*2009-11-132011-05-19Semiconductor Energy Laboratory Co., Ltd.Device including nonvolatile memory element
US20110115545A1 (en)*2009-11-132011-05-19Semiconductor Energy Laboratory Co., Ltd.Semiconductor device
US20110114942A1 (en)*2009-11-132011-05-19Semiconductor Energy Laboratory Co., Ltd.Semiconductor device and manufacturing method thereof
US20110122673A1 (en)*2009-11-242011-05-26Semiconductor Energy Laboratory Co., Ltd.Semiconductor device including memory cell
US20110121284A1 (en)*2009-11-202011-05-26Semiconductor Energy Laboratory Co., Ltd.Transistor
US20110124153A1 (en)*2009-11-202011-05-26Semiconductor Energy Laboratory Co., Ltd.Method for manufacturing semiconductor device
US20110122670A1 (en)*2009-11-202011-05-26Semiconductor Energy Laboratory Co., Ltd.Semiconductor device
US20110121289A1 (en)*2009-11-202011-05-26Semiconductor Energy Laboratory Co., Ltd.Thin film transistor
US20110121286A1 (en)*2009-11-202011-05-26Semiconductor Energy Laboratory Co., Ltd.Semiconductor device
US20110121285A1 (en)*2009-11-202011-05-26Semiconductor Energy Laboratory Co., Ltd.Semiconductor device
US7952392B2 (en)2008-10-312011-05-31Semiconductor Energy Laboratory Co., Ltd.Logic circuit
US20110128461A1 (en)*2009-11-302011-06-02Semiconductor Energy Laboratory Co., Ltd.Liquid crystal display device, method for driving the same, and electronic device including the same
US20110127526A1 (en)*2009-11-272011-06-02Semiconductor Energy Laboratory Co., Ltd.Non-linear element, display device including non-linear element, and electronic device including display device
US20110128777A1 (en)*2009-11-272011-06-02Semiconductor Energy Laboratory Co., Ltd.Semiconductor device
US20110127525A1 (en)*2009-11-272011-06-02Semiconductor Energy Laboratory Co., Ltd.Semiconductor device
US20110127579A1 (en)*2009-11-282011-06-02Semiconductor Energy Laboratory Co., Ltd.Stacked oxide material, semiconductor device, and method for manufacturing the semiconductor device
US20110127523A1 (en)*2009-11-282011-06-02Semiconductor Energy Laboratory Co., Ltd.Semiconductor device and manufacturing method thereof
US20110127521A1 (en)*2009-11-282011-06-02Semiconductor Energy Laboratory Co., Ltd.Stacked oxide material, semiconductor device, and method for manufacturing the semiconductor device
US20110127524A1 (en)*2009-11-272011-06-02Semiconductor Energy Laboratory Co., Ltd.Semiconductor device and method for manufacturing the same
US20110133178A1 (en)*2009-12-042011-06-09Semiconductor Energy Laboratory Co., Ltd.Semiconductor device
US20110136302A1 (en)*2009-12-042011-06-09Semiconductor Energy Laboratory Co., Ltd.Semiconductor device and manufacturing method thereof
US20110133191A1 (en)*2009-12-042011-06-09Semiconductor Energy Laboratory Co., Ltd.Semiconductor device and manufacturing method thereof
US20110134680A1 (en)*2009-12-042011-06-09Semiconductor Energy Laboratory Co., Ltd.Semiconductor memory device
US20110133179A1 (en)*2009-12-082011-06-09Semiconductor Energy Laboratory Co., Ltd.Semiconductor device and manufacturing method thereof
US20110133181A1 (en)*2009-12-042011-06-09Semiconductor Energy Laboratory Co., Ltd.Display device
US20110134683A1 (en)*2009-11-062011-06-09Semiconductor Energy Laboratory Co., Ltd.Semiconductor device
US20110133180A1 (en)*2009-12-082011-06-09Semiconductor Energy Laboratory Co., Ltd.Semiconductor device and manufacturing method thereof
US20110133177A1 (en)*2009-12-042011-06-09Semiconductor Energy Laboratory Co., Ltd.Semiconductor Element, Semiconductor Device, And Method For Manufacturing The Same
US20110133196A1 (en)*2009-12-042011-06-09Semiconductor Energy Laboratory Co., Ltd.Semiconductor device
US20110134345A1 (en)*2009-12-042011-06-09Semiconductor Energy Laboratory Co., Ltd.Display device
US20110133182A1 (en)*2009-12-042011-06-09Semiconductor Energy Laboratory Co., Ltd.Semiconductor device
US20110140099A1 (en)*2009-12-112011-06-16Semiconductor Energy Laboratory Co., Ltd.Semiconductor device
US20110140098A1 (en)*2009-12-112011-06-16Semiconductor Energy Laboratory Co., Ltd.Field effect transistor
US20110140108A1 (en)*2009-12-112011-06-16Semiconductor Energy Laboratory Co., Ltd.Semiconductor device and electronic device
US20110140109A1 (en)*2009-12-112011-06-16Semiconductor Energy Laboratory Co., Ltd.Semiconductor device and manufacturing method thereof
US7964876B2 (en)2006-09-292011-06-21Semiconductor Energy Laboratory Co., Ltd.Display device
US20110148826A1 (en)*2009-12-182011-06-23Semiconductor Energy Laboratory Co., Ltd.Method for driving liquid crystal display device
US20110148835A1 (en)*2009-12-182011-06-23Semiconductor Energy Laboratory Co., Ltd.Display device including optical sensor and driving method thereof
US20110147737A1 (en)*2009-12-182011-06-23Semiconductor Energy Laboratory Co., Ltd.Semiconductor device
US20110148455A1 (en)*2009-12-182011-06-23Semiconductor Energy Laboratory Co., Ltd.Method for measuring current, method for inspecting semiconductor device, semiconductor device, and test element group
US20110148463A1 (en)*2009-12-182011-06-23Semiconductor Energy Laboratory Co., Ltd.Non-volatile latch circuit and logic circuit, and semiconductor device using the same
US20110148497A1 (en)*2009-12-232011-06-23Semiconductor Energy Laboratory Co., Ltd.Semiconductor device
US20110147738A1 (en)*2009-12-182011-06-23Semiconductor Energy Laboratory Co., Ltd.Semiconductor device and method for manufacturing the same
US20110147739A1 (en)*2009-12-182011-06-23Semiconductor Energy Laboratory Co., Ltd.Semiconductor device and method for manufacturing the same
US20110148846A1 (en)*2009-12-182011-06-23Semiconductor Energy Laboratory Co., Ltd.Liquid crystal display device and driving method thereof
US20110149185A1 (en)*2009-12-182011-06-23Semiconductor Energy Laboratory Co., Ltd.Liquid crystal display device and electronic device
US20110147736A1 (en)*2009-12-172011-06-23Semiconductor Energy Laboratory Co., Ltd.Semiconductor device, measurement apparatus, and measurement method of relative permittivity
US20110151618A1 (en)*2009-12-182011-06-23Semiconductor Energy Laboratory Co., Ltd.Semiconductor device and manufacturing method thereof
US20110157961A1 (en)*2009-12-282011-06-30Semiconductor Energy Laboratory Co., Ltd.Semiconductor device
US20110156028A1 (en)*2009-12-282011-06-30Semiconductor Energy Laboratory Co., Ltd.Semiconductor device
US20110156022A1 (en)*2009-12-252011-06-30Semiconductor Energy Laboratory Co., Ltd.Semiconductor device and method for manufacturing the same
US20110157252A1 (en)*2009-12-282011-06-30Semiconductor Energy Laboratory Co., Ltd.Semiconductor device and method for manufacturing the semiconductor device
US20110156023A1 (en)*2009-12-252011-06-30Semiconductor Energy Laboratory Co., Ltd.Semiconductor device and manufacturing method thereof
US20110156025A1 (en)*2009-12-282011-06-30Semiconductor Energy Laboratory Co., Ltd.Memory device and semiconductor device
US20110156027A1 (en)*2009-12-252011-06-30Semiconductor Energy Laboratory Co., Ltd.Semiconductor device
US20110156026A1 (en)*2009-12-282011-06-30Semiconductor Energy Laboratory Co., Ltd.Method for manufacturing semiconductor device
US20110156024A1 (en)*2009-12-252011-06-30Semiconductor Energy Laboratory Co., Ltd.Memory device, semiconductor device, and electronic device
US20110175861A1 (en)*2010-01-202011-07-21Semiconductor Energy Laboratory Co., Ltd.Display device
US20110175646A1 (en)*2010-01-202011-07-21Semiconductor Energy Laboratory Co., Ltd.Semiconductor device
US20110176355A1 (en)*2010-01-152011-07-21Semiconductor Energy Laboratory Co., Ltd.Semiconductor device and driving method thereof
US20110175083A1 (en)*2010-01-152011-07-21Semiconductor Energy Laboratory Co., Ltd.Semiconductor Device
US20110175883A1 (en)*2010-01-202011-07-21Semiconductor Energy Laboratory Co., Ltd.Driving method of liquid crystal display device
US20110175894A1 (en)*2010-01-202011-07-21Semiconductor Energy Laboratory Co., Ltd.Method for driving display device
US20110176348A1 (en)*2010-01-152011-07-21Semiconductor Energy Laboratory Co., Ltd.Semiconductor device
US20110176263A1 (en)*2010-01-202011-07-21Semiconductor Energy Laboratory Co., Ltd.Portable electronic device
US20110175087A1 (en)*2010-01-202011-07-21Semiconductor Energy Laboratory Co., Ltd.Semiconductor device
US20110175104A1 (en)*2010-01-152011-07-21Semiconductor Energy Laboratory Co., Ltd.Semiconductor device
US20110175833A1 (en)*2010-01-202011-07-21Semiconductor Energy Laboratory Co., Ltd.Electronic device and electronic system
US20110175670A1 (en)*2010-01-152011-07-21Semiconductor Energy Laboratory Co., Ltd.Semiconductor device and electronic device
US20110175862A1 (en)*2010-01-202011-07-21Semiconductor Energy Laboratory Co., Ltd.Display device including light emitting element
US20110181806A1 (en)*2010-01-242011-07-28Semiconductor Energy Laboratory Co., Ltd.Display device and manufacturing method thereof
US20110181631A1 (en)*2005-08-242011-07-28Semiconductor Energy Laboratory Co., Ltd.Display device and driving method thereof
US20110180796A1 (en)*2010-01-222011-07-28Semiconductor Energy Laboratory Co., Ltd.Semiconductor device
US20110182110A1 (en)*2010-01-222011-07-28Semiconductor Energy Laboratory Co., Ltd.Semiconductor memory device and driving method thereof
US20110186837A1 (en)*2010-01-292011-08-04Semiconductor Energy Laboratory Co., Ltd.Semiconductor memory device
US20110187410A1 (en)*2009-12-112011-08-04Semiconductor Energy Laboratory Co., Ltd.Nonvolatile latch circuit and logic circuit, and semiconductor device using the same
US20110187762A1 (en)*2005-04-192011-08-04Semiconductor Energy Laboratory Co., Ltd.Semiconductor device, display device and electronic apparatus
US20110193077A1 (en)*2010-02-052011-08-11Semiconductor Energy Laboratory Co., Ltd.Semiconductor device and method for manufacturing the same
US20110193846A1 (en)*2010-02-112011-08-11Semiconductor Energy Laboratory Co., Ltd.Display device
US20110194327A1 (en)*2010-02-052011-08-11Semiconductor Energy Laboratory Co., Ltd.Semiconductor device and method of driving semiconductor device
US20110194332A1 (en)*2010-02-052011-08-11Semiconductor Energy Laboratory Co., Ltd.Semiconductor device
US20110193081A1 (en)*2010-02-052011-08-11Semiconductor Energy Laboratory Co., Ltd.Semiconductor device
US20110198594A1 (en)*2010-02-122011-08-18Semiconductor Energy Laboratory Co., Ltd.Semiconductor Device and Manufacturing Method Thereof
US20110199404A1 (en)*2010-02-122011-08-18Semiconductor Energy Laboratory Co., Ltd.Liquid crystal display device and electronic device
US20110199364A1 (en)*2010-02-122011-08-18Semiconductor Energy Laboratory Co., Ltd.Display device and driving method
US20110198483A1 (en)*2010-02-122011-08-18Semiconductor Energy Laboratory Co., Ltd.Semiconductor device and driving method thereof
US20110199816A1 (en)*2010-02-122011-08-18Semiconductor Energy Laboratory Co., Ltd.Semiconductor device and driving method of the same
US20110198593A1 (en)*2010-02-052011-08-18Semiconductor Energy Laboratory Co., Ltd.Semiconductor device
US20110199365A1 (en)*2010-02-182011-08-18Semiconductor Energy Laboratory Co., Ltd.Pulse signal output circuit and shift register
US20110199351A1 (en)*2010-02-122011-08-18Semiconductor Energy Laboratory Co., Ltd.Semiconductor device and display device including the same
US20110204365A1 (en)*2010-02-192011-08-25Semiconductor Energy Laboratory Co., Ltd.Semiconductor device
US20110205254A1 (en)*2010-02-192011-08-25Semiconductor Energy Laboratory Co., Ltd.Liquid crystal display device and electronic device
US20110204968A1 (en)*2010-02-192011-08-25Semiconductor Energy Laboratory Co., Ltd.Demodulation circuit and rfid tag including the demodulation circuit
US20110205774A1 (en)*2010-02-192011-08-25Semiconductor Energy Laboratory Co., Ltd.Semiconductor memory device, driving method thereof, and method for manufacturing semiconductor device
US20110205209A1 (en)*2010-02-192011-08-25Semiconductor Energy Laboratory Co., Ltd.Display device and method for driving display device
US20110204362A1 (en)*2010-02-192011-08-25Semiconductor Energy Laboratory Co., Ltd.Semiconductor device and method for manufacturing the same
US20110207269A1 (en)*2010-02-192011-08-25Semiconductor Energy Laboratory Co., Ltd.Transistor and manufacturing method of the same
US20110204928A1 (en)*2010-02-232011-08-25Semiconductor Energy Laboratory Co., Ltd.Display device, semiconductor device, and driving method thereof
US20110205775A1 (en)*2010-02-192011-08-25Semiconductor Energy Laboratory Co., Ltd.Semiconductor device
US20110210957A1 (en)*2010-02-262011-09-01Semiconductor Energy Laboratory Co., Ltd.Display device and driving method thereof
US20110210327A1 (en)*2010-02-262011-09-01Semiconductor Energy Laboratory Co., Ltd.Liquid crystal display device
US20110212570A1 (en)*2010-02-262011-09-01Semiconductor Energy Laboratory Co., Ltd.Method for manufacturing semiconductor device
US20110212569A1 (en)*2010-02-262011-09-01Semiconductor Energy Laboratory Co., Ltd.Method for manufacturing semiconductor device
US20110210332A1 (en)*2010-02-262011-09-01Semiconductor Energy Laboratory Co., Ltd.Semiconductor device and manufacturing method thereof
US20110210949A1 (en)*2010-02-262011-09-01Semiconductor Energy Laboratory Co., Ltd.Display device and e-book reader provided therewith
US20110210339A1 (en)*2010-02-262011-09-01Semiconductor Energy Laboratory Co., Ltd.Semiconductor device
US20110212605A1 (en)*2010-02-262011-09-01Semiconductor Energy Laboratory Co., Ltd.Method for manufacturing semiconductor element and deposition apparatus
US20110210328A1 (en)*2008-12-262011-09-01Semiconductor Energy Laboratory Co., Ltd.Semiconductor device and manufacturing method thereof
US20110210355A1 (en)*2009-09-042011-09-01Semiconductor Energy Laboratory Co., Ltd.Light-emitting device and method for manufacturing the same
US20110215323A1 (en)*2010-03-082011-09-08Semiconductor Energy Laboratory Co., Ltd.Semiconductor device and manufacturing method thereof
US20110215385A1 (en)*2010-03-082011-09-08Semiconductor Energy Laboratory Co., Ltd.Semiconductor device
US20110216566A1 (en)*2010-03-052011-09-08Semiconductor Energy Laboratory Co., Ltd.Semiconductor device and method for manufacturing semiconductor device
US20110215326A1 (en)*2010-03-082011-09-08Semiconductor Energy Laboratory Co., Ltd.Semiconductor device and method for manufacturing semiconductor device
US20110216875A1 (en)*2010-03-022011-09-08Semiconductor Energy Laboratory Co., Ltd.Pulse signal output circuit and shift register
US20110216043A1 (en)*2010-03-082011-09-08Semiconductor Energy Laboratory Co., Ltd.Electronic device and electronic system
US20110215317A1 (en)*2010-03-082011-09-08Semiconductor Energy Laboratory Co., Ltd.Semiconductor device and method for manufacturing semiconductor device
US20110215325A1 (en)*2010-03-052011-09-08Semiconductor Energy Laboratory Co., Ltd.Method for manufacturing semiconductor device
US20110215861A1 (en)*2010-03-082011-09-08Semiconductor Energy Laboratory Co., Ltd.Semiconductor device and driving method thereof
US20110216571A1 (en)*2010-03-042011-09-08Semiconductor Energy Laboratory Co., Ltd.Semiconductor memory device and semiconductor device
US20110217815A1 (en)*2010-03-052011-09-08Semiconductor Energy Laboratory Co., Ltd.Manufacturing method of oxide semiconductor film and manufacturing method of transistor
US20110216876A1 (en)*2010-03-022011-09-08Semiconductor Energy Laboratory Co., Ltd.Pulse signal output circuit and shift register
US20110215331A1 (en)*2010-03-052011-09-08Semiconductor Energy Laboratory Co., Ltd.Semiconductor device and manufacturing method thereof
US20110216023A1 (en)*2010-03-082011-09-08Semiconductor Energy Laboratory Co., Ltd.Electronic device and electronic system
US20110220889A1 (en)*2010-03-122011-09-15Semiconductor Energy Laboratory Co., Ltd.Semiconductor device
US20110220891A1 (en)*2010-03-122011-09-15Semiconductor Energy Laboratory Co., Ltd.Semiconductor device and method for manufacturing the same
US20110221704A1 (en)*2010-03-122011-09-15Semiconductor Energy Laboratory Co., Ltd.Method for driving input circuit and method for driving input-output device
US20110220011A1 (en)*2010-03-122011-09-15Semiconductor Energy Laboratory Co., Ltd.Manufacturing method of gallium oxide single crystal
US20110221723A1 (en)*2010-03-122011-09-15Semiconductor Energy Laboratory Co., Ltd.Driving method of display device
US20110227074A1 (en)*2010-03-192011-09-22Semiconductor Energy Laboratory Co., Ltd.Semiconductor device
US20110228602A1 (en)*2010-03-172011-09-22Semiconductor Energy Laboratory Co., Ltd.Memory device and semiconductor device
US20110228584A1 (en)*2010-03-192011-09-22Semiconductor Energy Laboratory Co., Ltd.Semiconductor memory device
US20110227082A1 (en)*2010-03-192011-09-22Semiconductor Energy Laboratory Co., Ltd.Semiconductor device
US20110227062A1 (en)*2010-03-192011-09-22Semiconductor Energy Laboratory Co., Ltd.Semiconductor device and driving method of semiconductor device
US20110237025A1 (en)*2010-03-262011-09-29Semiconductor Energy Laboratory Co., Ltd.Method for manufacturing semiconductor device
US20110233555A1 (en)*2010-03-262011-09-29Semiconductor Energy Laboratory Co., Ltd.Semiconductor device
US20110233542A1 (en)*2010-03-262011-09-29Semiconductor Energy Laboratory Co., Ltd.Method for manufacturing semiconductor device
US20110233541A1 (en)*2010-03-262011-09-29Semiconductor Energy Laboratory Co., Ltd.Method for manufacturing semiconductor device
US20110235389A1 (en)*2010-03-252011-09-29Semiconductor Energy Laboratory Co., Ltd.Semiconductor device
US20110233540A1 (en)*2010-03-262011-09-29Semiconductor Energy Laboratory Co., Ltd.Method for manufacturing semiconductor device
US8106400B2 (en)2008-10-242012-01-31Semiconductor Energy Laboratory Co., Ltd.Semiconductor device and method for manufacturing the same
US8115201B2 (en)2008-08-082012-02-14Semiconductor Energy Laboratory Co., Ltd.Semiconductor device with oxide semiconductor formed within
US8115883B2 (en)2009-08-272012-02-14Semiconductor Energy Laboratory Co., Ltd.Display device and method for manufacturing the same
US8129719B2 (en)2008-09-012012-03-06Semiconductor Energy Laboratory Co., Ltd.Semiconductor device and method for manufacturing the semiconductor device
US8174021B2 (en)2009-02-062012-05-08Semiconductor Energy Laboratory Co., Ltd.Semiconductor device and method of manufacturing the semiconductor device
US8188477B2 (en)2008-11-212012-05-29Semiconductor Energy Laboratory Co., Ltd.Semiconductor device and manufacturing method thereof
US8193045B2 (en)2007-05-312012-06-05Canon Kabushiki KaishaManufacturing method of thin film transistor using oxide semiconductor
US8207025B2 (en)2010-04-092012-06-26Semiconductor Energy Laboratory Co., Ltd.Manufacturing method of semiconductor device
US8236635B2 (en)2008-10-242012-08-07Semiconductor Energy Laboratory Co., Ltd.Method for manufacturing semiconductor device
US8242496B2 (en)2009-07-172012-08-14Semiconductor Energy Laboratory Co., Ltd.Semiconductor device and method for manufacturing the same
US8247813B2 (en)2009-12-042012-08-21Semiconductor Energy Laboratory Co., Ltd.Display device and electronic device including the same
US8253135B2 (en)2009-03-272012-08-28Semiconductor Energy Laboratory Co., Ltd.Semiconductor device, display device, and electronic appliance
US8268642B2 (en)2009-10-052012-09-18Semiconductor Energy Laboratory Co., Ltd.Method for removing electricity and method for manufacturing semiconductor device
US8289753B2 (en)2009-11-062012-10-16Semiconductor Energy Laboratory Co., Ltd.Semiconductor device
US8293594B2 (en)2009-07-182012-10-23Semiconductor Energy Laboratory Co., Ltd.Method for manufacturing a display device having oxide semiconductor layer
US8319215B2 (en)2008-10-032012-11-27Semiconductor Energy Laboratory Co., Ltd.Display device
US8320516B2 (en)2010-03-022012-11-27Semiconductor Energy Laboratory Co., Ltd.Pulse signal output circuit and shift register
KR20120130063A (en)*2011-05-202012-11-28가부시키가이샤 한도오따이 에네루기 켄큐쇼Semiconductor device
US8324027B2 (en)2009-07-102012-12-04Semiconductor Energy Laboratory Co., Ltd.Semiconductor device and method for manufacturing the same
US8339836B2 (en)2010-01-152012-12-25Semiconductor Energy Laboratory Co., Ltd.Semiconductor device
US8343817B2 (en)2008-08-082013-01-01Semiconductor Energy Laboratory Co., Ltd.Method for manufacturing semiconductor device
US8344788B2 (en)2010-01-222013-01-01Semiconductor Energy Laboratory Co., Ltd.Semiconductor device
US8350261B2 (en)2009-02-132013-01-08Semiconductor Energy Laboratory Co., Ltd.Semiconductor device including a transistor, and manufacturing method of the semiconductor device
US8357963B2 (en)2010-07-272013-01-22Semiconductor Energy Laboratory Co., Ltd.Semiconductor device
US8367489B2 (en)2009-11-282013-02-05Semiconductor Energy Laboratory Co., Ltd.Method of fabricating a stacked oxide material for thin film transistor
US8372664B2 (en)2009-12-252013-02-12Semiconductor Energy Laboratory Co., Ltd.Method for manufacturing display device
US8378344B2 (en)2009-09-042013-02-19Semiconductor Energy Laboratory Co., Ltd.Light-emitting device with plural kinds of thin film transistors and circuits over one substrate
US8377744B2 (en)2009-12-042013-02-19Semiconductor Energy Laboratory Co., Ltd.Semiconductor device and manufacturing method thereof
US8378393B2 (en)2008-10-312013-02-19Semiconductor Energy Laboratory Co., Ltd.Conductive oxynitride and method for manufacturing conductive oxynitride film
US8378403B2 (en)2010-07-022013-02-19Semiconductor Energy LaboratorySemiconductor device
US8377762B2 (en)2009-09-162013-02-19Semiconductor Energy Laboratory Co., Ltd.Light-emitting device and manufacturing method thereof
US8384085B2 (en)2009-08-072013-02-26Semiconductor Energy Laboratory Co., Ltd.Semiconductor device and method for manufacturing the same
US8406038B2 (en)2010-05-142013-03-26Semiconductor Energy Laboratory Co., Ltd.Semiconductor device
US8405092B2 (en)2010-09-152013-03-26Semiconductor Energy Laboratory Co., Ltd.Display device
US8410838B2 (en)2009-11-202013-04-02Semiconductor Energy Laboratory Co., Ltd.Nonvolatile latch circuit and logic circuit, and semiconductor device using the same
US8411480B2 (en)2010-04-162013-04-02Semiconductor Energy Laboratory Co., Ltd.Semiconductor device
US8416622B2 (en)2010-05-202013-04-09Semiconductor Energy Laboratory Co., Ltd.Driving method of a semiconductor device with an inverted period having a negative potential applied to a gate of an oxide semiconductor transistor
US8421081B2 (en)2010-12-282013-04-16Semiconductor Energy Laboratory Co., Ltd.Memory device, memory module and electronic device
US8422272B2 (en)2010-08-062013-04-16Semiconductor Energy Laboratory Co., Ltd.Semiconductor device and driving method thereof
US8420441B2 (en)2009-07-312013-04-16Semiconductor Energy Laboratory Co., Ltd.Method for manufacturing oxide semiconductor device
US8421071B2 (en)2011-01-132013-04-16Semiconductor Energy Laboratory Co., Ltd.Memory device
US8432502B2 (en)2009-12-042013-04-30Semiconductor Energy Laboratory Co., Ltd.Display device and electronic device including the same
US8431449B2 (en)2010-04-092013-04-30Semiconductor Energy Laboratory Co., Ltd.Manufacturing method of semiconductor device
US8432730B2 (en)2010-07-282013-04-30Semiconductor Energy Laboratory Co., Ltd.Semiconductor device and method for driving the same
US8436403B2 (en)2010-02-052013-05-07Semiconductor Energy Laboratory Co., Ltd.Semiconductor device including transistor provided with sidewall and electronic appliance
US8436431B2 (en)2010-02-052013-05-07Semiconductor Energy Laboratory Co., Ltd.Semiconductor device including gate and three conductor electrodes
US8440510B2 (en)2010-05-142013-05-14Semiconductor Energy Laboratory Co., Ltd.Method for manufacturing semiconductor device
US8441841B2 (en)2010-02-192013-05-14Semiconductor Energy Laboratory Co., Ltd.Semiconductor device and driving method of semiconductor device
US8441007B2 (en)2008-12-252013-05-14Semiconductor Energy Laboratory Co., Ltd.Display device and manufacturing method thereof
US8441868B2 (en)2010-04-092013-05-14Semiconductor Energy Laboratory Co., Ltd.Semiconductor memory having a read circuit
US8441010B2 (en)2010-07-012013-05-14Semiconductor Energy Laboratory Co., Ltd.Semiconductor device
US8441047B2 (en)2009-04-102013-05-14Semiconductor Energy Laboratory Co., Ltd.Semiconductor device and method for manufacturing the same
US8446171B2 (en)2011-04-292013-05-21Semiconductor Energy Laboratory Co., Ltd.Signal processing unit
US8450123B2 (en)2010-08-272013-05-28Semiconductor Energy Laboratory Co., Ltd.Oxygen diffusion evaluation method of oxide film stacked body
US8461007B2 (en)2010-04-232013-06-11Semiconductor Energy Laboratory Co., Ltd.Method for manufacturing semiconductor device
US8461586B2 (en)2010-07-162013-06-11Semiconductor Energy Laboratory Co., Ltd.Semiconductor device
US8461630B2 (en)2010-12-012013-06-11Semiconductor Energy Laboratory Co., Ltd.Semiconductor device and manufacturing method thereof
US8467232B2 (en)2010-08-062013-06-18Semiconductor Energy Laboratory Co., Ltd.Semiconductor device
US8466740B2 (en)2010-10-292013-06-18Semiconductor Energy Laboratory Co., Ltd.Receiving circuit, LSI chip, and storage medium
US8467825B2 (en)2009-11-202013-06-18Semiconductor Energy Laboratory Co., Ltd.Semiconductor device
US8467231B2 (en)2010-08-062013-06-18Semiconductor Energy Laboratory Co., Ltd.Semiconductor device and driving method thereof
US8472231B2 (en)2010-04-072013-06-25Semiconductor Energy Laboratory Co., Ltd.Semiconductor memory device
US8470650B2 (en)2009-10-212013-06-25Semiconductor Energy Laboratory Co., Ltd.Semiconductor device and manufacturing method for the same
US8471252B2 (en)2008-08-082013-06-25Semiconductor Energy Laboratory Co., Ltd.Semiconductor device and method for manufacturing the same
US8476927B2 (en)2011-04-292013-07-02Semiconductor Energy Laboratory Co., Ltd.Programmable logic device
US8476719B2 (en)2010-05-212013-07-02Semiconductor Energy Laboratory Co., Ltd.Semiconductor device and method of manufacturing the same
US8482974B2 (en)2010-02-122013-07-09Semiconductor Energy Laboratory Co., Ltd.Semiconductor memory device and method for driving the same
US8482001B2 (en)2009-12-252013-07-09Semiconductor Energy Laboratory Co., Ltd.Semiconductor device
US8487844B2 (en)2010-09-082013-07-16Semiconductor Energy Laboratory Co., Ltd.EL display device and electronic device including the same
US8488394B2 (en)2010-08-062013-07-16Semiconductor Energy Laboratory Co., Ltd.Semiconductor device
US8487436B2 (en)2005-01-282013-07-16Semiconductor Energy Laboratory Co., Ltd.Semiconductor device, electronic device, and method of manufacturing semiconductor device
US8492853B2 (en)2010-02-102013-07-23Semiconductor Energy Laboratory Co., Ltd.Field effect transistor having conductor electrode in contact with semiconductor layer
US8502772B2 (en)2010-07-022013-08-06Semiconductor Energy Laboratory Co., Ltd.Driving method of input/output device
US8502292B2 (en)2010-07-162013-08-06Semiconductor Energy Laboratory Co., Ltd.Semiconductor device with memory cells
US8502220B2 (en)2009-08-072013-08-06Semiconductor Energy Laboratory Co., Ltd.Semiconductor device and manufacturing method thereof
US8502221B2 (en)2010-04-022013-08-06Semiconductor Energy Laboratory Co., Ltd.Semiconductor device with two metal oxide films and an oxide semiconductor film
US8508276B2 (en)2010-08-252013-08-13Semiconductor Energy Laboratory Co., Ltd.Semiconductor device including latch circuit
US8508256B2 (en)2011-05-202013-08-13Semiconductor Energy Laboratory Co., Ltd.Semiconductor integrated circuit
US8508967B2 (en)2010-09-032013-08-13Semiconductor Energy Laboratory Co., Ltd.Semiconductor device and driving method of semiconductor device
US8514609B2 (en)2010-02-052013-08-20Semiconductor Energy Laboratory Co., Ltd.Semiconductor device and method of driving semiconductor device
US8513773B2 (en)2011-02-022013-08-20Semiconductor Energy Laboratory Co., Ltd.Capacitor and semiconductor device including dielectric and N-type semiconductor
US8518761B2 (en)2010-04-162013-08-27Semiconductor Energy Laboratory Co., Ltd.Deposition method and method for manufacturing semiconductor device
US8520426B2 (en)2010-09-082013-08-27Semiconductor Energy Laboratory Co., Ltd.Method for driving semiconductor device
US8519387B2 (en)2010-07-262013-08-27Semiconductor Energy Laboratory Co., Ltd.Semiconductor device and method for manufacturing
US8519990B2 (en)2010-03-312013-08-27Semiconductor Energy Laboratory Co., Ltd.Semiconductor display device
US8525551B2 (en)2011-05-202013-09-03Semiconductor Energy Laboratory Co., Ltd.Semiconductor device
US8525304B2 (en)2010-05-212013-09-03Semiconductor Energy Laboratory Co., Ltd.Semiconductor device
US8530289B2 (en)2010-04-232013-09-10Semiconductor Energy Laboratory Co., Ltd.Method for manufacturing semiconductor device
US8531870B2 (en)2010-08-062013-09-10Semiconductor Energy Laboratory Co., Ltd.Semiconductor device and driving method of semiconductor device
US8537600B2 (en)2010-08-042013-09-17Semiconductor Energy Laboratory Co., Ltd.Low off-state leakage current semiconductor memory device
US8536571B2 (en)2011-01-122013-09-17Semiconductor Energy Laboratory Co., Ltd.Manufacturing method of semiconductor device
US8542528B2 (en)2010-08-062013-09-24Semiconductor Energy Laboratory Co., Ltd.Semiconductor device and method for driving semiconductor device
US8541781B2 (en)2011-03-102013-09-24Semiconductor Energy Laboratory Co., Ltd.Semiconductor device and method for manufacturing the same
US8541266B2 (en)2011-04-012013-09-24Semiconductor Energy Laboratory Co., Ltd.Method for manufacturing semiconductor device
US8541782B2 (en)2009-11-062013-09-24Semiconductor Energy Laboratory Co., Ltd.Method for evaluating oxide semiconductor and method for manufacturing semiconductor device
US8546225B2 (en)2010-04-232013-10-01Semiconductor Energy Laboratory Co., Ltd.Method for manufacturing semiconductor device
US8547771B2 (en)2010-08-062013-10-01Semiconductor Energy Laboratory Co., Ltd.Semiconductor integrated circuit
US8546181B2 (en)2011-09-292013-10-01Semiconductor Energy Laboratory Co., Ltd.Semiconductor device and method for manufacturing the same
US8546892B2 (en)2010-10-202013-10-01Semiconductor Energy Laboratory Co., Ltd.Semiconductor device and method for manufacturing semiconductor device
US8546161B2 (en)2010-09-132013-10-01Semiconductor Energy Laboratory Co., Ltd.Manufacturing method of thin film transistor and liquid crystal display device
US8552425B2 (en)2010-06-182013-10-08Semiconductor Energy Laboratory Co., Ltd.Semiconductor device
US8553447B2 (en)2010-10-052013-10-08Semiconductor Energy Laboratory Co., Ltd.Semiconductor memory device and driving method thereof
US8552712B2 (en)2010-04-162013-10-08Semiconductor Energy Laboratory Co., Ltd.Current measurement method, inspection method of semiconductor device, semiconductor device, and test element group
US8558960B2 (en)2010-09-132013-10-15Semiconductor Energy Laboratory Co., Ltd.Liquid crystal display device and method for manufacturing the same
US8564331B2 (en)2011-05-132013-10-22Semiconductor Energy Laboratory Co., Ltd.Semiconductor device
US8563973B2 (en)2010-03-192013-10-22Semiconductor Energy Laboratory Co., Ltd.Semiconductor device
US8570065B2 (en)2011-04-132013-10-29Semiconductor Energy Laboratory Co., Ltd.Programmable LSI
US8569754B2 (en)2010-11-052013-10-29Semiconductor Energy Laboratory Co., Ltd.Semiconductor device and manufacturing method thereof
US8569753B2 (en)2010-06-042013-10-29Semiconductor Energy Laboratory Co., Ltd.Storage device comprising semiconductor elements
US8575985B2 (en)2011-01-052013-11-05Semiconductor Energy Laboratory Co., Ltd.Storage element, storage device, and signal processing circuit
US8575610B2 (en)2010-09-022013-11-05Semiconductor Energy Laboratory Co., Ltd.Semiconductor device and method for driving the same
US8576636B2 (en)2010-07-162013-11-05Semiconductor Energy Laboratory Co., Ltd.Semiconductor device
US8575960B2 (en)2011-05-202013-11-05Semiconductor Energy Laboratory Co., Ltd.Semiconductor device
US8576620B2 (en)2009-11-132013-11-05Semiconductor Energy Laboratory Co., Ltd.Semiconductor device and driving method thereof
US8575678B2 (en)2011-01-132013-11-05Semiconductor Energy Laboratory Co., Ltd.Semiconductor memory device with floating gate
US8582349B2 (en)2010-08-262013-11-12Semiconductor Energy Laboratory Co., Ltd.Semiconductor device
US8581625B2 (en)2011-05-192013-11-12Semiconductor Energy Laboratory Co., Ltd.Programmable logic device
US8581818B2 (en)2010-03-312013-11-12Semiconductor Energy Laboratory Co., Ltd.Liquid crystal display device and method for driving the same
US8582348B2 (en)2010-08-062013-11-12Semiconductor Energy Laboratory Co., Ltd.Semiconductor device and method for driving semiconductor device
US8587342B2 (en)2011-05-202013-11-19Semiconductor Energy Laboratory Co., Ltd.Semiconductor integrated circuit
US8588000B2 (en)2010-05-202013-11-19Semiconductor Energy Laboratory Co., Ltd.Semiconductor memory device having a reading transistor with a back-gate electrode
US8593856B2 (en)2010-01-202013-11-26Semiconductor Energy Laboratory Co., Ltd.Signal processing circuit and method for driving the same
US8592879B2 (en)2010-09-132013-11-26Semiconductor Energy Laboratory Co., Ltd.Method for manufacturing semiconductor device
US8593858B2 (en)2010-08-312013-11-26Semiconductor Energy Laboratory Co., Ltd.Driving method of semiconductor device
US8592261B2 (en)2010-08-272013-11-26Semiconductor Energy Laboratory Co., Ltd.Method for designing semiconductor device
US8599604B2 (en)2010-10-252013-12-03Semiconductor Energy Laboratory Co., Ltd.Semiconductor memory device and driving method thereof
US8604472B2 (en)2011-11-092013-12-10Semiconductor Energy Laboratory Co., Ltd.Semiconductor device
US8605477B2 (en)2010-04-272013-12-10Semiconductor Energy Laboratory Co., Ltd.Semiconductor memory device
US8605059B2 (en)2010-07-022013-12-10Semiconductor Energy Laboratory Co., Ltd.Input/output device and driving method thereof
US8603841B2 (en)2010-08-272013-12-10Semiconductor Energy Laboratory Co., Ltd.Manufacturing methods of semiconductor device and light-emitting display device
US8604476B2 (en)2010-11-052013-12-10Semiconductor Energy Laboratory Co., Ltd.Semiconductor device including memory cell
US8610482B2 (en)2011-05-272013-12-17Semiconductor Energy Laboratory Co., Ltd.Trimming circuit and method for driving trimming circuit
US8610180B2 (en)2010-06-112013-12-17Semiconductor Energy Laboratory Co., Ltd.Gas sensor and method for manufacturing the gas sensor
US8610120B2 (en)2010-09-152013-12-17Semiconductor Energy Laboratory Co., Ltd.Liquid crystal display device and manufacturing method thereof
US8609478B2 (en)2009-06-302013-12-17Semiconductor Energy Laboratory Co., Ltd.Method for manufacturing semiconductor device
US8614916B2 (en)2010-08-062013-12-24Semiconductor Energy Laboratory Co., Ltd.Semiconductor device and driving method thereof
US8614910B2 (en)2010-07-292013-12-24Semiconductor Energy Laboratory Co., Ltd.Semiconductor device and method for driving the same
US8619470B2 (en)2010-06-232013-12-31Semiconductor Energy Laboratory Co., Ltd.Semiconductor memory device with long data holding period
US8625085B2 (en)2011-03-082014-01-07Semiconductor Energy Laboratory Co., Ltd.Defect evaluation method for semiconductor
US8624239B2 (en)2010-05-202014-01-07Semiconductor Energy Laboratory Co., Ltd.Semiconductor device
US8630127B2 (en)2010-06-252014-01-14Semiconductor Energy Laboratory Co., Ltd.Semiconductor device and method for driving the same
US8629438B2 (en)2010-05-212014-01-14Semiconductor Energy Laboratory Co., Ltd.Semiconductor device and manufacturing method thereof
US8629496B2 (en)2010-11-302014-01-14Semiconductor Energy Laboratory Co., Ltd.Semiconductor device and method for manufacturing the same
US8630130B2 (en)2011-03-312014-01-14Semiconductor Energy Laboratory Co., Ltd.Memory circuit, memory unit, and signal processing circuit
US8630110B2 (en)2011-05-062014-01-14Semiconductor Energy Laboratory Co., Ltd.Semiconductor memory device
US8628987B2 (en)2010-08-272014-01-14Semiconductor Energy Laboratory Co., Ltd.Manufacturing methods of thin film transistor, liquid crystal display device, and semiconductor device
US8634230B2 (en)2011-01-282014-01-21Semiconductor Energy Laboratory Co., Ltd.Semiconductor device and method for driving the same
US8634228B2 (en)2010-09-022014-01-21Semiconductor Energy Laboratory Co., Ltd.Driving method of semiconductor device
US8637354B2 (en)2010-06-302014-01-28Semiconductor Energy Laboratory Co., Ltd.Semiconductor device and manufacturing method thereof
US8637864B2 (en)2011-10-132014-01-28Semiconductor Energy Laboratory Co., Ltd.Semiconductor device and method of manufacturing the same
US8637802B2 (en)2010-06-182014-01-28Semiconductor Energy Laboratory Co., Ltd.Photosensor, semiconductor device including photosensor, and light measurement method using photosensor
US8638322B2 (en)2010-02-052014-01-28Semiconductor Energy Laboratory Co., Ltd.Display device
US8638123B2 (en)2011-05-202014-01-28Semiconductor Energy Laboratory Co., Ltd.Adder including transistor having oxide semiconductor layer
US8644048B2 (en)2010-09-132014-02-04Semiconductor Energy Laboratory Co., Ltd.Semiconductor device
US8643008B2 (en)2011-07-222014-02-04Semiconductor Energy Laboratory Co., Ltd.Semiconductor device
US8643007B2 (en)2011-02-232014-02-04Semiconductor Energy Laboratory Co., Ltd.Semiconductor device
US8642380B2 (en)2010-07-022014-02-04Semiconductor Energy Laboratory Co., Ltd.Manufacturing method of semiconductor device
US8649208B2 (en)2011-05-202014-02-11Semiconductor Energy Laboratory Co., Ltd.Method for driving semiconductor device
US8647919B2 (en)2010-09-132014-02-11Semiconductor Energy Laboratory Co., Ltd.Light-emitting display device and method for manufacturing the same
US8653513B2 (en)2010-02-262014-02-18Semiconductor Energy Laboratory Co., Ltd.Semiconductor device with sidewall insulating layer
US8653514B2 (en)2010-04-092014-02-18Semiconductor Energy Laboratory Co., Ltd.Semiconductor device and method for manufacturing the same
US8653520B2 (en)2010-02-122014-02-18Semiconductor Energy Laboratory Co., Ltd.Semiconductor device and method for manufacturing the same
US8659015B2 (en)2011-03-042014-02-25Semiconductor Energy Laboratory Co., Ltd.Semiconductor device
US8659957B2 (en)2011-03-072014-02-25Semiconductor Energy Laboratory Co., Ltd.Semiconductor device and method of driving semiconductor device
US8658448B2 (en)2010-12-102014-02-25Semiconductor Energy Laboratory Co., Ltd.Display device and method for manufacturing the same
US8659013B2 (en)2010-04-092014-02-25Semiconductor Energy Laboratory Co., Ltd.Semiconductor device
US8664658B2 (en)2010-05-142014-03-04Semiconductor Energy Laboratory Co., Ltd.Semiconductor device
US8664118B2 (en)2011-07-082014-03-04Semiconductor Energy Laboratory Co., Ltd.Semiconductor device and method for manufacturing the same
US8665403B2 (en)2010-05-212014-03-04Semiconductor Energy Laboratory Co., Ltd.Liquid crystal display device
US8664097B2 (en)2010-09-132014-03-04Semiconductor Energy Laboratory Co., Ltd.Manufacturing method of semiconductor device
US8669556B2 (en)2010-12-032014-03-11Semiconductor Energy Laboratory Co., Ltd.Semiconductor device
US8669781B2 (en)2011-05-312014-03-11Semiconductor Energy Laboratory Co., Ltd.Semiconductor device
US8675394B2 (en)2010-08-042014-03-18Semiconductor Energy Laboratory Co., Ltd.Semiconductor memory device with oxide semiconductor transistor
US8674738B2 (en)2011-05-202014-03-18Semiconductor Energy Laboratory Co., Ltd.Semiconductor device
US8674351B2 (en)2010-12-282014-03-18Semiconductor Energy Laboratory Co., Ltd.Semiconductor device and semiconductor memory device
US8673426B2 (en)2011-06-292014-03-18Semiconductor Energy Laboratory Co., Ltd.Driver circuit, method of manufacturing the driver circuit, and display device including the driver circuit
US8675382B2 (en)2011-02-172014-03-18Semiconductor Energy Laboratory Co., Ltd.Programmable LSI
US8674972B2 (en)2010-09-082014-03-18Semiconductor Energy Laboratory Co., Ltd.Semiconductor device
US8680529B2 (en)2011-05-052014-03-25Semiconductor Energy Laboratory Co., Ltd.Semiconductor device and method for manufacturing the same
US8681533B2 (en)2011-04-282014-03-25Semiconductor Energy Laboratory Co., Ltd.Memory circuit, signal processing circuit, and electronic device
US8679986B2 (en)2010-10-142014-03-25Semiconductor Energy Laboratory Co., Ltd.Method for manufacturing display device
US8685787B2 (en)2010-08-252014-04-01Semiconductor Energy Laboratory Co., Ltd.Manufacturing method of semiconductor device
US8686750B2 (en)2010-05-132014-04-01Semiconductor Energy Laboratory Co., Ltd.Method for evaluating semiconductor device
US8687416B2 (en)2010-12-282014-04-01Semiconductor Energy Laboratory Co., Ltd.Signal processing circuit comprising buffer memory device
US8687411B2 (en)2011-01-142014-04-01Semiconductor Energy Laboratory Co., Ltd.Memory device, semiconductor device, and detecting method for defective memory cell in memory device
US8686486B2 (en)2011-03-312014-04-01Semiconductor Energy Laboratory Co., Ltd.Memory device
US8686416B2 (en)2011-03-252014-04-01Semiconductor Energy Laboratory Co., Ltd.Oxide semiconductor film and semiconductor device
US8692579B2 (en)2011-05-192014-04-08Semiconductor Energy Laboratory Co., Ltd.Circuit and method of driving the same
US8692823B2 (en)2010-08-062014-04-08Semiconductor Energy Laboratory Co., Ltd.Liquid crystal display device and driving method of the same
US8692243B2 (en)2010-04-202014-04-08Semiconductor Energy Laboratory Co., Ltd.Semiconductor device and method for manufacturing the same
US8698521B2 (en)2011-05-202014-04-15Semiconductor Energy Laboratory Co., Ltd.Semiconductor device
US8698214B2 (en)2011-10-272014-04-15Semiconductor Energy Laboratory Co., Ltd.Semiconductor device
US8704221B2 (en)2011-12-232014-04-22Semiconductor Energy Laboratory Co., Ltd.Semiconductor device
US8705267B2 (en)2010-12-032014-04-22Semiconductor Energy Laboratory Co., Ltd.Integrated circuit, method for driving the same, and semiconductor device
US8705292B2 (en)2011-05-132014-04-22Semiconductor Energy Laboratory Co., Ltd.Nonvolatile memory circuit with an oxide semiconductor transistor for reducing power consumption and electronic device
US8704806B2 (en)2009-12-102014-04-22Semiconductor Energy Laboratory Co., Ltd.Display device and driving method thereof
US8711314B2 (en)2007-05-172014-04-29Semiconductor Energy Laboratory Co., Ltd.Liquid crystal display device
US8711312B2 (en)2010-04-122014-04-29Semiconductor Energy Laboratory Co., Ltd.Liquid crystal display device
US8710762B2 (en)2010-06-102014-04-29Semiconductor Energy Laboratory Co., Ltd.DC/DC converter, power supply circuit, and semiconductor device
US8709889B2 (en)2011-05-192014-04-29Semiconductor Energy Laboratory Co., Ltd.Semiconductor memory device and manufacturing method thereof
US8709922B2 (en)2011-05-062014-04-29Semiconductor Energy Laboratory Co., Ltd.Semiconductor device
US8709920B2 (en)2011-02-242014-04-29Semiconductor Energy Laboratory Co., Ltd.Method for manufacturing semiconductor device
US8718224B2 (en)2011-08-052014-05-06Semiconductor Energy Laboratory Co., Ltd.Pulse signal output circuit and shift register
US8716073B2 (en)2011-07-222014-05-06Semiconductor Energy Laboratory Co., Ltd.Method for processing oxide semiconductor film and method for manufacturing semiconductor device
US8717806B2 (en)2011-01-142014-05-06Semiconductor Energy Laboratory Co., Ltd.Storage element, storage device, signal processing circuit, and method for driving storage element
US8716712B2 (en)2010-02-192014-05-06Semiconductor Energy Laboratory Co., Ltd.Semiconductor device
US8716708B2 (en)2011-09-292014-05-06Semiconductor Energy Laboratory Co., Ltd.Semiconductor device and method for manufacturing the same
US8716646B2 (en)2010-10-082014-05-06Semiconductor Energy Laboratory Co., Ltd.Photoelectric conversion device and method for operating the same
US8723176B2 (en)2012-02-022014-05-13Semiconductor Energy Laboratory Co., Ltd.Semiconductor device
US8724407B2 (en)2011-03-242014-05-13Semiconductor Energy Laboratory Co., Ltd.Signal processing circuit
US8728860B2 (en)2010-09-032014-05-20Semiconductor Energy Laboratory Co., Ltd.Method for manufacturing semiconductor device
US8728883B2 (en)2010-11-302014-05-20Semiconductor Energy Laboratory Co., Ltd.Semiconductor device and method for manufacturing semiconductor device
US8730416B2 (en)2010-12-172014-05-20Semiconductor Energy Laboratory Co., Ltd.Liquid crystal display device
US8729613B2 (en)2011-10-142014-05-20Semiconductor Energy Laboratory Co., Ltd.Semiconductor device
US8729545B2 (en)2011-04-282014-05-20Semiconductor Energy Laboratory Co., Ltd.Semiconductor memory device
US8729938B2 (en)2011-05-202014-05-20Semiconductor Energy Laboratory Co., Ltd.Phase locked loop and semiconductor device using the same
US8730730B2 (en)2011-01-262014-05-20Semiconductor Energy Laboratory Co., Ltd.Temporary storage circuit, storage device, and signal processing circuit
US8735892B2 (en)2010-12-282014-05-27Semiconductor Energy Laboratory Co., Ltd.Semiconductor device using oxide semiconductor
US8737109B2 (en)2010-08-272014-05-27Semiconductor Energy Laboratory Co., Ltd.Memory device and semiconductor device
US8736371B2 (en)2011-05-132014-05-27Semiconductor Energy Laboratory Co., Ltd.Semiconductor device having transistors each of which includes an oxide semiconductor
US8742804B2 (en)2011-05-262014-06-03Semiconductor Energy Laboratory Co., Ltd.Divider circuit and semiconductor device using the same
US8741702B2 (en)2008-10-242014-06-03Semiconductor Energy Laboratory Co., Ltd.Method for manufacturing semiconductor device
US8742422B2 (en)2009-09-042014-06-03Semiconductor Energy Laboratory Co., Ltd.Semiconductor device and manufacturing method thereof
US8744038B2 (en)2011-09-282014-06-03Semiconductor Energy Laboratory Co., Ltd.Shift register circuit
US8743590B2 (en)2011-04-082014-06-03Semiconductor Energy Laboratory Co., Ltd.Memory device and semiconductor device using the same
US8748886B2 (en)2011-07-082014-06-10Semiconductor Energy Laboratory Co., Ltd.Semiconductor device and method for manufacturing semiconductor device
US8748241B2 (en)2011-12-232014-06-10Semiconductor Energy Laboratory Co., Ltd.Semiconductor device and method for manufacturing the same
US8748240B2 (en)2011-12-222014-06-10Semiconductor Energy Laboratory Co., Ltd.Method for manufacturing semiconductor device
US8748889B2 (en)2010-07-272014-06-10Semiconductor Energy Laboratory Co., Ltd.Semiconductor device and method of manufacturing the same
US8750023B2 (en)2010-09-132014-06-10Semiconductor Energy Laboratory Co., Ltd.Semiconductor memory device
US8748880B2 (en)2009-11-202014-06-10Semiconductor Energy Laboratory Co., Ltd.Semiconductor device with oxide semiconductor
US8750022B2 (en)2010-04-092014-06-10Semiconductor Energy Laboratory Co., Ltd.Semiconductor memory device and semiconductor device
US8748224B2 (en)2010-08-162014-06-10Semiconductor Energy Laboratory Co., Ltd.Manufacturing method of semiconductor device
US8754839B2 (en)2010-11-052014-06-17Semiconductor Energy Laboratory Co., Ltd.Method for driving display device
US8753928B2 (en)2011-03-112014-06-17Semiconductor Energy Laboratory Co., Ltd.Method of manufacturing semiconductor device
US8754693B2 (en)2012-03-052014-06-17Semiconductor Energy Laboratory Co., Ltd.Latch circuit and semiconductor device
US8754409B2 (en)2011-03-252014-06-17Semiconductor Energy Laboratory Co., Ltd.Field-effect transistor, and memory and semiconductor circuit including the same
US8760903B2 (en)2011-03-112014-06-24Semiconductor Energy Laboratory Co., Ltd.Storage circuit
US8759820B2 (en)2010-08-202014-06-24Semiconductor Energy Laboratory Co., Ltd.Semiconductor device
US8760046B2 (en)2008-07-102014-06-24Semiconductor Energy Laboratory Co., Ltd.Light-emitting device and electronic device using the same
US8760959B2 (en)2011-03-182014-06-24Semiconductor Energy Laboratory Co., Ltd.Memory device and electronic device
US8766255B2 (en)2011-03-162014-07-01Semiconductor Energy Laboratory Co., Ltd.Oxide semiconductor device including gate trench and isolation trench
US8766329B2 (en)2011-06-162014-07-01Semiconductor Energy Laboratory Co., Ltd.Semiconductor device and a method for manufacturing the same
US8766253B2 (en)2010-09-102014-07-01Semiconductor Energy Laboratory Co., Ltd.Semiconductor device
US8767443B2 (en)2010-09-222014-07-01Semiconductor Energy Laboratory Co., Ltd.Semiconductor memory device and method for inspecting the same
US8767159B2 (en)2007-05-182014-07-01Semiconductor Energy Laboratory Co., Ltd.Liquid crystal display device
US8767442B2 (en)2010-09-132014-07-01Semiconductor Energy Laboratory Co., Ltd.Semiconductor device including memory cell array
US8766252B2 (en)2010-07-022014-07-01Semiconductor Energy Laboratory Co., Ltd.Semiconductor device comprising an oxide semiconductor
US8772768B2 (en)2010-12-282014-07-08Semiconductor Energy Laboratory Co., Ltd.Semiconductor device and method for manufacturing
US8772094B2 (en)2011-11-252014-07-08Semiconductor Energy Laboratory Co., Ltd.Method for manufacturing semiconductor device
US8773906B2 (en)2011-01-272014-07-08Semiconductor Energy Laboratory Co., Ltd.Memory circuit
US8772771B2 (en)2012-04-302014-07-08Semiconductor Energy Laboratory Co., Ltd.Method for manufacturing semiconductor device
US8773173B2 (en)2011-12-222014-07-08Semiconductor Energy Laboratory Co., Ltd.Semiconductor device, image display device, storage device, and electronic device
US8772849B2 (en)2011-03-102014-07-08Semiconductor Energy Laboratory Co., Ltd.Semiconductor memory device
US8772769B2 (en)2011-10-132014-07-08Semiconductor Energy Laboratory Co., Ltd.Semiconductor device and method for manufacturing semiconductor device
US8772701B2 (en)2010-05-282014-07-08Semiconductor Energy Laboratory Co., Ltd.Photodetector and display device with light guide configured to face photodetector circuit and reflect light from a source
US8779432B2 (en)2011-01-262014-07-15Semiconductor Energy Laboratory Co., Ltd.Semiconductor device and manufacturing method thereof
US8779799B2 (en)2011-05-192014-07-15Semiconductor Energy Laboratory Co., Ltd.Logic circuit
US8780614B2 (en)2011-02-022014-07-15Semiconductor Energy Laboratory Co., Ltd.Semiconductor memory device
US8778729B2 (en)2010-08-052014-07-15Semiconductor Energy Laboratory Co., Ltd.Manufacturing method of semiconductor device
US8779488B2 (en)2011-04-152014-07-15Semiconductor Energy Laboratory Co., Ltd.Semiconductor memory device
US8779798B2 (en)2011-05-192014-07-15Semiconductor Energy Laboratory Co., Ltd.Arithmetic circuit and method of driving the same
US8779433B2 (en)2010-06-042014-07-15Semiconductor Energy Laboratory Co., Ltd.Semiconductor device
US8785926B2 (en)2012-04-172014-07-22Semiconductor Energy Laboratory Co., Ltd.Semiconductor device
US8785933B2 (en)2011-03-042014-07-22Semiconductor Energy Laboratory Co., Ltd.Semiconductor device
US8785928B2 (en)2012-05-312014-07-22Semiconductor Energy Laboratory Co., Ltd.Semiconductor device
US8787084B2 (en)2011-03-302014-07-22Semiconductor Energy Laboratory Co., Ltd.Semiconductor device and driving method thereof
US8785241B2 (en)2010-07-162014-07-22Semiconductor Energy Laboratory Co., Ltd.Semiconductor device and manufacturing method thereof
US8787083B2 (en)2011-02-102014-07-22Semiconductor Energy Laboratory Co., Ltd.Memory circuit
US8785990B2 (en)2005-10-142014-07-22Semiconductor Energy Laboratory Co., Ltd.Semiconductor device including first and second or drain electrodes and manufacturing method thereof
US8785923B2 (en)2011-04-292014-07-22Semiconductor Energy Laboratory Co., Ltd.Semiconductor device
US8787102B2 (en)2011-05-202014-07-22Semiconductor Energy Laboratory Co., Ltd.Memory device and signal processing circuit
US8785266B2 (en)2011-01-122014-07-22Semiconductor Energy Laboratory Co., Ltd.Semiconductor device and manufacturing method thereof
US8785258B2 (en)2011-12-202014-07-22Semiconductor Energy Laboratory Co., Ltd.Method for manufacturing semiconductor device
US8787073B2 (en)2010-08-262014-07-22Semiconductor Energy Laboratory Co., Ltd.Signal processing circuit and method for driving the same
US8791516B2 (en)2011-05-202014-07-29Semiconductor Energy Laboratory Co., Ltd.Semiconductor device
US8790960B2 (en)2010-04-282014-07-29Semiconductor Energy Laboratory Co., Ltd.Method for manufacturing semiconductor device
US8790961B2 (en)2011-12-232014-07-29Semiconductor Energy Laboratory Co., Ltd.Semiconductor device and method for manufacturing the same
US8792284B2 (en)2010-08-062014-07-29Semiconductor Energy Laboratory Co., Ltd.Oxide semiconductor memory device
US8792260B2 (en)2010-09-272014-07-29Semiconductor Energy Laboratory Co., Ltd.Rectifier circuit and semiconductor device using the same
US8796683B2 (en)2011-12-232014-08-05Semiconductor Energy Laboratory Co., Ltd.Semiconductor device
US8796681B2 (en)2011-09-072014-08-05Semiconductor Energy Laboratory Co., Ltd.Semiconductor device and method for manufacturing the same
US8797788B2 (en)2011-04-222014-08-05Semiconductor Energy Laboratory Co., Ltd.Semiconductor device
US8796682B2 (en)2011-11-112014-08-05Semiconductor Energy Laboratory Co., Ltd.Method for manufacturing a semiconductor device
US8797785B2 (en)2010-11-122014-08-05Semiconductor Energy Laboratory Co., Ltd.Semiconductor device
US8797487B2 (en)2010-09-102014-08-05Semiconductor Energy Laboratory Co., Ltd.Transistor, liquid crystal display device, and manufacturing method thereof
US8803142B2 (en)2009-10-212014-08-12Semiconductor Energy Laboratory Co., Ltd.Semiconductor device
US8802515B2 (en)2010-11-112014-08-12Semiconductor Energy Laboratory Co., Ltd.Semiconductor device and method for manufacturing the same
US8803143B2 (en)2010-10-202014-08-12Semiconductor Energy Laboratory Co., Ltd.Thin film transistor including buffer layers with high resistivity
US8802493B2 (en)2011-09-132014-08-12Semiconductor Energy Laboratory Co., Ltd.Manufacturing method of oxide semiconductor device
US8804405B2 (en)2011-06-162014-08-12Semiconductor Energy Laboratory Co., Ltd.Memory device and semiconductor device
US8803559B2 (en)2011-04-282014-08-12Semiconductor Energy Laboratory Co., Ltd.Semiconductor circuit having switching element, capacitor, and operational amplifier circuit
US8803164B2 (en)2010-08-062014-08-12Semiconductor Energy Laboratory Co., Ltd.Solid-state image sensing device and semiconductor display device
US8811064B2 (en)2011-01-142014-08-19Semiconductor Energy Laboratory Co., Ltd.Semiconductor memory device including multilayer wiring layer
US8809851B2 (en)2010-05-142014-08-19Semiconductor Energy Laboratory Co., Ltd.Semiconductor device
US8809870B2 (en)2011-01-262014-08-19Semiconductor Energy Laboratory Co., Ltd.Semiconductor device
US8809854B2 (en)2011-04-222014-08-19Semiconductor Energy Laboratory Co., Ltd.Semiconductor device
US8809927B2 (en)2011-02-022014-08-19Semiconductor Energy Laboratory Co., Ltd.Semiconductor memory device
US8809154B2 (en)2011-12-272014-08-19Semiconductor Energy Laboratory Co., Ltd.Semiconductor device and method for manufacturing the same
US8809855B2 (en)2011-10-192014-08-19Semiconductor Energy Laboratory Co., Ltd.Semiconductor device and manufacturing method thereof
US8809853B2 (en)2011-03-042014-08-19Semiconductor Energy Laboratory Co., Ltd.Semiconductor device
US8809852B2 (en)2010-11-302014-08-19Semiconductor Energy Laboratory Co., Ltd.Semiconductor film, semiconductor element, semiconductor device, and method for manufacturing the same
US8809992B2 (en)2011-01-262014-08-19Semiconductor Energy Laboratory Co., Ltd.Semiconductor device and manufacturing method thereof
US8809928B2 (en)2011-05-062014-08-19Semiconductor Energy Laboratory Co., Ltd.Semiconductor device, memory device, and method for manufacturing the semiconductor device
US8816425B2 (en)2010-11-302014-08-26Semiconductor Energy Laboratory Co., Ltd.Semiconductor device and method for manufacturing the same
US8816469B2 (en)2010-01-292014-08-26Semiconductor Energy Laboratory Co., Ltd.Semiconductor device comprising protection circuit with oxide semiconductor
US8817527B2 (en)2011-05-132014-08-26Semiconductor Energy Laboratory Co., Ltd.Semiconductor device
US8817009B2 (en)2010-01-202014-08-26Semiconductor Energy Laboratory Co., Ltd.Method for driving display device and liquid crystal display device
US8817516B2 (en)2012-02-172014-08-26Semiconductor Energy Laboratory Co., Ltd.Memory circuit and semiconductor device
US8816662B2 (en)2010-05-212014-08-26Semiconductor Energy Laboratory Co., Ltd.DC-DC converter, semiconductor device and display device
US8816349B2 (en)2009-10-092014-08-26Semiconductor Energy Laboratory Co., Ltd.Semiconductor device comprising oxide semiconductor layer
US8815640B2 (en)2011-10-242014-08-26Semiconductor Energy Laboratory Co., Ltd.Semiconductor device and method for manufacturing the same
US8823082B2 (en)2010-08-192014-09-02Semiconductor Energy Laboratory Co., Ltd.Semiconductor device
US8822989B2 (en)2011-09-222014-09-02Semiconductor Energy Laboratory Co., Ltd.Semiconductor device
US8822991B2 (en)2009-02-052014-09-02Semiconductor Energy Laboratory Co., Ltd.Transistor and method for manufacturing the transistor
US8824192B2 (en)2011-05-062014-09-02Semiconductor Energy Laboratory Co., Ltd.Semiconductor device
US8823092B2 (en)2010-11-302014-09-02Semiconductor Energy Laboratory Co., Ltd.Semiconductor device and manufacturing method thereof
US8823754B2 (en)2010-04-092014-09-02Semiconductor Energy Laboratory Co., Ltd.Liquid crystal display device and method for driving the same
US8824194B2 (en)2011-05-202014-09-02Semiconductor Energy Laboratory Co., Ltd.Semiconductor device and method for driving the same
US8824193B2 (en)2011-05-182014-09-02Semiconductor Energy Laboratory Co., Ltd.Semiconductor storage device
US8829512B2 (en)2010-12-282014-09-09Semiconductor Energy Laboratory Co., Ltd.Semiconductor device and method for manufacturing the same
US8829528B2 (en)2011-11-252014-09-09Semiconductor Energy Laboratory Co., Ltd.Semiconductor device including groove portion extending beyond pixel electrode
US8829586B2 (en)2010-02-052014-09-09Semiconductor Energy Laboratory Co., Ltd.Semiconductor device and method for manufacturing semiconductor device having oxide semiconductor layer
US8828794B2 (en)2011-03-112014-09-09Semiconductor Energy Laboratory Co., Ltd.Method of manufacturing semiconductor device
US8828811B2 (en)2010-04-232014-09-09Semiconductor Energy Laboratory Co., Ltd.Manufacturing method of semiconductor device comprising steps of forming oxide semiconductor film, performing heat treatment on the oxide semiconductor film, and performing oxygen doping treatment on the oxide semiconductor film after the heat treatment
US8837203B2 (en)2011-05-192014-09-16Semiconductor Energy Laboratory Co., Ltd.Semiconductor device
US8836555B2 (en)2012-01-182014-09-16Semiconductor Energy Laboratory Co., Ltd.Circuit, sensor circuit, and semiconductor device using the sensor circuit
US8835918B2 (en)2011-09-162014-09-16Semiconductor Energy Laboratory Co., Ltd.Semiconductor device
US8835214B2 (en)2010-09-032014-09-16Semiconductor Energy Laboratory Co., Ltd.Sputtering target and method for manufacturing semiconductor device
US8837202B2 (en)2010-09-292014-09-16Semiconductor Energy Laboratory Co., Ltd.Semiconductor memory device and method for driving the same
US8835917B2 (en)2010-09-132014-09-16Semiconductor Energy Laboratory Co., Ltd.Semiconductor device, power diode, and rectifier
US8836626B2 (en)2011-07-152014-09-16Semiconductor Energy Laboratory Co., Ltd.Semiconductor device and method for driving the same
US8841664B2 (en)2011-03-042014-09-23Semiconductor Energy Laboratory Co., Ltd.Semiconductor device
US8841675B2 (en)2011-09-232014-09-23Semiconductor Energy Laboratory Co., Ltd.Minute transistor
US8848464B2 (en)2011-04-292014-09-30Semiconductor Energy Laboratory Co., Ltd.Semiconductor device and method of driving semiconductor device
US8847220B2 (en)2011-07-152014-09-30Semiconductor Energy Laboratory Co., Ltd.Semiconductor device
US8847233B2 (en)2011-05-122014-09-30Semiconductor Energy Laboratory Co., Ltd.Semiconductor device having a trenched insulating layer coated with an oxide semiconductor film
US8847627B2 (en)2011-05-202014-09-30Semiconductor Energy Laboratory Co., Ltd.Semiconductor device
US8846459B2 (en)2011-10-242014-09-30Semiconductor Energy Laboratory Co., Ltd.Semiconductor device and method for manufacturing the same
US8848449B2 (en)2011-05-202014-09-30Semiconductor Energy Laboratory Co., Ltd.Memory device and method for driving memory device
US8854865B2 (en)2010-11-242014-10-07Semiconductor Energy Laboratory Co., Ltd.Semiconductor memory device
US8854583B2 (en)2010-04-122014-10-07Semiconductor Energy Laboratory Co., Ltd.Semiconductor device and liquid crystal display device
US8853684B2 (en)2010-05-212014-10-07Semiconductor Energy Laboratory Co., Ltd.Semiconductor device
US8854867B2 (en)2011-04-132014-10-07Semiconductor Energy Laboratory Co., Ltd.Memory device and driving method of the memory device
US8854286B2 (en)2009-10-162014-10-07Semiconductor Energy Laboratory Co., Ltd.Liquid crystal display device and electronic device including the liquid crystal display device
US8853697B2 (en)2012-03-012014-10-07Semiconductor Energy Laboratory Co., Ltd.Semiconductor device
US8853690B2 (en)2009-04-162014-10-07Semiconductor Energy Laboratory Co., Ltd.Semiconductor device with oxide semiconductor layer
US8860022B2 (en)2012-04-272014-10-14Semiconductor Energy Laboratory Co., Ltd.Oxide semiconductor film and semiconductor device
US8861288B2 (en)2011-12-232014-10-14Semiconductor Energy Laboratory Co., Ltd.Level-shift circuit and semiconductor integrated circuit
US8860021B2 (en)2011-12-232014-10-14Semiconductor Energy Laboratory Co., Ltd.Semiconductor element, method for manufacturing the semiconductor element, and semiconductor device including the semiconductor element
US8859330B2 (en)2011-03-232014-10-14Semiconductor Energy Laboratory Co., Ltd.Method for manufacturing semiconductor device
US8860023B2 (en)2012-05-012014-10-14Semiconductor Energy Laboratory Co., Ltd.Semiconductor device
US8865534B2 (en)2010-04-232014-10-21Semiconductor Energy Laboratory Co., Ltd.Method for manufacturing semiconductor device
US8865555B2 (en)2011-01-262014-10-21Semiconductor Energy Laboratory Co., Ltd.Semiconductor device and manufacturing method thereof
US8866510B2 (en)2012-05-022014-10-21Semiconductor Energy Laboratory Co., Ltd.Semiconductor device
US8872120B2 (en)2012-08-232014-10-28Semiconductor Energy Laboratory Co., Ltd.Imaging device and method for driving the same
US8871304B2 (en)2010-11-022014-10-28Ube Industries, Ltd.(Amide amino alkane) metal compound, method of manufacturing metal-containing thin film using said metal compound
US8872179B2 (en)2011-11-302014-10-28Semiconductor Energy Laboratory Co., Ltd.Semiconductor device
US8872174B2 (en)2012-06-012014-10-28Semiconductor Energy Laboratory Co., Ltd.Light-emitting device
US8871565B2 (en)2010-09-132014-10-28Semiconductor Energy Laboratory Co., Ltd.Method for manufacturing semiconductor device
US8873308B2 (en)2012-06-292014-10-28Semiconductor Energy Laboratory Co., Ltd.Signal processing circuit
US8878177B2 (en)2011-11-112014-11-04Semiconductor Energy Laboratory Co., Ltd.Semiconductor device and method for manufacturing semiconductor device
US8879010B2 (en)2010-01-242014-11-04Semiconductor Energy Laboratory Co., Ltd.Display device
US8878172B2 (en)2008-10-242014-11-04Semiconductor Energy Laboratory Co., Ltd.Oxide semiconductor, thin film transistor, and display device
US8878173B2 (en)2010-07-022014-11-04Semiconductor Energy Laboratory Co., Ltd.Semiconductor device including oxide semiconductor and metal oxide
US8878574B2 (en)2012-08-102014-11-04Semiconductor Energy Laboratory Co., Ltd.Method for driving semiconductor device
US8878174B2 (en)2011-04-152014-11-04Semiconductor Energy Laboratory Co., Ltd.Semiconductor element, memory circuit, integrated circuit, and driving method of the integrated circuit
US8878270B2 (en)2011-04-152014-11-04Semiconductor Energy Laboratory Co., Ltd.Semiconductor memory device
US8878288B2 (en)2011-04-222014-11-04Semiconductor Energy Laboratory Co., Ltd.Semiconductor device
US8884282B2 (en)2010-04-022014-11-11Semiconductor Energy Laboratory Co., Ltd.Semiconductor device
US8884283B2 (en)2010-06-042014-11-11Semiconductor Energy Laboratory Co., LtdMemory semiconductor device having aligned side surfaces
US8884651B2 (en)2009-10-162014-11-11Semiconductor Energy Laboratory Co., Ltd.Logic circuit and semiconductor device
US8885437B2 (en)2011-12-022014-11-11Semiconductor Energy Laboratory Co., Ltd.Storage device and driving method thereof
US8883556B2 (en)2010-12-282014-11-11Semiconductor Energy Laboratory Co., Ltd.Semiconductor device and manufacturing method thereof
US8883555B2 (en)2010-08-252014-11-11Semiconductor Energy Laboratory Co., Ltd.Electronic device, manufacturing method of electronic device, and sputtering target
US8884284B2 (en)2011-12-232014-11-11Semiconductor Energy Laboratory Co., Ltd.Semiconductor device and manufacturing method thereof
US8884294B2 (en)2010-06-112014-11-11Semiconductor Energy Laboratory Co., Ltd.Semiconductor device and method for manufacturing the same
US8884470B2 (en)2010-09-132014-11-11Semiconductor Energy Laboratory Co., Ltd.Semiconductor device
US8890152B2 (en)2011-06-172014-11-18Semiconductor Energy Laboratory Co., Ltd.Semiconductor device and manufacturing method thereof
US8890150B2 (en)2011-01-272014-11-18Semiconductor Energy Laboratory Co., Ltd.Semiconductor device
US8890555B2 (en)2010-04-282014-11-18Semiconductor Energy Laboratory Co., Ltd.Method for measuring transistor
US8890159B2 (en)2012-08-032014-11-18Semiconductor Energy Laboratory Co., Ltd.Oxide semiconductor stacked film and semiconductor device
US8891285B2 (en)2011-06-102014-11-18Semiconductor Energy Laboratory Co., Ltd.Semiconductor memory device
US8889477B2 (en)2011-06-082014-11-18Semiconductor Energy Laboratory Co., Ltd.Method for forming thin film utilizing sputtering target
US8894825B2 (en)2010-12-172014-11-25Semiconductor Energy Laboratory Co., Ltd.Sputtering target, method for manufacturing the same, manufacturing semiconductor device
US8897049B2 (en)2011-05-132014-11-25Semiconductor Energy Laboratories Co., Ltd.Semiconductor device and memory device including semiconductor device
US8896345B2 (en)2012-04-302014-11-25Semiconductor Energy Laboratory Co., Ltd.Semiconductor device
US8895375B2 (en)2010-06-012014-11-25Semiconductor Energy Laboratory Co., Ltd.Field effect transistor and method for manufacturing the same
US8895976B2 (en)2010-06-252014-11-25Semiconductor Energy Laboratory Co., Ltd.Transistor and semiconductor device
US8896046B2 (en)2010-11-052014-11-25Semiconductor Energy Laboratory Co., Ltd.Semiconductor device
US8900916B2 (en)2009-07-102014-12-02Semiconductor Energy Laboratory Co., Ltd.Method for manufacturing semiconductor device including oxide semiconductor film
US8902637B2 (en)2010-11-082014-12-02Semiconductor Energy Laboratory Co., Ltd.Semiconductor memory device comprising inverting amplifier circuit and driving method thereof
US8901556B2 (en)2012-04-062014-12-02Semiconductor Energy Laboratory Co., Ltd.Insulating film, method for manufacturing semiconductor device, and semiconductor device
US8901558B2 (en)2012-11-152014-12-02Semiconductor Energy Laboratory Co., Ltd.Thin film transistor having multiple gates
US8902209B2 (en)2010-09-102014-12-02Semiconductor Energy Laboatory Co., Ltd.Display device
US8901557B2 (en)2012-06-152014-12-02Semiconductor Energy Laboratory Co., Ltd.Semiconductor device
US8901554B2 (en)2011-06-172014-12-02Semiconductor Energy Laboratory Co., Ltd.Semiconductor device including channel formation region including oxide semiconductor
US8901552B2 (en)2010-09-132014-12-02Semiconductor Energy Laboratory Co., Ltd.Top gate thin film transistor with multiple oxide semiconductor layers
US8906756B2 (en)2010-05-212014-12-09Semiconductor Energy Laboratory Co., Ltd.Method for manufacturing semiconductor device
US8906737B2 (en)2010-06-182014-12-09Semiconductor Energy Laboratory Co., Ltd.Method for manufacturing semiconductor device
US8907392B2 (en)2011-12-222014-12-09Semiconductor Energy Laboratory Co., Ltd.Semiconductor memory device including stacked sub memory cells
US8912016B2 (en)2010-06-252014-12-16Semiconductor Energy Laboratory Co., Ltd.Manufacturing method and test method of semiconductor device
US8912985B2 (en)2011-05-122014-12-16Semiconductor Energy Laboratory Co., Ltd.Method for driving display device
US8913050B2 (en)2007-07-252014-12-16Semiconductor Energy Laboratory Co., Ltd.Photoelectric conversion device and electronic device having the same
US8912080B2 (en)2011-01-122014-12-16Semiconductor Energy Laboratory Co., Ltd.Manufacturing method of the semiconductor device
US8912596B2 (en)2011-07-152014-12-16Semiconductor Energy Laboratory Co., Ltd.Semiconductor device
US8916865B2 (en)2010-06-182014-12-23Semiconductor Energy Laboratory Co., Ltd.Semiconductor device
US8916868B2 (en)2011-04-222014-12-23Semiconductor Energy Laboratory Co., Ltd.Semiconductor device and method for manufacturing semiconductor device
US8916866B2 (en)2010-11-032014-12-23Semiconductor Energy Laboratory Co., Ltd.Semiconductor device
US8916867B2 (en)2011-01-202014-12-23Semiconductor Energy Laboratory Co., Ltd.Oxide semiconductor element and semiconductor device
US8916424B2 (en)2012-02-072014-12-23Semiconductor Energy Laboratory Co., Ltd.Method for manufacturing semiconductor device
US8921853B2 (en)2012-11-162014-12-30Semiconductor Energy Laboratory Co., Ltd.Thin film transistor having oxide semiconductor layer
US8921948B2 (en)2011-01-122014-12-30Semiconductor Energy Laboratory Co., Ltd.Semiconductor device and manufacturing method thereof
US8922182B2 (en)2009-12-042014-12-30Semiconductor Energy Laboratory Co., Ltd.DC converter circuit and power supply circuit
US8921849B2 (en)2011-09-152014-12-30Semiconductor Energy Laboratory Co., Ltd.Insulated-gate field-effect transistor
US8928645B2 (en)2010-05-212015-01-06Semiconductor Energy Laboratory Co., Ltd.Liquid crystal display device
US8927351B2 (en)2009-11-062015-01-06Semiconductor Energy Laboratory Co., Ltd.Method for manufacturing semiconductor device
US8927985B2 (en)2012-09-202015-01-06Semiconductor Energy Laboratory Co., Ltd.Semiconductor device
US8928053B2 (en)2010-08-272015-01-06Semiconductor Energy Laboratory Co., Ltd.Input/output device
US8927982B2 (en)2011-03-182015-01-06Semiconductor Energy Laboratory Co., Ltd.Oxide semiconductor film, semiconductor device, and manufacturing method of semiconductor device
US8929128B2 (en)2012-05-172015-01-06Semiconductor Energy Laboratory Co., Ltd.Storage device and writing method of the same
US8927329B2 (en)2011-03-302015-01-06Semiconductor Energy Laboratory Co., Ltd.Method for manufacturing oxide semiconductor device with improved electronic properties
US8928466B2 (en)2010-08-042015-01-06Semiconductor Energy Laboratory Co., Ltd.Semiconductor device
US8929161B2 (en)2011-04-212015-01-06Semiconductor Energy Laboratory Co., Ltd.Signal processing circuit
US8927990B2 (en)2011-10-212015-01-06Semiconductor Energy Laboratory Co., Ltd.Semiconductor device and manufacturing method thereof
US8932913B2 (en)2011-04-222015-01-13Semiconductor Energy Laboratory Co., Ltd.Manufacturing method of semiconductor device
US8932903B2 (en)2012-05-102015-01-13Semiconductor Energy Laboratory Co., Ltd.Method for forming wiring, semiconductor device, and method for manufacturing semiconductor device
US8936965B2 (en)2010-11-262015-01-20Semiconductor Energy Laboratory Co., Ltd.Semiconductor device and manufacturing method thereof
US8937304B2 (en)2011-01-282015-01-20Semiconductor Energy Laboratory Co., Ltd.Semiconductor device and electronic device
US8937307B2 (en)2012-08-102015-01-20Semiconductor Energy Laboratory Co., Ltd.Semiconductor device
US8937305B2 (en)2011-10-242015-01-20Semiconductor Energy Laboratory Co., Ltd.Semiconductor device
US8941112B2 (en)2010-12-282015-01-27Semiconductor Energy Laboratory Co., Ltd.Semiconductor device and method for manufacturing the same
US8941114B2 (en)2008-09-122015-01-27Semiconductor Energy Laboratory Co., Ltd.Display device including protective circuit
US8941113B2 (en)2012-03-302015-01-27Semiconductor Energy Laboratory Co., Ltd.Semiconductor element, semiconductor device, and manufacturing method of semiconductor element
US8941127B2 (en)2010-03-312015-01-27Semiconductor Energy Laboratory Co., Ltd.Field-sequential display device
US8941790B2 (en)2010-05-212015-01-27Semiconductor Energy Laboratory Co., Ltd.Liquid crystal display device
US8941958B2 (en)2011-04-222015-01-27Semiconductor Energy Laboratory Co., Ltd.Semiconductor device
US8945981B2 (en)2008-07-312015-02-03Semiconductor Energy Laboratory Co., Ltd.Semiconductor device and manufacturing method thereof
US8947910B2 (en)2011-05-112015-02-03Semiconductor Energy Laboratory Co., Ltd.Semiconductor device comprising inverters and capacitor, and driving method thereof
US8947155B2 (en)2012-04-062015-02-03Semiconductor Energy Laboratory Co., Ltd.Solid-state relay
US8947121B2 (en)2013-03-122015-02-03Semiconductor Energy Laboratory Co., Ltd.Programmable logic device
US8947406B2 (en)2010-01-202015-02-03Semiconductor Energy Laboratory Co., Ltd.Display method of display device
US8945982B2 (en)2010-04-232015-02-03Semiconductor Energy Laboratory Co., Ltd.Manufacturing method of semiconductor device
US8947158B2 (en)2012-09-032015-02-03Semiconductor Energy Laboratory Co., Ltd.Semiconductor device and electronic device
US8946066B2 (en)2011-05-112015-02-03Semiconductor Energy Laboratory Co., Ltd.Method of manufacturing semiconductor device
US8946790B2 (en)2011-06-102015-02-03Semiconductor Energy Laboratory Co., Ltd.Semiconductor device and method of manufacturing the same
US8946812B2 (en)2011-07-212015-02-03Semiconductor Energy Laboratory Co., Ltd.Semiconductor device and manufacturing method thereof
US8946702B2 (en)2012-04-132015-02-03Semiconductor Energy Laboratory Co., Ltd.Semiconductor device
US8952377B2 (en)2011-07-082015-02-10Semiconductor Energy Laboratory Co., Ltd.Semiconductor device and manufacturing method thereof
US8952379B2 (en)2011-09-162015-02-10Semiconductor Energy Laboratory Co., Ltd.Semiconductor device
US8952723B2 (en)2013-02-132015-02-10Semiconductor Energy Laboratory Co., Ltd.Programmable logic device and semiconductor device
US8952380B2 (en)2011-10-272015-02-10Semiconductor Energy Laboratory Co., Ltd.Semiconductor device and electronic device
US8952722B2 (en)2012-10-172015-02-10Semiconductor Energy Laboratory Co., Ltd.Programmable logic device and method for driving programmable logic device
US8952995B2 (en)2009-09-162015-02-10Semiconductor Energy Laboratory Co., Ltd.Driving method of display device and display device
US8952381B2 (en)2012-06-292015-02-10Semiconductor Energy Laboratory Co., Ltd.Semiconductor device
US8952728B2 (en)2010-08-272015-02-10Semiconductor Energy Laboratory Co., Ltd.Semiconductor device and method of driving semiconductor device
US8951899B2 (en)2011-11-252015-02-10Semiconductor Energy LaboratoryMethod for manufacturing semiconductor device
US8953112B2 (en)2010-09-152015-02-10Semiconductor Energy Laboratory Co., Ltd.Liquid crystal display device
US8957468B2 (en)2010-11-052015-02-17Semiconductor Energy Laboratory Co., Ltd.Variable capacitor and liquid crystal display device
US8956929B2 (en)2011-11-302015-02-17Semiconductor Energy Laboratory Co., Ltd.Method for manufacturing semiconductor device
US8957462B2 (en)2010-12-092015-02-17Semiconductor Energy Laboratory Co., Ltd.Semiconductor device comprising an N-type transistor with an N-type semiconductor containing nitrogen as a gate
US8958231B2 (en)2011-06-092015-02-17Semiconductor Energy Laboratory Co., Ltd.Memory device including first to seventh transistors
US8958263B2 (en)2011-06-102015-02-17Semiconductor Energy Laboratory Co., Ltd.Semiconductor device
US8956944B2 (en)2011-03-252015-02-17Semiconductor Energy Laboratory Co., Ltd.Semiconductor device and method for manufacturing the same
US8956912B2 (en)2012-01-262015-02-17Semiconductor Energy Laboratory Co., Ltd.Method for manufacturing semiconductor device
US8962386B2 (en)2011-11-252015-02-24Semiconductor Energy Laboratory Co., Ltd.Semiconductor device and method for manufacturing the same
US8963517B2 (en)2009-10-212015-02-24Semiconductor Energy Laboratory Co., Ltd.Voltage regulator circuit comprising transistor which includes an oixide semiconductor
US8964450B2 (en)2011-05-202015-02-24Semiconductor Energy Laboratory Co., Ltd.Memory device and signal processing circuit
US8963148B2 (en)2012-11-152015-02-24Semiconductor Energy Laboratory Co., Ltd.Semiconductor device
US8969130B2 (en)2011-11-182015-03-03Semiconductor Energy Laboratory Co., Ltd.Insulating film, formation method thereof, semiconductor device, and manufacturing method thereof
US8970251B2 (en)2012-05-022015-03-03Semiconductor Energy Laboratory Co., Ltd.Programmable logic device
US8969867B2 (en)2012-01-182015-03-03Semiconductor Energy Laboratory Co., Ltd.Semiconductor device
US8969182B2 (en)2011-04-272015-03-03Semiconductor Energy Laboratory Co., Ltd.Manufacturing method of semiconductor device
US8975634B2 (en)2011-10-072015-03-10Semiconductor Energy Laboratory Co., Ltd.Semiconductor device including oxide semiconductor film
US8975917B2 (en)2012-03-012015-03-10Semiconductor Energy Laboratory Co., Ltd.Programmable logic device
US8975930B2 (en)2012-08-102015-03-10Semiconductor Energy Laboratory Co., Ltd.Semiconductor device and method for driving semiconductor device
US8975680B2 (en)2011-02-172015-03-10Semiconductor Energy Laboratory Co., Ltd.Semiconductor memory device and method manufacturing semiconductor memory device
US8975695B2 (en)2013-04-192015-03-10Semiconductor Energy Laboratory Co., Ltd.Display device
US8981372B2 (en)2012-09-132015-03-17Semiconductor Energy Laboratory Co., Ltd.Display device and electronic appliance
US8982607B2 (en)2011-09-302015-03-17Semiconductor Energy Laboratory Co., Ltd.Memory element and signal processing circuit
US8981374B2 (en)2013-01-302015-03-17Semiconductor Energy Laboratory Co., Ltd.Semiconductor device
US8981376B2 (en)2012-08-022015-03-17Semiconductor Energy Laboratory Co., Ltd.Semiconductor device
US8982589B2 (en)2010-03-022015-03-17Semiconductor Energy Laboratory Co., Ltd.Boosting circuit and RFID tag including boosting circuit
US8981367B2 (en)2011-12-012015-03-17Semiconductor Energy Laboratory Co., Ltd.Semiconductor device
US8981370B2 (en)2012-03-082015-03-17Semiconductor Energy Laboratory Co., Ltd.Semiconductor device
US20150078526A1 (en)*2013-09-132015-03-19U.S.A. Represented By The Administrator Of The National Aeronautics And Space AdministrationX-ray Diffraction (XRD) Characterization Methods for Sigma=3 Twin Defects in Cubic Semiconductor (100) Wafers
US8988116B2 (en)2011-12-232015-03-24Semiconductor Energy Laboratory Co., Ltd.Method for driving semiconductor device
US8987728B2 (en)2011-03-252015-03-24Semiconductor Energy Laboratory Co., Ltd.Semiconductor device and method of manufacturing semiconductor device
US8988152B2 (en)2012-02-292015-03-24Semiconductor Energy Laboratory Co., Ltd.Semiconductor device
US8987730B2 (en)2012-02-032015-03-24Semiconductor Energy Laboratory Co., Ltd.Semiconductor device
US8988625B2 (en)2011-11-112015-03-24Semiconductor Energy Laboratory Co., Ltd.Display device and manufacturing method thereof
US8987731B2 (en)2012-05-312015-03-24Semiconductor Energy Laboratory Co., Ltd.Semiconductor device and method for manufacturing the same
US8987727B2 (en)2011-01-282015-03-24Semiconductor Energy Laboratory Co., Ltd.Method for manufacturing semiconductor device and semiconductor device
US20150084044A1 (en)2013-09-232015-03-26Semiconductor Energy Laboratory Co., Ltd.Semiconductor device
US8995607B2 (en)2012-05-312015-03-31Semiconductor Energy Laboratory Co., Ltd.Pulse signal output circuit and shift register
US8994891B2 (en)2012-05-162015-03-31Semiconductor Energy Laboratory Co., Ltd.Semiconductor device and touch panel
US8995218B2 (en)2012-03-072015-03-31Semiconductor Energy Laboratory Co., Ltd.Semiconductor device
US8994003B2 (en)2010-09-222015-03-31Semiconductor Energy Laboratory Co., Ltd.Power-insulated-gate field-effect transistor
US8994019B2 (en)2011-08-052015-03-31Semiconductor Energy Laboratory Co., Ltd.Semiconductor device
US9001959B2 (en)2011-08-292015-04-07Semiconductor Energy Laboratory Co., Ltd.Semiconductor device
US9001563B2 (en)2011-04-292015-04-07Semiconductor Energy Laboratory Co., Ltd.Semiconductor device and driving method thereof
US8999773B2 (en)2012-04-052015-04-07Semiconductor Energy Laboratory Co., Ltd.Processing method of stacked-layer film and manufacturing method of semiconductor device
US9006736B2 (en)2013-07-122015-04-14Semiconductor Energy Laboratory Co., Ltd.Semiconductor device
US9007093B2 (en)2012-05-302015-04-14Semiconductor Energy Laboratory Co., Ltd.Programmable logic device
US9007092B2 (en)2013-03-222015-04-14Semiconductor Energy Laboratory Co., Ltd.Semiconductor device
US9007812B2 (en)2010-09-142015-04-14Semiconductor Energy Laboratory Co., Ltd.Memory device comprising a cell array overlapping a driver circuit
US9006733B2 (en)2012-01-262015-04-14Semiconductor Energy Laboratory Co., Ltd.Semiconductor device and method for manufacturing thereof
US9006803B2 (en)2011-04-222015-04-14Semiconductor Energy Laboratory Co., Ltd.Semiconductor device and method for manufacturing thereof
US9007090B2 (en)2012-05-012015-04-14Semiconductor Energy Laboratory Co., Ltd.Method of driving semiconductor device
US9007816B2 (en)2011-11-252015-04-14Semiconductor Energy Laboratory Co., Ltd.Memory circuit and memory device
US9006635B2 (en)2012-09-122015-04-14Semiconductor Energy Laboratory Co., Ltd.Photodetector circuit and semiconductor device
US9006024B2 (en)2012-04-252015-04-14Semiconductor Energy Laboratory Co., Ltd.Method for manufacturing semiconductor device
US9012993B2 (en)2011-07-222015-04-21Semiconductor Energy Laboratory Co., Ltd.Semiconductor device
US9012904B2 (en)2011-03-252015-04-21Semiconductor Energy Laboratory Co., Ltd.Semiconductor device and method for manufacturing the same
US9012905B2 (en)2011-04-082015-04-21Semiconductor Energy Laboratory Co., Ltd.Semiconductor device including transistor comprising oxide semiconductor and method for manufacturing the same
US9012913B2 (en)2012-01-102015-04-21Semiconductor Energy Laboratory Co., Ltd.Semiconductor device and method for manufacturing semiconductor device
US9018629B2 (en)2011-10-132015-04-28Semiconductor Energy Laboratory Co., Ltd.Semiconductor device and method for manufacturing semiconductor device
US9018624B2 (en)2012-09-132015-04-28Semiconductor Energy Laboratory Co., Ltd.Display device and electronic appliance
US9019320B2 (en)2010-04-282015-04-28Semiconductor Energy Laboratory Co., Ltd.Liquid crystal display device and electronic appliance
US9023684B2 (en)2011-03-042015-05-05Semiconductor Energy Laboratory Co., Ltd.Semiconductor device and manufacturing method thereof
US9024317B2 (en)2010-12-242015-05-05Semiconductor Energy Laboratory Co., Ltd.Semiconductor circuit, method for driving the same, storage device, register circuit, display device, and electronic device
US9030105B2 (en)2011-04-012015-05-12Semiconductor Energy Laboratory Co., Ltd.Light-emitting device
US9029863B2 (en)2012-04-202015-05-12Semiconductor Energy Laboratory Co., Ltd.Semiconductor device and method for manufacturing the same
US9029852B2 (en)2011-09-292015-05-12Semiconductor Energy Laboratory Co., Ltd.Semiconductor device
US9030232B2 (en)2012-04-132015-05-12Semiconductor Energy Laboratory Co., Ltd.Isolator circuit and semiconductor device
US9035301B2 (en)2013-06-192015-05-19Semiconductor Energy Laboratory Co., Ltd.Imaging device
US9042161B2 (en)2010-09-132015-05-26Semiconductor Energy Laboratory Co., Ltd.Memory device
US9040981B2 (en)2012-01-202015-05-26Semiconductor Energy Laboratory Co., Ltd.Semiconductor device
US9041442B2 (en)2012-05-092015-05-26Semiconductor Energy Laboratory Co., Ltd.Semiconductor device and method for driving the same
US9041449B2 (en)2011-04-292015-05-26Semiconductor Energy Laboratory Co., Ltd.Semiconductor storage device
US9040984B2 (en)2012-11-152015-05-26Semiconductor Energy Laboratory Co., Ltd.Transistor with ZrO or HfO gate insulator sandwiched between two SiO or AIO gate insulators over an oxide semiconductor film
US9048321B2 (en)2011-12-022015-06-02Semiconductor Energy Laboratory Co., Ltd.Semiconductor device and manufacturing method thereof
US9048788B2 (en)2011-05-132015-06-02Semiconductor Energy Laboratory Co., Ltd.Semiconductor device comprising a photoelectric conversion portion
US9048832B2 (en)2013-02-132015-06-02Semiconductor Energy Laboratory Co., Ltd.Programmable logic device and semiconductor device
US9048094B2 (en)2009-09-242015-06-02Semiconductor Energy Laboratory Co., Ltd.Method for manufacturing semiconductor device comprising forming oxide semiconductor by sputtering
US9048105B2 (en)2011-05-202015-06-02Semiconductor Energy Laboratory Co., Ltd.Semiconductor integrated circuit
US9048323B2 (en)2012-04-302015-06-02Semiconductor Energy Laboratory Co., Ltd.Semiconductor device
US9047836B2 (en)2009-12-242015-06-02Semiconductor Energy Laboratory Co., Ltd.Display device and electronic device
US9048324B2 (en)2012-05-102015-06-02Semiconductor Energy Laboratory Co., Ltd.Semiconductor device
US9048142B2 (en)2010-12-282015-06-02Semiconductor Energy Laboratory Co., Ltd.Semiconductor device
US9048265B2 (en)2012-05-312015-06-02Semiconductor Energy Laboratory Co., Ltd.Method for manufacturing semiconductor device comprising oxide semiconductor layer
US9047947B2 (en)2011-05-132015-06-02Semiconductor Energy Laboratory Co., Ltd.Semiconductor device including register components
US9054200B2 (en)2012-04-132015-06-09Semiconductor Energy Laboratory Co., Ltd.Semiconductor device
US9055245B2 (en)2011-09-222015-06-09Semiconductor Energy Laboratory Co., Ltd.Photodetector including difference data generation circuit and data input selection circuit
US9054678B2 (en)2012-07-062015-06-09Semiconductor Energy Laboratory Co., Ltd.Semiconductor device and driving method thereof
US9053675B2 (en)2011-11-112015-06-09Semiconductor Energy Laboratory Co., Ltd.Signal line driver circuit and liquid crystal display device
US9059704B2 (en)2011-05-312015-06-16Semiconductor Energy Laboratory Co., Ltd.Programmable logic device
US9059295B2 (en)2010-04-022015-06-16Semiconductor Energy Laboratory Co., Ltd.Thin film transistor having an oxide semiconductor and metal oxide films
US9058892B2 (en)2012-03-142015-06-16Semiconductor Energy Laboratory Co., Ltd.Semiconductor device and shift register
US9059219B2 (en)2012-06-272015-06-16Semiconductor Energy Laboratory Co., Ltd.Semiconductor device and method for manufacturing semiconductor device
US9059689B2 (en)2013-01-242015-06-16Semiconductor Energy Laboratory Co., Ltd.Semiconductor device including flip-flop and logic circuit
US9058047B2 (en)2010-08-262015-06-16Semiconductor Energy Laboratory Co., Ltd.Semiconductor device
US9059029B2 (en)2012-03-052015-06-16Semiconductor Energy Laboratory Co., Ltd.Semiconductor memory device
US9057126B2 (en)2011-11-292015-06-16Semiconductor Energy Laboratory Co., Ltd.Method for manufacturing sputtering target and method for manufacturing semiconductor device
US9064473B2 (en)2010-05-122015-06-23Semiconductor Energy Laboratory Co., Ltd.Electro-optical display device and display method thereof
US9064966B2 (en)2012-12-282015-06-23Semiconductor Energy Laboratory Co., Ltd.Semiconductor device with oxide semiconductor
US9064853B2 (en)2011-08-192015-06-23Semiconductor Energy Laboratory Co., Ltd.Semiconductor device and method for manufacturing the same
US9064884B2 (en)2010-06-042015-06-23Semiconductor Energy Laboratory Co., Ltd.Semiconductor device having aligned side surfaces
US9065438B2 (en)2013-06-182015-06-23Semiconductor Energy Laboratory Co., Ltd.Programmable logic device
US9064574B2 (en)2012-11-062015-06-23Semiconductor Energy Laboratory Co., Ltd.Semiconductor device and driving method thereof
US9064596B2 (en)2013-02-122015-06-23Semiconductor Energy Laboratory Co., Ltd.Semiconductor device
US9070778B2 (en)2011-12-202015-06-30Semiconductor Energy Laboratory Co., Ltd.Semiconductor device and method for manufacturing semiconductor device
US9070776B2 (en)2011-04-152015-06-30Semiconductor Energy Laboratory Co., Ltd.Semiconductor device and driving method thereof
US9076874B2 (en)2011-06-172015-07-07Semiconductor Energy Laboratory Co., Ltd.Semiconductor device and method for manufacturing the same
US9076825B2 (en)2013-01-302015-07-07Semiconductor Energy Laboratory Co., Ltd.Semiconductor device and method for manufacturing the semiconductor device
US9076505B2 (en)2011-12-092015-07-07Semiconductor Energy Laboratory Co., Ltd.Memory device
US9076871B2 (en)2011-11-302015-07-07Semiconductor Energy Laboratory Co., Ltd.Semiconductor device and method for manufacturing the same
US9082858B2 (en)2010-02-192015-07-14Semiconductor Energy Laboratory Co., Ltd.Transistor including an oxide semiconductor and display device using the same
US9082670B2 (en)2011-09-092015-07-14Semiconductor Energy Laboratory Co., Ltd.Semiconductor device
US9082663B2 (en)2011-09-162015-07-14Semiconductor Energy Laboratory Co., Ltd.Semiconductor device and manufacturing method thereof
US9083327B2 (en)2012-07-062015-07-14Semiconductor Energy Laboratory Co., Ltd.Semiconductor device and method of driving semiconductor device
US9082863B2 (en)2012-08-102015-07-14Semiconductor Energy Laboratory Co., Ltd.Semiconductor device and manufacturing method thereof
US9082860B2 (en)2011-03-312015-07-14Semiconductor Energy Laboratory Co., Ltd.Semiconductor device
US9082676B2 (en)2012-03-092015-07-14Semiconductor Energy Laboratory Co., Ltd.Method for driving semiconductor device
US9082861B2 (en)2011-11-112015-07-14Semiconductor Energy Laboratory Co., Ltd.Transistor with oxide semiconductor channel having protective layer
US9083335B2 (en)2011-08-242015-07-14Semiconductor Energy Laboratory Co., Ltd.Semiconductor device with switch and logic circuit
US9087744B2 (en)2010-11-052015-07-21Semiconductor Energy Laboratory Co., Ltd.Semiconductor device and method for driving transistor
US9088269B2 (en)2013-03-142015-07-21Semiconductor Energy Laboratory Co., Ltd.Semiconductor device
US9087700B2 (en)2012-03-142015-07-21Semiconductor Energy Laboratory Co., Ltd.Oxide semiconductor film, transistor, and semiconductor device
US9087726B2 (en)2012-11-162015-07-21Semiconductor Energy Laboratory Co., Ltd.Semiconductor device
US9093539B2 (en)2011-05-132015-07-28Semiconductor Energy Laboratory Co., Ltd.Semiconductor device and method for manufacturing the same
US9094007B2 (en)2013-05-142015-07-28Semiconductor Energy Laboratory Co., Ltd.Signal processing device
US9093538B2 (en)2011-04-082015-07-28Semiconductor Energy Laboratory Co., Ltd.Semiconductor device and method for manufacturing the same
US9093988B2 (en)2012-08-102015-07-28Semiconductor Energy Laboratory Co., Ltd.Semiconductor device and method for driving semiconductor device
US9099885B2 (en)2011-06-172015-08-04Semiconductor Energy Laboratory Co., Ltd.Wireless power feeding system
US9097925B2 (en)2012-07-202015-08-04Semiconductor Energy Laboratory Co., Ltd.Display device
US9099437B2 (en)2011-03-082015-08-04Semiconductor Energy Laboratory Co., Ltd.Semiconductor device
US9099560B2 (en)2012-01-202015-08-04Semiconductor Energy Laboratory Co., Ltd.Semiconductor device and manufacturing method thereof
US9104395B2 (en)2012-05-022015-08-11Semiconductor Energy Laboratory Co., Ltd.Processor and driving method thereof
US9105658B2 (en)2013-01-302015-08-11Semiconductor Energy Laboratory Co., Ltd.Method for processing oxide semiconductor layer
US9105608B2 (en)2011-10-072015-08-11Semiconductor Energy Laboratory Co., Ltd.Semiconductor device and method for manufacturing the same
US9103724B2 (en)2010-11-302015-08-11Semiconductor Energy Laboratory Co., Ltd.Semiconductor device comprising photosensor comprising oxide semiconductor, method for driving the semiconductor device, method for driving the photosensor, and electronic device
US9105609B2 (en)2009-10-302015-08-11Semiconductor Energy Laboratory Co., Ltd.Oxide-based semiconductor non-linear element having gate electrode electrically connected to source or drain electrode
US9105749B2 (en)2011-05-132015-08-11Semiconductor Energy Laboratory Co., Ltd.Semiconductor device and manufacturing method thereof
US9105353B2 (en)2011-05-202015-08-11Semiconductor Energy Laboratory Co., Ltd.Memory device and semiconductor device including the memory device
US9111795B2 (en)2011-04-292015-08-18Semiconductor Energy Laboratory Co., Ltd.Semiconductor device with capacitor connected to memory element through oxide semiconductor film
US9112037B2 (en)2012-02-092015-08-18Semiconductor Energy Laboratory Co., Ltd.Semiconductor device
US9112036B2 (en)2011-06-102015-08-18Semiconductor Energy Laboratory Co., Ltd.Manufacturing method of semiconductor device
US9112460B2 (en)2013-04-052015-08-18Semiconductor Energy Laboratory Co., Ltd.Signal processing device
US9117701B2 (en)2011-05-062015-08-25Semiconductor Energy Laboratory Co., Ltd.Semiconductor device
US9117409B2 (en)2012-03-142015-08-25Semiconductor Energy Laboratory Co., Ltd.Light-emitting display device with transistor and capacitor discharging gate of driving electrode and oxide semiconductor layer
US9117920B2 (en)2011-05-192015-08-25Semiconductor Energy Laboratory Co., Ltd.Method for manufacturing semiconductor device using oxide semiconductor
US9117916B2 (en)2011-10-132015-08-25Semiconductor Energy Laboratory Co., Ltd.Semiconductor device comprising oxide semiconductor film
US9123692B2 (en)2011-11-102015-09-01Semiconductor Energy Laboratory Co., Ltd.Semiconductor device and method of manufacturing semiconductor device
US9123632B2 (en)2011-09-302015-09-01Semiconductor Energy Laboratory Co., Ltd.Semiconductor device
US9130044B2 (en)2011-07-012015-09-08Semiconductor Energy Laboratory Co., Ltd.Semiconductor device and manufacturing method thereof
US9131171B2 (en)2012-02-292015-09-08Semiconductor Energy Laboratory Co., Ltd.Image sensor, camera, surveillance system, and method for driving the image sensor
US9130047B2 (en)2013-07-312015-09-08Semiconductor Energy Laboratory Co., Ltd.Semiconductor device
US9129703B2 (en)2010-08-162015-09-08Semiconductor Energy Laboratory Co., Ltd.Method for driving semiconductor memory device
US9130048B2 (en)2011-12-012015-09-08Semiconductor Energy Laboratory Co., Ltd.Method for manufacturing a thin film semiconductor device
US9129667B2 (en)2012-05-252015-09-08Semiconductor Energy Laboratory Co., Ltd.Semiconductor device and driving method thereof
US9130367B2 (en)2012-11-282015-09-08Semiconductor Energy Laboratory Co., Ltd.Display device
US9135182B2 (en)2012-06-012015-09-15Semiconductor Energy Laboratory Co., Ltd.Central processing unit and driving method thereof
US9136297B2 (en)2011-08-192015-09-15Semiconductor Energy Laboratory Co., Ltd.Method for driving semiconductor device
US9136389B2 (en)2008-10-242015-09-15Semiconductor Energy Laboratory Co., Ltd.Oxide semiconductor, thin film transistor, and display device
US9136388B2 (en)2011-07-222015-09-15Semiconductor Energy Laboratory Co., Ltd.Semiconductor device
US9135880B2 (en)2010-08-162015-09-15Semiconductor Energy Laboratory Co., Ltd.Control circuit of liquid crystal display device, liquid crystal display device, and electronic device including liquid crystal display device
US9142652B2 (en)2012-10-122015-09-22Semiconductor Energy Laboratory Co., Ltd.Method for manufacturing semiconductor device and manufacturing apparatus of semiconductor device
US9142568B2 (en)2010-09-102015-09-22Semiconductor Energy Laboratory Co., Ltd.Method for manufacturing light-emitting display device
US9142681B2 (en)2011-09-262015-09-22Semiconductor Energy Laboratory Co., Ltd.Semiconductor device and method for manufacturing the same
US9142593B2 (en)2013-08-302015-09-22Semiconductor Energy Laboratory Co., Ltd.Display device
US9142320B2 (en)2011-04-082015-09-22Semiconductor Energy Laboratory Co., Ltd.Memory element and signal processing circuit
US9142679B2 (en)2011-12-022015-09-22Semiconductor Energy Laboratory Co., Ltd.Method for manufacturing semiconductor device using oxide semiconductor
US9147768B2 (en)2010-04-022015-09-29Semiconductor Energy Laboratory Co., Ltd.Semiconductor device having an oxide semiconductor and a metal oxide film
US9147706B2 (en)2012-05-292015-09-29Semiconductor Energy Laboratory Co., Ltd.Semiconductor device having sensor circuit having amplifier circuit
US9153313B2 (en)2013-03-262015-10-06Semiconductor Energy Laboratory Co., Ltd.Normally-off, power-gated memory circuit with two data retention stages for reducing overhead power
US9153436B2 (en)2012-10-172015-10-06Semiconductor Energy Laboratory Co., Ltd.Method for manufacturing semiconductor device
US9153649B2 (en)2012-11-302015-10-06Semiconductor Energy Laboratory Co., Ltd.Semiconductor device and method for evaluating semiconductor device
US9153699B2 (en)2012-06-152015-10-06Semiconductor Energy Laboratory Co., Ltd.Thin film transistor with multiple oxide semiconductor layers
US9153650B2 (en)2013-03-192015-10-06Semiconductor Energy Laboratory Co., Ltd.Oxide semiconductor
US9154136B2 (en)2013-03-252015-10-06Semiconductor Energy Laboratory Co., Ltd.Programmable logic device and semiconductor device
US9159838B2 (en)2012-11-162015-10-13Semiconductor Energy Laboratory Co., Ltd.Semiconductor device
US9159837B2 (en)2012-05-102015-10-13Semiconductor Energy Laboratory Co., Ltd.Semiconductor device
US9166192B2 (en)2012-08-282015-10-20Semiconductor Energy Laboratory Co., Ltd.Display device having plural sealants at periphery of pixel portion
US9165632B2 (en)2013-01-242015-10-20Semiconductor Energy Laboratory Co., Ltd.Memory device and semiconductor device
US9166060B2 (en)2013-06-052015-10-20Semiconductor Energy Laboratory Co., Ltd.Semiconductor device
US9165951B2 (en)2013-02-282015-10-20Semiconductor Energy Laboratory Co., Ltd.Semiconductor device
US9166021B2 (en)2012-10-172015-10-20Semiconductor Energy Laboratory Co., Ltd.Semiconductor device and method for manufacturing the same
US9167234B2 (en)2011-02-142015-10-20Semiconductor Energy Laboratory Co., Ltd.Display device
US9166055B2 (en)2011-06-172015-10-20Semiconductor Energy Laboratory Co., Ltd.Semiconductor device and method for manufacturing the same
US9171640B2 (en)2009-10-092015-10-27Semiconductor Energy Laboratory Co., Ltd.Shift register and display device
US9172237B2 (en)2011-05-192015-10-27Semiconductor Energy Laboratory Co., Ltd.Semiconductor integrated circuit
US9172369B2 (en)2013-05-172015-10-27Semiconductor Energy Laboratory Co., Ltd.Programmable logic device and semiconductor device
US9172370B2 (en)2012-12-062015-10-27Semiconductor Energy Laboratory Co., Ltd.Semiconductor device
US9171630B2 (en)2013-03-142015-10-27Semiconductor Energy Laboratory Co., Ltd.Method for driving semiconductor device and semiconductor device
US9171957B2 (en)2012-01-262015-10-27Semiconductor Energy Laboratory Co., Ltd.Semiconductor device and method for manufacturing the same
US9171840B2 (en)2011-05-262015-10-27Semiconductor Energy Laboratory Co., Ltd.Semiconductor device and manufacturing method thereof
US9171938B2 (en)2009-09-242015-10-27Semiconductor Energy Laboratory Co., Ltd.Semiconductor element and method for manufacturing the same
US9178419B2 (en)2010-04-162015-11-03Semiconductor Energy Laboratory Co., Ltd.Power source circuit including transistor with oxide semiconductor
US9176571B2 (en)2012-03-022015-11-03Semiconductor Energy Laboratories Co., Ltd.Microprocessor and method for driving microprocessor
US9184160B2 (en)2012-01-262015-11-10Semiconductor Energy Laboratory Co., Ltd.Semiconductor device and method for manufacturing the same
US9184296B2 (en)2011-03-112015-11-10Semiconductor Energy Laboratory Co., Ltd.Semiconductor device having c-axis aligned portions and doped portions
US9183894B2 (en)2012-02-242015-11-10Semiconductor Energy Laboratory Co., Ltd.Semiconductor device
US9184297B2 (en)2012-07-202015-11-10Semiconductor Energy Laboratory Co., Ltd.Semiconductor device comprising a void portion in an insulation film and method for manufacturing a semiconductor device comprising a void portion in an insulating film
US9184210B2 (en)2012-05-312015-11-10Semiconductor Energy Laboratory Co., Ltd.Light emitting device with selection circuit for image signal polarity inversion
US9184245B2 (en)2012-08-102015-11-10Semiconductor Energy Laboratory Co., Ltd.Semiconductor device and method for fabricating the same
US9190525B2 (en)2012-07-062015-11-17Semiconductor Energy Laboratory Co., Ltd.Semiconductor device including oxide semiconductor layer
US9190448B2 (en)2013-08-022015-11-17Semiconductor Energy Laboratory Co., Ltd.Imaging device and operation method thereof
US9190172B2 (en)2013-01-242015-11-17Semiconductor Energy Laboratory Co., Ltd.Semiconductor device
US9190527B2 (en)2013-02-132015-11-17Semiconductor Energy Laboratory Co., Ltd.Semiconductor device and manufacturing method of semiconductor device
US9190522B2 (en)2010-04-022015-11-17Semiconductor Energy Laboratory Co., Ltd.Semiconductor device having an oxide semiconductor
US9196639B2 (en)2012-12-282015-11-24Semiconductor Energy Laboratory Co., Ltd.Semiconductor device and manufacturing method of the same
US9196738B2 (en)2009-12-112015-11-24Semiconductor Energy Laboratory Co., Ltd.Semiconductor device and method for manufacturing the same
US9196633B2 (en)2008-09-192015-11-24Semiconductor Energy Laboratory Co., Ltd.Display device
US9196739B2 (en)2010-04-022015-11-24Semiconductor Energy Laboratory Co., Ltd.Semiconductor device including oxide semiconductor film and metal oxide film
US9196741B2 (en)2012-02-032015-11-24Semiconductor Energy Laboratory Co., Ltd.Semiconductor device
US9196743B2 (en)2012-04-172015-11-24Semiconductor Energy Laboratory Co., Ltd.Field effect device with oxide semiconductor layer
US9200952B2 (en)2011-07-152015-12-01Semiconductor Energy Laboratory Co., Ltd.Semiconductor device comprising a photodetector and an analog arithmetic circuit
US9202925B2 (en)2013-05-202015-12-01Semiconductor Energy Laboratory Co., Ltd.Semiconductor device
US9202822B2 (en)2010-12-172015-12-01Semiconductor Energy Laboratory Co., Ltd.Semiconductor device and manufacturing method thereof
US9203478B2 (en)2010-03-312015-12-01Semiconductor Energy Laboratory Co., Ltd.Power supply device and driving method thereof
US20150349128A1 (en)*2014-05-272015-12-03Semiconductor Energy Laboratory Co., Ltd.Semiconductor device and method for manufacturing the same
US9209256B2 (en)2012-08-022015-12-08Semiconductor Energy Laboratory Co., Ltd.Semiconductor device and method for manufacturing the same
US9209267B2 (en)2011-11-302015-12-08Semiconductor Energy Laboratory Co., Ltd.Method for forming oxide semiconductor film and method for manufacturing semiconductor device
US9209795B2 (en)2013-05-172015-12-08Semiconductor Energy Laboratory Co., Ltd.Signal processing device and measuring method
US9204849B2 (en)2012-08-242015-12-08Semiconductor Energy Laboratory Co., Ltd.Radiation detection panel, radiation imaging device, and diagnostic imaging device
US9208849B2 (en)2012-04-122015-12-08Semiconductor Energy Laboratory Co., Ltd.Semiconductor device and method for driving semiconductor device, and electronic device
US9209307B2 (en)2013-05-202015-12-08Semiconductor Energy Laboratory Co., Ltd.Semiconductor device
US9209206B2 (en)2010-05-212015-12-08Semiconductor Energy Laboratory Co., Ltd.Pulse converter circuit
US9209092B2 (en)2011-01-262015-12-08Semiconductor Energy Laboratory Co., Ltd.Semiconductor device with a wide-gap semiconductor layer on inner wall of trench
US9209314B2 (en)2010-06-162015-12-08Semiconductor Energy Laboratory Co., Ltd.Field effect transistor
US9207751B2 (en)2012-03-012015-12-08Semiconductor Energy Laboratory Co., Ltd.Semiconductor device
US9214474B2 (en)2011-07-082015-12-15Semiconductor Energy Laboratory Co., Ltd.Semiconductor device and method for manufacturing semiconductor device
US9217903B2 (en)2009-12-242015-12-22Semiconductor Energy Laboratory Co., Ltd.Display device
US9218081B2 (en)2010-04-282015-12-22Semiconductor Energy Laboratory Co., Ltd.Semiconductor display device and driving method the same
US9219160B2 (en)2011-09-292015-12-22Semiconductor Energy Laboratory Co., Ltd.Semiconductor device
US9219159B2 (en)2011-03-252015-12-22Semiconductor Energy Laboratory Co., Ltd.Method for forming oxide semiconductor film and method for manufacturing semiconductor device
US9219164B2 (en)2012-04-202015-12-22Semiconductor Energy Laboratory Co., Ltd.Semiconductor device with oxide semiconductor channel
US9218966B2 (en)2011-10-142015-12-22Semiconductor Energy Laboratory Co., Ltd.Semiconductor device and method of manufacturing semiconductor device
US9219161B2 (en)2012-10-242015-12-22Semiconductor Energy Laboratory Co., Ltd.Semiconductor device
US9224757B2 (en)2010-12-032015-12-29Semiconductor Energy Laboratory Co., Ltd.DC-DC converter and manufacturing method thereof
US9224339B2 (en)2010-07-022015-12-29Semiconductor Energy Laboratory Co., Ltd.Liquid crystal display device
US9225329B2 (en)2014-03-072015-12-29Semiconductor Energy Laboratory Co., Ltd.Semiconductor device, driving method thereof, and electronic appliance
US9231002B2 (en)2013-05-032016-01-05Semiconductor Energy Laboratory Co., Ltd.Display device and electronic device
US9230996B2 (en)2013-12-272016-01-05Semiconductor Energy Laboratory Co., Ltd.Light-emitting device
US9230683B2 (en)2012-04-252016-01-05Semiconductor Energy Laboratory Co., Ltd.Semiconductor device and driving method thereof
US9231111B2 (en)2013-02-132016-01-05Semiconductor Energy Laboratory Co., Ltd.Semiconductor device
US9235515B2 (en)2012-03-292016-01-12Semiconductor Energy Laboratory Co., Ltd.Array controller and storage system
US9236408B2 (en)2012-04-252016-01-12Semiconductor Energy Laboratory Co., Ltd.Oxide semiconductor device including photodiode
US9236490B2 (en)2012-04-272016-01-12Semiconductor Energy Laboratory Co., Ltd.Transistor including oxide semiconductor film having regions of different thickness
US9240244B2 (en)2013-03-142016-01-19Semiconductor Energy Laboratory Co., Ltd.Method for driving semiconductor device and semiconductor device
US9240492B2 (en)2012-08-102016-01-19Semiconductor Energy Laboratory Co., Ltd.Semiconductor device and method for fabricating the same
US9245958B2 (en)2012-08-102016-01-26Semiconductor Energy Laboratory Co., Ltd.Semiconductor device and method for manufacturing the same
US9245593B2 (en)2013-10-162016-01-26Semiconductor Energy Laboratory Co., Ltd.Method for driving arithmetic processing unit
US9245650B2 (en)2013-03-152016-01-26Semiconductor Energy Laboratory Co., Ltd.Semiconductor device
US9246476B2 (en)2013-05-102016-01-26Semiconductor Energy Laboratory Co., Ltd.Driver circuit
US9245589B2 (en)2013-03-252016-01-26Semiconductor Energy Laboratory Co., Ltd.Semiconductor device having Schmitt trigger NAND circuit and Schmitt trigger inverter
US9246047B2 (en)2012-08-102016-01-26Semiconductor Energy Laboratory Co., Ltd.Semiconductor device
US9245484B2 (en)2009-10-212016-01-26Semiconductor Energy Laboratory Co., Ltd.E-book reader
US9246011B2 (en)2012-11-302016-01-26Semiconductor Energy Laboratory Co., Ltd.Semiconductor device
US9252279B2 (en)2011-08-312016-02-02Semiconductor Energy Laboratory Co., Ltd.Semiconductor device and manufacturing method thereof
US9252283B2 (en)2012-11-302016-02-02Semiconductor Energy Laboratory Co., Ltd.Semiconductor device comprising oxide semiconductor film
US9257569B2 (en)2012-10-232016-02-09Semiconductor Energy Laboratory Co. Ltd.Semiconductor device
US9257422B2 (en)2011-12-062016-02-09Semiconductor Energy Laboratory Co., Ltd.Signal processing circuit and method for driving signal processing circuit
US9257173B2 (en)2013-10-182016-02-09Semiconductor Energy Laboratory Co., Ltd.Arithmetic processing unit and driving method thereof
US9257085B2 (en)2009-05-212016-02-09Semiconductor Energy Laboratory Co., Ltd.Electronic circuit, display device, electronic device, and method for driving electronic circuit
US9263451B2 (en)2010-10-292016-02-16Semiconductor Energy Laboratory Co., Ltd.Storage device including memory cell using transistor having oxide semiconductor and amplifier circuit
US9263589B2 (en)2010-05-212016-02-16Semiconductor Energy Laboratory Co., Ltd.Semiconductor device
US9263471B2 (en)2010-12-282016-02-16Semiconductor Energy Laboratory Co., Ltd.Semiconductor device and semiconductor memory device
US9264693B2 (en)2011-12-262016-02-16Semiconductor Energy Laboratory Co., Ltd.Motion recognition device
US9263259B2 (en)2012-10-172016-02-16Semiconductor Energy Laboratory Co., Ltd.Semiconductor device comprising an oxide semiconductor
US9263531B2 (en)2012-11-282016-02-16Semiconductor Energy Laboratory Co., Ltd.Oxide semiconductor film, film formation method thereof, and semiconductor device
US9261943B2 (en)2012-05-022016-02-16Semiconductor Energy Laboratory Co., Ltd.Semiconductor device and driving method thereof
US9269315B2 (en)2013-03-082016-02-23Semiconductor Energy Laboratory Co., Ltd.Driving method of semiconductor device
US9267199B2 (en)2013-02-282016-02-23Semiconductor Energy Laboratory Co., Ltd.Method for manufacturing sputtering target, method for forming oxide film, and transistor
US9269915B2 (en)2013-09-182016-02-23Semiconductor Energy Laboratory Co., Ltd.Display device
US9269725B2 (en)2010-01-242016-02-23Semiconductor Energy Laboratory Co., Ltd.Display device
US9269822B2 (en)2013-09-122016-02-23Semiconductor Energy Laboratory Co., Ltd.Semiconductor device and method for manufacturing semiconductor device
US9269821B2 (en)2012-09-242016-02-23Semiconductor Energy Laboratory Co., Ltd.Semiconductor device
US9276577B2 (en)2013-07-052016-03-01Semiconductor Energy Laboratory Co., Ltd.Semiconductor device
US9276121B2 (en)2012-04-122016-03-01Semiconductor Energy Laboratory Co., Ltd.Semiconductor device and method for manufacturing the same
US9276125B2 (en)2013-03-012016-03-01Semiconductor Energy Laboratory Co., Ltd.Semiconductor device and method for manufacturing the same
US9275987B2 (en)2013-03-142016-03-01Semiconductor Energy Laboratory Co., Ltd.Semiconductor device
US9276128B2 (en)2013-10-222016-03-01Semiconductor Energy Laboratory Co., Ltd.Semiconductor device, method for manufacturing the same, and etchant used for the same
US9281408B2 (en)2013-05-202016-03-08Semiconductor Energy Laboratory Co., Ltd.Semiconductor device
US9281409B2 (en)2013-07-162016-03-08Semiconductor Energy Laboratory Co., Ltd.Thin film transistor for integrated circuit
US9281237B2 (en)2011-10-132016-03-08Semiconductor Energy Laboratory Co., Ltd.Transistor having reduced channel length
US9281410B2 (en)2012-03-142016-03-08Semiconductor Energy Laboratory Co., Ltd.Method for manufacturing semiconductor device
US9287117B2 (en)2012-10-172016-03-15Semiconductor Energy Laboratory Co., Ltd.Semiconductor device comprising an oxide semiconductor
US9287878B2 (en)2014-04-252016-03-15Semiconductor Energy Laboratory Co., Ltd.Semiconductor device
US9287407B2 (en)2011-06-102016-03-15Semiconductor Energy Laboratory Co., Ltd.Manufacturing method of semiconductor device
US9287370B2 (en)2012-03-022016-03-15Semiconductor Energy Laboratory Co., Ltd.Memory device comprising a transistor including an oxide semiconductor and semiconductor device including the same
US9285848B2 (en)2012-04-272016-03-15Semiconductor Energy Laboratory Co., Ltd.Power reception control device, power reception device, power transmission and reception system, and electronic device
US9287294B2 (en)2010-12-282016-03-15Semiconductor Energy Laboratory Co., Ltd.Capacitor and semiconductor device having oxide semiconductor
US9287405B2 (en)2011-10-132016-03-15Semiconductor Energy Laboratory Co., Ltd.Semiconductor device comprising oxide semiconductor
US9287411B2 (en)2012-10-242016-03-15Semiconductor Energy Laboratory Co., Ltd.Semiconductor device and method for manufacturing the same
US9287410B2 (en)2013-12-182016-03-15Semiconductor Energy Laboratory Co., Ltd.Semiconductor device
US9287118B2 (en)2014-05-162016-03-15Semiconductor Energy Laboratory Co., Ltd.Manufacturing method of semiconductor substrate and semiconductor device
US9287352B2 (en)2013-06-192016-03-15Semiconductor Energy Laboratory Co., Ltd.Oxide semiconductor film and formation method thereof
US9293186B2 (en)2013-03-142016-03-22Semiconductor Energy Laboratory Co., Ltd.Memory device and semiconductor device
US9293589B2 (en)2012-01-252016-03-22Semiconductor Energy Laboratory Co., Ltd.Semiconductor device and method for manufacturing semiconductor device
US9293602B2 (en)2012-08-102016-03-22Semiconductor Energy Laboratory Co., Ltd.Semiconductor device and manufacturing method thereof
US9293598B2 (en)2012-12-282016-03-22Semiconductor Energy Laboratory Co., Ltd.Semiconductor device having an oxide semiconductor layer
US9293104B2 (en)2010-07-022016-03-22Semiconductor Energy Laboratory Co., Ltd.Liquid crystal display device
US9293540B2 (en)2012-12-032016-03-22Semiconductor Energy Laboratory Co., Ltd.Semiconductor device
US9294096B2 (en)2014-02-282016-03-22Semiconductor Energy Laboratory Co., Ltd.Semiconductor device
US9293544B2 (en)2013-02-262016-03-22Semiconductor Energy Laboratory Co., Ltd.Semiconductor device having buried channel structure
US9294075B2 (en)2013-03-142016-03-22Semiconductor Energy Laboratory Co., Ltd.Semiconductor device
US9293599B2 (en)2013-05-202016-03-22Semiconductor Energy Laboratory Co., Ltd.Semiconductor device and method for manufacturing the same
US9293592B2 (en)2013-10-112016-03-22Semiconductor Energy Laboratory Co., Ltd.Semiconductor device and method for manufacturing semiconductor device
US9293480B2 (en)2013-07-102016-03-22Semiconductor Energy Laboratory Co., Ltd.Semiconductor device and display device including the semiconductor device
US9299852B2 (en)2011-06-162016-03-29Semiconductor Energy Laboratory Co., Ltd.Semiconductor device and method for manufacturing the same
US9299851B2 (en)2010-11-052016-03-29Semiconductor Energy Laboratory Co., Ltd.Semiconductor device and method for manufacturing the same
US9299848B2 (en)2014-03-142016-03-29Semiconductor Energy Laboratory Co., Ltd.Semiconductor device, RF tag, and electronic device
US9299432B2 (en)2012-05-112016-03-29Semiconductor Energy Laboratory Co., Ltd.Semiconductor device and driving method of semiconductor device
US9300292B2 (en)2014-01-102016-03-29Semiconductor Energy Laboratory Co., Ltd.Circuit including transistor
US9298057B2 (en)2012-07-202016-03-29Semiconductor Energy Laboratory Co., Ltd.Display device and electronic device including the display device
US9299723B2 (en)2010-05-212016-03-29Semiconductor Energy Laboratory Co., Ltd.Semiconductor device with light-blocking layers
US9299855B2 (en)2013-08-092016-03-29Semiconductor Energy Laboratory Co., Ltd.Semiconductor device having dual gate insulating layers
US9305774B2 (en)2013-03-222016-04-05Semiconductor Energy Laboratory Co., Ltd.Method for processing thin film and method for manufacturing semiconductor device
US9306079B2 (en)2012-10-172016-04-05Semiconductor Energy Laboratory Co., Ltd.Semiconductor device and method for manufacturing the same
US9304523B2 (en)2012-01-302016-04-05Semiconductor Energy Laboratory Co., Ltd.Power supply circuit and method for driving the same
US9306074B2 (en)2013-06-052016-04-05Semiconductor Energy Laboratory Co., Ltd.Semiconductor device
US9305630B2 (en)2013-07-172016-04-05Semiconductor Energy Laboratory Co., Ltd.Semiconductor device and method for driving the same
US9312392B2 (en)2013-05-162016-04-12Semiconductor Energy Laboratory Co., Ltd.Semiconductor device
US9311982B2 (en)2014-04-252016-04-12Semiconductor Energy Laboratory Co., Ltd.Semiconductor device, electronic component, and electronic device
US9312278B2 (en)2012-10-302016-04-12Semiconductor Energy Laboratory Co., Ltd.Display device and electronic device
US9310866B2 (en)2012-06-012016-04-12Semiconductor Energy Laboratory Co., Ltd.Semiconductor device and alarm device
US9312280B2 (en)2014-07-252016-04-12Semiconductor Energy Laboratory Co., Ltd.Semiconductor device
US9311876B2 (en)2008-06-172016-04-12Semiconductor Energy Laboratory Co., Ltd.Driver circuit, display device, and electronic device
US9312349B2 (en)2013-07-082016-04-12Semiconductor Energy Laboratory Co., Ltd.Semiconductor device and method for manufacturing semiconductor device
US9312269B2 (en)2013-05-162016-04-12Semiconductor Energy Laboratory Co., Ltd.Semiconductor device
US9312257B2 (en)2012-02-292016-04-12Semiconductor Energy Laboratory Co., Ltd.Semiconductor device
US9316695B2 (en)2012-12-282016-04-19Semiconductor Energy Laboratory Co., Ltd.Semiconductor device
US9318374B2 (en)2011-09-212016-04-19Semiconductor Energy Laboratory Co., Ltd.Semiconductor storage device comprising peripheral circuit, Shielding layer, and memory cell array
US9318618B2 (en)2013-12-272016-04-19Semiconductor Energy Laboratory Co., Ltd.Semiconductor device
US9318506B2 (en)2011-07-082016-04-19Semiconductor Energy Laboratory Co., Ltd.Semiconductor device and manufacturing method thereof
US9318484B2 (en)2013-02-202016-04-19Semiconductor Energy Laboratory Co., Ltd.Semiconductor device
US9324876B2 (en)2013-09-062016-04-26Semiconductor Energy Laboratory Co., Ltd.Semiconductor device and method for manufacturing the same
US9324737B2 (en)2012-11-282016-04-26Semiconductor Energy Laboratory Co., Ltd.Display device and electronic device
US9324449B2 (en)2012-03-282016-04-26Semiconductor Energy Laboratory Co., Ltd.Driver circuit, signal processing unit having the driver circuit, method for manufacturing the signal processing unit, and display device
US9324747B2 (en)2014-03-132016-04-26Semiconductor Energy Laboratory Co., Ltd.Imaging device
US9324874B2 (en)2008-10-032016-04-26Semiconductor Energy Laboratory Co., Ltd.Display device comprising an oxide semiconductor
US9324875B2 (en)2012-10-172016-04-26Semiconductor Energy Laboratory Co., Ltd.Semiconductor device
US9324810B2 (en)2012-11-302016-04-26Semiconductor Energy Laboratory Co., Ltd.Semiconductor device including oxide semiconductor film
US9331206B2 (en)2011-04-222016-05-03Semiconductor Energy Laboratory Co., Ltd.Oxide material and semiconductor device
US9331510B2 (en)2012-03-282016-05-03Semiconductor Energy Laboratory Co., Ltd.Protective circuit, battery charger, and power storage device
US9331210B2 (en)2010-09-032016-05-03Semiconductor Energy Laboratory Co., Ltd.Field effect transistor and method for manufacturing semiconductor device
US9330909B2 (en)2012-10-172016-05-03Semiconductor Energy Laboratory Co., Ltd.Semiconductor device
US9331156B2 (en)2011-12-152016-05-03Semiconductor Energy Laboratory Co., Ltd.Semiconductor device and method for manufacturing the same
US9331689B2 (en)2012-04-272016-05-03Semiconductor Energy Laboratory Co., Ltd.Power supply circuit and semiconductor device including the same
US9331207B2 (en)2012-07-172016-05-03Semiconductor Energy Laboratory Co., Ltd.Oxide semiconductor device and manufacturing method therof
US9331100B2 (en)2012-09-242016-05-03Semiconductor Energy Laboratory Co., Ltd.Display device
US9337843B2 (en)2012-05-252016-05-10Semiconductor Energy Laboratory Co., Ltd.Programmable logic device and semiconductor device
US9336739B2 (en)2010-07-022016-05-10Semiconductor Energy Laboratory Co., Ltd.Liquid crystal display device
US9337836B2 (en)2012-05-252016-05-10Semiconductor Energy Laboratory Co., Ltd.Method for driving semiconductor device
US9337826B2 (en)2012-05-112016-05-10Semiconductor Energy Laboratory Co., Ltd.Semiconductor device and electronic device
US9336853B2 (en)2014-05-292016-05-10Semiconductor Energy Laboratory Co., Ltd.Memory device, electronic component, and electronic device
US9336845B2 (en)2011-05-202016-05-10Semiconductor Energy Laboratory Co., Ltd.Register circuit including a volatile memory and a nonvolatile memory
US9337343B2 (en)2013-02-272016-05-10Semiconductor Energy Laboratory Co., Ltd.Semiconductor device, driver circuit, and display device
US9337344B2 (en)2013-05-092016-05-10Semiconductor Energy Laboratory Co., Ltd.Semiconductor device and manufacturing method thereof
US9337342B2 (en)2012-04-132016-05-10Semiconductor Energy Laboratory Co., Ltd.Semiconductor device and method for manufacturing semiconductor device
US9337214B2 (en)2013-09-132016-05-10Semiconductor Energy Laboratory Co., Ltd.Display device
US9343480B2 (en)2010-08-162016-05-17Semiconductor Energy Laboratory Co., Ltd.Semiconductor device
US9343579B2 (en)2013-05-202016-05-17Semiconductor Energy Laboratory Co., Ltd.Semiconductor device
US9343120B2 (en)2012-06-012016-05-17Semiconductor Energy Laboratory Co., Ltd.High speed processing unit with non-volatile register
US9344090B2 (en)2011-05-162016-05-17Semiconductor Energy Laboratory Co., Ltd.Programmable logic device
US9341722B2 (en)2013-02-272016-05-17Semiconductor Energy Laboratory Co., Ltd.Imaging device
US9343578B2 (en)2012-12-282016-05-17Semiconductor Energy Laboratory Co., Ltd.Semiconductor device and measurement device
US9344037B2 (en)2014-07-252016-05-17Semiconductor Energy Laboratory Co., Ltd.Oscillator circuit and semiconductor device including the same
US9343288B2 (en)2013-07-312016-05-17Semiconductor Energy Laboratory Co., Ltd.Semiconductor device
US9349751B2 (en)2013-12-122016-05-24Semiconductor Energy Laboratory Co., Ltd.Semiconductor device
US9349418B2 (en)2013-12-272016-05-24Semiconductor Energy Laboratory Co., Ltd.Semiconductor device and method for driving the same
US9350358B2 (en)2014-03-062016-05-24Semiconductor Energy Laboratory Co., Ltd.Semiconductor device
US9350295B2 (en)2009-11-202016-05-24Semiconductor Energy Laboratoty Co., Ltd.Modulation circuit and semiconductor device including the same
US9349849B2 (en)2012-03-282016-05-24Semiconductor Energy Laboratory Co., Ltd.Semiconductor device and electronic device including the semiconductor device
US9349750B2 (en)2012-11-162016-05-24Semiconductor Energy Laboratory Co., Ltd.Semiconductor device and display device
US9349454B2 (en)2014-03-072016-05-24Semiconductor Energy Laboratory Co., Ltd.Semiconductor device and electronic device
US9349325B2 (en)2010-04-282016-05-24Semiconductor Energy Laboratory Co., Ltd.Liquid crystal display device and electronic device
US9349593B2 (en)2012-12-032016-05-24Semiconductor Energy Laboratory Co., Ltd.Method for manufacturing semiconductor device
US9349722B2 (en)2012-03-292016-05-24Semiconductor Energy Laboratory Co., Ltd.Semiconductor memory device including a memory cell comprising a D/A converter
US9349875B2 (en)2014-06-132016-05-24Semiconductor Energy Laboratory Co., Ltd.Semiconductor device and electronic device including the semiconductor device
US9349869B2 (en)2012-10-242016-05-24Semiconductor Energy Laboratory Co., Ltd.Semiconductor device and method for manufacturing the same
US9356054B2 (en)2013-12-272016-05-31Semiconductor Energy Laboratory Co., Ltd.Semiconductor device
US9356098B2 (en)2013-12-272016-05-31Semiconductor Energy Laboratory Co., Ltd.Semiconductor device with oxide semiconductor film
US9360564B2 (en)2013-08-302016-06-07Semiconductor Energy Laboratory Co., Ltd.Imaging device
US9362411B2 (en)2012-04-162016-06-07Semiconductor Energy Laboratory Co., Ltd.Semiconductor device and manufacturing method thereof
US9362417B2 (en)2012-02-032016-06-07Semiconductor Energy Laboratory Co., Ltd.Semiconductor device
US9362412B2 (en)2009-03-272016-06-07Semiconductor Energy Laboratory Co., Ltd.Semiconductor device
US9368636B2 (en)2013-04-012016-06-14Semiconductor Energy Laboratory Co., Ltd.Method for manufacturing a semiconductor device comprising a plurality of oxide semiconductor layers
US9368053B2 (en)2010-09-152016-06-14Semiconductor Energy Laboratory Co., Ltd.Display device
US9366896B2 (en)2012-10-122016-06-14Semiconductor Energy Laboratory Co., Ltd.Liquid crystal display device and touch panel
US9374048B2 (en)2013-08-202016-06-21Semiconductor Energy Laboratory Co., Ltd.Signal processing device, and driving method and program thereof
US9373711B2 (en)2013-02-272016-06-21Semiconductor Energy Laboratory Co., Ltd.Semiconductor device
US9373368B2 (en)2014-05-302016-06-21Semiconductor Energy Laboratory Co., Ltd.Semiconductor device and electronic device
US9379138B2 (en)2013-07-192016-06-28Semiconductor Energy Laboratory Co., Ltd.Imaging device with drive voltage dependent on external light intensity
US9379192B2 (en)2013-12-202016-06-28Semiconductor Energy Laboratory Co., Ltd.Semiconductor device
US9377660B2 (en)2007-05-172016-06-28Semiconductor Energy Laboratory Co., Ltd.Liquid crystal display device
US9378777B2 (en)2014-03-122016-06-28Semiconductor Energy Laboratory Co., Ltd.Back gate bias voltage control of oxide semiconductor transistor
US9378776B2 (en)2014-02-212016-06-28Semiconductor Energy Laboratory Co., Ltd.Semiconductor device, electronic component, and electronic device
US9379713B2 (en)2014-01-172016-06-28Semiconductor Energy Laboratory Co., Ltd.Data processing device and driving method thereof
US9379113B2 (en)2012-02-092016-06-28Semiconductor Energy Laboratory Co., Ltd.Programmable logic device and method for manufacturing semiconductor device
US9385238B2 (en)2011-07-082016-07-05Semiconductor Energy Laboratory Co., Ltd.Transistor using oxide semiconductor
US9385054B2 (en)2013-11-082016-07-05Semiconductor Energy Laboratory Co., Ltd.Data processing device and manufacturing method thereof
US9385592B2 (en)2013-08-212016-07-05Semiconductor Energy Laboratory Co., Ltd.Charge pump circuit and semiconductor device including the same
US9385720B2 (en)2014-03-132016-07-05Semiconductor Energy Laboratory Co., Ltd.Semiconductor device and driving method thereof
US9385713B2 (en)2014-10-102016-07-05Semiconductor Energy Laboratory Co., Ltd.Logic circuit, processing unit, electronic component, and electronic device
US9391209B2 (en)2010-02-052016-07-12Semiconductor Energy Laboratory Co., Ltd.Semiconductor device
US9391157B2 (en)2013-09-062016-07-12Semiconductor Energy Laboratory Co., Ltd.Semiconductor transistor device
US9390664B2 (en)2012-07-262016-07-12Semiconductor Energy Laboratory Co., Ltd.Liquid crystal display device
US9391620B2 (en)2012-12-242016-07-12Semiconductor Energy Laboratory Co., Ltd.Programmable logic device and semiconductor device
US9391096B2 (en)2013-01-182016-07-12Semiconductor Energy Laboratory Co., Ltd.Semiconductor device and method for manufacturing the same
US9390665B2 (en)2012-11-302016-07-12Semiconductor Energy Laboratory Co., Ltd.Display device
US9390667B2 (en)2010-06-162016-07-12Semiconductor Energy Laboratory Co., Ltd.Method for driving input-output device, and input-output device
US9395070B2 (en)2013-07-192016-07-19Semiconductor Energy Laboratory Co., Ltd.Support of flexible component and light-emitting device
US9397637B2 (en)2014-03-062016-07-19Semiconductor Energy Laboratory Co., Ltd.Voltage controlled oscillator, semiconductor device, and electronic device
US9397149B2 (en)2013-12-272016-07-19Semiconductor Energy Laboratory Co., Ltd.Semiconductor device
US9397222B2 (en)2011-05-132016-07-19Semiconductor Energy Laboratory Co., Ltd.Display device and electronic device
US9401364B2 (en)2014-09-192016-07-26Semiconductor Energy Laboratory Co., Ltd.Semiconductor device, electronic component, and electronic device
US9401432B2 (en)2014-01-162016-07-26Semiconductor Energy Laboratory Co., Ltd.Semiconductor device and electronic device
US9401407B2 (en)2010-04-072016-07-26Semiconductor Energy Laboratory Co., Ltd.Transistor
US9401714B2 (en)2012-10-172016-07-26Semiconductor Energy Laboratory Co., Ltd.Programmable logic device
US9406761B2 (en)2013-09-132016-08-02Semiconductor Energy Laboratory Co., Ltd.Semiconductor device and manufacturing method thereof
US9406370B2 (en)2014-05-292016-08-02Semiconductor Energy Laboratory Co., Ltd.Memory device, and semiconductor device and electronic appliance including the same
US9406698B2 (en)2012-08-282016-08-02Semiconductor Energy Laboratory Co., Ltd.Display device and manufacturing method thereof
US9406398B2 (en)2009-09-242016-08-02Semiconductor Energy Laboratory Co., Ltd.Driver circuit, display device including the driver circuit, and electronic appliance including the display device
US9406810B2 (en)2012-12-032016-08-02Semiconductor Energy Laboratory Co., Ltd.Semiconductor device and manufacturing method thereof
US9406760B2 (en)2014-02-212016-08-02Semiconductor Energy Laboratory Co., Ltd.Semiconductor film, transistor, semiconductor device, display device, and electronic appliance
US9412876B2 (en)2014-02-072016-08-09Semiconductor Energy Laboratory Co., Ltd.Semiconductor device
US9412764B2 (en)2012-11-282016-08-09Semiconductor Energy Laboratory Co., Ltd.Semiconductor device, display device, and electronic device
US9412877B2 (en)2013-02-122016-08-09Semiconductor Energy Laboratory Co., Ltd.Semiconductor device
US9412739B2 (en)2014-04-112016-08-09Semiconductor Energy Laboratory Co., Ltd.Semiconductor device
US9412762B2 (en)2013-07-312016-08-09Semiconductor Energy Laboratory Co., Ltd.DC-DC converter and semiconductor device
US9419146B2 (en)2012-01-262016-08-16Semiconductor Energy Laboratory Co., Ltd.Semiconductor device and method for manufacturing the same
US9419622B2 (en)2014-03-072016-08-16Semiconductor Energy Laboratory Co., Ltd.Semiconductor device
US9419143B2 (en)2013-11-072016-08-16Semiconductor Energy Laboratory Co., Ltd.Semiconductor device and manufacturing method thereof
US9419018B2 (en)2014-05-302016-08-16Semiconductor Energy Laboratory Co., Ltd.Semiconductor device and method for manufacturing the same
US9425220B2 (en)2012-08-282016-08-23Semiconductor Energy Laboratory Co., Ltd.Semiconductor device
US9425107B2 (en)2011-03-102016-08-23Semiconductor Energy Laboratory Co., Ltd.Memory device and method for manufacturing the same
US9423860B2 (en)2012-09-032016-08-23Semiconductor Energy Laboratory Co., Ltd.Microcontroller capable of being in three modes
US9425217B2 (en)2013-09-232016-08-23Semiconductor Energy Laboratory Co., Ltd.Semiconductor device
US9424923B2 (en)2010-12-172016-08-23Semiconductor Energy Laboratory Co., Ltd.Semiconductor storage device
US9424950B2 (en)2013-07-102016-08-23Semiconductor Energy Laboratory Co., Ltd.Semiconductor device
US9425045B2 (en)2010-05-212016-08-23Semiconductor Energy Laboratory Co., Ltd.Semiconductor device including oxide semiconductor and manufacturing method thereof
US9425226B2 (en)2014-03-132016-08-23Semiconductor Energy Laboratory Co., Ltd.Imaging device
US9425322B2 (en)2011-03-282016-08-23Semiconductor Energy Laboratory Co., Ltd.Method for manufacturing semiconductor device including exposure of oxide semiconductor to reducing atmosphere
US9431400B2 (en)2011-02-082016-08-30Semiconductor Energy Laboratory Co., Ltd.Semiconductor memory device and method for manufacturing the same
US9431541B2 (en)2013-08-222016-08-30Semiconductor Energy Laboratory Co., Ltd.Semiconductor device
US9431545B2 (en)2011-09-232016-08-30Semiconductor Energy Laboratory Co., Ltd.Semiconductor device and method for manufacturing the same
US9431435B2 (en)2013-10-222016-08-30Semiconductor Energy Laboratory Co., Ltd.Semiconductor device and manufacturing method of the same
US9438207B2 (en)2014-10-172016-09-06Semiconductor Energy Laboratory Co., Ltd.Semiconductor device, electronic component, and electronic device
US9437594B2 (en)2012-07-272016-09-06Semiconductor Energy Laboratory Co., Ltd.Semiconductor device
US9437428B2 (en)2013-11-292016-09-06Semiconductor Energy Laboratory Co., Ltd.Method of manufacturing a semiconductor device having an oxide semiconductor layer with increased hydrogen concentration
US9437743B2 (en)2010-10-072016-09-06Semiconductor Energy Laboratory Co., Ltd.Thin film element, semiconductor device, and method for manufacturing the same
US9438234B2 (en)2014-11-212016-09-06Semiconductor Energy Laboratory Co., Ltd.Logic circuit and semiconductor device including logic circuit
US9437273B2 (en)2012-12-262016-09-06Semiconductor Energy Laboratory Co., Ltd.Semiconductor device
US9437741B2 (en)2013-05-162016-09-06Semiconductor Energy Laboratory Co., Ltd.Semiconductor device
US9438206B2 (en)2013-08-302016-09-06Semiconductor Energy Laboratory Co., Ltd.Storage circuit and semiconductor device
US9437831B2 (en)2013-12-022016-09-06Semiconductor Energy Laboratory Co., Ltd.Display device and method for manufacturing the same
US9437454B2 (en)2010-06-292016-09-06Semiconductor Energy Laboratory Co., Ltd.Wiring board, semiconductor device, and manufacturing methods thereof
US9435696B2 (en)2012-05-022016-09-06Semiconductor Energy Laboratory Co., Ltd.Temperature sensor circuit and semiconductor device including temperature sensor circuit
US9437744B2 (en)2013-03-142016-09-06Semiconductor Energy Laboratory Co., Ltd.Semiconductor device and manufacturing method thereof
US9443987B2 (en)2013-08-232016-09-13Semiconductor Energy Laboratory Co., Ltd.Semiconductor device
US9444337B2 (en)2013-07-262016-09-13Semiconductor Energy Laboratory Co., Ltd.DCDC converter including clock generation circuit, error amplifier and comparator
US9444459B2 (en)2011-05-062016-09-13Semiconductor Energy Laboratory Co., Ltd.Logic circuit and semiconductor device
US9443880B2 (en)2010-08-062016-09-13Semiconductor Energy Laboratory Co., Ltd.Semiconductor device
US9443872B2 (en)2014-03-072016-09-13Semiconductor Energy Laboratory Co., Ltd.Semiconductor device
US9443876B2 (en)2014-02-052016-09-13Semiconductor Energy Laboratory Co., Ltd.Semiconductor device, display device including the semiconductor device, display module including the display device, and electronic device including the semiconductor device, the display device, and the display module
US9443564B2 (en)2015-01-262016-09-13Semiconductor Energy Laboratory Co., Ltd.Semiconductor device, electronic component, and electronic device
US9443844B2 (en)2011-05-102016-09-13Semiconductor Energy Laboratory Co., Ltd.Gain cell semiconductor memory device and driving method thereof
US9443592B2 (en)2013-07-182016-09-13Semiconductor Energy Laboratory Co., Ltd.Semiconductor device and method for manufacturing semiconductor device
US9443934B2 (en)2013-09-192016-09-13Semiconductor Energy Laboratory Co., Ltd.Semiconductor device and manufacturing method thereof
US9443984B2 (en)2010-12-282016-09-13Semiconductor Energy Laboratory Co., Ltd.Semiconductor device and manufacturing method thereof
US9443455B2 (en)2011-02-252016-09-13Semiconductor Energy Laboratory Co., Ltd.Display device having a plurality of pixels
US9450581B2 (en)2014-09-302016-09-20Semiconductor Energy Laboratory Co., Ltd.Logic circuit, semiconductor device, electronic component, and electronic device
US9450080B2 (en)2013-12-202016-09-20Semiconductor Energy Laboratory Co., Ltd.Method for manufacturing semiconductor device
US9449569B2 (en)2012-07-132016-09-20Semiconductor Energy Laboratory Co., Ltd.Liquid crystal display device and method for driving liquid crystal display device
US9449574B2 (en)2012-10-122016-09-20Semiconductor Energy Laboratory Co., Ltd.LCD overdriving using difference between average values of groups of pixels between two frames
US9449996B2 (en)2012-08-032016-09-20Semiconductor Energy Laboratory Co., Ltd.Semiconductor device
US9450102B2 (en)2013-04-262016-09-20Semiconductor Energy Laboratory Co., Ltd.Semiconductor device and method for manufacturing the same
US9449853B2 (en)2013-09-042016-09-20Semiconductor Energy Laboratory Co., Ltd.Method for manufacturing semiconductor device comprising electron trap layer
US9455349B2 (en)2013-10-222016-09-27Semiconductor Energy Laboratory Co., Ltd.Oxide semiconductor thin film transistor with reduced impurity diffusion
US9455280B2 (en)2012-09-132016-09-27Semiconductor Energy Laboratory Co., Ltd.Semiconductor device
US9455709B2 (en)2014-03-052016-09-27Semiconductor Energy Laboratory Co., Ltd.Semiconductor device
US9454923B2 (en)2013-05-172016-09-27Semiconductor Energy Laboratory Co., Ltd.Semiconductor device
US9455287B2 (en)2014-06-252016-09-27Semiconductor Energy Laboratory Co., Ltd.Imaging device, monitoring device, and electronic appliance
US9461126B2 (en)2013-09-132016-10-04Semiconductor Energy Laboratory Co., Ltd.Transistor, clocked inverter circuit, sequential circuit, and semiconductor device including sequential circuit
US9461179B2 (en)2014-07-112016-10-04Semiconductor Energy Laboratory Co., Ltd.Thin film transistor device (TFT) comprising stacked oxide semiconductor layers and having a surrounded channel structure
US9462260B2 (en)2010-09-132016-10-04Semiconductor Energy Laboratory Co., Ltd.Display device
US9466725B2 (en)2013-01-242016-10-11Semiconductor Energy Laboratory Co., Ltd.Semiconductor device and method for manufacturing the same
US9466615B2 (en)2013-12-262016-10-11Semiconductor Energy Laboratory Co., Ltd.Semiconductor device
US9467139B2 (en)2014-03-132016-10-11Semiconductor Energy Laboratory Co., Ltd.Semiconductor device
US9466618B2 (en)2011-05-132016-10-11Semiconductor Energy Laboratory Co., Ltd.Semiconductor device including two thin film transistors and method of manufacturing the same
US9467047B2 (en)2011-05-312016-10-11Semiconductor Energy Laboratory Co., Ltd.DC-DC converter, power source circuit, and semiconductor device
US9472678B2 (en)2013-12-272016-10-18Semiconductor Energy Laboratory Co., Ltd.Semiconductor device
US9473714B2 (en)2010-07-012016-10-18Semiconductor Energy Laboratory Co., Ltd.Solid-state imaging device and semiconductor display device
US9472682B2 (en)2012-06-292016-10-18Semiconductor Energy Laboratory Co., Ltd.Semiconductor device and method for manufacturing semiconductor device
US9472676B2 (en)2011-03-252016-10-18Semiconductor Energy Laboratory Co., Ltd.Semiconductor device and manufacturing method thereof
US9479152B2 (en)2012-05-252016-10-25Semiconductor Energy Laboratory Co., Ltd.Semiconductor device and method for driving semiconductor device
US9478668B2 (en)2011-04-132016-10-25Semiconductor Energy Laboratory Co., Ltd.Oxide semiconductor film and semiconductor device
US9479175B2 (en)2014-02-072016-10-25Semiconductor Energy Laboratory Co., Ltd.Semiconductor device and electronic device
US9478185B2 (en)2010-05-122016-10-25Semiconductor Energy Laboratory Co., Ltd.Electro-optical display device and display method thereof
US9478704B2 (en)2011-11-302016-10-25Semiconductor Energy Laboratory Co., Ltd.Semiconductor display device
US9478276B2 (en)2014-04-102016-10-25Semiconductor Energy Laboratory Co., Ltd.Memory device and semiconductor device
US9477294B2 (en)2012-10-172016-10-25Semiconductor Energy Laboratory Co., Ltd.Microcontroller and method for manufacturing the same
US9478535B2 (en)2012-08-312016-10-25Semiconductor Energy Laboratory Co., Ltd.Semiconductor device comprising oxide semiconductor film
US9478664B2 (en)2013-12-252016-10-25Semiconductor Energy Laboratory Co., Ltd.Semiconductor device
US9482919B2 (en)2013-02-252016-11-01Semiconductor Energy Laboratory Co., Ltd.Display device and electronic device with improved driver circuit
US9490368B2 (en)2010-05-202016-11-08Semiconductor Energy Laboratory Co., Ltd.Semiconductor device and manufacturing method of the same
US9490241B2 (en)2011-07-082016-11-08Semiconductor Energy Laboratory Co., Ltd.Semiconductor device comprising a first inverter and a second inverter
US9489088B2 (en)2010-06-162016-11-08Semiconductor Energy Laboratory Co., Ltd.Input-output device and method for driving input-output device
US9489830B2 (en)2011-06-082016-11-08Semiconductor Energy Laboratory Co., Ltd.Communication method and communication system
US9489988B2 (en)2015-02-202016-11-08Semiconductor Energy Laboratory Co., Ltd.Memory device
US9496412B2 (en)2014-07-152016-11-15Semiconductor Energy Laboratory Co., Ltd.Semiconductor device, manufacturing method thereof, and display device including the semiconductor device
US9496743B2 (en)2010-09-132016-11-15Semiconductor Energy Laboratory Co., Ltd.Power receiving device and wireless power feed system
US9494830B2 (en)2013-06-052016-11-15Semiconductor Energy Laboratory Co., Ltd.Sequential circuit and semiconductor device
US9496330B2 (en)2013-08-022016-11-15Semiconductor Energy Laboratory Co., Ltd.Oxide semiconductor film and semiconductor device
US9494644B2 (en)2013-11-222016-11-15Semiconductor Energy Laboratory Co., Ltd.Semiconductor device including memory circuit and logic array
US9496285B2 (en)2014-12-102016-11-15Semiconductor Energy Laboratory Co., Ltd.Semiconductor device and driving method thereof
US9494829B2 (en)2011-01-282016-11-15Semiconductor Energy Laboratory Co., Ltd.Semiconductor device and liquid crystal display device containing the same
US9496376B2 (en)2014-09-192016-11-15Semiconductor Energy Laboratory Co., Ltd.Method for manufacturing semiconductor device
US9496022B2 (en)2014-05-292016-11-15Semiconductor Energy Laboratory Co., Ltd.Semiconductor device including power management unit for refresh operation
US9496411B2 (en)2014-05-232016-11-15Semiconductor Energy Laboratory Co., Ltd.Manufacturing method of semiconductor device
US9496405B2 (en)2010-05-202016-11-15Semiconductor Energy Laboratory Co., Ltd.Method for manufacturing semiconductor device including step of adding cation to oxide semiconductor layer
US9496408B2 (en)2012-05-312016-11-15Semiconductor Energy Laboratory Co., Ltd.Semiconductor device including oxide semiconductor stack with different ratio of indium and gallium
US9496138B2 (en)2011-07-082016-11-15Semiconductor Energy Laboratory Co., Ltd.Method for manufacturing oxide semiconductor film, method for manufacturing semiconductor device, and semiconductor device
US9496409B2 (en)2013-03-262016-11-15Semiconductor Energy Laboratory Co., Ltd.Semiconductor device and method for manufacturing the same
US9502094B2 (en)2012-05-252016-11-22Semiconductor Energy Laboratory Co., Ltd.Method for driving memory element
US9502434B2 (en)2014-04-182016-11-22Semiconductor Energy Laboratory Co., Ltd.Semiconductor device and electronic device
US9500916B2 (en)2013-07-252016-11-22Semiconductor Energy Laboratory Co., Ltd.Liquid crystal display device and electronic device
US9502572B2 (en)2011-12-272016-11-22Semiconductor Energy Laboratory Co., Ltd.Bottom-gate transistor including an oxide semiconductor layer contacting an oxygen-rich insulating layer
US9508861B2 (en)2013-05-162016-11-29Semiconductor Energy Laboratory Co., Ltd.Semiconductor device
US9509314B2 (en)2014-03-132016-11-29Semiconductor Energy Laboratory Co., Ltd.Method for operating programmable logic device
US9507366B2 (en)2012-03-292016-11-29Semiconductor Energy Laboratory Co., Ltd.Power supply control device
US9508276B2 (en)2012-06-292016-11-29Semiconductor Energy Laboratory Co., Ltd.Method of driving display device including comparator circuit, and display device including comparator circuit
US9508864B2 (en)2014-02-192016-11-29Semiconductor Energy Laboratory Co., Ltd.Oxide, semiconductor device, module, and electronic device
US9508709B2 (en)2011-09-162016-11-29Semiconductor Energy Laboratory Co., Ltd.Semiconductor device, light-emitting device, and electronic device
US9508759B2 (en)2011-06-302016-11-29Semiconductor Energy Laboratory Co., Ltd.Semiconductor device and driving method thereof
US9508448B2 (en)2011-03-082016-11-29Semiconductor Energy Laboratory Co., Ltd.Memory element and signal processing circuit
US9515094B2 (en)2013-06-262016-12-06Semiconductor Energy Laboratory Co., Ltd.Storage device and semiconductor device
US9520873B2 (en)2014-08-082016-12-13Semiconductor Energy Laboratory Co., Ltd.Semiconductor device and electronic device
US9520411B2 (en)2009-11-132016-12-13Semiconductor Energy Laboratory Co., Ltd.Display device and electronic device including the same
US9525073B2 (en)2014-05-302016-12-20Semiconductor Energy Laboratory Co., Ltd.Semiconductor device including oxide semiconductor
US9524993B2 (en)2010-02-122016-12-20Semiconductor Energy Laboratory Co., Ltd.Semiconductor device having a transistor with an oxide semiconductor layer between a first gate electrode and a second gate electrode
US9530804B2 (en)2013-10-222016-12-27Semiconductor Energy Laboratory Co., Ltd.Display device
US9530856B2 (en)2013-12-262016-12-27Semiconductor Energy Laboratory Co., Ltd.Semiconductor device and method for manufacturing the same
US9530892B2 (en)2012-10-242016-12-27Semiconductor Energy Laboratory Co., Ltd.Semiconductor device and method for manufacturing the same
US9537478B2 (en)2014-03-062017-01-03Semiconductor Energy Laboratory Co., Ltd.Semiconductor device
US9537043B2 (en)2010-04-232017-01-03Semiconductor Energy Laboratory Co., Ltd.Photoelectric conversion device and manufacturing method thereof
US9537014B2 (en)2014-05-292017-01-03Semiconductor Energy Laboratory Co., Ltd.Semiconductor device, method for manufacturing semiconductor device, and electronic device
US9542977B2 (en)2014-04-112017-01-10Semiconductor Energy Laboratory Co., Ltd.Semiconductor device and electronic device
US9541386B2 (en)2012-03-212017-01-10Semiconductor Energy Laboratory Co., Ltd.Distance measurement device and distance measurement system
US9543295B2 (en)2014-09-042017-01-10Semiconductor Energy Laboratory Co., Ltd.Semiconductor device
US9548327B2 (en)2014-11-102017-01-17Semiconductor Energy Laboratory Co., Ltd.Imaging device having a selenium containing photoelectric conversion layer
US9546416B2 (en)2010-09-132017-01-17Semiconductor Energy Laboratory Co., Ltd.Method of forming crystalline oxide semiconductor film
US9553200B2 (en)2012-02-292017-01-24Semiconductor Energy Laboratory Co., Ltd.Semiconductor device and method for manufacturing the same
US9553202B2 (en)2014-05-302017-01-24Semiconductor Energy Laboratory Co., Ltd.Semiconductor device, manufacturing method thereof, and electronic device
US9552767B2 (en)2013-08-302017-01-24Semiconductor Energy Laboratory Co., Ltd.Light-emitting device
US9553204B2 (en)2014-03-312017-01-24Semiconductor Energy Laboratory Co., Ltd.Semiconductor device, electronic component, and electronic device
US9553114B2 (en)2013-10-182017-01-24Semiconductor Energy Laboratory Co., Ltd.Display device and electronic device with a color filter
US9559211B2 (en)2010-07-302017-01-31Semiconductor Energy Laboratory Co., Ltd.Semiconductor device and manufacturing method thereof
US9559105B2 (en)2011-05-202017-01-31Semiconductor Energy Laboratory Co., Ltd.Signal processing circuit
US9564535B2 (en)2014-02-282017-02-07Semiconductor Energy Laboratory Co., Ltd.Semiconductor device, display device including the semiconductor device, display module including the display device, and electronic appliance including the semiconductor device, the display device, and the display module
US9570622B2 (en)2013-09-052017-02-14Semiconductor Energy Laboratory Co., Ltd.Semiconductor device and method for manufacturing the same
US9569713B2 (en)2014-10-242017-02-14Semiconductor Energy Laboratory Co., Ltd.Semiconductor device, wireless sensor, and electronic device
US9570116B2 (en)2014-12-112017-02-14Semiconductor Energy Laboratory Co., Ltd.Semiconductor device, memory device, and electronic device
US9570310B2 (en)2013-04-042017-02-14Semiconductor Energy Laboratory Co., Ltd.Method for manufacturing semiconductor device
US9575381B2 (en)2010-01-152017-02-21Semiconductor Energy Laboratory Co., Ltd.Semiconductor device and method for driving the same
US9577110B2 (en)2013-12-272017-02-21Semiconductor Energy Laboratory Co., Ltd.Semiconductor device including an oxide semiconductor and the display device including the semiconductor device
US9577446B2 (en)2012-12-132017-02-21Semiconductor Energy Laboratory Co., Ltd.Power storage system and power storage device storing data for the identifying power storage device
US9576982B2 (en)2011-11-112017-02-21Semiconductor Energy Laboratory Co., Ltd.Liquid crystal display device, EL display device, and manufacturing method thereof
US9577107B2 (en)2013-03-192017-02-21Semiconductor Energy Laboratory Co., Ltd.Oxide semiconductor film and method for forming oxide semiconductor film
US9577108B2 (en)2010-05-212017-02-21Semiconductor Energy Laboratory Co., Ltd.Semiconductor device
US9576994B2 (en)2014-08-292017-02-21Semiconductor Energy Laboratory Co., Ltd.Imaging device and electronic device
US9576995B2 (en)2014-09-022017-02-21Semiconductor Energy Laboratory Co., Ltd.Imaging device and electronic device
US9581874B2 (en)2013-02-282017-02-28Semiconductor Energy Laboratory Co., Ltd.Semiconductor device
US9583632B2 (en)2013-07-192017-02-28Semiconductor Energy Laboratory Co., Ltd.Oxide semiconductor film, method for forming oxide semiconductor film, and semiconductor device
US9584707B2 (en)2014-11-102017-02-28Semiconductor Energy Laboratory Co., Ltd.Imaging device and electronic device
US9583516B2 (en)2013-10-252017-02-28Semiconductor Energy Laboratory Co., Ltd.Display device
US9590115B2 (en)2014-11-212017-03-07Semiconductor Energy Laboratory Co., Ltd.Semiconductor device
US9590111B2 (en)2013-11-062017-03-07Semiconductor Energy Laboratory Co., Ltd.Semiconductor device and display device including the semiconductor device
US9590110B2 (en)2013-09-102017-03-07Semiconductor Energy Laboratory Co., Ltd.Ultraviolet light sensor circuit
US9588172B2 (en)2014-02-072017-03-07Semiconductor Energy Laboratory Co., Ltd.Device including test circuit
US9590109B2 (en)2013-08-302017-03-07Semiconductor Energy Laboratory Co., Ltd.Semiconductor device and method for manufacturing the same
US9590594B2 (en)2014-03-052017-03-07Semiconductor Energy Laboratory Co., Ltd.Level shifter circuit
US9595955B2 (en)2014-08-082017-03-14Semiconductor Energy Laboratory Co., Ltd.Semiconductor device including power storage elements and switches
US9594281B2 (en)2012-11-302017-03-14Semiconductor Energy Laboratory Co., Ltd.Liquid crystal display device
US9595435B2 (en)2012-10-192017-03-14Semiconductor Energy Laboratory Co., Ltd.Method for forming multilayer film including oxide semiconductor film and method for manufacturing semiconductor device
US9594115B2 (en)2014-01-092017-03-14Semiconductor Energy Laboratory Co., Ltd.Device for generating test pattern
US9601178B2 (en)2011-01-262017-03-21Semiconductor Energy Laboratory Co., Ltd.Memory device and semiconductor device
US9601634B2 (en)2013-12-022017-03-21Semiconductor Energy Laboratory Co., Ltd.Semiconductor device
US9601215B2 (en)2014-04-112017-03-21Semiconductor Energy Laboratory Co., Ltd.Holding circuit, driving method of the holding circuit, and semiconductor device including the holding circuit
US9601591B2 (en)2013-08-092017-03-21Semiconductor Energy Laboratory Co., Ltd.Method for manufacturing semiconductor device
US9601631B2 (en)2011-11-302017-03-21Semiconductor Energy Laboratory Co., Ltd.Semiconductor device and method for manufacturing the same
US9601632B2 (en)2012-09-142017-03-21Semiconductor Energy Laboratory Co., Ltd.Semiconductor device and method for fabricating the same
US9608122B2 (en)2013-03-272017-03-28Semiconductor Energy Laboratory Co., Ltd.Semiconductor device and method for manufacturing the same
US9607991B2 (en)2013-09-052017-03-28Semiconductor Energy Laboratory Co., Ltd.Semiconductor device
US9608005B2 (en)2013-08-192017-03-28Semiconductor Energy Laboratory Co., Ltd.Memory circuit including oxide semiconductor devices
US9613568B2 (en)2005-07-142017-04-04Semiconductor Energy Laboratory Co., Ltd.Semiconductor device and driving method thereof
US9614095B2 (en)2011-08-182017-04-04Semiconductor Energy Laboratory Co., Ltd.Semiconductor device
US9614094B2 (en)2011-04-292017-04-04Semiconductor Energy Laboratory Co., Ltd.Semiconductor device including oxide semiconductor layer and method for driving the same
US9612496B2 (en)2012-07-112017-04-04Semiconductor Energy Laboratory Co., Ltd.Liquid crystal display device and method for driving the same
US9612499B2 (en)2015-03-192017-04-04Semiconductor Energy Laboratory Co., Ltd.Liquid crystal display device and electronic device using liquid crystal display device
US9614022B2 (en)2014-02-112017-04-04Semiconductor Energy Laboratory Co., Ltd.Display device and electronic device comprised of multiple display panels
US9627545B2 (en)2013-04-122017-04-18Semiconductor Energy Laboratory Co., Ltd.Semiconductor device
US9627010B2 (en)2014-03-202017-04-18Semiconductor Energy Laboratory Co., Ltd.Semiconductor device, electronic component, and electronic device
US9627413B2 (en)2013-12-122017-04-18Semiconductor Energy Laboratory Co., Ltd.Semiconductor device and display device
US9627034B2 (en)2015-05-152017-04-18Semiconductor Energy Laboratory Co., Ltd.Electronic device
US9625764B2 (en)2012-08-282017-04-18Semiconductor Energy Laboratory Co., Ltd.Display device and electronic device
US9627418B2 (en)2013-12-262017-04-18Semiconductor Energy Laboratory Co., Ltd.Semiconductor device
US9634048B2 (en)2015-03-242017-04-25Semiconductor Energy Laboratory Co., Ltd.Imaging device and electronic device
US9634031B2 (en)2014-06-202017-04-25Semiconductor Energy Laboratory Co., Ltd.Semiconductor device comprising oxide semiconductor
US9633709B2 (en)2014-05-232017-04-25Semiconductor Energy Laboratory Co., Ltd.Storage device including transistor comprising oxide semiconductor
US9634149B2 (en)2013-08-072017-04-25Semiconductor Energy Laboratory Co., Ltd.Semiconductor device and method for manufacturing thereof
US9634150B2 (en)2014-03-072017-04-25Semiconductor Energy Laboratory Co., Ltd.Semiconductor device, display device, input/output device, and electronic device
US9640555B2 (en)2014-06-202017-05-02Semiconductor Energy Laboratory Co., Ltd.Semiconductor device including oxide semiconductor
US9640104B2 (en)2013-03-282017-05-02Semiconductor Energy Laboratory Co., Ltd.Display device
US9640669B2 (en)2014-03-132017-05-02Semiconductor Energy Laboratory Co., Ltd.Semiconductor device, display device including the semiconductor device, display module including the display device, and electronic appliance including the semiconductor device, the display device, and the display module
US9640226B2 (en)2014-12-102017-05-02Semiconductor Energy Laboratory Co., Ltd.Semiconductor device and electronic device with data voltages read accurately without the influence of threshold voltage variation
US9647129B2 (en)2014-07-042017-05-09Semiconductor Energy Laboratory Co., Ltd.Semiconductor device
US9647152B2 (en)2013-03-012017-05-09Semiconductor Energy Laboratory Co., Ltd.Sensor circuit and semiconductor device including sensor circuit
US9647665B2 (en)2014-12-162017-05-09Semiconductor Energy Laboratory Co., Ltd.Semiconductor device and electronic device
US9647128B2 (en)2013-10-102017-05-09Semiconductor Energy Laboratory Co., Ltd.Semiconductor device
US9647132B2 (en)2015-01-302017-05-09Semiconductor Energy Laboratory Co., Ltd.Semiconductor device and memory device
US9646521B2 (en)2010-03-312017-05-09Semiconductor Energy Laboratory Co., Ltd.Driving method of liquid crystal display device
US9647125B2 (en)2013-05-202017-05-09Semiconductor Energy Laboratory Co., Ltd.Semiconductor device and method for manufacturing the same
US9647010B2 (en)2012-12-282017-05-09Semiconductor Energy Laboratory Co., Ltd.Semiconductor device and manufacturing method thereof
US9646829B2 (en)2011-03-042017-05-09Semiconductor Energy Laboratory Co., Ltd.Manufacturing method of semiconductor device
US9653613B2 (en)2015-02-272017-05-16Semiconductor Energy Laboratory Co., Ltd.Semiconductor device and manufacturing method thereof
US9653479B2 (en)2015-03-192017-05-16Semiconductor Energy Laboratory Co., Ltd.Semiconductor device and electronic device
US9653614B2 (en)2012-01-232017-05-16Semiconductor Energy Laboratory Co., Ltd.Semiconductor device and method for manufacturing the same
US9653611B2 (en)2014-03-072017-05-16Semiconductor Energy Laboratory Co., Ltd.Semiconductor device
US9653487B2 (en)2014-02-052017-05-16Semiconductor Energy Laboratory Co., Ltd.Semiconductor device, manufacturing method thereof, module, and electronic device
US9653486B2 (en)2013-09-272017-05-16Semiconductor Energy Laboratory Co., Ltd.Analog/digital circuit including back gate transistor structure
US9660087B2 (en)2014-02-282017-05-23Semiconductor Energy Laboratory Co., Ltd.Semiconductor device, display device including the semiconductor device, display module including the display device, and electronic appliance including the semiconductor device, the display device, or the display module
US9660518B2 (en)2012-05-022017-05-23Semiconductor Energy Laboratory Co., Ltd.Switching converter
US9660092B2 (en)2011-08-312017-05-23Semiconductor Energy Laboratory Co., Ltd.Oxide semiconductor thin film transistor including oxygen release layer
US9660100B2 (en)2015-02-062017-05-23Semiconductor Energy Laboratory Co., Ltd.Semiconductor device and method for manufacturing the same
US9659968B2 (en)2013-04-112017-05-23Semiconductor Energy Laboratory Co., Ltd.Display device comprising a metal oxide semiconductor channel and a specified insulating layer arrangement
US9660093B2 (en)2012-10-172017-05-23Semiconductor Energy Laboratory Co., Ltd.Transistor with multilayer film including oxide semiconductor layer and oxide layer
US9666698B2 (en)2015-03-242017-05-30Semiconductor Energy Laboratory Co., Ltd.Method for manufacturing semiconductor device
US9666722B2 (en)2014-01-282017-05-30Semiconductor Energy Laboratory Co., Ltd.Semiconductor device
US9666271B2 (en)2013-03-222017-05-30Semiconductor Energy Laboratory Co., Ltd.Semiconductor device including a transistor with an oxide semiconductor film channel coupled to a capacitor
US9666697B2 (en)2013-07-082017-05-30Semiconductor Energy Laboratory Co., Ltd.Semiconductor device and method for manufacturing semiconductor device including an electron trap layer
US9666606B2 (en)2015-08-212017-05-30Semiconductor Energy Laboratory Co., Ltd.Semiconductor device and electronic device
US9673224B2 (en)2013-10-222017-06-06Semiconductor Energy Laboratory Co., Ltd.Semiconductor device
US9673823B2 (en)2011-05-182017-06-06Semiconductor Energy Laboratory Co., Ltd.Semiconductor device and method of driving semiconductor device
US9674470B2 (en)2014-04-112017-06-06Semiconductor Energy Laboratory Co., Ltd.Semiconductor device, method for driving semiconductor device, and method for driving electronic device
US9673336B2 (en)2011-01-122017-06-06Semiconductor Energy Laboratory Co., Ltd.Method for manufacturing semiconductor device
US9680029B2 (en)2010-10-292017-06-13Semiconductor Energy Laboratory Co., Ltd.Semiconductor memory device
US9685560B2 (en)2015-03-022017-06-20Semiconductor Energy Laboratory Co., Ltd.Transistor, method for manufacturing transistor, semiconductor device, and electronic device
US9685500B2 (en)2014-03-142017-06-20Semiconductor Energy Laboratory Co., Ltd.Circuit system
US9691772B2 (en)2011-03-032017-06-27Semiconductor Energy Laboratory Co., Ltd.Semiconductor memory device including memory cell which includes transistor and capacitor
US9691905B2 (en)2015-06-192017-06-27Semiconductor Energy Laboratory Co., Ltd.Semiconductor device, manufacturing method thereof, and electronic device
US9697878B2 (en)2011-05-202017-07-04Semiconductor Energy Laboratory Co., Ltd.Word line divider and storage device
US9698170B2 (en)2014-10-072017-07-04Semiconductor Energy Laboratory Co., Ltd.Semiconductor device, display module, and electronic device
US9698276B2 (en)2014-11-282017-07-04Semiconductor Energy Laboratory Co., Ltd.Semiconductor device, module, and electronic device
US9698274B2 (en)2014-10-202017-07-04Semiconductor Energy Laboratory Co., Ltd.Semiconductor device comprising an oxide semiconductor, module, and electronic device
US9698277B2 (en)2014-12-102017-07-04Semiconductor Energy Laboratory Co., Ltd.Semiconductor device and method for manufacturing the same
US9697788B2 (en)2010-04-282017-07-04Semiconductor Energy Laboratory Co., Ltd.Liquid crystal display device
US9705398B2 (en)2012-05-022017-07-11Semiconductor Energy Laboratory Co., Ltd.Control circuit having signal processing circuit and method for driving the control circuit
US9705002B2 (en)2014-02-052017-07-11Semiconductor Energy Laboratory Co., Ltd.Semiconductor device, module, and electronic device
US9704562B2 (en)2014-10-102017-07-11Semiconductor Energy Laboratory Co., Ltd.Semiconductor device with stacked structure of memory cells over sensing amplifiers, circuit board, and electronic device
US9704704B2 (en)2014-10-282017-07-11Semiconductor Energy Laboratory Co., Ltd.Semiconductor device and display device including the same
US9704707B2 (en)2015-02-022017-07-11Semiconductor Energy Laboratory Co., Ltd.Oxide and manufacturing method thereof
US9705004B2 (en)2014-08-012017-07-11Semiconductor Energy Laboratory Co., Ltd.Semiconductor device
US9703704B2 (en)2012-05-012017-07-11Semiconductor Energy Laboratory Co., Ltd.Semiconductor device
US9705001B2 (en)2013-03-132017-07-11Semiconductor Energy Laboratory Co., Ltd.Semiconductor device
US9704894B2 (en)2013-05-102017-07-11Semiconductor Energy Laboratory Co., Ltd.Display device including pixel electrode including oxide
US9711536B2 (en)2014-03-072017-07-18Semiconductor Energy Laboratory Co., Ltd.Semiconductor device, electronic component, and electronic device
US9711110B2 (en)2012-04-062017-07-18Semiconductor Energy Laboratory Co., Ltd.Display device comprising grayscale conversion portion and display portion
US9715906B2 (en)2013-10-022017-07-25Semiconductor Energy Laboratory Co., Ltd.Bootstrap circuit and semiconductor device having bootstrap circuit
US9716003B2 (en)2013-09-132017-07-25Semiconductor Energy Laboratory Co., Ltd.Method of manufacturing semiconductor device
US9716852B2 (en)2015-04-032017-07-25Semiconductor Energy Laboratory Co., Ltd.Broadcast system
US9721959B2 (en)2013-06-132017-08-01Semiconductor Energy Laboratory Co., Ltd.Semiconductor device
US9722091B2 (en)2014-09-122017-08-01Semiconductor Energy Laboratory Co., Ltd.Method for manufacturing semiconductor device
US9722090B2 (en)2014-06-232017-08-01Semiconductor Energy Laboratory Co., Ltd.Semiconductor device including first gate oxide semiconductor film, and second gate
US9722092B2 (en)2015-02-252017-08-01Semiconductor Energy Laboratory Co., Ltd.Semiconductor device having a stacked metal oxide
US9721968B2 (en)2014-02-062017-08-01Semiconductor Energy Laboratory Co., Ltd.Semiconductor device, electronic component, and electronic appliance
US9722088B2 (en)2013-05-202017-08-01Semiconductor Energy Laboratory Co., Ltd.Semiconductor device
US9728559B2 (en)2015-02-062017-08-08Semiconductor Energy Laboratory Co., Ltd.Device, manufacturing method thereof, and electronic device
US9729149B2 (en)2013-04-192017-08-08Semiconductor Energy Laboratory Co., Ltd.Low power storage device in which operation speed is maintained
US9734780B2 (en)2010-07-012017-08-15Semiconductor Energy Laboratory Co., Ltd.Driving method of liquid crystal display device
US9735280B2 (en)2012-03-022017-08-15Semiconductor Energy Laboratory Co., Ltd.Semiconductor device, method for manufacturing semiconductor device, and method for forming oxide film
US9735282B2 (en)2014-12-292017-08-15Semiconductor Energy Laboratory Co., Ltd.Semiconductor device and display device having semiconductor device
US9741794B2 (en)2013-08-052017-08-22Semiconductor Energy Laboratory Co., Ltd.Semiconductor device and method for manufacturing semiconductor device
US9742356B2 (en)2012-04-112017-08-22Semiconductor Energy Laboratory Co., Ltd.Semiconductor device outputting reference voltages
US9742378B2 (en)2012-06-292017-08-22Semiconductor Energy Laboratory Co., Ltd.Pulse output circuit and semiconductor device
US9741400B2 (en)2015-11-052017-08-22Semiconductor Energy Laboratory Co., Ltd.Semiconductor device, memory device, electronic device, and method for operating the semiconductor device
US9748399B2 (en)2013-04-112017-08-29Semiconductor Energy Laboratory Co., Ltd.Semiconductor device and display device comprising an oxide semiconductor channel region having a different crystal orientation than source/drain regions
US9748274B2 (en)2015-05-262017-08-29Semiconductor Energy Laboratory Co., Ltd.Memory device comprising stacked memory cells and electronic device including the same
US9748291B2 (en)2014-09-262017-08-29Semiconductor Energy Laboratory Co., Ltd.Imaging device having a third circuit with a region overlapping with a fourth circuit
US9748403B2 (en)2015-05-222017-08-29Semiconductor Energy Laboratory Co., Ltd.Semiconductor device and display device including the semiconductor device
US9748355B2 (en)2012-07-262017-08-29Semicoductor Energy Laboratory Co., Ltd.Method for manufacturing oxide semiconductor transistor with low-nitrogen, low-defect insulating film
US9755643B2 (en)2014-12-162017-09-05Semiconductor Energy Laboratory Co., Ltd.Semiconductor device including buffer circuit and level shifter circuit, and electronic device including the same
US9755084B2 (en)2012-02-092017-09-05Semiconductor Energy Laboratory Co., Ltd.Multi-level stacked transistor device including capacitor and different semiconductor materials
US9754657B2 (en)2015-05-142017-09-05Semiconductor Energy Laboratory Co., Ltd.Semiconductor device, memory device, electronic device, and method for driving semiconductor device
US9755082B2 (en)2010-06-112017-09-05Semiconductor Energy Laboratory Co., Ltd.Semiconductor device including oxide semiconductor with an insulating film including galliium and oxygen
US9755648B2 (en)2013-11-222017-09-05Semiconductor Energy Laboratory Co., Ltd.Semiconductor device
US9754971B2 (en)2013-05-182017-09-05Semiconductor Energy Laboratory Co., Ltd.Semiconductor device
US9761733B2 (en)2014-12-012017-09-12Semiconductor Energy Laboratory Co., Ltd.Semiconductor device and method of manufacturing the same
US9761736B2 (en)2013-07-252017-09-12Semiconductor Energy Laboratory Co., Ltd.Semiconductor device and method for manufacturing semiconductor device
US9761737B2 (en)2013-05-012017-09-12Semiconductor Energy Laboratory Co., Ltd.Semiconductor device
US9761598B2 (en)2013-06-212017-09-12Semiconductor Energy Laboratory Co., Ltd.Programmable logic device (PLD)
US9768318B2 (en)2015-02-122017-09-19Semiconductor Energy Laboratory Co., Ltd.Semiconductor device and method for manufacturing the same
US9768314B2 (en)2013-01-212017-09-19Semiconductor Energy Laboratory Co., Ltd.Method for manufacturing semiconductor device
US9768317B2 (en)2014-12-082017-09-19Semiconductor Energy Laboratory Co., Ltd.Semiconductor device, manufacturing method of semiconductor device, and electronic device
US9768315B2 (en)2014-04-182017-09-19Semiconductor Energy Laboratory Co., Ltd.Semiconductor device and display device having the same
US9766517B2 (en)2014-09-052017-09-19Semiconductor Energy Laboratory Co., Ltd.Display device and display module
US9768279B2 (en)2013-04-292017-09-19Semiconductor Energy Laboratory Co., Ltd.Semiconductor device and manufacturing method thereof
US9773832B2 (en)2014-12-102017-09-26Semiconductor Energy Laboratory Co., Ltd.Semiconductor device and electronic device
US9773919B2 (en)2015-08-262017-09-26Semiconductor Energy Laboratory Co., Ltd.Semiconductor device and manufacturing method thereof
US9773915B2 (en)2013-06-112017-09-26Semiconductor Energy Laboratory Co., Ltd.Semiconductor device and manufacturing method thereof
US9773787B2 (en)2015-11-032017-09-26Semiconductor Energy Laboratory Co., Ltd.Semiconductor device, memory device, electronic device, or method for driving the semiconductor device
US9780121B2 (en)2014-03-072017-10-03Semiconductor Energy Laboratory Co., Ltd.Touch sensor, touch panel, and manufacturing method of touch panel
US9780226B2 (en)2014-04-252017-10-03Semiconductor Energy Laboratory Co., Ltd.Semiconductor device and manufacturing method thereof
US9779782B2 (en)2014-12-082017-10-03Semiconductor Energy Laboratory Co., Ltd.Semiconductor device and electronic device
US9786495B2 (en)2014-09-192017-10-10Semiconductor Energy Laboratory Co., Ltd.Method for evaluating semiconductor film and method for manufacturing semiconductor device
US9786793B2 (en)2012-03-292017-10-10Semiconductor Energy Laboratory Co., Ltd.Semiconductor device comprising oxide semiconductor layer including regions with different concentrations of resistance-reducing elements
US9785566B2 (en)2015-11-182017-10-10Semiconductor Energy Laboratory Co., Ltd.Semiconductor device, computer, and electronic device
US9786350B2 (en)2013-03-182017-10-10Semiconductor Energy Laboratory Co., Ltd.Memory device
US9793905B2 (en)2014-10-312017-10-17Semiconductor Energy Laboratory Co., Ltd.Semiconductor device
US9793801B2 (en)2010-05-212017-10-17Semiconductor Energy Laboratory Co., Ltd.Semiconductor device and display device
US9793444B2 (en)2012-04-062017-10-17Semiconductor Energy Laboratory Co., Ltd.Display device and electronic device
US9799773B2 (en)2011-02-022017-10-24Semiconductor Energy Laboratory Co., Ltd.Transistor and semiconductor device
US9799774B2 (en)2013-09-262017-10-24Semiconductor Energy Laboratory Co., Ltd.Switch circuit, semiconductor device, and system
US9799298B2 (en)2010-04-232017-10-24Semiconductor Energy Laboratory Co., Ltd.Liquid crystal display device and driving method thereof
US9805952B2 (en)2013-09-132017-10-31Semiconductor Energy Laboratory Co., Ltd.Method for manufacturing semiconductor device
US9806200B2 (en)2015-03-272017-10-31Semiconductor Energy Laboratory Co., Ltd.Semiconductor device
US9804462B2 (en)2013-12-272017-10-31Semiconductor Energy Laboratory Co., Ltd.Liquid crystal display device comprising transistor using oxide semiconductor
US9804645B2 (en)2012-01-232017-10-31Semiconductor Energy Laboratory Co., Ltd.Systems and methods for individually controlling power supply voltage to circuits in a semiconductor device
US9806198B2 (en)2013-06-052017-10-31Semiconductor Energy Laboratory Co., Ltd.Semiconductor device and method for manufacturing the same
US9805676B2 (en)2012-11-282017-10-31Semiconductor Energy Laboratory Co., Ltd.Display device
US9806201B2 (en)2014-03-072017-10-31Semiconductor Energy Laboratory Co., Ltd.Semiconductor device
US9812466B2 (en)2014-08-082017-11-07Semiconductor Energy Laboratory Co., Ltd.Semiconductor device
US9812587B2 (en)2015-01-262017-11-07Semiconductor Energy Laboratory Co., Ltd.Semiconductor device and manufacturing method thereof
US9812586B2 (en)2013-10-222017-11-07Semiconductor Energy Laboratory Co., Ltd.Transistor with curved active layer
US9812585B2 (en)2013-10-042017-11-07Semiconductor Energy Laboratory Co., Ltd.Semiconductor device
US9816173B2 (en)2011-10-282017-11-14Semiconductor Energy Laboratory Co., Ltd.Semiconductor device and manufacturing method thereof
US9819261B2 (en)2012-10-252017-11-14Semiconductor Energy Laboratory Co., Ltd.Central control system
US9817032B2 (en)2012-05-232017-11-14Semiconductor Energy Laboratory Co., Ltd.Measurement device
US9818880B2 (en)2015-02-122017-11-14Semiconductor Energy Laboratory Co., Ltd.Semiconductor device and display device including the semiconductor device
US9818473B2 (en)2014-03-142017-11-14Semiconductor Energy Laboratory Co., Ltd.Semiconductor device including stacked circuits
US9817040B2 (en)2014-02-212017-11-14Semiconductor Energy Laboratory Co., Ltd.Measuring method of low off-state current of transistor
US9818763B2 (en)2013-07-122017-11-14Semiconductor Energy Laboratory Co., Ltd.Display device and method for manufacturing display device
US9824888B2 (en)2013-05-212017-11-21Semiconductor Energy Laboratory Co., Ltd.Oxide semiconductor film and formation method thereof
US9825057B2 (en)2013-12-022017-11-21Semiconductor Energy Laboratory Co., Ltd.Display device
US9825177B2 (en)2015-07-302017-11-21Semiconductor Energy Laboratory Co., Ltd.Manufacturing method of a semiconductor device using multiple etching mask
US9825179B2 (en)2015-08-282017-11-21Semiconductor Energy Laboratory Co., Ltd.Oxide semiconductor, transistor, and semiconductor device
US9825181B2 (en)2015-12-112017-11-21Semiconductor Energy Laboratory Co., Ltd.Transistor, circuit, semiconductor device, display device, and electronic device
US9831275B2 (en)2015-02-042017-11-28Semiconductor Energy Laboratory Co., Ltd.Method for manufacturing a semiconductor device at low temperature
US9829533B2 (en)2013-03-062017-11-28Semiconductor Energy Laboratory Co., Ltd.Semiconductor film and semiconductor device
US9831309B2 (en)2015-02-112017-11-28Semiconductor Energy Laboratory Co., Ltd.Semiconductor device and manufacturing method thereof
US9831274B2 (en)2012-11-082017-11-28Semiconductor Energy Laboratory Co., Ltd.Metal oxide film and method for forming metal oxide film
US9831238B2 (en)2014-05-302017-11-28Semiconductor Energy Laboratory Co., Ltd.Semiconductor device including insulating film having opening portion and conductive film in the opening portion
US9831353B2 (en)2014-12-262017-11-28Semiconductor Energy Laboratory Co., Ltd.Semiconductor device, display device, display module, electronic device, oxide, and manufacturing method of oxide
US9837547B2 (en)2015-05-222017-12-05Semiconductor Energy Laboratory Co., Ltd.Semiconductor device comprising oxide conductor and display device including the semiconductor device
US9837546B2 (en)2015-03-272017-12-05Semiconductor Energy Laboratory Co., Ltd.Semiconductor device and electronic device
US9837551B2 (en)2013-05-022017-12-05Semiconductor Energy Laboratory Co., Ltd.Semiconductor device
US9837157B2 (en)2014-05-222017-12-05Semiconductor Energy Laboratory Co., Ltd.Semiconductor device and healthcare system
US9841843B2 (en)2010-12-152017-12-12Semiconductor Energy Laboratory Co., Ltd.Semiconductor device and driving method thereof
US9842842B2 (en)2014-03-192017-12-12Semiconductor Energy Laboratory Co., Ltd.Semiconductor memory device and semiconductor device and electronic device having the same
US9842938B2 (en)2015-03-242017-12-12Semiconductor Energy Laboratory Co., Ltd.Semiconductor device and display device including semiconductor device
US9847431B2 (en)2014-05-302017-12-19Semiconductor Energy Laboratory Co., Ltd.Semiconductor device, module, and electronic device
US9848144B2 (en)2014-07-182017-12-19Semiconductor Energy Laboratory Co., Ltd.Semiconductor device, imaging device, and electronic device
US9852703B2 (en)2009-12-252017-12-26Semiconductor Energy Laboratory Co., Ltd.Method for driving liquid crystal display device
US9851776B2 (en)2014-05-022017-12-26Semiconductor Energy Laboratory Co., Ltd.Semiconductor device
US9852926B2 (en)2015-10-202017-12-26Semiconductor Energy Laboratory Co., Ltd.Manufacturing method for semiconductor device
US9853165B2 (en)2014-09-192017-12-26Semiconductor Energy Laboratory Co., Ltd.Method for manufacturing semiconductor device
US9859114B2 (en)2012-02-082018-01-02Semiconductor Energy Laboratory Co., Ltd.Oxide semiconductor device with an oxygen-controlling insulating layer
US9859117B2 (en)2014-10-282018-01-02Semiconductor Energy Laboratory Co., Ltd.Oxide and method for forming the same
US9857860B2 (en)2012-07-202018-01-02Semiconductor Energy Laboratory Co., Ltd.Power supply control circuit and signal processing circuit
US9859439B2 (en)2013-09-182018-01-02Semiconductor Energy Laboratory Co., Ltd.Semiconductor device and method for manufacturing the same
US9860465B2 (en)2015-06-232018-01-02Semiconductor Energy Laboratory Co., Ltd.Imaging device and electronic device
US9859268B2 (en)2011-05-172018-01-02Semiconductor Energy Laboratory Co., Ltd.Content addressable memory
US9859905B2 (en)2014-09-262018-01-02Semiconductor Energy Laboratory Co., Ltd.Semiconductor device, wireless sensor, and electronic device
US9865712B2 (en)2015-03-032018-01-09Semiconductor Energy Laboratory Co., Ltd.Semiconductor device and manufacturing method thereof
US9865588B2 (en)2014-05-302018-01-09Semiconductor Energy Laboratory Co., Ltd.Semiconductor device and electronic device
US9865743B2 (en)2012-10-242018-01-09Semiconductor Energy Laboratory Co., Ltd.Semiconductor device including oxide layer surrounding oxide semiconductor layer
US9870816B2 (en)2013-10-312018-01-16Semiconductor Energy Laboratory Co., Ltd.Method for driving semiconductor device
US9869716B2 (en)2014-02-072018-01-16Semiconductor Energy Laboratory Co., Ltd.Device comprising programmable logic element
US9871143B2 (en)2014-03-182018-01-16Semiconductor Energy Laboratory Co., Ltd.Semiconductor device and manufacturing method thereof
US9876946B2 (en)2015-08-032018-01-23Semiconductor Energy Laboratory Co., Ltd.Imaging device and electronic device
US9874775B2 (en)2014-05-282018-01-23Semiconductor Energy Laboratory Co., Ltd.Liquid crystal display device and electronic device
US9876119B2 (en)2011-10-052018-01-23Semiconductor Energy Laboratory Co., Ltd.Semiconductor device and manufacturing method thereof
US9882064B2 (en)2016-03-102018-01-30Semiconductor Energy Laboratory Co., Ltd.Transistor and electronic device
US9882061B2 (en)2015-03-172018-01-30Semiconductor Energy Laboratory Co., Ltd.Semiconductor device and manufacturing method thereof
US9882058B2 (en)2013-05-032018-01-30Semiconductor Energy Laboratory Co., Ltd.Semiconductor device
US9882059B2 (en)2013-12-192018-01-30Semiconductor Energy Laboratory Co., Ltd.Semiconductor device
US9880437B2 (en)2013-11-272018-01-30Semiconductor Energy Laboratory Co., Ltd.Display device
US9883129B2 (en)2015-09-252018-01-30Semiconductor Energy Laboratory Co., Ltd.Semiconductor device
US9882014B2 (en)2013-11-292018-01-30Semiconductor Energy Laboratory Co., Ltd.Semiconductor device and method for manufacturing the same
US9885108B2 (en)2012-08-072018-02-06Semiconductor Energy Laboratory Co., Ltd.Method for forming sputtering target
US9887450B2 (en)2010-01-292018-02-06Semiconductor Energy Laboratory Co., Ltd.Semiconductor device and electronic device including the same
US9887300B2 (en)2014-06-182018-02-06Semiconductor Energy Laboratory Co., Ltd.Transistor and semiconductor device
US9887010B2 (en)2016-01-212018-02-06Semiconductor Energy Laboratory Co., Ltd.Semiconductor device, memory device, and driving method thereof
US9887212B2 (en)2014-03-142018-02-06Semiconductor Energy Laboratory Co., Ltd.Semiconductor device and electronic device
US9887297B2 (en)2013-09-172018-02-06Semiconductor Energy Laboratory Co., Ltd.Semiconductor device comprising oxide semiconductor layer in which thickness of the oxide semiconductor layer is greater than or equal to width of the oxide semiconductor layer
US9887291B2 (en)2014-03-192018-02-06Semiconductor Energy Laboratory Co., Ltd.Semiconductor device, display device including the semiconductor device, display module including the display device, and electronic device including the semiconductor device, the display device, or the display module
US9886150B2 (en)2014-09-052018-02-06Semiconductor Energy Laboratory Co., Ltd.Display device and electronic device
US9893194B2 (en)2013-09-122018-02-13Semiconductor Energy Laboratory Co., Ltd.Method for manufacturing semiconductor device
US9893202B2 (en)2015-08-192018-02-13Semiconductor Energy Laboratory Co., Ltd.Manufacturing method of semiconductor device
US9893192B2 (en)2013-04-242018-02-13Semiconductor Energy Laboratory Co., Ltd.Semiconductor device
US9899420B2 (en)2013-06-052018-02-20Semiconductor Energy Laboratory Co., Ltd.Display device
US9900006B2 (en)2015-12-292018-02-20Semiconductor Energy Laboratory Co., Ltd.Semiconductor device, computer, and electronic device
US9898194B2 (en)2013-04-122018-02-20Semiconductor Energy Laboratory Co., Ltd.Semiconductor device with volatile and non-volatile memories to retain data during power interruption
US9905700B2 (en)2015-03-132018-02-27Semiconductor Energy Laboratory Co., Ltd.Semiconductor device or memory device and driving method thereof
US9905586B2 (en)2013-09-252018-02-27Semiconductor Energy Laboratory Co., Ltd.Capacitor comprising metal oxide film having high alignment
US9905598B2 (en)2014-04-232018-02-27Semiconductor Energy Laboratory Co., Ltd.Imaging device
US9905657B2 (en)2016-01-202018-02-27Semiconductor Energy Laboratory Co., Ltd.Semiconductor device and method for manufacturing semiconductor device
US9905435B2 (en)2014-09-122018-02-27Semiconductor Energy Laboratory Co., Ltd.Manufacturing method of semiconductor device comprising oxide semiconductor film
US9905585B2 (en)2012-12-252018-02-27Semiconductor Energy Laboratory Co., Ltd.Semiconductor device comprising capacitor
US9911856B2 (en)2009-10-092018-03-06Semiconductor Energy Laboratory Co., Ltd.Semiconductor device
US9911858B2 (en)2010-12-282018-03-06Semiconductor Energy Laboratory Co., Ltd.Semiconductor device and method for manufacturing the same
US9911756B2 (en)2015-08-312018-03-06Semiconductor Energy Laboratory Co., Ltd.Semiconductor device including transistor and electronic device surrounded by layer having assigned band gap to prevent electrostatic discharge damage
US9911861B2 (en)2015-08-032018-03-06Semiconductor Energy Laboratory Co., Ltd.Semiconductor device, manufacturing method of the same, and electronic device
US9911757B2 (en)2015-12-282018-03-06Semiconductor Energy Laboratory Co., Ltd.Semiconductor device and display device including the semiconductor device
US9911755B2 (en)2012-12-252018-03-06Semiconductor Energy Laboratory Co., Ltd.Semiconductor device including transistor and capacitor
US9917209B2 (en)2015-07-032018-03-13Semiconductor Energy Laboratory Co., Ltd.Manufacturing method of semiconductor device including step of forming trench over semiconductor
US9915848B2 (en)2013-04-192018-03-13Semiconductor Energy Laboratory Co., Ltd.Display device and electronic device
US9916793B2 (en)2012-06-012018-03-13Semiconductor Energy Laboratory Co., Ltd.Semiconductor device and method of driving the same
US9916791B2 (en)2015-04-162018-03-13Semiconductor Energy Laboratory Co., Ltd.Display device, electronic device, and method for driving display device
US9918012B2 (en)2014-07-182018-03-13Semiconductor Energy Laboratory Co., Ltd.Display system, imaging device, monitoring device, display device, and electronic device
US9922692B2 (en)2014-03-132018-03-20Semiconductor Energy Laboratory Co., Ltd.Semiconductor device including refresh circuit for memory cell
US9923097B2 (en)2013-12-062018-03-20Semiconductor Energy Laboratory Co., Ltd.Semiconductor device
US9922994B2 (en)2015-10-292018-03-20Semiconductor Energy Laboratory Co., Ltd.Semiconductor device and method for manufacturing the semiconductor device
US9929279B2 (en)2014-02-052018-03-27Semiconductor Energy Laboratory Co., Ltd.Semiconductor device and manufacturing method thereof
US9929044B2 (en)2014-01-302018-03-27Semiconductor Energy Laboratory Co., Ltd.Method of manufacturing semiconductor device
US9929276B2 (en)2012-08-102018-03-27Semiconductor Energy Laboratory Co., Ltd.Semiconductor device and method for manufacturing the same
US9935617B2 (en)2013-12-262018-04-03Semiconductor Energy Laboratory Co., Ltd.Semiconductor device
US9934740B2 (en)2015-05-072018-04-03Semiconductor Energy Laboratory Co., Ltd.Display system and electronic device
US9935633B2 (en)2015-06-302018-04-03Semiconductor Energy Laboratory Co., Ltd.Logic circuit, semiconductor device, electronic component, and electronic device
US9935143B2 (en)2015-09-302018-04-03Semiconductor Energy Laboratory Co., Ltd.Semiconductor device and electronic device
US9935622B2 (en)2011-04-282018-04-03Semiconductor Energy Laboratory Co., Ltd.Comparator and semiconductor device including comparator
US9947801B2 (en)2014-03-282018-04-17Semiconductor Energy Laboratory Co., Ltd.Transistor and semiconductor device
US9954003B2 (en)2016-02-172018-04-24Semiconductor Energy Laboratory Co., Ltd.Semiconductor device and electronic device
US9954112B2 (en)2015-01-262018-04-24Semiconductor Energy Laboratory Co., Ltd.Semiconductor device and manufacturing method thereof
US9952724B2 (en)2014-04-182018-04-24Semiconductor Energy Laboratory Co., Ltd.Display device and operation method thereof
US9954111B2 (en)2014-03-182018-04-24Semiconductor Energy Laboratory Co., Ltd.Semiconductor device
US9954113B2 (en)2015-02-092018-04-24Semiconductor Energy Laboratory Co., Ltd.Transistor including oxide semiconductor, semiconductor device including the transistor, and electronic device including the transistor
US9954110B2 (en)2011-05-132018-04-24Semiconductor Energy Laboratory Co., Ltd.EL display device and electronic device
US9960280B2 (en)2013-12-262018-05-01Semiconductor Energy Laboratory Co., Ltd.Semiconductor device
US9960278B2 (en)2011-04-062018-05-01Yuhei SatoManufacturing method of semiconductor device
US9960213B2 (en)2014-04-252018-05-01Semiconductor Energy Laboratory Co., Ltd.Input and output device having touch sensor element as input device and display device
US9964799B2 (en)2015-03-172018-05-08Semiconductor Energy Laboratory Co., Ltd.Display device, display module, and electronic device
US9966473B2 (en)2015-05-112018-05-08Semiconductor Energy Laboratory Co., Ltd.Manufacturing method of semiconductor device
US9971440B2 (en)2010-03-122018-05-15Semiconductor Energy Laboratory Co., Ltd.Method for driving circuit and method for driving display device
US9971680B2 (en)2014-06-132018-05-15Semiconductor Energy Laboratory Co., Ltd.Semiconductor device and electronic device
US9979386B2 (en)2014-02-282018-05-22Semiconductor Energy Laboratory Co., Ltd.Semiconductor device, method for driving the same, and electronic appliance
US9989796B2 (en)2013-08-282018-06-05Semiconductor Energy Laboratory Co., Ltd.Display device comprising first and second transistors electrically connected to first and second pixel electrodes
US9991394B2 (en)2015-02-202018-06-05Semiconductor Energy Laboratory Co., Ltd.Semiconductor device and fabrication method thereof
US9991392B2 (en)2013-12-032018-06-05Semiconductor Energy Laboratory Co., Ltd.Semiconductor device and manufacturing method thereof
US9990207B2 (en)2014-02-072018-06-05Semiconductor Energy Laboratory Co., Ltd.Semiconductor device, device, and electronic device
US9991393B2 (en)2014-10-162018-06-05Semiconductor Energy Laboratory Co., Ltd.Semiconductor device, module, and electronic device
US9990965B2 (en)2011-12-152018-06-05Semiconductor Energy Laboratory Co., Ltd.Storage device
US9998104B2 (en)2014-11-212018-06-12Semiconductor Energy Laboratory Co., Ltd.Semiconductor device and electronic device
US10002970B2 (en)2015-04-302018-06-19Semiconductor Energy Laboratory Co., Ltd.Semiconductor device, manufacturing method of the same, or display device including the same
US10002971B2 (en)2014-07-032018-06-19Semiconductor Energy Laboratory Co., Ltd.Semiconductor device and display device including the semiconductor device
US10002968B2 (en)2011-12-142018-06-19Semiconductor Energy Laboratory Co., Ltd.Semiconductor device and display device including the same
US10008149B2 (en)2011-07-222018-06-26Semiconductor Energy Laboratory Co., Ltd.Light-emitting device including pixels suppressing variation in luminance
US10007161B2 (en)2015-10-262018-06-26Semiconductor Energy Laboratory Co., Ltd.Display device
US10008513B2 (en)2013-09-052018-06-26Semiconductor Energy Laboratory Co., Ltd.Semiconductor device
US10008609B2 (en)2015-03-172018-06-26Semiconductor Energy Laboratory Co., Ltd.Semiconductor device, method for manufacturing the same, or display device including the same
US10007133B2 (en)2012-10-122018-06-26Semiconductor Energy Laboratory Co., Ltd.Liquid crystal display device and touch panel
US10014414B2 (en)2013-02-282018-07-03Semiconductor Energy Laboratory Co., Ltd.Semiconductor device and method for manufacturing the same
US10014068B2 (en)2011-10-072018-07-03Semiconductor Energy Laboratory Co., Ltd.Semiconductor device
US10014334B2 (en)2016-03-082018-07-03Semiconductor Energy Laboratory Co., Ltd.Imaging device, module, and electronic device
US10021329B2 (en)2014-07-312018-07-10Semiconductor Energy Laboratory Co., Ltd.Imaging device, monitoring device, and electronic device
US10020403B2 (en)2014-05-272018-07-10Semiconductor Energy Laboratory Co., Ltd.Semiconductor device
US10019348B2 (en)2014-12-182018-07-10Semiconductor Energy Laboratory Co., Ltd.Semiconductor device including circuit configured to be in resting state
US10020322B2 (en)2015-12-292018-07-10Semiconductor Energy Laboratory Co., Ltd.Transistor and semiconductor device
US10019025B2 (en)2015-07-302018-07-10Semiconductor Energy Laboratory Co., Ltd.Semiconductor device and electronic device
US10026847B2 (en)2011-11-182018-07-17Semiconductor Energy Laboratory Co., Ltd.Semiconductor element, method for manufacturing semiconductor element, and semiconductor device including semiconductor element
US10032888B2 (en)2014-08-222018-07-24Semiconductor Energy Laboratory Co., Ltd.Semiconductor device, method for manufacturing semiconductor device, and electronic appliance having semiconductor device
US10032872B2 (en)2013-05-172018-07-24Semiconductor Energy Laboratory Co., Ltd.Semiconductor device, method for manufacturing the same, and apparatus for manufacturing semiconductor device
US10032925B2 (en)2014-05-292018-07-24Semiconductor Energy Laboratory Co., Ltd.Imaging element, electronic appliance, method for driving imaging device, and method for driving electronic appliance
US10031392B2 (en)2015-10-122018-07-24Semiconductor Energy Laboratory Co., Ltd.Display panel, input/output device, data processor, and method for manufacturing display panel
US10038100B2 (en)2016-02-122018-07-31Semiconductor Energy Laboratory Co., Ltd.Semiconductor device
US10035386B2 (en)2015-05-112018-07-31Semiconductor Energy Laboratory Co., Ltd.Semiconductor device, method for manufacturing semiconductor device, tire, and moving object
US10043913B2 (en)2014-04-302018-08-07Semiconductor Energy Laboratory Co., Ltd.Semiconductor film, semiconductor device, display device, module, and electronic device
US10050152B2 (en)2015-12-162018-08-14Semiconductor Energy Laboratory Co., Ltd.Transistor, semiconductor device, and electronic device
US10056497B2 (en)2015-04-152018-08-21Semiconductor Energy Laboratory Co., Ltd.Semiconductor device and manufacturing method thereof
US10055232B2 (en)2014-02-072018-08-21Semiconductor Energy Laboratory Co., Ltd.Semiconductor device comprising memory circuit
US10068927B2 (en)2014-10-232018-09-04Semiconductor Energy Laboratory Co., Ltd.Semiconductor device, display module, and electronic device
US10071904B2 (en)2014-09-252018-09-11Semiconductor Energy Laboratory Co., Ltd.Semiconductor device, display module, and electronic device
US10074576B2 (en)2014-02-282018-09-11Semiconductor Energy Laboratory Co., Ltd.Semiconductor memory device
US10080302B2 (en)2013-04-242018-09-18Semiconductor Energy Laboratory Co., Ltd.Display device
US10079053B2 (en)2011-04-222018-09-18Semiconductor Energy Laboratory Co., Ltd.Memory element and memory device
US10084048B2 (en)2014-05-072018-09-25Semiconductor Energy Laboratory Co., Ltd.Semiconductor device and electronic device including the semiconductor device
US10090023B2 (en)2013-09-112018-10-02Semiconductor Energy Laboratory Co., Ltd.Memory device including memory circuit and selection circuit
US10090031B2 (en)2015-02-092018-10-02Semiconductor Energy Laboratory Co., Ltd.Semiconductor device comprising memory circuit and selection circuit
US10088886B2 (en)2013-01-242018-10-02Semiconductor Energy Laboratory Co., Ltd.Semiconductor device comprising power gating device
US10096628B2 (en)2016-03-042018-10-09Semiconductor Energy Laboratory Co., Ltd.Semiconductor device and manufacturing method thereof
US10096489B2 (en)2014-03-062018-10-09Semiconductor Energy Laboratory Co., Ltd.Method for manufacturing semiconductor device
US10096684B2 (en)2015-12-292018-10-09Semiconductor Energy Laboratory Co., Ltd.Metal oxide film and semiconductor device
US10096715B2 (en)2015-03-262018-10-09Semiconductor Energy Laboratory Co., Ltd.Semiconductor device, method for manufacturing the same, and electronic device
US10096720B2 (en)2016-03-252018-10-09Semiconductor Energy Laboratory Co., Ltd.Transistor, semiconductor device, and electronic device
US10095584B2 (en)2013-04-262018-10-09Semiconductor Energy Laboratory Co., Ltd.Semiconductor device
US10115830B2 (en)2014-07-292018-10-30Semiconductor Energy Laboratory Co., Ltd.Semiconductor device, manufacturing method thereof, and electronic device
US10115741B2 (en)2016-02-052018-10-30Semiconductor Energy Laboratory Co., Ltd.Semiconductor device and electronic device
US10115742B2 (en)2016-02-122018-10-30Semiconductor Energy Laboratory Co., Ltd.Semiconductor device and display device including the semiconductor device
US10121905B2 (en)2013-09-042018-11-06Semiconductor Energy Laboratory Co., Ltd.Semiconductor device
US10134852B2 (en)2012-06-292018-11-20Semiconductor Energy Laboratory Co., Ltd.Semiconductor device
US10134332B2 (en)2015-03-182018-11-20Semiconductor Energy Laboratory Co., Ltd.Display device, electronic device, and driving method of display device
US10134781B2 (en)2013-08-232018-11-20Semiconductor Energy Laboratory Co., Ltd.Capacitor and semiconductor device
US10141054B2 (en)2015-08-212018-11-27Semiconductor Energy Laboratory Co., Ltd.Semiconductor device, electronic component, and electronic device
US10141342B2 (en)2014-09-262018-11-27Semiconductor Energy Laboratory Co., Ltd.Semiconductor device and display device
US10139663B2 (en)2015-05-292018-11-27Semiconductor Energy Laboratory Co., Ltd.Input/output device and electronic device
US10147823B2 (en)2015-03-192018-12-04Semiconductor Energy Laboratory Co., Ltd.Semiconductor device
US10147747B2 (en)2014-08-212018-12-04Semiconductor Energy Laboratory Co., Ltd.Semiconductor device, manufacturing method thereof, and electronic device
US10159135B2 (en)2014-07-312018-12-18Semiconductor Energy Laboratory Co., Ltd.Flexible display device having first and second display panels overlapping each other and light transmitting layer therebetween
US10158008B2 (en)2015-10-122018-12-18Semiconductor Energy Laboratory Co., Ltd.Method for manufacturing semiconductor device
US10163967B2 (en)2015-06-122018-12-25Semiconductor Energy Laboratory Co., Ltd.Imaging device, method for operating the same, and electronic device
US10170055B2 (en)2014-09-262019-01-01Semiconductor Energy Laboratory Co., Ltd.Display device and driving method thereof
US10168809B2 (en)2015-03-172019-01-01Semiconductor Energy Laboratory Co., Ltd.Touch panel
US10177142B2 (en)2015-12-252019-01-08Semiconductor Energy Laboratory Co., Ltd.Circuit, logic circuit, processor, electronic component, and electronic device
US10181531B2 (en)2015-07-082019-01-15Semiconductor Energy Laboratory Co., Ltd.Semiconductor device including transistor having low parasitic capacitance
US10192995B2 (en)2015-04-282019-01-29Semiconductor Energy Laboratory Co., Ltd.Semiconductor device and manufacturing method thereof
US10199394B2 (en)2013-10-222019-02-05Semiconductor Energy Laboratory Co., Ltd.Display device
US10197627B2 (en)2013-11-072019-02-05Semiconductor Energy Laboratory Co., Ltd.Semiconductor device
US10204925B2 (en)2014-10-062019-02-12Semiconductor Energy Laboratory Co., Ltd.Semiconductor device and electronic device
US10217736B2 (en)2013-09-232019-02-26Semiconductor Energy Laboratory Co., Ltd.Semiconductor device including transistor and capacitor
US10229934B2 (en)2012-12-252019-03-12Semiconductor Energy Laboratory Co., Ltd.Resistor, display device, and electronic device
US10236387B2 (en)2015-09-182019-03-19Semiconductor Energy Laboratory Co., Ltd.Semiconductor device and electronic device
US10235289B2 (en)2015-02-262019-03-19Semiconductor Energy Laboratory Co., Ltd.Storage system and storage control circuit
US10236875B2 (en)2016-04-152019-03-19Semiconductor Energy Laboratory Co., Ltd.Semiconductor device and method for operating the semiconductor device
US10234983B2 (en)2015-09-112019-03-19Semiconductor Energy Laboratory Co., Ltd.Input/output panel, input/output device, and data processor
US10236287B2 (en)2013-09-232019-03-19Semiconductor Energy Laboratory Co., Ltd.Semiconductor device including semiconductor electrically surrounded by electric field of conductive film
US10249765B2 (en)2014-11-212019-04-02Semiconductor Energy Laboratory Co., Ltd.Semiconductor device and electronic device
US10249644B2 (en)2015-02-132019-04-02Semiconductor Energy Laboratory Co., Ltd.Semiconductor device and manufacturing method of the same
US10249347B2 (en)2013-11-132019-04-02Semiconductor Energy Laboratory Co., Ltd.Semiconductor device and method for driving semiconductor device
US10250247B2 (en)2016-02-102019-04-02Semiconductor Energy Laboratory Co., Ltd.Semiconductor device, electronic component, and electronic device
US10249764B2 (en)2012-02-092019-04-02Semiconductor Energy Laboratory Co., Ltd.Semiconductor device, display device including semiconductor device, electronic device including semiconductor device, and method for manufacturing semiconductor device
US10263114B2 (en)2016-03-042019-04-16Semiconductor Energy Laboratory Co., Ltd.Semiconductor device, method for manufacturing the same, or display device including the same
US10263117B2 (en)2014-01-242019-04-16Semiconductor Energy Laboratory Co., Ltd.Semiconductor device
US10276724B2 (en)2015-07-142019-04-30Semiconductor Energy Laboratory Co., Ltd.Semiconductor device
US10290573B2 (en)2015-07-022019-05-14Semiconductor Energy Laboratory Co., Ltd.Semiconductor device and electronic device
US10290693B2 (en)2015-08-072019-05-14Semiconductor Energy Laboratory Co., Ltd.Display panel and method for driving the same
US10304859B2 (en)2013-04-122019-05-28Semiconductor Energy Laboratory Co., Ltd.Semiconductor device having an oxide film on an oxide semiconductor film
US10316404B2 (en)2014-12-262019-06-11Semiconductor Energy Laboratory Co., Ltd.Method for manufacturing sputtering target
US10345661B2 (en)2014-04-222019-07-09Semiconductor Energy Laboratory Co., Ltd.Display device, display module, and electronic device
US10347769B2 (en)2013-03-252019-07-09Semiconductor Energy Laboratory Co., Ltd.Thin film transistor with multi-layer source/drain electrodes
US10347197B2 (en)2009-12-282019-07-09Semiconductor Energy Laboratory Co., Ltd.Liquid crystal display device and electronic device
US10361290B2 (en)2014-03-142019-07-23Semiconductor Energy Laboratory Co., Ltd.Method for manufacturing semiconductor device comprising adding oxygen to buffer film and insulating film
US10367095B2 (en)2015-03-032019-07-30Semiconductor Energy Laboratory Co., Ltd.Semiconductor device, method for manufacturing the same, or display device including the same
US10367014B2 (en)2014-10-282019-07-30Semiconductor Energy Laboratory Co., Ltd.Display device, manufacturing method of display device, and electronic device
US10372274B2 (en)2015-04-132019-08-06Semiconductor Energy Laboratory Co., Ltd.Semiconductor device and touch panel
US10381486B2 (en)2015-07-302019-08-13Semiconductor Energy Laboratory Co., Ltd.Semiconductor device and display device including the semiconductor device
US10389961B2 (en)2015-04-092019-08-20Semiconductor Energy Laboratory Co., Ltd.Imaging device and electronic device
US10396210B2 (en)2014-12-262019-08-27Semiconductor Energy Laboratory Co., Ltd.Semiconductor device with stacked metal oxide and oxide semiconductor layers and display device including the semiconductor device
US10403760B2 (en)2015-03-032019-09-03Semiconductor Energy Laboratory Co., Ltd.Oxide semiconductor film, semiconductor device including the oxide semiconductor film, and display device including the semiconductor device
US10403646B2 (en)2015-02-202019-09-03Semiconductor Energy Laboratory Co., Ltd.Semiconductor device and method for manufacturing the same
US10411003B2 (en)2016-10-142019-09-10Semiconductor Energy Laboratory Co., Ltd.Semiconductor device and method for manufacturing the same
US10411013B2 (en)2016-01-222019-09-10Semiconductor Energy Laboratory Co., Ltd.Semiconductor device and memory device
US10416517B2 (en)2008-11-142019-09-17Semiconductor Energy Laboratory Co., Ltd.Liquid crystal display device
US10416504B2 (en)2013-05-212019-09-17Semiconductor Energy Laboratory Co., Ltd.Liquid crystal display device
US10424671B2 (en)2015-07-292019-09-24Semiconductor Energy Laboratory Co., Ltd.Semiconductor device, circuit board, and electronic device
US10430093B2 (en)2016-04-152019-10-01Semiconductor Energy Laboratory Co., Ltd.Semiconductor device, electronic component, and electronic device
US10429704B2 (en)2015-03-262019-10-01Semiconductor Energy Laboratory Co., Ltd.Display device, display module including the display device, and electronic device including the display device or the display module
US10439068B2 (en)2015-02-122019-10-08Semiconductor Energy Laboratory Co., Ltd.Oxide semiconductor film and semiconductor device
US10438982B2 (en)2015-03-302019-10-08Semiconductor Energy Laboratory Co., Ltd.Method for manufacturing semiconductor device including step of simultaneous formation of plurality of contact openings
US10460984B2 (en)2015-04-152019-10-29Semiconductor Energy Laboratory Co., Ltd.Method for fabricating electrode and semiconductor device
US10483365B2 (en)2015-08-312019-11-19Semiconductor Energy Laboratory Co., Ltd.Semiconductor device
US10490553B2 (en)2009-10-292019-11-26Semiconductor Energy Laboratory Co., Ltd.Semiconductor device
US10501003B2 (en)2015-07-172019-12-10Semiconductor Energy Laboratory Co., Ltd.Semiconductor device, lighting device, and vehicle
US10503018B2 (en)2013-06-052019-12-10Semiconductor Energy Laboratory Co., Ltd.Display device and electronic device
US10505051B2 (en)2015-05-042019-12-10Semiconductor Energy Laboratory Co., Ltd.Semiconductor device, method for manufacturing the same, and electronic device
US10522693B2 (en)2015-01-162019-12-31Semiconductor Energy Laboratory Co., Ltd.Memory device and electronic device
US10529286B2 (en)2014-05-092020-01-07Semiconductor Energy Laboratory Co., Ltd.Display correction circuit, display correction system, and display device
US10529740B2 (en)2013-07-252020-01-07Semiconductor Energy Laboratory Co., Ltd.Semiconductor device including semiconductor layer and conductive layer
US10559667B2 (en)2014-08-252020-02-11Semiconductor Energy Laboratory Co., Ltd.Semiconductor device and method for measuring current of semiconductor device
US10557192B2 (en)2012-08-072020-02-11Semiconductor Energy Laboratory Co., Ltd.Method for using sputtering target and method for forming oxide film
US10566355B2 (en)2015-12-182020-02-18Semiconductor Energy Laboratory Co., Ltd.Semiconductor device and display device including the same
US10566459B2 (en)2009-10-302020-02-18Semiconductor Energy Laboratory Co., Ltd.Semiconductor device having a first region comprising silicon, oxygen and at least one metal element formed between an oxide semiconductor layer and an insulating layer
US10580798B2 (en)2016-01-152020-03-03Semiconductor Energy Laboratory Co., Ltd.Semiconductor device
US10585506B2 (en)2015-07-302020-03-10Semiconductor Energy Laboratory Co., Ltd.Display device with high visibility regardless of illuminance of external light
US10593172B2 (en)2014-05-162020-03-17Semiconductor Energy Laboratory Co., Ltd.Imaging device, monitoring device, and electronic appliance
US10651203B2 (en)2014-06-132020-05-12Semiconductor Energy Laboratory Co., Ltd.Semiconductor device comprising a sensing unit
US10656799B2 (en)2014-05-022020-05-19Semiconductor Energy Laboratory Co., Ltd.Display device and operation method thereof
US10665611B2 (en)2016-06-032020-05-26Semiconductor Energy Laboratory Co., Ltd.Metal oxide and field-effect transistor
US10671204B2 (en)2015-05-042020-06-02Semiconductor Energy Laboratory Co., Ltd.Touch panel and data processor
US10672913B2 (en)2012-12-252020-06-02Semiconductor Energy Laboratory Co., Ltd.Semiconductor device and method for manufacturing the same
US10674168B2 (en)2015-10-232020-06-02Semiconductor Energy Laboratory Co., Ltd.Semiconductor device and electronic device
US10680017B2 (en)2014-11-072020-06-09Semiconductor Energy Laboratory Co., Ltd.Light-emitting element including EL layer, electrode which has high reflectance and a high work function, display device, electronic device, and lighting device
US10693013B2 (en)2015-04-132020-06-23Semiconductor Energy Laboratory Co., Ltd.Semiconductor device and manufacturing method of the same
US10693012B2 (en)2015-03-272020-06-23Semiconductor Energy Laboratory Co., Ltd.Semiconductor device and method for manufacturing the same
US10700212B2 (en)2016-01-282020-06-30Semiconductor Energy Laboratory Co., Ltd.Semiconductor device, semiconductor wafer, module, electronic device, and manufacturing method thereof
US10804272B2 (en)2016-06-222020-10-13Semiconductor Energy Laboratory Co., Ltd.Semiconductor device
US10861980B2 (en)2014-03-202020-12-08Semiconductor Energy Laboratory Co., Ltd.Semiconductor device, display device including semiconductor device, display module including display device, and electronic device including semiconductor device, display device, and display module
US10868045B2 (en)2015-12-112020-12-15Semiconductor Energy Laboratory Co., Ltd.Transistor, semiconductor device, and electronic device
US10865470B2 (en)2016-01-182020-12-15Semiconductor Energy Laboratory Co., Ltd.Metal oxide film, semiconductor device, and display device
US10872982B2 (en)2012-02-282020-12-22Semiconductor Energy Laboratory Co., Ltd.Semiconductor device and method for manufacturing the same
US10879360B2 (en)2016-05-192020-12-29Semiconductor Energy Laboratory Co., Ltd.Composite oxide semiconductor and transistor
US10922605B2 (en)2015-10-232021-02-16Semiconductor Energy Laboratory Co., Ltd.Semiconductor device and electronic device
US10942408B2 (en)2016-04-012021-03-09Semiconductor Energy Laboratory Co., Ltd.Composite oxide semiconductor, semiconductor device using the composite oxide semiconductor, and display device including the semiconductor device
US10978489B2 (en)2015-07-242021-04-13Semiconductor Energy Laboratory Co., Ltd.Semiconductor device, display panel, method for manufacturing semiconductor device, method for manufacturing display panel, and information processing device
US10985278B2 (en)2015-07-212021-04-20Semiconductor Energy Laboratory Co., Ltd.Method for manufacturing semiconductor device
US10998448B2 (en)2014-05-152021-05-04Semiconductor Energy Laboratory Co., Ltd.Thin film semiconductor device including back gate comprising oxide semiconductor material
US11013087B2 (en)2012-03-132021-05-18Semiconductor Energy Laboratory Co., Ltd.Light-emitting device having circuits and method for driving the same
US11024725B2 (en)2015-07-242021-06-01Semiconductor Energy Laboratory Co., Ltd.Semiconductor device including metal oxide film
US11062667B2 (en)2016-11-252021-07-13Semiconductor Energy Laboratory Co., Ltd.Display device and operating method thereof
US11189642B2 (en)2010-09-102021-11-30Semiconductor Energy Laboratory Co., Ltd.Semiconductor device and light-emitting device
US11189736B2 (en)2015-07-242021-11-30Semiconductor Energy Laboratory Co., Ltd.Semiconductor device and manufacturing method thereof
US11209877B2 (en)2018-03-162021-12-28Semiconductor Energy Laboratory Co., Ltd.Electrical module, display panel, display device, input/output device, data processing device, and method of manufacturing electrical module
US11233132B2 (en)2009-03-052022-01-25Semiconductor Energy Laboratory Co., Ltd.Semiconductor device
US11257722B2 (en)2017-07-312022-02-22Semiconductor Energy Laboratory Co., Ltd.Semiconductor device having oxide containing gallium indium and zinc
US11404585B2 (en)2013-07-082022-08-02Semiconductor Energy Laboratory Co., Ltd.Semiconductor device and method for manufacturing semiconductor device
US11430817B2 (en)2013-11-292022-08-30Semiconductor Energy Laboratory Co., Ltd.Semiconductor device
US11437524B2 (en)2016-03-042022-09-06Semiconductor Energy Laboratory Co., Ltd.Semiconductor device, manufacturing method thereof, and display device including the semiconductor device
US11489077B2 (en)2011-05-252022-11-01Semiconductor Energy Laboratory Co., Ltd.Method for forming oxide semiconductor film, semiconductor device, and method for manufacturing semiconductor device
US11581439B2 (en)2013-06-272023-02-14Semiconductor Energy Laboratory Co., Ltd.Semiconductor device
US11610998B2 (en)2018-07-092023-03-21Semiconductor Energy Laboratory Co., Ltd.Semiconductor device
US11714438B2 (en)2018-01-242023-08-01Semiconductor Energy Laboratory Co., Ltd.Semiconductor device, electronic component, and electronic device
US11728356B2 (en)2015-05-142023-08-15Semiconductor Energy Laboratory Co., Ltd.Photoelectric conversion element and imaging device
US11848341B2 (en)2015-01-302023-12-19Semiconductor Energy Laboratory Co., Ltd.Imaging device and electronic device
US11963360B2 (en)2015-05-262024-04-16Semiconductor Energy Laboratory Co., Ltd.Semiconductor device
US11990778B2 (en)2018-07-102024-05-21Semiconductor Energy Laboratory Co., Ltd.Secondary battery protection circuit and secondary battery anomaly detection system
US12040007B2 (en)2019-04-262024-07-16Semiconductor Energy Laboratory Co., Ltd.Semiconductor device and electronic device
US12087866B2 (en)2014-12-022024-09-10Semiconductor Energy Laboratory Co., Ltd.Semiconductor device, method for manufacturing semiconductor device, module, and electronic device
US12089459B2 (en)2019-05-102024-09-10Semiconductor Energy Laboratory Co., Ltd.Display apparatus and electronic device
US12132334B2 (en)2018-11-222024-10-29Semiconductor Energy Laboratory Co., Ltd.Semiconductor device and battery pack
US12237389B2 (en)2018-11-022025-02-25Semiconductor Energy Laboratory Co., Ltd.Semiconductor device
US12426366B2 (en)2012-01-202025-09-23Semiconductor Energy Laboratory Co., Ltd.Semiconductor device

Families Citing this family (32)

* Cited by examiner, † Cited by third party
Publication numberPriority datePublication dateAssigneeTitle
US7427776B2 (en)*2004-10-072008-09-23Hewlett-Packard Development Company, L.P.Thin-film transistor and methods
CN102394049B (en)*2005-05-022015-04-15株式会社半导体能源研究所Driving method of display device
EP1724751B1 (en)*2005-05-202013-04-10Semiconductor Energy Laboratory Co., Ltd.Liquid crystal display device and electronic apparatus
US8059109B2 (en)*2005-05-202011-11-15Semiconductor Energy Laboratory Co., Ltd.Display device and electronic apparatus
KR100786498B1 (en)*2005-09-272007-12-17삼성에스디아이 주식회사 Transparent thin film transistor and manufacturing method thereof
US7314801B2 (en)*2005-12-202008-01-01Palo Alto Research Center IncorporatedSemiconductor device having a surface conducting channel and method of forming
KR100785038B1 (en)*2006-04-172007-12-12삼성전자주식회사Amorphous ZnO based Thin Film Transistor
US8222076B2 (en)*2006-08-022012-07-17Xerox CorporationFabricating amorphous zinc oxide semiconductor layer
KR101509663B1 (en)2007-02-162015-04-06삼성전자주식회사Method of forming oxide semiconductor layer and method of manufacturing semiconductor device using the same
KR101334181B1 (en)*2007-04-202013-11-28삼성전자주식회사Thin Film Transistor having selectively crystallized channel layer and method of manufacturing the same
JP2010530634A (en)2007-06-192010-09-09サムスン エレクトロニクス カンパニー リミテッド Oxide semiconductor and thin film transistor including the same
US7935964B2 (en)*2007-06-192011-05-03Samsung Electronics Co., Ltd.Oxide semiconductors and thin film transistors comprising the same
CN101096594B (en)*2007-06-252011-01-19武汉科技学院 Zinc oxide thin film emitting blue light and purple light at room temperature and preparation method thereof
FR2929959B1 (en)*2008-04-102010-08-27Commissariat Energie Atomique PROCESS FOR THE PREPARATION OF ZINC OXIDE (ZNO) POLYCRISTALS AND MONOCRYSTALS ON CHEMICALLY ACTIVATED SUBLIMATION GERM AT HIGH TEMPERATURE
KR101496148B1 (en)*2008-05-152015-02-27삼성전자주식회사 Semiconductor device and manufacturing method thereof
KR101468591B1 (en)*2008-05-292014-12-04삼성전자주식회사Oxide semiconductor and thin film transistor comprising the same
US8258511B2 (en)2008-07-022012-09-04Applied Materials, Inc.Thin film transistors using multiple active channel layers
US20120138134A1 (en)*2009-08-262012-06-07Makoto HigashikawaStack-type photovoltaic element and method of manufacturing stack-type photovoltaic element
CN101834233B (en)*2010-04-012012-09-05河北大学Method for rapidly depositing hydrogenated amorphous silicon solar battery thin film at low temperature
WO2011145665A1 (en)*2010-05-212011-11-24住友金属鉱山株式会社Sintered zinc oxide tablet and process for producing same
JP5891464B2 (en)2010-09-212016-03-23国立研究開発法人物質・材料研究機構 ZnO coating, method for producing the same and method of using the same
WO2012157202A1 (en)*2011-05-132012-11-22シャープ株式会社Thin film-forming method
WO2013109588A1 (en)*2012-01-202013-07-25Caterpillar Inc.Zinc oxide sulfur sensors and methods of manufacture thereof
CN102751240B (en)*2012-05-182015-03-11京东方科技集团股份有限公司Thin film transistor array substrate, manufacturing method thereof, display panel and display device
KR101359681B1 (en)*2012-08-132014-02-07삼성코닝정밀소재 주식회사Metallic oxide thin film substrate, method of fabricating thereof, photovoltaic and oled including the same
KR20140087693A (en)*2012-12-312014-07-09삼성디스플레이 주식회사Thin film transistor, thin film transistor array panel including the same and manufacturing method thereof
CN103326692A (en)*2013-05-282013-09-25江苏艾伦摩尔微电子科技有限公司Electrically tunable film bulk acoustic resonator and manufacturing method thereof
WO2018016456A1 (en)*2016-07-202018-01-25Ricoh Company, Ltd.Field-effect transistor, method for producing the same, display element, image display device, and system
JP2018022879A (en)*2016-07-202018-02-08株式会社リコー FIELD EFFECT TRANSISTOR, MANUFACTURING METHOD THEREOF, DISPLAY ELEMENT, IMAGE DISPLAY DEVICE, AND SYSTEM
JP6782211B2 (en)*2017-09-082020-11-11株式会社東芝 Transparent electrodes, devices using them, and methods for manufacturing devices
CN113196546A (en)2018-12-202021-07-30株式会社半导体能源研究所Semiconductor device and battery pack
CN110453175B (en)*2019-08-222021-08-03中国科学院微电子研究所 A kind of preparation method of vanadium oxide film

Citations (6)

* Cited by examiner, † Cited by third party
Publication numberPriority datePublication dateAssigneeTitle
JPS63290256A (en)1987-05-211988-11-28Matsushita Electric Ind Co LtdManufacture of thin film
JPH08325711A (en)1995-05-261996-12-10Toppan Printing Co Ltd Transparent conductive metal oxide coated film and method for producing the same
JP2000244014A (en)1999-02-192000-09-08Murata Mfg Co Ltd Semiconductor light emitting device and method of manufacturing the same
JP2001287998A (en)2000-04-052001-10-16Stanley Electric Co Ltd ZnO crystal, growth method thereof, and optical semiconductor device
US20020025594A1 (en)2000-08-282002-02-28Kakuya IwataMethod for growing ZnO based oxide semiconductor layer and method for manufacturing semiconductor light emitting device using the same
US6617183B2 (en)*2000-04-192003-09-09Murata Manufacturing Co., Ltd.Method for forming p-type semiconductor film and light emitting device using the same

Patent Citations (7)

* Cited by examiner, † Cited by third party
Publication numberPriority datePublication dateAssigneeTitle
JPS63290256A (en)1987-05-211988-11-28Matsushita Electric Ind Co LtdManufacture of thin film
JPH08325711A (en)1995-05-261996-12-10Toppan Printing Co Ltd Transparent conductive metal oxide coated film and method for producing the same
JP2000244014A (en)1999-02-192000-09-08Murata Mfg Co Ltd Semiconductor light emitting device and method of manufacturing the same
US6448585B1 (en)*1999-02-192002-09-10Murata Manufacturing Co., Ltd.Semiconductor luminescent element and method of manufacturing the same
JP2001287998A (en)2000-04-052001-10-16Stanley Electric Co Ltd ZnO crystal, growth method thereof, and optical semiconductor device
US6617183B2 (en)*2000-04-192003-09-09Murata Manufacturing Co., Ltd.Method for forming p-type semiconductor film and light emitting device using the same
US20020025594A1 (en)2000-08-282002-02-28Kakuya IwataMethod for growing ZnO based oxide semiconductor layer and method for manufacturing semiconductor light emitting device using the same

Cited By (4156)

* Cited by examiner, † Cited by third party
Publication numberPriority datePublication dateAssigneeTitle
US20080296569A1 (en)*2003-09-182008-12-04Industrial Technology Research InstituteCompound semiconductor material and method for forming an active layer of a thin film transistor device
US20090073325A1 (en)*2005-01-212009-03-19Semiconductor Energy Laboratory Co., Ltd.Semiconductor device and method for manufacturing the same, and electric device
US20100171117A1 (en)*2005-01-212010-07-08Semiconductor Energy Laboratory Co., Ltd.Semiconductor device and method for manufacturing the same, and electric device
US20090153762A1 (en)*2005-01-212009-06-18Semiconductor Energy Laboratory Co., Ltd.Semiconductor device and method for manufacturing the same, and electric device
US8648346B2 (en)2005-01-282014-02-11Semiconductor Energy Laboratory Co., Ltd.Semiconductor device, electronic device, and method of manufacturing semiconductor device
US9356152B2 (en)2005-01-282016-05-31Semiconductor Energy Laboratory Co., Ltd.Semiconductor device, electronic device, and method of manufacturing semiconductor device
US20100099217A1 (en)*2005-01-282010-04-22Semiconductor Energy Laboratory Co., Ltd.Semiconductor Device, Electronic Device, and Method of Manufacturing Semiconductor Device
US8324018B2 (en)2005-01-282012-12-04Semiconductor Energy Laboratory Co., Ltd.Semiconductor device, electronic device, and method of manufacturing semiconductor device
US8487436B2 (en)2005-01-282013-07-16Semiconductor Energy Laboratory Co., Ltd.Semiconductor device, electronic device, and method of manufacturing semiconductor device
US8207533B2 (en)2005-02-032012-06-26Semiconductor Energy Laboratory Co., Ltd.Electronic device, semiconductor device and manufacturing method thereof
US7939822B2 (en)2005-02-032011-05-10Semiconductor Energy Laboratory Co., Ltd.Active matrix display device
US20090114911A1 (en)*2005-02-032009-05-07Semiconductor Energy Laboratory Co., Ltd.Electronic device semiconductor device and manufacturing method thereof
US7858451B2 (en)2005-02-032010-12-28Semiconductor Energy Laboratory Co., Ltd.Electronic device, semiconductor device and manufacturing method thereof
US20090152541A1 (en)*2005-02-032009-06-18Semiconductor Energy Laboratory Co., Ltd.Electronic device, semiconductor device and manufacturing method thereof
US20060170067A1 (en)*2005-02-032006-08-03Semiconductor Energy Laboratory Co., Ltd.Electronic device, semiconductor device and manufacturing method thereof
US8575618B2 (en)2005-02-032013-11-05Semiconductor Energy Laboratory Co., Ltd.Electronic device, semiconductor device and manufacturing method thereof
US8247814B2 (en)2005-02-032012-08-21Semiconductor Energy Laboratory Co., Ltd.Active matrix display device including a metal oxide semiconductor film
US9093402B2 (en)2005-02-182015-07-28Semiconductor Energy Laboratory Co., Ltd.Semiconductor device and method for manufacturing the same
US20110207255A1 (en)*2005-02-182011-08-25Semiconductor Energy Laboratory Co., Ltd.Semiconductor Device and Method for Manufacturing the Same
US20060186804A1 (en)*2005-02-182006-08-24Semiconductor Energy Laboratory Co., Ltd.Semiconductor device and method for manufacturing the same
US20090134399A1 (en)*2005-02-182009-05-28Semiconductor Energy Laboratory Co., Ltd.Semiconductor Device and Method for Manufacturing the Same
US7948171B2 (en)2005-02-182011-05-24Semiconductor Energy Laboratory Co., Ltd.Light emitting device
US8558453B2 (en)2005-02-182013-10-15Semiconductor Energy Laboratory Co., Ltd.Active matrix display device
US9208723B2 (en)2005-04-192015-12-08Semiconductor Energy Laboratory Co., Ltd.Semiconductor device including transistor with oxide semiconductor
US20110187762A1 (en)*2005-04-192011-08-04Semiconductor Energy Laboratory Co., Ltd.Semiconductor device, display device and electronic apparatus
US9613568B2 (en)2005-07-142017-04-04Semiconductor Energy Laboratory Co., Ltd.Semiconductor device and driving method thereof
US20110181631A1 (en)*2005-08-242011-07-28Semiconductor Energy Laboratory Co., Ltd.Display device and driving method thereof
US8627170B2 (en)2005-09-212014-01-07Semiconductor Energy Laboratory Co., Ltd.Cyclic redundancy check circuit and semiconductor device having the cyclic redundancy check circuit
US9294126B2 (en)2005-09-212016-03-22Semiconductor Energy Laboratory Co., Ltd.Cyclic redundancy check circuit and semiconductor device having the cyclic redundancy check circuit
US9009563B2 (en)2005-09-212015-04-14Semiconductor Energy Laboratory Co., Ltd.Cyclic redundancy check circuit and semiconductor device having the cyclic redundancy check circuit
US20100205519A1 (en)*2005-09-212010-08-12Semiconductor Energy Laboratory Co., Ltd.Cyclic redundancy check circuit and semiconductor device having the cyclic redundancy check circuit
US20110121290A1 (en)*2005-09-292011-05-26Semiconductor Energy Laboratory Co., Ltd.Semiconductor Device and Manufacturing Method Thereof
US20090305461A1 (en)*2005-09-292009-12-10Semiconductor Energy Laboratory Co,. Ltd.Semiconductor Device And Manufacturing Method Thereof
US7674650B2 (en)2005-09-292010-03-09Semiconductor Energy Laboratory Co., Ltd.Semiconductor device and manufacturing method thereof
US7932521B2 (en)2005-09-292011-04-26Semiconductor Energy Laboratory Co., Ltd.Semiconductor device and manufacturing method thereof
US8629069B2 (en)2005-09-292014-01-14Semiconductor Energy Laboratory Co., Ltd.Semiconductor device and manufacturing method thereof
US9099562B2 (en)2005-09-292015-08-04Semiconductor Energy Laboratory Co., Ltd.Semiconductor device and manufacturing method thereof
US20110163311A1 (en)*2005-09-292011-07-07Semiconductor Energy Laboratory Co., Ltd.Semiconductor Device and Manufacturing Method Thereof
US7732819B2 (en)2005-09-292010-06-08Semiconductor Energy Laboratory Co., Ltd.Semiconductor device and manufacturing method thereof
US8466463B2 (en)2005-09-292013-06-18Semiconductor Energy Laboratory Co., Ltd.Semiconductor device and manufacturing method thereof
US7910490B2 (en)2005-09-292011-03-22Semiconductor Energy Laboratory Co., Ltd.Semiconductor device and manufacturing method thereof
US10304962B2 (en)2005-09-292019-05-28Semiconductor Energy Laboratory Co., Ltd.Semiconductor device and manufacturing method thereof
US20070072439A1 (en)*2005-09-292007-03-29Semiconductor Energy Laboratory Co., Ltd.Semiconductor device and manufacturing method thereof
US20110117697A1 (en)*2005-09-292011-05-19Semiconductor Energy Laboratory Co., Ltd.Semiconductor Device and Manufacturing Method Thereof
US12183832B2 (en)2005-09-292024-12-31Semiconductor Energy Laboratory Co., Ltd.Semiconductor device and manufacturing method thereof
US8796069B2 (en)2005-09-292014-08-05Semiconductor Energy Laboratory Co., Ltd.Semiconductor device and manufacturing method thereof
US8790959B2 (en)2005-09-292014-07-29Semiconductor Energy Laboratory Co., Ltd.Semiconductor device and manufacturing method thereof
US8669550B2 (en)2005-09-292014-03-11Semiconductor Energy Laboratory Co., Ltd.Semiconductor device and manufacturing method thereof
US20100136743A1 (en)*2005-09-292010-06-03Semiconductor Energy Laboratory Co., Ltd.Semiconductor Device and Manufacturing Method Thereof
US20080308796A1 (en)*2005-09-292008-12-18Semiconductor Energy Laboratory Co., Ltd.Semiconductor Device and Manufacturing Method Thereof
US20090239335A1 (en)*2005-09-292009-09-24Semiconductor Energy Laboratory Co., Ltd.Semiconductor Device and Manufacturing Method Thereof
US20090008639A1 (en)*2005-09-292009-01-08Semiconductor Energy Laboratory Co., Ltd.Semiconductor Device and Manufacturing Method Thereof
US8274077B2 (en)2005-09-292012-09-25Semiconductor Energy Laboratory Co., Ltd.Semiconductor device and manufacturing method thereof
US8785990B2 (en)2005-10-142014-07-22Semiconductor Energy Laboratory Co., Ltd.Semiconductor device including first and second or drain electrodes and manufacturing method thereof
US9312393B2 (en)2005-10-142016-04-12Semiconductor Energy Laboratory Co., Ltd.Transistor having tapered gate electrode
US20100003783A1 (en)*2005-11-152010-01-07Semiconductor Energy Laboratory Co., Ltd.Semiconductor device and manufacturing method thereof
US20090189156A1 (en)*2005-11-152009-07-30Semiconductor Energy Laboratory Co., Ltd.Semiconductor device and manufacturing method thereof
US20090186437A1 (en)*2005-11-152009-07-23Semiconductor Energy Laboratory Co., Ltd.Semiconductor device and manufacturing method thereof
US8525165B2 (en)2005-11-152013-09-03Semiconductor Energy Laboratory Co., Ltd.Active matrix display device with bottom gate zinc oxide thin film transistor
US20090186445A1 (en)*2005-11-152009-07-23Semiconductor Energy Laboratory Co., Ltd.Semiconductor device and manufacturing method thereof
US8158464B2 (en)2005-11-152012-04-17Semiconductor Energy Laboratory Co., Ltd.Method of manufacturing a liquid crystal display device with a semiconductor film including zinc oxide
US20070108446A1 (en)*2005-11-152007-05-17Semiconductor Energy Laboratory Co., Ltd.Semiconductor device and manufacturing method thereof
US8368079B2 (en)2005-11-152013-02-05Semicondutor Energy Laboratory Co., Ltd.Semiconductor device including common potential line
US8134156B2 (en)2005-11-152012-03-13Semiconductor Energy Laboratory Co., Ltd.Semiconductor device including zinc oxide containing semiconductor film
US20090189155A1 (en)*2005-11-152009-07-30Semiconductor Energy Laboratory Co., Ltd.Semiconductor device and manufacturing method thereof
US20100038639A1 (en)*2005-11-152010-02-18Semiconductor Energy Laboratory Co., Ltd.Semiconductor device and manufacturing method thereof
US9213206B2 (en)2006-04-062015-12-15Semiconductor Energy Laboratory Co., Ltd.Liquid crystal display device, semiconductor device, and electronic appliance
US9958736B2 (en)2006-04-062018-05-01Semiconductor Energy Laboratory Co., Ltd.Liquid crystal display device, semiconductor device, and electronic appliance
US11442317B2 (en)2006-04-062022-09-13Semiconductor Energy Laboratory Co., Ltd.Liquid crystal display device, semiconductor device, and electronic appliance
US9207504B2 (en)2006-04-062015-12-08Semiconductor Energy Laboratory Co., Ltd.Liquid crystal display device, semiconductor device, and electronic appliance
US11644720B2 (en)2006-04-062023-05-09Semiconductor Energy Laboratory Co., Ltd.Liquid crystal display device, semiconductor device, and electronic appliance
US11921382B2 (en)2006-04-062024-03-05Semiconductor Energy Laboratory Co., Ltd.Liquid crystal display device, semiconductor device, and electronic appliance
US10684517B2 (en)2006-04-062020-06-16Semiconductor Energy Laboratory Co., Ltd.Liquid crystal display device, semiconductor device, and electronic appliance
US11073729B2 (en)2006-04-062021-07-27Semiconductor Energy Laboratory Co., Ltd.Liquid crystal display device, semiconductor device, and electronic appliance
US20110032435A1 (en)*2006-04-062011-02-10Semiconductor Energy Laboratory Co., Ltd.Liquid crystal display device, semiconductor device, and electronic appliance
US12159880B2 (en)2006-09-292024-12-03Semiconductor Energy Laboratory Co., Ltd.Display device
US20110227066A1 (en)*2006-09-292011-09-22Semiconductor Energy Laboratory Co., Ltd.Display Device
US10978497B2 (en)2006-09-292021-04-13Seminconductor Energy Laboratory Co., Ltd.Display device
US10685987B2 (en)2006-09-292020-06-16Semiconductor Energy Laboratory Co., Ltd.Display device
US10134775B2 (en)2006-09-292018-11-20Semiconductor Energy Laboratory Co., Ltd.Display device
US8598591B2 (en)2006-09-292013-12-03Semiconductor Energy Laboratory Co., Ltd.Display device including clock wiring and oxide semiconductor transistor
US12148761B2 (en)2006-09-292024-11-19Semiconductor Energy Laboratory Co., Ltd.Display device
US9583513B2 (en)2006-09-292017-02-28Semiconductor Energy Laboratory Co., Ltd.Display device
US9245891B2 (en)2006-09-292016-01-26Semiconductor Energy Laboratory Co., Ltd.Display device including at least six transistors
US10062716B2 (en)2006-09-292018-08-28Semiconductor Energy Laboratory Co., Ltd.Display device
US10553618B2 (en)2006-09-292020-02-04Semiconductor Energy Laboratory Co., Ltd.Display device
US7964876B2 (en)2006-09-292011-06-21Semiconductor Energy Laboratory Co., Ltd.Display device
US8330157B2 (en)2006-10-312012-12-11Semiconductor Energy Laboratory Co., Ltd.Manufacturing method of semiconductor device and semiconductor device
US20110031494A1 (en)*2006-10-312011-02-10Semiconductor Energy Laboratory Co., Ltd.Manufacturing method of semiconductor device and semiconductor device
US20080117952A1 (en)*2006-11-172008-05-22Jordan Luis GSelf-supporting simplex packets
US12253759B2 (en)2007-05-172025-03-18Semiconductor Energy Laboratory Co., Ltd.Liquid crystal display device
US10831064B2 (en)2007-05-172020-11-10Semiconductor Energy Laboratory Co., Ltd.Liquid crystal display device
US10451924B2 (en)2007-05-172019-10-22Semiconductor Energy Laboratory Co., Ltd.Liquid crystal display device
US9977286B2 (en)2007-05-172018-05-22Semiconductor Energy Laboratory Co., Ltd.Liquid crystal display device
US9341908B2 (en)2007-05-172016-05-17Semiconductor Energy Laboratory Co., Ltd.Liquid crystal display device
US9377660B2 (en)2007-05-172016-06-28Semiconductor Energy Laboratory Co., Ltd.Liquid crystal display device
US11803092B2 (en)2007-05-172023-10-31Semiconductor Energy Laboratory Co., Ltd.Liquid crystal display device
US10948794B2 (en)2007-05-172021-03-16Semiconductor Energy Laboratory Co., Ltd.Liquid crystal display device
US11754881B2 (en)2007-05-172023-09-12Semiconductor Energy Laboratory Co., Ltd.Liquid crystal display device
US10222653B2 (en)2007-05-172019-03-05Semiconductor Energy Laboratory Co., Ltd.Liquid crystal display device
US10962838B2 (en)2007-05-172021-03-30Semiconductor Energy Laboratory Co., Ltd.Liquid crystal display device
US8711314B2 (en)2007-05-172014-04-29Semiconductor Energy Laboratory Co., Ltd.Liquid crystal display device
US11493816B2 (en)2007-05-172022-11-08Semiconductor Energy Laboratory Co., Ltd.Liquid crystal display device
US11520185B2 (en)2007-05-172022-12-06Semiconductor Energy Laboratory Co., Ltd.Liquid crystal display device
US12061400B2 (en)2007-05-172024-08-13Semiconductor Energy Laboratory Co., Ltd.Liquid crystal display device
US10989974B2 (en)2007-05-172021-04-27Semiconductor Energy Laboratory Co., Ltd.Liquid crystal display device
US9740070B2 (en)2007-05-172017-08-22Semiconductor Energy Laboratory Co., Ltd.Liquid crystal display device
US10281788B2 (en)2007-05-172019-05-07Semiconductor Energy Laboratory Co., Ltd.Liquid crystal display device
US12019335B2 (en)2007-05-172024-06-25Semiconductor Energy Laboratory Co., Ltd.Liquid crystal display device
US12372838B2 (en)2007-05-182025-07-29Semiconductor Energy Laboratory Co., Ltd.Liquid crystal display device
US10012880B2 (en)2007-05-182018-07-03Semiconductor Energy Laboratory Co., Ltd.Liquid crystal display device
US9645461B2 (en)2007-05-182017-05-09Semiconductor Energy Laboratory Co., Ltd.Liquid crystal display device
US11940697B2 (en)2007-05-182024-03-26Semiconductor Energy Laboratory Co., Ltd.Liquid crystal display device
US8767159B2 (en)2007-05-182014-07-01Semiconductor Energy Laboratory Co., Ltd.Liquid crystal display device
US11300841B2 (en)2007-05-182022-04-12Semiconductor Energy Laboratory Co., Ltd.Liquid crystal display device
US9360722B2 (en)2007-05-182016-06-07Semiconductor Energy Laboratory Co., Ltd.Liquid crystal display device
US7923722B2 (en)*2007-05-292011-04-12Samsung Electronics Co., Ltd.Thin film transistors and methods of manufacturing the same
US8349647B2 (en)2007-05-292013-01-08Samsung Electronics Co., Ltd.Thin film transistors and methods of manufacturing the same
US20110159646A1 (en)*2007-05-292011-06-30Ryu Myung-KwanThin film transistors and methods of manufacturing the same
US20080296568A1 (en)*2007-05-292008-12-04Samsung Electronics Co., LtdThin film transistors and methods of manufacturing the same
US8193045B2 (en)2007-05-312012-06-05Canon Kabushiki KaishaManufacturing method of thin film transistor using oxide semiconductor
US20090002590A1 (en)*2007-06-292009-01-01Semiconductor Energy Laboratory Co., Ltd.Semiconductor device
US20100193785A1 (en)*2007-06-292010-08-05Semiconductor Energy Laboratory Co., Ltd.Semiconductor device
US8354674B2 (en)2007-06-292013-01-15Semiconductor Energy Laboratory Co., Ltd.Semiconductor device wherein a property of a first semiconductor layer is different from a property of a second semiconductor layer
US8913050B2 (en)2007-07-252014-12-16Semiconductor Energy Laboratory Co., Ltd.Photoelectric conversion device and electronic device having the same
US20100307774A1 (en)*2008-01-242010-12-09Tinnen Baard MartinDevice and method for isolating a section of a wellbore
US11133332B2 (en)2008-05-162021-09-28Semiconductor Energy Laboratory Co., Ltd.Semiconductor device and manufacturing method of the same
US9041202B2 (en)2008-05-162015-05-26Semiconductor Energy Laboratory Co., Ltd.Semiconductor device and manufacturing method of the same
US20090283762A1 (en)*2008-05-162009-11-19Semiconductor Energy Laboratory Co., Ltd.Semiconductor device and manufacturing method of the same
US9397255B2 (en)2008-05-162016-07-19Semiconductor Energy Laboratory Co., Ltd.Semiconductor device and manufacturing method of the same
US10580797B2 (en)2008-05-162020-03-03Semiconductor Energy Laboratory Co., Ltd.Semiconductor device and manufacturing method of the same
US12300702B2 (en)2008-05-162025-05-13Semiconductor Energy Laboratory Co., Ltd.Semiconductor device including storage capacitor having pixel electrode, directly stacked conductive layer, and insulating layer interposed between them, wherein the stacked conductive layers extending towards the gate and source wirings/lines
US11646322B2 (en)2008-05-162023-05-09Semiconductor Energy Laboratory Co., Ltd.Semiconductor device having conductive oxide electrode layers in direct contact with oxide semiconductor layer
US10971103B2 (en)2008-06-172021-04-06Semiconductor Energy Laboratory Co., Ltd.Driver circuit, display device, and electronic device
US12361906B2 (en)2008-06-172025-07-15Semiconductor Energy Laboratory Co., Ltd.Driver circuit, display device, and electronic device
US10665195B2 (en)2008-06-172020-05-26Semiconductor Energy Laboratory Co., Ltd.Driver circuit, display device, and electronic device
US10121435B2 (en)2008-06-172018-11-06Semiconductor Energy Laboratory Co., Ltd.Driver circuit, display device, and electronic device
US9311876B2 (en)2008-06-172016-04-12Semiconductor Energy Laboratory Co., Ltd.Driver circuit, display device, and electronic device
US11837189B2 (en)2008-06-172023-12-05Semiconductor Energy Laboratory Co., Ltd.Driver circuit, display device, and electronic device
US11455968B2 (en)2008-06-172022-09-27Semiconductor Energy Laboratory Co., Ltd.Driver circuit, display device, and electronic device
US11620962B2 (en)2008-06-172023-04-04Semiconductor Energy Laboratory Co., Ltd.Driver circuit, display device, and electronic device
US9006965B2 (en)2008-07-102015-04-14Semiconductor Energy Laboratory Co., Ltd.Light-emitting device and electronic device using the same
US10916567B2 (en)2008-07-102021-02-09Semiconductor Energy Laboratory Co., Ltd.Light-emitting device and electronic device using the same
US11631702B2 (en)2008-07-102023-04-18Semiconductor Energy Laboratory Co., Ltd.Light-emitting device and electronic device using the same
US12191312B2 (en)2008-07-102025-01-07Semiconductor Energy Laboratory Co., Ltd.Light-emitting device and electronic device using the same
US10483288B2 (en)2008-07-102019-11-19Semiconductor Energy Laboratory Co., Ltd.Light-emitting device and electronic device using the same
US10529741B2 (en)2008-07-102020-01-07Semiconductor Energy Laboratory Co., Ltd.Light-emitting device and electronic device using the same
US8760046B2 (en)2008-07-102014-06-24Semiconductor Energy Laboratory Co., Ltd.Light-emitting device and electronic device using the same
US11296121B2 (en)2008-07-312022-04-05Semiconductor Energy Laboratory Co., Ltd.Semiconductor device and method for manufacturing the same
US20100025679A1 (en)*2008-07-312010-02-04Semiconductor Energy Laboratory Co., Ltd.Semiconductor device and method for manufacturing the same
US9412798B2 (en)2008-07-312016-08-09Semiconductor Energy Laboratory Co., Ltd.Semiconductor device and method for manufacturing the same
US12074210B2 (en)2008-07-312024-08-27Semiconductor Energy Laboratory Co., Ltd.Semiconductor device and method for manufacturing the same
US20100025675A1 (en)*2008-07-312010-02-04Semiconductor Energy Laboratory Co., Ltd.Semiconductor device and method for manufacturing the same
US8729544B2 (en)2008-07-312014-05-20Semiconductor Energy Laboratory Co., Ltd.Semiconductor device and method for manufacturing the same
US12068329B2 (en)2008-07-312024-08-20Semiconductor Energy Laboratory Co., Ltd.Semiconductor device and method for manufacturing the same
US9087745B2 (en)2008-07-312015-07-21Semiconductor Energy Laboratory Co., Ltd.Semiconductor device and method for manufacturing the same
US9859441B2 (en)2008-07-312018-01-02Semiconductor Energy Laboratory Co., Ltd.Semiconductor device and method for manufacturing the same
US20100025676A1 (en)*2008-07-312010-02-04Semiconductor Energy Laboratory Co., Ltd.Semiconductor device and manufacturing method thereof
US10937897B2 (en)2008-07-312021-03-02Semiconductor Energy Laboratory Co., Ltd.Semiconductor device and method for manufacturing the same
US10930792B2 (en)2008-07-312021-02-23Semiconductor Energy Laboratory Co., Ltd.Semiconductor device and manufacturing method thereof
US10559695B2 (en)2008-07-312020-02-11Semiconductor Energy Laboratory Co., Ltd.Semiconductor device and manufacturing method thereof
US20100025678A1 (en)*2008-07-312010-02-04Shunpei YamazakiSemiconductor device and method for manufacturing the same
US9666719B2 (en)2008-07-312017-05-30Semiconductor Energy Laboratory Co., Ltd.Semiconductor device and manufacturing method thereof
US8841710B2 (en)2008-07-312014-09-23Semiconductor Energy Laboratory Co., Ltd.Semiconductor device and method for manufacturing the same
US9111804B2 (en)2008-07-312015-08-18Semiconductor Energy Laboratory Co., Ltd.Semiconductor device and method for manufacturing the same
US8293595B2 (en)2008-07-312012-10-23Semiconductor Energy Laboratory Co., Ltd.Semiconductor device and method for manufacturing the same
US8129717B2 (en)2008-07-312012-03-06Semiconductor Energy Laboratory Co., Ltd.Semiconductor device and method for manufacturing the same
US10326025B2 (en)2008-07-312019-06-18Semiconductor Energy Laboratory Co., Ltd.Semiconductor device and manufacturing method thereof
US8624237B2 (en)2008-07-312014-01-07Semiconductor Energy Laboratory Co., Ltd.Semiconductor device and method for manufacturing the same
US9496406B2 (en)2008-07-312016-11-15Semiconductor Energy Laboratory Co., Ltd.Semiconductor device and method for manufacturing the same
US8945981B2 (en)2008-07-312015-02-03Semiconductor Energy Laboratory Co., Ltd.Semiconductor device and manufacturing method thereof
US9437748B2 (en)2008-08-082016-09-06Semiconductor Energy Laboratory Co., Ltd.Method for manufacturing semiconductor device
US9236456B2 (en)2008-08-082016-01-12Semiconductor Energy Laboratory Co., Ltd.Method for manufacturing semiconductor device
US8785242B2 (en)2008-08-082014-07-22Semiconductor Energy Laboratory Co., Ltd.Semiconductor device and method for manufacturing the same
US20100032665A1 (en)*2008-08-082010-02-11Semiconductor Energy Laboratory Co., Ltd.Semiconductor device and method for manufacturing the same
US20100032666A1 (en)*2008-08-082010-02-11Shunpei YamazakiSemiconductor device and manufacturing method thereof
US8946703B2 (en)2008-08-082015-02-03Semiconductor Energy Laboratory Co., Ltd.Method for manufacturing semiconductor device
US8729547B2 (en)2008-08-082014-05-20Semiconductor Energy Laboratory Co., Ltd.Method for manufacturing semiconductor device
US8471252B2 (en)2008-08-082013-06-25Semiconductor Energy Laboratory Co., Ltd.Semiconductor device and method for manufacturing the same
US8481363B2 (en)2008-08-082013-07-09Semiconductor Energy Laboratory Co., Ltd.Semiconductor device and manufacturing method thereof
US8492760B2 (en)2008-08-082013-07-23Semiconductor Energy Laboratory Co., Ltd.Semiconductor device and method for manufacturing the same
US9105659B2 (en)2008-08-082015-08-11Semiconductor Energy Laboratory Co., Ltd.Semiconductor device and method for manufacturing the same
US10205030B2 (en)2008-08-082019-02-12Semiconductor Energy Laboratory Co., Ltd.Method for manufacturing semiconductor device
US8900917B2 (en)2008-08-082014-12-02Semiconductor Energy Laboratory Co., Ltd.Semiconductor device and method for manufacturing the same
US8030663B2 (en)2008-08-082011-10-04Semiconductor Energy Laboratory Co., Ltd.Semiconductor device and manufacturing method thereof
US8049225B2 (en)2008-08-082011-11-01Semiconductor Energy Laboratory Co., Ltd.Semiconductor device and method for manufacturing the same
US8115201B2 (en)2008-08-082012-02-14Semiconductor Energy Laboratory Co., Ltd.Semiconductor device with oxide semiconductor formed within
US9793416B2 (en)2008-08-082017-10-17Semiconductor Energy Laboratory Co., Ltd.Method for manufacturing semiconductor device
US8343817B2 (en)2008-08-082013-01-01Semiconductor Energy Laboratory Co., Ltd.Method for manufacturing semiconductor device
US9166058B2 (en)2008-08-082015-10-20Semiconductor Energy Laboratory Co., Ltd.Method for manufacturing semiconductor device
US20100043117A1 (en)*2008-08-192010-02-25Mary Elizabeth HildebrandtConvertible Head And Neck Supporting Apparel
US8021916B2 (en)2008-09-012011-09-20Semiconductor Energy Laboratory Co., Ltd.Method for manufacturing semiconductor device
US9196713B2 (en)2008-09-012015-11-24Semiconductor Energy Laboratory Co., Ltd.Method of manufacturing semiconductor device having oxide semiconductor layer
US9224839B2 (en)2008-09-012015-12-29Semiconductor Energy Laboratory Co., Ltd.Method for manufacturing semiconductor device
US9911865B2 (en)2008-09-012018-03-06Semiconductor Energy Laboratory Co., Ltd.Semiconductor device and method for manufacturing the semiconductor device
US10128381B2 (en)2008-09-012018-11-13Semiconductor Energy Laboratory Co., Ltd.Semiconductor device with oxygen rich gate insulating layer
US8129719B2 (en)2008-09-012012-03-06Semiconductor Energy Laboratory Co., Ltd.Semiconductor device and method for manufacturing the semiconductor device
US8809115B2 (en)2008-09-012014-08-19Semiconductor Energy Laboratory Co., Ltd.Method for manufacturing semiconductor device
US10256349B2 (en)2008-09-012019-04-09Semiconductor Energy Laboratory Co., Ltd.Semiconductor device and method for manufacturing the semiconductor device
US8822264B2 (en)2008-09-012014-09-02Semiconductor Energy Laboratory Co., Ltd.Semiconductor device and method for manufacturing the semiconductor device
US9397194B2 (en)2008-09-012016-07-19Semiconductor Energy Laboratory Co., Ltd.Method for manufacturing semiconductor device with oxide semiconductor ohmic conatct layers
US9082857B2 (en)2008-09-012015-07-14Semiconductor Energy Laboratory Co., Ltd.Semiconductor device comprising an oxide semiconductor layer
US10734530B2 (en)2008-09-012020-08-04Semiconductor Energy Laboratory Co., Ltd.Semiconductor device comprising oxide semiconductor
US11824124B2 (en)2008-09-012023-11-21Semiconductor Energy Laboratory Co., Ltd.Liquid crystal display device including transistor comprising oxide semiconductor
US20100051949A1 (en)*2008-09-012010-03-04Semiconductor Energy Laboratory Co., Ltd.Semiconductor device and method for manufacturing the same
US20100055832A1 (en)*2008-09-012010-03-04Semiconductor Energy Laboratory Co., Ltd.Method for manufacturing semiconductor device
US11201249B2 (en)2008-09-012021-12-14Semiconductor Energy Laboratory Co., Ltd.Liquid crystal display device comprising an oxide semiconductor
US10181545B2 (en)2008-09-122019-01-15Semiconductor Energy Laboratory Co., Ltd.Semiconductor device and method for manufacturing the same
US20100065840A1 (en)*2008-09-122010-03-18Semiconductor Energy Laboratory Co., Ltd.Display device
US8941114B2 (en)2008-09-122015-01-27Semiconductor Energy Laboratory Co., Ltd.Display device including protective circuit
US20100065838A1 (en)*2008-09-122010-03-18Semiconductor Energy Laboratory Co., Ltd.Semiconductor device and method for manufacturing the same
US20100065842A1 (en)*2008-09-122010-03-18Semiconductor Energy Laboratory Co., Ltd.Semiconductor device and manufacturing method thereof
US10074646B2 (en)2008-09-122018-09-11Semiconductor Energy Laboratory Co., Ltd.Display device
US8501555B2 (en)2008-09-122013-08-06Semiconductor Energy Laboratory Co., Ltd.Semiconductor device and manufacturing method thereof
US10236303B2 (en)2008-09-122019-03-19Semiconductor Energy Laboratory Co., Ltd.Semiconductor device having oxide semiconductor layer
US9257594B2 (en)2008-09-122016-02-09Semiconductor Energy Laboratory Co., Ltd.Thin film transistor with an oxide semiconductor layer
US11024763B2 (en)2008-09-122021-06-01Semiconductor Energy Laboratory Co., Ltd.Semiconductor device and method for manufacturing the same
US9196633B2 (en)2008-09-192015-11-24Semiconductor Energy Laboratory Co., Ltd.Display device
US10032796B2 (en)2008-09-192018-07-24Semiconductor Energy Laboratory Co., Ltd.Display device
US20100072469A1 (en)*2008-09-192010-03-25Semiconductor Energy Laboratory Co., Ltd.Display device and manufacturing method of the same
US9343517B2 (en)2008-09-192016-05-17Semiconductor Energy Laboratory Co., Ltd.Display device
US11646321B2 (en)2008-09-192023-05-09Semiconductor Energy Laboratory Co., Ltd.Display device
US10559599B2 (en)2008-09-192020-02-11Semiconductor Energy Laboratory Co., Ltd.Display device
US10559598B2 (en)2008-09-192020-02-11Semiconductor Energy Laboratory Co., Ltd.Display device
US10756080B2 (en)2008-09-192020-08-25Semiconductor Energy Laboratory Co., Ltd.Semiconductor device including protection circuit
US12250855B2 (en)2008-09-192025-03-11Semiconductor Energy Laboratory Co., Ltd.Semiconductor device
US20100072468A1 (en)*2008-09-192010-03-25Semiconductor Energy Laboratory Co., Ltd.Display device
US11610918B2 (en)2008-09-192023-03-21Semiconductor Energy Laboratory Co., Ltd.Display device
US20110133183A1 (en)*2008-09-192011-06-09Semiconductor Energy Laboratory Co., Ltd.Display device
US8427595B2 (en)2008-09-192013-04-23Semiconductor Energy Laboratory Co., Ltd.Display device with pixel portion and common connection portion having oxide semiconductor layers
US9478597B2 (en)2008-09-192016-10-25Semiconductor Energy Laboratory Co., Ltd.Semiconductor device
US10229904B2 (en)2008-09-192019-03-12Semiconductor Energy Laboratory Co., Ltd.Display device including oxide semiconductor layer
US20100072467A1 (en)*2008-09-192010-03-25Semiconductor Energy Laboratory Co., Ltd.Semiconductor device
US12300691B2 (en)2008-09-192025-05-13Semiconductor Energy Laboratory Co., Ltd.Display device comprising pixel portion and non-linear element including oxide semiconductor layer
US11139359B2 (en)2008-09-192021-10-05Semiconductor Energy Laboratory Co., Ltd.Semiconductor device
US11152397B2 (en)2008-09-192021-10-19Semiconductor Energy Laboratory Co., Ltd.Display device
US20100072470A1 (en)*2008-09-192010-03-25Semiconductor Energy Laboratory Co., Ltd.Display device
US8304765B2 (en)2008-09-192012-11-06Semiconductor Energy Laboratory Co., Ltd.Display device
US9048320B2 (en)2008-09-192015-06-02Semiconductor Energy Laboratory Co., Ltd.Display device including oxide semiconductor layer
US9196593B2 (en)2008-10-012015-11-24Semiconductor Energy Laboratory Co., Ltd.Semiconductor device
US20100078787A1 (en)*2008-10-012010-04-01Semiconductor Energy Laboratory Co., Ltd.Semiconductor device
US9324874B2 (en)2008-10-032016-04-26Semiconductor Energy Laboratory Co., Ltd.Display device comprising an oxide semiconductor
US8368066B2 (en)2008-10-032013-02-05Semiconductor Energy Laboratory Co., Ltd.Display device
US9978776B2 (en)2008-10-032018-05-22Semiconductor Energy Laboratory Co., Ltd.Display device
US12230638B2 (en)2008-10-032025-02-18Semiconductor Energy Laboratory Co., Ltd.Display device
US12094884B2 (en)2008-10-032024-09-17Semiconductor Energy Laboratory Co., Ltd.Display device
US9589988B2 (en)2008-10-032017-03-07Semiconductor Energy Laboratory Co., Ltd.Display device and method for manufacturing the same
US10573665B2 (en)2008-10-032020-02-25Semiconductor Energy Laboratory Co., Ltd.Display device
US20100084653A1 (en)*2008-10-032010-04-08Semiconductor Energy Laboratory Co., Ltd.Display device
US9048144B2 (en)2008-10-032015-06-02Semiconductor Energy Laboratory Co., Ltd.Display device
US20100084652A1 (en)*2008-10-032010-04-08Semiconductor Energy Laboratory Co., Ltd.Display device
US10685985B2 (en)2008-10-032020-06-16Semiconductor Energy Laboratory Co., Ltd.Display device
US10910408B2 (en)2008-10-032021-02-02Semiconductor Energy Laboratory Co., Ltd.Display device
US8674371B2 (en)2008-10-032014-03-18Semiconductor Energy Laboratory Co., Ltd.Display device
US9659969B2 (en)2008-10-032017-05-23Semiconductor Energy Laboratory Co., Ltd.Display device
US8907335B2 (en)2008-10-032014-12-09Semiconductor Energy Laboratory Co., Ltd.Display device and method for manufacturing the same
US7989815B2 (en)2008-10-032011-08-02Semiconductor Energy Laboratory Co., Ltd.Display device
US8344372B2 (en)2008-10-032013-01-01Semiconductor Energy Laboratory Co., Ltd.Display device and method for manufacturing the same
US20100252826A1 (en)*2008-10-032010-10-07Semiconductor Energy Laboratory Co., Ltd.Display device and method for manufacturing the same
US10367006B2 (en)2008-10-032019-07-30Semiconductor Energy Laboratory Co., Ltd.Display Device
US9082688B2 (en)2008-10-032015-07-14Semiconductor Energy Laboratory Co., Ltd.Display device
US11574932B2 (en)2008-10-032023-02-07Semiconductor Energy Laboratory Co., Ltd.Display device
US8334540B2 (en)2008-10-032012-12-18Semiconductor Energy Laboratory Co., Ltd.Display device
US8319215B2 (en)2008-10-032012-11-27Semiconductor Energy Laboratory Co., Ltd.Display device
US9570470B2 (en)2008-10-032017-02-14Semiconductor Energy Laboratory Co., Ltd.Display device
US9130067B2 (en)2008-10-082015-09-08Semiconductor Energy Laboratory Co., Ltd.Display device
US10254607B2 (en)2008-10-082019-04-09Semiconductor Energy Laboratory Co., Ltd.Display device
US20100084654A1 (en)*2008-10-082010-04-08Semiconductor Energy Laboratory Co., Ltd.Display device
US8389988B2 (en)2008-10-082013-03-05Semiconductor Energy Laboratory Co., Ltd.Display device
US9703157B2 (en)2008-10-082017-07-11Semiconductor Energy Laboratory Co., Ltd.Display device
US9915843B2 (en)2008-10-082018-03-13Semiconductor Energy Laboratory Co., Ltd.Display device with pixel including capacitor
US20100090217A1 (en)*2008-10-102010-04-15Semiconductor Energy Laboratory Co., Ltd.Semiconductor device and manufacturing method thereof
US8158975B2 (en)2008-10-102012-04-17Semiconductor Energy Laboratory Co., Ltd.Semiconductor device and manufacturing method thereof
US8313980B2 (en)2008-10-102012-11-20Semiconductor Energy Laboratory Co., Ltd.Semiconductor device and manufacturing method thereof
US8704267B2 (en)2008-10-162014-04-22Semiconductor Energy Laboratory Co., Ltd.Light-emitting display device
US20100096654A1 (en)*2008-10-162010-04-22Semiconductor Energy Laboratory Co., Ltd.Light-emitting display device
US20100099216A1 (en)*2008-10-222010-04-22Semiconductor Energy Laboratory Co., Ltd.Method for manufacturing semiconductor device
US9373525B2 (en)2008-10-222016-06-21Semiconductor Energy Laboratory Co., Ltd.Method for manufacturing semiconductor device
US10211240B2 (en)2008-10-222019-02-19Semiconductor Energy Laboratory Co., Ltd.Method for manufacturing semiconductor device
US20110117698A1 (en)*2008-10-222011-05-19Semiconductor Energy Laboratory Co., Ltd.Method for manufacturing semiconductor device
US8912040B2 (en)2008-10-222014-12-16Semiconductor Energy Laboratory Co., Ltd.Method for manufacturing semiconductor device
US9691789B2 (en)2008-10-222017-06-27Semiconductor Energy Laboratory Co., Ltd.Method for manufacturing semiconductor device
US9853069B2 (en)2008-10-222017-12-26Semiconductor Energy Laboratory Co., Ltd.Method for manufacturing semiconductor device
US7915075B2 (en)2008-10-222011-03-29Semiconductor Energy Laboratory Co., Ltd.Method for manufacturing semiconductor device
US11594555B2 (en)2008-10-242023-02-28Semiconductor Energy Laboratory Co., Ltd.Oxide semiconductor, thin film transistor, and display device
US8729546B2 (en)2008-10-242014-05-20Semiconductor Energy Laboratory Co., Ltd.Method for manufacturing semiconductor device
US8343799B2 (en)2008-10-242013-01-01Semiconductor Energy Laboratory Co., Ltd.Method for manufacturing semiconductor device
US9601603B2 (en)2008-10-242017-03-21Semiconductor Energy Laboratory Co., Ltd.Method for manufacturing semiconductor device
US9318512B2 (en)2008-10-242016-04-19Semiconductor Energy Laboratory Co., Ltd.Method for manufacturing semiconductor device
US9029851B2 (en)2008-10-242015-05-12Semiconductor Energy Laboratory Co., Ltd.Semiconductor device comprising an oxide semiconductor layer
US12009434B2 (en)2008-10-242024-06-11Semiconductor Energy Laboratory Co., Ltd.Semiconductor device including transistors and method for manufacturing the same
US9111806B2 (en)2008-10-242015-08-18Semiconductor Energy Laboratory Co., Ltd.Oxide semiconductor, thin film transistor, and display device
US8741702B2 (en)2008-10-242014-06-03Semiconductor Energy Laboratory Co., Ltd.Method for manufacturing semiconductor device
US9000431B2 (en)2008-10-242015-04-07Semiconductor Energy Laboratory Co., Ltd.Semiconductor device
US9219158B2 (en)2008-10-242015-12-22Semiconductor Energy Laboratory Co., Ltd.Semiconductor device
US8067775B2 (en)2008-10-242011-11-29Semiconductor Energy Laboratory Co., Ltd.Thin film transistor with two gate electrodes
US20100105164A1 (en)*2008-10-242010-04-29Semiconductor Energy Laboratory Co., Ltd.Method for manufacturing semiconductor device
US9647137B2 (en)2008-10-242017-05-09Semiconductor Energy Laboratory Co., Ltd.Oxide semiconductor, thin film transistor, and display device
US8878172B2 (en)2008-10-242014-11-04Semiconductor Energy Laboratory Co., Ltd.Oxide semiconductor, thin film transistor, and display device
US8878178B2 (en)2008-10-242014-11-04Semiconductor Energy Laboratory Co., Ltd.Method for manufacturing semiconductor device
US8236635B2 (en)2008-10-242012-08-07Semiconductor Energy Laboratory Co., Ltd.Method for manufacturing semiconductor device
US8106400B2 (en)2008-10-242012-01-31Semiconductor Energy Laboratory Co., Ltd.Semiconductor device and method for manufacturing the same
US9136389B2 (en)2008-10-242015-09-15Semiconductor Energy Laboratory Co., Ltd.Oxide semiconductor, thin film transistor, and display device
US8686417B2 (en)2008-10-242014-04-01Semiconductor Energy Laboratory Co., Ltd.Oxide semiconductor device formed by using multi-tone mask
US20100102313A1 (en)*2008-10-242010-04-29Semiconductor Energy Laboratory Co., Ltd.Semiconductor device and method for manufacturing the same
US11563124B2 (en)2008-10-242023-01-24Semiconductor Energy Laboratory Co., Ltd.Semiconductor device including flip-flop circuit which includes transistors
US20100102315A1 (en)*2008-10-242010-04-29Semiconductor Energy Laboratory Co., Ltd.Method for manufacturing semiconductor device
US10170632B2 (en)2008-10-242019-01-01Semiconductor Energy Laboratory Co., Ltd.Semiconductor device including oxide semiconductor layer
US10692894B2 (en)2008-10-242020-06-23Semiconductor Energy Laboratory Co., Ltd.Oxide semiconductor, thin film transistor, and display device
US8980685B2 (en)2008-10-242015-03-17Semiconductor Energy Laboratory Co., Ltd.Method for manufacturing thin film transistor using multi-tone mask
US10763372B2 (en)2008-10-242020-09-01Semiconductor Energy Laboratory Co., Ltd.Semiconductor device with dual and single gate structure transistors
US10141343B2 (en)2008-10-242018-11-27Semiconductor Energy Laboratory Co., Ltd.Oxide semiconductor, thin film transistor, and display device
US8242494B2 (en)2008-10-242012-08-14Semiconductor Energy Laboratory Co., Ltd.Method for manufacturing thin film transistor using multi-tone mask
US10153380B2 (en)2008-10-242018-12-11Semiconductor Energy Laboratory Co., Ltd.Semiconductor device
US9123751B2 (en)2008-10-242015-09-01Semiconductor Energy Laboratory Co., Ltd.Method for manufacturing semiconductor device
US10978490B2 (en)2008-10-242021-04-13Semiconductor Energy Laboratory Co., Ltd.Oxide semiconductor, thin film transistor, and display device
US9911860B2 (en)2008-10-312018-03-06Semiconductor Energy Laboratory Co., Ltd.Semiconductor device and method for manufacturing the same
US20100109003A1 (en)*2008-10-312010-05-06Semiconductor Energy Laboratory Co., Ltd.Semiconductor device and method for manufacturing the same
US7952392B2 (en)2008-10-312011-05-31Semiconductor Energy Laboratory Co., Ltd.Logic circuit
US10269978B2 (en)2008-10-312019-04-23Semiconductor Energy Laboratory Co., Ltd.Semiconductor device and method for manufacturing the same
US9083334B2 (en)2008-10-312015-07-14Semiconductor Energy Laboratory Co., Ltd.Logic circuit
US8759167B2 (en)2008-10-312014-06-24Semiconductor Energy Laboratory Co., Ltd.Semiconductor device and method for manufacturing the same
US11107928B2 (en)2008-10-312021-08-31Semiconductor Energy Laboratory Co., Ltd.Semiconductor device and method for manufacturing the same
US9842859B2 (en)2008-10-312017-12-12Semiconductor Energy Laboratory Co., Ltd.Driver circuit and display device
US9842942B2 (en)2008-10-312017-12-12Semiconductor Energy Laboratory Co., Ltd.Semiconductor device and method for manufacturing the same
US8426868B2 (en)2008-10-312013-04-23Semiconductor Energy Laboratory Co., Ltd.Semiconductor device and method for manufacturing the same
US8633492B2 (en)2008-10-312014-01-21Semiconductor Energy Laboratory Co., Ltd.Semiconductor device and method for manufacturing the same
US11594643B2 (en)2008-10-312023-02-28Semiconductor Energy Laboratory Co., Ltd.Semiconductor device and method for manufacturing the same
US20110221475A1 (en)*2008-10-312011-09-15Semiconductor Energy Laboratory Co., Ltd.Logic circuit
US8373443B2 (en)2008-10-312013-02-12Semiconductor Energy Laboratory Co., Ltd.Logic circuit
US20100110623A1 (en)*2008-10-312010-05-06Semiconductor Energy Laboratory Co., Ltd.Driver circuit and display device
US9349874B2 (en)2008-10-312016-05-24Semiconductor Energy Laboratory Co., Ltd.Semiconductor device and method for manufacturing the same
US8378393B2 (en)2008-10-312013-02-19Semiconductor Energy Laboratory Co., Ltd.Conductive oxynitride and method for manufacturing conductive oxynitride film
US8319216B2 (en)2008-11-072012-11-27Semiconductor Energy Laboratory Co., Ltd.Semiconductor device and method for manufacturing the semiconductor device
US8338827B2 (en)2008-11-072012-12-25Semiconductor Energy Laboratory Co., Ltd.Semiconductor device and method for manufacturing the same
US8803146B2 (en)2008-11-072014-08-12Semiconductor Energy Laboratory Co., Ltd.Semiconductor device and manufacturing method thereof
US20100117076A1 (en)*2008-11-072010-05-13Semiconductor Energy Laboratory Co., Ltd.Semiconductor device and method for manufacturing the semiconductor device
US8980665B2 (en)2008-11-072015-03-17Semiconductor Energy Laboratory Co., Ltd.Semiconductor device and method for manufacturing the same
US8502216B2 (en)2008-11-072013-08-06Semiconductor Energy Laboratory Co., Ltd.Semiconductor device
US20100117074A1 (en)*2008-11-072010-05-13Semiconductor Energy Laboratory Co., Ltd.Semiconductor device and method for manufacturing the same
US11239332B2 (en)2008-11-072022-02-01Semiconductor Energy Laboratory Co., Ltd.Semiconductor device and manufacturing method thereof
US8716061B2 (en)2008-11-072014-05-06Semiconductor Energy Laboratory Co., Ltd.Semiconductor device and method for manufacturing the same
US20100117086A1 (en)*2008-11-072010-05-13Semiconductor Energy Laboratory Co., Ltd.Semiconductor device and method for manufacturing the semiconductor device
US8373164B2 (en)2008-11-072013-02-12Semiconductor Energy Laboratory Co., Ltd.Semiconductor device and manufacturing method thereof
US12324189B2 (en)2008-11-072025-06-03Semiconductor Energy Laboratory Co., Ltd.Semiconductor device and manufacturing method thereof
US8440502B2 (en)2008-11-072013-05-14Semiconductor Energy Laboratory Co., Ltd.Semiconductor device and method for manufacturing the semiconductor device
US8021917B2 (en)2008-11-072011-09-20Semiconductor Energy Laboratory Co., Ltd.Semiconductor device and method for manufacturing the semiconductor device
US20100117073A1 (en)*2008-11-072010-05-13Shunpei YamazakiSemiconductor device and method for manufacturing the same
US9231110B2 (en)2008-11-072016-01-05Semiconductor Energy Laboratory Co., Ltd.Semiconductor device and method for manufacturing the same
US9293545B2 (en)2008-11-072016-03-22Semiconductor Energy Laboratory Co., Ltd.Semiconductor device
US10411102B2 (en)2008-11-072019-09-10Semiconductor Energy Laboratory Co., Ltd.Semiconductor device and manufacturing method thereof
US10158005B2 (en)2008-11-072018-12-18Semiconductor Energy Laboratory Co., Ltd.Semiconductor device
US20100117077A1 (en)*2008-11-072010-05-13Shunpei YamazakiSemiconductor device and manufacturing method thereof
US10665684B2 (en)2008-11-072020-05-26Semiconductor Energy Laboratory Co., Ltd.Semiconductor device and manufacturing method thereof
US20100117075A1 (en)*2008-11-072010-05-13Semiconductor Energy Laboratory Co., Ltd.Semiconductor device
US8395148B2 (en)2008-11-072013-03-12Semiconductor Energy Laboratory Co., Ltd.Semiconductor device and method for manufacturing the same
US9847396B2 (en)2008-11-072017-12-19Semiconductor Energy Laboratory Co., Ltd.Semiconductor device and manufacturing method thereof
US8518739B2 (en)2008-11-132013-08-27Semiconductor Energy Laboratory Co., Ltd.Semiconductor device and method for manufacturing the same
US20100117079A1 (en)*2008-11-132010-05-13Semiconductor Energy Laboratory Co., Ltd.Semiconductor device and method for manufacturing the same
US20100117078A1 (en)*2008-11-132010-05-13Semiconductor Energy Laboratory Co., Ltd.Semiconductor device and method for manufacturing the same
US9054203B2 (en)2008-11-132015-06-09Semiconductor Energy Laboratory Co., Ltd.Semiconductor device and method for manufacturing the same
US8298858B2 (en)2008-11-132012-10-30Semiconductor Energy Laboratory Co., Ltd.Semiconductor device and method for manufacturing the same
US8058647B2 (en)2008-11-132011-11-15Semiconductor Energy Laboratory Co., Ltd.Semiconductor device and method for manufacturing the same
US9559212B2 (en)2008-11-132017-01-31Semiconductor Energy Laboratory Co., Ltd.Semiconductor device and method for manufacturing the same
US9112038B2 (en)2008-11-132015-08-18Semiconductor Energy Laboratory Co., Ltd.Semiconductor device and method for manufacturing the same
US8748887B2 (en)2008-11-132014-06-10Semiconductor Energy Laboratory Co., Ltd.Semiconductor device and method for manufacturing the same
US12353107B2 (en)2008-11-142025-07-08Semiconductor Energy Laboratory Co., Ltd.Liquid crystal display device
US12013617B2 (en)2008-11-142024-06-18Semiconductor Energy Laboratory Co., Ltd.Liquid crystal display device
US10416517B2 (en)2008-11-142019-09-17Semiconductor Energy Laboratory Co., Ltd.Liquid crystal display device
US10901283B2 (en)2008-11-142021-01-26Semiconductor Energy Laboratory Co., Ltd.Liquid crystal display device
US20100123130A1 (en)*2008-11-202010-05-20Semiconductor Energy Laboratory Co., Ltd.Semiconductor device and method for manufacturing the same
US8329506B2 (en)2008-11-202012-12-11Semiconductor Energy Laboratory Co., Ltd.Semiconductor device and method for manufacturing the same
US9252288B2 (en)2008-11-202016-02-02Semiconductor Energy Laboratory Co., Ltd.Semiconductor device and method for manufacturing the same
US9893200B2 (en)2008-11-202018-02-13Semiconductor Energy Laboratory Co., Ltd.Semiconductor device and method for manufacturing the same
US10403763B2 (en)2008-11-202019-09-03Semiconductor Energy Laboratory Co., Ltd.Semiconductor device and method for manufacturing the same
US8643011B2 (en)2008-11-202014-02-04Semiconductor Energy Laboratory Co., Ltd.Semiconductor device and method for manufacturing the same
US11776967B2 (en)2008-11-212023-10-03Semiconductor Energy Laboratory Co., Ltd.Semiconductor device and manufacturing method thereof
US10243006B2 (en)2008-11-212019-03-26Semiconductor Energy Laboratory Co., Ltd.Semiconductor device and manufacturing method thereof
US12062663B2 (en)2008-11-212024-08-13Semiconductor Energy Laboratory Co., Ltd.Semiconductor device and manufacturing method thereof
US8188477B2 (en)2008-11-212012-05-29Semiconductor Energy Laboratory Co., Ltd.Semiconductor device and manufacturing method thereof
US9570619B2 (en)2008-11-212017-02-14Semiconductor Energy Laboratory Co., Ltd.Semiconductor device and manufacturing method thereof
US11374028B2 (en)2008-11-212022-06-28Semiconductor Energy Laboratory Co., Ltd.Semiconductor device and manufacturing method thereof
US8907348B2 (en)2008-11-212014-12-09Semiconductor Energy Laboratory Co., Ltd.Semiconductor device and manufacturing method thereof
US10622381B2 (en)2008-11-212020-04-14Semiconductor Energy Laboratory Co., Ltd.Semiconductor device and manufacturing method thereof
US9893089B2 (en)2008-11-212018-02-13Semiconductor Energy Laboratory Co., Ltd.Semiconductor device and manufacturing method thereof
US9450133B2 (en)2008-11-282016-09-20Semiconductor Energy Laboratory Co., Ltd.Photosensor and display device
US8441425B2 (en)2008-11-282013-05-14Semiconductor Energy Laboratory Co., Ltd.Liquid crystal display device
US8552434B2 (en)2008-11-282013-10-08Semiconductor Energy Laboratory Co., Ltd.Semiconductor device and method for manufacturing the same
US20100133530A1 (en)*2008-11-282010-06-03Semiconductor Energy Laboratory Co., Ltd.Semiconductor device and method for manufacturing the same
US20100134735A1 (en)*2008-11-282010-06-03Semiconductor Energy Laboratory Co., Ltd.Photosensor and display device
US9722054B2 (en)2008-11-282017-08-01Semiconductor Energy Laboratory Co., Ltd.Semiconductor device and method for manufacturing the same
US10424674B2 (en)2008-11-282019-09-24Semiconductor Energy Laboratory Co., Ltd.Liquid crystal display device
US8546182B2 (en)2008-11-282013-10-01Semiconductor Energy Laboratory Co., Ltd.Semiconductor device and method for manufacturing the same
US20100134397A1 (en)*2008-11-282010-06-03Semiconductor Energy Laboratory Co., Ltd.Liquid crystal display device
US10985282B2 (en)2008-11-282021-04-20Semiconductor Energy Laboratory Co., Ltd.Liquid crystal display device
US8344387B2 (en)2008-11-282013-01-01Semiconductor Energy Laboratory Co., Ltd.Semiconductor device and method for manufacturing the same
US11869978B2 (en)2008-11-282024-01-09Semiconductor Energy Laboratory Co., Ltd.Liquid crystal display device
US10008608B2 (en)2008-11-282018-06-26Semiconductor Energy Laboratory Co., Ltd.Liquid crystal display device
US20100133531A1 (en)*2008-12-012010-06-03Semiconductor Energy Laboratory Co., Ltd.Semiconductor device and manufacturing method thereof
US8318551B2 (en)2008-12-012012-11-27Semiconductor Energy Laboratory Co., Ltd.Semiconductor device and manufacturing method thereof
US10838264B2 (en)2008-12-032020-11-17Semiconductor Energy Laboratory Co., Ltd.Liquid crystal display device
US20100134710A1 (en)*2008-12-032010-06-03Semiconductor Energy Laboratory Co., Ltd.Liquid crystal display device
US10095071B2 (en)2008-12-032018-10-09Semiconductor Energy Laboratory Co., Ltd.Liquid crystal display device including transistor which includes oxide semiconductor
US11175542B2 (en)2008-12-032021-11-16Semiconductor Energy Laboratory Co., Ltd.Liquid crystal display device
US8395716B2 (en)2008-12-032013-03-12Semiconductor Energy Laboratory Co., Ltd.Liquid crystal display device
US9348189B2 (en)2008-12-032016-05-24Semiconductor Energy Laboratory Co., Ltd.Liquid crystal display device
US9201280B2 (en)2008-12-052015-12-01Semiconductor Energy Laboratory Co., Ltd.Semiconductor device
US8999750B2 (en)2008-12-052015-04-07Semiconductor Energy Laboratory Co., Ltd.Semiconductor device
US20100140613A1 (en)*2008-12-052010-06-10Semiconductor Energy Laboratory Co., Ltd.Semiconductor device
US8476625B2 (en)2008-12-052013-07-02Semiconductor Energy Laboratory Co., Ltd.Semiconductor device comprising gate electrode of one conductive layer and gate wiring of two conductive layers
US10439050B2 (en)2008-12-192019-10-08Semiconductor Energy Laboratory Co., Ltd.Method for manufacturing transistor
US8803149B2 (en)2008-12-192014-08-12Semiconductor Energy Laboratory Co., Ltd.Thin-film transistor device including a hydrogen barrier layer selectively formed over an oxide semiconductor layer
US8883554B2 (en)2008-12-192014-11-11Semiconductor Energy Laboratory Co., Ltd.Method for manufacturing a semiconductor device using an oxide semiconductor
US8183099B2 (en)2008-12-192012-05-22Semiconductor Energy Laboratory Co., Ltd.Method for manufacturing transistor
US20100155719A1 (en)*2008-12-192010-06-24Junichiro SakataMethod for manufacturing semiconductor device
US20100159639A1 (en)*2008-12-192010-06-24Semiconductor Energy Laboratory Co., Ltd.Method for manufacturing transistor
US9601601B2 (en)2008-12-192017-03-21Semiconductor Energy Laboratory Co., Ltd.Method for manufacturing transistor
US9202827B2 (en)2008-12-242015-12-01Semiconductor Energy Laboratory Co., Ltd.Driver circuit and semiconductor device
US9941310B2 (en)2008-12-242018-04-10Semiconductor Energy Laboratory Co., Ltd.Driver circuit with oxide semiconductor layers having varying hydrogen concentrations
US9443888B2 (en)2008-12-242016-09-13Semiconductor Energy Laboratory Co., Ltd.Method of manufacturing semiconductor device including transistor and resistor incorporating hydrogen in oxide semiconductor
US20100163874A1 (en)*2008-12-242010-07-01Semiconductor Energy Laboratory Co., Ltd.Driver circuit and semiconductor device
US8237167B2 (en)2008-12-252012-08-07Semiconductor Energy Laboratory Co., Ltd.Semiconductor device and manufacturing method thereof
US8441007B2 (en)2008-12-252013-05-14Semiconductor Energy Laboratory Co., Ltd.Display device and manufacturing method thereof
US8383470B2 (en)2008-12-252013-02-26Semiconductor Energy Laboratory Co., Ltd.Thin film transistor (TFT) having a protective layer and manufacturing method thereof
US8114720B2 (en)2008-12-252012-02-14Semiconductor Energy Laboratory Co., Ltd.Semiconductor device and manufacturing method thereof
US8629434B2 (en)2008-12-252014-01-14Semiconductor Energy Laboratory Co., Ltd.Display device and manufacturing method thereof
US20100167464A1 (en)*2008-12-252010-07-01Semiconductor Energy Laboratory Co., Ltd.Semiconductor device and manufacturing method thereof
US8878175B2 (en)2008-12-252014-11-04Semiconductor Energy Laboratory Co., Ltd.Semiconductor device and manufacturing method thereof
US10720451B2 (en)2008-12-252020-07-21Semiconductor Energy Laboratory Co., Ltd.Semiconductor device and manufacturing method thereof
US20100165255A1 (en)*2008-12-252010-07-01Semiconductor Energy Laboratory Co., Ltd.Semiconductor device and manufacturing method thereof
US20100163866A1 (en)*2008-12-252010-07-01Semiconductor Energy Laboratory Co., Ltd.Semiconductor device and manufacturing method thereof
US9768280B2 (en)2008-12-252017-09-19Semiconductor Energy Laboratory Co., Ltd.Semiconductor device and manufacturing method thereof
US11996416B2 (en)2008-12-252024-05-28Semiconductor Energy Laboratory Co., Ltd.Semiconductor device and manufacturing method thereof
US10483290B2 (en)2008-12-252019-11-19Semiconductor Energy Laboratory Co., Ltd.Semiconductor device and manufacturing method thereof
US11158654B2 (en)2008-12-252021-10-26Semiconductor Energy Laboratory Co., Ltd.Semiconductor device and manufacturing method thereof
US8772784B2 (en)2008-12-252014-07-08Semiconductor Energy Laboratory Co., Ltd.Semiconductor device including pair of electrodes and oxide semiconductor film with films of low conductivity therebetween
US9112043B2 (en)2008-12-252015-08-18Semiconductor Energy Laboratory Co., Ltd.Display device and manufacturing method thereof
US20110215319A1 (en)*2008-12-262011-09-08Semiconductor Energy Laboratory Co., Ltd.Semiconductor device and manufacturing method thereof
US9136390B2 (en)2008-12-262015-09-15Semiconductor Energy Laboratory Co., Ltd.Semiconductor device and manufacturing method thereof
US8330156B2 (en)2008-12-262012-12-11Semiconductor Energy Laboratory Co., Ltd.Thin film transistor with a plurality of oxide clusters over the gate insulating layer
US20110215318A1 (en)*2008-12-262011-09-08Semiconductor Energy Laboratory Co., Ltd.Semiconductor device and manufacturing method thereof
US20110210328A1 (en)*2008-12-262011-09-01Semiconductor Energy Laboratory Co., Ltd.Semiconductor device and manufacturing method thereof
US11817506B2 (en)2008-12-262023-11-14Semiconductor Energy Laboratory Co., Ltd.Semiconductor device and manufacturing method thereof
US12224355B2 (en)2008-12-262025-02-11Semiconductor Energy Laboratory Co., Ltd.Semiconductor device and manufacturing method thereof
US8222092B2 (en)2008-12-262012-07-17Semiconductor Energy Laboratory Co., Ltd.Semiconductor device and manufacturing method thereof
US20100163867A1 (en)*2008-12-262010-07-01Shunpei YamazakiSemiconductor device, method for manufacturing the same, and electronic device having the same
US9711651B2 (en)2008-12-262017-07-18Semiconductor Energy Laboratory Co., Ltd.Semiconductor device and manufacturing method thereof
US20100181565A1 (en)*2009-01-162010-07-22Semiconductor Energy Laboratory Co., Ltd.Semiconductor device and manufacturing method thereof
US8884287B2 (en)2009-01-162014-11-11Semiconductor Energy Laboratory Co., Ltd.Semiconductor device and manufacturing method thereof
US8629432B2 (en)2009-01-162014-01-14Semiconductor Energy Laboratory Co., Ltd.Semiconductor device and manufacturing method thereof
US8492756B2 (en)2009-01-232013-07-23Semiconductor Energy Laboratory Co., Ltd.Semiconductor device and method for manufacturing the same
US9040985B2 (en)2009-01-232015-05-26Semiconductor Energy Laboratory Co., Ltd.Semiconductor device and method for manufacturing the same
US8785929B2 (en)2009-01-232014-07-22Semiconductor Energy Laboratory Co. Ltd.Semiconductor device and method for manufacturing the same
US20100187523A1 (en)*2009-01-232010-07-29Semiconductor Energy Laboratory Co., Ltd.Semiconductor device and method for manufacturing the same
US20100193783A1 (en)*2009-01-302010-08-05Semiconductor Energy Laboratory Co., Ltd.Semiconductor device and method for manufacturing the same
US8436350B2 (en)2009-01-302013-05-07Semiconductor Energy Laboratory Co., Ltd.Semiconductor device using an oxide semiconductor with a plurality of metal clusters
US8822991B2 (en)2009-02-052014-09-02Semiconductor Energy Laboratory Co., Ltd.Transistor and method for manufacturing the transistor
US8174021B2 (en)2009-02-062012-05-08Semiconductor Energy Laboratory Co., Ltd.Semiconductor device and method of manufacturing the semiconductor device
US8877569B2 (en)2009-02-062014-11-04Semiconductor Energy Laboratory Co., Ltd.Method of manufacturing thin film transistor with oxide semiconductor using sputtering method
US9431427B2 (en)2009-02-062016-08-30Semiconductor Energy Laboratory Co., Ltd.Semiconductor device comprising oxide semiconductor layer
US20100202090A1 (en)*2009-02-092010-08-12Semiconductor Energy Laboratory Co., Ltd.Protection circuit, semiconductor device, photoelectric conversion device, and electronic device
US8749930B2 (en)2009-02-092014-06-10Semiconductor Energy Laboratory Co., Ltd.Protection circuit, semiconductor device, photoelectric conversion device, and electronic device
US8643009B2 (en)2009-02-132014-02-04Semiconductor Energy Laboratory Co., Ltd.Transistor, semiconductor device including the transistor, and manufacturing method of the transistor and the semiconductor device
US20100207117A1 (en)*2009-02-132010-08-19Semiconductor Energy Laboratory Co., Ltd.Transistor, semiconductor device including the transistor, and manufacturing method of the transistor and the semiconductor device
US8278657B2 (en)2009-02-132012-10-02Semiconductor Energy Laboratory Co., Ltd.Transistor, semiconductor device including the transistor, and manufacturing method of the transistor and the semiconductor device
US8350261B2 (en)2009-02-132013-01-08Semiconductor Energy Laboratory Co., Ltd.Semiconductor device including a transistor, and manufacturing method of the semiconductor device
US8247812B2 (en)2009-02-132012-08-21Semiconductor Energy Laboratory Co., Ltd.Transistor, semiconductor device including the transistor, and manufacturing method of the transistor and the semiconductor device
US20100207118A1 (en)*2009-02-132010-08-19Semiconductor Energy Laboratory Co., Ltd.Transistor, semiconductor device including the transistor, and manufacturing method of the transistor and the semiconductor device
US9443981B2 (en)2009-02-202016-09-13Semiconductor Energy Laboratory Co., Ltd.Thin film transistor, method for manufacturing the same, and semiconductor device
US10096623B2 (en)2009-02-202018-10-09Semiconductor Energy Laboratory Co., Ltd.Thin film transistor, method for manufacturing the same, and semiconductor device
US10586811B2 (en)2009-02-202020-03-10Semiconductor Energy Laboratory Co., Ltd.Thin film transistor, method for manufacturing the same, and semiconductor device
US20100213460A1 (en)*2009-02-202010-08-26Semiconductor Energy Laboratory Co., Ltd.Thin film transistor, method for manufacturing the same, and semiconductor device
US8987822B2 (en)2009-02-202015-03-24Semiconductor Energy Laboratory Co., Ltd.Thin film transistor, method for manufacturing the same, and semiconductor device
US12136629B2 (en)2009-02-202024-11-05Semiconductor Energy Laboratory Co., Ltd.Thin film transistor, method for manufacturing the same, and semiconductor device
US8247276B2 (en)2009-02-202012-08-21Semiconductor Energy Laboratory Co., Ltd.Thin film transistor, method for manufacturing the same, and semiconductor device
US9209283B2 (en)2009-02-202015-12-08Semiconductor Energy Laboratory Co., Ltd.Thin film transistor, method for manufacturing the same, and semiconductor device
US9859306B2 (en)2009-02-202018-01-02Semiconductor Energy Laboratory Co., Ltd.Thin film transistor, method for manufacturing the same, and semiconductor device
US8629000B2 (en)2009-02-202014-01-14Semiconductor Energy Laboratory Co., Ltd.Thin film transistor, method for manufacturing the same, and semiconductor device
US11824062B2 (en)2009-02-202023-11-21Semiconductor Energy Laboratory Co., Ltd.Thin film transistor, method for manufacturing the same, and semiconductor device
US8362563B2 (en)2009-02-202013-01-29Semiconductor Energy Laboratory Co., Ltd.Thin film transistor, method for manufacturing the same, and semiconductor device
US11011549B2 (en)2009-02-202021-05-18Semiconductor Energy Laboratory Co., Ltd.Thin film transistor, method for manufacturing the same, and semiconductor device
US20100213461A1 (en)*2009-02-252010-08-26Semiconductor Energy Laboratory Co., Ltd.Semiconductor device and manufacturing method thereof
US8841661B2 (en)2009-02-252014-09-23Semiconductor Energy Laboratory Co., Ltd.Staggered oxide semiconductor TFT semiconductor device and manufacturing method thereof
US9997638B2 (en)2009-02-272018-06-12Semiconductor Energy Laboratory Co., Ltd.Semiconductor device and manufacturing method thereof
US8704216B2 (en)2009-02-272014-04-22Semiconductor Energy Laboratory Co., Ltd.Semiconductor device and manufacturing method thereof
US9660102B2 (en)2009-02-272017-05-23Semiconductor Energy Laboratory Co., Ltd.Semiconductor device and manufacturing method thereof
US20100219410A1 (en)*2009-02-272010-09-02Semiconductor Energy Laboratory Co., Ltd.Semiconductor device and manufacturing method thereof
US9064899B2 (en)2009-02-272015-06-23Semiconductor Energy Laboratory Co., Ltd.Semiconductor device and manufacturing method thereof
US12336303B2 (en)2009-03-052025-06-17Semiconductor Energy Laboratory Co., Ltd.Semiconductor device and method for manufacturing the same
US20100224872A1 (en)*2009-03-052010-09-09Semiconductor Energy Laboratory Co., Ltd.Semiconductor device and method for manufacturing the same
US20100224880A1 (en)*2009-03-052010-09-09Semiconductor Energy Laboratory Co., Ltd.Semiconductor device
US11961894B2 (en)2009-03-052024-04-16Semiconductor Energy Laboratory Co., Ltd.Semiconductor device
US9941393B2 (en)2009-03-052018-04-10Semiconductor Energy Laboratory Co., Ltd.Semiconductor device and method for manufacturing the same
US10326008B2 (en)2009-03-052019-06-18Semiconductor Energy Laboratory Co., Ltd.Semiconductor device and method for manufacturing the same
US11233132B2 (en)2009-03-052022-01-25Semiconductor Energy Laboratory Co., Ltd.Semiconductor device
US10686061B2 (en)2009-03-052020-06-16Semiconductor Energy Laboratory Co., Ltd.Semiconductor device and method for manufacturing the same
US8759206B2 (en)2009-03-052014-06-24Semiconductor Energy Laboratory Co., Ltd.Semiconductor device and method for manufacturing the same
US8461582B2 (en)2009-03-052013-06-11Semiconductor Energy Laboratory Co., Ltd.Semiconductor device and method for manufacturing the same
US11955537B2 (en)2009-03-052024-04-09Semiconductor Energy Laboratory Co., Ltd.Semiconductor device and method for manufacturing the same
US10700213B2 (en)2009-03-062020-06-30Semiconductor Energy Laboratory Co., Ltd.Semiconductor device and method for manufacturing the same
US9496414B2 (en)2009-03-062016-11-15Semiconductor Energy Laboratory Co., Ltd.Semiconductor device and method for manufacturing the same
US11309430B2 (en)2009-03-062022-04-19Semiconductor Energy Laboratory Co., Ltd.Semiconductor device and method for manufacturing the same
US9991396B2 (en)2009-03-062018-06-05Semiconductor Energy Laboratory Co., Ltd.Semiconductor device and method for manufacturing the same
US9324878B2 (en)2009-03-062016-04-26Semiconductor Energy Laboratory Co., Ltd.Semiconductor device and method for manufacturing the same
US8492757B2 (en)2009-03-062013-07-23Semiconductor Energy Laboratory Co., Ltd.Semiconductor device and method for manufacturing the same
US20100224873A1 (en)*2009-03-062010-09-09Semiconductor Energy Laboratory Co., Ltd.Semiconductor device and method for manufacturing the same
US11715801B2 (en)2009-03-062023-08-01Semiconductor Energy Laboratory Co., Ltd.Semiconductor device and method for manufacturing the same
US10236391B2 (en)2009-03-062019-03-19Semiconductor Energy Laboratory Co., Ltd.Semiconductor device and method for manufacturing the same
US8916870B2 (en)2009-03-062014-12-23Semiconductor Energy Laboratory Co., Ltd.Semiconductor device and method for manufacturing the same
US8872175B2 (en)2009-03-062014-10-28Semiconductor Energy Laboratory Co., Ltd.Semiconductor device and method for manufacturing the same
US8993386B2 (en)2009-03-122015-03-31Semiconductor Energy Laboratory Co., Ltd.Method for manufacturing semiconductor device
US9768281B2 (en)2009-03-122017-09-19Semiconductor Energy Laboratory Co., Ltd.Method for manufacturing semiconductor device
US20100233847A1 (en)*2009-03-122010-09-16Hiroki OharaMethod for manufacturing semiconductor device
US8936963B2 (en)2009-03-132015-01-20Semiconductor Energy Laboratory Co., Ltd.Semiconductor device and method for manufacturing the semiconductor device
US20100233848A1 (en)*2009-03-132010-09-16Semiconductor Energy Laboratory Co., Ltd.Semiconductor device and method for manufacturing the semiconductor device
US8450144B2 (en)2009-03-262013-05-28Semiconductor Energy Laboratory Co., Ltd.Semiconductor device and method for manufacturing the same
US20100244020A1 (en)*2009-03-262010-09-30Semiconductor Energy Laboratory Co., Ltd.Semiconductor device and method for manufacturing the same
US10181530B2 (en)2009-03-272019-01-15Semiconductor Energy Laboratory Co., Ltd.Semiconductor device
US9184189B2 (en)2009-03-272015-11-10Semiconductor Energy Laboratory Co., Ltd.Semiconductor device, display device, and electronic appliance
US8253135B2 (en)2009-03-272012-08-28Semiconductor Energy Laboratory Co., Ltd.Semiconductor device, display device, and electronic appliance
US9362412B2 (en)2009-03-272016-06-07Semiconductor Energy Laboratory Co., Ltd.Semiconductor device
US10026848B2 (en)2009-03-272018-07-17Semiconductor Energy Laboratory Co., Ltd.Semiconductor device
US9705003B2 (en)2009-03-272017-07-11Semiconductor Energy Laboratory Co., Ltd.Semiconductor device including first and second gate electrodes and stack of insulating layers
US12294031B2 (en)2009-03-272025-05-06Semiconductor Energy Laboratory Co., Ltd.Semiconductor device
US8759829B2 (en)2009-03-272014-06-24Semiconductor Energy Laboratory Co., Ltd.Semiconductor device comprising oxide semiconductor layer as channel formation layer
US11916150B2 (en)2009-03-272024-02-27Semiconductor Energy Laboratory Co., Ltd.Semiconductor device
US9012918B2 (en)2009-03-272015-04-21Semiconductor Energy Laboratory Co., Ltd.Semiconductor device including oxide semiconductor
US11127858B2 (en)2009-03-272021-09-21Semiconductor Energy Laboratory Co., Ltd.Semiconductor device
US10714630B2 (en)2009-03-272020-07-14Semiconductor Energy Laboratory Co., Ltd.Semiconductor device
US11575049B2 (en)2009-03-272023-02-07Semiconductor Energy Laboratory Co., Ltd.Semiconductor device
US10297693B1 (en)2009-03-272019-05-21Semiconductor Energy Laboratory Co., Ltd.Semiconductor device
US20100244029A1 (en)*2009-03-272010-09-30Semiconductor Energy Laboratory Co., Ltd.Semiconductor device
US8927981B2 (en)2009-03-302015-01-06Semiconductor Energy Laboratory Co., Ltd.Semiconductor device and method for manufacturing the same
US20100244031A1 (en)*2009-03-302010-09-30Semiconductor Energy Laboratory Co., Ltd.Semiconductor device and method for manufacturing the same
US20100252827A1 (en)*2009-04-022010-10-07Semiconductor Energy Laboratory Co., Ltd.Semiconductor device and method for manufacturing the same
US8338226B2 (en)2009-04-022012-12-25Semiconductor Energy Laboratory Co., Ltd.Method for manufacturing semiconductor device
US9704976B2 (en)2009-04-022017-07-11Semiconductor Energy Laboratory Co., Ltd.Semiconductor device and method for manufacturing the same
US20100252832A1 (en)*2009-04-022010-10-07Semiconductor Energy Laboratory Co., Ltd.Semiconductor device and method for manufacturing the same
US8441047B2 (en)2009-04-102013-05-14Semiconductor Energy Laboratory Co., Ltd.Semiconductor device and method for manufacturing the same
US8853690B2 (en)2009-04-162014-10-07Semiconductor Energy Laboratory Co., Ltd.Semiconductor device with oxide semiconductor layer
US9190528B2 (en)2009-04-162015-11-17Semiconductor Energy Laboratory Co., Ltd.Semiconductor device and manufacturing method thereof
US8278162B2 (en)2009-05-012012-10-02Semiconductor Energy Laboratory Co., Ltd.Method for manufacturing semiconductor device
US20100279474A1 (en)*2009-05-012010-11-04Semiconductor Energy Laboratory Co., Ltd.Method for manufacturing semiconductor device
US9257085B2 (en)2009-05-212016-02-09Semiconductor Energy Laboratory Co., Ltd.Electronic circuit, display device, electronic device, and method for driving electronic circuit
US8796078B2 (en)2009-05-292014-08-05Semiconductor Energy Laboratory Co., Ltd.Semiconductor device and manufacturing method thereof
US9419113B2 (en)2009-05-292016-08-16Semiconductor Energy Laboratory Co., Ltd.Semiconductor device and manufacturing method thereof
US9947797B2 (en)2009-05-292018-04-17Semiconductor Energy Laboratory Co., Ltd.Semiconductor device and method for manufacturing the same
US20100301329A1 (en)*2009-05-292010-12-02Semiconductor Energy Laboratory Co., Ltd.Semiconductor device and manufacturing method thereof
US8872171B2 (en)2009-05-292014-10-28Semiconductor Energy Laboratory Co., Ltd.Semiconductor device and method for manufacturing the same
US20100301328A1 (en)*2009-05-292010-12-02Semiconductor Energy Laboratory Co., Ltd.Semiconductor device and method for manufacturing the same
US10283627B2 (en)2009-05-292019-05-07Semiconductor Energy Laboratory Co., Ltd.Semiconductor device and manufacturing method thereof
US20100304529A1 (en)*2009-05-292010-12-02Semiconductor Energy Laboratory Co., Ltd.Semiconductor device and manufacturing method thereof
US10062570B2 (en)2009-06-302018-08-28Semiconductor Energy Laboratory Co., Ltd.Semiconductor device and method for manufacturing the same
US8846460B2 (en)2009-06-302014-09-30Semiconductor Energy Laboratory Co., Ltd.Semiconductor device and method for manufacturing the same
US10332743B2 (en)2009-06-302019-06-25Semiconductor Energy Laboratory Co., Ltd.Method for manufacturing semiconductor device
US8216878B2 (en)2009-06-302012-07-10Semiconductor Energy Laboratory Co., Ltd.Method for manufacturing semiconductor device
US10790383B2 (en)2009-06-302020-09-29Semiconductor Energy Laboratory Co., Ltd.Method for manufacturing semiconductor device
US8394671B2 (en)2009-06-302013-03-12Semiconductor Energy Laboratory Co., Ltd.Method for manufacturing semiconductor device
US10796908B2 (en)2009-06-302020-10-06Semiconductor Energy Laboratory Co., Ltd.Semiconductor device and method for manufacturing the same
US9293566B2 (en)2009-06-302016-03-22Semiconductor Energy Laboratory Co., Ltd.Method for manufacturing semiconductor device
US8389326B2 (en)2009-06-302013-03-05Semiconductor Energy Laboratory Co., Ltd.Method for manufacturing semiconductor device
US9299807B2 (en)2009-06-302016-03-29Semiconductor Energy Laboratory Co., Ltd.Method for manufacturing semiconductor device
US20110003428A1 (en)*2009-06-302011-01-06Semiconductor Energy Laboratory Co., Ltd.Method for manufacturing semiconductor device
US9852906B2 (en)2009-06-302017-12-26Semiconductor Energy Laboratory Co., Ltd.Method for manufacturing semiconductor device
US8623698B2 (en)2009-06-302014-01-07Semiconductor Energy Laboratory Co., Ltd.Method for manufacturing semiconductor device
US8207014B2 (en)2009-06-302012-06-26Semiconductor Energy Laboratory Co., Ltd.Method for manufacturing semiconductor device
US11417754B2 (en)2009-06-302022-08-16Semiconductor Energy Laboratory Co., Ltd.Method for manufacturing semiconductor device
US8513054B2 (en)2009-06-302013-08-20Semiconductor Energy Laboratory Co., Ltd.Method for manufacturing semiconductor device
US9985118B2 (en)2009-06-302018-05-29Semiconductor Energy Laboratory Co., Ltd.Method for manufacturing semiconductor device
US8609478B2 (en)2009-06-302013-12-17Semiconductor Energy Laboratory Co., Ltd.Method for manufacturing semiconductor device
US9576795B2 (en)2009-06-302017-02-21Semiconductor Energy Laboratory Co., Ltd.Semiconductor device
US20180233589A1 (en)2009-06-302018-08-16Semiconductor Energy Laboratory Co., Ltd.Method for manufacturing semiconductor device
US10090171B2 (en)2009-06-302018-10-02Semiconductor Energy Laboratory Co., Ltd.Method for manufacturing semiconductor device
US12302645B2 (en)2009-06-302025-05-13Semiconductor Energy Laboratory Co., Ltd.Method for manufacturing semiconductor device
US9136115B2 (en)2009-06-302015-09-15Semiconductor Energy Laboratory Co., Ltd.Method for manufacturing semiconductor device
US9054137B2 (en)2009-06-302015-06-09Semiconductor Energy Laboratory Co., Ltd.Method for manufacturing semiconductor device
US9412768B2 (en)2009-06-302016-08-09Semiconductor Energy Laboratory Co., Ltd.Method for manufacturing semiconductor device
US8557641B2 (en)2009-06-302013-10-15Semiconductor Energy Laboratory Co., Ltd.Semiconductor device and method for manufacturing the same
US20110008930A1 (en)*2009-06-302011-01-13Semiconductor Energy Laboratory Co., Ltd.Method for manufacturing semiconductor device
US9831101B2 (en)2009-06-302017-11-28Semiconductor Energy Laboratory Co., Ltd.Method for manufacturing semiconductor device
US10418467B2 (en)2009-06-302019-09-17Semiconductor Energy Laboratory Co., Ltd.Method for manufacturing semiconductor device
US20110053322A1 (en)*2009-06-302011-03-03Semiconductor Energy Laboratory Co., Ltd.Semiconductor device and method for manufacturing the same
US8697488B2 (en)2009-06-302014-04-15Semiconductor Energy Laboratory Co., Ltd.Method for manufacturing semiconductor device
US20110000175A1 (en)*2009-07-012011-01-06Husqvarna Consumer Outdoor Products N.A. Inc.Variable speed controller
US11637130B2 (en)2009-07-032023-04-25Semiconductor Energy Laboratory Co., Ltd.Display device including transistor and manufacturing method thereof
US8304300B2 (en)2009-07-032012-11-06Semiconductor Energy Laboratory Co., Ltd.Method of manufacturing display device including transistor
US20110003418A1 (en)*2009-07-032011-01-06Semiconductor Energy Laboratory Co., Ltd.Display device including transistor and manufacturing method thereof
US20110003430A1 (en)*2009-07-032011-01-06Semiconductor Energy Laboratory Co., Ltd.Manufacturing method of semiconductor device
US8637347B2 (en)2009-07-032014-01-28Semiconductor Energy Laboratory Co., Ltd.Method for manufacturing semiconductor device
US8518740B2 (en)2009-07-032013-08-27Semiconductor Energy Laboratory Co., Ltd.Manufacturing method of semiconductor device
US10211231B2 (en)2009-07-032019-02-19Semiconductor Energy Laboratory Co., Ltd.Display device including transistor and manufacturing method thereof
US9812465B2 (en)2009-07-032017-11-07Semiconductor Energy Laboratory Co., Ltd.Display device including transistor and manufacturing method thereof
US11257847B2 (en)2009-07-032022-02-22Semiconductor Energy Laboratory Co., Ltd.Display device including transistor and manufacturing method thereof
US9130046B2 (en)2009-07-032015-09-08Semiconductor Energy Laboratory Co., Ltd.Display device including transistor and manufacturing method thereof
US10297679B2 (en)2009-07-032019-05-21Semiconductor Energy Laboratory Co., Ltd.Method for manufacturing semiconductor device
US9887276B2 (en)2009-07-032018-02-06Semiconductor Energy Laboratory Co., Ltd.Method for manufacturing semiconductor device having oxide semiconductor
US8735884B2 (en)2009-07-032014-05-27Semiconductor Energy Laboratory Co., Ltd.Semiconductor device including oxide semiconductor
US20110003429A1 (en)*2009-07-032011-01-06Semiconductor Energy Laboratory Co., Ltd.Method for manufacturing semiconductor device
US10714503B2 (en)2009-07-032020-07-14Semiconductor Energy Laboratory Co., Ltd.Display device including transistor and manufacturing method thereof
US12272698B2 (en)2009-07-032025-04-08Semiconductor Energy Laboratory Co., Ltd.Semiconductor device comprising driver circuit
US9837441B2 (en)2009-07-032017-12-05Semiconductor Energy Laboratory Co., Ltd.Display device including transistor and manufacturing method thereof
US11978741B2 (en)2009-07-032024-05-07Semiconductor Energy Laboratory Co., Ltd.Display device including transistor and manufacturing method thereof
US9490277B2 (en)2009-07-102016-11-08Semiconductor Energy Laboratory Co., Ltd.Semiconductor device and method for manufacturing the same
US9754974B2 (en)2009-07-102017-09-05Semiconductor Energy Laboratory Co., Ltd.Semiconductor device and method for manufacturing the same
US11374029B2 (en)2009-07-102022-06-28Semiconductor Energy Laboratory Co., Ltd.Semiconductor device and method for manufacturing the same
US20110006301A1 (en)*2009-07-102011-01-13Semiconductor Energy Laboratory Co., Ltd.Semiconductor device and manufacturing method the same
US10916566B2 (en)2009-07-102021-02-09Semiconductor Energy Laboratory Co., Ltd.Semiconductor device and method for manufacturing the same
US11855194B2 (en)2009-07-102023-12-26Semiconductor Energy Laboratory Co., Ltd.Method for manufacturing semiconductor device
US8395153B2 (en)2009-07-102013-03-12Semiconductor Energy Laboratory Co., Ltd.Semiconductor device and manufacturing method the same
US10522568B2 (en)2009-07-102019-12-31Semiconductor Energy Laboratory Co., Ltd.Semiconductor device and method for manufacturing the same
US9269794B2 (en)2009-07-102016-02-23Semiconductor Energy Laboratory Co., Ltd.Semiconductor device and manufacturing method the same
US11152493B2 (en)2009-07-102021-10-19Semiconductor Energy Laboratory Co., Ltd.Method for manufacturing semiconductor device
US10157936B2 (en)2009-07-102018-12-18Semiconductor Energy Laboratory Co., Ltd.Semiconductor device and method for manufacturing the same
US8294147B2 (en)2009-07-102012-10-23Semiconductor Energy Laboratory Co., Ltd.Semiconductor device and manufacturing method the same
US8513053B2 (en)2009-07-102013-08-20Semiconductor Energy Laboratory Co., Ltd.Semiconductor device and manufacturing method the same
US9054138B2 (en)2009-07-102015-06-09Semiconductor Energy Laboratory Co., Ltd.Semiconductor device and method for manufacturing the same
US8324027B2 (en)2009-07-102012-12-04Semiconductor Energy Laboratory Co., Ltd.Semiconductor device and method for manufacturing the same
US8835920B2 (en)2009-07-102014-09-16Semiconductor Energy Laboratory Co., Ltd.Semiconductor device and method for manufacturing the same
US8900916B2 (en)2009-07-102014-12-02Semiconductor Energy Laboratory Co., Ltd.Method for manufacturing semiconductor device including oxide semiconductor film
US8441011B2 (en)2009-07-102013-05-14Semiconductor Energy Laboratory Co., Ltd.Semiconductor device and method for manufacturing the same
US12057453B2 (en)2009-07-102024-08-06Semiconductor Energy Laboratory Co., Ltd.Semiconductor device and method for manufacturing the same
US9379141B2 (en)2009-07-102016-06-28Semiconductor Energy Laboratory Co., Ltd.Semiconductor device and manufacturing method the same
US8378343B2 (en)2009-07-172013-02-19Semiconductor Energy Laboratory Co., Ltd.Semiconductor device and manufacturing method thereof
US8242496B2 (en)2009-07-172012-08-14Semiconductor Energy Laboratory Co., Ltd.Semiconductor device and method for manufacturing the same
US20110014745A1 (en)*2009-07-172011-01-20Semiconductor Energy Laboratory Co., Ltd.Method of manufacturing semiconductor device
US8445905B2 (en)2009-07-172013-05-21Semiconductor Energy Laboratory Co., Ltd.Semiconductor device and method for manufacturing the same
US20110012106A1 (en)*2009-07-172011-01-20Semiconductor Energy Laboratory Co., Ltd.Semiconductor device and manufacturing method thereof
US8952378B2 (en)2009-07-172015-02-10Semiconductor Energy Laboratory Co., Ltd.Method of manufacturing semiconductor device
US8241949B2 (en)2009-07-172012-08-14Semiconductor Energy Laboratory Co., Ltd.Method of manufacturing semiconductor device
US10256291B2 (en)2009-07-172019-04-09Semiconductor Energy Laboratory Co., Ltd.Method of manufacturing semiconductor device
US8994024B2 (en)2009-07-182015-03-31Semiconductor Energy Laboratory Co., Ltd.Semiconductor device and method for manufacturing the same
US20110012112A1 (en)*2009-07-182011-01-20Semiconductor Energy Laboratory Co., Ltd.Semiconductor device and method for manufacturing semiconductor device
US10461098B2 (en)2009-07-182019-10-29Semiconductor Energy Laboratory Co., Ltd.Semiconductor device and method for manufacturing semiconductor device
US11177289B2 (en)2009-07-182021-11-16Semiconductor Energy Laboratory Co., Ltd.Semiconductor device and method for manufacturing semiconductor device
US8987048B2 (en)2009-07-182015-03-24Semiconductor Energy Laboratory Co., Ltd.Semiconductor device and method for manufacturing semiconductor device
US20110012116A1 (en)*2009-07-182011-01-20Semiconductor Energy Laboratory Co., Ltd.Semiconductor device and method for manufacturing the same
US8293594B2 (en)2009-07-182012-10-23Semiconductor Energy Laboratory Co., Ltd.Method for manufacturing a display device having oxide semiconductor layer
US8729550B2 (en)2009-07-182014-05-20Semiconductor Energy Laboratory Co., Ltd.Semiconductor device and method for manufacturing semiconductor device
US8552423B2 (en)2009-07-182013-10-08Semiconductor Energy Laboratory Co., Ltd.Semiconductor device and method for manufacturing semiconductor device
US8698143B2 (en)2009-07-182014-04-15Semiconductor Energy Laboratory Co., Ltd.Display device
US20110012117A1 (en)*2009-07-182011-01-20Semiconductor Energy Laboratory Co., Ltd.Semiconductor device and method for manufacturing semiconductor device
US11715741B2 (en)2009-07-182023-08-01Semiconductor Energy Laboratory Co., Ltd.Semiconductor device and method for manufacturing semiconductor device
US9184185B2 (en)2009-07-182015-11-10Semiconductor Energy Laboratory Co., Ltd.Semiconductor device and method for manufacturing semiconductor device
US9190424B2 (en)2009-07-182015-11-17Semiconductor Energy Laboratory Co., Ltd.Semiconductor device and method for manufacturing the same
US9263472B2 (en)2009-07-182016-02-16Semiconductor Energy Laboratory Co., Ltd.Semiconductor device and method for manufacturing semiconductor device
US8643018B2 (en)2009-07-182014-02-04Semiconductor Energy Laboratory Co., Ltd.Semiconductor device comprising a pixel portion and a driver circuit
US8648343B2 (en)2009-07-232014-02-11Semiconductor Energy Laboratory Co., Ltd.Semiconductor device and method for manufacturing the same
US20110017995A1 (en)*2009-07-232011-01-27Semiconductor Energy Laboratory Co., Ltd.Semiconductor device and method for manufacturing the same
US12183302B2 (en)2009-07-242024-12-31Semiconductor Energy Laboratory Co., Ltd.Semiconductor device
US10810961B2 (en)2009-07-242020-10-20Semiconductor Energy Laboratory Co., Ltd.Semiconductor device
US11663989B2 (en)2009-07-242023-05-30Semiconductor Energy Laboratory Co., Ltd.Semiconductor device
US9875713B2 (en)2009-07-242018-01-23Semiconductor Energy Laboratory Co., Ltd.Semiconductor device
US11373615B2 (en)2009-07-242022-06-28Semiconductor Energy Laboratory Co., Ltd.Semiconductor device
US9779679B2 (en)2009-07-242017-10-03Semiconductor Energy Laboratory Co., Ltd.Semiconductor device
US20110018915A1 (en)*2009-07-242011-01-27Semiconductor Energy Laboratory Co., Ltd.Semiconductor device
US8937306B2 (en)2009-07-312015-01-20Semiconductor Energy Laboratory Co., Ltd.Oxide semiconductor
US20110024751A1 (en)*2009-07-312011-02-03Semiconductor Energy Laboratory Co., Ltd.Semiconductor device and manufacturing method thereof
US12183743B2 (en)2009-07-312024-12-31Semiconductor Energy Laboratory Co., Ltd.Semiconductor device
US9224870B2 (en)2009-07-312015-12-29Semiconductor Energy Laboratory Co., Ltd.Oxide semiconductor device
US11728350B2 (en)2009-07-312023-08-15Semiconductor Energy Laboratory Co., Ltd.Semiconductor device including transistor
US8421067B2 (en)2009-07-312013-04-16Semiconductor Energy Laboratory Co., Ltd.Oxide semiconductor device
US10854638B2 (en)2009-07-312020-12-01Semiconductor Energy Laboratory Co., Ltd.Display device and method for manufacturing display device
US10680111B2 (en)2009-07-312020-06-09Semiconductor Energy Laboratory Co., Ltd.Oxide semiconductor device
US9362416B2 (en)2009-07-312016-06-07Semiconductor Energy Laboratory Co., Ltd.Semiconductor wearable device
US10396097B2 (en)2009-07-312019-08-27Semiconductor Energy Laboratory Co., Ltd.Method for manufacturing oxide semiconductor device
US9293601B2 (en)2009-07-312016-03-22Semiconductor Energy Laboratory Co., Ltd.Display device
US9515192B2 (en)2009-07-312016-12-06Semiconductor Energy Laboratory Co., Ltd.Semiconductor device
US8420441B2 (en)2009-07-312013-04-16Semiconductor Energy Laboratory Co., Ltd.Method for manufacturing oxide semiconductor device
US20180138211A1 (en)2009-07-312018-05-17Semiconductor Energy Laboratory Co., Ltd.Method for manufacturing oxide semiconductor device
US20110031491A1 (en)*2009-07-312011-02-10Semiconductor Energy Laboratory Co., Ltd.Semiconductor device and manufacturing method thereof
US9142570B2 (en)2009-07-312015-09-22Semiconductor Energy Laboratory Co., Ltd.Semiconductor device
US8546180B2 (en)2009-07-312013-10-01Semiconductor Energy Laboratory Co., Ltd.Method for manufacturing oxide semiconductor device
US20110024740A1 (en)*2009-07-312011-02-03Semiconductor Energy Laboratory Co., Ltd.Semiconductor device and manufacturing method thereof
US20110024750A1 (en)*2009-07-312011-02-03Semiconductor Energy Laboratory Co., Ltd.Semiconductor device and method for manufacturing the same
US9741779B2 (en)2009-07-312017-08-22Semiconductor Energy Laboratory Co., Ltd.Oxide semiconductor device
US8772093B2 (en)2009-07-312014-07-08Semiconductor Energy Laboratory Co., Ltd.Manufacturing method of semiconductor device
US11348949B2 (en)2009-07-312022-05-31Semiconductor Energy Laboratory Co., Ltd.Semiconductor device
US9024313B2 (en)2009-07-312015-05-05Semiconductor Energy Laboratory Co., Ltd.Semiconductor device
US8822990B2 (en)2009-07-312014-09-02Semiconductor Energy Laboratory Co., Ltd.Semiconductor device
US9786689B2 (en)2009-07-312017-10-10Semiconductor Energy Laboratory Co., Ltd.Display device
US8421083B2 (en)2009-07-312013-04-16Semiconductor Energy Laboratory Co., Ltd.Semiconductor device with two oxide semiconductor layers and manufacturing method thereof
US8384079B2 (en)2009-07-312013-02-26Semiconductor Energy Laboratory Co., Ltd.Oxide semiconductor device
US10079306B2 (en)2009-07-312018-09-18Semiconductor Energy Laboratory Co., Ltd.Semiconductor device
US11947228B2 (en)2009-07-312024-04-02Semiconductor Energy Laboratory Co., Ltd.Semiconductor device
US8809856B2 (en)2009-07-312014-08-19Semiconductor Energy Laboratory Co., Ltd.Semiconductor device
US11106101B2 (en)2009-07-312021-08-31Semiconductor Energy Laboratory Co., Ltd.Display device
US8384085B2 (en)2009-08-072013-02-26Semiconductor Energy Laboratory Co., Ltd.Semiconductor device and method for manufacturing the same
US8885115B2 (en)2009-08-072014-11-11Semiconductor Energy Laboratory Co., Ltd.Semiconductor device wherein each of a first oxide semiconductor layer and a second oxide semiconductor layer includes a portion that is in an oxygen-excess state and is in contact with an insulating layer
US8629441B2 (en)2009-08-072014-01-14Semiconductor Energy Laboratory Co., Ltd.Semiconductor device and method for manufacturing semiconductor device
US9583509B2 (en)2009-08-072017-02-28Semiconductor Energy Laboratory Co., Ltd.Semiconductor device wherein an oxide semiconductor layer has a degree of crystallization of 80% or more
US10243005B2 (en)2009-08-072019-03-26Semiconductor Energy Laboratory Co., Ltd.Semiconductor device and manufacturing method thereof
US8324626B2 (en)2009-08-072012-12-04Semiconductor Energy Laboratory Co., Ltd.Semiconductor device and method for manufacturing the same
US20110032444A1 (en)*2009-08-072011-02-10Semiconductor Energy Laboratory Co., Ltd.Semiconductor device and manufacturing method thereof
US8912541B2 (en)2009-08-072014-12-16Semiconductor Energy Laboratory Co., Ltd.Semiconductor device and method for manufacturing the same
US20110031497A1 (en)*2009-08-072011-02-10Semiconductor Energy Laboratory Co., Ltd.Semiconductor device and method for manufacturing the same
US8492764B2 (en)2009-08-072013-07-23Semicondcutor Energy Laboratory Co., Ltd.Light-emitting device and manufacturing method thereof
US8502220B2 (en)2009-08-072013-08-06Semiconductor Energy Laboratory Co., Ltd.Semiconductor device and manufacturing method thereof
US9202851B2 (en)2009-08-072015-12-01Semiconductor Energy Laboratory Co., Ltd.Semiconductor device and method for manufacturing semiconductor device
US9171867B2 (en)2009-08-072015-10-27Semiconductor Energy Laboratory Co., Ltd.Semiconductor device
US9837442B2 (en)2009-08-072017-12-05Semiconductor Energy Laboratory Co., Ltd.Semiconductor device comprising a plurality of N-channel transistors wherein the oxide semiconductor layer comprises a portion being in an oxygen-excess state
US9466756B2 (en)2009-08-072016-10-11Semiconductor Energy Laboratory Co., Ltd.Semiconductor device and manufacturing method thereof
US8759132B2 (en)2009-08-072014-06-24Semiconductor Energy Laboratory Co., Ltd.Method for manufacturing semiconductor device
US20110031496A1 (en)*2009-08-072011-02-10Semiconductor Energy Laboratory Co., Ltd.Light-emitting device and manufacturing method thereof
US9153602B2 (en)2009-08-072015-10-06Semiconductor Energy Laboratory Co., Ltd.Semiconductor device wherein an oxide semiconductor layer comprises a crystal and has a degree of crystallization of 80% or more
US20110031492A1 (en)*2009-08-072011-02-10Semiconductor Energy Laboratory Co., Ltd.Semiconductor device and method for manufacturing semiconductor device
US8654272B2 (en)2009-08-072014-02-18Semiconductor Energy Laboratory Co., Ltd.Semiconductor device wherein each of a first oxide semiconductor layer and a second oxide semiconductor layer includes a portion that is in an oxygen-excess state which is in contact with a second insulatng layer
US20110031498A1 (en)*2009-08-072011-02-10Semiconductor Energy Laboratory Co., Ltd.Semiconductor device and method for manufacturing the same
US9954005B2 (en)2009-08-072018-04-24Semiconductor Energy Laboratory Co., Ltd.Semiconductor device comprising oxide semiconductor layer
US11532488B2 (en)2009-08-272022-12-20Semiconductor Energy Laboratory Co., Ltd.Display device and method for manufacturing the same
US11923206B2 (en)2009-08-272024-03-05Semiconductor Energy Laboratory Co., Ltd.Display device and method for manufacturing the same
US8994889B2 (en)2009-08-272015-03-31Semiconductor Energy Laboratory Co., Ltd.Display device and method for manufacturing the same
US8115883B2 (en)2009-08-272012-02-14Semiconductor Energy Laboratory Co., Ltd.Display device and method for manufacturing the same
US12198941B2 (en)2009-08-272025-01-14Semiconductor Energy Laboratory Co., Ltd.Display device and method for manufacturing the same
US11024516B2 (en)2009-08-272021-06-01Semiconductor Energy Laboratory Co., Ltd.Display device and method for manufacturing the same
US8698970B2 (en)2009-08-272014-04-15Semiconductor Energy Laboratory Co., Ltd.Display device and method for manufacturing the same
US8879011B2 (en)2009-08-272014-11-04Semiconductor Energy Laboratory Co., Ltd.Display device and method for manufacturing the same
US10373843B2 (en)2009-08-272019-08-06Semiconductor Energy Laboratory Co., Ltd.Display device and method for manufacturing the same
US8488077B2 (en)2009-08-272013-07-16Semiconductor Energy Laboratory Co., Ltd.Display device and method for manufacturing the same
US20110049518A1 (en)*2009-09-022011-03-03Semiconductor Energy Laboratory Co., Ltd.Semiconductor device including a transistor, and manufacturing method of semiconductor device
US8450735B2 (en)2009-09-022013-05-28Semiconductor Energy Laboratory Co., Ltd.Semiconductor device including a transistor, and manufacturing method of semiconductor device
US20110059575A1 (en)*2009-09-042011-03-10Semiconductor Energy Laboratory Co., Ltd.Manufacturing method of semiconductor device
US11430899B2 (en)2009-09-042022-08-30Semiconductor Energy Laboratory Co., Ltd.Display device and electronic device
US20110057187A1 (en)*2009-09-042011-03-10Semiconductor Energy Laboratory Co., Ltd.Light-emitting device and method for manufacturing the same
US8466014B2 (en)2009-09-042013-06-18Semiconductor Energy Laboratory Co., Ltd.Manufacturing method of semiconductor device
US8710499B2 (en)2009-09-042014-04-29Semiconductor Energy Laboratory Co., Ltd.Transistor and display device
US10854640B2 (en)2009-09-042020-12-01Semiconductor Energy Laboratory Co., Ltd.Semiconductor device and manufacturing method thereof
US11862643B2 (en)2009-09-042024-01-02Semiconductor Energy Laboratory Co., Ltd.Transistor and display device
US12272697B2 (en)2009-09-042025-04-08Semiconductor Energy Laboratory Co., Ltd.Transistor and display device
US12002818B2 (en)2009-09-042024-06-04Semiconductor Energy Laboratory Co., Ltd.Semiconductor device and manufacturing method thereof
US20110057188A1 (en)*2009-09-042011-03-10Semiconductor Energy Laboratory Co., Ltd.Semiconductor device and method for manufacturing same
US10665615B2 (en)2009-09-042020-05-26Semiconductor Energy Laboratory Co., Ltd.Transistor and display device
US9537012B2 (en)2009-09-042017-01-03Semiconductor Energy Laboratory Co., Ltd.Semiconductor device with oxide semiconductor layer
US20110057865A1 (en)*2009-09-042011-03-10Semiconductor Energy Laboratory Co., Ltd.Display device and electronic device including the same
US10672915B2 (en)2009-09-042020-06-02Semiconductor Energy Laboratory Co., Ltd.Light-emitting device and method for manufacturing the same
US8236627B2 (en)2009-09-042012-08-07Semiconductor Energy Laboratory Co., Ltd.Manufacturing method of semiconductor device
US20110058116A1 (en)*2009-09-042011-03-10Semiconductor Energy Laboratory Co., Ltd.Liquid crystal display device and method for manufacturing the same
US11695019B2 (en)2009-09-042023-07-04Semiconductor Energy Laboratory Co., Ltd.Semiconductor device and manufacturing method thereof
US10629627B2 (en)2009-09-042020-04-21Semiconductor Energy Laboratory Co., Ltd.Semiconductor device and manufacturing method thereof
US9768207B2 (en)2009-09-042017-09-19Semiconductor Energy Laboratory Co., Ltd.Manufacturing method of semiconductor device
US11652174B2 (en)2009-09-042023-05-16Semiconductor Energy Laboratory Co., Ltd.Display device and electronic device
US12408435B2 (en)2009-09-042025-09-02Semiconductor Energy Laboratory Co., Ltd.Semiconductor device and manufacturing method thereof
US9530806B2 (en)2009-09-042016-12-27Semiconductor Energy Laboratory Co., Ltd.Manufacturing method of semiconductor device
US8957411B2 (en)2009-09-042015-02-17Semiconductor Energy Laboratory Co., Ltd.Light-emitting device and method for manufacturing the same
US8218099B2 (en)2009-09-042012-07-10Semiconductor Energy Laboratory Co., Ltd.Liquid crystal display device and method for manufacturing the same
US9368641B2 (en)2009-09-042016-06-14Semiconductor Energy Laboratory Co., Ltd.Transistor and display device
US9431465B2 (en)2009-09-042016-08-30Semiconductor Energy Laboratory Co., Ltd.Light-emitting device and method for manufacturing the same
US9805641B2 (en)2009-09-042017-10-31Semiconductor Energy Laboratory Co., Ltd.Display device and electronic device including the same
US10700215B2 (en)2009-09-042020-06-30Semiconductor Energy Laboratory Co., Ltd.Display device and electronic device
US20110210355A1 (en)*2009-09-042011-09-01Semiconductor Energy Laboratory Co., Ltd.Light-emitting device and method for manufacturing the same
US8742422B2 (en)2009-09-042014-06-03Semiconductor Energy Laboratory Co., Ltd.Semiconductor device and manufacturing method thereof
US10418384B2 (en)2009-09-042019-09-17Semiconductor Energy Laboratory Co., Ltd.Transistor and display device
US20110057918A1 (en)*2009-09-042011-03-10Semiconductor Energy Laboratory Co., Ltd.Display device and electronic device
US8502225B2 (en)2009-09-042013-08-06Semiconductor Energy Laboratory Co., Ltd.Light-emitting device and method for manufacturing the same
US9130041B2 (en)2009-09-042015-09-08Semiconductor Energy Laboratory Co., Ltd.Semiconductor device and method for manufacturing the same
US8889496B2 (en)2009-09-042014-11-18Semiconductor Energy Laboratory Co., Ltd.Manufacturing method of semiconductor device
US20110057186A1 (en)*2009-09-042011-03-10Semiconductor Energy Laboratory Co., Ltd.Transistor and display device
US11626521B2 (en)2009-09-042023-04-11Semiconductor Energy Laboratory Co., Ltd.Light-emitting device and method for manufacturing the same
US9257082B2 (en)2009-09-042016-02-09Semiconductor Energy Laboratory Co., Ltd.Display device and electronic device
US9954007B2 (en)2009-09-042018-04-24Semiconductor Energy Laboratory Co., Ltd.Transistor and display device
US10134912B2 (en)2009-09-042018-11-20Semiconductor Energy Laboratory Co., Ltd.Display device and electronic device
US8378344B2 (en)2009-09-042013-02-19Semiconductor Energy Laboratory Co., Ltd.Light-emitting device with plural kinds of thin film transistors and circuits over one substrate
US8389989B2 (en)2009-09-042013-03-05Semiconductor Energy Laboratory Co., Ltd.Transistor having oxide semiconductor layer and display utilizing the same
US11094717B2 (en)2009-09-042021-08-17Semiconductor Energy Laboratory Co., Ltd.Transistor and display device
US9640670B2 (en)2009-09-042017-05-02Semiconductor Energy Laboratory Co., Ltd.Transistors in display device
US8541780B2 (en)2009-09-042013-09-24Semiconductor Energy Laboratory Co., Ltd.Semiconductor device having oxide semiconductor layer
US9601516B2 (en)2009-09-042017-03-21Semiconductor Energy Laboratory Co., Ltd.Semiconductor device and manufacturing method thereof
US11069817B2 (en)2009-09-042021-07-20Semiconductor Energy Laboratory Co., Ltd.Display device and electronic device
US12206025B2 (en)2009-09-042025-01-21Semiconductor Energy Laboratory Co., Ltd.Display device and electronic device
US11024747B2 (en)2009-09-042021-06-01Semiconductor Energy Laboratory Co., Ltd.Light-emitting device and method for manufacturing the same
US9105735B2 (en)2009-09-042015-08-11Semiconductor Energy Laboratory Co., Ltd.Transistor and display device
US8890166B2 (en)2009-09-042014-11-18Semiconductor Energy Laboratory Co., Ltd.Light-emitting device and method for manufacturing the same
US11935965B2 (en)2009-09-042024-03-19Semiconductor Energy Laboratory Co., Ltd.Display device and electronic device
US12057511B2 (en)2009-09-042024-08-06Semiconductor Energy Laboratory Co., Ltd.Light-emitting device and method for manufacturing the same
US8952995B2 (en)2009-09-162015-02-10Semiconductor Energy Laboratory Co., Ltd.Driving method of display device and display device
US9666820B2 (en)2009-09-162017-05-30Semiconductor Energy Laboratory Co., Ltd.Light-emitting device and manufacturing method thereof
US20110062992A1 (en)*2009-09-162011-03-17Semiconductor Energy Laboratory Co., Ltd.Logic circuit, light emitting device, semiconductor device, and electronic device
US8377762B2 (en)2009-09-162013-02-19Semiconductor Energy Laboratory Co., Ltd.Light-emitting device and manufacturing method thereof
US9715845B2 (en)2009-09-162017-07-25Semiconductor Energy Laboratory Co., Ltd.Semiconductor display device
US20110062435A1 (en)*2009-09-162011-03-17Semiconductor Energy Laboratory Co., Ltd.Semiconductor device and method for manufacturing the same
US11997859B2 (en)2009-09-162024-05-28Semiconductor Energy Laboratory Co., Ltd.Light-emitting device and manufacturing method thereof
US20110063262A1 (en)*2009-09-162011-03-17Semiconductor Energy Laboratory Co., Ltd.Semiconductor display device
US11211499B2 (en)2009-09-162021-12-28Semiconductor Energy Laboratory Co., Ltd.Semiconductor device and manufacturing method thereof
US11469387B2 (en)2009-09-162022-10-11Semiconductor Energy Laboratory Co., Ltd.Light-emitting device and manufacturing method thereof
US10019924B2 (en)2009-09-162018-07-10Semiconductor Energy Laboratory Co., Ltd.Semiconductor display device
US20110062433A1 (en)*2009-09-162011-03-17Semiconductor Energy Laboratory Co., Ltd.Semiconductor device and manufacturing method thereof
US11183597B2 (en)2009-09-162021-11-23Semiconductor Energy Laboratory Co., Ltd.Semiconductor device and manufacturing method thereof
US9935202B2 (en)2009-09-162018-04-03Semiconductor Energy Laboratory Co., Ltd.Transistor and display device comprising oxide semiconductor layer
US20110062436A1 (en)*2009-09-162011-03-17Semiconductor Energy Laboratory Co., Ltd.Transistor and display device
US10360831B2 (en)2009-09-162019-07-23Semiconductor Energy Laboratory Co., Ltd.Semiconductor display device
US11791417B2 (en)2009-09-162023-10-17Semiconductor Energy Laboratory Co., Ltd.Semiconductor device and manufacturing method thereof
US10374184B2 (en)2009-09-162019-08-06Semiconductor Energy Laboratory Co., Ltd.Light-emitting device and manufacturing method thereof
US11171298B2 (en)2009-09-162021-11-09Semiconductor Energy Laboratory Co., Ltd.Light-emitting device and manufacturing method thereof
US10977977B2 (en)2009-09-162021-04-13Semiconductor Energy Laboratory Co., Ltd.Semiconductor display device
US20110064186A1 (en)*2009-09-162011-03-17Semiconductor Energy Laboratory Co., Ltd.Driver circuit, display device including the driver circuit, and electronic device including the display device
US8427417B2 (en)2009-09-162013-04-23Semiconductor Energy Laboratory Co., Ltd.Driver circuit, display device including the driver circuit, and electronic device including the display device
US8305109B2 (en)2009-09-162012-11-06Semiconductor Energy Laboratory Co., Ltd.Logic circuit, light emitting device, semiconductor device, and electronic device
US20110068388A1 (en)*2009-09-242011-03-24Semiconductor Energy Laboratory Co., Ltd.Semiconductor device and method for manufacturing the same
US9318617B2 (en)2009-09-242016-04-19Semiconductor Energy Laboratory Co., Ltd.Method for manufacturing a semiconductor device
US20110069047A1 (en)*2009-09-242011-03-24Semiconductor Energy Laboratory Co., Ltd.Display device
US9153702B2 (en)2009-09-242015-10-06Semiconductor Energy Laboratory Co., Ltd.Semiconductor device, power circuit, and manufacturing method of semiconductor device
US9305481B2 (en)2009-09-242016-04-05Semiconductor Energy Laboratory Co., Ltd.Display device
US20110068335A1 (en)*2009-09-242011-03-24Semiconductor Energy Laboratory Co., Ltd.Oxide semiconductor film and semiconductor device
US10418491B2 (en)2009-09-242019-09-17Semiconductor Energy Laboratory Co., Ltd.Oxide semiconductor film and semiconductor device
US9595600B2 (en)2009-09-242017-03-14Semiconductor Energy Laboratory Co., Ltd.Semiconductor device and method for manufacturing the same
US20110068852A1 (en)*2009-09-242011-03-24Semiconductor Energy Laboratory Co., Ltd.Semiconductor device, power circuit, and manufacturing mkethod of semiconductor device
US9224838B2 (en)2009-09-242015-12-29Semiconductor Energy Laboratory Co., Ltd.Method for manufacturing oxide semiconductor film and method for manufacturing semiconductor device
US9171938B2 (en)2009-09-242015-10-27Semiconductor Energy Laboratory Co., Ltd.Semiconductor element and method for manufacturing the same
US9214563B2 (en)2009-09-242015-12-15Semiconductor Energy Laboratory Co., Ltd.Oxide semiconductor film and semiconductor device
US10418466B2 (en)2009-09-242019-09-17Semiconductor Energy Laboratory Co., Ltd.Semiconductor device and method for manufacturing the same
US8492758B2 (en)2009-09-242013-07-23Semiconductor Energy Laboratory Co., Ltd.Oxide semiconductor film and semiconductor device
US20110070693A1 (en)*2009-09-242011-03-24Semiconductor Energy Laboratory Co., Ltd.Method for manufacturing oxide semiconductor film and method for manufacturing semiconductor device
US9520288B2 (en)2009-09-242016-12-13Semiconductor Energy Laboratory Co., Ltd.Semiconductor device including IGZO layer and manufacturing method thereof
US9530872B2 (en)2009-09-242016-12-27Semiconductor Energy Laboratory Co., Ltd.Semiconductor element and method for manufacturing the same
US9647131B2 (en)2009-09-242017-05-09Semiconductor Energy Laboratory Co., Ltd.Semiconductor device, power circuit, and manufacturing method of semiconductor device
US9048094B2 (en)2009-09-242015-06-02Semiconductor Energy Laboratory Co., Ltd.Method for manufacturing semiconductor device comprising forming oxide semiconductor by sputtering
US12113124B2 (en)2009-09-242024-10-08Semiconductor Energy Laboratory Co., Ltd.Semiconductor device and method for manufacturing the same
US9991890B2 (en)2009-09-242018-06-05Semiconductor Energy Laboratory Co., Ltd.Driver circuit, display device including the driver circuit, and electronic appliance including the display device
US8791458B2 (en)2009-09-242014-07-29Semiconductor Energy Laboratory Co., Ltd.Semiconductor device
US20110068334A1 (en)*2009-09-242011-03-24Semiconductor Energy Laboratory Co., Ltd.Semiconductor device
US8723173B2 (en)2009-09-242014-05-13Semiconductor Energy Laboratory Co., Ltd.Semiconductor device, power circuit, and manufacturing method of semiconductor device
US9853167B2 (en)2009-09-242017-12-26Semiconductor Energy Laboratory Co., Ltd.Oxide semiconductor film and semiconductor device
US8748223B2 (en)2009-09-242014-06-10Semiconductor Energy Laboratory Co., Ltd.Method for manufacturing oxide semiconductor film and method for manufacturing semiconductor device
US9029191B2 (en)2009-09-242015-05-12Semiconductor Energy Laboratory Co., Ltd.Semiconductor device and method for manufacturing the same
US8592814B2 (en)2009-09-242013-11-26Semiconductor Energy Laboratory Co., Ltd.Device with oxide semiconductor thin film transistor
US10181481B2 (en)2009-09-242019-01-15Semiconductor Energy Laboratory Co., Ltd.Display device
US11393917B2 (en)2009-09-242022-07-19Semiconductor Energy Laboratory Co., Ltd.Semiconductor device and method for manufacturing the same
US9406398B2 (en)2009-09-242016-08-02Semiconductor Energy Laboratory Co., Ltd.Driver circuit, display device including the driver circuit, and electronic appliance including the display device
US8952490B2 (en)2009-09-302015-02-10Semiconductor Energy Laboratory Co., Ltd.Redox capacitor and manufacturing method thereof
US20110073991A1 (en)*2009-09-302011-03-31Semiconductor Energy Laboratory Co., Ltd.Redox capacitor and manufacturing method thereof
US20110079777A1 (en)*2009-10-012011-04-07Semiconductor Energy Laboratory Co., Ltd.Semiconductor device and method for manufacturing the same
US9130043B2 (en)2009-10-012015-09-08Semiconductor Energy Laboratory Co., Ltd.Semiconductor device and method for manufacturing the same
US9627198B2 (en)2009-10-052017-04-18Semiconductor Energy Laboratory Co., Ltd.Method for manufacturing thin film semiconductor device
US20110079778A1 (en)*2009-10-052011-04-07Semiconductor Energy Laboratory Co., Ltd.Semiconductor device and manufacturing method thereof
US9754784B2 (en)2009-10-052017-09-05Semiconductor Energy Laboratory Co., Ltd.Method for manufacturing oxide semiconductor device
US8268642B2 (en)2009-10-052012-09-18Semiconductor Energy Laboratory Co., Ltd.Method for removing electricity and method for manufacturing semiconductor device
US20110084266A1 (en)*2009-10-082011-04-14Semiconductor Energy Laboratory Co., Ltd.Semiconductor device, display device, and electronic appliance
US20110084264A1 (en)*2009-10-082011-04-14Semiconductor Energy Laboratory Co., Ltd.Oxide semiconductor layer and semiconductor device
US10115831B2 (en)2009-10-082018-10-30Semiconductor Energy Laboratory Co., Ltd.Semiconductor device having an oxide semiconductor layer comprising a nanocrystal
US8319218B2 (en)2009-10-082012-11-27Semiconductor Energy Laboratory Co., Ltd.Oxide semiconductor layer and semiconductor device
US8309961B2 (en)2009-10-082012-11-13Semiconductor Energy Laboratory Co., Ltd.Semiconductor device, display device, and electronic appliance
US9306072B2 (en)2009-10-082016-04-05Semiconductor Energy Laboratory Co., Ltd.Oxide semiconductor layer and semiconductor device
US9406808B2 (en)2009-10-082016-08-02Semiconductor Energy Laboratory Co., Ltd.Semiconductor device, display device, and electronic appliance
US11367793B2 (en)2009-10-092022-06-21Semiconductor Energy Laboratory Co., Ltd.Semiconductor device and method for manufacturing the same
US8779418B2 (en)2009-10-092014-07-15Semiconductor Energy Laboratory Co., Ltd.Semiconductor device and method for manufacturing the same
US9177855B2 (en)2009-10-092015-11-03Semiconductor Energy Laboratory Co., Ltd.Semiconductor device and method for manufacturing the same
US11695080B2 (en)2009-10-092023-07-04Semiconductor Energy Laboratory Co., Ltd.Semiconductor device and method for manufacturing the same
US20110084265A1 (en)*2009-10-092011-04-14Semiconductor Energy Laboratory Co., Ltd.Light-emitting display device and electronic device including the same
US12159875B2 (en)2009-10-092024-12-03Semiconductor Energy Laboratory Co., Ltd.Shift register and display device and driving method thereof
US20110085104A1 (en)*2009-10-092011-04-14Semiconductor Energy Laboratory Co., Ltd.Liquid crystal display device and electronic device including the same
US9318654B2 (en)2009-10-092016-04-19Semiconductor Energy Laboratory Co., Ltd.Light-emitting display device and electronic device including the same
US8482690B2 (en)2009-10-092013-07-09Semiconductor Energy Laboratory Co., Ltd.Liquid crystal display device and electronic device including the same
US20110085635A1 (en)*2009-10-092011-04-14Semiconductor Energy Laboratory Co., Ltd.Shift register and display device and driving method thereof
US8482004B2 (en)2009-10-092013-07-09Semiconductor Energy Laboratory Co., Ltd.Light-emitting display device and electronic device including the same
US20110084268A1 (en)*2009-10-092011-04-14Semiconductor Energy Laboratory Co., Ltd.Semiconductor device
US20110084270A1 (en)*2009-10-092011-04-14Semiconductor Energy Laboratory Co., Ltd.Semiconductor device and method for manufacturing the semiconductor device
US20110084272A1 (en)*2009-10-092011-04-14Semiconductor Energy Laboratory Co., Ltd.Semiconductor device and method for manufacturing the same
US20110084263A1 (en)*2009-10-092011-04-14Semiconductor Energy Laboratory Co., Ltd.Semiconductor device and manufacturing method thereof
US10411158B2 (en)2009-10-092019-09-10Semiconductor Energy Laboratory Co., Ltd.Light-emitting display device having oxide semiconductor layer overlapping with adjacent pixel electrode
US10181359B2 (en)2009-10-092019-01-15Semiconductor Energy Laboratory Co., Ltd.Shift register and display device
US11355669B2 (en)2009-10-092022-06-07Semiconductor Energy Laboratory Co., Ltd.Light-emitting display device and electronic device including an oxide semiconductor layer
US8547493B2 (en)2009-10-092013-10-01Semiconductor Energy Laboratory Co., Ltd.Semiconductor device with indium or zinc layer in contact with oxide semiconductor layer and method for manufacturing the semiconductor device
US12224376B2 (en)2009-10-092025-02-11Semiconductor Energy Laboratory Co., Ltd.Light-emitting display device and electronic device including a first pixel and a second pixel and an oxide semiconductor region overlapping a light-emitting region
US20110084269A1 (en)*2009-10-092011-04-14Semiconductor Energy Laboratory Co., Ltd.Semiconductor device and method for manufacturing the semiconductor device
US10770596B2 (en)2009-10-092020-09-08Semiconductor Energy Laboratory Co., Ltd.Semiconductor device and method for manufacturing the same
US9601635B2 (en)2009-10-092017-03-21Semiconductor Energy Laboratory Co., Ltd.Semiconductor device and method for manufacturing the same
US10446693B2 (en)2009-10-092019-10-15Semiconductor Energy Laboratory Co., Ltd.Semiconductor device and method for manufacturing the same
US10141450B2 (en)2009-10-092018-11-27Semiconductor Energy Laboratory Co., Ltd.Semiconductor device
US10043915B2 (en)2009-10-092018-08-07Semiconductor Energy Laboratory Co., Ltd.Semiconductor device and method for manufacturing the same
US9941413B2 (en)2009-10-092018-04-10Semiconductor Energy Laboratory Co., Ltd.Semiconductor device having different types of thin film transistors
US9209310B2 (en)2009-10-092015-12-08Semiconductor Energy Laboratory Co., Ltd.Semiconductor device and method for manufacturing the semiconductor device
US10290742B2 (en)2009-10-092019-05-14Semiconductor Energy Laboratory Co., Ltd.Semiconductor device including oxide semiconductor layer
US8999751B2 (en)2009-10-092015-04-07Semiconductor Energy Laboratory Co., Ltd.Method for making oxide semiconductor device
US8816349B2 (en)2009-10-092014-08-26Semiconductor Energy Laboratory Co., Ltd.Semiconductor device comprising oxide semiconductor layer
US11296120B2 (en)2009-10-092022-04-05Semiconductor Energy Laboratory Co., Ltd.Shift register and display device and driving method thereof
US8526567B2 (en)2009-10-092013-09-03Semiconductor Energy Laboratory Co., Ltd.Shift register and display device and driving method thereof
US9865742B2 (en)2009-10-092018-01-09Semiconductor Energy Laboratory Co., Ltd.Semiconductor device
US8344374B2 (en)2009-10-092013-01-01Semiconductor Energy Laboratory Co., Ltd.Semiconductor device comprising oxide semiconductor layer
US9006728B2 (en)2009-10-092015-04-14Semiconductor Energy Laboratory Co., Ltd.Semiconductor device having oxide semiconductor transistor
US9349791B2 (en)2009-10-092016-05-24Semiconductor Energy Laboratory Co., Ltd.Semiconductor device having oxide semiconductor channel
US11901485B2 (en)2009-10-092024-02-13Semiconductor Energy Laboratory Co., Ltd.Light-emitting display device having a first pixel and a second pixel and an oxide semiconductor layer having a region overlapping a light-emitting region of the second pixel
US9443874B2 (en)2009-10-092016-09-13Semiconductor Energy Laboratory Co., Ltd.Semiconductor device and method for manufacturing the same
US10566497B2 (en)2009-10-092020-02-18Semiconductor Energy Laboratory Co., Ltd.Light-emitting display device including a first pixel and a second pixel
US9911856B2 (en)2009-10-092018-03-06Semiconductor Energy Laboratory Co., Ltd.Semiconductor device
US9171640B2 (en)2009-10-092015-10-27Semiconductor Energy Laboratory Co., Ltd.Shift register and display device
US8324621B2 (en)2009-10-142012-12-04Semiconductor Energy Laboratory Co., Ltd.Semiconductor device having oxide semiconductor layer
US20110084271A1 (en)*2009-10-142011-04-14Semiconductor Energy Laboratory Co., Ltd.Semiconductor device and manufacturing method thereof
US12170338B2 (en)2009-10-162024-12-17Semiconductor Energy Laboratory Co., Ltd.Logic circuit and semiconductor device
US11756966B2 (en)2009-10-162023-09-12Semiconductor Energy Laboratory Co., Ltd.Logic circuit and semiconductor device
US10061172B2 (en)2009-10-162018-08-28Semiconductor Energy Laboratory Co., Ltd.Liquid crystal display device and electronic apparatus having the same
US11742432B2 (en)2009-10-162023-08-29Semiconductor Energy Laboratory Co., Ltd.Logic circuit and semiconductor device
US10074747B2 (en)2009-10-162018-09-11Semiconductor Energy Laboratory Co., Ltd.Semiconductor device and manufacturing method thereof
US10565946B2 (en)2009-10-162020-02-18Semiconductor Energy Laboratory Co., Ltd.Liquid crystal display device and electronic device including the liquid crystal display device
US10777682B2 (en)2009-10-162020-09-15Semiconductor Energy Laboratory Co., Ltd.Semiconductor device and manufacturing method thereof
US10770597B2 (en)2009-10-162020-09-08Semiconductor Energy Laboratory Co., Ltd.Logic circuit and semiconductor device
US10490671B2 (en)2009-10-162019-11-26Semiconductor Energy Laboratory Co., Ltd.Logic circuit and semiconductor device
US9368082B2 (en)2009-10-162016-06-14Semiconductor Energy Laboratory Co., Ltd.Liquid crystal display device and electronic device including the liquid crystal display device
US11056515B2 (en)2009-10-162021-07-06Semiconductor Energy Laboratory Co., Ltd.Logic circuit and semiconductor device
US8952726B2 (en)2009-10-162015-02-10Semiconductor Energy Laboratory Co., Ltd.Logic circuit and semiconductor device
US10310348B2 (en)2009-10-162019-06-04Semiconductor Energy Laboratory Co., Ltd.Liquid crystal display device and electronic apparatus having the same
US10002891B2 (en)2009-10-162018-06-19Semiconductor Energy Laboratory Co., Ltd.Logic circuit and semiconductor device
US10593810B2 (en)2009-10-162020-03-17Semiconductor Energy Laboratory Co., Ltd.Logic circuit and semiconductor device
US9553583B2 (en)2009-10-162017-01-24Semiconductor Energy Laboratory Co., Ltd.Semiconductor device with a small off current and oxide semiconductor layer having a function of a channel formation layer
US11302824B2 (en)2009-10-162022-04-12Semiconductor Energy Laboratory Co., Ltd.Logic circuit and semiconductor device
US12389631B2 (en)2009-10-162025-08-12Semiconductor Energy Laboratory Co., Ltd.Semiconductor device and manufacturing method thereof
US12243881B2 (en)2009-10-162025-03-04Semiconductor Energy Laboratory Co., Ltd.Logic circuit and semiconductor device
US10593710B2 (en)2009-10-162020-03-17Semiconductor Energy Laboratory Co., Ltd.Logic circuit and semiconductor device
US8400187B2 (en)2009-10-162013-03-19Semiconductor Energy Laboratory Co., Ltd.Logic circuit and semiconductor device
US11837461B2 (en)2009-10-162023-12-05Semiconductor Energy Laboratory Co., Ltd.Semiconductor device and manufacturing method thereof
US8854286B2 (en)2009-10-162014-10-07Semiconductor Energy Laboratory Co., Ltd.Liquid crystal display device and electronic device including the liquid crystal display device
US9666678B2 (en)2009-10-162017-05-30Semiconductor Energy Laboratory Co., Ltd.Semiconductor device and manufacturing method thereof
US9947695B2 (en)2009-10-162018-04-17Semiconductor Energy Laboratory Co., Ltd.Driver circuit comprising semiconductor device
US10211344B2 (en)2009-10-162019-02-19Semiconductor Energy Laboratory Co., Ltd.Logic circuit and semiconductor device
US8421068B2 (en)2009-10-162013-04-16Semiconductor Energy Laboratory Co., Ltd.Semiconductor device and manufacturing method thereof
US20110089975A1 (en)*2009-10-162011-04-21Semiconductor Energy Laboratory Co., Ltd.Logic circuit and semiconductor device
US8884651B2 (en)2009-10-162014-11-11Semiconductor Energy Laboratory Co., Ltd.Logic circuit and semiconductor device
US9959822B2 (en)2009-10-162018-05-01Semiconductor Energy Laboratory Co., Ltd.Liquid crystal display device and electronic device including the liquid crystal display device
US20110089414A1 (en)*2009-10-162011-04-21Semiconductor Energy Laboratory Co., Ltd.Semiconductor device and manufacturing method thereof
US20110090204A1 (en)*2009-10-162011-04-21Semiconductor Energy Laboratory Co., Ltd.Liquid crystal display device and electronic apparatus having the same
US11004983B2 (en)2009-10-212021-05-11Semiconductor Energy Laboratory Co., Ltd.Semiconductor device
US9559208B2 (en)2009-10-212017-01-31Semiconductor Energy Laboratory Co., Ltd.Liquid crystal display device and electronic device including the same
US20110090207A1 (en)*2009-10-212011-04-21Semiconductor Energy Laboratory Co., Ltd.Display device and electronic device including display device
US10714622B2 (en)2009-10-212020-07-14Semiconductor Energy Laboratory Co., Ltd.Liquid crystal display device and electronic device including the same
US20110090006A1 (en)*2009-10-212011-04-21Semiconductor Energy Laboratory Co., Ltd.Analog circuit and semiconductor device
US9431546B2 (en)2009-10-212016-08-30Semiconductor Energy Laboratory Co., Ltd.Semiconductor device comprising oxide semiconductor material transistor having reduced off current
US20190012960A1 (en)2009-10-212019-01-10Semiconductor Energy Laboratory Co., Ltd.Display device and electronic device including display device
US10957714B2 (en)2009-10-212021-03-23Semiconductor Energy Laboratory Co., Ltd.Analog circuit and semiconductor device
US12347368B2 (en)2009-10-212025-07-01Semiconductor Energy Laboratory Co., Ltd.Semiconductor device and electronic device including semiconductor device
US10079307B2 (en)2009-10-212018-09-18Semiconductor Energy Laboratory Co., Ltd.Semiconductor device and manufacturing method for the same
US20110089416A1 (en)*2009-10-212011-04-21Semiconductor Energy Laboratory Co., Ltd.Semiconductor device and method for manufacturing the same
US12067934B2 (en)2009-10-212024-08-20Semiconductor Energy Laboratory Co., Ltd.Display device and electronic device including display device
US8803142B2 (en)2009-10-212014-08-12Semiconductor Energy Laboratory Co., Ltd.Semiconductor device
US11107396B2 (en)2009-10-212021-08-31Semiconductor Energy Laboratory Co., Ltd.Display device and electronic device including thin film transistor including top-gate
US12199104B2 (en)2009-10-212025-01-14Semiconductor Energy Laboratory Co., Ltd.Analog circuit and semiconductor device
US10083651B2 (en)2009-10-212018-09-25Semiconductor Energy Laboratory Co., Ltd.Display device and electronic device including display device
US8642412B2 (en)2009-10-212014-02-04Semiconductor Energy Laboratory Co., Ltd.Method for manufacturing an oxide-based semiconductor thin film transistor (TFT) including out diffusing hydrogen or moisture from the oxide semiconductor layer into an adjacent insulating layer which contains a halogen element
US9419020B2 (en)2009-10-212016-08-16Semiconductor Energy Laboratory Co., Ltd.Analog circuit and semiconductor device
US8803589B2 (en)2009-10-212014-08-12Semiconductor Energy Laboratory Co., Ltd.Analog circuit and semiconductor device
US9478564B2 (en)2009-10-212016-10-25Semiconductor Energy Laboratory Co., Ltd.Semiconductor device
US8242837B2 (en)2009-10-212012-08-14Semiconductor Energy Laboratory Co., Ltd.Analog circuit and semiconductor device
US8470650B2 (en)2009-10-212013-06-25Semiconductor Energy Laboratory Co., Ltd.Semiconductor device and manufacturing method for the same
US10115743B2 (en)2009-10-212018-10-30Semiconductor Energy Laboratory Co., Ltd.Analog circuit and semiconductor device
US8890781B2 (en)2009-10-212014-11-18Semiconductor Energy Laboratory Co., Ltd.Display device and electronic device including display device
US9735285B2 (en)2009-10-212017-08-15Semiconductor Energy Laboratory Co., Ltd.Semiconductor device
US10319744B2 (en)2009-10-212019-06-11Semiconductor Energy Laboratory Co., Ltd.Analog circuit and semiconductor device
US8946700B2 (en)2009-10-212015-02-03Semiconductor Energy Laboratory Co., Ltd.Semiconductor device and manufacturing method for the same
US9679768B2 (en)2009-10-212017-06-13Semiconductor Energy Laboratory Co., Ltd.Method for removing hydrogen from oxide semiconductor layer having insulating layer containing halogen element formed thereover
US8963517B2 (en)2009-10-212015-02-24Semiconductor Energy Laboratory Co., Ltd.Voltage regulator circuit comprising transistor which includes an oixide semiconductor
US8350621B2 (en)2009-10-212013-01-08Semiconductor Energy Laboratory Co., Ltd.Analog circuit and semiconductor device
US10657882B2 (en)2009-10-212020-05-19Semiconductor Energy Laboratory Co., Ltd.Display device and electronic device including display device
US20110090416A1 (en)*2009-10-212011-04-21Semiconductor Energy Laboratory Co., Ltd.Liquid crystal display device and electronic device including the same
US9245484B2 (en)2009-10-212016-01-26Semiconductor Energy Laboratory Co., Ltd.E-book reader
US9929281B2 (en)2009-10-212018-03-27Semiconductor Energy Laboratory Co., Ltd.Transisitor comprising oxide semiconductor
US10553726B2 (en)2009-10-212020-02-04Semiconductor Energy Laboratory Co., Ltd.Semiconductor device
US9165502B2 (en)2009-10-212015-10-20Semiconductor Energy Laboratory Co., Ltd.Display device and electronic device including display device
US9236385B2 (en)2009-10-212016-01-12Semiconductor Energy Laboratory Co., Ltd.Semiconductor device
US9716109B2 (en)2009-10-212017-07-25Semiconductor Energy Laboratory Co., Ltd.Analog circuit and semiconductor device
US10490553B2 (en)2009-10-292019-11-26Semiconductor Energy Laboratory Co., Ltd.Semiconductor device
US10720433B2 (en)2009-10-292020-07-21Semiconductor Energy Laboratory Co., Ltd.Semiconductor device
US20110101332A1 (en)*2009-10-292011-05-05Semiconductor Energy Laboratory Co., Ltd.Semiconductor device
US9202546B2 (en)2009-10-292015-12-01Semiconductor Energy Laboratory Co., Ltd.Semiconductor device
US9806079B2 (en)2009-10-292017-10-31Semiconductor Energy Laboratory Co., Ltd.Semiconductor device
US8570070B2 (en)2009-10-302013-10-29Semiconductor Energy Laboratory Co., Ltd.Logic circuit and semiconductor device
US9385114B2 (en)2009-10-302016-07-05Semiconductor Energy Laboratory Co., Ltd.Non-linear element, display device including non-linear element, and electronic device including display device
US10811417B2 (en)2009-10-302020-10-20Semiconductor Energy Laboratory Co., Ltd.Semiconductor device
US9722086B2 (en)2009-10-302017-08-01Semiconductor Energy Laboratory Co., Ltd.Logic circuit and semiconductor device
US9685447B2 (en)2009-10-302017-06-20Semiconductor Energy Laboratory Co., Ltd.Semiconductor device comprising transistor including oxide semiconductor
US8207756B2 (en)2009-10-302012-06-26Semiconductor Energy Laboratory Co., Ltd.Logic circuit and semiconductor device
US11963374B2 (en)2009-10-302024-04-16Semiconductor Energy Laboratory Co., Ltd.Semiconductor device
US11322498B2 (en)2009-10-302022-05-03Semiconductor Energy Laboratory Co., Ltd.Semiconductor device
US8860108B2 (en)2009-10-302014-10-14Semiconductor Energy Laboratory Co., Ltd.Oxide-based thin-film transistor (TFT) semiconductor memory device having source/drain electrode of one transistor connected to gate electrode of the other
US9673337B2 (en)2009-10-302017-06-06Semiconductor Energy Laboratory Co., Ltd.Semiconductor device
US8791456B2 (en)2009-10-302014-07-29Semiconductor Energy Laboratory Co. Ltd.Non-linear element, display device including non- linear element, and electronic device including display device
US8704218B2 (en)2009-10-302014-04-22Semiconductor Energy Laboratory Co., Ltd.Semiconductor device having an oxide semiconductor film
US11668988B2 (en)2009-10-302023-06-06Semiconductor Energy Laboratory Co., Ltd.Semiconductor device and method for manufacturing the same
US8643004B2 (en)2009-10-302014-02-04Semiconductor Energy Laboratory Co., Ltd.Power diode including oxide semiconductor
US9488890B2 (en)2009-10-302016-11-08Semiconductor Energy Laboratory Co., Ltd.Semiconductor device and method for manufacturing the same
US8421069B2 (en)2009-10-302013-04-16Semiconductor Energy Laboratory Co., Ltd.Semiconductor device
US8988623B2 (en)2009-10-302015-03-24Semiconductor Energy Laboratory Co., Ltd.Semiconductor device and method for manufacturing the same
US8941107B2 (en)2009-10-302015-01-27Semiconductor Energy Laboratory Co., Ltd.Power diode, rectifier, and semiconductor device including the same
US8598635B2 (en)2009-10-302013-12-03Semiconductor Energy Laboratory Co., Ltd.Transistor
US8492806B2 (en)2009-10-302013-07-23Semiconductor Energy Laboratory Co., Ltd.Non-linear element, display device including non-linear element, and electronic device including display device
US12211534B2 (en)2009-10-302025-01-28Semiconductor Energy Laboratory Co., Ltd.Semiconductor device
US9373640B2 (en)2009-10-302016-06-21Semiconductor Energy Laboratory Co., Ltd.Semiconductor device
US20110102409A1 (en)*2009-10-302011-05-05Semiconductor Energy Laboratory Co., Ltd.Driver circuit, display device including the driver circuit, and electronic device including the display device
US9105609B2 (en)2009-10-302015-08-11Semiconductor Energy Laboratory Co., Ltd.Oxide-based semiconductor non-linear element having gate electrode electrically connected to source or drain electrode
US20110101356A1 (en)*2009-10-302011-05-05Semiconductor Energy Laboratory Co., Ltd.Transistor
US9105511B2 (en)2009-10-302015-08-11Semiconductor Energy Laboratory Co., Ltd.Semiconductor device comprising oxide semiconductor
US20110101334A1 (en)*2009-10-302011-05-05Semiconductor Energy Laboratory Co., Ltd.Semiconductor device
US20110102697A1 (en)*2009-10-302011-05-05Semiconductor Energy Laboratory Co., Ltd.Semiconductor device and method for manufacturing the same
US9207511B2 (en)2009-10-302015-12-08Semiconductor Energy Laboratory Co., Ltd.Liquid crystal display device, driving method of the same, and electronic appliance including the same
US10510757B2 (en)2009-10-302019-12-17Semiconductor Energy Laboratory Co., Ltd.Semiconductor device including storage element
US20110102018A1 (en)*2009-10-302011-05-05Semiconductor Energy Laboratory Co., Ltd.Logic circuit and semiconductor device
US20110101338A1 (en)*2009-10-302011-05-05Semiconductor Energy Laboratory Co., Ltd.Non-linear element, display device including non-linear element, and electronic device including display device
US9112041B2 (en)2009-10-302015-08-18Semiconductor Energy Laboratory Co., Ltd.Transistor having an oxide semiconductor film
US12205622B2 (en)2009-10-302025-01-21Semiconductor Energy Laboratory Co., Ltd.Semiconductor device
US8896042B2 (en)2009-10-302014-11-25Semiconductor Energy Laboratory Co., Ltd.Semiconductor device comprising oxide semiconductor
US20110101331A1 (en)*2009-10-302011-05-05Semiconductor Energy Laboratory Co., Ltd.Semiconductor device
US20110102696A1 (en)*2009-10-302011-05-05Semiconductor Energy Laboratory Co., Ltd.Liquid crystal display device, driving method of the same, and electronic appliance including the same
US20110101339A1 (en)*2009-10-302011-05-05Semiconductor Energy Laboratory Co., Ltd.Semiconductor device
US10566459B2 (en)2009-10-302020-02-18Semiconductor Energy Laboratory Co., Ltd.Semiconductor device having a first region comprising silicon, oxygen and at least one metal element formed between an oxide semiconductor layer and an insulating layer
US8674979B2 (en)2009-10-302014-03-18Semiconductor Energy Laboratory Co., Ltd.Driver circuit, display device including the driver circuit, and electronic device including the display device
US20110101336A1 (en)*2009-10-302011-05-05Semiconductor Energy Laboratory Co., Ltd.Power diode, rectifier, and semiconductor device including the same
US20110101942A1 (en)*2009-10-302011-05-05Semiconductor Energy Laboratory Co., Ltd.Voltage regulator circuit
US8766608B2 (en)2009-10-302014-07-01Semiconductor Energy Laboratory Co., Ltd.Voltage regulator circuit and semiconductor device, including transistor using oxide semiconductor
US20110101337A1 (en)*2009-10-302011-05-05Semiconductor Energy Laboratory Co., Ltd.Transistor
US9236402B2 (en)2009-10-302016-01-12Semiconductor Energy Laboratory Co., Ltd.Voltage regulator circuit
US10103275B2 (en)2009-10-302018-10-16Semiconductor Energy Laboratory Co., Ltd.Semiconductor device
US8363452B2 (en)2009-11-062013-01-29Semiconductor Energy Laboratory Co., Ltd.Semiconductor device
US9639211B2 (en)2009-11-062017-05-02Semiconductor Energy Laboratory Co., Ltd.Display device
US20110108837A1 (en)*2009-11-062011-05-12Semiconductor Energy Laboratory Co., Ltd.Semiconductor device and manufacturing method thereof
US9905596B2 (en)2009-11-062018-02-27Semiconductor Energy Laboratory Co., Ltd.Semiconductor device comprising a channel region of a transistor with a crystalline oxide semiconductor and a specific off-state current for the transistor
US20110108833A1 (en)*2009-11-062011-05-12Semiconductor Energy Laboratory Co., Ltd.Semiconductor device
US20110108836A1 (en)*2009-11-062011-05-12Semiconductor Energy Laboratory Co., Ltd.Semiconductor device
US20110108706A1 (en)*2009-11-062011-05-12Semiconductor Energy Laboratory Co., Ltd.Semiconductor device and operating method thereof
US8541782B2 (en)2009-11-062013-09-24Semiconductor Energy Laboratory Co., Ltd.Method for evaluating oxide semiconductor and method for manufacturing semiconductor device
US9117713B2 (en)2009-11-062015-08-25Semiconductor Energy Laboratory Co., Ltd.Semiconductor device comprising a gate of an amplifier transistor under an insulating layer and a transfer transistor channel over the insulating layer the amplifier transistor and transfer transistor overlapping
US8916869B2 (en)2009-11-062014-12-23Semiconductor Energy Laboratory Co., Ltd.Semiconductor device including an oxide semiconductor layer
US20110108834A1 (en)*2009-11-062011-05-12Semiconductor Energy Laboratory Co., Ltd.Semiconductor device
US8378391B2 (en)2009-11-062013-02-19Semiconductor Energy Laboratory Co., Ltd.Semiconductor device including image sensor
US20110111558A1 (en)*2009-11-062011-05-12Semiconductor Energy Laboratory Co., Ltd.Method for manufacturing semiconductor element and semiconductor device, and deposition apparatus
US9368541B2 (en)2009-11-062016-06-14Semiconductor Energy Laboratory Co., Ltd.Display device
US8927351B2 (en)2009-11-062015-01-06Semiconductor Energy Laboratory Co., Ltd.Method for manufacturing semiconductor device
US12080720B2 (en)2009-11-062024-09-03Semiconductor Energy Laboratory Co., Ltd.Semiconductor device and manufacturing method thereof
US8530892B2 (en)2009-11-062013-09-10Semiconductor Energy Laboratory Co., Ltd.Semiconductor device
US20110109592A1 (en)*2009-11-062011-05-12Semiconductor Energy Laboratory Co., Ltd.Display device
US9001566B2 (en)2009-11-062015-04-07Semiconductor Energy Laboratory Co., Ltd.Method for driving semiconductor device
US9853066B2 (en)2009-11-062017-12-26Semiconductor Energy Laboratory Co., Ltd.Semiconductor device and manufacturing method thereof
US8841662B2 (en)2009-11-062014-09-23Semiconductor Energy Laboratory Co., Ltd.Semiconductor device
US12389687B2 (en)2009-11-062025-08-12Semiconductor Energy Laboratory Co., Ltd.Light-emitting device
US8811067B2 (en)2009-11-062014-08-19Semiconductor Energy Laboratory Co., Ltd.Semiconductor device
US20110109351A1 (en)*2009-11-062011-05-12Semiconductor Energy Laboratory Co., Ltd.Semiconductor device and manufacturing method thereof
US11107840B2 (en)2009-11-062021-08-31Semiconductor Energy Laboratory Co., Ltd.Method for fabricating a semiconductor device comprising an oxide semiconductor
US11107838B2 (en)2009-11-062021-08-31Semiconductor Energy Laboratory Co., Ltd.Transistor comprising an oxide semiconductor
US8289753B2 (en)2009-11-062012-10-16Semiconductor Energy Laboratory Co., Ltd.Semiconductor device
US9093328B2 (en)2009-11-062015-07-28Semiconductor Energy Laboratory Co., Ltd.Semiconductor device having an oxide semiconductor with a crystalline region and manufacturing method thereof
US20210288079A1 (en)2009-11-062021-09-16Semiconductor Energy Laboratory Co., Ltd.Semiconductor device and manufacturing method thereof
US8659934B2 (en)2009-11-062014-02-25Semiconductor Energy Laboratory Co., Ltd.Semiconductor device
US8659935B2 (en)2009-11-062014-02-25Semiconductor Energy Laboratory Co., Ltd.Semiconductor memory device with transistor having oxide semiconductor channel formation region
US9093544B2 (en)2009-11-062015-07-28Semiconductor Energy Laboratory Co., Ltd.Semiconductor device and manufacturing method thereof
US10079251B2 (en)2009-11-062018-09-18Semiconductor Energy Laboratory Co., Ltd.Semiconductor device and manufacturing method thereof
US11961842B2 (en)2009-11-062024-04-16Semiconductor Energy Laboratory Co., Ltd.Light-emitting device
US9773814B2 (en)2009-11-062017-09-26Semiconductor Energy Laboratory Co., Ltd.Semiconductor device
US10002949B2 (en)2009-11-062018-06-19Semiconductor Energy Laboratory Co., Ltd.Semiconductor device
US8709864B2 (en)2009-11-062014-04-29Semiconductor Energy Laboratory Co., Ltd.Method for manufacturing semiconductor element and semiconductor device, and deposition apparatus
US9589961B2 (en)2009-11-062017-03-07Semiconductor Energy Laboratory Co., Ltd.Semiconductor device including write access transistor having channel region including oxide semiconductor
US9331112B2 (en)2009-11-062016-05-03Semiconductor Energy Laboratory Co., Ltd.Semiconductor device including an oxide semiconductor layer
US11710745B2 (en)2009-11-062023-07-25Semiconductor Energy Laboratory Co., Ltd.Semiconductor device and manufacturing method thereof
US10249647B2 (en)2009-11-062019-04-02Semiconductor Energy Laboratory Co., Ltd.Semiconductor device and display device comprising oxide semiconductor layer
US10868046B2 (en)2009-11-062020-12-15Semiconductor Energy Laboratory Co., Ltd.Semiconductor device applying an oxide semiconductor
US11776968B2 (en)2009-11-062023-10-03Semiconductor Energy Laboratory Co., Ltd.Semiconductor device comprising oxide semiconductor layer
US8633480B2 (en)2009-11-062014-01-21Semiconductor Energy Laboratory Co., Ltd.Semiconductor device having an oxide semiconductor with a crystalline region and manufacturing method thereof
US11315954B2 (en)2009-11-062022-04-26Semiconductor Energy Laboratory Co., Ltd.Semiconductor device and manufacturing method thereof
US10056385B2 (en)2009-11-062018-08-21Semiconductor Energy Laboratory Co., Ltd.Semiconductor device including write access transistor whose oxide semiconductor layer including channel formation region
US20110134683A1 (en)*2009-11-062011-06-09Semiconductor Energy Laboratory Co., Ltd.Semiconductor device
US9384976B2 (en)2009-11-062016-07-05Semiconductor Energy Laboratory Co., Ltd.Method for manufacturing semiconductor device
US8937020B2 (en)2009-11-132015-01-20Semiconductor Energy Laboratory Co., Ltd.Sputtering target and manufacturing method thereof, and transistor
US10944010B2 (en)2009-11-132021-03-09Semiconductor Energy Laboratory Co., Ltd.Semiconductor device
US20110114945A1 (en)*2009-11-132011-05-19Semiconductor Energy Laboratory Co., Ltd.Semiconductor device and manufacturing method thereof
US9006729B2 (en)2009-11-132015-04-14Semiconductor Energy Laboratory Co., Ltd.Semiconductor device and manufacturing method thereof
US8492862B2 (en)2009-11-132013-07-23Semiconductor Energy Laboratory Co., Ltd.Sputtering target and manufacturing method thereof, and transistor
US8576620B2 (en)2009-11-132013-11-05Semiconductor Energy Laboratory Co., Ltd.Semiconductor device and driving method thereof
US8753491B2 (en)2009-11-132014-06-17Semiconductor Energy Laboratory Co., Ltd.Method for packaging target material and method for mounting target
US20110114944A1 (en)*2009-11-132011-05-19Semiconductor Energy Laboratory Co., Ltd.Sputtering target and manufacturing method thereof, and transistor
US20110114999A1 (en)*2009-11-132011-05-19Semiconductor Energy Laboratory Co., Ltd.Sputtering target and method for manufacturing the same, and transistor
US8389417B2 (en)2009-11-132013-03-05Semiconductor Energy Laboratory Co., Ltd.Semiconductor device and manufacturing method thereof
US10056494B2 (en)2009-11-132018-08-21Semiconductor Energy Laboratory Co., Ltd.Semiconductor device and manufacturing method thereof
US9219162B2 (en)2009-11-132015-12-22Semiconductor Energy Laboratory Co., Ltd.Semiconductor device and manufacturing method thereof
US8319267B2 (en)2009-11-132012-11-27Semiconductor Energy Laboratory Co., Ltd.Device including nonvolatile memory element
US10083823B2 (en)2009-11-132018-09-25Semiconductor Energy Laboratory Co., Ltd.Sputtering target and manufacturing method thereof, and transistor
US8334719B2 (en)2009-11-132012-12-18Semiconductor Energy Laboratory Co., Ltd.Semiconductor device having function of thyristor
US20110114480A1 (en)*2009-11-132011-05-19Semiconductor Energy Laboratory Co., Ltd.Method for packaging target material and method for mounting target
US9257449B2 (en)2009-11-132016-02-09Semiconductor Energy Laboratory Co., Ltd.Semiconductor device and manufacturing method thereof
US20110114943A1 (en)*2009-11-132011-05-19Semiconductor Energy Laboratory Co., Ltd.Semiconductor device and manufacturing method thereof
US20110114941A1 (en)*2009-11-132011-05-19Semiconductor Energy Laboratory Co., Ltd.Device including nonvolatile memory element
US20110115545A1 (en)*2009-11-132011-05-19Semiconductor Energy Laboratory Co., Ltd.Semiconductor device
US20110114942A1 (en)*2009-11-132011-05-19Semiconductor Energy Laboratory Co., Ltd.Semiconductor device and manufacturing method thereof
US8779479B2 (en)2009-11-132014-07-15Semiconductor Energy Laboratory Co., Ltd.Semiconductor device and manufacturing method thereof
US8742544B2 (en)2009-11-132014-06-03Semiconductor Energy Laboratory Co., Ltd.Semiconductor device and manufacturing method thereof
US8410002B2 (en)2009-11-132013-04-02Semiconductor Energy Laboratory Co., Ltd.Semiconductor device and manufacturing method thereof
US9520411B2 (en)2009-11-132016-12-13Semiconductor Energy Laboratory Co., Ltd.Display device and electronic device including the same
US11955557B2 (en)2009-11-132024-04-09Semiconductor Energy Laboratory Co., Ltd.Semiconductor device and manufacturing method thereof
US11456385B2 (en)2009-11-132022-09-27Semiconductor Energy Laboratory Co., Ltd.Semiconductor device and manufacturing method thereof
US8947153B2 (en)2009-11-132015-02-03Semiconductor Energy Laboratory Co., Ltd.Electronic circuit comprising thin-film transistors
US10516055B2 (en)2009-11-132019-12-24Semiconductor Energy Laboratory Co., Ltd.Semiconductor device and manufacturing method thereof
US10332912B2 (en)2009-11-132019-06-25Semiconductor Energy Laboratory Co., Ltd.Display device and electronic device including the same
US9922685B2 (en)2009-11-132018-03-20Semiconductor Energy Laboratory Co., Ltd.Semiconductor device and driving method thereof
US8283662B2 (en)2009-11-182012-10-09Semiconductor Energy Laboratory Co., Ltd.Memory device
US20110114946A1 (en)*2009-11-182011-05-19Semiconductor Energy Laboratory Co., Ltd.Memory device
US8748880B2 (en)2009-11-202014-06-10Semiconductor Energy Laboratory Co., Ltd.Semiconductor device with oxide semiconductor
US8804396B2 (en)2009-11-202014-08-12Semiconductor Energy Laboratory Co., Ltd.Semiconductor device
US20110121285A1 (en)*2009-11-202011-05-26Semiconductor Energy Laboratory Co., Ltd.Semiconductor device
US8619454B2 (en)2009-11-202013-12-31Semiconductor Energy Laboratory Co., Ltd.Semiconductor device
US8193031B2 (en)2009-11-202012-06-05Semiconductor Energy Laboratory Co., Ltd.Method for manufacturing semiconductor device
US8963149B2 (en)2009-11-202015-02-24Semiconductor Energy Laboratory Co., Ltd.Thin film transistor
US10186619B2 (en)2009-11-202019-01-22Semiconductor Energy Laboratory Co., Ltd.Method for manufacturing semiconductor device
US9350295B2 (en)2009-11-202016-05-24Semiconductor Energy Laboratoty Co., Ltd.Modulation circuit and semiconductor device including the same
US20110121289A1 (en)*2009-11-202011-05-26Semiconductor Energy Laboratory Co., Ltd.Thin film transistor
US8892158B2 (en)2009-11-202014-11-18Semiconductor Energy Laboratory Co., Ltd.Semiconductor device
US20110122670A1 (en)*2009-11-202011-05-26Semiconductor Energy Laboratory Co., Ltd.Semiconductor device
US9350334B2 (en)2009-11-202016-05-24Semiconductor Energy Laboratory Co., Ltd.Nonvolatile latch circuit and logic circuit, and semiconductor device using the same
US8637861B2 (en)2009-11-202014-01-28Semiconductor Energy Laboratory Co., Ltd.Transistor having oxide semiconductor with electrode facing its side surface
US8766250B2 (en)2009-11-202014-07-01Semiconductor Energy Laboratory Co., Ltd.Thin film transistor
US8476626B2 (en)2009-11-202013-07-02Semiconductor Energy Laboratory Co., Ltd.Semiconductor memory device including semiconductor and oxide semiconductor transistors
US8860485B2 (en)2009-11-202014-10-14Semiconductor Energy Laboratory Co., Ltd.Nonvolatile latch circuit and logic circuit, and semiconductor device using the same
US9373643B2 (en)2009-11-202016-06-21Semiconductor Energy Laboratory Co., Ltd.Semiconductor device
US9135958B2 (en)2009-11-202015-09-15Semiconductor Energy Laboratory Co., Ltd.Semiconductor device
US9306075B2 (en)2009-11-202016-04-05Semiconductor Energy Laboratory Co., Ltd.Thin film transistor
US20110124153A1 (en)*2009-11-202011-05-26Semiconductor Energy Laboratory Co., Ltd.Method for manufacturing semiconductor device
US9741867B2 (en)2009-11-202017-08-22Semiconductor Energy Laboratory Co., Ltd.Semiconductor device
US10121904B2 (en)2009-11-202018-11-06Semiconductor Energy Laboratory Co., Ltd.Semiconductor device
US20110121284A1 (en)*2009-11-202011-05-26Semiconductor Energy Laboratory Co., Ltd.Transistor
US8410838B2 (en)2009-11-202013-04-02Semiconductor Energy Laboratory Co., Ltd.Nonvolatile latch circuit and logic circuit, and semiconductor device using the same
US9093262B2 (en)2009-11-202015-07-28Semiconductor Energy Laboratory Co., Ltd.Method for manufacturing semiconductor device
US20110121286A1 (en)*2009-11-202011-05-26Semiconductor Energy Laboratory Co., Ltd.Semiconductor device
US9461181B2 (en)2009-11-202016-10-04Semiconductor Energy Laboratory Co., Ltd.Method for manufacturing semiconductor device
US8467825B2 (en)2009-11-202013-06-18Semiconductor Energy Laboratory Co., Ltd.Semiconductor device
US10505520B2 (en)2009-11-202019-12-10Semiconductor Energy Laboratory Co., Ltd.Nonvolatile latch circuit and logic circuit, and semiconductor device using the same
US9768319B2 (en)2009-11-202017-09-19Semiconductor Energy Laboratory Co., Ltd.Modulation circuit and semiconductor device including the same
US8592251B2 (en)2009-11-202013-11-26Semiconductor Energy Laboratory Co., Ltd.Method for manufacturing semiconductor device
US9705005B2 (en)2009-11-202017-07-11Semiconductor Energy Laboratory Co., Ltd.Semiconductor device
US8339828B2 (en)2009-11-202012-12-25Semiconductor Energy Laboratory Co., Ltd.Semiconductor device
US8680520B2 (en)2009-11-202014-03-25Semiconductor Energy Laboratory Co., Ltd.Semiconductor device
US20110122673A1 (en)*2009-11-242011-05-26Semiconductor Energy Laboratory Co., Ltd.Semiconductor device including memory cell
US8659941B2 (en)2009-11-242014-02-25Semiconductor Energy Laboratory Co., Ltd.Semiconductor memory cell having an oxide semiconductor transistor and erasable by ultraviolet light
US12396292B2 (en)2009-11-272025-08-19Semiconductor Energy Laboratory Co., Ltd.Semiconductor device comprising first and second conductive layers
US8390044B2 (en)2009-11-272013-03-05Semiconductor Energy Laboratory Co., Ltd.Non-linear element, display device including non-linear element, and electronic device including display device
US10396236B2 (en)2009-11-272019-08-27Semiconductor Energy Laboratory Co., Ltd.Semiconductor device and display device
US9748436B2 (en)2009-11-272017-08-29Semiconductor Energy Laboratory Co., Ltd.Semiconductor device and method for manufacturing the same
US8373203B2 (en)2009-11-272013-02-12Semiconductor Energy Laboratory Co., Ltd.Semiconductor device
US9184299B2 (en)2009-11-272015-11-10Semiconductor Energy Laboratory Co., Ltd.Semiconductor device
US9570628B2 (en)2009-11-272017-02-14Semiconductor Energy Laboratory Co., Ltd.Semiconductor device
US8559220B2 (en)2009-11-272013-10-15Semiconductor Energy Laboratory Co., Ltd.Semiconductor device
US20110127524A1 (en)*2009-11-272011-06-02Semiconductor Energy Laboratory Co., Ltd.Semiconductor device and method for manufacturing the same
US8680521B2 (en)2009-11-272014-03-25Semiconductor Energy Laboratory Co., Ltd.Semiconductor device
US8471256B2 (en)2009-11-272013-06-25Semiconductor Energy Laboratory Co., Ltd.Semiconductor device and method for manufacturing the same
US20190109259A1 (en)2009-11-272019-04-11Semiconductor Energy Laboratory Co., Ltd.Semiconductor device and method for manufacturing the same
US20110127525A1 (en)*2009-11-272011-06-02Semiconductor Energy Laboratory Co., Ltd.Semiconductor device
US11894486B2 (en)2009-11-272024-02-06Semiconductor Energy Laboratory Co., Ltd.Method for manufacturing semiconductor device
US20110128777A1 (en)*2009-11-272011-06-02Semiconductor Energy Laboratory Co., Ltd.Semiconductor device
US20110127526A1 (en)*2009-11-272011-06-02Semiconductor Energy Laboratory Co., Ltd.Non-linear element, display device including non-linear element, and electronic device including display device
US20110127523A1 (en)*2009-11-282011-06-02Semiconductor Energy Laboratory Co., Ltd.Semiconductor device and manufacturing method thereof
US10608118B2 (en)2009-11-282020-03-31Semiconductor Energy Laboratory Co., Ltd.Semiconductor device
US11710795B2 (en)2009-11-282023-07-25Semiconductor Energy Laboratory Co., Ltd.Semiconductor device comprising oxide semiconductor with c-axis-aligned crystals
US8698138B2 (en)2009-11-282014-04-15Semiconductor Energy Laboratory Co., Ltd.Oxide semiconductor film on amorphous insulating surface
US8748215B2 (en)2009-11-282014-06-10Semiconductor Energy Laboratory Co., Ltd.Stacked oxide material, semiconductor device, and method for manufacturing the semiconductor device
US8367489B2 (en)2009-11-282013-02-05Semiconductor Energy Laboratory Co., Ltd.Method of fabricating a stacked oxide material for thin film transistor
US12080802B2 (en)2009-11-282024-09-03Semiconductor Energy Laboratory Co., Ltd.Semiconductor device comprising silicon and oxide semiconductor in channel formation region
US11133419B2 (en)2009-11-282021-09-28Semiconductor Energy Laboratory Co., Ltd.Semiconductor device
US8765522B2 (en)2009-11-282014-07-01Semiconductor Energy Laboratory Co., Ltd.Stacked oxide material, semiconductor device, and method for manufacturing the semiconductor device
US10263120B2 (en)2009-11-282019-04-16Semiconductor Energy Laboratory Co., Ltd.Method for manufacturing semiconductor device and method for manufacturing liquid crystal display panel
US8779420B2 (en)2009-11-282014-07-15Semiconductor Energy Laboratory Co., Ltd.Semiconductor device
US10079310B2 (en)2009-11-282018-09-18Semiconductor Energy Laboratory Co., Ltd.Semiconductor device including stacked oxide semiconductor material
US8748881B2 (en)2009-11-282014-06-10Semiconductor Energy Laboratory Co., Ltd.Semiconductor device
US9368640B2 (en)2009-11-282016-06-14Semiconductor Energy Laboratory Co., Ltd.Transistor with stacked oxide semiconductor films
US9887298B2 (en)2009-11-282018-02-06Semiconductor Energy Laboratory Co., Ltd.Semiconductor device and manufacturing method thereof
US20110127579A1 (en)*2009-11-282011-06-02Semiconductor Energy Laboratory Co., Ltd.Stacked oxide material, semiconductor device, and method for manufacturing the semiconductor device
US20110127521A1 (en)*2009-11-282011-06-02Semiconductor Energy Laboratory Co., Ltd.Stacked oxide material, semiconductor device, and method for manufacturing the semiconductor device
US10347771B2 (en)2009-11-282019-07-09Semiconductor Energy Laboratory Co., Ltd.Stacked oxide material, semiconductor device, and method for manufacturing the semiconductor device
US9520287B2 (en)2009-11-282016-12-13Semiconductor Energy Laboratory Co., Ltd.Semiconductor device having stacked oxide semiconductor layers
US9214520B2 (en)2009-11-282015-12-15Semiconductor Energy Laboratory Co., Ltd.Semiconductor device
US11282477B2 (en)2009-11-302022-03-22Semiconductor Energy Laboratory Co., Ltd.Liquid crystal display device, method for driving the same, and electronic device including the same
US11636825B2 (en)2009-11-302023-04-25Semiconductor Energy Laboratory Co., Ltd.Liquid crystal display device, method for driving the same, and electronic device including the same
US20110128461A1 (en)*2009-11-302011-06-02Semiconductor Energy Laboratory Co., Ltd.Liquid crystal display device, method for driving the same, and electronic device including the same
US8531618B2 (en)2009-11-302013-09-10Semiconductor Energy Laboratory Co., Ltd.Liquid crystal display device, method for driving the same, and electronic device including the same
US10847116B2 (en)2009-11-302020-11-24Semiconductor Energy Laboratory Co., Ltd.Reducing pixel refresh rate for still images using oxide transistors
US8927349B2 (en)2009-12-042015-01-06Semiconductor Energy Laboratory Co., Ltd.Semiconductor device and manufacturing method thereof
US8470649B2 (en)2009-12-042013-06-25Semiconductor Energy Laboratory Co., Ltd.Semiconductor device
US9368638B2 (en)2009-12-042016-06-14Semiconductor Energy Laboratory Co., Ltd.Semiconductor device
US9064967B2 (en)2009-12-042015-06-23Semiconductor Energy Laboratory Co., Ltd.Semiconductor element, semiconductor device, and method for manufacturing the same
US10490420B2 (en)2009-12-042019-11-26Semiconductor Energy Laboratory Co., Ltd.Semiconductor device and manufacturing method thereof
US20110133181A1 (en)*2009-12-042011-06-09Semiconductor Energy Laboratory Co., Ltd.Display device
US9270173B2 (en)2009-12-042016-02-23Semiconductor Energy Laboratory Co., Ltd.DC converter circuit and power supply circuit
US8432502B2 (en)2009-12-042013-04-30Semiconductor Energy Laboratory Co., Ltd.Display device and electronic device including the same
US20110134680A1 (en)*2009-12-042011-06-09Semiconductor Energy Laboratory Co., Ltd.Semiconductor memory device
US10109500B2 (en)2009-12-042018-10-23Semiconductor Energy Laboratory Co., Ltd.Semiconductor device and manufacturing method thereof
US10505049B2 (en)2009-12-042019-12-10Semiconductor Energy Laboratory Co., Ltd.Semiconductor device has an oxide semiconductor layer containing a c-axis aligned crystal
US9735284B2 (en)2009-12-042017-08-15Semiconductor Energy Laboratory Co., Ltd.Semiconductor device comprising oxide semiconductor
US20110133191A1 (en)*2009-12-042011-06-09Semiconductor Energy Laboratory Co., Ltd.Semiconductor device and manufacturing method thereof
US20110133177A1 (en)*2009-12-042011-06-09Semiconductor Energy Laboratory Co., Ltd.Semiconductor Element, Semiconductor Device, And Method For Manufacturing The Same
US8377744B2 (en)2009-12-042013-02-19Semiconductor Energy Laboratory Co., Ltd.Semiconductor device and manufacturing method thereof
US8482005B2 (en)2009-12-042013-07-09Semiconductor Energy Laboratory Co., Ltd.Display device comprising an oxide semiconductor layer
US10714358B2 (en)2009-12-042020-07-14Semiconductor Energy Laboratory Co., Ltd.Semiconductor device and manufacturing method thereof
US8604473B2 (en)2009-12-042013-12-10Semiconductor Energy Laboratory Co., Ltd.Semiconductor device
US20110133196A1 (en)*2009-12-042011-06-09Semiconductor Energy Laboratory Co., Ltd.Semiconductor device
US20110134345A1 (en)*2009-12-042011-06-09Semiconductor Energy Laboratory Co., Ltd.Display device
US9991286B2 (en)2009-12-042018-06-05Semiconductor Energy Laboratory Co., Ltd.Display device and electronic device including the same
US20110136302A1 (en)*2009-12-042011-06-09Semiconductor Energy Laboratory Co., Ltd.Semiconductor device and manufacturing method thereof
US11923204B2 (en)2009-12-042024-03-05Semiconductor Energy Laboratory Co., Ltd.Manufacturing method of semiconductor device comprising oxide semiconductor
US10332996B2 (en)2009-12-042019-06-25Semiconductor Energy Laboratory Co., Ltd.Semiconductor device and manufacturing method thereof
US8823074B2 (en)2009-12-042014-09-02Semiconductor Energy Laboratory Co., Ltd.Semiconductor element, semiconductor device, and method for manufacturing the same
US20110133178A1 (en)*2009-12-042011-06-09Semiconductor Energy Laboratory Co., Ltd.Semiconductor device
US10014415B2 (en)2009-12-042018-07-03Semiconductor Energy Laboratory Co., Ltd.Semiconductor device has an oxide semiconductor layer containing a C-axis aligned crystal
US9070596B2 (en)2009-12-042015-06-30Semiconductor Energy Laboratory Co., Ltd.Display device
US8866138B2 (en)2009-12-042014-10-21Semiconductor Energy Laboratory Co., Ltd.Display device and electronic device including the same
US8890158B2 (en)2009-12-042014-11-18Semiconductor Energy Laboratory Co., Ltd.Semiconductor device
US9324881B2 (en)2009-12-042016-04-26Semiconductor Energy Laboratory Co., Ltd.Semiconductor device and manufacturing method thereof
US11456187B2 (en)2009-12-042022-09-27Semiconductor Energy Laboratory Co., Ltd.Oxide semiconductor-device
US20110133182A1 (en)*2009-12-042011-06-09Semiconductor Energy Laboratory Co., Ltd.Semiconductor device
US9153338B2 (en)2009-12-042015-10-06Semiconductor Energy Laboratory Co., Ltd.Semiconductor memory device
US9411208B2 (en)2009-12-042016-08-09Semiconductor Energy Laboratory Co., Ltd.Display device
US8841163B2 (en)2009-12-042014-09-23Semiconductor Energy Laboratory Co., Ltd.Manufacturing method of semiconductor device comprising oxide semiconductor
US9721811B2 (en)2009-12-042017-08-01Semiconductor Energy Laboratory Co., Ltd.Method for manufacturing a semiconductor device having an oxide semiconductor layer
US8269218B2 (en)2009-12-042012-09-18Semiconductor Energy Laboratory Co., Ltd.Display device
US8922182B2 (en)2009-12-042014-12-30Semiconductor Energy Laboratory Co., Ltd.DC converter circuit and power supply circuit
US8624245B2 (en)2009-12-042014-01-07Semiconductor Energy Laboratory Co., Ltd.Semiconductor device and manufacturing method thereof
US11342464B2 (en)2009-12-042022-05-24Semiconductor Energy Laboratory Co., Ltd.Semiconductor device comprising first and second insulating layer each has a tapered shape
US9240467B2 (en)2009-12-042016-01-19Semiconductor Energy Laboratory Co., Ltd.Semiconductor device and manufacturing method thereof
US9224609B2 (en)2009-12-042015-12-29Semiconductor Energy Laboratory Co., Ltd.Method for manufacturing semiconductor device using oxide semiconductor
US8415667B2 (en)2009-12-042013-04-09Semiconductor Energy Laboratory Co., Ltd.Semiconductor device
US12218249B2 (en)2009-12-042025-02-04Semiconductor Energy Laboratory Co., Ltd.Semiconductor device comprising oxide semiconductor layer containing a c-axis aligned crystal
US9721971B2 (en)2009-12-042017-08-01Semiconductor Energy Laboratory Co., Ltd.Display device and electronic device including the same
US8432718B2 (en)2009-12-042013-04-30Semiconductor Energy Laboratory Co., Ltd.Semiconductor memory device
US8426853B2 (en)2009-12-042013-04-23Semiconductor Energy Laboratory Co., Ltd.Semiconductor device
US8637863B2 (en)2009-12-042014-01-28Semiconductor Energy Laboratory Co., Ltd.Display device
US11728349B2 (en)2009-12-042023-08-15Semiconductor Energy Laboratory Co., Ltd.Display device and electronic device including the same
US10840268B2 (en)2009-12-042020-11-17Semiconductor Energy Laboratories Co., Ltd.Display device and electronic device including the same
US8957414B2 (en)2009-12-042015-02-17Semiconductor Energy Laboratory Co., Ltd.Semiconductor device comprising both amorphous and crystalline semiconductor oxide
US8501564B2 (en)2009-12-042013-08-06Semiconductor Energy Laboratory Co., Ltd.Semiconductor element, semiconductor device, and method for manufacturing the same
US11728437B2 (en)2009-12-042023-08-15Semiconductor Energy Laboratory Co., Ltd.Semiconductor device comprising oxide semiconductor layer containing a c-axis aligned crystal
US8247813B2 (en)2009-12-042012-08-21Semiconductor Energy Laboratory Co., Ltd.Display device and electronic device including the same
US8698155B2 (en)2009-12-042014-04-15Semiconductor Energy Laboratory Co., Ltd.Display device
US10861983B2 (en)2009-12-042020-12-08Semiconductor Energy Laboratory Co., Ltd.Semiconductor device comprising oxide semiconductor layer containing a c-axis aligned crystal
US9040989B2 (en)2009-12-082015-05-26Semiconductor Energy Laboratory Co., Ltd.Semiconductor device and manufacturing method thereof
US8420553B2 (en)2009-12-082013-04-16Semiconductor Energy Laboratory Co., Ltd.Semiconductor device and manufacturing method thereof
US8558233B2 (en)2009-12-082013-10-15Semiconductor Energy Laboratory Co., Ltd.Semiconductor device and manufacturing method thereof
US20110133180A1 (en)*2009-12-082011-06-09Semiconductor Energy Laboratory Co., Ltd.Semiconductor device and manufacturing method thereof
US8946097B2 (en)2009-12-082015-02-03Semiconductor Energy Laboratory Co., Ltd.Semiconductor device and manufacturing method thereof
US8293661B2 (en)2009-12-082012-10-23Semiconductor Energy Laboratory Co., Ltd.Semiconductor device and manufacturing method thereof
US20110133179A1 (en)*2009-12-082011-06-09Semiconductor Energy Laboratory Co., Ltd.Semiconductor device and manufacturing method thereof
US8704806B2 (en)2009-12-102014-04-22Semiconductor Energy Laboratory Co., Ltd.Display device and driving method thereof
US9508742B2 (en)2009-12-112016-11-29Semiconductor Energy Laboratory Co., Ltd.Semiconductor device having switching transistor that includes oxide semiconductor material
US20110140099A1 (en)*2009-12-112011-06-16Semiconductor Energy Laboratory Co., Ltd.Semiconductor device
US11961843B2 (en)2009-12-112024-04-16Semiconductor Energy Laboratory Co., Ltd.Semiconductor device and electronic device
US10002888B2 (en)2009-12-112018-06-19Semiconductor Energy Laboratory Co., Ltd.Semiconductor device and electronic device
US10103272B2 (en)2009-12-112018-10-16Semiconductor Energy Laboratory Co., Ltd.Semiconductor device and method for manufacturing the same
US9142683B2 (en)2009-12-112015-09-22Semiconductor Energy Laboratory Co., Ltd.Semiconductor device and manufacturing method thereof
US10600818B2 (en)2009-12-112020-03-24Semiconductor Energy Laboratory Co., Ltd.Semiconductor device and electronic device
US10854641B2 (en)2009-12-112020-12-01Semiconductor Energy Laboratory Co., Ltd.Semiconductor device and electronic device
US8889499B2 (en)2009-12-112014-11-18Semiconductor Energy Laboratory Co., Ltd.Semiconductor device and manufacturing method thereof
US8890146B2 (en)2009-12-112014-11-18Semiconductor Energy Laboratory Co., Ltd.Semiconductor device and electronic device
US12274095B2 (en)2009-12-112025-04-08Semiconductor Energy Laboratory Co., Ltd.Semiconductor device and electronic device
US8415665B2 (en)2009-12-112013-04-09Semiconductor Energy Laboratory Co., Ltd.Semiconductor device and electronic device
US8563976B2 (en)2009-12-112013-10-22Semiconductor Energy Laboratory Co., Ltd.Semiconductor device and manufacturing method thereof
US8901559B2 (en)2009-12-112014-12-02Semiconductor Energy Laboratory Co., Ltd.Semiconductor device having inverter circuit with terminal electrically connected to transistor that includes oxide semiconductor material
US10804409B2 (en)2009-12-112020-10-13Semiconductor Energy Laboratory Co., Ltd.Semiconductor device and method for manufacturing the same
US9209251B2 (en)2009-12-112015-12-08Semiconductor Energy Laboratory Co., Ltd.Semiconductor device having switching transistor that includes oxide semiconductor material
US9171868B2 (en)2009-12-112015-10-27Semiconductor Energy Laboratory Co., Ltd.Semiconductor device and electronic device
US9893204B2 (en)2009-12-112018-02-13Semiconductor Energy Laboratory Co., Ltd.Semiconductor device having transistor including two oxide semiconductor layers having different lattice constants
US20110140098A1 (en)*2009-12-112011-06-16Semiconductor Energy Laboratory Co., Ltd.Field effect transistor
US10312267B2 (en)2009-12-112019-06-04Semiconductor Energy Laboratory Co., Ltd.Semiconductor device and electronic device
US8704222B2 (en)2009-12-112014-04-22Semiconductor Energy Laboratory Co., Ltd.Field effect transistor
US20110140108A1 (en)*2009-12-112011-06-16Semiconductor Energy Laboratory Co., Ltd.Semiconductor device and electronic device
US8809850B2 (en)2009-12-112014-08-19Semiconductor Energy Laboratory Co., Ltd.Semiconductor device having switching transistor that includes oxide semiconductor material
US20110140109A1 (en)*2009-12-112011-06-16Semiconductor Energy Laboratory Co., Ltd.Semiconductor device and manufacturing method thereof
US9735180B2 (en)2009-12-112017-08-15Semiconductor Energy Laboratory Co., Ltd.Semiconductor device and electronic device
US20110187410A1 (en)*2009-12-112011-08-04Semiconductor Energy Laboratory Co., Ltd.Nonvolatile latch circuit and logic circuit, and semiconductor device using the same
US11545579B2 (en)2009-12-112023-01-03Semiconductor Energy Laboratory Co., Ltd.Semiconductor device and method for manufacturing the same
US9349757B2 (en)2009-12-112016-05-24Semiconductor Energy Laboratory Co., Ltd.Semiconductor device and electronic device
US8492759B2 (en)2009-12-112013-07-23Semiconductor Energy Laboratory Co., Ltd.Field effect transistor
US8432187B2 (en)2009-12-112013-04-30Semiconductor Energy Laboratory Co., Ltd.Nonvolatile latch circuit and logic circuit, and semiconductor device using the same
US9196738B2 (en)2009-12-112015-11-24Semiconductor Energy Laboratory Co., Ltd.Semiconductor device and method for manufacturing the same
US8994400B2 (en)2009-12-112015-03-31Semiconductor Energy Laboratory Co., Ltd.Nonvolatile latch circuit and logic circuit, and semiconductor device using the same
US10382016B2 (en)2009-12-112019-08-13Semiconductor Energy Laboratory Co., Ltd.Nonvolatile latch circuit and logic circuit, and semiconductor device using the same
US9530893B2 (en)2009-12-172016-12-27Semiconductor Energy Laboratory Co., Ltd.Semiconductor device, measurement apparatus, and measurement method of relative permittivity
US20110147736A1 (en)*2009-12-172011-06-23Semiconductor Energy Laboratory Co., Ltd.Semiconductor device, measurement apparatus, and measurement method of relative permittivity
US8853683B2 (en)2009-12-172014-10-07Semiconductor Energy Laboratory Co., Ltd.Semiconductor device, measurement apparatus, and measurement method of relative permittivity
US20110148455A1 (en)*2009-12-182011-06-23Semiconductor Energy Laboratory Co., Ltd.Method for measuring current, method for inspecting semiconductor device, semiconductor device, and test element group
US10256254B2 (en)2009-12-182019-04-09Semiconductor Energy Laboratory Co., Ltd.Liquid crystal display device and electronic device
US12317599B2 (en)2009-12-182025-05-27Semiconductor Energy Laboratory Co., Ltd.Liquid crystal display device and electronic device
TWI509703B (en)*2009-12-182015-11-21Semiconductor Energy Lab Semiconductor device and method of manufacturing same
US20110149185A1 (en)*2009-12-182011-06-23Semiconductor Energy Laboratory Co., Ltd.Liquid crystal display device and electronic device
US9240488B2 (en)2009-12-182016-01-19Semiconductor Energy Laboratory Co., Ltd.Semiconductor device and method for manufacturing the same
US9978757B2 (en)2009-12-182018-05-22Semiconductor Energy Laboratory Co., Ltd.Semiconductor device
US9898979B2 (en)2009-12-182018-02-20Semiconductor Energy Laboratory Co., Ltd.Method for driving liquid crystal display device
US9620525B2 (en)2009-12-182017-04-11Semiconductor Energy Laboratory Co., Ltd.Liquid crystal display device and electronic device
US20110148846A1 (en)*2009-12-182011-06-23Semiconductor Energy Laboratory Co., Ltd.Liquid crystal display device and driving method thereof
US20110147739A1 (en)*2009-12-182011-06-23Semiconductor Energy Laboratory Co., Ltd.Semiconductor device and method for manufacturing the same
US9244323B2 (en)2009-12-182016-01-26Semiconductor Energy Laboratory Co., LtdLiquid crystal display device and electronic device
US9105256B2 (en)2009-12-182015-08-11Semiconductor Energy Laboratory Co., Ltd.Liquid crystal display device and driving method thereof
US8599177B2 (en)2009-12-182013-12-03Semiconductor Energy Laboratory Co., Ltd.Method for driving liquid crystal display device
US10360858B2 (en)2009-12-182019-07-23Semiconductor Energy Laboratory Co., Ltd.Display device including optical sensor and driving method thereof
US20110147738A1 (en)*2009-12-182011-06-23Semiconductor Energy Laboratory Co., Ltd.Semiconductor device and method for manufacturing the same
US9251748B2 (en)2009-12-182016-02-02Semiconductor Energy Laboratory Co., Ltd.Method for driving liquid crystal display device
US9034104B2 (en)2009-12-182015-05-19Semiconductor Energy Laboratory Co., Ltd.Method for manufacturing a semiconductor device comprising single- and multi-component oxide semiconductor layers
US8610187B2 (en)2009-12-182013-12-17Semiconductor Energy Laboratory Co., Ltd.Semiconductor device
US20110148463A1 (en)*2009-12-182011-06-23Semiconductor Energy Laboratory Co., Ltd.Non-volatile latch circuit and logic circuit, and semiconductor device using the same
US8314637B2 (en)2009-12-182012-11-20Semiconductor Energy Laboratory Co., Ltd.Non-volatile latch circuit and logic circuit, and semiconductor device using the same
US10796647B2 (en)2009-12-182020-10-06Semiconductor Energy Laboratory Co., Ltd.Display device including optical sensor and driving method thereof
US20110151618A1 (en)*2009-12-182011-06-23Semiconductor Energy Laboratory Co., Ltd.Semiconductor device and manufacturing method thereof
US8922537B2 (en)2009-12-182014-12-30Semiconductor Energy Laboratory Co., Ltd.Method for driving liquid crystal display device
US20110147737A1 (en)*2009-12-182011-06-23Semiconductor Energy Laboratory Co., Ltd.Semiconductor device
US9378980B2 (en)2009-12-182016-06-28Semiconductor Energy Laboratory Co., Ltd.Semiconductor device and method for manufacturing the same
US9057758B2 (en)2009-12-182015-06-16Semiconductor Energy Laboratory Co., Ltd.Method for measuring current, method for inspecting semiconductor device, semiconductor device, and test element group
US20110148835A1 (en)*2009-12-182011-06-23Semiconductor Energy Laboratory Co., Ltd.Display device including optical sensor and driving method thereof
US11798952B2 (en)2009-12-182023-10-24Semiconductor Energy Laboratory Co., Ltd.Liquid crystal display device and electronic device
US9692421B2 (en)2009-12-182017-06-27Semiconductor Energy Laboratory Co., Ltd.Non-volatile latch circuit and logic circuit, and semiconductor device using the same
US12046211B2 (en)2009-12-182024-07-23Semiconductor Energy Laboratory Co., Ltd.Method for driving liquid crystal display device
US20110148826A1 (en)*2009-12-182011-06-23Semiconductor Energy Laboratory Co., Ltd.Method for driving liquid crystal display device
US9087489B2 (en)2009-12-182015-07-21Semiconductor Energy Laboratory Co., Ltd.Display device including optical sensor and driving method thereof
US8664036B2 (en)2009-12-182014-03-04Semiconductor Energy Laboratory Co., Ltd.Semiconductor device and manufacturing method thereof
US11282864B2 (en)2009-12-182022-03-22Semiconductor Energy Laboratory Co., Ltd.Liquid crystal display device and electronic device
US8698717B2 (en)2009-12-182014-04-15Semiconductor Energy Laboratory Co., Ltd.Liquid crystal display device and driving method thereof
US9123574B2 (en)2009-12-182015-09-01Semiconductor Energy Laboratory Co., Ltd.Semiconductor device
US12387692B2 (en)2009-12-182025-08-12Semiconductor Energy Laboratory Co., Ltd.Method for driving liquid crystal display device
US9391095B2 (en)2009-12-182016-07-12Semiconductor Energy Laboratory Co., Ltd.Semiconductor device and manufacturing method thereof
US10453964B2 (en)2009-12-182019-10-22Semiconductor Energy Laboratory Co., Ltd.Semiconductor device and method for manufacturing the same
US11170726B2 (en)2009-12-182021-11-09Semiconductor Energy Laboratory Co., Ltd.Method for driving liquid crystal display device
US8823893B2 (en)2009-12-182014-09-02Semiconductor Energy Laboratory Co., Ltd.Liquid crystal display device with transistor including oxide semiconductor layer and electronic device
US9728651B2 (en)2009-12-182017-08-08Semiconductor Energy Laboratory Co., Ltd.Semiconductor device and method for manufacturing the same
US9059694B2 (en)2009-12-232015-06-16Semiconductor Energy Laboratory Co., Ltd.Semiconductor device
US8624650B2 (en)2009-12-232014-01-07Semiconductor Energy Laboratory Co., Ltd.Semiconductor device
US20110148497A1 (en)*2009-12-232011-06-23Semiconductor Energy Laboratory Co., Ltd.Semiconductor device
US9047836B2 (en)2009-12-242015-06-02Semiconductor Energy Laboratory Co., Ltd.Display device and electronic device
US9217903B2 (en)2009-12-242015-12-22Semiconductor Energy Laboratory Co., Ltd.Display device
US8455868B2 (en)2009-12-252013-06-04Semiconductor Energy Laboratory Co., Ltd.Semiconductor device
US20110156022A1 (en)*2009-12-252011-06-30Semiconductor Energy Laboratory Co., Ltd.Semiconductor device and method for manufacturing the same
US11676975B2 (en)2009-12-252023-06-13Semiconductor Energy Laboratory Co., Ltd.Semiconductor device
US11456296B2 (en)2009-12-252022-09-27Semiconductor Energy Laboratory Co., Ltd.Semiconductor device
US12426374B2 (en)2009-12-252025-09-23Semiconductor Energy Laboratory Co., Ltd.Semiconductor device
US20110156023A1 (en)*2009-12-252011-06-30Semiconductor Energy Laboratory Co., Ltd.Semiconductor device and manufacturing method thereof
US9349735B2 (en)2009-12-252016-05-24Semiconductor Energy Laboratory Co., Ltd.Semiconductor device
US9006025B2 (en)2009-12-252015-04-14Semiconductor Energy Laboratory Co., Ltd.Semiconductor device and method for manufacturing the same
US20110156024A1 (en)*2009-12-252011-06-30Semiconductor Energy Laboratory Co., Ltd.Memory device, semiconductor device, and electronic device
US8664652B2 (en)2009-12-252014-03-04Semiconductor Energy Laboratory Co., Ltd.Semiconductor device and method for manufacturing the same
US9407269B2 (en)2009-12-252016-08-02Semiconductor Energy Laboratory Co., Ltd.Memory device, semiconductor device, and electronic device
US9543445B2 (en)2009-12-252017-01-10Semiconductor Energy Laborartory Co., Ltd.Semiconductor device with oxide semiconductor layer
US8618586B2 (en)2009-12-252013-12-31Semiconductor Energy Laboratory Co., Ltd.Memory device, semiconductor device, and electronic device
US20110156027A1 (en)*2009-12-252011-06-30Semiconductor Energy Laboratory Co., Ltd.Semiconductor device
US10255868B2 (en)2009-12-252019-04-09Semiconductor Energy Laboratory Co., Ltd.Method for driving liquid crystal display device
US9852703B2 (en)2009-12-252017-12-26Semiconductor Energy Laboratory Co., Ltd.Method for driving liquid crystal display device
US9054201B2 (en)2009-12-252015-06-09Semiconductor Energy Laboratory Co., Ltd.Semiconductor device
US8441009B2 (en)2009-12-252013-05-14Semiconductor Energy Laboratory Co., Ltd.Semiconductor device and manufacturing method thereof
US12426373B2 (en)2009-12-252025-09-23Semiconductor Energy Laboratory Co., Ltd.Semiconductor device
US10083996B2 (en)2009-12-252018-09-25Semiconductor Energy Laboratory Co., Ltd.Semiconductor device
US9991265B2 (en)2009-12-252018-06-05Semiconductor Energy Laboratory Co., Ltd.Semiconductor device
US9941304B2 (en)2009-12-252018-04-10Semiconductor Energy Laboratory Co., Ltd.Memory device, semiconductor device, and electronic device
US12283599B2 (en)2009-12-252025-04-22Semiconductor Energy Laboratory Co., Ltd.Semiconductor device
US8790942B2 (en)2009-12-252014-07-29Semiconductor Energy Laboratory Co., Ltd.Method for manufacturing display device
US8372664B2 (en)2009-12-252013-02-12Semiconductor Energy Laboratory Co., Ltd.Method for manufacturing display device
US8362538B2 (en)2009-12-252013-01-29Semiconductor Energy Laboratory Co., Ltd.Memory device, semiconductor device, and electronic device
US10553589B2 (en)2009-12-252020-02-04Semiconductor Energy Laboratory Co., Ltd.Semiconductor device
US11825665B2 (en)2009-12-252023-11-21Semiconductor Energy Laboratory Co., Ltd.Semiconductor device
US8482001B2 (en)2009-12-252013-07-09Semiconductor Energy Laboratory Co., Ltd.Semiconductor device
US9053969B2 (en)2009-12-282015-06-09Semiconductor Energy Laboratory Co., Ltd.Semiconductor device
US9472559B2 (en)2009-12-282016-10-18Semiconductor Energy Laboratory Co., Ltd.Memory device and semiconductor device
US20110156025A1 (en)*2009-12-282011-06-30Semiconductor Energy Laboratory Co., Ltd.Memory device and semiconductor device
US20110156026A1 (en)*2009-12-282011-06-30Semiconductor Energy Laboratory Co., Ltd.Method for manufacturing semiconductor device
US8686425B2 (en)2009-12-282014-04-01Semiconductor Energy Laboratory Co., Ltd.Method for manufacturing semiconductor device
US9448433B2 (en)2009-12-282016-09-20Semiconductor Energy Laboratory Co., Ltd.Semiconductor device and method for manufacturing the semiconductor device
US20110157252A1 (en)*2009-12-282011-06-30Semiconductor Energy Laboratory Co., Ltd.Semiconductor device and method for manufacturing the semiconductor device
US20110156028A1 (en)*2009-12-282011-06-30Semiconductor Energy Laboratory Co., Ltd.Semiconductor device
US20110157961A1 (en)*2009-12-282011-06-30Semiconductor Energy Laboratory Co., Ltd.Semiconductor device
US10347197B2 (en)2009-12-282019-07-09Semiconductor Energy Laboratory Co., Ltd.Liquid crystal display device and electronic device
US10797054B2 (en)2009-12-282020-10-06Semiconductor Energy Laboratory Co., Ltd.Memory device and semiconductor device
US9490370B2 (en)2009-12-282016-11-08Semiconductor Energy Laboratory Co., Ltd.Semiconductor device
US12193244B2 (en)2009-12-282025-01-07Semiconductor Energy Laboratory Co., Ltd.Memory device and semiconductor device
US8450783B2 (en)2009-12-282013-05-28Semiconductor Energy Laboratory Co., Ltd.Semiconductor device
US9153589B2 (en)2009-12-282015-10-06Semiconductor Energy Laboratory Co., Ltd.Semiconductor device
US9859401B2 (en)2009-12-282018-01-02Semiconductor Energy Laboratory Co., Ltd.Method for manufacturing semiconductor device
US11424246B2 (en)2009-12-282022-08-23Semiconductor Energy Laboratory Co., Ltd.Memory device and semiconductor device
US10861401B2 (en)2009-12-282020-12-08Semiconductor Energy Laboratory Co., Ltd.Liquid crystal display device and electronic device configured to operate at two different refresh ratees
US10600372B2 (en)2009-12-282020-03-24Semiconductor Energy Laboratory Co., Ltd.Transreflective liquid crystal display device
US8530285B2 (en)2009-12-282013-09-10Semiconductor Energy Laboratory Co., Ltd.Method for manufacturing semiconductor device
US10242629B2 (en)2009-12-282019-03-26Semiconductor Energy Laboratory Co., Ltd.Display device with a transistor having an oxide semiconductor
US8400817B2 (en)2009-12-282013-03-19Semiconductor Energy Laboratory Co., Ltd.Semiconductor device
US9054134B2 (en)2009-12-282015-06-09Semiconductor Energy Laboratory Co., Ltd.Method for manufacturing semiconductor device
US10141425B2 (en)2009-12-282018-11-27Semiconductor Energy Laboratory Co., Ltd.Method for manufacturing semiconductor device
US8339836B2 (en)2010-01-152012-12-25Semiconductor Energy Laboratory Co., Ltd.Semiconductor device
US8587999B2 (en)2010-01-152013-11-19Semiconductor Energy Laboratory Co., Ltd.Semiconductor device
US20110176348A1 (en)*2010-01-152011-07-21Semiconductor Energy Laboratory Co., Ltd.Semiconductor device
US8698219B2 (en)2010-01-152014-04-15Semiconductor Energy Laboratory Co., Ltd.Semiconductor memory device having a low off state current and high repeatability
US20110175670A1 (en)*2010-01-152011-07-21Semiconductor Energy Laboratory Co., Ltd.Semiconductor device and electronic device
US8796785B2 (en)2010-01-152014-08-05Semiconductor Energy Laboratory Co., Ltd.Semiconductor device including switch electrically connected to signal line
US9484365B2 (en)2010-01-152016-11-01Semiconductor Energy Laboratory Co., Ltd.Semiconductor device including switch electrically connected to signal line
US9575381B2 (en)2010-01-152017-02-21Semiconductor Energy Laboratory Co., Ltd.Semiconductor device and method for driving the same
US20110176355A1 (en)*2010-01-152011-07-21Semiconductor Energy Laboratory Co., Ltd.Semiconductor device and driving method thereof
US20110175104A1 (en)*2010-01-152011-07-21Semiconductor Energy Laboratory Co., Ltd.Semiconductor device
US8395938B2 (en)2010-01-152013-03-12Semiconductor Energy Laboratory Co., Ltd.Non-volatile semiconductor memory device equipped with an oxide semiconductor writing transistor having a small off-state current
US10095076B2 (en)2010-01-152018-10-09Semiconductor Energy Laboratory Co., Ltd.Semiconductor device having a backlight and light-receiving element
US8654582B2 (en)2010-01-152014-02-18Semiconductor Energy Laboratory Co., Ltd.Non-volatile semiconductor memory device equipped with an oxide semiconductor writing transistor having a small off-state current
US9136280B2 (en)2010-01-152015-09-15Semiconductor Energy Laboratory Co., Ltd.Semiconductor device and driving method thereof
US8866233B2 (en)2010-01-152014-10-21Semiconductor Energy Laboratory Co., Ltd.Semiconductor device
US8780629B2 (en)2010-01-152014-07-15Semiconductor Energy Laboratory Co., Ltd.Semiconductor device and driving method thereof
US20110175083A1 (en)*2010-01-152011-07-21Semiconductor Energy Laboratory Co., Ltd.Semiconductor Device
US9767748B2 (en)2010-01-202017-09-19Semiconductor Energy Laboratory Co., Ltd.Method for driving display device
US10845846B2 (en)2010-01-202020-11-24Semiconductor Energy Laboratory Co., Ltd.Portable electronic device being capable of contactless charge
US20110176263A1 (en)*2010-01-202011-07-21Semiconductor Energy Laboratory Co., Ltd.Portable electronic device
US8415731B2 (en)2010-01-202013-04-09Semiconductor Energy Laboratory Co., Ltd.Semiconductor storage device with integrated capacitor and having transistor overlapping sections
US8760931B2 (en)2010-01-202014-06-24Semiconductor Energy Laboratory Co., Ltd.Semiconductor device
US9984617B2 (en)2010-01-202018-05-29Semiconductor Energy Laboratory Co., Ltd.Display device including light emitting element
US20110175883A1 (en)*2010-01-202011-07-21Semiconductor Energy Laboratory Co., Ltd.Driving method of liquid crystal display device
US12001241B2 (en)2010-01-202024-06-04Semiconductor Energy Laboratory Co., Ltd.Portable electronic device having transistor comprising oxide semiconductor
US8830661B2 (en)2010-01-202014-09-09Semiconductor Energy Laboratory Co., Ltd.Portable electronic device
US9740241B2 (en)2010-01-202017-08-22Semiconductor Energy Laboratory Co., Ltd.Portable electronic device having transistor comprising oxide semiconductor
US9214121B2 (en)2010-01-202015-12-15Semiconductor Energy Laboratory Co., Ltd.Driving method of liquid crystal display device
US9443482B2 (en)2010-01-202016-09-13Semiconductor Energy Laboratory Co., Ltd.Display device
US10454475B2 (en)2010-01-202019-10-22Semiconductor Energy Laboratory Co., Ltd.Semiconductor device
US8593856B2 (en)2010-01-202013-11-26Semiconductor Energy Laboratory Co., Ltd.Signal processing circuit and method for driving the same
US9448451B2 (en)2010-01-202016-09-20Semiconductor Energy Laboratory Co., Ltd.Driving method of liquid crystal display device
US20110175861A1 (en)*2010-01-202011-07-21Semiconductor Energy Laboratory Co., Ltd.Display device
US11790866B1 (en)2010-01-202023-10-17Semiconductor Energy Laboratory Co., Ltd.Display device
US20110175862A1 (en)*2010-01-202011-07-21Semiconductor Energy Laboratory Co., Ltd.Display device including light emitting element
US8817009B2 (en)2010-01-202014-08-26Semiconductor Energy Laboratory Co., Ltd.Method for driving display device and liquid crystal display device
US12159600B2 (en)2010-01-202024-12-03Semiconductor Energy Laboratory Co., Ltd.Display device
US9147462B2 (en)2010-01-202015-09-29Semiconductor Energy Laboratory Co., Ltd.Signal processing circuit and method for driving the same
US11573601B2 (en)2010-01-202023-02-07Semiconductor Energy Laboratory Co., Ltd.Portable electronic device
US9454941B2 (en)2010-01-202016-09-27Semiconductor Energy Laboratory Co., Ltd.Method for driving display device
US8947406B2 (en)2010-01-202015-02-03Semiconductor Energy Laboratory Co., Ltd.Display method of display device
US20110175894A1 (en)*2010-01-202011-07-21Semiconductor Energy Laboratory Co., Ltd.Method for driving display device
US20110175087A1 (en)*2010-01-202011-07-21Semiconductor Energy Laboratory Co., Ltd.Semiconductor device
US9614097B2 (en)2010-01-202017-04-04Semiconductor Energy Laboratory Co., Ltd.Semiconductor device
US9703423B2 (en)2010-01-202017-07-11Semiconductor Energy Laboratory Co., Ltd.Electronic device and electronic system
US11462186B2 (en)2010-01-202022-10-04Semiconductor Energy Laboratory Co., Ltd.Display device
US11081072B2 (en)2010-01-202021-08-03Semiconductor Energy Laboratory Co., Ltd.Display device
US10580373B2 (en)2010-01-202020-03-03Semiconductor Energy Laboratory Co., Ltd.Display device
US8547753B2 (en)2010-01-202013-10-01Semiconductor Energy Laboratory Co., Ltd.Semiconductor device
US9105251B2 (en)2010-01-202015-08-11Semiconductor Energy Laboratory Co., Ltd.Method for driving display device
US12416943B2 (en)2010-01-202025-09-16Semiconductor Energy Laboratory Co., Ltd.Electronic device including a circuit storing a signal
US8957881B2 (en)2010-01-202015-02-17Semiconductor Energy Laboratory Co., Ltd.Display device
US20110175833A1 (en)*2010-01-202011-07-21Semiconductor Energy Laboratory Co., Ltd.Electronic device and electronic system
US10089946B2 (en)2010-01-202018-10-02Semiconductor Energy Laboratory Co., Ltd.Display device
US10324564B2 (en)2010-01-202019-06-18Semiconductor Energy Laboratory Co., Ltd.Display device
US20110175646A1 (en)*2010-01-202011-07-21Semiconductor Energy Laboratory Co., Ltd.Semiconductor device
US20110182110A1 (en)*2010-01-222011-07-28Semiconductor Energy Laboratory Co., Ltd.Semiconductor memory device and driving method thereof
US8811066B2 (en)2010-01-222014-08-19Semiconductor Energy Laboratory Co., Ltd.Semiconductor memory device and driving method thereof
US8344788B2 (en)2010-01-222013-01-01Semiconductor Energy Laboratory Co., Ltd.Semiconductor device
US8395931B2 (en)2010-01-222013-03-12Semiconductor Energy Laboratory Co., Ltd.Semiconductor memory device and driving method thereof
US9336858B2 (en)2010-01-222016-05-10Semiconductor Energy Laboratory Co., Ltd.Semiconductor memory device and driving method thereof
US20110180796A1 (en)*2010-01-222011-07-28Semiconductor Energy Laboratory Co., Ltd.Semiconductor device
US9865744B2 (en)2010-01-222018-01-09Semiconductor Energy Laboratory Co., Ltd.Semiconductor device
US8492840B2 (en)2010-01-222013-07-23Semiconductor Energy Laboratory Co., Ltd.Semiconductor device having an oxide semiconductor layer
US8823439B2 (en)2010-01-222014-09-02Semiconductor Energy Laboratory Co., Ltd.Semiconductor device with oxide semiconductor
US9136391B2 (en)2010-01-222015-09-15Semiconductor Energy Laboratory Co., Ltd.Semiconductor device
US11276359B2 (en)2010-01-242022-03-15Semiconductor Energy Laboratory Co., Ltd.Display device
US12369403B2 (en)2010-01-242025-07-22Semiconductor Energy Laboratory Co., Ltd.Display device and manufacturing method thereof
US9117732B2 (en)2010-01-242015-08-25Semiconductor Energy Laboratory Co., Ltd.Display device and manufacturing method thereof
US8866984B2 (en)2010-01-242014-10-21Semiconductor Energy Laboratory Co., Ltd.Display device and manufacturing method thereof
US12183299B2 (en)2010-01-242024-12-31Semiconductor Energy Laboratory Co., Ltd.Display device
US10211230B2 (en)2010-01-242019-02-19Semiconductor Energy Laboratory Co., Ltd.Display device
US11887553B2 (en)2010-01-242024-01-30Semiconductor Energy Laboratory Co., Ltd.Display device
US11557263B2 (en)2010-01-242023-01-17Semiconductor Energy Laboratory Co., Ltd.Display device
US20110181806A1 (en)*2010-01-242011-07-28Semiconductor Energy Laboratory Co., Ltd.Display device and manufacturing method thereof
US9269725B2 (en)2010-01-242016-02-23Semiconductor Energy Laboratory Co., Ltd.Display device
US11935896B2 (en)2010-01-242024-03-19Semiconductor Energy Laboratory Co., Ltd.Display device and manufacturing method thereof
US10510309B2 (en)2010-01-242019-12-17Semiconductor Energy Laboratory Co., Ltd.Display device
US9599860B2 (en)2010-01-242017-03-21Semiconductor Energy Laboratory Co., Ltd.Display device
US11362112B2 (en)2010-01-242022-06-14Semiconductor Energy Laboratory Co., Ltd.Display device and manufacturing method thereof
US8879010B2 (en)2010-01-242014-11-04Semiconductor Energy Laboratory Co., Ltd.Display device
US8981518B2 (en)2010-01-292015-03-17Semiconductor Energy Laboratory Co., Ltd.Semiconductor device
US10862193B2 (en)2010-01-292020-12-08Semiconductor Energy Laboratory Co., Ltd.Semiconductor device and electronic device including the same
US9887450B2 (en)2010-01-292018-02-06Semiconductor Energy Laboratory Co., Ltd.Semiconductor device and electronic device including the same
US20110186837A1 (en)*2010-01-292011-08-04Semiconductor Energy Laboratory Co., Ltd.Semiconductor memory device
US8507907B2 (en)2010-01-292013-08-13Semiconductor Energy Laboratory Co., Ltd.Semiconductor memory device
US8816469B2 (en)2010-01-292014-08-26Semiconductor Energy Laboratory Co., Ltd.Semiconductor device comprising protection circuit with oxide semiconductor
US10468748B2 (en)2010-01-292019-11-05Semiconductor Energy Laboratory Co., Ltd.Semiconductor device and electronic device including the same
US9819256B2 (en)2010-01-292017-11-14Semiconductor Energy Laboratory Co., Ltd.Semiconductor device
US8829586B2 (en)2010-02-052014-09-09Semiconductor Energy Laboratory Co., Ltd.Semiconductor device and method for manufacturing semiconductor device having oxide semiconductor layer
US20110193081A1 (en)*2010-02-052011-08-11Semiconductor Energy Laboratory Co., Ltd.Semiconductor device
US8436403B2 (en)2010-02-052013-05-07Semiconductor Energy Laboratory Co., Ltd.Semiconductor device including transistor provided with sidewall and electronic appliance
US8546811B2 (en)2010-02-052013-10-01Semiconductor Energy Laboratory Co., Ltd.Semiconductor device
US11749686B2 (en)2010-02-052023-09-05Semiconductor Energy Laboratory Co., Ltd.Semiconductor device and method for manufacturing the same
US9391209B2 (en)2010-02-052016-07-12Semiconductor Energy Laboratory Co., Ltd.Semiconductor device
US9190413B2 (en)2010-02-052015-11-17Semiconductor Energy Laboratory Co., Ltd.Semiconductor device
US9269823B2 (en)2010-02-052016-02-23Semiconductor Energy Laboratory Co., Ltd.Semiconductor device and method for manufacturing semiconductor device
US12113074B2 (en)2010-02-052024-10-08Semiconductor Energy Laboratory Co., Ltd.Semiconductor device and method for manufacturing the same
US8514609B2 (en)2010-02-052013-08-20Semiconductor Energy Laboratory Co., Ltd.Semiconductor device and method of driving semiconductor device
US11101295B2 (en)2010-02-052021-08-24Semiconductor Energy Laboratory Co., Ltd.Semiconductor device and method for manufacturing the same
US10615179B2 (en)2010-02-052020-04-07Semiconductor Energy Laboratory Co., Ltd.Semiconductor device and method for manufacturing the same
US8436431B2 (en)2010-02-052013-05-07Semiconductor Energy Laboratory Co., Ltd.Semiconductor device including gate and three conductor electrodes
US11469255B2 (en)2010-02-052022-10-11Semiconductor Energy Laboratory Co., Ltd.Semiconductor device and method for manufacturing the same
US9007351B2 (en)2010-02-052015-04-14Semiconductor Energy Laboratory Co., Ltd.Display device
US9659653B2 (en)2010-02-052017-05-23Semiconductor Energy Laboratory Co., Ltd.Semiconductor device
US20110194332A1 (en)*2010-02-052011-08-11Semiconductor Energy Laboratory Co., Ltd.Semiconductor device
US8638322B2 (en)2010-02-052014-01-28Semiconductor Energy Laboratory Co., Ltd.Display device
US8878180B2 (en)2010-02-052014-11-04Semiconductor Energy Laboratory Co., Ltd.Semiconductor device and method for manufacturing the same
US20110194327A1 (en)*2010-02-052011-08-11Semiconductor Energy Laboratory Co., Ltd.Semiconductor device and method of driving semiconductor device
US8493766B2 (en)2010-02-052013-07-23Semiconductor Energy Laboratory Co., Ltd.Semiconductor device and method of driving semiconductor device
US8674354B2 (en)2010-02-052014-03-18Semiconductor Energy Laboratory Co., Ltd.Display device with an oxide semiconductor including a crystal region
US9728555B2 (en)2010-02-052017-08-08Semiconductor Energy Laboratory Co., Ltd.Semiconductor device and method for manufacturing the same
US8791529B2 (en)2010-02-052014-07-29Semiconductor Energy Laboratory Co., Ltd.Semiconductor device including gate and conductor electrodes
US20110198593A1 (en)*2010-02-052011-08-18Semiconductor Energy Laboratory Co., Ltd.Semiconductor device
US8385105B2 (en)2010-02-052013-02-26Semiconductor Energy Laboratory Co., Ltd.Semiconductor device
US9991288B2 (en)2010-02-052018-06-05Semiconductor Energy Laboratory Co., Ltd.Semiconductor device and method for manufacturing the same
US9793276B2 (en)2010-02-052017-10-17Semiconductor Energy Laboratory Co., Ltd.Semiconductor device having transistor and capacitor
US8274079B2 (en)2010-02-052012-09-25Semiconductor Energy Laboratory Co., Ltd.Semiconductor device comprising oxide semiconductor and method for manufacturing the same
US20110193077A1 (en)*2010-02-052011-08-11Semiconductor Energy Laboratory Co., Ltd.Semiconductor device and method for manufacturing the same
US9202923B2 (en)2010-02-052015-12-01Semiconductor Energy Laboratory Co., Ltd.Semiconductor device including oxide semiconductor
US8492853B2 (en)2010-02-102013-07-23Semiconductor Energy Laboratory Co., Ltd.Field effect transistor having conductor electrode in contact with semiconductor layer
US10007160B2 (en)2010-02-112018-06-26Semiconductor Energy Laboratory Co., Ltd.Display device
US10718986B2 (en)2010-02-112020-07-21Semiconductor Energy Laboratory Co., Ltd.Display device
US12416838B2 (en)2010-02-112025-09-16Semiconductor Energy Laboratory Co., Ltd.Display device
US20110193846A1 (en)*2010-02-112011-08-11Semiconductor Energy Laboratory Co., Ltd.Display device
US9798211B2 (en)2010-02-112017-10-24Semiconductor Energy Laboratory Co., Ltd.Display device
US11143925B2 (en)2010-02-112021-10-12Semiconductor Energy Laboratory Co., Ltd.Display device
US12007656B2 (en)2010-02-112024-06-11Semiconductor Energy Laboratory Co., Ltd.Display device
US11500254B2 (en)2010-02-112022-11-15Semiconductor Energy Laboratory Co., Ltd.Display device
US9465271B2 (en)2010-02-112016-10-11Semiconductor Energy Laboratory Co., Ltd.Display device
US8947337B2 (en)2010-02-112015-02-03Semiconductor Energy Laboratory Co., Ltd.Display device
US10157584B2 (en)2010-02-122018-12-18Semiconductor Energy Laboratory Co., Ltd.Display device and driving method
US10916573B2 (en)2010-02-122021-02-09Semiconductor Energy Laboratory Co., Ltd.Semiconductor device and driving method thereof
US20110199404A1 (en)*2010-02-122011-08-18Semiconductor Energy Laboratory Co., Ltd.Liquid crystal display device and electronic device
US9704446B2 (en)2010-02-122017-07-11Semiconductor Energy Laboratory Co., Ltd.Display device and driving method
US8586905B2 (en)2010-02-122013-11-19Semiconductor Energy Laboratory Co., Ltd.Semiconductor device and driving method thereof
US10032422B2 (en)2010-02-122018-07-24Semiconductor Energy Laboratory Co., Ltd.Display device and driving method
US8619104B2 (en)2010-02-122013-12-31Semiconductor Energy Laboratory Co., Ltd.Liquid crystal display device and electronic device
US9524993B2 (en)2010-02-122016-12-20Semiconductor Energy Laboratory Co., Ltd.Semiconductor device having a transistor with an oxide semiconductor layer between a first gate electrode and a second gate electrode
US20110199351A1 (en)*2010-02-122011-08-18Semiconductor Energy Laboratory Co., Ltd.Semiconductor device and display device including the same
US20110199364A1 (en)*2010-02-122011-08-18Semiconductor Energy Laboratory Co., Ltd.Display device and driving method
US8542004B2 (en)2010-02-122013-09-24Semiconductor Energy Laboratory Co., Ltd.Semiconductor device and driving method of the same
US9024248B2 (en)2010-02-122015-05-05Semiconductor Energy Laboratory Co., Ltd.Semiconductor device to include a first transistor with a silicon channel formation region and a second transistor with an oxide semiconductor channel formation region
US20110198483A1 (en)*2010-02-122011-08-18Semiconductor Energy Laboratory Co., Ltd.Semiconductor device and driving method thereof
US8653520B2 (en)2010-02-122014-02-18Semiconductor Energy Laboratory Co., Ltd.Semiconductor device and method for manufacturing the same
US8482974B2 (en)2010-02-122013-07-09Semiconductor Energy Laboratory Co., Ltd.Semiconductor memory device and method for driving the same
US20110198594A1 (en)*2010-02-122011-08-18Semiconductor Energy Laboratory Co., Ltd.Semiconductor Device and Manufacturing Method Thereof
US8610696B2 (en)2010-02-122013-12-17Semiconductor Energy Laboratory Co., Ltd.Semiconductor device and display device including the same
US8320162B2 (en)2010-02-122012-11-27Semiconductor Energy Laboratory Co., Ltd.Semiconductor device and driving method of the same
US8617920B2 (en)2010-02-122013-12-31Semiconductor Energy Laboratory Co., Ltd.Semiconductor device and manufacturing method thereof
US10535689B2 (en)2010-02-122020-01-14Semiconductor Energy Laboratory Co., Ltd.Semiconductor device and driving method thereof
US20110199816A1 (en)*2010-02-122011-08-18Semiconductor Energy Laboratory Co., Ltd.Semiconductor device and driving method of the same
US9337191B2 (en)2010-02-182016-05-10Semiconductor Energy Laboratory Co., Ltd.Display device and electronic device
US11170728B2 (en)2010-02-182021-11-09Semiconductor Energy Laboratory Co., Ltd.Display device and electronic device
US10586505B2 (en)2010-02-182020-03-10Semiconductor Energy Laboratory Co., Ltd.Display device and electronic device
US20110199365A1 (en)*2010-02-182011-08-18Semiconductor Energy Laboratory Co., Ltd.Pulse signal output circuit and shift register
US12100368B2 (en)2010-02-182024-09-24Semiconductor Energy Laboratory Co., Ltd.Display device and electronic device
US12424177B2 (en)2010-02-182025-09-23Semiconductor Energy Laboratory Co., Ltd.Display device and electronic device
US10153303B2 (en)2010-02-182018-12-11Semiconductor Energy Laboratory Co., Ltd.Display device and electronic device
US11455969B2 (en)2010-02-182022-09-27Semiconductor Energy Laboratory Co., Ltd.Display device and electronic device
US8605073B2 (en)2010-02-182013-12-10Semiconductor Energy Laboratory Co., Ltd.Pulse signal output circuit and shift register
US11769462B2 (en)2010-02-182023-09-26Semiconductor Energy Laboratory Co., Ltd.Display device and electronic device
US20110204968A1 (en)*2010-02-192011-08-25Semiconductor Energy Laboratory Co., Ltd.Demodulation circuit and rfid tag including the demodulation circuit
US9287258B2 (en)2010-02-192016-03-15Semiconductor Energy Laboratory Co., Ltd.Semiconductor device
US9484381B2 (en)2010-02-192016-11-01Semiconductor Energy Laboratory Co., Ltd.Display device and method for driving display device
US8541846B2 (en)2010-02-192013-09-24Semiconductor Energy Laboratory Co., Ltd.Semiconductor device
US8525585B2 (en)2010-02-192013-09-03Semiconductor Energy Laboratory Co., Ltd.Demodulation circuit and RFID tag including the demodulation circuit
US9564534B2 (en)2010-02-192017-02-07Semiconductor Energy Laboratory Co., Ltd.Transistor and display device using the same
US10424582B2 (en)2010-02-192019-09-24Semiconductor Energy Laboratory Co., Ltd.Semiconductor device
US20110205775A1 (en)*2010-02-192011-08-25Semiconductor Energy Laboratory Co., Ltd.Semiconductor device
US8976207B2 (en)2010-02-192015-03-10Semiconductor Energy Laboratory Co., Ltd.Liquid crystal display device and electronic device
US10020309B2 (en)2010-02-192018-07-10Semiconductor Energy Laboratory Co., Ltd.Semiconductor device
US8716712B2 (en)2010-02-192014-05-06Semiconductor Energy Laboratory Co., Ltd.Semiconductor device
US8441841B2 (en)2010-02-192013-05-14Semiconductor Energy Laboratory Co., Ltd.Semiconductor device and driving method of semiconductor device
US8593857B2 (en)2010-02-192013-11-26Semiconductor Energy Laboratory Co., Ltd.Semiconductor memory device, driving method thereof, and method for manufacturing semiconductor device
US8928644B2 (en)2010-02-192015-01-06Semiconductor Energy Laboratory Co., Ltd.Display device and method for driving display device
US8597992B2 (en)2010-02-192013-12-03Semiconductor Energy Laboratory Co., Ltd.Transistor and manufacturing method of the same
US9196648B2 (en)2010-02-192015-11-24Semiconductor Energy Laboratory Co., Ltd.Semiconductor device
US20110207269A1 (en)*2010-02-192011-08-25Semiconductor Energy Laboratory Co., Ltd.Transistor and manufacturing method of the same
US8481377B2 (en)2010-02-192013-07-09Semiconductor Energy Laboratory Co., Ltd.Method for manufacturing a semiconductor device with impurity doped oxide semiconductor
US8477158B2 (en)2010-02-192013-07-02Semiconductor Energy Laboratory Co., Ltd.Liquid crystal display device and electronic device
US9082858B2 (en)2010-02-192015-07-14Semiconductor Energy Laboratory Co., Ltd.Transistor including an oxide semiconductor and display device using the same
US20110204362A1 (en)*2010-02-192011-08-25Semiconductor Energy Laboratory Co., Ltd.Semiconductor device and method for manufacturing the same
US20110205209A1 (en)*2010-02-192011-08-25Semiconductor Energy Laboratory Co., Ltd.Display device and method for driving display device
US20110205774A1 (en)*2010-02-192011-08-25Semiconductor Energy Laboratory Co., Ltd.Semiconductor memory device, driving method thereof, and method for manufacturing semiconductor device
US8258862B2 (en)2010-02-192012-09-04Semiconductor Energy Laboratory Co., Ltd.Demodulation circuit and RFID tag including the demodulation circuit
US9088245B2 (en)2010-02-192015-07-21Semiconductor Energy Laboratory Co., Ltd.Demodulation circuit and RFID tag including the demodulation circuit
US8451651B2 (en)2010-02-192013-05-28Semiconductor Energy Laboratory Co., Ltd.Semiconductor device
US20110205254A1 (en)*2010-02-192011-08-25Semiconductor Energy Laboratory Co., Ltd.Liquid crystal display device and electronic device
US9799666B2 (en)2010-02-192017-10-24Semiconductor Energy Laboratory Co., Ltd.Semiconductor device
US20110204365A1 (en)*2010-02-192011-08-25Semiconductor Energy Laboratory Co., Ltd.Semiconductor device
US11749685B2 (en)2010-02-232023-09-05Semiconductor Energy Laboratory Co., Ltd.Display device, semiconductor device, and driving method thereof
US8599998B2 (en)2010-02-232013-12-03Semiconductor Energy Laboratory Co., Ltd.Display device, semiconductor device, and driving method thereof
US11222906B2 (en)2010-02-232022-01-11Semiconductor Energy Laboratory Co., Ltd.Display device, semiconductor device, and driving method thereof
US20110204928A1 (en)*2010-02-232011-08-25Semiconductor Energy Laboratory Co., Ltd.Display device, semiconductor device, and driving method thereof
US9927654B2 (en)2010-02-262018-03-27Semiconductor Energy Laboratory Co., Ltd.Semiconductor device and manufacturing method thereof
US8760442B2 (en)2010-02-262014-06-24Semiconductor Energy Laboratory Co., Ltd.Display device and E-book reader provided therewith
US9000438B2 (en)2010-02-262015-04-07Semiconductor Energy Laboratory Co., Ltd.Semiconductor device and manufacturing method thereof
US20110212605A1 (en)*2010-02-262011-09-01Semiconductor Energy Laboratory Co., Ltd.Method for manufacturing semiconductor element and deposition apparatus
US20110210339A1 (en)*2010-02-262011-09-01Semiconductor Energy Laboratory Co., Ltd.Semiconductor device
US20110210949A1 (en)*2010-02-262011-09-01Semiconductor Energy Laboratory Co., Ltd.Display device and e-book reader provided therewith
US10304696B2 (en)2010-02-262019-05-28Semiconductor Energy Laboratory Co., Ltd.Method for manufacturing semiconductor device
US8772160B2 (en)2010-02-262014-07-08Semiconductor Energy Laboratory Co., Ltd.Method for manufacturing semiconductor element and deposition apparatus
US9658506B2 (en)2010-02-262017-05-23Semiconductor Energy Laboratory Co., Ltd.Display device having an oxide semiconductor transistor
US12033867B2 (en)2010-02-262024-07-09Semiconductor Energy Laboratory Co., Ltd.Method for manufacturing semiconductor device
US11049733B2 (en)2010-02-262021-06-29Semiconductor Energy Laboratory Co., Ltd.Method for manufacturing semiconductor device
US20110210332A1 (en)*2010-02-262011-09-01Semiconductor Energy Laboratory Co., Ltd.Semiconductor device and manufacturing method thereof
US10128247B2 (en)2010-02-262018-11-13Semiconductor Energy Laboratory Co., Ltd.Semiconductor device having memory cell utilizing oxide semiconductor material
US9269571B2 (en)2010-02-262016-02-23Semiconductor Energy Laboratory Co., Ltd.Method for manufacturing semiconductor device
US20110212569A1 (en)*2010-02-262011-09-01Semiconductor Energy Laboratory Co., Ltd.Method for manufacturing semiconductor device
US8551824B2 (en)2010-02-262013-10-08Semiconductor Energy Laboratory Co., Ltd.Method for manufacturing semiconductor device
US20110212570A1 (en)*2010-02-262011-09-01Semiconductor Energy Laboratory Co., Ltd.Method for manufacturing semiconductor device
US11927862B2 (en)2010-02-262024-03-12Semiconductor Energy Laboratory Co., Ltd.Display device having an oxide semiconductor transistor
US8786588B2 (en)2010-02-262014-07-22Semiconductor Energy Laboratory Co., Ltd.Display device and driving method thereof
US8518755B2 (en)2010-02-262013-08-27Semiconductor Energy Laboratory Co., Ltd.Method for manufacturing semiconductor device
US20110210327A1 (en)*2010-02-262011-09-01Semiconductor Energy Laboratory Co., Ltd.Liquid crystal display device
US20110210957A1 (en)*2010-02-262011-09-01Semiconductor Energy Laboratory Co., Ltd.Display device and driving method thereof
US8502226B2 (en)2010-02-262013-08-06Semiconductor Energy Laboratory Co., Ltd.Liquid crystal display device
US11682562B2 (en)2010-02-262023-06-20Semiconductor Energy Laboratory Co., Ltd.Method for manufacturing semiconductor device
US10539845B2 (en)2010-02-262020-01-21Semiconductor Energy Laboratory Co., Ltd.Display device having an oxide semiconductor transistor
US9048325B2 (en)2010-02-262015-06-02Semiconductor Energy Laboratory Co., Ltd.Display device having an oxide semiconductor transistor
US8653513B2 (en)2010-02-262014-02-18Semiconductor Energy Laboratory Co., Ltd.Semiconductor device with sidewall insulating layer
US9613964B2 (en)2010-02-262017-04-04Semiconductor Energy Laboratory Co., Ltd.Semiconductor device including a memory cell
US10983407B2 (en)2010-02-262021-04-20Semiconductor Energy Laboratory Co., Ltd.Display device having an oxide semiconductor transistor
US9911625B2 (en)2010-02-262018-03-06Semiconductor Energy Laboratory Co., Ltd.Method for manufacturing semiconductor device
US20110216876A1 (en)*2010-03-022011-09-08Semiconductor Energy Laboratory Co., Ltd.Pulse signal output circuit and shift register
US8442183B2 (en)2010-03-022013-05-14Semiconductor Energy Laboratory Co., Ltd.Pulse signal output circuit and shift register
US11942170B2 (en)2010-03-022024-03-26Semiconductor Energy Laboratory Co., Ltd.Pulse signal output circuit and shift register
US8923471B2 (en)2010-03-022014-12-30Semiconductor Energy Laboratory Co., Ltd.Pulse signal output circuit and shift register
US20110216875A1 (en)*2010-03-022011-09-08Semiconductor Energy Laboratory Co., Ltd.Pulse signal output circuit and shift register
US9154035B2 (en)2010-03-022015-10-06Semiconductor Energy Laboratory Co., Ltd.Boosting circuit and RFID tag including boosting circuit
US11348653B2 (en)2010-03-022022-05-31Semiconductor Energy Laboratory Co., Ltd.Pulse signal output circuit and shift register
US8693617B2 (en)2010-03-022014-04-08Semiconductor Energy Laboratory Co., Ltd.Pulse signal output circuit and shift register
US8369478B2 (en)2010-03-022013-02-05Semiconductor Energy Laboratory Co., Ltd.Pulse signal output circuit and shift register
US8320516B2 (en)2010-03-022012-11-27Semiconductor Energy Laboratory Co., Ltd.Pulse signal output circuit and shift register
US10340021B2 (en)2010-03-022019-07-02Semiconductor Energy Laboratory Co., Ltd.Pulse signal output circuit and shift register
US8982589B2 (en)2010-03-022015-03-17Semiconductor Energy Laboratory Co., Ltd.Boosting circuit and RFID tag including boosting circuit
US8576978B2 (en)2010-03-022013-11-05Semiconductor Energy Laboratory Co., Ltd.Pulse signal output circuit and shift register
US9396812B2 (en)2010-03-022016-07-19Semiconductor Energy Laboratory Co., Ltd.Pulse signal output circuit and shift register
US8437165B2 (en)2010-03-042013-05-07Semiconductor Energy Laboratory Co., Ltd.Semiconductor memory device and semiconductor device
US20110216571A1 (en)*2010-03-042011-09-08Semiconductor Energy Laboratory Co., Ltd.Semiconductor memory device and semiconductor device
US20110216566A1 (en)*2010-03-052011-09-08Semiconductor Energy Laboratory Co., Ltd.Semiconductor device and method for manufacturing semiconductor device
US9673335B2 (en)2010-03-052017-06-06Semiconductor Energy Laboratory Co., Ltd.Rectifier circuit including transistor whose channel formation region includes oxide semiconductor
US20110217815A1 (en)*2010-03-052011-09-08Semiconductor Energy Laboratory Co., Ltd.Manufacturing method of oxide semiconductor film and manufacturing method of transistor
US20170040181A1 (en)2010-03-052017-02-09Semiconductor Energy Laboratory Co., Ltd.Semiconductor device and manufacturing method thereof
US9496404B2 (en)2010-03-052016-11-15Semiconductor Energy Laboratory Co., Ltd.Semiconductor device and manufacturing method thereof
US10388538B2 (en)2010-03-052019-08-20Semiconductor Energy Laboratory Co., Ltd.Semiconductor device and manufacturing method thereof
US8703531B2 (en)2010-03-052014-04-22Semiconductor Energy Laboratory Co., Ltd.Manufacturing method of oxide semiconductor film and manufacturing method of transistor
US20110215325A1 (en)*2010-03-052011-09-08Semiconductor Energy Laboratory Co., Ltd.Method for manufacturing semiconductor device
US20110215331A1 (en)*2010-03-052011-09-08Semiconductor Energy Laboratory Co., Ltd.Semiconductor device and manufacturing method thereof
US20110215323A1 (en)*2010-03-082011-09-08Semiconductor Energy Laboratory Co., Ltd.Semiconductor device and manufacturing method thereof
US20110216043A1 (en)*2010-03-082011-09-08Semiconductor Energy Laboratory Co., Ltd.Electronic device and electronic system
US20110215861A1 (en)*2010-03-082011-09-08Semiconductor Energy Laboratory Co., Ltd.Semiconductor device and driving method thereof
US20110215326A1 (en)*2010-03-082011-09-08Semiconductor Energy Laboratory Co., Ltd.Semiconductor device and method for manufacturing semiconductor device
US10535691B2 (en)2010-03-082020-01-14Semiconductor Energy Laboratory Co., Ltd.Semiconductor device and manufacturing method thereof
US8530944B2 (en)2010-03-082013-09-10Semiconductor Energy Laboratory Co., Ltd.Semiconductor device
US12364037B2 (en)2010-03-082025-07-15Semiconductor Energy Laboratory Co., Ltd.Semiconductor device and manufacturing method thereof
US10749033B2 (en)2010-03-082020-08-18Semiconductor Energy Laboratory Co., Ltd.Semiconductor device and method for manufacturing semiconductor device
US8976155B2 (en)2010-03-082015-03-10Semiconductor Energy Laboratory Co., Ltd.Semiconductor device and driving method thereof
US9852108B2 (en)2010-03-082017-12-26Semiconductor Energy Laboratory Co., Ltd.Processor including first transistor and second transistor
US9306073B2 (en)2010-03-082016-04-05Semiconductor Energy Laboratory Co., Ltd.Semiconductor device and method for manufacturing semiconductor device
US9261998B2 (en)2010-03-082016-02-16Semiconductor Energy Laboratory Co., Ltd.Electronic device and electronic system
US11710751B2 (en)2010-03-082023-07-25Semiconductor Energy Laboratory Co., Ltd.Semiconductor device and manufacturing method thereof
US9153619B2 (en)2010-03-082015-10-06Semiconductor Energy Laboratory Co., Ltd.Semiconductor device and manufacturing method thereof
US20110215317A1 (en)*2010-03-082011-09-08Semiconductor Energy Laboratory Co., Ltd.Semiconductor device and method for manufacturing semiconductor device
US20110216023A1 (en)*2010-03-082011-09-08Semiconductor Energy Laboratory Co., Ltd.Electronic device and electronic system
US9111836B2 (en)2010-03-082015-08-18Semiconductor Energy Laboratory Co., Ltd.Semiconductor device and driving method thereof
US8664653B2 (en)2010-03-082014-03-04Semiconductor Energy Laboratory Co., Ltd.Semiconductor device and method for manufacturing semiconductor device
US11139327B2 (en)2010-03-082021-10-05Semiconductor Energy Laboratory Co., Ltd.Semiconductor device and manufacturing method thereof
US9515107B2 (en)2010-03-082016-12-06Semiconductor Energy Laboratory Co., Ltd.Semiconductor device and manufacturing method thereof
US9257567B2 (en)2010-03-082016-02-09Semiconductor Energy Laboratory Co., Ltd.Semiconductor device and manufacturing method thereof
US8654231B2 (en)2010-03-082014-02-18Semiconductor Energy Laboratory Co., Ltd.Semiconductor device and manufacturing method thereof
US20110215385A1 (en)*2010-03-082011-09-08Semiconductor Energy Laboratory Co., Ltd.Semiconductor device
US8680679B2 (en)2010-03-082014-03-25Semiconductor Energy Laboratory Co., Ltd.Semiconductor device and method for manufacturing semiconductor device
US8964085B2 (en)2010-03-082015-02-24Semiconductor Energy Laboratory Co., Ltd.Semiconductor device and manufacturing method thereof
US20110220891A1 (en)*2010-03-122011-09-15Semiconductor Energy Laboratory Co., Ltd.Semiconductor device and method for manufacturing the same
US8900362B2 (en)2010-03-122014-12-02Semiconductor Energy Laboratory Co., Ltd.Manufacturing method of gallium oxide single crystal
US8766338B2 (en)2010-03-122014-07-01Semiconductor Energy Laboratory Co., Ltd.Semiconductor device including photosensor and transistor having oxide semiconductor
US20110220889A1 (en)*2010-03-122011-09-15Semiconductor Energy Laboratory Co., Ltd.Semiconductor device
US20110221704A1 (en)*2010-03-122011-09-15Semiconductor Energy Laboratory Co., Ltd.Method for driving input circuit and method for driving input-output device
US20110220011A1 (en)*2010-03-122011-09-15Semiconductor Energy Laboratory Co., Ltd.Manufacturing method of gallium oxide single crystal
US9772702B2 (en)2010-03-122017-09-26Semiconductor Energy Laboratory Co., Ltd.Driving method of display device
US20110221723A1 (en)*2010-03-122011-09-15Semiconductor Energy Laboratory Co., Ltd.Driving method of display device
US9917109B2 (en)2010-03-122018-03-13Semiconductor Energy Laboratory Co., Ltd.Semiconductor device
US9985069B2 (en)2010-03-122018-05-29Semiconductor Energy Laboratory Co., Ltd.Semiconductor device
US9066035B2 (en)2010-03-122015-06-23Semiconductor Energy Laboratory Co., Ltd.Semiconductor device including photosensor and transistor having oxide semiconductor active layer
US9971440B2 (en)2010-03-122018-05-15Semiconductor Energy Laboratory Co., Ltd.Method for driving circuit and method for driving display device
US20110228602A1 (en)*2010-03-172011-09-22Semiconductor Energy Laboratory Co., Ltd.Memory device and semiconductor device
US8711623B2 (en)2010-03-172014-04-29Semicondoctor Energy Laboratory Co., Ltd.Memory device and semiconductor device
US8422298B2 (en)2010-03-172013-04-16Semiconductor Energy Laboratory Co., Ltd.Memory device and semiconductor device
US8598648B2 (en)2010-03-192013-12-03Semiconductor Energy Laboratory Co., Ltd.Semiconductor device and driving method of semiconductor device
US8563973B2 (en)2010-03-192013-10-22Semiconductor Energy Laboratory Co., Ltd.Semiconductor device
US20110227082A1 (en)*2010-03-192011-09-22Semiconductor Energy Laboratory Co., Ltd.Semiconductor device
US8946709B2 (en)2010-03-192015-02-03Semiconductor Energy Laboratory Co., Ltd.Semiconductor device
US20110227074A1 (en)*2010-03-192011-09-22Semiconductor Energy Laboratory Co., Ltd.Semiconductor device
US9230970B2 (en)2010-03-192016-01-05Semiconductor Energy Laboratory Co., LtdSemiconductor device
US8487303B2 (en)2010-03-192013-07-16Semiconductor Energy Laboratory Co., Ltd.Semiconductor memory device
US9601633B2 (en)2010-03-192017-03-21Semiconductor Energy Laboratory Co., Ltd.Semiconductor device
US9142549B2 (en)2010-03-192015-09-22Semiconductor Energy Laboratory Co., Ltd.Semiconductor memory device
US20110228584A1 (en)*2010-03-192011-09-22Semiconductor Energy Laboratory Co., Ltd.Semiconductor memory device
US20110227062A1 (en)*2010-03-192011-09-22Semiconductor Energy Laboratory Co., Ltd.Semiconductor device and driving method of semiconductor device
US20110235389A1 (en)*2010-03-252011-09-29Semiconductor Energy Laboratory Co., Ltd.Semiconductor device
US8472235B2 (en)2010-03-252013-06-25Semiconductor Energy Laboratory Co., Ltd.Semiconductor device
US9012908B2 (en)2010-03-262015-04-21Semiconductor Energy Laboratory Co., Ltd.Semiconductor device with metal oxide film
US9040980B2 (en)2010-03-262015-05-26Semiconductor Energy Laboratory Co., Ltd.Transistor with an oxide semiconductor layer
US20110233555A1 (en)*2010-03-262011-09-29Semiconductor Energy Laboratory Co., Ltd.Semiconductor device
US20110237025A1 (en)*2010-03-262011-09-29Semiconductor Energy Laboratory Co., Ltd.Method for manufacturing semiconductor device
US8461584B2 (en)2010-03-262013-06-11Semiconductor Energy Laboratory Co., Ltd.Semiconductor device with metal oxide film
US8551810B2 (en)2010-03-262013-10-08Semiconductor Energy Laboratory Co., Ltd.Method for manufacturing semiconductor device
US9064898B2 (en)2010-03-262015-06-23Semiconductor Energy Laboratory Co., Ltd.Method for manufacturing semiconductor device
US20110233542A1 (en)*2010-03-262011-09-29Semiconductor Energy Laboratory Co., Ltd.Method for manufacturing semiconductor device
US9425295B2 (en)2010-03-262016-08-23Semiconductor Energy Laboratory Co., Ltd.Method for manufacturing semiconductor device
US9406786B2 (en)2010-03-262016-08-02Semiconductor Energy Laboratory Co., Ltd.Method for manufacturing semiconductor device
US20110233540A1 (en)*2010-03-262011-09-29Semiconductor Energy Laboratory Co., Ltd.Method for manufacturing semiconductor device
US8704219B2 (en)2010-03-262014-04-22Semiconductor Energy Laboratory Co., Ltd.Method for manufacturing semiconductor device
US9941414B2 (en)2010-03-262018-04-10Semiconductor Energy Laboratory Co., Ltd.Metal oxide semiconductor device
US9954084B2 (en)2010-03-262018-04-24Semiconductor Energy Laboratory Co., Ltd.Method for manufacturing semiconductor device
US20110233541A1 (en)*2010-03-262011-09-29Semiconductor Energy Laboratory Co., Ltd.Method for manufacturing semiconductor device
US8581818B2 (en)2010-03-312013-11-12Semiconductor Energy Laboratory Co., Ltd.Liquid crystal display device and method for driving the same
US10043424B2 (en)2010-03-312018-08-07Semiconductor Energy Laboratory Co., Ltd.Method for manufacturing a display device having an oxide semiconductor switching transistor
US8519990B2 (en)2010-03-312013-08-27Semiconductor Energy Laboratory Co., Ltd.Semiconductor display device
US9646521B2 (en)2010-03-312017-05-09Semiconductor Energy Laboratory Co., Ltd.Driving method of liquid crystal display device
US9203478B2 (en)2010-03-312015-12-01Semiconductor Energy Laboratory Co., Ltd.Power supply device and driving method thereof
US8941127B2 (en)2010-03-312015-01-27Semiconductor Energy Laboratory Co., Ltd.Field-sequential display device
US9059295B2 (en)2010-04-022015-06-16Semiconductor Energy Laboratory Co., Ltd.Thin film transistor having an oxide semiconductor and metal oxide films
US9190522B2 (en)2010-04-022015-11-17Semiconductor Energy Laboratory Co., Ltd.Semiconductor device having an oxide semiconductor
US8502221B2 (en)2010-04-022013-08-06Semiconductor Energy Laboratory Co., Ltd.Semiconductor device with two metal oxide films and an oxide semiconductor film
US9196739B2 (en)2010-04-022015-11-24Semiconductor Energy Laboratory Co., Ltd.Semiconductor device including oxide semiconductor film and metal oxide film
US9318613B2 (en)2010-04-022016-04-19Semiconductor Energy Laboratory Co., Ltd.Transistor having two metal oxide films and an oxide semiconductor film
US12119406B2 (en)2010-04-022024-10-15Semiconductor Energy Laboratory Co., Ltd.Semiconductor device
US10714626B2 (en)2010-04-022020-07-14Semiconductor Energy Laboratory Co., Ltd.Semiconductor device
US9147768B2 (en)2010-04-022015-09-29Semiconductor Energy Laboratory Co., Ltd.Semiconductor device having an oxide semiconductor and a metal oxide film
US9793412B2 (en)2010-04-022017-10-17Semiconductor Energy Laboratory Co., Ltd.Semiconductor device
US11380800B2 (en)2010-04-022022-07-05Semiconductor Energy Laboratory Co., Ltd.Semiconductor device
US11411121B2 (en)2010-04-022022-08-09Semiconductor Energy Laboratory Co., Ltd.Semiconductor device
US9842937B2 (en)2010-04-022017-12-12Semiconductor Energy Laboratory Co., Ltd.Semiconductor device having an oxide semiconductor film and a metal oxide film
US12249653B2 (en)2010-04-022025-03-11Semiconductor Energy Laboratory Co., Ltd.Semiconductor device
US8884282B2 (en)2010-04-022014-11-11Semiconductor Energy Laboratory Co., Ltd.Semiconductor device
US10608116B2 (en)2010-04-022020-03-31Semiconductor Energy Laboratory Co., Ltd.Semiconductor device
US9401407B2 (en)2010-04-072016-07-26Semiconductor Energy Laboratory Co., Ltd.Transistor
US8472231B2 (en)2010-04-072013-06-25Semiconductor Energy Laboratory Co., Ltd.Semiconductor memory device
US8207025B2 (en)2010-04-092012-06-26Semiconductor Energy Laboratory Co., Ltd.Manufacturing method of semiconductor device
US9768199B2 (en)2010-04-092017-09-19Semiconductor Energy Laboratory Co., Ltd.Semiconductor device
US8659013B2 (en)2010-04-092014-02-25Semiconductor Energy Laboratory Co., Ltd.Semiconductor device
US10008515B2 (en)2010-04-092018-06-26Semiconductor Energy Laboratory Co., Ltd.Semiconductor device
US9059047B2 (en)2010-04-092015-06-16Semiconductor Energy Laboratory Co., Ltd.Semiconductor device
US9076877B2 (en)2010-04-092015-07-07Semiconductor Energy Laboratory Co., Ltd.Semiconductor device and method for manufacturing the same
US8750022B2 (en)2010-04-092014-06-10Semiconductor Energy Laboratory Co., Ltd.Semiconductor memory device and semiconductor device
US8823754B2 (en)2010-04-092014-09-02Semiconductor Energy Laboratory Co., Ltd.Liquid crystal display device and method for driving the same
US10879274B2 (en)2010-04-092020-12-29Semiconductor Energy Laboratory Co., Ltd.Semiconductor device
US8441868B2 (en)2010-04-092013-05-14Semiconductor Energy Laboratory Co., Ltd.Semiconductor memory having a read circuit
US8431449B2 (en)2010-04-092013-04-30Semiconductor Energy Laboratory Co., Ltd.Manufacturing method of semiconductor device
US8653514B2 (en)2010-04-092014-02-18Semiconductor Energy Laboratory Co., Ltd.Semiconductor device and method for manufacturing the same
US9431429B2 (en)2010-04-092016-08-30Semiconductor Energy Laboratory Co., Ltd.Semiconductor device
US10510777B2 (en)2010-04-092019-12-17Semiconductor Energy Laboratory Co., Ltd.Semiconductor device
US9368090B2 (en)2010-04-092016-06-14Semiconductor Energy Laboratory Co., Ltd.Liquid crystal display device and method for driving the same
US9135877B2 (en)2010-04-092015-09-15Semiconductor Energy Laboratory Co., Ltd.Liquid crystal display device and method for driving the same
US9006732B2 (en)2010-04-092015-04-14Semiconductor Energy Laboratory Co., Ltd.Manufacturing method of semiconductor device
US9496416B2 (en)2010-04-092016-11-15Semiconductor Energy Laboratory Co., Ltd.Semiconductor device and method for manufacturing the same
US8854583B2 (en)2010-04-122014-10-07Semiconductor Energy Laboratory Co., Ltd.Semiconductor device and liquid crystal display device
US8711312B2 (en)2010-04-122014-04-29Semiconductor Energy Laboratory Co., Ltd.Liquid crystal display device
US8552712B2 (en)2010-04-162013-10-08Semiconductor Energy Laboratory Co., Ltd.Current measurement method, inspection method of semiconductor device, semiconductor device, and test element group
US8411480B2 (en)2010-04-162013-04-02Semiconductor Energy Laboratory Co., Ltd.Semiconductor device
US9006046B2 (en)2010-04-162015-04-14Semiconductor Energy Laboratory Co., Ltd.Deposition method and method for manufacturing semiconductor device
US9698008B2 (en)2010-04-162017-07-04Semiconductor Energy Laboratory Co., Ltd.Deposition method and method for manufacturing semiconductor device
US8518761B2 (en)2010-04-162013-08-27Semiconductor Energy Laboratory Co., Ltd.Deposition method and method for manufacturing semiconductor device
US10529556B2 (en)2010-04-162020-01-07Semiconductor Energy Laboratory Co., Ltd.Deposition method and method for manufacturing semiconductor device
US9178419B2 (en)2010-04-162015-11-03Semiconductor Energy Laboratory Co., Ltd.Power source circuit including transistor with oxide semiconductor
US8692243B2 (en)2010-04-202014-04-08Semiconductor Energy Laboratory Co., Ltd.Semiconductor device and method for manufacturing the same
US9147754B2 (en)2010-04-232015-09-29Semiconductor Energy Laboratory Co., Ltd.Method for manufacturing semiconductor device
US8895377B2 (en)2010-04-232014-11-25Semiconductor Energy Laboratory Co., Ltd.Method for manufacturing semiconductor device
US8945982B2 (en)2010-04-232015-02-03Semiconductor Energy Laboratory Co., Ltd.Manufacturing method of semiconductor device
US9245983B2 (en)2010-04-232016-01-26Semiconductor Energy Laboratory Co., Ltd.Method for manufacturing semiconductor device
US8865534B2 (en)2010-04-232014-10-21Semiconductor Energy Laboratory Co., Ltd.Method for manufacturing semiconductor device
US9799298B2 (en)2010-04-232017-10-24Semiconductor Energy Laboratory Co., Ltd.Liquid crystal display device and driving method thereof
US8828811B2 (en)2010-04-232014-09-09Semiconductor Energy Laboratory Co., Ltd.Manufacturing method of semiconductor device comprising steps of forming oxide semiconductor film, performing heat treatment on the oxide semiconductor film, and performing oxygen doping treatment on the oxide semiconductor film after the heat treatment
US8461007B2 (en)2010-04-232013-06-11Semiconductor Energy Laboratory Co., Ltd.Method for manufacturing semiconductor device
US9202877B2 (en)2010-04-232015-12-01Semiconductor Energy Laboratory Co., Ltd.Method for manufacturing semiconductor device
US8530289B2 (en)2010-04-232013-09-10Semiconductor Energy Laboratory Co., Ltd.Method for manufacturing semiconductor device
US9812533B2 (en)2010-04-232017-11-07Semiconductor Energy Laboratory Co., Ltd.Method for manufacturing semiconductor device
US9099499B2 (en)2010-04-232015-08-04Semiconductor Energy Laboratory Co., Ltd.Method for manufacturing semiconductor device
US9390918B2 (en)2010-04-232016-07-12Semiconductor Energy Laboratory Co., Ltd.Manufacturing method of semiconductor device
US8546225B2 (en)2010-04-232013-10-01Semiconductor Energy Laboratory Co., Ltd.Method for manufacturing semiconductor device
US9978878B2 (en)2010-04-232018-05-22Semiconductor Energy Laboratory Co., Ltd.Manufacturing method of semiconductor device
US9537043B2 (en)2010-04-232017-01-03Semiconductor Energy Laboratory Co., Ltd.Photoelectric conversion device and manufacturing method thereof
US8669148B2 (en)2010-04-232014-03-11Semiconductor Energy Laboratory Co., Ltd.Method for manufacturing semiconductor device
US8605477B2 (en)2010-04-272013-12-10Semiconductor Energy Laboratory Co., Ltd.Semiconductor memory device
US10013087B2 (en)2010-04-282018-07-03Semiconductor Energy Laboratory Co., Ltd.Semiconductor display device and driving method the same
US10871841B2 (en)2010-04-282020-12-22Semiconductor Energy Laboratory Co., Ltd.Semiconductor display device and driving method the same
US11392232B2 (en)2010-04-282022-07-19Semiconductor Energy Laboratory Co., Ltd.Semiconductor display device and driving method the same
US8790960B2 (en)2010-04-282014-07-29Semiconductor Energy Laboratory Co., Ltd.Method for manufacturing semiconductor device
US9697788B2 (en)2010-04-282017-07-04Semiconductor Energy Laboratory Co., Ltd.Liquid crystal display device
US9019320B2 (en)2010-04-282015-04-28Semiconductor Energy Laboratory Co., Ltd.Liquid crystal display device and electronic appliance
US9218081B2 (en)2010-04-282015-12-22Semiconductor Energy Laboratory Co., Ltd.Semiconductor display device and driving method the same
US9349325B2 (en)2010-04-282016-05-24Semiconductor Energy Laboratory Co., Ltd.Liquid crystal display device and electronic device
US8890555B2 (en)2010-04-282014-11-18Semiconductor Energy Laboratory Co., Ltd.Method for measuring transistor
US10068533B2 (en)2010-04-282018-09-04Semiconductor Energy Laboratory Co., Ltd.Liquid crystal display device and electronic device
US11983342B2 (en)2010-04-282024-05-14Semiconductor Energy Laboratory Co., Ltd.Semiconductor display device and driving method the same
US9449852B2 (en)2010-04-282016-09-20Semiconductor Energy Laboratory Co., Ltd.Method for manufacturing semiconductor device
US9478185B2 (en)2010-05-122016-10-25Semiconductor Energy Laboratory Co., Ltd.Electro-optical display device and display method thereof
US9064473B2 (en)2010-05-122015-06-23Semiconductor Energy Laboratory Co., Ltd.Electro-optical display device and display method thereof
US8686750B2 (en)2010-05-132014-04-01Semiconductor Energy Laboratory Co., Ltd.Method for evaluating semiconductor device
US8809851B2 (en)2010-05-142014-08-19Semiconductor Energy Laboratory Co., Ltd.Semiconductor device
US8440510B2 (en)2010-05-142013-05-14Semiconductor Energy Laboratory Co., Ltd.Method for manufacturing semiconductor device
US8406038B2 (en)2010-05-142013-03-26Semiconductor Energy Laboratory Co., Ltd.Semiconductor device
US9007813B2 (en)2010-05-142015-04-14Semiconductor Energy Laboratory Co., Ltd.Semiconductor device
US8664658B2 (en)2010-05-142014-03-04Semiconductor Energy Laboratory Co., Ltd.Semiconductor device
US10468531B2 (en)2010-05-202019-11-05Semiconductor Energy Laboratory Co., Ltd.Semiconductor device and manufacturing method of the same
US10037808B2 (en)2010-05-202018-07-31Semiconductor Energy Laboratory Co., Ltd.Semiconductor device and method for driving semiconductor device
US8588000B2 (en)2010-05-202013-11-19Semiconductor Energy Laboratory Co., Ltd.Semiconductor memory device having a reading transistor with a back-gate electrode
US9490368B2 (en)2010-05-202016-11-08Semiconductor Energy Laboratory Co., Ltd.Semiconductor device and manufacturing method of the same
US9734914B2 (en)2010-05-202017-08-15Semiconductor Energy Laboratory Co., Ltd.Method for driving a semiconductor device having a reading transistor coupled to an oxide semiconductor writing transistor
US9496405B2 (en)2010-05-202016-11-15Semiconductor Energy Laboratory Co., Ltd.Method for manufacturing semiconductor device including step of adding cation to oxide semiconductor layer
US8416622B2 (en)2010-05-202013-04-09Semiconductor Energy Laboratory Co., Ltd.Driving method of a semiconductor device with an inverted period having a negative potential applied to a gate of an oxide semiconductor transistor
US8624239B2 (en)2010-05-202014-01-07Semiconductor Energy Laboratory Co., Ltd.Semiconductor device
US9780229B2 (en)2010-05-202017-10-03Semiconductor Energy Laboratory Co., Ltd.Method for manufacturing semiconductor device
US8525304B2 (en)2010-05-212013-09-03Semiconductor Energy Laboratory Co., Ltd.Semiconductor device
US9601602B2 (en)2010-05-212017-03-21Semiconductor Energy Laboratory Co., Ltd.Semiconductor device and manufacturing method thereof
US8928645B2 (en)2010-05-212015-01-06Semiconductor Energy Laboratory Co., Ltd.Liquid crystal display device
US8816662B2 (en)2010-05-212014-08-26Semiconductor Energy Laboratory Co., Ltd.DC-DC converter, semiconductor device and display device
US9275875B2 (en)2010-05-212016-03-01Semiconductor Energy Laboratory Co., LtdMethod for manufacturing semiconductor device
US8665403B2 (en)2010-05-212014-03-04Semiconductor Energy Laboratory Co., Ltd.Liquid crystal display device
US9425045B2 (en)2010-05-212016-08-23Semiconductor Energy Laboratory Co., Ltd.Semiconductor device including oxide semiconductor and manufacturing method thereof
US9842939B2 (en)2010-05-212017-12-12Semiconductor Energy Laboratory Co., Ltd.Semiconductor device
US8999811B2 (en)2010-05-212015-04-07Semiconductor Energy Laboratory Co., Ltd.Semiconductor device
US9209206B2 (en)2010-05-212015-12-08Semiconductor Energy Laboratory Co., Ltd.Pulse converter circuit
US8629438B2 (en)2010-05-212014-01-14Semiconductor Energy Laboratory Co., Ltd.Semiconductor device and manufacturing method thereof
US9396939B2 (en)2010-05-212016-07-19Semiconductor Energy Laboratory Co., Ltd.Semiconductor device
US9299723B2 (en)2010-05-212016-03-29Semiconductor Energy Laboratory Co., Ltd.Semiconductor device with light-blocking layers
US9142648B2 (en)*2010-05-212015-09-22Semiconductor Energy Laboratory Co., Ltd.Semiconductor device and manufacturing method thereof
US9263589B2 (en)2010-05-212016-02-16Semiconductor Energy Laboratory Co., Ltd.Semiconductor device
US9787294B2 (en)2010-05-212017-10-10Semiconductor Energy Laboratory Co., Ltd.Pulse converter circuit
US8853684B2 (en)2010-05-212014-10-07Semiconductor Energy Laboratory Co., Ltd.Semiconductor device
US8906756B2 (en)2010-05-212014-12-09Semiconductor Energy Laboratory Co., Ltd.Method for manufacturing semiconductor device
US9793801B2 (en)2010-05-212017-10-17Semiconductor Energy Laboratory Co., Ltd.Semiconductor device and display device
US20140113408A1 (en)*2010-05-212014-04-24Semiconductor Energy Laboratory Co., Ltd.Semiconductor device and manufacturing method thereof
US8941790B2 (en)2010-05-212015-01-27Semiconductor Energy Laboratory Co., Ltd.Liquid crystal display device
US8476719B2 (en)2010-05-212013-07-02Semiconductor Energy Laboratory Co., Ltd.Semiconductor device and method of manufacturing the same
US9443988B2 (en)2010-05-212016-09-13Semiconductor Energy Laboratory Co., Ltd.Semiconductor device
US9577108B2 (en)2010-05-212017-02-21Semiconductor Energy Laboratory Co., Ltd.Semiconductor device
US10186603B2 (en)2010-05-212019-01-22Semiconductor Energy Laboratory Co., Ltd.Manufacturing method of semiconductor device including oxygen doping treatment
US9846515B2 (en)2010-05-282017-12-19Semiconductor Energy Laboratory Co., Ltd.Photodetector and display device with light guide configured to face photodetector circuit and reflect light from a source
US8772701B2 (en)2010-05-282014-07-08Semiconductor Energy Laboratory Co., Ltd.Photodetector and display device with light guide configured to face photodetector circuit and reflect light from a source
US8895375B2 (en)2010-06-012014-11-25Semiconductor Energy Laboratory Co., Ltd.Field effect transistor and method for manufacturing the same
US9812560B2 (en)2010-06-012017-11-07Semiconductor Energy Laboratory Co., Ltd.Field effect transistor and method for manufacturing the same
US10074663B2 (en)2010-06-042018-09-11Semiconductor Energy Laboratory Co., Ltd.Semiconductor device
US8569753B2 (en)2010-06-042013-10-29Semiconductor Energy Laboratory Co., Ltd.Storage device comprising semiconductor elements
US8884283B2 (en)2010-06-042014-11-11Semiconductor Energy Laboratory Co., LtdMemory semiconductor device having aligned side surfaces
US8779433B2 (en)2010-06-042014-07-15Semiconductor Energy Laboratory Co., Ltd.Semiconductor device
US9461067B2 (en)2010-06-042016-10-04Semiconductor Energy Laboratory Co., Ltd.Semiconductor device
US9064884B2 (en)2010-06-042015-06-23Semiconductor Energy Laboratory Co., Ltd.Semiconductor device having aligned side surfaces
US8710762B2 (en)2010-06-102014-04-29Semiconductor Energy Laboratory Co., Ltd.DC/DC converter, power supply circuit, and semiconductor device
US9543835B2 (en)2010-06-102017-01-10Semiconductor Energy Laboratory Co., Ltd.DC/DC converter, power supply circuit, and semiconductor device
US9276129B2 (en)2010-06-112016-03-01Semiconductor Energy Laboratory Co., Ltd.Semiconductor device in which oxygen deficiency in semiconductor is reduced and method for manufacturing the same
US9046482B2 (en)2010-06-112015-06-02Semiconductor Energy Laboratory Co., Ltd.Gas sensor and method for manufacturing the gas sensor
US9755082B2 (en)2010-06-112017-09-05Semiconductor Energy Laboratory Co., Ltd.Semiconductor device including oxide semiconductor with an insulating film including galliium and oxygen
US8884294B2 (en)2010-06-112014-11-11Semiconductor Energy Laboratory Co., Ltd.Semiconductor device and method for manufacturing the same
US8610180B2 (en)2010-06-112013-12-17Semiconductor Energy Laboratory Co., Ltd.Gas sensor and method for manufacturing the gas sensor
US9209314B2 (en)2010-06-162015-12-08Semiconductor Energy Laboratory Co., Ltd.Field effect transistor
US9281412B2 (en)2010-06-162016-03-08Semiconductor Energy Laboratory Co., Ltd.Field effect transistor
US9489088B2 (en)2010-06-162016-11-08Semiconductor Energy Laboratory Co., Ltd.Input-output device and method for driving input-output device
US9390667B2 (en)2010-06-162016-07-12Semiconductor Energy Laboratory Co., Ltd.Method for driving input-output device, and input-output device
US9911866B2 (en)2010-06-162018-03-06Semiconductor Energy Laboratory Co., Ltd.Field effect transistor
US9472683B2 (en)2010-06-162016-10-18Semiconductor Energy Laboratory Co., Ltd.Field effect transistor
US9142569B2 (en)2010-06-182015-09-22Semiconductor Energy Laboratory Co., Ltd.Photosensor, semiconductor device including photosensor, and light measurement method using photosensor
US8552425B2 (en)2010-06-182013-10-08Semiconductor Energy Laboratory Co., Ltd.Semiconductor device
US9590112B2 (en)2010-06-182017-03-07Semiconductor Energy Laboratory Co., Ltd.Semiconductor device
US8637802B2 (en)2010-06-182014-01-28Semiconductor Energy Laboratory Co., Ltd.Photosensor, semiconductor device including photosensor, and light measurement method using photosensor
US9947799B2 (en)2010-06-182018-04-17Semiconductor Energy Laboratory Co., Ltd.Semiconductor device
US9685561B2 (en)2010-06-182017-06-20Semiconductor Energy Laboratories Co., Ltd.Method for manufacturing a semiconductor device
US8906737B2 (en)2010-06-182014-12-09Semiconductor Energy Laboratory Co., Ltd.Method for manufacturing semiconductor device
US9349820B2 (en)2010-06-182016-05-24Semiconductor Energy Laboratory Co., Ltd.Method for manufacturing semiconductor device
US8916865B2 (en)2010-06-182014-12-23Semiconductor Energy Laboratory Co., Ltd.Semiconductor device
US9252103B2 (en)2010-06-182016-02-02Semiconductor Energy Laboratory Co., Ltd.Method for manufacturing semiconductor device
US9076876B2 (en)2010-06-182015-07-07Semiconductor Energy Laboratory Co., Ltd.Semiconductor device
US8619470B2 (en)2010-06-232013-12-31Semiconductor Energy Laboratory Co., Ltd.Semiconductor memory device with long data holding period
US8895976B2 (en)2010-06-252014-11-25Semiconductor Energy Laboratory Co., Ltd.Transistor and semiconductor device
US9633722B2 (en)2010-06-252017-04-25Semiconductor Energy Laboratory Co., Ltd.Semiconductor device and method for driving the same
US9748401B2 (en)2010-06-252017-08-29Semiconductor Energy Laboratory Co., Ltd.Transistor and semiconductor device
US8912016B2 (en)2010-06-252014-12-16Semiconductor Energy Laboratory Co., Ltd.Manufacturing method and test method of semiconductor device
US9583576B2 (en)2010-06-252017-02-28Semiconductor Energy Laboratory Co., Ltd.Semiconductor device and method for driving the same
US11551751B2 (en)2010-06-252023-01-10Semiconductor Energy Laboratory Co., Ltd.Semiconductor device and method for driving the same
US9136188B2 (en)2010-06-252015-09-15Semiconductor Energy Laboratory Co., Ltd.Manufacturing method and test method of semiconductor device
US10726913B2 (en)2010-06-252020-07-28Semiconductor Energy Laboratory Co., Ltd.Semiconductor device and method for driving the same
US8630127B2 (en)2010-06-252014-01-14Semiconductor Energy Laboratory Co., Ltd.Semiconductor device and method for driving the same
US9437454B2 (en)2010-06-292016-09-06Semiconductor Energy Laboratory Co., Ltd.Wiring board, semiconductor device, and manufacturing methods thereof
US9875910B2 (en)2010-06-292018-01-23Semiconductor Energy Laboratory Co., Ltd.Wiring board, semiconductor device, and manufacturing methods thereof
US8637354B2 (en)2010-06-302014-01-28Semiconductor Energy Laboratory Co., Ltd.Semiconductor device and manufacturing method thereof
US8441010B2 (en)2010-07-012013-05-14Semiconductor Energy Laboratory Co., Ltd.Semiconductor device
US10008169B2 (en)2010-07-012018-06-26Semiconductor Energy Laboratory Co., Ltd.Driving method of liquid crystal display device
US9473714B2 (en)2010-07-012016-10-18Semiconductor Energy Laboratory Co., Ltd.Solid-state imaging device and semiconductor display device
US9734780B2 (en)2010-07-012017-08-15Semiconductor Energy Laboratory Co., Ltd.Driving method of liquid crystal display device
US8878173B2 (en)2010-07-022014-11-04Semiconductor Energy Laboratory Co., Ltd.Semiconductor device including oxide semiconductor and metal oxide
US9449991B2 (en)2010-07-022016-09-20Semiconductor Energy Laboratory Co., Ltd.Semiconductor device having circular light-blocking layer
US11289031B2 (en)2010-07-022022-03-29Semiconductor Energy Laboratory Co., Ltd.Liquid crystal display device
US8502772B2 (en)2010-07-022013-08-06Semiconductor Energy Laboratory Co., Ltd.Driving method of input/output device
US9275858B2 (en)2010-07-022016-03-01Semiconductor Energy Laboratory Co., Ltd.Semiconductor device and manufacturing method thereof
US12160999B2 (en)2010-07-022024-12-03Semiconductor Energy Laboratory Co., Ltd.Semiconductor device
US10943547B2 (en)2010-07-022021-03-09Semiconductor Energy Laboratory Co., Ltd.Liquid crystal display device
US8605059B2 (en)2010-07-022013-12-10Semiconductor Energy Laboratory Co., Ltd.Input/output device and driving method thereof
US8642380B2 (en)2010-07-022014-02-04Semiconductor Energy Laboratory Co., Ltd.Manufacturing method of semiconductor device
US9780093B2 (en)2010-07-022017-10-03Semiconductor Energy Laboratory Co., Ltd.Semiconductor device
US8766252B2 (en)2010-07-022014-07-01Semiconductor Energy Laboratory Co., Ltd.Semiconductor device comprising an oxide semiconductor
US11233055B2 (en)2010-07-022022-01-25Semiconductor Energy Laboratory Co., Ltd.Semiconductor device
US9293104B2 (en)2010-07-022016-03-22Semiconductor Energy Laboratory Co., Ltd.Liquid crystal display device
US9837544B2 (en)2010-07-022017-12-05Semiconductor Energy Laboratory Co., Ltd.Semiconductor device having an oxide semiconductor layer
US10319723B2 (en)2010-07-022019-06-11Semiconductor Energy Laboratory Co., Ltd.Semiconductor device
US9336739B2 (en)2010-07-022016-05-10Semiconductor Energy Laboratory Co., Ltd.Liquid crystal display device
US9224339B2 (en)2010-07-022015-12-29Semiconductor Energy Laboratory Co., Ltd.Liquid crystal display device
US8378403B2 (en)2010-07-022013-02-19Semiconductor Energy LaboratorySemiconductor device
US8637865B2 (en)2010-07-022014-01-28Semiconductor Energy Laboratory Co., Ltd.Semiconductor device
US8461586B2 (en)2010-07-162013-06-11Semiconductor Energy Laboratory Co., Ltd.Semiconductor device
US8785241B2 (en)2010-07-162014-07-22Semiconductor Energy Laboratory Co., Ltd.Semiconductor device and manufacturing method thereof
US8576636B2 (en)2010-07-162013-11-05Semiconductor Energy Laboratory Co., Ltd.Semiconductor device
US9640642B2 (en)2010-07-162017-05-02Semiconductor Energy Laboratory Co., Ltd.Semiconductor device and manufacturing method thereof
US9379136B2 (en)2010-07-162016-06-28Semiconductor Energy Laboratory Co., Ltd.Semiconductor device and manufacturing method thereof
US9837513B2 (en)2010-07-162017-12-05Semicinductor Energy Laboratory Co., Ltd.Semiconductor device and manufacturing method thereof
US8502292B2 (en)2010-07-162013-08-06Semiconductor Energy Laboratory Co., Ltd.Semiconductor device with memory cells
US8847326B2 (en)2010-07-162014-09-30Semiconductor Energy Laboratory Co., Ltd.Semiconductor device
US8975115B2 (en)2010-07-262015-03-10Semiconductor Energy Laboratory Co., Ltd.Semiconductor device and method for manufacturing the same
US8519387B2 (en)2010-07-262013-08-27Semiconductor Energy Laboratory Co., Ltd.Semiconductor device and method for manufacturing
US8637348B2 (en)2010-07-262014-01-28Semiconductor Energy Laboratory Co., Ltd.Semiconductor device and method for manufacturing the same
US10522689B2 (en)2010-07-272019-12-31Semiconductor Energy Laboratory Co., Ltd.Semiconductor device and method of manufacturing the same
US8357963B2 (en)2010-07-272013-01-22Semiconductor Energy Laboratory Co., Ltd.Semiconductor device
US8748889B2 (en)2010-07-272014-06-10Semiconductor Energy Laboratory Co., Ltd.Semiconductor device and method of manufacturing the same
US9666720B2 (en)2010-07-272017-05-30Semiconductor Energy Laboratory Co., Ltd.Semiconductor device and method of manufacturing the same
US8432730B2 (en)2010-07-282013-04-30Semiconductor Energy Laboratory Co., Ltd.Semiconductor device and method for driving the same
US8614910B2 (en)2010-07-292013-12-24Semiconductor Energy Laboratory Co., Ltd.Semiconductor device and method for driving the same
US9559211B2 (en)2010-07-302017-01-31Semiconductor Energy Laboratory Co., Ltd.Semiconductor device and manufacturing method thereof
US8928466B2 (en)2010-08-042015-01-06Semiconductor Energy Laboratory Co., Ltd.Semiconductor device
US8675394B2 (en)2010-08-042014-03-18Semiconductor Energy Laboratory Co., Ltd.Semiconductor memory device with oxide semiconductor transistor
US8537600B2 (en)2010-08-042013-09-17Semiconductor Energy Laboratory Co., Ltd.Low off-state leakage current semiconductor memory device
US8778729B2 (en)2010-08-052014-07-15Semiconductor Energy Laboratory Co., Ltd.Manufacturing method of semiconductor device
US8547771B2 (en)2010-08-062013-10-01Semiconductor Energy Laboratory Co., Ltd.Semiconductor integrated circuit
US8531870B2 (en)2010-08-062013-09-10Semiconductor Energy Laboratory Co., Ltd.Semiconductor device and driving method of semiconductor device
US8890859B2 (en)2010-08-062014-11-18Semiconductor Energy Laboratory Co., Ltd.Liquid crystal display device and driving method of the same
US8803164B2 (en)2010-08-062014-08-12Semiconductor Energy Laboratory Co., Ltd.Solid-state image sensing device and semiconductor display device
US8542528B2 (en)2010-08-062013-09-24Semiconductor Energy Laboratory Co., Ltd.Semiconductor device and method for driving semiconductor device
US9299813B2 (en)2010-08-062016-03-29Semiconductor Energy Laboratory Co., Ltd.Semiconductor device and driving method thereof
US10020330B2 (en)2010-08-062018-07-10Semiconductor Energy Laboratory Co., Ltd.Solid-state image sensing device and semiconductor display device
US9525051B2 (en)2010-08-062016-12-20Semiconductor Energy Laboratory Co., Ltd.Semiconductor device and driving method thereof
US11177792B2 (en)2010-08-062021-11-16Semiconductor Energy Laboratory Co., Ltd.Power supply semiconductor integrated memory control circuit
US9263473B2 (en)2010-08-062016-02-16Semiconductor Energy Laboratory Co., Ltd.Oxide semiconductor memory device
US8995174B2 (en)2010-08-062015-03-31Semiconductor Energy Laboratory Co., Ltd.Semiconductor integrated circuit
US8614916B2 (en)2010-08-062013-12-24Semiconductor Energy Laboratory Co., Ltd.Semiconductor device and driving method thereof
US8582348B2 (en)2010-08-062013-11-12Semiconductor Energy Laboratory Co., Ltd.Semiconductor device and method for driving semiconductor device
US8467231B2 (en)2010-08-062013-06-18Semiconductor Energy Laboratory Co., Ltd.Semiconductor device and driving method thereof
US8837232B2 (en)2010-08-062014-09-16Semiconductor Energy Laboratory Co., Ltd.Semiconductor device
US9443880B2 (en)2010-08-062016-09-13Semiconductor Energy Laboratory Co., Ltd.Semiconductor device
US8792284B2 (en)2010-08-062014-07-29Semiconductor Energy Laboratory Co., Ltd.Oxide semiconductor memory device
US9123432B2 (en)2010-08-062015-09-01Semiconductor Energy Laboratory Co., Ltd.Semiconductor device and method for driving semiconductor device
US8692823B2 (en)2010-08-062014-04-08Semiconductor Energy Laboratory Co., Ltd.Liquid crystal display device and driving method of the same
US8467232B2 (en)2010-08-062013-06-18Semiconductor Energy Laboratory Co., Ltd.Semiconductor device
US8422272B2 (en)2010-08-062013-04-16Semiconductor Energy Laboratory Co., Ltd.Semiconductor device and driving method thereof
US8488394B2 (en)2010-08-062013-07-16Semiconductor Energy Laboratory Co., Ltd.Semiconductor device
US12021530B2 (en)2010-08-062024-06-25Semiconductor Energy Laboratory Co., Ltd.Semiconductor integrated circuit
US12273109B2 (en)2010-08-062025-04-08Semiconductor Energy Laboratory Co., Ltd.Semiconductor integrated circuit
US11677384B2 (en)2010-08-062023-06-13Semiconductor Energy Laboratory Co., Ltd.Semiconductor integrated circuit with semiconductor layer having indium, zinc, and oxygen
US9825037B2 (en)2010-08-062017-11-21Semiconductor Energy Laboratory Co., Ltd.Semiconductor device and driving method thereof
US8902640B2 (en)2010-08-062014-12-02Semiconductor Energy Laboratory Co., Ltd.Semiconductor device and driving method thereof
US9286966B2 (en)2010-08-162016-03-15Semiconductor Energy Laboratory Co., Ltd.Method for driving semiconductor memory device
US9129703B2 (en)2010-08-162015-09-08Semiconductor Energy Laboratory Co., Ltd.Method for driving semiconductor memory device
US9135880B2 (en)2010-08-162015-09-15Semiconductor Energy Laboratory Co., Ltd.Control circuit of liquid crystal display device, liquid crystal display device, and electronic device including liquid crystal display device
US9793383B2 (en)2010-08-162017-10-17Semiconductor Energy Laboratory Co., Ltd.Manufacturing method of semiconductor device
US9287390B2 (en)2010-08-162016-03-15Semiconductor Energy Laboratory Co., Ltd.Manufacturing method of semiconductor device
US8748224B2 (en)2010-08-162014-06-10Semiconductor Energy Laboratory Co., Ltd.Manufacturing method of semiconductor device
US9343480B2 (en)2010-08-162016-05-17Semiconductor Energy Laboratory Co., Ltd.Semiconductor device
US8823082B2 (en)2010-08-192014-09-02Semiconductor Energy Laboratory Co., Ltd.Semiconductor device
US8759820B2 (en)2010-08-202014-06-24Semiconductor Energy Laboratory Co., Ltd.Semiconductor device
US9245959B2 (en)2010-08-252016-01-26Semiconductor Energy Laboratory Co., Ltd.Manufacturing method of semiconductor device
US8508276B2 (en)2010-08-252013-08-13Semiconductor Energy Laboratory Co., Ltd.Semiconductor device including latch circuit
US8685787B2 (en)2010-08-252014-04-01Semiconductor Energy Laboratory Co., Ltd.Manufacturing method of semiconductor device
US8883555B2 (en)2010-08-252014-11-11Semiconductor Energy Laboratory Co., Ltd.Electronic device, manufacturing method of electronic device, and sputtering target
US9640668B2 (en)2010-08-252017-05-02Semiconductor Energy Laboratory Co., Ltd.Electronic device, manufacturing method of electronic device, and sputtering target
US9779937B2 (en)2010-08-252017-10-03Semiconductor Energy Laboratory Co., Ltd.Manufacturing method of semiconductor device
US9424921B2 (en)2010-08-262016-08-23Semiconductor Energy Laboratory Co., Ltd.Signal processing circuit and method for driving the same
US9058047B2 (en)2010-08-262015-06-16Semiconductor Energy Laboratory Co., Ltd.Semiconductor device
US8582349B2 (en)2010-08-262013-11-12Semiconductor Energy Laboratory Co., Ltd.Semiconductor device
US8787073B2 (en)2010-08-262014-07-22Semiconductor Energy Laboratory Co., Ltd.Signal processing circuit and method for driving the same
US9449706B2 (en)2010-08-272016-09-20Semiconductor Energy Laboratory Co., Ltd.Driving method for a semiconductor device with an oxide semiconductor layer between two gate electrodes
US8592261B2 (en)2010-08-272013-11-26Semiconductor Energy Laboratory Co., Ltd.Method for designing semiconductor device
US8928053B2 (en)2010-08-272015-01-06Semiconductor Energy Laboratory Co., Ltd.Input/output device
US8628987B2 (en)2010-08-272014-01-14Semiconductor Energy Laboratory Co., Ltd.Manufacturing methods of thin film transistor, liquid crystal display device, and semiconductor device
US8450123B2 (en)2010-08-272013-05-28Semiconductor Energy Laboratory Co., Ltd.Oxygen diffusion evaluation method of oxide film stacked body
US8737109B2 (en)2010-08-272014-05-27Semiconductor Energy Laboratory Co., Ltd.Memory device and semiconductor device
US8952728B2 (en)2010-08-272015-02-10Semiconductor Energy Laboratory Co., Ltd.Semiconductor device and method of driving semiconductor device
US10297322B2 (en)2010-08-272019-05-21Semiconductor Energy Laboratory Co., Ltd.Memory device with a driving circuit comprising transistors each having two gate electrodes and an oxide semiconductor layer
US8603841B2 (en)2010-08-272013-12-10Semiconductor Energy Laboratory Co., Ltd.Manufacturing methods of semiconductor device and light-emitting display device
US8593858B2 (en)2010-08-312013-11-26Semiconductor Energy Laboratory Co., Ltd.Driving method of semiconductor device
US8634228B2 (en)2010-09-022014-01-21Semiconductor Energy Laboratory Co., Ltd.Driving method of semiconductor device
US8575610B2 (en)2010-09-022013-11-05Semiconductor Energy Laboratory Co., Ltd.Semiconductor device and method for driving the same
US9410239B2 (en)2010-09-032016-08-09Semiconductor Energy Laboratory Co., Ltd.Sputtering target and method for manufacturing semiconductor device
US8835214B2 (en)2010-09-032014-09-16Semiconductor Energy Laboratory Co., Ltd.Sputtering target and method for manufacturing semiconductor device
US9331210B2 (en)2010-09-032016-05-03Semiconductor Energy Laboratory Co., Ltd.Field effect transistor and method for manufacturing semiconductor device
US9355844B2 (en)2010-09-032016-05-31Semiconductor Energy Laboratory Co., Ltd.Method for manufacturing semiconductor device
US9425199B2 (en)2010-09-032016-08-23Semiconductor Energy Laboratory Co., Ltd.Field effect transistor and method for manufacturing semiconductor device
US8728860B2 (en)2010-09-032014-05-20Semiconductor Energy Laboratory Co., Ltd.Method for manufacturing semiconductor device
US8980686B2 (en)2010-09-032015-03-17Semiconductor Energy Laboratory Co., Ltd.Sputtering target and method for manufacturing semiconductor device
US8508967B2 (en)2010-09-032013-08-13Semiconductor Energy Laboratory Co., Ltd.Semiconductor device and driving method of semiconductor device
US10269563B2 (en)2010-09-032019-04-23Semiconductor Energy Laboratory Co., Ltd.Method for manufacturing semiconductor device
US9704960B2 (en)2010-09-032017-07-11Semiconductor Energy Laboratory Co., Ltd.Field effect transistor and method for manufacturing semiconductor device
US8487844B2 (en)2010-09-082013-07-16Semiconductor Energy Laboratory Co., Ltd.EL display device and electronic device including the same
US8674972B2 (en)2010-09-082014-03-18Semiconductor Energy Laboratory Co., Ltd.Semiconductor device
US8520426B2 (en)2010-09-082013-08-27Semiconductor Energy Laboratory Co., Ltd.Method for driving semiconductor device
US8797487B2 (en)2010-09-102014-08-05Semiconductor Energy Laboratory Co., Ltd.Transistor, liquid crystal display device, and manufacturing method thereof
US9490350B2 (en)2010-09-102016-11-08Semiconductor Energy Laboratory Co., Ltd.Transistor, liquid crystal display device, and manufacturing method thereof
US11189642B2 (en)2010-09-102021-11-30Semiconductor Energy Laboratory Co., Ltd.Semiconductor device and light-emitting device
US8766253B2 (en)2010-09-102014-07-01Semiconductor Energy Laboratory Co., Ltd.Semiconductor device
US11043509B2 (en)2010-09-102021-06-22Semiconductor Energy Laboratory Co., Ltd.Transistor, liquid crystal display device, and manufacturing method thereof
US8902209B2 (en)2010-09-102014-12-02Semiconductor Energy Laboatory Co., Ltd.Display device
US12040331B2 (en)2010-09-102024-07-16Semiconductor Energy Laboratory Co., Ltd.Transistor, liquid crystal display device, and manufacturing method thereof
US9240425B2 (en)2010-09-102016-01-19Semiconductor Energy Laboratory Co., Ltd.Method for manufacturing light-emitting display device
US9142568B2 (en)2010-09-102015-09-22Semiconductor Energy Laboratory Co., Ltd.Method for manufacturing light-emitting display device
US10170500B2 (en)2010-09-102019-01-01Semiconductor Energy Laboratory Co., Ltd.Transistor, liquid crystal display device, and manufacturing method thereof
US8835917B2 (en)2010-09-132014-09-16Semiconductor Energy Laboratory Co., Ltd.Semiconductor device, power diode, and rectifier
US8546161B2 (en)2010-09-132013-10-01Semiconductor Energy Laboratory Co., Ltd.Manufacturing method of thin film transistor and liquid crystal display device
US9343584B2 (en)2010-09-132016-05-17Semiconductor Energy Laboratory Co., Ltd.Semiconductor device and method for manufacturing the same
US9462260B2 (en)2010-09-132016-10-04Semiconductor Energy Laboratory Co., Ltd.Display device
US9685562B2 (en)2010-09-132017-06-20Semiconductor Energy Laboratory Co., Ltd.Semiconductor device, power diode, and rectifier
US8592879B2 (en)2010-09-132013-11-26Semiconductor Energy Laboratory Co., Ltd.Method for manufacturing semiconductor device
US9042161B2 (en)2010-09-132015-05-26Semiconductor Energy Laboratory Co., Ltd.Memory device
US10910499B2 (en)2010-09-132021-02-02Semiconductor Energy Laboratory Co., Ltd.Semiconductor device, power diode, and rectifier
US10453846B2 (en)2010-09-132019-10-22Semiconductor Energy Laboratory Co., Ltd.Semiconductor device
US8644048B2 (en)2010-09-132014-02-04Semiconductor Energy Laboratory Co., Ltd.Semiconductor device
US9040396B2 (en)2010-09-132015-05-26Semiconductor Energy Laboratory Co., Ltd.Manufacturing method of semiconductor device
US11417688B2 (en)2010-09-132022-08-16Semiconductor Energy Laboratory Co., Ltd.Liquid crystal display device and method for manufacturing the same
US8969144B2 (en)2010-09-132015-03-03Semiconductor Energy Laboratory Co., Ltd.Method for manufacturing semiconductor device
US12094982B2 (en)2010-09-132024-09-17Semiconductor Energy Laboratory Co., Ltd.Semiconductor device, power diode, and rectifier
US9324877B2 (en)2010-09-132016-04-26Semiconductor Energy Laboratory Co., Ltd.Semiconductor device, power diode, and rectifier
US11682678B2 (en)2010-09-132023-06-20Semiconductor Energy Laboratory Co., Ltd.Liquid crystal display device and method for manufacturing the same
US8647919B2 (en)2010-09-132014-02-11Semiconductor Energy Laboratory Co., Ltd.Light-emitting display device and method for manufacturing the same
US9546416B2 (en)2010-09-132017-01-17Semiconductor Energy Laboratory Co., Ltd.Method of forming crystalline oxide semiconductor film
US10586869B2 (en)2010-09-132020-03-10Semiconductor Energy Laboratory Co., Ltd.Method for manufacturing semiconductor device
US8750023B2 (en)2010-09-132014-06-10Semiconductor Energy Laboratory Co., Ltd.Semiconductor memory device
US8884470B2 (en)2010-09-132014-11-11Semiconductor Energy Laboratory Co., Ltd.Semiconductor device
US8901552B2 (en)2010-09-132014-12-02Semiconductor Energy Laboratory Co., Ltd.Top gate thin film transistor with multiple oxide semiconductor layers
US12199107B2 (en)2010-09-132025-01-14Semiconductor Energy Laboratory Co., Ltd.Liquid crystal display device and method for manufacturing the same
US9117919B2 (en)2010-09-132015-08-25Semiconductor Energy Laboratory Co., Ltd.Semiconductor device and method for manufacturing the same
US8871565B2 (en)2010-09-132014-10-28Semiconductor Energy Laboratory Co., Ltd.Method for manufacturing semiconductor device
US8664097B2 (en)2010-09-132014-03-04Semiconductor Energy Laboratory Co., Ltd.Manufacturing method of semiconductor device
US8767442B2 (en)2010-09-132014-07-01Semiconductor Energy Laboratory Co., Ltd.Semiconductor device including memory cell array
US9252248B2 (en)2010-09-132016-02-02Semiconductor Energy Laboratory Co., Ltd.Manufacturing method of semiconductor device comprising oxide semiconductor layer
US8558960B2 (en)2010-09-132013-10-15Semiconductor Energy Laboratory Co., Ltd.Liquid crystal display device and method for manufacturing the same
US9105668B2 (en)2010-09-132015-08-11Semiconductor Energy Laboratory Co., Ltd.Method for manufacturing semiconductor device
US9263116B2 (en)2010-09-132016-02-16Semiconductor Energy Laboratory Co., Ltd.Memory device
US11715800B2 (en)2010-09-132023-08-01Semiconductor Energy Laboratory Co., Ltd.Semiconductor device, power diode, and rectifier
US8912544B2 (en)2010-09-132014-12-16Semiconductor Energy Laboratory Co., Ltd.Light-emitting display device and method for manufacturing the same
US9305944B2 (en)2010-09-132016-04-05Semiconductor Energy Laboratory Co., Ltd.Liquid crystal display device and method for manufacturing the same
US9917112B2 (en)2010-09-132018-03-13Semiconductor Energy Laboratory Co., Ltd.Liquid crystal display device and method for manufacturing the same
US11024655B2 (en)2010-09-132021-06-01Semiconductor Energy Laboratory Co., Ltd.Liquid crystal display device and method for manufacturing the same
US9496743B2 (en)2010-09-132016-11-15Semiconductor Energy Laboratory Co., Ltd.Power receiving device and wireless power feed system
US10615283B2 (en)2010-09-132020-04-07Semiconductor Energy Laboratory Co., Ltd.Semiconductor device, power diode, and rectifier
US10522572B2 (en)2010-09-132019-12-31Semiconductor Energy Laboratory Co., Ltd.Liquid crystal display device and method for manufacturing the same
US12040042B2 (en)2010-09-142024-07-16Semiconductor Energy Laboratory Co., Ltd.Semiconductor device including transistor
US10236033B2 (en)2010-09-142019-03-19Semiconductor Energy Laboratory Co., Ltd.Memory device and semiconductor device
US10665270B2 (en)2010-09-142020-05-26Semiconductor Energy Laboratory Co., Ltd.Memory device comprising stacked memory cell
US9299393B2 (en)2010-09-142016-03-29Semiconductor Energy Laboratory Co., Ltd.Memory device and semiconductor device
US11568902B2 (en)2010-09-142023-01-31Semiconductor Energy Laboratory Co., Ltd.Semiconductor device including transistors with different channel-formation materials
US9007812B2 (en)2010-09-142015-04-14Semiconductor Energy Laboratory Co., Ltd.Memory device comprising a cell array overlapping a driver circuit
US9230994B2 (en)2010-09-152016-01-05Semiconductor Energy Laboratory Co., Ltd.Liquid crystal display device
US9368053B2 (en)2010-09-152016-06-14Semiconductor Energy Laboratory Co., Ltd.Display device
US8884302B2 (en)2010-09-152014-11-11Semiconductor Energy Laboratory Co., Ltd.Display device
US8953112B2 (en)2010-09-152015-02-10Semiconductor Energy Laboratory Co., Ltd.Liquid crystal display device
US8405092B2 (en)2010-09-152013-03-26Semiconductor Energy Laboratory Co., Ltd.Display device
US8610120B2 (en)2010-09-152013-12-17Semiconductor Energy Laboratory Co., Ltd.Liquid crystal display device and manufacturing method thereof
US8767443B2 (en)2010-09-222014-07-01Semiconductor Energy Laboratory Co., Ltd.Semiconductor memory device and method for inspecting the same
US8994003B2 (en)2010-09-222015-03-31Semiconductor Energy Laboratory Co., Ltd.Power-insulated-gate field-effect transistor
US8792260B2 (en)2010-09-272014-07-29Semiconductor Energy Laboratory Co., Ltd.Rectifier circuit and semiconductor device using the same
US9384816B2 (en)2010-09-292016-07-05Semiconductor Energy Laboratory Co., Ltd.Semiconductor memory device and method for driving the same
US8837202B2 (en)2010-09-292014-09-16Semiconductor Energy Laboratory Co., Ltd.Semiconductor memory device and method for driving the same
US9825042B2 (en)2010-09-292017-11-21Semiconductor Energy Laboratory Co., Ltd.Semiconductor memory device and method for driving the same
US8553447B2 (en)2010-10-052013-10-08Semiconductor Energy Laboratory Co., Ltd.Semiconductor memory device and driving method thereof
US9437743B2 (en)2010-10-072016-09-06Semiconductor Energy Laboratory Co., Ltd.Thin film element, semiconductor device, and method for manufacturing the same
US9917197B2 (en)2010-10-072018-03-13Semiconductor Energy Laboratory Co., Ltd.Thin film element, semiconductor device, and method for manufacturing the same
US8716646B2 (en)2010-10-082014-05-06Semiconductor Energy Laboratory Co., Ltd.Photoelectric conversion device and method for operating the same
US9276124B2 (en)2010-10-142016-03-01Semiconductor Energy Laboratory Co., Ltd.Method for manufacturing semiconductor device with sidewall
US8679986B2 (en)2010-10-142014-03-25Semiconductor Energy Laboratory Co., Ltd.Method for manufacturing display device
US9397224B2 (en)2010-10-202016-07-19Semiconductor Energy Laboratory Co., Ltd.Semiconductor device
US8546892B2 (en)2010-10-202013-10-01Semiconductor Energy Laboratory Co., Ltd.Semiconductor device and method for manufacturing semiconductor device
US8803143B2 (en)2010-10-202014-08-12Semiconductor Energy Laboratory Co., Ltd.Thin film transistor including buffer layers with high resistivity
US8599604B2 (en)2010-10-252013-12-03Semiconductor Energy Laboratory Co., Ltd.Semiconductor memory device and driving method thereof
US9680029B2 (en)2010-10-292017-06-13Semiconductor Energy Laboratory Co., Ltd.Semiconductor memory device
US9263451B2 (en)2010-10-292016-02-16Semiconductor Energy Laboratory Co., Ltd.Storage device including memory cell using transistor having oxide semiconductor and amplifier circuit
US10038099B2 (en)2010-10-292018-07-31Semiconductor Energy Laboratory Co., Ltd.Semiconductor memory device
US8466740B2 (en)2010-10-292013-06-18Semiconductor Energy Laboratory Co., Ltd.Receiving circuit, LSI chip, and storage medium
US8871304B2 (en)2010-11-022014-10-28Ube Industries, Ltd.(Amide amino alkane) metal compound, method of manufacturing metal-containing thin film using said metal compound
US8916866B2 (en)2010-11-032014-12-23Semiconductor Energy Laboratory Co., Ltd.Semiconductor device
US9054205B2 (en)2010-11-052015-06-09Semiconductor Energy Laboratory Co., Ltd.Semiconductor device and manufacturing method thereof
US9461047B2 (en)2010-11-052016-10-04Semiconductor Energy Laboratory Co., Ltd.Semiconductor device
US8569754B2 (en)2010-11-052013-10-29Semiconductor Energy Laboratory Co., Ltd.Semiconductor device and manufacturing method thereof
US9087744B2 (en)2010-11-052015-07-21Semiconductor Energy Laboratory Co., Ltd.Semiconductor device and method for driving transistor
US9070329B2 (en)2010-11-052015-06-30Semiconductor Energy Laboratory Co., Ltd.Method for driving the gate lines of a display device to eliminate deterioration
US8896046B2 (en)2010-11-052014-11-25Semiconductor Energy Laboratory Co., Ltd.Semiconductor device
US9299851B2 (en)2010-11-052016-03-29Semiconductor Energy Laboratory Co., Ltd.Semiconductor device and method for manufacturing the same
US10170598B2 (en)2010-11-052019-01-01Semiconductor Energy Laboratory Co., Ltd.Semiconductor device and method for manufacturing the same
US8604476B2 (en)2010-11-052013-12-10Semiconductor Energy Laboratory Co., Ltd.Semiconductor device including memory cell
US8754839B2 (en)2010-11-052014-06-17Semiconductor Energy Laboratory Co., Ltd.Method for driving display device
US8957468B2 (en)2010-11-052015-02-17Semiconductor Energy Laboratory Co., Ltd.Variable capacitor and liquid crystal display device
US8902637B2 (en)2010-11-082014-12-02Semiconductor Energy Laboratory Co., Ltd.Semiconductor memory device comprising inverting amplifier circuit and driving method thereof
US11631756B2 (en)2010-11-112023-04-18Semiconductor Energy Laboratory Co., Ltd.Semiconductor device and method for manufacturing the same
US10811522B2 (en)2010-11-112020-10-20Semiconductor Energy Laboratory Co., Ltd.Semiconductor device and method for manufacturing the same
US9673305B2 (en)2010-11-112017-06-06Semiconductor Energy Laboratory Co., Ltd.Semiconductor device and method for manufacturing the same
US10153360B2 (en)2010-11-112018-12-11Semiconductor Energy Laboratory Co., Ltd.Semiconductor device and method for manufacturing the same
US8802515B2 (en)2010-11-112014-08-12Semiconductor Energy Laboratory Co., Ltd.Semiconductor device and method for manufacturing the same
US9460772B2 (en)2010-11-122016-10-04Semiconductor Energy Laboratory Co., Ltd.Semiconductor device
US8797785B2 (en)2010-11-122014-08-05Semiconductor Energy Laboratory Co., Ltd.Semiconductor device
US9786670B2 (en)2010-11-242017-10-10Semiconductor Energy Laboratory Co., Ltd.Semiconductor memory device
US8854865B2 (en)2010-11-242014-10-07Semiconductor Energy Laboratory Co., Ltd.Semiconductor memory device
US9218870B2 (en)2010-11-242015-12-22Semiconductor Energy Laboratory Co., Ltd.Semiconductor memory device
US8936965B2 (en)2010-11-262015-01-20Semiconductor Energy Laboratory Co., Ltd.Semiconductor device and manufacturing method thereof
US8823092B2 (en)2010-11-302014-09-02Semiconductor Energy Laboratory Co., Ltd.Semiconductor device and manufacturing method thereof
US8809852B2 (en)2010-11-302014-08-19Semiconductor Energy Laboratory Co., Ltd.Semiconductor film, semiconductor element, semiconductor device, and method for manufacturing the same
US9848149B2 (en)2010-11-302017-12-19Semiconductor Energy Laboratory Co., Ltd.Method for driving photosensor, method for driving semiconductor device, semiconductor device, and electronic device
US9029937B2 (en)2010-11-302015-05-12Semiconductor Energy Laboratory Co., Ltd.Semiconductor device and method for manufacturing the same
US9281358B2 (en)2010-11-302016-03-08Semiconductor Energy Laboratory Co., Ltd.Semiconductor device and method for manufacturing semiconductor device
US8816425B2 (en)2010-11-302014-08-26Semiconductor Energy Laboratory Co., Ltd.Semiconductor device and method for manufacturing the same
US9634082B2 (en)2010-11-302017-04-25Semiconductor Energy Laboratory Co., Ltd.Semiconductor device and method for manufacturing semiconductor device
US9103724B2 (en)2010-11-302015-08-11Semiconductor Energy Laboratory Co., Ltd.Semiconductor device comprising photosensor comprising oxide semiconductor, method for driving the semiconductor device, method for driving the photosensor, and electronic device
US8728883B2 (en)2010-11-302014-05-20Semiconductor Energy Laboratory Co., Ltd.Semiconductor device and method for manufacturing semiconductor device
US8629496B2 (en)2010-11-302014-01-14Semiconductor Energy Laboratory Co., Ltd.Semiconductor device and method for manufacturing the same
US8785265B2 (en)2010-11-302014-07-22Semiconductor Energy Laboratory Co., Ltd.Semiconductor device and method for manufacturing the same
US9202927B2 (en)2010-11-302015-12-01Seminconductor Energy Laboratory Co., Ltd.Semiconductor device and manufacturing method thereof
US8461630B2 (en)2010-12-012013-06-11Semiconductor Energy Laboratory Co., Ltd.Semiconductor device and manufacturing method thereof
US10103277B2 (en)2010-12-032018-10-16Semiconductor Energy Laboratory Co., Ltd.Method for manufacturing oxide semiconductor film
US8705267B2 (en)2010-12-032014-04-22Semiconductor Energy Laboratory Co., Ltd.Integrated circuit, method for driving the same, and semiconductor device
US9331208B2 (en)2010-12-032016-05-03Semiconductor Energy Laboratory Co., Ltd.Oxide semiconductor film and semiconductor device
US8891286B2 (en)2010-12-032014-11-18Semiconductor Energy Laboratory Co., Ltd.Integrated circuit, method for driving the same, and semiconductor device
US8680522B2 (en)2010-12-032014-03-25Semiconductor Energy Laboratory Co., Ltd.Oxide semiconductor film and semiconductor device
US8994021B2 (en)2010-12-032015-03-31Semiconductor Energy Laboratory Co., Ltd.Oxide semiconductor film and semiconductor device
US9224757B2 (en)2010-12-032015-12-29Semiconductor Energy Laboratory Co., Ltd.DC-DC converter and manufacturing method thereof
US9711655B2 (en)2010-12-032017-07-18Semiconductor Energy Laboratory Co., Ltd.Oxide semiconductor film and semiconductor device
US9257971B2 (en)2010-12-032016-02-09Semiconductor Energy Laboratory Co., Ltd.Integrated circuit, method for driving the same, and semiconductor device
US10916663B2 (en)2010-12-032021-02-09Semiconductor Energy Laboratory Co., Ltd.Oxide semiconductor film and semiconductor device
US8669556B2 (en)2010-12-032014-03-11Semiconductor Energy Laboratory Co., Ltd.Semiconductor device
US8957462B2 (en)2010-12-092015-02-17Semiconductor Energy Laboratory Co., Ltd.Semiconductor device comprising an N-type transistor with an N-type semiconductor containing nitrogen as a gate
US8658448B2 (en)2010-12-102014-02-25Semiconductor Energy Laboratory Co., Ltd.Display device and method for manufacturing the same
US8803154B2 (en)2010-12-102014-08-12Semiconductor Energy Laboratory Co., Ltd.Display device and method for manufacturing the same
US9841843B2 (en)2010-12-152017-12-12Semiconductor Energy Laboratory Co., Ltd.Semiconductor device and driving method thereof
US9202822B2 (en)2010-12-172015-12-01Semiconductor Energy Laboratory Co., Ltd.Semiconductor device and manufacturing method thereof
US8894825B2 (en)2010-12-172014-11-25Semiconductor Energy Laboratory Co., Ltd.Sputtering target, method for manufacturing the same, manufacturing semiconductor device
US9812544B2 (en)2010-12-172017-11-07Semiconductor Energy Laboratory Co., Ltd.Semiconductor device and manufacturing method thereof
US9620186B2 (en)2010-12-172017-04-11Semiconductor Energy Laboratory Co., Ltd.Semiconductor storage device
US9424923B2 (en)2010-12-172016-08-23Semiconductor Energy Laboratory Co., Ltd.Semiconductor storage device
US9865696B2 (en)2010-12-172018-01-09Semiconductor Energy Laboratory Co., Ltd.Sputtering target, method for manufacturing the same, and method for manufacturing semiconductor device
US8730416B2 (en)2010-12-172014-05-20Semiconductor Energy Laboratory Co., Ltd.Liquid crystal display device
US9024317B2 (en)2010-12-242015-05-05Semiconductor Energy Laboratory Co., Ltd.Semiconductor circuit, method for driving the same, storage device, register circuit, display device, and electronic device
US9735179B2 (en)2010-12-242017-08-15Semiconductor Energy Laboratory Co., Ltd.Semiconductor circuit, method for driving the same, storage device, register circuit, display device, and electronic device
US9048142B2 (en)2010-12-282015-06-02Semiconductor Energy Laboratory Co., Ltd.Semiconductor device
US9257452B2 (en)2010-12-282016-02-09Semiconductor Energy Laboratory Co., Ltd.Portable semiconductor device including transistor with oxide semiconductor layer
US9698169B2 (en)2010-12-282017-07-04Semiconductor Energy Laboratory Co., Ltd.Semiconductor device and semiconductor memory device
US8883556B2 (en)2010-12-282014-11-11Semiconductor Energy Laboratory Co., Ltd.Semiconductor device and manufacturing method thereof
US11430896B2 (en)2010-12-282022-08-30Semiconductor Energy Laboratory Co., Ltd.Semiconductor device and manufacturing method thereof
US9337321B2 (en)2010-12-282016-05-10Semiconductor Energy Laboratory Co., Ltd.Semiconductor device and method for manufacturing the same
US8687416B2 (en)2010-12-282014-04-01Semiconductor Energy Laboratory Co., Ltd.Signal processing circuit comprising buffer memory device
US8829512B2 (en)2010-12-282014-09-09Semiconductor Energy Laboratory Co., Ltd.Semiconductor device and method for manufacturing the same
US9287294B2 (en)2010-12-282016-03-15Semiconductor Energy Laboratory Co., Ltd.Capacitor and semiconductor device having oxide semiconductor
US11670721B2 (en)2010-12-282023-06-06Semiconductor Energy Laboratory Co., Ltd.Semiconductor device and method for manufacturing the same
US8772768B2 (en)2010-12-282014-07-08Semiconductor Energy Laboratory Co., Ltd.Semiconductor device and method for manufacturing
US9780225B2 (en)2010-12-282017-10-03Semiconductor Energy Laboratory Co., Ltd.Semiconductor device and manufacturing method thereof
US9306076B2 (en)2010-12-282016-04-05Semiconductor Energy Laboratory Co., Ltd.Semiconductor device and method for manufacturing the same
US9099498B2 (en)2010-12-282015-08-04Semiconductor Energy Laboratory Co., Ltd.Semiconductor device and method for manufacturing the same
US10714625B2 (en)2010-12-282020-07-14Semiconductor Energy Laboratory Co., Ltd.Semiconductor device and manufacturing method thereof
US9443984B2 (en)2010-12-282016-09-13Semiconductor Energy Laboratory Co., Ltd.Semiconductor device and manufacturing method thereof
US11923249B2 (en)2010-12-282024-03-05Semiconductor Energy Laboratory Co., Ltd.Semiconductor device and method for manufacturing the same
US9263471B2 (en)2010-12-282016-02-16Semiconductor Energy Laboratory Co., Ltd.Semiconductor device and semiconductor memory device
US8941112B2 (en)2010-12-282015-01-27Semiconductor Energy Laboratory Co., Ltd.Semiconductor device and method for manufacturing the same
US9129997B2 (en)2010-12-282015-09-08Semiconductor Energy Laboratory Co., Ltd.Semiconductor device and method for manufacturing the same
US10522692B2 (en)2010-12-282019-12-31Semiconductor Energy Laboratory Co., Ltd.Semiconductor device and method for manufacturing the same
US9520503B2 (en)2010-12-282016-12-13Semiconductor Energy Laboratory Co., Ltd.Semiconductor device and method for manufacturing the same
US9954004B2 (en)2010-12-282018-04-24Semiconductor Energy Laboratory Co., Ltd.Semiconductor device
US8735892B2 (en)2010-12-282014-05-27Semiconductor Energy Laboratory Co., Ltd.Semiconductor device using oxide semiconductor
US12288824B2 (en)2010-12-282025-04-29Semiconductor Energy Laboratory Co., Ltd.Semiconductor device including top-gate bottom-contact transistor
US9911858B2 (en)2010-12-282018-03-06Semiconductor Energy Laboratory Co., Ltd.Semiconductor device and method for manufacturing the same
US8674351B2 (en)2010-12-282014-03-18Semiconductor Energy Laboratory Co., Ltd.Semiconductor device and semiconductor memory device
US9093136B2 (en)2010-12-282015-07-28Semiconductor Energy Laboratory Co., Ltd.Signal processing circuit comprising memory cell
US10886414B2 (en)2010-12-282021-01-05Semiconductor Energy Laboratory Co., Ltd.Semiconductor device and method for manufacturing the same
US8421081B2 (en)2010-12-282013-04-16Semiconductor Energy Laboratory Co., Ltd.Memory device, memory module and electronic device
US9024669B2 (en)2011-01-052015-05-05Semiconductor Energy Laboratory Co., Ltd.Storage element, storage device, and signal processing circuit
US9330759B2 (en)2011-01-052016-05-03Semiconductor Energy Laboratory Co., Ltd.Storage element, storage device, and signal processing circuit
US8575985B2 (en)2011-01-052013-11-05Semiconductor Energy Laboratory Co., Ltd.Storage element, storage device, and signal processing circuit
US9818749B2 (en)2011-01-052017-11-14Semiconductor Energy Laboratory Co., Ltd.Storage element, storage device, and signal processing circuit
US9673336B2 (en)2011-01-122017-06-06Semiconductor Energy Laboratory Co., Ltd.Method for manufacturing semiconductor device
US9818850B2 (en)2011-01-122017-11-14Semiconductor Energy Laboratory Co., Ltd.Manufacturing method of the semiconductor device
US10170633B2 (en)2011-01-122019-01-01Semiconductor Energy Laboratory Co., Ltd.Method for manufacturing semiconductor device
US8785266B2 (en)2011-01-122014-07-22Semiconductor Energy Laboratory Co., Ltd.Semiconductor device and manufacturing method thereof
US8921948B2 (en)2011-01-122014-12-30Semiconductor Energy Laboratory Co., Ltd.Semiconductor device and manufacturing method thereof
US10593786B2 (en)2011-01-122020-03-17Semiconductor Energy Laboratory Co., Ltd.Manufacturing method of the semiconductor device
US9166026B2 (en)2011-01-122015-10-20Semiconductor Energy Laboratory Co., Ltd.Manufacturing method of semiconductor device
US9570484B2 (en)2011-01-122017-02-14Semiconductor Energy Laboratory Co., Ltd.Semiconductor device and manufacturing method thereof
US8536571B2 (en)2011-01-122013-09-17Semiconductor Energy Laboratory Co., Ltd.Manufacturing method of semiconductor device
US9349752B2 (en)2011-01-122016-05-24Semiconductor Energy Laboratory Co., Ltd.Semiconductor device and manufacturing method thereof
US9882062B2 (en)2011-01-122018-01-30Semiconductor Energy Laboratory Co., Ltd.Semiconductor device and manufacturing method thereof
US8912080B2 (en)2011-01-122014-12-16Semiconductor Energy Laboratory Co., Ltd.Manufacturing method of the semiconductor device
US9299814B2 (en)2011-01-122016-03-29Semiconductor Energy Laboratory Co., Ltd.Manufacturing method of the semiconductor device
US8575678B2 (en)2011-01-132013-11-05Semiconductor Energy Laboratory Co., Ltd.Semiconductor memory device with floating gate
US8421071B2 (en)2011-01-132013-04-16Semiconductor Energy Laboratory Co., Ltd.Memory device
US9786668B2 (en)2011-01-142017-10-10Semiconductor Energy Laboratory Co., Ltd.Semiconductor device including multilayer wiring layer
US9337345B2 (en)2011-01-142016-05-10Semiconductor Energy Laboratory Co., Ltd.Semiconductor device including multilayer wiring layer
US9570141B2 (en)2011-01-142017-02-14Semiconductor Energy Laboratory Co., Ltd.Memory device having a transistor including a semiconductor oxide
US11139301B2 (en)2011-01-142021-10-05Semiconductor Energy Laboratory Co., Ltd.Semiconductor device including side surface conductor contact
US8687411B2 (en)2011-01-142014-04-01Semiconductor Energy Laboratory Co., Ltd.Memory device, semiconductor device, and detecting method for defective memory cell in memory device
US11805637B2 (en)2011-01-142023-10-31Semiconductor Energy Laboratory Co., Ltd.Semiconductor device comprising first and second conductors
US8717806B2 (en)2011-01-142014-05-06Semiconductor Energy Laboratory Co., Ltd.Storage element, storage device, signal processing circuit, and method for driving storage element
US10249626B2 (en)2011-01-142019-04-02Semiconductor Energy Laboratory Co., Ltd.Semiconductor memory device including multilayer wiring layer
US10763261B2 (en)2011-01-142020-09-01Semiconductor Energy Laboratory Co., Ltd.Semiconductor memory device comprising memory cell over driver
US8811064B2 (en)2011-01-142014-08-19Semiconductor Energy Laboratory Co., Ltd.Semiconductor memory device including multilayer wiring layer
US12225711B2 (en)2011-01-142025-02-11Semiconductor Energy Laboratory Co., Ltd.Semiconductor device comprising wiring layer over driver circuit
US9917206B2 (en)2011-01-202018-03-13Semiconductor Energy Laboratory Co., Ltd.Oxide semiconductor element and semiconductor device
US8916867B2 (en)2011-01-202014-12-23Semiconductor Energy Laboratory Co., Ltd.Oxide semiconductor element and semiconductor device
US9337347B2 (en)2011-01-202016-05-10Semiconductor Energy Laboratory Co., Ltd.Oxide semiconductor element and semiconductor device
US9761588B2 (en)2011-01-262017-09-12Semiconductor Energy Laboratory Co., Ltd.Semiconductor device having a wide-gap semiconductor layer in an insulating trench
US8865555B2 (en)2011-01-262014-10-21Semiconductor Energy Laboratory Co., Ltd.Semiconductor device and manufacturing method thereof
US8779432B2 (en)2011-01-262014-07-15Semiconductor Energy Laboratory Co., Ltd.Semiconductor device and manufacturing method thereof
US9601178B2 (en)2011-01-262017-03-21Semiconductor Energy Laboratory Co., Ltd.Memory device and semiconductor device
US9209092B2 (en)2011-01-262015-12-08Semiconductor Energy Laboratory Co., Ltd.Semiconductor device with a wide-gap semiconductor layer on inner wall of trench
US10008587B2 (en)2011-01-262018-06-26Semiconductor Energy Laboratory Co., Ltd.Semiconductor device and manufacturing method thereof
US8809992B2 (en)2011-01-262014-08-19Semiconductor Energy Laboratory Co., Ltd.Semiconductor device and manufacturing method thereof
US8809870B2 (en)2011-01-262014-08-19Semiconductor Energy Laboratory Co., Ltd.Semiconductor device
US10069014B2 (en)2011-01-262018-09-04Semiconductor Energy Laboratory Co., Ltd.Semiconductor device and manufacturing method thereof
US8730730B2 (en)2011-01-262014-05-20Semiconductor Energy Laboratory Co., Ltd.Temporary storage circuit, storage device, and signal processing circuit
US9048130B2 (en)2011-01-262015-06-02Semiconductor Energy Laboratory Co., Ltd.Semiconductor device and manufacturing method thereof
US8890150B2 (en)2011-01-272014-11-18Semiconductor Energy Laboratory Co., Ltd.Semiconductor device
US9202567B2 (en)2011-01-272015-12-01Semiconductor Energy Laboratory Co., Ltd.Memory circuit
US8773906B2 (en)2011-01-272014-07-08Semiconductor Energy Laboratory Co., Ltd.Memory circuit
US9082864B2 (en)2011-01-272015-07-14Semiconductor Energy Laboratory Co., Ltd.Semiconductor device
US9299815B2 (en)2011-01-282016-03-29Semiconductor Energy Laboratory Co., Ltd.Method for manufacturing semiconductor device and semiconductor device
US10134766B2 (en)2011-01-282018-11-20Semiconductor Energy Laboratory Co., Ltd.Semiconductor device and method for manufacturing the same
US8937304B2 (en)2011-01-282015-01-20Semiconductor Energy Laboratory Co., Ltd.Semiconductor device and electronic device
US9494829B2 (en)2011-01-282016-11-15Semiconductor Energy Laboratory Co., Ltd.Semiconductor device and liquid crystal display device containing the same
US8987727B2 (en)2011-01-282015-03-24Semiconductor Energy Laboratory Co., Ltd.Method for manufacturing semiconductor device and semiconductor device
US8634230B2 (en)2011-01-282014-01-21Semiconductor Energy Laboratory Co., Ltd.Semiconductor device and method for driving the same
US9490267B2 (en)2011-01-282016-11-08Semiconductor Energy Laboratory Co., Ltd.Semiconductor device
US8513773B2 (en)2011-02-022013-08-20Semiconductor Energy Laboratory Co., Ltd.Capacitor and semiconductor device including dielectric and N-type semiconductor
US8809927B2 (en)2011-02-022014-08-19Semiconductor Energy Laboratory Co., Ltd.Semiconductor memory device
US9799773B2 (en)2011-02-022017-10-24Semiconductor Energy Laboratory Co., Ltd.Transistor and semiconductor device
US8780614B2 (en)2011-02-022014-07-15Semiconductor Energy Laboratory Co., Ltd.Semiconductor memory device
US9431400B2 (en)2011-02-082016-08-30Semiconductor Energy Laboratory Co., Ltd.Semiconductor memory device and method for manufacturing the same
US8787083B2 (en)2011-02-102014-07-22Semiconductor Energy Laboratory Co., Ltd.Memory circuit
US9064599B2 (en)2011-02-102015-06-23Semiconductor Energy Laboratory Co., Ltd.Memory circuit
US9743071B2 (en)2011-02-142017-08-22Semiconductor Energy Laboratory Co., Ltd.Display device
US9167234B2 (en)2011-02-142015-10-20Semiconductor Energy Laboratory Co., Ltd.Display device
US8975680B2 (en)2011-02-172015-03-10Semiconductor Energy Laboratory Co., Ltd.Semiconductor memory device and method manufacturing semiconductor memory device
US8675382B2 (en)2011-02-172014-03-18Semiconductor Energy Laboratory Co., Ltd.Programmable LSI
US8891281B2 (en)2011-02-172014-11-18Semiconductor Energy Laboratory Co., Ltd.Programmable LSI
US9305612B2 (en)2011-02-172016-04-05Semiconductor Energy Laboratory Co., Ltd.Programmable LSI with multiple transistors in a memory element
US9257432B2 (en)2011-02-172016-02-09Semiconductor Energy Laboratory Co., Ltd.Semiconductor memory device and method of manufacturing semiconductor memory device
US8643007B2 (en)2011-02-232014-02-04Semiconductor Energy Laboratory Co., Ltd.Semiconductor device
US8709920B2 (en)2011-02-242014-04-29Semiconductor Energy Laboratory Co., Ltd.Method for manufacturing semiconductor device
US9443455B2 (en)2011-02-252016-09-13Semiconductor Energy Laboratory Co., Ltd.Display device having a plurality of pixels
US9691772B2 (en)2011-03-032017-06-27Semiconductor Energy Laboratory Co., Ltd.Semiconductor memory device including memory cell which includes transistor and capacitor
US8785933B2 (en)2011-03-042014-07-22Semiconductor Energy Laboratory Co., Ltd.Semiconductor device
US8841664B2 (en)2011-03-042014-09-23Semiconductor Energy Laboratory Co., Ltd.Semiconductor device
US8809853B2 (en)2011-03-042014-08-19Semiconductor Energy Laboratory Co., Ltd.Semiconductor device
US9905557B2 (en)2011-03-042018-02-27Semiconductor Energy Laboratory Co., Ltd.Semiconductor device
US9646829B2 (en)2011-03-042017-05-09Semiconductor Energy Laboratory Co., Ltd.Manufacturing method of semiconductor device
US9023684B2 (en)2011-03-042015-05-05Semiconductor Energy Laboratory Co., Ltd.Semiconductor device and manufacturing method thereof
US9293427B2 (en)2011-03-042016-03-22Semiconductor Energy Laboratory Co., Ltd.Semiconductor device
US10032768B2 (en)2011-03-042018-07-24Semiconductor Energy Laboratory Co., Ltd.Semiconductor device
US8659015B2 (en)2011-03-042014-02-25Semiconductor Energy Laboratory Co., Ltd.Semiconductor device
US8659957B2 (en)2011-03-072014-02-25Semiconductor Energy Laboratory Co., Ltd.Semiconductor device and method of driving semiconductor device
US9508448B2 (en)2011-03-082016-11-29Semiconductor Energy Laboratory Co., Ltd.Memory element and signal processing circuit
US9767862B2 (en)2011-03-082017-09-19Semiconductor Energy Laboratory Co., Ltd.Memory element and signal processing circuit
US8625085B2 (en)2011-03-082014-01-07Semiconductor Energy Laboratory Co., Ltd.Defect evaluation method for semiconductor
US9099437B2 (en)2011-03-082015-08-04Semiconductor Energy Laboratory Co., Ltd.Semiconductor device
US10079238B2 (en)2011-03-102018-09-18Semiconductor Energy Laboratory Co., Ltd.Memory device and method for manufacturing the same
US8541781B2 (en)2011-03-102013-09-24Semiconductor Energy Laboratory Co., Ltd.Semiconductor device and method for manufacturing the same
US8772849B2 (en)2011-03-102014-07-08Semiconductor Energy Laboratory Co., Ltd.Semiconductor memory device
US9425107B2 (en)2011-03-102016-08-23Semiconductor Energy Laboratory Co., Ltd.Memory device and method for manufacturing the same
US9812458B2 (en)2011-03-102017-11-07Semiconductor Energy Laboratory Co., Ltd.Memory device and method for manufacturing the same
US8841165B2 (en)2011-03-102014-09-23Semiconductor Energy Laboratory Co., Ltd.Semiconductor device and method for manufacturing the same
US8760903B2 (en)2011-03-112014-06-24Semiconductor Energy Laboratory Co., Ltd.Storage circuit
US9355687B2 (en)2011-03-112016-05-31Semiconductor Energy Laboratory Co., Ltd.Storage circuit
US9450104B2 (en)2011-03-112016-09-20Semiconductor Energy Laboratory Co., Ltd.Semiconductor device and manufacturing method thereof
US8828794B2 (en)2011-03-112014-09-09Semiconductor Energy Laboratory Co., Ltd.Method of manufacturing semiconductor device
US11387116B2 (en)2011-03-112022-07-12Semiconductor Energy Laboratory Co., Ltd.Method of manufacturing semiconductor device
US10615052B2 (en)2011-03-112020-04-07Semiconductor Energy Laboratory Co., Ltd.Method of manufacturing semiconductor device
US10002775B2 (en)2011-03-112018-06-19Semiconductor Energy Laboratory Co., Ltd.Method of manufacturing semiconductor device
US8753928B2 (en)2011-03-112014-06-17Semiconductor Energy Laboratory Co., Ltd.Method of manufacturing semiconductor device
US9362136B2 (en)2011-03-112016-06-07Semiconductor Energy Laboratory Co., Ltd.Method of manufacturing semiconductor device
US9184296B2 (en)2011-03-112015-11-10Semiconductor Energy Laboratory Co., Ltd.Semiconductor device having c-axis aligned portions and doped portions
US8766255B2 (en)2011-03-162014-07-01Semiconductor Energy Laboratory Co., Ltd.Oxide semiconductor device including gate trench and isolation trench
US10109743B2 (en)2011-03-182018-10-23Semiconductor Energy Laboratory Co., Ltd.Oxide semiconductor film, semiconductor device, and manufacturing method of semiconductor device
US9627386B2 (en)2011-03-182017-04-18Semiconductor Energy Laboratory Co., Ltd.Memory device and electronic device
US8927982B2 (en)2011-03-182015-01-06Semiconductor Energy Laboratory Co., Ltd.Oxide semiconductor film, semiconductor device, and manufacturing method of semiconductor device
US9385128B2 (en)2011-03-182016-07-05Semiconductor Energy Laboratory Co., Ltd.Memory device and electronic device
US9379223B2 (en)2011-03-182016-06-28Semiconductor Energy Laboratory Co., Ltd.Oxide semiconductor film, semiconductor device, and manufacturing method of semiconductor device
US8760959B2 (en)2011-03-182014-06-24Semiconductor Energy Laboratory Co., Ltd.Memory device and electronic device
US8859330B2 (en)2011-03-232014-10-14Semiconductor Energy Laboratory Co., Ltd.Method for manufacturing semiconductor device
US8958252B2 (en)2011-03-242015-02-17Semiconductor Energy Laboratory Co., Ltd.Signal processing circuit
US8724407B2 (en)2011-03-242014-05-13Semiconductor Energy Laboratory Co., Ltd.Signal processing circuit
US9196690B2 (en)2011-03-252015-11-24Semiconductor Energy Laboratory Co., Ltd.Oxide semiconductor film and semiconductor device
US9490351B2 (en)2011-03-252016-11-08Semiconductor Energy Laboratory Co., Ltd.Semiconductor device and method of manufacturing semiconductor device
US8956944B2 (en)2011-03-252015-02-17Semiconductor Energy Laboratory Co., Ltd.Semiconductor device and method for manufacturing the same
US8987728B2 (en)2011-03-252015-03-24Semiconductor Energy Laboratory Co., Ltd.Semiconductor device and method of manufacturing semiconductor device
US8686416B2 (en)2011-03-252014-04-01Semiconductor Energy Laboratory Co., Ltd.Oxide semiconductor film and semiconductor device
US9548395B2 (en)2011-03-252017-01-17Semiconductor Energy Laboratory Co., Ltd.Field-effect transistor including oxide semiconductor, and memory and semiconductor circuit including the same
US8835921B2 (en)2011-03-252014-09-16Semiconductor Energy Laboratory Co., Ltd.Oxide semiconductor film and semiconductor device
US9397225B2 (en)2011-03-252016-07-19Semiconductor Energy Laboratory Co., Ltd.Semiconductor device and method for manufacturing the same
US9287408B2 (en)2011-03-252016-03-15Semiconductor Energy Laboratory Co., Ltd.Field-effect transistor, and memory and semiconductor circuit including the same
US9859443B2 (en)2011-03-252018-01-02Semiconductor Energy Laboratory Co., Ltd.Field-effect transistor, and memory and semiconductor circuit including the same
US9472676B2 (en)2011-03-252016-10-18Semiconductor Energy Laboratory Co., Ltd.Semiconductor device and manufacturing method thereof
US8754409B2 (en)2011-03-252014-06-17Semiconductor Energy Laboratory Co., Ltd.Field-effect transistor, and memory and semiconductor circuit including the same
US9012904B2 (en)2011-03-252015-04-21Semiconductor Energy Laboratory Co., Ltd.Semiconductor device and method for manufacturing the same
US9219159B2 (en)2011-03-252015-12-22Semiconductor Energy Laboratory Co., Ltd.Method for forming oxide semiconductor film and method for manufacturing semiconductor device
US9929280B2 (en)2011-03-282018-03-27Semiconductor Energy Laboratory Co., Ltd.Semiconductor device including oxide semiconductor film containing indium
US9425322B2 (en)2011-03-282016-08-23Semiconductor Energy Laboratory Co., Ltd.Method for manufacturing semiconductor device including exposure of oxide semiconductor to reducing atmosphere
US10192997B2 (en)2011-03-282019-01-29Semiconductor Energy Laboratory Co., Ltd.Semiconductor device comprising oxide semiconductor
US10008588B2 (en)2011-03-302018-06-26Semiconductor Energy Laboratory Co., Ltd.Method for manufacturing oxide semiconductor device
US8927329B2 (en)2011-03-302015-01-06Semiconductor Energy Laboratory Co., Ltd.Method for manufacturing oxide semiconductor device with improved electronic properties
US8787084B2 (en)2011-03-302014-07-22Semiconductor Energy Laboratory Co., Ltd.Semiconductor device and driving method thereof
US9076520B2 (en)2011-03-302015-07-07Semiconductor Energy Laboratory Co., Ltd.Semiconductor device and driving method thereof
US8630130B2 (en)2011-03-312014-01-14Semiconductor Energy Laboratory Co., Ltd.Memory circuit, memory unit, and signal processing circuit
US9917204B2 (en)2011-03-312018-03-13Semiconductor Energy Laboratory Co., Ltd.Semiconductor device
US9293590B2 (en)2011-03-312016-03-22Semiconductor Energy Laboratory Co., Ltd.Semiconductor device
US8686486B2 (en)2011-03-312014-04-01Semiconductor Energy Laboratory Co., Ltd.Memory device
US9082860B2 (en)2011-03-312015-07-14Semiconductor Energy Laboratory Co., Ltd.Semiconductor device
US9196616B2 (en)2011-03-312015-11-24Semiconductor Energy Laboratory Co., Ltd.Memory device
US8923076B2 (en)2011-03-312014-12-30Semiconductor Energy Laboratory Co., Ltd.Memory circuit, memory unit, and signal processing circuit
US8541266B2 (en)2011-04-012013-09-24Semiconductor Energy Laboratory Co., Ltd.Method for manufacturing semiconductor device
US9030105B2 (en)2011-04-012015-05-12Semiconductor Energy Laboratory Co., Ltd.Light-emitting device
US9960278B2 (en)2011-04-062018-05-01Yuhei SatoManufacturing method of semiconductor device
US8743590B2 (en)2011-04-082014-06-03Semiconductor Energy Laboratory Co., Ltd.Memory device and semiconductor device using the same
US9893196B2 (en)2011-04-082018-02-13Semiconductor Energy Laboratory Co., Ltd.Semiconductor device comprising oxide semiconductor film
US9012905B2 (en)2011-04-082015-04-21Semiconductor Energy Laboratory Co., Ltd.Semiconductor device including transistor comprising oxide semiconductor and method for manufacturing the same
US9142320B2 (en)2011-04-082015-09-22Semiconductor Energy Laboratory Co., Ltd.Memory element and signal processing circuit
US9093538B2 (en)2011-04-082015-07-28Semiconductor Energy Laboratory Co., Ltd.Semiconductor device and method for manufacturing the same
US9478668B2 (en)2011-04-132016-10-25Semiconductor Energy Laboratory Co., Ltd.Oxide semiconductor film and semiconductor device
US8854867B2 (en)2011-04-132014-10-07Semiconductor Energy Laboratory Co., Ltd.Memory device and driving method of the memory device
US10998449B2 (en)2011-04-132021-05-04Semiconductor Energy Laboratory Co., Ltd.Oxide semiconductor film and semiconductor device
US12206023B2 (en)2011-04-132025-01-21Semiconductor Energy Laboratory Co., Ltd.Oxide semiconductor film and semiconductor device
US8570065B2 (en)2011-04-132013-10-29Semiconductor Energy Laboratory Co., Ltd.Programmable LSI
US11799033B2 (en)2011-04-132023-10-24Semiconductor Energy Laboratory Co., Ltd.Oxide semiconductor film and semiconductor device
US10644164B2 (en)2011-04-132020-05-05Semiconductor Energy Laboratory Co., Ltd.Oxide semiconductor film and semiconductor device
US9893201B2 (en)2011-04-132018-02-13Semiconductor Energy Laboratory Co., Ltd.Oxide semiconductor film and semiconductor device
US9224472B2 (en)2011-04-132015-12-29Semiconductor Energy Laboratory Co., Ltd.Memory device and driving method of the memory device
US9299708B2 (en)2011-04-152016-03-29Semiconductor Energy Laboratory Co., Ltd.Semiconductor memory device
US9070776B2 (en)2011-04-152015-06-30Semiconductor Energy Laboratory Co., Ltd.Semiconductor device and driving method thereof
US8878174B2 (en)2011-04-152014-11-04Semiconductor Energy Laboratory Co., Ltd.Semiconductor element, memory circuit, integrated circuit, and driving method of the integrated circuit
US8878270B2 (en)2011-04-152014-11-04Semiconductor Energy Laboratory Co., Ltd.Semiconductor memory device
US9231566B2 (en)2011-04-152016-01-05Semiconductor Energy Laboratory Co., Ltd.Semiconductor device and driving method thereof
US8779488B2 (en)2011-04-152014-07-15Semiconductor Energy Laboratory Co., Ltd.Semiconductor memory device
US8929161B2 (en)2011-04-212015-01-06Semiconductor Energy Laboratory Co., Ltd.Signal processing circuit
US9006803B2 (en)2011-04-222015-04-14Semiconductor Energy Laboratory Co., Ltd.Semiconductor device and method for manufacturing thereof
US8878288B2 (en)2011-04-222014-11-04Semiconductor Energy Laboratory Co., Ltd.Semiconductor device
US9818820B2 (en)2011-04-222017-11-14Semiconductor Energy Laboratory Co., Ltd.Oxide material and semiconductor device
US9287266B2 (en)2011-04-222016-03-15Semiconductor Energy Laboratory Co., Ltd.Semiconductor device
US8797788B2 (en)2011-04-222014-08-05Semiconductor Energy Laboratory Co., Ltd.Semiconductor device
US9331206B2 (en)2011-04-222016-05-03Semiconductor Energy Laboratory Co., Ltd.Oxide material and semiconductor device
US9559193B2 (en)2011-04-222017-01-31Semiconductor Energy Laboratory Co., Ltd.Semiconductor device and method for manufacturing semiconductor device
US10388799B2 (en)2011-04-222019-08-20Semiconductor Energy Laboratory Co., Ltd.Semiconductor Device
US10079295B2 (en)2011-04-222018-09-18Semiconductor Energy Laboratory Co., Ltd.Semiconductor device and method for manufacturing thereof
US8809854B2 (en)2011-04-222014-08-19Semiconductor Energy Laboratory Co., Ltd.Semiconductor device
US10079053B2 (en)2011-04-222018-09-18Semiconductor Energy Laboratory Co., Ltd.Memory element and memory device
US8916868B2 (en)2011-04-222014-12-23Semiconductor Energy Laboratory Co., Ltd.Semiconductor device and method for manufacturing semiconductor device
US8932913B2 (en)2011-04-222015-01-13Semiconductor Energy Laboratory Co., Ltd.Manufacturing method of semiconductor device
US8941958B2 (en)2011-04-222015-01-27Semiconductor Energy Laboratory Co., Ltd.Semiconductor device
US9548308B2 (en)2011-04-222017-01-17Semiconductor Energy Laboratory Co., Ltd.Semiconductor device
US9660095B2 (en)2011-04-222017-05-23Semiconductor Energy Laboratory Co., Ltd.Semiconductor device
US9543145B2 (en)2011-04-272017-01-10Semiconductor Energy Laboratory Co., Ltd.Manufacturing method of semiconductor device
US9269797B2 (en)2011-04-272016-02-23Semiconductor Energy Laboratory Co., Ltd.Manufacturing method of semiconductor device
US8969182B2 (en)2011-04-272015-03-03Semiconductor Energy Laboratory Co., Ltd.Manufacturing method of semiconductor device
US9911767B2 (en)2011-04-272018-03-06Semiconductor Energy Laboratory Co., Ltd.Manufacturing method of semiconductor device comprising oxide semiconductor
US10249651B2 (en)2011-04-272019-04-02Semiconductor Energy Laboratory Co., Ltd.Manufacturing method of semiconductor device
US8681533B2 (en)2011-04-282014-03-25Semiconductor Energy Laboratory Co., Ltd.Memory circuit, signal processing circuit, and electronic device
US9160291B2 (en)2011-04-282015-10-13Semiconductor Energy Laboratory Co., Ltd.Semiconductor circuit having switching element, capacitor and operational amplifier circuit
US8803559B2 (en)2011-04-282014-08-12Semiconductor Energy Laboratory Co., Ltd.Semiconductor circuit having switching element, capacitor, and operational amplifier circuit
US8729545B2 (en)2011-04-282014-05-20Semiconductor Energy Laboratory Co., Ltd.Semiconductor memory device
US9935622B2 (en)2011-04-282018-04-03Semiconductor Energy Laboratory Co., Ltd.Comparator and semiconductor device including comparator
US9165942B2 (en)2011-04-292015-10-20Semiconductor Energy Laboratory Co., Ltd.Programmable logic device
US10388670B2 (en)2011-04-292019-08-20Semiconductor Energy Laboratory Co., Ltd.Semiconductor device
US9001563B2 (en)2011-04-292015-04-07Semiconductor Energy Laboratory Co., Ltd.Semiconductor device and driving method thereof
US9614094B2 (en)2011-04-292017-04-04Semiconductor Energy Laboratory Co., Ltd.Semiconductor device including oxide semiconductor layer and method for driving the same
US9773810B2 (en)2011-04-292017-09-26Semiconductor Energy Laboratory Co., Ltd.Semiconductor device
US10910404B2 (en)2011-04-292021-02-02Semiconductor Energy Laboratory Co., Ltd.Semiconductor device
US9041449B2 (en)2011-04-292015-05-26Semiconductor Energy Laboratory Co., Ltd.Semiconductor storage device
US8848464B2 (en)2011-04-292014-09-30Semiconductor Energy Laboratory Co., Ltd.Semiconductor device and method of driving semiconductor device
US8476927B2 (en)2011-04-292013-07-02Semiconductor Energy Laboratory Co., Ltd.Programmable logic device
US8785923B2 (en)2011-04-292014-07-22Semiconductor Energy Laboratory Co., Ltd.Semiconductor device
US8446171B2 (en)2011-04-292013-05-21Semiconductor Energy Laboratory Co., Ltd.Signal processing unit
US9111795B2 (en)2011-04-292015-08-18Semiconductor Energy Laboratory Co., Ltd.Semiconductor device with capacitor connected to memory element through oxide semiconductor film
US9443563B2 (en)2011-04-292016-09-13Semiconductor Energy Laboratory Co., Ltd.Semiconductor device and driving method thereof
US8680529B2 (en)2011-05-052014-03-25Semiconductor Energy Laboratory Co., Ltd.Semiconductor device and method for manufacturing the same
US9040995B2 (en)2011-05-052015-05-26Semiconductor Energy Laboratory Co., Ltd.Semiconductor device and method for manufacturing the same
US10283530B2 (en)2011-05-052019-05-07Semiconductor Energy Laboratory Co., Ltd.Semiconductor device and method for manufacturing the same
US10068926B2 (en)2011-05-052018-09-04Semiconductor Energy Laboratory Co., Ltd.Semiconductor device and method for manufacturing the same
US9508862B2 (en)2011-05-052016-11-29Semiconductor Energy Laboratory Co., Ltd.Semiconductor device and method for manufacturing the same
US11942483B2 (en)2011-05-052024-03-26Semiconductor Energy Laboratory Co., Ltd.Semiconductor device and method for manufacturing the same
US9444459B2 (en)2011-05-062016-09-13Semiconductor Energy Laboratory Co., Ltd.Logic circuit and semiconductor device
US8809928B2 (en)2011-05-062014-08-19Semiconductor Energy Laboratory Co., Ltd.Semiconductor device, memory device, and method for manufacturing the semiconductor device
US8824192B2 (en)2011-05-062014-09-02Semiconductor Energy Laboratory Co., Ltd.Semiconductor device
US8709922B2 (en)2011-05-062014-04-29Semiconductor Energy Laboratory Co., Ltd.Semiconductor device
US9117701B2 (en)2011-05-062015-08-25Semiconductor Energy Laboratory Co., Ltd.Semiconductor device
US8630110B2 (en)2011-05-062014-01-14Semiconductor Energy Laboratory Co., Ltd.Semiconductor memory device
US9443844B2 (en)2011-05-102016-09-13Semiconductor Energy Laboratory Co., Ltd.Gain cell semiconductor memory device and driving method thereof
US9893195B2 (en)2011-05-112018-02-13Semiconductor Energy Laboratory Co., Ltd.Method of manufacturing semiconductor device
US8946066B2 (en)2011-05-112015-02-03Semiconductor Energy Laboratory Co., Ltd.Method of manufacturing semiconductor device
US8947910B2 (en)2011-05-112015-02-03Semiconductor Energy Laboratory Co., Ltd.Semiconductor device comprising inverters and capacitor, and driving method thereof
US9530852B2 (en)2011-05-122016-12-27Semiconductor Energy Laboratory Co., Ltd.Semiconductor device and manufacturing method thereof
US8912985B2 (en)2011-05-122014-12-16Semiconductor Energy Laboratory Co., Ltd.Method for driving display device
US8847233B2 (en)2011-05-122014-09-30Semiconductor Energy Laboratory Co., Ltd.Semiconductor device having a trenched insulating layer coated with an oxide semiconductor film
US9087855B2 (en)2011-05-122015-07-21Semiconductor Energy Laboratory Co., Ltd.Semiconductor device and manufacturing method thereof
US9048788B2 (en)2011-05-132015-06-02Semiconductor Energy Laboratory Co., Ltd.Semiconductor device comprising a photoelectric conversion portion
US8564331B2 (en)2011-05-132013-10-22Semiconductor Energy Laboratory Co., Ltd.Semiconductor device
US9466618B2 (en)2011-05-132016-10-11Semiconductor Energy Laboratory Co., Ltd.Semiconductor device including two thin film transistors and method of manufacturing the same
US9373708B2 (en)2011-05-132016-06-21Semiconductor Energy Laboratory Co., Ltd.Method for manufacturing semiconductor device
US8897049B2 (en)2011-05-132014-11-25Semiconductor Energy Laboratories Co., Ltd.Semiconductor device and memory device including semiconductor device
US9047947B2 (en)2011-05-132015-06-02Semiconductor Energy Laboratory Co., Ltd.Semiconductor device including register components
US8705292B2 (en)2011-05-132014-04-22Semiconductor Energy Laboratory Co., Ltd.Nonvolatile memory circuit with an oxide semiconductor transistor for reducing power consumption and electronic device
US9742362B2 (en)2011-05-132017-08-22Semiconductor Energy Laboratory Co., Ltd.Semiconductor device and operation method thereof
US9397222B2 (en)2011-05-132016-07-19Semiconductor Energy Laboratory Co., Ltd.Display device and electronic device
US8817527B2 (en)2011-05-132014-08-26Semiconductor Energy Laboratory Co., Ltd.Semiconductor device
US9093539B2 (en)2011-05-132015-07-28Semiconductor Energy Laboratory Co., Ltd.Semiconductor device and method for manufacturing the same
US9105749B2 (en)2011-05-132015-08-11Semiconductor Energy Laboratory Co., Ltd.Semiconductor device and manufacturing method thereof
US9954110B2 (en)2011-05-132018-04-24Semiconductor Energy Laboratory Co., Ltd.EL display device and electronic device
US8736371B2 (en)2011-05-132014-05-27Semiconductor Energy Laboratory Co., Ltd.Semiconductor device having transistors each of which includes an oxide semiconductor
US9344090B2 (en)2011-05-162016-05-17Semiconductor Energy Laboratory Co., Ltd.Programmable logic device
US9859268B2 (en)2011-05-172018-01-02Semiconductor Energy Laboratory Co., Ltd.Content addressable memory
US11356097B2 (en)2011-05-182022-06-07Semiconductor Energy Laboratory Co., Ltd.Semiconductor device and method of driving semiconductor device
US8824193B2 (en)2011-05-182014-09-02Semiconductor Energy Laboratory Co., Ltd.Semiconductor storage device
US10135446B2 (en)2011-05-182018-11-20Semiconductor Energy Laboratory Co., Ltd.Semiconductor device and method of driving semiconductor device
US9673823B2 (en)2011-05-182017-06-06Semiconductor Energy Laboratory Co., Ltd.Semiconductor device and method of driving semiconductor device
US9397664B2 (en)2011-05-192016-07-19Semiconductor Energy Laboratory Co., Ltd.Programmable logic circuit
US8779799B2 (en)2011-05-192014-07-15Semiconductor Energy Laboratory Co., Ltd.Logic circuit
US9029929B2 (en)2011-05-192015-05-12Semiconductor Energy Laboratory Co., Ltd.Semiconductor memory device and manufacturing method thereof
US8837203B2 (en)2011-05-192014-09-16Semiconductor Energy Laboratory Co., Ltd.Semiconductor device
US8779798B2 (en)2011-05-192014-07-15Semiconductor Energy Laboratory Co., Ltd.Arithmetic circuit and method of driving the same
US9900007B2 (en)2011-05-192018-02-20Semiconductor Energy Laboratory Co., Ltd.Programmable logic device
US9172237B2 (en)2011-05-192015-10-27Semiconductor Energy Laboratory Co., Ltd.Semiconductor integrated circuit
US8581625B2 (en)2011-05-192013-11-12Semiconductor Energy Laboratory Co., Ltd.Programmable logic device
US9117920B2 (en)2011-05-192015-08-25Semiconductor Energy Laboratory Co., Ltd.Method for manufacturing semiconductor device using oxide semiconductor
US10090333B2 (en)2011-05-192018-10-02Semiconductor Energy Laboratory Co., Ltd.Arithmetic circuit and method of driving the same
US9130558B2 (en)2011-05-192015-09-08Semiconductor Energy Laboratory Co., Ltd.Circuit and method of driving the same
US8692579B2 (en)2011-05-192014-04-08Semiconductor Energy Laboratory Co., Ltd.Circuit and method of driving the same
US8709889B2 (en)2011-05-192014-04-29Semiconductor Energy Laboratory Co., Ltd.Semiconductor memory device and manufacturing method thereof
US9444457B2 (en)2011-05-192016-09-13Semiconductor Energy Laboratory Co., Ltd.Circuit and method of driving the same
US9595964B2 (en)2011-05-192017-03-14Semiconductor Energy Laboratory Co., Ltd.Programmable logic device
US9336850B2 (en)2011-05-192016-05-10Semiconductor Energy Laboratory Co., Ltd.Semiconductor device
US9559105B2 (en)2011-05-202017-01-31Semiconductor Energy Laboratory Co., Ltd.Signal processing circuit
US9336845B2 (en)2011-05-202016-05-10Semiconductor Energy Laboratory Co., Ltd.Register circuit including a volatile memory and a nonvolatile memory
US8847627B2 (en)2011-05-202014-09-30Semiconductor Energy Laboratory Co., Ltd.Semiconductor device
US8848449B2 (en)2011-05-202014-09-30Semiconductor Energy Laboratory Co., Ltd.Memory device and method for driving memory device
US8674738B2 (en)2011-05-202014-03-18Semiconductor Energy Laboratory Co., Ltd.Semiconductor device
US9536574B2 (en)2011-05-202017-01-03Semiconductor Energy Laboratory Co., Ltd.Memory device and signal processing circuit
US9048825B2 (en)2011-05-202015-06-02Semiconductor Energy Laboratory Co., Ltd.Semiconductor device
US9748400B2 (en)2011-05-202017-08-29Semiconductor Energy Laboratory Co., Ltd.Semiconductor device
US9048105B2 (en)2011-05-202015-06-02Semiconductor Energy Laboratory Co., Ltd.Semiconductor integrated circuit
KR20120130063A (en)*2011-05-202012-11-28가부시키가이샤 한도오따이 에네루기 켄큐쇼Semiconductor device
US9202814B2 (en)2011-05-202015-12-01Semiconductor Energy Laboratory Co., Ltd.Memory device and signal processing circuit
US9105353B2 (en)2011-05-202015-08-11Semiconductor Energy Laboratory Co., Ltd.Memory device and semiconductor device including the memory device
KR101979573B1 (en)2011-05-202019-05-17가부시키가이샤 한도오따이 에네루기 켄큐쇼Semiconductor device
US9697878B2 (en)2011-05-202017-07-04Semiconductor Energy Laboratory Co., Ltd.Word line divider and storage device
US9000816B2 (en)2011-05-202015-04-07Semiconductor Energy Laboratory Co., Ltd.Phase locked loop and semiconductor device using the same
US8824194B2 (en)2011-05-202014-09-02Semiconductor Energy Laboratory Co., Ltd.Semiconductor device and method for driving the same
US8508256B2 (en)2011-05-202013-08-13Semiconductor Energy Laboratory Co., Ltd.Semiconductor integrated circuit
US8649208B2 (en)2011-05-202014-02-11Semiconductor Energy Laboratory Co., Ltd.Method for driving semiconductor device
US8525551B2 (en)2011-05-202013-09-03Semiconductor Energy Laboratory Co., Ltd.Semiconductor device
US8729938B2 (en)2011-05-202014-05-20Semiconductor Energy Laboratory Co., Ltd.Phase locked loop and semiconductor device using the same
US8964450B2 (en)2011-05-202015-02-24Semiconductor Energy Laboratory Co., Ltd.Memory device and signal processing circuit
US8542034B2 (en)2011-05-202013-09-24Semiconductor Energy Laboratory Co., Ltd.Semiconductor device
US8698521B2 (en)2011-05-202014-04-15Semiconductor Energy Laboratory Co., Ltd.Semiconductor device
US8791516B2 (en)2011-05-202014-07-29Semiconductor Energy Laboratory Co., Ltd.Semiconductor device
US8575960B2 (en)2011-05-202013-11-05Semiconductor Energy Laboratory Co., Ltd.Semiconductor device
US9122896B2 (en)2011-05-202015-09-01Semiconductor Energy Laboratory Co., Ltd.Adder
US8787102B2 (en)2011-05-202014-07-22Semiconductor Energy Laboratory Co., Ltd.Memory device and signal processing circuit
US8638123B2 (en)2011-05-202014-01-28Semiconductor Energy Laboratory Co., Ltd.Adder including transistor having oxide semiconductor layer
US8786311B2 (en)2011-05-202014-07-22Semiconductor Energy Laboratory Co., Ltd.Semiconductor device
US9570445B2 (en)2011-05-202017-02-14Semiconductor Energy Laboratory Co., Ltd.Semiconductor device
US8587342B2 (en)2011-05-202013-11-19Semiconductor Energy Laboratory Co., Ltd.Semiconductor integrated circuit
US12170339B2 (en)2011-05-252024-12-17Semiconductor Energy Laboratory Co., Ltd.Method for forming oxide semiconductor film, semiconductor device, and method for manufacturing semiconductor device
US11489077B2 (en)2011-05-252022-11-01Semiconductor Energy Laboratory Co., Ltd.Method for forming oxide semiconductor film, semiconductor device, and method for manufacturing semiconductor device
US11967648B2 (en)2011-05-252024-04-23Semiconductor Energy Laboratory Co., Ltd.Method for forming oxide semiconductor film, semiconductor device, and method for manufacturing semiconductor device
US12062724B2 (en)2011-05-252024-08-13Semiconductor Energy Laboratory Co., Ltd.Method for forming oxide semiconductor film, semiconductor device, and method for manufacturing semiconductor device
US9171840B2 (en)2011-05-262015-10-27Semiconductor Energy Laboratory Co., Ltd.Semiconductor device and manufacturing method thereof
US8742804B2 (en)2011-05-262014-06-03Semiconductor Energy Laboratory Co., Ltd.Divider circuit and semiconductor device using the same
US8610482B2 (en)2011-05-272013-12-17Semiconductor Energy Laboratory Co., Ltd.Trimming circuit and method for driving trimming circuit
US9077333B2 (en)2011-05-312015-07-07Semiconductor Energy Laboratory Co., Ltd.Semiconductor device
US8669781B2 (en)2011-05-312014-03-11Semiconductor Energy Laboratory Co., Ltd.Semiconductor device
US9490806B2 (en)2011-05-312016-11-08Semiconductor Energy Laboratory Co., Ltd.Semiconductor device
US9059704B2 (en)2011-05-312015-06-16Semiconductor Energy Laboratory Co., Ltd.Programmable logic device
US9467047B2 (en)2011-05-312016-10-11Semiconductor Energy Laboratory Co., Ltd.DC-DC converter, power source circuit, and semiconductor device
US11066739B2 (en)2011-06-082021-07-20Semiconductor Energy Laboratory Co., Ltd.Sputtering target, method for manufacturing sputtering target, and method for forming thin film
US9489830B2 (en)2011-06-082016-11-08Semiconductor Energy Laboratory Co., Ltd.Communication method and communication system
US10889888B2 (en)2011-06-082021-01-12Semiconductor Energy Laboratory Co., Ltd.Sputtering target, method for manufacturing sputtering target, and method for forming thin film
US9875381B2 (en)2011-06-082018-01-23Semiconductor Energy Laboratory Co., Ltd.Communication method and communication system
US12252775B2 (en)2011-06-082025-03-18Semiconductor Energy Laboratory Co., Ltd.Sputtering target, method for manufacturing sputtering target, and method for forming thin film
US9382611B2 (en)2011-06-082016-07-05Semiconductor Energy Laboratory Co., Ltd.Sputtering target, method for manufacturing sputtering target, and method for forming thin film
US11959165B2 (en)2011-06-082024-04-16Semiconductor Energy Laboratory Co., Ltd.Semiconductor device comprising oxide semiconductor film
US8889477B2 (en)2011-06-082014-11-18Semiconductor Energy Laboratory Co., Ltd.Method for forming thin film utilizing sputtering target
US9105313B2 (en)2011-06-092015-08-11Semiconductor Energy Laboratory Co., Ltd.Memory device
US8958231B2 (en)2011-06-092015-02-17Semiconductor Energy Laboratory Co., Ltd.Memory device including first to seventh transistors
US9837545B2 (en)2011-06-102017-12-05Semiconductor Energy Laboratory Co., Ltd.Manufacturing method of semiconductor device
US8946790B2 (en)2011-06-102015-02-03Semiconductor Energy Laboratory Co., Ltd.Semiconductor device and method of manufacturing the same
US8891285B2 (en)2011-06-102014-11-18Semiconductor Energy Laboratory Co., Ltd.Semiconductor memory device
US9595313B2 (en)2011-06-102017-03-14Semiconductor Energy Laboratory Co., Ltd.Semiconductor device
US10833202B2 (en)2011-06-102020-11-10Semiconductor Energy Laboratory Co., Ltd.Manufacturing method of semiconductor device
US8958263B2 (en)2011-06-102015-02-17Semiconductor Energy Laboratory Co., Ltd.Semiconductor device
US9287407B2 (en)2011-06-102016-03-15Semiconductor Energy Laboratory Co., Ltd.Manufacturing method of semiconductor device
US10192990B2 (en)2011-06-102019-01-29Semiconductor Energy Laboratory Co., Ltd.Semiconductor device and method of manufacturing the same
US9472263B2 (en)2011-06-102016-10-18Semiconductor Energy Laboratory Co., Ltd.Semiconductor memory device
US9112036B2 (en)2011-06-102015-08-18Semiconductor Energy Laboratory Co., Ltd.Manufacturing method of semiconductor device
US8804405B2 (en)2011-06-162014-08-12Semiconductor Energy Laboratory Co., Ltd.Memory device and semiconductor device
US9299852B2 (en)2011-06-162016-03-29Semiconductor Energy Laboratory Co., Ltd.Semiconductor device and method for manufacturing the same
US8766329B2 (en)2011-06-162014-07-01Semiconductor Energy Laboratory Co., Ltd.Semiconductor device and a method for manufacturing the same
US9601636B2 (en)2011-06-172017-03-21Semiconductor Energy Laboratory Co., Ltd.Semiconductor device and manufacturing method thereof
US9287409B2 (en)2011-06-172016-03-15Semiconductor Energy Laboratory Co., Ltd.Semiconductor device and manufacturing method thereof
US9099885B2 (en)2011-06-172015-08-04Semiconductor Energy Laboratory Co., Ltd.Wireless power feeding system
US9923417B2 (en)2011-06-172018-03-20Semiconductor Energy Laboratory Co., Ltd.Wireless power feeding system
US9548397B2 (en)2011-06-172017-01-17Semiconductor Energy Laboratory Co., Ltd.Semiconductor device and method for manufacturing the same
US8901554B2 (en)2011-06-172014-12-02Semiconductor Energy Laboratory Co., Ltd.Semiconductor device including channel formation region including oxide semiconductor
US9076874B2 (en)2011-06-172015-07-07Semiconductor Energy Laboratory Co., Ltd.Semiconductor device and method for manufacturing the same
US9166055B2 (en)2011-06-172015-10-20Semiconductor Energy Laboratory Co., Ltd.Semiconductor device and method for manufacturing the same
US9768307B2 (en)2011-06-172017-09-19Semiconductor Energy Laboratory Co., Ltd.Semiconductor device and method for manufacturing the same
US8890152B2 (en)2011-06-172014-11-18Semiconductor Energy Laboratory Co., Ltd.Semiconductor device and manufacturing method thereof
US9818849B2 (en)2011-06-172017-11-14Semiconductor Energy Laboratory Co., Ltd.Manufacturing method of semiconductor device with conductive film in opening through multiple insulating films
US8970999B2 (en)2011-06-292015-03-03Semiconductor Energy Laboratory Co., Ltd.Driver circuit, method of manufacturing the driver circuit, and display device including the driver circuit
US9515065B2 (en)2011-06-292016-12-06Semiconductor Energy Laboratory Co., Ltd.Driver circuit, method of manufacturing the driver circuit, and display device including the driver circuit
US8673426B2 (en)2011-06-292014-03-18Semiconductor Energy Laboratory Co., Ltd.Driver circuit, method of manufacturing the driver circuit, and display device including the driver circuit
US9997514B2 (en)2011-06-292018-06-12Semiconductor Energy Laboratory Co., Ltd.Driver circuit, method of manufacturing the driver circuit, and display device including the driver circuit
USRE48576E1 (en)2011-06-302021-06-01Semiconductor Energy Laboratory Co., Ltd.Semiconductor device and driving method thereof
US9508759B2 (en)2011-06-302016-11-29Semiconductor Energy Laboratory Co., Ltd.Semiconductor device and driving method thereof
US9130044B2 (en)2011-07-012015-09-08Semiconductor Energy Laboratory Co., Ltd.Semiconductor device and manufacturing method thereof
US9196745B2 (en)2011-07-082015-11-24Semiconductor Energy Laboratory Co., Ltd.Semiconductor device and manufacturing method thereof
US8664118B2 (en)2011-07-082014-03-04Semiconductor Energy Laboratory Co., Ltd.Semiconductor device and method for manufacturing the same
US9496138B2 (en)2011-07-082016-11-15Semiconductor Energy Laboratory Co., Ltd.Method for manufacturing oxide semiconductor film, method for manufacturing semiconductor device, and semiconductor device
US10439072B2 (en)2011-07-082019-10-08Semiconductor Energy Laboratory Co., Ltd.Semiconductor device
US11011652B2 (en)2011-07-082021-05-18Semiconductor Energy Laboratory Co., Ltd.Semiconductor device and manufacturing method thereof
US9837548B2 (en)2011-07-082017-12-05Semiconductor Energy Laboratory Co., Ltd.Semiconductor device
US8748886B2 (en)2011-07-082014-06-10Semiconductor Energy Laboratory Co., Ltd.Semiconductor device and method for manufacturing semiconductor device
US11588058B2 (en)2011-07-082023-02-21Semiconductor Energy Laboratory Co., Ltd.Semiconductor device and manufacturing method thereof
US9385238B2 (en)2011-07-082016-07-05Semiconductor Energy Laboratory Co., Ltd.Transistor using oxide semiconductor
US9490241B2 (en)2011-07-082016-11-08Semiconductor Energy Laboratory Co., Ltd.Semiconductor device comprising a first inverter and a second inverter
US9530897B2 (en)2011-07-082016-12-27Semiconductor Energy Laboratory Co., Ltd.Semiconductor device and manufacturing method thereof
US9214474B2 (en)2011-07-082015-12-15Semiconductor Energy Laboratory Co., Ltd.Semiconductor device and method for manufacturing semiconductor device
US9698275B2 (en)2011-07-082017-07-04Semiconductor Energy Laboratory Co., Ltd.Semiconductor device and method for manufacturing semiconductor device
US8952377B2 (en)2011-07-082015-02-10Semiconductor Energy Laboratory Co., Ltd.Semiconductor device and manufacturing method thereof
US9318506B2 (en)2011-07-082016-04-19Semiconductor Energy Laboratory Co., Ltd.Semiconductor device and manufacturing method thereof
US12132121B2 (en)2011-07-082024-10-29Semiconductor Energy Laboratory Co., Ltd.Semiconductor device and manufacturing method thereof
US10043918B2 (en)2011-07-082018-08-07Semiconductor Energy Laboratory Co., Ltd.Semiconductor device and manufacturing method thereof
US10658522B2 (en)2011-07-082020-05-19Semiconductor Energy Laboratory Co., Ltd.Semiconductor device and manufacturing method thereof
US9200952B2 (en)2011-07-152015-12-01Semiconductor Energy Laboratory Co., Ltd.Semiconductor device comprising a photodetector and an analog arithmetic circuit
US9472677B2 (en)2011-07-152016-10-18Semiconductor Energy Laboratory Co., Ltd.Semiconductor device
US8847220B2 (en)2011-07-152014-09-30Semiconductor Energy Laboratory Co., Ltd.Semiconductor device
US8836626B2 (en)2011-07-152014-09-16Semiconductor Energy Laboratory Co., Ltd.Semiconductor device and method for driving the same
US9111824B2 (en)2011-07-152015-08-18Semiconductor Energy Laboratory Co., Ltd.Semiconductor device and method for driving the same
US10304878B2 (en)2011-07-152019-05-28Semiconductor Energy Laboratory Co., Ltd.Semiconductor device and method for driving the same
US9659983B2 (en)2011-07-152017-05-23Semiconductor Energy Laboratory Co., Ltd.Semiconductor device and method for driving the same
US8912596B2 (en)2011-07-152014-12-16Semiconductor Energy Laboratory Co., Ltd.Semiconductor device
US9805954B2 (en)2011-07-212017-10-31Semiconductor Energy Laboratory Co., Ltd.Semiconductor device and manufacturing method thereof
US8946812B2 (en)2011-07-212015-02-03Semiconductor Energy Laboratory Co., Ltd.Semiconductor device and manufacturing method thereof
US8643008B2 (en)2011-07-222014-02-04Semiconductor Energy Laboratory Co., Ltd.Semiconductor device
US9136388B2 (en)2011-07-222015-09-15Semiconductor Energy Laboratory Co., Ltd.Semiconductor device
US11741895B2 (en)2011-07-222023-08-29Semiconductor Energy Laboratory Co., Ltd.Light-emitting device
US10008149B2 (en)2011-07-222018-06-26Semiconductor Energy Laboratory Co., Ltd.Light-emitting device including pixels suppressing variation in luminance
US10629122B2 (en)2011-07-222020-04-21Semiconductor Energy Laboratory Co., Ltd.Light-emitting device
US10157939B2 (en)2011-07-222018-12-18Semiconductor Energy Laboratory Co., Ltd.Semiconductor device including memory cell which includes transistor and capacitor
US8716073B2 (en)2011-07-222014-05-06Semiconductor Energy Laboratory Co., Ltd.Method for processing oxide semiconductor film and method for manufacturing semiconductor device
US9006735B2 (en)2011-07-222015-04-14Semiconductor Energy Laboratory Co., Ltd.Method for processing oxide semiconductor film and method for manufacturing semiconductor device
US10153378B2 (en)2011-07-222018-12-11Semiconductor Energy Laboratory Co., Ltd.Semiconductor device comprising oxide semiconductor
US12062722B2 (en)2011-07-222024-08-13Semiconductor Energy Laboratory Co., Ltd.Method for fabrication of semiconductor device
US9666723B2 (en)2011-07-222017-05-30Semiconductor Energy Laboratory Co., Ltd.Semiconductor device
US9012993B2 (en)2011-07-222015-04-21Semiconductor Energy Laboratory Co., Ltd.Semiconductor device
US10991829B2 (en)2011-07-222021-04-27Semiconductor Energy Laboratory Co., Ltd.Semiconductor device comprising oxide semiconductor
US11081050B2 (en)2011-07-222021-08-03Semiconductor Energy Laboratory Co., Ltd.Light-emitting device
US8718224B2 (en)2011-08-052014-05-06Semiconductor Energy Laboratory Co., Ltd.Pulse signal output circuit and shift register
US8994019B2 (en)2011-08-052015-03-31Semiconductor Energy Laboratory Co., Ltd.Semiconductor device
US9614095B2 (en)2011-08-182017-04-04Semiconductor Energy Laboratory Co., Ltd.Semiconductor device
US9136297B2 (en)2011-08-192015-09-15Semiconductor Energy Laboratory Co., Ltd.Method for driving semiconductor device
US9064853B2 (en)2011-08-192015-06-23Semiconductor Energy Laboratory Co., Ltd.Semiconductor device and method for manufacturing the same
US9083335B2 (en)2011-08-242015-07-14Semiconductor Energy Laboratory Co., Ltd.Semiconductor device with switch and logic circuit
US9001959B2 (en)2011-08-292015-04-07Semiconductor Energy Laboratory Co., Ltd.Semiconductor device
US9660092B2 (en)2011-08-312017-05-23Semiconductor Energy Laboratory Co., Ltd.Oxide semiconductor thin film transistor including oxygen release layer
US9252279B2 (en)2011-08-312016-02-02Semiconductor Energy Laboratory Co., Ltd.Semiconductor device and manufacturing method thereof
US9269825B2 (en)2011-09-072016-02-23Semiconductor Energy Laboratory Co., Ltd.Semiconductor device and method for manufacturing the same
US8796681B2 (en)2011-09-072014-08-05Semiconductor Energy Laboratory Co., Ltd.Semiconductor device and method for manufacturing the same
US9082670B2 (en)2011-09-092015-07-14Semiconductor Energy Laboratory Co., Ltd.Semiconductor device
US8802493B2 (en)2011-09-132014-08-12Semiconductor Energy Laboratory Co., Ltd.Manufacturing method of oxide semiconductor device
US9035304B2 (en)2011-09-132015-05-19Semiconductor Energy Laboratory Co., Ltd.Semiconductor device
US8921849B2 (en)2011-09-152014-12-30Semiconductor Energy Laboratory Co., Ltd.Insulated-gate field-effect transistor
US10032798B2 (en)2011-09-162018-07-24Semiconductor Energy Laboratory Co., Ltd.Semiconductor device, light-emitting device, and electronic device
US9508709B2 (en)2011-09-162016-11-29Semiconductor Energy Laboratory Co., Ltd.Semiconductor device, light-emitting device, and electronic device
US9105732B2 (en)2011-09-162015-08-11Semiconductor Energy Laboratory Co., Ltd.Semiconductor device
US11637129B2 (en)2011-09-162023-04-25Semiconductor Energy Laboratory Co., Ltd.Semiconductor device, light-emitting device, and electronic device
US9082663B2 (en)2011-09-162015-07-14Semiconductor Energy Laboratory Co., Ltd.Semiconductor device and manufacturing method thereof
US10950633B2 (en)2011-09-162021-03-16Semiconductor Energy Laboratory Co., Ltd.Semiconductor device, light-emitting device, and electronic device
US10622380B2 (en)2011-09-162020-04-14Semiconductor Energy Laboratory Co., Ltd.Semiconductor device, light-emitting device, and electronic device
US12107090B2 (en)2011-09-162024-10-01Semiconductor Energy Laboratory Co., Ltd.Semiconductor device, light-emitting device, and electronic device
US8952379B2 (en)2011-09-162015-02-10Semiconductor Energy Laboratory Co., Ltd.Semiconductor device
US8835918B2 (en)2011-09-162014-09-16Semiconductor Energy Laboratory Co., Ltd.Semiconductor device
US10170486B2 (en)2011-09-212019-01-01Semiconductor Energy Laboratory Co., Ltd.Semiconductor storage device comprising peripheral circuit, shielding layer, and memory cell array
US9318374B2 (en)2011-09-212016-04-19Semiconductor Energy Laboratory Co., Ltd.Semiconductor storage device comprising peripheral circuit, Shielding layer, and memory cell array
US9609244B2 (en)2011-09-222017-03-28Semiconductor Energy Laboratory Co., Ltd.Photodetector having a first transistor with a channel formed in an oxide semiconductor layer and method for driving photodetector
US9159840B2 (en)2011-09-222015-10-13Semiconductor Energy Laboratory Co., Ltd.Semiconductor device
US9055245B2 (en)2011-09-222015-06-09Semiconductor Energy Laboratory Co., Ltd.Photodetector including difference data generation circuit and data input selection circuit
US8822989B2 (en)2011-09-222014-09-02Semiconductor Energy Laboratory Co., Ltd.Semiconductor device
US9431545B2 (en)2011-09-232016-08-30Semiconductor Energy Laboratory Co., Ltd.Semiconductor device and method for manufacturing the same
US8841675B2 (en)2011-09-232014-09-23Semiconductor Energy Laboratory Co., Ltd.Minute transistor
US9536994B2 (en)2011-09-232017-01-03Semiconductor Energy Laboratory Co., Ltd.Method for manufacturing semiconductor device and semiconductor device
US9142681B2 (en)2011-09-262015-09-22Semiconductor Energy Laboratory Co., Ltd.Semiconductor device and method for manufacturing the same
US9905516B2 (en)2011-09-262018-02-27Semiconductor Energy Laboratory Co., Ltd.Semiconductor device and method for manufacturing the same
US8744038B2 (en)2011-09-282014-06-03Semiconductor Energy Laboratory Co., Ltd.Shift register circuit
US9548133B2 (en)2011-09-282017-01-17Semiconductor Energy Laboratory Co., Ltd.Shift register circuit
US10290744B2 (en)2011-09-292019-05-14Semiconductor Energy Laboratory Co., Ltd.Semiconductor device
US9466726B2 (en)2011-09-292016-10-11Semiconductor Energy Laboratory Co., Ltd.Semiconductor device and method for manufacturing the same
US9029852B2 (en)2011-09-292015-05-12Semiconductor Energy Laboratory Co., Ltd.Semiconductor device
US10622485B2 (en)2011-09-292020-04-14Semiconductor Energy Laboratory Co., Ltd.Semiconductor device
US12225739B2 (en)2011-09-292025-02-11Semiconductor Energy Laboratory Co., Ltd.Semiconductor device
US9219160B2 (en)2011-09-292015-12-22Semiconductor Energy Laboratory Co., Ltd.Semiconductor device
US12218251B2 (en)2011-09-292025-02-04Semiconductor Energy Laboratory Co., Ltd.Semiconductor device
US8546181B2 (en)2011-09-292013-10-01Semiconductor Energy Laboratory Co., Ltd.Semiconductor device and method for manufacturing the same
US11217701B2 (en)2011-09-292022-01-04Semiconductor Energy Laboratory Co., Ltd.Semiconductor device
US9343585B2 (en)2011-09-292016-05-17Semiconductor Energy Laboratory Co., Ltd.Semiconductor device and method for manufacturing the same
US9905702B2 (en)2011-09-292018-02-27Semiconductor Energy Laboratory Co., Ltd.Semiconductor device and method for manufacturing the same
US9053983B2 (en)2011-09-292015-06-09Semiconductor Energy Laboratory Co., Ltd.Semiconductor device and method for manufacturing the same
US8716708B2 (en)2011-09-292014-05-06Semiconductor Energy Laboratory Co., Ltd.Semiconductor device and method for manufacturing the same
US9741860B2 (en)2011-09-292017-08-22Semiconductor Energy Laboratory Co., Ltd.Semiconductor device
US9159806B2 (en)2011-09-292015-10-13Semiconductor Energy Laboratory Co., Ltd.Semiconductor device and method for manufacturing the same
US11791415B2 (en)2011-09-292023-10-17Semiconductor Energy Laboratory Co., Ltd.Semiconductor device
US9123632B2 (en)2011-09-302015-09-01Semiconductor Energy Laboratory Co., Ltd.Semiconductor device
US8982607B2 (en)2011-09-302015-03-17Semiconductor Energy Laboratory Co., Ltd.Memory element and signal processing circuit
US9876119B2 (en)2011-10-052018-01-23Semiconductor Energy Laboratory Co., Ltd.Semiconductor device and manufacturing method thereof
US10014068B2 (en)2011-10-072018-07-03Semiconductor Energy Laboratory Co., Ltd.Semiconductor device
US9105608B2 (en)2011-10-072015-08-11Semiconductor Energy Laboratory Co., Ltd.Semiconductor device and method for manufacturing the same
US12062405B2 (en)2011-10-072024-08-13Semiconductor Energy Laboratory Co., Ltd.Semiconductor device
US11133078B2 (en)2011-10-072021-09-28Semiconductor Energy Laboratory Co., Ltd.Semiconductor device
US10431318B2 (en)2011-10-072019-10-01Semiconductor Energy Laboratory Co., Ltd.Semiconductor device
US8975634B2 (en)2011-10-072015-03-10Semiconductor Energy Laboratory Co., Ltd.Semiconductor device including oxide semiconductor film
US11749365B2 (en)2011-10-072023-09-05Semiconductor Energy Laboratory Co., Ltd.Semiconductor device
US12431207B2 (en)2011-10-072025-09-30Semiconductor Energy Laboratory Co., Ltd.Semiconductor device
US10580508B2 (en)2011-10-072020-03-03Semiconductor Energy Laboratory Co., Ltd.Semiconductor device
US9281237B2 (en)2011-10-132016-03-08Semiconductor Energy Laboratory Co., Ltd.Transistor having reduced channel length
US9117916B2 (en)2011-10-132015-08-25Semiconductor Energy Laboratory Co., Ltd.Semiconductor device comprising oxide semiconductor film
US9136361B2 (en)2011-10-132015-09-15Semiconductor Energy Laboratory Co., Ltd.Semiconductor device and method for manufacturing semiconductor device
US9287405B2 (en)2011-10-132016-03-15Semiconductor Energy Laboratory Co., Ltd.Semiconductor device comprising oxide semiconductor
US9269798B2 (en)2011-10-132016-02-23Semiconductor Energy Laboratory Co., Ltd.Method for manufacturing semiconductor device
US8772769B2 (en)2011-10-132014-07-08Semiconductor Energy Laboratory Co., Ltd.Semiconductor device and method for manufacturing semiconductor device
US8637864B2 (en)2011-10-132014-01-28Semiconductor Energy Laboratory Co., Ltd.Semiconductor device and method of manufacturing the same
US9166019B2 (en)2011-10-132015-10-20Semiconductor Energy Laboratory Co., Ltd.Semiconductor device and method of manufacturing the same
US9570594B2 (en)2011-10-132017-02-14Semiconductor Energy Laboratory Co., Ltd.Method for manufacturing semiconductor device
US10153375B2 (en)2011-10-132018-12-11Semiconductor Energy Laboratory Co., Ltd.Semiconductor device and method for manufacturing semiconductor device
US9018629B2 (en)2011-10-132015-04-28Semiconductor Energy Laboratory Co., Ltd.Semiconductor device and method for manufacturing semiconductor device
US9728648B2 (en)2011-10-132017-08-08Semiconductor Energy Laboratory Co., Ltd.Semiconductor device and method for manufacturing semiconductor device
US9064906B2 (en)2011-10-132015-06-23Semiconductor Energy Laboratory Co., Ltd.Semiconductor device and method for manufacturing semiconductor device
US8729613B2 (en)2011-10-142014-05-20Semiconductor Energy Laboratory Co., Ltd.Semiconductor device
US9218966B2 (en)2011-10-142015-12-22Semiconductor Energy Laboratory Co., Ltd.Semiconductor device and method of manufacturing semiconductor device
US9087908B2 (en)2011-10-142015-07-21Semiconductor Energy Laboratory Co., Ltd.Semiconductor device
US9680028B2 (en)2011-10-142017-06-13Semiconductor Energy Laboratory Co., Ltd.Semiconductor device
US12376335B2 (en)2011-10-192025-07-29Semiconductor Energy Laboratory Co., Ltd.Semiconductor device and manufacturing method thereof
US10535776B2 (en)2011-10-192020-01-14Semiconductor Energy Laboratory Co., Ltd.Semiconductor device and manufacturing method thereof
US11817505B2 (en)2011-10-192023-11-14Semiconductor Energy Laboratory Co., Ltd.Semiconductor device
US9620623B2 (en)2011-10-192017-04-11Semiconductor Energy Laboratory Co., Ltd.Semiconductor device and manufacturing method thereof
US8809855B2 (en)2011-10-192014-08-19Semiconductor Energy Laboratory Co., Ltd.Semiconductor device and manufacturing method thereof
US11271115B2 (en)2011-10-192022-03-08Semiconductor Energy Laboratory Co., Ltd.Semiconductor device
US8927990B2 (en)2011-10-212015-01-06Semiconductor Energy Laboratory Co., Ltd.Semiconductor device and manufacturing method thereof
US9960279B2 (en)2011-10-212018-05-01Semiconductor Energy Laboratory Co., Ltd.Semiconductor device and manufacturing method thereof
US8815640B2 (en)2011-10-242014-08-26Semiconductor Energy Laboratory Co., Ltd.Semiconductor device and method for manufacturing the same
US9741866B2 (en)2011-10-242017-08-22Semiconductor Energy Laboratory Co., Ltd.Semiconductor device
US9059297B2 (en)2011-10-242015-06-16Semiconductor Energy Laboratory Co., Ltd.Semiconductor device and method for manufacturing the same
US9147773B2 (en)2011-10-242015-09-29Semiconductor Energy Laboratory Co., Ltd.Semiconductor device and method for manufacturing the same
US8846459B2 (en)2011-10-242014-09-30Semiconductor Energy Laboratory Co., Ltd.Semiconductor device and method for manufacturing the same
US9515175B2 (en)2011-10-242016-12-06Semiconductor Energy Laboratory Co., Ltd.Semiconductor device and method for manufacturing the same
US8937305B2 (en)2011-10-242015-01-20Semiconductor Energy Laboratory Co., Ltd.Semiconductor device
US8698214B2 (en)2011-10-272014-04-15Semiconductor Energy Laboratory Co., Ltd.Semiconductor device
US9530895B2 (en)2011-10-272016-12-27Semiconductor Energy Laboratory Co., Ltd.Semiconductor device
US9105734B2 (en)2011-10-272015-08-11Semiconductor Energy Laboratory Co., Ltd.Semiconductor device
US8952380B2 (en)2011-10-272015-02-10Semiconductor Energy Laboratory Co., Ltd.Semiconductor device and electronic device
US9816173B2 (en)2011-10-282017-11-14Semiconductor Energy Laboratory Co., Ltd.Semiconductor device and manufacturing method thereof
US8604472B2 (en)2011-11-092013-12-10Semiconductor Energy Laboratory Co., Ltd.Semiconductor device
US9123692B2 (en)2011-11-102015-09-01Semiconductor Energy Laboratory Co., Ltd.Semiconductor device and method of manufacturing semiconductor device
US8878177B2 (en)2011-11-112014-11-04Semiconductor Energy Laboratory Co., Ltd.Semiconductor device and method for manufacturing semiconductor device
US9214565B2 (en)2011-11-112015-12-15Semiconductor Energy Laboratory Co., Ltd.Semiconductor device and method for manufacturing semiconductor device
US9576982B2 (en)2011-11-112017-02-21Semiconductor Energy Laboratory Co., Ltd.Liquid crystal display device, EL display device, and manufacturing method thereof
US9219163B2 (en)2011-11-112015-12-22Semiconductor Energy Laboratory Co., Ltd.Display device and manufacturing method thereof
US8796682B2 (en)2011-11-112014-08-05Semiconductor Energy Laboratory Co., Ltd.Method for manufacturing a semiconductor device
US8988625B2 (en)2011-11-112015-03-24Semiconductor Energy Laboratory Co., Ltd.Display device and manufacturing method thereof
US9053675B2 (en)2011-11-112015-06-09Semiconductor Energy Laboratory Co., Ltd.Signal line driver circuit and liquid crystal display device
US12046604B2 (en)2011-11-112024-07-23Semiconductor Energy Laboratory Co., Ltd.Liquid crystal display device, EL display device, and manufacturing method thereof
US9196744B2 (en)2011-11-112015-11-24Semiconductor Energy Laboratory Co., Ltd.Semiconductor device
US9082861B2 (en)2011-11-112015-07-14Semiconductor Energy Laboratory Co., Ltd.Transistor with oxide semiconductor channel having protective layer
US8969130B2 (en)2011-11-182015-03-03Semiconductor Energy Laboratory Co., Ltd.Insulating film, formation method thereof, semiconductor device, and manufacturing method thereof
US10026847B2 (en)2011-11-182018-07-17Semiconductor Energy Laboratory Co., Ltd.Semiconductor element, method for manufacturing semiconductor element, and semiconductor device including semiconductor element
US12336224B2 (en)2011-11-252025-06-17Semiconductor Energy Laboratory Co., Ltd.Semiconductor device and method for manufacturing the same
US9991293B2 (en)2011-11-252018-06-05Semiconductor Energy Laboratory Co., Ltd.Semiconductor device and manufacturing method thereof
US8772094B2 (en)2011-11-252014-07-08Semiconductor Energy Laboratory Co., Ltd.Method for manufacturing semiconductor device
US9007816B2 (en)2011-11-252015-04-14Semiconductor Energy Laboratory Co., Ltd.Memory circuit and memory device
US9293193B2 (en)2011-11-252016-03-22Semiconductor Energy Laboratory Co., Ltd.Memory circuit and memory device
US8951899B2 (en)2011-11-252015-02-10Semiconductor Energy LaboratoryMethod for manufacturing semiconductor device
US9171943B2 (en)2011-11-252015-10-27Semiconductor Energy Laboratory Co., Ltd.Method for manufacturing semiconductor device
US8829528B2 (en)2011-11-252014-09-09Semiconductor Energy Laboratory Co., Ltd.Semiconductor device including groove portion extending beyond pixel electrode
US8962386B2 (en)2011-11-252015-02-24Semiconductor Energy Laboratory Co., Ltd.Semiconductor device and method for manufacturing the same
US9057126B2 (en)2011-11-292015-06-16Semiconductor Energy Laboratory Co., Ltd.Method for manufacturing sputtering target and method for manufacturing semiconductor device
US10002580B2 (en)2011-11-302018-06-19Semiconductor Energy Laboratory Co., Ltd.Semiconductor display device
US8956929B2 (en)2011-11-302015-02-17Semiconductor Energy Laboratory Co., Ltd.Method for manufacturing semiconductor device
US8872179B2 (en)2011-11-302014-10-28Semiconductor Energy Laboratory Co., Ltd.Semiconductor device
US9209267B2 (en)2011-11-302015-12-08Semiconductor Energy Laboratory Co., Ltd.Method for forming oxide semiconductor film and method for manufacturing semiconductor device
US9601631B2 (en)2011-11-302017-03-21Semiconductor Energy Laboratory Co., Ltd.Semiconductor device and method for manufacturing the same
US9076871B2 (en)2011-11-302015-07-07Semiconductor Energy Laboratory Co., Ltd.Semiconductor device and method for manufacturing the same
US9478704B2 (en)2011-11-302016-10-25Semiconductor Energy Laboratory Co., Ltd.Semiconductor display device
US9608123B2 (en)2011-11-302017-03-28Semiconductor Energy Laboratory Co., Ltd.Method for manufacturing semiconductor device
US10084072B2 (en)2011-11-302018-09-25Semiconductor Energy Laboratory Co., Ltd.Semiconductor device and method for manufacturing the same
US10224433B2 (en)2011-11-302019-03-05Semiconductor Energy Laboratory Co., Ltd.Method for manufacturing semiconductor device
US9093543B2 (en)2011-11-302015-07-28Semiconductor Energy Laboratory Co., Ltd.Semiconductor device
US9954115B2 (en)2011-12-012018-04-24Semiconductor Energy Laboratory Co., Ltd.Semiconductor device and method for manufacturing the same
US9130048B2 (en)2011-12-012015-09-08Semiconductor Energy Laboratory Co., Ltd.Method for manufacturing a thin film semiconductor device
US9466728B2 (en)2011-12-012016-10-11Semiconductor Energy Laboratory Co., Ltd.Semiconductor device and method for manufacturing the same
US10269979B2 (en)2011-12-012019-04-23Semiconductor Energy Laboratory Co., Ltd.Semiconductor device and method for manufacturing the same
US10043833B2 (en)2011-12-012018-08-07Semiconductor Energy Laboratory Co., Ltd.Semiconductor device
US8981367B2 (en)2011-12-012015-03-17Semiconductor Energy Laboratory Co., Ltd.Semiconductor device
US9472680B2 (en)2011-12-012016-10-18Semiconductor Energy Laboratory Co., Ltd.Semiconductor device
US10658517B2 (en)2011-12-012020-05-19Semiconductor Energy Laboratory Co., Ltd.Semiconductor device and method for manufacturing the same
US9472656B2 (en)2011-12-022016-10-18Semiconductor Energy Laboratory Co., Ltd.Semiconductor device and method for manufacturing the same
US9048321B2 (en)2011-12-022015-06-02Semiconductor Energy Laboratory Co., Ltd.Semiconductor device and manufacturing method thereof
US9142679B2 (en)2011-12-022015-09-22Semiconductor Energy Laboratory Co., Ltd.Method for manufacturing semiconductor device using oxide semiconductor
US9171959B2 (en)2011-12-022015-10-27Semiconductor Energy Laboratory Co., Ltd.Semiconductor device and manufacturing method thereof
US8885437B2 (en)2011-12-022014-11-11Semiconductor Energy Laboratory Co., Ltd.Storage device and driving method thereof
US9257422B2 (en)2011-12-062016-02-09Semiconductor Energy Laboratory Co., Ltd.Signal processing circuit and method for driving signal processing circuit
US9076505B2 (en)2011-12-092015-07-07Semiconductor Energy Laboratory Co., Ltd.Memory device
US10002968B2 (en)2011-12-142018-06-19Semiconductor Energy Laboratory Co., Ltd.Semiconductor device and display device including the same
US11302819B2 (en)2011-12-142022-04-12Semiconductor Energy Laboratory Co., Ltd.Semiconductor device and display device including the same
US10680110B2 (en)2011-12-142020-06-09Semiconductor Energy Laboratory Co., Ltd.Semiconductor device and display device including the same
US12002886B2 (en)2011-12-142024-06-04Semiconductor Energy Laboratory Co., Ltd.Semiconductor device and display device including the same
US10153346B2 (en)2011-12-152018-12-11Semiconductor Energy Laboratory Co., Ltd.Semiconductor device and method for manufacturing the same
US9331156B2 (en)2011-12-152016-05-03Semiconductor Energy Laboratory Co., Ltd.Semiconductor device and method for manufacturing the same
US9990965B2 (en)2011-12-152018-06-05Semiconductor Energy Laboratory Co., Ltd.Storage device
US9064907B2 (en)2011-12-202015-06-23Semiconductor Energy Laboratory Co., Ltd.Method for manufacturing semiconductor device
US8785258B2 (en)2011-12-202014-07-22Semiconductor Energy Laboratory Co., Ltd.Method for manufacturing semiconductor device
US9070778B2 (en)2011-12-202015-06-30Semiconductor Energy Laboratory Co., Ltd.Semiconductor device and method for manufacturing semiconductor device
US9368501B2 (en)2011-12-222016-06-14Semiconductor Energy Laboratory Co., Ltd.Semiconductor memory device including stacked sub memory cells
US8907392B2 (en)2011-12-222014-12-09Semiconductor Energy Laboratory Co., Ltd.Semiconductor memory device including stacked sub memory cells
US9099303B2 (en)2011-12-222015-08-04Semiconductor Energy Laboratory Co., Ltd.Method for manufacturing semiconductor device
US8773173B2 (en)2011-12-222014-07-08Semiconductor Energy Laboratory Co., Ltd.Semiconductor device, image display device, storage device, and electronic device
US8748240B2 (en)2011-12-222014-06-10Semiconductor Energy Laboratory Co., Ltd.Method for manufacturing semiconductor device
US9871059B2 (en)2011-12-232018-01-16Semiconductor Energy Laboratory Co., Ltd.Semiconductor device and method for manufacturing the same
US8796683B2 (en)2011-12-232014-08-05Semiconductor Energy Laboratory Co., Ltd.Semiconductor device
US9559213B2 (en)2011-12-232017-01-31Semiconductor Energy Laboratory Co., Ltd.Semiconductor device
US8860021B2 (en)2011-12-232014-10-14Semiconductor Energy Laboratory Co., Ltd.Semiconductor element, method for manufacturing the semiconductor element, and semiconductor device including the semiconductor element
US9923000B2 (en)2011-12-232018-03-20Semiconductor Energy Laboratory Co., Ltd.Semiconductor device and manufacturing method thereof
US8790961B2 (en)2011-12-232014-07-29Semiconductor Energy Laboratory Co., Ltd.Semiconductor device and method for manufacturing the same
US9281405B2 (en)2011-12-232016-03-08Semiconductor Energy Laboratory Co., Ltd.Semiconductor device and method for manufacturing the same
US8861288B2 (en)2011-12-232014-10-14Semiconductor Energy Laboratory Co., Ltd.Level-shift circuit and semiconductor integrated circuit
US8704221B2 (en)2011-12-232014-04-22Semiconductor Energy Laboratory Co., Ltd.Semiconductor device
US9166061B2 (en)2011-12-232015-10-20Semiconcductor Energy Laboratory Co., Ltd.Semiconductor device
US9236428B2 (en)2011-12-232016-01-12Semiconductor Energy Laboratory Co., Ltd.Semiconductor element, method for manufacturing the semiconductor element, and semiconductor device including the semiconductor element
US8988116B2 (en)2011-12-232015-03-24Semiconductor Energy Laboratory Co., Ltd.Method for driving semiconductor device
US9252286B2 (en)2011-12-232016-02-02Semiconductor Energy Laboratory Co., Ltd.Semiconductor device and method for manufacturing the same
US8748241B2 (en)2011-12-232014-06-10Semiconductor Energy Laboratory Co., Ltd.Semiconductor device and method for manufacturing the same
US8884284B2 (en)2011-12-232014-11-11Semiconductor Energy Laboratory Co., Ltd.Semiconductor device and manufacturing method thereof
US9264693B2 (en)2011-12-262016-02-16Semiconductor Energy Laboratory Co., Ltd.Motion recognition device
US9502572B2 (en)2011-12-272016-11-22Semiconductor Energy Laboratory Co., Ltd.Bottom-gate transistor including an oxide semiconductor layer contacting an oxygen-rich insulating layer
US8809154B2 (en)2011-12-272014-08-19Semiconductor Energy Laboratory Co., Ltd.Semiconductor device and method for manufacturing the same
US9012913B2 (en)2012-01-102015-04-21Semiconductor Energy Laboratory Co., Ltd.Semiconductor device and method for manufacturing semiconductor device
US9614100B2 (en)2012-01-182017-04-04Semiconductor Energy Laboratory Co., Ltd.Semiconductor device
US8836555B2 (en)2012-01-182014-09-16Semiconductor Energy Laboratory Co., Ltd.Circuit, sensor circuit, and semiconductor device using the sensor circuit
US10483402B2 (en)2012-01-182019-11-19Semiconductor Energy Laboratory Co., Ltd.Semiconductor device
US8969867B2 (en)2012-01-182015-03-03Semiconductor Energy Laboratory Co., Ltd.Semiconductor device
US9608124B2 (en)2012-01-202017-03-28Semiconductor Energy Laboratory Co., Ltd.Semiconductor device
US9040981B2 (en)2012-01-202015-05-26Semiconductor Energy Laboratory Co., Ltd.Semiconductor device
US12426366B2 (en)2012-01-202025-09-23Semiconductor Energy Laboratory Co., Ltd.Semiconductor device
US10326026B2 (en)2012-01-202019-06-18Semiconductor Energy Laboratory Co., Ltd.Semiconductor device
US9099560B2 (en)2012-01-202015-08-04Semiconductor Energy Laboratory Co., Ltd.Semiconductor device and manufacturing method thereof
US11934243B2 (en)2012-01-232024-03-19Semiconductor Energy Laboratory Co., Ltd.Semiconductor device
US11209880B2 (en)2012-01-232021-12-28Semiconductor Energy Laboratory Co., Ltd.Semiconductor device
US10079312B2 (en)2012-01-232018-09-18Semiconductor Energy Laboratory Co., Ltd.Semiconductor device and method for manufacturing the same
US9804645B2 (en)2012-01-232017-10-31Semiconductor Energy Laboratory Co., Ltd.Systems and methods for individually controlling power supply voltage to circuits in a semiconductor device
US9653614B2 (en)2012-01-232017-05-16Semiconductor Energy Laboratory Co., Ltd.Semiconductor device and method for manufacturing the same
US9293589B2 (en)2012-01-252016-03-22Semiconductor Energy Laboratory Co., Ltd.Semiconductor device and method for manufacturing semiconductor device
US10243081B2 (en)2012-01-252019-03-26Semiconductor Energy Laboratory Co., Ltd.Semiconductor device and method for manufacturing semiconductor device
US10243064B2 (en)2012-01-262019-03-26Semiconductor Energy Laboratory Co., Ltd.Semiconductor device and method for manufacturing the same
US9184160B2 (en)2012-01-262015-11-10Semiconductor Energy Laboratory Co., Ltd.Semiconductor device and method for manufacturing the same
US9006733B2 (en)2012-01-262015-04-14Semiconductor Energy Laboratory Co., Ltd.Semiconductor device and method for manufacturing thereof
US8956912B2 (en)2012-01-262015-02-17Semiconductor Energy Laboratory Co., Ltd.Method for manufacturing semiconductor device
US12191313B2 (en)2012-01-262025-01-07Semiconductor Energy Laboratory Co., Ltd.Semiconductor device and method for manufacturing the same
US9614062B2 (en)2012-01-262017-04-04Semiconductor Energy Laboratory Co., Ltd.Semiconductor device and method for manufacturing thereof
US11081502B2 (en)2012-01-262021-08-03Semiconductor Energy Laboratory Co., Ltd.Semiconductor device and method for manufacturing the same
US9171957B2 (en)2012-01-262015-10-27Semiconductor Energy Laboratory Co., Ltd.Semiconductor device and method for manufacturing the same
US9419146B2 (en)2012-01-262016-08-16Semiconductor Energy Laboratory Co., Ltd.Semiconductor device and method for manufacturing the same
US9997545B2 (en)2012-01-262018-06-12Semiconductor Energy Laboratory Co., Ltd.Semiconductor device and method for manufacturing thereof
US11682677B2 (en)2012-01-262023-06-20Semiconductor Energy Laboratory Co., Ltd.Semiconductor device and method for manufacturing the same
US9431430B2 (en)2012-01-262016-08-30Semiconductor Energy Laboratory Co., Ltd.Semiconductor device and method for manufacturing the same
US9564457B2 (en)2012-01-262017-02-07Semiconductor Energy Laboratory Co., Ltd.Method for manufacturing semiconductor device
US9304523B2 (en)2012-01-302016-04-05Semiconductor Energy Laboratory Co., Ltd.Power supply circuit and method for driving the same
US9214566B2 (en)2012-02-022015-12-15Semiconductor Energy Laboratory Co., Ltd.Semiconductor device
US8723176B2 (en)2012-02-022014-05-13Semiconductor Energy Laboratory Co., Ltd.Semiconductor device
US9812582B2 (en)2012-02-022017-11-07Semiconductor Energy Laboratory Co., Ltd.Semiconductor device
US8946704B2 (en)2012-02-022015-02-03Semiconductor Energy Laboratory Co., Ltd.Semiconductor device
US9484467B2 (en)2012-02-032016-11-01Semiconductor Energy Laboratory Co., Ltd.Semiconductor device
US9196741B2 (en)2012-02-032015-11-24Semiconductor Energy Laboratory Co., Ltd.Semiconductor device
US8987730B2 (en)2012-02-032015-03-24Semiconductor Energy Laboratory Co., Ltd.Semiconductor device
US9362417B2 (en)2012-02-032016-06-07Semiconductor Energy Laboratory Co., Ltd.Semiconductor device
US9773916B2 (en)2012-02-032017-09-26Semiconductor Energy Laboratory Co., Ltd.Semiconductor device
US8916424B2 (en)2012-02-072014-12-23Semiconductor Energy Laboratory Co., Ltd.Method for manufacturing semiconductor device
US9496375B2 (en)2012-02-072016-11-15Semiconductor Energy Laboratory Co., Ltd.Method for manufacturing semiconductor device
US9117662B2 (en)2012-02-072015-08-25Semiconductor Energy Laboratory Co., Ltd.Method for manufacturing semiconductor device
US9859114B2 (en)2012-02-082018-01-02Semiconductor Energy Laboratory Co., Ltd.Oxide semiconductor device with an oxygen-controlling insulating layer
US9112037B2 (en)2012-02-092015-08-18Semiconductor Energy Laboratory Co., Ltd.Semiconductor device
US10600792B2 (en)2012-02-092020-03-24Semiconductor Energy Laboratory Co., Ltd.Programmable logic device and method for manufacturing semiconductor device
US9379113B2 (en)2012-02-092016-06-28Semiconductor Energy Laboratory Co., Ltd.Programmable logic device and method for manufacturing semiconductor device
US9755084B2 (en)2012-02-092017-09-05Semiconductor Energy Laboratory Co., Ltd.Multi-level stacked transistor device including capacitor and different semiconductor materials
US10249764B2 (en)2012-02-092019-04-02Semiconductor Energy Laboratory Co., Ltd.Semiconductor device, display device including semiconductor device, electronic device including semiconductor device, and method for manufacturing semiconductor device
US9899533B2 (en)2012-02-092018-02-20Semiconductor Energy Laboratory Co., Ltd.Semiconductor device
US8817516B2 (en)2012-02-172014-08-26Semiconductor Energy Laboratory Co., Ltd.Memory circuit and semiconductor device
US9183894B2 (en)2012-02-242015-11-10Semiconductor Energy Laboratory Co., Ltd.Semiconductor device
US10872982B2 (en)2012-02-282020-12-22Semiconductor Energy Laboratory Co., Ltd.Semiconductor device and method for manufacturing the same
US11923372B2 (en)2012-02-292024-03-05Semiconductor Energy Laboratory Co., Ltd.Semiconductor device
US10418381B2 (en)2012-02-292019-09-17Semiconductor Energy Laboratory Co., Ltd.Semiconductor device
US10685984B2 (en)2012-02-292020-06-16Semiconductor Energy Laboratory Co., Ltd.Semiconductor device
US9748273B2 (en)2012-02-292017-08-29Semiconductor Energy Laboratory Co., Ltd.Semiconductor device
US9131171B2 (en)2012-02-292015-09-08Semiconductor Energy Laboratory Co., Ltd.Image sensor, camera, surveillance system, and method for driving the image sensor
US9312257B2 (en)2012-02-292016-04-12Semiconductor Energy Laboratory Co., Ltd.Semiconductor device
US9553200B2 (en)2012-02-292017-01-24Semiconductor Energy Laboratory Co., Ltd.Semiconductor device and method for manufacturing the same
US8988152B2 (en)2012-02-292015-03-24Semiconductor Energy Laboratory Co., Ltd.Semiconductor device
US12382723B2 (en)2012-02-292025-08-05Semiconductor Energy Laboratory Co., Ltd.Semiconductor device
US10038011B2 (en)2012-02-292018-07-31Semiconductor Energy Laboratory Co., Ltd.Semiconductor device
US11133330B2 (en)2012-02-292021-09-28Semiconductor Energy Laboratory Co., Ltd.Semiconductor device
US8975917B2 (en)2012-03-012015-03-10Semiconductor Energy Laboratory Co., Ltd.Programmable logic device
US9207751B2 (en)2012-03-012015-12-08Semiconductor Energy Laboratory Co., Ltd.Semiconductor device
US8853697B2 (en)2012-03-012014-10-07Semiconductor Energy Laboratory Co., Ltd.Semiconductor device
US9176571B2 (en)2012-03-022015-11-03Semiconductor Energy Laboratories Co., Ltd.Microprocessor and method for driving microprocessor
US9287370B2 (en)2012-03-022016-03-15Semiconductor Energy Laboratory Co., Ltd.Memory device comprising a transistor including an oxide semiconductor and semiconductor device including the same
US9735280B2 (en)2012-03-022017-08-15Semiconductor Energy Laboratory Co., Ltd.Semiconductor device, method for manufacturing semiconductor device, and method for forming oxide film
US9978855B2 (en)2012-03-022018-05-22Semiconductor Energy Laboratory Co., Ltd.Semiconductor device, method for manufacturing semiconductor device, and method for forming oxide film
US8754693B2 (en)2012-03-052014-06-17Semiconductor Energy Laboratory Co., Ltd.Latch circuit and semiconductor device
US9059029B2 (en)2012-03-052015-06-16Semiconductor Energy Laboratory Co., Ltd.Semiconductor memory device
US10170630B2 (en)2012-03-052019-01-01Semiconductor Energy Laboratory Co., Ltd.Manufacturing method of semiconductor memory device
US8995218B2 (en)2012-03-072015-03-31Semiconductor Energy Laboratory Co., Ltd.Semiconductor device
US9293174B2 (en)2012-03-072016-03-22Semiconductor Energy Laboratory Co., Ltd.Semiconductor device
US9812178B2 (en)2012-03-072017-11-07Semiconductor Energy Laboratory Co., Ltd.Semiconductor device
US8981370B2 (en)2012-03-082015-03-17Semiconductor Energy Laboratory Co., Ltd.Semiconductor device
US9082676B2 (en)2012-03-092015-07-14Semiconductor Energy Laboratory Co., Ltd.Method for driving semiconductor device
US11013087B2 (en)2012-03-132021-05-18Semiconductor Energy Laboratory Co., Ltd.Light-emitting device having circuits and method for driving the same
US9087700B2 (en)2012-03-142015-07-21Semiconductor Energy Laboratory Co., Ltd.Oxide semiconductor film, transistor, and semiconductor device
US9478603B2 (en)2012-03-142016-10-25Semiconductor Energy Laboratory Co., Ltd.Oxide semiconductor film, transistor, and semiconductor device
US9117409B2 (en)2012-03-142015-08-25Semiconductor Energy Laboratory Co., Ltd.Light-emitting display device with transistor and capacitor discharging gate of driving electrode and oxide semiconductor layer
US9281410B2 (en)2012-03-142016-03-08Semiconductor Energy Laboratory Co., Ltd.Method for manufacturing semiconductor device
US9058892B2 (en)2012-03-142015-06-16Semiconductor Energy Laboratory Co., Ltd.Semiconductor device and shift register
US9541386B2 (en)2012-03-212017-01-10Semiconductor Energy Laboratory Co., Ltd.Distance measurement device and distance measurement system
US10249766B2 (en)2012-03-282019-04-02Semiconductor Energy Laboratory Co., Ltd.Semiconductor device including a transistor, a wiring and a barrier film
US9812217B2 (en)2012-03-282017-11-07Semiconductor Energy Laboratory Co., Ltd.Driver circuit, signal processing unit having the driver circuit, method for manufacturing the signal processing unit, and display device
US9349849B2 (en)2012-03-282016-05-24Semiconductor Energy Laboratory Co., Ltd.Semiconductor device and electronic device including the semiconductor device
US9324449B2 (en)2012-03-282016-04-26Semiconductor Energy Laboratory Co., Ltd.Driver circuit, signal processing unit having the driver circuit, method for manufacturing the signal processing unit, and display device
US9331510B2 (en)2012-03-282016-05-03Semiconductor Energy Laboratory Co., Ltd.Protective circuit, battery charger, and power storage device
US9235515B2 (en)2012-03-292016-01-12Semiconductor Energy Laboratory Co., Ltd.Array controller and storage system
US9507366B2 (en)2012-03-292016-11-29Semiconductor Energy Laboratory Co., Ltd.Power supply control device
US9349722B2 (en)2012-03-292016-05-24Semiconductor Energy Laboratory Co., Ltd.Semiconductor memory device including a memory cell comprising a D/A converter
US9786793B2 (en)2012-03-292017-10-10Semiconductor Energy Laboratory Co., Ltd.Semiconductor device comprising oxide semiconductor layer including regions with different concentrations of resistance-reducing elements
US8941113B2 (en)2012-03-302015-01-27Semiconductor Energy Laboratory Co., Ltd.Semiconductor element, semiconductor device, and manufacturing method of semiconductor element
US8999773B2 (en)2012-04-052015-04-07Semiconductor Energy Laboratory Co., Ltd.Processing method of stacked-layer film and manufacturing method of semiconductor device
US9711349B2 (en)2012-04-052017-07-18Semiconductor Energy Laboratory Co., Ltd.Processing method of stacked-layer film and manufacturing method of semiconductor device
US9711110B2 (en)2012-04-062017-07-18Semiconductor Energy Laboratory Co., Ltd.Display device comprising grayscale conversion portion and display portion
US10096719B2 (en)2012-04-062018-10-09Semiconductor Energy Laboratory Co., Ltd.Insulating film, method for manufacturing semiconductor device, and semiconductor device
US10741694B2 (en)2012-04-062020-08-11Semiconductor Energy Laboratory Co., Ltd.Insulating film, method for manufacturing semiconductor device, and semiconductor device
US9793444B2 (en)2012-04-062017-10-17Semiconductor Energy Laboratory Co., Ltd.Display device and electronic device
US12414334B2 (en)2012-04-062025-09-09Semiconductor Energy Laboratory Co., Ltd.Insulating film, method for manufacturing semiconductor device, and semiconductor device
US8901556B2 (en)2012-04-062014-12-02Semiconductor Energy Laboratory Co., Ltd.Insulating film, method for manufacturing semiconductor device, and semiconductor device
US11437523B2 (en)2012-04-062022-09-06Semiconductor Energy Laboratory Co., Ltd.Insulating film, method for manufacturing semiconductor device, and semiconductor device
US9318317B2 (en)2012-04-062016-04-19Semiconductor Energy Laboratory Co., Ltd.Insulating film, method for manufacturing semiconductor device, and semiconductor device
US9570626B2 (en)2012-04-062017-02-14Semiconductor Energy Laboratory Co., Ltd.Insulating film, method for manufacturing semiconductor device, and semiconductor device
US8947155B2 (en)2012-04-062015-02-03Semiconductor Energy Laboratory Co., Ltd.Solid-state relay
US10560056B2 (en)2012-04-112020-02-11Semiconductor Energy Laboratory Co., Ltd.Semiconductor device
US9742356B2 (en)2012-04-112017-08-22Semiconductor Energy Laboratory Co., Ltd.Semiconductor device outputting reference voltages
US11316478B2 (en)2012-04-112022-04-26Semiconductor Energy Laboratory Co., Ltd.Semiconductor device outputting reference voltage
US9208849B2 (en)2012-04-122015-12-08Semiconductor Energy Laboratory Co., Ltd.Semiconductor device and method for driving semiconductor device, and electronic device
US9276121B2 (en)2012-04-122016-03-01Semiconductor Energy Laboratory Co., Ltd.Semiconductor device and method for manufacturing the same
US9640639B2 (en)2012-04-122017-05-02Semiconductor Energy Laboratory Co., Ltd.Semiconductor device and method for manufacturing the same
US10158026B2 (en)2012-04-132018-12-18Semiconductor Energy Laboratory Co., Ltd.Semiconductor device including oxide semiconductor stacked layers
US8946702B2 (en)2012-04-132015-02-03Semiconductor Energy Laboratory Co., Ltd.Semiconductor device
US9030232B2 (en)2012-04-132015-05-12Semiconductor Energy Laboratory Co., Ltd.Isolator circuit and semiconductor device
US9337342B2 (en)2012-04-132016-05-10Semiconductor Energy Laboratory Co., Ltd.Semiconductor device and method for manufacturing semiconductor device
US11355645B2 (en)2012-04-132022-06-07Semiconductor Energy Laboratory Co., Ltd.Semiconductor device comprising stacked oxide semiconductor layers
US12414335B2 (en)2012-04-132025-09-09Semiconductor Energy Laboratory Co., Ltd.Semiconductor device comprising conductive layers functioning as first and second gate electrodes of a transistor
US9054200B2 (en)2012-04-132015-06-09Semiconductor Energy Laboratory Co., Ltd.Semiconductor device
US9472679B2 (en)2012-04-132016-10-18Semiconductor Energy Laboratory Co., Ltd.Semiconductor device
US10872981B2 (en)2012-04-132020-12-22Semiconductor Energy Laboratory Co., Ltd.Semiconductor device comprising an oxide semiconductor
US10170599B2 (en)2012-04-132019-01-01Semiconductor Energy Laboratory Co., Ltd.Semiconductor device including insulating films with different thicknesses and method for manufacturing the semiconductor device
US11929437B2 (en)2012-04-132024-03-12Semiconductor Energy Laboratory Co., Ltd.Semiconductor device comprising various thin-film transistors
US10559699B2 (en)2012-04-132020-02-11Semiconductor Energy Laboratory Co., Ltd.Semiconductor device
US9362411B2 (en)2012-04-162016-06-07Semiconductor Energy Laboratory Co., Ltd.Semiconductor device and manufacturing method thereof
US8785926B2 (en)2012-04-172014-07-22Semiconductor Energy Laboratory Co., Ltd.Semiconductor device
US9196743B2 (en)2012-04-172015-11-24Semiconductor Energy Laboratory Co., Ltd.Field effect device with oxide semiconductor layer
US9219164B2 (en)2012-04-202015-12-22Semiconductor Energy Laboratory Co., Ltd.Semiconductor device with oxide semiconductor channel
US9029863B2 (en)2012-04-202015-05-12Semiconductor Energy Laboratory Co., Ltd.Semiconductor device and method for manufacturing the same
US9570593B2 (en)2012-04-202017-02-14Semiconductor Energy Laboratory Co., Ltd.Semiconductor device and method for manufacturing the same
US9230683B2 (en)2012-04-252016-01-05Semiconductor Energy Laboratory Co., Ltd.Semiconductor device and driving method thereof
US9443893B2 (en)2012-04-252016-09-13Semiconductor Energy Laboratory Co., Ltd.Semiconductor device and method of manufacturing the same
US9778976B2 (en)2012-04-252017-10-03Semiconducgtor Energy Laboratory Co., Ltd.Semiconductor device and driving method thereof
US9748292B2 (en)2012-04-252017-08-29Semiconductor Energy Laboratory Co., Ltd.Oxide semiconductor device including photodiode
US9236408B2 (en)2012-04-252016-01-12Semiconductor Energy Laboratory Co., Ltd.Oxide semiconductor device including photodiode
US9006024B2 (en)2012-04-252015-04-14Semiconductor Energy Laboratory Co., Ltd.Method for manufacturing semiconductor device
US9331689B2 (en)2012-04-272016-05-03Semiconductor Energy Laboratory Co., Ltd.Power supply circuit and semiconductor device including the same
US8860022B2 (en)2012-04-272014-10-14Semiconductor Energy Laboratory Co., Ltd.Oxide semiconductor film and semiconductor device
US9285848B2 (en)2012-04-272016-03-15Semiconductor Energy Laboratory Co., Ltd.Power reception control device, power reception device, power transmission and reception system, and electronic device
US9236490B2 (en)2012-04-272016-01-12Semiconductor Energy Laboratory Co., Ltd.Transistor including oxide semiconductor film having regions of different thickness
US9829946B2 (en)2012-04-272017-11-28Semiconductor Energy Laboratory Co., Ltd.Power reception control device, power reception device, power transmission and reception system, and electronic device
US20170323974A1 (en)2012-04-302017-11-09Semiconductor Energy Laboratory Co., Ltd.Semiconductor device
US10403762B2 (en)2012-04-302019-09-03Semiconductor Energy Laboratory Co., Ltd.Semiconductor device
US11217699B2 (en)2012-04-302022-01-04Semiconductor Energy Laboratory Co., Ltd.Semiconductor device
US11837666B2 (en)2012-04-302023-12-05Semiconductor Energy Laboratory Co., Ltd.Semiconductor device
US8772771B2 (en)2012-04-302014-07-08Semiconductor Energy Laboratory Co., Ltd.Method for manufacturing semiconductor device
US9048323B2 (en)2012-04-302015-06-02Semiconductor Energy Laboratory Co., Ltd.Semiconductor device
US12237424B2 (en)2012-04-302025-02-25Semiconductor Energy Laboratory Co., Ltd.Semiconductor device
US8896345B2 (en)2012-04-302014-11-25Semiconductor Energy Laboratory Co., Ltd.Semiconductor device
US9660097B2 (en)2012-04-302017-05-23Semiconductor Energy Laboratory Co., Ltd.Semiconductor device
US9496413B2 (en)2012-05-012016-11-15Semiconductor Energy Laboratory Co., Ltd.Semiconductor device
US9503087B2 (en)2012-05-012016-11-22Semiconductor Energy Laboratory Co., Ltd.Method of driving semiconductor device
US9281407B2 (en)2012-05-012016-03-08Semiconductor Energy Laboratory Co., Ltd.Semiconductor device
US9035305B2 (en)2012-05-012015-05-19Semiconductor Energy Laboratory Co., Ltd.Semiconductor device
US9007090B2 (en)2012-05-012015-04-14Semiconductor Energy Laboratory Co., Ltd.Method of driving semiconductor device
US9703704B2 (en)2012-05-012017-07-11Semiconductor Energy Laboratory Co., Ltd.Semiconductor device
US8860023B2 (en)2012-05-012014-10-14Semiconductor Energy Laboratory Co., Ltd.Semiconductor device
US8970251B2 (en)2012-05-022015-03-03Semiconductor Energy Laboratory Co., Ltd.Programmable logic device
US10001414B2 (en)2012-05-022018-06-19Semiconductor Energy Laboratory Co., Ltd.Temperature sensor circuit and semiconductor device including temperature sensor circuit
US8866510B2 (en)2012-05-022014-10-21Semiconductor Energy Laboratory Co., Ltd.Semiconductor device
US9104395B2 (en)2012-05-022015-08-11Semiconductor Energy Laboratory Co., Ltd.Processor and driving method thereof
US9435696B2 (en)2012-05-022016-09-06Semiconductor Energy Laboratory Co., Ltd.Temperature sensor circuit and semiconductor device including temperature sensor circuit
US9379706B2 (en)2012-05-022016-06-28Semiconductor Energy Laboratory Co., Ltd.Programmable logic device
US9705398B2 (en)2012-05-022017-07-11Semiconductor Energy Laboratory Co., Ltd.Control circuit having signal processing circuit and method for driving the control circuit
US9261943B2 (en)2012-05-022016-02-16Semiconductor Energy Laboratory Co., Ltd.Semiconductor device and driving method thereof
US9660518B2 (en)2012-05-022017-05-23Semiconductor Energy Laboratory Co., Ltd.Switching converter
US9294058B2 (en)2012-05-092016-03-22Semiconductor Energy Laboratory Co., Ltd.Semiconductor device and method for driving the same
US9041442B2 (en)2012-05-092015-05-26Semiconductor Energy Laboratory Co., Ltd.Semiconductor device and method for driving the same
US9412874B2 (en)2012-05-102016-08-09Semiconductor Energy Laboratory Co., Ltd.Semiconductor device
US8932903B2 (en)2012-05-102015-01-13Semiconductor Energy Laboratory Co., Ltd.Method for forming wiring, semiconductor device, and method for manufacturing semiconductor device
US9711652B2 (en)2012-05-102017-07-18Semiconductor Energy Laboratory Co., Ltd.Semiconductor device
US9831325B2 (en)2012-05-102017-11-28Semiconductor Energy Laboratory Co., Ltd.Semiconductor device
US9048324B2 (en)2012-05-102015-06-02Semiconductor Energy Laboratory Co., Ltd.Semiconductor device
US9159837B2 (en)2012-05-102015-10-13Semiconductor Energy Laboratory Co., Ltd.Semiconductor device
US9966475B2 (en)2012-05-102018-05-08Semiconductor Energy Laboratory Co., Ltd.Semiconductor device
US9991887B2 (en)2012-05-112018-06-05Semiconductor Energy Laboratory Co., Ltd.Semiconductor device and electronic device
US9640255B2 (en)2012-05-112017-05-02Semiconductor Energy Laboratory Co., Ltd.Semiconductor device and driving method of semiconductor device
US9337826B2 (en)2012-05-112016-05-10Semiconductor Energy Laboratory Co., Ltd.Semiconductor device and electronic device
US9299432B2 (en)2012-05-112016-03-29Semiconductor Energy Laboratory Co., Ltd.Semiconductor device and driving method of semiconductor device
US8994891B2 (en)2012-05-162015-03-31Semiconductor Energy Laboratory Co., Ltd.Semiconductor device and touch panel
US9608006B2 (en)2012-05-162017-03-28Semiconductor Energy Laboratory Co., Ltd.Semiconductor device and touch panel
US8929128B2 (en)2012-05-172015-01-06Semiconductor Energy Laboratory Co., Ltd.Storage device and writing method of the same
US9817032B2 (en)2012-05-232017-11-14Semiconductor Energy Laboratory Co., Ltd.Measurement device
US9479152B2 (en)2012-05-252016-10-25Semiconductor Energy Laboratory Co., Ltd.Semiconductor device and method for driving semiconductor device
US10122364B2 (en)2012-05-252018-11-06Semiconductor Energy Laboratory Co., Ltd.Programmable logic device and semiconductor device
US9502094B2 (en)2012-05-252016-11-22Semiconductor Energy Laboratory Co., Ltd.Method for driving memory element
US9129667B2 (en)2012-05-252015-09-08Semiconductor Energy Laboratory Co., Ltd.Semiconductor device and driving method thereof
US9337843B2 (en)2012-05-252016-05-10Semiconductor Energy Laboratory Co., Ltd.Programmable logic device and semiconductor device
US9337836B2 (en)2012-05-252016-05-10Semiconductor Energy Laboratory Co., Ltd.Method for driving semiconductor device
US9571099B2 (en)2012-05-252017-02-14Semiconductor Energy Laboratory Co., Ltd.Electronic device comprising multiplexer and driving method thereof
US9471182B2 (en)2012-05-292016-10-18Semiconductor Energy Laboratory Co., Ltd.Semiconductor device having sensor circuits with amplifier circuits and light-receiving elements
US9147706B2 (en)2012-05-292015-09-29Semiconductor Energy Laboratory Co., Ltd.Semiconductor device having sensor circuit having amplifier circuit
US9007093B2 (en)2012-05-302015-04-14Semiconductor Energy Laboratory Co., Ltd.Programmable logic device
US9356601B2 (en)2012-05-302016-05-31Semiconductor Energy Laboratory Co., Ltd.Programmable logic device
US9680476B2 (en)2012-05-302017-06-13Semiconductor Energy Laboratory Co., Ltd.Programmable logic device
US9899536B2 (en)2012-05-312018-02-20Semiconductor Energy Laboratory Co., Ltd.Method of forming semiconductor device with different energy gap oxide semiconductor stacked layers
US9799290B2 (en)2012-05-312017-10-24Semiconductor Energy Laboratory Co., Ltd.Semiconductor device
US8785928B2 (en)2012-05-312014-07-22Semiconductor Energy Laboratory Co., Ltd.Semiconductor device
US9184210B2 (en)2012-05-312015-11-10Semiconductor Energy Laboratory Co., Ltd.Light emitting device with selection circuit for image signal polarity inversion
US8987731B2 (en)2012-05-312015-03-24Semiconductor Energy Laboratory Co., Ltd.Semiconductor device and method for manufacturing the same
US9224758B2 (en)2012-05-312015-12-29Semiconductor Energy Laboratory Co., Ltd.Semiconductor device
US9276091B2 (en)2012-05-312016-03-01Semiconductor Energy Laboratory Co., Ltd.Semiconductor device and method for manufacturing the same
US8995607B2 (en)2012-05-312015-03-31Semiconductor Energy Laboratory Co., Ltd.Pulse signal output circuit and shift register
US9048265B2 (en)2012-05-312015-06-02Semiconductor Energy Laboratory Co., Ltd.Method for manufacturing semiconductor device comprising oxide semiconductor layer
US9741865B2 (en)2012-05-312017-08-22Semiconductor Energy Laboratory Co., Ltd.Method of forming semiconductor device including oxide semiconductor stack with different ratio of indium and gallium
US10134909B2 (en)2012-05-312018-11-20Semiconductor Energy Laboratory Co., Ltd.Semiconductor device and method for manufacturing the same
US9496408B2 (en)2012-05-312016-11-15Semiconductor Energy Laboratory Co., Ltd.Semiconductor device including oxide semiconductor stack with different ratio of indium and gallium
US9916793B2 (en)2012-06-012018-03-13Semiconductor Energy Laboratory Co., Ltd.Semiconductor device and method of driving the same
US9343120B2 (en)2012-06-012016-05-17Semiconductor Energy Laboratory Co., Ltd.High speed processing unit with non-volatile register
US9135182B2 (en)2012-06-012015-09-15Semiconductor Energy Laboratory Co., Ltd.Central processing unit and driving method thereof
US9310866B2 (en)2012-06-012016-04-12Semiconductor Energy Laboratory Co., Ltd.Semiconductor device and alarm device
US8872174B2 (en)2012-06-012014-10-28Semiconductor Energy Laboratory Co., Ltd.Light-emitting device
US12363953B2 (en)2012-06-152025-07-15Semiconductor Energy Laboratory Co., Ltd.Semiconductor device including oxide semiconductor layer
US10741695B2 (en)2012-06-152020-08-11Semiconductor Energy Laboratory Co., Ltd.Semiconductor device including an oxide semiconductor
US9490369B2 (en)2012-06-152016-11-08Semiconductor Energy Laboratory Co., Ltd.Semiconductor device
US8901557B2 (en)2012-06-152014-12-02Semiconductor Energy Laboratory Co., Ltd.Semiconductor device
US9153699B2 (en)2012-06-152015-10-06Semiconductor Energy Laboratory Co., Ltd.Thin film transistor with multiple oxide semiconductor layers
US10483404B2 (en)2012-06-152019-11-19Semiconductor Energy Laboratory Co., Ltd.Thin film transistor with multiple oxide semiconductor layers
US10483406B2 (en)2012-06-152019-11-19Semiconductor Energy Laboratory Co., Ltd.Semiconductor device including an oxide semiconductor
US11424368B2 (en)2012-06-152022-08-23Semiconductor Energy Laboratory Co., Ltd.Semiconductor device including an oxide semiconductor
US10032926B2 (en)2012-06-152018-07-24Semiconductor Energy Laboratory Co., Ltd.Semiconductor device including an oxide semiconductor
US9437747B2 (en)2012-06-152016-09-06Semiconductor Energy Laboratory Co., Ltd.Thin film transistor with multiple oxide semiconductor layers
US9847430B2 (en)2012-06-152017-12-19Semiconductor Energy Laboratory Co., Ltd.Semiconductor device
US9059219B2 (en)2012-06-272015-06-16Semiconductor Energy Laboratory Co., Ltd.Semiconductor device and method for manufacturing semiconductor device
US8952381B2 (en)2012-06-292015-02-10Semiconductor Energy Laboratory Co., Ltd.Semiconductor device
US9742378B2 (en)2012-06-292017-08-22Semiconductor Energy Laboratory Co., Ltd.Pulse output circuit and semiconductor device
US10424673B2 (en)2012-06-292019-09-24Semiconductor Energy Laboratory Co., Ltd.Semiconductor device including a stack of oxide semiconductor layers
US9666721B2 (en)2012-06-292017-05-30Semiconductor Energy Laboratory Co., Ltd.Semiconductor device including pellet-like particle or flat-plate-like particle
US10453927B2 (en)2012-06-292019-10-22Semiconductor Energy Laboratory Co., Ltd.Semiconductor device including nitride insulating layer and method for manufacturing the same
US10134852B2 (en)2012-06-292018-11-20Semiconductor Energy Laboratory Co., Ltd.Semiconductor device
US9508276B2 (en)2012-06-292016-11-29Semiconductor Energy Laboratory Co., Ltd.Method of driving display device including comparator circuit, and display device including comparator circuit
US11393918B2 (en)2012-06-292022-07-19Semiconductor Energy Laboratory Co., Ltd.Semiconductor device and method for manufacturing semiconductor device
US10811521B2 (en)2012-06-292020-10-20Semiconductor Energy Laboratory Co., Ltd.Semiconductor device and method for manufacturing semiconductor device
US8873308B2 (en)2012-06-292014-10-28Semiconductor Energy Laboratory Co., Ltd.Signal processing circuit
US9472682B2 (en)2012-06-292016-10-18Semiconductor Energy Laboratory Co., Ltd.Semiconductor device and method for manufacturing semiconductor device
US9472681B2 (en)2012-07-062016-10-18Semiconductor Energy Laboratory Co., Ltd.Semiconductor device and method for manufacturing the same
US9083327B2 (en)2012-07-062015-07-14Semiconductor Energy Laboratory Co., Ltd.Semiconductor device and method of driving semiconductor device
US9054678B2 (en)2012-07-062015-06-09Semiconductor Energy Laboratory Co., Ltd.Semiconductor device and driving method thereof
US9190525B2 (en)2012-07-062015-11-17Semiconductor Energy Laboratory Co., Ltd.Semiconductor device including oxide semiconductor layer
US9312851B2 (en)2012-07-062016-04-12Semiconductor Energy Laboratory Co., Ltd.Semiconductor device and driving method thereof
US9954114B2 (en)2012-07-062018-04-24Semiconductor Energy Laboratory Co., Ltd.Semiconductor device including oxide semiconductor layer
US9953595B2 (en)2012-07-112018-04-24Semiconductor Energy Laboratory Co., Ltd.Liquid crystal display device and method for driving the same
US9612496B2 (en)2012-07-112017-04-04Semiconductor Energy Laboratory Co., Ltd.Liquid crystal display device and method for driving the same
US9449569B2 (en)2012-07-132016-09-20Semiconductor Energy Laboratory Co., Ltd.Liquid crystal display device and method for driving liquid crystal display device
US9331207B2 (en)2012-07-172016-05-03Semiconductor Energy Laboratory Co., Ltd.Oxide semiconductor device and manufacturing method therof
US9097925B2 (en)2012-07-202015-08-04Semiconductor Energy Laboratory Co., Ltd.Display device
US10514579B2 (en)2012-07-202019-12-24Semiconductor Energy Laboratory Co., Ltd.Display device and electronic device including the display device
US11515426B2 (en)2012-07-202022-11-29Semiconductor Energy Laboratory Co., Ltd.Semiconductor device comprising a void region insulating film
US10347768B2 (en)2012-07-202019-07-09Semiconductor Energy Laboratory Co., Ltd.Semiconductor device having insulating film including low-density region
US11935959B2 (en)2012-07-202024-03-19Semiconductor Energy Laboratory Co., Ltd.Semiconductor device comprising oxide semiconductor film comprising nanocrystal
US11899328B2 (en)2012-07-202024-02-13Semiconductor Energy Laboratory Co., Ltd.Display device and electronic device including the display device
US10877338B2 (en)2012-07-202020-12-29Semiconductor Energy Laboratory Co., Ltd.Display device
US9366894B2 (en)2012-07-202016-06-14Semiconductor Energy Laboratory Co., Ltd.Display device
US11137651B2 (en)2012-07-202021-10-05Semiconductor Energy Laboratory Co., Ltd.Display device
US12230715B2 (en)2012-07-202025-02-18Semiconductor Energy Laboratory Co., Ltd.Semiconductor device and method for manufacturing semiconductor device
US9905696B2 (en)2012-07-202018-02-27Semiconductor Energy Laboratory Co., Ltd.Semiconductor device
US11327376B2 (en)2012-07-202022-05-10Semiconductor Energy Laboratory Co., Ltd.Display device
US9184297B2 (en)2012-07-202015-11-10Semiconductor Energy Laboratory Co., Ltd.Semiconductor device comprising a void portion in an insulation film and method for manufacturing a semiconductor device comprising a void portion in an insulating film
US10852576B2 (en)2012-07-202020-12-01Semiconductor Energy Laboratory Co., Ltd.Display device
US9857860B2 (en)2012-07-202018-01-02Semiconductor Energy Laboratory Co., Ltd.Power supply control circuit and signal processing circuit
US9298057B2 (en)2012-07-202016-03-29Semiconductor Energy Laboratory Co., Ltd.Display device and electronic device including the display device
US10018887B2 (en)2012-07-202018-07-10Semiconductor Energy Laboratory Co., Ltd.Display device
US10693010B2 (en)2012-07-202020-06-23Semiconductor Energy Laboratory Co., Ltd.Semiconductor device and method for manufacturing semiconductor device
US12117704B2 (en)2012-07-202024-10-15Semiconductor Energy Laboratory Co., Ltd.Display device
US10514580B2 (en)2012-07-202019-12-24Semiconductor Energy Laboratory Co., Ltd.Display device and electronic device including the display device
US11531243B2 (en)2012-07-202022-12-20Semiconductor Energy Laboratory Co., Ltd.Display device and electronic device including the display device
US11209710B2 (en)2012-07-202021-12-28Semiconductor Energy Laboratory Co., Ltd.Display device and electronic device including the display device
US11543718B2 (en)2012-07-202023-01-03Semiconductor Energy Laboratory Co., Ltd.Display device
US9548393B2 (en)2012-07-202017-01-17Semiconductor Energy Laboratory Co., Ltd.Semiconductor device comprising an insulating layer including a void
US11841595B2 (en)2012-07-202023-12-12Semiconductor Energy Laboratory Co., Ltd.Display device
US10437091B2 (en)2012-07-202019-10-08Semiconductor Energy Laboratory Co., Ltd.Display device
US12210257B2 (en)2012-07-202025-01-28Semiconductor Energy Laboratory Co., Ltd.Display device and electronic device including the display device
US9780219B2 (en)2012-07-202017-10-03Semiconductor Energy Laboratory Co., Ltd.Semiconductor device and method for manufacturing semiconductor device
US9390664B2 (en)2012-07-262016-07-12Semiconductor Energy Laboratory Co., Ltd.Liquid crystal display device
US9748355B2 (en)2012-07-262017-08-29Semicoductor Energy Laboratory Co., Ltd.Method for manufacturing oxide semiconductor transistor with low-nitrogen, low-defect insulating film
US9437594B2 (en)2012-07-272016-09-06Semiconductor Energy Laboratory Co., Ltd.Semiconductor device
US10141337B2 (en)2012-07-272018-11-27Semiconductor Energy Laboratory Co., Ltd.Semiconductor device
US9793295B2 (en)2012-07-272017-10-17Semiconductor Energy Laboratory Co., Ltd.Semiconductor device
US8981376B2 (en)2012-08-022015-03-17Semiconductor Energy Laboratory Co., Ltd.Semiconductor device
US9583634B2 (en)2012-08-022017-02-28Semiconductor Energy Laboratory Co., Ltd.Semiconductor device and method for manufacturing the same
US9461178B2 (en)2012-08-022016-10-04Semiconductor Energy Laboratory Co., Ltd.Semiconductor device having an effective use of the conductive layer formed in the same process as one electrode
US9917115B2 (en)2012-08-022018-03-13Semiconductor Energy Laboratory Co., Ltd.Semiconductor device having an effective use of the conductive layer formed in the same process as one electrode
US9761738B2 (en)2012-08-022017-09-12Semiconductor Energy Laboratory Co., Ltd.Semiconductor device having first and second oxide semiconductors with difference energy level
US10032934B2 (en)2012-08-022018-07-24Semiconductor Energy Laboratory Co., Ltd.Semiconductor device and method for manufacturing the same
US9209256B2 (en)2012-08-022015-12-08Semiconductor Energy Laboratory Co., Ltd.Semiconductor device and method for manufacturing the same
US9123573B2 (en)2012-08-032015-09-01Semiconductor Energy Laboratory Co., Ltd.Oxide semiconductor stacked film and semiconductor device
US9941309B2 (en)2012-08-032018-04-10Semiconductor Energy Laboratory Co., Ltd.Semiconductor device
US9583570B2 (en)2012-08-032017-02-28Semiconductor Energy Laboratory Co., Ltd.Oxide semiconductor stacked film and semiconductor device
US8890159B2 (en)2012-08-032014-11-18Semiconductor Energy Laboratory Co., Ltd.Oxide semiconductor stacked film and semiconductor device
US9449996B2 (en)2012-08-032016-09-20Semiconductor Energy Laboratory Co., Ltd.Semiconductor device
US10557192B2 (en)2012-08-072020-02-11Semiconductor Energy Laboratory Co., Ltd.Method for using sputtering target and method for forming oxide film
US9885108B2 (en)2012-08-072018-02-06Semiconductor Energy Laboratory Co., Ltd.Method for forming sputtering target
US8878574B2 (en)2012-08-102014-11-04Semiconductor Energy Laboratory Co., Ltd.Method for driving semiconductor device
US9293602B2 (en)2012-08-102016-03-22Semiconductor Energy Laboratory Co., Ltd.Semiconductor device and manufacturing method thereof
US9437749B2 (en)2012-08-102016-09-06Semiconductor Energy Laboratory Co., Ltd.Semiconductor device and method for fabricating the same
US8975930B2 (en)2012-08-102015-03-10Semiconductor Energy Laboratory Co., Ltd.Semiconductor device and method for driving semiconductor device
US9502580B2 (en)2012-08-102016-11-22Semiconductor Energy Laboratory Co., Ltd.Semiconductor device and method for manufacturing the same
US9660104B2 (en)2012-08-102017-05-23Semiconductor Energy Laboratory Co., Ltd.Semiconductor device and manufacturing method thereof
US9269728B2 (en)2012-08-102016-02-23Semiconductor Energy Laboratory Co., Ltd.Semiconductor device
US10446668B2 (en)2012-08-102019-10-15Semiconductor Energy Laboratory Co., Ltd.Semiconductor device and method for fabricating the same
US9246047B2 (en)2012-08-102016-01-26Semiconductor Energy Laboratory Co., Ltd.Semiconductor device
US10439073B2 (en)2012-08-102019-10-08Semiconductor Energy Laboratory Co., Ltd.Semiconductor device and method for manufacturing the same
US8937307B2 (en)2012-08-102015-01-20Semiconductor Energy Laboratory Co., Ltd.Semiconductor device
US9184245B2 (en)2012-08-102015-11-10Semiconductor Energy Laboratory Co., Ltd.Semiconductor device and method for fabricating the same
US9093988B2 (en)2012-08-102015-07-28Semiconductor Energy Laboratory Co., Ltd.Semiconductor device and method for driving semiconductor device
US9929276B2 (en)2012-08-102018-03-27Semiconductor Energy Laboratory Co., Ltd.Semiconductor device and method for manufacturing the same
US9245958B2 (en)2012-08-102016-01-26Semiconductor Energy Laboratory Co., Ltd.Semiconductor device and method for manufacturing the same
US9620650B2 (en)2012-08-102017-04-11Semiconductor Energy Laboratory Co., Ltd.Semiconductor device and manufacturing method thereof
US9240492B2 (en)2012-08-102016-01-19Semiconductor Energy Laboratory Co., Ltd.Semiconductor device and method for fabricating the same
US9082863B2 (en)2012-08-102015-07-14Semiconductor Energy Laboratory Co., Ltd.Semiconductor device and manufacturing method thereof
US9972655B2 (en)2012-08-232018-05-15Semiconductor Energy Laboratory Co., Ltd.Imaging device and method for driving the same
US8872120B2 (en)2012-08-232014-10-28Semiconductor Energy Laboratory Co., Ltd.Imaging device and method for driving the same
US9204849B2 (en)2012-08-242015-12-08Semiconductor Energy Laboratory Co., Ltd.Radiation detection panel, radiation imaging device, and diagnostic imaging device
US9406698B2 (en)2012-08-282016-08-02Semiconductor Energy Laboratory Co., Ltd.Display device and manufacturing method thereof
US10170726B2 (en)2012-08-282019-01-01Semiconductor Energy Laboratory Co., Ltd.Display device and manufacturing method thereof
US10317736B2 (en)2012-08-282019-06-11Semiconductor Energy Laboratory Co., Ltd.Display device and electronic device
US9166192B2 (en)2012-08-282015-10-20Semiconductor Energy Laboratory Co., Ltd.Display device having plural sealants at periphery of pixel portion
US9625764B2 (en)2012-08-282017-04-18Semiconductor Energy Laboratory Co., Ltd.Display device and electronic device
US9425220B2 (en)2012-08-282016-08-23Semiconductor Energy Laboratory Co., Ltd.Semiconductor device
US9478535B2 (en)2012-08-312016-10-25Semiconductor Energy Laboratory Co., Ltd.Semiconductor device comprising oxide semiconductor film
US10217776B2 (en)2012-08-312019-02-26Semiconductor Energy Laboratory Co., Ltd.Semiconductor device comprising first metal oxide film and second metal oxide film
US9501119B2 (en)2012-09-032016-11-22Semiconductor Energy Laboratory Co., Ltd.Semiconductor device and electronic device
US9423860B2 (en)2012-09-032016-08-23Semiconductor Energy Laboratory Co., Ltd.Microcontroller capable of being in three modes
US8947158B2 (en)2012-09-032015-02-03Semiconductor Energy Laboratory Co., Ltd.Semiconductor device and electronic device
US9825526B2 (en)2012-09-032017-11-21Semiconductor Energy Laboratory Co., Ltd.Semiconductor device and electronic device
US9006635B2 (en)2012-09-122015-04-14Semiconductor Energy Laboratory Co., Ltd.Photodetector circuit and semiconductor device
US9887232B2 (en)2012-09-122018-02-06Semiconductor Energy Laboratory Co., Ltd.Photodetector circuit and semiconductor device
US9252287B2 (en)2012-09-132016-02-02Semiconductor Energy Laboratory Co., LtdDisplay device and electronic appliance
US8981372B2 (en)2012-09-132015-03-17Semiconductor Energy Laboratory Co., Ltd.Display device and electronic appliance
US9368516B2 (en)2012-09-132016-06-14Semiconductor Energy Laboratory Co., Ltd.Display device and electronic appliance
US12080717B2 (en)2012-09-132024-09-03Semiconductor Energy Laboratory Co., Ltd.Semiconductor device
US9711537B2 (en)2012-09-132017-07-18Semiconductor Energy Laboratory Co., Ltd.Display device and electronic appliance
US9806099B2 (en)2012-09-132017-10-31Semiconductor Energy Laboratory Co., Ltd.Semiconductor device
US10446584B2 (en)2012-09-132019-10-15Semiconductor Energy Laboratory Co., Ltd.Semiconductor device
US9455280B2 (en)2012-09-132016-09-27Semiconductor Energy Laboratory Co., Ltd.Semiconductor device
US9018624B2 (en)2012-09-132015-04-28Semiconductor Energy Laboratory Co., Ltd.Display device and electronic appliance
US10700099B2 (en)2012-09-132020-06-30Semiconductor Energy Laboratory Co., Ltd.Semiconductor device
US10236305B2 (en)2012-09-132019-03-19Semiconductor Energy Laboratory Co., Ltd.Semiconductor device
US11935944B2 (en)2012-09-142024-03-19Semiconductor Energy Laboratory Co., Ltd.Semiconductor device and method for fabricating the same
US9601632B2 (en)2012-09-142017-03-21Semiconductor Energy Laboratory Co., Ltd.Semiconductor device and method for fabricating the same
US10134879B2 (en)2012-09-142018-11-20Semiconductor Energy Laboratory Co., Ltd.Semiconductor device and method for fabricating the same
US12230696B2 (en)2012-09-142025-02-18Semiconductor Energy Laboratory Co., Ltd.Semiconductor device and method for fabricating the same
US10468506B2 (en)2012-09-142019-11-05Semiconductor Energy Laboratory Co., Ltd.Semiconductor device and method for fabricating the same
US11437500B2 (en)2012-09-142022-09-06Semiconductor Energy Laboratory Co., Ltd.Semiconductor device and method for fabricating the same
US10923580B2 (en)2012-09-142021-02-16Semiconductor Energy Laboratory Co., Ltd.Semiconductor device and method for fabricating the same
US8927985B2 (en)2012-09-202015-01-06Semiconductor Energy Laboratory Co., Ltd.Semiconductor device
US12125918B2 (en)2012-09-242024-10-22Semiconductor Energy Laboratory Co., Ltd.Semiconductor device
US11094830B2 (en)2012-09-242021-08-17Semiconductor Energy Laboratory Co., Ltd.Semiconductor device
US9831351B2 (en)2012-09-242017-11-28Semiconductor Energy Laboratory Co., Ltd.Semiconductor device
US9331100B2 (en)2012-09-242016-05-03Semiconductor Energy Laboratory Co., Ltd.Display device
US9269821B2 (en)2012-09-242016-02-23Semiconductor Energy Laboratory Co., Ltd.Semiconductor device
US10211345B2 (en)2012-09-242019-02-19Semiconductor Energy Laboratory Co., Ltd.Semiconductor device
US20180083140A1 (en)2012-09-242018-03-22Semiconductor Energy Laboratory Co., Ltd.Semiconductor device
US10007133B2 (en)2012-10-122018-06-26Semiconductor Energy Laboratory Co., Ltd.Liquid crystal display device and touch panel
US9460940B2 (en)2012-10-122016-10-04Semiconductor Energy Laboratory Co., Ltd.Method for manufacturing semiconductor device and manufacturing apparatus of semiconductor device
US9449574B2 (en)2012-10-122016-09-20Semiconductor Energy Laboratory Co., Ltd.LCD overdriving using difference between average values of groups of pixels between two frames
US9366896B2 (en)2012-10-122016-06-14Semiconductor Energy Laboratory Co., Ltd.Liquid crystal display device and touch panel
US9142652B2 (en)2012-10-122015-09-22Semiconductor Energy Laboratory Co., Ltd.Method for manufacturing semiconductor device and manufacturing apparatus of semiconductor device
US10401662B2 (en)2012-10-122019-09-03Semiconductor Energy Laboratory Co., Ltd.Liquid crystal display device and touch panel
US10153376B2 (en)2012-10-122018-12-11Semiconductor Energy Laboratory Co., Ltd.Method for manufacturing semiconductor device and manufacturing apparatus of semiconductor device
US9793410B2 (en)2012-10-122017-10-17Semiconductor Energy Laboratory Co., Ltd.Method for manufacturing semiconductor device and manufacturing apparatus of semiconductor device
US9660093B2 (en)2012-10-172017-05-23Semiconductor Energy Laboratory Co., Ltd.Transistor with multilayer film including oxide semiconductor layer and oxide layer
US9166021B2 (en)2012-10-172015-10-20Semiconductor Energy Laboratory Co., Ltd.Semiconductor device and method for manufacturing the same
US9263259B2 (en)2012-10-172016-02-16Semiconductor Energy Laboratory Co., Ltd.Semiconductor device comprising an oxide semiconductor
US9330909B2 (en)2012-10-172016-05-03Semiconductor Energy Laboratory Co., Ltd.Semiconductor device
US9647095B2 (en)2012-10-172017-05-09Semiconductor Energy Laboratory Co., Ltd.Semiconductor device and method for manufacturing the same
US9812467B2 (en)2012-10-172017-11-07Semiconductor Energy Laboratory Co., Ltd.Semiconductor device comprising an oxide semiconductor
US9477294B2 (en)2012-10-172016-10-25Semiconductor Energy Laboratory Co., Ltd.Microcontroller and method for manufacturing the same
US9660098B2 (en)2012-10-172017-05-23Semiconductor Energy Laboratory Co., Ltd.Semiconductor device and method for manufacturing the same
US9306079B2 (en)2012-10-172016-04-05Semiconductor Energy Laboratory Co., Ltd.Semiconductor device and method for manufacturing the same
US8952722B2 (en)2012-10-172015-02-10Semiconductor Energy Laboratory Co., Ltd.Programmable logic device and method for driving programmable logic device
US9324875B2 (en)2012-10-172016-04-26Semiconductor Energy Laboratory Co., Ltd.Semiconductor device
US10324521B2 (en)2012-10-172019-06-18Semiconductor Energy Laboratory Co., Ltd.Microcontroller and method for manufacturing the same
US10217796B2 (en)2012-10-172019-02-26Semiconductor Energy Laboratory Co., Ltd.Semiconductor device comprising an oxide layer and an oxide semiconductor layer
US9153436B2 (en)2012-10-172015-10-06Semiconductor Energy Laboratory Co., Ltd.Method for manufacturing semiconductor device
US9401714B2 (en)2012-10-172016-07-26Semiconductor Energy Laboratory Co., Ltd.Programmable logic device
US9852904B2 (en)2012-10-172017-12-26Semiconductor Energy Laboratory Co., Ltd.Method for manufacturing semiconductor device
US9287117B2 (en)2012-10-172016-03-15Semiconductor Energy Laboratory Co., Ltd.Semiconductor device comprising an oxide semiconductor
US9595435B2 (en)2012-10-192017-03-14Semiconductor Energy Laboratory Co., Ltd.Method for forming multilayer film including oxide semiconductor film and method for manufacturing semiconductor device
US9761611B2 (en)2012-10-232017-09-12Semiconductor Energy Laboratory Co., Ltd.Semiconductor device
US9257569B2 (en)2012-10-232016-02-09Semiconductor Energy Laboratory Co. Ltd.Semiconductor device
US9530892B2 (en)2012-10-242016-12-27Semiconductor Energy Laboratory Co., Ltd.Semiconductor device and method for manufacturing the same
US9997639B2 (en)2012-10-242018-06-12Semiconductor Energy Laboratory Co., Ltd.Semiconductor device and method for manufacturing the same
US9972718B2 (en)2012-10-242018-05-15Semiconductor Energy Laboratory Co., Ltd.Semiconductor device and method for manufacturing the same
US10361291B2 (en)2012-10-242019-07-23Semiconductor Energy Laboratory Co., Ltd.Semiconductor device and method for manufacturing the same
US11152494B2 (en)2012-10-242021-10-19Semiconductor Energy Laboratory Co., Ltd.Semiconductor device and method for manufacturing the same
US9287411B2 (en)2012-10-242016-03-15Semiconductor Energy Laboratory Co., Ltd.Semiconductor device and method for manufacturing the same
US11824105B2 (en)2012-10-242023-11-21Semiconductor Energy Laboratory Co., Ltd.Semiconductor device and method for manufacturing the same
US10516062B2 (en)2012-10-242019-12-24Semiconductor Energy Laboratory Co., Ltd.Semiconductor device and method for manufacturing the same
US11355648B2 (en)2012-10-242022-06-07Semiconductor Energy Laboratory Co., Ltd.Semiconductor device and method for manufacturing the same
US9219161B2 (en)2012-10-242015-12-22Semiconductor Energy Laboratory Co., Ltd.Semiconductor device
US10749015B2 (en)2012-10-242020-08-18Semiconductor Energy Laboratory Co., Ltd.Semiconductor device and method for manufacturing the same
US9349869B2 (en)2012-10-242016-05-24Semiconductor Energy Laboratory Co., Ltd.Semiconductor device and method for manufacturing the same
US9865743B2 (en)2012-10-242018-01-09Semiconductor Energy Laboratory Co., Ltd.Semiconductor device including oxide layer surrounding oxide semiconductor layer
US9819261B2 (en)2012-10-252017-11-14Semiconductor Energy Laboratory Co., Ltd.Central control system
US10630176B2 (en)2012-10-252020-04-21Semiconductor Energy Laboratory Co., Ltd.Central control system
US9312278B2 (en)2012-10-302016-04-12Semiconductor Energy Laboratory Co., Ltd.Display device and electronic device
US9064574B2 (en)2012-11-062015-06-23Semiconductor Energy Laboratory Co., Ltd.Semiconductor device and driving method thereof
US11978742B2 (en)2012-11-082024-05-07Semiconductor Energy Laboratory Co., Ltd.Metal oxide film and method for forming metal oxide film
US12302639B2 (en)2012-11-082025-05-13Semiconductor Energy Laboratory Co., Ltd.Metal oxide film and method for forming metal oxide film
US10461099B2 (en)2012-11-082019-10-29Semiconductor Energy Laboratory Co., Ltd.Metal oxide film and method for forming metal oxide film
US9871058B2 (en)2012-11-082018-01-16Semiconductor Energy Laboratory Co., Ltd.Metal oxide film and method for forming metal oxide film
US10892282B2 (en)2012-11-082021-01-12Semiconductor Energy Laboratory Co., Ltd.Metal oxide film and method for forming metal oxide film
US9881939B2 (en)2012-11-082018-01-30Semiconductor Energy Laboratory Co., Ltd.Metal oxide film and method for forming metal oxide film
US9831274B2 (en)2012-11-082017-11-28Semiconductor Energy Laboratory Co., Ltd.Metal oxide film and method for forming metal oxide film
US11652110B2 (en)2012-11-082023-05-16Semiconductor Energy Laboratory Co., Ltd.Metal oxide film and method for forming metal oxide film
US9190529B2 (en)2012-11-152015-11-17Semiconductor Energy Laboratory Co., Ltd.Thin film transistor having four different gate electrodes
US8901558B2 (en)2012-11-152014-12-02Semiconductor Energy Laboratory Co., Ltd.Thin film transistor having multiple gates
US8963148B2 (en)2012-11-152015-02-24Semiconductor Energy Laboratory Co., Ltd.Semiconductor device
US9040984B2 (en)2012-11-152015-05-26Semiconductor Energy Laboratory Co., Ltd.Transistor with ZrO or HfO gate insulator sandwiched between two SiO or AIO gate insulators over an oxide semiconductor film
US9812583B2 (en)2012-11-162017-11-07Semiconductor Energy Laboratory Co., Ltd.Semiconductor device
US11710794B2 (en)2012-11-162023-07-25Semiconductor Energy Laboratory Co., Ltd.Semiconductor device
US12243943B2 (en)2012-11-162025-03-04Semiconductor Energy Laboratory Co., Ltd.Semiconductor device
US10886413B2 (en)2012-11-162021-01-05Semiconductor Energy Laboratory Co., Ltd.Semiconductor device
US9349750B2 (en)2012-11-162016-05-24Semiconductor Energy Laboratory Co., Ltd.Semiconductor device and display device
US10361318B2 (en)2012-11-162019-07-23Semiconductor Energy Laboratory Co., Ltd.Semiconductor device
US9362415B2 (en)2012-11-162016-06-07Semiconductor Energy Laboratory Co., Ltd.Semiconductor device comprising a transistor comprising an oxide semiconductor layer
US9219165B2 (en)2012-11-162015-12-22Semiconductor Energy Laboratory Co., Ltd.Semiconductor device
US9087726B2 (en)2012-11-162015-07-21Semiconductor Energy Laboratory Co., Ltd.Semiconductor device
US9716182B2 (en)2012-11-162017-07-25Semiconductor Energy Laboratory Co., Ltd.Semiconductor device
US9966474B2 (en)2012-11-162018-05-08Semiconductor Energy Laboratory Co., Ltd.Thin film transistor having oxide semiconductor layer
US9449819B2 (en)2012-11-162016-09-20Semiconductor Energy Laboratory Co., Ltd.Semiconductor device
US9159838B2 (en)2012-11-162015-10-13Semiconductor Energy Laboratory Co., Ltd.Semiconductor device
US8921853B2 (en)2012-11-162014-12-30Semiconductor Energy Laboratory Co., Ltd.Thin film transistor having oxide semiconductor layer
US9660101B2 (en)2012-11-162017-05-23Semiconductor Energy Laboratory Co., Ltd.Semiconductor device comprising an oxide semiconductor layer
US9842863B2 (en)2012-11-282017-12-12Semiconductor Energy Laboratory Co., Ltd.Display device and electronic device
US9324737B2 (en)2012-11-282016-04-26Semiconductor Energy Laboratory Co., Ltd.Display device and electronic device
US9929010B2 (en)2012-11-282018-03-27Semiconductor Energy Laboratory Co., Ltd.Method for manufacturing semiconductor device
US9130367B2 (en)2012-11-282015-09-08Semiconductor Energy Laboratory Co., Ltd.Display device
US9412764B2 (en)2012-11-282016-08-09Semiconductor Energy Laboratory Co., Ltd.Semiconductor device, display device, and electronic device
US9263531B2 (en)2012-11-282016-02-16Semiconductor Energy Laboratory Co., Ltd.Oxide semiconductor film, film formation method thereof, and semiconductor device
US9805676B2 (en)2012-11-282017-10-31Semiconductor Energy Laboratory Co., Ltd.Display device
US10032428B2 (en)2012-11-282018-07-24Semiconductor Energy Laboratory Co., Ltd.Semiconductor device, display device, and electronic device
US9246011B2 (en)2012-11-302016-01-26Semiconductor Energy Laboratory Co., Ltd.Semiconductor device
US9583601B2 (en)2012-11-302017-02-28Semiconductor Energy Laboratory Co., Ltd.Method for manufacturing semiconductor device
US9390665B2 (en)2012-11-302016-07-12Semiconductor Energy Laboratory Co., Ltd.Display device
US9153649B2 (en)2012-11-302015-10-06Semiconductor Energy Laboratory Co., Ltd.Semiconductor device and method for evaluating semiconductor device
US10074748B2 (en)2012-11-302018-09-11Semiconductor Energy Laboratory Co., Ltd.Semiconductor device comprising oxide semiconductor film
US9324810B2 (en)2012-11-302016-04-26Semiconductor Energy Laboratory Co., Ltd.Semiconductor device including oxide semiconductor film
US9865746B2 (en)2012-11-302018-01-09Semiconductor Energy Laboratory Co., Ltd.Semiconductor device
US9594281B2 (en)2012-11-302017-03-14Semiconductor Energy Laboratory Co., Ltd.Liquid crystal display device
US9252283B2 (en)2012-11-302016-02-02Semiconductor Energy Laboratory Co., Ltd.Semiconductor device comprising oxide semiconductor film
US10121903B2 (en)2012-11-302018-11-06Semiconductor Energy Laboratory Co., Ltd.Semiconductor device
US9349593B2 (en)2012-12-032016-05-24Semiconductor Energy Laboratory Co., Ltd.Method for manufacturing semiconductor device
US9406810B2 (en)2012-12-032016-08-02Semiconductor Energy Laboratory Co., Ltd.Semiconductor device and manufacturing method thereof
US9570625B2 (en)2012-12-032017-02-14Semiconductor Energy Laboratory Co., Ltd.Semiconductor device
US9293540B2 (en)2012-12-032016-03-22Semiconductor Energy Laboratory Co., Ltd.Semiconductor device
US9905703B2 (en)2012-12-032018-02-27Semiconductor Energy Laboratory Co., Ltd.Method for manufacturing semiconductor device
US10269835B2 (en)2012-12-032019-04-23Semiconductor Energy Laboratory Co., Ltd.Semiconductor device and manufacturing method thereof
US9172370B2 (en)2012-12-062015-10-27Semiconductor Energy Laboratory Co., Ltd.Semiconductor device
US9577446B2 (en)2012-12-132017-02-21Semiconductor Energy Laboratory Co., Ltd.Power storage system and power storage device storing data for the identifying power storage device
US10742056B2 (en)2012-12-132020-08-11Semiconductor Energy Laboratory Co., Ltd.Power storage system and power storage device
US11742673B2 (en)2012-12-132023-08-29Semiconductor Energy Laboratory Co., Ltd.Power storage system and power storage device
US9391620B2 (en)2012-12-242016-07-12Semiconductor Energy Laboratory Co., Ltd.Programmable logic device and semiconductor device
US9905585B2 (en)2012-12-252018-02-27Semiconductor Energy Laboratory Co., Ltd.Semiconductor device comprising capacitor
US11705522B2 (en)2012-12-252023-07-18Semiconductor Energy Laboratory Co., Ltd.Semiconductor device and method for manufacturing the same
US10629625B2 (en)2012-12-252020-04-21Semiconductor Energy Laboratory Co., Ltd.Resistor, display device, and electronic device
US11049974B2 (en)2012-12-252021-06-29Semiconductor Energy Laboratory Co., Ltd.Semiconductor device and method for manufacturing the same
US12148835B2 (en)2012-12-252024-11-19Semiconductor Energy Laboratory Co., Ltd.Semiconductor device and method for manufacturing the same
US9911755B2 (en)2012-12-252018-03-06Semiconductor Energy Laboratory Co., Ltd.Semiconductor device including transistor and capacitor
US10672913B2 (en)2012-12-252020-06-02Semiconductor Energy Laboratory Co., Ltd.Semiconductor device and method for manufacturing the same
US10978492B2 (en)2012-12-252021-04-13Semiconductor Energy Laboratory Co., Ltd.Resistor, display device, and electronic device
US10229934B2 (en)2012-12-252019-03-12Semiconductor Energy Laboratory Co., Ltd.Resistor, display device, and electronic device
US9437273B2 (en)2012-12-262016-09-06Semiconductor Energy Laboratory Co., Ltd.Semiconductor device
US9748328B2 (en)2012-12-282017-08-29Semiconductor Energy Laboratory Co., Ltd.Oxide semiconductor film
US10461101B2 (en)2012-12-282019-10-29Semiconductor Energy Laboratory Co., Ltd.Semiconductor device and manufacturing method thereof
US9343578B2 (en)2012-12-282016-05-17Semiconductor Energy Laboratory Co., Ltd.Semiconductor device and measurement device
US9064966B2 (en)2012-12-282015-06-23Semiconductor Energy Laboratory Co., Ltd.Semiconductor device with oxide semiconductor
US10374030B2 (en)2012-12-282019-08-06Semiconductor Energy Laboratory Co., Ltd.Metal oxide semiconductor device
US9196639B2 (en)2012-12-282015-11-24Semiconductor Energy Laboratory Co., Ltd.Semiconductor device and manufacturing method of the same
US9293598B2 (en)2012-12-282016-03-22Semiconductor Energy Laboratory Co., Ltd.Semiconductor device having an oxide semiconductor layer
US10290720B2 (en)2012-12-282019-05-14Semiconductor Energy Laboratory Co., Ltd.Semiconductor device and method for manufacturing the same
US9647010B2 (en)2012-12-282017-05-09Semiconductor Energy Laboratory Co., Ltd.Semiconductor device and manufacturing method thereof
US9293541B2 (en)2012-12-282016-03-22Semiconductor Energy Laboratory Co., Ltd.Semiconductor device
US9316695B2 (en)2012-12-282016-04-19Semiconductor Energy Laboratory Co., Ltd.Semiconductor device
US12414371B2 (en)2012-12-282025-09-09Semiconductor Energy Laboratory Co., Ltd.Semiconductor device and manufacturing method thereof
US11139322B2 (en)2012-12-282021-10-05Semiconductor Energy Laboratory Co., Ltd.Semiconductor device and manufacturing method thereof
US9711610B2 (en)2012-12-282017-07-18Semiconductor Energy Laboratory Co., Ltd.Semiconductor device having oxide semiconductor layer
US9705006B2 (en)2012-12-282017-07-11Semiconductor Energy Laboratory Co., Ltd.Semiconductor device and manufacturing method of the same
US9391096B2 (en)2013-01-182016-07-12Semiconductor Energy Laboratory Co., Ltd.Semiconductor device and method for manufacturing the same
US11380802B2 (en)2013-01-212022-07-05Semiconductor Energy Laboratory Co., Ltd.Method for manufacturing semiconductor device
US9768314B2 (en)2013-01-212017-09-19Semiconductor Energy Laboratory Co., Ltd.Method for manufacturing semiconductor device
US11888071B2 (en)2013-01-212024-01-30Semiconductor Energy Laboratory Co., Ltd.Method for manufacturing semiconductor device
US10050153B2 (en)2013-01-212018-08-14Semiconductor Energy Laboratory Co., Ltd.Method for manufacturing semiconductor device
US10964821B2 (en)2013-01-212021-03-30Semiconductor Energy Laboratory Co., Ltd.Method for manufacturing semiconductor device
US9165632B2 (en)2013-01-242015-10-20Semiconductor Energy Laboratory Co., Ltd.Memory device and semiconductor device
US9059689B2 (en)2013-01-242015-06-16Semiconductor Energy Laboratory Co., Ltd.Semiconductor device including flip-flop and logic circuit
US9466725B2 (en)2013-01-242016-10-11Semiconductor Energy Laboratory Co., Ltd.Semiconductor device and method for manufacturing the same
US10088886B2 (en)2013-01-242018-10-02Semiconductor Energy Laboratory Co., Ltd.Semiconductor device comprising power gating device
US9190172B2 (en)2013-01-242015-11-17Semiconductor Energy Laboratory Co., Ltd.Semiconductor device
US9659977B2 (en)2013-01-302017-05-23Semiconductor Energy Laboratory Co., Ltd.Semiconductor device
US9917116B2 (en)2013-01-302018-03-13Semiconductor Energy Laboratory Co., Ltd.Semiconductor device
US9306077B2 (en)2013-01-302016-04-05Semiconductor Energy Laboratory Co., Ltd.Method for processing oxide semiconductor layer
US9177969B2 (en)2013-01-302015-11-03Semiconductor Energy Laboratory Co., Ltd.Semiconductor device
US9076825B2 (en)2013-01-302015-07-07Semiconductor Energy Laboratory Co., Ltd.Semiconductor device and method for manufacturing the semiconductor device
US9331108B2 (en)2013-01-302016-05-03Semiconductor Energy Laboratory Co., Ltd.Semiconductor device
US9105658B2 (en)2013-01-302015-08-11Semiconductor Energy Laboratory Co., Ltd.Method for processing oxide semiconductor layer
US8981374B2 (en)2013-01-302015-03-17Semiconductor Energy Laboratory Co., Ltd.Semiconductor device
US9412877B2 (en)2013-02-122016-08-09Semiconductor Energy Laboratory Co., Ltd.Semiconductor device
US9064596B2 (en)2013-02-122015-06-23Semiconductor Energy Laboratory Co., Ltd.Semiconductor device
US9231111B2 (en)2013-02-132016-01-05Semiconductor Energy Laboratory Co., Ltd.Semiconductor device
US9048832B2 (en)2013-02-132015-06-02Semiconductor Energy Laboratory Co., Ltd.Programmable logic device and semiconductor device
US9190527B2 (en)2013-02-132015-11-17Semiconductor Energy Laboratory Co., Ltd.Semiconductor device and manufacturing method of semiconductor device
US8952723B2 (en)2013-02-132015-02-10Semiconductor Energy Laboratory Co., Ltd.Programmable logic device and semiconductor device
US9379711B2 (en)2013-02-132016-06-28Semiconductor Energy Laboratory Co., Ltd.Programmable logic device and semiconductor device
US9225336B2 (en)2013-02-132015-12-29Semiconductor Energy Laboratory Co., Ltd.Programmable logic device and semiconductor device
US10230368B2 (en)2013-02-132019-03-12Semiconductor Energy Laboratory Co., Ltd.Programmable logic device and semiconductor device
US10217870B2 (en)2013-02-132019-02-26Semiconductor Energy Laboratory Co., Ltd.Semiconductor device and manufacturing method of semiconductor device
US9318484B2 (en)2013-02-202016-04-19Semiconductor Energy Laboratory Co., Ltd.Semiconductor device
US10068906B2 (en)2013-02-202018-09-04Semiconductor Energy Laboratory Co., Ltd.Semiconductor device including oxide semiconductor transistors with low power consumption
US9482919B2 (en)2013-02-252016-11-01Semiconductor Energy Laboratory Co., Ltd.Display device and electronic device with improved driver circuit
US9293544B2 (en)2013-02-262016-03-22Semiconductor Energy Laboratory Co., Ltd.Semiconductor device having buried channel structure
US9341722B2 (en)2013-02-272016-05-17Semiconductor Energy Laboratory Co., Ltd.Imaging device
US9768320B2 (en)2013-02-272017-09-19Semiconductor Energy Laboratory Co., Ltd.Semiconductor device
US9373711B2 (en)2013-02-272016-06-21Semiconductor Energy Laboratory Co., Ltd.Semiconductor device
US9337343B2 (en)2013-02-272016-05-10Semiconductor Energy Laboratory Co., Ltd.Semiconductor device, driver circuit, and display device
US9553205B2 (en)2013-02-272017-01-24Semiconductor Energy Laboratory Co., Ltd.Semiconductor device, driver circuit, and display device
US10304555B2 (en)2013-02-272019-05-28Semiconductor Energy Laboratory Co., Ltd.Semiconductor device, driver circuit, and display device
US9267199B2 (en)2013-02-282016-02-23Semiconductor Energy Laboratory Co., Ltd.Method for manufacturing sputtering target, method for forming oxide film, and transistor
US9581874B2 (en)2013-02-282017-02-28Semiconductor Energy Laboratory Co., Ltd.Semiconductor device
US9165951B2 (en)2013-02-282015-10-20Semiconductor Energy Laboratory Co., Ltd.Semiconductor device
US9842860B2 (en)2013-02-282017-12-12Semiconductor Energy Laboratory Co., Ltd.Semiconductor device
US11139166B2 (en)2013-02-282021-10-05Semiconductor Energy Laboratory Co., Ltd.Method for manufacturing sputtering target, method for forming oxide film, and transistor
US10133140B2 (en)2013-02-282018-11-20Semiconductor Energy Laboratory Co., Ltd.Semiconductor device
US11967505B2 (en)2013-02-282024-04-23Semiconductor Energy Laboratory Co., Ltd.Method for manufacturing sputtering target, method for forming oxide film, and transistor
US10014414B2 (en)2013-02-282018-07-03Semiconductor Energy Laboratory Co., Ltd.Semiconductor device and method for manufacturing the same
US10522347B2 (en)2013-02-282019-12-31Semiconductor Energy Laboratory Co., Ltd.Method for manufacturing sputtering target, method for forming oxide film, and transistor
US11637015B2 (en)2013-02-282023-04-25Semiconductor Energy Laboratory Co., Ltd.Method for manufacturing sputtering target, method for forming oxide film, and transistor
US9276125B2 (en)2013-03-012016-03-01Semiconductor Energy Laboratory Co., Ltd.Semiconductor device and method for manufacturing the same
US9647152B2 (en)2013-03-012017-05-09Semiconductor Energy Laboratory Co., Ltd.Sensor circuit and semiconductor device including sensor circuit
US9829533B2 (en)2013-03-062017-11-28Semiconductor Energy Laboratory Co., Ltd.Semiconductor film and semiconductor device
US9269315B2 (en)2013-03-082016-02-23Semiconductor Energy Laboratory Co., Ltd.Driving method of semiconductor device
US8947121B2 (en)2013-03-122015-02-03Semiconductor Energy Laboratory Co., Ltd.Programmable logic device
US10256347B2 (en)2013-03-132019-04-09Semiconductor Energy Laboratory Co., Ltd.Semiconductor device
US9705001B2 (en)2013-03-132017-07-11Semiconductor Energy Laboratory Co., Ltd.Semiconductor device
US9472293B2 (en)2013-03-142016-10-18Semiconductor Energy Laboratory Co., Ltd.Method for driving semiconductor device and semiconductor device
US9536592B2 (en)2013-03-142017-01-03Semiconductor Energy Laboratory Co., Ltd.Memory device and semiconductor device
US9275987B2 (en)2013-03-142016-03-01Semiconductor Energy Laboratory Co., Ltd.Semiconductor device
US9293186B2 (en)2013-03-142016-03-22Semiconductor Energy Laboratory Co., Ltd.Memory device and semiconductor device
US9088269B2 (en)2013-03-142015-07-21Semiconductor Energy Laboratory Co., Ltd.Semiconductor device
US9240244B2 (en)2013-03-142016-01-19Semiconductor Energy Laboratory Co., Ltd.Method for driving semiconductor device and semiconductor device
US9294075B2 (en)2013-03-142016-03-22Semiconductor Energy Laboratory Co., Ltd.Semiconductor device
US9171630B2 (en)2013-03-142015-10-27Semiconductor Energy Laboratory Co., Ltd.Method for driving semiconductor device and semiconductor device
US9991395B2 (en)2013-03-142018-06-05Semiconductor Energy Laboratory Co., Ltd.Semiconductor device and manufacturing method thereof
US9437744B2 (en)2013-03-142016-09-06Semiconductor Energy Laboratory Co., Ltd.Semiconductor device and manufacturing method thereof
US9245650B2 (en)2013-03-152016-01-26Semiconductor Energy Laboratory Co., Ltd.Semiconductor device
US9391598B2 (en)2013-03-152016-07-12Semiconductor Energy Laboratory Co., Ltd.Semiconductor device
US9786350B2 (en)2013-03-182017-10-10Semiconductor Energy Laboratory Co., Ltd.Memory device
US9391146B2 (en)2013-03-192016-07-12Semiconductor Energy Laboratory Co., Ltd.Oxide semiconductor
US9577107B2 (en)2013-03-192017-02-21Semiconductor Energy Laboratory Co., Ltd.Oxide semiconductor film and method for forming oxide semiconductor film
US9771272B2 (en)2013-03-192017-09-26Semiconductor Energy Laboratory Co., Ltd.Oxide semiconductor
US9153650B2 (en)2013-03-192015-10-06Semiconductor Energy Laboratory Co., Ltd.Oxide semiconductor
US10037798B2 (en)2013-03-222018-07-31Semiconductor Energy Laboratory Co., Ltd.Semiconductor device and method for driving semiconductor device
US9007092B2 (en)2013-03-222015-04-14Semiconductor Energy Laboratory Co., Ltd.Semiconductor device
US9666271B2 (en)2013-03-222017-05-30Semiconductor Energy Laboratory Co., Ltd.Semiconductor device including a transistor with an oxide semiconductor film channel coupled to a capacitor
US9305774B2 (en)2013-03-222016-04-05Semiconductor Energy Laboratory Co., Ltd.Method for processing thin film and method for manufacturing semiconductor device
US9154136B2 (en)2013-03-252015-10-06Semiconductor Energy Laboratory Co., Ltd.Programmable logic device and semiconductor device
US9245589B2 (en)2013-03-252016-01-26Semiconductor Energy Laboratory Co., Ltd.Semiconductor device having Schmitt trigger NAND circuit and Schmitt trigger inverter
US10347769B2 (en)2013-03-252019-07-09Semiconductor Energy Laboratory Co., Ltd.Thin film transistor with multi-layer source/drain electrodes
US9496409B2 (en)2013-03-262016-11-15Semiconductor Energy Laboratory Co., Ltd.Semiconductor device and method for manufacturing the same
US10056475B2 (en)2013-03-262018-08-21Semiconductor Energy Laboratory Co., Ltd.Semiconductor device and method for manufacturing the same
US9153313B2 (en)2013-03-262015-10-06Semiconductor Energy Laboratory Co., Ltd.Normally-off, power-gated memory circuit with two data retention stages for reducing overhead power
US9608122B2 (en)2013-03-272017-03-28Semiconductor Energy Laboratory Co., Ltd.Semiconductor device and method for manufacturing the same
US10062319B2 (en)2013-03-282018-08-28Semiconductor Energy Laboratory Co., Ltd.Display device
US9640104B2 (en)2013-03-282017-05-02Semiconductor Energy Laboratory Co., Ltd.Display device
US10043914B2 (en)2013-04-012018-08-07Semiconductor Energy Laboratory Co., Ltd.Semiconductor device comprising a plurality of oxide semiconductor layers
US9368636B2 (en)2013-04-012016-06-14Semiconductor Energy Laboratory Co., Ltd.Method for manufacturing a semiconductor device comprising a plurality of oxide semiconductor layers
US11495626B2 (en)2013-04-042022-11-08Semiconductor Energy Laboratory Co., Ltd.Method for manufacturing semiconductor device
US10573673B2 (en)2013-04-042020-02-25Semiconductor Energy Laboratory Co., Ltd.Method for manufacturing semiconductor device
US10991731B2 (en)2013-04-042021-04-27Semiconductor Energy Laboratory Co., Ltd.Method for manufacturing semiconductor device
US10403655B2 (en)2013-04-042019-09-03Semiconductor Energy Laboratory Co., Ltd.Method for manufacturing semiconductor device
US10128282B2 (en)2013-04-042018-11-13Semiconductor Energy Laboratory Co., Ltd.Method for manufacturing semiconductor device
US12051703B2 (en)2013-04-042024-07-30Semiconductor Energy Laboratory Co., Ltd.Method for manufacturing semiconductor device
US9570310B2 (en)2013-04-042017-02-14Semiconductor Energy Laboratory Co., Ltd.Method for manufacturing semiconductor device
US9112460B2 (en)2013-04-052015-08-18Semiconductor Energy Laboratory Co., Ltd.Signal processing device
US9748399B2 (en)2013-04-112017-08-29Semiconductor Energy Laboratory Co., Ltd.Semiconductor device and display device comprising an oxide semiconductor channel region having a different crystal orientation than source/drain regions
US9659968B2 (en)2013-04-112017-05-23Semiconductor Energy Laboratory Co., Ltd.Display device comprising a metal oxide semiconductor channel and a specified insulating layer arrangement
US10304859B2 (en)2013-04-122019-05-28Semiconductor Energy Laboratory Co., Ltd.Semiconductor device having an oxide film on an oxide semiconductor film
US9898194B2 (en)2013-04-122018-02-20Semiconductor Energy Laboratory Co., Ltd.Semiconductor device with volatile and non-volatile memories to retain data during power interruption
US11843004B2 (en)2013-04-122023-12-12Semiconductor Energy Laboratory Co., Ltd.Semiconductor device having specified relative material concentration between In—Ga—Zn—O films
US12218144B2 (en)2013-04-122025-02-04Semiconductor Energy Laboratory Co., Ltd.Semiconductor device having specified relative material concentration between In—Ga—Zn—O films
US11063066B2 (en)2013-04-122021-07-13Semiconductor Energy Laboratory Co., Ltd.C-axis alignment of an oxide film over an oxide semiconductor film
US9627545B2 (en)2013-04-122017-04-18Semiconductor Energy Laboratory Co., Ltd.Semiconductor device
US9431428B2 (en)2013-04-192016-08-30Semiconductor Energy Laboratory Co., Ltd.Display device
US9915848B2 (en)2013-04-192018-03-13Semiconductor Energy Laboratory Co., Ltd.Display device and electronic device
US9809449B2 (en)2013-04-192017-11-07Semiconductor Energy Laboratory Co., Ltd.Display device
US9729149B2 (en)2013-04-192017-08-08Semiconductor Energy Laboratory Co., Ltd.Low power storage device in which operation speed is maintained
US8975695B2 (en)2013-04-192015-03-10Semiconductor Energy Laboratory Co., Ltd.Display device
US10080302B2 (en)2013-04-242018-09-18Semiconductor Energy Laboratory Co., Ltd.Display device
US9893192B2 (en)2013-04-242018-02-13Semiconductor Energy Laboratory Co., Ltd.Semiconductor device
US10448531B2 (en)2013-04-242019-10-15Semiconductor Energy Laboratory Co., Ltd.Display device
US10095584B2 (en)2013-04-262018-10-09Semiconductor Energy Laboratory Co., Ltd.Semiconductor device
US9755083B2 (en)2013-04-262017-09-05Semiconductor Energy Laboratory Co., Ltd.Semiconductor device and method for manufacturing the same
US9450102B2 (en)2013-04-262016-09-20Semiconductor Energy Laboratory Co., Ltd.Semiconductor device and method for manufacturing the same
US9768279B2 (en)2013-04-292017-09-19Semiconductor Energy Laboratory Co., Ltd.Semiconductor device and manufacturing method thereof
US9761737B2 (en)2013-05-012017-09-12Semiconductor Energy Laboratory Co., Ltd.Semiconductor device
US9837551B2 (en)2013-05-022017-12-05Semiconductor Energy Laboratory Co., Ltd.Semiconductor device
US9882058B2 (en)2013-05-032018-01-30Semiconductor Energy Laboratory Co., Ltd.Semiconductor device
US9231002B2 (en)2013-05-032016-01-05Semiconductor Energy Laboratory Co., Ltd.Display device and electronic device
US9337344B2 (en)2013-05-092016-05-10Semiconductor Energy Laboratory Co., Ltd.Semiconductor device and manufacturing method thereof
US9905695B2 (en)2013-05-092018-02-27Semiconductor Energy Laboratory Co., Ltd.Multi-layered oxide semiconductor transistor
US9704894B2 (en)2013-05-102017-07-11Semiconductor Energy Laboratory Co., Ltd.Display device including pixel electrode including oxide
US9246476B2 (en)2013-05-102016-01-26Semiconductor Energy Laboratory Co., Ltd.Driver circuit
US10373980B2 (en)2013-05-102019-08-06Semiconductor Energy Laboratory Co., Ltd.Method of manufacturing semiconductor device including pixel electrode containing indium, zinc, and metal element
US9094007B2 (en)2013-05-142015-07-28Semiconductor Energy Laboratory Co., Ltd.Signal processing device
US9312392B2 (en)2013-05-162016-04-12Semiconductor Energy Laboratory Co., Ltd.Semiconductor device
US9437741B2 (en)2013-05-162016-09-06Semiconductor Energy Laboratory Co., Ltd.Semiconductor device
US9508861B2 (en)2013-05-162016-11-29Semiconductor Energy Laboratory Co., Ltd.Semiconductor device
US10475819B2 (en)2013-05-162019-11-12Semiconductor Energy Laboratory Co., Ltd.Semiconductor device
US10043828B2 (en)2013-05-162018-08-07Semiconductor Energy Laboratory Co., Ltd.Semiconductor device
US9312269B2 (en)2013-05-162016-04-12Semiconductor Energy Laboratory Co., Ltd.Semiconductor device
US9728556B2 (en)2013-05-162017-08-08Semiconductor Energy Laboratory Co., Ltd.Semiconductor device
US9454923B2 (en)2013-05-172016-09-27Semiconductor Energy Laboratory Co., Ltd.Semiconductor device
US9172369B2 (en)2013-05-172015-10-27Semiconductor Energy Laboratory Co., Ltd.Programmable logic device and semiconductor device
US9209795B2 (en)2013-05-172015-12-08Semiconductor Energy Laboratory Co., Ltd.Signal processing device and measuring method
US10032872B2 (en)2013-05-172018-07-24Semiconductor Energy Laboratory Co., Ltd.Semiconductor device, method for manufacturing the same, and apparatus for manufacturing semiconductor device
US9754971B2 (en)2013-05-182017-09-05Semiconductor Energy Laboratory Co., Ltd.Semiconductor device
US12382664B2 (en)2013-05-202025-08-05Semiconductor Energy Laboratory Co., Ltd.Semiconductor device
US12402360B2 (en)2013-05-202025-08-26Semiconductor Energy Laboratory Co., Ltd.Semiconductor device
US11961917B2 (en)2013-05-202024-04-16Semiconductor Energy Laboratory Co., Ltd.Semiconductor device comprising stacked transistors
US10128384B2 (en)2013-05-202018-11-13Semiconductor Energy Laboratory Co., Ltd.Semiconductor device
US11949021B2 (en)2013-05-202024-04-02Semiconductor Energy Laboratory Co., Ltd.Semiconductor device
US9209307B2 (en)2013-05-202015-12-08Semiconductor Energy Laboratory Co., Ltd.Semiconductor device
US9680024B2 (en)2013-05-202017-06-13Semiconductor Energy Laboratory Co., Ltd.Semiconductor device
US9431547B2 (en)2013-05-202016-08-30Semiconductor Energy Laboratory Co., Ltd.Semiconductor device
US9722088B2 (en)2013-05-202017-08-01Semiconductor Energy Laboratory Co., Ltd.Semiconductor device
US9991397B2 (en)2013-05-202018-06-05Semiconductor Energy Laboratory Co., Ltd.Semiconductor device
US9837552B2 (en)2013-05-202017-12-05Semiconductor Energy Laboratory Co., Ltd.Semiconductor device
US11646380B2 (en)2013-05-202023-05-09Semiconductor Energy Laboratory Co., Ltd.Semiconductor device
US9281408B2 (en)2013-05-202016-03-08Semiconductor Energy Laboratory Co., Ltd.Semiconductor device
US9755081B2 (en)2013-05-202017-09-05Semiconductor Energy Laboratory Co., Ltd.Semiconductor device
US10411136B2 (en)2013-05-202019-09-10Semiconductor Energy Laboratory Co., Ltd.Semiconductor device
US9647125B2 (en)2013-05-202017-05-09Semiconductor Energy Laboratory Co., Ltd.Semiconductor device and method for manufacturing the same
US10014413B2 (en)2013-05-202018-07-03Semiconductor Energy Laboratory Co., Ltd.Semiconductor device
US10720532B2 (en)2013-05-202020-07-21Semiconductor Energy Laboratory Co., Ltd.Semiconductor device
US11217704B2 (en)2013-05-202022-01-04Semiconductor Energy Laboratory Co., Ltd.Semiconductor device
US9202925B2 (en)2013-05-202015-12-01Semiconductor Energy Laboratory Co., Ltd.Semiconductor device
US9293599B2 (en)2013-05-202016-03-22Semiconductor Energy Laboratory Co., Ltd.Semiconductor device and method for manufacturing the same
US11430894B2 (en)2013-05-202022-08-30Semiconductor Energy Laboratory Co., Ltd.Semiconductor device including a oxide semiconductor transistor
US10573758B2 (en)2013-05-202020-02-25Semiconductor Energy Laboratory Co., Ltd.Semiconductor device
US9343579B2 (en)2013-05-202016-05-17Semiconductor Energy Laboratory Co., Ltd.Semiconductor device
US9666724B2 (en)2013-05-202017-05-30Semiconductor Energy Laboratory Co., Ltd.Semiconductor device
US10416504B2 (en)2013-05-212019-09-17Semiconductor Energy Laboratory Co., Ltd.Liquid crystal display device
US9824888B2 (en)2013-05-212017-11-21Semiconductor Energy Laboratory Co., Ltd.Oxide semiconductor film and formation method thereof
US9166060B2 (en)2013-06-052015-10-20Semiconductor Energy Laboratory Co., Ltd.Semiconductor device
US9806198B2 (en)2013-06-052017-10-31Semiconductor Energy Laboratory Co., Ltd.Semiconductor device and method for manufacturing the same
US9306074B2 (en)2013-06-052016-04-05Semiconductor Energy Laboratory Co., Ltd.Semiconductor device
US9368607B2 (en)2013-06-052016-06-14Semiconductor Energy Laboratory Co., Ltd.Semiconductor device
US9494830B2 (en)2013-06-052016-11-15Semiconductor Energy Laboratory Co., Ltd.Sequential circuit and semiconductor device
US9876118B2 (en)2013-06-052018-01-23Semiconductor Energy Laboratory Co., Ltd.Semiconductor device
US9899420B2 (en)2013-06-052018-02-20Semiconductor Energy Laboratory Co., Ltd.Display device
US9711656B2 (en)2013-06-052017-07-18Semiconductor Energy Laboratory Co., Ltd.Semiconductor device
US9595541B2 (en)2013-06-052017-03-14Semiconductor Energy Laboratory Co., Ltd.Semiconductor device
US10503018B2 (en)2013-06-052019-12-10Semiconductor Energy Laboratory Co., Ltd.Display device and electronic device
US9939692B2 (en)2013-06-052018-04-10Semiconductor Energy Laboratory Co., Ltd.Sequential circuit and semiconductor device
US9773915B2 (en)2013-06-112017-09-26Semiconductor Energy Laboratory Co., Ltd.Semiconductor device and manufacturing method thereof
US9721959B2 (en)2013-06-132017-08-01Semiconductor Energy Laboratory Co., Ltd.Semiconductor device
US9065438B2 (en)2013-06-182015-06-23Semiconductor Energy Laboratory Co., Ltd.Programmable logic device
US9793414B2 (en)2013-06-192017-10-17Semiconductor Energy Laboratory Co., Ltd.Oxide semiconductor film
US9035301B2 (en)2013-06-192015-05-19Semiconductor Energy Laboratory Co., Ltd.Imaging device
US9287352B2 (en)2013-06-192016-03-15Semiconductor Energy Laboratory Co., Ltd.Oxide semiconductor film and formation method thereof
US9761598B2 (en)2013-06-212017-09-12Semiconductor Energy Laboratory Co., Ltd.Programmable logic device (PLD)
US9515094B2 (en)2013-06-262016-12-06Semiconductor Energy Laboratory Co., Ltd.Storage device and semiconductor device
US11581439B2 (en)2013-06-272023-02-14Semiconductor Energy Laboratory Co., Ltd.Semiconductor device
US9276577B2 (en)2013-07-052016-03-01Semiconductor Energy Laboratory Co., Ltd.Semiconductor device
US9312349B2 (en)2013-07-082016-04-12Semiconductor Energy Laboratory Co., Ltd.Semiconductor device and method for manufacturing semiconductor device
US11404585B2 (en)2013-07-082022-08-02Semiconductor Energy Laboratory Co., Ltd.Semiconductor device and method for manufacturing semiconductor device
US9666697B2 (en)2013-07-082017-05-30Semiconductor Energy Laboratory Co., Ltd.Semiconductor device and method for manufacturing semiconductor device including an electron trap layer
US10074733B2 (en)2013-07-082018-09-11Semiconductor Energy Laboratory Co., Ltd.Semiconductor device and method for manufacturing semiconductor device
US12199106B2 (en)2013-07-102025-01-14Semiconductor Energy Laboratory Co., Ltd.Semiconductor device
US9490268B2 (en)2013-07-102016-11-08Semiconductor Energy Laboratory Co., Ltd.Semiconductor device and display device including the semiconductor device
US10256255B2 (en)2013-07-102019-04-09Semiconductor Energy Laboratory Co., Ltd.Semiconductor device
US9293480B2 (en)2013-07-102016-03-22Semiconductor Energy Laboratory Co., Ltd.Semiconductor device and display device including the semiconductor device
US9424950B2 (en)2013-07-102016-08-23Semiconductor Energy Laboratory Co., Ltd.Semiconductor device
US9899423B2 (en)2013-07-102018-02-20Semiconductor Energy Laboratory Co., Ltd.Semiconductor device and display device including the semiconductor device
US12154906B2 (en)2013-07-122024-11-26Semiconductor Energy Laboratory Co., Ltd.Display device and method for manufacturing display device
US10998341B2 (en)2013-07-122021-05-04Semiconductor Energy Laboratory Co., Ltd.Display device and method for manufacturing display device
US10593703B2 (en)2013-07-122020-03-17Semiconductor Energy Laboratory Co., Ltd.Display device and method for manufacturing display device
US9691904B2 (en)2013-07-122017-06-27Semiconductor Energy Laboratory Co., Ltd.Semiconductor device
US9818763B2 (en)2013-07-122017-11-14Semiconductor Energy Laboratory Co., Ltd.Display device and method for manufacturing display device
US9006736B2 (en)2013-07-122015-04-14Semiconductor Energy Laboratory Co., Ltd.Semiconductor device
US11502109B2 (en)2013-07-122022-11-15Semiconductor Energy Laboratory Co., Ltd.Display device and method for manufacturing display device
US10199393B2 (en)2013-07-122019-02-05Semiconductor Energy Laboratory Co., Ltd.Display device and method for manufacturing display device
US9419145B2 (en)2013-07-122016-08-16Semiconductor Energy Laboratory Co., Ltd.Semiconductor device
US9281409B2 (en)2013-07-162016-03-08Semiconductor Energy Laboratory Co., Ltd.Thin film transistor for integrated circuit
US9847429B2 (en)2013-07-162017-12-19Semiconductor Energy Laboratory Co., Ltd.Semiconductor device
US9305630B2 (en)2013-07-172016-04-05Semiconductor Energy Laboratory Co., Ltd.Semiconductor device and method for driving the same
US9443592B2 (en)2013-07-182016-09-13Semiconductor Energy Laboratory Co., Ltd.Semiconductor device and method for manufacturing semiconductor device
US10823374B2 (en)2013-07-192020-11-03Semiconductor Energy Laboratory Co., Ltd.Support of flexible component and light-emitting device
US9379138B2 (en)2013-07-192016-06-28Semiconductor Energy Laboratory Co., Ltd.Imaging device with drive voltage dependent on external light intensity
US9810406B2 (en)2013-07-192017-11-07Semiconductor Energy Laboratory Co., Ltd.Support of flexible component and light-emitting device
US9395070B2 (en)2013-07-192016-07-19Semiconductor Energy Laboratory Co., Ltd.Support of flexible component and light-emitting device
US9583632B2 (en)2013-07-192017-02-28Semiconductor Energy Laboratory Co., Ltd.Oxide semiconductor film, method for forming oxide semiconductor film, and semiconductor device
US10578284B2 (en)2013-07-192020-03-03Semiconductor Energy Laboratory Co., Ltd.Support of flexible component and light-emitting device
US10872907B2 (en)2013-07-252020-12-22Semiconductor Energy Laboratory Co., Ltd.Semiconductor device
US10529740B2 (en)2013-07-252020-01-07Semiconductor Energy Laboratory Co., Ltd.Semiconductor device including semiconductor layer and conductive layer
US10338419B2 (en)2013-07-252019-07-02Semiconductor Energy Laboratory Co., Ltd.Liquid crystal display device and electronic device
US9500916B2 (en)2013-07-252016-11-22Semiconductor Energy Laboratory Co., Ltd.Liquid crystal display device and electronic device
US9761736B2 (en)2013-07-252017-09-12Semiconductor Energy Laboratory Co., Ltd.Semiconductor device and method for manufacturing semiconductor device
US9444337B2 (en)2013-07-262016-09-13Semiconductor Energy Laboratory Co., Ltd.DCDC converter including clock generation circuit, error amplifier and comparator
US9343288B2 (en)2013-07-312016-05-17Semiconductor Energy Laboratory Co., Ltd.Semiconductor device
US9130047B2 (en)2013-07-312015-09-08Semiconductor Energy Laboratory Co., Ltd.Semiconductor device
US10008929B2 (en)2013-07-312018-06-26Semiconductor Energy Laboratory Co., Ltd.DC-DC converter and semiconductor device
US9412762B2 (en)2013-07-312016-08-09Semiconductor Energy Laboratory Co., Ltd.DC-DC converter and semiconductor device
US9190448B2 (en)2013-08-022015-11-17Semiconductor Energy Laboratory Co., Ltd.Imaging device and operation method thereof
US9496330B2 (en)2013-08-022016-11-15Semiconductor Energy Laboratory Co., Ltd.Oxide semiconductor film and semiconductor device
US9741794B2 (en)2013-08-052017-08-22Semiconductor Energy Laboratory Co., Ltd.Semiconductor device and method for manufacturing semiconductor device
US10699904B2 (en)2013-08-072020-06-30Semiconductor Energy Laboratory Co., Ltd.Semiconductor device and method for manufacturing thereof
US9634149B2 (en)2013-08-072017-04-25Semiconductor Energy Laboratory Co., Ltd.Semiconductor device and method for manufacturing thereof
US10269976B2 (en)2013-08-092019-04-23Semiconductor Energy Laboratory Co., Ltd.Method for manufacturing semiconductor device
US9601591B2 (en)2013-08-092017-03-21Semiconductor Energy Laboratory Co., Ltd.Method for manufacturing semiconductor device
US9299855B2 (en)2013-08-092016-03-29Semiconductor Energy Laboratory Co., Ltd.Semiconductor device having dual gate insulating layers
US9608005B2 (en)2013-08-192017-03-28Semiconductor Energy Laboratory Co., Ltd.Memory circuit including oxide semiconductor devices
US9837963B2 (en)2013-08-202017-12-05Semiconductor Energy Laboratory Co., Ltd.Signal processing device, and driving method and program thereof
US9374048B2 (en)2013-08-202016-06-21Semiconductor Energy Laboratory Co., Ltd.Signal processing device, and driving method and program thereof
US9837890B2 (en)2013-08-212017-12-05Semiconductor Energy Laboratory Co., Ltd.Charge pump circuit and semiconductor device including the same
US9385592B2 (en)2013-08-212016-07-05Semiconductor Energy Laboratory Co., Ltd.Charge pump circuit and semiconductor device including the same
US9431541B2 (en)2013-08-222016-08-30Semiconductor Energy Laboratory Co., Ltd.Semiconductor device
US9911853B2 (en)2013-08-232018-03-06Semiconductor Energy Laboratory Co., Ltd.Semiconductor device
US10134781B2 (en)2013-08-232018-11-20Semiconductor Energy Laboratory Co., Ltd.Capacitor and semiconductor device
US9443987B2 (en)2013-08-232016-09-13Semiconductor Energy Laboratory Co., Ltd.Semiconductor device
US10355136B2 (en)2013-08-232019-07-16Semiconductor Energy Laboratory Co., Ltd.Semiconductor device
US10782565B2 (en)2013-08-282020-09-22Semiconductor Energy Laboratory Co., Ltd.Display device comprising first and second semiconductor films wherein an entire region of each of the first and second semiconductor films overlaps with a scan line
US11675236B2 (en)2013-08-282023-06-13Semiconductor Energy Laboratory Co., Ltd.Display device comprising a scan line that overlaps an entire region of a semiconductor film having a channel formation region
US12298632B2 (en)2013-08-282025-05-13Semiconductor Energy Laboratory Co., Ltd.Liquid crystal display device comprising a pixel portion having a plurality of transistors
US11460737B2 (en)2013-08-282022-10-04Semiconductor Energy Laboratory Co., Ltd.Liquid crystal display device comprising a scan line that overlaps an entire region of a first semiconductor film and a second semiconductor film
US9989796B2 (en)2013-08-282018-06-05Semiconductor Energy Laboratory Co., Ltd.Display device comprising first and second transistors electrically connected to first and second pixel electrodes
US10585319B2 (en)2013-08-282020-03-10Semiconductor Energy Laboratory Co., Ltd.Display device comprising first and second transistors electrically connected to first and second pixel electrodes and a common electrode having stripe regions
US11226517B2 (en)2013-08-282022-01-18Semiconductor Energy Laboratory Co., Ltd.Display device comprising a common electrode having an opening with first and second regions disconnected from each other and an entire region of each of a first and a second semiconductor film overlaps with a scan line
US10181287B2 (en)2013-08-302019-01-15Semiconductor Energy Laboratory Co., Ltd.Light-emitting device
US10164612B2 (en)2013-08-302018-12-25Semiconductor Energy Laboratory Co., Ltd.Storage circuit and semiconductor device
US9142593B2 (en)2013-08-302015-09-22Semiconductor Energy Laboratory Co., Ltd.Display device
US9590109B2 (en)2013-08-302017-03-07Semiconductor Energy Laboratory Co., Ltd.Semiconductor device and method for manufacturing the same
US9947794B2 (en)2013-08-302018-04-17Semiconductor Energy Laboratory Co., Ltd.Semiconductor device and method for manufacturing the same
US9438206B2 (en)2013-08-302016-09-06Semiconductor Energy Laboratory Co., Ltd.Storage circuit and semiconductor device
US9552767B2 (en)2013-08-302017-01-24Semiconductor Energy Laboratory Co., Ltd.Light-emitting device
US9360564B2 (en)2013-08-302016-06-07Semiconductor Energy Laboratory Co., Ltd.Imaging device
US9449853B2 (en)2013-09-042016-09-20Semiconductor Energy Laboratory Co., Ltd.Method for manufacturing semiconductor device comprising electron trap layer
US10121905B2 (en)2013-09-042018-11-06Semiconductor Energy Laboratory Co., Ltd.Semiconductor device
US9824898B2 (en)2013-09-052017-11-21Semiconductor Energy Laboratory Co., Ltd.Semiconductor device and method for manufacturing the same
US20170194327A1 (en)2013-09-052017-07-06Semiconductor Energy Laboratory Co., Ltd.Semiconductor device
US10446551B2 (en)2013-09-052019-10-15Semiconductor Energy Laboratory Co., Ltd.Semiconductor device
US9607991B2 (en)2013-09-052017-03-28Semiconductor Energy Laboratory Co., Ltd.Semiconductor device
US10008513B2 (en)2013-09-052018-06-26Semiconductor Energy Laboratory Co., Ltd.Semiconductor device
US9570622B2 (en)2013-09-052017-02-14Semiconductor Energy Laboratory Co., Ltd.Semiconductor device and method for manufacturing the same
US9391157B2 (en)2013-09-062016-07-12Semiconductor Energy Laboratory Co., Ltd.Semiconductor transistor device
US9324876B2 (en)2013-09-062016-04-26Semiconductor Energy Laboratory Co., Ltd.Semiconductor device and method for manufacturing the same
US9590110B2 (en)2013-09-102017-03-07Semiconductor Energy Laboratory Co., Ltd.Ultraviolet light sensor circuit
US10090023B2 (en)2013-09-112018-10-02Semiconductor Energy Laboratory Co., Ltd.Memory device including memory circuit and selection circuit
US9893194B2 (en)2013-09-122018-02-13Semiconductor Energy Laboratory Co., Ltd.Method for manufacturing semiconductor device
US9269822B2 (en)2013-09-122016-02-23Semiconductor Energy Laboratory Co., Ltd.Semiconductor device and method for manufacturing semiconductor device
US9805952B2 (en)2013-09-132017-10-31Semiconductor Energy Laboratory Co., Ltd.Method for manufacturing semiconductor device
US12154913B2 (en)2013-09-132024-11-26Semiconductor Energy Laboratory Co., Ltd.Display device
US9835570B2 (en)*2013-09-132017-12-05The United States Of America As Represented By The Administrator Of NasaX-ray diffraction (XRD) characterization methods for sigma=3 twin defects in cubic semiconductor (100) wafers
US9842941B2 (en)2013-09-132017-12-12Semiconductor Energy Laboratory Co., Ltd.Semiconductor device and manufacturing method thereof
US9748279B2 (en)2013-09-132017-08-29Semiconductor Energy Laboratory Co., Ltd.Display device
US10777585B2 (en)2013-09-132020-09-15Semiconductor Energy Laboratory Co., Ltd.Display device
US20150078526A1 (en)*2013-09-132015-03-19U.S.A. Represented By The Administrator Of The National Aeronautics And Space AdministrationX-ray Diffraction (XRD) Characterization Methods for Sigma=3 Twin Defects in Cubic Semiconductor (100) Wafers
US9461126B2 (en)2013-09-132016-10-04Semiconductor Energy Laboratory Co., Ltd.Transistor, clocked inverter circuit, sequential circuit, and semiconductor device including sequential circuit
US10559602B2 (en)2013-09-132020-02-11Semiconductor Energy Laboratory Co., Ltd.Display device
US11848331B2 (en)2013-09-132023-12-19Semiconductor Energy Laboratory Co., Ltd.Display device
US9337214B2 (en)2013-09-132016-05-10Semiconductor Energy Laboratory Co., Ltd.Display device
US9887299B2 (en)2013-09-132018-02-06Semiconductor Energy Laboratory Co., Ltd.Transistor, clocked inverter circuit, sequential circuit, and semiconductor device including sequential circuit
US9716003B2 (en)2013-09-132017-07-25Semiconductor Energy Laboratory Co., Ltd.Method of manufacturing semiconductor device
US9406761B2 (en)2013-09-132016-08-02Semiconductor Energy Laboratory Co., Ltd.Semiconductor device and manufacturing method thereof
US9887297B2 (en)2013-09-172018-02-06Semiconductor Energy Laboratory Co., Ltd.Semiconductor device comprising oxide semiconductor layer in which thickness of the oxide semiconductor layer is greater than or equal to width of the oxide semiconductor layer
US9859439B2 (en)2013-09-182018-01-02Semiconductor Energy Laboratory Co., Ltd.Semiconductor device and method for manufacturing the same
US9269915B2 (en)2013-09-182016-02-23Semiconductor Energy Laboratory Co., Ltd.Display device
US9443934B2 (en)2013-09-192016-09-13Semiconductor Energy Laboratory Co., Ltd.Semiconductor device and manufacturing method thereof
US10217736B2 (en)2013-09-232019-02-26Semiconductor Energy Laboratory Co., Ltd.Semiconductor device including transistor and capacitor
US9397153B2 (en)2013-09-232016-07-19Semiconductor Energy Laboratory Co., Ltd.Semiconductor device
US9911864B2 (en)2013-09-232018-03-06Semiconductor Energy Laboratory Co., Ltd.Semiconductor device
US10600918B2 (en)2013-09-232020-03-24Semiconductor Energy Laboratory Co., Ltd.Semiconductor device
US20150084044A1 (en)2013-09-232015-03-26Semiconductor Energy Laboratory Co., Ltd.Semiconductor device
US9761734B2 (en)2013-09-232017-09-12Semiconductor Energy Laboratory Co., Ltd.Semiconductor device
US9425217B2 (en)2013-09-232016-08-23Semiconductor Energy Laboratory Co., Ltd.Semiconductor device
US10236287B2 (en)2013-09-232019-03-19Semiconductor Energy Laboratory Co., Ltd.Semiconductor device including semiconductor electrically surrounded by electric field of conductive film
US10483295B2 (en)2013-09-252019-11-19Semiconductor Energy Laboratory Co., Ltd.Semiconductor device comprising resistor comprising metal oxide
US9905586B2 (en)2013-09-252018-02-27Semiconductor Energy Laboratory Co., Ltd.Capacitor comprising metal oxide film having high alignment
US9799774B2 (en)2013-09-262017-10-24Semiconductor Energy Laboratory Co., Ltd.Switch circuit, semiconductor device, and system
US9653486B2 (en)2013-09-272017-05-16Semiconductor Energy Laboratory Co., Ltd.Analog/digital circuit including back gate transistor structure
US9715906B2 (en)2013-10-022017-07-25Semiconductor Energy Laboratory Co., Ltd.Bootstrap circuit and semiconductor device having bootstrap circuit
US9812585B2 (en)2013-10-042017-11-07Semiconductor Energy Laboratory Co., Ltd.Semiconductor device
US10741414B2 (en)2013-10-102020-08-11Semiconductor Energy Laboratory Co., Ltd.Semiconductor device
US9647128B2 (en)2013-10-102017-05-09Semiconductor Energy Laboratory Co., Ltd.Semiconductor device
US10770310B2 (en)2013-10-102020-09-08Semiconductor Energy Laboratory Co., Ltd.Semiconductor device
US11764074B2 (en)2013-10-102023-09-19Semiconductor Energy Laboratory Co., Ltd.Semiconductor device
US9293592B2 (en)2013-10-112016-03-22Semiconductor Energy Laboratory Co., Ltd.Semiconductor device and method for manufacturing semiconductor device
US9245593B2 (en)2013-10-162016-01-26Semiconductor Energy Laboratory Co., Ltd.Method for driving arithmetic processing unit
US9257173B2 (en)2013-10-182016-02-09Semiconductor Energy Laboratory Co., Ltd.Arithmetic processing unit and driving method thereof
US9553114B2 (en)2013-10-182017-01-24Semiconductor Energy Laboratory Co., Ltd.Display device and electronic device with a color filter
US9455349B2 (en)2013-10-222016-09-27Semiconductor Energy Laboratory Co., Ltd.Oxide semiconductor thin film transistor with reduced impurity diffusion
US10199394B2 (en)2013-10-222019-02-05Semiconductor Energy Laboratory Co., Ltd.Display device
US10186604B2 (en)2013-10-222019-01-22Semiconductor Energy Laboratory Co., Ltd.Semiconductor device and manufacturing method of the same
US9812586B2 (en)2013-10-222017-11-07Semiconductor Energy Laboratory Co., Ltd.Transistor with curved active layer
US10103271B2 (en)2013-10-222018-10-16Semiconductor Energy Laboratory Co., Ltd.Semiconductor device
US9887295B2 (en)2013-10-222018-02-06Semiconductor Energy Laboratory Co., Ltd.Thin film transistor with multiple oxide semiconductor layers
US9530804B2 (en)2013-10-222016-12-27Semiconductor Energy Laboratory Co., Ltd.Display device
US9780201B2 (en)2013-10-222017-10-03Semiconductor Energy Laboratory Co., Ltd.Semiconductor device and manufacturing method of the same
US9673224B2 (en)2013-10-222017-06-06Semiconductor Energy Laboratory Co., Ltd.Semiconductor device
US9431435B2 (en)2013-10-222016-08-30Semiconductor Energy Laboratory Co., Ltd.Semiconductor device and manufacturing method of the same
US9276128B2 (en)2013-10-222016-03-01Semiconductor Energy Laboratory Co., Ltd.Semiconductor device, method for manufacturing the same, and etchant used for the same
US10418492B2 (en)2013-10-222019-09-17Semiconductor Energy Laboratory Co., Ltd.Semiconductor device with curved active layer
US10269888B2 (en)2013-10-252019-04-23Semiconductor Energy Laboratory Co., Ltd.Display device
US9583516B2 (en)2013-10-252017-02-28Semiconductor Energy Laboratory Co., Ltd.Display device
US9870816B2 (en)2013-10-312018-01-16Semiconductor Energy Laboratory Co., Ltd.Method for driving semiconductor device
US9590111B2 (en)2013-11-062017-03-07Semiconductor Energy Laboratory Co., Ltd.Semiconductor device and display device including the semiconductor device
US9722055B2 (en)2013-11-072017-08-01Semiconductor Energy Laboratory Co., Ltd.Semiconductor device and manufacturing method thereof
US10197627B2 (en)2013-11-072019-02-05Semiconductor Energy Laboratory Co., Ltd.Semiconductor device
US9419143B2 (en)2013-11-072016-08-16Semiconductor Energy Laboratory Co., Ltd.Semiconductor device and manufacturing method thereof
US9385054B2 (en)2013-11-082016-07-05Semiconductor Energy Laboratory Co., Ltd.Data processing device and manufacturing method thereof
US10249347B2 (en)2013-11-132019-04-02Semiconductor Energy Laboratory Co., Ltd.Semiconductor device and method for driving semiconductor device
US9494644B2 (en)2013-11-222016-11-15Semiconductor Energy Laboratory Co., Ltd.Semiconductor device including memory circuit and logic array
US9755648B2 (en)2013-11-222017-09-05Semiconductor Energy Laboratory Co., Ltd.Semiconductor device
US9880437B2 (en)2013-11-272018-01-30Semiconductor Energy Laboratory Co., Ltd.Display device
US9882014B2 (en)2013-11-292018-01-30Semiconductor Energy Laboratory Co., Ltd.Semiconductor device and method for manufacturing the same
US9437428B2 (en)2013-11-292016-09-06Semiconductor Energy Laboratory Co., Ltd.Method of manufacturing a semiconductor device having an oxide semiconductor layer with increased hydrogen concentration
US12349460B2 (en)2013-11-292025-07-01Semiconductor Energy Laboratory Co., Ltd.Manufacturing method of semiconductor device
US11430817B2 (en)2013-11-292022-08-30Semiconductor Energy Laboratory Co., Ltd.Semiconductor device
US11672148B2 (en)2013-12-022023-06-06Semiconductor Energy Laboratory Co., Ltd.Display device and method for manufacturing the same
US9601634B2 (en)2013-12-022017-03-21Semiconductor Energy Laboratory Co., Ltd.Semiconductor device
US11004925B2 (en)2013-12-022021-05-11Semiconductor Energy Laboratory Co., Ltd.Display device and method for manufacturing the same
US10103274B2 (en)2013-12-022018-10-16Semiconductor Energy Laboratory Co., Ltd.Semiconductor device
US10312315B2 (en)2013-12-022019-06-04Semiconductor Energy Laboratory Co., Ltd.Display device and method for manufacturing the same
US12048207B2 (en)2013-12-022024-07-23Semiconductor Energy Laboratory Co., Ltd.Display device and method for manufacturing the same
US10872947B2 (en)2013-12-022020-12-22Semiconductor Energy Laboratory Co., Ltd.Display device and method for manufacturing the same
US9437831B2 (en)2013-12-022016-09-06Semiconductor Energy Laboratory Co., Ltd.Display device and method for manufacturing the same
US10763322B2 (en)2013-12-022020-09-01Semiconductor Energy Laboratory Co., Ltd.Display device and method for manufacturing the same
US10879331B2 (en)2013-12-022020-12-29Semiconductor Energy Laboratory Co., Ltd.Display device and method for manufacturing the same
US10854697B2 (en)2013-12-022020-12-01Semiconductor Energy Laboratory Co., Ltd.Display device and method for manufacturing the same
US9825057B2 (en)2013-12-022017-11-21Semiconductor Energy Laboratory Co., Ltd.Display device
US10355067B2 (en)2013-12-022019-07-16Semiconductor Energy Laboratory Co., Ltd.Display device and method for manufacturing the same
US9559316B2 (en)2013-12-022017-01-31Semiconductor Energy Laboratory Co., Ltd.Display device and method for manufacturing the same
US9559317B2 (en)2013-12-022017-01-31Semiconductor Energy Laboratory Co., Ltd.Display device and method for manufacturing the same
US9991392B2 (en)2013-12-032018-06-05Semiconductor Energy Laboratory Co., Ltd.Semiconductor device and manufacturing method thereof
US9923097B2 (en)2013-12-062018-03-20Semiconductor Energy Laboratory Co., Ltd.Semiconductor device
US10115631B2 (en)2013-12-122018-10-30Semiconductor Energy Laboratory Co., Ltd.Semiconductor device
US9673234B2 (en)2013-12-122017-06-06Semiconductor Energy Laboratory Co., Ltd.Semiconductor device
US9349751B2 (en)2013-12-122016-05-24Semiconductor Energy Laboratory Co., Ltd.Semiconductor device
US9627413B2 (en)2013-12-122017-04-18Semiconductor Energy Laboratory Co., Ltd.Semiconductor device and display device
US9842940B2 (en)2013-12-182017-12-12Semiconductor Energy Laboratory Co., Ltd.Semiconductor device
US9287410B2 (en)2013-12-182016-03-15Semiconductor Energy Laboratory Co., Ltd.Semiconductor device
US9882059B2 (en)2013-12-192018-01-30Semiconductor Energy Laboratory Co., Ltd.Semiconductor device
US10374097B2 (en)2013-12-192019-08-06Semiconductor Energy Laboratory Co., Ltd.Semiconductor device
US10944014B2 (en)2013-12-192021-03-09Semiconductor Energy Laboratory Co., Ltd.Semiconductor device
US9379192B2 (en)2013-12-202016-06-28Semiconductor Energy Laboratory Co., Ltd.Semiconductor device
US9450080B2 (en)2013-12-202016-09-20Semiconductor Energy Laboratory Co., Ltd.Method for manufacturing semiconductor device
US9722056B2 (en)2013-12-252017-08-01Semiconductor Energy Laboratory Co., Ltd.Method for manufacturing semiconductor device
US9478664B2 (en)2013-12-252016-10-25Semiconductor Energy Laboratory Co., Ltd.Semiconductor device
US10050132B2 (en)2013-12-252018-08-14Semiconductor Energy Laboratory Co., Ltd.Method for manufacturing semiconductor device
US9466615B2 (en)2013-12-262016-10-11Semiconductor Energy Laboratory Co., Ltd.Semiconductor device
US9530856B2 (en)2013-12-262016-12-27Semiconductor Energy Laboratory Co., Ltd.Semiconductor device and method for manufacturing the same
US9627418B2 (en)2013-12-262017-04-18Semiconductor Energy Laboratory Co., Ltd.Semiconductor device
US9960280B2 (en)2013-12-262018-05-01Semiconductor Energy Laboratory Co., Ltd.Semiconductor device
US10002886B2 (en)2013-12-262018-06-19Semiconductor Energy Laboratory Co., Ltd.Semiconductor device
US9935617B2 (en)2013-12-262018-04-03Semiconductor Energy Laboratory Co., Ltd.Semiconductor device
US9349418B2 (en)2013-12-272016-05-24Semiconductor Energy Laboratory Co., Ltd.Semiconductor device and method for driving the same
US9230996B2 (en)2013-12-272016-01-05Semiconductor Energy Laboratory Co., Ltd.Light-emitting device
US9804462B2 (en)2013-12-272017-10-31Semiconductor Energy Laboratory Co., Ltd.Liquid crystal display device comprising transistor using oxide semiconductor
US9472678B2 (en)2013-12-272016-10-18Semiconductor Energy Laboratory Co., Ltd.Semiconductor device
US9318618B2 (en)2013-12-272016-04-19Semiconductor Energy Laboratory Co., Ltd.Semiconductor device
US9722095B2 (en)2013-12-272017-08-01Semiconductor Energy Laboratory Co., Ltd.Semiconductor device and display device including the semiconductor device
US9397149B2 (en)2013-12-272016-07-19Semiconductor Energy Laboratory Co., Ltd.Semiconductor device
US9672873B2 (en)2013-12-272017-06-06Semiconductor Energy Laboratory Co., Ltd.Semiconductor device
US10818795B2 (en)2013-12-272020-10-27Semiconductor Energy Laboratory Co., Ltd.Semiconductor device
US11380795B2 (en)2013-12-272022-07-05Semiconductor Energy Laboratory Co., Ltd.Semiconductor device comprising an oxide semiconductor film
US9536904B2 (en)2013-12-272017-01-03Semiconductor Energy Laboratory Co., Ltd.Light-emitting device
US10128378B2 (en)2013-12-272018-11-13Semiconductor Energy Laboratory Co., Ltd.Semiconductor device
US12142688B2 (en)2013-12-272024-11-12Semiconductor Energy Laboratory Co., Ltd.Semiconductor device
US9786690B2 (en)2013-12-272017-10-10Semiconductor Energy Laboratory Co., Ltd.Light-emitting device
US9704868B2 (en)2013-12-272017-07-11Semiconductor Energy Laboratory Co., Ltd.Semiconductor device
US10216055B2 (en)2013-12-272019-02-26Semiconductor Energy Laboratory Co., Ltd.Display device comprising two transistors and display element
US9831347B2 (en)2013-12-272017-11-28Semiconductor Energy Laboratory Co., Ltd.Semiconductor device comprising a transistor and a capacitor
US9577110B2 (en)2013-12-272017-02-21Semiconductor Energy Laboratory Co., Ltd.Semiconductor device including an oxide semiconductor and the display device including the semiconductor device
US11757041B2 (en)2013-12-272023-09-12Semiconductor Energy Laboratory Co., Ltd.Semiconductor device
US9899535B2 (en)2013-12-272018-02-20Semiconductor Energy Laboratory Co., Ltd.Semiconductor device
US9356054B2 (en)2013-12-272016-05-31Semiconductor Energy Laboratory Co., Ltd.Semiconductor device
US9356098B2 (en)2013-12-272016-05-31Semiconductor Energy Laboratory Co., Ltd.Semiconductor device with oxide semiconductor film
US9954117B2 (en)2013-12-272018-04-24Semiconductor Energy Laboratory Co., Ltd.Semiconductor device and display device including the semiconductor device
US9594115B2 (en)2014-01-092017-03-14Semiconductor Energy Laboratory Co., Ltd.Device for generating test pattern
US9300292B2 (en)2014-01-102016-03-29Semiconductor Energy Laboratory Co., Ltd.Circuit including transistor
US9401432B2 (en)2014-01-162016-07-26Semiconductor Energy Laboratory Co., Ltd.Semiconductor device and electronic device
US9379713B2 (en)2014-01-172016-06-28Semiconductor Energy Laboratory Co., Ltd.Data processing device and driving method thereof
US9800247B2 (en)2014-01-172017-10-24Semiconductor Energy Laboratory Co., Ltd.Data processing device and driving method thereof
US10263117B2 (en)2014-01-242019-04-16Semiconductor Energy Laboratory Co., Ltd.Semiconductor device
US9666722B2 (en)2014-01-282017-05-30Semiconductor Energy Laboratory Co., Ltd.Semiconductor device
US10304961B2 (en)2014-01-282019-05-28Semiconductor Energy Laboratory Co., Ltd.Semiconductor device
US9929044B2 (en)2014-01-302018-03-27Semiconductor Energy Laboratory Co., Ltd.Method of manufacturing semiconductor device
US12283634B2 (en)2014-02-052025-04-22Semiconductor Energy Laboratory Co., Ltd.Semiconductor device and manufacturing method thereof
US9443876B2 (en)2014-02-052016-09-13Semiconductor Energy Laboratory Co., Ltd.Semiconductor device, display device including the semiconductor device, display module including the display device, and electronic device including the semiconductor device, the display device, and the display module
US10096721B2 (en)2014-02-052018-10-09Semiconductor Energy Laboratory Co., Ltd.Semiconductor device, module, and electronic device
US12142694B2 (en)2014-02-052024-11-12Semiconductor Energy Laboratory Co., Ltd.Semiconductor device, display device including the semiconductor device, display module including the display device, and electronic device including the semiconductor device, the display device, and the display module
US10811435B2 (en)2014-02-052020-10-20Semiconductor Energy Laboratory Co., Ltd.Semiconductor device, display device including the semiconductor device, display module including the display device, and electronic device including the semiconductor device, the display device, and the display module
US11699762B2 (en)2014-02-052023-07-11Semiconductor Energy Laboratory Co., Ltd.Semiconductor device, display device including the semiconductor device, display module including the display device, and electronic device including the semiconductor device, the display device, and the display module
US11011648B2 (en)2014-02-052021-05-18Semiconductor Energy Laboratory Co., Ltd.Semiconductor device and manufacturing method thereof
US10249645B2 (en)2014-02-052019-04-02Semiconductor Energy Laboratory Co., Ltd.Semiconductor device, display device including the semiconductor device, display module including the display device, and electronic device including the semiconductor device, the display device, and the display module
US11640996B2 (en)2014-02-052023-05-02Semiconductor Energy Laboratory Co., Ltd.Semiconductor device and manufacturing method thereof
US10373981B2 (en)2014-02-052019-08-06Semiconductor Energy Laboratory Co., Ltd.Semiconductor device, manufacturing method thereof, module, and electronic device
US9705002B2 (en)2014-02-052017-07-11Semiconductor Energy Laboratory Co., Ltd.Semiconductor device, module, and electronic device
US11107837B2 (en)2014-02-052021-08-31Semiconductor Energy Laboratory Co., Ltd.Semiconductor device, display device including the semiconductor device, display module including the display device, and electronic device including the semicondutor device, the display device, and the display module
US11942555B2 (en)2014-02-052024-03-26Semiconductor Energy Laboratory Co., Ltd.Semiconductor device and manufacturing method thereof
US10680116B2 (en)2014-02-052020-06-09Semiconductor Energy Laboratory Co., Ltd.Manufacturing method of semiconductor device including oxide semiconductor
US9929279B2 (en)2014-02-052018-03-27Semiconductor Energy Laboratory Co., Ltd.Semiconductor device and manufacturing method thereof
US9653487B2 (en)2014-02-052017-05-16Semiconductor Energy Laboratory Co., Ltd.Semiconductor device, manufacturing method thereof, module, and electronic device
US9721968B2 (en)2014-02-062017-08-01Semiconductor Energy Laboratory Co., Ltd.Semiconductor device, electronic component, and electronic appliance
US10249768B2 (en)2014-02-072019-04-02Semiconductor Energy Laboratory Co., Ltd.Semiconductor device
US10055232B2 (en)2014-02-072018-08-21Semiconductor Energy Laboratory Co., Ltd.Semiconductor device comprising memory circuit
US9990207B2 (en)2014-02-072018-06-05Semiconductor Energy Laboratory Co., Ltd.Semiconductor device, device, and electronic device
US9869716B2 (en)2014-02-072018-01-16Semiconductor Energy Laboratory Co., Ltd.Device comprising programmable logic element
US9479175B2 (en)2014-02-072016-10-25Semiconductor Energy Laboratory Co., Ltd.Semiconductor device and electronic device
US9588172B2 (en)2014-02-072017-03-07Semiconductor Energy Laboratory Co., Ltd.Device including test circuit
US9412876B2 (en)2014-02-072016-08-09Semiconductor Energy Laboratory Co., Ltd.Semiconductor device
US9997637B2 (en)2014-02-072018-06-12Semiconductor Energy Laboratory Co., Ltd.Semiconductor device
US9614022B2 (en)2014-02-112017-04-04Semiconductor Energy Laboratory Co., Ltd.Display device and electronic device comprised of multiple display panels
US12048230B2 (en)2014-02-112024-07-23Semiconductor Energy Laboratory Co., Ltd.Display device having overlapping display panels
US11647663B2 (en)2014-02-112023-05-09Semiconductor Energy Laboratory Co., Ltd.Display device having at least four overlapping display panels
US10359810B2 (en)2014-02-112019-07-23Semiconductor Energy Laboratory Co., Ltd.Display device and electronic device
US11069747B2 (en)2014-02-112021-07-20Semiconductor Energy Laboratory Co., Ltd.Display device and electronic device having multiple overlapping display panels
US10642314B2 (en)2014-02-112020-05-05Semiconductor Energy Laboratory Co., Ltd.Display device and electronic device having multiple overlapping display panels
US9508864B2 (en)2014-02-192016-11-29Semiconductor Energy Laboratory Co., Ltd.Oxide, semiconductor device, module, and electronic device
US9378776B2 (en)2014-02-212016-06-28Semiconductor Energy Laboratory Co., Ltd.Semiconductor device, electronic component, and electronic device
US10032928B2 (en)2014-02-212018-07-24Semiconductor Energy Laboratory Co., Ltd.Semiconductor film, transistor, semiconductor device, display device, and electronic appliance
US9817040B2 (en)2014-02-212017-11-14Semiconductor Energy Laboratory Co., Ltd.Measuring method of low off-state current of transistor
US9406760B2 (en)2014-02-212016-08-02Semiconductor Energy Laboratory Co., Ltd.Semiconductor film, transistor, semiconductor device, display device, and electronic appliance
US9559174B2 (en)2014-02-212017-01-31Semiconductor Energy Laboratory Co., Ltd.Semiconductor film, transistor, semiconductor device, display device, and electronic appliance
US9294096B2 (en)2014-02-282016-03-22Semiconductor Energy Laboratory Co., Ltd.Semiconductor device
US10056492B2 (en)2014-02-282018-08-21Semiconductor Energy Laboratory Co., Ltd.Semiconductor device, display device including the semiconductor device, display module including the display device, and electronic appliance including the semiconductor device, the display device, or the display module
US10693014B2 (en)2014-02-282020-06-23Semiconductor Energy Laboratory Co., Ltd.Semiconductor device, display device including the semiconductor device, display module including the display device, and electronic appliance including the semiconductor device, the display device, and the display module
US9774331B2 (en)2014-02-282017-09-26Semiconductor Energy Laboratory Co., Ltd.Semiconductor device
US9660087B2 (en)2014-02-282017-05-23Semiconductor Energy Laboratory Co., Ltd.Semiconductor device, display device including the semiconductor device, display module including the display device, and electronic appliance including the semiconductor device, the display device, or the display module
US10074576B2 (en)2014-02-282018-09-11Semiconductor Energy Laboratory Co., Ltd.Semiconductor memory device
US9564535B2 (en)2014-02-282017-02-07Semiconductor Energy Laboratory Co., Ltd.Semiconductor device, display device including the semiconductor device, display module including the display device, and electronic appliance including the semiconductor device, the display device, and the display module
US9979386B2 (en)2014-02-282018-05-22Semiconductor Energy Laboratory Co., Ltd.Semiconductor device, method for driving the same, and electronic appliance
US9455709B2 (en)2014-03-052016-09-27Semiconductor Energy Laboratory Co., Ltd.Semiconductor device
US9590594B2 (en)2014-03-052017-03-07Semiconductor Energy Laboratory Co., Ltd.Level shifter circuit
US9397637B2 (en)2014-03-062016-07-19Semiconductor Energy Laboratory Co., Ltd.Voltage controlled oscillator, semiconductor device, and electronic device
US9818882B2 (en)2014-03-062017-11-14Semiconductor Energy Laboratory Co., Ltd.Semiconductor device
US9350358B2 (en)2014-03-062016-05-24Semiconductor Energy Laboratory Co., Ltd.Semiconductor device
US9537478B2 (en)2014-03-062017-01-03Semiconductor Energy Laboratory Co., Ltd.Semiconductor device
US9843308B2 (en)2014-03-062017-12-12Semiconductor Energy Laboratory Co., Ltd.Voltage controlled oscillator, semiconductor device, and electronic device
US10096489B2 (en)2014-03-062018-10-09Semiconductor Energy Laboratory Co., Ltd.Method for manufacturing semiconductor device
US9806201B2 (en)2014-03-072017-10-31Semiconductor Energy Laboratory Co., Ltd.Semiconductor device
US9780121B2 (en)2014-03-072017-10-03Semiconductor Energy Laboratory Co., Ltd.Touch sensor, touch panel, and manufacturing method of touch panel
US9711536B2 (en)2014-03-072017-07-18Semiconductor Energy Laboratory Co., Ltd.Semiconductor device, electronic component, and electronic device
US9225329B2 (en)2014-03-072015-12-29Semiconductor Energy Laboratory Co., Ltd.Semiconductor device, driving method thereof, and electronic appliance
US9349454B2 (en)2014-03-072016-05-24Semiconductor Energy Laboratory Co., Ltd.Semiconductor device and electronic device
US9653611B2 (en)2014-03-072017-05-16Semiconductor Energy Laboratory Co., Ltd.Semiconductor device
US10593683B2 (en)2014-03-072020-03-17Semiconductor Energy Laboratory Co., Ltd.Semicondutor device
US9443872B2 (en)2014-03-072016-09-13Semiconductor Energy Laboratory Co., Ltd.Semiconductor device
US9799685B2 (en)2014-03-072017-10-24Semiconductor Energy Laboratory Co., Ltd.Semiconductor device
US12101945B2 (en)2014-03-072024-09-24Semiconductor Energy Laboratory Co., Ltd.Semiconductor device
US9935129B2 (en)2014-03-072018-04-03Semiconductor Energy Laboratory Co., Ltd.Semiconductor device, electronic component, and electronic device
US11751409B2 (en)2014-03-072023-09-05Semiconductor Energy Laboratory Co., Ltd.Semiconductor device
US9419622B2 (en)2014-03-072016-08-16Semiconductor Energy Laboratory Co., Ltd.Semiconductor device
US9859444B2 (en)2014-03-072018-01-02Semiconductor Energy Laboratory Co., Ltd.Semiconductor device, display device, input/output device, and electronic device
US9634150B2 (en)2014-03-072017-04-25Semiconductor Energy Laboratory Co., Ltd.Semiconductor device, display device, input/output device, and electronic device
US10002656B2 (en)2014-03-072018-06-19Semiconductor Energy Laboratory Co., Ltd.Semiconductor device and electronic device
US10217752B2 (en)2014-03-072019-02-26Semiconductor Energy Laboratory Co., Ltd.Semiconductor device
US11114449B2 (en)2014-03-072021-09-07Semiconductor Energy Laboratory Co., Ltd.Semiconductor device
US9378777B2 (en)2014-03-122016-06-28Semiconductor Energy Laboratory Co., Ltd.Back gate bias voltage control of oxide semiconductor transistor
US9876495B2 (en)2014-03-132018-01-23Semiconductor Energy Laboratory Co., Ltd.Semiconductor device
US9640669B2 (en)2014-03-132017-05-02Semiconductor Energy Laboratory Co., Ltd.Semiconductor device, display device including the semiconductor device, display module including the display device, and electronic appliance including the semiconductor device, the display device, and the display module
US9773815B2 (en)2014-03-132017-09-26Semiconductor Energy Laboratory Co., Ltd.Semiconductor device, display device including the semiconductor device, display module including the display device, and electronic appliance including the semiconductor device, the display device, and the display module
US9922692B2 (en)2014-03-132018-03-20Semiconductor Energy Laboratory Co., Ltd.Semiconductor device including refresh circuit for memory cell
US9467139B2 (en)2014-03-132016-10-11Semiconductor Energy Laboratory Co., Ltd.Semiconductor device
US9385720B2 (en)2014-03-132016-07-05Semiconductor Energy Laboratory Co., Ltd.Semiconductor device and driving method thereof
US9722615B2 (en)2014-03-132017-08-01Semiconductor Energy Laboratory Co., Ltd.Method for operating programmable logic device
US9324747B2 (en)2014-03-132016-04-26Semiconductor Energy Laboratory Co., Ltd.Imaging device
US9425226B2 (en)2014-03-132016-08-23Semiconductor Energy Laboratory Co., Ltd.Imaging device
US9509314B2 (en)2014-03-132016-11-29Semiconductor Energy Laboratory Co., Ltd.Method for operating programmable logic device
US9711549B2 (en)2014-03-132017-07-18Semiconductor Energy Laboratory Co., Ltd.Imaging device
US9818473B2 (en)2014-03-142017-11-14Semiconductor Energy Laboratory Co., Ltd.Semiconductor device including stacked circuits
US9685500B2 (en)2014-03-142017-06-20Semiconductor Energy Laboratory Co., Ltd.Circuit system
US9299848B2 (en)2014-03-142016-03-29Semiconductor Energy Laboratory Co., Ltd.Semiconductor device, RF tag, and electronic device
US11876126B2 (en)2014-03-142024-01-16Semiconductor Energy Laboratory Co., Ltd.Method for manufacturing semiconductor device
US10361290B2 (en)2014-03-142019-07-23Semiconductor Energy Laboratory Co., Ltd.Method for manufacturing semiconductor device comprising adding oxygen to buffer film and insulating film
US9887212B2 (en)2014-03-142018-02-06Semiconductor Energy Laboratory Co., Ltd.Semiconductor device and electronic device
US11094804B2 (en)2014-03-142021-08-17Semiconductor Energy Laboratory Co., Ltd.Method for manufacturing semiconductor device
US9954111B2 (en)2014-03-182018-04-24Semiconductor Energy Laboratory Co., Ltd.Semiconductor device
US10388797B2 (en)2014-03-182019-08-20Semiconductor Energy Laboratory Co., Ltd.Semiconductor device
US9871143B2 (en)2014-03-182018-01-16Semiconductor Energy Laboratory Co., Ltd.Semiconductor device and manufacturing method thereof
US9887291B2 (en)2014-03-192018-02-06Semiconductor Energy Laboratory Co., Ltd.Semiconductor device, display device including the semiconductor device, display module including the display device, and electronic device including the semiconductor device, the display device, or the display module
US9842842B2 (en)2014-03-192017-12-12Semiconductor Energy Laboratory Co., Ltd.Semiconductor memory device and semiconductor device and electronic device having the same
US9627010B2 (en)2014-03-202017-04-18Semiconductor Energy Laboratory Co., Ltd.Semiconductor device, electronic component, and electronic device
US10861980B2 (en)2014-03-202020-12-08Semiconductor Energy Laboratory Co., Ltd.Semiconductor device, display device including semiconductor device, display module including display device, and electronic device including semiconductor device, display device, and display module
US9852787B2 (en)2014-03-202017-12-26Semiconductor Energy Laboratory Co., Ltd.Semiconductor device, electronic component, and electronic device
US11581440B2 (en)2014-03-282023-02-14Semiconductor Energy Laboratory Co., Ltd.Transistor and semiconductor device
US9947801B2 (en)2014-03-282018-04-17Semiconductor Energy Laboratory Co., Ltd.Transistor and semiconductor device
US10236392B2 (en)2014-03-282019-03-19Semiconductor Energy Laboratory Co., Ltd.Transistor and semiconductor device
US12199187B2 (en)2014-03-282025-01-14Semiconductor Energy Laboratory Co., Ltd.Transistor and semiconductor device
US11177392B2 (en)2014-03-282021-11-16Semiconductor Energy Laboratory Co., Ltd.Transistor and semiconductor device
US10833203B2 (en)2014-03-282020-11-10Semiconductor Energy Laboratory Co., Ltd.Transistor and semiconductor device
US11888073B2 (en)2014-03-282024-01-30Semiconductor Energy Laboratory Co., Ltd.Transistor and semiconductor device
US10566460B2 (en)2014-03-282020-02-18Semiconductor Energy Laboratory Co., Ltd.Transistor and semiconductor device
US9666725B2 (en)2014-03-312017-05-30Semiconductor Energy Laboratory Co., Ltd.Semiconductor device, electronic component, and electronic device
US9553204B2 (en)2014-03-312017-01-24Semiconductor Energy Laboratory Co., Ltd.Semiconductor device, electronic component, and electronic device
US9478276B2 (en)2014-04-102016-10-25Semiconductor Energy Laboratory Co., Ltd.Memory device and semiconductor device
US9865325B2 (en)2014-04-102018-01-09Semiconductor Energy Laboratory Co., Ltd.Memory device and semiconductor device
US9542977B2 (en)2014-04-112017-01-10Semiconductor Energy Laboratory Co., Ltd.Semiconductor device and electronic device
US9412739B2 (en)2014-04-112016-08-09Semiconductor Energy Laboratory Co., Ltd.Semiconductor device
US10187596B2 (en)2014-04-112019-01-22Semiconductor Energy Laboratory Co., Ltd.Semiconductor device, method for driving semiconductor device, and method for driving electronic device
US9601215B2 (en)2014-04-112017-03-21Semiconductor Energy Laboratory Co., Ltd.Holding circuit, driving method of the holding circuit, and semiconductor device including the holding circuit
US9674470B2 (en)2014-04-112017-06-06Semiconductor Energy Laboratory Co., Ltd.Semiconductor device, method for driving semiconductor device, and method for driving electronic device
US9952724B2 (en)2014-04-182018-04-24Semiconductor Energy Laboratory Co., Ltd.Display device and operation method thereof
US9768315B2 (en)2014-04-182017-09-19Semiconductor Energy Laboratory Co., Ltd.Semiconductor device and display device having the same
US10101867B2 (en)2014-04-182018-10-16Semiconductor Energy Laboratory Co., Ltd.Display device and operation method thereof
US9502434B2 (en)2014-04-182016-11-22Semiconductor Energy Laboratory Co., Ltd.Semiconductor device and electronic device
US10345661B2 (en)2014-04-222019-07-09Semiconductor Energy Laboratory Co., Ltd.Display device, display module, and electronic device
US9905598B2 (en)2014-04-232018-02-27Semiconductor Energy Laboratory Co., Ltd.Imaging device
US9780226B2 (en)2014-04-252017-10-03Semiconductor Energy Laboratory Co., Ltd.Semiconductor device and manufacturing method thereof
US9960213B2 (en)2014-04-252018-05-01Semiconductor Energy Laboratory Co., Ltd.Input and output device having touch sensor element as input device and display device
US9311982B2 (en)2014-04-252016-04-12Semiconductor Energy Laboratory Co., Ltd.Semiconductor device, electronic component, and electronic device
US9601429B2 (en)2014-04-252017-03-21Semiconductor Energy Laboratory Co., Ltd.Semiconductor device, electronic component, and electronic device including memory cell comprising first transistor, second transistor and capacitor
US9287878B2 (en)2014-04-252016-03-15Semiconductor Energy Laboratory Co., Ltd.Semiconductor device
US10043913B2 (en)2014-04-302018-08-07Semiconductor Energy Laboratory Co., Ltd.Semiconductor film, semiconductor device, display device, module, and electronic device
US11599249B2 (en)2014-05-022023-03-07Semiconductor Energy Laboratory Co., Ltd.Display device and operation method thereof
US10656799B2 (en)2014-05-022020-05-19Semiconductor Energy Laboratory Co., Ltd.Display device and operation method thereof
US11112947B2 (en)2014-05-022021-09-07Semiconductor Energy Laboratory Co., Ltd.Display device and operation method thereof
US9851776B2 (en)2014-05-022017-12-26Semiconductor Energy Laboratory Co., Ltd.Semiconductor device
US10084048B2 (en)2014-05-072018-09-25Semiconductor Energy Laboratory Co., Ltd.Semiconductor device and electronic device including the semiconductor device
US10529286B2 (en)2014-05-092020-01-07Semiconductor Energy Laboratory Co., Ltd.Display correction circuit, display correction system, and display device
US10998448B2 (en)2014-05-152021-05-04Semiconductor Energy Laboratory Co., Ltd.Thin film semiconductor device including back gate comprising oxide semiconductor material
US11594642B2 (en)2014-05-152023-02-28Semiconductor Energy Laboratory Co., Ltd.Thin film semiconductor device including back gate comprising oxide semiconductor material
US10593172B2 (en)2014-05-162020-03-17Semiconductor Energy Laboratory Co., Ltd.Imaging device, monitoring device, and electronic appliance
US9287118B2 (en)2014-05-162016-03-15Semiconductor Energy Laboratory Co., Ltd.Manufacturing method of semiconductor substrate and semiconductor device
US11430311B2 (en)2014-05-162022-08-30Semiconductor Energy Laboratory Co., Ltd.Imaging device, monitoring device, and electronic appliance
US11488668B2 (en)2014-05-222022-11-01Semiconductor Energy Laboratory Co., Ltd.Semiconductor device and healthcare system
US10388380B2 (en)2014-05-222019-08-20Semiconductor Energy Laboratory Co., Ltd.Semiconductor device and memory circuit having an OS transistor and a capacitor
US9837157B2 (en)2014-05-222017-12-05Semiconductor Energy Laboratory Co., Ltd.Semiconductor device and healthcare system
US10964393B2 (en)2014-05-222021-03-30Semiconductor Energy Laboratory Co., Ltd.Method for operating a semiconductor device having a memory circuit with an OS transistor and an arithmetic circuit
US9633709B2 (en)2014-05-232017-04-25Semiconductor Energy Laboratory Co., Ltd.Storage device including transistor comprising oxide semiconductor
US9831326B2 (en)2014-05-232017-11-28Semiconductor Energy Laboratory Co., Ltd.Manufacturing method of semiconductor device
US9496411B2 (en)2014-05-232016-11-15Semiconductor Energy Laboratory Co., Ltd.Manufacturing method of semiconductor device
US10020403B2 (en)2014-05-272018-07-10Semiconductor Energy Laboratory Co., Ltd.Semiconductor device
US20150349128A1 (en)*2014-05-272015-12-03Semiconductor Energy Laboratory Co., Ltd.Semiconductor device and method for manufacturing the same
US9874775B2 (en)2014-05-282018-01-23Semiconductor Energy Laboratory Co., Ltd.Liquid crystal display device and electronic device
US9336853B2 (en)2014-05-292016-05-10Semiconductor Energy Laboratory Co., Ltd.Memory device, electronic component, and electronic device
US9537014B2 (en)2014-05-292017-01-03Semiconductor Energy Laboratory Co., Ltd.Semiconductor device, method for manufacturing semiconductor device, and electronic device
US9679629B2 (en)2014-05-292017-06-13Semiconductor Energy Laboratory Co., Ltd.Memory device having wiring layout for electrically connecting to switch and capacitor components
US11239372B2 (en)2014-05-292022-02-01Semiconductor Energy Laboratory Co., Ltd.Imaging element, electronic appliance, method for driving imaging device, and method for driving electronic appliance
US9406370B2 (en)2014-05-292016-08-02Semiconductor Energy Laboratory Co., Ltd.Memory device, and semiconductor device and electronic appliance including the same
US9496022B2 (en)2014-05-292016-11-15Semiconductor Energy Laboratory Co., Ltd.Semiconductor device including power management unit for refresh operation
US10032925B2 (en)2014-05-292018-07-24Semiconductor Energy Laboratory Co., Ltd.Imaging element, electronic appliance, method for driving imaging device, and method for driving electronic appliance
US9715920B2 (en)2014-05-292017-07-25Semiconductor Energy Laboratory Co., Ltd.Memory device, and semiconductor device and electronic appliance including the same
US9847431B2 (en)2014-05-302017-12-19Semiconductor Energy Laboratory Co., Ltd.Semiconductor device, module, and electronic device
US9553202B2 (en)2014-05-302017-01-24Semiconductor Energy Laboratory Co., Ltd.Semiconductor device, manufacturing method thereof, and electronic device
US10658389B2 (en)2014-05-302020-05-19Semiconductor Energy Laboratory Co., Ltd.Semiconductor device, manufacturing method thereof, and electronic device
US11282860B2 (en)2014-05-302022-03-22Semiconductor Energy Laboratory Co., Ltd.Semiconductor device, manufacturing method thereof, and electronic device
US9525073B2 (en)2014-05-302016-12-20Semiconductor Energy Laboratory Co., Ltd.Semiconductor device including oxide semiconductor
US9419018B2 (en)2014-05-302016-08-16Semiconductor Energy Laboratory Co., Ltd.Semiconductor device and method for manufacturing the same
US10050062B2 (en)2014-05-302018-08-14Semiconductor Energy Laboratory Co., Ltd.Semiconductor device and method for manufacturing the same
US9646677B2 (en)2014-05-302017-05-09Semiconductor Energy Laboratory Co., Ltd.Semiconductor device and electronic device
US9865588B2 (en)2014-05-302018-01-09Semiconductor Energy Laboratory Co., Ltd.Semiconductor device and electronic device
US10229906B2 (en)2014-05-302019-03-12Semiconductor Energy Laboratory Co., Ltd.Semiconductor device including insulating film having opening portion and conductive film in the opening portion
US9831238B2 (en)2014-05-302017-11-28Semiconductor Energy Laboratory Co., Ltd.Semiconductor device including insulating film having opening portion and conductive film in the opening portion
US9373368B2 (en)2014-05-302016-06-21Semiconductor Energy Laboratory Co., Ltd.Semiconductor device and electronic device
US10651203B2 (en)2014-06-132020-05-12Semiconductor Energy Laboratory Co., Ltd.Semiconductor device comprising a sensing unit
US9349875B2 (en)2014-06-132016-05-24Semiconductor Energy Laboratory Co., Ltd.Semiconductor device and electronic device including the semiconductor device
US9685563B2 (en)2014-06-132017-06-20Semiconductor Energy Laboratory Co., Ltd.Semiconductor device and electronic device including the semiconductor device
US9971680B2 (en)2014-06-132018-05-15Semiconductor Energy Laboratory Co., Ltd.Semiconductor device and electronic device
US9887300B2 (en)2014-06-182018-02-06Semiconductor Energy Laboratory Co., Ltd.Transistor and semiconductor device
US11282865B2 (en)2014-06-202022-03-22Semiconductor Energy Laboratory Co., Ltd.Semiconductor device including indium at insulating film interface
US10490572B2 (en)2014-06-202019-11-26Semiconductor Energy Laboratory Co., Ltd.Transistor including indium in vicinity of interface between insulating films
US9640555B2 (en)2014-06-202017-05-02Semiconductor Energy Laboratory Co., Ltd.Semiconductor device including oxide semiconductor
US9876099B2 (en)2014-06-202018-01-23Semiconductor Energy Laboratory Co., Ltd.Semiconductor device, display device, input/output device, and electronic device
US9634031B2 (en)2014-06-202017-04-25Semiconductor Energy Laboratory Co., Ltd.Semiconductor device comprising oxide semiconductor
US9722090B2 (en)2014-06-232017-08-01Semiconductor Energy Laboratory Co., Ltd.Semiconductor device including first gate oxide semiconductor film, and second gate
US9455287B2 (en)2014-06-252016-09-27Semiconductor Energy Laboratory Co., Ltd.Imaging device, monitoring device, and electronic appliance
US10002971B2 (en)2014-07-032018-06-19Semiconductor Energy Laboratory Co., Ltd.Semiconductor device and display device including the semiconductor device
US10002884B2 (en)2014-07-042018-06-19Semiconductor Energy Laboratory Co., Ltd.Semiconductor device
US9647129B2 (en)2014-07-042017-05-09Semiconductor Energy Laboratory Co., Ltd.Semiconductor device
US9461179B2 (en)2014-07-112016-10-04Semiconductor Energy Laboratory Co., Ltd.Thin film transistor device (TFT) comprising stacked oxide semiconductor layers and having a surrounded channel structure
US9799775B2 (en)2014-07-112017-10-24Semiconductor Energy Laboratory Co., Ltd.Semiconductor device
US9837512B2 (en)2014-07-152017-12-05Semiconductor Energy Laboratory Co., Ltd.Semiconductor device, manufacturing method thereof, and display device including the semiconductor device
US9496412B2 (en)2014-07-152016-11-15Semiconductor Energy Laboratory Co., Ltd.Semiconductor device, manufacturing method thereof, and display device including the semiconductor device
US10164075B2 (en)2014-07-152018-12-25Semiconductor Energy Laboratory Co., Ltd.Manufacturing method of semiconductor device including transistor
US9918012B2 (en)2014-07-182018-03-13Semiconductor Energy Laboratory Co., Ltd.Display system, imaging device, monitoring device, display device, and electronic device
US9848144B2 (en)2014-07-182017-12-19Semiconductor Energy Laboratory Co., Ltd.Semiconductor device, imaging device, and electronic device
US9721953B2 (en)2014-07-252017-08-01Semiconductor Energy Laboratory Co., Ltd.Semiconductor device
US9742419B2 (en)2014-07-252017-08-22Semiconductor Energy Laboratory Co., Ltd.Oscillator circuit and semiconductor device including the same
US9312280B2 (en)2014-07-252016-04-12Semiconductor Energy Laboratory Co., Ltd.Semiconductor device
US9344037B2 (en)2014-07-252016-05-17Semiconductor Energy Laboratory Co., Ltd.Oscillator circuit and semiconductor device including the same
US10115830B2 (en)2014-07-292018-10-30Semiconductor Energy Laboratory Co., Ltd.Semiconductor device, manufacturing method thereof, and electronic device
US10764973B2 (en)2014-07-312020-09-01Semiconductor Energy Laboratory Co., Ltd.Display device and electronic device
US10021329B2 (en)2014-07-312018-07-10Semiconductor Energy Laboratory Co., Ltd.Imaging device, monitoring device, and electronic device
US10159135B2 (en)2014-07-312018-12-18Semiconductor Energy Laboratory Co., Ltd.Flexible display device having first and second display panels overlapping each other and light transmitting layer therebetween
US11659636B2 (en)2014-07-312023-05-23Semiconductor Energy Laboratory Co., Ltd.Display device and electronic device
US10134911B2 (en)2014-08-012018-11-20Semiconductor Energy Laboratory Co., Ltd.Semiconductor device
US9705004B2 (en)2014-08-012017-07-11Semiconductor Energy Laboratory Co., Ltd.Semiconductor device
US10084447B2 (en)2014-08-082018-09-25Semiconductor Energy Laboratory Co., Ltd.Semiconductor device and electronic device
US9812466B2 (en)2014-08-082017-11-07Semiconductor Energy Laboratory Co., Ltd.Semiconductor device
US9520873B2 (en)2014-08-082016-12-13Semiconductor Energy Laboratory Co., Ltd.Semiconductor device and electronic device
US10033379B2 (en)2014-08-082018-07-24Semiconductor Energy Laboratory Co., Ltd.Semiconductor device including power storage elements, switches, and circuit including load
US9595955B2 (en)2014-08-082017-03-14Semiconductor Energy Laboratory Co., Ltd.Semiconductor device including power storage elements and switches
US10147747B2 (en)2014-08-212018-12-04Semiconductor Energy Laboratory Co., Ltd.Semiconductor device, manufacturing method thereof, and electronic device
US11133402B2 (en)2014-08-222021-09-28Semiconductor Energy Laboratory Co., Ltd.Semiconductor device, method for manufacturing semiconductor device, and electronic appliance having semiconductor device
US10553704B2 (en)2014-08-222020-02-04Semiconductor Energy Laboratory Co., Ltd.Semiconductor device, method for manufacturing semiconductor device, and electronic appliance having semiconductor device
US10032888B2 (en)2014-08-222018-07-24Semiconductor Energy Laboratory Co., Ltd.Semiconductor device, method for manufacturing semiconductor device, and electronic appliance having semiconductor device
US11600705B2 (en)2014-08-252023-03-07Semiconductor Energy Laboratory Co., Ltd.Semiconductor device and method for measuring current of semiconductor device
US10559667B2 (en)2014-08-252020-02-11Semiconductor Energy Laboratory Co., Ltd.Semiconductor device and method for measuring current of semiconductor device
US9576994B2 (en)2014-08-292017-02-21Semiconductor Energy Laboratory Co., Ltd.Imaging device and electronic device
US9576995B2 (en)2014-09-022017-02-21Semiconductor Energy Laboratory Co., Ltd.Imaging device and electronic device
US9543295B2 (en)2014-09-042017-01-10Semiconductor Energy Laboratory Co., Ltd.Semiconductor device
US9766517B2 (en)2014-09-052017-09-19Semiconductor Energy Laboratory Co., Ltd.Display device and display module
US10452218B2 (en)2014-09-052019-10-22Semiconductor Energy Laboratory Co., Ltd.Display device and electronic device
US9886150B2 (en)2014-09-052018-02-06Semiconductor Energy Laboratory Co., Ltd.Display device and electronic device
US9905435B2 (en)2014-09-122018-02-27Semiconductor Energy Laboratory Co., Ltd.Manufacturing method of semiconductor device comprising oxide semiconductor film
US9722091B2 (en)2014-09-122017-08-01Semiconductor Energy Laboratory Co., Ltd.Method for manufacturing semiconductor device
US10438815B2 (en)2014-09-122019-10-08Semiconductor Energy Laboratory Co., Ltd.Manufacturing method of semiconductor device comprising oxide semiconductor film
US9401364B2 (en)2014-09-192016-07-26Semiconductor Energy Laboratory Co., Ltd.Semiconductor device, electronic component, and electronic device
US9496376B2 (en)2014-09-192016-11-15Semiconductor Energy Laboratory Co., Ltd.Method for manufacturing semiconductor device
US9853165B2 (en)2014-09-192017-12-26Semiconductor Energy Laboratory Co., Ltd.Method for manufacturing semiconductor device
US9786495B2 (en)2014-09-192017-10-10Semiconductor Energy Laboratory Co., Ltd.Method for evaluating semiconductor film and method for manufacturing semiconductor device
US10071904B2 (en)2014-09-252018-09-11Semiconductor Energy Laboratory Co., Ltd.Semiconductor device, display module, and electronic device
US9859905B2 (en)2014-09-262018-01-02Semiconductor Energy Laboratory Co., Ltd.Semiconductor device, wireless sensor, and electronic device
US10170055B2 (en)2014-09-262019-01-01Semiconductor Energy Laboratory Co., Ltd.Display device and driving method thereof
US10193563B2 (en)2014-09-262019-01-29Semiconductor Energy Laboratory Co., Ltd.Semiconductor device, wireless sensor, and electronic device
US10249658B2 (en)2014-09-262019-04-02Semiconductor Energy Laboratory Co., Ltd.Imaging device comprising a circuit having dual regions each with a transistor electrically connected to a photoelectric conversion element
US10141342B2 (en)2014-09-262018-11-27Semiconductor Energy Laboratory Co., Ltd.Semiconductor device and display device
US9748291B2 (en)2014-09-262017-08-29Semiconductor Energy Laboratory Co., Ltd.Imaging device having a third circuit with a region overlapping with a fourth circuit
US10205452B2 (en)2014-09-302019-02-12Semiconductor Energy Laboratory Co., Ltd.Logic circuit, semiconductor device, electronic component, and electronic device
US9450581B2 (en)2014-09-302016-09-20Semiconductor Energy Laboratory Co., Ltd.Logic circuit, semiconductor device, electronic component, and electronic device
US9762239B2 (en)2014-09-302017-09-12Semiconductor Energy Laboratory Co., Ltd.Logic circuit, semiconductor device, electronic component, and electronic device
US10204925B2 (en)2014-10-062019-02-12Semiconductor Energy Laboratory Co., Ltd.Semiconductor device and electronic device
US9698170B2 (en)2014-10-072017-07-04Semiconductor Energy Laboratory Co., Ltd.Semiconductor device, display module, and electronic device
US9385713B2 (en)2014-10-102016-07-05Semiconductor Energy Laboratory Co., Ltd.Logic circuit, processing unit, electronic component, and electronic device
US12057451B2 (en)2014-10-102024-08-06Semiconductor Energy Laboratory Co., Ltd.Logic circuit, processing unit, electronic component, and electronic device
US9704882B2 (en)2014-10-102017-07-11Semiconductor Energy Laboratory Co., Ltd.Logic circuit, processing unit, electronic component, and electronic device
US10453863B2 (en)2014-10-102019-10-22Semiconductor Energy Laboratory Co., Ltd.Logic circuit, processing unit, electronic component, and electronic device
US10490258B2 (en)2014-10-102019-11-26Semiconductor Energy Laboratory Co., Ltd.Semiconductor device with stacked structure of memory cells over sensing amplifiers, circuit board and electronic device
US10825836B2 (en)2014-10-102020-11-03Semiconductor Energy Laboratory Co., Ltd.Logic circuit, processing unit, electronic component, and electronic device
US11374023B2 (en)2014-10-102022-06-28Semiconductor Energy Laboratory Co., Ltd.Logic circuit, processing unit, electronic component, and electronic device
US9704562B2 (en)2014-10-102017-07-11Semiconductor Energy Laboratory Co., Ltd.Semiconductor device with stacked structure of memory cells over sensing amplifiers, circuit board, and electronic device
US10153301B2 (en)2014-10-102018-12-11Semiconductor Energy Laboratory Co., Ltd.Logic circuit, processing unit, electronic component, and electronic device
US9991393B2 (en)2014-10-162018-06-05Semiconductor Energy Laboratory Co., Ltd.Semiconductor device, module, and electronic device
US9917572B2 (en)2014-10-172018-03-13Semiconductor Energy Laboratory Co., Ltd.Semiconductor device, electronic component, and electronic device
US9438207B2 (en)2014-10-172016-09-06Semiconductor Energy Laboratory Co., Ltd.Semiconductor device, electronic component, and electronic device
US9698274B2 (en)2014-10-202017-07-04Semiconductor Energy Laboratory Co., Ltd.Semiconductor device comprising an oxide semiconductor, module, and electronic device
US10068927B2 (en)2014-10-232018-09-04Semiconductor Energy Laboratory Co., Ltd.Semiconductor device, display module, and electronic device
US9569713B2 (en)2014-10-242017-02-14Semiconductor Energy Laboratory Co., Ltd.Semiconductor device, wireless sensor, and electronic device
US11824068B2 (en)2014-10-282023-11-21Semiconductor Energy Laboratory Co., Ltd.Display device, manufacturing method of display device, and electronic device
US9704704B2 (en)2014-10-282017-07-11Semiconductor Energy Laboratory Co., Ltd.Semiconductor device and display device including the same
US11075232B2 (en)2014-10-282021-07-27Semiconductor Energy Laboratory Co., Ltd.Display device, manufacturing method of display device, and electronic device
US11158745B2 (en)2014-10-282021-10-26Semiconductor Energy Laboratory Co., Ltd.Semiconductor device and display device including the same
US12230647B2 (en)2014-10-282025-02-18Semiconductor Energy Laboratory Co., Ltd.Display device, manufacturing method of display device, and electronic device
US10367014B2 (en)2014-10-282019-07-30Semiconductor Energy Laboratory Co., Ltd.Display device, manufacturing method of display device, and electronic device
US9859117B2 (en)2014-10-282018-01-02Semiconductor Energy Laboratory Co., Ltd.Oxide and method for forming the same
US10529864B2 (en)2014-10-282020-01-07Semiconductor Energy Laboratory Co., Ltd.Semiconductor device and display device including the same
US11862454B2 (en)2014-10-282024-01-02Semiconductor Energy Laboratory Co., Ltd.Semiconductor device and display device including the same
US9793905B2 (en)2014-10-312017-10-17Semiconductor Energy Laboratory Co., Ltd.Semiconductor device
US10680017B2 (en)2014-11-072020-06-09Semiconductor Energy Laboratory Co., Ltd.Light-emitting element including EL layer, electrode which has high reflectance and a high work function, display device, electronic device, and lighting device
US9584707B2 (en)2014-11-102017-02-28Semiconductor Energy Laboratory Co., Ltd.Imaging device and electronic device
US9548327B2 (en)2014-11-102017-01-17Semiconductor Energy Laboratory Co., Ltd.Imaging device having a selenium containing photoelectric conversion layer
US9438234B2 (en)2014-11-212016-09-06Semiconductor Energy Laboratory Co., Ltd.Logic circuit and semiconductor device including logic circuit
US10811540B2 (en)2014-11-212020-10-20Semiconductor Energy Laboratory Co., Ltd.Semiconductor device and electronic device
US9590115B2 (en)2014-11-212017-03-07Semiconductor Energy Laboratory Co., Ltd.Semiconductor device
US10249765B2 (en)2014-11-212019-04-02Semiconductor Energy Laboratory Co., Ltd.Semiconductor device and electronic device
US9998104B2 (en)2014-11-212018-06-12Semiconductor Energy Laboratory Co., Ltd.Semiconductor device and electronic device
US9698276B2 (en)2014-11-282017-07-04Semiconductor Energy Laboratory Co., Ltd.Semiconductor device, module, and electronic device
US9761733B2 (en)2014-12-012017-09-12Semiconductor Energy Laboratory Co., Ltd.Semiconductor device and method of manufacturing the same
US10084096B2 (en)2014-12-012018-09-25Semiconductor Energy Laboratory Co., Ltd.Semiconductor device and method of manufacturing the same
US12087866B2 (en)2014-12-022024-09-10Semiconductor Energy Laboratory Co., Ltd.Semiconductor device, method for manufacturing semiconductor device, module, and electronic device
US9779782B2 (en)2014-12-082017-10-03Semiconductor Energy Laboratory Co., Ltd.Semiconductor device and electronic device
US9768317B2 (en)2014-12-082017-09-19Semiconductor Energy Laboratory Co., Ltd.Semiconductor device, manufacturing method of semiconductor device, and electronic device
US10290745B2 (en)2014-12-102019-05-14Semiconductor Energy Laboratory Co., Ltd.Semiconductor device and method for manufacturing the same
US10074687B2 (en)2014-12-102018-09-11Semiconductor Energy Laboratory Co., Ltd.Semiconductor device and electronic device
US9496285B2 (en)2014-12-102016-11-15Semiconductor Energy Laboratory Co., Ltd.Semiconductor device and driving method thereof
US10964743B2 (en)2014-12-102021-03-30Semiconductor Energy Laboratory Co., Ltd.Imaging device comprising current mirror circuit
US9640226B2 (en)2014-12-102017-05-02Semiconductor Energy Laboratory Co., Ltd.Semiconductor device and electronic device with data voltages read accurately without the influence of threshold voltage variation
US11676986B2 (en)2014-12-102023-06-13Semiconductor Energy Laboratory Co., Ltd.Semiconductor device and electronic device
US10600839B2 (en)2014-12-102020-03-24Semiconductor Energy Laboratory Co., Ltd.Semiconductor device including oxide semiconductor
US9773832B2 (en)2014-12-102017-09-26Semiconductor Energy Laboratory Co., Ltd.Semiconductor device and electronic device
US9698277B2 (en)2014-12-102017-07-04Semiconductor Energy Laboratory Co., Ltd.Semiconductor device and method for manufacturing the same
US9570116B2 (en)2014-12-112017-02-14Semiconductor Energy Laboratory Co., Ltd.Semiconductor device, memory device, and electronic device
US9852778B2 (en)2014-12-112017-12-26Semiconductor Energy Laboratory Co., Ltd.Semiconductor device, memory device, and electronic device
US9755643B2 (en)2014-12-162017-09-05Semiconductor Energy Laboratory Co., Ltd.Semiconductor device including buffer circuit and level shifter circuit, and electronic device including the same
US9647665B2 (en)2014-12-162017-05-09Semiconductor Energy Laboratory Co., Ltd.Semiconductor device and electronic device
US10445227B2 (en)2014-12-182019-10-15Semiconductor Energy Laboratory Co., Ltd.Semiconductor device, sensor device, and electronic device
US10019348B2 (en)2014-12-182018-07-10Semiconductor Energy Laboratory Co., Ltd.Semiconductor device including circuit configured to be in resting state
US10396210B2 (en)2014-12-262019-08-27Semiconductor Energy Laboratory Co., Ltd.Semiconductor device with stacked metal oxide and oxide semiconductor layers and display device including the semiconductor device
US9831353B2 (en)2014-12-262017-11-28Semiconductor Energy Laboratory Co., Ltd.Semiconductor device, display device, display module, electronic device, oxide, and manufacturing method of oxide
US10316404B2 (en)2014-12-262019-06-11Semiconductor Energy Laboratory Co., Ltd.Method for manufacturing sputtering target
US9735282B2 (en)2014-12-292017-08-15Semiconductor Energy Laboratory Co., Ltd.Semiconductor device and display device having semiconductor device
US10522693B2 (en)2015-01-162019-12-31Semiconductor Energy Laboratory Co., Ltd.Memory device and electronic device
US12074224B2 (en)2015-01-262024-08-27Semiconductor Energy Laboratory Co., Ltd.Semiconductor device and manufacturing method thereof
US9954112B2 (en)2015-01-262018-04-24Semiconductor Energy Laboratory Co., Ltd.Semiconductor device and manufacturing method thereof
US11245039B2 (en)2015-01-262022-02-08Semiconductor Energy Laboratory Co., Ltd.Semiconductor device and manufacturing method thereof
US9812587B2 (en)2015-01-262017-11-07Semiconductor Energy Laboratory Co., Ltd.Semiconductor device and manufacturing method thereof
US9443564B2 (en)2015-01-262016-09-13Semiconductor Energy Laboratory Co., Ltd.Semiconductor device, electronic component, and electronic device
US12243885B2 (en)2015-01-302025-03-04Semiconductor Energy Laboratory Co., Ltd.Imaging device and electronic device
US11848341B2 (en)2015-01-302023-12-19Semiconductor Energy Laboratory Co., Ltd.Imaging device and electronic device
US9647132B2 (en)2015-01-302017-05-09Semiconductor Energy Laboratory Co., Ltd.Semiconductor device and memory device
US10157738B2 (en)2015-02-022018-12-18Semiconductor Energy Laboratory Co., Ltd.Method for manufacturing oxide
US9704707B2 (en)2015-02-022017-07-11Semiconductor Energy Laboratory Co., Ltd.Oxide and manufacturing method thereof
US10431600B2 (en)2015-02-042019-10-01Semiconductor Energy Laboratory Co., Ltd.Method for manufacturing a semiconductor device including a metal oxide film
US9831275B2 (en)2015-02-042017-11-28Semiconductor Energy Laboratory Co., Ltd.Method for manufacturing a semiconductor device at low temperature
US9660100B2 (en)2015-02-062017-05-23Semiconductor Energy Laboratory Co., Ltd.Semiconductor device and method for manufacturing the same
US10707239B2 (en)2015-02-062020-07-07Semiconductor Energy Laboratory Co., Ltd.Device, manufacturing method thereof, and electronic device
US9728559B2 (en)2015-02-062017-08-08Semiconductor Energy Laboratory Co., Ltd.Device, manufacturing method thereof, and electronic device
US10074672B2 (en)2015-02-062018-09-11Semiconductor Energy Laboratory Co., Ltd.Device, manufacturing method thereof, and electronic device
US10090031B2 (en)2015-02-092018-10-02Semiconductor Energy Laboratory Co., Ltd.Semiconductor device comprising memory circuit and selection circuit
US9954113B2 (en)2015-02-092018-04-24Semiconductor Energy Laboratory Co., Ltd.Transistor including oxide semiconductor, semiconductor device including the transistor, and electronic device including the transistor
US9831309B2 (en)2015-02-112017-11-28Semiconductor Energy Laboratory Co., Ltd.Semiconductor device and manufacturing method thereof
US10439068B2 (en)2015-02-122019-10-08Semiconductor Energy Laboratory Co., Ltd.Oxide semiconductor film and semiconductor device
US10199508B2 (en)2015-02-122019-02-05Semiconductor Energy Laboratory Co., Ltd.Semiconductor device and method for manufacturing the same
US11380799B2 (en)2015-02-122022-07-05Semiconductor Energy Laboratory Co., Ltd.Oxide semiconductor film and semiconductor device
US9768318B2 (en)2015-02-122017-09-19Semiconductor Energy Laboratory Co., Ltd.Semiconductor device and method for manufacturing the same
US9818880B2 (en)2015-02-122017-11-14Semiconductor Energy Laboratory Co., Ltd.Semiconductor device and display device including the semiconductor device
US11532755B2 (en)2015-02-122022-12-20Semiconductor Energy Laboratory Co., Ltd.Oxide semiconductor film and semiconductor device
US10249644B2 (en)2015-02-132019-04-02Semiconductor Energy Laboratory Co., Ltd.Semiconductor device and manufacturing method of the same
US9489988B2 (en)2015-02-202016-11-08Semiconductor Energy Laboratory Co., Ltd.Memory device
US10403646B2 (en)2015-02-202019-09-03Semiconductor Energy Laboratory Co., Ltd.Semiconductor device and method for manufacturing the same
US9991394B2 (en)2015-02-202018-06-05Semiconductor Energy Laboratory Co., Ltd.Semiconductor device and fabrication method thereof
US11183516B2 (en)2015-02-202021-11-23Semiconductor Energy Laboratory Co., Ltd.Semiconductor device and method for manufacturing the same
US9722092B2 (en)2015-02-252017-08-01Semiconductor Energy Laboratory Co., Ltd.Semiconductor device having a stacked metal oxide
US10235289B2 (en)2015-02-262019-03-19Semiconductor Energy Laboratory Co., Ltd.Storage system and storage control circuit
US9653613B2 (en)2015-02-272017-05-16Semiconductor Energy Laboratory Co., Ltd.Semiconductor device and manufacturing method thereof
US9947800B2 (en)2015-03-022018-04-17Semiconductor Energy Laboratory Co., Ltd.Transistor, method for manufacturing transistor, semiconductor device, and electronic device
US9685560B2 (en)2015-03-022017-06-20Semiconductor Energy Laboratory Co., Ltd.Transistor, method for manufacturing transistor, semiconductor device, and electronic device
US11489065B2 (en)2015-03-032022-11-01Semiconductor Energy Laboratory Co., Ltd.Semiconductor device and manufacturing method thereof
US9865712B2 (en)2015-03-032018-01-09Semiconductor Energy Laboratory Co., Ltd.Semiconductor device and manufacturing method thereof
US12034080B2 (en)*2015-03-032024-07-09Semiconductor Energy Laboratory Co., Ltd.Semiconductor device, method for manufacturing the same, or display device including the same
US10446671B2 (en)2015-03-032019-10-15Semiconductor Energy Laboratory Co., Ltd.Semiconductor device and manufacturing method thereof
US10879381B2 (en)2015-03-032020-12-29Semiconductor Energy Laboratory Co., Ltd.Semiconductor device and manufacturing method thereof
US20190348538A1 (en)*2015-03-032019-11-14Semiconductor Energy Laboratory Co., Ltd.Semiconductor device, method for manufacturing the same, or display device including the same
US10403760B2 (en)2015-03-032019-09-03Semiconductor Energy Laboratory Co., Ltd.Oxide semiconductor film, semiconductor device including the oxide semiconductor film, and display device including the semiconductor device
US10367095B2 (en)2015-03-032019-07-30Semiconductor Energy Laboratory Co., Ltd.Semiconductor device, method for manufacturing the same, or display device including the same
US9905700B2 (en)2015-03-132018-02-27Semiconductor Energy Laboratory Co., Ltd.Semiconductor device or memory device and driving method thereof
US9882061B2 (en)2015-03-172018-01-30Semiconductor Energy Laboratory Co., Ltd.Semiconductor device and manufacturing method thereof
US10168809B2 (en)2015-03-172019-01-01Semiconductor Energy Laboratory Co., Ltd.Touch panel
US10008609B2 (en)2015-03-172018-06-26Semiconductor Energy Laboratory Co., Ltd.Semiconductor device, method for manufacturing the same, or display device including the same
US9964799B2 (en)2015-03-172018-05-08Semiconductor Energy Laboratory Co., Ltd.Display device, display module, and electronic device
US10134332B2 (en)2015-03-182018-11-20Semiconductor Energy Laboratory Co., Ltd.Display device, electronic device, and driving method of display device
US10050060B2 (en)2015-03-192018-08-14Semiconductor Energy Laboratory Co., Ltd.Semiconductor device and electronic device
US10147823B2 (en)2015-03-192018-12-04Semiconductor Energy Laboratory Co., Ltd.Semiconductor device
US9612499B2 (en)2015-03-192017-04-04Semiconductor Energy Laboratory Co., Ltd.Liquid crystal display device and electronic device using liquid crystal display device
US9653479B2 (en)2015-03-192017-05-16Semiconductor Energy Laboratory Co., Ltd.Semiconductor device and electronic device
US9634048B2 (en)2015-03-242017-04-25Semiconductor Energy Laboratory Co., Ltd.Imaging device and electronic device
US10079253B2 (en)2015-03-242018-09-18Semiconductor Energy Laboratory Co., Ltd.Imaging device and electronic device
US9666698B2 (en)2015-03-242017-05-30Semiconductor Energy Laboratory Co., Ltd.Method for manufacturing semiconductor device
US9842938B2 (en)2015-03-242017-12-12Semiconductor Energy Laboratory Co., Ltd.Semiconductor device and display device including semiconductor device
US9960261B2 (en)2015-03-242018-05-01Semiconductor Energy Laboratory Co., Ltd.Method for manufacturing semiconductor device
US10996524B2 (en)2015-03-262021-05-04Semiconductor Energy Laboratory Co., Ltd.Display device, display module including the display device, and electronic device including the display device or the display module
US11075300B2 (en)2015-03-262021-07-27Semiconductor Energy Laboratory Co., Ltd.Semiconductor device, method for manufacturing the same, and electronic device
US10429704B2 (en)2015-03-262019-10-01Semiconductor Energy Laboratory Co., Ltd.Display device, display module including the display device, and electronic device including the display device or the display module
US10096715B2 (en)2015-03-262018-10-09Semiconductor Energy Laboratory Co., Ltd.Semiconductor device, method for manufacturing the same, and electronic device
US12324193B2 (en)2015-03-272025-06-03Semiconductor Energy Laboratory Co., Ltd.Semiconductor device and method for manufacturing the same
US11538940B2 (en)2015-03-272022-12-27Semiconductor Energy Laboratory Co., Ltd.Semiconductor device and electronic device
US10062790B2 (en)2015-03-272018-08-28Semiconductor Energy Laboratory Co., Ltd.Semiconductor device and electronic device
US9837546B2 (en)2015-03-272017-12-05Semiconductor Energy Laboratory Co., Ltd.Semiconductor device and electronic device
US10522691B2 (en)2015-03-272019-12-31Semiconductor Energy Laboratory Co., Ltd.Semiconductor device and electronic device
US10693012B2 (en)2015-03-272020-06-23Semiconductor Energy Laboratory Co., Ltd.Semiconductor device and method for manufacturing the same
US11469330B2 (en)2015-03-272022-10-11Semiconductor Energy Laboratory Co., Ltd.Semiconductor device and method for manufacturing the same
US9806200B2 (en)2015-03-272017-10-31Semiconductor Energy Laboratory Co., Ltd.Semiconductor device
US11004882B2 (en)2015-03-302021-05-11Semiconductor Energy Laboratory Co., Ltd.Method for manufacturing semiconductor device
US10438982B2 (en)2015-03-302019-10-08Semiconductor Energy Laboratory Co., Ltd.Method for manufacturing semiconductor device including step of simultaneous formation of plurality of contact openings
US12364041B2 (en)2015-03-302025-07-15Semiconductor Energy Laboratory Co., Ltd.Semiconductor device comprising transistor
US11574944B2 (en)2015-03-302023-02-07Semiconductor Energy Laboratory Co., Ltd.Method for manufacturing semiconductor device including step of simultaneous formation of plurality of contact openings
US10395725B2 (en)2015-04-032019-08-27Semiconductor Energy Laboratory Co., Ltd.Semiconductor device including memory cells
US9716852B2 (en)2015-04-032017-07-25Semiconductor Energy Laboratory Co., Ltd.Broadcast system
US11232831B2 (en)2015-04-032022-01-25Semiconductor Energy Laboratory Co., Ltd.Semiconductor device for vector-matrix multiplication
US10582141B2 (en)2015-04-092020-03-03Semiconductor Energy Laboratory Co., Ltd.Imaging device and electronic device
US10389961B2 (en)2015-04-092019-08-20Semiconductor Energy Laboratory Co., Ltd.Imaging device and electronic device
US11202026B2 (en)2015-04-092021-12-14Semiconductor Energy Laboratory Co., Ltd.Imaging device and electronic device
US10372274B2 (en)2015-04-132019-08-06Semiconductor Energy Laboratory Co., Ltd.Semiconductor device and touch panel
US11217703B2 (en)2015-04-132022-01-04Semiconductor Energy Laboratory Co., Ltd.Semiconductor device and manufacturing method of the same
US11954276B2 (en)2015-04-132024-04-09Semiconductor Energy Laboratory Co., Ltd.Semiconductor device and touch panel
US10693013B2 (en)2015-04-132020-06-23Semiconductor Energy Laboratory Co., Ltd.Semiconductor device and manufacturing method of the same
US11036324B2 (en)2015-04-132021-06-15Semiconductor Energy Laboratory Co., Ltd.Semiconductor device and touch panel
US10923600B2 (en)2015-04-152021-02-16Semiconductor Energy Laboratory Co., Ltd.Semiconductor device and manufacturing method thereof
US11646378B2 (en)2015-04-152023-05-09Semiconductor Energy Laboratory Co., Ltd.Semiconductor device and manufacturing method thereof
US10056497B2 (en)2015-04-152018-08-21Semiconductor Energy Laboratory Co., Ltd.Semiconductor device and manufacturing method thereof
US11791201B2 (en)2015-04-152023-10-17Semiconductor Energy Laboratory Co., Ltd.Method for fabricating electrode and semiconductor device
US12191399B2 (en)2015-04-152025-01-07Semiconductor Energy Laboratory Co., Ltd.Semiconductor device and manufacturing method thereof
US10460984B2 (en)2015-04-152019-10-29Semiconductor Energy Laboratory Co., Ltd.Method for fabricating electrode and semiconductor device
US11004727B2 (en)2015-04-152021-05-11Semiconductor Energy Laboratory Co., Ltd.Method for fabricating electrode and semiconductor device
US9916791B2 (en)2015-04-162018-03-13Semiconductor Energy Laboratory Co., Ltd.Display device, electronic device, and method for driving display device
US10950734B2 (en)2015-04-282021-03-16Semiconductor Energy Laboratory Co., Ltd.Semiconductor device and manufacturing method thereof
US10192995B2 (en)2015-04-282019-01-29Semiconductor Energy Laboratory Co., Ltd.Semiconductor device and manufacturing method thereof
US10002970B2 (en)2015-04-302018-06-19Semiconductor Energy Laboratory Co., Ltd.Semiconductor device, manufacturing method of the same, or display device including the same
US10797180B2 (en)2015-05-042020-10-06Semiconductor Energy Laboratory Co., Ltd.Semiconductor device, method for manufacturing the same, and electronic device
US10505051B2 (en)2015-05-042019-12-10Semiconductor Energy Laboratory Co., Ltd.Semiconductor device, method for manufacturing the same, and electronic device
US10852870B2 (en)2015-05-042020-12-01Semiconductor Energy Laboratory Co., Ltd.Touch panel and data processor
US10671204B2 (en)2015-05-042020-06-02Semiconductor Energy Laboratory Co., Ltd.Touch panel and data processor
US9934740B2 (en)2015-05-072018-04-03Semiconductor Energy Laboratory Co., Ltd.Display system and electronic device
US10035386B2 (en)2015-05-112018-07-31Semiconductor Energy Laboratory Co., Ltd.Semiconductor device, method for manufacturing semiconductor device, tire, and moving object
US10500908B2 (en)2015-05-112019-12-10Semiconductor Energy Laboratory Co., Ltd.Semiconductor device, method for manufacturing semiconductor device, tire, and moving object
US9966473B2 (en)2015-05-112018-05-08Semiconductor Energy Laboratory Co., Ltd.Manufacturing method of semiconductor device
US10546958B2 (en)2015-05-112020-01-28Semiconductor Energy Laboratory Co., Ltd.Manufacturing method of semiconductor device
US9754657B2 (en)2015-05-142017-09-05Semiconductor Energy Laboratory Co., Ltd.Semiconductor device, memory device, electronic device, and method for driving semiconductor device
US11728356B2 (en)2015-05-142023-08-15Semiconductor Energy Laboratory Co., Ltd.Photoelectric conversion element and imaging device
US9627034B2 (en)2015-05-152017-04-18Semiconductor Energy Laboratory Co., Ltd.Electronic device
US10903368B2 (en)2015-05-222021-01-26Semiconductor Energy Laboratory Co., Ltd.Semiconductor device and display device including semiconductor device
US10319861B2 (en)2015-05-222019-06-11Semiconductor Energy Laboratory Co., Ltd.Semiconductor device comprising oxide conductor
US9748403B2 (en)2015-05-222017-08-29Semiconductor Energy Laboratory Co., Ltd.Semiconductor device and display device including the semiconductor device
US9837547B2 (en)2015-05-222017-12-05Semiconductor Energy Laboratory Co., Ltd.Semiconductor device comprising oxide conductor and display device including the semiconductor device
US10032929B2 (en)2015-05-222018-07-24Semiconductor Energy Laboratory Co., Ltd.Semiconductor device and display device including the semiconductor device
US10861981B2 (en)2015-05-222020-12-08Semiconductor Energy Laboratory Co., Ltd.Semiconductor device comprising an oxide semiconductor
US11695078B2 (en)2015-05-222023-07-04Semiconductor Energy Laboratory Co., Ltd.Semiconductor device and display device including semiconductor device
US9748274B2 (en)2015-05-262017-08-29Semiconductor Energy Laboratory Co., Ltd.Memory device comprising stacked memory cells and electronic device including the same
US11963360B2 (en)2015-05-262024-04-16Semiconductor Energy Laboratory Co., Ltd.Semiconductor device
US10139663B2 (en)2015-05-292018-11-27Semiconductor Energy Laboratory Co., Ltd.Input/output device and electronic device
US10163967B2 (en)2015-06-122018-12-25Semiconductor Energy Laboratory Co., Ltd.Imaging device, method for operating the same, and electronic device
US9691905B2 (en)2015-06-192017-06-27Semiconductor Energy Laboratory Co., Ltd.Semiconductor device, manufacturing method thereof, and electronic device
US10141452B2 (en)2015-06-192018-11-27Semiconductor Energy Laboratory Co., Ltd.Semiconductor device, manufacturing method thereof, and electronic device
US9871145B2 (en)2015-06-192018-01-16Semiconductor Energy Laboratory Co., Ltd.Semiconductor device, manufacturing method thereof, and electronic device
US9860465B2 (en)2015-06-232018-01-02Semiconductor Energy Laboratory Co., Ltd.Imaging device and electronic device
US9935633B2 (en)2015-06-302018-04-03Semiconductor Energy Laboratory Co., Ltd.Logic circuit, semiconductor device, electronic component, and electronic device
US10290573B2 (en)2015-07-022019-05-14Semiconductor Energy Laboratory Co., Ltd.Semiconductor device and electronic device
US10236389B2 (en)2015-07-032019-03-19Semiconductor Energy Laboratory Co., Ltd.Manufacturing method of semiconductor device
US10522397B2 (en)2015-07-032019-12-31Semiconductor Energy Laboratory Co., Ltd.Manufacturing method of semiconductor device
US9917209B2 (en)2015-07-032018-03-13Semiconductor Energy Laboratory Co., Ltd.Manufacturing method of semiconductor device including step of forming trench over semiconductor
US10181531B2 (en)2015-07-082019-01-15Semiconductor Energy Laboratory Co., Ltd.Semiconductor device including transistor having low parasitic capacitance
US10424676B2 (en)2015-07-082019-09-24Semiconductor Energy Laboratory Co., Ltd.Semiconductor device and manufacturing method thereof
US10276724B2 (en)2015-07-142019-04-30Semiconductor Energy Laboratory Co., Ltd.Semiconductor device
US12046683B2 (en)2015-07-142024-07-23Semiconductor Energy Laboratory Co., Ltd.Semiconductor device
US12389636B2 (en)2015-07-142025-08-12Semiconductor Energy Laboratory Co., Ltd.Semiconductor device
US11393930B2 (en)2015-07-142022-07-19Semiconductor Energy Laboratory Co., Ltd.Semiconductor device
US10763373B2 (en)2015-07-142020-09-01Semiconductor Energy Laboratory Co., Ltd.Semiconductor device
US10501003B2 (en)2015-07-172019-12-10Semiconductor Energy Laboratory Co., Ltd.Semiconductor device, lighting device, and vehicle
US10985278B2 (en)2015-07-212021-04-20Semiconductor Energy Laboratory Co., Ltd.Method for manufacturing semiconductor device
US11189736B2 (en)2015-07-242021-11-30Semiconductor Energy Laboratory Co., Ltd.Semiconductor device and manufacturing method thereof
US12002876B2 (en)2015-07-242024-06-04Semiconductor Energy Laboratory Co., Ltd.Semiconductor device
US11538928B2 (en)2015-07-242022-12-27Semiconductor Energy Laboratory Co., Ltd.Semiconductor device
US11024725B2 (en)2015-07-242021-06-01Semiconductor Energy Laboratory Co., Ltd.Semiconductor device including metal oxide film
US10978489B2 (en)2015-07-242021-04-13Semiconductor Energy Laboratory Co., Ltd.Semiconductor device, display panel, method for manufacturing semiconductor device, method for manufacturing display panel, and information processing device
US10424671B2 (en)2015-07-292019-09-24Semiconductor Energy Laboratory Co., Ltd.Semiconductor device, circuit board, and electronic device
US10019025B2 (en)2015-07-302018-07-10Semiconductor Energy Laboratory Co., Ltd.Semiconductor device and electronic device
US10367096B2 (en)2015-07-302019-07-30Semiconductor Energy Laboratory Co., Ltd.Semiconductor device, manufacturing method thereof, module, and electronic device
US10381486B2 (en)2015-07-302019-08-13Semiconductor Energy Laboratory Co., Ltd.Semiconductor device and display device including the semiconductor device
US10585506B2 (en)2015-07-302020-03-10Semiconductor Energy Laboratory Co., Ltd.Display device with high visibility regardless of illuminance of external light
US9825177B2 (en)2015-07-302017-11-21Semiconductor Energy Laboratory Co., Ltd.Manufacturing method of a semiconductor device using multiple etching mask
US10522690B2 (en)2015-08-032019-12-31Semiconductor Energy Laboratory Co., Ltd.Semiconductor device, manufacturing method of the same, and electronic device
US9876946B2 (en)2015-08-032018-01-23Semiconductor Energy Laboratory Co., Ltd.Imaging device and electronic device
US9911861B2 (en)2015-08-032018-03-06Semiconductor Energy Laboratory Co., Ltd.Semiconductor device, manufacturing method of the same, and electronic device
US11024692B2 (en)2015-08-072021-06-01Semiconductor Energy Laboratory Co., Ltd.Display panel and method for driving the same
US10290693B2 (en)2015-08-072019-05-14Semiconductor Energy Laboratory Co., Ltd.Display panel and method for driving the same
US9893202B2 (en)2015-08-192018-02-13Semiconductor Energy Laboratory Co., Ltd.Manufacturing method of semiconductor device
US9666606B2 (en)2015-08-212017-05-30Semiconductor Energy Laboratory Co., Ltd.Semiconductor device and electronic device
US9899424B2 (en)2015-08-212018-02-20Semiconductor Energy Laboratory Co., Ltd.Semiconductor device and electronic device
US10141054B2 (en)2015-08-212018-11-27Semiconductor Energy Laboratory Co., Ltd.Semiconductor device, electronic component, and electronic device
US9935203B2 (en)2015-08-262018-04-03Semiconductor Energy Laboratory Co., Ltd.Semiconductor device and manufacturing method thereof
US9773919B2 (en)2015-08-262017-09-26Semiconductor Energy Laboratory Co., Ltd.Semiconductor device and manufacturing method thereof
US9825179B2 (en)2015-08-282017-11-21Semiconductor Energy Laboratory Co., Ltd.Oxide semiconductor, transistor, and semiconductor device
US10446583B2 (en)2015-08-312019-10-15Semiconductor Energy Laboratory Co., Ltd.Semiconductor device and electronic device
US10483365B2 (en)2015-08-312019-11-19Semiconductor Energy Laboratory Co., Ltd.Semiconductor device
US9911756B2 (en)2015-08-312018-03-06Semiconductor Energy Laboratory Co., Ltd.Semiconductor device including transistor and electronic device surrounded by layer having assigned band gap to prevent electrostatic discharge damage
US12132090B2 (en)2015-08-312024-10-29Semiconductor Energy Laboratory Co., Ltd.Semiconductor device
US11777005B2 (en)2015-08-312023-10-03Semiconductor Energy Laboratory Co., Ltd.Semiconductor device
US11049946B2 (en)2015-08-312021-06-29Semiconductor Energy Laboratory Co., Ltd.Semiconductor device
US10234983B2 (en)2015-09-112019-03-19Semiconductor Energy Laboratory Co., Ltd.Input/output panel, input/output device, and data processor
US10236387B2 (en)2015-09-182019-03-19Semiconductor Energy Laboratory Co., Ltd.Semiconductor device and electronic device
US9883129B2 (en)2015-09-252018-01-30Semiconductor Energy Laboratory Co., Ltd.Semiconductor device
US9935143B2 (en)2015-09-302018-04-03Semiconductor Energy Laboratory Co., Ltd.Semiconductor device and electronic device
US10158008B2 (en)2015-10-122018-12-18Semiconductor Energy Laboratory Co., Ltd.Method for manufacturing semiconductor device
US10031392B2 (en)2015-10-122018-07-24Semiconductor Energy Laboratory Co., Ltd.Display panel, input/output device, data processor, and method for manufacturing display panel
US10345668B2 (en)2015-10-122019-07-09Semiconductor Energy Laboratory Co., Ltd.Display panel, input/output device, data processor, and method for manufacturing display panel
US9852926B2 (en)2015-10-202017-12-26Semiconductor Energy Laboratory Co., Ltd.Manufacturing method for semiconductor device
US10674168B2 (en)2015-10-232020-06-02Semiconductor Energy Laboratory Co., Ltd.Semiconductor device and electronic device
US12387093B2 (en)2015-10-232025-08-12Semiconductor Energy Laboratory Co., Ltd.Semiconductor device and electronic device
US10922605B2 (en)2015-10-232021-02-16Semiconductor Energy Laboratory Co., Ltd.Semiconductor device and electronic device
US11893474B2 (en)2015-10-232024-02-06Semiconductor Energy Laboratory Co., Ltd.Semiconductor device and electronic device
US10007161B2 (en)2015-10-262018-06-26Semiconductor Energy Laboratory Co., Ltd.Display device
US9922994B2 (en)2015-10-292018-03-20Semiconductor Energy Laboratory Co., Ltd.Semiconductor device and method for manufacturing the semiconductor device
US10665613B2 (en)2015-10-292020-05-26Semiconductor Energy Laboratory Co., Ltd.Semiconductor device and method for manufacturing the semiconductor device
US11776966B2 (en)2015-10-292023-10-03Semiconductor Energy Laboratory Co., Ltd.Semiconductor device and method for manufacturing the semiconductor device
US11101293B2 (en)2015-10-292021-08-24Semiconductor Energy Laboratory Co., Ltd.Semiconductor device and method for manufacturing the semiconductor device
US9773787B2 (en)2015-11-032017-09-26Semiconductor Energy Laboratory Co., Ltd.Semiconductor device, memory device, electronic device, or method for driving the semiconductor device
US9741400B2 (en)2015-11-052017-08-22Semiconductor Energy Laboratory Co., Ltd.Semiconductor device, memory device, electronic device, and method for operating the semiconductor device
US9785566B2 (en)2015-11-182017-10-10Semiconductor Energy Laboratory Co., Ltd.Semiconductor device, computer, and electronic device
US9825181B2 (en)2015-12-112017-11-21Semiconductor Energy Laboratory Co., Ltd.Transistor, circuit, semiconductor device, display device, and electronic device
US10868045B2 (en)2015-12-112020-12-15Semiconductor Energy Laboratory Co., Ltd.Transistor, semiconductor device, and electronic device
US10050152B2 (en)2015-12-162018-08-14Semiconductor Energy Laboratory Co., Ltd.Transistor, semiconductor device, and electronic device
US10566355B2 (en)2015-12-182020-02-18Semiconductor Energy Laboratory Co., Ltd.Semiconductor device and display device including the same
US10177142B2 (en)2015-12-252019-01-08Semiconductor Energy Laboratory Co., Ltd.Circuit, logic circuit, processor, electronic component, and electronic device
US9911757B2 (en)2015-12-282018-03-06Semiconductor Energy Laboratory Co., Ltd.Semiconductor device and display device including the semiconductor device
US10283532B2 (en)2015-12-282019-05-07Semiconductor Energy Laboratory Co., Ltd.Semiconductor device and display device including the semiconductor device
US11063125B2 (en)2015-12-292021-07-13Semiconductor Energy Laboratory Co., Ltd.Metal oxide film and semiconductor device
US10535742B2 (en)2015-12-292020-01-14Semiconductor Energy Laboratory Co., Ltd.Metal oxide film and semiconductor device
US10096684B2 (en)2015-12-292018-10-09Semiconductor Energy Laboratory Co., Ltd.Metal oxide film and semiconductor device
US11757007B2 (en)2015-12-292023-09-12Semiconductor Energy Laboratory Co., Ltd.Metal oxide film and semiconductor device
US12087825B2 (en)2015-12-292024-09-10Semiconductor Energy Laboratory Co., Ltd.Metal oxide film and semiconductor device
US9900006B2 (en)2015-12-292018-02-20Semiconductor Energy Laboratory Co., Ltd.Semiconductor device, computer, and electronic device
US10020322B2 (en)2015-12-292018-07-10Semiconductor Energy Laboratory Co., Ltd.Transistor and semiconductor device
US10580798B2 (en)2016-01-152020-03-03Semiconductor Energy Laboratory Co., Ltd.Semiconductor device
US11352690B2 (en)2016-01-182022-06-07Semiconductor Energy Laboratory Co., Ltd.Metal oxide film, semiconductor device, and display device
US10865470B2 (en)2016-01-182020-12-15Semiconductor Energy Laboratory Co., Ltd.Metal oxide film, semiconductor device, and display device
US12098458B2 (en)2016-01-182024-09-24Semiconductor Energy Laboratory Co., Ltd.Metal oxide film, semiconductor device, and display device
US9905657B2 (en)2016-01-202018-02-27Semiconductor Energy Laboratory Co., Ltd.Semiconductor device and method for manufacturing semiconductor device
US10256348B2 (en)2016-01-202019-04-09Semiconductor Energy Laboratory Co., Ltd.Semiconductor device and method for manufacturing semiconductor device
US9887010B2 (en)2016-01-212018-02-06Semiconductor Energy Laboratory Co., Ltd.Semiconductor device, memory device, and driving method thereof
US10411013B2 (en)2016-01-222019-09-10Semiconductor Energy Laboratory Co., Ltd.Semiconductor device and memory device
US10700212B2 (en)2016-01-282020-06-30Semiconductor Energy Laboratory Co., Ltd.Semiconductor device, semiconductor wafer, module, electronic device, and manufacturing method thereof
US10115741B2 (en)2016-02-052018-10-30Semiconductor Energy Laboratory Co., Ltd.Semiconductor device and electronic device
US10693448B2 (en)2016-02-102020-06-23Semiconductor Energy Laboratory Co., Ltd.Semiconductor device, electronic component, and electronic device
US10250247B2 (en)2016-02-102019-04-02Semiconductor Energy Laboratory Co., Ltd.Semiconductor device, electronic component, and electronic device
US10439074B2 (en)2016-02-122019-10-08Semiconductor Energy Laboratory Co., Ltd.Semiconductor device
US10115742B2 (en)2016-02-122018-10-30Semiconductor Energy Laboratory Co., Ltd.Semiconductor device and display device including the semiconductor device
US10038100B2 (en)2016-02-122018-07-31Semiconductor Energy Laboratory Co., Ltd.Semiconductor device
US9954003B2 (en)2016-02-172018-04-24Semiconductor Energy Laboratory Co., Ltd.Semiconductor device and electronic device
US10096628B2 (en)2016-03-042018-10-09Semiconductor Energy Laboratory Co., Ltd.Semiconductor device and manufacturing method thereof
US11869981B2 (en)2016-03-042024-01-09Semiconductor Energy Laboratory Co., Ltd.Semiconductor device, manufacturing method thereof, and display device including the semiconductor device
US10263114B2 (en)2016-03-042019-04-16Semiconductor Energy Laboratory Co., Ltd.Semiconductor device, method for manufacturing the same, or display device including the same
US11437524B2 (en)2016-03-042022-09-06Semiconductor Energy Laboratory Co., Ltd.Semiconductor device, manufacturing method thereof, and display device including the semiconductor device
US10256265B2 (en)2016-03-082019-04-09Semiconductor Energy Laboratory Co., Ltd.Imaging device, module, and electronic device
US10014334B2 (en)2016-03-082018-07-03Semiconductor Energy Laboratory Co., Ltd.Imaging device, module, and electronic device
US9882064B2 (en)2016-03-102018-01-30Semiconductor Energy Laboratory Co., Ltd.Transistor and electronic device
US10096720B2 (en)2016-03-252018-10-09Semiconductor Energy Laboratory Co., Ltd.Transistor, semiconductor device, and electronic device
US10942408B2 (en)2016-04-012021-03-09Semiconductor Energy Laboratory Co., Ltd.Composite oxide semiconductor, semiconductor device using the composite oxide semiconductor, and display device including the semiconductor device
US11537019B2 (en)2016-04-012022-12-27Semiconductor Energy Laboratory Co., Ltd.Composite oxide semiconductor, semiconductor device using the composite oxide semiconductor, and display device including the semiconductor device
US11940702B2 (en)2016-04-012024-03-26Semiconductor Energy Laboratory Co., Ltd.Composite oxide semiconductor, semiconductor device using the composite oxide semiconductor, and display device including the semiconductor device
US10430093B2 (en)2016-04-152019-10-01Semiconductor Energy Laboratory Co., Ltd.Semiconductor device, electronic component, and electronic device
US11068174B2 (en)2016-04-152021-07-20Semiconductor Energy Laboratory Co., Ltd.Semiconductor device, electronic component, and electronic device
US10236875B2 (en)2016-04-152019-03-19Semiconductor Energy Laboratory Co., Ltd.Semiconductor device and method for operating the semiconductor device
US12087824B2 (en)2016-05-192024-09-10Semiconductor Energy Laboratory Co., Ltd.Composite oxide semiconductor and transistor
US10879360B2 (en)2016-05-192020-12-29Semiconductor Energy Laboratory Co., Ltd.Composite oxide semiconductor and transistor
US11316016B2 (en)2016-05-192022-04-26Semiconductor Energy Laboratory Co., Ltd.Composite oxide semiconductor and transistor
US11728392B2 (en)2016-05-192023-08-15Semiconductor Energy Laboratory Co., Ltd.Composite oxide semiconductor and transistor
US12366782B2 (en)2016-06-032025-07-22Semiconductor Energy Laboratory Co., Ltd.Metal oxide and field-effect transistor
US10665611B2 (en)2016-06-032020-05-26Semiconductor Energy Laboratory Co., Ltd.Metal oxide and field-effect transistor
US11069717B2 (en)2016-06-032021-07-20Semiconductor Energy Laboratory Co., Ltd.Metal oxide and field-effect transistor
US11574933B2 (en)2016-06-032023-02-07Semiconductor Energy Laboratory Co., Ltd.Metal oxide and field-effect transistor
US10804272B2 (en)2016-06-222020-10-13Semiconductor Energy Laboratory Co., Ltd.Semiconductor device
US10411003B2 (en)2016-10-142019-09-10Semiconductor Energy Laboratory Co., Ltd.Semiconductor device and method for manufacturing the same
US10910359B2 (en)2016-10-142021-02-02Semiconductor Energy Laboratory Co., Ltd.Semiconductor device and method for manufacturing the same
US11062667B2 (en)2016-11-252021-07-13Semiconductor Energy Laboratory Co., Ltd.Display device and operating method thereof
US11715438B2 (en)2016-11-252023-08-01Semiconductor Energy Laboratory Co., Ltd.Display device and operating method thereof
US12008975B2 (en)2016-11-252024-06-11Semiconductor Energy Laboratory Co., Ltd.Display device and operating method thereof
US11361726B2 (en)2016-11-252022-06-14Semiconductor Energy Laboratory Co., Ltd.Display device and operating method thereof
US11257722B2 (en)2017-07-312022-02-22Semiconductor Energy Laboratory Co., Ltd.Semiconductor device having oxide containing gallium indium and zinc
US11714438B2 (en)2018-01-242023-08-01Semiconductor Energy Laboratory Co., Ltd.Semiconductor device, electronic component, and electronic device
US11209877B2 (en)2018-03-162021-12-28Semiconductor Energy Laboratory Co., Ltd.Electrical module, display panel, display device, input/output device, data processing device, and method of manufacturing electrical module
US11610998B2 (en)2018-07-092023-03-21Semiconductor Energy Laboratory Co., Ltd.Semiconductor device
US11990778B2 (en)2018-07-102024-05-21Semiconductor Energy Laboratory Co., Ltd.Secondary battery protection circuit and secondary battery anomaly detection system
US12237389B2 (en)2018-11-022025-02-25Semiconductor Energy Laboratory Co., Ltd.Semiconductor device
US12132334B2 (en)2018-11-222024-10-29Semiconductor Energy Laboratory Co., Ltd.Semiconductor device and battery pack
US12040007B2 (en)2019-04-262024-07-16Semiconductor Energy Laboratory Co., Ltd.Semiconductor device and electronic device
US12089459B2 (en)2019-05-102024-09-10Semiconductor Energy Laboratory Co., Ltd.Display apparatus and electronic device

Also Published As

Publication numberPublication date
US20040038446A1 (en)2004-02-26
CN1445821A (en)2003-10-01

Similar Documents

PublicationPublication DateTitle
US7049190B2 (en)Method for forming ZnO film, method for forming ZnO semiconductor layer, method for fabricating semiconductor device, and semiconductor device
US8912070B2 (en)Method for manufacturing semiconductor device
KR100327086B1 (en)Fabrication method for a thin film semiconductor device, the thin film semiconductor device itself, liquid crystal dispaly, and electronic device
US6998305B2 (en)Enhanced selectivity for epitaxial deposition
JP5718052B2 (en) Thin film transistor using thin film semiconductor material
US8653560B2 (en)Semiconductor device and fabrication method thereof
JP4530171B2 (en) Semiconductor device
KR101670425B1 (en)Capping layers for metal oxynitride tfts
KR101720589B1 (en)E-mode High Electron Mobility Transistor and method of manufacturing the same
CN103828061B (en)Carry out the method for deposit silicon-containing materials using argon-dilution
US8361852B2 (en)Methods of manufacturing CMOS transistors
US20190109052A1 (en)Nanosheet substrate isolated source/drain epitaxy by nitrogen implantation
US8889519B2 (en)Semiconductor device and method for manufacturing the same
EP2426701A1 (en)Method for manufacturing nitride semiconductor crystal layer
US20100109044A1 (en)Optimized Compressive SiGe Channel PMOS Transistor with Engineered Ge Profile and Optimized Silicon Cap Layer
KR20050062640A (en)Substrate for nitride semiconductor growth
US9070617B2 (en)Reduced S/D contact resistance of III-V mosfet using low temperature metal-induced crystallization of n+ Ge
US20120080715A1 (en)Semiconductor device
US9954077B2 (en)Apparatus and method for multiple gate transistors
US20070284581A1 (en)Method of fabricating pmos thin film transistor
JP2004006686A (en)Method of forming zinc oxide semiconductor layer, method of manufacturing semiconductor device, and semiconductor device
US7816209B2 (en)Method for fabricating semiconductor device
US20140070277A1 (en)Epitaxial growth of smooth and highly strained germanium
CN109192784A (en)The production method of thin film transistor (TFT), display panel and the thin film transistor (TFT)
US8304767B2 (en)Semiconductor device and production method thereof

Legal Events

DateCodeTitleDescription
ASAssignment

Owner name:SANYO ELECTRIC CO., LTD., JAPAN

Free format text:ASSIGNMENT OF ASSIGNORS INTEREST;ASSIGNORS:TAKEDA, KATSUTOSHI;ISOMUREA, MASAO;REEL/FRAME:014270/0887;SIGNING DATES FROM 20030512 TO 20030519

ASAssignment

Owner name:SANYO ELECTRIC CO., LTD., JAPAN

Free format text:CORRECTIVE ASSIGNMENT TO CORRECT THE NAME OF THE CONVEYING PARTY REEL;ASSIGNORS:TAKEDA, KATSUTOSHI;ISOMURA, MASAO;REEL/FRAME:014946/0028;SIGNING DATES FROM 20030512 TO 20030519

FEPPFee payment procedure

Free format text:PAYOR NUMBER ASSIGNED (ORIGINAL EVENT CODE: ASPN); ENTITY STATUS OF PATENT OWNER: LARGE ENTITY

REMIMaintenance fee reminder mailed
LAPSLapse for failure to pay maintenance fees
STCHInformation on status: patent discontinuation

Free format text:PATENT EXPIRED DUE TO NONPAYMENT OF MAINTENANCE FEES UNDER 37 CFR 1.362

FPLapsed due to failure to pay maintenance fee

Effective date:20100523


[8]ページ先頭

©2009-2025 Movatter.jp