Movatterモバイル変換


[0]ホーム

URL:


US6971005B1 - Mobile host using a virtual single account client and server system for network access and management - Google Patents

Mobile host using a virtual single account client and server system for network access and management
Download PDF

Info

Publication number
US6971005B1
US6971005B1US10/017,533US1753301AUS6971005B1US 6971005 B1US6971005 B1US 6971005B1US 1753301 AUS1753301 AUS 1753301AUS 6971005 B1US6971005 B1US 6971005B1
Authority
US
United States
Prior art keywords
vsa
access
network
password
server
Prior art date
Legal status (The legal status is an assumption and is not a legal conclusion. Google has not performed a legal analysis and makes no representation as to the accuracy of the status listed.)
Expired - Fee Related, expires
Application number
US10/017,533
Inventor
Paul Shala Henry
Zhimei Jiang
Hui Luo
Frederick Kenneth Schmidt, Jr.
Current Assignee (The listed assignees may be inaccurate. Google has not performed a legal analysis and makes no representation or warranty as to the accuracy of the list.)
AT&T Corp
Original Assignee
AT&T Corp
Priority date (The priority date is an assumption and is not a legal conclusion. Google has not performed a legal analysis and makes no representation as to the accuracy of the date listed.)
Filing date
Publication date
Application filed by AT&T CorpfiledCriticalAT&T Corp
Priority to US10/017,533priorityCriticalpatent/US6971005B1/en
Assigned to AT&T CORP.reassignmentAT&T CORP.ASSIGNMENT OF ASSIGNORS INTEREST (SEE DOCUMENT FOR DETAILS).Assignors: SCHMIDT JR., FREDERICK KENNETH, HENRY, PAUL SHALA, JIANG, ZHIMEI, LUO, HUI
Application grantedgrantedCritical
Publication of US6971005B1publicationCriticalpatent/US6971005B1/en
Adjusted expirationlegal-statusCritical
Expired - Fee Relatedlegal-statusCriticalCurrent

Links

Images

Classifications

Definitions

Landscapes

Abstract

A Virtual Single Account (VSA) system that provides a mobile user with automatic authentication and connection to a remote network via local access networks with a single password, where the local access networks may be independent of the remote network. A mobile user has a single authentication credential for one VSA that is utilized by a VSA client installed on a mobile computing device. The VSA client provides for automatically authenticating and connecting the user's mobile device to a current local access network, and the target remote network such as the user's office network. All authentication credentials are encrypted using a key generated from the user's VSA password that is generated from the user's single password. The VSA client derives the key from the submitted VSA password and decrypts all authentication credentials that are required in order to connect the mobile device to the current local access network and thereafter to the office network.

Description

This application claims priority to U.S. patent application Ser. No. 09/942,421, entitled “LAYER-2 IP NETWORKING METHOD AND DEVICE FOR MOBILE HOSTS” filed on Aug. 30, 2001, which claims priority to Provisional Application Ser. No. 60/269,919, filed Feb. 20, 2001, the content of which is incorporated by reference herein.
FIELD OF THE INVENTION
The present invention relates generally to mobile networking, and more particularly, to a system that enables mobile computing users to remotely access office networks via various local access networks with a single password. The system also enables system administrators to manage user access capabilities independently from authentication and access control methods implemented in office networks and local access networks.
BACKGROUND
Using current methods, a mobile user must undertake several steps to access a corporate office network from a remote wireless LAN (WLAN) site (such as from an airport). These include first authenticating to an access network on the site (such as a WLAN) to gain IP connectivity, and thereafter authenticating to a corporate remote access gateway (such as a firewall, an IPsec gateway, etc) to establish an office network connection. Upon successfully authenticating to the remote network, the mobile user can then initiate network applications that require access to resources on the office network. If the mobile user subsequently moves to another site thereby discontinuing the prior IP connection, the user is then forced to go another time-consuming procedure to set up the connection to the office network through a new access network, and may have to shut down and restart all networking application programs.
This procedure is inconvenient to mobile users in a variety of ways. First, a mobile user who seeks access to the targeted office network via a plurality of access networks must have valid accounts at each of these access networks, and needs to remember or possess authentication credentials (username, password, security certificate, etc.) for each of these access accounts. Second, the mobile user must have knowledge of the authentication method that is being implemented in each access network. Third, the mobile user has to determine which current access network is being utilized in order to implement the authentication method required by this access network, and has to submit the authentication credentials accordingly. These tasks can create tremendous problems for mobile users who are not networking professionals. In addition, this procedure can cause serious security problems. For example, currently public WLAN operators often use a Web-based username/password pair for the authentication method. Accordingly, a “look-over-shoulder” crook can easily steal them from a naïve user working in public. An irresponsible user might share his or her credentials with others, and a careless user might leave them in an obvious place on the portable device (laptop, PDA, etc.). The obvious consequence is theft of service from public WLAN operators, and a potential security breach for the user's corporate office network.
One well-known approach for streamlining authentication is known as Kerberos, a mutual authentication method between two parties that each shares a secret with a trustful third party. Using the Kerberos method in the scenario of remote mobile access, either the mobile host or the authentication server in the access network needs to retrieve a ticket in real time from the authentication server in the mobile's home network. Using the ticket that contains a session key encrypted using two shared secrets respectively, the mobile host and the access network can authenticate to each other and then the mobile host can get the access service.
Another well-known authentication protocol on the Internet is referred to as RADIUS (Remote Access for Dial-Up Services). With the enhancement of EAP (Extensible Authentication Protocol), it supports many authentication algorithms and it provides a relay mechanism such that a remote user can be authenticated to an access network using a RADIUS server that relays the authentication protocol to the RADIUS server in the mobile's home network in real time.
Passport is an application-layer authentication method for e-commerce. After a Web user is authenticated to a Passport server, his e-commerce profile (including credit card number, mail address, etc) is automatically transferred to an e-commerce Web server that partners with the Passport server so that the Web user does not need to re-create his e-commerce profile everywhere. However, neither Passport nor other similar application-layer single-sign on methods are designed and therefore appropriate for remote mobile access.
SUMMARY OF THE INVENTION
In view of the above, it is an object of the present invention to provide a system and using a Virtual Single Account (VSA) that can significantly improve the convenience and security performance for mobile users who remotely access office networks via various local access networks.
It is another object of the invention to automate the authentication and connection procedure for a remote mobile user to access a home network via an access network with a single user password.
It is another object of the invention to provide a mobile computing device with client software/and or hardware that manages local and remote network information, provides automatic local and remote access services for the mobile host, and communicates with external VSA servers to obtain local and remote access information updates.
It is yet another object of the invention to improve security for mobile users as well as local access networks and office networks, by using encrypted authentication credentials, such that the mobile user doesn't have knowledge of the authentication credentials.
It is another object of the invention to enable system administrators to consistently manage access capabilities independent of the specific authentication and access control methods implemented in office networks and local access networks.
It a further object of the invention to not require any changes to existing local access networks, thereby facilitating maximum interoperability between office networks that support remote access and local access networks that provide IP connectivity. The only requirement regarding local access networks is that VSA system administrators be able to open, modify, and close accounts as ordinary users. Such basic functions are invariably supported by local access networks. The VSA system and method gives system administrators the flexibility to selectively configure a mobile user's VSA client, such that the user can only connect to an office network via a specific subset of existing local access networks.
In accordance with the present invention, a mobile user only needs to remember a single authentication credential (hereafter it is assumed to be a username/password pair for simplicity) for one account (i.e., a VSA), managed by an administrator in the user's office network. The user's mobile computing device (hereinafter, a “mobile host”) is provided with client software/and or hardware (hereinafter, “a VSA client”) that manages local and remote network information, provides automatic local and remote access services for the mobile host, and communicates with external VSA servers to obtain local and remote access information updates. After the user supplies the correct username and single password to the VSA client, the VSA client operates to automatically authenticate the user and connect the user's mobile device to a current local access network, and then automatically authenticates the user and connects the mobile device to the user's office network. In this regard, the mobile host's connection to the office network can be maintained as the user “roams” and thus all networking application programs can continue running when the user moves from the coverage of one access network to another access network. All authentication credentials are encrypted using a key generated from the user's VSA password. The user supplies a single password to initiate the connection procedure, and the VSA client derives the key from the submitted VSA password and decrypts all authentication credentials that are needed in order to connect the mobile device to current local access network and then to the office network. Accordingly, even if someone steals the user's VSA username and password, local and remote network access cannot be obtained without possessing the user's mobile host (specifically, the encrypted authentication credentials managed by the VSA client). Even if the user's mobile host is lost, none of authentication credentials are in danger because they are encrypted using a key generated from the VSA password that only exists in the user's mind. This renders an offline dictionary attack almost impossible, because the only way to test whether a guessed VSA password is the actual one is to obtain actual online network access, and an authentication server can be configured to reject any access attempt after several failures. In addition, to further guard against an offline dictionary attack, the user can choose a strong password for the VSA, such as, for example, by using the common password method disclosed in co-owned U.S. application Ser. No. 09/637,409, filed Aug. 11, 2000, and entitled System And Method For Providing Access To Multiple User Accounts Via A Common Password, the disclosure of which is incorporated herein. Security is increased since the only way to compromise the VSA system and method is to steal both the VSA password and the mobile device that has a VSA client installed (which happens with a much smaller probability than either of them being lost). In one embodiment, a time-varying password method can be employed to further protect encrypted authentication credentials from being broken.
In accordance with the present invention, there is provided a system for connecting a mobile host to a remote network through an access network with a single user password, where the access network may be independent of the remote network in terms of no protocol conversation between authentication servers in the access network and the remote network, respectively, and a VSA has been set up for a user to connect to the access network and the remote network. The client includes software and/or hardware which contain machine-readable instructions stored in a memory medium, which when executed by a processor: generate a VSA password and decryption key from the single password received from the user; decrypt at least one of a local access network authentication credential and a remote access authentication credential; initiate a local access network connection; and initiate a remote network access connection. A VSA server may be deployed in the remote network and a VSA configuration update process may be implemented with the VSA server to update the VSA client software on the mobile host. The VSA configuration update process may occur before authorizing the VSA client to decrypt the remote network authentication credential prior to initiating the remote network access procedure.
In the illustrative embodiment, the VSA password is generated using the expression: VSA password=hash(VSA username∥common password ∥VSA server∥remote network ID), wherein the VSA username identifies the user to a VSA server, the common password is the single password from the user, and the remote network ID identifies the remote network serving as a home network for the mobile host. The VSA password also identifies a VSA record for the user. That is, although a user may have many other VSA records managed by a VSA client installed on the user's computer, the system administrator of the remote network can only configure this particular VSA record for the user, and cannot access any other VSA records managed by the VSA client.
The VSA configuration update process includes sending a VSA request message “Q” to the VSA server derived from the expression: Q=VSA username∥X∥EK1(Synchronization time∥Request content), where X is a random sequence; and K1 is an encryption key calculated from hash (hash (VSA password)∥X). The VSA server in turn responds with an information update response message “A” derived from the expression: A=Response Code∥Y∥EK2(Synchronization time∥Response content), wherein Y is a random sequence, and K2 is an encryption key calculated from hash (hash (VSA password)∥Y). The VSA server selects local access parameters and remote access parameters from a VSA access record and sends them to the mobile host as part of the update procedure.
The present invention will now be described in detail with particular reference to the accompanying drawings.
BRIEF DESCRIPTION OF THE DRAWINGS
FIG. 1 is a schematic diagram of a mobile host and intelligent device for interfacing with an access network;
FIG. 2 is a schematic diagram of a VSA client;
FIG. 3 is a flow diagram of an authentication process to a local access network;
FIG. 4 is a schematic diagram of a VSA server deployed in a remote network;
FIG. 5 is a diagram of an illustrative data structure for a basic-type local access record;
FIG. 6 is a diagram of an illustrative data structure for a hierarchical-type access management record;
FIG. 7A is a flow diagram of an exemplary VSA information update protocol;
FIG. 7B is a flow diagram of the VSA client side of the VSA information update protocol;
FIG. 8A is a diagram of the signaling flow in an external remote access example for a company using a centralized VSA system;
FIG. 8B is a diagram of the signaling flow in a controlled intranet access example for a company using a centralized VSA system;
FIG. 8C is a diagram of the signaling flow of a hierarchical VSA system; and
FIG. 8D is a diagram of the signaling flow of another hierarchical VSA system utilizing a single public access network operator.
DETAILED DESCRIPTION OF THE PREFERRED EMBODIMENTS
Referring now to the several views of the drawings, a VSA system for network access management is depicted in accordance with the present invention. Two primary illustrative embodiments of the invention are shown and described. The first is referred to as “client-only” embodiment, in which a VSA client (i.e., software and/or hardware) is installed on each mobile host to implement all functions of the VSA system and where there is no central VSA server or networks of servers. All local and remote access information is managed by a VSA client and manually initialized and updated by a mobile user or by a system administrator. In the second embodiment (referred to as a “system embodiment”) VSA servers are utilized in home networks for the mobile hosts. System administrators can remotely configure a mobile host's networking profiles through the VSA client and server(s) to control a mobile user's access authorization to access and remote networks.
Referring now toFIG. 1, a mobile host (MH)100 is a network access device such as a personal computer, information appliance, personal data assistant, data-enabled wireless handset, or any other type of device capable of accessing information through a packet-switched data network. EachMH100 has an intelligent device that is identified generally by thereference numeral102. Theintelligent device102 emulates a standard network interface device on amobile host100 and controls multiple network interfaces to enableMH100 to access different networks. Theintelligent device102 includes a dedicated central processing unit (CPU)104 andmemory106, thereby operating as an independent microcomputer. In lieu of a pure hardware implementation, the intelligent interface can be a logical module that appears as an intermediate network device driver (such as an NDIS-compliant driver in Windows system), to control a plurality of different network interface devices installed on the mobile host. In this instance, the logical module obtains the mobile host's CPU cycles whenever a layer-3 packet is written to the device driver by the mobile host or a layer-3 frame is admitted by one of network interface devices. Utilizing a timer callback function, the logical module periodically “steals” the mobile host's CPU cycles for monitoring all network interfaces.
In the illustrative embodiment, the intelligent device emulates an Ethernet card installed on theMH100. To access, for example, a CDPD network and WLAN, theintelligent device102 has two network interface devices, aCDPD modem108 and aWLAN card110. The components of theintelligent device102 are connected via abus109 in accordance with conventional practice. Theintelligent device102 has anappropriate interface105, like a PCMCIA card, for connecting to theMH100 via a correspondinginterface107. Theintelligent device102 has two Ethernet MAC addresses—MAC 1 and MAC 2. MAC 1 is “owned” by the “emulated Ethernet card”102 and is therefore known to theMH100. Theintelligent device102 utilizes MAC 2 to emulate the MAC address of the first-hop router to theMH100. In the exemplary embodiment, WLAN is considered to be the “best” access network. That is, if the mobile host is under coverage of a WLAN, theintelligent device102 will always use the WLAN as the access network.
By way of example, a host configuration protocol such as the Dynamic Host Configuration Protocol (DHCP) is utilized to configure the network address of theMH100. See R. Droms, “Dynamic Host Configuration Protocol,” IETF Network Working Group, RFC 3131 (March 1997); S. Alexander, R. Droms, “DHCP Options and BOOTP Vendor Extensions,” IETF Network Working Group, RFC 3133 (March 1997); which are incorporated by reference herein.
Referring now toFIG. 2, amobile host200 includes aVSA client202, for managing local and remote access information, providing automatic local and remote access services for themobile host200, and communicating with a VSA server(s) for updating local and remote access information. The functions of theVSA client202 include: storing encrypted local and remote access information; providing an interface for mobile users to manage VSA information; authenticating a mobile user to access and remote networks; identifying the current access network; providing automatic local access service; updating VSA information as instructed by a VSA server(s); and providing automatic remote access service.
The VSA client maintains a list of VSA access records. Eachaccess record204 corresponds to a remote network (i.e., a corporate or Virtual Private Network (VPN)) that can be accessed by a mobile user. EveryVSA access record204 includesremote access parameters206 that are necessary to access the remote network, and a list of local access records208. Each local access record210 describes a local access network that can connect the mobile host to the remote network. An exemplary data structure of aVSA access record204 is depicted inFIG. 2. EachVSA access record204 includes a “remote network ID”212 that identifies a remote network that can serve as the home network for themobile host200. If a VSA server is deployed in the remote network, a VSA server name and/or IP address is provided at214. A “VSA username”216 is used to identify the mobile user to the VSA server. A “VSA password”218 is generated using the common password formula “VSA password=hash (VSA username∥common password∥VSA server∥remote network ID)”. Normally, theVSA password218 is not stored in theVSA access record204. However, if the user chooses an optional “time-varying password” method, theVSA password218 is saved after being encrypted using a key generated from the next time-varying password. This is described in further detail below. The “remote access method”220 can be IPsec-based, Mobile IP-based, PPP/Radius-based, or some other protocol-based method. If a special remote access method is required, a portion of binary code that carries out this special remote access method should be included in the record. The “remote access gateway”222 can be a firewall, an IPsec gateway, a Mobile IP home agent, or the VSA server. If theremote access gateway222 is not a VSA server, some remote access authentication credential other than the VSA password may be needed. In that case, a “remote access authentication credential”224 is encrypted using a key derived from the user's VSA password. It can take the form of a username/password pair, a public/private key pair, or other kind of credentials. The “synchronization time”226 is used to query a VSA server whether the VSA access record needs to be updated after a remote access connection has been established.
The local access record contains information that enables a mobile host with a VSA client to obtain IP connectivity from a local access network. An exemplary data structure of a local access record is depicted at228. The “local access network ID”230 may contain wild characters and thus represent a group of local access networks that share common AAA servers. The “local access method”232 can be Web-based, WEP-based, 802.1x-based, or some other protocol-based method. “None” is selected as a local access method if a local access network is unconditionally accessible. Similarly, if a special local access method is required by the local access network, a portion of binary code that implements the special local access method should be included in the record. If authentication is required to get local access, an encrypted local “authentication credential”234 is saved in the record. The local authentication credential is encrypted using a key derived from the user's VSA password. In this manner, the mobile user does not need to know this authentication credential, and system security is thereby enhanced. In order to avoid an offline dictionary attack on the VSA password, some rules on choosing and encrypting the local authentication credential must be enforced. If the local authentication credential is a username/password pair, they should be chosen as random sequences instead of meaningful words. If the local authentication credential is a security certificate with known data structure, only the random portion (such as the public/private key pair) can be encrypted. Other known portions should not be encrypted.
TheVSA client202 can be configured to provide an interface that enables a mobile user to add, remove, and edit VSA access records. If a record that is managed by a VSA server is added, the user only need provide the VSA server name, his or her VSA username, an initial VSA password (likely assigned by a system administrator), and a common password that is used to generate a new VSA password to replace the initial VSA password. TheVSA client202 and server take care of the rest of the procedure, provided that the mobile host is already connected to the desired remote network using some special connection method (e.g., connecting to an Ethernet that is physically inside the remote network, or using a dial-up circuit). That is, when theVSA client202 contacts the specified VSA server, it communicates a zero synchronization time and the user's initial and new VSA passwords. In response, the VSA server updates the user's VSA password in its VSA management record and sends back all local and remote access information. The VSA client encrypts all authentication credentials for local and remote access using a key derived from the user's new VSA password and stores the completed VSA access record on the mobile host. As previously discussed, the new VSA password is generated using the common password formula “VSA password=hash (VSA username∥common password∥VSA server name∥remote network ID)”. The encryption key can be calculated from the VSA password using various cryptographic algorithms that are well known to those skilled in the art. For example, a 128-bit key can be obtained by applying the MD5 algorithm to the VSA password.
Referring now toFIG. 3, a flow diagram is depicted of theauthentication process300 to a local access network. A mobile user initiates the procedure through the VSA client, which requests the user to submit the user's common password and to select a targeted remote network that will serve as the mobile host's home network at302 from a VSA access list stored on the mobile host. After the mobile user enters all the required information, the VSA client generates the VSA password using the common password formula and calculates the key that can decrypt various local and remote access authentication credentials at304. The common password is then deleted from memory at306. The decryption key and the VSA password are stored in memory until the remote access connection is terminated. These credentials can be stored in volatile memory in the intelligent device described above, and are never saved on the mobile host's permanent storage media for security reasons. The authentication process is not completed until the local and remote access authentication is finished. In this regard, if the user submits a correct VSA password, the decryption key is then correct, the decrypted local and remote authentication credentials are then correct, and the mobile host should obtain local IP connectivity and a remote access connection to the targeted remote network. Otherwise, the local access request from the VSA client will be rejected. This online password verification feature can effectively protect VSA passwords from offline dictionary attacks.
After a local access network is discovered at the mobile host's current location, the VSA client will check stored local access ID and local access information at308. If the VSA client verifies that the user has a local access privilege at310, it decrypts the stored authentication credentials at314. Otherwise, the VSA client has to find whether other local access networks are available to the mobile host at its current location. If another local access network is found, the VSA client shall repeat the above procedure. If the user has the local access privilege to another local access network, as an option, the VSA client may make a note that the mobile host wishes to get the local access privilege to the first local access network, which will be sent to the VSA server in the coming VSA information update process. If no other local access network can be found, a failure message shall be generated by the VSA client to notify the mobile user. After the VSA decrypts the stored authentication credentials, it sends the VSA password and authentication credentials to the local access network at316. If the user is denied access to the local access network at318, then the process ends at322. After the user obtains access to the local access network, the user will authenticate to the targeted remote network.
When a VSA server is deployed on the targeted remote network, the VSA client immediately contacts the VSA server at324 to request a VSA information update after obtaining local IP connectivity. The VSA request message includes the VSA username for the mobile user and a synchronization time. This information enables the VSA server to update the VSA client's VSA access record, or a portion thereof, if necessary. At328, the VSA server sends the VSA client up-to-date remote access parameters (e.g., the remote access gateway's IP address, remote access protocol name, etc.), and updates local and remote access information for the VSA client at330. The VSA client and VSA server authenticate to each other and the respective communications between them are encrypted. The authentication is predicated upon the VSA password shared between VSA client and VSA server. An exemplary implementation of the VSA information update protocol is described in more detail below with regard to the VSA server. After the VSA information update is completed, the VSA client establishes a connection remote access connection with a remote access gateway at334. More detail on this is described below.
The VSA client will repeat the VSA information update procedure with the VSA server if an update timer expires or if the remote access connection is unexpectedly broken. If the VSA server is configured to manage multiple remote access gateways, it can provide load balancing by providing mobile hosts with instructions to shift from busy remote access gateways to remote access gateways having relatively lighter loads. If a VSA server is deployed on the remote network, the VSA client contacts the VSA server to retrieve up-to-date remote access parameters before establishing remote access connections with some remote access gateway. Otherwise, the VSA client decrypts the remote access authentication credential from a current VSA access record, and follows the required remote access methodology to submit the credential and then establish remote access connections to a targeted remote network for the mobile host.
The VSA client can utilize a time-varying password to enhance the security of the encrypted authentication credentials for local and remote access. In this connection, when the VSA authentication interface is presented to a mobile user, the VSA client randomly generates and displays a short sequence that the user can easily remember. The authentication interface is adapted to present the user with a “time varying” option. If this option is selected, the next time the user starts the connection procedure, a prompt is given to enter the short random sequence instead of the common password. This sequence must be entered properly in order to get everything correct, because all encrypted authentication credentials for local and remote access have been re-encrypted using a key generated from it. The re-encryption occurs after the VSA client successfully obtains local access (which means the user knows the previous password). All VSA passwords derived from the common password are saved on the mobile host/intelligent device after being encrypted using the key discussed above. This online password verification feature effectively protects time-varying passwords, even though they are short, from offline dictionary attacks.
The VSA client needs to identify current access network before requesting local IP connectivity. If multiple access networks are available, some criteria must be presented such that the VSA client can make a choice. The identification results include local access network ID and local access method. After current access network is identified, the VSA client looks for a match in the local access network list in current VSA access record. If a match is found, the VSA client decrypts authentication credential in the matched local access record and submits it to current access network by following required local access method. If the mobile user supplied correct common password and if the system administrator in targeted remote network has not closed the account at current access network, the mobile host should get IP connectivity successfully.
Referring now toFIG. 4, aVSA server400 is deployed in a remote network (e.g., an office network402) that is a home network for mobile hosts (e.g., mobile host404). Themobile host404 includes aVSA client406 as described above. TheVSA client406 facilitates access to a local access network408 and theoffice network402 over theInternet410. The local access network includes anAAA server412 for authenticating a mobile host to the local access network. Theoffice network402 has a gateway conceptually represented at414. TheVSA400 maintains local and remote access information for every user that has a VSA client, and includes appropriate provisions for system administrators to manage this access information. TheVSA server400 also responds to VSA information update requests sent by VSA clients or by other customer VSA servers. If the VSA server can read/write access control lists in remote access gateways, it may manage remote access for mobile hosts in real time based on received VSA information update requests. If remote access traffic is not heavy and if only one remote access gateway is needed, a VSA server itself can serve as the remote access gateway. Specifically, a VSA server provides the following functions.
A VSA server maintains VSA management records for every user having a VSA. The “user” can be characterized as a regular mobile user having a VSA client installed on a mobile host, or a system administrator of another VSA server. The system administrator of another VSA server is referred to as a customer VSA server, which provides remote access services to mobile users via local access networks governed by this VSA server. In this connection, there are two types of VSA management records—client-type and server-type. A client-type VSA management record contains a regular user's VSA authentication credential (for the user's VSA client to request VSA information updates from the VSA server), remote access parameters (for the user's VSA client to establish remote access connections to the VSA server's network), remote access management parameters (for the VSA server to manage such remote access), and a list of local access management records, each of which contains local access parameters (for the user'sVSA client406 to obtain local IP connectivity from a local access network) and local access management parameters (for the VSA server to manage such local access at the local access network). An exemplary data structure of a client-type VSA management record is depicted at414.
The “VSA username”416 and “VSA password”418 are the user's VSA authentication credential. The “remote access method”420, “remote access gateway name”422, and “remote access authentication credential”424 are presented as remote access parameters that are required when theVSA client406 establishes remote access connections for themobile host404. These parameters are omitted from the record if theVSA server400 can manage remote access gateways in real time. In that case, the remote access parameters are assigned values by theVSA server400 in the VSA information update response message after theVSA client406 submits a valid VSA authentication credential in the VSA information update request message. The “remote access management method”425 and “remote access management authentication credential”426 are presented as remote access management parameters. These are necessary when theVSA server400 implements remote access control by modifying access control lists in remote access gateways. The “synchronization time”428 refers to the time when a system administrator(s) made the last change on thisVSA management record414. The “last-confirmed synchronization time”430 is the synchronization time included in the most recent received VSA information update request, which indicates the VSA client has successfully updated its VSA access record at that time. By comparing these two time values, theVSA server400 determines whether an update is necessary and, if needed, what portion of the VSA access information shall be sent back to the mobile host. The number of local access management records is shown at432 and the local access management records at434.
A server-typeVSA management record436 only contains the VSA authentication credential of a system administrator of a customer VSA server and a list of local access management records, each of which contains local access parameters (for the customer VSA server to provide its own remote access service to its mobile users via a local access network governed by the VSA server) and local access management parameters (for the VSA server to manage such local access for the customer VSA server). Compared with a client-type VSA management record, a server-type VSA management record does not have remote access parameters and remote access management parameters. In this case, neither the customer VSA server nor its mobile users require (and should be allowed) remote access to the VSA server's network. In the illustrative embodiment, the server-type VSA record includes aVSA username438 andVSA password440 that form the authentication credential. Thesynchronization time442 and last confirmedsynchronization time444 are utilized as described above with respect torecord414. The number of local access management records is identified at446 and the local access management records at448.
In the illustrative embodiment, two types of local access management records are shown and described. The first is shown inFIG. 5 and is referred to as a basic-type local access management record. The basic-type localaccess management record500 contains local access parameters and local access management parameters for a local access network governed by the VSA server. An exemplary data structure of a basic-type localaccess management record500 has local access parameters that include a “local access network ID”502, “local access method”504, and “local access authentication credential”506. These are the same as those in the local access record managed by VSA clients. The “local access management method”508, “local AAA server name”510, and “local access management authentication credential”512 are local access management parameters, which may or may not be available to the VSA server. If they are available, the VSA server can effectively manage local access by changing access control lists in local AAA servers. If they are not available, VSA system administrators can manually open, change, and close accounts at local access networks.
Referring now toFIG. 6, a hierarchical-type localaccess management record600 contains dedicated local access parameters for local access networks that are governed by a special VSA server that is referred to as “an owner VSA server.” Accordingly, the current VSA server is considered to be a “customer VSA server” of the owner VSA server. The customer VSA server provides remote access to its mobile users using the local access networks of the owner VSA server, but it cannot directly manage such local access. If a management operation is required, it is implemented by sending a VSA information update request from current VSA server to the owner VSA server. An exemplary data structure for a hierarchical-type local access management record is shown in FIG.6., and all parameters are defined in the same way as those in VSA access records managed by VSA clients. Specifically,602 corresponds to the remote network ID,604 to the VSA server name and/or IP address. The VSA username is shown at606, the VSA password at608, synchronization time at610 and number of local access records at612. The local access records are characterized by thereference numeral614. A VSA server maintaining hierarchical-type local access records will periodically send VSA information update requests to owner VSA servers to ensure that such local access records are up-to-date.
A VSA server listens to a dedicated TCP port for incoming VSA information update requests sent by VSA clients or by customer VSA servers and responds accordingly. Both request and response messages are encrypted with message authentication codes, all based on the VSA password shared between them. Referring now toFIG. 7A, there is depicted an exemplary implementation of a VSAinformation update protocol700. At702, the VSA client constructs a VSA update request message Q by generating a random sequence X; calculating an encryption key K1 from “hash (hash (VSA password)∥X)”; and using the formula “Q=VSA username∥X∥EK1(Synchronization time∥Request content)”. At704, the VSA client sends the update request message Q and a message authentication code “hash (Q∥K1)” to the VSA server to enable the VSA server to detect unauthorized modifications. The synchronization time may be utilized by the VSA server to detect replay attacks. Requests such as “Updating local and remote access parameters”, “Changing VSA password”, and “Closing VSA account” may be communicated from VSA clients or customer VSA servers, whereas requests such as “Changing local access account passwords” and “Closing local access accounts” can be sent only from customer VSA servers. After receiving the VSA information update request message, at706 the VSA server searches for a VSA management record that matches the VSA username encompassed in the request message. If a match cannot be found at708, the VSA server sends a denial code back to the VSA client/mobile host in clear text as a response message (no message body). If a management record is found at708, the VSA server retrieves the hashed VSA password from the matched VSA management record, calculates the decryption key K1 from “hash (hashed VSA password∥X)”, verifies the message authentication code “hash (Q∥K1)”, and decrypts the synchronization time and request content at710. The message authentication code is utilized to verify the integrity of the request message. If the integrity of the message is not verified at712, the VSA server sends a denial code in clear text (no message body) to the VSA client/mobile host at714. Alternatively, if the integrity of the message is verified, the VSA server saves the synchronization time in the request message as the last-confirmed synchronization time in the VSA management record for the mobile host at716. At718, the VSA server constructs a VSA information update response message A by generating a random sequence Y, calculating an encryption key K2 from “hash (hash (VSA password)∥Y)”, and using the formula “A=Response Code∥Y∥EK2(Synchronization time∥Response content)”. The response code is either “success” or “denial”, and is transmitted in clear text such that some access control point between the mobile host and the VSA server can make use of this information. At720, the response message A and a message authentication code “hash (A∥K2)” are communicated back to the VSA client/mobile host.
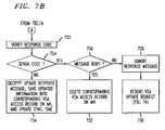
Referring now toFIG. 7B, after receiving the VSA information update response message, at722 the VSA client first checks the response code that is transmitted in clear text. At724, if the response contains a denial code and if there is no message body at726, the VSA client ignores the response message at728 and may re-send VSA information update requests up to a preset number of times at730. If the response code is a denial code at724 and if the message authentication code of the response message is correct at726 (which means the VSA server has already closed the VSA for the mobile user) the VSA client permanently deletes the corresponding VSA access record stored on the mobile host at732. If the response code is a success code and if the message authentication code of the response message is correct, the VSA client decrypts the message, saves the updated information, if there is any, into the corresponding VSA access record, and updates the synchronization time using the synchronization time value included in the response message at734.
A VSA server can include a suitable interface to enable system administrators to add, change, or remove VSA management records and to add, change, or remove local access management records within any VSA management record. Whenever a modification is made, the synchronization time is updated. Thus, when the corresponding VSA client (or customer VSA server) sends in a VSA information update request, the updated portion of the VSA management record can be sent back accordingly. If a VSA management record is deleted, it is not removed from the VSA server immediately. Instead, an empty VSA management record with the same VSA credential will be reserved until either of the following two events happens—the corresponding VSA client (or customer VSA server) sends in a VSA information update request and a “delete everything” response is sent back, or the lingering timer expires.
If Application Program Interfaces (APIs) are available to a VSA server to edit access control list in remote access gateways, the VSA server can implement remote access control in real time using the VSA information update protocol. For example, if a VSA server can edit the SPD (Secure Policy Database) and SAD (Security Association Database) at IPsec gateways, it can allow a mobile host to establish a remote access connection with an IPsec gateway instantly by sending a pre-established security association back to the mobile host in the VSA information update response message. This implementation can speed up the IPsec tunnel establishment as well as simplifying the IPsec key management, because those pre-established security associations are prepared before the mobile host starts to establish remote access connections and the mobile host does not need a security certificate in order to negotiate a security association with the IPsec gateway.
Referring now toFIGS. 8A–8D, a VSA system consists of VSA clients and servers. In accordance with the invention, there are depicted two illustrative VSA system architectures: a centralized architecture and hierarchical architecture. A centralized VSA system has a single VSA server and may be utilized by small to mid-size companies that require management of external remote access (e.g., accessing an office network from airport WLAN), and controlled intranet access (e.g., accessing an office network from office WLAN) at a single, centralized point.FIG. 8A is a flow diagram that illustrates the signaling flow in an external remote access example for a company using a centralized VSA system. In this example, amobile user800 is within the coverage of anaccess network802 at which the system administrator of the mobile user's employer has already set up an account (or a plurality of accounts for employees). Themobile user800 has amobile host804 with an associatedVSA client806 as described in the foregoing. Thelocal access network802 includes anAAA server808. Thelocal access network802 communicates via theInternet810 with anoffice network812 having agateway814. AVSA server816 is provided for implementing VSA management and logon procedures. Themobile user800 initiates the connection procedure as described above and illustrated inFIG. 3. The procedure is simplified here for clarity. At818 the user selects the logon function of theVSA client806, and inputs a password (common or time-varying as described above). Using this password, at820 the VSA client calculates the user's VSA password and a decryption key. At822 the VSA client identifies the current access network that will be used, herelocal access network802. At824, the VSA client decrypts the authentication credential corresponding to this access network and at826 initiates a local access request procedure by following the access method required in the access network. For example, if the access network is a public WLAN that adopts a Web-based authentication method, the VSA client will implement the following procedure: (1) run a DHCP (or some other protocol) to get a local IP address; (2) send an HTTP request to the local AAA (Web) server as if the HTTP request were generated by a Web browser after the user clicks a “Submit” button displayed in the authentication Web page (which includes the local access authentication credential (username and password) that are decrypted using the key generated from the VSA password); and (3) interpret the local access response from the retrieved Web page that either confirms or denies the local access request. If the user submitted the correct VSA password and if his system administrator has not closed the user's account, the mobile host receives IP connectivity at828. After IP connectivity has been established, the VSA client sends a VSAinformation update request830 to theVSA server816 as described in detail above and illustrated inFIGS. 7A and 7B. TheVSA server816 is accessible from the Internet even though it is protected by afirewall814. Thefirewall814 is configured to discard incoming IP packets that are addressed to the VSA server but assigned to ports other than the VSA protocol port. TheVSA server816 responds at832 with a response message (Step720,FIG. 7A). TheVSA client806 decrypts a successful response message at834 and initiates a remote access connection at836 with theremote access gateway814. Theremote access gateway814 would have received instructions from theVSA server816 to permit the connection to be made between themobile user800 and theremote network812. After the remote access connection is created successfully, aresponse message838 is sent back to the mobile host/VSA client and themobile user800 can access any resources at the user'soffice network812 as if the user were still in the office.
FIG. 8B shows the signaling flow in a controlled intranet access case for a company using a centralized VSA system. This embodiment is similar to that described above and illustrated inFIG. 8A, except in this case the VSA client does not need mobility support and therefore does not have to send a remote access request. All steps contain common reference numerals withFIG. 8A. Here, thecorporate WLAN802 contains thelocal AAA server808. Public access network operators that manage multiple access networks under direct control or through roaming agreements can also utilize a centralized VSA system to present an integrated access service to their customers. For example, a public WLAN operator can use a centralized VSA system to provide WLAN access services to its own customers via other public WLANs without requiring any special protocols to be employed between their networks. A public WLAN operator can negotiate a wholesale price with other public WLAN operators, and open a plurality of accounts at their AAA servers, each of which will be used as a local access network account governed by a VSA at the WLAN operator's VSA server.
Referring now toFIG. 8C, there is depicted a flow diagram of a hierarchical VSA system adapted for mid to large size corporations that have separate branch offices to manage external/internal remote access and controlled intranet access from each of these branch offices. A hierarchical VSA system in a large company with separate branch offices may have a plurality of VSA servers, each VSA server residing in a branch office network that requires other branch office networks to provide intranet access to its mobile users visiting their branch office networks and/or to provide intranet access to visiting mobile users from other branch offices. InFIG. 8C, a mobile user (employee) can obtain controlled intranet access from every branch office. In accordance with the illustrative embodiment of the invention, the mobile employee'shome VSA server842 requests a VSA from anotherbranch VSA server816 on behalf of the mobile employee. Information from all intranet access networks that are in other branch office networks having their own dedicated VSA servers are communicated to theVSA client806 installed on themobile host804. TheVSA client806 obtains access to all intranet networks under the control of asingle VSA server842 in the homebranch office network840. Thus, from the VSA client's perspective, it doesn't see a difference between access networks. However, thehome VSA server842 cannot directly communicate with intranet access networks in other branch office networks on VSA management issues. Accordingly, thehome VSA server842 utilizes the VSA information update protocol (described above and illustrated inFIGS. 7A,7B) to request the governing VSA server to carry out such management operations.
Referring now toFIG. 8D, there is depicted another exemplary embodiment of the invention, wherein a hierarchical VSA system enables a company to choose a single public access network operator to provide local access services to its mobile employees so that they can obtain remote access to an office network from any location outside of the office. The publicaccess network operator810 utilizes acentral VSA server844 to provide a single VSA for each mobile employee.FIG. 8D is a flow diagram for such an external remote access embodiment. The reference numerals common toFIG. 8A are utilized.
The present invention has been shown and described in what are considered to be the most practical and preferred embodiments. It is anticipated, however, that departures may be made therefrom, and that obvious modifications will be implemented by those skilled in the art.

Claims (15)

1. A client for connecting a mobile host to a remote network through an access network with a single user password, where the access network may be independent of the remote network in terms of no protocol conversation between authentication servers in the access network and the remote network, respectively, and a virtual single account (VSA) has been set up for a user to connect to the access network and then to the remote network, the client comprising machine readable instructions stored in a memory medium, which when executed by a processor:
generate a VSA password and decryption key from the single password received from the user;
decrypt at least one of a local access network authentication credential and a remote access authentication credential stored in encrypted form in the memory medium;
initiate a local access network connection; and
initiate a remote network access connection.
11. A system for connecting a mobile host to a remote network through an access network with a single password, where the access network may be independent of the remote network in terms of no protocol conversation between authentication servers in the access network and the remote network, respectively, and a virtual single account (VSA) has been set up for a user to connect to the access network and then to the remote network, comprising:
a VSA server deployed in the remote network, the VSA server including machine readable instructions stored in a memory medium, which when executed by a processor:
send a VSA information update response message to the mobile host in response to receiving a VSA information update request message from the mobile host, the VSA update response message including current remote access parameters for the remote network;
verify an authentication credential for the remote network received from the mobile host; and
authorize a remote gateway in the remote network to connect the mobile host to the remote network.
US10/017,5332001-02-202001-10-23Mobile host using a virtual single account client and server system for network access and managementExpired - Fee RelatedUS6971005B1 (en)

Priority Applications (1)

Application NumberPriority DateFiling DateTitle
US10/017,533US6971005B1 (en)2001-02-202001-10-23Mobile host using a virtual single account client and server system for network access and management

Applications Claiming Priority (2)

Application NumberPriority DateFiling DateTitle
US26991901P2001-02-202001-02-20
US10/017,533US6971005B1 (en)2001-02-202001-10-23Mobile host using a virtual single account client and server system for network access and management

Publications (1)

Publication NumberPublication Date
US6971005B1true US6971005B1 (en)2005-11-29

Family

ID=35405409

Family Applications (1)

Application NumberTitlePriority DateFiling Date
US10/017,533Expired - Fee RelatedUS6971005B1 (en)2001-02-202001-10-23Mobile host using a virtual single account client and server system for network access and management

Country Status (1)

CountryLink
US (1)US6971005B1 (en)

Cited By (48)

* Cited by examiner, † Cited by third party
Publication numberPriority datePublication dateAssigneeTitle
US20020159601A1 (en)*2001-04-302002-10-31Dennis BushmitchComputer network security system employing portable storage device
US20030079147A1 (en)*2001-10-222003-04-24Ching-Chuan HsiehSingle sign-on system for application program
US20030120767A1 (en)*2001-12-262003-06-26Nec CorporationNetwork and wireless LAN authentication method used therein
US20030149781A1 (en)*2001-12-042003-08-07Peter YaredDistributed network identity
US20030226037A1 (en)*2002-05-312003-12-04Mak Wai KwanAuthorization negotiation in multi-domain environment
US20040008845A1 (en)*2002-07-152004-01-15Franck LeIPv6 address ownership solution based on zero-knowledge identification protocols or based on one time password
US20040039781A1 (en)*2002-08-162004-02-26Lavallee David AnthonyPeer-to-peer content sharing method and system
US20040054905A1 (en)*2002-09-042004-03-18Reader Scot A.Local private authentication for semi-public LAN
US20040133812A1 (en)*2002-10-162004-07-08Motoji OhmoriPassword recovery system
US20040177248A1 (en)*2003-03-052004-09-09Fuji Xerox Co., Ltd.Network connection system
US20050114682A1 (en)*2003-11-262005-05-26Zimmer Vincent J.Methods and apparatus for securely configuring a machine in a pre-operating system environment
US20050213519A1 (en)*2004-03-242005-09-29Sandeep RelanGlobal positioning system (GPS) based secure access
US20050289240A1 (en)*2004-06-252005-12-29Cheshire Stuart DMethod and apparatus for updating resource records in a name-server database
US20050284928A1 (en)*2004-06-252005-12-29Harrell Daniel CMethod and system for associating customer information with a customer identifier
US20060129830A1 (en)*2004-11-302006-06-15Jochen HallerMethod and apparatus for storing data on the application layer in mobile devices
US20060143458A1 (en)*2002-11-062006-06-29Manxia TieMethod for the access of the mobile terminal to the wlan and for the data communication via the wireless link securely
US20060253545A1 (en)*2005-03-312006-11-09Lakamp Brian DRemote access management
US20070118733A1 (en)*2005-11-212007-05-24Novell, Inc.Secure synchronization and sharing of secrets
US7246230B2 (en)2002-01-292007-07-17Bea Systems, Inc.Single sign-on over the internet using public-key cryptography
US20080109878A1 (en)*2006-11-022008-05-08Alcatel LucentMethod for interactive real time sharing of multimedia data, server, and interactive real time communication network
US20080119184A1 (en)*2002-11-152008-05-22Rebo Richard DMethod for fast, secure 802.11 re-association without additional authentication, accounting, and authorization infrastructure
EP1936905A1 (en)*2006-12-192008-06-25Siemens Enterprise Communications GmbH & Co. KGMethod for operating a VoIP terminal and VoIP terminal
US20080155669A1 (en)*2006-12-222008-06-26Ralph HarikMultiple account authentication
US20080159536A1 (en)*2006-01-202008-07-03David Yu ChangAutomatic Wireless Network Password Update
US7412720B1 (en)*2001-11-022008-08-12Bea Systems, Inc.Delegated authentication using a generic application-layer network protocol
US20090049531A1 (en)*2007-08-172009-02-19Novell, Inc.Coordinating credentials across disparate credential stores
US20090064290A1 (en)*2007-08-312009-03-05Novell, Inc.Searching and replacing credentials in a disparate credential store environment
US20090077638A1 (en)*2007-09-172009-03-19Novell, Inc.Setting and synching preferred credentials in a disparate credential store environment
US20090199277A1 (en)*2008-01-312009-08-06Norman James MCredential arrangement in single-sign-on environment
US20090217367A1 (en)*2008-02-252009-08-27Norman James MSso in volatile session or shared environment
US20090327496A1 (en)*2008-06-252009-12-31Microsoft CorporationREMOTE ACCESS BETWEEN UPnP DEVICES
US20100031331A1 (en)*2007-05-112010-02-04Ntt It CorporationRemote Access Method
US7787497B1 (en)*2003-03-032010-08-31Cisco Technology, Inc.System for grouping attributes in packets in a radius protocol
US20100241861A1 (en)*2007-12-052010-09-23Tetsuro YoshimotoDhcp client server system, dhcp client device and dhcp server device
CN101873330A (en)*2010-06-302010-10-27赛尔网络有限公司Access control method and server for supporting IPv6/IPv4 dual stack access
US20110119365A1 (en)*2004-08-192011-05-19Sk Telecom Co., Ltd.Managing method and apparatus for servicing contents provided by content provider
US20120254567A1 (en)*2011-03-292012-10-04Os Nexus, Inc.Dynamic provisioning of a virtual storage appliance
CN103313245A (en)*2013-05-282013-09-18中国联合网络通信集团有限公司Network service access method, equipment and system based on mobile phone terminal
US8752129B1 (en)*2004-10-122014-06-10Alex I. AltenSystems and methods for a self-defending wireless computer network
US20140165147A1 (en)*2012-12-062014-06-12Cisco Technology, Inc.Session Certificates
US8850547B1 (en)2007-03-142014-09-30Volcano CorporationRemote access service inspector
US9559929B2 (en)2008-06-242017-01-31Microsoft Technology Licensing, LlcNetwork bandwidth measurement
US20170041964A1 (en)*2015-08-062017-02-09Calay Venture S.à r.l.Community-based communication network services
US20170048260A1 (en)*2015-08-122017-02-16Wizard Tower TechnoServices Ltd.Method and system for network resource attack detection using a client identifier
CN109996250A (en)*2017-12-292019-07-09洛阳中科晶上智能装备科技有限公司The method for detecting TCP connection state
US10764287B2 (en)*2017-08-022020-09-01American Megatrends International, LlcSecure default user account for embedded systems
CN112953833A (en)*2021-03-252021-06-11全讯汇聚网络科技(北京)有限公司Method, system and gateway equipment for realizing three-layer route forwarding based on network bridge
US11405375B2 (en)*2018-09-272022-08-02Lenovo (Singapore) Pte. Ltd.Device and method for receiving a temporary credit token

Citations (4)

* Cited by examiner, † Cited by third party
Publication numberPriority datePublication dateAssigneeTitle
US5572528A (en)1995-03-201996-11-05Novell, Inc.Mobile networking method and apparatus
US5944824A (en)*1997-04-301999-08-31Mci Communications CorporationSystem and method for single sign-on to a plurality of network elements
US6178511B1 (en)*1998-04-302001-01-23International Business Machines CorporationCoordinating user target logons in a single sign-on (SSO) environment
US6275939B1 (en)*1998-06-252001-08-14Westcorp Software Systems, Inc.System and method for securely accessing a database from a remote location

Patent Citations (4)

* Cited by examiner, † Cited by third party
Publication numberPriority datePublication dateAssigneeTitle
US5572528A (en)1995-03-201996-11-05Novell, Inc.Mobile networking method and apparatus
US5944824A (en)*1997-04-301999-08-31Mci Communications CorporationSystem and method for single sign-on to a plurality of network elements
US6178511B1 (en)*1998-04-302001-01-23International Business Machines CorporationCoordinating user target logons in a single sign-on (SSO) environment
US6275939B1 (en)*1998-06-252001-08-14Westcorp Software Systems, Inc.System and method for securely accessing a database from a remote location

Non-Patent Citations (6)

* Cited by examiner, † Cited by third party
Title
Computer Associates's eTrust Single Sign-On Technique. http://www3.ca.com/Solutions/Product.asp?ID=166 Copies attached: two pages.
Evidian's AccessMaster SSO http://www.evidian.com/accessmater/sso/ Copies attached: two pages.
Microsoft's Universal Single Sign-IN Technique Based On Passport http://www.microsoft.com/presspass/press/2001/Sept01/09-20 PassportFederationPR.asp Copies attached: three pages.
Netscape's Single Sign-On Technique. http://developer.netscape.com/docs/manuals/security/SSO/contents.htm Copies attached: two pages.
Novell's Single Sign-On Technique. http://www.novell.com/products/sso/ Copies attached: one page.
Open Group's Single Sign-On Specification http://www.opengroup.org/security/sso/ Copies attached: one page.

Cited By (88)

* Cited by examiner, † Cited by third party
Publication numberPriority datePublication dateAssigneeTitle
US20020159601A1 (en)*2001-04-302002-10-31Dennis BushmitchComputer network security system employing portable storage device
US7228438B2 (en)*2001-04-302007-06-05Matsushita Electric Industrial Co., Ltd.Computer network security system employing portable storage device
US7278155B2 (en)*2001-10-222007-10-02Taiwan Semiconductor Manufacturing Co., Ltd.Single sign-on system for application program
US20030079147A1 (en)*2001-10-222003-04-24Ching-Chuan HsiehSingle sign-on system for application program
US7412720B1 (en)*2001-11-022008-08-12Bea Systems, Inc.Delegated authentication using a generic application-layer network protocol
US20030149781A1 (en)*2001-12-042003-08-07Peter YaredDistributed network identity
US20080016232A1 (en)*2001-12-042008-01-17Peter YaredDistributed Network Identity
US7610390B2 (en)*2001-12-042009-10-27Sun Microsystems, Inc.Distributed network identity
US8037194B2 (en)2001-12-042011-10-11Oracle America, Inc.Distributed network identity
US7849204B2 (en)2001-12-042010-12-07Oracle America, Inc.Distributed network identity
US20030120767A1 (en)*2001-12-262003-06-26Nec CorporationNetwork and wireless LAN authentication method used therein
US7246230B2 (en)2002-01-292007-07-17Bea Systems, Inc.Single sign-on over the internet using public-key cryptography
US20030226037A1 (en)*2002-05-312003-12-04Mak Wai KwanAuthorization negotiation in multi-domain environment
US20040008845A1 (en)*2002-07-152004-01-15Franck LeIPv6 address ownership solution based on zero-knowledge identification protocols or based on one time password
US7546456B2 (en)*2002-07-152009-06-09Franck LeIPv6 address ownership solution based on zero-knowledge identification protocols or based on one time password
US20040039781A1 (en)*2002-08-162004-02-26Lavallee David AnthonyPeer-to-peer content sharing method and system
US20040054905A1 (en)*2002-09-042004-03-18Reader Scot A.Local private authentication for semi-public LAN
US8024577B2 (en)*2002-10-162011-09-20Panasonic CorporationPassword recovery system
US20040133812A1 (en)*2002-10-162004-07-08Motoji OhmoriPassword recovery system
US8726022B2 (en)*2002-11-062014-05-13China Iwncomm Co., LtdMethod for the access of the mobile terminal to the WLAN and for the data communication via the wireless link securely
US20060143458A1 (en)*2002-11-062006-06-29Manxia TieMethod for the access of the mobile terminal to the wlan and for the data communication via the wireless link securely
US20080119184A1 (en)*2002-11-152008-05-22Rebo Richard DMethod for fast, secure 802.11 re-association without additional authentication, accounting, and authorization infrastructure
US8074070B2 (en)*2002-11-152011-12-06Cisco Technology, Inc.Method for fast, secure 802.11 re-association without additional authentication, accounting, and authorization infrastructure
US7787497B1 (en)*2003-03-032010-08-31Cisco Technology, Inc.System for grouping attributes in packets in a radius protocol
US7681037B2 (en)*2003-03-052010-03-16Fuji Xerox Co., Ltd.Network connection system
US20040177248A1 (en)*2003-03-052004-09-09Fuji Xerox Co., Ltd.Network connection system
US20050114682A1 (en)*2003-11-262005-05-26Zimmer Vincent J.Methods and apparatus for securely configuring a machine in a pre-operating system environment
US7372839B2 (en)*2004-03-242008-05-13Broadcom CorporationGlobal positioning system (GPS) based secure access
US20050213519A1 (en)*2004-03-242005-09-29Sandeep RelanGlobal positioning system (GPS) based secure access
US8156081B2 (en)*2004-06-252012-04-10Apple Inc.Method and apparatus for updating resource records in a name-server database
US20050284928A1 (en)*2004-06-252005-12-29Harrell Daniel CMethod and system for associating customer information with a customer identifier
US20050289240A1 (en)*2004-06-252005-12-29Cheshire Stuart DMethod and apparatus for updating resource records in a name-server database
US20110119365A1 (en)*2004-08-192011-05-19Sk Telecom Co., Ltd.Managing method and apparatus for servicing contents provided by content provider
US8676936B2 (en)*2004-08-192014-03-18Sk Planet Co., Ltd.Managing method and apparatus for servicing contents provided by content provider
US20110125876A1 (en)*2004-08-192011-05-26Sk Telecom Co., Ltd.Managing method and apparatus for servicing contents provided by content provider
US9054991B2 (en)*2004-08-192015-06-09Sk Telecom Co., Ltd.Managing method and apparatus for servicing contents provided by content provider
US8423627B2 (en)*2004-08-192013-04-16Sk Planet Co., Ltd.Managing method for providing contents service
US20130297760A1 (en)*2004-08-192013-11-07Sk Telecom Co., Ltd.Managing method and apparatus for servicing contents provided by content provider
US20140237583A1 (en)*2004-10-122014-08-21Alex I. AltenSystems and Methods for A Self-Defending Wireless Computer Network
US8752129B1 (en)*2004-10-122014-06-10Alex I. AltenSystems and methods for a self-defending wireless computer network
US9276906B2 (en)*2004-10-122016-03-01Alex I. AltenSystems and methods for a self-defending wireless computer network
US20060129830A1 (en)*2004-11-302006-06-15Jochen HallerMethod and apparatus for storing data on the application layer in mobile devices
US7587608B2 (en)*2004-11-302009-09-08Sap AgMethod and apparatus for storing data on the application layer in mobile devices
US20060253545A1 (en)*2005-03-312006-11-09Lakamp Brian DRemote access management
US20070118733A1 (en)*2005-11-212007-05-24Novell, Inc.Secure synchronization and sharing of secrets
US8095960B2 (en)*2005-11-212012-01-10Novell, Inc.Secure synchronization and sharing of secrets
US8290163B2 (en)*2006-01-202012-10-16International Business Machines CorporationAutomatic wireless network password update
US20080159536A1 (en)*2006-01-202008-07-03David Yu ChangAutomatic Wireless Network Password Update
US8028342B2 (en)*2006-11-022011-09-27Alcatel LucentMethod for interactive real time sharing of multimedia data, server, and interactive real time communication network
US20080109878A1 (en)*2006-11-022008-05-08Alcatel LucentMethod for interactive real time sharing of multimedia data, server, and interactive real time communication network
EP1936905A1 (en)*2006-12-192008-06-25Siemens Enterprise Communications GmbH & Co. KGMethod for operating a VoIP terminal and VoIP terminal
US20080205363A1 (en)*2006-12-192008-08-28Rainer FalkMethod for operating a VoIP terminal device and a VoIP terminal device
US8619978B2 (en)*2006-12-222013-12-31Pagebites, Inc.Multiple account authentication
US20080155669A1 (en)*2006-12-222008-06-26Ralph HarikMultiple account authentication
US11522839B1 (en)2007-03-142022-12-06International Business Machines CorporationRemote access service inspector
US10911415B1 (en)2007-03-142021-02-02Open Invention Network LlcRemote access service inspector
US8850547B1 (en)2007-03-142014-09-30Volcano CorporationRemote access service inspector
US20100031331A1 (en)*2007-05-112010-02-04Ntt It CorporationRemote Access Method
US8688971B2 (en)*2007-05-112014-04-01Ntt It CorporationRemote access method
US8196191B2 (en)2007-08-172012-06-05Norman James MCoordinating credentials across disparate credential stores
US20090049531A1 (en)*2007-08-172009-02-19Novell, Inc.Coordinating credentials across disparate credential stores
US8863246B2 (en)2007-08-312014-10-14Apple Inc.Searching and replacing credentials in a disparate credential store environment
US20090064290A1 (en)*2007-08-312009-03-05Novell, Inc.Searching and replacing credentials in a disparate credential store environment
US20090077638A1 (en)*2007-09-172009-03-19Novell, Inc.Setting and synching preferred credentials in a disparate credential store environment
US20100241861A1 (en)*2007-12-052010-09-23Tetsuro YoshimotoDhcp client server system, dhcp client device and dhcp server device
US20090199277A1 (en)*2008-01-312009-08-06Norman James MCredential arrangement in single-sign-on environment
US20090217367A1 (en)*2008-02-252009-08-27Norman James MSso in volatile session or shared environment
US9559929B2 (en)2008-06-242017-01-31Microsoft Technology Licensing, LlcNetwork bandwidth measurement
US8307093B2 (en)*2008-06-252012-11-06Microsoft CorporationRemote access between UPnP devices
US20090327496A1 (en)*2008-06-252009-12-31Microsoft CorporationREMOTE ACCESS BETWEEN UPnP DEVICES
CN101873330A (en)*2010-06-302010-10-27赛尔网络有限公司Access control method and server for supporting IPv6/IPv4 dual stack access
CN101873330B (en)*2010-06-302012-12-26赛尔网络有限公司Access control method and server for supporting IPv6/IPv4 dual stack access
US9058107B2 (en)*2011-03-292015-06-16Os Nexus, Inc.Dynamic provisioning of a virtual storage appliance
US20120254567A1 (en)*2011-03-292012-10-04Os Nexus, Inc.Dynamic provisioning of a virtual storage appliance
US9473577B2 (en)2011-03-292016-10-18Os Nexus, Inc.Dynamic provisioning of a virtual storage appliance
US20140165147A1 (en)*2012-12-062014-06-12Cisco Technology, Inc.Session Certificates
US9166969B2 (en)*2012-12-062015-10-20Cisco Technology, Inc.Session certificates
CN103313245B (en)*2013-05-282016-04-20中国联合网络通信集团有限公司Based on the Network access method of mobile phone terminal, equipment and system
CN103313245A (en)*2013-05-282013-09-18中国联合网络通信集团有限公司Network service access method, equipment and system based on mobile phone terminal
US10542569B2 (en)*2015-08-062020-01-21Tmrw Foundation Ip S. À R.L.Community-based communication network services
US20170041964A1 (en)*2015-08-062017-02-09Calay Venture S.à r.l.Community-based communication network services
US20170048260A1 (en)*2015-08-122017-02-16Wizard Tower TechnoServices Ltd.Method and system for network resource attack detection using a client identifier
US10264001B2 (en)*2015-08-122019-04-16Wizard Tower TechnoServices Ltd.Method and system for network resource attack detection using a client identifier
US10764287B2 (en)*2017-08-022020-09-01American Megatrends International, LlcSecure default user account for embedded systems
CN109996250A (en)*2017-12-292019-07-09洛阳中科晶上智能装备科技有限公司The method for detecting TCP connection state
US11405375B2 (en)*2018-09-272022-08-02Lenovo (Singapore) Pte. Ltd.Device and method for receiving a temporary credit token
CN112953833A (en)*2021-03-252021-06-11全讯汇聚网络科技(北京)有限公司Method, system and gateway equipment for realizing three-layer route forwarding based on network bridge
CN112953833B (en)*2021-03-252022-04-15全讯汇聚网络科技(北京)有限公司Method, system and gateway equipment for realizing three-layer route forwarding based on network bridge

Similar Documents

PublicationPublication DateTitle
USRE45532E1 (en)Mobile host using a virtual single account client and server system for network access and management
US6971005B1 (en)Mobile host using a virtual single account client and server system for network access and management
US7082535B1 (en)System and method of controlling access by a wireless client to a network that utilizes a challenge/handshake authentication protocol
GutzmannAccess control and session management in the HTTP environment
US7788705B2 (en)Fine grained access control for wireless networks
JP4777729B2 (en) Setting information distribution apparatus, method, program, and medium
US7231203B2 (en)Method and software program product for mutual authentication in a communications network
JP3877640B2 (en) Computer network security system using portable storage device
CN101621801B (en)Method, system, server and terminal for authenticating wireless local area network
US8762726B2 (en)System and method for secure access
US20080222714A1 (en)System and method for authentication upon network attachment
US20080022392A1 (en)Resolution of attribute overlap on authentication, authorization, and accounting servers
CN1842993B (en) provide certificate
KR20070032805A (en) System and method for managing user authentication and authorization to realize single-sign-on for accessing multiple networks
CN104620556A (en)Method and devices for registering a client to a server
CN101986598A (en)Authentication method, server and system
CiscoConfiguring Switch Access Using AAA
CiscoConfiguring Switch Access Using AAA
CiscoConfiguring Switch Access Using AAA
CiscoConfiguring Switch Access Using AAA
CiscoSwitch Access: Using Authentication, Authorization, and Accounting
CiscoSwitch Access: Using Authentication, Authorization, and Accounting
CiscoSwitch Access: Using Authentication, Authorization, and Accounting
CiscoSwitch Access: Using Authentication, Authorization, and Accounting
CiscoSwitch Access: Using Authentication, Authorization, and Accounting

Legal Events

DateCodeTitleDescription
ASAssignment

Owner name:AT&T CORP., NEW YORK

Free format text:ASSIGNMENT OF ASSIGNORS INTEREST;ASSIGNORS:HENRY, PAUL SHALA;JIANG, ZHIMEI;LUO, HUI;AND OTHERS;REEL/FRAME:012397/0538;SIGNING DATES FROM 20011024 TO 20011025

FEPPFee payment procedure

Free format text:PAYOR NUMBER ASSIGNED (ORIGINAL EVENT CODE: ASPN); ENTITY STATUS OF PATENT OWNER: LARGE ENTITY

FPAYFee payment

Year of fee payment:4

FPAYFee payment

Year of fee payment:8

REMIMaintenance fee reminder mailed
LAPSLapse for failure to pay maintenance fees

Free format text:PATENT EXPIRED FOR FAILURE TO PAY MAINTENANCE FEES (ORIGINAL EVENT CODE: EXP.)

STCHInformation on status: patent discontinuation

Free format text:PATENT EXPIRED DUE TO NONPAYMENT OF MAINTENANCE FEES UNDER 37 CFR 1.362

FPLapsed due to failure to pay maintenance fee

Effective date:20171129


[8]ページ先頭

©2009-2025 Movatter.jp