Movatterモバイル変換


[0]ホーム

URL:


US6755578B1 - Optical subassembly enclosure - Google Patents

Optical subassembly enclosure
Download PDF

Info

Publication number
US6755578B1
US6755578B1US10/011,685US1168501AUS6755578B1US 6755578 B1US6755578 B1US 6755578B1US 1168501 AUS1168501 AUS 1168501AUS 6755578 B1US6755578 B1US 6755578B1
Authority
US
United States
Prior art keywords
housing
gasket
piece
tongue
exemplary embodiment
Prior art date
Legal status (The legal status is an assumption and is not a legal conclusion. Google has not performed a legal analysis and makes no representation as to the accuracy of the status listed.)
Expired - Lifetime
Application number
US10/011,685
Inventor
Blake Mynatt
Dennis King
Jason Yorks
William Kit Dean
Mark Stiehl
Current Assignee (The listed assignees may be inaccurate. Google has not performed a legal analysis and makes no representation or warranty as to the accuracy of the list.)
Optical Communication Products Inc
Original Assignee
Optical Communication Products Inc
Priority date (The priority date is an assumption and is not a legal conclusion. Google has not performed a legal analysis and makes no representation as to the accuracy of the date listed.)
Filing date
Publication date
Application filed by Optical Communication Products IncfiledCriticalOptical Communication Products Inc
Priority to US10/011,685priorityCriticalpatent/US6755578B1/en
Assigned to CIELO COMMUNICATIONS, INC.reassignmentCIELO COMMUNICATIONS, INC.ASSIGNMENT OF ASSIGNORS INTEREST (SEE DOCUMENT FOR DETAILS).Assignors: DEAN, WILLIAM KIT, KING, DENNIS, MYNATT, BLAKE, STIEHL, MARK, YORKS, JASON
Assigned to GATX VENTURES, INC., AS AGENTreassignmentGATX VENTURES, INC., AS AGENTSECURITY AGREEMENTAssignors: CIELO COMMUNICATIONS, INC.
Assigned to OPTICAL COMMUNICATION PRODUCTS, INC.reassignmentOPTICAL COMMUNICATION PRODUCTS, INC.ASSIGNMENT OF ASSIGNORS INTEREST (SEE DOCUMENT FOR DETAILS).Assignors: CIELO COMMUNICATIONS, INC.
Priority to US10/813,994prioritypatent/US6880986B2/en
Application grantedgrantedCritical
Publication of US6755578B1publicationCriticalpatent/US6755578B1/en
Anticipated expirationlegal-statusCritical
Expired - Lifetimelegal-statusCriticalCurrent

Links

Images

Classifications

Definitions

Landscapes

Abstract

A housing for optoelectronic devices provides EMI shielding and axial strain suppression for optical fibers coupled to optoelectronic devices retained within the housing. The housing includes an internal septum for EMI shielding and a grounding scheme including relief features of the conductive housing coupled to internal grounding strips. The housing provides a first exemplary engaging/locking feature including an orthogonal tongue and a groove that receives the tongue, and a second exemplary engaging/locking feature that includes a groove having an intermittently varying cross-sectional area and that retains a gasket of constant cross-sectional area. Arms extend from tho housing and retain an optical fiber that is secured to the arm by an adhesive such that axial strain is not exerted at the point of optical coupling and a high optical coupling efficiency is maintained. In an exemplary embodiment, the housing includes an opening through a bottom surface, the opening bounded by beveled edges to aid in blind alignment of the housing over components formed on a mounting surface. The bottom of the housing includes a recessed portion that retains a gasket. The recessed portion receives a gasket of constant thickness and includes a gap of varying thickness that provides for sufficient compression throughout the gasket and a tight, EMI-shielding seal formed between the housing and the mounting surface.

Description

CROSS-REFERENCE TO RELATED APPLICATION
This application claims priority of U.S. application Ser. No. 60/254,420, entitled “Optical Subassembly Enclosure”, filed on Dec. 8, 2000, the contents of which are hereby incorporated by reference.
FIELD OF THE INVENTION
The present invention relates, most generally, to optoelectronic telecommunications systems. More particularly, the present invention relates to an enclosure for housing optical subassemblies and associated components.
BACKGROUND OF THE INVENTION
Optoelectronic devices such as vertical cavity surface emitting lasers (VCSELs) and other lasers, photodiodes and other photodetectors, have become widely used in the telecommunications and other industries. In optoelectronic devices, an electrical signal is converted to an optical signal that travels along a transmission medium such as an optical fiber and is then typically converted back to an electrical signal. A high optical coupling efficiency ensures good optoelectronic connections. The electrical-to-optical optoelectronic connections are typically made in optical subassemblies (OSAs) such as TOSAs (transmission OSAs) and ROSAs (receiving OSAs). The optoelectronic devices and the connection of the optical transmission media to the optoelectronic devices are typically delicate, and therefore an OSA having stable mechanical support as well as a high quality optical connection, helps ensure a high optical coupling efficiency.
The optoelectronic devices commonly used in today's telecommunication industry typically operate at high frequencies such as 2.5-10 GBPS (gigabits per second) and higher. Therefore, when an OSA and the associated high frequency components are joined to a customer board or other mother board which contains low frequency components, it is desirable to suppress EMI (electromagnetic interference) noise from adversely affecting other portions of the module circuitry such as circuitry operating at other frequencies. Optoelectronic devices, and the various OSAs which contain them, are typically included in an enclosure or housing that contains various other electronic components and is joined to the customer board or other mother board. The housing may be configured to be mounted over further electronic components mounted on the customer board.
SUMMARY OF THE INVENTION
The present invention provides a housing for housing optoelectronic components such as TOSAs and ROSAs, printed circuit boards, and the like. The housing is suitable for various optoelectronic devices. In one exemplary embodiment, the housing is a multiple-piece housing which, according to one exemplary embodiment of the invention, includes an internal septum that suppresses high frequency noise such as EMI and RFI from traveling between the chambers of the housing.
According to another embodiment of the invention, the housing includes a peripheral engaging feature including a groove, a gasket, and a tongue that is received within the groove and compresses the gasket. The peripheral engaging feature may be used to suppress high frequency noise such as EMI and RFI. According to another exemplary embodiment, the present invention provides a channel having a cross-sectional area that varies intermittently along the longitudinal direction. The corrugated channel retains a gasket and allows for an improved and continuously tight seal to be formed between the components which combine to form the multiple-piece housing.
According to another exemplary embodiment, the housing of the present invention includes an opening through its bottom surface. The housing is mounted on a mounting surface such that components formed on the mounting surface are nested within the housing. The bottom of the housing includes a recessed portion having a bowed surface and a gasket received within the recessed portion. The gasket combines with the bowed recessed portion to form a tight seal between the housing and the mounting surface. The tight seal is capable of suppressing EMI and RFI noise.
According to another exemplary embodiment, the housing of the present invention includes internal grounding leads which contact relief features of the conductive housing and direct internal errant signals to the internal grounding strips and eventually the intended ground path.
According to another exemplary embodiment, the present invention includes an opaque housing having an internal portion and an external portion and a bottom surface having an opening therethrough. The opening through the bottom is bounded by beveled edges that aid in the blind alignment of the housing over components formed on the mounting surface.
According to yet another exemplary embodiment, the housing further includes means for alleviating axial strain on optical fibers extending from the housing and optically coupled to optoelectronic devices within the housing. The present invention provides arms that extend from the housing and retain optical fibers. The optical fiber is joined to the arm by means of an adhesive. Axial strain at the optical connection is alleviated because the optical fiber is affixed to the housing at a point external to the optical connection, and therefore no strain is exerted at the optical coupling point and the optical coupling efficiency is not compromised. A pocket formed in the arm of the enclosure contains the adhesive which bonds the optical fiber to the enclosure arm.
BRIEF DESCRIPTION OF THE DRAWINGS
The present invention is best understood from the following detailed description, when read in conjunction with the accompanying drawings. It is emphasized that, according to common practice, the various features of the drawings are not to scale. On the contrary, the dimensions of the various features are arbitrarily expanded or reduced for clarity and to emphasize features of the present invention. Like numerals refer to like feature throughout the specification and drawings. Included are the following figures:
FIG. 1 is a perspective view showing an exemplary lower portion of the optoelectronic housing of the present invention;
FIG. 2 is a perspective view showing an exemplary upper portion of the optoelectronic housing of the present invention;
FIG. 3 is a perspective view of the lower portion of the optoelectronic housing including internal components and showing OSAs coupled to optical fibers;
FIG. 4 is a cross-sectional view showing an optical fiber secured to a pocket formed in an arm portion of the optoelectronic housing of the present invention;
FIG. 5 is a cross-sectional view showing an optical fiber secured to a complete arm of the optoelectronic housing of the present invention;
FIG. 6 is a cut-away perspective view showing internal sections of an assembled optoelectronic housing of the present invention;
FIG. 7 is a cross-sectional view of an exemplary peripheral engaging/locking feature of the present invention;
FIG. 7A is an expanded cross-sectional view of the peripheral engaging/locking feature shown in FIG. 7;
FIG. 8 is a cross-sectional view showing another exemplary embodiment of a peripheral engaging/locking feature of the present invention;
FIG. 9 is a perspective view showing exemplary grounding strips of an exemplary grounding scheme of the present invention;
FIG. 10 is a side view of elements of the exemplary grounding scheme of the present invention;
FIG. 11 is a perspective view of a corrugated channel of an exemplary engaging feature of the present invention;
FIG. 12 is an expanded perspective view of the corrugated channel of the engaging feature of the present invention;
FIG. 13A is a plan view of an exemplary corrugated channel of the present invention;
FIG. 13B is a cross-sectional view of a wide portion of the corrugated channel of the present invention;
FIG. 13C is another exemplary cross-sectional view of a narrow portion of the corrugated channel of the present invention;
FIG. 14 is a cross-sectional view showing a gasket within an engagement feature including the corrugated channel of the present invention;
FIG. 15 is a side view of an exemplary optoelectronic housing of the present invention;
FIG. 16 is a plan view of the bottom of an exemplary optoelectronic housing of the present invention;
FIG. 17 is an expanded side view of the optoelectronic housing of the present invention showing a recessed portion on the bottom of the housing;
FIG. 18 is a perspective view showing the bottom of an exemplary optoelectronic housing including a sealing gasket; and
FIG. 19 is a perspective view of the bottom of an exemplary optoelectronic housing according to the present invention including an opening surrounded by beveled edges.
DETAILED DESCRIPTION OF THE INVENTION
The present invention provides an enclosure for housing optoelectronic components. The enclosure may alternatively be referred to as a housing and may be produced by machining, or it may be die cast.
According to an exemplary embodiment, the housing may be a two-piece enclosure including a lower portion such as shown in FIG.1 and an upper portion such as shown in FIG.2. The housing is designed to be mounted on a customer board or other mother board. The housing includes various optoelectronic devices retained internally. Multiple OSAs may be included within the housing. According to an exemplary embodiment, the housing may include both a TOSA and ROSA. The TOSA and ROSA may advantageously be mounted upon a printed circuit board (PCB) sized to fit securely within the housing. In one embodiment, the TOSA and ROSA may be shielded from another to minimize cross-talk. The OSAs may included VCSELs (vertical cavity surface emitting lasers) or other lasers configured to emit light generally along a direction parallel to the printed circuit board and the external board on which the housing is mounted. The OSAs include the optical connection between the optoelectronic device and an optical fiber that may extend out of the housing through an arm. In an exemplary embodiment, the arms extend from the sides of the housing and generally parallel to the external mounting board on which the housing is mounted. The internal printed circuit board may include electronic components mounted on each of its upper and lower surfaces. The bottom of the housing may include an opening through which internal components are coupled to traces and other electronic components included on the customer board on which the housing is mounted. The opening in the bottom of the housing may also enable the housing to be mounted on the mounting board and over electronic components formed on the mounting surface such that the electronic components are covered and essentially internal to the housing. Components formed on the bottom of the internal PCB may be positioned within the opening. In another exemplary embodiment, an internal printed circuit board may not be used and the internal components may be secured within the housing using other media.
The upper and lower portions that combine to form the housing may each be formed of aluminum, zinc or conventional alloys such as aluminum alloys, zinc alloys and other suitable alloys or conductive materials. For example, Zamac No. 3, which is a zinc alloy, or aluminum 383, may be used. The housing is sized and shaped in accordance with the components which it will house and in accordance with its application. Generally speaking, when OSAs including high frequency devices are used, the associated high frequency components used to power and monitor the high frequency optoelectronic devices, are located in close proximity to the high frequency optoelectronic devices in order to minimize the length of the connection and maintain a controlled impedance. These high frequency components are shielded, for example from other components to prevent high frequency noise such as EM waves from degrading the performance of the other components. The low frequency components located within and external to the housing must be shielded from noise such as EMI and RFI noise. Furthermore, errant signals within the housing may be grounded to avoid degrading the performance of the various components in and near the housing. The pieces that combine to form the housing may be tightly sealed and the housing is joined to the mounting board with an advantageously tight seal to suppress EM waves from propagating through the interface formed between the portions that combine to form the housing or between the housing and the mounting board.
According to one exemplary embodiment, the present invention provides an internal septum that suppresses noise from escaping the internal chamber in which it is produced and also suppresses external noise from entering the chamber. According to another embodiment of this invention, the suppression of high frequency noise and cross-talk is achieved by a novel engaging/locking mechanism disposed peripherally around the housing. According to still another aspect of the present invention, a corrugated channel having a varying cross-sectional area is used to retain a gasket and enables a tight seal to be formed between opposed sealing surfaces of the respective portions that combine to form the multiple-piece housing. According to yet another aspect of the present invention, a grounding scheme is provided to direct errant signals through the conductive housing and to an internal ground. Another aspect of this exemplary embodiment is a tight seal formed between the bottom of the housing and the mounting surface. This tight seal prevents the loss of EM waves from components formed on the mounting surface, that extend within an opening through the bottom of the housing. According to still another aspect of this embodiment, axial strain upon the optical fiber is relieved and a high optical coupling efficiency is achieved. This embodiment also provides for the blind alignment of the opaque housing over optical components due to beveled edges formed around an aperture extending through the bottom of the housing.
Now turning to the figures, FIG. 1 is a perspective view showing an exemplary lower portion of an exemplary optoelectronic housing of the present invention. According to the exemplary embodiment,lower portion5 combines withupper portion45 shown in FIG. 2 to form an exemplary two-piece enclosure or housing of the present invention. According to other exemplary embodiments, more than two portions may be combined to form the housing.Lower portion5 includesbottom7 andsidewalls9.Sidewalls9 defineinterior11.Interior11 includesbottom surface13 in one area andaperture15 extends throughbottom7 oflower portion5 in another area.Lower portion5 also includesribs17 and19. Withinsidewall9 and extending peripherally aboutlower portion5, groove21 extends downward fromupper surface23 ofsidewall9. Each ofbottom7 andbottom surface13 are generally flat.Internal ribs17 and19 provide a base upon which an integral printed circuit board or other component-containing member may rest. According to an exemplary embodiment, a printed circuit board (not shown) extends overaperture15 where components such as connectors which may be formed on the underside of the printed circuit board, may be coupled to external components.
According to one exemplary embodiment, a pair of OSAs may be mounted within the housing such as on a printed circuit board at approximatelylocations37 and39. In an exemplary embodiment in which the two OSAs are a TOSA and ROSA,partition41 is provided to minimize cross-talk between the transmit and receive optical subassemblies. According to other exemplary embodiments,partition41 may not be needed or partitions of other suitable shapes may be used. According to an exemplary embodiment, the housing may include one or more arms that extend from the sides of the housing and are capable of retaining an optical fiber having a fiber launch direction being generally parallel tobottom surface13 and also generally parallel to the mounting surface on whichbottom7 is advantageously mounted. In this manner, the optical fibers are retained for coupling to an optoelectronic device configured to transmit or receive light along a direction generally orthogonal tobottom surface13 andbottom7. In an exemplary embodiment, the arms are generally cylindrical and shaped to guide an optical fiber, internally connected to an OSA mounted ininterior11, out of the housing. In an exemplary embodiment, each arm is formed of sections of more than one portion that combine to form the multiple-piece housing of the present invention. As such, FIG. 1 shows a duality oflower arm portions25L. Each oflower arm portions25L combines with a corresponding upper portion to form a generally cylindrical arm that encircles and axially retains an optical fiber in an exemplary embodiment. Each exemplary arm includesproximate portion27 anddistal portion29. Proximate portion includes width28, which is greater thanwidth30 ofdistal portion29.Lower arm portion25L includesrecess31 andaxial opening33, which extends concentrically through the arms, in one exemplary embodiment. Other, non-cylindrical arm configurations may be used alternatively. Moreover, according to other exemplary embodiments, opening33 may extend non-concentrically through the arms.
FIG. 2 is a perspective view showingupper portion45 of an exemplary housing of the present invention.Upper portion45 may be joined tolower portion5 shown in FIG. 1, to form an exemplary housing.Upper portion45 includes sidewalls47 and top57.Sidewalls47 includetongue49 which extends belowsurface48 which may be a sealing surface joined to a surface of the lower housing portion when the upper and lower portions are engaged, in an exemplary embodiment.Upper portion45 includesribs51 andseptum53.Upper arm portions25U include recesses55. According to an exemplary embodiment, when upper and lower portions are joined to form the optical housing of the present invention,septum53 may provide EMI shielding andrib51 may contact a grounding strip to direct errant EM waves to ground.Tongue49 may be received within a corresponding groove formed within the lower portion, such asgroove21 shown in FIG.1.
Axial Strain Suppression
One aspect of the present invention is the suppression of axial strain that may be externally exerted upon an optical fiber. FIG. 3 shows OSAs65 which each include an internal optoelectronic device and secure a respectiveoptical fiber61.Optical fiber61 is terminally encased withinferrule63 which extends intoOSA65. Ferrule63 andoptical fiber61 may include co-planar ends or their respective ends may be in close proximity to one another. OSAs65 may include various configurations for coupling an optical fiber to an optoelectronic device according to the various exemplary embodiments. In one exemplary embodiment,OSAs65 may include a barrel shaped receptacle for retainingferrule63 andoptical fiber61. WithinOSA65,optical fiber61 is secured and optically coupled to an optoelectronic device included withinOSA65. The end ofoptical fiber61 may contact the optoelectronic device withinOSA65 or it may be spaced from the optoelectronic device withinOSA65. According to either of the foregoing exemplary embodiments, the optical coupling arrangement may be a delicate and precise arrangement and the correct positioning of the optical plane of the end of theoptical fiber61 is helpful to ensure high optical coupling efficiency.Ferrule63 may optionally be affixed toOSA65 by various conventional means.
Optical fiber61 is tightly encased within a jacket that extends along the length of the fiber. The jacket provides mechanical support and protects the fiber. If axial strain is asserted uponoptical fiber61 in an outward direction, the quality of the mechanical connection to the optoelectronic device withinOSA65 will be compromised and the optical coupling efficiency will be diminished.Optical fiber61 may extend for several hundred meters and, as such, there is a considerable likelihood that outward axial strain may be exerted uponoptical fiber61. The fiber launch direction is generally parallel to the mounting surface upon whichlower portion5 is mounted, increasing the likelihood of axial strain being exerted.Optical fiber61 extends through exemplaryaxial opening33 formed within the arm.Recess31 formed internal tolower arm portion25L, partially engulfsoptical fiber61.Lower arm portion25L is an integral projection oflower portion5 and is a continuous portion thereof. The arm formed whenlower arm portion25L is joined toupper arm portion25U, is configured to retain portions offerrule63 within widerproximate portion27 of the arm andoptical fiber61 in the narrowerdistal portion29 of the arm. Recess orpocket31 is formed withindistal portion29.
Strain relief is achieved by including an adhesive such as a conventional epoxy inrecess31, then placingoptical fiber61 into position. The epoxy may be a conventional UV-curable epoxy or other suitable epoxies. According to one exemplary embodiment, Locktite352 may be used. Other suitable adhesives may be used alternatively. According to one exemplary embodiment, a drop of adhesive is introduced intorecess31, thenoptical fiber61 may be aligned into position by means ofconical alignment member67 or by placingupper arm portion25U shown in FIG. 2, into position over correspondinglower arm portion25L oflower portion5 to form the housing. A volume of adhesive may be added such that the adhesive at least partially (and maybe completely) surroundsoptical fiber61 whenoptical fiber61 is in position within the completed arm formed oflower arm portion25L andupper arm portion25U.Optical fiber61 is therefore directly secured to the arm at a pointpast ferrule63, relative to the housing.
FIG. 4 is a cross-sectional view taken alongline44 of FIG.3 and showsoptical fiber61 secured into an exemplary position. Referring to FIG. 4, adhesive77 is added within pocket orrecess31 oflower arm portion25L of the housing and thenoptical fiber31 is placed into position as above. The adhesive may then be cured or otherwise solidified. According to this exemplary embodiment,upper arm portion25U may be secured overlower arm portion25L without adding any further adhesive.
According to another exemplary embodiment such as shown in FIG. 5, adhesive77 may circumferentially surroundoptical fiber61 and may further extend within a correspondingrecess55 formed intop portion45 andopposite recess31 formed inlower arm portion25L. Although the shape of the recess shown in the cross-sectional representation of the combination oflower arm portion25L andupper arm portion25U is essentially rectangular, such is intended to be exemplary only and the recesses may take on other configurations in other exemplary embodiments. After the arrangement such as shown in FIGS. 4 and 5 is formed, the adhesive may be treated or allowed to solidify to secureoptical fiber61 into position. In the exemplary embodiment in which adhesive77 is an epoxy, the epoxy may be cured by UV-curing, temperature curing, or other curing means to secureoptical fiber61 into position. The curing process may take place before or afterupper arm portion25U is placed into position as shown in FIG.5.
Now returning to FIG. 3, it can be seen that any axial strain exerted uponoptical fiber61 is not transferred to the point whereoptical fiber61 is coupled to the optoelectronic device secured withinOSA65. In this manner, the optical coupling efficiency may be increased by not allowing the strain to propagate through to theferrule63.
Recesses31 and55 may be formed by machining or they may be formed as part of the die cast. The generally cylindrical shape of the arms and the generally axial positioning ofoptical fiber61 within the arms formed of upper andlower arm portions25U and25L, respectively, is intended to be exemplary only. The arms are generally configured to retain an optical fiber therein, the optical fiber generally extending substantially parallel to the top and bottom surfaces of the housing. Other arm shapes may be used in other exemplary embodiments.
FIG. 3 also shows printed circuit board (PCB)69 positioned withininternal portion11 oflower portion5.PCB69 includestop surface71 and extends overbottom surface13 andaperture15 such as shown in FIG.1. Variousexemplary components75 are formed ontop surface71 ofPCB69. Dashed line73 generally represents the location along whichexemplary septum53 of upper portion45 (shown in FIG. 2) will be positioned.
Internal Septum for Noise Suppression
According to another exemplary embodiment of the present invention, an internal septum and gasket combination shields internal high frequencies from escaping from the localized compartment in which the active high frequency generating components are included. An exemplary internal septum is shown asseptum53 shown in FIG.2.Septum53 is integrally formed as part ofupper portion45 and extends substantially vertically from top57 ofupper portion45. Whenupper portion45 is engaged withlower portion5 shown in FIG. 1 to form an exemplary housing of the present invention,septum53 extends laterally across the enclosure, just forward ofaperture15 shown in FIG.1 and functions as an internal septum, separating a first section of the internal chamber from a second section of the internal chamber.Septum53 may alternatively be described as an internal wall that forms a septum in combination with a gasket, as will be shown in FIG.6.
Referring again to FIG. 3, it can be seen thatvarious components75 are formed on printedcircuit board69 which is seated withinlower portion5 and extends from front to back according to the arbitrary spatial designation assigned in FIG.3.Septum53, shown in FIG. 2, generally extends along dashed line73 shown in FIG. 3 whentop portion45 shown in FIG. 2 is secured in position overlower portion5 shown in FIG.1. According to an exemplary embodiment, components on printedcircuit board69 that are forward of dashed line73, such asOSAs65, may be high frequency components. Meanwhile, components such ascomponents75 that are rearward of dashed line73 may operate at other, lower frequencies. Beneath these lower frequency components, additional low speed components may be included on the underside and beneath printedcircuit board69. Similarly, additional low frequency components may be included external to the housing and may be coupled to internal components such as throughaperture15 shown in FIG.1.Septum53 is therefore positioned to prevent the escape of high frequency EMI noise from the internal chamber portion in which the high frequency components are housed, such as forward of dashed line73. According to other exemplary embodiments,septum53 may separate two substantially internal chambers from one another, such as a TOSA-containing chamber from a ROSA-containing chamber. In an exemplary embodiment, the TOSA may include a VCSEL or other optical source and the ROSA may include a photodiode or other exemplary photodetectors.Septum53 may be generally formed to shield components of one chamber of the housing from other components, and vice versa, regardless of the operating frequencies and functions of the components.
Still referring to FIG. 3, when the upper and lower portions are engaged with exemplary printedcircuit board69 in place,septum53 is sized so that it nearly forms an interface withupper surface71 of printedcircuit board69. The gap which would otherwise form between the lower surface ofseptum53 andupper surface71 of printed circuit board10 is filled by a resilient member such asgasket79 shown in FIG.6.
FIG. 6 is a cutaway view taken longitudinally through an exemplary assembled housing includingupper portion45 joined tolower portion5. Printedcircuit board69 includesupper surface71 andbottom surface89.Components91 formed onbottom surface89 extend withinaperture15 oflower portion5.Septum53 extends downward fromtop section45. Together withgasket79,septum53 forms a shield that shields EMI from the left side of theseptum53/gasket79 configuration, from components on the right side thereof, and vice-versa.Septum53 extends completely across the enclosure and the gap that otherwise would exist betweenbottom83 ofseptum53 andsurface71 ofPCB69 is filled bygasket79.Gasket79 is formed of an insulating material such as a conventional resilient elastomer material or other suitable materials.Lower surface85 ofgasket79 is formed of this insulating elastomer. The other surfaces ofgasket79 are formed ofconductive material87, which may be gold plated brass according to an exemplary embodiment. Other suitable conductive materials may be used alternatively.Upper surface81 ofgasket79 covered withconductive material87, contacts bottom83 ofseptum53. Insulatinglower surface85 ofgasket79 forms an interface withupper surface71 to prevent electrical shorting between conductive traces formed onupper surface71.Gasket79 containsconductive material87 on its sides to form a continuous and impenetrable signal barrier in conjunction withseptum53 which it contacts. In an exemplary embodiment,gasket79 may include a D-shaped or semicircular cross-section with the flat section oriented downward and contactingupper surface71. In this manner, a metallic signal barrier may be formed continuously fromupper surface71 to the top ofupper portion45 by means of theseptum53/gasket79 combination. According to this arrangement, noise such as EMI produced by the active component circuitry is reduced or suppressed from leaving the localized area of the chamber portion in which it is generated. Such EMI noise may be directed alongseptum53 and/orconductive material87 to a ground path, which may be internal to said housing.
The positioning and configuration of the septum Is intended to be exemplary only. Various other arrangements may be used to shield high frequency components from other components and the septum may be shaped and positioned differentiy depending on the location of the various components in order to optimally suppress transmission of the energy generated by the active circuitry, or to preclude external interference from affecting the module generators. According to one exemplary embodiment, the septum/gasket configuration may be formed to divide a chamber portion containing a ROSA from another chamber portion containing a TOSA.
Engaging/Locking Feature for Noise Suppression
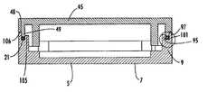
According to another aspect of the present invention, an engaging/locking mechanism extends peripherally around the housing to provide a tight seal between the portions of the housing and suppress noise produced by high frequency signals such as internally generated EMI radiation and RFI noise produced external to the housing. Aspects of the engaging/locking mechanism are described in conjunction with FIGS. 1,2,7,7A and8. FIG. 1 showsexemplary groove21 extending peripherally aroundlower portion5 and FIG. 2shows corresponding tongue49 extending peripherally aroundupper portion45.Tongue49 is received withingroove21 when the upper and lower portions are engaged.Groove21 has a generally rectangular cross-section and may alternatively be referred to as a channel. In one exemplary embodiment, a gasket is included withingroove21 and beneathtongue49 when the upper and lower portions are engaged.
FIG. 7 shows a representative cross-section of an exemplary engaging/locking mechanism of the present invention.Tongue49 extends down fromupper portion45 and is received withingroove21 formed withinsidewall9 oflower portion5.Tongue49 is generally orthogonal and includes a series of 90° bends.Tongue49 extends orthogonally fromupper surface48, which essentially forms a ledge. As discussed previously, bothtongue49 andgroove21 may each extend peripherally around the housing to mate with each other. Other arrangements may be used alternatively.Gasket101 is placed withingroove21 and may be a continuous member sized to extend completely withingroove21.Gasket101 may be a conventional gasket chosen to have appropriate shielding effectiveness to shield high frequencies. According to an exemplary embodiment,gasket101 may be formed of an elastomer, for example, it may be an EMI gasket including silver plated copper impregnated in a silicon elastomer, but other suitable materials may be used alternatively. According to various exemplary embodiments,gasket101 may be an elastomeric gasket either impregnated, coated or otherwise encased in an electrically conductive material.Groove21 extends downward insidewall9 and is bounded bysides95 and97 which are of different height.Sides95 and97 includetop surfaces105 and106, respectively.Outer side97 includesupper surface106 that contactsupper surface48 oftop portion45 when the upper and lower portions of the housing are engaged. In an exemplary embodiment, upper surface orledge48 forms a conterminous boundary withtop surface106. The interface formed betweenupper portion45 andlower surface5, includes 90° bends.
FIG. 7A is an expanded cross-sectional view of a portion of FIG.7. In the exemplary embodiment,tongue49 includesledge107 which rests ontop surface105 ofinner side95 ofsidewall9. According to other exemplary embodiments,groove21, sides95 and97 andtongue49 may have other suitable cross-sectional shapes to enablegroove21 to retaingasket101 and receivetongue49. For example, sides95 and97 may be the same height. According to the various embodiments,groove21 is a deep groove capable of retaininggasket101 and receivingtongue49.
FIG. 8 is a cross-sectional view of another arrangement of an exemplary engaging/locking feature and shows the arrangement prior to the engagement ofupper portion45 andlower portion5, and therefore prior to the compression ofgasket101.Sides108 and109 ofsidewall9 are the same height in the exemplary embodiment shown in FIG.9. In this exemplary embodiment, each of inner andouter surfaces113 ofupper portion45 forms a substantially conterminous boundary with correspondingtop surfaces110 and111 ofsides108 and109, respectively. When the portions are engaged and such a boundary is formed,tongue49 compresses gasket101 withingroove21.Compressed gasket101 therefore contacts each oftongue49 and the inner surfaces ofgroove21.
Referring to the embodiments shown in FIGS. 7,7A and8, whenupper portion45 is engaged withlower portion5 such that the mating surfaces are in contact,orthogonal tongue49 extends intogroove21 and compressesgasket101.Gasket101 may have a circular cross-section when in a relaxed state but other gasket configurations may be used In other embodiments. The combination oftop portion45 includingtongue49,gasket101 andlower portion5, provides a shield against EMI radiation escaping from internal portions of the enclosure to external portions of the enclosure. In this embodiment, EMI radiation cannot easily escape through the orthogonal interface formed between the upper and lower portions in the exemplary embodiments. Even if the interface formed between110 and113, and111 and113 of FIG. 8 does not include a perfect seal,tongue49 helps prevent EMI radiation from escaping because there is no crevice available to act as a slot antenna. The interface formed between the upper and lower portions is not a simple planar interface. The corners formed byorthogonal tongue49 can cancel out EMI waves as they attempt to propagate through the interface formed by the engaging/locking feature. Since any high frequency signal or other forms of noise such as EMI radiation typically travels along the Interface formed between the upper and lower portions, the 90° bends provided by the engaging/locking feature of the present invention, cause the electromagnetic waves to induce charge on the surface of the conductive housing that provides an electromagnetic field which partially cancels the incident electromagnetic wave. When electromagnetic waves are forced to traverse corrugation such as the 90° bends produced, the electromagnetic waves are attenuated or completely destroyed and do not successfully traverse the interface.
Grounding Scheme
According to another exemplary embodiment, the present invention provides a grounding scheme. The grounding scheme provides for grounding the conductive housing through the intended grounding path. Grounding leads are formed along either or both of the top and bottom surfaces of a printed circuit board such as printedcircuit board69 shown in FIG.3. According to an exemplary embodiment, each of the top and bottom surface of the printed circuit board contains a set of grounding leads that are formed along the side edges and which generally extend from front to back according to the arbitrary spatial designations assigned in FIGS. 3 and 9. FIG. 9 shows printedcircuit board69 which includes a set of grounding leads117 formed ontop surface71. Grounding leads117 may be formed using conventional methods and may formed of lead or tin or other suitable conventional materials. Eachgrounding lead117 may extend along or in close proximity to edge119 and may also extend from the front to the back of printedcircuit board69. In the exemplary embodiment shown, each of grounding leads117 forms a straight strip. This is exemplary only and according to other exemplary embodiments, the grounding leads may take on different shapes and be placed in different locations. In an exemplary embodiment, further grounding leads will also be formed on the bottom surface of printedcircuit board69. The grounding leads formed on the bottom surface of printedcircuit board69 may take on various configurations and in an exemplary embodiment they may be formed opposite the grounding leads formed onupper surface71.
FIG. 10 is a cross-sectional view showinggrounding lead117 formed ontop surface71 andgrounding lead121 formedopposite grounding lead117 onbottom surface91. The corresponding upper and lower grounding leads are electrically coupled through via123. Via123 also provides coupling tointernal ground plate125. According to other exemplary embodiments, printedcircuit board69 may include multiple grounding plates such as the singularinternal grounding plate125 illustrated in FIG.10. According to another exemplary embodiment in which upper and lower grounding leads117 and121 respectively, are not formed opposite each other, multiple vias may be used to separately couple the respective grounding strips to the internal ground plate.
The housing may be formed of a conductive material and is designed so that when the upper and lower portions of the housing are engaged by clamping or other fastening means, each of the upper and lower portions of the housing are grounded to the grounding leads such as grounding leads117 and121 of printedcircuit board69. More specifically, each of the upper and lower portions of the housing include relief features that mechanically contact either the upper or lower grounding lead when the portions of the housing are engaged. For example, as shown in FIG. 1,ribs17 and19 oflower portion5 may mechanically contactlower grounding lead121 of printedcircuit board69 when the printed circuit board is inserted within the housing and the portions of the housing are engaged. Similarly,ribs51 ofupper portion45 shown in FIG. 2 may mechanically contactupper grounding lead117 shown in FIG.9. The various ribs for providing mechanical contact as shown in FIGS. 1 and 2 are intended to be exemplary only. Various other relief features may be used to ensure that, when the upper and lower portions of the housing are engaged, mechanical contact is made between the grounding leads and the upper and lower portions of the housing.
Theinternal ground plate125 integral to printedcircuit board69 is therefore electrically coupled or grounded to the grounding leads formed on the top and bottom of the printed circuit board as well as to directly to the upper and lower portions of the conductive housing. In this manner, errant signals travel through the conductive housing to the internal ground plate which directs errant signals along an intended grounding path which may be external to the housing.
Corrugated Channel for Improving Sealing and EMI Shielding Performance
According to another exemplary embodiment, the present invention provides a channel having a cross-sectional area that varies along the longitudinal direction of the channel. The corrugated channel is configured to receive a gasket and to provide for a uniform seal between the facing sealing surfaces of the multiple portions that combine to form the housing of the present invention. The cross-sectional area of the corrugated channel may vary intermittently along regular or irregular intervals. The varying cross-sectional area may include a plurality of minimum cross-sectional area portions for tightly securing a gasket having a constant cross-sectional area chosen to fit snugly within the minimum cross-sectional area portions of the channel. By retaining a gasket having a constant cross-sectional area within the irregular channel, the gasket in this embodiment achieves added compression only at “pinch points” (points of minimum cross-sectional area), and therefore an increase in contact pressure can be used to secure the upper portion of the housing without fear of bunching the gasket and forming gaps between the facing sealing surfaces at locations between fastening points, as a result. According to the embodiment in which an upper portion and lower portion combine to form a two-piece housing, the lower portion may include the corrugated channel and gasket. According to other exemplary embodiments, the corrugated channel may be included in the upper portion of the housing or it may be included in each of the upper and lower portions. According to other multiple-piece housing embodiments, any or all of the portions may include the corrugated channel and gasket.
FIGS. 11 and 12 are perspective views showingirregular channel131 formed withinsidewall9 oflower portion5.Irregular channel131 extends downward fromupper sealing surface133 and withinsidewall9.Lower portion5 will be joined to an associated upper portion (not shown) to form the multiple-piece housing of this embodiment of the present invention. When joined,upper sealing surface133 will advantageously contact a facing sealing surface of the upper portion.
When a gasket (not shown) having a substantially constant cross-sectional area is placed withinirregular channel131 formed withinupper sealing surface133 oflower portion5, and a cover in the form of an upper portion is positioned into place overlower portion5, the varying cross-sectional area ofcorrugated channel131 allows for an increased pressure to be applied to join the portions together to form the housing. Regularly spaced fastening means such as screws, may be used to join the portions together to form the housing after a gasket is placed withinirregular channel131.Irregular channel131 and the gasket allow for a tight and uniform seal to be formed between the opposed sealing surfaces. The design of the irregular channel of the present invention provides for maximum compression of the gasket only at the pinch points, and therefore prevents the gasket seated within the irregular channel from bunching and preventing facing sealing surfaces of the upper and lower portions from forming a conterminous boundary at such bunching locations between the fastening members. According to sealing methods of prior art, a space could result between the intended sealing surfaces and of the upper and lower portions due to springing or flexing of the housing in locations between the fastening members. The present arrangement prevents springing or flexing of the housing portions. The openings produced by springing or flexing of the housing portions of the prior art, reduce the housing shielding effectiveness by allowing for the transmission of EMI or RFI noise into or out of the housing. Screws, clamps or other fastening means may be used to join the upper and lower portions at the fastening points.
Exemplaryrounded projections135 extend intoirregular channel131 to vary the cross-sectional area ofirregular channel131 along the longitudinal direction. Although shown asrounded projections135 that extend intoirregular channel131 in each of FIGS. 11 and 12, various other configurations for producing a channel having an intermittently varying cross-sectional area along its longitudinal direction may be used. Furthermore, the indentations that project intoirregular channel131 need not be formed at opposed locations and across from each other within the channel. In an exemplary embodiment,irregular channel131 includes regularly repeating minimal cross-sectional area portions.
FIG. 13A is a top view of the irregular channel. Corrugated orirregular channel131 includesnarrow sections141 andwide sections143.Irregular channel131 extends downward fromupper sealing surface133.Gasket139 is included withinirregular channel131.Gasket139 includes a generally constant cross-sectional area indicated bydiameter145 according to the embodiment in which gasket139 is round. A cross-sectional view taken alongline13B—13B ofwide section143 is shown in FIG.13B.
In FIG. 13B it can be seen thatgasket139 is not tightly seated withinwide section143 ofirregular channel131.Wide section143 is so designated becausewidth144 at the top ofwide section143 anddepth153 ofwide section143 provide a greater cross-sectional area than the corresponding dimensions innarrow section141.Gasket139 is in a non-fully compressed state inwide section143. In an exemplary embodiment,gasket139 may be minimally compressed when an opposed, generally flat sealing surface mates withupper sealing surface133.Gasket139 includes an essentially constant cross-sectional area anddiameter145.Gasket139 may be formed of conventional compressible materials such as commercially available elastomers and may be either impregnated, coated, or otherwise encased in an electrically conductive material.Gasket139 may be a solid gasket such as shown in the exemplary embodiments shown in FIGS. 14B and 13C, or it may include a hollow core.
FIG. 13C is a cross-sectional view taken alongline13C—13C ofnarrow section141 shown in FIG.14A.Narrow section141 is produced at locations in which opposedrounded projections135 are formed inirregular channel131.Narrow section141 includeswidth142 alongupper sealing surface133 anddepth155.Width142 anddepth155 ofnarrow section141 are chosen in this embodiment, so that the cross-sectional area ofnarrow section141 is less than that ofwide section143. FIG. 13C shows thatgasket139 is essentially tightly sealed withincorrugated channel131 atnarrow section141. In this embodiment,narrow section141 may be considered a pinch point forgasket139 and represents the minimal cross-sectional area of thecorrugated channel131 and the maximum compression points ofgasket139, when an opposed generally flat sealing surface is brought into contact withupper sealing surface133.
FIG. 14 is a cross-sectional view showingnarrow section141 ofirregular channel131.Gasket139 is compressed at the pinch point represented bynarrow section141.Upper portion45 includes sealingsurface159 which forms an interface withupper sealing surface133 and alsocontacts gasket139.Depth155 anddiameter145 ofgasket139 are substantially similar.
According to the exemplary embodiment in which the intermittently varying cross-sectional area ofirregular channel131 does so in regular intervals, distance149 (FIG. 13A) between regularly spacednarrow sections141, may be considered the pitch and may be the wavelength of the maximum desired shielding frequency, divided by ten, in an exemplary embodiment. According to an exemplary embodiment, the irregular channel feature of the present invention may be used in conjunction with the tongue/groove engaging/locking feature of the present invention as described in conjunction with FIGS. 7,7A and8. In other words, in this embodiment,irregular channel131 may include pinch points of reduced cross-sectional area and be designed to accommodate a gasket of substantially constant cross-sectional area and a tongue from the opposed mating surface to aid in compressing the gasket at pinch points. According to this exemplary embodiment,irregular channel131 may extend down from sides of unequal height such as shown in FIG.7.
EMI Suppression Within Mounted Housing
FIG. 15 is a side view ofhousing200 includingbottom portion201 andupper portion202.Housing200 includesarm225 formed of portions of each ofbottom portion201 andupper portion202.Lower portion201 includessidewalls209 andbottom207.Bottom207 is adapted to be mounted on or over a mounting surface such as a customer board or other mother board.Bottom207 includes a recessed portion being recessed abovelowermost surface221 ofbottom207.Housing200 includesconnector sites206 at which connectors such as machine screws or other fasteners may be used to joinhousing200 to the mounting surface. As shown in the side view, a gap is created betweenupper surface210 of the recessed portion andlowermost surface221 ofbottom207.Gap216 formed atconnector sites206 is greater thangap214 formed atintermediate locations204 between the connector sites.
FIG. 16 is a planview showing bottom207 oflower portion201.Bottom207 includes centrally locatedbase portion212 that includeslowermost surface221. In an exemplary embodiment,lowermost surface221 is essentially planar. In the exemplary embodiment shown, recessedportion226 extends peripherally aroundbottom207 and also betweenbase portion212 andopening222. Recessedportion226 may take on various other shapes and is shaped to accommodate a gasket therein. Recessedportion226 includesupper surface210. Recessedportion226 includesopenings230 which may be connector openings in the exemplary embodiment.Connector openings230 are located atconnector sites206.Locations204 are located betweenconnector sites206. In an exemplary embodiment,connector opening230 may be an opening through which a fastener such as a machine screw may be inserted to securebottom surface207 oflower portion201 onto a mounting surface. As shown in the side view of FIG. 15,lowermost surface221 ofbase portion212 extends belowupper surface210 of recessedportion226. The gap betweenupper surface210 andlowermost surface221 is greater atconnector sites206 than at locations such aslocation204 betweenconnector sites206. This is achieved becauseupper surface210 of recessedportion226 is bowed downward as shown in FIG.15. In the exemplary embodiment shown in FIG. 16, the cross-hatched area may represent bowedarea218. According to other exemplary embodiments, the contour of recessedportion226 may be varied and bowedsection218 may be a larger or smaller portion of recessedportion226 in order to provide that the gap formed betweenupper surface210 andlowermost surface221 is greater atconnector sites206 than atlocations204 betweenconnector sites206. In this manner, when a gasket of constant thickness is placed within recessedportion226, a greater compressive force will desirably be achieved within the gasket atlocations204 than atconnector sites206. According to another exemplary embodiment, the compressive force within the gasket is constant throughout. Without the variation in the gap, and according to the prior art, the gasket may not be in compression throughout and the seal formed atlocations204 betweenconnector points206, may not be a tight seal enabling propagation of EMI and RFI waves. According to other exemplary embodiments, any of various numbers of connectors and connector sites may be used, as an alternative to the four exemplary sites shown in FIG.16.
FIG. 17 is an expanded side view ofhousing200 and showsgap216 atconnector site206 andgap214 atlocation204 betweenconnector sites206.Lowermost surface221 is essentially planar in the exemplary embodiment.Upper surface210 of recessedportion226 is not planar and thereforegap214 is less thangap216. In an exemplary embodiment,gap216 may be {fraction (25/1000)} inch andgap214 may be{fraction (18-20/1000)} inch. This provides a gap variation of{fraction (5-7/1000)} inch throughout recessedportion 226. Such are intended to be exemplary only and other gap thicknesses and variations may be used in other exemplary embodiments.
FIG. 18 is a perspectiveview showing bottom207 ofhousing200. FIG. 18 shows gasket232 seated within recessedportion226.Gasket232 includesthickness234 which may be a constant thickness according to a exemplary embodiment.Thickness234 is chosen so thatgasket234 extends belowlowermost surface221 ofbase portion212 when seated within recessedportion226. In this manner,lower surface236 will form an interface with the mounting surface on whichhousing200 is mounted. When machine screws or other fastening means are provided withinconnector openings230 to securehousing200 to a mounting surface, the compression ofgasket232 will desirably be greater atlocations204 than atconnector sites206 due to the bowed upper surface of the recessedportion226. According to an exemplary embodiment,thickness234 may be{fraction (32/1000)} inch and thegasket 232 may undergo a compression of{fraction (7/1000)} inch atconnector sites 206 and a compression of{fraction (12-13/1000)} inch atlocations 204 betweenconnector sites 206. Such thicknesses and degrees of compression are exemplary only andgasket 234 may be formed of various thicknesses and may achieve different degrees of compression atconnector sites 206 andlocations 204.
The configurations shown in FIGS. 16-18 are intended to be exemplary only and the recessed portion may take on other shapes with respect to the base section above which it is recessed. For example,base section212 may take on various shapes and positions other than centrally positionedbase portion212. Generally described, the recessed portion extends above the base section and includes a lower surface that is higher than the surface of the base section and is spaced above the base section by a first distance at connector sites and by a second distance at other sites, the second distance being less than the first distance to desirably ensure at least as much gasket compression between the connector sites as at the connector sites.
Self Alignment Feature
FIG. 19 is another perspectiveview showing bottom207 oflower portion201 ofhousing200.Opening222 extends throughbottom207 and is bounded by abeveled edge224. According to an exemplary embodiment,housing200 is formed of an opaque material. The opaque materials may be various conductive materials and their alloys as described above. When housing200 is mounted on a mounting surface,housing200 may be positioned so that components on the mounting surface which are to be received and nested withinopening222 are not damaged bybottom207 ofhousing200 when attempting to align the housing into position using manual or other tactile alignment methods. In an exemplary embodiment,housing200 may house components that convert and condition an optical/electrical signal that is presented to the housing through a connector interface such as through components on the mounting surface which are received withinopening222. Sincehousing200 is opaque, a blind alignment of the housing, inparticular opening222 over the components, is carried out. Without being able to see opening222 relative to the components which it may desirably surround, bevelededge224 provides for aligninghousing200 over the components through tactile feedback or feel for the mating connector. Bevelededge224 assists in aligninghousing200 over the components without damaging the components. When the housing is mounted on the mounting surface and positioned over the components, the components are tightly nested and extend withinopening222.
The preceding merely illustrates the principles of the invention. It will thus be appreciated that those skilled in the art will be able to devise various arrangements which, although not explicitly described or shown herein, embody the principles of the invention and are included within its scope and spirit. Furthermore, all examples and conditional language recited herein are principally intended expressly to be only for pedagogical purposes and to aid in understanding the principles of the invention and the concepts contributed by the inventors to furthering the art, and are to be construed as being without limitation to such specifically recited examples and conditions. Moreover, all statements herein reciting principles, aspects, and embodiments of the invention, as well as specific examples thereof, are intended to encompass both structural and the functional equivalents thereof. Additionally, it is intended that such equivalents include both currently known equivalents and equivalents developed in the future, i.e., any elements developed that perform the same function, regardless of structure. The scope of the present invention, therefore, is not intended to be limited to the exemplary embodiments shown and described herein. Rather, the scope and spirit of the present invention is embodied by the appended claims.

Claims (7)

What is claimed is:
1. An arrangement feature for a multiple piece optoelectronic device housing having a first piece and second piece, said engagement feature comprising a tongue, a groove and a gasket,
said tongue extending from said first piece of said optoelectronic device housing and having a generally rectangular cross-section,
said second piece of said optoelectronic device housing including a bottom wall and sidewalls extending above said bottom wall, and
said groove extending downwardly within a sidewall of said second piece and having a generally rectangular cross-section, capable of refining said gasket therein and capable of receiving said tongue therein, such that said tongue extends into said groove and said gasket contacts said tongue and surfaces of said groove, when said first piece and said second piece are engaged.
2. The engagement feature as inclaim 1, further comprising said first piece coupled to said second piece such that said gasket is in compression.
3. The engagement feature as inclaim 1, in which said first piece is a cover and said tongue extends from a cover surface of said cover, and said first piece and said second piece are joined such that said tongue is received within said groove.
4. The engagement feature as inclaim 1, in which said tongue extends completely and peripherally about said first piece.
5. The engagement feature as inclaim 1, in which said groove extends downward within said sidewall from a set of opposed upper surfaces having different heights and said tongue includes a shoulder which rest on one of said opposed upper surfaces, when said first piece and said second piece are engaged.
6. The engagement feature as inclaim 1, in which said gasket is formed of an elastomer and is one of impregnated with, coated with, and encased by, an electrically conductive material.
7. The engagement feature as inclaim 1, in which said first piece and said second piece are engaged to form an interface therebetween, said interface including orthogonal turns.
US10/011,6852000-12-082001-12-04Optical subassembly enclosureExpired - LifetimeUS6755578B1 (en)

Priority Applications (2)

Application NumberPriority DateFiling DateTitle
US10/011,685US6755578B1 (en)2000-12-082001-12-04Optical subassembly enclosure
US10/813,994US6880986B2 (en)2000-12-082004-03-30Optical subassembly enclosure

Applications Claiming Priority (2)

Application NumberPriority DateFiling DateTitle
US25442000P2000-12-082000-12-08
US10/011,685US6755578B1 (en)2000-12-082001-12-04Optical subassembly enclosure

Related Child Applications (1)

Application NumberTitlePriority DateFiling Date
US10/813,994DivisionUS6880986B2 (en)2000-12-082004-03-30Optical subassembly enclosure

Publications (1)

Publication NumberPublication Date
US6755578B1true US6755578B1 (en)2004-06-29

Family

ID=32510781

Family Applications (2)

Application NumberTitlePriority DateFiling Date
US10/011,685Expired - LifetimeUS6755578B1 (en)2000-12-082001-12-04Optical subassembly enclosure
US10/813,994Expired - Fee RelatedUS6880986B2 (en)2000-12-082004-03-30Optical subassembly enclosure

Family Applications After (1)

Application NumberTitlePriority DateFiling Date
US10/813,994Expired - Fee RelatedUS6880986B2 (en)2000-12-082004-03-30Optical subassembly enclosure

Country Status (1)

CountryLink
US (2)US6755578B1 (en)

Cited By (13)

* Cited by examiner, † Cited by third party
Publication numberPriority datePublication dateAssigneeTitle
US20040184745A1 (en)*2000-12-082004-09-23Blake MynattOptical subassembly enclosure
US20050135727A1 (en)*2003-12-182005-06-23Sioptical, Inc.EMI-EMC shield for silicon-based optical transceiver
US20050157990A1 (en)*2002-12-102005-07-21National Semiconductor Corporation, A Delaware CorporationOptical sub-assembly packaging techniques that incorporate optical lenses
WO2007053660A1 (en)*2005-11-012007-05-10Molex IncorporatedLocking mechanism for optical tranceivers
US20120177379A1 (en)*2008-02-202012-07-12Sumitomo Electric Industries, Ltd.Optical transceiver providing independent spaces for electrical components and for optical components
US20120183302A1 (en)*2011-01-142012-07-19Avago Technologies Fiber Ip (Singapore) Pte. Ltd.Optical transceiver module having an electromagnetic interference (emi) cancellation device disposed therein, and an emi cancelation method for use in an optical transceiver module
US20130272647A1 (en)*2010-09-142013-10-17FciOptical coupling device, opticalsystem and methods of assembly
NL2009582C2 (en)*2012-10-082014-04-14Nl Forensisch InstElectromagnetic shielding system and method.
US20160170162A1 (en)*2014-12-122016-06-16Tyco Electronics (Shanghai) Co. Ltd.Connector Housing And Connector
CN105723266A (en)*2015-06-162016-06-29索尔思光电(成都)有限公司Electromagnetic interference shielding device for optical transceiver
US10948670B2 (en)*2019-03-122021-03-16Lumentum Japan, Inc.Optical module
USD1002623S1 (en)*2022-01-212023-10-24Centurylink Intellectual Property LlcNetwork interface device bracket
US20230350023A1 (en)*2022-04-272023-11-02Shunsin Technology (Zhong Shan) LimitedHigh-accuracy optical sensor for distance measurement and method for manufacturing optical sensor

Families Citing this family (28)

* Cited by examiner, † Cited by third party
Publication numberPriority datePublication dateAssigneeTitle
US6160946A (en)1998-07-272000-12-12Adc Telecommunications, Inc.Outside plant fiber distribution apparatus and method
US7120347B2 (en)2004-01-272006-10-10Corning Cable Systems LlcMulti-port optical connection terminal
CA2558996A1 (en)*2004-03-082005-09-22Adc Telecommunications, Inc.Fiber access terminal
US7680388B2 (en)2004-11-032010-03-16Adc Telecommunications, Inc.Methods for configuring and testing fiber drop terminals
US7489849B2 (en)2004-11-032009-02-10Adc Telecommunications, Inc.Fiber drop terminal
US20060153516A1 (en)*2005-01-132006-07-13Napiorkowski John JNetwork interface device having integral slack storage compartment
US20090103868A1 (en)*2005-08-112009-04-23Omron CorporationOptical waveguide module
US7477824B2 (en)*2006-04-052009-01-13Adc Telecommunications, Inc.Universal bracket for mounting a drop terminal
US7558458B2 (en)*2007-03-082009-07-07Adc Telecommunications, Inc.Universal bracket for mounting a drop terminal
US7512304B2 (en)*2007-03-232009-03-31Adc Telecommunications, Inc.Drop terminal with anchor block for retaining a stub cable
US20090046985A1 (en)*2007-08-162009-02-19Erik GronvallFiber Optic Enclosure Internal Cable Management
US7740409B2 (en)*2007-09-192010-06-22Corning Cable Systems LlcMulti-port optical connection terminal
EP2198328B1 (en)2007-10-092018-09-26ADC Telecommunications, INC.Mini drop terminal
US7903923B2 (en)*2007-10-092011-03-08Adc Telecommunications, Inc.Drop terminal releasable engagement mechanism
CN102830470B (en)*2009-10-292014-09-10住友电气工业株式会社Pluggable optical transceiver and manufacturing method therefor
WO2011052802A2 (en)2009-10-292011-05-05Sumitomo Electric Industries, Ltd.Pluggable optical transceiver and method for manufacturing the same
US8821039B2 (en)2009-10-292014-09-02Sumitomo Electric Industries, Ltd.Optical transceiver having optical receptacle arranged diagonally to longitudinal axis
US9052477B2 (en)2009-10-292015-06-09Sumitomo Electric Industries, Ltd.Optical transceiver with inner fiber set within tray securing thermal path from electronic device to housing
JP5471801B2 (en)*2010-05-132014-04-16住友電気工業株式会社 Optical data link
WO2012058391A1 (en)2010-10-282012-05-03Corning Cable Systems LlcImpact resistant fiber optic enclosures and related methods
US9069151B2 (en)2011-10-262015-06-30Corning Cable Systems LlcComposite cable breakout assembly
US8873926B2 (en)2012-04-262014-10-28Corning Cable Systems LlcFiber optic enclosures employing clamping assemblies for strain relief of cables, and related assemblies and methods
CN106537206B (en)*2015-05-082020-02-14华为技术有限公司Optical fiber terminal box assembly
EP3432045A1 (en)*2017-07-182019-01-23Universität BernModular system for secure and controlled arrangement of optical fibres and components of an optical system
CN108761668B (en)*2018-05-142020-10-23青岛海信宽带多媒体技术有限公司Optical module
CN110488431A (en)*2019-08-062019-11-22武汉光迅科技股份有限公司A kind of optical module
WO2023003023A1 (en)*2021-07-212023-01-26パナソニックIpマネジメント株式会社Electronic apparatus
JP7746053B2 (en)*2021-07-212025-09-30パナソニックオートモーティブシステムズ株式会社 electronic equipment

Citations (8)

* Cited by examiner, † Cited by third party
Publication numberPriority datePublication dateAssigneeTitle
US5011246A (en)*1989-05-191991-04-30E. I. Du Pont De Nemours And CompanyHousing for an opto-electronic device
US5313546A (en)*1991-11-291994-05-17Sirti, S.P.A.Hermetically sealed joint cover for fibre optic cables
US5495364A (en)*1993-08-181996-02-27Itt CorporationNight vision binoculars
US5727104A (en)*1996-05-241998-03-10Fujitsu LimitedOptical transmission module and a method of producing the same
US5736675A (en)*1995-09-111998-04-07Rockwell International CorporationApparatus for providing a hermetically sealed environment
US6074104A (en)*1997-04-182000-06-13Nec CorporationMethod for hermetically sealing optical fiber introducing section and hermetically sealed structure
US6502999B1 (en)*2001-09-042003-01-07Jds Uniphase CorporationOpto-electronic transceiver module and hermetically sealed housing therefore
US20030091269A1 (en)*2001-11-152003-05-15Kun-Tsan WuOptical switch having a sealing structure

Family Cites Families (3)

* Cited by examiner, † Cited by third party
Publication numberPriority datePublication dateAssigneeTitle
US5966487A (en)*1997-05-271999-10-12Methode Electronics, Inc.External pluggable high frequency data communication module
FR2775845B1 (en)*1998-03-092000-04-14Alsthom Cge Alcatel WATERPROOF CABLE ACCESS HOUSING
US6755578B1 (en)*2000-12-082004-06-29Optical Communication Products, Inc.Optical subassembly enclosure

Patent Citations (9)

* Cited by examiner, † Cited by third party
Publication numberPriority datePublication dateAssigneeTitle
US5011246A (en)*1989-05-191991-04-30E. I. Du Pont De Nemours And CompanyHousing for an opto-electronic device
US5313546A (en)*1991-11-291994-05-17Sirti, S.P.A.Hermetically sealed joint cover for fibre optic cables
US5495364A (en)*1993-08-181996-02-27Itt CorporationNight vision binoculars
US5537261A (en)*1993-08-181996-07-16Itt CorporationNight vision binoculars
US5736675A (en)*1995-09-111998-04-07Rockwell International CorporationApparatus for providing a hermetically sealed environment
US5727104A (en)*1996-05-241998-03-10Fujitsu LimitedOptical transmission module and a method of producing the same
US6074104A (en)*1997-04-182000-06-13Nec CorporationMethod for hermetically sealing optical fiber introducing section and hermetically sealed structure
US6502999B1 (en)*2001-09-042003-01-07Jds Uniphase CorporationOpto-electronic transceiver module and hermetically sealed housing therefore
US20030091269A1 (en)*2001-11-152003-05-15Kun-Tsan WuOptical switch having a sealing structure

Cited By (25)

* Cited by examiner, † Cited by third party
Publication numberPriority datePublication dateAssigneeTitle
US20040184745A1 (en)*2000-12-082004-09-23Blake MynattOptical subassembly enclosure
US6880986B2 (en)*2000-12-082005-04-19Optical Communication Products, Inc.Optical subassembly enclosure
US20050157990A1 (en)*2002-12-102005-07-21National Semiconductor Corporation, A Delaware CorporationOptical sub-assembly packaging techniques that incorporate optical lenses
US7073961B2 (en)*2002-12-102006-07-11National Semiconductor CorporationOptical sub-assembly packaging techniques that incorporate optical lenses
US20070071391A1 (en)*2002-12-102007-03-29National Semiconductor CorporationOptical sub-assembly packaging techniques that incorporate optical lenses
US7431516B2 (en)2002-12-102008-10-07National Semiconductor CorporationOptical sub-assembly packaging techniques that incorporate optical lenses
US20050135727A1 (en)*2003-12-182005-06-23Sioptical, Inc.EMI-EMC shield for silicon-based optical transceiver
WO2007053660A1 (en)*2005-11-012007-05-10Molex IncorporatedLocking mechanism for optical tranceivers
US20100008630A1 (en)*2005-11-012010-01-14Molex IncorporatedLocking Mechanism for Optical Tranceivers
US20120177379A1 (en)*2008-02-202012-07-12Sumitomo Electric Industries, Ltd.Optical transceiver providing independent spaces for electrical components and for optical components
US8976539B2 (en)*2008-02-202015-03-10Sumitomo Electric Industries, Ltd.Optical transceiver having corrugated inner side surfaces
US20130272647A1 (en)*2010-09-142013-10-17FciOptical coupling device, opticalsystem and methods of assembly
US8382385B2 (en)*2011-01-142013-02-26Avago Technologies Fiber Ip (Singapore) Pte. LtdOptical transceiver module having an electromagnetic interference (EMI) cancellation device disposed therein, and an EMI cancelation method for use in an optical transceiver module
US20120183302A1 (en)*2011-01-142012-07-19Avago Technologies Fiber Ip (Singapore) Pte. Ltd.Optical transceiver module having an electromagnetic interference (emi) cancellation device disposed therein, and an emi cancelation method for use in an optical transceiver module
NL2009582C2 (en)*2012-10-082014-04-14Nl Forensisch InstElectromagnetic shielding system and method.
WO2014058304A1 (en)*2012-10-082014-04-17Nederlands Forensisch InstituutElectromagnetic shielding system and method
US9941640B2 (en)*2014-12-122018-04-10Te Connectivity CorporationConnector housing and connector
US20160170162A1 (en)*2014-12-122016-06-16Tyco Electronics (Shanghai) Co. Ltd.Connector Housing And Connector
CN105723266A (en)*2015-06-162016-06-29索尔思光电(成都)有限公司Electromagnetic interference shielding device for optical transceiver
US20170142870A1 (en)*2015-06-162017-05-18Source Photonics (Chengdu) Co., Ltd.Emi shielding device for an optical transceiver
CN105723266B (en)*2015-06-162017-09-08索尔思光电(成都)有限公司Suitable for the electromagnetic interference shielding device of optical transceiver
US9832916B2 (en)*2015-06-162017-11-28Source Photonics (Chengdu) Co., Ltd.EMI shielding device for an optical transceiver
US10948670B2 (en)*2019-03-122021-03-16Lumentum Japan, Inc.Optical module
USD1002623S1 (en)*2022-01-212023-10-24Centurylink Intellectual Property LlcNetwork interface device bracket
US20230350023A1 (en)*2022-04-272023-11-02Shunsin Technology (Zhong Shan) LimitedHigh-accuracy optical sensor for distance measurement and method for manufacturing optical sensor

Also Published As

Publication numberPublication date
US6880986B2 (en)2005-04-19
US20040184745A1 (en)2004-09-23

Similar Documents

PublicationPublication DateTitle
US6755578B1 (en)Optical subassembly enclosure
US6335869B1 (en)Removable small form factor fiber optic transceiver module and electromagnetic radiation shield
US6943287B2 (en)Shielding cage with improved EMI shielding gasket construction
US6878872B2 (en)Shielding cage with multiple module-receiving bays
US8537558B2 (en)Electronic module with improved latch mechanism
US8976539B2 (en)Optical transceiver having corrugated inner side surfaces
US8599567B2 (en)Electronic module with improved printed circuit board to maximize width thereof
US20120269486A1 (en)Optical transceiver with partition wall dividing a space to install circuit from another space for optical receptacle
US9042722B2 (en)Optical transceiver having enhanced EMI tolerance
US7917037B2 (en)Internal EMI shield for an optoelectronic module
US6609838B1 (en)Removable small form factor fiber optic transceiver module chassis
US20210141176A1 (en)Optical transceiver
US6860643B2 (en)Optical connector with a surface mounted shield
US7124505B2 (en)Backshell assembly
US7485003B2 (en)Electromagnetic interference cable backshell assembly for high-density interconnect
US9543708B2 (en)Pluggable connector and communication system configured to reduce electromagnetic interference leakage
US11105991B2 (en)Connector
US20210051824A1 (en)Shielding Housing For A Detachable Fully Shielded Internal Cable Assembly
US10193590B1 (en)Small form-factor pluggable transceiver
US7416436B2 (en)Compact interface module
US10050656B1 (en)Small form-factor pluggable transceiver
US8588572B2 (en)Electromagnetic interference (EMI) waveguide device for use in a parallel optical communications module, and a method
US10182507B1 (en)Small form-factor pluggable transceiver
KR20180117897A (en)Optical Connector
EP3514974B1 (en)Small form-factor pluggable transceiver

Legal Events

DateCodeTitleDescription
ASAssignment

Owner name:CIELO COMMUNICATIONS, INC., COLORADO

Free format text:ASSIGNMENT OF ASSIGNORS INTEREST;ASSIGNORS:MYNATT, BLAKE;KING, DENNIS;YORKS, JASON;AND OTHERS;REEL/FRAME:012369/0518

Effective date:20011129

ASAssignment

Owner name:GATX VENTURES, INC., AS AGENT, CALIFORNIA

Free format text:SECURITY AGREEMENT;ASSIGNOR:CIELO COMMUNICATIONS, INC.;REEL/FRAME:013193/0218

Effective date:20020501

ASAssignment

Owner name:OPTICAL COMMUNICATION PRODUCTS, INC., CALIFORNIA

Free format text:ASSIGNMENT OF ASSIGNORS INTEREST;ASSIGNOR:CIELO COMMUNICATIONS, INC.;REEL/FRAME:013516/0580

Effective date:20021025

STCFInformation on status: patent grant

Free format text:PATENTED CASE

FEPPFee payment procedure

Free format text:PAT HOLDER NO LONGER CLAIMS SMALL ENTITY STATUS, ENTITY STATUS SET TO UNDISCOUNTED (ORIGINAL EVENT CODE: STOL); ENTITY STATUS OF PATENT OWNER: LARGE ENTITY

FPAYFee payment

Year of fee payment:4

FPAYFee payment

Year of fee payment:8

REMIMaintenance fee reminder mailed
FPAYFee payment

Year of fee payment:12

SULPSurcharge for late payment

Year of fee payment:11


[8]ページ先頭

©2009-2025 Movatter.jp