Movatterモバイル変換


[0]ホーム

URL:


US6579418B2 - Leakage control system for treatment of moving webs - Google Patents

Leakage control system for treatment of moving webs
Download PDF

Info

Publication number
US6579418B2
US6579418B2US09/899,314US89931401AUS6579418B2US 6579418 B2US6579418 B2US 6579418B2US 89931401 AUS89931401 AUS 89931401AUS 6579418 B2US6579418 B2US 6579418B2
Authority
US
United States
Prior art keywords
web
seal
leak
control system
fluid
Prior art date
Legal status (The legal status is an assumption and is not a legal conclusion. Google has not performed a legal analysis and makes no representation as to the accuracy of the status listed.)
Expired - Fee Related
Application number
US09/899,314
Other versions
US20020060018A1 (en
Inventor
Jeffrey Dean Lindsay
Michael Alan Hermans
Frank Stephen Hada
Current Assignee (The listed assignees may be inaccurate. Google has not performed a legal analysis and makes no representation or warranty as to the accuracy of the list.)
Kimberly Clark Worldwide Inc
Original Assignee
Kimberly Clark Worldwide Inc
Priority date (The priority date is an assumption and is not a legal conclusion. Google has not performed a legal analysis and makes no representation as to the accuracy of the date listed.)
Filing date
Publication date
Application filed by Kimberly Clark Worldwide IncfiledCriticalKimberly Clark Worldwide Inc
Priority to US09/899,314priorityCriticalpatent/US6579418B2/en
Publication of US20020060018A1publicationCriticalpatent/US20020060018A1/en
Application grantedgrantedCritical
Publication of US6579418B2publicationCriticalpatent/US6579418B2/en
Anticipated expirationlegal-statusCritical
Expired - Fee Relatedlegal-statusCriticalCurrent

Links

Images

Classifications

Definitions

Landscapes

Abstract

Pressurized web treatment systems include a moving web that passes through a pressurized treatment chamber having a sealing assembly with a leakage control system. Leakage control is achieved by the cooperative effect of localized leak detectors and leak reduction means that applies a local sealing force on the seal assembly responsive to a signal from the leak detectors such that increased sealing occurs in the vicinity of the leak. In particular, an air press for paper web dewatering has improved efficiency by virtue of the leakage control system, which features local leak detectors and local force generation means associated with a flexible seal assembly to reduce leakage at the edges of the stationary plenum of the air press. Local leak detection can be based on sonic measurement with microphones, detection of escaping tracer gas, optical signals, and other means. Other embodiments of web treatment systems include those for continuous production of activated carbon fabrics and steam and chemical treatment of textiles and other fibrous webs.

Description

This application is a continuation of application Ser. No. 09/133,064 entitled LEAKAGE CONTROL SYSTEM FOR TREATMENT OF MOVING WEBS and filed in the U.S. Patent and Trademark Office on Aug. 12, 1998 now U.S. Pat. No. 6,280,573. The entirety of application Ser. No. 09/133,064 is hereby incorporated by reference.
BACKGROUND OF THE INVENTION
Many devices exist for performing an operation on a moving web wherein a gas or gas pressure differential is applied. For example, in the art of papermaking, a wet or embryonic paper web can be partially dried or dewatered by means of an applied gas pressure differential using nozzles, a compressive roll with holes or grooves for pressurized air, an “air press” or other devices wherein a gas pressure differential forces air into a web to displace liquid water and/or to remove water by evaporation. Many prior systems, particularly those having compressive rolls, impose high compressive force on the web and are not suitable for many low density materials such as tissue. Systems of nozzles are typically inadequate due to the low residence time provided for air penetration into the web. Nozzle systems also either suffer from high leakage if the nozzle is not in contact with the web or from high fabric wear if the fabric wraps the surfaces of the nozzle to provide some degree of sealing. A fabric wrapping a nozzle with a small effective radius of curvature is particularly likely to experience wear problems.
Flat pressurized boxes, such as steam boxes, while capable of good residence time in some cases, suffer from high leakage from the sides of the steam chamber. Steam boxes for heating paper webs in particular have tended to be flat boxes with a finite gap between the web and the sides of the box. Such gaps or clearances allow significant volumes of air to enter, in part due to the air boundary layer traveling with the web. Intentionally bleeding steam to oppose the boundary layer or using a steam curtain to prevent entry of the boundary layer is inherently inefficient.
Recognizing the difficulty of providing adequate seals in pressurized paper drying chambers, some have proposed the use of high-velocity heated air impingement that relies on the momentum of the air to push through the web for paper drying without attempting to use seals. This technique is intended to minimize lateral migration of the drying air along the surface of the web, thereby reducing the need for sealing. Even if this method reduces the lateral flow of air, the extent of treatment is limited by the brief contact time of the pressurized gas with the web due to the narrow jets employed. Without suitable seal elements, leakage still will not be prevented.
Rotary devices, such as cylindrical through dryers and suction rolls, can be operated to pass air through a fibrous sheet but are complex and costly devices. Further, the surface of the rotary device or other supporting surfaces in contact with the web have significant closed areas where gas flow is blocked, resulting in nonuniform penetration of the gas through the web.
An excellent system for effective gas treatment of a moving web is the dewatering system disclosed in commonly owned copending application Ser. No. 08/961,915 of Hada et al. filed Oct. 31, 1997 and incorporated herein by reference in its entirety. This application teaches an air press wherein a non-rotating upper plenum is used to apply pressurized air to a moist paper web while the web is sandwiched between two pervious fabrics. The pressurized plenum cooperates with a lower vacuum box on the opposite side of the sandwiched paper web such that the overall pressure differential across the web is greater than if the pressurized plenum were used alone at a predetermined pressure. An important issue in the operation of an air press is preventing unnecessary leakage of gas out of the plenum into the surrounding atmosphere. Hada et al. disclose a set of cross-direction seals (seals running in the cross-direction) for the leading and trailing edges of the plenum (the leading edge being closest to the headbox) and a pair of machine-direction seals running in the machine direction to seal the side edges of the plenum. Hada et al. also disclose a lever system for increasing sealing force on the seals responsive to measurement of air pressure in the plenum. The principle of operation is that excessive leakage will result in a reduction of pressure in the plenum, which can then be compensated by increasing the applied pressure to the systems of seals.
Though capable of opposing leakage and preventing large leaks, such a system may lead to excess fabric wear, particularly in wide machines, because sealing is generally performed across the entire width of the machine, rather than solely in the locations where leak reduction is needed. Further, use of internal pressure measurements to detect leak control may lead to some false readings of leakage when pressure fluctuates for other reasons, such as changes in web properties or compressor operation or air temperature. Further still, a single macroscopic measure of pressure cannot be used to locate specific leaks, only leakage in general. Therefore, what is lacking and needed is a method and apparatus for detecting the specific location of leaks and applying corrective remedies to prevent leakage only at the locations where leakage is occurring.
SUMMARY OF THE INVENTION
Pressurized or depressurized web treatment chambers for processing moving webs can operate more efficiently if fluid leaks are detected and controlled with localized leak detection means and with localized leak reduction means, wherein the leak reduction means is operatively responsive to the leak detection means such that local leaks are effectively sealed or reduced in severity.
In particular, a control method has been discovered for web treatment systems for moving webs, the treatment system involving at least one chamber at a pressure substantially different from the ambient pressure, wherein localized leaks are detected by one or more leak detectors and wherein the leaks are reduced by application of pressure reduction means responsive to the one or more leak detectors. The control method of the present invention can provide improved means for prevention of leaks in web treatment systems of all kinds wherein a moving web passes through a pressurized treatment chamber.
Further, the control system of the present invention can be used to prevent leakage of chemicals from a web treatment chamber or to prevent excess infusion of atmospheric air or oxygen into web treatment chamber by means of localized leak or infusion detectors operatively associated with localized leak reduction means to apply improved sealing in the localized regions where such action is needed. Such a system is desirable when the fluid in the web treatment chamber has a substantially different chemical composition than the ambient atmosphere and it is desired to prevent leakage of the treatment fluid into the atmosphere or to prevent leakage of air into the chamber. Again, it is desirable to maintain effective seals across substantial distances as a web passes through the seals through a combination of localized leak detection and reduction, rather than subjecting the entire apparatus or entire extent of the web and the seals to increased clamping pressures. As used herein, the term “leak” encompasses both the escape of fluid from within the chamber (e.g., the escape of pressurized air from an air press) and the infusion of fluid into the chamber (e.g., infusion of the atmosphere into a low pressure treatment chamber).
Cross-directional flexible seals with leakage control according to the present invention are desirable for the entrances and exits to enclosed pressurized web treatment chambers, such as steam heating chambers, while machine-direction edge seals and a corresponding control system are desirable for other web treatment devices.
Hence, in one aspect, the present invention resides in a control system for detecting and reducing fluid leaks along a seal between a moving web and a web treatment chamber, wherein the web treatment chamber applies a fluid at a pressure other than the ambient pressure to a surface of the moving web, the control system comprising:
a) a leak detector for indicating the presence and location of a fluid leak between the moving web and the seal; and
b) localized leak reduction means responsive to the localized leak detector means.
In another aspect, the invention resides in a method for reducing leaks in a pressurized web treatment system for treating a moving web with a pressurized fluid, the web treatment system comprising a pressurized chamber, and a seal between the web and the chamber, comprising:
a) detecting a leak along the seal, the leak having an estimated severity above a predetermined minimum value,
b) identifying the approximate location of the leak;
c) generating a signal indicative of the approximate location of the leak; and
d) increasing local sealing pressure above a predetermined minimum along the seal in the approximate location of the leak responsive to the signal, such that leakage is reduced.
The above method can further comprise the step of incrementally reducing the local sealing pressure in the region where sealing pressure was increased until leakage in said region begins to increase, then increasing the sealing pressure again slightly to a level before increased leakage was detected, whereby excessive sealing pressures are avoided when not needed to reduce leakage.
In another aspect, the invention resides in a pressurized web treatment system for applying a pressurized fluid from a fluid source to a moving web while dynamically reducing fluid leaks to the atmosphere, comprising:
a) a web treatment chamber comprising chamber walls that define an interior plenum, a fluid inlet for receiving pressurized fluid from a fluid source, an opening for applying pressurized fluid to a moving web, a leading edge and a trailing edge both extending in the cross direction, opposing side edges extending in the machine direction, and a flexible seal assembly along at least one of the leading edge, the trailing edge, and the side edges, for preventing leakage of the pressurized fluid, the seal assembly comprising a first seal head in contact with the web treatment chamber and an opposing second seal head such that the web passes between the first and second seal heads and wherein one of the first and second seal heads is urged toward the other of the first and second seal heads with a sealing force; and
b) a control system for reducing fluid leaks along the seal assembly comprising a leak detector for identifying the presence and location of a fluid leak between the moving web and the seal assembly, and localized leak reduction means responsive to the leak detector, wherein the localized leak reduction means comprises a force generator for variably adjusting the sealing pressure along the length of the seal assembly to reduce leakage in the vicinity of the fluid leak as identified by the leak detector.
In yet another aspect, the invention resides in a treatment system for a moving web with improved leakage control, the web having a first surface and a second surface, comprising:
a) a chamber comprising a plenum for pressurized fluid in fluid communication with the web, the chamber having at least one edge along which the web travels into or out of the chamber;
b) a flexible seal assembly in contact with said at least one edge for preventing leakage of pressurized fluid from the treatment system;
c) a leak detector responsive to fluid leaks along the seal such that the approximate location of fluid leaks can be identified; and
d) localized leak reduction means along the seal assembly cooperatively associated with the leak detector such that increased sealing force is applied where leaks occur.
In yet another aspect, the invention resides in an air press for dewatering a moving web having improved CD control of leakage, comprising:
a) an air press having at a pressurized gas chamber and least one CD seal element;
b) a localized leak detector external to the pressurized gas chamber; and
c) a localized force generator to increase the pressure on the seal, the force generator being cooperatively associated with the leak detector.
Chambers that treat moving webs at pressure other than ambient pressure and particularly at elevated pressure can be generally described, in the context of the present invention, as stationary or non-rotary plenums having a gas inlet to provide a treatment gas or vapor which can contact the web. Contact of the gas with the web is typically by means of the gas flowing through an opening or multiple openings in a treatment face of the chamber that conducts fluid from the plenum to the moving web. The treatment face may be substantially flat or curved. Desirably, it is non-rotary (i.e., it does not rotate continuously during use as does a rotating roll) and substantially static or stationary. Desirably, the web passes through the treatment chamber in a substantially flat form and particularly with a radius of curvature of greater than 30 inches and more particularly with a radius of curvature of greater than about 60 inches.
In many embodiments, the treatment gas in intended to at least partially pass through the thickness of the web, though for steam heating and treatment with reactive chemicals it is not necessary for the gas or vapor to fully pass through the web. When the leakage through open gaps at the entrance, exit, or sides is unacceptable, sealing at any line or region of potential leakage can be provided by placing upper and lower seal elements respectively above and beneath the moving web.
The seal elements are desirably movable or flexible such that they can be brought into contact with the web or with the fabric, wire, or belt on which the web may reside. For example, for treatment of strong movable webs such as a moving textile web, there may be no need for a supporting wire or fabric and the seals may directly contact the moving web. In other cases, the web may require the support a fabric, wire, or belt, such that one seal element contacts the supporting fabric, wire, or belt, while the other opposing seal element contacts the moving web directly. For weaker or more easily damaged materials such as a moist paper web, direct contact with a seal element, particularly a stationary seal element, could result in damage to the web. Thus, it is desirable that certain weak webs such as moist paper webs be sandwiched between two moving fabrics, wires, or belts, to protect the web from direct contact with seal elements. In any case, the combination of the web and any adjacent fabrics, belts, or wires passes through opposing upper and lower seal elements that extend across the leakage zone (e.g., across the cross-direction width of the web for a CD seal element or along the length of the treatment chamber for an MD seal element) and that prevent excess leakage from the pressurized treatment chamber.
For the purposes of the present invention, at least one of the opposing seal elements along a sealing zone is locally deformable, flexible, or locally movable, such that the seal element can respond to an increase in a localized driving force to preferentially adjust the gap between the opposing seal elements in the region of the locally applied force. Similarly, the seal element can respond to the urging or biasing of an actuator or to a change in the position of an actuator or position element attached to or in contact with the seal element to preferentially move the seal element toward and/or away from the web only in the region of the leak. Thus, the sealing means for a treatment chamber comprise a deformable, flexible, or locally movable seal element responsive to locally adjustable force generators or position controllers or means therefor.
Deformable seal elements comprise those of the previously referenced Hada et al. patent application. Seal elements can be a single strip or beam of flexible material such as rubber, Teflon (duPont de Nemours & Co. Inc., Wilmington, Del.) and related fluoropolymers, polyethylene or polypropylene, or the like, or thin metallic beams, rods, or shells capable of suitably flexible deformation under application of force to serve as a sealing element. In one embodiment, the seal element comprises a series of slidable sections joined together but capable or independent or substantial independent deformation or positioning in the sealing direction (i.e., the direction normal to the axis of the seal zone and substantially normal to the moving web in the area being sealed). For example, slidable seal sections can be discrete sections that are interlocked mechanically, for example by a dovetail geometric shape the prevents adjacent sections from separating but permits relative motion in the sealing direction. Slidable elements also can be individually mounted on rods or bearing elements to prevent lateral motion while permitting motion in the sealing direction. Useful support elements for a deformable seal element include interlocked, slidably movable units driven by local actuators or pistons; flexible solid or hollow beams; or the like.
Useful means for applying local sealing force include those systems for adjusting flexible elements known in the art of crepe blade control in tissue making, in the art of slice lip control for headboxes in papermaking, and in the art of press nip control in elongated nips or extended nips known in the art of wet pressing for papermaking. As is known in these and other arts, a wide variety of force generators can be used to drive, bend, flex, move, or reposition a beam, a portion of a beam, or a slidable section in a beam. The beam supporting or holding the seal elements should be deformable or locally movable to permit a force generation means to adjust the shape or position of the beam locally to enable improved local sealing upon application of appropriate force. The deformation or profile of the seal element is determined by the profile of force applied to it or by the action of position adjustment means that determine the position or displacement of structural elements in contact with the seal element.
Locally adjustable force generators or seal element positioners are used to locally control the sealing effect of the seal element to eliminate leakage where needed. A force generator or a seal element positioner such as a position actuator is locally adjustable if there are multiple regions extending across the zone being sealed where the applied force or position of a member can be adjusted to provide a degree of profiling. There are suitably at least two separately adjustable force generators or seal element positioners, but desirably there are at least three and specifically at least five, more specifically at least 8, and more specifically at least 10 separately adjustable force generators or seal element positioning means.
Examples of force generation means suitable for applying variable local force to a seal element include thermal expanding rods, thermal expanding beam elements, thermal hydraulic actuators, mechanical actuators, electric motors, piezoelectric elements, single chamber or multiple chambered air bags, gas cylinders, pneumatic pistons, hydraulic pistons, thermoelectric actuators, mechanical screws, gear assemblies, pulley assemblies, lever and fulcrum assemblies, screw and jack assemblies, adjustable spring assemblies, magnetic force generation systems, or the like. Motors can also be used, such as electric or combustion-driven motors adapted for applying torque or force, particularly when the motor is only required to run momentarily to jog an element into a suitable position, wherein the element can be locked into place by a ratchet and pawl or other means. An example of force generation means coupled to a deformable element is the hydraulically loaded shoe in a typical extended nip or elongated nip press, such as that disclosed by Holopainen in U.S. Pat. No. 5,620,566, issued Apr. 15, 1997, incorporated herein by reference. Holopainen teaches a cross-direction support shoe cooperating with a circular shell serving as a press roll. The support shoe is movably connected to a seat, and between the seat and support shoe are a series of sealed chambers that can receive pressurized fluid. By varying the pressure in each of the chambers, the force applied to the support shoe can be locally varied. The support shoe can be a deformable material to respond more fully to the force profile provided by the variable pressure in the sealed chambers, thus providing a degree of pressure profiling applied to a press nip. More generally, for the present invention, a seat can cooperate with a deformable head via variable pressure or force generation means therebetween to provide a pressure profile to the deformable head, the head being either attached to or cooperating with a seal element. In this case, the portion of the seal element contacting the web or wire may be rigid or deformable, for it is the underlying movable head that is deformable to achieve profiling.
Seal element positioning means can comprise all the previously mentioned force means adapted to move one body relative to another by overcoming a force. Other means for adjusting the position of one body relative to another may be used, including electromotive systems, magnetic levitation, rack and pinion systems, and the use of positioning elements slidably mounted on bearings or rods that can be moved into a desired position.
The deformable or movable seal elements are deformed or moved locally upon application of appropriate force in response to a signal or information provided by local leak detection means. Thus, if local leak detection means indicate that excess gas leakage is occurring in the central portion of a seal, local sealing force in the central portion of the seal would be increased to reduce leakage in that region.
Without wishing to be limited by specific examples, illustrative leak detectors suitable for the present invention include but are not limited to the following:
1. Acoustic sensors such as microphones to detect the presence of leaks based on the sound emitted. An array of microphones or transducers, either sonic, ultrasonic, or subsonic, can be mounted on the plenum, adjacent the plenum, remote from the plenum, or in acoustic communication with the plenum, such that the sensors respond to sound waves created by the dynamics of the leaking stream. In many cases, acoustic sensors covering a frequency of about 1000 Hz to 15,000 Hz will be suitable. Since important information about the size and intensity of the leak can be extracted from the combination of sound intensity and its frequency range or power spectrum, it is desired in some applications that both frequency and intensity information be obtained.
2. Vibration detection systems such as piezoelectric devices or accelerometers responsive to localized motion of solid surfaces on or adjacent to the treatment chamber that can give non-baseline readings in the presence of leaks. Laser-based Doppler anemometers, speckle interferometers, or the like can also be used to assess vibration of a surface.
3. Thermal flow detection means based on the increased heat transfer that occurs in higher velocity flow or based on a temperature difference between the ambient fluid and the pressurized or depressurized fluid in the plenum. In the presence of increased velocity flow, the increased heat transfer coefficient can be sensed with heat flux detectors or hot wire anemometers. Psychrometers, wet bulb thermometers, wetted surfaces, and other devices can indicate the presence of increased velocity gas flow due to the improved evaporative transport or cooling that occurs. When fluid at an elevated or depressed temperature relative to the ambient atmosphere escapes from the plenum, it will result in flows having different temperatures which can be measured by thermometers, thermocouples, thermistors, infrared detectors, liquid crystal thermal displays, other known temperature sensors, thermography with IR-sensitive cameras, or the like. Likewise, if leakage from the atmosphere into a depressurized plenum occurs, the increased heat transfer caused by the in-rushing air or the local temperature changes caused by the atmosphere can be detected with temperature or heat flux measurement means, preferably mounted inside the plenum near the region of potential leakage or mounted on or in the seal elements. Thermal flow detection means can also be responsive to the temperature change that can occur as a pressurized gas passes through a narrow orifice, such as the Joule-Thompson effect.
4. Optical sensors that respond to the gap thickness between opposing seal surfaces to detect changes in light transmission through the edges of the pressurized plenum, particularly in conjunction with suitable light sources. For example, a CCD strip inside a plenum could respond to light from a bright line of lights or a fluorescent tube outside the plenum with suitable light guides and optics to identify the location of the light leak.
5. Chemical sensors, particularly gas sensors for a particular chemical species, that respond to a major or trace component in the treatment gas which may leak into the ambient atmosphere and be detected, or that respond to oxygen or other components of air when entry of the atmosphere into a treatment chamber is to be detected.
6. Gap size measuring devices to directly measure the gap between two opposing seal surfaces or between a seal and a web or fabric, wherein gap size is maintained to a preset value or adjusted in response to leakage detection. Eddy current sensors can also be used to measure the distance between metal components inside two opposing sealing surfaces to assist in regulating and controlling gap thickness at the seals. Gap size can be correlated to leakage or leakage tendency.
7. Mechanical indicators of local flow such as a series of vanes or other rotating devices capable of moving in response to the presence of a local leak, or strips of flexible material such as strings or cloth secured at at least one end and unsecured over a portion of the length of the article such that waving or flapping is possible in response to a leak, to provide a visual cue that leakage is occurring. Flaps, ribbons, and other materials movable in response to air flow can be used.
8. Gas flow or velocity measurement devices such as laser anemometry, hot film or hot wire anemometers, other optical velocimeters, small turbine or vane anemometers, or other such devices to measure the presence of leaks directly in the location of a potential leak zone. In the case of laser Doppler anemometry, the optics could be scanned to move the focal point or measurement volume of the device along a finite zone where leakage may occur. Alternatively, the entire anemometer could be physically scanned, or multiple lasers and optical systems could be used to examine multiple regions.
9. Flow visualization means can be applied to make a local leak visible. For example, a film of surfactant-treated liquid applied near leakage zones could result in a bubble or a visible stream of bubbles near the leak. Likewise, dust, particulates, entrained droplets, aerosols, or other non-gaseous material near the zone of leakage or periodically applied near the zone of potential leakage can provide a visual cue of leakage due to the plumes or visible flow streams created by entrainment or disruption of the materials. The escaping fluid itself may be visible as it escapes from the plenum or may be made visible by means of adding, if only at discrete intervals in time, an amount of a particulate or condensable stream such as steam or an aerosol such as fog or oil droplets or an entrained solid phase such as TiO2or dust. The visible or visualizable escaping (or, for depressurized system, in-rushing) flow can be detected in any way known in the art, such as by image analysis of CCD camera images. The visible stream can also be sensed optically by the changed intensity of a light beam passing across the potential leakage zone as sensed by a photodetector or optical eye.
For detection of leaks from a pressurized chamber, leak detector sensors or systems will generally be external to the pressurized plenum (though some optical and flow-based detection means may require or be successful with internal probes or sensing devices mounted inside the plenum). For detection of leaks of air or other gases into a depressurized plenum, leak detection sensors can typically be mounted inside the plenum, particularly for oxygen sensors detecting air entry into a chamber.
In a typical embodiment, a moving web is treated in a pressurized chamber. The web may be a web of textile; a woven or nonwoven fabric; a web of papermaking fibers; a polymeric film such as an apertured film; a film undergoing aperturing; an impervious film being treated on one surface at elevated fluid pressure; a metallic foil or sheet; a mat of vegetable matter; a thin wood composite; or the like.
In one application, the moving web comprises activated carbon fibers or a precursor for preparation of activated carbon fabrics. Particularly, the web can be a mat of woven or nonwoven fiberglass or other temperature-resistant inert web impregnated with a phenolic resin preferably further comprising a crosslinking agent such that the resin can be charred while on the inert web to form a carbonaceous coating on the inert web. The charred web can then be treated in a heated gas treatment chamber to activate the carbon and provide desired surface chemistry. Gases such as hydrochloric acid, ammonia, ozone, and other compounds can be used. Acidic groups can be added to the surface of the activated carbon by treating the fibers at elevated temperature in the presence of steam, carbon dioxide, nitric acid, or the like. Basic groups, useful for absorbing acidic compounds such as HCl, can be introduced by treatment with ammonia at elevated temperatures or by other treatments known in the art. Suitable fibers and fiber treatment methods include those disclosed in PCT patent application, “Coated Absorbent Fibers,” by James Economy and Michael Daley of the University of Illinois, published as WO 96/38232, Dec. 5, 1996, and on the Univ. of Illinois Web site at “http://www.students.uiuc.edu/˜ahall/activated carbon fabrics.html” as of Jun. 1, 1998, which discloses a variety of gas treatments at elevated temperature to activate the fibers and control the surface chemistry. The gases should be at a pressure above atmospheric pressure to resist entry of air and should pass completely through the charred web to treat the carbon. Seals are needed for the web as it enters and leaves the heated gas treatment chamber to prevent excess consumption of treatment gas and to prevent oxygen entry. The seals and control system of the present invention can be used for treatment of such webs for the production of activated carbon fabrics. Such activated carbon fabrics are useful for odor control and particularly for incorporation into an absorbent article, for filtration of gases, for use as face masks for medical purposes, for absorption of chemical warfare agents, or the like.
The seal control system of the present invention can also be used in steam boxes for heating and drying of paper webs and textiles, for displacement dewatering of wet webs wherein gas displaces liquid water, for pressurized units in which heated gas is used to create apertures in polymeric films for subsequent use as cover materials in absorbent articles, for particle entrainment in nonwoven and woven webs, for ozonation of textile, paper, and other webs, including disinfectant treatments; or the like.
The control method of the present invention can provide improved means for prevention of leaks in web treatment systems of all kinds wherein a moving web passes through a pressurized treatment chamber. For example, the leakage control system of the present invention is not only suitable for pressurized treatment chambers in which gas passes through a web, but for pressurized treatment chambers where gas at elevated pressure is used to react with or heat a web, particularly for drying. Several examples of a steam treatment chamber for drying a web are found in “Condebelt” drying systems, wherein a paper web is heated on one side by a metal band and the web is cooled on the other side, as disclosed in the following patents: U.S. Pat. No. 5,594,997 issued Jan. 21, 1997 to Lehtinen; U.S. Pat. No. 4,899,461 issued Feb. 13, 1990 to Lehtinen; U.S. Pat. No. 5,594,996 issued Jan. 21, 1997 to Haavisto; and U.S. Pat. No. 4,958,444 issued Sep. 25, 1990 to Rautakorpi et al.; all of which are incorporated herein by reference. Cross-directional flexible seals with leakage control according to the present invention are desirable for the entrances and exits to pressurized web treatment chambers, such as the steam-heated chambers of Haavisto, while machine-direction edge seals and a corresponding control system are desirable for the apparatus disclosed by Lehtinen.
The disclosed control system may also be used with single CD seal elements, meaning that the treatment chamber only has one side with a CD seal. The need for a single seal can arise in a variety of cases where a roll of a web such as a textile resides in a pressurized chamber from which the web is unwound and withdrawn without completely relieving the pressure in the chamber. The objective, then, is to maintain a CD seal to reduce pressure loss from the chamber. The need for only one CD seal can arise when a web is formed or created under pressurized conditions and is removed from a reaction chamber without the need for a corresponding seal on the web going into the chamber because the web as such does not go into the chamber but is formed therein.
Alternatively, some pressurized treatments may have two CD seals but only one seal requires improved sealing or CD seal control. Likewise, a treatment may have more than two CD seal sections having CD control.
The principles of the present invention extend not only to CD leak control but also to MD leak control. Specifically, the seal extending along the side edges of a pressurized web treatment device may also be subject to leakage in particular locations and may also benefit from localized leakage detection and control. Certainly CD seals tend to have greater length than MD seals in many web handling situations because there is a trend to make machines increasingly wider. Nevertheless, the finite extent of MD seals in web treatment devices also gives rise to nonuniform leakage spots and makes it advantageous to provide selective local adjustment of sealing force on or the position of seal elements to prevent leakage without excessive wear of seal components, fabrics, or other elements due to unnecessary clamping or excessively high force or friction.
The MD seals can be flexible lips that engage any support fabrics for the moving web along the extreme sides of the fabrics, with air hoses, air bags, solenoids, hydraulic cylinders, pneumatic cylinders, screws, and other known force generating means being used to provide the possibility of profiling in sealing force along the extent of the MD seal. As with CD seals, leakage detection means can identify the location of leaks and send a signal to the force generating means to adjust the sealing pressure in the region of the leakage. The air press system of Hada et al. in U.S. application Ser. No. 08/961,915, filed Oct. 31, 1997 provides examples of MD seals as well as CD seals.
One aspect of the present invention concerns an air press for noncompressively dewatering the wet web. The air press is disclosed in the commonly owned copending application of Hada et al., previously incorporated by reference. The air press is a particularly desirable apparatus for dewatering an uncreped throughdried web to about 30 percent consistency or greater prior to a differential speed transfer. While pressurized fluid jets in combination with a vacuum device have previously been discussed in the patent literature, such devices have not been widely used in tissue manufacturing. A disincentive to using such equipment is believed to be due to the difficulties of actual implementation, including pressurized fluid leaks. The air press of Hada et al. overcomes many prior objections to such a process, and coupled now with the leakage control system of the present invention, offers significant improvements in the ability to dewater a sheet effectively either prior to through drying or as an enhancement of tissue production with a Yankee dryer. In the latter case, improved tissue dried by a Yankee dryer can be made by imparting texture and bulk to the web with sculpted or contoured fabrics such as the sculpted TAD fabrics of Chiu et al. in U.S. Pat. No. 5,429,686, issued Jul. 4, 1995 and incorporated herein by reference, but the texturized tissue web will have less contact with the Yankee unless pressed so hard as to lose the benefits of the texture imparted by the fabric. Less contact with the Yankee reduces drying rates, so additional drying is needed prior to the Yankee for effective sheet molding and structuring. The air press provides a practical apparatus for dewatering a wet web to consistency levels not previously thought possible at industrially useful speeds without thermal dewatering.
In one embodiment, an air press for dewatering a wet web comprises: support fabrics adapted to sandwich the wet web therebetween and transport the wet web through the air press; a first dewatering device comprising a pair of cross-machine direction sealing members including sealing blades; a second dewatering device comprising a cross-machine direction sealing member formed of a deformable material, the first and second dewatering devices moveable relative to one another and adapted to assume an operating position in which the first and second dewatering devices are operatively associated with one another and at least one sealing blade impinges upon the support fabrics and is opposed on the other side of the support fabrics by the sealing member formed of deformable material; and wherein one of the first and second dewatering devices comprises an air plenum operatively connected to a source of pressurized fluid and the other comprises a collection device operatively connected to a vacuum source.
In another embodiment, an air press for dewatering a wet web according to the present invention comprises: support fabrics adapted to sandwich the wet web therebetween and transport the wet web through the air press; an air plenum positioned on one side of the wet web and operatively connected to a source of pressurized fluid, the air plenum comprising a profitable or segmented sealing assembly that is adapted to move at each segment or section between an operating position and a retracted position, the sealing assembly comprising a pair of machine direction sealing members and a pair of cross-machine direction sealing members that form an integral seal with the wet web when the sealing assembly is in the operating position; a collection device positioned on the opposite side of the wet web and operatively associated with the air plenum, the collection device defining therein sealing slots that extend across the width of the wet web and also defining therein a central passageway disposed between the sealing slots and adapted to receive pressurized fluid from the air plenum and water from the wet web, and means for moving the machine direction sealing members into and out of contact with one of the support fabrics, the machine direction sealing members forming a seal when the sealing assembly is in the operating position.
The air press is able to dewater the wet web to very high consistencies due in large part to the high pressure differential established across the web and the resulting air flow through the web. In particular embodiments, for example, the air press can increase the consistency of the wet web by about 3 percent or greater, particularly about 5 percent or greater, such as from about 5 to about 20 percent, more particularly about 7 percent or greater, and more particularly still about 7 percent or greater, such as from about 7 to 20 percent. Thus, the consistency of the wet web upon exiting the air press may be about 25 percent or greater, about 26 percent or greater, about 27 percent or greater, about 28 percent or greater, about 29 percent or greater, and is desirably about 30 percent or greater, particularly about 31 percent or greater, more particularly about 32 percent or greater, such as from about 32 to about 42 percent, more particularly about 33 percent or greater, even more particularly about 34 percent or greater, such as from about 34 to about 42 percent, and still more particularly about 35 percent or greater.
The air press is able to achieve these consistency levels while the machine is operating at industrially useful speeds. As used herein, “high-speed operation” or “industrially useful speed” for a tissue machine refers to a machine speed at least as great as any one of the following values or ranges, in feet per minute: 1,000; 1,500; 2,000; 2,500; 3,000; 3,500; 4,000; 4,500; 5,000, 5,500; 6,000; 6,500; 7,000; 8,000; 9,000; 10,000, and a range having an upper and a lower limit of any of the above listed values. Optional steam showers or the like may be employed before the air press to increase the post air press consistency and/or to modify the cross-machine direction moisture profile of the web. Furthermore, higher consistencies may be achieved when machine speeds are relatively low and the dwell time in the air press in higher.
The pressure differential across the wet web provided by the air press may be about 25 inches of mercury or greater, such as from about 25 to about 120 inches of mercury, particularly about 35 inches of mercury or greater, such as from about 35 to about 60 inches of mercury, and more particularly from about 40 to about 50 inches of mercury. This may be achieved in part by an air plenum of the air press maintaining a fluid pressure on one side of the wet web of greater than 0 to about 60 pounds per square inch gauge (psig), particularly greater than 0 to about 30 psig, more particularly about 5 psig or greater, such as about 5 to about 30 psig, and more particularly still from about 5 to about 20 psig. The collection device of the air press desirably functions as a vacuum box operating at 0 to about 29 inches of mercury vacuum, particularly 0 to about 25 inches of mercury vacuum, particularly greater than 0 to about 25 inches of mercury vacuum, and more particularly from about 10 to about 20 inches of mercury vacuum, such as about 15 inches of mercury vacuum. Both pressure levels within both the air plenum and the collection device are desirably monitored and controlled to predetermined levels.
The collection device desirably but not necessarily forms an integral seal with the air plenum and draws a vacuum to facilitate its function as a collection device for air and liquid. The terms “integral seal” and “integrally sealed” are used herein to refer to: the relationship between the air plenum and the wet web where the air plenum is operatively associated and in indirect contact with the web such that about 70 percent or greater of the air fed to the air plenum flows through the web when the air plenum is operated at a pressure differential across the web of about 30 inches of mercury or greater; and the relationship between the air plenum and the collection device where the air plenum is operatively associated and in indirect contact with the web and the collection device such that about 70 percent or greater of the air fed to the air plenum flows through the web into the collection device when the air plenum and collection device are operated at a pressure differential across the web of about 30 inches of mercury or greater.
Significantly, the pressurized fluid used in the air press is sealed from ambient air to create a substantial air flow through the web, which results in the tremendous dewatering capability of the air press. The flow of pressurized fluid through the air press is suitably from about 5 to about 500 standard cubic feet per minute (SCFM) per square inch of open area, particularly about 10 SCFM per square inch of open area or greater, such as from about 10 to about 200 SCFM per square inch of open area, and more particularly about 40 SCFM per square inch of open area or greater, such as from about 40 to about 120 SCFM per square inch of open area. Desirably, 70 percent or greater, particularly 80 percent or greater, and more particularly 90 percent or greater, of the pressurized fluid supplied to the air plenum is drawn through the wet web into the vacuum box. For purposes of the present invention, the term “standard cubic feet per minute” means cubic feet per minute measured at 14.7 pounds per square inch absolute and 60 degrees Fahrenheit (° F.).
The terms “air” and “pressurized fluid” are used interchangeably herein to refer to any gaseous substance used in the air press to dewater the web. The gaseous substance suitably comprises air, steam or the like. Desirably, the pressurized fluid comprises air at ambient temperature, or air heated only by the process of pressurization to a temperature of about 300° F. or less, more particularly about 150° F. or less.
In an alternative embodiment, a device for dewatering a wet web traveling in a machine direction, comprises: a frame structure; support fabrics adapted to sandwich the wet web therebetween; an air press comprising an air plenum and a collection device positioned on opposite sides of the wet web and support fabrics, the air plenum and collection device operatively associated with one another and adapted to establish a flow of pressurized fluid through the wet web, the air plenum comprising: stationary components mounted on the frame structure; a profitable sealing assembly that is adapted to move relative to the stationary components between an operating position and a retracted position with variation in position of segments or sections along the sealing assembly providing a degree of independent control over each segment or section. The sealing assembly comprises a pair of optionally profitable machine direction sealing members and a pair of profitable cross-machine direction sealing members that together form an integral seal with the wet web when the sealing assembly is in the operating position; means for moving the cross-machine direction sealing members generally perpendicular to a plane containing the wet web and into and out of contact with one of the support fabrics; means for moving the machine direction sealing members generally perpendicular to the plane containing the wet web and into and out of contact with one of the support fabrics; and means for moving the machine direction sealing members generally parallel to the plane containing the wet web and generally perpendicular to the machine direction.
In another alternative embodiment, a device for dewatering a wet web traveling in a machine direction, comprises: a frame structure; support fabrics adapted to sandwich the wet web therebetween; an air press comprising an air plenum and a collection device positioned on opposite sides of the wet web and support fabrics, the air plenum and collection device operatively associated with one another and adapted to establish a flow of pressurized fluid through the wet web, the air plenum comprising: stationary components mounted on the frame structure and defining a loading surface generally parallel to a plane containing the wet web; a sealing assembly that is adapted to move relative to the stationary components between an operating position in which the sealing assembly forms an integral seal with the wet web and a retracted position, the sealing assembly defining a control surface generally parallel to the plane containing the wet web and adapted to contact the loading surface; and means for moving the sealing assembly generally perpendicular to the plane containing the wet web, wherein contact between the control surface and the loading surface interrupts movement of the sealing assembly toward the wet web when the sealing assembly reaches the operating position.
The air press may use internal surfaces that are normal to the loading direction to completely isolate the loading force from the air plenum pressure. Thus, the loading force can be maintained at a constant value to provide a proper seal despite the air plenum pressure varying from zero to maximum pressure. Accordingly, the loading force does not have to be adjusted in response to pressure changes within the air press.
Definition of Terms and Test Procedures
As used herein, “fluid” refers to non-solid matter, specifically liquids or gases. Though gas is most commonly used in pressurized web treatment chambers, liquids can also be applied. Liquids that could be used according to the present invention include water, resins to make impregnated paper, dyes, surface chemistry modifying solutions, supercritical fluids (classifiable as either a liquid or a gas), solvents for removing undesired components, or the like.
As used herein, “gas” refers to a chemical composition which is not in a liquid or solid state, but is gaseous. Exemplary gases of use in the present invention include air, steam, nitrogen, oxygen, ozone, chlorine, bromine, and other halogens, acid vapors such as HCI or sulfuric acid fumes, ammonia and nitrogenated compounds, chlorinated species such as bleaching agents or dry cleaning compounds, solvent vapors, formaldeyde and other crosslinking agents, alcohols, or the like, either as pure components or in mixtures.
As used herein, “vapor” refers to a readily condensable gas or the gases resulting from evaporation or boiling of a substance, with examples including steam, aliphatic fumes, many acid fumes, fumes of many heavy metal organic compounds in the gaseous state, particularly titanium and osmium compounds, sublimed material, or the like. The gases or vapors used to treat webs may also carry entrained or suspended liquid or solid materials such as superabsorbent particles; pH modifying agents or buffer compounds, activated carbon particles or fibers; synthetic or natural polymeric fibers or particulates; oils and emollients; dust; fume particles; baking powder; skin wellness agents such as zinc oxide or dimethicone; surfactants; bleaching agents; colors, dyes, and pigments; inorganic fillers such as calcium carbonate, titanium dioxide, chalk, talcum; or the like.
As used herein, “cross direction” (CD) refers to the direction substantially normal to the machine direction (the direction of movement) of a moving web. A seal element is said to run substantially in the cross-direction of the web if it extends across a greater distance normal to the machine direction than it extends in the machine direction. Desirably, the CD seal extends substantially across all of the width of a web.
As used herein, “Local Sensitivity” is the percentage of the linear extent of a sealed region that is occupied on the average by a separately controllable force generator or position controlling device. For example, a spaced apart linear array of 5 independently adjustable pistons or pressurized hose segments along a cross-direction seal could apply CD force profiling across the sealing zone with a Local Sensitivity of 20%.
BRIEF DESCRIPTION OF THE DRAWINGS
FIG. 1 is a schematic of the cross-section of an air press system showing a seal assembly and a microphone system for leak detection.
FIG. 2 shows one embodiment of a seal head used on one side of the web for a CD seal.
FIG. 3 shows a seal head and a support plate with pressurization means for controlling the force applied to the seal head.
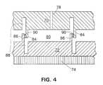
FIG. 4 shows an enlarged portion of the seal head and support plate of FIG. 3 in the plane ofline44 illustrating the isolated pressurization chambers in the cross-direction.
DETAILED DESCRIPTION OF THE DRAWINGS
FIG. 1 shows one embodiment of anair press1 for dewatering or otherwise treating aweb2 such as a paper web or other fibrous web. Theweb2 can reside on alower fabric3 and can reside adjacent to anupper fabric5. In the case of paper, it is desirable that theweb2 be sandwiched between both alower fabric3 and anupper fabric5 moving at the same velocity as the web, which moves in the machine direction as indicated by the arrow35 (from left to right in FIG.1). The air press comprises anupper chamber7 with aconduit9 to a pressurized air or gas source P. The chamber walls define anupper plenum11. Theweb2 and any adjacent fabrics pass beneath the upperair press chamber7 and over asupport shoe21 havingsupport elements25 and gas ports orvacuum slots23 through which gas from the plenum can pass. Desirably, gas passing through thesupport shoe21 passes into alower plenum27 in avacuum box30 from which it exits the air press assembly by means of a vacuum pump or other vacuum source V. Alternatively, the gas can be discharged through the shoe and into the atmosphere without reliance on a vacuum. Thesupport elements25 between the gas ports orvacuum slots23 prevent excessive deflection of the web and any fabrics under the pressure differential that exists between the pressurizedupper plenum11 and thelower plenum27.
To prevent excessive leakage along the cross-direction extent of the air press, leading and trailingedge seal assemblies6aand6bare provided at the leading and trailing edges of the air press, respectively. The leadingedge seal assembly6acan be similar to the trailingedge seal assembly6b, as is the case in FIG. 1, or can employ other embodiments of the present invention. Turning attention to the trailingedge seal assembly6bas a general example of one embodiment and as representative also of the leadingedge seal assembly6a, theseal assembly6bcomprises anupper seal head13bwhich can deflect theweb2 and anyadjacent fabrics3,5 into arecess18bformed in alower seal head19b. The illustratedlower seal head19bcomprises first and secondseal head members37band39bwhich define therebetween therecess18band asupport plate29b, which can be a flexible or sectioned plate, a beam, a series of slidably movable segments, or other structures providing support and stability to theseal head19b. Alternatively, thelower seal head19bmay comprise a deformable, flexible, and/or wearable portion with theweb2 being deflected toward or into this portion (not shown).Recess18bis desirable, particularly for reducing friction, but is not essential, for the two lowerseal head elements37band39bcan be replaced with a single lower seal head element in line with the upperseal head element13bsuch that a sealing force can be directly transmitted between the opposing upper and lower seal head elements, at least one of which is deformable or movable such that a profile in the gap size between the opposing elements can be achieved and controlled along the length of theseal assembly6b.
Support plate29bcan comprise either discrete zones in the cross-direction or a unitary structure that is flexible or deformable such that the positions of, or sealing force on,lower seal head19bcan be varied in the cross-direction by the local action of a force generation means or seal element positioning means60bwhich cooperates with thebase plate29band/or theseal head elements37band39bto control the local sealing pressure or gap size along the length of theseal assembly6b. Alternatively, the lower seal heads37band39bare substantially fixed and theupper seal head13bis movable normal to theweb2 via force generation means or position control means with cross-direction variability possible to permit control of the sealing force or relative sealing efficiency of theseal assembly6bin the cross-direction.
When the relative positions of theupper seal head13band thelower seal head19bare improperly adjusted, a gas leak can form through anescape route33. This leak can be detected by leak detection means31b, depicted in FIG. 1 as a microphone, representative of a bank of acoustic sensors whose signals can be analyzed to detect the proximity of theleak33. The signal from the leak detection means31bserves as input54bto acontroller50 which can provide asignal58bto force generation means or seal element positioning means60b. Thus, elimination or reduction of the gas leak can be achieved by increasing the sealing force between the opposing seal heads13band19bby force generation means60b, or by adjusting their relative position by seal element positioning means60bin the region of theescape route33, as opposed to simply increasing the sealing pressure along the entire CD width of theseal assembly6b.
Detection of the leak occurring through theescape route33 can occur through a variety of leak detection means. FIG. 1 depicts amicrophone31b, which would be one of multiple microphones or acoustic sensors mounted near the air press'sseal assembly6band spaced apart or distributed in the cross-direction. The sound made by the escaping gas passing through theescape route33 can be detected by themicrophone31band can also be analyzed for frequency and intensity information that can indicate the severity and nature of the leak. Based on analysis of the signal from the microphone bycontroller50, the location ofescape route33 can be approximately identified. Thecontroller50 can comprise a microcomputer, an electronic circuit, or a manually operated system, to direct, guide, or control the action of the force generation means or seal element positioning means60bto reduce the degree of leakage. Algorithms for computer control of the force generation means based on input from theleak detector31bcan readily be devised using techniques known in the art. Thecontroller50 directs force generation means or seal element positioning means to adjust the sealing force of the seal (or the relative position of the opposing seal heads) in the vicinity of theescape route33 until the degree of leakage has been acceptably reduced. For example, a signal from thecontroller50 can direct pneumatic devices associated with a segmented air hose to increase the air pressure in the segment associated with the region of leakage, or a signal fromcontroller50 can direct mechanical actuators to apply more or less force to particular segments of the seal assembly to control leakage. Thecontroller50 can be considered part of theleak detector31bin terms of function but can have separate electronics or other components. Indeed, the electronics or other components needed for the simple task of interpreting the signal from the leak detector can physically reside within the body of the force generation means60bor can be separate.
Secondary information about seal efficiency can also be extracted from pressure in theupper plenum11, pressure in thelower plenum27, gas mass flow rates out of the lower plenum27 (as detected by a mass flow meter, for example), and by web properties associated with gas treatment (e.g., web moisture content and CD uniformity thereof when the air press is used to dewater a web). This information can be coupled to thecontroller50 for validation or backup purposes, but information from the local leak detection means31bprovides critical input for selection of sealing or positioning strategies to reduce leakage and improve the efficiency and uniformity of treatment.
Desirably, theupper fabric5, if used, has high permeability in the z-direction but has low in-plane permeability in the machine direction in order to prevent leakage through the fabric in the machine direction (or in the reverse machine direction). An example of a web with essentially no in-plane permeability would be a web made of laminated impervious layers provided with small isolated z-direction holes or apertures passing directly through the web, with hole diameters less than the contact length of the fabric against theupper seal head13b. Thefabrics3 and5 should be wear resistant and generally smooth to reduce friction.
Seal heads13b,37b, and39bgenerally contact moving surfaces and may abrade. Therefore, it is desirable that they comprise abrasion resistant materials having low friction. Teflon and related fluoropolymers are known for low friction. Other synthetic polymers and ceramic materials known to offer good wear resistance and low friction can also be used, possibly with optional surface treatments such as plasma deposition of diamond or boron nitride for improved wear or lower friction. Silicon nitride is also known for excellent wear resistance, as are a variety of ceramic components and other materials now used in the art of papermaking for foils that contact moving fabrics. Other materials known in the art can be used, including metal such as steel with appropriate surface treatments such as carburization, ceramic deposition, plasma spray deposition of wear-resistant nitrides, or the like. Likewise, wear resistant fabrics are desirable to serve as web-contactingfabrics3,5.
Desirably, the wearing surfaces of the seal heads13b,37b, and39bare further provided with lubrication means and/or cooling means (not shown). A small quantity of water or other liquids suitable for the particular application may be applied to sealing head by spray or slot injection or other means just before the point of wire or fabric contact to reduce friction and also provide cooling.
FIG. 2 shows thelower seal head19bof theseal assembly6bfrom FIG. 1, with asupport plate29band sealhead members37band39b. Theseal head members37band39bhave an outer surface with acontact region44 for contacting a moving web, fabric, or belt. Theseal head19bpermits variable CD control of applied force or of the position of theseal head members37band39bat various zones in the cross-direction because theseal head19bcomprises individuallymovable segments42 that are joined together but can move toward or away from the web to adjust the sealing efficiency in use. Thesegments42 may be mounted on rods or other structures or may be geometrically connected as by a dovetail assembly to prevent separation in the cross-direction but to permit slidable movement normal to the cross-direction toward or away from the moving web. Force generation means or seal element positioning means60boperatively connected to theindividual segments42, as indicated by lines62 (which can represent direct or indirect contact by actuators, pneumatic devices, or other devices) can be used to adjust the position or applied force for each segment. Desirably, force generation means60bact on the underside of thesupport plate29b. Thesegments42 of thesupport plate29bcan be rigid, and theseal head elements37band39bcan be deformable or rigid or have both rigid and deformable materials combined for effective sealing. Springs or similar deformable devices may be used to provide flexibility to segmentedseal head elements37band39b, which can comprise, for example, a rigid contacting strip supported by a spring element.
FIG. 3 shows a cross-section of aseal head69 which can serve as an upper or lower seal head, such as seal heads13bor19bof FIG. 1, or asseal head element37bor39bof FIG. 1, or as asingle section42 of aseal head19bin FIG. 2, or as a general seal head in a seal assembly. The cross-section is taken perpendicular to the sealing axis.Seal head69 comprises a sealingmember74 with a contactingsurface76 for contact with either the moving web or a moving fabric, belt, or wire. Sealingmember74 can be flexible and can be abrasion resistant, and can comprise an abrasion resistant layer of material such as silicon nitride or ceramic connected to a more flexible material such as plastic. Sealingmember74 is joined to amovable body72 which can move relative to a support base orsupport element70. Achamber80 is defined by the internal walls of thesupport base70 and themovable body72.Chamber80 can be pressurized by injection of fluid such as water, oil, or air through afluid port78 connected to a pressurized fluid source (not shown). Generally, the fluid for pressurizingchamber80 is not associated with the fluid for pressurizing the web treatment chamber, but is isolated and separate. It can be delivered by means of hydraulic pistons, gas compressors, pumps, or the like, operatively associated with the controller (not shown) which directs the level of pressure to be applied tochamber80, which desirably is just one of multiple independently pressurizable chambers along the length of the seal assembly.Movable body72 can be flexible to allow one portion to be locally adjusted relative to other portions by controlling the internal pressure in discreteinternal chambers80, or can be segmented to allow independent application of force or position control of each segment. By adjusting the pressure inchamber80, the local sealing force applied to the sealingmember74 is controlled, or, similarly, the position of sealingmember74 can be adjusted when it is opposed by a resisting force from a deformed web, for example.
FIG. 4 shows an enlarged portion of the cross-section view taken in the plane ofline44 in FIG. 3, offering a view normal to the sealing axis of theseal head69, which, in this case, is segmented. FIG. 4 depicts howchamber80 for one segment of a seal is isolated from other segments to permit local control of sealing pressure. In this embodiment where theseal head69 in FIG. 3 extends in the cross-direction, the view in FIG. 4 is taken in the machine direction.Chamber80 between thesupport base70 and themovable body72 is shown, as is thefluid port78.Chamber80 has a finite extent along the sealing axis and is bound bywall elements84 and86 integrally connected respectively to thesupport base70 and themovable head72. Between the adjoiningwall elements84 and86 is aninternal sealing element90 which separates onepressurized chamber80 from the surrounding pressurized chambers, allowing different sealing pressures to be applied to various portions of the seal assembly. Sealingelement90 can be an O-ring, a gasket, a flexible strip, an inflatable member, other mechanical seals, or can represent any kind of sealing contact between adjoiningwall elements84 and86 such thatchamber80 is substantially independently pressurizable relative to adjoining chambers.Movable head72 can move or slide relative to supportbase70, with a wide range of motion made possible byinternal wells88 which can receive the protrudingwall elements84 and86.
In FIGS. 3 and 4, the movable head can be a contiguous beam that is flexible along the sealing axis for localized sealing control, or can comprise discrete sections that can move independently in the sealing direction (normal to the web) for fine localized control.
It will be appreciated that details of the foregoing embodiments, given for purposes of illustration, are not to be construed as limiting the scope of this invention. Although only a few exemplary embodiments of this invention have been described in detail above, those skilled in the art will readily appreciate that many modifications are possible in the exemplary embodiments without materially departing from the novel teachings and advantages of this invention. Accordingly, all such modifications are intended to be included within the scope of this invention, which is defined in the following claims and all equivalents thereto. Further, it is recognized that many embodiments may be conceived that do not achieve all of the advantages of some embodiments, particularly of the preferred embodiments, yet the absence of a particular advantage shall not be construed to necessarily mean that such an embodiment is outside the scope of the present invention.

Claims (26)

We claim:
1. A control system for detecting and reducing fluid leaks along a seal between a moving fabric web and a web treatment chamber, wherein the web treatment chamber comprises a plenum for applying a fluid at a pressure other than the ambient pressure to a surface of the moving fabric web to directly contact the moving fabric web, and a seal between the plenum and the moving fabric web, the control system comprising:
(a) a leak detector mounted near the seal, adapted to produce a signal to indicate the presence and location of a fluid leak between the moving fabric web and the seal; and
(b) localized leak reduction means responsive to the signal produced by the leak detector.
2. The control system ofclaim 1, wherein the leak detector comprises acoustic sensors.
3. The control system ofclaim 1, wherein the leak reduction means comprises a multiplicity of sealing elements which apply variable sealing pressure to the seal.
4. The control system ofclaim 1, wherein the leak reduction means comprises a force distribution actuator which applies locally variable force to the seal.
5. The control system ofclaim 1, wherein the leak detector produces an electrical signal and the leak reduction means responds to the electrical signal.
6. The control system ofclaim 1, wherein the web treatment chamber applies a reactive chemical to the moving fabric web.
7. The control system ofclaim 1, wherein the web treatment chamber further comprises an opposing chamber for removing the applied fluid from the plenum, wherein the plenum is in a facing, cooperative relationship with the opposing chamber disposed such that the moving fabric web passes between the plenum and the opposing chamber.
8. The control system ofclaim 7, wherein the opposing chamber is a vacuum box.
9. The control system ofclaim 1, wherein the moving fabric web is a nonwoven web.
10. The control system ofclaim 1, wherein the localized leak reduction means comprises a force generator for adjusting local sealing force on the seal.
11. The control system ofclaim 10, wherein the force generator is selected from thermal expanding rods, thermal expanding beam elements, thermal hydraulic actuators, mechanical actuators, motors, piezoelectric elements, air bags, air hoses, gas cylinders, pneumatic pistons, hydraulic pistons, thermoelectric actuators, mechanical screws, gear assemblies, pulley assemblies, lever and fulcrum assemblies, adjustable spring assemblies, screw and jack assemblies, and magnetic force generation systems.
12. The control system ofclaim 1, wherein the plenum is at a pressure lower than atmospheric pressure.
13. The control system ofclaim 1, wherein the plenum is at a pressure greater than atmospheric pressure.
14. The control system ofclaim 1, having a Local Sensitivity of 20 or less.
15. A method for reducing leaks in a pressurized web treatment system for treating a moving fabric web with a pressurized fluid, the web treatment system comprising a pressurized chamber, a seal between the moving fabric web and the pressurized chamber, a leak detector positioned near the seal, and means for removing the pressurized fluid from the web treatment system, the method comprising:
(a) detecting a leak along the seal with the leak detector;
(b) identifying the approximate location of the leak;
(c) generating a signal indicative of the approximate location of the leak; and
(d) increasing local sealing pressure above a predetermined minimum along the seal in the approximate location of the leak responsive to the signal.
16. The method ofclaim 15, further comprising incrementally reducing the local sealing pressure in the region where sealing pressure was previously increased until leakage in said region begins to increase, then increasing the sealing pressure again slightly to a level before increased leakage was detected, whereby excessive sealing pressures are avoided.
17. A pressurized web treatment system for applying a pressurized fluid from a fluid source to a moving fabric web while dynamically reducing fluid leaks to the atmosphere, comprising:
(a) a web treatment chamber comprising chamber walls that define an interior plenum, a fluid inlet for receiving pressurized fluid from a fluid source, an opening for applying pressurized fluid to a moving fabric web, a leading edge and a trailing edge both extending in the cross direction, opposing side edges extending in the machine direction, and a flexible seal assembly along at least one of the leading edge, the trailing edge, and the side edges, the seal assembly comprising a first seal head in contact with the web treatment chamber and an opposing second seal head with the moving fabric web passing between the first and second seal heads and wherein one of the first and second seal heads is urged toward the other of the first and second seal heads with a sealing force, and means for removing the applied fluid from the web treatment chamber; and
(b) a control system for reducing fluid leaks along the seal assembly comprising a leak detector for identifying the presence and location of a fluid leak between the moving fabric web and the seal assembly, and localized leak reduction means responsive to the leak detector, wherein the localized leak reduction means comprises a force generator for variably adjusting the sealing pressure along the length of the seal assembly to reduce leakage in the vicinity of the fluid leak as identified by the leak detector.
18. A treatment system for a moving fabric web having a first surface and a second surface, comprising:
(a) a chamber comprising a plenum for pressurized fluid in fluid communication with the moving fabric web, the chamber having at least one edge along which the moving fabric web travels into or out of the chamber;
(b) a flexible seal assembly in contact with said at least one edge for preventing leakage of pressurized fluid from the treatment system;
(c) a leak detector responsive to fluid leaks along the seal assembly such that the approximate location of fluid leaks can be identified;
(d) localized leak reduction means along the seal assembly cooperatively associated with the leak detector such that increased sealing force is applied where leaks occur; and
(e) means for removing the applied fluid from the web treatment system.
19. The treatment system ofclaim 18 wherein the leak reduction means has a Local Sensitivity of three or greater.
20. The control system ofclaim 18, having a Local Sensitivity of 20 or less.
21. A control system for detecting and reducing fluid leaks along a seal between a moving fabric web and a web treatment chamber, wherein the web treatment chamber comprises a pressurized plenum for applying a fluid at a pressure greater than the ambient pressure to a surface of the moving fabric web to directly contact the moving fabric web, a seal between the plenum and the moving fabric web, and an opposing chamber for removing the applied fluid from the pressurized plenum, the control system comprising:
(a) a leak detector mounted near the seal, adapted to produce a signal to indicate the presence and location of a fluid leak between the moving fabric web and the seal; and
(b) localized leak reduction means responsive to the signal produced by the leak detector.
22. The control system ofclaim 21, having a Local Sensitivity of 20 or less.
23. The control system ofclaim 21, wherein the moving fabric web moves through the web treatment chamber while in contact with at least one additional fabric web.
24. The control system ofclaim 21, wherein the seal comprises a friction resistant material selected from at least one of Teflon, a fluoropolymer, a ceramic, and a material comprising a surface having at least one of a nitride, carburized steel, diamond, and a plasma-deposited agent.
25. The control system ofclaim 21, wherein the seals are cooled.
26. The control system ofclaim 21, wherein the seals are lubricated with lubrication means.
US09/899,3141998-08-122001-07-05Leakage control system for treatment of moving websExpired - Fee RelatedUS6579418B2 (en)

Priority Applications (1)

Application NumberPriority DateFiling DateTitle
US09/899,314US6579418B2 (en)1998-08-122001-07-05Leakage control system for treatment of moving webs

Applications Claiming Priority (2)

Application NumberPriority DateFiling DateTitle
US09/133,064US6280573B1 (en)1998-08-121998-08-12Leakage control system for treatment of moving webs
US09/899,314US6579418B2 (en)1998-08-122001-07-05Leakage control system for treatment of moving webs

Related Parent Applications (1)

Application NumberTitlePriority DateFiling Date
US09/133,064ContinuationUS6280573B1 (en)1998-08-121998-08-12Leakage control system for treatment of moving webs

Publications (2)

Publication NumberPublication Date
US20020060018A1 US20020060018A1 (en)2002-05-23
US6579418B2true US6579418B2 (en)2003-06-17

Family

ID=22456843

Family Applications (2)

Application NumberTitlePriority DateFiling Date
US09/133,064Expired - Fee RelatedUS6280573B1 (en)1998-08-121998-08-12Leakage control system for treatment of moving webs
US09/899,314Expired - Fee RelatedUS6579418B2 (en)1998-08-122001-07-05Leakage control system for treatment of moving webs

Family Applications Before (1)

Application NumberTitlePriority DateFiling Date
US09/133,064Expired - Fee RelatedUS6280573B1 (en)1998-08-121998-08-12Leakage control system for treatment of moving webs

Country Status (16)

CountryLink
US (2)US6280573B1 (en)
EP (1)EP1144888B1 (en)
JP (1)JP2003516500A (en)
KR (1)KR20010074818A (en)
CN (1)CN1406301A (en)
AR (1)AR020644A1 (en)
AU (1)AU744498B2 (en)
BR (1)BR9912897A (en)
CA (1)CA2342815A1 (en)
CO (1)CO5060563A1 (en)
DE (1)DE69927716T2 (en)
PA (1)PA8479601A1 (en)
SV (1)SV1999000122A (en)
TW (1)TW509764B (en)
WO (1)WO2000009914A2 (en)
ZA (1)ZA200100447B (en)

Cited By (30)

* Cited by examiner, † Cited by third party
Publication numberPriority datePublication dateAssigneeTitle
US20040238135A1 (en)*2002-10-072004-12-02Edwards Steven L.Fabric crepe process for making absorbent sheet
US6860968B1 (en)*2000-05-242005-03-01Kimberly-Clark Worldwide, Inc.Tissue impulse drying
US20050126728A1 (en)*2003-12-122005-06-16Kimberly-Clark Worldwide, Inc.Method for producing soft bulky tissue
US20050160552A1 (en)*2003-06-022005-07-28Takashi YoshidaCleaning apparatus
US20050217814A1 (en)*2002-10-072005-10-06Super Guy HFabric crepe/draw process for producing absorbent sheet
US20050241786A1 (en)*2002-10-072005-11-03Edwards Steven LWet-pressed tissue and towel products with elevated CD stretch and low tensile ratios made with a high solids fabric crepe process
US20050241787A1 (en)*2002-10-072005-11-03Murray Frank CFabric crepe and in fabric drying process for producing absorbent sheet
US20060000567A1 (en)*2004-07-012006-01-05Murray Frank CLow compaction, pneumatic dewatering process for producing absorbent sheet
US20060237154A1 (en)*2005-04-212006-10-26Edwards Steven LMulti-ply paper towel with absorbent core
US20060289133A1 (en)*2005-06-242006-12-28Yeh Kang CFabric-creped sheet for dispensers
US20080075867A1 (en)*2006-09-262008-03-27Fujifilm CorporationMethod for drying applied film and drying apparatus
US20090134193A1 (en)*2006-05-232009-05-28Anton PirkoArrangement for belt control
US20090148647A1 (en)*2007-12-072009-06-11The Boeing CompanyMethod of Fabricating Structures Using Composite Modules and Structures Made Thereby
US20090145545A1 (en)*2007-12-072009-06-11The Boeing CompanyComposite Manufacturing Method
US20100012260A1 (en)*2007-05-222010-01-21Brennan Joseph DPre-patterned layup kit and method of manufacture
US20100078126A1 (en)*2008-09-302010-04-01The Boeing CompanyCompaction of Prepreg Plies on Composite Laminate Structures
US20110079174A1 (en)*2006-12-222011-04-07The Boeing CompanyLeak Detection in Vacuum Bags
US8152957B2 (en)2002-10-072012-04-10Georgia-Pacific Consumer Products LpFabric creped absorbent sheet with variable local basis weight
US8293072B2 (en)2009-01-282012-10-23Georgia-Pacific Consumer Products LpBelt-creped, variable local basis weight absorbent sheet prepared with perforated polymeric belt
US8361278B2 (en)2008-09-162013-01-29Dixie Consumer Products LlcFood wrap base sheet with regenerated cellulose microfiber
US8394236B2 (en)2002-10-072013-03-12Georgia-Pacific Consumer Products LpAbsorbent sheet of cellulosic fibers
US8707766B2 (en)2010-04-212014-04-29The Boeing CompanyLeak detection in vacuum bags
US8936695B2 (en)2007-07-282015-01-20The Boeing CompanyMethod for forming and applying composite layups having complex geometries
US20150123299A1 (en)*2012-04-162015-05-07Vestas Wind Systems A/SMethod of fabricating a composite part and an apparatus for fabricating a composite part
US9481777B2 (en)2012-03-302016-11-01The Procter & Gamble CompanyMethod of dewatering in a continuous high internal phase emulsion foam forming process
US9770871B2 (en)2007-05-222017-09-26The Boeing CompanyMethod and apparatus for layup placement
US10201840B2 (en)2012-04-112019-02-12Gpcp Ip Holdings LlcProcess for cleaning a transport belt for manufacturing a paper web
CN111295477A (en)*2017-10-242020-06-16埃科莱布美国股份有限公司Deposit detection in papermaking systems via vibration analysis
US11505898B2 (en)2018-06-202022-11-22First Quality Tissue Se, LlcLaminated paper machine clothing
US12111644B2 (en)2021-02-162024-10-08Ecolab Usa Inc.Creping process performance tracking and control

Families Citing this family (44)

* Cited by examiner, † Cited by third party
Publication numberPriority datePublication dateAssigneeTitle
US6280573B1 (en)1998-08-122001-08-28Kimberly-Clark Worldwide, Inc.Leakage control system for treatment of moving webs
DE19839916A1 (en)*1998-09-022000-03-09Jagenberg Papiertech Gmbh Method and apparatus for reducing the volume or pressure of a fluid being dragged into a gap by moving surfaces
DE19951794A1 (en)*1999-10-272001-05-03Voith Paper Patent Gmbh Method and device for dewatering a fibrous web
US20030230003A1 (en)*2000-09-242003-12-183M Innovative Properties CompanyVapor collection method and apparatus
US7032324B2 (en)*2000-09-242006-04-253M Innovative Properties CompanyCoating process and apparatus
US7143528B2 (en)*2000-09-242006-12-053M Innovative Properties CompanyDry converting process and apparatus
US6553689B2 (en)*2000-09-242003-04-293M Innovative Properties CompanyVapor collection method and apparatus
US6860030B1 (en)*2000-11-152005-03-01Voith Paper, Inc.Control system for gap measuring
JP2004515664A (en)*2000-12-112004-05-27ダウ グローバル テクノロジーズ インコーポレイティド Thermal bonding cloth and manufacturing method thereof
US20020176617A1 (en)*2001-05-222002-11-28Pti Advanced Filtration, Inc.System and method for continuous integrity testing of a material web
US20060191637A1 (en)*2001-06-212006-08-31John ZajacEtching Apparatus and Process with Thickness and Uniformity Control
FI114337B (en)*2001-07-032004-09-30Metso Automation Oy Method and gauge for measuring at least one property of a moving web
US6609414B2 (en)*2001-07-192003-08-26Mocon, Inc.Apparatus for conducting leakage tests on sealed packages
US6673210B2 (en)*2001-09-272004-01-06Voith Paper Patent GmbhCleaning a semipermeable membrane in a papermaking machine
US20030157000A1 (en)*2002-02-152003-08-21Kimberly-Clark Worldwide, Inc.Fluidized bed activated by excimer plasma and materials produced therefrom
DE10211792A1 (en)*2002-03-162003-10-02Voith Paper Patent Gmbh sound emission
AU2003245530A1 (en)*2002-06-172003-12-31Tredegar Film Products CorporationExtruded super absorbent web
DE10259975B3 (en)*2002-12-192004-06-17Daimlerchrysler AgSeal integrity checking method for material web e.g. foil web used for manufacture of a fuel cell stack
US7225820B2 (en)*2003-02-102007-06-05Tokyo Electron LimitedHigh-pressure processing chamber for a semiconductor wafer
FI116472B (en)*2003-09-102005-11-30Metso Paper Inc A control and regulation method and arrangement for a fiber web machine
JP2005140141A (en)*2003-11-042005-06-02Utsue Valve Service KkMeasuring device for gasket clamping margin control
US7634860B2 (en)*2004-05-032009-12-22Transphase Technology, Ltd.Steam box
FI118546B (en)*2006-02-272007-12-14Effcom Oy Active sealing of a suction device
FI118693B (en)*2006-04-132008-02-15Effcom Oy Suction device provided with an overpressure device and overpressure device
FR2905462B1 (en)*2006-09-062009-03-13Gaztransp Et Technigaz Soc Par SEALING TEST METHOD, TEST APPARATUS AND BENCH
US8438909B2 (en)*2006-12-222013-05-14The Boeing CompanyDevice and method for detecting an air leak in a tool
US9045306B2 (en)*2007-11-272015-06-02Abb Ltd.Sheet stabilizer with suction nozzle having center protrusion
US8197623B1 (en)*2009-01-232012-06-12The Boeing CompanyThermal and vacuum assessment method
US8977528B2 (en)*2009-04-272015-03-10The Boeing CompanyBonded rework simulation tool
US9108738B1 (en)2009-05-192015-08-18The Boeing CompanyApparatus for refueling aircraft
US8568545B2 (en)*2009-06-162013-10-29The Boeing CompanyAutomated material removal in composite structures
DE102014011696A1 (en)*2014-08-072016-02-11Saurer Germany Gmbh & Co. Kg Apparatus for the thermal treatment of yarns
TWI548107B (en)*2014-08-252016-09-01財團法人工業技術研究院A sealing assembly, apparatus thereof and leak detection method thereof
AT516191B1 (en)*2014-09-152016-08-15Röchling Leripa Papertech Gmbh & Co Kg Sealing strip systems for suction rolls
TR201910638T4 (en)*2015-05-082019-08-21Thies Gmbh & Co Kg Method for processing a textile substrate and devices for applying the method in question.
CN105034574A (en)*2015-09-072015-11-11湖州佳宁印刷有限公司Paper feeding device for printing
CN107355536B (en)*2017-08-312018-09-25安徽江淮汽车集团股份有限公司A kind of closure limiting device
CN110440145A (en)*2018-05-042019-11-12圣戈班管道系统有限公司 Pipeline leak detection system and method
CN108893907B (en)*2018-09-102024-03-19无锡米德兰机电科技有限公司Dynamic vacuum sealing dewatering device
CN109653014B (en)*2018-12-262020-07-24江西炜林达纸业发展有限公司Intelligent automatic papermaking equipment
DE102019100756A1 (en)*2019-01-142020-07-16A. Monforts Textilmaschinen Gmbh & Co. Kg Device for treating a web
CN111504794A (en)*2020-04-252020-08-07天纺标(上海)检测科技有限公司Fabric bursting strength appearance
US12390801B2 (en)*2021-05-112025-08-19Corning IncorporatedWrapped green body carrier
CN118817171A (en)*2024-09-112024-10-22唐山兴邦管道工程设备有限公司 Water tightness test equipment and test method for direct buried thermal insulation pipe joints

Citations (128)

* Cited by examiner, † Cited by third party
Publication numberPriority datePublication dateAssigneeTitle
US1297192A (en)1918-09-181919-03-11James H Le RoyPaper-making machine.
US1718573A (en)1922-09-141929-06-25Paper & Textile Machinery CompPaper-making method and machine
FR679469A (en)1929-07-291930-04-14 Method and device for removing and removing water from materials deposited in a liquid, such as paper, cellulose, wood pulp, peat and the like, and drying these materials
US2091805A (en)1934-10-061937-08-31Harry A ChusePaper making method and machine
US2861354A (en)1955-04-251958-11-25Hultgreen OddApparatus for drying moving webs
US2926116A (en)1957-09-051960-02-23Hercules Powder Co LtdWet-strength paper and method of making same
FR1235868A (en)1958-09-191960-07-08Spooner Dryer & Eng Co Ltd Apparatus for processing continuous strip material
US3052991A (en)1959-02-241962-09-11Midland Ross CorpApparatus for uniform accelerated drying of web material
US3058873A (en)1958-09-101962-10-16Hercules Powder Co LtdManufacture of paper having improved wet strength
US3084448A (en)1958-10-221963-04-09Dungler JulienThermal treatments at high pressure
CA677083A (en)1963-12-31Aktiebolaget Svenska FlaktfabrikenGaseous drying of web material
US3176412A (en)1961-01-041965-04-06Thomas A GardnerMultiple nozzle air blast web drying
US3208158A (en)1963-04-091965-09-28Hupp CorpDryers
US3220914A (en)1960-12-271965-11-30Cons Paper Corp LtdManufacture of crepe paper
US3224926A (en)1962-06-221965-12-21Kimberly Clark CoMethod of forming cross-linked cellulosic fibers and product thereof
US3224928A (en)1961-12-211965-12-21Kimberly Clark CoPapermaking machine using a moving felt through a pressure forming slice and the same felt throughout the machine
GB1057373A (en)1963-03-181967-02-01Huyck CorpMethod for purging water from a moving paper web during paper manufacture
US3303576A (en)1965-05-281967-02-14Procter & GambleApparatus for drying porous paper
US3319354A (en)1964-11-131967-05-16Offen & Co Inc BAir blowing nozzle
US3340617A (en)1965-08-181967-09-12Selas Corp Of AmericaWeb drying
US3371427A (en)1965-09-141968-03-05Proctor & Schwartz IncApparatus for processing web material
US3434922A (en)1965-10-281969-03-25Beloit CorpPress arrangement
US3455778A (en)1965-12-131969-07-15Kimberly Clark CoCreped tissue formed from stiff crosslinked fibers and refined papermaking fibers
US3537954A (en)1967-05-081970-11-03Beloit CorpPapermaking machine
US3541697A (en)1968-08-011970-11-24Aer CorpHigh velocity through-drying system
US3574261A (en)1968-09-241971-04-13Grace W R & CoApparatus and method for drying permeable webs
US3577651A (en)1968-12-051971-05-04Ind Air Co IncApparatus for air-treating sheet material surfaces and the like
US3587177A (en)1969-04-211971-06-28Overly IncAirfoil nozzle
US3599341A (en)1970-02-091971-08-17Eastman Kodak CoMethod and apparatus for drying a web
US3607624A (en)1969-08-221971-09-21Nekoosa Edwards Paper Co IncSelf-cleaning deckle rail for papermaking machines
US3617442A (en)1968-09-301971-11-02Alfred A HurschmanPaper-making means and method
US3629056A (en)1969-04-031971-12-21Beloit CorpApparatus for forming high bulk tissue having a pattern imprinted thereon
US3771239A (en)1970-12-301973-11-13Fuji Photo Film Co LtdApparatus for drying a web by use of an air jet flow
US3771236A (en)1971-01-121973-11-13R CandorMethod and apparatus for treating sheet-like material with fluid
US3812598A (en)1972-01-261974-05-28Omnium De Prospective Ind SaApparatus for drying damp web material
US3822182A (en)1972-05-221974-07-02Dexter CorpDrying of fibrous,porous coating base wet material by percolation of hot gas therethrough
US3844881A (en)1972-06-091974-10-29Rice Barton CorpMulti-layered fibrous web forming system employing a suction roll positioned adjacent the web side of the forming wire and around which the forming wire is wrapped
US3849904A (en)1973-04-041974-11-26Aer CorpHorizontal flat bed through drying system
US3895449A (en)1973-10-101975-07-22Beloit CorpAir impingement system
US3913241A (en)1969-06-251975-10-21Unisearch LtdApparatus for drying textile materials
US3923593A (en)1971-12-031975-12-02Beloit CorpMultiple ply web former with divided slice chamber
US3930319A (en)1973-12-101976-01-06Commonwealth Scientific And Industrial Research OrganizationDrying apparatus
FR2303116A1 (en)1975-03-031976-10-01Procter & Gamble CONTINUOUS SHEET OF ABSORBENT PAPER AND PROCESS FOR ITS MANUFACTURING
US3994771A (en)1975-05-301976-11-30The Procter & Gamble CompanyProcess for forming a layered paper web having improved bulk, tactile impression and absorbency and paper thereof
US4072557A (en)1974-12-231978-02-07J. M. Voith GmbhMethod and apparatus for shrinking a travelling web of fibrous material
US4074441A (en)1976-03-081978-02-21Frederick D. HelversenRotary through dryer having multiple vacuum chambers and associated heaters
US4102737A (en)1977-05-161978-07-25The Procter & Gamble CompanyProcess and apparatus for forming a paper web having improved bulk and absorptive capacity
US4121968A (en)1977-01-031978-10-24Weyerhaeuser CompanySecondary vacuum box for a rotary vacuum filter
US4125430A (en)1977-04-221978-11-14Scott Paper CompanyAir decompaction of paper webs
US4163688A (en)1972-11-301979-08-07Valmet OyApparatus for dewatering in a paper machine
US4183147A (en)1978-01-131980-01-15Kabushiki Kaisha San GikenDehydration apparatus for fabrics
US4197973A (en)1978-10-121980-04-15W. R. Grace & Co.High velocity web floating air bar having air flow straightening means for air discharge slot means
US4201323A (en)1978-10-121980-05-06W. R. Grace & Co.High velocity web floating air bar having a recessed Coanda plate
EP0033559A2 (en)1980-01-291981-08-12THE PROCTER & GAMBLE COMPANYA method of and an apparatus for making imprinted paper
US4309246A (en)1977-06-201982-01-05Crown Zellerbach CorporationPapermaking apparatus and method
US4345385A (en)1979-06-141982-08-24Sando Iron WorksMethod for continuous drying of a cloth and an apparatus therefor
US4356059A (en)1981-11-161982-10-26Crown Zellerbach CorporationHigh bulk papermaking system
US4361466A (en)1977-10-271982-11-30Beloit CorporationAir impingement web drying method and apparatus
US4364185A (en)1981-04-131982-12-21Ingersoll-Rand CompanySystem for drying wet, porous webs
US4421600A (en)1981-07-061983-12-20Crown Zellerbach CorporationTri-nip papermaking system
US4440597A (en)1982-03-151984-04-03The Procter & Gamble CompanyWet-microcontracted paper and concomitant process
US4462868A (en)1981-04-271984-07-31Kimberly-Clark LimitedPaper web drying apparatus having a hood with two sections
US4528316A (en)1983-10-181985-07-09Kimberly-Clark CorporationCreping adhesives containing polyvinyl alcohol and cationic polyamide resins
US4529480A (en)1983-08-231985-07-16The Procter & Gamble CompanyTissue paper
US4541895A (en)1982-10-291985-09-17Scapa Inc.Papermakers fabric of nonwoven layers in a laminated construction
US4551199A (en)1982-07-011985-11-05Crown Zellerbach CorporationApparatus and process for treating web material
US4556450A (en)1982-12-301985-12-03The Procter & Gamble CompanyMethod of and apparatus for removing liquid for webs of porous material
US4559105A (en)1984-07-051985-12-17Beloit CorporationPositive lock foil blades
US4571359A (en)1984-12-181986-02-18Albany International Corp.Papermakers wet-press felt and method of manufacture
US4637859A (en)1983-08-231987-01-20The Procter & Gamble CompanyTissue paper
GB2152961B (en)1984-01-201987-04-08Scott Paper CoMethod of creping a paper web
US4787641A (en)1987-02-111988-11-29Oy Tampella AbArrangement for sealing a chamber containing pressure medium
GB2179953B (en)1985-09-031989-04-05Scott Paper CoCreping adhesive composition
US4835880A (en)1986-11-281989-06-06Sperotto Rimar S.P.A.Air percussion and air suction dryer for machines for continuous textile treatment
US4849054A (en)1985-12-041989-07-18James River-Norwalk, Inc.High bulk, embossed fiber sheet material and apparatus and method of manufacturing the same
GB2179949B (en)1985-09-031989-08-31Scott Paper CoAdhesive composition
US4871425A (en)1986-06-161989-10-03Alfsen & Gunderson A/SFixation device
US4892622A (en)1986-08-221990-01-09Valmet OyMethod for resisting formation of undulations in a fiber/water mixture during forming of a paper web in a paper-making machine
US4915788A (en)1987-01-201990-04-10V.I.B. Apparatebau GmbhMethod of contacting running webs with steam
US4953297A (en)1985-11-141990-09-04Valmet Paper Machinery Inc.Method of and device for pocket ventilation in the drying section of a paper machine, in particular for high-speed paper machines
US4976821A (en)1984-05-251990-12-11Valmet OyPress section with separate press zones in a paper machine
US4986009A (en)1988-03-101991-01-22J. M. Voith GmbhProcess for drying a material web and device for the application of the process
GB2235754A (en)1989-08-041991-03-13Thermatek International LimiteWeb drying machine
US5048589A (en)1988-05-181991-09-17Kimberly-Clark CorporationNon-creped hand or wiper towel
US5070627A (en)1990-01-161991-12-10W. R. Grace & Co.-Conn.Directional diffusion nozzle air bar
US5070628A (en)1990-01-161991-12-10W. R. Grace & Co.-Conn.Rotatable slot nozzle air bar
EP0328227B1 (en)1988-02-101991-12-11Thermo Electron-Web Systems, Inc.Positive pressure web floater dryer with parallel flow
US5078835A (en)1990-06-221992-01-07J.M. Voith GmbhLedge for resiliently supporting a drainage wire of a paper making machine
US5085737A (en)1989-06-091992-02-04Maschinenfabrik Andritz ActiengesellschaftApparatus for the dewatering of a web of cellulosic matter or a web of material for the pasteboard or cardboard production
US5105562A (en)1990-12-261992-04-21Advance Systems, Inc.Web dryer apparatus having ventilating and impingement air bar assemblies
US5129988A (en)1991-06-211992-07-14Kimberly-Clark CorporationExtended flexible headbox slice with parallel flexible lip extensions and extended internal dividers
US5137600A (en)1990-11-011992-08-11Kimberley-Clark CorporationHydraulically needled nonwoven pulp fiber web
EP0502602A1 (en)1991-03-071992-09-09Thermo Electron-Web Systems, Inc.Method and apparatus for drying coated webs
US5187219A (en)1991-08-221993-02-16Nalco Chemical CompanyWater soluble polyols in combination with glyoxlated acrylamide/diallyldimethyl ammonium chloride polymers as Yankee dryer adhesive compositions
US5225042A (en)1991-12-021993-07-06Beloit Technologies, Inc.Twin wire paper forming section with heated air pressure domes
US5230776A (en)1988-10-251993-07-27Valmet Paper Machinery, Inc.Paper machine for manufacturing a soft crepe paper web
US5262010A (en)1991-03-091993-11-16Sulzer Escher Wyss GmbhDewatering device with adjustable force elements for the web-forming section of a papermaking machine
US5274930A (en)1992-06-301994-01-04The Procter & Gamble CompanyLimiting orifice drying of cellulosic fibrous structures, apparatus therefor, and cellulosic fibrous structures produced thereby
US5336373A (en)1992-12-291994-08-09Scott Paper CompanyMethod for making a strong, bulky, absorbent paper sheet using restrained can drying
US5348620A (en)1992-04-171994-09-20Kimberly-Clark CorporationMethod of treating papermaking fibers for making tissue
EP0616074A1 (en)1993-03-181994-09-21Kimberly-Clark CorporationPaper sheet or towel and method of making same
GB2254288B (en)1991-04-051994-11-30Scapa Group PlcPapermachine clothing
US5381580A (en)1990-06-061995-01-17J. M. Voith GmbhDevice for cleaning a paper machine wire web
US5411636A (en)1993-05-211995-05-02Kimberly-ClarkMethod for increasing the internal bulk of wet-pressed tissue
US5471765A (en)1993-02-011995-12-05Valmet-Tampella OyArrangement in a dryer for a fibre web
US5490903A (en)1994-08-171996-02-13Kimberly-Clark CorporationCreping chemical composition and method of use
US5501768A (en)1992-04-171996-03-26Kimberly-Clark CorporationMethod of treating papermaking fibers for making tissue
US5508095A (en)1993-11-161996-04-16Scapa Group PlcPapermachine clothing
US5556053A (en)1994-05-311996-09-17Voith Sulzer Papiermaschinen GmbhWinder for winding a traveling paper web
US5598643A (en)1994-11-231997-02-04Kimberly-Clark Tissue CompanyCapillary dewatering method and apparatus
EP0574366B1 (en)1992-06-081997-02-05Valmet CorporationMethod and device for intensification of the operation of a Yankee press in a soft-tissue machine
US5601871A (en)1995-02-061997-02-11Krzysik; Duane G.Soft treated uncreped throughdried tissue
US5607551A (en)1993-06-241997-03-04Kimberly-Clark CorporationSoft tissue
US5625961A (en)1995-06-071997-05-06The Procter & Gamble CompanyMultiple zone limiting orifice drying of cellulosic fibrous structures, apparatus therefor, and cellulosic fibrous structures produced thereby
US5667636A (en)1993-03-241997-09-16Kimberly-Clark Worldwide, Inc.Method for making smooth uncreped throughdried sheets
US5743999A (en)1993-04-121998-04-28Kimberly-Clark Worldwide, Inc.Method for making soft tissue
US5746887A (en)1994-04-121998-05-05Kimberly-Clark Worldwide, Inc.Method of making soft tissue products
US5830321A (en)1997-01-291998-11-03Kimberly-Clark Worldwide, Inc.Method for improved rush transfer to produce high bulk without macrofolds
US5990377A (en)1997-03-211999-11-23Kimberly-Clark Worldwide, Inc.Dual-zoned absorbent webs
US6080691A (en)1996-09-062000-06-27Kimberly-Clark Worldwide, Inc.Process for producing high-bulk tissue webs using nonwoven substrates
US6080279A (en)1996-05-142000-06-27Kimberly-Clark Worldwide, Inc.Air press for dewatering a wet web
US6083346A (en)1996-05-142000-07-04Kimberly-Clark Worldwide, Inc.Method of dewatering wet web using an integrally sealed air press
US6096169A (en)1996-05-142000-08-01Kimberly-Clark Worldwide, Inc.Method for making cellulosic web with reduced energy input
US6149767A (en)1997-10-312000-11-21Kimberly-Clark Worldwide, Inc.Method for making soft tissue
US6187137B1 (en)1997-10-312001-02-13Kimberly-Clark Worldwide, Inc.Method of producing low density resilient webs
US6197154B1 (en)1997-10-312001-03-06Kimberly-Clark Worldwide, Inc.Low density resilient webs and methods of making such webs
US6280573B1 (en)1998-08-122001-08-28Kimberly-Clark Worldwide, Inc.Leakage control system for treatment of moving webs
US6306257B1 (en)1998-06-172001-10-23Kimberly-Clark Worldwide, Inc.Air press for dewatering a wet web

Family Cites Families (31)

* Cited by examiner, † Cited by third party
Publication numberPriority datePublication dateAssigneeTitle
US961915A (en)1909-10-261910-06-21Farbenfab Vorm Bayer F & CoReduction products of commercial nitrobenzaldehyde.
US1549338A (en)1922-04-111925-08-11John D TompkinsPaper-making machine
US1843656A (en)1927-05-051932-02-02Tompkins Hawley Fuller CompanyMethod of and machine for making paper
US2753766A (en)1951-12-291956-07-10Forming Machine Company Of AmePositive pressure machine for forming continuous strips of fibrous materials
US3301746A (en)1964-04-131967-01-31Procter & GambleProcess for forming absorbent paper by imprinting a fabric knuckle pattern thereon prior to drying and paper thereof
US3447247A (en)1967-12-181969-06-03Beloit CorpMethod and equipment for drying web material
US3657069A (en)1969-12-181972-04-18Robert R CandorMethod and apparatus for treatment of sheet-like material
US3729376A (en)1970-10-231973-04-24S StevensPapermaking machine pickup device including an inflatable member pressing an apron uniformly against the web
AT327670B (en)1970-10-301976-02-10Arledter Hanns F Dr Ing DRAINAGE DEVICE FOR A TWIN SCREEN PAPER MACHINE
US3879257A (en)1973-04-301975-04-22Scott Paper CoAbsorbent unitary laminate-like fibrous webs and method for producing them
US4089194A (en)1974-06-101978-05-16Sando Iron WorksPressure seal apparatus for a high pressure steamer
US4157938A (en)1977-04-211979-06-12The Procter & Gamble CompanyMethod and apparatus for continuously expelling an atomized stream of water from a moving fibrous web
CH620973A5 (en)1978-02-131980-12-31Maillefer Sa
US4359828A (en)1979-11-051982-11-23Weyerhaeuser CompanyVacuum box for use in high speed papermaking
US4285816A (en)1980-03-041981-08-25Fairchild, IncorporatedDewatering system
US4444622A (en)1980-09-291984-04-24Devron Engineering Ltd.Steam distribution
US4547266A (en)1983-07-291985-10-15Sandy Hill CorporationApparatus for providing selectively differentiated vacuum across a papermaking machine width
US4888096A (en)1987-12-021989-12-19Inotech Process Ltd.Roll press for removing water from a web of paper using solid grooved roll and compressed air
FI78755C (en)1988-01-291989-09-11Tampella Oy Ab FOERFARANDE FOER TORKNING AV EN KARTONG- ELLER PAPPERSBANA.
FI80101C (en)1988-05-181990-04-10Tampella Oy Ab ANORDINATION OF FOERFARANDE FOER TORKNING AV EN FIBERBANA.
FI82092C (en)1989-03-221991-01-10Valmet Paper Machinery Inc long nip press
US5149401A (en)1990-03-021992-09-22Thermo Electron Web Systems, Inc.Simultaneously controlled steam shower and vacuum apparatus and method of using same
US5389205A (en)1990-11-231995-02-14Valmet Paper Machinery, Inc.Method for dewatering of a paper web by pressing using an extended nip shoe pre-press zone on the forming wire
FI91424C (en)1993-02-011994-06-27Tampella Oy Valmet Wire seal in the dryer's drying room
FI92736C (en)1993-02-011994-12-27Tampella Oy Valmet Dryer for drying fiber web
US5429686A (en)1994-04-121995-07-04Lindsay Wire, Inc.Apparatus for making soft tissue products
FI942616A7 (en)1994-06-031995-12-04Metso Paper Inc Paper web prepress
FI97485C (en)1995-02-141996-12-27Valmet Corp Drying device for drying a fiber web and drying part in a paper machine
US5834114A (en)1995-05-311998-11-10The Board Of Trustees Of The University Of IllinoisCoated absorbent fibers
DE19534573C2 (en)1995-09-182001-08-23Voith Sulzer Papiermasch Gmbh Steam blower box and method for zone-wise tempering of a running paper web
BR9709083A (en)1996-05-141999-08-03Kimberly Clark Co Method and apparatus for producing soft fabric

Patent Citations (135)

* Cited by examiner, † Cited by third party
Publication numberPriority datePublication dateAssigneeTitle
CA677083A (en)1963-12-31Aktiebolaget Svenska FlaktfabrikenGaseous drying of web material
US1297192A (en)1918-09-181919-03-11James H Le RoyPaper-making machine.
US1718573A (en)1922-09-141929-06-25Paper & Textile Machinery CompPaper-making method and machine
FR679469A (en)1929-07-291930-04-14 Method and device for removing and removing water from materials deposited in a liquid, such as paper, cellulose, wood pulp, peat and the like, and drying these materials
US2091805A (en)1934-10-061937-08-31Harry A ChusePaper making method and machine
US2861354A (en)1955-04-251958-11-25Hultgreen OddApparatus for drying moving webs
US2926116A (en)1957-09-051960-02-23Hercules Powder Co LtdWet-strength paper and method of making same
US3058873A (en)1958-09-101962-10-16Hercules Powder Co LtdManufacture of paper having improved wet strength
FR1235868A (en)1958-09-191960-07-08Spooner Dryer & Eng Co Ltd Apparatus for processing continuous strip material
US3084448A (en)1958-10-221963-04-09Dungler JulienThermal treatments at high pressure
US3052991A (en)1959-02-241962-09-11Midland Ross CorpApparatus for uniform accelerated drying of web material
US3220914A (en)1960-12-271965-11-30Cons Paper Corp LtdManufacture of crepe paper
US3176412A (en)1961-01-041965-04-06Thomas A GardnerMultiple nozzle air blast web drying
US3224928A (en)1961-12-211965-12-21Kimberly Clark CoPapermaking machine using a moving felt through a pressure forming slice and the same felt throughout the machine
US3224926A (en)1962-06-221965-12-21Kimberly Clark CoMethod of forming cross-linked cellulosic fibers and product thereof
GB1057373A (en)1963-03-181967-02-01Huyck CorpMethod for purging water from a moving paper web during paper manufacture
US3208158A (en)1963-04-091965-09-28Hupp CorpDryers
US3319354A (en)1964-11-131967-05-16Offen & Co Inc BAir blowing nozzle
US3303576A (en)1965-05-281967-02-14Procter & GambleApparatus for drying porous paper
US3340617A (en)1965-08-181967-09-12Selas Corp Of AmericaWeb drying
US3371427A (en)1965-09-141968-03-05Proctor & Schwartz IncApparatus for processing web material
US3434922A (en)1965-10-281969-03-25Beloit CorpPress arrangement
US3455778A (en)1965-12-131969-07-15Kimberly Clark CoCreped tissue formed from stiff crosslinked fibers and refined papermaking fibers
US3537954A (en)1967-05-081970-11-03Beloit CorpPapermaking machine
US3541697A (en)1968-08-011970-11-24Aer CorpHigh velocity through-drying system
US3574261A (en)1968-09-241971-04-13Grace W R & CoApparatus and method for drying permeable webs
US3617442A (en)1968-09-301971-11-02Alfred A HurschmanPaper-making means and method
US3577651A (en)1968-12-051971-05-04Ind Air Co IncApparatus for air-treating sheet material surfaces and the like
US3629056A (en)1969-04-031971-12-21Beloit CorpApparatus for forming high bulk tissue having a pattern imprinted thereon
US3587177A (en)1969-04-211971-06-28Overly IncAirfoil nozzle
US3913241A (en)1969-06-251975-10-21Unisearch LtdApparatus for drying textile materials
US3607624A (en)1969-08-221971-09-21Nekoosa Edwards Paper Co IncSelf-cleaning deckle rail for papermaking machines
US3599341A (en)1970-02-091971-08-17Eastman Kodak CoMethod and apparatus for drying a web
US3771239A (en)1970-12-301973-11-13Fuji Photo Film Co LtdApparatus for drying a web by use of an air jet flow
US3771236A (en)1971-01-121973-11-13R CandorMethod and apparatus for treating sheet-like material with fluid
US3923593A (en)1971-12-031975-12-02Beloit CorpMultiple ply web former with divided slice chamber
US3812598A (en)1972-01-261974-05-28Omnium De Prospective Ind SaApparatus for drying damp web material
US3822182A (en)1972-05-221974-07-02Dexter CorpDrying of fibrous,porous coating base wet material by percolation of hot gas therethrough
US3844881A (en)1972-06-091974-10-29Rice Barton CorpMulti-layered fibrous web forming system employing a suction roll positioned adjacent the web side of the forming wire and around which the forming wire is wrapped
US4163688A (en)1972-11-301979-08-07Valmet OyApparatus for dewatering in a paper machine
US3849904A (en)1973-04-041974-11-26Aer CorpHorizontal flat bed through drying system
US3895449A (en)1973-10-101975-07-22Beloit CorpAir impingement system
US3930319A (en)1973-12-101976-01-06Commonwealth Scientific And Industrial Research OrganizationDrying apparatus
US4072557A (en)1974-12-231978-02-07J. M. Voith GmbhMethod and apparatus for shrinking a travelling web of fibrous material
FR2303116A1 (en)1975-03-031976-10-01Procter & Gamble CONTINUOUS SHEET OF ABSORBENT PAPER AND PROCESS FOR ITS MANUFACTURING
US4120747A (en)1975-03-031978-10-17The Procter & Gamble CompanyUse of ozone treated chemithermomechanical pulp in a high bulk tissue papermaking process
US3994771A (en)1975-05-301976-11-30The Procter & Gamble CompanyProcess for forming a layered paper web having improved bulk, tactile impression and absorbency and paper thereof
US4074441A (en)1976-03-081978-02-21Frederick D. HelversenRotary through dryer having multiple vacuum chambers and associated heaters
US4121968A (en)1977-01-031978-10-24Weyerhaeuser CompanySecondary vacuum box for a rotary vacuum filter
US4125430A (en)1977-04-221978-11-14Scott Paper CompanyAir decompaction of paper webs
US4102737A (en)1977-05-161978-07-25The Procter & Gamble CompanyProcess and apparatus for forming a paper web having improved bulk and absorptive capacity
US4309246A (en)1977-06-201982-01-05Crown Zellerbach CorporationPapermaking apparatus and method
US4361466A (en)1977-10-271982-11-30Beloit CorporationAir impingement web drying method and apparatus
US4183147A (en)1978-01-131980-01-15Kabushiki Kaisha San GikenDehydration apparatus for fabrics
US4201323A (en)1978-10-121980-05-06W. R. Grace & Co.High velocity web floating air bar having a recessed Coanda plate
US4197973A (en)1978-10-121980-04-15W. R. Grace & Co.High velocity web floating air bar having air flow straightening means for air discharge slot means
US4345385A (en)1979-06-141982-08-24Sando Iron WorksMethod for continuous drying of a cloth and an apparatus therefor
EP0033559A2 (en)1980-01-291981-08-12THE PROCTER & GAMBLE COMPANYA method of and an apparatus for making imprinted paper
US4364185A (en)1981-04-131982-12-21Ingersoll-Rand CompanySystem for drying wet, porous webs
US4462868A (en)1981-04-271984-07-31Kimberly-Clark LimitedPaper web drying apparatus having a hood with two sections
US4421600A (en)1981-07-061983-12-20Crown Zellerbach CorporationTri-nip papermaking system
US4356059A (en)1981-11-161982-10-26Crown Zellerbach CorporationHigh bulk papermaking system
US4440597A (en)1982-03-151984-04-03The Procter & Gamble CompanyWet-microcontracted paper and concomitant process
US4551199A (en)1982-07-011985-11-05Crown Zellerbach CorporationApparatus and process for treating web material
US4541895A (en)1982-10-291985-09-17Scapa Inc.Papermakers fabric of nonwoven layers in a laminated construction
US4556450A (en)1982-12-301985-12-03The Procter & Gamble CompanyMethod of and apparatus for removing liquid for webs of porous material
US4637859A (en)1983-08-231987-01-20The Procter & Gamble CompanyTissue paper
US4529480A (en)1983-08-231985-07-16The Procter & Gamble CompanyTissue paper
US4528316A (en)1983-10-181985-07-09Kimberly-Clark CorporationCreping adhesives containing polyvinyl alcohol and cationic polyamide resins
GB2152961B (en)1984-01-201987-04-08Scott Paper CoMethod of creping a paper web
US4976821A (en)1984-05-251990-12-11Valmet OyPress section with separate press zones in a paper machine
US4559105A (en)1984-07-051985-12-17Beloit CorporationPositive lock foil blades
US4571359A (en)1984-12-181986-02-18Albany International Corp.Papermakers wet-press felt and method of manufacture
GB2179949B (en)1985-09-031989-08-31Scott Paper CoAdhesive composition
GB2179953B (en)1985-09-031989-04-05Scott Paper CoCreping adhesive composition
US4953297A (en)1985-11-141990-09-04Valmet Paper Machinery Inc.Method of and device for pocket ventilation in the drying section of a paper machine, in particular for high-speed paper machines
US4849054A (en)1985-12-041989-07-18James River-Norwalk, Inc.High bulk, embossed fiber sheet material and apparatus and method of manufacturing the same
US4871425A (en)1986-06-161989-10-03Alfsen & Gunderson A/SFixation device
US4892622A (en)1986-08-221990-01-09Valmet OyMethod for resisting formation of undulations in a fiber/water mixture during forming of a paper web in a paper-making machine
US4835880A (en)1986-11-281989-06-06Sperotto Rimar S.P.A.Air percussion and air suction dryer for machines for continuous textile treatment
US4915788A (en)1987-01-201990-04-10V.I.B. Apparatebau GmbhMethod of contacting running webs with steam
US4787641A (en)1987-02-111988-11-29Oy Tampella AbArrangement for sealing a chamber containing pressure medium
EP0328227B1 (en)1988-02-101991-12-11Thermo Electron-Web Systems, Inc.Positive pressure web floater dryer with parallel flow
US4986009A (en)1988-03-101991-01-22J. M. Voith GmbhProcess for drying a material web and device for the application of the process
US5048589A (en)1988-05-181991-09-17Kimberly-Clark CorporationNon-creped hand or wiper towel
US5230776A (en)1988-10-251993-07-27Valmet Paper Machinery, Inc.Paper machine for manufacturing a soft crepe paper web
US5085737A (en)1989-06-091992-02-04Maschinenfabrik Andritz ActiengesellschaftApparatus for the dewatering of a web of cellulosic matter or a web of material for the pasteboard or cardboard production
GB2235754A (en)1989-08-041991-03-13Thermatek International LimiteWeb drying machine
US5070628A (en)1990-01-161991-12-10W. R. Grace & Co.-Conn.Rotatable slot nozzle air bar
US5070627A (en)1990-01-161991-12-10W. R. Grace & Co.-Conn.Directional diffusion nozzle air bar
US5381580A (en)1990-06-061995-01-17J. M. Voith GmbhDevice for cleaning a paper machine wire web
US5078835A (en)1990-06-221992-01-07J.M. Voith GmbhLedge for resiliently supporting a drainage wire of a paper making machine
US5137600A (en)1990-11-011992-08-11Kimberley-Clark CorporationHydraulically needled nonwoven pulp fiber web
US5105562A (en)1990-12-261992-04-21Advance Systems, Inc.Web dryer apparatus having ventilating and impingement air bar assemblies
EP0502602A1 (en)1991-03-071992-09-09Thermo Electron-Web Systems, Inc.Method and apparatus for drying coated webs
US5262010A (en)1991-03-091993-11-16Sulzer Escher Wyss GmbhDewatering device with adjustable force elements for the web-forming section of a papermaking machine
GB2254288B (en)1991-04-051994-11-30Scapa Group PlcPapermachine clothing
US5129988A (en)1991-06-211992-07-14Kimberly-Clark CorporationExtended flexible headbox slice with parallel flexible lip extensions and extended internal dividers
US5187219A (en)1991-08-221993-02-16Nalco Chemical CompanyWater soluble polyols in combination with glyoxlated acrylamide/diallyldimethyl ammonium chloride polymers as Yankee dryer adhesive compositions
US5225042A (en)1991-12-021993-07-06Beloit Technologies, Inc.Twin wire paper forming section with heated air pressure domes
US5348620A (en)1992-04-171994-09-20Kimberly-Clark CorporationMethod of treating papermaking fibers for making tissue
US5501768A (en)1992-04-171996-03-26Kimberly-Clark CorporationMethod of treating papermaking fibers for making tissue
EP0574366B1 (en)1992-06-081997-02-05Valmet CorporationMethod and device for intensification of the operation of a Yankee press in a soft-tissue machine
US5274930A (en)1992-06-301994-01-04The Procter & Gamble CompanyLimiting orifice drying of cellulosic fibrous structures, apparatus therefor, and cellulosic fibrous structures produced thereby
US5336373A (en)1992-12-291994-08-09Scott Paper CompanyMethod for making a strong, bulky, absorbent paper sheet using restrained can drying
US5471765A (en)1993-02-011995-12-05Valmet-Tampella OyArrangement in a dryer for a fibre web
EP0616074A1 (en)1993-03-181994-09-21Kimberly-Clark CorporationPaper sheet or towel and method of making same
US5667636A (en)1993-03-241997-09-16Kimberly-Clark Worldwide, Inc.Method for making smooth uncreped throughdried sheets
US5743999A (en)1993-04-121998-04-28Kimberly-Clark Worldwide, Inc.Method for making soft tissue
US5411636A (en)1993-05-211995-05-02Kimberly-ClarkMethod for increasing the internal bulk of wet-pressed tissue
US5656132A (en)1993-06-241997-08-12Kimberly-Clark Worldwide, Inc.Soft tissue
US5772845A (en)1993-06-241998-06-30Kimberly-Clark Worldwide, Inc.Soft tissue
US5607551A (en)1993-06-241997-03-04Kimberly-Clark CorporationSoft tissue
US5508095A (en)1993-11-161996-04-16Scapa Group PlcPapermachine clothing
US5746887A (en)1994-04-121998-05-05Kimberly-Clark Worldwide, Inc.Method of making soft tissue products
US5556053A (en)1994-05-311996-09-17Voith Sulzer Papiermaschinen GmbhWinder for winding a traveling paper web
US5490903A (en)1994-08-171996-02-13Kimberly-Clark CorporationCreping chemical composition and method of use
US5598643A (en)1994-11-231997-02-04Kimberly-Clark Tissue CompanyCapillary dewatering method and apparatus
US5601871A (en)1995-02-061997-02-11Krzysik; Duane G.Soft treated uncreped throughdried tissue
US5625961A (en)1995-06-071997-05-06The Procter & Gamble CompanyMultiple zone limiting orifice drying of cellulosic fibrous structures, apparatus therefor, and cellulosic fibrous structures produced thereby
US6228220B1 (en)1996-05-142001-05-08Kimberly-Clark Worldwide, Inc.Air press method for dewatering a wet web
US6143135A (en)1996-05-142000-11-07Kimberly-Clark Worldwide, Inc.Air press for dewatering a wet web
US6080279A (en)1996-05-142000-06-27Kimberly-Clark Worldwide, Inc.Air press for dewatering a wet web
US6083346A (en)1996-05-142000-07-04Kimberly-Clark Worldwide, Inc.Method of dewatering wet web using an integrally sealed air press
US6093284A (en)1996-05-142000-07-25Kimberly-Clark Worldwide, Inc.Air press for dewatering a wet web with pivotable arm seal
US6096169A (en)1996-05-142000-08-01Kimberly-Clark Worldwide, Inc.Method for making cellulosic web with reduced energy input
US6080691A (en)1996-09-062000-06-27Kimberly-Clark Worldwide, Inc.Process for producing high-bulk tissue webs using nonwoven substrates
US6120642A (en)1996-09-062000-09-19Kimberly-Clark Worldwide, Inc.Process for producing high-bulk tissue webs using nonwoven substrates
US5830321A (en)1997-01-291998-11-03Kimberly-Clark Worldwide, Inc.Method for improved rush transfer to produce high bulk without macrofolds
US5990377A (en)1997-03-211999-11-23Kimberly-Clark Worldwide, Inc.Dual-zoned absorbent webs
US6149767A (en)1997-10-312000-11-21Kimberly-Clark Worldwide, Inc.Method for making soft tissue
US6187137B1 (en)1997-10-312001-02-13Kimberly-Clark Worldwide, Inc.Method of producing low density resilient webs
US6197154B1 (en)1997-10-312001-03-06Kimberly-Clark Worldwide, Inc.Low density resilient webs and methods of making such webs
US6306257B1 (en)1998-06-172001-10-23Kimberly-Clark Worldwide, Inc.Air press for dewatering a wet web
US6280573B1 (en)1998-08-122001-08-28Kimberly-Clark Worldwide, Inc.Leakage control system for treatment of moving webs

Non-Patent Citations (13)

* Cited by examiner, † Cited by third party
Title
Bieman, Leonard H., Kevin G. Harding, and Albert Boehnlein, "Absolute Measurement Using Field Shifted Moreé", Optics, Illumination, and Image Sensing for Machine Vision VI, SPIE Proceedings Series, Nov. 14-15, 1991, vol. 1614, pp. 259-264.
Bowden, Edward V., "Non-Contact Drying and Turning-the "On Machine' Technology of the Nineties", Appita, vol. 44, No. 1, Jan. 1991, pp. 41-46.
Bowden, Edward V., "Non-Contact Drying and Turning—the ‘On Machine’ Technology of the Nineties", Appita, vol. 44, No. 1, Jan. 1991, pp. 41-46.
Haberl, Andrew et al., "First Linerboard Application Of The Gas Heated Paper Dryer", 45th Appita Annual General Conference Proceedings, vol. 1, 1991, pp. 47-50.
Kufferath, W. et al., "Die Sonic-Roll", Das Papier, 42(10A): V140, 1988.
Lindsay, Jeffrey D. and Leonard H. Bieman, "Exploring Tactile Properties of Tissue With Moire Interferometry", Non-Contact, Three-Dimensional Gaging Methods and Technologies Workshop, Dearborn, Michigan, Mar. 1997.
Lindsay, Jeffrey D., "Displacement Dewatering To Maintain Bulk", Paperi Ja Puu-Paper And Timber, vol. 74, No. 3, 1992, pp. 232-242.
Lindsay, Jeffrey D., "Displacement Dewatering To Maintain Bulk", Paperi Ja Puu—Paper And Timber, vol. 74, No. 3, 1992, pp. 232-242.
Mummery, Leigh, Surface Texture Analysis: The Handbook, published by Hommelwerke GmbH, Muhlhausen, Germany, 1990, pp. 37-45.
Page, R.H. and J. Seyed-Yagoobi, "A New Concept For Air Or Vapor Impingement Drying", Tappi Journal, 73(9), Sep. 1990, pp. 229-234.
TAPPI Official Test Method T 494-om-88, "Tensile Breaking Properties Of Paper And Paperboard (Using Constant Rate Of Elongation Apparatus)", publishing by the TAPPI Press, Atlanta, Georgia, revised 1988, pp. 1-5.
TAPPI Useful Method UM 256, "Water Retention Value (WRV)", published by the TAPPI Press, Atlanta, Georgia, pp. 54-56.
Thiele, P.E. and R.H. Page, "Enhancement Of Drying Rate, Moisture Profiling And Sheet Stability On An Existing Machine With RJR Blow Boxes", 1995 Papermakers Conference, Tappi Press, Atlanta, Georgia, 1995, pp. 223-228.

Cited By (101)

* Cited by examiner, † Cited by third party
Publication numberPriority datePublication dateAssigneeTitle
US6860968B1 (en)*2000-05-242005-03-01Kimberly-Clark Worldwide, Inc.Tissue impulse drying
US8328985B2 (en)2002-10-072012-12-11Georgia-Pacific Consumer Products LpMethod of making a fabric-creped absorbent cellulosic sheet
US7670457B2 (en)2002-10-072010-03-02Georgia-Pacific Consumer Products LlcProcess for producing absorbent sheet
US8568560B2 (en)2002-10-072013-10-29Georgia-Pacific Consumer Products LpMethod of making a cellulosic absorbent sheet
US20050217814A1 (en)*2002-10-072005-10-06Super Guy HFabric crepe/draw process for producing absorbent sheet
US20050241786A1 (en)*2002-10-072005-11-03Edwards Steven LWet-pressed tissue and towel products with elevated CD stretch and low tensile ratios made with a high solids fabric crepe process
US20050241787A1 (en)*2002-10-072005-11-03Murray Frank CFabric crepe and in fabric drying process for producing absorbent sheet
US8562786B2 (en)2002-10-072013-10-22Georgia-Pacific Consumer Products LpMethod of making a fabric-creped absorbent cellulosic sheet
US8545676B2 (en)2002-10-072013-10-01Georgia-Pacific Consumer Products LpFabric-creped absorbent cellulosic sheet having a variable local basis weight
US8524040B2 (en)2002-10-072013-09-03Georgia-Pacific Consumer Products LpMethod of making a belt-creped absorbent cellulosic sheet
US8603296B2 (en)2002-10-072013-12-10Georgia-Pacific Consumer Products LpMethod of making a fabric-creped absorbent cellulosic sheet with improved dispensing characteristics
US8435381B2 (en)2002-10-072013-05-07Georgia-Pacific Consumer Products LpAbsorbent fabric-creped cellulosic web for tissue and towel products
US8398818B2 (en)2002-10-072013-03-19Georgia-Pacific Consumer Products LpFabric-creped absorbent cellulosic sheet having a variable local basis weight
US20040238135A1 (en)*2002-10-072004-12-02Edwards Steven L.Fabric crepe process for making absorbent sheet
US7399378B2 (en)2002-10-072008-07-15Georgia-Pacific Consumer Products LpFabric crepe process for making absorbent sheet
US8398820B2 (en)2002-10-072013-03-19Georgia-Pacific Consumer Products LpMethod of making a belt-creped absorbent cellulosic sheet
US20080236772A1 (en)*2002-10-072008-10-02Edwards Steven LFabric Crepe process for making absorbent sheet
US20080245492A1 (en)*2002-10-072008-10-09Edwards Steven LFabric crepe process for making absorbent sheet
US7442278B2 (en)2002-10-072008-10-28Georgia-Pacific Consumer Products LpFabric crepe and in fabric drying process for producing absorbent sheet
US20090038768A1 (en)*2002-10-072009-02-12Murray Frank CProcess for producing absorbent sheet
US8394236B2 (en)2002-10-072013-03-12Georgia-Pacific Consumer Products LpAbsorbent sheet of cellulosic fibers
US9371615B2 (en)2002-10-072016-06-21Georgia-Pacific Consumer Products LpMethod of making a fabric-creped absorbent cellulosic sheet
US9279219B2 (en)2002-10-072016-03-08Georgia-Pacific Consumer Products LpMulti-ply absorbent sheet of cellulosic fibers
US8388803B2 (en)2002-10-072013-03-05Georgia-Pacific Consumer Products LpMethod of making a fabric-creped absorbent cellulosic sheet
US8388804B2 (en)2002-10-072013-03-05Georgia-Pacific Consumer Products LpMethod of making a fabric-creped absorbent cellulosic sheet
US7588660B2 (en)2002-10-072009-09-15Georgia-Pacific Consumer Products LpWet-pressed tissue and towel products with elevated CD stretch and low tensile ratios made with a high solids fabric crepe process
US7588661B2 (en)2002-10-072009-09-15Georgia-Pacific Consumer Products LpAbsorbent sheet made by fabric crepe process
US20090294079A1 (en)*2002-10-072009-12-03Edwards Steven LAbsorbent sheet made by fabric crepe process
US20090301675A1 (en)*2002-10-072009-12-10Edwards Steven LWet-pressed tissue and towel products with elevated CD stretch and low tensile ratios made with a high solids fabric crepe process
US8636874B2 (en)2002-10-072014-01-28Georgia-Pacific Consumer Products LpFabric-creped absorbent cellulosic sheet having a variable local basis weight
US7651589B2 (en)2002-10-072010-01-26Georgia-Pacific Consumer Products LlcProcess for producing absorbent sheet
US7662255B2 (en)2002-10-072010-02-16Georgia-Pacific Consumer Products LlcAbsorbent sheet
US8673115B2 (en)2002-10-072014-03-18Georgia-Pacific Consumer Products LpMethod of making a fabric-creped absorbent cellulosic sheet
US8568559B2 (en)2002-10-072013-10-29Georgia-Pacific Consumer Products LpMethod of making a cellulosic absorbent sheet
US8980052B2 (en)2002-10-072015-03-17Georgia-Pacific Consumer Products LpMethod of making a fabric-creped absorbent cellulosic sheet
US7704349B2 (en)2002-10-072010-04-27Georgia-Pacific Consumer Products LpFabric crepe process for making absorbent sheet
US8778138B2 (en)2002-10-072014-07-15Georgia-Pacific Consumer Products LpAbsorbent cellulosic sheet having a variable local basis weight
US8257552B2 (en)2002-10-072012-09-04Georgia-Pacific Consumer Products LpFabric creped absorbent sheet with variable local basis weight
US7789995B2 (en)2002-10-072010-09-07Georgia-Pacific Consumer Products, LPFabric crepe/draw process for producing absorbent sheet
US7828931B2 (en)2002-10-072010-11-09Georgia-Pacific Consumer Products LpWet-pressed tissue and towel products with elevated CD stretch and low tensile ratios made with a high solids fabric crepe process
US20100282423A1 (en)*2002-10-072010-11-11Super Guy HFabric crepe/draw process for producing absorbent sheet
US8226797B2 (en)2002-10-072012-07-24Georgia-Pacific Consumer Products LpFabric crepe and in fabric drying process for producing absorbent sheet
US8152957B2 (en)2002-10-072012-04-10Georgia-Pacific Consumer Products LpFabric creped absorbent sheet with variable local basis weight
US7927456B2 (en)2002-10-072011-04-19Georgia-Pacific Consumer Products LpAbsorbent sheet
US7935220B2 (en)2002-10-072011-05-03Georgia-Pacific Consumer Products LpAbsorbent sheet made by fabric crepe process
US8911592B2 (en)2002-10-072014-12-16Georgia-Pacific Consumer Products LpMulti-ply absorbent sheet of cellulosic fibers
US8152958B2 (en)2002-10-072012-04-10Georgia-Pacific Consumer Products LpFabric crepe/draw process for producing absorbent sheet
US20050160552A1 (en)*2003-06-022005-07-28Takashi YoshidaCleaning apparatus
US7186317B2 (en)*2003-12-122007-03-06Kimberly-Clark Worldwide, Inc.Method for producing soft bulky tissue
US7758727B2 (en)2003-12-122010-07-20Kimberly-Clark Worldwide, Inc.Method for producing soft bulky tissue
US20050126728A1 (en)*2003-12-122005-06-16Kimberly-Clark Worldwide, Inc.Method for producing soft bulky tissue
US9017517B2 (en)2004-04-142015-04-28Georgia-Pacific Consumer Products LpMethod of making a belt-creped, absorbent cellulosic sheet with a perforated belt
US8968516B2 (en)2004-04-142015-03-03Georgia-Pacific Consumer Products LpMethods of making a belt-creped absorbent cellulosic sheet prepared with a perforated polymeric belt
US9388534B2 (en)2004-04-142016-07-12Georgia-Pacific Consumer Products LpMethod of making a belt-creped, absorbent cellulosic sheet with a perforated belt
US7416637B2 (en)2004-07-012008-08-26Georgia-Pacific Consumer Products LpLow compaction, pneumatic dewatering process for producing absorbent sheet
US20060000567A1 (en)*2004-07-012006-01-05Murray Frank CLow compaction, pneumatic dewatering process for producing absorbent sheet
WO2006007517A2 (en)2004-07-012006-01-19Fort James CorporationLow compaction, pneumatic dewatering process for producing absorbent sheet
US7662257B2 (en)2005-04-212010-02-16Georgia-Pacific Consumer Products LlcMulti-ply paper towel with absorbent core
US20060237154A1 (en)*2005-04-212006-10-26Edwards Steven LMulti-ply paper towel with absorbent core
US20100170647A1 (en)*2005-04-212010-07-08Edwards Steven LMulti-ply paper towel with absorbent core
US7918964B2 (en)2005-04-212011-04-05Georgia-Pacific Consumer Products LpMulti-ply paper towel with absorbent core
US7585388B2 (en)2005-06-242009-09-08Georgia-Pacific Consumer Products LpFabric-creped sheet for dispensers
US20060289133A1 (en)*2005-06-242006-12-28Yeh Kang CFabric-creped sheet for dispensers
US20060289134A1 (en)*2005-06-242006-12-28Yeh Kang CMethod of making fabric-creped sheet for dispensers
US7585389B2 (en)2005-06-242009-09-08Georgia-Pacific Consumer Products LpMethod of making fabric-creped sheet for dispensers
US20090134193A1 (en)*2006-05-232009-05-28Anton PirkoArrangement for belt control
US20080075867A1 (en)*2006-09-262008-03-27Fujifilm CorporationMethod for drying applied film and drying apparatus
US8109010B2 (en)*2006-09-262012-02-07Fujifilm CorporationMethod for drying applied film and drying apparatus
US8505361B2 (en)2006-12-222013-08-13The Boeing CompanyLeak detection in vacuum bags
US9046437B2 (en)2006-12-222015-06-02The Boeing CompanyLeak detection in vacuum bags
US20110079174A1 (en)*2006-12-222011-04-07The Boeing CompanyLeak Detection in Vacuum Bags
US9770871B2 (en)2007-05-222017-09-26The Boeing CompanyMethod and apparatus for layup placement
US10603848B2 (en)2007-05-222020-03-31The Boeing CompanyApparatus for layup placement
US8568551B2 (en)2007-05-222013-10-29The Boeing CompanyPre-patterned layup kit and method of manufacture
US20100012260A1 (en)*2007-05-222010-01-21Brennan Joseph DPre-patterned layup kit and method of manufacture
US8936695B2 (en)2007-07-282015-01-20The Boeing CompanyMethod for forming and applying composite layups having complex geometries
US10052827B2 (en)2007-07-282018-08-21The Boeing CompanyMethod for forming and applying composite layups having complex geometries
US9500593B2 (en)2007-07-282016-11-22The Boeing CompanyLeak detection in vacuum bags
US20090145545A1 (en)*2007-12-072009-06-11The Boeing CompanyComposite Manufacturing Method
US20090148647A1 (en)*2007-12-072009-06-11The Boeing CompanyMethod of Fabricating Structures Using Composite Modules and Structures Made Thereby
US9764499B2 (en)2007-12-072017-09-19The Boeing CompanyStructures using composite modules and structures made thereby
US8916010B2 (en)2007-12-072014-12-23The Boeing CompanyComposite manufacturing method
US8752293B2 (en)2007-12-072014-06-17The Boeing CompanyMethod of fabricating structures using composite modules and structures made thereby
US8361278B2 (en)2008-09-162013-01-29Dixie Consumer Products LlcFood wrap base sheet with regenerated cellulose microfiber
US8333864B2 (en)2008-09-302012-12-18The Boeing CompanyCompaction of prepreg plies on composite laminate structures
US20100078126A1 (en)*2008-09-302010-04-01The Boeing CompanyCompaction of Prepreg Plies on Composite Laminate Structures
US8613301B2 (en)2008-09-302013-12-24The Boeing CompanyCompaction of prepreg plies on composite laminate structures
US8852397B2 (en)2009-01-282014-10-07Georgia-Pacific Consumer Products LpMethods of making a belt-creped absorbent cellulosic sheet prepared with a perforated polymeric belt
US8293072B2 (en)2009-01-282012-10-23Georgia-Pacific Consumer Products LpBelt-creped, variable local basis weight absorbent sheet prepared with perforated polymeric belt
US8652300B2 (en)2009-01-282014-02-18Georgia-Pacific Consumer Products LpMethods of making a belt-creped absorbent cellulosic sheet prepared with a perforated polymeric belt
US8707766B2 (en)2010-04-212014-04-29The Boeing CompanyLeak detection in vacuum bags
US9481777B2 (en)2012-03-302016-11-01The Procter & Gamble CompanyMethod of dewatering in a continuous high internal phase emulsion foam forming process
US9809693B2 (en)2012-03-302017-11-07The Procter & Gamble CompanyMethod of dewatering in a continuous high internal phase emulsion foam forming process
US10201840B2 (en)2012-04-112019-02-12Gpcp Ip Holdings LlcProcess for cleaning a transport belt for manufacturing a paper web
US10744545B2 (en)2012-04-112020-08-18Gpcp Ip Holdings LlcProcess for cleaning a transport belt for manufacturing a paper web
US20150123299A1 (en)*2012-04-162015-05-07Vestas Wind Systems A/SMethod of fabricating a composite part and an apparatus for fabricating a composite part
CN111295477A (en)*2017-10-242020-06-16埃科莱布美国股份有限公司Deposit detection in papermaking systems via vibration analysis
US11041271B2 (en)*2017-10-242021-06-22Ecolab Usa Inc.Deposit detection in a paper making system via vibration analysis
CN111295477B (en)*2017-10-242022-05-06埃科莱布美国股份有限公司 Deposit detection in papermaking systems via vibration analysis
US11505898B2 (en)2018-06-202022-11-22First Quality Tissue Se, LlcLaminated paper machine clothing
US12111644B2 (en)2021-02-162024-10-08Ecolab Usa Inc.Creping process performance tracking and control

Also Published As

Publication numberPublication date
EP1144888A3 (en)2002-11-20
AR020644A1 (en)2002-05-22
JP2003516500A (en)2003-05-13
CA2342815A1 (en)2000-02-24
EP1144888A2 (en)2001-10-17
WO2000009914A2 (en)2000-02-24
CN1406301A (en)2003-03-26
PA8479601A1 (en)2000-05-24
AU744498B2 (en)2002-02-28
TW509764B (en)2002-11-11
SV1999000122A (en)2000-05-02
US20020060018A1 (en)2002-05-23
DE69927716D1 (en)2005-11-17
US6280573B1 (en)2001-08-28
WO2000009914A3 (en)2002-10-03
DE69927716T2 (en)2006-05-04
CO5060563A1 (en)2001-07-30
KR20010074818A (en)2001-08-09
AU5561399A (en)2000-03-06
BR9912897A (en)2001-10-09
ZA200100447B (en)2002-04-24
EP1144888B1 (en)2005-10-12

Similar Documents

PublicationPublication DateTitle
US6579418B2 (en)Leakage control system for treatment of moving webs
CA2464704C (en)Air clamp stabilizer for continuous web materials
CA2721583C (en)Sheet stabilization with dual opposing cross direction air clamps
CA2008733C (en)Cross-directional smoothness controller and method of using same
EP2072673B1 (en)Belt assembly and paper- or board making machine comprising the belt assembly
EP2262947B1 (en)Sheet stabilizer with dual inline machine direction air clamps and backsteps
US20090184463A1 (en)Apparatus and method for stabilizing a moving sheet relative to a sensor
JPH0791829A (en) Equipment for fiber web dryers
US5706587A (en)Apparatus for drying a fibre web
US6564473B2 (en)High efficiency heat transfer using asymmetric impinging jet
EP0770866B1 (en)Method and device for measurement of the permeability to air of a drying wire
EP0937175B1 (en)Method for forming a surface of a drying belt
MXPA01000567A (en)Leakage control system for treatment of moving webs
WO2000032871A1 (en)Apparatus and method for dewatering a paper web
FI117983B (en) Apparatus for cleaning a metal tape in a metal tape of a paper / cardboard or finishing machine driving fiber web processing device
AcharyaSuppression of web flutter by changes in flow patterns

Legal Events

DateCodeTitleDescription
REMIMaintenance fee reminder mailed
LAPSLapse for failure to pay maintenance fees
STCHInformation on status: patent discontinuation

Free format text:PATENT EXPIRED DUE TO NONPAYMENT OF MAINTENANCE FEES UNDER 37 CFR 1.362

FPLapsed due to failure to pay maintenance fee

Effective date:20070617


[8]ページ先頭

©2009-2025 Movatter.jp