Movatterモバイル変換


[0]ホーム

URL:


US11871381B2 - Data transmission method and apparatus - Google Patents

Data transmission method and apparatus
Download PDF

Info

Publication number
US11871381B2
US11871381B2US17/293,907US201817293907AUS11871381B2US 11871381 B2US11871381 B2US 11871381B2US 201817293907 AUS201817293907 AUS 201817293907AUS 11871381 B2US11871381 B2US 11871381B2
Authority
US
United States
Prior art keywords
terminal
configuration information
physical configuration
network access
access device
Prior art date
Legal status (The legal status is an assumption and is not a legal conclusion. Google has not performed a legal analysis and makes no representation as to the accuracy of the status listed.)
Active, expires
Application number
US17/293,907
Other versions
US20220022171A1 (en
Inventor
Wei Hong
Current Assignee (The listed assignees may be inaccurate. Google has not performed a legal analysis and makes no representation or warranty as to the accuracy of the list.)
Beijing Xiaomi Mobile Software Co Ltd
Original Assignee
Beijing Xiaomi Mobile Software Co Ltd
Priority date (The priority date is an assumption and is not a legal conclusion. Google has not performed a legal analysis and makes no representation as to the accuracy of the date listed.)
Filing date
Publication date
Application filed by Beijing Xiaomi Mobile Software Co LtdfiledCriticalBeijing Xiaomi Mobile Software Co Ltd
Assigned to BEIJING XIAOMI MOBILE SOFTWARE CO., LTD.reassignmentBEIJING XIAOMI MOBILE SOFTWARE CO., LTD.ASSIGNMENT OF ASSIGNORS INTEREST (SEE DOCUMENT FOR DETAILS).Assignors: HONG, WEI
Publication of US20220022171A1publicationCriticalpatent/US20220022171A1/en
Application grantedgrantedCritical
Publication of US11871381B2publicationCriticalpatent/US11871381B2/en
Activelegal-statusCriticalCurrent
Adjusted expirationlegal-statusCritical

Links

Images

Classifications

Definitions

Landscapes

Abstract

A data transmission method and apparatus. The method includes: receiving physical configuration information of a terminal sent by the terminal, in which the physical configuration information includes a memory size and/or a read-write speed of the memory; determining target radio resource configuration parameters matching the physical configuration information; and transmitting data to the terminal using the target radio resource configuration parameters.

Description

This application is the US national phase application of International Application No. PCT/CN2018/115842, filed on Nov. 16, 2018, the entire contents of which are incorporated herein by reference.
TECHNICAL FIELD
The present disclosure relates to the field of communication technology, and more particularly, to a data transmission method and apparatus.
BACKGROUND
With the rapid development of mobile communication technology, 5G (fifth generation) New NR (New Radio) UE (User Equipment) may be configured by high order MIMO (multiple input multiple output), multicarrier aggregation, high order modulation coding, or large bandwidth and other ways to obtain ultra-high transmission rate, to meet the user's demand for high-rate data transmission.
In the related art, the cache configuration and read-write speed of some 5G terminals do not support the high rate of 5G As a result, the 5G terminal may encounter a buffer overflow problem due to mismatching between the cache configuration and the read-write speed of the 5G terminal and the high rate of 5G, which may lead to frequent data retransmission, waste of system resources, thereby affecting the quality of the service.
SUMMARY
According to a first aspect of embodiments of the present disclosure, a data transmission method is provided. The method is applied to a network access device and includes:
    • receiving physical configuration information of a terminal sent by the terminal, the physical configuration information including a size and/or a read-write speed of a memory;
    • determining target radio resource configuration parameters matching the physical configuration information; and
    • transmitting data to the terminal using the target radio resource configuration parameters.
According to a second aspect of embodiments of the present disclosure, a data transmission method is provided. The method is applied to a terminal, and includes:
    • obtaining physical configuration information of the terminal, the physical configuration information including a size and/or a read-write speed of a memory;
    • sending the physical configuration information of the terminal to a network access device when the terminal performs an initial connection with the network access device, the physical configuration information being configured to enable the network access device to determine target radio resource configuration parameters matching the physical configuration information.
According to a third aspect of embodiments of the present disclosure, a data transmission device is provided. The device includes
a processor; and
a memory configured to store instructions executable by the processor,
wherein, the processor is configured to:
    • receive physical configuration information of a terminal sent by the terminal, the physical configuration information comprising a size and/or a read-write speed of a memory;
    • determine target radio resource configuration parameters matching the physical configuration information; and
    • transmit data to the terminal using the target radio resource configuration parameters.
According to a fourth aspect of embodiments of the present disclosure, a data transmission device is provided. The device includes:
    • a processor; and
    • a memory configured to store instructions executable by the processor,
    • wherein, the processor is configured to:
    • obtain physical configuration information of the terminal, the physical configuration information comprising a size and/or a read-write speed of a memory;
    • send the physical configuration information of the terminal to a network access device when the terminal performs an initial connection with the network access device, the physical configuration information being configured to enable the network access device to determine target radio resource configuration parameters matching the physical configuration information.
According to a fifth aspect of embodiments of the present disclosure, a computer readable storage medium is provided. The storage medium has stored therein computer instructions that, when executed by a processor, steps of the method described the first aspect are implemented.
According to a sixth aspect of embodiments of the present disclosure, a computer readable storage medium is provided. The storage medium has computer instructions stored thereon that, when executed by a processor, steps of the method described according to the second aspect are implemented.
It should be understood that the above general description and the following detailed description are by way of examples and for explanatory purposes only and do not limit the invention.
BRIEF DESCRIPTION OF THE DRAWINGS
The accompanying drawings, which are incorporated in and constitute a part of this specification, illustrate embodiments consistent with the disclosure and, together with the description, serve to explain the principles of the disclosure.
FIG.1 is a flow chart of a data transmission method according to an exemplary embodiment.
FIG.2 is a flow chart of a data transmission method according to an exemplary embodiment.
FIG.3 is a flow chart of a data transmission method according to an exemplary embodiment.
FIG.4 is a block diagram of a data transmission apparatus according to an exemplary embodiment.
FIG.5 is a block diagram of a data transmission apparatus according to an exemplary embodiment.
FIG.6 is a block diagram of a data transmission apparatus according to an exemplary embodiment.
FIG.7 is a schematic diagram of a data transmission device according to an exemplary embodiment.
FIG.8 is schematic diagram of a data transmission device according to an exemplary embodiment.
FIG.9 is a block diagram of a data transmission device according to an exemplary embodiment.
FIG.10 is a block diagram of a data transmission device according to an exemplary embodiment.
DETAILED DESCRIPTION
The exemplary embodiments will be described in detail herein and shown in the accompanying drawings. When the following description refers to the drawings, unless otherwise indicated, the same reference number in different drawings indicates a same or similar element. The implementation described in the following exemplary embodiments do not represent all implementation consistent with the present disclosure. Rather, they are merely examples of devices and methods consistent with some aspects of the present disclosure as detailed in the appended claims.
Embodiments of the present disclosure provides a data transmission method applied to a network access device. The method includes: receiving physical configuration information of a terminal sent by the terminal, the physical configuration information comprising a size and/or a read-write speed of a memory; determining target radio resource configuration parameters matching the physical configuration information; and transmitting data to the terminal using the target radio resource configuration parameters. In the data transmission method provided by embodiments of the present disclosure, by obtaining the physical configuration information of the terminal, and configuring matched target radio resource configuration parameters for the terminal according to the physical configuration information of the terminal, it is possible to avoid a buffer overflow problem of the terminal due to mismatching between the physical configuration information of the terminal and the configurated high rate, reducing a number of data retransmissions, saving system resource, and improving business quality. It should be noted that, the data transmission method provided by embodiments of the present disclosure be applied to 3G/4G communication network, or 5G NR communication network and other communication networks supporting high rate data transmission. The terminal involved in the present disclosure, for example, may include an electronic device such as a smart phone, a laptop, or a smart wearable device. The network access device involved in the present disclosure may include, for example, a base station, or a relay station and other communication device providing wireless access services for the terminal.
Based on the above analysis, following specific embodiments are provided.
FIG.1 is a flow chart of a data transmission method according to an exemplary embodiment. The execution body of the data transmission method may be a network access device. As illustrated inFIG.1, the method includes following steps101-103.
Atstep101, physical configuration information of a terminal sent by the terminal is received, the physical configuration information including a size and/or a read-write speed of a memory.
For example, the terminal obtains the physical configuration information of the terminal, and sends the physical configuration information of the terminal to the network access device when performing an initial connection with the network access device. The network access device receives the physical configuration information of the terminal sent by the terminal when performing the initial connection with the network access device.
For example, the network access device may receive the physical configuration information of the terminal sent by the terminal through any or a combination of following implementations.
Implementation 1: when the terminal performs random access procedure, the terminal sends the physical configuration information of the terminal to the network access device, and the network access device receives the physical configuration information of the terminal sent by the terminal when performing the random access procedure. For example, the physical configuration information of the terminal may be actively reported by the terminal to the network access device during the random access procedure, for example, the physical configuration information of the terminal is carried in the message 3 (Msg3) sent by the terminal to the network access device.
Implementation 2: when the terminal receives a terminal capability enquiry message sent by the network access device, the terminal sends terminal capability information to the terminal, the terminal capability information including the physical configuration information of the terminal, and the network access device receives the terminal capability information sent by the terminal after sending the terminal capability enquiry message to the terminal. For example, the physical configuration information of the terminal may be reported in the terminal capability information (UE Capability Information) signaling sent by the terminal to the network access device after the terminal receiving the terminal capability enquiry (UE Capability Enquiry) signaling sent by the network access device.
Atstep102, target radio resource configuration parameters matching the physical configuration information are determined.
For example, a maximum data transmission rate of the terminal is determined according to the physical configuration information, a target data transmission rate of the terminal is determined according to the maximum data transmission rate and a contracted rate of the terminal, and the target radio resource configuration parameters of the terminal are determined according to the target data transmission rate of the terminal. For example, first, according to the size and/or read-write speed of the memory of the terminal, under the premise of not occurring buffer overflow, the maximum data transmission rate of the terminal is determined. For example, when the read-write speed of the memory of the terminal1 is 1 Gbps, the maximum data transmission rate supported by the terminal under the premise of not occurring the buffer overflow can reach 1 Gbps. Secondly, the maximum data transmission rate of the terminal is compared with the contracted rate of the terminal. When the maximum data transmission rate of the terminal is less than the contracted rate of the terminal, the maximum data transmission rate of the terminal is determined as the target data transmission rate of the terminal. When the maximum data transmission rate of the terminal is greater than or equal to the contracted rate of the terminal, the contracted rate of the terminal is determined as the target data transmission rate of the terminal. Then, the target radio resource configuration parameters of the terminal are determined according to the target data transmission rate, the wireless measurement results, the size of the data to be transmitted and the available radio resources. Optionally, the target radio resource configuration parameters may include, for example, carrier count, bandwidth, and antenna configuration.
Atstep103, data is transmitted to the terminal using the target radio resource configuration parameters.
With the technical solution provided by embodiments of the present disclosure, by obtaining the physical configuration information of the terminal, and configuring matched target radio resource configuration parameters for the terminal according to the physical configuration information of the terminal, it is possible to avoid a buffer overflow problem of the terminal due to mismatching between the physical configuration information of the terminal and the configurated high rate, reducing a number of data retransmissions, saving system resource, and improving business quality.
FIG.2 is a flow chart of a data transmission method according to an exemplary embodiment. The execution body of the data transmission method may be a terminal. As illustrated inFIG.2, the method includes following steps201-202.
Atstep201, physical configuration information of the terminal is obtained, the physical configuration information including a size and/or a read-write speed of a memory.
Atstep202, when the terminal performs an initial connection with a network access device, the physical configuration information of the terminal is sent to the network access device, the physical configuration information being configured to enable the network access device to determine target radio resource configuration parameters matching the physical configuration information.
For example, when the terminal performs the initial connection with the network access device, the terminal may send the physical configuration information of the terminal to the network access device through any or a combination of following implementations.
Implementation a: when the terminal performs random access procedure, the terminal sends the physical configuration information of the terminal to the network access device, and the network access device receives the physical configuration information of the terminal sent by the terminal when performing the random access procedure. For example, the physical configuration information of the terminal may be actively reported by the terminal to the network access device during the random access procedure, for example, the physical configuration information of the terminal is carried in the message 3 (Msg3) sent by the terminal to the network access device.
Implementation b: when the terminal receives a terminal capability enquiry message sent by the network access device, the terminal sends terminal capability information to the terminal, the terminal capability information including the physical configuration information of the terminal, and the network access device receives the terminal capability information sent by the terminal after sending the terminal capability enquiry message to the terminal.
With the technical solution provided by embodiments of the present disclosure, the terminal sends the physical configuration information of the terminal to the network access device when performing the initial connection with the network access device, such that the network device configures matched target radio resource configuration parameters for the terminal according to the physical configuration information of the terminal. Therefore, it is possible to avoid a buffer overflow problem of the terminal due to mismatching between the physical configuration information of the terminal and the configurated high rate, reducing a number of data retransmissions, saving system resource, and improving business quality.
FIG.3 is a flow chart of a data transmission method according to an exemplary embodiment. The method is implemented by a terminal in cooperation with a network access device in 5G NR communication network. As illustrated inFIG.3, on the basis of embodiments illustrated inFIG.1 andFIG.2, the data transmission method involved in the present disclosure may include following steps301-304.
At step301, the terminal obtains physical configuration information of the terminal, the physical configuration information including a size and/or a read-write speed of a memory.
At step302, the terminal sends the physical configuration information of the terminal to the network access device when performing the initial connection with the network access device, the physical configuration information being configured to enable the network access device to determine target radio resource configuration parameters matching the physical configuration information.
At step303, the network access device receives the physical configuration information of the terminal sent by the terminal, and determines the target radio resource configuration parameters matching the physical configuration information.
At step304, the network access device transmits data to the terminal using the target radio resource configuration parameters.
In this embodiment, the terminal reports the physical configuration information, for example, the size and/or read-write speed of the memory of the terminal, when performing the initial connection with the network access device, and the network access device configures the matched target radio resource configuration parameters for the terminal according to the physical configuration information after receiving the physical configuration information sent by the terminal. Therefore, the terminal may not have the buffer overflow problem due to mismatching between the buffer configuration of the terminal itself and the configurated high rate, thus improving the business quality of the terminal.
Following are apparatus embodiments of the present disclosure, which may be configured to implement method embodiments of the present disclosure.
FIG.4 is a block diagram of a data transmission apparatus according to an exemplary embodiment. The apparatus may be applied to a network access device. Referring toFIG.4, the data transmission apparatus includes a receivingmodule401, a determiningmodule402 and atransmitting module403.
The receivingmodule401 is configured to receive physical configuration information of a terminal sent by the terminal, the physical configuration information including a size and/or a read-write speed of a memory.
The determiningmodule402 is configured to determine target radio resource configuration parameters matching the physical configuration information.
The transmittingmodule403 is configured to transmit data to the terminal using the target radio resource configuration parameters.
With the apparatus provided by embodiments of the present disclosure, the receivingmodule401 receives the physical configuration information of the terminal sent by the terminal, the physical configuration information including the size and/or the read-write speed of the memory, the determiningmodule402 determines the target radio resource configuration parameters matching the physical configuration information, and thetransmitting module403 transmits data to the terminal using the target radio resource configuration parameters. Therefore, it is possible to avoid a buffer overflow problem of the terminal due to mismatching between the physical configuration information of the terminal and the configurated high rate, reducing a number of data retransmissions, saving system resource, and improving business quality.
In an embodiment, the receivingmodule401 is configured to receive the physical configuration information of the terminal sent by the terminal when performing random access procedure.
In an embodiment, the receivingmodule401 is configured to receive terminal capability information sent by the terminal after the network access device sending a terminal capability enquiry message to the terminal, the terminal capability information including the physical configuration information of the terminal.
In an embodiment, as illustrated inFIG.5, the data transmission apparatus illustrated inFIG.4 may further include configuring the determiningmodule402 as including a first determiningsubmodule501, a second determiningsubmodule502 and a third determiningsubmodule503.
The first determiningsubmodule501 is configured to determine a maximum data transmission rate of the terminal according to the physical configuration information.
The second determiningsubmodule502 is configured to determine a target data transmission rate of the terminal according to the maximum data transmission rate and a contracted rate of the terminal.
The third determiningsubmodule503 is configured to determine the target radio resource configuration parameters of the terminal according to the target data transmission rate of the terminal.
FIG.6 is a block diagram of a data transmission apparatus according to an exemplary embodiment. The apparatus may be applied to a terminal. Referring toFIG.6, the data transmission apparatus includes an obtainingmodule601 and a sendingmodule602.
The obtainingmodule601 is configured to obtain physical configuration information of the terminal, the physical configuration information including a size and/or a read-write speed of a memory;
The sendingmodule602 is configured to send the physical configuration information of the terminal to a network access device when the terminal performs an initial connection with the network access device, the physical configuration information being configured to enable the network access device to determine target radio resource configuration parameters matching the physical configuration information.
With the apparatus provided embodiments of the present disclosure, the obtainingmodule601 obtains the physical configuration information of the terminal, the physical configuration information including the size and/or read-write speed of the memory, and the sendingmodule602 sends the physical configuration information of the terminal to the network access device when the terminal performs the initial connection with the network access device, the physical configuration information being configured to enable the network access device to determine the target radio resource configuration parameters matching the physical configuration information. Therefore, it is possible to avoid a buffer overflow problem of the terminal due to mismatching between the physical configuration information of the terminal and the configurated high rate, reducing a number of data retransmissions, saving system resource, and improving business quality.
In an embodiment, the sendingmodule602 is configured to send the physical configuration information of the terminal to the network access device when the terminal performs random access procedure.
In an embodiment, the sendingmodule602 is configured to send terminal capability information to the network access device when the terminal receives a terminal capability enquiry message sent by the network access device, the terminal capability information including the physical configuration information of the terminal.
FIG.7 is a schematic diagram of adata transmission device700 applied to a network access device according to an exemplary embodiment. Thedata transmission device700 includes aprocessor701 and amemory702 configured to store instructions executable by the processor. Theprocessor701 is configured to:
receive physical configuration information of a terminal sent by the terminal, the physical configuration information including a size and/or a read-write speed of a memory;
determine target radio resource configuration parameters matching the physical configuration information; and
transmit data to the terminal using the target radio resource configuration parameters.
In an embodiment, theprocessor701 may be further configured to:
receive the physical configuration information of the terminal sent by the terminal when performing random access procedure.
In an embodiment, theprocessor701 may be further configured to:
receive terminal capability information sent by the terminal after the network access device sending a terminal capability enquiry message to the terminal, the terminal capability information including the physical configuration information of the terminal.
In an embodiment, theprocessor701 may be further configured to:
determine a maximum data transmission rate of the terminal according to the physical configuration information;
determine a target data transmission rate of the terminal according to the maximum data transmission rate and a contracted rate of the terminal; and
determine the target radio resource configuration parameters of the terminal according to the target data transmission rate of the terminal.
FIG.8 is a schematic diagram of adata transmission device800 applied to a terminal according to an exemplary embodiment. Thedata transmission device800 includes aprocessor801 and amemory802 configured to store instructions executable by the processor. Theprocessor801 is configured to:
obtain physical configuration information of the terminal, the physical configuration information including a size and/or a read-write speed of a memory;
send the physical configuration information of the terminal to a network access device when the terminal performs an initial connection with the network access device, the physical configuration information being configured to enable the network access device to determine target radio resource configuration parameters matching the physical configuration information.
In an embodiment, theprocessor801 may be further configured to:
send the physical configuration information of the terminal to the network access device when the terminal performs random access procedure.
In an embodiment, theprocessor801 may be further configured to:
send terminal capability information to the network access device when the terminal receives a terminal capability enquiry message sent by the network access device, the terminal capability information including the physical configuration information of the terminal.
With respect to the devices in above embodiments, the specific manner in which each module performs the operation has been described in detail in the method embodiments and will not be elaborated here.
FIG.9 is a block diagram of a data transmission device according to an exemplary embodiment. Thedata transmission device900 is suitable for a terminal. Thedata transmission device900 may include one or more of the following components: aprocessing component902, amemory904, apower supply component906, amultimedia component908, anaudio component910, an input/output (I/O)interface912, asensor component914, and acommunication component916.
Theprocessing component902 generally controls the overall operations of thedata transmission device900, such as operations associated with display, telephone calls, data communications, camera operations, and recording operations. Theprocessing component902 may include one ormore processors920 to execute instructions to implement all or part of the steps of the foregoing method. In addition, theprocessing component902 may include one or more modules to facilitate the interaction between theprocessing component902 and other components. For example, theprocessing component902 may include a multimedia module to facilitate the interaction between themultimedia component908 and theprocessing component902.
Thememory904 is configured to store various types of data to support the operation of thedata transmission device900. Examples of such data include instructions for any application or method operating on thedata transmission device900, contact data, phone book data, messages, pictures, videos, etc. Thememory904 can be implemented by any type of volatile or non-volatile storage device or a combination thereof, such as static random access memory (SRAM), electrically erasable programmable read-only memory (EEPROM), erasable and Programmable read-only memory (EPROM), programmable read-only memory (PROM), read-only memory (ROM), magnetic memory, flash memory, magnetic disk or optical disk.
Thepower supply component906 provides power for various components of thedata transmission device900. Thepower supply component906 may include a power management system, one or more power supplies, and other components for generating, managing, and distributing power for thedata transmission device900.
Themultimedia component908 includes a screen that provides an output interface between thedata transmission device900 and the user. In some embodiments, the screen may include a liquid crystal display (LCD) and a touch panel (TP). If the screen includes a touch panel, the screen may be implemented as a touch screen to receive input signals from the user. The touch panel includes one or more touch sensors to sense a touch, a slide, and gestures on the touch panel. The touch sensor may not only sense the boundary of the touch or slide operation, but also detect the duration and pressure related to the touch or slide operation. In some embodiments, themultimedia component908 includes a front camera and/or a rear camera. When thedata transmission device900 is in an operation mode, such as a shooting mode or a video mode, the front camera and/or the rear camera can receive external multimedia data. Each front camera and rear camera can be a fixed optical lens system or have focal length and optical zoom capabilities.
Theaudio component910 is configured to output and/or input audio signals. For example, theaudio component910 includes a microphone (MIC). When thedata transmission device900 is in an operation mode, such as a call mode, a recording mode, and a voice recognition mode, the microphone is configured to receive external audio signals. The received audio signal may be further stored in thememory904 or transmitted via thecommunication component916. In some embodiments, theaudio component910 further includes a speaker for outputting audio signals.
The I/O interface912 provides an interface between theprocessing component902 and a peripheral interface module. The above-mentioned peripheral interface module may be a keyboard, a click wheel, a button, and the like. These buttons may include, but are not limited to: a home button, a volume button, a start button, and a lock button.
Thesensor component914 includes one or more sensors for providing thedata transmission device900 with various aspects of state assessment. For example, thesensor component914 can detect the ON/OFF state of thedata transmission device900 and the relative positioning of components, such as the display and keypad of thedata transmission device900. Thesensor component914 can also detect the position change of thedata transmission device900 or a component of thedata transmission device900, presence or absence of contact between the user and thedata transmission device900, the orientation or acceleration/deceleration of thedata transmission device900, and the temperature change of thedata transmission device900. Thesensor component914 may include a proximity sensor configured to detect the presence of an object nearby when there is no physical contact. Thesensor component914 may also include an optical sensor, such as a CMOS or CCD image sensor, for use in imaging applications. In some embodiments, thesensor component914 may also include an acceleration sensor, a gyroscope sensor, a magnetic sensor, a pressure sensor, or a temperature sensor.
Thecommunication component916 is configured to facilitate wired or wireless communication between thedata transmission device900 and other devices. Thedata transmission device900 can access a wireless network based on a communication standard, such as WiFi,2Q or3Q or a combination thereof. In an exemplary embodiment, thecommunication component916 receives a broadcast signal or a broadcast related message from an external broadcast management system via a broadcast channel. In an exemplary embodiment, thecommunication component916 further includes a near field communication (NFC) module to facilitate short-range communication. For example, the NFC module can be implemented based on radio frequency identification (RFID) technology, infrared data association (IrDA) technology, ultra-wideband (UWB) technology, Bluetooth (BT) technology and other technologies.
In an exemplary embodiment, thedata transmission device900 may be implemented by one or more application specific integrated circuits (ASIC), digital signal processors (DSP), digital signal processing devices (DSPD), programmable logic devices (PLD), field programmable gate array (FPGA), controller, microcontroller, microprocessor, or other electronic component, and is configured to implement the above-mentioned method for processing the SI request.
In an exemplary embodiment, there is also provided a non-transitory computer-readable storage medium including instructions, for example, thememory904 including instructions, and the foregoing instructions may be executed by theprocessor920 of thedata transmission device900 to implement the foregoing method. For example, the non-transitory computer-readable storage medium may be ROM, random access memory (RAM), CD-ROM, magnetic tape, floppy disk, optical data storage device, etc.
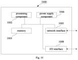
FIG.10 is a block diagram of a data transmission device according to an exemplary embodiment. For example, thedata transmission device1000 may be provided as a server. Thedata transmission device1000 includes aprocessing component1002, which further includes one or more processor, and memory resource represented by amemory1003 for storing instructions that can be executed by theprocessing component1002, such as application programs. The application programs stored in thememory1003 may contain one or more modules each corresponding to a set of instructions. In addition, theprocessing component1002 is configured to execute instructions to perform the above methods.
Thedata transmission device1000 may further include apower supply component1006 configured to perform power management of thedata transmission device1000, a wired orwireless network interface1005 configured to connect thedata transmission device1000 to the network, and an input/output (I/O)interface1008. Thedata transmission device1000 can operate based on an operating system stored in thememory1003, such as Windows Server™, Mac OS X™, Unix™, Linux™, FreeBSD™ or the like.
A non-temporary computer-readable storage medium is provided. For example, the non-temporary computer-readable storage medium may be ROM, random access memory (RAM), CD-ROM, magnetic tape, floppy disk, optical data storage device, etc. When instructions in the storage medium are executed by a processor of thedata transmission device900 or thedata transmission device1000, thedata transmission device900 or thedata transmission device1000 is enabled to perform the following methods, including:
obtaining physical configuration information of the terminal, the physical configuration information including a size and/or a read-write speed of a memory;
sending the physical configuration information of the terminal to a network access device when the terminal performs an initial connection with the network access device, the physical configuration information being configured to enable the network access device to determine target radio resource configuration parameters matching the physical configuration information.
In an embodiment, sending the physical configuration information of the terminal to the network access device when performing the initial connection with the network access device includes:
sending the physical configuration information of the terminal to the network access device when the terminal performs random access procedure.
In an embodiment, sending the physical configuration information of the terminal to the network access device when performing the initial connection with the network access device includes:
sending terminal capability information to the network access device when the terminal receives a terminal capability enquiry message sent by the network access device, the terminal capability information comprising the physical configuration information of the terminal
Other embodiments of the present disclosure will be apparent to those skilled in the art from consideration of the specification and practice of the invention disclosed here. This application is intended to cover any variations, uses, or adaptations of the invention following the general principles thereof and including such departures from the present disclosure as come within known or customary practice in the art. It is intended that the specification and examples be considered as exemplary only, with a true scope and spirit of the invention being indicated by the following claims.
The technical solution provided embodiments of the present disclosure may include following beneficial effects. In this technical solution, by obtaining the physical configuration information of the terminal, and configuring matched target radio resource configuration parameters for the terminal according to the physical configuration information of the terminal, it is possible to avoid a buffer overflow problem of the terminal due to mismatching between the physical configuration information of the terminal and the configurated high rate, reducing a number of data retransmissions, saving system resource, and improving business quality.
It will be appreciated that the present invention is not limited to the exact construction that has been described above and illustrated in the accompanying drawings and that various modifications and changes can be made without departing from the scope thereof. It is intended that the scope of the invention only be limited by the appended claims.

Claims (11)

What is claimed is:
1. A data transmission method, applied to a network access device, comprising:
receiving physical configuration information of a terminal sent by the terminal, the physical configuration information comprising a size and/or a read-write speed of a memory;
determining target radio resource configuration parameters matching the physical configuration information; and
transmitting data to the terminal using the target radio resource configuration parameters.
2. The method ofclaim 1, wherein receiving physical configuration information of the terminal sent by the terminal comprises:
receiving the physical configuration information of the terminal sent by the terminal when performing random access procedure.
3. The method ofclaim 1, wherein receiving physical configuration information of the terminal sent by the terminal comprises:
receiving terminal capability information sent by the terminal after the network access device sending a terminal capability enquiry message to the terminal, the terminal capability information comprising the physical configuration information of the terminal.
4. The method ofclaim 1, wherein determining the target radio resource configuration parameters matching the physical configuration information comprises:
determining a maximum data transmission rate of the terminal according to the physical configuration information;
determining a target data transmission rate of the terminal according to the maximum data transmission rate and a contracted rate of the terminal; and
determining the target radio resource configuration parameters of the terminal according to the target data transmission rate of the terminal.
5. A data transmission method, applied to a terminal, comprising:
obtaining physical configuration information of the terminal, the physical configuration information comprising a size and/or a read-write speed of a memory; and
sending the physical configuration information of the terminal to a network access device when the terminal performs an initial connection with the network access device, the physical configuration information being configured to enable the network access device to determine target radio resource configuration parameters matching the physical configuration information.
6. The method ofclaim 5, wherein sending the physical configuration information of the terminal to the network access device when performing the initial connection with the network access device comprises:
sending the physical configuration information of the terminal to the network access device when the terminal performs random access procedure.
7. The method ofclaim 5, wherein sending the physical configuration information of the terminal to the network access device when performing the initial connection with the network access device comprises:
sending terminal capability information to the network access device when the terminal receives a terminal capability enquiry message sent by the network access device, the terminal capability information comprising the physical configuration information of the terminal.
8. A data transmission device, implementing the method ofclaim 1, comprising:
a processor; and
a memory configured to store instructions executable by the processor,
wherein, the processor is configured to perform steps of the method ofclaim 1.
9. A data transmission device, comprising:
a processor; and
a memory configured to store instructions executable by the processor,
wherein, the processor is configured to:
obtain physical configuration information of the terminal, the physical configuration information comprising a size and/or a read-write speed of a memory; and
send the physical configuration information of the terminal to a network access device when the terminal performs an initial connection with the network access device, the physical configuration information being configured to enable the network access device to determine target radio resource configuration parameters matching the physical configuration information.
10. The data transmission device ofclaim 9, wherein the processor is configured to send the physical configuration information of the terminal to the network access device when the terminal performs random access procedure.
11. The data transmission device ofclaim 9, wherein the processor is configured to send terminal capability information to the network access device when the terminal receives a terminal capability enquiry message sent by the network access device, the terminal capability information comprising the physical configuration information of the terminal.
US17/293,9072018-11-162018-11-16Data transmission method and apparatusActive2040-03-09US11871381B2 (en)

Applications Claiming Priority (1)

Application NumberPriority DateFiling DateTitle
PCT/CN2018/115842WO2020097904A1 (en)2018-11-162018-11-16Data transmission method and apparatus

Publications (2)

Publication NumberPublication Date
US20220022171A1 US20220022171A1 (en)2022-01-20
US11871381B2true US11871381B2 (en)2024-01-09

Family

ID=65872641

Family Applications (1)

Application NumberTitlePriority DateFiling Date
US17/293,907Active2040-03-09US11871381B2 (en)2018-11-162018-11-16Data transmission method and apparatus

Country Status (3)

CountryLink
US (1)US11871381B2 (en)
CN (1)CN109565671B (en)
WO (1)WO2020097904A1 (en)

Citations (2)

* Cited by examiner, † Cited by third party
Publication numberPriority datePublication dateAssigneeTitle
US20030063324A1 (en)*2001-09-072003-04-03Tatsuo TakaokaMethod of controlling a data transmission and communication apparatus that transmits image data in burst mode using the user datagram protocol
CN101567749A (en)2008-04-222009-10-28大唐移动通信设备有限公司Method and device for downlink data transmission

Family Cites Families (7)

* Cited by examiner, † Cited by third party
Publication numberPriority datePublication dateAssigneeTitle
CN101360262B (en)*2007-07-302012-02-08大唐移动通信设备有限公司Control method and apparatus for sharing resource in communication system
CN102036382B (en)*2009-09-302014-09-03华为技术有限公司Method, system and device for allocating wireless resources
CN102348004B (en)*2010-08-042014-03-19中国移动通信有限公司Configuration method of service assembly, system and equipment thereof
EP2621235B1 (en)*2012-01-272018-05-02Alcatel LucentTransmission regime control for common channels
US20140337598A1 (en)*2013-05-072014-11-13Lsi CorporationModulation of flash programming based on host activity
CN103619068A (en)*2013-12-092014-03-05中国联合网络通信集团有限公司Method for distributing access bandwidth and network equipment
CN103997791B (en)*2014-06-132017-10-27重庆大学The wireless network resource distribution method and system of preference are used based on user terminals resources

Patent Citations (2)

* Cited by examiner, † Cited by third party
Publication numberPriority datePublication dateAssigneeTitle
US20030063324A1 (en)*2001-09-072003-04-03Tatsuo TakaokaMethod of controlling a data transmission and communication apparatus that transmits image data in burst mode using the user datagram protocol
CN101567749A (en)2008-04-222009-10-28大唐移动通信设备有限公司Method and device for downlink data transmission

Non-Patent Citations (1)

* Cited by examiner, † Cited by third party
Title
PCT/CN2018/15842 English translation of International Search Report dated Aug. 15, 2019, 2 pages.

Also Published As

Publication numberPublication date
WO2020097904A1 (en)2020-05-22
US20220022171A1 (en)2022-01-20
CN109565671B (en)2022-07-08
CN109565671A (en)2019-04-02

Similar Documents

PublicationPublication DateTitle
US11825467B2 (en)Uplink transmission method and apparatus
CN108702281B (en)Method and device for determining size of downlink control information format
CN109451861B (en)Resource allocation method, device, user equipment and base station
CN108476446B (en)Method, device, equipment and base station for realizing full duplex transmission in cellular network
US20200229216A1 (en)Downlink control information transmission method and apparatus
WO2018086063A1 (en)Method and device for configuring operating bandwidth
US12126566B2 (en)System information reception method and apparatus, and system information transmission method and apparatus
US20250150876A1 (en)Measurement method, terminal, and network device and non-transitory computer-readable storage medium
US11503642B2 (en)Method and device for determining an uplink-downlink switching point
WO2020132874A1 (en)Data transmission method and device
WO2018086067A1 (en)Communication method and device
CN108401531B (en)Method, device, user equipment and base station for eliminating intermodulation interference
CN106792880B (en)Method and device for transmitting downlink data
US20230397253A1 (en)Data transmission method and apparatus, and communication device and storage medium
US11304067B2 (en)Methods and devices for reporting and determining optimal beam, user equipment, and base station
CN107223360B (en) A method and device for sending cache status
CN110036681B (en) Resource determination method and device
US11071137B2 (en)Data transmission method and device, and computer-readable storage medium
US20240357558A1 (en)Communication method, user equipment, and network device
US11871381B2 (en)Data transmission method and apparatus
WO2022110057A1 (en)Wireless communication method and apparatus, and communication device and storage medium
CN106792922B (en)Communication method and device
US20240275570A1 (en)Information configuration method and apparatus, user equipment, base station, and storage medium
CN115956349B (en) A time slot determination method, device, user equipment and storage medium
US11943765B2 (en)Method and apparatus for data transmission

Legal Events

DateCodeTitleDescription
ASAssignment

Owner name:BEIJING XIAOMI MOBILE SOFTWARE CO., LTD., CHINA

Free format text:ASSIGNMENT OF ASSIGNORS INTEREST;ASSIGNOR:HONG, WEI;REEL/FRAME:056236/0882

Effective date:20210512

FEPPFee payment procedure

Free format text:ENTITY STATUS SET TO UNDISCOUNTED (ORIGINAL EVENT CODE: BIG.); ENTITY STATUS OF PATENT OWNER: LARGE ENTITY

STPPInformation on status: patent application and granting procedure in general

Free format text:DOCKETED NEW CASE - READY FOR EXAMINATION

STPPInformation on status: patent application and granting procedure in general

Free format text:NOTICE OF ALLOWANCE MAILED -- APPLICATION RECEIVED IN OFFICE OF PUBLICATIONS

STPPInformation on status: patent application and granting procedure in general

Free format text:PUBLICATIONS -- ISSUE FEE PAYMENT RECEIVED

STPPInformation on status: patent application and granting procedure in general

Free format text:PUBLICATIONS -- ISSUE FEE PAYMENT VERIFIED

STCFInformation on status: patent grant

Free format text:PATENTED CASE


[8]ページ先頭

©2009-2025 Movatter.jp