Movatterモバイル変換


[0]ホーム

URL:


US11812229B2 - Patient monitor alarm speaker analyzer - Google Patents

Patient monitor alarm speaker analyzer
Download PDF

Info

Publication number
US11812229B2
US11812229B2US17/387,513US202117387513AUS11812229B2US 11812229 B2US11812229 B2US 11812229B2US 202117387513 AUS202117387513 AUS 202117387513AUS 11812229 B2US11812229 B2US 11812229B2
Authority
US
United States
Prior art keywords
alarm
speaker
monitor
patient
patient monitor
Prior art date
Legal status (The legal status is an assumption and is not a legal conclusion. Google has not performed a legal analysis and makes no representation as to the accuracy of the status listed.)
Active, expires
Application number
US17/387,513
Other versions
US20210360359A1 (en
Inventor
Joy Iswanto
Bilal Muhsin
Raul Jimenez
Current Assignee (The listed assignees may be inaccurate. Google has not performed a legal analysis and makes no representation or warranty as to the accuracy of the list.)
Masimo Corp
Original Assignee
Masimo Corp
Priority date (The priority date is an assumption and is not a legal conclusion. Google has not performed a legal analysis and makes no representation as to the accuracy of the date listed.)
Filing date
Publication date
Application filed by Masimo CorpfiledCriticalMasimo Corp
Priority to US17/387,513priorityCriticalpatent/US11812229B2/en
Publication of US20210360359A1publicationCriticalpatent/US20210360359A1/en
Priority to US18/475,723prioritypatent/US12238489B2/en
Application grantedgrantedCritical
Publication of US11812229B2publicationCriticalpatent/US11812229B2/en
Assigned to MASIMO CORPORATIONreassignmentMASIMO CORPORATIONASSIGNMENT OF ASSIGNORS INTEREST (SEE DOCUMENT FOR DETAILS).Assignors: Iswanto, Joy, MUHSIN, BILAL, JIMENEZ, RAUL
Activelegal-statusCriticalCurrent
Adjusted expirationlegal-statusCritical

Links

Images

Classifications

Definitions

Landscapes

Abstract

A patient monitor can diagnose whether its speaker is blocked, malfunctioning, or at a volume that is too low. For example, the monitor can include a processor that can diagnose the speaker by recording a microphone input signal. The processor can compare the microphone input signal to an expected alarm signal that should be output by the speaker. If the two do not match or reasonably correspond to one another, then the processor may increase the volume of the alarm to determine whether doing so can overcome an obstruction, noise, or potential malfunction. The microphone can again detect the speaker output, and the processor can again make another comparison or analysis of the input with the speaker output. If the speaker output as detected via the microphone is still insufficiently loud, then the patient monitor may output an indication that the speaker has a problem.

Description

RELATED APPLICATIONS
The present application is a continuation of U.S. patent application Ser. No. 16/920,604, filed Jul. 3, 2020, titled Patient Monitor Alarm Speaker Analyzer, which is a continuation of U.S. patent application Ser. No. 16/505,142, filed Jul. 8, 2019, titled Patient Monitor Alarm Speaker Analyzer, now U.S. Pat. No. 10,779,098, which claims priority to U.S. Provisional Patent Application Ser. No. 62/696,208, filed Jul. 10, 2018, titled Patient Monitor Alarm Speaker Analyzer, and U.S. Provisional Patent Application Ser. No. 62/745,096, filed Oct. 12, 2018, titled Patient Monitor Alarm Speaker Analyzer. All of the foregoing applications are hereby incorporated by reference in their entirety. Any and all applications for which a foreign or domestic priority claim is identified in the Application Data Sheet as filed with the present application are hereby incorporated by reference and made a part of the present disclosure.
BACKGROUND
Hospitals, nursing homes, and other patient care facilities typically include patient monitors at one or more bedsides in the facility. Patient monitors generally include sensors, processing equipment, and displays for obtaining and analyzing a medical patient's physiological parameters. Physiological parameters include, for example, respiratory rate, SpO2 level, pulse, and blood pressure, among others. Clinicians, including doctors, nurses, physician's assistants, and other medical personnel use the physiological parameters obtained from the medical patient to diagnose illnesses and to prescribe treatments. Clinicians also use the physiological parameters to monitor a patient during various clinical situations to determine whether to increase the level of medical care given to the patient.
Patient monitors capable of measuring pulse oximetry parameters, such as SpO2 and pulse rate in addition to advanced parameters, such as HbCO, HbMet and total hemoglobin (Hbt, THb, or SpHb) and corresponding multiple wavelength optical sensors are described in at least U.S. patent application Ser. No. 11/367,013, filed Mar. 1, 2006 and entitled Multiple Wavelength Sensor Emitters and U.S. patent application Ser. No. 11/366,208, filed Mar. 1, 2006 and entitled Noninvasive Multi-Parameter Patient Monitor, both assigned to Masimo Laboratories, Irvine, Calif. (Masimo Labs) and both incorporated by reference herein. Further, noninvasive blood parameter monitors and corresponding multiple wavelength optical sensors, such as Rainbow™ adhesive and reusable sensors and RAD-57™ and Radical-7™ monitors for measuring SpO2, pulse rate, perfusion index, signal quality, HbCO, and HbMet among other parameters are also available from Masimo Corporation, Irvine, Calif. (Masimo).
Advanced physiological monitoring systems may incorporate pulse oximetry in addition to advanced features for the calculation and display of other blood parameters, such as carboxyhemoglobin (HbCO), methemoglobin (HbMet) and total hemoglobin (Hbt or SpHb), as a few examples. Advanced physiological monitors and corresponding multiple wavelength optical sensors capable of measuring parameters in addition to SpO2, such as HbCO, HbMet and Hbt are described in at least U.S. patent application Ser. No. 11/367,013, filed Mar. 1, 2006, titled Multiple Wavelength Sensor Emitters and U.S. patent application Ser. No. 11/366,208, filed Mar. 1, 2006, titled Noninvasive Multi-Parameter Patient Monitor, which are each hereby incorporated by reference herein in their entirety. Further, noninvasive blood parameter monitors and corresponding multiple wavelength optical sensors, such as Rainbow™ adhesive and reusable sensors and RAD-57™ and Radical-7™ monitors for measuring SpO2, pulse rate, perfusion index (PI), signal quality (SiQ), pulse variability index (PVI), HbCO and HbMet among other parameters are also available from Masimo.
SUMMARY
An example patient monitor can diagnose whether its speaker is blocked or otherwise malfunctioning. For example, the monitor can include a processor that can diagnose the speaker by recording a microphone input signal. The processor can compare the microphone input signal to an expected alarm signal that should be output by the speaker. If the two do not match or reasonably correspond to one another, then the processor may increase the volume of the alarm to determine whether doing so can overcome an obstruction, noise, or potential malfunction. The microphone can again detect the speaker output and the processor can again make another comparison or analysis of the input with the speaker output. If the speaker output as detected via the microphone is still insufficiently loud, then the patient monitor may output an indication that the speaker has a problem.
For purposes of summarizing the disclosure, certain aspects, advantages and novel features of several embodiments have been described herein. It is to be understood that not necessarily all such advantages can be achieved in accordance with any particular embodiment of the embodiments disclosed herein. Thus, the embodiments disclosed herein can be embodied or carried out in a manner that achieves or optimizes one advantage or group of advantages as taught herein without necessarily achieving other advantages as can be taught or suggested herein.
BRIEF DESCRIPTION OF THE DRAWINGS
Throughout the drawings, reference numbers are re-used to indicate correspondence between referenced elements. The drawings are provided to illustrate embodiments of the inventions described herein and not to limit the scope thereof.
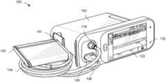
FIG.1 depicts an example front perspective view of a patient monitoring system including a patient monitor and example sensor(s).
FIG.2 depicts an example side perspective view of the patient monitor ofFIG.1.
FIG.3 depicts an example exploded perspective view of the patient monitor ofFIG.1.
FIG.4 depicts example internal speaker components of the patient monitor ofFIG.1.
FIG.4B depicts an example wearable patient monitor worn by a patient.
FIG.5 depicts an example speaker error detection process.
FIGS.6 and7 depict example frequency domain alarm analyzers.
FIG.8 depicts an example time domain alarm analyzer.
FIG.8B depicts an example dual algorithm alarm analyzer.
FIG.9 depicts an example block diagram of a pulse oximetry system having a robust alarm system.
FIG.10 depicts a more detailed example pulse oximetry system having a robust alarm system.
FIG.11 depicts an example robust alarm system.
FIG.12 depicts an example alarm detector.
FIG.13 depicts an example spectrum of an alarm signal.
DETAILED DESCRIPTIONI. Introduction
Alarm reliability is a critical requirement for patient monitors employed in healthcare. An alarm failure may result in patient injury or death. A robust alarm system can provide at least one of redundant alarms, drive circuit integrity checks, or alarm integrity checks to increase alarm reliability. An example approach for addressing alarm reliability is described in U.S. Pat. No. 7,962,188, filed Oct. 12, 2006, titled “Robust Alarm System” (“the '188 patent”), the disclosure of which is hereby incorporated by reference in its entirety.
Many modern patient monitors are portable and may be used in vehicles, such as ambulances and medical helicopters. However, when used in a vehicle, the patient monitor may be inserted into a portion of the vehicle such that the monitor's speaker is blocked, muffling or muting any alarms. Or, the speaker may not be blocked, but the volume may be turned down such that alarm sounds cannot be heard above the noise of the vehicle. Further, the acoustic environment of the vehicle (or any location the monitor is installed) may reflect the alarm sounds in such a manner that destructive interference acts as an unintentional echo cancellation-reducing the alarm volume. Similar problems may occur in a hospital or other clinical setting, for instance, where the monitor is placed in a stack of monitors that may block the monitor's speaker, or where other hospital sounds drown out the alarm sound. Likewise, a wearable patient monitor (for example, on an armband) may become blocked by linens or pillows on the patient's bed, muffling alarms. Any speaker may also malfunction, causing a reduction in its volume output.
To attempt to address these problems, the monitor can diagnose whether its speaker is blocked or otherwise malfunctioning (or at a too-low volume) and can output a visual and/or audible indication of this error. For example, the monitor can include a processor that can diagnose the speaker by recording a microphone input signal. The processor can compare the microphone input signal to an expected alarm signal that should be output by the speaker and/or to the actual alarm signal sent to the speaker. If the two do not match or reasonably correspond to one another, then the processor may increase the volume of the alarm to determine whether doing so can overcome an obstruction, noise, or potential malfunction. The microphone can again detect the speaker output, and the processor can again perform another analysis of the speaker output. If the speaker output as detected via the microphone is still insufficiently loud, then the processor may cause the display of the monitor to output an error or an indication that the speaker has a problem. The processor can also transmit the error over a network to a remote server for distribution to other clinician or technician devices. Further, the processor can cause a second speaker, such as a piezoelectric buzzer, to output an audible alarm.
II. Example Patient Monitors
FIGS.1 through4 depict an examplepatient monitoring system100, including an example bedside/portable patient monitor102, which can implement the speaker obstruction detection algorithms described herein.FIG.4B depicts another examplepatient monitoring system400, including an examplewearable monitor450, which can also implement the speaker obstruction detection algorithms described herein.
Referring specifically toFIG.1, the examplepatient monitoring system100 includes an example bedside/portable patient monitor102 and example sensor(s)142. The patient monitor102, sometimes referred to as a point-of-care device, includes one ormore ports118,120 for communicating with one or more sensors throughsensor cables134,136, respectively. When the sensor(s) are coupled with a patient, the patient monitor102 can analyze signals obtained from the sensor(s) to measure one or more of the patient's physiological parameters. The patient monitor102 includes adisplay122 for displaying the measured parameters. The patient monitor102 can also include one or more speakers, buzzers, or the like (see, for example,FIGS.2-4) that outputs audible alarms when a patient's physiological parameters reach dangerous levels or when other errors occur, such as a sensor falling off the patient.
Algorithms for detecting obstructed or malfunctioning speakers (also called loudspeakers), using an input detected by a microphone132 (shown in one example location of many possible locations on the patient monitor102), are described in detail below with respect toFIGS.5-8. Example block diagrams of the patient monitor's102 internal systems that can detect an obstructed or malfunctioning speaker are described below with respect toFIGS.9-12.
Theport118 can enable communicating with ablood pressure sensor142, such as a non-invasive blood pressure (NIBP) cuff. Theport120 can couple with a sensor (not shown) that can measure at least one of the following physiological parameters: oxygen saturation (SpO2), pulse rate (PR), perfusion index (PI), total hemoglobin (SpHb®), methemoglobin (SpMet®), carboxyhemoglobin (SpCO®), oxygen content (SpOC®), oxygen reserve index (ORi®), pleth variability index (PVi®), acoustic respiration rate (RRa®), respiration rate from pleth (RRp™), fractional arterial oxygen (SpfO2™), rainbow Pleth Variability Index (RPVi™), or signal quality. In addition or alternatively, the patient monitor102 can include a port for communicating with a capnography sensor (for example, a CO2sensor) so as to measure or determine parameters such as end-tidal carbon dioxide (etCO2), SpO2, Predictive or Temporal Artery Temperature, Masimo Rainbow® parameters (for example, RRa™, SpCO®, PVi®), electrocardiogram (ECG) (3-lead or other number of leads), combinations of the same, and the like. The patient monitor102 can include a port (in addition to or alternative to those shown) for communicating with a biopotential sensor, a respiratory rate sensor, or a glucose sensor. In some cases, the patient monitor102 can wirelessly communicate with sensor modules such as a blood pressure module, a pulse oximetry module, or a capnography module. Eitherport118,120 can be optional and may be omitted.
The patient monitor102 can also serve as a connectivity hub for multiple third-party or proprietary devices (collectively referred to as remote modules114). For example, the patient monitor can wired or wirelessly, for instance via Bluetooth, aggregate data from each of a plurality of remote modules114. The patient monitor102 can communicate with or integrate data from one or more devices such as a weight scale, glucometer, spirometer, stethoscope, a capnograph (such as the EMMA™ Capnograph marketed and sold by Masimo Corporation of Irvine Calif. (“Masimo”)), a thermometer (such as the Caregiver marketed and sold by Masimo), a hemoglobin sensor (such as the Rainbow® DCI®-mini marketed and sold by Masimo), or a pulse oximeter (such as the MightySat™ Rx marketed and sold by Masimo), combinations of the same, or the like. If implemented as a monitoring hub, the patient monitor102 can include any of the features described in U.S. Pat. No. 9,943,269, filed Oct. 10, 2014, titled “System for Displaying Medical Monitoring Data”, the disclosure of which is hereby incorporated by reference in its entirety. Further, the patient monitor102 may be battery powered or externally powered.
Thedisplay122 of the patient monitor102 can include touch screen capabilities. For example, a user can adjust a range of a displayed trend time by using intuitive finger gesture (for example, dragging, pinching, or spreading fingers). Further, thedisplay122 can be customizable such that a user can choose which information to display on thedisplay122. For example, the user can choose to display one or more of various waveforms, trends, values, timelines, or other data related to a patient's physiological parameters. The user can also customize the display using touchscreen input or optionally by menu-driven commands.
In some cases, thedisplay122 can display in portrait mode or landscape mode and can transition between display modes, for example, based on the orientation of themonitor102. For example, the patient monitor can determine its orientation using a gyroscope or an accelerometer. Based on its determined orientation, the patient monitor102 can display in landscape or portrait mode. In some cases, thedisplay122 can display in portrait mode when oriented vertically and can display in landscape mode when oriented horizontally. In some cases, a user can select landscape or portrait mode, which can cause thedisplay122 to lock thedisplay122 in the selected mode despite the orientation of thepatient monitor102.
In operation, the patient monitor102 can receive a sensor signal associated with a sensor. Depending on the sensor, the patient monitor102 can provide one or more drive signals to the sensor. The patient monitor102 can receive (through wired or wireless connection) the sensor signal and can determines a conditioned signal. The conditioned signal may be transmitted or further processed by a signal processor, such as by buffering, digital filtering, smoothing, averaging, adaptive filtering, frequency transforms, or the like. The signal processor can derive a physiological parameter value responsive to the sensor signal. The resulting physiological parameter value may be a measurement calculated or derived from the conditioned signal, such as any of the physiological parameter values referred to above.
FIG.2 depicts an example side perspective view of the patient monitor102 ofFIG.1. Among other features, the patient monitor102 can include avent cover101 and aspeaker grill210. Thevent cover101 is shown in an open position inFIG.2 and in a closed position inFIG.1. Thevent cover101 can cover one ormore ventilation holes203 without occluding the ventilation hole(s) and also can provide a stabilization feature to thepatient monitor102. Thevent cover101 can swivel (for example, when rotated by a user) between various configurations (such as the closed and open positions shown inFIGS.1 and2, respectively). For instance, in a storage configuration, thevent cover101 can fit within indentions of housing of the patient monitor102 such that an outer surface of thevent cover101 is at least partially flush with an outer surface of the housing. In a stabilizing configuration, the vent cover101 (and a protrusion111) can provide support to the patient monitor102 when oriented in an upright position.
Thespeaker grill210 is disposed on the top side of the patient monitor102 in the depicted example. Thespeaker grill210 can act as a protective cover and opening through which a speaker beneath thegrill210 may emit alarm sounds and other sounds. An example of such a speaker is described below with respect toFIG.4. Placing thespeaker grill210 on the upper surface of themonitor102 as shown can permit the front of the patient monitor102 to be smaller in size and have cleaner lines. The placement of thespeaker grill210 can also permit the display of the patient monitor102 to be larger with a smaller monitor form factor, which can increase the portability of thepatient monitor102.
Having a larger display in a smaller device can be beneficial for telemedicine applications where the display can show video of the patient or of a doctor. Also having a larger display in a smaller form factor can provide more information about different physiological parameters, including more parameter values, trends, and/or waveforms.
However, in this and other scenarios, as described above, a speaker may become obstructed, drowned out by noise, or otherwise malfunction. For example, the patient monitor102 may be inserted into a portion of a vehicle such that thespeaker grill210 is blocked, obstructing the sound of any alarm that is emitted by the speaker. A similar effect may occur in a hospital or other clinical setting, for instance, where themonitor102 is in a stack of monitors and a monitor above it may block thespeaker grill210.
To attempt to address these problems, themonitor102 can diagnose whether its speaker is blocked or otherwise malfunctioning and can output a visual indication of this error. For example, themonitor102 can include a processor that can diagnose the speaker by recording a microphone input signal using, for example, themicrophone132 ofFIG.1. The processor can compare the microphone input signal to an expected alarm signal that should be output by the speaker. If the two do not match or reasonably correspond to one another, then the processor may increase the volume of the alarm to determine whether doing so can overcome an obstruction, noise, or potential malfunction. Themicrophone132 can again detect the speaker output and the processor can again make another comparison or analysis of the input with the speaker output. If the speaker output as detected via the microphone is still insufficiently loud, then the processor may cause the display of themonitor102 to output an error or an indication that the speaker has a problem. The processor can also transmit the error over a network to a remote server for distribution to other clinician devices.
Although themonitor102 is used herein as an example of a patient monitor that can include speaker diagnosis features, the speaker diagnosis features described herein can be implemented with any other type of patient monitor. Some other monitors, for instance, may have a speaker located in a position other than is shown inFIG.2, such as on the front or the side or the bottom of the monitor.
Turning toFIG.3, an example exploded view of the patient monitor102 is shown. In this view, thehousing106 of the patient monitor102 is shown separated into two distinct parts. In particular, thehousing106 is shown including a separateupper housing340 and alower housing330. Theupper housing320 includes thespeaker grill210 described above with respect toFIG.2. Thelower housing330 includes acircuit board340 that can include electronic components, such as a hardware processor that can process one or more algorithms for speaker diagnostics discussed herein.
Turning toFIG.4, theupper housing320 ofFIG.3 is shown except that it is flipped over to reveal its underside, including the underside of thespeaker grill210. Aspeaker410 is also shown in an exploded view apart from theupper housing320. Thespeaker housing410 can rest on a raisedridge420 that encircles thespeaker grill210.
Although a single speaker is shown inFIG.4, there may be multiple speakers in thepatient monitor102. For example, there may be two speakers, one of which is redundant to the other so that if one fails, the other continues to operate. Redundant speakers in this manner can continue to provide reliable alarms despite the failure of one speaker.
FIG.4B depicts another examplepatient monitoring system400, including an examplewearable monitor450, which can also implement the speaker obstruction detection algorithms described herein. Theexample wireless monitor450 is shown secured to the arm of the patient. The wireless monitor450 can be a fully functional stand-alone monitor capable of various physiological measurements. The wireless monitor can be small and light enough to comfortably be secured to and carried around on the arm of a patient. As shown, theexample wireless monitor450 connects to an acoustic respiration sensor404A on a first side ofpatient monitor450 and anoximeter sensor402 on a second side ofpatient monitor450. This configuration of connected sensors to opposite sides of the monitor can reduce cable clutter and entanglements. The wireless monitor450 includes a screen454 (which may be omitted in other implementations). The wireless monitor450 can couple to and can be held to the arm of the patient byarm band452, although other attachment mechanisms (such as a pocket or adhesive) are possible. Thearm band452 may, but need not, be an inflatable blood pressure cuff.
The wireless monitor450 can be a standalone patient monitor, or it can wirelessly (or wired) transmit data to a bedside monitor using any of a variety of wireless technologies, such as Wi-Fi (802.11x), Bluetooth (802.15.2), cellular telephony, infrared, RFID, or the like.
Although not shown, thewireless monitor450 can also have a speaker for outputting audible alarms.
III. Example Alarm Testing Algorithms
Turning toFIG.5, an example speakererror detection process500 is shown, which is an example of the speaker diagnosis techniques described above. The speakererror detection process500 can detect an error in a speaker, including an obstruction, partial obstruction, or malfunction of the speaker. The speakererror detection process500 can be performed by a processor of the patient monitor102 (or by the system ofFIGS.9 through12, described below, which depict example schematic components of a patient monitor).
Atblock502, the processor receives a microphone input signal when an alarm is triggered. The alarm may have been triggered by the processor detecting that a patient's physiological parameter (or parameters) have exceeded safe limits (such as low SpO2). The microphone input signal may be received from themicrophone132. The microphone input signal may be recorded in memory (for example, in a buffer) prior to further processing, or the signal may be processed in real time, as it is received.
Atblock504, the processor detects (or attempts to detect) an alarm in the microphone input signal. This detection can include using one or more signal processing techniques to extract an alarm signal from the microphone input signal. Of course, it is possible that the processor may not be able to extract an alarm from the microphone input signal if the speaker is fully obstructed or malfunctioning.
It may or may not be a straightforward operation to obtain or detect the alarm in the microphone input signal. This is because the patient monitor102 may be located in a noisy environment. Some examples of noisy environments that the patient monitor may be located in include a hospital room, an ambulance, or a helicopter. Because of the noise that may be inherent in such environments, it may be difficult to distinguish whether the speaker is functioning properly or whether noise is drowning out or otherwise muddling the alarm signal.
Accordingly, the signal extraction technique employed atblock504 can include filtering. For example, filtering may be employed to look in expected bands of the microphone input signal for identifiable portions of the alarm signal. Filtering may be performed using low pass, band pass, notch, or high pass filters or some combination of the same, such as a filter bank. Another technique that may be used includes cross correlation of an output alarm signal sent to the speaker with the microphone input signal. Further, statistical approaches, noise reduction filtering, envelope detection, smoothing, comb filtering, or harmonic comb filtering may also be performed.
Many alarm signals may have a plurality of beeps in a pulse train which may be detectable in the time domain. Thus, the detection of the alarm input in the microphone input signal could also involve performing time domain analysis, such as searching for a pulse train of beeps.
Atblock506, the processor compares the detected (purported) alarm signal with one or more alarm output criteria and determines whether the one or more alarm output criteria have been met. The alarm output criteria can include one or more rules, processes, or techniques for analyzing the detected alarm in the microphone input signal. In general, the closer that the detected alarm characteristics match one or more desired alarm characteristics, the more likely the detected alarm is a suitable alarm. If the detected alarm (or purported alarm) does not match the alarm criteria, it is possible that the speaker is blocked or otherwise malfunctioning.
The alarm output criteria may specify, for instance, that a detected (purported) alarm having a volume, loudness, or magnitude lower than a certain threshold may indicate a possible obstruction or speaker malfunction. The alarm output criteria can be evaluated using time domain and/or frequency domain techniques. Some example time domain techniques can include analyzing the magnitudes of pulses in a train of pulses to determine whether those magnitudes are greater than a threshold. Further, another example time domain technique can include analyzing the number of pulses in a pulse train to confirm the correct number of beeps is being reproduced. Example frequency domain techniques can include analyzing magnitudes of spectral peaks, performing cross-correlations, and so forth (see, for example,FIGS.6-8B).
Further, time domain and frequency domain analysis can be performed together by obtaining a spectrogram of frequency spectra corresponding to the detected alarm signal over time. This spectrogram can be constructed with the short time Fourier transform (STFT) or another transform (additional examples of which are described with respect toFIG.6 below).
With continued reference toFIG.5, if the alarm output criteria has been met, then theprocess500 ends because the speaker can be determined to be functioning correctly. However, if the alarm output criteria is not met, then atblock508 the processor can determine whether a maximum volume of the speaker has been reached. If not, then atblock510, the processor can increase the volume that is applied to the alarm signal. The alarm volume may be increased atblock510 in increments, or the alarm volume may be increased atblock510 to maximum volume immediately. A possible advantage of increasing the volume in increments may be avoiding startling a user who may not be expecting a large change in volume. Conversely, a possible advantage of increasing the volume to the maximum volume right away may be that the problem with the speaker (if there is one) may be detected more quickly. After increasing the alarm volume, theprocess500 can loop back to block504 and again detect an alarm in the microphone input signal and again evaluate whether the detected alarm meets one or more alarm output criteria (block506).
Blocks504 through510 may thus continue in a loop until a maximum volume is reached. If the maximum volume is reached without the one or more alarm output criteria being met, then atblock512 the processor can output a speaker obstructed or malfunctioning error message on the display of the patient monitor. This message can also be output to a remote server, for example, as a notification or escalation.
Turning toFIG.6, an example frequencydomain alarm analyzer600 is shown. Thealarm analyzer600 can be implemented by the processor described herein, or more generally, by any patient monitor. Many alarms may be just a single tone, such as a sine wave played at a specific frequency through a speaker. The frequencydomain alarm analyzer600 represents one example way to detect an alarm that includes a single tone. Other example analyzers for analyzing multiple alarm tones are described below with respect toFIGS.7-8B.
The singletone alarm analyzer600 can receive amicrophone input602. The microphone input can be received from themicrophone132 ofFIG.1. Aswitch610 can determine whether the microphone input is received for processing or is not received. Theswitch610 can be logical, implemented in software, or it can be an actual switch in hardware. For example, if the switch is logical, theADC630 can be placed before theswitch610.
Theswitch610 may be actuated by analarm trigger612. Thealarm trigger612 can be triggered whenever the processor (or software running in the processor) determines that an alarm condition is present, such as low SpO2. When thealarm trigger612 occurs, two things can happen either at the same time or substantially the same time, or one right after the other. Thealarm trigger612 can cause atone generator620 to output an alarm tone, which may be a waveform corresponding to the alarm sound. The output of thetone generator620 can be provided to again block670, which can apply a gain to the tone generated by thetone generator620. The gain can be a volume setting (or can be proportional to a volume setting) of the alarm. The output of thegain block670 can be an alarm signal that can be provided to a speaker as aspeaker output604.
Thealarm trigger612, in addition to triggering the generation of an alarm to be output to the speaker, can also generate a signal or logical code that causes thelogical switch610 to receive themicrophone input signal602. Thus, the microphone may be recording when the alarm is sounded but not at other times. An analog to digital converter (ADC)630 can receive the microphone input signal and convert the analog microphone input signal to a digital input signal including, for example, by performing preamplification and sampling. The output of theADC630 may be a digital signal that can be supplied to an FFT (Fast Fourier Transform) block640.
TheFFT block640 can perform a mathematical transform, the FFT, on the digital signal to convert the digital signal from a time domain representation to a frequency domain representation. Other types of transforms may be used instead of or in addition to the FFT, such as the short time Fourier transform (STFT) (which may be implemented by the FFT), a wavelet transform, or the Hilbert-Huang transform. However, the FFT block640 can be optional, and instead of performing alarm tone detection in the frequency domain, alarm tone detection can be performed in the time domain (see, for example,FIG.8). Alternatively, alarm tone detection may be performed in a combination of the time domain and the frequency domain (see, for example,FIG.8B). For illustration purposes, the remainder of the specification focuses primarily on frequency domain techniques.
The output of the FFT block640 can be a frequency domain representation of the microphone input signal, which is supplied to analarm tone detector650. There are many different ways to implement detection of an alarm signal, and thus the examples shown inFIG.6 (and subsequent Figures) are non-limiting examples of ways to detect the alarm signal. The examplealarm tone detector650 shown includes aband pass filter652, apeak magnitude finder658, and athreshold detector659.
Theband pass filter652 may have a center frequency f0that is at the expected location of the alarm tone in the frequency domain representation of the microphone input signal. Theband pass filter652 may optionally be tuned with a high Q-factor such that the band pass filter is very narrow in bandwidth, so as to focus on a small amount of frequency content around the center frequency of the band pass filter. Since a single tone alarm may have its energy concentrated at or around one frequency, a narrow bandpass filter can focus on that frequency and optionally a small amount of surrounding frequencies. Theband pass filter652 is optional and may be omitted.
Thepeak magnitude finder658 can identify the magnitude of the peak. Thethreshold detector659 can compare the peak with the threshold to determine whether the peak has a magnitude greater than a threshold.
Thespeaker error analyzer660 can essentially performblocks506 through510 of theprocess500 after thealarm tone detector650 has performedblock504 of theprocess500. For instance, thespeaker error analyzer660 can determine whether one or more alarm output criteria are met as described above with respect toFIG.5, for example, by determining whether the peak exceeded the threshold and therefore likely corresponds to a sufficiently loud alarm. If not, thespeaker error analyzer660 can determine whether a maximum volume has been reached, and if not, can increase the volume by outputting an instruction to thegain block670 to increase the gain. Thetone generator620 input to thegain block670—the alarm waveform—can then be amplified further to attempt to detect an alarm sound with thealarm tone detector650.
If thespeaker error analyzer660 determines that the maximum volume has been reached without the alarm output criteria being met, then thespeaker error analyzer660 can provide anerror output608. The error may indicate that the speaker has been obstructed, or it may be malfunctioning or have some other error. Theerror output608 can be textual in nature or it can be a graphical display or icon, such as an icon depicting a speaker with a line through it in red (potentially flashing) or the like. Theerror output608 may also be a remote notification that thespeaker error analyzer660 causes to be provided to a remote server so that clinicians can access the information about the error remotely, and so that if a clinician does not respond based on the error then the remote server can cause the error to be escalated as a new alarm to other clinicians or to a technician who can repair the speaker. Further, theerror output608 may be an audible sound transmitted through a backup speaker installed in the patient monitor, which may be a piezoelectric buzzer or the like.
As described above, there may be a variety of alarm output criteria that thespeaker error analyzer660 uses either in the time domain or the frequency domain. In this example, the peak magnitude is supplied to thespeaker error analyzer660 by thepeak magnitude finder658. Thespeaker error analyzer660 can analyze the threshold output from thethreshold block659. If the peak magnitude meets or exceeds the threshold, thespeaker error analyzer660 can indicate that the speaker is functioning properly and not increase the gain at thegain block670. Conversely, if the peak magnitude is below the threshold, thespeaker error analyzer660 can output that the speaker is not functioning properly (at block608) and increase the gain at thegain block670.
In some instances, thespeaker error analyzer660 can output a more granular indication of a problem (at block608). For instance, thespeaker error analyzer660 may be able to indicate that the speaker is partially blocked rather than completely blocked. Thespeaker error analyzer660 may determine partial blockage by determining that the peak magnitude received from thepeak magnitude finder658 is between two thresholds but not so low as to indicate blockage. Other variations are possible.
Turning toFIG.7, another example frequencydomain alarm analyzer700 is shown. Many alarm signals have harmonics, including alarm signals that are formatted according to certain industry standards, an example of which is described below with respect toFIG.13. The frequencydomain alarm analyzer700 incorporates much of the functionality of the frequencydomain alarm analyzer600 ofFIG.6 and adds additional functionality to detect multiple harmonic tones.
For instance, amicrophone input602 can be received. Aswitch610 can selectively supply themicrophone input signal602 to anADC630, which can supply a digital signal to anFFT640. (Alternatively, theADC630 can be placed before theswitch610, and theswitch610 may be logical-implemented in software.) TheFFT640 can output a spectrum to an alarm detector750, which can include features of thealarm detector650 but in multiple signal paths. For instance, instead of a single band pass filter, a bandpass filter bank752 can be used. The bandpass filter bank752 can be find a fundamental frequency and harmonics of a harmonic alarm signal, or more generally, multiple expected peaks in the signal. Three signal paths are shown, but ellipses indicate that any number of signal paths may be used, including four or more.
The remaining blocks754 through758 can have the same or similar functionality as the corresponding blocks inFIG.6 for the fundamental and each harmonic (note: the fundamental is also sometimes called the first harmonic). For example, the result of the alarm detector750 can be that the peak magnitude can be found and thresholded for each fundamental and harmonic in the microphone input signal.
Thespeaker error analyzer660 can analyze the outputs of the peak threshold blocks759 and can perform similar criteria as inFIG.6 but with multiple tones. For example, thespeaker error analyzer660 can determine whether each of the peaks is lower than a low threshold (indicating possible full obstruction) or between the low threshold and a higher threshold (indicating a possible partial obstruction). However, other criteria may be used with multiple peaks. For instance, thespeaker error analyzer660 can compare the relative magnitudes of the peaks. If the peaks are above a threshold, but their relative magnitudes differ too greatly, then the speaker nevertheless may be muffled or garbled due to an obstruction or partial obstruction. For instance, if a speaker is blocked then the higher frequency harmonics are more likely to be attenuated than lower frequency harmonics (including the fundamental frequency). Thus, identifying attenuated higher frequencies can suggest that the speaker is blocked or partially blocked.
If there is little or no evidence of spectral peaks, or if their magnitudes are very small, then the speaker may be malfunctioning. But it may be easier to determine a malfunctioning harmonic alarm versus a malfunctioning single tone alarm. A single tone alarm may be mimicked by noise, but when there are multiple harmonics, it can be more difficult to mimic all of the harmonics with noise. Thus, thespeaker error analyzer660 may be able to determine whether the speaker is malfunctioning versus obstructed by simply detecting whether there are actual harmonics of the fundamental frequency. Absent harmonics of the fundamental, it is more likely that the speaker is malfunctioning versus merely obstructed. Likewise, if the fundamental is not present but one or two harmonics are present, then that can also suggest that the speaker may be malfunctioning as opposed to being muffled. Thespeaker error analyzer660 can output anappropriate error608 accordingly, which may be the same as described above with respect toFIG.6. Other components shown can have the same or similar functionality as described above with respect toFIG.6.
Turning toFIG.8, anotherexample alarm analyzer800 is shown. Thealarm analyzer800 is an example time domain alarm analyzer. The timedomain alarm analyzer800 can be used to detect single or multiple tone alarms or more complex alarms that may have multiple characteristics including changing frequencies, changing magnitudes and so forth. The timedomain alarm analyzer800 differs in some respects from the previous alarm analyzers but can include similar components.
The output of theADC630 can be supplied to acorrelation block854. Thecorrelation block854 can perform a correlation comparison (such as a cross correlation or autocorrelation) of the microphone recorded signal with the output signal sent to the speaker from thetone generator620. Doing so may create a correlation output signal that can be analyzed by athreshold detector858. Thethreshold detector858 can determine whether the correlation between the input signal's alarm and the output signal are sufficiently correlated. For example, thethreshold detector858 can determine whether a highest peak in the correlation output exceeds a threshold, or thethreshold detector858 can search for predetermined patterns in the correlation output. Many other pattern matching algorithms are possible besides threshold detection, including algorithms that detect patterns in a spectrogram, clustering algorithms, linear prediction, and the like.
If the detected alarm is sufficiently correlated with the output alarm, then thespeaker error analyzer660 may determine that there is no error. If not, thespeaker error analyzer660 may determine that there is an error and perform according to the processes and examples previously provided, adjusting thegain670 and/or outputting theerror608.
FIG.8B depicts an example dualalgorithm alarm analyzer890. The exampledual alarm analyzer890 includes both a frequencydomain alarm detector650 and a timedomain alarm detector850. Thesedetectors650,850 can work as described above with respect toFIGS.6-8. The output of these detectors can be provided to thespeaker error analyzer660. Thespeaker error analyzer660 can use decision logic to determine whether to output anerror608 and/or adjust thegain670 based on the output of bothdetectors650,850. For example, the decision logic may determine that if either detector output is below a threshold or otherwise indicates the alarm to be low volume, thespeaker error analyzer660 can determine that an error has occurred and perform the functions of theprocess500, blocks506 through512. Or, thespeaker error analyzer660 can determine that an error has occurred only if both thedetectors650,850 output errors (for example, output below-threshold outputs as described above).
IV. Example Patient Monitor Block Diagrams
FIG.9 illustrates an example block diagram of apulse oximetry system900 that can implement these alarm reliability features. Theoximetry system900 includes apatient monitor902, which is a schematic example of the patient monitor102 (but which can also be used in another type of patient monitor). Thepulse oximetry system900 can measure the oxygen saturation level of arterial blood, an indicator of oxygen supply, as well as any of the other physiological parameters discussed herein. Thepulse oximetry system900 also includes asensor901 that can provide asensor signal962 to apulse oximeter902. Thesensor901 hasemitters910 and adetector920 and can be attached to a patient at a selected tissue site, such as a fingertip, foot, forehead, or earlobe. Theemitters910 can transmit light having red and IR wavelengths into the tissue site. Thedetector920 can generate thesensor signal962 in response to the intensity of the emitter-transmitted light after attenuation by pulsatile blood flow within the tissue site. An example pulse oximetry sensor, which can be used as thesensor901, is described in U.S. Pat. No. 6,088,607, filed Jan. 28, 1997, entitled Low Noise Optical Probe, the disclosure of which is hereby incorporated by reference in its entirety.
Themonitor902 includesdrivers940, acontroller950, and a front-end960. Thedrivers940 can activate theemitters910 according to thecontroller950, and the front-end960 can condition and digitize the resultingsensor signal962. Themonitor902 also has ahardware processor970, adisplay980, and arobust alarm system990. Theprocessor970 can be a central processing unit (CPU), a digital signal processor (DSP), or a graphics processing unit (GPU), which can input the conditioned and digitizedsensor signal964 and calculate oxygen saturation along with pulse rate or other physiological parameters described herein. (Additional examples of types of processors that may correspond to theprocessor970 are described below.) Thedisplay980 can provide a numerical readout of a patient's oxygen saturation and pulse rate, as well as trends or waveforms. Therobust alarm system990 can provide an audible indication when oxygen saturation or other physiological parameters are outside of preset limits, as well as self-monitor the health of thealarm system990. An example pulse oximeter or patient monitor, which can be used as the patient monitor902, is described in U.S. Pat. No. 8,942,777, filed May 25, 2007, entitled Signal Processing Apparatus, which is assigned to Masimo Corporation, Irvine, Calif., the disclosure of which is hereby incorporated by reference in its entirety.
FIG.10 illustrates apulse oximetry system1000 having arobust alarm system1100. Thepulse oximetry system1000 has ahardware processor1010 responsive to aninput sensor signal1012 and adisplay1020 for presenting the results. For example, theprocessor1010 may be part of a patient monitor that is responsive to an intensity signal from an optical sensor, such as the patient monitor102 or902 described above. Theprocessor1010 can have any of the characteristics of theprocessor970 or other processors described herein. Unlike a conventional alarm, however, therobust alarm system1100 can have redundant alarms and alarm system integrity checks, as described above and in additional detail below.
As shown inFIG.10, thesignal processor1010 can input thesensor signal1012 and generates analarm trigger1014 in response, such as when a parameter calculated by the signal processor is outside of predetermined limits. Thealarm system1100 inputs thealarm trigger signal1014 and can activate one or more alarms accordingly, as described below. Thealarm system1100 can also output amalfunction signal1016, which can indicate that one or more alarm subsystems1101-1103 are unresponsive, for example are not generating an alarm in response to thealarm trigger1014. Themalfunction signal1016 can be output to thesignal processor1010, which may trigger a malfunction indication on thedisplay1020 or trigger aseparate malfunction indicator1030, or both. Themalfunction signal1016 can also be output directly to themalfunction indicator1030. Themalfunction indicator1030 may be an audible alert, visual alert or alert signal. An audible alert, for example, may be an alarm, buzzer, recorded or synthesized voice to name a few. A visual alert may be a flashing light or display message, for example. An alert signal may be, for instance, an electronic signal, code or message sent to another system via wired or wireless communication channels, or local area or wide area networks, to name a few.
Also shown inFIG.10, the examplerobust alarm system1100 has analarm controller1110 and one or more alarm subsystems1101-1103. Thealarm controller1110 can input thealarm trigger1110 and can activate an alarm subsystem1101-1103 or multiple alarm subsystems concurrently. Thealarm controller1110 can also receive asubsystem function signal1105 that provides feedback to thealarm controller1110 as to the integrity of the alarm subsystems1101-1103. Thesubsystem function signal1105 can include circuit function signals1132 (FIG.11) or alarm function signals1152 (FIG.11) or both, as described with respect toFIG.11, below.
Thealarm controller1110 can generate themalfunction signal1016 if alarm subsystem integrity has been compromised. Themalfunction signal1016 can be encoded or otherwise configured so as to indicate a particular fault type or fault location or both. The fault location may be subsystem, component, or subcomponent specific. Thealarm controller1110 may activate or deactivate one or more alarm subsystems1101-1103 in response to thesubsystem function signal1105 so as to work around one or more faulty alarm subsystems1101-1103. In various embodiments, thealarm controller1110 may include separate hardware, software, or firmware components or may be integrated with thesignal processor1010.
Further shown inFIG.10, therobust alarm system1100 can be configured for various self-testing, fault correction and alarm condition response. In monitors having two speakers instead of one, two or more alarm subsystems1101-1103 can be concurrently activated so that multiple alarms sound simultaneously and so that failure of any one alarm or alarm subsystem1101-1103 will not result in silence during an alarm condition. These multiple alarms may each sound at different frequencies or frequency spectra so as to facilitate alarm failure recognition and troubleshooting. Thealarm controller1110 can deactivate a failing alarm subsystem1101-1103 and can activate one or more redundant alarm subsystems1101-1103 in response to thesubsystem function signal1105. Thealarm controller1110 can also initiate alarm subsystem testing in the absence of an alarm condition by intermittently activating the alarm subsystems1101-1103. Intermittent test alarms may be activated only long enough forsubsystem function1105 feedback or at frequencies outside of a normal hearing range so as to be essentially unnoticeable by caregivers, patients or other personnel operating thepulse oximetry system1000.
FIG.11 illustrates arobust alarm system1100 having analarm controller1110,drivers1120,circuit testers1130,alarms1140 anddetectors1150. Therobust alarm system1100 is an example of therobust alarm system1100 and990. Thealarm controller1110 can respond to the alarm trigger1014 (seeFIG.10) by outputtingdrive signals1112 to one ormore drivers1120 so as to activate one or more of thealarms1140. Thealarms1140 may be any of various audible transducers, such as speakers, piezoelectric transducers, buzzers or bells to name a few.
Also shown inFIG.11,alarm detectors1150 can interface with thealarms1140 so as to verify the integrity of the alarm transducers.Alarm detectors1150 can provide one or morealarm function signals1152 to thealarm controller1110, which thealarm controller1110 can use to indicate and adapt to subsystem malfunctions, as described above.
Eachalarm1140 can have acorresponding alarm detector1150 so that thealarm controller1110 can identify a specific malfunctioning alarm. Therobust alarm system1100 may have onealarm detector1150 formultiple alarms1140 that each output a unique audio frequency or frequency spectrum so as to distinguish a malfunctioning alarm. Therobust alarm system1100 may have onealarm detector1150 for allalarms1140, where each alarm is sequentially and briefly activated during a periodic or intermittent testing procedure so as to determine the existence of any malfunctioning alarms.
A drive circuit integrity check can also be performed by thecircuit testers1130, as described in the '188 patent. A combination of a drive circuit integrity check and an alarm integrity check can increase overall alarm reliability.
FIG.12 illustrates an example alarm detector1150 (FIG.11) that can verify alarm integrity. Anacoustic sensor1250, such as a microphone (seeFIG.1), can detectsound waves1201 generated by the alarm transducer1140 (FIG.11), such as a loudspeaker (or speaker). Anamplifier1210 can generate a correspondingalarm function signal1152 to the alarm controller1110 (FIG.11). If thealarm1240 is operative, the alarm controller1110 (FIG.11) can detect a corresponding tone waveform in thealarm function signal1152 upon activation of the drive signal1112 (FIG.11). Otherwise, an alarm malfunction can be determined, and the alarm controller1110 (FIG.11) can respond accordingly, such as by generating a malfunction signal1016 (FIG.11) or activating a redundant alarm1140 (FIG.11), or both.
V. Optional Medical Standards Implementation
FIG.13 depicts anexample spectrum1300 of analarm signal1302 that may be used with any of the features described above. Thespectrum1300 is plotted according to frequency and sound pressure level (dB). Thespectrum1300 represents an example spectrum of a medical device alarm that comports with the voluntary standard defined in ANSI/AAMI/IEC 60601-1-8:2006 and A1:2012, “Medical Electrical Equipment—Part 1-8: General requirements for basic safety and essential performance-Collateral Standard: General requirements, tests and guidance for alarm systems in medical electrical equipment and medical electrical systems,” issued 2006, which is hereby incorporated by reference in its entirety. An overview of the standard and the source ofFIG.13 is found in D. O'Brien, “Using Audible Alarms in Medical Equipment (IEC 60601-1-8), available from http://www.mallory-sonalert.com/Documents/Articles/Audible%20Alarms%20in%20Medical%20Equipment.pdf, last accessed on Apr. 17, 2018, which is hereby incorporated by reference in its entirety. IEC 60601-1-8 will first be described in general, and then with reference toFIG.13. Example applications of IEC 60601-1-8 to the speaker analysis features described above will then be set forth.
IEC 60601-1-8 is a comprehensive international standard that specifies basic safety and performance requirements and tests for alarm systems in medical equipment. It covers numerous topics, from what kind of medical condition should trigger an audible warning sound to the specific frequency and shape of the audible sound waveform. The IEC 60601-1-8 standard is a voluntary standard, and thus in the context of this specification, it is viewed as an optional and not exclusive implementation of alarms that can be analyzed. Thus, any requirements of IEC 60601-1-8 should be viewed as optional to this disclosure.
IEC 60601-1-8 gives guidance on whether an alarm condition should be assigned a high, medium, or low priority. This guidance is based on the potential result of a failure to respond to the cause of the alarm condition and how fast the potential harm could happen to the patient. For example, a high priority would be assigned if death or irreversible injury could happen quickly, but a low priority would be assigned if only minor injury or discomfort may happen after a period of time.
IEC 60601-1-8 includes three burst requirements (again, all IEC “requirements” are optional herein). As this term is used herein, in addition to having its ordinary meaning, a burst can essentially include a pulse train of individual sounds (for example, beep, beep, beep, pause, beep, beep beep). The three burst requirements can correspond to the three priority conditions discussed in the last section. A high priority condition burst can have 10 fast pulses that repeat, a medium priority condition burst can have 3 slightly slower pulses that repeat, and a low priority condition burst can have 1 or 2 even slower pulses that may optionally repeat. The number of pulses, the shape of the pulse train, and the spacing of the pulses for each of the priority conditions are spelled out in detail in IEC 60601-1-8.
IEC 60601-1-8 requires that an individual sound pulse must have a fundamental frequency somewhere between 150 to 1000 Hz, and there must be at least four harmonic sounds from 300 to 4000 Hz. Again, these requirements are optional and may be varied in the context of this disclosure. Thespectrum1300 ofFIG.13 shows a visible example of an audible sound that meets these requirements. Thespectrum1300 includes apeak1310 to the far left, which is the fundamental frequency of the alarm sound, and fourpeaks1320 to the right of the fundamental peaks that represent harmonics of the fundamental. To the ear, the resulting blended sound would be similar to hearing four different musical notes played at the same time. A final IEC 60601-1-8 requirement for the sound pulse characteristic is that the sound level (measured in dB) of the four harmonic tones (represented by peaks1320) must be within ±15 dB of the fundamental frequency tone. These requirements may be relaxed or varied in other implementations.
IEC 60601-1-8 also gives the option of providing more than one set of audible warning sounds that vary the fundamental frequency of the audible warning sound. What this means is that the equipment can play a musical melody instead of just beeping over and over with the same frequency sound. The sequence of musical notes for each melody can vary, but examples are spelled out for several different kinds of medical applications in the standard. For example, a ventilation alarm can be assigned one unique melody while a cardiac alarm can have a different unique melody. By assigning a unique melody for each kind of medical equipment, the possibility is that medical personnel can become familiar with each different kind of melody and more quickly identify the source of an audible warning sound.
Thesignal1302 shown inFIG.13 is a non-limiting example of a harmonic alarm that can be detected using thealarm analyzer700 or800 ofFIG.7 or8. For example, the band-pass filters of thealarm analyzer700 or800 can have center frequencies at the frequencies of thefundamental peak1310 and at each of theharmonic peaks1320.
VI. Terminology
Many other variations than those described herein will be apparent from this disclosure. For example, depending on the embodiment, certain acts, events, or functions of any of the algorithms described herein can be performed in a different sequence, can be added, merged, or left out altogether (for example, not all described acts or events are necessary for the practice of the algorithms). Moreover, in certain embodiments, acts or events can be performed concurrently, for example, through multi-threaded processing, interrupt processing, or multiple processors or processor cores or on other parallel architectures, rather than sequentially. In addition, different tasks or processes can be performed by different machines and/or computing systems that can function together.
The various illustrative logical blocks, modules, and algorithm steps described in connection with the embodiments disclosed herein can be implemented as electronic hardware, computer software, or combinations of both. To clearly illustrate this interchangeability of hardware and software, various illustrative components, blocks, modules, and steps have been described above generally in terms of their functionality. Whether such functionality is implemented as hardware or software depends upon the particular application and design constraints imposed on the overall system. The described functionality can be implemented in varying ways for each particular application, but such implementation decisions should not be interpreted as causing a departure from the scope of the disclosure.
The various illustrative logical blocks and modules described in connection with the embodiments disclosed herein can be implemented or performed by a machine, such as a general purpose processor, a digital signal processor (DSP), an application specific integrated circuit (ASIC), a field programmable gate array (FPGA) or other programmable logic device, discrete gate or transistor logic, discrete hardware components, or any combination thereof designed to perform the functions described herein. A general purpose processor can be a microprocessor, but in the alternative, the processor can be a controller, microcontroller, or state machine, combinations of the same, or the like. A processor can include electrical circuitry that can process computer-executable instructions. In another embodiment, a processor includes an FPGA or other programmable device that performs logic operations without processing computer-executable instructions. A processor can also be implemented as a combination of computing devices, for example, a combination of a DSP and a microprocessor, a plurality of microprocessors, one or more microprocessors in conjunction with a DSP core, or any other such configuration. A computing environment can include any type of computer system, including, but not limited to, a computer system based on a microprocessor, a mainframe computer, a digital signal processor, a portable computing device, a device controller, or a computational engine within an appliance, to name a few.
The steps of a method, process, or algorithm described in connection with the embodiments disclosed herein can be embodied directly in hardware, in a software module stored in one or more memory devices and executed by one or more processors, or in a combination of the two. A software module can reside in RAM memory, flash memory, ROM memory, EPROM memory, EEPROM memory, registers, hard disk, a removable disk, a CD-ROM, or any other form of non-transitory computer-readable storage medium, media, or physical computer storage known in the art. An example storage medium can be coupled to the processor such that the processor can read information from, and write information to, the storage medium. In the alternative, the storage medium can be integral to the processor. The storage medium can be volatile or nonvolatile. The processor and the storage medium can reside in an ASIC.
Conditional language used herein, such as, among others, “can,” “might,” “may,” “for example,” and the like, unless specifically stated otherwise, or otherwise understood within the context as used, is generally intended to convey that certain embodiments include, while other embodiments do not include, certain features, elements and/or states. Thus, such conditional language is not generally intended to imply that features, elements and/or states are in any way required for one or more embodiments or that one or more embodiments necessarily include logic for deciding, with or without author input or prompting, whether these features, elements and/or states are included or are to be performed in any particular embodiment. The terms “comprising,” “including,” “having,” and the like are synonymous and are used inclusively, in an open-ended fashion, and do not exclude additional elements, features, acts, operations, and so forth. Also, the term “or” is used in its inclusive sense (and not in its exclusive sense) so that when used, for example, to connect a list of elements, the term “or” means one, some, or all of the elements in the list. Further, the term “each,” as used herein, in addition to having its ordinary meaning, can mean any subset of a set of elements to which the term “each” is applied.
While the above detailed description has shown, described, and pointed out novel features as applied to various embodiments, it will be understood that various omissions, substitutions, and changes in the form and details of the devices or algorithms illustrated can be made without departing from the spirit of the disclosure. As will be recognized, certain embodiments of the inventions described herein can be embodied within a form that does not provide all of the features and benefits set forth herein, as some features can be used or practiced separately from others.

Claims (8)

What is claimed is:
1. A patient monitor device for monitoring a patient's physiology, the monitor comprising:
a cover configured to:
cover one or more ventilation holes on a housing of the monitor;
exist in an open position or a closed position; and
transition between said open and closed positions in response to a user actuation of the cover,
wherein in said open position, the cover is configured to:
support the monitor when the monitor is oriented in a vertical orientation; and
wherein in said closed position, the cover is configured to:
fit within an indentation of the housing of the monitor such that an outer surface of the cover is flush with an outer surface of the housing.
2. The patient monitor device ofclaim 1, further comprising a hardware processor, wherein the hardware processor is configured to:
output an alarm to a speaker of the patient monitor;
while outputting the alarm to the speaker, receive a microphone signal from a microphone of the patient monitor;
determine that the microphone signal does not sufficiently match an expected alarm signal; and
responsive to said determining, output an error indication regarding the speaker.
3. The patient monitor device ofclaim 1, further comprising a display for displaying information relating to the physiology of the patient, wherein the display is configured to display the information in a portrait mode or a landscape mode.
4. The patient monitor device ofclaim 3, wherein the display is configured to:
display the information in the portrait mode in response to the monitor being in the vertical orientation; and
display the information in the landscape mode in response to the monitor being in a horizontal orientation.
5. The patient monitor device ofclaim 1, wherein the cover is configured to rotate about a central axis of the cover to transition between the open and closed positions.
6. The patient monitor device ofclaim 1, further comprising a speaker, wherein the speaker exists a first distance from a surface on which the monitor rests when the monitor is oriented in the vertical orientation, and wherein the speaker exists a second distance from the surface on which the monitor rests when the monitor is oriented in a horizontal orientation.
7. The patient monitor device ofclaim 6, wherein the first distance is greater than the second distance.
8. The patient monitor device ofclaim 1, wherein the cover is configured to not occlude the one or more ventilation holes on the housing of the monitor.
US17/387,5132018-07-102021-07-28Patient monitor alarm speaker analyzerActive2039-12-17US11812229B2 (en)

Priority Applications (2)

Application NumberPriority DateFiling DateTitle
US17/387,513US11812229B2 (en)2018-07-102021-07-28Patient monitor alarm speaker analyzer
US18/475,723US12238489B2 (en)2018-07-102023-09-27Patient monitor alarm speaker analyzer

Applications Claiming Priority (5)

Application NumberPriority DateFiling DateTitle
US201862696208P2018-07-102018-07-10
US201862745096P2018-10-122018-10-12
US16/505,142US10779098B2 (en)2018-07-102019-07-08Patient monitor alarm speaker analyzer
US16/920,604US11082786B2 (en)2018-07-102020-07-03Patient monitor alarm speaker analyzer
US17/387,513US11812229B2 (en)2018-07-102021-07-28Patient monitor alarm speaker analyzer

Related Parent Applications (1)

Application NumberTitlePriority DateFiling Date
US16/920,604ContinuationUS11082786B2 (en)2018-07-102020-07-03Patient monitor alarm speaker analyzer

Related Child Applications (1)

Application NumberTitlePriority DateFiling Date
US18/475,723ContinuationUS12238489B2 (en)2018-07-102023-09-27Patient monitor alarm speaker analyzer

Publications (2)

Publication NumberPublication Date
US20210360359A1 US20210360359A1 (en)2021-11-18
US11812229B2true US11812229B2 (en)2023-11-07

Family

ID=69139359

Family Applications (4)

Application NumberTitlePriority DateFiling Date
US16/505,142ActiveUS10779098B2 (en)2018-07-102019-07-08Patient monitor alarm speaker analyzer
US16/920,604ActiveUS11082786B2 (en)2018-07-102020-07-03Patient monitor alarm speaker analyzer
US17/387,513Active2039-12-17US11812229B2 (en)2018-07-102021-07-28Patient monitor alarm speaker analyzer
US18/475,723Active2039-07-13US12238489B2 (en)2018-07-102023-09-27Patient monitor alarm speaker analyzer

Family Applications Before (2)

Application NumberTitlePriority DateFiling Date
US16/505,142ActiveUS10779098B2 (en)2018-07-102019-07-08Patient monitor alarm speaker analyzer
US16/920,604ActiveUS11082786B2 (en)2018-07-102020-07-03Patient monitor alarm speaker analyzer

Family Applications After (1)

Application NumberTitlePriority DateFiling Date
US18/475,723Active2039-07-13US12238489B2 (en)2018-07-102023-09-27Patient monitor alarm speaker analyzer

Country Status (1)

CountryLink
US (4)US10779098B2 (en)

Cited By (1)

* Cited by examiner, † Cited by third party
Publication numberPriority datePublication dateAssigneeTitle
US12238489B2 (en)2018-07-102025-02-25Masimo CorporationPatient monitor alarm speaker analyzer

Families Citing this family (236)

* Cited by examiner, † Cited by third party
Publication numberPriority datePublication dateAssigneeTitle
US6697658B2 (en)2001-07-022004-02-24Masimo CorporationLow power pulse oximeter
US7355512B1 (en)2002-01-242008-04-08Masimo CorporationParallel alarm processor
US6850788B2 (en)2002-03-252005-02-01Masimo CorporationPhysiological measurement communications adapter
US6920345B2 (en)2003-01-242005-07-19Masimo CorporationOptical sensor including disposable and reusable elements
US7500950B2 (en)2003-07-252009-03-10Masimo CorporationMultipurpose sensor port
US7483729B2 (en)2003-11-052009-01-27Masimo CorporationPulse oximeter access apparatus and method
WO2005087097A1 (en)2004-03-082005-09-22Masimo CorporationPhysiological parameter system
US7647083B2 (en)2005-03-012010-01-12Masimo Laboratories, Inc.Multiple wavelength sensor equalization
WO2006110859A2 (en)2005-04-132006-10-19Glucolight CorporationMethod for data reduction and calibration of an oct-based blood glucose monitor
US12014328B2 (en)2005-07-132024-06-18Vccb Holdings, Inc.Medicine bottle cap with electronic embedded curved display
US7962188B2 (en)2005-10-142011-06-14Masimo CorporationRobust alarm system
US8182443B1 (en)2006-01-172012-05-22Masimo CorporationDrug administration controller
US8219172B2 (en)2006-03-172012-07-10Glt Acquisition Corp.System and method for creating a stable optical interface
US10188348B2 (en)2006-06-052019-01-29Masimo CorporationParameter upgrade system
US8457707B2 (en)2006-09-202013-06-04Masimo CorporationCongenital heart disease monitor
US8840549B2 (en)2006-09-222014-09-23Masimo CorporationModular patient monitor
US7880626B2 (en)2006-10-122011-02-01Masimo CorporationSystem and method for monitoring the life of a physiological sensor
US8265723B1 (en)2006-10-122012-09-11Cercacor Laboratories, Inc.Oximeter probe off indicator defining probe off space
EP2073692B1 (en)2006-10-122017-07-26Masimo CorporationPerfusion index smoothing
US8255026B1 (en)2006-10-122012-08-28Masimo Corporation, Inc.Patient monitor capable of monitoring the quality of attached probes and accessories
US9861305B1 (en)2006-10-122018-01-09Masimo CorporationMethod and apparatus for calibration to reduce coupling between signals in a measurement system
JP5441707B2 (en)2006-12-092014-03-12マシモ コーポレイション Plethysmograph variation processor
US8852094B2 (en)2006-12-222014-10-07Masimo CorporationPhysiological parameter system
US8652060B2 (en)2007-01-202014-02-18Masimo CorporationPerfusion trend indicator
US8374665B2 (en)2007-04-212013-02-12Cercacor Laboratories, Inc.Tissue profile wellness monitor
US8571617B2 (en)2008-03-042013-10-29Glt Acquisition Corp.Flowometry in optical coherence tomography for analyte level estimation
US20090275844A1 (en)2008-05-022009-11-05Masimo CorporationMonitor configuration system
JP2011519684A (en)2008-05-052011-07-14マシモ コーポレイション Pulse oximeter system with electrical disconnect circuit
US20100004518A1 (en)2008-07-032010-01-07Masimo Laboratories, Inc.Heat sink for noninvasive medical sensor
US8515509B2 (en)2008-08-042013-08-20Cercacor Laboratories, Inc.Multi-stream emitter for noninvasive measurement of blood constituents
SE532941C2 (en)2008-09-152010-05-18Phasein Ab Gas sampling line for breathing gases
US8771204B2 (en)2008-12-302014-07-08Masimo CorporationAcoustic sensor assembly
US8588880B2 (en)2009-02-162013-11-19Masimo CorporationEar sensor
US9323894B2 (en)2011-08-192016-04-26Masimo CorporationHealth care sanitation monitoring system
US10007758B2 (en)2009-03-042018-06-26Masimo CorporationMedical monitoring system
JP5749658B2 (en)2009-03-042015-07-15マシモ・コーポレイション Medical monitoring system
US10032002B2 (en)2009-03-042018-07-24Masimo CorporationMedical monitoring system
US8388353B2 (en)2009-03-112013-03-05Cercacor Laboratories, Inc.Magnetic connector
WO2010135373A1 (en)2009-05-192010-11-25Masimo CorporationDisposable components for reusable physiological sensor
US8571619B2 (en)2009-05-202013-10-29Masimo CorporationHemoglobin display and patient treatment
US20110208015A1 (en)2009-07-202011-08-25Masimo CorporationWireless patient monitoring system
US8473020B2 (en)2009-07-292013-06-25Cercacor Laboratories, Inc.Non-invasive physiological sensor cover
US9579039B2 (en)2011-01-102017-02-28Masimo CorporationNon-invasive intravascular volume index monitor
US20110137297A1 (en)2009-09-172011-06-09Kiani Massi Joe EPharmacological management system
US20110082711A1 (en)2009-10-062011-04-07Masimo Laboratories, Inc.Personal digital assistant or organizer for monitoring glucose levels
US8430817B1 (en)2009-10-152013-04-30Masimo CorporationSystem for determining confidence in respiratory rate measurements
US8690799B2 (en)2009-10-152014-04-08Masimo CorporationAcoustic respiratory monitoring sensor having multiple sensing elements
US8790268B2 (en)2009-10-152014-07-29Masimo CorporationBidirectional physiological information display
US9848800B1 (en)2009-10-162017-12-26Masimo CorporationRespiratory pause detector
US9839381B1 (en)2009-11-242017-12-12Cercacor Laboratories, Inc.Physiological measurement system with automatic wavelength adjustment
WO2011069122A1 (en)2009-12-042011-06-09Masimo CorporationCalibration for multi-stage physiological monitors
US9153112B1 (en)2009-12-212015-10-06Masimo CorporationModular patient monitor
US11289199B2 (en)2010-01-192022-03-29Masimo CorporationWellness analysis system
WO2011109312A2 (en)2010-03-012011-09-09Masimo CorporationAdaptive alarm system
US8584345B2 (en)2010-03-082013-11-19Masimo CorporationReprocessing of a physiological sensor
US9307928B1 (en)2010-03-302016-04-12Masimo CorporationPlethysmographic respiration processor
US8666468B1 (en)2010-05-062014-03-04Masimo CorporationPatient monitor for determining microcirculation state
EP2621333B1 (en)2010-09-282015-07-29Masimo CorporationDepth of consciousness monitor including oximeter
US12198790B1 (en)2010-10-072025-01-14Masimo CorporationPhysiological monitor sensor systems and methods
US9211095B1 (en)2010-10-132015-12-15Masimo CorporationPhysiological measurement logic engine
US20120226117A1 (en)2010-12-012012-09-06Lamego Marcelo MHandheld processing device including medical applications for minimally and non invasive glucose measurements
US10332630B2 (en)2011-02-132019-06-25Masimo CorporationMedical characterization system
US9066666B2 (en)2011-02-252015-06-30Cercacor Laboratories, Inc.Patient monitor for monitoring microcirculation
US9986919B2 (en)2011-06-212018-06-05Masimo CorporationPatient monitoring system
US9532722B2 (en)2011-06-212017-01-03Masimo CorporationPatient monitoring system
US11439329B2 (en)2011-07-132022-09-13Masimo CorporationMultiple measurement mode in a physiological sensor
US9782077B2 (en)2011-08-172017-10-10Masimo CorporationModulated physiological sensor
WO2013056160A2 (en)2011-10-132013-04-18Masimo CorporationMedical monitoring hub
US9943269B2 (en)2011-10-132018-04-17Masimo CorporationSystem for displaying medical monitoring data
US9808188B1 (en)2011-10-132017-11-07Masimo CorporationRobust fractional saturation determination
US9778079B1 (en)2011-10-272017-10-03Masimo CorporationPhysiological monitor gauge panel
US11172890B2 (en)2012-01-042021-11-16Masimo CorporationAutomated condition screening and detection
US12004881B2 (en)2012-01-042024-06-11Masimo CorporationAutomated condition screening and detection
US9392945B2 (en)2012-01-042016-07-19Masimo CorporationAutomated CCHD screening and detection
US9267572B2 (en)2012-02-082016-02-23Masimo CorporationCable tether system
US10149616B2 (en)2012-02-092018-12-11Masimo CorporationWireless patient monitoring device
US9195385B2 (en)2012-03-252015-11-24Masimo CorporationPhysiological monitor touchscreen interface
JP6490577B2 (en)2012-04-172019-03-27マシモ・コーポレイション How to operate a pulse oximeter device
US10542903B2 (en)2012-06-072020-01-28Masimo CorporationDepth of consciousness monitor
US9697928B2 (en)2012-08-012017-07-04Masimo CorporationAutomated assembly sensor cable
US10827961B1 (en)2012-08-292020-11-10Masimo CorporationPhysiological measurement calibration
US9749232B2 (en)2012-09-202017-08-29Masimo CorporationIntelligent medical network edge router
US9955937B2 (en)2012-09-202018-05-01Masimo CorporationAcoustic patient sensor coupler
US9877650B2 (en)2012-09-202018-01-30Masimo CorporationPhysiological monitor with mobile computing device connectivity
US9560996B2 (en)2012-10-302017-02-07Masimo CorporationUniversal medical system
US9787568B2 (en)2012-11-052017-10-10Cercacor Laboratories, Inc.Physiological test credit method
US9750461B1 (en)2013-01-022017-09-05Masimo CorporationAcoustic respiratory monitoring sensor with probe-off detection
US9724025B1 (en)2013-01-162017-08-08Masimo CorporationActive-pulse blood analysis system
US10441181B1 (en)2013-03-132019-10-15Masimo CorporationAcoustic pulse and respiration monitoring system
US9965946B2 (en)2013-03-132018-05-08Masimo CorporationSystems and methods for monitoring a patient health network
US9936917B2 (en)2013-03-142018-04-10Masimo Laboratories, Inc.Patient monitor placement indicator
US10456038B2 (en)2013-03-152019-10-29Cercacor Laboratories, Inc.Cloud-based physiological monitoring system
US12178572B1 (en)2013-06-112024-12-31Masimo CorporationBlood glucose sensing system
US9891079B2 (en)2013-07-172018-02-13Masimo CorporationPulser with double-bearing position encoder for non-invasive physiological monitoring
US10555678B2 (en)2013-08-052020-02-11Masimo CorporationBlood pressure monitor with valve-chamber assembly
WO2015038683A2 (en)2013-09-122015-03-19Cercacor Laboratories, Inc.Medical device management system
US12367973B2 (en)2013-09-122025-07-22Willow Laboratories, Inc.Medical device calibration
US11147518B1 (en)2013-10-072021-10-19Masimo CorporationRegional oximetry signal processor
WO2015054161A2 (en)2013-10-072015-04-16Masimo CorporationRegional oximetry sensor
US10832818B2 (en)2013-10-112020-11-10Masimo CorporationAlarm notification system
US10828007B1 (en)2013-10-112020-11-10Masimo CorporationAcoustic sensor with attachment portion
US10279247B2 (en)2013-12-132019-05-07Masimo CorporationAvatar-incentive healthcare therapy
US11259745B2 (en)2014-01-282022-03-01Masimo CorporationAutonomous drug delivery system
US10123729B2 (en)2014-06-132018-11-13Nanthealth, Inc.Alarm fatigue management systems and methods
US10231670B2 (en)2014-06-192019-03-19Masimo CorporationProximity sensor in pulse oximeter
US10111591B2 (en)2014-08-262018-10-30Nanthealth, Inc.Real-time monitoring systems and methods in a healthcare environment
US10231657B2 (en)2014-09-042019-03-19Masimo CorporationTotal hemoglobin screening sensor
US10383520B2 (en)2014-09-182019-08-20Masimo Semiconductor, Inc.Enhanced visible near-infrared photodiode and non-invasive physiological sensor
US10154815B2 (en)2014-10-072018-12-18Masimo CorporationModular physiological sensors
CN107405108B (en)2015-01-232020-10-23迈心诺瑞典公司Nasal/oral intubation system and manufacture
BR112017016302B1 (en)2015-02-062022-12-06Masimo Corporation PHYSIOLOGICAL SENSOR MANUFACTURING METHOD WITH EFFICIENT FLEXIBLE CIRCUIT
US10568553B2 (en)2015-02-062020-02-25Masimo CorporationSoft boot pulse oximetry sensor
US10205291B2 (en)2015-02-062019-02-12Masimo CorporationPogo pin connector
US10524738B2 (en)2015-05-042020-01-07Cercacor Laboratories, Inc.Noninvasive sensor system with visual infographic display
WO2016191307A1 (en)2015-05-222016-12-01Cercacor Laboratories, Inc.Non-invasive optical physiological differential pathlength sensor
US10991135B2 (en)2015-08-112021-04-27Masimo CorporationMedical monitoring analysis and replay including indicia responsive to light attenuated by body tissue
KR102612874B1 (en)2015-08-312023-12-12마시모 코오퍼레이션 Wireless patient monitoring systems and methods
US11504066B1 (en)2015-09-042022-11-22Cercacor Laboratories, Inc.Low-noise sensor system
US11679579B2 (en)2015-12-172023-06-20Masimo CorporationVarnish-coated release liner
US10471159B1 (en)2016-02-122019-11-12Masimo CorporationDiagnosis, removal, or mechanical damaging of tumor using plasmonic nanobubbles
US10537285B2 (en)2016-03-042020-01-21Masimo CorporationNose sensor
US10993662B2 (en)2016-03-042021-05-04Masimo CorporationNose sensor
US11191484B2 (en)2016-04-292021-12-07Masimo CorporationOptical sensor tape
WO2018009612A1 (en)2016-07-062018-01-11Patient Doctor Technologies, Inc.Secure and zero knowledge data sharing for cloud applications
US10617302B2 (en)2016-07-072020-04-14Masimo CorporationWearable pulse oximeter and respiration monitor
JP7197473B2 (en)2016-10-132022-12-27マシモ・コーポレイション System and method for patient fall detection
GB2557199B (en)2016-11-302020-11-04Lidco Group PlcHaemodynamic monitor with improved filtering
US11504058B1 (en)2016-12-022022-11-22Masimo CorporationMulti-site noninvasive measurement of a physiological parameter
WO2018119239A1 (en)2016-12-222018-06-28Cercacor Laboratories, IncMethods and devices for detecting intensity of light with translucent detector
US10721785B2 (en)2017-01-182020-07-21Masimo CorporationPatient-worn wireless physiological sensor with pairing functionality
US10388120B2 (en)2017-02-242019-08-20Masimo CorporationLocalized projection of audible noises in medical settings
EP3585254B1 (en)2017-02-242024-03-20Masimo CorporationMedical device cable and method of sharing data between connected medical devices
WO2018156648A1 (en)2017-02-242018-08-30Masimo CorporationManaging dynamic licenses for physiological parameters in a patient monitoring environment
US10327713B2 (en)2017-02-242019-06-25Masimo CorporationModular multi-parameter patient monitoring device
US11024064B2 (en)2017-02-242021-06-01Masimo CorporationAugmented reality system for displaying patient data
US11086609B2 (en)2017-02-242021-08-10Masimo CorporationMedical monitoring hub
EP3592231A1 (en)2017-03-102020-01-15Masimo CorporationPneumonia screener
WO2018194992A1 (en)2017-04-182018-10-25Masimo CorporationNose sensor
US10918281B2 (en)2017-04-262021-02-16Masimo CorporationMedical monitoring device having multiple configurations
WO2018201078A1 (en)2017-04-282018-11-01Masimo CorporationSpot check measurement system
CN117373636A (en)2017-05-082024-01-09梅西莫股份有限公司System for pairing a medical system with a network controller using an adapter
WO2019014629A1 (en)2017-07-132019-01-17Cercacor Laboratories, Inc.Medical monitoring device for harmonizing physiological measurements
USD880477S1 (en)2017-08-152020-04-07Masimo CorporationConnector
CN116805771A (en)2017-08-152023-09-26梅西莫股份有限公司Waterproof connector for noninvasive patient monitor
EP4039177B1 (en)2017-10-192025-02-26Masimo CorporationDisplay arrangement for medical monitoring system
CN111372517B (en)2017-10-312023-02-17梅西莫股份有限公司System for displaying oxygen status indication
USD925597S1 (en)2017-10-312021-07-20Masimo CorporationDisplay screen or portion thereof with graphical user interface
US11766198B2 (en)2018-02-022023-09-26Cercacor Laboratories, Inc.Limb-worn patient monitoring device
WO2019204368A1 (en)2018-04-192019-10-24Masimo CorporationMobile patient alarm display
WO2019209915A1 (en)2018-04-242019-10-31Cercacor Laboratories, Inc.Easy insert finger sensor for transmission based spectroscopy sensor
US12097043B2 (en)2018-06-062024-09-24Masimo CorporationLocating a locally stored medication
US10932729B2 (en)2018-06-062021-03-02Masimo CorporationOpioid overdose monitoring
US11872156B2 (en)2018-08-222024-01-16Masimo CorporationCore body temperature measurement
USD998631S1 (en)2018-10-112023-09-12Masimo CorporationDisplay screen or portion thereof with a graphical user interface
USD917564S1 (en)2018-10-112021-04-27Masimo CorporationDisplay screen or portion thereof with graphical user interface
US11389093B2 (en)2018-10-112022-07-19Masimo CorporationLow noise oximetry cable
US11406286B2 (en)2018-10-112022-08-09Masimo CorporationPatient monitoring device with improved user interface
KR102555104B1 (en)2018-10-112023-07-14마시모 코오퍼레이션 Patient Connector Assembly with Vertical Detents
USD1041511S1 (en)2018-10-112024-09-10Masimo CorporationDisplay screen or portion thereof with a graphical user interface
USD916135S1 (en)2018-10-112021-04-13Masimo CorporationDisplay screen or portion thereof with a graphical user interface
USD998630S1 (en)2018-10-112023-09-12Masimo CorporationDisplay screen or portion thereof with a graphical user interface
USD999246S1 (en)2018-10-112023-09-19Masimo CorporationDisplay screen or portion thereof with a graphical user interface
USD917550S1 (en)2018-10-112021-04-27Masimo CorporationDisplay screen or portion thereof with a graphical user interface
USD897098S1 (en)2018-10-122020-09-29Masimo CorporationCard holder set
USD957648S1 (en)2018-10-122022-07-12Masimo CorporationDongle
US11464410B2 (en)2018-10-122022-10-11Masimo CorporationMedical systems and methods
USD1013179S1 (en)2018-10-122024-01-30Masimo CorporationSensor device
US11272839B2 (en)2018-10-122022-03-15Ma Simo CorporationSystem for transmission of sensor data using dual communication protocol
US12004869B2 (en)2018-11-052024-06-11Masimo CorporationSystem to monitor and manage patient hydration via plethysmograph variablity index in response to the passive leg raising
US11986289B2 (en)2018-11-272024-05-21Willow Laboratories, Inc.Assembly for medical monitoring device with multiple physiological sensors
US11684296B2 (en)2018-12-212023-06-27Cercacor Laboratories, Inc.Noninvasive physiological sensor
US12066426B1 (en)2019-01-162024-08-20Masimo CorporationPulsed micro-chip laser for malaria detection
WO2020163640A1 (en)2019-02-072020-08-13Masimo CorporationCombining multiple qeeg features to estimate drug-independent sedation level using machine learning
US12220207B2 (en)2019-02-262025-02-11Masimo CorporationNon-contact core body temperature measurement systems and methods
CA3134842A1 (en)2019-04-172020-10-22Masimo CorporationPatient monitoring systems, devices, and methods
USD985498S1 (en)2019-08-162023-05-09Masimo CorporationConnector
US12207901B1 (en)2019-08-162025-01-28Masimo CorporationOptical detection of transient vapor nanobubbles in a microfluidic device
USD919094S1 (en)2019-08-162021-05-11Masimo CorporationBlood pressure device
USD917704S1 (en)2019-08-162021-04-27Masimo CorporationPatient monitor
USD919100S1 (en)2019-08-162021-05-11Masimo CorporationHolder for a patient monitor
USD921202S1 (en)2019-08-162021-06-01Masimo CorporationHolder for a blood pressure device
US11832940B2 (en)2019-08-272023-12-05Cercacor Laboratories, Inc.Non-invasive medical monitoring device for blood analyte measurements
US12131661B2 (en)2019-10-032024-10-29Willow Laboratories, Inc.Personalized health coaching system
JP2022552007A (en)2019-10-182022-12-14マシモ・コーポレイション Display layouts and interactive objects for patient monitoring
USD927699S1 (en)2019-10-182021-08-10Masimo CorporationElectrode pad
CN115176155A (en)2019-10-252022-10-11塞卡科实验室有限公司Indicator compounds, devices including indicator compounds, and methods of making and using the same
US12272445B1 (en)2019-12-052025-04-08Masimo CorporationAutomated medical coding
WO2021146333A1 (en)2020-01-132021-07-22Masimo CorporationWearable device with physiological parameters monitoring
EP4096752A4 (en)2020-01-302024-06-12Willow Laboratories, Inc.Redundant staggered glucose sensor disease management system
EP4104037A1 (en)2020-02-132022-12-21Masimo CorporationSystem and method for monitoring clinical activities
US11879960B2 (en)2020-02-132024-01-23Masimo CorporationSystem and method for monitoring clinical activities
US12048534B2 (en)2020-03-042024-07-30Willow Laboratories, Inc.Systems and methods for securing a tissue site to a sensor
US12390114B2 (en)2020-03-202025-08-19Masimo CorporationWearable device for monitoring health status
USD933232S1 (en)2020-05-112021-10-12Masimo CorporationBlood pressure monitor
US12127838B2 (en)2020-04-222024-10-29Willow Laboratories, Inc.Self-contained minimal action invasive blood constituent system
USD979516S1 (en)2020-05-112023-02-28Masimo CorporationConnector
US12029844B2 (en)2020-06-252024-07-09Willow Laboratories, Inc.Combination spirometer-inhaler
US11925433B2 (en)*2020-07-172024-03-12Daniel Hertz S.A.System and method for improving and adjusting PMC digital signals to provide health benefits to listeners
USD980091S1 (en)2020-07-272023-03-07Masimo CorporationWearable temperature measurement device
USD974193S1 (en)2020-07-272023-01-03Masimo CorporationWearable temperature measurement device
US12082926B2 (en)2020-08-042024-09-10Masimo CorporationOptical sensor with multiple detectors or multiple emitters
JP2023538378A (en)2020-08-192023-09-07マシモ・コーポレイション Straps for wearable devices
US11363238B1 (en)*2020-09-282022-06-14Healthcare Information, LlcSystems and methods for healthcare facility contactless communication
WO2022072383A1 (en)2020-09-302022-04-07Cercacor Laboratories, Inc.Insulin formulations and uses in infusion devices
USD946597S1 (en)2020-09-302022-03-22Masimo CorporationDisplay screen or portion thereof with graphical user interface
USD946596S1 (en)2020-09-302022-03-22Masimo CorporationDisplay screen or portion thereof with graphical user interface
USD946598S1 (en)2020-09-302022-03-22Masimo CorporationDisplay screen or portion thereof with graphical user interface
USD1061585S1 (en)2020-10-162025-02-11Masimo CorporationDisplay screen or portion thereof with graphical user interface
USD1072836S1 (en)2020-10-162025-04-29Masimo CorporationDisplay screen or portion thereof with graphical user interface
USD1072837S1 (en)2020-10-272025-04-29Masimo CorporationDisplay screen or portion thereof with graphical user interface
USD1085102S1 (en)2021-03-192025-07-22Masimo CorporationDisplay screen or portion thereof with graphical user interface
USD997365S1 (en)2021-06-242023-08-29Masimo CorporationPhysiological nose sensor
EP4370022A1 (en)2021-07-132024-05-22Masimo CorporationWearable device with physiological parameters monitoring
USD1036293S1 (en)2021-08-172024-07-23Masimo CorporationStraps for a wearable device
US12362596B2 (en)2021-08-192025-07-15Masimo CorporationWearable physiological monitoring devices
WO2023034879A1 (en)2021-08-312023-03-09Masimo CorporationPrivacy switch for mobile communications device
USD1000975S1 (en)2021-09-222023-10-10Masimo CorporationWearable temperature measurement device
USD1048571S1 (en)2021-10-072024-10-22Masimo CorporationBite block
US20230222805A1 (en)2022-01-112023-07-13Masimo CorporationMachine learning based monitoring system
DE102022104256A1 (en)*2022-02-232023-08-24Drägerwerk AG & Co. KGaA Process and control unit for coordinating the acoustic signals emitted by different medical devices
USD1063893S1 (en)2022-03-112025-02-25Masimo CorporationElectronic device
USD1057159S1 (en)2022-03-292025-01-07Masimo CorporationElectronic measurement device
USD1057160S1 (en)2022-03-292025-01-07Masimo CorporationElectronic measurement device
KR20240141262A (en)*2022-04-132024-09-26엘지전자 주식회사 Display device
CN115052240A (en)*2022-06-142022-09-13彩音(深圳)数码科技有限公司Method and device for automatically detecting active sound box fault, computer equipment and storage medium
USD1095288S1 (en)2022-07-202025-09-30Masimo CorporationSet of straps for a wearable device
USD1083653S1 (en)2022-09-092025-07-15Masimo CorporationBand
USD1092244S1 (en)2023-07-032025-09-09Masimo CorporationBand for an electronic device
USD1095483S1 (en)2022-09-232025-09-30Masimo CorporationCaregiver notification device
USD1048908S1 (en)2022-10-042024-10-29Masimo CorporationWearable sensor
USD1071195S1 (en)2022-10-062025-04-15Masimo CorporationMounting device for a medical transducer
USD1042596S1 (en)2022-12-122024-09-17Masimo CorporationMonitoring camera
USD1078689S1 (en)2022-12-122025-06-10Masimo CorporationElectronic device
USD1066244S1 (en)2023-05-112025-03-11Masimo CorporationCharger
USD1068656S1 (en)2023-05-112025-04-01Masimo CorporationCharger
USD1093406S1 (en)2023-08-072025-09-16Masimo CorporationDisplay screen or portion thereof with graphical user interface

Citations (504)

* Cited by examiner, † Cited by third party
Publication numberPriority datePublication dateAssigneeTitle
US4745398A (en)1987-02-091988-05-17Sentrol, Inc.Self-powered sensor for use in closed-loop security system
US4960128A (en)1988-11-141990-10-02Paramed Technology IncorporatedMethod and apparatus for continuously and non-invasively measuring the blood pressure of a patient
US4964408A (en)1988-04-291990-10-23Thor Technology CorporationOximeter sensor assembly with integral cable
US5041187A (en)1988-04-291991-08-20Thor Technology CorporationOximeter sensor assembly with integral cable and method of forming the same
US5069213A (en)1988-04-291991-12-03Thor Technology CorporationOximeter sensor assembly with integral cable and encoder
US5163438A (en)1988-11-141992-11-17Paramed Technology IncorporatedMethod and apparatus for continuously and noninvasively measuring the blood pressure of a patient
US5319355A (en)1991-03-061994-06-07Russek Linda GAlarm for patient monitor and life support equipment system
US5337744A (en)1993-07-141994-08-16Masimo CorporationLow noise finger cot probe
US5341805A (en)1993-04-061994-08-30Cedars-Sinai Medical CenterGlucose fluorescence monitor and method
US5345510A (en)1992-07-131994-09-06Rauland-Borg CorporationIntegrated speaker supervision and alarm system
USD353195S (en)1993-05-281994-12-06Gary SavageElectronic stethoscope housing
USD353196S (en)1993-05-281994-12-06Gary SavageStethoscope head
US5377676A (en)1991-04-031995-01-03Cedars-Sinai Medical CenterMethod for determining the biodistribution of substances using fluorescence spectroscopy
USD359546S (en)1994-01-271995-06-20The Ratechnologies Inc.Housing for a dental unit disinfecting device
US5431170A (en)1990-05-261995-07-11Mathews; Geoffrey R.Pulse responsive device
US5436499A (en)1994-03-111995-07-25Spire CorporationHigh performance GaAs devices and method
USD361840S (en)1994-04-211995-08-29Gary SavageStethoscope head
USD362063S (en)1994-04-211995-09-05Gary SavageStethoscope headset
US5452717A (en)1993-07-141995-09-26Masimo CorporationFinger-cot probe
US5456252A (en)1993-09-301995-10-10Cedars-Sinai Medical CenterInduced fluorescence spectroscopy blood perfusion and pH monitor and method
USD363120S (en)1994-04-211995-10-10Gary SavageStethoscope ear tip
US5479934A (en)1991-11-081996-01-02Physiometrix, Inc.EEG headpiece with disposable electrodes and apparatus and system and method for use therewith
US5482036A (en)1991-03-071996-01-09Masimo CorporationSignal processing apparatus and method
US5490505A (en)1991-03-071996-02-13Masimo CorporationSignal processing apparatus
US5494043A (en)1993-05-041996-02-27Vital Insite, Inc.Arterial sensor
US5533511A (en)1994-01-051996-07-09Vital Insite, IncorporatedApparatus and method for noninvasive blood pressure measurement
US5558065A (en)1995-09-051996-09-24Kokusan Denki Co., Ltd.Method for driving injector for internal combustion engine
US5561275A (en)1994-04-281996-10-01Delstar Services Informatiques (1993) Inc.Headset for electronic stethoscope
US5562002A (en)1995-02-031996-10-08Sensidyne Inc.Positive displacement piston flow meter with damping assembly
US5590649A (en)1994-04-151997-01-07Vital Insite, Inc.Apparatus and method for measuring an induced perturbation to determine blood pressure
US5602924A (en)1992-12-071997-02-11Theratechnologies Inc.Electronic stethescope
US5632272A (en)1991-03-071997-05-27Masimo CorporationSignal processing apparatus
US5638816A (en)1995-06-071997-06-17Masimo CorporationActive pulse blood constituent monitoring
US5638818A (en)1991-03-211997-06-17Masimo CorporationLow noise optical probe
US5645440A (en)1995-10-161997-07-08Masimo CorporationPatient cable connector
US5652566A (en)1995-12-151997-07-29Aequitron Medical, Inc.Alarm system
US5671914A (en)1995-11-061997-09-30Spire CorporationMulti-band spectroscopic photodetector array
US5726440A (en)1995-11-061998-03-10Spire CorporationWavelength selective photodetector
USD393830S (en)1995-10-161998-04-28Masimo CorporationPatient cable connector
US5743262A (en)1995-06-071998-04-28Masimo CorporationBlood glucose monitoring system
US5747806A (en)1996-02-021998-05-05Instrumentation Metrics, IncMethod and apparatus for multi-spectral analysis in noninvasive nir spectroscopy
US5750994A (en)1995-07-311998-05-12Instrumentation Metrics, Inc.Positive correlation filter systems and methods of use thereof
US5760910A (en)1995-06-071998-06-02Masimo CorporationOptical filter for spectroscopic measurement and method of producing the optical filter
US5758644A (en)1995-06-071998-06-02Masimo CorporationManual and automatic probe calibration
US5785659A (en)1994-04-151998-07-28Vital Insite, Inc.Automatically activated blood pressure measurement device
US5791347A (en)1994-04-151998-08-11Vital Insite, Inc.Motion insensitive pulse detector
US5810734A (en)1994-04-151998-09-22Vital Insite, Inc.Apparatus and method for measuring an induced perturbation to determine a physiological parameter
US5890929A (en)1996-06-191999-04-06Masimo CorporationShielded medical connector
US5904654A (en)1995-10-201999-05-18Vital Insite, Inc.Exciter-detector unit for measuring physiological parameters
US5919134A (en)1997-04-141999-07-06Masimo Corp.Method and apparatus for demodulating signals in a pulse oximetry system
US5987343A (en)1997-11-071999-11-16Datascope Investment Corp.Method for storing pulse oximetry sensor characteristics
US5995855A (en)1998-02-111999-11-30Masimo CorporationPulse oximetry sensor adapter
US5997343A (en)1998-03-191999-12-07Masimo CorporationPatient cable sensor switch
US6002952A (en)1997-04-141999-12-14Masimo CorporationSignal processing apparatus and method
US6010937A (en)1995-09-052000-01-04Spire CorporationReduction of dislocations in a heteroepitaxial semiconductor structure
US6027452A (en)1996-06-262000-02-22Vital Insite, Inc.Rapid non-invasive blood pressure measuring device
US6040578A (en)1996-02-022000-03-21Instrumentation Metrics, Inc.Method and apparatus for multi-spectral analysis of organic blood analytes in noninvasive infrared spectroscopy
US6066204A (en)1997-01-082000-05-23Bandwidth Semiconductor, LlcHigh pressure MOCVD reactor system
US6115673A (en)1997-08-142000-09-05Instrumentation Metrics, Inc.Method and apparatus for generating basis sets for use in spectroscopic analysis
US6124597A (en)1997-07-072000-09-26Cedars-Sinai Medical CenterMethod and devices for laser induced fluorescence attenuation spectroscopy
US6128521A (en)1998-07-102000-10-03Physiometrix, Inc.Self adjusting headgear appliance using reservoir electrodes
US6129675A (en)1998-09-112000-10-10Jay; Gregory D.Device and method for measuring pulsus paradoxus
US6144868A (en)1998-10-152000-11-07Sensidyne, Inc.Reusable pulse oximeter probe and disposable bandage apparatus
US6152754A (en)1999-12-212000-11-28Masimo CorporationCircuit board based cable connector
US6165005A (en)1998-03-192000-12-26Masimo CorporationPatient cable sensor switch
US6184521B1 (en)1998-01-062001-02-06Masimo CorporationPhotodiode detector with integrated noise shielding
US6229856B1 (en)1997-04-142001-05-08Masimo CorporationMethod and apparatus for demodulating signals in a pulse oximetry system
US6232609B1 (en)1995-12-012001-05-15Cedars-Sinai Medical CenterGlucose monitoring apparatus and method using laser-induced emission spectroscopy
US6241683B1 (en)1998-02-202001-06-05INSTITUT DE RECHERCHES CLINIQUES DE MONTRéAL (IRCM)Phonospirometry for non-invasive monitoring of respiration
US6253097B1 (en)1996-03-062001-06-26Datex-Ohmeda, Inc.Noninvasive medical monitoring instrument using surface emitting laser devices
US6255708B1 (en)1997-10-102001-07-03Rengarajan SudharsananSemiconductor P-I-N detector
US6280381B1 (en)1999-07-222001-08-28Instrumentation Metrics, Inc.Intelligent system for noninvasive blood analyte prediction
US6285896B1 (en)1998-07-132001-09-04Masimo CorporationFetal pulse oximetry sensor
US6301493B1 (en)1999-07-102001-10-09Physiometrix, Inc.Reservoir electrodes for electroencephalograph headgear appliance
US6308089B1 (en)1999-04-142001-10-23O.B. Scientific, Inc.Limited use medical probe
US20010034477A1 (en)2000-02-182001-10-25James MansfieldMultivariate analysis of green to ultraviolet spectra of cell and tissue samples
US20010039483A1 (en)2000-02-182001-11-08Derek BrandReduction of inter-subject variation via transfer standardization
US6317627B1 (en)1999-11-022001-11-13Physiometrix, Inc.Anesthesia monitoring system based on electroencephalographic signals
US6321100B1 (en)1999-07-132001-11-20Sensidyne, Inc.Reusable pulse oximeter probe with disposable liner
US6334065B1 (en)1998-06-032001-12-25Masimo CorporationStereo pulse oximeter
US20020010401A1 (en)2000-05-182002-01-24Andrew BushmakinPre- and post-processing of spectral data for calibration using mutivariate analysis techniques
US6343224B1 (en)1998-10-152002-01-29Sensidyne, Inc.Reusable pulse oximeter probe and disposable bandage apparatus
US6360114B1 (en)1999-03-252002-03-19Masimo CorporationPulse oximeter probe-off detector
US6368283B1 (en)2000-09-082002-04-09Institut De Recherches Cliniques De MontrealMethod and apparatus for estimating systolic and mean pulmonary artery pressures of a patient
US6371921B1 (en)1994-04-152002-04-16Masimo CorporationSystem and method of determining whether to recalibrate a blood pressure monitor
US6377829B1 (en)1999-12-092002-04-23Masimo CorporationResposable pulse oximetry sensor
US6388240B2 (en)1999-08-262002-05-14Masimo CorporationShielded optical probe and method having a longevity indication
US20020058864A1 (en)2000-11-132002-05-16Mansfield James R.Reduction of spectral site to site variation
US6411373B1 (en)1999-10-082002-06-25Instrumentation Metrics, Inc.Fiber optic illumination and detection patterns, shapes, and locations for use in spectroscopic analysis
US6415167B1 (en)2000-05-022002-07-02Instrumentation Metrics, Inc.Fiber optic probe placement guide
US6430525B1 (en)2000-06-052002-08-06Masimo CorporationVariable mode averager
US6430437B1 (en)1999-10-272002-08-06Physiometrix, Inc.Module for acquiring electroencephalograph signals from a patient
US20020133080A1 (en)2001-02-062002-09-19William ApruzzeseLayered calibration standard for tissue sampling
US6463311B1 (en)1998-12-302002-10-08Masimo CorporationPlethysmograph pulse recognition processor
US6470199B1 (en)2000-06-212002-10-22Masimo CorporationElastic sock for positioning an optical probe
US6487429B2 (en)2000-05-302002-11-26Sensys Medical, Inc.Use of targeted glycemic profiles in the calibration of a noninvasive blood glucose monitor
US6505059B1 (en)1998-04-062003-01-07The General Hospital CorporationNon-invasive tissue glucose level monitoring
US20030013975A1 (en)2001-07-122003-01-16Kiani Massi E.Method of selling a continuous mode blood pressure monitor
US20030018243A1 (en)1999-07-072003-01-23Gerhardt Thomas J.Selectively plated sensor
US6515273B2 (en)1999-08-262003-02-04Masimo CorporationSystem for indicating the expiration of the useful operating life of a pulse oximetry sensor
US6519487B1 (en)1998-10-152003-02-11Sensidyne, Inc.Reusable pulse oximeter probe and disposable bandage apparatus
US6525386B1 (en)1998-03-102003-02-25Masimo CorporationNon-protruding optoelectronic lens
US6526300B1 (en)1999-06-182003-02-25Masimo CorporationPulse oximeter probe-off detection system
US6534012B1 (en)2000-08-022003-03-18Sensys Medical, Inc.Apparatus and method for reproducibly modifying localized absorption and scattering coefficients at a tissue measurement site during optical sampling
US6541756B2 (en)1991-03-212003-04-01Masimo CorporationShielded optical probe having an electrical connector
US6542764B1 (en)1999-12-012003-04-01Masimo CorporationPulse oximeter monitor for expressing the urgency of the patient's condition
US6584336B1 (en)1999-01-252003-06-24Masimo CorporationUniversal/upgrading pulse oximeter
US6587196B1 (en)2000-01-262003-07-01Sensys Medical, Inc.Oscillating mechanism driven monochromator
US6587199B1 (en)2000-02-252003-07-01Sensys Medical, Inc.Embedded data acquisition and control system for non-invasive glucose prediction instrument
US6595316B2 (en)2001-07-182003-07-22Andromed, Inc.Tension-adjustable mechanism for stethoscope earpieces
US6597932B2 (en)2000-02-182003-07-22Argose, Inc.Generation of spatially-averaged excitation-emission map in heterogeneous tissue
US20030144582A1 (en)2001-09-072003-07-31Carl CohenPortable non-invasive glucose monitor
US6606511B1 (en)1999-01-072003-08-12Masimo CorporationPulse oximetry pulse indicator
US20030156288A1 (en)2002-02-202003-08-21Barnum P. T.Sensor band for aligning an emitter and a detector
US6635559B2 (en)2001-09-062003-10-21Spire CorporationFormation of insulating aluminum oxide in semiconductor substrates
US6640116B2 (en)2000-08-182003-10-28Masimo CorporationOptical spectroscopy pathlength measurement system
US6639668B1 (en)1999-11-032003-10-28Argose, Inc.Asynchronous fluorescence scan
US6640117B2 (en)2000-09-262003-10-28Sensys Medical, Inc.Method and apparatus for minimizing spectral effects attributable to tissue state variations during NIR-based non-invasive blood analyte determination
US20030212312A1 (en)2002-01-072003-11-13Coffin James P.Low noise patient cable
US6650917B2 (en)1991-03-072003-11-18Masimo CorporationSignal processing apparatus
US6658276B2 (en)1999-01-252003-12-02Masimo CorporationPulse oximeter user interface
US6661161B1 (en)2002-06-272003-12-09Andromed Inc.Piezoelectric biological sound monitor with printed circuit board
US6671531B2 (en)1999-12-092003-12-30Masimo CorporationSensor wrap including foldable applicator
US6684091B2 (en)1998-10-152004-01-27Sensidyne, Inc.Reusable pulse oximeter probe and disposable bandage method
US6684090B2 (en)1999-01-072004-01-27Masimo CorporationPulse oximetry data confidence indicator
US6697656B1 (en)2000-06-272004-02-24Masimo CorporationPulse oximetry sensor compatible with multiple pulse oximetry systems
US6697658B2 (en)2001-07-022004-02-24Masimo CorporationLow power pulse oximeter
US6721585B1 (en)1998-10-152004-04-13Sensidyne, Inc.Universal modular pulse oximeter probe for use with reusable and disposable patient attachment devices
US6721582B2 (en)1999-04-062004-04-13Argose, Inc.Non-invasive tissue glucose level monitoring
US6728560B2 (en)1998-04-062004-04-27The General Hospital CorporationNon-invasive tissue glucose level monitoring
US6738652B2 (en)2000-06-152004-05-18Sensys Medical, Inc.Classification and screening of test subjects according to optical thickness of skin
US20040106163A1 (en)2002-11-122004-06-03Workman Jerome JamesNon-invasive measurement of analytes
US6760607B2 (en)2000-12-292004-07-06Masimo CorporationRibbon cable substrate pulse oximetry sensor
US6770028B1 (en)1999-01-252004-08-03Masimo CorporationDual-mode pulse oximeter
US6788965B2 (en)2001-08-032004-09-07Sensys Medical, Inc.Intelligent system for detecting errors and determining failure modes in noninvasive measurement of blood and tissue analytes
US6816241B2 (en)2000-09-262004-11-09Sensys Medical, Inc.LED light source-based instrument for non-invasive blood analyte determination
US6822564B2 (en)2002-01-242004-11-23Masimo CorporationParallel measurement alarm processor
US6850787B2 (en)2001-06-292005-02-01Masimo Laboratories, Inc.Signal component processor
US6850788B2 (en)2002-03-252005-02-01Masimo CorporationPhysiological measurement communications adapter
US20050055276A1 (en)2003-06-262005-03-10Kiani Massi E.Sensor incentive method
US6876931B2 (en)2001-08-032005-04-05Sensys Medical Inc.Automatic process for sample selection during multivariate calibration
US6920345B2 (en)2003-01-242005-07-19Masimo CorporationOptical sensor including disposable and reusable elements
US6931268B1 (en)1995-06-072005-08-16Masimo Laboratories, Inc.Active pulse blood constituent monitoring
US6934570B2 (en)2002-01-082005-08-23Masimo CorporationPhysiological sensor combination
US6943348B1 (en)1999-10-192005-09-13Masimo CorporationSystem for detecting injection holding material
US6950687B2 (en)1999-12-092005-09-27Masimo CorporationIsolation and communication element for a resposable pulse oximetry sensor
US6956649B2 (en)2002-11-262005-10-18Sensys Medical, Inc.Spectroscopic system and method using a ceramic optical reference
US20050234317A1 (en)2004-03-192005-10-20Kiani Massi ELow power and personal pulse oximetry systems
US6961598B2 (en)2002-02-222005-11-01Masimo CorporationPulse and active pulse spectraphotometry
US6970792B1 (en)2002-12-042005-11-29Masimo Laboratories, Inc.Systems and methods for determining blood oxygen saturation values using complex number encoding
US6985764B2 (en)2001-05-032006-01-10Masimo CorporationFlex circuit shielded optical sensor
US6990364B2 (en)2001-01-262006-01-24Sensys Medical, Inc.Noninvasive measurement of glucose through the optical properties of tissue
US6998247B2 (en)2002-03-082006-02-14Sensys Medical, Inc.Method and apparatus using alternative site glucose determinations to calibrate and maintain noninvasive and implantable analyzers
US7003338B2 (en)2003-07-082006-02-21Masimo CorporationMethod and apparatus for reducing coupling between signals
US7015451B2 (en)2002-01-252006-03-21Masimo CorporationPower supply rail controller
US20060073719A1 (en)2004-09-292006-04-06Kiani Massi EMultiple key position plug
US7027849B2 (en)2002-11-222006-04-11Masimo Laboratories, Inc.Blood parameter measurement system
USD526719S1 (en)2004-11-192006-08-15Sensys Medical, Inc.Noninvasive glucose analyzer
US7096052B2 (en)2002-10-042006-08-22Masimo CorporationOptical probe including predetermined emission wavelength based on patient type
US7096054B2 (en)2002-08-012006-08-22Masimo CorporationLow noise optical housing
US20060189871A1 (en)2005-02-182006-08-24Ammar Al-AliPortable patient monitor
USD529616S1 (en)2004-11-192006-10-03Sensys Medical, Inc.Noninvasive glucose analyzer
US7133710B2 (en)2002-03-082006-11-07Sensys Medical, Inc.Compact apparatus for noninvasive measurement of glucose through near-infrared spectroscopy
US7142901B2 (en)2002-09-252006-11-28Masimo CorporationParameter compensated physiological monitor
US20070073116A1 (en)2005-08-172007-03-29Kiani Massi EPatient identification using physiological sensor
US20070106126A1 (en)2005-09-302007-05-10Mannheimer Paul DPatient monitoring alarm escalation system and method
US20070109115A1 (en)2005-10-142007-05-17Kiani Massi Joseph ERobust alarm system
US7225006B2 (en)2003-01-232007-05-29Masimo CorporationAttachment and optical probe
US7239905B2 (en)1995-06-072007-07-03Masimo Laboratories, Inc.Active pulse blood constituent monitoring
US7245953B1 (en)1999-04-122007-07-17Masimo CorporationReusable pulse oximeter probe and disposable bandage apparatii
US20070180140A1 (en)2005-12-032007-08-02Welch James PPhysiological alarm notification system
US7254429B2 (en)2004-08-112007-08-07Glucolight CorporationMethod and apparatus for monitoring glucose levels in a biological tissue
US7254434B2 (en)2003-10-142007-08-07Masimo CorporationVariable pressure reusable sensor
US7254431B2 (en)2003-08-282007-08-07Masimo CorporationPhysiological parameter tracking system
US7274955B2 (en)2002-09-252007-09-25Masimo CorporationParameter compensated pulse oximeter
US7280858B2 (en)2004-01-052007-10-09Masimo CorporationPulse oximetry sensor
US20070244377A1 (en)2006-03-142007-10-18Cozad Jenny LPulse oximeter sleeve
USD554263S1 (en)2005-02-182007-10-30Masimo CorporationPortable patient monitor
US7292883B2 (en)2004-03-312007-11-06Masimo CorporationPhysiological assessment system
US7341559B2 (en)2002-09-142008-03-11Masimo CorporationPulse oximetry ear sensor
US7343186B2 (en)2004-07-072008-03-11Masimo Laboratories, Inc.Multi-wavelength physiological monitor
US20080064965A1 (en)2006-09-082008-03-13Jay Gregory DDevices and methods for measuring pulsus paradoxus
US7356365B2 (en)2003-07-092008-04-08Glucolight CorporationMethod and apparatus for tissue oximetry
US7355512B1 (en)2002-01-242008-04-08Masimo CorporationParallel alarm processor
USD566282S1 (en)2005-02-182008-04-08Masimo CorporationStand for a portable patient monitor
US20080094228A1 (en)2006-10-122008-04-24Welch James PPatient monitor using radio frequency identification tags
US7371981B2 (en)2004-02-202008-05-13Masimo CorporationConnector switch
US7373193B2 (en)2003-11-072008-05-13Masimo CorporationPulse oximetry data capture system
US7376453B1 (en)1993-10-062008-05-20Masimo CorporationSignal processing apparatus
US7377794B2 (en)2005-03-012008-05-27Masimo CorporationMultiple wavelength sensor interconnect
US7395158B2 (en)2000-05-302008-07-01Sensys Medical, Inc.Method of screening for disorders of glucose metabolism
US7415297B2 (en)2004-03-082008-08-19Masimo CorporationPhysiological parameter system
US20080221418A1 (en)2007-03-092008-09-11Masimo CorporationNoninvasive multi-parameter patient monitor
US7428432B2 (en)1999-01-252008-09-23Masimo CorporationSystems and methods for acquiring calibration data usable in a pulse oximeter
US7438683B2 (en)2004-03-042008-10-21Masimo CorporationApplication identification sensor
US7483729B2 (en)2003-11-052009-01-27Masimo CorporationPulse oximeter access apparatus and method
US20090036759A1 (en)2007-08-012009-02-05Ault Timothy ECollapsible noninvasive analyzer method and apparatus
USD587657S1 (en)2007-10-122009-03-03Masimo CorporationConnector assembly
US7500950B2 (en)2003-07-252009-03-10Masimo CorporationMultipurpose sensor port
US7509494B2 (en)2002-03-012009-03-24Masimo CorporationInterface cable
US7510849B2 (en)2004-01-292009-03-31Glucolight CorporationOCT based method for diagnosis and therapy
US7514725B2 (en)2004-11-302009-04-07Spire CorporationNanophotovoltaic devices
US20090093687A1 (en)2007-03-082009-04-09Telfort Valery GSystems and methods for determining a physiological condition using an acoustic monitor
US7519406B2 (en)2004-04-282009-04-14Sensys Medical, Inc.Noninvasive analyzer sample probe interface method and apparatus
US20090095926A1 (en)2007-10-122009-04-16Macneish Iii William JackPhysiological parameter detector
US7530942B1 (en)2005-10-182009-05-12Masimo CorporationRemote sensing infant warmer
USD592507S1 (en)2006-07-062009-05-19Vitality, Inc.Top for medicine container
US7593230B2 (en)2005-05-052009-09-22Sensys Medical, Inc.Apparatus for absorbing and dissipating excess heat generated by a system
US20090247984A1 (en)2007-10-242009-10-01Masimo Laboratories, Inc.Use of microneedles for small molecule metabolite reporter delivery
US7606608B2 (en)2000-05-022009-10-20Sensys Medical, Inc.Optical sampling interface system for in-vivo measurement of tissue
US20090275813A1 (en)2008-05-022009-11-05The Regents Of The Univeristy Of CaliforniaExternal ear-placed non-invasive physiological sensor
US20090275844A1 (en)2008-05-022009-11-05Masimo CorporationMonitor configuration system
US7620674B2 (en)2003-03-072009-11-17Sensys Medical, Inc.Method and apparatus for enhanced estimation of an analyte property through multiple region transformation
US7629039B2 (en)2003-04-252009-12-08Phasein AbAir gas analyzer window and a method for producing such a window
USD606659S1 (en)2008-08-252009-12-22Masimo Laboratories, Inc.Patient monitor
US7640140B2 (en)2003-03-072009-12-29Sensys Medical, Inc.Method of processing noninvasive spectra
US20100004518A1 (en)2008-07-032010-01-07Masimo Laboratories, Inc.Heat sink for noninvasive medical sensor
USD609193S1 (en)2007-10-122010-02-02Masimo CorporationConnector assembly
US20100030040A1 (en)2008-08-042010-02-04Masimo Laboratories, Inc.Multi-stream data collection system for noninvasive measurement of blood constituents
US7698105B2 (en)2005-05-232010-04-13Sensys Medical, Inc.Method and apparatus for improving performance of noninvasive analyte property estimation
US7697966B2 (en)2002-03-082010-04-13Sensys Medical, Inc.Noninvasive targeting system method and apparatus
USD614305S1 (en)2008-02-292010-04-20Masimo CorporationConnector assembly
US20100099964A1 (en)2008-09-152010-04-22Masimo CorporationHemoglobin monitor
USRE41333E1 (en)1999-07-222010-05-11Sensys Medical, Inc.Multi-tier method of developing localized calibration models for non-invasive blood analyte prediction
USD621516S1 (en)2008-08-252010-08-10Masimo Laboratories, Inc.Patient monitoring sensor
US7791155B2 (en)2006-12-222010-09-07Masimo Laboratories, Inc.Detector shield
US20100234718A1 (en)2009-03-122010-09-16Anand SampathOpen architecture medical communication system
US7822452B2 (en)2004-08-112010-10-26Glt Acquisition Corp.Method for data reduction and calibration of an OCT-based blood glucose monitor
US20100270257A1 (en)2005-07-132010-10-28Vitality, Inc.Medicine Bottle Cap With Electronic Embedded Curved Display
USRE41912E1 (en)1998-10-152010-11-02Masimo CorporationReusable pulse oximeter probe and disposable bandage apparatus
US7880626B2 (en)2006-10-122011-02-01Masimo CorporationSystem and method for monitoring the life of a physiological sensor
US20110028806A1 (en)2009-07-292011-02-03Sean MerrittReflectance calibration of fluorescence-based glucose measurements
US20110028809A1 (en)2009-07-292011-02-03Masimo CorporationPatient monitor ambient display device
US20110040197A1 (en)2009-07-202011-02-17Masimo CorporationWireless patient monitoring system
US7899518B2 (en)1998-04-062011-03-01Masimo Laboratories, Inc.Non-invasive tissue glucose level monitoring
US7909772B2 (en)2004-04-162011-03-22Masimo CorporationNon-invasive measurement of second heart sound components
US7919713B2 (en)2007-04-162011-04-05Masimo CorporationLow noise oximetry cable including conductive cords
US20110082711A1 (en)2009-10-062011-04-07Masimo Laboratories, Inc.Personal digital assistant or organizer for monitoring glucose levels
US20110087081A1 (en)2009-08-032011-04-14Kiani Massi Joe EPersonalized physiological monitor
US7937128B2 (en)2004-07-092011-05-03Masimo CorporationCyanotic infant sensor
US7937129B2 (en)2005-03-212011-05-03Masimo CorporationVariable aperture sensor
US7941199B2 (en)2006-05-152011-05-10Masimo Laboratories, Inc.Sepsis monitor
US20110118561A1 (en)2009-11-132011-05-19Masimo CorporationRemote control for a medical monitoring device
US20110137297A1 (en)2009-09-172011-06-09Kiani Massi Joe EPharmacological management system
US7976472B2 (en)2004-09-072011-07-12Masimo CorporationNoninvasive hypovolemia monitor
US20110172498A1 (en)2009-09-142011-07-14Olsen Gregory ASpot check monitor credit system
US7990382B2 (en)2006-01-032011-08-02Masimo CorporationVirtual display
US8008088B2 (en)2003-12-242011-08-30Masimo Laboratories, Inc.SMMR (small molecule metabolite reporters) for use as in vivo glucose biosensors
US8019400B2 (en)1994-10-072011-09-13Masimo CorporationSignal processing apparatus
US20110230733A1 (en)2010-01-192011-09-22Masimo CorporationWellness analysis system
US8028701B2 (en)2006-05-312011-10-04Masimo CorporationRespiratory monitoring
US8036727B2 (en)2004-08-112011-10-11Glt Acquisition Corp.Methods for noninvasively measuring analyte levels in a subject
US8048040B2 (en)2007-09-132011-11-01Masimo CorporationFluid titration system
US20120008269A1 (en)*2010-07-082012-01-12David GenglerProtective cover for a mobile computing device, systems including protective covers, and associated methods
US20120033375A1 (en)*2010-08-042012-02-09Savant Systems LlcIn-wall dock for a tablet computer
US8118620B2 (en)2007-10-122012-02-21Masimo CorporationConnector assembly with reduced unshielded area
US20120123231A1 (en)2010-11-112012-05-17O'reilly MichaelMonitoring cardiac output and vessel fluid volume
US8182443B1 (en)2006-01-172012-05-22Masimo CorporationDrug administration controller
US8203438B2 (en)2008-07-292012-06-19Masimo CorporationAlarm suspend system
US20120162263A1 (en)*2010-12-232012-06-28Research In Motion LimitedHandheld electronic device having sliding display and position configurable camera
US20120165629A1 (en)2010-09-302012-06-28Sean MerrittSystems and methods of monitoring a patient through frequency-domain photo migration spectroscopy
US8219172B2 (en)2006-03-172012-07-10Glt Acquisition Corp.System and method for creating a stable optical interface
US8233955B2 (en)2005-11-292012-07-31Cercacor Laboratories, Inc.Optical sensor including disposable and reusable elements
US20120209084A1 (en)2011-01-212012-08-16Masimo CorporationRespiratory event alert system
US20120209082A1 (en)2011-02-132012-08-16Masimo CorporationMedical characterization system
US8255026B1 (en)2006-10-122012-08-28Masimo Corporation, Inc.Patient monitor capable of monitoring the quality of attached probes and accessories
US20120226117A1 (en)2010-12-012012-09-06Lamego Marcelo MHandheld processing device including medical applications for minimally and non invasive glucose measurements
US8265723B1 (en)2006-10-122012-09-11Cercacor Laboratories, Inc.Oximeter probe off indicator defining probe off space
US8274360B2 (en)2007-10-122012-09-25Masimo CorporationSystems and methods for storing, analyzing, and retrieving medical data
US8280473B2 (en)2006-10-122012-10-02Masino Corporation, Inc.Perfusion index smoother
US20120283524A1 (en)2011-04-182012-11-08Cercacor Laboratories, Inc.Pediatric monitor sensor steady game
US8310336B2 (en)2008-10-102012-11-13Masimo CorporationSystems and methods for storing, analyzing, retrieving and displaying streaming medical data
US8315683B2 (en)2006-09-202012-11-20Masimo CorporationDuo connector patient cable
US8346330B2 (en)2008-10-132013-01-01Masimo CorporationReflection-detector sensor position indicator
US8355766B2 (en)2007-10-122013-01-15Masimo CorporationCeramic emitter substrate
US20130023775A1 (en)2011-07-202013-01-24Cercacor Laboratories, Inc.Magnetic Reusable Sensor
US8374665B2 (en)2007-04-212013-02-12Cercacor Laboratories, Inc.Tissue profile wellness monitor
US20130041591A1 (en)2011-07-132013-02-14Cercacor Laboratories, Inc.Multiple measurement mode in a physiological sensor
US8388353B2 (en)2009-03-112013-03-05Cercacor Laboratories, Inc.Magnetic connector
US20130060147A1 (en)2011-08-042013-03-07Masimo CorporationOcclusive non-inflatable blood pressure device
US8401602B2 (en)2008-10-132013-03-19Masimo CorporationSecondary-emitter sensor position indicator
US8414499B2 (en)2006-12-092013-04-09Masimo CorporationPlethysmograph variability processor
US8418524B2 (en)2009-06-122013-04-16Masimo CorporationNon-invasive sensor calibration device
US20130096405A1 (en)2011-08-122013-04-18Masimo CorporationFingertip pulse oximeter
US8430817B1 (en)2009-10-152013-04-30Masimo CorporationSystem for determining confidence in respiratory rate measurements
US20130135212A1 (en)*2010-09-282013-05-30Sandie Ning Ning ChengHaptic keyboard for a touch-enabled display
US8457707B2 (en)2006-09-202013-06-04Masimo CorporationCongenital heart disease monitor
US8455290B2 (en)2010-09-042013-06-04Masimo Semiconductor, Inc.Method of fabricating epitaxial structures
US8473020B2 (en)2009-07-292013-06-25Cercacor Laboratories, Inc.Non-invasive physiological sensor cover
US8471713B2 (en)2009-07-242013-06-25Cercacor Laboratories, Inc.Interference detector for patient monitor
US8504128B2 (en)2002-03-082013-08-06Glt Acquisition Corp.Method and apparatus for coupling a channeled sample probe to tissue
US8509867B2 (en)2002-11-122013-08-13Cercacor Laboratories, Inc.Non-invasive measurement of analytes
US8523781B2 (en)2009-10-152013-09-03Masimo CorporationBidirectional physiological information display
US8532727B2 (en)1999-01-252013-09-10Masimo CorporationDual-mode pulse oximeter
US20130253334A1 (en)2012-02-092013-09-26Masimo CorporationWireless patient monitoring device
US8560034B1 (en)1993-10-062013-10-15Masimo CorporationSignal processing apparatus
USD692145S1 (en)2012-09-202013-10-22Masimo CorporationMedical proximity detection token
US8571617B2 (en)2008-03-042013-10-29Glt Acquisition Corp.Flowometry in optical coherence tomography for analyte level estimation
US8571618B1 (en)2009-09-282013-10-29Cercacor Laboratories, Inc.Adaptive calibration system for spectrophotometric measurements
US8571619B2 (en)2009-05-202013-10-29Masimo CorporationHemoglobin display and patient treatment
US20130296672A1 (en)2012-05-022013-11-07Masimo CorporationNoninvasive physiological sensor cover
US8584345B2 (en)2010-03-082013-11-19Masimo CorporationReprocessing of a physiological sensor
US8588880B2 (en)2009-02-162013-11-19Masimo CorporationEar sensor
US8600467B2 (en)2006-11-292013-12-03Cercacor Laboratories, Inc.Optical sensor including disposable and reusable elements
US20130331660A1 (en)2012-06-072013-12-12Masimo CorporationDepth of consciousness monitor
US20130345921A1 (en)2012-06-222013-12-26Masimo CorporationPhysiological monitoring of moving vehicle operators
US8641631B2 (en)2004-04-082014-02-04Masimo CorporationNon-invasive monitoring of respiratory rate, heart rate and apnea
US8652060B2 (en)2007-01-202014-02-18Masimo CorporationPerfusion trend indicator
US8666468B1 (en)2010-05-062014-03-04Masimo CorporationPatient monitor for determining microcirculation state
US8670811B2 (en)2009-06-302014-03-11Masimo CorporationPulse oximetry system for adjusting medical ventilation
US8688183B2 (en)2009-09-032014-04-01Ceracor Laboratories, Inc.Emitter driver for noninvasive patient monitor
US8690799B2 (en)2009-10-152014-04-08Masimo CorporationAcoustic respiratory monitoring sensor having multiple sensing elements
US8712494B1 (en)2010-05-032014-04-29Masimo CorporationReflective non-invasive sensor
US8718738B2 (en)2002-03-082014-05-06Glt Acquisition Corp.Method and apparatus for coupling a sample probe with a sample site
US8723677B1 (en)2010-10-202014-05-13Masimo CorporationPatient safety system with automatically adjusting bed
US8740792B1 (en)2010-07-122014-06-03Masimo CorporationPatient monitor capable of accounting for environmental conditions
US8755872B1 (en)2011-07-282014-06-17Masimo CorporationPatient monitoring system for indicating an abnormal condition
US20140166076A1 (en)2012-12-172014-06-19Masimo Semiconductor, IncPool solar power generator
US20140180160A1 (en)2012-10-122014-06-26Emery N. BrownSystem and method for monitoring and controlling a state of a patient during and after administration of anesthetic compound
US8764671B2 (en)2007-06-282014-07-01Masimo CorporationDisposable active pulse sensor
US20140187973A1 (en)2011-05-062014-07-03Emery N. BrownSystem and method for tracking brain states during administration of anesthesia
US8771204B2 (en)2008-12-302014-07-08Masimo CorporationAcoustic sensor assembly
US8781544B2 (en)2007-03-272014-07-15Cercacor Laboratories, Inc.Multiple wavelength optical sensor
US8801613B2 (en)2009-12-042014-08-12Masimo CorporationCalibration for multi-stage physiological monitors
US8821397B2 (en)2010-09-282014-09-02Masimo CorporationDepth of consciousness monitor including oximeter
US8821415B2 (en)2009-10-152014-09-02Masimo CorporationPhysiological acoustic monitoring system
US8830449B1 (en)2011-04-182014-09-09Cercacor Laboratories, Inc.Blood analysis system
US20140275872A1 (en)2013-03-142014-09-18Cercacor Laboratories, Inc.Systems and methods for testing patient monitors
US20140275871A1 (en)2013-03-142014-09-18Cercacor Laboratories, Inc.Wireless optical communication between noninvasive physiological sensors and patient monitors
US8840549B2 (en)2006-09-222014-09-23Masimo CorporationModular patient monitor
US8852094B2 (en)2006-12-222014-10-07Masimo CorporationPhysiological parameter system
US8852994B2 (en)2010-05-242014-10-07Masimo Semiconductor, Inc.Method of fabricating bifacial tandem solar cells
US8868147B2 (en)2004-04-282014-10-21Glt Acquisition Corp.Method and apparatus for controlling positioning of a noninvasive analyzer sample probe
US20140316217A1 (en)2013-04-232014-10-23Patrick L. PurdonSystem and method for monitoring anesthesia and sedation using measures of brain coherence and synchrony
US20140316218A1 (en)2013-04-232014-10-23Patrick L. PurdonSystems and methods for monitoring brain metabolism and activity using electroencephalogram and optical imaging
US8870792B2 (en)2009-10-152014-10-28Masimo CorporationPhysiological acoustic monitoring system
US20140323897A1 (en)2013-04-242014-10-30Emery N. BrownSystem and method for estimating high time-frequency resolution eeg spectrograms to monitor patient state
US20140323898A1 (en)2013-04-242014-10-30Patrick L. PurdonSystem and Method for Monitoring Level of Dexmedatomidine-Induced Sedation
US8897847B2 (en)2009-03-232014-11-25Masimo CorporationDigit gauge for noninvasive optical sensor
US8911377B2 (en)2008-09-152014-12-16Masimo CorporationPatient monitor including multi-parameter graphical display
US20150005600A1 (en)2013-03-132015-01-01Cercacor Laboratories, Inc.Finger-placement sensor tape
US20150011907A1 (en)2013-06-282015-01-08Patrick L. PurdonSystems and Methods To Infer Brain State During Burst Suppression
US20150038859A1 (en)2013-08-052015-02-05Cercacor Laboratories, IncBlood pressure monitor with valve-chamber assembly
US20150073241A1 (en)2013-09-122015-03-12Cercacor Laboratories, Inc.Medical device management system
US20150080754A1 (en)2013-09-132015-03-19Patrick L. PurdonSystems and Methods For Improved Brain Monitoring During General Anesthesia And Sedation
US8989831B2 (en)2009-05-192015-03-24Masimo CorporationDisposable components for reusable physiological sensor
US8998809B2 (en)2006-05-152015-04-07Cercacor Laboratories, Inc.Systems and methods for calibrating minimally invasive and non-invasive physiological sensor devices
US20150099950A1 (en)2013-10-072015-04-09Masimo CorporationRegional oximetry sensor
US20150106121A1 (en)2013-10-112015-04-16Masimo CorporationAlarm notification system
US9066666B2 (en)2011-02-252015-06-30Cercacor Laboratories, Inc.Patient monitor for monitoring microcirculation
US20150196249A1 (en)2010-09-012015-07-16The General Hospital CorporationReversal of General Anesthesia by Administration of Methylphenidate, Amphetamine, Modafinil, Amantadine, and/or Caffeine
US9095316B2 (en)2011-04-202015-08-04Masimo CorporationSystem for generating alarms based on alarm patterns
US9106038B2 (en)2009-10-152015-08-11Masimo CorporationPulse oximetry system with low noise cable hub
US9107625B2 (en)2008-05-052015-08-18Masimo CorporationPulse oximetry system with electrical decoupling circuitry
US20150238722A1 (en)2014-02-212015-08-27Masimo CorporationAssistive capnography device
US9131881B2 (en)2012-04-172015-09-15Masimo CorporationHypersaturation index
US20150257689A1 (en)2006-05-152015-09-17Cercacor Laboratories, Inc.Physiological monitor calibration system
US9138180B1 (en)2010-05-032015-09-22Masimo CorporationSensor adapter cable
US9153112B1 (en)2009-12-212015-10-06Masimo CorporationModular patient monitor
US9161696B2 (en)2006-09-222015-10-20Masimo CorporationModular patient monitor
US9195385B2 (en)2012-03-252015-11-24Masimo CorporationPhysiological monitor touchscreen interface
US9192329B2 (en)2006-10-122015-11-24Masimo CorporationVariable mode pulse indicator
US9192351B1 (en)2011-07-222015-11-24Masimo CorporationAcoustic respiratory monitoring sensor with probe-off detection
US9211095B1 (en)2010-10-132015-12-15Masimo CorporationPhysiological measurement logic engine
US9218454B2 (en)2009-03-042015-12-22Masimo CorporationMedical monitoring system
US20150366507A1 (en)2014-06-192015-12-24Cercacor Laboratories, Inc.Proximity sensor in pulse oximeter
US9245668B1 (en)2011-06-292016-01-26Cercacor Laboratories, Inc.Low noise cable providing communication between electronic sensor components and patient monitor
US9267572B2 (en)2012-02-082016-02-23Masimo CorporationCable tether system
US20160066824A1 (en)2014-09-042016-03-10Masimo CorporationTotal hemoglobin screening sensor
US20160081552A1 (en)2014-09-182016-03-24Masimo Semiconductor, Inc.Enhanced visible near-infrared photodiode and non-invasive physiological sensor
US9307928B1 (en)2010-03-302016-04-12Masimo CorporationPlethysmographic respiration processor
US9323894B2 (en)2011-08-192016-04-26Masimo CorporationHealth care sanitation monitoring system
US9326712B1 (en)2010-06-022016-05-03Masimo CorporationOpticoustic sensor
USD755392S1 (en)2015-02-062016-05-03Masimo CorporationPulse oximetry sensor
US9341565B2 (en)2004-07-072016-05-17Masimo CorporationMultiple-wavelength physiological monitor
US9386961B2 (en)2009-10-152016-07-12Masimo CorporationPhysiological acoustic monitoring system
US9392945B2 (en)2012-01-042016-07-19Masimo CorporationAutomated CCHD screening and detection
US9408542B1 (en)2010-07-222016-08-09Masimo CorporationNon-invasive blood pressure measurement system
US9436645B2 (en)2011-10-132016-09-06Masimo CorporationMedical monitoring hub
US9445759B1 (en)2011-12-222016-09-20Cercacor Laboratories, Inc.Blood glucose calibration system
US20160283681A1 (en)2013-11-012016-09-29Koninklijke Philips N.V.Apparatus and method for acoustic alarm detection and validation
US9474474B2 (en)2013-03-142016-10-25Masimo CorporationPatient monitor as a minimally invasive glucometer
US9480435B2 (en)2012-02-092016-11-01Masimo CorporationConfigurable patient monitoring system
US20160324488A1 (en)2015-05-042016-11-10Cercacor Laboratories, Inc.Noninvasive sensor system with visual infographic display
US9509817B1 (en)*2015-10-012016-11-29Global Tel*Link CorporationCommunication device enclosure
US9510779B2 (en)2009-09-172016-12-06Masimo CorporationAnalyte monitoring using one or more accelerometers
US20160367173A1 (en)2015-05-222016-12-22Cercacor Laboratories, Inc.Non-invasive optical physiological differential pathlength sensor
US9532722B2 (en)2011-06-212017-01-03Masimo CorporationPatient monitoring system
US20170024748A1 (en)2015-07-222017-01-26Patient Doctor Technologies, Inc.Guided discussion platform for multiple parties
US9560996B2 (en)2012-10-302017-02-07Masimo CorporationUniversal medical system
US20170042488A1 (en)2015-08-112017-02-16Masimo CorporationMedical monitoring analysis and replay including indicia responsive to light attenuated by body tissue
US9579039B2 (en)2011-01-102017-02-28Masimo CorporationNon-invasive intravascular volume index monitor
US20170055851A1 (en)2015-08-312017-03-02Masimo CorporationPatient-worn wireless physiological sensor
US9622692B2 (en)2011-05-162017-04-18Masimo CorporationPersonal health device
US9649054B2 (en)2010-08-262017-05-16Cercacor Laboratories, Inc.Blood pressure measurement method
US20170173632A1 (en)2015-12-172017-06-22Masimo CorporationVarnish-coated release liner
US9697928B2 (en)2012-08-012017-07-04Masimo CorporationAutomated assembly sensor cable
US9717458B2 (en)2012-10-202017-08-01Masimo CorporationMagnetic-flap optical sensor
US9724024B2 (en)2010-03-012017-08-08Masimo CorporationAdaptive alarm system
US9724016B1 (en)2009-10-162017-08-08Masimo Corp.Respiration processor
US9724025B1 (en)2013-01-162017-08-08Masimo CorporationActive-pulse blood analysis system
US20170228516A1 (en)2012-09-202017-08-10Masimo CorporationIntelligent medical escalation process
US9750442B2 (en)2013-03-092017-09-05Masimo CorporationPhysiological status monitor
US9750461B1 (en)2013-01-022017-09-05Masimo CorporationAcoustic respiratory monitoring sensor with probe-off detection
US20170251974A1 (en)2016-03-042017-09-07Masimo CorporationNose sensor
US20170251975A1 (en)2016-03-042017-09-07Masimo CorporationNose sensor
US9775545B2 (en)2010-09-282017-10-03Masimo CorporationMagnetic electrical connector for patient monitors
US9778079B1 (en)2011-10-272017-10-03Masimo CorporationPhysiological monitor gauge panel
US9782077B2 (en)2011-08-172017-10-10Masimo CorporationModulated physiological sensor
US9787568B2 (en)2012-11-052017-10-10Cercacor Laboratories, Inc.Physiological test credit method
US20170311891A1 (en)2016-04-292017-11-02Masimo CorporationOptical sensor tape
US9808188B1 (en)2011-10-132017-11-07Masimo CorporationRobust fractional saturation determination
US9839381B1 (en)2009-11-242017-12-12Cercacor Laboratories, Inc.Physiological measurement system with automatic wavelength adjustment
US9861298B2 (en)2008-09-152018-01-09Masimo CorporationGas sampling line
US9861305B1 (en)2006-10-122018-01-09Masimo CorporationMethod and apparatus for calibration to reduce coupling between signals in a measurement system
US20180008146A1 (en)2016-07-072018-01-11Masimo CorporationWearable pulse oximeter and respiration monitor
US20180013562A1 (en)2016-07-062018-01-11Patient Doctor Technologies, Inc.Secure and zero knowledge data sharing for cloud applications
US9877650B2 (en)2012-09-202018-01-30Masimo CorporationPhysiological monitor with mobile computing device connectivity
US9891079B2 (en)2013-07-172018-02-13Masimo CorporationPulser with double-bearing position encoder for non-invasive physiological monitoring
US9924897B1 (en)2014-06-122018-03-27Masimo CorporationHeated reprocessing of physiological sensors
US9936917B2 (en)2013-03-142018-04-10Masimo Laboratories, Inc.Patient monitor placement indicator
US9943269B2 (en)2011-10-132018-04-17Masimo CorporationSystem for displaying medical monitoring data
US20180103874A1 (en)2016-10-132018-04-19Masimo CorporationSystems and methods for patient fall detection
US9955937B2 (en)2012-09-202018-05-01Masimo CorporationAcoustic patient sensor coupler
US9965946B2 (en)2013-03-132018-05-08Masimo CorporationSystems and methods for monitoring a patient health network
US9986952B2 (en)2013-03-142018-06-05Masimo CorporationHeart sound simulator
US9986919B2 (en)2011-06-212018-06-05Masimo CorporationPatient monitoring system
US10007758B2 (en)2009-03-042018-06-26Masimo CorporationMedical monitoring system
USD822215S1 (en)2017-04-262018-07-03Masimo CorporationMedical monitoring device
USD822216S1 (en)2017-04-282018-07-03Masimo CorporationMedical monitoring device
US20180192953A1 (en)2016-03-042018-07-12Masimo CorporationNose sensor
US20180199871A1 (en)2016-12-222018-07-19Cercacor Laboratories, Inc.Methods and devices for detecting intensity of light with translucent detector
US10032002B2 (en)2009-03-042018-07-24Masimo CorporationMedical monitoring system
US20180213583A1 (en)2017-01-182018-07-26Masimo CorporationPatient-worn wireless physiological sensor wtih pairing functionality
US20180216370A1 (en)2017-01-302018-08-02Mitsui Kinzoku Act CorporationVehicle door latch device
US20180247353A1 (en)2017-02-242018-08-30Masimo CorporationManaging dynamic licenses for physiological parameters in a patient monitoring environment
US20180247712A1 (en)2017-02-242018-08-30Masimo CorporationSystem for displaying medical monitoring data
US20180256087A1 (en)2017-03-102018-09-13Masimo CorporationPneumonia screener
US10086138B1 (en)2014-01-282018-10-02Masimo CorporationAutonomous drug delivery system
US20180285094A1 (en)2017-02-242018-10-04Masimo CorporationMedical monitoring hub
US20180296161A1 (en)2017-04-182018-10-18Masimo CorporationNose sensor
US20180300919A1 (en)2017-02-242018-10-18Masimo CorporationAugmented reality system for displaying patient data
US10111591B2 (en)2014-08-262018-10-30Nanthealth, Inc.Real-time monitoring systems and methods in a healthcare environment
US20180310822A1 (en)2017-04-282018-11-01Masimo CorporationSpot check measurement system
US20180310823A1 (en)2017-04-262018-11-01Masimo CorporationMedical monitoring device having multiple configurations
US20180317826A1 (en)2017-05-082018-11-08Masimo CorporationSystem for displaying and controlling medical monitoring data
US20180317841A1 (en)2014-01-282018-11-08Masimo CorporationAutonomous drug delivery system
US10123729B2 (en)2014-06-132018-11-13Nanthealth, Inc.Alarm fatigue management systems and methods
USD833624S1 (en)2017-05-092018-11-13Masimo CorporationMedical device
USD835282S1 (en)2017-04-282018-12-04Masimo CorporationMedical monitoring device
USD835284S1 (en)2017-04-282018-12-04Masimo CorporationMedical monitoring device
USD835283S1 (en)2017-04-282018-12-04Masimo CorporationMedical monitoring device
USD835285S1 (en)2017-04-282018-12-04Masimo CorporationMedical monitoring device
US10154815B2 (en)2014-10-072018-12-18Masimo CorporationModular physiological sensors
US20190001899A1 (en)*2015-08-062019-01-03Cnh Industrial America LlcSystem for mounting a device to a fixed hub of a steering wheel
US20190015023A1 (en)2017-07-132019-01-17Cercacor Laboratories, Inc.Medical monitoring device for harmonizing physiological measurements
US10188348B2 (en)2006-06-052019-01-29Masimo CorporationParameter upgrade system
US10205291B2 (en)2015-02-062019-02-12Masimo CorporationPogo pin connector
US20190058280A1 (en)2017-08-152019-02-21Masimo CorporationWater resistant connector for noninvasive patient monitor
US20190117070A1 (en)2017-10-192019-04-25Masimo CorporationMedical monitoring system
US10279247B2 (en)2013-12-132019-05-07Masimo CorporationAvatar-incentive healthcare therapy
US10307111B2 (en)2012-02-092019-06-04Masimo CorporationPatient position detection system
US10327337B2 (en)2015-02-062019-06-18Masimo CorporationFold flex circuit for LNOP
US10327713B2 (en)2017-02-242019-06-25Masimo CorporationModular multi-parameter patient monitoring device
US20190200941A1 (en)2017-10-312019-07-04Masimo CorporationSystem for displaying oxygen state indications
US20190239787A1 (en)2018-02-022019-08-08Cercacor Laboratories, Inc.Limb-worn patient monitoring device
US10388120B2 (en)2017-02-242019-08-20Masimo CorporationLocalized projection of audible noises in medical settings
US20190298270A1 (en)2012-01-042019-10-03Masimo CorporationAutomated condition screening and detection
US10441181B1 (en)2013-03-132019-10-15Masimo CorporationAcoustic pulse and respiration monitoring system
US10441196B2 (en)2015-01-232019-10-15Masimo CorporationNasal/oral cannula system and manufacturing
US10448871B2 (en)2015-07-022019-10-22Masimo CorporationAdvanced pulse oximetry sensor
USD864120S1 (en)2017-08-152019-10-22Masimo CorporationConnector
US20190320988A1 (en)2018-04-192019-10-24Masimo CorporationMobile patient alarm display
US20190320906A1 (en)2018-04-242019-10-24Cercacor Laboratories, Inc.Easy insert finger sensor for transmission based spectroscopy sensor
US10456038B2 (en)2013-03-152019-10-29Cercacor Laboratories, Inc.Cloud-based physiological monitoring system
US10471159B1 (en)2016-02-122019-11-12Masimo CorporationDiagnosis, removal, or mechanical damaging of tumor using plasmonic nanobubbles
US20190374713A1 (en)2018-06-062019-12-12Masimo CorporationOpioid overdose monitoring
US20200021930A1 (en)2018-07-102020-01-16Masimo CorporationPatient monitor alarm speaker analyzer
US10568553B2 (en)2015-02-062020-02-25Masimo CorporationSoft boot pulse oximetry sensor
US20200060869A1 (en)2018-08-222020-02-27Masimo CorporationCore body temperature measurement
USD880477S1 (en)2017-08-152020-04-07Masimo CorporationConnector
US20200111552A1 (en)2018-10-082020-04-09Masimo CorporationPatient database analytics
US20200113488A1 (en)2018-10-112020-04-16Masimo CorporationPatient monitoring device with improved user interface
US20200113496A1 (en)2018-10-112020-04-16Masimo CorporationPatient connector assembly with vertical detents
US20200113435A1 (en)2018-10-122020-04-16Masimo CorporationMedical systems and methods
US20200113520A1 (en)2018-10-162020-04-16Masimo CorporationStretch band with indicators or limiters
US20200113497A1 (en)2018-10-112020-04-16Masimo CorporationLow noise oximetry cable
US20200138288A1 (en)*2018-10-122020-05-07Masimo CorporationSystem for transmission of sensor data using dual communication protocol
US20200138368A1 (en)2018-11-052020-05-07Masimo CorporationSystem to manage patient hydration
US20200163597A1 (en)2018-11-272020-05-28Cercacor Laboratories, Inc.Assembly for medical monitoring device with multiple physiological sensors
USD887549S1 (en)2018-09-102020-06-16Masino CorporationCap for a flow alarm device
USD887548S1 (en)2018-09-102020-06-16Masimo CorporationFlow alarm device housing
US20200192441A1 (en)*2014-11-112020-06-18Darren SaravisTemperature Regulating Mount with Magnetic Power Mount
US20200196877A1 (en)2018-12-212020-06-25Cercacor Laboratories, Inc.Noninvasive physiological sensor
USD890708S1 (en)2017-08-152020-07-21Masimo CorporationConnector
US20200253474A1 (en)2018-12-182020-08-13Masimo CorporationModular wireless physiological parameter system
US20200253544A1 (en)2019-02-072020-08-13Masimo CorporationCombining multiple qeeg features to estimate drug-independent sedation level using machine learning
US20200275841A1 (en)2019-02-262020-09-03Masimo CorporationNon-contact core body temperature measurement systems and methods
US20200288983A1 (en)2019-02-262020-09-17Masimo CorporationRespiratory core body temperature measurement systems and methods
USD897098S1 (en)2018-10-122020-09-29Masimo CorporationCard holder set
US20200321793A1 (en)2019-04-172020-10-08Masimo CorporationCharging station for physiological monitoring device
US10828007B1 (en)2013-10-112020-11-10Masimo CorporationAcoustic sensor with attachment portion
US10827961B1 (en)2012-08-292020-11-10Masimo CorporationPhysiological measurement calibration
USD906970S1 (en)2017-08-152021-01-05Masimo CorporationConnector

Family Cites Families (92)

* Cited by examiner, † Cited by third party
Publication numberPriority datePublication dateAssigneeTitle
US20080103375A1 (en)2006-09-222008-05-01Kiani Massi EPatient monitor user interface
US9302066B2 (en)*2011-09-122016-04-05Resmed LimitedModularized respiratory treatment apparatus
US11147518B1 (en)2013-10-072021-10-19Masimo CorporationRegional oximetry signal processor
US11504066B1 (en)2015-09-042022-11-22Cercacor Laboratories, Inc.Low-noise sensor system
US9930463B2 (en)*2016-03-312018-03-27Sonos, Inc.Defect detection via audio playback
GB2557199B (en)2016-11-302020-11-04Lidco Group PlcHaemodynamic monitor with improved filtering
US11504058B1 (en)2016-12-022022-11-22Masimo CorporationMulti-site noninvasive measurement of a physiological parameter
USD925597S1 (en)2017-10-312021-07-20Masimo CorporationDisplay screen or portion thereof with graphical user interface
US20220296161A1 (en)2018-06-062022-09-22Masimo CorporationTime-based critical opioid blood oxygen monitoring
US20210161465A1 (en)2018-06-062021-06-03Masimo CorporationKit for opioid overdose monitoring
USD917564S1 (en)2018-10-112021-04-27Masimo CorporationDisplay screen or portion thereof with graphical user interface
USD999246S1 (en)2018-10-112023-09-19Masimo CorporationDisplay screen or portion thereof with a graphical user interface
USD916135S1 (en)2018-10-112021-04-13Masimo CorporationDisplay screen or portion thereof with a graphical user interface
USD917550S1 (en)2018-10-112021-04-27Masimo CorporationDisplay screen or portion thereof with a graphical user interface
USD998630S1 (en)2018-10-112023-09-12Masimo CorporationDisplay screen or portion thereof with a graphical user interface
USD998631S1 (en)2018-10-112023-09-12Masimo CorporationDisplay screen or portion thereof with a graphical user interface
USD1013179S1 (en)2018-10-122024-01-30Masimo CorporationSensor device
USD957648S1 (en)2018-10-122022-07-12Masimo CorporationDongle
USD985498S1 (en)2019-08-162023-05-09Masimo CorporationConnector
USD917704S1 (en)2019-08-162021-04-27Masimo CorporationPatient monitor
USD919094S1 (en)2019-08-162021-05-11Masimo CorporationBlood pressure device
USD919100S1 (en)2019-08-162021-05-11Masimo CorporationHolder for a patient monitor
USD921202S1 (en)2019-08-162021-06-01Masimo CorporationHolder for a blood pressure device
US11832940B2 (en)2019-08-272023-12-05Cercacor Laboratories, Inc.Non-invasive medical monitoring device for blood analyte measurements
US12131661B2 (en)2019-10-032024-10-29Willow Laboratories, Inc.Personalized health coaching system
USD927699S1 (en)2019-10-182021-08-10Masimo CorporationElectrode pad
JP2022552007A (en)2019-10-182022-12-14マシモ・コーポレイション Display layouts and interactive objects for patient monitoring
CN115176155A (en)2019-10-252022-10-11塞卡科实验室有限公司Indicator compounds, devices including indicator compounds, and methods of making and using the same
WO2021146333A1 (en)2020-01-132021-07-22Masimo CorporationWearable device with physiological parameters monitoring
EP4096752A4 (en)2020-01-302024-06-12Willow Laboratories, Inc.Redundant staggered glucose sensor disease management system
EP4104037A1 (en)2020-02-132022-12-21Masimo CorporationSystem and method for monitoring clinical activities
US11879960B2 (en)2020-02-132024-01-23Masimo CorporationSystem and method for monitoring clinical activities
US12048534B2 (en)2020-03-042024-07-30Willow Laboratories, Inc.Systems and methods for securing a tissue site to a sensor
US12390114B2 (en)2020-03-202025-08-19Masimo CorporationWearable device for monitoring health status
USD933232S1 (en)2020-05-112021-10-12Masimo CorporationBlood pressure monitor
US12127838B2 (en)2020-04-222024-10-29Willow Laboratories, Inc.Self-contained minimal action invasive blood constituent system
USD979516S1 (en)2020-05-112023-02-28Masimo CorporationConnector
US20210386382A1 (en)2020-06-112021-12-16Cercacor Laboratories, Inc.Blood glucose disease management system
US12029844B2 (en)2020-06-252024-07-09Willow Laboratories, Inc.Combination spirometer-inhaler
US11692934B2 (en)2020-07-232023-07-04Masimo CorporationSolid-state spectrometer
USD980091S1 (en)2020-07-272023-03-07Masimo CorporationWearable temperature measurement device
USD974193S1 (en)2020-07-272023-01-03Masimo CorporationWearable temperature measurement device
US12082926B2 (en)2020-08-042024-09-10Masimo CorporationOptical sensor with multiple detectors or multiple emitters
JP2023538378A (en)2020-08-192023-09-07マシモ・コーポレイション Straps for wearable devices
US20220071562A1 (en)2020-09-082022-03-10Masimo CorporationFace mask with integrated physiological sensors
USD950580S1 (en)2020-09-302022-05-03Masimo CorporationDisplay screen or portion thereof with graphical user interface
WO2022072383A1 (en)2020-09-302022-04-07Cercacor Laboratories, Inc.Insulin formulations and uses in infusion devices
USD946597S1 (en)2020-09-302022-03-22Masimo CorporationDisplay screen or portion thereof with graphical user interface
USD950599S1 (en)2020-09-302022-05-03Masimo CorporationDisplay screen or portion thereof with graphical user interface
USD946598S1 (en)2020-09-302022-03-22Masimo CorporationDisplay screen or portion thereof with graphical user interface
USD971933S1 (en)2020-09-302022-12-06Masimo CorporationDisplay screen or portion thereof with graphical user interface
USD946617S1 (en)2020-09-302022-03-22Masimo CorporationDisplay screen or portion thereof with graphical user interface
USD946596S1 (en)2020-09-302022-03-22Masimo CorporationDisplay screen or portion thereof with graphical user interface
CA3199213A1 (en)2020-11-182022-05-27Cercacor Laboratories, Inc.Glucose sensors and methods of manufacturing
US20220287574A1 (en)2020-12-232022-09-15Masimo CorporationPatient monitoring systems, devices, and methods
US20220218244A1 (en)2021-01-112022-07-14Masimo CorporationWearable pulse oximeter for tennis players
WO2022240765A1 (en)2021-05-112022-11-17Masimo CorporationOptical physiological nose sensor
US20220379059A1 (en)2021-05-262022-12-01Masimo CorporationLow deadspace airway adapter
US20220392610A1 (en)2021-06-032022-12-08Cercacor Laboratories, Inc.Individualized meal kit with real-time feedback and continuous adjustments based on lifestyle tracking
USD997365S1 (en)2021-06-242023-08-29Masimo CorporationPhysiological nose sensor
EP4370022A1 (en)2021-07-132024-05-22Masimo CorporationWearable device with physiological parameters monitoring
WO2023003980A1 (en)2021-07-212023-01-26Masimo CorporationWearable band for health monitoring device
EP4380645A2 (en)2021-08-042024-06-12Willow Laboratories, Inc.Medication delivery pump having glucose sensor
US20230045647A1 (en)2021-08-042023-02-09Cercacor Laboratories, Inc.Applicator for disease management system
US20230038389A1 (en)2021-08-042023-02-09Cercacor Laboratories, Inc.Systems and methods for kink detection in a cannula
USD1036293S1 (en)2021-08-172024-07-23Masimo CorporationStraps for a wearable device
US12362596B2 (en)2021-08-192025-07-15Masimo CorporationWearable physiological monitoring devices
US20230058342A1 (en)2021-08-202023-02-23Masimo CorporationPhysiological monitoring chair
WO2023034879A1 (en)2021-08-312023-03-09Masimo CorporationPrivacy switch for mobile communications device
EP4404831A1 (en)2021-09-222024-07-31Masimo CorporationWearable device for noninvasive body temperature measurement
USD1000975S1 (en)2021-09-222023-10-10Masimo CorporationWearable temperature measurement device
US20230116371A1 (en)2021-10-072023-04-13Masimo CorporationSystem and methods for monitoring and display of a hemodynamic status of a patient
US20230111198A1 (en)2021-10-072023-04-13Masimo CorporationBite block and assemblies including same
US20230138098A1 (en)2021-10-072023-05-04Masimo CorporationOpioid overdose detection using pattern recognition
WO2023077027A1 (en)2021-10-292023-05-04Cercacor Laboratories, Inc.Electrode systems for electrochemical sensors
WO2023076992A1 (en)2021-10-292023-05-04Cercacor Laboratories, Inc.Implantable micro-electrochemical cell
US20230222805A1 (en)2022-01-112023-07-13Masimo CorporationMachine learning based monitoring system
US20230226331A1 (en)2022-01-182023-07-20Cercacor Laboratories, Inc.Modular wearable device for patient monitoring and drug administration
US20230284943A1 (en)2022-03-102023-09-14Masimo CorporationPulse oximetry system
WO2023173128A1 (en)2022-03-112023-09-14Masimo CorporationContinuous noninvasive blood pressure measurement
US20230346993A1 (en)2022-04-272023-11-02Cercacor Laboratories, Inc.Ultraviolet sterilization for minimally invasive systems
WO2023215836A2 (en)2022-05-052023-11-09Cercacor Laboratories, Inc.An analyte sensor for measuring at varying depths within a user
WO2023225484A1 (en)2022-05-172023-11-23Masimo CorporationHydration measurement using optical sensors
WO2024020324A1 (en)2022-07-182024-01-25Cercacor Laboratories, Inc.Electrochemical glucose sensing by equilibrium glucose binding to genetically engineered glucose binding proteins
JP2025524863A (en)2022-07-182025-08-01ウィロー・ラボラトリーズ・インコーポレイテッド Electrochemical devices and methods for accurate determination of analytes - Patent Application 20070122999
US20240049310A1 (en)2022-08-052024-02-08Masimo CorporationPermission-based transferring of wireless physiological monitoring
EP4568562A1 (en)2022-08-122025-06-18Masimo CorporationWearable physiological monitoring device
USD1083653S1 (en)2022-09-092025-07-15Masimo CorporationBand
US20240122486A1 (en)2022-10-172024-04-18Masimo CorporationPhysiological monitoring soundbar
WO2024123707A1 (en)2022-12-052024-06-13Masimo CorporationClip-on optical or ecg light based physiological measurement device
US20240188872A1 (en)2022-12-072024-06-13Masimo CorporationWearable device with physiological parameters monitoring
WO2024158721A1 (en)2023-01-242024-08-02Willow Laboratories, Inc.Medication bladder for medication storage

Patent Citations (1077)

* Cited by examiner, † Cited by third party
Publication numberPriority datePublication dateAssigneeTitle
US4745398A (en)1987-02-091988-05-17Sentrol, Inc.Self-powered sensor for use in closed-loop security system
US4964408A (en)1988-04-291990-10-23Thor Technology CorporationOximeter sensor assembly with integral cable
US5041187A (en)1988-04-291991-08-20Thor Technology CorporationOximeter sensor assembly with integral cable and method of forming the same
US5069213A (en)1988-04-291991-12-03Thor Technology CorporationOximeter sensor assembly with integral cable and encoder
US4960128A (en)1988-11-141990-10-02Paramed Technology IncorporatedMethod and apparatus for continuously and non-invasively measuring the blood pressure of a patient
US5163438A (en)1988-11-141992-11-17Paramed Technology IncorporatedMethod and apparatus for continuously and noninvasively measuring the blood pressure of a patient
US5431170A (en)1990-05-261995-07-11Mathews; Geoffrey R.Pulse responsive device
US5319355A (en)1991-03-061994-06-07Russek Linda GAlarm for patient monitor and life support equipment system
US5534851A (en)1991-03-061996-07-09Russek; Linda G.Alarm for patient monitor and life support equipment
US6036642A (en)1991-03-072000-03-14Masimo CorporationSignal processing apparatus and method
US8364226B2 (en)1991-03-072013-01-29Masimo CorporationSignal processing apparatus
US8046041B2 (en)1991-03-072011-10-25Masimo CorporationSignal processing apparatus
US7254433B2 (en)1991-03-072007-08-07Masimo CorporationSignal processing apparatus
US8046042B2 (en)1991-03-072011-10-25Masimo CorporationSignal processing apparatus
US7509154B2 (en)1991-03-072009-03-24Masimo CorporationSignal processing apparatus
US8036728B2 (en)1991-03-072011-10-11Masimo CorporationSignal processing apparatus
US7469157B2 (en)1991-03-072008-12-23Masimo CorporationSignal processing apparatus
US6263222B1 (en)1991-03-072001-07-17Masimo CorporationSignal processing apparatus
US8128572B2 (en)1991-03-072012-03-06Masimo CorporationSignal processing apparatus
US7215984B2 (en)1991-03-072007-05-08Masimo CorporationSignal processing apparatus
US6236872B1 (en)1991-03-072001-05-22Masimo CorporationSignal processing apparatus
US7215986B2 (en)1991-03-072007-05-08Masimo CorporationSignal processing apparatus
US5482036A (en)1991-03-071996-01-09Masimo CorporationSignal processing apparatus and method
US5490505A (en)1991-03-071996-02-13Masimo CorporationSignal processing apparatus
US6501975B2 (en)1991-03-072002-12-31Masimo CorporationSignal processing apparatus and method
US7530955B2 (en)1991-03-072009-05-12Masimo CorporationSignal processing apparatus
US5769785A (en)1991-03-071998-06-23Masimo CorporationSignal processing apparatus and method
US7454240B2 (en)1991-03-072008-11-18Masimo CorporationSignal processing apparatus
US7383070B2 (en)1991-03-072008-06-03Masimo CorporationSignal processing apparatus
US6206830B1 (en)1991-03-072001-03-27Masimo CorporationSignal processing apparatus and method
US8948834B2 (en)1991-03-072015-02-03Masimo CorporationSignal processing apparatus
US8942777B2 (en)1991-03-072015-01-27Masimo CorporationSignal processing apparatus
US5632272A (en)1991-03-071997-05-27Masimo CorporationSignal processing apparatus
USRE38476E1 (en)1991-03-072004-03-30Masimo CorporationSignal processing apparatus
US7496393B2 (en)1991-03-072009-02-24Masimo CorporationSignal processing apparatus
USRE38492E1 (en)1991-03-072004-04-06Masimo CorporationSignal processing apparatus and method
US6650917B2 (en)1991-03-072003-11-18Masimo CorporationSignal processing apparatus
US6745060B2 (en)1991-03-072004-06-01Masimo CorporationSignal processing apparatus
US5685299A (en)1991-03-071997-11-11Masimo CorporationSignal processing apparatus
US7962190B1 (en)1991-03-072011-06-14Masimo CorporationSignal processing apparatus
US7937130B2 (en)1991-03-072011-05-03Masimo CorporationSignal processing apparatus
US6081735A (en)1991-03-072000-06-27Masimo CorporationSignal processing apparatus
US6157850A (en)1991-03-072000-12-05Masimo CorporationSignal processing apparatus
US6826419B2 (en)1991-03-072004-11-30Masimo CorporationSignal processing apparatus and method
US6813511B2 (en)1991-03-212004-11-02Masimo CorporationLow-noise optical probes for reducing ambient noise
US6541756B2 (en)1991-03-212003-04-01Masimo CorporationShielded optical probe having an electrical connector
US5782757A (en)1991-03-211998-07-21Masimo CorporationLow-noise optical probes
US7483730B2 (en)1991-03-212009-01-27Masimo CorporationLow-noise optical probes for reducing ambient noise
US8670814B2 (en)1991-03-212014-03-11Masimo CorporationLow-noise optical probes for reducing ambient noise
US6792300B1 (en)1991-03-212004-09-14Masimo CorporationLow-noise optical probes for reducing light piping
US6256523B1 (en)1991-03-212001-07-03Masimo CorporationLow-noise optical probes
US6088607A (en)1991-03-212000-07-11Masimo CorporationLow noise optical probe
US5638818A (en)1991-03-211997-06-17Masimo CorporationLow noise optical probe
US7132641B2 (en)1991-03-212006-11-07Masimo CorporationShielded optical probe having an electrical connector
US8229533B2 (en)1991-03-212012-07-24Masimo CorporationLow-noise optical probes for reducing ambient noise
US5377676A (en)1991-04-031995-01-03Cedars-Sinai Medical CenterMethod for determining the biodistribution of substances using fluorescence spectroscopy
US5479934A (en)1991-11-081996-01-02Physiometrix, Inc.EEG headpiece with disposable electrodes and apparatus and system and method for use therewith
US5345510A (en)1992-07-131994-09-06Rauland-Borg CorporationIntegrated speaker supervision and alarm system
US5602924A (en)1992-12-071997-02-11Theratechnologies Inc.Electronic stethescope
US5341805A (en)1993-04-061994-08-30Cedars-Sinai Medical CenterGlucose fluorescence monitor and method
US5494043A (en)1993-05-041996-02-27Vital Insite, Inc.Arterial sensor
USD353196S (en)1993-05-281994-12-06Gary SavageStethoscope head
USD353195S (en)1993-05-281994-12-06Gary SavageElectronic stethoscope housing
US5337744A (en)1993-07-141994-08-16Masimo CorporationLow noise finger cot probe
US5452717A (en)1993-07-141995-09-26Masimo CorporationFinger-cot probe
US5456252A (en)1993-09-301995-10-10Cedars-Sinai Medical CenterInduced fluorescence spectroscopy blood perfusion and pH monitor and method
US7376453B1 (en)1993-10-062008-05-20Masimo CorporationSignal processing apparatus
US8560034B1 (en)1993-10-062013-10-15Masimo CorporationSignal processing apparatus
US7328053B1 (en)1993-10-062008-02-05Masimo CorporationSignal processing apparatus
US5533511A (en)1994-01-051996-07-09Vital Insite, IncorporatedApparatus and method for noninvasive blood pressure measurement
USD359546S (en)1994-01-271995-06-20The Ratechnologies Inc.Housing for a dental unit disinfecting device
US5436499A (en)1994-03-111995-07-25Spire CorporationHigh performance GaAs devices and method
US5590649A (en)1994-04-151997-01-07Vital Insite, Inc.Apparatus and method for measuring an induced perturbation to determine blood pressure
US6371921B1 (en)1994-04-152002-04-16Masimo CorporationSystem and method of determining whether to recalibrate a blood pressure monitor
US5810734A (en)1994-04-151998-09-22Vital Insite, Inc.Apparatus and method for measuring an induced perturbation to determine a physiological parameter
US5833618A (en)1994-04-151998-11-10Vital Insite, Inc.Apparatus and method for measuring an induced perturbation to determine a physiological parameter
US5830131A (en)1994-04-151998-11-03Vital Insite, Inc.Apparatus and method for measuring an induced perturbation to determine a physical condition of the human arterial system
US6045509A (en)1994-04-152000-04-04Vital Insite, Inc.Apparatus and method for measuring an induced perturbation to determine a physiological parameter
US5791347A (en)1994-04-151998-08-11Vital Insite, Inc.Motion insensitive pulse detector
US5785659A (en)1994-04-151998-07-28Vital Insite, Inc.Automatically activated blood pressure measurement device
US6852083B2 (en)1994-04-152005-02-08Masimo CorporationSystem and method of determining whether to recalibrate a blood pressure monitor
USD361840S (en)1994-04-211995-08-29Gary SavageStethoscope head
USD362063S (en)1994-04-211995-09-05Gary SavageStethoscope headset
USD363120S (en)1994-04-211995-10-10Gary SavageStethoscope ear tip
US5561275A (en)1994-04-281996-10-01Delstar Services Informatiques (1993) Inc.Headset for electronic stethoscope
US8463349B2 (en)1994-10-072013-06-11Masimo CorporationSignal processing apparatus
US8755856B2 (en)1994-10-072014-06-17Masimo CorporationSignal processing apparatus
US8359080B2 (en)1994-10-072013-01-22Masimo CorporationSignal processing apparatus
US8019400B2 (en)1994-10-072011-09-13Masimo CorporationSignal processing apparatus
US8126528B2 (en)1994-10-072012-02-28Masimo CorporationSignal processing apparatus
US5562002A (en)1995-02-031996-10-08Sensidyne Inc.Positive displacement piston flow meter with damping assembly
US8145287B2 (en)1995-06-072012-03-27Masimo CorporationManual and automatic probe calibration
US7239905B2 (en)1995-06-072007-07-03Masimo Laboratories, Inc.Active pulse blood constituent monitoring
US6678543B2 (en)1995-06-072004-01-13Masimo CorporationOptical probe and positioning wrap
US6278522B1 (en)1995-06-072001-08-21Masimo LaboratoriesOptical filter for spectroscopic measurement and method of producing the optical filter
US5860919A (en)1995-06-071999-01-19Masimo CorporationActive pulse blood constituent monitoring method
US5823950A (en)1995-06-071998-10-20Masimo CorporationManual and automatic probe calibration
US5940182A (en)1995-06-071999-08-17Masimo CorporationOptical filter for spectroscopic measurement and method of producing the optical filter
US5638816A (en)1995-06-071997-06-17Masimo CorporationActive pulse blood constituent monitoring
US7526328B2 (en)1995-06-072009-04-28Masimo CorporationManual and automatic probe calibration
US6931268B1 (en)1995-06-072005-08-16Masimo Laboratories, Inc.Active pulse blood constituent monitoring
USRE44875E1 (en)1995-06-072014-04-29Cercacor Laboratories, Inc.Active pulse blood constituent monitoring
US6151516A (en)1995-06-072000-11-21Masimo LaboratoriesActive pulse blood constituent monitoring
US7496391B2 (en)1995-06-072009-02-24Masimo CorporationManual and automatic probe calibration
US5758644A (en)1995-06-071998-06-02Masimo CorporationManual and automatic probe calibration
USRE42753E1 (en)1995-06-072011-09-27Masimo Laboratories, Inc.Active pulse blood constituent monitoring
US5760910A (en)1995-06-071998-06-02Masimo CorporationOptical filter for spectroscopic measurement and method of producing the optical filter
US6110522A (en)1995-06-072000-08-29Masimo LaboratoriesBlood glucose monitoring system
US6011986A (en)1995-06-072000-01-04Masimo CorporationManual and automatic probe calibration
US8781543B2 (en)1995-06-072014-07-15Jpmorgan Chase Bank, National AssociationManual and automatic probe calibration
US5743262A (en)1995-06-071998-04-28Masimo CorporationBlood glucose monitoring system
US6397091B2 (en)1995-06-072002-05-28Masimo CorporationManual and automatic probe calibration
US5750994A (en)1995-07-311998-05-12Instrumentation Metrics, Inc.Positive correlation filter systems and methods of use thereof
US6010937A (en)1995-09-052000-01-04Spire CorporationReduction of dislocations in a heteroepitaxial semiconductor structure
US5558065A (en)1995-09-051996-09-24Kokusan Denki Co., Ltd.Method for driving injector for internal combustion engine
USD393830S (en)1995-10-161998-04-28Masimo CorporationPatient cable connector
US6280213B1 (en)1995-10-162001-08-28Masimo CorporationPatient cable connector
US5934925A (en)1995-10-161999-08-10Masimo CorporationPatient cable connector
US5645440A (en)1995-10-161997-07-08Masimo CorporationPatient cable connector
US5904654A (en)1995-10-201999-05-18Vital Insite, Inc.Exciter-detector unit for measuring physiological parameters
US5671914A (en)1995-11-061997-09-30Spire CorporationMulti-band spectroscopic photodetector array
US5726440A (en)1995-11-061998-03-10Spire CorporationWavelength selective photodetector
US6232609B1 (en)1995-12-012001-05-15Cedars-Sinai Medical CenterGlucose monitoring apparatus and method using laser-induced emission spectroscopy
US5652566A (en)1995-12-151997-07-29Aequitron Medical, Inc.Alarm system
US5747806A (en)1996-02-021998-05-05Instrumentation Metrics, IncMethod and apparatus for multi-spectral analysis in noninvasive nir spectroscopy
US6040578A (en)1996-02-022000-03-21Instrumentation Metrics, Inc.Method and apparatus for multi-spectral analysis of organic blood analytes in noninvasive infrared spectroscopy
US6253097B1 (en)1996-03-062001-06-26Datex-Ohmeda, Inc.Noninvasive medical monitoring instrument using surface emitting laser devices
US5890929A (en)1996-06-191999-04-06Masimo CorporationShielded medical connector
US6939305B2 (en)1996-06-262005-09-06Masimo CorporationRapid non-invasive blood pressure measuring device
US6632181B2 (en)1996-06-262003-10-14Masimo CorporationRapid non-invasive blood pressure measuring device
US7041060B2 (en)1996-06-262006-05-09Masimo CorporationRapid non-invasive blood pressure measuring device
US7618375B2 (en)1996-06-262009-11-17Masimo CorporationRapid non-invasive blood pressure measuring device
US6027452A (en)1996-06-262000-02-22Vital Insite, Inc.Rapid non-invasive blood pressure measuring device
US7951086B2 (en)1996-06-262011-05-31Masimo CorporationRapid non-invasive blood pressure measuring device
US6066204A (en)1997-01-082000-05-23Bandwidth Semiconductor, LlcHigh pressure MOCVD reactor system
US7221971B2 (en)1997-04-142007-05-22Masimo CorporationMethod and apparatus for demodulating signals in a pulse oximetry system
US8150487B2 (en)1997-04-142012-04-03Masimo CorporationMethod and apparatus for demodulating signals in a pulse oximetry system
US8718737B2 (en)1997-04-142014-05-06Masimo CorporationMethod and apparatus for demodulating signals in a pulse oximetry system
US8190227B2 (en)1997-04-142012-05-29Masimo CorporationSignal processing apparatus and method
US8185180B2 (en)1997-04-142012-05-22Masimo CorporationMethod and apparatus for demodulating signals in a pulse oximetry system
US8888708B2 (en)1997-04-142014-11-18Masimo CorporationSignal processing apparatus and method
US8180420B2 (en)1997-04-142012-05-15Masimo CorporationSignal processing apparatus and method
US9289167B2 (en)1997-04-142016-03-22Masimo CorporationSignal processing apparatus and method
US7471971B2 (en)1997-04-142008-12-30Masimo CorporationSignal processing apparatus and method
US6699194B1 (en)1997-04-142004-03-02Masimo CorporationSignal processing apparatus and method
US5919134A (en)1997-04-141999-07-06Masimo Corp.Method and apparatus for demodulating signals in a pulse oximetry system
US7003339B2 (en)1997-04-142006-02-21Masimo CorporationMethod and apparatus for demodulating signals in a pulse oximetry system
US6002952A (en)1997-04-141999-12-14Masimo CorporationSignal processing apparatus and method
US6067462A (en)1997-04-142000-05-23Masimo CorporationSignal processing apparatus and method
US6229856B1 (en)1997-04-142001-05-08Masimo CorporationMethod and apparatus for demodulating signals in a pulse oximetry system
US6643530B2 (en)1997-04-142003-11-04Masimo CorporationMethod and apparatus for demodulating signals in a pulse oximetry system
US7499741B2 (en)1997-04-142009-03-03Masimo CorporationSignal processing apparatus and method
US9351673B2 (en)1997-04-142016-05-31Masimo CorporationMethod and apparatus for demodulating signals in a pulse oximetry system
US7489958B2 (en)1997-04-142009-02-10Masimo CorporationSignal processing apparatus and method
US20170014083A1 (en)1997-04-142017-01-19Masimo CorporationSignal processing apparatus and method
US6124597A (en)1997-07-072000-09-26Cedars-Sinai Medical CenterMethod and devices for laser induced fluorescence attenuation spectroscopy
US6697657B1 (en)1997-07-072004-02-24Cedars-Sinai Medical CenterMethod and devices for laser induced fluorescence attenuation spectroscopy (LIFAS)
USRE39672E1 (en)1997-07-072007-06-05Cedars-Sinai Medical CenterMethod and devices for laser induced fluorescence attenuation spectroscopy
US6115673A (en)1997-08-142000-09-05Instrumentation Metrics, Inc.Method and apparatus for generating basis sets for use in spectroscopic analysis
US6255708B1 (en)1997-10-102001-07-03Rengarajan SudharsananSemiconductor P-I-N detector
US5987343A (en)1997-11-071999-11-16Datascope Investment Corp.Method for storing pulse oximetry sensor characteristics
US6184521B1 (en)1998-01-062001-02-06Masimo CorporationPhotodiode detector with integrated noise shielding
US6993371B2 (en)1998-02-112006-01-31Masimo CorporationPulse oximetry sensor adaptor
US5995855A (en)1998-02-111999-11-30Masimo CorporationPulse oximetry sensor adapter
US6597933B2 (en)1998-02-112003-07-22Masimo CorporationPulse oximetry sensor adapter
US6349228B1 (en)1998-02-112002-02-19Masimo CorporationPulse oximetry sensor adapter
US7844313B2 (en)1998-02-112010-11-30Masimo CorporationPulse oximetry sensor adapter
US6241683B1 (en)1998-02-202001-06-05INSTITUT DE RECHERCHES CLINIQUES DE MONTRéAL (IRCM)Phonospirometry for non-invasive monitoring of respiration
US6830711B2 (en)1998-03-102004-12-14Masimo CorporationMold tool for an optoelectronic element
US7332784B2 (en)1998-03-102008-02-19Masimo CorporationMethod of providing an optoelectronic element with a non-protruding lens
US7067893B2 (en)1998-03-102006-06-27Masimo CorporationOptoelectronic element with a non-protruding lens
US6525386B1 (en)1998-03-102003-02-25Masimo CorporationNon-protruding optoelectronic lens
US6165005A (en)1998-03-192000-12-26Masimo CorporationPatient cable sensor switch
US5997343A (en)1998-03-191999-12-07Masimo CorporationPatient cable sensor switch
US6728560B2 (en)1998-04-062004-04-27The General Hospital CorporationNon-invasive tissue glucose level monitoring
US7899518B2 (en)1998-04-062011-03-01Masimo Laboratories, Inc.Non-invasive tissue glucose level monitoring
US6505059B1 (en)1998-04-062003-01-07The General Hospital CorporationNon-invasive tissue glucose level monitoring
US7899507B2 (en)1998-06-032011-03-01Masimo CorporationPhysiological monitor
US10335072B2 (en)1998-06-032019-07-02Masimo CorporationPhysiological monitor
US8721541B2 (en)1998-06-032014-05-13Masimo CorporationPhysiological monitor
US6334065B1 (en)1998-06-032001-12-25Masimo CorporationStereo pulse oximeter
US6898452B2 (en)1998-06-032005-05-24Masimo CorporationStereo pulse oximeter
US7891355B2 (en)1998-06-032011-02-22Masimo CorporationPhysiological monitor
US7761128B2 (en)1998-06-032010-07-20Masimo CorporationPhysiological monitor
US8255028B2 (en)1998-06-032012-08-28Masimo Corporation, Inc.Physiological monitor
US6714804B2 (en)1998-06-032004-03-30Masimo CorporationStereo pulse oximeter
US7894868B2 (en)1998-06-032011-02-22Masimo CorporationPhysiological monitor
US9492110B2 (en)1998-06-032016-11-15Masimo CorporationPhysiological monitor
US8364223B2 (en)1998-06-032013-01-29Masimo CorporationPhysiological monitor
US6128521A (en)1998-07-102000-10-03Physiometrix, Inc.Self adjusting headgear appliance using reservoir electrodes
US6285896B1 (en)1998-07-132001-09-04Masimo CorporationFetal pulse oximetry sensor
US6129675A (en)1998-09-112000-10-10Jay; Gregory D.Device and method for measuring pulsus paradoxus
US6325761B1 (en)1998-09-112001-12-04Gregory D. JayDevice and method for measuring pulsus paradoxus
USRE43169E1 (en)1998-10-152012-02-07Masimo CorporationUniversal modular pulse oximeter probe for use with reusable and disposable patient attachment devices
US6343224B1 (en)1998-10-152002-01-29Sensidyne, Inc.Reusable pulse oximeter probe and disposable bandage apparatus
US6684091B2 (en)1998-10-152004-01-27Sensidyne, Inc.Reusable pulse oximeter probe and disposable bandage method
USRE41317E1 (en)1998-10-152010-05-04Masimo CorporationUniversal modular pulse oximeter probe for use with reusable and disposable patient attachment devices
US6721585B1 (en)1998-10-152004-04-13Sensidyne, Inc.Universal modular pulse oximeter probe for use with reusable and disposable patient attachment devices
USRE44823E1 (en)1998-10-152014-04-01Masimo CorporationUniversal modular pulse oximeter probe for use with reusable and disposable patient attachment devices
US6519487B1 (en)1998-10-152003-02-11Sensidyne, Inc.Reusable pulse oximeter probe and disposable bandage apparatus
US6144868A (en)1998-10-152000-11-07Sensidyne, Inc.Reusable pulse oximeter probe and disposable bandage apparatus
USRE43860E1 (en)1998-10-152012-12-11Masimo CorporationReusable pulse oximeter probe and disposable bandage apparatus
US8706179B2 (en)1998-10-152014-04-22Masimo CorporationReusable pulse oximeter probe and disposable bandage apparatii
US6735459B2 (en)1998-10-152004-05-11Sensidyne, Inc.Reusable pulse oximeter probe and disposable bandage apparatus
USRE41912E1 (en)1998-10-152010-11-02Masimo CorporationReusable pulse oximeter probe and disposable bandage apparatus
US9675286B2 (en)1998-12-302017-06-13Masimo CorporationPlethysmograph pulse recognition processor
US7044918B2 (en)1998-12-302006-05-16Masimo CorporationPlethysmograph pulse recognition processor
US6816741B2 (en)1998-12-302004-11-09Masimo CorporationPlethysmograph pulse recognition processor
US7988637B2 (en)1998-12-302011-08-02Masimo CorporationPlethysmograph pulse recognition processor
US6463311B1 (en)1998-12-302002-10-08Masimo CorporationPlethysmograph pulse recognition processor
US6996427B2 (en)1999-01-072006-02-07Masimo CorporationPulse oximetry data confidence indicator
US10130289B2 (en)1999-01-072018-11-20Masimo CorporationPulse and confidence indicator displayed proximate plethysmograph
US8046040B2 (en)1999-01-072011-10-25Masimo CorporationPulse oximetry data confidence indicator
US9636055B2 (en)1999-01-072017-05-02Masimo CorporationPulse and confidence indicator displayed proximate plethysmograph
US6684090B2 (en)1999-01-072004-01-27Masimo CorporationPulse oximetry data confidence indicator
US7024233B2 (en)1999-01-072006-04-04Masimo CorporationPulse oximetry data confidence indicator
US6606511B1 (en)1999-01-072003-08-12Masimo CorporationPulse oximetry pulse indicator
US6770028B1 (en)1999-01-252004-08-03Masimo CorporationDual-mode pulse oximeter
US6584336B1 (en)1999-01-252003-06-24Masimo CorporationUniversal/upgrading pulse oximeter
US20140012100A1 (en)1999-01-252014-01-09Masimo CorporationDual-mode patient monitor
US7991446B2 (en)1999-01-252011-08-02Masimo CorporationSystems and methods for acquiring calibration data usable in a pulse oximeter
US10231676B2 (en)1999-01-252019-03-19Masimo CorporationDual-mode patient monitor
US8405608B2 (en)1999-01-252013-03-26Masimo CorporationSystem and method for altering a display mode
US8532727B2 (en)1999-01-252013-09-10Masimo CorporationDual-mode pulse oximeter
US9375185B2 (en)1999-01-252016-06-28Masimo CorporationSystems and methods for acquiring calibration data usable in a pulse oximeter
US6658276B2 (en)1999-01-252003-12-02Masimo CorporationPulse oximeter user interface
US7530949B2 (en)1999-01-252009-05-12Masimo CorporationDual-mode pulse oximeter
US7428432B2 (en)1999-01-252008-09-23Masimo CorporationSystems and methods for acquiring calibration data usable in a pulse oximeter
US7471969B2 (en)1999-03-252008-12-30Masimo CorporationPulse oximeter probe-off detector
US6654624B2 (en)1999-03-252003-11-25Masimo CorporationPulse oximeter probe-off detector
US8532728B2 (en)1999-03-252013-09-10Masimo CorporationPulse oximeter probe-off detector
US6360114B1 (en)1999-03-252002-03-19Masimo CorporationPulse oximeter probe-off detector
US9730640B2 (en)1999-03-252017-08-15Masimo CorporationPulse oximeter probe-off detector
US6721582B2 (en)1999-04-062004-04-13Argose, Inc.Non-invasive tissue glucose level monitoring
US8175672B2 (en)1999-04-122012-05-08Masimo CorporationReusable pulse oximeter probe and disposable bandage apparatii
US7245953B1 (en)1999-04-122007-07-17Masimo CorporationReusable pulse oximeter probe and disposable bandage apparatii
US7048687B1 (en)1999-04-142006-05-23Ob Scientific, Inc.Limited use medical probe
US6308089B1 (en)1999-04-142001-10-23O.B. Scientific, Inc.Limited use medical probe
US20060161054A1 (en)1999-04-142006-07-20Reuss James LLimited use medical probe
US6771994B2 (en)1999-06-182004-08-03Masimo CorporationPulse oximeter probe-off detection system
US6526300B1 (en)1999-06-182003-02-25Masimo CorporationPulse oximeter probe-off detection system
US20030018243A1 (en)1999-07-072003-01-23Gerhardt Thomas J.Selectively plated sensor
US6301493B1 (en)1999-07-102001-10-09Physiometrix, Inc.Reservoir electrodes for electroencephalograph headgear appliance
US6321100B1 (en)1999-07-132001-11-20Sensidyne, Inc.Reusable pulse oximeter probe with disposable liner
USRE41333E1 (en)1999-07-222010-05-11Sensys Medical, Inc.Multi-tier method of developing localized calibration models for non-invasive blood analyte prediction
US6280381B1 (en)1999-07-222001-08-28Instrumentation Metrics, Inc.Intelligent system for noninvasive blood analyte prediction
US7910875B2 (en)1999-08-262011-03-22Masimo CorporationSystems and methods for indicating an amount of use of a sensor
US7186966B2 (en)1999-08-262007-03-06Masimo CorporationAmount of use tracking device and method for medical product
US6861639B2 (en)1999-08-262005-03-01Masimo CorporationSystems and methods for indicating an amount of use of a sensor
US6388240B2 (en)1999-08-262002-05-14Masimo CorporationShielded optical probe and method having a longevity indication
US6580086B1 (en)1999-08-262003-06-17Masimo CorporationShielded optical probe and method
US8399822B2 (en)1999-08-262013-03-19Masimo CorporationSystems and methods for indicating an amount of use of a sensor
US6515273B2 (en)1999-08-262003-02-04Masimo CorporationSystem for indicating the expiration of the useful operating life of a pulse oximetry sensor
US6979812B2 (en)1999-08-262005-12-27Masimo CorporationSystems and methods for indicating an amount of use of a sensor
US6411373B1 (en)1999-10-082002-06-25Instrumentation Metrics, Inc.Fiber optic illumination and detection patterns, shapes, and locations for use in spectroscopic analysis
US6943348B1 (en)1999-10-192005-09-13Masimo CorporationSystem for detecting injection holding material
US6430437B1 (en)1999-10-272002-08-06Physiometrix, Inc.Module for acquiring electroencephalograph signals from a patient
US6317627B1 (en)1999-11-022001-11-13Physiometrix, Inc.Anesthesia monitoring system based on electroencephalographic signals
US6639668B1 (en)1999-11-032003-10-28Argose, Inc.Asynchronous fluorescence scan
US6542764B1 (en)1999-12-012003-04-01Masimo CorporationPulse oximeter monitor for expressing the urgency of the patient's condition
US7272425B2 (en)1999-12-092007-09-18Masimo CorporationPulse oximetry sensor including stored sensor data
US8000761B2 (en)1999-12-092011-08-16Masimo CorporationResposable pulse oximetry sensor
US6671531B2 (en)1999-12-092003-12-30Masimo CorporationSensor wrap including foldable applicator
US6725075B2 (en)1999-12-092004-04-20Masimo CorporationResposable pulse oximetry sensor
US6377829B1 (en)1999-12-092002-04-23Masimo CorporationResposable pulse oximetry sensor
US6950687B2 (en)1999-12-092005-09-27Masimo CorporationIsolation and communication element for a resposable pulse oximetry sensor
US9386953B2 (en)1999-12-092016-07-12Masimo CorporationMethod of sterilizing a reusable portion of a noninvasive optical probe
US7039449B2 (en)1999-12-092006-05-02Masimo CorporationResposable pulse oximetry sensor
US7734320B2 (en)1999-12-092010-06-08Masimo CorporationSensor isolation
US6152754A (en)1999-12-212000-11-28Masimo CorporationCircuit board based cable connector
US6587196B1 (en)2000-01-262003-07-01Sensys Medical, Inc.Oscillating mechanism driven monochromator
US20010034477A1 (en)2000-02-182001-10-25James MansfieldMultivariate analysis of green to ultraviolet spectra of cell and tissue samples
US7289835B2 (en)2000-02-182007-10-30Masimo Laboratories, Inc.Multivariate analysis of green to ultraviolet spectra of cell and tissue samples
US6597932B2 (en)2000-02-182003-07-22Argose, Inc.Generation of spatially-averaged excitation-emission map in heterogeneous tissue
US20010039483A1 (en)2000-02-182001-11-08Derek BrandReduction of inter-subject variation via transfer standardization
US6587199B1 (en)2000-02-252003-07-01Sensys Medical, Inc.Embedded data acquisition and control system for non-invasive glucose prediction instrument
US6415167B1 (en)2000-05-022002-07-02Instrumentation Metrics, Inc.Fiber optic probe placement guide
US7606608B2 (en)2000-05-022009-10-20Sensys Medical, Inc.Optical sampling interface system for in-vivo measurement of tissue
US20020010401A1 (en)2000-05-182002-01-24Andrew BushmakinPre- and post-processing of spectral data for calibration using mutivariate analysis techniques
US7395158B2 (en)2000-05-302008-07-01Sensys Medical, Inc.Method of screening for disorders of glucose metabolism
US6487429B2 (en)2000-05-302002-11-26Sensys Medical, Inc.Use of targeted glycemic profiles in the calibration of a noninvasive blood glucose monitor
US9138192B2 (en)2000-06-052015-09-22Masimo CorporationVariable indication estimator
US7499835B2 (en)2000-06-052009-03-03Masimo CorporationVariable indication estimator
US6430525B1 (en)2000-06-052002-08-06Masimo CorporationVariable mode averager
US10357206B2 (en)2000-06-052019-07-23Masimo CorporationVariable indication estimator
US20150351697A1 (en)2000-06-052015-12-10Masimo CorporationVariable indication estimator
US8260577B2 (en)2000-06-052012-09-04Masimo CorporationVariable indication estimator
US8489364B2 (en)2000-06-052013-07-16Masimo CorporationVariable indication estimator
US6999904B2 (en)2000-06-052006-02-14Masimo CorporationVariable indication estimator
US7873497B2 (en)2000-06-052011-01-18Masimo CorporationVariable indication estimator
US6738652B2 (en)2000-06-152004-05-18Sensys Medical, Inc.Classification and screening of test subjects according to optical thickness of skin
US6470199B1 (en)2000-06-212002-10-22Masimo CorporationElastic sock for positioning an optical probe
US6697656B1 (en)2000-06-272004-02-24Masimo CorporationPulse oximetry sensor compatible with multiple pulse oximetry systems
US6534012B1 (en)2000-08-022003-03-18Sensys Medical, Inc.Apparatus and method for reproducibly modifying localized absorption and scattering coefficients at a tissue measurement site during optical sampling
US7149561B2 (en)2000-08-182006-12-12Masimo CorporationOptical spectroscopy pathlength measurement system
US6640116B2 (en)2000-08-182003-10-28Masimo CorporationOptical spectroscopy pathlength measurement system
US7801581B2 (en)2000-08-182010-09-21Masimo Laboratories, Inc.Optical spectroscopy pathlength measurement system
US6368283B1 (en)2000-09-082002-04-09Institut De Recherches Cliniques De MontrealMethod and apparatus for estimating systolic and mean pulmonary artery pressures of a patient
US6816241B2 (en)2000-09-262004-11-09Sensys Medical, Inc.LED light source-based instrument for non-invasive blood analyte determination
US6640117B2 (en)2000-09-262003-10-28Sensys Medical, Inc.Method and apparatus for minimizing spectral effects attributable to tissue state variations during NIR-based non-invasive blood analyte determination
US20020058864A1 (en)2000-11-132002-05-16Mansfield James R.Reduction of spectral site to site variation
US6760607B2 (en)2000-12-292004-07-06Masimo CorporationRibbon cable substrate pulse oximetry sensor
US6990364B2 (en)2001-01-262006-01-24Sensys Medical, Inc.Noninvasive measurement of glucose through the optical properties of tissue
US20020133080A1 (en)2001-02-062002-09-19William ApruzzeseLayered calibration standard for tissue sampling
US7340287B2 (en)2001-05-032008-03-04Masimo CorporationFlex circuit shielded optical sensor
US6985764B2 (en)2001-05-032006-01-10Masimo CorporationFlex circuit shielded optical sensor
US9814418B2 (en)2001-06-292017-11-14Masimo CorporationSine saturation transform
US8892180B2 (en)2001-06-292014-11-18Masimo CorporationSine saturation transform
US7467002B2 (en)2001-06-292008-12-16Masimo CorporationSine saturation transform
US7377899B2 (en)2001-06-292008-05-27Masimo CorporationSine saturation transform
US7904132B2 (en)2001-06-292011-03-08Masimo CorporationSine saturation transform
US8498684B2 (en)2001-06-292013-07-30Masimo CorporationSine saturation transform
US7373194B2 (en)2001-06-292008-05-13Masimo CorporationSignal component processor
US6850787B2 (en)2001-06-292005-02-01Masimo Laboratories, Inc.Signal component processor
US10433776B2 (en)2001-07-022019-10-08Masimo CorporationLow power pulse oximeter
US9848806B2 (en)2001-07-022017-12-26Masimo CorporationLow power pulse oximeter
US20180192924A1 (en)2001-07-022018-07-12Masimo CorporationLow power pulse oximeter
US6697658B2 (en)2001-07-022004-02-24Masimo CorporationLow power pulse oximeter
US20190069813A1 (en)2001-07-022019-03-07Masimo CorporationLow power pulse oximeter
US8457703B2 (en)2001-07-022013-06-04Masimo CorporationLow power pulse oximeter
US7295866B2 (en)2001-07-022007-11-13Masimo CorporationLow power pulse oximeter
US20030013975A1 (en)2001-07-122003-01-16Kiani Massi E.Method of selling a continuous mode blood pressure monitor
US6595316B2 (en)2001-07-182003-07-22Andromed, Inc.Tension-adjustable mechanism for stethoscope earpieces
US6788965B2 (en)2001-08-032004-09-07Sensys Medical, Inc.Intelligent system for detecting errors and determining failure modes in noninvasive measurement of blood and tissue analytes
US6876931B2 (en)2001-08-032005-04-05Sensys Medical Inc.Automatic process for sample selection during multivariate calibration
US6635559B2 (en)2001-09-062003-10-21Spire CorporationFormation of insulating aluminum oxide in semiconductor substrates
US20030144582A1 (en)2001-09-072003-07-31Carl CohenPortable non-invasive glucose monitor
US20030212312A1 (en)2002-01-072003-11-13Coffin James P.Low noise patient cable
US6934570B2 (en)2002-01-082005-08-23Masimo CorporationPhysiological sensor combination
US9364181B2 (en)2002-01-082016-06-14Masimo CorporationPhysiological sensor combination
US8228181B2 (en)2002-01-242012-07-24Masimo CorporationPhysiological trend monitor
US9636056B2 (en)2002-01-242017-05-02Masimo CorporationPhysiological trend monitor
US7880606B2 (en)2002-01-242011-02-01Masimo CorporationPhysiological trend monitor
US7190261B2 (en)2002-01-242007-03-13Masimo CorporationArrhythmia alarm processor
US8570167B2 (en)2002-01-242013-10-29Masimo CorporationPhysiological trend monitor
US7355512B1 (en)2002-01-242008-04-08Masimo CorporationParallel alarm processor
US6822564B2 (en)2002-01-242004-11-23Masimo CorporationParallel measurement alarm processor
US9131883B2 (en)2002-01-242015-09-15Masimo CorporationPhysiological trend monitor
US7030749B2 (en)2002-01-242006-04-18Masimo CorporationParallel measurement alarm processor
US7015451B2 (en)2002-01-252006-03-21Masimo CorporationPower supply rail controller
US20030156288A1 (en)2002-02-202003-08-21Barnum P. T.Sensor band for aligning an emitter and a detector
US8606342B2 (en)2002-02-222013-12-10Cercacor Laboratories, Inc.Pulse and active pulse spectraphotometry
US6961598B2 (en)2002-02-222005-11-01Masimo CorporationPulse and active pulse spectraphotometry
US20140171763A1 (en)2002-02-222014-06-19Cercacor Laboratories, Inc.Pulse and active pulse spectraphotometry
US7509494B2 (en)2002-03-012009-03-24Masimo CorporationInterface cable
US7133710B2 (en)2002-03-082006-11-07Sensys Medical, Inc.Compact apparatus for noninvasive measurement of glucose through near-infrared spectroscopy
US7697966B2 (en)2002-03-082010-04-13Sensys Medical, Inc.Noninvasive targeting system method and apparatus
US8504128B2 (en)2002-03-082013-08-06Glt Acquisition Corp.Method and apparatus for coupling a channeled sample probe to tissue
US8718738B2 (en)2002-03-082014-05-06Glt Acquisition Corp.Method and apparatus for coupling a sample probe with a sample site
US6998247B2 (en)2002-03-082006-02-14Sensys Medical, Inc.Method and apparatus using alternative site glucose determinations to calibrate and maintain noninvasive and implantable analyzers
US7844315B2 (en)2002-03-252010-11-30Masimo CorporationPhysiological measurement communications adapter
US20180242853A1 (en)2002-03-252018-08-30Masimo CorporationArm mountable portable patient monitor
US10213108B2 (en)2002-03-252019-02-26Masimo CorporationArm mountable portable patient monitor
US8548548B2 (en)2002-03-252013-10-01Masimo CorporationPhysiological measurement communications adapter
US20190261857A1 (en)2002-03-252019-08-29Masimo CorporationPhysiological measurement device
US9113832B2 (en)2002-03-252015-08-25Masimo CorporationWrist-mounted physiological measurement device
US7844314B2 (en)2002-03-252010-11-30Masimo CorporationPhysiological measurement communications adapter
US9113831B2 (en)2002-03-252015-08-25Masimo CorporationPhysiological measurement communications adapter
US20160029932A1 (en)2002-03-252016-02-04Masimo CorporationPhysiological measurement communications adapter
US6850788B2 (en)2002-03-252005-02-01Masimo CorporationPhysiological measurement communications adapter
US10219706B2 (en)2002-03-252019-03-05Masimo CorporationPhysiological measurement device
US9788735B2 (en)2002-03-252017-10-17Masimo CorporationBody worn mobile medical patient monitor
US9795300B2 (en)2002-03-252017-10-24Masimo CorporationWearable portable patient monitor
US10335033B2 (en)2002-03-252019-07-02Masimo CorporationPhysiological measurement device
US9872623B2 (en)2002-03-252018-01-23Masimo CorporationArm mountable portable patient monitor
US6661161B1 (en)2002-06-272003-12-09Andromed Inc.Piezoelectric biological sound monitor with printed circuit board
US7096054B2 (en)2002-08-012006-08-22Masimo CorporationLow noise optical housing
US7341559B2 (en)2002-09-142008-03-11Masimo CorporationPulse oximetry ear sensor
US7142901B2 (en)2002-09-252006-11-28Masimo CorporationParameter compensated physiological monitor
US7274955B2 (en)2002-09-252007-09-25Masimo CorporationParameter compensated pulse oximeter
US7096052B2 (en)2002-10-042006-08-22Masimo CorporationOptical probe including predetermined emission wavelength based on patient type
US20040106163A1 (en)2002-11-122004-06-03Workman Jerome JamesNon-invasive measurement of analytes
US20140120564A1 (en)2002-11-122014-05-01Cercacor Laboratories, Inc.Non-invasive measurement of analytes
US8509867B2 (en)2002-11-122013-08-13Cercacor Laboratories, Inc.Non-invasive measurement of analytes
US7027849B2 (en)2002-11-222006-04-11Masimo Laboratories, Inc.Blood parameter measurement system
US6956649B2 (en)2002-11-262005-10-18Sensys Medical, Inc.Spectroscopic system and method using a ceramic optical reference
US8948835B2 (en)2002-12-042015-02-03Cercacor Laboratories, Inc.Systems and methods for determining blood oxygen saturation values using complex number encoding
US9622693B2 (en)2002-12-042017-04-18Masimo CorporationSystems and methods for determining blood oxygen saturation values using complex number encoding
US7440787B2 (en)2002-12-042008-10-21Masimo Laboratories, Inc.Systems and methods for determining blood oxygen saturation values using complex number encoding
US6970792B1 (en)2002-12-042005-11-29Masimo Laboratories, Inc.Systems and methods for determining blood oxygen saturation values using complex number encoding
US8921699B2 (en)2002-12-192014-12-30Masimo CorporationLow noise oximetry cable including conductive cords
US20150101844A1 (en)2002-12-192015-04-16Masimo CorporationLow noise oximetry cable including conductive cords
US7225006B2 (en)2003-01-232007-05-29Masimo CorporationAttachment and optical probe
US7225007B2 (en)2003-01-242007-05-29Masimo CorporationOptical sensor including disposable and reusable elements
US6920345B2 (en)2003-01-242005-07-19Masimo CorporationOptical sensor including disposable and reusable elements
US10201298B2 (en)2003-01-242019-02-12Masimo CorporationNoninvasive oximetry optical sensor including disposable and reusable elements
US8781549B2 (en)2003-01-242014-07-15Cercacor Laboratories, Inc.Noninvasive oximetry optical sensor including disposable and reusable elements
US9693719B2 (en)2003-01-242017-07-04Masimo CorporationNoninvasive oximetry optical sensor including disposable and reusable elements
US20190216379A1 (en)2003-01-242019-07-18Masimo CorporationNoninvasive oximetry optical sensor including disposable and reusable elements
US8244325B2 (en)2003-01-242012-08-14Cercacor Laboratories, Inc.Noninvasive oximetry optical sensor including disposable and reusable elements
US7640140B2 (en)2003-03-072009-12-29Sensys Medical, Inc.Method of processing noninvasive spectra
US7620674B2 (en)2003-03-072009-11-17Sensys Medical, Inc.Method and apparatus for enhanced estimation of an analyte property through multiple region transformation
US7629039B2 (en)2003-04-252009-12-08Phasein AbAir gas analyzer window and a method for producing such a window
US20050055276A1 (en)2003-06-262005-03-10Kiani Massi E.Sensor incentive method
US9084569B2 (en)2003-07-082015-07-21Cercacor Laboratories, Inc.Method and apparatus for reducing coupling between signals in a measurement system
US7003338B2 (en)2003-07-082006-02-21Masimo CorporationMethod and apparatus for reducing coupling between signals
US8676286B2 (en)2003-07-082014-03-18Cercacor Laboratories, Inc.Method and apparatus for reducing coupling between signals in a measurement system
US9801588B2 (en)2003-07-082017-10-31Cercacor Laboratories, Inc.Method and apparatus for reducing coupling between signals in a measurement system
US7865222B2 (en)2003-07-082011-01-04Masimo LaboratoriesMethod and apparatus for reducing coupling between signals in a measurement system
US7356365B2 (en)2003-07-092008-04-08Glucolight CorporationMethod and apparatus for tissue oximetry
US10058275B2 (en)2003-07-252018-08-28Masimo CorporationMultipurpose sensor port
US7500950B2 (en)2003-07-252009-03-10Masimo CorporationMultipurpose sensor port
US8920317B2 (en)2003-07-252014-12-30Masimo CorporationMultipurpose sensor port
US20190117139A1 (en)2003-07-252019-04-25Masimo CorporationMultipurpose sensor port
US9788768B2 (en)2003-08-282017-10-17Masimo CorporationPhysiological parameter tracking system
US7254431B2 (en)2003-08-282007-08-07Masimo CorporationPhysiological parameter tracking system
US8385995B2 (en)2003-08-282013-02-26Masimo CorporationPhysiological parameter tracking system
US7254434B2 (en)2003-10-142007-08-07Masimo CorporationVariable pressure reusable sensor
US9072474B2 (en)2003-11-052015-07-07Masimo CorporationPulse oximeter access apparatus and method
US9743887B2 (en)2003-11-052017-08-29Masimo CorporationPulse oximeter access apparatus and method
US20180028124A1 (en)2003-11-052018-02-01Masimo CorporationPulse oximeter access apparatus and method
US7483729B2 (en)2003-11-052009-01-27Masimo CorporationPulse oximeter access apparatus and method
US7373193B2 (en)2003-11-072008-05-13Masimo CorporationPulse oximetry data capture system
US20140127137A1 (en)2003-12-242014-05-08Cercacor Laboratories, IncSmmr (small molecule metabolite reporters) for use as in vivo glucose biosensors
US8008088B2 (en)2003-12-242011-08-30Masimo Laboratories, Inc.SMMR (small molecule metabolite reporters) for use as in vivo glucose biosensors
US8029765B2 (en)2003-12-242011-10-04Masimo Laboratories, Inc.SMMR (small molecule metabolite reporters) for use as in vivo glucose biosensors
US8466286B2 (en)2003-12-242013-06-18Cercacor Laboratories, Inc.SMMR (small molecule metabolite reporters) for use as in vivo glucose biosensors
US7280858B2 (en)2004-01-052007-10-09Masimo CorporationPulse oximetry sensor
US7510849B2 (en)2004-01-292009-03-31Glucolight CorporationOCT based method for diagnosis and therapy
US7371981B2 (en)2004-02-202008-05-13Masimo CorporationConnector switch
US9161713B2 (en)2004-03-042015-10-20Masimo CorporationMulti-mode patient monitor configured to self-configure for a selected or determined mode of operation
US7438683B2 (en)2004-03-042008-10-21Masimo CorporationApplication identification sensor
US8337403B2 (en)2004-03-042012-12-25Masimo CorporationPatient monitor having context-based sensitivity adjustments
US8721542B2 (en)2004-03-082014-05-13Masimo CorporationPhysiological parameter system
US10098591B2 (en)2004-03-082018-10-16Masimo CorporationPhysiological parameter system
US20190269370A1 (en)2004-03-082019-09-05Masimo CorporationPhysiological parameter system
US7415297B2 (en)2004-03-082008-08-19Masimo CorporationPhysiological parameter system
US20050234317A1 (en)2004-03-192005-10-20Kiani Massi ELow power and personal pulse oximetry systems
US7292883B2 (en)2004-03-312007-11-06Masimo CorporationPhysiological assessment system
US8641631B2 (en)2004-04-082014-02-04Masimo CorporationNon-invasive monitoring of respiratory rate, heart rate and apnea
US20140180154A1 (en)2004-04-082014-06-26Masimo CorporationNon-invasive monitoring of respiratory rate, heart rate and apnea
US7909772B2 (en)2004-04-162011-03-22Masimo CorporationNon-invasive measurement of second heart sound components
US7519406B2 (en)2004-04-282009-04-14Sensys Medical, Inc.Noninvasive analyzer sample probe interface method and apparatus
US8868147B2 (en)2004-04-282014-10-21Glt Acquisition Corp.Method and apparatus for controlling positioning of a noninvasive analyzer sample probe
US9339220B2 (en)2004-07-072016-05-17Masimo CorporationMulti-wavelength physiological monitor
US9341565B2 (en)2004-07-072016-05-17Masimo CorporationMultiple-wavelength physiological monitor
US8423106B2 (en)2004-07-072013-04-16Cercacor Laboratories, Inc.Multi-wavelength physiological monitor
US7343186B2 (en)2004-07-072008-03-11Masimo Laboratories, Inc.Multi-wavelength physiological monitor
US9480422B2 (en)2004-07-092016-11-01Masimo CorporationCyanotic infant sensor
US8682407B2 (en)2004-07-092014-03-25Masimo CorporationCyanotic infant sensor
US7937128B2 (en)2004-07-092011-05-03Masimo CorporationCyanotic infant sensor
US9078560B2 (en)2004-08-112015-07-14Glt Acquisition Corp.Method for data reduction and calibration of an OCT-based physiological monitor
US20190029574A1 (en)2004-08-112019-01-31Masimo CorporationMethod for data reduction and calibration of an oct-based physiological monitor
US7822452B2 (en)2004-08-112010-10-26Glt Acquisition Corp.Method for data reduction and calibration of an OCT-based blood glucose monitor
US8036727B2 (en)2004-08-112011-10-11Glt Acquisition Corp.Methods for noninvasively measuring analyte levels in a subject
US8306596B2 (en)2004-08-112012-11-06Glt Acquisition Corp.Method for data reduction and calibration of an OCT-based physiological monitor
US7254429B2 (en)2004-08-112007-08-07Glucolight CorporationMethod and apparatus for monitoring glucose levels in a biological tissue
US9668679B2 (en)2004-08-112017-06-06Masimo CorporationMethod for data reduction and calibration of an OCT-based physiological monitor
US9554737B2 (en)2004-08-112017-01-31Masimo CorporationNoninvasively measuring analyte levels in a subject
US8548549B2 (en)2004-08-112013-10-01Glt Acquisition Corp.Methods for noninvasively measuring analyte levels in a subject
US10130291B2 (en)2004-08-112018-11-20Masimo CorporationMethod for data reduction and calibration of an OCT-based physiological monitor
US8788003B2 (en)2004-08-112014-07-22Glt Acquisition Corp.Monitoring blood constituent levels in biological tissue
US8204566B2 (en)2004-08-112012-06-19Glt Acquisition Corp.Method and apparatus for monitoring blood constituent levels in biological tissue
US7976472B2 (en)2004-09-072011-07-12Masimo CorporationNoninvasive hypovolemia monitor
US20060073719A1 (en)2004-09-292006-04-06Kiani Massi EMultiple key position plug
USD526719S1 (en)2004-11-192006-08-15Sensys Medical, Inc.Noninvasive glucose analyzer
USD529616S1 (en)2004-11-192006-10-03Sensys Medical, Inc.Noninvasive glucose analyzer
US7514725B2 (en)2004-11-302009-04-07Spire CorporationNanophotovoltaic devices
US8353842B2 (en)2005-02-182013-01-15Masimo CorporationPortable patient monitor
USD566282S1 (en)2005-02-182008-04-08Masimo CorporationStand for a portable patient monitor
USD554263S1 (en)2005-02-182007-10-30Masimo CorporationPortable patient monitor
US20060189871A1 (en)2005-02-182006-08-24Ammar Al-AliPortable patient monitor
US9241662B2 (en)2005-03-012016-01-26Cercacor Laboratories, Inc.Configurable physiological measurement system
US9750443B2 (en)2005-03-012017-09-05Cercacor Laboratories, Inc.Multiple wavelength sensor emitters
US8301217B2 (en)2005-03-012012-10-30Cercacor Laboratories, Inc.Multiple wavelength sensor emitters
US8929964B2 (en)2005-03-012015-01-06Cercacor Laboratories, Inc.Multiple wavelength sensor drivers
US8050728B2 (en)2005-03-012011-11-01Masimo Laboratories, Inc.Multiple wavelength sensor drivers
US8483787B2 (en)2005-03-012013-07-09Cercacor Laboratories, Inc.Multiple wavelength sensor drivers
US8130105B2 (en)2005-03-012012-03-06Masimo Laboratories, Inc.Noninvasive multi-parameter patient monitor
US7563110B2 (en)2005-03-012009-07-21Masimo Laboratories, Inc.Multiple wavelength sensor interconnect
US8634889B2 (en)2005-03-012014-01-21Cercacor Laboratories, Inc.Configurable physiological measurement system
US7596398B2 (en)2005-03-012009-09-29Masimo Laboratories, Inc.Multiple wavelength sensor attachment
US8626255B2 (en)2005-03-012014-01-07Cercacor Laboratories, Inc.Noninvasive multi-parameter patient monitor
US8912909B2 (en)2005-03-012014-12-16Cercacor Laboratories, Inc.Noninvasive multi-parameter patient monitor
US8718735B2 (en)2005-03-012014-05-06Cercacor Laboratories, Inc.Physiological parameter confidence measure
US8385996B2 (en)2005-03-012013-02-26Cercacor Laboratories, Inc.Multiple wavelength sensor emitters
US7647083B2 (en)2005-03-012010-01-12Masimo Laboratories, Inc.Multiple wavelength sensor equalization
US8255027B2 (en)2005-03-012012-08-28Cercacor Laboratories, Inc.Multiple wavelength sensor substrate
US8190223B2 (en)2005-03-012012-05-29Masimo Laboratories, Inc.Noninvasive multi-parameter patient monitor
US7377794B2 (en)2005-03-012008-05-27Masimo CorporationMultiple wavelength sensor interconnect
US9351675B2 (en)2005-03-012016-05-31Cercacor Laboratories, Inc.Noninvasive multi-parameter patient monitor
US10251585B2 (en)2005-03-012019-04-09Cercacor Laboratories, Inc.Noninvasive multi-parameter patient monitor
US7957780B2 (en)2005-03-012011-06-07Masimo Laboratories, Inc.Physiological parameter confidence measure
US8560032B2 (en)2005-03-012013-10-15Cercacor Laboratories, Inc.Noninvasive multi-parameter patient monitor
US9131882B2 (en)2005-03-012015-09-15Cercacor Laboratories, Inc.Noninvasive multi-parameter patient monitor
US9167995B2 (en)2005-03-012015-10-27Cercacor Laboratories, Inc.Physiological parameter confidence measure
US8849365B2 (en)2005-03-012014-09-30Cercacor Laboratories, Inc.Multiple wavelength sensor emitters
US7729733B2 (en)2005-03-012010-06-01Masimo Laboratories, Inc.Configurable physiological measurement system
US8224411B2 (en)2005-03-012012-07-17Masimo Laboratories, Inc.Noninvasive multi-parameter patient monitor
US7761127B2 (en)2005-03-012010-07-20Masimo Laboratories, Inc.Multiple wavelength sensor substrate
US20180070867A1 (en)2005-03-012018-03-15Cercacor Laboratories, Inc.Multiple wavelength sensor emitters
US7764982B2 (en)2005-03-012010-07-27Masimo Laboratories, Inc.Multiple wavelength sensor emitters
US8581732B2 (en)2005-03-012013-11-12Carcacor Laboratories, Inc.Noninvasive multi-parameter patient monitor
US10123726B2 (en)2005-03-012018-11-13Cercacor Laboratories, Inc.Configurable physiological measurement system
US9549696B2 (en)2005-03-012017-01-24Cercacor Laboratories, Inc.Physiological parameter confidence measure
US7937129B2 (en)2005-03-212011-05-03Masimo CorporationVariable aperture sensor
US7593230B2 (en)2005-05-052009-09-22Sensys Medical, Inc.Apparatus for absorbing and dissipating excess heat generated by a system
US7698105B2 (en)2005-05-232010-04-13Sensys Medical, Inc.Method and apparatus for improving performance of noninvasive analyte property estimation
US20100270257A1 (en)2005-07-132010-10-28Vitality, Inc.Medicine Bottle Cap With Electronic Embedded Curved Display
US20070073116A1 (en)2005-08-172007-03-29Kiani Massi EPatient identification using physiological sensor
US20070106126A1 (en)2005-09-302007-05-10Mannheimer Paul DPatient monitoring alarm escalation system and method
US7962188B2 (en)2005-10-142011-06-14Masimo CorporationRobust alarm system
US8996085B2 (en)2005-10-142015-03-31Masimo CorporationRobust alarm system
US10092249B2 (en)2005-10-142018-10-09Masimo CorporationRobust alarm system
US20070109115A1 (en)2005-10-142007-05-17Kiani Massi Joseph ERobust alarm system
US20190150856A1 (en)2005-10-142019-05-23Masimo CorporationRobust alarm system
US7530942B1 (en)2005-10-182009-05-12Masimo CorporationRemote sensing infant warmer
US8868150B2 (en)2005-11-292014-10-21Cercacor Laboratories, Inc.Optical sensor including disposable and reusable elements
US10420493B2 (en)2005-11-292019-09-24Masimo CorporationOptical sensor including disposable and reusable elements
US8233955B2 (en)2005-11-292012-07-31Cercacor Laboratories, Inc.Optical sensor including disposable and reusable elements
US20150216459A1 (en)2005-11-292015-08-06Cercacor Laboratories, Inc.Optical sensor including disposable and reusable elements
US8548550B2 (en)2005-11-292013-10-01Cercacor Laboratories, Inc.Optical sensor including disposable and reusable elements
US20070180140A1 (en)2005-12-032007-08-02Welch James PPhysiological alarm notification system
US7990382B2 (en)2006-01-032011-08-02Masimo CorporationVirtual display
US8182443B1 (en)2006-01-172012-05-22Masimo CorporationDrug administration controller
US9333316B2 (en)2006-01-172016-05-10Masimo CorporationDrug administration controller
US20070244377A1 (en)2006-03-142007-10-18Cozad Jenny LPulse oximeter sleeve
US10278626B2 (en)2006-03-172019-05-07Masimo CorporationApparatus and method for creating a stable optical interface
US9924893B2 (en)2006-03-172018-03-27Masimo CorporationApparatus and method for creating a stable optical interface
US8219172B2 (en)2006-03-172012-07-10Glt Acquisition Corp.System and method for creating a stable optical interface
US8831700B2 (en)2006-03-172014-09-09Glt Acquisition Corp.Apparatus and method for creating a stable optical interface
US7941199B2 (en)2006-05-152011-05-10Masimo Laboratories, Inc.Sepsis monitor
US10226576B2 (en)2006-05-152019-03-12Masimo CorporationSepsis monitor
US20190201623A1 (en)2006-05-152019-07-04Masimo CorporationSepsis monitor
US9176141B2 (en)2006-05-152015-11-03Cercacor Laboratories, Inc.Physiological monitor calibration system
US20150257689A1 (en)2006-05-152015-09-17Cercacor Laboratories, Inc.Physiological monitor calibration system
US8663107B2 (en)2006-05-152014-03-04Cercacor Laboratories, Inc.Sepsis monitor
US8998809B2 (en)2006-05-152015-04-07Cercacor Laboratories, Inc.Systems and methods for calibrating minimally invasive and non-invasive physiological sensor devices
US9566019B2 (en)2006-05-312017-02-14Masimo CorporationRespiratory monitoring
US8667967B2 (en)2006-05-312014-03-11Masimo CorporationRespiratory monitoring
US8028701B2 (en)2006-05-312011-10-04Masimo CorporationRespiratory monitoring
US10188348B2 (en)2006-06-052019-01-29Masimo CorporationParameter upgrade system
USD592507S1 (en)2006-07-062009-05-19Vitality, Inc.Top for medicine container
US20080064965A1 (en)2006-09-082008-03-13Jay Gregory DDevices and methods for measuring pulsus paradoxus
US8457707B2 (en)2006-09-202013-06-04Masimo CorporationCongenital heart disease monitor
US9687160B2 (en)2006-09-202017-06-27Masimo CorporationCongenital heart disease monitor
US8315683B2 (en)2006-09-202012-11-20Masimo CorporationDuo connector patient cable
US9397448B2 (en)2006-09-202016-07-19Masimo CorporationShielded connector assembly
US20170360310A1 (en)2006-09-202017-12-21Masimo CorporationCongenital heart disease monitor
US9161696B2 (en)2006-09-222015-10-20Masimo CorporationModular patient monitor
US20140357966A1 (en)2006-09-222014-12-04Masimo CorporationModular patient monitor
US8840549B2 (en)2006-09-222014-09-23Masimo CorporationModular patient monitor
US9560998B2 (en)2006-10-122017-02-07Masimo CorporationSystem and method for monitoring the life of a physiological sensor
US20180153448A1 (en)2006-10-122018-06-07Masimo CorporationMethod and apparatus for calibration to reduce coupling between signals in a measurement system
US10039482B2 (en)2006-10-122018-08-07Masimo CorporationSystem and method for monitoring the life of a physiological sensor
US10064562B2 (en)2006-10-122018-09-04Masimo CorporationVariable mode pulse indicator
US9370326B2 (en)2006-10-122016-06-21Masimo CorporationOximeter probe off indicator defining probe off space
US8922382B2 (en)2006-10-122014-12-30Masimo CorporationSystem and method for monitoring the life of a physiological sensor
US20190192076A1 (en)2006-10-122019-06-27Masimo CorporationOximeter probe off indicator defining probe off space
US20180333087A1 (en)2006-10-122018-11-22Masimo CorporationPatient monitor capable of monitoring the quality of attached probes and accessories
US9192329B2 (en)2006-10-122015-11-24Masimo CorporationVariable mode pulse indicator
US10342470B2 (en)2006-10-122019-07-09Masimo CorporationSystem and method for monitoring the life of a physiological sensor
US20190320959A1 (en)2006-10-122019-10-24Masimo CorporationPerfusion index smoother
US8255026B1 (en)2006-10-122012-08-28Masimo Corporation, Inc.Patient monitor capable of monitoring the quality of attached probes and accessories
US20080094228A1 (en)2006-10-122008-04-24Welch James PPatient monitor using radio frequency identification tags
US9861305B1 (en)2006-10-122018-01-09Masimo CorporationMethod and apparatus for calibration to reduce coupling between signals in a measurement system
US8265723B1 (en)2006-10-122012-09-11Cercacor Laboratories, Inc.Oximeter probe off indicator defining probe off space
US20190090764A1 (en)2006-10-122019-03-28Masimo CorporationVariable mode pulse indicator
US8280473B2 (en)2006-10-122012-10-02Masino Corporation, Inc.Perfusion index smoother
US10194847B2 (en)2006-10-122019-02-05Masimo CorporationPerfusion index smoother
US20190117141A1 (en)2006-10-122019-04-25Masimo CorporationPerfusion index smoother
US9107626B2 (en)2006-10-122015-08-18Masimo CorporationSystem and method for monitoring the life of a physiological sensor
US9949676B2 (en)2006-10-122018-04-24Masimo CorporationPatient monitor capable of monitoring the quality of attached probes and accessories
US7880626B2 (en)2006-10-122011-02-01Masimo CorporationSystem and method for monitoring the life of a physiological sensor
US10219746B2 (en)2006-10-122019-03-05Masimo CorporationOximeter probe off indicator defining probe off space
US8983564B2 (en)2006-10-122015-03-17Masimo CorporationPerfusion index smoother
US9138182B2 (en)2006-11-292015-09-22Cercacor Laboratories, Inc.Optical sensor including disposable and reusable elements
US9861304B2 (en)2006-11-292018-01-09Cercacor Laboratories, Inc.Optical sensor including disposable and reusable elements
US10463284B2 (en)2006-11-292019-11-05Cercacor Laboratories, Inc.Optical sensor including disposable and reusable elements
US8600467B2 (en)2006-11-292013-12-03Cercacor Laboratories, Inc.Optical sensor including disposable and reusable elements
US8414499B2 (en)2006-12-092013-04-09Masimo CorporationPlethysmograph variability processor
US10092200B2 (en)2006-12-092018-10-09Masimo CorporationPlethysmograph variability processor
US20190082979A1 (en)2006-12-092019-03-21Masimo CorporationPlethysmograph variability processor
US7791155B2 (en)2006-12-222010-09-07Masimo Laboratories, Inc.Detector shield
US20180206795A1 (en)2006-12-222018-07-26Masimo CorporationOptical patient monitor
US20150087936A1 (en)2006-12-222015-03-26Masimo CorporationPhysiological parameter system
US8852094B2 (en)2006-12-222014-10-07Masimo CorporationPhysiological parameter system
US20180125430A1 (en)2006-12-222018-05-10Masimo CorporationPhysiological parameter system
US20140163344A1 (en)2007-01-202014-06-12Masimo CorporationPerfusion trend indicator
US8652060B2 (en)2007-01-202014-02-18Masimo CorporationPerfusion trend indicator
US20090093687A1 (en)2007-03-082009-04-09Telfort Valery GSystems and methods for determining a physiological condition using an acoustic monitor
US20080221418A1 (en)2007-03-092008-09-11Masimo CorporationNoninvasive multi-parameter patient monitor
US8781544B2 (en)2007-03-272014-07-15Cercacor Laboratories, Inc.Multiple wavelength optical sensor
US7919713B2 (en)2007-04-162011-04-05Masimo CorporationLow noise oximetry cable including conductive cords
US8965471B2 (en)2007-04-212015-02-24Cercacor Laboratories, Inc.Tissue profile wellness monitor
US8374665B2 (en)2007-04-212013-02-12Cercacor Laboratories, Inc.Tissue profile wellness monitor
US10251586B2 (en)2007-04-212019-04-09Masimo CorporationTissue profile wellness monitor
US20190254578A1 (en)2007-04-212019-08-22Masimo CorporationTissue profile wellness monitor
US9848807B2 (en)2007-04-212017-12-26Masimo CorporationTissue profile wellness monitor
US8764671B2 (en)2007-06-282014-07-01Masimo CorporationDisposable active pulse sensor
US9211072B2 (en)2007-06-282015-12-15Masimo CorporationDisposable active pulse sensor
US20090036759A1 (en)2007-08-012009-02-05Ault Timothy ECollapsible noninvasive analyzer method and apparatus
US9820691B2 (en)2007-09-132017-11-21Masimo CorporationFluid titration system
US8048040B2 (en)2007-09-132011-11-01Masimo CorporationFluid titration system
US20180103905A1 (en)2007-09-132018-04-19Masimo CorporationFluid titration system
USD587657S1 (en)2007-10-122009-03-03Masimo CorporationConnector assembly
US8274360B2 (en)2007-10-122012-09-25Masimo CorporationSystems and methods for storing, analyzing, and retrieving medical data
US8355766B2 (en)2007-10-122013-01-15Masimo CorporationCeramic emitter substrate
US8888539B2 (en)2007-10-122014-11-18Masimo CorporationShielded connector assembly
US8118620B2 (en)2007-10-122012-02-21Masimo CorporationConnector assembly with reduced unshielded area
US20090095926A1 (en)2007-10-122009-04-16Macneish Iii William JackPhysiological parameter detector
US8529301B2 (en)2007-10-122013-09-10Masimo CorporationShielded connector assembly
USD609193S1 (en)2007-10-122010-02-02Masimo CorporationConnector assembly
US9142117B2 (en)2007-10-122015-09-22Masimo CorporationSystems and methods for storing, analyzing, retrieving and displaying streaming medical data
US20090247984A1 (en)2007-10-242009-10-01Masimo Laboratories, Inc.Use of microneedles for small molecule metabolite reporter delivery
USD614305S1 (en)2008-02-292010-04-20Masimo CorporationConnector assembly
US20180064381A1 (en)2008-03-042018-03-08Masimo CorporationMultispot monitoring for use in optical coherence tomography
US9060721B2 (en)2008-03-042015-06-23Glt Acquisition Corp.Flowometry in optical coherence tomography for analyte level estimation
US8768423B2 (en)2008-03-042014-07-01Glt Acquisition Corp.Multispot monitoring for use in optical coherence tomography
US8571617B2 (en)2008-03-042013-10-29Glt Acquisition Corp.Flowometry in optical coherence tomography for analyte level estimation
US9833180B2 (en)2008-03-042017-12-05Masimo CorporationMultispot monitoring for use in optical coherence tomography
US20190357823A1 (en)2008-03-042019-11-28Masimo CorporationFlowometry in optical coherence tomography for analyte level estimation
US10368787B2 (en)2008-03-042019-08-06Masimo CorporationFlowometry in optical coherence tomography for analyte level estimation
US10292664B2 (en)2008-05-022019-05-21Masimo CorporationMonitor configuration system
US20090275844A1 (en)2008-05-022009-11-05Masimo CorporationMonitor configuration system
US20090275813A1 (en)2008-05-022009-11-05The Regents Of The Univeristy Of CaliforniaExternal ear-placed non-invasive physiological sensor
US8229532B2 (en)2008-05-022012-07-24The Regents Of The University Of CaliforniaExternal ear-placed non-invasive physiological sensor
US9107625B2 (en)2008-05-052015-08-18Masimo CorporationPulse oximetry system with electrical decoupling circuitry
US20160095543A1 (en)2008-05-052016-04-07Masimo CorporationPulse oximetry system with electrical decoupling circuitry
US9591975B2 (en)2008-07-032017-03-14Masimo CorporationContoured protrusion for improving spectroscopic measurement of blood constituents
US10376191B1 (en)2008-07-032019-08-13Masimo CorporationMulti-stream data collection system for noninvasive measurement of blood constituents
US20190365295A1 (en)2008-07-032019-12-05Masimo CorporationMulti-stream data collection system for noninvasive measurement of blood constituents
US10258265B1 (en)2008-07-032019-04-16Masimo CorporationMulti-stream data collection system for noninvasive measurement of blood constituents
US20190365294A1 (en)2008-07-032019-12-05Masimo CorporationMulti-stream data collection system for noninvasive measurement of blood constituents
US10299708B1 (en)2008-07-032019-05-28Masimo CorporationMulti-stream data collection system for noninvasive measurement of blood constituents
US10258266B1 (en)2008-07-032019-04-16Masimo CorporationMulti-stream data collection system for noninvasive measurement of blood constituents
US20190357812A1 (en)2008-07-032019-11-28Masimo CorporationMulti-stream data collection system for noninvasive measurement of blood constituents
US8437825B2 (en)2008-07-032013-05-07Cercacor Laboratories, Inc.Contoured protrusion for improving spectroscopic measurement of blood constituents
US10335068B2 (en)2008-07-032019-07-02Masimo CorporationMulti-stream data collection system for noninvasive measurement of blood constituents
US20180055390A1 (en)2008-07-032018-03-01Masimo CorporationNoise shielding for a noninvasive device
US8577431B2 (en)2008-07-032013-11-05Cercacor Laboratories, Inc.Noise shielding for a noninvasive device
US9277880B2 (en)2008-07-032016-03-08Masimo CorporationMulti-stream data collection system for noninvasive measurement of blood constituents
US10292628B1 (en)2008-07-032019-05-21Masimo CorporationMulti-stream data collection system for noninvasive measurement of blood constituents
US20190374135A1 (en)2008-07-032019-12-12Masimo CorporationMulti-stream data collection system for noninvasive measurement of blood constituents
US20190357813A1 (en)2008-07-032019-11-28Masimo CorporationMulti-stream data collection system for noninvasive measurement of blood constituents
US9717425B2 (en)2008-07-032017-08-01Masimo CorporationNoise shielding for a noninvaise device
US20100004518A1 (en)2008-07-032010-01-07Masimo Laboratories, Inc.Heat sink for noninvasive medical sensor
US10376190B1 (en)2008-07-032019-08-13Masimo CorporationMulti-stream data collection system for noninvasive measurement of blood constituents
USRE47353E1 (en)2008-07-292019-04-16Masimo CorporationAlarm suspend system
US8203438B2 (en)2008-07-292012-06-19Masimo CorporationAlarm suspend system
US8547209B2 (en)2008-07-292013-10-01Masimo CorporationAlarm suspend system
US8847740B2 (en)2008-07-292014-09-30Masimo CorporationAlarm suspend system
USRE47244E1 (en)2008-07-292019-02-19Masimo CorporationAlarm suspend system
USRE47249E1 (en)2008-07-292019-02-19Masimo CorporationAlarm suspend system
US9153121B2 (en)2008-07-292015-10-06Masimo CorporationAlarm suspend system
US20140121482A1 (en)2008-08-042014-05-01Cercacor Laboratories, Inc.Multi-stream sensor for noninvasive measurement of blood constituents
US8515509B2 (en)2008-08-042013-08-20Cercacor Laboratories, Inc.Multi-stream emitter for noninvasive measurement of blood constituents
US8909310B2 (en)2008-08-042014-12-09Cercacor Laboratories, Inc.Multi-stream sensor front ends for noninvasive measurement of blood constituents
US8630691B2 (en)2008-08-042014-01-14Cercacor Laboratories, Inc.Multi-stream sensor front ends for noninvasive measurement of blood constituents
US20100030040A1 (en)2008-08-042010-02-04Masimo Laboratories, Inc.Multi-stream data collection system for noninvasive measurement of blood constituents
US8203704B2 (en)2008-08-042012-06-19Cercacor Laboratories, Inc.Multi-stream sensor for noninvasive measurement of blood constituents
US8570503B2 (en)2008-08-042013-10-29Cercacor Laboratories, Inc.Heat sink for noninvasive medical sensor
USD606659S1 (en)2008-08-252009-12-22Masimo Laboratories, Inc.Patient monitor
USD621516S1 (en)2008-08-252010-08-10Masimo Laboratories, Inc.Patient monitoring sensor
US8911377B2 (en)2008-09-152014-12-16Masimo CorporationPatient monitor including multi-parameter graphical display
US20150094546A1 (en)2008-09-152015-04-02Masimo CorporationPatient monitor including multi-parameter graphical display
US20180153442A1 (en)2008-09-152018-06-07Masimo CorporationGas Sampling Line for Respiratory Gases
US9861298B2 (en)2008-09-152018-01-09Masimo CorporationGas sampling line
US20100099964A1 (en)2008-09-152010-04-22Masimo CorporationHemoglobin monitor
US8310336B2 (en)2008-10-102012-11-13Masimo CorporationSystems and methods for storing, analyzing, retrieving and displaying streaming medical data
US8346330B2 (en)2008-10-132013-01-01Masimo CorporationReflection-detector sensor position indicator
US8700112B2 (en)2008-10-132014-04-15Masimo CorporationSecondary-emitter sensor position indicator
US9119595B2 (en)2008-10-132015-09-01Masimo CorporationReflection-detector sensor position indicator
US8401602B2 (en)2008-10-132013-03-19Masimo CorporationSecondary-emitter sensor position indicator
US8761850B2 (en)2008-10-132014-06-24Masimo CorporationReflection-detector sensor position indicator
US9131917B2 (en)2008-12-302015-09-15Masimo CorporationAcoustic sensor assembly
US9028429B2 (en)2008-12-302015-05-12Masimo CorporationAcoustic sensor assembly
US20180125445A1 (en)2008-12-302018-05-10Masimo CorporationAcoustic sensor assembly
US8771204B2 (en)2008-12-302014-07-08Masimo CorporationAcoustic sensor assembly
US9795358B2 (en)2008-12-302017-10-24Masimo CorporationAcoustic sensor assembly
US8588880B2 (en)2009-02-162013-11-19Masimo CorporationEar sensor
US9259185B2 (en)2009-02-162016-02-16Masimo CorporationEar sensor
US10292657B2 (en)2009-02-162019-05-21Masimo CorporationEar sensor
US20140213864A1 (en)2009-02-162014-07-31Masimo CorporationEar sensor
US20190231270A1 (en)2009-02-162019-08-01Masimo CorporationPhysiological measurement device
US10007758B2 (en)2009-03-042018-06-26Masimo CorporationMedical monitoring system
US10366787B2 (en)2009-03-042019-07-30Masimo CorporationPhysiological alarm threshold determination
US9218454B2 (en)2009-03-042015-12-22Masimo CorporationMedical monitoring system
US10032002B2 (en)2009-03-042018-07-24Masimo CorporationMedical monitoring system
US20190122763A1 (en)2009-03-042019-04-25Masimo CorporationMedical monitoring system
US10255994B2 (en)2009-03-042019-04-09Masimo CorporationPhysiological parameter alarm delay
US10325681B2 (en)2009-03-042019-06-18Masimo CorporationPhysiological alarm threshold determination
US20190304601A1 (en)2009-03-042019-10-03Masimo CorporationPhysiological parameter alarm delay
US8388353B2 (en)2009-03-112013-03-05Cercacor Laboratories, Inc.Magnetic connector
US8777634B2 (en)2009-03-112014-07-15Cercacor Laboratories, Inc.Magnetic connector
US9466919B2 (en)2009-03-112016-10-11Cercacor Laboratories, Inc.Magnetic connector
US10205272B2 (en)2009-03-112019-02-12Masimo CorporationMagnetic connector
US20190221966A1 (en)2009-03-112019-07-18Masimo CorporationMagnetic connector
US20100234718A1 (en)2009-03-122010-09-16Anand SampathOpen architecture medical communication system
US8897847B2 (en)2009-03-232014-11-25Masimo CorporationDigit gauge for noninvasive optical sensor
US20190274627A1 (en)2009-05-192019-09-12Masimo CorporationDisposable components for reusable physiological sensor
US10342487B2 (en)2009-05-192019-07-09Masimo CorporationDisposable components for reusable physiological sensor
US8989831B2 (en)2009-05-192015-03-24Masimo CorporationDisposable components for reusable physiological sensor
US9895107B2 (en)2009-05-192018-02-20Masimo CorporationDisposable components for reusable physiological sensor
US8571619B2 (en)2009-05-202013-10-29Masimo CorporationHemoglobin display and patient treatment
US10413666B2 (en)2009-05-202019-09-17Masimo CorporationHemoglobin display and patient treatment
US9795739B2 (en)2009-05-202017-10-24Masimo CorporationHemoglobin display and patient treatment
US9370325B2 (en)2009-05-202016-06-21Masimo CorporationHemoglobin display and patient treatment
US9037207B2 (en)2009-05-202015-05-19Masimo CorporationHemoglobin display and patient treatment
US8720249B2 (en)2009-06-122014-05-13Masimo CorporationNon-invasive sensor calibration device
US8418524B2 (en)2009-06-122013-04-16Masimo CorporationNon-invasive sensor calibration device
US8670811B2 (en)2009-06-302014-03-11Masimo CorporationPulse oximetry system for adjusting medical ventilation
US20110040197A1 (en)2009-07-202011-02-17Masimo CorporationWireless patient monitoring system
US9989560B2 (en)2009-07-242018-06-05Masimo CorporationInterference detector for patient monitor
US8754776B2 (en)2009-07-242014-06-17Cercacor Laboratories, Inc.Interference detector for patient monitor
US8471713B2 (en)2009-07-242013-06-25Cercacor Laboratories, Inc.Interference detector for patient monitor
US10194848B1 (en)2009-07-292019-02-05Masimo CorporationNon-invasive physiological sensor cover
US8473020B2 (en)2009-07-292013-06-25Cercacor Laboratories, Inc.Non-invasive physiological sensor cover
US9980667B2 (en)2009-07-292018-05-29Masimo CorporationNon-invasive physiological sensor cover
US8886271B2 (en)2009-07-292014-11-11Cercacor Laboratories, Inc.Non-invasive physiological sensor cover
US20110028806A1 (en)2009-07-292011-02-03Sean MerrittReflectance calibration of fluorescence-based glucose measurements
US20110028809A1 (en)2009-07-292011-02-03Masimo CorporationPatient monitor ambient display device
US20140330098A1 (en)2009-07-292014-11-06Cercacor Laboratories, Inc.Reflectance calibration of fluorescence-based glucose measurements
US10478107B2 (en)2009-07-292019-11-19Masimo CorporationNon-invasive physiological sensor cover
US10188331B1 (en)2009-07-292019-01-29Masimo CorporationNon-invasive physiological sensor cover
US9295421B2 (en)2009-07-292016-03-29Masimo CorporationNon-invasive physiological sensor cover
US20190000362A1 (en)2009-07-292019-01-03Masimo CorporationNon-invasive physiological sensor cover
US20110087081A1 (en)2009-08-032011-04-14Kiani Massi Joe EPersonalized physiological monitor
US9186102B2 (en)2009-09-032015-11-17Cercacor Laboratories, Inc.Emitter driver for noninvasive patient monitor
US9668680B2 (en)2009-09-032017-06-06Masimo CorporationEmitter driver for noninvasive patient monitor
US8688183B2 (en)2009-09-032014-04-01Ceracor Laboratories, Inc.Emitter driver for noninvasive patient monitor
US8428967B2 (en)2009-09-142013-04-23Cercacor Laboratories, Inc.Spot check monitor credit system
US20110172498A1 (en)2009-09-142011-07-14Olsen Gregory ASpot check monitor credit system
US20170196464A1 (en)2009-09-152017-07-13Masimo CorporationNon-invasive intravascular volume index monitor
US10398320B2 (en)2009-09-172019-09-03Masimo CorporationOptical-based physiological monitoring system
US20110137297A1 (en)2009-09-172011-06-09Kiani Massi Joe EPharmacological management system
US9510779B2 (en)2009-09-172016-12-06Masimo CorporationAnalyte monitoring using one or more accelerometers
US9517024B2 (en)2009-09-172016-12-13Masimo CorporationOptical-based physiological monitoring system
US9833152B2 (en)2009-09-172017-12-05Masimo CorporationOptical-based physiological monitoring system
US20140051953A1 (en)2009-09-282014-02-20Cercacor Laboratories, Inc.Adaptive calibration system for spectrophotometric measurements
US8571618B1 (en)2009-09-282013-10-29Cercacor Laboratories, Inc.Adaptive calibration system for spectrophotometric measurements
US20190216319A1 (en)2009-10-062019-07-18Cercacor Laboratories, Inc.Personal digital assistant or organizer for monitoring glucose levels
US20110082711A1 (en)2009-10-062011-04-07Masimo Laboratories, Inc.Personal digital assistant or organizer for monitoring glucose levels
US8755535B2 (en)2009-10-152014-06-17Masimo CorporationAcoustic respiratory monitoring sensor having multiple sensing elements
US8790268B2 (en)2009-10-152014-07-29Masimo CorporationBidirectional physiological information display
US20180214090A1 (en)2009-10-152018-08-02Masimo CorporationSystem and method for monitoring respiratory rate measurements
US8523781B2 (en)2009-10-152013-09-03Masimo CorporationBidirectional physiological information display
US9370335B2 (en)2009-10-152016-06-21Masimo CorporationPhysiological acoustic monitoring system
US20190388039A1 (en)2009-10-152019-12-26Masimo CorporationBidirectional physiological information display
US10357209B2 (en)2009-10-152019-07-23Masimo CorporationBidirectional physiological information display
US10098610B2 (en)2009-10-152018-10-16Masimo CorporationPhysiological acoustic monitoring system
US9386961B2 (en)2009-10-152016-07-12Masimo CorporationPhysiological acoustic monitoring system
US9106038B2 (en)2009-10-152015-08-11Masimo CorporationPulse oximetry system with low noise cable hub
US8690799B2 (en)2009-10-152014-04-08Masimo CorporationAcoustic respiratory monitoring sensor having multiple sensing elements
US9066680B1 (en)2009-10-152015-06-30Masimo CorporationSystem for determining confidence in respiratory rate measurements
US8870792B2 (en)2009-10-152014-10-28Masimo CorporationPhysiological acoustic monitoring system
US20190142344A1 (en)2009-10-152019-05-16Masimo CorporationAcoustic respiratory monitoring sensor having multiple sensing elements
US8821415B2 (en)2009-10-152014-09-02Masimo CorporationPhysiological acoustic monitoring system
US8430817B1 (en)2009-10-152013-04-30Masimo CorporationSystem for determining confidence in respiratory rate measurements
US9538980B2 (en)2009-10-152017-01-10Masimo CorporationAcoustic respiratory monitoring sensor having multiple sensing elements
US9877686B2 (en)2009-10-152018-01-30Masimo CorporationSystem for determining confidence in respiratory rate measurements
US10463340B2 (en)2009-10-152019-11-05Masimo CorporationAcoustic respiratory monitoring systems and methods
US8715206B2 (en)2009-10-152014-05-06Masimo CorporationAcoustic patient sensor
US10342497B2 (en)2009-10-152019-07-09Masimo CorporationPhysiological acoustic monitoring system
US10349895B2 (en)2009-10-152019-07-16Masimo CorporationAcoustic respiratory monitoring sensor having multiple sensing elements
US9867578B2 (en)2009-10-152018-01-16Masimo CorporationPhysiological acoustic monitoring system
US8702627B2 (en)2009-10-152014-04-22Masimo CorporationAcoustic respiratory monitoring sensor having multiple sensing elements
US9668703B2 (en)2009-10-152017-06-06Masimo CorporationBidirectional physiological information display
US9848800B1 (en)2009-10-162017-12-26Masimo CorporationRespiratory pause detector
US20180014752A1 (en)2009-10-162018-01-18Masimo CorporationRespiration processor
US9724016B1 (en)2009-10-162017-08-08Masimo Corp.Respiration processor
US20110118561A1 (en)2009-11-132011-05-19Masimo CorporationRemote control for a medical monitoring device
US20180132769A1 (en)2009-11-242018-05-17Cercacor Laboratories, Inc.Physiological measurement system with automatic wavelength adjustment
US9839381B1 (en)2009-11-242017-12-12Cercacor Laboratories, Inc.Physiological measurement system with automatic wavelength adjustment
US20150032029A1 (en)2009-12-042015-01-29Masimo CorporationCalibration for multi-stage physiological monitors
US8801613B2 (en)2009-12-042014-08-12Masimo CorporationCalibration for multi-stage physiological monitors
US9153112B1 (en)2009-12-212015-10-06Masimo CorporationModular patient monitor
US10354504B2 (en)2009-12-212019-07-16Masimo CorporationModular patient monitor
US20190325722A1 (en)2009-12-212019-10-24Masimo CorporationModular patient monitor
US9847002B2 (en)2009-12-212017-12-19Masimo CorporationModular patient monitor
US20110230733A1 (en)2010-01-192011-09-22Masimo CorporationWellness analysis system
US9724024B2 (en)2010-03-012017-08-08Masimo CorporationAdaptive alarm system
USRE47882E1 (en)2010-03-012020-03-03Masimo CorporationAdaptive alarm system
USRE47218E1 (en)2010-03-012019-02-05Masimo CorporationAdaptive alarm system
US9775570B2 (en)2010-03-012017-10-03Masimo CorporationAdaptive alarm system
US20170245790A1 (en)2010-03-082017-08-31Masimo CorporationReprocessing of a physiological sensor
US9662052B2 (en)2010-03-082017-05-30Masimo CorporationReprocessing of a physiological sensor
US8584345B2 (en)2010-03-082013-11-19Masimo CorporationReprocessing of a physiological sensor
US9307928B1 (en)2010-03-302016-04-12Masimo CorporationPlethysmographic respiration processor
US10098550B2 (en)2010-03-302018-10-16Masimo CorporationPlethysmographic respiration rate detection
US20190076028A1 (en)2010-03-302019-03-14Masimo CorporationPlethysmographic respiration rate detection
US9876320B2 (en)2010-05-032018-01-23Masimo CorporationSensor adapter cable
US9138180B1 (en)2010-05-032015-09-22Masimo CorporationSensor adapter cable
US8712494B1 (en)2010-05-032014-04-29Masimo CorporationReflective non-invasive sensor
US8666468B1 (en)2010-05-062014-03-04Masimo CorporationPatient monitor for determining microcirculation state
US9192312B2 (en)2010-05-062015-11-24Masimo CorporationPatient monitor for determining microcirculation state
US20190209025A1 (en)2010-05-062019-07-11Masimo CorporationPatient monitor for determining microcirculation state
US9795310B2 (en)2010-05-062017-10-24Masimo CorporationPatient monitor for determining microcirculation state
US10271748B2 (en)2010-05-062019-04-30Masimo CorporationPatient monitor for determining microcirculation state
US8852994B2 (en)2010-05-242014-10-07Masimo Semiconductor, Inc.Method of fabricating bifacial tandem solar cells
US9368671B2 (en)2010-05-242016-06-14Masimo Semiconductor, Inc.Bifacial tandem solar cells
US9782110B2 (en)2010-06-022017-10-10Masimo CorporationOpticoustic sensor
US20180153446A1 (en)2010-06-022018-06-07Masimo CorporationOpticoustic sensor
US9326712B1 (en)2010-06-022016-05-03Masimo CorporationOpticoustic sensor
US20120008269A1 (en)*2010-07-082012-01-12David GenglerProtective cover for a mobile computing device, systems including protective covers, and associated methods
US8740792B1 (en)2010-07-122014-06-03Masimo CorporationPatient monitor capable of accounting for environmental conditions
US10052037B2 (en)2010-07-222018-08-21Masimo CorporationNon-invasive blood pressure measurement system
US20190090760A1 (en)2010-07-222019-03-28Masimo CorporationNon-invasive blood pressure measurement system
US9408542B1 (en)2010-07-222016-08-09Masimo CorporationNon-invasive blood pressure measurement system
US20120033375A1 (en)*2010-08-042012-02-09Savant Systems LlcIn-wall dock for a tablet computer
US9649054B2 (en)2010-08-262017-05-16Cercacor Laboratories, Inc.Blood pressure measurement method
US20150196249A1 (en)2010-09-012015-07-16The General Hospital CorporationReversal of General Anesthesia by Administration of Methylphenidate, Amphetamine, Modafinil, Amantadine, and/or Caffeine
US10299720B2 (en)2010-09-012019-05-28The General Hospital CorporationReversal of general anesthesia by administration of methylphenidate, amphetamine, modafinil, amantadine, and/or caffeine
US8455290B2 (en)2010-09-042013-06-04Masimo Semiconductor, Inc.Method of fabricating epitaxial structures
US20170156620A1 (en)2010-09-282017-06-08Masimo CorporationDepth of consciousness monitor including oximeter
US9538949B2 (en)2010-09-282017-01-10Masimo CorporationDepth of consciousness monitor including oximeter
US20130135212A1 (en)*2010-09-282013-05-30Sandie Ning Ning ChengHaptic keyboard for a touch-enabled display
US8821397B2 (en)2010-09-282014-09-02Masimo CorporationDepth of consciousness monitor including oximeter
US9775545B2 (en)2010-09-282017-10-03Masimo CorporationMagnetic electrical connector for patient monitors
US20120165629A1 (en)2010-09-302012-06-28Sean MerrittSystems and methods of monitoring a patient through frequency-domain photo migration spectroscopy
US9693737B2 (en)2010-10-132017-07-04Masimo CorporationPhysiological measurement logic engine
US10405804B2 (en)2010-10-132019-09-10Masimo CorporationPhysiological measurement logic engine
US9211095B1 (en)2010-10-132015-12-15Masimo CorporationPhysiological measurement logic engine
US9226696B2 (en)2010-10-202016-01-05Masimo CorporationPatient safety system with automatically adjusting bed
US8723677B1 (en)2010-10-202014-05-13Masimo CorporationPatient safety system with automatically adjusting bed
US20120123231A1 (en)2010-11-112012-05-17O'reilly MichaelMonitoring cardiac output and vessel fluid volume
US10159412B2 (en)2010-12-012018-12-25Cercacor Laboratories, Inc.Handheld processing device including medical applications for minimally and non invasive glucose measurements
US20190142283A1 (en)2010-12-012019-05-16Cercacor Laboratories, Inc.Handheld processing device including medical applications for minimally and non invasive glucose measurements
US20120226117A1 (en)2010-12-012012-09-06Lamego Marcelo MHandheld processing device including medical applications for minimally and non invasive glucose measurements
US20120162263A1 (en)*2010-12-232012-06-28Research In Motion LimitedHandheld electronic device having sliding display and position configurable camera
US9579039B2 (en)2011-01-102017-02-28Masimo CorporationNon-invasive intravascular volume index monitor
US20120209084A1 (en)2011-01-212012-08-16Masimo CorporationRespiratory event alert system
US20120209082A1 (en)2011-02-132012-08-16Masimo CorporationMedical characterization system
US10332630B2 (en)2011-02-132019-06-25Masimo CorporationMedical characterization system
US20190304605A1 (en)2011-02-132019-10-03Masimo CorporationMedical characterization system
US9066666B2 (en)2011-02-252015-06-30Cercacor Laboratories, Inc.Patient monitor for monitoring microcirculation
US9801556B2 (en)2011-02-252017-10-31Masimo CorporationPatient monitor for monitoring microcirculation
US20180184917A1 (en)2011-02-252018-07-05Masimo CorporationPatient monitor for monitoring microcirculation
US20120283524A1 (en)2011-04-182012-11-08Cercacor Laboratories, Inc.Pediatric monitor sensor steady game
US8830449B1 (en)2011-04-182014-09-09Cercacor Laboratories, Inc.Blood analysis system
US9095316B2 (en)2011-04-202015-08-04Masimo CorporationSystem for generating alarms based on alarm patterns
US20140187973A1 (en)2011-05-062014-07-03Emery N. BrownSystem and method for tracking brain states during administration of anesthesia
US9622692B2 (en)2011-05-162017-04-18Masimo CorporationPersonal health device
US9986919B2 (en)2011-06-212018-06-05Masimo CorporationPatient monitoring system
US9532722B2 (en)2011-06-212017-01-03Masimo CorporationPatient monitoring system
US20180333055A1 (en)2011-06-212018-11-22Masimo CorporationPatient monitoring system
US20170196470A1 (en)2011-06-212017-07-13Masimo CorporationPatient monitoring system
US9245668B1 (en)2011-06-292016-01-26Cercacor Laboratories, Inc.Low noise cable providing communication between electronic sensor components and patient monitor
US20130041591A1 (en)2011-07-132013-02-14Cercacor Laboratories, Inc.Multiple measurement mode in a physiological sensor
US20130023775A1 (en)2011-07-202013-01-24Cercacor Laboratories, Inc.Magnetic Reusable Sensor
US9192351B1 (en)2011-07-222015-11-24Masimo CorporationAcoustic respiratory monitoring sensor with probe-off detection
US8755872B1 (en)2011-07-282014-06-17Masimo CorporationPatient monitoring system for indicating an abnormal condition
US20130060147A1 (en)2011-08-042013-03-07Masimo CorporationOcclusive non-inflatable blood pressure device
US20130096405A1 (en)2011-08-122013-04-18Masimo CorporationFingertip pulse oximeter
US20180125368A1 (en)2011-08-172018-05-10Masimo CorporationModulated physiological sensor
US9782077B2 (en)2011-08-172017-10-10Masimo CorporationModulated physiological sensor
US9323894B2 (en)2011-08-192016-04-26Masimo CorporationHealth care sanitation monitoring system
US20180242923A1 (en)2011-10-132018-08-30Masimo CorporationMedical monitoring hub
US9943269B2 (en)2011-10-132018-04-17Masimo CorporationSystem for displaying medical monitoring data
US9993207B2 (en)2011-10-132018-06-12Masimo CorporationMedical monitoring hub
US9436645B2 (en)2011-10-132016-09-06Masimo CorporationMedical monitoring hub
US9808188B1 (en)2011-10-132017-11-07Masimo CorporationRobust fractional saturation determination
US10299709B2 (en)2011-10-132019-05-28Masimo CorporationRobust fractional saturation determination
US20190307377A1 (en)2011-10-132019-10-10Masimo CorporationRobust fractional saturation determination
US9913617B2 (en)2011-10-132018-03-13Masimo CorporationMedical monitoring hub
US20180087937A1 (en)2011-10-272018-03-29Masimo CorporationPhysiological monitor gauge panel
US9778079B1 (en)2011-10-272017-10-03Masimo CorporationPhysiological monitor gauge panel
US9445759B1 (en)2011-12-222016-09-20Cercacor Laboratories, Inc.Blood glucose calibration system
US20190274635A1 (en)2012-01-042019-09-12Masimo CorporationAutomated cchd screening and detection
US9392945B2 (en)2012-01-042016-07-19Masimo CorporationAutomated CCHD screening and detection
US10349898B2 (en)2012-01-042019-07-16Masimo CorporationAutomated CCHD screening and detection
US20170340293A1 (en)2012-01-042017-11-30Masimo CorporationAutomated condition screening and detection
US10278648B2 (en)2012-01-042019-05-07Masimo CorporationAutomated CCHD screening and detection
US20190298270A1 (en)2012-01-042019-10-03Masimo CorporationAutomated condition screening and detection
US9267572B2 (en)2012-02-082016-02-23Masimo CorporationCable tether system
US20190239824A1 (en)2012-02-092019-08-08Masimo CorporationPatient position detection system
USD788312S1 (en)2012-02-092017-05-30Masimo CorporationWireless patient monitoring device
US9480435B2 (en)2012-02-092016-11-01Masimo CorporationConfigurable patient monitoring system
US20190231241A1 (en)2012-02-092019-08-01Masimo CorporationWireless patient monitoring device
US20190175019A1 (en)2012-02-092019-06-13Masimo CorporationWireless patient monitoring device
US10188296B2 (en)2012-02-092019-01-29Masimo CorporationWireless patient monitoring device
US10149616B2 (en)2012-02-092018-12-11Masimo CorporationWireless patient monitoring device
US10307111B2 (en)2012-02-092019-06-04Masimo CorporationPatient position detection system
US20130253334A1 (en)2012-02-092013-09-26Masimo CorporationWireless patient monitoring device
US20170143281A1 (en)2012-02-092017-05-25Masimo CorporationConfigurable patient monitoring system
US9195385B2 (en)2012-03-252015-11-24Masimo CorporationPhysiological monitor touchscreen interface
US9131881B2 (en)2012-04-172015-09-15Masimo CorporationHypersaturation index
US9775546B2 (en)2012-04-172017-10-03Masimo CorporationHypersaturation index
US20180055430A1 (en)2012-04-172018-03-01Masimo CorporationHypersaturation index
US20130296672A1 (en)2012-05-022013-11-07Masimo CorporationNoninvasive physiological sensor cover
US10542903B2 (en)2012-06-072020-01-28Masimo CorporationDepth of consciousness monitor
US20130331660A1 (en)2012-06-072013-12-12Masimo CorporationDepth of consciousness monitor
US20130345921A1 (en)2012-06-222013-12-26Masimo CorporationPhysiological monitoring of moving vehicle operators
US9697928B2 (en)2012-08-012017-07-04Masimo CorporationAutomated assembly sensor cable
US20180082767A1 (en)2012-08-012018-03-22Masimo CorporationAutomated assembly sensor cable
US10827961B1 (en)2012-08-292020-11-10Masimo CorporationPhysiological measurement calibration
USD692145S1 (en)2012-09-202013-10-22Masimo CorporationMedical proximity detection token
US20170228516A1 (en)2012-09-202017-08-10Masimo CorporationIntelligent medical escalation process
US9955937B2 (en)2012-09-202018-05-01Masimo CorporationAcoustic patient sensor coupler
US20190000317A1 (en)2012-09-202019-01-03Masimo CorporationPhysiological monitor with mobile computing device connectivity
USD820865S1 (en)2012-09-202018-06-19Masimo CorporationDisplay screen or portion thereof for graphical user interface for physiological monitoring
US9749232B2 (en)2012-09-202017-08-29Masimo CorporationIntelligent medical network edge router
US20180206815A1 (en)2012-09-202018-07-26Masimo CorporationAcoustic patient sensor coupler
US9877650B2 (en)2012-09-202018-01-30Masimo CorporationPhysiological monitor with mobile computing device connectivity
US20140180160A1 (en)2012-10-122014-06-26Emery N. BrownSystem and method for monitoring and controlling a state of a patient during and after administration of anesthetic compound
US9717458B2 (en)2012-10-202017-08-01Masimo CorporationMagnetic-flap optical sensor
US9560996B2 (en)2012-10-302017-02-07Masimo CorporationUniversal medical system
US20170147774A1 (en)2012-10-302017-05-25Masimo CorporationUniversal medical system
US20190386908A1 (en)2012-11-052019-12-19Cercacor Laboratories, Inc.Physiological test credit method
US10305775B2 (en)2012-11-052019-05-28Cercacor Laboratories, Inc.Physiological test credit method
US9787568B2 (en)2012-11-052017-10-10Cercacor Laboratories, Inc.Physiological test credit method
US20140166076A1 (en)2012-12-172014-06-19Masimo Semiconductor, IncPool solar power generator
US9847749B2 (en)2012-12-172017-12-19Masimo Semiconductor, Inc.Pool solar power generator
US20180085068A1 (en)2013-01-022018-03-29Masimo CorporationAcoustic respiratory monitoring sensor with probe-off detection
US9750461B1 (en)2013-01-022017-09-05Masimo CorporationAcoustic respiratory monitoring sensor with probe-off detection
US20180146902A1 (en)2013-01-162018-05-31Masimo CorporationActive-pulse blood analysis system
US9724025B1 (en)2013-01-162017-08-08Masimo CorporationActive-pulse blood analysis system
US9750442B2 (en)2013-03-092017-09-05Masimo CorporationPhysiological status monitor
US20180225960A1 (en)2013-03-132018-08-09Masimo CorporationSystems and methods for monitoring a patient health network
US20150005600A1 (en)2013-03-132015-01-01Cercacor Laboratories, Inc.Finger-placement sensor tape
US9965946B2 (en)2013-03-132018-05-08Masimo CorporationSystems and methods for monitoring a patient health network
US10441181B1 (en)2013-03-132019-10-15Masimo CorporationAcoustic pulse and respiration monitoring system
US20140275871A1 (en)2013-03-142014-09-18Cercacor Laboratories, Inc.Wireless optical communication between noninvasive physiological sensors and patient monitors
US20180289325A1 (en)2013-03-142018-10-11Masimo CorporationPatient monitor placement indicator
US9986952B2 (en)2013-03-142018-06-05Masimo CorporationHeart sound simulator
US20140275872A1 (en)2013-03-142014-09-18Cercacor Laboratories, Inc.Systems and methods for testing patient monitors
US9474474B2 (en)2013-03-142016-10-25Masimo CorporationPatient monitor as a minimally invasive glucometer
US9936917B2 (en)2013-03-142018-04-10Masimo Laboratories, Inc.Patient monitor placement indicator
US10456038B2 (en)2013-03-152019-10-29Cercacor Laboratories, Inc.Cloud-based physiological monitoring system
US20200000338A1 (en)2013-03-152020-01-02Cercacor Laboratories, Inc.Cloud-based physiological monitoring system
US20140316218A1 (en)2013-04-232014-10-23Patrick L. PurdonSystems and methods for monitoring brain metabolism and activity using electroencephalogram and optical imaging
US20140316217A1 (en)2013-04-232014-10-23Patrick L. PurdonSystem and method for monitoring anesthesia and sedation using measures of brain coherence and synchrony
US20140323898A1 (en)2013-04-242014-10-30Patrick L. PurdonSystem and Method for Monitoring Level of Dexmedatomidine-Induced Sedation
US20140323897A1 (en)2013-04-242014-10-30Emery N. BrownSystem and method for estimating high time-frequency resolution eeg spectrograms to monitor patient state
US20150011907A1 (en)2013-06-282015-01-08Patrick L. PurdonSystems and Methods To Infer Brain State During Burst Suppression
US20180238718A1 (en)2013-07-172018-08-23Masimo CorporationDouble-bearing position encoder for non-invasive physiological monitoring
US9891079B2 (en)2013-07-172018-02-13Masimo CorporationPulser with double-bearing position encoder for non-invasive physiological monitoring
US20190290136A1 (en)2013-08-052019-09-26Masimo CorporationBlood pressure monitor with valve-chamber assembly
US10555678B2 (en)2013-08-052020-02-11Masimo CorporationBlood pressure monitor with valve-chamber assembly
US20150038859A1 (en)2013-08-052015-02-05Cercacor Laboratories, IncBlood pressure monitor with valve-chamber assembly
US20160196388A1 (en)2013-09-122016-07-07Cercacor Laboratories, Inc.Medical device management system
US20150073241A1 (en)2013-09-122015-03-12Cercacor Laboratories, Inc.Medical device management system
US20150080754A1 (en)2013-09-132015-03-19Patrick L. PurdonSystems and Methods For Improved Brain Monitoring During General Anesthesia And Sedation
US20180146901A1 (en)2013-10-072018-05-31Masimo CorporationRegional oximetry pod
US10010276B2 (en)2013-10-072018-07-03Masimo CorporationRegional oximetry user interface
US10617335B2 (en)2013-10-072020-04-14Masimo CorporationRegional oximetry sensor
US20180168491A1 (en)2013-10-072018-06-21Masimo CorporationRegional oximetry sensor
US20190029578A1 (en)2013-10-072019-01-31Masimo CorporationRegional oximetry user interface
US9839379B2 (en)2013-10-072017-12-12Masimo CorporationRegional oximetry pod
US20150099950A1 (en)2013-10-072015-04-09Masimo CorporationRegional oximetry sensor
US10828007B1 (en)2013-10-112020-11-10Masimo CorporationAcoustic sensor with attachment portion
US10832818B2 (en)2013-10-112020-11-10Masimo CorporationAlarm notification system
US20180218792A1 (en)2013-10-112018-08-02Masimo CorporationAlarm notification system
US20150106121A1 (en)2013-10-112015-04-16Masimo CorporationAlarm notification system
US20160283681A1 (en)2013-11-012016-09-29Koninklijke Philips N.V.Apparatus and method for acoustic alarm detection and validation
US20190358524A1 (en)2013-12-132019-11-28Masimo CorporationAvatar-incentive healthcare therapy
US10279247B2 (en)2013-12-132019-05-07Masimo CorporationAvatar-incentive healthcare therapy
US10086138B1 (en)2014-01-282018-10-02Masimo CorporationAutonomous drug delivery system
US20180317841A1 (en)2014-01-282018-11-08Masimo CorporationAutonomous drug delivery system
US20190117930A1 (en)2014-02-212019-04-25Masimo CorporationAssistive capnography device
US20150238722A1 (en)2014-02-212015-08-27Masimo CorporationAssistive capnography device
US10532174B2 (en)2014-02-212020-01-14Masimo CorporationAssistive capnography device
US9924897B1 (en)2014-06-122018-03-27Masimo CorporationHeated reprocessing of physiological sensors
US10123729B2 (en)2014-06-132018-11-13Nanthealth, Inc.Alarm fatigue management systems and methods
US10231670B2 (en)2014-06-192019-03-19Masimo CorporationProximity sensor in pulse oximeter
US20150366507A1 (en)2014-06-192015-12-24Cercacor Laboratories, Inc.Proximity sensor in pulse oximeter
US20190223804A1 (en)2014-06-192019-07-25Masimo CorporationProximity sensor in pulse oximeter
US10111591B2 (en)2014-08-262018-10-30Nanthealth, Inc.Real-time monitoring systems and methods in a healthcare environment
US20190167161A1 (en)2014-09-042019-06-06Masimo CorporationTotal hemoglobin screening sensor
US20160066824A1 (en)2014-09-042016-03-10Masimo CorporationTotal hemoglobin screening sensor
US10231657B2 (en)2014-09-042019-03-19Masimo CorporationTotal hemoglobin screening sensor
US10383520B2 (en)2014-09-182019-08-20Masimo Semiconductor, Inc.Enhanced visible near-infrared photodiode and non-invasive physiological sensor
US20160081552A1 (en)2014-09-182016-03-24Masimo Semiconductor, Inc.Enhanced visible near-infrared photodiode and non-invasive physiological sensor
US20200000340A1 (en)2014-09-182020-01-02Masimo Semiconductor, Inc.Enhanced visible near-infrared photodiode and non-invasive physiological sensor
US10154815B2 (en)2014-10-072018-12-18Masimo CorporationModular physiological sensors
US20190133525A1 (en)2014-10-072019-05-09Masimo CorporationModular physiological sensors
US20200192441A1 (en)*2014-11-112020-06-18Darren SaravisTemperature Regulating Mount with Magnetic Power Mount
US10441196B2 (en)2015-01-232019-10-15Masimo CorporationNasal/oral cannula system and manufacturing
US10568553B2 (en)2015-02-062020-02-25Masimo CorporationSoft boot pulse oximetry sensor
US10205291B2 (en)2015-02-062019-02-12Masimo CorporationPogo pin connector
US10327337B2 (en)2015-02-062019-06-18Masimo CorporationFold flex circuit for LNOP
USD755392S1 (en)2015-02-062016-05-03Masimo CorporationPulse oximetry sensor
US20190214778A1 (en)2015-02-062019-07-11Masimo CorporationPogo pin connector
US10524738B2 (en)2015-05-042020-01-07Cercacor Laboratories, Inc.Noninvasive sensor system with visual infographic display
US20160324488A1 (en)2015-05-042016-11-10Cercacor Laboratories, Inc.Noninvasive sensor system with visual infographic display
US20160367173A1 (en)2015-05-222016-12-22Cercacor Laboratories, Inc.Non-invasive optical physiological differential pathlength sensor
US20190357824A1 (en)2015-07-022019-11-28Masimo CorporationAdvanced pulse oximetry sensor
US10448871B2 (en)2015-07-022019-10-22Masimo CorporationAdvanced pulse oximetry sensor
US10470695B2 (en)2015-07-022019-11-12Masimo CorporationAdvanced pulse oximetry sensor
US20190350506A1 (en)2015-07-022019-11-21Masimo CorporationAdvanced pulse oximetry sensor
US20170024748A1 (en)2015-07-222017-01-26Patient Doctor Technologies, Inc.Guided discussion platform for multiple parties
US20190001899A1 (en)*2015-08-062019-01-03Cnh Industrial America LlcSystem for mounting a device to a fixed hub of a steering wheel
US20170042488A1 (en)2015-08-112017-02-16Masimo CorporationMedical monitoring analysis and replay including indicia responsive to light attenuated by body tissue
US20190231199A1 (en)2015-08-312019-08-01Masimo CorporationPatient-worn wireless physiological sensor
US20170055851A1 (en)2015-08-312017-03-02Masimo CorporationPatient-worn wireless physiological sensor
US10383527B2 (en)2015-08-312019-08-20Masimo CorporationWireless patient monitoring systems and methods
US10736518B2 (en)2015-08-312020-08-11Masimo CorporationSystems and methods to monitor repositioning of a patient
US10226187B2 (en)2015-08-312019-03-12Masimo CorporationPatient-worn wireless physiological sensor
US10448844B2 (en)2015-08-312019-10-22Masimo CorporationSystems and methods for patient fall detection
US20170055882A1 (en)2015-08-312017-03-02Masimo CorporationSystems and methods for patient fall detection
US20170055896A1 (en)2015-08-312017-03-02Masimo CorporationSystems and methods to monitor repositioning of a patient
US20170055887A1 (en)2015-08-312017-03-02Masimo CorporationWireless patient monitoring systems and methods
US9509817B1 (en)*2015-10-012016-11-29Global Tel*Link CorporationCommunication device enclosure
US20170173632A1 (en)2015-12-172017-06-22Masimo CorporationVarnish-coated release liner
US10471159B1 (en)2016-02-122019-11-12Masimo CorporationDiagnosis, removal, or mechanical damaging of tumor using plasmonic nanobubbles
US20180192953A1 (en)2016-03-042018-07-12Masimo CorporationNose sensor
US10537285B2 (en)2016-03-042020-01-21Masimo CorporationNose sensor
US20170251974A1 (en)2016-03-042017-09-07Masimo CorporationNose sensor
US20170251975A1 (en)2016-03-042017-09-07Masimo CorporationNose sensor
US20170311891A1 (en)2016-04-292017-11-02Masimo CorporationOptical sensor tape
US20180013562A1 (en)2016-07-062018-01-11Patient Doctor Technologies, Inc.Secure and zero knowledge data sharing for cloud applications
US10608817B2 (en)2016-07-062020-03-31Masimo CorporationSecure and zero knowledge data sharing for cloud applications
US20180008146A1 (en)2016-07-072018-01-11Masimo CorporationWearable pulse oximeter and respiration monitor
US10617302B2 (en)2016-07-072020-04-14Masimo CorporationWearable pulse oximeter and respiration monitor
US20180103874A1 (en)2016-10-132018-04-19Masimo CorporationSystems and methods for patient fall detection
US20180199871A1 (en)2016-12-222018-07-19Cercacor Laboratories, Inc.Methods and devices for detecting intensity of light with translucent detector
US10750984B2 (en)2016-12-222020-08-25Cercacor Laboratories, Inc.Methods and devices for detecting intensity of light with translucent detector
US20180213583A1 (en)2017-01-182018-07-26Masimo CorporationPatient-worn wireless physiological sensor wtih pairing functionality
US10721785B2 (en)2017-01-182020-07-21Masimo CorporationPatient-worn wireless physiological sensor with pairing functionality
US20180216370A1 (en)2017-01-302018-08-02Mitsui Kinzoku Act CorporationVehicle door latch device
US20200000415A1 (en)2017-02-242020-01-02Masimo CorporationModular multi-parameter patient monitoring device
US10388120B2 (en)2017-02-242019-08-20Masimo CorporationLocalized projection of audible noises in medical settings
US20180242926A1 (en)2017-02-242018-08-30Masimo CorporationSystem for displaying medical monitoring data
US20180285094A1 (en)2017-02-242018-10-04Masimo CorporationMedical monitoring hub
US20180247712A1 (en)2017-02-242018-08-30Masimo CorporationSystem for displaying medical monitoring data
US10327713B2 (en)2017-02-242019-06-25Masimo CorporationModular multi-parameter patient monitoring device
US20180300919A1 (en)2017-02-242018-10-18Masimo CorporationAugmented reality system for displaying patient data
US20180247353A1 (en)2017-02-242018-08-30Masimo CorporationManaging dynamic licenses for physiological parameters in a patient monitoring environment
US20180256087A1 (en)2017-03-102018-09-13Masimo CorporationPneumonia screener
US20180296161A1 (en)2017-04-182018-10-18Masimo CorporationNose sensor
US10849554B2 (en)2017-04-182020-12-01Masimo CorporationNose sensor
USD822215S1 (en)2017-04-262018-07-03Masimo CorporationMedical monitoring device
US10918281B2 (en)2017-04-262021-02-16Masimo CorporationMedical monitoring device having multiple configurations
US20180310823A1 (en)2017-04-262018-11-01Masimo CorporationMedical monitoring device having multiple configurations
USD835283S1 (en)2017-04-282018-12-04Masimo CorporationMedical monitoring device
US10856750B2 (en)2017-04-282020-12-08Masimo CorporationSpot check measurement system
USD835285S1 (en)2017-04-282018-12-04Masimo CorporationMedical monitoring device
USD835282S1 (en)2017-04-282018-12-04Masimo CorporationMedical monitoring device
USD822216S1 (en)2017-04-282018-07-03Masimo CorporationMedical monitoring device
USD835284S1 (en)2017-04-282018-12-04Masimo CorporationMedical monitoring device
US20180310822A1 (en)2017-04-282018-11-01Masimo CorporationSpot check measurement system
US20180317826A1 (en)2017-05-082018-11-08Masimo CorporationSystem for displaying and controlling medical monitoring data
USD833624S1 (en)2017-05-092018-11-13Masimo CorporationMedical device
US20190015023A1 (en)2017-07-132019-01-17Cercacor Laboratories, Inc.Medical monitoring device for harmonizing physiological measurements
USD890708S1 (en)2017-08-152020-07-21Masimo CorporationConnector
USD864120S1 (en)2017-08-152019-10-22Masimo CorporationConnector
USD906970S1 (en)2017-08-152021-01-05Masimo CorporationConnector
US10637181B2 (en)2017-08-152020-04-28Masimo CorporationWater resistant connector for noninvasive patient monitor
USD880477S1 (en)2017-08-152020-04-07Masimo CorporationConnector
US10505311B2 (en)2017-08-152019-12-10Masimo CorporationWater resistant connector for noninvasive patient monitor
US20190058281A1 (en)2017-08-152019-02-21Masimo CorporationWater resistant connector for noninvasive patient monitor
US20190058280A1 (en)2017-08-152019-02-21Masimo CorporationWater resistant connector for noninvasive patient monitor
US20190117070A1 (en)2017-10-192019-04-25Masimo CorporationMedical monitoring system
US20190200941A1 (en)2017-10-312019-07-04Masimo CorporationSystem for displaying oxygen state indications
US20190239787A1 (en)2018-02-022019-08-08Cercacor Laboratories, Inc.Limb-worn patient monitoring device
US20190320988A1 (en)2018-04-192019-10-24Masimo CorporationMobile patient alarm display
US10667764B2 (en)2018-04-192020-06-02Masimo CorporationMobile patient alarm display
US20190320906A1 (en)2018-04-242019-10-24Cercacor Laboratories, Inc.Easy insert finger sensor for transmission based spectroscopy sensor
US20190374173A1 (en)2018-06-062019-12-12Masimo CorporationOpioid overdose monitoring
US20190374139A1 (en)2018-06-062019-12-12Masimo CorporationOpioid overdose monitoring
US20190374713A1 (en)2018-06-062019-12-12Masimo CorporationOpioid overdose monitoring
US10779098B2 (en)2018-07-102020-09-15Masimo CorporationPatient monitor alarm speaker analyzer
US20200021930A1 (en)2018-07-102020-01-16Masimo CorporationPatient monitor alarm speaker analyzer
US20200060869A1 (en)2018-08-222020-02-27Masimo CorporationCore body temperature measurement
USD887549S1 (en)2018-09-102020-06-16Masino CorporationCap for a flow alarm device
USD887548S1 (en)2018-09-102020-06-16Masimo CorporationFlow alarm device housing
US20200111552A1 (en)2018-10-082020-04-09Masimo CorporationPatient database analytics
US20200113488A1 (en)2018-10-112020-04-16Masimo CorporationPatient monitoring device with improved user interface
US20200113496A1 (en)2018-10-112020-04-16Masimo CorporationPatient connector assembly with vertical detents
US20200113497A1 (en)2018-10-112020-04-16Masimo CorporationLow noise oximetry cable
US20200138288A1 (en)*2018-10-122020-05-07Masimo CorporationSystem for transmission of sensor data using dual communication protocol
US20200113435A1 (en)2018-10-122020-04-16Masimo CorporationMedical systems and methods
USD897098S1 (en)2018-10-122020-09-29Masimo CorporationCard holder set
US20200113520A1 (en)2018-10-162020-04-16Masimo CorporationStretch band with indicators or limiters
US20200138368A1 (en)2018-11-052020-05-07Masimo CorporationSystem to manage patient hydration
US20200163597A1 (en)2018-11-272020-05-28Cercacor Laboratories, Inc.Assembly for medical monitoring device with multiple physiological sensors
US20200253474A1 (en)2018-12-182020-08-13Masimo CorporationModular wireless physiological parameter system
US20200196877A1 (en)2018-12-212020-06-25Cercacor Laboratories, Inc.Noninvasive physiological sensor
US20200253544A1 (en)2019-02-072020-08-13Masimo CorporationCombining multiple qeeg features to estimate drug-independent sedation level using machine learning
US20200275841A1 (en)2019-02-262020-09-03Masimo CorporationNon-contact core body temperature measurement systems and methods
US20200288983A1 (en)2019-02-262020-09-17Masimo CorporationRespiratory core body temperature measurement systems and methods
US20200321793A1 (en)2019-04-172020-10-08Masimo CorporationCharging station for physiological monitoring device
US20200329993A1 (en)2019-04-172020-10-22Masimo CorporationElectrocardiogram device
US20200330037A1 (en)2019-04-172020-10-22Masimo CorporationPhysiological monitoring device attachment assembly
US20200329984A1 (en)2019-04-172020-10-22Masimo CorporationBlood pressure monitor attachment assembly
US20210022628A1 (en)2019-04-172021-01-28Masimo CorporationPatient monitoring systems, devices, and methods
US20200329983A1 (en)2019-04-172020-10-22Masimo CorporationLiquid inhibiting air intake for blood pressure monitor

Non-Patent Citations (11)

* Cited by examiner, † Cited by third party
Title
Edworthy, J., Reid, S. et al., (2017). Recognizability and localizability of auditory alarms, Cognition Institutre, in 58 pages.
Ellis, Daniel P.W., (2001). Detecting Alarm Sounds, Department of Electrical Engineering, in 4 pages.
FFT versus Direct Convolution—Special Audio Signal Processing (2018). https://www.dsprelated.com/freebooks/sasp/FFT_versus_Direct_Convolution.html. in 12 pages.
O'Brien, D., (2007). Using Audible Alarms in Medical Equipment (IEC 60601-1-8). Mallory Sonalert Products, Inc. in 3 pages.
Philip, Elizabha, (2009). Evaluation of Medical Alarm Sounds (Master thesis). New Jersey Institute of Technology, 1-84.
Pietila, G. and Cerrato, G., (2012). Sound Quality Guidelines for Non-Automotive Products. Sound & Vibration, www.SandV.Com. 8-14.
Raboshchuk, G., Quintana, S.G. et al., (2017). Automatic detection of alarm sounds in a noisy hospital environment using model and non-model based approaches, TALP Research Center, 1-19.
Szalai, J. and Mózes, F.E., (2016). Intelligent Digital Signal Processing and Feature Extraction Methods. International Publishing Switzerland, Chapter 2, 59-92.
U.S. Appl. No. 10/503,379, filed Dec. 10, 2019, Al-Ali et al.
U.S. Appl. No. 10/505,311, filed Dec. 10, 2019, Al-Ali et al.
U.S. Appl. No. 10/512,436, filed Dec. 24, 2019, Muhsin et al.

Cited By (1)

* Cited by examiner, † Cited by third party
Publication numberPriority datePublication dateAssigneeTitle
US12238489B2 (en)2018-07-102025-02-25Masimo CorporationPatient monitor alarm speaker analyzer

Also Published As

Publication numberPublication date
US20240171920A1 (en)2024-05-23
US20210360359A1 (en)2021-11-18
US20200336851A1 (en)2020-10-22
US11082786B2 (en)2021-08-03
US20200021930A1 (en)2020-01-16
US12238489B2 (en)2025-02-25
US10779098B2 (en)2020-09-15

Similar Documents

PublicationPublication DateTitle
US12238489B2 (en)Patient monitor alarm speaker analyzer
US12089968B2 (en)Optical patient monitor
US12029586B2 (en)Oximeter probe off indicator defining probe off space
US12419588B2 (en)System and method for monitoring respiratory rate measurements
US20240366156A1 (en)Acoustic respiratory monitoring sensor with probe-off detection
US10064562B2 (en)Variable mode pulse indicator
JP5249946B2 (en) Patient monitoring system and computer program
US7828739B2 (en)Apnea detection system
US20120209084A1 (en)Respiratory event alert system
US20220202349A1 (en)Multiparameter noninvasive sepsis monitor
US20100106030A1 (en)Method and system for automated measurement of pulsus paradoxus

Legal Events

DateCodeTitleDescription
FEPPFee payment procedure

Free format text:ENTITY STATUS SET TO UNDISCOUNTED (ORIGINAL EVENT CODE: BIG.); ENTITY STATUS OF PATENT OWNER: LARGE ENTITY

STPPInformation on status: patent application and granting procedure in general

Free format text:DOCKETED NEW CASE - READY FOR EXAMINATION

STPPInformation on status: patent application and granting procedure in general

Free format text:NOTICE OF ALLOWANCE MAILED -- APPLICATION RECEIVED IN OFFICE OF PUBLICATIONS

STPPInformation on status: patent application and granting procedure in general

Free format text:PUBLICATIONS -- ISSUE FEE PAYMENT VERIFIED

STCFInformation on status: patent grant

Free format text:PATENTED CASE

ASAssignment

Owner name:MASIMO CORPORATION, CALIFORNIA

Free format text:ASSIGNMENT OF ASSIGNORS INTEREST;ASSIGNORS:ISWANTO, JOY;MUHSIN, BILAL;JIMENEZ, RAUL;SIGNING DATES FROM 20200326 TO 20200813;REEL/FRAME:067939/0355


[8]ページ先頭

©2009-2025 Movatter.jp