Movatterモバイル変換


[0]ホーム

URL:


US11438316B2 - Sharing encrypted items with participants verification - Google Patents

Sharing encrypted items with participants verification
Download PDF

Info

Publication number
US11438316B2
US11438316B2US16/745,334US202016745334AUS11438316B2US 11438316 B2US11438316 B2US 11438316B2US 202016745334 AUS202016745334 AUS 202016745334AUS 11438316 B2US11438316 B2US 11438316B2
Authority
US
United States
Prior art keywords
receiver
sender
key
item
public key
Prior art date
Legal status (The legal status is an assumption and is not a legal conclusion. Google has not performed a legal analysis and makes no representation as to the accuracy of the status listed.)
Active, expires
Application number
US16/745,334
Other versions
US20210226933A1 (en
Inventor
Eimantas PUZERIS
Mindaugas VALKAITIS
Current Assignee (The listed assignees may be inaccurate. Google has not performed a legal analysis and makes no representation or warranty as to the accuracy of the list.)
360 IT UAB
UAB 360 IT
Original Assignee
360 IT UAB
Priority date (The priority date is an assumption and is not a legal conclusion. Google has not performed a legal analysis and makes no representation as to the accuracy of the date listed.)
Filing date
Publication date
Priority to US16/745,334priorityCriticalpatent/US11438316B2/en
Application filed by 360 IT UABfiledCritical360 IT UAB
Priority to CA3166510Aprioritypatent/CA3166510A1/en
Priority to EP21700997.6Aprioritypatent/EP4091080A1/en
Priority to PCT/IB2021/050159prioritypatent/WO2021144677A1/en
Publication of US20210226933A1publicationCriticalpatent/US20210226933A1/en
Assigned to 360 IT, UABreassignment360 IT, UABASSIGNMENT OF ASSIGNORS INTEREST (SEE DOCUMENT FOR DETAILS).Assignors: PUZERIS, Eimantas, VALKAITIS, Mindaugas
Priority to US17/876,880prioritypatent/US20220385644A1/en
Publication of US11438316B2publicationCriticalpatent/US11438316B2/en
Application grantedgrantedCritical
Assigned to UAB 360 ITreassignmentUAB 360 ITCORRECTIVE ASSIGNMENT TO CORRECT THE ASSIGNEE FROM 360 IT, UAB TO UAB 360 IT PREVIOUSLY RECORDED ON REEL 60189 FRAME 629. ASSIGNOR(S) HEREBY CONFIRMS THE ASSIGNMENT.Assignors: PUZERIS, Eimantas, VALKAITIS, Mindaugas
Activelegal-statusCriticalCurrent
Adjusted expirationlegal-statusCritical

Links

Images

Classifications

Definitions

Landscapes

Abstract

A method and apparatus for establishing a trust relationship between users is disclosed. The apparatus includes at least two user devices containing the Application, a service provider server (SPS) comprising an application programming interface (API), a network communicably coupling the sender device, the receiver device and the SPS, and an out-of-band (OOB) channel, separate from the network, communicably coupling the sender device and the receiver device. The method includes obtaining a receiver's Public Key provided by an Application Programming Interface (API) on an service provider server, encrypting a verification message with the Receiver's Public key and the Sender's Private Key, sending the encrypted verification message from the Sender's device to the Receiver's device through the out-of-band channel, decrypting the encrypted verification message using Receiver's Private Key and Sender's Public Key, and communicating decrypted verification message via out-of-band channel.

Description

FIELD OF THE DISCLOSURE
Aspects of the disclosure relate to computer hardware and software in protecting access to data via a platform, e.g. using keys or access control rules. The present embodiments relate to the network architectures or network communication protocols for network security for supporting key management in a packet data network for key exchange, more specifically, exchanging the respective security keys directly between two communicating parties. In particular, one or more aspects of the disclosure generally relate to storing, using and exchanging/sharing encrypted data (such as passwords or other digital items) in a secure fashion.
BACKGROUND
Applications with password or item sharing feature that encrypt the items to be protected, and rely on the service provider backend infrastructure to store the encrypted items currently allow the service provider to bypass the encryption of item, improperly gain access to said items without alerting the owner of the data. This is because the public keys of the sharing participants do not benefit from mutual authentication. This would allow the service provider to obtain access to all shared items without the sender or the recipient being able to detect that something went wrong: when a user initiates sharing of an encrypted item the service provider would simply advertise a fake public key for the item recipient, causing the sender to share the item to the service provider i.e. the wrong recipient. The service provider can then re-share the obtained item to the correct recipient intended originally, thereby avoiding any suspicion from either Sender or Receiver.
The proposed solution provides a safe way for the user to share the encrypted passwords or other digital items without any fear that such information can be obtained by the service provider or any other third party (hacker attack or rogue employee).
The following sections will elaborate and clarify the technology notions the solution employs, is dependent upon or is related to, such as encryption in general, authentication methodologies and attack vectors mitigation.
In cryptography, encryption is the process of encoding a message or information in such a way that only authorized parties can access it and those who are not authorized cannot. Encryption does not itself prevent interference but denies the intelligible content to a would-be interceptor. In an encryption scheme, the intended information or message, referred to as plaintext, is encrypted using an encryption algorithm—a cipher—generating ciphertext that can be read only if decrypted. For technical reasons, an encryption scheme usually uses a pseudo-random encryption key generated by an algorithm. It is in principle possible to decrypt the message without possessing the key, but, for a well-designed encryption scheme, considerable computational resources and skills are required. An authorized recipient can easily decrypt the message with the key provided by the originator to recipients but not to unauthorized users.
Symmetric and asymmetric cryptographic systems are two major approaches to encryption technique. Symmetric-key cryptography refers to a cryptographic system that employs the same key for both data encryption and decryption. This means that all participants of the data exchange must know the same key to be able to securely send the encrypted message and to decrypt the encrypted messages received.
Therefore, the key shared among parties, but having to stay secret to 3rd parties—in order to keep communications private—is considered a shared secret. No adversary can decrypt the message without knowing the secret key without dedicating significant resources for breaking the encryption without knowing the right keys. The quality of the encryption scheme is judged by how prohibitive the cost of such breaking is.
Public-key cryptography, or asymmetric cryptography, refers to a cryptographic system that uses pairs of keys: public keys which are to be accessible freely, and private keys which are only accessible to the owner. The generation of such keys depends on cryptographic algorithms based on mathematical problems to produce one-way functions. Effective security only requires keeping the private key private; the public key can be openly distributed without compromising security.
In such a system, any person can encrypt a message using the receiver's public key, but that encrypted message can only be decrypted with the receiver's private key.
Robust authentication is also possible. A sender can combine a message with a private key to create a short digital signature on the message. Anyone with the sender's corresponding public key can combine the same message and the supposed digital signature associated with it to verify whether the signature was valid, i.e. made by the owner of the corresponding private key.
Two of the best-known uses of public key cryptography are: 1) Public key encryption, in which a message is encrypted with a recipient's public key. The message cannot be decrypted by anyone who does not possess the matching private key, who is thus presumed to be the owner of that key and the person associated with the public key. This is used in an attempt to ensure confidentiality. 2) Digital signatures, in which a message is signed with the sender's private key and can be verified by anyone who has access to the sender's public key. This verification proves that the sender had access to the private key, and therefore is likely to be the person associated with the public key. This also ensures that the message has not been tampered with, as a signature is mathematically bound to the message it originally was made with, and verification will fail for practically any other message, no matter how similar to the original message.
Public key algorithms are fundamental security ingredients in modern cryptosystems, applications and protocols assuring the confidentiality, authenticity and non-repudiability of electronic communications and data storage. They underpin various Internet standards, such as Transport Layer Security (TLS), S/MIME, PGP, and GPG. Some public key algorithms provide key distribution and secrecy (e.g., Diffie-Hellman key exchange), some provide digital signatures (e.g., Digital Signature Algorithm), and some provide both (e.g., RSA).
Authenticated encryption (AE) and authenticated encryption with associated data (AEAD) are forms of encryption which simultaneously assure the confidentiality and authenticity of data. These attributes are provided under a single, easy to use programming interface.
An important part of cryptography is the notion of key derivation, where a key derivation function (KDF) derives one or more secret keys from a secret value such as a master key, a password, or a passphrase using a pseudorandom function. KDFs can be used to stretch keys into longer keys or to obtain keys of a required format, such as converting a group element that is the result of a Diffie-Hellman key exchange into a symmetric key for use with AES. Keyed cryptographic hash functions are popular examples of pseudorandom functions used for key derivation.
An important cryptography concept that is relevant within the issue of key derivation is salt, i.e. random data that is used as an additional input to a one-way function that “hashes” the input data, a password or passphrase. Salts are used to safeguard passwords in storage. Historically a password was stored in plaintext on a system, but over time additional safeguards developed to protect a user's password against being read from the system. A salt is one of those methods.
A new salt is randomly generated for each password. In a typical setting, the salt and the password (or its version after Key stretching) are concatenated and processed with a cryptographic hash function, and the resulting output (but not the original password) is stored with the salt in a database. Hashing allows for later authentication without keeping, and therefore risking, the plaintext password if the authentication data store is compromised.
Salts defend against a pre-computed hash attack. Since salts do not have to be memorized by humans, they can make the size of the hash table required for a successful attack prohibitively large without placing a burden on the users. Since salts are different in each case, they also protect commonly used passwords, or those users who use the same password on several sites, by making all salted hash instances for the same password different from each other.
Cryptographic salts are broadly used in many modern computer systems, from Unix system credentials to Internet security.
Salts are closely related to the concept of a cryptographic nonce, which is an arbitrary number that can be used just once in a cryptographic communication. It is similar in spirit to a nonce word, hence the name. It is often a random or pseudo-random number issued in an authentication protocol to ensure that old communications cannot be reused in a replay attack. They can also be useful as initialization vectors and in cryptographic hash functions, both important concepts to elaborate upon.
A cryptographic hash function (CHF) is a hash function that is suitable for use in cryptography. It is a mathematical algorithm that maps data of arbitrary size (often called the “message”) to a bit string of a fixed size (the “hash value”, “hash”, or “message digest”) and is a one-way function, that is, a function which is practically infeasible to invert. Ideally, the only way to find a message that produces a given hash is to attempt a brute-force search of possible inputs to see if they produce a match or use a rainbow table of matched hashes. Cryptographic hash functions are a basic tool of modern cryptography.
In cryptography, key stretching techniques are used to make a possibly weak key, typically a password or passphrase, more secure against a brute-force attack by increasing the resources (time and possibly space) it takes to test each possible key. Passwords or passphrases created by humans are often short or predictable enough to allow password cracking, and key stretching is intended to make such attacks more difficult by complicating a basic step of trying a single password candidate. Because a key generation function must be deterministic so that the weak key always generates the same stretched key (called an enhanced key), the stretching of the key does not alter the entropy of the key-space, only complicates the method of computing the enhanced key. Attacks on unsalted key stretching functions exist called rainbow tables. Salting the key is the process of appending a long, random string to the weak key. This is done so that precomputed hashes of either short keys or password lists cannot be used in authentication schemes that require the hash to be presented or to reverse hashes into their original pass-phrases which may be used to compromise users on other services using the same pass-phrase.
Another relevant part of the context the current embodiment works within is the concept of Multi-factor authentication (MFA). MFA is an authentication method in which a computer user is granted access only after successfully presenting two or more pieces of evidence (or factors) to an authentication mechanism: knowledge (something the user and only the user knows), possession (something the user and only the user has), and inherence (something the user and only the user is).
Two-factor authentication (also known as 2FA) is a type, or subset, of multi-factor authentication. It is a method of confirming users' claimed identities by using a combination of two different factors: 1) something they know, 2) something they have, or 3) something they are.
Several attack vectors are especially relevant within the context of exchanging data in a secure and protected fashion between users that are not part of the same mutually verified trusted platform.
A replay attack (also known as playback attack) is a form of network attack in which a valid data transmission is maliciously or fraudulently repeated or delayed. This is carried out either by the originator or by an adversary who intercepts the data and re-transmits it, possibly as part of a masquerade attack by IP packet substitution. This is one of the lower tier versions of a “Man-in-the-middle attack” (MITM).
In cryptography and computer security, a man-in-the-middle attack is an attack where the attacker secretly relays and possibly alters the communications between two parties who believe that they are directly communicating with each other. One example of a MITM attack is active eavesdropping, in which the attacker makes independent connections with the victims and relays messages between them to make them believe they are talking directly to each other over a private connection, when in fact the entire conversation is controlled by the attacker. The attacker must be able to intercept all relevant messages passing between the two victims and inject new ones. This is straightforward in many circumstances; for example, an attacker within the reception range of an unencrypted wireless access point could insert themselves as a man-in-the-middle.
As it aims to circumvent mutual authentication, a MITM attack can succeed only when the attacker impersonates each endpoint sufficiently well to satisfy their expectations. Most cryptographic protocols include some form of endpoint authentication specifically to prevent MITM attacks.
SUMMARY
Embodiments of the present invention provide an improved system ofencrypted Item210 that overcomes the problems and limitations of the prior art. Particularly, embodiments of the present invention provide a system and method of encrypting adigital Item210 and associating the saidItem210 with a recipient or group of recipients, wherein only an authorized recipient is provided a key for decrypting the message or optionally the authorized recipient's identity must also be verified in a reliable fashion.
According to an embodiment, a reliable and secure method for sharingencrypted Items210 comprises authenticating the Sender against API database and obtaining an authentication token from API for the duration of a session. “Authenticating against” means authenticate user by comparing the credentials user provides with the customer database record Service provider holds. The method may be performed, for example, by a computer executable program (or an application), at least a part of which is stored on a computer-readable medium.
When the user is authenticated within theApplication202, the user may be prompted to provide entropy data necessary for derivation of the encryption keys e.g. in the format of a Master password. In computing, entropy is the randomness collected by an operating system or application for use in cryptography or other uses that require random data. This randomness is often collected from hardware sources (variance in fan noise or HDD), either pre-existing ones such as mouse movements or specially provided randomness generators. TheApplication202 may use the entropy user provided, e.g. the Master password, together with some additional entropy, ‘salt’ added further thereon, to derive asymmetric Master key204 for encrypting Sender's Private key, of the Sender's asymmetric key pair. The ‘salt’ is necessary to compensate for the possibility of Master password being too short or not complex enough for producing a reliably secure key.
Each protectedItem210 is assigned by the Application202 a unique item identification and is encrypted with an individual symmetric item encryption key,Item Key208 further on.Item Key208 is a symmetric key used to encrypt the very item user wants protected. These symmetric keys are generated by theApplication202 on a one-to-one basis for encrypting and decrypting a particular item, such as a set of user credentials.Item Key208 is correspondingly encrypted with the user's Public Key, of the user's asymmetric key pair, generated by theApplication202 when registering the user. The Private Key, of the user's asymmetric key pair, generated by theApplication202 when registering the user, is used for decrypting the Item Keys, and is correspondingly encrypted with asymmetric Master key204, derived from the Master password andSalt212.
Both items and theircorresponding Item Keys208, as well as the user'sPublic Key214, are stored online within theAPI300.FIG. 3 shows the various keys, as well as other data, stored inside the API. TheItem Keys208 are each encrypted with the user'sPublic Key214 before placing them within API database. User's corresponding Private key is used to decrypt the symmetric keys. The Private key is placed within theUser device200, unencrypted when necessary, otherwise always encrypted with the user'ssymmetric Master key204 and is never stored unencrypted anywhere else except for theUser device200. In the current embodiment, encryption/decryption operations are transparent i.e. are performed by theApplication202 when requested by the user through GUI. So, the option of selecting a specific key, substituting keys is concealed from the user. However, the options of encryption/decryption operations, e.g. the selection of encryption keys, may be visible to the user, i.e. this technical specification should not limit the scope of the embodiment.
The computer executable program comprises code segments for enabling a user to share an encrypted item with another user, verifying the receiving user along the way and possibly allowing the Sender to verify the Receiver.
A code segment withinApplication202 enables a user initiating the sharing, Sender further on in the document, to provide input for deriving thesymmetric Master key204 when prompted by theApplication202 while launching said application, e.g. theApplication202 prompts a user to provide the Master password. When derived, theMaster key204 allows Sender to decrypt and access Sender's Private key thus getting full access to all the Item Keys. Sender further obtains the item identification and Item Key fromAPI300 and locally decrypts theItem Key208 with Sender'sPrivate key206. Thus, during the initial steps of the Sharing flow the Sender obtains the item identification of the item it wishes to share, as well as all the encryption keys necessary to gain access to the item and to authenticate the Sender as the user initiating the Sharing sequence.
To proceed with the item Sharing, Sender may request an identification of the Receiver from API by providing Receiver's email address. Receiver's identification may be provided in the format of Receiver'sPublic Key214, of the Receiver's asymmetric key pair. The Sender's application may store and use the Receiver'sPublic Key214 locally in order to perform verification operation according to the flow described below.
Sender further encrypts theItem Key208, of the item that is to be shared, with Receiver'sPublic Key214, and stores the result withinAPI300, together with the item's identification.
In case the Receiver'sPublic Key214 is not accessible to the Sender, the Sender records the information about the pending share inAPI300, signing this information with Sender'sPrivate Key206. The information includes Sender's identification, Item Identification, Receiver's email and Sender's digital signature.
Another code segment withinApplication202 enables Receiver to verify the Sender, i.e. to ensure that the initiator of sharing an item is indeed the person declared, as opposed to any party that might try to impersonate the legitimate sender most of all—to prevent the service provider from substituting thePublic Key214 that are necessary for sharing flow with its own set of public keys, therefore obtaining access to the data shared and avoiding detection by the end users—Sender and Receiver. To achieve this Sender obtains Receiver'sPublic Key214 provided by API for the specified email. Other means to identify the Receiver may be first name and second name coupled with an enterprise identification, social networks' or instant messaging platforms' identity. Using Receiver'sPublic Key214 and Sender's Private Key Sender encrypts a random message in application and shares encrypted value with Receiver via out-of-band channel. Henceforth Receiver decrypts (using Receiver's Private Key and Sender's Public Key214) the encrypted value and communicates the value via out-of-band channel to Sender. Consequently, trust is established with Receiver signing Sender'sPublic Key214 and storing the result in API database, correspondingly making it possible to access the signed Sender'sPublic Key214 from any number of devices Receiver might use.
Receiver signs Sender'sPublic Key214 with Receiver's Private Key. This digital signature can be verified by anybody who has access to the Receiver'sPublic Key214, i.e. virtually anybody. This verification proves that the person signing Sender'sPublic Key214 has access to Receiver's Private Key and is indeed Receiver himself. This also ensures that the key signed in this fashion has not been tampered with or changed in any way, as the signature is mathematically bound to the key originally signed with it, and verification will fail for practically any other key, no matter how similar to the original key.
To establish trust in the opposite direction Sender signs Receiver'sPublic Key214 obtained during the Sharing flow and storing the signed key in API database which makes it possible to access the signed Receiver'sPublic Key214 from any number of devices Sender might use.
According to an embodiment, theApplication202 enables a user to selectively assign encrypted objects access rights, partially or in full, to a user of their choosing.
In another embodiment, the use of multi-factor authentication between the user and API enables additional security and authentication features such as step-up authentication on a per application basis, or secure Single sign-on in a shared device environment. Single sign-on (SSO) is a property of access control of multiple related, yet independent, software systems. With this property, a user logs in with a single ID and password to gain access to any of several related systems.
Some aspects described herein may provide mutual user verification is provided in the absence of a trusted authority platform. Some embodiments may provide the ability to maintain a certificate, or other types of security tokens, as a shared encrypted item coupled with an external enrollment mechanism. With the certificates securely stored in this fashion, applications may access the certificate/virtual smart card once the user provides his input for deriving theMaster Key204 and theApplication202 registers with theApplication202 backend.
Some aspects described herein may provide a step-up authentication on a per-application basis. A private customer or enterprise resources may require a higher assurance authentication. In some embodiments, theApplication202 may retrieve the higher assurance authorization and store the credentials for the particular resource in an encrypted form that also allows for sharing said set of credentials in a secure manner. As a result, step-up authentication may be provided on a per-application basis while maintaining single sign on features as to other resources.
Some aspects described herein may provide support for multiple users on a shared device. The device may maintain more than one user context for the encryption protection application. When a user switch is detected, such as when one user logs off or another user enters their passcode, the device may seamlessly switch contexts to reflect information and credentials associated with the new user.
These and other important aspects of the present invention are described more fully in the detailed description below.
BRIEF DESCRIPTION OF DRAWINGS
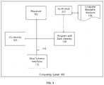
FIG. 1 is a component diagram of a computing system that may be the participant of an encryption protection application setup.
FIG. 2 is a component diagram of an Application user device.
FIG. 3 is a component diagram of API
FIG. 4 is a depiction of encrypteditem sharing method400.
FIG. 5 is to support applicationuser verification method500.
FIG. 6 is a demonstration of an exemplary method involving the present embodiments. As shown in the diagram, themethod400 involves a customer of the encryption protection application sharing an encrypted item with another customer of said application.
FIG. 7 is a display of a method comprising the present embodiments. Demonstrated in the diagram is themethod500 that involves a customer of the encryption protection application initiating a verification flow in order to validate another customer of said encryption protection application.
FIG. 8 is an architectural layout of an apparatus for sharing encrypted items with participants verification.
DETAILED DESCRIPTION
Some general terminology definitions as well as descriptions of invention components and participants may be helpful and are included herein for convenience and are intended to be interpreted in the broadest possible interpretation:
Application202—a computer program, a computer code, a set of instructions executed within the User device with the particular purpose of protecting digital objects and items with encryption, sharing the protected objects and items with other users of the same application, as well as verifying other users of the same application.
User device200—a computing device where a person installs and executes the application. The person can be a Sender or a Receiver, or both.
Sender—a role that a computer user assumes when initiating a Sharing of an encrypted item with another computer user.
Receiver—a role that a computer user is assigned when an encrypted item has been shared with the said user, for example from the Sender.
API (300)—the designated name of the sum of programmatic endpoints for communication between the service provider andApplication202 users. Service provider can be any legal entity, that owns and is responsible for the functioning of API. In the context of the described embodiments service provider can be represented by a Service Provider Server (SPS), a computing device that has the programmatic code ofAPI300 deployed and executed within. The provider participates in sharing and verification workflows as an assisting mediator and is not intended to have access to the decrypted items or the cryptographic keys necessary to decrypt said items. API also contains data comprised of user attributes, encrypted items and corresponding Item encryption Keys, stored in API in an encrypted form.
Out-of-band channel, or OOB—the exchange of messages or data between Sender and Receiver that circumvents API, be it a direct contact, a phone call, email communication, SMS communication, communication by any chat application or any other channel that is not related to the API.
Master Key204—a symmetric encryption key, which is unique for each user of the solution, and is derived from a Master password known only to a user. Additionally, theMaster Key204 includes additional entropy, e.g.Salt212, which is unique to each user, provided by the service provider. TheMaster Key204 is used to encrypt aPrivate Key206 of an asymmetric key pair of the user.
Public Key214—the public part of an asymmetric key pair belonging to the user. This key is publicly accessible to everyone, e.g. another user of theApplication202. This key is used to encrypt data so that only the owner of the corresponding private key can decrypt the data. The secondary function of thePublic Key214 is to verify cryptographic signatures produced with the corresponding private key. According to some embodiments, thePublic Key214 is also employed to encryptItem Keys208 to protect theItem Keys208 from being accessed by anyone except the legitimate owner of the corresponding asymmetric key pair.
Private Key206—the private part of the asymmetric key pair belonging to the user. This key is kept secret and is not supposed to be accessible to an entity other than the owning user. The primary function of the key is to decrypt the data encrypted with the correspondingPublic Key214. The secondary function is to cryptographically sign a piece of data, for example a particular item belonging to a user. The signature can be verified by anyone who can access the correspondingPublic Key214. According to some embodiments, thePrivate Key206 is used to decrypt item keys before they can be used to access protected items.
Item—any object stored in API, accessed through theApplication202, protected by encrypting an object or item with an individualsymmetric Item Key208.
Item Key208—a symmetric key, created for individually encrypting a single protected item. This key is encrypted by the user'sPublic Key214 and can only be decrypted with the user'sPrivate Key206. Verification message—an arbitrary string of characters, numbers and symbols, that when encrypted by Sender and communicated to Receiver, is a prerequisite for user verification.
The current embodiments disclose a computer implemented method for establishing a two-way trust between users of theApplication202. The disclosed method comprises: obtaining, at a Sender's device, a receiver'sPublic Key214 provided by API; encrypting, at the Sender's device, a verification message with the Receiver'sPublic Key214 and the Sender'sPrivate Key206; sending the encrypted verification message from the Sender's device to the Receiver's device through the out-of-band channel; decrypting, at the Receiver's device, the encrypted verification message using Receiver'sPrivate Key206 and Sender'sPublic Key214; communicating, from the Receiver to the Sender, decrypted verification message via out-of-band channel602; confirming by the Sender that the decrypted verification message, communicated by the Receiver, is identical to the verification message encrypted by the Sender; establishing, by the Receiver, a one-way trust by signing the Sender'sPublic Key214 at the Receiver's device, with the Receiver'sPrivate Key206; signing, at the Sender's device, the Receiver'sPublic Key214 with the Sender'sPrivate Key206, to establish a two-way trust.
In the verification method, the signed Sender'sPublic Key214 is stored in at least one of the following: the API, the Receiver's device, or a database, accessible from theApplication202 user's device. The API is provided by a service provider server, serving as a communication mediator between the Sender's device and the Receiver's device during verification flow.
During the verification flow, the out-of-band channel602 is used. It can be at least one of the following: a direct conversation, phone call, email communication, SMS, communication by an Internet chat application, or any other communication channel that does not rely upon the API. The asymmetrical encryption method is used.
The disclosed method also describes the sharing of an encrypted item with another user of theApplication202. The sharing contains the following steps: requesting, from the sender to the API, receiver'sPublic Key214 by providing at least one of an email ID or other identifying information of the receiver to the API; receiving, at the sender device, Receiver'sPublic Key214 from the API; encrypting anItem Key208 with Receiver'sPublic Key214, theindividual Item Key208 corresponding to anItem210 to be sent from the Sender's device to the Receiver's device; sending, from the Sender's device, theencrypted Item Key208 to the API with anItem210 identification; obtaining, at the receiver device, theencrypted Item Key208 from the API; decrypting theItem Key208 with Receiver'sPrivate Key206; decrypting theItem210 using the decryptedItem Key208; informing the Sender, by the API, about the access occurring, marking the share as successful within the API.
The method for sharing encrypted items, further comprising the steps of assigning a unique item identification to theItem210 that is shared; and encrypting theItem210 using an individualsymmetric Item Key208.
In case the Receiver'sPublic Key214 is not accessible to the Sender, the Sender records the information about the attempted share inAPI300, signing this information with Sender'sPrivate Key206. The information includes Sender's identification, Item Identification, Receiver's email and Sender's digital signature. In such a scenario, Receiver generates an asymmetric key pair at the Receiver's device and makes the Receiver'sPublic Key214 available to the Sender for download of the Receiver'sPublic Key214 fromAPI300.
The embodiments also discloses an apparatus for establishing a trust relationship between users. The apparatus comprises: a sender device containing the Application; a receiver device containing the Application; a service provider server (SPS) containing the application programming interface (API); a network communicably coupling the sender device, the receiver device and the SPS; and an out-of-band (OOB) channel, separate from the network, communicably coupling the sender device and the receiver device, wherein the apparatus performs a method of: obtaining, at a Sender's device, a receiver's Public Key provided by an Application Programming Interface (API), encrypting, at the Sender's device, a verification message with the Receiver's Public key and the Sender's Private Key, sending the encrypted verification message from the Sender's device to the Receiver's device through the out-of-band channel, decrypting, at the Receiver's device, the encrypted verification message using Receiver's Private Key and Sender's Public Key, communicating, from the Receiver to the Sender, decrypted verification message via out-of-band channel, confirming by the Sender that the decrypted verification message, communicated by the Receiver, is identical to the verification message encrypted by the Sender, establishing, by the Receiver, a one-way trust by signing the Sender's Public Key at the Receiver's device, with the Receiver's Private Key.
In the disclosed apparatus the signed Sender's Public Key is stored in at least one of the following: the API, the Receiver's device, or a database, accessible from the Application user's device. The API is provided by a service provider server, serving as a communication mediator between the Sender's device and the Receiver's device during verification flow.
In the disclosed method and apparatus, the Application can be a stand-alone application installed locally within the user's device or remotely, an application's plug-in, an application executed locally or remotely, or an application made available to the user in any other form.
The embodiments herein may be combined in a variety of ways as a matter of design choice. Accordingly, the features and aspects herein are not intended to be limited to any particular embodiment. Furthermore, the embodiments can take the form of hardware, firmware, software, and/or combinations thereof. In one embodiment, such software includes but is not limited to firmware, resident software, microcode, etc.FIG. 1 illustrates acomputing system100 in which a ComputerReadable Medium106 may provide instructions for performing any of the methods and processes disclosed herein.
Furthermore, some aspects of the embodiments herein can take the form of a computer program product accessible from the ComputerReadable Medium106 to provide program code for use by or in connection with a computer or any instruction execution system. For the purposes of this description, the ComputerReadable Medium106 can be any apparatus that can tangibly store the program code for use by or in connection with the instruction execution system, apparatus, or device, including theComputing System100.
The ComputerReadable Medium106 can be any tangible electronic, magnetic, optical, electromagnetic, infrared, or semiconductor system (or apparatus or device). Some examples of a ComputerReadable Medium106 include solid state memories, magnetic tapes, removable computer diskettes, random access memories (RAM), read-only memories (ROM), magnetic disks, and optical disks. Some examples of optical disks include read only compact disks (CD-ROM), read/write compact disks (CD-R/W), and digital versatile disks (DVD).
TheComputing System100 can include one ormore processors102 coupled directly or indirectly to Program andData Memory108 through asystem bus110. The Program andData Memory108 can include local memory employed during actual execution of theApplication202, bulk storage, and/or cache memories, which provide temporary storage of at least some of the program code in order to reduce the number of times the code is retrieved from bulk storage during execution.
Input/output (I/O) devices104 (including but not limited to keyboards, displays, pointing devices, I/O interfaces, etc.) can be coupled to theComputing System100 either directly or through intervening I/O controllers. Network adapters may also be coupled to theComputing System100 to enable theComputing System100 to couple to other data processing systems, such as through Host Systems Interfaces112, printers, and/or or storage devices through intervening private or public networks. Modems, cable modems, and Ethernet cards are just examples of network adapter types.
FIG. 1 is a component diagram of aComputing System100 that shows an overall hardware architecture of a computer system that is running theApplication202. TheComputing System100 combines I/O devices104,Processor102, ComputerReadable Medium106, Program andData Memory108, Host Systems Interfaces112. TheComputing System100 is aUser device200.
FIG. 2 is a component diagram of elements that are contained withinUser device200. TheUser device200 contains at least the following:computer Application202,Master Key204,Private Key206,Item Key208,Item210,Salt212,Public Key214.
FIG. 3 is a component diagram of theAPI300.API300 contains Users data, such as:User Public Key214 andUser Salt212. API also contains Protected items and keys:Item Key208 encrypted withUser Public Key214 andencrypted Item210. Items and keys contained therein are the encrypted versions of objects inUser device200, or objects publicly available.
FIG. 4 is a sequence diagram of amethod400 for sharing an Item encrypted308, according to embodiments of the present invention. Atstep402, sender opens anItem210 locally and decrypts theItem210. Atstep404, the sender obtains Receiver's Public Key from API at service provider. Next, asstep406, the sender encryptsItem Key208 with Receiver's Public Key. Next, atstep408, the Sender storesencrypted Item Key208 and thecorresponding Item210 in API,step408. The Sender launches the verification,step410 and notifies Receiver of the sharedItem210,step412. Receiver obtains Sender's Public Key,step414 and verifies the Sender,step416. By the next step, the Receiver obtains encrypted Item Key from API,step418. The Receiver decrypts encrypted Item Key locally420 and obtainsItem210 from API,step422. Receiver decryptsItem210 locally,step424.
FIG. 5 depicting amethod500 for user verification, as implemented by theApplication202 ofFIG. 2. The diagram discloses the steps of Receiver verifying the Sender. Sender obtains from API Receiver's Public Key,step502, then Sender generates verification message,step504. Verification message is encrypted with Receiver's Public Key and Sender's Private Key,step506. Sender sends an encrypted verification message to Receiver through OOB (Out-of-band channel),step508. Receiver obtains Sender's Public Key from API,step510. Receiver decrypts the verification message with Receiver's Private Key and Sender's Public Key,step512. After this step, Receiver communicates the decrypted verification message to Sender through OOB,step514. If the verification messages coincide, Receiver signs Sender's Public Key with Receiver's Private Key,step516 and Receiver stores signed Sender's Public Key at API,step518.
FIG. 6 adds additional clarity regarding the initiators of particular steps and the direction of communication.FIG. 6 shows a method for sharing an Item encrypted with Item Key308, according to an embodiment of the present invention. Atstep402, Sender opens anItem210 locally and decrypts theItem210. Atstep404, the sender obtains Receiver's Public Key from API at service provider. Next, asstep406, the sender encryptsItem Key208 with Receiver's Public Key. Next, atstep408, the Sender storesencrypted Item Key208 and thecorresponding Item210 in API,step408. The Sender launches the verification,step410 and notifies Receiver of the sharedItem210,step412. Receiver obtains Sender's Public Key,step414 and verifies the Sender,step416. By the next step, the Receiver obtains encrypted Item Key from API,step418. The Receiver decrypts encrypted Item Key locally420 and obtainsItem210 from API,step422. Receiver decryptsItem210 locally,step424. For the person skilled in the art it should be clear that the verification flow mentioned in this description can be initiated by any participant of the sharing flow, since in the end of the verification flow both users have sufficient information to trust their counterpart. Therefore, the trust established based on the verification can be one-way in any direction or two-way. Also it should be noted that verification is not rigidly attached to a particular place in the sharing flow, therefore it can be launched either by the Sender before sharing a protected item with another user of the Application, or by the Receiver on getting notification about an Item being shared with Receiver.
FIG. 7 adds additional clarity regarding the initiators of particular steps and the direction of communication.FIG. 7 depicts amethod500 for user verification, as implemented by theApplication202 ofFIG. 2. The diagram discloses the steps of Receiver verifying the Sender. Sender obtains from API Receiver's Public Key,step502, then Sender generates verification message,step504. Verification message is encrypted with Receiver's Public Key and Sender's Private Key,step506. Sender sends an encrypted verification message to Receiver through OOB (Out-of-band channel),step508. Receiver obtains Sender's Public Key from API,step510. Receiver decrypts the verification message with Receiver's Private Key and Sender's Public Key,step512. After this step, Receiver communicates the decrypted verification message to Sender through OOB,step514. If the verification messages coincide, Receiver signs Sender's Public Key with Receiver's Private Key,step516 and Receiver stores signed Sender's Public Key at API,step518. For the person skilled in the art it should be clear that in the current embodiment the verification flow can be initiated by any participant of the sharing flow, since in the end of the verification flow both users have sufficient information to trust their counterpart. Therefore, the trust established based on the verification can be one-way in any direction or two-way. Also it should be noted that verification is not rigidly attached to a particular place in the sharing flow, therefore it can be launched either by the Sender before sharing a protected item with another user of the Application, or by the Receiver on getting notification about an Item being shared with Receiver.
In one aspect, the present embodiments include a system and a method for effectively sharing encrypted data (such as passwords, access to digital items). Those of ordinary skill in the art will realize that the following detailed description of the present embodiments is illustrative only and is not intended to be in any way limiting. Other embodiments of the present system(s) and method(s) will readily suggest themselves to such skilled persons having the benefit of this disclosure. Reference will now be made in detail to implementations of the present embodiments as illustrated in the accompanying drawings. The same reference indicators will be used throughout the drawings and the following detailed description to refer to the same or like parts.
Although several embodiments have been described, one of ordinary skill in the art will appreciate that various modifications and changes can be made without departing from the scope of the embodiments detailed herein. Accordingly, the specification and figures are to be regarded in an illustrative rather than a restrictive sense, and all such modifications are intended to be included within the scope of the present teachings.
Moreover, in this document, relational terms such as first and second, and the like may be used solely to distinguish one entity or action from another entity or action without necessarily requiring or implying any actual such relationship or order between such entities or actions. The terms “comprises”, “comprising”, “has”, “having”, “includes”, “including”, “contains”, “containing” or any other variation thereof, are intended to cover a non-exclusive inclusion, such that a process, method, article, or apparatus that comprises, has, includes, contains a list of elements does not include only those elements but may include other elements not expressly listed or inherent to such process, method, article, or apparatus. An element preceded by “comprises . . . a”, “has . . . a”, “includes . . . a”, “contains . . . a” does not, without more constraints, preclude the existence of additional identical elements in the process, method, article, or apparatus that comprises, has, includes, contains the element. The terms “a” and “an” are defined as one or more unless explicitly stated otherwise herein. The terms “substantially”, “essentially”, “approximately”, “about” or any other version thereof, are defined as being close to as understood by one of ordinary skill in the art. The term “coupled” as used herein is defined as connected, although not necessarily directly and not necessarily mechanically. A device or structure that is “configured” in a certain way is configured in at least that way, but may also be configured in ways that are not listed.

Claims (18)

What is claimed:
1. A computer implemented method for establishing a trust relationship between users of an Application, the users comprising a sender and a receiver, the sender using at least one sender device comprising a first sender device and the receiver using at least one receiver device comprising a first receiver device, the method comprising:
obtaining, at the first sender device, a receiver's Public Key provided by an application programming interface (API) comprised in a service provider server (SPS);
encrypting, at the first sender device, a verification message with the receiver's Public key and a sender's Private Key, wherein the first sender device, the first receiver device and the SPS are communicably coupled via a network;
sending the encrypted verification message from the first sender device to the first receiver device through an out-of-band (OOB) channel, wherein the OOB channel circumvents the network;
decrypting, at the first receiver device, the encrypted verification message using a receiver's Private Key and a sender's Public Key,
wherein each of the sender's public key, the sender's private key, the receiver's public key, and the receiver's private key, is a user-associated and device-independent key;
communicating, from the receiver to the sender, the decrypted verification message via the OOB channel;
confirming by the sender that the decrypted verification message, communicated by the receiver, is identical to the verification message encrypted by the sender; and
initiating, by the receiver, a two-way trust by signing the sender's Public Key at the receiver's device, with the receiver's Private Key.
2. The method according toclaim 1, further comprising:
initiating, by the sender, sharing of an encrypted item with the receiver, over the network via the SPS, wherein the initiating the sharing of the encrypted item comprises:
requesting, from the sender to the API, the receiver's public key by providing at least one of an email ID or other identifying information of the receiver to the API,
receiving, at the first sender device, the receiver's Public Key from the API,
encrypting an individual Item Key with the receiver's Public Key, wherein the encrypted item is encrypted using the individual item key,
sending, from the first sender device, the encrypted Item Key to the API with an item identification,
obtaining, at the first receiver device, the encrypted Item Key from the API,
decrypting the Item Key with the receiver's Private Key, and
decrypting the Item using the decrypted Item Key.
3. The method according toclaim 2, further comprising:
assigning a unique item identification to the item that is shared; and
encrypting the item using an individual symmetric item key.
4. The method according toclaim 2, wherein when the receiver's Public Key is not accessible to the sender, the sender records the information about a pending share in API, and signs the information with the sender's Private Key.
5. The method according toclaim 4, further comprising
accepting the pending share by the receiver;
generating an asymmetric key pair at the first receiver device; and
making the receiver's Public Key available to the sender by storing the receiver's Public Key at API.
6. The method according toclaim 1, wherein the signed sender's Public Key is stored in at least one of the following: the API, the first receiver device, or a database accessible from the Application users' devices.
7. The method according toclaim 1, wherein the OOB channel is at least one of a direct conversation, phone call, email communication, SMS, communication by an Internet chat application, or a communication channel that circumvents the API.
8. The method according toclaim 1, wherein the Application is a stand-alone application installed locally within the users' devices or remotely, an application's plug-in, an application executed locally or remotely, or an application made available to the users in any other form.
9. The method ofclaim 1, further comprising finalizing, by the sender, the two-way trust by signing the receiver's Public Key at the first sender device, with the sender's Private Key.
10. An apparatus for establishing a trust relationship between users of an Application, the users comprising a sender and a receiver, the sender using at least one sender device comprising a first sender device and the receiver using at least one receiver device comprising a first receiver device, the apparatus comprising:
the first sender device containing the Application;
the first receiver device containing the Application;
a service provider server (SPS) containing an application programming interface (API);
a network communicably coupling the first sender device, the first receiver device and the SPS; and
an out-of-band (OOB) channel communicably coupling the first sender device and the first receiver device, the OOB channel circumventing the network,
wherein the apparatus performs a method comprising:
obtaining, at the first sender device, a receiver's Public Key provided by the Application Programming Interface (API),
encrypting, at the first sender device, a verification message with the receiver's Public key and a sender's Private Key,
sending the encrypted verification message from the first sender device to the first receiver device through the out of band OOB channel,
decrypting, at the first receiver device, the encrypted verification message using a receiver's Private Key and a sender's Public Key, wherein each of the sender's public key, the sender's private key, the receiver's public key, and the receiver's private key, is a user-associated and device-independent key,
communicating, from the receiver to the sender, the decrypted verification message via the OOB channel,
confirming by the sender that the decrypted verification message, communicated by the receiver, is identical to the verification message encrypted by the sender,
initiating, by the receiver, a two-way trust by signing the sender's Public Key at the receiver's device, with the receiver's Private Key.
11. The apparatus according toclaim 10, wherein the method further comprises:
initiating, by the sender, sharing of an encrypted item with the receiver, over the network via the SPS, wherein the initiating the sharing of the encrypted item comprises:
requesting, from the sender to the API, the receiver's Public Key by providing, to the API, at least one of an email ID or other identifying information of the receiver,
receiving, at the first sender device, the receiver's Public Key from the API,
encrypting, at the first sender device, an individual Item Key with receiver's Public Key, the individual Item Key corresponding to an item to be shared,
sending, from the first sender device, the encrypted Item Key to the API with an item identification,
obtaining, at the first receiver device, the encrypted Item Key from the API,
decrypting the Item Key with the receiver's Private Key, and
decrypting the Item using the decrypted Item Key.
12. The apparatus according toclaim 11, further comprising:
assigning a unique item identification to the item that is shared; and
encrypting the item using an individual symmetric item key.
13. The apparatus according toclaim 11, wherein the sender determines that the receiver's Public Key is not accessible to the sender, and consequently records information regarding the sharing of the encrypted item in the API, and wherein the sender signs the information with the sender's Private Key.
14. The apparatus according toclaim 13, wherein the method further comprises:
accepting, by the receiver, the information;
generating an asymmetric key pair at the first receiver device; and
making the receiver's Public Key available to the sender by storing the receiver's Public Key at the API.
15. The apparatus according toclaim 11, wherein the Application is a stand-alone application installed locally within the users' devices or remotely, an application's plug-in, an application executed locally or remotely, or an application made available to the users in any other form.
16. The apparatus according toclaim 10, wherein the signed sender's Public Key is stored in at least one of the following: the API, the first receiver device, or a database, accessible from the Application users' devices.
17. The apparatus according toclaim 10, wherein the OOB channel is at least one of a direct conversation, phone call, email communication, SMS, communication by an Internet chat application, or a communication channel that circumvents the API.
18. The apparatus ofclaim 10, wherein the method further comprises finalizing, by the sender, the two-way trust by signing the receiver's Public Key at the first sender device, with the sender's Private Key.
US16/745,3342020-01-162020-01-16Sharing encrypted items with participants verificationActive2040-02-13US11438316B2 (en)

Priority Applications (5)

Application NumberPriority DateFiling DateTitle
US16/745,334US11438316B2 (en)2020-01-162020-01-16Sharing encrypted items with participants verification
CA3166510ACA3166510A1 (en)2020-01-162021-01-11Sharing encrypted items with participants verification
EP21700997.6AEP4091080A1 (en)2020-01-162021-01-11Sharing encrypted items with participants verification
PCT/IB2021/050159WO2021144677A1 (en)2020-01-162021-01-11Sharing encrypted items with participants verification
US17/876,880US20220385644A1 (en)2020-01-162022-07-29Sharing encrypted items with participants verification

Applications Claiming Priority (1)

Application NumberPriority DateFiling DateTitle
US16/745,334US11438316B2 (en)2020-01-162020-01-16Sharing encrypted items with participants verification

Related Child Applications (1)

Application NumberTitlePriority DateFiling Date
US17/876,880ContinuationUS20220385644A1 (en)2020-01-162022-07-29Sharing encrypted items with participants verification

Publications (2)

Publication NumberPublication Date
US20210226933A1 US20210226933A1 (en)2021-07-22
US11438316B2true US11438316B2 (en)2022-09-06

Family

ID=74191798

Family Applications (2)

Application NumberTitlePriority DateFiling Date
US16/745,334Active2040-02-13US11438316B2 (en)2020-01-162020-01-16Sharing encrypted items with participants verification
US17/876,880PendingUS20220385644A1 (en)2020-01-162022-07-29Sharing encrypted items with participants verification

Family Applications After (1)

Application NumberTitlePriority DateFiling Date
US17/876,880PendingUS20220385644A1 (en)2020-01-162022-07-29Sharing encrypted items with participants verification

Country Status (4)

CountryLink
US (2)US11438316B2 (en)
EP (1)EP4091080A1 (en)
CA (1)CA3166510A1 (en)
WO (1)WO2021144677A1 (en)

Families Citing this family (13)

* Cited by examiner, † Cited by third party
Publication numberPriority datePublication dateAssigneeTitle
DE102020202594A1 (en)*2020-02-282021-09-02Robert Bosch Gesellschaft mit beschränkter Haftung Procedure for authentication for a delivery of goods
CN111447192B (en)*2020-03-232022-05-10齐鲁工业大学 A Lightweight Attribute-Based Signcryption Method for Cloud-Assisted IoT
US12238101B2 (en)*2021-03-092025-02-25Oracle International CorporationCustomizing authentication and handling pre and post authentication in identity cloud service
IL309988A (en)2021-07-262024-03-01Bright Data LtdEmulating web browser in a dedicated intermediary box
CN113900772B (en)*2021-10-142025-02-18成都卫士通信息产业股份有限公司 A method, device, equipment and storage medium for transmitting image files
US12069032B2 (en)*2021-11-222024-08-20Whitestar Communications, Inc.Autonomic distribution of hyperlinked hypercontent in a secure peer-to-peer data network
US12052266B2 (en)*2021-12-162024-07-30Whitestar Communications, Inc.Secure streaming media based on updating hypercontent in a secure peer-to-peer data network
TWI868416B (en)*2021-12-292025-01-01新唐科技股份有限公司Method and device for protecting and managing key
US12199978B2 (en)2022-07-152025-01-14Mastercard International IncorporatedSystems, methods, and non-transitory computer-readable media for biometrically confirming trusted engagement
US12388796B1 (en)*2022-12-142025-08-12Amazon Technologies, Inc.Systems and methods for an automated data broker
US20250086291A1 (en)*2023-09-072025-03-13Ryan Anyang YinMethod and system for an external cryptoprocessor to communicate with another cryptoprocessor within a computer to ensure the integrity of the computer and to provide content encryption and decryption
EP4560976A1 (en)*2023-11-232025-05-28Cujo LLCProcessing related to trusted customer-premises equipment
CN119814306A (en)*2025-03-132025-04-11河北盛马电子科技有限公司 A data encryption transmission method, device, equipment, and storage medium

Citations (11)

* Cited by examiner, † Cited by third party
Publication numberPriority datePublication dateAssigneeTitle
US20070055877A1 (en)*2003-04-282007-03-08Joakim PerssonSecurity in a communication network
US7418596B1 (en)2002-03-262008-08-26Cellco PartnershipSecure, efficient, and mutually authenticated cryptographic key distribution
US20090327724A1 (en)2008-06-302009-12-31Shah Rahul CTwo-way authentication between two communication endpoints using a one-way out-of-band (oob) channel
US20130311382A1 (en)*2012-05-212013-11-21Klaus S. FosmarkObtaining information for a payment transaction
US9077538B1 (en)2011-12-152015-07-07Symantec CorporationSystems and methods for verifying user identities
US9143504B1 (en)2013-12-232015-09-22Emc CorporationSecure communication infrastructure
US20150288760A1 (en)*2014-01-252015-10-08Cloudpin Inc.Systems and methods for location-based content sharing using unique identifiers
US20160315923A1 (en)*2013-12-122016-10-27Good Technology CorporationSecure communication channels
US20180322298A1 (en)2014-12-312018-11-08Citrix Systems, Inc.Shared Secret Vault for Applications with Single Sign On
US10171461B2 (en)2006-10-052019-01-01Ceelox Patents, LLCSystem and method of secure encryption for electronic data transfer
US20200052905A1 (en)*2017-03-012020-02-13Apple Inc.System access using a mobile device

Family Cites Families (4)

* Cited by examiner, † Cited by third party
Publication numberPriority datePublication dateAssigneeTitle
CN105850168B (en)*2013-12-312019-11-29华为终端有限公司A kind of network equipment secure connection method, relevant apparatus and system
KR102587472B1 (en)*2017-11-302023-10-11삼성전자주식회사Electronic apparatus for controlling electronic payment, and method the same
US11128609B1 (en)*2018-12-132021-09-21Secure Channels, Inc.System and method to improve user authentication for enhanced security of cryptographically protected communication sessions
US11363582B2 (en)*2019-12-202022-06-14Qualcomm IncorporatedKey provisioning for broadcast control channel protection in a wireless network

Patent Citations (11)

* Cited by examiner, † Cited by third party
Publication numberPriority datePublication dateAssigneeTitle
US7418596B1 (en)2002-03-262008-08-26Cellco PartnershipSecure, efficient, and mutually authenticated cryptographic key distribution
US20070055877A1 (en)*2003-04-282007-03-08Joakim PerssonSecurity in a communication network
US10171461B2 (en)2006-10-052019-01-01Ceelox Patents, LLCSystem and method of secure encryption for electronic data transfer
US20090327724A1 (en)2008-06-302009-12-31Shah Rahul CTwo-way authentication between two communication endpoints using a one-way out-of-band (oob) channel
US9077538B1 (en)2011-12-152015-07-07Symantec CorporationSystems and methods for verifying user identities
US20130311382A1 (en)*2012-05-212013-11-21Klaus S. FosmarkObtaining information for a payment transaction
US20160315923A1 (en)*2013-12-122016-10-27Good Technology CorporationSecure communication channels
US9143504B1 (en)2013-12-232015-09-22Emc CorporationSecure communication infrastructure
US20150288760A1 (en)*2014-01-252015-10-08Cloudpin Inc.Systems and methods for location-based content sharing using unique identifiers
US20180322298A1 (en)2014-12-312018-11-08Citrix Systems, Inc.Shared Secret Vault for Applications with Single Sign On
US20200052905A1 (en)*2017-03-012020-02-13Apple Inc.System access using a mobile device

Non-Patent Citations (4)

* Cited by examiner, † Cited by third party
Title
"Chapter 13: Key Management Techniques ED—Menezes A J; Van Oorschot PC; Vanstone S A", Handbook of Applied Cryptography; [CRC Press Series On Discreie Mathematices and Its Applications], CRC Press, Boca Raton, FL, US, pp. 543-590, 1996, XP001525013, ISBN: 978-0-8493-8523-0 Retrieved from the Internet: URL:http://www.cacr.math.uwaterloo.ca/hac/[retrieved on Feb. 10, 2021] p. 549-p. 550 p. 555-p. 556.
Dashlane, "Dashlane Security White Paper", Oct. 2018.
International Search Report, International application No. PCT/IB2021/050159, dated Feb. 19, 2021.
MENEZES A J, VAN OORSCHOT P C, VANSTONE S A: "Handbook of Applied Cryptography", 1 October 1996, CRC PRESS , BOCA RATON, FL, US , ISBN: 978-0-8493-8523-0, article "Chapter 13: Key Management Techniques", pages: 543 - 590, XP001525013, 022821

Also Published As

Publication numberPublication date
US20220385644A1 (en)2022-12-01
EP4091080A1 (en)2022-11-23
WO2021144677A1 (en)2021-07-22
CA3166510A1 (en)2021-07-22
US20210226933A1 (en)2021-07-22

Similar Documents

PublicationPublication DateTitle
US11438316B2 (en)Sharing encrypted items with participants verification
US9015489B2 (en)Securing passwords against dictionary attacks
US8307208B2 (en)Confidential communication method
US10594479B2 (en)Method for managing smart home environment, method for joining smart home environment and method for connecting communication session with smart device
US20160365982A1 (en)System and method for secure end-to-end messaging system
US20030115452A1 (en)One time password entry to access multiple network sites
US10057060B2 (en)Password-based generation and management of secret cryptographic keys
KR100860573B1 (en) User Authentication Method
US11032069B2 (en)Methods and systems of securely transferring data
JP6627043B2 (en) SSL communication system, client, server, SSL communication method, computer program
Thakur et al.A comprehensive review of wireless security protocols and encryption applications
CN107483429B (en)A kind of data ciphering method and device
EP4412145A1 (en)Cyber security method and system based on multi-party and multi-factor dynamic strong encryption authentication
WangAnalysis and enhancement of a password authentication and update scheme based on elliptic curve cryptography
CN115473655A (en)Terminal authentication method, device and storage medium for access network
US20050210247A1 (en)Method of virtual challenge response authentication
Sinnhofer et al.Patterns to establish a secure communication channel
CN117729001A (en) Registration and login methods and devices based on user authentication information
US12445286B2 (en)Cyber security method and system based on multi-party and multi-factor dynamic strong encryption authentication
CN110557360B (en) Message transmission systems and methods
Yoon et al.An optimized two factor authenticated key exchange protocol in PWLANs
Nagasuresh et al.Defense against Illegal Use of Single Sign on Mechanism for Distributed Network Services
Rahnama et al.Applying ParseKey+ as a new multi-way client and server authentication approach to resolve imperfect counter utilization in IEEE802. 11i for impersonation avoidance

Legal Events

DateCodeTitleDescription
FEPPFee payment procedure

Free format text:ENTITY STATUS SET TO UNDISCOUNTED (ORIGINAL EVENT CODE: BIG.); ENTITY STATUS OF PATENT OWNER: LARGE ENTITY

STPPInformation on status: patent application and granting procedure in general

Free format text:DOCKETED NEW CASE - READY FOR EXAMINATION

STPPInformation on status: patent application and granting procedure in general

Free format text:NON FINAL ACTION MAILED

STPPInformation on status: patent application and granting procedure in general

Free format text:RESPONSE TO NON-FINAL OFFICE ACTION ENTERED AND FORWARDED TO EXAMINER

STPPInformation on status: patent application and granting procedure in general

Free format text:NOTICE OF ALLOWANCE MAILED -- APPLICATION RECEIVED IN OFFICE OF PUBLICATIONS

ASAssignment

Owner name:360 IT, UAB, LITHUANIA

Free format text:ASSIGNMENT OF ASSIGNORS INTEREST;ASSIGNORS:PUZERIS, EIMANTAS;VALKAITIS, MINDAUGAS;REEL/FRAME:060189/0629

Effective date:20200601

STPPInformation on status: patent application and granting procedure in general

Free format text:PUBLICATIONS -- ISSUE FEE PAYMENT VERIFIED

STCFInformation on status: patent grant

Free format text:PATENTED CASE

ASAssignment

Owner name:UAB 360 IT, LITHUANIA

Free format text:CORRECTIVE ASSIGNMENT TO CORRECT THE ASSIGNEE FROM 360 IT, UAB TO UAB 360 IT PREVIOUSLY RECORDED ON REEL 60189 FRAME 629. ASSIGNOR(S) HEREBY CONFIRMS THE ASSIGNMENT;ASSIGNORS:PUZERIS, EIMANTAS;VALKAITIS, MINDAUGAS;REEL/FRAME:070441/0363

Effective date:20200601


[8]ページ先頭

©2009-2025 Movatter.jp