Movatterモバイル変換


[0]ホーム

URL:


US11265074B2 - Noise cancelling amplify-and-forward (in-band) relay with self-interference cancellation - Google Patents

Noise cancelling amplify-and-forward (in-band) relay with self-interference cancellation
Download PDF

Info

Publication number
US11265074B2
US11265074B2US16/904,435US202016904435AUS11265074B2US 11265074 B2US11265074 B2US 11265074B2US 202016904435 AUS202016904435 AUS 202016904435AUS 11265074 B2US11265074 B2US 11265074B2
Authority
US
United States
Prior art keywords
signal
transmit
receive
radio frequency
beamforming
Prior art date
Legal status (The legal status is an assumption and is not a legal conclusion. Google has not performed a legal analysis and makes no representation as to the accuracy of the status listed.)
Active
Application number
US16/904,435
Other versions
US20200389226A1 (en
Inventor
Amir Keyvan Khandani
Current Assignee (The listed assignees may be inaccurate. Google has not performed a legal analysis and makes no representation or warranty as to the accuracy of the list.)
Individual
Original Assignee
Individual
Priority date (The priority date is an assumption and is not a legal conclusion. Google has not performed a legal analysis and makes no representation as to the accuracy of the date listed.)
Filing date
Publication date
Application filed by IndividualfiledCriticalIndividual
Priority to US16/904,435priorityCriticalpatent/US11265074B2/en
Publication of US20200389226A1publicationCriticalpatent/US20200389226A1/en
Application grantedgrantedCritical
Publication of US11265074B2publicationCriticalpatent/US11265074B2/en
Activelegal-statusCriticalCurrent
Anticipated expirationlegal-statusCritical

Links

Images

Classifications

Definitions

Landscapes

Abstract

The methods and systems for amplify-and-forward (in-band) relaying relate to beamforming techniques including receive and transmit beamforming for reducing self-interference, and improving Signal-to-Noise Ratio (SNR), or Signal to Interference plus Noise Ratio (SINR), of an incoming signal (to be relayed). The incoming signal is amplified and retransmitted simultaneously with the incoming signal, and over the same frequency band as that of an incoming signal.

Description

CROSS-REFERENCE TO RELATED APPLICATIONS
The present application is related to and claims the benefit of the earliest available effective filing date(s) from the following listed application(s) (the “Related Applications”) (e.g., claims earliest available priority dates for other than provisional patent applications or claims benefits under 35 USC § 119(e) for provisional patent applications, for any and all parent, grandparent, great-grandparent, etc. applications of the Related Application(s)). All subject matter of the Related Applications and of any and all parent, grandparent, great-grandparent, etc. applications of the Related Applications is incorporated herein by reference to the extent such subject matter is not inconsistent herewith.
The present application is a continuation of U.S. patent application Ser. No. 15/955,439 entitled “Noise Cancelling Amplify-and-Forward (In-Band) Relay With Self-Interference Cancellation,” filed Apr. 17, 2018, which is hereby incorporated by reference herein in its entirety, which claims benefit under 35 USC § 119(e) for two provisional applications, U.S. Provisional Patent Application No. 62/487,274 entitled “RF Beamforming”, filed Apr. 19, 2017 and U.S. Provisional Patent Application No. 62/487,273, entitled “Amplify and Forward Relay with Self-Interference Cancellation”, filed Apr. 19, 2017, both of which are incorporated herein by reference in their entirety.
BACKGROUND
Most wireless communication systems include a central node, such as a cellular base-station, a WiFi access point, and/or an Internet of Things gateway communicating to a multitude of clients. In such configurations, it is desirable to increase the coverage area or range, and to remove blind spots. The straightforward approach is to increase transmit power. Simply increasing transmit power has several drawbacks. First, and foremost, transmission at high power levels increases the amount of interference to nearby nodes that may be reusing the same spectrum at the same time. In addition, for resource-limited clients such as mobile phones, increasing the power level will have side effects such as battery drainage and health implications for their users.
There is an ongoing need to enable transmitters to transmit at lower power levels.
SUMMARY
An apparatus and method includes embodiments directed to a noise cancelling amplify and forward relay. One embodiment is directed to an apparatus including a receive front-end including at least one receive antenna operable at a first frequency band and responsive to an incoming radio frequency signal; an amplification stage coupled to the receive front end, the amplification stage to amplify the incoming radio frequency signal received at the receive front-end to provide an amplified incoming radio frequency signal; a transmit front-end coupled to the amplification stage to receive the amplified incoming radio frequency signal, the transmit front-end including at least one transmit antenna operating at the first frequency band, the transmit front-end to transmit the amplified incoming radio frequency signal to a distant receiver while the receive front-end receives the incoming radio frequency signal; and a signal leakage filter stage coupled to the transmit front-end, the signal leakage filter stage to reduce transmitted amplified incoming radio frequency signal leaked to the receive front-end.
In one embodiment, the receive front-end includes a plurality of receive antennas to perform receive beamforming, each of the plurality of receive antennas configured with a radio frequency beamforming tunable filter.
In one embodiment, the plurality of receive antennas separately receive the incoming radio frequency signal to enable radio frequency combining and amplification to reduce signal leakage from the transmit front-end to the receive front-end via one or more tunable filters configured to create a wide-band receive null for the transmit front-end.
In one embodiment, the radio frequency beamforming tunable filters in each of the plurality of receive antennas increase the beamforming gain to improve a signal-to-noise ration of the incoming radio frequency signal.
In another embodiment, the transmit front-end includes a plurality of transmit antennas to perform transmit beamforming, each of the plurality of transmit antennas configured with a radio frequency beamforming filter.
In one embodiment, the plurality of transmit antennas receive the amplified incoming radio frequency signal for transmit via a plurality of filters that produce a transmit null over the receive front-end to reduce leakage from the transmit front-end to the receive front-end.
In one embodiment, the plurality of filters includes pairs of filters, wherein one of each pair of filters is being refreshed while another of each pair of filters is in use.
In one embodiment the plurality of transmit antennas receive the amplified incoming radio frequency signal for transmit via a plurality of filters that focus the amplified incoming radio frequency signal for transmit to a distant receiver.
In one embodiment, the apparatus includes a plurality of receive antennas organized into two or more subsets of receive antennas to enable each receive antenna of the plurality of receive antennas to pass through wide-band beamforming circuitry with a finite number of states. The finite number of states can include one or more of a 0° phase shift, a 180° phase shift and a disconnect.
In one embodiment, the amplified incoming radio frequency signal is formed as a composite signal combined from the output from the wide-band beamforming circuitry with the finite number of states.
In one embodiment, the composite signal includes a combined signal received via one or more output signals from each of the two or more subsets of receive antennas, wherein each of the two or more subsets of receive antennas coupled to a frequency selective receive beamforming filter.
The apparatus according to one embodiment includes a plurality of transmit antennas that are grouped into two or more subsets of transmit antennas, each subset coupled to a frequency selective transmit beamforming filter to produce a filtered signal, each frequency selective beamforming filter coupled to divider and beamforming circuitry with a finite number of states, wherein the beamforming circuitry with the finite number of states is coupled to a transmit antenna to transmit a recombined amplified incoming radio frequency signal.
In one embodiment, the apparatus also includes a signature signal generation circuit coupled to the transmit front-end, the signature signal generation circuit providing a signature signal included with the amplified incoming radio frequency signal for transmit, the signature signal to provide training for adapting to self-interference between the receive front-end and the transmit front-end.
In one embodiment, the training for adapting to self-interference includes one or more of blind channel estimation and analog echo cancellation via a corrective signal inserted into the receive front-end, the corrective signal created via a filtered transmit signal, the analog echo cancellation performed in at least one of Radio Frequency (RF), Intermediate Frequency (IF) and analog baseband.
In one embodiment, the apparatus transmit front-end and receive front end include a plurality of transmit antennas and a plurality of receive antennas, the plurality of transmit antennas symmetrically placed with respect to the plurality of receive antennas to reduce self-interference.
In one embodiment, the plurality of receive antennas and the plurality of transmit antennas each have two terminals for transmit and receive over the same frequency band, the plurality of receive antennas and the plurality of transmit antennas being shared between transmit and receive front-ends.
In one embodiment, the plurality of receive antennas and the plurality of transmit antennas each have four terminals for transmit and receive over at least two frequency bands, the plurality of receive antennas and the plurality of transmit antennas being shared between transmit and receive front-ends.
In one embodiment, the transmit front-end and the receive front end operate with at least two frequency bands simultaneously relaying uplink and downlink radio frequency signals in a Frequency Division Duplex (FDD) wireless network.
Another embodiment is directed to a method for relaying an incoming radio frequency signal including receiving the incoming radio frequency signal at a receive front-end including at least one receive antenna operable at a first frequency band and responsive to the incoming radio frequency signal; amplifying the incoming radio frequency signal in an amplification stage coupled to the receive front end, the amplification stage to amplify the incoming radio frequency signal received at the receive front-end to provide an amplified incoming radio frequency signal; transmitting the amplified incoming radio frequency signal via a transmit front-end coupled to the amplification stage, the transmit front-end including at least one transmit antenna operating at the first frequency band, the transmit front-end transmitting the amplified incoming radio frequency signal to a distant receiver while the receive front-end receives the incoming radio frequency signal; and reducing signal leakage from the transmit front-end to the receive front-end via providing a self-interference cancellation channel, blind channel estimation and analog echo cancellation.
The foregoing summary is illustrative only and is not intended to be in any way limiting. In addition to the illustrative aspects, embodiments, and features described above, further aspects, embodiments, and features will become apparent by reference to the drawings and the following detailed description.
BRIEF DESCRIPTION OF THE FIGURES
FIG. 1 illustrates a transmitter and receiver in accordance with an embodiment.
FIG. 2 illustrates a frequency spectrum including superimposed signals in accordance with an embodiment.
FIG. 3 illustrates transmitters and receivers without superimposed signals in accordance with an embodiment.
FIG. 4 illustrates a relay structure for relaying FDD signals in accordance with an embodiment.
FIG. 5 illustrates a receiver including a radio frequency balun and and tunable radio frequency attenuator for performing real multiplication in accordance with an embodiment.
FIG. 6 illustrates a receiver that enables complex multiplication in accordance with an embodiment.
FIG. 7 illustrates tunable delay element in accordance with an embodiment.
FIG. 8 illustrates a receiver implementation of a beamforming filtering in accordance with an embodiment.
FIG. 9 illustrates a receiver implementation of a RF beamforming filter in accordance with an embodiment.
FIG. 10 illustrates another receiver implementation of a RF beamforming filter in accordance with an embodiment.
FIG. 11 illustrates another implementation of RF beamforming filter in accordance with an embodiment.
FIG. 12 illustrates a transmitter implementation of an RF beamforming filter in accordance with an embodiment.
FIG. 13 illustrates another transmitter implementation of an RF beamforming filter in accordance with an embodiment.
FIG. 14 illustrates a hierarchical receiver implementation of an RF beamforming filter in accordance with an embodiment.
FIG. 15 illustrates a symmetrical antenna structures with reduced coupling between transmitter antenna and each of the two receive antennas in accordance with an embodiment.
FIG. 16 illustrates a symmetrical antenna structure with reduced coupling between transmitter antenna and each of two receive antennas in accordance with an embodiment.
FIG. 17 illustrates an alternate version of a symmetrical antenna structure with reduced coupling between transmitter antenna and each of two receive antennas in accordance with an embodiment.
FIG. 18 illustrates antenna structures with frequency division duplex (FDD) relaying in which the antenna structures are implemented on the opposite sides of the relay box in accordance with an embodiment.
FIG. 19 illustrates an alternate version of antenna structures with frequency division duplex (FDD) relaying in which the antenna structures are implemented on the opposite sides of the relay box in accordance with an embodiment.
FIG. 20 illustrates another alternate version of antenna structures with frequency division duplex (FDD) relaying in which the antenna structures are implemented on the opposite sides of the relay box in accordance with an embodiment.
FIG. 21 illustrates a combined receiver and transmitter schematic of arelay structure for relaying multiple-in-multiple-out (MIMO) signals in accordance with an embodiment.
FIG. 22 illustrates a schematic of two auxiliary receivers that are shared in accordance with an embodiment.
FIG. 23 illustrates a schematic of an auxiliary receiver, denoted as “probing receiver” that is shared in accordance with an embodiment.
FIG. 24 illustrates a schematic of a training signal generator in accordance with an embodiment.
FIG. 25 illustrates a block diagram showing a leakage effect in relation to blind estimation in accordance with an embodiment.
FIG. 26 illustrates another block diagram showing a leakage effect in relation to blind estimation in accordance with an embodiment.
FIG. 27 illustrates a block diagram showing blind estimation in accordance with an embodiment.
FIG. 28 illustrates a block diagram showing another version of blind estimation in accordance with an embodiment.
FIG. 29 illustrates a block diagram showing superimposed training and blind estimation in accordance with an embodiment.
FIG. 30 illustrates a block diagram of an RF beamforming filter in accordance with an embodiment.
FIG. 31 illustrates a period sequence with low correlation properties for the computation of the impulse response in accordance with an embodiment.
FIG. 32 illustrates a more detailed period sequence with low correlation properties for the computation of the impulse response in accordance with an embodiment.
FIG. 33 illustrates a block diagram of receivers adjusting the relative phase/magnitude (complex gain) of signals in accordance with an embodiment.
FIG. 34 illustrates a block diagram for adjusting phase at 0′ or 180′ of signals received from different receive antennas prior to RF combining in accordance with an embodiment.
FIG. 35 illustrates another block diagram for adjusting phase at 0′ or 180′ of signals received from different receive antennas prior to RF combining in accordance with an embodiment.
FIG. 36 illustrates a graph of an LTE Demodulation Reference Signal (DRS) and a Sounding Reference Signal (SRS) as used in LTE appropriate for embodiments.
FIGS. 37 and 38 illustrate embodiments of beamforming apparatus that exchange information with legacy scheduler units in accordance with embodiments.
DETAILED DESCRIPTION
In the following detailed description, reference is made to the accompanying drawings, which form a part hereof. In the drawings, similar symbols typically identify similar components, unless context dictates otherwise. The illustrative embodiments described in the detailed description, drawings, and claims are not meant to be limiting. Other embodiments may be utilized, and other changes may be made, without departing from the spirit or scope of the subject matter presented here.
Embodiments herein address the need to enable transmitters to transmit at lower power levels by providing an external unit that amplifies and provides a forward relay of their emitted signals.
Embodiments herein include amplify-and-forward relays that can be placed in locations in need of improved coverage. Thus, each relay receives the incoming signal from the central node, amplifies the incoming signal and emits the amplified signal to improve the coverage within a neighborhood. Embodiments herein provide amplify-and-forward relay structures that: (1) provide a high gain (amplification) without oscillation, (2) improve the relayed signal in terms of its (end-to-end) Signal-to-Noise Ratio (SNR), or Signal to Interference plus Noise Ratio (SINR). In addition, the relaying operation includes embodiments that, including amplification and forwarding of the incoming signal, are fast enough such that the signal passing through the relay node appears as another component of a multi-path propagation in the channel from the central node to a client (down-link), or vice versa, in the channel from client to the central node (uplink). As one of skill in the art will appreciate, a simple amplification of the incoming signal will also amplify the noise and amplify multi-user interference. Such noise and interference embedded in the signal will degrade the performance, including throughput, and error rate, of the end-to-end link.
Embodiments described herein relate to an amplify and forward relay which operates as an interface between a central transmitter, such as a cellular base-station, and client, such as mobile phones. The connection between a central node and clients can be two-way, i.e., including downlink transmission from the central node to its clients and uplink transmission from clients to the central node. Depending on the underlying standard, the downlink and uplink connections are typically multiplexed either in the time domain or in the frequency domain. Amplify-and-forward relays according to embodiments herein handle both downlink and uplink connections.
Noise related to embodiments herein can be generated by feedback within the loop formed between transmit and receive front-ends of the amplify-and-forward relay, which can cause oscillation; and by amplification of noise embedded in the incoming signal, which can potentially degrade the signal-to-noise ratio of the relayed signal. The noise can be a combination of thermal noise added by a first stage of a receive front-end, and multi-user interference caused by other nodes operating over the same frequency band.
Embodiments described herein address noise generated and amplified and remain transparent to the operation of the signal that is being relayed. Accordingly, embodiments provide “receive beamforming”, “transmit beamforming”, and “self-interference cancellation” by forming additional paths for the relayed signal with the property that a combination of the signal flowing through these paths also cancel the self-interference, but do not cancel the incoming signal to be relayed.
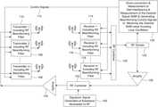
Referring now toFIG. 1, a basic structure of transmitter and receiver units is shown including a feedback structure in accordance with an embodiment is shown. Thus, a signature signal generated at baseband and modulated to aradio frequency100 is provided to anRF combiner102 and amplified byamplifier104. Each of the amplified signals is provided to transmitters 1-m, identified by transmitters,106,108 and110.
Transmitters 1-m (106,108,110) also receivecontrol signals112 that are also provided to receivers 1-m114,116, and118. Each ofreceivers 1, 2 through m include beamforming filters just liketransmitters 1, 2 through m. Outputs ofreceivers114,116 and118 are provided toRF combiner120, which combines the signals and provides the output toRF divider122.RF divider122 provides data to down-conversion and measurement of self-interference and measurement of SINR and generating beamforming control signals block124.RF divider122 also provides data to amplifyblock126 and back toREF combiner102.
Referring now toFIG. 2, a test signal is superimposed on an outgoing signal and detected in a receiver chain for measuring self-interference. The results of the test signal superimposition are used to generate control signals, such as control signals112. As shown,carrier frequency210 is shown in the center of a spectrum of frequencies. The spectrum of the incoming signal to be relayed,212, the points ofobservation214 and the spectrum of a superimposedtest signal216 are displayed. Thus, signature signals are superimposed within the frequency band being relayed. The task of beamforming for nulling self-interference narrows down to reducing such signature signals at the receiver front-end of the relay. Examples of such signature signals include “low power OFDM signal with some tones left empty”, “chirp signals”, “pseudo-random spreading codes”, orthogonal signals such as “Hadamard”, “Zadoff Chu sequence”, “Gold sequence”, and the like. In multiple-in-multiple-out (MIMO) operation, several signature signals are required which can be distinguishable from each other. The MIMO signatures enable measuring the equivalent MIMO self-interference channel formed between transmit front-end and receive front-end of the relay node. The MIMO signatures can be generated using “time multiplexing”, “frequency multiplexing”, or “code multiplexing such as, Zadoff Chu sequence of different parameters, or CDMA spreading codes of a basic signature signal.
In addition to generating a signature signal, to cancel the self-interference, a receive structure evaluates the level of signature signal over an observation basis, such as a set of coordinates, which, collectively, capture the amount of self-interference over the frequency band being relayed. Examples for such an observation coordinate system include a discrete set of equally spaced points over the frequency band, or the impulse response of the self-interference channel in the time domain.
Typically, an observation coordinate system and a signature generation coordinate system are the same and are in the form of a set of equally spaced points in the time and/or in the frequency domain. The “signature generation coordinate system”, in conjunction with the “observation coordinate system” enable measurement of the impulse response of the self-interference channel, such as the channel formed between transmit front-end and receive front-end of a relay node.
Referring now toFIG. 3, an embodiment illustrates transmit and receive structure without signature signals. A shown, a training signal for the measurement of an impulse response of the self-interference channel is sent in a separate time slot, time multiplexed. In all cases with or without using superimposed signature signals, the closed loop gain is controlled to avoid oscillation.
Blocks306,308, andBlock310, include transmitters 1-m with RF beamforming filters. The structure includes control signal312 which is coupled to Block324 which provides down conversion and measurement of self interference and measurements of the desired signal Signal to Interference-plus-Noise Ratio (SINR) and generating beamforming control signals to maximize the desired SINR while avoiding loop isolation.Block324 is also couple toRF divider322 and amplifycircuit326.receiver circuits314,316,318 represent receivers including RF beamforming filter which received control signals fromcontrol signal312RF combiner320 is coupled toRF divider322.
Another embodiment relies on separate (time multiplexed) training signals to initialize the operation (measuring and cancelling of self-interference), and then uses superimposed signature signals in the tracking phase. System can stop relaying and enter this initialization phase whenever the amount of self-interference is too high, or oscillation occurs in spite of closed loop gain control, or the gain to avoid oscillation is not enough for normal relaying operation to be effective.
FIG. 4 shows a relay structure for relaying FDD signals, where F1 and F2, are uplink and downlink frequencies. Receive antennas are coupled to duplexers420 and426 and can receive over both bands.Transmitter antenna408 sends over F1 and can receive at F2 (not shown), andtransmitter antenna418 sends over F2 can receive over F1 (not shown). All received signals over F1 are combined after proper filtering, amplified and fed into transmit antenna operating overF1408. All received signals over F2 are combined after proper filtering and amplification and fed into transmit antenna operating overF2418.Duplexer420 separates F1 and F2 such thatreceiver422 receives F1 including beamforming filter at F1.Receiver424 receives F2 including are RF beamforming filter at F2.Receiver422 is coupled to RF combiner at F1.Receiver424 provides F2 toRF combiner432.Receiver428 provides F1 toRF combiner434 at F1.Receiver430 provides F2 toRF combiner432.
RF dividers436 and438 receive frequencies F1 and F2, respectively and are both provided to block440.
Block440 provides down-conversion and measurement of self interference and measurement of the desired signal SINR and generates beamforming control signals to maximize the desired SINR while avoiding loop oscillation.
The signals received atRF dividers436 and438 are also provided to amplifycircuits442 and444. The output of amplifycircuits442 and444 are provided toRF combiners404 and412.
Receive test band signals generated at baseband and modulated to the RF carrier at the respective frequencies F1 and F2 are generated fromblocks402 and410, respectively and provided toRF combiners404 and412. Next, the output ofRF combiners404 and412 are provided to amplifycircuits406 and416, which are then providedtransmitter 1,408, andtransmitter 2,418.
Referring now toFIG. 5, a configuration for real multiplication (adjusting relative magnitude in different filter taps). As shown,receiver502 is couple toentrance LNA504, which is coupled totransformer506, which is an RF Balun.Transformer506 includes aswitch508 for selecting one of the two ends of the secondary winding and provide the output totuneable RF attenuator510. Thus,transformer506 is responsible for changing the sign andtunable attenuator510 is responsible for changing of magnitude.
FIG. 6 shows a configuration for complex multiplication (adjusting relative magnitude/phase in different filter taps).Receiver602 is coupled to low noise amplifier (LNA)604 which is coupled toquadrature hybrid coupler606.Quadrature hybrid coupler606 is responsible for generating two versions of the input signal (point 1) with a relative phase shift of 90° (points 3 and 4). Each transformer (an RF Balun)608 and610 is responsible for changing the sign of its corresponding component viaswitch612 and switch614, and eachtunable attenuator616 and618 is responsible for changing the magnitude of its corresponding component and providing the output toRF combiner620. The configuration ofFIG. 6 is for complex multiplication and can be replaced with commercially available complex multipliers such as a vector modulator, or concatenation of a tunable phase shifter and a tunable attenuator.
FIG. 7 illustrates a tunable delay element capable of generating relative delays from zero (very small) all the way to D(2n+1−1) in integer multiples of D. As shown, anRF input702 is received bydelays704,706,708 and710, which are controlled with two position switches712 to provideRF output714.
FIGS. 8, 9, 10, and 11 show some examples for the implementation of RF beamforming filter at the receiver side.
Referring now toFIG. 8,receiver 1, 802 andreceiver 2, 804 are coupled to low noise amplifiers (LNAs)806 and808, respectively. The output ofLNAs806 and808 are coupled to dividers814a-814eand dividers820a-820e. Each of dividers814 is separated by delays826a-826d. Each of dividers820 is separated bydelays832a-832d. Each delay is controlled by a respective control824a-824dand822a-822d.
The outputs of dividers814a-814eare provided to multipliers812a-812e. Likewise, the outputs of dividers820a-820eare provided to multipliers828a-828e. Each of multipliers812a-812eis controlled by control signals810a-810e. Likewise, each of multipliers828a-828eis controlled by control signals818a-818e. The outputs of each of multipliers812a-812eand828a-828eare provided to combiners816a-816e. The outputs of each of combiner816a-816eare each provided toRF combiner832, which providesoutput840.
Referring now toFIG. 9,receiver 1902 andreceiver 2904 are coupled toLNAs906 and908, respectively. The output ofLNAs906 and908 are coupled to dividers914a-914eand dividers920a-920e. Each of dividers914 is separated by delays926a-926d. Each of dividers920a-dis separated bydelays932a-932d. UnlikeFIG. 8, there are no control signals coupled to the dividers.
The outputs of dividers914a-914eare provided to multipliers912a-912e. Likewise, the outputs of dividers920a-920eare provided to multipliers928a-928e. Each of multipliers912a-912eis controlled by control signals910a-910e. Likewise, each of multipliers928a-928eis controlled by control signals918a-918e. The outputs of each of multipliers912a-912eand928a-928eare provided to combiners916a-916e. The outputs of each of combiner916a-916eare each provided toRF combiner932, which providesoutput940.
Referring now toFIG. 10,receiver 1,1002 andreceiver 2,1004 are coupled to LNAs1006 and1008, respectively. The output of LNAs1006 and1008 are coupled to dividers1014a-1014eand dividers1020a-1020e. Each of dividers1014a-1014eis separated by delays1026a-1026d. Each of dividers1020a-1020eis separated bydelays1032a-1032d. UnlikeFIG. 8, there are no control signals coupled to the dividers.
The outputs of dividers1014a-1014eare provided to multipliers1012a-1012e. Likewise, the outputs of dividers1020a-1020eare provided to fixed attenuation and phase shift blocks1028a-1028e. Each of multipliers1012a-1012eis controlled by control signals1010a-1010e. The outputs of each of multipliers1012a-1012eand fixed attenuation and phase shift blocks1028a-1028eare provided to combiners1016a-1016e. The outputs of each combiner1016a-1016eare each provided toRF combiner1032, which providesoutput1040.
Referring now toFIG. 11, shown are LNAs1106 and1108 receiving signals from receivers (not shown).LNA1108 is coupled tocomplex multiplication block1110 andRF combiner1120.LNA1106 is shown coupled to dividers1112a-1112e. Each of dividers1112a-1112eis separated by delays1114a-1114d. Each divider1112a-1112eis also coupled to a respective multiplication block that performs complex or real or sign changes from 0°/180°.
Referring now toFIG. 12, an example of an implementation of an RF beamforming filter from the transmitter side is illustrated. An RF transmitsignal1202 is received atdivider1204a. Dividers1204a-1204dare shown separated by delay blocks1206a-1206d, respectively. Each of delay blocks1206a-1206dare provided with control signals1010a-1010drespectively. The outputs of dividers1204a-1204dare provided to respective multiplication blocks that perform complex or real or sign changes from 0°/180°1214a-1214d, and the output ofdelay1206dis also provided to a multiplication block that performs complex or real or sign changes from 0°/180°1214e. Each of multiplication blocks1214a-eis coupled to a control signal1212a-3. Each of the outputs of multiplication block1214a-eare provided toRF combiner1220, which is coupled toamplifier1230 and a transmitantenna1240.
FIG. 13 illustrates another implementation of RF beamforming filter at the transmitter side. An RF transmitsignal1302 is received atdivider1304a. Dividers1304a-1304dare shown separated by delay blocks1306a-1306d, respectively. Each of delay blocks1306a-1306d, unlikeFIG. 12, no control signals are coupled to the delays. The outputs of dividers1304a-1304dare provided to respective multiplication blocks1308a-dthat perform complex or real or sign changes from 0°/180°1314a-1314d, and the output ofdelay1306dis also provided to amultiplication block1308ethat performs complex or real or sign changes from 0°/180°1314e. Each of multiplication blocks1308a-eis coupled to a control signal1310a-e. Each of the outputs of multiplication block1308a-eare provided toRF combiner1312, which is coupled toamplifier1314 and a transmit antenna1320.
FIG. 14 illustrates an example for the implementation of RF beamforming filter at the receiver side in a hierarchical structure. As shown, receivers 1-m identified byblocks1410 and1412 are coupled to receiveantennas1402 and1404 and identified as “Group 1”. Receivers m+1 and 2m, identified byblocks1414 and1416 are coupled to receiveantennas1406 and1408 and identified as “Group 2”. Similar grouped receives are also illustrated asgroup 3,group 4, group n and group n+1.
Receivers inGroup 1 output toRF combiner1418 and receivers inGroup 2 output toRF combiner1420.RF combiner1418 is coupled toamplifier1422,tunable filter1426 andRF combiner1430. LikewiseRF combiner1420 is coupled toamplifier1424,tunable filter1428 andRF combiner1430.RF combiner1430 is coupled toamplifier1432,tunable filter1434 andRF combiner1436, which provides an output.
Other grouped receivers such asgroup 3 and 4 and group n and n+1 can also be added to the structure such thattunable filters1428a-1428n,RF combiners1430a-1430n,amplifiers1432a-1432nandtunable filters1434a-1434ncan each be output to an RF combiner as will be appreciated by one of skill in the art with the benefit of this disclosure.
FIG. 15 shows another example, for the implementation of RF beamforming filter at the receiver side in a hierarchical structure. As shown, atransmitter 1 includingRF beamforming filter1502 and atransmitter 2 includingRF beamforming filter1504 operate to relay signals received via Receivers 1-41506,1508,1510 and1512 separated into two groups,group 1 andgroup 2.Receivers1506 and1508 are coupled toRF combiner1514, andreceivers1510 and1512 are coupled toRF combiner1516.RF combiner1514 is coupled toamplifier1518 andRF combiner1516 is coupled toamplifier1520. The output ofamplifiers1518 and1520 are respectively coupled totunable filters1522 and5244, and the outputs of the tunable filters is combined atRF combiner1528.RF combiner1528 is coupled toamplifier1530, which is coupled toRF divider1532.RF divider1532 provides signals to down-conversion andmeasurement block1534 that provides down conversion and measurement of self-interference and measurement of the desired signal SINR and generates beamforming control signals to maximize the desired SINR while avoiding loop oscillation. The control signals1542 generated by down-conversion andmeasurement block1534 are provided totransmitters1502 and1504 for transmission.
FIG. 16 illustrates an example of a symmetrical antenna structure with reduced coupling between transmitter antenna and each of the two receive antennas. As shown, anX axis1602 and aY axis1604 identify the location of receiveantenna1606 and1608 with respect to transmitantenna1610.FIG. 17 illustrates another example of a symmetrical antenna structure showing plane ofsymmetry1700, receiveantenna1702 and receiveantenna1704 and transmitantenna1706 between the receiveantennas1702 and1704. The configurations shown inFIGS. 16 and 17 can be extended horizontally (along the X axis) to include more antennas.FIG. 16 illustrates that the configuration can be also extended vertically (along the Y axis) by stacking several layers of receive antenna on either sides of a main layer, a main layer being the one that includes the transmit antenna in its center, and extends symmetrically by placing receive antennas on the two sides of the transmit antenna along the X axis. Receive antennas can be placed symmetrically around the transmit antenna,1610 or1706, with transmit antenna at the center of the array. The antenna at the center (transmit antenna) will have a very small coupling to the receive antenna placed on its left and right sides along the main layer. In vertical extension, receive antennas in layers above and below the main layer can be slightly rotated to reduce the coupling to the transmit antenna. Individual antennas inFIGS. 16 and 17 can be implemented as patch structures.
Referring now toFIG. 18, an example for FDD relaying is illustrated, wherein antenna structures are implemented on the opposite sides of the relay box. Thus,front side1802 and backside1804 show symmetric antenna structures with receiveantennas1806 and1808 placed on either side of transmitantenna1810, and receiveantennas1812 and1814 on other side of transmitantenna1816. InFIG. 18, receiveantennas1812 and1814 receive at a first frequency, and receiveantennas1806 and1808 receive at a second frequency. Transmitantenna 1,1810 transmits at the first frequency, and transmitantenna 2,1816 transmits at the second frequency.
FIG. 19 shows another embodiment for FDD relaying, wherein antenna structures are implemented on the opposite sides of the relay box. LikeFIG. 18, afront side1902 holds a transmit/receive structure and aback side1904 illustrates another transmit/receive structure. Front side structure includes receiveantenna 1,1906 receiving a first and a second frequency, and receiveantenna 2,1908 also receiving at the first and second frequency, and transmitantenna 11910 transmitting at the first frequency. Backside structure1904 includesantenna 3,1912 receiving at the first and second frequencies and receiveantenna 4,1914 also receiving at the first and second frequencies. Transmitantenna 2,1916 is shown transmitting at the second frequency.
FIG. 20 shows another embodiment for FDD relaying, wherein antenna structures are implemented on the opposite sides of the relay box. Afront side2002 holds a transmit/receive structure and aback side2004 illustrates another transmit/receive structure. Front side structure includes receiveantenna 12006 receiving a first and a second frequency, and receiveantenna 2,2008 also receiving at the first and second frequency, and transmit 1/receive 3antenna2010 transmitting at the first frequency and receiving at the second frequency. Backside structure2004 includesantenna 4,2012 receiving at the first and second frequencies and receiveantenna 5,2014 also receiving at the first and second frequencies. Transmitantenna 2/Receiveantenna 62016 is shown transmitting at the second frequency, and receiving at the first frequency.
Referring now toFIG. 21 a generalization of the relay structure for relaying MIMO signals is illustrated. As shown,signature signal type 1 generated at baseband modulated to afirst frequency2102 is provided toRF combiner2104 and followed byamplify2106. Likewise,signature signal type 2 generated at baseband modulated to asecond frequency2108 is provided toRF combiner2110 and amplified at2112.
The outputs ofamplifier2106 is provided totransmitter 1 operating afirst frequency2124, and output ofamplifier2112 is provided totransmitter 2 operating at thefirst frequency2126.
Likewise,signature signal type 3 operating at asecond frequency2114 is provided toRF combiner2117 andamplifier2118, andsignature signal type 4 operating at thesecond frequency2116 is provided toRF combiner2120 andamplifier2122. Output ofamplifier2122 is provided totransmitter 2 operating at thesecond frequency2130, and the output ofamplifier2118 is provided totransmitter 1 operating at thesecond frequency2128.
As shown there are eight receivers, identified asreceiver 1,2144,receiver 2,2146,receiver 3,2148,receiver 4,2150, each of which operating at the first frequency; andreceiver 5,2132,receiver 6,2134,receiver 7,2136,receiver 8,2138, each of which operating at the second frequency.Receivers 1 and 2 are coupled toRF combiner2152;receivers 3 and 4 are coupled toRF combiner2154;receivers 5 and 6 are coupled toRF combiner2140;receivers 7 and 8 are coupled to RF combiner2142.
RF combiners2152 and2154 are coupled toRF dividers2156 and2158, respectively and the outputs ofRF dividers2156 and2158 are provided toRF combiners2104 and2110 aw well as down-conversion andmeasurement block2160, which provides down-conversion and measurement of self-interference and measurement of desired SINR and generates beamforming control signals. The outputs ofRF combiner2140 and2142 also are provided to down-conversion andmeasurement block2160 as well as toRF combiners2120 and2116, followed byamplifiers2118 and2122 and totransmitter 1 operating at thesecond frequency2128 andtransmitter 2 operating at thesecond frequency2130.
FIG. 22 shows an embodiment in which two auxiliary receivers, denoted as “probingreceiver 1,2226” and “probingreceiver 2,2224” are shared for the purpose of probing different received signals.
Specifically, four receivers including RF beamforming andtunable filters2202,2204,2206 and2208 are shown coupled toRF divers2210,2212,2214, and2216. The outputs of the RF dividers are provided to anRF switch2218 and toRF combiner2220. The output ofRF combiner2220 is provided to2222.
The output of RF divider is provided to transmitter(s) and to probingreceiver 2,2224.RF switch2218 is also provided to probingreceiver 12226. The outputs of both probingreceivers 1 and 2 are provided to controlunit2228, which generates beamforming weights to maximize SINR while avoiding oscillation.
Probingreceiver 12226 alternates among different receive antennas in order to (sequentially in time) update the beamforming data relevant to each of those antennas. Probingreceiver 22224 measures the combined signal in parallel. This configuration enables maintaining synchronicity in relating the “cause of the change (adjustment in individual receiving filters)” to their corresponding “effects (change in the combined signal)”.
FIG. 23 provides an embodiment in which only one auxiliary receiver, denoted as “probingreceiver2328” is shared for the purpose of probing different received signals.
Specifically, four receivers including RF beamforming andtunable filters2302,2304,2306 and2308 are shown coupled toRF divers2310,2312,2314, and2316. The outputs of the RF dividers are provided to anRF switch2318 and to RF combiner3220. The output ofRF combiner2320 is provided toRF switch2326, which is also coupled toRF switch2318.
The output ofRF switch2326 is provided to probingreceiver2328. The output of probingreceiver2328 and then to controlunit2330, which generates beamforming weights to maximize SINR while avoiding oscillation.
FIG. 24 shows the construction of a simple RF source for generating the training signal to be embedded in the transmit signal. More specifically,carrier2402 is coupled totransformer2404, which is coupled to switch2406 that is capable of selecting one of two ends oftransformer2404 to enable 0 or 180 phase shift. The output ofswitch2406 is provided to bandpass filter centered at acarrier frequency2408 and the output provides atraining signal2410 such as a binary phase shift keying (BPSK) with periodic repetition of a low correlation sequence, such as an Alexis sequence.
FIG. 25 illustrates a pictorial view of the leakage effect in relation to blind estimation setup. More specifically, a signal to be relayed2502 is coupled to filters D1, D2, D3 and D4,2504,2506,2508 and2510. Each of filters D1-4 are coupled toadders2512,2514,2516 and2518, followed byreceiver 1,2520,receiver 2,2522,receiver 3,2524, andreceiver 4,2526. Each receiver is coupled to a tunable filter,2528,2539,2532 and2534, respectively. Each tunable filter is coupled toRF combiner2536, which combines the outputs of each tunable filter.RF combiner2536 provides an output totransmitter2538, which transmits tofilters2540,2542,2544 and2546, each of which provide additive signals toadders2512,2514,2516 and2518 as described.
FIG. 26 shows another pictorial view of the leakage effect in relation to blind estimation setup. Specifically, signal to be relayed2602 is provided to filterD12604, which is provided to adder2606,receiver2608 and tunable filter G1,2610 and toRF combiner2616.Transmitter2614 is shown receiving signals fromRF combiner2616 and transmitting to filterL12612.FIG. 26 also showsreceivers 2,2618,receiver 3,2626 andreceiver 4,2622, which are coupled totunable filters2624,2626 and2628 and combined atRF combiner2616.
FIG. 27 illustrates a blind estimation setup in accordance with an embodiment. As shown fourreceivers2702,2704,2706 and2708 are coupled totunable filters2710,2712,2714 and2716. Each of the tunable filters is coupled to anRF combiner2720 andswitch2718. The Output ofRF combiner2720 is provided totransmitter2730.
Switch2718 is coupled toreceiver 1,2722, which provides down-conversion and analog to digital conversion.Receiver 1 is coupled toprocessor2724 for computing filters.Processor2724 is also coupled toreceiver 22726 which receives signals fromtransmitter2730. Thus, tworeceivers2722 and2726 are used, one shared (2722) and one dedicated (2726).
FIG. 28 shows another embodiment for a blind estimation setup. As shown fourreceivers2802,2804,2806 and2808 are coupled totunable filters2810,2812,2814 and2816. Each of the tunable filters are coupled to anRF combiner2820 andswitch2818. The output ofRF combiner2820 is provided totransmitter2830.
Switch2818 is coupled toreceiver 1,2822, which provides down-conversion and analog to digital conversion.Receiver 1 is coupled toprocessor2824 for computing filters.Processor2824 is also coupled toreceiver 2,2826 which receives signals fromtransmitter2830. Thus, tworeceivers2822 and2826 are used, one shared (2822) and one dedicated (2826).
FIG. 29 illustrates another embodiment combining the concepts of “superimposed training” and that of “blind estimation”. As shown fourreceivers2902,2904,2906 and2898 are coupled totunable filters2910,2912,2914 and2916. Each of the tunable filters are coupled to anRF combiner2920 andswitch2918. The output ofRF combiner2820 is provided totransmitter2930.
Switch2818 is coupled toreceiver 1,2922, which provides down-conversion and analog to digital conversion.Receiver 1 is coupled toprocessor2924 for computing filters.Processor2924 is also coupled toreceiver 2,2926 which receives signals fromtransmitter2930. Thus, tworeceivers2922 and2926 are used, one shared (2922) and one dedicated (2926). UnlikeFIG. 28,FIG. 29 provides a simple source for generating atraining signal2940 coupled to aswitch2950 which can be provided totransmitter2930 for training.
Superimposed training signal can be activated as needed, for example, when the relay is idle, or be used as an auxiliary mechanism (in conjunction with the blind estimation technique) to facilitate the task of estimation and compensation (tuning of filters).
FIG. 30 illustrates a method for the implementation of the RF beamforming filter3000 in accordance with an embodiment. As shown,input3002 and signals g1-n,3004,3006,3008, and3010 are provided to respective tunable complex multipliers 1-n,3018,3020,3022 and3024, which can be vector modulators. Multipliers 1-n also receive signals viainput3002 after a series of delays,3012,3014 and3016 which can be bandpass SAW filters with a bandwidth equal or slightly higher than that of the RF signal to be relayed. The output of thefinal delay3016 is provided as anoutput3030.
FIG. 31 illustrates aperiodic sequence3100 with low correlation properties for the computation of the impulse response. In particular, the provided example concerns the use of an Alexis sequence oflength 323104 overtime period T3102.FIG. 31 shows the periodic repetition of the base sequence.
FIG. 32 illustrates another periodic sequence diagram3200 withcyclic shifts3202 over a computation window attime T3204 and aperiodic sequence3210 with a computation window at time T+13206. Thus,FIG. 32 shows two consecutive computational windows for extracting the impulse response.
Eachcomputational window3204 and3206 show the base sequence, V1, and cyclic shifts of V1, denoted as V2, V3, . . .V323202. For simplicity, only 9 of such cyclic shifts are shown.
Sequence of output symbols (to be used for computing the impulse response) is denoted as [X1, X2, . . . X32, X33, . . . ]3208.
Assuming the impulse response is the complex vector [I0, I1, I2, . . . , I9, . . . , I32]. For simplicity, only the first nine components of the impulse response are shown. The assumption is that the impulse response is limited to 32 samples.
Inner product of vector Vi, i=1 to 32 (within the computation window at time T) with vector [X1, X2, . . . , X32] provide an estimate of the values of the impulse response [I0, I1, I2, . . . , I32].
Inner product of vector Vi, i=1 to 32 (within the computation window at time T+1) with vector [X2, X3, . . . , X33] provide an estimate of the values of the impulse response [I1, I2, . . . , I32, I0]. The construction of subsequent computational windows will be appreciated by those of skill in the art with the benefit of this disclosure.
Each computational window provides an estimate for the impulse response. To improve estimation accuracy, estimates obtained over consecutive computational windows are averaged.
In the provided example, computational windows (used for the detection) are shown to operate synchronized with the base sequence and its cyclic shifts used in transmission. In practice, the impulse response is typically composed of multiple zeros in its initial part. To improve computational efficiency, the effect of such zeros can be accounted for by cyclically delaying the computational windows with respect to transmitted base sequence. For example, if three of the initial values are known to be zero for certain, then the vectors used in the computational window at time T will be V3, V4, V5, . . . , V32, V1, V2.
For the provided example, if the length of the impulse response is known to be less than 32, then, only a subset of vectors in the computational windows suffice for finding the impulse response. In the provided example inFIG. 32, the inner product of V2 with [X1, X2, X3, . . . , X32] required within the computational window at time T can be reused in computing the inner product of V1 with [X2, X3, . . . , X32, X33] required within the computational window attime T+1. For this particular example, this is achieved by adding X1 and subtracting X33, i.e., if R(V1,T+1)=<V1, [X2, X3, . . . , X32, X33]> is the inner product in the window attime T+1, producing:
R(V1,T+1)=+X1−X33+R(V2,T), similarly,
R(V2,T+1)=+X1−X33+R(V3,T),
R(V3,T+1)=+X1−X33+R(V4,T),
R(V4,T+1)=+X1−X33+R(V5,T),
R(V5,T+1)=+X1+X33+R(V6,T),
R(V6,T+1)=−X1+X33+R(V7,T),
FIG. 33 shows an embodiment for adjusting the relative phase/magnitude (complex gain) of signals received from different receive antennas prior to RF combining. Thus, receivers 1-n, shown as3302,3304, and3306 are coupled to complex gain blocks 1-n, shown as3308,3310, and3312. The output of complex gain blocks are coupled toRF combiner3314, which is coupled to RF port oflegacy transceiver3316. In some embodiments, control signalling3318 can be provided toRF combiner3314.
FIG. 34 shows an embodiment for adjusting the phase at 0° or 180° or and relative magnitude of signals received from different receive antennas prior to RF combining. As shown,receivers3402 and3406 are coupledRF transformers3408 and3410, which are coupled totunable RF attenuators3412 and3414, which are coupled toRF combiner3416.RF combiner3416 is coupled to RF port oflegacy transceiver3418. Control signalling3420 can be implemented to provide control fromtransceiver3418 toRF combiner3416.
Referring toFIG. 35, another version of an embodiment for adjusting the phase at 0°/180° of signals received from different receive antennas prior to RF combining is provided. As shown,receivers3502 and3504 are coupled toRF transformers3506 and3508, representing 2 or more receivers and transformers.RF transformers3506,3508 are coupled toRF combiner3510, which is coupled to an RF port of alegacy transceiver3512. Again,possible control signals3514 can be provided from the transceiver to the RF combiner. An extreme case for adjusting relative magnitude of a two state scenario of connect/disconnect can be realized by implementing a three way switch (SP3T) at the secondary of the RF transformers shown inFIG. 35, wherein upper and lower taps of the RF transformer secondary provide the state of connect with 0°/180° relative phase shifts, and center tap of the RF transformer secondary (shown as grounded) provide the disconnect state.
Referring now toFIG. 36, an embodiment relates to two beamforming structures, alternating between training phase and utilization phase. As shown, 1 subframe with two slots is shown on atime axis3602 andfrequency axis3604. Two users are shown,3608 and3610. The subframe is shown includingdata3612, demodulation reference signal3614 and sounding reference signal3616.
The two beamforming structures can rely on the same set of antennas, but use two different set of phase shifters (filters). In one embodiment, one set of phase shifters is being trained (connected to the auxiliary receiver), while the other set of phase shifters is kept fixed (connected to the main receiver). Switching between the two chains is performed such that the operation of the receiver is not interrupted. In one embodiment, switching is performed in early parts of the OFDM cyclic prefix.
Specifically,FIG. 36 shows the Demodulation Reference Signal (DRS)3614 and/or Sounding Reference Signal (SRS)3616 used in LTE, which are examples of preambles during training/tracking required in embodiments described herein. Another example is the preamble used in WiFi (802.11) for frequency mismatch estimation/correction.
Referring now toFIG. 37, embodiments are directed to beamforming apparatus that exchanges information with a legacy scheduler. As shown, even indexedphase3740 includesreceivers3702,3704 and3706 representing n receivers (1, 2 . . . n) are coupled to low noise amplifiers andRF dividers3708.RF dividers3708 are coupled tobeamforming units 1 and 2.Beamforming unit 13710 can be connected to a legacy unit with or without control signalling3714.Beamforming unit 23712 is shown under training coupled to an auxiliary receiver responsible fortraining3718.Beamforming unit 13710 is shown coupled tolegacy receiver3716 which provides signals tobeamforming unity3712 andauxiliary receiver3718. Oddindexed phase3750 includesbeamforming unit 1,3720 connected to a legacy unit,beamforming unit 23722 under training,auxiliary receiver3726 responsible for training andlegacy receiver3728 that can provide possible control signalling3730.
Referring now toFIG. 38, another version of embodiment directed to beamforming apparatus that exchanges information with a legacy scheduler is illustrated. As shown, even indexed phase3920 includesbeamforming units 1 and 23802 and3804.Beamforming unit 13802 can be connected to a legacy unit with or without control signalling3812.Beamforming unit 23804 is shown under training coupled to an auxiliary receiver responsible fortraining3808.Beamforming unit 13802 is shown coupled tolegacy receiver3810 which provides signals tobeamforming unit 13802, beforming inunit 23804 and toauxiliary receiver3808. Bothbeamforming unit 23804 andauxiliary receiver3808 responsible for training are coupled to legacy unit scheduling and channelstate information block3806.
Oddindexed phase3822 includesbeamforming unit 13832 connected to a legacy unit,beamforming unit 23834 under training,auxiliary receiver3838 responsible for training andlegacy receiver3840 that can provide possible control signalling3842.Legacy receiver3840 can provide signals toauxiliary receiver3838, and bothbeamforming units3832 and3834.Beamforming unit 23834 andauxiliary receiver3838 are shown coupled to legacy unit scheduling and channelstate information block3836.
As described,FIGS. 37 and 38 show embodiments wherein the beamforming apparatus exchanges information with a legacy scheduler. Examples for such information exchanges include identifying which resource blocks are allocated to any particular uplink user and enabling beamforming apparatus to query the base-station to make adjustments in its scheduling operation, and/or query the base-station to initiate sounding operation.
Three main challenges hinder practical realization of amplify-and-forward relays: (1) noise/interference amplification, (2) delay, and (3) cancellation of self-interference (to allow increasing the relay gain without causing oscillation in the underlying closed loop).
To avoid the issue of noise/interference amplification, embodiments described herein rely on receive and/or transmit beamforming to first improve the quality of the signal to be relayed, and thereby compensate for the subsequent amplification of noise/interference.
The requirement of low delay relaying is particularly challenging. To meet the delay requirement, all underlying (adaptive) filtering operations (required in self-interference reduction) in some embodiments are be performed in the analog domain. Embodiments herein are explained in terms of filtering/amplification performed in the Radio Frequency (RF). Similar techniques can be also applied in the Intermediate Frequency (IF), and/or in analog base-band. In some embodiments, multiple stages of self-interference reduction modules are combined for operating in RF, IF and analog base-band domains, as each of these domains has its own pros and cons in realizing the required adaptive filtering.
Delay Requirements
Delay requirements, in the context of downlink channel and the case of uplink channel can be similar. In the case of downlink, the central node transmits its outgoing signal, which will be received by both clients and the amplify and forward relay unit. In some embodiments, an amplify and forward relay amplifies its incoming signal and retransmits the amplified signal to provide coverage for clients in its neighborhood. Clients will receive the downlink signal through two paths, one path is directly from the central node, and the second path is through the amplify and forward relay. It is important that these two paths are simultaneously received at the client side, otherwise, one path would act as interference to the other one. “Simultaneous” in this context means within a relative delay that can be absorbed by the client node method of channel equalization. In other words, the two paths should resemble paths formed in wireless transmission due to multi-path propagation.
Wireless standards have the capability built-in to deal with such a reception of the same signal through multiple paths, and can jointly equalize the signals received through such multiple paths. The delay spread among such a multitude of paths is the key factor that determines if the receiving units will be able to jointly equalize these separate paths, or not. For example, in standards based on Orthogonal Frequency Division Multiplex (OFDM), as long as the delay spread is less than the duration of OFDM cyclic prefix, the receiver sees the effects of such paths as a compound OFDM channel and can rely on the training signals to compute the frequency response of the compound channel, and accordingly, can equalize the combination of multiple signal in a manner that the end-to-end link, over each OFDM tone, will be a single equalized constellation.
In the context of amplify-and-forward relay structures disclosed herein, this requirement entails that the delay incurred in the process of relaying should not exceed certain threshold. In contradistinction to known methods of relaying, contradicts methods used in decode and forward relays which first recover the data by deploying a complete receive chain, and then retransmit the same data by deploying a complete transmit chain. In setups using complete transmit/receive chains, the bulk of the processing is performed in the digital domain, which includes down-conversion, equalization, demodulation and decoding (tasks of the receive chain), and then re-encoding, re-modulation, up-conversion and re-transmission (tasks of the transmit chain). In contrast, in amplify and forward relay, the processing performed on the received signal should be in the analog domain to avoid excessive delay.
Processing tasks to accomplish embodiments herein include (1) active cancellation of the self-interference through filtering and construction of an auxiliary signal which would be combined with the receive and/or transmit analog signals to reduce the effect of the self-interference; and (2) receive and/or transmit beamforming for the purpose of reducing the self-interference, improve the signal-to-noise ratio by directing the respective transmit and/or receive antennas' beam(s) to focus on the central node, improve the signal-to-noise ratio by directing the respective transmit and/or receive antennas' beam(s) to focus on the clients, improve the signal-to-noise ratio by directing the respective receive antennas' beam(s) to avoid interference from neighboring transmitters operating over the same spectrum.
To perform the above processing tasks, the embodiments described herein rely on an auxiliary receive chain which is used to provide samples of various incoming and outgoing signals for the purpose of monitoring relevant signals, and accordingly informing a signal processing engine which in turn controls the filtering and beamforming tasks. Furthermore, to distinguish the self-interference signal from the incoming signal to be relayed, some embodiments rely on embedding a known periodic sequence in the outgoing signal, which will be extracted by a correlator receiver and used to determine characteristics of the self-interference channel, i.e., channel from the transmit antenna(s) to receive antenna(s) within the same amplify and forward relay node.
To reduce the self-interference, in some embodiments, antennas are symmetrically placed as illustrated inFIGS. 17-20. Each antenna has at least one plane of symmetry. There are two types of such planes of symmetry. One type entails even symmetry, see, e.g.,FIG. 17, which means RF field components at points symmetrically located at the two sides of the plane of symmetry are positive mirrors of each other (mirror without sign change) with respect to the plane of symmetry. Another type entails odd symmetry, which means RF field components at points symmetrically located at the two sides of the plane of symmetry are negative mirrors of each other (mirror with a sign change) with respect to the plane of symmetry. In some embodiments, a first set of antennas have at least one plane of even symmetry, and a second set of antennas have two orthogonal planes of symmetry, one with even symmetry and one with odd symmetry. The placement of antennas is such that the plane of even symmetry of the first set aligns (overlaps) with the plane of odd symmetry of the second set, and the resulting shared plane will be orthogonal to the plane of even symmetry of the second set.
To reduce hardware complexity of beamforming, and at the same time simplify the complexity of beamforming algorithm, some embodiments herein rely on one-bit beam-formers, such as two phase values of 0° and 180°. In some embodiments, such beamforming circuitry is cascaded with circuitry for gain adjustment.
In one embodiment, corresponding to an extreme case of gain adjustment circuitry, the gain values are binary, i.e., the circuit is either connected (passing its input signal to its output), or is disconnected (terminating the path such that no signal gets through). This bypass feature is used to mimic the operation of maximum ratio combining in receive beamforming, wherein incoming paths with low signal levels (which would degrade the overall Signal-to-Noise Ratio-SNR) are bypassed. Tasks of transmit and receive beamforming are performed to provide a compromise among several factors, including boost in signal gain and SNR, nulling an external interfering signal, and creating a null for the self-interference path to improve isolation (reduce self-interference), thereby enabling an increase in the relay forward gain without causing oscillation.
The simple beamforming structures explained above, i.e., with two states (0° phase shift, 180° phase shift) or with three states (0° phase shift, 180° phase shift, bypass/disconnect), can be tuned using a sequential search algorithm. For the purpose of the search algorithm, the beamforming circuitries can be sequentially indexed by 1, 2, 3, . . . . In subsequent steps of the search algorithm, the states of beamforming circuitries can be changed one-by-one (in the order of their indices), and in each case, the new state is kept if it results in an improvement in the underlying “figure of merit,” or it is reverted back, if otherwise. “Figure of merit” is a vector with components representing: “receive beamforming gain (SNR)”,” “transmit beamforming gain”, “improvement in transmit/receive isolation (reduction in self-interference)” and “reduction in interference observed from external nodes operating over the same spectrum, i.e., improvement in Signal-to-Noise-plus-Interference Ratio (SINR)”. The first priority is to improve transmit/receive isolation such that the relay can provide the desired level of forward gain, and once this condition is satisfied, other figures of merit mentioned above will be considered.
As mentioned earlier, in one embodiment, a signature signal will be embedded in the outgoing signal, which will be in turn extracted at the receiving end of the relay to distinguish the self-interference channel from the channel carrying the incoming signal from the distant transmitter (signal to be relayed). In an embodiment, the signature signal is selected as a sequence of ±1, which is repeated to create a periodic sequence. An example is binary Alexis sequence. In some embodiments, the use of ±1 has been exploited in simplifying the hardware circuitry required for up-conversion of the signature signal.
Such circuitry relies on a transformer with a center-tapped secondary. SeeFIGS. 5 and 6, for example. The carrier is fed to the primary of this transformer, and the output (RF modulated signature signal) is extracted from the secondary of the transformer. Secondary is connected to an RF switch, which selects one of the two outputs of the secondary following the sign of the signature signal. The resulting RF modulated signal is filtered to limit its spectrum occupancy to the ranges of interest in the relaying operation. In the case of an amplify and forward relay, transmitter generating/sending the signature signal, and the receiver detecting the signature signal can be within the same unit. In an embodiment, this feature is exploited to implement a correlation receiver for the signature signal at the RF front end of the receiving side as inFIG. 5 for example. In this embodiment, the correlation receiver is in essence similar to the center tapped transformer used for up-conversion of the signature signal. In this case, if the transformer at the receiving side is switched with a delayed version of the signature signal, with a delay that is equal to the delay of one of the propagation paths in the self-interference channel, there will be a peak at the carrier at the output of the correlation receiver.
In an embodiment, by searching for successive delay values that result in peaks in the output of the correlation receiver, and measuring magnitude and phase of the resulting peaks, the system extracts the entire impulse response of the self-interference channel. This knowledge is used to adjust the filter structures used in the cancellation of self-interference.
In another embodiment, instead of separately extracting these components (corresponding to components of multi-path in the self-interference channel), the self-interference channel is measured through pre-processing (this “pre-processing” is in essence pre-equalization with respect to the self-interference channel). In this case, at the transmitter side, instead of transmitting one stream of the signature signal, multiple copies of the signature signals, after applying an appropriate relative delay and phase/magnitude adjustment to each delayed copy, are summed and the resulting waveform is RF modulated. See, for example,FIG. 21.
The relative delays and complex gain adjustments are set such that all the multipath components align in time and add coherently at the receiving side of the relay. In this case, the correlation receiver is operated (“operated” means “switching of the receiver correlator transformer”) with a fixed copy of the signature signal (“fixed copy” means a single copy of the signature signal with a given delay and magnitude/phase), and the relative delays among components of the signature signal forming the pre-processed signature signal at the transmitting side, and their corresponding complex gain adjustments, are set with respect to the fixed signature signal switching the receiving transformer. All parameters (relative delays and complex gain values) are adjusted to create one large peak at the output of the correlation receiver, and adjustment are made to maximize the energy at this peak. The large peak is the result of aligning and coherently adding all the multipath components in the self-interference channel (through pre-equalization). This strategy is used in some embodiments as an alternative approach to compute the impulse response of the self-interference channel.
In some embodiments, the antennas used primarily for the purpose of reception, transmit as well, and antennas used primarily for the purpose of transmission, receive as well. This allows an increase the effective number of antennas involved in the beamforming operation.
Some of other key points behind various embodiments are as follows:
Insert low power training signals in the relayed signal to learn the characteristics of the self-interference channel (signal leaked from transmitter of the relay back to its receiver).
Use RF delay elements creating a delay equivalent (or close to) to one sample of Nyquist sampling frequency. For example, a 20 Mhz RF channel corresponds to Nyquist base delay of 50 nsec.
Use multiple transmit antennas to relay the signal while forming a transmit null at the receive front-end of the relay.
Use multiple receive antennas to enable receive beamforming for the purposes of: Reducing self-interference through receive beamforming (to null the self-interference channel), i.e., create a receive null with respect to the relay transmit front-end, and improve the reception (signal to noise ratio) of the (desired) incoming signal prior to amplifying/relaying it.
One embodiment is for relaying Frequency Division Duplex (FDD) signals. FDD systems use two distinct frequency bands to send and to receive. An embodiment relies on six antennas to relay a (SISO) FDD signal, such as those shown inFIGS. 18, 19 and 20. These antennas are divided into groups:
Set A1: Two antennas are mainly responsible for receiving over the first frequency band, F1. In an enhanced version, these two antennas can receive over F2, or transmit over F2.
Set A2: Two antennas are mainly responsible for receiving over the second frequency band, F2. In an enhanced version, these two antennas can receive over F1, or transmit over F1.
B1: One antenna is mainly responsible for transmitting over the first frequency band, F1. In an enhanced version, this antenna can receive over F2.
B2: One antenna is mainly responsible for transmitting over the second frequency band, F2. In an enhanced version, this antenna can receive over F1.
In one embodiment, sets A1 and A2 act as receiver over F1 and F2; and sets B1 and B2 act as a transmitter over F1 and F2, respectively.
In another embodiment, sets A1 and A2 are comprised of many more antennas, for example 100 antennas, each equipped with a simple beamforming circuitry which, e.g., applies a one-bit phase adjustment, i.e., (0°,180°) phase adjustment, to the signal received by its respective antenna prior to signal combining. In a slightly more advanced version, the beamforming circuitry can be associated with each antenna is capable of (0°, 180°) phase adjustment in a “connected state”, or terminating the signal in a “disconnected state”. Antennas that are in the disconnected states will not contribute to the combined signal. The disconnecting the signal of any particular antenna from entering the combiner allows to improve the effective signal-to-noise ratio by mimicking the operation used in maximum ratio combining. This means, the signals of antennas that have a low signal-to-noise ratio will be simply dropped prior to combining.
As will be appreciated by those of skill in the art, various other configurations, including a large number of antennas in sets A1, A2, B1 and B2, equipped with a combination of simple circuitries explained above for beamforming, and more complex beamforming circuitries for adjustment of phase and/or magnitude will be possible. In one embodiment appropriate for installation in locations that would allow large form factors, sets A1 and A2 include hundreds of antennas and sets B1 and B2 are composed of a smaller number of antennas (e.g., less than 10). The use of a large number of antennas allows satisfying the objectives of: “beamforming for the purpose of nulling self-interference,” as well as “realizing advantages of traditional beamforming for improving signal gain and/or reducing multi-user interference”.
Embodiments herein can be generalized to Multiple-Input Multiple-Output (MIMO) antenna structures based on the following principles: (1) In case of MIMO, the basic structure is repeated M times, M is the number of antennas in the M×M MIMO; (2) M transmit antennas are equipped with M distinguishable signature signals, such as sinusoidal separated in time and/or in frequency, and (3) received signals are combined and relayed such that all signature signals are nulled.
Another embodiment disclosed herein relies on Blind Channel Estimation for training (initial nulling of self-interference) and/or tracking (gradual readjustments upon completion of the training phase). Tracking includes following time variations in the self-interference channel, and/or time variations in the channels related to the primary signals (used for the purpose of traditional beamforming towards improving signal gain and/or reducing multi-user interference). In embodiments relying on Blind Channel Estimation, instead of embedding a training signal in the signal to be relayed, the task of channel estimation is performed blindly by relying on some auxiliary receivers, called “probing receiver(s)”, and using the correspondence between transmit and receive signals (in baseband) to estimate the impulse response of the leakage paths, and accordingly adjust the beamforming filters (see, e.g.,FIGS. 25-29).
Wireless systems, such as LTE, benefit from beamforming for the purpose of maximizing the signal strength, minimizing interference, or a combination of the two, e.g., maximizing the Signal-to-Interference-Plus-Noise Ratio (SINR). Similar benefits can be realized for relayed signals. In addition to amplify-and-forward relays, embodiments for beamforming at the RF level can be integrated with legacy setups. This would be an add-on component operating transparent to the operation of the legacy transceiver, while improving its performance. In the following, these techniques are explained in the context of interface to legacy setups, but similar setups apply to the case of beamforming at the RF front-end for an amplify-and-forward relay. If a legacy system has multiple antennas, each of such legacy antennas can be enhanced by the addition of RF beamforming. Beamforming can be learned in the uplink, which can be applied to uplink (FDD setups), or to both uplink and downlink (TDD setups) relying on channel reciprocity. In the latter case, the downlink beamforming is adjusted based on storing the selected beam for each particular client, which are then selected knowing the client(s) targeted in a downlink transmission phase.
Receive Beamforming
Hereafter, embodiments in the context of receive beamforming in the uplink.
Receive beamforming is achieved by one or more, or the combination of (1) adjusting the relative phase/magnitude (complex gain) of signals received from different receive antennas prior to RF combining, such asFIG. 33; (2) adjusting the phase at 0° or 180° and relative magnitude of signals received from different receive antennas prior to RF combining, such as shown inFIG. 34. Note that the relative magnitude, in its extreme case of one-bit resolution, means the signal is either connected or is disconnected.
Adjusting the phase at 0° or 180° of signals received from different receive antennas prior to RF combining is described above with respect toFIG. 35.
Transparent Training/Tracking
Embodiments herein relate to perform training for the computation of beamforming strategy such that the operation of the legacy receiver is not affected. This operation can be performed by training/tracking during receiver idle time (when there are no signals in the air).
Training/tracking is performed during preambles that are not used for channel training/equalization. An example is the preamble used in WiFi (802.11) for frequency mismatch estimation/correction, or the Demodulation Reference Signal (DRS) and/or Sounding Reference Signal (SRS) used in LTE. See, for example,FIG. 36.
Training/tracking can be performed during cyclic prefix of the OFDM or SC-FDMA structure (in parts that will be discarded by the legacy transceiver).
Embodiments herein include two beamforming structures, alternating between training phase and utilization phase. The two beamforming structures can rely on the same set of antennas, but use two different set of phase shifters (filters). In this embodiment, one set of phase shifters is being trained (connected to the auxiliary receiver), while the other set of phase shifters is kept fixed (connected to the main receiver). The “switched training” is described with respect toFIGS. 37 and 38. Switching between the two chains is performed such that the operation of the receiver is not interrupted. In one embodiment, switching is performed in early parts of the cyclic prefix.
Using Legacy Preambles for Training
In order to avoid modification to legacy standard, embodiments herein rely on preamble structures used in legacy system, in particular preamble used for channel estimation, to compute the beamforming strategy. In particular, in standards based on OFDM and its variants (such as SC-FDMA used in LTE Uplink), training signals are transmitted that have equal magnitude in all their occupied tones. These signals are typically used for the purpose of channel estimation. Upon compensating for the phase in successive tones (frequency segments), the sequence of the equalized tones will be separated into two parts: (1) Slowly changing part specifies the signal gain (channel magnitude); and (2) Fast changing part specifies the noise plus interference.
These two parts can be separated by a simple filtering of the successive values of the equalized tones.
In case of switched training, the preamble as well as data part of successive OFDM (or SC-FDMA) symbols can be used.
In a preferred embodiment for LTE uplink, DRS and/or SRS, possibly in addition to in-between SC-FDMA data symbols are used. In DRS (as well as in successive SC-FDMA symbols within a “slot”), regardless of user scheduling, it is known that at least 12 successive carriers are received from the same user, and, as a result, averaging over segments oflength 12 can be used to estimate the signal and the interference. Then, a “min-max” (or an “averaging”) criterion can be used to select the best antenna pattern.
In LTE uplink, there are two reference signals as shown inFIG. 36. The demodulation reference signal can be separated into consecutive segments of tones corresponding to different transmitters sending in the uplink using SC-FDMA. Then, the signal power (channel gain) as well as the interference level for each of these consecutive segments is computed (for different antenna patterns) and the best pattern is selected. The best pattern can be selected to balance the quality of the signals received from different clients, i.e., maximize the minimum SINR (in order to accommodate transmitters at the cell edge, or those in fading).
In one embodiment, switched training (as shown inFIGS. 37 and 38) in conjunction with 0°/180° phase shift structure as shown inFIGS. 33 and 34 is used. During the cyclic prefix of the reference signals, or during the data part (seeFIG. 38), the antennas' phases are sequentially switched by 180°, the outcome of switching is computed over the subsequent reference signal, and the applied phase shift is accepted/rejected depending on the observed outcome. The latest best pattern for each uplink transmitter is stored and used to initialize the search next time the same client is scheduled.
In one embodiment, the beamforming apparatus listens and interprets some of the control signalling exchanged between its associated base-station and legacy units being served by this base-station. In particular, this allows the beamforming apparatus to act synchronous with the timing of the legacy unit, for example, to extract the start of the demodulation reference signal, and accordingly adjust its switching and beam selection strategy.
In another embodiment as shown inFIG. 38, the beamforming apparatus exchanges information with the legacy scheduler. Examples for such information exchanges include (1) knowing which resource blocks are allocated to any particular client in the uplink; and (2) beamforming apparatus can ask the base-station to make adjustments in its scheduling operation, and/or ask the base-station to initiate the sounding operation.
While various aspects and embodiments have been disclosed herein, other aspects and embodiments will be apparent to those skilled in the art. The various aspects and embodiments disclosed herein are for purposes of illustration and are not intended to be limiting, with the true scope and spirit being indicated by the following claims.

Claims (20)

The invention claimed is:
1. An apparatus comprising:
a receive front-end including a plurality of receive antennas configured to perform receive beamforming, wherein the plurality of receive antennas include a respective first plurality of radio frequency beamforming filters, and wherein the receive front-end operates within at least a first frequency band and is responsive to an incoming radio frequency signal;
an amplification stage coupled to the receive front-end, the amplification stage configured to amplify the incoming radio frequency signal received at the receive front-end and to produce an amplified incoming radio frequency signal;
a transmit front-end coupled to the amplification stage to receive the amplified incoming radio frequency signal, wherein the transmit front-end includes a plurality of transmit antennas configured to perform transmit beamforming, wherein the plurality of transmit antennas include a respective second plurality of radio frequency beamforming filters, and wherein the transmit front-end operates within at least the first frequency band, the transmit front-end being configured to transmit the amplified incoming radio frequency signal to a distant receiver while the receive front-end is receiving the incoming radio frequency signal;
an analog echo cancellation path, wherein a corrective signal is inserted into the receive front-end, wherein the corrective signal is created via a filtered transmit signal, and wherein analog echo cancellation is performed in at least one of a radio frequency domain, an intermediate frequency domain, and an analog baseband domain;
a signature signal generation circuit coupled to the transmit front-end, wherein the signature signal generation circuit is configured to generate a signature signal that is included within the first frequency band in which the amplified incoming radio frequency signal is to be transmitted, and wherein the signature signal includes a periodic sequence to distinguish the signature signal from the transmitted amplified incoming radio frequency signal; and
a self-interference measurement circuit configured to generate beamforming control signals to control at least one of (i) analog echo cancellation, (ii) the plurality of receive antennas including the respective first plurality of radio frequency beamforming filters or (iii) the plurality of transmit antennas including the respective second plurality of radio frequency beamforming filters, wherein the self-interference measurement circuit is further configured to (i) detect the signature signal present at the receive front-end to measure self-interference and (ii) to adapt an echo cancellation filter; and generate the beamforming control signals based on the detected signature signal, such that an amount of the transmitted amplified incoming radio frequency signal and the signature signal leaked from the transmit front-end back to the receive front-end is reduced.
2. The apparatus ofclaim 1, wherein each of the plurality of receive antennas separately receives the incoming radio frequency signal to enable radio frequency combining and amplification, and wherein the respective first plurality of radio frequency beamforming filters is configured to create a receive null with respect to the transmit front-end so as to reduce a signal leakage from the transmit front-end back to the receive front-end; and
wherein the plurality of transmit antennas receives the amplified incoming radio frequency signal for transmit to the distant receiver via the respective second plurality of radio frequency beamforming filters that are configured to produce a transmit null with respect to the receive front-end so as to reduce a signal leakage from the transmit front-end back to the receive front-end.
3. The apparatus ofclaim 1, wherein each of the respective first plurality of radio frequency beamforming filters in the receive front-end is configured to increase a beamforming gain to improve a signal-to-noise ratio of the amplified incoming radio frequency signal.
4. The apparatus ofclaim 1, wherein each of the respective first plurality of radio frequency beamforming filters in the receive front-end or each of the respective second plurality of radio frequency beamforming filters in the transmit front-end has at least two states, wherein the at least two states include a 0° phase shift and a 180° phase shift, and wherein each filter having the at least two states is configured such that the at least two states are controlled selectively to improve isolation between the receive front-end and the transmit front-end.
5. The apparatus ofclaim 1, further comprising a training signal generation circuit coupled to the transmit front-end, wherein the training signal generation circuit is configured to generate a training signal that is included with the amplified incoming radio frequency signal for transmit, and wherein the training signal provides initial training for adapting to self-interference between the receive front-end and the transmit front-end.
6. The apparatus ofclaim 1, wherein the transmit front-end and the receive front-end operate within at least two frequency bands simultaneously relaying uplink and downlink radio frequency signals in a Frequency Division Duplex (FDD) wireless network.
7. The apparatus ofclaim 1, wherein each of the the plurality of receive antennas includes a corresponding radio frequency beamforming filter that has a connected state and a disconnected state.
8. The apparatus ofclaim 7, wherein one or more of the radio frequency beamforming filters in the at least two sets of receive antennas are in the disconnected state to prevent signals from corresponding one or more receive antennas from entering a radio frequency combiner to improve signal-to-noise ratio.
9. The apparatus ofclaim 1, wherein the self-interference measurement circuit is further configured to evaluate a level of the signature signal over an observation basis to measure an amount of self-interference over the first frequency band.
10. The apparatus ofclaim 1, wherein the signature signal includes a periodic sequence to distinguish the signature signal from the transmitted amplified incoming radio frequency signal, wherein the periodic sequence comprises a binary Alexis sequence, and wherein the self-interference measurement circuit is further configured to evaluate a level of the signature signal over a given observation basis to measure an amount of self-interference over the first frequency band.
11. The apparatus ofclaim 1, wherein the signature signal is multiplexed in time domain with the wireless signal to be relayed.
12. The apparatus ofclaim 1, wherein training for at least one component contributing to self-interference reduction is performed using blind training and/or blind tracking techniques.
13. The apparatus ofclaim 1, wherein training for at least one component contributing to self-interference reduction relies on training signals included, as part of the underlying industry standard, in the structure of wireless signal to be relayed.
14. The apparatus ofclaim 1, wherein at least one of a plurality of filters contributing to self-interference reduction includes pairs of filters, wherein one of each pair of filters is refreshed while another of each pair of filters is in use.
15. The apparatus ofclaim 14, wherein switching between filter pairs is performed during a cyclic prefix of an Orthogonal Frequency-Division Multiplexing signal to be relayed.
16. The apparatus ofclaim 1, wherein, the transmit front-end and receive front-end include a plurality of transmit antennas and a plurality of receive antennas, the plurality of transmit antennas symmetrically placed with respect to the plurality of receive antennas to reduce self-interference.
17. The apparatus ofclaim 1, wherein the plurality of receive antennas and the plurality of transmit antennas each have two terminals for transmit and receive over a same frequency band, the plurality of receive antennas and the plurality of transmit antennas being shared between the transmit front-end and the receive front-end.
18. The apparatus ofclaim 1, the plurality of receive antennas and the plurality of transmit antennas each have four terminals for transmit and receive over at least two frequency bands, the plurality of receive antennas and the plurality of transmit antennas being shared between the transmit front-end and the receive front-end.
19. The apparatus ofclaim 1, wherein blind channel estimation is utilized for at least one of training, including initial nulling of self-interference, and tracking, including gradual readjustments upon completion of a training phase.
20. The apparatus ofclaim 1, wherein channel estimation is performed by a plurality of auxiliary probing receivers to estimate an impulse response of leakage paths and accordingly adjust the radio frequency beamforming filters and the echo cancellation filter.
US16/904,4352017-04-192020-06-17Noise cancelling amplify-and-forward (in-band) relay with self-interference cancellationActiveUS11265074B2 (en)

Priority Applications (1)

Application NumberPriority DateFiling DateTitle
US16/904,435US11265074B2 (en)2017-04-192020-06-17Noise cancelling amplify-and-forward (in-band) relay with self-interference cancellation

Applications Claiming Priority (4)

Application NumberPriority DateFiling DateTitle
US201762487274P2017-04-192017-04-19
US201762487273P2017-04-192017-04-19
US15/955,439US10700766B2 (en)2017-04-192018-04-17Noise cancelling amplify-and-forward (in-band) relay with self-interference cancellation
US16/904,435US11265074B2 (en)2017-04-192020-06-17Noise cancelling amplify-and-forward (in-band) relay with self-interference cancellation

Related Parent Applications (1)

Application NumberTitlePriority DateFiling Date
US15/955,439ContinuationUS10700766B2 (en)2017-04-192018-04-17Noise cancelling amplify-and-forward (in-band) relay with self-interference cancellation

Publications (2)

Publication NumberPublication Date
US20200389226A1 US20200389226A1 (en)2020-12-10
US11265074B2true US11265074B2 (en)2022-03-01

Family

ID=63854793

Family Applications (2)

Application NumberTitlePriority DateFiling Date
US15/955,439Active - ReinstatedUS10700766B2 (en)2017-04-192018-04-17Noise cancelling amplify-and-forward (in-band) relay with self-interference cancellation
US16/904,435ActiveUS11265074B2 (en)2017-04-192020-06-17Noise cancelling amplify-and-forward (in-band) relay with self-interference cancellation

Family Applications Before (1)

Application NumberTitlePriority DateFiling Date
US15/955,439Active - ReinstatedUS10700766B2 (en)2017-04-192018-04-17Noise cancelling amplify-and-forward (in-band) relay with self-interference cancellation

Country Status (1)

CountryLink
US (2)US10700766B2 (en)

Families Citing this family (30)

* Cited by examiner, † Cited by third party
Publication numberPriority datePublication dateAssigneeTitle
WO2013173252A1 (en)2012-05-132013-11-21Invention Mine LlcFull duplex wireless transmission with channel phase-based encryption
US10177896B2 (en)2013-05-132019-01-08Amir Keyvan KhandaniMethods for training of full-duplex wireless systems
CN107251618B (en)*2015-01-162021-05-14梁平Beamforming in a multi-user multiple-input multiple-output wireless communication system with repeaters
US10855325B2 (en)2018-08-212020-12-01Skyworks Solutions, Inc.Discrete time cancellation for providing coexistence in radio frequency communication systems
US10840957B2 (en)2018-08-212020-11-17Skyworks Solutions, Inc.Radio frequency communication systems with coexistence management based on digital observation data
US10840958B2 (en)2018-08-212020-11-17Skyworks Solutions, Inc.Radio frequency communication systems with discrete time cancellation for coexistence management
US10886612B2 (en)2018-09-172021-01-05Qualcomm IncorporatedBi-directional active phase shifting
CN111263391B (en)*2018-11-302021-08-13华为技术有限公司 Signal processing method, device and base station
TWI675554B (en)*2018-12-072019-10-21國家中山科學研究院 Digital control vector signal modulator
US11558079B2 (en)2019-01-152023-01-17Skyworks Solutions, Inc.Radio frequency communication systems with interference cancellation for coexistence
US11005559B2 (en)*2019-02-272021-05-11Wistron Neweb CorporationRepeater and radiation pattern forming method for the same
US11070397B2 (en)*2019-03-152021-07-20Qualcomm IncorporatedAdaptive OTA leakage cancellation for mmWave radar
CN110149135A (en)*2019-04-152019-08-20上海师范大学Multipair extensive MIMO bilateral relay network method for communication transmission and control device
US11632764B1 (en)*2019-05-212023-04-18Massachusetts Institute Of TechnologyMulti-antenna sequential interference cancelling receiver
US11375364B2 (en)*2019-05-312022-06-28Qualcomm IncorporatedBroadcast relay method in new radio
US11206560B1 (en)2019-06-182021-12-21Sprint Communications Company L.P.Cross-relay interference mitigation in wireless relays that serve wireless user devices
EP4012932B1 (en)*2019-08-072024-01-24OMRON CorporationNoise canceling device for wireless communication system
US11316489B2 (en)2019-08-302022-04-26Qualcomm IncorporatedBidirectional variable gain amplification
WO2021061834A1 (en)2019-09-272021-04-01Skyworks Solutions, Inc.Antenna-plexer for interference cancellation
WO2021061792A1 (en)2019-09-272021-04-01Skyworks Solutions, Inc.Mixed signal low noise interference cancellation
US10784636B1 (en)*2019-10-142020-09-22Qualcomm IncorporatedAsymmetrical quadrature hybrid coupler
US11563481B2 (en)*2019-11-132023-01-24Electronics And Telecommunications Research InstituteMethod and apparatus for relay based on multiple beams in vehicle-to-everything communication system
US11469503B2 (en)*2020-02-282022-10-11T-Mobile Usa, Inc.Self-optimizing wide band array antennas
US11838778B2 (en)*2020-05-202023-12-05Qualcomm IncorporatedWireless node self-interference measurements and uplink beam management for full duplex transmissions
US11742916B2 (en)2020-05-292023-08-29Qualcomm IncorporatedChannel state reporting for full duplex transmissions
US11705948B2 (en)*2020-06-022023-07-18Qualcomm IncorporatedIterative self interference measurement with power ramping
US11894619B2 (en)*2021-07-232024-02-06Raytheon CompanyPassive vector modulator
US12156126B2 (en)*2022-04-122024-11-26King Fahd University Of Petroleum And MineralsToeplitz structured subspace for multiple-channel blind identification methods
CN119137881A (en)*2022-04-252024-12-13松下电器(美国)知识产权公司 Communication device and communication method
JP2024116710A (en)*2023-02-162024-08-28トヨタ自動車株式会社 Relay station, information processing device, and method

Citations (225)

* Cited by examiner, † Cited by third party
Publication numberPriority datePublication dateAssigneeTitle
US2995752A (en)1960-01-291961-08-08Shyhalla NicholasDirection-finding antenna
US3082421A (en)1960-01-261963-03-19Shyhalla NicholasCompensated antenna
US3184747A (en)1961-10-061965-05-18Patelhold PatentverwertungCoaxial fed helical antenna with director disk between feed and helix producing endfire radiation towards the disk
GB1091437A (en)1964-07-291967-11-15Gen ElectricImprovements in selective antenna system
US3725920A (en)1969-11-241973-04-03Siemens Ag AlbisDistance measuring method and apparatus for the performance thereof utilizing two tr
US3965475A (en)1975-05-301976-06-22The United States Of America As Represented By The United States Administrator Of The National Aeronautics And Space AdministrationSwitchable beamwidth monopulse method and system
US4112430A (en)1977-06-011978-09-05The United States Of America As Represented By The Secretary Of The NavyBeamformer for wideband signals
US4268727A (en)1979-03-141981-05-19International Telephone And Telegraph CorporationAdaptive digital echo cancellation circuit
US4343005A (en)1980-12-291982-08-03Ford Aerospace & Communications CorporationMicrowave antenna system having enhanced band width and reduced cross-polarization
US4701935A (en)1985-01-091987-10-20Nec CorporationOne frequency repeater for a digital microwave radio system with cancellation of transmitter-to-receiver interference
US4750165A (en)1986-05-021988-06-07Northern Telecom LimitedMethod of duplex data transmission using a send-and-wait protocol
WO1994028585A1 (en)1993-05-211994-12-08David Sarnoff Research Center, Inc.Scr electrostatic discharge protection for integrated circuits
US5383224A (en)1991-11-271995-01-17Nec CorporationCross polarization interference canceller
US5388124A (en)1992-06-121995-02-07University Of MarylandPrecoding scheme for transmitting data using optimally-shaped constellations over intersymbol-interference channels
WO1996022643A1 (en)1995-01-201996-07-25Ericsson, Inc.Establishment of cryptographic keys in radio networks
US5596439A (en)1995-08-011997-01-21Viasat, Inc.Self-interference cancellation for two-party relayed communication
US5630154A (en)1994-10-111997-05-13Hughes Aircraft CompanyProgrammable systolic array system arranged in a found arrangement for passing data through programmable number of cells in a time interleaved manner
US5691978A (en)1995-04-071997-11-25Signal Science, Inc.Self-cancelling full-duplex RF communication system
JPH10502220A (en)1993-05-271998-02-24グリフィス・ユニヴァーシティー Antenna for portable communication device
US5805116A (en)1996-04-301998-09-08Qualcomm IncorporatedTwo-feed full duplex transmitter/receiver for ultra small-aperture satellite communications terminal
US6084919A (en)1998-01-302000-07-04Motorola, Inc.Communication unit having spectral adaptability
US6255997B1 (en)1999-09-202001-07-03Daimlerchrysler AgAntenna reflector having a configured surface with separated focuses for covering identical surface areas and method for ascertaining the configured surface
US20010010495A1 (en)1999-10-192001-08-02Lucent Technologies Inc.Method and apparatus for improving the interrogation range of an RF-Tag
US6281988B1 (en)1997-08-292001-08-28Qualcomm IncorporatedApparatus and method for supporting analog fax calls in a tandem configuration
US20010024434A1 (en)2000-02-232001-09-27Arun AyyagariQuality of service over paths having a wireless-link
US6317092B1 (en)2000-01-312001-11-13Focus Antennas, Inc.Artificial dielectric lens antenna
US20020028655A1 (en)2000-07-142002-03-07Rosener Douglas K.Repeater system
US20020032004A1 (en)2000-05-092002-03-14Bernard WidrowSimultaneous two-way transmission of information signals in the same frequency band
US6369758B1 (en)2000-11-012002-04-09Unique Broadband Systems, Inc.Adaptive antenna array for mobile communication
US20020097810A1 (en)2001-01-222002-07-25Tetsuya SekiPower control apparatus and power control method
US20030043071A1 (en)2001-08-272003-03-06E-Tenna CorporationElectro-mechanical scanned array system and method
US20030114128A1 (en)2001-12-172003-06-19Nokia Corporation, Espoo Finland (2)Method and apparatus for reducing RF filter induced distortion in a wide bandwidth wireless system by the use of channel-dependent RF filter compensation
US6608864B1 (en)1999-05-262003-08-193Com CorporationMethod and apparatus for fault recovery in a decision feedback equalizer
US6621876B2 (en)2001-03-012003-09-16Ericsson Inc.System and method to reduce phase modulation bandwidth
US20030189975A1 (en)1994-09-202003-10-09Fullerton Larry W.Method and transceiver for full duplex communication of ultra wideband signals
US20030189974A1 (en)2001-05-032003-10-09Chester FerryWireless full-duplex transmission system
US20030206579A1 (en)2001-10-012003-11-06Bryant Paul HenryMultistage nonlinear echo-canceller for digital communication systems with or without frequency division duplexing
WO2003098823A1 (en)2002-05-152003-11-27Nokia CorporationApparatus, and associated method, for facilitating antenna weight selection utilizing deterministic perturbation gradient approximation
WO2004007497A1 (en)2002-07-152004-01-22Kyungdong Pharm. Co., Ltd.Process for preparing 9-[4-acetoxy-3-(acetoxymethyl)but-1-yl]-2-aminopurine
US20040022229A1 (en)2002-07-312004-02-05Vanness Philip H.Method and apparatus for receiving a digital audio broadcasting signal
US20040027304A1 (en)2001-04-302004-02-12Bing ChiangHigh gain antenna for wireless applications
US20040076246A1 (en)2002-10-212004-04-22Stmicroelectronics NvMethods and apparatus for synchronization of training sequences
US6731908B2 (en)2001-01-162004-05-04Bluesoft, Inc.Distance measurement using half-duplex RF techniques
US6745009B2 (en)2002-05-152004-06-01Nokia CorporationApparatus, and associated method, for facilitating antenna weight selection utilizing deterministic perturbation gradient approximation
US20040106381A1 (en)*2002-09-062004-06-03Engim IncorporatedTransmit signal cancellation in wireless receivers
US20040132414A1 (en)2002-11-292004-07-08Sendyk Andrew M.Method, apparatus and system for multiple signal transmission, reception, and restoration
US6781991B1 (en)1999-02-262004-08-24Lucent Technologies Inc.Method and apparatus for monitoring and selectively discouraging non-elected transport service over a packetized network
KR20040096404A (en)2003-05-092004-11-16조성태Circular arrayed antenna apparatus for bearing angle determination
US20050020771A1 (en)2001-09-172005-01-27Iqbal AhmedCellulose material with improved absorbency
US20050024540A1 (en)2003-07-302005-02-03Kim Min-HoMethod and apparatus for receiving digital television signals using space diversity and beam-forming
US20050052330A1 (en)2003-08-012005-03-10Eads Deutschland GmbhPhase controlled antennae for data transmission between mobile devices
US20050057420A1 (en)2003-09-152005-03-17Lin Xintian E.Low profile sector antenna configuration
US6870515B2 (en)2000-12-282005-03-22Nortel Networks LimitedMIMO wireless communication system
US20050083863A1 (en)2003-10-162005-04-21Toshitomo UmeiData transmission apparatus and data transmission system, and initialization method thereof
US20050129223A1 (en)2003-12-122005-06-16Motorola, Inc.Echo canceler circuit and method
US6917597B1 (en)1999-07-302005-07-12Texas Instruments IncorporatedSystem and method of communication using transmit antenna diversity based upon uplink measurement for the TDD mode of WCDMA
US6934511B1 (en)1999-07-202005-08-23Andrew CorporationIntegrated repeater
US20050275576A1 (en)2004-06-122005-12-15Fudge Gerald LSystems and methods for analog to digital conversion
US20060014491A1 (en)2004-07-142006-01-19Samsung Electronics Co., LtdApparatus and method for echo cancellation in a wireless repeater using cross-polarized antenna elements
US20060045063A1 (en)2004-08-262006-03-02Stanford Thomas HCommunication system and method
US20060109067A1 (en)2004-11-222006-05-25Ruckus Wireless, Inc.Circuit board having a pereipheral antenna apparatus with selectable antenna elements and selectable phase shifting
US7065036B1 (en)2001-03-192006-06-20Cisco Systems Wireless Networking (Australia) Pty LimitedMethod and apparatus to reduce latency in a data network wireless radio receiver
US7096042B2 (en)2003-01-212006-08-22Interdigital Technology CorporationSystem and method for increasing cellular system capacity by the use of the same frequency and time slot for both uplink and downlink transmissions
US20060192720A1 (en)2004-08-182006-08-31Ruckus Wireless, Inc.Multiband omnidirectional planar antenna apparatus with selectable elements
US20070026807A1 (en)2005-07-262007-02-01Ruckus Wireless, Inc.Coverage enhancement using dynamic antennas
US20070026804A1 (en)2005-06-172007-02-01Yoshihito IshibashiCommunication system, communication apparatus and method, and program
US20070036353A1 (en)2005-05-312007-02-15Interdigital Technology CorporationAuthentication and encryption methods using shared secret randomness in a joint channel
US7184466B1 (en)2002-09-122007-02-27Xilinx, Inc.Radio frequency data conveyance system including configurable integrated circuits
US20070057860A1 (en)2001-07-062007-03-15Radiolink Networks, Inc.Aligned duplex antennae with high isolation
US20070063875A1 (en)1998-01-272007-03-22Hoffberg Steven MAdaptive pattern recognition based controller apparatus and method and human-factored interface therefore
US20070070902A1 (en)2005-06-212007-03-29Toshiba America Research, Inc.An admission control for contention-based access to a wireless communication medium
US20070082622A1 (en)2004-12-222007-04-12Nokia CorporationInteroperability improvement between receivers and transmitters in a mobile station
US20070082617A1 (en)2005-10-112007-04-12Crestcom, Inc.Transceiver with isolation-filter compensation and method therefor
US20070080891A1 (en)2003-11-272007-04-12Andre De LustracConfigurable and orientable antenna and corresponding base station
US20070118749A1 (en)2001-05-222007-05-24Siemens Ag Siemens AktiengesellschaftMethod for providing services in a data transmission network and associated components
US20070132651A1 (en)2002-11-142007-06-14Jack NilssonMulti-polarized feeds for dish antennas
US20070189528A1 (en)2006-02-142007-08-16Yutaka UedaWireless LAN transmitting and receiving apparatus and key distribution method
US7263143B1 (en)2001-05-072007-08-28Adaptix, Inc.System and method for statistically directing automatic gain control
US20070254692A1 (en)2006-04-282007-11-01Freescale Semiconductor, Inc.System and method for controlling a wireless device
US20080009257A1 (en)2006-07-072008-01-10Broadcom Corporation, A California CorporationReceiver architecture for canceling blocking signals
US20080063113A1 (en)2006-09-072008-03-13Via Technologies, Inc.Compensation for gain imbalance, phase imbalance and DC offsets in a transmitter
US7346100B2 (en)2003-04-092008-03-18Texas Instruments IncorporatedEstimating gain and phase imbalance in upconverting transmitters
US20080107046A1 (en)2006-11-062008-05-08Nokia CorporationAnalog signal path modeling for self-interference cancellation
US20080123851A1 (en)2006-04-182008-05-29Interdigital Technology CorporationMethod and system for securing wireless communications
US20080125033A1 (en)*2006-11-242008-05-29Rf Window Co., Ltd.Radio Frequency Repeater for Cancelling Feedback Interference Signal with Built In Antenna
US20080129640A1 (en)2004-08-182008-06-05Ruckus Wireless, Inc.Antennas with polarization diversity
US20080165874A1 (en)2007-01-052008-07-10Qualcomm IncorporatedHigh performance station
US20080233966A1 (en)2007-03-222008-09-25Comsys Communication & Signal Processing Ltd.Resource allocation apparatus and method in an orthogonal frequency division multiple access communication system
US20080294970A1 (en)2007-05-232008-11-27The Royal Institution For The Advancement Of Learning/Mcgill UniversityMethod for implementing stochastic equality nodes
US20090092072A1 (en)2005-04-282009-04-09Matsushita Electric Industrial Co., Ltd.Communication relay apparatus and communication relay method
US20090100313A1 (en)2007-10-112009-04-16The Royal Institution For The Advancement Of Learning/Mcgill UniversityMethods and apparatuses of mathematical processing
US7522115B2 (en)2004-07-132009-04-21Mediaur Technologies, Inc.Satellite ground station antenna with wide field of view and nulling pattern using surface waveguide antennas
US20090135748A1 (en)2007-11-162009-05-28Bengt LindoffAdaptive Scheduling for Half-Duplex Wireless Terminals
US20090141900A1 (en)2007-11-062009-06-04Interdigital Patent Holdings, Inc.Method and apparatus for enabling physical layer secret key generation
US20090186582A1 (en)2008-01-222009-07-23Khurram MuhammadSystem and method for transmission interference cancellation in full duplex transceiver
US20090190558A1 (en)2008-01-292009-07-30Motorola, Inc.Method and apparatus for link adaptation by stochastically selecting a transmit parameter
US20090213770A1 (en)2008-02-272009-08-27Fenghao MuActive Cancellation of Transmitter Leakage in a Wireless Transceiver
US20090253385A1 (en)2008-04-082009-10-08Paul Wilkinson DentSystem and Method for Adaptive Antenna Impedance Matching
US20090284218A1 (en)2008-05-132009-11-19Qualcomm IncorporatedMethod and apparatus for an enlarged wireless charging area
WO2009156510A2 (en)2008-06-272009-12-30Telefonaktiebolaget L M Ericsson (Publ)Own transmitter interference tolerant transceiver and receiving methods
US20090323582A1 (en)2006-10-262009-12-31Qualcomm IncorporatedRepeater techniques for multiple input multiple output utilizing beam formers
US20100003931A1 (en)2003-02-252010-01-07Qualcomm IncorporatedTransmission schemes for multi-antenna communication systems utilizing multi-carrier modulation
US20100008406A1 (en)2008-07-142010-01-14Sony CorporationWireless communication apparatus, wireless communication method, and computer program
WO2010005951A2 (en)2008-07-072010-01-14Interdigital Patent Holdings, Inc.Method and apparatus for cooperative relaying in wireless communications
US20100020771A1 (en)2008-01-302010-01-28Qualcomm IncorporatedMethod and apparatus for mitigating pilot pollution in a wireless network
US20100022201A1 (en)2008-07-222010-01-28Patrick VandenameeleApparatus and method for reducing self-interference in a radio system
US20100086012A1 (en)2007-03-142010-04-08Broadcom CorporationCalibration of wireless communication device
US7706744B2 (en)2004-05-262010-04-27Wireless Extenders, Inc.Wireless repeater implementing low-level oscillation detection and protection for a duplex communication system
EP2180623A1 (en)2007-08-022010-04-28Nec CorporationMimo communication system having deterministic communication path and antenna arrangement method therefor
WO2010051232A1 (en)2008-10-312010-05-06Cisco Technology, Inc.Executing and supporting a multiple bandwidth reservation request
US20100165866A1 (en)2008-12-302010-07-01Eric SachseCircuit, system and method for communication between two nodes of a radio network
US20100167662A1 (en)2008-12-302010-07-01Wolfram KlugeSystem, method, and circuit for distance measurement between two nodes of a radio network
US20100165895A1 (en)2008-12-302010-07-01Imtinan ElahiMethods and apparatus for canceling distortion in full-duplex transceivers
US20100232324A1 (en)2009-03-162010-09-16Microsoft CorporationFull-Duplex Wireless Communications
US20100248714A1 (en)2007-12-132010-09-30Electronics And Telecommunications Research InstituteMethod of transmitting signal in satellite communication system with terrestrial component
US7817641B1 (en)2005-10-202010-10-19Amir Keyvan KhandaniMethods for spatial multiplexing of wireless two-way channels
US20100271987A1 (en)2008-02-272010-10-28Mediatek Inc. Full Division Duplex System and a Leakage Cancellation Method
US20100322225A1 (en)*2009-02-132010-12-23Kumar R V RajaEfficient channel estimation method using superimposed training for equalization in uplink ofdma systems
US20100321245A1 (en)2007-02-222010-12-23Yuuichi AokiMultiband transceiver and positioning system using the transceiver
US20110080325A1 (en)2009-10-012011-04-07Qualcomm IncorporatedMethods and apparatus for beam steering using steerable beam antennas with switched parasitic elements
US20110110451A1 (en)2009-11-062011-05-12Samsung Electronics Co. Ltd.Techniques for transformation codebook antenna beamforming in ofdm wireless communication system
US20110116639A1 (en)2004-10-192011-05-19Sony CorporationAudio signal processing device and audio signal processing method
WO2011065020A1 (en)2009-11-272011-06-03パナソニック株式会社Wireless communication apparatus
US20110143655A1 (en)*2008-08-142011-06-16Electronics And Telecommunications Research InstituteSelf-interference cancellation method and apparatus of relay using the same frequency band in ofdm-based radio communication system
US20110149714A1 (en)2009-12-212011-06-23Qualcomm IncorporatedMethod and apparatus for adaptive non-linear self-jamming interference cancellation
US20110268100A1 (en)2009-11-022011-11-03Qualcomm IncorporatedMethod and apparatus for hierarchical codebook design in wireless communication
WO2011148341A1 (en)2010-05-272011-12-01Ubiqam Ltd.Method and system of interference cancelation in collocated tranceivers configurations
US8107906B2 (en)2007-01-192012-01-31Wi-Lan Inc.Transceiver with receive and transmit path performance diversity
US20120027113A1 (en)2010-06-242012-02-02Qualcomm IncorporatedStructured mimo codebook
US20120068904A1 (en)2007-01-082012-03-22Ruckus Wireless, Inc.Pattern shaping of rf emission patterns
WO2012042256A1 (en)2010-09-272012-04-05The Secretary Of State For Business Innovation & Skills Of Her Majesty's Britannic GovernmentSmart antenna for wireless communications
US20120087424A1 (en)2010-10-062012-04-12Motorola Mobility, Inc.Uplink Precoding For Retransmission Without Explicit Precoding Instruction
US20120113862A1 (en)2010-11-042012-05-10Qualcomm IncorporatedCommunicating via a femto access point within a wireless communications system
US8184061B2 (en)2009-09-162012-05-22Ubiquiti NetworksAntenna system and method
US8184052B1 (en)2008-09-242012-05-22Marvell International Ltd.Digital beamforming scheme for phased-array antennas
US20120159279A1 (en)2010-12-162012-06-21Richard Neil BraithwaiteData throughput for cell-edge users in a lte network using down-link repeaters and up-link harq relays
US8208628B2 (en)2007-10-152012-06-26University Of Connecticut, Center For Science And Technology CommercializationSystems and methods for key generation in wireless communication systems
US8238551B2 (en)2005-01-272012-08-07Interdigital Technology CorporationGeneration of perfectly secret keys in wireless communication networks
US20120200158A1 (en)2009-10-082012-08-09Hitachi, Ltd.Wireless power transmission system and wireless power transmission apparatus
US20120201173A1 (en)2011-02-032012-08-09Mayank JainSingle channel full duplex wireless communications
US20120220246A1 (en)2011-02-272012-08-30Provigent Ltd.Carrier recovery in re-modulation communication systems
US8280046B2 (en)2005-09-122012-10-02Interdigital Technology CorporationMethod and system for deriving an encryption key using joint randomness not shared by others
US20120300680A1 (en)2011-05-272012-11-29Qualcomm IncorporatedTransmission schemes for relay
US20120327881A1 (en)2010-03-012012-12-27Hiroshi NakanoCommunication system, transmitter, receiver and communication method
US20130010851A1 (en)2011-07-082013-01-10Infineon Technologies AgTest signal generation and application in receivers
US20130044791A1 (en)2011-08-182013-02-21Qualcomm IncorporatedJoint linear and non-linear cancellation of transmit self-jamming interference
US8401196B2 (en)2007-04-192013-03-19Interdigital Technology CorporationMethod and apparatus for performing JRNSO in FDD, TDD and MIMO communications
US8405543B2 (en)2008-12-302013-03-26Atmel CorporationCircuit and method for distance measurement between two nodes of a radio network
US20130089021A1 (en)2011-10-072013-04-11Qualcomm IncorporatedSystem, apparatus, and method for repeater pilot signal generation in wireless communication systems
US20130089009A1 (en)2011-09-192013-04-11Li Erran LiMethod and apparatus for interference cancellation for antenna arrays
US8423986B1 (en)2011-10-122013-04-16Accenture Global Services LimitedRandom utility generation technology
US20130099974A1 (en)2011-10-202013-04-25Realtek Semiconductor Corp.Switched beam smart antenna apparatus and related wireless communication circuit
US20130114468A1 (en)2011-11-072013-05-09Dennis HuiDynamic space division duplex (sdd) wireless communications with multiple antennas using self-interference cancellation
US8520855B1 (en)2009-03-052013-08-27University Of WashingtonEncapsulation and decapsulation for data disintegration
US20130286903A1 (en)2012-04-252013-10-31Nec Laboratories America, Inc.Interference Cancellation for Full-Duplex Communications
US20130301487A1 (en)2012-05-132013-11-14Amir Keyvan KhandaniFull Duplex Wireless Transmission with Self-Interference Cancellation
US8587492B2 (en)2009-04-132013-11-19Viasat, Inc.Dual-polarized multi-band, full duplex, interleaved waveguide antenna aperture
US20140006797A1 (en)2012-06-282014-01-02Honeywell International Inc.Memory authentication with redundant encryption
US8628650B2 (en)2008-08-082014-01-14Electronics And Telecommunications Research InstituteMethod and apparatus for measuring isoelectric point using field effect transistor
US20140126675A1 (en)2012-11-072014-05-08Datum Systems, Inc.Method and apparatus for demodulation of a desired signal in the presence of nonlinear-distorted interference
US20140135056A1 (en)2011-07-012014-05-15Google Inc.Asymmetric perturbation method for a mobile transmit diversity communication device
US20140157367A1 (en)2011-08-102014-06-05Huawei Technologies Co., Ltd.Verification method and node for bidirectional forwarding detection session
US20140169236A1 (en)2012-12-132014-06-19Kumu NetworksFeed forward signal cancellation
US20140204808A1 (en)2013-01-182014-07-24Kumu NetworksTuning algorithm for multi-tap signal cancellation circuit
US20140219139A1 (en)2013-02-042014-08-07Kumu NetworksSignal cancellation using feedforward and feedback paths
US20140218248A1 (en)2013-02-042014-08-07Gary D. SchulzRadio system for long-range high-speed wireless communication
US20140225788A1 (en)2013-02-082014-08-14Ubiquiti Networks, Inc.Radio system for long-range high speed wireless communication
US8823577B2 (en)2009-12-232014-09-02Itrack, LlcDistance separation tracking system
US8836606B2 (en)2005-06-242014-09-16Ruckus Wireless, Inc.Coverage antenna apparatus with selectable horizontal and vertical polarization elements
US8836581B2 (en)2011-01-032014-09-16Netgear, Inc.Antenna having internal and external structures
US8836601B2 (en)2013-02-042014-09-16Ubiquiti Networks, Inc.Dual receiver/transmitter radio devices with choke
US8837615B2 (en)2009-11-022014-09-16Telefonaktiebolaget L M Ericsson (Publ)Method and arrangement for self interference cancellation
US20140269964A1 (en)2013-03-142014-09-18Qualcomm IncorporatedSmart antenna array configuration for multiple-input multiple-output communications
US8842044B2 (en)2010-08-272014-09-23Netgear, Inc.Apparatus and method for operation of an antenna system enabling control of radiation characteristics
US8860629B2 (en)2004-08-182014-10-14Ruckus Wireless, Inc.Dual band dual polarization antenna array
US20140331061A1 (en)2013-05-022014-11-06Solidfire, IncDrive level encryption key management in a distributed storage system
US20140333466A1 (en)2013-05-132014-11-13Farrokh MohamadiPassive detection of unauthorized electronic devices using wafer scale beam forming
US20140334322A1 (en)2009-03-132014-11-13Ruckus Wireless, Inc.Adjustment of radiation patterns utilizing a position sensor
US20140348032A1 (en)*2012-02-092014-11-27The Regents Of The University Of CaliforniaMethods and systems for full duplex wireless communications
US20140348018A1 (en)2011-02-032014-11-27The Board Of Trustees Of The Leland Stanford Junior UniversitySelf-interference cancellation
US20140363008A1 (en)2013-06-052014-12-11DSP GroupUse of vibration sensor in acoustic echo cancellation
US20150029906A1 (en)2013-07-242015-01-29At&T Intellectual Property I, L.P.System and method for reducing inter-cellsite interference in full-duplex communications
US20150043685A1 (en)2013-08-092015-02-12Kumu Networks, Inc.Systems and methods for frequency independent analog selfinterference cancellation
US20150043323A1 (en)2013-08-092015-02-12Kumu Networks, Inc.Systems and methods for non-linear digital self-interference cancellation
US20150049834A1 (en)2013-08-142015-02-19Kumu Networks, Inc.Systems and methods for phase noise mitigation
US20150063176A1 (en)2013-08-292015-03-05Kumu Networks, Inc.Full-duplex relays
US20150078217A1 (en)2013-09-112015-03-19Kumu Networks, Inc.Systems for delay-matched analog self-interference cancellation
US20150085830A1 (en)2013-09-242015-03-26Oki Electric Industry Co., Ltd.Wireless communication node having neighbor node information registered
US9019165B2 (en)2004-08-182015-04-28Ruckus Wireless, Inc.Antenna with selectable elements for use in wireless communications
US20150171903A1 (en)2013-12-122015-06-18Kumu Networks, Inc.Systems and methods for hybrid self-interference cancellation
US20150188646A1 (en)2013-08-092015-07-02Kumu Networks, Inc.Systems and methods for self-interference canceller tuning
US9077071B2 (en)2004-08-182015-07-07Ruckus Wireless, Inc.Antenna with polarization diversity
US9077407B2 (en)2012-05-152015-07-07Broadcom CorporationGeometrical closed loop line of sight (LOS) multiple-input-multiple-output (MIMO)
US20150223173A1 (en)2013-12-042015-08-06Nec Laboratories America, Inc.Degrees of freedom in multicell wireless systems with full-duplex base stations using interference alignment and methods for enabling full-duplex with half duplex clients
US20150249997A1 (en)2013-01-072015-09-03Netgear, Inc.Ieee 802.11 communication utilizing carrier specific interference mitigation
US20150261973A1 (en)2004-10-252015-09-17Security First Corp.Secure data parser method and system
US20150280893A1 (en)2014-03-262015-10-01Kumu Networks, Inc.Systems and methods for near band interference cancellation
US20150312905A1 (en)2012-01-062015-10-29Lg Electronics Inc.Method for transmitting and receiving signal using time division duplex mode in wireless access system, and apparatus therefor
US20150318976A1 (en)2014-05-052015-11-05The Regents Of The University Of CaliforniaFull-Duplex Self-Interference Cancellation Systems
US20150333847A1 (en)2013-12-122015-11-19Kumu Networks, Inc.Systems and methods for frequency-isolated self-interference cancellation
US20150334745A1 (en)2014-05-152015-11-19Ruckus Wireless, Inc.Collision protection based on packet error rate
US20150341879A1 (en)2014-05-232015-11-26Ruckus Wireless, Inc.Out-of-band acknowledgement of wireless communication
US20150341125A1 (en)2014-05-232015-11-26Kumu Networks, Inc.Systems and methods for multi-rate digital self-interference cancellation
US9246234B2 (en)2013-09-242016-01-26Northrop Grumman Systems CorporationAntenna for multiple frequency bands
WO2016014016A1 (en)2014-07-212016-01-28Ruckus Wireless, Inc.Beamforming for a multi-user mimo group
US9277591B2 (en)2013-06-142016-03-01Netgear, Inc.Channel steering for implementing coexistence of multiple homogeneous radios
US9281979B2 (en)2013-02-262016-03-08Intel CorporationMillimeter-wave line of sight MIMO communication system for indoor applications
US20160127876A1 (en)2004-11-052016-05-05Ruckus Wireless, Inc.Increasing reliable data throughput in a wireless network
US20160226653A1 (en)2011-11-092016-08-04The Board Of Trustees Of The Leland Stanford Junior UniversitySelf-interference cancellation for mimo radios
US20160249376A1 (en)2007-07-282016-08-25Ruckus Wireless, Inc.Wireless network throughput enhancement through channel aware scheduling
US20160283937A1 (en)2015-03-272016-09-29Kenneth W. ReeseTechnologies for split key security
US20170012696A1 (en)*2014-03-292017-01-12Solid, Inc.Interference cancellation relay device
US9571205B1 (en)2008-11-052017-02-14The Trustees Of Princeton UniversitySystems approach to interference cancellation
US9608705B2 (en)2013-05-302017-03-28Nec CorporationMIMO communication system for propagation environment including deterministic communication channel, and antennas for MIMO communication system
US9622098B2 (en)2012-12-102017-04-11Netgear, Inc.Beacon detection structures, systems and processes for interference testing
US20170161635A1 (en)2015-12-022017-06-08Preferred Networks, Inc.Generative machine learning systems for drug design
US20170195003A1 (en)2016-01-042017-07-06Commissariat A L'energie Atomique Et Aux Energies AlternativesIbfd transceiver with non-reciprocal frequency transposition module
US9791552B1 (en)2014-11-192017-10-17Src, Inc.On-site calibration of array antenna systems
US20180075347A1 (en)2016-09-152018-03-15Microsoft Technology Licensing, LlcEfficient training of neural networks
US20180234162A1 (en)*2014-12-302018-08-16Solid, Inc.Interference cancellation repeater
US10067746B1 (en)2017-03-022018-09-04Futurewei Technologies, Inc.Approximate random number generator by empirical cumulative distribution function
US10069479B1 (en)2013-12-312018-09-04Ethertronics, Inc.Tunable filter for RF circuits
US10068228B1 (en)2013-06-282018-09-04Winklevoss Ip, LlcSystems and methods for storing digital math-based assets using a secure portal
US20180288019A1 (en)2017-04-042018-10-04International Business Machines CorporationGenerating a password
US20180373978A1 (en)2017-06-212018-12-27Arm Ltd.Systems and devices for formatting neural network parameters

Patent Citations (279)

* Cited by examiner, † Cited by third party
Publication numberPriority datePublication dateAssigneeTitle
US3082421A (en)1960-01-261963-03-19Shyhalla NicholasCompensated antenna
US2995752A (en)1960-01-291961-08-08Shyhalla NicholasDirection-finding antenna
US3184747A (en)1961-10-061965-05-18Patelhold PatentverwertungCoaxial fed helical antenna with director disk between feed and helix producing endfire radiation towards the disk
GB1091437A (en)1964-07-291967-11-15Gen ElectricImprovements in selective antenna system
US3725920A (en)1969-11-241973-04-03Siemens Ag AlbisDistance measuring method and apparatus for the performance thereof utilizing two tr
US3965475A (en)1975-05-301976-06-22The United States Of America As Represented By The United States Administrator Of The National Aeronautics And Space AdministrationSwitchable beamwidth monopulse method and system
US4112430A (en)1977-06-011978-09-05The United States Of America As Represented By The Secretary Of The NavyBeamformer for wideband signals
US4268727A (en)1979-03-141981-05-19International Telephone And Telegraph CorporationAdaptive digital echo cancellation circuit
US4343005A (en)1980-12-291982-08-03Ford Aerospace & Communications CorporationMicrowave antenna system having enhanced band width and reduced cross-polarization
US4701935A (en)1985-01-091987-10-20Nec CorporationOne frequency repeater for a digital microwave radio system with cancellation of transmitter-to-receiver interference
US4750165A (en)1986-05-021988-06-07Northern Telecom LimitedMethod of duplex data transmission using a send-and-wait protocol
US5383224A (en)1991-11-271995-01-17Nec CorporationCross polarization interference canceller
US5388124A (en)1992-06-121995-02-07University Of MarylandPrecoding scheme for transmitting data using optimally-shaped constellations over intersymbol-interference channels
WO1994028585A1 (en)1993-05-211994-12-08David Sarnoff Research Center, Inc.Scr electrostatic discharge protection for integrated circuits
JPH10502220A (en)1993-05-271998-02-24グリフィス・ユニヴァーシティー Antenna for portable communication device
US6034638A (en)1993-05-272000-03-07Griffith UniversityAntennas for use in portable communications devices
US20030189975A1 (en)1994-09-202003-10-09Fullerton Larry W.Method and transceiver for full duplex communication of ultra wideband signals
US7321611B2 (en)1994-09-202008-01-22Alereen, Inc.Method and transceiver for full duplex communication of ultra wideband signals
US5630154A (en)1994-10-111997-05-13Hughes Aircraft CompanyProgrammable systolic array system arranged in a found arrangement for passing data through programmable number of cells in a time interleaved manner
WO1996022643A1 (en)1995-01-201996-07-25Ericsson, Inc.Establishment of cryptographic keys in radio networks
US5691978A (en)1995-04-071997-11-25Signal Science, Inc.Self-cancelling full-duplex RF communication system
US5596439A (en)1995-08-011997-01-21Viasat, Inc.Self-interference cancellation for two-party relayed communication
US5805116A (en)1996-04-301998-09-08Qualcomm IncorporatedTwo-feed full duplex transmitter/receiver for ultra small-aperture satellite communications terminal
US6281988B1 (en)1997-08-292001-08-28Qualcomm IncorporatedApparatus and method for supporting analog fax calls in a tandem configuration
US8373582B2 (en)1998-01-272013-02-12Steven M. HoffbergAdaptive pattern recognition based controller apparatus and method and human-factored interface therefore
US20070063875A1 (en)1998-01-272007-03-22Hoffberg Steven MAdaptive pattern recognition based controller apparatus and method and human-factored interface therefore
US6084919A (en)1998-01-302000-07-04Motorola, Inc.Communication unit having spectral adaptability
US6781991B1 (en)1999-02-262004-08-24Lucent Technologies Inc.Method and apparatus for monitoring and selectively discouraging non-elected transport service over a packetized network
US6608864B1 (en)1999-05-262003-08-193Com CorporationMethod and apparatus for fault recovery in a decision feedback equalizer
US6934511B1 (en)1999-07-202005-08-23Andrew CorporationIntegrated repeater
US6917597B1 (en)1999-07-302005-07-12Texas Instruments IncorporatedSystem and method of communication using transmit antenna diversity based upon uplink measurement for the TDD mode of WCDMA
US6255997B1 (en)1999-09-202001-07-03Daimlerchrysler AgAntenna reflector having a configured surface with separated focuses for covering identical surface areas and method for ascertaining the configured surface
US20010010495A1 (en)1999-10-192001-08-02Lucent Technologies Inc.Method and apparatus for improving the interrogation range of an RF-Tag
US6317092B1 (en)2000-01-312001-11-13Focus Antennas, Inc.Artificial dielectric lens antenna
US20010024434A1 (en)2000-02-232001-09-27Arun AyyagariQuality of service over paths having a wireless-link
US7187907B2 (en)2000-05-092007-03-06Bernard WidrowSimultaneous two-way transmission of information signals in the same frequency band
US20020032004A1 (en)2000-05-092002-03-14Bernard WidrowSimultaneous two-way transmission of information signals in the same frequency band
US20020028655A1 (en)2000-07-142002-03-07Rosener Douglas K.Repeater system
US6369758B1 (en)2000-11-012002-04-09Unique Broadband Systems, Inc.Adaptive antenna array for mobile communication
US6870515B2 (en)2000-12-282005-03-22Nortel Networks LimitedMIMO wireless communication system
US6731908B2 (en)2001-01-162004-05-04Bluesoft, Inc.Distance measurement using half-duplex RF techniques
US20020097810A1 (en)2001-01-222002-07-25Tetsuya SekiPower control apparatus and power control method
US6621876B2 (en)2001-03-012003-09-16Ericsson Inc.System and method to reduce phase modulation bandwidth
US7065036B1 (en)2001-03-192006-06-20Cisco Systems Wireless Networking (Australia) Pty LimitedMethod and apparatus to reduce latency in a data network wireless radio receiver
US20040027304A1 (en)2001-04-302004-02-12Bing ChiangHigh gain antenna for wireless applications
US6864852B2 (en)2001-04-302005-03-08Ipr Licensing, Inc.High gain antenna for wireless applications
US20030189974A1 (en)2001-05-032003-10-09Chester FerryWireless full-duplex transmission system
US7263143B1 (en)2001-05-072007-08-28Adaptix, Inc.System and method for statistically directing automatic gain control
US20070118749A1 (en)2001-05-222007-05-24Siemens Ag Siemens AktiengesellschaftMethod for providing services in a data transmission network and associated components
US20070057860A1 (en)2001-07-062007-03-15Radiolink Networks, Inc.Aligned duplex antennae with high isolation
US20030043071A1 (en)2001-08-272003-03-06E-Tenna CorporationElectro-mechanical scanned array system and method
US20050020771A1 (en)2001-09-172005-01-27Iqbal AhmedCellulose material with improved absorbency
US7482058B2 (en)2001-09-172009-01-27Evonik Stockhausen GmbhCellulose material with improved absorbency
US20030206579A1 (en)2001-10-012003-11-06Bryant Paul HenryMultistage nonlinear echo-canceller for digital communication systems with or without frequency division duplexing
US7272366B2 (en)2001-12-172007-09-18Nokia CorporationMethod and apparatus for reducing RF filter induced distortion in a wide bandwidth wireless system by the use of channel-dependent RF filter compensation
US20030114128A1 (en)2001-12-172003-06-19Nokia Corporation, Espoo Finland (2)Method and apparatus for reducing RF filter induced distortion in a wide bandwidth wireless system by the use of channel-dependent RF filter compensation
WO2003098823A1 (en)2002-05-152003-11-27Nokia CorporationApparatus, and associated method, for facilitating antenna weight selection utilizing deterministic perturbation gradient approximation
US6745009B2 (en)2002-05-152004-06-01Nokia CorporationApparatus, and associated method, for facilitating antenna weight selection utilizing deterministic perturbation gradient approximation
WO2004007497A1 (en)2002-07-152004-01-22Kyungdong Pharm. Co., Ltd.Process for preparing 9-[4-acetoxy-3-(acetoxymethyl)but-1-yl]-2-aminopurine
US7221688B2 (en)2002-07-312007-05-22Ibiquity Digital CorporationMethod and apparatus for receiving a digital audio broadcasting signal
US20040022229A1 (en)2002-07-312004-02-05Vanness Philip H.Method and apparatus for receiving a digital audio broadcasting signal
US20040106381A1 (en)*2002-09-062004-06-03Engim IncorporatedTransmit signal cancellation in wireless receivers
US7184466B1 (en)2002-09-122007-02-27Xilinx, Inc.Radio frequency data conveyance system including configurable integrated circuits
US20040076246A1 (en)2002-10-212004-04-22Stmicroelectronics NvMethods and apparatus for synchronization of training sequences
US20070132651A1 (en)2002-11-142007-06-14Jack NilssonMulti-polarized feeds for dish antennas
US20040132414A1 (en)2002-11-292004-07-08Sendyk Andrew M.Method, apparatus and system for multiple signal transmission, reception, and restoration
US7096042B2 (en)2003-01-212006-08-22Interdigital Technology CorporationSystem and method for increasing cellular system capacity by the use of the same frequency and time slot for both uplink and downlink transmissions
US20100003931A1 (en)2003-02-252010-01-07Qualcomm IncorporatedTransmission schemes for multi-antenna communication systems utilizing multi-carrier modulation
US7346100B2 (en)2003-04-092008-03-18Texas Instruments IncorporatedEstimating gain and phase imbalance in upconverting transmitters
KR20040096404A (en)2003-05-092004-11-16조성태Circular arrayed antenna apparatus for bearing angle determination
KR20070072629A (en)2003-05-232007-07-04아이피알 라이센싱, 인코포레이티드 High Gain Antennas for Wireless Applications
US20050024540A1 (en)2003-07-302005-02-03Kim Min-HoMethod and apparatus for receiving digital television signals using space diversity and beam-forming
US20050052330A1 (en)2003-08-012005-03-10Eads Deutschland GmbhPhase controlled antennae for data transmission between mobile devices
US20050057420A1 (en)2003-09-152005-03-17Lin Xintian E.Low profile sector antenna configuration
US7002518B2 (en)2003-09-152006-02-21Intel CorporationLow profile sector antenna configuration
US20050083863A1 (en)2003-10-162005-04-21Toshitomo UmeiData transmission apparatus and data transmission system, and initialization method thereof
US20070080891A1 (en)2003-11-272007-04-12Andre De LustracConfigurable and orientable antenna and corresponding base station
US20050129223A1 (en)2003-12-122005-06-16Motorola, Inc.Echo canceler circuit and method
US7706744B2 (en)2004-05-262010-04-27Wireless Extenders, Inc.Wireless repeater implementing low-level oscillation detection and protection for a duplex communication system
US7091894B2 (en)2004-06-122006-08-15L-3 Integrated Systems CompanySystems and methods for analog to digital conversion
US20050275576A1 (en)2004-06-122005-12-15Fudge Gerald LSystems and methods for analog to digital conversion
US7522115B2 (en)2004-07-132009-04-21Mediaur Technologies, Inc.Satellite ground station antenna with wide field of view and nulling pattern using surface waveguide antennas
US20060014491A1 (en)2004-07-142006-01-19Samsung Electronics Co., LtdApparatus and method for echo cancellation in a wireless repeater using cross-polarized antenna elements
US20060192720A1 (en)2004-08-182006-08-31Ruckus Wireless, Inc.Multiband omnidirectional planar antenna apparatus with selectable elements
US20080129640A1 (en)2004-08-182008-06-05Ruckus Wireless, Inc.Antennas with polarization diversity
US20150311599A1 (en)2004-08-182015-10-29Ruckus Wireless, Inc.Antenna with polarization diversity
US8860629B2 (en)2004-08-182014-10-14Ruckus Wireless, Inc.Dual band dual polarization antenna array
US9077071B2 (en)2004-08-182015-07-07Ruckus Wireless, Inc.Antenna with polarization diversity
US9019165B2 (en)2004-08-182015-04-28Ruckus Wireless, Inc.Antenna with selectable elements for use in wireless communications
US7920539B2 (en)2004-08-262011-04-05Hm Electronics, Inc.Communication system and method
US20060045063A1 (en)2004-08-262006-03-02Stanford Thomas HCommunication system and method
US20110116639A1 (en)2004-10-192011-05-19Sony CorporationAudio signal processing device and audio signal processing method
US20150261973A1 (en)2004-10-252015-09-17Security First Corp.Secure data parser method and system
US20160127876A1 (en)2004-11-052016-05-05Ruckus Wireless, Inc.Increasing reliable data throughput in a wireless network
US20060109067A1 (en)2004-11-222006-05-25Ruckus Wireless, Inc.Circuit board having a pereipheral antenna apparatus with selectable antenna elements and selectable phase shifting
US9093758B2 (en)2004-12-092015-07-28Ruckus Wireless, Inc.Coverage antenna apparatus with selectable horizontal and vertical polarization elements
US20150070243A1 (en)2004-12-092015-03-12Ruckus Wireless, Inc.Coverage antenna apparatus with selectable horizontal and vertical polarization elements
US20070082622A1 (en)2004-12-222007-04-12Nokia CorporationInteroperability improvement between receivers and transmitters in a mobile station
US20140210681A1 (en)2005-01-212014-07-31Ruckus Wireless, Inc.Pattern shaping of rf emission patterns
US20160248160A1 (en)2005-01-212016-08-25Ruckus Wireless, Inc.Pattern shaping of rf emission patterns
US20120281834A1 (en)2005-01-272012-11-08Interdigital Technology CorporationGeneration of Perfectly Secret Keys in Wireless Communication Networks
US8238551B2 (en)2005-01-272012-08-07Interdigital Technology CorporationGeneration of perfectly secret keys in wireless communication networks
US9130693B2 (en)2005-01-272015-09-08Interdigital Technology CorporationGeneration of perfectly secret keys in wireless communication networks
US7286096B2 (en)2005-03-282007-10-23Radiolink Networks, Inc.Aligned duplex antennae with high isolation
US20090092072A1 (en)2005-04-282009-04-09Matsushita Electric Industrial Co., Ltd.Communication relay apparatus and communication relay method
US7944871B2 (en)2005-04-282011-05-17Panasonic CorporationCommunication relay apparatus and communication relay method
US20070036353A1 (en)2005-05-312007-02-15Interdigital Technology CorporationAuthentication and encryption methods using shared secret randomness in a joint channel
US20070026804A1 (en)2005-06-172007-02-01Yoshihito IshibashiCommunication system, communication apparatus and method, and program
US7693174B2 (en)2005-06-172010-04-06Sony CorporationCommunication collision avoidance system
US20070070902A1 (en)2005-06-212007-03-29Toshiba America Research, Inc.An admission control for contention-based access to a wireless communication medium
US8836606B2 (en)2005-06-242014-09-16Ruckus Wireless, Inc.Coverage antenna apparatus with selectable horizontal and vertical polarization elements
US20070026807A1 (en)2005-07-262007-02-01Ruckus Wireless, Inc.Coverage enhancement using dynamic antennas
US8280046B2 (en)2005-09-122012-10-02Interdigital Technology CorporationMethod and system for deriving an encryption key using joint randomness not shared by others
US20070082617A1 (en)2005-10-112007-04-12Crestcom, Inc.Transceiver with isolation-filter compensation and method therefor
US7817641B1 (en)2005-10-202010-10-19Amir Keyvan KhandaniMethods for spatial multiplexing of wireless two-way channels
US20070189528A1 (en)2006-02-142007-08-16Yutaka UedaWireless LAN transmitting and receiving apparatus and key distribution method
US7991160B2 (en)2006-04-182011-08-02Interdigital Technology CorporationMethod and system for securing wireless communications
US20080123851A1 (en)2006-04-182008-05-29Interdigital Technology CorporationMethod and system for securing wireless communications
US7627325B2 (en)2006-04-282009-12-01Freescale Semiconductor, Inc.System and method for controlling a wireless device
US20070254692A1 (en)2006-04-282007-11-01Freescale Semiconductor, Inc.System and method for controlling a wireless device
US7471204B2 (en)2006-07-072008-12-30Broadcom CorporationReceiver architecture for canceling blocking signals
US20080009257A1 (en)2006-07-072008-01-10Broadcom Corporation, A California CorporationReceiver architecture for canceling blocking signals
US20080063113A1 (en)2006-09-072008-03-13Via Technologies, Inc.Compensation for gain imbalance, phase imbalance and DC offsets in a transmitter
US20090323582A1 (en)2006-10-262009-12-31Qualcomm IncorporatedRepeater techniques for multiple input multiple output utilizing beam formers
US8023438B2 (en)2006-11-062011-09-20Nokia CorporationAnalog signal path modeling for self-interference cancellation
US20080107046A1 (en)2006-11-062008-05-08Nokia CorporationAnalog signal path modeling for self-interference cancellation
US20080125033A1 (en)*2006-11-242008-05-29Rf Window Co., Ltd.Radio Frequency Repeater for Cancelling Feedback Interference Signal with Built In Antenna
US20080165874A1 (en)2007-01-052008-07-10Qualcomm IncorporatedHigh performance station
US20120068904A1 (en)2007-01-082012-03-22Ruckus Wireless, Inc.Pattern shaping of rf emission patterns
US8107906B2 (en)2007-01-192012-01-31Wi-Lan Inc.Transceiver with receive and transmit path performance diversity
US20100321245A1 (en)2007-02-222010-12-23Yuuichi AokiMultiband transceiver and positioning system using the transceiver
US20100086012A1 (en)2007-03-142010-04-08Broadcom CorporationCalibration of wireless communication device
US20080233966A1 (en)2007-03-222008-09-25Comsys Communication & Signal Processing Ltd.Resource allocation apparatus and method in an orthogonal frequency division multiple access communication system
US8401196B2 (en)2007-04-192013-03-19Interdigital Technology CorporationMethod and apparatus for performing JRNSO in FDD, TDD and MIMO communications
US20080294970A1 (en)2007-05-232008-11-27The Royal Institution For The Advancement Of Learning/Mcgill UniversityMethod for implementing stochastic equality nodes
US20160249376A1 (en)2007-07-282016-08-25Ruckus Wireless, Inc.Wireless network throughput enhancement through channel aware scheduling
EP2180623A1 (en)2007-08-022010-04-28Nec CorporationMimo communication system having deterministic communication path and antenna arrangement method therefor
US20090100313A1 (en)2007-10-112009-04-16The Royal Institution For The Advancement Of Learning/Mcgill UniversityMethods and apparatuses of mathematical processing
US8208628B2 (en)2007-10-152012-06-26University Of Connecticut, Center For Science And Technology CommercializationSystems and methods for key generation in wireless communication systems
US20090141900A1 (en)2007-11-062009-06-04Interdigital Patent Holdings, Inc.Method and apparatus for enabling physical layer secret key generation
US20090135748A1 (en)2007-11-162009-05-28Bengt LindoffAdaptive Scheduling for Half-Duplex Wireless Terminals
US20100248714A1 (en)2007-12-132010-09-30Electronics And Telecommunications Research InstituteMethod of transmitting signal in satellite communication system with terrestrial component
US20090186582A1 (en)2008-01-222009-07-23Khurram MuhammadSystem and method for transmission interference cancellation in full duplex transceiver
US8306480B2 (en)2008-01-222012-11-06Texas Instruments IncorporatedSystem and method for transmission interference cancellation in full duplex transceiver
US20090190558A1 (en)2008-01-292009-07-30Motorola, Inc.Method and apparatus for link adaptation by stochastically selecting a transmit parameter
US8897269B2 (en)2008-01-302014-11-25Qualcomm IncorporatedMethod and apparatus for mitigating pilot pollution in a wireless network
US20100020771A1 (en)2008-01-302010-01-28Qualcomm IncorporatedMethod and apparatus for mitigating pilot pollution in a wireless network
US8385235B2 (en)2008-02-272013-02-26Mediatek Inc.Full division duplex system and a leakage cancellation method
US20100271987A1 (en)2008-02-272010-10-28Mediatek Inc. Full Division Duplex System and a Leakage Cancellation Method
US20090213770A1 (en)2008-02-272009-08-27Fenghao MuActive Cancellation of Transmitter Leakage in a Wireless Transceiver
US8175535B2 (en)2008-02-272012-05-08Telefonaktiebolaget Lm Ericsson (Publ)Active cancellation of transmitter leakage in a wireless transceiver
US20090253385A1 (en)2008-04-082009-10-08Paul Wilkinson DentSystem and Method for Adaptive Antenna Impedance Matching
US8351874B2 (en)2008-04-082013-01-08Telefonaktiebolaget Lm Ericsson (Publ)System and method for adaptive antenna impedance matching
US20090284218A1 (en)2008-05-132009-11-19Qualcomm IncorporatedMethod and apparatus for an enlarged wireless charging area
US8629650B2 (en)2008-05-132014-01-14Qualcomm IncorporatedWireless power transfer using multiple transmit antennas
WO2009156510A2 (en)2008-06-272009-12-30Telefonaktiebolaget L M Ericsson (Publ)Own transmitter interference tolerant transceiver and receiving methods
WO2010005951A2 (en)2008-07-072010-01-14Interdigital Patent Holdings, Inc.Method and apparatus for cooperative relaying in wireless communications
US20100008406A1 (en)2008-07-142010-01-14Sony CorporationWireless communication apparatus, wireless communication method, and computer program
US8064502B2 (en)2008-07-142011-11-22Sony CorporationWireless communication apparatus, wireless communication method, and computer program
US8498585B2 (en)2008-07-222013-07-30Huawei Technologies Co., Ltd.Apparatus and method for reducing self-interference in a radio system
US20100022201A1 (en)2008-07-222010-01-28Patrick VandenameeleApparatus and method for reducing self-interference in a radio system
US8628650B2 (en)2008-08-082014-01-14Electronics And Telecommunications Research InstituteMethod and apparatus for measuring isoelectric point using field effect transistor
US20110143655A1 (en)*2008-08-142011-06-16Electronics And Telecommunications Research InstituteSelf-interference cancellation method and apparatus of relay using the same frequency band in ofdm-based radio communication system
US8184052B1 (en)2008-09-242012-05-22Marvell International Ltd.Digital beamforming scheme for phased-array antennas
WO2010051232A1 (en)2008-10-312010-05-06Cisco Technology, Inc.Executing and supporting a multiple bandwidth reservation request
US9571205B1 (en)2008-11-052017-02-14The Trustees Of Princeton UniversitySystems approach to interference cancellation
US8405543B2 (en)2008-12-302013-03-26Atmel CorporationCircuit and method for distance measurement between two nodes of a radio network
US20100165895A1 (en)2008-12-302010-07-01Imtinan ElahiMethods and apparatus for canceling distortion in full-duplex transceivers
US8644768B2 (en)2008-12-302014-02-04Atmel CorporationSystem, method, and circuit for distance measurement between two nodes of a radio network
US20100165866A1 (en)2008-12-302010-07-01Eric SachseCircuit, system and method for communication between two nodes of a radio network
US20100167662A1 (en)2008-12-302010-07-01Wolfram KlugeSystem, method, and circuit for distance measurement between two nodes of a radio network
US20100322225A1 (en)*2009-02-132010-12-23Kumar R V RajaEfficient channel estimation method using superimposed training for equalization in uplink ofdma systems
US8520855B1 (en)2009-03-052013-08-27University Of WashingtonEncapsulation and decapsulation for data disintegration
US20140334322A1 (en)2009-03-132014-11-13Ruckus Wireless, Inc.Adjustment of radiation patterns utilizing a position sensor
US8031744B2 (en)2009-03-162011-10-04Microsoft CorporationFull-duplex wireless communications
US20100232324A1 (en)2009-03-162010-09-16Microsoft CorporationFull-Duplex Wireless Communications
US8587492B2 (en)2009-04-132013-11-19Viasat, Inc.Dual-polarized multi-band, full duplex, interleaved waveguide antenna aperture
US8184061B2 (en)2009-09-162012-05-22Ubiquiti NetworksAntenna system and method
KR20120080231A (en)2009-10-012012-07-16콸콤 인코포레이티드Methods and apparatus for beam steering using steerable beam antennas with switched parasitic elements
US20110080325A1 (en)2009-10-012011-04-07Qualcomm IncorporatedMethods and apparatus for beam steering using steerable beam antennas with switched parasitic elements
US20120200158A1 (en)2009-10-082012-08-09Hitachi, Ltd.Wireless power transmission system and wireless power transmission apparatus
US8837615B2 (en)2009-11-022014-09-16Telefonaktiebolaget L M Ericsson (Publ)Method and arrangement for self interference cancellation
US20110268100A1 (en)2009-11-022011-11-03Qualcomm IncorporatedMethod and apparatus for hierarchical codebook design in wireless communication
US20110110451A1 (en)2009-11-062011-05-12Samsung Electronics Co. Ltd.Techniques for transformation codebook antenna beamforming in ofdm wireless communication system
WO2011065020A1 (en)2009-11-272011-06-03パナソニック株式会社Wireless communication apparatus
US8744377B2 (en)2009-12-212014-06-03Qualcomm IncorporatedMethod and apparatus for adaptive non-linear self-jamming interference cancellation
US20110149714A1 (en)2009-12-212011-06-23Qualcomm IncorporatedMethod and apparatus for adaptive non-linear self-jamming interference cancellation
US8823577B2 (en)2009-12-232014-09-02Itrack, LlcDistance separation tracking system
US20120327881A1 (en)2010-03-012012-12-27Hiroshi NakanoCommunication system, transmitter, receiver and communication method
WO2011148341A1 (en)2010-05-272011-12-01Ubiqam Ltd.Method and system of interference cancelation in collocated tranceivers configurations
US20130102254A1 (en)2010-05-272013-04-25Ubiquam Ltd.Method and system of interference cancelation in collocated transceivers configurations
US20120027113A1 (en)2010-06-242012-02-02Qualcomm IncorporatedStructured mimo codebook
US8842044B2 (en)2010-08-272014-09-23Netgear, Inc.Apparatus and method for operation of an antenna system enabling control of radiation characteristics
WO2012042256A1 (en)2010-09-272012-04-05The Secretary Of State For Business Innovation & Skills Of Her Majesty's Britannic GovernmentSmart antenna for wireless communications
US20120087424A1 (en)2010-10-062012-04-12Motorola Mobility, Inc.Uplink Precoding For Retransmission Without Explicit Precoding Instruction
US20120113862A1 (en)2010-11-042012-05-10Qualcomm IncorporatedCommunicating via a femto access point within a wireless communications system
US20120159279A1 (en)2010-12-162012-06-21Richard Neil BraithwaiteData throughput for cell-edge users in a lte network using down-link repeaters and up-link harq relays
US8918692B2 (en)2010-12-162014-12-23Powerwave Technologies S.A.R.L.Data throughput for cell-edge users in a LTE network using down-link repeaters and up link HARQ relays
US8836581B2 (en)2011-01-032014-09-16Netgear, Inc.Antenna having internal and external structures
US20140348018A1 (en)2011-02-032014-11-27The Board Of Trustees Of The Leland Stanford Junior UniversitySelf-interference cancellation
US20120201173A1 (en)2011-02-032012-08-09Mayank JainSingle channel full duplex wireless communications
US20120201153A1 (en)2011-02-032012-08-09Dinesh BharadiaAdaptive techniques for full duplex communications
US20120220246A1 (en)2011-02-272012-08-30Provigent Ltd.Carrier recovery in re-modulation communication systems
US20120300680A1 (en)2011-05-272012-11-29Qualcomm IncorporatedTransmission schemes for relay
US20140135056A1 (en)2011-07-012014-05-15Google Inc.Asymmetric perturbation method for a mobile transmit diversity communication device
US9059879B2 (en)2011-07-082015-06-16Infineon Technologies AgTest signal generation and application in receivers
US20130010851A1 (en)2011-07-082013-01-10Infineon Technologies AgTest signal generation and application in receivers
US20140157367A1 (en)2011-08-102014-06-05Huawei Technologies Co., Ltd.Verification method and node for bidirectional forwarding detection session
US8767869B2 (en)2011-08-182014-07-01Qualcomm IncorporatedJoint linear and non-linear cancellation of transmit self-jamming interference
US20130044791A1 (en)2011-08-182013-02-21Qualcomm IncorporatedJoint linear and non-linear cancellation of transmit self-jamming interference
US20130089009A1 (en)2011-09-192013-04-11Li Erran LiMethod and apparatus for interference cancellation for antenna arrays
US20130089021A1 (en)2011-10-072013-04-11Qualcomm IncorporatedSystem, apparatus, and method for repeater pilot signal generation in wireless communication systems
US8423986B1 (en)2011-10-122013-04-16Accenture Global Services LimitedRandom utility generation technology
US20130099974A1 (en)2011-10-202013-04-25Realtek Semiconductor Corp.Switched beam smart antenna apparatus and related wireless communication circuit
US20130114468A1 (en)2011-11-072013-05-09Dennis HuiDynamic space division duplex (sdd) wireless communications with multiple antennas using self-interference cancellation
US20160226653A1 (en)2011-11-092016-08-04The Board Of Trustees Of The Leland Stanford Junior UniversitySelf-interference cancellation for mimo radios
US20150312905A1 (en)2012-01-062015-10-29Lg Electronics Inc.Method for transmitting and receiving signal using time division duplex mode in wireless access system, and apparatus therefor
US20140348032A1 (en)*2012-02-092014-11-27The Regents Of The University Of CaliforniaMethods and systems for full duplex wireless communications
US20130286903A1 (en)2012-04-252013-10-31Nec Laboratories America, Inc.Interference Cancellation for Full-Duplex Communications
US9713010B2 (en)2012-05-132017-07-18Amir Keyvan KhandaniFull duplex wireless transmission with self-interference cancellation
US20130301487A1 (en)2012-05-132013-11-14Amir Keyvan KhandaniFull Duplex Wireless Transmission with Self-Interference Cancellation
US9077407B2 (en)2012-05-152015-07-07Broadcom CorporationGeometrical closed loop line of sight (LOS) multiple-input-multiple-output (MIMO)
US20140006797A1 (en)2012-06-282014-01-02Honeywell International Inc.Memory authentication with redundant encryption
US20140126675A1 (en)2012-11-072014-05-08Datum Systems, Inc.Method and apparatus for demodulation of a desired signal in the presence of nonlinear-distorted interference
US9071313B2 (en)2012-11-072015-06-30Datum Systems, Inc.Method and apparatus for demodulation of a desired signal in the presence of nonlinear-distorted interference
US9622098B2 (en)2012-12-102017-04-11Netgear, Inc.Beacon detection structures, systems and processes for interference testing
US20140169236A1 (en)2012-12-132014-06-19Kumu NetworksFeed forward signal cancellation
US20150249997A1 (en)2013-01-072015-09-03Netgear, Inc.Ieee 802.11 communication utilizing carrier specific interference mitigation
US20140204808A1 (en)2013-01-182014-07-24Kumu NetworksTuning algorithm for multi-tap signal cancellation circuit
US8836601B2 (en)2013-02-042014-09-16Ubiquiti Networks, Inc.Dual receiver/transmitter radio devices with choke
US20140219139A1 (en)2013-02-042014-08-07Kumu NetworksSignal cancellation using feedforward and feedback paths
US20140218248A1 (en)2013-02-042014-08-07Gary D. SchulzRadio system for long-range high-speed wireless communication
US20140225788A1 (en)2013-02-082014-08-14Ubiquiti Networks, Inc.Radio system for long-range high speed wireless communication
US9281979B2 (en)2013-02-262016-03-08Intel CorporationMillimeter-wave line of sight MIMO communication system for indoor applications
US20140269964A1 (en)2013-03-142014-09-18Qualcomm IncorporatedSmart antenna array configuration for multiple-input multiple-output communications
US20140331061A1 (en)2013-05-022014-11-06Solidfire, IncDrive level encryption key management in a distributed storage system
US20140333466A1 (en)2013-05-132014-11-13Farrokh MohamadiPassive detection of unauthorized electronic devices using wafer scale beam forming
US9608705B2 (en)2013-05-302017-03-28Nec CorporationMIMO communication system for propagation environment including deterministic communication channel, and antennas for MIMO communication system
US20140363008A1 (en)2013-06-052014-12-11DSP GroupUse of vibration sensor in acoustic echo cancellation
US9277591B2 (en)2013-06-142016-03-01Netgear, Inc.Channel steering for implementing coexistence of multiple homogeneous radios
US10068228B1 (en)2013-06-282018-09-04Winklevoss Ip, LlcSystems and methods for storing digital math-based assets using a secure portal
US20150029906A1 (en)2013-07-242015-01-29At&T Intellectual Property I, L.P.System and method for reducing inter-cellsite interference in full-duplex communications
US8976641B2 (en)2013-08-092015-03-10Kumu Networks, Inc.Systems and methods for non-linear digital self-interference cancellation
US20150139284A1 (en)2013-08-092015-05-21Kumu Networks, Inc.Systems and methods for non-linear digital self-interference cancellation
US9036749B2 (en)2013-08-092015-05-19Kumu Networks, Inc.Systems and methods for frequency independent analog self-interference cancellation
US20150043685A1 (en)2013-08-092015-02-12Kumu Networks, Inc.Systems and methods for frequency independent analog selfinterference cancellation
US20150188646A1 (en)2013-08-092015-07-02Kumu Networks, Inc.Systems and methods for self-interference canceller tuning
US20150043323A1 (en)2013-08-092015-02-12Kumu Networks, Inc.Systems and methods for non-linear digital self-interference cancellation
US20150049834A1 (en)2013-08-142015-02-19Kumu Networks, Inc.Systems and methods for phase noise mitigation
US20150236750A1 (en)2013-08-142015-08-20Kumu Networks, Inc.Systems and methods for phase noise mitigation
US9054795B2 (en)2013-08-142015-06-09Kumu Networks, Inc.Systems and methods for phase noise mitigation
US20150063176A1 (en)2013-08-292015-03-05Kumu Networks, Inc.Full-duplex relays
US20150078217A1 (en)2013-09-112015-03-19Kumu Networks, Inc.Systems for delay-matched analog self-interference cancellation
US20150085830A1 (en)2013-09-242015-03-26Oki Electric Industry Co., Ltd.Wireless communication node having neighbor node information registered
US9246234B2 (en)2013-09-242016-01-26Northrop Grumman Systems CorporationAntenna for multiple frequency bands
US20150223173A1 (en)2013-12-042015-08-06Nec Laboratories America, Inc.Degrees of freedom in multicell wireless systems with full-duplex base stations using interference alignment and methods for enabling full-duplex with half duplex clients
US20150333847A1 (en)2013-12-122015-11-19Kumu Networks, Inc.Systems and methods for frequency-isolated self-interference cancellation
US20150263780A1 (en)2013-12-122015-09-17Kumu Networks, Inc.Systems and methods for hybrid self-interference cancellation
US9337885B2 (en)2013-12-122016-05-10Kumu Networks, Inc.Systems and methods for hybrid self-interference cancellation
US9077421B1 (en)2013-12-122015-07-07Kumu Networks, Inc.Systems and methods for hybrid self-interference cancellation
US20150171903A1 (en)2013-12-122015-06-18Kumu Networks, Inc.Systems and methods for hybrid self-interference cancellation
US10069479B1 (en)2013-12-312018-09-04Ethertronics, Inc.Tunable filter for RF circuits
US20150280893A1 (en)2014-03-262015-10-01Kumu Networks, Inc.Systems and methods for near band interference cancellation
US20170012696A1 (en)*2014-03-292017-01-12Solid, Inc.Interference cancellation relay device
US20150318976A1 (en)2014-05-052015-11-05The Regents Of The University Of CaliforniaFull-Duplex Self-Interference Cancellation Systems
US20150334745A1 (en)2014-05-152015-11-19Ruckus Wireless, Inc.Collision protection based on packet error rate
US9276682B2 (en)2014-05-232016-03-01Kumu Networks, Inc.Systems and methods for multi-rate digital self-interference cancellation
US20150341125A1 (en)2014-05-232015-11-26Kumu Networks, Inc.Systems and methods for multi-rate digital self-interference cancellation
US20150341879A1 (en)2014-05-232015-11-26Ruckus Wireless, Inc.Out-of-band acknowledgement of wireless communication
WO2016014016A1 (en)2014-07-212016-01-28Ruckus Wireless, Inc.Beamforming for a multi-user mimo group
US9791552B1 (en)2014-11-192017-10-17Src, Inc.On-site calibration of array antenna systems
US20180234162A1 (en)*2014-12-302018-08-16Solid, Inc.Interference cancellation repeater
US20160283937A1 (en)2015-03-272016-09-29Kenneth W. ReeseTechnologies for split key security
US20170161635A1 (en)2015-12-022017-06-08Preferred Networks, Inc.Generative machine learning systems for drug design
US20170195003A1 (en)2016-01-042017-07-06Commissariat A L'energie Atomique Et Aux Energies AlternativesIbfd transceiver with non-reciprocal frequency transposition module
US20180075347A1 (en)2016-09-152018-03-15Microsoft Technology Licensing, LlcEfficient training of neural networks
US10067746B1 (en)2017-03-022018-09-04Futurewei Technologies, Inc.Approximate random number generator by empirical cumulative distribution function
US20180288019A1 (en)2017-04-042018-10-04International Business Machines CorporationGenerating a password
US20180373978A1 (en)2017-06-212018-12-27Arm Ltd.Systems and devices for formatting neural network parameters

Non-Patent Citations (23)

* Cited by examiner, † Cited by third party
Title
AONO T, ET AL: "Wireless secret key generation exploiting reactance-domain scalar response of multipath fading channels", IEEE TRANSACTIONS ON ANTENNAS AND PROPAGATION, IEEE, USA, vol. 53, no. 11, 1 November 2005 (2005-11-01), USA, pages 3776 - 3784, XP001512766, ISSN: 0018-926X, DOI: 10.1109/TAP.2005.858853
Aono, Tomoyuki , et al., "Wireless secret key generation exploiting reactance-domain scalar response of multipath fading channels", IEEE Transactions on Antennas and Propagation, IEEE Service Center, Piscataway, NJ, US, vol. 53, No. 11; XP001512766, ISSN: 0018-926X, DOI: 10.1109/TAP.2005.858853, Nov. 2005, 3776-3784.
Chen, Brian , et al., "Quantization Index Modulation: A Class of Provably Good Methods for Digital Watermarking and Information Embedding", IEEE Transaction on Information Theory, vol. 47, May 2001, 1423-1443.
CHOI JUNG II, ET AL: "Achieving single channel, full duplex wireless communication", PROCEEDINGS OF THE ANNUAL INTERNATIONAL CONFERENCE ON MOBILE COMPUTING AND NETWORKING, MOBICOM - MOBICOM'10 AND MOBIHOC'10 - PROCEEDINGS OF THE 16TH ANNUAL INTERNATIONAL CONFERENCE ON MOBILE COMPUTING AND NETWORKING AND 11TH ACM INTERNATIONAL SYMPOSI, 20 September 2010 (2010-09-20) - 24 September 2010 (2010-09-24), pages 1 - 12, XP002696691, ISBN: 1-4503-0181-7, DOI: 10.1145/1859995.1859997
Choi, Jung Il, et al., "Achieving Single Channel, Full Duplex Wireless Communication", Proceedings from the Annual International Conference on Mobile Computing and Networking, MOBICOM-MOBICOM 10 and MOBIHOC 10—Proceedings of the 16th Annual Intl Conference on Mobile Computing and Networking and 11th ACM Intl Symposi, XP002696691., Sep. 20, 2010, 1-12.
Ding, Cunsheng , et al., "A Generic Construction of Cartesian Authentication Codes", IEEE Transactions on Information Theory, vol. 53, No. 6, Jun. 2007, 2229-2235.
European Extended Search Report for EP App. No. 13790076.7, dated Mar. 2, 2016, (8 pages).
European Extended Search Report for EP App. No. 13790160.9, dated Jan. 20, 2016, (9 pages).
European Extended Search Report for EP App. No. 13790948.7, dated Nov. 4, 2015, (9 pages).
European Extended Search Report for EP App. No. 14865287.8, dated Jul. 4, 2017, (7 pages).
Gharavol, Ebrahim A, et al., "Robust Joint Optimization of MIMO Two-Way Relay Channels With Imperfect CSI", 2011 49th Annual Allerton Conference on Communication, Control, and Computing (Allerton), Monticello, IL, USA , IEEE, Sep. 28, 2011, 1665-1669.
International Search Report and Written Opinion for PCT/US2013/040822, dated Jul. 18, 2013, (8 pages).
International Search Report and Written Opinion for PCT/US2014/042136, dated Dec. 9, 2014, (13 pages).
International Search Report and Written Opinion for PCT/US2014/051137, dated Nov. 24, 2014, (10 pages).
International Search Report and Written Opinion from PCT/US2014/050968, dated Nov. 19, 2014, (9 pages).
International Search Report for PCT/US2013/040818, dated Jul. 24, 2013, (2 pages).
IPRP , International Preliminary Report on Patentability for PCT/US2013/040822, dated Nov. 18, 2014, (6 pages).
Jain, Mayank , et al., "Practical, Real-Time, Full Duplex Wireless", MobiCom '11 Proceedings of the 17th annual international conference on Mobile computing and networking; Las Vegas, Nevada, USA, Sep. 19, 2011, 1-12.
KHANDANI AMIR K.: "Two-way (true full-duplex) wireless", 2013 13TH CANADIAN WORKSHOP ON INFORMATION THEORY, IEEE, 18 June 2013 (2013-06-18), pages 33 - 38, XP032495648, DOI: 10.1109/CWIT.2013.6621588
Khandani, Amir K, "Two-way (true full-duplex) wireless", 2013 13th Canadian Workshop on Information Theory, IEEE, XP032495648, DOI: 10.1109/CWIT.2013.6621588 , [retrieved on Oct. 4, 2013], Jun. 18, 2013, 33-38.
McMichael, Joseph G, et al., "Optimal tuning of analog self-interference cancellers for full-duplex wireless communication", 2012 50th Annual Allerton Conference on Communication, Control, and Computing (Allerton), IEEE, Monticello, IL, USA, Oct. 1, 2012, 246-251.
Persson, Daniel , et al., "Joint Source-Channel Coding for the MIMO Broadcast Channel", IEEE Transactions on Signal Processing, vol. 60, No. 4, IEEE Signal Processing Society, Dec. 21, 2011, 2085-2090.
Vaze, Rahul , et al., "To Code or Not to Code in Multi-Hop Relay Channels", arxiv.org, Cornell University Library, May 20, 2008, 1-30.

Also Published As

Publication numberPublication date
US20200389226A1 (en)2020-12-10
US10700766B2 (en)2020-06-30
US20180309502A1 (en)2018-10-25

Similar Documents

PublicationPublication DateTitle
US11265074B2 (en)Noise cancelling amplify-and-forward (in-band) relay with self-interference cancellation
US11757606B2 (en)Full duplex wireless transmission with self-interference cancellation
US11012144B2 (en)System and methods for in-band relaying
US10374781B2 (en)Wireless full-duplex system and method using sideband test signals
Nwankwo et al.A survey of self-interference management techniques for single frequency full duplex systems
US10334637B2 (en)Adapter and associated method for full-duplex wireless communication
CA2245240C (en)A method and apparatus for enhancing communication reception at a wireless communication terminal
US9490918B2 (en)Zero division duplexing MIMO backhaul radio with adaptable RF and/or baseband cancellation
US9065519B2 (en)Method and system of interference cancelation in collocated transceivers configurations
CN105684323A (en)Method and apparatus for transmitting signal in wireless communication system
US10461820B2 (en)Wireless communication using wireless active antennas
US10707948B2 (en)Symmetric and full duplex relay in wireless systems
CN105308870A (en)Leakage cancellation a multiple-input multiple-output transceiver
EP3704820B1 (en)Orthogonal training signals for transmission in an antenna array
Askar et al.Agile full-duplex transceiver: The concept and self-interference channel characteristics
JP7156399B2 (en) Control device and wireless communication device
WO2018059691A1 (en)A full-duplex wireless beamforming apparatus with self-interference cancellation and method
EP0728384A1 (en)Diversity receiver with combiner for equalization and diversity transmitter with splitter and delay
CN100590985C (en) Multi-layer Carrier Discrete Multi-tone Communication Technology
CN101860391B (en)Multilayer-carrier discrete multi-tone communication technology
JeburFull duplex-transceivers: architectures and performance analysis
CN102983893B (en)Multilayer-carrier discrete multi-tone communication system and method
JPH0766768A (en)Mobile communication system
El Sanousi et al.The in-band full duplexing wireless exploiting self-interference cancellation techniques: Algorithms methods and emerging applications

Legal Events

DateCodeTitleDescription
FEPPFee payment procedure

Free format text:ENTITY STATUS SET TO UNDISCOUNTED (ORIGINAL EVENT CODE: BIG.); ENTITY STATUS OF PATENT OWNER: SMALL ENTITY

FEPPFee payment procedure

Free format text:ENTITY STATUS SET TO SMALL (ORIGINAL EVENT CODE: SMAL); ENTITY STATUS OF PATENT OWNER: SMALL ENTITY

STPPInformation on status: patent application and granting procedure in general

Free format text:DOCKETED NEW CASE - READY FOR EXAMINATION

STPPInformation on status: patent application and granting procedure in general

Free format text:NON FINAL ACTION MAILED

STPPInformation on status: patent application and granting procedure in general

Free format text:RESPONSE TO NON-FINAL OFFICE ACTION ENTERED AND FORWARDED TO EXAMINER

STPPInformation on status: patent application and granting procedure in general

Free format text:NOTICE OF ALLOWANCE MAILED -- APPLICATION RECEIVED IN OFFICE OF PUBLICATIONS

STCFInformation on status: patent grant

Free format text:PATENTED CASE

FEPPFee payment procedure

Free format text:SURCHARGE FOR LATE PAYMENT, SMALL ENTITY (ORIGINAL EVENT CODE: M2554); ENTITY STATUS OF PATENT OWNER: SMALL ENTITY

MAFPMaintenance fee payment

Free format text:PAYMENT OF MAINTENANCE FEE, 4TH YR, SMALL ENTITY (ORIGINAL EVENT CODE: M2551); ENTITY STATUS OF PATENT OWNER: SMALL ENTITY

Year of fee payment:4


[8]ページ先頭

©2009-2025 Movatter.jp