Movatterモバイル変換


[0]ホーム

URL:


US11087259B2 - Business designer - Google Patents

Business designer
Download PDF

Info

Publication number
US11087259B2
US11087259B2US16/510,587US201916510587AUS11087259B2US 11087259 B2US11087259 B2US 11087259B2US 201916510587 AUS201916510587 AUS 201916510587AUS 11087259 B2US11087259 B2US 11087259B2
Authority
US
United States
Prior art keywords
workflow
standard configuration
designer interface
interface
data
Prior art date
Legal status (The legal status is an assumption and is not a legal conclusion. Google has not performed a legal analysis and makes no representation as to the accuracy of the status listed.)
Active, expires
Application number
US16/510,587
Other versions
US20200019899A1 (en
Inventor
Alain Marie Patrice Gentilhomme
Ryan Christopher Duguid
Zoe Dee Clelland
Joshua Joo Hou Tan
Current Assignee (The listed assignees may be inaccurate. Google has not performed a legal analysis and makes no representation or warranty as to the accuracy of the list.)
Nintex UK Ltd
Original Assignee
Nintex UK Ltd
Priority date (The priority date is an assumption and is not a legal conclusion. Google has not performed a legal analysis and makes no representation as to the accuracy of the date listed.)
Filing date
Publication date
Application filed by Nintex UK LtdfiledCriticalNintex UK Ltd
Priority to US16/510,587priorityCriticalpatent/US11087259B2/en
Publication of US20200019899A1publicationCriticalpatent/US20200019899A1/en
Priority to US17/367,128prioritypatent/US11640568B2/en
Application grantedgrantedCritical
Publication of US11087259B2publicationCriticalpatent/US11087259B2/en
Assigned to PNC BANK, NATIONAL ASSOCIATIONreassignmentPNC BANK, NATIONAL ASSOCIATIONSECURITY INTEREST (SEE DOCUMENT FOR DETAILS).Assignors: Assuresign, LLC, K2 SOFTWARE, INC., Nintex USA, Inc.
Assigned to Nintex USA, Inc.reassignmentNintex USA, Inc.PERFECTION CERTIFICATEAssignors: Assuresign, LLC, K2 SOFTWARE, INC.
Priority to US18/141,876prioritypatent/US12008502B2/en
Priority to US18/739,201prioritypatent/US20240330814A1/en
Activelegal-statusCriticalCurrent
Adjusted expirationlegal-statusCritical

Links

Images

Classifications

Definitions

Landscapes

Abstract

The present disclosure provides systems and methods for a synergetic, multi-interface workflow designer: a visual tool that enables the design, building, and use of high-level processes and standard configuration workflows among multiple users with varying technical capabilities on multiple systems. For example, it enables a line of business user to design and create a high-level process on a first designer interface. The process and its data are received by a second designer interface, which translates the process and data into a standard configuration workflow. A workflow designer may access the second designer interface to create, refine, and finalize the standard configuration workflow based on the data from the first designer interface.

Description

CROSS-REFERENCE TO RELATED APPLICATIONS
This application claims benefit to U.S. Provisional Application No. 62/697,306, filed on Jul. 12, 2018, entitled “Business Designer”, the contents of which are incorporated by reference herein as though set forth in their entirety, and to which priority and benefit are claimed
TECHNICAL FIELD
The present disclosure relates generally to the field of customized workflow processes. More specifically, the present disclosure relates to enhanced systems, methods, and processes for a collaborative, visual programming tool that enables, among multiple users with varied technical capabilities, the electronic translation of a high-level process into a standard configuration workflow. Embodiments of this disclosure provide systems, methods, and processes that improve the efficient use of a computer system, including collaborative development of systems that improve the efficiency of all computer processes, the cloud, and the Internet in general.
BACKGROUND
Programmatic Workflows are applications and systems that streamline and automate a wide variety of processes, such as collecting signatures, gathering feedback, requesting approvals for a plan or document, or tracking the current status of a business procedure. Workflows can be created on low-code development platforms, or via full code implementations, enabling a user to automate many processes in a way that dramatically enhances productivity and efficiency in any industry.
However, for a workflow to be effective, its substance must be tailored to the individual needs of its owner. Yet programmatic workflows are often generic in form and function and tend to be cumbersome to use. Accordingly, for a workflow to be customized in an efficient and conservative manner, it requires a system and method that: (i) receives substantive data in the form of a high-level process from the workflow owner and (ii) translates the substantive data and high-level process into a standard configuration workflow. Currently, this demands time, talent, and high costs, because the design and creation of the workflow requires technical professionals to do the manual labor of creating, editing, or improving workflows.
Furthermore, the current functionality and representation of these workflows and processes is quite static and tends to inhibit the insights available and limit the types of people who can benefit from these insights. In addition, the owner responsible for determining the high-level process and providing its substance is often limited in effectively setting the core goals and success criteria for a given workflow. This often results in mismatched expectations between the workflow owner and the technical professional designing the workflow, as well as forced use of multiple tools and lowered satisfaction in or efficacy of the process.
Thus, what is needed are systems and methods that provide a tool for: (i) translating the data and high-level process received from a workflow owner into a standard configuration workflow and (ii) communication between the workflow owner and the workflow technical professional responsible for the design, creation, and revision of the workflow.
SUMMARY
The following presents a simplified overview of example embodiments in order to provide a basic understanding of some aspects of the invention. This overview is not an extensive overview of the example embodiments. It is intended to neither identify key or critical elements of the example embodiments nor delineate the scope of the appended claims. Its sole purpose is to present some concepts of the example embodiments in a simplified form as a prelude to the more detailed description that is presented herein below. It is to be understood that both the following general description and the following detailed description are exemplary and explanatory only and are not restrictive.
In accordance with the embodiments disclosed herein, the present disclosure is related to systems and methods for a synergetic, multi-interface workflow designer (“Designer”), a collaborative, visual tool that enables the design, building, and use of high-level processes and standard configuration workflows among multiple users with varying technical capabilities on multiple systems. This enables a line of business user, such as a workflow owner, to design and create a high-level process on a first designer interface. The process and its data are then received, translated into a standard configuration workflow, and displayed on a second designer interface. A technical professional may access the second designer interface to develop, refine, and finalize the workflow based on the data from the first designer interface.
For example, the Designer may have at least two browser-based design interfaces, with each designer interface comprising a canvas and accompanying features for the creation and alteration of either high-level processes or standard configuration workflows. In one embodiment, the first interface may receive inputted data that will eventually make up the workflow. The inputted data may be organized in a high-level process via one or more methods. One method for organizing may be in blocks and sub-blocks, with a block making up an activity or action, and the sub-block(s) making up tasks or sub-actions within the activity or action. The blocks may be consecutively connected to each other, to reflect the flow of the process, or the blocks may be organized to reflect the flow of a decision tree. Another organization method may be an outline format, with numbering or indentation to reflect activities and the tasks that make up the activities.
The second interface may receive the organized inputted data and/or high-level process from the first interface and map the activities and tasks into workflow actions. The second interface may do this via natural language processing. The second interface may also receive and map the data via other processes, such as machine learning or pre-determined settings, which either have the intelligence or are preset to know where workflows may be commonly used or what the actions to be mapped most likely are. Once the mappings are confirmed, the second interface may generate a workflow with the mapped activities and tasks. The activities may appear as action sets and the tasks may appear as mapped actions. The second interface may further comprise options for editing, overlay of information onto the workflow or high-level process, and for the expansion and compression of various levels of the workflow or process.
Thus, a preferred embodiment of the Designer allows for the creation of a high-level process by the line of business user that is then configured into a standard configuration workflow that can be modified and prepared for publication. The preferred embodiment of the Designer further implements a number of features, such as the overlay of data or expansion/compression of various levels, previously unknown in the industry. The overlay of data and expansion/compression may be synced between the line of business user (i.e. workflow owner) and the workflow designer. The capability of creating a high-level process that is then configured and rendered into a standard configuration workflow, and the implementation of the aforementioned features, together with the ease of use regardless of users' technical capabilities, provides a major enhancement over existing workflow technologies. These advantages serve as improvements over existing workflow solutions by enhancing the power of creating workflows through collaboration and sharing across various users and through enhanced remote access.
Still other advantages, embodiments, and features of the subject disclosure will become readily apparent to those of ordinary skill in the art from the following description wherein there is shown and described a preferred embodiment of the present disclosure, simply by way of illustration of one of the best modes best suited to carry out the subject disclosure. As it will be realized, the present disclosure is capable of other different embodiments and its several details are capable of modifications in various obvious embodiments all without departing from, or limiting, the scope herein.
BRIEF DESCRIPTION OF THE DRAWINGS
The drawings are of illustrative embodiments. They do not illustrate all embodiments. Other embodiments may be used in addition or instead. Details which may be apparent or unnecessary may be omitted to save space or for more effective illustration. Some embodiments may be practiced with additional components or steps and/or without all of the components or steps which are illustrated. When the same numeral appears in different drawings, it refers to the same or like components or steps.
FIG. 1A illustrates an example overview of one or more implementations described herein.
FIG. 1B is a block diagram generally illustrating an embodiment of a canvas of a first designer interface of a workflow designer system.
FIG. 1C is a block diagram generally illustrating an embodiment of a canvas of a first designer interface of a workflow designer system.
FIG. 2A is a block diagram generally illustrating an embodiment of a canvas of a second designer interface of a workflow designer system.
FIG. 2B is a block diagram generally illustrating an embodiment of a workflow generated by the second designer interface of a workflow designer system.
FIG. 3 is a functional block diagram generally illustrating an embodiment of a network system of a workflow designer system.
FIG. 4 is a functional block diagram generally illustrating an embodiment of an electronic device system of a workflow designer system.
FIG. 5 is a flow chart generally illustrating an embodiment of a method for creating a standard configuration workflow using a workflow designer systems.
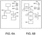
FIG. 6A is a functional block diagram generally illustrating an embodiment of the zoom out feature of a workflow designer system.
FIG. 6B is a functional block diagram generally illustrating an embodiment of the zoom in feature of a workflow designer system.
FIG. 7A is a functional block diagram generally illustrating an embodiment of the third designer interface of a workflow designer system.
FIG. 7B is a functional block diagram generally illustrating an embodiment of an overlay feature of a third designer interface of a workflow designer system.
FIG. 7C is a functional block diagram generally illustrating an embodiment of an overlay feature of a third designer interface of a workflow designer system.
DETAILED DESCRIPTION OF THE ILLUSTRATIVE EMBODIMENTS
Before the present methods and systems are disclosed and described, it is to be understood that the systems and methods are not limited to specific methods, specific components, or to particular implementations. It is also to be understood that the terminology used herein is for the purpose of describing particular embodiments only and is not intended to be limiting. Various embodiments are described with reference to the drawings. In the following description, for purposes of explanation, numerous specific details are set forth in order to provide a thorough understanding of one or more embodiments. It may be evident, however, that the various embodiments may be practiced without these specific details. In other instances, well-known structures and devices are shown in block diagram form to facilitate describing these embodiments.
FIG. 1A illustrates anexample overview100 of one or more implementations described herein. As shown inFIG. 1A, a synergetic, multi-interface workflow designer (“Designer”)105 may include afirst designer interface110 and asecond designer interface120.
Thefirst interface110 may be a graphical user interface that can allow one or more users to interact with an electronic device through graphical icons and visual indicators to create and/or change the layout of one or more high-level process. Thefirst interface110 may receive data input from a user. After receiving data input from the user, thefirst interface110 may configure the data input into a map of a high-level process. Thefirst interface110 may communicate with thesecond interface120 to send the data and high-level processes to it and to also receive data from it. A high-level process may be a workflow process created by a user, generally a line of business user. The high-level process may be the least granular representation of a workflow and is most suited for a non-technical user. The first designer interface allows a user to create a high-level process without complexity or technical roadblocks. The high-level process may then be configured and rendered into a standard configuration workflow on thesecond interface120. A standard configuration workflow may be more technical and may be most commonly used by a workflow professional.
Thesecond interface120 may be a graphical user interface that can allow one or more users to interact with an electronic device through graphical icons and visual indicators to at and/or change a workflow. Thesecond interface120 may receive the data and processes from thefirst interface110 to translate into, create, and/or edit a workflow. Thesecond interface120 may also publish the workflow and provide data of the published workflow to thefirst interface110. The users of thefirst interface110 and thesecond interface120 may communicate with each other via the communication functionalities of theDesigner105. For example, once the standard configuration workflow is generated on thesecond interface120 and published, the workflow owner may be notified, confirm updates, and republish the workflow.
FIG. 1B is a block diagram generally illustrating an embodiment of a canvas of a first designer interface of a workflow designer system. As shown inFIG. 1B, thefirst interface110 may include the options to map125, display aprocedure130, and edit135 a high-level process. Theedit135 option may allow a user to create and edit a process. Thefirst interface110 may include building tools155 (such as the option to add an activity block, a process link, a task, and a note) andcommunication capabilities160 with thesecond interface120. Thecommunication capabilities160 may allow thefirst interface110 to transfer the data to thesecond interface120, such that thesecond interface120 may create, generate, and display a workflow based on the data received.
For example, upon receiving data input from the user, thefirst designer110 may create and display a process—based on the user input—that includes a first activity, a second activity, triggers or inputs, and outputs or targets. Any of the activity, such as the first and second activity, may include user-designation of the party responsible for completing the activity. The activity may also include user-inputted tasks within the activity that must be accomplished before the activity is completed. Additionally, the activities may include user-inputted notes or documents attached to the activities. These notes and documents may be viewed and/or accessed by other users or by the party responsible for completing the activity or task and may aid in the completion of the activity or task.
FIG. 1C is a block diagram generally illustrating an embodiment of a canvas of a first designer interface of a workflow designer system. As shown inFIG. 1C, the first interface may provide the option to map125 a high-level process created by a user. Themap125 option may receive the process data from thedisplay130 and edit135 options to create, generate, and display a high-level map of the process. The high-level map may be a rendition of the process data that displays the activities, such as the first and second activities inFIG. 1B, along with the responsible party for the activity. The high-level map may display tasks, triggers or inputs, and outputs or targets.
In an embodiment, thefirst interface110 may provide a high-level process selection option, under thedisplay130 or edit135 option, that the user may use to select an existing high-level process template. An existing high-level process template may comprise one or more pre-selected activities, one or more pre-selected tasks within the one or more pre-selected activities, and any other process links or notes that make up thebuilding tools155. The user may use the existing high-level process template directly or change the existing high-level process template by adding or removing activities or using thebuilding tools155.
In another embodiment, the user may use thefirst interface110 to create a workflow by using a high-level process selection option to select a new high-level process. A user may select abuilding tool155 option and add it to the high-level process. In another embodiment, the user may use abuilding tool155 to modify an existing high-level process by selecting an existing high-level process currently in use.
In other embodiments, a high-level process displayed on thefirst interface110 may have embedded data outlining the date and time of its inception and any or all date and times of changes to either the structure of the process or completion of the process. This data may be obtained with a tracking log for any type of high-level process or standard configuration workflow, regardless of whether it was created by a user or a template.
In another example, the creation of a high-level process method500 may include two or more users with separate electronic devices designing a single high-level process in conjunction with other each other. The high-level process being designed in conjunction by two or more users may be accessible to only the users designing the high-level process or may be accessible to other users.
The workflow generated by thesecond interface120 may be based on the data inputted into thefirst interface110 and be more technical when compared to the high-level process on thefirst interface110. When used in reference to a workflow, “standard configuration” may be defined as an underlying structure that enables data to be organized into, and function as, a workflow. A “standard configuration workflow” may be defined as a functioning workflow. TheDesigner105 may convert received data into a standard configuration workflow by a process known as “translating” or “rendering.” For example, thesecond interface120 may receive the high-level process data from thefirst interface110, determine a standard configuration for the high-level process, render the workflow according to the determined standard configuration, and generate the rendered workflow onto thegraphical display205 of thesecond interface120.
In another example, thesecond interface120 may use natural language processing technology, when creating a workflow, to coordinate the coupling of activities and tasks from the high-level process in thefirst interface110.
FIG. 2A is a block diagrams generally illustrating an embodiment of a canvas of a second designer interface of a workflow designer system. As shown inFIG. 2A, thesecond interface120 may comprise agraphical display canvas205, atoolbox210, adescriptions instrument215, a secondinterface toggle menu220, zoom features225. Thecanvas205 may be used to display a workflow generated by the Designer.
Thesecond designer interface120, in a basic embodiment, may be a graphical user interface that can allow ne or more users to interact with an electronic device through graphical icons and visual indicators to create and/or change the design of one or more standard configuration workflows. In embodiments, thegraphical display canvas205 may be a visual drawing board that a user can engage with in creating and/or changing the structure of the standard configuration workflow. Atoolbox210 may comprise one ormore tools212 or one ormore applications214. Thedescriptions instrument215 may comprise one or more entry fields218 wherein a user can input additional data related to any of the workflow actions,tools212, orapplications214 that make up the standard configuration workflow. For example, data inputted into the entry fields218 may comprise necessary information to send an email, detailed directions for a step, or directions for an application that another user may consider when using the application.
Tools212 may comprise various options that can be used to create and change the standard configuration workflow or can be inserted into the workflow.Tools212 may comprise Communication options, such as an Express Approval option, a Send an Email option, an Assign a Task option, a Get Info From option, a Put Info In option, a Put Info In option, a Manage a File option, a Make a Decision option, a Add a Comment option, or a Request Approval option. Communication options may serve as steps, or basic building blocks of a standard configuration workflow.Tools212 may also comprise Logic and Flow options, which can be inserted into the workflow to define the relationship between various steps of the workflow or to connect various steps. Logic and Flow options may comprise, among other options, an either/or option, a yes/no option, a reject/approve option, or a tree branch option.Tools212 may further comprise Operations options, such as an Express Approval option, a Notification option, or an Invitation to Edit option. Operations options may also serve as steps, or building blocks, of the workflow.Tools212 may further comprise Integration options, which can serve to integrate with one or moreother applications214, high-level processes, standard configuration workflows, or other electronic devices.
Additionally,tools212 may comprise a tracking log, the tracking log comprising embedded data related to history of a high-level process or standard configuration workflow currently present in thegraphical display canvas205. The tracking log data may comprise inception date and time of a workflow, date and time of all amendments, users participating in the workflow, users who have viewed or are viewing the workflow, activity stream, and other data related to the use of the workflow by one or more users.
Applications214 may comprise one or more computer programs designed to perform a group of coordinated functions and can be used to create and change the workflow or be inserted into the workflow. Examples ofapplications214 may comprise Office 365™ services, Salesforce™ services, Dropbox™ services, and other services that may benefit users. Similarly, an example of an.Application214 may have the functionality to receive a high-level process or standard configuration workflow from a third-party system and translate it, via the Designer, into a standard configuration workflow that is compatible with the Designer's interfaces.Applications214 may serve as actions in the workflow, be integrated within an option found intools212, or be connected to an option found intools212. Thedescriptions instrument215 may comprise one or more entry fields218 wherein a user can input additional data related to any of the actions,tools212, orapplications214 that make up the workflow. Data inputted into the entry fields218 may comprise necessary information to send an email, detailed directions for a step, or directions for an application that another user may consider when using the application.
A designerinterface toggle menu220 may comprise one or more secondinterface toggle options224 that may be used to toggle between a standard configuration workflow and an evaluation configuration workflow. Azoom feature225 may comprise one or more options to zoom in or out of the standard configuration workflow that is being displayed in thegraphical display canvas205. Azoom feature225 may be displayed in various ways, such as a plus-or-minus option, or a display of a linear spectrum of the expansion and compression of the displayed workflow.
Thesecond interface120 may allow a user to modify, revise, or refine the standard configuration workflow, and prepare the standard configuration workflow for publication and use. A user may further use thesecond interface120 to build a standard configuration workflow that captures the key requirements of the high-level process. In one embodiment, the user may use thesecond interface120 to modify a standard configuration workflow by dragging and dropping any combination oftool212 options andapplications214. The user may also select a combination oftool212 options, such as Logic and Flow options, to define the relationship between the standard configuration workflow and the added tool and/or application.
In other embodiments, a standard configuration workflow displayed on thegraphical display canvas205 may have embedded data outlining the date and time of its inception and any or all date and times of changes to either the structure of the workflow or completion of the workflow. This data may be obtained with a tracking log for any type of high-level process or standard configuration workflow, regardless of whether it was created by a user or a template.
In another embodiment, a user can edit the generated workflow on the second interface and then have the edits be seen on the first interface as a high-level process. When used in reference to a high-level process, a “process configuration” may be defined as an underlying structure that enables data to be organized into, and function as, a high-level process. TheDesigner105 may convert received data into a process configuration by a process known as “translating” or “rendering.” For example, the Designer is further comprised to receive the user data input modifying the standard configuration workflow, determine a process configuration for translating the received user data input, translate the received data into a process configuration according to the determined process configuration, and generate the process configuration onto thesecond interface120. In other embodiments, the Designer may automatically update and/or sync thefirst interface110 with modifications to the respective workflow in thesecond interface120. For example, upon changes being made to the workflow in thesecond interface120, the Designer may update either the corresponding high-level process in thefirst interface110 or transmit the revised workflow directly to thefirst interface110. The Designer may further be comprised to automatically update and/or sync thesecond interface120 with modifications to thefirst interface110.
FIG. 2B is a block diagram generally illustrating an embodiment of aworkflow250 generated by the second designer interface of a workflow designer system. As generally shown inFIG. 2B, theworkflow250 generated by thesecond interface120 may include a start function, activity functions, action functions, and a stop function. For example, theworkflow250 may contain the first, second, and third activities and tasks from the high-level processes found inFIG. 1B and/or 1C and translate them, respectively, into high-level activities and action. In other words, an activity in thefirst interface110 is mapped into an activity (also called an “action set”) in the workflow on thesecond interface120 and a task in thefirst interface110 is mapped into an action in the workflow on thesecond interface120.
FIG. 3 is a functional block diagram generally illustrating an embodiment of anetwork system300 of a synergetic multi-interface workflow designer system. Shown inFIG. 3 is aworkflow server305 accessible over a local area networks or awide area network310, such as the Internet, by one or more user electronic devices315 (e.g.,electronic device2, electronic device3). As illustrated, theworkflow server305 hosts one or more high-level processes320 or one or morestandard configuration workflows330 each accessible to their respective owners and other users. In accordance with the preferred embodiment, theworkflow server305 is remotely accessible by a number ofuser computing devices315, including for example, laptops, smartphones, computers, tablets, and other computing devices that are able to access the local area network or a wide area network where theworkflow server305 resides. In normal operation, each userelectronic device315 connects with theworkflow server305 to interact with thefirst designer interface110, thesecond designer interface120, one or more high-level processes, and one or more standard configuration workflows. As is also known, each high-level process and standard configuration workflow may employ a number of connectors to interact withthird party325 data, services, or applications, for example, third party data or services like Salesforce™, Facebook™, Twitter™, various cloud services, or any other data or service accessible through a network, including local area networks (for example a local application that is exposed as a WebService residing on-premises) or wide area networks (for example the Internet). In one example, an email connector may be used to send a pre-defined email as part of a workflow. In another example, a CRM connector may be used to issue a query to a customer relationship management cloud service that hosts important data for the customer. These and many other examples will be apparent to those skilled in the art. For the purpose of this discussion, each userelectronic device315 may take the form of computer software and hardware deployed in a local computing environment or perhaps in a remote hosted computing environment. Each user computing device may host or access its own workflows, perhaps executing on the user's own premises. However, in accordance with the most preferred embodiment, a number of userelectronic devices315 may interact with theworkflow server305 to manage the user workflows remotely hosted at theworkflow server305. The features enabled by the interaction of userelectronic devices315 and theworkflow server305 include, but are not limited to, the ability to embed, reuse, and share workflows among a plurality of users and the ability to externally execute one or more shared workflows.
FIG. 4 is a functional block diagram generally illustrating an embodiment of anelectronic device system400 of a synergetic multi-interface workflow designer system. Theelectronic device405 may be coupled to theworkflow server310 via anetwork interface410 and anetwork305. Theelectronic device405 generally comprises aprocessor415, amemory420, and agraphics module425. Theelectronic device405 is not limited to any particular configuration or system.
FIG. 5 is a flow chart generally illustrating an embodiment of amethod500 for creating a standard configuration workflow using a workflow designer system. The method of creating a standard configuration workflow may begin by thesecond interface120 receiving510 the user data input from thefirst interface110. Thesecond interface120 may determine520 a standard configuration for rendering the received user data input from thefirst interface110. Thesecond interface120 may then render530 the received user data input into the standard configuration workflow according to the determined standard configuration. Thesecond interface120 may then generate540 the rendered standard configuration workflow onto the second designer interface.
In another embodiment, the synergetic multi-interface workflow designer system may further comprise a third designer interface. Wherein the third designer interface receives the workflow generated by the second interface and its data, determines an evaluation configuration for rendering the standard configuration workflow, renders the standard configuration workflow into an evaluation configuration workflow according to the determined evaluation configuration, and generates the rendered evaluation configuration workflow onto the third designer interface.
FIG. 6A is a functional block diagram generally illustrating an embodiment of the zoom out feature of a synergetic multi-interface workflow designer system.FIG. 6A illustrates astandard configuration workflow605 viewed on a graphical display. Azoom feature608 for the expansion and compression of the displayed workflow may be displayed by a linear spectrum. The linear spectrum of thezoom feature608 may comprise aplus button610 and aminus button620. A user may select and move atab615 on a line between theplus button610 andminus button620 to determine whether to zoom in or out of a displayed standard configuration workflow. As thetab615 is moved closer to theplus button610, thestandard configuration workflow605 may be compressed to its essential or main parts. The essential or main parts may be defined by a user or pre-selected based on the size of the high-level process or standard configuration workflow. As thetab615 is moved closer to theminus button620, thestandard configuration workflow605 may be expanded to reveal granular parts, expansion of branches, more steps, more applications, or other relationships. The user may place a cursor on a desired part of the workflow or select a desired part of the workflow via a touchscreen, and then use thezoom feature608 to expand or compress the desire part of the workflow.FIG. 6A illustrates a preselectedmain step630 of a standard configuration workflow that is above afinal step640. Thezoom feature608 has thetab615 closer to theplus button610, thus compressing themain step630.
FIG. 6B is a functional block diagram generally illustrating an embodiment of the zoom in feature of a synergetic multi-interface workflow designer system.FIG. 6B illustrates astandard configuration workflow605 viewed on a graphical display with thetab615 closer to theminus button620, thus expanding themain step630. The zoom in feature allows expansion of themain step630, revealing additional steps and/orapplications650 between themain step630 and thefinal step640.
FIG. 7A is a functional block diagram generally illustrating an embodiment of athird designer interface700 of a synergetic, multi-interface workflow designer system.FIG. 7A illustrates anevaluation configuration workflow740 viewed on a graphical display and anoverlay tool menu710, comprising one ormore overlay options720 that may be used to display data over theevaluation configuration workflow740. Overlay features may be displayed on any of the designer interfaces and is not exclusive to any one designer interface.
FIG. 7B is a functional block diagram generally illustrating an embodiment of the overlay feature of athird designer interface700 of a synergetic, multi-interface workflow designer system.FIG. 7B illustrates anevaluation configuration workflow740 viewed on a graphical display, and anoverlay tool menu710, comprising one ormore overlay options720 that may be used to display data over theevaluation configuration workflow740.FIG. 7B further illustrates one embodiment of an overlay option, comprising adisplay750 that demonstrates a step still required to be completed.
FIG. 7C is a functional block diagram generally illustrating an embodiment of the overlay feature of athird designer interface700 of a synergetic, multi-interface workflow designer system.FIG. 7C illustrates anevaluation configuration workflow740 viewed on a graphical display, and anoverlay tool menu710, comprising one ormore overlay options720 that may be used to display data over theevaluation configuration workflow740.FIG. 7C further illustrates another embodiment of an overlay feature, comprisingannotations770 that demonstrate data for one or more of the steps. In other embodiments, overlay features may further comprise user profiles, and runtime insights such as usage, analytics, and fail points for retrospective evaluation.
As used in the specification and the appended claims, the singular forms “a,” “an,” and “the” include plural referents unless the context clearly dictates otherwise. Ranges may be expressed herein as from “about” one particular value, and/or to “about” another particular value. When such a range is expressed, another embodiment includes from the one particular value and/or to the other particular value. Similarly, when values are expressed as approximations, by use of the antecedent “about,” it will be understood that the particular value forms another embodiment. It will be further understood that the endpoints of each of the ranges are significant both in relation to the other endpoint, and independently of the other endpoint.
Throughout the description and claims of this specification, the word “comprises” and variations of the word, such as “comprising” and “comprises,” means “including but not limited to,” and is not intended to exclude, for example, other components, integers, or steps. “Exemplary” means “an example of” and is not intended to convey an indication of a preferred or ideal embodiment. “Such as” is not used in a restrictive sense, but for explanatory purposes.
Disclosed are components that may be used to perform the disclosed methods and systems. These and other components are disclosed herein, and it is understood that when combinations, subsets, interactions, groups, etc. of these components are disclosed, that while specific reference of each various individual and collective combinations and permutation of these may not be explicitly disclosed, each is specifically contemplated and described herein, for all methods and systems. This applies to all embodiments of this application including, but not limited to, steps in disclosed methods. Thus, if there are a variety of additional steps that may be performed it is understood that each of these additional steps may be performed with any specific embodiment or combination of embodiments of the disclosed methods.
Embodiments of the systems and methods are described with reference to schematic diagrams, block diagrams, and flowchart illustrations of methods, systems, apparatuses and computer program products. It will be understood that each block of the block diagrams, schematic diagrams, and flowchart illustrations, and combinations of blocks in the block diagrams, schematic diagrams, and flowchart illustrations, respectively, may be implemented by computer program instructions. These computer program instructions may be loaded onto a general-purpose computer, special purpose computer, or other programmable data processing apparatus to produce a machine, such that the instructions which execute on the computer or other programmable data processing apparatus create a means for implementing the functions specified in the flowchart block or blocks.
Other embodiments may comprise overlay features demonstrating relationships between one more steps, active users, previous users, missing steps, errors in the workflow, analytical data from use of the workflow, future use of the workflow, and other data related to the workflow, users, or the relationship between the workflow and users.
These and other features, and characteristics of the present technology, as well as the methods of operation and functions of the related elements of structure and the combination of parts and economies of manufacture, will become more apparent upon consideration of the following description and the appended claims with reference to the accompanying drawings, all of which form a part of this specification, wherein like reference numerals designate corresponding parts in the various figures. It is to be expressly understood, however, that the drawings are for the purpose of illustration and description only and are not intended as a definition of the limits of the disclosure.
Unless otherwise stated, all measurements, values, ratings, positions, magnitudes, sizes, locations, and other specifications that are set forth in this specification, including in the claims that follow, are approximate, not exact. They are intended to have a reasonable range that is consistent with the functions to which they relate and with what is customary in the art to which they pertain.
In addition, the various illustrative logical blocks, modules, and circuits described in connection with certain embodiments disclosed herein may be implemented or performed with a general purpose processor, a digital signal processor (DSP), an application specific integrated circuit (ASIC), a field programmable gate array (FPGA) or other programmable logic device, discrete gate or transistor logic, discrete hardware components, or any combination thereof designed to perform the functions described herein. A general-purpose processor may be a microprocessor, but in the alternative, the processor may be any conventional processor, controller, microcontroller, system-on-a-chip, or state machine. A processor may also be implemented as a combination of computing devices, e.g., a combination of a DSP and a microprocessor, a plurality of microprocessors, one or more microprocessors in conjunction with a DSP core, or any other such configuration.
Operational embodiments disclosed herein may be embodied directly in hardware, in a software module executed by a processor, or in a combination of the two. A software module may reside in RAM memory, flash memory, ROM memory, EPROM memory, EEPROM memory, registers, hard disk, a removable disk, a CD-ROM, a DVD disk, or any other form of storage medium known in the art. An exemplary storage medium is coupled to the processor such the processor may read information from, and write information to, the storage medium. In the alternative, the storage medium may be integral to the processor. The processor and the storage medium may reside in an ASIC or may reside as discrete components in another device.
Furthermore, the one or more versions may be implemented as a method, apparatus, or article of manufacture using standard programming and/or engineering techniques to produce software, firmware, hardware, or any combination thereof to control a computer to implement the disclosed embodiments. Non-transitory computer readable media may include but are not limited to magnetic storage devices (e.g., hard disk, floppy disk, magnetic strips), optical disks (e.g., compact disk (CD), digital versatile disk (DVD)), smart cards, and flash memory devices (e.g., card, stick). Those skilled in the art will recognize many modifications may be made to this configuration without departing from the scope of the disclosed embodiments.
Unless otherwise expressly stated, it is in no way intended that any method set forth herein be construed as requiring that its steps be performed in a specific order. Accordingly, where a method claim does not actually recite an order to be followed by its steps or it is not otherwise specifically stated in the claims or descriptions that the steps are to be limited to a specific order, it is in no way intended that an order be inferred, in any respect. This holds for any possible non-express basis for interpretation, including: matters of logic with respect to arrangement of steps or operational flow; plain meaning derived from grammatical organization or punctuation; the number or type of embodiments described in the specification.

Claims (9)

What is claimed is:
1. A system, comprising:
a first designer interface, wherein the first designer interface comprises a first graphical display canvas and a first toolbox;
a second designer interface, wherein the second designer interface comprises a second graphical display canvas and a second toolbox; and
at least one processor configured to:
receive data from the first designer interface;
configure the received data into a standard configuration for the purpose of rendering the received data into a standard configuration workflow, wherein the standard configuration comprises an underlying structure enabling the received data to be organized into and function as a workflow, and wherein the standard configuration workflow comprises a functioning workflow;
render the received data into a standard configuration workflow according to the configured standard configuration;
display the standard configuration workflow on the second designer interface;
receive data from the second designer interface, wherein the data received from the second designer interface comprises modifying the standard configuration of the standard configuration workflow;
display the modified standard configuration workflow on the second designer interface;
configure the data received from the second designer interface into a process configuration for the purpose of rendering the data received from the second designer interface, wherein the process configuration comprises an underlying structure enabling the data received from the second designer interface to be organized into and function as a high-level process, wherein the high-level process is a map representation of the standard configuration workflow;
render the data received from the second designer interface into a process configuration according to the configured process configuration; and
display the process configuration on the first designer interface.
2. The system ofclaim 1, wherein the rendering of the received data into a standard configuration workflow occurs via natural language processing.
3. The system ofclaim 1, wherein the at least one processor is further configured to:
display an overlay tool menu on the first designer interface, on the second designer interface, or both the first designer interface and the second designer interface, wherein the overlay tool menu comprises one or more overlay options; and
display the one or more overlay options over one or more of: the standard configuration workflow, the modified standard configuration workflow, and the process configuration.
4. A method, comprising:
receiving data from a first designer interface of a system, wherein the first designer interface comprises a first graphical display canvas and a first toolbox;
configuring, by the system, the received data into a standard configuration for the purpose of rendering the received data into a standard configuration workflow, wherein the standard configuration comprises an underlying structure enabling the received data to be organized into and function as a workflow, and wherein the standard configuration workflow comprises a functioning workflow;
rendering, by the system, the received data into a standard configuration workflow according to the configured standard configuration;
displaying, by the system, the standard configuration workflow onto a second designer interface of the system, wherein the second designer interface comprises a second graphical display canvas and a second toolbox;
receiving data from the second designer interface, by the system, wherein the data received from the second designer interface comprises modifying the standard configuration of the standard configuration workflow;
displaying, by the system, the modified standard configuration workflow on the second designer interface;
configuring, by the system, the data received from the second designer interface into a process configuration for the purpose of rendering the data received from the second designer interface, wherein the process configuration comprises an underlying structure enabling the data received from the second designer interface to be organized into and function as a high-level process, wherein the high-level process is a map representation of the standard configuration workflow;
rendering, by the system, the data received from the second designer interface into a process configuration according to the configured process configuration; and
displaying, by the system, the process configuration on the first designer interface.
5. The method ofclaim 4, wherein the rendering, by the system, of the received data into a standard configuration workflow occurs via natural language processing.
6. The method ofclaim 4, further comprising
displaying, by the system, an overlay tool menu on one or both of the first designer interface and the second designer interface, wherein the overlay tool menu comprises one or more overlay options; and
displaying the one or more overlay options over one or more of: the standard configuration workflow, the modified standard configuration workflow, and the process configuration.
7. A non-transitory machine-readable medium comprising instructions that when executed by a data processing device, cause the data processing device to:
receive data from a first designer interface, wherein the first designer interface comprises a first graphical display canvas and a first toolbox;
configure the received data into a standard configuration for the purpose of rendering the data received from the first designer interface into a standard configuration workflow, wherein the standard configuration comprises an underlying structure enabling the data received from the first designer interface to be organized into and function as a workflow, and wherein the standard configuration workflow comprises a functioning workflow;
render the data received from the first designer interface into a standard configuration workflow according to the configured standard configuration;
display the standard configuration workflow on a second designer interface, wherein the second designer interface comprises a second graphical display canvas and a second toolbox;
receive data from the second designer interface, wherein the data received from the second designer interface comprises modifying the standard configuration of the standard configuration workflow;
display the modified standard configuration workflow on the second designer interface;
configure the data received from the second designer interface into a process configuration for the purpose of rendering the data received from the second designer interface, wherein the process configuration comprises an underlying structure enabling the data received from the second designer interface to be organized into and function as a high-level process, wherein the high-level process is a map representation of the standard configuration workflow;
render the data received from the second designer interface into a process configuration according to the configured process configuration; and
display the process configuration on the first designer interface.
8. The non-transitory machine-readable medium ofclaim 7, wherein the rendering of the received data into a standard configuration workflow occurs via natural language processing.
9. The non-transitory machine-readable medium ofclaim 7,
wherein the data processing device is further configured to:
display an overlay tool menu on one or both of the first designer interface and the second designer interface, wherein the overlay tool menu comprises one or more overlay options; and
display the one or more overlay options over one or more of: the standard configuration workflow, the modified standard configuration workflow, and the process configuration.
US16/510,5872018-07-122019-07-12Business designerActive2039-10-15US11087259B2 (en)

Priority Applications (4)

Application NumberPriority DateFiling DateTitle
US16/510,587US11087259B2 (en)2018-07-122019-07-12Business designer
US17/367,128US11640568B2 (en)2018-07-122021-07-02Business designer
US18/141,876US12008502B2 (en)2018-07-122023-05-01Business designer
US18/739,201US20240330814A1 (en)2018-07-122024-06-10Business designer

Applications Claiming Priority (2)

Application NumberPriority DateFiling DateTitle
US201862697306P2018-07-122018-07-12
US16/510,587US11087259B2 (en)2018-07-122019-07-12Business designer

Related Child Applications (1)

Application NumberTitlePriority DateFiling Date
US17/367,128ContinuationUS11640568B2 (en)2018-07-122021-07-02Business designer

Publications (2)

Publication NumberPublication Date
US20200019899A1 US20200019899A1 (en)2020-01-16
US11087259B2true US11087259B2 (en)2021-08-10

Family

ID=69139168

Family Applications (4)

Application NumberTitlePriority DateFiling Date
US16/510,587Active2039-10-15US11087259B2 (en)2018-07-122019-07-12Business designer
US17/367,128ActiveUS11640568B2 (en)2018-07-122021-07-02Business designer
US18/141,876ActiveUS12008502B2 (en)2018-07-122023-05-01Business designer
US18/739,201PendingUS20240330814A1 (en)2018-07-122024-06-10Business designer

Family Applications After (3)

Application NumberTitlePriority DateFiling Date
US17/367,128ActiveUS11640568B2 (en)2018-07-122021-07-02Business designer
US18/141,876ActiveUS12008502B2 (en)2018-07-122023-05-01Business designer
US18/739,201PendingUS20240330814A1 (en)2018-07-122024-06-10Business designer

Country Status (1)

CountryLink
US (4)US11087259B2 (en)

Families Citing this family (4)

* Cited by examiner, † Cited by third party
Publication numberPriority datePublication dateAssigneeTitle
CN112214218B (en)*2020-10-122024-06-14上海赛可出行科技服务有限公司Sketch component library generation and management system
US12093727B2 (en)*2021-04-122024-09-17Salessforce, Inc.Process flow builder customization
CN113515220A (en)*2021-07-232021-10-19上海商汤科技开发有限公司Task processing method and device, electronic equipment and storage medium
US20240152847A1 (en)*2021-07-302024-05-09Morgan Stanley Services Group Inc.Workflow management with form-based, dynamic workflow builder and application-level blue-green topology

Citations (19)

* Cited by examiner, † Cited by third party
Publication numberPriority datePublication dateAssigneeTitle
US20030083915A1 (en)*2001-10-292003-05-01Diego GuicciardiProcess development process methodology
US20060074732A1 (en)*2004-10-012006-04-06Microsoft CorporationComponentized and extensible workflow model
US20060074735A1 (en)*2004-10-012006-04-06Microsoft CorporationInk-enabled workflow authoring
US20060074730A1 (en)*2004-10-012006-04-06Microsoft CorporationExtensible framework for designing workflows
US20060085245A1 (en)*2004-10-192006-04-20Filenet CorporationTeam collaboration system with business process management and records management
US20060112122A1 (en)*2004-11-232006-05-25International Business Machines CorporationMethod, system, and storage medium for implementing business process modules
US20060229924A1 (en)*2005-04-072006-10-12International Business Machines CorporationData driven dynamic workflow
US20060241997A1 (en)*2005-04-202006-10-26Microsoft CorporationSystem and method for integrating workflow processes with a project management system
US20070266093A1 (en)*2005-10-272007-11-15Scott ForstallWorkflow widgets
US20070276714A1 (en)*2006-05-152007-11-29Sap AgBusiness process map management
US20080147453A1 (en)*2006-12-192008-06-19Kogan Sandra LSystem and method for end users to create a workflow from unstructured work
US20080307490A1 (en)*2007-02-202008-12-11Sourcecode Technology Holding, Inc.Methods and apparatus for building and executing natural language workflow functions
US20090070162A1 (en)*2007-09-112009-03-12Jean-Baptiste LeonelliSystem, Method And Graphical User Interface For Workflow Generation, Deployment And/Or Execution
US20110239183A1 (en)*2010-03-252011-09-29International Business Machines CorporationDeriving process models from natural language use case models
US8346716B2 (en)*2009-05-122013-01-01Canon Kabushiki KaishaDocument management system
US20130179208A1 (en)*2012-01-112013-07-11Microsoft CorporationWorkflow tasks
US20140229227A1 (en)*2013-02-132014-08-14Sandhills Publishing Co.Business process workflow system
US20150089021A1 (en)*2013-09-212015-03-26Schlumberger Technology CorporationProject data management
US9395959B2 (en)*2011-12-092016-07-19Microsoft Technology Licensing, LlcIntegrated workflow visualization and editing

Family Cites Families (42)

* Cited by examiner, † Cited by third party
Publication numberPriority datePublication dateAssigneeTitle
US5774661A (en)*1995-04-181998-06-30Network Imaging CorporationRule engine interface for a visual workflow builder
JP2003528358A (en)*1998-08-242003-09-24富士通株式会社 Workflow system and method
WO2002019224A1 (en)*2000-09-012002-03-07Togethersoft CorporationMethods and systems for integrating process modeling and project planning
US20020188597A1 (en)*2000-09-012002-12-12Jonathan KernMethods and systems for linking tasks to workflow
US7937655B2 (en)*2000-12-222011-05-03Oracle International CorporationWorkflows with associated processes
US20020128890A1 (en)*2000-12-262002-09-12AppareonSystem, method and article of manufacture for workflow management of a supply chain system
US7043714B2 (en)*2001-06-282006-05-09International Business Machines CorporationMethod, system, and program for using objects in data stores during execution of a workflow
US7069536B2 (en)*2001-06-282006-06-27International Business Machines CorporationMethod, system, and program for executing a workflow
US7100147B2 (en)*2001-06-282006-08-29International Business Machines CorporationMethod, system, and program for generating a workflow
SG121719A1 (en)*2001-07-192006-05-26Oce Tech BvMethod for creating a workflow
US7251787B2 (en)*2002-08-282007-07-31Siebel Systems, Inc.Method and apparatus for an integrated process modeller
US7117449B1 (en)*2002-12-312006-10-03Siebel Systems, Inc.Method and apparatus to present an integrated process modeler
US20050262112A1 (en)*2004-05-212005-11-24Moore Dennis BMethod and apparatus to convert project plans into workflow definitions
US8082169B2 (en)*2004-06-182011-12-20Canon Kabushiki KaishaUser interface for workflow builder
US7702730B2 (en)*2004-09-032010-04-20Open Text CorporationSystems and methods for collaboration
US7805324B2 (en)*2004-10-012010-09-28Microsoft CorporationUnified model for authoring and executing flow-based and constraint-based workflows
US20060080616A1 (en)*2004-10-132006-04-13Xerox CorporationSystems, methods and user interfaces for document workflow construction
WO2006125027A1 (en)*2005-05-162006-11-23West Services Inc.User interface for search and document production
JP4903012B2 (en)*2005-05-262012-03-21株式会社リコー Workflow system, workflow processing method, and workflow processing program
US7657827B2 (en)*2005-09-092010-02-02Microsoft CorporationControl-scoped user interface workflow
EP1946235B1 (en)*2005-10-312018-09-12Koninklijke Philips N.V.System and method for clinical workflow management
JP4761533B2 (en)*2005-12-132011-08-31キヤノン株式会社 Information processing apparatus, workflow generation method and program
US7752614B2 (en)*2006-03-232010-07-06International Business Machines CorporationDynamic workflow documentation system
US7784021B2 (en)*2006-05-022010-08-24International Business Machines CorporationMethod for specifying, deploying and dynamically updating work flows
US7761393B2 (en)*2006-06-272010-07-20Microsoft CorporationCreating and managing activity-centric workflow
JP2008225769A (en)*2007-03-122008-09-25Ricoh Co Ltd Workflow management system
WO2009021208A1 (en)*2007-08-082009-02-12Innopath Software, Inc.Workflow-based user interface system for mobile devices management
US8024670B1 (en)*2007-10-302011-09-20Intuit Inc.Workflow management using live thumbnails
US9646274B2 (en)*2008-02-112017-05-09Oracle International CorporationSystem and method for accessing business process instances through mobile devices
CN102356370A (en)*2008-02-252012-02-15因文西斯系统公司 Systems and methods for generating control system databases and graphics from schema-based intermediate descriptions
US8984046B2 (en)*2008-09-122015-03-17International Business Machines CorporationProcess management using representation state transfer architecture
US8656346B2 (en)*2009-02-182014-02-18Microsoft CorporationConverting command units into workflow activities
US8250520B2 (en)*2009-03-172012-08-21Microsoft CorporationImplementing custom activities in a workflow
US8621421B2 (en)*2010-06-102013-12-31Microsoft CorporationWorkflow visualization
US8745634B2 (en)*2010-10-152014-06-03Invensys Systems, Inc.System and method for integrated workflow scaling
US20130085798A1 (en)*2011-09-302013-04-04Varian Medical Systems, Inc.Systems and methods for implementing medical workflow
US9304761B2 (en)*2013-06-122016-04-05Nuesoft Technologies, Inc.System and method for collaborative programming of data entry workflows between system developers, end users, and third party developers
US20150088589A1 (en)*2013-09-262015-03-26International Business Machines CorporationConverting a text operational manual into a business process model or workflow diagram
US9672497B1 (en)*2013-11-042017-06-06Snap-On IncorporatedMethods and systems for using natural language processing and machine-learning to produce vehicle-service content
US9311134B1 (en)*2014-09-292016-04-12International Business Machines CorporationAutomated creation of executable workflow
US10528327B2 (en)*2015-11-232020-01-07Microsoft Technology Licensing LlcWorkflow development system with ease-of-use features
US10803541B2 (en)*2017-02-032020-10-13Jasci LLCSystems and methods for warehouse management

Patent Citations (20)

* Cited by examiner, † Cited by third party
Publication numberPriority datePublication dateAssigneeTitle
US20030083915A1 (en)*2001-10-292003-05-01Diego GuicciardiProcess development process methodology
US8170901B2 (en)*2004-10-012012-05-01Microsoft CorporationExtensible framework for designing workflows
US20060074732A1 (en)*2004-10-012006-04-06Microsoft CorporationComponentized and extensible workflow model
US20060074735A1 (en)*2004-10-012006-04-06Microsoft CorporationInk-enabled workflow authoring
US20060074730A1 (en)*2004-10-012006-04-06Microsoft CorporationExtensible framework for designing workflows
US20060085245A1 (en)*2004-10-192006-04-20Filenet CorporationTeam collaboration system with business process management and records management
US20060112122A1 (en)*2004-11-232006-05-25International Business Machines CorporationMethod, system, and storage medium for implementing business process modules
US20060229924A1 (en)*2005-04-072006-10-12International Business Machines CorporationData driven dynamic workflow
US20060241997A1 (en)*2005-04-202006-10-26Microsoft CorporationSystem and method for integrating workflow processes with a project management system
US20070266093A1 (en)*2005-10-272007-11-15Scott ForstallWorkflow widgets
US20070276714A1 (en)*2006-05-152007-11-29Sap AgBusiness process map management
US20080147453A1 (en)*2006-12-192008-06-19Kogan Sandra LSystem and method for end users to create a workflow from unstructured work
US20080307490A1 (en)*2007-02-202008-12-11Sourcecode Technology Holding, Inc.Methods and apparatus for building and executing natural language workflow functions
US20090070162A1 (en)*2007-09-112009-03-12Jean-Baptiste LeonelliSystem, Method And Graphical User Interface For Workflow Generation, Deployment And/Or Execution
US8346716B2 (en)*2009-05-122013-01-01Canon Kabushiki KaishaDocument management system
US20110239183A1 (en)*2010-03-252011-09-29International Business Machines CorporationDeriving process models from natural language use case models
US9395959B2 (en)*2011-12-092016-07-19Microsoft Technology Licensing, LlcIntegrated workflow visualization and editing
US20130179208A1 (en)*2012-01-112013-07-11Microsoft CorporationWorkflow tasks
US20140229227A1 (en)*2013-02-132014-08-14Sandhills Publishing Co.Business process workflow system
US20150089021A1 (en)*2013-09-212015-03-26Schlumberger Technology CorporationProject data management

Also Published As

Publication numberPublication date
US12008502B2 (en)2024-06-11
US11640568B2 (en)2023-05-02
US20230267397A1 (en)2023-08-24
US20210334714A1 (en)2021-10-28
US20240330814A1 (en)2024-10-03
US20200019899A1 (en)2020-01-16

Similar Documents

PublicationPublication DateTitle
US12008502B2 (en)Business designer
US20230359778A1 (en)Configuration of a digital twin for a building or other facility via bim data extraction and asset register mapping
US10372839B2 (en)Project management system providing optimized interaction with digital models
US10402483B2 (en)Screenshot processing device and method for same
US10127507B2 (en)Project management system providing interactive issue creation and management
US9639516B2 (en)System and method for express spreadsheet visualization for building information modeling
CN112988752B (en) Resource management method, device, storage medium and electronic device
CN111989648B (en) Embed productivity apps into third-party platforms
US20150058282A1 (en)Assigning and managing reviews of a computing file
CN113900725B (en) Interface configuration method, device, computer equipment and storage medium
US9135234B1 (en)Collaborative generation of digital content with interactive reports
US8775385B2 (en)Techniques to modify file descriptors for content files
US20190018660A1 (en)Converting whiteboard images to personalized wireframes
CN115470101A (en)Data testing method and device, computer equipment and storage medium
US20150278316A1 (en)Task reduction in dynamic case management
US12259852B2 (en)Managing file revisions from multiple reviewers
JP6097231B2 (en) Program generating apparatus and method
CN113806596B (en)Operation data management method and related device
KR102781581B1 (en)Electronic apparatus for editing information model
US12052115B1 (en)Limited communications threads associated with construction based data objects
CN115730172A (en)Page creating method, device, system and computer readable storage medium
CN120029665A (en) Method, device, equipment and storage medium for building component library based on AI
CN118364647A (en) Detailed drawing result export method, device, equipment and storage medium
KR20150086675A (en)System and method capable of providing service for producing communicator interface
CN119227700A (en) Artificial intelligence-based document processing method, device, computer equipment and medium

Legal Events

DateCodeTitleDescription
FEPPFee payment procedure

Free format text:ENTITY STATUS SET TO UNDISCOUNTED (ORIGINAL EVENT CODE: BIG.); ENTITY STATUS OF PATENT OWNER: LARGE ENTITY

STPPInformation on status: patent application and granting procedure in general

Free format text:DOCKETED NEW CASE - READY FOR EXAMINATION

STPPInformation on status: patent application and granting procedure in general

Free format text:NON FINAL ACTION MAILED

STPPInformation on status: patent application and granting procedure in general

Free format text:RESPONSE TO NON-FINAL OFFICE ACTION ENTERED AND FORWARDED TO EXAMINER

STPPInformation on status: patent application and granting procedure in general

Free format text:NOTICE OF ALLOWANCE MAILED -- APPLICATION RECEIVED IN OFFICE OF PUBLICATIONS

STPPInformation on status: patent application and granting procedure in general

Free format text:PUBLICATIONS -- ISSUE FEE PAYMENT RECEIVED

STPPInformation on status: patent application and granting procedure in general

Free format text:PUBLICATIONS -- ISSUE FEE PAYMENT VERIFIED

STCFInformation on status: patent grant

Free format text:PATENTED CASE

ASAssignment

Owner name:PNC BANK, NATIONAL ASSOCIATION, PENNSYLVANIA

Free format text:SECURITY INTEREST;ASSIGNORS:NINTEX USA, INC.;K2 SOFTWARE, INC.;ASSURESIGN, LLC;REEL/FRAME:058173/0474

Effective date:20211112

ASAssignment

Owner name:NINTEX USA, INC., WASHINGTON

Free format text:PERFECTION CERTIFICATE;ASSIGNORS:K2 SOFTWARE, INC.;ASSURESIGN, LLC;REEL/FRAME:058292/0509

Effective date:20211112

MAFPMaintenance fee payment

Free format text:PAYMENT OF MAINTENANCE FEE, 4TH YEAR, LARGE ENTITY (ORIGINAL EVENT CODE: M1551); ENTITY STATUS OF PATENT OWNER: LARGE ENTITY

Year of fee payment:4


[8]ページ先頭

©2009-2025 Movatter.jp