Movatterモバイル変換


[0]ホーム

URL:


US10419930B2 - System and method for establishing secure communication channels with internet of things (IoT) devices - Google Patents

System and method for establishing secure communication channels with internet of things (IoT) devices
Download PDF

Info

Publication number
US10419930B2
US10419930B2US15/167,799US201615167799AUS10419930B2US 10419930 B2US10419930 B2US 10419930B2US 201615167799 AUS201615167799 AUS 201615167799AUS 10419930 B2US10419930 B2US 10419930B2
Authority
US
United States
Prior art keywords
iot
data
iot device
secret
hub
Prior art date
Legal status (The legal status is an assumption and is not a legal conclusion. Google has not performed a legal analysis and makes no representation as to the accuracy of the status listed.)
Active, expires
Application number
US15/167,799
Other versions
US20170347264A1 (en
Inventor
Shannon Holland
Robey Pointer
Stephen Sewerynek
Nickolas Heckman
Chris Auito
Lucas Finkelstein
Scott Zimmerman
Current Assignee (The listed assignees may be inaccurate. Google has not performed a legal analysis and makes no representation or warranty as to the accuracy of the list.)
Afero Inc
Original Assignee
Afero Inc
Priority date (The priority date is an assumption and is not a legal conclusion. Google has not performed a legal analysis and makes no representation as to the accuracy of the date listed.)
Filing date
Publication date
Application filed by Afero IncfiledCriticalAfero Inc
Priority to US15/167,799priorityCriticalpatent/US10419930B2/en
Priority to JP2018562200Aprioritypatent/JP7080829B2/en
Priority to KR1020187037117Aprioritypatent/KR102303689B1/en
Priority to PCT/US2017/034726prioritypatent/WO2017205770A1/en
Publication of US20170347264A1publicationCriticalpatent/US20170347264A1/en
Assigned to AFERO, INC.reassignmentAFERO, INC.ASSIGNMENT OF ASSIGNORS INTEREST (SEE DOCUMENT FOR DETAILS).Assignors: HOLLAND, SHANNON, POINTER, ROBEY, AIUTO, Chris, ZIMMERMAN, SCOTT, FINKELSTEIN, Lucas, HECKMAN, Nickolas, SEWERYNEK, STEPHEN
Application grantedgrantedCritical
Publication of US10419930B2publicationCriticalpatent/US10419930B2/en
Priority to JP2021201534Aprioritypatent/JP7305734B2/en
Activelegal-statusCriticalCurrent
Adjusted expirationlegal-statusCritical

Links

Images

Classifications

Definitions

Landscapes

Abstract

A system and method are described for establishing secure communication channels. For example, one embodiment of a system includes an IoT device comprising secret/counter processing logic/circuitry to generate a master secret, the master secret to be transmitted to an IoT service. The system may include one or more IoT hubs to receive the master secret from the IoT service over a first secure communication channel. At least one of the IoT hubs can use the master secret to establish a second secure communication channel with the IoT device.

Description

BACKGROUND
Field of the Invention
This invention relates generally to the field of computer systems. More particularly, the invention relates to a system and method for establishing secure communication channels with Internet of Things (IoT) devices.
Description of the Related Art
The “Internet of Things” refers to the interconnection of uniquely-identifiable embedded devices within the Internet infrastructure. Ultimately, IoT is expected to result in new, wide-ranging types of applications in which virtually any type of physical thing may provide information about itself or its surroundings and/or may be controlled remotely via client devices over the Internet.
BRIEF DESCRIPTION OF THE DRAWINGS
A better understanding of the present invention can be obtained from the following detailed description in conjunction with the following drawings, in which:
FIGS. 1A-B illustrates different embodiments of an IoT system architecture;
FIG. 2 illustrates an IoT device in accordance with one embodiment of the invention;
FIG. 3 illustrates an IoT hub in accordance with one embodiment of the invention;
FIG. 4A-B illustrate embodiments of the invention for controlling and collecting data from IoT devices, and generating notifications;
FIG. 5 illustrates embodiments of the invention for collecting data from IoT devices and generating notifications from an IoT hub and/or IoT service;
FIG. 6 illustrates one embodiment of a system in which an intermediary mobile device collects data from a stationary IoT device and provides the data to an IoT hub;
FIG. 7 illustrates intermediary connection logic implemented in one embodiment of the invention;
FIG. 8 illustrates a method in accordance with one embodiment of the invention;
FIG. 9A illustrates an embodiment in which program code and data updates are provided to the IoT device;
FIG. 9B illustrates an embodiment of a method in which program code and data updates are provided to the IoT device;
FIG. 10 illustrates a high level view of one embodiment of a security architecture;
FIG. 11 illustrates one embodiment of an architecture in which a subscriber identity module (SIM) is used to store keys on IoT devices;
FIG. 12A illustrates one embodiment in which IoT devices are registered using barcodes or QR codes;
FIG. 12B illustrates one embodiment in which pairing is performed using barcodes or QR codes;
FIG. 13 illustrates one embodiment of a method for programming a SIM using an IoT hub;
FIG. 14 illustrates one embodiment of a method for registering an IoT device with an IoT hub and IoT service; and
FIG. 15 illustrates one embodiment of a method for encrypting data to be transmitted to an IoT device;
FIGS. 16A-B illustrate different embodiments of the invention for encrypting data between an IoT service and an IoT device;
FIG. 17 illustrates embodiments of the invention for performing a secure key exchange, generating a common secret, and using the secret to generate a key stream;
FIG. 18 illustrates a packet structure in accordance with one embodiment of the invention;
FIG. 19 illustrates techniques employed in one embodiment for writing and reading data to/from an IoT device without formally pairing with the IoT device;
FIG. 20 illustrates an exemplary set of command packets employed in one embodiment of the invention;
FIG. 21 illustrates an exemplary sequence of transactions using command packets;
FIG. 22 illustrates a method in accordance with one embodiment of the invention;
FIGS. 23A-C illustrate a method for secure pairing in accordance with one embodiment of the invention;
FIG. 24 illustrates one embodiment of the invention for adjusting an advertising interval to identify a data transmission condition;
FIG. 25 illustrates a method in accordance with one embodiment of the invention;
FIGS. 26A-C illustrate the operation of one embodiment in which multiple IoT hubs attempt to transmit data/commands to an IoT device;
FIG. 27 illustrates a method in accordance with one embodiment of the invention;
FIG. 28 illustrates one embodiment of a system for secure IoT device provisioning;
FIG. 29 illustrates a method in accordance with one embodiment of the invention;
FIG. 30 one embodiment of a system for performing flow control for a plurality of IoT devices;
FIG. 31 illustrates a method in accordance with one embodiment of the invention;
FIG. 32 illustrates one embodiment of a system for managing application attributes, system attributes, and priority notification attributes;
FIG. 33 illustrates one embodiment of a system and a corresponding method for secure wireless communication;
FIGS. 34-35 illustrate embodiments of the invention for detecting fake connections; and
FIG. 36 illustrates one embodiment of the invention for implementing latched attributes.
DETAILED DESCRIPTION
In the following description, for the purposes of explanation, numerous specific details are set forth in order to provide a thorough understanding of the embodiments of the invention described below. It will be apparent, however, to one skilled in the art that the embodiments of the invention may be practiced without some of these specific details. In other instances, well-known structures and devices are shown in block diagram form to avoid obscuring the underlying principles of the embodiments of the invention.
One embodiment of the invention comprises an Internet of Things (IoT) platform which may be utilized by developers to design and build new IoT devices and applications. In particular, one embodiment includes a base hardware/software platform for IoT devices including a predefined networking protocol stack and an IoT hub through which the IoT devices are coupled to the Internet. In addition, one embodiment includes an IoT service through which the IoT hubs and connected IoT devices may be accessed and managed as described below. In addition, one embodiment of the IoT platform includes an IoT app or Web application (e.g., executed on a client device) to access and configured the IoT service, hub and connected devices. Existing online retailers and other Website operators may leverage the IoT platform described herein to readily provide unique IoT functionality to existing user bases.
FIG. 1A illustrates an overview of an architectural platform on which embodiments of the invention may be implemented. In particular, the illustrated embodiment includes a plurality of IoT devices101-105 communicatively coupled overlocal communication channels130 to acentral IoT hub110 which is itself communicatively coupled to anIoT service120 over theInternet220. Each of the IoT devices101-105 may initially be paired to the IoT hub110 (e.g., using the pairing techniques described below) in order to enable each of thelocal communication channels130. In one embodiment, theIoT service120 includes anend user database122 for maintaining user account information and data collected from each user's IoT devices. For example, if the IoT devices include sensors (e.g., temperature sensors, accelerometers, heat sensors, motion detectore, etc), thedatabase122 may be continually updated to store the data collected by the IoT devices101-105. The data stored in thedatabase122 may then be made accessible to the end user via the IoT app or browser installed on the user's device135 (or via a desktop or other client computer system) and to web clients (e.g., such aswebsites130 subscribing to the IoT service120).
The IoT devices101-105 may be equipped with various types of sensors to collect information about themselves and their surroundings and provide the collected information to theIoT service120,user devices135 and/orexternal Websites130 via theIoT hub110. Some of the IoT devices101-105 may perform a specified function in response to control commands sent through theIoT hub110. Various specific examples of information collected by the IoT devices101-105 and control commands are provided below. In one embodiment described below, theIoT device101 is a user input device designed to record user selections and send the user selections to theIoT service120 and/or Website.
In one embodiment, theIoT hub110 includes a cellular radio to establish a connection to theInternet220 via acellular service115 such as a 4G (e.g., Mobile WiMAX, LTE) or 5G cellular data service. Alternatively, or in addition, theIoT hub110 may include a WiFi radio to establish a WiFi connection through a WiFi access point orrouter116 which couples theIoT hub110 to the Internet (e.g., via an Internet Service Provider providing Internet service to the end user). Of course, it should be noted that the underlying principles of the invention are not limited to any particular type of communication channel or protocol.
In one embodiment, the IoT devices101-105 are ultra low-power devices capable of operating for extended periods of time on battery power (e.g., years). To conserve power, thelocal communication channels130 may be implemented using a low-power wireless communication technology such as Bluetooth Low Energy (LE). In this embodiment, each of the IoT devices101-105 and theIoT hub110 are equipped with Bluetooth LE radios and protocol stacks.
As mentioned, in one embodiment, the IoT platform includes an IoT app or Web application executed onuser devices135 to allow users to access and configure the connected IoT devices101-105,IoT hub110, and/orIoT service120. In one embodiment, the app or web application may be designed by the operator of aWebsite130 to provide IoT functionality to its user base. As illustrated, the Website may maintain auser database131 containing account records related to each user.
FIG. 1B illustrates additional connection options for a plurality of IoT hubs110-111,190 In this embodiment a single user may have multiple hubs110-111 installed onsite at a single user premises180 (e.g., the user's home or business). This may be done, for example, to extend the wireless range needed to connect all of the IoT devices101-105. As indicated, if a user hasmultiple hubs110,111 they may be connected via a local communication channel (e.g., Wifi, Ethernet, Power Line Networking, etc). In one embodiment, each of the hubs110-111 may establish a direct connection to theIoT service120 through a cellular115 orWiFi116 connection (not explicitly shown inFIG. 1B). Alternatively, or in addition, one of the IoT hubs such asIoT hub110 may act as a “master” hub which provides connectivity and/or local services to all of the other IoT hubs on theuser premises180, such as IoT hub111 (as indicated by the dotted line connectingIoT hub110 and IoT hub111). For example, themaster IoT hub110 may be the only IoT hub to establish a direct connection to theIoT service120. In one embodiment, only the “master”IoT hub110 is equipped with a cellular communication interface to establish the connection to theIoT service120. As such, all communication between theIoT service120 and theother IoT hubs111 will flow through themaster IoT hub110. In this role, themaster IoT hub110 may be provided with additional program code to perform filtering operations on the data exchanged between theother IoT hubs111 and IoT service120 (e.g., servicing some data requests locally when possible).
Regardless of how the IoT hubs110-111 are connected, in one embodiment, theIoT service120 will logically associate the hubs with the user and combine all of the attached IoT devices101-105 under a single comprehensive user interface, accessible via a user device with the installed app135 (and/or a browser-based interface).
In this embodiment, themaster IoT hub110 and one or moreslave IoT hubs111 may connect over a local network which may be aWiFi network116, an Ethernet network, and/or a using power-line communications (PLC) networking (e.g., where all or portions of the network are run through the user's power lines). In addition, to the IoT hubs110-111, each of the IoT devices101-105 may be interconnected with the IoT hubs110-111 using any type of local network channel such as WiFi, Ethernet, PLC, or Bluetooth LE, to name a few.
FIG. 1B also shows anIoT hub190 installed at asecond user premises181. A virtually unlimited number of suchIoT hubs190 may be installed and configured to collect data from IoT devices191-192 at user premises around the world. In one embodiment, the two user premises180-181 may be configured for the same user. For example, oneuser premises180 may be the user's primary home and theother user premises181 may be the user's vacation home. In such a case, theIoT service120 will logically associate the IoT hubs110-111,190 with the user and combine all of the attached IoT devices101-105,191-192 under a single comprehensive user interface, accessible via a user device with the installed app135 (and/or a browser-based interface).
As illustrated inFIG. 2, an exemplary embodiment of anIoT device101 includes amemory210 for storing program code and data201-203 and alow power microcontroller200 for executing the program code and processing the data. Thememory210 may be a volatile memory such as dynamic random access memory (DRAM) or may be a non-volatile memory such as Flash memory. In one embodiment, a non-volatile memory may be used for persistent storage and a volatile memory may be used for execution of the program code and data at runtime. Moreover, thememory210 may be integrated within thelow power microcontroller200 or may be coupled to thelow power microcontroller200 via a bus or communication fabric. The underlying principles of the invention are not limited to any particular implementation of thememory210.
As illustrated, the program code may includeapplication program code203 defining an application-specific set of functions to be performed by theIoT device201 andlibrary code202 comprising a set of predefined building blocks which may be utilized by the application developer of theIoT device101. In one embodiment, thelibrary code202 comprises a set of basic functions required to implement an IoT device such as acommunication protocol stack201 for enabling communication between eachIoT device101 and theIoT hub110. As mentioned, in one embodiment, thecommunication protocol stack201 comprises a Bluetooth LE protocol stack. In this embodiment, Bluetooth LE radio andantenna207 may be integrated within thelow power microcontroller200. However, the underlying principles of the invention are not limited to any particular communication protocol.
The particular embodiment shown inFIG. 2 also includes a plurality of input devices orsensors210 to receive user input and provide the user input to the low power microcontroller, which processes the user input in accordance with theapplication code203 andlibrary code202. In one embodiment, each of the input devices include anLED209 to provide feedback to the end user.
In addition, the illustrated embodiment includes abattery208 for supplying power to the low power microcontroller. In one embodiment, a non-chargeable coin cell battery is used. However, in an alternate embodiment, an integrated rechargeable battery may be used (e.g., rechargeable by connecting the IoT device to an AC power supply (not shown)).
Aspeaker205 is also provided for generating audio. In one embodiment, the low power microcontroller299 includes audio decoding logic for decoding a compressed audio stream (e.g., such as an MPEG-4/Advanced Audio Coding (AAC) stream) to generate audio on thespeaker205. Alternatively, thelow power microcontroller200 and/or the application code/data203 may include digitally sampled snippets of audio to provide verbal feedback to the end user as the user enters selections via theinput devices210.
In one embodiment, one or more other/alternate I/O devices orsensors250 may be included on theIoT device101 based on the particular application for which theIoT device101 is designed. For example, an environmental sensor may be included to measure temperature, pressure, humidity, etc. A security sensor and/or door lock opener may be included if the IoT device is used as a security device. Of course, these examples are provided merely for the purposes of illustration. The underlying principles of the invention are not limited to any particular type of IoT device. In fact, given the highly programmable nature of thelow power microcontroller200 equipped with thelibrary code202, an application developer may readily developnew application code203 and new I/O devices250 to interface with the low power microcontroller for virtually any type of IoT application.
In one embodiment, thelow power microcontroller200 also includes a secure key store for storing encryption keys for encrypting communications and/or generating signatures. Alternatively, the keys may be secured in a subscriber identify module (SIM).
Awakeup receiver207 is included in one embodiment to wake the IoT device from an ultra low power state in which it is consuming virtually no power. In one embodiment, thewakeup receiver207 is configured to cause theIoT device101 to exit this low power state in response to a wakeup signal received from awakeup transmitter307 configured on theIoT hub110 as shown inFIG. 3. In particular, in one embodiment, thetransmitter307 andreceiver207 together form an electrical resonant transformer circuit such as a Tesla coil. In operation, energy is transmitted via radio frequency signals from thetransmitter307 to thereceiver207 when thehub110 needs to wake theIoT device101 from a very low power state. Because of the energy transfer, theIoT device101 may be configured to consume virtually no power when it is in its low power state because it does not need to continually “listen” for a signal from the hub (as is the case with network protocols which allow devices to be awakened via a network signal). Rather, themicrocontroller200 of theIoT device101 may be configured to wake up after being effectively powered down by using the energy electrically transmitted from thetransmitter307 to thereceiver207.
As illustrated inFIG. 3, theIoT hub110 also includes amemory317 for storing program code anddata305 andhardware logic301 such as a microcontroller for executing the program code and processing the data. A wide area network (WAN)interface302 andantenna310 couple theIoT hub110 to thecellular service115. Alternatively, as mentioned above, theIoT hub110 may also include a local network interface (not shown) such as a WiFi interface (and WiFi antenna) or Ethernet interface for establishing a local area network communication channel. In one embodiment, thehardware logic301 also includes a secure key store for storing encryption keys for encrypting communications and generating/verifying signatures. Alternatively, the keys may be secured in a subscriber identify module (SIM).
Alocal communication interface303 andantenna311 establishes local communication channels with each of the IoT devices101-105. As mentioned above, in one embodiment, thelocal communication interface303/antenna311 implements the Bluetooth LE standard. However, the underlying principles of the invention are not limited to any particular protocols for establishing the local communication channels with the IoT devices101-105. Although illustrated as separate units inFIG. 3, theWAN interface302 and/orlocal communication interface303 may be embedded within the same chip as thehardware logic301.
In one embodiment, the program code and data includes acommunication protocol stack308 which may include separate stacks for communicating over thelocal communication interface303 and theWAN interface302. In addition, device pairing program code anddata306 may be stored in the memory to allow the IoT hub to pair with new IoT devices. In one embodiment, each new IoT device101-105 is assigned a unique code which is communicated to theIoT hub110 during the pairing process. For example, the unique code may be embedded in a barcode on the IoT device and may be read by the barcode reader106 or may be communicated over thelocal communication channel130. In an alternate embodiment, the unique ID code is embedded magnetically on the IoT device and the IoT hub has a magnetic sensor such as an radio frequency ID (RFID) or near field communication (NFC) sensor to detect the code when theIoT device101 is moved within a few inches of theIoT hub110.
In one embodiment, once the unique ID has been communicated, theIoT hub110 may verify the unique ID by querying a local database (not shown), performing a hash to verify that the code is acceptable, and/or communicating with theIoT service120,user device135 and/orWebsite130 to validate the ID code. Once validated, in one embodiment, theIoT hub110 pairs theIoT device101 and stores the pairing data in memory317 (which, as mentioned, may include non-volatile memory). Once pairing is complete, theIoT hub110 may connect with theIoT device101 to perform the various IoT functions described herein.
In one embodiment, the organization running theIoT service120 may provide theIoT hub110 and a basic hardware/software platform to allow developers to easily design new IoT services. In particular, in addition to theIoT hub110, developers may be provided with a software development kit (SDK) to update the program code anddata305 executed within thehub110. In addition, forIoT devices101, the SDK may include an extensive set oflibrary code202 designed for the base IoT hardware (e.g., thelow power microcontroller200 and other components shown inFIG. 2) to facilitate the design of various different types ofapplications101. In one embodiment, the SDK includes a graphical design interface in which the developer needs only to specify input and outputs for the IoT device. All of the networking code, including thecommunication stack201 that allows theIoT device101 to connect to thehub110 and theservice120, is already in place for the developer. In addition, in one embodiment, the SDK also includes a library code base to facilitate the design of apps for mobile devices (e.g., iPhone and Android devices).
In one embodiment, theIoT hub110 manages a continuous bi-directional stream of data between the IoT devices101-105 and theIoT service120. In circumstances where updates to/from the IoT devices101-105 are required in real time (e.g., where a user needs to view the current status of security devices or environmental readings), the IoT hub may maintain an open TCP socket to provide regular updates to theuser device135 and/orexternal Websites130. The specific networking protocol used to provide updates may be tweaked based on the needs of the underlying application. For example, in some cases, where may not make sense to have a continuous bi-directional stream, a simple request/response protocol may be used to gather information when needed.
In one embodiment, both theIoT hub110 and the IoT devices101-105 are automatically upgradeable over the network. In particular, when a new update is available for theIoT hub110 it may automatically download and install the update from theIoT service120. It may first copy the updated code into a local memory, run and verify the update before swapping out the older program code. Similarly, when updates are available for each of the IoT devices101-105, they may initially be downloaded by theIoT hub110 and pushed out to each of the IoT devices101-105. Each IoT device101-105 may then apply the update in a similar manner as described above for the IoT hub and report back the results of the update to theIoT hub110. If the update is successful, then theIoT hub110 may delete the update from its memory and record the latest version of code installed on each IoT device (e.g., so that it may continue to check for new updates for each IoT device).
In one embodiment, theIoT hub110 is powered via A/C power. In particular, theIoT hub110 may include apower unit390 with a transformer for transforming A/C voltage supplied via an A/C power cord to a lower DC voltage.
FIG. 4A illustrates one embodiment of the invention for performing universal remote control operations using the IoT system. In particular, in this embodiment, a set of IoT devices101-103 are equipped with infrared (IR) and/or radio frequency (RF) blasters401-403, respectively, for transmitting remote control codes to control various different types of electronics equipment including air conditioners/heaters430,lighting systems431, and audiovisual equipment432 (to name just a few). In the embodiment shown inFIG. 4A, the IoT devices101-103 are also equipped with sensors404-406, respectively, for detecting the operation of the devices which they control, as described below.
For example,sensor404 inIoT device101 may be a temperature and/or humidity sensor for sensing the current temperature/humidity and responsively controlling the air conditioner/heater430 based on a current desired temperature. In this embodiment, the air conditioner/heater430 is one which is designed to be controlled via a remote control device (typically a remote control which itself has a temperature sensor embedded therein). In one embodiment, the user provides the desired temperature to theIoT hub110 via an app or browser installed on auser device135.Control logic412 executed on theIoT hub110 receives the current temperature/humidity data from thesensor404 and responsively transmits commands to theIoT device101 to control the IR/RF blaster401 in accordance with the desired temperature/humidity. For example, if the temperature is below the desired temperature, then thecontrol logic412 may transmit a command to the air conditioner/heater via the IR/RF blaster401 to increase the temperature (e.g., either by turning off the air conditioner or turning on the heater). The command may include the necessary remote control code stored in adatabase413 on theIoT hub110. Alternatively, or in addition, theIoT service421 may implementcontrol logic421 to control the electronics equipment430-432 based on specified user preferences and storedcontrol codes422.
IoT device102 in the illustrated example is used to controllighting431. In particular,sensor405 inIoT device102 may photosensor or photodetector configured to detect the current brightness of the light being produced by a light fixture431 (or other lighting apparatus). The user may specify a desired lighting level (including an indication of ON or OFF) to theIoT hub110 via theuser device135. In response, thecontrol logic412 will transmit commands to the IR/RF blaster402 to control the current brightness level of the lights431 (e.g., increasing the lighting if the current brightness is too low or decreasing the lighting if the current brightness is too high; or simply turning the lights ON or OFF).
IoT device103 in the illustrated example is configured to control audiovisual equipment432 (e.g., a television, A/V receiver, cable/satellite receiver, AppleTV™, etc).Sensor406 inIoT device103 may be an audio sensor (e.g., a microphone and associated logic) for detecting a current ambient volume level and/or a photosensor to detect whether a television is on or off based on the light generated by the television (e.g., by measuring the light within a specified spectrum). Alternatively,sensor406 may include a temperature sensor connected to the audiovisual equipment to detect whether the audio equipment is on or off based on the detected temperature. Once again, in response to user input via theuser device135, thecontrol logic412 may transmit commands to the audiovisual equipment via theIR blaster403 of theIoT device103.
It should be noted that the foregoing are merely illustrative examples of one embodiment of the invention. The underlying principles of the invention are not limited to any particular type of sensors or equipment to be controlled by IoT devices.
In an embodiment in which the IoT devices101-103 are coupled to theIoT hub110 via a Bluetooth LE connection, the sensor data and commands are sent over the Bluetooth LE channel. However, the underlying principles of the invention are not limited to Bluetooth LE or any other communication standard.
In one embodiment, the control codes required to control each of the pieces of electronics equipment are stored in adatabase413 on theIoT hub110 and/or adatabase422 on theIoT service120. As illustrated inFIG. 4B, the control codes may be provided to theIoT hub110 from a master database ofcontrol codes422 for different pieces of equipment maintained on theIoT service120. The end user may specify the types of electronic (or other) equipment to be controlled via the app or browser executed on theuser device135 and, in response, a remote controlcode learning module491 on the IoT hub may retrieve the required IR/RF codes from the remote control code database492 on the IoT service120 (e.g., identifying each piece of electronic equipment with a unique ID).
In addition, in one embodiment, theIoT hub110 is equipped with an IR/RF interface490 to allow the remote controlcode learning module491 to “learn” new remote control codes directly from the originalremote control495 provided with the electronic equipment. For example, if control codes for the original remote control provided with theair conditioner430 is not included in the remote control database, the user may interact with theIoT hub110 via the app/browser on theuser device135 to teach theIoT hub110 the various control codes generated by the original remote control (e.g., increase temperature, decrease temperature, etc). Once the remote control codes are learned they may be stored in thecontrol code database413 on theIoT hub110 and/or sent back to theIoT service120 to be included in the central remote control code database492 (and subsequently used by other users with the same air conditioner unit430).
In one embodiment, each of the IoT devices101-103 have an extremely small form factor and may be affixed on or near their respective electronics equipment430-432 using double-sided tape, a small nail, a magnetic attachment, etc. For control of a piece of equipment such as theair conditioner430, it would be desirable to place theIoT device101 sufficiently far away so that thesensor404 can accurately measure the ambient temperature in the home (e.g., placing the IoT device directly on the air conditioner would result in a temperature measurement which would be too low when the air conditioner was running or too high when the heater was running). In contrast, theIoT device102 used for controlling lighting may be placed on or near thelighting fixture431 for thesensor405 to detect the current lighting level.
In addition to providing general control functions as described, one embodiment of theIoT hub110 and/orIoT service120 transmits notifications to the end user related to the current status of each piece of electronics equipment. The notifications, which may be text messages and/or app-specific notifications, may then be displayed on the display of the user'smobile device135. For example, if the user's air conditioner has been on for an extended period of time but the temperature has not changed, theIoT hub110 and/orIoT service120 may send the user a notification that the air conditioner is not functioning properly. If the user is not home (which may be detected via motion sensors or based on the user's current detected location), and thesensors406 indicate thataudiovisual equipment430 is on orsensors405 indicate that the lights are on, then a notification may be sent to the user, asking if the user would like to turn off theaudiovisual equipment432 and/or lights431. The same type of notification may be sent for any equipment type.
Once the user receives a notification, he/she may remotely control the electronics equipment430-432 via the app or browser on theuser device135. In one embodiment, theuser device135 is a touchscreen device and the app or browser displays an image of a remote control with user-selectable buttons for controlling the equipment430-432. Upon receiving a notification, the user may open the graphical remote control and turn off or adjust the various different pieces of equipment. If connected via theIoT service120, the user's selections may be forwarded from theIoT service120 to theIoT hub110 which will then control the equipment via thecontrol logic412. Alternatively, the user input may be sent directly to theIoT hub110 from theuser device135.
In one embodiment, the user may program thecontrol logic412 on theIoT hub110 to perform various automatic control functions with respect to the electronics equipment430-432. In addition to maintaining a desired temperature, brightness level, and volume level as described above, thecontrol logic412 may automatically turn off the electronics equipment if certain conditions are detected. For example, if thecontrol logic412 detects that the user is not home and that the air conditioner is not functioning, it may automatically turn off the air conditioner. Similarly, if the user is not home, and thesensors406 indicate thataudiovisual equipment430 is on orsensors405 indicate that the lights are on, then thecontrol logic412 may automatically transmit commands via the IR/RF blasters403 and402, to turn off the audiovisual equipment and lights, respectively.
FIG. 5 illustrates additional embodiments of IoT devices104-105 equipped with sensors503-504 for monitoring electronic equipment530-531. In particular, theIoT device104 of this embodiment includes atemperature sensor503 which may be placed on or near a stove530 to detect when the stove has been left on. In one embodiment, theIoT device104 transmits the current temperature measured by thetemperature sensor503 to theIoT hub110 and/or theIoT service120. If the stove is detected to be on for more than a threshold time period (e.g., based on the measured temperature), then controllogic512 may transmit a notification to the end user'sdevice135 informing the user that the stove530 is on. In addition, in one embodiment, theIoT device104 may include acontrol module501 to turn off the stove, either in response to receiving an instruction from the user or automatically (if thecontrol logic512 is programmed to do so by the user). In one embodiment, thecontrol logic501 comprises a switch to cut off electricity or gas to the stove530. However, in other embodiments, thecontrol logic501 may be integrated within the stove itself.
FIG. 5 also illustrates anIoT device105 with amotion sensor504 for detecting the motion of certain types of electronics equipment such as a washer and/or dryer. Another sensor that may be used is an audio sensor (e.g., microphone and logic) for detecting an ambient volume level. As with the other embodiments described above, this embodiment may transmit notifications to the end user if certain specified conditions are met (e.g., if motion is detected for an extended period of time, indicating that the washer/dryer are not turning off). Although not shown inFIG. 5,IoT device105 may also be equipped with a control module to turn off the washer/dryer531 (e.g., by switching off electric/gas), automatically, and/or in response to user input.
In one embodiment, a first IoT device with control logic and a switch may be configured to turn off all power in the user's home and a second IoT device with control logic and a switch may be configured to turn off all gas in the user's home. IoT devices with sensors may then be positioned on or near electronic or gas-powered equipment in the user's home. If the user is notified that a particular piece of equipment has been left on (e.g., the stove530), the user may then send a command to turn off all electricity or gas in the home to prevent damage. Alternatively, thecontrol logic512 in theIoT hub110 and/or theIoT service120 may be configured to automatically turn off electricity or gas in such situations.
In one embodiment, theIoT hub110 andIoT service120 communicate at periodic intervals. If theIoT service120 detects that the connection to theIoT hub110 has been lost (e.g., by failing to receive a request or response from the IoT hub for a specified duration), it will communicate this information to the end user's device135 (e.g., by sending a text message or app-specific notification).
Apparatus and Method for Communicating Data Through an Intermediary Device
As mentioned above, because the wireless technologies used to interconnect IoT devices such as Bluetooth LE are generally short range technologies, if the hub for an IoT implementation is outside the range of an IoT device, the IoT device will not be able to transmit data to the IoT hub (and vice versa).
To address this deficiency, one embodiment of the invention provides a mechanism for an IoT device which is outside of the wireless range of the IoT hub to periodically connect with one or more mobile devices when the mobile devices are within range. Once connected, the IoT device can transmit any data which needs to be provided to the IoT hub to the mobile device which then forwards the data to the IoT hub.
As illustrated inFIG. 6 one embodiment includes anIoT hub110, anIoT device601 which is out of range of theIoT hub110 and amobile device611. The out ofrange IoT device601 may include any form of IoT device capable of collecting and communicating data. For example, theIoT device601 may comprise a data collection device configured within a refrigerator to monitor the food items available in the refrigerator, the users who consume the food items, and the current temperature. Of course, the underlying principles of the invention are not limited to any particular type of IoT device. The techniques described herein may be implemented using any type of IoT device including those used to collect and transmit data for smart meters, stoves, washers, dryers, lighting systems, HVAC systems, and audiovisual equipment, to name just a few.
Moreover, the mobile device in operation, theIoT device611 illustrated inFIG. 6 may be any form of mobile device capable of communicating and storing data. For example, in one embodiment, themobile device611 is a smartphone with an app installed thereon to facilitate the techniques described herein. In another embodiment, themobile device611 comprises a wearable device such as a communication token affixed to a neckless or bracelet, a smartwatch or a fitness device. The wearable token may be particularly useful for elderly users or other users who do not own a smartphone device.
In operation, the out ofrange IoT device601 may periodically or continually check for connectivity with amobile device611. Upon establishing a connection (e.g., as the result of the user moving within the vicinity of the refrigerator) any collecteddata605 on theIoT device601 is automatically transmitted to atemporary data repository615 on themobile device611. In one embodiment, theIoT device601 andmobile device611 establish a local wireless communication channel using a low power wireless standard such as BTLE. In such a case, themobile device611 may initially be paired with theIoT device601 using known pairing techniques.
One the data has been transferred to the temporary data repository, themobile device611 will transmit the data once communication is established with the IoT hub110 (e.g., when the user walks within the range of the IoT hub110). The IoT hub may then store the data in acentral data repository413 and/or send the data over the Internet to one or more services and/or other user devices. In one embodiment, themobile device611 may use a different type of communication channel to provide the data to the IoT hub110 (potentially a higher power communication channel such as WiFi).
The out ofrange IoT device601, themobile device611, and the IoT hub may all be configured with program code and/or logic to implement the techniques described herein. As illustrated inFIG. 7, for example, theIoT device601 may be configured with intermediary connection logic and/or application, themobile device611 may be configured with an intermediary connection logic/application, and theIoT hub110 may be configured with an intermediary connection logic/application721 to perform the operations described herein. The intermediary connection logic/application on each device may be implemented in hardware, software, or any combination thereof. In one embodiment, the intermediary connection logic/application701 of theIoT device601 searches and establishes a connection with the intermediary connection logic/application711 on the mobile device (which may be implemented as a device app) to transfer the data to thetemporary data repository615. The intermediary connection logic/application701 on themobile device611 then forwards the data to the intermediary connection logic/application on the IoT hub, which stores the data in thecentral data repository413.
As illustrated inFIG. 7, the intermediary connection logic/applications701,711,721, on each device may be configured based on the application at hand. For example, for a refrigerator, the connection logic/application701 may only need to transmit a few packets on a periodic basis. For other applications (e.g., temperature sensors), the connection logic/application701 may need to transmit more frequent updates.
Rather than amobile device611, in one embodiment, theIoT device601 may be configured to establish a wireless connection with one or more intermediary IoT devices, which are located within range of theIoT hub110. In this embodiment, anyIoT devices601 out of range of the IoT hub may be linked to the hub by forming a “chain” using other IoT devices.
In addition, while only a singlemobile device611 is illustrated inFIGS. 6-7 for simplicity, in one embodiment, multiple such mobile devices of different users may be configured to communicate with theIoT device601. Moreover, the same techniques may be implemented for multiple other IoT devices, thereby forming an intermediary device data collection system across the entire home.
Moreover, in one embodiment, the techniques described herein may be used to collect various different types of pertinent data. For example, in one embodiment, each time themobile device611 connects with theIoT device601, the identity of the user may be included with the collecteddata605. In this manner, the IoT system may be used to track the behavior of different users within the home. For example, if used within a refrigerator, the collecteddata605 may then include the identity of each user who passes by fridge, each user who opens the fridge, and the specific food items consumed by each user. Different types of data may be collected from other types of IoT devices. Using this data the system is able to determine, for example, which user washes clothes, which user watches TV on a given day, the times at which each user goes to sleep and wakes up, etc. All of this crowd-sourced data may then be compiled within thedata repository413 of the IoT hub and/or forwarded to an external service or user.
Another beneficial application of the techniques described herein is for monitoring elderly users who may need assistance. For this application, themobile device611 may be a very small token worn by the elderly user to collect the information in different rooms of the user's home. Each time the user opens the refrigerator, for example, this data will be included with the collecteddata605 and transferred to theIoT hub110 via the token. The IoT hub may then provide the data to one or more external users (e.g., the children or other individuals who care for the elderly user). If data has not been collected for a specified period of time (e.g., 12 hours), then this means that the elderly user has not been moving around the home and/or has not been opening the refrigerator. TheIoT hub110 or an external service connected to the IoT hub may then transmit an alert notification to these other individuals, informing them that they should check on the elderly user. In addition, the collecteddata605 may include other pertinent information such as the food being consumed by the user and whether a trip to the grocery store is needed, whether and how frequently the elderly user is watching TV, the frequency with which the elderly user washes clothes, etc.
In another implementation, if there is a problem with an electronic device such as a washer, refrigerator, HVAC system, etc, the collected data may include an indication of a part that needs to be replaced. In such a case, a notification may be sent to a technician with a request to fix the problem. The technician may then arrive at the home with the needed replacement part.
A method in accordance with one embodiment of the invention is illustrated inFIG. 8. The method may be implemented within the context of the architectures described above, but is not limited to any particular architecture.
At801, an IoT device which is out of range of the IoT hub periodically collects data (e.g., opening of the refrigerator door, food items used, etc). At802 the IoT device periodically or continually checks for connectivity with a mobile device (e.g., using standard local wireless techniques for establishing a connection such as those specified by the BTLE standard). If the connection to the mobile device is established, determined at802, then at803, the collected data is transferred to the mobile device at803. At804, the mobile device transfers the data to the IoT hub, an external service and/or a user. As mentioned, the mobile device may transmit the data immediately if it is already connected (e.g., via a WiFi link).
In addition to collecting data from IoT devices, in one embodiment, the techniques described herein may be used to update or otherwise provide data to IoT devices. One example is shown inFIG. 9A, which shows anIoT hub110 with program code updates901 that need to be installed on an IoT device601 (or a group of such IoT devices). The program code updates may include system updates, patches, configuration data and any other data needed for the IoT device to operate as desired by the user. In one embodiment, the user may specify configuration options for theIoT device601 via a mobile device or computer which are then stored on theIoT hub110 and provided to the IoT device using the techniques described herein. Specifically, in one embodiment, the intermediary connection logic/application721 on theIoT hub110 communicates with the intermediary connection logic/application711 on themobile device611 to store the program code updates within atemporary storage615. When themobile device611 enters the range of theIoT device601, the intermediary connection logic/application711 on themobile device611 connects with the intermediary/connection logic/application701 on theIoT device601 to provide the program code updates to the device. In one embodiment, theIoT device601 may then enter into an automated update process to install the new program code updates and/or data.
A method for updating an IoT device is shown inFIG. 9B. The method may be implemented within the context of the system architectures described above, but is not limited to any particular system architectures.
At900 new program code or data updates are made available on the IoT hub and/or an external service (e.g., coupled to the mobile device over the Internet). At901, the mobile device receives and stores the program code or data updates on behalf of the IoT device. The IoT device and/or mobile device periodically check to determine whether a connection has been established at902. If a connection is established, determined at903, then at904 the updates are transferred to the IoT device and installed.
Embodiments for Improved Security
In one embodiment, thelow power microcontroller200 of eachIoT device101 and the low power logic/microcontroller301 of theIoT hub110 include a secure key store for storing encryption keys used by the embodiments described below (see, e.g.,FIGS. 10-15 and associated text). Alternatively, the keys may be secured in a subscriber identify module (SIM) as discussed below.
FIG. 10 illustrates a high level architecture which uses public key infrastructure (PKI) techniques and/or symmetric key exchange/encryption techniques to encrypt communications between theIoT Service120, theIoT hub110 and the IoT devices101-102.
Embodiments which use public/private key pairs will first be described, followed by embodiments which use symmetric key exchange/encryption techniques. In particular, in an embodiment which uses PKI, a unique public/private key pair is associated with each IoT device101-102, eachIoT hub110 and theIoT service120. In one embodiment, when anew IoT hub110 is set up, its public key is provided to theIoT service120 and when anew IoT device101 is set up, it's public key is provided to both theIoT hub110 and theIoT service120. Various techniques for securely exchanging the public keys between devices are described below. In one embodiment, all public keys are signed by a master key known to all of the receiving devices (i.e., a form of certificate) so that any receiving device can verify the validity of the public keys by validating the signatures. Thus, these certificates would be exchanged rather than merely exchanging the raw public keys.
As illustrated, in one embodiment, eachIoT device101,102 includes a securekey storage1001,1003, respectively, for security storing each device's private key.Security logic1002,1304 then utilizes the securely stored private keys to perform the encryption/decryption operations described herein. Similarly, theIoT hub110 includes asecure storage1011 for storing the IoT hub private key and the public keys of the IoT devices101-102 and theIoT service120; as well assecurity logic1012 for using the keys to perform encryption/decryption operations. Finally, theIoT service120 may include asecure storage1021 for security storing its own private key, the public keys of various IoT devices and IoT hubs, and asecurity logic1013 for using the keys to encrypt/decrypt communication with IoT hubs and devices. In one embodiment, when theIoT hub110 receives a public key certificate from an IoT device it can verify it (e.g., by validating the signature using the master key as described above), and then extract the public key from within it and store that public key in it's securekey store1011.
By way of example, in one embodiment, when theIoT service120 needs to transmit a command or data to an IoT device101 (e.g., a command to unlock a door, a request to read a sensor, data to be processed/displayed by the IoT device, etc) thesecurity logic1013 encrypts the data/command using the public key of theIoT device101 to generate an encrypted IoT device packet. In one embodiment, it then encrypts the IoT device packet using the public key of theIoT hub110 to generate an IoT hub packet and transmits the IoT hub packet to theIoT hub110. In one embodiment, theservice120 signs the encrypted message with it's private key or the master key mentioned above so that thedevice101 can verify it is receiving an unaltered message from a trusted source. Thedevice101 may then validate the signature using the public key corresponding to the private key and/or the master key. As mentioned above, symmetric key exchange/encryption techniques may be used instead of public/private key encryption. In these embodiments, rather than privately storing one key and providing a corresponding public key to other devices, the devices may each be provided with a copy of the same symmetric key to be used for encryption and to validate signatures. One example of a symmetric key algorithm is the Advanced Encryption Standard (AES), although the underlying principles of the invention are not limited to any type of specific symmetric keys.
Using a symmetric key implementation, eachdevice101 enters into a secure key exchange protocol to exchange a symmetric key with theIoT hub110. A secure key provisioning protocol such as the Dynamic Symmetric Key Provisioning Protocol (DSKPP) may be used to exchange the keys over a secure communication channel (see, e.g., Request for Comments (RFC) 6063). However, the underlying principles of the invention are not limited to any particular key provisioning protocol.
Once the symmetric keys have been exchanged, they may be used by eachdevice101 and theIoT hub110 to encrypt communications. Similarly, theIoT hub110 andIoT service120 may perform a secure symmetric key exchange and then use the exchanged symmetric keys to encrypt communications. In one embodiment a new symmetric key is exchanged periodically between thedevices101 and thehub110 and between thehub110 and theIoT service120. In one embodiment, a new symmetric key is exchanged with each new communication session between thedevices101, thehub110, and the service120 (e.g., a new key is generated and securely exchanged for each communication session). In one embodiment, if thesecurity module1012 in the IoT hub is trusted, theservice120 could negotiate a session key with the hub security module1312 and then thesecurity module1012 would negotiate a session key with eachdevice120. Messages from theservice120 would then be decrypted and verified in thehub security module1012 before being re-encrypted for transmission to thedevice101.
In one embodiment, to prevent a compromise on the hub security module1012 a one-time (permanent) installation key may be negotiated between thedevice101 andservice120 at installation time. When sending a message to adevice101 theservice120 could first encrypt/MAC with this device installation key, then encrypt/MAC that with the hub's session key. Thehub110 would then verify and extract the encrypted device blob and send that to the device.
In one embodiment of the invention, a counter mechanism is implemented to prevent replay attacks. For example, each successive communication from thedevice101 to the hub110 (or vice versa) may be assigned a continually increasing counter value. Both thehub110 anddevice101 will track this value and verify that the value is correct in each successive communication between the devices. The same techniques may be implemented between thehub110 and theservice120. Using a counter in this manner would make it more difficult to spoof the communication between each of the devices (because the counter value would be incorrect). However, even without this a shared installation key between the service and device would prevent network (hub) wide attacks to all devices.
In one embodiment, when using public/private key encryption, theIoT hub110 uses its private key to decrypt the IoT hub packet and generate the encrypted IoT device packet, which it transmits to the associatedIoT device101. TheIoT device101 then uses its private key to decrypt the IoT device packet to generate the command/data originated from theIoT service120. It may then process the data and/or execute the command. Using symmetric encryption, each device would encrypt and decrypt with the shared symmetric key. If either case, each transmitting device may also sign the message with it's private key so that the receiving device can verify it's authenticity.
A different set of keys may be used to encrypt communication from theIoT device101 to theIoT hub110 and to theIoT service120. For example, using a public/private key arrangement, in one embodiment, thesecurity logic1002 on theIoT device101 uses the public key of theIoT hub110 to encrypt data packets sent to theIoT hub110. Thesecurity logic1012 on theIoT hub110 may then decrypt the data packets using the IoT hub's private key. Similarly, thesecurity logic1002 on theIoT device101 and/or thesecurity logic1012 on theIoT hub110 may encrypt data packets sent to theIoT service120 using the public key of the IoT service120 (which may then be decrypted by thesecurity logic1013 on theIoT service120 using the service's private key). Using symmetric keys, thedevice101 andhub110 may share a symmetric key while the hub andservice120 may share a different symmetric key.
While certain specific details are set forth above in the description above, it should be noted that the underlying principles of the invention may be implemented using various different encryption techniques. For example, while some embodiments discussed above use asymmetric public/private key pairs, an alternate embodiment may use symmetric keys securely exchanged between the various IoT devices101-102,IoT hubs110, and theIoT service120. Moreover, in some embodiments, the data/command itself is not encrypted, but a key is used to generate a signature over the data/command (or other data structure). The recipient may then use its key to validate the signature.
As illustrated inFIG. 11, in one embodiment, the secure key storage on eachIoT device101 is implemented using a programmable subscriber identity module (SIM)1101. In this embodiment, theIoT device101 may initially be provided to the end user with anun-programmed SIM card1101 seated within aSIM interface1100 on theIoT device101. In order to program the SIM with a set of one or more encryption keys, the user takes theprogrammable SIM card1101 out of the SIM interface500 and inserts it into aSIM programming interface1102 on theIoT hub110. Programming logic1125 on the IoT hub then securely programs theSIM card1101 to register/pair theIoT device101 with theIoT hub110 andIoT service120. In one embodiment, a public/private key pair may be randomly generated by the programming logic1125 and the public key of the pair may then be stored in the IoT hub's secure storage device411 while the private key may be stored within theprogrammable SIM1101. In addition, the programming logic525 may store the public keys of theIoT hub110, theIoT service120, and/or any otherIoT devices101 on the SIM card1401 (to be used by thesecurity logic1302 on theIoT device101 to encrypt outgoing data). Once theSIM1101 is programmed, thenew IoT device101 may be provisioned with theIoT Service120 using the SIM as a secure identifier (e.g., using existing techniques for registering a device using a SIM). Following provisioning, both theIoT hub110 and theIoT service120 will securely store a copy of the IoT device's public key to be used when encrypting communication with theIoT device101.
The techniques described above with respect toFIG. 11 provide enormous flexibility when providing new IoT devices to end users. Rather than requiring a user to directly register each SIM with a particular service provider upon sale/purchase (as is currently done), the SIM may be programmed directly by the end user via theIoT hub110 and the results of the programming may be securely communicated to theIoT service120. Consequently,new IoT devices101 may be sold to end users from online or local retailers and later securely provisioned with theIoT service120.
While the registration and encryption techniques are described above within the specific context of a SIM (Subscriber Identity Module), the underlying principles of the invention are not limited to a “SIM” device. Rather, the underlying principles of the invention may be implemented using any type of device having secure storage for storing a set of encryption keys. Moreover, while the embodiments above include a removable SIM device, in one embodiment, the SIM device is not removable but the IoT device itself may be inserted within theprogramming interface1102 of theIoT hub110.
In one embodiment, rather than requiring the user to program the SIM (or other device), the SIM is pre-programmed into theIoT device101, prior to distribution to the end user. In this embodiment, when the user sets up theIoT device101, various techniques described herein may be used to securely exchange encryption keys between theIoT hub110/IoT service120 and thenew IoT device101.
For example, as illustrated inFIG. 12A eachIoT device101 orSIM401 may be packaged with a barcode orQR code1501 uniquely identifying theIoT device101 and/orSIM1001. In one embodiment, the barcode orQR code1201 comprises an encoded representation of the public key for theIoT device101 orSIM1001. Alternatively, the barcode orQR code1201 may be used by theIoT hub110 and/orIoT service120 to identify or generate the public key (e.g., used as a pointer to the public key which is already stored in secure storage). The barcode orQR code601 may be printed on a separate card (as shown inFIG. 12A) or may be printed directly on the IoT device itself. Regardless of where the barcode is printed, in one embodiment, theIoT hub110 is equipped with abarcode reader206 for reading the barcode and providing the resulting data to thesecurity logic1012 on theIoT hub110 and/or thesecurity logic1013 on theIoT service120. Thesecurity logic1012 on theIoT hub110 may then store the public key for the IoT device within its securekey storage1011 and thesecurity logic1013 on theIoT service120 may store the public key within its secure storage1021 (to be used for subsequent encrypted communication).
In one embodiment, the data contained in the barcode orQR code1201 may also be captured via a user device135 (e.g., such as an iPhone or Android device) with an installed IoT app or browser-based applet designed by the IoT service provider. Once captured, the barcode data may be securely communicated to theIoT service120 over a secure connection (e.g., such as a secure sockets layer (SSL) connection). The barcode data may also be provided from theclient device135 to theIoT hub110 over a secure local connection (e.g., over a local WiFi or Bluetooth LE connection).
Thesecurity logic1002 on theIoT device101 and thesecurity logic1012 on theIoT hub110 may be implemented using hardware, software, firmware or any combination thereof. For example, in one embodiment, thesecurity logic1002,1012 is implemented within the chips used for establishing thelocal communication channel130 between theIoT device101 and the IoT hub110 (e.g., the Bluetooth LE chip if thelocal channel130 is Bluetooth LE). Regardless of the specific location of thesecurity logic1002,1012, in one embodiment, thesecurity logic1002,1012 is designed to establish a secure execution environment for executing certain types of program code. This may be implemented, for example, by using TrustZone technology (available on some ARM processors) and/or Trusted Execution Technology (designed by Intel). Of course, the underlying principles of the invention are not limited to any particular type of secure execution technology.
In one embodiment, the barcode orQR code1501 may be used to pair eachIoT device101 with theIoT hub110. For example, rather than using the standard wireless pairing process currently used to pair Bluetooth LE devices, a pairing code embedded within the barcode orQR code1501 may be provided to theIoT hub110 to pair the IoT hub with the corresponding IoT device.
FIG. 12B illustrates one embodiment in which thebarcode reader206 on theIoT hub110 captures the barcode/QR code1201 associated with theIoT device101. As mentioned, the barcode/QR code1201 may be printed directly on theIoT device101 or may be printed on a separate card provided with theIoT device101. In either case, thebarcode reader206 reads the pairing code from the barcode/QR code1201 and provides the pairing code to thelocal communication module1280. In one embodiment, thelocal communication module1280 is a Bluetooth LE chip and associated software, although the underlying principles of the invention are not limited to any particular protocol standard. Once the pairing code is received, it is stored in a secure storage containingpairing data1285 and theIoT device101 andIoT hub110 are automatically paired. Each time the IoT hub is paired with a new IoT device in this manner, the pairing data for that pairing is stored within the secure storage685. In one embodiment, once thelocal communication module1280 of theIoT hub110 receives the pairing code, it may use the code as a key to encrypt communications over the local wireless channel with theIoT device101.
Similarly, on theIoT device101 side, the local communication module1590 stores pairing data within a local secure storage device1595 indicating the pairing with the IoT hub. Thepairing data1295 may include the pre-programmed pairing code identified in the barcode/QR code1201. Thepairing data1295 may also include pairing data received from thelocal communication module1280 on theIoT hub110 required for establishing a secure local communication channel (e.g., an additional key to encrypt communication with the IoT hub110).
Thus, the barcode/QR code1201 may be used to perform local pairing in a far more secure manner than current wireless pairing protocols because the pairing code is not transmitted over the air. In addition, in one embodiment, the same barcode/QR code1201 used for pairing may be used to identify encryption keys to build a secure connection from theIoT device101 to theIoT hub110 and from theIoT hub110 to theIoT service120.
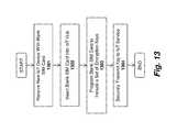
A method for programming a SIM card in accordance with one embodiment of the invention is illustrated inFIG. 13. The method may be implemented within the system architecture described above, but is not limited to any particular system architecture.
At1301, a user receives a new IoT device with a blank SIM card and, at1602, the user inserts the blank SIM card into an IoT hub. At1303, the user programs the blank SIM card with a set of one or more encryption keys. For example, as mentioned above, in one embodiment, the IoT hub may randomly generate a public/private key pair and store the private key on the SIM card and the public key in its local secure storage. In addition, at1304, at least the public key is transmitted to the IoT service so that it may be used to identify the IoT device and establish encrypted communication with the IoT device. As mentioned above, in one embodiment, a programmable device other than a “SIM” card may be used to perform the same functions as the SIM card in the method shown inFIG. 13.
A method for integrating a new IoT device into a network is illustrated inFIG. 14. The method may be implemented within the system architecture described above, but is not limited to any particular system architecture.
At1401, a user receives a new IoT device to which an encryption key has been pre-assigned. At1402, the key is securely provided to the IoT hub. As mentioned above, in one embodiment, this involves reading a barcode associated with the IoT device to identify the public key of a public/private key pair assigned to the device. The barcode may be read directly by the IoT hub or captured via a mobile device via an app or bowser. In an alternate embodiment, a secure communication channel such as a Bluetooth LE channel, a near field communication (NFC) channel or a secure WiFi channel may be established between the IoT device and the IoT hub to exchange the key. Regardless of how the key is transmitted, once received, it is stored in the secure keystore of the IoT hub device. As mentioned above, various secure execution technologies may be used on the IoT hub to store and protect the key such as Secure Enclaves, Trusted Execution Technology (TXT), and/or Trustzone. In addition, at803, the key is securely transmitted to the IoT service which stores the key in its own secure keystore. It may then use the key to encrypt communication with the IoT device. One again, the exchange may be implemented using a certificate/signed key. Within thehub110 it is particularly important to prevent modification/addition/removal of the stored keys.
A method for securely communicating commands/data to an IoT device using public/private keys is illustrated inFIG. 15. The method may be implemented within the system architecture described above, but is not limited to any particular system architecture.
At1501, the IoT service encrypts the data/commands using the IoT device public key to create an IoT device packet. It then encrypts the IoT device packet using IoT hub's public key to create the IoT hub packet (e.g., creating an IoT hub wrapper around the IoT device packet). At1502, the IoT service transmits the IoT hub packet to the IoT hub. At1503, the IoT hub decrypts the IoT hub packet using the IoT hub's private key to generate the IoT device packet. At1504 it then transmits the IoT device packet to the IoT device which, at1505, decrypts the IoT device packet using the IoT device private key to generate the data/commands. At1506, the IoT device processes the data/commands.
In an embodiment which uses symmetric keys, a symmetric key exchange may be negotiated between each of the devices (e.g., each device and the hub and between the hub and the service). Once the key exchange is complete, each transmitting device encrypts and/or signs each transmission using the symmetric key before transmitting data to the receiving device.
Apparatus and Method for Establishing Secure Communication Channels in an Internet of Things (IoT) System
In one embodiment of the invention, encryption and decryption of data is performed between theIoT service120 and eachIoT device101, regardless of the intermediate devices used to support the communication channel (e.g., such as the user'smobile device611 and/or the IoT hub110). One embodiment which communicates via anIoT hub110 is illustrated inFIG. 16A and another embodiment which does not require an IoT hub is illustrated inFIG. 16B.
Turning first toFIG. 16A, theIoT service120 includes anencryption engine1660 which manages a set of “service session keys”1650 and eachIoT device101 includes anencryption engine1661 which manages a set of “device session keys”1651 for encrypting/decrypting communication between theIoT device101 andIoT service120. The encryption engines may rely on different hardware modules when performing the security/encryption techniques described herein including a hardware security module1630-1631 for (among other things) generating a session public/private key pair and preventing access to the private session key of the pair and a key stream generation module1640-1641 for generating a key stream using a derived secret. In one embodiment, theservice session keys1650 and thedevice session keys1651 comprise related public/private key pairs. For example, in one embodiment, thedevice session keys1651 on theIoT device101 include a public key of theIoT service120 and a private key of theIoT device101. As discussed in detail below, in one embodiment, to establish a secure communication session, the public/private session key pairs,1650 and1651, are used by each encryption engine,1660 and1661, respectively, to generate the same secret which is then used by the SKGMs1640-1641 to generate a key stream to encrypt and decrypt communication between theIoT service120 and theIoT device101. Additional details associated with generation and use of the secret in accordance with one embodiment of the invention are provided below.
InFIG. 16A, once the secret has been generated using the keys1650-1651, the client will always send messages to theIoT device101 through theIoT service120, as indicated byClear transaction1611. “Clear” as used herein is meant to indicate that the underlying message is not encrypted using the encryption techniques described herein. However, as illustrated, in one embodiment, a secure sockets layer (SSL) channel or other secure channel (e.g., an Internet Protocol Security (IPSEC) channel) is established between theclient device611 andIoT service120 to protect the communication. Theencryption engine1660 on theIoT service120 then encrypts the message using the generated secret and transmits the encrypted message to theIoT hub110 at1602. Rather than using the secret to encrypt the message directly, in one embodiment, the secret and a counter value are used to generate a key stream, which is used to encrypt each message packet. Details of this embodiment are described below with respect toFIG. 17.
As illustrated, an SSL connection or other secure channel may be established between theIoT service120 and theIoT hub110. The IoT hub110 (which does not have the ability to decrypt the message in one embodiment) transmits the encrypted message to the IoT device at1603 (e.g., over a Bluetooth Low Energy (BTLE) communication channel). Theencryption engine1661 on theIoT device101 may then decrypt the message using the secret and process the message contents. In an embodiment which uses the secret to generate a key stream, theencryption engine1661 may generate the key stream using the secret and a counter value and then use the key stream for decryption of the message packet.
The message itself may comprise any form of communication between theIoT service120 andIoT device101. For example, the message may comprise a command packet instructing theIoT device101 to perform a particular function such as taking a measurement and reporting the result back to theclient device611 or may include configuration data to configure the operation of theIoT device101.
If a response is required, theencryption engine1661 on theIoT device101 uses the secret or a derived key stream to encrypt the response and transmits the encrypted response to theIoT hub110 at1604, which forwards the response to theIoT service120 at1605. Theencryption engine1660 on theIoT service120 then decrypts the response using the secret or a derived key stream and transmits the decrypted response to theclient device611 at1606 (e.g., over the SSL or other secure communication channel).
FIG. 16B illustrates an embodiment which does not require an IoT hub. Rather, in this embodiment, communication between theIoT device101 andIoT service120 occurs through the client device611 (e.g., as in the embodiments described above with respect toFIGS. 6-9B). In this embodiment, to transmit a message to theIoT device101 theclient device611 transmits an unencrypted version of the message to theIoT service120 at1611. Theencryption engine1660 encrypts the message using the secret or the derived key stream and transmits the encrypted message back to theclient device611 at1612. Theclient device611 then forwards the encrypted message to theIoT device101 at1613, and theencryption engine1661 decrypts the message using the secret or the derived key stream. TheIoT device101 may then process the message as described herein. If a response is required, theencryption engine1661 encrypts the response using the secret and transmits the encrypted response to theclient device611 at1614, which forwards the encrypted response to theIoT service120 at1615. Theencryption engine1660 then decrypts the response and transmits the decrypted response to theclient device611 at1616.
FIG. 17 illustrates a key exchange and key stream generation which may initially be performed between theIoT service120 and theIoT device101. In one embodiment, this key exchange may be performed each time theIoT service120 andIoT device101 establish a new communication session. Alternatively, the key exchange may be performed and the exchanged session keys may be used for a specified period of time (e.g., a day, a week, etc). While no intermediate devices are shown inFIG. 17 for simplicity, communication may occur through theIoT hub110 and/or theclient device611.
In one embodiment, theencryption engine1660 of theIoT service120 sends a command to the HSM1630 (e.g., which may be such as a CloudHSM offered by Amazon®) to generate a session public/private key pair. TheHSM1630 may subsequently prevent access to the private session key of the pair. Similarly, the encryption engine on theIoT device101 may transmit a command to the HSM1631 (e.g., such as an Atecc508 HSM from Atmel Corporation®) which generates a session public/private key pair and prevents access to the session private key of the pair. Of course, the underlying principles of the invention are not limited to any specific type of encryption engine or manufacturer.
In one embodiment, theIoT service120 transmits its session public key generated using theHSM1630 to theIoT device101 at1701. The IoT device uses itsHSM1631 to generate its own session public/private key pair and, at1702, transmits its public key of the pair to theIoT service120. In one embodiment, the encryption engines1660-1661 use an Elliptic curve Diffie-Hellman (ECDH) protocol, which is an anonymous key agreement that allows two parties with an elliptic curve public-private key pair, to establish a shared secret. In one embodiment, using these techniques, at1703, theencryption engine1660 of theIoT service120 generates the secret using the IoT device session public key and its own session private key. Similarly, at1704, theencryption engine1661 of theIoT device101 independently generates the same secret using theIoT service120 session public key and its own session private key. More specifically, in one embodiment, theencryption engine1660 on theIoT service120 generates the secret according to the formula secret=IoT device session pub key * IoT service session private key, where ‘*’ means that the IoT device session public key is point-multiplied by the IoT service session private key. Theencryption engine1661 on theIoT device101 generates the secret according to the formula secret=IoT service session pub key * IoT device session private key, where the IoT service session public key is point multiplied by the IoT device session private key. In the end, theIoT service120 andIoT device101 have both generated the same secret to be used to encrypt communication as described below. In one embodiment, the encryption engines1660-1661 rely on a hardware module such as the KSGMs1640-1641 respectively to perform the above operations for generating the secret.
Once the secret has been determined, it may be used by theencryption engines1660 and1661 to encrypt and decrypt data directly. Alternatively, in one embodiment, the encryption engines1660-1661 send commands to the KSGMs1640-1641 to generate a new key stream using the secret to encrypt/decrypt each data packet (i.e., a new key stream data structure is generated for each packet). In particular, one embodiment of the key stream generation module1640-1641 implements a Galois/Counter Mode (GCM) in which a counter value is incremented for each data packet and is used in combination with the secret to generate the key stream. Thus, to transmit a data packet to theIoT service120, theencryption engine1661 of theIoT device101 uses the secret and the current counter value to cause the KSGMs1640-1641 to generate a new key stream and increment the counter value for generating the next key stream. The newly-generated key stream is then used to encrypt the data packet prior to transmission to theIoT service120. In one embodiment, the key stream is XORed with the data to generate the encrypted data packet. In one embodiment, theIoT device101 transmits the counter value with the encrypted data packet to theIoT service120. Theencryption engine1660 on the IoT service then communicates with theKSGM1640 which uses the received counter value and the secret to generate the key stream (which should be the same key stream because the same secret and counter value are used) and uses the generated key stream to decrypt the data packet.
In one embodiment, data packets transmitted from theIoT service120 to theIoT device101 are encrypted in the same manner. Specifically, a counter is incremented for each data packet and used along with the secret to generate a new key stream. The key stream is then used to encrypt the data (e.g., performing an XOR of the data and the key stream) and the encrypted data packet is transmitted with the counter value to theIoT device101. Theencryption engine1661 on theIoT device101 then communicates with theKSGM1641 which uses the counter value and the secret to generate the same key stream which is used to decrypt the data packet. Thus, in this embodiment, the encryption engines1660-1661 use their own counter values to generate a key stream to encrypt data and use the counter values received with the encrypted data packets to generate a key stream to decrypt the data.
In one embodiment, each encryption engine1660-1661 keeps track of the last counter value it received from the other and includes sequencing logic to detect whether a counter value is received out of sequence or if the same counter value is received more than once. If a counter value is received out of sequence, or if the same counter value is received more than once, this may indicate that a replay attack is being attempted. In response, the encryption engines1660-1661 may disconnect from the communication channel and/or may generate a security alert.
FIG. 18 illustrates an exemplary encrypted data packet employed in one embodiment of the invention comprising a 4-byte counter value1800, a variable-sizedencrypted data field1801, and a 6-byte tag1802. In one embodiment, thetag1802 comprises a checksum value to validate the decrypted data (once it has been decrypted).
As mentioned, in one embodiment, the session public/private key pairs1650-1651 exchanged between theIoT service120 andIoT device101 may be generated periodically and/or in response to the initiation of each new communication session.
One embodiment of the invention implements additional techniques for authenticating sessions between theIoT service120 andIoT device101. In particular, in one embodiment, hierarchy of public/private key pairs is used including a master key pair, a set of factory key pairs, and a set of IoT service key pairs, and a set of IoT device key pairs. In one embodiment, the master key pair comprises a root of trust for all of the other key pairs and is maintained in a single, highly secure location (e.g., under the control of the organization implementing the IoT systems described herein). The master private key may be used to generate signatures over (and thereby authenticate) various other key pairs such as the factory key pairs. The signatures may then be verified using the master public key. In one embodiment, each factory which manufactures IoT devices is assigned its own factory key pair which may then be used to authenticate IoT service keys and IoT device keys. For example, in one embodiment, a factory private key is used to generate a signature over IoT service public keys and IoT device public keys. These signature may then be verified using the corresponding factory public key. Note that these IoT service/device public keys are not the same as the “session” public/private keys described above with respect toFIGS. 16A-B. The session public/private keys described above are temporary (i.e., generated for a service/device session) while the IoT service/device key pairs are permanent (i.e., generated at the factory).
With the foregoing relationships between master keys, factory keys, service/device keys in mind, one embodiment of the invention performs the following operations to provide additional layers of authentication and security between theIoT service120 and IoT device101:
    • A. In one embodiment, theIoT service120 initially generates a message containing the following:
      • 1. The IoT service's unique ID:
        • The IoT service's serial number;
        • a Timestamp;
        • The ID of the factory key used to sign this unique ID;
        • a Class of the unique ID (i.e., a service);
        • IoT service's public key
        • The signature over the unique ID.
      • 2. The Factory Certificate including:
        • A timestamp
        • The ID of the master key used to sign the certificate
        • The factory public key
        • The signature of the Factory Certificate
      • 3. IoT service session public key (as described above with respect toFIGS. 16A-B)
      • 4. IoT service session public key signature (e.g., signed with the IoT service's private key)
    • B. In one embodiment, the message is sent to the IoT device on the negotiation channel (described below). The IoT device parses the message and:
      • 1. Verifies the signature of the factory certificate (only if present in the message payload)
      • 2. Verifies the signature of the unique ID using the key identified by the unique ID
      • 3. Verifies the IoT service session public key signature using the IoT service's public key from the unique ID
      • 4. Saves the IoT service's public key as well as the IoT service's session public key
      • 5. Generates the IoT device session key pair
    • C. The IoT device then generates a message containing the following:
      • 1. IoT device's unique ID
        • IoT device serial number
        • Timestamp
        • ID of factory key used to sign this unique ID
        • Class of unique ID (i.e., IoT device)
        • IoT device's public key
        • Signature of unique ID
      • 2. IoT device's session public key
      • 3. Signature of (IoT device session public key+IoT service session public key) signed with IoT device's key
    • D. This message is sent back to the IoT service. The IoT service parses the message and:
      • 1. Verifies the signature of the unique ID using the factory public key
      • 2. Verifies the signature of the session public keys using the IoT device's public key
      • 3. Saves the IoT device's session public key
    • E. The IoT service then generates a message containing a signature of (IoT device session public key+IoT service session public key) signed with the IoT service's key.
    • F. The IoT device parses the message and:
      • 1. Verifies the signature of the session public keys using the IoT service's public key
      • 2. Generates the key stream from the IoT device session private key and the IoT service's session public key
      • 3. The IoT device then sends a “messaging available” message.
    • G. The IoT service then does the following:
      • 1. Generates the key stream from the IoT service session private key and the IoT device's session public key
      • 2. Creates a new message on the messaging channel which contains the following:
        • Generates and stores a random 2 byte value
        • Set attribute message with the boomerang attribute Id (discussed below) and the random value
    • H. The IoT device receives the message and:
      • 1. Attempts to decrypt the message
      • 2. Emits an Update with the same value on the indicated attribute Id
    • I. The IoT service recognizes the message payload contains a boomerang attribute update and:
      • 1. Sets its paired state to true
      • 2. Sends a pairing complete message on the negotiator channel
    • J. IoT device receives the message and sets his paired state to true
While the above techniques are described with respect to an “IoT service” and an “IoT device,” the underlying principles of the invention may be implemented to establish a secure communication channel between any two devices including user client devices, servers, and Internet services.
The above techniques are highly secure because the private keys are never shared over the air (in contrast to current Bluetooth pairing techniques in which a secret is transmitted from one party to the other). An attacker listening to the entire conversation will only have the public keys, which are insufficient to generate the shared secret. These techniques also prevent a man-in-the-middle attack by exchanging signed public keys. In addition, because GCM and separate counters are used on each device, any kind of “replay attack” (where a man in the middle captures the data and sends it again) is prevented. Some embodiments also prevent replay attacks by using asymmetrical counters.
Techniques for Exchanging Data and Commands without Formally Pairing Devices
GATT is an acronym for the Generic Attribute Profile, and it defines the way that two Bluetooth Low Energy (BTLE) devices transfer data back and forth. It makes use of a generic data protocol called the Attribute Protocol (ATT), which is used to store Services, Characteristics and related data in a simple lookup table using 16-bit Characteristic IDs for each entry in the table. Note that while the “characteristics” are sometimes referred to as “attributes.”
On Bluetooth devices, the most commonly used characteristic is the devices “name” (having characteristic ID 10752 (0x2A00)). For example, a Bluetooth device may identify other Bluetooth devices within its vicinity by reading the “Name” characteristic published by those other Bluetooth devices using GATT. Thus, Bluetooth device have the inherent ability to exchange data without formally pairing/bonding the devices (note that “paring” and “bonding” are sometimes used interchangeably; the remainder of this discussion will use the term “pairing”).
One embodiment of the invention takes advantage of this capability to communicate with BTLE-enabled IoT devices without formally pairing with these devices. Pairing with each individual IoT device would extremely inefficient because of the amount of time required to pair with each device and because only one paired connection may be established at a time.
FIG. 19 illustrates one particular embodiment in which a Bluetooth (BT)device1910 establishes a network socket abstraction with aBT communication module1901 of anIoT device101 without formally establishing a paired BT connection. TheBT device1910 may be included in anIoT hub110 and/or aclient device611 such as shown inFIG. 16A. As illustrated, theBT communication module1901 maintains a data structure containing a list of characteristic IDs, names associated with those characteristic IDs and values for those characteristic IDs. The value for each characteristic may be stored within a 20-byte buffer identified by the characteristic ID in accordance with the current BT standard. However, the underlying principles of the invention are not limited to any particular buffer size.
In the example inFIG. 19, the “Name” characteristic is a BT-defined characteristic which is assigned a specific value of “IoT Device14.” One embodiment of the invention specifies a first set of additional characteristics to be used for negotiating a secure communication channel with theBT device1910 and a second set of additional characteristics to be used for encrypted communication with theBT device1910. In particular, a “negotiation write” characteristic, identified by characteristic ID<65532> in the illustrated example, may be used to transmit outgoing negotiation messages and the “negotiation read” characteristic, identified by characteristic ID<65533> may be used to receive incoming negotiation messages. The “negotiation messages” may include messages used by theBT device1910 and theBT communication module1901 to establish a secure communication channel as described herein. By way of example, inFIG. 17, theIoT device101 may receive the IoT service sessionpublic key1701 via the “negotiation read” characteristic <65533>. The key1701 may be transmitted from theIoT service120 to a BTLE-enabledIoT hub110 orclient device611 which may then use GATT to write the key1701 to the negotiation read value buffer identified by characteristic ID<65533>. IoTdevice application logic1902 may then read the key1701 from the value buffer identified by characteristic ID<65533> and process it as described above (e.g., using it to generate a secret and using the secret to generate a key stream, etc).
If the key1701 is greater than 20 bytes (the maximum buffer size in some current implementations), then it may be written in 20-byte portions. For example, the first 20 bytes may be written by theBT communication module1903 to characteristic ID<65533> and read by the IoTdevice application logic1902, which may then write an acknowledgement message to the negotiation write value buffer identified by characteristic ID<65532>. Using GATT, theBT communication module1903 may read this acknowledgement from characteristic ID<65532> and responsively write the next 20 bytes of the key1701 to the negotiation read value buffer identified by characteristic ID<65533>. In this manner, a network socket abstraction defined by characteristic IDs <65532> and <65533> is established for exchanging negotiation messages used to establish a secure communication channel.
In one embodiment, once the secure communication channel is established, a second network socket abstraction is established using characteristic ID<65534> (for transmitting encrypted data packets from IoT device101) and characteristic ID<65533> (for receiving encrypted data packets by IoT device). That is, whenBT communication module1903 has an encrypted data packet to transmit (e.g., such asencrypted message1603 inFIG. 16A), it starts writing the encrypted data packet, 20 bytes at a time, using the message read value buffer identified by characteristic ID<65533>. The IoTdevice application logic1902 will then read the encrypted data packet, 20 bytes at a time, from the read value buffer, sending acknowledgement messages to theBT communication module1903 as needed via the write value buffer identified by characteristic ID<65532>.
In one embodiment, the commands of GET, SET, and UPDATE described below are used to exchange data and commands between the twoBT communication modules1901 and1903. For example, theBT communication module1903 may send a packet identifying characteristic ID<65533> and containing the SET command to write into the value field/buffer identified by characteristic ID<65533> which may then be read by the IoTdevice application logic1902. To retrieve data from theIoT device101, theBT communication module1903 may transmit a GET command directed to the value field/buffer identified by characteristic ID<65534>. In response to the GET command, theBT communication module1901 may transmit an UPDATE packet to theBT communication module1903 containing the data from the value field/buffer identified by characteristic ID<65534>. In addition, UPDATE packets may be transmitted automatically, in response to changes in a particular attribute on theIoT device101. For example, if the IoT device is associated with a lighting system and the user turns on the lights, then an UPDATE packet may be sent to reflect the change to the on/off attribute associated with the lighting application.
FIG. 20 illustrates exemplary packet formats used for GET, SET, and UPDATE in accordance with one embodiment of the invention. In one embodiment, these packets are transmitted over the message write <65534> and message read <65533> channels following negotiation. In theGET packet2001, a first 1-byte field includes a value (0X10) which identifies the packet as a GET packet. A second 1-byte field includes a request ID, which uniquely identifies the current GET command (i.e., identifies the current transaction with which the GET command is associated). For example, each instance of a GET command transmitted from a service or device may be assigned a different request ID. This may be done, for example, by incrementing a counter and using the counter value as the request ID. However, the underlying principles of the invention are not limited to any particular manner for setting the request ID.
A 2-byte attribute ID identifies the application-specific attribute to which the packet is directed. For example, if the GET command is being sent toIoT device101 illustrated inFIG. 19, the attribute ID may be used to identify the particular application-specific value being requested. Returning to the above example, the GET command may be directed to an application-specific attribute ID such as power status of a lighting system, which comprises a value identifying whether the lights are powered on or off (e.g., 1=on, 0=off). If theIoT device101 is a security apparatus associated with a door, then the value field may identify the current status of the door (e.g., 1=opened, 0=closed). In response to the GET command, a response may be transmitting containing the current value identified by the attribute ID.
TheSET packet2002 andUPDATE packet2003 illustrated inFIG. 20 also include a first 1-byte field identifying the type of packet (i.e., SET and UPDATE), a second 1-byte field containing a request ID, and a 2-byte attribute ID field identifying an application-defined attribute. In addition, the SET packet includes a 2-byte length value identifying the length of data contained in an n-byte value data field. The value data field may include a command to be executed on the IoT device and/or configuration data to configure the operation of the IoT device in some manner (e.g., to set a desired parameter, to power down the IoT device, etc). For example, if theIoT device101 controls the speed of a fan, the value field may reflect the current fan speed.
TheUPDATE packet2003 may be transmitted to provide an update of the results of the SET command. TheUPDATE packet2003 includes a 2-byte length value field to identify the length of the n-byte value data field which may include data related to the results of the SET command. In addition, a 1-byte update state field may identify the current state of the variable being updated. For example, if the SET command attempted to turn off a light controlled by the IoT device, the update state field may indicate whether the light was successfully turned off.
FIG. 21 illustrates an exemplary sequence of transactions between theIoT service120 and anIoT device101 involving the SET and UPDATE commands. Intermediary devices such as the IoT hub and the user's mobile device are not shown to avoid obscuring the underlying principles of the invention. At2101, theSET command2101 is transmitted form the IoT service to theIoT device101 and received by theBT communication module1901 which responsively updates the GATT value buffer identified by the characteristic ID at2102. The SET command is read from the value buffer by the low power microcontroller (MCU)200 at2103 (or by program code being executed on the low power MCU such as IoTdevice application logic1902 shown inFIG. 19). At2104, theMCU200 or program code performs an operation in response to the SET command. For example, the SET command may include an attribute ID specifying a new configuration parameter such as a new temperature or may include a state value such as on/off (to cause the IoT device to enter into an “on” or a low power state). Thus, at2104, the new value is set in the IoT device and an UPDATE command is returned at2105 and the actual value is updated in a GATT value field at2106. In some cases, the actual value will be equal to the desired value. In other cases, the updated value may be different (i.e., because it may take time for theIoT device101 to update certain types of values). Finally, at2107, the UPDATE command is transmitted back to theIoT service120 containing the actual value from the GATT value field.
FIG. 22 illustrates a method for implementing a secure communication channel between an IoT service and an IoT device in accordance with one embodiment of the invention. The method may be implemented within the context of the network architectures described above but is not limited to any specific architecture.
At2201, the IoT service creates an encrypted channel to communicate with the IoT hub using elliptic curve digital signature algorithm (ECDSA) certificates. At2202, the IoT service encrypts data/commands in IoT device packets using the a session secret to create an encrypted device packet. As mentioned above, the session secret may be independently generated by the IoT device and the IoT service. At2203, the IoT service transmits the encrypted device packet to the IoT hub over the encrypted channel. At2204, without decrypting, the IoT hub passes the encrypted device packet to the IoT device. At22-5, the IoT device uses the session secret to decrypt the encrypted device packet. As mentioned, in one embodiment this may be accomplished by using the secret and a counter value (provided with the encrypted device packet) to generate a key stream and then using the key stream to decrypt the packet. At2206, the IoT device then extracts and processes the data and/or commands contained within the device packet.
Thus, using the above techniques, bi-directional, secure network socket abstractions may be established between two BT-enabled devices without formally pairing the BT devices using standard pairing techniques. While these techniques are described above with respect to anIoT device101 communicating with anIoT service120, the underlying principles of the invention may be implemented to negotiate and establish a secure communication channel between any two BT-enabled devices.
FIGS. 23A-C illustrate a detailed method for pairing devices in accordance with one embodiment of the invention. The method may be implemented within the context of the system architectures described above, but is not limited to any specific system architectures.
At2301, the IoT Service creates a packet containing serial number and public key of the IoT Service. At2302, the IoT Service signs the packet using the factory private key. At2303, the IoT Service sends the packet over an encrypted channel to the IoT hub and at2304 the IoT hub forwards the packet to IoT device over an unencrypted channel. At2305, the IoT device verifies the signature of packet and, at2306, the IoT device generates a packet containing the serial number and public key of the IoT Device. At2307, the IoT device signs the packet using the factory private key and at2308, the IoT device sends the packet over the unencrypted channel to the IoT hub.
At2309, the IoT hub forwards the packet to the IoT service over an encrypted channel and at2310, the IoT Service verifies the signature of the packet. At2311, the IoT Service generates a session key pair, and at2312 the IoT Service generates a packet containing the session public key. The IoT Service then signs the packet with IoT Service private key at2313 and, at2314, the IoT Service sends the packet to the IoT hub over the encrypted channel.
Turning toFIG. 23B, the IoT hub forwards the packet to the IoT device over the unencrypted channel at2315 and, at2316, the IoT device verifies the signature of packet. At2317 the IoT device generates session key pair (e.g., using the techniques described above), and, at2318, an IoT device packet is generated containing the IoT device session public key. At2319, the IoT device signs the IoT device packet with IoT device private key. At2320, the IoT device sends the packet to the IoT hub over the unencrypted channel and, at2321, the IoT hub forwards the packet to the IoT service over an encrypted channel.
At2322, the IoT service verifies the signature of the packet (e.g., using the IoT device public key) and, at2323, the IoT service uses the IoT service private key and the IoT device public key to generate the session secret (as described in detail above). At2324, the IoT device uses the IoT device private key and IoT service public key to generate the session secret (again, as described above) and, at2325, the IoT device generates a random number and encrypts it using the session secret. At2326, the IoT service sends the encrypted packet to IoT hub over the encrypted channel. At2327, the IoT hub forwards the encrypted packet to the IoT device over the unencrypted channel. At2328, the IoT device decrypts the packet using the session secret.
Turning toFIG. 23C, the IoT device re-encrypts the packet using the session secret at2329 and, at2330, the IoT device sends the encrypted packet to the IoT hub over the unencrypted channel. At2331, the IoT hub forwards the encrypted packet to the IoT service over the encrypted channel. The IoT service decrypts the packet using the session secret at2332. At2333 the IoT service verifies that the random number matches the random number it sent. The IoT service then sends a packet indicating that pairing is complete at2334 and all subsequent messages are encrypted using the session secret at2335.
Apparatus and Method for Modifying Packet Interval Timing to Identify a Data Transfer Condition
Bluetooth Low Energy (BTLE) devices send advertising packets separated by an “advertising interval” to establish connections between devices. A BTLE peripheral device broadcasts advertising packets to every device around it using the advertising interval. A receiving BTLE device can then act on this information or connect to receive more information.
The 2.4 GHz spectrum for BTLE extends from 2402 MHz to 2480 MHz and uses 40 1 MHz wide channels, numbered 0 to 39. Each channel is separated by 2 MHz. Channels 37, 38, and 39 are used only for sending advertisement packets. The rest are used for data exchange during a connection. During a BTLE advertisement, a BTLE peripheral device transmits packets on the 3 advertising channels one after the other. A central device scanning for devices or beacons will listen to those channels for the advertising packets, which helps it discover devices nearby. Channels 37, 38 and 39 are intentionally spread across the 2.4 GHz spectrum (i.e., channels 37 and 39 are the first and last channels in the band and channel 38 is in the middle). If any single advertising channel is blocked, the other channels are likely to be free since they are separated by several MHz of bandwidth.
When an IoT device has data to be transmitted, it would normally include a flag as part of its advertisement packets to indicate that data is ready to be sent. In one embodiment of the invention, rather than using this flag, an IoT device adjusts the advertising interval to indicate that it has pending data. For example, if T is the time between advertisement packets when no data is pending, a different advertising interval such as 0.75 T, 0.5 T, or 1.25 T may be selected to indicate that data is pending. In one embodiment, the two different intervals are programmable based on the specific requirements of the application and to make it harder to determine which interval means which state.
FIG. 24 illustrates one embodiment of anIoT device101 in which theBTLE communication interface2410 includes advertisinginterval selection logic2411 which adjusts the advertising interval when data is ready to be transmitted. In addition, theBTLE communication interface2420 on theIoT hub110 includes advertisinginterval detection logic2421 to detect the change in the advertising interval, provide an acknowledgement, and receive the data.
In particular, in the illustrated embodiment, anapplication2401 on theIoT device101 indicates that it has data to be sent. In response, the advertisinginterval selection logic2411 modifies the advertising interval to notify theIoT hub110 that data is to be transmitted (e.g., changing the interval to 0.75 T or some other value). When the advertisinginterval detection logic2421 detects the change, theBTLE communication interface2420 connects to theBTLE communication interface2410 of theIoT device101, indicating that it is ready to receive the data. TheBTLE communication interface2410 of theIoT device101 then transmits the data to theBTLE communication interface2420 of the IoT hub. The IoT hub may then pass the data through to theIoT service120 and/or to the user's client device (not shown). After the data has been transmitted, the advertisinginterval selection logic2411 may then revert back to the normal advertising interval (e.g., AI=T).
In one embodiment of the invention, a secure communication channel is established between theIoT device101 and theIoT service120 using one or more of the security/encryption techniques described above (see, e.g.,FIGS. 16A-23C and associated text). For example, in one embodiment, theIoT service120 performs a key exchange with theIoT device101 as described above to encrypt all communication between theIoT device101 and theIoT service120.
A method in accordance with one embodiment of the invention is illustrated inFIG. 25. The method may be implemented within the context of the system architectures described above, but is not limited to any particular system architectures.
At2500, the IoT device uses the standard advertising interval when generating advertising packets (e.g., separated by time T). The IoT device maintains the standard advertising interval at2502 until it has data to send, determined at2501. Then, at2503, the IoT device switches the advertising interval to indicate that it has data to transmit. At2504, the IoT hub or other network device establishes a connection with the IoT device, thereby allowing the IoT device to transmit its data. Finally, at2505, the IoT device transmits its pending data to the IoT hub.
It should be noted that while the advertising interval techniques are described herein within the context of the BTLE protocol, the underlying principles of the invention are not limited to BTLE. In fact, the underlying principles of the invention may be implemented on any system which selects an advertising interval for establishing wireless communication between devices.
In addition, while adedicated IoT hub110 is illustrated in many embodiments above, a dedicated IoT hub hardware platform is not required for complying with the underlying principles of the invention. For example, the various IoT hubs described above may be implemented as software executed within various other networking devices such as iPhones® and Android® devices. In fact, the IoT hubs discussed above may be implemented on any device capable of communicating with IoT devices (e.g., using BTLE or other local wireless protocol) and establishing a connection over the Internet (e.g., to an IoT service using a WiFi or cellular data connection).
System and Method for Reducing Wireless Traffic When Connecting an IoT Hub to an IoT Device
When multiple IoT hubs are configured in a particular location, a single IoT device may have the ability to connect with each IoT hub within range. As mentioned, an IoT device may use an advertising channel to notify any IoT hubs within range that it is “connectable” so that an IoT hub may connect to it to transmit commands and/or data. When multiple IoT hubs are within range of an IoT device, the IoT service may attempt to transmit commands/data addressed to the IoT device through each of these IoT hubs, thereby wasting wireless bandwidth and reducing performance (e.g., due to interference resulting from the multiple transmissions).
To address this issue, one embodiment of the invention implements techniques to ensure that once a particular IoT hub has successfully connected to the IoT device, the other IoT hubs will be notified to stop attempting to transmit the commands/data. This embodiment will be described with respect toFIGS. 26A-C which shows an exemplary set of IoT hubs110-112 all of which are within range of anIoT device101. As a result, the securewireless communication module2610 of theIoT device101 is capable of seeing and connecting to the secure wireless communication modules2650-2652 of each of the IoT hubs110-112. In one embodiment, the secure wireless communication modules comprise the secure BTLE modules described above. However, the underlying principles of the invention are not limited to any particular wireless standard.
As illustrated inFIG. 26A, in one embodiment, the securewireless communication module2610 of theIoT device101 includesadvertising control logic2610 to periodically transmit an advertising beacon to nearby wireless communication devices indicating that it is “connectable” (i.e., may be connected to by any devices within range). Any IoT hubs110-112 which receive the advertising beacon are then aware of theIoT device101 and the secure wireless communication modules2650-2652 may connect to the securewireless communication module2610 of theIoT device101 when commands/data have been addressed to theIoT device101 by the IoT service.
As illustrated inFIG. 26B, in one embodiment, when the IoT service has data/commands for theIoT device101 it may transmit the data/commands to all of the IoT hubs110-112 within the particular location (e.g., all IoT hubs associated with the user's account and/or within range of the IoT device101). As illustrated, each of the IoT hubs110-112 may then attempt to connect with theIoT device101 to provide the commands/data.
As illustrated inFIG. 26C, in one embodiment, only asingle IoT hub111 will successfully connect to theIoT device101 and provide the commands/data for processing by theIoT device101. With certain wireless communication protocols such as BTLE, once a connection has been made, the securewireless communication module2610 will stop transmitting advertising beacons. As such, theother IoT hubs110,112 will not have any way of knowing that theIoT device101 has successfully received the data fromIoT hub111 and will continue to attempt to transmit the commands/data, thereby consuming wireless bandwidth and creating interference.
To address this limitation, one embodiment of the securewireless communication module2610 includes aconnection manager2611 which, upon detecting a successful connection with the securewireless communication module2651 of theIoT hub111, causes theadvertising control module2612 to continue transmitting advertising beacons. However, instead of indicating that theIoT device101 is “connectable,” the new advertising beacons indicate that theIoT device101 is “not connectable.” In one embodiment, in response to the “not connectable” indication, the securewireless communication modules2650,2652 of theIoT hubs110,112 will stop attempting to transmit the commands/data to the IoT device, thereby reducing unnecessary wireless traffic.
The above techniques provide an elegant solution to undesirable wireless traffic using techniques which may be readily implemented on top of existing wireless protocols. For example, in one embodiment, the “connectable” and “not connectable” indications are implemented within the context of the BTLE standard. However, as mentioned, the underlying principles of the invention may be implemented using a variety of different wireless network protocols.
A method in accordance with one embodiment of the invention is illustrated inFIG. 27. The method may be implemented within the context of the system architectures described above, but is not limited to any particular system architecture.
At2701, commands and/or data are transmitted from the IoT service through two or more IoT hubs. For example, the user may be attempting to control an IoT device via an app on the user's mobile device, which is connected to the IoT service. At2702, the IoT hubs attempt to connect to the IoT device and one of the IoT hubs successfully connects and provides the commands/data to the IoT device. As mentioned, the IoT hubs may be aware of the IoT device as a result of the IoT device transmitting a “connectable” indication in an advertising beacon.
At2703, in response to a successful connection, the IoT device begins transmitting a “not connectable” advertising beacon, thereby informing any IoT hubs within range that the IoT device is no longer connectable. At2704, upon receipt of the “not connectable” beacon, the other IoT hubs stop attempting to transmit the commands/data to the IoT device.
System and Method for Secure Internet of Things (IoT) Device Provisioning
As mentioned above, in one embodiment, when device advertises to an IoT hub, it uses an 8-byte “device ID” which the hub and the IoT service uses to uniquely identify the IoT device. The device ID may be included within the unique barcode or QR code printed on the IoT device which is read and transmitted to the IoT service to provision/register the IoT device in the system. Once provisioned/registered, the device ID is used to address the IoT device in the system.
One security concern with this implementation is that because the barcode/QR code data may be transmitted without encryption, it may be possible to sniff the wireless transmission of the device ID to compromise the system, thereby allowing another user to associate the device ID with his/her account.
In one embodiment, to address this concern, an “association ID” is associated with each device ID and used during the provisioning process to ensure that the device ID is never transmitted in the clear. As illustrated inFIG. 28, in this embodiment, theassociation ID2812 is included in the barcode/QR code printed on theIoT device101 while thedevice ID2811 is maintained securely within the securewireless communication module2810 which implements the techniques described above to ensure secure communication with theIoT service120. In one embodiment, theassociation ID2812 is an 8 byte ID like the device ID and is unique per IoT device. When anew IoT device101 is provisioned in the system, the user scans the barcode/QR code containing theassociation ID2812 with auser device135 having an IoT app or application installed thereon. Alternatively, or in addition, theIoT hub110 may be used to capture the barcode/QR code including the association ID.
In either case, the association ID is transmitted to adevice provisioning module2850 on theIoT service120 which performs a lookup in adevice database2851 which includes an association between each association ID and each device ID. Thedevice provisioning module2850 uses theassociation ID2812 to identify thedevice ID2811 and then uses the device ID to provision thenew IoT device101 in the system. In particular, once the device ID has been determined from thedevice database2851, thedevice provisioning module2850 transmits a command to the IoT hubs110 (which may include the user device135) authorizing theIoT hubs110 to communicate with theIoT device101 using thedevice ID2811.
In one embodiment, theassociation ID2812 is generated at a factory when theIoT device101 is manufactured (i.e., when the securewireless communication module2810 is provisioned). Both thedevice ID2811 and theassociation ID2812 may then be provided to the IoT service and stored within thedevice database2851. As illustrated, thedevice database2851 may include an indication specifying whether each device has been provisioned. By way of example, this may be a binary value with a first value (e.g., 1) indicating that theIoT device101 is provisioned and a second value (e.g., 0) indicating that the IoT device is not provisioned. Once the system has provisioned/registered theIoT device101, the device ID may be used because the communication between theIoT service120 andIoT device101 is protected using the security techniques described above.
In one embodiment, when a user sells an IoT device, the user may release the device ID by logging in to theIoT service120 and releasing the IoT device from the user's account. The new user may then provision the IoT device and associate the IoT device with his/her account using the device provisioning techniques described herein.
A method in accordance with one embodiment of the invention is illustrated inFIG. 29. The method may be implemented within the context of the system architectures described above, but is not limited to any particular system architecture.
At2901, an association is generated between a device ID and an association ID of an IoT device (e.g., at the factory at which the IoT device is manufactured). The association ID may be embedded within a barcode/QR code which is stamped on the IoT device. At2902, the association between the device ID and association ID is stored on the IoT service. At2903, the user purchases the new IoT device and scans the barcode/QR code containing the association ID (e.g., via the user's mobile device with an app or application installed thereon or via an IoT hub with a barcode reader).
At2904, the association ID is transmitted to the IoT service and, at2905, the association ID is used to identify the device ID. At2906, the IoT device is provisioned using the device ID. For example, the IoT device database may be updated to indicate that this particular device ID has been provisioned and the IoT service may communicate the device ID to IoT hubs, instructing the IoT hubs to communicate with the new IoT device.
System and Method for Performing Flow Control in an Internet of Things (IoT) System
Local wireless network traffic will increase based on the number of IoT devices within a given location. Moreover, in some instances, an IoT device may be transmitting more data than is reasonable given the function being performed by the IoT device. For example, software/hardware on the IoT device may malfunction, or the IoT device may be hacked, causing the IoT device to continually transmit unneeded data to the IoT service.
One embodiment of the invention addresses these issues by performing flow control at the IoT hubs, effectively ignoring data traffic when specified data thresholds have been reached by a particular IoT device. In one embodiment, each IoT device is configured with a specified set of flow control parameters indicating the amount of data over a period of time which the IoT device is permitted to transmit. The flow control parameters may be based on the type of IoT device. For example, certain IoT devices such as door locks and thermostats should typically only transmit short packets of data periodically whereas other IoT device such as video cameras may transmit a significantly greater amount of data, potentially in a non-periodic manner. Thus, the flow control parameters may be set to provide a sufficient amount of bandwidth based on the expected operation of the IoT device in question. In one embodiment, each IoT device is assigned to a particular flow control “class” based on the data requirements of that IoT device.
Once such embodiment is illustrated inFIG. 30, which shows a plurality of IoT device101-103 with securewireless communication modules2810,3030,3040 configured with different sets offlow control parameters3015,3031,3041, respectively. In one embodiment, the flow control parameters specify the frequency and/or amount of data which each IoT device is expected to transmit over a specified period of time (e.g., 0.25 Mbytes/hour, 50 Mbytes/hour, 100 Mbytes/day, 10 communication attempts/day, etc). In one embodiment, theflow control parameters3015,3031,3041, may be specified by theIoT service120 which, as illustrated, includesdevice management module3021 to manage a set of per-deviceflow control parameters3020 within anIoT device database2851. For example, once the data transmission requirements for each IoT device are determined, the per-flow control parameters3020 may be updated to reflect these requirements.
As mentioned, in one embodiment, thedevice database2851 includes data transmission requirements for a plurality of different flow control “classes” (e.g., audiovisual device, temperature device, control device, security device, etc). When a new IoT device is introduced in the system, it is then associated with a particular flow control class based on the requirements of the IoT device and/or the type of IoT device.
The per-deviceflow control parameters3020 may be distributed toIoT hubs110 which include flowcontrol management logic2811 to store a copy of the per-deviceflow control parameters3010 within a local database. In one embodiment, theflow control management2811 may monitor the amount of data traffic received from and/or transmitted to each IoT device101-103. If the amount of data traffic reaches a specified threshold (as indicated by the per-device flow control parameters3010) then theIoT hub110 may instruct the IoT device to stop transmitting for a period of time and/or may simply block traffic from the IoT device.
If a particular IoT device is transmitting/receiving at a level above the specified threshold, then this may indicate that the IoT device is malfunctioning. As such, in one embodiment, theIoT service120 may transmit a command to reset the IoT device. If the device is still communicating at a level above the threshold, then theIoT service120 may transmit a software update such as a patch to the IoT device. Once the software updated is installed, the IoT device is reset and initialized with the new software. In addition, a notification may be sent from the IoT service to the user device to inform the user that the IoT device is malfunctioning.
In one embodiment, theIoT hub110 may allow certain types of data traffic notwithstanding the fact that data communication thresholds have been reached. For example, in one embodiment, theIoT hub110 will permit certain types of “high priority” notifications even if an IoT device has reached its thresholds. By way of example, if the IoT device is a door lock or door entry detector, then under certain conditions (e.g., when the house is being monitored), theIoT hub110 may pass through data indicating that someone has opened the door in which the IoT device is being used. Similarly, if the IoT device is a heat and/or smoke detector, then theIoT hub110 may pass through data indicating an alarm condition (e.g., because the temperature has reached a threshold value). Various other types of “high priority” notifications (e.g., such as those representing a potentially hazardous condition) may be passed through by theIoT hub110 regardless of the current flow control status. In one embodiment, these “high priority” notifications are identified using different attributes as described below.
A method in accordance with one embodiment of the invention is illustrated inFIG. 31. The method may be implemented within the context of the system architectures described above, but is not limited to any particular system architecture.
At3101, flow control parameters are specified for each IoT device. In one embodiment, and IoT device may be assigned to a particular IoT device “class” which has a specified set of flow control parameters associated therewith. At3102, the flow control parameters are stored on IoT hubs within the IoT system. In one embodiment, each hub may store a subset of all of the IoT device parameters (e.g., only those parameters for IoT devices that have been provisioned locally).
If an IoT hub detects that a particular IoT device is operating outside of the specified flow control parameters, determined at3103, then AT3104 the IoT hub will temporarily refrain from further communication with the IoT device (e.g., blocking communication between the IoT device and the IoT service). In addition, as mentioned, the IoT service and/or IoT hub may take steps to remedy the problem by rebooting the IoT device and/or installing a software update on the IoT device.
System and Method for Managing Internet of Things (IoT) Devices and Traffic Using Attribute Classes
Different IoT devices may be used to perform different functions in a given location. For example, certain IoT devices may be used to collect data such as temperature and status (e.g., on/off status) and report this data back to the IoT service, where it may be accessed by an end user and/or used to generate various types of alert conditions. To enable this implementation, one embodiment of the invention manages collected data, system data, and other forms of data using different types of attribute classes.
FIG. 32 illustrates one embodiment of an IoT device which includes a securewireless communication module3218 which communicates with a microcontroller unit (MCU)3215 over aserial interface3216 such as an Serial Peripheral Interface (SPI) bus. The securewireless communication module3218 manages the secure communication with theIoT service120 using the techniques described above and theMCU3215 executes program code to perform an application-specific function of theIoT device101.
In one embodiment, various different classes of attributes are used to manage the data collected by the IoT device and the system configuration related to the IoT device. In particular, in the example shown inFIG. 32, the attributes include application attributes3210, system attributes3211, and priority notification attributes3212. In one embodiment, the application attributes3210 comprise attributes related to the application-specific function performed by theIoT device101. For example, if the IoT device comprises a security sensor, then the application attributes3210 may include a binary value indicating whether a door or window has been opened. If the IoT device comprises a temperature sensor, then the application attributes3210 may include a value indicating a current temperature. A virtually unlimited number of other application-specific attributes may be defined. In one embodiment, theMCU3215 executes application-specific program code and is only provided with access to the application-specific attributes3210. For example, an application developer may purchase theIoT device101 with the securewireless communication module3218 and design application program code to be executed by theMCU3215. Consequently, the application developer will need to have access to application attributes but will not need to have access to the other types of attributes described below.
In one embodiment, the system attributes3211 are used for defining operational and configuration attributes for theIoT device101 and the IoT system. For example, the system attributes may include network configuration settings (e.g., such as the flow control parameters discussed above), the device ID, software versions, advertising interval selection, security implementation features (as described above) and various other low level variables required to allow theIoT device101 to securely communicate with the IoT service.
In one embodiment, a set of priority notification attributes3212 are defined based on a level of importance or severity associated with those attributes. For example, if a particular attribute is associated with a hazardous condition such as a temperature value reaching a threshold (e.g., when the user accidentally leaves the stove on or when a heat sensor in the user's home triggers) then this attribute may be assigned to a priority notification attribute class. As mentioned above, priority notification attributes may be treated differently than other attributes. For example, when a particular priority notification attribute reaches a threshold, the IoT hub may pass the value of the attribute to the IoT service, regardless of the current flow control mechanisms being implemented by the IoT hub. In one embodiment, the priority notification attributes may also trigger the IoT service to generate notifications to the user and/or alarm conditions within the user's home or business (e.g., to alert the user of a potentially hazardous condition).
As illustrated inFIG. 32, in one embodiment, the current state of the application attributes3210, system attributes3211 and priority notification attributes3212 are duplicated/mirrored within thedevice database2851 on theIoT service120. For example, when a change in one of the attributes is updated on theIoT device101, the securewireless communication module3218 communicates the change to thedevice management logic3021 on theIoT service120, which responsively updates the value of the attribute within thedevice database2851. In addition, when a user updates one of the attributes on the IoT service (e.g., adjusting a current state or condition such as a desired temperature), the attribute change will be transmitted from thedevice management logic3021 to the securewireless communication module3218 which will then update its local copy of the attribute. In this way, the attributes are maintained in a consistent manner between theIoT device101 and theIoT service120. The attributes may also be accessed from theIoT service120 via a user device with an IoT app or application installed and/or by one or moreexternal services3270. As mentioned, theIoT service120 may expose an application programming interface (API) to provide access to the various different classes of attributes.
In addition, in one embodiment, prioritynotification processing logic3022 may perform rule-based operations in response to receipt of a notification related to apriority notification attribute3212. For example, if a priority notification attribute indicates a hazardous condition (e.g., such as an iron or stove being left on by the user), then the prioritynotification processing logic3022 may implement a set of rules to attempt to turn off the hazardous device (e.g., sending an “off” command to the device if possible). In one embodiment, the prioritynotification processing logic3022 may utilize other related data such as the current location of the user to determine whether to turn off the hazardous device (e.g., if the user is detected leaving the home when the hazardous device in an “on” state). In addition, the prioritynotification processing logic3022 may transmit an alert condition to the user's client device to notify the user of the condition. Various other types of rule sets may be implemented by the prioritynotification processing logic3022 to attempt to address a potentially hazardous or otherwise undesirable condition.
Also shown inFIG. 32 is a set of BTLE attributes3205 and anattribute address decoder3207. In one embodiment, the BTLE attributes3205 may be used to establish the read and write ports as described above with respect toFIGS. 19-20. Theattribute address decoder3207 reads a unique ID code associated with each attribute to determine which attribute is being received/transmitted and process the attribute accordingly (e.g., identify where the attribute is stored within the secure wireless communication module3218).
System and Method for Establishing Secure Communication Channels with Internet Things (IoT) Devices
A. Fake Advertising
In certain instances, it may be possible for It is possible for an attacker to use a fake IoT device to advertise the same advertising data as a real IoT device that is in a steady state (i.e., no data to send). If this advertising packet is sent using a stronger signal than the real one, a hub may be controlled to never attempt to connect to the real IoT device. In the case of the door sensor, for example, the attacker can then open the door without being detected.
In one embodiment of the invention, each IoT device adds a cryptographic secret to its advertising data which is made available to all IoT hubs so they can distinguish real IoT devices from fake IoT devices. In one embodiment, the cryptographic secret is set as a system attribute so that it will be first made available to the IoT service, from which it can be distributed to each of the IoT hubs using SSL or other secure communication protocol.
FIG. 33 illustrates operations performed by theIoT device101, theIoT service120, and anIoT hub110 in accordance with one embodiment of the invention. At IoT device boot time, before theIoT device101 is linked, theIoT device101 may advertise to theIoT hub110 with link request flags and connect request flags set and secret bytes set to 0 (indicating that a link/connection is being requested). A link is then made with an IoT hub or client device. After linking, secret-counter processing logic3310 of the securewireless communication module3218 generates a 32byte master secret3322 and sets it on asystem attribute3211 to make it available to the IoT service120 (e.g., using the attribute synchronization techniques described above).
TheIoT service120 can then make that secret available toIoT hubs110 over SSL or another security protocol. The secret/counter processing logic3310 creates a 32 byte counter,COUNTER_13331 and initializes it to 0. The secret/counter processing logic3310 uses the 32 byte master secret3322 in combination with the 32byte COUNTER_13331 to create a 32 byte shared secret3340. In one embodiment, keyed-hash message authentication code (HMAC)-SHA256 is used to generate the shared secret3340 using the master secret as the key for the HMAC and COUNTER_1 as the data.
The secret/counter processing logic3310 creates a 1 byte counter,COUNTER_23332, and initializes it to 0. In one embodiment,HMAC generation logic3345 uses the shared secret to create anHMAC3312 of the advertising flags and COUNTER_23332 (e.g., using SHA256). The key is the 32 bytes shared secret3340 and the data is 32 bytes consisting of the manufacturer data from theadvertising packet3314 followed byCOUNTER_23332 followed by a sequence of zeroes to pad out to 32 bytes. In one embodiment, a 32byte buffer3317 is created and zeroed out. Into the buffer it copies data from theadvertising packet3314 including the 2 byte manufacturer ID, the manufacturer data, including flags, device ID, protocol version. It also copies thecurrent COUNTER_2 value3332. TheHMAC generation logic3345 creates theHMAC3312 using the shared secret3340 as the key and the contents of the 32byte buffer3317 as the data.
In one embodiment, bytes26 and27 of theHMAC3312 are placed into theadvertising packet3314 immediately following theCOUNTER_2 value3332. The secret/counter processing logic3310 then sets atimer3311 to fire based on the frequency specified in another system attribute (e.g., a timer attribute). In one embodiment, this period is 5 minutes.
In one embodiment, when the timer fires, the secret/counter processing logic3310 increments the 32 byte COUNTER_1 and uses the 32 byte master secret in combination with the 32 byte COUNTER_1 to create a new 32 byte shared secret. The secret/counter processing logic3310 increments the 1 byte COUNTER_2, creates a 32byte buffer3317 and zeroes it out. Into the buffer it copies the 2 byte manufacturer id, manufacturer data, including flags, device id, protocol version and the value of COUNTER_2. TheHMAC generation logic3345 creates anHMAC3312 using the shared secret3340 as the key and the 32byte buffer3317 as the data. Bytes26 and27 of the HMAC are placed into theadvertising packet3314 immediately followingCOUNTER_23332.
In one embodiment, when the advertising flags change, the secret/counter processing logic3310 increments the 1 byte COUNTER_2, creates a 32byte buffer3317 and zeroes it out. Into thebuffer3317 it copies the 2 byte manufacturer ID, the manufacturer data, including flags, device ID, protocol version andCOUNTER_23332. TheHMAC generation3345An HMAC3312 is created using the shared secret as the key and the 32 byte buffer as the data. Bytes26 and27 of theHMAC3312 are placed into theadvertising packet3314 immediately followingCOUNTER_23332.
In one embodiment of the invention, the following security processing operations are performed on theIoT hub110. When theIoT hub110 receives themaster secret3322 andcounter13331 for theIoT device101, sharedsecret generation logic3350 uses the master secret and counter1 (+ or −1) to generate and store three sharedsecrets3355 for theIoT device101. Thehub110 sets atimer3351 to fire based on the frequency specified in another system attribute (e.g., 5 minutes in one embodiment). When the timer fires, theIoT hub110 increments counter1 and uses it (+ or −1) with themaster secret3322 to generate andstore3 new sharedsecrets3355 for theIoT device101.
In one embodiment, when the hub sees a new device for the first time, if the link and connect request bits are set in theadvertising packet3314, the secret bytes are ignored and the hub connects. If the secret bytes are not correct and the link request flag is clear, the hub flags nefarious activity to the service via securityevent reporting module3375. If theIoT hub110 does not have the shared secret for the peripheral it will ignore the peripheral until themaster secret3322 andcounter13331 values are received. If the IoT hub has the shared secrets for the IoT device,HMAC generation logic3360 computes threeHMACs3365 based on the sharedsecrets3355 and the flags andcounter23332 (from the advertising packet3314).
In one embodiment, for each HMAC generated,HMAC analysis logic3370 compares the first two bytes to the secret bytes in theadvertising packet3314. If no match is found, the securityevent reporting module3375 reports nefarious activity to theIoT service120, which may then transmit a notification to the end user's client.
In one embodiment, when the IoT hub sees only the secret bytes change (not flags or counter2), it increments counter13331, regenerates the sharedsecrets3355, and restarts thetimer3351.HMAC generation logic3360 generatesnew HMACs3365 andHMAC analysis logic3370 checks the new results against thecurrent advertising packets3314. If there is no match, the securityevent reporting logic3375 reports nefarious activity to theIoT service120.
When theIoT hub110 detects changes to flags and/orcounter23332, the IoT hub compares the current sharedsecrets3355 against the current advertising data3314 (e.g., generatingnew HMACs3365 to be analyzed by HMAC analysis module3370). If the current shared secrets fail, the IoT hub increments counter1, regenerates the sharedsecrets3355, and restarts thetimer3351. The IoT hub then checks the new sharedsecrets3355 against thecurrent advertising data3314. If there is no match, then the securityevent reporting module3375 reports nefarious activity to theIoT service120.
B. Fake IoT Hub
It might be possible for someone to use a fake IoT hub to connect to an IoT device. The connection will timeout eventually, but if an attacker keeps connecting to the IoT device, they may effectively hide it from real IoT hubs.
As described above with respect toFIGS. 26A-C, in one embodiment, when anIoT device101 connects to anIoT hub111, it advertises as “not connectable” toother IoT hubs110,112 that can see it. As illustrated inFIG. 35, in one embodiment, if anauthentic IoT hub110,112 sees an IoT device advertising as “not connectable,” it reports the state to the IoT service120 (as indicated by the reporting to theIoT service120 performed byIoT hubs110 and112). In one embodiment, when theIoT service120 receives this information, it searches thedevice database2851, or any other database which maintains device/hub connection status3400 to determine whichIoT hub111 theIoT device101 is connected to. InFIG. 34, theIoT device101 is connected toIoT hub111, which provides its connection status to theIoT service120 as illustrated.Connection security module3405 evaluates the device/hub connection status data3400 to determine thatIoT device101 is connected to alegitimate IoT hub111.
In contrast, if theIoT device101 is not connected to any IoT hub, as illustrated inFIG. 35, theconnection security module3405 reports nefarious activity (e.g., in the form of an alert notification to client device611). In particular, in this embodiment, no legitimate IoT hub110-112 is reporting a connection withIoT device101. Consequently, in response to one or more of the IoT hubs110-112 communicating to theIoT service120 that it is receiving a “not connectable” indication from theIoT device101, in combination with the lack of a connection with a legitimate IoT hub, theconnection security module3405 will conclude that afake IoT hub3500 may be connecting to theIoT device101.
C. Hide events
If an attacker can prevent an event like a door open event from being reported to the service for enough time to close the door again, the user might not be alerted that the event occurred.
One embodiment of the invention addresses this problem utilizing at least two features. First, the attribute that the door sensor is connected to is defined to be a “latched” attribute which will always report the state change as well as the current state when they send their attribute values to the service. This ensures that even though the door is closed again, the user will receive a notification that the door was opened.FIG. 36 illustrates one embodiment with a latchedattribute3610 is maintained by theMCU3215 and/or the securewireless communication module3218 and ultimately synchronized with the IoT service120 (e.g., after a connection has been reestablished). The latched attribute includes acurrent value3600 indicating the current state of the sensor performing its function. For example, in the case of a door sensor, the current status may be “opened” or “closed.” In addition, each latched attribute includes an indication ofstate changes3601 which have occurred since the last synchronization with theIoT service120 and/or the last time theIoT device101 was reset. For example, if the door was opened and then closed while theIoT device101 was unable to connect with theIoT service120, thisstate change3601 will be stored on the IoT device and then provided to theIoT service120 once a connection has been made, notwithstanding thecurrent value3600. In one embodiment, the latched attribute includes a dirty flag to indicate that it is out of sync with the corresponding latchedattribute3610 on theIoT service120.
Second, in one embodiment of the invention, acknowledgement is required from theIoT service120 for latched attributes. So if theIoT device101 is unable to provide the information to theIoT service120 because of connection issues or interference by an attacker, theIoT device101 will keep trying until it has successfully received an acknowledgement from theIoT service120. In one embodiment, the acknowledgement is performed in the form of a set operation on a special system attribute. Only when theIoT device101 receives the set request does it clear the dirty flag on the latchedattribute3610 to cease attempting to report the value.
Various functional components are described herein as “logic” or “modules.” These functional components may be hardware such as an integrated circuit (e.g., an application-specific integrated circuit, a general purpose processor, a microcontroller, etc). Alternatively, these functional components may be implemented in software executed by a processing device or using a combination of hardware and software.
Embodiments of the invention may include various steps, which have been described above. The steps may be embodied in machine-executable instructions which may be used to cause a general-purpose or special-purpose processor to perform the steps. Alternatively, these steps may be performed by specific hardware components that contain hardwired logic for performing the steps, or by any combination of programmed computer components and custom hardware components.
As described herein, instructions may refer to specific configurations of hardware such as application specific integrated circuits (ASICs) configured to perform certain operations or having a predetermined functionality or software instructions stored in memory embodied in a non-transitory computer readable medium. Thus, the techniques shown in the figures can be implemented using code and data stored and executed on one or more electronic devices (e.g., an end station, a network element, etc.). Such electronic devices store and communicate (internally and/or with other electronic devices over a network) code and data using computer machine-readable media, such as non-transitory computer machine-readable storage media (e.g., magnetic disks; optical disks; random access memory; read only memory; flash memory devices; phase-change memory) and transitory computer machine-readable communication media (e.g., electrical, optical, acoustical or other form of propagated signals—such as carrier waves, infrared signals, digital signals, etc.). In addition, such electronic devices typically include a set of one or more processors coupled to one or more other components, such as one or more storage devices (non-transitory machine-readable storage media), user input/output devices (e.g., a keyboard, a touchscreen, and/or a display), and network connections. The coupling of the set of processors and other components is typically through one or more busses and bridges (also termed as bus controllers). The storage device and signals carrying the network traffic respectively represent one or more machine-readable storage media and machine-readable communication media. Thus, the storage device of a given electronic device typically stores code and/or data for execution on the set of one or more processors of that electronic device. Of course, one or more parts of an embodiment of the invention may be implemented using different combinations of software, firmware, and/or hardware.
Throughout this detailed description, for the purposes of explanation, numerous specific details were set forth in order to provide a thorough understanding of the present invention. It will be apparent, however, to one skilled in the art that the invention may be practiced without some of these specific details. In certain instances, well known structures and functions were not described in elaborate detail in order to avoid obscuring the subject matter of the present invention. Accordingly, the scope and spirit of the invention should be judged in terms of the claims which follow.

Claims (22)

What is claimed is:
1. A system comprising: an IoT device comprising secret/counter processing logic/circuitry to generate a master secret, the master secret to be transmitted to an IoT service,
wherein the secret/counter processing logic/circuitry is to generate a first counter and use a value of the first counter in combination with the master secret to generate a shared secret, wherein the secret/counter processing logic/circuitry is to generate a second counter;
one or more IoT hubs to receive the master secret from the IoT service over a first secure communication channel, at least one of the IoT hubs to use the master secret to establish a second secure communication channel with the IoT device;
keyed-hash message authentication code (HMAC) generation logic/circuitry to use the shared secret as a key to generate an HMAC with the second counter value and data from an advertising packet
wherein the IoT device is to generate an advertising packet comprising a specified set of bytes from the HMAC and the second counter value;
and shared secret generation logic to generate a plurality of shared secrets associated with the IoT device using the master secret and the first counter value and to store the plurality of shared secrets.
2. The system as inclaim 1 wherein the master secret is to be transmitted to the IoT service by setting the master secret as a system attribute on the IoT device, the IoT device comprising circuitry/logic to automatically synchronize its system attributes with the IoT service.
3. The system as inclaim 1 wherein a keyed-hash message authentication code (HMAC) is used to generate the shared secret using the master secret as a key for the HMAC and the first counter as the data.
4. The system as inclaim 1 wherein the data from the advertising packet comprises a manufacturer ID, manufacturer flags, a device ID, and/or a protocol version, the data from the advertising packet followed by the second counter value.
5. The system as inclaim 4 further comprising:
a N byte buffer to store the data from the advertising packet and the second counter value, wherein the second counter value is to be followed by a sequence of zeroes to pad out to N bytes.
6. The system as inclaim 1 wherein the IoT device is to generate an advertising packet comprising a specified set of bytes from the HMAC and the second counter value, the system further comprising: a timer configured to fire based on a frequency specified in a system attribute, wherein when the timer fires, the secret/counter processing logic/circuit is to increment the first counter value and generate a new shared secret using the incremented first counter value in combination with the master secret.
7. The system as inclaim 6 wherein the secret/counter processing logic/circuit is to also increment the second counter value in response to the timer firing.
8. The system as inclaim 6 wherein the secret/counter processing logic/circuit is to also increment the second counter value in response a detected change to one or more advertising flags.
9. The system as inclaim 1 wherein the IoT hub comprises: HMAC generation logic to generate a plurality of HMACs using the plurality of shared secrets and data from an advertising packet received from the IoT device.
10. The system as inclaim 9 wherein the data from the advertising packet includes the second counter value and advertising data.
11. The system as inclaim 10 wherein the IoT hub further comprises:
HMAC analysis logic to compare specified bytes of an HMAC to secret bytes in an advertising packet received from the IoT device, wherein if no match is found, an alert condition is to be reported to the IoT service.
12. A method comprising: generating a master secret on an IoT device, the master secret to be transmitted to an IoT service;
receiving the master secret from the IoT service at one or more IoT hubs over a first secure communication channel;
using the master secret to establish a second secure communication channel with the IoT device; generating a first counter;
using a value of the first counter in combination with the master secret to generate a shared secret; generating a second counter;
using the shared secret as a key to generate an HMAC with the second counter value and data from an advertising packet
wherein the IoT device is to generate an advertising packet comprising a specified set of bytes from the HMAC and the second counter value;
generating a plurality of shared secrets associated with the IoT device on the IoT hub using the master secret and the first counter value; and storing the plurality of shared secrets.
13. The method as inclaim 12 wherein the master secret is to be transmitted to the IoT service by setting the master secret as a system attribute on the IoT device, the IoT device comprising circuitry/logic to automatically synchronize its system attributes with the IoT service.
14. The method as inclaim 12 wherein a keyed-hash message authentication code (HMAC) is used to generate the shared secret using the master secret as a key for the HMAC and the first counter as the data.
15. The method as inclaim 12 wherein the data from the advertising packet comprises a manufacturer ID, manufacturer flags, a device ID, and/or a protocol version, the data from the advertising packet followed by the second counter value.
16. The method as inclaim 15 further comprising:
storing the data from the advertising packet and the second counter value in an N byte buffer, wherein the second counter value is to be followed by a sequence of zeroes to pad out to N bytes.
17. The method as inclaim 12 wherein the IoT device is to generate an advertising packet comprising a specified set of bytes from the HMAC and the second counter value, the method further comprising: configuring a timer to fire based on a frequency specified in a system attribute, wherein when the timer fires, the first counter value is incremented and a new shared secret generated using the incremented first counter value in combination with the master secret.
18. The method as inclaim 17 further comprising:
incrementing the second counter value in response to the timer firing.
19. The method as inclaim 17 further comprising:
incrementing the second counter value in response a detected change to one or more advertising flags.
20. The method as inclaim 12 further comprising: generating a plurality of HMACs on the IoT hub using the plurality of shared secrets and data from an advertising packet received from the IoT device.
21. The method as inclaim 20 wherein the data from the advertising packet includes the second counter value and advertising data.
22. The method as inclaim 21 further comprising:
comparing specified bytes of an HMAC to secret bytes in an advertising packet received from the IoT device, wherein if no match is found, an alert condition is to be reported to the IoT service.
US15/167,7992016-05-272016-05-27System and method for establishing secure communication channels with internet of things (IoT) devicesActive2037-06-09US10419930B2 (en)

Priority Applications (5)

Application NumberPriority DateFiling DateTitle
US15/167,799US10419930B2 (en)2016-05-272016-05-27System and method for establishing secure communication channels with internet of things (IoT) devices
JP2018562200AJP7080829B2 (en)2016-05-272017-05-26 Systems and methods for establishing secure communication channels with Internet of Things (IOT) devices
KR1020187037117AKR102303689B1 (en)2016-05-272017-05-26 Systems and methods for establishing secure communication channels with Internet of Things (IoT) devices
PCT/US2017/034726WO2017205770A1 (en)2016-05-272017-05-26System and method for establishing secure communication channels with internet things (iot) devices
JP2021201534AJP7305734B2 (en)2016-05-272021-12-13 Systems and methods for establishing secure communication channels with Internet of Things (IOT) devices

Applications Claiming Priority (1)

Application NumberPriority DateFiling DateTitle
US15/167,799US10419930B2 (en)2016-05-272016-05-27System and method for establishing secure communication channels with internet of things (IoT) devices

Publications (2)

Publication NumberPublication Date
US20170347264A1 US20170347264A1 (en)2017-11-30
US10419930B2true US10419930B2 (en)2019-09-17

Family

ID=60418543

Family Applications (1)

Application NumberTitlePriority DateFiling Date
US15/167,799Active2037-06-09US10419930B2 (en)2016-05-272016-05-27System and method for establishing secure communication channels with internet of things (IoT) devices

Country Status (1)

CountryLink
US (1)US10419930B2 (en)

Cited By (10)

* Cited by examiner, † Cited by third party
Publication numberPriority datePublication dateAssigneeTitle
US20180205551A1 (en)*2017-01-172018-07-19Samsung Electronics Co., Ltd.Electronic device and operation method thereof
US20210036999A1 (en)*2018-04-172021-02-04Alibaba Group Holding LimitedMethod and apparatus for communication between internet of things devices
US11245577B2 (en)2019-09-262022-02-08Amazon Technologies, Inc.Template-based onboarding of internet-connectible devices
US11272012B2 (en)*2016-06-172022-03-08Banma Zhixing Network (Hongkong) Co., LimitedAction processing associated with a cloud device
US11343672B2 (en)2019-02-202022-05-24Coretigo Ltd.Secure communication encryption and decryption mechanism in a wireless communication system
WO2022266777A1 (en)*2021-06-252022-12-29Eleven-X IncorporatedMethod and system for authenticating encrypted communication
US20230046788A1 (en)*2021-08-162023-02-16Capital One Services, LlcSystems and methods for resetting an authentication counter
US20240056351A1 (en)*2022-02-212024-02-15Tencent Technology (Shenzhen) Company LimitedNetwork connection method and apparatus, device, storage medium, and program product
US20240276570A1 (en)*2018-06-282024-08-15Samsung Electronics Co., Ltd.Electronic device, remote control device and controlling method thereof
US20250219841A1 (en)*2023-12-292025-07-03Infineon Technologies AgSecure communications using pre-shared keys and live membership

Families Citing this family (37)

* Cited by examiner, † Cited by third party
Publication numberPriority datePublication dateAssigneeTitle
US11171941B2 (en)*2015-02-242021-11-09Nelson A. CicchittoMobile device enabled desktop tethered and tetherless authentication
US11122034B2 (en)2015-02-242021-09-14Nelson A. CicchittoMethod and apparatus for an identity assurance score with ties to an ID-less and password-less authentication system
US9843929B2 (en)2015-08-212017-12-12Afero, Inc.Apparatus and method for sharing WiFi security data in an internet of things (IoT) system
US10447784B2 (en)*2015-12-142019-10-15Afero, Inc.Apparatus and method for modifying packet interval timing to identify a data transfer condition
US10805344B2 (en)2015-12-142020-10-13Afero, Inc.Apparatus and method for obscuring wireless communication patterns
HK1218492A2 (en)*2015-12-302017-02-17演基发展有限公司Method for controlling wireless communication between a mobile device and an electronic device
US10613504B2 (en)*2016-07-052020-04-07Feedback Solutions Inc.Methods and systems for determining occupancy of a zone in a building
CN109644522B (en)*2016-08-112022-01-18信实通信有限公司Method and system for securely loading devices over a wireless network
EP3299988B1 (en)*2016-09-222021-03-10MARICI Holdings The Netherlands B.V.Secure communication method and system
US10257163B2 (en)2016-10-242019-04-09Fisher-Rosemount Systems, Inc.Secured process control communications
US10877465B2 (en)2016-10-242020-12-29Fisher-Rosemount Systems, Inc.Process device condition and performance monitoring
US10530748B2 (en)2016-10-242020-01-07Fisher-Rosemount Systems, Inc.Publishing data across a data diode for secured process control communications
US10270745B2 (en)*2016-10-242019-04-23Fisher-Rosemount Systems, Inc.Securely transporting data across a data diode for secured process control communications
US10619760B2 (en)2016-10-242020-04-14Fisher Controls International LlcTime-series analytics for control valve health assessment
US10454961B2 (en)*2016-11-022019-10-22Cujo LLCExtracting encryption metadata and terminating malicious connections using machine learning
US10492072B1 (en)*2016-12-222019-11-26Symantec CorporationSystems and methods for evaluating wireless network connection security
US11251955B2 (en)*2017-09-072022-02-15Arris Enterprises LlcSystem and method for simplified wifi set up of client devices
US10887090B2 (en)*2017-09-222021-01-05Nec CorporationScalable byzantine fault-tolerant protocol with partial tee support
EP3481027A1 (en)*2017-11-022019-05-08Thomson LicensingMethod and device for establishing a secure wireless connection
US10838705B2 (en)*2018-02-122020-11-17Afero, Inc.System and method for service-initiated internet of things (IoT) device updates
WO2019223851A1 (en)*2018-05-212019-11-28ComAp a.s.Method and system for creating a secure communication channel
CN109361520B (en)*2018-12-242021-06-25泰华智慧产业集团股份有限公司Internet of things equipment dynamic encryption method based on login serial number
US12075246B2 (en)*2019-04-292024-08-27Sonicwall Inc.Securing transmission paths in a mesh network
US12022295B2 (en)2019-04-292024-06-25Sonicwall Inc.Streamlined creation and expansion of a wireless mesh network
US11997635B2 (en)2019-04-292024-05-28Sonicwall Inc.Establishing simultaneous mesh node connections
US10972916B2 (en)2019-04-292021-04-06Sonicwall Inc.Instant secure wireless network setup
US11635990B2 (en)2019-07-012023-04-25Nutanix, Inc.Scalable centralized manager including examples of data pipeline deployment to an edge system
US11501881B2 (en)2019-07-032022-11-15Nutanix, Inc.Apparatus and method for deploying a mobile device as a data source in an IoT system
US12155731B2 (en)2019-10-092024-11-26Nutanix, Inc.Platform-as-a-service deployment including service domains
CN111031002B (en)2019-11-202022-06-10北京小米移动软件有限公司 Broadcast discovery method, broadcast discovery device and storage medium
US12306733B2 (en)2020-10-212025-05-20Nutanix, Inc.Key value store in a clustered containerized system
US11726764B2 (en)2020-11-112023-08-15Nutanix, Inc.Upgrade systems for service domains
US11665221B2 (en)2020-11-132023-05-30Nutanix, Inc.Common services model for multi-cloud platform
US11736585B2 (en)2021-02-262023-08-22Nutanix, Inc.Generic proxy endpoints using protocol tunnels including life cycle management and examples for distributed cloud native services and applications
US11627465B2 (en)*2021-06-102023-04-11Cisco Technology, Inc.Token-based access for internet-of-things devices in wireless wide area networks
US12225001B2 (en)*2021-06-142025-02-11Drkumo Inc.Autonomous control and secure communications system and methods for sensors
US20240422840A1 (en)*2023-06-162024-12-19Afero, Inc.Apparatus and method for reduced latency iot device control

Citations (64)

* Cited by examiner, † Cited by third party
Publication numberPriority datePublication dateAssigneeTitle
US6275492B1 (en)1996-12-032001-08-14Nortel Networks LimitedMethod and apparatus for routing data using router identification information
US6314460B1 (en)1998-10-302001-11-06International Business Machines CorporationMethod and apparatus for analyzing a storage network based on incomplete information from multiple respective controllers
US20040257984A1 (en)1998-11-142004-12-23Emulex Design & Manufacturing CorporationHigh performance digital loop diagnostic technology
US20080307516A1 (en)2007-06-062008-12-11Eric Michel Levy-AbegnoliSecure neighbor discovery router for defending host nodes from rogue routers
US20100278191A1 (en)*2009-04-292010-11-04Anubhav GuptaHierarchical Rate Limiting of Control Packets
US20120167160A1 (en)2010-12-272012-06-28Verizon Patent And Licensing, Inc.Router policy system
US20130077529A1 (en)2011-09-282013-03-28Schneider Electric USA, Inc.Automated device discovery on a network
US20140036930A1 (en)2012-07-312014-02-06Futurewei Technologies, Inc.Priority Driven Channel Allocation for Packet Transferring
US20140244997A1 (en)*2013-02-252014-08-28Qualcomm IncorporatedEmergency mode for iot devices
US20140283029A1 (en)2013-03-152014-09-18Aruba Networks, Inc.System and method for detection of rogue routers in a computing network
US20150188934A1 (en)2013-12-312015-07-02Cisco Technology, Inc.Control loop control using broadcast channel to communicate with a node under attack
US20150201035A1 (en)2014-01-152015-07-16Qualcomm Connected Experiences, Inc.Conveying state changes using connectionless messaging and a store-and-forward cache
US20150222517A1 (en)*2014-02-052015-08-06Apple Inc.Uniform communication protocols for communication between controllers and accessories
US20150237071A1 (en)*2014-02-142015-08-20Intertrust Technologies CorporationNetwork security systems and methods
US20150237118A1 (en)2014-02-202015-08-20Broadcom CorporationExtensible interoperability of network devices
US20150326390A1 (en)*2014-05-082015-11-12Samsung Electronics Co., Ltd.Method of managing keys and electronic device adapted to the same
US20150350914A1 (en)2014-06-022015-12-03Bastille Networks, Inc.Ground and air vehicle electromagnetic signature detection and localization
US20160029426A1 (en)2014-07-222016-01-28Sangeetha L. BangolaeSystems, apparatuses, and methods for lightweight over-the-air signaling mechanisms in data communications
US20160037566A1 (en)2014-07-292016-02-04Em Microelectronic-Marin S.A.Method and system for optimized bluetooth low energy communications
US20160087933A1 (en)*2006-09-252016-03-24Weaved, Inc.Techniques for the deployment and management of network connected devices
US20160112374A1 (en)2015-12-302016-04-21Iomaxis, IncMethod and system for securing and protecting smart devices within the internet of things ecosystem
US20160127931A1 (en)2014-10-302016-05-05Bastille Networks, Inc.Efficient Localization of Transmitters Within Complex Electromagnetic Environments
US20160150021A1 (en)2014-11-212016-05-26Kiban Labs, Inc.Internet of things clock hub device and method
US20160165650A1 (en)*2014-12-042016-06-09Belkin International, Inc.Determining connectivity to a network device to optimize performance for controlling operation of network devices
US20160174266A1 (en)2014-12-162016-06-16Qualcomm IncorporatedIot device to enable fast connection between low energy iot devices
US20160197786A1 (en)2015-01-062016-07-07Kiban Labs, Inc.System and method for notifying a user of conditions associated with an internet-of-things (iot) hub
US20160197798A1 (en)2015-01-062016-07-07Joe BrittSystem and method for collecting and utilizing user behavior data within an iot system
US20160226732A1 (en)*2014-05-012016-08-04Belkin International, Inc.Systems and methods for interaction with an iot device
US20160267144A1 (en)2015-03-122016-09-15WeLink, Inc.Collecting and generating geo-tagged social media data through a network router interface
US20160285644A1 (en)2015-03-242016-09-29Lenovo (Beijing) Co., Ltd.Device and Method for Smart Home
US20160284186A1 (en)2015-03-232016-09-29Arris Enterprises, Inc.Alert based on detection of unexpected wireless device
US20160295616A1 (en)2015-03-302016-10-06Kiban Labs, Inc.Apparatus and method for intermediary device data collection
US20160323283A1 (en)2015-04-302016-11-03Samsung Electronics Co., Ltd.Semiconductor device for controlling access right to resource based on pairing technique and method thereof
US20160330825A1 (en)2006-03-282016-11-10Wireless Environment, LlcCloud connected motion sensor lighting grid
US20160353305A1 (en)2015-06-012016-12-01Kiban Labs, Inc.Internet of things (iot) automotive device, system, and method
US20160357525A1 (en)2015-06-082016-12-08Cisco Technology, Inc.Autonomous mobile sensor movement path simulation with an integrated developer environment
US20160359664A1 (en)2015-06-082016-12-08Cisco Technology, Inc.Virtualized things from physical objects for an internet of things integrated developer environment
US20160364553A1 (en)*2015-06-092016-12-15Intel CorporationSystem, Apparatus And Method For Providing Protected Content In An Internet Of Things (IOT) Network
US20170006595A1 (en)*2015-07-032017-01-05Kiban Labs, Inc.Embedded internet of things (iot) hub for integration with an appliance and associated systems and methods
US20170013547A1 (en)2015-07-082017-01-12Fedex Corporate Services, Inc.Systems, apparatus, and methods of checkpoint summary based monitoring for an event candidate related to an id node within a wireless node network
US20170118187A1 (en)2015-10-222017-04-27Sap SeSpoofing protection protocol for network-connected things
US20170134937A1 (en)2015-11-062017-05-11SWFL, Inc., d/b/a "Filament"Systems and methods for secure and private communications
US20170132029A1 (en)2015-11-112017-05-11Nutanix, Inc.Connection Management
US20170156076A1 (en)2015-11-272017-06-01Samsung Electronics Co., Ltd.Method and apparatus for managing electronic device through wireless communication
US20170202037A1 (en)2016-01-122017-07-13Samsung Electronics Co., Ltd.Apparatus and method for installing electronic device in wireless communication system
US20170207999A1 (en)1999-09-102017-07-20Chemtron Research LlcMethod, system, and computer program product for managing routing servers and services
US20170214702A1 (en)2016-01-212017-07-27Cyiot LtdDistributed techniques for detecting atypical or malicious wireless communications activity
US20170264615A1 (en)2016-03-082017-09-14Fujitsu LimitedSystem, information processing apparatus, and storage medium
US20170279935A1 (en)2014-08-222017-09-28Disruptive Technologies Research AsSystems and Methods for Establishing Asymmetric Network Communications
US20170280351A1 (en)2016-03-232017-09-28Fedex Corporate Services, Inc.Methods, non-transitory computer readable media, and systems for improved communication management of a plurality of wireless nodes in a wireless node network
US20170289191A1 (en)2016-03-312017-10-05Acalvio Technologies, Inc.Infiltration Detection and Network Rerouting
US20170289786A1 (en)2016-04-012017-10-05Raytheon Bbn Technologies Corp.Apparatus and method for rapid electronic device discovery
US20170302691A1 (en)2016-04-182017-10-19Acalvio Technologies, Inc.Systems and Methods for Detecting and Tracking Adversary Trajectory
US20170310706A1 (en)2016-04-262017-10-26Acalvio Technologies, Inc.Tunneling For Network Deceptions
US20170331898A1 (en)2014-12-122017-11-16Kwang Bum LeeData mediation system and method
US20170339769A1 (en)2016-01-042017-11-23Basic6, Inc.ADAPTER EXTENDING CAPABILITIES OF REMOTE CONTROL AND LiFi TO INSTALLATIONS OF DEVICES INCLUDING LIGHT-EMITTING DIODE-BASED LUMINAIRES
US20170346836A1 (en)2016-05-272017-11-30Afero, Inc.System and method for preventing security breaches in an internet of things (iot) system
US20170346848A1 (en)2016-05-312017-11-30Ned M. SmithSystem, Apparatus And Method For Scalable Internet Of Things (IOT) Device On-Boarding With Quarantine Capabilities
US20170372600A1 (en)2015-01-162017-12-28Nokia Technologies OyMethod, apparatus, and computer program product for local control through intermediate device
US20180109308A1 (en)2016-10-142018-04-19Huawei Technologies Co., Ltd.Mobile device relay service for reliable internet of things
US20180109551A1 (en)2016-10-142018-04-19Cisco Technology, Inc.Device profiling for isolation networks
US20180108246A1 (en)2016-10-172018-04-19Sears Brands, L.L.C.Broadcast mode for non-paired devices and critical messages
US20180115611A1 (en)2016-10-252018-04-26Cisco Technology, Inc.Control of network connected devices
US20180176262A1 (en)2016-08-162018-06-21University Of North TexasSystems and methods for device specific security policy control

Patent Citations (65)

* Cited by examiner, † Cited by third party
Publication numberPriority datePublication dateAssigneeTitle
US6275492B1 (en)1996-12-032001-08-14Nortel Networks LimitedMethod and apparatus for routing data using router identification information
US6314460B1 (en)1998-10-302001-11-06International Business Machines CorporationMethod and apparatus for analyzing a storage network based on incomplete information from multiple respective controllers
US20040257984A1 (en)1998-11-142004-12-23Emulex Design & Manufacturing CorporationHigh performance digital loop diagnostic technology
US20170207999A1 (en)1999-09-102017-07-20Chemtron Research LlcMethod, system, and computer program product for managing routing servers and services
US20160330825A1 (en)2006-03-282016-11-10Wireless Environment, LlcCloud connected motion sensor lighting grid
US20160087933A1 (en)*2006-09-252016-03-24Weaved, Inc.Techniques for the deployment and management of network connected devices
US20080307516A1 (en)2007-06-062008-12-11Eric Michel Levy-AbegnoliSecure neighbor discovery router for defending host nodes from rogue routers
US20100278191A1 (en)*2009-04-292010-11-04Anubhav GuptaHierarchical Rate Limiting of Control Packets
US20120167160A1 (en)2010-12-272012-06-28Verizon Patent And Licensing, Inc.Router policy system
US20130077529A1 (en)2011-09-282013-03-28Schneider Electric USA, Inc.Automated device discovery on a network
US20140036930A1 (en)2012-07-312014-02-06Futurewei Technologies, Inc.Priority Driven Channel Allocation for Packet Transferring
US20140244997A1 (en)*2013-02-252014-08-28Qualcomm IncorporatedEmergency mode for iot devices
US20140283029A1 (en)2013-03-152014-09-18Aruba Networks, Inc.System and method for detection of rogue routers in a computing network
US20150188934A1 (en)2013-12-312015-07-02Cisco Technology, Inc.Control loop control using broadcast channel to communicate with a node under attack
US20150201035A1 (en)2014-01-152015-07-16Qualcomm Connected Experiences, Inc.Conveying state changes using connectionless messaging and a store-and-forward cache
US20150222517A1 (en)*2014-02-052015-08-06Apple Inc.Uniform communication protocols for communication between controllers and accessories
US20150237071A1 (en)*2014-02-142015-08-20Intertrust Technologies CorporationNetwork security systems and methods
US20150237118A1 (en)2014-02-202015-08-20Broadcom CorporationExtensible interoperability of network devices
US20160226732A1 (en)*2014-05-012016-08-04Belkin International, Inc.Systems and methods for interaction with an iot device
US20150326390A1 (en)*2014-05-082015-11-12Samsung Electronics Co., Ltd.Method of managing keys and electronic device adapted to the same
US20150350914A1 (en)2014-06-022015-12-03Bastille Networks, Inc.Ground and air vehicle electromagnetic signature detection and localization
US20160029426A1 (en)2014-07-222016-01-28Sangeetha L. BangolaeSystems, apparatuses, and methods for lightweight over-the-air signaling mechanisms in data communications
US20160037566A1 (en)2014-07-292016-02-04Em Microelectronic-Marin S.A.Method and system for optimized bluetooth low energy communications
US20170279935A1 (en)2014-08-222017-09-28Disruptive Technologies Research AsSystems and Methods for Establishing Asymmetric Network Communications
US20160127931A1 (en)2014-10-302016-05-05Bastille Networks, Inc.Efficient Localization of Transmitters Within Complex Electromagnetic Environments
US20160150021A1 (en)2014-11-212016-05-26Kiban Labs, Inc.Internet of things clock hub device and method
US20160165650A1 (en)*2014-12-042016-06-09Belkin International, Inc.Determining connectivity to a network device to optimize performance for controlling operation of network devices
US20170331898A1 (en)2014-12-122017-11-16Kwang Bum LeeData mediation system and method
US20160174266A1 (en)2014-12-162016-06-16Qualcomm IncorporatedIot device to enable fast connection between low energy iot devices
US9774507B2 (en)2015-01-062017-09-26Afero, Inc.System and method for collecting and utilizing user behavior data within an IoT system
US20160197786A1 (en)2015-01-062016-07-07Kiban Labs, Inc.System and method for notifying a user of conditions associated with an internet-of-things (iot) hub
US20160197798A1 (en)2015-01-062016-07-07Joe BrittSystem and method for collecting and utilizing user behavior data within an iot system
US20170372600A1 (en)2015-01-162017-12-28Nokia Technologies OyMethod, apparatus, and computer program product for local control through intermediate device
US20160267144A1 (en)2015-03-122016-09-15WeLink, Inc.Collecting and generating geo-tagged social media data through a network router interface
US20160284186A1 (en)2015-03-232016-09-29Arris Enterprises, Inc.Alert based on detection of unexpected wireless device
US20160285644A1 (en)2015-03-242016-09-29Lenovo (Beijing) Co., Ltd.Device and Method for Smart Home
US20160295616A1 (en)2015-03-302016-10-06Kiban Labs, Inc.Apparatus and method for intermediary device data collection
US20160323283A1 (en)2015-04-302016-11-03Samsung Electronics Co., Ltd.Semiconductor device for controlling access right to resource based on pairing technique and method thereof
US20160353305A1 (en)2015-06-012016-12-01Kiban Labs, Inc.Internet of things (iot) automotive device, system, and method
US20160357525A1 (en)2015-06-082016-12-08Cisco Technology, Inc.Autonomous mobile sensor movement path simulation with an integrated developer environment
US20160359664A1 (en)2015-06-082016-12-08Cisco Technology, Inc.Virtualized things from physical objects for an internet of things integrated developer environment
US20160364553A1 (en)*2015-06-092016-12-15Intel CorporationSystem, Apparatus And Method For Providing Protected Content In An Internet Of Things (IOT) Network
US20170006595A1 (en)*2015-07-032017-01-05Kiban Labs, Inc.Embedded internet of things (iot) hub for integration with an appliance and associated systems and methods
US20170013547A1 (en)2015-07-082017-01-12Fedex Corporate Services, Inc.Systems, apparatus, and methods of checkpoint summary based monitoring for an event candidate related to an id node within a wireless node network
US20170118187A1 (en)2015-10-222017-04-27Sap SeSpoofing protection protocol for network-connected things
US20170134937A1 (en)2015-11-062017-05-11SWFL, Inc., d/b/a "Filament"Systems and methods for secure and private communications
US20170132029A1 (en)2015-11-112017-05-11Nutanix, Inc.Connection Management
US20170156076A1 (en)2015-11-272017-06-01Samsung Electronics Co., Ltd.Method and apparatus for managing electronic device through wireless communication
US20160112374A1 (en)2015-12-302016-04-21Iomaxis, IncMethod and system for securing and protecting smart devices within the internet of things ecosystem
US20170339769A1 (en)2016-01-042017-11-23Basic6, Inc.ADAPTER EXTENDING CAPABILITIES OF REMOTE CONTROL AND LiFi TO INSTALLATIONS OF DEVICES INCLUDING LIGHT-EMITTING DIODE-BASED LUMINAIRES
US20170202037A1 (en)2016-01-122017-07-13Samsung Electronics Co., Ltd.Apparatus and method for installing electronic device in wireless communication system
US20170214702A1 (en)2016-01-212017-07-27Cyiot LtdDistributed techniques for detecting atypical or malicious wireless communications activity
US20170264615A1 (en)2016-03-082017-09-14Fujitsu LimitedSystem, information processing apparatus, and storage medium
US20170280351A1 (en)2016-03-232017-09-28Fedex Corporate Services, Inc.Methods, non-transitory computer readable media, and systems for improved communication management of a plurality of wireless nodes in a wireless node network
US20170289191A1 (en)2016-03-312017-10-05Acalvio Technologies, Inc.Infiltration Detection and Network Rerouting
US20170289786A1 (en)2016-04-012017-10-05Raytheon Bbn Technologies Corp.Apparatus and method for rapid electronic device discovery
US20170302691A1 (en)2016-04-182017-10-19Acalvio Technologies, Inc.Systems and Methods for Detecting and Tracking Adversary Trajectory
US20170310706A1 (en)2016-04-262017-10-26Acalvio Technologies, Inc.Tunneling For Network Deceptions
US20170346836A1 (en)2016-05-272017-11-30Afero, Inc.System and method for preventing security breaches in an internet of things (iot) system
US20170346848A1 (en)2016-05-312017-11-30Ned M. SmithSystem, Apparatus And Method For Scalable Internet Of Things (IOT) Device On-Boarding With Quarantine Capabilities
US20180176262A1 (en)2016-08-162018-06-21University Of North TexasSystems and methods for device specific security policy control
US20180109308A1 (en)2016-10-142018-04-19Huawei Technologies Co., Ltd.Mobile device relay service for reliable internet of things
US20180109551A1 (en)2016-10-142018-04-19Cisco Technology, Inc.Device profiling for isolation networks
US20180108246A1 (en)2016-10-172018-04-19Sears Brands, L.L.C.Broadcast mode for non-paired devices and critical messages
US20180115611A1 (en)2016-10-252018-04-26Cisco Technology, Inc.Control of network connected devices

Non-Patent Citations (10)

* Cited by examiner, † Cited by third party
Title
Advisory Action from U.S. Appl. No. 15/167,848, dated Aug. 7, 2017, 3 pages.
Final Office Action from U.S. Appl. No. 15/167,817, dated Aug. 27, 2018, 35 pages.
Final Office action from U.S. Appl. No. 15/167,848, dated Jun. 27, 2017, 7 pages.
Gomez C., et al.,"Overview and Evaluation of Bluetooth Low Energy: An Emerging Low-Power Wireless Technology," open Access, Sensors 2012, 12, Aug. 29, 2012, pp. 11734-11753.
International Search Report and Written Opinion for Application No. PCT/US2017/034726, dated Sep. 29, 2017, 13 pages.
Non-Final Office Action from U.S. Appl. No. 15/167,817, dated Feb. 8, 2018, 37 pages.
Non-Final Office Action from U.S. Appl. No. 15/167,848, dated Jan. 9, 2017, 11 pages.
Notice of Allowance from U.S. Appl. No. 15/167,848, dated Feb. 13, 2018, 8 pages.
Shafagh H., "Leveraging Public-Key-based Authentication for the Internet of Things," RWTH AACHEN University, Germany, Jul. 19, 2013. Downloaded from the Internet : https://people.inf.ethz.ch/mshafagh/master_thesis_Hossein_Shafagh_PKC_in_the_IoT.pdf on Sep. 9, 2017, 110 pages.
Supplemental Notice of Allowance from U.S. Appl. No. 15/167,848, dated Mar. 9, 2018, 5 pages.

Cited By (20)

* Cited by examiner, † Cited by third party
Publication numberPriority datePublication dateAssigneeTitle
US11272012B2 (en)*2016-06-172022-03-08Banma Zhixing Network (Hongkong) Co., LimitedAction processing associated with a cloud device
US10855472B2 (en)*2017-01-172020-12-01Samsung Electronics Co., Ltd.Electronic device and operation method thereof
US20180205551A1 (en)*2017-01-172018-07-19Samsung Electronics Co., Ltd.Electronic device and operation method thereof
US11729156B2 (en)*2018-04-172023-08-15Alibaba Group Holding LimitedMethod and apparatus for communication between internet of things devices
US20210036999A1 (en)*2018-04-172021-02-04Alibaba Group Holding LimitedMethod and apparatus for communication between internet of things devices
US12389473B2 (en)*2018-06-282025-08-12Samsung Electronics Co., Ltd.Electronic device, remote control device and controlling method thereof
US20240276570A1 (en)*2018-06-282024-08-15Samsung Electronics Co., Ltd.Electronic device, remote control device and controlling method thereof
US11343672B2 (en)2019-02-202022-05-24Coretigo Ltd.Secure communication encryption and decryption mechanism in a wireless communication system
US11606688B2 (en)2019-02-202023-03-14Coretigo Ltd.Secure key exchange mechanism in a wireless communication system
US11882437B2 (en)2019-02-202024-01-23CoreTigo, Ltd.Secure key exchange mechanism in a wireless communication system
US11503465B2 (en)*2019-02-202022-11-15Coretigo Ltd.Secure pairing mechanism in a wireless communication system
US12323791B2 (en)2019-02-202025-06-03Core Tigo Ltd.Secure communication encryption and decryption mechanism in a wireless communication system
US11245577B2 (en)2019-09-262022-02-08Amazon Technologies, Inc.Template-based onboarding of internet-connectible devices
WO2022266777A1 (en)*2021-06-252022-12-29Eleven-X IncorporatedMethod and system for authenticating encrypted communication
US12184621B2 (en)2021-06-252024-12-31Eleven-X IncorporatedMethod and apparatus for authenticating encrypted communication
US20230046788A1 (en)*2021-08-162023-02-16Capital One Services, LlcSystems and methods for resetting an authentication counter
US20240056351A1 (en)*2022-02-212024-02-15Tencent Technology (Shenzhen) Company LimitedNetwork connection method and apparatus, device, storage medium, and program product
US12375344B2 (en)*2022-02-212025-07-29Tencent Technology (Shenzhen) Company LimitedNetwork connection method and apparatus, device, storage medium, and program product
US20250219841A1 (en)*2023-12-292025-07-03Infineon Technologies AgSecure communications using pre-shared keys and live membership
US12413414B2 (en)*2023-12-292025-09-09Infineon Technologies AgSecure communications using pre-shared keys and live membership

Also Published As

Publication numberPublication date
US20170347264A1 (en)2017-11-30

Similar Documents

PublicationPublication DateTitle
US11070574B2 (en)System and method for preventing security breaches in an internet of things (IoT) system
US10838705B2 (en)System and method for service-initiated internet of things (IoT) device updates
US11330473B2 (en)System and method for flow control in an internet of things (IoT) system
US10419930B2 (en)System and method for establishing secure communication channels with internet of things (IoT) devices
US10178579B2 (en)Internet of things (IoT) system and method for selecting a secondary communication channel
JP7305734B2 (en) Systems and methods for establishing secure communication channels with Internet of Things (IOT) devices
US10171462B2 (en)System and method for secure internet of things (IOT) device provisioning
US10924920B2 (en)System and method for internet of things (IoT) device validation
US9942328B2 (en)System and method for latched attributes in an internet of things (IOT) system
US10149154B2 (en)Apparatus and method for sharing WiFi security data in an internet of things (IoT) system
US10116573B2 (en)System and method for managing internet of things (IoT) devices and traffic using attribute classes
US9942837B2 (en)Apparatus and method for a dynamic scan interval for a wireless device
US10343649B2 (en)Wireless key system and method
US11221731B2 (en)System and method for sharing internet of things (IOT) devices
US20180048710A1 (en)Internet of things (iot) storage device, system and method
US10447784B2 (en)Apparatus and method for modifying packet interval timing to identify a data transfer condition
US10405150B2 (en)System and method for reducing wireless traffic when connecting an IoT hub to an IoT device
WO2017106224A1 (en)System and method for secure internet of things (iot) device provisioning
US10805344B2 (en)Apparatus and method for obscuring wireless communication patterns
US10116549B2 (en)Apparatus and method for modifying packet interval timing based on device characteristics

Legal Events

DateCodeTitleDescription
ASAssignment

Owner name:AFERO, INC., CALIFORNIA

Free format text:ASSIGNMENT OF ASSIGNORS INTEREST;ASSIGNORS:HOLLAND, SHANNON;POINTER, ROBEY;SEWERYNEK, STEPHEN;AND OTHERS;SIGNING DATES FROM 20170214 TO 20170228;REEL/FRAME:046361/0697

STPPInformation on status: patent application and granting procedure in general

Free format text:AWAITING TC RESP, ISSUE FEE PAYMENT VERIFIED

STPPInformation on status: patent application and granting procedure in general

Free format text:PUBLICATIONS -- ISSUE FEE PAYMENT VERIFIED

STPPInformation on status: patent application and granting procedure in general

Free format text:AWAITING TC RESP, ISSUE FEE PAYMENT VERIFIED

STPPInformation on status: patent application and granting procedure in general

Free format text:PUBLICATIONS -- ISSUE FEE PAYMENT VERIFIED

STCFInformation on status: patent grant

Free format text:PATENTED CASE

MAFPMaintenance fee payment

Free format text:PAYMENT OF MAINTENANCE FEE, 4TH YR, SMALL ENTITY (ORIGINAL EVENT CODE: M2551); ENTITY STATUS OF PATENT OWNER: SMALL ENTITY

Year of fee payment:4


[8]ページ先頭

©2009-2025 Movatter.jp