Movatterモバイル変換


[0]ホーム

URL:


US10324245B2 - Backlight unit for holographic display - Google Patents

Backlight unit for holographic display
Download PDF

Info

Publication number
US10324245B2
US10324245B2US14/809,581US201514809581AUS10324245B2US 10324245 B2US10324245 B2US 10324245B2US 201514809581 AUS201514809581 AUS 201514809581AUS 10324245 B2US10324245 B2US 10324245B2
Authority
US
United States
Prior art keywords
holographic element
lgp
backlight unit
rays
light sources
Prior art date
Legal status (The legal status is an assumption and is not a legal conclusion. Google has not performed a legal analysis and makes no representation as to the accuracy of the status listed.)
Active, expires
Application number
US14/809,581
Other versions
US20160033710A1 (en
Inventor
Sunil Kim
Alexander V. MOROZOV
Andrey N. Putilin
Sergey E. DUBYNIN
German B. DUBININ
Sergey S. KOPENKIN
Yuriy P. BORODIN
Hongseok Lee
Chilsung CHOI
Current Assignee (The listed assignees may be inaccurate. Google has not performed a legal analysis and makes no representation or warranty as to the accuracy of the list.)
Samsung Electronics Co Ltd
Original Assignee
Samsung Electronics Co Ltd
Priority date (The priority date is an assumption and is not a legal conclusion. Google has not performed a legal analysis and makes no representation as to the accuracy of the date listed.)
Filing date
Publication date
Priority claimed from RU2014131445/28Aexternal-prioritypatent/RU2572286C1/en
Application filed by Samsung Electronics Co LtdfiledCriticalSamsung Electronics Co Ltd
Assigned to SAMSUNG ELECTRONICS CO., LTDreassignmentSAMSUNG ELECTRONICS CO., LTDASSIGNMENT OF ASSIGNORS INTEREST (SEE DOCUMENT FOR DETAILS).Assignors: BORODIN, YURIY P., CHOI, CHILSUNG, DUBININ, GERMAN B., DUBYNIN, SERGEY E., KIM, SUNIL, KOPENKIN, SERGEY S., LEE, HONGSEOK, MOROZOV, ALEXANDER V., PUTILIN, ANDREY N.
Publication of US20160033710A1publicationCriticalpatent/US20160033710A1/en
Application grantedgrantedCritical
Publication of US10324245B2publicationCriticalpatent/US10324245B2/en
Activelegal-statusCriticalCurrent
Adjusted expirationlegal-statusCritical

Links

Images

Classifications

Definitions

Landscapes

Abstract

A backlight unit for a holographic display is provided. The backlight unit includes: at least one light source; at least one input coupler; a light guide panel (LGP) that guides light; a first holographic element on a first surface of the LGP; and a second holographic element on a second surface of the LGP, wherein the at least one input coupler is configured to uniformly transmit rays emitted from the at least one light source toward the first holographic element through the LGP, and the LGP is configured to transmit the rays incident from the at least one input coupler toward the first holographic element, and the first holographic element redirects the rays toward the second holographic element, the redirected rays being substantially parallel to one another, and the second holographic element emits rays incident from the first holographic element toward an outside of the LGP.

Description

CROSS-REFERENCE TO RELATED APPLICATIONS
This application claims priority from Russian Patent Application No. 2014131445, filed on Jul. 29, 2014, in the Russian Patent Office and Korean Patent Application No. 10-2015-0021776, filed on Feb. 12, 2015, in the Korean Intellectual Property Office, the disclosures of which are incorporated herein in their entirety by reference.
BACKGROUND
1. Field
Exemplary embodiments relate to backlight units for implementing three-dimensional (3D) holographic displays using a coherent parallel light from a laser light source.
2. Description of the Related Art
As many three-dimensional (3D) movies have emerged, research into technology relating to 3D image display apparatuses has been carried out. A 3D image display apparatus using a binocular parallax provides an image for a left eye and an image for a right eye having different viewpoints to a left eye and a right eye of a viewer, respectively, so that the viewer can experience a 3D effect. Examples of these 3D image display apparatuses include glasses type 3D image display apparatuses that require special glasses and non-glasses type 3D image display apparatuses that do not require glasses.
However, when the viewer sees a 3D image displayed in a binocular parallax manner, the user may experience a tremendous amount of eye fatigue. Further, the 3D image display apparatuses that provide only two viewpoints of the image for the left eye and the image for the right eye, do not reflect the changing viewpoints that occur due to the viewer's movement. Thus, the 3D image display apparatuses are limited in providing a natural 3D effect.
In order to display a more natural 3D image, research into holographic displays has been carried out.
SUMMARY
Provided are backlight units that may output a parallel light having high uniformity and may reduce a loss of light caused by reflection during light guiding.
Additional aspects will be set forth in part in the description which follows and, in part, will be apparent from the description, or may be learned by practice of the presented exemplary embodiments.
According to an aspect of an exemplary embodiment, a backlight unit includes: at least one light source; at least one input coupler; a light guide panel (LGP) that guides light; a first holographic element on a first surface of the LGP; and a second holographic element on a second surface of the LGP, wherein the at least one input coupler is configured to uniformly transmit rays emitted from the at least one light source toward the first holographic element through the LGP, and the LGP is configured to transmit the rays incident from the at least one input coupler toward the first holographic element without total reflection, and the first holographic element redirects the rays toward the second holographic element, wherein the redirected rays are in parallel to one another, and the second holographic element emits the redirected rays incident from the first holographic element toward an outside of the LGP.
The second holographic element may be disposed at a top side or bottom side of the LGP.
The at least one light source may include at least one of a light emitting diode, a laser diode, a solid laser generator, and an optical fiber.
The at least one input coupler may include at least one of a concave lens, a convex lens, a transmissive holographic element, and a reflective holographic element.
The LGP may include at least one of highly transmissive plastic, optical glass, and quartz glass.
The second holographic element may emit rays toward the outside of the LGP in parallel to one another.
The second holographic element may form at least two concentrated fields of view at a predetermined distance.
The LGP may have a constant cross-section along the entire length of the LGP.
A cross-section of the LGP may be rectangular shaped.
Each of the first holographic element and the second holographic element may include a diffraction lattice.
Each of the first holographic element and the second holographic element may be formed of an optically transparent material.
A front side, a bottom side, a top side, and a rear side of the LGP may be flat.
The backlight unit may further include an eye-tracker that tracks a pupil position of a user.
According to an aspect of another exemplary embodiment, a backlight unit is provided. The backlight unit includes: at least one light source configured to emit rays; at least one input coupler configured to receive the rays emitted from the at least one light source and uniformly transmit the received rays; a light guide panel (LGP) configured to receive the rays incident from the at least one input coupler and transmit the received rays incident from the at least one input coupler; a first holographic element configured to redirect the rays transmitted by the LGP; and a second holographic element configured to receive the redirected rays incident from the first holographic element and emit the received redirected rays incident from the first holographic element toward an outside of the LGP.
BRIEF DESCRIPTION OF THE DRAWINGS
These and/or other aspects will become apparent and more readily appreciated from the following description of the exemplary embodiments, taken in conjunction with the accompanying drawings in which:
FIG. 1 is a schematic view of a configuration of a backlight unit that emits a parallel light, according to an exemplary embodiment;
FIG. 2 is a schematic view of a configuration of the backlight unit that forms two concentrated fields of view at a predetermined distance, illustrated inFIG. 1;
FIG. 3 is a schematic view of a hologram recording apparatus for recording a hologram provided by a second holographic element that emits a parallel light onto a top surface of a light guide panel (LGP), according to an exemplary embodiment;
FIG. 4 is a schematic view of a hologram recording apparatus for recording a hologram provided by a second holographic element that forms concentrated fields of view at a predetermined distance, according to another exemplary embodiment;
FIG. 5 is a schematic view of a configuration of a hologram recording apparatus for recording a hologram provided by a first holographic element that redirects incident rays of light toward a second holographic element, wherein the redirected rays of light are in parallel to one another, according to another exemplary embodiment; and
FIG. 6 is a cross-sectional view of the hologram recording apparatus illustrated inFIG. 5, viewed from a direction of arrow A.
DETAILED DESCRIPTION OF EXEMPLARY EMBODIMENTS
Reference will now be made in detail to exemplary embodiments, examples of which are illustrated in the accompanying drawings, wherein like reference numerals refer to like elements throughout. In this regard, the exemplary embodiments may have different forms and should not be construed as being limited to the descriptions set forth herein. Accordingly, the exemplary embodiments are merely described below, by referring to the figures, to explain aspects. In the drawings, in order to more clearly describe the inventive concept, irrelevant portions to the description are omitted, and like reference numerals are used for like elements throughout the specification.
It will be understood that when a component is referred to as being “connected to,” another component, it can be “directly connected to” the other component or “electrically connected to” the other component in a state in which intervening components are present. It will be understood that when a component “comprises” another component, it does not exclude other components but further comprises another component unless otherwise indicated herein. Expressions such as “at least one of,” when preceding a list of elements, modify the entire list of elements and do not modify the individual elements of the list.
FIG. 1 is a schematic view of a configuration of abacklight unit100 that emits a parallel light, according to an exemplary embodiment, andFIG. 2 is a schematic view of a configuration of thebacklight unit100 that forms two concentrated fields of view at a predetermined distance, illustrated inFIG. 1.
Referring toFIG. 1, thebacklight unit100 may include twolight source units10, twoinput couplers20, a light guide panel (LGP)30, a firstholographic element40, and a secondholographic element50.
The LGP30 may include afront side31, abottom side32, atop side33, and arear side34.
The firstholographic element40 may be placed at therear side34 of theLGP30, and the secondholographic element50 may be placed at thebottom side32 of the LGP30.
Each of thelight source units10 may emit light toward each of theinput couplers20. Eachlight source unit10 may include a light emitting diode (LED), a laser diode, a solid laser, or an optical fiber. However, thelight source unit10 is not limited thereto but may include any type of a light source suitable for thebacklight unit100.
Eachinput coupler20 may provide uniform light to the firstholographic element40 using light emitted from thelight source unit10. Eachinput coupler20 may include a concave lens, a convex lens, a transmission type holographic element, a reflection type holographic element, or a combination thereof, and is not limited thereto.
InFIG. 1, twolight source units10 and twoinput couplers20 are illustrated. However, exemplary embodiments are not limited thereto, and a different number ofinput couplers20 may be provided.
The LGP30 may transmit the light incident from thelight source unit10 to the firstholographic element40 from the inside of the LGP30 without total reflection. That is, the light incident in the inside of the LGP30 may be transmitted to the firstholographic element40 without being totally reflected from thefront side31, thebottom side32, and thetop side33 of the LGP30. The LGP30 may have any shape suitable for transmitting the incident light. For example, as illustrated inFIG. 1, a cross-section of theLGP30 may have a rectangular shape or a square shape. However, the shape of the cross-section of the LGP30 is not limited thereto. TheLGP30 may be formed so that the cross-section of theLGP30 may be uniform along the entire length of theLGP30. TheLGP30 may be formed of high-transmission plastics, optical glass, or quartz glass. However, the shape of the cross-section of theLGP30 and a material used for forming the same are not limited thereto, and theLGP30 may be formed to have other shapes using other materials.
The firstholographic element40 may redirect rays incident from thelight source unit10 toward the secondholographic element50 placed at thebottom surface32 of theLGP30, wherein the redirected rays are in parallel to one another.
The secondholographic element50 may reflect the rays redirected by the firstholographic element40. The rays reflected by the secondholographic element50 may be emitted from theLGP30 through thetop side33 of theLGP30.
Each of the firstholographic element40 and the secondholographic element50 may include a diffraction lattice. A distance between diffraction lattices and an inclined angle thereof may be properly adjusted so that the firstholographic element40 may redirect the rays incident from thelight source unit10 toward the secondholographic element50 placed at thebottom side32 of theLGP30. The redirected rays may be parallel to one another or substantially parallel to one another. The distance between the diffraction lattices and the inclined angle thereof may be properly adjusted so that the secondholographic element50 may reflect the rays redirected by the firstholographic element40 and may emit the rays from theLGP30 through thetop side33 of theLGP30.
An angle formed between therear side34 of theLGP30 at which the firstholographic element40 is placed, and thebottom side32 of theLGP30 at which the secondholographic element50 is placed, does not need to be 90° and may be diverse. In this case, the distance between the diffraction lattices and the inclined angle thereof may be properly adjusted so that the rays incident on may be redirected toward the secondholographic element50, wherein the redirected rays are in parallel to one another. The distance between the diffraction lattices and the inclined angle thereof may be properly adjusted so that the secondholographic element50 may reflect the rays redirected by the firstholographic element40 and the reflected rays may be emitted from theLGP30 through thetop side33 of theLGP30.
The secondholographic element50 may have two or more configurations.
Referring toFIG. 1, which illustrates a first configuration, the secondholographic element50 may emit the rays incident from the firstholographic element40 as at least two parallel rays through thetop side33 of theLGP30.
Referring toFIG. 2, which illustrates a second configuration, the secondholographic element50 may operate as an objective lens and may emit the rays incident from the firstholographic element40 so as to form at least two concentrated fields of view at a predetermined distance from theLGP30.
The rays emitted in parallel or rays directed toward one point according to the exemplary embodiment of the secondholographic element50 may be emitted toward a holographic display.
Thebacklight unit100 according to the present exemplary embodiment may have at least two optical channels. In particular, thebacklight unit100 may form a left field of view and a right field of view. Each of the left field of view and the right field of view may be formed from thelight source unit10, oneinput coupler20, theLGP30, the firstholographic element40, and the secondholographic element50. An angle 2φ between two optical channels may be determined by an angle between two rays emitted from thelight source unit10 and incident on the firstholographic element40. The average distance between a user's eyes is generally approximately 62 mm, and at least twolight source units10 may be placed so that the angle 2φ between two optical channels may be achieved based on the average distance. However, the distance between a user's eyes may be slightly different for each user. Thus when there is movement in the user's viewpoint, a hologram image formed based on the average distance may appear slightly unnatural to a user whose eyes are spaced apart by a distance different from the average.
In order to solve the problem, thebacklight unit100 may further include an eye-tracker60 and acontroller70. The eye-tracker60 is used to detect the user's eye position. To this end, the eye-tracker60 may include an infrared camera, a visible ray camera, or other various sensors. The eye-tracker60 may acquire the user's image from a camera, for example, may detect the user's pupil from the user's image, and may analyze the user's pupil position. When an observer's eye is not found due to blinking of the eye or an obstacle, the position of the eye may be estimated, and the movement of the eye position may be predicted according to the user's movement. The eye-tracker60 may track a change in the user's pupil position in real time and may provide the result of tracking to thecontroller70. When the user's pupil position changes according to information detected by the eye-tracker60, thecontroller70 may control a light output direction of thebacklight unit100 by moving thelight source unit10 so that a generation position of the image may be adjusted to the changes in the user's pupil position light output.
FIG. 3 is a schematic view of a configuration of ahologram recording apparatus300 for recording diffraction patterns in the secondholographic element50 that emits parallel light onto thetop side33 of theLGP30. Referring toFIG. 3, thehologram recording apparatus300 may include alight source unit302, ashutter320, reflection members M1, M2, and M3, a first half-wavelength plate310, a second half-wavelength plate311, apolarized beam splitter304, diaphragms D1 and D2, apin hole312, micro-lenses O1 and O2, alens314, aLGP30, aphotosensitive medium316, and acover glass318.
The rays incident from light sources of thelight source unit302 may be split into a reference beam that passes through areference portion306 and a signal beam that passes through asignal portion308 using thepolarized beam splitter304.
Intensities of the reference beam and the signal beam may be adjusted by the first half-wavelength plate310. By rotating the first half-wavelength plate310, intensities of the reference beam and the signal beam may be adjusted.
The reference beam and the signal beam split by thepolarized beam splitter304 may have different polarized states. For example, the reference beam may be in a P-polarized (or S-polarized) state, and the signal beam may be in an S-polarized (or P-polarized) state. Since the reference beam and the signal beam need to have the same polarized state for hologram recording, the second half-wavelength plate311 may be added so as to change one polarized state of the reference beam and the signal beam. InFIG. 3, the second half-wavelength plate311 may be added so as to change the polarized state of the reference beam. However, the second half-wavelength plate311 may also be added so as to change the polarized state of the signal beam.
The reference beam at thereference portion306 is filtered by thepin hole312 and is made parallel by thelens314. The parallel reference beam may transmit sides of theLGP30 and may proceed in a direction of thephotosensitive medium316. Thephotosensitive medium316 may contact thebottom side32 of theLGP30.
The signal beam at thesignal portion308 is filtered by thepin hole312 and is made parallel by thelens314. The parallel signal beam may be reflected by the reflection member M3 and may proceed in the direction of thephotosensitive medium316.
A loss of the signal beam caused by reflection may occur in thebottom side32 of theLGP30 at which thephotosensitive medium316 is placed. In order to reduce the loss of the signal beam caused by reflection, thecover glass318 may contact thephotosensitive medium316.
Theshutter320 may adjust an exposure time of the rays incident from thelight source unit302.
FIG. 4 is a schematic view of a hologram recording apparatus400 for recording a hologram provided by the secondholographic element50 that forms concentrated fields of view at a predetermined distance, according to another exemplary embodiment. Referring toFIG. 4, thehologram recording apparatus300 illustrated inFIG. 3 may further include anobjective lens322 placed at thesignal portion308. Theobjective lens322 may focus light and may form concentrated fields of view at a predetermined distance when the hologram recording apparatus400 is reproduced.
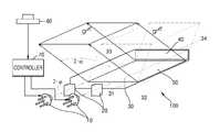
FIG. 5 is a schematic view of a configuration of ahologram recording apparatus500 for recording a hologram provided by the firstholographic element40 that redirects incident rays of light toward the secondholographic element50. The redirected rays of light are parallel to one another or substantially parallel to one another. According to another exemplary embodiment,FIG. 6 is a cross-sectional view of the hologram recording apparatus illustrated inFIG. 5, viewed from a direction of arrow A.
Referring toFIG. 5, thehologram recording apparatus500 may include alight source unit502, ashutter522, reflection members M1, M2, and M3, a first half-wavelength plate510, a second half-wavelength plate511, apolarized beam splitter504, diaphragms D1 and D2, apin hole512, micro-lenses O1 and O2, alens514, a light guide panel (LGP)30, arectangular aperture surface516, aphotosensitive medium517, aslit518, and a cylinder typeconcave lens520.
The rays incident from light sources of thelight source unit502 may be split into a reference beam that passes through areference portion506 and a signal beam that passes through asignal portion508, respectively, using thepolarized beam splitter504.
The polarized state of the rays may be adjusted by the first half-wavelength plate510. By rotating the first half-wavelength plate510, intensities of the reference beam and the signal beam may be adjusted.
The reference beam and the signal beam split by thepolarized beam splitter504 may have different polarized states. For example, the reference beam may be in a P-polarized (or S-polarized) state, and the signal beam may be in an S-polarized (or P-polarized) state. Since the reference beam and the signal beam need to have the same polarized state for hologram recording, the second half-wavelength plate511 may be added so as to change one polarized state of the reference beam and the signal beam. InFIG. 5, the second half-wavelength plate511 is added so as to change the polarized state of the reference beam. However, the second half-wavelength plate511 may also be added so as to change the polarized state of the signal beam.
The signal beam at thesignal portion508 may be filtered by thepin hole512 and may be made parallel by thelens514. The parallel signal beam may be absorbed into theslit518 placed at thesignal portion508 and may proceed in a direction of thephotosensitive medium517.
The reference beam at thereference portion506 may be filtered by thepin hole512 and may be made parallel by thelens514. The parallel signal beam may be reflected by the reflection member M3, may be absorbed onto therectangular aperture surface516, and may proceed in the direction of thephotosensitive medium517. Thephotosensitive medium517 may contact therear side34 of theLGP30.
When the reference beam at thereference portion506 is incident into theLGP30, the cylinder typeconcave lens520 may be used to uniformly spread rays into theLGP30. Referring toFIG. 6, the signal beam may be uniformly spread into theLGP30 using the cylinder typeconcave lens502.
Theshutter522 may adjust an exposure time of the rays incident from light sources of thelight source unit502.
Thelight source unit502 may include at least two laser diodes. However, the usage of several laser diodes may cause overheating of thebacklight unit100. In order to minimize overheating of thebacklight unit100, an optical material having a very low absorption rate may be used. The optical material may be high-transmission plastics, optical glass, or quartz glass, but is not limited thereto.
The firstholographic element40 placed at therear side34 of theLGP30 and the secondholographic element50 placed at thebottom side32 of theLGP30 may be recorded independently from each other. Thus, parameters of each of theholographic elements40 and50 may be adjusted so that output parameters of the entire system may be adjusted.
Thebacklight unit100 may be applied to a holographic display, a smartphone, or a 3D TV.
As described above, according to the one or more of the above exemplary embodiments, a backlight unit according to the exemplary embodiment may make a coherent parallel light.
In addition, the backlight unit according to the exemplary embodiment may form at least two fields of view.
In addition, the backlight unit according to the exemplary embodiment may improve efficiency and uniformity of illumination.
Furthermore, the backlight unit according to the exemplary embodiment may reduce the thickness of the backlight unit.
It should be understood that exemplary embodiments described herein should be considered in a descriptive sense only and not for purposes of limitation. Descriptions of features or aspects within each exemplary embodiment should typically be considered as available for other similar features or aspects in other exemplary embodiments.
While one or more exemplary embodiments have been described with reference to the figures, it will be understood by those of ordinary skill in the art that various changes in form and details may be made therein without departing from the spirit and scope as defined by the following claims.

Claims (19)

What is claimed is:
1. A backlight unit comprising:
at least two light sources;
at least two input couplers;
a light guide panel (LGP) that guides light;
a first holographic element on a first surface of the LGP;
a second holographic element on a second surface of the LGP; and
a controller that controls light output directions of the at least two light sources by moving the at least two light sources,
wherein the at least two input couplers are configured to uniformly transmit rays emitted from the at least two light sources toward the first holographic element through the LGP, and
the LGP is configured to transmit the rays incident from the at least two input couplers toward the first holographic element, and
the first holographic element redirects the rays toward the second holographic element, the redirected rays being substantially parallel to one another,
the second holographic element emits the redirected rays incident from the first holographic element toward an outside of the LGP to form two different fields of view, and
an angle between the two fields of view is determined by an angle between two rays emitted from the at least two light sources.
2. The backlight unit ofclaim 1, wherein the second holographic element is disposed at a top side or bottom side of the LGP.
3. The backlight unit ofclaim 1, wherein the at least two light sources comprise at least one from among a light emitting diode, a laser diode, a solid laser generator, and an optical fiber.
4. The backlight unit ofclaim 1, wherein the at least two input couplers comprise at least one from among a concave lens, a convex lens, a transmissive holographic element, and a reflective holographic element.
5. The backlight unit ofclaim 1, wherein the LGP comprises at least one from among highly transmissive plastic, optical glass, and quartz glass.
6. The backlight unit ofclaim 1, wherein the second holographic element emits rays toward the outside of the LGP in parallel to one another.
7. The backlight unit ofclaim 1, wherein the second holographic element forms at least two concentrated fields of view at a predetermined distance.
8. The backlight unit ofclaim 1, wherein a cross-section of the LGP is constant along the entire length of the LGP.
9. The backlight unit ofclaim 8, wherein the cross-section of the LGP is rectangular shaped.
10. The backlight unit ofclaim 1, wherein each of the first holographic element and the second holographic element comprises a diffraction lattice.
11. The backlight unit ofclaim 1, wherein each of the first holographic element and the second holographic element is formed of an optically transparent material.
12. The backlight unit ofclaim 1, wherein a front side, a bottom side, a top side, and a rear side of the LGP are flat.
13. The backlight unit ofclaim 1, further comprising an eye-tracker configured to track a pupil position of a user.
14. A backlight unit comprising:
at least two light sources configured to emit rays;
at least two input couplers configured to receive the rays emitted from the at least two light sources and uniformly transmit the received rays;
a light guide panel (LGP) configured to receive the rays incident from the at least two input couplers and transmit the received rays incident from the at least two input couplers;
a first holographic element configured to redirect the rays transmitted by the LGP;
a second holographic element configured to receive the redirected rays incident from the first holographic element and emit the received redirected rays incident from the first holographic element toward an outside of the LGP to form two different fields of view; and
a controller that controls light output directions of the at least two light sources by moving the at least two light sources,
wherein an angle between the two different fields of view is determined by an angle between two rays emitted from the at least two light sources.
15. The backlight unit ofclaim 14, wherein the second holographic element is disposed at a top side or bottom side of the LGP.
16. The backlight unit ofclaim 14, wherein the at least two light sources comprise at least one from among a light emitting diode, a laser diode, a solid laser generator, and an optical fiber.
17. The backlight unit ofclaim 14, wherein the at least two input couplers comprise at least one from among a concave lens, a convex lens, a transmissive holographic element, and a reflective holographic element.
18. The backlight unit ofclaim 14, wherein the LGP comprises at least one from among highly transmissive plastic, optical glass, and quartz glass.
19. The backlight unit ofclaim 14, wherein the received redirected rays incident from the first holographic element and emitted by the second holographic element toward the outside of the LGP are substantially parallel to each other.
US14/809,5812014-07-292015-07-27Backlight unit for holographic displayActive2037-03-26US10324245B2 (en)

Applications Claiming Priority (4)

Application NumberPriority DateFiling DateTitle
RU2014131445/28ARU2572286C1 (en)2014-07-292014-07-29Rear illumination device and hologram writing circuit
RU20141314452014-07-29
KR10-2015-00217762015-02-12
KR1020150021776AKR102349960B1 (en)2014-07-292015-02-12Backlight unit for holographic display

Publications (2)

Publication NumberPublication Date
US20160033710A1 US20160033710A1 (en)2016-02-04
US10324245B2true US10324245B2 (en)2019-06-18

Family

ID=55179840

Family Applications (1)

Application NumberTitlePriority DateFiling Date
US14/809,581Active2037-03-26US10324245B2 (en)2014-07-292015-07-27Backlight unit for holographic display

Country Status (1)

CountryLink
US (1)US10324245B2 (en)

Families Citing this family (6)

* Cited by examiner, † Cited by third party
Publication numberPriority datePublication dateAssigneeTitle
CN108020977A (en)2016-10-282018-05-11京东方科技集团股份有限公司Display device and its display methods
KR102822335B1 (en)*2016-11-112025-06-18삼성전자주식회사Backlight unit, holographic display having the same and method of manufacturing holographic optical device
CN110895389B (en)*2018-09-102021-08-24英属开曼群岛商音飞光电科技股份有限公司Holographic image sheet, holographic image recording method and reconstruction method
CN116194812A (en)2020-09-162023-05-30瑞尔D斯帕克有限责任公司 Vehicle Exterior Lighting
US11966049B2 (en)*2022-08-022024-04-23Reald Spark, LlcPupil tracking near-eye display
WO2024035796A1 (en)2022-08-112024-02-15Reald Spark, LlcAnamorphic directional illumination device

Citations (15)

* Cited by examiner, † Cited by third party
Publication numberPriority datePublication dateAssigneeTitle
US5465311A (en)1992-02-261995-11-07The University Of Alabama In HuntsvilleSide illuminated multimode waveguide
US5854697A (en)1991-11-121998-12-29The University Of Alabama In HuntsvilleWaveguide hologram illuminators
US20020018158A1 (en)1999-12-232002-02-14Putilin Andrey N.System and method for the manufacture of a universal reflective-transmissive display
JP2003195213A (en)2001-10-122003-07-09Samsung Electronics Co Ltd Illumination system and projector using the same
US20050105151A1 (en)2001-05-042005-05-19Samsung Electronics Co., Ltd.Hologram recording method using beam with very large incident angle, hologram reproduction apparatus using holographic reflector and hologram reproduction method using the same, and flat display element apparatus using holographic reflector
US20060132914A1 (en)*2003-06-102006-06-22Victor WeissMethod and system for displaying an informative image against a background image
US7542669B2 (en)2005-05-232009-06-02Nikon CorporationDiffraction display device and viewfinder display device
US20090174919A1 (en)2007-12-282009-07-09Gaylord MossDirected illumination diffraction optics auto-stereo display
US20110267666A1 (en)2008-12-312011-11-03Ceres Imaging LimitedApparatus and method for displaying transmission and reflection holograms
US20120188791A1 (en)2010-12-312012-07-26Luminit LLC.Substrate-guided holographic diffuser
KR20130022900A (en)2011-08-262013-03-07엘지디스플레이 주식회사Display apparatus for displaying three dimensional picture
US20130170004A1 (en)2010-07-062013-07-04Seereal Technologies S.A.Beam divergence and various collimators for holographic or stereoscopic displays
US20130265625A1 (en)2010-09-172013-10-10Bayer Intellectual Property GmbhAutostereoscopic 3d display
US20140036361A1 (en)*2012-05-182014-02-06Reald Inc.Directionally illuminated waveguide arrangement
KR20140042264A (en)2012-09-282014-04-07엘지디스플레이 주식회사Back light unit providing direction controllable collimated light beam and 3d display using the same

Patent Citations (22)

* Cited by examiner, † Cited by third party
Publication numberPriority datePublication dateAssigneeTitle
US5854697A (en)1991-11-121998-12-29The University Of Alabama In HuntsvilleWaveguide hologram illuminators
US5465311A (en)1992-02-261995-11-07The University Of Alabama In HuntsvilleSide illuminated multimode waveguide
US20020018158A1 (en)1999-12-232002-02-14Putilin Andrey N.System and method for the manufacture of a universal reflective-transmissive display
US6429913B2 (en)1999-12-232002-08-06Neurok, LlcSystem and method for the manufacture of a universal reflective-transmissive display
US20050105151A1 (en)2001-05-042005-05-19Samsung Electronics Co., Ltd.Hologram recording method using beam with very large incident angle, hologram reproduction apparatus using holographic reflector and hologram reproduction method using the same, and flat display element apparatus using holographic reflector
US7573623B2 (en)2001-05-042009-08-11Samsung Electronics Co., Ltd.Hologram recording method using beam with very large incident angle, hologram reproduction apparatus using holographic reflector and hologram reproduction method using the same, and flat display element apparatus using holographic reflector
JP2003195213A (en)2001-10-122003-07-09Samsung Electronics Co Ltd Illumination system and projector using the same
US6799849B2 (en)*2001-10-122004-10-05Samsung Electronics Co., Ltd.Illumination system and projector adopting the same
JP3863477B2 (en)2001-10-122006-12-27三星電子株式会社 Illumination system and projector employing the same
US20060132914A1 (en)*2003-06-102006-06-22Victor WeissMethod and system for displaying an informative image against a background image
EP1726986B1 (en)2005-05-232010-07-21Nikon CorporationDiffractive display device and corresponding display method
US7542669B2 (en)2005-05-232009-06-02Nikon CorporationDiffraction display device and viewfinder display device
US20090174919A1 (en)2007-12-282009-07-09Gaylord MossDirected illumination diffraction optics auto-stereo display
US20110267666A1 (en)2008-12-312011-11-03Ceres Imaging LimitedApparatus and method for displaying transmission and reflection holograms
US20130170004A1 (en)2010-07-062013-07-04Seereal Technologies S.A.Beam divergence and various collimators for holographic or stereoscopic displays
US20130265625A1 (en)2010-09-172013-10-10Bayer Intellectual Property GmbhAutostereoscopic 3d display
US20120188791A1 (en)2010-12-312012-07-26Luminit LLC.Substrate-guided holographic diffuser
KR20130022900A (en)2011-08-262013-03-07엘지디스플레이 주식회사Display apparatus for displaying three dimensional picture
US20140036361A1 (en)*2012-05-182014-02-06Reald Inc.Directionally illuminated waveguide arrangement
KR20140042264A (en)2012-09-282014-04-07엘지디스플레이 주식회사Back light unit providing direction controllable collimated light beam and 3d display using the same
KR101495401B1 (en)2012-09-282015-02-24엘지디스플레이 주식회사Back Light Unit Providing Direction Controllable Collimated Light Beam And 3D Display Using The Same
US9013773B2 (en)2012-09-282015-04-21Lg Display Co., Ltd.Back light unit providing direction controllable collimated light beam and 3D display using the same

Also Published As

Publication numberPublication date
US20160033710A1 (en)2016-02-04

Similar Documents

PublicationPublication DateTitle
US11774752B2 (en)Holographic display device having reduced chromatic aberration
US10324245B2 (en)Backlight unit for holographic display
US10877273B2 (en)Optical window system and see-through type display apparatus including the same
JP6714514B2 (en) Autostereoscopic 3D display device using holographic optical element
US9664903B2 (en)Optical device for augmented reality
US10802199B2 (en)Backlight device, holographic display including the same, and method of manufacturing holographic optical element having a multilayered structure
KR102046104B1 (en)Holographic 3D Display apparatus and illumination unit for holographic 3D Display apparatus
US10656322B2 (en)Coherent backlight unit and three-dimensional image display device including the same
CN110376737B (en)Optical display system, display control device and augmented reality equipment
US11366427B2 (en)Backlight unit and holographic display apparatus including the same
US20180149790A1 (en)Backlight unit for holographic display apparatus and holographic display apparatus including the same
US12061352B2 (en)Backlight unit and holographic display apparatus including the same
US8736957B2 (en)Transmitted light selecting device, three-dimensional image display device, and three-dimensional image display method
TWI622804B (en)Head mounted display
KR102349960B1 (en)Backlight unit for holographic display
KR102656241B1 (en)Holographic Display apparatus
US12352969B2 (en)Display apparatus including combiner having asymmetric magnification
US9268077B2 (en)Projection device

Legal Events

DateCodeTitleDescription
ASAssignment

Owner name:SAMSUNG ELECTRONICS CO., LTD, KOREA, REPUBLIC OF

Free format text:ASSIGNMENT OF ASSIGNORS INTEREST;ASSIGNORS:KIM, SUNIL;MOROZOV, ALEXANDER V.;PUTILIN, ANDREY N.;AND OTHERS;REEL/FRAME:036193/0216

Effective date:20150713

STPPInformation on status: patent application and granting procedure in general

Free format text:NOTICE OF ALLOWANCE MAILED -- APPLICATION RECEIVED IN OFFICE OF PUBLICATIONS

STCFInformation on status: patent grant

Free format text:PATENTED CASE

MAFPMaintenance fee payment

Free format text:PAYMENT OF MAINTENANCE FEE, 4TH YEAR, LARGE ENTITY (ORIGINAL EVENT CODE: M1551); ENTITY STATUS OF PATENT OWNER: LARGE ENTITY

Year of fee payment:4


[8]ページ先頭

©2009-2025 Movatter.jp