

本發明關於一種收納裝置,尤指一種無線收納裝置及無線傳輸系統。The present invention relates to a storage device, in particular to a wireless storage device and a wireless transmission system.
目前市面上所販售的一種可攜式電子裝置(例如,藍牙耳機),為了方便攜帶及保管,通常會收納在一收納盒中。例如入耳式無線耳機及收納盒。透過將該入耳式無線耳機收納在該收納盒中,以透過該收納盒對該入耳式無線耳機進行充電。A portable electronic device currently sold on the market (e.g., a Bluetooth headset) is usually stored in a storage box for easy carrying and storage. For example, an in-ear wireless headset and a storage box. By storing the in-ear wireless headset in the storage box, the in-ear wireless headset can be charged through the storage box.
當使用者將該可攜式電子裝置配戴在身上(例如,耳朵),且同時需要與一電腦設備配合使用(例如,遊戲主機、筆電、桌機、非智慧型手機及穿戴裝置),例如接收該電腦設備所播放的聲音時,需要額外準備一無線收發器(例如,具USB連接介面的藍牙收發器等),並將該無線收發器插設在該電腦設備。該電腦設備透過該無線收發器將即時資訊(例如,多媒體資訊)發送至使用者配戴的一可攜式電子裝置,使得該電腦設備上的即時資訊能同時在使用者配戴的可攜式電子裝置上播放。When the user wears the portable electronic device on the body (e.g., ear) and needs to use it with a computer device (e.g., game console, laptop, desktop, non-smart phone and wearable device) at the same time, for example, to receive the sound played by the computer device, an additional wireless transceiver (e.g., Bluetooth transceiver with USB connection interface, etc.) needs to be prepared and inserted into the computer device. The computer device sends real-time information (e.g., multimedia information) to a portable electronic device worn by the user through the wireless transceiver, so that the real-time information on the computer device can be played on the portable electronic device worn by the user at the same time.
然而,現有技術對於使用者而言,由於需要攜帶多數產品及配件,常造成麻煩與困擾,尤其是配件體積小、容易遺失或遺漏,對於使用者而言較不方便。因此,如何能夠提升使用者的方便性、減少使用上的麻煩,確實有待提出更佳解決方案的必要性。However, the existing technology often causes trouble and annoyance to users because they need to carry many products and accessories, especially because the accessories are small in size and easy to lose or miss, which is inconvenient for users. Therefore, it is necessary to propose a better solution to improve user convenience and reduce the trouble in use.
有鑒於上述現有技術所存在的問題,本發明的至少一目的是提供一種無線收納裝置及無線傳輸系統。使用者透過將無線收納裝置分別與設備及可攜式電子裝置連接,使無線收納裝置作為二者之間進行訊號傳輸的媒介,而可不用攜帶額外的無線收發器。由於可以減少攜帶產品及配件的數量,亦可改善無線收發器因收納不易而造成遺失、遺漏的問題。藉此提升使用者的使用便利性兼具使用體驗的目的。In view of the problems existing in the above-mentioned prior art, at least one purpose of the present invention is to provide a wireless storage device and a wireless transmission system. Users can connect the wireless storage device to the equipment and the portable electronic device respectively, so that the wireless storage device can be used as a medium for signal transmission between the two, and there is no need to carry an additional wireless transceiver. Since the number of products and accessories carried can be reduced, the problem of loss or omission of the wireless transceiver due to the difficulty of storage can also be improved. This improves the user's convenience and user experience.
為了達成上述目的所採取的一技術手段,是令前述無線收納裝置,用於收納一可攜式電子裝置以及與一電子設備連接。該無線收納裝置包括:一USB接口,用於連接該電子設備,以接收一電源訊號及一音訊資訊;一電源模組,連接該USB接口,該電源模組根據該電源訊號進行充電;一音訊處理模組,連接該USB接口,以接收該音訊資訊,並對應產生一驅動訊號;一無線傳輸模組,連接該音訊處理模組,並根據該驅動訊號,將該音訊資訊傳輸至該可攜式電子裝置。A technical means adopted to achieve the above purpose is to use the aforementioned wireless storage device to store a portable electronic device and connect to an electronic device. The wireless storage device includes: a USB interface, used to connect to the electronic device to receive a power signal and an audio information; a power module, connected to the USB interface, the power module is charged according to the power signal; an audio processing module, connected to the USB interface, to receive the audio information and generate a drive signal accordingly; a wireless transmission module, connected to the audio processing module, and transmits the audio information to the portable electronic device according to the drive signal.
為了達成上述目的所採取的另一技術手段,是令前述無線傳輸系統,用於連接一電子設備,該無線傳輸系統包括:一如上述的無線收納裝置;一可攜式電子裝置,接收該無線收納裝置發送的一無線音訊資訊。Another technical means adopted to achieve the above purpose is to use the aforementioned wireless transmission system to connect an electronic device, the wireless transmission system comprising: a wireless storage device as described above; a portable electronic device that receives a wireless audio message sent by the wireless storage device.
根據上述內容可知,使用者從該無線收納裝置中取出該可攜式電子裝置,並且配戴在身上(例如,耳朵)後,將該無線收納裝置分別與該電子設備及該可攜式電子裝置連接,以透過該無線收納裝置作為該電子設備將訊號傳輸至該可攜式電子裝置的媒介,而可不用攜帶額外的無線收發器。由於可以減少攜帶產品及配件的數量,亦可改善無線收發器因收納不易而造成遺失、遺漏的問題。藉此提升使用者的使用便利性兼具使用體驗的目的。According to the above content, the user takes out the portable electronic device from the wireless storage device and wears it on the body (for example, the ear), and then connects the wireless storage device to the electronic device and the portable electronic device respectively, so that the wireless storage device serves as a medium for the electronic device to transmit signals to the portable electronic device, and there is no need to carry an additional wireless transceiver. Since the number of products and accessories carried can be reduced, the problem of loss or omission of wireless transceivers due to difficulty in storage can also be improved. This improves the user's convenience and user experience.
10:無線收納裝置10: Wireless storage device
11:殼體11: Shell
12:USB接口12: USB interface
13:電源模組13: Power module
131:電源處理單元131: Power processing unit
132:電池132:Battery
14:音訊處理模組14: Audio processing module
15:無線傳輸模組15: Wireless transmission module
151:處理單元151: Processing unit
152:傳輸單元152: Transmission unit
20:可攜式電子裝置20: Portable electronic devices
30:電腦設備30: Computer equipment
圖1是本發明一實施例的無線傳輸系統的架構示意圖。Figure 1 is a schematic diagram of the architecture of a wireless transmission system of an embodiment of the present invention.
圖2是本發明基於圖1所示的實施例的無線傳輸系統的無線收納裝置的架構示意圖。FIG2 is a schematic diagram of the structure of the wireless storage device of the wireless transmission system of the present invention based on the embodiment shown in FIG1.
圖3是本發明基於圖1和圖2所示的實施例的無線傳輸系統的應用示意圖。FIG3 is a schematic diagram of the application of the wireless transmission system of the present invention based on the embodiments shown in FIG1 and FIG2.
關於本發明無線傳輸系統的一實施例,請參考圖1所示,包括一無線收納裝置10及一可攜式電子裝置20。該無線收納裝置10用於與一電子設備連接,以及用於收納該可攜式電子裝置20。在一實施例中,該電子設備可由一電腦設備30所構成,可接收類比訊號、USB音訊之輸入。Regarding an embodiment of the wireless transmission system of the present invention, please refer to FIG1, which includes a
在一實施例中,該可攜式電子裝置20包括一無線耳機或一無線穿戴式裝置,其中例如但不限於一藍牙耳機、一Google眼鏡或一iWatch裝置等。In one embodiment, the portable
在一實施例中,該電腦設備30包括一遊戲主機、一筆記型電腦、一桌上型電腦、一非智慧型手機或一穿戴式裝置。In one embodiment, the
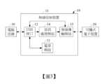
在一實施例中,請一併參考圖2所示,揭示該無線收納裝置10的架構。該無線收納裝置10包括一殼體11、一USB接口12、一電源模組13、一音訊處理模組14、一無線傳輸模組15。該USB接口12分別連接該電源模組13及該音訊處理模組14。該音訊處理模組14連接該無線傳輸模組15。其中,該USB接口12進一步亦可與該無線傳輸模組15連接。In one embodiment, please refer to FIG. 2 to disclose the structure of the
該殼體11內設置有多數空間(圖未示),以用於容納該USB接口12、該電源模組13、該音訊處理模組14、該無線傳輸模組15及該可攜式電子裝置20。The
在一實施例中,該殼體11包括一耳機收納盒(例如,藍牙耳機盒)、一眼鏡收納盒(例如,Google眼鏡盒)或一無線穿戴裝置收納盒(iWatch收納盒)等。In one embodiment, the
該USB接口12透過一有線的方式,以一條USB傳輸線與該電腦設備30的一USB接口(圖未示)連接,以交換資訊。其中,該USB接口12經由該USB傳輸線接收該電腦設備30傳輸的一電源訊號以及一音訊資訊。The
具體來說,該USB接口12具有一通訊協定。當該USB接口12經由該USB傳輸線與該電腦設備30連接後,即可接收到該電腦設備30傳輸的一電源訊號。接著,當該電腦設備30播放一多媒體資訊時,該USB接口12經由該USB傳輸線並透過該通訊協定接收一音訊資訊。該USB接口12將該電源訊號分別傳輸至該電源模組13進行充電、該音訊處理模組14令其運作;此外,還可傳輸至該無線傳輸模組15令其運作。Specifically, the
其中,該USB接口12包括一USB1.0接口、一USB2.0接口、一USB3.0接口或更高規格的USB接口。該通訊協定包括一USB Audio協定或一類比訊號協定等。The
該電源模組13根據該USB接口12所接收到的電源訊號進行充電。其中,該電源模組13包括一電源處理單元131以及相連接的一電池132。該電源處理單元131是將接收到的該電源訊號進行處理後,將處理後的電源訊號對該電池132進行充電。具體來說,是對電源訊號進行升壓處理、過電流保護處理、溫度監控處理等,並將處理後的電源訊號傳輸至該電池132進行充電。The
其中,當該可攜式電子裝置20收納在該無線收納裝置10內後,該可攜式電子裝置20中的多數充電端與該無線收納裝置10的電源模組13連接,以由該電池132經由該電源處理單元131,對該可攜式電子裝置20進行充電。When the portable
此外,若該USB接口12經由該USB傳輸線與該電腦設備30連接,而未接收到該電源訊號時,亦可由該電源模組13對該音訊處理模組14、該無線傳輸模組15供電。In addition, if the
該音訊處理模組14接收該USB接口12傳輸的音訊資訊及電源訊號。該電源訊號是對該音訊處理模組14進行供電。該音訊處理模組14對該音訊資訊進行一音訊處理程序,以將處理後的音訊資訊傳輸至該無線傳輸模組15。其中,該音訊處理模組14包括一音訊處理器。The
該無線傳輸模組15是根據從該音訊處理模組14接收到的音訊資訊,傳輸一無線音訊資訊至該可攜式電子裝置20。其中,該無線傳輸模組15包括一處理單元151以及相連接的一傳輸單元152。該處理單元151包括一無線協定,該處理單元151是根據該無線協定、接收到的音訊資訊透過該傳輸單元152,傳輸該無線音訊資訊至該可攜式電子裝置20。The
其中,該無線傳輸模組15與該USB接口12連接,以透過該電源訊號對該無線傳輸模組15供電。或者,該音訊處理模組14亦可將接收到的電源訊號傳輸至該無線傳輸模組15,以對其供電。The
在一實施例中,該無線傳輸模組15包括一藍牙模組或一Wi-Fi模組。該處理單元151包括一無線傳輸處理器。該傳輸單元152包括一收發天線。該無線協定包括一Wi-Fi無線傳輸協定、一藍牙無線傳輸協定或一無線私有傳輸協定,具體而言該無線私有傳輸協定的一編碼格式包括SBC、LHDC或AAC。In one embodiment, the
關於使用的方式,請一併參考圖3所示。使用者將該可攜式電子裝置20從該無線收納裝置10中取出,並配戴在身上(例如,耳朵),且該可攜式電子裝置20與該無線收納裝置10連接;然後,透過一USB傳輸線連接該無線收納裝置10的USB接口12,以及連接該電腦設備30的一USB接口。For the method of use, please refer to FIG. 3. The user takes the portable
在使用上,當完成該無線收納裝置10、該可攜式電子裝置20與該電腦設備30之間的連接之後,使用者透過該電腦設備30進行操作,以播放一多媒體資訊,例如一影片、一音樂等。該無線收納裝置10的USB接口12透過該通訊協定經由該USB傳輸線接收到該音訊資訊。該音訊處理模組14接收該USB接口12所接收到的音訊資訊進行處理,以產生該驅動訊號,並將該驅動訊號及該音訊資訊傳送至該無線傳輸模組15。該無線傳輸模組15的處理單元151根據該無線協定、該音訊資訊進行處理,產生一無線音訊資訊,並透過該傳輸單元152發送至該可攜式電子裝置20,以供使用者透過該可攜式電子裝置20聽到該電腦設備30所播放的影片或音樂的聲音。In use, after the
此外,當使用者透過該可攜式電子裝置20進行操作,例如放大音量、縮小音量、切換下一首、切換上一首、暫停播放或停止播放時,由該可攜式電子裝置20發送一控制指令至該無線收納裝置10的無線傳輸模組15,該無線傳輸模組15透過該USB接口12經由該USB傳輸線將該控制指令傳送至該電腦設備30。該電腦設備30根據該控制指令對當前正在播放的多媒體資訊進行控制。In addition, when the user performs an operation through the portable
根據上述內容,使用者可以將該無線收納裝置10分別與該可攜式電子裝置20、該電腦設備30連接,以作為二者之間傳輸訊號的媒介。所以,在使用上不需要額外攜帶其它的無線收發器。由於可以減少攜帶產品及配件的數量,亦可改善無線收發器因收納不易而造成遺失、遺漏的問題。藉此提升使用者的使用便利性兼具使用體驗的目的。According to the above content, the user can connect the
10:無線收納裝置10: Wireless storage device
11:殼體11: Shell
12:USB接口12: USB interface
13:電源模組13: Power module
131:電源處理單元131: Power processing unit
132:電池132:Battery
14:音訊處理模組14: Audio processing module
15:無線傳輸模組15: Wireless transmission module
151:處理單元151: Processing unit
152:傳輸單元152: Transmission unit
20:可攜式電子裝置20: Portable electronic devices
30:電腦設備30: Computer equipment
| Application Number | Priority Date | Filing Date | Title |
|---|---|---|---|
| TW109138620ATWI837436B (en) | 2020-11-05 | 2020-11-05 | Wireless storage device and wireless transmission system |
| Application Number | Priority Date | Filing Date | Title |
|---|---|---|---|
| TW109138620ATWI837436B (en) | 2020-11-05 | 2020-11-05 | Wireless storage device and wireless transmission system |
| Publication Number | Publication Date |
|---|---|
| TW202219689A TW202219689A (en) | 2022-05-16 |
| TWI837436Btrue TWI837436B (en) | 2024-04-01 |
| Application Number | Title | Priority Date | Filing Date |
|---|---|---|---|
| TW109138620ATWI837436B (en) | 2020-11-05 | 2020-11-05 | Wireless storage device and wireless transmission system |
| Country | Link |
|---|---|
| TW (1) | TWI837436B (en) |
| Publication number | Priority date | Publication date | Assignee | Title |
|---|---|---|---|---|
| TW200941955A (en)* | 2008-03-28 | 2009-10-01 | Asustek Comp Inc | Wireless dongle |
| TW201921957A (en)* | 2015-09-30 | 2019-06-01 | 美商蘋果公司 | Earplug case with charging system |
| Publication number | Priority date | Publication date | Assignee | Title |
|---|---|---|---|---|
| TW200941955A (en)* | 2008-03-28 | 2009-10-01 | Asustek Comp Inc | Wireless dongle |
| TW201921957A (en)* | 2015-09-30 | 2019-06-01 | 美商蘋果公司 | Earplug case with charging system |
| US20200275184A1 (en)* | 2015-09-30 | 2020-08-27 | Apple Inc. | Portable listening device with sensors |
| Publication number | Publication date |
|---|---|
| TW202219689A (en) | 2022-05-16 |
| Publication | Publication Date | Title |
|---|---|---|
| US8213666B2 (en) | Headphones with embeddable accessories including a personal media player | |
| US20230147435A1 (en) | Audio Processing Method, Apparatus, and System | |
| EP3188502A1 (en) | Wireless earphone and controlling method of same | |
| US20060046656A1 (en) | Bluetooth headset and bluetooth device connectable to audio equipment | |
| WO2020098054A1 (en) | Neckband headphones | |
| TWM550006U (en) | Wireless earphone set | |
| CN210725254U (en) | Wireless earphone | |
| US11553268B2 (en) | Wireless headset | |
| US20210351601A1 (en) | Wireless sound output device with charging function | |
| US20090047905A1 (en) | Stereo bluetooth headset | |
| EP3379843B1 (en) | Acoustic system, headphone device, loudspeaker device, and acoustic output method | |
| CN102648606A (en) | Terminal device, sound output method, and information processing system | |
| TWI837436B (en) | Wireless storage device and wireless transmission system | |
| KR101966413B1 (en) | Neck band type wireless earphone | |
| CN202435570U (en) | Earphone device | |
| CN204046790U (en) | Bluetooth Speaker | |
| CN213547803U (en) | Wireless receiving device and wireless transmission system | |
| US20090059511A1 (en) | Dock station and mini-projector being mutually integrated | |
| TWM607296U (en) | Wireless storage device and wireless transmission system | |
| CN114449395A (en) | Wireless receiving device and wireless transmission system | |
| CN101373993A (en) | Stereo bluetooth headset | |
| CN119654875A (en) | Wireless high-resolution headphones | |
| JP3119248U (en) | Wireless earphone device and charging base assembly | |
| CN212850954U (en) | TWS bluetooth headset's receiver | |
| CN118158598B (en) | Audio playback method, audio playback device, and storage medium |