








本發明是有關於一種光學模組以及電子裝置,且特別是有關於一種防窺光源模組以及顯示裝置。The present invention relates to an optical module and an electronic device, and in particular to an anti-peep light source module and a display device.
隨著科技發展,顯示裝置已經成為日常生活中常見的電子裝置,目前有部分的顯示裝置會提供防窺功能以維護使用者的觀看隱私。進一步而言,由於目前的防窺型顯示裝置中的液晶顯示器與電控液晶視角切換器皆為液晶面板,因此會造成穿透率大幅下降,故用於防窺型顯示裝置中的背光模組通常會使用能最大化正向輝度的高光學效能架構來降低系統能耗。With the development of science and technology, display devices have become common electronic devices in daily life. Currently, some display devices provide anti-peep functions to maintain users' viewing privacy. Furthermore, since the liquid crystal displays and electronically controlled LCD viewing angle switches in current anti-peep display devices are both LCD panels, the transmittance will be significantly reduced, so they are used in backlight modules in anti-peep display devices. High optical performance architectures that maximize forward luminance are often used to reduce system energy consumption.
然而,如此一來,也會使得防窺型顯示裝置在使用者視野的垂直方向上的視野角明顯小於一般無防窺功能的顯示裝置,因而影響防窺型顯示裝置的使用體驗。此外,由於高光學效能的架構為了追求光效能最大化,因此,其整體光學路徑有較少的散射行為,所以犧牲了遮瑕性,而容易使顯示畫面上的光學瑕疵變得明顯,因此,其對於生產製造的品質有較高的要求,而影響生產製造良率。However, in this way, the viewing angle of the privacy-protection display device in the vertical direction of the user's field of view is significantly smaller than that of a general display device without privacy protection function, thus affecting the use experience of the privacy-prevention display device. In addition, since the high optical efficiency architecture pursues maximizing light efficiency, its overall optical path has less scattering behavior, thus sacrificing concealment and easily making optical defects on the display screen obvious. Therefore, its There are higher requirements for manufacturing quality, which affects the manufacturing yield.
據此,如何兼顧防窺型顯示裝置的光學效能、使用體驗以及生產良率是重要的課題。Accordingly, how to balance the optical performance, user experience and production yield of privacy-protection display devices is an important issue.
“先前技術”段落只是用來幫助了解本發明內容,因此在“先前技術”段落所揭露的內容可能包含一些沒有構成所屬技術領域中具有通常知識者所知道的習知技術。在“先前技術”段落所揭露的內容,不代表該內容或者本發明一個或多個實施例所要解決的問題,在本發明申請前已被所屬技術領域中具有通常知識者所知曉或認知。The "prior art" paragraph is only used to help understand the content of the present invention. Therefore, the content disclosed in the "prior art" paragraph may contain some conventional technologies that do not constitute common knowledge to those with ordinary knowledge in the technical field. The content disclosed in the "Prior Art" paragraph does not mean that the content or the problems to be solved by one or more embodiments of the present invention have been known or recognized by those with ordinary knowledge in the technical field before the application of the present invention.
本發明提供一種防窺光源模組以及顯示裝置,具有良好的光學效能、使用體驗以及生產良率。The invention provides an anti-peep light source module and a display device, which have good optical performance, user experience and production yield.
為達上述的一或部分或全部目的或是其他目的,本發明的一實施例提出防窺光源模組。防窺光源模組包括光源模組以及視角切換模組。光源模組具有光源以及導光板,光源用以提供光束,光源具有多個發光元件,這些發光元件沿第一方向排列,第一方向平行於導光板的入光面,導光板在第一表面上具有多個光學微結構,光束經由導光板的這些光學微結構的光學面後離開導光板的第二表面並形成一照明光束,且入光面位於第一表面與第二表面之間。視角切換模組位於照明光束的傳遞路徑上,包括視角限制元件以及視角調整元件。視角限制元件具有光柵結構,光柵結構的延伸方向與第一方向之間的夾角的角度範圍介於88度至92度之間。視角調整元件用以改變照明光束的視角範圍,其中視角限制元件位於視角調整元件與光源模組之間。In order to achieve one, part or all of the above objects or other objects, an embodiment of the present invention provides an anti-peep light source module. The anti-peep light source module includes a light source module and a viewing angle switching module. The light source module has a light source and a light guide plate. The light source is used to provide a light beam. The light source has a plurality of light-emitting elements. These light-emitting elements are arranged along a first direction. The first direction is parallel to the light incident surface of the light guide plate. The light guide plate is on the first surface. It has a plurality of optical microstructures, and the light beam passes through the optical surfaces of these optical microstructures of the light guide plate and then leaves the second surface of the light guide plate and forms an illumination light beam, and the light incident surface is located between the first surface and the second surface. The viewing angle switching module is located on the transmission path of the illumination beam and includes a viewing angle limiting element and a viewing angle adjusting element. The viewing angle limiting element has a grating structure, and the angle range between the extension direction of the grating structure and the first direction is between 88 degrees and 92 degrees. The viewing angle adjusting element is used to change the viewing angle range of the illumination beam, wherein the viewing angle limiting element is located between the viewing angle adjusting element and the light source module.
為達上述的一或部分或全部目的或是其他目的,本發明的一實施例提出一種顯示裝置。顯示裝置包括前述的防窺光源模組以及顯示面板,位於照明光束的傳遞路徑上,且顯示面板位於視角限制元件遠離導光板之一側。In order to achieve one, part or all of the above objects or other objects, an embodiment of the present invention provides a display device. The display device includes the aforementioned anti-peep light source module and a display panel, which are located on the transmission path of the illumination beam, and the display panel is located on a side of the viewing angle limiting element away from the light guide plate.
在本發明的一實施例中,上述的各光學微結構的光學面與第一表面之間具有一迎光角,迎光角的角度範圍介於162度至177度之間。In an embodiment of the present invention, there is a light incident angle between the optical surface of each optical microstructure and the first surface, and the angle of the light incident angle ranges from 162 degrees to 177 degrees.
在本發明的一實施例中,上述的防窺光源模組還包括至少一光學膜。至少一光學膜位於照明光束的傳遞路徑上,其中視角限制元件位於至少一光學膜與視角調整元件之間,且至少一光學膜位於視角限制元件與光源模組之間。In an embodiment of the present invention, the above-mentioned anti-peep light source module further includes at least one optical film. At least one optical film is located on the transmission path of the illumination beam, wherein the viewing angle limiting element is located between the at least one optical film and the viewing angle adjusting element, and the at least one optical film is located between the viewing angle limiting element and the light source module.
在本發明的一實施例中,上述的各至少一光學膜具有多個稜鏡結構,這些稜鏡結構設置在各至少一光學膜面向視角限制元件的表面上。In one embodiment of the present invention, each of the above-mentioned at least one optical films has a plurality of pixel structures, and these pixel structures are disposed on the surface of each at least one optical film facing the viewing angle limiting element.
在本發明的一實施例中,上述的這些稜鏡結構的延伸方向與第一方向之間的夾角的角度範圍介於0度至±30度之間。In an embodiment of the present invention, the angle range between the extension direction of the above-mentioned ridge structures and the first direction is between 0 degrees and ±30 degrees.
在本發明的一實施例中,上述的這些稜鏡結構的延伸方向與視角限制元件的光柵結構的延伸方向之間的夾角的角度範圍介於60度至120度之間。In one embodiment of the present invention, the angle range between the extension direction of the above-mentioned grating structures and the extension direction of the grating structure of the viewing angle limiting element ranges from 60 degrees to 120 degrees.
在本發明的一實施例中,上述的至少一光學膜包括一第一光學膜以及一第二光學膜,且第一光學膜的這些稜鏡結構的延伸方向與第二光學膜的這些稜鏡結構的延伸方向之間的夾角的角度範圍介於2度至10度之間。In an embodiment of the present invention, the above-mentioned at least one optical film includes a first optical film and a second optical film, and the extension direction of the pixel structures of the first optical film is consistent with the extension direction of the pixel structures of the second optical film. The angle between the extending directions of the structure ranges from 2 degrees to 10 degrees.
在本發明的一實施例中,上述的第一光學膜位於第二光學膜與光源模組之間,且第一光學膜的折射率小於第二光學膜的折射率。In an embodiment of the present invention, the above-mentioned first optical film is located between the second optical film and the light source module, and the refractive index of the first optical film is smaller than the refractive index of the second optical film.
在本發明的一實施例中,上述的防窺光源模組還包括一擴散片,位於第一光學膜與第二光學膜之間,且擴散片的表面的霧度範圍介於3%至30%。In one embodiment of the present invention, the above-mentioned anti-peep light source module further includes a diffusion sheet located between the first optical film and the second optical film, and the haze range of the surface of the diffusion sheet is between 3% and 30%. %.
在本發明的一實施例中,上述的各光學膜面向光源模組的表面上設有粗糙結構或擴散粒子,且各光學膜面向光源模組的表面的霧度範圍介於3%至30%。In one embodiment of the present invention, the surface of each optical film facing the light source module is provided with rough structures or diffusion particles, and the haze range of the surface of each optical film facing the light source module ranges from 3% to 30%. .
在本發明的一實施例中,上述的顯示面板位於視角調整元件與視角限制元件之間。In an embodiment of the present invention, the above-mentioned display panel is located between the viewing angle adjusting element and the viewing angle limiting element.
在本發明的一實施例中,上述的視角調整元件位於顯示面板與視角限制元件之間。In an embodiment of the present invention, the above-mentioned viewing angle adjusting element is located between the display panel and the viewing angle limiting element.
基於上述,在本發明的一實施例的防窺光源模組以及顯示裝置,通過導光板的光學微結構的迎光角的角度範圍設置,可擴展照明光束在顯示裝置的各方向上的視角範圍的亮度,進而擴大使用者的視野範圍,並且,照明光束可通過視角限制元件的配置在顯示裝置的水平方向的視角範圍具有較大的正向輝度,且同時不致影響照明光束在顯示裝置的垂直方向的視角範圍的亮度,並可通過視角調整元件來實現一般模式與防窺模式下的視角範圍的切換。如此一來,可兼顧防窺光源模組的光學效能以及使用體驗。並且,通過至少一光學膜具有適當霧度的配置,而可使防窺光源模組以及顯示裝置可以兼顧亮度以及遮瑕性的需求,進而同時具有良好的光學效能以及產品良率。如此,能使防窺光源模組以及顯示裝置具有良好的光學效能、使用體驗以及生產良率。Based on the above, in an anti-peep light source module and a display device according to an embodiment of the present invention, by setting the angle range of the incident angle of the optical microstructure of the light guide plate, the viewing angle range of the illumination beam in all directions of the display device can be expanded. brightness, thereby expanding the user's field of view, and the illumination beam can have a greater positive brightness in the horizontal viewing angle range of the display device through the configuration of the viewing angle limiting element, and at the same time, it will not affect the vertical direction of the illuminating beam in the display device. The brightness of the viewing angle range in the direction, and the viewing angle range can be switched between the normal mode and the anti-peep mode through the viewing angle adjustment component. In this way, the optical performance and user experience of the anti-peep light source module can be taken into consideration. Moreover, by arranging at least one optical film with appropriate haze, the anti-peep light source module and the display device can take into account the requirements of brightness and concealment, and thus have good optical performance and product yield at the same time. In this way, the anti-peep light source module and the display device can have good optical performance, user experience and production yield.
為讓本發明的上述特徵和優點能更明顯易懂,下文特舉實施例,並配合所附圖式作詳細說明如下。In order to make the above-mentioned features and advantages of the present invention more obvious and easy to understand, embodiments are given below and described in detail with reference to the accompanying drawings.
有關本發明的前述及其他技術內容、特點與功效,在以下配合參考圖式的一較佳實施例的詳細說明中,將可清楚的呈現。以下實施例中所提到的方向用語,例如:上、下、左、右、前或後等,僅是參考附加圖式的方向。因此,使用的方向用語是用來說明並非用來限制本發明。The foregoing and other technical contents, features and effects of the present invention will be clearly presented in the following detailed description of a preferred embodiment with reference to the drawings. Directional terms mentioned in the following embodiments, such as up, down, left, right, front or back, etc., are only for reference to the directions in the attached drawings. Accordingly, the directional terms used are illustrative and not limiting of the invention.
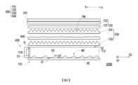
圖1是本發明的一實施例的顯示裝置的正視示意圖。圖2是圖1的顯示裝置在垂直方向上的剖視示意圖。圖3是圖1的顯示裝置在水平方向上的剖視示意圖。請參照圖1至圖3,在本實施例中,顯示裝置200包括防窺光源模組100以及顯示面板210。防窺光源模組100包括光源模組110、視角切換模組120以及至少一光學膜130。光源模組110具有光源111、導光板112以及反射元件RE,光源111具有多個發光元件1110,而能用以提供光束L。舉例而言,如圖1所示,在本實施例中,光源111可為燈條。如圖1所示,發光元件1110沿第一方向D1(即,燈條的延伸方向)排列。其中,發光元件1110係可為發光二極體(light-emitting diode,LED)。FIG. 1 is a schematic front view of a display device according to an embodiment of the present invention. FIG. 2 is a schematic cross-sectional view of the display device of FIG. 1 in the vertical direction. FIG. 3 is a schematic cross-sectional view of the display device of FIG. 1 in the horizontal direction. Please refer to FIGS. 1 to 3 . In this embodiment, the
並且,導光板112具有入光面IS以及彼此相對的第一表面S1與第二表面S2,其中入光面IS位於第一表面S1與第二表面S2之間,而連接第一表面S1與第二表面S2。更詳細而言,在本實施例中,第一表面S1為導光板112的底面,而面向反射元件RE,第二表面S2為出光面,而面向視角切換模組120,且其中第一方向D1平行於導光板112的入光面IS。Moreover, the
進一步而言,如圖2所示,在本實施例中,導光板112在第一表面S1上具有多個光學微結構MS。更詳細而言,光學微結構MS的光學面OS與第一表面S1之間具有迎光角,迎光角的角度範圍介於162度至177度之間,迎光角的補角即為光學微結構MS的有效光學角θ,有效光學角θ約為3度至18度。並且,在本實施例中,導光板112的光學微結構MS的光學面OS的輪廓不限於平面,亦可設計成曲面,只要其有效光學角θ的範圍在3度至18度內即可。來自光源111的光束L在經由導光板112的光學微結構MS的光學面OS後離開導光板112的第二表面S2並形成照明光束IL。此處,由於光學微結構MS的迎光角相較於一般的光源模組110的微結構的角度較大,而使其有效光學角θ較小,因此,如圖2所示,照明光束IL的發光角並不會集中於導光板112的法線方向上,而會稍稍偏離,如此,將有助於照明光束IL在顯示裝置200的各方向上的視角範圍的亮度,進而擴大使用者的視野範圍。Furthermore, as shown in FIG. 2 , in this embodiment, the
另一方面,如圖2與圖3所示,在本實施例中,視角切換模組120位於照明光束IL的傳遞路徑上,包括視角限制元件121以及視角調整元件122,其中視角限制元件121位於視角調整元件122與光源模組110之間。如圖2與圖3所示,視角限制元件121具有光柵結構GS,光柵結構GS的延伸方向D2與第一方向D1之間的夾角的角度範圍介於88度至92度之間,在本實施例中,光柵結構GS的延伸方向D2與第一方向D1之間的夾角的角度範圍例如為90度。如此,如圖3所示,通過光柵結構GS的設置,照明光束IL在顯示裝置200的水平方向的視角範圍 (即,使用者視野的左右方向上的視野角)可先被進行第一次的限縮,並且,由於光柵結構GS的延伸方向D2實質上與顯示裝置200的垂直方向 (即使用者視野的上下方向上)近似平行,因此不會對照明光束IL在顯示裝置200的垂直方向的視角進行限縮。On the other hand, as shown in FIGS. 2 and 3 , in this embodiment, the viewing
此外,在本實施例中,視角調整元件122例如為液晶面板,而能以電訊號控制的方式來切換照明光束IL的視角範圍,並對照明光束IL在顯示裝置200的水平方向與垂直方向的視角範圍 (即,使用者視野的左右方向以及上下方向上的視野角)同時進行範圍的切換,例如從廣出光視角變成窄出光視角。更進一步而言,如圖2與圖3所示,在本實施例中,顯示面板210位於照明光束IL的傳遞路徑上,且顯示面板210位於視角限制元件121遠離導光板112之一側,其中視角調整元件122位於顯示面板210與視角限制元件121之間。如此,當照明光束IL通過顯示面板210後,即可形成顯示光束進而顯示影像畫面。如此,當防窺光源模組100控制視角調整元件122,並使其從廣出光視角切換為窄出光視角時,照明光束IL隨後經由顯示面板210而形成的顯示光束的出光視角範圍也會隨之明顯變窄。如此一來,此時旁人在側邊時看不清楚顯示裝置200的畫面,因此顯示裝置200處於防窺模式,具有保護隱私的功效。In addition, in this embodiment, the viewing
如此一來,在防窺光源模組100與顯示裝置200中,通過導光板112的光學微結構MS的迎光角的角度範圍設置,可擴展照明光束IL在顯示裝置200的各方向上的視角範圍的亮度,進而擴大使用者的視野範圍,並且,照明光束IL可通過視角限制元件121的配置在顯示裝置200的水平方向的視角範圍具有較大的正向輝度,且同時不致影響照明光束IL在顯示裝置200的垂直方向的視角範圍的亮度,並可通過控制視角調整元件122來實現一般模式與防窺模式下的視角範圍的切換。如此一來,可兼顧防窺光源模組100以及顯示裝置200的光學效能以及使用體驗。In this way, in the anti-peep
以下將搭配圖4A至圖4D對其效果進行進一步地解說。The effect will be further explained below with reference to Figures 4A to 4D.
圖4A與圖4B分別是圖1的顯示裝置200與比較例的顯示裝置200’在一般模式時的水平方向以及垂直方向上的視角與亮度的關係曲線圖。圖4C與圖4D分別是圖1的顯示裝置200與比較例的顯示裝置200’在防窺模式時的水平方向以及垂直方向上的視角與亮度的關係曲線圖。在本實施例中,比較例的顯示裝置200’與本發明的顯示裝置200大致相同,而其結構在於比較例的顯示裝置200’的的光學微結構MS的迎光角的角度範圍大於177度,其有效光學角θ小於3度,且其未配置有視角限制元件121的配置。進一步而言,如圖4A至圖4B所示,在一般模式下,顯示裝置200相對於水平方向上的視角變化的亮度曲線的半峰全寬(Full width at half maximum, FWHM)與比較例的顯示裝置200’並未具有顯著的差異,然而,顯示裝置200相對於垂直方向上的視角變化的亮度曲線的半峰全寬明顯寬於比較例的顯示裝置200’。此即意味著,顯示裝置200與比較例的顯示裝置200’在水平方向的視角範圍並未具有顯著的差異,而在垂直方向的視角範圍,顯示裝置200會大於比較例的顯示裝置200’。另一方面,在防窺模式下,顯示裝置200與比較例的顯示裝置200’亦有類似的表現,顯示裝置200與比較例的顯示裝置200’在水平方向的視角範圍並未具有顯著的差異,而在垂直方向的視角範圍,顯示裝置200也會明顯大於比較例的顯示裝置200’。如此,使用者無論在一般模式或防窺模式下,其在垂直方向的視角範圍都可有效擴展,且顯示裝置200亦可具有相同的防窺效能,因此能讓使用者具有良好的體驗。4A and 4B are respectively graphs showing the relationship between the viewing angle and brightness in the horizontal and vertical directions of the
此外,在前述的實施例中,視角調整元件122雖以位於顯示面板210與視角限制元件121之間為例示,但本發明不以此為限。在另一未繪示的實施例中,顯示面板210亦可位於視角調整元件122與視角限制元件121之間。如此,照明光束IL會先形成顯示光束,而視角調整元件122用以切換顯示光束的出光視角範圍,而仍可以提供廣視角的正常觀賞模式以及窄視角的防窺模式,而使顯示裝置200仍能達到前述的功能,而能實現類似的效果與優點,在此就不再贅述。In addition, in the foregoing embodiments, although the viewing
此外,如圖2至圖3所示,防窺光源模組100還包括至少一光學膜130。具體而言,如圖2至圖3所示,至少一光學膜130位於照明光束IL的傳遞路徑上,其中視角限制元件121位於至少一光學膜130與視角調整元件122之間,且至少一光學膜130位於視角限制元件121與光源模組110之間,設置在視角限制元件121面向該光源模組110的表面上。舉例而言,在本實施例中,光學膜130可為反射式增光膜(Dual Brightness Enhancement Film),而可使原本會被視角調整元件122或顯示面板210吸收的具有特定偏振態的照明光束IL能被通過反射而改變其偏振態並被有效地被再利用,而提升了整體顯示亮度,進而提升防窺光源模組100以及顯示裝置200的光學效能。In addition, as shown in FIGS. 2 to 3 , the anti-peep
此外,在本實施例中,至少一光學膜130面向光源模組110的表面上設有粗糙結構或擴散粒子,且至少一光學膜130面向光源模組110的表面的霧度範圍介於3%至30%。如此,通過至少一光學膜130具有適當霧度的配置,而可使防窺光源模組100以及顯示裝置200可以兼顧亮度以及遮瑕性的需求,進而同時具有良好的光學效能以及產品良率。In addition, in this embodiment, the surface of at least one
此外,值得注意的是,在其他的實施例中,至少一光學膜130亦可通過不同類型的增亮膜或擴散片的組合,來改善防窺光源模組以及顯示裝置的遮瑕性,而亦能有助於提高產品良率。以下將搭配圖5以及圖6來進行進一步地解說。In addition, it is worth noting that in other embodiments, at least one
圖5是本發明的另一實施例的顯示裝置的結構示意圖。本實施例的顯示裝置200A以及防窺光源模組500分別與圖2的顯示裝置200以及防窺光源模組100類似,而差異如下所述。請參照圖5,在本實施例中,至少一光學膜530可為稜鏡結構式增光膜,而分別具有多個稜鏡結構PM,這些稜鏡結構PM設置在各至少一光學膜530面向視角限制元件121的表面上。在本實施例中,至少一光學膜530的稜鏡結構PM的延伸方向與第一方向D1之間的夾角的角度範圍介於0度至±30度之間,且至少一光學膜530的稜鏡結構PM的延伸方向與視角限制元件121的光柵結構GS的延伸方向之間的夾角的角度範圍介於60度至120度之間。如此,通過稜鏡結構PM的設置,亦可使整體顯示亮度提升,進而提升防窺光源模組100以及顯示裝置200的光學效能。FIG. 5 is a schematic structural diagram of a display device according to another embodiment of the present invention. The
進一步而言,至少一光學膜530包括第一光學膜531以及第二光學膜532,其中第一光學膜531的稜鏡結構PM的延伸方向與第二光學膜532的稜鏡結構PM的延伸方向之間的夾角的角度範圍介於2度至10度之間。如此,由於第一光學膜531的稜鏡結構PM的延伸方向與第二光學膜532的稜鏡結構PM的延伸方向並不一致,因此可以避免干涉條紋的產生。Furthermore, at least one
並且,在本實施例中,第一光學膜531位於第二光學膜532與光源模組110之間,其中第一光學膜531的折射率小於第二光學膜532的折射率。舉例而言,以現行光學膜的折射率來看,光學膜530的折射率的下限值約可在1.48-1.55之間,因此,第一光學膜531的折射率的下限值可大於等於1.48,而第二光學膜532的折射率的下限值則可大於等於1.55。此外,在本實施例中,各光學膜530(即,第一光學膜531以及第二光學膜532)面向光源模組110的表面上亦可皆設有粗糙結構或擴散粒子,且各光學膜530面向光源模組110的表面的霧度範圍介於3%至30%。如此,通過光學膜530在其中一表面具有稜鏡結構PM的設置以及在另一表面具有適當霧度的配置,而可使防窺光源模組500以及顯示裝置200A可以兼顧亮度以及遮瑕性的需求,進而同時具有良好的光學效能以及產品良率。Moreover, in this embodiment, the first
此外,在本實施例中,由於防窺光源模組100與防窺光源模組100具有類似的迎光角與視角切換模組120的結構,因此,防窺光源模組500以及顯示裝置200A也能達到與圖2A的防窺光源模組100以及顯示裝置200類似的功能,進而能達到類似的效果與優點,在此就不再贅述。In addition, in this embodiment, since the anti-peep
圖6是本發明的另一實施例的顯示裝置的結構示意圖。本實施例的顯示裝置200B以及防窺光源模組600分別與圖5的顯示裝置200A以及防窺光源模組500類似,而差異如下所述。請參照圖6,在本實施例中,各光學膜530(即,第一光學膜531以及第二光學膜532)面向光源模組110的表面上未設有粗糙結構或擴散粒子,取代的是,在本實施例中,防窺光源模組600還包括擴散片640,位於第一光學膜531與第二光學膜532之間,且擴散片640的表面的霧度範圍介於3%至30%。如此,通過光學膜530具有稜鏡結構PM的第一光學膜531與第二光學膜532的設置以及擴散片640的配置,亦可使防窺光源模組600以及顯示裝置200B可以兼顧亮度以及遮瑕性的需求,進而同時具有良好的光學效能以及產品良率。FIG. 6 is a schematic structural diagram of a display device according to another embodiment of the present invention. The
此外,在本實施例中,由於防窺光源模組600與防窺光源模組500具有類似的迎光角與視角切換模組120的結構,因此,顯示裝置200B以及防窺光源模組600也能達到與圖5的顯示裝置200A以及防窺光源模組500類似的功能,進而能達到類似的效果與優點,在此就不再贅述。In addition, in this embodiment, since the anti-peep
綜上所述,在本發明的一實施例的防窺光源模組以及顯示裝置,通過導光板的光學微結構的迎光角的角度範圍設置,可擴展照明光束在顯示裝置的各方向上的視角範圍的亮度,進而擴大使用者的視野範圍,並且,照明光束可通過視角限制元件的配置在顯示裝置的水平方向的視角範圍具有較大的正向輝度,且同時不致影響照明光束在顯示裝置的垂直方向的視角範圍的亮度,並可通過控制視角調整元件來實現一般模式與防窺模式下的視角範圍的切換。如此一來,可兼顧防窺光源模組的光學效能以及使用體驗。並且,通過至少一光學膜具有適當霧度的配置,而可使防窺光源模組以及顯示裝置可以兼顧亮度以及遮瑕性的需求,進而同時具有良好的光學效能以及產品良率。如此,能使防窺光源模組以及顯示裝置具有良好的光學效能、使用體驗以及生產良率。In summary, in the anti-peep light source module and the display device according to an embodiment of the present invention, by setting the angle range of the incident angle of the optical microstructure of the light guide plate, the illumination beam can be expanded in all directions of the display device. The brightness of the viewing angle range thereby expands the user's viewing range, and the illumination beam can have a larger forward brightness in the horizontal viewing angle range of the display device through the configuration of the viewing angle limiting element, and at the same time, it does not affect the illumination beam in the display device. The brightness of the viewing angle range in the vertical direction can be controlled, and the viewing angle range can be switched between the normal mode and the privacy mode by controlling the viewing angle adjustment component. In this way, the optical performance and user experience of the anti-peep light source module can be taken into consideration. Moreover, by arranging at least one optical film with appropriate haze, the anti-peep light source module and the display device can take into account the requirements of brightness and concealment, and thus have good optical performance and product yield at the same time. In this way, the anti-peep light source module and the display device can have good optical performance, user experience and production yield.
惟以上所述者,僅為本發明的較佳實施例而已,當不能以此限定本發明實施的範圍,即大凡依本發明申請專利範圍及發明說明內容所作的簡單的等效變化與修飾,皆仍屬本發明專利涵蓋的範圍內。另外本發明的任一實施例或申請專利範圍不須達成本發明所揭露的全部目的或優點或特點。此外,摘要部分和標題僅是用來輔助專利文件搜尋之用,並非用來限制本發明的權利範圍。此外,本說明書或申請專利範圍中提及的“第一”、“第二”等用語僅用以命名元件(element)的名稱或區別不同實施例或範圍,而並非用來限制元件數量上的上限或下限。However, the above are only preferred embodiments of the present invention, and should not be used to limit the scope of the present invention. That is, simple equivalent changes and modifications may be made based on the patent scope of the present invention and the description of the invention. All are still within the scope covered by the patent of this invention. In addition, any embodiment or patentable scope of the present invention does not need to achieve all the purposes, advantages or features disclosed in the present invention. In addition, the abstract section and title are only used to assist in searching patent documents and are not intended to limit the scope of the invention. In addition, terms such as “first” and “second” mentioned in this specification or the scope of the patent application are only used to name elements or to distinguish different embodiments or scopes, and are not used to limit the number of elements. upper or lower limit.
200、200A、200B、200’:顯示裝置 100、500、600:防窺光源模組 110:光源模組 111:光源 1110:發光元件 112:導光板 120:視角切換模組 121:視角限制元件 122:視角調整元件 130、530:至少一光學膜 210:顯示面板 531:第一光學膜 532:第二光學膜 640:擴散片 D1:第一方向 D2:延伸方向 GS:光柵結構 IL:照明光束 IS:入光面 L:光束 MS:光學微結構 OS:光學面 PM:稜鏡結構 RE:反射元件 S1:第一表面 S2:第二表面 θ:光學角。200, 200A, 200B, 200’:
圖1是本發明的一實施例的顯示裝置的正視示意圖。 圖2是圖1的顯示裝置在垂直方向上的剖視示意圖。 圖3是圖1的顯示裝置在水平方向上的剖視示意圖。 圖4A與圖4B分別是圖1的顯示裝置與比較例的顯示裝置在一般模式時的水平方向以及垂直方向上的視角與亮度的關係曲線圖。 圖4C與圖4D分別是圖1的顯示裝置與比較例的顯示裝置在防窺模式時的水平方向以及垂直方向上的視角與亮度的關係曲線圖。 圖5是本發明的另一實施例的顯示裝置的結構示意圖。 圖6是本發明的又一實施例的顯示裝置的結構示意圖。FIG. 1 is a schematic front view of a display device according to an embodiment of the present invention. FIG. 2 is a schematic cross-sectional view of the display device of FIG. 1 in the vertical direction. FIG. 3 is a schematic cross-sectional view of the display device of FIG. 1 in the horizontal direction. 4A and 4B are respectively graphs showing the relationship between the viewing angle and brightness in the horizontal direction and the vertical direction of the display device of FIG. 1 and the display device of the comparative example in the normal mode. 4C and 4D are respectively graphs showing the relationship between the viewing angle and brightness in the horizontal and vertical directions of the display device of FIG. 1 and the display device of the comparative example in the anti-peep mode. FIG. 5 is a schematic structural diagram of a display device according to another embodiment of the present invention. FIG. 6 is a schematic structural diagram of a display device according to another embodiment of the present invention.
100:防窺光源模組100: Anti-peep light source module
110:光源模組110:Light source module
111:光源111:Light source
1110:發光元件1110:Light-emitting component
112:導光板112:Light guide plate
120:視角切換模組120:View switching module
121:視角限制元件121: Viewing angle limiting component
122:視角調整元件122:View angle adjustment component
130:至少一光學膜130: at least one optical film
200:顯示裝置200:Display device
210:顯示面板210:Display panel
D1:第一方向D1: first direction
D2:延伸方向D2: extension direction
IL:照明光束IL: illumination beam
IS:入光面IS: light incident surface
L:光束L: beam
MS:光學微結構MS: Optical microstructure
OS:光學面OS: optical surface
RE:反射元件RE: Reflective element
S1:第一表面S1: first surface
S2:第二表面S2: Second surface
θ:光學角θ: optical angle
| Application Number | Priority Date | Filing Date | Title |
|---|---|---|---|
| TW111134446ATWI832417B (en) | 2022-09-13 | 2022-09-13 | Anti-peep light source module and display device |
| Application Number | Priority Date | Filing Date | Title |
|---|---|---|---|
| TW111134446ATWI832417B (en) | 2022-09-13 | 2022-09-13 | Anti-peep light source module and display device |
| Publication Number | Publication Date |
|---|---|
| TWI832417Btrue TWI832417B (en) | 2024-02-11 |
| TW202411743A TW202411743A (en) | 2024-03-16 |
| Application Number | Title | Priority Date | Filing Date |
|---|---|---|---|
| TW111134446ATWI832417B (en) | 2022-09-13 | 2022-09-13 | Anti-peep light source module and display device |
| Country | Link |
|---|---|
| TW (1) | TWI832417B (en) |
| Publication number | Priority date | Publication date | Assignee | Title |
|---|---|---|---|---|
| TW201011410A (en)* | 2008-09-10 | 2010-03-16 | Ind Tech Res Inst | Light module with high collimation emitting property |
| TW201939132A (en)* | 2018-03-14 | 2019-10-01 | 友達光電股份有限公司 | Backlight module |
| CN113835247A (en)* | 2021-09-30 | 2021-12-24 | 上海天马微电子有限公司 | Display module, driving method thereof, display device and vehicle |
| Publication number | Priority date | Publication date | Assignee | Title |
|---|---|---|---|---|
| TW201011410A (en)* | 2008-09-10 | 2010-03-16 | Ind Tech Res Inst | Light module with high collimation emitting property |
| TW201939132A (en)* | 2018-03-14 | 2019-10-01 | 友達光電股份有限公司 | Backlight module |
| CN113835247A (en)* | 2021-09-30 | 2021-12-24 | 上海天马微电子有限公司 | Display module, driving method thereof, display device and vehicle |
| Publication number | Publication date |
|---|---|
| TW202411743A (en) | 2024-03-16 |
| Publication | Publication Date | Title |
|---|---|---|
| CN207301541U (en) | Viewing angle control device and viewing angle controllable display device | |
| CN208126055U (en) | Display device | |
| US10782466B2 (en) | Backlight module and display apparatus | |
| US10429572B2 (en) | Light source module and display device | |
| TWM595237U (en) | Backlight module and display apparatus | |
| CN108345139A (en) | Display device with switchable viewing angle | |
| CN102829390B (en) | Lighting device, display device and liquid crystal indicator | |
| TWI726251B (en) | Display module | |
| CN113311600B (en) | display device | |
| US20170160461A1 (en) | Light source module and display apparatus | |
| WO2016197519A1 (en) | Viewing angle extending film and wide viewing angle thin film transistor liquid crystal display device comprising same | |
| WO2013149410A1 (en) | Liquid crystal display device | |
| CN218273009U (en) | Backlight module | |
| CN103925524B (en) | The energy-saving backlight module that angle of visibility is adjustable | |
| WO2015172461A1 (en) | Backlight module and display device | |
| TW202131073A (en) | Backlight module and method for adjusting viewing angle of display | |
| TWI832417B (en) | Anti-peep light source module and display device | |
| CN103018952B (en) | Display base plate and comprise the display device of this display base plate | |
| TWM638003U (en) | Backlight module | |
| CN117742021A (en) | Peep-proof light source module and display device | |
| TWI729858B (en) | Transmittable lighting device | |
| CN101364007B (en) | Display device capable of reducing visibility of scratch and manufacturing method thereof | |
| JP2006163065A (en) | Polarizing plate | |
| CN219285559U (en) | Backlight module and display device | |
| CN221804437U (en) | Display device |