



發明領域Field of invention
本發明涉及附相位差層之偏光板及使用了該附相位差層之偏光板的影像顯示裝置。The present invention relates to a polarizing plate with a retardation layer and an image display device using the polarizing plate with a retardation layer.
發明背景Background of the invention
近年,以液晶顯示裝置及電致發光(EL)顯示裝置(例如,有機EL顯示裝置、無機EL顯示裝置)為代表的影像顯示裝置正在迅速普及。影像顯示裝置中,代表性地使用偏光板及相位差板。實際使用中,廣泛使用將偏光板與相位差板一體化而成的附相位差層之偏光板(例如,專利文獻1),最近,隨著對影像顯示裝置的薄型化的期望增強,對附相位差層之偏光板的薄型化的期望也正在增強。另外,近年,對彎曲的影像顯示裝置及/或可彎曲或可彎折的影像顯示裝置的期望正在提高,對偏光板及附相位差層之偏光板也要求著進一步薄型化及進一步柔軟化。以附相位差層之偏光板的薄型化為目的,進行了對厚度貢獻大的偏光膜的保護層及相位差膜的薄型化。然而,一旦對保護層及相位差膜進行薄型化,則偏光膜的收縮的影響相對變大,會發生影像顯示裝置翹曲及附相位差層之偏光板操作性降低這樣的問題。In recent years, image display devices represented by liquid crystal display devices and electroluminescence (EL) display devices (eg, organic EL display devices, inorganic EL display devices) have been rapidly popularized. In image display devices, polarizing plates and phase difference plates are typically used. In actual use, a polarizing plate with a retardation layer in which a polarizing plate and a retardation plate are integrated is widely used (for example, Patent Document 1). Recently, as expectations for thinner image display devices have increased, the need for attached retardation layers has increased. There is also an increasing demand for thinning of polarizing plates with retardation layers. In addition, in recent years, expectations for curved image display devices and/or bendable or bendable image display devices are increasing, and polarizing plates and polarizing plates with retardation layers are also required to be further thinned and further softened. In order to reduce the thickness of the polarizing plate with the retardation layer, the protective layer of the polarizing film and the retardation film, which contribute greatly to the thickness, have been reduced in thickness. However, once the protective layer and the retardation film are made thinner, the shrinkage of the polarizing film will have a relatively greater impact, causing the image display device to warp and the operability of the polarizing plate with the retardation layer to decrease.Such a question.
為了解決如上所述的問題,需要對偏光膜也一起進行薄型化。然而,如果單純地減薄偏光膜的厚度,則光學特性降低。更具體而言,存在折衷選擇關係的偏光度和單體透射率中的一者或兩者會降低至實用上不允許的程度。其結果,附相位差層之偏光板的光學特性也變得不充分。In order to solve the above-mentioned problems, the polarizing film also needs to be thinned. However, if the thickness of the polarizing film is simply reduced, the optical properties will be reduced. More specifically, one or both of the polarization degree and the monomer transmittance, which have a trade-off relationship, may be reduced to a level that is not practical. As a result, the optical characteristics of the polarizing plate with the retardation layer also become insufficient.
現有技術文獻existing technical documents
專利文獻patent documents
專利文獻1:日本專利第3325560號公報Patent Document 1: Japanese Patent No. 3325560
本發明為了解決上述現有課題而成,其主要目的在於,提供薄型、處理性優異、且光學特性優異的附相位差層之偏光板。The present invention was made in order to solve the above-mentioned conventional problems, and its main object is to provide a polarizing plate with a retardation layer that is thin, has excellent handleability, and has excellent optical properties.
本發明的附相位差層之偏光板具有偏光板和相位差層,該偏光板包含偏光膜和設置於該偏光膜至少一側的保護層。該偏光膜由包含二色性物質之聚乙烯醇系樹脂薄膜構成,其厚度為8μm以下,單體透射率為44.0%以上,偏光度為99.50%以上。該相位差層為液晶化合物定向固化層。The polarizing plate with a retardation layer of the present invention has a polarizing plate and a retardation layer. The polarizing plate includes a polarizing film and a protective layer provided on at least one side of the polarizing film. The polarizing film is composed of a polyvinyl alcohol-based resin film containing a dichroic substance, has a thickness of 8 μm or less, a single transmittance of 44.0% or more, and a polarization degree of 99.50% or more. The retardation layer is a liquid crystal compound orientationally solidified layer.
在一個實施方式中,上述附相位差層之偏光板的單位重量為6.5mg/cm2以下。In one embodiment, the unit weight of the polarizing plate with a retardation layer is 6.5 mg/cm2 or less.
在一個實施方式中,上述附相位差層之偏光板的總厚度為60μm以下。In one embodiment, the total thickness of the polarizing plate with the retardation layer is 60 μm or less.
在一個實施方式中,上述相位差層為液晶化合物定向固化層的單一層,該相位差層的Re(550)為100nm~190nm,該相位差層的慢軸與上述偏光膜的吸收軸所成的角度為40°~50°。In one embodiment, the above-mentioned retardation layer is a single layer of a liquid crystal compound orientationally solidified layer, the Re(550) of the retardation layer is 100nm~190nm, and the slow axis of the retardation layer is formed by the absorption axis of the above-mentioned polarizing film. The angle is 40°~50°.
在一個實施方式中,上述相位差層具有第1液晶化合物定向固化層與第2液晶化合物定向固化層的積層結構;該第1液晶化合物定向固化層的Re(550)為200nm~300nm,其慢軸與上述偏光膜的吸收軸所成的角度為10°~20°;該第2液晶化合物定向固化層的Re(550)為100nm~190nm,其慢軸與該偏光膜的吸收軸所成的角度為70°~80°。In one embodiment, the retardation layer has a laminated structure of a first orientationally solidified liquid crystal compound layer and a second orientationally solidified liquid crystal compound layer; Re (550) of the first orientationally solidified liquid crystal compound layer is 200 nm to 300 nm, and its slow The angle between the axis and the absorption axis of the polarizing film is 10°~20°; the Re(550) of the second liquid crystal compound orientationally solidified layer is 100nm~190nm, and the angle between its slow axis and the absorption axis of the polarizing film is The angle is 70°~80°.
在一個實施方式中,上述偏光膜在50cm2區域內的單體透射率的最大值與最小值之差為0.2%以下。In one embodiment, the difference between the maximum value and the minimum value of the single transmittance of the above-mentioned polarizing film in a 50 cm2 area is less than 0.2%.
在一個實施方式中,上述附相位差層之偏光板的寬度為1000mm以上,上述偏光膜在沿著寬度方向的位置中單體透射率的最大值與最小值之差為0.3%以下。In one embodiment, the width of the polarizing plate with the retardation layer is 1000 mm or more, and the difference between the maximum value and the minimum value of the single transmittance of the polarizing film at a position along the width direction is 0.3% or less.
在一個實施方式中,上述偏光膜的單體透射率為44.5%以下,偏光度為99.95%以下。In one embodiment, the above-mentioned polarizing film has a single transmittance of 44.5% or less and a polarization degree of 99.95% or less.
在一個實施方式中,上述附相位差層之偏光板在上述相位差層的外側進一步具有其它相位差層,該其它相位差層的折射率特性顯示出nz>nx=ny的關係。In one embodiment, the polarizing plate with a retardation layer further has another retardation layer outside the retardation layer, and the refractive index characteristics of the other retardation layer show the relationship nz>nx=ny.
在一個實施方式中,上述附相位差層之偏光板在上述相位差層的外側進一步具有導電層或附導電層之各向同性基材。In one embodiment, the above-mentioned polarizing plate with a retardation layer isThe outside of the retardation layer further has a conductive layer or an isotropic base material with a conductive layer.
根據本發明的其它方面,提供一種影像顯示裝置,該影像顯示裝置具備上述附相位差層之偏光板。According to another aspect of the present invention, there is provided an image display device including the above-mentioned polarizing plate with a retardation layer.
在一個實施方式中,上述影像顯示裝置為有機電致發光顯示裝置或無機電致發光顯示裝置。In one embodiment, the image display device is an organic electroluminescent display device or an inorganic electroluminescent display device.
根據本發明,通過組合採用對聚乙烯醇(PVA)系樹脂添加鹵化物(代表性地為碘化鉀)、包括空中輔助拉伸及水中拉伸的2段拉伸、以及利用加熱輥的乾燥及收縮,可以得到薄型、且具有非常優異的光學特性的偏光膜。通過使用這樣的偏光膜,可實現薄型、處理性優異、且光學特性優異的附相位差層之偏光板。According to the present invention, adding a halide (typically potassium iodide) to a polyvinyl alcohol (PVA)-based resin, two-stage stretching including in-air auxiliary stretching and underwater stretching, and drying and shrinkage using a heated roller are employed. , a polarizing film that is thin and has very excellent optical properties can be obtained. By using such a polarizing film, a polarizing plate with a retardation layer that is thin, has excellent handleability, and has excellent optical properties can be realized.
10:偏光板10:Polarizing plate
11:偏光膜11:Polarizing film
12:第1保護層12: 1st protective layer
13:第2保護層13: 2nd protective layer
20:相位差層20: Phase difference layer
21:第1定向固化層21: The first directional solidification layer
22:第2定向固化層22: The second directional solidification layer
50:相位差層50: Phase difference layer
60:各向同性基材60: Isotropic substrate
100、101、102:附相位差層之偏光板100, 101, 102: Polarizing plate with phase difference layer
R1~R6:運送輥R1~R6: conveying roller
G1~G4:引導輥G1~G4: guide roller
200:積層體200:Laminated body
圖1是本發明的一個實施方式的附相位差層之偏光板的示意剖面圖。FIG. 1 is a schematic cross-sectional view of a polarizing plate with a retardation layer according to one embodiment of the present invention.
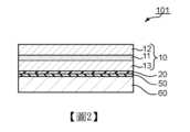
圖2是本發明的另一個實施方式的附相位差層之偏光板的示意剖面圖。2 is a schematic cross-sectional view of a polarizing plate with a retardation layer according to another embodiment of the present invention.
圖3是本發明的又一個實施方式的附相位差層之偏光板的示意剖面圖。3 is a schematic cross-sectional view of a polarizing plate with a retardation layer according to another embodiment of the present invention.
圖4是示出用於本發明附相位差層之偏光板的偏光膜的製造方法中使用了加熱輥之乾燥收縮處理一例的示意圖。4 is a schematic diagram showing an example of drying and shrinkage treatment using a heating roller in the manufacturing method of the polarizing film used in the polarizing plate with a retardation layer of the present invention.
較佳實施例之詳細說明Detailed description of preferred embodiments
以下,對本發明的實施方式進行說明,但本發明並不限定於這些實施方式。Hereinafter, embodiments of the present invention will be described, but the present invention is not limited to these embodiments.
(用語及符號的定義)(Definition of terms and symbols)
本說明書中的用語及符號的定義如下。The definitions of terms and symbols in this manual are as follows.
(1)折射率(nx、ny、nz)(1)Refractive index (nx, ny, nz)
「nx」是面內的折射率達到最大的方向(即慢軸方向)的折射率,「ny」是在面內與慢軸正交的方向(即快軸方向)的折射率,「nz」是厚度方向的折射率。"nx" is the refractive index in the direction where the in-plane refractive index reaches the maximum (i.e., the slow axis direction), "ny" is the refractive index in the direction orthogonal to the slow axis in the plane (i.e., the fast axis direction), and "nz" is the refractive index in the thickness direction.
(2)面內相位差(Re)(2) In-plane phase difference (Re)
「Re(λ)」是在23℃下以波長λnm的光測得的面內相位差。例如「Re(550)」是在23℃下以波長550nm的光測得的面內相位差。在將層(薄膜)的厚度設為d(nm)時,Re(λ)可通過式:Re(λ)=(nx-ny)×d來求出。"Re(λ)" is the in-plane phase difference measured with light of wavelength λnm at 23°C. For example, "Re(550)" is the in-plane phase difference measured using light with a wavelength of 550 nm at 23°C. When the thickness of the layer (thin film) is d (nm), Re (λ) can be obtained by the formula: Re (λ) = (nx-ny) × d.
(3)厚度方向相位差(Rth)(3) Thickness direction phase difference (Rth)
「Rth(λ)」是在23℃下以波長λnm的光測得的厚度方向相位差。例如「Rth(550)」是在23℃下以波長550nm的光測得的厚度方向相位差。在將層(薄膜)的厚度設為d(nm)時,Rth(λ)可通過式:Rth(λ)=(nx-nz)×d來求出。"Rth(λ)" is the thickness direction phase difference measured with light of wavelength λnm at 23°C. For example, "Rth(550)" is the thickness direction phase difference measured using light with a wavelength of 550 nm at 23°C. When the thickness of the layer (thin film) is d (nm), Rth (λ) can be obtained by the formula: Rth (λ) = (nx-nz) × d.
(4)Nz係數(4)Nz coefficient
Nz係數可通過Nz=Rth/Re求出。The Nz coefficient can be found by Nz=Rth/Re.
(5)角度(5)Angle
在本說明書中,提及角度時,該角度包括相對於基準方向為順時針及逆時針這兩者。因此,例如「45°」是指±45°。In this specification, when referring to an angle, the angle includes both clockwise and counterclockwise relative to the reference direction. So, for example, "45°" means±45°.
A.附相位差層之偏光板的整體構成A. The overall composition of a polarizing plate with a retardation layer
圖1是本發明的一個實施方式的附相位差層之偏光板的示意剖面圖。本實施方式的附相位差層之偏光板100具有偏光板10和相位差層20。偏光板10包含:偏光膜11、配置於偏光膜11一側的第1保護層12、以及配置於偏光膜11另一側的第2保護層13。根據目的,可以省略第1保護層12及第2保護層13中的一者。例如,相位差層20也能夠作為偏光膜11的保護層發揮功能時,可省略第2保護層13。在本發明的實施方式中,偏光膜由包含二色性物質之聚乙烯醇系樹脂薄膜構成。偏光膜的厚度為8μm以下,單體透射率為44.0%以上,偏光度為99.50%以上。FIG. 1 is a schematic cross-sectional view of a polarizing plate with a retardation layer according to one embodiment of the present invention. The polarizing plate with
如圖2所示,在另一個實施方式的附相位差層之偏光板101中,可以設置其它相位差層50及/或導電層或附導電層之各向同性基材60。其它相位差層50以及導電層或附導電層之各向同性基材60代表性地設置於相位差層20的外側(與偏光板10相反的一側)。其它相位差層的折射率特性代表性地顯示出nz>nx=ny的關係。代表性地,從相位差層20側起依次設置其它相位差層50以及導電層或附導電層之各向同性基材60。代表性地,其它相位差層50以及導電層或附導電層之各向同性基材60是根據需要設置的任意層,可省略其中任一者或兩者。再者,為了方便起見,有時將相位差層20稱為第1相位差層,將其它相位差層50稱為第2相位差層。再者,在設置導電層或附導電層之各向同性基材的情況下,附相位差層之偏光板可應用於在影像顯示單元(例如有機EL單元)與偏光板之間組入有觸控感測器之所謂內嵌觸控面板型輸入顯示裝置。As shown in FIG. 2 , in another embodiment of the
在本發明的實施方式中,第1相位差層20為液晶化合物定向固化層。第1相位差層20可以為如圖1及圖2所示的定向固化層的單一層,也可以具有如圖3所示的第1定向固化層21與第2定向固化層22的積層結構。In the embodiment of the present invention, the
上述的實施方式可適宜組合,也可以對上述實施方式中的構成要素施加該技術領域中顯而易見的改變。例如,可以在圖3的附相位差層之偏光板102設置第2相位差層50及/或導電層或附導電層之各向同性基材60。另外,例如可以將在第2相位差層50外側設置附導電層之各向同性基材60的構成替換為光學等價的構成(例如,第2相位差層與導電層的積層體)。The above-described embodiments may be combined appropriately, and obvious changes in the technical field may be added to the constituent elements in the above-described embodiments. For example, the
本發明的實施方式的附相位差層之偏光板可進一步包含其它相位差層。其它相位差層的光學特性(例如,折射率特性、面內相位差、Nz係數、光彈性係數)、厚度、配置位置等可根據目的適宜地設定。The polarizing plate with a retardation layer according to the embodiment of the present invention may further include other retardation layers. The optical properties (for example, refractive index characteristics, in-plane phase difference, Nz coefficient, photoelastic coefficient), thickness, arrangement position, etc. of other retardation layers can be appropriately set according to the purpose.
本發明的附相位差層之偏光板可以為單片狀,也可以為長條狀。在本說明書中,「長條狀」是指,長度相對於寬度足夠長的細長形狀,例如,包括長度相對於寬度為10倍以上、優選為20倍以上的細長形狀。長條狀附相位差層之偏光板可捲繞成卷狀。The polarizing plate with a retardation layer of the present invention may be in the shape of a single piece or in the shape of a strip. In this specification, "elongated shape" refers to an elongated shape with a length that is sufficiently long relative to the width, and includes, for example, an elongated shape with a length that is 10 times or more, preferably 20 times or more, with respect to the width. The long polarizing plate with retardation layer can be rolled into a roll.
實際使用時,可在相位差層之與偏光板相反的一側設置黏著劑層(未圖示),使附相位差層之偏光板可黏貼於影像顯示單元。此外,優選在黏著劑層的表面暫時黏貼有剝離薄膜,直到將附相位差層之偏光板供於使用。通過暫時黏貼剝離薄膜,可以保護黏著劑層並同時形成卷。In actual use, the phase difference layer can be opposite to the polarizing plate.An adhesive layer (not shown) is provided on one side so that the polarizing plate with the retardation layer can be adhered to the image display unit. In addition, it is preferable that a release film is temporarily adhered to the surface of the adhesive layer until the polarizing plate with the retardation layer is used. By temporarily attaching the release film, the adhesive layer can be protected while forming the roll.
附相位差層之偏光板的總厚度優選為60μm以下,更優選為55μm以下,進一步優選為50μm以下,特別優選為40μm以下。總厚度的下限例如可以為28μm。根據本發明的實施方式,可以如此地實現非常薄的附相位差層之偏光板。這樣的附相位差層之偏光板可具有非常優異的撓性及彎折耐久性。這樣的附相位差層之偏光板可特別合適地用於彎曲的影像顯示裝置及/或可彎曲或可彎折的影像顯示裝置。再者,附相位差層之偏光板的總厚度是指,除了用以使偏光板與面板、玻璃等外部被著物密著的黏著劑層以外、構成附相位差層之偏光板的全部層的總厚度(即,附相位差層之偏光板的總厚度不包括用以使\附相位差層之偏光板黏貼於影像顯示單元等相鄰構件的黏著劑層及可在其表面暫時黏貼的剝離薄膜的厚度)。The total thickness of the polarizing plate with the retardation layer is preferably 60 μm or less, more preferably 55 μm or less, further preferably 50 μm or less, particularly preferably 40 μm or less. The lower limit of the total thickness may be, for example, 28 μm. According to the embodiment of the present invention, a very thin polarizing plate with a retardation layer can be realized in this way. Such a polarizing plate with a retardation layer can have very excellent flexibility and bending durability. Such a polarizing plate with a retardation layer can be particularly suitably used for a curved image display device and/or a bendable or bendable image display device. Furthermore, the total thickness of the polarizing plate with a retardation layer refers to all the layers that constitute the polarizing plate with a retardation layer, except for the adhesive layer used to adhere the polarizing plate to external substrates such as panels and glass. The total thickness of the polarizing plate with a retardation layer does not include the adhesive layer used to adhere the polarizing plate with the retardation layer to adjacent components such as the image display unit and the adhesive layer that can be temporarily adhered to its surface. the thickness of the peeled film).
本發明的實施方式的附相位差層之偏光板的單位重量例如為6.5mg/cm2以下,優選為2.0mg/cm2~6.0mg/cm2,更優選為3.0mg/cm2~5.5mg/cm2,進一步優選為3.5mg/cm2~5.0mg/cm2。顯示面板為薄型時,存在著面板因附相位差層之偏光板的重量而稍有變形,發生顯示不良的擔憂,而根據具有6.5mg/cm2以下的單位重量的附相位差層之偏光板,可防止這樣的面板變形。另外,具有上述單位重量的附相位差層之偏光板即使在薄型化的情況下,處理性也良好,且可發揮非常優異的撓性及彎折耐久性。The unit weight of the polarizing plate with a retardation layer according to the embodiment of the present invention is, for example, 6.5 mg/cm2 or less, preferably 2.0 mg/cm2 to 6.0 mg/cm2 , and more preferably 3.0 mg/cm2 to 5.5 mg. /cm2 , more preferably 3.5 mg/cm2 to 5.0 mg/cm2 . When the display panel is thin, there is a concern that the panel may be slightly deformed due to the weight of the polarizing plate with a retardation layer, causing display defects. However, according to the polarizing plate with a retardation layer having a unit weight of 6.5 mg/cm2 or less, , which prevents such panel deformation. In addition, the polarizing plate with the retardation layer having the above-mentioned unit weight has good handleability even when the thickness is reduced, and can exhibit very excellent flexibility and bending durability.
以下,針對附相位差層之偏光板的構成要素更詳細地進行說明。Hereinafter, the components of the polarizing plate with a retardation layer will be described in more detail.
B.偏光板B.Polarizing plate
B-1.偏光膜B-1.Polarizing film
如上所述,偏光膜11的厚度為8μm以下,單體透射率為44.0%以上,偏光度為99.50%以上。一般來說,單體透射率與偏光度相互間存在折衷選擇的關係,如果提高單體透射率,則偏光度會降低,如果提高偏光度,則單體透射率會降低。因此,以往難以將滿足單體透射率44.0%以上、且偏光度99.50%以上的光學特性的薄型偏光膜供於實際使用。使用具有單體透射率為44.0%以上、且偏光度為99.50%以上這樣的優異的光學特性、且光學特性的偏差得到抑制的薄型偏光膜是本發明的特徵之一。As described above, the thickness of the
偏光膜的厚度優選為1μm~8μm、更優選為1μm~7μm、進一步優選為2μm~5μm。The thickness of the polarizing film is preferably 1 μm to 8 μm, more preferably 1 μm to 7 μm, and still more preferably 2 μm to 5 μm.
偏光膜優選在波長380nm~780nm的任一波長下顯示出吸收二色性。偏光膜的單體透射率優選為44.5%以下。偏光膜的偏光度優選為99.70%以上、更優選為99.80%以上。另一方面,偏光度優選為99.95%以下。上述單體透射率代表性的是使用紫外可見分光光度計進行測定、並進行了可見度補正而得到的Y值。上述偏光度代表性地基於使用紫外可見分光光度計進行測定並進行了可見度補正而得到的平行透射率Tp及正交透射率Tc,並通過下式求出。The polarizing film preferably exhibits absorption dichroism at any wavelength from 380 nm to 780 nm. The single transmittance of the polarizing film is preferably 44.5% or less. The degree of polarization of the polarizing film is preferably 99.70% or more, more preferably 99.80% or more. On the other hand, the degree of polarization is preferably 99.95% or less. The above-mentioned monomer transmittance is typically measured using a UV-visible spectrophotometer and is a Y value obtained by correcting visibility. The above polarization degree representsIt is based on the parallel transmittance Tp and the orthogonal transmittance Tc measured using a UV-visible spectrophotometer and corrected for visibility, and is determined by the following formula.
偏光度(%)={(Tp-Tc)/(Tp+Tc)}1/2×100Polarization degree (%)={(Tp-Tc)/(Tp+Tc)}1/2 ×100
在一個實施方式中,8μm以下的薄型偏光膜的透射率代表性地以偏光膜(表面的折射率:1.53)與保護薄膜(折射率:1.50)的積層體為測定對象、使用紫外可見分光光度計而測定。根據偏光膜的表面折射率及/或保護薄膜之與空氣界面相接之表面的折射率,各層的界面的反射率會有所變化,其結果,有時透射率的測定值會變化。因此,例如,在使用折射率非為1.50的保護薄膜的情況下,可以根據保護薄膜之與空氣界面相接之表面的折射率對透射率的測定值進行補正。具體而言,透射率的補正值C使用保護薄膜與空氣層的界面中平行於透射軸之偏光的反射率R1(透射軸反射率),用下式表示。In one embodiment, the transmittance of a thin polarizing film of 8 μm or less is typically measured using a laminate of a polarizing film (surface refractive index: 1.53) and a protective film (refractive index: 1.50) using ultraviolet-visible spectrophotometry. Measure and measure. Depending on the surface refractive index of the polarizing film and/or the refractive index of the surface of the protective film that is in contact with the air interface, the reflectance at the interface of each layer changes, and as a result, the measured value of the transmittance may change. Therefore, for example, when a protective film with a refractive index other than 1.50 is used, the measured value of the transmittance can be corrected based on the refractive index of the surface of the protective film that is in contact with the air interface. Specifically, the correction value C of the transmittance uses the reflectance R1 (transmission axis reflectance) of polarized light parallel to the transmission axis in the interface between the protective film and the air layer, and is expressed by the following formula.
C=R1-R0C=R1 -R0
R0=((1.50-1)2/(1.50+1)2)×(T1/100)R0 =((1.50-1)2 /(1.50+1)2 )×(T1 /100)
R1=((n1-1)2/(n1+1)2)×(T1/100)R1 =((n1 -1)2 /(n1 +1)2 )×(T1 /100)
其中,R0是使用了折射率為1.50之保護薄膜的情況下的透射軸反射率,n1是使用的保護薄膜的折射率,T1是偏光膜的透射率。例如,在使用表面折射率為1.53的基材(環烯烴系薄膜、附硬塗層之薄膜等)作為保護薄膜的情況下,補正量C成為約0.2%。在該情況下,對測定所得之透射率加算0.2%,便可換算為使用了表面折射率為1.50之保護薄膜的情況下的透射率。再者,根據基於上式進行的計算,使偏光膜的透射率T1變化2%時的補正值C的變化量為0.03%以下,偏光膜的透射率對補正值C的值帶來的影響是有限的。另外,在保護薄膜具有除表面反射以外的吸收的情況下,可以根據吸收量進行適當的補正。Among them, R0 is the transmission axis reflectance when a protective film with a refractive index of 1.50 is used, n1 is the refractive index of the protective film used, and T1 is the transmittance of the polarizing film. For example, when a base material with a surface refractive index of 1.53 (cycloolefin-based film, hard-coated film, etc.) is used as a protective film, the correction amount C becomes approximately 0.2%. In this case, adding 0.2% to the measured transmittance can be converted to the transmittance when a protective film with a surface refractive index of 1.50 is used. Furthermore, according to the calculation based on the above formula, the change in the correction value C when the transmittance T1 of the polarizing film is changed by 2% is 0.03% or less. The impact of the transmittance of the polarizing film on the value of the correction value C is limited. In addition, when the protective film has absorption other than surface reflection, appropriate correction can be performed based on the amount of absorption.
在一個實施方式中,附相位差層之偏光板的寬度為1000mm以上,因此,偏光膜的寬度也為1000mm以上。在該情況下,偏光膜在沿著寬度方向的位置中單體透射率的最大值與最小值之差(D1)優選為0.3%以下、更優選為0.29%以下、進一步優選為0.28%以下、特別優選為0.27%以下。D1越小越優選,D1的下限可以為例如0.01%。D1為上述的範圍內時,可在工業上製造具有優異光學特性的附相位差層之偏光板。在另一實施方式中,偏光膜在50cm2的區域內的單體透射率的最大值與最小值之差(D2)優選為0.2%以下、更優選為0.15%以下、進一步優選為0.1%以下。D2越小越優選,D2的下限可以為例如0.01%。D2為上述的範圍內時,可在將附相位差層之偏光板用於影像顯示裝置時抑制顯示畫面中的亮度不均。In one embodiment, the width of the polarizing plate with the retardation layer is 1000 mm or more. Therefore, the width of the polarizing film is also 1000 mm or more. In this case, the difference (D1) between the maximum value and the minimum value of the single transmittance of the polarizing film at the position along the width direction is preferably 0.3% or less, more preferably 0.29% or less, and still more preferably 0.28% or less. Particularly preferably, it is 0.27% or less. The smaller D1 is, the more preferred it is, and the lower limit of D1 may be, for example, 0.01%. When D1 is within the above range, a polarizing plate with a retardation layer having excellent optical properties can be produced industrially. In another embodiment, the difference (D2) between the maximum value and the minimum value of the single transmittance of the polarizing film in an area of 50cm is preferably 0.2% or less, more preferably 0.15% or less, and still more preferably 0.1% or less. . The smaller D2 is, the more preferred it is, and the lower limit of D2 may be, for example, 0.01%. When D2 is within the above range, brightness unevenness in the display screen can be suppressed when a polarizing plate with a retardation layer is used in an image display device.
作為偏光膜,可採用任意適當的偏光膜。偏光膜代表性地可使用兩層以上的積層體來製作。As the polarizing film, any appropriate polarizing film can be used. The polarizing film can typically be produced using a laminate of two or more layers.
使用積層體得到的偏光膜的具體例,可列舉使用樹脂基材與塗佈形成於該樹脂基材的PVA系樹脂層的積層體而得到的偏光膜。使用樹脂基材與塗佈形成於該樹脂基材的PVA系樹脂層的積層體而得到的偏光膜可以通過下述方法製作:例如,將PVA系樹脂溶液塗佈於樹脂基材,使其乾燥,在樹脂基材上形成PVA系樹脂層,得到樹脂基材與PVA系樹脂層的積層體;將該積層體拉伸及染色,將PVA系樹脂層製成偏光膜。在本實施方式中,拉伸代表性地包括將積層體浸漬於硼酸水溶液中來進行拉伸。此外,拉伸根據需要可進一步包括在硼酸水溶液中的拉伸之前將積層體在高溫(例如,95℃以上)下進行空中拉伸。得到的樹脂基材/偏光膜的積層體可以直接使用(即,可以將樹脂基材作為偏光膜的保護層),也可以將樹脂基材從樹脂基材/偏光膜的積層體剝離,在該剝離面上積層因應目的之任意適當的保護層來使用。這樣的偏光膜的製造方法的詳細情況記載於例如日本特開2012-73580號公報中。可將該公報的全部記載作為參考引用至本說明書中。Specific examples of polarizing films obtained using a laminate include polarizing films obtained using a laminate of a resin base material and a PVA-based resin layer coated on the resin base material. A polarizing film obtained by using a laminate of a resin base material and a PVA-based resin layer coated on the resin base material can be used.It is produced by the following method: for example, a PVA-based resin solution is applied to a resin base material, dried, and a PVA-based resin layer is formed on the resin base material to obtain a laminate of the resin base material and the PVA-based resin layer; The laminated body is stretched and dyed, and the PVA-based resin layer is made into a polarizing film. In this embodiment, stretching typically includes immersing the laminate in a boric acid aqueous solution and stretching. In addition, stretching may further include stretching the laminate in the air at a high temperature (for example, 95° C. or higher) before stretching in a boric acid aqueous solution, if necessary. The obtained laminated body of the resin base material/polarizing film can be used as it is (that is, the resin base material can be used as a protective layer of the polarizing film), or the resin base material can be peeled off from the laminated body of the resin base material/polarizing film. Use any appropriate protective layer on the peeling surface depending on the purpose. Details of the manufacturing method of such a polarizing film are described in, for example, Japanese Patent Application Laid-Open No. 2012-73580. The entire description of this publication can be incorporated into this specification as a reference.
偏光膜的製造方法代表性地包括:在長條狀熱塑性樹脂基材的單側形成包含鹵化物和聚乙烯醇系樹脂的聚乙烯醇系樹脂層而製成積層體;以及對上述積層體依次實施空中輔助拉伸處理、染色處理、水中拉伸處理、以及一邊朝長度方向運送一邊進行加熱從而使其在寬度方向上收縮2%以上的乾燥收縮處理。由此,可提供厚度為8μm以下、單體透射率為44.0%以上、偏光度為99.50%以上、具有優異的光學特性且光學特性偏差得到抑制的偏光膜。即,通過導入輔助拉伸,即使在熱塑性樹脂上塗佈PVA時,也可以提高PVA的結晶性,可達成高的光學特性。另外,通過預先同時提高PVA的定向性,可以在之後的染色步驟或拉伸步驟中浸漬於水中時,防止PVA的定向性降低、溶解等問題,可達成高的光學特性。進而,在將PVA系樹脂層浸漬於液體中的情況下,與PVA系樹脂層不含鹵化物的情況相比,可抑制聚乙烯醇分子的定向紊亂及定向性降低。由此,可提高經過染色處理及水中拉伸處理等、將積層體浸漬於液體中所進行的處理步驟得到的偏光膜的光學特性。進而,藉由乾燥收縮處理使積層體在寬度方向上收縮,可以提高光學特性。The manufacturing method of the polarizing film typically includes: forming a polyvinyl alcohol-based resin layer containing a halide and a polyvinyl alcohol-based resin on one side of a long thermoplastic resin base material to prepare a laminated body; and sequentially processing the laminated body. An in-air auxiliary stretching process, a dyeing process, an underwater stretching process, and a drying shrinkage process in which the film is heated while being transported in the length direction to shrink it by 2% or more in the width direction are performed. This makes it possible to provide a polarizing film with a thickness of 8 μm or less, a single transmittance of 44.0% or more, a polarization degree of 99.50% or more, excellent optical properties, and suppressed variation in optical properties. That is, by introducing auxiliary stretching, even when PVA is coated on a thermoplastic resin, the crystallinity of PVA can be improved and high optical properties can be achieved. In addition, by simultaneously improving the orientation of PVA in advance, it can be used in the subsequent dyeing step.Or when immersed in water during the stretching step, problems such as reduced orientation and dissolution of PVA can be prevented and high optical properties can be achieved. Furthermore, when the PVA-based resin layer is immersed in a liquid, compared with the case where the PVA-based resin layer does not contain a halide, it is possible to suppress the disorder of the orientation of the polyvinyl alcohol molecules and the decrease in orientation. This can improve the optical properties of a polarizing film obtained through a process step of immersing the laminate in a liquid, such as dyeing treatment and water stretching treatment. Furthermore, the optical properties can be improved by shrinking the laminated body in the width direction through drying and shrinkage treatment.
B-2.保護層B-2.Protective layer
第1保護層12及第2保護層13可分別由能夠作為偏光膜的保護層使用的任意適當的薄膜形成。作為構成該薄膜的主成分的材料的具體例,可列舉三乙酸纖維素(TAC)等纖維素系樹脂、聚酯系、聚乙烯醇系、聚碳酸酯系、聚醯胺系、聚醯亞胺系、聚醚碸系、聚碸系、聚苯乙烯系、聚降烯系、聚烯烴系、(甲基)丙烯酸系、乙酸酯系等的透明樹脂等。另外,還可列舉(甲基)丙烯酸系、胺基甲酸酯系、(甲基)丙烯酸胺基甲酸酯系、環氧系、矽酮系等熱硬化型樹脂或紫外線硬化型樹脂等。除此以外,還可列舉例如矽氧烷系聚合物等玻璃質系聚合物。另外,也可以使用日本特開2001-343529號公報(WO01/37007)中記載的聚合物薄膜。作為該薄膜的材料,可使用例如含有下述熱塑性樹脂的樹脂組成物:在側鏈具有取代或非取代之醯亞胺基的熱塑性樹脂、和在側鏈具有取代或非取代之苯基及腈基的熱塑性樹脂,可列舉例如:具有由異丁烯和N-甲基馬來醯亞胺構成之交替共聚物、和丙烯腈-苯乙烯共聚物的樹脂組成物。該聚合物薄膜可以是例如上述樹脂組成物的擠製成形物。The first
本發明的附相位差層之偏光板如後述,代表性地配置於影像顯示裝置的可視側,第1保護層12代表性地配置於該可視側。因此,根據需要,可以對第1保護層12施行硬塗處理、防反射處理、防沾黏處理、防眩處理等表面處理。此外/或者,通過偏光太陽鏡進行視覺辨認的情況下,可以根據需要對第1保護層12施行改善視覺辨認性的處理(代表性地為賦予(橢)圓偏光功能、賦予超高相位差)。通過施行這樣的處理,即使在通過偏光太陽鏡等偏光鏡片視覺辨認顯示畫面的情況下,也可以實現優異的視覺辨認性。因此,附相位差層之偏光板也可適用於可在室外使用的影像顯示裝置。As will be described later, the polarizing plate with a retardation layer of the present invention is typically disposed on the viewable side of the image display device, and the first
第1保護層的厚度優選為5μm~80μm,更優選為10μm~40μm,進一步優選為10μm~30μm。再者,在施行了表面處理的情況下,外側保護層的厚度是包括表面處理層的厚度在內的厚度。The thickness of the first protective layer is preferably 5 μm to 80 μm, more preferably 10 μm to 40 μm, and even more preferably 10 μm to 30 μm. In addition, when surface treatment is performed, the thickness of the outer protective layer is the thickness including the thickness of the surface treatment layer.
在一個實施方式中,第2保護層13優選為光學各向同性。在本說明書中,「為光學各向同性」是指,面內相位差Re(550)為0nm~10nm、厚度方向相位差Rth(550)為-10nm~+10nm。在一個實施方式中,第2保護層13可以是具有任意適當相位差值的相位差層。在該情況下,相位差層的面內相位差Re(550)例如為110nm~150nm。第2保護層的厚度優選為5μm~80μm,更優選為10μm~40μm,進一步優選為10μm~30μm。從薄型化及輕質化的觀點考慮,優選可省略第2保護層。In one embodiment, the second
B-3.偏光膜的製造方法B-3. Manufacturing method of polarizing film
偏光膜可以通過例如包括下述步驟的方法來製作:在長條狀熱塑性樹脂基材的單側形成含鹵化物和聚乙烯醇系樹脂(PVA系樹脂)的聚乙烯醇系樹脂層(PVA系樹脂層),製成積層體;以及對積層體依次實施空中輔助拉伸處理、染色處理、水中拉伸處理、以及一邊朝長度方向運送一邊進行加熱從而使其在寬度方向上收縮2%以上的乾燥收縮處理。相對於PVA系樹脂100重量份,PVA系樹脂層中的鹵化物含量優選為5重量份~20重量份。乾燥收縮處理優選利用加熱輥進行處理,加熱輥的溫度優選為60℃~120℃。利用乾燥收縮處理的積層體在寬度方向上的收縮率優選為2%以上。根據這樣的製造方法,可得到上述B-1項中說明的偏光膜。特別是製作包含了含鹵化物之PVA系樹脂層的積層體,並將對上述積層體的拉伸設成包括空中輔助拉伸及水中拉伸的多階段拉伸,並用加熱輥對拉伸後的積層體進行加熱,由此可得到具有優異光學特性(代表性地為單體透射率及偏光度)、且光學特性的偏差得到抑制的偏光膜。具體而言,在乾燥收縮處理步驟中使用加熱輥,由此可以一邊運送積層體,一邊使積層體整體均勻地收縮。由此,不僅可以提高得到的偏光膜的光學特性,而且可以穩定生產光學特性優異的偏光膜,可抑制偏光膜的光學特性(特別是單體透射率)的偏差。The polarizing film can be produced, for example, by a method including forming a polyvinyl alcohol-based resin layer (PVA-based resin) containing a halide and a polyvinyl alcohol-based resin (PVA-based resin) on one side of a long thermoplastic resin base material. resin layer) to form a laminated body; and sequentially subjecting the laminated body to air-assisted stretching, dyeing, water stretching, and heating while being transported in the length direction to shrink the laminated body by more than 2% in the width direction. Drying shrinkage treatment. The halide content in the PVA-based resin layer is preferably 5 to 20 parts by weight relative to 100 parts by weight of the PVA-based resin. The drying shrinkage treatment is preferably performed using a heating roller, and the temperature of the heating roller is preferably 60°C to 120°C. The shrinkage rate in the width direction of the laminate subjected to drying shrinkage treatment is preferably 2% or more. According to such a manufacturing method, the polarizing film described in the above item B-1 can be obtained. In particular, a laminated body containing a halide-containing PVA-based resin layer is produced, and the stretching of the laminated body is a multi-stage stretching including auxiliary stretching in the air and stretching in water, and the heated roller is used to stretch the laminated body. By heating the laminate, a polarizing film can be obtained that has excellent optical properties (typically single transmittance and degree of polarization) and in which variation in optical properties is suppressed. Specifically, by using a heating roller in the drying and shrinkage treatment step, the entire laminated body can be uniformly shrunk while conveying the laminated body. This not only improves the optical properties of the polarizing film obtained, but also stably produces a polarizing film with excellent optical properties, and suppresses the optical properties of the polarizing film (especiallyis the deviation of the monomer transmittance).
B-3-1.積層體的製作B-3-1. Production of laminated body
作為製作熱塑性樹脂基材與PVA系樹脂層的積層體的方法,可採用任意適當的方法。優選對熱塑性樹脂基材的表面塗佈包含鹵化物和PVA系樹脂的塗佈液並乾燥,藉此在熱塑性樹脂基材上形成PVA系樹脂層。如上所述,相對於PVA系樹脂100重量份,PVA系樹脂層中的鹵化物含量優選為5重量份~20重量份。As a method of producing a laminate of a thermoplastic resin base material and a PVA-based resin layer, any appropriate method can be adopted. Preferably, a coating liquid containing a halide and a PVA-based resin is applied to the surface of the thermoplastic resin base material and dried to form a PVA-based resin layer on the thermoplastic resin base material. As mentioned above, the halide content in the PVA-based resin layer is preferably 5 to 20 parts by weight relative to 100 parts by weight of the PVA-based resin.
作為塗佈液的塗佈方法,可採用任意適當的方法。可列舉例如:輥塗法、旋塗法、繞線式棒塗法、浸塗法、模塗法、淋塗法、噴塗法、刮塗法(刮刀式塗佈法等)等。上述塗佈液的塗佈/乾燥溫度優選為50℃以上。As a method of applying the coating liquid, any appropriate method can be adopted. Examples include roll coating, spin coating, wire-wound bar coating, dip coating, die coating, shower coating, spray coating, blade coating (blade coating, etc.). The coating/drying temperature of the coating liquid is preferably 50°C or higher.
PVA系樹脂層的厚度優選為3μm~40μm,進一步優選為3μm~20μm。The thickness of the PVA-based resin layer is preferably 3 μm to 40 μm, more preferably 3 μm to 20 μm.
形成PVA系樹脂層前,可以對熱塑性樹脂基材實施表面處理(例如,電暈處理等),可以在熱塑性樹脂基材上形成易接著層。通過進行這樣的處理,可以提高熱塑性樹脂基材與PVA系樹脂層的密著性。Before forming the PVA-based resin layer, the thermoplastic resin base material may be subjected to surface treatment (for example, corona treatment, etc.), and an easy-adhesion layer may be formed on the thermoplastic resin base material. By performing such treatment, the adhesion between the thermoplastic resin base material and the PVA-based resin layer can be improved.
B-3-1-1.熱塑性樹脂基材B-3-1-1. Thermoplastic resin base material
熱塑性樹脂基材的厚度優選為20μm~300μm,更優選為50μm~200μm。小於20μm時,存在難以形成PVA系樹脂層的擔憂。超過300μm時,例如,在後面敘述的水中拉伸處理中,熱塑性樹脂基材吸收水需要長時間,而且存在拉伸需要過大的負荷的擔憂。The thickness of the thermoplastic resin base material is preferably 20 μm to 300 μm, and more preferably 50 μm to 200 μm. When the thickness is less than 20 μm, it may be difficult to form a PVA-based resin layer. When it exceeds 300 μm, for example, in the water stretching process described below, it may take a long time for the thermoplastic resin base material to absorb water, and there is a concern that stretching may require an excessive load.
熱塑性樹脂基材的吸水率優選為0.2%以上,進一步優選為0.3%以上。熱塑性樹脂基材吸收水,水發揮增塑劑的作用而得以增塑化。其結果,可大幅降低拉伸應力,可高倍率地進行拉伸。另一方面,熱塑性樹脂基材的吸水率優選為3.0%以下,進一步優選為1.0%以下。通過使用這樣的熱塑性樹脂基材,可防止製造時熱塑性樹脂基材的尺寸穩定性顯著降低、得到的偏光膜的外觀惡化等不良情況。另外,可防止水中拉伸時基材斷裂、PVA系樹脂層從熱塑性樹脂基材剝離。再者,熱塑性樹脂基材的吸水率例如可通過向構成材料導入改性基團來調整。吸水率是按照JIS K 7209而求出的值。The water absorption rate of the thermoplastic resin base material is preferably 0.2% or more, more preferably 0.3% or more. The thermoplastic resin base material absorbs water, and the water acts as a plasticizer and is plasticized. As a result, the tensile stress can be significantly reduced and stretching can be performed at a high magnification ratio. On the other hand, the water absorption rate of the thermoplastic resin base material is preferably 3.0% or less, and more preferably 1.0% or less. By using such a thermoplastic resin base material, it is possible to prevent disadvantages such as significant reduction in the dimensional stability of the thermoplastic resin base material during production and deterioration in the appearance of the obtained polarizing film. In addition, it can prevent the base material from breaking and the PVA-based resin layer from peeling off the thermoplastic resin base material during stretching in water. Furthermore, the water absorption rate of the thermoplastic resin base material can be adjusted, for example, by introducing a modifying group into the constituent material. The water absorption rate is a value calculated in accordance with JIS K 7209.
熱塑性樹脂基材的玻璃轉移溫度(Tg)優選為120℃以下。通過使用這樣的熱塑性樹脂基材,可以抑制PVA系樹脂層的結晶化,並同時充分確保積層體的拉伸性。進而,若考慮到利用水進行的熱塑性樹脂基材增塑、和良好地進行水中拉伸,則更優選為100℃以下、進一步優選為90℃以下。另一方面,熱塑性樹脂基材的玻璃轉移溫度優選為60℃以上。通過使用這樣的熱塑性樹脂基材,在將上述包含PVA系樹脂的塗佈液進行塗佈/乾燥時,可防止熱塑性樹脂基材變形(例如,發生凹凸、鬆弛、褶皺等)等不良情況,可以良好地製作積層體。另外,可以在合適的溫度(例如,60℃左右)下良好地進行PVA系樹脂層的拉伸。再者,熱塑性樹脂基材的玻璃轉移溫度可通過例如採用對構成材料導入改性基團的結晶化材料並進行加熱而調整。玻璃轉移溫度(Tg)是按照JIS K 7121而求出的值。The glass transition temperature (Tg) of the thermoplastic resin base material is preferably 120°C or lower. By using such a thermoplastic resin base material, it is possible to suppress crystallization of the PVA-based resin layer while ensuring sufficient stretchability of the laminate. Furthermore, in consideration of the plasticization of the thermoplastic resin base material by water and the favorable stretching in water, the temperature is more preferably 100°C or lower, and further preferably 90°C or lower. On the other hand, the glass transition temperature of the thermoplastic resin base material is preferably 60° C. or higher. By using such a thermoplastic resin base material, it is possible to prevent defects such as deformation of the thermoplastic resin base material (for example, occurrence of unevenness, sagging, wrinkles, etc.) when applying/drying the coating liquid containing the PVA-based resin. Make the laminated body well. In addition, the PVA-based resin layer can be stretched satisfactorily at a suitable temperature (for example, about 60° C.). Furthermore, the glass transition temperature of the thermoplastic resin base material can be adjusted, for example, by using a crystallized material in which a modifying group is introduced into the constituent material and heating it.all. The glass transition temperature (Tg) is a value calculated in accordance with JIS K 7121.
作為熱塑性樹脂基材的構成材料,可採用任意適當的熱塑性樹脂。作為熱塑性樹脂,可列舉例如:聚對苯二甲酸乙二醇酯系樹脂等酯系樹脂、降烯系樹脂等環烯烴系樹脂、聚丙烯等烯烴系樹脂、聚醯胺系樹脂、聚碳酸酯系樹脂、它們的共聚物樹脂等。這些中,優選降烯系樹脂、非晶質的聚對苯二甲酸乙二醇酯系樹脂。As the constituent material of the thermoplastic resin base material, any appropriate thermoplastic resin can be used. Examples of the thermoplastic resin include ester-based resins such as polyethylene terephthalate-based resin, Cycloolefin resins such as olefin resins, olefin resins such as polypropylene, polyamide resins, polycarbonate resins, copolymer resins thereof, etc. Among these, it is preferable to reduce Vinyl resin and amorphous polyethylene terephthalate resin.
在一個實施方式中,優選使用非晶質的(未結晶化的)聚對苯二甲酸乙二醇酯系樹脂。其中,特別優選使用非晶性的(不易結晶化的)聚對苯二甲酸乙二醇酯系樹脂。作為非晶性的聚對苯二甲酸乙二醇酯系樹脂的具體例,可列舉進一步包含間苯二甲酸及/或環己烷二羧酸作為二羧酸的共聚物、或進一步包含環己烷二甲醇、二乙二醇作為二醇的共聚物。In one embodiment, it is preferable to use amorphous (non-crystallized) polyethylene terephthalate-based resin. Among them, amorphous (hard to crystallize) polyethylene terephthalate-based resin is particularly preferably used. Specific examples of the amorphous polyethylene terephthalate resin include a copolymer further containing isophthalic acid and/or cyclohexanedicarboxylic acid as a dicarboxylic acid, or a copolymer further containing cyclohexanedicarboxylic acid. Alkanedimethanol and diethylene glycol are copolymers of diols.
在優選的實施方式中,熱塑性樹脂基材由具有間苯二甲酸單元的聚對苯二甲酸乙二醇酯系樹脂構成。這是因為這樣的熱塑性樹脂基材的拉伸性非常優異,而且可抑制拉伸時的結晶化。咸認這是通過導入間苯二甲酸單元而對主鏈賦予大彎曲所致。聚對苯二甲酸乙二醇酯系樹脂具有對苯二甲酸單元及乙二醇單元。相對於全部重複單元的總計,間苯二甲酸單元的含有比例優選為0.1莫耳%以上,進一步優選為1.0莫耳%以上。這是由於可得到拉伸性非常優異的熱塑性樹脂基材。另一方面,相對於全部重複單元的總計,間苯二甲酸單元的含有比例優選為20莫耳%以下,更優選為10莫耳%以下。通過設定為這樣的含有比例,可以在後面敘述的乾燥收縮處理中良好地使結晶度增加。In a preferred embodiment, the thermoplastic resin base material is composed of polyethylene terephthalate-based resin having an isophthalic acid unit. This is because such a thermoplastic resin base material has extremely excellent stretchability and can suppress crystallization during stretching. This is thought to be due to the introduction of an isophthalic acid unit, which imparts a large bend to the main chain. The polyethylene terephthalate resin has a terephthalic acid unit and an ethylene glycol unit. The content ratio of isophthalic acid units is preferably 0.1 mol% or more, more preferably 1.0 mol% or more, based on the total of all repeating units. This is because a thermoplastic resin base material with extremely excellent stretchability can be obtained. On the other hand, the content ratio of isophthalic acid units is preferably 20 mol% relative to the total of all repeating units.or less, and more preferably 10 mol% or less. By setting the content ratio to such a content ratio, the crystallinity can be favorably increased in the drying shrinkage treatment described below.
熱塑性樹脂基材可預先(形成PVA系樹脂層之前)被拉伸。在一個實施方式中,可對長條狀熱塑性樹脂基材的橫向進行拉伸。橫向優選為與後面敘述的積層體的拉伸方向正交的方向。再者,本說明書中,所謂「正交」也包括實質上正交的情況。此處,所謂「實質上正交」包括90°±5.0°的情況,優選為90°±3.0°,進一步優選為90°±1.0°。The thermoplastic resin base material may be stretched in advance (before the PVA-based resin layer is formed). In one embodiment, the long thermoplastic resin base material may be stretched in the transverse direction. The transverse direction is preferably a direction orthogonal to the stretching direction of the laminate described later. In addition, in this specification, the so-called "orthogonal" also includes the case of being substantially orthogonal. Here, "substantially orthogonal" includes a case of 90°±5.0°, and is preferably 90°±3.0°, and more preferably 90°±1.0°.
相對於玻璃轉移溫度(Tg),熱塑性樹脂基材的拉伸溫度優選為Tg-10℃~Tg+50℃。熱塑性樹脂基材的拉伸倍率優選為1.5倍~3.0倍。Relative to the glass transition temperature (Tg), the stretching temperature of the thermoplastic resin base material is preferably Tg-10°C to Tg+50°C. The stretching ratio of the thermoplastic resin base material is preferably 1.5 times to 3.0 times.
作為熱塑性樹脂基材的拉伸方法,可採用任意適當的方法。具體而言,可以是固定端拉伸,可以是自由端拉伸。拉伸方式可以為乾式,也可以為濕式。熱塑性樹脂基材的拉伸可以一階段進行,也可以多階段進行。在以多階段進行的情況下,上述的拉伸倍率是各階段的拉伸倍率之積。As a method of stretching the thermoplastic resin base material, any appropriate method can be adopted. Specifically, it may be fixed-end stretching or free-end stretching. The stretching method can be dry or wet. The thermoplastic resin base material can be stretched in one stage or in multiple stages. When it is carried out in multiple stages, the above-mentioned stretching ratio is the product of the stretching ratios in each stage.
B-3-1-2.塗佈液B-3-1-2. Coating liquid
塗佈液如上所述,包含鹵化物和PVA系樹脂。上述塗佈液代表性地可以是已使上述鹵化物及上述PVA系樹脂溶解於溶劑而得到的溶液。作為溶劑,可列舉例如:水、二甲基亞碸、二甲基甲醯胺、二甲基乙醯胺、N-甲基吡咯啶酮、各種二醇系、三羥甲基丙烷等多元醇系、乙二胺、二乙烯三胺等胺系。它們可以單獨使用,或者可以將二種以上組合使用。這些中,優選水。相對於溶劑100重量份,溶液的PVA系樹脂濃度優選為3重量份~20重量份。如果為這樣的樹脂濃度,則可以形成與熱塑性樹脂基材密著的均勻塗佈膜。相對於PVA系樹脂100重量份,塗佈液中的鹵化物含量優選為5重量份~20重量份。As mentioned above, the coating liquid contains a halide and a PVA-based resin. The coating liquid may typically be a solution obtained by dissolving the halide and the PVA-based resin in a solvent. Examples of the solvent include water, dimethylsulfoxide, dimethylformamide, dimethylacetamide, and N-methylpyrrole.Triketones, various glycols, polyols such as trimethylolpropane, and amines such as ethylenediamine and diethylenetriamine. They can be used individually or in combination of 2 or more types. Among these, water is preferred. The PVA-based resin concentration of the solution is preferably 3 to 20 parts by weight relative to 100 parts by weight of the solvent. If the resin concentration is such, a uniform coating film that closely adheres to the thermoplastic resin base material can be formed. The halide content in the coating liquid is preferably 5 to 20 parts by weight relative to 100 parts by weight of the PVA-based resin.
可以在塗佈液中摻合添加劑。作為添加劑,可列舉例如:增塑劑、界面活性劑等。作為增塑劑,可列舉例如:乙二醇、丙三醇等多元醇。作為界面活性劑,可列舉例如:非離子界面活性劑。這些添加劑出於進一步提高得到的PVA系樹脂層的均勻性、染色性、拉伸性的目的而使用。Additives may be blended into the coating liquid. Examples of additives include plasticizers, surfactants, and the like. Examples of plasticizers include polyhydric alcohols such as ethylene glycol and glycerin. Examples of the surfactant include nonionic surfactants. These additives are used for the purpose of further improving the uniformity, dyeability, and stretchability of the obtained PVA-based resin layer.
作為上述PVA系樹脂,可採用任意適當的樹脂。例如,可列舉聚乙烯醇及乙烯-乙烯醇共聚物。聚乙烯醇可通過將聚乙酸乙烯酯皂化而得到。乙烯-乙烯醇共聚物通過將乙烯-乙酸乙烯酯共聚物皂化而得到。PVA系樹脂的皂化度通常為85莫耳%~100莫耳%,優選為95.0莫耳%~99.95莫耳%,進一步優選為99.0莫耳%~99.93莫耳%。皂化度可以按照JIS K 6726-1994求出。通過使用這樣的皂化度的PVA系樹脂,可以得到耐久性優異的偏光膜。在皂化度過高的情況下,存在凝膠化的憂慮。As the PVA-based resin, any appropriate resin can be used. Examples include polyvinyl alcohol and ethylene-vinyl alcohol copolymer. Polyvinyl alcohol can be obtained by saponifying polyvinyl acetate. Ethylene-vinyl alcohol copolymer is obtained by saponifying ethylene-vinyl acetate copolymer. The saponification degree of the PVA-based resin is usually 85 mol% to 100 mol%, preferably 95.0 mol% to 99.95 mol%, and more preferably 99.0 mol% to 99.93 mol%. The degree of saponification can be determined in accordance with JIS K 6726-1994. By using a PVA-based resin with such a degree of saponification, a polarizing film excellent in durability can be obtained. When saponification is too high, gelation may occur.
PVA系樹脂的平均聚合度可以根據目的合適地選擇。平均聚合度通常為1000~10000,優選為1200~4500,進一步優選為1500~4300。再者,平均聚合度可以按照JIS K 6726-1994求出。The average degree of polymerization of the PVA-based resin can be appropriately selected depending on the purpose. The average degree of polymerization is usually 1000~10000, preferably1200~4500, more preferably 1500~4300. In addition, the average degree of polymerization can be determined in accordance with JIS K 6726-1994.
作為上述鹵化物,可採用任意適當的鹵化物。可列舉例如碘化物及氯化鈉。作為碘化物,可列舉例如碘化鉀、碘化鈉、及碘化鋰。這些中,優選碘化鉀。As the above-mentioned halide, any appropriate halide can be used. Examples include iodide and sodium chloride. Examples of the iodide include potassium iodide, sodium iodide, and lithium iodide. Among these, potassium iodide is preferred.
塗佈液中的鹵化物量相對於PVA系樹脂100重量份優選為5重量份~20重量份,相對於PVA系樹脂100重量份更優選為10重量份~15重量份。相對於PVA系樹脂100重量份,鹵化物量超過20重量份時,存在鹵化物滲出、最終得到的偏光膜發生白濁的情況。The amount of the halide in the coating liquid is preferably 5 to 20 parts by weight based on 100 parts by weight of the PVA resin, and more preferably 10 to 15 parts by weight based on 100 parts by weight of the PVA resin. When the amount of the halide exceeds 20 parts by weight relative to 100 parts by weight of the PVA-based resin, the halide may bleed out and the polarizing film finally obtained may become cloudy.
一般而言,通過對PVA系樹脂層進行拉伸,PVA系樹脂中的聚乙烯醇分子的定向性提高,但如果將拉伸後的PVA系樹脂層浸漬於含水的液體中,則存在聚乙烯醇分子的定向紊亂、定向性降低的情況。特別是在將熱塑性樹脂基材與PVA系樹脂層的積層體在硼酸水溶液中拉伸的情況下,為了使熱塑性樹脂基材的拉伸穩定而以比較高的溫度將上述積層體在硼酸水溶液中拉伸時,上述定向度降低的傾向顯著。例如,PVA薄膜單體在硼酸水溶液中的拉伸通常在60℃下進行,相對的,A-PET(熱塑性樹脂基材)與PVA系樹脂層的積層體的拉伸在70℃左右的溫度這樣的高溫下進行,在該情況下,拉伸初始的PVA的定向性會在通過水中拉伸而上升之前的階段降低。相對的,通過製作含鹵化物之PVA系樹脂層與熱塑性樹脂基材的積層體,並在將積層體在硼酸水溶液中進行拉伸之前在空氣中進行高溫拉伸(輔助拉伸),由此可促進輔助拉伸後的積層體的PVA系樹脂層中的PVA系樹脂結晶化。其結果,在將PVA系樹脂層浸漬於液體的情況下,與PVA系樹脂層不含鹵化物的情況相比,可抑制聚乙烯醇分子的定向紊亂、及定向性降低。由此,可提高經過染色處理及水中拉伸處理等、將積層體浸漬於液體而進行的處理步驟而得到的偏光膜的光學特性。Generally speaking, by stretching the PVA-based resin layer, the orientation of the polyvinyl alcohol molecules in the PVA-based resin is improved. However, if the stretched PVA-based resin layer is immersed in a water-containing liquid, polyethylene will be present. The orientation of alcohol molecules is disordered and the orientation is reduced. Especially when the laminate of a thermoplastic resin base material and a PVA-based resin layer is stretched in a boric acid aqueous solution, the laminate is immersed in a boric acid aqueous solution at a relatively high temperature in order to stabilize the stretching of the thermoplastic resin base material. During stretching, the above orientation degree tends to decrease significantly. For example, stretching of a PVA film monomer in a boric acid aqueous solution is usually performed at 60°C. On the other hand, a laminate of A-PET (thermoplastic resin base material) and a PVA-based resin layer is stretched at a temperature of about 70°C. It is carried out at a high temperature. In this case, the orientation of PVA at the beginning of stretching will decrease in the stage before it rises by stretching in water. In contrast, a laminate of a halide-containing PVA-based resin layer and a thermoplastic resin base material is produced, and the laminate is stretched in the air in a boric acid aqueous solution.By performing high-temperature stretching (auxiliary stretching), the crystallization of the PVA-based resin in the PVA-based resin layer of the laminated body after auxiliary stretching can be accelerated. As a result, when the PVA-based resin layer is immersed in a liquid, compared with the case where the PVA-based resin layer does not contain a halide, the orientation disorder of the polyvinyl alcohol molecules and the decrease in orientation can be suppressed. This can improve the optical properties of a polarizing film obtained through a process step of immersing the laminate in a liquid, such as dyeing treatment and water stretching treatment.
B-3-2.空中輔助拉伸處理B-3-2. Aerial auxiliary stretching processing
尤其,為了得到高的光學特性,可選擇將乾式拉伸(輔助拉伸)與硼酸水溶液中拉伸組合的2階段拉伸的方法。藉由像2階段拉伸那樣導入輔助拉伸,可在抑制熱塑性樹脂基材的結晶化的同時進行拉伸,可解決之後硼酸水溶液中拉伸時因熱塑性樹脂基材的過度結晶化而導致拉伸性降低的問題,能夠以更高的倍率對積層體進行拉伸。進而,在熱塑性樹脂基材上有塗佈PVA系樹脂的情況下,為了抑制熱塑性樹脂基材的玻璃轉移溫度的影響,與通常在金屬鼓上塗佈PVA系樹脂的情況相比必須降低塗佈溫度,其結果,會發生PVA系樹脂結晶化相對降低、不能得到充分光學特性這樣的問題。與此相對,藉由導入輔助拉伸,即使在熱塑性樹脂上塗佈PVA系樹脂的情況下,也可以提高PVA系樹脂的結晶性,可實現高的光學特性。另外,通過同時事先提高PVA系樹脂的定向性,在之後的染色步驟、拉伸步驟中浸漬於水中時,可防止PVA系樹脂的定向性降低、溶解等問題,可實現高的光學特性。In particular, in order to obtain high optical properties, a two-stage stretching method that combines dry stretching (auxiliary stretching) and stretching in a boric acid aqueous solution can be selected. By introducing auxiliary stretching like two-stage stretching, stretching can be performed while suppressing the crystallization of the thermoplastic resin base material. This can solve the problem of stretching caused by excessive crystallization of the thermoplastic resin base material during subsequent stretching in a boric acid aqueous solution. By eliminating the problem of reduced stretchability, the laminate can be stretched at a higher rate. Furthermore, when a PVA-based resin is coated on a thermoplastic resin base material, in order to suppress the influence of the glass transition temperature of the thermoplastic resin base material, it is necessary to reduce the coating time compared with the case where a PVA-based resin is generally coated on a metal drum. Temperature, as a result, the crystallization of the PVA-based resin is relatively reduced, and sufficient optical characteristics cannot be obtained. In contrast, by introducing auxiliary stretching, even when a PVA-based resin is coated on a thermoplastic resin, the crystallinity of the PVA-based resin can be improved and high optical properties can be achieved. In addition, by simultaneously improving the orientation of the PVA-based resin in advance, problems such as reduction in orientation and dissolution of the PVA-based resin can be prevented when immersed in water in the subsequent dyeing step and stretching step, and high optical properties can be achieved.
空中輔助拉伸的拉伸方法可以為固定端拉伸(例如,使用拉幅拉伸機進行拉伸的方法),也可以是自由端拉伸(例如,使積層體通過圓周速度不同的輥間而進行單軸拉伸的方法),為了得到高的光學特性,可積極地採用自由端拉伸。在一個實施方式中,空中拉伸處理包括一邊將上述積層體朝其長度方向運送、一邊利用加熱輥間的圓周速度差進行拉伸的加熱輥拉伸步驟。空中拉伸處理代表性地包括區域拉伸步驟和加熱輥拉伸步驟。再者,區域拉伸步驟與加熱輥拉伸步驟的順序沒有限定,可以先進行區域拉伸步驟,也可以先進行加熱輥拉伸步驟。也可省略區域拉伸步驟。在一個實施方式中,區域拉伸步驟及加熱輥拉伸步驟依次進行。另外,在另一個實施方式中,在拉幅拉伸機中,把持薄膜端部,使拉幅機間的距離朝傳送方向擴展而拉伸(拉幅機間的距離的擴展成為拉伸倍率)。此時,寬度方向(相對於傳送方向為垂直方向)上的拉幅機的距離設定成任意地靠近。優選的是,可以設定成相對於傳送方向上的拉伸倍率更接近自由端拉伸的方式。在自由端拉伸的情況下,是以寬度方向上的收縮率=(1/拉伸倍率)1/2來計算。The stretching method of in-air auxiliary stretching may be fixed-end stretching (for example, stretching using a tenter stretching machine) or free-end stretching (for example, passing the laminated body between rollers with different peripheral speeds). As for the method of uniaxial stretching), in order to obtain high optical properties, free-end stretching can be actively used. In one embodiment, the in-air stretching treatment includes a heating roller stretching step of utilizing a circumferential speed difference between the heating rollers to stretch the laminated body while transporting the layered body in its longitudinal direction. The in-air stretching process typically includes a zone stretching step and a heated roller stretching step. Furthermore, the order of the zone stretching step and the heating roller stretching step is not limited. The zone stretching step may be performed first, or the heating roll stretching step may be performed first. The region stretching step can also be omitted. In one embodiment, the zone stretching step and the heated roller stretching step are performed sequentially. In another embodiment, in a tenter stretching machine, the ends of the film are held, and the distance between the tenters is expanded in the conveyance direction for stretching (the expansion of the distance between the tenters is referred to as the stretch ratio) . At this time, the distance of the tenter in the width direction (the direction perpendicular to the conveyance direction) is set to be arbitrarily close. It is preferable to set it so that it may be closer to the free-end stretch with respect to the stretch ratio in the conveyance direction. In the case of free end stretching, the shrinkage rate in the width direction = (1/stretch ratio)1/2 is calculated.
空中輔助拉伸可以一階段進行,也可以多階段進行。在以多階段進行的情況下,拉伸倍率是各階段的拉伸倍率之積。空中輔助拉伸中的拉伸方向優選與水中拉伸的拉伸方向大致相同。Aerial assisted stretching can be performed in one stage or in multiple stages. When the process is performed in multiple stages, the draw ratio is the product of the draw ratios in each stage. The stretching direction in the air-assisted stretching is preferably substantially the same as the stretching direction in the underwater stretching.
空中輔助拉伸中的拉伸倍率優選為2.0倍~3.5倍。在組合空中輔助拉伸和水中拉伸的情況下的最大拉伸倍率相對於積層體原長優選為5.0倍以上,更優選為5.5倍以上,進一步優選為6.0倍以上。在本說明書中,「最大拉伸倍率」是指積層體即將斷裂前的拉伸倍率,是指另行確認積層體斷裂的拉伸倍率而比該值小0.2的值。The stretching ratio in the air-assisted stretching is preferably 2.0 times~3.5 times. When aerial auxiliary stretching and water stretching are combined, the maximum stretching ratio is preferably 5.0 times or more, more preferably 5.5 times or more, and even more preferably 6.0 times or more relative to the original length of the laminate. In this specification, the "maximum stretch ratio" refers to the stretch ratio immediately before the laminated body breaks, and refers to the stretch ratio at which rupture of the laminated body is separately confirmed, and is a value that is 0.2 smaller than this value.
空中輔助拉伸的拉伸溫度可根據熱塑性樹脂基材的形成材料、拉伸方式等設定為任意適當的值。拉伸溫度優選為熱塑性樹脂基材的玻璃轉移溫度(Tg)以上,進一步優選為熱塑性樹脂基材的玻璃轉移溫度(Tg)+10℃以上,特別優選為Tg+15℃以上。另一方面,拉伸溫度的上限優選為170℃。藉由在這樣的溫度下進行拉伸,可以抑制PVA系樹脂的結晶化急速進行,可抑制由該結晶化導致的不良情況(例如,妨礙由拉伸帶來的PVA系樹脂層定向)。空中輔助拉伸後的PVA系樹脂的結晶化指數優選為1.3~1.8,更優選為1.4~1.7。PVA系樹脂的結晶化指數可使用傅立葉變換紅外分光光度計、通過ATR法來測定。具體而言,將偏光作為測定光實施測定,利用得到的光譜中在1141cm-1及1440cm-1的強度,通過下式計算出結晶化指數。The stretching temperature of the in-air auxiliary stretching can be set to any appropriate value depending on the forming material of the thermoplastic resin base material, the stretching method, and the like. The stretching temperature is preferably not less than the glass transition temperature (Tg) of the thermoplastic resin base material, more preferably not less than the glass transition temperature (Tg) of the thermoplastic resin base material + 10°C, and particularly preferably not less than Tg + 15°C. On the other hand, the upper limit of the stretching temperature is preferably 170°C. By stretching at such a temperature, rapid crystallization of the PVA-based resin can be suppressed, and problems caused by the crystallization (for example, obstruction of the orientation of the PVA-based resin layer caused by stretching) can be suppressed. The crystallization index of the PVA-based resin after in-air auxiliary stretching is preferably 1.3 to 1.8, and more preferably 1.4 to 1.7. The crystallization index of PVA-based resin can be measured by the ATR method using a Fourier transform infrared spectrophotometer. Specifically, polarized light was measured as measurement light, and the intensity at 1141 cm-1 and 1440 cm-1 in the obtained spectrum was used to calculate the crystallization index according to the following formula.
結晶化指數=(IC/IR)Crystallization index = (IC /IR )
其中,IC:使測定光入射並測定時在1141cm-1的強度Among them, IC : The intensity at 1141 cm-1 when measuring light is incident on it
IR:使測定光入射並測定時在1440cm-1的強度。IR : Intensity at 1440 cm-1 when measuring light is incident on it.
B-3-3.不溶化處理B-3-3.Insolubilization treatment
根據需要,在空中輔助拉伸處理之後、水中拉伸處理、染色處理之前實施不溶化處理。上述不溶化處理代表性地通過將PVA系樹脂層浸漬於硼酸水溶液中而進行。通過實施不溶化處理,可以對PVA系樹脂層賦予耐水性,防止浸漬於水中時PVA的定向降低。該硼酸水溶液的濃度相對於水100重量份優選為1重量份~4重量份。不溶化浴(硼酸水溶液)的液溫優選為20℃~50℃。If necessary, insolubilization treatment is performed after the in-air auxiliary stretching treatment and before the water stretching treatment and dyeing treatment. The above-described insolubilization treatment is typically performed by immersing the PVA-based resin layer in a boric acid aqueous solution. By performing the insolubilization treatment, water resistance can be imparted to the PVA-based resin layer and the orientation of the PVA can be prevented from being reduced when immersed in water. The concentration of the boric acid aqueous solution is preferably 1 to 4 parts by weight relative to 100 parts by weight of water. The liquid temperature of the insolubilizing bath (boric acid aqueous solution) is preferably 20°C to 50°C.
B-3-4.染色處理B-3-4. Dyeing treatment
上述染色處理代表性地通過用二色性物質(代表性地為碘)對PVA系樹脂層進行染色而進行。具體而言,通過使碘吸附於PVA系樹脂層而進行。作為該吸附方法,可列舉例如:將PVA系樹脂層(積層體)浸漬於含碘的染色液中的方法;對PVA系樹脂層塗敷該染色液的方法;對PVA系樹脂層噴霧該染色液的方法等。優選將積層體浸漬於染色液(染色浴)的方法。這是因為碘可良好地吸附。The above dyeing treatment is typically performed by dyeing the PVA-based resin layer with a dichroic substance (typically iodine). Specifically, it is performed by adsorbing iodine on the PVA-based resin layer. Examples of the adsorption method include: a method of immersing a PVA-based resin layer (laminated body) in a dyeing liquid containing iodine; a method of applying the dyeing liquid to the PVA-based resin layer; and spraying the dyeing liquid to the PVA-based resin layer. liquid method, etc. The method of immersing the laminated body in a dyeing liquid (dyeing bath) is preferable. This is because iodine adsorbs well.
上述染色液優選為碘水溶液。碘的摻合量相對於水100重量份優選為0.05重量份~0.5重量份。為了提高碘對水的溶解度,優選在碘水溶液中摻合碘化物。作為碘化物,可列舉例如:碘化鉀、碘化鋰、碘化鈉、碘化鋅、碘化鋁、碘化鉛、碘化銅、碘化鋇、碘化鈣、碘化錫、碘化鈦等。這些中,優選碘化鉀。碘化物的摻合量相對於水100重量份優選為0.1重量份~10重量份,更優選為0.3重量份~5重量份。為了抑制PVA系樹脂的溶解,用染色液進行染色時的液溫優選為20℃~50℃。在將PVA系樹脂層浸漬於染色液中的情況下,為了確保PVA系樹脂層的透射率,浸漬時間優選為5秒鐘~5分鐘,更優選為30秒鐘~90秒鐘。The above-mentioned dyeing liquid is preferably an iodine aqueous solution. The blending amount of iodine is preferably 0.05 to 0.5 parts by weight relative to 100 parts by weight of water. In order to increase the solubility of iodine in water, it is preferable to blend iodide into the aqueous iodine solution. Examples of the iodide include potassium iodide, lithium iodide, sodium iodide, zinc iodide, aluminum iodide, lead iodide, copper iodide, barium iodide, calcium iodide, tin iodide, titanium iodide, etc. . Among these, potassium iodide is preferred. The blending amount of iodide is preferably 0.1 to 10 parts by weight, and more preferably 0.3 to 5 parts by weight relative to 100 parts by weight of water. In order to suppress the dissolution of the PVA-based resin, the liquid temperature when dyeing with the dyeing liquid is preferably 20°C to 50°C. After impregnating the PVA resin layerIn the case of dyeing liquid, in order to ensure the transmittance of the PVA-based resin layer, the immersion time is preferably 5 seconds to 5 minutes, and more preferably 30 seconds to 90 seconds.
染色條件(濃度、液溫、浸漬時間)可以最終得到的偏光膜的單體透射率為44.0%以上、且偏光度為99.50%以上的方式設定。作為這樣的染色條件,優選使用碘水溶液作為染色液,將碘水溶液中的碘與碘化鉀的含量之比設為1:5~1:20。碘水溶液中的碘與碘化鉀的含量之比優選為1:5~1:10。由此,可得到具有如上所述的光學特性的偏光膜。The dyeing conditions (concentration, liquid temperature, immersion time) can be set so that the single transmittance of the finally obtained polarizing film is 44.0% or more and the degree of polarization is 99.50% or more. As such dyeing conditions, it is preferable to use an iodine aqueous solution as the dyeing liquid, and set the ratio of the content of iodine to potassium iodide in the iodine aqueous solution to 1:5 to 1:20. The content ratio of iodine to potassium iodide in the iodine aqueous solution is preferably 1:5 to 1:10. Thus, a polarizing film having the above-mentioned optical characteristics can be obtained.
在將積層體浸漬於含有硼酸的處理浴的處理(代表性地為不溶化處理)之後連續進行染色處理的情況下,由於該處理浴中所含的硼酸混入染色浴,染色浴的硼酸濃度會經時變化,其結果,染色性有時會變得不穩定。為了抑制如上所述的染色性的不穩定化,調整染色浴的硼酸濃度的上限使得相對於水100重量份優選為4重量份、更優選為2重量份。另一方面,染色浴的硼酸濃度的下限相對於水100重量份優選為0.1重量份,更優選為0.2重量份,進一步優選為0.5重量份。在一個實施方式中,使用預先摻合了硼酸的染色浴進行染色處理。由此,可降低上述處理浴的硼酸混入染色浴時硼酸濃度的變化比例。預先摻合於染色浴中的硼酸的摻合量(即,非來自於上述處理浴的硼酸的含量)相對於水100重量份優選為0.1重量份~2重量份,更優選為0.5重量份~1.5重量份。When the laminate is immersed in a treatment bath containing boric acid (typically an insolubilization treatment) and then dyed continuously, the boric acid concentration in the dyeing bath changes due to the boric acid contained in the treatment bath being mixed into the dyeing bath. It changes with time, and as a result, the dyeability may become unstable. In order to suppress the instability of the dyeability as described above, the upper limit of the boric acid concentration in the dyeing bath is adjusted so that it is preferably 4 parts by weight, and more preferably 2 parts by weight relative to 100 parts by weight of water. On the other hand, the lower limit of the boric acid concentration in the dyeing bath is preferably 0.1 parts by weight, more preferably 0.2 parts by weight, and even more preferably 0.5 parts by weight based on 100 parts by weight of water. In one embodiment, the dyeing process is performed using a dye bath pre-mixed with boric acid. This can reduce the change ratio of the boric acid concentration when the boric acid in the treatment bath is mixed into the dyeing bath. The blending amount of boric acid previously blended in the dyeing bath (that is, the content of boric acid not derived from the above-mentioned treatment bath) is preferably 0.1 to 2 parts by weight, and more preferably 0.5 to 2 parts by weight relative to 100 parts by weight of water. 1.5 parts by weight.
B-3-5.交聯處理B-3-5. Cross-linking treatment
根據需要,在染色處理之後、水中拉伸處理之前實施交聯處理。上述交聯處理代表性地通過將PVA系樹脂層浸漬於硼酸水溶液中而進行。通過實施交聯處理,可以對PVA系樹脂層賦予耐水性,在之後的水中拉伸中,可防止浸漬於高溫水中時PVA的定向降低。該硼酸水溶液的濃度相對於水100重量份優選為1重量份~5重量份。另外,在上述染色處理後進行交聯處理時,優選進一步摻合碘化物。通過摻合碘化物,可以抑制吸附於PVA系樹脂層的碘的溶出。碘化物的摻合量相對於水100重量份優選為1重量份~5重量份。碘化物的具體例如上所述。交聯浴(硼酸水溶液)的液溫優選為20℃~50℃。If necessary, cross-linking treatment is performed after the dyeing treatment and before the water stretching treatment. The cross-linking treatment is typically performed by immersing the PVA-based resin layer in a boric acid aqueous solution. By performing cross-linking treatment, water resistance can be imparted to the PVA-based resin layer, and during subsequent stretching in water, the orientation of the PVA can be prevented from being reduced when immersed in high-temperature water. The concentration of the boric acid aqueous solution is preferably 1 to 5 parts by weight relative to 100 parts by weight of water. In addition, when performing cross-linking treatment after the above-mentioned dyeing treatment, it is preferable to further blend iodide. By blending iodide, elution of iodine adsorbed on the PVA-based resin layer can be suppressed. The blending amount of iodide is preferably 1 to 5 parts by weight relative to 100 parts by weight of water. Specific examples of iodide are as described above. The liquid temperature of the cross-linking bath (boric acid aqueous solution) is preferably 20°C to 50°C.
B-3-6.水中拉伸處理B-3-6. Stretching in water
水中拉伸處理係將積層體浸漬於拉伸浴中來進行。利用水中拉伸處理,可以在低於上述熱塑性樹脂基材或PVA系樹脂層的玻璃轉移溫度(代表性地為80℃左右)的溫度下進行拉伸,可以在抑制PVA系樹脂層的結晶化的同時以高倍率進行拉伸。其結果,可製造具有優異光學特性的偏光膜。The underwater stretching treatment is performed by immersing the laminate in a stretching bath. By using the water stretching treatment, stretching can be performed at a temperature lower than the glass transition temperature (typically about 80°C) of the thermoplastic resin base material or PVA-based resin layer, thereby suppressing the crystallization of the PVA-based resin layer. while stretching at high magnification. As a result, a polarizing film having excellent optical properties can be produced.
積層體的拉伸方法可採用任意適當的方法。具體而言,可以是固定端拉伸,也可以是自由端拉伸(例如,使積層體通過圓周速度不同的輥間而進行單軸拉伸的方法)。優選選擇自由端拉伸。積層體的拉伸可以一階段進行,也可以多階段進行。在以多階段進行的情況下,後面敘述的積層體的拉伸倍率(最大拉伸倍率)為各階段的拉伸倍率之積。The laminate may be stretched by any appropriate method. Specifically, it may be fixed end stretching or free end stretching (for example, a method of uniaxial stretching by passing the laminate between rollers having different peripheral speeds). Free end stretching is preferred. The laminate may be stretched in one stage or in multiple stages. When the process is performed in multiple stages, the draw ratio (maximum draw ratio) of the laminate described below is the draw ratio of each stage.The accumulation.
水中拉伸優選將積層體浸漬於硼酸水溶液中而進行(硼酸水溶液中拉伸)。通過使用硼酸水溶液作為拉伸浴,可以對PVA系樹脂層賦予能耐受拉伸時施加的張力的剛性、與在水中不溶解的耐水性。具體而言,硼酸可在水溶液中生成四羥基硼酸陰離子,與PVA系樹脂通過氫鍵進行交聯。其結果,可以對PVA系樹脂層賦予剛性和耐水性,良好地進行拉伸,可以製造具有優異的光學特性的偏光膜。Stretching in water is preferably performed by immersing the laminate in a boric acid aqueous solution (stretching in a boric acid aqueous solution). By using a boric acid aqueous solution as a stretching bath, the PVA-based resin layer can be provided with rigidity that can withstand the tension applied during stretching and water resistance that is insoluble in water. Specifically, boric acid can generate tetrahydroxyborate anions in an aqueous solution, and cross-link with PVA-based resin through hydrogen bonds. As a result, the PVA-based resin layer can be provided with rigidity and water resistance, can be stretched favorably, and can produce a polarizing film having excellent optical properties.
上述硼酸水溶液優選通過在作為溶劑的水中溶解硼酸及/或硼酸鹽而得到。硼酸濃度相對於水100重量份優選為1重量份~10重量份,更優選為2.5重量份~6重量份,特別優選為3重量份~5重量份。通過將硼酸濃度設為1重量份以上,可以有效地抑制PVA系樹脂層的溶解,可製造更高特性的偏光膜。再者,還可以使用將除硼酸或硼酸鹽以外的硼砂等硼化合物、乙二醛、戊二醛等溶解於溶劑而得到的水溶液。The boric acid aqueous solution is preferably obtained by dissolving boric acid and/or borate in water as a solvent. The boric acid concentration is preferably 1 to 10 parts by weight relative to 100 parts by weight of water, more preferably 2.5 to 6 parts by weight, and particularly preferably 3 to 5 parts by weight. By setting the boric acid concentration to 1 part by weight or more, the dissolution of the PVA-based resin layer can be effectively suppressed, and a polarizing film with higher characteristics can be produced. Furthermore, an aqueous solution obtained by dissolving a boron compound such as borax other than boric acid or borate, glyoxal, glutaraldehyde, etc. in a solvent can also be used.
優選在上述拉伸浴(硼酸水溶液)中摻合碘化物。通過摻合碘化物,可以抑制吸附於PVA系樹脂層的碘的溶出。碘化物的具體例如上所述。碘化物的濃度相對於水100重量份優選為0.05重量份~15重量份,更優選為0.5重量份~8重量份。It is preferable to blend iodide into the above-mentioned stretching bath (boric acid aqueous solution). By blending iodide, elution of iodine adsorbed on the PVA-based resin layer can be suppressed. Specific examples of iodide are as described above. The concentration of iodide is preferably 0.05 to 15 parts by weight, and more preferably 0.5 to 8 parts by weight relative to 100 parts by weight of water.
拉伸溫度(拉伸浴的液溫)優選為40℃~85℃,更優選為60℃~75℃。如果為這樣的溫度,則可以抑制PVA系樹脂層的溶解並同時以高倍率進行拉伸。具體而言,如上所述,出於與PVA系樹脂層形成的關係,熱塑性樹脂基材的玻璃轉移溫度(Tg)優選為60℃以上。在該情況下,拉伸溫度低於40℃時,存在即使考慮由水帶來的熱塑性樹脂基材的增塑仍不能良好地拉伸的擔憂。另一方面,拉伸浴的溫度越是高溫,PVA系樹脂層的溶解性越高,存在不能得到優異的光學特性的擔憂。積層體在拉伸浴中的浸漬時間優選為15秒鐘~5分鐘。The stretching temperature (liquid temperature of the stretching bath) is preferably 40°C to 85°C, more preferably 60°C to 75°C. If it is such a temperature, thenIt can stretch at a high magnification while suppressing the dissolution of the PVA-based resin layer. Specifically, as mentioned above, in relation to the formation of the PVA-based resin layer, the glass transition temperature (Tg) of the thermoplastic resin base material is preferably 60° C. or higher. In this case, when the stretching temperature is lower than 40° C., there is a concern that the thermoplastic resin base material may not be stretched satisfactorily even if plasticization of the thermoplastic resin base material by water is taken into account. On the other hand, the higher the temperature of the stretching bath, the higher the solubility of the PVA-based resin layer, and there is a concern that excellent optical properties cannot be obtained. The immersion time of the laminate in the stretching bath is preferably 15 seconds to 5 minutes.
利用水中拉伸的拉伸倍率優選為1.5倍以上,更優選為3.0倍以上。積層體的總拉伸倍率相對於積層體的原長優選為5.0倍以上,進一步優選為5.5倍以上。通過實現這樣高的拉伸倍率,可製造光學特性非常優異的偏光膜。這樣高的拉伸倍率可通過採用水中拉伸方式(硼酸水溶液中拉伸)來實現。The stretching ratio by stretching in water is preferably 1.5 times or more, and more preferably 3.0 times or more. The total stretch ratio of the laminated body is preferably 5.0 times or more, and more preferably 5.5 times or more relative to the original length of the laminated body. By achieving such a high stretching ratio, a polarizing film with extremely excellent optical properties can be produced. Such a high stretching ratio can be achieved by using water stretching (stretching in boric acid aqueous solution).
B-3-7.乾燥收縮處理B-3-7. Drying and shrinkage treatment
上述乾燥收縮處理可以通過對整個區域加熱而進行的區域加熱來進行,也可以通過對運送輥進行加熱(使用所謂加熱輥)來進行(加熱輥乾燥方式)。優選利用這兩者。通過使用加熱輥進行乾燥,可高效地抑制積層體的加熱捲曲,從而製造外觀優異的偏光膜。具體而言,通過使積層體在傍隨著加熱輥的狀態下乾燥,可以高效地促進上述熱塑性樹脂基材的結晶化而增加結晶度,即使在比較低的乾燥溫度下,也可以良好地增加熱塑性樹脂基材的結晶度。其結果,熱塑性樹脂基材的剛性增加,成為可耐受由乾燥導致的PVA系樹脂層的收縮的狀態,可抑制捲曲。另外,通過使用加熱輥,可以將積層體一邊保持在平坦的狀態下一邊乾燥,因此,不僅能夠抑制捲曲,還能抑制褶皺的產生。此時,藉由乾燥收縮處理而使積層體在寬度方向上收縮,可提高光學特性。這是因為可有效地提高PVA及PVA/碘錯合物的定向性。利用乾燥收縮處理的積層體在寬度方向上的收縮率優選為1%~10%,更優選為2%~8%,特別優選為4%~6%。通過使用加熱輥,可以一邊運送積層體一邊使其連續地在寬度方向上收縮,可以實現高的生產性。The above-mentioned drying shrinkage treatment may be performed by regional heating by heating the entire area, or may be performed by heating a transport roller (using a so-called heating roller) (heated roller drying method). It is preferred to utilize both. By using a heating roller for drying, heating curling of the laminate can be effectively suppressed and a polarizing film with excellent appearance can be produced. Specifically, by drying the laminated body next to a heating roller, the crystallization of the thermoplastic resin base material can be efficiently promoted to increase the crystallinity, and the crystallinity can be increased favorably even at a relatively low drying temperature. Crystallinity of thermoplastic resin substrates. As a result, the rigidity of the thermoplastic resin base material increases and becomes resistant to drying-inducedThe shrinkage state of the PVA-based resin layer can suppress curling. In addition, by using a heating roller, the laminated body can be dried while being kept in a flat state. Therefore, not only curling but also the occurrence of wrinkles can be suppressed. At this time, the optical properties can be improved by shrinking the laminated body in the width direction through drying and shrinkage treatment. This is because the orientation of PVA and PVA/iodine complex can be effectively improved. The shrinkage rate in the width direction of the laminated body subjected to drying shrinkage treatment is preferably 1% to 10%, more preferably 2% to 8%, and particularly preferably 4% to 6%. By using a heating roller, the laminated body can be continuously shrunk in the width direction while being conveyed, thereby achieving high productivity.
圖4是示出乾燥收縮處理的一例的示意圖。在乾燥收縮處理中,利用已加熱至預定溫度的運送輥R1~R6、和引導輥G1~G4邊運送積層體200邊使其乾燥。在圖示例子中,係以交替地對PVA樹脂層面和熱塑性樹脂基材面連續加熱的方式配置運送輥R1~R6,但也可以例如僅對積層體200的一面(例如熱塑性樹脂基材面)連續加熱的方式配置運送輥R1~R6。FIG. 4 is a schematic diagram showing an example of drying shrinkage treatment. In the drying shrinkage process, the
通過調整運送輥的加熱溫度(加熱輥的溫度)、加熱輥數、與加熱輥的接觸時間等,可以控制乾燥條件。加熱輥的溫度優選為60℃~120℃,進一步優選為65℃~100℃,特別優選為70℃~80℃。可以良好地增加熱塑性樹脂的結晶度,良好地抑制捲曲,而且可以製造耐久性非常優異的光學積層體。再者,加熱輥的溫度可以通過接觸式溫度計來測定。在圖示例子中,設置了6個運送輥,但只要運送輥為多個,就沒有特別限制。運送輥通常設置2個~40個,優選設置4個~30個。積層體與加熱輥的接觸時間(總接觸時間)優選為1秒鐘~300秒鐘,更優選為1~20秒鐘,進一步優選為1~10秒鐘。Drying conditions can be controlled by adjusting the heating temperature of the transport roller (temperature of the heating roller), the number of heating rollers, the contact time with the heating roller, and the like. The temperature of the heating roller is preferably 60°C to 120°C, more preferably 65°C to 100°C, and particularly preferably 70°C to 80°C. The crystallinity of the thermoplastic resin can be effectively increased, curling can be effectively suppressed, and an optical laminate with extremely excellent durability can be produced. Furthermore, the temperature of the heating roller can be measured with a contact thermometer. In the illustrated example, six conveyance rollers are provided, but there is no particular limitation as long as there are a plurality of conveyance rollers. Transport rollers are usually set2 to 40, preferably 4 to 30. The contact time (total contact time) between the laminated body and the heating roller is preferably 1 to 300 seconds, more preferably 1 to 20 seconds, and still more preferably 1 to 10 seconds.
加熱輥可設置於加熱爐(例如烘箱)內,也可以設置於通常的製造線(室溫環境下)。優選設置於具備送風機構的加熱爐內。通過併用利用加熱輥的乾燥和熱風乾燥,可以抑制加熱輥間的急劇溫度變化,可以容易地控制寬度方向上的收縮。熱風乾燥的溫度優選為30℃~100℃。另外,熱風乾燥時間優選為1秒鐘~300秒鐘。熱風的風速優選為10m/s~30m/s左右。再者,該風速是加熱爐內的風速,可以通過迷你葉片型數位風速計來測定。The heating roller can be installed in a heating furnace (such as an oven) or in a normal manufacturing line (at room temperature). It is preferable to install it in a heating furnace equipped with an air blowing mechanism. By combining drying with a heating roller and hot air drying, rapid temperature changes between the heating rollers can be suppressed, and shrinkage in the width direction can be easily controlled. The temperature of hot air drying is preferably 30°C to 100°C. In addition, the hot air drying time is preferably 1 second to 300 seconds. The wind speed of the hot air is preferably about 10m/s~30m/s. In addition, this wind speed is the wind speed in the heating furnace, and can be measured with a mini blade type digital anemometer.
B-3-8.其它處理B-3-8.Other processing
優選在水中拉伸處理之後、乾燥收縮處理之前實施清洗處理。上述清洗處理代表性地通過將PVA系樹脂層浸漬於碘化鉀水溶液中而進行。It is preferable to perform a cleaning process after the water stretching process and before the dry shrinkage process. The above-described cleaning treatment is typically performed by immersing the PVA-based resin layer in a potassium iodide aqueous solution.
C.第1相位差層C. 1st phase difference layer
第1相位差層20如上所述,是液晶化合物定向固化層。通過使用液晶化合物,可以使得到的相位差層的nx與ny之差與非液晶材料相比大幅增加,因此,可以大幅減小用於得到期望的面內相位差的相位差層的厚度。其結果是,可實現附相位差層之偏光板的進一步薄型化及輕質化。在本說明書中,「定向固化層」是指,液晶化合物在層內朝預定方向定向、且其定向狀態被固定了的層。再者,「定向固化層」如後面所敘述,是包括使液晶單體硬化而得到的定向硬化層的概念。在本實施方式中,代表性的是棒狀液晶化合物以朝第1相位差層的慢軸方向並列的狀態定向(均勻定向)。As mentioned above, the
作為液晶化合物,可列舉例如:液晶相為向列相的液晶化合物(向列型液晶)。作為這樣的液晶化合物,可使用例如液晶聚合物、液晶單體。液晶化合物的液晶性的顯現機制可以是溶致也可以是熱致。液晶聚合物及液晶單體可以分別單獨使用,也可以組合使用。Examples of the liquid crystal compound include a liquid crystal compound whose liquid crystal phase is a nematic phase (nematic liquid crystal). As such a liquid crystal compound, for example, a liquid crystal polymer or a liquid crystal monomer can be used. The liquid crystallinity development mechanism of the liquid crystal compound may be either lyotropic or thermal. The liquid crystal polymer and the liquid crystal monomer can be used individually or in combination.
在液晶化合物為液晶單體的情況,優選該液晶單體為聚合性單體及交聯性單體。這是因為,通過使液晶單體聚合或交聯(即硬化),可以固定液晶單體的定向狀態。使液晶單體定向後,例如,如果使液晶單體彼此聚合或交聯,則由此可以固定上述定向狀態。在此,聚合物通過聚合而形成,3維網狀結構通過交聯而形成,但它們為非液晶性。因此,形成的第1相位差層不會發生例如因液晶性化合物特有的溫度變化導致的朝液晶相、玻璃相、結晶相的轉移。其結果,第1相位差層成為不受溫度變化影響的、穩定性非常優異的相位差層。When the liquid crystal compound is a liquid crystal monomer, it is preferable that the liquid crystal monomer is a polymerizable monomer and a crosslinkable monomer. This is because the alignment state of the liquid crystal monomer can be fixed by polymerizing or crosslinking the liquid crystal monomer (ie, hardening). After aligning the liquid crystal monomers, for example, if the liquid crystal monomers are polymerized or cross-linked with each other, the above-described alignment state can thereby be fixed. Here, the polymer is formed by polymerization and the three-dimensional network structure is formed by cross-linking, but they are non-liquid crystalline. Therefore, the formed first retardation layer does not undergo transition to a liquid crystal phase, a glass phase, or a crystal phase due to temperature changes specific to liquid crystalline compounds, for example. As a result, the first retardation layer becomes a retardation layer that is not affected by temperature changes and has extremely excellent stability.
液晶單體顯示出液晶性的溫度範圍根據其種類而不同。具體而言,該溫度範圍優選為40℃~120℃,進一步優選為50℃~100℃,最優選為60℃~90℃。The temperature range in which a liquid crystal monomer exhibits liquid crystallinity differs depending on its type. Specifically, the temperature range is preferably 40°C to 120°C, more preferably 50°C to 100°C, and most preferably 60°C to 90°C.
作為上述液晶單體,可採用任意適當的液晶單體。可使用例如日本特表2002-533742(WO00/37585)、EP358208(US5211877)、EP66137(US4388453)、WO93/22397、EP0261712、DE19504224、DE4408171、及GB2280445等中記載的聚合性介晶化合物等。作為這樣的聚合性介晶化合物的具體例,可列舉例如BASF公司的商品名LC242、Merck公司的商品名E7、Wacker-Chem公司的商品名LC-Sillicon-CC3767。作為液晶單體,優選例如向列型液晶單體。As the above-mentioned liquid crystal monomer, any appropriate liquid crystal monomer can be used. For example, Japanese Patent No. 2002-533742 (WO00/37585), EP358208 (US5211877), EP66137 (US4388453),Polymerizable mesogenic compounds described in WO93/22397, EP0261712, DE19504224, DE4408171, and GB2280445, etc. Specific examples of such polymerizable mesogenic compounds include, for example, BASF's trade name LC242, Merck's trade name E7, and Wacker-Chem's trade name LC-Sillicon-CC3767. As the liquid crystal monomer, a nematic liquid crystal monomer is preferred.
液晶化合物定向固化層可通過下述方法形成:對預定基材的表面施行定向處理,在該表面塗敷包含液晶化合物的塗敷液,使該液晶化合物朝與上述定向處理對應的方向定向,固定該定向狀態。在一個實施方式中,基材是任意合適的樹脂薄膜,在該基材上形成的定向固化層可以轉印至偏光板10的表面。在另一個實施方式中,基材可以為第2保護層13。在該情況下,省略轉印步驟,可在形成定向固化層(第1相位差層)之後連續地通過卷對卷進行積層,因此,可進一步提高生產性。The liquid crystal compound orientation-hardened layer can be formed by subjecting the surface of a predetermined base material to orientation treatment, applying a coating liquid containing a liquid crystal compound to the surface, orienting the liquid crystal compound in a direction corresponding to the above-mentioned orientation treatment, and fixing it. the orientation status. In one embodiment, the substrate is any suitable resin film, and the directionally solidified layer formed on the substrate can be transferred to the surface of the
作為上述定向處理,可採用任意合適的定向處理。具體而言,可列舉:機械定向處理、物理定向處理、化學定向處理。作為機械定向處理的具體例子,可列舉摩擦處理、拉伸處理。作為物理定向處理的具體例子,可列舉磁場定向處理、電場定向處理。作為化學定向處理的具體例子,可列舉傾斜蒸鍍法、光定向處理。各種定向處理的處理條件可以根據目的採用任意合適的條件。As the above-mentioned orientation processing, any suitable orientation processing can be adopted. Specifically, they can be enumerated: mechanical orientation treatment, physical orientation treatment, and chemical orientation treatment. Specific examples of mechanical orientation treatment include rubbing treatment and stretching treatment. Specific examples of physical orientation processing include magnetic field orientation processing and electric field orientation processing. Specific examples of chemical alignment treatment include tilt evaporation and photo-alignment treatment. The processing conditions of various orientation treatments can adopt any appropriate conditions depending on the purpose.
液晶化合物的定向可如下進行:根據液晶化合物的種類在顯示出液晶相的溫度下進行處理。通過進行這樣的溫度處理,液晶化合物成為液晶狀態,該液晶化合物相應於基材表面的定向處理方向而定向。Orientation of the liquid crystal compound can be carried out by performing treatment at a temperature that exhibits a liquid crystal phase according to the type of the liquid crystal compound. by doingSuch temperature treatment causes the liquid crystal compound to enter a liquid crystal state, and the liquid crystal compound is oriented in accordance with the orientation treatment direction of the substrate surface.
在一個實施方式中,定向狀態的固定是通過將已如上述定向的液晶化合物冷卻來進行。在液晶化合物為聚合性單體或交聯性單體的情況下,定向狀態的固定可通過對已如上述定向的液晶化合物實施聚合處理或交聯處理來進行。In one embodiment, the alignment state is fixed by cooling the liquid crystal compound that has been aligned as described above. When the liquid crystal compound is a polymerizable monomer or a crosslinkable monomer, the alignment state can be fixed by subjecting the liquid crystal compound oriented as described above to a polymerization treatment or a crosslinking treatment.
液晶化合物的具體例及定向固化層的形成方法的詳細情況記載於日本特開2006-163343號公報中。將該公報的記載作為參考引用至本說明書中。Specific examples of the liquid crystal compound and details of the formation method of the orientationally solidified layer are described in Japanese Patent Application Laid-Open No. 2006-163343. The description of this publication is incorporated into this specification as a reference.
作為定向固化層的其它例子,可列舉盤狀液晶化合物在垂直定向、混合定向及傾斜定向中的任意狀態下定向的形態。以盤狀液晶化合物而言,代表性的是,盤狀液晶化合物的圓盤面相對於第1相位差層的薄膜面實質上垂直地定向。所謂盤狀液晶化合物實質上垂直是指,薄膜面與盤狀液晶化合物的圓盤面所成的角度的平均值優選為70°~90°,更優選為80°~90°,進一步優選為85°~90°。盤狀液晶化合物通常是指具有圓盤狀分子結構的液晶化合物,所述圓盤狀分子結構是將苯、1,3,5-三嗪、杯芳烴等這樣的環狀母核配置於分子中心,並將直鏈的烷基、烷氧基、取代苯甲醯氧基等作為其側鏈放射狀地取代而成的結構。作為盤狀液晶的代表例,可列舉在C.Destrade等的研究報告、Mol.Cryst.Liq.Cryst.71卷、111頁(1981年)中記載的苯衍生物、苯并菲衍生物、三聚茚衍生物、酞菁衍生物、B.Kohne等的研究報告、Angew.Chem.96卷、70頁(1984年)中記載的環己烷衍生物、以及J.M.Lehn等的研究報告、J.Chem.Soc.Chem.Commun.,1794頁(1985年)、J.Zhang等的研究報告、J.Am.Chem.Soc.116卷、2655頁(1994年)中記載的氮冠系、苯基乙炔系這樣的大環。作為盤狀液晶化合物的其它具體例,可列舉例如:日本特開2006-133652號公報、日本特開2007-108732號公報、日本特開2010-244038號公報中記載的化合物。將上述文獻及公報的記載作為參考引用至本說明書。Other examples of the orientation-hardened layer include a form in which a discotic liquid crystal compound is oriented in any state among vertical alignment, mixed alignment, and oblique alignment. In the case of a discotic liquid crystal compound, typically, the disk surface of the discotic liquid crystal compound is oriented substantially perpendicularly to the film surface of the first retardation layer. The term "the discotic liquid crystal compound is substantially vertical" means that the average angle between the film surface and the disc surface of the discotic liquid crystal compound is preferably 70° to 90°, more preferably 80° to 90°, and still more preferably 85°. °~90°. A discoidal liquid crystal compound generally refers to a liquid crystal compound having a discoidal molecular structure in which a cyclic core such as benzene, 1,3,5-triazine, calixarene, etc. is arranged in the center of the molecule , and a structure in which straight-chain alkyl groups, alkoxy groups, substituted benzyloxy groups, etc. are substituted radially as the side chains. Representative examples of discotic liquid crystals include benzene derivatives, triphenylene derivatives, and triphenylene derivatives described in the research report of C. Destrade et al., Mol. Cryst. Liq. Cryst. Vol. 71, page 111 (1981). Polyindene derivatives, phthalocyanine derivatives,Cyclohexane derivatives described in the research report of B. Kohne et al., Angew. Chem. Vol. 96, page 70 (1984), and the research report of J.M. Lehn et al., J. Chem. Soc. Chem. Commun., 1794 Page (1985), the research report of J. Zhang et al., J. Am. Chem. Soc. Volume 116, Page 2655 (1994), macrocycles such as nitrogen crown series and phenylethyne series. Other specific examples of discotic liquid crystal compounds include compounds described in Japanese Patent Application Laid-Open Nos. 2006-133652, 2007-108732, and 2010-244038. The descriptions in the above-mentioned documents and gazettes are incorporated into this specification by reference.
在一個實施方式中,第1相位差層20如圖1及圖2所示,為液晶化合物定向固化層的單一層。第1相位差層20由液晶化合物定向固化層的單一層構成時,其厚度優選為0.5μm~7μm,更優選為1μm~5μm。通過使用液晶化合物,能夠以明顯比樹脂薄膜薄的厚度實現與樹脂薄膜同等的面內相位差。In one embodiment, the
代表性地,第1相位差層的折射率特性顯示出nx>ny=nz的關係。第1相位差層代表性地為了對偏光板賦予防反射特性而設置,在第1相位差層為定向固化層的單一層的情況下,可作為λ/4板發揮功能。在該情況下,第1相位差層的面內相位差Re(550)優選為100nm~190nm,更優選為110nm~170nm,進一步優選為130nm~160nm。再者,在此,「ny=nz」不僅包括ny與nz完全相等的情況,還包括實質上相等的情況。因此,在不損害本發明效果的範圍內,有時可以是ny>nz或ny<nz。Typically, the refractive index characteristics of the first retardation layer show the relationship nx>ny=nz. The first retardation layer is typically provided to impart antireflection properties to the polarizing plate. When the first retardation layer is a single layer of an orientationally solidified layer, it can function as a λ/4 plate. In this case, the in-plane retardation Re (550) of the first retardation layer is preferably 100 nm to 190 nm, more preferably 110 nm to 170 nm, and even more preferably 130 nm to 160 nm. Furthermore, here, "ny=nz" includes not only the case where ny and nz are completely equal, but also the case where they are substantially equal. Therefore, within the range that does not impair the effect of the present invention, it may be ny>nz or ny<nz.
第1相位差層的Nz係數優選為0.9~1.5,更優選為0.9~1.3。通過滿足這樣的關係,在將得到的附相位差層之偏光板用於影像顯示裝置的情況下,可實現非常優異的反射色相。The Nz coefficient of the first retardation layer is preferably 0.9 to 1.5, more preferably 0.9 to 1.3. By satisfying such a relationship, when the obtained polarizing plate with a retardation layer is used in an image display device, a very excellent reflection hue can be achieved.
第1相位差層可以顯示出相位差值因應測定光的波長而變大的逆分散波長特性,也可以顯示出相位差值因應測定光的波長而變小的正的波長分散特性,還可以顯示出相位差值幾乎不隨測定光的波長而變化的平坦的波長分散特性。在一個實施方式中,第1相位差層顯示出逆分散波長特性。在該情況下,相位差層的Re(450)/Re(550)優選為0.8以上且小於1,更優選為0.8以上且0.95以下。如果為這樣的構成,則可以實現非常優異的防反射特性。The first phase difference layer may exhibit inverse wavelength dispersion characteristics in which the phase difference value becomes larger depending on the wavelength of the measurement light, or may exhibit positive wavelength dispersion characteristics in which the phase difference value becomes smaller in accordance with the wavelength of the measurement light. It may also exhibit It produces flat wavelength dispersion characteristics in which the phase difference value hardly changes with the wavelength of the measurement light. In one embodiment, the first retardation layer exhibits reverse dispersion wavelength characteristics. In this case, Re(450)/Re(550) of the retardation layer is preferably 0.8 or more and less than 1, and more preferably 0.8 or more and 0.95 or less. With such a configuration, very excellent anti-reflection properties can be achieved.
第1相位差層20的慢軸與偏光膜11的吸收軸所成的角度θ優選為40°~50°,更優選為42°~48°,進一步優選為約45°。角度θ為這樣的範圍時,如上所述,通過將第1相位差層設為λ/4板,可得到具有非常優異的圓偏光特性(其結果是非常優異的防反射特性)的附相位差層之偏光板。The angle θ formed by the slow axis of the
在另一個實施方式中,第1相位差層20如圖3所示,可具有第1定向固化層21與第2定向固化層22的積層結構。在該情況下,第1定向固化層21及第2定向固化層22中的任一者可作為λ/4板發揮功能,另一者可作為λ/2板發揮功能。因此,第1定向固化層21及第2定向固化層22的厚度可進行調整以得到λ/4板或λ/2板所期望的面內相位差。例如,第1定向固化層21作為λ/2板發揮功能、第2定向固化層22作為λ/4板發揮功能時,第1定向固化層21的厚度例如為2.0μm~3.0μm,第2定向固化層22的厚度例如為1.0μm~2.0μm。在該情況下,第1定向固化層的面內相位差Re(550)優選為200nm~300nm,更優選為230nm~290nm,進一步優選為250nm~280nm。關於單一層的定向固化層,第2定向固化層的面內相位差Re(550)如上述所說明。第1定向固化層的慢軸與偏光膜的吸收軸所成的角度優選為10°~20°,更優選為12°~18°,進一步優選為約15°。第2定向固化層的慢軸與偏光膜的吸收軸所成的角度優選為70°~80°,更優選為72°~78°,進一步優選為約75°。如果為這樣的構成,可得到接近理想的逆波長分散特性的特性,其結果,可實現非常優異的防反射特性。關於構成第1定向固化層及第2定向固化層的液晶化合物、第1定向固化層及第2定向固化層的形成方法、光學特性等,如上述已針對單一層的定向固化層所說明。In another embodiment, as shown in FIG. 3 , the
D.第2相位差層D. 2nd phase difference layer
第2相位差層如上所述,可以是折射率特性顯示出nz>nx=ny的關係的所謂正型C板。通過使用正型C板作為第2相位差層,可以良好地防止傾斜方向上的反射,可實現防反射功能的廣視角化。在該情況下,第2相位差層的厚度方向相位差Rth(550)優選為-50nm~-300nm,更優選為-70nm~-250nm,進一步優選為-90nm~-200nm、特別優選為-100nm~-180nm。在此,「nx=ny」不僅是nx與ny嚴格相等的情況,也包括nx與ny實質上相等的情況。即,第2相位差層的面內相位差Re(550)可小於10nm。As mentioned above, the second retardation layer may be a so-called positive C plate whose refractive index characteristics show the relationship nz>nx=ny. By using the positive C plate as the second retardation layer, reflection in the oblique direction can be effectively prevented, and the anti-reflection function can be extended to a wider viewing angle. In this case, the thickness direction phase difference Rth (550) of the second retardation layer is preferably -50nm to -300nm, more preferably -70nm to -250nm, still more preferably -90nm to -200nm, and particularly preferably -100nm. ~-180nm. Here, "nx=ny" is not only strictly nx and nyThe situation of equality also includes the situation where nx and ny are substantially equal. That is, the in-plane phase difference Re(550) of the second retardation layer may be less than 10 nm.
具有nz>nx=ny的折射率特性的第2相位差層可由任意適當的材料形成。第2相位差層優選由包含已固定為垂面排列定向的液晶材料的薄膜形成。可垂面排列定向的液晶材料(液晶化合物)可以是液晶單體,也可以是液晶聚合物。作為該液晶化合物及該相位差層的形成方法的具體例,可列舉日本特開2002-333642號公報的[0020]~[0028]中記載的液晶化合物及該相位差層的形成方法。在該情況下,第2相位差層的厚度優選為0.5μm~10μm,更優選為0.5μm~8μm,進一步優選為0.5μm~5μm。The second retardation layer having refractive index characteristics of nz>nx=ny can be formed of any appropriate material. The second retardation layer is preferably formed of a thin film containing a liquid crystal material fixed in a homeotropic alignment orientation. The liquid crystal material (liquid crystal compound) that can be aligned vertically can be a liquid crystal monomer or a liquid crystal polymer. Specific examples of the liquid crystal compound and the method of forming the retardation layer include the liquid crystal compound and the method of forming the retardation layer described in [0020] to [0028] of Japanese Patent Application Laid-Open No. 2002-333642. In this case, the thickness of the second retardation layer is preferably 0.5 μm to 10 μm, more preferably 0.5 μm to 8 μm, and even more preferably 0.5 μm to 5 μm.
E.導電層或附導電層之各向同性基材E. Conductive layer or isotropic substrate with conductive layer
導電層可通過任意適當的成膜方法(例如,真空蒸鍍法、濺射法、CVD法、離子鍍法、噴塗法等)在任意適當的基材上形成金屬氧化物膜而形成。作為金屬氧化物,可列舉例如:氧化銦、氧化錫、氧化鋅、銦-錫複合氧化物、錫-銻複合氧化物、鋅-鋁複合氧化物、銦-鋅複合氧化物。其中,優選銦-錫複合氧化物(ITO)。The conductive layer can be formed by forming a metal oxide film on any appropriate substrate using any appropriate film forming method (eg, vacuum evaporation, sputtering, CVD, ion plating, spray coating, etc.). Examples of metal oxides include indium oxide, tin oxide, zinc oxide, indium-tin composite oxide, tin-antimony composite oxide, zinc-aluminum composite oxide, and indium-zinc composite oxide. Among them, indium-tin composite oxide (ITO) is preferred.
導電層包含金屬氧化物的情況下,該導電層的厚度優選為50nm以下,更優選為35nm以下。導電層的厚度的下限優選為10nm。When the conductive layer contains a metal oxide, the thickness of the conductive layer is preferably 50 nm or less, and more preferably 35 nm or less. The lower limit of the thickness of the conductive layer is preferably 10 nm.
導電層可以從上述基材轉印至第1相位差層(或者,當第2相位差層存在的情況下則為第2相位差層),將導電層單獨作為附相位差層之偏光板的構成層,也可以製成與基材的積層體(附導電層之基材),積層於第1相位差層(或者,當第2相位差層存在的情況下則為第2相位差層)。優選上述基材為光學各向同性,因此,導電層可作為附導電層之各向同性基材而用於附相位差層之偏光板。The conductive layer can be transferred from the above-mentioned base material to the first retardation layer (or, when the second retardation layer exists, the second retardation layer),The conductive layer alone can be used as a constituent layer of the polarizing plate with a retardation layer, or it can be formed into a laminate with a base material (a base material with a conductive layer), and can be laminated on the first retardation layer (or as the second retardation layer). If the layer exists, it is the second phase difference layer). It is preferable that the base material is optically isotropic. Therefore, the conductive layer can be used as an isotropic base material with a conductive layer and used in a polarizing plate with a retardation layer.
作為光學各向同性的基材(各向同性基材),可採用任意適當的各向同性基材。作為構成各向同性基材的材料,可列舉例如:以降烯系樹脂、烯烴系樹脂等不具有共軛系的樹脂為主骨架的材料;在丙烯酸系樹脂的主鏈中具有內酯環、戊二醯亞胺環等環狀結構的材料等。如果使用這樣的材料,則形成各向同性基材時,可將伴隨著分子鏈定向而表現出的相位差抑制為較小水平。各向同性基材的厚度優選為50μm以下,更優選為35μm以下。各向同性基材的厚度的下限例如為20μm。As the optically isotropic base material (isotropic base material), any appropriate isotropic base material can be used. Examples of materials constituting the isotropic base material include: Materials having a non-conjugated resin as the main skeleton, such as vinyl resins and olefin-based resins; materials having cyclic structures such as lactone rings and glutadiimide rings in the main chain of acrylic resins, etc. If such a material is used, when the isotropic base material is formed, the phase difference caused by the orientation of the molecular chain can be suppressed to a small level. The thickness of the isotropic base material is preferably 50 μm or less, and more preferably 35 μm or less. The lower limit of the thickness of the isotropic base material is, for example, 20 μm.
可根據需要對上述導電層及/或上述附導電層之各向同性基材的導電層進行圖案化。通過圖案化,可形成導通部和絕緣部。其結果,可形成電極。電極可作為感知對觸控面板接觸的觸控感測器電極發揮功能。作為圖案形成方法,可採用任意適當的方法。作為圖案形成方法的具體例,可列舉濕式蝕刻法、網版印刷法。The conductive layer and/or the conductive layer of the isotropic substrate with the conductive layer can be patterned as needed. Through patterning, conductive portions and insulating portions can be formed. As a result, an electrode can be formed. The electrodes may function as touch sensor electrodes that sense contact with the touch panel. As the pattern forming method, any appropriate method can be adopted. Specific examples of the pattern forming method include wet etching and screen printing.
F.影像顯示裝置F.Image display device
上述A項~E項中記載的附相位差層之偏光板可應用於影像顯示裝置。因此,本發明包括使用了這樣的附相位差層之偏光板的影像顯示裝置。作為影像顯示裝置的代表例,可列舉液晶顯示裝置、電致發光(EL)顯示裝置(例如,有機EL顯示裝置、無機EL顯示裝置)。本發明的實施方式的影像顯示裝置在其可視側具備上述A項~E項中記載的附相位差層之偏光板。附相位差層之偏光板以相位差層成為影像顯示單元(例如,液晶單元、有機EL單元、無機EL單元)側的方式(偏光膜成為可視側的方式)來進行積層。在一個實施方式中,影像顯示裝置可以具有彎曲的形狀(實質上為彎曲的顯示畫面)、及/或可彎曲或可彎折。在這樣的影像顯示裝置中,本發明的附相位差層之偏光板的效果變得顯著。The polarizing plate with a retardation layer described in the above items A to E can be applied to an image display device. Therefore, the present invention includes an image display device using such a polarizing plate with a retardation layer. As a representative example of an image display device,Examples include liquid crystal display devices and electroluminescence (EL) display devices (for example, organic EL display devices and inorganic EL display devices). The image display device according to the embodiment of the present invention includes the polarizing plate with a retardation layer described in the above items A to E on the viewing side thereof. The polarizing plate with a retardation layer is laminated so that the retardation layer becomes the image display unit (for example, a liquid crystal unit, an organic EL unit, an inorganic EL unit) side (the polarizing film becomes a visible side). In one embodiment, the image display device may have a curved shape (substantially a curved display screen), and/or may be bendable or bendable. In such an image display device, the effect of the polarizing plate with a retardation layer of the present invention becomes remarkable.
實施例Example
以下,通過實施例具體地對本發明進行說明,但本發明並不限定於這些實施例。各特性的測定方法如下所述。再者,只要沒有特別記載,則實施例及比較例中的「份」及「%」為重量基準。Hereinafter, the present invention will be specifically described using examples, but the present invention is not limited to these examples. The measurement method of each characteristic is as follows. In addition, unless otherwise stated, "part" and "%" in Examples and Comparative Examples are based on weight.
(1)厚度(1)Thickness
10μm以下的厚度使用干涉膜厚計(大塚電子(股)製、產品名「MCPD-3000」)測定。大於10μm的厚度使用數位千分尺(Anritsu(股)製、產品名「KC-351C」)測定。The thickness of 10 μm or less is measured using an interference film thickness meter (manufactured by Otsuka Electronics Co., Ltd., product name "MCPD-3000"). The thickness of more than 10 μm is measured using a digital micrometer (manufactured by Anritsu Co., Ltd., product name "KC-351C").
(2)單體透射率及偏光度(2)Monomer transmittance and polarization degree
對於實施例及比較例中使用的偏光膜/保護層的積層體(偏光板),分別將使用紫外可見分光光度計(日本分光(股)製V-7100)測定的單體透射率Ts、平行透射率Tp、正交透射率Tc作為偏光膜的Ts、Tp及Tc。這些Ts、Tp及Tc是通過JIS Z8701的2度視野(C光源)測定並進行了可見度補正而得到的Y值。再者,保護層的折射率為1.50,偏光膜之與保護層相反側的表面的折射率為1.53。For the polarizing film/protective layer laminate (polarizing plate) used in the Examples and Comparative Examples, the single transmittance Ts and parallel measured using a UV-visible spectrophotometer (V-7100 manufactured by JASCO Corporation) were measured. The transmittance Tp and the cross transmittance Tc are Ts, Tp and Tc of the polarizing film. These Ts, Tp and Tc were measured using the 2-degree field of view (C light source) of JIS Z8701 and the visibility wasThe corrected Y value. Furthermore, the refractive index of the protective layer is 1.50, and the refractive index of the surface of the polarizing film opposite to the protective layer is 1.53.
根據得到的Tp及Tc,通過下式求出偏光度P。From the obtained Tp and Tc, the degree of polarization P is determined by the following equation.
偏光度P(%)={(Tp-Tc)/(Tp+Tc)}1/2×100再者,分光光度計可用大塚電子(股)製LPF-200等進行同等的測定。作為一例,針對與下述實施例同樣構成的偏光板的樣品1~樣品3,藉由使用了V-7100及LPF-200之測定而得到單體透射率Ts及偏光度P,並將它們的測定值示於表1。如表1所示,可知V-7100的單體透射率的測定值與LPF-200的單體透射率的測定值之差為0.1%以下,在使用任一分光光度計的情況下,都得到同等的測定結果。Polarization degree P (%) = {(Tp-Tc)/(Tp+Tc)}1/2 ×100 In addition, a spectrophotometer such as LPF-200 manufactured by Otsuka Electronics Co., Ltd. can be used for equivalent measurement. As an example, for Samples 1 to 3 of polarizing plates having the same structure as the following examples, the single transmittance Ts and polarization P were obtained by measurement using V-7100 and LPF-200, and their values were The measured values are shown in Table 1. As shown in Table 1, it can be seen that the difference between the measured value of the single-unit transmittance of V-7100 and the measured value of the single-unit transmittance of LPF-200 is 0.1% or less. When either spectrophotometer is used, the difference is obtained. Equivalent measurement results.
再者,例如在將經防眩(AG)表面處理並具有擴散性能之具備黏著劑的偏光板作為測定物件的情況下,依分光光度計不同會得到不同的測定結果,在該情況下,基於用各個分光光度計測定同一偏光板時的測定值進行數值換算,由此可對依賴分光光度計的測定值之差進行補償。Furthermore, for example, when a polarizing plate with an adhesive that has anti-glare (AG) surface treatment and diffusion properties is used as the measurement object, different measurement results will be obtained depending on the spectrophotometer. In this case, based on By numerically converting the measured values of the same polarizing plate measured with each spectrophotometer, differences in measured values depending on the spectrophotometer can be compensated.
(3)長條狀偏光膜的光學特性的偏差(3) Deviation in the optical properties of the long polarizing film
從用於實施例及比較例的偏光板中,沿著寬度方向等間隔地在5個位置分別切出測定樣品,與上述(2)同樣地測定了5個測定樣品各自的中央部分的單體透射率。接著,計算出在各測定位置測定的單體透射率中、最大值與最小值之差,將該值設為長條狀的偏光膜的光學特性的偏差。From the polarizing plates used in Examples and Comparative Examples, measurement samples were cut out at five positions at equal intervals in the width direction, and the monomers in the center portions of each of the five measurement samples were measured in the same manner as in (2) above. Transmittance. Next, planThe difference between the maximum value and the minimum value of the single transmittance measured at each measurement position was calculated, and this value was taken as the variation in the optical characteristics of the long polarizing film.
(4)單片狀偏光膜的光學特性的偏差(4) Deviation in optical properties of single-piece polarizing film
從用於實施例及比較例的偏光板中,切出100mm×100mm的測定樣品,求出單片狀的偏光板(50cm2)的光學特性的偏差。具體而言,與上述(2)同樣地測定了從測定樣品的4條邊各邊的中點向內側約1.5cm~2.0cm附近的位置及中央部分的共計5個位置的單體透射率。接下來,計算出在各測定位置測定的單體透射率中最大值與最小值之差,將該值設為單片狀的偏光膜的光學特性的偏差。From the polarizing plates used in Examples and Comparative Examples, a measurement sample of 100 mm×100 mm was cut out, and the variation in optical properties of a single piece of polarizing plate (50 cm2 ) was determined. Specifically, in the same manner as in (2) above, the single transmittance was measured at a total of five positions at positions approximately 1.5 cm to 2.0 cm inward from the midpoint of each of the four sides of the measurement sample and the central portion. Next, the difference between the maximum value and the minimum value of the single transmittance measured at each measurement position was calculated, and this value was taken as the variation in the optical characteristics of the monolithic polarizing film.
(5)翹曲(5)Warpage
將實施例及比較例中得到的附相位差層之偏光板切出110mm×60mm尺寸。此時,以偏光膜的吸收軸方向成為長邊方向的方式切出。將切出的附相位差層之偏光板藉由黏著劑貼合於尺寸120mm×70mm、厚度0.2mm的玻璃板,作為試驗樣品。將試驗樣品投入保持為85℃的加熱烘箱中24小時,測定取出後的翹曲量。將玻璃板朝下,將試驗樣品靜置於平面上時,將從該平面起最高的部分的高度作為翹曲量。The polarizing plate with a retardation layer obtained in the Example and the Comparative Example was cut into a size of 110 mm×60 mm. At this time, the polarizing film is cut out so that the absorption axis direction becomes the long side direction. The cut polarizing plate with a retardation layer was bonded to a glass plate with a size of 120 mm × 70 mm and a thickness of 0.2 mm using an adhesive to serve as a test sample. The test sample was put into a heating oven maintained at 85°C for 24 hours, and the amount of warpage after taking it out was measured. When the test sample is placed on a flat surface with the glass plate facing down, the height of the highest part from the flat surface is taken as the amount of warpage.
(6)單位重量(6)Unit weight
將實施例及比較例中得到的附相位差層之偏光板切出預定尺寸,用重量(mg)除以面積(cm2),由此算出附相位差層之偏光板的每單位面積的重量(單位重量)。The polarizing plate with a retardation layer obtained in the Examples and Comparative Examples was cut into a predetermined size, and the weight (mg) was divided by the area (cm2 ) to calculate the weight per unit area of the polarizing plate with a retardation layer. (unit weight).
(7)耐彎折性(7)Bending resistance
將實施例及比較例中得到的附相位差層之偏光板切出50mm×100mm尺寸。此時,以偏光膜的吸收軸方向成為短邊方向的方式切出。使用附有恆溫恆濕室的耐折試驗機(YUASA公司製、CL09 type-D01),在20℃、50%RH的條件下,將切出的附相位差層之偏光板供於彎折試驗。具體而言,將附相位差層之偏光板以相位差層側成為外側的方式朝與吸收軸方向平行的方向重複彎折,測定直到產生成為顯示不良那樣的裂紋、剝離、薄膜的斷裂等為止的彎折次數,按照以下的基準進行了評價(彎折直徑:2mmφ)。The polarizing plate with a retardation layer obtained in the Example and the Comparative Example was cut into a size of 50 mm×100 mm. At this time, the polarizing film is cut out so that the absorption axis direction becomes the short side direction. Using a folding endurance testing machine (manufactured by YUASA, CL09 type-D01) equipped with a constant temperature and humidity chamber, the cut polarizing plate with a retardation layer was subjected to a bending test under conditions of 20°C and 50% RH. . Specifically, the polarizing plate with the retardation layer is repeatedly bent in a direction parallel to the absorption axis direction so that the retardation layer side becomes the outside, and the measurement is performed until cracks, peeling, film breakage, etc. resulting in display failure occur. The number of bends was evaluated based on the following criteria (bending diameter: 2mmφ).
<評價基準><Evaluation Criteria>
小於1萬次:不良Less than 10,000 times: bad
1萬次以上且小於3萬次:良More than 10,000 times and less than 30,000 times: good
3萬次以上:優More than 30,000 times: Excellent
[實施例1][Example 1]
1.偏光膜的製作1. Production of polarizing film
作為熱塑性樹脂基材,使用了長條狀、吸水率為0.75%、Tg為約75℃的非晶質間苯二甲酸共聚聚對苯二甲酸乙二醇酯薄膜(厚度:100μm)。對樹脂基材的單面實施了電暈處理。As the thermoplastic resin base material, a long amorphous isophthalic acid copolymerized polyethylene terephthalate film (thickness: 100 μm) with a water absorption rate of 0.75% and a Tg of approximately 75°C was used. Corona treatment was performed on one side of the resin base material.
在將聚乙烯醇(聚合度4200、皂化度99.2莫耳%)及乙醯乙醯基改性PVA(日本合成化學(股)製、商品名「GOHSEFIMER Z410」)以9:1混合而成的PVA系樹脂100重量份中,添加碘化鉀13重量份,將得到的混合物溶於水中,製備了PVA水溶液(塗佈液)。Polyvinyl alcohol (degree of polymerization 4200, degree of saponification 99.2 mol%) and acetyl-acetyl modified PVA (trade name "GOHSEFIMER Z410" manufactured by Nippon Synthetic Chemical Co., Ltd.) at a ratio of 9:1 To 100 parts by weight of PVA resin, 13 parts by weight of potassium iodide was added, and the resulting mixture was dissolvedIn water, a PVA aqueous solution (coating liquid) was prepared.
在樹脂基材的電暈處理面上塗佈上述PVA水溶液,並在60℃下乾燥,由此形成厚度13μm的PVA系樹脂層,製作了積層體。The above-mentioned PVA aqueous solution was applied to the corona-treated surface of the resin base material and dried at 60° C. to form a PVA-based resin layer with a thickness of 13 μm, and a laminated body was produced.
在130℃的烘箱內、在圓周速度不同的輥間,將得到的積層體朝縱向(長度方向)進行自由端單向拉伸至2.4倍(空中輔助拉伸處理)。In an oven at 130° C. between rollers with different circumferential speeds, the free end of the obtained laminate was uniaxially stretched to 2.4 times in the longitudinal direction (length direction) (air-assisted stretching treatment).
接著,將積層體浸漬於液溫40℃的不溶化浴(相對於水100重量份摻合了硼酸4重量份而得到的硼酸水溶液)中30秒鐘(不溶化處理)。Next, the laminated body was immersed in an insolubilization bath (a boric acid aqueous solution in which 4 parts by weight of boric acid was mixed with 100 parts by weight of water) having a liquid temperature of 40° C. for 30 seconds (insolubilization treatment).
接著,在液溫30℃的染色浴(相對於水100重量份,將碘與碘化鉀以1:7的重量比摻合而得到的碘水溶液)中,以最終得到的偏光膜的單體透射率(Ts)成為44.0%以上的方式一邊調整濃度一邊浸漬了60秒鐘(染色處理)。Next, in a dyeing bath with a liquid temperature of 30° C. (an iodine aqueous solution obtained by mixing iodine and potassium iodide at a weight ratio of 1:7 with respect to 100 parts by weight of water), the single transmittance of the finally obtained polarizing film was determined. (Ts) was immersed for 60 seconds (dyeing process) while adjusting the concentration so that it became 44.0% or more.
接著,在液溫40℃的交聯浴(相對於水100重量份,摻合碘化鉀3重量份、摻合硼酸5重量份而得到的硼酸水溶液)中浸漬了30秒鐘(交聯處理)。Next, it was immersed in a crosslinking bath (a boric acid aqueous solution in which 3 parts by weight of potassium iodide and 5 parts by weight of boric acid were mixed with 100 parts by weight of water) having a liquid temperature of 40° C. for 30 seconds (crosslinking treatment).
然後,一邊將積層體浸漬於液溫70℃的硼酸水溶液(硼酸濃度4.0重量%),一邊在圓周速度不同的輥間,以在縱向(長度方向)上總拉伸倍率成為5.5倍的方式進行了單向拉伸(水中拉伸處理)。Then, while immersing the laminated body in a boric acid aqueous solution with a liquid temperature of 70° C. (boric acid concentration 4.0% by weight), the laminate was stretched between rollers with different circumferential speeds so that the total stretching ratio in the longitudinal direction (longitudinal direction) became 5.5 times. One-way stretching (stretching in water).
然後,將積層體浸漬於液溫20℃的清洗浴(相對於水100重量份,摻合碘化鉀4重量份而得到的水溶液)(清洗處理)。Then, the laminated body was immersed in a cleaning bath (an aqueous solution in which 4 parts by weight of potassium iodide was mixed with 100 parts by weight of water) having a liquid temperature of 20° C. (cleaning treatment).
然後,一邊在保持為90℃的烘箱中進行乾燥,一邊與表面溫度保持為75℃的SUS製加熱輥接觸約2秒鐘(乾燥收縮處理)。通過乾燥收縮處理之積層體在寬度方向上的收縮率為5.2%。Then, while drying in an oven maintained at 90°C, it was brought into contact with a SUS heated roller whose surface temperature was kept at 75°C for about 2 seconds (drying shrinkage treatment). The shrinkage rate of the laminate in the width direction after drying and shrinkage treatment was 5.2%.
這樣一來,在樹脂基材上形成了厚度5μm的偏光膜。In this way, a polarizing film with a thickness of 5 μm was formed on the resin base material.
2.偏光板的製作2. Production of polarizing plates
在上述得到的偏光膜的表面(與樹脂基材相反側的面)上,通過紫外線硬化型接著劑貼合了丙烯酸系薄膜(表面折射率1.50、40μm)作為保護層。具體而言,以硬化型接著劑的總厚度成為1.0μm的方式進行塗敷,使用輥機進行貼合。然後,從保護層側照射UV光線,使接著劑硬化。接下來,將兩端部切口後,剝離樹脂基材,得到了具有保護層/偏光膜之構成的長條狀偏光板(寬:1300mm)。偏光板(實質上為偏光膜)的單體透射率為44.12%、偏光度為99.929%。此外,長條狀偏光膜的光學特性的偏差為0.27%,單片狀偏光膜的光學特性的偏差為0.10%。On the surface of the polarizing film obtained above (the surface opposite to the resin base material), an acrylic film (surface refractive index 1.50, 40 μm) was bonded as a protective layer via an ultraviolet curable adhesive. Specifically, the curable adhesive was applied so that the total thickness became 1.0 μm, and bonded using a roller machine. Then, UV light is irradiated from the protective layer side to harden the adhesive. Next, after cutting both ends, the resin base material was peeled off, and a long polarizing plate (width: 1300 mm) having a protective layer/polarizing film structure was obtained. The single transmittance of the polarizing plate (essentially a polarizing film) is 44.12%, and the degree of polarization is 99.929%. In addition, the variation in the optical properties of the strip-shaped polarizing film was 0.27%, and the variation in the optical properties of the single-piece polarizing film was 0.10%.
3.構成相位差層的第1定向固化層及第2定向固化層的製作3. Preparation of the first directionally solidified layer and the second directionally solidified layer constituting the retardation layer
將顯示出向列液晶相的聚合性液晶(BASF公司製:商品名「Paliocolor LC242」、由下式表示)10g、和針對該聚合性液晶化合物的光聚合引發劑(BASF公司製:商品名「IRGACURE 907」)3g溶解於甲苯40g,製備了液晶組成物(塗敷液)。10 g of a polymerizable liquid crystal exhibiting a nematic liquid crystal phase (manufactured by BASF Co., Ltd.: trade name "Paliocolor LC242", represented by the following formula) and a photopolymerization initiator for the polymerizable liquid crystal compound (manufactured by BASF Co., Ltd.: trade name "IRGACURE") 907″)3g was dissolved in 40g of toluene to prepare a liquid crystal composition (coating liquid).
[化學式1]
使用摩擦布(rubbing cloth)對聚對苯二甲酸乙二醇酯(PET)薄膜(厚度38μm)表面進行摩擦,實施了定向處理。貼合於偏光板時,使定向處理的方向相對於偏光膜的吸收軸的方向從可視側觀察成為15°方向。利用棒塗機將上述液晶塗敷液塗敷於該定向處理表面,在90℃下加熱乾燥2分鐘,由此使液晶化合物定向。使用金屬鹵化物燈,對如此形成的液晶層照射1mJ/cm2的光,使該液晶層硬化,由此,在PET薄膜上形成了液晶定向固化層A。液晶定向固化層A的厚度為2.5μm、面內相位差Re(550)為270nm。此外,液晶定向固化層A具有nx>ny=nz的折射率分佈。The surface of a polyethylene terephthalate (PET) film (thickness: 38 μm) was rubbed with a rubbing cloth to perform orientation treatment. When bonding to a polarizing plate, the direction of the orientation treatment is 15° with respect to the direction of the absorption axis of the polarizing film when viewed from the viewing side. The above-mentioned liquid crystal coating liquid was applied to the alignment-treated surface using a bar coater, and the liquid crystal compound was oriented by heating and drying at 90° C. for 2 minutes. The thus formed liquid crystal layer was irradiated with light of 1 mJ/cm2 using a metal halide lamp to harden the liquid crystal layer, thereby forming the liquid crystal orientation solidified layer A on the PET film. The thickness of the liquid crystal orientation solidified layer A is 2.5 μm, and the in-plane phase difference Re (550) is 270 nm. In addition, the liquid crystal alignment solidified layer A has a refractive index distribution of nx>ny=nz.
變更塗敷厚度,並將定向處理方向設為相對於偏光膜的吸收軸方向從可視側觀察成為75°方向,除此以外,與上述同樣地在PET薄膜上形成了液晶定向固化層B。液晶定向固化層B的厚度為1.5μm、面內相位差Re(550)為140nm。此外,液晶定向固化層B具有nx>ny=nz的折射率分佈。The liquid crystal alignment solidified layer B was formed on the PET film in the same manner as above, except that the coating thickness was changed and the orientation treatment direction was set to a 75° direction when viewed from the viewing side with respect to the absorption axis direction of the polarizing film. The thickness of the liquid crystal orientation solidified layer B is 1.5 μm, and the in-plane phase difference Re (550) is 140 nm. In addition, the liquid crystal alignment solidified layer B has a refractive index distribution of nx>ny=nz.
4.附相位差層之偏光板的製作4. Production of polarizing plate with phase difference layer
在上述2.中得到的偏光板的偏光膜表面依次轉印上述3.中得到的液晶定向固化層A及液晶定向固化層B。此時,以偏光膜的吸收軸與定向固化層A的慢軸所成的角度成為15°、偏光膜的吸收軸與定向固化層B的慢軸所成的角度成為75°的方式進行了轉印(貼合)。再者,各個轉印(貼合)通過上述2.中使用的紫外線硬化型接著劑(厚度1.0μm)來進行。這樣一來,得到具有保護層/接著層/偏光膜/接著層/相位差層(第1定向固化層/接著層/第2定向固化層)的構成的附相位差層之偏光板。得到的附相位差層之偏光板的總厚度為52μm。將得到的附相位差層之偏光板供於上述(5)~(7)的評價。翹曲量為1.8mm。The liquid crystal orientation solidified layer A and the liquid crystal orientation solidified layer B obtained in the above 3. are sequentially transferred to the surface of the polarizing film of the polarizing plate obtained in the above 2.. At this time, the angle between the absorption axis of the polarizing film and the slow axis of the orientationally solidified layer A is 15°, and the angle between the absorption axis of the polarizing film and the slow axis of the orientationally solidified layer B is 15°.It is transferred (laminated) at 75°. In addition, each transfer (bonding) was performed using the ultraviolet curable adhesive (thickness: 1.0 μm) used in 2. above. In this way, a polarizing plate with a retardation layer having a structure of protective layer/adhesive layer/polarizing film/adhesive layer/retardation layer (first orientationally solidified layer/adhesion layer/second orientationally solidified layer) is obtained. The total thickness of the obtained polarizing plate with a retardation layer was 52 μm. The obtained polarizing plate with a retardation layer was used for the evaluation of the above (5) to (7). The amount of warpage is 1.8mm.
[實施例2][Example 2]
使用了厚度20μm的丙烯酸系薄膜作為保護層,除此以外,與實施例1同樣地製作了附相位差層之偏光板。得到的附相位差層之偏光板的總厚度為32μm。將得到的附相位差層之偏光板供於與實施例1同樣的評價。翹曲量為1.5mm。A polarizing plate with a retardation layer was produced in the same manner as in Example 1, except that an acrylic film with a thickness of 20 μm was used as a protective layer. The total thickness of the obtained polarizing plate with a retardation layer was 32 μm. The obtained polarizing plate with a retardation layer was subjected to the same evaluation as in Example 1. The amount of warpage is 1.5mm.
[實施例3][Example 3]
使用了厚度25μm的三乙酸纖維素(TAC)薄膜作為保護層,除此以外,與實施例1同樣地製作了附相位差層之偏光板。得到的附相位差層之偏光板的總厚度為37μm。將得到的附相位差層之偏光板供於與實施例1同樣的評價。翹曲量為1.3mm。A polarizing plate with a retardation layer was produced in the same manner as in Example 1, except that a triacetylcellulose (TAC) film with a thickness of 25 μm was used as a protective layer. The total thickness of the obtained polarizing plate with a retardation layer was 37 μm. The obtained polarizing plate with a retardation layer was subjected to the same evaluation as in Example 1. The amount of warpage is 1.3mm.
[比較例1][Comparative example 1]
1.偏光件的製作1. Production of polarizers
準備了平均聚合度為2,400、皂化度為99.9莫耳%、厚度為30μm的聚乙烯醇系樹脂薄膜。一邊將聚乙烯醇薄膜浸漬於20℃的溶脹浴(水浴)中30秒鐘使其溶脹,一邊在圓周速度比不同的輥間、朝運送方向拉伸至2.4倍(溶脹步驟),接著,在30℃的染色浴(碘濃度為0.03重量%、碘化鉀濃度為0.3重量%的水溶液)中,一邊以最終拉伸後的單體透射率成為期望值的方式浸漬並染色,並一邊以原來的聚乙烯醇薄膜(在運送方向上完全未拉伸的聚乙烯醇薄膜)為基準朝運送方向拉伸至3.7倍(染色步驟)。此時的浸漬時間約為60秒鐘。接下來,一邊將染色後的聚乙烯醇薄膜在40℃的交聯浴(硼酸濃度為3.0重量%、碘化鉀濃度為3.0重量%的水溶液)中浸漬,一邊以原來的聚乙烯醇薄膜為基準朝運送方向拉伸至4.2倍(交聯步驟)。進一步,將得到的聚乙烯醇薄膜在64℃的拉伸浴(硼酸濃度為4.0重量%、碘化鉀濃度為5.0重量%的水溶液)中浸漬50秒鐘,以原來的聚乙烯醇薄膜為基準朝運送方向拉伸至6.0倍(拉伸步驟),然後在20℃的清洗浴(碘化鉀濃度為3.0重量%的水溶液)中浸漬5秒鐘(清洗步驟)。將清洗後的聚乙烯醇薄膜在30℃下乾燥2分鐘,製作了偏光件(厚度12μm)。A polyvinyl alcohol-based resin film with an average polymerization degree of 2,400, a saponification degree of 99.9 mol%, and a thickness of 30 μm was prepared. While the polyvinyl alcohol film was immersed in a swelling bath (water bath) at 20° C. for 30 seconds to swell, it was stretched to 2.4 times in the conveying direction between rollers with different peripheral speed ratios (swelling step).Next, while being immersed and dyed in a 30° C. dyeing bath (an aqueous solution with an iodine concentration of 0.03% by weight and a potassium iodide concentration of 0.3% by weight) so that the monomer transmittance after final stretching becomes the desired value, the original color is dyed. The polyvinyl alcohol film (polyvinyl alcohol film that is completely unstretched in the conveyance direction) is stretched to 3.7 times in the conveyance direction (dyeing step). The soaking time at this point is approximately 60 seconds. Next, the dyed polyvinyl alcohol film was immersed in a 40° C. cross-linking bath (an aqueous solution with a boric acid concentration of 3.0% by weight and a potassium iodide concentration of 3.0% by weight), while facing the original polyvinyl alcohol film as a reference. Stretch to 4.2 times in transport direction (cross-linking step). Furthermore, the obtained polyvinyl alcohol film was immersed in a 64°C stretching bath (an aqueous solution with a boric acid concentration of 4.0% by weight and a potassium iodide concentration of 5.0% by weight) for 50 seconds, and was transported to direction to 6.0 times (stretching step), and then immersed in a cleaning bath (aqueous solution with potassium iodide concentration of 3.0% by weight) at 20° C. for 5 seconds (cleaning step). The washed polyvinyl alcohol film was dried at 30° C. for 2 minutes to produce a polarizer (thickness: 12 μm).
2.偏光板的製作2. Production of polarizing plates
作為接著劑,使用了以重量比3:1含有具有乙醯乙醯基的聚乙烯醇樹脂(平均聚合度為1,200、皂化度為98.5莫耳%、乙醯乙醯基化率為5莫耳%)和羥甲基三聚氰胺的水溶液。使用該接著劑並利用輥貼合機在上述得到的偏光件的一面貼合厚度為25μm的附硬塗層之三乙酸纖維素(TAC)薄膜,並在偏光件的另一面貼合厚度為25μm的TAC薄膜後,在烘箱內加熱乾燥(溫度為60℃、時間為5分鐘),製作了具有保護層1(厚度25μm)/接著層/偏光件/接著層/保護層2(厚度25μm)的構成的偏光板。As an adhesive, a polyvinyl alcohol resin containing an acetyl acetyl group was used at a weight ratio of 3:1 (average degree of polymerization: 1,200, degree of saponification: 98.5 mole%, acetyl acetylation rate: 5 mole). %) and an aqueous solution of hydroxymethylmelamine. Using this adhesive, a 25-μm-thick triacetylcellulose (TAC) film with a hard coating layer was bonded to one side of the polarizer obtained above using a roller laminating machine, and a 25-μm-thick triacetate cellulose (TAC) film was bonded to the other side of the polarizer. After the TAC film was heated and dried in an oven (temperature: 60°C, time: 5 minutes), a protective layer 1 (thickness: 25 μm)/adhesive layer/polarizer/adhesive layer/protection was produced.Polarizing plate composed of layer 2 (thickness 25 μm).
3.附相位差層之偏光板的製作3. Production of polarizing plate with phase difference layer
在上述2.中得到的偏光板的保護層2的表面,與實施例1同樣地依次轉印液晶定向固化層A及液晶定向固化層B,製作了具有保護層1/接著層/偏光件/接著層/保護層2/接著層/相位差層(第1定向固化層/接著層/第2定向固化層)的構成的附相位差層之偏光板。得到的附相位差層之偏光板的總厚度為68μm。將得到的附相位差層之偏光板供於與實施例1同樣的評價。翹曲量為4.2mm。On the surface of the
[比較例2][Comparative example 2]
未在PVA水溶液(塗佈液)中添加碘化鉀,將空中輔助拉伸處理中的拉伸倍率設為1.8倍,並且在乾燥收縮處理中不使用加熱輥,除此以外,與實施例1同樣地製作了偏光膜及偏光板。偏光板(實質上為偏光膜)的單體透射率為43.23%,偏光度為99.886%。除了使用了該偏光板以外,與實施例1同樣地製作了附相位差層之偏光板。The same procedure as in Example 1 was performed except that potassium iodide was not added to the PVA aqueous solution (coating liquid), the stretching ratio in the air-assisted stretching process was set to 1.8 times, and a heating roller was not used in the drying shrinkage process. Made polarizing films and polarizing plates. The single transmittance of the polarizing plate (essentially a polarizing film) is 43.23%, and the polarization degree is 99.886%. A polarizing plate with a retardation layer was produced in the same manner as in Example 1 except that this polarizing plate was used.
[比較例3][Comparative example 3]
1.偏光板的製作1. Production of polarizing plates
使用了厚度25μm的TAC薄膜作為保護層,除此以外,與實施例1同樣地得到了具有保護層/偏光膜的構成的長條狀偏光板(寬:1300mm)。A long polarizing plate (width: 1300 mm) having a protective layer/polarizing film structure was obtained in the same manner as in Example 1 except that a TAC film with a thickness of 25 μm was used as a protective layer.
2.構成相位差層的相位差薄膜的製作2. Preparation of retardation film constituting the retardation layer
2-1.聚酯碳酸酯系樹脂的聚合2-1. Polymerization of polyester carbonate resin
使用由2台具備攪拌葉片及被控制為100℃的回流冷卻器的立式反應器構成的批次聚合裝置進行了聚合。加料雙[9-(2-苯氧基羰基乙基)芴-9-基]甲烷29.60質量份(0.046mol)、異山梨醇(ISB)29.21質量份(0.200mol)、螺二醇(SPG)42.28質量份(0.139mol)、碳酸二苯酯(DPC)63.77質量份(0.298mol)及作為催化劑的乙酸鈣1水合物1.19×10-2質量份(6.78×10-5mol)。將反應器內進行了減壓氮氣置換後,用熱介質進行加熱,在內溫達到100℃的時點開始攪拌。升溫開始40分鐘後,使內溫達到220℃,控制保持該溫度並同時開始減壓,自達到220℃起費90分鐘達到13.3kPa。將聚合反應的同時副產出的苯酚蒸氣導入至100℃的回流冷卻器中,將苯酚蒸氣中所含若干量的單體成分返回至反應器中,而未冷凝的苯酚蒸氣則導入至45℃的冷凝器中進行了回收。將氮氣導入第1反應器中暫時恢復至大氣壓後,將第1反應器內經低聚物化的反應液轉移至第2反應器中。接著,開始第2反應器內的升溫及減壓,使其費50分鐘達到內溫240℃、壓力0.2kPa。然後,進行聚合直至成為預定的攪拌動力。在達到預定動力的時點,向反應器中導入氮氣,恢復壓力,將生成的聚酯碳酸酯系樹脂擠出至水中,將線料切斷,得到了顆粒。Polymerization was performed using a batch polymerization apparatus consisting of two vertical reactors equipped with stirring blades and a reflux cooler controlled to 100°C. Add 29.60 parts by mass (0.046 mol) of bis[9-(2-phenoxycarbonylethyl)fluoren-9-yl]methane, 29.21 parts by mass (0.200 mol) of isosorbide (ISB), and spiroglycol (SPG). 42.28 parts by mass (0.139 mol), 63.77 parts by mass (0.298 mol) of diphenyl carbonate (DPC), and 1.19×10-2 parts by mass (6.78×10-5 mol) of calcium acetate monohydrate as a catalyst. After replacing the pressure-reduced nitrogen in the reactor, the reactor was heated with a heat medium, and stirring was started when the internal temperature reached 100°C. 40 minutes after the temperature rise starts, the internal temperature reaches 220°C, and the pressure is maintained at this temperature while starting to reduce the pressure. It takes 90 minutes to reach 13.3kPa after reaching 220°C. The phenol vapor produced by the polymerization reaction is introduced into a reflux cooler at 100°C, a certain amount of monomer components contained in the phenol vapor is returned to the reactor, and the uncondensed phenol vapor is introduced to 45°C. recycled in the condenser. After introducing nitrogen gas into the first reactor and temporarily returning it to atmospheric pressure, the oligomerized reaction liquid in the first reactor is transferred to the second reactor. Next, the temperature rise and pressure reduction in the second reactor were started, and it took 50 minutes to reach the internal temperature of 240° C. and the pressure of 0.2 kPa. Then, polymerization is performed until a predetermined stirring power is obtained. When the predetermined power is reached, nitrogen gas is introduced into the reactor, the pressure is restored, the generated polyester carbonate resin is extruded into water, and the strands are cut to obtain pellets.
2-2.相位差薄膜的製作2-2. Production of retardation film
將得到的聚酯碳酸酯系樹脂(顆粒)在80℃下真空乾燥5小時後,使用具備單螺桿擠出機(東芝機械(股)製、氣缸設定溫度:250℃)、T型模(寬度200mm、設定溫度:250℃)、冷硬軋輥(設定溫度:120~130℃)及卷取機的製膜裝置製作了厚度135μm的長條狀樹脂薄膜。將得到的長條狀樹脂薄膜朝寬度方向以拉伸溫度133℃、拉伸倍率2.8倍進行拉伸,得到了厚度53μm的相位差薄膜。得到的相位差薄膜的Re(550)為141nm、Re(450)/Re(550)為0.82、Nz係數為1.12。The obtained polyester carbonate resin (pellets) was vacuum dried at 80°C for 5 hours, and then dried using a single-screw extruder (manufactured by Toshiba Machine Co., Ltd., cylinder setting temperature: 250°C), a T-die (width 200mm, set temperature: 250℃), chilled roll (set temperature: 120~130℃) and film forming device of the coilerA long resin film with a thickness of 135 μm was produced. The obtained long resin film was stretched in the width direction at a stretching temperature of 133° C. and a stretching ratio of 2.8 times to obtain a retardation film with a thickness of 53 μm. The Re(550) of the obtained retardation film was 141 nm, Re(450)/Re(550) was 0.82, and the Nz coefficient was 1.12.
3.附相位差層之偏光板的製作3. Production of polarizing plate with phase difference layer
在上述1.中得到的偏光板的偏光膜表面,利用丙烯酸系黏著劑(厚度5μm)貼合上述2.中得到的相位差薄膜。此時,以使偏光膜的吸收軸與相位差薄膜的慢軸成為45°的角度的方式進行了貼合。這樣一來,得到了具有保護層/接著層/偏光膜/黏著劑層/相位差層的構成的附相位差層之偏光板。得到的附相位差層之偏光板的總厚度為89μm。將得到的附相位差層之偏光板供於上述(6)及(7)的評價。The retardation film obtained in 2. above was bonded to the surface of the polarizing film of the polarizing plate obtained in 1. above using an acrylic adhesive (thickness: 5 μm). At this time, they were bonded so that the absorption axis of the polarizing film and the slow axis of the retardation film formed an angle of 45°. In this way, a polarizing plate with a retardation layer having a structure of a protective layer/adhesive layer/polarizing film/adhesive layer/retardation layer was obtained. The total thickness of the obtained polarizing plate with a retardation layer was 89 μm. The obtained polarizing plate with a retardation layer was used for the evaluation of the above (6) and (7).
將實施例1~3、比較例1及3中得到的附相位差層之偏光板的構成及各評價結果示於表2。Table 2 shows the structure and respective evaluation results of the polarizing plates with retardation layers obtained in Examples 1 to 3 and Comparative Examples 1 and 3.
[表2]
[評價][evaluation]
根據表2及實施例1與比較例2的比較可以明確得知,本發明的實施例的附相位差層之偏光板是薄型的,其加熱試驗後的翹曲可獲抑制,並且光學特性優異。另外,通過使附相位差層之偏光板的每單位面積的重量為預定值以下,耐彎折性得到提高。From Table 2 and comparison between Example 1 and Comparative Example 2, it can be clearly understood that the polarizing plate with a retardation layer according to the embodiment of the present invention is thin, its warpage after the heating test can be suppressed, and it has excellent optical properties. . In addition, by setting the weight per unit area of the polarizing plate with a retardation layer to a predetermined value or less, the bending resistance is improved.
產業上可利用性Industrial availability
本發明的附相位差層之偏光板可適合用作液晶顯示裝置、有機EL顯示裝置及無機EL顯示裝置用的圓偏光板。The polarizing plate with a retardation layer of the present invention can be suitably used as a circular polarizing plate for liquid crystal display devices, organic EL display devices, and inorganic EL display devices.
10:偏光板10:Polarizing plate
11:偏光膜11:Polarizing film
12:第1保護層12: 1st protective layer
13:第2保護層13: 2nd protective layer
20:相位差層20: Phase difference layer
100:附相位差層之偏光板100: Polarizing plate with phase difference layer
| Application Number | Priority Date | Filing Date | Title |
|---|---|---|---|
| JP2018194409 | 2018-10-15 | ||
| JP2018-194409 | 2018-10-15 | ||
| JP2019115120AJP7321004B2 (en) | 2018-10-15 | 2019-06-21 | Polarizing plate with retardation layer and image display device using the same |
| JP2019-115120 | 2019-06-21 |
| Publication Number | Publication Date |
|---|---|
| TW202037940A TW202037940A (en) | 2020-10-16 |
| TWI827658Btrue TWI827658B (en) | 2024-01-01 |
| Application Number | Title | Priority Date | Filing Date |
|---|---|---|---|
| TW108131076ATWI827658B (en) | 2018-10-15 | 2019-08-29 | Polarizing plate with retardation layer and image display device using the polarizing plate with retardation layer |
| Country | Link |
|---|---|
| JP (1) | JP7321004B2 (en) |
| KR (1) | KR102815163B1 (en) |
| TW (1) | TWI827658B (en) |
| Publication number | Priority date | Publication date | Assignee | Title |
|---|---|---|---|---|
| JP7321005B2 (en)* | 2018-10-15 | 2023-08-04 | 日東電工株式会社 | Polarizing plate with retardation layer and image display device using the same |
| Publication number | Priority date | Publication date | Assignee | Title |
|---|---|---|---|---|
| CN102368100A (en)* | 2010-09-03 | 2012-03-07 | 日东电工株式会社 | Polarizing film, optical film laminate including polarizing film, stretched laminate for use in production of optical film laminate including polarizing film, production methods for them and organic EL display device having polarizing film |
| JP2017102443A (en)* | 2015-11-20 | 2017-06-08 | 日東電工株式会社 | OPTICAL LAMINATE AND ORGANIC ELECTROLUMINESCENT DISPLAY DEVICE USING THE OPTICAL LAMINATE |
| TW201835619A (en)* | 2017-02-23 | 2018-10-01 | 日商住友化學股份有限公司 | Optical film and method of manufacturing same |
| Publication number | Priority date | Publication date | Assignee | Title |
|---|---|---|---|---|
| WO2000026705A1 (en) | 1998-10-30 | 2000-05-11 | Teijin Limited | Phase difference film and optical device using it |
| JP4701555B2 (en)* | 2001-08-01 | 2011-06-15 | 住友化学株式会社 | Manufacturing method of polarizing film |
| JP2006030870A (en)* | 2004-07-21 | 2006-02-02 | Nippon Zeon Co Ltd | Polarizing plate and liquid crystal display device |
| CN100399074C (en)* | 2006-01-17 | 2008-07-02 | 达信科技股份有限公司 | Polarizing film, polarizing plate and method for producing same |
| JP5072747B2 (en)* | 2007-07-25 | 2012-11-14 | 日東電工株式会社 | Manufacturing method of polarizer, polarizer, polarizing plate, optical film, and image display device |
| JP5782297B2 (en)* | 2010-09-09 | 2015-09-24 | 日東電工株式会社 | Manufacturing method of thin polarizing film |
| JP5871363B2 (en)* | 2010-09-09 | 2016-03-01 | 日東電工株式会社 | Manufacturing method of thin polarizing film |
| JP5616318B2 (en)* | 2011-12-12 | 2014-10-29 | 日東電工株式会社 | Manufacturing method of polarizing film |
| CN104345368B (en)* | 2013-08-09 | 2018-10-16 | 住友化学株式会社 | Elliptical polarization plate |
| KR102329698B1 (en)* | 2013-08-09 | 2021-11-23 | 스미또모 가가꾸 가부시키가이샤 | Process for producing long circularly polarizing plate and long circularly polarizing plate |
| TWI656011B (en)* | 2014-03-14 | 2019-04-11 | 日東電工股份有限公司 | Laminated body, extended laminated body, manufacturing method of extended laminated body, manufacturing method of optical film laminated body including polarizing film using these, and polarizing film |
| JP5968943B2 (en)* | 2014-03-31 | 2016-08-10 | 日東電工株式会社 | Stretched laminate manufacturing method, stretched laminate, polarizing film manufacturing method, and polarizing film |
| KR102347474B1 (en)* | 2014-06-17 | 2022-01-04 | 엘지디스플레이 주식회사 | Cotalable polarizer and liquid crystal display device having thereof |
| JP6138755B2 (en)* | 2014-12-24 | 2017-05-31 | 日東電工株式会社 | Polarizer |
| WO2016158300A1 (en)* | 2015-03-31 | 2016-10-06 | 富士フイルム株式会社 | Circular polarizing plate and bendable display device |
| WO2017073638A1 (en)* | 2015-10-27 | 2017-05-04 | 日本合成化学工業株式会社 | Polyvinyl alcohol film, polarizing film and polarizing plate using same, and polyvinyl alcohol film production method |
| CN110402405B (en)* | 2017-03-15 | 2022-02-11 | 日东电工株式会社 | Optical laminate and method for producing the optical laminate |
| JP6409142B1 (en)* | 2018-02-13 | 2018-10-17 | 日東電工株式会社 | Polarizing film, polarizing plate, and manufacturing method of polarizing film |
| JP7370177B2 (en)* | 2018-10-15 | 2023-10-27 | 日東電工株式会社 | Polarizing plate with retardation layer and image display device using the same |
| JP7294909B2 (en)* | 2018-10-15 | 2023-06-20 | 日東電工株式会社 | Polarizing plate with retardation layer and image display device using the same |
| JP7321005B2 (en)* | 2018-10-15 | 2023-08-04 | 日東電工株式会社 | Polarizing plate with retardation layer and image display device using the same |
| JP7294908B2 (en)* | 2018-10-15 | 2023-06-20 | 日東電工株式会社 | Polarizing plate with retardation layer and image display device using the same |
| Publication number | Priority date | Publication date | Assignee | Title |
|---|---|---|---|---|
| CN102368100A (en)* | 2010-09-03 | 2012-03-07 | 日东电工株式会社 | Polarizing film, optical film laminate including polarizing film, stretched laminate for use in production of optical film laminate including polarizing film, production methods for them and organic EL display device having polarizing film |
| JP2017102443A (en)* | 2015-11-20 | 2017-06-08 | 日東電工株式会社 | OPTICAL LAMINATE AND ORGANIC ELECTROLUMINESCENT DISPLAY DEVICE USING THE OPTICAL LAMINATE |
| TW201835619A (en)* | 2017-02-23 | 2018-10-01 | 日商住友化學股份有限公司 | Optical film and method of manufacturing same |
| Publication number | Publication date |
|---|---|
| KR20200042408A (en) | 2020-04-23 |
| JP7321004B2 (en) | 2023-08-04 |
| JP2020064276A (en) | 2020-04-23 |
| TW202037940A (en) | 2020-10-16 |
| KR102815163B1 (en) | 2025-06-02 |
| Publication | Publication Date | Title |
|---|---|---|
| TWI816867B (en) | Polarizing plate with retardation layer and image display device using the polarizing plate with retardation layer | |
| JP7281025B2 (en) | Method for manufacturing polarizing film | |
| TWI777075B (en) | Polarizing plate with retardation layer and image display device using the same | |
| JP7321005B2 (en) | Polarizing plate with retardation layer and image display device using the same | |
| TWI832889B (en) | Polarizing plate with retardation layer and image display device using the polarizing plate with retardation layer | |
| TWI816868B (en) | Polarizing plate with retardation layer and image display device using the polarizing plate with retardation layer | |
| CN111045130B (en) | Polarizing plate with retardation layer and image display device using the same | |
| CN111045129B (en) | Polarizing plate with retardation layer and image display device using the polarizing plate with retardation layer | |
| JP6804168B2 (en) | Polarizing plate with retardation layer and image display device using it | |
| TWI827658B (en) | Polarizing plate with retardation layer and image display device using the polarizing plate with retardation layer | |
| CN111045132B (en) | Polarizing plate with retardation layer and image display device using the polarizing plate with retardation layer | |
| TWI827659B (en) | Polarizing plate with retardation layer and image display device using the polarizing plate with retardation layer | |
| CN111045133B (en) | Polarizing plate with retardation layer and image display device using the polarizing plate with retardation layer | |
| CN111045137B (en) | Polarizing plate with retardation layer and image display device using the polarizing plate with retardation layer | |
| CN111045134B (en) | Polarizing plate with retardation layer and image display device using the polarizing plate with retardation layer | |
| CN111045135A (en) | Polarizing plate with retardation layer and image display device using the same | |
| CN111045138A (en) | Polarizing plate with retardation layer and image display device using the polarizing plate with retardation layer | |
| CN111045136A (en) | Polarizing plate with retardation layer and image display device using the polarizing plate with retardation layer | |
| CN116107010A (en) | Polarizing plate with retardation layer and image display device using the polarizing plate with retardation layer | |
| JP2020076938A (en) | Polarizing plate with retardation layer and image display using the same |