























本發明係關於一種餵食管(Feeding conduit),特別是一種具有可分離功能與可密封功能的餵食導管組合(Feeding conduit assembly),具有一主要導管(Primary conduit)及一輔助導管(Secondary conduit),該主要導管設置一插座(Socket),該輔助導管設置一插頭(Plug);該插座與該插頭結合時,該輔助導管流體連通於該主要導管,該插座的附屬蓋與該插頭的附屬蓋可相互結合;該插座與該插頭分離時,該插座的附屬蓋可密封該插座該插頭的附屬蓋可密封該插頭。The present invention relates to a feeding conduit, especially a feeding conduit assembly with separable and sealable functions. It has a primary conduit and a secondary conduit. The primary conduit is provided with a socket, and the secondary conduit is provided with a plug. When the socket is combined with the plug, the secondary conduit is in fluid communication with the primary conduit, and the socket The accessory cover of the socket and the accessory cover of the plug can be combined with each other; when the socket is separated from the plug, the accessory cover of the socket can seal the socket and the accessory cover of the plug can seal the plug.
習知技術如美國第US20080183153A1號早期公開的專利,主要公開的技術是一種腸內餵食管連接器(Enteral feeding tube connector),請參考該習知技術專利的第3圖及第8圖所示,該連接器(20)包括主體(22)及蓋子(36),該主體(22)限定了穿過其中的通道;其中該主體(22)具有入口段(24)及出口段(28),該出口段(28)連接一延長管(60),該延長管(60)通過患者的食道經口或經鼻插入胃中,用於將液體輸送到患者的胃中。Known technology such as US20080183153A1 early published patent, the main disclosed technology is an enteral feeding tube connector (Enteral feeding tube connector), please refer to the 3rd and 8th figures of this known technology patent, the connector (20) includes a main body (22) and a cover (36), and the main body (22) defines a passage therethrough; wherein the main body (22) has an inlet section (24) And the outlet section (28), the outlet section (28) is connected with an extension tube (60), the extension tube (60) is inserted into the stomach through the patient's esophagus orally or through the nose, and is used to deliver liquid into the patient's stomach.
該習知技術專利家族(Patent family)包括加拿大第CA2576558A1號專利。該連接器(20)進一步可以安裝一連接器噴嘴(62),該連接器噴嘴(62)包括主體(64),該主體(64)是空心圓柱形的輸送端(66),用於輸送該液體進入該連接器(20)的入口段(24),該液體藉由該延長管(60)進入患者的胃中。該習知技術在使用過程中,該蓋子(36)曝露於環境中,該蓋子(36)會有被環境污染或污染環境之虞。當該連接器噴嘴(62)脫離該連接器(20)時,該連接器噴嘴(62)曝露於環境中,該連接器噴嘴(62)也會有被環境污染或污染環境之虞。因此,該習知技術仍有改良的需求。The patent family of the known technology includes Canadian Patent No. CA2576558A1. The connector (20) can further be equipped with a connector nozzle (62), the connector nozzle (62) includes a main body (64), the main body (64) is a hollow cylindrical delivery end (66), used to deliver the liquid into the inlet section (24) of the connector (20), and the liquid enters the patient's stomach through the extension tube (60). During the use of this prior art, the cover (36) is exposed to the environment, and the cover (36) may be polluted or polluted by the environment. When the connector nozzle (62) is detached from the connector (20), the connector nozzle (62) is exposed to the environment, and the connector nozzle (62) is also likely to be polluted or polluted by the environment. Therefore, this prior art still needs to be improved.
本發明之目的在於,提供一種具有可分離功能與可密封功能的餵食導管組合,該餵食導管組合包括一主要導管及一輔助導管;該主要導管的前端具有複數輸送孔,該主要導管的尾端設置一插座,該輔助導管的前端設置一餵食適配器,該輔助導管的尾端設置一插頭;其中該插座具有一第一附屬蓋,該插頭具有一第二附屬蓋,該餵食適配器具有一第三附屬蓋;當該插座與該插頭結合時,該第一附屬蓋與該第二附屬蓋可相互密封,該插頭流體連通於該插座;當該插座與該插頭分離時,該第一附屬蓋與該插座可相互密封,該第二附屬蓋與該插頭可相互密封。The object of the present invention is to provide a feeding catheter combination with separable and sealable functions. The feeding catheter combination includes a main catheter and an auxiliary catheter; the front end of the main catheter has a plurality of delivery holes, the tail end of the main catheter is provided with a socket, the front end of the auxiliary catheter is provided with a feeding adapter, and the tail end of the auxiliary catheter is provided with a plug; wherein the socket has a first accessory cover, the plug has a second accessory cover, and the feeding adapter has a third accessory cover; when the socket is combined with the plug, the first accessory cover and the second accessory The covers are mutually sealable, and the plug is in fluid communication with the socket; when the socket is separated from the plug, the first accessory cover and the socket are mutually sealable, and the second accessory cover and the plug are mutually sealable.
本發明增益之功效(一)在於,當該插座與該插頭結合時,該第一附屬蓋與該第二附屬蓋可相互密封,以避免該第一附屬蓋與該第二附屬蓋被環境污染或污染環境。The advantage of the present invention (1) is that when the socket is combined with the plug, the first accessory cover and the second accessory cover can be sealed to each other, so as to prevent the first accessory cover and the second accessory cover from being polluted or polluted by the environment.
本發明增益之功效(二)在於,當該插座與該插頭分離時,該第一附屬蓋與該插座可相互密封,該第二附屬蓋與該插頭可相互密封,以避免該插座與該插頭被環境污染或污染環境。Effect (2) of the gain of the present invention is that when the socket is separated from the plug, the first accessory cover and the socket can be sealed to each other, and the second accessory cover and the plug can be sealed to each other, so as to prevent the socket and the plug from being polluted or polluted by the environment.
本發明增益之功效(三)在於,該插座具有一對插座凸耳作為止擋(Stopper),以防止該插座完全進入患者的鼻部,再者,使用者以手指掐住所述插座凸耳與該插頭相對旋轉,可使該插頭易於脫離該插座。The effect (3) of the gain of the present invention is that the socket has a pair of socket lugs as a stopper (Stopper) to prevent the socket from completely entering the patient's nose. Furthermore, the user pinches the socket lugs with his fingers and rotates relative to the plug, so that the plug can be easily separated from the socket.
10:主要導管10: Main conduit
11:主要導管的前端11: The front end of the main conduit
12:主要導管的尾端12: Tail end of main conduit
13:輸送孔13: Delivery hole
20:插座20: socket
21:環形柱21: ring column
22:插座尾端22: socket end
23:插座凸耳23:Socket lug
24:外側環形凹槽24: Outer annular groove
25:定位凹部25: Positioning concave part
26:插座孔26: socket hole
27:插座通道27: socket channel
28:外螺紋28: external thread
30:輔助導管30: Auxiliary catheter
31:輔助導管的前端31: Front end of auxiliary catheter
32:輔助導管的尾端32: Tail end of auxiliary catheter
40:餵食適配器40: Feeding Adapter
41:餵食適配器的入口41:Inlet for feeding adapter
50:插頭50: plug
50a:插頭基座50a: Plug base
50b:螺帽50b: Nut
51:空心圓柱51: Hollow cylinder
52:插頭尾端52: Plug end
521:錐形凸部521: tapered convex part
53:插頭凸耳53: Plug lug
54:內側環形肋54: Inner circular rib
55:內側環形凹槽55: Inner circular groove
56:彈性卡勾56:Elastic hook
57:環形錐部57: Annular cone
58:內螺紋58: internal thread
59:圓盤部59: Disc Department
60:第一附屬蓋60: First accessory cover
61:第一蓋體61: The first cover
62:插座固定環62: socket fixing ring
63:延伸片63: Extension piece
64:塞子64: stopper
65:定位凸部65: Positioning convex part
70:第二附屬蓋70:Second accessory cover
71:第二蓋體71: Second cover
72:插頭固定環72: Plug fixing ring
73:延伸片73: Extension piece
74:帽部74: hat part
80:第三附屬蓋80: The third accessory cover
81:第三蓋體81: The third cover
〔圖1〕係本發明較佳實施例的立體示意圖。[Fig. 1] is a three-dimensional schematic diagram of a preferred embodiment of the present invention.
〔圖2〕係圖1的A-A剖面圖。[FIG. 2] is a sectional view taken along line A-A of FIG. 1. [FIG.
〔圖3〕係本發明較佳實施例的主要導管的部份立體圖。[Fig. 3] is a partial perspective view of the main conduit of the preferred embodiment of the present invention.
〔圖4〕係本發明較佳實施例的主要導管的立體分解圖。[Fig. 4] is a three-dimensional exploded view of the main conduit of the preferred embodiment of the present invention.
〔圖5〕係本發明較佳實施例的主要導管的立體示意圖。[Fig. 5] is a three-dimensional schematic diagram of the main conduit of the preferred embodiment of the present invention.
〔圖6〕係圖3的B-B剖面圖。[FIG. 6] is a B-B sectional view of FIG. 3.
〔圖7〕本發明較佳實施例的主要導管的密封狀態圖。[ Fig. 7 ] A diagram showing the sealing state of the main conduits in the preferred embodiment of the present invention.
〔圖8〕係本發明較佳實施例的輔助導管的部份立體圖。[Fig. 8] is a partial perspective view of the auxiliary catheter of the preferred embodiment of the present invention.
〔圖9〕係本發明較佳實施例的輔助導管的立體分解圖。[Fig. 9] is a three-dimensional exploded view of the auxiliary catheter of the preferred embodiment of the present invention.
〔圖10〕係本發明較佳實施例的輔助導管的立體示意圖。[FIG. 10] is a three-dimensional schematic diagram of an auxiliary catheter in a preferred embodiment of the present invention.
〔圖11〕係圖8的C-C剖面圖。[FIG. 11] is a C-C sectional view of FIG. 8.
〔圖12〕本發明較佳實施例的輔助導管的密封狀態圖。[FIG. 12] A diagram showing the sealing state of the auxiliary catheter in the preferred embodiment of the present invention.
〔圖13〕係本發明第二實施例的立體示意圖。[FIG. 13] is a schematic perspective view of the second embodiment of the present invention.
〔圖14〕係圖13的D-D剖面圖。[FIG. 14] is a D-D sectional view of FIG. 13.
〔圖15〕係本發明第二實施例的主要導管的部份立體圖。[FIG. 15] is a partial perspective view of the main conduit of the second embodiment of the present invention.
〔圖16〕係本發明第二實施例的主要導管的立體分解圖。[FIG. 16] is an exploded perspective view of the main conduit of the second embodiment of the present invention.
〔圖17〕係本發明第二實施例的主要導管的立體示意圖。[FIG. 17] is a three-dimensional schematic view of the main conduit of the second embodiment of the present invention.
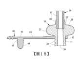
〔圖18〕係圖15的E-E剖面圖。[FIG. 18] It is a sectional view of E-E of FIG. 15.
〔圖19〕本發明第二實施例的主要導管的密封狀態圖。[FIG. 19] A diagram showing the sealed state of the main conduits in the second embodiment of the present invention.
〔圖20〕係本發明第二實施例的輔助導管的部份立體圖。[FIG. 20] is a partial perspective view of an auxiliary catheter according to a second embodiment of the present invention.
〔圖21〕係本發明第二實施例的輔助導管的立體分解圖。[FIG. 21] is an exploded perspective view of an auxiliary catheter according to a second embodiment of the present invention.
〔圖22〕係本發明較佳實施例的輔助導管的立體示意圖。[Fig. 22] is a three-dimensional schematic view of the auxiliary catheter in a preferred embodiment of the present invention.
〔圖23〕係圖20的F-F剖面圖。[FIG. 23] is a sectional view taken along line F-F of FIG. 20.
〔圖24〕本發明第二實施例的輔助導管的密封狀態圖。[ Fig. 24 ] A diagram showing the sealed state of the auxiliary catheter according to the second embodiment of the present invention.
為能進一步瞭解本發明之特徵、技術手段以及所達成之具體功能、目的,茲列舉較具體之實施例,繼以圖式圖號詳細說明如後。In order to further understand the features, technical means, and achieved specific functions and objectives of the present invention, more specific embodiments are listed hereafter, followed by detailed descriptions of drawings and figures as follows.
請參閱圖1至圖12所示,在較佳實施例中,本發明具有可分離功能與可密封功能的餵食導管組合包括一主要導管10、一插座20、一輔助導管30、一插頭50、一第一附屬蓋60、一第二附屬蓋70及一第三附屬蓋80;該主要導管10的前端11的管壁具有複數輸送孔13,該插座20具有一環形柱21及一插座尾端22,該插座尾端22固定於該主要導管10的尾端12,且該環形柱21流體連通於該主要導管10;該輔助導管30的前端31設置一餵食適配器40,該輔助導管30流體連通於該餵食適配器40,該插頭50具有一空心圓柱51及一插頭尾端52,該插頭尾端52固定於該輔助導管30的尾端32,且該空心圓柱51流體連通於該輔助導管30;該第一附屬蓋60具有一第一蓋體61,該第一附屬蓋60設置於該插座20;該第二附屬蓋70具有一第二蓋體71,該第二附屬蓋70設置於該插頭50;該第三附屬蓋80具有一第三蓋體81,該第三附屬蓋80設置於該餵食適配器40;其中該第一蓋體61與該第二蓋體71可相互密封,以避免該第一蓋體61與該第二蓋體71被環境污染或污染環境(如圖1及圖2所示),該第三蓋體81與該餵食適配器40可相互密封(例如:該第三蓋體81可以密封該餵食適配器40的入口41),以避免該第三蓋體81與該餵食適配器40被環境污染或污染環境;當該插座20與該插頭50結合時,該空心圓柱51可插入該環形柱21以結合該插座20與該插頭50,使得該插頭50流體連通於該插座20,該輔助導管30流體連通於該主要導管10(如圖1及圖2所示);當該插座20與該插頭50分離時,該第一蓋體61與該插座20可相互密封(如圖5及圖7所示),該第二蓋體71與該插頭50可相互密封(如圖10及圖12所示),以避免該插座20與該插頭50被環境污染或污染環境。1 to 12, in a preferred embodiment, the present invention has a separable and sealable feeding conduit combination comprising a main conduit 10, a socket 20, an auxiliary conduit 30, a plug 50, a first accessory cover 60, a second accessory cover 70 and a third accessory cover 80; The tail end 12 of the main conduit 10, and the annular post 21 is in fluid communication with the main conduit 10; the front end 31 of the auxiliary conduit 30 is provided with a feeding adapter40, the auxiliary conduit 30 is fluidly connected to the feeding adapter 40, the plug 50 has a hollow cylinder 51 and a plug tail end 52, the plug tail end 52 is fixed to the tail end 32 of the auxiliary conduit 30, and the hollow cylinder 51 is fluidly connected to the auxiliary conduit 30; the first accessory cover 60 has a first cover 61, and the first accessory cover 60 is arranged on the socket 20; the second accessory cover 70 has a second cover 71, and the second accessory cover 70 is arranged on The plug 50; the third accessory cover 80 has a third cover 81, and the third accessory cover 80 is arranged on the feeding adapter 40; wherein the first cover 61 and the second cover 71 can be sealed to each other, so as to avoid the first cover 61 and the second cover 71 from being polluted or polluted by the environment (as shown in Figures 1 and 2), the third cover 81 and the feeding adapter 40 can be sealed to each other (for example: the third cover 81 can seal the inlet 41 of the feeding adapter 40), to avoid the third The cover body 81 and the feeding adapter 40 are polluted or polluted by the environment; when the socket 20 is combined with the plug 50, the hollow cylinder 51 can be inserted into the annular column 21 to combine the socket 20 and the plug 50, so that the plug 50 is fluidly connected to the socket 20, and the auxiliary conduit 30 is fluidly connected to the main conduit 10 (as shown in FIGS. 1 and 2 ); 7), the second cover 71 and the plug 50 can be sealed to each other (as shown in FIG. 10 and FIG. 12 ), so as to prevent the socket 20 and the plug 50 from being polluted or polluted by the environment.
列舉說明該插座20與該插頭50所增益之功效:該插座20具有一對插座凸耳23作為止擋(Stopper),以防止該插座20完全進入患者的鼻部,再者,使用者以手指掐住所述插座凸耳23與該插頭50相對旋轉,可使該插頭50易於脫離該插座20。此外,該插頭50具有一對插頭凸耳53,使用者以手指掐住所述插座凸耳23與所述插頭凸耳53相對旋轉,可使該空心圓柱51更容易脫離該環形柱21,而輕易分離該插座20與該插頭50。該插座20的材質可以選自矽質材料、聚氯乙烯(PVC)材料或聚丙烯(PP)材料。The effects gained by the
列舉說明該插座20與該插頭50的固定方式:該環形柱21具有一外側環形凹槽24(如圖4及圖6所示),該插頭50具有一插頭基座50a,該插頭基座50a具有一內側環形肋54,該空心圓柱51與該插頭基座50a形成一內側環形凹槽55(如圖9及圖11所示);當該插座20與該插頭50結合時,該內側環形肋54嵌入該外側環形凹槽24以形成卡固狀態(如圖1及圖2所示)。The fixing method of the
列舉說明該主要導管10與該插座20的組合方式:該插座20是以包覆成型之方式成形於該主要導管10的尾端12(如圖3及圖6所示),以構成一主要導管組合件。The combination of the
列舉說明該輔助導管30與該插頭50的組合方式:該插頭50是以緊配合之方式固定於該輔助導管30的尾端32(如圖8及圖11所示),以構成一輔助導管組合件(例如:該插頭尾端52具有一錐形凸部521,用以增加該插頭尾端52與該輔助導管30的緊配合作用)。Enumerate and illustrate the combination of the
列舉說明該第一附屬蓋60與該插座20的組合方式:該第一附屬蓋60進一步具有一插座固定環62以固定於該環形柱21,該第一蓋體61以一延伸片63連接於該插座固定環62(如圖3及圖6所示)。The combination of the
列舉說明該插座20與該插頭50的流體連通方式:該環形柱21進一步具有一插座孔26,該插座尾端22具有一插座通道27,該插座孔26藉由該插座通道27流體連通於該主要導管10;當該插座20與該插頭50結合時,該空心圓柱51插入該插座孔26,該空心圓柱51可流體連通於該插座通道27(如圖1、圖2及圖6所示)。再者,該插頭尾端52具有一插頭通道520,該空心圓柱51藉由該插頭通道520流體連通於該輔助導管30(如圖2、圖11及圖12所示)。Enumerate and illustrate the fluid communication mode of the
列舉說明該第一附屬蓋60與該插座20的密封方式:該第一蓋體61具有一塞子64及至少一定位凸部65,該環形柱21具有至少一定位凹部25;當該第一蓋體61密封該插座20時,該塞子64插入該插座孔26以形成密封狀態,該定位凸部65嵌入該定位凹部25以形成定位狀態(如圖3、圖6及圖7所示)。Enumerate and illustrate the sealing method between the
列舉說明該第二附屬蓋70與該插頭50的組合方式:該第二附屬蓋70進一步具有一插頭固定環72以固定於該插頭尾端52,該第二蓋體71以一延伸片73連接於該插頭固定環72(如圖8及圖11所示)。The combination of the
列舉說明該第二附屬蓋70與該插頭50的密封方式:該第二蓋體71具有一帽部74及一開孔75;當該第二蓋體71密封該插頭50時,該空心圓柱51經由該開孔75插入該帽部74以形成密封狀態;當該插座20與該插頭50結合時,該塞子64插入該帽部74以形成密封狀態(如圖8、圖11及圖12所示)。Enumerate the sealing method between the
請參閱圖13至圖24所示,本發明的第二實施例大致相同於較佳實施例,不同之處僅在於該餵食導管組合進一步包括鎖固結構,該插座20與該插頭50可以相互鎖固,例如:該環形柱21具有一外螺紋28,該插頭50具有一螺帽50b,該螺帽50b具有一內螺紋58;其中該螺帽50b的內部具有複數彈性卡勾56,該空心圓柱51具有一環形錐部57及一圓盤部59;當該螺帽50b結合該空心圓柱51時,所述複數彈性卡勾56滑過該環形錐部57之後,所述複數彈性卡勾56被限位在該環形錐部57與該圓盤部59之間;當該插座20與該插頭50結合時,該螺帽50b的內螺紋58可鎖固於該環形柱21的外螺紋28,使該插座20與該插頭50相互鎖固。13 to 24, the second embodiment of the present invention is substantially the same as the preferred embodiment, except that the feeding catheter assembly further includes a locking structure, the
10:主要導管10: Main conduit
12:主要導管的尾端12: Tail end of main conduit
20:插座20: socket
22:插座尾端22: socket end
23:插座凸耳23:Socket lug
30:輔助導管30: Auxiliary catheter
32:輔助導管的尾端32: Tail end of auxiliary catheter
50:插頭50: plug
50a:插頭基座50a: Plug base
53:插頭凸耳53: Plug lug
60:第一附屬蓋60: First accessory cover
61:第一蓋體61: The first cover
63:延伸片63: Extension piece
70:第二附屬蓋70:Second accessory cover
71:第二蓋體71: Second cover
73:延伸片73: Extension piece
74:帽部74: hat part
| Application Number | Priority Date | Filing Date | Title | 
|---|---|---|---|
| TW110119931ATWI808429B (en) | 2021-05-31 | 2021-05-31 | Feeding conduit assembly having capability for a separable function and a sealable function | 
| CN202111045485.2ACN113855574B (en) | 2021-05-31 | 2021-09-07 | Feeding catheter combination with detachable and sealable functions | 
| Application Number | Priority Date | Filing Date | Title | 
|---|---|---|---|
| TW110119931ATWI808429B (en) | 2021-05-31 | 2021-05-31 | Feeding conduit assembly having capability for a separable function and a sealable function | 
| Publication Number | Publication Date | 
|---|---|
| TW202247864A TW202247864A (en) | 2022-12-16 | 
| TWI808429Btrue TWI808429B (en) | 2023-07-11 | 
| Application Number | Title | Priority Date | Filing Date | 
|---|---|---|---|
| TW110119931ATWI808429B (en) | 2021-05-31 | 2021-05-31 | Feeding conduit assembly having capability for a separable function and a sealable function | 
| Country | Link | 
|---|---|
| CN (1) | CN113855574B (en) | 
| TW (1) | TWI808429B (en) | 
| Publication number | Priority date | Publication date | Assignee | Title | 
|---|---|---|---|---|
| US20030045841A1 (en)* | 2001-08-31 | 2003-03-06 | Palcisko William M. | Feeding device with secondary stop tab | 
| US7041083B2 (en)* | 2002-02-26 | 2006-05-09 | Scimed Life Systems, Inc. | Medical catheter assembly including a removable inner sleeve and method of using the same | 
| WO2008146181A1 (en)* | 2007-05-30 | 2008-12-04 | Kimberly-Clark Worldwide, Inc. | Unique connectors for apparatus for vap preventative ventilation of intubated critically ill patients | 
| US8858533B2 (en)* | 2004-06-29 | 2014-10-14 | C. R. Bard, Inc. | Methods and systems for providing fluid communication with a gastrostomy tube | 
| Publication number | Priority date | Publication date | Assignee | Title | 
|---|---|---|---|---|
| GB2043449A (en)* | 1979-02-19 | 1980-10-08 | Betancourt V M | Nasogastric catheter | 
| US4781704A (en)* | 1987-02-24 | 1988-11-01 | Entech, Inc. | Feeding tube assembly with collapsible outlet connector | 
| CA2539428C (en)* | 1995-12-13 | 2008-12-09 | Sherwood Services Ag | Leak proof tube connection site | 
| RU2221598C2 (en)* | 1999-06-01 | 2004-01-20 | Криэйтив Плэстик Текнолоджи, Ллс | Needleless luer's medical adapter with a drive | 
| US20080183153A1 (en)* | 2007-01-31 | 2008-07-31 | Benlan, Inc. | Enteral Feeding Tube Connector | 
| US9517184B2 (en)* | 2012-09-07 | 2016-12-13 | Covidien Lp | Feeding tube with insufflation device and related methods therefor | 
| US10071234B2 (en)* | 2014-11-25 | 2018-09-11 | Avent, Inc. | Dual material Y-connector | 
| CN108136170B (en)* | 2015-09-22 | 2021-08-17 | 科帕克麦迪系统有限公司 | Dual port tubing for suction and feeding systems, methods and apparatus | 
| CN205054919U (en)* | 2015-10-21 | 2016-03-02 | 殷蓉 | Medical nose intestines tube of improved generation | 
| CN209667743U (en)* | 2019-01-10 | 2019-11-22 | 苏州工业园区大成化工塑业有限公司 | A kind of lid and bottle | 
| CN110917474B (en)* | 2020-01-08 | 2024-10-22 | 顾焱晖 | Catheter set for small intestine anastomosis bile drainage and intestinal fistula plugging | 
| CN213219950U (en)* | 2020-07-17 | 2021-05-18 | 新疆维吾尔自治区儿童医院 | Novel transfusion device | 
| Publication number | Priority date | Publication date | Assignee | Title | 
|---|---|---|---|---|
| US20030045841A1 (en)* | 2001-08-31 | 2003-03-06 | Palcisko William M. | Feeding device with secondary stop tab | 
| US7041083B2 (en)* | 2002-02-26 | 2006-05-09 | Scimed Life Systems, Inc. | Medical catheter assembly including a removable inner sleeve and method of using the same | 
| US8858533B2 (en)* | 2004-06-29 | 2014-10-14 | C. R. Bard, Inc. | Methods and systems for providing fluid communication with a gastrostomy tube | 
| WO2008146181A1 (en)* | 2007-05-30 | 2008-12-04 | Kimberly-Clark Worldwide, Inc. | Unique connectors for apparatus for vap preventative ventilation of intubated critically ill patients | 
| Publication number | Publication date | 
|---|---|
| TW202247864A (en) | 2022-12-16 | 
| CN113855574B (en) | 2023-08-29 | 
| CN113855574A (en) | 2021-12-31 | 
| Publication | Publication Date | Title | 
|---|---|---|
| ES2371143T3 (en) | DISCRIMINATORY ADAPTER OF ORAL POINT. | |
| US8287518B2 (en) | Connecting structure for a connector | |
| JP5189336B2 (en) | Safety connector assembly | |
| CN107073254B (en) | Medical connector | |
| CN106659638B (en) | Connector kits and their male and female adapters for percutaneous tubing | |
| US20130131609A1 (en) | Three-way stopcock unit, check valve, and fluid substance transfer device | |
| JP2018535773A (en) | Flexible cap for conical connectors | |
| JP2013035608A (en) | Closing system for drinking bottle or drinking cup | |
| US10342946B2 (en) | Cannula device | |
| BR102012027257A2 (en) | SAFE MEDICAL LIQUID TRANSFER SYSTEM | |
| TWI808429B (en) | Feeding conduit assembly having capability for a separable function and a sealable function | |
| CN106237455B (en) | Exhaust joint | |
| US20160069489A1 (en) | Hose Connection Device | |
| JP2001192099A (en) | Connecting device | |
| CN204272847U (en) | "T"-shaped drip hole miniature tube above formula water dropper | |
| US12144294B2 (en) | Irrigation saddle, adapter, and cap | |
| CN208573765U (en) | Laparoscopic surgery single-port multi-channel access system | |
| JP4904195B2 (en) | Endoscope forceps plug | |
| JP5024988B2 (en) | Endoscope forceps plug | |
| TW201607579A (en) | Drinking unit for gas mask | |
| CN216798377U (en) | An enema assembly with a pluggable enema tube | |
| JPH02154885A (en) | Socket section structure for tube | |
| CN213129279U (en) | Water inlet and overflow device and bathtub | |
| CN213724280U (en) | PICC manages connection structure | |
| CN212940921U (en) | Anti-pollution oxygen pillow |