




本發明係關於一種用於供車輛加油之加油系統及方法,且更具體言之係關於一種使用者可自行加油之自助加油系統及方法。The present invention relates to a refueling system and method for refueling vehicles, and more specifically relates to a self-service refueling system and method in which users can refuel by themselves.
現行多數車輛之行駛皆需要汽油或柴油作為燃料。市面上多數加油站採用人工加油之方式,由加油站之職員替車輛之使用者進行加油,因此,人事費用成為加油站營運上相當大的成本。The running of most existing vehicles all needs gasoline or diesel as fuel. Most gas stations on the market use manual refueling, and the staff of the gas station refuel the vehicle users. Therefore, personnel costs have become a considerable cost in the operation of the gas station.
為解決加油站人事成本偏高之問題,若干加油站已部分採用自助加油之方案,供車輛之使用者自行操作加油設備以進行加油。然而,傳統自助加油之方案需額外增設數種機台,額外增設數種機台之設置成本偏高,且維修及保養該等機台也將不定期產生額外的成本負擔,而不利於加油站之營運。此外,額外增設之數種機台對於自助加油的使用者而言往往不易操作或使用上不便利,因而降低使用者使用自助加油設備的意願。In order to solve the problem of high personnel costs at gas stations, some gas stations have partially adopted a self-service refueling solution, allowing vehicle users to operate refueling equipment for refueling. However, the traditional self-service refueling solution needs to add several additional machines, and the installation cost of adding several additional machines is relatively high, and the repair and maintenance of these machines will also generate additional cost burdens from time to time, which is not conducive to gas stations operation. In addition, several additional machines are often difficult to operate or inconvenient for users of self-service refueling, thus reducing users' willingness to use self-service refueling equipment.
因此,如何減少使用不必要之額外機台以降低加油站之營運成本,及如何使得自助加油的操作更為便利以增加使用者之使用意願,為本領域亟需解決之問題。Therefore, how to reduce the use of unnecessary extra machines to reduce the operating costs of gas stations, and how to make the operation of self-service refueling more convenient to increase users' willingness to use are problems that need to be solved urgently in this field.
本發明提出一種自助加油系統,其包含:一終端電腦設備;一加油設備,其與該終端電腦設備通聯;及一伺服器設備,其與一使用者之一使用者設備及該終端電腦設備通聯;其中該伺服器設備獲得一加油站之場站資料及該使用者之使用者相關資料,且在自該使用者設備接收一確認加油之信息後發送一加油請求至該終端電腦設備,該終端電腦設備回應於該加油請求而對該加油設備進行解鎖,以便允許一車輛進行自助加油。The present invention proposes a self-service refueling system, which includes: a terminal computer device; a refueling device, which communicates with the terminal computer device; and a server device, which communicates with a user device of a user and the terminal computer device ; Wherein the server device obtains the station data of a gas station and the user-related data of the user, and sends a refueling request to the terminal computer device after receiving a message confirming refueling from the user device, the terminal The computer device unlocks the refueling device in response to the refueling request to allow a vehicle to self-refuel.
本發明提出一種自助加油之方法,其包含:獲得一加油站之場站資料一使用者之使用者相關資料;獲得來自該使用者之一使用者設備的一確認加油之信息;及在獲得該場站資料、該使用者相關資料及該確認加油之信息後,發送一加油請求至一終端電腦設備,以對一加油設備進行解鎖,以便允許一車輛進行自助加油。The present invention proposes a method for self-service refueling, which includes: obtaining site data of a gas station and user-related data of a user; obtaining information confirming refueling from a user device of the user; and obtaining the refueling information After the site data, the user-related data and the fueling confirmation information, a fueling request is sent to a terminal computer device to unlock a fueling device so as to allow a vehicle to perform self-fueling.
本發明提出一種用於自助加油之應用程式產品,其包含:一輸入介面,可用以輸入使用者相關資料;及一顯示介面,其可顯示:一確認加油選項;一進行加油訊息;一狀態變更訊息;及一結束加油訊息,其中該確認加油選項經選取後該應用程式產品向一伺服器設備發送一確認加油之信息。The present invention proposes an application program product for self-service refueling, which includes: an input interface, which can be used to input user-related information; and a display interface, which can display: a confirmation of refueling options; a refueling message; a status change message; and a refueling end message, wherein the application product sends a refueling confirmation message to a server device after the refueling confirmation option is selected.
100:加油系統100: Refueling system
101:加油設備101: Refueling equipment
102:終端電腦設備102: Terminal computer equipment
103:自助加油機103: Self-service refueling machine
104:自助繳費機104: Self-service payment machine
200:自助加油系統200: Self-service refueling system
201:加油設備201: Refueling equipment
202:終端電腦設備202: Terminal computer equipment
203:伺服器設備203: Server equipment
204:影像裝置204: Video installation
205:使用者設備205: user equipment
下文描述及隨附圖式用來闡釋本發明之實施例。圖式中:圖1展示具備自助加油功能的一加油系統之示意圖;圖2展示根據本發明之一些實施例的一自助加油系統之示意圖;圖3展示根據本發明之一些實施例的一自助加油之方法之流程圖;圖4展示根據本發明之一些實施例的一自助加油之方法之循序圖;圖5展示根據本發明之一些實施例的一自助加油之方法之循序圖。The following description and accompanying drawings serve to illustrate embodiments of the invention. In the drawings: Fig. 1 shows a schematic diagram of a refueling system with self-service refueling function; Fig. 2 shows a schematic diagram of a self-service refueling system according to some embodiments of the present invention; Fig. 3 shows a self-service refueling system according to some embodiments of the present invention Figure 4 shows a sequential diagram of a method for self-service refueling according to some embodiments of the present invention; Figure 5 shows a sequential diagram of a method for self-service refueling according to some embodiments of the present invention.
圖1是展示具備自助加油功能的一加油系統100之一實施例之示意圖。如圖1所示,該加油系統100包含一加油設備101、一終端電腦設備102、一自助加油機103、及一自助繳費機104。FIG. 1 is a schematic diagram showing an embodiment of a
該加油設備101係加油站所常設之通常由加油站員工所操作之已知加油設備。該終端電腦設備102亦係加油站所常設,用以與加油設備101通聯以控制該加油設備101或接收來自該加油設備101之資訊。在一些實施例中,該終端電腦設備102可為一銷售點(Point of Sale,POS)系統。The
該自助加油機103及該自助繳費機104係加油站為了額外提供自助加油服務所增設之機台。該自助繳費機104與自助加油機103連線,因此,該自助繳費機104可連線控制該自助加油機103,而該自助加油機103亦可將資訊傳送至該自助繳費機104。The self-
該自助繳費機104通常可提供使用者一或多種付款方式,因此該自助繳費機104可包含讀卡機、收鈔/驗鈔機、電子支付讀取裝置等繳費模組,視加油站欲提供哪些支付功能而定。The self-
根據圖1,自助加油使用者使用時,使用者可透過該自助繳費機104設定所欲使用的支付方式、所欲加油的油種、油量、及/或金額,藉由使用該自助繳費機104啟動自助加油流程後,該自助繳費機104指示該自助加油機103進行解鎖,以便使用者可取出對應的自助加油機103的油槍來進行自助加油。當使用者完成自助加油並掛回油槍後,該自助加油機103會將已加油的油種、油量、及/或金額之相關資訊傳送至該自助繳費機104,以供使用者進行確認及支付費用。According to FIG. 1 , when a self-service refueling user uses the self-
然而,使用上述自助加油系統仍存在許多問題。首先,為了提供自助加油之服務,除現有之加油設備及終端電腦設備之外,加油站還需額外增設該自助加油機及該自助繳費機,增設之自助加油機及自助繳費機通常偏高(市場上自助加油機及自助繳費機之單機價格通常在數十萬台幣),增設此等機台會造成加油站營運上巨大的成本增加。再者,在裝設自助加油機時,有時會需要動用地底工程更改加油站之地底結構,其工程費工耗時且公安要求極為嚴格。更甚者,自助繳費機亦需時常進行維修或維護,例如,自助繳費機內之讀卡機常因使用而損耗,而每次讀卡機發生異常時皆易造成使用者無法進行支付,而加油站於每次異常時都需要立即進行維修。更甚者,自助繳費機通常提供紙本明細及發票,需要人力定期補充明細及發票所用之紙張;有些自助繳費機提供現金繳費及找零的功能,需要人力定期補充機台內的鈔票或零錢,上述問題均造成額外之人力負擔。However, there are still many problems with using the self-service refueling system described above. First, in order to provide theFor refueling service, in addition to the existing refueling equipment and terminal computer equipment, the gas station also needs to add the self-service refueling machine and the self-service payment machine. The additional self-service refueling machines and self-service payment machines are usually high The stand-alone price of machine and self-service payment machine is usually hundreds of thousands of Taiwan dollars), adding these machines will cause a huge increase in the cost of gas station operation. Furthermore, when installing self-service gas dispensers, it is sometimes necessary to use underground engineering to change the underground structure of the gas station, which is labor-intensive and time-consuming and requires extremely strict public security requirements. What's more, self-service payment machines also need to be repaired or maintained from time to time. For example, the card reader in the self-service payment machine is often worn out due to use, and every time the card reader is abnormal, it is easy to cause the user to be unable to pay, and Gas stations need immediate repairs every time something goes wrong. What's more, self-service payment machines usually provide paper details and invoices, requiring manpower to regularly replenish the paper used for details and invoices; some self-service payment machines provide cash payment and change functions, requiring manpower to regularly replenish banknotes or change in the machine , the above problems have caused additional manpower burden.
再者,對於自助加油使用者而言,在進入加油站之加油島格後,使用者必須主動至自助繳費機前進行操作,才能開始自助加油的流程,對使用者而言,開始自助加油的流程在操作上並不方便。並且,由於在不同加油站之自助加油機裝設位置亦不相同,有時會造成使用者需在自助繳費機與自助加油機間多次移動或長距離移動,或需多次於兩者間交替操作,或需等待自助繳費機回應或發票收據等之列印,造成使用者之不便。並且,各加油站現有之自助繳費機之機型或配置可能均不相同,且操作上亦不簡便,使用者在每次進入不同加油站時都必須重新適應不同自助繳費機之操作,且每次使用自助繳費機都需重新做輸入及設定,對使用者而言極為不便且費時。如此,不但造成使用者之不便與每位使用者操作時間增加,對加油站而言亦降低其單位時間所能接收之來客量,降低加油站的服務效率及收益。Furthermore, for self-service refueling users, after entering the refueling island grid of the gas station, the user must actively go to the self-service payment machine to operate before starting the self-service refueling process. The process is not convenient in operation. Moreover, since the installation locations of the self-service refueling machines at different gas stations are also different, sometimes it may cause the user to move between the self-service payment machine and the self-service refueling machine for many times or for a long distance, or to move between the two for many times. Alternate operation, or need to wait for the response from the self-service payment machine or the printing of invoices and receipts, etc., causing inconvenience to users. Moreover, the models or configurations of the existing self-service payment machines at each gas station may be different, and the operation is not easy. Users must re-adapt to the operation of different self-service payment machines every time they enter a different gas station. Every time you use the self-service payment machine, you need to do input and settings again, which is extremely inconvenient and time-consuming for users. In this way, it not only causes inconvenience to users and increases the operating time of each user, but also reduces the number of visitors that the gas station can receive per unit time, reducing the service efficiency and revenue of the gas station.
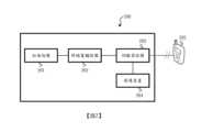
圖2展示根據本發明之一些實施例的一自助加油系統200之示意圖。在本發明之一些實施例中,該自助加油系統200包含一加油設備201、一終端電腦設備202、及一伺服器設備203。在本發明之一些實施例中,該自助加油系統200更包含一影像裝置204。根據本發明之一些實施例,該影像裝置204為可選用的(optional)。FIG. 2 shows a schematic diagram of a self-
該加油設備201可包含數個油槍用以提供不同油品,且針對不同油槍設有鎖定/解鎖裝置。該終端電腦設備202用以與加油設備201通聯以控制該加油設備201或接收來自該加油設備201之資訊。在本發明之一些實施例中,該終端電腦設備202可為一銷售點(Point of Sale,POS)系統。The
該伺服器設備203與該終端電腦設備202可以各種有線或無線之方式進行連接。在本發明之一些實施例中,該伺服器設備203與該終端電腦設備202係透過無線網路進行連接。該伺服器設備203與該影像裝置204亦可以各種有線或無線之方式進行連接。在本發明之一些實施例中,該伺服器設備203與該影像裝置204係透過無線網路進行連接。在本發明之一些實施例中,該伺服器設備203位於加油站之場站之外。The
在本發明之一些實施例中,該影像裝置204包括一影像擷取模組(未圖式)。在本發明之一些實施例中,該影像裝置204更包括一影像辨識模組(未圖式)。在本發明之一些實施例中,該伺服器設備203亦可包括一影像辨識模組(未圖式)。該伺服器設備203或該影像裝置204通常為第三方之自助加油服務提供者所提供,然在某些情況下,亦可能為加油站營運方本身所設置。在本發明之一些實施例中,該影像裝置204位於加油站之場站之內。In some embodiments of the present invention, the
在本發明之一些實施例中,該伺服器設備203可與自助加油使用者(或車主)之使用者設備205通聯以進行自助加油。該使用者設備205可包括一手機、一平板電腦、一筆記型電腦、一穿戴式電子裝置或其他行動電子裝置。In some embodiments of the present invention, the
根據圖2,在本發明之一些實施例中,自助加油使用者之車輛進入具有該自助加油系統200之加油站後,該伺服器設備203會基於來自該影像裝置204之資訊及來自使用者設備205之一確認加油之信息而發送一加油請求至該終端電腦設備202,該終端電腦設備202回應於該加油請求而對該加油設備201進行解鎖,以便自助加油使用者自行操作該加油設備201以允許該車輛進行自助加油。According to FIG. 2, in some embodiments of the present invention, after the self-service refueling user's vehicle enters the gas station with the self-
詳細來說,在自助加油使用者之車輛進入具有該自助加油系統200之加油站後,該影像裝置204之該影像擷取模組會擷取該車輛及該車輛之車牌之影像。在該影像裝置204更包括一影像辨識模組之情況下,該影像裝置204之該影像辨識模組會對所擷取之影像進行辨識,並將所擷取之影像的一辨識結果傳送至該伺服器設備203。或者,在該伺服器設備203包括一影像辨識模組之情況下,該影像裝置204亦可將所擷取之影像直接傳送至該伺服器設備203,而由該伺服器設備203之該影像辨識模組對該影像裝置204所擷取之影像進行辨識,並產生一辨識結果以獲取使用者相關資料。該伺服器設備203針對該辨識結果進行判斷,並將一確認請求發送至自助加油使用者之使用者設備205。回應於該確認請求,該自助加油使用者之使用者設備205可發送一確認加油之信息至該伺服器設備203。在自該使用者設備205接收該確認加油之信息後,該伺服器設備203發送一加油請求至該終端電腦設備202,該終端電腦設備202回應於該加油請求而對該加油設備201進行解鎖,以便自助加油使用者自行操作該加油設備201以允許該車輛進行自助加油。Specifically, after the self-refueling user's vehicle enters the gas station with the self-
根據圖2,在本發明之一些實施例中,自助加油使用者之車輛進入具有該自助加油系統200之加油站後,在(1)該影像裝置204並未擷取或無法擷取影像、或(2)該影像裝置204已擷取影像但並未辨識或無法辨識該影像或辨識失敗、或(3)該影像裝置204無法將所擷取之影像及/或辨識結果傳送至該伺服器設備203、或(4)不存在該影像裝置204之情況下,該伺服器設備203可基於來自自助加油使用者之一使用者設備205之資訊而發送一加油請求至該終端電腦設備202,該終端電腦設備202回應於該加油請求而對該加油設備201進行解鎖,以便自助加油使用者自行操作該加油設備201以允許該車輛進行自助加油。在此等實施例中,在自助加油使用者之車輛進入具有該自助加油系統200之加油站後,自助加油使用者可利用該使用者設備205取得加油站的場站資料並將該場站資料傳送至該伺服器設備203,亦可利用該使用者設備205將車輛之車牌資訊傳送至該伺服器設備203。According to FIG. 2 , in some embodiments of the present invention, after the vehicle of the self-service refueling user enters the gas station with the self-
根據本發明之一些實施例,自助加油使用者可利用該使用者設備205,透過與加油站進行近場通訊(Near-field communication,NFC)、掃描加油站之二維條碼或四維條碼(QR-Code)、或手動輸入等方式來取得加油站的場站資料,並透過得到的場站資料而傳送一進場紀錄至該伺服器設備203。According to some embodiments of the present invention, the self-service refueling user can use the
根據本發明之一些實施例,自助加油使用者可利用該使用者設備205手動輸入使用者相關資料,並將該使用者相關資料傳送至該伺服器設備203。根據本發明之一些實施例,使用者相關資料包括會員資料。根據本發明之一些實施例,會員資料包括使用者基本資料、使用者之車輛之車牌號碼、使用者使用紀錄、使用者加油油種、使用者偏好、及使用者付款方式之至少一者。根據本發明之一些實施例,該自助加油使用者亦可利用該使用者設備205將其他資訊傳送至該伺服器設備203。根據本發明之一些實施例,該使用者設備205係利用一應用程式(Application,APP)透過例如無線傳輸之方式將使用者相關資料傳送至該伺服器設備203。According to some embodiments of the present invention, the self-service refueling user can use the
在該伺服器設備203獲得該場站資料及該使用者相關資料後,對該場站資料及該使用者進行判斷,並將一確認請求發送至自助加油使用者之使用者設備205。回應於該確認請求,該自助加油使用者之使用者設備205可發送一確認加油之信息至該伺服器設備203。在自該使用者設備205接收該確認加油之信息後,該伺服器設備203發送一加油請求至該終端電腦設備202,該終端電腦設備202回應於該加油請求而對該加油設備201進行解鎖,以便自助加油使用者自行操作該加油設備201以對該車輛進行自助加油。After the
圖3是根據本發明之一些實施例的一自助加油之方法之流程圖。Fig. 3 is a flow chart of a method for self-service refueling according to some embodiments of the present invention.
如圖3所示,首先,自助加油使用者之車輛進入具有該自助加油系統200之加油站(步驟301)。接著,伺服器設備203獲得加油站的場站資料及使用者相關資料(步驟302)。接著,該伺服器設備203基於所獲得之場站資料及使用者相關資料,對自助加油使用者之使用者設備205發出一確認請求(步驟303)。接著,使用者判斷是否同意該確認請求(步驟304),若不同意,則自助加油中止(步驟305);若同意,則透過該使用者設備205發送一確認加油之信息至該伺服器設備203(步驟306)。接著,在自該使用者設備205接收該確認加油之信息後,該伺服器設備203發送一加油請求至該終端電腦設備202(步驟307)。接著,該終端電腦設備202回應於該加油請求而對該加油設備201進行解鎖(步驟308),以便進行自助加油(步驟309)。接著,在自助加油完成後,自助加油結束(步驟310)。As shown in FIG. 3 , firstly, the vehicle of the self-service refueling user enters the gas station with the self-service refueling system 200 (step 301 ). Next, the
圖4展示根據本發明之一些實施例的自助加油之方法之循序圖。FIG. 4 shows a sequential diagram of a method of self-refueling according to some embodiments of the present invention.
如圖4所示,根據本發明之一些實施例,自助加油使用者之車輛進入具有本發明之自助加油系統200之加油站後,影像裝置204會擷取該車輛及該車輛之車牌之影像,判斷車輛停止且辨識出對應的車牌號碼。影像裝置204並將一辨識結果傳送至該伺服器設備203,且將場站資料亦傳送至該伺服器設備203,以建立一進場紀錄。該伺服器設備203於檢查是否可以啟用自助加油後,若可以啟用,則針對該辨識結果進行判斷,並將一確認請求發送至自助加油使用者之使用者設備205。其中針對該辨識結果進行判斷包括:透過車牌找到對應的使用者、判斷該使用者是否為會員、判斷使用者之付款資格等,且其中將一確認請求發送至自助加油使用者之使用者設備205包括發出車輛進場通知以通知使用者目前車輛已進入自助加油場地。As shown in FIG. 4 , according to some embodiments of the present invention, after the self-service refueling user's vehicle enters the gas station with the self-
接著,如圖4所示,在使用者設備205收到該確認請求後,該使用者設備205向該伺服器設備203發送一確認加油之信息。在本發明之一些實施例中,該確認加油之信息包含一授權付款信息,其包括透過選取付款方式,作預先授權(圈存)之動作。回應於該授權付款信息,該伺服器設備203可透過一支付平台跟銀行或金融機構作事先授權。支付平台會將授權成功之信息通知該伺服器設備203。回應於該授權成功之信息,該伺服器設備203可通知使用者授權成功,此時使用者設備205上可顯示一狀態訊息,包括顯示「自助加油開始」或其他類似之訊息。並將一加油請求發送至該終端電腦設備202,以通知該終端電腦設備202解鎖油槍。加油請求可包含使用者加油油種,且該終端電腦設備依據該使用者加油油種來解鎖一特定油槍。接著,該終端電腦設備202可回應於該加油請求而發出一確認回應(ack)給該伺服器設備203。並且,該終端電腦設備202可回應於該加油請求而對該加油設備201發送一解鎖信號至該加油設備201以對其油槍進行解鎖,並在解鎖油槍後發送一已解鎖通知給該伺服器設備203,以回覆解鎖狀態給該伺服器設備203。接著,回應於該已解鎖通知,該伺服器設備203可發出一確認回應(ack)給該終端電腦設備202,並發送一可加油訊息至該使用者設備205,以通知使用者目前油槍已解鎖可以取油槍,此時使用者設備205上可顯示一狀態訊息,包括顯示「油槍已解鎖」或其他類似之訊息。Next, as shown in FIG. 4 , after the
接著,在使用者取出油槍後,在加油設備201偵測到取出油槍後,加油設備201可向該終端電腦設備202通知已取槍。回應於該已取槍之通知,該終端電腦設備202可發送一開始加油通知至該伺服器設備203。回應於該開始加油通知,該伺服器設備203可發出一確認回應(ack)給該終端電腦設備202,並發送一狀態變更訊息給該使用者設備205,通知使用者目前油槍已被取用。隨後,加油設備201偵測到油量變更,加油設備201可向該終端電腦設備202通知油量變更。回應於該油量變更之通知,該終端電腦設備202發送一進行加油通知至該伺服器設備203,以通知該伺服器設備203目前之油種、加油量、及加油金額或其他訊息。回應於該進行加油通知,該伺服器設備203可發出一確認回應(ack)給該終端電腦設備202,並發送一狀態變更訊息給該使用者設備205,通知使用者目前之油種、加油量、及加油金額。隨著加油持續進行,該伺服器設備203可在加油進行之期間內的一或多個時間點持續發送一或多個狀態變更訊息給該使用者設備205,而使用者設備205上可對應地持續顯示一或多個狀態訊息,包括顯示「持續更新加油量/加油金額」或其他類似之訊息。Then, after the user takes out the oil gun, after the
接著,在使用者掛回油槍後,在加油設備201偵測到掛回油槍後,加油設備201可向該終端電腦設備202通知已掛槍。回應於該已掛槍之通知,該終端電腦設備202可發送一結束加油通知至該伺服器設備203。回應於該結束加油通知,該伺服器設備203可發出一確認回應(ack)給該終端電腦設備202,並發送一狀態變更訊息給該使用者設備205,告知使用者目前油槍已掛回、加油結束、加油量、及加油金額或其他訊息,此時使用者設備205上可顯示一狀態訊息,包括顯示「加油完成,付款中...」或其他類似之訊息。並且,加油設備201可結算加油之油種、加油量、及加油金額,並向該終端電腦設備202通知結算。回應於該結算之通知,該終端電腦設備202可透過最後的結算金額去計算使用者需付多少金額,發送一結算及請款通知至該伺服器設備203,以通知該伺服器設備203結算金額及需向使用者請款之金額。回應於該結算及請款通知,該伺服器設備203可發出一確認回應(ack)給該終端電腦設備202,並向支付平台作請款,其中請款之金額小於或等於預先授權之授權金額。支付平台於支付該請款之金額後,通知該伺服器設備203已請款成功。回應於已請款成功之通知,該伺服器設備203發送一訂單結帳成功訊息給該使用者設備205,通知使用者付款完成並顯示訂單資訊,使用者設備205上可對應地顯示一狀態訊息,包括顯示「加油訂單」或其他類似之訊息。到此,可視為自助加油結束。Then, after the user hangs back the oil gun, after the
圖5展示根據本發明之一些實施例的自助加油之方法之循序圖。FIG. 5 shows a sequential diagram of a method for self-refueling according to some embodiments of the present invention.
圖5與圖4之差異之處在於,圖5中,在自助加油使用者之車輛進入具有該自助加油系統200之加油站後,有下列情況之一或多者:(1)該影像裝置204並未擷取或無法擷取影像、(2)該影像裝置204已擷取影像但並未辨識或無法辨識該影像或辨識失敗、(3)該影像裝置204無法將所擷取之影像及/或辨識結果傳送至該伺服器設備203、或(4)不存在該影像裝置204。在上述情形下,該伺服器設備203無法自該影像裝置204獲得場站資料及/或使用者相關資料。The difference between Fig. 5 and Fig. 4 is that in Fig. 5, when the vehicle of the self-service refueling user enters theAfter there is a gas station with the self-
因此,圖5中,在自助加油使用者之車輛進入具有該自助加油系統200之加油站後,該伺服器設備203自使用者設備205獲得加油站的場站資料,亦可自使用者設備205獲得使用者相關資料。根據本發明之一些實施例,該使用者設備205可利用一應用程式(Application,APP)透過例如無線傳輸之方式將使用者相關資料傳送至該伺服器設備203。根據本發明圖5之實施例,自助加油使用者可利用該使用者設備205,透過與加油站進行近場通訊(Near-field communication,NFC)、掃描加油站之二維條碼或四維條碼(QR-Code)、或手動輸入等方式來取得加油站的場站資料,並透過得到的場站資料而傳送一進場紀錄至該伺服器設備203。該伺服器設備203於檢查是否可以啟用自助加油後,若可以啟用,則針對該場站資料及該使用者相關資料進行判斷,並將一確認請求發送至自助加油使用者之使用者設備205。其中針對該使用者相關資料進行判斷包括:透過包括例如車牌號碼之使用者相關資料找到對應的使用者、判斷該使用者是否為會員、判斷使用者之付款資格等,且其中將一確認請求發送至自助加油使用者之使用者設備205包括發出車輛進場通知以通知使用者目前車輛已進入自助加油場地。Therefore, in Fig. 5, after the self-service refueling user's vehicle enters the gas station with the self-
本發明之一些實施例更提供一種可安裝於使用者設備205上的應用程式產品。應用程式產品包含:一輸入介面及一顯示介面。輸入介面可用以輸入加油站之場站資料及使用者相關資料之至少一者,顯示介面可顯示一確認加油選項。當使用者選取該確認加油選項經選取後該應用程式產品向一伺服器設備發送一確認加油之信息。該顯示介面更可顯示一進行加油訊息、一狀態變更訊息及一結束加油訊息,以即時通知使用者開始加油、加油進度、結束加油並進行付款等訊息。Some embodiments of the present invention further provide an application that can be installed on the
由上述內容可知,本發明所提出之自助加油之系統及方法,其無須於加油站內額外增設自助加油機台及自助繳費機台,可以有效降低提供自助加油之硬體設置之成本支出。再者,由於無須於加油站內額外增設自助加油機台及自助繳費機,自無須維修或維護之必要,因而可大量地降低加油站自助加油服務之人事費用及整體營運成本。本發明利用加油站現有的常設加油機台與終端電腦設備(POS系統),透過本發明之伺服器設備之利用,藉由將伺服器設備與加油站現有的終端電腦設備通聯,可直接將自助加油之服務及行動支付方式導入,而由於該伺服器設備通常可由第三方之服務提供者所提供,且僅需一組伺服器設備便可與多個加油站之終端電腦設備連線,不需於多個加油站內架設多個機台,因此,不但無須增加加油站的營運成本,對第三方之服務提供者而言亦是最經濟且有效的服務提供方式。It can be seen from the above that the self-service refueling system and method proposed by the present invention do not need to add additional self-service refueling machines and self-service payment machines in the gas station, which can effectively reduce the cost of hardware configuration for providing self-service refueling. Furthermore, since there is no need to add additional self-service refueling machines and self-service payment machines in the gas station, there is no need for repair or maintenance, so the personnel costs and overall operating costs of the self-service refueling service at the gas station can be greatly reduced. The present invention utilizes the existing permanent refueling machine and terminal computer equipment (POS system) at the gas station, and through the utilization of the server equipment of the present invention, by connecting the server equipment with the existing terminal computer equipment of the gas station, the self-service The introduction of refueling services and mobile payment methods, and because the server equipment can usually be provided by a third-party service provider, and only one set of server equipment can be connected to the terminal computer equipment of multiple gas stations, no need Set up multiple machines in multiple gas stations, so not only does it not need to increase the operating cost of the gas station, but it is also the most economical and effective way to provide services to third-party service providers.
此外,對於自助加油使用者而言,本發明提供諸多優點。舉例而言,傳統自助加油情況中,在使用者進入加油站之加油島格後,使用者必須主動至自助繳費機前進行操作,才能開始自助加油的流程,對使用者而言,開始自助加油的流程在操作上並不方便。並且,傳統自助加油在不同加油站之自助加油機裝設位置亦不相同,有時會造成使用者需在自助繳費機與自助加油機間多次移動或長距離移動,或需多次於兩者間交替操作,造成使用者之不便;本發明中可透過使用影像裝置對車輛之車牌進行辨識,而使終端電腦設備能夠主動向使用者之使用者設備(例如手機)發送通知,從而可開始自助加油的流程,因而簡化使用者開始自助加油的流程之操作,對使用者來說更加省時省力。並且,本發明中,使用者僅需於加油站之自助加油機前直接操作其使用者設備(例如手機),使用者無須在加油站多次移動或交互操作不同之機台。再者,各加油站現有之自助繳費機之機型或配置可能均不相同,且操作上亦不簡便,使用者在每次進入不同加油站時都必須重新適應不同自助繳費機之操作,且每次使用自助繳費機都需重新選擇付款方式、輸入統一編號、設定發票載具等步驟,對使用者而言極為不便且費時;本發明中使用者僅需於其使用者設備(例如手機)之應用程式中設定一次,之後再次使用應用程式進行自助加油時均可省略上述步驟,對使用者而言更為簡便且省時省力。並且,現有之自助加油在使用者結束加油後,使用者尚須回到自助繳費機前操作並等待發票及收據之列印等,額外花費車主之時間;本發明中使用者僅需在結束加油掛回油槍後,即可在其使用者設備(例如手機)上收到消費明細或發票等,便可直接離去,大幅減少使用者之等待時間。此外,由於本發明可簡化並加速使用者於加油站內自助加油之流程,每一位使用者在自助加油站內的停留時間亦會縮短,對加油站而言亦可於單位時間內接收更多客人,提升加油站的服務效率及收益。In addition, the present invention provides numerous advantages for self-service refueling users. For example, in the traditional self-service refueling situation, after the user enters the refueling island grid of the gas station, the user must actively go to the self-service payment machine to operate before starting the self-service refueling process. For the user, starting the self-service refueling The process is not convenient to operate. In addition, traditional self-service refueling machines are installed in different positions at different gas stations, sometimes causing users to pay at the self-serviceMultiple or long-distance movement between the machine and the self-service refueling machine, or multiple alternate operations between the two, causing inconvenience to the user; in the present invention, the license plate of the vehicle can be identified by using the imaging device, so that the terminal computer The device can actively send a notification to the user's user equipment (such as a mobile phone), so that the self-service refueling process can be started, thus simplifying the operation of the user to start the self-service refueling process, saving time and effort for the user. Moreover, in the present invention, the user only needs to directly operate his user equipment (such as a mobile phone) in front of the self-service refueling machine at the gas station, and the user does not need to move multiple times or interact with different machines at the gas station. Furthermore, the models or configurations of the existing self-service payment machines at each gas station may be different, and the operation is not easy. Users must re-adapt to the operation of different self-service payment machines every time they enter a different gas station, and Every time you use the self-service payment machine, you need to re-select the payment method, enter the unified number, set the invoice carrier and other steps, which is extremely inconvenient and time-consuming for the user; The above steps can be omitted when using the app for self-service refueling after setting it once in the app, which is more convenient and saves time and effort for users. Moreover, in the existing self-service refueling, after the user finishes refueling, the user still has to return to the self-service payment machine to operate and wait for the printing of the invoice and receipt, etc., which takes extra time for the car owner; in the present invention, the user only needs to finish refueling After the oil gun is hung back, the user can receive consumption details or invoices on the user's device (such as a mobile phone), and then leave directly, greatly reducing the user's waiting time. In addition, because the present invention can simplify and speed up the self-service refueling process of users in the gas station, each user's stay time in the self-service gas station will also be shortened, and the gas station can also receive more customers per unit time , Improve the service efficiency and revenue of gas stations.
綜上所述,本發明提出之方案對於使用者、加油站營運者、及第三方自助加油服務提供者而言,均為成本最低且效益最高之方案。To sum up, the solution proposed by the present invention is the solution with the lowest cost and the highest benefit for users, gas station operators, and third-party self-service refueling service providers.
在前文說明書中,已參考本發明之特定例示性實施例描述本發明。然而,將顯而易見,在不脫離如隨附申請專利範圍中所陳述之本發明之更廣泛精神及範疇之情況下,可對其作出各種修改及改變。因此,本說明書及圖式應被視為一闡釋性含義而非一限制性含義。In the foregoing specification, the invention has been described with reference to specific illustrative embodiments thereof.It will, however, be evident that various modifications and changes can be made thereto without departing from the broader spirit and scope of the invention as set forth in the appended claims. Accordingly, the specification and drawings should be regarded in an explanatory sense rather than a restrictive sense.
200:自助加油系統200: Self-service refueling system
201:加油設備201: Refueling equipment
202:終端電腦設備202: Terminal computer equipment
203:伺服器設備203: Server equipment
204:影像裝置204: Video installation
205:使用者設備205: user equipment
| Application Number | Priority Date | Filing Date | Title |
|---|---|---|---|
| TW109134500ATWI798590B (en) | 2020-10-05 | 2020-10-05 | System, method and application product for self-service fueling |
| Application Number | Priority Date | Filing Date | Title |
|---|---|---|---|
| TW109134500ATWI798590B (en) | 2020-10-05 | 2020-10-05 | System, method and application product for self-service fueling |
| Publication Number | Publication Date |
|---|---|
| TW202215380A TW202215380A (en) | 2022-04-16 |
| TWI798590Btrue TWI798590B (en) | 2023-04-11 |
| Application Number | Title | Priority Date | Filing Date |
|---|---|---|---|
| TW109134500ATWI798590B (en) | 2020-10-05 | 2020-10-05 | System, method and application product for self-service fueling |
| Country | Link |
|---|---|
| TW (1) | TWI798590B (en) |
| Publication number | Priority date | Publication date | Assignee | Title |
|---|---|---|---|---|
| TWI873786B (en)* | 2023-08-18 | 2025-02-21 | 宇傑貿易有限公司 | Energy Refill Device Information Management System |
| Publication number | Priority date | Publication date | Assignee | Title |
|---|---|---|---|---|
| US20130275248A1 (en)* | 2010-10-20 | 2013-10-17 | Naltec, Inc. | Payment system for services and goods |
| CN205680202U (en)* | 2016-06-06 | 2016-11-09 | 大连海事大学 | A gas station automatic payment device |
| CN107730241A (en)* | 2017-05-10 | 2018-02-23 | 西安艾润物联网技术服务有限责任公司 | Self-service refueling method, system and computer-readable recording medium |
| TW201837803A (en)* | 2017-03-28 | 2018-10-16 | 朱恩辛 | System and method based on self-service selling transaction improving the convenience and the efficiency of the transaction and enhancing the security of the transaction |
| TWM569022U (en)* | 2018-07-18 | 2018-10-21 | 龔千慧 | Mobile device payment system for self-service fuel filling operation |
| TW201911162A (en)* | 2017-07-28 | 2019-03-16 | 香港商阿里巴巴集團服務有限公司 | Refueling, refueling billing and refueling payment method, device and electronic apparatus |
| CN208861328U (en)* | 2018-07-10 | 2019-05-14 | 中化能源科技有限公司 | License plate payment system for gas station |
| WO2019095395A1 (en)* | 2017-11-20 | 2019-05-23 | 深圳市小猫信息技术有限公司 | Refueling charge settlement method, device and system |
| CN110414968A (en)* | 2018-04-26 | 2019-11-05 | 西安艾润物联网技术服务有限责任公司 | Self-help vehicle method of servicing, terminal and Cloud Server |
| TWM609763U (en)* | 2020-10-05 | 2021-04-01 | 大聲公行動股份有限公司 | System for self-service fueling |
| Publication number | Priority date | Publication date | Assignee | Title |
|---|---|---|---|---|
| US20130275248A1 (en)* | 2010-10-20 | 2013-10-17 | Naltec, Inc. | Payment system for services and goods |
| CN205680202U (en)* | 2016-06-06 | 2016-11-09 | 大连海事大学 | A gas station automatic payment device |
| TW201837803A (en)* | 2017-03-28 | 2018-10-16 | 朱恩辛 | System and method based on self-service selling transaction improving the convenience and the efficiency of the transaction and enhancing the security of the transaction |
| CN107730241A (en)* | 2017-05-10 | 2018-02-23 | 西安艾润物联网技术服务有限责任公司 | Self-service refueling method, system and computer-readable recording medium |
| TW201911162A (en)* | 2017-07-28 | 2019-03-16 | 香港商阿里巴巴集團服務有限公司 | Refueling, refueling billing and refueling payment method, device and electronic apparatus |
| WO2019095395A1 (en)* | 2017-11-20 | 2019-05-23 | 深圳市小猫信息技术有限公司 | Refueling charge settlement method, device and system |
| CN110414968A (en)* | 2018-04-26 | 2019-11-05 | 西安艾润物联网技术服务有限责任公司 | Self-help vehicle method of servicing, terminal and Cloud Server |
| CN208861328U (en)* | 2018-07-10 | 2019-05-14 | 中化能源科技有限公司 | License plate payment system for gas station |
| TWM569022U (en)* | 2018-07-18 | 2018-10-21 | 龔千慧 | Mobile device payment system for self-service fuel filling operation |
| TWM609763U (en)* | 2020-10-05 | 2021-04-01 | 大聲公行動股份有限公司 | System for self-service fueling |
| Publication number | Publication date |
|---|---|
| TW202215380A (en) | 2022-04-16 |
| Publication | Publication Date | Title |
|---|---|---|
| CN111862461B (en) | ETC wisdom refueling system | |
| US20190251365A1 (en) | Customer identification at filling station | |
| CN112712598B (en) | Parking lot ETC charging management system and method | |
| CN102122398B (en) | Device and system for paying parking fee in wireless manner | |
| CN110363932B (en) | Self-service issuing system of electronic tags for vehicles | |
| CN106980970A (en) | Oiling payment mechanism, system and method | |
| CN108305391B (en) | Refueling information acquisition and processing method and refueling service system | |
| CN102157041A (en) | Multi-cardreader payment terminal for oiling machine | |
| CN108764887A (en) | Multi-functional payment machine for gas station | |
| CN110992015A (en) | Payment method and system, payment management device, explosion-proof handheld terminal and medium | |
| CN201965667U (en) | Wireless parking fee payment device and wireless parking fee payment system | |
| JP2000344299A (en) | Gas station management system | |
| TWI798590B (en) | System, method and application product for self-service fueling | |
| JP7082908B2 (en) | Fuel supply system | |
| CN205788299U (en) | A kind of rapid payment settlement system based on fixed ip address | |
| KR20130119578A (en) | Method for managing parking in street parking lot | |
| CN212411287U (en) | ETC wisdom refueling system | |
| TWM609763U (en) | System for self-service fueling | |
| US20250010753A1 (en) | System for self-service energy refilling | |
| KR20140047249A (en) | Mobile payment systrem for refueling counter | |
| CN111453687A (en) | Oil station refueling system and method thereof | |
| JP2003291788A (en) | Method for operating vehicle identification information in vehicle service providing facility | |
| KR20150113463A (en) | Intergration management system using smart based lubricator and method thereof | |
| TWM652964U (en) | Information management system for energy supplement devices | |
| JP2023082625A (en) | Code settlement system, method and program |