






































































本發明關於一種生物感測器及用於決定其對電極尺寸的方法,特別關於一種用於量測與待測物關聯的生理參數所代表的生理訊號、以及用於延長生物感測器的使用壽命的方法。The present invention relates to a biosensor and a method for determining the size of its counter electrode, in particular to a method for measuring a physiological signal represented by a physiological parameter associated with a test object, and for extending the use of the biosensor method of life.
糖尿病病患人口呈快速增長,隨之益發強調需監控體內葡萄糖(Glucose)的變化,故許多研究開始朝向研發可植入體內進行連續式葡萄糖監控(continuous glucose monitoring,CGM)的系統以解決患者一天需反覆多次採血與檢測所帶來生活上的不便。With the rapid growth of the diabetic patient population, the need to monitor the changes of glucose (Glucose) in the body has become increasingly emphasized. Therefore, many researches have begun to develop systems that can be implanted in the body for continuous glucose monitoring (CGM) to solve the problem of patients' daily glucose monitoring. The inconvenience of life caused by repeated blood collection and testing.
於一基於酶的生物感測器的CGM系統領域上,其中取決於分析物濃度的生化反應訊號轉換成可測量的物理訊號,例如光學或電化學訊號。以葡萄糖量測而言,電化學反應例如以葡萄糖氧化酵素(glucose oxidase,GOx)催化葡萄糖反應生成葡萄糖酸內酯(Gluconolactone)與還原態酵素,後續還原態酵素將與體內生物流體中的氧氣進行電子轉移進而生成產物過氧化氫(H2O2),最後藉由催化產物H2O2的氧化反應來量化葡萄糖濃度,其反應式如下。In the field of CGM systems for enzyme-based biosensors, in which biochemical reaction signals depending on analyte concentration are converted into measurable physical signals, such as optical or electrochemical signals. For glucose measurement, the electrochemical reaction, such as glucose oxidase (GOx), catalyzes the reaction of glucose to generate gluconolactone (Gluconolactone) and a reduced enzyme, and the subsequent reduced enzyme will react with the oxygen in the biological fluid in the body. The electron transfer then generates the product hydrogen peroxide (H2 O2 ), and finally the glucose concentration is quantified by catalyzing the oxidation reaction of the product H2 O2 . The reaction formula is as follows.
Glucose+GOx(FAD)→GOx(FADH2)+GluconolactoneGlucose+GOx(FAD)→GOx(FADH2 )+Gluconolactone
GOx(FADH2)+O2→GOx(FAD)+H2O2在上述反應中,FAD(黃素腺嘌呤二核苷酸,Flavin Adenine Dinucleotide)為GOx的活性中心。GOx(FADH2 )+O2 →GOx(FAD)+H2 O2 In the above reaction, FAD (Flavin Adenine Dinucleotide) is the active center of GOx.
使用者通常佩戴CGM天數長,例如14天以上,因此將其小型化成為必然趨勢。CGM的基本結構包括:(a)生物感測器(Biosensor),用於測量與人體葡萄糖濃度相對應的生理訊號;以及(b)傳感器(Transmitter),用於傳輸這些生理訊號。該生物感測器可以是雙電極系統或三電極系統。在三電極系統的生物感測器中,包括一個工作電極(WE)、一個對電極(CE)和一個參考電極(RE)。雙電極系統的生物感測器包括一個工作電極(WE)和一個對電極(CE),其中對電極兼具有參考電極的功能,因此有時也稱對/參考電極(R/C)。三電極系統的生物感測器中的參考電極和雙電極系統的生物感測器中作為參考電極的對電極在葡萄糖濃度的穩定測量上合適材料是銀/氯化銀(Ag/AgCl)。然而,在將感測器植入生物體內之後,當工作電極發生氧化還原反應以測量葡萄糖濃度時,相對應的參考電極(RE)或參考/對電極(R/C)發生還原反應,使氯化銀還原為銀而使氯化銀被消耗。另外,如果植入生物體內的感測器是兩或三電極系統的感測器,由於氯化銀在體液中的解離,參考電極上的氯化銀會發生損耗,從而會造成對參考電壓的漂移問題。然而在兩電極系統的參考/對電極(R/C)因參與反應,其氯化銀耗損程度更是高過三電極系統。因此感測器的使用壽命受限於對電極和/或參考電極上氯化銀的含量。Users usually wear CGM for a long time, such as more than 14 days, so it is an inevitable trend to miniaturize it. The basic structure of CGM includes: (a) a biosensor (Biosensor) for measuring physiological signals corresponding to the glucose concentration of the human body; and (b) a sensor (Transmitter) for transmitting these physiological signals. The biosensor can be a two-electrode system or a three-electrode system. In a three-electrode system biosensor, there is a working electrode (WE), a counter electrode (CE) and a reference electrode (RE). The biosensor of the two-electrode system includes a working electrode (WE) and a counter electrode (CE), wherein the counter electrode also functions as a reference electrode, so it is sometimes called counter/reference electrode (R/C). A suitable material for the stable measurement of glucose concentration is silver/silver chloride (Ag/AgCl) for the reference electrode in the biosensor of the three-electrode system and the counter electrode as the reference electrode in the biosensor of the two-electrode system. However, after the sensor is implanted in a living body, when the working electrode undergoes a redox reaction to measure the glucose concentration, the corresponding reference electrode (RE) or reference/counter electrode (R/C) undergoes a reduction reaction, making chlorine Silver chloride is consumed by reduction of silver chloride to silver. In addition, if the sensor implanted in the living body is a sensor of a two- or three-electrode system, due to the dissociation of silver chloride in the body fluid, the silver chloride on the reference electrode will be depleted, which will cause a decrease in the reference voltage. Drift problem. However, due to the participation of the reference/counter electrode (R/C) in the two-electrode system, the consumption of silver chloride is even higher than that of the three-electrode system. The lifetime of the sensor is therefore limited by the amount of silver chloride on the counter and/or reference electrodes.
目前亦有許多針對生物感測器的使用壽命的問題所提出的發明。以二電極系統為例,在平均感測電流20奈米安培(nA)下對電極的消耗量約為每日1.73毫庫倫(mC),假設對電極的長寬高分別為3.3毫米、0.25毫米與0.01毫米,且原本設計的電極容量(Capacity)僅為6mC時,其穩定量測的狀態至多維持一天左右。不過,假如還要延長使用壽命,若欲將生物感測器植入皮下進行連續16天的葡萄糖監控,對電極的容量至少需達27.68mC的容量,在不改變寬度與厚度的狀況下現有技術的對電極長度可將需要長達15.2mm。故現有技術嘗試拉長對電極的長度至大於10mm,又為了避免植入深達皮下組織,此等生物感測器需以斜角方式植入。因此對患者造成較大的植入傷口、以及較高感染風險等問題,且因植入長度長,植入時的痛感亦較顯著。There are also many inventions proposed for the service life of biosensors. Taking a two-electrode system as an example, at an average sense current of 20 nanoamperes (nA)The consumption of the lower counter electrode is about 1.73 millicoulombs (mC) per day. Assuming that the length, width and height of the counter electrode are 3.3 mm, 0.25 mm and 0.01 mm respectively, and the originally designed electrode capacity (Capacity) is only 6mC, its The state of stable measurement lasts about one day at most. However, if the service life is to be extended, if the biosensor is to be implanted subcutaneously for 16 consecutive days of glucose monitoring, the capacity of the counter electrode must be at least 27.68mC. The counter electrode length may need to be up to 15.2mm. Therefore, the prior art attempts to lengthen the length of the counter electrode to more than 10 mm, and in order to avoid implantation deep into the subcutaneous tissue, these biosensors need to be implanted at an oblique angle. Therefore, problems such as larger implantation wounds and higher infection risks are caused to patients, and because of the long implantation length, the pain during implantation is also significant.
US 8,620,398描述了一種生物感測器,主要為三電極系統,雖然參考電極基本上不參與化學反應,但氯化銀仍於體內環境中逐漸自然消耗,只是消耗速率較兩電極系統緩慢,文中揭露其於AgCl將耗盡才進行再生,確定耗盡的步驟包括確定傳感器輸出電流有噪聲,也就是說當量測訊號不穩定、也就是說所量測的訊號已是雜訊時,回充AgCl的程序才會被啟動,使AgCl回復到具有足夠多次量測所需的量。然後直到下一次雜訊再發生時,還需要再一次回充AgCl。可以了解,US 8,620,398雖然考慮了AgCl會於量測中消耗而於生物感測器失效時進行AgCl回充。但是失效時的量測值已不可信,需要等待生物感測器完成AgCl回充的程序才能取得正確的量測值、暫時採用採血量測的方式、或是直接跳過這一次的量測,這問題對於患者或是需要得知當時血糖濃度的人員總是很困擾的。此外,由於此種生物感測器要應付至少連續數次或甚至數日的多次量測,必須準備較多的AgCl容量,但是也無可避免地會造成生物感測器的植入長度較長的問題,其也並未提出可以利用即時的AgCl回充的方式來提供不中斷的量測、具有較短植入長度、且具有更長使用壽命的生物感測器。US 8,620,398 describes a biosensor, which is mainly a three-electrode system. Although the reference electrode basically does not participate in chemical reactions, silver chloride is still gradually and naturally consumed in the in vivo environment, but the consumption rate is slower than that of the two-electrode system. It does not regenerate until the AgCl will be exhausted. The step of determining the exhaustion includes determining that the sensor output current has noise, that is to say, when the measurement signal is unstable, that is, the measured signal is already noisy, recharge the AgCl. The procedure is then activated to return the AgCl to the amount required to have enough measurements. Then until the next noise occurs again, AgCl needs to be recharged again. It can be understood that although US 8,620,398 considers that AgCl will be consumed during measurement, AgCl is recharged when the biosensor fails. However, the measurement value at the time of failure is unreliable. It is necessary to wait for the biosensor to complete the AgCl recharge procedure to obtain the correct measurement value, temporarily adopt the method of blood sampling, or directly skip this measurement. This problem is always troublesome for patients or those who need to know the blood glucose concentration at that time. In addition, since this kind of biosensor has to deal with multiple measurements at least several times in a row or even several days, it is necessary to prepare more AgCl capacity, but alsoInevitably, the biosensor has a long implant length, and it does not propose that instant AgCl recharge can be used to provide uninterrupted measurement, have a shorter implant length, and have Longer life biosensors.
US 9,351,677主要為兩電極系統,參考/對電極(R/C)參與化學反應,故氯化銀則伴隨電化學反應消耗,文中提出一種具有增加的AgCl容量的分析物感測器,其使用H2O2來再生參考電極上的AgCl,但是由於H2O2容易被還原成H2O、或被氧化成O2,因此在人體內不易穩定地存在。因此,在再生/回充期間,體內H2O2的濃度可能不足以穩定地回充足夠的AgCl的量,且相對地其生物感測器需要配置較大的AgCl電極尺寸,其植入端也長達12mm。US 9,351,677 is mainly a two-electrode system, the reference/counter electrode (R/C) participates in the chemical reaction, so the silver chloride is consumed with the electrochemical reaction. An analyte sensor with increased AgCl capacity is proposed, which uses H2 O2 is used to regenerate AgCl on the reference electrode, but since H2 O2 is easily reduced to H2 O or oxidized to O2 , it is not easy to exist stably in the human body. Therefore, during regeneration/recharge , the concentration ofH2O2 in the body may not be sufficient to recharge a sufficient amount of AgCl stably, and its biosensor needs to be configured with a relatively large AgCl electrode size, and its implanted end Also up to 12mm long.
生物感測器的使用壽命取決於對電極中存在的鹵化銀的量。但是,對電極的尺寸也取決於鹵化銀的量。生物感測器的壽命越長,鹵化銀的量就越大。鹵化銀的量越大,對電極的尺寸越大。對電極的尺寸越大,向患者的植入長度越長。對患者的植入長度越長,患者遭受的不適就越大。本公開提供了減小對電極的尺寸的解決方案,提供了一種對於對電極上所需的鹵化銀的初始量進行定量的方法,並且提供一種在需要時藉由智慧地啟動回充鹵化銀的方法及裝置,無需等到讓鹵化銀耗盡訊號出現(例如生理訊號出現噪聲)才進行鹵化銀回充,而是可以選擇一適當範圍作為門檻區間,以控制鹵化銀的庫存水平維持在此門檻區間內。因此,本發明提供一種生物感測器,能夠達成即用即充以提供不間斷量測、可穩定的回充AgCl、延長其使用壽命、以及微型化植入端的小尺寸的功效,更能減少產品的製造成本,而這些功效能夠解決前述習知技術所難以克服的問題。The lifetime of the biosensor depends on the amount of silver halide present in the counter electrode. However, the size of the counter electrode also depends on the amount of silver halide. The longer the life of the biosensor, the greater the amount of silver halide. The larger the amount of silver halide, the larger the size of the counter electrode. The larger the size of the counter electrode, the longer the implant length into the patient. The longer the implant length to the patient, the more discomfort the patient suffers. The present disclosure provides a solution for reducing the size of the counter electrode, provides a method of quantifying the initial amount of silver halide required on the counter electrode, and provides a method of intelligently initiating recharging of silver halide when needed The method and device do not need to wait until the silver halide depletion signal appears (such as noise in physiological signals) before performing silver halide recharging, but can select an appropriate range as a threshold interval to control the inventory level of silver halide to maintain the threshold interval Inside. Therefore, the present invention provides a biosensor capable of providing uninterrupted measurement, stably recharging AgCl, prolonging its service life, and miniaturizing the small size of the implanted end, which can reduce the The manufacturing cost of the product, and these effects can solve the problems that are difficult to overcome by the prior art.
本案申請人鑑於習知技術中的不足,經過悉心試驗與研究,並一本鍥而不捨的精神,終構思出本案,能夠克服先前技術的不足,以下為本案的簡要說明。In view of the deficiencies in the prior art, the applicant of this case, after careful experimentation and research, and a spirit of perseverance, finally conceived of this case, which can overcome the deficiencies of the prior art. The following is a brief description of the case.
透過本發明的回充技術,本發明的微型生物感測器中對電極訊號感測段的尺寸可縮小,進而可降低生物毒性並使微型生物感測器具有延長的使用壽命。此外,電極尺寸縮小可縮短感測器的植入端長度,因此可降低使用者植入痛感。特別地,藉由本發明的回充技術來調控氯化銀的回充時機與回充量,因此即使當使用者的葡萄糖濃度變化起伏很大時,本發明的微型感測器仍可以即時且自動地回充所消耗的氯化銀,使氯化銀的庫存量維持在預定的區間內,因此,所獲得的生理訊號與生理參數保持穩定的比例關係。透過本發明的回充方法,使得氯化銀的回充速率不須與量測期間的氯化銀的減少速率完全成正相關,並且本發明亦提供一種無須緊接於每次量測之後立即回充氯化銀的回充方法。Through the recharging technique of the present invention, the size of the sensing section of the counter electrode signal in the micro biosensor of the present invention can be reduced, thereby reducing the biological toxicity and making the micro biosensor have a prolonged service life. In addition, the reduction in the size of the electrodes can shorten the length of the implanted end of the sensor, thus reducing the pain of the user during implantation. In particular, the recharging timing and recharging amount of silver chloride are regulated by the recharging technology of the present invention, so even when the user's glucose concentration fluctuates greatly, the micro-sensor of the present invention can still be instantly and automatically The silver chloride consumed by ground recharging keeps the silver chloride inventory within a predetermined range, so the obtained physiological signals and physiological parameters maintain a stable proportional relationship. Through the recharging method of the present invention, the recharging rate of silver chloride does not need to be positively correlated with the decreasing rate of silver chloride during the measurement period, and the present invention also provides a method that does not need to be recharged immediately after each measurement. The method of recharging silver chloride.
本案之目的之一在於提供一種用於一生物感測器中一鹵化銀材料的回充控制方法,該生物感測器用於植入皮下以量測與一生物流體中的一待分析物所關聯的一生理參數的一生理訊號,該生物感測器至少包含一第一電極與一對電極,該對電極包括一鹵化銀材料及一銀材料,該鹵化銀材料於該鹵化銀材料及該銀材料中具一庫存量水平,該回充控制方法包括下列步驟:於一量測操作後,取得該生理訊號的一量測值,其中於量測操作後該庫存量水平減少;每經過各該量測操作的一預定次數被滿足的一條件下,計算該預定次數的一期間中該庫存量水平的一變動值,啟動一第一回充操作,以回充該庫存量水平的該變動值,該預定次數為一正整數,其中該庫存量水平基本上於一第一門檻值與一第二門檻值之間變動。One of the objectives of the present application is to provide a method for recharging a silver halide material in a biosensor that is implanted subcutaneously to measure an analyte associated with an analyte in a biological fluid. A physiological signal of a physiological parameter, the biosensor includes at least a first electrode and a pair of electrodes, the pair of electrodes includes a silver halide material and a silver material, the silver halide material is between the silver halide material and the silver There is an inventory level in the material, and the recharge control method includes the following steps: after a measurement operation, obtaining a measurement value of the physiological signal, wherein the inventory level decreases after the measurement operation; A predetermined number of measurement operations is satisfiedUnder the condition, a change value of the inventory level in a period of the predetermined number of times is calculated, and a first refill operation is started to recharge the change value of the inventory level, and the predetermined number of times is a positive integer, wherein the The inventory level varies substantially between a first threshold value and a second threshold value.
本案的另一目的在於提供一種可控制一生物感測器之一鹵化銀材料的一庫存量水平的一生理訊號量測裝置,該鹵化銀材料具一初始庫存量,該庫存量水平代表當時該鹵化銀材料的一庫存量並被應用於使該生理訊號量測裝置執行一回充操作使該鹵化銀材料恢復該庫存量水平,該生理訊號量測裝置包括:該生物感測器,包括:一第一電極,以及一第一對電極,包括該鹵化銀材料及一銀材料,;以及一傳感單元,耦接至該生物感測器,且包括:一處理器,被配置於啟動執行一量測操作時,使該庫存量減少一消耗量,於啟動該回充操作時,使該庫存量增加一回充量,並計算該庫存量水平,其中處理器控制該庫存量水平基本上於一第一門檻與一第二門檻之間變動。Another object of the present application is to provide a physiological signal measuring device capable of controlling an inventory level of a silver halide material in a biosensor. The silver halide material has an initial inventory, and the inventory level represents the current inventory level. An inventory of silver halide material is used to make the physiological signal measurement device perform a recharge operation to restore the inventory level of the silver halide material, and the physiological signal measurement device includes: the biological sensor, including: a first electrode, and a first pair of electrodes, including the silver halide material and a silver material; and a sensing unit, coupled to the biosensor, and including: a processor configured to initiate execution During a measuring operation, the inventory is decreased by a consumption amount, and when the recharging operation is started, the inventory is increased by a recharging amount, and the inventory level is calculated, wherein the processor controls the inventory level to substantially varies between a first threshold and a second threshold.
本案的再一目的在於提供一種回復一生物感測器至一合適工作狀態的方法,該生物感測器包括一第一電極與一對電極、該對電極包括一鹵化銀材料及一銀材料,該鹵化銀材料具一庫存量水平,且在一量測操作中,使該鹵化銀材料的該庫存量水平被消耗,該方法包括下列步驟:於該量測操作後,計算該庫存量水平之一變化;以及啟動一第一回充操作,以回充該庫存量水平的該變動值其中該庫存量水平被控制於基本地位於一第一門檻值與一第二門檻值之間變動。Another object of the present application is to provide a method for restoring a biosensor to a proper working state, the biosensor includes a first electrode and a pair of electrodes, the pair of electrodes includes a silver halide material and a silver material, The silver halide material has an inventory level, and in a measurement operation, the inventory level of the silver halide material is depleted, the method comprising the steps of: after the measurement operation, calculating an amount of the inventory level a change; and initiating a first refill operation to refill the changed value of the inventory level, wherein the inventory level is controlled to vary substantially between a first threshold value and a second threshold value.
10:生理訊號量測裝置10: Physiological signal measurement device
20:使用者裝置20: User device
61:有段切換的部分定電流電路61: Partial constant current circuit with segment switching
71:無段切換的部分定電流電路71: Partial constant current circuit with stepless switching
100、300、400:微型生物感測器100, 300, 400: Tiny Biosensors
110、310、410:基板110, 310, 410: substrate
111、311、411:表面111, 311, 411: Surface
112、312、412:對側表面112, 312, 412: Opposite side surfaces
113、313、413:第一端113, 313, 413: The first end
114、314、414:第二端114, 314, 414: second end
115、315、415:訊號輸出區域115, 315, 415: Signal output area
116、316、416:感測區域116, 316, 416: Sensing area
117、317、417:連接區域117, 317, 417: Connection area
120、320:工作電極120, 320: working electrode
121、321:訊號輸出段121, 321: Signal output section
122、322、332、342:訊號感測段122, 322, 332, 342: Signal sensing segment
130、330:對電極130, 330: Counter electrode
131:訊號輸出段131: Signal output section
132:訊號感測段132: Signal sensing segment
140、350、460:化學試劑140, 350, 460: chemical reagents
200:傳感單元200: Sensing unit
210:處理器210: Processor
220:電源220: Power
230:電壓施加單元230: Voltage application unit
240:溫度感測單元240: Temperature Sensing Unit
250:通訊單元250: Communication unit
260:計時器260: Timer
318、418:短植入端318, 418: Short implant end
323、420:第一工作電極323, 420: the first working electrode
324、430:第二工作電極324, 430: the second working electrode
325:第三工作電極325: Third working electrode
340:輔助電極340: auxiliary electrode
321:第一訊號輸出段321: The first signal output section
322:第一訊號感測段322: The first signal sensing segment
431:第二訊號輸出段431: The second signal output section
432:第二訊號感測段432: The second signal sensing segment
440:第一對電極440: The first pair of electrodes
441:第三訊號輸出段441: The third signal output section
442:第三訊號感測段442: The third signal sensing segment
450:第二對電極450: Second pair of electrodes
451:第四訊號輸出段451: Fourth signal output section
452:第四訊號感測段452: Fourth signal sensing segment
I0:初始量I0 : initial amount
N:量測次數N: number of measurements
P;預定次數P; predetermined number of times
S:預定值S: predetermined value
S1、S2、S3、S4、S5、S6、S11、S12、S13、S14、S15、S16、S17、S21、S22、S23、S24、S25、S26、S31、S32、S33、S34、S35、S36、S37、S38、S901、S902、S1001、S1002、S1003、S1004、S1005:步驟S1, S2, S3, S4, S5, S6, S11, S12, S13, S14, S15, S16, S17, S21, S22, S23, S24, S25, S26, S31, S32, S33, S34, S35, S36, S37, S38, S901, S902, S1001, S1002, S1003, S1004, S1005: Steps
Th1、Th3:第一門檻值Th1, Th3: the first threshold value
Th2、Th4:第二門檻值Th2, Th4: the second threshold value
本發明的上述目的及優點在參閱以下詳細說明及附隨圖式之後對那些所屬技術領域中具有通常知識者將變得更立即地顯而易見。The above objects and advantages of the present invention will become more immediately apparent to those of ordinary skill in the art upon review of the following detailed description and accompanying drawings.
〔圖1〕為本發明一種實施例的生理訊號量測裝置的示意圖。1 is a schematic diagram of a physiological signal measuring device according to an embodiment of the present invention.
〔圖2A〕為本發明的微型生物感測器的正面示意圖。[ FIG. 2A ] is a schematic front view of the miniature biosensor of the present invention.
〔圖2B〕為本發明的微型生物感測器的背面示意圖。[ FIG. 2B ] is a schematic diagram of the backside of the miniature biosensor of the present invention.
〔圖2C〕為本發明圖2A中沿A-A’線的剖面示意圖。[Fig. 2C] is a schematic cross-sectional view taken along the line A-A' in Fig. 2A of the present invention.
〔圖2D〕為本發明的微型生物感測器的第二實施例的剖面示意圖。[ FIG. 2D ] is a schematic cross-sectional view of the second embodiment of the micro biosensor of the present invention.
〔圖3A〕為本發明一種實施例的生物感測器中鹵化銀材料的回充方法的流程圖。[ FIG. 3A ] is a flowchart of a method for recharging silver halide materials in a biosensor according to an embodiment of the present invention.
〔圖3B〕為本發明的另一種實施例的生物感測器中鹵化銀材料的回充方法的流程圖。[ FIG. 3B ] is a flowchart of a method for recharging the silver halide material in the biosensor according to another embodiment of the present invention.
〔圖3C〕為本發明的又一種實施例的生物感測器中鹵化銀材料的回充方法的流程圖。[ FIG. 3C ] is a flowchart of a method for recharging the silver halide material in a biosensor according to another embodiment of the present invention.
〔圖3D〕為本發明的再一種實施例的生物感測器中鹵化銀材料的回充方法的流程圖。[ FIG. 3D ] is a flowchart of a method for recharging the silver halide material in a biosensor according to still another embodiment of the present invention.
〔圖3E〕為本發明的再一種實施例的生物感測器中鹵化銀材料的回充方法的流程圖。[ FIG. 3E ] is a flowchart of a method for recharging the silver halide material in a biosensor according to still another embodiment of the present invention.
〔圖4A〕至〔圖4H〕為本發明各種實施例的庫存量水平的曲線示意圖。[FIG. 4A] to [FIG. 4H] are schematic diagrams of curves of inventory levels in various embodiments of the present invention.
〔圖5A〕為本發明中處於量測模式的定電壓電路。[FIG. 5A] is the constant voltage circuit in the measurement mode in the present invention.
〔圖5B〕為本發明中處於回充模式的定電壓電路。[FIG. 5B] is the constant voltage circuit in the recharge mode in the present invention.
〔圖6A〕為本發明一種實施例的庫存量水平的變動曲線的示意圖。[ FIG. 6A ] is a schematic diagram of a variation curve of an inventory level according to an embodiment of the present invention.
〔圖6B〕為本發明另一種實施例的庫存量水平的變動曲線的示意圖。[ FIG. 6B ] is a schematic diagram of a variation curve of the inventory level according to another embodiment of the present invention.
〔圖6C〕為本發明又一種實施例的庫存量水平的變動曲線的示意圖。[ Fig. 6C ] is a schematic diagram of a variation curve of the inventory level according to another embodiment of the present invention.
〔圖6D〕為本發明再一種實施例的庫存量水平的變動曲線的示意圖。[FIG. 6D] is a schematic diagram of a variation curve of the inventory level according to still another embodiment of the present invention.
〔圖6E〕為本發明再一種實施例的庫存量水平的變動曲線的示意圖。[ FIG. 6E ] is a schematic diagram of a variation curve of the inventory level according to still another embodiment of the present invention.
〔圖7A〕為本發明的定電壓電路以第一方式交替進行量測模式和回充模式的電流示意圖。[ FIG. 7A ] is a schematic diagram of the current in which the constant voltage circuit of the present invention performs the measurement mode and the recharge mode alternately in the first manner.
〔圖7B〕為本發明的定電壓電路以第二方式交替進行量測模式和回充模式的電流示意圖。[ FIG. 7B ] is a schematic diagram of the current in which the constant voltage circuit of the present invention performs the measurement mode and the recharge mode alternately in the second manner.
〔圖7C〕為本發明的定電壓電路以第三方式交替進行量測模式和回充模式的電流示意圖。[ FIG. 7C ] is a schematic diagram of the current in which the constant voltage circuit of the present invention performs the measurement mode and the recharge mode alternately in the third manner.
〔圖7D〕為本發明的定電壓電路以第四方式交替進行量測模式和回充模式的電流示意圖。[ FIG. 7D ] is a schematic diagram of the current in which the constant voltage circuit of the present invention performs the measurement mode and the recharge mode alternately in the fourth manner.
〔圖7E〕為本發明的定電壓電路以第五方式交替進行量測模式和回充模式的電流示意圖。[ FIG. 7E ] is a schematic diagram of the current in which the constant voltage circuit of the present invention performs the measurement mode and the recharge mode alternately in the fifth manner.
〔圖7F〕為本發明的定電壓電路以第六方式交替進行量測模式和回充模式的電流示意圖。[ FIG. 7F ] is a schematic diagram of the current in which the constant voltage circuit of the present invention performs the measurement mode and the recharge mode alternately in the sixth manner.
〔圖8A〕本發明中處於量測模式的有段切換的定電流電路。[FIG. 8A] The constant current circuit with step switching in the measurement mode in the present invention.
〔圖8B〕本發明中處於回充模式的有段切換的定電流電路。[FIG. 8B] The constant current circuit with step switching in the recharge mode in the present invention.
〔圖9A〕本發明中處於量測模式的無段切換的定電流電路。[FIG. 9A] The constant current circuit of the present invention is in the measurement mode without step switching.
〔圖9B〕本發明中處於回充模式的無段切換的定電流電路。[FIG. 9B] The constant current circuit of the present invention is in the recharge mode without step switching.
〔圖10A〕為本發明的定電流電路以第一方式交替進行量測模式和回充模式的電壓示意圖。[ FIG. 10A ] is a schematic diagram of the voltage of the constant current circuit of the present invention performing the measurement mode and the recharge mode alternately in the first manner.
〔圖10B〕為本發明的定電流電路以第二方式交替進行量測模式和回充模式的電壓示意圖。[ FIG. 10B ] is a schematic diagram of the voltage of the constant current circuit of the present invention performing the measurement mode and the recharge mode alternately in the second manner.
〔圖10C〕為本發明的定電流電路以第三方式交替進行量測模式和回充模式的電壓示意圖。[ FIG. 10C ] is a schematic diagram of the voltage of the constant current circuit of the present invention performing the measurement mode and the recharge mode alternately in the third manner.
〔圖10D〕為本發明的定電流電路以第三方式交替進行量測模式和回充模式的示意圖。[ FIG. 10D ] is a schematic diagram of the constant current circuit of the present invention performing the measurement mode and the recharge mode alternately in the third manner.
〔圖11〕為根據本發明一實施例的量測待分析物的方法。[ FIG. 11 ] is a method for measuring an analyte according to an embodiment of the present invention.
〔圖12〕為根據本發明另一實施例的量測待分析物的方法。[Fig. 12] is a method for measuring an analyte according to another embodiment of the present invention.
〔圖13A〕為本發明的微型生物感測器的第一實施例的正面示意圖。[ FIG. 13A ] is a schematic front view of the first embodiment of the miniature biosensor of the present invention.
〔圖13B〕為本發明的微型生物感測器的第一實施例的背面示意圖。[ FIG. 13B ] is a schematic view of the back of the first embodiment of the micro biosensor of the present invention.
〔圖13C〕為本發明圖2A中沿A-A’線的剖面示意圖。[Fig. 13C] is a schematic cross-sectional view taken along the line A-A' in Fig. 2A of the present invention.
〔圖14A〕為本發明的微型生物感測器的第二實施例的剖面示意圖。[FIG. 14A] is a cross-sectional view of the second embodiment of the micro biosensor of the present inventionintention.
〔圖14B〕為本發明的微型生物感測器的第三實施例的剖面示意圖。[ FIG. 14B ] is a schematic cross-sectional view of the third embodiment of the micro biosensor of the present invention.
〔圖14C〕為本發明的微型生物感測器的第四實施例的剖面示意圖。[ FIG. 14C ] is a schematic cross-sectional view of the fourth embodiment of the micro biosensor of the present invention.
〔圖14D〕為本發明的微型生物感測器的第五實施例的剖面示意圖。[ FIG. 14D ] is a schematic cross-sectional view of the fifth embodiment of the miniature biosensor of the present invention.
〔圖14E〕為本發明的微型生物感測器的第六實施例的剖面示意圖。[ FIG. 14E ] is a schematic cross-sectional view of the sixth embodiment of the miniature biosensor of the present invention.
〔圖14F〕為本發明的微型生物感測器的第七實施例的剖面示意圖。[ FIG. 14F ] is a schematic cross-sectional view of the seventh embodiment of the micro biosensor of the present invention.
〔圖14G〕為本發明的微型生物感測器的第八實施例的剖面示意圖。[ FIG. 14G ] is a schematic cross-sectional view of the eighth embodiment of the micro biosensor of the present invention.
〔圖15A〕為本發明中處於量測模式的定電壓電路。[FIG. 15A] is the constant voltage circuit in the measurement mode in the present invention.
〔圖15B〕為本發明中處於回充模式的定電壓電路。[FIG. 15B] is the constant voltage circuit in the recharge mode in the present invention.
〔圖16A〕本發明中處於量測模式的有段切換的定電流電路。[FIG. 16A] The constant current circuit with step switching in the measurement mode in the present invention.
〔圖16B〕本發明中處於回充模式的有段切換的定電流電路。[FIG. 16B] The constant current circuit with step switching in the recharge mode in the present invention.
〔圖17A〕本發明中處於量測模式的無段切換的定電流電路。[FIG. 17A] A constant-current circuit with stepless switching in the measurement mode in the present invention.
〔圖17B〕本發明中處於回充模式的無段切換的定電流電路。[FIG. 17B] The constant current circuit of the present invention is in the stepless switching mode in the recharge mode.
〔圖18A〕為本發明的微型生物感測器的第一實施例的正面示意圖。[ FIG. 18A ] is a schematic front view of the first embodiment of the miniature biosensor of the present invention.
〔圖18B〕為本發明的微型生物感測器的第一實施例的背面示意圖。[FIG. 18B] is a back view of the first embodiment of the micro biosensor of the present inventionintention.
〔圖18C〕為本發明圖2A中沿A-A’線的剖面示意圖。[Fig. 18C] is a schematic cross-sectional view taken along the line A-A' in Fig. 2A of the present invention.
〔圖19A〕為本發明的微型生物感測器的第二實施例的剖面示意圖。[ FIG. 19A ] is a schematic cross-sectional view of the second embodiment of the micro biosensor of the present invention.
〔圖19B〕為本發明的微型生物感測器的第三實施例的剖面示意圖。[ FIG. 19B ] is a schematic cross-sectional view of the third embodiment of the micro biosensor of the present invention.
〔圖19C〕為本發明的微型生物感測器的第四實施例的剖面示意圖。[ FIG. 19C ] is a schematic cross-sectional view of the fourth embodiment of the micro biosensor of the present invention.
〔圖20A〕為本發明中根據第一方式可執行量測模式和回充模式的定電壓電路。[ FIG. 20A ] is a constant voltage circuit that can execute a measurement mode and a recharge mode according to the first method of the present invention.
〔圖20B〕為本發明中根據第二方式可執行量測模式和回充模式的定電壓電路。[ FIG. 20B ] is a constant voltage circuit according to the second aspect of the present invention that can perform a measurement mode and a recharge mode.
〔圖20C〕為本發明中根據第三方式可執行量測模式和回充模式的定電壓電路。[FIG. 20C] is a constant voltage circuit according to the third aspect of the present invention that can perform a measurement mode and a recharge mode.
〔圖21〕為本發明中可進行量測模式和回充模式的有段切換的定電流電路。[FIG. 21] is a constant current circuit capable of switching between measurement mode and recharge mode in stages according to the present invention.
〔圖22〕為本發明中可執行量測模式和回充模式的無段切換的定電流電路。[FIG. 22] is a constant current circuit that can perform stepless switching between the measurement mode and the recharge mode in the present invention.
〔圖23A〕為本發明的定電流或定電壓電路根據一實施例進行量測模式和回充模式的示意圖。[ FIG. 23A ] is a schematic diagram of the constant current or constant voltage circuit of the present invention performing the measurement mode and the recharge mode according to an embodiment.
〔圖23B〕為本發明的定電流或定電壓電路根據另一實施例進行量測模式和回充模式的示意圖。[ FIG. 23B ] is a schematic diagram of the constant current or constant voltage circuit of the present invention performing the measurement mode and the recharge mode according to another embodiment.
〔圖24〕為根據本發明一實施例的流程圖。[FIG. 24] is a flowchart according to an embodiment of the present invention.
本案所提出的發明將可由以下的實施例說明而得到充分瞭解,使得所屬技術領域中具有通常知識者可以據以完成,然而本案的實施並非可由下列實施例而被限制其實施型態,所屬技術領域中具有通常知識者仍可依據除既揭露的實施例的精神推演出其他實施例,該等實施例皆當屬於本發明的範圍。The invention proposed in this case can be fully understood by the following examples, so that those with ordinary knowledge in the technical field can complete it accordingly. However, the implementation of this case is not limited by the following examples. Those with ordinary knowledge in the art can still deduce other embodiments according to the spirit of the disclosed embodiments, and these embodiments should all belong to the scope of the present invention.
除非在特定範例中另外限制,下列定義適用於整份說明書中所使用的用語。Unless otherwise limited in a specific example, the following definitions apply to terms used throughout the specification.
用語“量”或“庫存量”是指對電極中鹵化銀(AgX)或氯化銀(AgCl)的容量(Capacity),且優選以微庫侖(μC)、毫庫侖(mC)或庫侖(C)的單位來表示,但不限於以重量百分比濃度wt%、莫耳數、莫耳濃度等方式表示。The term "amount" or "stock amount" refers to the capacity (Capacity) of silver halide (AgX) or silver chloride (AgCl) in the counter electrode, and is preferably expressed in microcoulombs (μC), millicoulombs (mC) or coulombs (C ), but is not limited to be expressed in terms of weight percent concentration wt%, molar number, molar concentration, etc.
各圖式中示意地所示的曲線或直線,不一定代表其真實的形狀,例如直線或曲線都可能帶有沿線的法線方向的波動、或是有各種可能的轉折;或是圖式中所示的距離、長度或高度並不代表其絕對的度量,除非明確說明。The curves or straight lines schematically shown in the drawings do not necessarily represent their real shapes. For example, straight lines or curves may have fluctuations along the normal direction of the line, or have various possible turning points; Distances, lengths or heights shown do not represent absolute measurements unless explicitly stated.
請參閱圖1,其為本發明的生理訊號量測裝置的示意圖。本發明的生理訊號量測裝置10可以用於植入皮下以量測生物流體中的待分析物所關聯的生理參數的生理訊號。本發明的生理訊號量測裝置10包括微型生物感測器100及傳感單元200,其中傳感單元200與微型生物感測器100電連接,且具有處理器210、電源220、電壓施加單元230、溫度感測單元240及通訊單元250。電源220經處理器210控制電壓施加單元230提供電壓給微型生物感測器100進行生理訊號的量測,溫度感測單元240則進行生物體溫度量測,因此溫度量測訊號及微型生物感測器100所量測到的生理訊號會傳送至處理器210,再由處理器210將生理訊號運算成生理參數。通訊單元250可以與使用者裝置20進行有線或無線傳輸。Please refer to FIG. 1 , which is a schematic diagram of the physiological signal measuring device of the present invention. The physiological
請繼續參閱圖1,該傳感單元200還可選擇性包括耦接至處理器210的一計時器260,用於對於例如為5秒內、15秒內、30秒內、一分鐘內、十分鐘內、一小時內、二小時內、四小時內、一天內、一週內或一個月內的一時間值等的固定時間間隔的計時。計時器260也可以被設定成於一個或多個可設定的時間點發出一訊號給處理器210。Please continue to refer to FIG. 1 , the
請參閱圖2A及2B,其為本發明微型生物感測器的正面與背面示意圖。本發明的微型生物感測器100包括基板110、設置於基板110上的工作電極120及對電極130、以及包圍工作電極120及對電極130的化學試劑140(如圖2C所示)。基板110的材質可選用任何已知適合使用於電極基板的材質且較佳具備可撓性及絕緣性質,例如但不限於:聚酯(Polyester)、聚醯亞胺(Polyimide)等高分子材質,前述高分子材質可以單獨使用一種或者混合多種使用。基板110具有表面111(即第一表面)、與表面111相對的對側表面112(即第二表面)、第一端113及第二端114,且基板110分為3個區域,分別為靠近第一端113的訊號輸出區域115、靠近第二端114的感測區域116、及位於訊號輸出區域115及感測區域116之間的連接區域117。工作電極120設置於基板110的表面111上,且從基板110的第一端113延伸至第二端114。工作電極120包括位於基板110的訊號輸出區115的訊號輸出段121,及位於基板110的感測區116的訊號感測段122。工作電極120的材料包含但不限於:碳、鉑、鋁、鎵、金、銦、銥、鐵、鉛、鎂、鎳、錳、鉬、鋨、鈀、銠、銀、錫、鈦、鋅、矽、鋯、前述元素的混合物、或前述元素的衍生物(如合金、氧化物或金屬化合物等),較佳地,工作電極120的材料為貴金屬、貴金屬之衍生物或前述的組合,更佳地,工作電極120為含鉑材料。Please refer to FIGS. 2A and 2B , which are schematic views of the front and the back of the miniature biosensor of the present invention. The
對電極130設置於基板110的對側表面112,且從基板110的第一端113延伸至第二端114。對電極130包括位於基板110的訊號輸出區115的訊號輸出段131,及位於基板110的感測區116的訊號感測段132。對電極130表面的材料包含銀(Silver)及鹵化銀(Silver Halide),其中鹵化銀較佳為氯化銀(Silver Chloride)或碘化銀(Silver Iodine),使該對電極130兼具參考電極的功能,即本發明的對電極130可以(1)與工作電極120形成電子迴路,使工作電極120上電流暢通,以確保電化學反應在工作電極120上發生;以及(2)提供穩定的相對電位作為參考電位。因此,本發明的工作電極120與對電極130形成一個二電極系統。為了進一步降低成本以及提高本發明之生物感測器的生物相容性,該銀/鹵化銀更可與碳混合使用,例如將該銀/鹵化銀混入碳膠,其鹵化銀含量只要讓對電極130能穩定執行設定的量測動作即可。對電極130的部份的表面上還可以覆蓋導電材料以防止鹵化銀解離(dissolution),進而保護對電極130,其中導電材料係選擇不影響工作電極量測表現的導電材質為主,例如導電材料為碳(Carbon)。The
另一實施例中生物感測器不限於導線式或疊層式的電極結構。In another embodiment, the biosensor is not limited to wire type or stack typeelectrode structure.
在本發明的另一個實施例中,在準備將生物感測器運送出工廠出售之前,鹵化銀的初始量可以為零。在這種情況下,生物感測器的對電極130上沒有鹵化銀。在將生物感測器皮下植入患者體內之後以及在進行首次測量之前的最開始回充期間中,經由氧化被塗佈在對電極130上的銀,可以在對電極130上回充初始量的鹵化銀。In another embodiment of the invention, the initial amount of silver halide may be zero before the biosensor is ready to be shipped out of the factory for sale. In this case, there is no silver halide on the
化學試劑140至少覆蓋於工作電極120的訊號感測段122上及位於感測區116的對電極130的表面上。另一實施例中,化學試劑140至少覆蓋工作電極120之訊號感測段122(圖未示)。也就是說,對電極130上可以不被化學試劑140覆蓋。微型生物感測器100的感測區116可以植入皮下使工作電極120的訊號感測段122進行生物流體中待分析物所關聯的生理訊號的量測,生理訊號會被傳送至工作電極120的訊號輸出段121,再由訊號輸出段121傳送至處理器210以得到生理參數。另該生理參數除了從傳感單元200取得外,亦可經由無線/有線通訊傳送至使用者裝置20取得,常用的使用者裝置20例如智慧型手機、生理訊號接收器或血糖儀。The
請參閱圖2C,其為圖2A中沿A-A’線的剖面示意圖,其中A-A’線為從微型生物感測器100的感測區116的剖面線。在圖2C中,工作電極120設置於基板110的表面111,對電極130設置基板110的對側表面112,且工作電極120及對電極130的表面上覆蓋化學試劑140。基本上化學試劑140至少覆蓋於工作電極120的部分表面上。本發明的微型生物感測器100會在量測期間執行量測步驟,及在回充(即再生)期間執行回充步驟。當執行量測步驟時,工作電極120的電壓高於對電極130的電壓,使電流從工作電極120往對電極130的方向流動,進而使工作電極120發生氧化反應(即工作電極120、化學試劑140及待分析物之間的電化學反應)而量測生理訊號,對電極130發生還原反應,使對電極130中的鹵化銀消耗而解離成銀(Ag)及鹵離子(X-)。由於對電極130中的鹵化銀被消耗,故需要回充對電極130中的鹵化銀以進行下一次的量測步驟。當執行回充步驟時,對電極130的電壓高於工作電極120的電壓,使電流從對電極130往工作電極120的方向流動,進而使對電極130發生氧化反應使銀與生物體內的鹵離子或AgCl氧化(或解離)後的Cl-結合而回充鹵化銀,詳細量測步驟與回充步驟見圖11說明。Please refer to FIG. 2C , which is a schematic cross-sectional view along the line AA′ in FIG. 2A , wherein the line AA′ is a section line from the
在另一實施例中,本發明的工作電極120及對電極130可以設置於基板110的同一表面,即工作電極120及對電極130皆設置於基板110的表面111或對側表面112上,如圖2D所示。同樣的,當執行量測步驟時,電流從工作電極120往對電極130的方向流動,進而使工作電極120發生氧化反應而量測生理訊號,對電極130中的鹵化銀被消耗而解離成銀(Ag)及鹵離子(X-)。當執行回充步驟時,電流從對電極130往工作電極120的方向流動,進而使對電極130發生氧化反應使銀與鹵離子結合而回充鹵化銀。In another embodiment, the working
以上圖2C-2D其詳細電極疊層省略,僅示意電極位置。The detailed electrode stacks in FIGS. 2C-2D above are omitted, and only the electrode positions are shown.
在上述任一實施例中,為了防止銀電極材料的過度氯化而發生斷線,還可以在基板110的對側表面112與對電極130的銀之間添加一層導電材料(如碳)。然而,若對電極130的底層是碳會造成開關處的阻值過高,故還可在碳導電材料跟基板110的對側表面112之間再增設一層導電層,例如為銀以降低訊號輸出端的阻抗,使本發明的對電極130從基板110的對側表面112開始依序為導電層、碳層及銀/鹵化銀層。In any of the above embodiments, in order to prevent wire breakage due to excessive chlorination of the silver electrode material, a layer of conductive material (such as carbon) may also be added between the
於其他實施例中,對電極材料的鹵化銀不排除為溴化銀(silver chloride)或硫化銀(silver sulfide),或其他基於銀氧化還原反應的電極材料,例如醋酸銀(silver acetate)、磷酸銀(silver phosphate)。於其他實施例中,本發明回復電極材料庫存量水平的方法亦不限於上述材料,舉凡其他具有類似態樣的電極皆可適用回復生物感測器的方法及使用此方法的裝置In other embodiments, the silver halide of the counter electrode material is not excluded to be silver chloride or silver sulfide, or other electrode materials based on silver redox reaction, such as silver acetate, phosphoric acid. Silver (silver phosphate). In other embodiments, the method for restoring the inventory level of the electrode material of the present invention is not limited to the above-mentioned materials, for example, other electrodes with similar aspects can be applied to the method of restoring the biosensor and the device using the method.
請參照圖1、2C或2D、以及5A-5B,本發明提出一種可控制微型生物感測器100之鹵化銀材料的庫存量水平的生理訊號量測裝置10,鹵化銀材料具初始庫存量I0,庫存量水平代表當時鹵化銀材料的庫存量並被應用於使生理訊號量測裝置執行回充操作使鹵化銀材料恢復庫存量水平,生理訊號量測裝置10包括:生物感測器100,包括:第一電極以及對電極130,在雙電極系統中,第一電極為工作電極120,以及對電極130,包括鹵化銀材料及銀材料;以及傳感單元200,耦接至微型生物感測器100,且包括:處理器210,被配置於啟動執行量測操作時,使庫存量減少消耗量,於啟動回充操作時,使庫存量增加回充量,並計算庫存量水平。處理器控制庫存量水平基本上於第一門檻值與第二門檻值之間變動。於其他實施例中,亦可於如圖13C或圖14A-F所述之電極系統實施。1, 2C or 2D, and 5A-5B, the present invention provides a physiological
圖3A-3E為本發明的不同實施例的生物感測器中鹵化銀材料的回充方法的流程圖。圖3A為本發明一種實施例的生物感測器中鹵化銀材料的回充方法的流程圖。請參考圖3A,鹵化銀材料具有庫存量水平,庫存量水平隨著量測及回充的操作中變化:在量測操作中,庫存量水平會減少;而在回充操作中,庫存量水平會增加。本發明的回充方法,包括步驟S11:處理器210接收到量測指示;步驟S12:電源220經處理器210控制電壓施加單元230提供電壓給生物感測器100進行生理訊號的量測,並取得量測值;步驟S13:處理器依照量測值,決定回充的操作條件,例如,依照累計消耗量的多寡決定施加的回充電壓的大小及/或時間,。步驟S14:依照回充的操作條件執行回充;步驟S15:在回充操作的過程中,計算當時的庫存水平;步驟S16:依據不同的門檻值(Th1、Th2、Th3、Th4、預定值S等),確定庫存量水平是否滿足停止回充條件:若否,則繼續當次回充操作,抑或進入步驟S11等待接收下一個量測指示或進入步驟S12進行下一個量測與回充循環;若是,則停止回充並等待下一個量測指示,進入步驟S11再次接收到量測指示,抑或直接進入步驟S12進行下一個量測與回充循環。3A-3E are halogenated halogens in biosensors according to different embodiments of the present invention.The flow chart of the recharge method of silver material. 3A is a flowchart of a method for recharging the silver halide material in a biosensor according to an embodiment of the present invention. Referring to Figure 3A, the silver halide material has an inventory level that varies during the measurement and recharge operations: during the measurement operation, the inventory level decreases; during the recharge operation, the inventory level will increase. The recharging method of the present invention includes step S11: the
處理器執行回充操作時的庫存量水平的回充時間與回充量係可根據計算每次執行量測操作的一消耗量,例如為總消耗量、部分消耗量或平均消耗量、執行一段期間內的各量測操作的消耗累積量、電極自然耗損量其中之一或其組合進行動態性調節。回充庫存量的計算還可搭配使用者的葡萄糖濃度指標因子,葡萄糖濃度愈高,鹵化銀材料的消耗量愈多,使得在量測操作期間的鹵化銀材料的減少速率不須與鹵化銀材料的生成速率成正相關,可依靠充電方法調控鹵化銀材料再生時機與再生量。The recharge time and recharge amount of the inventory level when the processor performs the recharge operation can be calculated according to a consumption amount each time the measurement operation is performed, such as the total consumption amount, the partial consumption amount or the average consumption amount. One of the cumulative consumption of each measurement operation during the period, the natural consumption of the electrode, or a combination thereof is dynamically adjusted. The calculation of the recharge inventory can also be matched with the user's glucose concentration index factor. The higher the glucose concentration, the more silver halide material is consumed, so that the reduction rate of the silver halide material during the measurement operation does not need to be related to the silver halide material. The generation rate of is in positive phaseThe timing and amount of regeneration of the silver halide material can be controlled by the charging method.
庫存量水平於本發明中先以對電極中鹵化銀材料於鹵化銀材料與銀材料中的占比(percentage)、或各次量測操作中鹵化銀材料消耗量的累積值及各次回充操作中鹵化銀材料回充量的累積值的差值作為計算方法,於其他實施例中,庫存量水平亦可是對電極中鹵化銀材料於鹵化銀材料與銀材料中的一種單位量,例如以庫侖數呈現,但不限為重量百分比濃度wt%、莫耳數、莫耳濃度。關於所述庫存量水平亦可運用其他數學方法或電學單位進行計算不再贅述。In the present invention, the inventory level is first based on the percentage of the silver halide material in the counter electrode in the silver halide material and the silver material, or the cumulative value of the consumption of the silver halide material in each measurement operation and each recharge operation. The difference of the accumulated value of the recharge amount of the silver halide material in the counter electrode is used as the calculation method. In other embodiments, the inventory level can also be a unit amount of the silver halide material in the counter electrode in the silver halide material and the silver material, for example, in coulombs Numbers are presented, but not limited to weight percent concentration wt%, molar number, molar concentration. The inventory level can also be calculated by using other mathematical methods or electrical units, which will not be repeated here.
圖3B為本發明的另一種實施例的生物感測器中鹵化銀材料的回充方法的流程圖,是以差值作為庫存量水平當作判斷參數來應用於使生理訊號量測裝置執行回充操作。當然,此處的差值若替換成庫存量水平,在圖3B中也能適用。3B is a flow chart of a method for recharging silver halide materials in a biosensor according to another embodiment of the present invention. The difference value is used as the inventory level as a judgment parameter to be applied to the physiological signal measuring device to perform the recharging process. charging operation. Of course, if the difference here is replaced by the inventory level, it can also be applied in Figure 3B.
請參閱圖3B,鹵化銀材料具有庫存量,在生物感測器出廠時,此時庫存量為初始庫存量,而庫存量隨著量測及回充的操作中減少或增加。根據本發明的一種實施例的回充方法,包括步驟S21:處理器210接收到量測指示;步驟S22:電源220經處理器210控制電壓施加單元230提供電壓給生物感測器100進行生理訊號的量測,取得量測值,並換算鹵化銀材料的當次消耗量;步驟S23:處理器計算鹵化銀的庫存量水平(鹵化銀的占比、或各次消耗量的累積值及各次回充量的累積值的一差值);步驟S24:確定當前的占比(或差值)是否滿足回充條件:若否,則等待下一個量測指示;若是,則步驟S25:啟動回充操作;步驟S26:確定占比(或差值)是否滿足停止回充條件,若否,則繼續當次回充操作,亦或進入步驟S21等待新的量測指示;若是,則停止回充並等待下一個量測指示,進入步驟S21再次接收到量測指示,抑或直接進入步驟S22以進行下一個量測與回充循環。圖3B所示的回充操作在達到大約等於變動值的回充量時停止,為了方便區分,此種回充操作可稱為第一回充操作。Referring to FIG. 3B , the silver halide material has an inventory. When the biosensor is shipped from the factory, the inventory is the initial inventory, and the inventory decreases or increases with the measurement and recharging operations. The recharging method according to an embodiment of the present invention includes step S21 : the
在如以上所述的本發明的回復生物感測器的方法中,還可以加入其他的判斷參數。例如,在某些特定的條件下也可以額外地啟動回充操作,請參考圖3C。圖3C是為本發明的又一種實施例的生物感測器中鹵化銀材料的回充方法的流程圖。步驟S31:接收到量測指示之後,步驟S32除了取得量測值之外,同時計算量測次數N的累積值,例如,第一次量測後,如電腦語言的計算,此時N=N+1,即N由0增加為1。步驟S33:計算庫存量的占比(或各次消耗量的累積值及各次回充量的累積值的一差值)。步驟S34:確定庫存量水平、差值、及量測次數的累積值其中之一是否滿足回充條件,若否,則等待下一個量測指示;若是,則步驟S35:啟動回充操作;步驟S36:計算回充操作中逐漸增加的庫存量水平;步驟S37:確定庫存量水平是否滿足停止回充條件:若否,則繼續當次回充操作;若是,則停止回充並等待下一個量測指示。步驟S38:使量測次數的累積值歸零。待再次接收到量測指示,再進入步驟S31。In the method for restoring a biosensor of the present invention as described above, other judgment parameters may also be added. For example, a recharge operation can be additionally activated under certain specific conditions, please refer to FIG. 3C . 3C is a flowchart of a method for recharging silver halide material in a biosensor according to still another embodiment of the present invention. Step S31: After receiving the measurement instruction, step S32 not only obtains the measurement value, but also calculates the cumulative value of the measurement times N. For example, after the first measurement, such as the calculation of computer language, at this time N=N +1, that is, N increases from 0 to 1. Step S33: Calculate the proportion of the inventory (or a difference between the cumulative value of each consumption and the cumulative value of each recharge). Step S34: Determine whether one of the inventory level, the difference value, and the cumulative value of the measurement times meets the recharge condition, if not, wait for the next measurement instruction; if so, step S35: start the recharge operation; step S36: Calculate the gradually increasing inventory level during the recharging operation; Step S37: Determine whether the inventory level satisfies the stop recharging condition: if not, continue the current recharging operation; if so, stop the recharging and wait for the next measurement instruct. Step S38: Return the accumulated value of the measurement times to zero. After receiving the measurement instruction again, go to step S31.
除了如上所述的本發明的回復生物感測器的方法之外,還可以獨立地或合併地使用其他的判斷參數。例如,根據本發明另一種實施例,這種回復方法若單獨實施,可以將庫存量水平的波動控制在較小(亦即較穩定)的範圍內,直到庫存量水平達到某個下限值時才增加回充電位差、回充電流或回充時間來提高較大的單次回充量。圖3D為本發明的另一種實施例的生物感測器中鹵化銀材料的回充方法的流程圖。請參考圖3D,步驟S44至S47類似於圖3C的步驟S34至S37。步驟S42:量測而取得量測值,並計算量測次數(N=N+1),在量測操作的次數N達到預定次數P的條件下(即N=P時且P為預定的正整數),計算N=0至N=P期間的累積量測值、或庫存量水平的變動值(例如,N=0至N=P時庫存量的差值(或其絕對值)),也就是N=0至N=P之間的累積消耗量,接著步驟S43:啟動第一回充操作,以回充大約等於變動值的回充量。回充停止之後,步驟S48:使量測次數N歸零。待再次接收到量測指示,再進入步驟S41。In addition to the method of restoring a biosensor of the present invention as described above, other judgment parameters may be used independently or in combination. For example, according to another embodiment of the present invention, if this recovery method is implemented alone, the fluctuation of the inventory level can be controlled within a small (that is, relatively stable) range until the inventory level is too low.When the level reaches a certain lower limit, increase the recharge potential, recharge current or recharge time to increase the larger single recharge amount. 3D is a flowchart of a method for recharging the silver halide material in the biosensor according to another embodiment of the present invention. Referring to FIG. 3D , steps S44 to S47 are similar to steps S34 to S37 of FIG. 3C . Step S42: Measure to obtain the measurement value, and calculate the number of measurements (N=N+1), under the condition that the number of measurement operations N reaches the predetermined number of times P (that is, when N=P and P is a predetermined positive value) Integer), calculate the cumulative measurement value from N=0 to N=P, or the change in inventory level (for example, the difference (or its absolute value) of the inventory from N=0 to N=P), and also It is the accumulated consumption between N=0 and N=P, then step S43 : start the first recharging operation to recharge the recharging amount approximately equal to the variable value. After the recharging is stopped, step S48: the measurement times N is reset to zero. After receiving the measurement instruction again, go to step S41.
這種方法可以控制在每次量測後(當然也可以是在不必須在每次量測後,例如在某次單次消耗量過大的量測操作之後、或複數次的量測操作中累積消耗量過大時)啟動一次回充操作。This method can be controlled after each measurement (of course, it can also be accumulated after each measurement, for example, after a single measurement operation with excessive consumption, or in multiple measurement operations. When the consumption is too large) start a recharge operation.
這種回充方法若與例如前述的圖3A、3B或3C的方法組合實施,更可以在萬一因為受測的生理參數的變動過大而可能造成超過生物感測器的參數設定值的預期,因此可以防止由於庫存量水平持續朝向升高或降低時,遲早會使生物感測器失效的問題。If this recharging method is implemented in combination with the method of FIG. 3A , 3B or 3C described above, in case the measured physiological parameter changes too much and may cause the expectation of exceeding the parameter setting value of the biosensor, It is thus possible to prevent the problem of failing the biosensor sooner or later as the inventory level continues to rise or fall.
圖3E為本發明的另一種實施例的生物感測器中鹵化銀材料的回充方法的流程圖。請參考圖3E,步驟S51:接收量測指示;步驟S52:量測並取得量測值;步驟S53:計算當次消耗量及累積消耗量(若為第一次量測,累積消耗量即為的當次的消耗量);步驟S54:確定累計消耗量是否滿足回充條件:若否,則等待下一個量測指示;若是,則步驟S55:決定回充的操作條件。例如,依照累計消耗量的多寡決定施加的回充電壓的大小及/或時間,或依據不同的門檻值(Th1、Th2、Th3、Th4、預定值S等)。步驟S56:啟動回充操作;步驟S57:計算回充操作中逐漸增加的庫存量水平;步驟S58:依據不同的門檻值(Th1、Th2、Th3、Th4、預定值S等),確定庫存量水平是否滿足停止回充條件:若否,則繼續當次回充操作;若是,則停止回充並等待下一個量測指示。待再次接收到量測指示,再進入步驟S51。3E is a flowchart of a method for recharging the silver halide material in the biosensor according to another embodiment of the present invention. Please refer to FIG. 3E, step S51: receiving the measurement instruction; step S52: measuring and obtaining the measurement value; step S53: calculating the current consumption and the cumulative consumption (if it is the first measurement, the cumulative consumption is the current cancellationstep S54: determine whether the accumulated consumption satisfies the recharge condition: if not, wait for the next measurement instruction; if so, step S55: determine the recharge operation condition. For example, the size and/or time of the applied recharge voltage is determined according to the amount of accumulated consumption, or according to different threshold values (Th1, Th2, Th3, Th4, predetermined value S, etc.). Step S56: Start the recharging operation; Step S57: Calculate the gradually increased inventory level during the recharging operation; Step S58: Determine the inventory level according to different threshold values (Th1, Th2, Th3, Th4, predetermined value S, etc.) Whether the recharging stop condition is met: if not, continue the current recharging operation; if so, stop recharging and wait for the next measurement instruction. After receiving the measurement instruction again, go to step S51.
圖4A-4H為本發明各種實施例的庫存量水平的變動曲線示意圖,其中圖4A-4D及4H為僅使用圖3B、3C或3D的方法時,可能發生的庫存量水平的變動的示意圖。請參考圖4A,庫存量由初始庫存量I0開始,在幾次量測操作之後,庫存量水平逐漸降到小於或等於第一門檻值Th1時,啟動回充操作,直到庫存量水平達到第二門檻值Th2時停止回充操作。另外,在第一門檻值Th1及第二門檻值Th2之間還可以再設定一個預定值S作為另一個門檻值,當庫存量水平達到S時,停止回充操作。圖4A表示Th2=S時的情形。4A-4H are schematic diagrams of variation curves of inventory levels according to various embodiments of the present invention, wherein FIGS. 4A-4D and 4H are schematic diagrams of possible changes in inventory levels when only the method of FIGS. 3B, 3C or 3D is used. Referring to FIG. 4A, the inventory starts from the initial inventory I0. After several measurement operations, when the inventory level gradually decreases to less than or equal to the first threshold Th1, the recharging operation is started until the inventory level reaches the first threshold Th1. When the threshold value Th2 is reached, the recharging operation is stopped. In addition, a predetermined value S may be set between the first threshold value Th1 and the second threshold value Th2 as another threshold value, and when the inventory level reaches S, the recharging operation is stopped. FIG. 4A shows the situation when Th2=S.
請參考圖4B,此時將預定值S設定為等於初始庫存量I0以取代第二門檻值Th2。因此,啟動回充操作後,庫存量水平達到初始庫存量I0時停止回充操作。Referring to FIG. 4B , at this time, the predetermined value S is set equal to the initial inventory amount I0 instead of the second threshold value Th2. Therefore, after the recharging operation is started, the recharging operation is stopped when the inventory level reaches the initial inventory I0 .
請參考圖4C,此時預定值S設定為大於初始庫存量I0且小於第二門檻值Th2。因此啟動回充操作後,庫存量水平上升到大於初始庫存量I0的預定值S後停止回充操作。Referring to FIG. 4C , at this time, the predetermined value S is set to be greater than the initial inventory amount I0 and less than the second threshold value Th2. Therefore, after the recharging operation is started, the recharging operation is stopped after the inventory level rises to a predetermined value S greater than the initial inventory I0 .
請參考圖4D,此時預定值S設定為小於初始庫存量且大於第一門檻值Th1。因此啟動回充操作後,庫存量水平上升到小於初始庫存量I0的預定值S後停止回充操作。Referring to FIG. 4D , at this time, the predetermined value S is set to be smaller than the initial stock amount and larger than the first threshold value Th1 . Therefore, after the recharging operation is started, the recharging operation is stopped after the inventory level rises to a predetermined value S smaller than the initial inventory I0 .
圖4E-4H為使用圖3A或3E的方法加上圖3B至3D其中之一的方法組合實施時,可能發生的庫存量水平的變動曲線的示意圖。請參考圖4E,庫存量由初始庫存量I0開始,在一次或複數次量測操作且已啟動一次或複數次如圖3A或3E的方法的第一回充操作之後,庫存量水平逐漸降到小於或等於第一門檻值Th1時,啟動如圖3B至3D的回充操作(稱為第二回充操作),直到庫存量水平達到第二門檻值Th2時(或S=Th2)停止回充操作。Figures 4E-4H are schematic diagrams of the variation curves of inventory levels that may occur when the method of Figure 3A or 3E is implemented in combination with one of the methods of Figures 3B to 3D. Referring to FIG. 4E , the inventory starts from the initial inventory I0 , and after one or more measurement operations and the first recharging operation of the method as shown in FIG. 3A or 3E has been initiated one or more times, the inventory level gradually decreases When it is less than or equal to the first threshold Th1, start the recharging operation as shown in Figures 3B to 3D (referred to as the second recharging operation), and stop the recharging until the inventory level reaches the second threshold Th2 (or S=Th2). charging operation.
請參考圖4F,在一次或複數次量測操作且已啟動一次或複數次如圖3A或3E的方法的第一回充操作之後,庫存量水平逐漸升高到大於或等於第二門檻值Th2時,都不會啟動如圖3B至3D的第二回充操作,直到庫存量水平小於或等於第一門檻值Th1時才會啟動第二回充操作。Referring to FIG. 4F , after one or more measurement operations and one or more first recharging operations of the method as shown in FIG. 3A or 3E have been initiated, the inventory level gradually increases to be greater than or equal to the second threshold Th2 , the second recharging operation as shown in FIGS. 3B to 3D will not be initiated, and the second recharging operation will not be initiated until the inventory level is less than or equal to the first threshold Th1 .
請參考圖4G及4H,兩圖的差別在於第一門檻值Th1到第二門檻值Th2之間的範圍大小。如果此範圍較大,如圖4G所示,在量測操作中及的另外回充操作之後,庫存量水平逐漸降低到小於或等於第一門檻值Th1時,啟動一次第二回充操作。如果此範圍很小,如圖4H所示,可能在每次量測操作後就啟動一次第二回充操作,而忽略了第一回充操作。也可視為每次量測操作後就啟動一次第一回充操作,而忽略了第二回充操作,視兩者回充操作何者優先。Please refer to FIGS. 4G and 4H , the difference between the two figures lies in the size of the range between the first threshold value Th1 and the second threshold value Th2 . If the range is large, as shown in FIG. 4G , a second recharging operation is initiated when the inventory level gradually decreases to less than or equal to the first threshold Th1 during the measurement operation and after another recharging operation. If this range is small, as shown in FIG. 4H , a second recharging operation may be initiated after each measurement operation, ignoring the first recharging operation. It can also be considered that the first recharging operation is started after each measurement operation, while the second recharging operation is ignored, and whichever of the two recharging operations takes precedence.
圖6A為配合所述圖3B、3X的回充方法實施的一種庫存量水平曲線示意圖。請參考圖6A,上圖中的縱軸為AgCl的占比,中間圖的縱軸為施加的量測電壓(V1)及回充電壓(V2),下圖的縱軸為在施加定電壓的條件下的量測電流(無斜線區)及回充電流(有斜線區)。橫軸同為時間,縱向虛線表示相同的時間點。假如AgCl的占比最初為50%,於第一次量測時施加了V1的量測電壓,而AgCl的占比逐漸減少直到量測操作停止。由於此時的AgCl的占比尚未小於或等於第一門檻值Th1,還不會啟動回充操作。直到幾次量測操作之後,AgCl的占比小於(或等於)第一門檻值Th1,回充操作被啟動,直到AgCl的占比達到(略大於或等於)第二門檻值Th2時停止回充操作。FIG. 6A is a schematic diagram of an inventory level curve implemented in conjunction with the recharging methods of FIGS. 3B and 3X . Please refer to FIG. 6A , the vertical axis in the upper figure is the proportion of AgCl, the vertical axis in the middle figure is the applied measurement voltage (V1) and the recharge voltage (V2), and the vertical axis in the lower figure is the applied constant voltage. The measured current (without the slashed area) and the recycle current (with the slashed area) under the condition. The horizontal axis is the same time, and the vertical dotted line represents the same time point. If the proportion of AgCl is initially 50%, the measurement voltage of V1 is applied in the first measurement, and the proportion of AgCl gradually decreases until the measurement operation is stopped. Since the proportion of AgCl at this time has not been less than or equal to the first threshold value Th1, the recharging operation will not be started yet. After several measurement operations, the proportion of AgCl is less than (or equal to) the first threshold Th1, the recharging operation is started, and the recharging is stopped when the proportion of AgCl reaches (slightly greater than or equal to) the second threshold Th2 operate.
圖6B為配合所述圖3B、3X的回充方法實施的另一種庫存量水平曲線示意圖。請參考圖6B,上圖中的縱軸為AgCl的累積消耗量與累積回充量的差值(差值最初為0),中間圖的縱軸為施加的量測電壓(V1)及回充電壓(V2),下圖的縱軸為在施加定電壓的條件下的量測電流(無斜線區)及回充電流(有斜線區)。橫軸同為時間,縱向虛線表示相同的時間點。於第一次量測時施加了V1的量測電壓,而差值逐漸減少直到量測操作停止。由於此時的差值尚未小於或等於第一門檻值Th1,還不會啟動回充操作。直到幾次量測操作之後,差值小於(或等於)第一門檻值Th1,回充操作被啟動,直到差值達到(略大於或等於)第二門檻值Th2時停止回充操作。FIG. 6B is a schematic diagram of another inventory level curve implemented in conjunction with the recharging methods of FIGS. 3B and 3X . Please refer to FIG. 6B , the vertical axis in the upper figure is the difference between the cumulative consumption of AgCl and the cumulative recharge (the difference is initially 0), and the vertical axis in the middle figure is the applied measurement voltage (V1) and recharge Voltage (V2), the vertical axis of the figure below is the measured current (without the slashed area) and the recycle current (with the slashed area) under the condition of applying a constant voltage. The horizontal axis is the same time, and the vertical dotted line represents the same time point. In the first measurement, the measurement voltage of V1 was applied, and the difference gradually decreased until the measurement operation was stopped. Since the difference at this time has not been smaller than or equal to the first threshold value Th1, the recharging operation will not be started yet. After several measurement operations, the difference is less than (or equal to) the first threshold Th1, the recharging operation is started, and the recharging operation is stopped when the difference reaches (slightly greater than or equal to) the second threshold Th2.
本發明的另一種實施例,希望將庫存量水平控制在Th1及Th2之間,而且每一次量測後會計算當次的變動量並立即回充當次變動量,不過當次的回充量不見得剛好等於當次的變動量,所以在每一次的量測及每一次的回充的之前之後的庫存量之間會有變動量。但是萬一單次的消耗量過大而小於或等於另外的下限門檻Th3時,能夠使庫存量水平大幅提升到Th2。In another embodiment of the present invention, it is desirable to control the inventory level between Th1 and Th2, and after each measurement, the current change will be calculated and immediately returned as the next change, but the current return is not seen. It is exactly equal to the current change, so there will be a change between each measurement and the inventory before and after each recharge. However, if the single consumption is too large and is less than or equal to another lower threshold Th3, the inventory level can be greatly increased to Th2.
圖6C至圖6E為配合所述圖3A、3B的回充方法實施的的另外一種庫存量水平的曲線示意圖。例如,圖6C的曲線的控制可以由圖3A的方法為主軸,設定Th1及Th2,使庫存量水平控制在其間,並且佐以如圖3B的方法,使得萬一庫存量水平因為突然大量地消耗而瞬間或自然地消耗低於Th3時,可以在其後的回充操作中,有效地使庫存量水平遠離Th3;又或庫存量水平因為突然大量地消耗而瞬間高於Th4時,可以在其後暫時終止回充操作或降低回充操作的回充量,有效地使庫存量水平遠離Th4。FIGS. 6C to 6E are schematic diagrams of another inventory level implemented in conjunction with the recharging method of FIGS. 3A and 3B . For example, the control of the curve of FIG. 6C can be based on the method of FIG. 3A, set Th1 and Th2, so that the inventory level is controlled in between, and supplemented by the method of FIG. 3B, so that in case the inventory level is suddenly consumed in large quantities When the instantaneous or natural consumption is lower than Th3, the inventory level can be effectively kept away from Th3 in the subsequent recharging operation; or when the inventory level is instantaneously higher than Th4 due to sudden and large consumption, it can be Then temporarily terminate the recharge operation or reduce the recharge amount of the recharge operation, effectively keeping the inventory level away from Th4.
請參考圖6C,縱軸為AgCl庫存量水平,橫軸為時間,S=Th2,並且設定另外的下限門檻Th3及另外的上限門檻Th4。回充庫存量水平最初為初始庫存量,採用圖3A的第一回充方法,經過第一次量測(M1)後,啟動第一回充而實施第一次回充(R1),之後的庫存量水平並未達S。經過第二次量測(M2)、第二次回充(R2)直到第6次量測(M6)後,庫存量水平(例如圖3B的占比)低於Th3。庫存量水平在R1-M6之間似乎是下滑的趨勢。這種情況下,適合根據圖3B的方法,啟動第二回充操作,使庫存量水平直接提高到S(S=Th2)。Referring to FIG. 6C, the vertical axis is the AgCl inventory level, the horizontal axis is time, S=Th2, and another lower threshold Th3 and another upper threshold Th4 are set. The recharge inventory level is initially the initial inventory. Using the first recharge method in Figure 3A, after the first measurement (M1), the first recharge is started and the first recharge (R1) is implemented. Inventory levels did not reach S. After the second measurement (M2), the second recharging (R2), and the sixth measurement (M6), the inventory level (eg, the proportion in FIG. 3B ) is lower than Th3. Inventory levels between R1-M6 appear to be on a downward trend. In this case, the method according to Figure 3B is suitable,A second recharging operation is initiated to directly raise the inventory level to S(S=Th2).
此外,如果將圖3B的預設值S設定為Th2至Th4之間一值時,庫存量水平可以提高至Th2至Th4之間。於其他實施例中,可選擇其他同樣能讓生物感測器維持量測準確度的條件作為預設值。In addition, if the preset value S of FIG. 3B is set to a value between Th2 and Th4, the inventory level can be increased to be between Th2 and Th4. In other embodiments, other conditions that can also enable the biosensor to maintain the measurement accuracy can be selected as the default value.
可替選地,可以將圖3B的方法中,設定當庫存量水平達到Th2時,強制下一次的量測(例如M7)之後,如果庫存量水平未達到Th3時,不執行圖3A的第一回充(圖未示),因此,下一步是執行M8,如果庫存量水平又小於或等於Th3時,再次強制啟動第二回充操作,使庫存量水平直接提高到S(S=Th2)。庫存量水平就會如M7-M8-R7-M9的曲線變動。如果不如此設計,M7之後的庫存量水平曲線(如圖6C中M7-M9顯示),可以類似R1-M6之間的庫存量水平的變動,庫存量水平的變動較平滑。Alternatively, in the method of FIG. 3B , it can be set that when the inventory level reaches Th2, after forcing the next measurement (for example, M7), if the inventory level does not reach Th3, the first step of FIG. 3A is not performed. Recharging (not shown in the figure), therefore, the next step is to execute M8. If the inventory level is less than or equal to Th3, the second recharging operation is forced to start again, so that the inventory level is directly increased to S (S=Th2). Inventory levels will follow the M7-M8-R7-M9 curve. If not designed in this way, the inventory level curve after M7 (as shown by M7-M9 in Fig. 6C ) can be similar to the change in the inventory level between R1-M6, and the change in the inventory level is smoother.
請參閱圖6D,與圖6C大致類似,差別是預定值S設定為介於I0與Th2之間。一樣可以使庫存量水平在Th1及Th2之間變動,但比圖3C所示的後段曲線(M6-M9)更為緩和。Please refer to FIG. 6D, which is substantially similar to FIG. 6C, except that the predetermined value S is set to be between I0 and Th2. The same can be done to vary the inventory level between Th1 and Th2, but more moderately than the latter curve (M6-M9) shown in Figure 3C.
請參閱圖6E,庫存量水平在R3-M7之間似乎是上揚的走勢,不過,由於門檻值Th1及Th2的設定,也有效地起到了不使庫存量水平超過上限的作用。Referring to Figure 6E, the inventory level between R3-M7 seems to be on an upward trend. However, due to the setting of thresholds Th1 and Th2, it also effectively prevents the inventory level from exceeding the upper limit.
於另一實施例中,除了使用占比或差值的計算方法外,亦可透過設定鹵化銀的庫倫數的門檻值(即上下限值)來計算庫存量水平。再參閱圖3C至圖3E,庫存量水平是以庫倫量計算,在每一次量測操作後執行一次回充操作的情形下,如M1-M9之間的曲線,可以清楚看見,藉由本發明的方法,即使在此期間中可能出現遞增或遞減的走勢,庫存量水平可以平穩地控制在Th1及Th2之間。因此,占比、差值或庫倫量或其組合,都可以應用於庫存量水平作為衡量參數。In another embodiment, in addition to using the calculation method of the ratio or the difference, the inventory level can also be calculated by setting the threshold value (ie, the upper and lower limit values) of the coulomb number of the silver halide. Referring to FIGS. 3C to 3E again, the inventory level is calculated based on coulombs. In the case of performing a recharge operation after each measurement operation, such asFrom the curve between M1-M9, it can be clearly seen that with the method of the present invention, even though there may be an increasing or decreasing trend during this period, the inventory level can be stably controlled between Th1 and Th2. Therefore, percentages, differences or coulombs, or a combination thereof, can be applied to inventory levels as a measure.
關於Th3及Th4的門檻應用,還可以包括:當處理器確認庫存量水平超過Th3及Th4時,給出異常訊號,且系統可以判定生物感測器暫停、或結束進行量測操作。Regarding the threshold application of Th3 and Th4, it can also include: when the processor confirms that the inventory level exceeds Th3 and Th4, an abnormal signal is given, and the system can determine that the biosensor suspends or ends the measurement operation.
請參考圖1,傳感單元可選擇性地包括計時器260時,使本發明的方法還包括以下步驟:每經過各量測操作的固定時間間隔被滿足的條件下,啟動另外回充操作,其中固定時間間隔為15秒內、30秒內、一分鐘內、十分鐘內、一小時內、二小時內、四小時內、一天內、一週內或一個月內的時間值。Referring to FIG. 1 , when the sensing unit can optionally include a
關於各門檻值的選擇,當庫存量水平為鹵化銀材料於鹵化銀材料與銀材料中的占比時,第一門檻值Th1選自1%至98%中的占比,第二門檻值Th2選自2%至99%之間的占比。例如,當第一門檻值Th1為1%時,第二門檻值Th2可以為2%、3%、4%、5%、...直到99%中的一個數值;或者,當第二門檻值Th2為99%時,第二門檻值Th2可以為98%、97%、96%、95%、...直到1%中的一個數值、或選自第一門檻值Th1於20%,第二門檻值Th2為80%、或選自第一門檻值Th1於30%,第二門檻值Th2為70%、或選自第一門檻值Th1於40%,第二門檻值Th2為60%、或選自第一門檻值Th1於50%,第二門檻值Th2為60%。Regarding the selection of each threshold value, when the inventory level is the ratio of silver halide material to silver halide material and silver material, the first threshold value Th1 is selected from the ratio of 1% to 98%, and the second threshold value Th2 Selected from 2% to 99%. For example, when the first threshold value Th1 is 1%, the second threshold value Th2 may be one of 2%, 3%, 4%, 5%, . . . up to 99%; or, when the second threshold value Th2 When Th2 is 99%, the second threshold Th2 can be one of 98%, 97%, 96%, 95%, ... up to 1%, or selected from the first threshold Th1 at 20%, the second The threshold Th2 is 80%, or the first threshold Th1 is 30%, the second threshold Th2 is 70%, or the first threshold Th1 is 40%, and the second threshold Th2 is 60%, or The first threshold value Th1 is 50%, and the second threshold value Th2 is 60%.
當庫存量水平為各回充操作後鹵化銀材料的累積回充量減去各量測操作後鹵化銀材料的累積消耗量的差值時,第一門檻值Th1為初始庫存量的-1%至-99%之間的一個數值,以及第二門檻值Th2為初始庫存量的1%至99%之間的一個數值。其中,累積消耗量可以為只有一次量測後的單次消耗量,也可以是複數次量測後的累積消耗量。When the inventory level is the difference between the cumulative recharge amount of silver halide material after each recharge operation minus the cumulative consumption of silver halide material after each measurement operation, the firstThe threshold Th1 is a value between -1% and -99% of the initial inventory, and the second threshold Th2 is a value between 1% and 99% of the initial inventory. The cumulative consumption may be a single consumption after only one measurement, or may be a cumulative consumption after multiple measurements.
本發明的生物感測器的回充控制以及回復一生物感測器至一合適工作狀態方法,除了可以應於具有一個工作電極及一個對電極的電極結構的生物感測器,還可以適用於具有一個工作電極、一個對電極及一個輔助電極的電極結構的生物感測器;也可以適用於具有一個工作電極、兩個對電極及一個輔助電極的電極結構的生物感測器;或者也可以適用於具有兩個工作電極及兩個對電極的電極結構的生物感測器。The recharge control of the biosensor and the method for restoring a biosensor to a proper working state of the present invention can be applied to a biosensor with an electrode structure of one working electrode and one counter electrode, and can also be applied to A biosensor with an electrode structure of one working electrode, one counter electrode and one auxiliary electrode; it can also be applied to a biosensor with an electrode structure of one working electrode, two counter electrodes and one auxiliary electrode; or Suitable for biosensors with electrode structures with two working electrodes and two counter electrodes.
本發明的生物感測器的回充控制方法,也涵蓋了暖機期抬升庫存量的要求。例如,於執行該回充操作之前,還包括下列步驟:由生理訊號量測裝置強制執行該回充操作、以及於庫存量水平提高至大於或等於第二門檻值Th1時停止回充操作。The recharge control method of the biosensor of the present invention also covers the requirement of raising the inventory during the warm-up period. For example, before performing the recharging operation, the following steps are further included: the physiological signal measuring device forcibly performs the recharging operation, and stopping the recharging operation when the inventory level increases to be greater than or equal to the second threshold Th1.
根據本發明的一種實施例,施加回充電壓係藉由施加固定電位差值或固定電流值來實施,固定電位差值或固定電流值係本質地根據AgCl消耗量變動而動態調整,詳細實施機制請見圖5至圖10說明。According to an embodiment of the present invention, applying the recharge voltage is implemented by applying a fixed potential difference or a fixed current value, and the fixed potential difference or the fixed current value is essentially dynamically adjusted according to the change of AgCl consumption. For the detailed implementation mechanism, please refer to 5 to 10 illustrate.
根據本發明的一種實施例,本發明還提供一種回復生物感測器至合適工作狀態的方法,生物感測器包括第一電極與對電極、對電極包括鹵化銀材料及銀材料,鹵化銀材料具庫存量水平,且在量測操作中,使鹵化銀材料的庫存量水平被消耗,本發明的方法包括下列步驟:於量測操作後,計算庫存量水平之變化;以及啟動第一回充操作,以回充庫存量水平的變動值其中庫存量水平被控制於基本地位於第一門檻值Th1與第二門檻值Th2之間變動。當庫存量水平變化至小於或等於第一門檻值Th1時,啟動第一回充操作,以回充被消耗的鹵化銀材料,從而使庫存量水平提高至第一門檻值Th1與高於第一門檻值Th1的第二門檻值Th2之間的預定值。According to an embodiment of the present invention, the present invention also provides a method for restoring a biosensor to a proper working state, the biosensor includes a first electrode and a counter electrode, the counter electrode includes a silver halide material and a silver material, and the silver halide material has an inventory level, and in the measurement operation, the inventory level of silver halide material is consumed, thisThe method of the invention includes the steps of: after the measuring operation, calculating the change in the inventory level; and initiating a first refill operation to recharge the change in the inventory level, wherein the inventory level is controlled to be substantially at a first threshold The value Th1 varies between the second threshold value Th2. When the inventory level changes to less than or equal to the first threshold Th1, a first recharging operation is initiated to recharge the consumed silver halide material, so that the inventory level is increased to the first threshold Th1 and higher than the first threshold Th1. A predetermined value between the threshold value Th1 and the second threshold value Th2.
根據本發明的一種實施例,本發明的方法還包括以下步驟其中至少一者:每經過各量測操作的預定次數被滿足的條件下,計算預定次數的期間中庫存量水平的變動值,啟動第一回充操作(即另一個回充操作),以回充庫存量水平的變動值;以及每經過各量測操作的固定時間間隔被滿足的條件下,啟動第二回充操作。According to an embodiment of the present invention, the method of the present invention further includes at least one of the following steps: calculating the variation value of the inventory level during the predetermined number of times under the condition that each predetermined number of measurement operations is satisfied, and starting the In the first recharging operation (ie, another recharging operation), the variation value of the recharging inventory level is used to recharge; and the second recharging operation is started under the condition that the fixed time interval after each measurement operation is satisfied.
根據本發明的回復鹵化銀的方法,相關庫存量水平的數據亦可傳送到遠程控制系統,由遠程控制系統進行監控庫存量水平,必要時提供更新指令給生理訊號量測裝置,進行回充條件的更新。According to the method for restoring silver halide of the present invention, the data of the relevant inventory level can also be transmitted to the remote control system, and the remote control system monitors the inventory level, and if necessary, provides an update instruction to the physiological signal measuring device to perform the recharging condition. 's update.
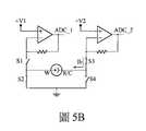
定電壓電路切換應用Constant voltage circuit switching application
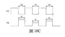
請參考圖5A-5B和7A-7D,其中圖5A和圖5B分別示出本發明中處於量測模式和回充模式的定電壓電路,圖7A-7D分別示出該定電壓電路以不同方式交替進行量測模式和回充模式的電流示意圖。量測模式可分別藉由施加量測電位差Vl和移除量測電位差Vl而開始和停止,而對應的電流以Ia表示。在量測模式時,於量測期間Tl施加量測電位差Vl於工作電極W與對電極R/C之間,使工作電極W的電壓高於對電極R/C的電壓。如圖5A所示,此時開關S1和S4為閉路狀態,而開關S2和S3為開路狀態,工作電極W為+Vl,對電極R/C為接地,以使工作電極W進行氧化反應,並與化學試劑和待分析物進行電化學反應而輸出生理訊號Ia,同時對電極R/C的AgCl具有對應於該生理訊號Ia的消耗量。如圖7A-7D所示,在多個量測期間Tl之間的是未進行量測的期間T2。在某些較佳實施例中,T2為固定值。Please refer to FIGS. 5A-5B and 7A-7D, wherein FIG. 5A and FIG. 5B respectively illustrate the constant voltage circuit in the measurement mode and the recharge mode of the present invention, and FIGS. 7A-7D respectively illustrate the constant voltage circuit in different ways Current schematic diagram of alternately performing measurement mode and recharge mode. The measurement mode can be started and stopped by applying and removing the measurement potential difference V1, respectively, and the corresponding current is denoted by Ia. In the measurement mode, the measurement potential difference V1 is applied between the working electrode W and the counter electrode R/C during the measurement period T1, so that the working electrode W and the counter electrode R/C areThe voltage of the working electrode W is higher than the voltage of the opposing electrode R/C. As shown in FIG. 5A , switches S1 and S4 are in a closed state at this time, while switches S2 and S3 are in an open state, the working electrode W is +V1, and the counter electrode R/C is grounded, so that the working electrode W undergoes an oxidation reaction, and Electrochemical reaction with chemical reagent and analyte is performed to output physiological signal Ia, and AgCl of the counter electrode R/C has a consumption corresponding to the physiological signal Ia. As shown in FIGS. 7A-7D, between the plurality of measurement periods T1 is a period T2 in which no measurement is performed. In some preferred embodiments, T2 is a fixed value.
回充模式可分別藉由施加回充電位差V2和移除回充電位差V2而開始和停止,而對應的電流以Ib表示。V2為0.1V至0.8V之間的固定值,較佳為0.2V至0.5V之間的固定值。在回充模式時,施加回充電位差V2於工作電極W與對電極R/C之間持續回充期間t2(t2介於0至T2之間),使對電極R/C的電壓高於工作電極W的電壓。如圖5B所示,此時開關S1和S4為開路狀態,而開關S2和S3為閉路狀態,工作電極W為接地,對電極R/C為+V2,以使對電極R/C上的Ag進行氧化反應,而回充對電極R/C上的AgCl達一回充量。在定電壓電路中的回充電位差V2為固定電壓,測得的輸出電流為Ib。本發明是透過計算電流曲線下的面積以定義AgCl的容量(Capacity,單位庫倫,以符號"C"表示),故量測模式中AgCl的消耗量為Ia*Tl,回充模式中AgCl的回充量為Ib*t2。因此,可經由調控回充電位差V2的施加時間t2來控制AgCl的回充量。換言之,在對電極R/C上的AgCl保持在安全庫存量之內的前提下,可使回充量等於或不等於(包含約略相近、大於或小於)消耗量。The recharge mode can be started and stopped by applying the recharge potential V2 and removing the recharge potential V2, respectively, and the corresponding current is denoted by Ib. V2 is a fixed value between 0.1V and 0.8V, preferably between 0.2V and 0.5V. In the recharge mode, the recharge potential difference V2 is applied between the working electrode W and the counter electrode R/C for a continuous recharge period t2 (t2 is between 0 and T2), so that the voltage of the counter electrode R/C is higher than the working electrode R/C The voltage of electrode W. As shown in Figure 5B, at this time, switches S1 and S4 are in an open state, while switches S2 and S3 are in a closed state, the working electrode W is grounded, and the counter electrode R/C is +V2, so that the Ag on the counter electrode R/C is in a closed state. The oxidation reaction is carried out, and the AgCl on the counter electrode R/C is recharged to a recharge amount. The recharge potential difference V2 in the constant voltage circuit is a fixed voltage, and the measured output current is Ib. The present invention defines the capacity of AgCl by calculating the area under the current curve (Capacity, unit coulomb, represented by symbol "C"), so the consumption of AgCl in the measurement mode is Ia*Tl, and the return of AgCl in the recharge mode is The charge is Ib*t2. Therefore, the recharge amount of AgCl can be controlled by adjusting the application time t2 of the recharge potential difference V2. In other words, on the premise that the AgCl on the counter electrode R/C is kept within the safety stock, the recharge amount can be made equal to or not equal to (including approximately similar, greater or less than) consumption.
圖7A-7D中橫軸為時間,V1的線條表示量測電位差V1的施加和移除,V2的線條表示回充電位差V2的施加和移除。請參考圖7A,在一較佳實施例中,V2和T2都是固定值,V2的施加時間t2(即回充期間)是變動值。回充期間t2是根據在量測模式所測得的生理訊號Ia及量測期間T1而在0至T2之間動態調整。如圖7A中所示,t2可為t2’、t2''、或t2'''...。換言之,回充期間t2可根據AgCl的消耗量而改變,若AgCl的消耗量大,則可回充較長的時間以使對電極R/C上的AgCl保持在安全庫存量之內。舉例而言,在t2''期間所回充的AgCl的量將大於t2’期間所回充的AgCl量。In FIGS. 7A-7D, the horizontal axis is time, the line of V1 represents the application and removal of the measurement potential difference V1, and the line of V2 represents the application and removal of the recharge potential difference V2. PleaseReferring to FIG. 7A , in a preferred embodiment, both V2 and T2 are fixed values, and the application time t2 of V2 (ie, the recharging period) is a variable value. The recharging period t2 is dynamically adjusted between 0 and T2 according to the physiological signal Ia measured in the measurement mode and the measurement period T1. As shown in Figure 7A, t2 may be t2', t2'', or t2'''.... In other words, the recharge period t2 can be changed according to the consumption of AgCl. If the consumption of AgCl is large, it can be recharged for a long time to keep the AgCl on the counter electrode R/C within the safety stock. For example, the amount of AgCl recharged during t2'' will be greater than the amount of AgCl recharged during t2'.
請參考圖7B,在另一較佳實施例中,V2、T2和t2都是固定值,其中t2=T2。也就是說,量測模式和回充模式是無縫交替的,在未進行量測的期間即為回充期間。請參考圖7C和5D,在某些較佳實施例中,V2、T2和t2都是固定值,其中t2為大於0且小於T2的固定值,例如t2=1/2的T2、2/5的T2、3/5的T2等。圖7C和7D的差別在於,圖7C中是在每次量測模式結束後,經歷一段緩衝時間(緩衝時間=T2-t2),才開始回充模式;圖7D中是每次量測模式結束後未經緩衝時間即立即開始回充模式,而在每次回充模式結束與下一次量測模式開始之間間隔一段時間。在某些較佳實施例中,t2小於T2,且t2可為T2期間的任何時間段。Referring to FIG. 7B, in another preferred embodiment, V2, T2 and t2 are all fixed values, where t2=T2. That is to say, the measurement mode and the recharge mode alternate seamlessly, and the period when no measurement is performed is the recharge period. 7C and 5D, in some preferred embodiments, V2, T2 and t2 are all fixed values, wherein t2 is a fixed value greater than 0 and less than T2, such as T2, 2/5 when t2=1/2 of T2, 3/5 of T2, etc. The difference between Fig. 7C and Fig. 7D is that in Fig. 7C, after each measurement mode ends, after a buffer time (buffer time = T2-t2), the recharge mode starts; in Fig. 7D, each measurement mode ends The recharge mode starts immediately without buffering time, and there is a period of time between the end of each recharge mode and the start of the next measurement mode. In certain preferred embodiments, t2 is less than T2, and t2 can be any time period during T2.
請參考圖7E和7F,其示出本發明的定電壓電路以不同方式交替進行量測模式和回充模式的電流示意圖。圖7E和7F中,橫軸為時間,縱軸為電流,曲線表示所量測到的生理訊號Ia換算而成的生理參數值曲線。在這兩個實施例中,類似於圖7A,V2和T2為固定值,回充期間t2是變動值。圖7E和7F中,曲線下白色面積代表量測模式中AgCl的消耗量(Ia*Tl),斜線面積代表回充模式中AgCl的回充量(Ib*t2)。由圖中可看出,為了使Ib*t2接近Ia*Tl或在Ia*Tl的某個範圍內,回充期間t2是根據所測得的生理訊號Ia及量測期間T1而在0至T2之間動態調整。根據需要,可選擇在未執行量測模式的期間(T2)的前段(如圖7E所示)或後段(如圖7F所示)進行回充模式。Please refer to FIGS. 7E and 7F , which are schematic diagrams of currents in which the constant voltage circuit of the present invention alternately performs the measurement mode and the recharge mode in different ways. In FIGS. 7E and 7F , the horizontal axis is time, the vertical axis is current, and the curve represents the physiological parameter value curve converted from the measured physiological signal Ia. In these two embodiments, similar to FIG. 7A, V2 and T2 are fixed values, and t2 is a fluctuating value during the recharging period. In Figures 7E and 7F, the white area under the curve represents the consumption of AgCl in the measurement mode (Ia*Tl), and the area of the slanted line represents the recharged amount of AgCl in the recharge mode (Ib*t2). As can be seen from the figure, in order to make Ib*t2 close toIa*T1 or within a certain range of Ia*T1, the recharge period t2 is dynamically adjusted between 0 and T2 according to the measured physiological signal Ia and the measurement period T1. According to needs, the recharge mode can be selected to be performed in the first stage (as shown in FIG. 7E ) or the latter stage (as shown in FIG. 7F ) during the period (T2) when the measurement mode is not executed.
有段切換的定電流電路切換應用Constant current circuit switching application with segment switching
請參考圖8A-8B和圖10A-10C,其中圖8A和圖8B分別示出本發明中處於量測模式和回充模式的有段切換的定電流電路,圖10A-10C示出本發明的定電流電路以不同方式交替進行量測模式和回充模式的三種電壓示意圖。量測模式可分別藉由施加量測電位差Vl和移除量測電位差Vl而開始和停止,而對應的電流以Ia表示。在量測模式時,施加量測電位差Vl於工作電極W與對電極R/C之間持續量測期間T1。如圖8A所示,此時開關S1和S4為閉路狀態,而其他開關都為開路狀態,工作電極W為+V1,對電極R/C為接地,以使工作電極W進行氧化反應,並與化學試劑和待分析物進行電化學反應而輸出生理訊號Ia,同時對電極R/C的AgCl具有對應於該生理訊號Ia的消耗量。如圖10A-10C所示,在多個量測期間Tl之間的是未進行量測的期間T2。在某些較佳實施例中,T2為固定值。Please refer to FIGS. 8A-8B and FIGS. 10A-10C, wherein FIG. 8A and FIG. 8B respectively show the constant current circuit with segment switching in the measurement mode and the recharge mode of the present invention, and FIGS. 10A-10C show the Three voltage schematic diagrams of the constant current circuit alternately performing measurement mode and recharge mode in different ways. The measurement mode can be started and stopped by applying and removing the measurement potential difference V1, respectively, and the corresponding current is denoted by Ia. In the measurement mode, the measurement potential difference V1 is applied between the working electrode W and the counter electrode R/C for the measurement period T1. As shown in FIG. 8A , switches S1 and S4 are in a closed state at this time, while other switches are in an open state, the working electrode W is +V1, and the counter electrode R/C is grounded, so that the working electrode W is oxidized and reacted with The chemical reagent and the analyte undergo electrochemical reaction to output the physiological signal Ia, and the AgCl of the counter electrode R/C has a consumption corresponding to the physiological signal Ia. As shown in FIGS. 10A-10C , between the plurality of measurement periods T1 is a period T2 in which no measurement is performed. In some preferred embodiments, T2 is a fixed value.
回充模式可分別藉由施加回充電位差V2(V2為變動值)和移除回充電位差V2而開始和停止,而對應的電流以Ib表示。在回充模式時,施加回充電位差V2於工作電極W與對電極R/C之間持續回充期間t2(t2介於0至T2之間)。如圖8B所示,此時開關S1和S4為開路狀態,S2和I_F1至I_Fn所對應的至少一個開關為閉路狀態(圖中示例性地示出I_F1和I_F3對應的開關為閉路狀態),工作電極W為接地,對電極R/C為+V2,以使對電極R/C上的Ag進行氧化反應,進而回充AgCl。在回充模式時,可根據該生理訊號Ia的大小及量測期間T1,而選擇切換I_F1至I_Fn所對應的至少一個開關以輸出固定電流Ib,並經由調控電位差V2的施加時間t2來控制AgCl的回充量。換言之,在對電極R/C上的AgCl保持在安全庫存量之內的前提下,可使回充量等於或不等於(包含約略相近、大於或小於)消耗量。The recharge mode can be started and stopped by applying the recharge potential V2 (V2 is a variable value) and removing the recharge potential V2, respectively, and the corresponding current is represented by Ib. In the recharge mode, a recharge potential difference V2 is applied between the working electrode W and the counter electrode R/C for a recharge period t2 (t2 is between 0 and T2). As shown in FIG. 8B , at this time, switches S1 and S4 are in an open state, and at least one switch corresponding to S2 and I_F1 to I_Fn is in a closed state (the switches corresponding to I_F1 and I_F3 are exemplarily shown in the figure in a closed state).The working electrode W is grounded, and the counter electrode R/C is +V2, so that the Ag on the counter electrode R/C is oxidized and then recharged with AgCl. In the recharge mode, according to the magnitude of the physiological signal Ia and the measurement period T1, at least one switch corresponding to I_F1 to I_Fn can be selectively switched to output a fixed current Ib, and AgCl can be controlled by regulating the application time t2 of the potential difference V2 the recharge amount. In other words, on the premise that the AgCl on the counter electrode R/C is kept within the safety stock, the recharge amount can be made equal to or not equal to (including approximately similar, greater or less than) consumption.
無段切換的定電流電路切換應用Constant current circuit switching application of stepless switching
請參考圖9A-9B和圖10A-10C,其中圖9A和圖9B分別示出本發明中處於量測模式和回充模式的無段切換的定電流電路。本實施例的量測模式與回充模式與圖8A-8B類似,故於此不再贅述,與圖8A-8B實施例之差異僅在本實施例在回充模式時,可根據該生理訊號Ia,藉由數位類比轉換器(DAC)的控制而輸出固定電流Ib,並經由調控電位差V2的施加時間t2來控制AgCl的回充量。換言之,在對電極R/C上的AgCl保持在安全庫存量之內的前提下,可使回充量等於或不等於(包含約略相近、大於或小於)消耗量。Please refer to FIGS. 9A-9B and FIGS. 10A-10C, wherein FIG. 9A and FIG. 9B respectively illustrate the stepless switching constant current circuit in the measurement mode and the recharge mode according to the present invention. The measurement mode and the recharge mode of this embodiment are similar to those in FIGS. 8A-8B , so they will not be repeated here. The difference from the embodiment of FIGS. 8A-8B is only when this embodiment is in the recharge mode, which can be based on the physiological signal. Ia, outputs a fixed current Ib under the control of a digital-to-analog converter (DAC), and controls the recharge amount of AgCl by regulating the application time t2 of the potential difference V2. In other words, on the premise that the AgCl on the counter electrode R/C is kept within the safety stock, the recharge amount can be made equal to or not equal to (including approximately similar, greater or less than) consumption.
圖10A-10C中橫軸為時間,縱軸為電流,其中V1的線條表示量測電位差V1的施加和移除,V2的線條表示回充電位差V2的施加和移除。請參考圖10A,在一較佳實施例中,T2是固定值,V2和V2的施加時間t2(即回充期間)是變動值。回充期間t2是根據在量測模式所測得的生理訊號Ia及量測期間T1而在0至T2之間動態調整。如圖10A中所示,t2可為t2’、t2''、或t2'''...。換言之,回充期間t2可根據AgCl的消耗量而改變,若AgCl的消耗量大,則可回充較長的時間以使對電極R/C上的AgCl保持在安全庫存量之內。10A-10C, the horizontal axis is time, and the vertical axis is current, wherein the line of V1 represents the application and removal of the measurement potential difference V1, and the line of V2 represents the application and removal of the recharge potential difference V2. Referring to FIG. 10A , in a preferred embodiment, T2 is a fixed value, and the application time t2 of V2 and V2 (ie, the recharging period) is a variable value. The recharging period t2 is dynamically adjusted between 0 and T2 according to the physiological signal Ia measured in the measurement mode and the measurement period T1. As shown in Figure 10A, t2 may be t2', t2'', or t2'''.... In other words, the recharge period t2 can be changed according to the consumption of AgCl, if the consumption of AgClIf it is large, it can be recharged for a longer time to keep the AgCl on the counter electrode R/C within the safety stock.
請參考圖10B,在另一較佳實施例中,V2是變動值,T2和t2都是固定值,其中t2為大於0且小於T2的固定值,例如t2=1/2的T2、2/5的T2、3/7的T2等。在此實施例中,V2是根據於生理訊號量測步驟(即在量測模式中)的AgCl的消耗量而動態調整。動態調整方式的其中一個實施例如下。使用例如上述的有段切換的定電流電路,該電路具有n個固定電流源與n個開關,各固定電流源分別對應一個開關。於回充模式時,依據AgCl的消耗量,選擇開啟n個開關中的至少一個開關(即使該開關處於閉路狀態)以輸出固定電流值。在回充期間t2為固定值的情況下,可以藉由選擇不同的固定電流輸出來控制AgCl的回充量。Please refer to FIG. 10B , in another preferred embodiment, V2 is a variable value, T2 and t2 are fixed values, and t2 is a fixed value greater than 0 and less than T2, such as T2, 2/ T2 of 5, T2 of 3/7, etc. In this embodiment, V2 is dynamically adjusted according to the consumption of AgCl in the physiological signal measurement step (ie, in the measurement mode). One example of the dynamic adjustment method is as follows. For example, the above-mentioned constant current circuit with segment switching is used, and the circuit has n fixed current sources and n switches, and each fixed current source corresponds to one switch respectively. In the recharge mode, according to the consumption of AgCl, at least one switch among the n switches is selected to be turned on (even if the switch is in a closed state) to output a fixed current value. When the recharge period t2 is a fixed value, the recharge amount of AgCl can be controlled by selecting different fixed current outputs.
請參考圖10C,在另一較佳實施例中,V2是變動值,T2和t2都是固定值,其中t2=T2。也就是說,量測模式和回充模式是無縫交替的,在未進行量測的期間即為回充期間。Referring to FIG. 10C , in another preferred embodiment, V2 is a variable value, and both T2 and t2 are fixed values, where t2=T2. That is to say, the measurement mode and the recharge mode alternate seamlessly, and the period when no measurement is performed is the recharge period.
相較於無段切換的定電流電路,有段切換的定電流電路可透過多個開關控制多個電流路徑,而得以根據所需的電流量以分段式的定電流進行回充,以此方式較為省電且可以降低成本。此外,不管是定電壓電路或定電流電路,電位差可以來自直流電源或交流電源。Compared with the constant current circuit with stepless switching, the constant current circuit with step switching can control multiple current paths through multiple switches, so that it can be recharged with a segmented constant current according to the required current. The method is more energy-saving and can reduce the cost. In addition, whether it is a constant voltage circuit or a constant current circuit, the potential difference can come from a DC power source or an AC power source.
圖7A至圖10C的實施例都是描述量測步驟和回充步驟交替循環的操作方式,亦即每個量測步驟之間都有一個AgCl回充步驟,此方式可較佳地確保AgCl保持在安全庫存量之內。然而,在某些較佳實施例中,亦可在進行N次的量測期間選擇性搭配Y次的AgCl回充,其中Y≦N,使AgCl的累積回充量仍可保持在安全庫存範圍內。量測步驟和回充步驟也不必然需要以交替循環的方式進行,亦可於數次量測步驟後再進行一次回充步驟,或是在預定的量測時間之後,才進行一次回充步驟。舉例而言,可於量測10次後再進行一次回充步驟,或可於累積量測時間達1小時後才進行一次回充步驟。The embodiments of FIGS. 7A to 10C all describe the operation mode of alternating cycles of the measurement step and the recharging step, that is, there is an AgCl recharging step between each measurement step, which can better ensure that the AgCl remains within the safety stock. However, in some preferred embodiments, Y times can also be selectively matched during the N times of measurement., where Y≦N, so that the accumulated amount of AgCl can still be kept within the safety stock range. The measurement step and the recharging step do not necessarily need to be performed in an alternate cycle, and a recharging step can be performed after several measurement steps, or a recharging step is performed only after a predetermined measurement time. . For example, a recharging step can be performed after 10 measurements, or a recharging step can be performed after the accumulated measurement time reaches 1 hour.
請參考圖10D,其示出本發明的定電流電路以類似圖10C的方式交替進行量測模式和回充模式的示意圖。圖10D中,曲線表示所量測到的生理訊號Ia所轉換成的生理參數值曲線,且類似於圖10C,T2和t2都是固定值,V2是變動值。圖10D中,曲線下白色面積代表量測模式中AgCl的消耗量(Ia*Tl),斜線面積代表回充模式中AgCl的回充量(Ib*t2)。由圖中可看出,為了使Ib*t2接近Ia*Tl或在Ia*Tl的某個範圍內,回充電位差V2是根據AgCl的消耗量而動態調整。Please refer to FIG. 10D , which is a schematic diagram of the constant current circuit of the present invention performing the measurement mode and the recharge mode alternately in a manner similar to FIG. 10C . In FIG. 10D , the curve represents the physiological parameter value curve converted from the measured physiological signal Ia, and similar to FIG. 10C , T2 and t2 are fixed values, and V2 is a variable value. In Fig. 10D, the white area under the curve represents the consumption of AgCl in the measurement mode (Ia*Tl), and the area of the oblique line represents the recharged amount of AgCl in the recharge mode (Ib*t2). As can be seen from the figure, in order to make Ib*t2 close to Ia*T1 or within a certain range of Ia*T1, the recharge potential difference V2 is dynamically adjusted according to the consumption of AgCl.
另外圖7E、7F及圖10D中,雖未顯示每次執行生理訊號量測步驟後所輸出各生理參數值輸出時機點,但生理參數值不限於完成量測時輸出或於在回充期間內輸出,而AgCl回充步驟不限於在每一個生理參數輸出後執行或獲得生理訊號後執行。In addition, in FIGS. 7E , 7F and 10D , although the output timing of each physiological parameter value output after each execution of the physiological signal measurement step is not shown, the physiological parameter value is not limited to output when the measurement is completed or during the recharge period output, and the AgCl recharging step is not limited to be performed after each physiological parameter is output or after a physiological signal is obtained.
請參考圖11,其示出根據本發明一實施例的量測待分析物的方法,透過該方法可延長微型生物感測器的使用壽命。該微型生物感測器可為例如圖2A-圖2D所示的微型生物感測器,用於植入皮下以量測與生物流體(例如組織液)中的該待分析物所關聯的生理參數的生理訊號。在圖11的實施例中,該待分析物可為組織液中的葡萄糖,生理參數為人體中的葡萄糖值,生理訊號為微型生物感測器量得的電流值。此實施例中,量測待分析物的方法包含反覆循環地執行量測步驟(S901)及回充步驟(S902)。量測步驟(S901)包含使用前述定電壓或定電流電路於量測期間T1執行如前述的量測模式以輸出生理訊號(即電流值),同時對電極的AgCl具有對應於該電流值的消耗量。量測步驟(S901)還包含透過停止如前述的量測模式來停止量測步驟,且該電流值經運算後輸出生理參數(即葡萄糖值)。Please refer to FIG. 11 , which shows a method for measuring an analyte according to an embodiment of the present invention, through which the service life of the micro biosensor can be extended. The miniature biosensor may be, for example, the miniature biosensor shown in FIGS. 2A-2D for implantation subcutaneously to measure physiological parameters associated with the analyte in biological fluids (eg, interstitial fluid). physiological signals. In the embodiment of FIG. 11 , the analyte may be glucose in the tissue fluid, the physiological parameter is the glucose value in the human body, and the physiological signalThe current value measured by the micro biosensor. In this embodiment, the method for measuring the analyte includes repeatedly and cyclically performing the measuring step ( S901 ) and the recharging step ( S902 ). The measurement step (S901) includes using the aforementioned constant voltage or constant current circuit to perform the aforementioned measurement mode during the measurement period T1 to output a physiological signal (ie, a current value), while the AgCl of the electrode has a consumption corresponding to the current value quantity. The measuring step ( S901 ) further includes stopping the measuring step by stopping the aforementioned measuring mode, and the current value is calculated to output a physiological parameter (ie, the glucose value).
在量測步驟(S901),其化學反應式如下:於工作電極120進行以下氧化反應:葡萄糖(Glucose)+還原型葡萄糖氧化酶(Glucose oxidase,Gox)(FAD)葡萄糖酸內酯(Gluconolactone)+氧化型葡萄糖氧化酶(FADH2)In the measurement step (S901), the chemical reaction formula is as follows: the following oxidation reaction is performed on the working electrode 120: glucose (Glucose) + reduced glucose oxidase (Glucose oxidase, Gox) (FAD) Gluconolactone + oxidative glucose oxidase (FADH2 )
氧化型葡萄糖氧化酶(FADH2)+O2還原型葡萄糖氧化酶(FAD)+H2O2Oxidative glucose oxidase (FADH2 )+O2 Reduced glucose oxidase (FAD)+H2 O2
H2O22H++O2+2e-於對電極130進行以下還原反應:2AgCl+2e-2Ag+2Cl-H2 O2 2H+ +O2 +2e- performs the following reduction reaction on the counter electrode 130: 2AgCl+2e- 2Ag+2Cl-
回充步驟(S902)包含使用前述定電壓或定電流電路於回充期間執行如前述的回充模式,以使對電極的AgCl具有對應於消耗量的回充量,進而使對電極上之AgCl的量控制在安全庫存區間內。由此,可使該工作電極與對電極之間的電位差保持穩定,讓所獲得的電流值仍能與葡萄糖值保持穩定的比例關係(若偵測物質為其他待分析物亦可能是正比關係也可能是反比關係)。換言之,可使下一量測步驟時所獲得的下一個電流值與下一個葡萄糖值保持穩定的比例關係。回充步驟(S902)還包含透過停止如前述的回充模式來停止回充步驟。回充步驟(S902)結束後循環回去執行量測步驟(S901),直到執行了N次量測步驟(S901)與N次回充步驟(S902)。The recharging step (S902) includes using the aforementioned constant voltage or constant current circuit to perform the aforementioned recharging mode during the recharging period, so that the AgCl on the counter electrode has a recharging amount corresponding to the consumption, so that the AgCl on the counter electrode has a recharging amount corresponding to the consumption. The amount is controlled within the safety stock range. Therefore, the potential difference between the working electrode and the counter electrode can be kept stable, so that the obtained current value can still maintain a stable proportional relationship with the glucose value (if the detected substance is other analytes, it may also be in a proportional relationship. may be inversely proportional). In other words, the next current value obtained in the next measurement step can be compared with the nextThe glucose value maintains a stable proportional relationship. The recharging step ( S902 ) further includes stopping the recharging step by stopping the recharging mode as described above. After the recharging step ( S902 ) ends, the cycle goes back to the measuring step ( S901 ) until N times of the measuring step ( S901 ) and N times of the recharging step ( S902 ) are performed.
在回充步驟(S902),其化學反應式如下:於工作電極120進行以下還原反應:葡萄糖(Glucose)+還原型葡萄糖氧化酶(Glucose oxidase)(FAD)葡萄糖酸內酯(Gluconolactone)+氧化型葡萄糖氧化酶(FADH2)In the recharging step (S902), the chemical reaction formula is as follows: the following reduction reaction is performed on the working electrode 120: glucose (Glucose) + reduced glucose oxidase (Glucose oxidase) (FAD) Gluconolactone + oxidative glucose oxidase (FADH2 )
氧化型葡萄糖氧化酶(FADH2)+O2還原型葡萄糖氧化酶(FAD)+H2O2Oxidative glucose oxidase (FADH2 )+O2 Reduced glucose oxidase (FAD)+H2 O2
H2O2+2H++2e-H2OH2 O2 +2H+ +2e- H2 O
O2+4H++4e-2H2O於對電極130的正電位促使對電極130進行以下氧化反應:2Ag2Ag++2Cl-2AgCl+2e-其中對電極上的Ag氧化成Ag+,與來自生物體內Cl-或AgCl氧化(或解離)後的Cl-結合而成AgCl,使得於量測期間T1內被消耗的部分或全部AgCl被回充到對電極上。O2 +4H+ +4e- The positive potential of 2H2 O on the
人體透過摻碘的食鹽可以取得氯離子及碘離子,故可取得的鹵離子至少包括氯離子及碘離子,以用於回充鹵化銀。The human body can obtain chloride ions and iodide ions through iodine-doped salt, so the halide ions that can be obtained include at least chloride ions and iodide ions for recharging silver halide.
以下實施例是針對N次量測步驟(S901)及N次回充步驟(S902)的循環,其中所提到的生理參數較佳是葡萄糖值,所提到的生理訊號較佳是電流值。根據某些較佳實施例,各量測電位差V1於量測期間T1被施加,各回充電位差V2於回充期間t2被施加,且量測期間T1為固定值,其可為3秒內、5秒內、10秒內、15秒內、30秒內、1分鐘內、2分鐘內、5分鐘內或10分鐘內的一時間值。根據某些較佳實施例,較佳為30秒內的時間值。量測期間T1為固定值,且可為2.5秒、5秒、15秒、30秒、1分鐘、2.5分鐘、5分鐘、10分鐘或30分鐘,較佳為30秒。根據某些較佳實施例,各量測期間T1加上各回充期間t2為固定值。根據某些較佳實施例,各回充電位差V2具有固定電壓值,各回充期間t2是根據AgCl的每次消耗量而動態調整(如圖7A所示)。根據某些較佳實施例,輸出的各生理參數是經由各量測期間T1中的一個單一量測時間點的各生理訊號運算而獲得。根據某些較佳實施例,輸出的各生理參數是經由各量測期間T1中的多個量測時間點的多個生理訊號的一數學運算值運算而獲得。前述數學運算值為例如累加值、平均值、中位數、中位數的平均值等。根據某些較佳實施例,藉由控制每次回充量為等於或不等於(包含約略相近、大於或小於)每次消耗量,而控制對電極之AgCl量在安全庫存區間內,而使下一量測步驟時所獲得的下一生理訊號與下一生理參數保持穩定的比例關係。根據某些較佳實施例,移除各量測電位差V1的步驟是將配置於連通工作電極及對電極之電路斷路、或設定各量測電位差V1為0。換言之,可進行斷電,以使量測電路具有開路狀態;或者,可施加0伏特電壓於工作電極及對電極之間,其中該兩項操作其中任一操作的操作時間皆為0.01~0.5秒。移除量測電位差V1的步驟可避免A形的生理訊號產生。根據某些較佳實施例,移除各回充電位差V2的步驟是將配置於連通工作電極及對電極之電路斷路、或設定各回充電位差V2為0。The following embodiment is for the cycle of N measurement steps ( S901 ) and N recharging steps ( S902 ), wherein the physiological parameter mentioned is preferably the glucose value, and the physiological signal mentioned is preferably the current value. According to some preferred embodiments, each measurement potential difference V1 is applied during the measurement period T1, and each recharge potential difference V2 is applied during the recharge period t2applied, and the measurement period T1 is a fixed value, which can be within 3 seconds, within 5 seconds, within 10 seconds, within 15 seconds, within 30 seconds, within 1 minute, within 2 minutes, within 5 minutes, or within 10 minutes a time value. According to some preferred embodiments, a time value within 30 seconds is preferred. The measurement period T1 is a fixed value, and can be 2.5 seconds, 5 seconds, 15 seconds, 30 seconds, 1 minute, 2.5 minutes, 5 minutes, 10 minutes or 30 minutes, preferably 30 seconds. According to some preferred embodiments, each measurement period T1 plus each recharging period t2 is a fixed value. According to some preferred embodiments, each recharge potential difference V2 has a fixed voltage value, and each recharge period t2 is dynamically adjusted according to each consumption of AgCl (as shown in FIG. 7A ). According to some preferred embodiments, each outputted physiological parameter is obtained by calculating each physiological signal at a single measurement time point in each measurement period T1. According to some preferred embodiments, each outputted physiological parameter is obtained through a mathematical operation of a plurality of physiological signals at a plurality of measurement time points in each measurement period T1. The aforementioned mathematical operation value is, for example, an accumulated value, an average value, a median, an average of medians, and the like. According to some preferred embodiments, by controlling the amount of each recharge to be equal to or not equal to (including approximately similar, greater or less than) each consumption amount, the AgCl amount of the counter electrode is controlled to be within the safety stock range, so that the lower The next physiological signal obtained during a measurement step maintains a stable proportional relationship with the next physiological parameter. According to some preferred embodiments, the step of removing each measurement potential difference V1 is to disconnect the circuit configured to connect the working electrode and the counter electrode, or to set each measurement potential difference V1 to zero. In other words, the power can be turned off, so that the measurement circuit has an open state; or, a voltage of 0 volts can be applied between the working electrode and the counter electrode, and the operation time of any of the two operations is 0.01~0.5 seconds. . Removing the step of measuring the potential difference V1 can prevent the A-shaped physiological signal from being generated. According to some preferred embodiments, the step of removing each recycle potential difference V2 is to disconnect the circuit configured to connect the working electrode and the counter electrode, or set each recycle potential difference V2 to 0.
根據某些較佳實施例,感測器植入人體後需經過暖機時間,使感測器在體內達到平衡穩定才能穩定呈現與分析物濃度呈正相關的生理訊號。因此,在量測步驟(S901)持續施加量測電壓直至量測期間T1結束,並控制該量測期間T1以使得生理訊號與分析物的生理參數達到穩定的比例關係。因此,量測期間T1可為變動值或為變動值和固定值的組合(例如變動值+固定值,該變動值可為1小時、2小時、3小時、6小時、12小時或24小時,該固定值可為例如30秒)。According to some preferred embodiments, after the sensor is implanted in the human body, a warm-up time is required so that the sensor reaches equilibrium and stability in the body so as to stably present a physiological signal that is positively correlated with the concentration of the analyte. Therefore, in the measurement step ( S901 ), the measurement voltage is continuously applied until the measurement period T1 ends, and the measurement period T1 is controlled so that the physiological signal and the physiological parameter of the analyte achieve a stable proportional relationship. Therefore, the measurement period T1 can be a variable value or a combination of a variable value and a fixed value (for example, a variable value + a fixed value, the variable value can be 1 hour, 2 hours, 3 hours, 6 hours, 12 hours or 24 hours, The fixed value may be, for example, 30 seconds).
請參考圖7A-7F、圖10A-10D及圖11,本發明利用施加電壓於對電極R/C來量測一期間內對電極之反應電流,並經由將該期間內反應電流經數學運算而得知AgCl初始容量,例如透過計算反應電流曲線下的面積以定義AgCl初始容量,又稱初始量或初始庫倫量(Cinitial),以下皆以量來說明。對電極R/C包含Ag和AgCl,當得知AgCl的百分比(X%AgCl)時,即可算出Ag百分比(Y% Ag=100%-X% AgCl)。於每次量測步驟(S901)中透過計算工作電極W的電流曲線下的面積來定義每次AgCl的消耗量(以Cconsume表示)。對電極R/C的AgCl具有對應於該生理訊號Ia的消耗量Cconsume,即Cconsume=Ia*T1。於每次回充步驟(S902)中,透過計算對電極R/C的電流曲線下的面積來定義每次AgCl的回充量(以Creplenish表示),即Creplenish=Ib*t2,t2介於0~T2之間。Please refer to FIGS. 7A-7F , FIGS. 10A-10D and FIG. 11 , in the present invention, the reaction current of the counter electrode is measured by applying a voltage to the counter electrode R/C in a period, and the reaction current in the period is calculated by mathematical operation. To know the initial capacity of AgCl, for example, by calculating the area under the reaction current curve to define the initial capacity of AgCl, also known as the initial amount or initial coulomb (Cinitial ), the following are all described in terms of amount. The counter electrode R/C contains Ag and AgCl. When the percentage of AgCl (X%AgCl) is known, the percentage of Ag can be calculated (Y% Ag=100%-X% AgCl). In each measurement step ( S901 ), the consumption of AgCl (represented by Cconsume ) is defined by calculating the area under the current curve of the working electrode W. The AgCl of the counter electrode R/C has a consumption amount Cconsume corresponding to the physiological signal Ia, that is, Cconsume =Ia*T1. In each recharging step (S902), the amount of AgCl recharging each time (represented by Creplenish ) is defined by calculating the area under the current curve of the counter electrode R/C, that is, Creplenish =Ib*t2, and t2 is between Between 0 and T2.
以下描述AgCl安全庫存量的計算方法。在某些較佳實施例中,安全庫存區間是以Ag與AgCl的比例呈現,本發明是以於對電極量測到的庫倫量(C)以反映Ag與AgCl的比例關係。在某些較佳實施例中,Ag與AgCl的比例為99.9%:0.1%、99%:1%、95%:5%、90%:10%、70%:30%、50%:50%、40%:60%或30:70%,使AgCl在對電極上具備一程度上的量而不會被消耗殆盡,讓每次生理訊號量測步驟皆能穩定執行。AgCl的剩餘量為回充量與初始量的和減去消耗量。在某些較佳實施例中,AgCl的剩餘量在一區間範圍內變動,亦即AgCl的剩餘量被控制在初始量加減特定值(X值)的範圍內,即(Creplenish+Cinitial)-Cconsume=Cinitial±X,其中0<X<100% Cinitial、10% Cinitial<X≦90% Cinitial、或0.5% Cinitial<X≦50% Cinitial。在某些較佳實施例中,AgCl的剩餘量可在一區間範圍內逐漸下降、逐漸上升、或是平穩變動或任意變動但仍於該區間範圍內。The calculation method of the AgCl safety stock amount is described below. In some preferred embodiments, the safety stock interval is represented by the ratio of Ag to AgCl. The present invention uses the coulomb (C) measured by the counter electrode to reflect the ratio of Ag to AgCl. In some preferred embodiments, the ratio of Ag to AgCl is 99.9%: 0.1%, 99%: 1%, 95%: 5%, 90%: 10%, 70%: 30%, 50%: 50% , 40%: 60% or 30: 70%, so that AgCl has a certain amount on the counter electrode without being consumed, so that each physiological signal measurement step can be performed stably. The remaining amount of AgCl is the sum of the recharged amount and the initial amount minus the consumption amount. In some preferred embodiments, the remaining amount of AgCl varies within an interval, that is, the remaining amount of AgCl is controlled within the range of the initial amount plus or minus a specific value (X value), that is, (Creplenish +Cinitial ) -Cconsume =Cinitial ±X, where 0<X<100% Cinitial , 10% Cinitial <X≦90% Cinitial , or 0.5% Cinitial <X≦50% Cinitial . In some preferred embodiments, the remaining amount of AgCl may gradually decrease, gradually increase, or fluctuate smoothly or arbitrarily within a range but still within the range.
請參考圖12,其示出根據本發明另一實施例的量測待分析物的方法,透過該方法不但可延長微型生物感測器的使用壽命並且能縮減對電極之銀及鹵化銀材料用量。該微型生物感測器可為例如圖2A-2D所示的微型生物感測器,用於植入皮下以量測與生物流體(例如組織液)中的該待分析物所關聯的生理參數的生理訊號。該微型生物感測器的對電極的電極材料包括銀及鹵化銀,在圖12的實施例中,該待分析物可為組織液中的葡萄糖,生理參數為人體中的葡萄糖值,生理訊號為微型生物感測器量得的電流值。以下僅描述此實施例的一個循環。此實施例的方法始於以下步驟:施加量測電壓以驅動工作電極,以量測用以獲得生理參數的生理訊號,其中鹵化銀被消耗特定量(下文略稱為消耗量)(S1001)。Please refer to FIG. 12 , which shows a method for measuring an analyte according to another embodiment of the present invention. Through this method, the service life of the miniature biosensor can be prolonged and the amount of silver and silver halide materials used in the counter electrode can be reduced. . The miniature biosensor may be, for example, the miniature biosensor shown in FIGS. 2A-2D for implantation subcutaneously to measure the physiological parameters of the analyte associated with the analyte in biological fluids (eg, interstitial fluid). signal. The electrode material of the counter electrode of the micro biosensor includes silver and silver halide. In the embodiment of FIG. 12 , the analyte can be glucose in tissue fluid, the physiological parameter is the glucose value in the human body, and the physiological signal is micro The current value measured by the biosensor. Only one cycle of this embodiment is described below. The method of this embodiment begins with the step of applying a measurement voltage to drive the working electrode to measure a physiological signal for obtaining a physiological parameter, wherein the silver halide is consumed in a specific amount (hereinafter abbreviated as consumption) (S1001).
接著停止施加量測電壓(S1002),並利用所獲得的生理訊號來獲得生理參數(S1003)。獲得生理參數後,施加回充電壓於對電極及工作電極之間,以驅動對電極,從而使鹵化銀的量被回充一回充量(S1004),其中回充量與初始量的和減去消耗量的值(即前文所述的剩餘量)被控制在初始量加減特定值的範圍內。上述控制步驟是藉由控制回充量等於或不等於(包含約略相近、大於或小於)消耗量來達成,以維持鹵化銀的量在安全庫存區間內。根據反應式,鹵化銀的莫耳數增減對應銀的莫耳數增減,故為了便於說明,鹵化銀的消耗量對應模擬的銀的增加量。在某些較佳實施例中,剩餘量的值被控制成使得鹵化銀的量與銀的量加上鹵化銀的量的和(AgCl/Ag+AgCl)的比值是大於0且小於1,亦即對電極的鹵化銀有一個量即可,較佳為介於0.01-0.99之間、介於0.1-0.9之間、介於0.2-0.8之間、介於0.3-0.7之間或介於0.4-0.6之間。在達到該回充量時停止施加回充電壓(S1005)。之後再循環至步驟S1001執行下一個循環。Then stop applying the measurement voltage (S1002), and use the obtained physiological signal to obtain physiological parameters (S1003). After obtaining physiological parameters, apply rechargeA voltage is applied between the counter electrode and the working electrode to drive the counter electrode, so that the amount of silver halide is recharged by a recharge amount (S1004), wherein the sum of the recharge amount and the initial amount minus the consumption amount (that is, the preceding The remaining amount) is controlled within the range of the initial amount plus or minus a specific value. The above control step is achieved by controlling the recharge amount to be equal to or not equal to (including approximately similar, greater or less than) the consumption amount, so as to maintain the amount of silver halide within the safety stock range. According to the reaction formula, the increase or decrease of the molar number of silver halide corresponds to the increase or decrease of the molar number of silver, so for convenience of explanation, the consumption of silver halide corresponds to the increase of simulated silver. In certain preferred embodiments, the value of the remaining amount is controlled such that the ratio of the amount of silver halide to the sum of the amount of silver plus the amount of silver halide (AgCl/Ag+AgCl) is greater than 0 and less than 1, also That is to say, the amount of silver halide in the counter electrode is only one amount, preferably between 0.01-0.99, between 0.1-0.9, between 0.2-0.8, between 0.3-0.7 or between 0.4 -0.6. When the recharge amount is reached, the application of the recharge voltage is stopped (S1005). Then it loops back to step S1001 to execute the next loop.
以下描述本發明的一具體實施例,以生物感測器使用壽命須達到16天作為示例以計算所需電極訊號感測段Ag/AgCl材料尺寸之方法,例如每次測量的待分析物平均量測電流為30nA、量測期間(T1)為30秒、且回充期間(t2)為30秒。每天所需AgCl的消耗量(Cconsume/day)=1.3mC/天。假設感測器使用壽命的需求為16天,則使用16天所需AgCl的消耗量為1.3 x 16=20.8mC。A specific embodiment of the present invention is described below, taking the lifespan of the biosensor reaching 16 days as an example to calculate the required size of the Ag/AgCl material in the sensing section of the electrode signal, such as the average amount of the analyte measured each time The measurement current was 30 nA, the measurement period (T1) was 30 seconds, and the recharge period (t2) was 30 seconds. The consumption of AgCl required per day (Cconsume/day )=1.3mC/day. Assuming that the sensor lifetime requirement is 16 days, the consumption of AgCl required for 16 days is 1.3 x 16=20.8mC.
例如對電極的長度為2.5mm,其對應AgCl初始量Cintial=10mC;For example, the length of the counter electrode is 2.5mm, which corresponds to the initial amount of AgCl Cintial =10mC;
(1)在無執行AgCl的回充的情況下,針對感測器使用壽命16天,對電極需要的長度至少為:C16day/Cconsume/day=20.8mC/1.3mg/day=16mm(1) In the case of no AgCl recharging, for a sensor service life of 16 days, the required length of the counter electrode is at least: C16day /Cconsume/day =20.8mC/1.3mg/day=16mm
(2)故在無使用本發明鹵化銀的回充方法的情況下,對電極的長度需超出16mm才能使感測器壽命達16天。(2) Therefore, without the use of the silver halide recharging method of the present invention, the length of the counter electrode needs to exceed 16 mm to make the life of the sensor reach 16 days.
於本實施例中,在無使用本發明之鹵化銀的回充技術情況下,對電極訊號感測段需配置相對應較大的Ag/AgCl材料尺寸才能達到16天的感測器壽命。透過本發明鹵化銀的回充方法,於兩次量測步驟之間進行鹵化銀的回充步驟,該鹵化銀的消耗與回充可在短時間內重複循環(即用即充),故可縮減感測器中的Ag/AgCl材料用量,進而使感測器微型化,因此對電極訊號感測段材料不須準備16天份的AgCl的容量以供消耗。例如,大約準備1~2天份AgCl的容量即可使用感測器達16天,由此達到延長感測器使用壽命之功效。1~2天份的AgCl的容量亦指於出廠前或執行第一次量測前的對電極所具有例如在約1.3~2.6mC之間的AgCl的初始量,該初始量亦可為其他更小或更大的範圍。於其他實施例中亦可準備1~5天份、1~3天份、6~24小時、6~12小時等不同的AgCl容量。對電極訊號感測段的材料尺寸只要具備讓每次葡萄糖量測步驟皆能穩定執行、使量測電流能與體內的葡萄糖濃度呈現正相關性的容量即可。In this embodiment, without using the silver halide recharge technology of the present invention, the counter electrode signal sensing segment needs to be configured with a correspondingly larger Ag/AgCl material size to achieve a sensor life of 16 days. Through the silver halide recharging method of the present invention, the silver halide recharging step is performed between the two measurement steps, the consumption and recharging of the silver halide can be repeated in a short period of time (recharge immediately after use), so it can be The amount of Ag/AgCl material in the sensor is reduced, and the sensor is miniaturized. Therefore, the material for the sensing section of the electrode signal does not need to prepare 16 days' worth of AgCl for consumption. For example, the sensor can be used for 16 days by preparing the capacity of AgCl for about 1-2 days, thereby achieving the effect of prolonging the service life of the sensor. The capacity of AgCl for 1 to 2 days also refers to the initial amount of AgCl that is between about 1.3 to 2.6 mC in the counter electrode before leaving the factory or before the first measurement is performed, and the initial amount can also be other more. small or larger range. In other embodiments, different AgCl capacities such as 1 to 5 days, 1 to 3 days, 6 to 24 hours, and 6 to 12 hours can also be prepared. The size of the material of the counter electrode signal sensing segment only needs to have a capacity that allows each glucose measurement step to be performed stably and that the measurement current can be positively correlated with the glucose concentration in the body.
若在無使用本發明之氯化銀的回充技術情況下,先前技術會透過增加電極長度/面積使感測器達到所需天數需求。以先前技術為例,感測器植入端長度約為12mm,因植入長度長,而為了避免植入深達皮下組織,需以斜角方式植入皮下,其植入傷口較大。另外舉例來說,1~2天份的AgCl的容量約在1.3~2.6mC之間,換算該1~2天的對電極長度為2.5~5mm,其相較於無使用本發明鹵化銀的回充方法的情況下需要16mm的對電極長度,更加凸顯本發明能有效縮減所需對電極尺寸。透過本發明鹵化銀的回充方法,可縮短植入端長度,例如使長度縮減為不大於10mm。於本發明圖2A-2C所揭示的微型生物感測器100的連接區域117的下半部分至第二端114屬於短植入端118(如圖2A及2B所示),且短植入端118植入深度需至少滿足到真皮層可量測到組織液葡萄糖的深度,透過本發明鹵化銀的回充方法,短植入端118的最長邊不大於6mm,以使微型生物感測器100能以垂直於生物體表皮的方式被部分植入於生物體表皮下。短植入端118的最長邊較佳為不大於5mm、4.5mm、3.5mm或2.5mm。本發明的短植入端118包含對電極的訊號感測段132,其訊號感測段132的最長邊不大於6mm,較佳為2-6mm、2-5mm、2-4.5mm、2-3.5mm、0.5-2mm、0.2-1mm。Without the recharge technique using the silver chloride of the present invention, the prior art would allow the sensor to reach the required number of days by increasing the electrode length/area. Taking the prior art as an example, the length of the implanted end of the sensor is about 12 mm. Due to the long implantation length, in order to avoid implanting deep into the subcutaneous tissue, it needs to be implanted subcutaneously at an oblique angle, and the implantation wound is large. For another example, the capacity of AgCl for 1~2 days is about 1.3~2.6mC, and the length of the counter electrode for 1~2 days is 2.5~5mm.In the case of the silver halide recharging method, a counter electrode length of 16 mm is required, which further highlights that the present invention can effectively reduce the required counter electrode size. Through the silver halide recharging method of the present invention, the length of the implanted end can be shortened, for example, the length can be shortened to not more than 10 mm. The lower half of the
因此與未使用本發明之鹵化銀的回充技術情況比較下,透過本發明鹵化銀的回充方法,能有效延長感測器使用壽命、且能大幅縮減對電極上Ag/AgCl材料的使用,而使對電極訊號感測段的尺寸可縮小。由於縮減對電極上Ag/AgCl材料的使用,而使感測器可微型化且可降低生物毒性。此外,電極尺寸縮小特別是指縮短感測器的植入端長度,因此可降低使用者植入痛感。Therefore, compared with the recharge technology without the silver halide of the present invention, the recharge method of the silver halide of the present invention can effectively prolong the service life of the sensor, and can greatly reduce the use of Ag/AgCl material on the counter electrode. Therefore, the size of the counter electrode signal sensing segment can be reduced. The sensor can be miniaturized and biotoxicity can be reduced by reducing the use of Ag/AgCl material on the counter electrode. In addition, the reduction of the electrode size especially refers to the shortening of the length of the implantation end of the sensor, thus reducing the pain of the user during implantation.
實施例IIExample II
請參閱圖13A及13B,其為本發明微型生物感測器的第一實施例的正面與背面示意圖。本發明的微型生物感測器300包括基板310、設置於基板310上的工作電極320、對電極330與輔助電極340、以及包圍工作電極320、對電極330與輔助電極340的化學試劑350(如圖13C所示)。基板310的材質可選用任何已知適合使用於電極基板的材質且較佳具備可撓性及絕緣性質,例如但不限於:聚酯(Polyester)、聚醯亞胺(Polyimide)等高分子材質,前述高分子材質可以單獨使用一種或者混合多種使用。基板310具有表面311(即第一表面)、與表面311相對的對側表面312(即第二表面)、第一端313及第二端314,且基板310分為3個區域,分別為靠近第一端313的訊號輸出區域315、靠近第二端314的感測區域316、及位於訊號輸出區域315及感測區域316之間的連接區域317。工作電極320設置於基板310的表面311上,且從基板310的第一端313延伸至第二端314,工作電極320包括位於基板310的訊號輸出區315的訊號輸出段321,及位於基板310的感測區316的訊號感測段322。Please refer to FIGS. 13A and 13B , which are schematic views of the front and the back of the first embodiment of the miniature biosensor of the present invention. The
對電極330與輔助電極340設置於基板310的對側表面312,且從基板310的第一端313延伸至第二端314。對電極330包括位於基板310的感測區316的訊號感測段332且輔助電極340包括位於基板310的感測區316的訊號感測段342。微型生物感測器300的感測區316可以植入皮下使訊號感測段322進行生物流體中待分析物所關聯的生理訊號的量測,生理訊號會被傳送至訊號輸出段321,再由訊號輸出段321傳送至處理器210以得到生理參數。另該生理參數除了從傳感單元200取得外,亦可經由無線/有線通訊傳送至使用者裝置20取得,常用的使用者裝置20例如智慧型手機、生理訊號接收器或血糖儀。The
對電極330表面的材料包含銀(Silver)及鹵化銀(Silver Halide),其中鹵化銀較佳為氯化銀(Silver Chloride)或碘化銀(Silver Iodine),使該對電極330兼具參考電極的功能,即本發明的對電極330可以(1)與工作電極320形成電子迴路,使工作電極320上電流暢通,以確保氧化反應在工作電極320上發生;以及(2)提供穩定的相對電位作為參考電位。因此,本發明的工作電極320與對電極330形成一個二電極系統。為了進一步降低成本以及提高本發明之生物感測器的生物相容性,該銀/鹵化銀更可與碳混合使用,例如將該銀/鹵化銀混入碳膠,其鹵化銀含量只要讓對電極330能穩定執行設定的量測動作即可。對電極330的部份的最外表面上還可以覆蓋導電材料以防止鹵化銀解離(dissolution),進而保護對電極330,其中導電材料係選擇不影響工作電極量測表現的導電材料為主,例如導電材料為碳(Carbon)。The material on the surface of the
另一實施例中生物感測器不限於導線式或疊層式的電極結構。In another embodiment, the biosensor is not limited to a wire-type or stacked-type electrode structure.
在本發明的另一個實施例中,在準備將生物感測器運送出工廠出售之前,鹵化銀的初始量可以為零。在這種情況下,生物感測器的對電極330上沒有鹵化銀。在將生物感測器皮下植入患者體內之後以及在進行首次測量之前的最開始回充期間中,經由氧化被塗佈在對電極330上的銀,可以在對電極330上回充初始量的鹵化銀。In another embodiment of the invention, the initial amount of silver halide may be zero before the biosensor is ready to be shipped out of the factory for sale. In this case, there is no silver halide on the
輔助電極340,於回充步驟時,與對電極330形成電子迴路,使對電極330上電流暢通,以確保氧化反應在對電極320上發生,其電極材料係選用與工作電極320同樣材質或與工作電極320相比對於過氧化氫具有較低靈敏度之材料,例如碳。The
化學試劑350至少覆蓋各電極的訊號感測段322,332,342。另一實施例中,化學試劑350至少覆蓋工作電極320的訊號感測段322(圖未示出)。也就是說,對電極330上可以不被化學試劑350覆蓋。微型生物感測器300的感測區316可以植入皮下使工作電極320的訊號感測段322進行生物流體中待分析物所關聯的生理訊號的量測,生理訊號會被傳送至工作電極320的訊號輸出段321,再由訊號輸出段321傳送至處理器210以得到生理參數。另該生理參數除了從傳感單元200取得外,亦可經由無線/有線通訊傳送至使用者裝置20取得。The
請參閱圖13C,其為圖13A中沿A-A’線的剖面示意圖,其中A-A’線為從微型生物感測器300的感測區316的剖面線。在圖13C中,工作電極320設置於基板310的表面311,對電極330及輔助電極340設置基板310的對側表面312,且工作電極320、對電極330及輔助電極340的表面上覆蓋化學試劑350。基本上化學試劑350至少覆蓋於工作電極320的部分表面上。本發明的微型生物感測器300會在量測期間執行量測步驟,及在回充期間執行回充步驟。當執行量測步驟時,工作電極320的電壓高於對電極330的電壓,使電流從工作電極320往對電極330的方向流動,進而使工作電極320發生氧化反應(即工作電極320、化學試劑350及待分析物之間的電化學反應)而量測生理訊號,對電極330發生還原反應,使對電極330中的鹵化銀(AgX)消耗而解離成銀(Ag)及鹵離子(X-)。由於對電極330中的鹵化銀被消耗,故需要回充對電極330中的鹵化銀以進行下一次的量測步驟。當執行回充步驟時,對電極330的電壓高於輔助電極340的電壓,使電流從對電極330往輔助電極340的方向流動,進而使對電極330發生氧化反應使銀與生物體內的鹵離子或結合而回充鹵化銀,詳細量測步驟與回充步驟見圖11說明。Please refer to FIG. 13C , which is a schematic cross-sectional view along line AA′ in FIG. 13A , where line AA′ is a section line from the
請參閱圖14A,其為本發明的微型生物感測器的第二實施例的剖面示意圖。在圖14A中,本發明的工作電極320及輔助電極340可以設置於基板310的表面311上,對電極330設置於基板310的對側表面312上,且工作電極320、對電極330及輔助電極340的表面上覆蓋化學試劑350。在此實施例中,當執行量測步驟時,電流從工作電極320往對電極330的方向流動,進而使工作電極320發生氧化反應而量測生理訊號,對電極330中的鹵化銀被消耗而解離成銀(Ag)及鹵離子(X-)。當執行回充步驟時,電流從對電極330往輔助電極340的方向流動,進而使對電極330發生氧化反應使銀與鹵離子結合而回充鹵化銀。Please refer to FIG. 14A , which is a schematic cross-sectional view of the second embodiment of the miniature biosensor of the present invention. In FIG. 14A , the working
請參閱圖14B,其為本發明的微型生物感測器的第三實施例的剖面示意圖。在此實施例中,本發明的微型生物感測器300可以有兩個工作電極,分別為第一工作電極323及第二工作電極324,第二工作電極324取代輔助電極。在圖14B中,第一工作電極323及第二工作電極324設置於基板310的表面311,對電極330設置基板310的對側表面312,且第一工作電極323、第二工作電極324及對電極330的表面上覆蓋化學試劑350。在量測步驟時,可以選擇第一工作電極323或第二工作電極324來量測生理訊號,且在回充步驟時,由第一工作電極323或第二工作電極324幫助對電極330回充鹵化銀。因此,在此實施例中,當執行量測步驟時,電流從第一工作電極323或第二工作電極324往對電極330的方向流動,進而使第一工作電極323或第二工作電極324發生氧化反應而量測生理訊號,對電極330中的鹵化銀被消耗而解離成銀(Ag)及鹵離子(X-)。當執行回充步驟時,電流從對電極330往第一工作電極323或第二工作電極324的方向流動,進而使對電極330發生氧化反應使銀與鹵離子結合而回充鹵化銀。Please refer to FIG. 14B , which is a schematic cross-sectional view of the third embodiment of the miniature biosensor of the present invention. In this embodiment, the
請參閱圖14C,其為本發明的微型生物感測器的第四實施例的剖面示意圖。在此實施例中,本發明的微型生物感測器300可以有兩個工作電極,分別為第一工作電極323及第二工作電極324,第二工作電極324取代輔助電極。在圖14C中,第一工作電極323設置於基板310的表面311,對電極330及第二工作電極324設置基板310的對側表面312,且第一工作電極323、第二工作電極324及對電極330的表面上覆蓋化學試劑350。在此實施例中,第一工作電極323的面積可以增加以作為量測的電極,第二工作電極324的面積可以降低以作為回充的電極,故在量測步驟時,以第一工作電極323來量測生理訊號,且在回充步驟時,由第二工作電極324幫助對電極330回充鹵化銀。因此,在此實施例中,當執行量測步驟時,電流從第一工作電極323往對電極330的方向流動,進而使第一工作電極323發生氧化反應而量測生理訊號,對電極330中的鹵化銀被消耗而解離成銀(Ag)及鹵離子(X-)。當執行回充步驟時,電流從對電極330往第二工作電極324的方向流動,進而使對電極330發生氧化反應使銀與鹵離子結合而回充鹵化銀。Please refer to FIG. 14C , which is a schematic cross-sectional view of the fourth embodiment of the miniature biosensor of the present invention. In this embodiment, the
請參閱圖14D,其為本發明的微型生物感測器的第五實施例的剖面示意圖。第五實施例為第一實施例多了一個工作電極,即在第五實施例中,本發明的微型生物感測器300有兩個工作電極,分別為第一工作電極323及第二工作電極324,一個對電極330及一個輔助電極340。在圖14D中,第一工作電極323及第二工作電極324設置於基板310的表面311,對電極330及輔助電極340設置基板310的對側表面312,且第一工作電極323、第二工作電極324、對電極330及輔助電極340的表面上覆蓋化學試劑350。在量測步驟時,可以選擇第一工作電極323或第二工作電極324來量測生理訊號,且在回充步驟時,由輔助電極340幫助對電極330回充鹵化銀。因此,在此實施例中,當執行量測步驟時,電流從第一工作電極323或第二工作電極324往對電極330的方向流動,進而使第一工作電極323或第二工作電極324發生氧化反應而量測生理訊號,對電極330中的鹵化銀被消耗而解離成銀(Ag)及鹵離子(X-)。當執行回充步驟時,電流從對電極330往輔助電極340的方向流動,進而使對電極330發生氧化反應使銀與鹵離子結合而回充鹵化銀。Please refer to FIG. 14D , which is a schematic cross-sectional view of the fifth embodiment of the miniature biosensor of the present invention. The fifth embodiment adds one working electrode to the first embodiment, that is, in the fifth embodiment, the
請參閱圖14E,其為本發明的微型生物感測器的第六實施例的剖面示意圖。在此實施例中,本發明的微型生物感測器300可以有三個工作電極,分別為第一工作電極323、第二工作電極324及第三工作電極325,第三工作電極325取代輔助電極。在圖14E中,第一工作電極323及第二工作電極324設置於基板310的表面311,對電極330及第三工作電極325設置基板310的對側表面312,且第一工作電極323、第二工作電極324、第三工作電極325及對電極330的表面上覆蓋化學試劑350。在量測步驟時,可以選擇第一工作電極323、第二工作電極324或第三工作電極325來量測生理訊號,且在回充步驟時,亦可以選擇第一工作電極323、第二工作電極324或第三工作電極325幫助對電極330回充鹵化銀。因此,在此實施例中,當執行量測步驟時,電流從第一工作電極323、第二工作電極324或第三工作電極325往對電極330的方向流動,進而使第一工作電極323、第二工作電極324或第三工作電極325發生氧化反應而量測生理訊號,對電極330中的鹵化銀被消耗而解離成銀(Ag)及鹵離子(X-)。當執行回充步驟時,電流從對電極330往第一工作電極323、第二工作電極324或第三工作電極325的方向流動,進而使對電極330發生氧化反應使銀與鹵離子結合而回充鹵化銀。Please refer to FIG. 14E , which is a schematic cross-sectional view of the sixth embodiment of the miniature biosensor of the present invention. In this embodiment, the
請參閱圖14F,其為本發明的微型生物感測器的第七實施例的剖面示意圖。第七實施例是第六實施例的電極配置的變化。在此實施例中,如圖14F圖所示,第一工作電極323、第二工作電極324及第三工作電極325皆設置於基板310的表面311,對電極330設置基板310的對側表面312,且第一工作電極323、第二工作電極324、第三工作電極325及對電極330的表面上覆蓋化學試劑350。在量測步驟時,可以選擇第一工作電極323、第二工作電極324或第三工作電極325來量測生理訊號,且在回充步驟時,亦可以選擇第一工作電極323、第二工作電極324或第三工作電極325幫助對電極330回充鹵化銀。因此,在此實施例中,當執行量測步驟時,電流從第一工作電極323、第二工作電極324或第三工作電極325往對電極330的方向流動,進而使第一工作電極323、第二工作電極324或第三工作電極325發生氧化反應而量測生理訊號,對電極330中的鹵化銀被消耗而解離成銀(Ag)及鹵離子(X-)。當執行回充步驟時,電流從對電極330往第一工作電極323、第二工作電極324或第三工作電極325的方向流動,進而使對電極330發生氧化反應使銀與鹵離子結合而回充鹵化銀。Please refer to FIG. 14F , which is a schematic cross-sectional view of the seventh embodiment of the miniature biosensor of the present invention. The seventh embodiment is a modification of the electrode configuration of the sixth embodiment. In this embodiment, as shown in FIG. 14F , the first working
請參閱圖14G,其為本發明的微型生物感測器的第八實施例的剖面示意圖。相較於圖14D差別在於第二工作電極324為U型,在此第八實施例中,第一工作電極323及第二工作電極324配置於基板310的表面311上,第二工作電極324鄰設並圍繞於第一工作電極323的側邊,對電極330與輔助電極340設置於基板310的對側表面312上。在此實施例中,當執行量測步驟時,電流從第一工作電極323往對電極330的方向流動,進而使第一工作電極323發生氧化反應而量測生理訊號,對電極330中的鹵化銀被消耗而解離成銀(Ag)及鹵離子(X-)。當執行回充步驟時,電流從對電極330往輔助電極340或第二工作電極324的方向流動,進而使對電極330發生氧化反應使銀與鹵離子結合而回充鹵化銀。Please refer to FIG. 14G , which is a schematic cross-sectional view of the eighth embodiment of the miniature biosensor of the present invention. The difference compared to FIG. 14D is that the second working
以上圖13C-14G其詳細電極疊層省略,僅示意電極位置。The detailed electrode stacks in FIGS. 13C-14G above are omitted, and only the electrode positions are shown.
在上述任一實施例中,本發明的基板310為絕緣體。本發明的工作電極320及第一工作電極323的電極材料包含但不限於:碳、鉑、鋁、鎵、金、銦、銥、鐵、鉛、鎂、鎳、錳、鉬、鋨、鈀、銠、銀、錫、鈦、鋅、矽、鋯、前述元素的混合物、或前述元素的衍生物(如合金、氧化物或金屬化合物等),較佳地,工作電極320及第一工作電極323的材料為貴金屬、貴金屬之衍生物或前述的組合。更佳地,工作電極320及第一工作電極323為含鉑材料。第二工作電極324及第三工作電極325同樣可使用如上述工作電極320及第一工作電極323所例舉的元素或其衍生物。另一實施例中,第二工作電極324及第三工作電極325的電極材料選用與第一工作電極323相比對於過氧化氫具有較低靈敏度之材料,例如碳。In any of the above embodiments, the
由於本發明的對電極330的電極材料包括銀及鹵化銀(Ag/AgX),因此同時具有習知中對電極及參考電極的功能,即本發明的對電極330可以(1)與工作電極320形成電子迴路,使工作電極320上電流暢通,以確保電化學反應在工作電極320上發生;(2)與輔助電極340形成電子迴路,使對電極330上電流暢通,以確氧化反應在對電極330上發生;以及(3)提供穩定的相對電位作為參考電位。因此,本發明的工作電極320、對電極330與輔助電極340形成一個有別於傳統的三電極系統。Since the electrode material of the
當本發明的輔助電極340的電極材料為表面覆蓋鉑時,輔助電極340亦可作為量測生理訊號的電極。When the electrode material of the
在上述任一實施例中,為了防止銀電極材料的過度氯化而發生斷線,還可以在基板310的對側表面312與對電極330的銀之間添加一層導電材料(如碳)。然而,若對電極330的底層是碳會造成開關處的阻值過高,故還可在碳導電材料跟基板310的對側表面312之間再增設一層導電層,例如為銀以降低訊號輸出端的阻抗,使本發明的對電極330從基板310的對側表面312開始依序為導電層、碳層及銀/鹵化銀層。In any of the above embodiments, in order to prevent wire breakage due to excessive chlorination of the silver electrode material, a layer of conductive material (such as carbon) may also be added between the
定電壓電路切換應用Constant voltage circuit switching application
請參考圖15A-15B和7A-7D,其中圖15A和圖15B分別示出本發明中處於量測模式和回充模式的定電壓電路,圖7A-7D分別示出該定電壓電路以不同方式交替進行量測模式和回充模式的電流示意圖。量測模式可分別藉由施加量測電位差Vl和移除量測電位差Vl而開始和停止,而對應的電流以Ia表示。在量測模式時,於量測期間Tl施加量測電位差Vl於工作電極W與對電極R/C之間,使工作電極W的電壓高於對電極R/C的電壓。如圖15A所示,此時開關S1和S4為閉路狀態,而開關S2和S3為開路狀態,工作電極W為+Vl,對電極R/C為接地,輔助電極Aux為開路狀態,以使工作電極W進行氧化反應,並與化學試劑和待分析物進行電化學反應而輸出生理訊號Ia,同時對電極R/C的AgCl具有對應於該生理訊號Ia的消耗量。如圖7A-7D所示,在多個量測期間Tl之間的是未進行量測的期間T2。在某些較佳實施例中,T2為固定值。Please refer to FIGS. 15A-15B and 7A-7D, wherein FIG. 15A and FIG. 15B respectively illustrate the constant voltage circuit in the measurement mode and the recharge mode of the present invention, and FIGS. 7A-7D respectively illustrate the constant voltage circuit in different ways Current schematic diagram of alternately performing measurement mode and recharge mode. The measurement mode can be started and stopped by applying and removing the measurement potential difference V1, respectively, and the corresponding current is denoted by Ia. in measurement modeDuring the measurement period T1, a measurement potential difference V1 is applied between the working electrode W and the counter electrode R/C, so that the voltage of the working electrode W is higher than the voltage of the counter electrode R/C. As shown in FIG. 15A, at this time, switches S1 and S4 are in a closed state, while switches S2 and S3 are in an open state, the working electrode W is +V1, the counter electrode R/C is grounded, and the auxiliary electrode Aux is in an open state, so that the work The electrode W performs oxidation reaction, and performs electrochemical reaction with chemical reagents and analytes to output a physiological signal Ia, and the AgCl of the electrode R/C has a consumption corresponding to the physiological signal Ia. As shown in FIGS. 7A-7D, between the plurality of measurement periods T1 is a period T2 in which no measurement is performed. In some preferred embodiments, T2 is a fixed value.
回充模式可分別藉由施加回充電位差V2和移除回充電位差V2而開始和停止,而對應的電流以Ib表示。V2為0.1V至0.8V之間的固定值,較佳為0.2V至0.5V之間的固定值。在回充模式時,施加回充電位差V2於對電極R/C與輔助電極Aux之間持續回充期間t2(t2介於0至T2之間),使對電極R/C的電壓高於輔助電極Aux的電壓。如圖15B所示,此時開關S1和S4為開路狀態,而開關S2和S3為閉路狀態,工作電極W為開路狀態,對電極R/C為+V2,輔助電極Aux接地,以使對電極R/C上的Ag進行氧化反應,而回充對電極R/C上的AgCl達一回充量。在定電壓電路中的回充電位差V2為固定電壓,測得的輸出電流為Ib。本發明是透過計算電流曲線下的面積以定義AgCl的容量(Capacity,單位庫倫,以符號"C"表示),故量測模式中AgCl的消耗量為Ia*Tl,回充模式中AgCl的回充量為Ib*t2。因此,可經由調控回充電位差V2的施加時間t2來控制AgCl的回充量。換言之,在對電極R/C上的AgCl保持在安全庫存量之內的前提下,可使回充量等於或不等於(包含約略相近、大於或小於)消耗量。The recharge mode can be started and stopped by applying the recharge potential V2 and removing the recharge potential V2, respectively, and the corresponding current is denoted by Ib. V2 is a fixed value between 0.1V and 0.8V, preferably between 0.2V and 0.5V. In the recharge mode, the recharge potential difference V2 is applied between the counter electrode R/C and the auxiliary electrode Aux for the recharge period t2 (t2 is between 0 and T2), so that the voltage of the counter electrode R/C is higher than the auxiliary electrode Aux Voltage of electrode Aux. As shown in Figure 15B, at this time, switches S1 and S4 are in an open state, while switches S2 and S3 are in a closed state, the working electrode W is in an open state, the counter electrode R/C is +V2, and the auxiliary electrode Aux is grounded, so that the counter electrode is in an open state. The Ag on the R/C undergoes an oxidation reaction, and the AgCl on the counter electrode R/C is recharged to a recharge amount. The recharge potential difference V2 in the constant voltage circuit is a fixed voltage, and the measured output current is Ib. The present invention defines the capacity of AgCl by calculating the area under the current curve (Capacity, unit coulomb, represented by symbol "C"), so the consumption of AgCl in the measurement mode is Ia*Tl, and the return of AgCl in the recharge mode is The charge is Ib*t2. Therefore, the recharge amount of AgCl can be controlled by adjusting the application time t2 of the recharge potential difference V2. In other words, on the premise that the AgCl on the counter electrode R/C is kept within the safety stock, the recharge amount can be made equal to or not equal to (including approximately similar, greater or less than) consumption.
圖7A-7D中橫軸為時間,V1的線條表示量測電位差V1的施加和移除,V2的線條表示回充電位差V2的施加和移除。請參考圖7A,在一較佳實施例中,V2和T2都是固定值,V2的施加時間t2(即回充期間)是變動值。回充期間t2是根據在量測模式所測得的生理訊號Ia及量測期間T1而在0至T2之間動態調整。如圖7A中所示,t2可為t2’、t2''、或t2'''...。換言之,回充期間t2可根據AgCl的消耗量而改變,若AgCl的消耗量大,則可回充較長的時間以使對電極R/C上的AgCl保持在安全庫存量之內。舉例而言,在t2''期間所回充的AgCl的量將大於t2’期間所回充的AgCl量。In FIGS. 7A-7D, the horizontal axis is time, the line of V1 represents the application and removal of the measurement potential difference V1, and the line of V2 represents the application and removal of the recharge potential difference V2. Referring to FIG. 7A , in a preferred embodiment, both V2 and T2 are fixed values, and the application time t2 of V2 (ie, the recharging period) is a variable value. The recharging period t2 is dynamically adjusted between 0 and T2 according to the physiological signal Ia measured in the measurement mode and the measurement period T1. As shown in Figure 7A, t2 may be t2', t2'', or t2'''.... In other words, the recharge period t2 can be changed according to the consumption of AgCl. If the consumption of AgCl is large, it can be recharged for a long time to keep the AgCl on the counter electrode R/C within the safety stock. For example, the amount of AgCl recharged during t2'' will be greater than the amount of AgCl recharged during t2'.
請參考圖7B,在另一較佳實施例中,V2、T2和t2都是固定值,其中t2=T2。也就是說,量測模式和回充模式是無縫交替的,在未進行量測的期間即為回充期間。請參考圖7C和7D,在某些較佳實施例中,V2、T2和t2都是固定值,其中t2為大於0且小於T2的固定值,例如t2=1/2的T2、2/5的T2、3/5的T2等。圖7C和7D的差別在於,圖7C中是在每次量測模式結束後,經歷一段緩衝時間(緩衝時間=T2-t2),才開始回充模式;圖7D中是每次量測模式結束後未經緩衝時間即立即開始回充模式,而在每次回充模式結束與下一次量測模式開始之間間隔一段時間。在某些較佳實施例中,t2小於T2,且t2可為T2期間的任何時間段。Referring to FIG. 7B, in another preferred embodiment, V2, T2 and t2 are all fixed values, where t2=T2. That is to say, the measurement mode and the recharge mode alternate seamlessly, and the period when no measurement is performed is the recharge period. 7C and 7D, in some preferred embodiments, V2, T2 and t2 are all fixed values, wherein t2 is a fixed value greater than 0 and less than T2, such as T2, 2/5 when t2=1/2 of T2, 3/5 of T2, etc. The difference between Fig. 7C and Fig. 7D is that in Fig. 7C, after each measurement mode ends, after a buffer time (buffer time = T2-t2), the recharge mode starts; in Fig. 7D, each measurement mode ends The recharge mode starts immediately without buffering time, and there is a period of time between the end of each recharge mode and the start of the next measurement mode. In certain preferred embodiments, t2 is less than T2, and t2 can be any time period during T2.
請參考圖7E和7F,其示出本發明的定電壓電路以不同方式交替進行量測模式和回充模式的電流示意圖。圖7E和7F中,橫軸為時間,縱軸為電流,曲線表示所量測到的生理訊號Ia換算而成的生理參數值曲線。在這兩個實施例中,類似於圖7A,V2和T2為固定值,回充期間t2是變動值。圖7E和7F中,曲線下白色面積代表量測模式中AgCl的消耗量(Ia*Tl),斜線面積代表回充模式中AgCl的回充量(Ib*t2)。由圖中可看出,為了使Ib*t2接近Ia*Tl或在Ia*Tl的某個範圍內,回充期間t2是根據所測得的生理訊號Ia及量測期間T1而在0至T2之間動態調整。根據需要,可選擇在未執行量測模式的期間(T2)的前段(如圖7E所示)或後段(如圖7F所示)進行回充模式。Please refer to FIGS. 7E and 7F , which are schematic diagrams of currents in which the constant voltage circuit of the present invention alternately performs the measurement mode and the recharge mode in different ways. In FIGS. 7E and 7F , the horizontal axis is time, the vertical axis is current, and the curve represents the physiological parameter value curve converted from the measured physiological signal Ia. In these two embodiments, similar to FIG. 7A, V2 and T2 are fixed values, and t2 is a fluctuating value during the recharging period. In Figures 7E and 7F, white under the curveThe colored area represents the consumption of AgCl in the measurement mode (Ia*Tl), and the area of the diagonal line represents the recharged amount of AgCl in the recharge mode (Ib*t2). As can be seen from the figure, in order to make Ib*t2 close to Ia*T1 or within a certain range of Ia*T1, the recharge period t2 is between 0 and T2 according to the measured physiological signal Ia and the measurement period T1. Dynamic adjustment between. According to needs, the recharge mode can be selected to be performed in the first stage (as shown in FIG. 7E ) or the latter stage (as shown in FIG. 7F ) during the period (T2) when the measurement mode is not executed.
有段切換的定電流電路切換應用Constant current circuit switching application with segment switching
請參考圖8A-8B和圖10A-10C,其中圖8A和圖8B分別示出本發明中處於量測模式和回充模式的有段切換的定電流電路,圖10A-10C示出本發明的定電流電路以不同方式交替進行量測模式和回充模式的三種電壓示意圖。量測模式可分別藉由施加量測電位差Vl和移除量測電位差Vl而開始和停止,而對應的電流以Ia表示。在量測模式時,施加量測電位差Vl於工作電極W與對電極R/C之間持續量測期間T1。如圖8A所示,此時開關S1和S4為閉路狀態,而其他開關都為開路狀態,工作電極W為+V1,對電極R/C為接地,輔助電極Aux為開路狀態,以使工作電極W進行氧化反應,並與化學試劑和待分析物進行電化學反應而輸出生理訊號Ia,同時對電極R/C的AgCl具有對應於該生理訊號Ia的消耗量。如圖110A-10C所示,在多個量測期間Tl之間的是未進行量測的期間T2。在某些較佳實施例中,T2為固定值。Please refer to FIGS. 8A-8B and FIGS. 10A-10C, wherein FIG. 8A and FIG. 8B respectively show the constant current circuit with segment switching in the measurement mode and the recharge mode of the present invention, and FIGS. 10A-10C show the Three voltage schematic diagrams of the constant current circuit alternately performing measurement mode and recharge mode in different ways. The measurement mode can be started and stopped by applying and removing the measurement potential difference V1, respectively, and the corresponding current is denoted by Ia. In the measurement mode, the measurement potential difference V1 is applied between the working electrode W and the counter electrode R/C for the measurement period T1. As shown in FIG. 8A , switches S1 and S4 are in a closed state at this time, while other switches are in an open state, the working electrode W is +V1, the counter electrode R/C is grounded, and the auxiliary electrode Aux is in an open state, so that the working electrode is in an open state. W carries out oxidation reaction, and carries out electrochemical reaction with chemical reagent and analyte to output physiological signal Ia, meanwhile, AgCl of counter electrode R/C has consumption corresponding to the physiological signal Ia. As shown in FIGS. 110A-10C, between the plurality of measurement periods T1 is a period T2 in which no measurement is performed. In some preferred embodiments, T2 is a fixed value.
回充模式可分別藉由施加回充電位差V2(V2為變動值)和移除回充電位差V2而開始和停止,而對應的電流以Ib表示。在回充模式時,施加回充電位差V2於輔助電極Aux與對電極R/C之間持續回充期間t2(t2介於0至T2之間)。如圖8B所示,此時開關S1和S4為開路狀態,S2和I_F1至I_Fn所對應的至少一個開關為閉路狀態(圖中示例性地示出I_F1和I_F3對應的開關為閉路狀態),工作電極W為開路狀態,輔助電極Aux為接地,對電極R/C為+V2,以使對電極R/C上的Ag進行氧化反應,進而回充AgCl。在回充模式時,可根據該生理訊號Ia的大小及量測期間T1,而選擇切換I_F1至I_Fn所對應的至少一個開關以輸出固定電流Ib,並經由調控電位差V2的施加時間t2來控制AgCl的回充量。換言之,在對電極R/C上的AgCl保持在安全庫存量之內的前提下,可使回充量等於或不等於(包含約略相近、大於或小於)消耗量。The recharge mode can be started and stopped by applying the recharge potential V2 (V2 is a variable value) and removing the recharge potential V2, respectively, and the corresponding current is represented by Ib. In the recharge mode, the recharge potential difference V2 is applied between the auxiliary electrode Aux and the counter electrode R/C for the recharge period t2 (t2 is between 0 and T2). As shown in Figure 8B, at this time the switchS1 and S4 are in the open state, at least one switch corresponding to S2 and I_F1 to I_Fn is in the closed state (the switches corresponding to I_F1 and I_F3 are exemplarily shown in the closed state in the figure), the working electrode W is in the open state, and the auxiliary electrode Aux is in the open state. For grounding, the counter electrode R/C is +V2, so that the Ag on the counter electrode R/C is oxidized, and then AgCl is recharged. In the recharge mode, according to the magnitude of the physiological signal Ia and the measurement period T1, at least one switch corresponding to I_F1 to I_Fn can be selectively switched to output a fixed current Ib, and AgCl can be controlled by regulating the application time t2 of the potential difference V2 the recharge amount. In other words, on the premise that the AgCl on the counter electrode R/C is kept within the safety stock, the recharge amount can be made equal to or not equal to (including approximately similar, greater or less than) consumption.
無段切換的定電流電路切換應用Constant current circuit switching application of stepless switching
請參考圖9A-9B和圖10A-10C,其中圖9A和圖9B分別示出本發明中處於量測模式和回充模式的無段切換的定電流電路。本實施例的量測模式與回充模式與圖8A-8B類似,故於此不再贅述,圖8A-8B實施例之差異僅在本實施例在回充模式時,可根據該生理訊號Ia,藉由數位類比轉換器(DAC)的控制而輸出固定電流Ib,並經由調控電位差V2的施加時間t2來控制AgCl的回充量。換言之,在對電極R/C上的AgCl保持在安全庫存量之內的前提下,可使回充量等於或不等於(包含約略相近、大於或小於)消耗量。Please refer to FIGS. 9A-9B and FIGS. 10A-10C, wherein FIG. 9A and FIG. 9B respectively illustrate the stepless switching constant current circuit in the measurement mode and the recharge mode according to the present invention. The measurement mode and the recharge mode of this embodiment are similar to those in FIGS. 8A-8B, so they will not be repeated here. The difference between the embodiments of FIGS. 8A-8B is only when this embodiment is in the recharge mode, which can be based on the physiological signal Ia , through the control of a digital-to-analog converter (DAC) to output a fixed current Ib, and to control the recharge amount of AgCl by regulating the application time t2 of the potential difference V2. In other words, on the premise that the AgCl on the counter electrode R/C is kept within the safety stock, the recharge amount can be made equal to or not equal to (including approximately similar, greater or less than) consumption.
圖10A-10C中橫軸為時間,縱軸為電流,其中V1的線條表示量測電位差V1的施加和移除,V2的線條表示回充電位差V2的施加和移除。請參考圖10A,在一較佳實施例中,T2是固定值,V2和V2的施加時間t2(即回充期間)是變動值。回充期間t2是根據在量測模式所測得的生理訊號Ia及量測期間T1而在0至T2之間動態調整。如圖10A中所示,t2可為t2’、t2''、或t2'''...。換言之,回充期間t2可根據AgCl的消耗量而改變,若AgCl的消耗量大,則可回充較長的時間以使對電極R/C上的AgCl保持在安全庫存量之內。10A-10C, the horizontal axis is time, and the vertical axis is current, wherein the line of V1 represents the application and removal of the measurement potential difference V1, and the line of V2 represents the application and removal of the recharge potential difference V2. Referring to FIG. 10A , in a preferred embodiment, T2 is a fixed value, and the application time t2 of V2 and V2 (ie, the recharging period) is a variable value. The recharging period t2 is dynamically adjusted between 0 and T2 according to the physiological signal Ia measured in the measurement mode and the measurement period T1. As shown in Figure 10A, t2 may be t2', t2'', or t2'''.... ChangeIn other words, the recharge period t2 can be changed according to the consumption of AgCl. If the consumption of AgCl is large, it can be recharged for a long time to keep the AgCl on the counter electrode R/C within the safety stock.
請參考圖10B,在另一較佳實施例中,V2是變動值,T2和t2都是固定值,其中t2為大於0且小於T2的固定值,例如t2=1/2的T2、2/5的T2、3/7的T2等。在此實施例中,V2是根據於生理訊號量測步驟(即在量測模式中)的AgCl的消耗量而動態調整。動態調整方式的其中一個實施例如下。使用例如上述的有段切換的定電流電路,該電路具有n個固定電流源與n個開關,各固定電流源分別對應一個開關。於回充模式時,依據AgCl的消耗量,選擇開啟n個開關中的至少一個開關(即使該開關處於閉路狀態)以輸出固定電流值。在回充期間t2為固定值的情況下,可以藉由選擇不同的固定電流輸出來控制AgCl的回充量。Please refer to FIG. 10B , in another preferred embodiment, V2 is a variable value, T2 and t2 are fixed values, and t2 is a fixed value greater than 0 and less than T2, such as T2, 2/ T2 of 5, T2 of 3/7, etc. In this embodiment, V2 is dynamically adjusted according to the consumption of AgCl in the physiological signal measurement step (ie, in the measurement mode). One example of the dynamic adjustment method is as follows. For example, the above-mentioned constant current circuit with segment switching is used, and the circuit has n fixed current sources and n switches, and each fixed current source corresponds to one switch respectively. In the recharge mode, according to the consumption of AgCl, at least one switch among the n switches is selected to be turned on (even if the switch is in a closed state) to output a fixed current value. When the recharge period t2 is a fixed value, the recharge amount of AgCl can be controlled by selecting different fixed current outputs.
請參考圖10C,在另一較佳實施例中,V2是變動值,T2和t2都是固定值,其中t2=T2。也就是說,量測模式和回充模式是無縫交替的,在未進行量測的期間即為回充期間。Referring to FIG. 10C , in another preferred embodiment, V2 is a variable value, and both T2 and t2 are fixed values, where t2=T2. That is to say, the measurement mode and the recharge mode alternate seamlessly, and the period when no measurement is performed is the recharge period.
相較於無段切換的定電流電路,有段切換的定電流電路可透過多個開關控制多個電流路徑,而得以根據所需的電流量以分段式的定電流進行回充,以此方式較為省電且可以降低成本。此外,不管是定電壓電路或定電流電路,電位差可以來自直流電源或交流電源,較佳來自直流電源。Compared with the constant current circuit with stepless switching, the constant current circuit with step switching can control multiple current paths through multiple switches, so that it can be recharged with a segmented constant current according to the required current. The method is more energy-saving and can reduce the cost. In addition, whether it is a constant voltage circuit or a constant current circuit, the potential difference can be derived from a DC power source or an AC power source, preferably a DC power source.
圖7A-7F、圖8A-8B、圖9A-9B以及圖10A-10C的實施例都是描述量測步驟和回充步驟交替循環的操作方式,亦即每個量測步驟之間都有一個AgCl回充步驟,此方式可較佳地確保AgCl保持在安全庫存量之內。然而,在某些較佳實施例中,亦可在進行N次的量測期間選擇性搭配Y次的AgCl回充,其中Y≦N,使AgCl的累積回充量仍可保持在安全庫存範圍內。量測步驟和回充步驟也不必然需要以交替循環的方式進行,亦可於數次量測步驟後再進行一次回充步驟,或是在預定的量測時間之後,才進行一次回充步驟。舉例而言,可於量測10次後再進行一次回充步驟,或可於累積量測時間達1小時後才進行一次回充步驟。7A-7F, FIGS. 8A-8B, FIGS. 9A-9B, and FIGS. 10A-10C are all descriptions of the operation mode of alternating cycles of measurement steps and recharge steps, that is, there is a cycle between each measurement step. AgCl recharge step, this method can better ensure the AgClStay within safety stock levels. However, in some preferred embodiments, Y times of AgCl recharge can also be selectively matched during the N times of measurement, where Y≦N, so that the accumulated recharge amount of AgCl can still be kept within the safety stock range Inside. The measurement step and the recharging step do not necessarily need to be performed in an alternate cycle, and a recharging step can be performed after several measurement steps, or a recharging step is performed only after a predetermined measurement time. . For example, a recharging step can be performed after 10 measurements, or a recharging step can be performed after the accumulated measurement time reaches 1 hour.
請參考圖10D,其示出本發明的定電流電路以類似圖10C的方式交替進行量測模式和回充模式的示意圖。圖10D中,曲線表示所量測到的生理訊號Ia所轉換成的生理參數值曲線,且類似於圖10C,T2和t2都是固定值,V2是變動值。圖10D中,曲線下白色面積代表量測模式中AgCl的消耗量(Ia*Tl),斜線面積代表回充模式中AgCl的回充量(Ib*t2)。由圖中可看出,為了使Ib*t2接近Ia*Tl或在Ia*Tl的某個範圍內,回充電位差V2是是根據AgCl的消耗量而動態調整。Please refer to FIG. 10D , which is a schematic diagram of the constant current circuit of the present invention performing the measurement mode and the recharge mode alternately in a manner similar to FIG. 10C . In FIG. 10D , the curve represents the physiological parameter value curve converted from the measured physiological signal Ia, and similar to FIG. 10C , T2 and t2 are fixed values, and V2 is a variable value. In Fig. 10D, the white area under the curve represents the consumption of AgCl in the measurement mode (Ia*Tl), and the area of the oblique line represents the recharged amount of AgCl in the recharge mode (Ib*t2). As can be seen from the figure, in order to make Ib*t2 close to Ia*T1 or within a certain range of Ia*T1, the recharge potential V2 is dynamically adjusted according to the consumption of AgCl.
另外圖7E、7F及圖10D中,雖未顯示每次執行生理訊號量測步驟後所輸出各生理參數值輸出時機點,但生理參數值不限於完成量測時輸出或於在回充期間內輸出,而AgCl回充步驟不限於在每一個生理參數輸出後執行或獲得生理訊號後執行。In addition, in FIGS. 7E , 7F and 10D , although the output timing of each physiological parameter value output after each execution of the physiological signal measurement step is not shown, the physiological parameter value is not limited to output when the measurement is completed or during the recharge period output, and the AgCl recharging step is not limited to be performed after each physiological parameter is output or after a physiological signal is obtained.
於包含工作電極W和對電極R/C的兩電極系統中,工作電極W必須在執行氧化反應和執行還原反應之間不斷循環切換。在電極的化學反應環境中,氧化和還原反應之間的切換須經過一回穩期,例如數秒鐘或數分鐘才能回穩。相較之下,在包含工作電極W、對電極R/C和輔助電極Aux的三電極系統中,可利用工作電極W和對電極R/C之間的迴路進行量測步驟,接著經由輔助電極Aux與對電極R/C之間的迴路進行回充步驟,由此可避免工作電極W需要回穩期的缺點,亦即在量測步驟之後可立即進行回充步驟。In a two-electrode system including a working electrode W and a counter electrode R/C, the working electrode W must be constantly cyclically switched between performing an oxidation reaction and performing a reduction reaction. In the chemical reaction environment of the electrode, the switching between oxidation and reduction reactions must go through a stabilization period, such as several seconds or minutes. In contrast, in a three-electrode system comprising the working electrode W, the counter electrode R/C and the auxiliary electrode Aux, the availableThe measurement step is performed on the circuit between the working electrode W and the counter electrode R/C, and then the recharging step is performed through the circuit between the auxiliary electrode Aux and the counter electrode R/C, thereby avoiding the need for the working electrode W to return to the stable period. The disadvantage is that the recharging step can be carried out immediately after the measuring step.
請參考圖11,其示出根據本發明一實施例的量測待分析物的方法,透過該方法可延長微型生物感測器的使用壽命。該微型生物感測器可為例如圖13A-圖14G所示的微型生物感測器,用於植入皮下以量測與生物流體(例如組織液)中的該待分析物所關聯的生理參數的生理訊號。在圖11的實施例中,該待分析物可為組織液中的葡萄糖,生理參數為人體中的葡萄糖值,生理訊號為微型生物感測器量得的電流值。此實施例中,量測待分析物的方法包含反覆循環地執行量測步驟(S901)及回充步驟(S902)。量測步驟(S901)包含使用前述定電壓或定電流電路於量測期間T1執行如前述的量測模式以輸出生理訊號(即電流值),同時對電極的AgCl具有對應於該電流值的消耗量。量測步驟(S901)還包含透過停止如前述的量測模式來停止量測步驟,且該電流值經運算後輸出生理參數(即葡萄糖值)。Please refer to FIG. 11 , which shows a method for measuring an analyte according to an embodiment of the present invention, through which the service life of the micro biosensor can be extended. The miniature biosensor can be, for example, the miniature biosensor shown in FIGS. 13A-14G for implantation subcutaneously to measure the physiological parameters associated with the analyte in biological fluids (eg, interstitial fluid). physiological signals. In the embodiment of FIG. 11 , the analyte may be glucose in the tissue fluid, the physiological parameter is the glucose value in the human body, and the physiological signal is the current value measured by the micro biosensor. In this embodiment, the method for measuring the analyte includes repeatedly and cyclically performing the measuring step ( S901 ) and the recharging step ( S902 ). The measurement step (S901) includes using the aforementioned constant voltage or constant current circuit to perform the aforementioned measurement mode during the measurement period T1 to output a physiological signal (ie, a current value), while the AgCl of the electrode has a consumption corresponding to the current value quantity. The measuring step ( S901 ) further includes stopping the measuring step by stopping the aforementioned measuring mode, and the current value is calculated to output a physiological parameter (ie, the glucose value).
在量測步驟(S901),其化學反應式如下:於工作電極320進行以下氧化反應:葡萄糖(Glucose)+還原型葡萄糖氧化酶(Glucose oxidase,Gox)(FAD)葡萄糖酸內酯(Gluconolactone)+氧化型葡萄糖氧化酶(FADH2)In the measurement step (S901), the chemical reaction formula is as follows: the following oxidation reaction is performed on the working electrode 320: glucose (Glucose) + reduced glucose oxidase (Glucose oxidase, Gox) (FAD) Gluconolactone + oxidative glucose oxidase (FADH2 )
氧化型葡萄糖氧化酶(FADH2)+O2還原型葡萄糖氧化酶(FAD)+H2O2Oxidative glucose oxidase (FADH2 )+O2 Reduced glucose oxidase (FAD)+H2 O2
H2O22H++O2+2e-於對電極330進行以下還原反應:2AgCl+2e-2Ag+2Cl-H2 O2 2H+ +O2 +2e- performs the following reduction reaction on the counter electrode 330: 2AgCl+2e- 2Ag+2Cl-
回充步驟(S902)包含使用前述定電壓或定電流電路於回充期間執行如前述的回充模式,以使對電極的AgCl具有對應於消耗量的回充量,進而使對電極上之AgCl的量控制在安全庫存區間內。由此,可使該工作電極與對電極之間的電位差保持穩定,讓所獲得的電流值仍能與葡萄糖值保持穩定的比例關係(若偵測物質為其他待分析物亦可能是正比關係也可能是反比關係)。換言之,可使下一量測步驟時所獲得的下一個電流值與下一個葡萄糖值保持穩定的比例關係。回充步驟(S902)還包含透過停止如前述的回充模式來停止回充步驟。回充步驟(S902)結束後循環回去執行量測步驟(S901),直到執行了N次量測步驟(S901)與N次回充步驟(S902)。The recharging step (S902) includes using the aforementioned constant voltage or constant current circuit to perform the aforementioned recharging mode during the recharging period, so that the AgCl on the counter electrode has a recharging amount corresponding to the consumption, so that the AgCl on the counter electrode has a recharging amount corresponding to the consumption. The amount is controlled within the safety stock range. Therefore, the potential difference between the working electrode and the counter electrode can be kept stable, so that the obtained current value can still maintain a stable proportional relationship with the glucose value (if the detected substance is other analytes, it may also be in a proportional relationship. may be inversely proportional). In other words, a stable proportional relationship between the next current value and the next glucose value obtained in the next measurement step can be maintained. The recharging step ( S902 ) further includes stopping the recharging step by stopping the recharging mode as described above. After the recharging step ( S902 ) ends, the cycle goes back to the measuring step ( S901 ) until N times of the measuring step ( S901 ) and N times of the recharging step ( S902 ) are performed.
在回充步驟(S902),其化學反應式如下:於輔助電極進行以下還原反應:葡萄糖(Glucose)+還原型葡萄糖氧化酶(Glucose oxidase)(FAD)葡萄糖酸內酯(Gluconolactone)+氧化型葡萄糖氧化酶(FADH2)In the recharging step (S902), the chemical reaction formula is as follows: the following reduction reaction is performed on the auxiliary electrode: glucose (Glucose) + reduced glucose oxidase (Glucose oxidase) (FAD) Gluconolactone + oxidative glucose oxidase (FADH2 )
氧化型葡萄糖氧化酶(FADH2)+O2還原型葡萄糖氧化酶(FAD)+H2O2Oxidative glucose oxidase (FADH2 )+O2 Reduced glucose oxidase (FAD)+H2 O2
H2O2+2H++2e-H2OH2 O2 +2H+ +2e- H2 O
O2+4H++4e-2H2O於對電極330的正電位促使對電極330進行以下氧化反應:2Ag2Ag++2Cl-2AgCl+2e-O2 +4H+ +4e- The positive potential of 2H2 O on the
其中對電極上的Ag氧化成Ag+,與來自生物體內Cl-或AgCl氧化(或解離)後的Cl-結合而成AgCl,使得於量測期間T1內被消耗的部分或全部AgCl被回充到對電極上。Among them, Ag on the counter electrode is oxidized to Ag+ , which combines with Cl- or Cl- after AgCl oxidation (or dissociation) in the organism to form AgCl, so that part or all of the AgCl consumed in the measurement period T1 is recharged to the counter electrode.
人體透過摻碘的食鹽可以取得氯離子及碘離子,故可取得的鹵離子至少包括氯離子及碘離子,以用於回充鹵化銀。The human body can obtain chloride ions and iodide ions through iodine-doped salt, so the halide ions that can be obtained include at least chloride ions and iodide ions for recharging silver halide.
以下實施例是針對N次量測步驟(S901)及N次回充步驟(S902)的循環,其中所提到的生理參數較佳是葡萄糖值,所提到的生理訊號較佳是電流值。根據某些較佳實施例,各量測電位差V1於量測期間T1被施加,各回充電位差V2於回充期間t2被施加,且量測期間T1為固定值,其可為3秒內、5秒內、10秒內、15秒內、30秒內、1分鐘內、2分鐘內、5分鐘內或10分鐘內的一時間值。根據某些較佳實施例,較佳為30秒內的時間值。量測期間T1為固定值,且可為2.5秒、5秒、15秒、30秒、1分鐘、2.5分鐘、5分鐘、10分鐘或30分鐘,較佳為30秒。根據某些較佳實施例,各量測期間T1加上各回充期間t2為固定值。根據某些較佳實施例,各回充電位差V2具有固定電壓值,各回充期間t2是根據AgCl的每次消耗量而動態調整(如圖7A所示)。根據某些較佳實施例,輸出的各生理參數是經由各量測期間T1中的一個單一量測時間點的各生理訊號運算而獲得。根據某些較佳實施例,輸出的各生理參數是經由各量測期間T1中的多個量測時間點的多個生理訊號的一數學運算值運算而獲得。前述數學運算值為例如累加值、平均值、中位數、中位數的平均值等。根據某些較佳實施例,藉由控制每次回充量為等於或不等於(包含約略相近、大於或小於)每次消耗量,而控制對電極之AgCl量在安全庫存區間內,而使下一量測步驟時所獲得的下一生理訊號與下一生理參數保持穩定的比例關係。根據某些較佳實施例,移除各量測電位差V1的步驟是將配置於連通工作電極及對電極之電路斷路、或設定各量測電位差V1為0。換言之,可進行斷電,以使量測電路具有開路狀態;或者,可施加0伏特電壓於工作電極及對電極之間,其中該兩項操作其中任一操作的操作時間皆為0.01~0.5秒。移除量測電位差V1的步驟可避免A形的生理訊號產生。根據某些較佳實施例,移除各回充電位差V2的步驟是將配置於連通輔助電極及對電極之電路斷路、或設定各回充電位差V2為0。The following embodiment is for the cycle of N measurement steps ( S901 ) and N recharging steps ( S902 ), wherein the physiological parameter mentioned is preferably the glucose value, and the physiological signal mentioned is preferably the current value. According to some preferred embodiments, each measurement potential difference V1 is applied in the measurement period T1, each recharge potential difference V2 is applied in the recharge period t2, and the measurement period T1 is a fixed value, which can be within 3 seconds, 5 A time value within seconds, within 10 seconds, within 15 seconds, within 30 seconds, within 1 minute, within 2 minutes, within 5 minutes, or within 10 minutes. According to some preferred embodiments, a time value within 30 seconds is preferred. The measurement period T1 is a fixed value, and can be 2.5 seconds, 5 seconds, 15 seconds, 30 seconds, 1 minute, 2.5 minutes, 5 minutes, 10 minutes or 30 minutes, preferably 30 seconds. According to some preferred embodiments, each measurement period T1 plus each recharging period t2 is a fixed value. According to some preferred embodiments, each recharge potential difference V2 has a fixed voltage value, and each recharge period t2 is dynamically adjusted according to each consumption of AgCl (as shown in FIG. 7A ). According to some preferred embodiments, each outputted physiological parameter is obtained by calculating each physiological signal at a single measurement time point in each measurement period T1. According to some preferred embodiments, each outputted physiological parameter is obtained through a mathematical operation of a plurality of physiological signals at a plurality of measurement time points in each measurement period T1. The aforementioned mathematical operation value is, for example, an accumulated value, an average value, a median, an average of medians, and the like. According to some preferred embodiments, by controlling the amount of each recharge to be equal to or not equal to (including approximately similar, greater or less than) eachThe consumption is controlled, and the AgCl amount of the counter electrode is controlled within the safety stock range, so that the next physiological signal obtained in the next measurement step and the next physiological parameter maintain a stable proportional relationship. According to some preferred embodiments, the step of removing each measurement potential difference V1 is to disconnect the circuit configured to connect the working electrode and the counter electrode, or to set each measurement potential difference V1 to zero. In other words, the power can be turned off, so that the measurement circuit has an open state; or, a voltage of 0 volts can be applied between the working electrode and the counter electrode, and the operation time of any of the two operations is 0.01~0.5 seconds. . Removing the step of measuring the potential difference V1 can prevent the A-shaped physiological signal from being generated. According to some preferred embodiments, the step of removing each recycle potential difference V2 is to disconnect the circuit configured to communicate with the auxiliary electrode and the counter electrode, or to set each recycle potential difference V2 to 0.
根據某些較佳實施例,感測器植入人體後需經過暖機時間,使感測器在體內達到平衡穩定才能穩定呈現與分析物濃度呈正相關的生理訊號。因此,在量測步驟(S901)持續施加量測電壓直至量測期間T1結束,並控制該量測期間T1以使得生理訊號與分析物的生理參數達到穩定的比例關係。因此,量測期間T1可為變動值或為變動值和固定值的組合(例如變動值+固定值,該變動值可為1小時、2小時、3小時、6小時、12小時或24小時,該固定值可為例如30秒)。According to some preferred embodiments, after the sensor is implanted in the human body, a warm-up time is required so that the sensor reaches equilibrium and stability in the body so as to stably present a physiological signal that is positively correlated with the concentration of the analyte. Therefore, in the measurement step ( S901 ), the measurement voltage is continuously applied until the measurement period T1 ends, and the measurement period T1 is controlled so that the physiological signal and the physiological parameter of the analyte achieve a stable proportional relationship. Therefore, the measurement period T1 can be a variable value or a combination of a variable value and a fixed value (for example, a variable value + a fixed value, the variable value can be 1 hour, 2 hours, 3 hours, 6 hours, 12 hours or 24 hours, The fixed value may be, for example, 30 seconds).
請參考圖7A-7F、圖10A-10D及圖11,本發明利用施加電壓於對電極R/C來量測一期間內對電極之反應電流,並經由將該期間內反應電流經數學運算而得知AgCl初始容量,例如透過計算反應電流曲線下的面積以定義AgCl初始容量,又稱初始量或初始庫倫量(Cinitial),以下皆以量來說明。對電極R/C包含Ag和AgCl,當得知AgCl的百分比(X%AgCl)時,即可算出Ag百分比(Y% Ag=100%-X% AgCl)。於每次量測步驟(S901)中透過計算工作電極W的電流曲線下的面積來定義每次AgCl的消耗量(以Cconsume表示)。對電極R/C的AgCl具有對應於該生理訊號Ia的消耗量Cconsume,即Cconsume=Ia*T1。於每次回充步驟(S902)中,透過計算對電極R/C的電流曲線下的面積來定義每次AgCl的回充量(以Creplenish表示),即Creplenish=Ib*t2,t2介於0~T2之間。Please refer to FIGS. 7A-7F , FIGS. 10A-10D and FIG. 11 , in the present invention, the reaction current of the counter electrode is measured by applying a voltage to the counter electrode R/C in a period, and the reaction current in the period is calculated by mathematical operation. To know the initial capacity of AgCl, for example, by calculating the area under the reaction current curve to define the initial capacity of AgCl, also known as the initial amount or initial coulomb (Cinitial ), the following are all described in terms of amount. The counter electrode R/C contains Ag and AgCl. When the percentage of AgCl (X%AgCl) is known, the percentage of Ag can be calculated (Y% Ag=100%-X% AgCl). In each measurement step ( S901 ), the consumption of AgCl (represented by Cconsume ) is defined by calculating the area under the current curve of the working electrode W. The AgCl of the counter electrode R/C has a consumption amount Cconsume corresponding to the physiological signal Ia, that is, Cconsume =Ia*T1. In each recharging step (S902), the amount of AgCl recharging each time (represented by Creplenish ) is defined by calculating the area under the current curve of the counter electrode R/C, that is, Creplenish =Ib*t2, and t2 is between Between 0 and T2.
以下描述AgCl安全庫存量的計算方法。在某些較佳實施例中,安全庫存區間是以Ag與AgCl的比例呈現,本發明是以於對電極量測到的庫倫量(C)以反映Ag與AgCl的比例關係。在某些較佳實施例中,Ag與AgCl的比例為99.9%:0.1%、99%:1%、95%:5%、90%:10%、70%:30%、50%:50%、40%:60%或30:70%,使AgCl在對電極上具備一程度上的量而不會被消耗殆盡,讓每次生理訊號量測步驟皆能穩定執行。AgCl的剩餘量為回充量與初始量的和減去消耗量。在某些較佳實施例中,AgCl的剩餘量在一區間範圍內變動,亦即AgCl的剩餘量被控制在初始量加減特定值(X值)的範圍內,即(Creplenishe+Cinitial)-Cconsume=Cinitial±X,其中0<X<100% Cinitial、10% Cinitial<X≦90% Cinitial、或0.5% Cinitial<X≦50% Cinitial。在某些較佳實施例中,AgCl的剩餘量可在一區間範圍內逐漸下降、逐漸上升、或是平穩變動或任意變動但仍於該區間範圍內。The calculation method of the AgCl safety stock amount is described below. In some preferred embodiments, the safety stock interval is represented by the ratio of Ag to AgCl. The present invention uses the coulomb (C) measured by the counter electrode to reflect the ratio of Ag to AgCl. In some preferred embodiments, the ratio of Ag to AgCl is 99.9%: 0.1%, 99%: 1%, 95%: 5%, 90%: 10%, 70%: 30%, 50%: 50% , 40%: 60% or 30: 70%, so that AgCl has a certain amount on the counter electrode without being consumed, so that each physiological signal measurement step can be performed stably. The remaining amount of AgCl is the sum of the recharged amount and the initial amount minus the consumption amount. In some preferred embodiments, the remaining amount of AgCl varies within an interval, that is, the remaining amount of AgCl is controlled within the range of the initial amount plus or minus a specific value (X value), that is, (Creplenishe +Cinitial ) -Cconsume =Cinitial ±X, where 0<X<100% Cinitial , 10% Cinitial <X≦90% Cinitial , or 0.5% Cinitial <X≦50% Cinitial . In some preferred embodiments, the remaining amount of AgCl may gradually decrease, gradually increase, or fluctuate smoothly or arbitrarily within a range but still within the range.
請參考圖12,其示出根據本發明另一實施例的量測待分析物的方法,透過該方法可延長微型生物感測器的使用壽命並且能縮減對電極之銀及鹵化銀材料用量。該微型生物感測器可為例如圖13A-13C及圖14A-14G所示的微型生物感測器,用於植入皮下以量測與生物流體(例如組織液)中的該待分析物所關聯的生理參數的生理訊號。該微型生物感測器的對電極的電極材料包括銀及鹵化銀,在圖12的實施例中,該待分析物可為組織液中的葡萄糖,生理參數為人體中的葡萄糖值,生理訊號為微型生物感測器量得的電流值。以下僅描述此實施例的一個循環。此實施例的方法始於以下步驟:施加量測電壓以驅動工作電極,以量測用以獲得生理參數的生理訊號,其中鹵化銀被消耗特定量(下文略稱為消耗量)(S1001)。Please refer to FIG. 12 , which shows a method for measuring an analyte according to another embodiment of the present invention, through which the service life of the miniature biosensor can be prolonged and the amount of silver and silver halide materials used in the counter electrode can be reduced. The miniature biosensor can be, for example, the miniature biosensor shown in FIGS. 13A-13C and 14A-14G for implantationSubcutaneously to measure physiological signals of physiological parameters associated with the analyte in biological fluids (eg, interstitial fluid). The electrode material of the counter electrode of the micro biosensor includes silver and silver halide. In the embodiment of FIG. 12 , the analyte can be glucose in tissue fluid, the physiological parameter is the glucose value in the human body, and the physiological signal is micro The current value measured by the biosensor. Only one cycle of this embodiment is described below. The method of this embodiment begins with the step of applying a measurement voltage to drive the working electrode to measure a physiological signal for obtaining a physiological parameter, wherein the silver halide is consumed in a specific amount (hereinafter abbreviated as consumption) (S1001).
接著停止施加量測電壓(S1002),並利用所獲得的生理訊號來獲得生理參數(S1003)。獲得生理參數後,施加回充電壓於對電極及輔助電極之間,以驅動對電極,從而使鹵化銀的量被回充一回充量(S1004),其中回充量與初始量的和減去消耗量的值(即前文所述的剩餘量)被控制在初始量加減特定值的範圍內。上述控制步驟是藉由控制回充量等於或不等於(包含約略相近、大於或小於)消耗量來達成,以維持鹵化銀的量在安全庫存區間內。根據反應式,鹵化銀的莫耳數增減對應銀的莫耳數增減,故為了便於說明,鹵化銀的消耗量對應模擬的銀的增加量。在某些較佳實施例中,剩餘量的值被控制成使得鹵化銀的量與銀的量加上鹵化銀的量的和(AgCl/Ag+AgCl)的比值是大於0且小於1,亦即對電極的鹵化銀有一個量即可,較佳為介於0.01-0.99之間、介於0.1-0.9之間、介於0.2-0.8之間、介於0.3-0.7之間或介於0.4-0.6之間。在達到該回充量時停止施加回充電壓(S1005)。之後再循環至步驟S1001執行下一個循環。Then stop applying the measurement voltage (S1002), and use the obtained physiological signal to obtain physiological parameters (S1003). After obtaining the physiological parameters, a recharge voltage is applied between the counter electrode and the auxiliary electrode to drive the counter electrode, so that the amount of silver halide is recharged by a recharge amount (S1004), wherein the sum of the recharge amount and the initial amount is reduced. The value of the de-consumption amount (ie, the remaining amount described above) is controlled within the range of the initial amount plus or minus a specific value. The above control step is achieved by controlling the recharge amount to be equal to or not equal to (including approximately similar, greater or less than) the consumption amount, so as to maintain the amount of silver halide within the safety stock range. According to the reaction formula, the increase or decrease of the molar number of silver halide corresponds to the increase or decrease of the molar number of silver, so for convenience of explanation, the consumption of silver halide corresponds to the increase of simulated silver. In certain preferred embodiments, the value of the remaining amount is controlled such that the ratio of the amount of silver halide to the sum of the amount of silver plus the amount of silver halide (AgCl/Ag+AgCl) is greater than 0 and less than 1, also That is to say, the amount of silver halide in the counter electrode is only one amount, preferably between 0.01-0.99, between 0.1-0.9, between 0.2-0.8, between 0.3-0.7 or between 0.4 -0.6. When the recharge amount is reached, the application of the recharge voltage is stopped (S1005). Then it loops back to step S1001 to execute the next loop.
以下描述本發明的一具體實施例,以生物感測器使用壽命須達到16天作為示例以計算所需電極訊號感測段Ag/AgCl材料尺寸之方法,例如每次測量的待分析物平均量測電流為30nA、量測期間(T1)為30秒、且回充期間(t2)為30秒。每天所需AgCl的消耗量(Cconsume/day)=1.3mC/天。假設感測器使用壽命的需求為16天,則使用16天所需AgCl的消耗量為1.3 x 16=20.8mC。A specific embodiment of the present invention is described below, taking the lifespan of the biosensor reaching 16 days as an example to calculate the required size of the Ag/AgCl material in the sensing section of the electrode signal, such as the average amount of the analyte measured each time The measurement current was 30 nA, the measurement period (T1) was 30 seconds, and the recharge period (t2) was 30 seconds. The consumption of AgCl required per day (Cconsume/day )=1.3mC/day. Assuming that the sensor lifetime requirement is 16 days, the consumption of AgCl required for 16 days is 1.3 x 16=20.8mC.
例如對電極的長度為2.5mm,其對應AgCl初始量Cintial=10mC;For example, the length of the counter electrode is 2.5mm, which corresponds to the initial amount of AgCl Cintial =10mC;
(3)在無執行AgCl的回充的情況下,針對感測器使用壽命16天,對電極需要的長度至少為:C16day/Cconsume/day=20.8mC/1.3mg/day=16mm(3) In the case of no AgCl recharging, for a sensor service life of 16 days, the required length of the counter electrode is at least: C16day /Cconsume/day =20.8mC/1.3mg/day=16mm
(4)故在無使用本發明鹵化銀的回充方法的情況下,對電極的長度需超出16mm才能使感測器壽命達16天。(4) Therefore, without the use of the silver halide recharging method of the present invention, the length of the counter electrode needs to exceed 16 mm in order to make the life of the sensor reach 16 days.
於本實施例中,在無使用本發明之鹵化銀的回充技術情況下,對電極訊號感測段需配置相對應較大的Ag/AgCl材料尺寸才能達到16天的感測器壽命。透過本發明鹵化銀的回充方法,於兩次量測步驟之間進行鹵化銀的回充步驟,該鹵化銀的消耗與回充可在短時間內重複循環(即用即充),故可縮減感測器中的Ag/AgCl材料用量,進而使感測器微型化,因此對電極訊號感測段材料不須準備16天份的AgCl的容量以供消耗。例如,大約準備1~2天份AgCl的容量即可使用感測器達16天,由此達到延長感測器使用壽命之功效。1~2天份的AgCl的容量亦指於出廠前或執行第一次量測前的對電極所具有例如在約1.3~2.6mC之間的AgCl的初始量,該初始量亦可為其他更小或更大的範圍。於其他實施例中亦可準備1~5天份、1~3天份、6~24小時、6~12小時等不同的AgCl容量。對電極訊號感測段的材料尺寸只要具備讓每次葡萄糖量測步驟皆能穩定執行、使量測電流能與體內的葡萄糖濃度呈現正相關性的容量即可。In this embodiment, without using the silver halide recharge technology of the present invention, the counter electrode signal sensing segment needs to be configured with a correspondingly larger Ag/AgCl material size to achieve a sensor life of 16 days. Through the silver halide recharging method of the present invention, the silver halide recharging step is performed between the two measurement steps, the consumption and recharging of the silver halide can be repeated in a short period of time (recharge immediately after use), so it can be The amount of Ag/AgCl material in the sensor is reduced, and the sensor is miniaturized. Therefore, the material for the sensing section of the electrode signal does not need to prepare 16 days' worth of AgCl for consumption. For example, the sensor can be used for 16 days by preparing the capacity of AgCl for about 1-2 days, thereby achieving the effect of prolonging the service life of the sensor. The capacity of AgCl for 1 to 2 days also refers to the initial amount of AgCl that is between about 1.3 to 2.6 mC in the counter electrode before leaving the factory or before the first measurement is performed, and the initial amount can also be other more. small or larger range. Also in other embodimentsDifferent AgCl capacities such as 1~5 days, 1~3 days, 6~24 hours, and 6~12 hours can be prepared. The size of the material of the counter electrode signal sensing segment only needs to have a capacity that allows each glucose measurement step to be performed stably and that the measurement current can be positively correlated with the glucose concentration in the body.
若在無使用本發明之氯化銀的回充技術情況下,先前技術會透過增加電極長度/面積使感測器達到所需天數需求,以先前技術為例,感測器植入端長度約為12mm,因植入長度長,而為了避免植入深達皮下組織,需以斜角方式植入皮下,其植入傷口較大。另外舉例來說,1~2天份的AgCl的容量約在1.3~2.6mC之間,換算該1~2天的對電極長度為2.5~5mm,其相較於無使用本發明鹵化銀的回充方法的情況下需要16mm的對電極長度,更加凸顯本發明能有效縮減所需對電極尺寸。透過本發明鹵化銀的回充方法,可縮短植入端長度,例如使長度縮減為不大於10mm。於本發明的微型生物感測器300的連接區域317的下半部分至第二端314屬於短植入端318(如圖13A及13B所示),且短植入端318植入深度需至少滿足到真皮層可量測到組織液葡萄糖的深度,故短植入端318的最長邊不大於6mm,以使微型生物感測器300能以垂直於生物體表皮的方式被部分植入於生物體表皮下。短植入端318的最長邊較佳為不大於5mm、4.5mm或3.5mm或2.5mm。本發明的短植入端包含對電極330的訊號感測段332,其訊號感測段332最長邊不大於6mm,較佳為2-6mm、2-5mm、2-4.5mm或2-3.5mm、0.5-2mm、0.2-1mm。Without the use of the silver chloride recharge technology of the present invention, the prior art would increase the electrode length/area to make the sensor reach the required number of days. Taking the prior art as an example, the length of the implanted end of the sensor is about It is 12mm, because the implantation length is long, and in order to avoid implantation deep into the subcutaneous tissue, it needs to be implanted subcutaneously in an oblique way, and the implantation wound is large. For another example, the capacity of AgCl for 1~2 days is about 1.3~2.6mC, and the length of the counter electrode for 1~2 days is 2.5~5mm. In the case of the charging method, a counter electrode length of 16 mm is required, which further highlights that the present invention can effectively reduce the required counter electrode size. Through the silver halide recharging method of the present invention, the length of the implanted end can be shortened, for example, the length can be shortened to not more than 10 mm. The lower half of the connecting
因此與未使用本發明之鹵化銀的回充技術情況比較下,透過本發明鹵化銀的回充方法,能有效延長感測器使用壽命、且能大幅縮減對電極上Ag/AgCl材料的使用,而使對電極訊號感測段的尺寸可縮小。由於縮減對電極上Ag/AgCl材料的使用,而使感測器可微型化且可降低生物毒性。此外,電極尺寸縮小特別是指縮短感測器的植入端長度,因此可降低使用者植入痛感。Therefore, compared with the recharging technology without the silver halide of the present invention, the recharging method of the silver halide of the present invention can effectively prolong the service life of the sensor,In addition, the use of Ag/AgCl material on the counter electrode can be greatly reduced, so that the size of the counter electrode signal sensing section can be reduced. The sensor can be miniaturized and biotoxicity can be reduced by reducing the use of Ag/AgCl material on the counter electrode. In addition, the reduction of the electrode size especially refers to the shortening of the length of the implantation end of the sensor, thus reducing the pain of the user during implantation.
實施例IIIExample III
請參閱圖18A及18B,其為本發明微型生物感測器的第一實施例的正面與背面示意圖。本發明的微型生物感測器400包括基板410、設置於基板410上的第一工作電極420、第二工作電極430、第一對電極440與第二對電極450、以及包圍第一工作電極420、第二工作電極430、第一對電極440與第二對電極450的化學試劑460(如圖18C所示)。基板410的材質可選用任何已知適合使用於電極基板的材質且較佳具備可撓性及絕緣性質,例如但不限於:聚酯(Polyester)、聚醯亞胺(Polyimide)等高分子材質,前述高分子材質可以單獨使用一種或者混合多種使用。基板410具有表面411(即第一表面)、與表面411相對的對側表面412(即第二表面)、第一端413及第二端414,且基板410分為3個區域,分別為靠近第一端413的訊號輸出區域415、靠近第二端414的感測區域416、及位於訊號輸出區域415及感測區域416之間的連接區域417。第一工作電極420與第二工作電極430設置於基板410的表面411上,且從基板410的第一端413延伸至第二端414。第一工作電極420包括位於基板410的訊號輸出區415的第一訊號輸出段421,及位於基板410的感測區416的第一訊號感測段422。第二工作電極430包括位於基板410的訊號輸出區415的第二訊號輸出段431,及位於基板410的感測區416的第二訊號感測段432。Please refer to FIGS. 18A and 18B , which are schematic views of the front and the back of the first embodiment of the miniature biosensor of the present invention. The
第一對電極440與第二對電極450設置於基板410的對側表面412,且從基板410的第一端413延伸至第二端414。第一對電極440包括位於基板410的訊號輸出區415的第三訊號輸出段441,及位於基板410的感測區416的第三訊號感測段442,且第二對電極450包括位於基板410的訊號輸出區415的第四訊號輸出段451,及位於基板410的感測區416的第四訊號感測段452。第一對電極440及第二對電極450表面的材料包含銀(Silver)及鹵化銀(Silver Halide),其中鹵化銀較佳為氯化銀(Silver Chloride)或碘化銀(Silver Iodine),使第一對電極440及第二對電極450兼具參考電極的功能,即本發明的第一對電極440及第二對電極450可以(1)與第一工作電極420或第二工作電極430形成電子迴路,使第一工作電極420或第二工作電極430上電流暢通,以確保氧化反應在第一工作電極420或第二工作電極430上發生;以及(2)提供穩定的相對電位作為參考電位。因此,本發明的第一工作電極420、第二工作電極430、第一對電極440及第二對電極450形成一個四電極系統。為了進一步降低成本以及提高本發明之生物感測器的生物相容性,該銀/鹵化銀更可與碳混合使用,例如將該銀/鹵化銀混入碳膠,其鹵化銀含量只要讓第一對電極440及第二對電極450能穩定執行設定的量測動作即可。第一對電極440及第二對電極450的部份的表面上還可以覆蓋導電材料以防止鹵化銀解離(dissolution),進而保護第一對電極440及第二對電極450,其中導電材料係選擇不影響工作電極量測表現的導電材質為主,例如導電材料為碳(Carbon)。The first pair of
另一實施例中生物感測器不限於導線式或疊層式的電極結構。In another embodiment, the biosensor is not limited to wire type or stack typeelectrode structure.
在本發明的另一個實施例中,在準備將生物感測器運送出工廠出售之前,鹵化銀的初始量可以為零。在這種情況下,生物感測器的第一對電極440及/或第二對電極450上沒有鹵化銀。在將生物感測器皮下植入患者體內之後以及在進行首次測量之前的最開始回充期間中,經由氧化被塗佈在第一對電極440及/或第二對電極450上的銀,可以在第一對電極440及/或第二對電極450上回充初始量的鹵化銀。In another embodiment of the invention, the initial amount of silver halide may be zero before the biosensor is ready to be shipped out of the factory for sale. In this case, there is no silver halide on the first pair of
化學試劑460至少覆蓋於第一工作電極420的第一訊號感測段422。於另一實施例中,化學試劑460至少覆蓋於第一工作電極420與第二工作電極430的第一訊號感測段422與第二訊號感測段432。另一實施例,化學試劑460包覆所有電極之訊號感測段422,432,442,452。而在另一實施例中,第一對電極440及/或第二對電極450可以不被化學試劑460覆蓋。微型生物感測器400的感測區416可以植入皮下使第一訊號感測段422與第二訊號感測段432進行生物流體中待分析物所關聯的生理訊號的量測,生理訊號會分別被傳送至訊號第一輸出段421與第二輸出段431,再由第一輸出段421與第二輸出段431傳送至處理器210以得到生理參數。另該生理參數除了從傳感單元200取得外,亦可經由無線/有線通訊傳送至使用者裝置20取得,常用的使用者裝置20例如智慧型手機、生理訊號接收器或血糖儀。The
請參閱圖18C,其為圖18A中沿A-A’線的剖面示意圖,其中A-A’線為從微型生物感測器400的感測區416的剖面線。在圖18C中,第一工作電極420與第二工作電極430設置於基板410的表面411,第一對電極440與第二對電極450設置基板410的對側表面412,且第一工作電極420、第二工作電極430、第一對電極440與第二對電極450的表面上覆蓋化學試劑460。基本上化學試劑460至少覆蓋於一個工作電極的部分表面上。本發明的微型生物感測器400會在量測期間執行量測步驟,及在回充期間執行回充步驟。在量測步驟時,可以選擇第一工作電極420或第二工作電極430來量測生理訊號,且在回充步驟時,由第一工作電極420或第二工作電極430幫助第一對電極440或第二對電極450回充鹵化銀。因此,在此實施例中,當執行量測步驟時,第一工作電極420或第二工作電極430的電壓高於第一對電極440或第二對電極450的電壓,使電流從第一工作電極420或第二工作電極430往第一對電極440或第二對電極450的方向流動,進而使第一工作電極420或第二工作電極430發生氧化反應(即第一工作電極420或第二工作電極430、化學試劑460及待分析物之間的電化學反應)而量測生理訊號,第一對電極440或第二對電極450發生還原反應,使第一對電極440或第二對電極450中的鹵化銀消耗而解離成銀(Ag)及鹵離子(X-)。由於第一對電極440或第二對電極450中的鹵化銀被消耗,故需要回充第一對電極440或第二對電極450中的鹵化銀以進行下一次的量測步驟。當執行回充步驟時,第一對電極440或第二對電極450的電壓高於第一工作電極420或第二工作電極430的電壓,使電流從第一對電極440或第二對電極450往第一工作電極420或第二工作電極430的方向流動,進而使第一對電極440或第二對電極450發生氧化反應使銀與鹵離子結合而回充鹵化銀,詳細量測步驟與回充步驟見圖12說明。Please refer to FIG. 18C , which is a schematic cross-sectional view taken along the line AA′ in FIG. 18A , wherein the line AA′ is a section line from the
請參閱圖19A,其為本發明的微型生物感測器的第二實施例的剖面示意圖。第二實施例為第一實施例的電極配置的變化。在此實施例中,如圖19A所示,本發明的微型生物感測器400的第一工作電極420及第一對電極440設置於基板410的表面411,第二工作電極430及第二對電極450設置基板410的對側表面412,且第一工作電極420、第二工作電極430、第一對電極440或第二對電極450的表面上覆蓋化學試劑460。同樣地,在量測步驟時,可以選擇第一工作電極420或第二工作電極430來量測生理訊號,且在回充步驟時,亦可以選擇第一工作電極420或第二工作電極430幫助對第一對電極440或第二對電極450回充鹵化銀。因此,在此實施例中,當執行量測步驟時,電流從第一工作電極420或第二工作電極430往第一對電極440或第二對電極450的方向流動,進而使第一工作電極420或第二工作電極430發生氧化反應而量測生理訊號,第一對電極440或第二對電極450發生還原反應,使第一對電極440或第二對電極450中的鹵化銀消耗而解離成銀(Ag)及鹵離子(X-)。當執行回充步驟時,電流從第一對電極440或第二對電極450往第一工作電極420或第二工作電極430的方向流動,進而使第一對電極440或第二對電極450發生氧化反應使銀與鹵離子結合而回充鹵化銀。Please refer to FIG. 19A , which is a schematic cross-sectional view of the second embodiment of the miniature biosensor of the present invention. The second embodiment is a variation of the electrode configuration of the first embodiment. In this embodiment, as shown in FIG. 19A , the first working
請參閱圖19B,其為本發明的微型生物感測器的第三實施例的剖面示意圖。在第三實施例中,本發明的微型生物感測器400的第一工作電極420設置於基板410的表面411,第二工作電極430、第一對電極440及第二對電極450設置基板410的對側表面412,且第一工作電極420、第二工作電極430、第一對電極440或第二對電極450的表面上覆蓋化學試劑460。第二工作電極430位置除了被配置於兩個對極之間外,亦可設置在最左或最右側邊位置(圖未示出)。在本實施例中,在量測步驟時,可以選擇第一工作電極420或第二工作電極430來量測生理訊號,且在回充步驟時,亦皆可以選擇第一工作電極420或第二工作電極430幫助對第一對電極440或第二對電極450回充鹵化銀。Please refer to FIG. 19B , which is a schematic cross-sectional view of the third embodiment of the miniature biosensor of the present invention. In the third embodiment, the first working
請參閱圖19C,其為本發明的微型生物感測器的第四實施例的剖面示意圖。在第四實施例中,本發明的微型生物感測器400的第一工作電極420及第二工作電極430設置於基板410的表面411上,第二工作電極430為U型並鄰設且圍繞於第一工作電極420的側邊,第一對電極440及第二對電極450設置於基板410的對側表面412上,且第一工作電極420、第二工作電極430、第一對電極440及第二對電極450的表面上覆蓋化學試劑460。在此實施例中,在量測步驟時,可以選擇第一工作電極420或第二工作電極430來量測生理訊號,且在回充步驟時,亦可以選擇第一工作電極420或第二工作電極430幫助對第一對電極440或第二對電極450回充鹵化銀。Please refer to FIG. 19C , which is a schematic cross-sectional view of the fourth embodiment of the miniature biosensor of the present invention. In the fourth embodiment, the first working
以上圖18C-19C其詳細電極疊層省略,僅示意電極位置。以上圖18C-19C基本上化學試劑460至少覆蓋第一工作電極420部分的表面上。The detailed electrode stacks in FIGS. 18C-19C above are omitted, and only the electrode positions are shown. 18C-19C above substantially cover the surface of at least a portion of the first working
在上述任一實施例中,第一工作電極420及第二工作電極430的材料包含但不限於:碳、鉑、鋁、鎵、金、銦、銥、鐵、鉛、鎂、鎳、錳、鉬、鋨、鈀、銠、銀、錫、鈦、鋅、矽、鋯、前述元素的混合物、或前述元素的衍生物(如合金、氧化物或金屬化合物等),較佳地,第一工作電極420及第二工作電極430的材料為貴金屬、貴金屬之衍生物或前述的組合,更佳地,第一工作電極420及第二工作電極430為含鉑材料。於另一實施例中,第二工作電極430的電極材料係選用與第一工作電極420相比對於過氧化氫具有較低靈敏度之材料,例如碳。In any of the above embodiments, the materials of the first working
在上述任一實施例中,為了防止銀電極材料的過度氯化而發生斷線,還可以在基板410的對側表面412與第一對電極440及第二對電極450的銀之間添加一層導電材料(如碳)。然而,若第一對電極440及第二對電極450的底層是碳會造成開關處的阻值過高,故還可在碳導電材料跟基板410的對側表面412之間再增設一層導電層,例如為銀以降低訊號輸出端的阻抗,使本發明的第一對電極440及第二對電極450從基板410的對側表面412開始依序為導電層、碳層及銀/鹵化銀層。In any of the above embodiments, in order to prevent wire breakage due to excessive chlorination of the silver electrode material, a layer of silver may also be added between the
由於本發明的微型生物感測器400有兩個工作電極及兩個對電極,使微型生物感測器400可以在使用例如第一工作電極420與第一對電極440執行量測步驟的同時,使用第二工作電極430與第二對電極450執行回充步驟。或使用例如第一工作電極420連續執行量測步驟的同時,使用第二工作電極430幫助第一對電極440或第二對電極450執行回充步驟。Since the
定電壓電路切換應用Constant voltage circuit switching application
請參考圖20A-20C,其分別示出本發明中根據不同方式可進行量測模式和回充模式的定電壓電路。量測模式可分別藉由施加量測電位差Vl和移除量測電位差Vl而開始和停止,而對應的電流以Ia表示。在定電壓電路中,第一工作電極W1是藉由開關S1控制,第一對電極R/C1是藉由開關S5和S6控制,第二工作電極W2是藉由開關S2和S7控制,第二對電極R/C2是藉由開關S3和S4控制。藉由上述開關的控制,可有多種彈性的操作方式,以下示例說明。Please refer to FIGS. 20A-20C , which respectively illustrate the constant voltage circuits in the present invention that can perform the measurement mode and the recharge mode in different ways. The measurement mode can be started and stopped by applying and removing the measurement potential difference V1, respectively, and the corresponding current is denoted by Ia. In the constant voltage circuit, the first working electrode W1 is switched byControlled by S1, the first pair of electrodes R/C1 is controlled by switches S5 and S6, the second working electrode W2 is controlled by switches S2 and S7, and the second pair of electrodes R/C2 is controlled by switches S3 and S4. Through the control of the above-mentioned switches, there can be various flexible operation modes, which are described in the following examples.
如圖20A所示,在量測模式時,於量測期間Tl施加量測電位差Vl於第一工作電極W1與第一對電極R/C1之間,使第一工作電極W1的電壓高於第一對電極R/C1的電壓。此時開關S1和S6為閉路狀態,而開關S5為開路狀態,第一工作電極W1為+Vl,第一對電極R/C1接地,以使第一工作電極W1進行氧化反應,並與化學試劑和待分析物進行電化學反應而輸出生理訊號Ia,同時第一對電極R/C1的AgCl具有對應於該生理訊號Ia的消耗量。在回充模式時,可分別藉由施加回充電位差V2和移除回充電位差V2而開始和停止,而對應的電流以Ib表示。V2為0.1V至0.8V之間的固定值,較佳為0.2V至0.5V之間的固定值。在回充模式時,施加回充電位差V2於第二工作電極W2與第二對電極R/C2之間持續回充期間t2,使第二對電極R/C2的電壓高於第二工作電極W2的電壓。此時開關S4和S7為開路狀態,而開關S2和S3為閉路狀態,第二對電極R/C2為+V2,第二工作電極W2為接地,以使第二對電極R/C2上的Ag進行氧化反應,而回充第二對電極R/C2上的AgCl達一回充量。在定電壓電路中的回充電位差V2為固定電壓,測得的輸出電流為Ib。本發明是透過計算電流曲線下的面積以定義AgCl的容量(Capacity,單位庫倫,以符號"C"表示),故量測模式中AgCl的消耗量為Ia*Tl,回充模式中AgCl的回充量為Ib*t2。因此,可經由調控回充電位差V2的施加時間t2來控制AgCl的回充量。換言之,在第一或第二對電極R/C1或R/C2上的AgCl保持在安全庫存量之內的前提下,可使回充量等於或不等於(包含約略相近、大於或小於)消耗量。圖20A以同時進行量測模式的時序與回充模式的時序重疊進行示意,上述開關的控制亦可變換其它形式電路而具有多種彈性的操作方式,在某些較佳實施例中,使量測模式時序與回充模式時序除了同時進行外,亦可部分重疊或不重疊。As shown in FIG. 20A , in the measurement mode, a measurement potential difference V1 is applied between the first working electrode W1 and the first pair of electrodes R/C1 during the measurement period T1, so that the voltage of the first working electrode W1 is higher than that of the first working electrode W1. The voltage of a pair of electrodes R/C1. At this time, the switches S1 and S6 are in a closed state, while the switch S5 is in an open state, the first working electrode W1 is +V1, and the first pair of electrodes R/C1 is grounded, so that the first working electrode W1 is oxidized and reacted with chemical reagents. Electrochemical reaction is performed with the analyte to output the physiological signal Ia, and the AgCl of the first pair of electrodes R/C1 has a consumption corresponding to the physiological signal Ia. In the recharge mode, it can be started and stopped by applying the recharge potential V2 and removing the recharge potential V2, respectively, and the corresponding current is denoted by Ib. V2 is a fixed value between 0.1V and 0.8V, preferably between 0.2V and 0.5V. In the recharge mode, a recharge potential difference V2 is applied between the second working electrode W2 and the second pair of electrodes R/C2 for a continuous recharge period t2, so that the voltage of the second pair of electrodes R/C2 is higher than that of the second working electrode W2 voltage. At this time, the switches S4 and S7 are in the open circuit state, while the switches S2 and S3 are in the closed circuit state, the second pair of electrodes R/C2 is +V2, and the second working electrode W2 is grounded, so that the Ag on the second pair of electrodes R/C2 is grounded. The oxidation reaction is carried out, and the AgCl on the second pair of electrodes R/C2 is recharged to a recharge amount. The recharge potential difference V2 in the constant voltage circuit is a fixed voltage, and the measured output current is Ib. The present invention defines the capacity of AgCl by calculating the area under the current curve (Capacity, unit coulomb, represented by symbol "C"), so the consumption of AgCl in the measurement mode is Ia*Tl, and the return of AgCl in the recharge mode is The charge is Ib*t2. Therefore, the recharge amount of AgCl can be controlled by adjusting the application time t2 of the recharge potential difference V2. In other words, inOn the premise that the AgCl on the first or second pair of electrodes R/C1 or R/C2 is kept within the safety stock, the recharge amount can be equal to or not equal to (including approximately similar, greater or less than) consumption. FIG. 20A illustrates the overlapping of the timing of the simultaneous measurement mode and the timing of the recharge mode. The control of the above-mentioned switches can also be converted into other forms of circuits to have a variety of flexible operation modes. In some preferred embodiments, the measurement The mode timing and the recharging mode timing may be partially overlapped or non-overlapping in addition to being performed at the same time.
圖20B-20C類似圖20A,差異僅在於圖20B示出的是使用W2和R/C2進行量測並使用W1和R/C1進行回充的實施例;以及圖20C示出的是使用W1和R/C2進行量測並使用W2和R/C1進行回充的實施例。在某些較佳實施例中,定電壓電路交替地切換至圖20A和圖20B並重複循環。在某些較佳實施例中,定電壓電路交替地切換至圖20A和圖20C並重複循環。以上述方式,第一對電極R/C1和第二對電極R/C2可輪流被消耗及回充,以使這兩個對電極上的AgCl都能保持在安全庫存量之內。在某些較佳實施例中,定電壓電路可具有第三電壓源以控制回充電壓差不同於量測電壓差。Figures 20B-20C are similar to Figure 20A, except that Figure 20B shows an embodiment using W2 and R/C2 for measurement and W1 and R/C1 for recharging; and Figure 20C shows an embodiment using W1 and R/C1 Example of R/C2 for measurement and recharge with W2 and R/C1. In some preferred embodiments, the constant voltage circuit alternately switches to FIG. 20A and FIG. 20B and repeats the cycle. In some preferred embodiments, the constant voltage circuit alternately switches to FIG. 20A and FIG. 20C and repeats the cycle. In the manner described above, the first pair of electrodes R/C1 and the second pair of electrodes R/C2 can be consumed and recharged alternately so that the AgCl on both pairs of electrodes can be kept within the safety stock. In some preferred embodiments, the constant voltage circuit may have a third voltage source to control the recharge voltage difference to be different from the measurement voltage difference.
透過控制電壓差的施加和開關的切換,如圖20A-20C所示出的定電壓電路亦可交替進行量測模式和回充模式。圖7A-7D分別示出該定電壓電路以不同方式交替進行量測模式和回充模式的電流示意圖。如圖所示,在多個量測期間Tl之間的是未進行量測的期間T2。在某些較佳實施例中,T2為固定值。圖7A-7D中橫軸為時間,V1的線條表示量測電位差V1的施加和移除,V2的線條表示回充電位差V2的施加和移除。請參考圖7A,在一較佳實施例中,V2和T2都是固定值,V2的施加時間t2(即回充期間)是變動值。回充期間t2是根據在量測模式所測得的生理訊號Ia及量測期間T1而在0至T2之間動態調整。如圖7A中所示,t2可為t2’、t2''、或t2'''...。換言之,回充期間t2可根據AgCl的消耗量而改變,若AgCl的消耗量大,則可回充較長的時間以使第一對電極R/C1上的AgCl保持在安全庫存量之內。舉例而言,在t2''期間所回充的AgCl的量將大於t2’期間所回充的AgCl量。By controlling the application of the voltage difference and the switching of the switches, the constant voltage circuit shown in FIGS. 20A-20C can also alternately perform the measurement mode and the recharge mode. 7A-7D are schematic diagrams of currents in which the constant voltage circuit alternately performs the measurement mode and the recharge mode in different ways. As shown in the figure, between the plurality of measurement periods T1 is a period T2 in which no measurement is performed. In some preferred embodiments, T2 is a fixed value. In FIGS. 7A-7D, the horizontal axis is time, the line of V1 represents the application and removal of the measurement potential difference V1, and the line of V2 represents the application and removal of the recharge potential difference V2. Referring to FIG. 7A, in a preferred embodiment, V2 and T2 are both fixed values, and the application time t2 of V2 (ie, the recharge period) is variablevalue. The recharging period t2 is dynamically adjusted between 0 and T2 according to the physiological signal Ia measured in the measurement mode and the measurement period T1. As shown in Figure 7A, t2 may be t2', t2'', or t2'''.... In other words, the recharge period t2 can be changed according to the consumption of AgCl. If the consumption of AgCl is large, it can be recharged for a long time to keep the AgCl on the first pair of electrodes R/C1 within the safety stock. For example, the amount of AgCl recharged during t2'' will be greater than the amount of AgCl recharged during t2'.
請參考圖7B,在另一較佳實施例中,V2、T2和t2都是固定值,其中t2=T2。也就是說,量測模式和回充模式是無縫交替的,在未進行量測的期間即為回充期間。請參考圖7C和5D,在某些較佳實施例中,V2、T2和t2都是固定值,其中t2為大於0且小於T2的固定值,例如t2=1/2的T2、2/5的T2、3/5的T2等。圖7C和7D的差別在於,圖7C中是在每次量測模式結束後,經歷一段緩衝時間(緩衝時間=T2-t2),才開始回充模式;圖7D中是每次量測模式結束後未經緩衝時間即立即開始回充模式,而在每次回充模式結束與下一次量測模式開始之間間隔一段時間。在某些較佳實施例中,t2小於T2,且t2可為T2期間的任何時間段。Referring to FIG. 7B, in another preferred embodiment, V2, T2 and t2 are all fixed values, where t2=T2. That is to say, the measurement mode and the recharge mode alternate seamlessly, and the period when no measurement is performed is the recharge period. 7C and 5D, in some preferred embodiments, V2, T2 and t2 are all fixed values, wherein t2 is a fixed value greater than 0 and less than T2, such as T2, 2/5 when t2=1/2 of T2, 3/5 of T2, etc. The difference between Fig. 7C and Fig. 7D is that in Fig. 7C, after each measurement mode ends, after a buffer time (buffer time = T2-t2), the recharge mode starts; in Fig. 7D, each measurement mode ends The recharge mode starts immediately without buffering time, and there is a period of time between the end of each recharge mode and the start of the next measurement mode. In certain preferred embodiments, t2 is less than T2, and t2 can be any time period during T2.
請參考圖7E和7F,其示出本發明的定電壓電路以不同方式交替進行量測模式和回充模式的電流示意圖。圖7E和7F中,橫軸為時間,縱軸為電流,曲線表示所量測到的生理訊號Ia換算而成的生理參數值曲線。在這兩個實施例中,類似於圖7A,V2和T2為固定值,回充期間t2是變動值。圖7E和7F中,曲線下白色面積代表量測模式中AgCl的消耗量(Ia*Tl),斜線面積代表回充模式中AgCl的回充量(Ib*t2)。由圖中可看出,為了使Ib*t2接近Ia*Tl或在Ia*Tl的某個範圍內,回充期間t2是根據所測得的生理訊號Ia及量測期間T1而在0至T2之間動態調整。根據需要,可選擇在未執行量測模式的期間(T2)的前段(如圖7E所示)或後段(如圖7F所示)進行回充模式。Please refer to FIGS. 7E and 7F , which are schematic diagrams of currents in which the constant voltage circuit of the present invention alternately performs the measurement mode and the recharge mode in different ways. In FIGS. 7E and 7F , the horizontal axis is time, the vertical axis is current, and the curve represents the physiological parameter value curve converted from the measured physiological signal Ia. In these two embodiments, similar to FIG. 7A, V2 and T2 are fixed values, and t2 is a fluctuating value during the recharging period. In Figures 7E and 7F, the white area under the curve represents the consumption of AgCl in the measurement mode (Ia*Tl), and the area of the slanted line represents the recharged amount of AgCl in the recharge mode (Ib*t2). As can be seen from the figure, in order to make Ib*t2 close to Ia*T1 or within a certain range of Ia*T1, the recharge period t2 is based on the measured physiological signal.The number Ia and the measurement period T1 are dynamically adjusted between 0 and T2. According to needs, the recharge mode can be selected to be performed in the first stage (as shown in FIG. 7E ) or the latter stage (as shown in FIG. 7F ) during the period (T2) when the measurement mode is not executed.
有段切換的定電流電路切換應用Constant current circuit switching application with segment switching
請參考圖21,其示出本發明中可進行量測模式和回充模式的有段切換的定電流電路。有段切換的定電流電路重複循環進行量測模式與回充模式的方式與圖20A類似,故於此不再贅述。主要差異在於回充模式可分別藉由施加回充電位差V2(V2為變動值)和移除回充電位差V2而開始和停止,而對應的電流以Ib表示。以回充模式執行於於第二工作電極W2與第二對電極R/C2為例,施加回充電位差V2於第二工作電極W2與第二對電極R/C2之間持續回充期間t2。此時開關S2、S3為閉路狀態,開關S2和部分定電流電路61中的I_F1至I_Fn所對應的至少一個開關為閉路狀態,第二工作電極W2為接地,第二對電極R/C2為+V2,以使第二對電極R/C2上的Ag進行氧化反應,而回充AgCl。本實施例中有段切換的定電流電路可透過控制I_F1至I_Fn所對應的多個開關,選擇性切換至I_F1、I_F2、I_F3...I_Fn以調整所需的回充電位差V2並輸出電流Ib。在回充模式時,可根據生理訊號Ia的大小及量測期間T1,而經由調控回充電位差V2及其施加時間t2來控制AgCl的回充量。換言之,在第一或第二對電極R/C1或R/C2上的AgCl保持在安全庫存量之內的前提下,可使回充量等於或不等於(包含約略相近、大於或小於)消耗量。在另一實施例中,部分定電流電路61可設置連接第二對電極R/C2。Please refer to FIG. 21 , which shows a constant current circuit capable of switching between the measurement mode and the recharge mode according to the present invention. The manner in which the constant current circuit with segment switching repeats the cycle to perform the measurement mode and the recharge mode is similar to that shown in FIG. 20A , so it is not repeated here. The main difference is that the recharge mode can be started and stopped by applying the recharge potential V2 (V2 is a variable value) and removing the recharge potential V2, respectively, and the corresponding current is denoted by Ib. Taking the recharge mode performed on the second working electrode W2 and the second pair of electrodes R/C2 as an example, the recharge potential difference V2 is applied between the second working electrode W2 and the second pair of electrodes R/C2 for the recharge period t2. At this time, the switches S2 and S3 are in the closed circuit state, the switch S2 and at least one switch corresponding to I_F1 to I_Fn in the partial constant
無段切換的定電流電路切換應用Constant current circuit switching application of stepless switching
請參考圖22,其示出本發明中可進行量測模式和回充模式的無段切換的定電流電路。無段切換的定電流電路的量測模式與圖20A-20C類似,回充模式與圖21類似,故於此不再贅述。圖22與圖21的實施例之差異僅在圖22的定電流電路中,無段切換的部分定電流電路71是藉由數位類比轉換器(DAC)的控制而輸出固定電流Ib。Please refer to FIG. 22 , which shows a constant current circuit capable of continuously switching between the measurement mode and the recharge mode in the present invention. The measurement mode of the stepless switching constant current circuit is similar to that of FIGS. 20A-20C, and the recharge mode is similar to that of FIG. 21, so it is not repeated here. The difference between the embodiment of FIG. 22 and the embodiment of FIG. 21 is only that in the constant current circuit of FIG. 22 , the part of the constant
請參考圖10A-10C,其示出本發明的定電流電路以不同方式交替進行量測模式和回充模式的電壓示意圖。圖10A-10C中橫軸為時間,V1的線條表示量測電位差V1的施加和移除,V2的線條表示回充電位差V2的施加和移除。請參考圖10A,在一較佳實施例中,T2是固定值,V2和V2的施加時間t2(即回充期間)是變動值。回充期間t2是根據在量測模式所測得的生理訊號Ia及量測期間T1而在0至T2之間動態調整。如圖10A中所示,t2可為t2’、t2''、或t2'''...。換言之,回充期間t2可根據AgCl的消耗量而改變,若AgCl的消耗量大,則可回充較長的時間以使第一對電極R/C1上的AgCl保持在安全庫存量之內。Please refer to FIGS. 10A-10C , which are schematic diagrams of voltages in which the constant current circuit of the present invention alternately performs the measurement mode and the recharge mode in different ways. In FIGS. 10A-10C , the horizontal axis is time, the line of V1 represents the application and removal of the measurement potential difference V1 , and the line of V2 represents the application and removal of the recharge potential difference V2 . Referring to FIG. 10A , in a preferred embodiment, T2 is a fixed value, and the application time t2 of V2 and V2 (ie, the recharging period) is a variable value. The recharging period t2 is dynamically adjusted between 0 and T2 according to the physiological signal Ia measured in the measurement mode and the measurement period T1. As shown in Figure 10A, t2 may be t2', t2'', or t2'''.... In other words, the recharge period t2 can be changed according to the consumption of AgCl. If the consumption of AgCl is large, it can be recharged for a long time to keep the AgCl on the first pair of electrodes R/C1 within the safety stock.
請參考圖10B,在另一較佳實施例中,V2是變動值,T2和t2都是固定值,其中t2為大於0且小於T2的固定值,例如t2=1/2的T2、2/5的T2、3/7的T2等。在此實施例中,V2是根據於生理訊號量測步驟(即在量測模式中)的AgCl的消耗量而動態調整。動態調整方式的其中一個實施例如下。使用例如上述的有段切換的定電流電路,該電路具有n個固定電流源與n個開關,各固定電流源分別對應一個開關。於回充模式時,依據AgCl的消耗量,選擇開啟n個開關中的至少一個開關(即使該開關處於閉路狀態)以輸出固定電流值。在回充期間t2為固定值的情況下,可以藉由選擇不同的固定電流輸出來控制AgCl的回充量。Please refer to FIG. 10B , in another preferred embodiment, V2 is a variable value, T2 and t2 are fixed values, and t2 is a fixed value greater than 0 and less than T2, such as T2, 2/ T2 of 5, T2 of 3/7, etc. In this embodiment, V2 is dynamically adjusted according to the consumption of AgCl in the physiological signal measurement step (ie, in the measurement mode). One example of the dynamic adjustment method is as follows. For example, the above-mentioned constant current circuit with segment switching is used, and the circuit has n fixed current sources and n switches, and each fixed current source corresponds to one switch respectively. In the recharge mode, according to the consumption of AgCl, at least one switch among the n switches is selected to be turned on (even if the switch is in a closed state) to output theA fixed current value is output. When the recharge period t2 is a fixed value, the recharge amount of AgCl can be controlled by selecting different fixed current outputs.
請參考圖10C,在另一較佳實施例中,V2是變動值,T2和t2都是固定值,其中t2=T2。也就是說,量測模式和回充模式是無縫交替的,在未進行量測的期間即為回充期間。Referring to FIG. 10C , in another preferred embodiment, V2 is a variable value, and both T2 and t2 are fixed values, where t2=T2. That is to say, the measurement mode and the recharge mode alternate seamlessly, and the period when no measurement is performed is the recharge period.
相較於無段切換的定電流電路,有段切換的定電流電路可透過多個開關控制多個電流路徑,而得以根據所需的電流量以分段式的定電流進行回充,以此方式較為省電且可以降低成本。此外,不管是定電壓電路或定電流電路,電位差可以來自直流電源或交流電源,較佳為直流電源。Compared with the constant current circuit with stepless switching, the constant current circuit with step switching can control multiple current paths through multiple switches, so that it can be recharged with a segmented constant current according to the required current. The method is more energy-saving and can reduce the cost. In addition, whether it is a constant voltage circuit or a constant current circuit, the potential difference can come from a DC power source or an AC power source, preferably a DC power source.
圖7A-7F、圖8A-8B、圖9A-9B以及圖10A-10C的實施例都是描述量測步驟和回充步驟交替循環的操作方式,亦即每個量測步驟之間都有一個AgCl回充步驟,此方式可較佳地確保AgCl保持在安全庫存量之內。然而,在某些較佳實施例中,亦可在進行N次的量測期間選擇性搭配Y次的AgCl回充,其中Y≦N,使AgCl的累積回充量仍可保持在安全庫存範圍內。量測步驟和回充步驟也不必然需要以交替循環的方式進行,亦可於數次量測步驟後再進行一次回充步驟,或是在預定的量測時間之後,才進行一次回充步驟。舉例而言,可於量測10次後再進行一次回充步驟,或可於累積量測時間達1小時後才進行一次回充步驟。7A-7F, FIGS. 8A-8B, FIGS. 9A-9B, and FIGS. 10A-10C are all descriptions of the operation mode of alternating cycles of measurement steps and recharge steps, that is, there is a cycle between each measurement step. The AgCl recharge step, this method can preferably ensure that the AgCl is kept within the safety stock. However, in some preferred embodiments, Y times of AgCl recharge can also be selectively matched during the N times of measurement, where Y≦N, so that the accumulated recharge amount of AgCl can still be kept within the safety stock range Inside. The measurement step and the recharging step do not necessarily need to be performed in an alternate cycle, and a recharging step can be performed after several measurement steps, or a recharging step is performed only after a predetermined measurement time. . For example, a recharging step can be performed after 10 measurements, or a recharging step can be performed after the accumulated measurement time reaches 1 hour.
請參考圖10D,其示出本發明的定電流電路以類似圖10C的方式交替進行量測模式和回充模式的示意圖。圖10D中,曲線表示所量測到的生理訊號Ia所轉換成的生理參數值曲線,且類似於圖10C,T2和t2都是固定值,V2是變動值。圖10D中,曲線下白色面積代表量測模式中AgCl的消耗量(Ia*Tl),斜線面積代表回充模式中AgCl的回充量(Ib*t2)。由圖中可看出,為了使Ib*t2接近Ia*Tl或在Ia*Tl的某個範圍內,回充電位差V2是是根據AgCl的消耗量而動態調整。Please refer to FIG. 10D , which is a schematic diagram of the constant current circuit of the present invention performing the measurement mode and the recharge mode alternately in a manner similar to FIG. 10C . In FIG. 10D , the curve represents the physiological parameter value curve converted from the measured physiological signal Ia, and similar to FIG. 10C , T2 and t2 are fixed values, and V2 is a variable value. In Figure 10D, the lower part of the curve is whiteThe colored area represents the consumption of AgCl in the measurement mode (Ia*Tl), and the area of the diagonal line represents the recharged amount of AgCl in the recharge mode (Ib*t2). As can be seen from the figure, in order to make Ib*t2 close to Ia*T1 or within a certain range of Ia*T1, the recharge potential V2 is dynamically adjusted according to the consumption of AgCl.
另外圖7E、7F及圖10D中,雖未顯示每次執行生理訊號量測步驟後所輸出各生理參數值輸出時機點,但生理參數值不限於完成量測時輸出或於在回充期間內輸出,而AgCl回充步驟不限於在每一個生理參數輸出後執行或獲得生理訊號後執行。In addition, in FIGS. 7E , 7F and 10D , although the output timing of each physiological parameter value output after each execution of the physiological signal measurement step is not shown, the physiological parameter value is not limited to output when the measurement is completed or during the recharge period output, and the AgCl recharging step is not limited to be performed after each physiological parameter is output or after a physiological signal is obtained.
在前述使用本發明的定電流或定電壓電路交替進行量測模式和回充模式的實施例中,在量測模式和回充模式中所使用的工作電極都可為第一工作電極W1和第二工作電極W2的任一者,在量測模式中所使用的對電極亦可為第一對電極R/C1和第二對電極R/C2的任一者,然而在回充模式中所使用的對電極較佳為前一次量測模式中所使用的對電極。以下說明兩個示例性實施例。實施例1依時間先後進行:(a)使用W1/W2(表示W1和W2其一者)及R/C1量測、(b)使用W1/W2另一者及R/C1回充、(c)使用W1/W2其一者及R/C2量測、(d)使用W1/W2另一者及R/C2回充、重複執行步驟(a)-(d)。實施例2依時間先後重複執行步驟(a)、(b)、(a)、(b)、(c)、(d)、(c)、(d)。In the aforementioned embodiment using the constant current or constant voltage circuit of the present invention to alternately perform the measurement mode and the recharge mode, the working electrodes used in both the measurement mode and the recharge mode can be the first working electrode W1 and the first working electrode W1 and the second working electrode. Either of the two working electrodes W2, the counter electrode used in the measurement mode can also be either the first pair of electrodes R/C1 and the second pair of electrodes R/C2, but the counter electrode used in the recharge mode The counter electrode is preferably the counter electrode used in the previous measurement mode. Two exemplary embodiments are described below. Example 1 was carried out chronologically: (a) using W1/W2 (representing one of W1 and W2) and R/C1 measurement, (b) using the other W1/W2 and R/C1 recharging, (c) ) Use one of W1/W2 and R/C2 to measure, (d) use the other W1/W2 and R/C2 to recharge, and repeat steps (a)-(d). Example 2: Steps (a), (b), (a), (b), (c), (d), (c), (d) are repeatedly executed chronologically.
請參考圖23A和23B,其示出本發明的定電流或定電壓電路同時進行量測模式和回充模式的不同實施例的示意圖。圖23A和23B中橫軸為時間,V1的線條表示量測電位差V1的施加和移除,V2的線條表示回充電位差V2的施加和移除。由於本發明中有兩個對電極及兩個工作電極,故量測步驟和回充步驟可同時進行。圖23A的實施例中,由第一工作電極W1與第一對電極R/C1形成的第一組合和第二工作電極W2與第二對電極R/C2形成的第二組合輪流進行量測和回充步驟。亦即,第一組合用於進行量測步驟時,第二組合用於進行回充步驟,反之亦然。圖23B的實施例中,第一工作電極W1固定用於量測步驟,第二工作電極W2固定用於回充步驟,而兩個對電極則是在量測步驟和回充步驟之間輪流使用。在某些較佳實施例中,多個T1彼此不重疊。在某些較佳實施例中,多個t2彼此不重疊。在某些較佳實施例中,T1和t2重疊(表示同時間開始和結束)或部分重疊。圖23A和23B示出第一次進行量測(使用R/C1)時未同時伴隨回充步驟,第二次進行量測(使用R/C2)時才同時進行回充(回充R/C1)。然而,亦可於第一次進行量測(使用R/C1)時即同時伴隨回充步驟(回充R/C2)。Please refer to FIGS. 23A and 23B, which are schematic diagrams illustrating different embodiments of the present invention in which the constant current or constant voltage circuit performs the measurement mode and the recharge mode simultaneously. The horizontal axis in FIGS. 23A and 23B is time, the line of V1 represents the application and removal of the measurement potential difference V1, and the line of V2 represents the application and removal of the recharge potential difference V2. Since there are two counter electrodes and two working electrodes in the present invention, the measuring step and the recharging step can be performed at the same time.Row. In the embodiment of FIG. 23A, the first combination formed by the first working electrode W1 and the first pair of electrodes R/C1 and the second combination formed by the second working electrode W2 and the second pair of electrodes R/C2 are alternately measured and recharge steps. That is, when the first combination is used for the measurement step, the second combination is used for the recharge step, and vice versa. In the embodiment of FIG. 23B , the first working electrode W1 is fixed for the measurement step, the second working electrode W2 is fixed for the recharge step, and the two counter electrodes are used alternately between the measurement step and the recharge step . In some preferred embodiments, the plurality of T1s do not overlap each other. In some preferred embodiments, the plurality of t2 do not overlap each other. In some preferred embodiments, T1 and t2 overlap (meaning start and end at the same time) or partially overlap. Figures 23A and 23B show that the first measurement (using R/C1) is not accompanied by a recharge step, and the second measurement (using R/C2) is performed simultaneously (recharging R/C1). ). However, the first measurement (using R/C1) can also be accompanied by a recharge step (recharge R/C2).
請參考圖11,其示出根據本發明一實施例的量測待分析物的方法,透過該方法可延長微型生物感測器的使用壽命。該微型生物感測器可為例如圖18A-18C及圖19A-19C所示的微型生物感測器,用於植入皮下以量測與生物流體(例如組織液)中的該待分析物所關聯的生理參數的生理訊號。在圖9的實施例中,該待分析物可為組織液中的葡萄糖,生理參數為人體中的葡萄糖值(或濃度),生理訊號為微型生物感測器量得的電流值。此實施例中,量測待分析物的方法包含反覆循環地執行量測步驟(S901)及回充步驟(S902)。量測步驟(S901)包含使用前述定電壓或定電流電路於量測期間T1執行如前述的量測模式以輸出生理訊號(即電流值),同時對電極的AgCl具有對應於該電流值的消耗量。量測步驟(S901)還包含透過停止如前述的量測模式來停止量測步驟,且該電流值經運算後輸出生理參數(即葡萄糖值)。Please refer to FIG. 11 , which shows a method for measuring an analyte according to an embodiment of the present invention, through which the service life of the micro biosensor can be extended. The miniature biosensor can be, for example, the miniature biosensor shown in FIGS. 18A-18C and 19A-19C for implantation subcutaneously to measure the association of the analyte in biological fluids (eg, interstitial fluid) Physiological signals of physiological parameters. In the embodiment of FIG. 9 , the analyte may be glucose in tissue fluid, the physiological parameter is the glucose value (or concentration) in the human body, and the physiological signal is the current value measured by the micro biosensor. In this embodiment, the method for measuring the analyte includes repeatedly and cyclically performing the measuring step ( S901 ) and the recharging step ( S902 ). The measurement step (S901) includes using the aforementioned constant voltage or constant current circuit to perform the aforementioned measurement mode during the measurement period T1 to output a physiological signal (ie, a current value), while the AgCl of the electrode has a consumption corresponding to the current value quantity. The measurement step ( S901 ) further includes stopping the measurement by stopping the aforementioned measurement modestep, and the current value is calculated to output a physiological parameter (ie, the glucose value).
在量測步驟(S901),其化學反應式如下:於第一工作電極420或第二工作電極430進行以下氧化反應:葡萄糖(Glucose)+還原型葡萄糖氧化酶(Glucose oxidase,Gox)(FAD)葡萄糖酸內酯(Gluconolactone)+氧化型葡萄糖氧化酶(FADH2)In the measurement step (S901), the chemical reaction formula is as follows: the following oxidation reaction is performed on the first working
氧化型葡萄糖氧化酶(FADH2)+O2還原型葡萄糖氧化酶(FAD)+H2O2Oxidative glucose oxidase (FADH2 )+O2 Reduced glucose oxidase (FAD)+H2 O2
H2O22H++O2+2e-於第一對電極440或第二對電極450進行以下還原反應:2AgCl+2e-2Ag+2Cl-H2 O2 2H+ +O2 +2e- The following reduction reaction is performed on the first pair of
回充步驟(S902)包含使用前述定電壓或定電流電路於回充期間執行如前述的回充模式,以使對電極的AgCl具有對應於消耗量的回充量,進而使對電極上之AgCl的量控制在安全庫存區間內。由此,可使該工作電極與對電極之間的電位差保持穩定,讓所獲得的電流值仍能與葡萄糖值保持穩定的比例關係(若偵測物質為其他待分析物亦可能是正比關係也可能是反比關係)。換言之,可使下一量測步驟時所獲得的下一個電流值與下一個葡萄糖值保持穩定的比例關係。回充步驟(S902)還包含透過停止如前述的回充模式來停止回充步驟。回充步驟(S902)結束後循環回去執行量測步驟(S901),直到執行了N次量測步驟(S901)與N次回充步驟(S902)。在某些較佳實施例中,量測步驟(S901)與回充步驟(S902)為同時進行、不同時進行、或部分重疊地進行。在某些較佳實施例中,N次的量測步驟彼此不重疊。在某些較佳實施例中,N次的回充步驟彼此不重疊。The recharging step (S902) includes using the aforementioned constant voltage or constant current circuit to perform the aforementioned recharging mode during the recharging period, so that the AgCl on the counter electrode has a recharging amount corresponding to the consumption, so that the AgCl on the counter electrode has a recharging amount corresponding to the consumption. The amount is controlled within the safety stock range. Therefore, the potential difference between the working electrode and the counter electrode can be kept stable, so that the obtained current value can still maintain a stable proportional relationship with the glucose value (if the detected substance is other analytes, it may also be in a proportional relationship. may be inversely proportional). In other words, a stable proportional relationship between the next current value and the next glucose value obtained in the next measurement step can be maintained. The recharging step ( S902 ) further includes stopping the recharging step by stopping the recharging mode as described above. After the recharging step ( S902 ) ends, the cycle goes back to the measuring step ( S901 ) until N times of the measuring step ( S901 ) and N times of the recharging step ( S902 ) are performed. In some preferred embodiments, the measuring step (S901) and the recharging step (S902) are performed simultaneously, not simultaneously, or partially overlapping. In some preferred embodiments, the N measurement steps do not overlap each other. in some relativelyIn a preferred embodiment, the N recharging steps do not overlap each other.
在回充步驟(S902),其化學反應式如下:於第一工作電極420或第二工作電極430進行以下還原反應:葡萄糖(Glucose)+還原型葡萄糖氧化酶(Glucose oxidase)(FAD)葡萄糖酸內酯(Gluconolactone)+氧化型葡萄糖氧化酶(FADH2)In the recharging step (S902), the chemical reaction formula is as follows: the following reduction reaction is performed on the first working
氧化型葡萄糖氧化酶(FADH2)+O2還原型葡萄糖氧化酶(FAD)+H2O2Oxidative glucose oxidase (FADH2 )+O2 Reduced glucose oxidase (FAD)+H2 O2
H2O2+2H++2e-H2OH2 O2 +2H+ +2e- H2 O
O2+4H++4e-2H2O於第一對電極440或第二對電極450的正電位促使第一對電極440或第二對電極450進行以下氧化反應:2Ag2Ag++2Cl-2AgCl+2e-其中對電極上的Ag氧化成Ag+,與來自生物體內Cl-或AgCl氧化(或解離)後的Cl-結合而成AgCl,使得於量測期間T1內被消耗的部分或全部AgCl被回充到對電極上。O2 +4H+ +4e- The positive potential of 2H2 O on the first pair of
人體透過摻碘的食鹽可以取得氯離子及碘離子,故可取得的鹵離子至少包括氯離子及碘離子,以用於回充鹵化銀。The human body can obtain chloride ions and iodide ions through iodine-doped salt, so the halide ions that can be obtained include at least chloride ions and iodide ions for recharging silver halide.
以下實施例是針對N次量測步驟(S901)及N次回充步驟(S902)的循環,其中所提到的生理參數較佳是葡萄糖值,所提到的生理訊號較佳是電流值。根據某些較佳實施例,各量測電位差V1於量測期間T1被施加,各回充電位差V2於回充期間t2被施加,且量測期間T1為固定值,其可為3秒內、5秒內、10秒內、15秒內、30秒內、1分鐘內、2分鐘內、5分鐘內或10分鐘內的一時間值。根據某些較佳實施例,較佳為30秒內的時間值。根據某些較佳實施例,量測期間T1為固定值,且可為2.5秒、5秒、15秒、30秒、1分鐘、2.5分鐘、5分鐘、10分鐘或30分鐘,較佳為30秒。根據某些較佳實施例,各量測期間T1加上各回充期間t2為固定值。根據某些較佳實施例,各回充電位差V2具有固定電壓值,各回充期間t2是根據AgCl的每次消耗量而動態調整(如圖7A所示)。根據某些較佳實施例,輸出的各生理參數是經由各量測期間T1中的一個單一量測時間點的各生理訊號運算而獲得。根據某些較佳實施例,輸出的各生理參數是經由各量測期間T1中的多個量測時間點的多個生理訊號的一數學運算值運算而獲得。前述數學運算值為例如累加值、平均值、中位數、中位數的平均值等。根據某些較佳實施例,藉由控制每次回充量為等於或不等於(包含約略相近、大於或小於)每次消耗量,而控制對電極之AgCl量在安全庫存區間內,而使下一量測步驟時所獲得的下一生理訊號與下一生理參數保持穩定的比例關係。根據某些較佳實施例,移除各量測電位差V1的步驟是將配置於連通工作電極及對電極之電路斷路、或設定各量測電位差V1為0。換言之,可進行斷電,以使量測電路具有開路狀態;或者,可施加0伏特電壓於工作電極及對電極之間,其中該兩項操作其中任一操作的操作時間皆為0.01~0.5秒。移除量測電位差V1的步驟可避免A形的生理訊號產生。根據某些較佳實施例,移除各回充電位差V2的步驟是將配置於連通工作電極及對電極之電路斷路、或設定各回充電位差V2為0。The following embodiment is for the cycle of N measurement steps ( S901 ) and N recharging steps ( S902 ), wherein the physiological parameter mentioned is preferably the glucose value, and the physiological signal mentioned is preferably the current value. According to some preferred embodiments, each measurement potential difference V1 is applied in the measurement period T1, each recharge potential difference V2 is applied in the recharge period t2, and the measurement period T1 is a fixed value, which can be within 3 seconds, 5 Within seconds, within 10 seconds, within 15 seconds, within 30 seconds, within 1 minute, within 2 minutes, within 5 minutes, or within 10 minutesbetween values. According to some preferred embodiments, a time value within 30 seconds is preferred. According to some preferred embodiments, the measurement period T1 is a fixed value, and can be 2.5 seconds, 5 seconds, 15 seconds, 30 seconds, 1 minute, 2.5 minutes, 5 minutes, 10 minutes or 30 minutes, preferably 30 second. According to some preferred embodiments, each measurement period T1 plus each recharging period t2 is a fixed value. According to some preferred embodiments, each recharge potential difference V2 has a fixed voltage value, and each recharge period t2 is dynamically adjusted according to each consumption of AgCl (as shown in FIG. 7A ). According to some preferred embodiments, each outputted physiological parameter is obtained by calculating each physiological signal at a single measurement time point in each measurement period T1. According to some preferred embodiments, each outputted physiological parameter is obtained through a mathematical operation of a plurality of physiological signals at a plurality of measurement time points in each measurement period T1. The aforementioned mathematical operation value is, for example, an accumulated value, an average value, a median, an average of medians, and the like. According to some preferred embodiments, by controlling the amount of each recharge to be equal to or not equal to (including approximately similar, greater or less than) each consumption amount, the AgCl amount of the counter electrode is controlled to be within the safety stock range, so that the lower The next physiological signal obtained during a measurement step maintains a stable proportional relationship with the next physiological parameter. According to some preferred embodiments, the step of removing each measurement potential difference V1 is to disconnect the circuit configured to connect the working electrode and the counter electrode, or to set each measurement potential difference V1 to zero. In other words, the power can be turned off, so that the measurement circuit has an open state; or, a voltage of 0 volts can be applied between the working electrode and the counter electrode, and the operation time of any of the two operations is 0.01~0.5 seconds. . Removing the step of measuring the potential difference V1 can prevent the A-shaped physiological signal from being generated. According to some preferred embodiments, the step of removing each recycle potential difference V2 is to disconnect the circuit configured to connect the working electrode and the counter electrode, or set each recycle potential difference V2 to 0.
根據某些較佳實施例,感測器植入人體後需經過暖機時間,使感測器在體內達到平衡穩定才能穩定呈現與分析物濃度呈正相關的生理訊號。因此,在量測步驟(S901)持續施加量測電壓直至量測期間T1結束,並控制該量測期間T1以使得生理訊號與分析物的生理參數達到穩定的比例關係。因此,量測期間T1可為變動值或為變動值和固定值的組合(例如變動值+固定值,該變動值可為1小時、2小時、3小時、6小時、12小時或24小時,該固定值可為例如30秒)。According to some preferred embodiments, a warm-up time is required after the sensor is implanted in the human body, so that the sensor can reach equilibrium and stability in the body before it can stably display and analyte concentrationPhysiological signals that are positively correlated. Therefore, in the measurement step ( S901 ), the measurement voltage is continuously applied until the measurement period T1 ends, and the measurement period T1 is controlled so that the physiological signal and the physiological parameter of the analyte achieve a stable proportional relationship. Therefore, the measurement period T1 can be a variable value or a combination of a variable value and a fixed value (for example, a variable value + a fixed value, the variable value can be 1 hour, 2 hours, 3 hours, 6 hours, 12 hours or 24 hours, The fixed value may be, for example, 30 seconds).
請參考圖7A-7F、圖10A-10D及圖11,本發明利用施加電壓於對電極R/C來量測一期間內對電極之反應電流,並經由將該期間內反應電流經數學運算而得知AgCl初始容量,例如透過計算反應電流曲線下的面積以定義AgCl初始容量,又稱初始量或初始庫倫量(Cinitial),以下皆以量來說明。對電極R/C包含Ag和AgCl,當得知AgCl的百分比(X%AgCl)時,即可算出Ag百分比(Y% Ag=100%-X% AgCl)。於每次量測步驟(S901)中透過計算工作電極W的電流曲線下的面積來定義每次AgCl的消耗量(以Cconsume表示)。對電極R/C的AgCl具有對應於該生理訊號Ia的消耗量Cconsume,即Cconsume=Ia*T1。於每次回充步驟(S902)中,透過計算對電極R/C的電流曲線下的面積來定義每次AgCl的回充量(以Creplenish表示),即Creplenish=Ib*t2,t2介於0~T2之間。Please refer to FIGS. 7A-7F , FIGS. 10A-10D and FIG. 11 , in the present invention, the reaction current of the counter electrode is measured by applying a voltage to the counter electrode R/C in a period, and the reaction current in the period is calculated by mathematical operation. To know the initial capacity of AgCl, for example, by calculating the area under the reaction current curve to define the initial capacity of AgCl, also known as the initial amount or initial coulomb (Cinitial ), the following are all described in terms of amount. The counter electrode R/C contains Ag and AgCl. When the percentage of AgCl (X%AgCl) is known, the percentage of Ag can be calculated (Y% Ag=100%-X% AgCl). In each measurement step ( S901 ), the consumption of AgCl (represented by Cconsume ) is defined by calculating the area under the current curve of the working electrode W. The AgCl of the counter electrode R/C has a consumption amount Cconsume corresponding to the physiological signal Ia, that is, Cconsume =Ia*T1. In each recharging step (S902), the amount of AgCl recharging each time (represented by Creplenish ) is defined by calculating the area under the current curve of the counter electrode R/C, that is, Creplenish =Ib*t2, and t2 is between Between 0 and T2.
以下描述AgCl安全庫存量的計算方法。在某些較佳實施例中,安全庫存區間是以Ag與AgCl的比例呈現,本發明是以於對電極量測到的庫倫量(C)以反映Ag與AgCl的比例關係。在某些較佳實施例中,Ag與AgCl的比例為99.9%:0.1%、99%:1%、95%:5%、90%:10%、70%:30%、50%:50%、40%:60%或30:70%,使AgCl在對電極上具備一程度上的量而不會被消耗殆盡,讓每次生理訊號量測步驟皆能穩定執行。AgCl的剩餘量為回充量與初始量的和減去消耗量。在某些較佳實施例中,AgCl的剩餘量在一區間範圍內變動,亦即AgCl的剩餘量被控制在初始量加減特定值(X值)的範圍內,即(Creplenish+Cinitial)-Cconsume=Cinitial±X,其中0<X<100% Cinitial、10% Cinitial<X≦90% Cinitial、或0.5% Cinitial<X≦50% Cinitial。在某些較佳實施例中,AgCl的剩餘量可在一區間範圍內逐漸下降、逐漸上升、或是平穩變動或任意變動但仍於該區間範圍內。The calculation method of the AgCl safety stock amount is described below. In some preferred embodiments, the safety stock interval is represented by the ratio of Ag to AgCl. The present invention uses the coulomb (C) measured by the counter electrode to reflect the ratio of Ag to AgCl. In some preferred embodiments, the ratio of Ag to AgCl is 99.9%: 0.1%, 99%: 1%, 95%: 5%, 90%: 10%, 70%: 30%, 50%: 50% , 40%: 60% or 30: 70%, so that AgCl has a certain amount on the counter electrode without being consumed, so that each physiological signal measurement step can be performed stably. The remaining amount of AgCl is the sum of the recharged amount and the initial amount minus the consumption amount. In some preferred embodiments, the remaining amount of AgCl varies within an interval, that is, the remaining amount of AgCl is controlled within the range of the initial amount plus or minus a specific value (X value), that is, (Creplenish +Cinitial ) -Cconsume =Cinitial ±X, where 0<X<100% Cinitial , 10% Cinitial <X≦90% Cinitial , or 0.5% Cinitial <X≦50% Cinitial . In some preferred embodiments, the remaining amount of AgCl may gradually decrease, gradually increase, or fluctuate smoothly or arbitrarily within a range but still within the range.
請參考圖12,其示出根據本發明另一實施例的量測待分析物的方法,透過該方法不但可延長微型生物感測器的使用壽命並且能縮減對電極之銀及鹵化銀材料用量。該微型生物感測器可為例如圖18A-18C及圖19A-19C所示的微型生物感測器,用於植入皮下以量測與生物流體(例如組織液)中的該待分析物所關聯的生理參數的生理訊號。該微型生物感測器的對電極的電極材料包括銀及鹵化銀,在圖12的實施例中,該待分析物可為組織液中的葡萄糖,生理參數為人體中的葡萄糖值,生理訊號為微型生物感測器量得的電流值。以下僅描述此實施例的2個循環。此實施例的方法始於以下步驟:於第一量測期間施加量測電壓以驅動第一或第二工作電極W1/W2,以量測用以獲得生理參數的生理訊號,其中第一或第二對電極R/C1或R/C2(假設為第一對電極R/C1)的鹵化銀被消耗一消耗量(S1101)。Please refer to FIG. 12 , which shows a method for measuring an analyte according to another embodiment of the present invention. Through this method, the service life of the miniature biosensor can be prolonged and the amount of silver and silver halide materials used in the counter electrode can be reduced. . The miniature biosensor can be, for example, the miniature biosensor shown in FIGS. 18A-18C and 19A-19C for implantation subcutaneously to measure the association of the analyte in biological fluids (eg, interstitial fluid) Physiological signals of physiological parameters. The electrode material of the counter electrode of the micro biosensor includes silver and silver halide. In the embodiment of FIG. 12 , the analyte can be glucose in tissue fluid, the physiological parameter is the glucose value in the human body, and the physiological signal is micro The current value measured by the biosensor. Only 2 cycles of this example are described below. The method of this embodiment begins with the following steps: applying a measurement voltage to drive the first or second working electrodes W1/W2 during a first measurement period to measure a physiological signal for obtaining a physiological parameter, wherein the first or second working electrode W1/W2 The silver halide of the two pairs of electrodes R/C1 or R/C2 (assuming the first pair of electrodes R/C1) is consumed by a consumption amount (S1101).
接著停止施加量測電壓(S1102),並利用所獲得的生理訊號來獲得生理參數(S1103)。獲得生理參數後,於第一回充期間施加回充電壓以驅動在S1101中使用而具有該消耗量的對電極(即第一對電極R/C1),從而使鹵化銀的量被回充一回充量(S1104),其中回充量與初始量的和減去消耗量的值(即前文所述的剩餘量)被控制在初始量加減特定值的範圍內。上述控制步驟是藉由控制回充量等於或不等於(包含約略相近、大於或小於)消耗量來達成,以維持鹵化銀的量在安全庫存區間內。根據反應式,鹵化銀的莫耳數增減對應銀的莫耳數增減,故為了便於說明,鹵化銀的消耗量對應模擬的銀的增加量。在某些較佳實施例中,剩餘量的值被控制成使得鹵化銀的量與銀的量加上鹵化銀的量的和(AgCl/Ag+AgCl)的比值是大於0且小於1,亦即對電極的鹵化銀有一個量即可,較佳為介於0.01-0.99之間、介於0.1-0.9之間、介於0.2-0.8之間、介於0.3-0.7之間或介於0.4-0.6之間。在達到該回充量時停止施加回充電壓(S1105)。之後再回至步驟S1101,於第二量測期間施加量測電壓以驅動第一或第二工作電極W1/W2,以量測用以獲得另一生理參數的另一生理訊號,其中另一個對電極(即第二對電極R/C2)的鹵化銀被消耗一消耗量。接著停止施加量測電壓(S1102),並利用所獲得的生理訊號來獲得生理參數(S1103)。獲得生理參數後,於第二回充期間施加回充電壓以驅動在S1101中使用而具有該消耗量的對電極(即第二對電極R/C2),從而使鹵化銀的量被回充一回充量(S1104)。之後再循環至步驟S1001執行下一個循環。Then stop applying the measurement voltage (S1102), and use the obtained physiological signal to obtain physiological parameters (S1103). After obtaining the physiological parameters, a recharging voltage is applied during the first recharging period to drive the pair used in S1101 and having the consumptionelectrode (ie the first pair of electrodes R/C1), so that the amount of silver halide is recharged by a recharge amount (S1104), wherein the sum of the recharge amount and the initial amount minus the value of the consumption amount (that is, the aforementioned The remaining amount) is controlled within the range of the initial amount plus or minus a specific value. The above control step is achieved by controlling the recharge amount to be equal to or not equal to (including approximately similar, greater or less than) the consumption amount, so as to maintain the amount of silver halide within the safety stock range. According to the reaction formula, the increase or decrease of the molar number of silver halide corresponds to the increase or decrease of the molar number of silver, so for convenience of explanation, the consumption of silver halide corresponds to the increase of simulated silver. In certain preferred embodiments, the value of the remaining amount is controlled such that the ratio of the amount of silver halide to the sum of the amount of silver plus the amount of silver halide (AgCl/Ag+AgCl) is greater than 0 and less than 1, also That is to say, the amount of silver halide in the counter electrode is only one amount, preferably between 0.01-0.99, between 0.1-0.9, between 0.2-0.8, between 0.3-0.7 or between 0.4 -0.6. When the recharge amount is reached, the application of the recharge voltage is stopped (S1105). Then go back to step S1101, and apply a measurement voltage to drive the first or second working electrodes W1/W2 during the second measurement period to measure another physiological signal used to obtain another physiological parameter, wherein the other pair of The silver halide of the electrodes (ie the second pair of electrodes R/C2) is consumed by a consumption amount. Then stop applying the measurement voltage (S1102), and use the obtained physiological signal to obtain physiological parameters (S1103). After obtaining the physiological parameters, a recharging voltage is applied during the second recharging period to drive the counter electrode (ie, the second counter electrode R/C2) with the consumption used in S1101, so that the amount of silver halide is recharged by one. Recharge amount (S1104). Then it loops back to step S1001 to execute the next loop.
以下描述本發明的一具體實施例,以生物感測器使用壽命須達到16天作為示例以計算所需電極訊號感測段Ag/AgCl材料尺寸之方法,例如每次測量的待分析物平均量測電流為30nA、量測期間(T1)為30秒、且回充期間(t2)為30秒。每天所需AgCl的消耗量(Cconsume/day)=1.3mC/天。假設感測器使用壽命的需求為16天,則使用16天所需AgCl的消耗量為1.3 x 16=20.8mC。A specific embodiment of the present invention is described below, taking the lifespan of the biosensor reaching 16 days as an example to calculate the required size of the Ag/AgCl material in the sensing section of the electrode signal, such as the average amount of the analyte measured each time The measurement current was 30 nA, the measurement period (T1) was 30 seconds, and the recharge period (t2) was 30 seconds. The consumption of AgCl required per day (Cconsume/day )=1.3mC/day. Assuming that the sensor lifetime requirement is 16 days, the consumption of AgCl required for 16 days is 1.3 x 16=20.8mC.
例如對電極的長度為2.5mm,其對應AgCl初始量Cintial=10mC;For example, the length of the counter electrode is 2.5mm, which corresponds to the initial amount of AgCl Cintial =10mC;
(5)在無執行AgCl的回充的情況下,針對感測器使用壽命16天,對電極需要的長度至少為:C16day/Cconsume/day=20.8mC/1.3mg/day=16mm(5) In the case of no AgCl recharging, for a sensor service life of 16 days, the required length of the counter electrode is at least: C16day /Cconsume/day =20.8mC/1.3mg/day=16mm
(6)故在無使用本發明鹵化銀的回充方法的情況下,對電極的長度需超出16mm才能使感測器壽命達16天。(6) Therefore, without the use of the silver halide recharging method of the present invention, the length of the counter electrode needs to exceed 16 mm to make the life of the sensor reach 16 days.
於本實施例中,在無使用本發明之鹵化銀的回充技術情況下,對電極訊號感測段需配置相對應較大的Ag/AgCl材料尺寸才能達到16天的感測器壽命。透過本發明鹵化銀的回充方法,於兩次量測步驟之間進行鹵化銀的回充步驟,該鹵化銀的消耗與回充可在短時間內重複循環(即用即充),故可縮減感測器中的Ag/AgCl材料用量,進而使感測器微型化,因此對電極訊號感測段材料不須準備16天份的AgCl的容量以供消耗。例如,大約準備1~2天份AgCl的容量即可使用感測器達16天,由此達到延長感測器使用壽命之功效。1~2天份的AgCl的容量亦指於出廠前或執行第一次量測前的對電極所具有例如在約1.3~2.6mC之間的AgCl的初始量,該初始量亦可為其他更小或更大的範圍。於其他實施例中亦可準備1~5天份、1~3天份、6~24小時、6~12小時等不同的AgCl容量。對電極訊號感測段的材料尺寸只要具備讓每次葡萄糖量測步驟皆能穩定執行、使量測電流能與體內的葡萄糖濃度呈現正相關性的容量即可。In this embodiment, without using the silver halide recharge technology of the present invention, the counter electrode signal sensing segment needs to be configured with a correspondingly larger Ag/AgCl material size to achieve a sensor life of 16 days. Through the silver halide recharging method of the present invention, the silver halide recharging step is performed between the two measurement steps, the consumption and recharging of the silver halide can be repeated in a short period of time (recharge immediately after use), so it can be The amount of Ag/AgCl material in the sensor is reduced, and the sensor is miniaturized. Therefore, the material for the sensing section of the electrode signal does not need to prepare 16 days' worth of AgCl for consumption. For example, the sensor can be used for 16 days by preparing the capacity of AgCl for about 1-2 days, thereby achieving the effect of prolonging the service life of the sensor. The capacity of AgCl for 1 to 2 days also refers to the initial amount of AgCl that is between about 1.3 to 2.6 mC in the counter electrode before leaving the factory or before the first measurement is performed, and the initial amount can also be other more. small or larger range. In other embodiments, different AgCl capacities such as 1 to 5 days, 1 to 3 days, 6 to 24 hours, and 6 to 12 hours can also be prepared. As long as the material size of the electrode signal sensing segment is sufficient, each glucose measurement step can be performed stably, so that the measurement current can be positively correlated with the glucose concentration in the bodysexual capacity.
若在無使用本發明之氯化銀的回充技術情況下,先前技術會透過增加電極長度/面積使感測器達到所需天數需求。以先前技術為例,感測器植入端長度約為12mm,因植入長度長,而為了避免植入深達皮下組織,需以斜角方式植入皮下,其植入傷口較大。另外舉例來說,1~2天份的AgCl的容量約在1.3~2.6mC之間,換算該1~2天的對電極長度為2.5~5mm,其相較於無使用本發明鹵化銀的回充方法的情況下需要16mm的對電極長度,更加凸顯本發明能有效縮減所需對電極尺寸。透過本發明鹵化銀的回充方法,可縮短植入端長度,例如使長度縮減為不大於10mm。於本發明圖18A-18C所揭示的微型生物感測器400的連接區域417的下半部分至第二端414屬於短植入端418(如圖18A及18B所示),且短植入端418植入深度需至少滿足到真皮層可量測到組織液葡萄糖的深度,透過本發明鹵化銀的回充方法,短植入端418的最長邊不大於6mm,以使微型生物感測器400能以垂直於生物體表皮的方式被部分植入於生物體表皮下。短植入端418的最長邊較佳為不大於5mm、4.5mm、3.5mm或2.5mm。本發明的短植入端418包含第三訊號感測段442及第四訊號感測段452,且第三訊號感測段442及第四訊號感測段452的最長邊不大於6mm,較佳為2-6mm、2-5mm、2-4.5mm、2-3.5mm、0.5-2mm、0.2-1mm。Without the recharge technique using the silver chloride of the present invention, the prior art would allow the sensor to reach the required number of days by increasing the electrode length/area. Taking the prior art as an example, the length of the implanted end of the sensor is about 12 mm. Due to the long implantation length, in order to avoid implanting deep into the subcutaneous tissue, it needs to be implanted subcutaneously at an oblique angle, and the implantation wound is large. For another example, the capacity of AgCl for 1~2 days is about 1.3~2.6mC, and the length of the counter electrode for 1~2 days is 2.5~5mm. In the case of the charging method, a counter electrode length of 16 mm is required, which further highlights that the present invention can effectively reduce the required counter electrode size. Through the silver halide recharging method of the present invention, the length of the implanted end can be shortened, for example, the length can be shortened to not more than 10 mm. The lower half of the
因此與未使用本發明之鹵化銀的回充技術情況比較下,透過本發明鹵化銀的回充方法,能有效延長感測器使用壽命、且能大幅縮減對電極上Ag/AgCl材料的使用,而使對電極訊號感測段的尺寸可縮小。由於縮減對電極上Ag/AgCl材料的使用,而使感測器可微型化且可降低生物毒性。此外,電極尺寸縮小特別是指縮短感測器的植入端長度,因此可降低使用者植入痛感。在本發明包含四電極的裝置中,由於可同時進行量測和回充,故相較於包含兩電極或三電極的裝置可具有更短的對電極尺寸及更彈性及有效率的操作模式。Therefore, compared with the recharge technology without the silver halide of the present invention, the recharge method of the silver halide of the present invention can effectively prolong the service life of the sensor, and can greatly reduce the use of Ag/AgCl material on the counter electrode. Therefore, the size of the counter electrode signal sensing segment can be reduced. Due to the reduction in the use of Ag/AgCl material on the counter electrode, theThe detector can be miniaturized and can reduce biological toxicity. In addition, the reduction of the electrode size especially refers to the shortening of the length of the implantation end of the sensor, thus reducing the pain of the user during implantation. In the device comprising four electrodes of the present invention, since measurement and recharging can be performed at the same time, it can have a shorter counter-electrode size and a more flexible and efficient operation mode compared to devices comprising two or three electrodes.
減小對電極的尺寸Reduce the size of the counter electrode
為了減小對電極的尺寸,可以使對電極上的鹵化銀的量最小化至足以支持對生物感測器的至少一次量測的初始量。基於鹵化銀的初始量來量化對電極的尺寸,該初始量足以處理與患者中的分析物相關的生理參數的生理訊號的至少一次的量測。在第一次量測之後,執行回充期間以回充被消耗的鹵化銀。因此,本發明提供了一種用於確定生物感測器的對電極的尺寸並且用於延長生物感測器的使用壽命的方法。To reduce the size of the counter electrode, the amount of silver halide on the counter electrode can be minimized to an initial amount sufficient to support at least one measurement of the biosensor. The size of the counter electrode is quantified based on an initial amount of silver halide sufficient to process at least one measurement of a physiological signal of a physiological parameter associated with the analyte in the patient. After the first measurement, a recharge period was performed to recharge the consumed silver halide. Accordingly, the present invention provides a method for sizing a counter electrode of a biosensor and for extending the useful life of the biosensor.
圖24為根據本發明一實施例的流程圖。如圖24所示,該方法包括以下步驟:步驟a:定義由該生物感測器執行至少一次該量測期間中的該鹵化銀的一所需消耗量範圍;步驟b:根據該所需消耗量範圍的一上限值加上一緩衝量決定該初始量,以於該再生期間中的該鹵化銀的一所需回充量範圍被控制成足以讓該鹵化銀的一量維持在一安全庫存區間內,以確保在該再生期間後的一第二量測期間所獲得的一第二生理訊號與一第二生理參數保持一穩定的比例關係;步驟c:轉換該初始量成該對電極的該尺寸;步驟d:使該對電極具有包含至少該初始量的該鹵化銀;步驟e:於該量測期間量測該生理訊號且該鹵化銀被消耗一消耗量;以及步驟f:於該再生期間該鹵化銀被回充一回充量。FIG. 24 is a flowchart according to an embodiment of the present invention. As shown in FIG. 24, the method includes the following steps: step a: define a required consumption range of the silver halide during the measurement period performed by the biosensor at least once; step b: according to the required consumption An upper limit of the amount range plus a buffer amount determines the initial amount so that a desired recharge amount range of the silver halide during the regeneration period is controlled to be sufficient to maintain an amount of the silver halide at a safe level within the inventory interval to ensure that a second physiological signal obtained during a second measurement period after the regeneration period and a second physiological parameter maintain a stable proportional relationship; step c: convert the initial amount into the pair of electrodes step d: make the pair of electrodes have the silver halide containing at least the initial amount; step e: measure the physiological signal during the measurement and the silver halide is consumed by a consumption amount; and step f: in During the regenerationThe silver halide is recharged once.
根據本發明的一個實施例,在準備將生物感測器出廠銷售之前,已備妥具有初始量的鹵化銀。可經由在對電極上印刷具有初始量的鹵化銀層或經由鹵化塗佈於對電極上的銀層以使其具有初始量的鹵化銀。According to one embodiment of the present invention, an initial amount of silver halide is prepared before the biosensor is ready to be shipped for sale. The silver halide layer can be made to have an initial amount of silver halide via printing on the counter electrode with an initial amount of silver halide or via halide coating of a silver layer on the counter electrode.
在本發明的另一個實施例中,在準備將生物感測器運送出工廠出售之前,鹵化銀的初始量可以為零。在這種情況下,生物感測器的對電極上沒有鹵化銀。在將生物感測器皮下植入患者體內之後以及在進行首次測量之前的最開始回充期間中,經由氧化被塗佈在對電極上的銀,可以在對電極上回充初始量的鹵化銀。In another embodiment of the invention, the initial amount of silver halide may be zero before the biosensor is ready to be shipped out of the factory for sale. In this case, there is no silver halide on the counter electrode of the biosensor. During the initial recharge period after subcutaneous implantation of the biosensor into the patient and before the first measurement is taken, the counter electrode can be recharged with an initial amount of silver halide via oxidation of the silver coated on the counter electrode .
通常,當將生物感測器植入患者體內時,對皮膚和/或皮下組織可能造成的創傷有時會導致感測器監測的訊號不穩定。另外,在使用生物感測器之前,必須將生物感測器完全“濕潤”或水合以與患者體內的分析物(例如生物流體中的葡萄糖)達成平衡。因此,在將生物感測器植入到生物體內之後,在生物感測器的最開始測量之前,使用者必須等待一段暖機期,以備妥獲得分析物濃度的準確讀數。在這種情況下,由於生物感測器在植入生物體之後就需要在測量分析物之前需要暖機期,因此可以在熱機期中執行最開始的回充期而不會延遲任何所需的測量。Typically, when a biosensor is implanted in a patient, possible trauma to the skin and/or subcutaneous tissue can sometimes cause instability in the signal monitored by the sensor. Additionally, the biosensor must be fully "wetted" or hydrated to equilibrate with the analyte in the patient (eg, glucose in biological fluids) prior to use. Therefore, after implanting the biosensor into a living body, the user must wait for a warm-up period to be ready to obtain an accurate reading of the analyte concentration before the initial measurement of the biosensor. In this case, since the biosensor requires a warm-up period after implantation into the organism before measuring the analyte, the initial recharge period can be performed during the warm-up period without delaying any desired measurements .
為了能夠了解如何決定鹵化銀的初始量,以下舉例一種計算方法,透過於生理感測器上執行至少一次生理訊號量測期間,以定義鹵化銀所需消耗量範圍,其所需消耗量範圍係與待分析物的該生理參數相關聯,以人體內的葡萄糖量測且鹵化銀為一氯化銀為例,選擇一預定偵測葡萄糖濃度的上限值作為基準,例如葡萄糖濃度為600mg/dL時進行一次生理訊號量測以獲得所需消耗電流為每秒100nA,如果測量期間持續30秒,則一個量測期間內所需氯化銀的消耗量為3000nC(或0.003mC),這是將100nA乘以30秒獲得的。在這種情況下,可以將測量一次所需氯化銀的消耗量的上限選擇為大於或等於0.003mC。於其他實施例中,上限值可以選擇其它濃度值。In order to understand how to determine the initial amount of silver halide, the following is an example of a calculation method. The required consumption range of silver halide is defined by performing at least one physiological signal measurement period on the physiological sensor. The required consumption range is Associated with this physiological parameter of the analyte, measured as glucose in the human body and halogenatedFor example, silver chloride is silver chloride, and a predetermined upper limit of glucose concentration is selected as the benchmark. For example, when the glucose concentration is 600mg/dL, a physiological signal measurement is performed to obtain the required current consumption of 100nA per second. If The measurement period lasts for 30 seconds, and the consumption of silver chloride required for one measurement period is 3000 nC (or 0.003 mC), which is obtained by multiplying 100 nA by 30 seconds. In this case, the upper limit of the consumption of silver chloride required for one measurement may be selected to be greater than or equal to 0.003 mC. In other embodiments, the upper limit value can be selected from other concentration values.
由於不同患者的分析物濃度或同一患者在不同時間的濃度可能會在很大程度上波動及體內環境變因多等因素,因此建議使用更大範圍的所需鹵化銀的消耗量(亦即需要較大的初始量),因此所需鹵化銀的消耗量範圍還須加上緩衝量以應付患者體內分析物濃度的波動以滿足在量測過程中讓鹵化銀在對電極一量保持在一安全庫存區間內變動,使量測的生理訊號與生理參數保持一穩定的比例關係。緩衝量可以大於0,並且可以基於生物感測器的預定使用期間來調整。預定使用期間的時間可以是一次量測期間的時間的任意倍數,例如1、2、4、10和100倍等等,或者根據感測器選擇一適當的預定使用期間,例如1小時、2小時、6小時、1天、2天、3天、5天等等來準備充足但量少的初始量。Since analyte concentrations in different patients or at different times in the same patient may fluctuate to a large extent and the in vivo environment is variable, it is recommended to use a wider range of required silver halide consumption (i.e. Larger initial amount), so the required consumption range of silver halide must also add a buffer amount to cope with the fluctuation of the analyte concentration in the patient to keep the silver halide in a safety stock at the counter electrode during the measurement process Changes within the interval, so that the measured physiological signal and physiological parameters maintain a stable proportional relationship. The amount of buffering can be greater than 0 and can be adjusted based on a predetermined period of use of the biosensor. The time of the predetermined use period can be any multiple of the time of a measurement period, such as 1, 2, 4, 10 and 100 times, etc., or an appropriate predetermined use period can be selected according to the sensor, such as 1 hour, 2 hours , 6 hours, 1 day, 2 days, 3 days, 5 days, etc. to prepare a sufficient but small initial amount.
另外所需消耗量範圍除了選擇一次量測作為計算基準外,亦可根據生物感測器的預定使用期間,選擇複數量測期間來調整所需消耗量範圍,而相對應的緩衝量亦跟隨所需消耗量範圍而調整,進而調整所需鹵化銀的初始量。In addition, in addition to selecting one measurement as the calculation basis for the required consumption range, it is also possible to select multiple measurement periods to adjust the required consumption range according to the predetermined use period of the biosensor, and the corresponding buffer volume also follows the required consumption range. Adjust according to the consumption range, and then adjust the initial amount of silver halide required.
在本發明的另一實施例中,所需消耗量範圍的算術平均值、幾何平均值、或中間數也可以被使用來取代所需消耗範圍的上限以決定初始量,這取決於生物感測器可能面臨的實際情況。舉例來說,已知一次量測中生物感測器量測到的生理訊號的平均電流為每秒20nA,如果測量期間持續30秒,則一個測量期間內平均所需氯化銀的消耗量為600nC(或0.0006mC),這是將20nA乘以30秒獲得的。在這種情況下,可以將測量一次所需氯化銀的平均消耗量決定為0.0006mC。In another embodiment of the present invention, the arithmetic mean, geometric mean, or median of the desired consumption range may also be used in place of the desired consumption rangeThe upper limit of the range to determine the initial amount depends on the actual situation the biosensor may face. For example, it is known that the average current of the physiological signal measured by the biosensor in one measurement is 20nA per second. If the measurement period lasts for 30 seconds, the average consumption of silver chloride required in one measurement period is 600nC (or 0.0006mC), which is obtained by multiplying 20nA by 30 seconds. In this case, the average consumption of silver chloride required for one measurement can be determined to be 0.0006mC.
由於同樣需考量不同患者的分析物濃度或同一患者在不同時間的濃度可能會有很大程度上波動及體內環境變因多等因素,因此建議使用更大範圍的所需鹵化銀的消耗量(亦即需要較大的初始量),例如,如果量測期間是每1分鐘執行一次,並且一次量測持續30秒,一天需量測1440次,故所需的氯化銀消耗量為0.864mC,這是將0.0006mC乘以每天1440次而獲得的,其值接近1mC,故可選擇1mC內一個值作為緩衝量來決定氯化銀的初始量。Since it is also necessary to consider factors such as the analyte concentration of different patients or the concentration of the same patient at different times, and the factors such as in vivo environmental variables, it is recommended to use a wider range of required silver halide consumption ( That is, a larger initial amount is required), for example, if the measurement period is performed every 1 minute, and a measurement lasts for 30 seconds, 1440 measurements are required in a day, so the required consumption of silver chloride is 0.864mC , which is obtained by multiplying 0.0006mC by 1440 times a day, and its value is close to 1mC, so a value within 1mC can be selected as the buffer amount to determine the initial amount of silver chloride.
其中上述實施例,所需鹵化銀的消耗量範圍及緩衝量皆可基於生物感測器的預定使用期間來調整。預定使用期間的時間可以是一次量測期間的時間的任意倍數,例如1、2、4、10和100倍等等,或者根據感測器選擇一適當的預定使用期間,例如1小時、2小時、6小時、1天、2天、3天、5天等等來準備充足但量少的初始量。In the above-mentioned embodiment, the required consumption range and buffering amount of silver halide can be adjusted based on the predetermined usage period of the biosensor. The time of the predetermined use period can be any multiple of the time of a measurement period, such as 1, 2, 4, 10 and 100 times, etc., or an appropriate predetermined use period can be selected according to the sensor, such as 1 hour, 2 hours , 6 hours, 1 day, 2 days, 3 days, 5 days, etc. to prepare a sufficient but small initial amount.
由於每個生物感測器進行一次量測所需的電流取決於不同製造商生產的生物感測器的設計和特性,因此所需鹵化銀的消耗範圍也取決於不同的生物感測器。因此,可以了解,對所需消耗量的任何修改都在本發明的範圍內。Since the current required for each biosensor to perform a measurement depends on the design and characteristics of biosensors produced by different manufacturers, the required consumption range of silver halide also depends on different biosensors. Therefore, it is understood that any modification of the required consumption is within the scope of the present invention.
除了所需鹵化銀的消耗量範圍外,還可考慮加上緩衝量以應付患者體內分析物濃度的波動。緩衝量可以大於0,並且可以基於生物感測器的預定使用期間來調整。可以根據生物感測器的預定使用期間中的多個量測時間來調整所需消耗量。In addition to the required consumption range of silver halide, it is also possible to consider adding a bufferImpulse to cope with fluctuations in analyte concentration in the patient. The amount of buffering can be greater than 0 and can be adjusted based on a predetermined period of use of the biosensor. The required consumption can be adjusted based on a number of measured times during the predetermined period of use of the biosensor.
可以依據所需消耗量範圍的上限和緩衝量的總和來決定初始量,以確保在回充期間鹵化銀的所需回充量足以使鹵化銀的量保持在安全的庫存範圍內,以安然地確保在下一個測量期間中成功取得下一個生理訊號和下一個生理參數並使其兩者保持一穩定的比例關係。在將鹵化銀的回充量控制為足以支持下一次量測中的消耗量的情況下,緩衝量可以為零。The initial amount can be determined based on the sum of the upper limit of the required consumption range and the buffer amount to ensure that the required recharge of silver halide during the recharge is sufficient to keep the amount of silver halide within a safe inventory range to safely Ensure that the next physiological signal and the next physiological parameter are successfully obtained in the next measurement period and keep a stable proportional relationship between the two. In the case where the recharge amount of silver halide is controlled to be sufficient to support the consumption in the next measurement, the buffer amount can be zero.
如果將所需的氯化銀消耗範圍的上限選擇為1mC,並且將緩衝量選擇為0.5mC,則可以將對電極上氯化銀的初始量決定為1.5mC,其為1mC和0.5mC的總和。因此,所需的回充量範圍可以大於零,大於1.5mC或小於1.5mC。If the upper limit of the desired silver chloride consumption range is chosen to be 1 mC, and the buffer amount is chosen to be 0.5 mC, the initial amount of silver chloride on the counter electrode can be determined to be 1.5 mC, which is the sum of 1 mC and 0.5 mC . Therefore, the required recharge range can be greater than zero, greater than 1.5mC, or less than 1.5mC.
基於鹵化銀的初始量,可以至少進行第一次的量測。在執行第一次量測之後,執行第一次的回充,以回充被消耗的鹵化銀。Based on the initial amount of silver halide, at least a first measurement can be made. After the first measurement is performed, a first recharge is performed to recharge the consumed silver halide.
在決定初始量之後,因而決定了對電極的所需尺寸。對電極的尺寸與對電極上銀和鹵化銀的總體積有關。鹵化銀的初始量可以轉化為對電極上鹵化銀的總體積。可以由對電極上的銀和鹵化銀的寬度、長度和厚度的算術乘積簡單地定義銀和鹵化銀的總體積。寬度、長度和厚度中的任何一種均可調整以改變銀和鹵化銀的體積。通常,對電極上的銀和鹵化銀的寬度和厚度是預先確定的,以滿足設計和製造能力的限制。因此,可以藉由減小對電極上的銀和鹵化銀的長度來減小對電極上的銀和鹵化銀的體積,這意味著可以縮短對電極的長度。因此,利用本發明提供的決定鹵化銀的初始量的方法,可以實現具有延長使用壽命以及較短對電極的生物感測器。因此,患者對於植入的生物感測器感受的痛苦和不適將大大減輕,並且不需要頻繁地購買新的生物感測器來更換舊的生物感測器。After the initial amount is determined, the desired size of the counter electrode is thus determined. The size of the counter electrode is related to the total volume of silver and silver halide on the counter electrode. The initial amount of silver halide can be converted to the total volume of silver halide on the counter electrode. The total volume of silver and silver halide can be simply defined by the arithmetic product of the width, length and thickness of silver and silver halide on the counter electrode. Any of the width, length and thickness can be adjusted to change the volume of silver and silver halide. Typically, the width and thickness of silver and silver halide on the counter electrode are predetermined to meet design and fabrication capability constraints. Therefore, the silver and silver halide on the counter electrode can be reduced by reducing the length of the silver and silver halide on the counter electrodevolume, which means that the length of the counter electrode can be shortened. Therefore, with the method of determining the initial amount of silver halide provided by the present invention, a biosensor with an extended service life and a shorter counter electrode can be realized. Therefore, the pain and discomfort experienced by the patient to the implanted biosensor will be greatly reduced, and there is no need to frequently purchase a new biosensor to replace the old biosensor.
根據本發明的一個實施例,當用於一天的鹵化銀的初始量為1.5mC時,取決於不同製造商的生物傳感器的特性的鹵化銀的單位量(或單位容量)為300mC/mm3的情況下,所需的鹵化銀體積為0.005mm3。當對電極的寬度為0.3mm且鹵化銀的厚度為0.01mm時,對電極上的鹵化銀的長度為1.67mm。按比例,如果所需鹵化銀的初始量需要3.6天的量,則鹵化銀的長度,即對電極的長度約為6mm,如果所需鹵化銀的初始量需要6天的量,則對電極的長度約為10mm。因為可以縮短對電極的長度,所以可以相應地縮短植入患者體內的生物感測器的長度,並且還可以將生物感測器垂直地植入患者體內,以使對患者的傷害最小化。因此,不僅由於本發明提供的回充期間而可以延長生物感測器的使用壽命,而且由於對電極的長度縮短,還可以減少對患者造成的痛苦和不適。According to one embodiment of the present invention, when the initial amount of silver halide for one day is 1.5 mC, the unit amount (or unit capacity) of silver halide depending on the characteristics of biosensors of different manufacturers is300 mC/mm In this case, the silver halide volume required is 0.005 mm3 . When the width of the counter electrode is 0.3 mm and the thickness of the silver halide is 0.01 mm, the length of the silver halide on the counter electrode is 1.67 mm. Proportionally, if the initial amount of silver halide required requires an amount of 3.6 days, the length of the silver halide, that is, the length of the counter electrode is about 6 mm, and if the initial amount of silver halide required requires an amount of 6 days, the length of the counter electrode The length is about 10mm. Because the length of the counter electrode can be shortened, the length of the biosensor implanted in the patient can be correspondingly shortened, and the biosensor can also be implanted vertically in the patient to minimize harm to the patient. Therefore, not only the service life of the biosensor can be extended due to the recharge period provided by the present invention, but also the pain and discomfort to the patient can be reduced due to the shortened length of the counter electrode.
當然,可以經由改變銀和鹵化銀的長度、寬度和厚度中的至少其中之一來實現減少銀和鹵化銀的體積。所有上述修改仍在本發明的範圍內。Of course, reducing the volume of silver and silver halide can be accomplished by changing at least one of the length, width, and thickness of the silver and silver halide. All of the above modifications are still within the scope of the present invention.
透過本發明的回充方法以及其中的第一門檻與第二門檻的設定值在適當的區間中選擇,可以無需等到讓鹵化銀耗盡訊號出現(例如生理訊號出現噪聲)就可進行鹵化銀回充,以控制鹵化銀的庫存量水平維持在此門檻區間內。而使用預定值S更可以鞤助鹵化銀回充後的庫存量水平控制在偏好的特定範圍內。而且,透過本發明的回充方法,使得氯化銀的回充速率不須與量測期間的氯化銀的減少速率完全成正相關,並且本發明亦提供一種無須緊接於每次量測之後立即回充氯化銀的回充方法。Through the recharging method of the present invention and the setting values of the first threshold and the second threshold are selected in an appropriate interval, the silver halide recharge can be performed without waiting for the occurrence of a silver halide depletion signal (such as noise in a physiological signal). charge to controlInventory levels of manufactured silver halide remain within this threshold range. The use of the predetermined value S can further help the inventory level of the silver halide recharged to be controlled within a preferred specific range. Moreover, through the recharging method of the present invention, the recharging rate of silver chloride does not need to be positively correlated with the decreasing rate of silver chloride during the measurement period, and the present invention also provides a method that does not need to be immediately after each measurement. The method of recharging the silver chloride immediately.
本發明也適用於具有任意數量的對電極和任意數量的工作電極的生物感測器,例如具有一個工作電極、一個輔助電極和一個對電極的生物感測器、具有兩個工作電極和一個對電極的生物感測器、或者具有兩個工作電極和兩個對電極的生物感測器。如果生物感測器具有兩個或更多個對電極,則所有對電極可以具有相同的尺寸和/或相同鹵化銀的初始量。The invention is also applicable to biosensors with any number of counter electrodes and any number of working electrodes, such as biosensors with one working electrode, one auxiliary electrode and one counter electrode, two working electrodes and one counter electrode An electrode biosensor, or a biosensor with two working electrodes and two counter electrodes. If the biosensor has two or more counter electrodes, all counter electrodes may have the same size and/or the same initial amount of silver halide.
因此與未使用本發明之鹵化銀的回充技術情況比較下,透過本發明鹵化銀的回充方法,能有效延長感測器使用壽命、且能大幅縮減對電極上Ag/AgCl材料的使用,而使對電極訊號感測段的尺寸可縮小。由於縮減對電極上Ag/AgCl材料的使用,而使感測器可微型化且可降低生物毒性。此外,電極尺寸縮小特別是指縮短感測器的植入端長度,因此可降低使用者植入痛感。Therefore, compared with the recharge technology without the silver halide of the present invention, the recharge method of the silver halide of the present invention can effectively prolong the service life of the sensor, and can greatly reduce the use of Ag/AgCl material on the counter electrode. Therefore, the size of the counter electrode signal sensing segment can be reduced. The sensor can be miniaturized and biotoxicity can be reduced by reducing the use of Ag/AgCl material on the counter electrode. In addition, the reduction of the electrode size especially refers to the shortening of the length of the implantation end of the sensor, thus reducing the pain of the user during implantation.
儘管已經根據當前被認為是最實際和優選的實施例描述了本發明,但是應當理解,本發明並不限於所公開的實施例。相反地,其意旨是涵蓋包括在所附申請專利範圍的精神和範圍內的各種修改和類似配置,這些修改和類似被置應與最廣泛的解釋相一致,以涵蓋所有此等的修改和類似結構。While the present invention has been described in terms of what are presently considered to be the most practical and preferred embodiments, it is to be understood that the invention is not limited to the disclosed embodiments. On the contrary, the intention is to cover various modifications and similar arrangements included within the spirit and scope of the appended claims, which are to be accorded the broadest interpretation to cover all such modifications and similar arrangements structure.
S11、S12、S13、S14、S15、S16、S17:步驟S11, S12, S13, S14, S15, S16, S17: Steps
| Application Number | Priority Date | Filing Date | Title |
|---|---|---|---|
| US202062988549P | 2020-03-12 | 2020-03-12 | |
| US62/988,549 | 2020-03-12 |
| Publication Number | Publication Date |
|---|---|
| TW202134645A TW202134645A (en) | 2021-09-16 |
| TWI770871Btrue TWI770871B (en) | 2022-07-11 |
| Application Number | Title | Priority Date | Filing Date |
|---|---|---|---|
| TW110109018ATWI770871B (en) | 2020-03-12 | 2021-03-12 | Method for recovering biological sensor and device using same |
| Country | Link |
|---|---|
| TW (1) | TWI770871B (en) |
| WO (1) | WO2021180229A1 (en) |
| Publication number | Priority date | Publication date | Assignee | Title |
|---|---|---|---|---|
| US20090294306A1 (en)* | 2008-06-02 | 2009-12-03 | Feldman Benjamin J | Reference electrodes having an extended lifetime for use in long term amperometric sensors |
| CN107743584A (en)* | 2015-06-15 | 2018-02-27 | 豪夫迈·罗氏有限公司 | Method and test element for the electrochemical detection of at least one analyte in a body fluid sample |
| CN109946362A (en)* | 2017-12-19 | 2019-06-28 | 恩德莱斯和豪瑟尔分析仪表两合公司 | The manufacturing method of reference electrode and reference electrode |
| CN110268099A (en)* | 2017-02-08 | 2019-09-20 | 西门子股份公司 | Pulsed electrolysis with reference to open circuit potential |
| Publication number | Priority date | Publication date | Assignee | Title |
|---|---|---|---|---|
| KR101979257B1 (en)* | 2017-06-29 | 2019-05-16 | 주식회사 아이센스 | A method of replenishing level of AgCl on a reference electrode of a electrochemical sensor |
| KR102506277B1 (en)* | 2019-08-02 | 2023-03-07 | 바이오나임 코포레이션 | Micro biosensor and measuring method thereof |
| Publication number | Priority date | Publication date | Assignee | Title |
|---|---|---|---|---|
| US20090294306A1 (en)* | 2008-06-02 | 2009-12-03 | Feldman Benjamin J | Reference electrodes having an extended lifetime for use in long term amperometric sensors |
| CN107743584A (en)* | 2015-06-15 | 2018-02-27 | 豪夫迈·罗氏有限公司 | Method and test element for the electrochemical detection of at least one analyte in a body fluid sample |
| CN110268099A (en)* | 2017-02-08 | 2019-09-20 | 西门子股份公司 | Pulsed electrolysis with reference to open circuit potential |
| CN109946362A (en)* | 2017-12-19 | 2019-06-28 | 恩德莱斯和豪瑟尔分析仪表两合公司 | The manufacturing method of reference electrode and reference electrode |
| Publication number | Publication date |
|---|---|
| TW202134645A (en) | 2021-09-16 |
| WO2021180229A1 (en) | 2021-09-16 |
| Publication | Publication Date | Title |
|---|---|---|
| TWI805938B (en) | Biosensor and method for determining dimension of counter electrode and prolonging usage lifetime of the same | |
| TWI770871B (en) | Method for recovering biological sensor and device using same |