

















本發明係關於一種人工智慧(Artificial Intelligence,AI)輔助評估方法,尤其係一種以人臉表情為基礎,並應用於美容醫療的人工智慧輔助評估方法以及運用該方法之系統。The present invention relates to an artificial intelligence (Artificial Intelligence, AI) assisted evaluation method, especially an artificial intelligence assisted evaluation method based on facial expressions and applied to beauty medicine and a system using the method.
現今流行的美容醫療風氣,特別是臉部方面的微整型美容醫療,已廣為各齡層的人士所喜愛與接受。Today's popular cosmetic medical treatment, especially the facial micro-plastic cosmetic treatment, has been widely loved and accepted by people of all ages.
其中,進行臉部微整型美容醫療的治療方式,主要是依靠醫師自身的醫學專業技術與知識,以一般性或常態化的標準程序進行處理,抑或再略加上一些醫師自身執業經驗的個別判斷;然此等習知作法,因其通常較欠缺深度的客製化考量,以致於時常會出現實際美容後的治療結果與事先預期的治療效果之間存在著或多或少的期待落差。Among them, the treatment methods of facial micro-surgery and beauty treatment mainly rely on the medical professional skills and knowledge of the physicians themselves, and handle them with general or normalized standard procedures, or add some individual physicians’ own practice experience. Judgment; however, these conventional methods usually lack in-depth customization considerations, so that there is often a more or less expectation gap between the actual cosmetic treatment results and the pre-expected treatment effects.
甚且,有部分實際美容醫療後的治療結果,因醫師自身錯誤的個別判斷,而導致術後產生更劣質的治療成效,從而造成更多的醫療治療糾紛與醫療治療上的缺失。What's more, some of the actual treatment results after cosmetic medical treatment, due to the wrong individual judgment of the physicians themselves, lead to worse treatment results after surgery.As a result, more medical treatment disputes and lack of medical treatment are caused.
是以,如何針對個人化的美容醫療需求,提出更多與更好的協助處理方法與工具,即為目前美容醫療業界的所欲解決的技術課題。Therefore, how to propose more and better methods and tools to assist in the treatment of individualized cosmetic medical needs is a technical issue to be solved by the cosmetic medical industry at present.
本發明之主要目的在於提供一種可針對個人化的美容醫療需求,提出一種以人臉表情為基礎之美容醫療的人工智慧(AI)輔助評估方法以及運用該方法之系統,以祈解決前述習知技術的缺失。The main purpose of the present invention is to provide an artificial intelligence (AI) assisted evaluation method for cosmetic medical treatment based on facial expressions and a system using the method, which can meet the needs of individualized cosmetic medical treatment, so as to solve the above-mentioned conventional wisdom. Lack of technology.
本案的實施概念,主要是利用人臉表情評估模組,先進行個人化的即時人臉表情評估結果,之後,再依據前述個人化的即時人臉表情評估結果,執行人工智慧辨識分析程序,並結合醫療知識規則模組中之功能性醫學解剖規則以及動態性醫學解剖規則與美容醫療輔助評估結果歷史資料庫後,從而提供美容醫療輔助評估結果,達到可提供專屬個人化的美容醫療輔助建議。The implementation concept of this case is mainly to use the facial expression evaluation module to first conduct a personalized real-time facial expression evaluation result. Combined with the functional medical anatomy rules and dynamic medical anatomy rules in the medical knowledge rules module and the historical database of cosmetic medical assistant assessment results, the results of cosmetic medical assistant assessment can be provided, so as to provide exclusive and personalized cosmetic medical assistant suggestions.
為了達到上述目的,於第一較佳實施例,本發明提供一種運用於美容醫療之人工智慧輔助評估方法,其至少包括下列步驟:提供一受測者之一即時人臉表情評估結果;輸入該即時人臉表情評估結果至一人工智慧辨識分析模組中;以及選擇搭配一醫療知識規則模組及一美容醫療輔助評估結果歷史資料庫中之至少一者,以執行一人工智慧辨識分析程序,與產生並輸出一美容醫療輔助評估結果。In order to achieve the above object, in the first preferred embodiment, the present invention provides an artificial intelligence-assisted evaluation method applied in cosmetic medicine, which at least includes the following steps: providing a real-time facial expression evaluation result of a subject; inputting the The real-time facial expression evaluation result is put into an artificial intelligence identification analysis module; and at least one of a medical knowledge rule module and a beauty medical auxiliary evaluation result historical database is selected and matched to execute an artificial intelligence identification analysis program, And generate and output a cosmetic medical assistant evaluation result.
較佳地,其更包括下列步驟:反饋並儲存該美容醫療輔助評估結果至該醫療知識規則模組及該美容醫療輔助評估結果歷史資料庫中之至少一者。Preferably, it further includes the following steps: feedback and store the cosmeticThe medical assistant evaluation result is sent to at least one of the medical knowledge rule module and the aesthetic medical assistant evaluation result historical database.
較佳地,其中,輸出之該美容醫療輔助評估結果至少包括:該受測者之一評估治療部位結果的組合與優選順序,抑或該評估治療部位結果的組合與優選順序以及一注射填充劑種類與劑量。Preferably, the output of the cosmetic medical assistant evaluation result at least includes: the combination and the preferred order of the results of the evaluation of the treatment site by one of the subjects, or the combination and the preferred order of the results of the evaluation of the treatment site, and an injection filler type. with dosage.
較佳地,其中,該醫療知識規則模組更包括一功能性醫學解剖規則以及一動態性醫學解剖規則。Preferably, the medical knowledge rule module further includes a functional medical anatomy rule and a dynamic medical anatomy rule.
較佳地,其中,該即時人臉表情評估結果包括:一靜態表情評估結果,抑或該靜態表情評估結果以及一動態表情評估結果。Preferably, the real-time facial expression evaluation result includes: a static expression evaluation result, or the static expression evaluation result and a dynamic expression evaluation result.
較佳地,其中,提供該即時人臉表情評估結果更包括下列步驟:依據該醫療知識規則模組而使一臉部區分為複數臉部動作單元;依據該靜態表情評估結果以及該動態表情評估結果中之至少一者,而形成複數情緒指標組合;以及依據每一該情緒指標組合之比例結果而形成該即時人臉表情評估結果。Preferably, providing the real-time facial expression evaluation result further includes the following steps: classifying a face into plural facial action units according to the medical knowledge rule module; At least one of the results is used to form a plurality of emotion index combinations; and the real-time facial expression evaluation result is formed according to the proportional result of each emotion index combination.
較佳地,其中,該些情緒指標組合係為一正面情緒指標組合及一負面情緒指標組合中之至少一者。Preferably, the sentiment index combinations are at least one of a positive sentiment index combination and a negative sentiment index combination.
較佳地,其中,該負面情緒指標組合係為一悲傷指標、一生氣指標、一擔憂指標、一驚訝指標、一害怕指標、一鄙視指標及一討厭指標中之一者或及其組合。Preferably, the combination of negative emotion indicators is one of a sadness indicator, an anger indicator, a worry indicator, a surprise indicator, a fear indicator, a contempt indicator, and a dislike indicator, or a combination thereof.
較佳地,其中,該正面情緒指標組合係為一開心指標、一快樂指標、一滿足指標、一感動指標、一積極指標及一放鬆指標中之一者或及其組合。Preferably, the combination of positive emotion indicators is one of a happiness indicator, a happiness indicator, a satisfaction indicator, a moving indicator, a positive indicator, and a relaxation indicator, or a combination thereof.
較佳地,其中,該美容醫療輔助評估結果歷史資料庫包括複數美容醫療輔助評估結果,用以供該人工智慧辨識分析模組依據至少一人工智慧深度學習/訓練演算法,而執行一人工智慧深度學習/訓練程序。Preferably, the historical database of cosmetic medical assistant evaluation results includes plural cosmetic medical assistant evaluation results, which are used for the artificial intelligence identification and analysis module to execute an artificial intelligence according to at least one artificial intelligence deep learning/training algorithm. Deep learning/training procedures.
較佳地,其中,該人工智慧深度學習/訓練程序包括下列步驟:提供該些美容醫療輔助評估結果;其中,每一該美容醫療輔助評估結果至少包括:一歷史受測者相關之一基本資料、一人臉表情評估結果、一個人臉部特徵、該醫療知識規則模組中之一功能性醫學解剖規則以及一動態性醫學解剖規則、一評估治療部位結果的組合與優選順序以及一注射填充劑的種類與劑量;以及輸入該些美容醫療輔助評估結果至該人工智慧辨識分析模組。Preferably, wherein, the artificial intelligence deep learning/training program includes the following steps: providing the cosmetic medical assistant evaluation results; wherein, each of the cosmetic medical assistant evaluation results at least includes: a historical subject-related basic data , a person's facial expression evaluation results, a person's facial features, a functional medical anatomy rule and a dynamic medical anatomy rule in the medical knowledge rule module, a combination and priority order of the results of evaluating the treatment site, and an injection filler types and doses; and inputting the aesthetic medical assistant evaluation results into the artificial intelligence identification and analysis module.
較佳地,其中,該個人臉部特徵包括一習慣表情之靜態紋路特徵、一靜態輪廓線特徵或一膚質特徵。Preferably, the personal facial feature includes a static texture feature of a habitual expression, a static contour line feature or a skin texture feature.
較佳地,其中,該至少一人工智慧深度學習/訓練演算法係為一人工神經網路演算法及一深度學習演算法中之至少一者。Preferably, the at least one artificial intelligence deep learning/training algorithm is at least one of an artificial neural network road algorithm and a deep learning algorithm.
於第二較佳實施例,本發明提供一種運用如前述之人工智慧輔助評估方法的一電子裝置,該電子裝置至少包括:一人臉表情評估模組,用以提供該即時人臉表情評估結果;該人工智慧辨識分析模組,包括該人工智慧辨識分析程序,該人工智慧辨識分析程序接收該即時人臉表情評估結果,並產生該美容醫療輔助評估結果;以及一輸入輸出模組,輸出該美容醫療輔助評估結果;其中,該人工智慧辨識分析模組自該人臉表情評估模組以及該輸入輸出模組中之至少一者,接收至少一個人臉部特徵。In a second preferred embodiment, the present invention provides an electronic device using the aforementioned artificial intelligence-assisted evaluation method, the electronic device at least includes: a facial expression evaluation module for providing the real-time facial expression evaluation result; The artificial intelligence identification and analysis module includes the artificial intelligence identification and analysis program, the artificial intelligence identification and analysis program receives the real-time facial expression evaluation result, and generates the beauty medical assistant evaluation result; and an input and output module, which outputs the beauty treatment A medical assistant evaluation result; wherein, the artificial intelligence recognition and analysis module receives at least one human facial feature from at least one of the facial expression evaluation module and the input and output module.
較佳地,該電子裝置係以一無線傳輸方式以及一有線傳輸方式中之至少一者連接於該美容醫療輔助評估結果歷史資料庫及該醫療知識規則模組中之至少一者。Preferably, the electronic device is connected to at least one of the historical database of aesthetic medical aid evaluation results and the medical knowledge rule module by at least one of a wireless transmission method and a wired transmission method.
較佳地,該電子裝置係為一手持式智慧行動裝置、一個人電腦(PC)或一獨立運作(stand-alone)之智慧裝置。Preferably, the electronic device is a handheld smart mobile device, a personal computer (PC) or a stand-alone smart device.
於第三較佳實施例,本發明提供一種美容醫療之人工智慧輔助評估系統,其至少包括:一人臉表情評估模組,提供一受測者之一即時人臉表情評估結果;以及一人工智慧辨識分析模組,連接於該人臉表情評估模組;其中,該人工智慧辨識分析模組接收該即時人臉表情評估結果,並依據所連接之一醫療知識規則模組及一美容醫療輔助評估結果歷史資料庫中之至少一者,以執行一人工智慧辨識分析程序,且適應地產生並輸出一美容醫療輔助評估結果。In a third preferred embodiment, the present invention provides an artificial intelligence-assisted evaluation system for cosmetic medicine, which at least includes: a facial expression evaluation module for providing a real-time facial expression evaluation result of a subject; and an artificial intelligence The identification and analysis module is connected to the facial expression evaluation module; wherein, the artificial intelligence identification and analysis module receives the real-time facial expression evaluation result, and evaluates according to a connected medical knowledge rule module and a cosmetic medical aid At least one of the result history databases is used to execute an artificial intelligence identification and analysis program, and to adaptively generate and output a cosmetic medical assistant evaluation result.
較佳地,其中,該人工智慧辨識分析模組反饋並儲存該美容輔助評估結果至該醫療知識規則模組及該美容醫療輔助評估結果歷史資料庫中之至少一者。Preferably, the artificial intelligence identification and analysis module feeds back and stores the cosmetic assistance evaluation result to at least one of the medical knowledge rule module and the historical database of cosmetic medical assistance evaluation results.
較佳地,其中,該美容醫療輔助評估結果至少包括該受測者之一評估治療部位結果的組合與優選順序,抑或該評估治療部位結果的組合與優選順序以及一注射填充劑種類與劑量。Preferably, the cosmetic medical assistant evaluation result includes at least the combination and the preferred order of the results of one of the subjects evaluating the treatment site, or the combination and the preferred order of the evaluation results of the treatment site, and an injection filler type and dosage.
較佳地,其中,該醫療知識規則模組更包括一功能性醫學解剖規則以及一動態性醫學解剖規則。Preferably, the medical knowledge rule module further includes a functional medical anatomy rule and a dynamic medical anatomy rule.
較佳地,其中,該即時人臉表情評估結果包括一靜態表情評估結果,抑或該靜態表情評估結果以及一動態表情評估結果。Preferably, the real-time facial expression evaluation result includes a static expression evaluation result, or the static expression evaluation result and a dynamic expression evaluation result.
較佳地,其中,該人臉表情評估模組包括:一臉部影像擷取單元,用以進行一影像擷取動作,以取得一即時臉部影像;以及一臉部動作編碼單元,依據即時臉部影像與該醫療知識規則模組而將影像中所呈現的一即時臉部動作區分為複數臉部動作單元;其中,依據每一該臉部動作單元之一偵測結果與至少另一該臉部動作單元之另一偵測結果之間的變化,而形成該靜態表情評估結果以及該動態表情評估結果。Preferably, the facial expression evaluation module includes: a facial image capture unit for performing an image capture action to obtain a real-time facial image; and a facial motion encoding unit, according to the real-time The facial image and the medical knowledge rule module distinguish a real-time facial action presented in the image into a plurality of facial action units; wherein, according to a detection result of each of the facial action units and at least another of the facial action units The change between another detection result of the facial action unit forms the static expression evaluation result and the dynamic expression evaluation result.
較佳地,其中,該人臉表情評估模組及該人工智慧辨識分析模組中之至少一者更包括:一情緒分析及臉部辨識單元,依據該靜態表情評估結果以及該動態表情評估結果中之至少一者,而形成複數情緒指標組合;其中,依據該些情緒指標組合中之每一者的比例結果而形成該即時人臉表情評估結果。Preferably, at least one of the facial expression evaluation module and the artificial intelligence recognition analysis module further includes: an emotion analysis and facial recognition unit, based on the static expression evaluation result and the dynamic expression evaluation result At least one of the emotion index combinations is formed; wherein, the real-time facial expression evaluation result is formed according to the proportional result of each of the emotion index combinations.
較佳地,其中,該些情緒指標組合係為一正面情緒指標組合及一負面情緒指標組合中之至少一者。Preferably, the sentiment index combinations are at least one of a positive sentiment index combination and a negative sentiment index combination.
較佳地,其中,該負面情緒指標組合係為一悲傷指標、一生氣指標、一擔憂指標、一驚訝指標、一害怕指標、一鄙視指標及一討厭指標中之一者或及其組合。Preferably, the combination of negative emotion indicators is one of a sadness indicator, an anger indicator, a worry indicator, a surprise indicator, a fear indicator, a contempt indicator, and a dislike indicator, or a combination thereof.
較佳地,其中,該正面情緒指標組合係為一開心指標、一快樂指標、一滿足指標、一感動指標、一積極指標及一放鬆指標中之一者或及其組合。Preferably, the combination of positive emotion indicators is one of a happiness indicator, a happiness indicator, a satisfaction indicator, a moving indicator, a positive indicator, and a relaxation indicator, or a combination thereof.
較佳地,其中,該美容醫療輔助評估結果歷史資料庫包括複數美容醫療輔助評估結果,用以供該人工智慧辨識分析模組依據至少一人工智慧深度學習/訓練演算法,而執行一人工智慧深度學習/訓練程序。Preferably, the historical database of cosmetic medical assistant evaluation results includes plural cosmetic medical assistant evaluation results, which are used for the artificial intelligence identification and analysis module to execute an artificial intelligence according to at least one artificial intelligence deep learning/training algorithm. Deep learning/training procedures.
較佳地,其中,每一該美容醫療輔助評估結果至少包括:一歷史受測者相關之一基本資料、一人臉表情評估結果、一個人臉部特徵、該醫療知識規則模組中之一功能性醫學解剖規則以及一動態性醫學解剖規則、一評估治療部位結果的組合與優選順序以及一注射填充劑的種類與劑量中之一者或及其組合。Preferably, wherein, each of the cosmetic medical assistant evaluation results toAt least include: a basic information related to a historical subject, a person's facial expression evaluation result, a person's facial features, a functional medical anatomy rule in the medical knowledge rule module, a dynamic medical anatomy rule, an evaluation treatment The combination and preferred order of site results and one or a combination of the type and dose of an injectable filler.
較佳地,其中,該個人臉部特徵包括一習慣表情之靜態紋路特徵、一靜態輪廓線特徵或一膚質特徵。Preferably, the personal facial feature includes a static texture feature of a habitual expression, a static contour line feature or a skin texture feature.
較佳地,其中,該個人臉部特徵係自該人臉表情評估模組以及一輸入輸出模組中之至少一者,而被提供至該人工智慧辨識分析模組。Preferably, the personal facial features are provided to the artificial intelligence recognition and analysis module from at least one of the facial expression evaluation module and an input and output module.
較佳地,其中,該人工智慧深度學習/訓練程序係為輸入該些美容醫療輔助評估結果至該人工智慧辨識分析模組。Preferably, the artificial intelligence deep learning/training program is to input the aesthetic medical assistant evaluation results to the artificial intelligence identification and analysis module.
較佳地,其中,該至少一人工智慧深度學習/訓練演算法係為一人工神經網路演算法及一深度學習演算法中之至少一者。Preferably, the at least one artificial intelligence deep learning/training algorithm is at least one of an artificial neural network road algorithm and a deep learning algorithm.
較佳地,其藉由該人臉表情評估模組、一輸入輸出模組以及該人工智慧辨識分析模組而組裝形成一電子裝置;其中,該電子裝置係為一手持式智慧行動裝置、一個人電腦(PC)或一獨立運作(stand-alone)之智慧裝置。Preferably, it is assembled to form an electronic device by the facial expression evaluation module, an input and output module and the artificial intelligence recognition and analysis module; wherein, the electronic device is a handheld smart mobile device, a person A computer (PC) or a stand-alone smart device.
較佳地,其中,該電子裝置係以一無線傳輸方式及一有線傳輸方式中之至少一者連接於該美容醫療輔助評估結果歷史資料庫及該醫療知識規則模組中之至少一者。Preferably, the electronic device is connected to at least one of the historical database of aesthetic medical aid evaluation results and the medical knowledge rule module by at least one of a wireless transmission method and a wired transmission method.
100:人工智慧輔助評估系統100: Artificial Intelligence Assisted Evaluation System
110:人臉表情評估模組110: Facial Expression Evaluation Module
111:臉部動作編碼單元111: Facial Action Coding Unit
112:情緒分析及臉部辨識單元112: Sentiment Analysis and Facial Recognition Unit
120:人工智慧辨識分析模組120: Artificial Intelligence Identification Analysis Module
121:人工智慧辨識分析程序121: Artificial Intelligence Identification Analysis Program
130:醫療知識規則模組130: Medical Knowledge Rule Module
131:功能性醫學解剖規則131: Functional Medicine Anatomy Rules
132:動態性醫學解剖規則132: Dynamic Medical Anatomy Rules
140:美容醫療輔助評估結果歷史資料庫140: Historical Database of Aesthetic Medical Auxiliary Assessment Results
141:美容醫療輔助評估結果141: Results of Aesthetic Medical Auxiliary Assessments
150:輸出輸入模組150: Output input module
160:電子裝置160: Electronics
220:人工智慧辨識分析模組220: Artificial Intelligence Identification Analysis Module
221:人工智慧深度學習/訓練程序221: Deep Learning/Training Procedures for Artificial Intelligence
230:醫療知識規則模組230: Medical Knowledge Rule Module
231:功能性醫學解剖規則231: Functional Medicine Anatomy Rules
232:動態性醫學解剖規則232: Dynamic Medical Anatomy Rules
240:美容醫療輔助評估結果歷史資料庫240: Historical Database of Aesthetic Medical Auxiliary Assessment Results
241:美容醫療輔助評估結果241: Aesthetic Medical Aid Assessment Results
A:即時人臉表情評估結果A: Instant facial expression evaluation results
A’:人臉表情評估結果A’: The result of facial expression evaluation
A1:靜態表情評估結果A1: Static expression evaluation results
A2:動態表情評估結果A2: Dynamic expression evaluation results
A31-A33,A3n:情緒指標組合A31-A33, A3n: Combination of sentiment indicators
AU1-AUn:靜態表情評估結果之臉部動作單元AU1-AUn: facial action unit of static expression evaluation results
AU1’-AUn’:動態表情評估結果之臉部動作單元AU1'-AUn': facial action unit of dynamic expression evaluation results
B:基本資料B: Basic information
B1:性別B1: Gender
B2:年齡B2: Age
C,C1-Cn:評估治療部位結果的組合與優選順序C, C1-Cn: Combinations and Priority Orders for Assessing Treatment Site Outcomes
P:個人臉部特徵P: Personal facial features
P1,P1’:習慣表情之靜態紋路特徵P1, P1': static texture features of habitual expressions
P2,P2’:靜態輪廓線特徵P2,P2': static contour feature
P3,P3’:膚質特徵P3, P3': skin texture characteristics
D:注射填充劑的種類D: Types of injectable fillers
U:注射填充劑的劑量U: Dosage of injectable filler
R1,R11-R14:功能性醫學解剖規則之複數醫療規則R1, R11-R14: Plural medical rules of functional medical anatomical rules
R2,R21-R24:動態性醫學解剖規則之複數醫療規則R2, R21-R24: Plural medical rules of dynamic medical anatomy rules
S11-S14,S111-S113:人工智慧輔助評估方法之流程步驟S11-S14, S111-S113: Process steps of AI-assisted evaluation method
S31-S32:人工智慧深度學習/訓練程序之流程步驟S31-S32: Process steps of artificial intelligence deep learning/training program
圖1:係為本案發明概念中之人工智慧輔助評估系統的較佳實施概念圖。FIG. 1 is a conceptual diagram of a preferred implementation of the artificial intelligence-assisted evaluation system in the concept of the present invention.
圖2:係為本案發明概念中之人工智慧輔助評估方法的較佳實施流程圖。FIG. 2 is a flow chart of a preferred implementation of the artificial intelligence-assisted evaluation method in the concept of the present invention.
圖3:係為圖1中之人臉表情評估模組的較佳實施方塊示意圖。FIG. 3 is a schematic block diagram of a preferred implementation of the facial expression evaluation module in FIG. 1 .
圖4:係為圖3中之人臉表情評估模組的較佳實施流程圖。FIG. 4 is a flow chart of a preferred implementation of the facial expression evaluation module in FIG. 3 .
圖5:係為圖3中之臉部動作編碼單元的較佳實施概念示意圖。FIG. 5 is a conceptual schematic diagram of a preferred implementation of the facial motion coding unit in FIG. 3 .
圖6A:係為以圖3中之臉部動作編碼單元產生靜態表情評估結果與動態表情評估結果之具體實施概念示意圖。FIG. 6A is a conceptual schematic diagram of a specific implementation of generating static expression evaluation results and dynamic expression evaluation results by the facial motion coding unit in FIG. 3 .
圖6B:係為以本案中情緒分析及臉部辨識單元定量分析每一臉部動作單元的臉部肌肉群於不同情緒表情時的作動強度之具體實施概念示意圖。FIG. 6B is a conceptual schematic diagram of a specific implementation of quantitatively analyzing the action intensity of the facial muscle groups of each facial action unit under different emotional expressions by the emotion analysis and face recognition unit in this case.
圖7A:係為本案發明概念中之人工智慧辨識分析模組之人工智慧深度學習/訓練架構的較佳實施概念圖。FIG. 7A is a conceptual diagram of a preferred implementation of the artificial intelligence deep learning/training architecture of the artificial intelligence identification and analysis module in the concept of the present invention.
圖7B:係為圖7A中運用於人工智慧辨識分析模組之美容醫療輔助評估結果歷史資料庫的較佳實施概念圖。FIG. 7B is a conceptual diagram of a preferred implementation of the historical database of cosmetic medical assistance evaluation results applied to the artificial intelligence identification and analysis module in FIG. 7A .
圖8:係為圖7A中本案發明概念之人工智慧深度學習/訓練程序的較佳實施流程圖。FIG. 8 is a flow chart of a preferred implementation of the artificial intelligence deep learning/training procedure of the inventive concept of the present application in FIG. 7A .
圖9A至圖9F:係為應用本案發明概念中之人工智慧輔助評估方法及其系統的第一較佳實施概念示意圖。FIGS. 9A to 9F are schematic diagrams illustrating a first preferred implementation of the artificial intelligence-assisted evaluation method and the system thereof according to the inventive concept of the present application.
圖10:係為應用本案發明概念中之人工智慧輔助評估方法及其系統的第二較佳實施概念示意圖。Figure 10: It is the application of artificial intelligence assistance in the concept of the invention in this caseA conceptual schematic diagram of a second preferred implementation of the evaluation method and its system.
圖11:係為應用本案發明概念中之人工智慧輔助評估方法及其系統的第三較佳實施概念示意圖。FIG. 11 is a schematic diagram of a third preferred implementation concept of applying the artificial intelligence-assisted evaluation method and system thereof in the concept of the present invention.
以下係提出實施例進行詳細說明,實施例僅用以作為範例說明,並不會限縮本發明欲保護之範圍。此外,實施例中之圖式係省略不必要或以通常技術即可完成之元件,以清楚顯示本發明之技術特點。以下,茲以本發明之較佳實施例並配合圖式作進一步說明。The following examples are provided for detailed description, and the examples are only used as examples to illustrate, and do not limit the scope of protection of the present invention. In addition, the drawings in the embodiments omit unnecessary elements or elements that can be completed with ordinary techniques, so as to clearly show the technical characteristics of the present invention. Hereinafter, the preferred embodiments of the present invention are further described with reference to the drawings.
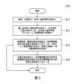
請參閱圖1及圖2,其分別為本案發明概念中之人工智慧輔助評估系統的較佳實施概念圖,以及人工智慧輔助評估方法的較佳實施流程圖。Please refer to FIG. 1 and FIG. 2 , which are respectively a conceptual diagram of a preferred implementation of the artificial intelligence-assisted evaluation system in the concept of the present invention, and a flow chart of a preferred implementation of the artificial intelligence-assisted evaluation method.
如圖1所示,本案以人臉表情為基礎,並應用於美容醫療之人工智慧輔助評估系統100包括:人臉表情評估模組110、人工智慧辨識分析模組120、醫療知識規則模組130、美容醫療輔助評估結果歷史資料庫140以及輸出輸入模組150。As shown in FIG. 1 , the artificial intelligence-assisted evaluation system 100 used in this case is based on facial expressions and applied to cosmetic medicine, including: a facial
其中,人臉表情評估模組110至少包括臉部動作編碼單元111、情緒分析及臉部辨識單元112、以及臉部影像擷取單元113。人工智慧辨識分析模組120至少包括人工智慧辨識分析程序121。醫療知識規則模組130至少包括功能性醫學解剖規則131以及動態性醫學解剖規則132。美容醫療輔助評估結果歷史資料庫140至少包括多個美容醫療輔助評估結果1-N。The facial
再者,輸出輸入模組150用以接收輸入或輸出多種資訊,例如:接收輸入受測者之基本資料B1-B2及/或個人臉部特徵P1-P3,並予以輸入至人工智慧辨識分析模組120中;抑或,輸出自人工智慧辨識分析模組120所接收之評估治療部位結果的組合與優選順序C1-Cn,及/或注射填充劑的種類D與注射填充劑的劑量U。Furthermore, the input/
其中,人臉表情評估模組110、人工智慧辨識分析模組120以及輸出輸入模組150可組裝形成為一電子裝置160,電子裝置160可為手持式智慧行動裝置、個人電腦(PC)或獨立運作(stand-alone)之智慧裝置。舉例來說,電子裝置160可為平板電腦、智慧行動裝置、筆記型電腦、桌上型電腦、獨立單獨運作的智慧裝置或獨立單獨運作的智慧模組,其中該智慧裝置或該智慧模組可組裝或分離於一醫療裝置中(圖未示出)。Among them, the facial
且,電子裝置160係以無線傳輸方式及/或有線傳輸方式,連接於美容醫療輔助評估結果歷史資料庫140及/或醫療知識規則模組130。舉例來說,美容醫療輔助評估結果歷史資料庫140及/或醫療知識規則模組130可儲存於雲端儲存平台中,而電子裝置160可經由各種區域/廣域網路連接於該雲端儲存平台(圖未示出)。Moreover, the
接著,請參閱圖2,其係為應用於前述人工智慧輔助評估系統100中之人工智慧輔助評估方法S10,並請搭配參閱圖1;亦即,前述人工智慧輔助評估方法S10係包括實施下列各步驟:執行步驟S11:提供受測者之即時人臉表情評估結果A,及受測者之基本資料B1-B2及/或個人臉部特徵P1-P3。Next, please refer to FIG. 2 , which is an AI-assisted evaluation method S10 applied in the aforementioned AI-assisted evaluation system 100 , and please refer to FIG. 1 ; that is, the aforementioned AI-assisted evaluation method S10 includes implementing the following Step: Execute step S11: provide the test subject's real-time facial expression evaluation result A, and the test subject's basic data B1-B2 and/or personal facial features P1-P3.
其中,即時人臉表情評估結果A可包括由人臉表情評估模組110所提供之靜態表情評估結果A1、動態表情評估結果A2以及依據靜態表情評估結果A1與動態表情評估結果A2中之至少一者而產生之多個情緒指標組合A31-A3n。The real-time facial expression evaluation result A may include the static expression evaluation result A1 provided by the facial
另外,受測者之基本資料B1-B2及/或個人臉部特徵P1-P3,除了可由輸出輸入模組150提供之作法外,於其他較佳實施例中,也可改由人臉表情評估模組110直接提供受測者之另一個人臉部特徵P1’-P3’;且前述做法可以擇一或分工進行,其皆不脫離本案之發明構想。In addition, the basic data B1-B2 and/or the personal facial features P1-P3 of the subject, in addition to the method provided by the input and
其次,執行步驟S12:輸入前述即時人臉表情評估結果A,以及受測者之基本資料B1-B2及/或個人臉部特徵P1-P3至人工智慧辨識分析模組120中。Next, step S12 is performed: the aforementioned real-time facial expression evaluation result A, and the basic data B1-B2 of the subject and/or personal facial features P1-P3 are input into the artificial intelligence
接著,執行步驟S13:人工智慧辨識分析模組120可選擇搭配醫療知識規則模組130及美容醫療輔助評估結果歷史資料庫140中之至少一者,以執行人工智慧辨識分析程序121,與產生並輸出一美容醫療輔助評估結果;其中,人工智慧辨識分析模組120可以無線傳輸方式或有線傳輸方式,連接於醫療知識規則模組130及美容醫療輔助評估結果歷史資料庫140。Next, step S13 is executed: the artificial intelligence identification and
再者,人工智慧辨識分析模組120可依據醫療知識規則模組130中之功能性醫學解剖規則131以及動態性醫學解剖規則132,及/或美容醫療輔助評估結果歷史資料庫140中之多個美容醫療輔助評估結果1-N,而適應地產生對應該受測者之美容醫療輔助評估結果;其中,美容醫療輔助評估結果至少包括該受測者之評估治療部位結果的組合與優選順序C1-Cn。Furthermore, the artificial intelligence identification and
當然,前述美容醫療輔助評估結果還可再包括對應於該評估治療部位結果的組合與優選順序C1-Cn,而產生關於注射填充劑種類D與填充劑劑量U之輔助評估結果。Of course, the aforementioned cosmetic medical assistant evaluation results may further include the combination and the preferred order C1-Cn corresponding to the evaluation treatment site results, so as to generate the assistant evaluation results regarding the injection filler type D and filler dose U.
此外,人工智慧辨識分析模組120可藉由圖1所示之輸出輸入模組150,輸出或顯示評估治療部位結果的組合與優選順序C1-Cn及/或注射填充劑的種類D與填充劑的劑量U。In addition, the artificial intelligence recognition and
另外,關於本案中步驟S13之另一較佳實施做法(圖未示出),本案人工智慧辨識分析模組120亦可因應即時人臉表情評估結果A,並依據已內建的各種醫療知識規則及/或美容醫療輔助評估結果,而直接執行前述人工智慧辨識分析程序121,並產生另一美容醫療輔助評估結果;前述另一較佳作法之實施特點在於,無需額外搭配外掛的前述醫療知識規則模組130及前美容醫療輔助評估結果歷史資料庫140中之至少一者。In addition, regarding another preferred implementation of step S13 in this case (not shown in the figure), the artificial intelligence recognition and
本案之一更佳作法,係更包括執行步驟S14:反饋並儲存美容醫療輔助評估結果至醫療知識規則模組130及美容醫療輔助評估結果歷史資料庫140中之至少一者;其中,人工智慧辨識分析模組120可儲存每一受測者的美容醫療輔助評估結果於美容醫療輔助評估結果歷史資料庫140中,以利於人工智慧辨識分析模組120依據至少一人工智慧深度學習/訓練演算法而執行一人工智慧深度學習/訓練程序,且此部分將於後述補充說明,在此先不贅述。A better practice in this case further includes performing step S14: feeding back and storing the aesthetic medical assistant evaluation result to at least one of the medical
當然,前述步驟S14於其他實施例中亦可以選擇不予實施,且此皆屬於本案的各種均等變更實施態樣。Of course, the aforementioned step S14 can also be chosen not to be implemented in other embodiments, and these are all equivalently modified implementation aspects of the present case.
更詳細來說,關於前述步驟S11中之人臉表情評估模組110如何提供即時人臉表情評估結果A,還可更包括下列多個流程步驟。請再參閱圖3及圖4,其分別為本案發明概念中之人臉表情評估模組的較佳實施概念圖,以及人臉表情評估模組的較佳實施流程圖。More specifically, regarding how the facial
如圖3所示,本案之人臉表情評估模組110包括:臉部動作編碼單元111與情緒分析及臉部辨識單元112、臉部影像擷取單元113;其中,臉部影像擷取單元113於進行一影像擷取動作(例如,以一攝像裝置(圖未示出)進行拍攝)後,即可取得一即時臉部影像,並予以輸出至臉部動作編碼單元111;之後,臉部動作編碼單元111依據前述即時臉部影像與醫療知識規則模組130,而將影像中所呈現的一即時臉部動作予以細分為多個臉部動作單元AU1-AUn(請配合參閱後述之圖5之相關說明)。As shown in FIG. 3 , the facial
至於情緒分析及臉部辨識單元112,其則包括多個情緒指標組合A31-A3n,且可為屬於正面情緒指標組合,抑或為屬於負面情緒指標組合;其中,前述正面情緒指標組合係指包括,例如:開心指標、快樂指標、滿足指標、感動指標、積極指標及放鬆指標中之一者或及其組合,而前述負面情緒指標組合係指包括,例如:悲傷指標、生氣指標、擔憂指標、驚訝指標、害怕指標、鄙視指標及討厭指標中之一者或及其組合。As for the emotion analysis and face
接著,請再搭配參閱圖4,執行步驟S11更包括下列步驟,執行步驟S111:運用人臉表情評估模組110,依據醫療知識規則模組130,而使一臉部肌肉動作區分為多個臉部動作單元AU1-AUn;其中,臉部動作編碼單元111可依據醫療知識規則模組130中之功能性醫學解剖規則131以及動態性醫學解剖規則132而用以區分各種臉部肌肉動作,且前述多個醫學解剖規則,例如可為:各個肌肉群與鄰接之肌肉群之間的連動關係,及/或各個肌肉群的功能等。Next, please refer to FIG. 4 again. Step S11 further includes the following steps. Step S111 is executed: using the facial
舉例來說,請搭配參閱圖5,係為前述之臉部動作編碼單元111的較佳實施概念示意圖。如圖5所示,本案之臉部動作編碼單元111可將眉頭處之皺眉肌定義為臉部動作單元AU4(Face Action Unit 4),抑或將可能使口角下垂之降口角肌(depressor anguli oris)及頦肌(mentails)分別定義為臉部動作單元AU15(Face Action Unit 15)及臉部動作單元AU17(Face Action Unit 17)。For example, please refer to FIG. 5 , which is a conceptual schematic diagram of a preferred implementation of the aforementioned facial
其次,接續執行步驟S112:依據該靜態表情評估結果A1以及該動態表情評估結果A2中之至少一者,而形成複數情緒指標組合A31-A3n;其中,臉部動作編碼單元111依據每一臉部動作單元與另一臉部動作單元之間因應人臉情緒變化而連動或作動的組合與肌肉作動的強度,形成該靜態表情評估結果A1以及該動態表情評估結果A2。Next, step S112 is continued: according to at least one of the static expression evaluation result A1 and the dynamic expression evaluation result A2, a plurality of emotion index combinations A31-A3n are formed; wherein, the facial
請再以圖3搭配參閱圖6A,其中圖6A係為以本案人臉表情評估模組110中的臉部動作編碼單元111產生前述靜態表情評估結果A1與前述動態表情評估結果A2之具體實施概念示意圖;其中,本案之人臉表情評估模組110先行偵測受測者在靜態與動態中所表現出的人臉表情變化(如左圖的靜態變化至右圖的動態),之後,可例如依據所偵測到的臉部動作單元AU1、臉部動作單元AU4以及臉部動作單元AU15,搭配組成的該靜態表情評估結果A1以及該動態表情評估結果A2。Please refer to FIG. 6A together with FIG. 3 , wherein FIG. 6A is a specific implementation concept of generating the static expression evaluation result A1 and the dynamic expression evaluation result A2 by the facial
其中,如圖6A的左側圖所示者,前述靜態表情評估結果A1可為受測者無任何情緒時之多個臉部動作單元AU1-AUn的各個靜態參數值,抑或使受測者於臉部放鬆的狀態下錄製一段短片,此舉可察覺及分析出受測者之多個臉部肌肉群是否會不自覺地施力或作動,相當於肌肉群之間的連動性跟動態性。Wherein, as shown in the left figure of FIG. 6A , the aforementioned static expression evaluation result A1 may be the static parameter values of a plurality of facial action units AU1-AUn when the subject has no emotions, or the subject can A short video is recorded in a relaxed state, which can detect and analyze whether the multiple facial muscle groups of the subject will exert force or act unconsciously, which is equivalent to the linkage and dynamics between the muscle groups.
而前述動態表情評估結果A2,則如圖6A的右側所示者,係為受測者依據不同情緒而呈現出不同人臉表情,例如其可為:悲傷情緒;當然,前述動態表情評估結果A2還可以包括更多其他生氣表情、大笑表情...等不同的情緒表情。The aforementioned dynamic expression evaluation result A2, as shown on the right side of FIG. 6A, is that the subject presents different facial expressions according to different emotions, for example, it may be: sadness; of course, the aforementioned dynamic expression evaluation result A2 You can also include more other angry expressions, laughing expressions, etc. different emotional expressions.
接著,再請以圖3搭配參閱圖6B,其中圖6B係為以本案中的情緒分析及臉部辨識單元112進一步定量分析每一臉部動作單元的臉部肌肉群於不同情緒表情時的作動強度,以提供更精準的動態參數值之具體實施概念示意圖。亦即,本案之情緒分析及臉部辨識單元112可依據該靜態表情評估結果A1以及該動態表情評估結果A2中之至少一者而形成前述多個情緒指標組合A31-A3n。Next, please refer to FIG. 6B with FIG. 3 , wherein FIG. 6B isThe emotion analysis and face
本案之人臉表情評估模組110,係可例如將人臉情緒表情區分為7大類定義,其中除了中性(Neutral)表情之外,還包括:開心(Happy)、悲傷(Sad)、生氣(Angry)、驚訝(Surprise)、恐懼(Fear/Scared)、噁心(Disgusted)等表情定義,此舉相當於本案前述之多種情緒指標組合A31-A3n。The facial
其中,本案之臉部動作編碼單元111定義悲傷情緒表情的特徵可為眉毛下滑(Eyebrow down)、皺眉紋(Frown line)、八字眉(Clock time eyebrow 8:20)、倒U(Reverse U)、眉頭上揚(Brow head up)、黑眼圈(Dark eyes)、下唇突出(Lower lip protruding)、唇緊閉(Lip tight)、嘴角下垂(Lip corners droop)、下巴突出(Chin bulges)等等多個臉部動作單元的編碼,而上述悲傷情緒表情的特徵,可作為情緒分析及臉部辨識單元112判斷悲傷指標,以及區別悲傷指標與其他情緒指標的依據(圖未示出)。Wherein, the facial
也就是說,本案可運用多個臉部動作單元AU1-AUn,並藉由識別臉部各項肌肉群所綜合表現出來跟情緒相關的情緒表情特徵,而綜合分析臉部表情所要呈現或傳達的真正情緒。如此一來,情緒分析及臉部辨識單元112便能藉由靜態表情評估結果A1與動態表情評估結果A2之間的微表情,從而客觀地辨識及分析出人臉表情的細微變化,進而更精確地評估多個臉部動作單元AU1-AUn之間的作動化而予以量化。That is to say, in this case, multiple facial action units AU1-AUn can be used, and by identifying the emotional expression characteristics related to emotions comprehensively expressed by various facial muscle groups, and comprehensively analyzing the facial expressions to be presented or conveyed real emotions. In this way, the emotion analysis and face
當然,於不同較佳實施例中,情緒分析及臉部辨識單元可被組裝結合或安裝載入於人臉表情評估模組及人工智慧辨識分析模組中之至少一者,以使其可依據靜態表情評估結果以及動態表情評估結果中之至少一者,而形成上述多個情緒指標組合。Of course, in different preferred embodiments, the emotion analysis and face recognition unit can be assembled and combined or installed and loaded into at least one of the facial expression evaluation module and the artificial intelligence recognition analysis module, so that it can be based on At least one of the static expression evaluation result and the dynamic expression evaluation result forms a combination of the above-mentioned multiple emotion indicators.
最後,執行步驟S113:依據每一該情緒指標組合之比例結果而形成該即時人臉表情評估結果A;其中,即時人臉表情評估結果A包括多個情緒指標組合A31-A3n之比例結果,例如:生氣指標為14.1%、悲傷指標為35.2%...等等。Finally, step S113 is executed: the real-time facial expression evaluation result A is formed according to the ratio result of each combination of the emotion indicators; wherein, the real-time facial expression evaluation result A includes the ratio results of multiple emotion indicator combinations A31-A3n, such as : The angry index is 14.1%, the sadness index is 35.2%...etc.
接續說明,用以辨識分析即時人臉表情評估結果A之人工智慧辨識分析模組120,如何執行人工智慧深度學習/訓練。請參閱圖7A及圖7B,其分別係為人工智慧辨識分析模組之人工智慧深度學習/訓練架構的較佳實施概念圖,以及運用於人工智慧辨識分析模組之美容醫療輔助評估結果歷史資料庫的較佳實施概念圖。Continuing to describe how the artificial intelligence identification and
如圖7A及圖7B所示,人工智慧辨識分析模組之人工智慧深度學習/訓練架構包括:人工智慧辨識分析模組220、醫療知識規則模組230以及美容醫療輔助評估結果歷史資料庫240;其中,人工智慧辨識分析模組220包括人工智慧深度學習/訓練程序221,醫療知識規則模組230包括功能性醫學解剖規則231以及動態性醫學解剖規則232,而美容醫療輔助評估結果歷史資料庫240包括多個美容醫療輔助評估結果241。As shown in FIG. 7A and FIG. 7B , the artificial intelligence deep learning/training framework of the artificial intelligence identification and analysis module includes: an artificial intelligence identification and
其中,每一美容醫療輔助評估結果至少包括歷來各受測者名稱、基本資料B、受測時之人臉表情評估結果A’、個人臉部特徵P、功能性醫學解剖規則231以及動態性醫學解剖規則232中的多個醫療規則R1,R2、評估治療部位結果的組合與優選順序之優選組合C1,C2以及注射填充劑的種類D與填充劑的劑量U等等。Among them, each cosmetic medical assistant evaluation result at least includes the name of the subject, basic information B, facial expression evaluation result A' at the time of the test, personal facial feature P, functional
於實際應用時,基本資料B可包括性別B1及年齡B2;人臉表情評估結果A’至少包括:靜態表情評估結果A1、動態表情評估結果A2以及多個情緒指標組合A31-A33;其中,靜態表情評估結果A1可為受測者無任何情緒時之多個臉部動作單元AU1-AUn的各個靜態參數值;動態表情評估結果A2可為受測者依據不同情緒而產生之多個臉部動作單元AU1’-AUn’的各個動態參數值,情緒指標組合A31-A33可例如包括:負面情緒指標組合之害怕指標A31、生氣指標A32及鄙視指標A33,抑或可包括正面情緒指標組合之開心指標A31、感動指標A32及滿足指標A33。In practical application, the basic data B may include gender B1 and age B2; the facial expression evaluation result A' includes at least: static expression evaluation result A1, dynamic expression evaluation result A2, and multiple emotional index combinations A31-A33; The expression evaluation result A1 can be the static parameter values of the multiple facial action units AU1-AUn when the subject has no emotions; the dynamic expression evaluation result A2 can be the multiple facial movements generated by the subject according to different emotions For each dynamic parameter value of the units AU1'-AUn', the emotion index combination A31-A33 may include, for example, the fear index A31, the anger index A32 and the contempt index A33 of the negative emotion index combination, or may include the happiness index A31 of the positive emotion index combination , moving index A32 and meeting index A33.
再者,個人臉部特徵P可包括習慣表情之靜態紋路特徵P1、靜態輪廓線特徵P2或膚質特徵P3;其中,個人臉部特徵P1-P3可由人臉表情評估模組110及輸入輸出模組150中之至少一者而提供。Furthermore, the personal facial features P may include static texture features P1 of habitual expressions, static contour features P2 or skin texture features P3; wherein, the personal facial features P1-P3 can be obtained by the facial
至於功能性醫學解剖規則231之醫療規則R1,例如包括各個臉部肌肉群因應不同情緒表情的拉伸程度規則、張力程度規則R11-R14;又,動態性醫學解剖規則232之醫療規則R2,例如包括各個臉部肌肉群之間因應不同情緒表情的連動規則、收縮規則R21-R24。As for the medical rule R1 of the functional
最後,優選組合C1,C2可例如為受測者欲治療部位之多個臉部動作單元AU1-AUn中的一者或及其組合;注射填充劑的種類D可包括:水凝膠劑類W、肉毒桿菌素劑類X、透明質酸劑類Y以及膠原蛋白劑類Z。其中,水凝膠劑類W、透明質酸劑類Y以及膠原蛋白劑類Z,除了可減少人臉表情的靜態紋路,從而減少負面情緒指標組合(悲傷指標、生氣指標等)之外,還能增加正面情緒指標組合(開心指標、滿足指標等)。Finally, the preferred combination C1, C2 can be, for example, one of the multiple facial action units AU1-AUn of the subject to be treated or a combination thereof; the type D of injectable fillers can include: hydrogel type W , botulinum toxin agent class X, hyaluronic acid agent class Y and collagen agent class Z. Among them, hydrogel agent W, hyaluronic acid agent Y and collagen agent Z, in addition to reducing the static state of human facial expressionIn addition to reducing the negative emotion index combination (sadness index, anger index, etc.), it can also increase the positive emotion index combination (happy index, satisfaction index, etc.).
當然,於本實施例中,前述之美容醫療輔助評估結果1-N可依據實際美容醫療的治療標的需求而調整,不應以本例為限制。且,前述之美容醫療輔助評估結果1-N的內容可為熟悉本技藝之人士進行各種均等的變更或設計,可依據受測者的美容醫療實際需求進而調整設計為適應的實施態樣。Of course, in this embodiment, the aforementioned cosmetic medical assistant evaluation results 1-N can be adjusted according to the needs of the actual cosmetic medical treatment target, which should not be limited to this example. In addition, the content of the aforesaid cosmetic medical assistant evaluation results 1-N can be modified or designed by those skilled in the art, and can be adjusted and designed according to the actual needs of the subject's cosmetic medical treatment.
接續說明,人工智慧辨識分析模組220如何依據上述之人工智慧深度學習/訓練架構,而執行人工智慧深度學習/訓練程序221。請參閱圖8,係為前述之人工智慧深度學習/訓練程序的較佳實施流程圖。Continuing to describe how the AI recognition and
如圖8所示,人工智慧深度學習/訓練程序221之流程步驟包括,執行步驟S31:提供該些美容醫療輔助評估結果241;其中,每一該美容醫療輔助評估結果至少包括:歷史受測者相關之基本資料B、人臉表情評估結果A’、個人臉部特徵P、該醫療知識規則模組230中之功能性醫學解剖規則231以及動態性醫學解剖規則232、評估治療部位結果的組合與優選順序以及注射填充劑的種類D與填充劑的劑量U;其中,該些美容醫療輔助評估結果241之內容為前述之圖7B所示者,當然靜態表情評估結果A1與動態表情評估結果A2可依據實際使用需求而選擇是否記錄於其中。As shown in FIG. 8 , the process steps of the artificial intelligence deep learning/
之後,執行步驟S32:輸入該些美容醫療輔助評估結果241至該人工智慧辨識分析模組220,以供其執行人工智慧深度學習/訓練程序221;其中,人工智慧辨識分析模組220依據至少一人工智慧深度學習/訓練演算法,而執行人工智慧深度學習/訓練程序221。而人工智慧深度學習/訓練演算法係為機器學習演算法、人工神經網路演算法、模糊邏輯演算法、深度學習演算法或及其組合,其中本例係以人工神經網路演算法及深度學習演算法中之至少一者為佳。Afterwards, step S32 is executed: inputting the cosmetic medical assistant evaluation results 241 to the artificial intelligence identification and
再則,將以後述多個較佳實施概念說明,如何藉由本案之人工智慧輔助評估方法及其系統,而進行美容醫療行為。其中,下列該些較佳實施例之主要治療標的需求為改善受測者1-3之臉部表情的負面情緒指標組合,且藉由減少或改善因應負面表情情緒而造成的負面情緒指標組合,從而提升個人魅力與人際關係。Furthermore, a number of preferred implementation concepts will be described later, how to use the artificial intelligence-assisted evaluation method and system in this case to perform cosmetic medical behaviors. Among them, the main treatment target requirements of the following preferred embodiments are to improve the negative emotion index combination of the facial expressions of the subjects 1-3, and by reducing or improving the negative emotion index combination caused by the negative expression emotion, This enhances personal charisma and interpersonal relationships.
舉例來說,該些較佳實施例之主要治療目的為減少或改善不自覺的皺眉或嘴角下垂的人臉表情,以減少常給人生氣或嚴肅的感覺,甚至減少負面的微表情,且還可於其他較佳實施例中,進一步於正面情緒指標組合的部分予以加強,而達到更優質、精確且個人化美感的美容醫療效果。For example, the main therapeutic purpose of these preferred embodiments is to reduce or improve involuntary frowning or drooping facial expressions, so as to reduce the feeling of being angry or serious, and even reduce negative micro-expressions, and also In other preferred embodiments, the part of the combination of positive emotion indicators can be further strengthened, so as to achieve a higher-quality, more accurate and personalized aesthetic beauty medical effect.
請參閱圖9A至圖9F,其係為應用本案發明概念中之人工智慧輔助評估方法及其系統的第一較佳實施概念示意圖。Please refer to FIG. 9A to FIG. 9F , which are schematic diagrams of a first preferred implementation concept of applying the artificial intelligence-assisted evaluation method and system thereof in the inventive concept of the present application.
以圖9A至圖9F的內容,並搭配圖1至圖4、圖7B所示為例,藉由人臉表情評估模組110而偵測受測者1之多個臉部動作單元AU1-AUn,且依據每一臉部動作單元AU1-AUn之一偵測結果與另一臉部動作單元AU1-AUn之另一偵測結果之間的變化,而提供即時人臉表情評估結果A;其中,即時人臉表情評估結果A係依據靜態表情評估結果A1及動態表情評估結果A2而產生之每一情緒指標組合的比例結果而形成。Taking the contents of FIGS. 9A to 9F in combination with FIGS. 1 to 4 and FIG. 7B as an example, the facial
如圖9A所示,受測者可能會不自覺地皺眉,或是因為老化關係而導致嘴角下垂,將該些臉部動作單元AU1-AUn所造成的微表情都記錄下來,並綜合形成靜態表情評估結果A1。As shown in Figure 9A, the subjects may frown unconsciously, or the corners of the mouth may sag due to aging. These facial action units AU1-AUnThe resulting micro-expressions are recorded, and a static expression evaluation result A1 is formed.
此外,如圖9B所示,動態表情評估結果A2係為受測者1依據不同情緒而呈現出不同人臉表情,例如:生氣表情、大笑表情...等。In addition, as shown in FIG. 9B , the dynamic expression evaluation result A2 is that the subject 1 presents different facial expressions according to different emotions, such as angry expressions, laughing expressions, etc.
接著,情緒分析及臉部辨識單元112進一步定量分析每一臉部動作單元的臉部肌肉群於不同情緒表情時的作動強度(包括前述的靜態表情評估結果A1與動態表情評估結果A2),而提供更精準的動態參數值,以作為情緒指標組合A31-A33、評估治療部位結果的組合與優選順序C1-C2,以及注射填充劑的種類D與填充劑的劑量U的治療參考。Next, the emotion analysis and face
當然,於其他較佳實施例中,情緒分析及臉部辨識單元可為一流程步驟,其被內建並安裝載入於人工智慧辨識分析模組中,抑或是人工智慧辨識分析程序中之部分程序(圖未示出)。Of course, in other preferred embodiments, the emotion analysis and face recognition unit may be a process step, which is built-in and installed in the AI recognition analysis module, or is a part of the AI recognition analysis program program (not shown).
再則,如圖9C及圖9D所示,受測者1之多個情緒指標組合A31-A33分別為悲傷指標為35.2%、生氣指標為14.1%、害怕指標為17.7%,以及依據該些情緒指標組合A31-A33所對應之每一臉部動作單元AU1-AUn的相關資訊。Furthermore, as shown in FIG. 9C and FIG. 9D , the multiple emotion index combinations A31-A33 of the subject 1 are respectively 35.2% for the sadness index, 14.1% for the anger index, and 17.7% for the fear index. Relevant information of each facial action unit AU1-AUn corresponding to the index combination A31-A33.
另一方面,人臉表情評估模組110還可搭配人臉三維(3D)模擬單元與膚質檢測單元,而進一步提供個人臉部特徵P之習慣表情的靜態紋路特徵P1、靜態輪廓線特徵P2或膚質特徵P3等(圖未示出)。On the other hand, the facial
接續,如圖9E所示,輸入即時人臉表情評估結果A至人工智慧辨識分析模組120中,抑或人工智慧辨識分析模組120主動接收即時人臉表情評估結果A,並選擇是否搭配醫療知識規則模組130及美容醫療輔助評估結果歷史資料庫140中之至少一者,以執行人工智慧辨識分析程序121。之後,產生並輸出受測者1之美容醫療輔助評估結果,其中美容醫療輔助評估結果至少包括評估治療部位結果的組合與優選順序C1-C2,以及注射填充劑的種類D與填充劑的劑量U。Then, as shown in FIG. 9E , input the real-time facial expression evaluation result A into the artificial intelligence recognition and
以此實施例來說,針對臉部動作單元AU1有關的肌肉群(內側額肌,Inner Frontalis),施以肉毒桿菌素Botulinum Toxin 8 s.U.,以及針對臉部動作單元AU15有關的肌肉群(降口角肌,depressor anguli oris)與臉部動作單元A17有關的肌肉群(類肌,mentails),施以Botulinum Toxin DAO 4 s.U.與Mentalis 4 s.U的美容醫療輔助評估結果建議。For this example,
如此一來,請參閱圖9F所示,比較受測者1的臉部表情在實施治療之前、一周後與三週後的人臉表情評估結果A’,自其中可以發現受測者1臉部之悲傷指標係從35.2%經過至一周治療後直接降至為0%;另外,對於受測者1臉部之生氣指標的變化而言,其自治療前的14.1%經過至一周治療後降至為7.8%,甚且在實施肉毒桿菌治療後三週,臉部之生氣指標將可完全降至0%。In this way, please refer to FIG. 9F , compare the facial expression evaluation results A′ of the subject 1 before, one week and three weeks after the treatment, from which it can be found that the face of the subject 1 The sadness index decreased from 35.2% to 0% directly after one week of treatment; in addition, the change of the angry index on the face of subject 1 decreased from 14.1% before treatment to one week after treatment. It was 7.8%, and even three weeks after the botox treatment, the facial vitality index would completely drop to 0%.
另一方面,針對悲傷指標的美容醫療輔助評估結果建議,透過本案的實施運作係也可給出另一種治療參考指引路徑:例如,當出現悲傷指標佔總情緒指標組合(總表情)之10%以上時,且臉部動作編碼單元中之臉部動作單元AU1、臉部動作單元AU4、臉部動作單元AU15皆出現增強(即佔比提高)時,建議可於相對應的肌肉群位置處注射肉毒桿菌素Botulinum Toxin A type;當然,本案可透過採用更多的個案數據(美容醫療輔助評估結果)與進行多次人工智慧深度學習/訓練程序,而顯然提出更佳的治療建議方案,不以上述的美容醫療輔助評估結果為限。On the other hand, the evaluation results of aesthetic medical assistance for sadness indicators suggest that through the implementation and operation of this case, another treatment reference guidance path can also be given: for example, when the sadness index accounts for 10% of the total emotional index combination (total expression) When the above, and the facial motion unit AU1, facial motion unit AU4, and facial motion unit AU15 in the facial motion coding unit are all enhanced (that is, the proportion is increased), it is recommended to inject at the corresponding muscle group position Botulinum Toxin A type; Of course, in this case, by using more case data (beauty medical assistant evaluation results) and performing multiple artificial intelligence deep learning/training procedures, it is obvious that a better treatment proposal can be proposed. With the above-mentioned cosmetic medical aids assessmentResults are limited.
再者,請參閱圖10,其係為應用本案發明概念中之人工智慧輔助評估方法及其系統的第二較佳實施概念示意圖。Furthermore, please refer to FIG. 10 , which is a conceptual schematic diagram of a second preferred implementation of the artificial intelligence-assisted evaluation method and system thereof according to the concept of the present invention.
如圖10所示,藉由人臉表情評估模組110而偵測受測者2之多個臉部動作單元AU1-AUn,從而提供即時人臉表情評估結果A,依此得知受測者2的多個情緒指標組合中之中性指標為26.3%為最高的,接著悲傷指標為13.9%為次高的,且同時美容醫療輔助評估結果中,其建議優選治療部位的順序為,主要造成悲傷指標的臉部動作單元AU1,其被歸類於內側眉頭上揚(Inner Brow Raiser)。As shown in FIG. 10 , the facial
基此,再將前述即時人臉表情評估結果A結合醫療知識規則模組130與美容醫療輔助評估結果歷史資料庫140,即可得知,透過功能性醫學解剖規則以及動態性醫學解剖規則能指引出與前述臉部動作單元AU1高度相關且連動的肌肉群所在位置,之後,便可進一步提供用以進行個人化美容醫療的美容醫療輔助評估結果,例如:針對與臉部動作單元AU1有關的肌肉群(內側額肌,Inner Frontalis),施以肉毒素Toxin 8 s.U.的治療參考建議。Based on this, the aforementioned real-time facial expression evaluation result A is combined with the medical
如此一來,比較受測者2的臉部表情在實施治療之前、一周後與三週後的人臉表情評估結果A’,自其中可以發現受測者2臉部之悲傷指標係從13.9%經過至一周治療後直接降至為8.4%,甚且在實施肉毒桿菌治療後三週,臉部之悲傷指標將可完全降至為0%。簡言之,透過本案運用於美容醫療之人工智慧輔助評估方法及其系統,其所能得到的美容醫療治療成效確實是十分顯著。In this way, comparing the facial expression evaluation results A' of the facial expression of the subject 2 before, one week and three weeks after the treatment, it can be found that the sadness index of the subject 2's face is from 13.9%. After up to one week of treatment, it dropped to 8.4% directly, and even three weeks after Botox treatment, the sadness index on the face could be completely reduced to 0%. In short, through the artificial intelligence-assisted evaluation method and its system applied to beauty medical treatment in this case, the cosmetic medical treatment effect that can be obtained is indeed very significant.
之後,請參閱圖11,其係為應用本案發明概念中之人工智慧輔助評估方法及其系統的第三較佳實施概念示意圖。After that, please refer to FIG. 11 , which is a conceptual schematic diagram of a third preferred implementation of the artificial intelligence-assisted evaluation method and system thereof in the inventive concept of the present application.
如圖11所示,藉由人臉表情評估模組110而偵測受測者3之多個臉部動作單元AU1-AUn,從而提供即時人臉表情評估結果A,依此可得知,不論是哪一種性別或年齡的人類生氣表情,大致都與前述臉部動作單元AU15與臉部動作單元AU17的肌肉群有關;且比較受測者3的臉部表情在實施治療之前、一周後與三週後的人臉表情評估結果A’,自其中可以發現受測者3臉部之生氣指標,經過三週的治療後已有很明顯的改善。As shown in FIG. 11 , the facial
也就是說,針對生氣指標的美容醫療輔助評估結果建議,透過本案的實施運作係可給出另一種治療參考指引路徑,例如:當出現生氣指標為10%以上,且臉部動作編碼單元中之臉部動作單元AU15與臉部動作單元AU17皆出現增強(即佔比提高)時,建議可於相對應的肌肉群(降口角肌與頦肌)位置處注射肉毒桿菌素Botulinum Toxin A type。That is to say, it is suggested that another treatment reference guide path can be given through the implementation and operation of this case, for example, when the anger index is more than 10%, and the facial action coding unit is When the facial action unit AU15 and the facial action unit AU17 are both enhanced (that is, the proportion increases), it is recommended to inject Botulinum Toxin A type into the corresponding muscle groups (depressor depressor muscle and mental muscle).
然而,針對上述之較佳實施例,並對照於目前習知僅以醫師個人判斷的美容醫療治療建議作法後,即可比較知悉,習知作法確實易受限於醫師個人經驗與刻板印象的影響,以致不能夠全盤客觀的考量,進而存有漏失每個人微表情的差異的重大缺失。However, in view of the above-mentioned preferred embodiment, and comparing with the current conventional cosmetic medical treatment recommendations based only on the personal judgment of physicians, it can be seen that the conventional method is indeed easily limited by the influence of physicians’ personal experience and stereotypes. , so that it cannot be considered comprehensively and objectively, and there is a major defect of missing the differences in each person's microexpressions.
詳細來說,治療標的為減少生氣指標,醫師往往使用肉毒桿菌素去減少皺眉肌的動作,而忽略每個人生氣表情的肌肉動作其實微有差異,少數人可能嘴角同時往下,或下巴肌肉會收縮上揚,也有人抬眉肌內側有些動作,而這些肌肉的牽動有可能只有部分是肉眼可見的,因此易造成肌肉牽動過度細微而不易察覺,從而產生治療上的盲點與誤區,進而造成反效果的醫療成效與不必要的醫療糾紛。In detail, the target of treatment is to reduce the index of anger. Physicians often use Botox to reduce the movement of the frown muscle, but ignore that the muscle movement of each person's angry expression is actually slightly different. A few people may have the corners of the mouth down at the same time, or the muscles of the chin. It will contract and rise, and some people have some movements on the inner side of the eyebrow raising muscle, and theIt is possible that only part of the movement is visible to the naked eye, so it is easy to cause the muscle movement to be too subtle and difficult to detect, resulting in blind spots and misunderstandings in treatment, resulting in adverse medical results and unnecessary medical disputes.
舉例來說,於圖9A至圖9F中之受測者1,如改為以習知醫師個人判斷的美容醫療治療建議為,其主要治療部位將會集中為臉部動作單元AU15與臉部動作單元AU17,其中,醫師遺漏生氣指標之臉部動作單元AU1,而使美容醫療治療效果不佳(圖未示出)。For example, if the subject 1 in FIG. 9A to FIG. 9F is changed to a cosmetic medical treatment recommendation based on the personal judgment of a conventional doctor, the main treatment parts will be concentrated on the facial action unit AU15 and the facial action. In the unit AU17, the doctor omits the facial action unit AU1 of the anger index, and the effect of cosmetic medical treatment is not good (not shown in the figure).
其次,於圖10中之受測者2,以習知醫師個人判斷的美容醫療治療建議為,通常主要治療部位為臉部動作單元AU2,其判斷依據為受測者2之眼輪匝肌引起眼睛下垂,而造成悲傷指標。然而,執行美容醫療行為後,比較受測者2的臉部表情在實施治療之前、一周後與三週後的人臉表情評估結果A’,自其中可以發現受測者2臉部的悲傷指標,係從6.8%經過至一周治療後直接降至為5.1%,但在實施肉毒桿菌治療後三週的悲傷指標卻回復至6.7%,其原因在於醫師錯誤判斷受測者2的治療部位,而導致美容醫療治療效果不佳,從而無法有效地改善悲傷指標(圖未示出)。Next, in the subject 2 in FIG. 10, the cosmetic medical treatment recommendation based on the personal judgment of a conventional doctor is that the main treatment part is usually the facial action unit AU2, and the judgment is based on the orbicularis oculi of the
最後,於圖11中之受測者3,如改以習知醫師個人判斷的美容醫療治療建議為,則通常主要治療部位為於臉部動作單元AU17處注射肉毒桿菌素abobotulinumtoxin A共4劑量(Units)。然而,執行美容醫療行為後,比較受測者3的臉部表情在實施治療之前、一周後與三週後的人臉表情評估結果A’,自其中可以發現受測者3臉部的生氣指標,係從10.9%經過至一周治療後直接降至為5.9%,但在實施肉毒桿菌治療後三週的生氣指標卻升至13.9%,其原因在於醫師不但遺漏判斷受測者3的治療部位(臉部動作單元AU15),且注射肉毒桿菌素abobotulinumtoxin A於臉部動作單元AU17的劑量亦不足夠,而導致非但無法改善受測者的人臉表情,反而還造成生氣指標提升的反效果(圖未示出)。Finally, for subject 3 in Figure 11, if the cosmetic medical treatment recommendation based on the personal judgment of a conventional physician is changed, the main treatment site is usually the injection of botulinum toxin abobotulinumtoxin A at the facial action unit AU17 for a total of 4 doses (Units). However, after performing the cosmetic medical behavior, compare the facial expression evaluation results A' of the facial expression of the subject 3 before, one week and three weeks after the treatment, from which the anger index of the subject 3's face can be found , it dropped from 10.9% to 5.9% after one week of treatment, but the anger index rose to 13.9% three weeks after botulinum toxin treatment. The reason is that the doctor not only missed to judge the treatment site of subject 3 (Facial Action Unit AU15), and injected with BotoxThe dose of abobotulinumtoxin A in the facial action unit AU17 was also insufficient, which not only failed to improve the subject's facial expression, but also had the opposite effect of increasing the anger index (not shown in the figure).
是以,相較於本案之運用於美容醫療之人工智慧輔助評估方法及其系統,其藉由人臉表情評估模組110提供受測者之即時人臉表情評估結果A,再透過人工智慧辨識分析模組選擇搭配醫療知識規則模組中之複數醫療規則與美容醫療輔助評估結果歷史資料庫,以執行人工智慧辨識分析程序,從而產生並輸出美容醫療輔助評估結果,其中美容醫療輔助評估結果至少包括受測者之評估治療部位結果的組合與優選順序及/或注射填充劑種類與劑量。如此一來,本案不但能精準地分析評估出正確及完整的治療部位(臉部動作單元AU1-AUn),且亦能準確地提供注射填充劑的種類與劑量,從而達到個人化美感的美容醫療治療效果。Therefore, compared with the artificial intelligence-assisted evaluation method and system used in beauty medicine in this case, the facial
除此之外,本案還可進行加強正面情緒指標組合的美容醫療行為,抑或,針對人臉老化的治療部位做預防性改善的美容治療建議,例如:人臉肌肉鬆弛後會造成嘴角下垂,因而可能產生生氣指標的面相等。In addition, this case can also carry out cosmetic medical behaviors that strengthen the combination of positive emotional indicators, or cosmetic treatment suggestions for preventive improvement of the aging treatment area of the face. For example, after the facial muscles relax, the corners of the mouth will sag, so The faces that may generate angry indicators are equal.
另一方面,本案之方法與系統可應用於多種美容醫療或美學領域,還能作為美容醫療手術前後之治療效果的判斷依據,亦可應用於醫療教學領域,作為培訓醫師以進修或改善先前治療時的盲點與誤區。On the other hand, the method and system of this case can be applied to a variety of cosmetic medical or aesthetic fields, and can also be used as a basis for judging the treatment effect before and after cosmetic medical surgery. blind spots and mistakes.
以上所述僅為本發明之較佳實施例,並非用以限定本發明之申請專利範圍,因此凡其它未脫離本發明所揭示之精神下所完成之等效改變或修飾,均應包含於本案之申請專利範圍內。The above descriptions are only the preferred embodiments of the present invention, and are not intended to limit the scope of the patent application of the present invention. Therefore, all other equivalent changes or modifications made without departing from the spirit disclosed in the present invention shall be included in this case. within the scope of the patent application.
S10,S11-S14:流程步驟S10, S11-S14: Process steps
| Application Number | Priority Date | Filing Date | Title |
|---|---|---|---|
| US201962845355P | 2019-05-09 | 2019-05-09 | |
| US62/845355 | 2019-05-09 |
| Publication Number | Publication Date |
|---|---|
| TW202044279A TW202044279A (en) | 2020-12-01 |
| TWI756681Btrue TWI756681B (en) | 2022-03-01 |
| Application Number | Title | Priority Date | Filing Date |
|---|---|---|---|
| TW109115444ATWI756681B (en) | 2019-05-09 | 2020-05-08 | Artificial intelligence assisted evaluation method applied to aesthetic medicine and system using the same |
| Country | Link |
|---|---|
| CN (1) | CN111914871A (en) |
| TW (1) | TWI756681B (en) |
| Publication number | Priority date | Publication date | Assignee | Title |
|---|---|---|---|---|
| TWI889089B (en)* | 2023-12-21 | 2025-07-01 | 建國科技大學 | Tattoo auxiliary system and method |
| Publication number | Priority date | Publication date | Assignee | Title |
|---|---|---|---|---|
| TWI880063B (en)* | 2021-01-15 | 2025-04-11 | 李至偉 | Artificial intelligence assisted evaluation method applied to aesthetic medicine and assisted evaluation system using the same |
| Publication number | Priority date | Publication date | Assignee | Title |
|---|---|---|---|---|
| TW200823689A (en)* | 2006-11-21 | 2008-06-01 | Jing-Jing Fang | Method of three-dimensional digital human model construction from two photos and obtaining anthropometry information |
| WO2014114991A1 (en)* | 2013-01-23 | 2014-07-31 | Amato Aldo | Procedure for dental aesthetic analysis of the smile area and for facilitating the identification of dental aesthetic treatments |
| CN107007257A (en)* | 2017-03-17 | 2017-08-04 | 深圳大学 | The automatic measure grading method and apparatus of the unnatural degree of face |
| CN107993280A (en)* | 2017-11-30 | 2018-05-04 | 广州星天空信息科技有限公司 | Beauty method and system based on threedimensional model |
| Publication number | Priority date | Publication date | Assignee | Title |
|---|---|---|---|---|
| TWI457872B (en)* | 2011-11-15 | 2014-10-21 | Univ Nat Taiwan Normal | Testing system and method having face expressions recognizing auxiliary |
| TWI546095B (en)* | 2013-12-13 | 2016-08-21 | Medical treatment system and device | |
| ES2633152B1 (en)* | 2017-02-27 | 2018-05-03 | Universitat De Les Illes Balears | METHOD AND SYSTEM FOR THE RECOGNITION OF THE STATE OF MOOD THROUGH IMAGE ANALYSIS |
| Publication number | Priority date | Publication date | Assignee | Title |
|---|---|---|---|---|
| TW200823689A (en)* | 2006-11-21 | 2008-06-01 | Jing-Jing Fang | Method of three-dimensional digital human model construction from two photos and obtaining anthropometry information |
| WO2014114991A1 (en)* | 2013-01-23 | 2014-07-31 | Amato Aldo | Procedure for dental aesthetic analysis of the smile area and for facilitating the identification of dental aesthetic treatments |
| CN107007257A (en)* | 2017-03-17 | 2017-08-04 | 深圳大学 | The automatic measure grading method and apparatus of the unnatural degree of face |
| CN107993280A (en)* | 2017-11-30 | 2018-05-04 | 广州星天空信息科技有限公司 | Beauty method and system based on threedimensional model |
| Publication number | Priority date | Publication date | Assignee | Title |
|---|---|---|---|---|
| TWI889089B (en)* | 2023-12-21 | 2025-07-01 | 建國科技大學 | Tattoo auxiliary system and method |
| Publication number | Publication date |
|---|---|
| TW202044279A (en) | 2020-12-01 |
| CN111914871A (en) | 2020-11-10 |
| Publication | Publication Date | Title |
|---|---|---|
| TWI880063B (en) | Artificial intelligence assisted evaluation method applied to aesthetic medicine and assisted evaluation system using the same | |
| Krumhuber et al. | FACSGen 2.0 animation software: generating three-dimensional FACS-valid facial expressions for emotion research. | |
| Wang et al. | Automated video-based facial expression analysis of neuropsychiatric disorders | |
| CN110147729A (en) | User emotion recognition methods, device, computer equipment and storage medium | |
| Beyan et al. | Moving as a leader: Detecting emergent leadership in small groups using body pose | |
| Tsai et al. | Toward Development and Evaluation of Pain Level-Rating Scale for Emergency Triage based on Vocal Characteristics and Facial Expressions. | |
| TWI756681B (en) | Artificial intelligence assisted evaluation method applied to aesthetic medicine and system using the same | |
| Oh et al. | Person knowledge shapes face identity perception | |
| Varni et al. | Computational study of primitive emotional contagion in dyadic interactions | |
| US20230260625A1 (en) | Method And System for Recommending Injectables for Cosmetic Treatments | |
| Pablos et al. | Dynamic facial emotion recognition oriented to HCI applications | |
| CN119560108A (en) | A virtual reality mental illness cognitive experience method and system | |
| Ye et al. | CmdVIT: A Voluntary Facial Expression Recognition Model for Complex Mental Disorders | |
| Gutstein et al. | Optical flow, positioning, and eye coordination: automating the annotation of physician-patient interactions | |
| US20240265533A1 (en) | Computer-based body part analysis methods and systems | |
| Tapia et al. | A contribution to the method of automatic identification of human emotions by using semantic structures | |
| JP2023038870A (en) | Impression evaluation method and impression evaluation system | |
| Ahmed et al. | Assisting the autistic with improved facial expression recognition from mixed expressions | |
| Spark et al. | Multi Path Heterogeneous Neural Networks: Novel comprehensive classification method of facial nerve function | |
| Kumar et al. | Analysis of Yoga Position using Machine Learning based Approach | |
| Manno | Profiling facial expressions of emotion: insights from their emotional, semantic, and contextual similarities | |
| Chhabra et al. | An approach for the transformation of human emotion and energy-field using sound therapy | |
| Chandrasekaran et al. | Emotional Behaviour Study Using AI Tools | |
| ZHANG et al. | A Method for Generating Facial Expressions Using Action Units | |
| Schimmel et al. | MP-BGAAD: multi-person board game affect analysis dataset |