








本發明是有關一種感測裝置、發光模組及其控制方法,尤其是適於移動設備的三維感測裝置、發光模組及其控制方法。The present invention relates to a sensing device, a light-emitting module and a control method thereof, especially a three-dimensional sensing device, a light-emitting module and a control method suitable for mobile equipment.
近年來三維圖像獲取技術開始應用於移動設備如智慧手機的攝像頭而具有多功能應用,例如:人臉辨識作為解除屏鎖應用、距離量測應用等。In recent years, 3D image acquisition technology has been applied to the camera of mobile devices such as smart phones and has multi-functional applications, such as: face recognition as a screen lock release application, distance measurement application, etc.
然而,發明人認識到,傳統的移動設備中前置的攝像頭受限於薄形化的機構設計空間,無法容置較為龐大的類型,導致實際應用上有所限制;但如果設計者為了實現多元化的感測功能,因而配置多顆不同功能的鏡頭,更可能導致前置攝像頭模組體積龐大,從而在移動設備體積薄形化的應用上造成困擾。有鑑於此,本發明之一些實施例提供一種三維感測裝置、發光模組及其控制方法,適於感測三維的待測物,以解決三維感測裝置在機構設計所面臨的問題。However, the inventor realized that the front-facing camera in the traditional mobile device is limited by the thin mechanism design space and cannot accommodate relatively large types, which leads to limitations in practical application; Therefore, the configuration of multiple lenses with different functions may cause the front camera module to be bulky, which will cause problems in the application of thin mobile devices. In view of this, some embodiments of the present invention provide a three-dimensional sensing device, a light-emitting module and a control method thereof, which are suitable for sensing a three-dimensional object to be tested, so as to solve the problems faced in the mechanism design of the three-dimensional sensing device.
依據本發明一些實施例,三維感測裝置適於感測一待測物。三維感測裝置包含發光模組以及感測模組。發光模組具有相連通的透光區域及容置區域。發光模組包含發光元件、切換組件、第一光學元件及第二光學元件。發光元件位於透光區域。發光元件用於輸出發光光線。第一光學元件可活動於透光區域與容置區域之間。第一光學元件在透光區域接收發光光線並輸出擴散光線。第二光學元件可活動於透光區域與容置區域之間。第二光學元件在透光區域接收發光光線並輸出結構光斑。切換組件連接於第一光學元件及第二光學元件。切換組件用於選擇性切換第一光學元件及第二光學元件其中之一者位於透光區域,而另一者位於容置區域。感測模組相鄰於發光模組。感測模組用於感測經待測物反射的擴散光線或結構光斑。According to some embodiments of the present invention, the three-dimensional sensing device is adapted to sense an object to be tested. The three-dimensional sensing device includes a light-emitting module and a sensing module. The light-emitting module has a connected light-transmitting area and an accommodating area. The light emitting module includes a light emitting element, a switching element, a first optical element and a second optical element. The light-emitting element is located in the light-transmitting area. The light-emitting element is used to output light-emitting light. The first optical element can move between the light-transmitting area and the accommodating area. The first optical element receives the luminous light in the light-transmitting area and outputs the diffused light. The second optical element can move between the light-transmitting area and the accommodating area. The second optical element receives the luminous light in the light-transmitting area and outputs a structured light spot. The switching component is connected to the first optical element and the second optical element. The switching component is used for selectively switching one of the first optical element and the second optical element in the light-transmitting area, and the other in the accommodating area. The sensing module is adjacent to the light emitting module. The sensing module is used for sensing the diffused light or the structured light spot reflected by the object to be tested.
依據本發明一些實施例,更包含:處理模組,耦接於感測模組,用於依據經反射的擴散光線或結構光斑產生待測物的三維圖像。According to some embodiments of the present invention, it further includes: a processing module, coupled to the sensing module, for generating a three-dimensional image of the object to be tested according to the reflected diffused light or the structured light spot.
依據本發明一些實施例,切換組件還包含第一傳送機構以及第二傳送機構。第一傳送機構包含連接於第一光學元件的第一連接元件、連接於第一連接元件的第一傳動組件、以及連接於第一傳動組件的第一驅動單元,其中第一驅動單元驅動第一傳動組件及第一連接元件以移動第一光學元件。第二傳送機構包含連接於第二光學元件的第二連接元件、連接於第二連接元件的第二傳動組件、以及連接於第二傳動組件的第二驅動單元,其中第二驅動單元驅動第二傳動組件及第二連接元件以移動第二光學元件,其中第一傳送機構與第二傳送機構位於容置區域。According to some embodiments of the present invention, the switching assembly further includes a first transmission mechanism and a second transmission mechanism. The first transmission mechanism includes a first connecting element connected to the first optical element, a first transmission assembly connected to the first connecting element, and a first drive unit connected to the first transmission assembly, wherein the first drive unit drives the first The transmission assembly and the first connecting element are used to move the first optical element. The second transmission mechanism includes a second connecting element connected to the second optical element, a second transmission assembly connected to the second connecting element, and a second driving unit connected to the second transmission assembly, wherein the second driving unit drives the second The transmission component and the second connection element are used to move the second optical element, wherein the first transmission mechanism and the second transmission mechanism are located in the accommodating area.
依據本發明一些實施例,第一傳動組件及第二傳動組件包含傳動軸,且第一驅動單元及第二驅動單元包含步進馬達。According to some embodiments of the present invention, the first transmission assembly and the second transmission assembly include transmission shafts, and the first drive unit and the second drive unit include stepper motors.
依據本發明一些實施例,第一光學元件包含擴散片,且第二光學元件包含繞射光學元件。According to some embodiments of the present invention, the first optical element includes a diffuser, and the second optical element includes a diffractive optical element.
依據本發明一些實施例,第一光學元件的表面積大小以及第二光學元件的表面積大小等於或小於容置區域之表面積大小,且第一光學元件與第二光學元件平行於發光元件所在平面。According to some embodiments of the present invention, the surface area of the first optical element and the surface area of the second optical element are equal to or smaller than the surface area of the accommodating area, and the first optical element and the second optical element are parallel to the plane where the light-emitting element is located.
依據本發明一些實施例,發光模組適於三維感測裝置。發光模組包含相連通的透光區域及容置區域、發光元件、第一光學元件、第二光學元件以及切換組件。發光元件,位於透光區域,用於輸出發光光線。第一光學元件,可活動於透光區域與容置區域之間,第一光學元件在透光區域接收發光光線並輸出擴散光線。第二光學元件可活動於透光區域與容置區域之間,第二光學元件在透光區域接收發光光線並輸出結構光斑。切換組件,連接於第一光學元件及第二光學元件,用於選擇性切換第一光學元件及第二光學元件其中之一者位於透光區域,而另一者位於容置區域。According to some embodiments of the present invention, the light emitting module is suitable for a three-dimensional sensing device. The light-emitting module includes a connected light-transmitting area and an accommodating area, a light-emitting element, a first optical element, a second optical element and a switching component. The light-emitting element, located in the light-transmitting area, is used for outputting light-emitting light. The first optical element is movable between the light-transmitting area and the accommodating area, and the first optical element receives the luminous light in the light-transmitting area and outputs the diffused light. The second optical element can move between the light-transmitting area and the accommodating area, and the second optical element receives the luminous light in the light-transmitting area and outputs a structured light spot. The switching component is connected to the first optical element and the second optical element, and is used for selectively switching one of the first optical element and the second optical element in the light-transmitting area, and the other in the accommodating area.
依據本發明一些實施例,切換組件還包含第一傳送機構以及第二傳送機構。第一傳送機構包含連接於第一光學元件的第一連接元件、連接於第一連接元件的第一傳動組件、以及連接於第一傳動組件的第一驅動單元,其中第一驅動單元驅動第一傳動組件及第一連接元件以移動第一光學元件。第二傳送機構包含連接於第二光學元件的第二連接元件、連接於第二連接元件的第二傳動組件、以及連接於第二傳動組件的第二驅動單元,其中第二驅動單元驅動第二傳動組件及第二連接元件以移動第二光學元件,其中第一傳送機構與第二傳送機構位於容置區域。According to some embodiments of the present invention, the switching assembly further includes a first transmission mechanism and a second transmission mechanism. The first transmission mechanism includes a first connecting element connected to the first optical element, a first transmission assembly connected to the first connecting element, and a first drive unit connected to the first transmission assembly, wherein the first drive unit drives the first The transmission assembly and the first connecting element are used to move the first optical element. The second transmission mechanism includes a second connecting element connected to the second optical element, a second transmission assembly connected to the second connecting element, and a second driving unit connected to the second transmission assembly, wherein the second driving unit drives the second The transmission component and the second connection element are used to move the second optical element, wherein the first transmission mechanism and the second transmission mechanism are located in the accommodating area.
依據本發明一些實施例,第一傳動組件及第二傳動組件包含傳動軸,且第一驅動單元及第二驅動單元包含步進馬達。According to some embodiments of the present invention, the first transmission assembly and the second transmission assembly include transmission shafts, and the first drive unit and the second drive unit include stepper motors.
依據本發明一些實施例,第一光學元件包含擴散片,且第二光學元件包含繞射光學元件。According to some embodiments of the present invention, the first optical element includes a diffuser, and the second optical element includes a diffractive optical element.
依據本發明一些實施例,第一光學元件的表面積大小以及第二光學元件的表面積大小等於或小於容置區域之表面積大小,且第一光學元件與第二光學元件平行於發光元件所在平面。According to some embodiments of the present invention, the surface area of the first optical element and the surface area of the second optical element are equal to or smaller than the surface area of the accommodating area, and the first optical element and the second optical element are parallel to the plane where the light-emitting element is located.
依據本發明一些實施例,適於三維感測一待測物的發光模組控制方法包含以下步驟:藉由發光元件於透光區域輸出發光光線;切換組件選擇性切換第一光學元件及第二光學元件其中之一者位於透光區域,而另一者位於與透光區域相連通的容置區域,其中第一光學元件及第二光學元件可活動於透光區域與容置區域之間;當第一光學元件位於透光區域時,第一光學元件接收發光光線並輸出擴散光線,且第二光學元件位於容置區域;當第二光學元件位於透光區域時,第二光學元件接收發光光線並輸出結構光斑,且第一光學元件位於容置區域;以及感測模組感測經待測物反射的擴散光線或結構光斑。According to some embodiments of the present invention, a light-emitting module control method suitable for three-dimensional sensing of an object to be tested includes the following steps:Output light-emitting light in the light-transmitting area through the light-emitting element;The switching component selectively switches one of the first optical element and the second optical element is located in the light-transmitting area, and the other is located in the accommodating area communicated with the light-transmitting area, wherein the first optical element and the second optical element can be It moves between the light-transmitting area and the accommodating area;When the first optical element is located in the light-transmitting area, the first optical element receives the luminous light and outputs the diffused light, and the second optical element is located in the accommodating area;When the second optical element is located in the light-transmitting area, the second optical element receives the luminous light and outputs the structured light spot, and the first optical element is located in the accommodating area; andThe sensing module senses the diffused light or the structured light spot reflected by the object to be tested.
依據本發明一些實施例,還包含以下步驟:當第一光學元件位於透光區域時,處理模組依據經反射的擴散光線產生待測物的三維圖像;以及當第二光學元件位於透光區域時,處理模組依據經反射的結構光斑產生待測物的三維圖像。According to some embodiments of the present invention, the following steps are also included:When the first optical element is located in the light-transmitting area, the processing module generates a three-dimensional image of the object to be tested according to the reflected diffused light; andWhen the second optical element is located in the light-transmitting area, the processing module generates a three-dimensional image of the object to be tested according to the reflected structured light spot.
依據本發明一些實施例,切換組件還通過第一驅動單元驅動相連接的第一傳動組件及第一連接元件以移動第一光學元件,以及通過第二驅動單元驅動相連接的第二傳動組件及第二連接元件以移動第二光學元件。According to some embodiments of the present invention, the switching assembly further drives the connected first transmission assembly and the first connecting element through the first driving unit to move the first optical element, and drives the connected second transmission assembly and the first optical element through the second driving unit. The second connecting element moves the second optical element.
依據本發明一些實施例,第一光學元件包含擴散片,第二光學元件包含繞射光學元件。According to some embodiments of the present invention, the first optical element includes a diffuser, and the second optical element includes a diffractive optical element.
據此,依據一些實施例,三維感測裝置利用切換組件選擇性切換第一光學元件及第二光學元件其中之一者位於透光區域,從而構成複合式光學透鏡組,可適應性提供不同應用下所需的擴散光線或結構光斑,接著,感測模組接受經反射的擴散光線或結構光斑,並轉換為光強度訊號,以供裝置後續進行三維辨識應用光斑。同時,位於三維感測裝置內的容置區域可收容發光模組所需的零組件,提高空間利用率,並滿足薄型化封裝需求。Accordingly, according to some embodiments, the three-dimensional sensing device utilizes the switching element to selectively switch one of the first optical element and the second optical element to be located in the light-transmitting area, thereby forming a compound optical lens group, which can be adapted to provide different applications Then, the sensing module receives the reflected diffused light or structured light spot, and converts it into a light intensity signal, which is used by the device for subsequent 3D recognition application light spot. At the same time, the accommodating area located in the three-dimensional sensing device can accommodate the components required by the light-emitting module, improve space utilization, and meet the requirements of thin packaging.
以下藉由具體實施例配合所附的圖式詳加說明,當更容易瞭解本發明之目的、技術內容、特點及其所達成之功效。The following detailed description will be given in conjunction with the accompanying drawings through specific embodiments, so as to make it easier to understand the purpose, technical content, characteristics and effects of the present invention.
以下將詳述本發明之各實施例,並配合圖式作為例示。在說明書的描述中,為了使讀者對本發明有較完整的瞭解,提供了許多特定細節;然而,本發明可能在省略部分或全部特定細節的前提下仍可實施。圖式中相同或類似之元件將以相同或類似符號來表示。特別注意的是,圖式僅為示意之用,並非代表元件實際之尺寸或數量,有些細節可能未完全繪出,以求圖式之簡潔。The various embodiments of the present invention will be described in detail below, with the accompanying drawings as examples. In the description of the specification, numerous specific details are provided in order to provide the reader with a more complete understanding of the present invention; however, the present invention may be practiced without some or all of the specific details. The same or similar elements in the drawings will be represented by the same or similar symbols. It should be noted that the drawings are for illustrative purposes only, and do not represent the actual size or number of components, and some details may not be fully drawn for the sake of simplicity in the drawings.
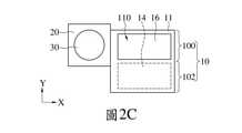
圖1為本發明一實施例的三維感測裝置的功能方塊示意圖。圖2A為本發明一實施例的三維感測裝置的第一視角側視示意圖。圖2B為圖2A所示的三維感測裝置的操作狀態示意圖。圖2C為圖2A所示的三維感測裝置的操作狀態示意圖。圖3A為圖2B所示的三維感測裝置的第二視角側視示意圖。圖3B為圖2C所示的三維感測裝置的第二視角側視示意圖。同時,圖3B也是圖3A所示的三維感測裝置的不同操作狀態的示意圖。FIG. 1 is a functional block diagram of a three-dimensional sensing device according to an embodiment of the present invention. 2A is a schematic side view of a three-dimensional sensing device according to an embodiment of the present invention from a first viewing angle. FIG. 2B is a schematic diagram of an operation state of the three-dimensional sensing device shown in FIG. 2A . FIG. 2C is a schematic diagram of an operation state of the three-dimensional sensing device shown in FIG. 2A . FIG. 3A is a schematic side view of the three-dimensional sensing device shown in FIG. 2B from a second viewing angle. FIG. 3B is a schematic side view of the three-dimensional sensing device shown in FIG. 2C from a second viewing angle. Meanwhile, FIG. 3B is also a schematic diagram of different operating states of the three-dimensional sensing device shown in FIG. 3A .
請一併參照圖1至圖3B,本發明一實施例之三維感測裝置包含發光模組10以及感測模組20。舉例而言,三維感測裝置是諸如:智慧手機、平板電腦等移動設備的前置及/或後置攝像頭。三維感測裝置用於獲取待測物A的三維圖像,或可供量測待測物A至三維感測裝置間的距離即深度。其中,待測物A可為但不限於:物體、動物或人臉。Referring to FIGS. 1 to 3B together, a three-dimensional sensing device according to an embodiment of the present invention includes a light-emitting
發光模組10包含發光元件12、第一光學元件14、第二光學元件16及切換組件18,其中第一光學元件14及第二光學元件16分別連接於切換組件18。另一方面,發光模組10具有相連通的透光區域100及容置區域102。其中,發光元件12位於透光區域100,切換組件18位於容置區域102,第一光學元件14可活動於透光區域100與容置區域102之間,且第二光學元件16可活動於透光區域100與容置區域102之間。具體而言,透光區域100與容置區域102沿水平方向相互連通,且相互連通處可供第一光學元件14及第二光學元件16來回活動於其中。此外,切換組件18連接於第一光學元件14及第二光學元件16,且切換組件18用於選擇性切換第一光學元件14及第二光學元件16其中之一者位於透光區域100,而另一者位於容置區域102。The
舉例而言,如圖3A所繪示,由三維感測裝置的第二視角即Y-Z截面視之,發光模組10具有外殼11。外殼11形成腔體,在腔體內部進一步區分出透光區域100及容置區域102,其中透光區域100和容置區域102彼此相鄰而整合為一。外殼11還具有位於透光區域100上方的開口部110,以及位於容置區域102上方的收納空間112。在一些示範例中,發光元件12及第一光學元件14配置於開口部110的下方,而第二光學元件16、切換組件18以及發光模組10所需的零組件13收容於收納空間112中。其中,零組件13可為但不限於:電子零件、積體電路(IC)、電路板(PCB)及散熱塊等相關構件。For example, as shown in FIG. 3A , when viewed from the second viewing angle of the three-dimensional sensing device, that is, the Y-Z section, the
在不同的操作狀態下,第一光學元件14可活動至容置區域102的收納空間112中,而第二光學元件16同時活動至透光區域100的開口部110的下方,如圖3B所繪示,詳述如後。In different operating states, the first
請繼續參照圖3A及圖3B,由三維感測裝置的第二視角即Y-Z截面視之,發光元件12位於透光區域100,並向上輸出發光光線L。舉例而言,發光元件可為垂直腔面發射光雷射器(VCSEL)、雷射二極管、發光二極管(LED)或有機發光二極管(OLED),但不限於此。在至少一實施例中,發光光線L包含但不限於紅外光線。在本實施例中,如圖3A所示的操作狀態下,第一光學元件14位於透光區域100中發光元件12的上方,而第二光學元件16位於容置區域102。藉此,第一光學元件14在透光區域100接收發光元件12所書出的發光光線L,並輸出擴散光線L1通過開口部110至待測物A。舉例而言,第一光學元件14可為擴散片(Diffuser),或是具有勻光效果的透光板材,例如但不限於:壓克力片、玻璃片、塑膠片等。Referring to FIGS. 3A and 3B , when viewed from the second viewing angle of the three-dimensional sensing device, that is, the Y-Z section, the light-emitting
然而,在不同的操作狀態下,如圖3B所繪示,第二光學元件16位於透光區域100中發光元件12的上方,而第一光學元件14位於容置區域102。藉此,第二光學元件16在透光區域100接收發光元件12所輸出的發光光線L,並輸出結構光斑L2通過開口部110至待測物A。舉例而言,第二光學元件16可為繞射光學元件(DOE,diffractive optical element),但不限於此。However, in different operating states, as shown in FIG. 3B , the second
感測模組20相鄰於發光模組10,且感測模組20接收外部光線,並轉變為光強度訊號。承前所述,當發光模組10輸出擴散光線L1至待測物A,則感測模組20接受的該外部光線即為經待測物A反射的擴散光線L1;然而,當發光模組10輸出結構光斑L2至待測物A,則感測模組20接受的該外部光線即為經待測物A反射的結構光斑L2。簡言之,感測模組20感測經待測物A反射的擴散光線L1或結構光斑L2。具體而言,感測模組20為例如但不限於CMOS感測器或是CCD感測器等傳感器。The
依據上述結構,三維感測裝置主要是利用切換組件18選擇性切換第一光學元件14及第二光學元件16其中之一者位於透光區域100,從而構成複合式光學透鏡組,可適應性提供不同應用下所需的擴散光線L1或結構光斑L2,接著,感測模組20接受經反射的擴散光線L1或結構光斑L2,轉變不同的光強度訊號,以供裝置後續進行三維辨識應用。舉例而言,在實際應用中,使用者以三維感測裝置進行感測的場景可能是遠景(例如:較遠的建築物)或近景(例如:人臉),而擴散光線適於感測遠景,結構光斑適於感測近景(說明如後),借此可實現在同一三維感測裝置上,針對感測場景中的遠景及近景進行功能切換,達到較精準的三維圖像辨識應用。在一些實施例中,三維感測裝置是移動設備的前置鏡頭,藉由切換組件18將複合式光學透鏡組切換到第一光學元件14以輸出均勻光源即擴散光線L1,來進行遠景感測辨識應用,或切換到第二光學元件16以輸出散斑點光源即結構光斑L2,來進行近景感測辨識應用,以實現遠景及近景感測辨識的切換。同時,位於三維感測裝置內的容置區域102可收容發光模組10所需的零組件13,提高空間利用率,並滿足薄型化封裝需求。According to the above structure, the three-dimensional sensing device mainly uses the switching
在一些實施例中,請一併參照圖1及圖2A,三維感測裝置更包含處理模組30。處理模組30耦接於感測模組20,且處理模組30接收感測模組20所輸出的該電訊號。在一示範例中,當切換組件18切換第一光學元件14到透光區域100時,處理模組30依據經反射的擴散光線L1,通過例如飛時測距(Tof)演算法,生成待測物A的三維圖像,供三維圖像辨識應用;當切換組件18切換第二光學元件16到透光區域100時,處理模組30依據經反射的結構光斑L2,通過例如深度演算法,生成待測物A的三維圖像,供三維圖像辨識應用。其中,飛時測距(Tof)演算法的原理是利用光線反射時間的計算來達到三維圖像辨識的功能,而深度演算法的原理是利用光線反射角度的計算來達到三維圖像辨識的功能。因此,採用飛時測距(Tof)演算法作為計算基礎的擴散光線對於遠景的感測效果較為優異,而採用深度演算法作為計算基礎的結構光斑對於近景的感測效果較為優異,藉此,本發明可實現在同一三維感測裝置上,針對感測場景中的遠景及近景進行功能切換,達到較精準的三維圖像辨識應用。In some embodiments, please refer to FIG. 1 and FIG. 2A together, the three-dimensional sensing device further includes a
在一些實施例中,發光模組10與感測模組20彼此相鄰且位於同一水平面,舉例而言,發光模組10與感測模組20位於同一基板(圖中未標號)上,如圖2A所例示。In some embodiments, the
在一些實施例中,發光元件12具有呈規則分布的多個發光單元,所述規則分布例如可以是陣列式(array)分布,舉例而言,發光元件12表面具有陣列式分布的多個開孔,供輸出光線。藉此,當發光元件12受驅動點亮時,可輸出發光光線L。In some embodiments, the light-emitting
在一些實施例中,第二光學元件16具有呈不規則分布的多個微結構單元,所述不規則分布例如可以是隨機式(random)分布,舉例而言,第二光學元件16具有沿水平方向,如圖3B所示Y軸,隨機式分布的微結構。於此,當發光元件12受驅動點亮時,朝向第二光學元件16輸出發光光線L以輸出不規則圖案的結構光斑L2。In some embodiments, the second
在一些實施例中,第一光學元件14的表面積大小以及第二光學元件16的表面積大小等於或小於容置區域102之表面積大小,且第一光學元件14與第二光學元件16平行於發光元件12所在平面。In some embodiments, the surface area of the first
圖4A為本發明又一實施例的發光模組的俯視示意圖。圖4B為圖4A所示的發光模組的側視示意圖。4A is a schematic top view of a light emitting module according to another embodiment of the present invention. FIG. 4B is a schematic side view of the light emitting module shown in FIG. 4A .
請一併參照圖4A及圖4B,在一些實施例中,切換組件18還包含第一傳送機構180以及第二傳送機構182,且第一傳送機構180及第二傳送機構182位於容置區域102。第一傳送機構180包含第一連接元件1800、第一傳動組件1802、以及第一驅動單元1804。其中,第一連接元件1800連接於第一光學元件14,第一傳動組件1802連接於第一連接元件1800,且第一驅動單元1804連接於第一傳動組件1802。於此,第一驅動單元1804驅動第一傳動組件1802及第一連接元件1800,藉以沿Y軸方向移動第一光學元件14。Referring to FIG. 4A and FIG. 4B together, in some embodiments, the
第二傳送機構182包含第二連接元件1820、第二傳動組件1822、以及第二驅動單元1824。其中,第二連接元件1820接於第二光學元件16,第二傳動組件1822連接於第二連接元件1820,且第二驅動單元1824連接於第二傳動組件1822。於此,第二驅動單元1824驅動第二傳動組件1822及第二連接元件1820,藉以沿Y軸方向移動第二光學元件16。The second conveying mechanism 182 includes a second connecting element 1820 , a second transmission assembly 1822 , and a second driving unit 1824 . The second connection element 1820 is connected to the second
在一些實施例中,第一傳動組件1802及第二傳動組件1822可為但不限於傳動軸,且第一驅動單元1804及第二驅動單元1824可為但不限於步進馬達。In some embodiments, the
請一併參照圖1至圖5,本發明另一實施例的適於三維感測一待測物的發光模組控制方法包含以下步驟。首先,藉由發光元件12於透光區域100輸出發光光線L(S1)。在步驟S1的一些實施例中,發光元件12位於透光區域100,並向上輸出發光光線L。舉例而言,發光元件可為垂直腔面發射光雷射器(VCSEL)、雷射二極管、發光二極管(LED)或有機發光二極管(OLED),但不限於此。在至少一實施例中,發光光線L包含但不限於紅外光線。相關詳細技術內容、優點功效及衍生實施例已如前述。Please refer to FIG. 1 to FIG. 5 together. A light-emitting module control method suitable for three-dimensional sensing of an object to be tested according to another embodiment of the present invention includes the following steps. First, the light-emitting light L is output from the light-transmitting
其次,切換組件18選擇性切換第一光學元件14及第二光學元件16其中之一者位於透光區域100,而另一者位於與透光區域100相連通的容置區域102,其中第一光學元件14及第二光學元件16可活動於透光區域100與容置區域102之間(S2)。在步驟S2的一些實施例中,發光模組10具有相連通的透光區域100及容置區域102。其中,發光元件12位於透光區域100,切換組件18位於容置區域102,第一光學元件14可活動於透光區域100與容置區域102之間,且第二光學元件16可活動於透光區域100與容置區域102之間。具體而言,透光區域100與容置區域102沿水平方向相互連通,且相互連通處可供第一光學元件14及第二光學元件16來回活動於其中。此外,切換組件18連接於第一光學元件14及第二光學元件16,且切換組件18用於選擇性切換第一光學元件14及第二光學元件16其中之一者位於透光區域100,而另一者位於容置區域102。相關詳細技術內容、優點功效及衍生實施例已如前述。Next, the switching
接著,當第一光學元件14位於透光區域100時,第一光學元件14接收發光光線L並輸出擴散光線L1,且第二光學元件16位於容置區域102(S31);然而,當第二光學元件16位於透光區域100時,第二光學元件16接收發光光線L並輸出結構光斑L2,且第一光學元件14位於容置區域102(S32)。舉例而言,在步驟S31的一示範例中,藉由例如但不限於擴散片作為第一光學元件14以接收來自發光元件12的發光光線L,並輸出擴散光線L1;在步驟S32的一示範例中,藉由例如但不限於繞射光學元件作為第二光學元件16以接收來自發光元件12的發光光線L,並輸出結構光斑L2。相關詳細技術內容、優點功效及衍生實施例已如前述。Next, when the first
隨後,感測模組20感測經待測物A反射的擴散光線L1或結構光斑L2(S4)。在步驟S4的一些實施例中,感測模組20接收外部光線,轉變為光強度訊號。承前所述,當發光模組10輸出擴散光線L1至待測物A,則感測模組20接受的該外部光線即為經待測物A反射的擴散光線L1;然而,當發光模組10輸出結構光斑L2至待測物A,則感測模組20接受的該外部光線即為經待測物A反射的結構光斑L2。相關詳細技術內容、優點功效及衍生實施例已如前述。Then, the
依據上述說明,適於三維感測一待測物的發光模組控制方法主要是利用切換組件18選擇性切換第一光學元件14及第二光學元件16其中之一者位於透光區域100,從而構成複合式光學透鏡組,可適應性提供不同應用下所需的擴散光線L1或結構光斑L2,接著,感測模組20接受經反射的擴散光線L1,轉變不同的光強度訊號,以供裝置後續進行三維辨識應用,或感測模組20接受經反射的結構光斑L2,轉變不同的光強度訊號,以供裝置後續進行三維辨識應用。舉例而言,三維感測裝置是移動設備的前置鏡頭,藉由切換組件18將複合式光學透鏡組切換到第一光學元件14以輸出均勻光源即擴散光線L1,來進行遠景感測辨識應用,或切換到第二光學元件16以輸出散斑點光源即結構光斑L2,來進行近景感測辨識應用,以實現遠景及近景感測辨識的切換。According to the above description, the light-emitting module control method suitable for three-dimensional sensing of an object to be tested is mainly to use the switching
在一些實施例中,當第一光學元件14位於透光區域100時,處理模組30依據經反射的擴散光線L1產生待測物A的三維圖像;當第二光學元件16位於透光區域100時,處理模組30依據經反射的結構光斑L2產生待測物A的三維圖像。舉例而言,當切換組件18切換第一光學元件14到透光區域100時,處理模組30依據經反射的擴散光線L1,通過例如飛時測距(Tof)演算法,生成待測物A的三維圖像,供三維圖像辨識應用;當切換組件18切換第二光學元件16到透光區域100時,處理模組30依據經反射的結構光斑L2,通過例如深度演算法,生成待測物A的三維圖像,供三維圖像辨識應用。In some embodiments, when the first
在一些實施例中,切換組件18還通過第一驅動單元1804驅動相連接的第一傳動組件1802及第一連接元件1800,以移動第一光學元件14,以及通過第二驅動單元1824驅動相連接的第二傳動組件1822及第二連接元件1820,以移動第二光學元件16。相關詳細技術內容、優點功效及衍生實施例已如前述。In some embodiments, the switching
綜上所述,根據本發明部分實施例所述的三維感測裝置、發光模組及其控制方法,主要是利用切換組件18選擇性切換第一光學元件14及第二光學元件16其中之一者位於透光區域100,從而構成複合式光學透鏡組,可適應性提供不同應用下所需的擴散光線L1或結構光斑L2,接著,感測模組20接受經反射的擴散光線L1,轉變不同的光強度訊號,以供裝置後續進行三維辨識應用,或感測模組20接受經反射的結構光斑L2,轉變不同的光強度訊號,以供裝置後續進行三維辨識應用。舉例而言,三維感測裝置是移動設備的前置鏡頭,藉由切換組件18將複合式光學透鏡組切換到第一光學元件14以輸出均勻光源即擴散光線L1,來進行遠景感測辨識應用,或切換到第二光學元件16以輸出散斑點光源即結構光斑L2,來進行近景感測辨識應用,以實現遠景及近景感測辨識的切換。同時,位於三維感測裝置內的容置區域102可收容發光模組10所需的零組件13,提高空間利用率,並滿足薄型化封裝需求。藉此,三維感測裝置可小巧地配置於移動設備的有限空間,並實現多元化的感測功能,以解決三維感測裝置在機構設計所面臨的問題。To sum up, according to some embodiments of the present invention, the three-dimensional sensing device, the light-emitting module and the control method thereof mainly utilize the
以上所述之實施例僅是為說明本發明之技術思想及特點,其目的在使熟習此項技藝之人士能夠瞭解本發明之內容並據以實施,當不能以此限定本發明之專利範圍,即大凡依本發明所揭示之精神所作之均等變化或修飾,仍應涵蓋在本發明之專利範圍內。The above-mentioned embodiments are only to illustrate the technical idea and characteristics of the present invention, and its purpose is to enable those who are familiar with the art to understand the content of the present invention and implement it accordingly. It should not limit the patent scope of the present invention. That is, all equivalent changes or modifications made according to the spirit disclosed in the present invention should still be covered within the patent scope of the present invention.
A:待測物L:發光光線L1:擴散光線L2:結構光斑S1、S2、S31、S32、S4:步驟10:發光模組100:透光區域102:容置區域11:外殼110:開口部112:收納空間12:發光元件13:零組件14:第一光學元件16:第二光學元件18:切換組件180:第一傳送機構1800:第一連接元件1802:第一傳動組件1804:第一驅動單元182:第二傳送機構1820:第二連接元件1822:第二傳動組件1824:第二驅動單元20:感測模組30:處理模組A: Object to be testedL: Luminous lightL1: diffuse lightL2: structured light spotS1, S2, S31, S32, S4: Steps10: Lighting module100: Translucent area102: accommodating area11: Shell110: Opening112: Storage space12: Light-emitting element13: Components14: First Optical Element16: Second Optical Element18: Toggle Components180: The first transmission mechanism1800: First connecting element1802: First drive assembly1804: First drive unit182: Second Transmission Mechanism1820: Second connecting element1822: Second Transmission Assembly1824: Second drive unit20: Sensing module30: Processing modules
[圖1] 為本發明一實施例的三維感測裝置的功能方塊示意圖。[圖2A] 為本發明一實施例的三維感測裝置的第一視角側視示意圖。[圖2B] 為圖2A所示的三維感測裝置的操作狀態示意圖。[圖2C] 為圖2A所示的三維感測裝置的操作狀態示意圖。[圖3A] 為圖2B所示的三維感測裝置的第二視角側視示意圖。[圖3B] 為圖2C所示的三維感測裝置的第二視角側視示意圖。[圖4A] 為本發明又一實施例的發光模組的俯視示意圖。[圖4B] 為圖4A所示的發光模組的側視示意圖。[圖5] 為本發明另一實施例的適於三維感測一待測物的發光模組控制方法的流程示意圖。1 is a functional block diagram of a three-dimensional sensing device according to an embodiment of the present invention.2A is a schematic side view of a three-dimensional sensing device from a first viewing angle according to an embodiment of the present invention.[ FIG. 2B ] A schematic diagram of an operation state of the three-dimensional sensing device shown in FIG. 2A .[ FIG. 2C ] A schematic diagram of an operation state of the three-dimensional sensing device shown in FIG. 2A .[ FIG. 3A ] A schematic side view of the three-dimensional sensing device shown in FIG. 2B from a second viewing angle.[ FIG. 3B ] A schematic side view of the three-dimensional sensing device shown in FIG. 2C from a second viewing angle.4A is a schematic top view of a light emitting module according to another embodiment of the present invention.[ FIG. 4B ] is a schematic side view of the light emitting module shown in FIG. 4A .5 is a schematic flowchart of a control method for a light-emitting module suitable for three-dimensional sensing of an object to be tested according to another embodiment of the present invention.
A:待測物A: Object to be tested
10:發光模組10: Lighting module
12:發光元件12: Light-emitting element
14:第一光學元件14: First Optical Element
16:第二光學元件16: Second Optical Element
18:切換組件18: Toggle Components
20:感測模組20: Sensing module
30:處理模組30: Processing modules
| Application Number | Priority Date | Filing Date | Title |
|---|---|---|---|
| CN202010565867.7ACN111721233B (en) | 2020-06-19 | 2020-06-19 | Three-dimensional sensing device, light emitting module and control method thereof |
| CN202010565867.7 | 2020-06-19 |
| Publication Number | Publication Date |
|---|---|
| TW202109140A TW202109140A (en) | 2021-03-01 |
| TWI755046Btrue TWI755046B (en) | 2022-02-11 |
| Application Number | Title | Priority Date | Filing Date |
|---|---|---|---|
| TW109129964ATWI755046B (en) | 2020-06-19 | 2020-09-01 | 3d sensing device, lighting module and control method thereof |
| Country | Link |
|---|---|
| CN (1) | CN111721233B (en) |
| TW (1) | TWI755046B (en) |
| Publication number | Priority date | Publication date | Assignee | Title |
|---|---|---|---|---|
| CN112965152B (en)* | 2021-03-16 | 2023-02-03 | 广州立景创新科技有限公司 | Composite diffusion sheet, illumination module and three-dimensional scanning device |
| US11494926B1 (en)* | 2021-07-01 | 2022-11-08 | Himax Technologies Limited | Method for performing hybrid depth detection with aid of adaptive projector, and associated apparatus |
| Publication number | Priority date | Publication date | Assignee | Title |
|---|---|---|---|---|
| US20050052714A1 (en)* | 2003-07-24 | 2005-03-10 | Zebra Imaging, Inc. | Enhanced environment visualization using holographic stereograms |
| CN110493400A (en)* | 2019-08-28 | 2019-11-22 | Oppo广东移动通信有限公司 | Projective module group and terminal |
| TW202008071A (en)* | 2018-07-24 | 2020-02-16 | 美商高通公司 | Adjustable light projector for flood illumination and active depth sensing |
| Publication number | Priority date | Publication date | Assignee | Title |
|---|---|---|---|---|
| JPH1075051A (en)* | 1996-07-05 | 1998-03-17 | Toyota Motor Corp | Appearance inspection device |
| JP2006323031A (en)* | 2005-05-17 | 2006-11-30 | Nec Corp | Viewing angle switching display device and terminal device |
| JP4645655B2 (en)* | 2008-02-04 | 2011-03-09 | 富士ゼロックス株式会社 | Optical transmission module |
| CN101833225B (en)* | 2010-05-06 | 2012-06-27 | 聚能户外用品技术服务(深圳)有限公司 | Method and mechanism for switching optical filter of photographic lens |
| US8558873B2 (en)* | 2010-06-16 | 2013-10-15 | Microsoft Corporation | Use of wavefront coding to create a depth image |
| CN102053297B (en)* | 2010-12-14 | 2012-07-25 | 中国科学院长春光学精密机械与物理研究所 | Multispectral reflective filtering mechanism |
| CN106123915B (en)* | 2016-06-08 | 2018-11-09 | 中国科学院光电技术研究所 | Pneumatic degraded image restoration system based on direct point spread function |
| CN110296825B (en)* | 2019-08-02 | 2021-02-02 | 浙江致远工程管理有限公司 | Inside gap detection device of cement tubular product |
| Publication number | Priority date | Publication date | Assignee | Title |
|---|---|---|---|---|
| US20050052714A1 (en)* | 2003-07-24 | 2005-03-10 | Zebra Imaging, Inc. | Enhanced environment visualization using holographic stereograms |
| TW202008071A (en)* | 2018-07-24 | 2020-02-16 | 美商高通公司 | Adjustable light projector for flood illumination and active depth sensing |
| CN110493400A (en)* | 2019-08-28 | 2019-11-22 | Oppo广东移动通信有限公司 | Projective module group and terminal |
| Publication number | Publication date |
|---|---|
| CN111721233A (en) | 2020-09-29 |
| CN111721233B (en) | 2022-05-31 |
| TW202109140A (en) | 2021-03-01 |
| Publication | Publication Date | Title |
|---|---|---|
| US11546453B2 (en) | Projection module and terminal | |
| TWI755046B (en) | 3d sensing device, lighting module and control method thereof | |
| US8890844B2 (en) | Optical navigation apparatus | |
| US8471345B2 (en) | Biometric sensor assembly with integrated visual indicator | |
| KR20060101859A (en) | Optical navigation device and method | |
| US20100265106A1 (en) | Light-Emitting Device and Electronic Device Using The Same | |
| TWI526898B (en) | Optical touch panel and light guide module thereof | |
| CN108200238A (en) | Electronic device | |
| WO2020038068A1 (en) | Imaging device and electronic apparatus | |
| CN209676289U (en) | Electronic equipment | |
| JP2016224389A (en) | Lens, light emitting device, and backlight module | |
| US12230621B2 (en) | Optical navigation module performing lateral detection | |
| CN108183989A (en) | Electronic device | |
| CN108074941B (en) | I/O modules and electronic devices | |
| CN211378086U (en) | Camera module type sensor device and camera module | |
| CN209728364U (en) | Optical detection device, backlight module, display device, and electronic equipment | |
| CN112710231A (en) | Visual detection system and detection method of luminous keyboard | |
| CN110223601B (en) | Display device and electronic device with 3D camera module | |
| CN110232863B (en) | Display device and electronic equipment with 3D camera module | |
| CN101082848A (en) | Optical input device with light-emitting chip fixed on sensing chip and manufacturing method thereof | |
| CN105096576A (en) | Signal receiving module and display device | |
| WO2023284369A1 (en) | Optical transmitter, depth module and terminal | |
| CN109766861A (en) | Multifunctional bio feature detection device and electronic equipment | |
| CN108023983A (en) | I/O modules and electronics | |
| CN201053590Y (en) | Multi-color LED array light source for detection |