



























本發明係關於一種吸收性物品或發熱體等之經由複數個製造步驟而製造之製品之製造方法及製造裝置。The present invention relates to a manufacturing method and manufacturing apparatus of an absorbent article, a heating element, etc., which are manufactured through a plurality of manufacturing steps.
於利用生產線製造之製品發生異常之情形時(例如,當於製造步驟中之品質檢查中發現不良品時、當受到消費者投訴時等),必須迅速地查明其原因。又,除了於製造之製品發生異常之情形以外,於在生產線中發生機械故障時,亦要求迅速查明原因。When an abnormality occurs in a product manufactured on a production line (for example, when a defective product is found in a quality inspection in the manufacturing step, when a consumer complaint, etc.), the cause must be quickly identified. In addition, in addition to abnormal situations in the manufactured products, when a mechanical failure occurs in the production line, it is also required to quickly find out the cause.
於專利文獻1中,記載有於製品之生產中進行構成零件之逐次附加而製造複合製品之製造製程中之品質資訊系統。構成零件包含連續之網狀材料或不連續之網狀材料。品質資訊系統包含檢查系統及品質資料子系統。檢查系統係自動檢查生產之複合製品之樣品組(sample set)之品質,並提供與檢查出之狀態建立關聯之品質參數。品質資料子系統獲取並保存複數個品質參數。
於專利文獻2中,記載有一種設計方法,該設計方法根據製品條碼、生產線下(offline)之步驟管理測定值、生產線上(inline)感測器測定值、問卷(聲音或視訊)結果之相關資料,重新設計製品或製程參數。又,揭示有一種品質追蹤系統,該品質追蹤系統根據儲存製品識別碼(序列號或條碼)資訊之資料庫、製造資料、來自消費者之反饋資料之記錄模組及各者之關聯而產生品質資訊。
進而,於專利文獻3中,揭示有吸收性物品(尿布)之製造方法。該製造方法中之檢查對象係基材及後翼。該檢查係藉由分別連接於通信網路之第一感測器、第二感測器及控制器而進行。而且,使檢查參數、製程參數及消費者反饋參數相關聯。根據該關聯,基於檢查參數或消費者反饋參數之至少1個,調整製程參數(施加壓力)。Furthermore, in
近年來,通信網路之高速、大容量化有所發展,且亦與檢查機器之性能提高相互結合,而於生產線中關於設備、製品產生大量資料。In recent years, the development of high-speed and large-capacity communication networks has also been combined with the improvement of the performance of inspection machines, and a large amount of information about equipment and products is generated in the production line.
[專利文獻1] 國際公開第2004/015509號[Patent Document 1] International Publication No. 2004/015509
[專利文獻2] 國際公開第2015/034713號[Patent Document 2] International Publication No. 2015/034713
[專利文獻3] 國際公開第2015/034891號[Patent Document 3] International Publication No. 2015/034891
本發明提供一種製品之製造方法,其係經由複數個製造步驟而製造製品之製造方法,且包括如下步驟:獲取製造上述製品之製造設備之設備資料;自上述製品獲取製品資料;將上述設備資料及上述製品資料儲存至資料收集部;將上述設備資料與上述製品資料建立關聯;判斷上述製品資料之異常;於上述製品發生異常之情形時,特定出與視為異常之製品建立關聯之設備異常資料及製品異常資料之兩者或任一者;及藉由該進行特定之步驟,進而特定出成為上述製品異常之原因之上述製造步驟。The present invention provides a manufacturing method of a product, which is a manufacturing method of manufacturing a product through a plurality of manufacturing steps, and includes the following steps: obtaining equipment information of the manufacturing equipment for manufacturing the above-mentioned product; obtaining the product information from the above-mentioned product; And the above product data is stored in the data collection department; the above equipment data is associated with the above product data; the abnormality of the above product data is judged; when the above product is abnormal, the equipment abnormality associated with the abnormal product is identified Both or either of the data and the product abnormality data; and by performing specific steps, the cause of the abnormality of the product can be identifiedThe manufacturing steps.
本發明提供一種製品之製造裝置,其係對應於複數個製造步驟而製造製品之製造裝置,且具有製造上述製品之複數個製造設備及檢查上述製品之複數個檢查裝置,且具有:感測器,其檢測上述製造設備所具有之製造圖案;及資料收集部,其儲存建立關聯的利用上述檢查裝置而獲得之製品資料、與利用上述感測器而檢測出之製造圖案資料;上述資料收集部具有:輔助中央處理裝置,其對上述製品資料進行處理;主中央處理裝置,其對建立關聯的表示上述製造設備之設備狀態之設備資料、經上述輔助中央處理裝置處理過之輔助裝置收集資料、及上述製造圖案資料進行處理;及資料庫伺服器,其儲存經上述主中央處理裝置處理過之主裝置收集資料。The present invention provides a product manufacturing device, which is a manufacturing device for manufacturing a product corresponding to a plurality of manufacturing steps, and has a plurality of manufacturing equipment for manufacturing the product and a plurality of inspection devices for inspecting the product, and has: a sensor , Which detects the manufacturing pattern possessed by the manufacturing equipment; and a data collection section, which stores the product data obtained by the inspection device and the manufacturing pattern data detected by the sensor; the above data collection section It has: an auxiliary central processing device that processes the aforementioned product data; a main central processing device that establishes associated equipment data representing the equipment status of the aforementioned manufacturing equipment, and collects data from the auxiliary devices processed by the aforementioned auxiliary central processing device, And the above-mentioned manufacturing pattern data for processing; and a database server, which stores the collected data of the main device processed by the above-mentioned main central processing device.
本發明之上述及其他特徵及優點當可適當參照隨附圖式並根據下述記載而變得更加明確。The above and other features and advantages of the present invention will become more clarified by referring to the accompanying drawings as appropriate and based on the following description.
10:製造裝置10: Manufacturing device
20:生產線20: Production line
21:生產線網路21: Production line network
22:生產線中央處理裝置22: Production line central processing device
23:設備中央處理裝置23: Equipment Central Processing Unit
24:生產線顯示裝置24: Production line display device
25:資料收集網路25: Data Collection Network
30:工廠中央處理裝置30: Factory central processing unit
40:製造設備40: Manufacturing equipment
41:設備主控制CPU41: Device main control CPU
42、42A、…、42M:設備輔助控制CPU42, 42A,..., 42M: Equipment auxiliary control CPU
43、43A、43B:加工裝置43, 43A, 43B: processing device
44:製造圖案44: making patterns
50、50A、50B、…、50Y、50a、50b、50c:檢查裝置50, 50A, 50B,..., 50Y, 50a, 50b, 50c: inspection device
51:攝像裝置51: camera device
52:照明裝置52: lighting device
53:位移感測器53: Displacement sensor
54:投光器54: Projector
55:受光器55: Receiver
56:圖像處理相機系統56: Image processing camera system
57:攝像裝置57: camera device
58:照明裝置58: lighting device
59:攝像裝置59: Camera
60:感測器60: Sensor
70:資料收集部70: Data Collection Department
71:輔助中央處理裝置71: auxiliary central processing unit
72:主中央處理裝置72: main central processing unit
72A:主中央處理CPU72A: main central processing CPU
72B:主中央處理CPU72B: main central processing CPU
73:資料庫伺服器73: database server
74:顯示裝置74: display device
74S:畫面74S: Screen
81:帶式輸送機81: Belt conveyor
82:切割機82: Cutting Machine
83:帶式輸送機83: Belt conveyor
84:攝像裝置84: camera device
84A:攝像位置84A: Camera position
85:製造編號賦予裝置85: Manufacturing number assigning device
85A:製造編號賦予位置85A: Manufacturing number assigned position
90:製品90: products
91:片材原片91: original sheet
91A:原片位置91A: Original film position
92:送出之片材92: Sheets sent
93:經切斷之片材93: Cut sheet
100:吸收體成形部100: Absorber forming part
105:吸收體105: Absorber
105A:整體部105A: Overall Department
105B:中高部105B: Middle and high part
105D:凹部105D: recess
106:吸收體圖像106: Absorber image
106A:整體部圖像106A: Overall image
106B:中高部圖像106B: Middle and high image
106D:缺陷部分圖像106D: Defective part image
107:帶式輸送機107: Belt conveyor
109:被覆片材109: Coated sheet
110:製造裝置110: Manufacturing Device
120:解纖機120: defibrating machine
121:外殼121: Shell
122:旋轉刀122: Rotary Knife
123:開口部123: Opening
124:開口部124: Opening
130:管道130: pipe
130a:一端部130a: one end
130b:另一端部130b: the other end
140:纖維堆積機140: Fiber Stacking Machine
141:纖維堆積用凹部141: Recess for fiber accumulation
142:轉筒142: Drum
151:紙漿片材151: Pulp sheet
152:紙漿纖維152: Pulp Fiber
153:吸水性聚合物153: Water-absorbing polymer
154:吸收體材料154: Absorber material
170:搬送裝置170: Conveying device
200:吸收體加壓部200: Absorber compression part
205:吸收體205: Absorber
205A:整體部205A: Overall Department
205B:中高部205B: Middle and high part
205D:凹部205D: recess
210:加壓輥210: pressure roller
220:砧輥220: Anvil Roll
230:搬送裝置230: Conveying device
231:搬送皮帶231: Conveying belt
232:搬送皮帶232: Conveying belt
300:壓紋加工部300: Embossing processing department
305:吸收體305: Absorber
305N:無壓紋壓痕之部分305N: Part without embossing
305P:壓紋壓痕305P: Embossing
305T:壓紋壓痕較淺之部分305T: The part with shallow embossing
306:吸收體圖像306: Absorber image
306A:壓紋周圍圖像部306A: Embossing surrounding image part
306P:壓紋圖像部306P: Embossed image section
310:壓紋輥310: Embossing roller
320:砧輥320: Anvil Roll
330:搬送裝置330: Conveyor
331:搬送皮帶331: Conveying belt
332:搬送皮帶332: Conveying belt
400:發熱體之製造裝置400: Manufacturing device for heating element
401:第1基材片材401: The first substrate sheet
401A:原片捲筒401A: Original film roll
402:塗料層402: Paint layer
403:發熱體層403: heating body layer
404:第2基材片材404: Second substrate sheet
405:發熱體連續體405: Heating element continuum
406:發熱體406: heating element
407:第2被覆片材407: The second covering sheet
410:貯存槽410: storage tank
420:送液泵420: Liquid delivery pump
430:塗佈部430: Coating Department
431:模嘴塗佈機431: Die Nozzle Coating Machine
432:塗料432: Paint
433:塗佈輥433: Coating Roll
440:電解質添加部440: Electrolyte Addition Department
441:電解質441: Electrolyte
442:螺旋送料機442: Screw Feeder
443:電解質質量感測器443: Electrolyte Quality Sensor
444:槽444: slot
445:電解質散佈量感測器445: Electrolyte dispersion sensor
450:貼合部450: Fitting Department
451、452:軋輥451, 452: Roll
460:狹縫、切口加工部460: Slit and notch processing part
470:第1裁斷部470: The first cutting part
471:切割機之刀471: Cutting Machine Knife
472:旋轉模切機472: Rotary Die Cutting Machine
473:砧輥473: Anvil Roll
480:重新調節部480: Readjustment Department
481:輸送機481: Conveyor
482:搬送皮帶482: Convey Belt
490:排出部490: discharge part
491:梯板輸送機491: Ladder Conveyor
493:環形皮帶493: Loop Belt
494:吸入箱494: Suction Box
500:被覆部500: Covered Department
501:輸送機501: Conveyor
C1:第1計算區間C1: The first calculation interval
C2:第2計算區間C2: The second calculation interval
D1、D1A、D1B、…、D1Y:製品資料D1, D1A, D1B,..., D1Y: product information
D2:製造圖案資料D2: Manufacturing pattern data
D3、D3A、D3B、…、D3M:設備資料D3, D3A, D3B, …, D3M: equipment information
D4、D4A、D4B、…、D4M:設備輔助資料D4, D4A, D4B, …, D4M: equipment auxiliary materials
D5:輔助裝置收集資料D5: Auxiliary device to collect data
D6:主裝置收集資料D6: The main device collects data
D7:資料庫資料D7: Database information
LD:凹部LD: recess
L205:線L205: line
T1:接紙預定時間T1: Scheduled time for receiving paper
W:視窗W: Window
圖1係表示本發明之製品之製造裝置之較佳之一例的概略構成圖。Fig. 1 is a schematic configuration diagram showing a preferred example of the product manufacturing apparatus of the present invention.
圖2係表示製造裝置之製造設備之較佳之一例的概略構成圖。Fig. 2 is a schematic configuration diagram showing a preferred example of manufacturing equipment of the manufacturing apparatus.
圖3係表示圖1所示之製品之製造裝置之生產線及資料收集部之較佳之一例的概略構成圖。Fig. 3 is a schematic configuration diagram showing a preferred example of a production line and a data collection part of the product manufacturing device shown in Fig. 1.
圖4係表示資料收集部之詳情之一例之方塊圖。Fig. 4 is a block diagram showing an example of the details of the data collection unit.
圖5係表示資料之關聯建立之一例之概略構成圖。Fig. 5 is a schematic diagram showing an example of the establishment of data association.
圖6係示出表示資料之關聯建立之收集資料之具體一例的圖式。Fig. 6 is a diagram showing a specific example of the collected data that indicates the establishment of the data association.
圖7係表示利用觸發器進行之收集資料之保存開始及保存停止之一例之圖式。Fig. 7 is a diagram showing an example of the start and stop of saving of collected data using triggers.
圖8係將接紙前後之原片直徑與時間之關係、接紙與時間之關係、及面積值與時間之關係之一例使各者之時間軸一致地示出的曲線圖。FIG. 8 is a graph showing an example of the relationship between the diameter of the original film before and after the splicing, the relationship between the splicing and the time, and the relationship between the area value and the time, so that the time axis of each is uniformly shown.
圖9係表示將製品之製造方法應用於吸收性物品之製造方法之一例之步驟方塊圖。FIG. 9 is a block diagram showing the steps of an example of applying the manufacturing method of the article to the manufacturing method of the absorbent article.
圖10係表示作為吸收體成形部之纖維堆積裝置之一例之構成圖。Fig. 10 is a configuration diagram showing an example of a fiber stacking device as an absorbent body forming part.
圖11係正常品之吸收體之前後方向剖視圖。Figure 11 is a front and back cross-sectional view of the absorbent body of a normal product.
圖12係異常品之吸收體之前後方向剖視圖。Figure 12 is a front and back sectional view of the absorbent body of the abnormal product.
圖13係表示拍攝異常品之吸收體表面所得之圖像之一例之概念圖。Fig. 13 is a conceptual diagram showing an example of an image obtained by photographing the surface of an absorbent body of an abnormal product.
圖14係表示吸收體之深淺值之求出方法之一例之俯視圖。Fig. 14 is a plan view showing an example of how to obtain the depth value of the absorber.
圖15係表示缺失面積值與纖維堆積抽吸頻率之關係之曲線圖。Fig. 15 is a graph showing the relationship between the value of the missing area and the suction frequency of fiber accumulation.
圖16係表示吸收體之加壓加工部之一例之概略構成圖。Fig. 16 is a schematic configuration diagram showing an example of a press working part of the absorbent body.
圖17係正常品之吸收體之長度方向剖視圖。Figure 17 is a longitudinal cross-sectional view of the absorbent body of a normal product.
圖18係異常品之吸收體之長度方向剖視圖。Figure 18 is a longitudinal cross-sectional view of the absorbent body of the abnormal product.
圖19係表示位移感測器之測定結果之吸收體高度與測定位置之關係圖。Figure 19 is a diagram showing the relationship between the height of the absorber and the measurement position of the measurement result of the displacement sensor.
圖20係表示壓紋加工部之一例之概略構成圖。Fig. 20 is a schematic configuration diagram showing an example of an embossing portion.
圖21係異常品之吸收體之俯視圖。Figure 21 is a top view of the absorbent body of the abnormal product.
圖22係正常品之吸收體之俯視圖。Figure 22 is a top view of a normal absorbent body.
圖23係表示壓紋之壓痕深淺值與壓紋間隙之關係之曲線圖。Figure 23 is a graph showing the relationship between embossing depth and embossing gap.
圖24係表示具有壓紋之吸收體圖像之一例之俯視圖。Fig. 24 is a plan view showing an example of an image of an absorber with embossing.
圖25係表示壓紋之壓痕深淺值與缺失面積值(纖維堆積抽吸頻率)之關係之曲線圖。Figure 25 is a graph showing the relationship between the value of the indentation depth of the embossing and the value of the missing area (fiber accumulation and suction frequency).
圖26係表示發熱體之製造裝置之一例之構成圖。Fig. 26 is a configuration diagram showing an example of a manufacturing apparatus of a heating element.
圖27係表示塗料層之表面形狀之測定結果的高度與位置之關係圖。Fig. 27 is a diagram showing the relationship between the height and the position of the measurement result of the surface shape of the paint layer.
圖28係表示發熱體位置精度(標準偏差)與塗料層截面面積(泵轉數)之關係之曲線圖。Fig. 28 is a graph showing the relationship between the position accuracy (standard deviation) of the heating element and the cross-sectional area of the paint layer (the number of pump revolutions).
本發明係關於一種有效利用藉由製造設備產生之資料而實現生產性之提高的製品之製造方法及製造裝置。即,係與如下內容相關:可使不良品之追蹤能力提高,藉由實現設備、製品發生異常時之迅速之原因查明,而實現機械運轉率之提高、及製品良品率之提高。The present invention relates to a manufacturing method and a manufacturing device for products that effectively utilize data generated by manufacturing equipment to achieve increased productivity. That is, it is related to the following content: the ability to track defective products can be improved, and by achieving rapid cause identification when equipment and products are abnormal, the machine operation rate and the product yield rate can be improved.
於上述專利文獻1~3中,未對獲取由構成生產線之製造設備產生之資料並與製品之資料建立關聯地進行保管、有效利用加以記載。若可有效利用與製造設備、製品相關之大量資料,則可期待謀求生產性提高、製品之品質提高。In the above-mentioned
即,有可實現於在生產線之製造設備中製造之製品發生異常之情形時之迅速之原因查明、及製造設備中發生機械故障時之迅速之原因查明的可能性。進而,有於機械故障發生之前預測到其發生而可事先謀求保全之可能性。為此,必須處理大量資料,但藉由通用之資料記錄器能夠收集、累積之資料點數僅為數點至數十點。因此,無法獲取並保管藉由製造設備產生之大量資料。又,資料並非僅單純地進行保管,而根據時間序列同時進行取樣,並使資料彼此建立關聯地進行累積,藉此期待其有效之利用。That is, it is possible to realize the rapid cause identification when the product manufactured in the manufacturing equipment of the production line is abnormal, and the rapid cause identification when the mechanical failure occurs in the manufacturing equipment. Furthermore, there is a possibility that the occurrence of a mechanical failure can be predicted before the occurrence of the mechanical failure, so that it can be preserved in advance. To this end, a large amount of data must be processed, but the number of data points that can be collected and accumulated by a general-purpose data logger is only a few to dozens of points. Therefore, it is impossible to obtain and keep a large amount of data generated by manufacturing equipment. In addition, the data is not simply stored, but sampling is performed at the same time according to the time series, and the data is correlated with each other and accumulated, thereby expecting its effective use.
本發明之製品之製造方法可有效利用藉由製造設備產生之資料而實現生產性之提高。即,藉由提高不良品之追蹤能力,而可進行異常發生時之迅速之原因分析,從而可實現機械運轉率之提高、製品良品率之提高。The manufacturing method of the product of the present invention can effectively utilize the data generated by the manufacturing equipment to realize the improvement of productivity. That is, by improving the tracking ability of defective products, rapid cause analysis can be performed when abnormalities occur, so that the machine operation rate can be improved, and the product yield rate can be improved.
本發明之製造之製造裝置可有效利用與生產相關之資料,而使生產設備之追蹤能力提高,藉此可進行異常發生時之迅速之原因分析,而可實現機械運轉率之提高、製品良品率之提高。The manufacturing device manufactured by the present invention can effectively use production-related data to improve the tracking ability of production equipment, thereby enabling rapid cause analysis when abnormalities occur, and realizing the improvement of machine operation rate and product yield rate The improvement.
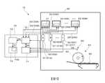
針對本發明之製品之製造方法之較佳之一實施形態,以吸收性物品之製造方法作為一例,一面參照圖式,一面於以下進行說明。首先,參照圖1對製造裝置之較佳之一例進行說明。Regarding a preferred embodiment of the manufacturing method of the product of the present invention, the manufacturing method of an absorbent article is taken as an example, with reference to the drawings and the following description. First, referring to FIG. 1, a preferred example of the manufacturing apparatus will be described.
如圖1所示,製造裝置10具備複數個生產線20、及管理該等生產線20之工廠中央處理裝置30。工廠中央處理裝置30對每個生產線20之「生產片數」、「良品片數」、「運轉時間」、「停止時間」、「停止次數」、「品種編號」、「每個感測器之排出次數」進行處理。各生產線20具備生產線中央處理裝置22,該生產線中央處理裝置22係於將未圖示之製造設備相連之生產線網路21中控制生產線之運轉、停止等。又,具備:設備中央處理裝置23,其控制各製造設備;生產線顯示裝置24,其顯示生產線之運轉狀況;及下述之檢查裝置50。進而,雖未圖示所有生產線20,但於各生產線20中,於各者之生產線網路21配置具備資料收集網路25之資料收集部70。於圖1中,作為代表,記載有配置於XX號(No.XX)生產線之生產線網路21之資料收集部70。各個生產線網路21連接有配置於其中之資料收集部70之資料收集網路25。再者,關於資料收集部70之詳情將於下文進行敍述。上述生產線網路21例如為將下述之製造設備彼此相連之網路。As shown in FIG. 1, the
如圖2所示,製造設備40配置於生產線上,且具有進行加工步驟之加工裝置43、進行檢查步驟之檢查裝置50等。加工裝置43例如包含對原材料進行處理之加工裝置43A、對未完成品進行處理之加工裝置43B等。自各加工裝置43可獲得設備資料D3。對於生產線上之檢查裝置50,例如有獲取原材料編號並將其記憶至製品資料中之檢查裝置50a、進行加工後之檢查之檢查裝置50b、賦予製品編號之檢查裝置50c等。另一方面,於生產線下,配置有於生產線下進行檢查步驟之檢查裝置50。該檢查步驟例如檢查形狀、尺寸、質量等作為製品之最終檢查。自各檢查裝置50可獲得製品資料D1。製造設備40內係對應於未完成品。於製品資料D1中,不僅包含完成品之製品資料,亦包含未完成品之製品資料。As shown in FIG. 2, the
如圖3所示,製造裝置10具備複數個生產線20,該等複數個生產線20具有用以製造製品90之複數個製造設備40及檢查製造中之製品90(未完成品)之複數個(例如A~Y)檢查裝置50。即,製品90既包含未完成品之製品,亦包含完成品之製品。As shown in FIG. 3, the
自製造設備40獲得之設備資料D3(D3A、D3B、…、D3M)係自配置於製造設備40內之設備主控制CPU(Central Processing Unit,中央處理單元)41及設備輔助控制CPU42(42A、42B、…、42M)直接發送至資料收集部70之主中央處理裝置72。又,自設備輔助控制CPU42獲得之設備輔助資料D4(D4A、D4B、…、D4M)係於設備輔助控制CPU42(42A、42B、…、42M)與設備主控制CPU41之間被發送。可將收集於設備主控制CPU41之設備輔助資料D4作為設備資料D3發送至主中央處理裝置72。再者,於各圖式中,為了方便起見,利用箭頭表示各種「資料」之通信路徑。以下同樣。又,CPU意指中央處理裝置。The equipment data D3 (D3A, D3B,..., D3M) obtained from the
主中央處理裝置72係讀入配置於製造設備40內之設備主控制CPU41或設備輔助控制CPU42之資料、或寫入設備主控制CPU41或設備輔助控制CPU42之資料。關於設備主控制CPU41與主中央處理裝置72、設備輔助控制CPU42與主中央處理裝置72之通信,作為通常之通信方法,例如可使用LAN(Local Area Network,區域網路)。作為LAN,例如較理想為利用乙太網路(註冊商標)(Ethernet(註冊商標))之通信。藉此,無須大幅度地修正設備主控制CPU41或設備輔助控制CPU42之軟體及硬體便可將設備資料D3收集至資料收集部70。以如上方式,將製品資料D1及設備資料D3儲存至資料收集部70(資料之儲存步驟)。The main
又,製造裝置10具有檢測加工裝置43所具備之製造圖案44之感測器60。感測器60包含近接感測器及使該近接感測器動作之凸塊。In addition, the
進而,具有資料收集部70,該資料收集部70將利用檢查裝置50而獲得之製品資料D1(D1A、D1B、…、D1Y)與利用感測器60而檢測出之製造圖案資料D2建立關聯地儲存。具體而言,例如,將利用檢查裝置50而獲得之與製品90之形狀相關之製品資料D1、與製作出感測器60檢測出之製品形狀之加工裝置43之製造圖案44之製造圖案資料D2建立關聯地儲存至資料收集部70。藉由以此方式建立關聯,於在製品資料D1中發現異常之情形時,可立即檢索與發生異常之製品資料D1建立關聯之製造圖案資料D2。因此,可容易地找出加工裝置43之發生異常之部位。Furthermore, it has a
資料收集部70具有輔助中央處理裝置71及主中央處理裝置72。於輔助中央處理裝置71中對製品資料D1進行處理。具體而言,將利用檢查裝置50而獲取之製品資料D1之資料形式(例如通信標準、檔案形式等)轉換為可利用主中央處理裝置72進行處理。因此,若可將自檢查裝置50獲得之製品資料D1直接輸入至主中央處理裝置72,則可省略輔助中央處理裝置71。The
又,於主中央處理裝置72中,將表示製造設備40之設備狀態之設備資料D3、經輔助中央處理裝置71處理過之輔助裝置收集資料D5及製造圖案資料D2建立關聯地進行處理。In addition, in the main
具體而言,如圖4所示,主中央處理裝置72搭載有2台主中央處理CPU72A、72B。利用第1台主中央處理CPU72A一次獲取設備主控制CPU41或設備輔助控制CPU42(42A、…、42M)、輔助中央處理裝置71之資料。此時之取樣週期係設為每1片製品之加工週期以下之時間。Specifically, as shown in FIG. 4, the main
將利用主中央處理CPU72A而獲取之資料以每1片製品之週期發送至主中央處理CPU72B。以此方式,可將針對每台設備零散地獲得之資料排列成同一時間序列之資料。此時,藉由2種觸發器進行資料保存。資料保存之詳情將於下文進行敍述。The data acquired by the main
如此,藉由將資料與時間序列一致地收集,可追蹤異常發生之時序。於上述主中央處理裝置72中,為了時刻同步而藉由主中央處理CPU72A單獨地一次性進行資料收集。In this way, by collecting the data consistent with the time series, the timing of the occurrence of the abnormality can be traced. In the above-mentioned main
具體之關聯建立可藉由基於步驟間之距離(加工片數)將資料進行比較而實現。將設備資料D3與製品資料D1建立關聯之步驟可基於由加工片數表示之製造步驟間之距離而進行。例如,如圖5所示,自片材原片91送出之片材92係藉由帶式輸送機81而搬送,並藉由切割機82而切斷。被切斷之片材93藉由帶式輸送機83隔開固定之間隔而於帶式輸送機83上重新配置(重新調節(repitch))。經重新調節之被切斷之片材93由攝像裝置84進行拍攝。其後,被切斷之片材93經由各種加工步驟進行處理而成為完成之製品90。製品90進入製造編號賦予步驟,藉由製造編號賦予裝置85而賦予製造編號。製造編號賦予步驟將於每1片製品不同之製造編號印字至製品90。又,製造編號賦予步驟亦可於製品90為連續網狀之狀態下進行印字。進而,製造編號賦予步驟亦可對包裝1片以上之製品90之包裝體進行印字。圖中所謂流動方向係指各片材或製品90之搬送方向。Specific association establishment can be achieved by comparing data based on the distance between steps (number of processed pieces). The step of associating the equipment data D3 with the product data D1 can be performed based on the distance between the manufacturing steps represented by the number of processed pieces. For example, as shown in FIG. 5, the
於對因製造編號而產生之其他資料建立關聯之情形時,事先確認製造編號賦予裝置85之製造編號賦予位置85A、及至另一步驟之位置為止之距離。作為另一步驟之位置,於圖示例中,可列舉攝像步驟中之攝像裝置84之攝像位置84A、將片材原片91之已被送出之片材92送出之位置即原片位置91A等。此處,使各個距離對應於切斷之片材片數。作為一例,攝像位置84A係自製造編號賦予位置85A起第50片。原片位置91A係自製造編號賦予位置85A起第60片。根據製造裝置,與上述距離對應之片材片數變化。如此,藉由對應於片材片數,可特定出自製造編號賦予位置85A至攝像位置84A或原片位置91A為止之距離。When establishing associations with other data generated by the manufacturing number, confirm in advance the manufacturing
因此,如圖6所示,製造編號1006151之時序之收集資料係相機計測值=54pix.(像素)、原片直徑=699mm,但該資料並非製造編號1006151之相關資料。至製造編號賦予位置85A(參照圖5)及攝像位置84A(參照圖5)為止之製品片數係50片。因此,將資料追溯50片後之No.101之攝像位置之相機計測值52pix.成為與製造編號1006151建立關聯之值。又,與原片位置91A(參照圖5)建立關聯之製造編號成為將資料追溯60片後之No.91之1006091。該原片直徑值759mm成為與製造編號1006151建立關聯之值。因此,與製造編號1006151建立關聯之相機計測值為52pix.,原片直徑值為759mm。所謂上述相機計測值係指基於藉由攝像裝置84(參照圖5)拍攝到之圖像資料而求出之材料表面之劃痕面積值。所謂劃痕面積值係指於材料表面可見之劃痕之總面積(pix.)。圖6所示之相機計測值之單位為pix.(像素),原片直徑之單位為mm。Therefore, as shown in FIG. 6, the collected data of the time series of the
來自主中央處理CPU72A之發送資料係利用主中央處理CPU72B暫時保存,每當累積固定時間時發送至下述之資料庫伺服器73。此時,根據檔案傳輸協定(FTP,File Transfer Protocol)進行資料通信,因此可不停止主中央處理CPU72B之資料記錄地進行資料傳輸。The transmission data from the main
以下,表示發送間隔之一例。The following shows an example of the transmission interval.
例如,於加工速度為作為製品90之吸收性物品300片/分、即每1片吸收性物品之加工時間為200ms時,從主中央處理CPU72A向設備主控制CPU41之讀入週期Fw例如設定為10ms、100ms、1000ms。又,從主中央處理CPU72A向輔助中央處理裝置71之讀入例如設定為週期Fsm=20ms。進而,從主中央處理CPU72A向主中央處理CPU72B之發送週期Ft係利用觸發器而設定為例如每1片之加工時間200ms。觸發器間隔例如設定為200ms。For example, when the processing speed is 300 pieces/min of absorbent articles as the
從主中央處理CPU72B向資料庫伺服器73之發送週期Fftp例如設定為1分鐘。The transmission period Fftp from the main
又,如圖3、圖4所示,資料收集部70具有資料庫伺服器73,該資料庫伺服器73儲存藉由主中央處理裝置72進行處理所得之主裝置收集資料D6。In addition, as shown in FIGS. 3 and 4, the
上述資料庫伺服器73係於內部具有資料庫且由資料庫管理系統運轉之伺服器。例如,進行如下動作:針對來自作業者之請求等進行資料庫之檢索等處理,並發回處理結果。資料庫管理系統係指用於為了構築電腦之資料庫所必需之資料庫運用、管理之軟體。又,所謂資料庫係指預先定義資料形式而可綜合地進行管理之檔案構造。The
進而,具有顯示裝置74,該顯示裝置74顯示儲存於該資料庫伺服器73之資料庫資料D7。顯示裝置74可列舉液晶顯示器或有機EL(有機電致發光)顯示器等通常之顯示器。Furthermore, a
其次,參照圖3對製品之製造方法之較佳之一例進行說明。Next, a preferred example of the manufacturing method of the product will be described with reference to FIG. 3.
本發明之製品之製造方法係針對構成製造製品90之生產線20(參照圖1)之製造設備40之設備資料D3及設備輔助資料D4,對於每個製品90具有追蹤能力。追蹤能力亦稱為可追蹤性。即指自製品90之生產階段至消耗階段(廢棄階段)為止為可追蹤之狀態。The manufacturing method of the product of the present invention is directed to the equipment data D3 and the equipment auxiliary data D4 of the
於本製造方法中,著眼於複數個生產線中之一個生產線,進行以下之步驟。再者,亦可針對全部生產線之各個生產線進行以下之步驟。In this manufacturing method, focusing on one of the multiple production lines, the following steps are performed. Furthermore, the following steps can also be performed for each production line of all production lines.
首先,針對每個製品90,藉由檢查裝置50檢查製品90之狀態並獲取製品資料D1(製品資料之獲取步驟)。例如,製品資料D1係於利用製造設備40進行加工之期間內獲取。因此,製造設備40與檢查裝置50建立關聯。於檢查裝置50存在複數個之情形時,獲取利用各檢查裝置50(50A、50B、…、50Y)進行檢查所得之製品資料D1(D1A、D1B、…、D1Y)。所謂製品90之狀態,可列舉形狀、厚度、密度等。上述製品資料D1可列舉位置、面積、尺寸、密度等。作為位置之例,例如可列舉吸收性物品之彈性構件之移行位置、或吸收體貼合位置、製品彎曲位置等。所謂面積係指對藉由檢查裝置50獲取之圖像進行處理而獲得之製品90之圖案之例如俯視時之面積、剖面之面積等。所謂尺寸係指對藉由檢查裝置50獲取之圖像進行處理而獲得之製品90之例如圖案之長度、寬度、厚度、圖案所成之角度等。又,可列舉吸收體之形狀、厚度、基重等。First, for each
其次,將製品資料D1、與表示生產線20之設備狀態之設備資料D3建立關聯(資料關聯建立步驟)。作為設備資料D3,例如作為製造設備40之運轉狀況,可列舉生產片數、運轉時間、停止次數、運轉速度等資料。Next, the product data D1 is associated with the equipment data D3 representing the equipment status of the production line 20 (data association establishment step). As the equipment data D3, for example, as the operating status of the
此外,可列舉輥溫度、原片直徑、使用軸、伺服馬達之負載率或轉數、接紙之時序、圖案操作資訊、圖像計測值、圖案之位置、製品計數器等資料。作為一例,該等設備之總資料數為1000點至2000點左右。In addition, it can include information such as roller temperature, original film diameter, used shaft, load rate or revolution of servo motor, timing of paper splicing, pattern operation information, image measurement value, pattern position, product counter, etc. As an example, the total data count of these devices is about 1000 to 2000 points.
輥溫度例如可列舉進行切斷加工、壓紋加工、密封加工等加工之各加工輥之溫度、或與各加工輥對向配置之砧輥之溫度之資料。Examples of the roll temperature include the temperature of each processing roll that performs cutting, embossing, and sealing processing, or the temperature of an anvil roll arranged opposite to each processing roll.
原片直徑可列舉原片之當前之捲出直徑。The diameter of the original sheet can be listed as the current roll-out diameter of the original sheet.
使用軸係規定為進行同一步驟之複數個軸中之正在使用之軸。The shaft system used is defined as the shaft in use among the multiple shafts performing the same step.
伺服馬達係以製品之位置資料、方位資料、姿勢資料等作為控制量,以與目標值吻合之方式自動地作動者。作為伺服馬達之設備資料D3,可列舉轉數(旋轉速度)、軸之負載率等資料。轉數係於例如將自原片陸續送出之原片速度設為固定之情形時,根據是正在捲取、還是不在捲取而變化。The servo motor uses the product's position data, orientation data, posture data, etc. as the control value, and automatically actuates in a manner consistent with the target value. As the equipment data D3 of the servo motor, data such as the number of revolutions (rotation speed) and the load factor of the shaft can be listed. For example, when the speed of the original film continuously sent from the original film is set to be constant, the number of revolutions varies depending on whether the film is being reeled or not.
接紙之時序可列舉即將接紙之前、剛接紙後之接紙之時序資料。The timing of paper splicing can be listed as the timing data of paper splicing immediately before splicing and just after splicing paper.
圖案操作資訊可列舉圖案之位置對準資料。The pattern operation information can list the position alignment data of the pattern.
圖像計測值可列舉自對利用檢查裝置而獲取之圖像藉由檢查裝置內之未圖示之圖像處理裝置進行圖像處理所得之圖像處理資料讀取之位置、面積、形狀等資料。The image measurement value can include the position, area, shape, etc. data from the image processing data obtained by image processing of the image obtained by the inspection device by the image processing device not shown in the inspection device .
圖案之位置可列舉纖維堆積滾筒、切割機、側封件(side seal)等於製造設備內進行複數片加工之加工裝置內的加工單元之每第X號重複之資料。X設為2以上之自然數。例如可列舉頁數號之資料。The position of the pattern can include the fiber stacking drum, cutting machine, and side seal. It is equal to the repetition of each X number of the processing unit in the processing unit that processes the multiple sheets in the manufacturing equipment.material. Set X to be a natural number greater than 2. For example, the information of the page number can be listed.
製品計數器例如可列舉利用印表機進行之印字之製造年月日、時刻、工廠之生產線編號、批次編號、製造編號、材料之管理編號等資料。製造編號等上述項目之印字除了包含利用有色墨水進行之印字以外,亦包含利用無色墨水進行之印字。無色墨水可列舉可藉由照射紫外線而可視化之UV(ultraviolet,紫外線)墨水等。The product counter may include, for example, the manufacturing year, month, day, time, factory production line number, batch number, manufacturing number, material management number, etc. printed by the printer. The printing of the above items such as the manufacturing number includes not only the printing with colored ink, but also the printing with colorless ink. Examples of colorless inks include UV (ultraviolet) inks that can be visualized by irradiating ultraviolet rays.
製品資料D1與設備資料D3之關聯建立係基於製造步驟間之距離而進行。具體而言,針對每個製品90,使製品90之例如批次編號或製造編號對應於加工該製品90之製造設備40之設備資料D3而進行。進而,將利用各個檢查裝置50而獲取之各個製品資料D1、與製作獲取各個製品資料D1之部位之製造設備40之製品圖案之設備資料D3建立關聯。此時,獲取各個製品資料D1之時刻、與利用製造設備40加工獲取各個製品資料D1之製品90之部位之時刻產生差異,因此較佳為調整該時間性差異。The association between the product data D1 and the equipment data D3 is established based on the distance between the manufacturing steps. Specifically, for each
其後,將建立關聯之製品資料D1與設備資料D3儲存至資料收集部70(關聯建立資料之儲存步驟)。Thereafter, the product data D1 and the equipment data D3 that have been associated are stored in the data collection part 70 (the storage step of the associated data).
針對生產線20中正在進行處理之製品90或利用生產線20實施之步驟已結束之製品90,檢測(判斷)製品資料D1之製品異常。然後,於發生製品異常時,特定出製品資料D1中之與發生製品異常之製品90建立關聯之製品異常資料D1n(未圖示)。基於所特定出之製品異常資料D1n而進行追蹤。此處,亦可追蹤與被視為製品異常之製品建立關聯之設備異常資料D3n(異常製品之追蹤步驟)。或者,亦可追蹤與被視為異常之製品建立關聯之設備異常資料D3n及製品異常資料D1n之兩者。作為一例,此處言及之追蹤係指基於製品異常資料D1n而追蹤發生異常之製品90之生產過程。然後,追蹤之結果,特定出製品異常資料D1n及設備異常資料D3n之兩者或任一者。藉此,進而特定出成為製品異常之原因之製造步驟。可根據所特定出之製造步驟之製造設備之設備異常資料D3n調查存在異常之製造設備40之狀態。For the
例如,藉由追蹤,而特定出發生製品異常之加工裝置43之製造圖案44之異常部位,從而獲得設備異常資料D3n(未圖示)(設備異常資料之獲取步驟)。For example, by tracking, the abnormal part of the
較佳為使設備異常資料D3n於顯示裝置74之畫面74S上可視化(可視化步驟)。所謂「可視化」係指製品之生產現場中之管理方法之一。係指使得於製品之生產中,從事生產之人可具體地掌握生產計劃、生產之實施、製品評價、製品之問題點之驗證等各種活動實況。例如係指使得於顯示裝置之畫面上可看見上述活動實況。又,確立了如下方法:於解決或改善生產上之問題時,根據生產現場水平而主動地採取對策,而可謀求改善或提高。如此,「可視化」係指處於如下狀態:針對可看見之問題點,其應對之判斷基準始終於生產現場內所共有,反覆進行對於問題或課題之改善。作為具體之可視化之資料,例如有對機械之運轉率、製品之良品率、機械之停止次數、不良品之排出次數之推移、製品之形狀及製品之缺陷等進行計測之感測器資料之時間序列曲線圖等。It is preferable to visualize the equipment abnormality data D3n on the
可基於成為上述製品異常之原因之製造步驟之特定,而對設為可視化之製造設備40之異常部位進行修復(製造設備之修復步驟)。於進行修復時,暫時停止製造設備40之運轉,對成為製造設備40之修復對象之部位進行修復。例如,對與製造設備40之異常部位相關之機械參數進行調整而對該異常部位進行修復。此時,是否使具有修復對象之製造設備之生產線20之製造設備全體停止係根據修復部位、修復程度而判斷。於此種修復中,未進行反饋控制,但藉由可視化,作為製造設備40之異常部位之修復方法,表示例如機械參數之修正方法。例如,於利用壓紋輥進行之壓紋加工步驟中,可一面於圖像中確認壓痕之形成情況,一面調整壓紋輥之間隙或輥溫度。Based on the identification of the manufacturing process that is the cause of the abnormality of the above-mentioned product, the abnormal part of the
又,根據修復對象,亦可藉由反饋控制而自動地進行修復。例如,上述壓紋加工步驟之間隙調整或溫度調整等可進行反饋控制。Moreover, according to the repair object, the repair can also be performed automatically by feedback control. For example, the gap adjustment or temperature adjustment in the embossing process described above can be feedback controlled.
上述製品之製造方法較佳為針對各生產線20(參照圖1)進行。The manufacturing method of the above-mentioned product is preferably performed for each production line 20 (refer to FIG. 1).
根據上述製品之製造方法,發揮如下作用效果。According to the manufacturing method of the above-mentioned product, the following functions and effects are exerted.
(1)可針對每個製品90獲取製品資料D1,並檢測表示製品90之異常之製品異常資料D1n而判斷製品之異常。可根據該製品異常資料D1n獲得發生異常之製造設備40之設備異常資料D3n。以此方式,提高生產線20之追蹤能力。(1) The product data D1 can be obtained for each
(2)由於針對每個製品90獲取製品資料D1,故而可謀求資料收集功能之提高。(2) Since the product data D1 is acquired for each
(3)由於可根據製品90之異常資料即製品資料D1n掌握製造設備40之異常,故而異常發生之原因分析變得迅速且容易。(3) Since the abnormality of the
(4)藉由可實現設備異常資料D3n之可視化,而於顯示裝置74顯示發生異常之製造設備40之設備資料D3,因此於生產現場發生異常之情形時之應對變得迅速。(4) By realizing the visualization of the equipment abnormality data D3n, and displaying the equipment data D3 of the
如上述所說明般,可迅速地掌握製品90之異常品(亦稱為不良品)之原因,藉此可迅速進行不良部位之修復。又,由於可實現生產線20之不良原因之可視化,故而可迅速地進行變為不良之製造設備40之不良部位之修復。因此,生產線20之停止時間縮短,而可謀求機械運轉率之提高。又,由於不良原因之查明變得迅速,故而不良品之產生減少,而可謀求良品率之提高。As described above, the cause of the abnormal product (also referred to as defective product) of the
又,即便不進行可視化,亦可進行不良部位之修復。例如,即便不於顯示裝置之畫面上顯示數值資料或曲線圖,亦可藉由聲音警報或電子音警報等進行對作業者之異常發生通知。又,可藉由電子郵件等通信方法,向不在製造現場之工作人員通知異常。Moreover, even if visualization is not performed, the defective part can be repaired. For example, even if the numerical data or the graph is not displayed on the screen of the display device, the operator can be notified of the occurrence of an abnormality through an audible alarm or an electronic audible alarm. In addition, an abnormality can be notified to staff who are not on the manufacturing site by communication methods such as e-mail.
上述製造方法中之製品異常係將正常品之正常製品資料D1g(未圖示)與利用生產線20而製作之製品90之製品資料D1進行比較,而檢測出與正常品之正常製品資料D1g不同者作為異常品(異常品之檢測步驟)。The product abnormality in the above manufacturing method is to compare the normal product data D1g (not shown) of the normal product with the product data D1 of the
然後,自異常品之製品異常資料D1n提取成為異常之原因之原因資料D8(未圖示)(原因資料之提取步驟)。Then, from the product abnormality data D1n of the abnormal product, extract the cause data D8 (not shown) that is the cause of the abnormality (the extraction step of the cause data).
基於該原因資料D8,對與製品資料D1建立關聯之設備資料D3之製造圖案異常資料D2n(未圖示)進行追蹤(異常製品之追蹤步驟)。以此方式,將製品之異常品之發生部位與發生設備建立關聯。Based on the cause data D8, the manufacturing pattern abnormal data D2n (not shown) of the equipment data D3 associated with the product data D1 is tracked (the abnormal product tracking step). In this way, the occurrence location of the abnormal product of the product is associated with the occurrence equipment.
於儲存於資料收集部70之製品資料D1中,除了利用各檢查裝置50進行檢查而獲得之製品資料D1以外,與各製品90建立關聯地記錄有各製品90之未圖示之製造資料DP。作為製造資料DP,可列舉工廠名、生產線名、製造實施日、製造編號等。In the product data D1 stored in the
又,於上述製品之製造方法中,可藉由資料收集步驟計算統計值。作為統計值,可求出平均值、標準偏差值等。In addition, in the manufacturing method of the above-mentioned product, the statistical value can be calculated through the data collection step. As a statistical value, the average value, standard deviation value, etc. can be obtained.
藉由正常品之資料收集步驟及異常品之資料收集步驟之各個步驟,計算統計值。此時,統計值亦可不區分良品(正常品)與不良品(異常品)而進行計算。如圖7所示,進行計算之區間有兩個。第1計算區間C1係僅將高速運轉中之高速時資料設為計算區間(生產中之資料)。第2計算區間C2係設為包含低速且高速運轉中之低速時資料及高速時資料在內之區間(亦包含調整運轉之資料)。例如,於製品90為吸收性物品之情形時,若吸收性物品之加工速度為300個/分,則於高速運轉中僅進行速度為300個/分時之計算,於低速且高速運轉中,進行速度為50個/分以上時之計算。Calculate the statistical value through each step of the data collection step of the normal product and the data collection step of the abnormal product. At this time, the statistical value may not distinguish between good products (normal products) and defective products (abnormal products).Calculation. As shown in Figure 7, there are two intervals for calculation. The first calculation section C1 is to set only the high-speed data in high-speed operation as the calculation section (data in production). The second calculation interval C2 is set as an interval including low-speed data and high-speed data during low-speed and high-speed operation (also includes data for adjustment operation). For example, when the
又,統計值於如下情形時被有效利用。例如,於平均值大幅度變動之情形時,可表示設備本身之能力大幅度變動(例如故障)。又,於標準偏差大幅度變動之情形時,可掌握極少之異常之發生。作為極少之異常之發生,例如可列舉因設備之少量污垢引起之加工不良、或進行計測之感測器之劣化等。In addition, the statistical value is effectively used in the following situations. For example, when the average value fluctuates greatly, it can indicate that the capability of the equipment itself fluctuates greatly (such as failure). In addition, when the standard deviation changes significantly, the occurrence of very few abnormalities can be grasped. The rare occurrence of abnormalities includes, for example, processing defects caused by a small amount of dirt in the equipment, or deterioration of the sensor used for measurement.
標準偏差掌握藉由平均值變動無法掌握之行為。因此,藉由使用平均值及標準偏差之兩者,而早期檢測出設備之異常之可能性提高。The standard deviation controls the behavior that cannot be grasped by the change of the average value. Therefore, by using both the average value and the standard deviation, the possibility of early detection of equipment abnormalities is increased.
進而,於上述製品之製造方法中,包括確認製品資料D1中之圖像處理檢查器相關之圖像處理資料D1IP(未圖示)與設備資料D3之相關關係之步驟。圖像處理檢查器係獲取檢查裝置50中之圖像而進行檢查之檢查裝置,主要具有:攝像裝置,其拍攝檢查區域;及圖像處理裝置,其對利用攝像裝置拍攝到之圖像進行資料化處理。Furthermore, in the manufacturing method of the above-mentioned product, it includes the step of confirming the correlation between the image processing data D1IP (not shown) and the equipment data D3 related to the image processing inspector in the product data D1. The image processing inspector is an inspection device that acquires images in the
上述確認相關關係之步驟包含:於生產線上進行確認之情形、即即時地進行確認之情形;及於生產線下進行確認之情形、即於資料收集之後確認詳細之相關關係之情形。The above steps to confirm the related relationship include: the situation of confirming on the production line, that is, the situation of instant confirmation; and the situation of confirming under the production line, that is, the situation of confirming the detailed correlation after data collection.
如圖8所示,原片直徑隨著運轉時間之經過而減少,於變為必須進行接紙之原片直徑時、或自運轉開始起經過接紙預定時間T1時,進行接紙。於接紙前未產生如通常般之面積值,但於接紙後頻繁產生超過閾值之面積值。可知因接紙所引起之材料變更而發生了某些異常。又,根據原片直徑與面積值之關聯,亦可確認是原片之內側異常還是外側異常。As shown in Figure 8, the diameter of the original film decreases with the elapse of the operation time. When it becomes the original film diameter that must be spliced, or when the predetermined time T1 for splicing has elapsed since the start of the operation, the splicing is performedPaper. Before the paper splicing, the usual area value was not generated, but after the paper splicing, the area value exceeding the threshold was frequently generated. It can be seen that some abnormalities have occurred due to material changes caused by paper splicing. In addition, based on the correlation between the diameter of the original sheet and the area value, it is also possible to confirm whether the original sheet is abnormal on the inner side or on the outer side.
再者,除了製品資料D1以外,還登錄有預先設定於生產線20之製造設備40之設定值。設定值例如可列舉生產線下之紙媒體記錄資料。Furthermore, in addition to the product data D1, the setting values of the
設備資料D3包含:單片收集資料D31,其係於每1片製品之週期內被收集;長週期收集資料D32,其係於較單片收集資料D31更長之週期內被收集;及短週期收集資料D33,其係於較單片收集資料D31更短之週期內被收集。所謂於每1片製品之週期內被收集係指針對藉由複數個製造設備40中之一個而加工之製品90之各者獲取設備資料D3(單片收集資料D31)。作為單片收集資料D31,由於為每1片製品之檢查,故而例如可列舉利用圖像檢查器等所獲得之檢查資料。此處言及之「單片」係指每1片完成品,但亦包含對應於1片製品之每1片中間品、相當於1片製品之半製品之一部分。Equipment data D3 includes: single piece collection data D31, which is collected in the cycle of each piece of product; long-term collection data D32, which is collected in a longer cycle than single piece collection data D31; and short cycle The collection data D33 is collected in a shorter period than the single collection data D31. The so-called collection in each cycle of one piece of product means acquiring equipment data D3 (single piece collection data D31) for each of the
長週期收集資料D32係於較單片收集資料D31更長之週期內被收集之設備資料D3,例如可列舉溫度資料、原片直徑資料等。短週期收集資料D33係於較單片收集資料D31更短之週期內被收集之設備資料D3,例如可列舉壓力、伺服馬達之瞬時負載率、加熱器電流值等。The long-period collection data D32 is the equipment data D3 collected in a longer period than the single-chip collection data D31, such as temperature data, original film diameter data, etc. The short-period collection data D33 is the equipment data D3 collected in a shorter period than the single-chip collection data D31, such as pressure, the instantaneous load rate of the servo motor, and the heater current value.
如此,藉由變更單片收集資料D31、長週期收集資料D32及短週期收集資料D33之保存週期,而具有加快處理速度而抑制保存資料容量之優點。In this way, by changing the storage period of the single-chip collection data D31, the long-period collection data D32, and the short-period collection data D33, the processing speed is accelerated and the storage data capacity is suppressed.
收集資料之保存開始及保存停止可藉由觸發器而進行。所謂觸發器係指資料庫管理系統之功能之一,且指於對表格施加某些操作時自動地啟動預先指定之處理之功能。所謂表格係指將資料等要素縱橫地配置而成者。The start and stop of the saving of the collected data can be performed by triggers. The so-called trigger refers to one of the functions of the database management system, and refers to the automatic activation of certain operations on the tableStart the pre-designated processing function. The so-called table refers to the arrangement of data and other elements vertically and horizontally.
藉由利用觸發器進行保存,可抑制保存資料容量。又,對於觸發器,使用至少2種觸發器。觸發器係指定處理之內容、啟動之條件、及執行之時序等而進行設定。例如可列舉指定固定速度以上、指定閾值(%)以下、指定不良品產生前後、或者若為吸收性物品之製造方法則指定接紙前後等。By using the trigger to save, the storage data capacity can be suppressed. Also, for triggers, at least two types of triggers are used. Triggers are set by specifying the content of the processing, the conditions of activation, and the timing of execution. For example, the specified fixed speed or higher, the specified threshold (%) or less, the specified before and after the occurrence of defective products, or the specified before and after the paper splicing in the case of the manufacturing method of the absorbent article.
又,藉由使用複數個觸發器,可將不同條件之情形時之資料進行比較。例如,如上述圖7所示般,收集高速運轉時(通常生產中)之資料、及低速運轉時之資料之2種資料,將高速運轉時之行為與低速運轉時之行為進行比較。上述高速運轉通常指最高速度之運轉。上述低速運轉係指自加工開始至即將變為高速運轉之前為止、及自剛高速運轉之後至加工停止為止之運轉。藉由將觸發器T1之開關打開(接通(ON)),而開始低速運轉時之資料之收集。低速運轉時之資料收集係於將觸發器T1接通後進行直至切斷(斷開(OFF))為止。又,藉由將觸發器T2之開關打開(接通)而開始高速運轉時之資料收集,藉由將觸發器T2之開關切斷(斷開)而高速運轉中之資料收集結束。In addition, by using a plurality of triggers, the data under different conditions can be compared. For example, as shown in Fig. 7 above, collect two types of data: data during high-speed operation (normal production) and data during low-speed operation, and compare the behavior during high-speed operation with the behavior during low-speed operation. The above-mentioned high-speed operation usually refers to the highest-speed operation. The above-mentioned low-speed operation refers to the operation from the start of processing to just before the high-speed operation, and from just after the high-speed operation to the stop of processing. By turning on (ON) the switch of trigger T1, data collection at low speed starts. Data collection during low-speed operation is performed after the trigger T1 is turned on until it is turned off (OFF). In addition, by turning on (turning on) the switch of trigger T2, data collection during high-speed operation is started, and by turning off (off) the switch of trigger T2, data collection during high-speed operation ends.
本實施形態中所說明之上述製品之製造方法並不限於製品90為吸收性物品,亦可應用於其他片狀製品之製造方法。例如,亦可應用於加熱件之製造方法。The manufacturing method of the above-mentioned product described in this embodiment is not limited to the
其次,對將上述製品之製造方法應用於吸收性物品之製造方法之情形時之一例進行說明。如圖9所示,例如,以下對應用於吸收體成形部100、吸收體加壓部200、壓紋加工部300之情形進行說明。於吸收體成形部100中,使用檢查裝置50A進行圖案等之缺失檢查。於吸收體加壓部200中,使用檢查裝置50B進行厚度檢查。於壓紋加工部300中,進行使用檢查裝置50C檢查壓紋圖案之壓痕狀態之壓痕檢查。Next, an example of the case where the manufacturing method of the above-mentioned product is applied to the manufacturing method of an absorbent article is demonstrated. As shown in FIG. 9, for example, a description will be given below corresponding to the case where the absorbent
首先,作為吸收體成形部100,參照圖10,於以下對在纖維堆積步驟中採用之一例進行說明。First, referring to FIG. 10 as the absorbent
如圖10所示,吸收體之製造裝置110係將包含纖維材料之吸收體材料154與氣流一併通過管道130內而供給。然後,使該吸收體材料154堆積於配置於纖維堆積機140之轉筒142之周面之凹部(以下亦稱為纖維堆積用凹部)141內。As shown in FIG. 10, the absorbent
製造裝置110之前段具有:解纖機120,其對自紙漿原片(未圖示)抽出之紙漿片材151進行解纖而獲得紙漿纖維152;及管道130,其成為將自解纖機120送出之紙漿纖維152隨著氣流而搬送之路徑。The front stage of the
解纖機120具有:外殼121;及旋轉刀122,其配置於外殼121內且刮擦紙漿片材151之端部。於外殼121具有:開口部123,其將紙漿片材151取入;及開口部124,其排出紙漿纖維152。The
管道130之一端部130a連接於解纖機120之開口部124,其另一端部130b覆蓋轉筒142之外周面之一部分。One
轉筒142例如於周面以特定之間隔形成有複數個纖維堆積用凹部141。朝向該轉筒142之周面,供給於管道130內搬送來之吸收體材料154(紙漿纖維152、吸水性聚合物153)(為了方便起見利用箭頭表示),並堆積於纖維堆積用凹部141。The
堆積於纖維堆積用凹部141之吸收體105例如用作經期衛生棉或失禁護墊等吸收性物品之吸收體。因此,上述纖維堆積用凹部141之形狀可根據吸收體105之形狀而決定。即,以於吸收體105之所需部位形成凸部或凹部之方式,決定上述纖維堆積用凹部141之形狀。再者,纖維堆積用凹部141之形狀並不限制於此,亦可為深度固定,又,亦可沿轉筒142之外周面連續地形成。The
於轉筒142連接有未圖示之進氣風扇,藉由該進氣風扇之驅動,將轉筒142內之分隔出之空間B維持為負壓。進氣風扇之抽吸量可藉由調整未圖示之換流器之頻率、即纖維堆積抽吸頻率而設定。藉由空間B之負壓,而於管道130內產生空氣流,使來自解纖機120之吸收體材料154為飛散狀態。各個纖維堆積用凹部141之至少底面部係如上述般由網板(mesh plate)等構成,具有多個細孔。於各個纖維堆積用凹部141通過維持為負壓之空間B之期間,該網板之細孔作為抽吸孔而發揮功能。空間B位於轉筒142中之由管道130覆蓋之部分之背面側。空間B係於通過由管道130覆蓋之部分之纖維堆積用凹部141產生較強之抽吸力,藉此使吸收體材料154堆積於纖維堆積用凹部141、或於管道130內產生搬送吸收體材料154之氣流。為了將堆積物或吸收體一面穩定地保持於纖維堆積用凹部141一面搬送,亦可將空間C維持為負壓,於該情形時,空間C係維持為較空間B更低之負壓程度。而且,於上述管道130內流來之搬送吸收體材料154之空氣流係藉由來自位於空間B上之纖維堆積用凹部141之抽吸,而朝向轉筒142之外周面被引導。An intake fan (not shown) is connected to the
進而,製造裝置110具備作為轉印搬送機構之搬送裝置170,該搬送裝置170將吸收體105自纖維堆積用凹部141脫模,並轉印至由透水性之薄紙或不織布構成之被覆片材109。再者,雖未圖示,但亦可將吸收體105之下方之被覆片材109之側部折回而被覆吸收體105之上下表面,亦可具備進行此種動作之被覆機構。又,亦可除了被覆片材109以外另外供給片材,而被覆吸收體105之上下表面。Furthermore, the
上述吸收體材料154可不受限制地使用經期衛生棉或拋棄式尿布等吸收性物品之吸收體中所使用之各種材料,至少包含纖維材料。作為纖維材料,例如除了將紙漿片材解纖而獲得之紙漿纖維以外,可使用嫘縈纖維、棉纖維等纖維素纖維之短纖維、或聚乙烯等合成纖維之短纖維等。該等纖維材料可單獨使用1種、或組合2種以上而使用。又,作為吸收體材料154,進而可使用吸水性聚合物。The above-mentioned absorbent material 154 can use various materials used in absorbent articles such as menstrual sanitary napkins or disposable diapers without limitation, and at least include fiber materials. As the fiber material, for example, in addition to pulp fibers obtained by defibrating a pulp sheet, short fibers of cellulose fibers such as rayon fibers and cotton fibers, or short fibers of synthetic fibers such as polyethylene can be used. These fiber materials can be used individually by 1 type or in combination of 2 or more types. In addition, as the absorber material 154, a water-absorbent polymer can be further used.
上述纖維材料中除包含上述紙漿纖維152以外,亦可包含合纖纖維。有於紙漿片材151中混有合纖纖維之狀態之情形,亦可與將合成纖維解纖所得之紙漿纖維混合而供給。於圖10所示之製造裝置110中,係自解纖機120直接供給至管道130,但亦可將解纖所得之紙漿積存於儲罐(未圖示),而自該儲罐供給至管道130。亦可將合纖(短纖維)亦供給至該儲罐並進行混合。In addition to the
以如上方式,藉由纖維堆積機140進行纖維堆積而成形加工吸收體105。其後,自纖維堆積機140之轉筒142之纖維堆積用凹部141脫模後之吸收體105被載置於帶式輸送機107上而進行搬送。於其搬送過程中,藉由檢查裝置50檢查纖維堆積而成之吸收體105之形狀。檢查方法係於檢查裝置50中使用攝像裝置51及照明裝置52。於被拍攝之吸收體105之上方配置攝像裝置51,於隔著吸收體105與攝像裝置51對向之位置配置照明裝置52。藉由照明裝置52自背面照射吸收體105,並藉由攝像裝置51拍攝其陰影。因此,被拍攝之區域之帶式輸送機107係使用具有透光性者。In the above manner, the
例如,如圖11所示,正常品之吸收體105係於以該前後方向之剖面觀察之情形時,於剖面長方形之整體部105A上配置有剖面長方形之中高部105B。所謂前後方向係將於穿著者穿著吸收體105時吸收體105配置於穿著者之前側之側設為「前」,將配置於穿著者之後側之側設為「後」。又,該前後方向意指吸收體105之機械流動方向。For example, as shown in FIG. 11, the
於吸收體105之情形時,如圖12所示,於在整體部105A之表面及中高部105B之表面存在凹部105D(或凸部)之情形時視為異常品(缺陷品)。In the case of the
於吸收體105存在如上述般之缺陷之情形時,如圖13所示,於吸收體之攝像圖像106中拍攝有作為缺陷部分之凹部105D(參照圖12)作為缺陷部分圖像106D。例如,於厚度較周圍過薄之情形時,該部分被較亮地拍攝,於較周圍過厚之情形時,該部分被較暗地拍攝。所謂被較亮地拍攝係該部分之光透過量較周圍多,因此意味著吸收體105之厚度較薄。作為此種情形,例如認為網板之堵塞為原因。又,所謂被較暗地拍攝係該部分之光透過量較周圍少,因此意味著吸收體105之厚度較厚。作為此種情形,例如認為異物之混入或紙漿之增加為原因之一。When the
上述測定器例如使用圖像處理相機系統XG-8500L(商品名,KEYENCE股份有限公司製造)。測定資料係設為吸收體之深淺值及缺失面積值。For the measuring device, for example, an image processing camera system XG-8500L (trade name, manufactured by KEYENCE Co., Ltd.) is used. The measured data is set as the depth value and missing area value of the absorber.
吸收體之深淺值係如圖14所示般使用拍攝到之吸收體圖像106,於將圖像中拍攝到之吸收體105(參照圖12)擴展之狀態下劃分成俯視時呈網狀而求出。於吸收體圖像106中,由於吸收體105中央部之中高部105B(參照圖12)之透過光量變少,故而成為較中高部圖像106B周圍之整體部圖像106A更暗之圖像。整體部105A(參照圖12)由於較中高部105B薄,故而透過光量變得較中高部105B多。其結果,中高部周圍之整體部圖像106A成為較中高部圖像106B更亮之圖像。針對此種圖像,例如呈格子狀地配置複數個視窗,針對每個視窗求出視窗內之吸收體部分之深淺(深度)。The depth value of the absorber is as shown in FIG. 14 using the captured
又,缺失面積值係如上述圖14所示般,使用拍攝到之吸收體圖像106,於將圖像中拍攝到之吸收體105(參照圖12)擴展之狀態下俯視時呈格子狀地設定複數個視窗W而求出。吸收體圖像106係與上述同樣地成為中高部圖像106B較周圍整體部圖像106A更暗之圖像。另一方面,由於整體部105A之透過光量變得較中高部105B多,故而整體部圖像106A成為較中高部圖像106B更亮之圖像。進而,圖像中拍攝到之吸收體之缺陷部分圖像106D由於缺陷部分之凹部105D(參照圖12)變得較中高部105B或整體部105A薄而透過光量變多,故而成為最亮之圖像。基於此種圖像,針對每個視窗W進行二值化而求出相當於缺陷部分圖像106D之部分之面積值。將對該面積值進行合計所得之值設為缺失面積值。In addition, the missing area value is shown in the above-mentioned FIG. 14 using the captured
於圖15中以曲線圖之形式表示缺失面積值與纖維堆積抽吸頻率之關係。如圖15所示,若缺失面積變大則纖維堆積抽吸頻率變低。Fig. 15 shows the relationship between the missing area value and the fiber accumulation suction frequency in the form of a graph. As shown in Fig. 15, if the missing area becomes larger, the frequency of fiber accumulation and suction becomes lower.
吸收體之衝壓加工例如為使吸收體之厚度變薄而提高纖維密度時進行之加工。The press processing of the absorber is, for example, processing performed when the thickness of the absorber is reduced to increase the fiber density.
如圖16所示,將吸收體205載置於搬送裝置230之搬送皮帶231上,並沿箭頭方向搬送。於其搬送目的地,具備吸收體加壓部200。吸收體加壓部200配置有:加壓輥210,其使吸收體205之厚度變薄;及砧輥220,其於與加壓輥210對向之位置,與加壓輥210具有間隔。加壓輥210與砧輥220之對向之輥周面之間隔係根據藉由加壓而變薄之吸收體205之厚度進行調整。夾於上述加壓輥210與砧輥220之間而被加壓之吸收體205厚度變薄,被載置於搬送皮帶232而朝向下一步驟被搬送。搬送皮帶231及232係以吸收體加壓部200之上游側及下游側而劃分。於該搬送步驟中,藉由檢查裝置50測定吸收體205之高度。檢查裝置50包含位移感測器53。位移感測器53分成投光器54及受光器55,且於隔著被測定之吸收體205而對向之位置,與吸收體205不接觸地配置。位移感測器53例如使用KEYENCE股份有限公司製造之LJ-V7300(控制器LJ-V7000)(商品名)。測定光係波長405nm、測定寬度240mm之藍色半導體雷射光。As shown in FIG. 16, the
使用位移感測器53,測定搬送來之吸收體205之前後方向之高度。例如,圖17所示之正常品之吸收體205係於以其長度方向(機械流動方向)之剖面進行觀察之情形時,於剖面長方形之整體部205A上配置有剖面長方形之中高部205B。再者,於圖17、18中,省略表示剖面之影線之記載。而且,藉由測定配置有中高部205B之吸收體205之長度方向之高度,而獲得長度方向之表面形狀,從而求出吸收體之變形形狀。其結果,於圖18所示般之吸收體205之長度方向之表面藉由位移感測器53(參照圖16)而確認到凹部205D。將藉由位移感測器53測定出之結果示於圖19。如圖19所示,縱軸表示藉由位移感測器53測定出之吸收體205之表面之高度,橫軸表示藉由位移感測器53測定出之吸收體205之位置。藉由測定,而相對於表示測定值之高度之線L205於吸收體205之表面確認到對應於凹部205D(參照圖18)之凹部LD。The
如此,於表面形狀中確認到凹部205D之情形時,視為產生異常品(不良品),而將生產線停止。即,將產生異常品之製造設備40停止,並進行製造設備40之加工部之清掃、檢查。又,進行加壓輥210與砧輥220之周面積之間隔、加壓輥210之間隙之檢查、調整、加壓輥210之加壓力之檢查、調整。In this way, when the
如上述製品之製造方法般,若使纖維堆積機之抽吸頻率變高(增加吸收體抽吸量),則轉印性變佳而吸收體缺失面積減少,加工狀態變佳。因此,檢測吸收體缺失面積,以不發生吸收體缺失之方式調整抽吸頻率。Like the manufacturing method of the above-mentioned product, if the suction frequency of the fiber stacker is increased (increasing the suction volume of the absorber), the transferability becomes better, the absorptive area of the absorber decreases, and the processing state becomes better. Therefore, the absorptive area of the absorber is detected, and the suction frequency is adjusted so that the absorptive absorptance does not occur.
吸收體之壓紋加工例如係以防漏性之提高、藉由排泄部對向部之隆起促進實現之對排泄部之密接性之提高等為目的之加工。The embossing processing of the absorber is processing for the purpose of, for example, improving the leakage resistance and improving the adhesion to the excretory part by promoting the bulge of the opposed part of the excretory part.
如圖20所示,將吸收體305載置於搬送裝置330之搬送皮帶331上,並沿箭頭方向搬送。於其搬送目的地,具備對吸收體305實施壓紋加工之壓紋加工部300。壓紋加工部300配置有:壓紋輥310,其對吸收體305實施壓紋加工;及砧輥320,其於與壓紋輥310對向之位置,與壓紋輥310具有間隔。壓紋輥310與砧輥320之對向之輥周面之間隔係以根據壓紋圖案而於吸收體製作壓紋之方式調整。夾於上述壓紋輥310與砧輥320之間並根據壓紋圖案而被加壓之吸收體305係於製作壓紋之後,載置於搬送皮帶332而朝向下一步驟被搬送。搬送皮帶331及332係以壓紋加工部300之上游側及下游側而劃分。於該搬送步驟中,藉由檢查裝置50獲取吸收體305之圖像。檢查裝置50係圖像處理相機系統,拍攝吸收體305之表面而獲得二維圖像。根據所獲得之二維圖像,測定藉由壓紋加工而製作之壓痕之長度、位置、深淺等。測定之結果,如圖21所示,於吸收體305之表面產生無壓紋壓痕之部分305N。又,亦有存在壓紋壓痕較淺之部分305T之情況。As shown in FIG. 20, the
又,若形成有正常之壓紋圖案,則如圖22所示般於吸收體305之表面呈橢圓狀地明確且整齊排列地配置有壓紋壓痕305P。In addition, if a normal embossing pattern is formed, as shown in FIG. 22,
此處,將壓紋之壓痕深淺值與壓紋間隙之關係示於圖23。如圖23所示,已知隨著壓紋間隙變小,而壓痕深淺值變深。即,若壓紋間隙變小,則根據壓紋圖案而吸收體被強力地按壓,因此壓痕深淺值變深。Here, the relationship between the embossing depth value and the embossing gap is shown in FIG. 23. As shown in Fig. 23, it is known that as the embossing gap becomes smaller, the depth of the indentation becomes deeper. That is, if the embossing gap becomes smaller,According to the embossing pattern, the absorber is strongly pressed, so the depth of the indentation becomes deeper.
上述壓痕深淺值係於壓紋部及其周圍,與上述圖14同樣地設定複數個視窗(未圖示),於各視窗測定壓紋圖像之深度而求出。視窗較佳為以包圍下述之圖24之壓紋圖像部306P之方式設定。相較對圖像整體設定視窗並進行處理、檢查而可縮短檢查差時間。The depth value of the indentation is obtained by setting a plurality of windows (not shown) in the same manner as in FIG. 14 and measuring the depth of the embossed image in the embossed portion and its surroundings. The window is preferably set to surround the
用於測定之檢查裝置50之圖像處理相機系統56分為攝像裝置57及照射拍攝區域之照明裝置58,兩者均與吸收體305不接觸地配置於被測定之吸收體305之上方。圖像處理相機系統56例如可列舉KEYENCE股份有限公司製造之圖像處理相機系統CV-X200(商品名)。The image
如圖24所示,根據吸收體圖像306,測定壓紋圖像部306P及其壓紋周圍圖像部306A之深度而求出壓痕深淺值。具體而言,壓痕深淺值係藉由上述各視窗內之深度灰階值而求出。壓紋圖像部306P若相對於壓紋周圍圖像部306A無明瞭性,則雖未圖示,但發白且較淺地顯現,因此壓痕深淺值變低。又,若有明瞭性,則如圖示般發黑且較深地顯現,因此壓痕深淺值變高。而且,壓紋輥之間隙之調整係對製品性能(防漏性或剝離、外觀等)進行評價,以判斷為無問題時之深度為基準。若減小壓紋輥之間隙(提高壓力),則壓紋之明瞭性變佳。一面根據攝像圖像感測壓紋之明瞭性,一面調整壓紋輥之間隙。具體而言,基於基準之壓痕深淺值調整壓紋輥之間隙。雖未圖示,但壓紋間隙係於壓紋輥與砧輥之間插入楔,並藉由其插入量而調整間隙。As shown in FIG. 24, based on the
根據上述製品之製造方法,可求出不同步驟之檢查資料彼此之因果關係而控制不同部位。例如,存在上游步驟之吸收體加工之缺陷、與下游步驟之壓紋加工之缺陷具有關聯之情形。例如,存在壓紋加工之壓痕不良之原因對吸收體加工步驟產生影響之情形。具體而言,如圖25所示,具有壓痕深淺值與缺失面積值(纖維堆積抽吸頻率)之關係。於可獲得如圖25所示般之相關關係之情形時,可藉由控制其中一者而控制另一者。例如,於吸收體加工步驟中,例如若控制抽吸頻率則可改善壓痕狀態。According to the manufacturing method of the above-mentioned product, the causal relationship between the inspection data of different steps can be obtained to control different parts. For example, there are cases where the defects of the absorber processing in the upstream step are related to the defects in the embossing processing in the downstream step. For example, there is poor impression of embossingThe reason for this affects the processing steps of the absorber. Specifically, as shown in FIG. 25, there is a relationship between the value of the indentation depth and the value of the missing area (fiber accumulation and suction frequency). When the correlation relationship as shown in FIG. 25 can be obtained, one can be controlled while the other can be controlled. For example, in the processing step of the absorbent body, for example, if the suction frequency is controlled, the indentation state can be improved.
如此,將生產線之上游步驟之檢查資料、與下游步驟之檢查資料組合,而使下游步驟之檢查資料與上游步驟之檢查資料之因果關係變得明確。藉此,可控制與發現了異常之步驟不同之步驟,而與發現了異常之步驟之改善建立聯繫。In this way, the inspection data of the upstream step of the production line is combined with the inspection data of the downstream step, so that the causal relationship between the inspection data of the downstream step and the inspection data of the upstream step becomes clear. By this, it is possible to control the steps that are different from the steps where the abnormality is found, and establish a connection with the improvement of the steps where the abnormality is found.
又,不僅缺失面積值及壓痕深淺值之2個變數,亦可網羅式地對藉由各檢查裝置進行檢查而獲得之製品資料進行解析。關於吸收體以外之加工部位亦可有效利用。例如,可藉由獲取製品之厚度與包裝該製品之製品包裝之關聯,而根據製品包裝不良檢測製品之厚度不良。In addition, not only the two variables of the area value and the indentation depth value are missing, but also the product data obtained by the inspection of each inspection device can be analyzed in a comprehensive manner. The processed parts other than the absorber can also be used effectively. For example, by obtaining the correlation between the thickness of the product and the product packaging that packs the product, the defective thickness of the product can be detected based on the defective packaging of the product.
其次,一面參照圖26,一面說明對於實施發熱體之製造方法較佳之發熱體之製造裝置之主要部分。Next, referring to FIG. 26, the main parts of the heating element manufacturing apparatus which is better for implementing the heating element manufacturing method will be described.
如圖26所示,發熱體之製造裝置(以下有時亦簡稱為製造裝置)400具備塗佈部430、電解質添加部440、及貼合部450。進而具備狹縫、切口加工部460、第1裁斷部470、重新調節部480、排出部490(梯板輸送機(flight conveyor)491)、及被覆部500。As shown in FIG. 26, the heating element manufacturing apparatus (hereinafter sometimes referred to simply as the manufacturing apparatus) 400 includes an
藉由未圖示之調整裝置預先調整並積存於貯存槽410之塗料432係藉由送液泵420而供給至塗佈部430。The
於本實施形態中,於塗佈部430中,於自原片捲筒401A陸續送出之沿長度方向搬送之長條帶體之第1基材片材401上塗佈塗料432而塗佈發熱體層403(塗佈步驟)。In this embodiment, in the
塗佈部430具備塗佈塗料432之模嘴塗佈機431。又,自原片捲筒401A陸續送出之長條帶體之第1基材片材401藉由塗佈輥433而搬送至與模嘴塗佈機431之塗料噴出口對向之位置。於第1基材片材401之一面,藉由模嘴塗佈機431塗佈塗料432而配置作為發熱體層403之塗料層402。The
如此,於在第1基材片材401上塗佈有成為發熱體層403之塗料層402之狀態下,藉由檢查裝置50測定塗料層402之截面面積。檢查裝置50係光學式表面形狀測定器,且係測定第1基材片材401之搬送方向上之塗料層402之表面形狀者。將藉由檢查裝置50測定塗料層402所得之結果示於圖27。如圖27所示,縱軸表示藉由檢查裝置50測定出之塗料層402之高度,橫軸表示藉由檢查裝置50測定出之塗料層402之與長度方向交叉之方向(寬度方向)之位置。根據圖27所示之測定結果,藉由對藉由測定所得之表面形狀進行積分而求出截面面積。將該截面面積作為製品資料D1而記憶。與其建立關聯地將送液泵420中之塗料432之每單位時間之供給量作為設備資料D3而記憶。製品資料D1與設備資料D3建立關聯地記憶於資料收集部70。In this way, the cross-sectional area of the
而且,於針對生產線中正在進行處理之製品或利用生產線實施之步驟已結束之製品檢測出製品異常時,基於發生製品異常之製品之製品異常資料D1n而追蹤設備資料D3。例如,基於製品異常資料D1n,追蹤例如旋轉模切機(rotary die cutter)472之切斷時序、搬送皮帶482之搬送速度、吸入箱(suction box)494之抽吸壓力等設備資料D3。藉由追蹤,特定出發生製品異常之製造設備之製造圖案之異常部位而獲得設備異常資料D3n。其結果,於必須調整其等之值之情形時,將製造設備40停止,進行所需部位之設備之調整。Moreover, when a product abnormality is detected for a product being processed in the production line or a product whose steps implemented by the production line have ended, the equipment data D3 is tracked based on the product abnormality data D1n of the product where the product abnormality has occurred. For example, based on the product abnormality data D1n, tracking equipment data D3 such as the cutting sequence of the
於電解質添加部440中,散佈電解質441。例如,自螺旋送料機442將電解質441經由具備電解質質量感測器443之槽444而散佈至塗料層402上。其散佈量係藉由電解質散佈量感測器445而測定。電解質441係使用其粉體。又,塗佈後之第1基材片材401係藉由包含塗佈輥433之搬送裝置,而自塗佈部430搬送至電解質添加部440。然後,朝向第1基材片材401之塗佈面,將電解質441散佈至塗料層402,而成為發熱體層403。In the
藉由電解質441之添加,可於發熱體層403中確保對於發熱較佳之電解質濃度。又,粉體之電解質441藉由塗料層402及第1基材片材401中包含之水分而溶解。進而,以接著於發熱體層403側之方式供給第2基材片材404,並輸送至貼合部450。再者,電解質可為粉體,亦可為水溶液。With the addition of the
藉此,將發熱體層403中之水分吸收保持於第2基材片材404,而發熱體層403之含水率及電解質濃度變為較佳。Thereby, the moisture in the
於本實施形態中,於貼合部450中,夾著發熱體層403而將第1基材片材401與第2基材片材404貼合(貼合步驟)。In the present embodiment, in the
貼合部450係藉由夾於軋輥451、452之間,而將於第1基材片材401上製作之發熱體層403貼合至第1基材片材401及第2基材片材404。The
繼而,於狹縫、切口加工部460中,進行形成複數個切口並將第1基材片材401與上述第2基材片材404接合之切口加工步驟。Then, in the slit and
狹縫、切口加工部460係於第1基材片材401之長度方向、即第1基材片材401之搬送方向上製作未圖示之切口(穿孔)及狹縫者。The slit and slit
以此方式製作由連續長條物構成之發熱體連續體405。其後,將發熱體連續體405於第1裁斷部470中遍及與長度方向交叉之方向(寬度方向)而裁斷(裁斷步驟)。第1裁斷部470具備於周面具有切割機之刀471之旋轉模切機472及砧輥473。藉由使發熱體連續體405通過旋轉模切機472與砧輥473之間而將其裁斷,從而獲得單片之複數片發熱體406。經裁斷之發熱體406向重新調節部480移送,由輸送機481接收。In this way, a
發熱體連續體405之裁斷係於發熱體連續體405之寬度方向上進行。例如可遍及發熱體連續體405之寬度方向呈直線狀地進行裁斷。或者,可以裁斷線描繪出曲線之方式進行裁斷。The cutting of the
成為單片之發熱體406載置於配置於重新調節部480之輸送機481之搬送皮帶482上。搬送皮帶482之搬送速度較設置於第1裁斷部470之砧輥473之周速快。其結果,於搬送方向上前後相鄰之發熱體406間之距離擴大,發熱體406隔開特定之距離而重新配置。The
通常,於輸送機481,將發熱體406一面朝輸送機481側抽吸一面搬送。於下一梯板輸送機491中之發熱體406之搬送中,為了防止梯板輸送機491前段之發熱體406之掉落,亦可停止輸送機481之後段之抽吸。又,於上述輸送機481,發熱體406之寬度方向之間隔亦擴寬。作為此種重新調節之機構,可無特別限制地使用先前公知者。再者,所謂搬送方向之前後意指搬送方向之上游側及下游側。Generally, in the
經重新調節且於寬度方向上擴寬之發熱體406被搬送至排出部490。於排出部490中具備梯板輸送機491。發熱體406係以垂吊於梯板輸送機491之狀態搬送。為了實現此種狀態下之搬送,於朝向下方之部位之位置,於環行軌道之內部設置吸入箱494。藉由啟動吸入箱494,而作為被搬送物之發熱體406藉由抽吸以抽吸支持於環形皮帶493之支持面之狀態於上述部位被搬送。The
通過排出部490而來之發熱體406被交付至被覆部500之輸送機501。被覆部500係藉由未圖示之第1被覆片材及第2被覆片材407被覆發熱體406整體。The
配置檢查裝置50,該檢查裝置50係於藉由第1被覆片材進行被覆之前,檢測發熱體406之位置。該檢查裝置50包含攝像裝置59及未圖示之圖像處理部。對利用攝像裝置59拍攝到之發熱體之圖像藉由圖像處理部進行圖像處理,檢測發熱體406之位置而獲得製品資料D1。與其建立關聯地將作為製造設備之製造裝置400之例如旋轉模切機472之切斷時序、搬送皮帶482之搬送速度、吸入箱494之抽吸壓力等作為設備資料D3記憶至設備主處理裝置41(參照圖3)。製品資料D1與設備資料D3係建立關聯地與參照上述圖3所說明者同樣地記憶至資料收集部70。An
而且,於針對生產線中正在進行處理之製品或利用生產線實施之步驟已結束之製品檢測出製品異常時,基於發生製品異常之製品之製品資料D1而追蹤設備資料D3。例如,基於製品資料D1,追蹤旋轉模切機472之切斷時序、搬送皮帶482之搬送速度、吸入箱494之抽吸壓力等設備資料D3,並建立關聯。藉由追蹤,特定出發生製品異常之製造設備之製造圖案之異常部位而獲得設備異常資料D3n。其結果,於必須調整其等之值之情形時,將製造設備(相當於圖3之製造設備40)停止,進行所需部位之設備之調整。Moreover, when a product abnormality is detected for a product being processed in the production line or a product whose steps implemented by the production line have ended, the equipment data D3 is tracked based on the product data D1 of the product where the product abnormality has occurred. For example, based on the product data D1, track the cutting timing of the rotary
於無須調整之情形時,藉由第2被覆片材407被覆上述發熱體406之未配置發熱體層403之側。然後,一面保持利用第1被覆片材及第2被覆片材407之被覆狀態,一面藉由輸送機501將經被覆之發熱體406搬送至未圖示之密封部。When no adjustment is required, the side of the
藉由密封部而各發熱體406由第1被覆片材及第2被覆片材407連續地被覆,從而獲得複數個發熱件於一方向上連結之狀態之發熱件連續體。第1被覆片材及第2被覆片材407例如可使用與日本專利特開2012-000344號公報、日本專利特開2012-000345號公報等中所記載者相同者。於第2裁斷部(未圖示)中,將發熱件連續體於相鄰之發熱體間遍及寬度方向裁斷。第2裁斷部具備旋轉模切機及與其對向之砧輥。藉由使發熱件連續體通過兩構件間而進行裁斷,藉此可獲得目標發熱件(未圖示)。By the sealing portion, each
以此方式,該發熱件係於下一步驟(未圖示)中,被密封收容於具有氧阻隔性之包裝袋內。In this way, the heating element is sealed in a packaging bag with oxygen barrier properties in the next step (not shown).
於上述塗料432之原料中使用可氧化性金屬,作為可氧化性金屬,可列舉鐵、鋁、鋅、錳、鎂、鈣等之粉末。較佳為使用鐵之粉末。An oxidizable metal is used in the raw material of the
於上述發熱體之製造方法中,塗料432係藉由送液泵420而供給至塗佈部430。塗料432之供給量與送液泵420之轉數具有大致成正比之相關關係,若提高泵轉數則發熱體連續體405之切割性提高。然而,若過度提高泵轉數則塗料層402之厚度變厚,因此發熱體連續體405之切割性變差。藉由檢查裝置50而測定之塗料層402之截面面積與藉由攝像裝置59而測定之發熱體位置精度之關係成為如圖28所示。因此,可藉由在塗料432之塗佈量之規格範圍內控制送液泵420之泵轉數,而使發熱體位置精度提高。所謂發熱體位置精度係指發熱體與發熱體之間隔之標準偏差,且意指發熱體連續體405之切割精度。In the manufacturing method of the heating element described above, the
關於上述實施形態,本發明進而揭示以下之形態。Regarding the above-mentioned embodiment, the present invention further discloses the following aspects.
<1><1>
一種製品之製造方法,其係經由複數個製造步驟而製造製品之製造方法,且包括如下步驟:獲取製造上述製品之製造設備之設備資料;自上述製品獲取製品資料;將上述設備資料及上述製品資料儲存至資料收集部;將上述設備資料與上述製品資料建立關聯;判斷上述製品資料之異常;於上述製品發生異常之情形時,特定出與視為異常之製品建立關聯之設備異常資料及製品異常資料之兩者或任一者;及藉由該進行特定之步驟,進而特定出成為上述製品異常之原因之上述製造步驟。A manufacturing method of a product, which is a manufacturing method of manufacturing a product through a plurality of manufacturing steps, and includes the following steps:Obtain the equipment data of the manufacturing equipment that manufactures the above-mentioned products; obtain the product data from the above-mentioned products; store the above-mentioned equipment data and the above-mentioned product data in the data collection department; associate the above-mentioned equipment data with the above-mentioned product data; determine the abnormality of the above-mentioned product data; When the above-mentioned product is abnormal, identify both or either of the equipment abnormality data and the product abnormality data associated with the product deemed to be abnormal; and by performing specific steps, the product will be identified as the above-mentioned product The above manufacturing steps of the cause of the abnormality.
<2><2>
如<1>之製品之製造方法,其包括如下步驟:於上述製品之製造後,判斷上述製品之異常;於上述製品存在異常之情形時,特定出與視為製品異常之製品建立關聯之上述設備異常資料及上述製品異常資料之兩者或任一者;及藉由該進行特定之步驟,進而特定出成為上述製品異常之原因之上述製造步驟。For example, the manufacturing method of the product in <1> includes the following steps: after the manufacture of the above product, the abnormality of the above product is judged; when the above product is abnormal, the above mentioned product that is related to the product considered to be abnormal is identified Either or both of the equipment abnormality data and the aforementioned product abnormality data; and by performing a specific step, the aforementioned manufacturing step that is the cause of the aforementioned product abnormality is identified.
<3><3>
如<1>或<2>之製品之製造方法,其包括如下步驟:獲得與成為上述製品異常之原因之製造步驟之製造設備相關之上述設備異常資料;及使上述視為異常之製品之上述製品異常資料及上述設備異常資料於顯示裝置之畫面上可視化。For example, the manufacturing method of the product of <1> or <2>, which includes the following steps: obtaining the above-mentioned equipment abnormality data related to the manufacturing equipment that is the cause of the above-mentioned product abnormality; and making the above-mentioned abnormal product The product abnormal data and the above-mentioned equipment abnormal data are visualized on the screen of the display device.
<4><4>
如<1>至<3>中任一項之製品之製造方法,其中上述製品進入至製造編號賦予步驟,由製造編號賦予裝置賦予製造編號。Such as the manufacturing method of any one of <1> to <3>, wherein the above-mentioned product enters the manufacturing number assignment step, and the manufacturing number assignment device is assigned the manufacturing number.
<5><5>
如<4>之製品之製造方法,其中上述製造編號賦予步驟係將於每1片製品不同之製造編號印字至上述製品。Such as the manufacturing method of a product in <4>, wherein the above-mentioned manufacturing number assignment step is to print a different manufacturing number for each piece of product to the above-mentioned product.
<6><6>
如<4>之製品之製造方法,其中上述製造編號賦予步驟係於上述製品為連續網狀之狀態下進行印字。Such as the manufacturing method of the product of <4>, wherein the above-mentioned manufacturing number assigning step is to perform printing when the above-mentioned product is in a continuous mesh state.
<7><7>
如<4>之製品之製造方法,其中上述製造編號賦予步驟係對包裝1片以上之上述製品之包裝體進行印字。Such as the manufacturing method of the product of <4>, wherein the above-mentioned manufacturing number assignment step is to print the package body of the above-mentioned product that packs more than one piece of the above-mentioned product.
<8><8>
如<1>至<7>中任一項之製品之製造方法,其中將上述設備資料與上述製品資料建立關聯之步驟係基於上述製造步驟間之距離而進行。Such as the manufacturing method of any one of <1> to <7>, wherein the step of associating the above-mentioned equipment data with the above-mentioned product data is performed based on the distance between the above-mentioned manufacturing steps.
<9><9>
如<1>至<8>中任一項之製品之製造方法,其包括如下步驟:對藉由進而特定出上述製造步驟之步驟而特定出的製造步驟之製造設備進行修復。Such as the manufacturing method of any one of <1> to <8>, which includes the following steps: repairing the manufacturing equipment of the manufacturing step specified by further specifying the steps of the above manufacturing step.
<10><10>
如<9>之製品之製造方法,其中上述修復製造設備之步驟係藉由反饋控制而自動地修復上述製造設備之異常部位。Such as the manufacturing method of the product of <9>, wherein the above-mentioned step of repairing the manufacturing equipment is to automatically repair the abnormal part of the above-mentioned manufacturing equipment through feedback control.
<11><11>
如<9>或<10>之製品之製造方法,其中上述修復製造設備之步驟係將上述製造設備停止,調整與上述製造設備之異常部位相關之機械參數而修復上述異常部位。Such as <9> or <10> the manufacturing method of the product, in which the above steps of repairing the manufacturing equipmentThe above-mentioned manufacturing equipment is stopped, and the mechanical parameters related to the abnormal part of the above-mentioned manufacturing equipment are adjusted to repair the above-mentioned abnormal part.
<12><12>
如<1>至<11>中任一項之製品之製造方法,其中上述製品之異常係將正常品之製品資料與利用上述製造步驟而製作之製品之製品資料進行比較,檢測出與正常品之製品資料不同者作為異常品,自上述異常品之製品資料提取成為異常之原因的原因資料,基於上述原因資料,對與上述製品資料建立關聯之上述設備資料之製造圖案資料進行追蹤。Such as the manufacturing method of any one of <1> to <11>, wherein the abnormality of the above-mentioned product is to compare the product data of the normal product with the product data of the product produced by the above-mentioned manufacturing steps, and the detection is If the product data is different, it is regarded as an abnormal product. The cause data of the abnormal cause is extracted from the product data of the above abnormal product. Based on the above cause data, the manufacturing pattern data of the above equipment data associated with the above product data is tracked.
<13><13>
如<1>至<12>中任一項之製品之製造方法,其中上述製品為吸收性物品,且於儲存於上述資料收集部之上述製品資料中,與上述吸收性物品建立關聯地記錄有上述吸收性物品之製造資料。For example, the manufacturing method of the product in any one of <1> to <12>, wherein the above-mentioned product is an absorbent article, and the above-mentioned product data stored in the above-mentioned data collection part is associated with the above-mentioned absorbent article. Manufacturing data of the above-mentioned absorbent articles.
<14><14>
如<1>至<13>中任一項之製品之製造方法,其中於正常品之資料收集步驟及異常品之資料收集步驟之各個步驟中,計算統計值。For example, in the manufacturing method of any one of <1> to <13>, the statistical value is calculated in each step of the data collection step of the normal product and the data collection step of the abnormal product.
<15><15>
如<1>至<14>中任一項之製品之製造方法,其包括如下步驟:確認上述製品資料中之圖像處理檢查器相關之圖像處理資料與上述設備資料之相關關係。For example, the manufacturing method of a product in any one of <1> to <14> includes the following steps: confirming the correlation between the image processing data related to the image processing checker in the product data and the equipment data.
<16><16>
如<15>之製品之製造方法,其中上述確認相關關係之步驟係於生產線上進行確認。For example, the manufacturing method of the product in <15>, in which the above steps to confirm the related relationship are in the productionConfirm on the production line.
<17><17>
如<15>之製品之製造方法,其中上述確認相關關係之步驟係於生產線下進行確認。For example, the manufacturing method of the product in <15>, in which the above steps of confirming the related relationship are confirmed under the production line.
<18><18>
如<1>至<17>中任一項之製品之製造方法,其中上述資料收集部具有主中央處理裝置及輔助中央處理裝置。Such as the manufacturing method of any one of <1> to <17>, wherein the data collection part has a main central processing device and an auxiliary central processing device.
<19><19>
如<1>至<18>中任一項之製品之製造方法,其中除了上述製品資料以外,還登錄有預先設定於上述製造設備之設定值。For example, in the manufacturing method of any one of <1> to <18>, in addition to the above-mentioned product data, the preset values of the above-mentioned manufacturing equipment are also registered.
<20><20>
如<1>至<19>中任一項之製品之製造方法,其中上述設備資料包含:單片收集資料,其係於每1片製品之週期內被收集;長週期收集資料,其係於較單片收集資料更長之週期內被收集;及短週期收集資料,其係於較單片收集資料更短之週期內被收集。Such as the manufacturing method of any one of <1> to <19>, wherein the above-mentioned equipment data includes: single piece collection data, which is collected in the cycle of each piece of product; long-period collection data, which is The data is collected in a longer period than the monolithic collection of data; and the data is collected in a short period, which is collected in a shorter period than the monolithic collection of data.
<21><21>
如<1>至<20>中任一項之製品之製造方法,其中特定出上述製品之製造編號之印字係基於使用有色墨水、或無色墨水之印字。Such as the manufacturing method of any one of <1> to <20>, wherein the printing specifying the manufacturing number of the above product is based on printing using colored ink or colorless ink.
<22><22>
如<1>至<21>中任一項之製品之製造方法,其中上述製品之製造方法中,上述製品為吸收性物品。Such as the manufacturing method of any one of <1> to <21>, wherein in the manufacturing method of the above-mentioned article, the above-mentioned article is an absorbent article.
<23><23>
如<1>至<22>中任一項之製品之製造方法,其中上述製品之製造方法中,上述製品為片狀製品。Such as the manufacturing method of any one of <1> to <22>, wherein the manufacturing of the above-mentioned productsIn the method, the above-mentioned product is a sheet product.
<24><24>
一種製品之製造裝置,其係對應於複數個製造步驟而製造製品之製造裝置,且具有製造上述製品之複數個製造設備及檢查上述製品之複數個檢查裝置,且具有:感測器,其檢測上述製造設備所具有之製造圖案;及資料收集部,其儲存建立關聯的利用上述檢查裝置而獲得之製品資料、及利用上述感測器而檢測出之製造圖案資料;上述資料收集部具有:輔助中央處理裝置,其對上述製品資料進行處理;主中央處理裝置,其對建立關聯的表示上述製造設備之設備狀態之設備資料、經上述輔助中央處理裝置處理過之輔助裝置收集資料、及上述製造圖案資料進行處理;及資料庫伺服器,其儲存經上述主中央處理裝置處理過之主裝置收集資料。A manufacturing device for a product, which corresponds to a plurality of manufacturing steps to manufacture a product, and has a plurality of manufacturing equipment for manufacturing the product and a plurality of inspection devices for inspecting the product, and has: a sensor, which detects The manufacturing pattern possessed by the above-mentioned manufacturing equipment; and a data collection unit that stores related product data obtained by using the above-mentioned inspection device and manufacturing pattern data detected by the above-mentioned sensor; the above-mentioned data collection unit has: auxiliary The central processing device, which processes the above-mentioned product data; the main central processing device, which establishes the associated equipment data representing the equipment status of the above-mentioned manufacturing equipment, the collection data of the auxiliary equipment processed by the above-mentioned auxiliary central processing unit, and the above-mentioned manufacturing The pattern data is processed; and the database server, which stores the data collected by the main device that has been processed by the main central processing device.
<25><25>
如<24>之製品之製造裝置,其中上述輔助中央處理裝置將利用上述檢查裝置而獲取之上述製品資料之資料形式轉換為可利用上述主中央處理裝置進行處理。For example, the product manufacturing device of <24>, wherein the auxiliary central processing device converts the data form of the product data obtained by the inspection device into a data format that can be processed by the main central processing device.
已對本發明在說明其實施形態及實施例之同時進行了說明,但只要本發明者等人未特別指定,則於說明之任一細節中均不意欲限定本發明者等人之發明,且認為應在不違背隨附之申請專利範圍所示之發明之精神與範圍之前提下寬泛地進行解釋。The present invention has been described while describing its embodiments and examples. However, as long as the inventors have not specified otherwise, any details of the description are not intended to limit the invention of the inventors, and it is considered that Should not violate the spirit and spirit of the invention shown in the attached patent application scopeThe scope is explained in a broad manner before mentioning.
本申請案係主張基於2016年11月25日於日本提出申請之日本專利特願2016-229251、2017年2月8日於日本提出申請之日本專利特願2017-021494及2017年11月14日於日本提出申請之日本專利特願2017-219350之優先權者,其等係以參照之方式將其內容作為本說明書之記載之一部分而併入本文中。This application is based on Japanese Patent Application No. 2016-229251 filed in Japan on November 25, 2016, Japanese Patent Application No. 2017-021494 filed in Japan on February 8, 2017 and November 14, 2017 For the priority of Japanese Patent Application No. 2017-219350 filed in Japan, the content is incorporated herein by reference as part of the description of this specification.
40:製造設備40: Manufacturing equipment
43:加工裝置43: processing device
43A:加工裝置43A: Processing device
43B:加工裝置43B: Processing device
50:檢查裝置50: check device
50a:檢查裝置50a: Inspection device
50b:檢查裝置50b: Inspection device
50c:檢查裝置50c: Inspection device
D1:製品資料D1: Product information
D3:設備資料D3: Equipment information
| Application Number | Priority Date | Filing Date | Title |
|---|---|---|---|
| JP2016229251 | 2016-11-25 | ||
| JP2016-229251 | 2016-11-25 | ||
| JP2017-021494 | 2017-02-08 | ||
| JP2017021494 | 2017-02-08 | ||
| JP2017219350AJP6653307B2 (en) | 2016-11-25 | 2017-11-14 | Product manufacturing method and product manufacturing apparatus |
| JP2017-219350 | 2017-11-14 |
| Publication Number | Publication Date |
|---|---|
| TW201823895A TW201823895A (en) | 2018-07-01 |
| TWI741074Btrue TWI741074B (en) | 2021-10-01 |
| Application Number | Title | Priority Date | Filing Date |
|---|---|---|---|
| TW106140414ATWI741074B (en) | 2016-11-25 | 2017-11-22 | Product manufacturing method and product manufacturing device |
| Country | Link |
|---|---|
| TW (1) | TWI741074B (en) |
| WO (1) | WO2018097171A1 (en) |
| Publication number | Priority date | Publication date | Assignee | Title |
|---|---|---|---|---|
| JP6847898B2 (en)* | 2018-08-10 | 2021-03-24 | 東京エレクトロンデバイス株式会社 | Preventive maintenance equipment and preventive maintenance system |
| JP7151636B2 (en)* | 2019-06-14 | 2022-10-12 | 東芝三菱電機産業システム株式会社 | data collection device |
| CN114063582B (en)* | 2021-11-16 | 2024-04-12 | 英特尔产品(成都)有限公司 | Method and device for monitoring a product testing process |
| IT202200021483A1 (en)* | 2022-10-18 | 2024-04-18 | Gdm Spa | Predictive Detection Method for Defects in Sanitary Absorbent Articles |
| IT202200021474A1 (en)* | 2022-10-18 | 2024-04-18 | Gdm Spa | Production line of sanitary absorbent articles |
| Publication number | Priority date | Publication date | Assignee | Title |
|---|---|---|---|---|
| TW513667B (en)* | 1995-05-01 | 2002-12-11 | Johnson & Amp Johnson Vision P | Computer system for quality control correlations |
| US20130304246A1 (en)* | 2011-02-24 | 2013-11-14 | Gdm S.P.A. | Method for corrective action on the operation of a line for the production of absorbent sanitary articles, such as nappies for babies or incontinence pads for adults, sanitary towels or the like |
| TWI428779B (en)* | 2007-07-26 | 2014-03-01 | 3M Innovative Properties Co | Multi-unit process spatial synchronization of image inspection systems |
| CN103732193A (en)* | 2011-08-30 | 2014-04-16 | 尤妮佳股份有限公司 | Inspecting apparatus and inspecting method of absorbent sheet-like member related to absorbent article |
| TWI463285B (en)* | 2007-07-26 | 2014-12-01 | 3M Innovative Properties Co | Inspection method and system and conversion control |
| US20150066187A1 (en)* | 2013-09-03 | 2015-03-05 | The Procter & Gamble Company | Systems and Methods for Adjusting Target Manufacturing Parameters on an Absorbent Product Converting Line |
| JP2015152943A (en)* | 2014-02-10 | 2015-08-24 | オムロン株式会社 | Quality management device and control method therefor |
| CN104952766A (en)* | 2014-03-28 | 2015-09-30 | 夏普株式会社 | Defect judging device defect judging method |
| CN105975895A (en)* | 2016-07-05 | 2016-09-28 | 纷美(北京)贸易有限公司 | System and method for removing substandard products in production line |
| Publication number | Priority date | Publication date | Assignee | Title |
|---|---|---|---|---|
| JP5248052B2 (en)* | 2006-10-11 | 2013-07-31 | 日東電工株式会社 | Defect inspection device for sheet-like product having optical film, inspection data processing device, cutting device and manufacturing system thereof |
| Publication number | Priority date | Publication date | Assignee | Title |
|---|---|---|---|---|
| TW513667B (en)* | 1995-05-01 | 2002-12-11 | Johnson & Amp Johnson Vision P | Computer system for quality control correlations |
| TWI428779B (en)* | 2007-07-26 | 2014-03-01 | 3M Innovative Properties Co | Multi-unit process spatial synchronization of image inspection systems |
| TWI463285B (en)* | 2007-07-26 | 2014-12-01 | 3M Innovative Properties Co | Inspection method and system and conversion control |
| US20130304246A1 (en)* | 2011-02-24 | 2013-11-14 | Gdm S.P.A. | Method for corrective action on the operation of a line for the production of absorbent sanitary articles, such as nappies for babies or incontinence pads for adults, sanitary towels or the like |
| CN103732193A (en)* | 2011-08-30 | 2014-04-16 | 尤妮佳股份有限公司 | Inspecting apparatus and inspecting method of absorbent sheet-like member related to absorbent article |
| US20150066187A1 (en)* | 2013-09-03 | 2015-03-05 | The Procter & Gamble Company | Systems and Methods for Adjusting Target Manufacturing Parameters on an Absorbent Product Converting Line |
| JP2015152943A (en)* | 2014-02-10 | 2015-08-24 | オムロン株式会社 | Quality management device and control method therefor |
| CN104952766A (en)* | 2014-03-28 | 2015-09-30 | 夏普株式会社 | Defect judging device defect judging method |
| CN105975895A (en)* | 2016-07-05 | 2016-09-28 | 纷美(北京)贸易有限公司 | System and method for removing substandard products in production line |
| Publication number | Publication date |
|---|---|
| TW201823895A (en) | 2018-07-01 |
| WO2018097171A1 (en) | 2018-05-31 |
| Publication | Publication Date | Title |
|---|---|---|
| JP6653307B2 (en) | Product manufacturing method and product manufacturing apparatus | |
| TWI741074B (en) | Product manufacturing method and product manufacturing device | |
| USRE48182E1 (en) | Apparatus and method for minimizing waste and improving quality and production in web processing operations by automatic cuff defect correction | |
| JP6227024B2 (en) | Cardboard sheet defect detection apparatus, cardboard sheet defect removal apparatus, and corrugated sheet manufacturing apparatus | |
| US7809179B2 (en) | Manufacturing inspection of folded feminine hygiene products by cascading edge and skew detection | |
| CN208915599U (en) | For controlling or the unit of management product and equipment for manufacturing product | |
| KR101750355B1 (en) | Method for observing coating solution, coating method, device for observing coating solution, and coating device | |
| JP6587671B2 (en) | Production line control system, production line control device, and production line control method | |
| US20230186454A1 (en) | Machine vision system for inspecting quality of various non-woven materials | |
| CN116056806B (en) | Method for manufacturing sheet-like member | |
| JP2013228297A (en) | Automatic defect inspection system | |
| JP2022522856A (en) | Inspection stations and methods for inspecting sheet materials | |
| JP5902067B2 (en) | Paper dust adhesion amount inspection method and paper dust adhesion amount inspection device | |
| JP7229657B2 (en) | LAMINATED SHEET DEFECT INSPECTION APPARATUS AND SHEET PRODUCT MANUFACTURING METHOD | |
| JP5467692B2 (en) | Inspection device for hole inspection object | |
| JP2004125493A (en) | Inspection system | |
| JP2018021759A (en) | Inspection system and PTP packaging machine | |
| JP2021135063A (en) | Manufacturing method of composite sheet | |
| WO2023199721A1 (en) | Production device for absorbent article, production method for absorbent article, and program | |
| JP2010060370A (en) | Density unevenness testing method and density unevenness testing apparatus | |
| WO2018101457A1 (en) | Manufacturing line control system, manufacturing line control device, and manufacturing line control method | |
| JP2025106937A (en) | Bag making and packaging machine | |
| JP2024081536A (en) | Inspection method and manufacturing method for laminated sheet | |
| JP2020055304A (en) | Film thickness distribution measuring device, sheet conveying device, sheet manufacturing device, and sheet manufacturing method | |
| ITUB201544953U1 (en) | UNIT FOR THE CONTROL OR MANAGEMENT OF PRODUCTS OR ROLLS |
| Date | Code | Title | Description |
|---|---|---|---|
| MM4A | Annulment or lapse of patent due to non-payment of fees |