




本申請主張基於2019年2月1日申請之日本專利申請第2019-016804號的優先權。該日本申請的全部內容藉由參閱援用於本說明書中。本發明係有關一種能夠測量包含兩種以上的物質之混合物中的物質的濃度之防腐裝置及防腐方法。This application claims priority based on Japanese Patent Application No. 2019-016804 filed on February 1, 2019. The entire contents of this Japanese application are incorporated in this specification by reference.The present invention relates to an antiseptic device and an antiseptic method capable of measuring the concentration of a substance in a mixture containing two or more substances.
近年來,為了確保燃料,越來越需要使用建築廢材系木質材料及除木質系材料以外的生質燃料、廢舊輪胎或廢舊塑膠等廢物衍生燃料進行之發電。在這樣的發電機構中,例如,作為一例可列舉使用鍋爐之技術,該鍋爐具備:燃燒爐,燃燒燃燒對象物並且產生飽和蒸汽;及過熱器,使用在燃燒爐中產生之燃燒氣體對連接於燃燒爐並在該燃燒爐中產生之飽和蒸汽進行過熱並且用於發電。另一方面,由於將來石油資源和生質燃料本身的枯竭,預計使用這樣的低品位的生質燃料等之情況多。但是,低品位的生質燃料或廢物衍生燃料中例如包含很多Na、K等鹼成份等雜質。這樣,若使用包含鹼成份等雜質之低品位的燃料,則由於循環材料的流動不良、在發電設備內的熱交換器等裝置內灰分沉積,導致熱交換效率降低,或者裝置內部可能會被通過燃料的燃燒而產生之鹼金屬鹽腐蝕。作為用於改善這樣的問題之技術,例如提出了用於藉由分光光度法測量煙道氣內的有毒氣體的濃度之方法及裝置(例如,參閱下述專利文獻1)。(先前技術文獻)(專利文獻)專利文獻1:日本特表2003-511692號In recent years, in order to secure fuel, it is increasingly necessary to use waste-derived fuels such as construction waste wood-based materials and biomass fuels other than wood-based materials, waste tires or waste plastics for power generation. In such a power generation mechanism, for example, a technology using a boiler can be cited as an example. The boiler is provided with a combustion furnace that burns the object to be burned and generates saturated steam; and a superheater that uses the combustion gas generated in the combustion furnace to be connected to The combustion furnace and the saturated steam generated in the combustion furnace are superheated and used for power generation.On the other hand, due to the depletion of petroleum resources and biofuels themselves in the future, it is expected that such low-grade biofuels will be used in many cases. However, low-grade biomass fuels or waste-derived fuels contain a lot of impurities such as Na, K and other alkali components. In this way, if low-grade fuels containing impurities such as alkali components are used, poor flow of circulating materials, ash deposits in heat exchangers and other devices in power generation equipment, resulting in reduced heat exchange efficiency, or the inside of the device may be passed through The alkali metal salt corrosion caused by the combustion of fuel. As a technique for improving such a problem, for example, a method and an apparatus for measuring the concentration of a toxic gas in flue gas by spectrophotometry have been proposed (for example, refer to Patent Document 1 below).(Prior technical literature)(Patent Document)Patent Document 1: Japanese Special Form 2003-511692
(本發明所欲解決之課題)如專利文獻1中記載之技術般,在一般的紫外吸光光度分析中,氙燈或汞燈等高壓燈用作白色光源。但是,存在如下問題:該等高壓燈壽命短,又,高壓燈的發光強度的穩定性低。因此,考慮使用光源壽命長且發光強度優異的發光二極體(light emitting diode:LED)。在此,由於LED的發光光譜的波長寬度窄且為單色光,因此選擇與測量對象的吸收光譜相對應之波長的光源。但是,若混合有具有與測量對象的吸收波長帶相同的吸收波長帶之物質,則在使用單色的LED之技術中,由於無法分離基於測量對象之光吸收與基於混合物的光吸收,因此無法準確測量測量對象的濃度。為了解決上述問題,本發明的目的在於提供一種光源壽命長且能夠測量包含具有相同的吸收波長之兩種以上的物質之混合物中的物質的吸光度和/或透射率之防腐裝置及防腐方法。(用以解決課題之手段)亦即,本發明如下所示。<1>一種防腐裝置,其具備:第1光源部,其具備射出如下吸收波長帶的照射光之發光二極體,前述吸收波長帶包括藉由燃燒對象物的燃燒而產生之第1測量對象的吸收光譜;第2光源部,其具備射出如下吸收波長帶的照射光之發光二極體,前述吸收波長帶包括藉由前述燃燒對象物的燃燒而產生之第2測量對象的吸收光譜且與前述第1測量對象的吸收光譜不同的吸收光譜;第1受光部,接收從前述第1光源部射出之照射光;第2受光部,接收從前述第2光源部射出之照射光;及計算部,根據由前述第1受光部接收之照射光的透射光強度I1及由前述第2受光部接收之照射光的透射光強度I2來計算已燃燒前述燃燒對象物之燃燒氣體中的前述第1測量對象的吸光度和/或透射率。<2>如前述<1>所述之防腐裝置,其具備:腐蝕抑制劑供給部,將與前述第1測量對象反應之腐蝕抑制劑供給到前述燃燒氣體中;及供給量控制部,控制從前述腐蝕抑制劑供給部供給之前述腐蝕抑制劑的供給量。<3>如前述<2>所述之防腐裝置,其中前述供給量控制部根據藉由前述計算部計算出之前述第1測量對象的吸光度和/或透射率來控制前述腐蝕抑制劑的供給量。<4>如前述<2>所述之防腐裝置,其還具備:第3光源部,其具備射出如下吸收波長帶的照射光之發光二極體,前述吸收波長帶包括由前述腐蝕抑制劑產生之第3測量對象的吸收光譜且與第1測量對象及第2測量對象的吸收光譜不同的吸收光譜;及第3受光部,接收從前述第3光源部射出之照射光,前述計算部根據由前述第3受光部接收之照射光的透射光強度I3及由前述第2受光部接收之照射光的透射光強度I2來計算前述燃燒氣體中的前述第3測量對象的吸光度和/或透射率,前述供給量控制部根據藉由前述計算部計算出之前述第1測量對象及第3測量對象的吸光度和/或透射率來控制前述腐蝕抑制劑的供給量。<5>一種防腐方法,其中從具備各發光二極體之第1光源部或第2光源部朝向已燃燒燃燒對象物之燃燒氣體照射包括藉由前述燃燒對象物的燃燒而產生之第1測量對象的吸收光譜之吸收波長帶的照射光、及包括藉由前述燃燒對象物的燃燒而產生之第2測量對象的吸收光譜且與前述第1測量對象的吸收光譜不同的吸收光譜之吸收波長帶的照射光,藉由第1受光部或第2受光部分別接收從前述第1光源部射出之照射光及從前述第2光源部射出之照射光,根據由前述第1受光部接收之照射光的透射光強度I1及由前述第2受光部接收之照射光的透射光強度I2,藉由計算部計算前述第1測量對象的吸光度和/或透射率。<6>如前述<5>所述之防腐方法,其中根據藉由前述計算部計算出之前述第1測量對象的吸光度和/或透射率來控制與前述第1測量對象反應之腐蝕抑制劑的供給量,並將前述腐蝕抑制劑供給到前述燃燒氣體中。<7>如前述<6>所述之防腐方法,其中進一步從具備發光二極體之第3光源部朝向前述燃燒氣體射出吸收波長帶的照射光,前述吸收波長帶包括由前述腐蝕抑制劑產生之第3測量對象的吸收光譜且與第1測量對象及第2測量對象的吸收光譜不同的吸收光譜,藉由第3受光部接收從前述第3光源部射出之照射光,根據由前述第3受光部接收之照射光的透射光強度I3及由前述第2受光部接收之照射光的透射光強度I2,藉由前述計算部計算前述第3測量對象的吸光度和/或透射率,根據藉由前述計算部計算出之前述第1測量對象及第3測量對象的吸光度和/或透射率來控制與前述第1測量對象反應之腐蝕抑制劑的供給量,並將前述腐蝕抑制劑供給到前述燃燒氣體中。(發明之效果)依本發明,能夠提供一種光源壽命長且能夠測量包含具有相同的吸收波長之兩種以上的物質之混合物中的物質的吸光度和/或透射率之防腐裝置及防腐方法。(Problem to be solved by the present invention) Like the technique described in Patent Document 1, in general ultraviolet absorption photometric analysis, a high-pressure lamp such as a xenon lamp or a mercury lamp is used as a white light source. However, there are problems in that these high-pressure lamps have a short lifespan, and the stability of the luminous intensity of the high-pressure lamps is low. Therefore, it is considered to use a light emitting diode (LED) with a long light source life and excellent luminous intensity. Here, since the wavelength width of the emission spectrum of the LED is narrow and monochromatic light, a light source with a wavelength corresponding to the absorption spectrum of the measurement object is selected. However, if a substance having the same absorption wavelength band as the absorption wavelength band of the measurement object is mixed, the technology using monochromatic LEDs cannot separate the light absorption based on the measurement object and the light absorption based on the mixture. Accurately measure the concentration of the measurement object. In order to solve the above-mentioned problems, the object of the present invention is to provide an anti-corrosion device and anti-corrosion method capable of measuring the absorbance and/or transmittance of a substance in a mixture containing two or more substances with the same absorption wavelength. (Means for Solving the Problem) That is, the present invention is as follows. <1> An anti-corrosion device, comprising: a first light source section including a light emitting diode that emits irradiated light in the following absorption wavelength band, the absorption wavelength band including the first measurement object produced by the combustion of the burning object The second light source section is provided with a light-emitting diode that emits irradiated light in the following absorption wavelength band, the absorption wavelength band including the absorption spectrum of the second measurement object produced by the combustion of the burning object and and Absorption spectra different from the absorption spectra of the first measurement object; a first light receiving unit that receives the irradiated light emitted from the first light source unit; a second light receiving unit that receives the irradiated light emitted from the second light source unit; and a calculation unit Calculate the first in the combustion gas of the burning object based on the transmitted light intensity I1 of the irradiation light received by the first light receiving unit and the transmitted light intensity I2 of the irradiation light received by the second light receiving unit 1 Measure the absorbance and/or transmittance of the object. <2> The anti-corrosion device described in the above <1>, which includes: a corrosion inhibitor supply unit that supplies the corrosion inhibitor reacting with the first measurement object to the combustion gas; and a supply amount control unit that controls the slave The supply amount of the corrosion inhibitor supplied by the corrosion inhibitor supply unit. <3> The anti-corrosion device according to the above <2>, wherein the supply amount control unit controls the supply amount of the corrosion inhibitor based on the absorbance and/or transmittance of the first measurement object calculated by the calculation unit . <4> The anti-corrosion device as described in the above <2>, further comprising: a third light source section including a light emitting diode that emits irradiated light in the following absorption wavelength bands, the absorption wavelength bands including those produced by the corrosion inhibitor The absorption spectrum of the third measurement object and the absorption spectrum different from the absorption spectra of the first measurement object and the second measurement object; and the third light receiving section receives the irradiated light emitted from the third light source section, and the calculation section is based on said third receiving transmitted light intensity of irradiation light receiving light section I3, and2 is calculated by the transmitted light intensity of the second irradiation light receiving receiving light section I absorbance of the third measurement object the combustion gas and / or transmission The supply amount control unit controls the supply amount of the corrosion inhibitor based on the absorbance and/or transmittance of the first measurement object and the third measurement object calculated by the calculation unit. <5> An anti-corrosion method in which the irradiation of the combustion gas from the first light source section or the second light source section provided with each light-emitting diode toward the burned object includes the first measurement produced by the combustion of the above-mentioned combustion object Irradiation light in the absorption wavelength band of the absorption spectrum of the object, and an absorption wavelength band including the absorption spectrum of the second measurement object generated by the combustion of the burning object and an absorption spectrum different from the absorption spectrum of the first measurement object The first light receiving part or the second light receiving part respectively receives the irradiation light emitted from the first light source part and the irradiation light emitted from the second light source part, according to the irradiation light received by the first light receiving part The transmitted light intensity I1of the irradiated light and the transmitted light intensity I 2 of the irradiated light received by the second light receiving unit are calculated by the calculation unit to calculate the absorbance and/or transmittance of the first measurement object. <6> The anti-corrosion method according to the above <5>, wherein the corrosion inhibitor reacting with the first measurement object is controlled based on the absorbance and/or transmittance of the first measurement object calculated by the calculation unit Supply amount, and supply the corrosion inhibitor to the combustion gas. <7> The anti-corrosion method according to the above <6>, wherein the third light source portion equipped with a light emitting diode further emits irradiated light in an absorption wavelength band toward the combustion gas, and the absorption wavelength band includes those generated by the corrosion inhibitor. The absorption spectrum of the third measuring object and the absorption spectrum different from the absorption spectra of the first measuring object and the second measuring object are received by the third light-receiving unit. The transmitted light intensity I3 of the irradiation light received by the light receiving unit and the transmitted light intensity I2 of the irradiation light received by the second light receiving unit are calculated by the calculation unit to calculate the absorbance and/or transmittance of the third measurement object, according to The supply amount of the corrosion inhibitor that reacts with the first measurement object is controlled by the absorbance and/or transmittance of the first measurement object and the third measurement object calculated by the calculation unit, and the corrosion inhibitor is supplied to The aforementioned combustion gas. (Effects of the Invention) According to the present invention, it is possible to provide an anti-corrosion device and anti-corrosion method capable of measuring the absorbance and/or transmittance of a substance in a mixture containing two or more substances having the same absorption wavelength with a long life of a light source.
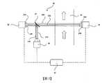
以下,參閱圖式,對用於實施本發明的形態(以下,簡稱為“本實施形態”。)進行詳細說明。但是,以下的實施形態係用於說明本發明的例示,並不意圖將本發明限定於以下內容。本發明能夠在其主旨之範圍內進行適當變形而實施。另外,對相同的要素附加相同的符號,並省略重複說明。又,關於上下左右等的位置關係,只要沒有特別說明,係依據圖式所示之位置關係者。此外,圖式的尺寸比率並不限定於圖式的比率。(第1實施形態)參閱圖1對第1實施形態中的具備防腐裝置之燃燒設備進行說明。圖1係表示本發明的第1實施形態之概略圖。如圖1所示,燃燒設備10具備供給燃燒對象物且在爐內燃燒前述燃燒對象物之燃燒爐20、測量已燃燒燃燒對象物而得之燃燒氣體中的各成份之測量單元30及藉由與在燃燒爐20中產生之燃燒氣體的熱交換而過熱之過熱器40。又,燃燒爐20中具備向爐內供給燃燒對象物之燃燒對象物供給器22。測量單元30中具備向燃燒氣體供給腐蝕抑制劑之腐蝕抑制劑供給裝置31,進而,在燃燒設備10中具備與測量單元30及腐蝕抑制劑供給裝置31中的每個電連接之控制單元50。在本實施形態中,測量單元30、腐蝕抑制劑供給裝置31及控制單元50發揮作為防腐裝置的作用。另外,在圖1中,粗箭頭表示燃燒氣體的流動方向。又,在以下的各圖中,一點虛線表示電信號的路徑。燃燒設備10並無特別限定,能夠列舉以藉由在燃燒爐20中產生之燃燒氣體與過熱器40的熱交換來使蒸汽過熱並用於發電之所謂鍋爐作為例子。又,燃燒設備10並無特別限定,除了主要用於火力發電業務用之、單流鍋爐、循環鍋爐、廢熱回收鍋爐以外,還可以為產業用途中使用之循環流化床鍋爐(CFB)、流化床鍋爐(BFB)、等中的任一個。如圖1所示,燃燒爐20例如構成為縱長的筒狀,並在爐內燃燒從燃燒對象物供給器22供給之燃燒對象物。作為燃燒對象物,只要為可燃物則並無特別限定,例如,能夠使用包含Na、K等鹼金屬鹽之生質燃料、包含鉛或鋅等重金屬之廢物衍生燃料。若從燃燒對象物供給器22供給到燃燒爐20之燃燒對象物被燃燒,則在爐內產生燃燒氣體。又,雖然省略圖式,但是能夠在燃燒爐20的爐壁設置水管,並藉由將水管暴露於燃燒爐20內的燃燒氣體來產生飽和蒸汽。燃燒氣體中包括藉由燃燒對象物的燃燒而產生之第1測量對象及第2測量對象。第1測量對象與第2測量對象係不同之物質,第2測量對象在與第1測量對象相同的波長帶具有吸收光譜,並且在與第1測量對象不同的波長帶具有單獨的吸收光譜。例如,作為第1測量對象,可列舉藉由生質燃料的燃燒而產生之KCl、NaCl、藉由廢物衍生燃料的燃燒而產生之ZnCl2等低熔點的熔融鹽。第2測量對象例如可列舉藉由燃燒而產生之木炭燃燒灰(fly ash(飛灰)、bottom ash(爐底灰))等固體粒子。在燃燒爐20中產生之燃燒氣體在包括第1測量對象及第2測量對象之同時被送到測量單元30。測量單元30係用於測量燃燒氣體內的第1測量對象的濃度之裝置。在測量單元30中,測量燃燒氣體中的與第1測量對象及第2測量對象對應之透射光強度I1及I2。測量單元30中的測量對象的濃度的測量利用吸光光度分析法,例如利用紫外吸光光度分析法。使用圖2對本實施形態的測量單元30進行說明。圖2係用於說明第1實施形態中的測量單元的構成之概略圖。在圖2中,細箭頭表示從發光二極體照射之光的軌道,粗箭頭表示燃燒氣體的流動方向。如圖2所示,測量單元30中設置有發光器32及分光計34。又,測量單元30設置有從燃燒爐20輸送之燃燒氣體的流路39,並且構成為能夠測量流過流路39之燃燒氣體中的第1測量對象及第2測量對象的濃度。另外,在圖1中,示出為相對於測量單元30從紙面左方朝向右方輸送燃燒氣體,但在圖2中,為了說明,以燃燒氣體的流動方向成為從紙面下方朝向上方之方式示出測量單元30。發光器32具備光源部32A及光源部32B,前述光源部32A具備射出包括第1測量對象的吸收光譜之吸收波長帶的照射光之發光二極體,前述光源部32B具備射出包括第2測量對象的吸收光譜且與前述第1測量對象的吸收光譜不同的吸收光譜之吸收波長帶的照射光之發光二極體。測量單元30朝向流過流路39之燃燒氣體,從各光源部射出吸收波長帶不同的照射光。如上所述,光源部32A及32B中設置有發光二極體。在本實施形態中,在燃燒氣體中的第1測量對象及第2測量對象的測量中,由於使用發光二極體代替以往使用之氙燈或汞燈等高壓燈,因此與使用高壓燈之情況相比,光源壽命長。又,由於光源強度的穩定性優異,因此能夠進一步準確地測量測量對象的濃度。用於本實施形態之發光二極體能夠適當地選擇與測量對象的吸收光譜相應之波長者。另外,例如,燃燒氣體中包含除了第1測量對象及第2測量對象以外的其他物質時,從光源部32B射出之光36B的吸收波長帶避開其他物質的吸收光譜而設定為較佳。分光計34中設置有接收從光源部32A射出之照射光之受光部34A及接收從光源部32B射出之照射光之受光部34B。分光計34為具備接收從發光器32照射並透射燃燒氣體之光之光二極體之裝置,並且可發揮透射光強度監視器的功能。如圖2所示,從各光源部射出之光36A及光36B在流路39中通過燃燒氣體,並由各自對應之受光部34A及受光部34B接收。因此,藉由分光計34能夠測量與各光源部相對應之吸收波長區域的光的透射光強度。如圖2所示,測量單元30中設置有分束鏡37,並且構成為從發光器32射出之光36A及光36B的一部分朝向紙面下方反射。被分束鏡37反射之光37A及光37B被光源強度監視用的光二極體38接收。光二極體38具有複數個受光部(省略圖示),以便能夠接收從各光源部射出之光。在測量單元30中,分束鏡37設置成從發光器32照射之光到達燃燒氣體之前反射,並且構成為能夠藉由光二極體38監控設置於發光器32之各光源部的光源強度。另外,亦可以構成為發光器32的光源強度的監控根據由光二極體38接收之光的強度來測量光源強度的波動和各光源部的劣化引起之強度降低,並校正與根據該等測量值預先設定之各發光二極體對應之光源強度。如圖2所示,發光器32、分光計34及光二極體38與控制單元50電連接。若從發光器32射出之光被分光計34接收,則電訊號發送到控制單元50,在控制單元50中,檢測由受光部34A接收之照射光的透射光強度I1及由受光部34B接收之照射光的透射光強度I2。此外,從發光器32射出之光被光二極體38接收,從而電訊號發送到控制單元50,並檢測光源部32A及光源部32B的各光源強度I01及光源強度I02。接著,如圖1所示,控制單元50係具備計算部52及供給量控制部54之CPU等裝置。計算部52根據藉由測量單元30測量之透射光強度或光源強度、亦即,由受光部34A接收之照射光的透射光強度I1及由受光部34B接收之照射光的透射光強度I2計算第1測量對象及第2測量對象的吸光度及透射率。在本實施形態中,根據該值計算第1測量對象的濃度。另外,在圖1等中,控制單元50內示出了計算部52及供給量控制部54,但是該等無需為獨立的裝置,並且能夠構成為在一個CPU中發揮各種作用。對計算部52中的第1測量對象的濃度的計算方法進行具體說明。首先,計算部52使用朗伯特-比爾定律(Lambert-Beer law)(A=-log10(Ix/I0x)=ECl=εcl[A:吸光度、I0x:第x光源部的光源強度、Ix:由第x受光部接收之透射光強度、E:比吸光度、C:具有第x光源部射出之光的吸收光譜之物質的質量對容量百分率濃度、ε:莫耳吸光係數、x:具有第x光源部射出之光的吸收光譜之物質的莫耳濃度、l:光所透射之長度(光路長度)])等,計算燃燒氣體中的具有由光源部32A射出之光的吸收光譜之物質的濃度X1。在此,不僅第1測量對象,而且飛灰等第2測量對象在從光源部32A射出之光的吸收波長帶具有吸收光譜。因此,第2測量對象的濃度對濃度X1有影響,濃度X1成為燃燒氣體中的第1測量對象與第2測量對象的總濃度。接著,計算燃燒氣體中的具有光源部32B所射出之光的吸收光譜之物質的濃度X2。在此,在燃燒氣體中具有由光源部32B射出之光的吸收光譜之物質成為飛灰等第2測量對象,因此濃度X2成為燃燒氣體中的第2測量對象的濃度。因此,藉由從濃度X1除去濃度X2,能夠消除第2測量對象的影響,並計算第1測量對象的濃度。另外,如上所述,作為I0x,使用藉由光二極體38監控之光源強度I01及光源強度I02,作為Ix,使用藉由分光計24監控之透射光強度I1及透射光強度I2。但是,計算部52中的濃度的計算方法並不限定於上述例。接著,如圖1所示,測量單元30設置有向燃燒氣體供給腐蝕抑制劑之腐蝕抑制劑供給裝置31。腐蝕抑制劑係藉由與第1測量對象反應而降低第1測量對象的濃度之物質。腐蝕抑制劑能夠使用具有與第1測量對象化學反應並藉由氧化還原反應等而將第1測量對象作為另一化合物之作用之物質。作為這樣的腐蝕抑制劑,例如,燃燒對象物係包含KCl等之生質燃料時,可列舉硫酸銨((NH4)SO4)、硫酸鋁(Al4(SO4)3)、硫(Elemental Sulphur:元素硫)等硫成份。又,作為腐蝕抑制劑,亦可以使用能夠物理吸附於第1測量對象並降低第1測量對象本身的濃度之微粒等。腐蝕抑制劑供給裝置31與控制單元50中的供給量控制部54電連接。腐蝕抑制劑供給裝置31由控制單元50控制,並藉由控制單元50的供給量控制部54控制供給的時序和腐蝕抑制劑的供給量。在本實施形態中,控制單元50根據藉由計算部52計算之燃燒氣體中的第1測量對象的濃度,藉由供給量控制部54進行控制,以使從腐蝕抑制劑供給裝置31供給之腐蝕抑制劑的供給量相對於第1測量對象的存在量變得合適。儘管沒有特別限定,但是控制單元50能夠控制燃燒氣體中的腐蝕抑制劑的供給量,以使腐蝕抑制劑的存在量相對於第1測量對象的存在量不會多或少。在測量單元30中若將腐蝕抑制劑供給到燃燒氣體中,則燃燒氣體中的第1測量對象的濃度降低。在本實施形態中,構成為將第1測量對象的濃度降低之燃燒氣體從測量單元30發送到過熱器40。在過熱器40內設置省略圖示之蒸汽管。藉由燃燒爐20的熱而產生之飽和蒸汽在蒸汽管內流通,藉由燃燒氣體與過熱器40的熱交換來過熱飽和蒸汽。從過熱器40排出之燃燒氣體發送到設置於過熱器40的下段之各設備(下游側裝置)。又,藉由過熱器40過熱之飽和蒸汽例如能夠用於發電渦輪的驅動等。如上所述,在本實施形態中,藉由燃燒爐20燃燒燃燒對象物,並從具備各發光二極體之光源部32A及光源部32B朝向已燃燒燃燒對象物之燃燒氣體照射包括藉由前述燃燒對象物的燃燒而產生之第1測量對象的吸收光譜之吸收波長帶的照射光、及包括藉由前述燃燒對象物的燃燒而產生之第2測量對象的吸收光譜且與第1測量對象的吸收光譜不同的吸收光譜之吸收波長帶的照射光,能夠藉由各受光部34A或受光部34B接收從各光源部射出之照射光,並根據藉由該等各受光部接收之照射光的透射光強度I1及透射光強度I2,藉由計算部計算第1測量對象及第2測量對象的吸光度和/或透射率,並且能夠根據該值計算第1測量對象的濃度。這樣,在本實施形態中,通過在複數個光源部使用發光二極體,能夠提供一種光源壽命長且能夠測量包含具有相同的吸收波長之兩種以上的物質之混合物中的物質的吸光度、透射率、濃度之防腐裝置及防腐方法。又,由於發光二極體的光源強度的穩定性優異,因此能夠更準確地計算第1測量對象的吸光度、透射率、濃度。又,在本實施形態中,根據藉由計算部52計算之第1測量對象的濃度控制腐蝕抑制劑的供給量,並將腐蝕抑制劑供給到燃燒氣體。因此,由於能夠相對於燃燒氣體中的第1測量對象的存在量供給適當量的腐蝕抑制劑,因此能夠有效地降低第1測量對象的濃度,並有效地抑制基於第1測量對象之燃燒設備10內的各裝置內的腐蝕。另外,在本實施形態中,對計算第1測量對象及第2測量對象的吸光度和/或透射率,並由該值計算第1測量對象的濃度之樣態進行了說明,但是,本發明並不限定於該樣態,亦可以為如下樣態:不計算第1測量對象的濃度,而在計算部52中僅計算第1測量對象的吸光度和/或透射率,並根據該值實施後續製程。(第2實施形態)參閱圖3對第2實施形態中的具備防腐裝置之燃燒設備進行說明。圖3係表示本發明的第2實施形態之概略圖。在本實施形態中,以作為燃燒對象物使用包含KCl作為第1測量對象之生質燃料,又,作為腐蝕抑制劑使用硫成份,並且,作為燃燒爐具備循環流化床鍋爐(CFB)之燃燒設備為例進行說明。如圖3所示,燃燒設備100具備供給生質燃料,並在爐內燃燒生質燃料之燃燒爐120、從已燃燒生質燃料之燃燒氣體分離固體成份之旋風器130、測量燃燒氣體中的各成份之測量單元140及藉由與燃燒氣體的熱交換而被過熱之過熱器150。又,燃燒爐120中設置有向爐內供給生質燃料之燃料供給器122。測量單元140中設置有向燃燒氣體供給硫成份之腐蝕抑制劑供給裝置148,在燃燒設備100中進一步設置有與測量單元140及腐蝕抑制劑供給裝置148中的每個電連接之控制單元50。在本實施形態中,測量單元140和控制單元50發揮防腐裝置的作用。燃燒爐120構成為縱長的筒狀,並在爐內燃燒從燃料供給器122供給之生質燃料。燃燒爐120係使生質燃料在流化床中流動之同時燃燒之流化床爐。又,如後述,燃燒爐120係既定粒徑以上的固體成份藉由旋風器130返回之循環流化床爐。燃燒爐120內的溫度並無特別限定,但是能夠將燃燒氣體的溫度設定成為800~1000℃左右。若燃燒從燃料供給器122供給到燃燒爐120之生質燃料,則產生燃燒氣體。又,雖然省略圖式,但是能夠在燃燒爐120的爐壁設置水管,並藉由將水管暴露於燃燒爐120內的燃燒氣體來產生飽和蒸汽。又,藉由生質燃料的燃燒,燃燒氣體中含有作為第1測量對象之KCl,並且含有藉由該燃燒產生之飛灰(fly ash)。在本實施形態中,飛灰成為第2測量對象。又,在本實施形態中,燃燒氣體中除了KCl及飛灰以外,還包含NaCl、後述硫成份中所含有之SO2。在燃燒爐120中產生之燃燒氣體包含該等KCl或飛灰等成份之同時進給到旋風器130。旋風器130係將從燃燒爐120排出之既定的粒徑以上的固體成份從燃燒氣體中分離並返回至燃燒爐120之固體-氣體分離裝置。旋風器130從燃燒氣體分離既定的粒徑以上的固體成份並使其返回至燃燒爐120內,並且將分離該等固體成份之燃燒氣體進給到後段的測量單元140。基於旋風器130之固體成份的篩選粒徑並無特別限定,例如,能夠設定為約20μm。測量單元140係用於計算燃燒氣體內的KCl的吸光度及透射率,並根據該值測量其濃度之裝置。在測量單元140中,測量燃燒氣體中的與KCl(第1測量對象)及飛灰(第2測量對象)對應之透射光強度I1及I2。在本實施形態中,測量測量單元140中的測量對象的濃度時使用紫外吸光光度分析法。使用圖4對本實施形態的測量單元140進行說明。圖4係表示第2實施形態中的測量單元的一個樣態之概略圖。如圖4所示,測量單元140中設置有從旋風器130供給之燃燒氣體流通之主管141及外部測量部142,並且構成為在主管141內流通之燃燒氣體的一部分經由氣體管141A流通到外部測量部142。外部測量部142內設置有發光器144及分光計146,燃燒氣體在發光器144與分光計146之間從紙面左方朝向右方流通。從外部測量部142排出之燃燒氣體經由氣體管141B返回到主管141。外部測量部142的紙面上方設置有發光器144。雖然省略圖示,但是發光器144中設置有第1光源部及第2光源部,前述第1光源部具備射出包括KCl的吸收光譜之吸收波長帶的照射光之發光二極體,前述第2光源部具備射出包括飛灰的吸收光譜且與前述KCl的吸收光譜不同的吸收光譜之吸收波長帶的照射光之發光二極體。在此,關於燃燒氣體中所含有之各成份的吸收光譜的峰值,KCl接近250 nm,NaCl接近240nm,SO2接近220nm及290nm。另一方面,關於飛灰,吸收光譜的波長帶寬,並且在KCl等吸收光譜的波長帶亦具有吸收。因此,在本實施形態中,在第1光源部中使用具有與KCl的吸收光譜對應之約250nm的波長之發光二極體,又,在第2光源部中使用具有約400nm的波長之發光二極體。這樣,藉由將第2光源部的發光二極體的波長設定在不容易受到除了作為第2測量對象之飛灰以外的成份的影響之400nm附近,能夠更準確地計算燃燒氣體中的飛灰的吸光度及透射率、以及濃度。外部測量部142的紙面下方設置有分光計146。雖然省略圖示,但在分光計146中設置有接收從第1光源部射出之波長250nm的照射光之第1受光部及接收從第2光源部射出之波長400nm的照射光之第2受光部。與第1實施形態同樣地,從各光源部射出之照射光透射燃燒氣體並由分別對應之受光部接收。又,雖然省略圖示,但在外部測量部142設置有分束鏡,以使從發光器144照射之光在到達燃燒氣體之前被反射,並且構成為反射從發光器144射出之一部分照射光,並由光源強度監視用光二極體接收。在本實施形態中,與第1實施形態同樣地,藉由該光二極體檢測發光器144的光源強度。如圖3所示,外部測量部142與控制單元50電連接。若從發光器144射出之光被分光計146接收,則電訊號發送到控制單元50,在控制單元50中,檢測由第1受光部接收之波長250nm的照射光的透射光強度I1及由第2受光部接收之波長400nm的照射光的透射光強度I2。此外,從發光器144射出之光被光二極體接收,從而電訊號發送到控制單元50,並檢測第1光源部及第2光源部的各光源強度I01及光源強度I02。另外,在本實施形態中,採用了將外部測量部142設置於使外部測量部142位於過熱器150的前段之主管141中,並測量燃燒氣體中的成份的濃度之方式,但是在外部測量部142設置位置並不限定於此,例如,能夠依據燃燒爐120等需要來適當地選擇。如朗伯特-比爾定律所示,若光路長度增加,則透射率亦相應地降低。因此,如本實施形態那樣使用外部測量部142時,能夠根據外部測量部142的尺寸將光路長度(發光器144與分光計146的距離)設為恆定,因此不受設置該測量部之爐或管的尺寸的影響,能夠在相同條件下檢測透射光強度I1和透射光強度I2。在本實施形態中,控制單元50具備計算部52及供給量控制部54,與第1實施形態同樣地,根據由測量單元140測量之透射光強度I1及透射光強度I2計算作為第1測量對象之KCl的吸光度及透射率,並根據該值計算其濃度。測量單元140設置有向燃燒氣體供給硫成份之腐蝕抑制劑供給裝置148。硫成份中包含例如選自硫酸銨((NH4)SO4)、硫酸鋁(Al4(SO4)3)、硫(Elemental Sulphur)等之至少一種。如下述式所示,硫成份與KCl反應而產生無害的K2SO4,能夠降低KCl的濃度。如圖3所示,腐蝕抑制劑供給裝置148與控制單元50中的供給量控制部54電連接。腐蝕抑制劑供給裝置148由控制單元50控制,從腐蝕抑制劑供給裝置148供給之硫成份的供給量由供給量控制部54控制。控制單元50根據藉由計算部52計算之燃燒氣體中的KCl的濃度,藉由供給量控制部54進行控制,以使從腐蝕抑制劑供給裝置148供給之硫成份的供給量相對於KCl的存在量變得合適。儘管沒有特別限定,但是控制單元50能夠控制燃燒氣體中的硫成份的供給量,以使硫成份的存在量相對於KCl的存在量不會多或少。若藉由腐蝕抑制劑供給裝置148向燃燒氣體中供給硫成份,則能夠降低燃燒氣體中的KCl的濃度。在本實施形態中,構成為從測量單元140向過熱器150輸送KCl的濃度降低之燃燒氣體。過熱器150內與第1實施形態同樣地設置有省略圖示之配管,藉由燃燒爐120的熱而產生之飽和蒸汽在管內流通,並藉由燃燒氣體與過熱器150的熱交換來過熱飽和蒸汽。從過熱器150排出之燃燒氣體輸送到設置於過熱器150的下游之各設備(下游側裝置)。又,藉由過熱器150過熱之飽和蒸汽例如能夠用於發電渦輪的驅動等。在此,KCl的熔點為約780℃,因此在過熱器150與燃燒氣體的熱交換時,KCl本身附著於過熱器150的內壁等,成為該等裝置腐蝕的原因。此外,KCl氣體的附著促進飛灰的附著。飛灰的附著在過熱器150中成為熱交換效率降低的原因。燃燒設備100為了降低這樣的低品位的生質燃料中所含有之成份帶來之影響,藉由硫成份的供給來降低燃燒氣體中的KCl的濃度。藉此,能夠抑制位於比腐蝕抑制劑供給裝置148更靠後段之位置之過熱器150等被KCl腐蝕,或者由於KCl的存在而使飛灰在過熱器150內附著所導致的熱交換效率的降低。尤其,在過熱器150內,燃燒氣體的溫度藉由熱交換而降低,因此KCl容易凝聚,因此能夠在旋風器130與過熱器150之間的階段供給腐蝕抑制劑為較佳。如上所述,在本實施形態中,在燃燒爐120中燃燒包含KCl之生質燃料,從具備各發光二極體之光源部朝向已燃燒生質燃料之燃燒氣體照射包括KCl的吸收光譜之吸收波長帶的照射光及包括藉由前述生質燃料的燃燒而產生之飛灰的吸收光譜且與KCl的吸收光譜不同之吸收光譜之吸收波長帶的照射光,並藉由各受光部接收從各光源部射出之照射光,根據由該等各受光部接收之照射光的透射光強度I1及透射光強度I2計算KCl的吸光度及透射率,並能夠根據該值藉由計算部計算其濃度。這樣,在本實施形態中,通過在複數個光源部使用發光二極體,能夠提供一種光源壽命長且能夠測量包含具有相同的吸收波長之兩種以上的物質之混合物中的物質的濃度之防腐裝置及防腐方法。又,由於發光二極體的光源強度的穩定性優異,因此能夠更準確地計算KCl的吸光度、透射率及濃度。又,在本實施形態中,根據藉由計算部52計算之KCl的濃度控制硫成份的供給量,並將硫成份供給到燃燒氣體。因此,由於能夠相對於燃燒氣體中的KCl的存在量供給適當量的硫成份,因此能夠有效地降低KCl的濃度,並有效地抑制基於KCl之燃燒設備100內的各裝置內的腐蝕。另外,在本實施形態中,亦對計算KCl及飛灰的吸光度和/或透射率,並由該值計算KCl的濃度之樣態進行了說明,但是,本發明並不限定於該樣態,亦可以為如下樣態:不計算KCl的濃度,而在計算部52中僅計算KCl的吸光度和/或透射率,並根據該值實施後續製程。(其他樣態)在第2實施形態中,對使用具備外部測量部142之測量單元140之樣態進行了說明,但是作為測量單元,亦可以使用具有如圖5所示之結構之測量單元160。圖5係表示第2實施形態中的測量單元的其他樣態之概略圖。如圖5所示,測量單元160具備使從旋風器130供給之燃燒氣體流通之主管141,並在主管141內設置有發光器162及分光計164。在主管141內,燃燒氣體從紙面左方朝向右方流通。又,在主管141的管內,燃燒氣體的流路由於發光器162及分光計164而變窄。藉由以這種方式縮小發光器162與分光計164之間的空間,並能夠以簡單的構成縮短測量單元160中的光路長度(發光器144與分光計146之間的距離)。這樣,藉由將測量單元160中的光路長度適當地調整為適合於成為測量對象之鍋爐中的氣體的種類和濃度之長度,能夠提高燃燒氣體中的各成份的濃度的測量精度。又,在上述各實施形態中,設為使用第1光源部及第2光源部,根據藉由計算部計算之第1測量對象的濃度供給腐蝕抑制劑之構成,但是本發明並不限定於該等樣態,例如,亦能夠使用3種光源部。例如,除了第1光源部及第2光源部等以外,還能夠設置第3光源部和第3受光部,前述第3光源部具備射出如下吸收波長帶的照射光之發光二極體,前述吸收波長帶包括由腐蝕抑制劑產生之第3測量對象的吸收光譜且與第1測量對象及第2測量對象的吸收光譜不同的吸收光譜,前述第3受光部接收從第3光源部射出之照射光。在這樣的樣態中,計算部能夠構成為根據由第3受光部接收之照射光的透射光強度I3及由第2受光部接收之照射光的透射光強度I2計算燃燒氣體中的第3測量對象的吸光度及透射率,並根據該值計算其濃度,供給量控制部根據藉由計算部計算之第1測量對象及第3測量對象的吸光度或透射率或根據該值計算之濃度控制前述腐蝕抑制劑的供給量。作為這樣的例,例如可列舉如下樣態:作為燃燒對象物使用生質燃料,將第1測量對象設為KCl,將第2測量對象設為飛灰,將第3測量對象設為由硫成份產生之SO2,在第1光源部中使用具有與KCl的吸收光譜對應之約250nm的波長之發光二極體,又,在第2光源部中使用具有約400nm的波長之發光二極體,在第3光源部中使用具有與SO2的吸收光譜對應之約290nm的波長之發光二極體。依該樣態,能夠計算由作為腐蝕抑制劑供給之硫成份產生之SO2的吸光度及透射率,並根據該值計算其濃度,因此根據SO2的濃度判斷為硫成份在供給量控制部中供給過量時,能夠減少硫成份的供給量,並供給更合適的量的腐蝕抑制劑。藉由上述發明的實施形態說明之實施的樣態能夠根據用途適當組合或加以變更或改良。又,本發明並不限定於上述實施形態的記載。Hereinafter, referring to the drawings, a mode for implementing the present invention (hereinafter referred to simply as "this embodiment") will be described in detail. However, the following embodiments are examples for explaining the present invention, and are not intended to limit the present invention to the following contents. The present invention can be suitably modified and implemented within the scope of its gist. In addition, the same symbols are attached to the same elements, and repeated descriptions are omitted. In addition, as for the positional relationship of up, down, left, and right, unless otherwise specified, it is based on the positional relationship shown in the drawings. In addition, the size ratio of the drawing is not limited to the ratio of the drawing. (First Embodiment) With reference to Fig. 1, a combustion facility equipped with an anti-corrosion device in the first embodiment will be described. Fig. 1 is a schematic diagram showing the first embodiment of the present invention. As shown in FIG. 1, the
10,100:燃燒設備20,120:燃燒爐22:燃燒對象物供給器30,140:測量單元31,148:腐蝕抑制劑供給裝置32,144,162:發光器32A,32B:光源部34,146,164:分光計34A,34B:受光部37:分束鏡38:光二極體40,150:過熱器50:控制單元52:計算部54:供給量控制部122:燃料供給器130:旋風器141:主管142:外部測量部10,100: Combustion equipment20,120: Burning furnace22: Burning object supplier30,140: measuring unit31,148: Corrosion inhibitor supply device32,144,162:
[圖1] 係表示本發明的第1實施形態之概略圖。[圖2] 係用於說明第1實施形態中的測量單元的構成之概略圖。[圖3] 係表示本發明的第2實施形態之概略圖。[圖4] 係表示第2實施形態中的測量單元的一樣態之概略圖。[圖5] 係表示第2實施形態中的測量單元的其他樣態之概略圖。[Fig. 1] is a schematic diagram showing the first embodiment of the present invention.[Fig. 2] A schematic diagram for explaining the configuration of the measuring unit in the first embodiment.[Fig. 3] is a schematic diagram showing the second embodiment of the present invention.[Fig. 4] is a schematic diagram showing the same state of the measuring unit in the second embodiment.[Fig. 5] A schematic diagram showing another aspect of the measuring unit in the second embodiment.
10:燃燒設備10: Combustion equipment
20:燃燒爐20: Burning furnace
22:燃燒對象物供給器22: Burning object supplier
30:測量單元30: Measuring unit
31:腐蝕抑制劑供給裝置31: Corrosion inhibitor supply device
40:過熱器40: Superheater
50:控制單元50: control unit
52:計算部52: Computing Department
54:供給量控制部54: Supply Control Department
| Application Number | Priority Date | Filing Date | Title |
|---|---|---|---|
| JP2019-016804 | 2019-02-01 | ||
| JP2019016804 | 2019-02-01 |
| Publication Number | Publication Date |
|---|---|
| TW202030471A TW202030471A (en) | 2020-08-16 |
| TWI738164Btrue TWI738164B (en) | 2021-09-01 |
| Application Number | Title | Priority Date | Filing Date |
|---|---|---|---|
| TW108148511ATWI738164B (en) | 2019-02-01 | 2019-12-31 | Anti-corrosion device and anti-corrosion method |
| Country | Link |
|---|---|
| JP (1) | JP7436393B2 (en) |
| KR (1) | KR102841021B1 (en) |
| AU (1) | AU2020217056B2 (en) |
| MY (1) | MY207865A (en) |
| PH (1) | PH12021551825A1 (en) |
| SG (1) | SG11202108371WA (en) |
| TW (1) | TWI738164B (en) |
| WO (1) | WO2020158497A1 (en) |
| Publication number | Priority date | Publication date | Assignee | Title |
|---|---|---|---|---|
| JP7574127B2 (en)* | 2021-03-26 | 2024-10-28 | 株式会社タクマ | Biomass combustion equipment and combustion ash processing method |
| JPWO2022215627A1 (en)* | 2021-04-08 | 2022-10-13 |
| Publication number | Priority date | Publication date | Assignee | Title |
|---|---|---|---|---|
| US7229833B1 (en)* | 1999-10-12 | 2007-06-12 | Christer Andersson | Method and a device for measuring, by photo-spectrometry, the concentration of harmful gases in the fumes through a heat-producing plant |
| TW200813464A (en)* | 2006-09-12 | 2008-03-16 | Commw Scient Ind Res Org | High-resolution tracking of industrial process materials using trace incorporation of luminescent markers |
| CN106946940A (en)* | 2015-09-03 | 2017-07-14 | 环球展览公司 | Organic Electroluminescent Materials and Devices |
| WO2017144507A1 (en)* | 2016-02-22 | 2017-08-31 | Danmarks Tekniske Universitet | A device and method for measuring tar in a tar-environment |
| TW201812350A (en)* | 2016-06-09 | 2018-04-01 | 3M新設資產公司 | Optical system |
| Publication number | Priority date | Publication date | Assignee | Title |
|---|---|---|---|---|
| JPS56120957A (en)* | 1980-02-29 | 1981-09-22 | Mitsubishi Electric Corp | Maximum demand meter |
| FR2916019B1 (en)* | 2007-05-07 | 2014-06-27 | Sp3H | METHOD FOR ADJUSTING THE PARAMETERS OF INJECTION, COMBUSTION AND / OR POST-PROCESSING OF A SELF-IGNITION INTERNAL COMBUSTION ENGINE. |
| JP2012002463A (en) | 2010-06-18 | 2012-01-05 | Mitsubishi Heavy Ind Ltd | Combustion plant controller, and combustion plant control method |
| US9778176B2 (en)* | 2012-06-08 | 2017-10-03 | Valmet Technologies Oy | Measurement of gaseous compound using spectroscopy |
| JP6698477B2 (en)* | 2016-08-31 | 2020-05-27 | 株式会社堀場製作所 | Analytical apparatus, mercury removal method, incinerator system, and program |
| Publication number | Priority date | Publication date | Assignee | Title |
|---|---|---|---|---|
| US7229833B1 (en)* | 1999-10-12 | 2007-06-12 | Christer Andersson | Method and a device for measuring, by photo-spectrometry, the concentration of harmful gases in the fumes through a heat-producing plant |
| TW200813464A (en)* | 2006-09-12 | 2008-03-16 | Commw Scient Ind Res Org | High-resolution tracking of industrial process materials using trace incorporation of luminescent markers |
| CN106946940A (en)* | 2015-09-03 | 2017-07-14 | 环球展览公司 | Organic Electroluminescent Materials and Devices |
| WO2017144507A1 (en)* | 2016-02-22 | 2017-08-31 | Danmarks Tekniske Universitet | A device and method for measuring tar in a tar-environment |
| TW201812350A (en)* | 2016-06-09 | 2018-04-01 | 3M新設資產公司 | Optical system |
| Publication number | Publication date |
|---|---|
| KR102841021B1 (en) | 2025-07-30 |
| KR20210121017A (en) | 2021-10-07 |
| SG11202108371WA (en) | 2021-08-30 |
| AU2020217056A1 (en) | 2021-08-19 |
| JPWO2020158497A1 (en) | 2021-12-02 |
| TW202030471A (en) | 2020-08-16 |
| AU2020217056B2 (en) | 2025-06-05 |
| PH12021551825A1 (en) | 2022-04-11 |
| JP7436393B2 (en) | 2024-02-21 |
| WO2020158497A1 (en) | 2020-08-06 |
| MY207865A (en) | 2025-03-24 |
| Publication | Publication Date | Title |
|---|---|---|
| ES2259615T3 (en) | A PROCEDURE AND DEVICE FOR MEASURING, THROUGH PHOTOSPECTROMETRY, THE CONCENTRATION OF HARMFUL GASES IN SMOKE THROUGH A HEAT PRODUCTION EQUIPMENT. | |
| TWI738164B (en) | Anti-corrosion device and anti-corrosion method | |
| CN102625891B (en) | Optical monitoring and control of flue gases | |
| JP4028801B2 (en) | Method for operating a heat generation plant for burning chlorine-containing fuels | |
| US9835556B2 (en) | Gas analysis device | |
| DK2929247T3 (en) | Arrangement in a thermal process as well as a method for measuring the thickness of a pollution layer | |
| JP6078149B2 (en) | Boiler corrosion inhibitor, boiler and method for inhibiting corrosion of boiler | |
| JP6046886B2 (en) | BOILER WITH CORROSION CONTROL DEVICE AND BOILER CORROSION CONTROL METHOD | |
| KR102113028B1 (en) | Gas Spectroscopy | |
| Rezaei | Co-axial turbulent diffusion flames with directed oxygen injection | |
| JP2023001947A (en) | Gas concentration measuring device and gas concentration measuring method | |
| JP6300666B2 (en) | Pyrolysis gas combustion method and combustion apparatus | |
| JP2011133450A (en) | Moisture measuring device and drying device | |
| JPS6017623A (en) | Powder supply amount control device | |
| CN114459012A (en) | A monitoring system and monitoring method for high temperature corrosion of water wall | |
| Andersson et al. | Modelling of particle radiation in oxy-fuel flames | |
| RU2010103456A (en) | APPLICATION OF COMPOUNDS CONTAINING HALOGEN AND NITROGEN TO REDUCE THE EMISSIONS OF MERCURY WHEN COAL BURNING |