












本發明為一種觸控裝置及其系統,尤指一種基於抑制全內反射(Frustrated Total Internal Reflection;FTIR)搭配演算法進行手指觸控點轉換的光學觸控裝置及其系統。The present invention relates to a touch device and its system, in particular to an optical touch device and its system based on Frustrated Total Internal Reflection (FTIR) combined with an algorithm for finger touch point conversion.
按,目前有許多光學方式進行導光,以光機架構設計為主,例如抑制全內反射(Frustrated Total Internal Reflection;FTIR)的光學觸控架構。其技術滿足全平面設計,搭配演算法進行手指觸控點轉換。光機設計會影響後續演算法的處理,包括訊號處理、濾波、放大及ADC等等。而目前有幾種主流光機設計架構,分別有兩家公司,包括瑞典FlatFrog、愛爾蘭RAPT Touch。其技術先後以FlatFrog優先,RAPT為之後。這些設計方式各有優缺點,包括訊號接收程度、放大及ADC轉換,也會影響到後續量產組裝行為。According to, there are currently many optical methods for light guide, mainly based on the design of optical-mechanical architecture, such as the optical touch architecture that suppresses total internal reflection (Frustrated Total Internal Reflection; FTIR). Its technology satisfies full-planar design, and uses algorithms to switch between finger touch points. The optical machine design will affect the subsequent processing of the algorithm, including signal processing, filtering, amplification, ADC, and so on. There are currently several mainstream optomechanical design architectures, with two companies including FlatFrog in Sweden and RAPT Touch in Ireland. Its technology has been given priority to FlatFrog and RAPT second. These design methods have their own advantages and disadvantages, including signal reception, amplification, and ADC conversion, which will also affect subsequent mass production assembly behavior.
所有的光學式FTIR架構皆建立在全反射理論上,手指觸壓表面破光光線訊號進行感測。Flatfrog架構以發射器及接收器貼覆在玻璃上的油墨,在兩者間貼覆一材料作為光源散射材質,進行光源打散,或採用大角度發射角度光進行設計,讓光線有機會打散滿足全反射條件,在玻璃內光線能夠傳導至玻璃四週邊緣,讓其他感測器能接收。其架構簡單,不過大部份光線經由玻璃另一表面穿透,僅有少部份光線能夠進行玻璃內全反射,其穿透光比例高於90%以上;此模組總厚度約在7.1mm。因此,後續訊號處理需要對於雜訊濾波更有一定要求。另外,為了遮掩發射器及感測器元件,需要進行IR油墨及一般油墨塗層設計。All optical FTIR architectures are based on the theory of total reflection, and the finger touches the surface to detect the broken light signal. The Flatfrog architecture uses the ink on the glass for the transmitter and the receiver, and a material between the two is used as a light source scattering material to disperse the light source, or it is designed with a large angle of light emission to give the light a chance to disperse It satisfies the condition of total reflection, and the light in the glass can be transmitted to the edge of the glass, so that other sensors can receive it. Its structure is simple, but most of the light penetrates through the other surface of the glass, only a small part of the light can be totally reflected in the glass, and the proportion of the transmitted light is higher than 90%; the total thickness of the module is about 7.1mm . Therefore, subsequent signal processing needs to have certain requirements for noise filtering. In addition, in order to cover the transmitter and sensor components, IR ink and general ink coating design are required.
RAPT架構是以發射器/感測器貼覆在導光元件上,經過光學計算進行多次全反射導入導光玻璃內傳導。該產品為了避開Flatfrog專利,採用導光條進行設計,在後續組裝/黏貼元件行為上及機構設計,帶來許多複雜程度,整體模組厚度將增加至約19.2mm。但此方式將大部份光線導入導光玻璃上,在後續訊號處理上,將降低雜訊干擾及誤報點狀況發生。另外,為了遮掩發射器及感測器元件,需要進行IR油墨及一般油墨塗層設計。The RAPT structure is based on the transmitter/sensor being pasted on the light guide element, and after optical calculation, multiple total reflections are introduced into the light guide glass for conduction. In order to avoid the Flatfrog patent, the product adopts the light guide strip to design. The subsequent assembly/adhesive component behavior and mechanism design bring a lot of complexity, and the overall module thickness will increase to about 19.2mm. However, this method directs most of the light into the light guide glass, and in the subsequent signal processing, it will reduce the occurrence of noise interference and false alarm points. In addition, in order to cover the transmitter and sensor components, IR ink and general ink coating design are required.
是以,要如何解決上述習用之問題與缺失,即為本發明之發明人與從事此行業之相關廠商所亟欲研究改善之路徑所在者。Therefore, how to solve the above-mentioned conventional problems and deficiencies is the path that the inventor of the present invention and related manufacturers engaged in this industry urgently want to study and improve.
故,本發明之發明人有鑑於上述缺失,乃搜集相關資料,經由多方評估及考量,並以從事於此行業累積之多年經驗,經由不斷試作及修改,始設計出此種發明專利者。Therefore, in view of the above-mentioned deficiencies, the inventor of the present invention collected relevant information, evaluated and considered from multiple parties, and based on years of experience in this industry, through continuous trials and modifications, he designed this invention patentee.
本發明之目的在於提供一種基於抑制全內反射(Frustrated Total Internal Reflection;FTIR)搭配演算法進行手指觸控點轉換的光學觸控裝置及其系統,其具有架構簡單,改善模組厚度、光源利用率、組裝簡單、縮小邊框區域達到窄邊框等等優勢。The purpose of the present invention is to provide an optical touch device and system based on Frustrated Total Internal Reflection (FTIR) combined with algorithm for finger touch point conversion, which has a simple structure, improves module thickness and light source utilization It has advantages such as high efficiency, simple assembly, narrow frame area and narrow frame.
為了達到上述或其他目的,本發明一種光學觸控裝置,包括:一第一導光基材,用以供一使用者進行觸控操作;一第二導光基材,設置於該第一導光基材上;複數發射器,設置於該第二導光基材之側邊,用以自該第二導光基材之側邊發出一光線於該第二導光基材以及該第一導光基材內進行全反射;以及複數接收器,設置於該第二導光基材之側邊,用以接收於該第二導光基材以及該第一導光基材內進行全反射後之該光線;其中該第一導光基材可為平面(硬)、曲面(硬)、或可撓性(軟)材質所製成,該第二導光基材為可撓性(軟)材質所製成。In order to achieve the above or other objectives, an optical touch device of the present invention includes: a first light guide substrate for a user to perform touch operations; a second light guide substrate disposed on the first guide On the light substrate; a plurality of emitters are arranged on the side of the second light guide substrate for emitting a light from the side of the second light guide substrate on the second light guide substrate and the first Total reflection in the light guide substrate; and a plurality of receivers arranged on the side of the second light guide substrate for receiving the total reflection in the second light guide substrate and the first light guide substrate After the light; wherein the first light guide substrate can be made of flat (hard), curved (hard), or flexible (soft) material, the second light guide substrate is flexible (soft) ) Made of material.
在一較佳實施例中,其中該第一導光基材上兩側邊分別具有一油墨層。In a preferred embodiment, wherein the first light guide substrate has an ink layer on both sides respectively.
在一較佳實施例中,其中該第二導光基材鄰近於側邊處具有一彎折部。In a preferred embodiment, the second light guide substrate has a bent portion adjacent to the side.
在一較佳實施例中,其中該第一導光基材以及該第二導光基材之間具有一光學膠層。In a preferred embodiment, there is an optical adhesive layer between the first light guide substrate and the second light guide substrate.
在一較佳實施例中,其中該複數發射器設置於該第二導光基材之側邊底部,以及該複數接收器設置於該第二導光基材之側邊底部,該第二導光基材之側邊頂部對應於該複數發射器位置更包括一發射端反射器,該第二導光基材之側邊頂部對應於該複數接收器位置更包括一接收端反射器。In a preferred embodiment, the plurality of emitters are arranged on the bottom of the side of the second light guide substrate, and the plurality of receivers are arranged on the bottom of the side of the second light guide substrate, and the second guide The top of the side of the light substrate corresponding to the position of the plurality of transmitters further includes a transmitting end reflector, and the top of the side of the second light guide substrate corresponding to the position of the plurality of receivers further includes a receiving end reflector.
在一較佳實施例中,其中該第二導光基材之側邊底部對應於該複數發射器位置更包括一發射端擴散器,該第二導光基材之側邊底部對應於該複數接收器位置更包括一接收端擴散器。In a preferred embodiment, the bottom of the side of the second light guide substrate corresponding to the position of the plurality of emitters further includes an emitting end diffuser, and the bottom of the side of the second light guide substrate corresponds to the position of the plurality of emitters. The receiver position further includes a receiver diffuser.
在一較佳實施例中,其中該複數發射器設置於該第二導光基材之側邊頂部,以及該複數接收器設置於該第二導光基材之側邊頂部,該第二導光基材之側邊底部對應於該複數發射器位置更包括一發射端反射器,該第二導光基材之側邊底部對應於該複數接收器位置更包括一接收端反射器。In a preferred embodiment, the plurality of emitters are arranged on the top of the side of the second light guide substrate, and the plurality of receivers are arranged on the top of the side of the second light guide substrate, and the second guide The bottom of the side of the light substrate corresponding to the position of the plurality of transmitters further includes a transmitting end reflector, and the bottom of the side of the second light guide substrate corresponding to the position of the plurality of receivers further includes a receiving end reflector.
在一較佳實施例中,其中該第二導光基材之側邊頂部對應於該複數發射器位置更包括一發射端擴散器,該第二導光基材之側邊頂部對應於該複數接收器位置更包括一接收端擴散器。In a preferred embodiment, the top of the side of the second light guide substrate corresponds to the position of the plurality of emitters and further includes an emitting end diffuser, and the top of the side of the second light guide substrate corresponds to the position of the plurality of emitters. The receiver position further includes a receiver diffuser.
在一較佳實施例中,其中該複數發射器為薄膜發射器,該複數接收器為薄膜接收器。In a preferred embodiment, the plurality of transmitters are thin film transmitters, and the plurality of receivers are thin film receivers.
為了達到上述或其他目的,本發明一種光學觸控系統,包括:一第一導光基材,用以供一使用者進行觸控操作;一第二導光基材,設置於該第一導光基材上;複數發射器,設置於該第二導光基材之側邊,用以自該第二導光基材之側邊發出一光線於該第二導光基材以及該第一導光基材內進行全反射;以及複數接收器,設置於該第二導光基材之側邊,用以接收於該第二導光基材以及該第一導光基材內進行全反射後之該光線。該第一導光基材為平面(硬)、曲面(硬)、或可撓性(軟),該第二導光基材為可撓性(軟)。以及一液晶顯示模組,設置於該第二導光基材上,用於顯示影像及色彩,包括一液晶、一光學薄膜以及一背光源,該光學薄膜設置於該液晶之上,該背光源設置於該光學薄膜之上。In order to achieve the above or other objectives, an optical touch system of the present invention includes: a first light guide substrate for a user to perform touch operations; a second light guide substrate disposed on the first guide On the light substrate; a plurality of emitters are arranged on the side of the second light guide substrate for emitting a light from the side of the second light guide substrate on the second light guide substrate and the first Total reflection in the light guide substrate; and a plurality of receivers arranged on the side of the second light guide substrate for receiving the total reflection in the second light guide substrate and the first light guide substrate After the light. The first light guide substrate is flat (hard), curved (hard), or flexible (soft), and the second light guide substrate is flexible (soft). And a liquid crystal display module arranged on the second light guide substrate for displaying images and colors, including a liquid crystal, an optical film and a backlight, the optical film being arranged on the liquid crystal, the backlight Set on the optical film.
為達成上述目的及功效,本發明所採用之技術手段及構造,茲繪圖就本發明較佳實施例詳加說明其特徵與功能如下,俾利完全了解。In order to achieve the above-mentioned purposes and effects, the technical means and structure adopted by the present invention are illustrated in detail below to illustrate the characteristics and functions of the preferred embodiments of the present invention, so as to fully understand.
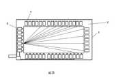
請參閱圖1以及2所示,為依據本發明光學觸控裝置第一較佳實施例之實施示意圖一以及二。由圖中可清楚看出,本發明一種光學觸控裝置為一種基於抑制全內反射(Frustrated Total Internal Reflection;FTIR)搭配演算法進行手指觸控點轉換的光學觸控裝置,包括:一第一導光基材1、一第二導光基材2、複數發射器3以及複數接收器4。Please refer to FIGS. 1 and 2, which are schematic diagrams 1 and 2 of the first preferred embodiment of the optical touch device according to the present invention. It can be clearly seen from the figure that an optical touch device of the present invention is an optical touch device based on Frustrated Total Internal Reflection (FTIR) combined with an algorithm for finger touch point conversion, including: a first The
該第一導光基材1用以供一使用者進行觸控操作,該第一導光基材1上兩側邊分別具有一油墨層11,該油墨層11具有可吸收可見光波段,或穿透紅外光吸收可見光功能。具體而言,該第一導光基材1為透明材料,例如可為低鐵素玻璃、壓克力材料(PC、PMMA)等等,但不限於此。而該第一導光基材1表面可具有防反射(Anti-reflective coating;AR)塗層、抗刮塗層。又該第一導光基材1,可為曲面、平面、或是具有可撓性材質所製成。The first
該第二導光基材2可以為可撓性材質所製成,設置於該第一導光基材1上。該第二導光基材為可撓性材質。該第一導光基材1以及該第二導光基材2之間具有一光學膠層12,具體而言,該光學膠層12為光學膠(Optically Clear Adhesive;OCA),以使得該第二導光基材2可以固定於該第一導光基材1上。進一步說明,該光學膠層12的膠材折射率介於該第一導光基材1與該第二導光基材2之間。該第二導光基材2鄰近於側邊處具有一彎折部21,而彎折程度可以介於1度至180度之間。具體而言,該第二導光基材2為透明軟性材料,可為PC、PMMA、PET等材料。其表面可具有防反射(Anti-reflective coating;AR)塗層。The second
該複數發射器3設置於該第二導光基材2之側邊,用以自該第二導光基材2之側邊發出一光線(以箭頭表示)於該第二導光基材2以及該第一導光基材1內進行全反射。具體而言,該複數發射器3所發出光線為紅外光以上波段,不可見光波段(850nm~1200nm)。The plurality of
該複數接收器4設置於該第二導光基材2之側邊,用以接收於該第二導光基材2以及該第一導光基材1內進行全反射後之該光線。具體而言,該複數接收器4所接收光線為接收紅外光以上波段,不可見光波段(850nm~1200nm)。The plurality of
再者,該複數發射器3以及該複數接收器4的排列方式可為交錯方式或是L型排列,分別藉由印刷電路板5承載,並且該複數發射器3以及該複數接收器4可以藉由軟板51互相連接。Furthermore, the arrangement of the plurality of
請參閱圖3所示,為依據本發明光學觸控裝置第二較佳實施例之實施示意圖。由圖中可清楚看出,本發明光學觸控裝置可以將該複數發射器3設置於該第二導光基材2之側邊底部,以及該複數接收器4設置於該第二導光基材2之側邊底部,該發射器3以及該接收器4分別藉由印刷電路板5承載。該第二導光基材2之側邊頂部對應於該複數發射器3位置更包括一發射端反射器31,該第二導光基材2之側邊頂部對應於該複數接收器4位置更包括一接收端反射器41。Please refer to FIG. 3, which is a schematic diagram of an implementation of a second preferred embodiment of an optical touch device according to the present invention. It can be clearly seen from the figure that the optical touch device of the present invention can arrange the plurality of
且該第二導光基材2之側邊底部對應於該複數發射器3位置更包括一發射端擴散器32,該第二導光基材2之側邊底部對應於該複數接收器4位置更包括一接收端擴散器42。And the bottom of the side of the second
請參閱圖4所示,為依據本發明光學觸控裝置第三較佳實施例之實施示意圖。由圖中可清楚看出,本發明光學觸控裝置可以將該複數發射器3設置於該第二導光基材2之側邊頂部,以及該複數接收器4設置於該第二導光基材2之側邊頂部,該第二導光基材2之側邊底部對應於該複數發射器3位置更包括一發射端反射器31,該第二導光基材2之側邊底部對應於該複數接收器4位置更包括一接收端反射器41。Please refer to FIG. 4, which is a schematic diagram of an implementation of a third preferred embodiment of an optical touch device according to the present invention. It can be clearly seen from the figure that the optical touch device of the present invention can arrange the plurality of
且該第二導光基材2之側邊頂部對應於該複數發射器3位置更包括一發射端擴散器32,該第二導光基材2之側邊頂部對應於該複數接收器4位置更包括一接收端擴散器42。And the top side of the second
請參閱圖5所示,為依據本發明光學觸控裝置第四較佳實施例之實施示意圖。由圖中可清楚看出,本發明光學觸控裝置之該複數發射器3為薄膜發射器33以及該複數接收器4為薄膜接收器43。並且該薄膜發射器33設置於該第二導光基材2之側邊頂部,以及該複數薄膜接收器43設置於該第二導光基材2之側邊頂部。該第二導光基材2之側邊底部對應於該複數薄膜發射器33位置更包括一發射端反射器31,該第二導光基材2之側邊底部對應於該複數薄膜接收器43位置更包括一接收端反射器41。Please refer to FIG. 5, which is a schematic diagram of the implementation of the fourth preferred embodiment of the optical touch device according to the present invention. It can be clearly seen from the figure that the plurality of
請參閱圖6所示,為依據本發明光學觸控裝置第五較佳實施例之實施示意圖。由圖中可清楚看出,本發明光學觸控裝置之該複數發射器3為薄膜發射器33以及該複數接收器4為薄膜接收器43。並且該複數薄膜發射器33設置於該第二導光基材2之側邊底部,以及該複數薄膜接收器43設置於該第二導光基材2之側邊底部。該第二導光基材2之側邊頂部對應於該複數薄膜發射器33位置更包括一發射端反射器31,該第二導光基材2之側邊頂部對應於該複數薄膜接收器43位置更包括一接收端反射器41。Please refer to FIG. 6, which is a schematic diagram of an implementation of a fifth preferred embodiment of an optical touch device according to the present invention. It can be clearly seen from the figure that the plurality of
藉由上述之結構、組成設計,茲就本發明之使用作動情形說明如下:當該複數發射器3自該第二導光基材2之側邊發出一光線於該第二導光基材2以及該第一導光基材1內進行全反射時,光線即在此第一導光基材1以及該第二導光基材2內進行全反射。藉此,使用者即可以在該第一導光基材1上進行觸控,搭配演算法進行手指觸控點轉換以完成觸控操作。為了達到更好的全反射效果,其中在該第一導光基材1以及該第二導光基材2之中,藉由該反射器的設置可以有效反射光線,藉由該擴散器的設置可以有效擴散光線。With the above-mentioned structure and composition design, the application and operation of the present invention are described as follows: when the plurality of
而本發明該第一導光基材1之油墨層11僅需要使用一般的油墨作為遮掩元件所用。本發明不需要在該第一導光基材1上做加工處理,也不需要在第二導光基材2上做網點結構等設計,模組厚度可以大幅度降低至6mm左右。實際製造時,可以在印刷電路板5上設置該發射器3以及接收器4,並貼附在油墨層11上。本發明以發射器3正向光源進行使用,有95%以上光線經過傳導至末端,此對末端處理是一大優點。且本發明該第二導光基材2為可撓性材質所製成,可以把該第二導光基材2的末端進行彎折固定,仍可以達到打光以及收光的效果,亦可以達到窄邊框的優勢。藉此,本發明提出了一種新的光學式觸控架構。However, the
請參閱圖7以及8所示,為依據本發明光學觸控系統第一較佳實施例之實施示意圖一以及二。圖7為框貼合之示意圖,由圖中可清楚看出,本發明一種光學觸控系統包括前一實施例之該光學觸控裝置,不再贅述。圖8為全貼合之示意圖。並且,在圖7中,非自發光顯示模組6與第二導光基材2間有一空氣層64,其折射率n=1。該非自發光顯示模組6為液晶顯示模組。在圖8中,非自發光顯示模組6與第二導光基材2間有一光學膠層65,而為了滿足全反射條件,兩元件間的光學膠層65折射率遠大或小於第二導光基材2之折射率。需要特別說明的是,請參閱圖9A,本發明光學觸控系統更包括一非自發光顯示模組6,該液晶顯示模組6設置於該第二導光基材2上,用於顯示影像及色彩。該液晶顯示模組6包括一液晶61、一光學薄膜62以及一背光源63,該光學薄膜62設置於該液晶61之上,該背光源63設置於該光學薄膜62之上。Please refer to FIGS. 7 and 8, which are schematic diagrams 1 and 2 of the first preferred embodiment of the optical touch system according to the present invention. FIG. 7 is a schematic diagram of frame bonding. It can be clearly seen from the figure that an optical touch system of the present invention includes the optical touch device of the previous embodiment, and will not be repeated. Figure 8 is a schematic diagram of full lamination. Moreover, in FIG. 7, there is an
請參閱圖9A所示,為依據本發明光學觸控系統第六較佳實施例之實施示意圖,由圖中可清楚看出,相較於之前實施例,本實施例中該彎折部21可以彎折為180度,相較於圖7及圖8相對的彎折部則是彎折90度。請參照圖9B,該彎折部彎折180度之另一實施例,其可彎折至顯示模組之上。Please refer to FIG. 9A, which is a schematic diagram of an implementation of a sixth preferred embodiment of an optical touch system according to the present invention. It can be clearly seen from the figure that, compared with the previous embodiment, the bending
請參閱圖10以及圖11所示,為依據本發明光學觸控系統第一較佳實施例之另一實施示意圖。圖10為框貼合之示意圖,由圖中可清楚看出,本發明一種光學觸控系統包括前一實施例之該光學觸控裝置,不再贅述。圖11為全貼合之示意圖。並且,在圖10中,自發光顯示模組7與第二導光基材2間有一空氣層71,其折射率n=1。在圖11中,自發光顯示模組7與第二導光基材2間有一光學膠層72,而為了滿足全反射條件,兩元件間的光學膠層72折射率遠大或小於第二導光基材2之折射率。該自發光顯示模組7包含主動矩陣有機發光二極體(AMOLED)、被動矩陣有機發光二極體(PMOLED)或微發光二極體(Micro LED)。Please refer to FIG. 10 and FIG. 11, which are schematic diagrams of another implementation of the first preferred embodiment of the optical touch system according to the present invention. FIG. 10 is a schematic diagram of frame bonding. It can be clearly seen from the figure that an optical touch system of the present invention includes the optical touch device of the previous embodiment, and will not be repeated. Figure 11 is a schematic diagram of full lamination. In addition, in FIG. 10, there is an
故,請參閱全部附圖所示,本發明使用時,與習用技術相較,著實存在下列優點: 本發明光學觸控裝置及其系統,提供了一種基於抑制全內反射(Frustrated Total Internal Reflection;FTIR)搭配演算法進行手指觸控點轉換的光學觸控裝置及其系統,其具有架構簡單,改善模組厚度、光源利用率、組裝簡單、縮小邊框區域達到窄邊框等等優勢。Therefore, referring to all the drawings, when the present invention is used, compared with the conventional technology, it has the following advantages: The optical touch device and the system of the present invention provide a method based on Frustrated Total Internal Reflection (Frustrated Total Internal Reflection; FTIR) The optical touch device and its system with algorithm for finger touch point conversion have the advantages of simple structure, improved module thickness, light source utilization, simple assembly, and reduced frame area to narrow frame.
透過上述之詳細說明,即可充分顯示本發明之目的及功效上均具有實施之進步性,極具產業之利用性價值,且為目前市面上前所未見之新發明,完全符合發明專利要件,爰依法提出申請。唯以上所述僅為本發明較佳的實施例,並非因此限制本發明的實施方式及保護範圍,對於本領域技術人員而言,應當能夠意識到凡運用本發明說明書及圖示內容所作出的等同替換和顯而易見的變化所得到的方案,均應當包含在本發明的保護範圍內。Through the above detailed description, it can be fully demonstrated that the purpose and efficacy of the present invention are progressive in implementation, have great industrial utility value, and are a new invention that has not been seen before on the market, and fully meets the requirements of an invention patent. , Yan filed an application in accordance with the law. Only the above are only preferred embodiments of the present invention, and do not limit the implementation and protection scope of the present invention. For those skilled in the art, they should be able to realize that all the contents of the description and illustrations of the present invention are used. The solutions obtained by equivalent substitutions and obvious changes should all be included in the protection scope of the present invention.
1:第一導光基材11:油墨層12:光學膠層2:第二導光基材21:彎折部3:發射器31:發射端反射器32:發射端擴散器33:薄膜發射器4:接收器41:接收端反射器42:接收端擴散器43:薄膜接收器5:印刷電路板51:軟板6:液晶顯示模組61:液晶62:光學薄膜63:背光源64:空氣層65:光學膠層7:自發光顯示模組71:空氣層72:光學膠層1: The first light guide substrate11: Ink layer12: Optical adhesive layer2: The second light guide substrate21: Bending part3: transmitter31: Transmitter reflector32: Transmitter diffuser33: Thin film transmitter4: receiver41: Receiving end reflector42: receiver diffuser43: film receiver5: Printed circuit board51: soft board6: Liquid crystal display module61: LCD62: Optical film63: Backlight64: air layer65: optical adhesive layer7: Self-luminous display module71: air layer72: Optical adhesive layer
〔圖1〕為依據本發明光學觸控裝置第一較佳實施例之實施示意圖一;〔圖2〕為依據本發明光學觸控裝置第一較佳實施例之實施示意圖二,圖2A為發射器及接收器交錯排列,圖2B為L型排列;〔圖3〕為依據本發明光學觸控裝置第二較佳實施例之實施示意圖;〔圖4〕為依據本發明光學觸控裝置第三較佳實施例之實施示意圖;〔圖5〕為依據本發明光學觸控裝置第四較佳實施例之實施示意圖;〔圖6〕為依據本發明光學觸控裝置第五較佳實施例之實施示意圖;〔圖7〕為依據本發明光學觸控系統第一較佳實施例之實施示意圖一;〔圖8〕為依據本發明光學觸控系統第二較佳實施例之實施示意圖二;〔圖9〕為依據本發明光學觸控系統第六較佳實施例之實施示意圖,圖9A為彎折部彎曲180度之一實施例,圖9B為彎折部彎曲180度之另一實施例[圖10]為依據本發明光學觸控系統另一第一較佳實施例之實施示意圖;以及〔圖11〕為依據本發明光學觸控系統另一第二較佳實施例之實施示意圖。[Figure 1] is the first implementation schematic diagram of the first preferred embodiment of the optical touch device according to the present invention;[Fig. 2] is the second implementation schematic diagram of the first preferred embodiment of the optical touch device according to the present invention. Fig. 2A shows the staggered arrangement of transmitters and receivers, and Fig. 2B shows the L-shaped arrangement;[FIG. 3] is a schematic diagram of the implementation of the second preferred embodiment of the optical touch device according to the present invention;[FIG. 4] is a schematic diagram of the implementation of the third preferred embodiment of the optical touch device according to the present invention;[FIG. 5] is a schematic diagram of the implementation of the fourth preferred embodiment of the optical touch device according to the present invention;[FIG. 6] is a schematic diagram of an implementation of a fifth preferred embodiment of an optical touch device according to the present invention;[FIG. 7] is the first implementation schematic diagram of the first preferred embodiment of the optical touch system according to the present invention;[FIG. 8] is the second implementation schematic diagram of the second preferred embodiment of the optical touch system according to the present invention;[Fig. 9] is a schematic diagram of the sixth preferred embodiment of the optical touch system according to the present invention. Fig. 9A is an embodiment of the bending portion bent 180 degrees, and Fig. 9B is another embodiment of the bending portion bent 180 degrees[Figure 10] is a schematic diagram of another first preferred embodiment of the optical touch system according to the present invention; and[FIG. 11] is a schematic diagram of another second preferred embodiment of the optical touch system according to the present invention.
1:第一導光基材1: The first light guide substrate
11:油墨層11: Ink layer
12:光學膠層12: Optical adhesive layer
2:第二導光基材2: The second light guide substrate
21:彎折部21: Bending part
3:發射器3: transmitter
4:接收器4: receiver
5:印刷電路板5: Printed circuit board
| Application Number | Priority Date | Filing Date | Title |
|---|---|---|---|
| CN201910348751.5ACN110083274B (en) | 2019-04-28 | 2019-04-28 | Optical touch device and system thereof |
| CN201910348751.5 | 2019-04-28 |
| Publication Number | Publication Date |
|---|---|
| TW202040340A TW202040340A (en) | 2020-11-01 |
| TWI732207Btrue TWI732207B (en) | 2021-07-01 |
| Application Number | Title | Priority Date | Filing Date |
|---|---|---|---|
| TW108115099ATWI732207B (en) | 2019-04-28 | 2019-04-30 | Optical touch device and system thereof |
| Country | Link |
|---|---|
| CN (1) | CN110083274B (en) |
| TW (1) | TWI732207B (en) |
| Publication number | Priority date | Publication date | Assignee | Title |
|---|---|---|---|---|
| US20140028629A1 (en)* | 2012-07-24 | 2014-01-30 | Rapt Ip Limited | Augmented optical waveguide for use in an optical touch sensitive device |
| TW201510823A (en)* | 2013-09-11 | 2015-03-16 | Wintek Corp | Optical touch panel and touch display panel |
| CN104793814A (en)* | 2015-05-12 | 2015-07-22 | 京东方科技集团股份有限公司 | Optical touch control device and touch control display device |
| TWI534686B (en)* | 2014-01-22 | 2016-05-21 | 廣達電腦股份有限公司 | Optical touch screen |
| Publication number | Priority date | Publication date | Assignee | Title |
|---|---|---|---|---|
| US8130210B2 (en)* | 2004-11-30 | 2012-03-06 | Avago Technologies Ecbu Ip (Singapore) Pte. Ltd. | Touch input system using light guides |
| TWI448944B (en)* | 2010-11-29 | 2014-08-11 | Au Optronics Corp | Touch display device |
| TWI497376B (en)* | 2011-07-22 | 2015-08-21 | Rapt Ip Ltd | Optical coupler assembly for use in an optical touch sensitive device |
| CN202275238U (en)* | 2011-07-28 | 2012-06-13 | 松翰科技股份有限公司 | Optical touch display module |
| US9952719B2 (en)* | 2012-05-24 | 2018-04-24 | Corning Incorporated | Waveguide-based touch system employing interference effects |
| US9857916B2 (en)* | 2012-07-24 | 2018-01-02 | Flatfrog Laboratories Ab | Optical coupling in touch-sensing systems using diffusively transmitting element |
| WO2015004317A1 (en)* | 2013-07-12 | 2015-01-15 | Multi Touch Oy | Light guide assembly for optical touch sensing, and method for detecting a touch |
| CN105786255B (en)* | 2016-03-03 | 2018-11-06 | 京东方科技集团股份有限公司 | Pressure-sensing touch system and method and display system |
| JP2020537265A (en)* | 2017-10-10 | 2020-12-17 | ラプト アイピー リミテッド | Thin couplers and reflectors for sensing waveguides |
| Publication number | Priority date | Publication date | Assignee | Title |
|---|---|---|---|---|
| US20140028629A1 (en)* | 2012-07-24 | 2014-01-30 | Rapt Ip Limited | Augmented optical waveguide for use in an optical touch sensitive device |
| TW201510823A (en)* | 2013-09-11 | 2015-03-16 | Wintek Corp | Optical touch panel and touch display panel |
| TWI534686B (en)* | 2014-01-22 | 2016-05-21 | 廣達電腦股份有限公司 | Optical touch screen |
| CN104793814A (en)* | 2015-05-12 | 2015-07-22 | 京东方科技集团股份有限公司 | Optical touch control device and touch control display device |
| Publication number | Publication date |
|---|---|
| CN110083274B (en) | 2022-05-06 |
| TW202040340A (en) | 2020-11-01 |
| CN110083274A (en) | 2019-08-02 |
| Publication | Publication Date | Title |
|---|---|---|
| US20220182479A1 (en) | Cover glass and electronic device comprising same | |
| TWI534685B (en) | Touch screen display device | |
| US20110221705A1 (en) | Touch object and proximate object sensing apparatus by selectively radiating light | |
| US8351793B2 (en) | Free space optical communication with optical film | |
| CN201955765U (en) | Touch screen | |
| CN107438852B (en) | Sensor device and mobile terminal | |
| CN102929449A (en) | Flat screen multi-touch detection system based on frustrated total Internal reflection technique | |
| TW201835654A (en) | Front light plate and front light module thereof | |
| TW201413770A (en) | Guide light module and electronic device using the same | |
| GB2505170A (en) | Touch panel with printed or deposited electronic circuits | |
| WO2017028200A1 (en) | Light guide plate and display device | |
| US20200266227A1 (en) | Sensing module and image capturing apparatus | |
| TWI732207B (en) | Optical touch device and system thereof | |
| CN201549183U (en) | Interactive display | |
| Izadi et al. | Thinsight: a thin form-factor interactive surface technology | |
| CN102063222A (en) | Interactive display | |
| TWM579772U (en) | Fingerprint identification module | |
| CN107608122B (en) | Display screen, functional assembly and mobile terminal | |
| US20140147123A1 (en) | Remote control | |
| TWI663537B (en) | Optical touch device capable of defining touch color and method thereof | |
| CN104461177B (en) | A kind of touch panel and display device | |
| TWM482920U (en) | Flexible circuit board applied to keyboard backlight module | |
| CN212966904U (en) | LED light source module and LED display screen | |
| TWI750559B (en) | Light sensing system and nanostructure layer | |
| CN104407745B (en) | A kind of contact panel and display device |
| Date | Code | Title | Description |
|---|---|---|---|
| MM4A | Annulment or lapse of patent due to non-payment of fees |