















相關申請案的交叉引用本申請案係基於並且要求於2018年11月2日申請的日本專利申請案No.2018-207604的優先權的權益;其全部內容透過引用併入本文。CROSS- REFERENCE TO RELATED APPLICATIONS This application is based on and claims the rights of priority of Japanese Patent Application No. 2018-207604 filed on November 2, 2018; the entire contents of which are incorporated herein by reference.
本文所描述的實施例總體上涉及傳輸裝置、通訊系統、傳輸方法和電腦程式產品。The embodiments described herein generally relate to transmission devices, communication systems, transmission methods, and computer program products.
諸如HTTP即時串流(HTTP Live Streaming, HLS)和動態影像壓縮標準-HTTP動態自適性串流(Moving Picture Experts Group-Dynamic Adaptive Streaming over HTTP, MPEG-DASH)之類的自適性串流可以應用於,例如,分佈由攝影機擷取以用於監控的視訊(移動影像資料)的系統(視訊分佈系統或視訊監視系統)。Adaptive streaming such as HTTP Live Streaming (HTTP Live Streaming, HLS) and the moving picture compression standard-HTTP Dynamic Adaptive Streaming over HTTP (Moving Picture Experts Group-Dynamic Adaptive Streaming over HTTP, MPEG-DASH) can be applied For example, a system (video distribution system or video surveillance system) that distributes video (moving image data) captured by a camera for monitoring.
然而,在常規技術中,存在著增加透過其傳輸資料(例如視訊)的網路線上的負荷並且增加系統上的處理負荷的風險。例如,隨著連接的攝影機數量的增加,用於從攝影機傳輸視訊的網路線上的負荷以及執行視訊的記錄和分佈的伺服器上的處理負荷可能會增加。However, in the conventional technology, there is a risk of increasing the load on the network line through which data (such as video) is transmitted and increasing the processing load on the system. For example, as the number of connected cameras increases, the load on the network line used to transmit video from the cameras and the processing load on the server that performs the recording and distribution of the video may increase.
實施例的目的是提供一種傳輸裝置、通訊系統、傳輸方法和電腦程式產品,其可以在不降低品質的情況下減少線路負荷和處理負荷。The purpose of the embodiments is to provide a transmission device, a communication system, a transmission method, and a computer program product, which can reduce line load and processing load without reducing quality.
根據一個實施例,根據一個實施例的傳輸裝置包括一個或多個處理器。處理器將要傳輸的多段傳輸資料分割為第一資料和第二資料。處理器將第一資料傳輸到伺服器裝置,該伺服器裝置被配置為將傳輸資料分佈到接收裝置。處理器將第二資料儲存在儲存器中。處理器從接收裝置或伺服器裝置接收用於傳輸第二資料的請求。處理器根據傳輸請求將第二資料傳輸到伺服器裝置。According to one embodiment, the transmission device according to one embodiment includes one or more processors. The processor divides the multi-segment transmission data to be transmitted into the first data and the second data. The processor transmits the first data to the server device, and the server device is configured to distribute the transmission data to the receiving device. The processor stores the second data in the storage. The processor receives a request for transmitting the second data from the receiving device or the server device. The processor transmits the second data to the server device according to the transmission request.
根據以上描述的傳輸裝置,可以在不降低品質的情況下減小線路負荷和處理負荷。According to the transmission device described above, the line load and processing load can be reduced without degrading quality.
下面將結合圖式詳細描述傳輸裝置的較佳實施例。The preferred embodiment of the transmission device will be described in detail below with reference to the drawings.
在使用常規的自適性串流的視訊分佈系統中,需要準備具有高傳輸速率的網路線以可靠地記錄分佈高品質即時視訊所需的高品質視訊串流(範例性傳輸資料)。In a video distribution system using conventional adaptive streaming, it is necessary to prepare a network path with a high transmission rate to reliably record and distribute high-quality video streams (exemplary transmission data) required for high-quality real-time video.
在連接有大量攝影機的大規模視訊分佈系統中,大量的攝影機視訊不斷地被傳輸。因此,為了減少線路負荷和成本,期望在每個相機和記錄視訊的伺服器裝置之間使用具有低傳輸速率的網路線。然而,使用這樣具有低傳輸速率的線路的即時視訊的品質是低的,有可能給監視工作帶來問題。In a large-scale video distribution system with a large number of cameras connected, a large number of camera videos are continuously transmitted. Therefore, in order to reduce the line load and cost, it is desirable to use a network line with a low transmission rate between each camera and the server device that records the video. However, the quality of real-time video using such a line with a low transmission rate is low, which may cause problems for surveillance work.
因此,本實施例實現了一種視訊分佈系統,該視訊分佈系統可以在不降低品質的情況下減少線路負荷和處理負荷。Therefore, this embodiment implements a video distribution system that can reduce line load and processing load without reducing quality.
下面將描述可應用本實施例的範例性傳輸資料。傳輸資料包括時間序列資料,其時間順序被確定,例如移動影像資料或感測器資料。In the following, exemplary transmission data to which the present embodiment can be applied will be described. The transmission data includes time series data, the time sequence of which is determined, such as moving image data or sensor data.
移動影像資料由諸如照相機或幀擷取等影像擷取設備擷取。例如,移動影像資料是從影像擷取設備即時獲取的,並且用作為要分佈的內容。擷取後臨時儲存在儲存器媒體中的移動影像資料可以用作為要分佈的內容。Moving image data is captured by image capture equipment such as cameras or frame capture. For example, moving image data is obtained in real time from image capturing equipment and used as content to be distributed. The moving image data temporarily stored in the storage medium after being captured can be used as the content to be distributed.
感測器資料表示由感測器(感測裝置)感測到的值,並且包括,例如,資料的感測(採樣)時間的資訊。感測器可以是任何裝置。感測器可以是,例如,配置為獲取語音的麥克風、配置為獲取位置資訊的全球定位系統(global positioning system, GPS)裝置或配置為週期性地或非週期性地感測待感測的周圍環境或電子裝置的溫度、速度、壓力等的感測器,並將感測到的值作為感測器資料輸出。The sensor data represents the value sensed by the sensor (sensing device), and includes, for example, information on the sensing (sampling) time of the data. The sensor can be any device. The sensor may be, for example, a microphone configured to acquire voice, a global positioning system (GPS) device configured to acquire location information, or a global positioning system (GPS) device configured to periodically or aperiodically sense the surroundings to be sensed Sensors for temperature, speed, pressure, etc. of the environment or electronic devices, and output the sensed values as sensor data.
以下主要以其中之傳輸資料是移動影像資料的例子來說明。The following is mainly an example in which the transmission data is moving image data.
圖1是示例了根據本實施例的視訊分佈系統的範例性配置的方塊簡圖。如圖1所示,視訊分佈系統包括傳輸裝置100(範例性傳輸裝置)、伺服器200(範例性伺服器裝置)和客戶端300(範例性接收裝置)。傳輸裝置100和伺服器200透過網路401彼此連接。伺服器200和客戶端300透過網路402彼此連接。FIG. 1 is a block diagram illustrating an exemplary configuration of a video distribution system according to this embodiment. As shown in FIG. 1, the video distribution system includes a transmission device 100 (an exemplary transmission device), a server 200 (an exemplary server device), and a client 300 (an exemplary receiving device). The
網路401和402可以是諸如網際網路的任何網路。例如,網路401和402可以分別是有線或無線網路。網路401和402可以被配置為一個整合的網路。The
圖1所示例的通訊系統的配置僅是範例性的,並且本實施例不限於此。例如,可以提供多個傳輸裝置100、多個伺服器200和多個客戶端300。傳輸裝置100、伺服器200和客戶端300中的每一個可以被實體地配置為一個裝置,或者可以被實體地配置為多個裝置。例如,可以在雲端環境中建立伺服器200。The configuration of the communication system illustrated in FIG. 1 is only exemplary, and the present embodiment is not limited thereto. For example,
圖2是示例了由根據本實施例之視訊分佈系統所執行的分佈處理的概要之簡圖。傳輸裝置100接收視訊並對接收到的視訊進行編碼。傳輸裝置100根據諸如H.264的標準透過壓縮對視訊進行編碼。經編碼之視訊包括,例如,I圖片和P圖片。I圖片是透過幀內預測而編碼的影像資料,並且包括可以單獨播放的整個螢幕範圍。P圖片是透過基於I圖片的幀間預測而編碼的影像資料。P影像不能單獨播放,但可以與I影像組合播放。FIG. 2 is a schematic diagram illustrating the outline of the distribution processing performed by the video distribution system according to the present embodiment. The
傳輸裝置100針對每個圖片分割(分段)編碼的視訊。然後,傳輸裝置100將分割後的圖片部分(例如,I圖片)發送到伺服器200,並將剩餘的圖片部分(例如,P圖片)儲存在儲存器中。傳輸裝置100還可以將發送到伺服器200的圖片儲存在用於播放(本地播放)、備份等的儲存器中。The
通常,伺服器200僅將從傳輸裝置100發送的I圖片分佈給客戶端300。客戶端300使用,例如,檢視器應用程式來顯示所分佈的視訊。檢視器應用程式包括在,例如,瀏覽器中,並被配置為顯示視訊以供瀏覽。I圖片以固定的間隔(例如,一秒鐘好幾張圖片或好幾秒鐘一張圖片)傳輸,因此其中之靜止影像(I圖片)係以固定間隔更新的視訊(定格動畫或逐幀播放(間歇)移動影像)在客戶端300上顯示。檢視器應用程式可以被實現為,例如,將媒體源延伸(Media Source Extensions, MSE)使用為超文本標記語言(Hyper Text Markup Language, HTML)5的應用程式設計介面的應用程式。這將致能使用HTTP下載的串流播放。Generally, the
當操作客戶端300的使用者等請求顯示P圖片時,傳輸裝置100讀取所儲存的P圖片並將所讀取的P圖片發送至伺服器200。伺服器200將所發送的P圖片分佈給客戶端300。伺服器200可以直接分佈所發送的P圖片,或者可以分佈除對影像資料進行轉換處理(例如重新壓縮)之外僅受到加工處理(例如改變傳輸封包格式)的P圖片。客戶端300的檢視器應用程式合成並顯示已經接收到的I圖片和之後接收到的P圖片。因此,客戶端300可以顯示更平滑的視訊。轉發的資料(例如,I圖片)可以儲存在客戶端300中的儲存器內,使得該資料可以用於,例如,與稍後接收的P圖片進行合成。換句話說,轉發的資料不需要再次從傳輸裝置100和伺服器200發送。與其中包括P圖片的整個視訊資料被再次傳輸的方法相比,這個方法可以實現傳輸資料量的減少。When a user or the like operating the
如上所述,在不提供,例如,對影像資料進行重新壓縮等的轉換處理的情況下,伺服器200直接,或僅在對傳輸封包格式加工之後將從傳輸裝置100發送的影像資料分佈給客戶端300。舉例來說,伺服器200不需要執行轉換為品質降低的視訊以在低傳輸速率下分佈的處理。因此,可以避免伺服器200上處理負荷的增加和影像品質的下降。另外,透過在正常操作中僅分佈I圖片可以減少通訊量。以這種方式,可以在不降低品質的情況下減小線路負荷和處理負荷。As described above, without providing, for example, recompression of the image data, the
I圖片是視訊中包括的部分資料(移動影像資料),但可以作為靜止影像處理。例如,在某些情況下,在客戶端300上運行的瀏覽器(檢視器應用程式)可以將包括在移動影像資料中的I圖片顯示為靜止影像資料。因此,可以將I圖片顯示為靜止影像資料而無需執行,例如,對諸如圖像壓縮標準(Joint Photographic Experts Group, JPEG)影像之類的靜止影像的壓縮處理。與JPEG格式的靜態影像相比,I圖片的資料大小較小(高壓縮效率),因此可以進一步減少線路負荷和處理負荷。當使用分佈式視訊進行影像識別時,可以將I圖片用作影像識別的輸入資料,而無需將視訊轉換為靜止影像。I pictures are part of the data (moving image data) included in the video, but they can be processed as still images. For example, in some cases, the browser (viewer application) running on the
以下將詳細描述根據本實施例的視訊分佈系統的裝置的配置。圖3是示例了根據本實施例的視訊分佈系統的裝置的範例性功能配置的方塊簡圖。The configuration of the device of the video distribution system according to this embodiment will be described in detail below. FIG. 3 is a block diagram illustrating an exemplary functional configuration of the device of the video distribution system according to this embodiment.
如圖3所示,傳輸裝置100包括影像擷取單元101、儲存器121、編碼單元111、分割單元112、資料傳輸單元113、儲存器控制單元114和請求接收單元115。As shown in FIG. 3, the
影像擷取單元101擷取並輸出視訊(移動影像資料)。影像擷取單元101可以透過,例如,諸如電荷耦合裝置(a charge coupled device, CCD)或CMOS影像感測器(a CMOS image sensor, CIS)之類的影像感測器,或諸如幀記憶體、幀接收器或螢幕截圖之類的幀緩衝器擷取來實現。The
儲存器121在其中儲存由傳輸裝置100執行的各種處理中使用的各種資料。例如,儲存器121在其中儲存由影像擷取單元101擷取的視訊。The storage 121 stores therein various data used in various processes performed by the
編碼單元111對從影像擷取單元101輸入的視訊進行編碼。編碼單元111所為之編碼可以透過任何方案來執行,例如,根據諸如H.264的標準的編碼方案。例如,編碼單元111透過壓縮對視訊進行編碼,並且輸出包括I和P圖片的視訊。經編碼的視訊的圖片對應於要傳輸的多個傳輸資料。The encoding unit 111 encodes the video input from the
分割單元112將編碼後的視訊分割為要傳輸到伺服器200的資料(第一資料)和不被傳輸而是要儲存在儲存器121中的資料(第二資料)。例如,分割單元112將編碼後的視訊分割為圖片,使得每個I圖片是要傳輸到伺服器200的資料(分段資料),並且每個P圖片是要儲存在儲存器121中的資料(分段資料)。分割單元112可以將視訊分割成每個分割的圖片係作為一個檔案(分段檔案)被提供。分割單元112可以對要儲存在儲存器121中的資料進行分割,從而在一個檔案中包括多個圖片。The dividing unit 112 divides the encoded video into data (first data) to be transmitted to the
分割單元112所為的資料分割不限於本方法,而是可以透過任何方法來執行。例如,分割單元112可以將編碼的視訊分割為從多個I圖片中以恆定間隔選擇的I圖片,以及其他圖片(剩餘的I圖片和P圖片)。或者,例如,分割單元112可以將編碼的視訊分割為I圖片、從多個P圖片中以恆定間隔選擇的P圖片以及其他圖片(剩餘的P圖片)。或者,例如,分割單元112可以將編碼的視訊分割為從多個I圖片中以恆定間隔選擇的I圖片、從多個P圖片中以恆定間隔選擇的P圖片以及其他圖片(剩餘的I圖片和P圖片)。The data segmentation performed by the segmentation unit 112 is not limited to this method, but can be performed by any method. For example, the dividing unit 112 may divide the encoded video into I pictures selected at a constant interval from a plurality of I pictures, and other pictures (the remaining I pictures and P pictures). Or, for example, the dividing unit 112 may divide the encoded video into I pictures, P pictures selected at a constant interval from a plurality of P pictures, and other pictures (the remaining P pictures). Or, for example, the dividing unit 112 may divide the encoded video into I pictures selected at a constant interval from a plurality of I pictures, P pictures selected at a constant interval from a plurality of P pictures, and other pictures (the remaining I pictures and P picture).
可以以能夠由伺服器200直接分佈的格式來表示要傳輸到伺服器200的資料。例如,分割單元112可以將分割的資料轉換為根據諸如分段MP4(fMP4)之類的標準的格式。The data to be transmitted to the
可以以具有附加的資料(元資料)的格式來表示要傳輸到伺服器200的資料,該附加的資料可以用於轉換為伺服器200分佈資料的格式。例如,分割單元112可以對所分割的資料添加元資料,該元資料包括伺服器200可以利用其進行轉換成根據諸如fMP4的標準的格式的轉換所必需的資訊。轉換所需的資訊包括,例如,用於識別傳輸裝置100的資訊(例如IP地址和埠號)、時間(例如執行擷取的日、時、分和秒),以及在該時間內的影像的位置(例如,指示從頭開始的影像順序的資訊)。The data to be transmitted to the
分割單元112可以根據網路401的頻帶來改變要傳輸到伺服器200的資料的大小或編碼量。例如,分割單元112可以將要傳輸到伺服器200的資料分割為對應於該資料可以在網路401的分配頻帶中無延遲(或類似情形)地傳輸的大小,或者具有在網路401的頻帶內的編碼位元率的資料。例如,當網路401的頻帶為寬,則分割單元112可以分割所有的I圖片和一些P圖片作為要傳輸到伺服器200的資料,並且隨著頻帶減小,可以僅分割I圖片或一些I圖片(例如,藉由以恆定間隔來稀疏I圖片)作為要傳輸到伺服器200的資料。當要分佈一些P圖片時,可以透過,例如,日本專利號6239472中揭露的方法來執行編碼。The dividing unit 112 can change the size or the encoding amount of the data to be transmitted to the
分割單元112可以透過根據網路401的頻帶或者來自客戶端300或伺服器200的請求動態地切換如上所述的分割方法,來改變要傳輸到伺服器200的資料的大小或編碼量。The dividing unit 112 can dynamically switch the above-mentioned dividing method according to the frequency band of the network 401 or a request from the
當簡單地分割由編碼單元111編碼的資料時,每個分割的資料的大小可能不相等。例如,當編碼單元111具有根據網路401的頻帶來調整每個圖片的編碼量的功能時,I圖片和P圖片的大小可能彼此不同。因此,例如,當以這種方式編碼的圖片中的I圖片被分割為要傳輸到伺服器200的資料時,分割的I圖片的大小可能彼此不同。When the data encoded by the encoding unit 111 is simply divided, the size of each divided data may not be equal. For example, when the encoding unit 111 has a function of adjusting the encoding amount of each picture according to the frequency band of the network 401, the sizes of the I picture and the P picture may be different from each other. Therefore, for example, when an I picture among pictures encoded in this manner is divided into data to be transmitted to the
因此,編碼單元111可以根據網路401的頻帶來調整編碼量,以使得分割的資料具有可以在網路401的分配的頻帶中無延遲(或類似情形)地傳輸的大小或編碼位元率。例如,當分割單元112分割視訊使得僅I圖片被傳輸到伺服器200時,編碼單元111可以對視訊進行編碼,使得I圖片具有恆定的大小,該恆定的大小可以在不延遲或類似情形的情況下在網路401的頻帶內被傳輸或具有在網路401的頻帶範圍內的編碼位元率。Therefore, the encoding unit 111 can adjust the encoding amount according to the frequency band of the network 401 so that the divided data has a size or encoding bit rate that can be transmitted in the allocated frequency band of the network 401 without delay (or the like). For example, when the dividing unit 112 divides the video so that only I pictures are transmitted to the
資料傳輸單元113將資料傳輸到諸如伺服器200的外部裝置。例如,資料傳輸單元113將被分割單元112分割的資料之中要傳輸到伺服器200的資料(第一資料)傳輸到伺服器200。當請求接收單元115(稍後描述)接收到對儲存在儲存器121中的資料的傳輸請求時,資料傳輸單元113將請求的資料傳輸到伺服器200。The
儲存器控制單元114控制到儲存器121中之儲存的處理。例如,儲存器控制單元114在儲存器121中儲存由分割單元112分割的資料中不將被傳輸到伺服器200的資料。儲存器控制單元114可以將傳輸到伺服器200的資料(第一資料)儲存在儲存器121中。在這種情況下,儲存器控制單元114可以透過使用指示被傳輸的資料(第一資料)已經被傳輸或指示尚未傳輸的第二資料的元資料來管理所儲存的資料。儲存器控制單元114可以根據預定條件刪除儲存在儲存器121中的資料。例如,儲存器控制單元114可以刪除已儲存恆定持續時間的資料。The storage control unit 114 controls the storage processing to the storage 121. For example, the storage control unit 114 stores the data divided by the dividing unit 112 in the storage 121 that will not be transmitted to the
請求接收單元115從伺服器200接收用於傳輸儲存在儲存器121中的資料的請求。當透過伺服器200以外的控制伺服器或其類似物從客戶端300傳輸請求時,請求接收單元115可以從這樣的控制伺服器接收儲存在儲存器121中的資料的傳輸請求。The request receiving unit 115 receives a request for transmitting data stored in the storage 121 from the
上述組件(編碼單元111、分割單元112、資料傳輸單元113、儲存器控制單元114和請求接收單元115)各自由,例如,一個或多個處理器實現。例如,可以透過由諸如中央處理單元(a central processing unit, CPU)之類的處理器執行的電腦程式來實現各該組件,換言之,透過軟體來實現。該組件可以透過諸如專用積體電路(integrated circuit, IC)之類的處理器來實現,換句話說,透過硬體來實現。該組件可以透過軟體和硬體來實現。當使用多個處理器時,每個處理器可以實現其中之一個組件,或者可以實現該組件中的兩個或更多個。The aforementioned components (encoding unit 111, dividing unit 112,
傳輸裝置100的功能可以被分佈給彼此實體上地或邏輯上地不同的多個裝置。例如,可以將功能分佈給包括影像擷取單元101和編碼單元111的裝置(圖2中的視訊輸入和編碼器)以及包括其餘組件的裝置(圖2中的分段和儲存器)。在這種情況下,例如,由編碼單元111編碼的資料透過網路或諸如同軸電纜的通訊路徑被輸入到後一者裝置。後一者裝置可以透過通訊路徑獲取已編碼資料。The functions of the
以下描述伺服器200的配置。伺服器200透過網路402向客戶端300分佈一分佈列表和確定資訊。分佈列表是與分佈的資料(以下也稱為內容)有關的資訊被寫入其中的列表。通常,內容分佈者將諸如獲取來源和內容的位元率之類的元資料寫入分佈列表。內容獲取者獲取並分析分佈列表以具體指定要獲取的內容。The configuration of the
分佈列表中寫入的內容不僅包括可以傳輸的內容,還包括未準備好被傳輸的內容和不被允許傳輸的內容。確定資訊是接收裝置(客戶端300)基於其確定是否請求傳輸包括在分佈列表中的內容的資訊。The content written in the distribution list includes not only the content that can be transferred, but also the content that is not ready to be transferred and the content that is not allowed to be transferred. The determining information is information based on which the receiving device (the client 300) determines whether to request transmission of the content included in the distribution list.
如圖3所示,伺服器200包括檢測單元201、列表產生單元211、確定資訊產生單元212、列表傳輸單元213、確定資訊傳輸單元214、請求傳輸-接收單元215、分佈單元216、資料接收單元217、儲存器控制單元218、臨時儲存器221和儲存器222。As shown in FIG. 3, the
檢測單元201檢測準備要傳輸的內容。例如,當從內容提供裝置(例如,傳輸裝置100)提供內容時,檢測單元201確定該內容係準備好要傳輸的。檢測單元201可以監視其中儲存了內容的儲存器區域(例如,臨時儲存器221),並且在儲存內容時確定該內容係準備好要傳輸的。The detection unit 201 detects content to be transmitted. For example, when content is provided from a content providing device (for example, the transmission device 100), the detection unit 201 determines that the content is ready to be transmitted. The detection unit 201 may monitor the storage area (for example, the temporary storage 221) in which the content is stored, and determine that the content is ready to be transmitted when the content is stored.
列表產生單元211產生分佈列表。例如,在客戶端300請求產生和傳輸分佈列表時,列表產生單元211產生分佈列表。用於產生分佈列表的觸發器不限於此,而可以是任何觸發器。例如,列表產生單元211可以在每次經過一恆定時間時產生要在下一個持續時間中傳輸的內容的分佈列表。列表產生單元211可以在供應裝置提供內容時或在被指示產生分佈列表時,產生分佈列表。The list generating unit 211 generates a distribution list. For example, when the
圖4是示出分佈列表的範例性資料結構的簡圖。如圖4所示,分佈列表包括用於識別內容的識別資訊。圖3示出了將內容的統一資源定位符(uniform resource locator, URL)用作識別資訊的例子。識別資訊可以是除了URL之外的,可以用來識別內容的任何資訊。分佈列表可以包括識別資訊以外的資訊。在本實施例中,例如,產生包括每個分割的資料(諸如圖片)的URL的分佈列表。Fig. 4 is a diagram showing an exemplary data structure of a distribution list. As shown in FIG. 4, the distribution list includes identification information for identifying content. FIG. 3 shows an example of using a uniform resource locator (URL) of content as identification information. The identification information can be any information other than the URL that can be used to identify the content. The distribution list may include information other than identification information. In this embodiment, for example, a distribution list including URLs of each divided material (such as a picture) is generated.
如圖3所示,確定資訊產生單元212產生確定資訊。例如,當一個內容準備好要傳輸時,確定資訊產生單元212產生指示該內容準備好要傳輸的確定資訊,或者當該內容還沒有準備好要傳輸時,確定資訊產生單元212產生指示該內容尚未準備好要傳輸的資訊確定。當指示內容是否準備好要傳輸的狀態已經改變時,確定資訊產生單元212產生根據改變後的狀態更新的確定資訊。As shown in FIG. 3, the determination information generating unit 212 generates determination information. For example, when a content is ready to be transmitted, the determination information generating unit 212 generates determination information indicating that the content is ready to be transmitted, or when the content is not ready to be transmitted, the determination information generating unit 212 generates an indication that the content is not yet ready for transmission. The information ready to be transmitted is confirmed. When the status indicating whether the content is ready to be transmitted has changed, the determination information generating unit 212 generates determination information updated according to the changed status.
確定資訊產生單元212在,例如,客戶端300請求產生和傳輸確定資訊時,產生確定資訊。當列表產生單元211產生分佈列表時,確定資訊產生單元212可以在該狀態下產生確定資訊。用於產生確定資訊的觸發器不限於此,而是可以是任何觸發器。例如,在每次經過一個恆定時間時,確定資訊產生單元212可以透過,例如,檢測單元201來檢測內容是否準備好被傳輸,並且產生根據檢測結果而更新的確定資訊。The certain information generating unit 212 generates certain information when, for example, the
圖5是示例出了確定資訊的範例性資料結構的簡圖。圖5中的確定資訊是用於確定是否寫在圖4中的分佈列表中的4個內容係已準備好傳輸的範例性確定資訊。例如,圓圈表示一個內容係準備好要傳輸的,而叉號表示一個內容係還未準備好要被傳輸。在圖5中所示例的例子中,與圖4中的四個URL相對應的四個內容(“ContentA_1”、“ContentA_2”、“ContentA_3”和“ContentA_4”)相對應的四小片段確定資訊(圓圈或叉號)被以與圖4中的順序相對應的順序而具體指定。Fig. 5 is a simplified diagram illustrating an exemplary data structure of certain information. The determination information in FIG. 5 is exemplary determination information used to determine whether the four contents written in the distribution list in FIG. 4 are ready for transmission. For example, a circle indicates that a content is ready to be transmitted, and a cross indicates that a content is not yet ready to be transmitted. In the example illustrated in Figure 5, the four small pieces of information corresponding to the four contents ("ContentA_1", "ContentA_2", "ContentA_3" and "ContentA_4") corresponding to the four URLs in Figure 4 determine the information ( (Circles or crosses) are specifically designated in the order corresponding to the order in FIG. 4.
當可以為每個內容指定確定資訊時,可以使用具有除圖5中的資料結構之外的資料結構的確定資訊。例如,確定資訊可以與內容的識別資訊相關聯。為了允許與確定資訊相對應的分佈列表之識別,確定資訊可以與用於識別分佈列表的資訊相關聯。When definite information can be designated for each content, definite information having a data structure other than the data structure in FIG. 5 can be used. For example, the certain information can be associated with the identification information of the content. In order to allow the identification of the distribution list corresponding to the certain information, the certain information may be associated with the information used to identify the distribution list.
準備好要傳輸的內容的狀態為,例如,是要分佈的內容已被提供給伺服器200的狀態以及準備好要被傳輸給客戶端300的內容的狀態。未準備好要被傳輸的內容的狀態是,例如,要分佈的內容尚未提供給伺服器200,因此不能傳輸給客戶端300。伺服器200可以根據來自客戶端300(pull-type傳輸)的請求來傳輸內容,或者可以在沒有來自客戶端300(push-type傳輸)的請求的情況下傳輸內容。The state of the content ready to be transmitted is, for example, a state in which the content to be distributed has been provided to the
伺服器200可以指定是否內容係準備好被傳輸的,而不管該內容是否已經被提供了。例如,為了減少通訊負荷,伺服器200可以為多個已提供的內容中的一些或全部產生確定資訊,該確定資訊指示該內容尚未準備好被傳輸,使得這些內容不能被傳輸。以這種方式,在某些情況下,準備好要傳輸的內容變成未準備好要傳輸。The
可以針對每個內容將確定資訊提供為一段或多個段。例如,內容的至少一段元資料可以用作為確定資訊。元資料是,例如,指示內容的範圍、內容的資料長度以及內容的種類的範圍資訊。範圍資訊是,例如,用於指定要作為內容分佈的資料的部分的範圍的資訊。當確認範圍資訊時,將確認的範圍資訊設置為確定資訊,或者當尚未確認範圍資訊時,將指示範圍資訊尚未被確定的預定資訊(未確認資訊)設置為確定資訊。當將未確認資訊設置為範圍資訊作為確定資訊時,客戶端300可以確定對應的內容尚未準備好被傳輸。以這種方式,當將元資料用作確定資訊時,其能滿足設置這樣的資料格式以基於元資料確定是否內容可以被傳輸。The certain information can be provided as one or more segments for each content. For example, at least one piece of metadata of the content can be used as certain information. Metadata is, for example, range information indicating the range of content, the data length of the content, and the type of content. The range information is, for example, information for specifying the range to be a part of the content distribution data. When confirming the range information, set the confirmed range information as the confirmed information, or when the range information has not been confirmed, set the predetermined information (unconfirmed information) indicating that the range information has not been confirmed as the confirmed information. When the unconfirmed information is set as the range information as the confirming information, the
如圖3所示,列表傳輸單元213將列表產生單元211產生的分佈列表傳輸到客戶端300。例如,列表傳輸單元213在開始內容的傳輸之前預先將分佈列表傳輸到客戶端300。確定資訊傳輸單元214將由確定資訊產生單元212產生的確定資訊傳輸到客戶端300。As shown in FIG. 3, the list transmission unit 213 transmits the distribution list generated by the list generation unit 211 to the
請求傳輸-接收單元215傳輸和接收各種請求。例如,請求傳輸-接收單元215從客戶端300接收用於傳輸分佈列表的請求、用於傳輸確定資訊的請求以及用於傳輸內容的請求。請求傳輸-接收單元215將用於傳輸儲存在儲存器121中的內容的請求傳輸到傳輸裝置100。The request transmission-reception unit 215 transmits and receives various requests. For example, the request transmission-receiving unit 215 receives a request for transmitting a distribution list, a request for transmitting certain information, and a request for transmitting content from the
分佈單元216將所請求的內容傳輸到已經發送了用於傳輸該內容的請求的客戶端300。當採用push-type傳輸時,分佈單元216可以在沒有來自客戶端300的請求的情況下傳輸內容。The
資料接收單元217接收從傳輸裝置100傳輸的資料。例如,資料接收單元217接收被分割為要傳輸到伺服器200的資料之資料。當發送了用於傳輸儲存在儲存器121中的資料的請求時,資料接收單元217回應於傳輸請求接收由傳輸裝置100傳輸的資料。The
儲存器控制單元218控制臨時儲存器221和儲存器222中的儲存處理。當從傳輸裝置100傳輸的資料和透過將從傳輸裝置100傳輸的資料轉換成將要被伺服器200分佈的資料的格式而獲得的資料被儲存在儲存器222中並稍後被分佈時,寫入諸如在儲存器222中儲存資料的處理速度不足以跟上分佈的速度等的處理異常,以及發生暫時凍結寫入到儲存器222中之處理,並且在某些情況下不能正常執行分佈。因此,儲存器控制單元218將從傳輸裝置100傳輸的資料儲存在臨時儲存器221中,以作為不發生如上所述的寫入處理異常的儲存媒體。當資料儲存在臨時儲存器221中時,分佈單元216從臨時儲存器221中讀取資料並將資料分佈給客戶端300。在這種情況下,從傳輸裝置100傳輸的資料最終被儲存在儲存器222中。因此,分佈單元216可以回應於來自客戶端300的請求而操作地像是分佈係從儲存器222執行的一樣。具體地,可以回應於對儲存在儲存器222中的資料的請求而返回儲存在臨時儲存器221中的資料。可以透過在伺服器200上記錄這些檔案的關聯(透過使用,例如,資料庫、檔案或符號鏈接)並參考分佈時的關聯來實現這種功能。The storage control unit 218 controls storage processing in the temporary storage 221 and the
然後,儲存器控制單元218執行將儲存在臨時儲存器221中的資料寫入到儲存器222中的處理(寫入處理)。在寫入處理中,儲存器控制單元218可以將儲存在臨時儲存器221中的多段資料合併為一段資料,並將合併後的資料儲存在儲存器222中。例如,儲存器控制單元218可以將在恆定持續時間中擷取的多段資料合併,從而將該些段資料包括在一個檔案中,並且可以將合併的檔案(合併檔案)寫入儲存器222。因此,可以避免儲存器222中儲存的檔案數量超過的失效,例如,作業系統所允許的數量並且資料不能再被儲存更多。Then, the storage control unit 218 executes processing (write processing) of writing the data stored in the temporary storage 221 into the
當將多段資料合併為一段資料並儲存在儲存器222中時,然後從客戶端300接收到傳輸包括在該合併資料中的資料的請求,則具體指明位在該合併資料中的資料的功能是必需的。因此,例如,列表產生單元211可以更新分佈列表,使得分佈列表包括用於具體指明資料的規格資訊。例如,列表產生單元211產生分佈列表,在該分佈列表中,指示資料在合併檔案中的位置的規格資訊(諸如從起始之位元組偏移)與資料的識別資訊(諸如URL)相關聯,並且將分佈列表發送給客戶端300。When multiple pieces of data are merged into one piece of data and stored in the
當參考更新後的分佈列表並請求傳輸資料時,客戶端300指定所請求資料的識別資訊以及與其相關聯的規格資訊。例如,客戶端300透過使用藉由將規格資訊添加到指示資料的識別資訊的URL而獲得之資訊來請求資料。客戶端300可以透過具有包括規格資訊的標頭(諸如HTTP延伸標頭)的傳輸請求來請求資料。When referring to the updated distribution list and requesting data transmission, the
在這種情況下所請求的檔案名稱可能是分割前的原始檔案名稱。這有助於確定資料是否已經在客戶端300上被接收和緩存,並且讓所獲取的資料免於再次被獲取。在這種情況下,伺服器200需要具體指明透過合併原始分割的檔案(分段檔案)而獲得的資料(合併檔案)。這可以透過方法(1)來實現,在該方法中,分段檔案的合併檔案的資訊被作為發送到客戶端300的規格資訊而被預先傳輸,並根據客戶端300的請求被寫入HTTP延伸標頭,或者透過方法(2),在該方法中,伺服器200在回應請求時從所請求的分段檔案名稱中具體指明合併檔案。方法(2)可以透過,例如,(2-1)在產生合併檔案時(透過使用,例如,資料庫、檔案、符號鏈接)記錄與分段檔案的關聯來執行,或(2-2)根據命名規則(在圖4所示出的範例中,ContentA_1到ContentA_4的合併檔案名稱是ContentsA)自動地實現規格。In this case, the requested file name may be the original file name before splitting. This helps to determine whether the data has been received and cached on the
伺服器200透過使用從客戶端300傳輸的規格資訊從合併的資料中具體指明所欲的資料,並且將指明的資料分佈到從其發送請求的客戶端300。The
儲存器控制單元218可以根據預定條件刪除儲存在儲存器222中的資料。例如,儲存器控制單元218可以刪除以恆定持續時間儲存的資料。儲存器控制單元218可以在每次經過恆定時間時分階段刪除資料。例如,儲存器控制單元218在經過預定持續時間(例如,一天)後,刪除儲存器222中的全部或一部分P圖片,並且之後透過根據預定持續時間(等於或不同於第一持續時間)的各個時間經過而分階段稀疏來刪除儲存器222中的P圖片和I圖片。透過這種處理,當為了長時間記錄而需要減少儲存量時,無需執行,例如,以降級的品質進行轉換為視訊的處理,就可以獲得隨著時間的流逝其間斷性增加的視訊。可以透過,例如,日本專利號6239472中公開的編碼方法來執行階段性P圖片的刪除。The storage control unit 218 may delete the data stored in the
例如,儲存器控制單元218可以將刪除傳輸的資料作為優先事項。在這種情況下,儲存器控制單元218可以透過使用指示資料是否已經被傳輸的元資料來確定資料是否已經被傳輸。此外,儲存器控制單元218可以預先準備要在刪除處理中參考的其他元資料。這個元資料是,例如,用於確定哪個資料對應於哪個圖片的資料。更具體地,元資料包括,例如,時間(諸如,執行擷取的日、時、日、時、分和秒)、在該時間內的影像的位置(例如,指示從頭開始的順序的資訊)、檔案名稱以及距檔案開頭的位元組偏移量。For example, the storage control unit 218 may make it a priority to delete the transmitted data. In this case, the storage control unit 218 can determine whether the data has been transmitted by using metadata indicating whether the data has been transmitted. In addition, the storage control unit 218 may prepare in advance other metadata to be referred to in the deletion process. This metadata is, for example, data used to determine which data corresponds to which picture. More specifically, the metadata includes, for example, time (such as the day, hour, day, hour, minute, and second when the capture was performed), and the position of the image within that time (for example, information indicating the order from the beginning) , The file name, and the byte offset from the beginning of the file.
臨時儲存器221在其中臨時地儲存接收到的資料。例如,臨時儲存器221可以透過諸如動態隨機存取記憶體(a dynamic random access memory, DRAM)之類的暫態記憶體來實現。The temporary storage 221 temporarily stores the received data therein. For example, the temporary storage 221 may be implemented by a temporary memory such as a dynamic random access memory (DRAM).
儲存器222在其中儲存伺服器200要使用的各種類資料。例如,儲存器222在其中儲存要分佈的內容、產生的分佈列表和產生的確定資訊。儲存器222可以透過任何通常使用的儲存媒體來實現,例如記憶卡、隨機存取記憶體(a random access memory, RAM)、硬碟驅動器(a hard disk drive, HDD)或光碟。The
當沒有發生如上所述的寫入處理異常時,可以不設置臨時儲存器221。When the write processing abnormality as described above does not occur, the temporary storage 221 may not be provided.
上述組件(檢測單元201、列表產生單元211、確定資訊產生單元212、列表傳輸單元213、確定資訊傳輸單元214、請求傳輸-接收單元215、分佈單元216、資料接收單元217和儲存器控制單元218)分別由,例如,一個或多個處理器實現。例如,可以透過由諸如CPU的處理器執行的電腦程式來實現每個組件,換言之,透過軟體來實現每個組件。可以透過諸如專用IC之類的處理器來實現該組件,換句話說,透過硬體來實現該組件。該組件可以透過軟體和硬體來實現。當使用多個處理器時,每個處理器可以實現組件其中之一,或者可以實現組件中的兩個或更多個。The above components (detection unit 201, list generation unit 211, determination information generation unit 212, list transmission unit 213, determination information transmission unit 214, request transmission-reception unit 215,
伺服器200的功能可以被分佈給彼此實體上地或邏輯上地不同的多個裝置。例如,可以將功能分佈給配置為發送分佈列表的伺服器裝置和配置為發送內容的伺服器裝置。或者,例如,功能可以被分佈給配置成從傳輸裝置100接收資料並將資料儲存在臨時儲存器221和儲存器222中的伺服器裝置,以及配置成從臨時儲存器221和儲存器222中讀取資料並分佈資料的伺服器裝置。The functions of the
以下描述客戶端300的功能。如圖3所示,客戶端300包括列表接收單元311、確定資訊接收單元312、確定單元313、請求傳輸單元314、資料接收單元315、播放單元316和儲存器321。The functions of the
列表接收單元311從伺服器200接收分佈列表。確定資訊接收單元312從伺服器200接收確定資訊。The list receiving unit 311 receives the distribution list from the
確定單元313基於分佈列表和確定資訊來確定要被請求傳輸的內容。例如,確定單元313將在多個內容中被圓圈設置為確定資訊的內容(如圖5所示),確定為要被請求傳輸的內容,該多個內容的URL被寫入如圖4所示的分佈列表之中。當上面描述的範圍資訊被用作為確定資訊時,確定單元313將,例如,未設置未確認資訊的範圍資訊的內容確定為要被請求傳輸的內容。當使用多段確定資訊時,確定單元313可以根據多段確定資訊的組合來確定要被請求傳輸的內容。例如,當所有的確定資訊段均指示相應的內容準備好要被傳輸時,確定單元313將相應內容確定為要被請求傳輸的內容。The determination unit 313 determines the content to be requested for transmission based on the distribution list and the determination information. For example, the determining unit 313 sets a circle in a plurality of contents as the content of the certain information (as shown in FIG. 5), and determines the content to be requested to be transmitted, and the URL of the plurality of contents is written as shown in FIG. In the distribution list. When the range information described above is used as the determination information, the determination unit 313 determines, for example, the content of the range information for which unconfirmed information is not set as the content to be requested for transmission. When multiple pieces of definite information are used, the determining unit 313 can determine the content to be requested to be transmitted based on the combination of the multiple pieces of definite information. For example, when all the certain pieces of information indicate that the corresponding content is ready to be transmitted, the determining unit 313 determines the corresponding content as the content to be requested for transmission.
請求傳輸單元314向伺服器200發送對被確定為要被請求傳輸的內容的傳輸請求。資料接收單元315從伺服器200接收根據由請求傳輸單元314發送的傳輸請求而傳輸的內容。播放單元316播放接收到的內容。The request transmission unit 314 transmits to the server 200 a transmission request for content determined to be requested to be transmitted. The
儲存器321在其中儲存要由客戶端300使用的各種資料。例如,儲存器321在其中儲存已傳輸的分佈列表、已傳輸的確定資訊和已分佈的內容。The storage 321 stores therein various data to be used by the
各個上述組件(列表接收單元311、確定資訊接收單元312、確定單元313、請求傳輸單元314、資料接收單元315和播放單元316)可經由,例如,一個或多個處理器來實現。例如,可以透過由諸如CPU的處理器執行的電腦程式來實現各個組件,換言之,透過軟體來實現各個組件。可以透過諸如專用IC之類的處理器,換句話說,透過硬體來實現該組件。該組件可以透過軟體和硬體來實現。當使用多個處理器時,每個處理器可以實現組件之一,或者可以實現組件中的兩個或更多個。Each of the aforementioned components (list receiving unit 311, determining information receiving unit 312, determining unit 313, request transmitting unit 314,
當使用如上所述的分佈列表和確定資訊時,例如,伺服器200,不需要在每次更新時產生並傳輸分佈列表。客戶端300可以透過參考確定資訊來更容易地分析更新的部分。具體地,可以有效地獲取和分析與最新的分佈列表等效的資訊,而無需再次獲取和分析分佈列表。When using the distribution list and determination information as described above, for example, the
可以在不使用確定資訊的情況下在,例如,每次資料更新時產生並傳輸分佈列表。在這種情況下,不需要提供與確定資訊有關的功能(諸如確定資訊產生單元212、確定資訊傳輸單元214和確定資訊接收單元312)。例如,當採用push-type傳輸時,伺服器200可以在不使用分佈列表的情況下將視訊分佈給客戶端300。It is possible to generate and transmit a distribution list every time the data is updated without using certain information. In this case, there is no need to provide functions related to the determination information (such as the determination information generating unit 212, the determination information transmission unit 214, and the determination information receiving unit 312). For example, when using push-type transmission, the
下面描述由根據本實施例的傳輸裝置100所執行的資料傳輸處理。圖6是示例出本實施例中的範例性傳輸處理的流程圖。The data transmission processing performed by the
影像擷取單元101擷取要分佈的視訊(步驟S101)。編碼單元111對從影像擷取單元101輸入的視訊進行編碼(步驟S102)。分割單元112將視訊分割為要傳輸到伺服器200的資料和要儲存在儲存器121中的資料。例如,分割單元112將輸入視訊分割為I圖片分段和P圖片分段(步驟S103)。資料傳輸單元113將I圖片分段傳輸到伺服器200(步驟S104)。儲存器控制單元114將P圖片分段儲存在儲存器121中(步驟S105)。The
下面描述傳輸儲存在儲存器121中的資料的處理。圖7是示例出傳輸儲存在儲存器121中的資料的範例性處理的流程圖。The processing of transferring the data stored in the storage 121 is described below. FIG. 7 is a flowchart illustrating an exemplary process of transmitting data stored in the storage 121.
請求接收單元115從伺服器200(或控制伺服器)接收用於傳輸儲存在儲存器121中的資料的請求(步驟S201)。當P圖片被儲存在儲存器121中時,請求接收單元115接收用於傳輸任何所儲存的P圖片的請求。資料傳輸單元113從儲存器121中讀取被請求的P圖片,並將讀取的P圖片發送到伺服器200(步驟S202)。The request receiving unit 115 receives a request for transmitting the data stored in the storage 121 from the server 200 (or the control server) (step S201). When the P picture is stored in the storage 121, the request receiving unit 115 receives a request for transmitting any stored P picture. The
下面描述由根據本實施例所配置的伺服器200所執行的列表產生處理。在列表產生處理中,伺服器200產生分佈列表。圖8是示例出本實施例中的範例性列表產生處理的流程圖。The following describes the list generation processing performed by the
伺服器200的列表產生單元211,例如,根據來自客戶端300的請求來產生分佈列表(步驟S301)。列表產生單元211將所產生的分佈列表儲存在,例如,儲存器222中(步驟S302)。The list generating unit 211 of the
例如,要分佈的內容是ContentA_1、ContentA_2、ContentA_3和ContentA_4之時間上地連續的內容,並且ContentA_1和ContentA_3是可分佈的。在這種情況下,列表產生單元211產生用於分佈ContentA_1、ContentA_2、ContentA_3和ContentA_4的分佈列表。上述的圖4示例出了在這種情況下產生的範例性分佈列表。For example, the content to be distributed is the temporally continuous content of ContentA_1, ContentA_2, ContentA_3, and ContentA_4, and ContentA_1 and ContentA_3 are distributable. In this case, the list generating unit 211 generates a distribution list for distributing ContentA_1, ContentA_2, ContentA_3, and ContentA_4. The above-mentioned Figure 4 illustrates an exemplary distribution list generated in this case.
下面描述由根據本實施例的伺服器200所執行的確定資訊產生處理。在此確定資訊產生處理中,伺服器200產生確定資訊。例如,當從客戶端300傳輸了用於傳輸確定資訊的請求時,則執行確定資訊產生處理。圖9是示例出本實施例中的範例性確定資訊產生處理的流程圖。The following describes the determination information generation processing performed by the
伺服器200的確定資訊產生單元212確定是否已經為要分佈的內容產生了確定資訊(步驟S401)。當尚未產生確定資訊時(步驟S401為“否”),確定資訊產生單元212為該內容產生確定資訊(步驟S402)。上述的圖5示例出了在參照圖8所描述的範例(其中ContentA_1和ContentA_3為可分佈的)中產生的範例性確定資訊。The determination information generating unit 212 of the
在已經產生確定資訊之後或者當確定資訊已經被產生時(步驟S401為“是”),確定資訊產生單元212確定是否更新所產生的確定資訊(步驟S403)。例如,當從檢測單元201接收到指示該內容已經準備好被傳輸的檢測結果時,確定資訊產生單元212確定該確定資訊係要被更新的。After the determination information has been generated or when it is determined that the information has been generated (Yes in step S401), the determination information generating unit 212 determines whether to update the generated determination information (step S403). For example, when a detection result indicating that the content is ready to be transmitted is received from the detection unit 201, the determination information generating unit 212 determines that the determination information is to be updated.
當已經確定了該確定資訊要被更新時(步驟S403為“是”),確定資訊產生單元212更新確定資訊(步驟S404)。在已經更新了確定資訊之後或者當已經確定將不更新確定資訊時(步驟S403為“否”),確定資訊產生單元212結束確定資訊產生處理。When it has been determined that the determination information is to be updated (Yes in step S403), the determination information generating unit 212 updates the determination information (step S404). After the determination information has been updated or when it has been determined that the determination information will not be updated (NO in step S403), the determination information generation unit 212 ends the determination information generation process.
伺服器200將所產生的分佈列表和所產生的確定資訊保持在可透過網路402分佈的狀態。客戶端300可以存取伺服器200並獲取分佈列表和確定資訊。The
以下描述由根據本實施例的通訊系統所執行的內容分佈處理。圖10是示例出本實施例中的範例性內容分佈處理的時序簡圖。The content distribution processing performed by the communication system according to the present embodiment will be described below. FIG. 10 is a timing diagram illustrating exemplary content distribution processing in this embodiment.
伺服器200的列表產生單元211產生分佈列表(步驟S501)。此處理對應於,例如,上述的列表產生處理。伺服器200的列表傳輸單元213,例如,根據來自客戶端300的請求,將分佈列表發送到客戶端300(步驟S502)。The list generating unit 211 of the
伺服器200的確定資訊產生單元212產生確定資訊(步驟S503)。此處理對應於,例如,上述的確定資訊產生處理。伺服器200的確定資訊傳輸單元214,例如,根據來自客戶端300的請求將確定資訊發送到客戶端300(步驟S504)。The determination information generating unit 212 of the
客戶端300的列表接收單元311和確定資訊接收單元312分別接收分佈列表和確定資訊。此後,客戶端300的確定單元313基於分佈列表和由此接收到的確定資訊來確定要被請求傳輸的內容(步驟S505)。例如,當圖4中所示例的分佈列表被接收時,確定單元313分析所接收到的分佈列表以獲得用於獲取ContentA_1至ContentA_4的URL。確定單元313還分析所接收到的確定資訊,以確定在分佈列表中寫入的多個內容中之準備好要被傳輸的內容。The list receiving unit 311 and the determination information receiving unit 312 of the
圖11是用於描述其中基於圖5所示的確定資訊而對圖4所示的分佈列表進行確定的範例的簡圖。如圖11所示例的,確定單元313可以透過將用於獲取寫在分佈列表中的ContentA_1的URL和與ContentA_1對應的確定資訊相組合,來確定ContentA_1係準備好要被傳輸(存取)的。類似地,確定單元313可以確定ContentA_2還沒有準備好要被傳輸(存取)。FIG. 11 is a diagram for describing an example in which the distribution list shown in FIG. 4 is determined based on the determination information shown in FIG. 5. As illustrated in FIG. 11, the determining unit 313 can determine that ContentA_1 is ready to be transmitted (accessed) by combining the URL used to obtain ContentA_1 written in the distribution list and the determination information corresponding to ContentA_1. Similarly, the determining unit 313 may determine that ContentA_2 is not ready to be transmitted (accessed).
如圖10所示,請求傳輸單元314將對已被確定為要被請求傳輸的內容的傳輸請求發送到伺服器200(步驟S506)。伺服器200的分佈單元216將所請求的內容發送到客戶端300(步驟S507)。客戶端300的資料接收單元315接收該內容,並且其播放單元316播放所接收的內容(步驟S508)。As shown in FIG. 10, the request transmission unit 314 transmits a transmission request for content that has been determined to be requested to be transmitted to the server 200 (step S506). The
當從傳輸裝置100發送了被以可直接地從伺服器200分佈的格式表示的內容時,分佈單元216不進行轉換就將從傳輸裝置100傳輸的內容直接發送給客戶端300。當該內容以額外地包括元資料的格式來發送時,分佈單元216根據該元資料將傳輸的內容轉換為可分佈的格式,並將轉換後的內容發送至客戶端300,其中該內容可以利用該元資料而能夠被轉換為透過伺服器200分佈時的格式。When the content expressed in a format that can be directly distributed from the
此後,例如,ContentA_2已變得可分佈。在這種情況下,伺服器200的檢測單元201檢測到ContentA_2已經變成為可分佈的。確定資訊產生單元212產生根據檢測結果更新的確定資訊(步驟S509)。Since then, for example, ContentA_2 has become distributable. In this case, the detection unit 201 of the
圖12是示例出範例性更新後的確定資訊的簡圖。如圖12所示,確定資訊產生單元212將與ContentA_2相對應的確定資訊從叉號更新為圓圈。更新後的確定資訊保持在可透過網路402分佈的狀態。Fig. 12 is a diagram illustrating exemplary updated determination information. As shown in FIG. 12, the determination information generating unit 212 updates the determination information corresponding to ContentA_2 from a cross to a circle. The updated confirmation information remains in a state that can be distributed through the
如圖10所示,伺服器200的確定資訊傳輸單元214,例如,根據來自客戶端300的請求將更新後的確定資訊發送到客戶端300(步驟S510)。以下步驟S511至S514與步驟S505至S508相同。As shown in FIG. 10, the confirmation information transmission unit 214 of the
圖13是用於描述其中基於圖12所示的確定資訊而對圖4所示的分佈列表進行確定的範例的簡圖。如圖13所示,確定單元313可以確定ContentA_2已經準備好被傳輸(存取)。FIG. 13 is a diagram for describing an example in which the distribution list shown in FIG. 4 is determined based on the determination information shown in FIG. 12. As shown in FIG. 13, the determining unit 313 may determine that ContentA_2 is ready to be transmitted (accessed).
以這種方式,當ContentA_2已經變得可分佈時,客戶端300僅透過將更新的確定資訊應用於已經接收到的分佈列表就可以獲取每個內容的最新狀態,而無需再次獲取分佈列表。In this way, when ContentA_2 has become distributable, the
本實施例可應用於,例如,監視由行車記錄器擷取的視訊的系統。適用於本實施例的系統不限於上述系統。例如,本實施例可以應用於分佈和監視由感測器獲得的感測器資料的系統,以及分佈和監視由安裝在移動物體上的影像擷取設備等獲得的移動影像資料的系統。移動物體為,例如,人、機器人、車輛(汽車、兩輪車或火車),卡車、會飛的物體(有人駕駛飛機、無人駕駛飛機(例如,無人飛行載具(an unmanned aerial vehicle, UAV)或空拍機)或個人移動性。移動物體,例如,是透過人的駕駛操作行進的移動物體,或者可以在沒有人的駕駛操作的情況下自動行進的移動物體(自動駕駛)。This embodiment can be applied to, for example, a system for monitoring video captured by a driving recorder. The system applicable to this embodiment is not limited to the above-mentioned system. For example, the present embodiment can be applied to a system for distributing and monitoring sensor data obtained by sensors, and a system for distributing and monitoring moving image data obtained by image capture devices installed on moving objects. Moving objects are, for example, people, robots, vehicles (cars, two-wheelers or trains), trucks, flying objects (manned aircraft, unmanned aircraft (for example, an unmanned aerial vehicle, UAV) Or aerial camera) or personal mobility. A moving object is, for example, a moving object that travels through a human driving operation, or a moving object that can travel automatically without a human driving operation (automatic driving).
本實施例還可以應用於,例如,監視儀器監視控制系統的畫面(人機介面(human machine interface, HMI))的操作歷史的監視系統。畫面操作歷史可以透過,例如,擷取和記錄在顯示裝置上顯示的畫面的功能來獲得。可以使用以這種方式獲得的影像資料代替由傳輸裝置100擷取的視訊。This embodiment can also be applied to, for example, a monitoring system that monitors the operation history of the screen (human machine interface (HMI)) of the monitoring control system of the instrument. The screen operation history can be obtained through, for example, the function of capturing and recording the screen displayed on the display device. The image data obtained in this way can be used to replace the video captured by the
在儀器監視控制系統中,通常使用大量的監視畫面,因此,畫面操作歷史的監視系統有時需要並排監視多個監視畫面的影像。通常,這種並行顯示大量視訊的處理具有較高的處理負荷,但是在本實施例中,僅可以顯示分割的資料(例如,I圖片),因此可以減少處理負荷的增加。In the instrument monitoring and control system, a large number of monitoring screens are usually used. Therefore, the monitoring system of the screen operation history sometimes needs to monitor the images of multiple monitoring screens side by side. Generally, such processing of displaying a large number of videos in parallel has a high processing load, but in this embodiment, only divided data (for example, I pictures) can be displayed, so the increase in processing load can be reduced.
第一變化形First variant
網路401可以包括多條通訊線路,可以將透過分割單元112分割的資料的一部分(例如,I圖片)透過通訊線路中的任何一條(通訊線路401A)傳輸到伺服器200,其餘資料(例如,P圖片)可以透過通訊線路中的另一通訊線路(通訊線路401B)被傳輸到伺服器200。圖14是示例出根據如此配置的第一變化形的視訊分佈系統的範例性配置的簡圖。例如,資料傳輸單元113可以經由通訊線路401A以直播串流的方式分佈I圖片,並且可以在任意的時間點透過通訊線路401B發送P圖片。The network 401 may include multiple communication lines, and a part of the data divided by the dividing unit 112 (for example, I picture) may be transmitted to the
第二變化形Second variant
分割的資料可以以分割的方式儲存在傳輸裝置100中的儲存器121之中,而不被傳輸到伺服器200。因此,例如,可以僅從儲存器121讀取並顯示必要的圖片(例如,I圖片)。與顯示包括P圖片的所有圖片的方法相比,僅顯示I圖片的方法可以減輕處理負荷。因此,例如,具有有限處理能力的客戶端300或其類似物可以從多個傳輸裝置100的儲存器121之中僅讀取I圖片並且並行顯示I圖片。此外,可以在必要的階段分階段讀取剩餘的P圖片及其類似物,以實現移動顯示。The divided data may be stored in the storage 121 in the
在這種情況下,類似於伺服器200的儲存器控制單元218,儲存器控制單元114可以刪除以恆定持續時間儲存的資料,或者在每次經過恆定時間之後分階段刪除資料。例如,當儲存容量不足時,可以代替按時間順序刪除包括I圖片和P圖片的所有資料,而僅刪除P圖片並將I圖片保持為能夠以稀疏的方式顯示的資料,從而實現長期儲存和低容量的資料消耗。In this case, similar to the storage control unit 218 of the
第三變化形Third variant
將視訊分為圖片並進行分佈時,分佈列表的大小可能會增加。因此,列表產生單元211可以透過使用分層結構中的多個檔案來產生分佈列表。例如,列表產生單元211可以以年、月、日、時間等為單位分層配置分佈列表。例如,最下層的分佈列表包括被分割為一定時間範圍的每個分段資料的識別資訊。下一個較高的分佈列表包括用於識別與特定日期中包括的時間相對應的至少一個分佈列表的資訊。下一個較高的分佈列表包括用於識別與特定月份中包括的一天相對應的至少一個分佈列表的資訊。下一個較高的分佈列表包括用於識別與特定年份中包括的一個月相對應的至少一個分佈列表的資訊。When the video is divided into pictures and distributed, the size of the distribution list may increase. Therefore, the list generating unit 211 can generate a distributed list by using multiple files in a hierarchical structure. For example, the list generation unit 211 may hierarchically configure the distribution list in units of year, month, day, time, and the like. For example, the lowermost distribution list includes identification information of each segment data divided into a certain time range. The next higher distribution list includes information for identifying at least one distribution list corresponding to the time included in the specific date. The next higher distribution list includes information for identifying at least one distribution list corresponding to a day included in a specific month. The next higher distribution list includes information for identifying at least one distribution list corresponding to a month included in a specific year.
第四變化形Fourth variant
圖15是示例了由根據第四變化形之視訊分佈系統所執行的分佈處理的概要之簡圖。根據本變化形的視訊分佈系統還包括控制伺服器510和網頁伺服器520。在本變化形中,伺服器200被配置為分佈視訊(影像)的網頁伺服器。FIG. 15 is a schematic diagram illustrating the outline of the distribution process performed by the video distribution system according to the fourth modification. The video distribution system according to this variation further includes a
控制伺服器510包括控制單元511。控制單元511根據從客戶端300發送的請求來控制傳輸裝置100。例如,客戶端300向控制伺服器510發送指示了是否有圖片被分割以及僅傳輸其中的一部分(例如,僅I圖片)或傳輸所有圖片的傳輸請求。根據傳輸請求,控制伺服器510的控制單元511向傳輸裝置100發送控制信號,該控制信號指示是否以分割的方式向伺服器200傳輸(上載)部分的圖片或向伺服器200傳輸所有圖片。The
傳輸裝置100根據從控制伺服器510傳輸的控制信號以切換方式操作,並且僅將以如上所述的實施例中所描述的方式分割的一些圖片發送到伺服器200,或者將所有圖片發送到伺服器200。The
在擷取串流傳輸(上傳傳輸)中,被分割為要傳輸到伺服器200的資料(第一資料)的資料被傳輸到伺服器200。在擷取檔案儲存(檔案輸出)中,被分割為要被儲存在儲存器121中的資料(第二資料)的資料不會被傳輸到伺服器200,而是被儲存。如圖15所示,所儲存的資料可以離線地複製到伺服器200。In the capture stream transmission (upload transmission), the data divided into the data (first data) to be transmitted to the
伺服器200將由資料接收單元217所接收的資料根據需求轉換(串流轉換)成可分佈的格式,並將轉換後的資料儲存在儲存器222中。離線複製的資料可以一次全部轉換(批量轉換)並儲存在儲存器222中。The
儲存器222將圖片(分段檔案)以可分佈的格式、分佈列表等的形式來儲存在其中。伺服器200作用為分佈儲存在儲存器222中的圖片的視訊伺服器。如上所述,可以將由資料接收單元217所接收的資料儲存在臨時儲存器221中,並且可以將儲存在臨時儲存器221中的資料由分佈單元216分佈。The
客戶端300包括配備有檢視器的網頁瀏覽器。該網頁瀏覽器隨附了播放視訊的視訊播放器。視訊播放器被實現為,例如,與HTML5兼容的應用程式。The
網頁伺服器520是具有除作為視訊伺服器的功能以外的功能的伺服器裝置。例如,網頁伺服器520是用於為不同於視訊分佈系統的外部系統提供使用者介面(a user interface, UI)的伺服器裝置。The web server 520 is a server device having functions other than the function as a video server. For example, the web server 520 is a server device used to provide a user interface (UI) for an external system other than a video distribution system.
以這種方式,根據上述實施例的視訊分佈系統可以被實現為,例如,在網際網路上使用的網頁系統。In this way, the video distribution system according to the above-described embodiment can be implemented as, for example, a web page system used on the Internet.
如上所述,在根據本實施例的視訊分佈系統中,可以在不降低品質的情況下減少線路負荷和處理負荷。As described above, in the video distribution system according to this embodiment, the line load and processing load can be reduced without degrading the quality.
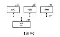
下面參考圖16描述根據本實施例的傳輸裝置的硬體配置。圖16是示例出了根據本實施例的傳輸裝置的範例性硬體配置的說明簡圖。The hardware configuration of the transmission device according to the present embodiment will be described below with reference to FIG. 16. FIG. 16 is an explanatory diagram illustrating an exemplary hardware configuration of the transmission device according to the present embodiment.
根據本實施例的傳輸裝置包括:控制裝置,諸如CPU 51、儲存器裝置,諸如唯讀記憶體(a read only memory, ROM)52和RAM 53、與網路連接以執行通訊的通訊I/F 54以及連接這些組件的匯流排61。The transmission device according to this embodiment includes: a control device, such as a
根據本實施例的傳輸裝置要執行的電腦程式被預先併入在ROM 52或其類似物中並被提供。The computer program to be executed by the transmission device according to this embodiment is incorporated in the
可以將根據本實施例的傳輸裝置所要執行的電腦程式以可安裝或可執行的格式的檔案形式記錄在電腦可讀取記錄媒體上,例如唯讀光碟(CD-ROM)、軟性磁碟(a flexible disk, FD)、可燒錄光碟(CD-R)或數位多功光碟(DVD),並且可以作為電腦程式產品提供。The computer program to be executed by the transmission device according to this embodiment can be recorded on a computer-readable recording medium in the form of a file in an installable or executable format, such as a CD-ROM, a floppy disk (a Flexible disk, FD), recordable disc (CD-R) or digital multifunction disc (DVD), and can be provided as a computer program product.
根據本實施例的傳輸裝置所要執行的電腦程式可以儲存在與諸如網際網路之類的網路連接的電腦上,並且可以透過網路下載來提供。可以透過諸如網際網路的網路來提供或分佈要由根據本實施例的傳輸裝置執行的電腦程式。The computer program to be executed by the transmission device according to this embodiment can be stored on a computer connected to a network such as the Internet, and can be provided through network download. The computer program to be executed by the transmission device according to this embodiment can be provided or distributed through a network such as the Internet.
將由根據本實施例的傳輸裝置所執行的電腦程式可以使電腦用作為上述傳輸裝置的每個組件。可以透過CPU 51將電腦程式從電腦可讀取儲存媒體讀取到主儲存器裝置上並執行電腦程式來實現上述電腦。The computer program to be executed by the transmission device according to this embodiment can use a computer as each component of the above-mentioned transmission device. The above-mentioned computer can be realized by reading the computer program from the computer readable storage medium to the main storage device through the
儘管已經描述了某些實施例,但是這些實施例僅以範例的方式呈現,並且不意圖限制本發明的範圍。實際上,本發明所描述的新穎實施例可以以多種其他形式來體現。此外,在不脫離本發明的精神的情況下,可以對本發明所描述的實施例的形式進行各種省略、替換和改變。所附申請專利範圍及其等同物旨在覆蓋落入本發明的範圍和精神內的這種形式或修改。Although certain embodiments have been described, these embodiments are presented by way of example only and are not intended to limit the scope of the present invention. In fact, the novel embodiments described in the present invention may be embodied in many other forms. In addition, without departing from the spirit of the present invention, various omissions, substitutions and changes can be made to the form of the described embodiments of the present invention. The scope of the attached patent application and its equivalents are intended to cover such forms or modifications that fall within the scope and spirit of the present invention.
100:傳輸裝置 200:伺服器 300:客戶端 401,402:網路 101:影像擷取單元 121:儲存器單元 111:編碼單元 112:分割單元 113:資料傳輸單元 114,218:儲存器控制單元 115:請求接收單元 201:檢測單元 211:列表產生單元 212:確定資訊產生單元 213:列表傳輸單元 214:確定資訊傳輸單元 215:請求傳輸-接收單元 216:分佈單元 217,315:資料接收單元 221:臨時儲存器 222,321:儲存器 311:列表接收單元 312:確定資訊接收單元 313:確定單元 314:請求傳輸單元 316:播放單元 401A,401B:通訊線路 510:控制伺服器 511:控制單元 520:網頁伺服器 S101~S105,S201,S202,S301,S302,S401~S404,S501~S514:步驟 51:CPU 52:ROM 53:RAM 54:通訊I/F 61:匯流排100: Transmission device 200: server 300: client 401,402: Internet 101: Image capture unit 121: storage unit 111: coding unit 112: segmentation unit 113: data transmission unit 114,218: Storage control unit 115: request receiving unit 201: Detection unit 211: List generation unit 212: Determine the information generating unit 213: List Transmission Unit 214: Determine the information transmission unit 215: request transmission-receiving unit 216: Distribution unit 217,315: data receiving unit 221: Temporary Storage 222,321: Storage 311: List receiving unit 312: Determine the information receiving unit 313: Determine Unit 314: request transmission unit 316:
[圖1]是根據本實施例的視訊分佈系統的方塊簡圖;[Figure 1] is a block diagram of the video distribution system according to this embodiment;
[圖2]是示例了由根據本實施例之視訊分佈系統所執行的分佈處理的概要之簡圖;[FIG. 2] is a schematic diagram illustrating the outline of the distribution processing performed by the video distribution system according to the present embodiment;
[圖3]是根據本實施例的視訊分佈系統的裝置的功能方塊簡圖;[Figure 3] is a functional block diagram of the device of the video distribution system according to this embodiment;
[圖4]是示例了分佈列表的範例性資料結構的簡圖;[Figure 4] is a diagram illustrating an exemplary data structure of the distribution list;
[圖5]是示例了確定資訊的範例性資料結構的簡圖;[Figure 5] is a simplified diagram illustrating an exemplary data structure of certain information;
[圖6]是本實施例中的傳輸處理的流程圖;[FIG. 6] is a flowchart of transmission processing in this embodiment;
[圖7]是儲存的資料之傳輸處理流程圖;[Figure 7] is a flow chart of the transmission processing of the stored data;
[圖8]是本實施例中的列表產生處理的流程圖;[FIG. 8] is a flowchart of list generation processing in this embodiment;
[圖9]是本實施例中的確定資訊產生處理的流程圖;[FIG. 9] is a flowchart of the determination information generation processing in this embodiment;
[圖10]是本實施例中的內容分佈處理的時序簡圖;[FIG. 10] is a timing diagram of content distribution processing in this embodiment;
[圖11]是用於說明基於確定資訊對分佈列表進行確定的例子的簡圖;[FIG. 11] is a diagram for explaining an example of determining a distribution list based on determination information;
[圖12]是示例了範例性更新後的確定資訊的簡圖;[Figure 12] is a simplified diagram illustrating exemplary updated certain information;
[圖13]是用於說明基於確定資訊對分佈列表進行確定的例子的簡圖;[FIG. 13] is a diagram for explaining an example of determining a distribution list based on determination information;
[圖14]是示例了根據一個變化形的視訊分佈系統的範例性配置的簡圖;[Figure 14] is a diagram illustrating an exemplary configuration of a video distribution system according to a modified form;
[圖15]是示例了由根據變化形之視訊分佈系統所執行的分佈處理的概要之簡圖;以及[FIG. 15] is a schematic diagram illustrating the outline of the distributed processing performed by the video distribution system according to the change shape; and
[圖16]是根據本實施例的傳輸裝置的硬體配置簡圖。[Fig. 16] is a schematic diagram of the hardware configuration of the transmission device according to the present embodiment.
100:傳輸裝置100: Transmission device
101:影像擷取單元101: Image capture unit
111:編碼單元111: coding unit
112:分割單元112: segmentation unit
113:資料傳輸單元113: data transmission unit
115:請求接收單元115: request receiving unit
121:儲存器單元121: storage unit
200:伺服器200: server
201:檢測單元201: Detection unit
211:列表產生單元211: List generation unit
212:確定資訊產生單元212: Determine the information generating unit
213:列表傳輸單元213: List Transmission Unit
214:確定資訊傳輸單元214: Determine the information transmission unit
215:請求傳輸-接收單元215: request transmission-receiving unit
216:分佈單元216: Distribution unit
221:臨時儲存器221: Temporary Storage
300:客戶端300: client
311:列表接收單元311: List receiving unit
312:確定資訊接收單元312: Determine the information receiving unit
313:確定單元313: Determine Unit
314:請求傳輸單元314: request transmission unit
316:播放單元316: playback unit
114,218:儲存器控制單元114,218: Storage control unit
217,315:資料接收單元217,315: data receiving unit
222,321:儲存器222,321: Storage
| Application Number | Priority Date | Filing Date | Title |
|---|---|---|---|
| TW109104186ATWI731579B (en) | 2020-02-11 | 2020-02-11 | Transmission device, communication system, transmission method, and computer program product |
| Application Number | Priority Date | Filing Date | Title |
|---|---|---|---|
| TW109104186ATWI731579B (en) | 2020-02-11 | 2020-02-11 | Transmission device, communication system, transmission method, and computer program product |
| Publication Number | Publication Date |
|---|---|
| TWI731579Btrue TWI731579B (en) | 2021-06-21 |
| TW202131701A TW202131701A (en) | 2021-08-16 |
| Application Number | Title | Priority Date | Filing Date |
|---|---|---|---|
| TW109104186ATWI731579B (en) | 2020-02-11 | 2020-02-11 | Transmission device, communication system, transmission method, and computer program product |
| Country | Link |
|---|---|
| TW (1) | TWI731579B (en) |
| Publication number | Priority date | Publication date | Assignee | Title |
|---|---|---|---|---|
| US11695853B1 (en)* | 2022-04-07 | 2023-07-04 | T-Mobile Usa, Inc. | Content management systems providing zero recovery point objective |
| Publication number | Priority date | Publication date | Assignee | Title |
|---|---|---|---|---|
| US20110194600A1 (en)* | 2004-09-14 | 2011-08-11 | Gary Demos | File and folder structure for layered compressed image sequences |
| TW201244484A (en)* | 2011-04-28 | 2012-11-01 | Ind Tech Res Inst | Systems and methods for processing shadows in compressed video images |
| TW201415904A (en)* | 2012-07-02 | 2014-04-16 | Samsung Electronics Co Ltd | Motion prediction method, motion compensation method, motion prediction apparatus, motion compensation apparatus, and computer readable recording medium for inter-prediction |
| TW201717638A (en)* | 2009-07-01 | 2017-05-16 | Sony Corp | Image processing device and method and recording medium |
| US9712843B2 (en)* | 2013-10-23 | 2017-07-18 | Qualcomm Incorporated | Multi-layer video file format designs |
| US9967578B2 (en)* | 2012-12-18 | 2018-05-08 | Sony Corporation | Image processing device and image processing method |
| Publication number | Priority date | Publication date | Assignee | Title |
|---|---|---|---|---|
| US20110194600A1 (en)* | 2004-09-14 | 2011-08-11 | Gary Demos | File and folder structure for layered compressed image sequences |
| TW201717638A (en)* | 2009-07-01 | 2017-05-16 | Sony Corp | Image processing device and method and recording medium |
| TW201244484A (en)* | 2011-04-28 | 2012-11-01 | Ind Tech Res Inst | Systems and methods for processing shadows in compressed video images |
| TW201415904A (en)* | 2012-07-02 | 2014-04-16 | Samsung Electronics Co Ltd | Motion prediction method, motion compensation method, motion prediction apparatus, motion compensation apparatus, and computer readable recording medium for inter-prediction |
| US9967578B2 (en)* | 2012-12-18 | 2018-05-08 | Sony Corporation | Image processing device and image processing method |
| US9712843B2 (en)* | 2013-10-23 | 2017-07-18 | Qualcomm Incorporated | Multi-layer video file format designs |
| Publication number | Priority date | Publication date | Assignee | Title |
|---|---|---|---|---|
| US11695853B1 (en)* | 2022-04-07 | 2023-07-04 | T-Mobile Usa, Inc. | Content management systems providing zero recovery point objective |
| US12244678B2 (en) | 2022-04-07 | 2025-03-04 | T-Mobile Usa, Inc. | Content management systems providing zero recovery point objective |
| Publication number | Publication date |
|---|---|
| TW202131701A (en) | 2021-08-16 |
| Publication | Publication Date | Title |
|---|---|---|
| US12219164B2 (en) | Transmission device, communication system, transmission method, and computer program product | |
| US9106934B2 (en) | Distribution of adaptive bit rate live streaming video via hyper-text transfer protocol | |
| US9832492B2 (en) | Distribution of adaptive bit rate video streaming via hyper-text transfer protocol | |
| US11463651B2 (en) | Video frame-based media stream bandwidth reduction | |
| US20110037864A1 (en) | Method and apparatus for live capture image | |
| JP2018182447A (en) | Video distribution apparatus, video distribution method and program | |
| TWI731579B (en) | Transmission device, communication system, transmission method, and computer program product | |
| US10911812B2 (en) | System and method for delivery of near-term real-time recorded video | |
| EP3843415B1 (en) | Video image-based media stream bandwidth reduction | |
| KR102291293B1 (en) | Transmission device, comunication system, transmission method, and non-transitory computer readable recording medium | |
| JP7595707B2 (en) | Server device, method and program | |
| JP7665056B2 (en) | Server device, information processing method and program | |
| CN113315997B (en) | Sending device, server device, sending method, and program | |
| CN113542747B (en) | Server device, communication system, and storage medium |