















本發明係關於一種用於連接不同導體的連接導體(connection conductor)、一種製造連接導體的方法,以及一種電力電纜(power cable)的連接結構。尤其是,本發明係關於一種用於連接不同導體的連接導體以及一種電力電纜的連接結構,其中連接導體能夠達成下列功效:簡化以金屬接合形式作為不同導體之間的連接部件的連接導體之製程,及簡化接合電力電纜的導體與連接導體的製程、最小化導體之間連接部件的長度,並提升連接導體之機械接合強度(mechanical bonding strength)。The present invention relates to a connection conductor for connecting different conductors, a method of manufacturing the connection conductor, and a connection structure of a power cable. In particular, the present invention relates to a connecting conductor for connecting different conductors and a connecting structure of a power cable, wherein the connecting conductor can achieve the following effects: simplify the manufacturing process of connecting conductors in the form of metal joints as connecting parts between different conductors , And simplify the process of bonding the conductor and the connecting conductor of the power cable, minimize the length of the connecting part between the conductors, and improve the mechanical bonding strength of the connecting conductor.
一個用於供電的電力電纜可以包含由銅或鋁所構成的導體、絕緣層、半導體層、外夾套等等。A power cable for power supply can include a conductor, insulation layer, semiconducting layer, outer jacket, etc. made of copper or aluminum.
一個用於傳輸電力的電纜包含導體和絕緣體。導體需要有高導電性以使損失的電能最小化。銅和鋁是具有高導電性和高競爭力價格的導體材料。除了密度之外,銅在電性和機械特性方面優於鋁。因此,一般來說銅適於電力傳輸電纜的導體,而鋁導體僅適於必須具有低重量的高架傳輸電纜。A cable used to transmit power contains conductors and insulators. The conductor needs to have high conductivity to minimize the loss of electrical energy. Copper and aluminum are conductive materials with high conductivity and high competitive prices. In addition to density, copper is superior to aluminum in terms of electrical and mechanical properties. Therefore, copper is generally suitable for conductors of power transmission cables, while aluminum conductors are only suitable for overhead transmission cables that must have a low weight.
由於銅原料的價格上漲,因此對於相同重量的銅和鋁而言,銅的價格高於鋁的價格之四到六倍。因此,將鋁導體用於電力傳輸的需求便增加。因為銅已普遍地用於現有的電纜導體,所以隨著鋁導體被廣泛使用,用於連接具有銅導體之電力電纜和具有鋁導體之電力電纜的中間連接體的需求將會增加。Due to the increase in the price of copper raw materials, for the same weight of copper and aluminum, the price of copper is four to six times higher than the price of aluminum. Therefore, the demand for aluminum conductors for power transmission has increased. Because copper has been commonly used in existing cable conductors, as aluminum conductors are widely used, the demand for intermediate connectors for connecting power cables with copper conductors and power cables with aluminum conductors will increase.
諸如韓國專利文獻No. 1128106等先前技術揭露一種藉由專用套筒型連接導體(dedicated sleeve type connection conductor)來連接導體的方法,且此連接導體用於具有銅導體之電力電纜和具有鋁導體之電力電纜的中間連接體。連接導體可以由具有插孔的接合金屬和接合面形成,其中由銅及其相似物所形成的第一導體插設於此插孔,而接合面藉由惰性氣體焊接(Mig welding)與由鋁所構成的第二導體焊接在一起。Prior art such as Korean Patent Document No. 1128106 discloses a method of connecting conductors by a dedicated sleeve type connection conductor, and this connection conductor is used for power cables with copper conductors and those with aluminum conductors. The intermediate connector of the power cable. The connecting conductor may be formed of a joint metal with a socket and a joint surface, wherein a first conductor formed of copper and the like is inserted into the socket, and the joint surface is welded by inert gas (Mig welding) and aluminum The formed second conductor is welded together.
連接導體可以由第一金屬和第二金屬形成。摩擦焊接(friction welding)可以用於將第一導體和第二導體彼此接合。由銅或其相似物所形成的第一導體插入並壓入形成於連接導體一側的插孔,而由鋁所形成的第二導體藉由焊接或其他相似的方式接合到形成於連接導體另一側的接合面。因此,使用諸如壓入(pressing)、電阻焊接(resistance welding)和惰性氣體焊接(Mig welding)的三種方法連接第一導體和第二導體,焊接便因而使得工作繁瑣且使得製造成本增加。The connection conductor may be formed of a first metal and a second metal. Friction welding may be used to join the first conductor and the second conductor to each other. The first conductor formed of copper or the like is inserted and pressed into the hole formed on one side of the connecting conductor, and the second conductor formed of aluminum is joined to the other formed on the connecting conductor by welding or other similar methods. Joint surface on one side. Therefore, three methods such as pressing, resistance welding, and Mig welding are used to connect the first conductor and the second conductor, and the welding thus makes the work cumbersome and increases the manufacturing cost.
或者,連接導體可以由第一金屬和第二金屬形成。摩擦焊接可視為令第一導體和第二導體彼此接合的方法,但是第一導體和第二導體為不同類型的導體並具有不同熔點,因此他們之間之接合部的物理接合可靠性(physical bonding reliability)不高。因此,便難以確保第一金屬和第二金屬之間的交界面具有足夠的機械強度。Alternatively, the connecting conductor may be formed of the first metal and the second metal. Friction welding can be regarded as a method of joining the first conductor and the second conductor to each other, but the first conductor and the second conductor are different types of conductors and have different melting points, so the physical bonding reliability of the joint between them (physical bonding reliability) is not high. Therefore, it is difficult to ensure that the interface between the first metal and the second metal has sufficient mechanical strength.
本發明係關於一種用於連接不同導體的連接導體以及一種電力電纜的連接結構,其中連接導體能夠達成下列功效:簡化以金屬接合形式作為不同導體之間的連接部件的連接導體的製程,以及簡化接合電力電纜的導體與連接導體的製程、最小化導體之間連接部件的長度,並提升連接導體的機械接合強度(mechanical bonding strength)。The present invention relates to a connecting conductor for connecting different conductors and a connection structure of a power cable, wherein the connecting conductor can achieve the following effects: simplify the manufacturing process of the connecting conductor in the form of metal bonding as the connecting part between the different conductors, and simplify The process of bonding the conductor and the connecting conductor of the power cable, minimizing the length of the connecting parts between the conductors, and improving the mechanical bonding strength of the connecting conductor.
為了達成這些目標,本發明提供一種用於連接不同的多個導體的連接導體,連接導體連接第一電力電纜的第一導體和第二電力電纜的第二導體,此連接導體包含:用來與第一導體接合的的第一金屬部,第一金屬部與第一導體由相同的材料形成;以及用來與第二導體接合的第二金屬部,第二金屬部與第二導體由相同的材料形成,其中第一金屬部的接合面和第二金屬部的接合面藉由摩擦焊接(friction welding)互相接合。In order to achieve these goals, the present invention provides a connecting conductor for connecting a plurality of different conductors. The connecting conductor connects the first conductor of the first power cable and the second conductor of the second power cable. The connecting conductor includes: The first metal part for joining the first conductor, the first metal part and the first conductor are formed of the same material; and the second metal part for joining with the second conductor, the second metal part and the second conductor are made of the same A material is formed in which the joint surface of the first metal part and the joint surface of the second metal part are joined to each other by friction welding.
以及第一金屬部中與第一導體接合之接合面可以為一垂直面以藉由電阻焊接(resistance welding)來接合第一金屬部和第一導體。And the joining surface of the first metal part and the first conductor may be a vertical surface to join the first metal part and the first conductor by resistance welding.
以及第二金屬部中與第二導體接合之接合面可以為一垂直面以藉由電阻焊接(resistance welding)來連接第二金屬部和第二導體。And the joining surface of the second metal part to the second conductor may be a vertical surface to connect the second metal part and the second conductor by resistance welding.
以及第一導體可以由銅或銅合金形成,第二導體可以由鋁或鋁合金形成,且第一導體的外徑可以小於或等於第二導體的外徑。And the first conductor may be formed of copper or copper alloy, the second conductor may be formed of aluminum or aluminum alloy, and the outer diameter of the first conductor may be less than or equal to the outer diameter of the second conductor.
以及第一金屬部可以包含傾斜部,傾斜部具有漸縮的外徑,以使第一導體中與第一金屬部接合的接合面的面積小於第一金屬部中與第二金屬部接合的接合面的面積。And the first metal part may include an inclined part, the inclined part has a tapered outer diameter, so that the area of the joint surface of the first conductor that is joined to the first metal part is smaller than the area of the joint that is joined to the second metal part in the first metal part The area of the face.
以及第一金屬部可以高於第二金屬部的熔點,凸部可以設置於第二金屬部的接合面,以及插孔可以形成於第一金屬部的接合面,並且第一金屬部和第二金屬部可以藉由凸部插入到插孔來摩擦焊接。And the first metal part may be higher than the melting point of the second metal part, the convex part may be provided on the joint surface of the second metal part, and the socket may be formed on the joint surface of the first metal part, and the first metal part and the second metal part The metal part can be friction welded by inserting the convex part into the socket.
以及第一金屬部的插孔和第二金屬部的凸部的外型為梯形,且第二金屬部的凸部之厚度可以大於第一金屬部的插孔之深度。And the outer shapes of the insertion hole of the first metal part and the convex part of the second metal part are trapezoidal, and the thickness of the convex part of the second metal part may be greater than the depth of the insertion hole of the first metal part.
以及第一金屬部的插孔之內端的寬度可以大於第二金屬部的凸部之外端的寬度。And the width of the inner end of the insertion hole of the first metal part may be greater than the width of the outer end of the convex part of the second metal part.
以及止擋凹槽可以設置於第一金屬部的插孔的內周面,以及在摩擦焊接的過程中當第二金屬部融化並流動至止擋凹槽中,止擋凸部可以形成於止擋凹槽中。And the stop groove may be provided on the inner peripheral surface of the insertion hole of the first metal part, and when the second metal part melts and flows into the stop groove during the friction welding process, the stop protrusion may be formed in the stop groove. Block in the groove.
以及第一金屬部之插孔的止擋凹槽可以於插孔之內周面的圓周方向形成環形的外型。And the stop groove of the insertion hole of the first metal part may form a ring shape in the circumferential direction of the inner peripheral surface of the insertion hole.
以及為了達成這些目標,本發明提供一種電力電纜的連接結構,包含:如上所述用於連接不同多個導體的連接導體;第一電力電纜的第一導體,第一導體用於藉由電阻焊接來與連接導體的第一金屬部接合;第二電力電纜的第二導體,第二導體用於藉由電阻焊接來與連接導體的第二金屬部接合;電暈屏蔽,用於連接第一電力電纜的絕緣層之一端部與第二電力電纜的絕緣層之一端部,且該電暈屏蔽覆蓋用於連接不同導體的連接結構;套筒構件,安裝於電暈屏蔽的外側,且由為預成型接頭(pre-molded joint,PMJ)形式的彈性樹酯材料形成;以及外殼構件,用於安裝在套筒構件的外側。And in order to achieve these goals, the present invention provides a connection structure for a power cable, including: the connecting conductors for connecting different conductors as described above; the first conductor of the first power cable, the first conductor is used for resistance welding To join with the first metal part of the connecting conductor; the second conductor of the second power cable, the second conductor is used to join with the second metal part of the connecting conductor by resistance welding; corona shield, used to connect the first power One end of the insulation layer of the cable and one end of the insulation layer of the second power cable, and the corona shield covers the connection structure for connecting different conductors; the sleeve member is installed on the outside of the corona shield and is pre-designed An elastic resin material in the form of a pre-molded joint (PMJ) is formed; and a shell member for mounting on the outside of the sleeve member.
以及為了達成這些目標,本發明提供一種具有不同多個導體之多個電力電纜的連接結構,包含:如上所述用於連接不同導體的連接導體;第一電力電纜的第一導體,第一導體嫆於藉由電阻焊接來與連接導體的第一金屬部接合;第二電力電纜的第二導體,第二導體用於藉由電阻焊接來與連接導體的第二金屬部接合;以及加強絕緣層,由纏繞第一電力電纜的絕緣層、第二電力電纜的絕緣層和連接導體所形成。And in order to achieve these goals, the present invention provides a connection structure of multiple power cables with different multiple conductors, including: the connecting conductors for connecting different conductors as described above; the first conductor of the first power cable, the first conductor To join with the first metal part of the connecting conductor by resistance welding; the second conductor of the second power cable, the second conductor for joining with the second metal part of the connecting conductor by resistance welding; and to strengthen the insulation layer , Formed by winding the insulating layer of the first power cable, the insulating layer of the second power cable and the connecting conductor.
在下文中,將參考附圖詳細描述本發明示例性的實施例。然而本發明不限於此,可以多種不同形式實施。相反,闡述於此的實施例使得此揭露透徹且完整,並且向本領域通常知識者充分傳達本發明的範圍。整個說明書中,相同的標號表示相同的元件。Hereinafter, exemplary embodiments of the present invention will be described in detail with reference to the accompanying drawings. However, the present invention is not limited to this, and can be implemented in many different forms. On the contrary, the embodiments described here make this disclosure thorough and complete, and fully convey the scope of the present invention to those skilled in the art. Throughout the specification, the same reference numerals indicate the same elements.
根據電力電纜安裝於的環境(陸地或海底),可考量成本等因素來改變電力電纜之導體的適用性(suitability)。當電力電纜根據部分單元(units of sections)所需的電力電纜導體特性,而包含不同類型的導體時,可以執行中間連接。According to the environment in which the power cable is installed (land or submarine), factors such as cost can be considered to change the suitability of the conductor of the power cable. When the power cable contains different types of conductors according to the characteristics of the power cable conductors required by the units of sections, intermediate connections can be performed.
一般來說,為了達成電力電纜的可撓性,會使用由纏繞多個導體電線而形成的絞線導體(stranded conductor),而不是一整個導體。Generally speaking, in order to achieve the flexibility of a power cable, a stranded conductor formed by winding multiple conductor wires is used instead of a whole conductor.
當有不同類型的導體,且這些導體為絞線導體時,這些導體可以使用為單獨整體導體類型(separate whole conductor type)的連接導體500彼此接合。連接導體500可以為不同金屬彼此接合所得的金屬接合形式。When there are different types of conductors, and these conductors are stranded wire conductors, these conductors may be joined to each other using connecting
圖1~圖5根據本發明一實施例繪示用於連接不同導體之連接導體500的接合製程,以及分別將第一電力電纜100A的第一導體10A和第二電力電纜100B的第二導體10B接合到連接導體500的兩個外接合面的製程。FIGS. 1 to 5 illustrate the bonding process of connecting
詳細來說,圖1繪示根據本發明一實施例之連接導體500的第一金屬部510和第二金屬部560。In detail, FIG. 1 illustrates the
第一金屬部510和第二金屬部560各可由棒狀整體型金屬(bar type whole metal)形成。Each of the
第一金屬部510可與第一電力電纜100A之第一導體10A由相同的材料形成,並且第一金屬部510可由銅或銅合金形成。第二金屬部560可與第二電力電纜100B之第二導體10B由相同的材料形成,並且第二金屬部560可由鋁或鋁合金形成。The
因銅導體的導電性優於鋁導體的導電性,所以第一導體10A中連接到第一金屬部510之截面積或外徑可小於或等於第二導體10B中連接到第二金屬部560之截面積或外徑。關於連接導體500中連接到第一金屬部510之第一導體10A的截面積或外徑等於連接到第二金屬部560之第二導體10B的截面積或外徑的描述,將會參考圖15和圖16於下描述。Since the conductivity of a copper conductor is better than that of an aluminum conductor, the cross-sectional area or outer diameter of the
因此,如圖1所示,第一金屬部510可以包含傾斜部512,且傾斜部512具有漸縮的外徑,以使第一金屬部510中與第一導體10A接合的金屬部接合面之面積小於第一金屬部510中與第二金屬部560接合的金屬部接合面之面積。Therefore, as shown in FIG. 1, the
第一金屬部510的整個外周面可以視為傾斜平面,但傾斜部512可以僅設置於第一金屬部510的一部份,以確保在摩擦焊接(friction welding)的過程中第一金屬部510中具有較高熔點的地方可以被固定及支撐。The entire outer peripheral surface of the
圖2繪示藉由摩擦焊接(friction welding)將第一金屬部510和第二金屬部560彼此接合,藉以製造連接導體500的操作過程。FIG. 2 illustrates the operation process of joining the
摩擦焊接是一種固定一欲接合物體的焊接方式。於摩擦焊接係藉由高速旋轉另一物體,而將此另一物體壓到被固定的物體上,且摩擦焊接又稱為摩擦壓接(friction pressure welding)。Friction welding is a welding method for fixing an object to be joined. In friction welding, another object is rotated at a high speed to press the other object onto the fixed object, and friction welding is also called friction pressure welding.
本發明提供一種用於連接不同導體的連接導體500,且連接導體500用於接合第一電力電纜100A的第一導體10A和第二電力電纜100B的第二導體10B;連接導體500包含與第一導體10A接合的第一金屬部510以及與第二導體10B接合的第二金屬部560,其中第一金屬部510與第一導體10A由相同的材料形成,且第二金屬部560與第二導體10B由相同的材料形成。第一金屬部510的接合面514和第二金屬部560的接合面564被摩擦焊接。The present invention provides a connecting
也就是說,可以藉由固定第一金屬部510並以高速旋轉第二金屬部560,而在第一金屬部510的接合面514和第二金屬部560的接合面564彼此面對並被引導而互相接觸的狀態下進行摩擦焊接。That is, by fixing the
在摩擦焊接的過程中,相對於第一金屬部510的接合面514的一側面516和相對於第二金屬部560的接合面564的一側面566可以被加壓。During the friction welding process, a
如圖3和圖4所示,當連接導體500藉由摩擦焊接第一金屬部510和第二金屬部560而完成時,第一電力電纜100A的第一導體10A和第二電力電纜100B的第二導體10B可藉由引導第一導體10A和第二導體10B接觸連接導體500中相對於第一金屬部510之接合面514的一側面516和相對於第二金屬部560之接合面564的一側面566,而以電阻焊接(resistance welding)的方式來使第一導體10A和第二導體10B彼此接合。3 and 4, when the connecting
第一電力電纜100A的第一導體10A和第二電力電纜100B的第二導體10B各可為絞線導體。因為可使用電阻焊接來接合第一電力電纜100A的第一導體10A和第二電力電纜100B的第二導體10B到連接導體500,所以連接導體500中相對於第一金屬部510之接合面514的側面516、連接導體500中相對於第二金屬部560之接合面564的側面566、第一電力電纜100A之第一導體10A的端部側和第二電力電纜100B之第二導體10B的端部側,接較佳地被配置為垂直於接合方向。The
電阻焊接完成之後,第一電力電纜100A的第一導體10A和第二電力電纜100B的第二導體10B可以部分融化並彼此連接,從而增加第一導體10A和第二導體10B之端部側的空間因數(space factor),並因此可緊密地接合到連接導體500,其中第一導體10A和第二導體10B為絞線導體並與整體導體類型(whole conductor type)的連接導體500之相對兩側面接合。After the resistance welding is completed, the
當第一金屬部510和第二金屬部560如上所述以摩擦焊接來完成連接導體500時,藉由引導第一電力電纜100A的第一導體10A和第二電力電纜100B的第二導體10B接觸到連接導體500之第一金屬部510和第二金屬部560的相對側面516、566,並電阻焊接第一導體10A和第二導體10B,便可完成導體連接結構。When the
也就是說,根據本發明,用於壓製的壓製設備或用於惰性氣體焊接(Mig welding)的焊接設備可以被省略,而使得製程可以被簡化,並可藉由將各接合面設置為垂直於導體連接方向,而最小化導體連接結構的長度。That is, according to the present invention, the pressing equipment used for pressing or the welding equipment used for inert gas welding (Mig welding) can be omitted, so that the manufacturing process can be simplified, and the joint surfaces can be arranged perpendicular to The conductor connection direction, while minimizing the length of the conductor connection structure.
圖6至圖9根據本發明另一實施例繪示用於連接不同導體之連接導體的製程。6 to 9 illustrate the manufacturing process of connecting conductors for connecting different conductors according to another embodiment of the present invention.
圖6至圖9所示之連接導體500與上述參考圖1至圖5之實施例的連接導體500相同,其中第一金屬部510和第二金屬部560為整體導體類型並以摩擦焊接彼此接合,並且由銅形成的第一金屬部510在其外周面上具有傾斜部。The connecting
在經由根據本發明一實施例之連接導體500所接合的第一電力電纜100A的第一導體10A和第二電力電纜100B的第二導體10B中,第一導體10A可以為銅所構成的絞線導體且第二導體10B可以為具有相對較低的熔點且由鋁所構成的絞線導體。In the
在以上所介紹之用於連接不同金屬導體的連接導體500中,相對的扁平金屬部的接合面係藉由摩擦焊接而接合,因此當導體收縮或膨脹時機械接合強度可能會較弱。In the above-mentioned connecting
因此,根據本發明,為了最小化用於製程和接合的設備數量、最小化導體連接結構的長度,並加強連接導體的金屬部之間的機械接合強度,因第一金屬部510的熔點高於第二金屬部560的熔點,所以可以進行摩擦焊接,而第二金屬部560的接合面564設有凸部561且第一金屬部510的接合面514設有供第二金屬部560的凸部561插入的插孔511,並且卡合於凸部561和插孔511之間的結構可以在摩擦焊接的過程中用來加強機械接合強度。Therefore, according to the present invention, in order to minimize the number of equipment used for manufacturing and bonding, minimize the length of the conductor connection structure, and strengthen the mechanical bonding strength between the metal parts of the connection conductor, the melting point of the
如以下參考圖8之描述,在製造本發明之連接導體500的過程中,第一金屬部510所固定於的結構、以高速旋轉接合到第一金屬部510並具有較低熔點的第二金屬部560,以及在第一金屬部510和第二金屬部560接合的過程中形成於止擋槽(stopper groove)513中的止擋凸部(stopper projection)563,可以用於加強第一金屬部510和第二金屬部560之間的交界面的機械剛性和抗拉強度。As described below with reference to FIG. 8, in the process of manufacturing the connecting
在圖6至圖9的實施例中,凸部561可以設置於由具有低熔點的鋁所形成之第二金屬部560的接合面564,且供凸部561插入的插孔511可以設置於具有高熔點的銅所形成之第一金屬部510的接合面514,反之亦然。In the embodiment of FIGS. 6-9, the
如圖6所示,第一金屬部510和第二金屬部560推向彼此而彼此接觸,藉以透過摩擦焊接彼此接合。As shown in FIG. 6, the
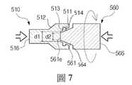
如圖6所示,第一金屬部510的插孔511和第二金屬部560的凸部561的外形為梯形,且第二金屬部560之凸部561的厚度t2大於第一金屬部510之插孔511的深度t1。因此,當插孔511和凸部561被引導而互相接觸以進行摩擦焊接時,第一金屬部510的接合面514和第二金屬部560的接合面564可以不彼此接觸。As shown in FIG. 6, the shape of the
再者,第二金屬部560之凸部561的厚度t2大於第一金屬部510之插孔511的深度t1,並且第一金屬部510之插孔511的內端511e的寬度d1可以大於第二金屬部560之凸部561的外端561e的寬度d2,而使得當凸部561插進插孔511時,第一金屬部510之插孔511的內端511e可以被引導而與第二金屬部560之凸部561的外端561e接觸。Furthermore, the thickness t2 of the
因此,如圖7所示,當摩擦焊接在第二金屬部560之凸部561的外端561e與第一金屬部510之插孔511的內端511e接觸的狀態下開始時,第二金屬部560之凸部561的外端561e中與第一金屬部510之插孔511的內端511e接觸的區域便會開始熔化。Therefore, as shown in FIG. 7, when the friction welding starts in a state where the
接著,如圖8所示,第二金屬部560之凸部561熔化並填入第一金屬部510之插孔511,從而接合第一金屬部510之接合面514和第二金屬部560接合面564的周圍以形成接合部件530。Next, as shown in FIG. 8, the
此外,在本發明中,為了藉由在熔化狀態下接合第一金屬部510和第二金屬部560而使它們不彼此分離來形成接合部件530,止擋槽513可以設置於第一金屬部510之插孔511的內周面,在摩擦焊接的過程中,具有低熔點的第二金屬部560熔化並流入止擋槽513中以形成止擋凸部563。In addition, in the present invention, in order to form the joining
也就是說,如圖7所示,當摩擦焊接開始於止擋槽513設置於第一金屬部510之插孔511的內周面,且於摩擦焊接的過程中具有低熔點的第二金屬部560熔化並流入止擋槽513中以形成止擋凸部563的狀態下,如圖8所示,第二金屬部560熔化並流入第一金屬部510之插孔511的內周面的止擋槽513中而可形成止擋凸部563。That is, as shown in FIG. 7, when the friction welding starts when the
止擋槽513於插孔511之內周面的圓周方向上形成環狀的外形,因此當第二金屬部560的凸部561熔化並流入止擋槽513時,止擋槽513可以做為一個止擋結構而在第一金屬部510和第二金屬部560分離的方向上施加抗拉強度。The
假設當拉力施加於令連接導體500的第一金屬部510和第二金屬部560彼此分離的方向時,止擋槽513和止擋凸部563會提供抗拉強度,則止擋槽513和止擋凸部563可具有多種形狀。Assuming that when tensile force is applied in the direction that separates the
如圖6至圖9所示,在第一金屬部510之插孔511之內周面的止擋槽513可以於插孔511之內周面的圓周方向形成環狀的外形,且可以設置多個止擋槽513。As shown in FIGS. 6-9, the
如圖8所示,可以藉由進行摩擦焊接直到第一金屬部510的接合面514和第二金屬部560的接合面564彼此緊密接觸,以及如圖9所示移除摩擦焊接完成時產生於接合面514和接合面564之間的毛邊,來完成連接導體500。As shown in FIG. 8, it is possible to perform friction welding until the
圖10根據本發明一實施例之具有銅或鋁所構成的導體和XLPE絕緣層的電力電纜100的剖面立體圖。FIG. 10 is a cross-sectional perspective view of a power cable 100 having a conductor made of copper or aluminum and an XLPE insulation layer according to an embodiment of the present invention.
請參考圖10,電力電纜100包含位於其中心的導體10。導體10作為電流路徑並可以由銅或鋁(包含鋁合金)所形成。為了達成可撓性,導體10可以由多條電線纏繞而成的絞線結構形成。Please refer to FIG. 10, the power cable 100 includes a
導體10具有不均勻的表面,而可能造成不均勻的電場,因此電暈放電(corona discharge)可能局部地發生於其中。當導體10和將於以下詳細說明的絕緣層14之間保持有間隙時,絕緣效果便可能會劣化。為了解決此問題,可以在導體10外側設置內半導體層12,其中內半導體層12由諸如半導體碳紙的半導體材料所形成。The
內半導體層12可以均勻化導體10表面的電荷分布以獲得均勻的電場,從而提升絕緣層14的介電強度(dielectric strength)。此外,內半導體層12可以防止導體10和絕緣層14之間保持有間隙,從而防止電暈放電(corona discharge)和離子化(ionization)。The
絕緣層14形成於內半導體層12的外側。一般來說,絕緣層14應具有高的破壞電壓(breakdown voltage)和長期穩定的絕緣效果。此外,絕緣層14應具有低的介電損失(dielectric loss)和對熱的抵抗性,如耐熱性(heat resistance)。The insulating
此種電力電纜的絕緣層通常由紙絕緣材料或樹酯材料(例如XLPE)形成。The insulating layer of such a power cable is usually formed of paper insulating material or resin material (such as XLPE).
由樹酯材料形成的絕緣層14可以由聚烯烴樹脂(polyolefin resin)形成,聚烯烴樹脂(polyolefin resin)例如為聚乙烯(polyethylene)或聚丙烯(polypropylene),且以聚乙烯樹酯(polyethylene resin)為佳。聚乙烯樹酯可以為交聯(cross-linking)樹酯,並可使用矽烷(silane)或諸如雙異苯丙基過氧化物(dicumyl peroxide,DCP)的有機過氧化物(organic peroxide)作為交聯試劑來製備。圖10繪示電力電纜100的絕緣層14由XLPE材料形成的一示例。The insulating
外半導體層16設置於絕緣層14的外側。外半導體層16接地以使外半導體層16和內半導體層12之間的電力線分布為等電位,從而提升絕緣層14的介電強度。此外,外半導體層16可以平坦化電力電纜100之絕緣層14的表面以緩和電場集中,從而防止電暈放電(corona discharge)。The
根據電力電纜100的類型,金屬護套18或類似物設置於外半導體層16的外側。金屬護套18可以用於電性屏蔽並作為用於短路的迴路,且金屬護套18可以被中性線(neutral line)形式的遮蔽層取代。Depending on the type of power cable 100, a
外夾套20設置於電力電纜100的最外側。外夾套20可以設置於電力電纜100的最外側以保護電力電纜100的內部構造。因此,外夾套20通常可以由聚氯乙烯(polyvinyl chloride,PVC)、聚乙烯(polyethylene,PE)等形成。The
如上所述,電力電纜100的導體10可以具有絞線結構並由銅、鋁、銅合金或鋁合金形成。銅的導電性良好,而鋁在價格上具有優勢。當安裝電力電纜100時,可以幾百或幾千米的間隔進行中間連接。As described above, the
即使當第一導體10A和第二導體10B具有不同的直徑時(第一導體10A和第二導體10B為具有不同直徑之不同類型的導體),本發明之連接導體500也能夠使第一電力電纜100A的第一導體10A和第二電力電纜100B的第二導體10B彼此連接。一種具有不同直徑之不同類型導體的連接結構,以及包含其之電力電纜的連接結構將會於以下參考圖11描述。Even when the
圖11為根據本發明一實施例之電力電纜的連接結構的剖面示意圖。Fig. 11 is a schematic cross-sectional view of a connection structure of a power cable according to an embodiment of the present invention.
在圖11中的實施例中,第一導體10A為銅絞線導體而第二導體10B為鋁絞線導體的示例將會於下描述。In the embodiment in FIG. 11, an example in which the
請參考圖11,連接結構300可以包含一對第一電力電纜100A和第二電力電纜100B的第一導體10A和第二導體10B、連接導體500、電暈屏蔽320、以及套筒構件360。連接導體500以電阻焊接的方式接合於第一導體10A和第二導體10B。電暈屏蔽320覆蓋由連接導體500形成的導體接合結構,同時連接到此對第一電力電纜100A和第二電力電纜100B的絕緣層14A及絕緣層14B。套筒構件360覆蓋此對第一電力電纜100A和第二電力電纜100B的外側。套筒構件360由常溫下收縮或膨脹的彈性樹酯材料所形成,並為預成型接頭(pre-molded joint,PMJ)的形式。套筒構件360可以具有中空的外形。Please refer to FIG. 11, the
本發明之連接導體500雙向連接第一電力電纜100A和第二電力電纜100B的第一導體10A和第二導體10B。第一金屬部510和第二金屬部560可以藉由下列方式彼此接合:在第一金屬部510和第二金屬部560的扁平接合面進行摩擦焊接,或是實施在摩擦焊接的過程中於接合部形成止擋凹槽和止擋凸部的結構。The connecting
電暈屏蔽320可以設置於連接導體500的外側。電暈屏蔽320從第一電力電纜100A的絕緣層14A延伸到第二電力電纜100B的絕緣層14B。在此情況下,電暈屏蔽320具有扁平的外表面;電暈屏蔽320圍繞連接導體500,且相對於一對彼此面對之相對絕緣層14A和14B之表面具有無階梯狀的連續表面,從而防止或減緩電場集中。電暈屏蔽320可以防止發生於此對第一導體10A和第二導體10B之間的電暈放電,其中第一導體10A和第二導體10B經連接導體500和套筒結構360相連接。The
當第一電力電纜100A和第二電力電纜100B或第一導體10A和第二導體10B收縮或膨脹時,電暈屏蔽320具有用於夾住第一電力電纜100A之絕緣層14A的端部和第二電力電纜100B之絕緣層14B的端部的結構,藉以施加抗拉強度或提供辨識位置的功能,但電暈屏蔽320不用來支撐第一導體10A和第二導體10B。因此,當第一電力電纜100A和第二電力電纜100B或第一導體10A和第二導體10B收縮或膨脹時,根據本發明之圖6至圖9中的連接導體500可以與電暈屏蔽320一起提供一種施加張力的結構。When the
本發明一實施例中,此對具有不同直徑的電力電纜100A和100B彼此連接,因此使得電暈屏蔽320的相對兩側具有不同的直徑,且電暈屏蔽320的外側從第二電力電纜100B向第一電力電纜100A傾斜,其中第二電力電纜100B具有相對較大的直徑而第一電力電纜100A具有相對較小的直徑。In an embodiment of the present invention, the pair of
套筒構件360包含第一電極330、第二電極340和套筒絕緣層350。第一電極330設置於電暈屏蔽320的外側並具有由銅材料形成的第一端部330A和由鋁材料形成的第二端部330B,並且具有相對較小之直徑的導體10A之第一電力電纜100A的端部插入第一端部330A,而具有相對較大直徑的導體10B之第二電力電纜100B的端部插入第二端部330B;第二電極340面對第一電極330並與第一電極330間隔;套筒絕緣層350覆蓋第一電極330、第二電極340以及此對第一電力電纜100A和第二電力電纜100B的絕緣層14A和14B。套筒絕緣層350可以由乙烯丙烯二烯單體(ethylene propylene diene monomer,EPDM)或液態矽橡膠(liquid silicon rubber,LSR)形成。The
第一電極330由半導體材料形成,並電性連接到電力電纜100A和100B的第一導體10A和第二導體10B以作為所謂的高電壓電極。同樣地,第二電極340由半導體材料形成,並連接到電力電纜100A和100B的外半導體層16A和16B以作為所謂的偏向器(deflector)。因此,在連接結構300中,電場分布於第一電極330和第二電極340之間,且第一電極330和第二電極340使電場均勻分布而不會局部集中。The
在此情況下,在第一電極330中,於第一端部330A的位置從第一電力電纜100A的中心到外表面的距離D1以及於第二端部330B的位置從第二電力電纜100B的中心到外表面的距離D2可以為相同;於第一端部330A的位置從第一電力電纜100A的中心到內表面的距離L1以及於第二端部330B的位置從第二電力電纜100B的中心到內表面的距離L2可以為不同,且從第一電力電纜100A之絕緣層14A的表面到外表面的距離P1以及從第二電力電纜100B之絕緣層14B的表面到外表面的距離P2可以為不同。In this case, in the
第一導體10A和第二導體10B具有不同的材料和直徑。因此,從第一電力電纜100A的中心到第一電力電纜100A的絕緣層14A之外周面的距離不同於從第二電力電纜100B之中心到第二電力電纜100B的絕緣層14B之外周面的距離。因此,於第一端部330A和第二端部330B的位置分別從第一電力電纜100A和第二電力電纜100B之中心到第一電極330之內表面的距離L1和距離L2可為不同的,且分別從第一電力電纜100A和第二電力電纜100B之絕緣層14A和14B的表面到第一電極330之外表面的距離P1和距離P2可為不同的,以使距離D1和距離D2為相同,其中距離D1係根據第一端部330A的位置從第一電極330之外表面到第一電力電纜100A之中心所測得,而距離D2係根據第一端部330B的位置從第一電極330之外表面到第二電力電纜100B之中心所測得。The
連接結構300包含殼體200,且殼體200為所謂用於覆蓋套筒構件360的屏蔽盒(coffin box)或金屬殼。在此情況下,殼體200和套筒構件360之間的空間可以被防水材料(未繪示)或類似物填滿。The
舉例來說,於圖11中,以於上文描述用於連接具有XLPE絕緣層之多個電力電纜的連接結構,其中這些電力電纜作為具有不同直徑之不同類型之導體的一對電力電纜的一示例,但是電力電纜可以為紙絕緣電纜,其中這些電力電纜的導體透過根據本發明之導體連接結構來連接。For example, in FIG. 11, the connection structure for connecting multiple power cables with XLPE insulation layers is described above, where these power cables are used as one of a pair of power cables with different types of conductors with different diameters. For example, the power cables may be paper insulated cables, in which the conductors of these power cables are connected through the conductor connection structure according to the present invention.
藉由本發明之連接導體500用於連接不同導體的結構和方法適用於連接上述之不同導體,以及具有加強絕緣層的連接結構,其中加強絕緣層由將絕緣紙或XLPE膠帶纏繞於連接結構外側而形成,且此連接結構將連接到電絕緣之電力電纜或XLPE絕緣之電力電纜的紙絕緣層或XLPE絕緣層。此種電絕緣或XLPE絕緣的連接結構也適用於具有外殼元件的剛性接頭(rigid joint)或省略外殼元件且各電纜層重新放回(restore)加強絕緣層的外側的彈性接頭(flexible joint)。The structure and method for connecting different conductors by the connecting
圖12繪示根據本發明另一實施例之用於以具有相同直徑但為不同類型之導體來連接一對XLPE絕緣電力電纜的連接結構。Fig. 12 shows a connection structure for connecting a pair of XLPE insulated power cables with conductors having the same diameter but different types according to another embodiment of the present invention.
彈性接頭適於由大量製造電力電纜並於工廠中連接電力電纜所獲得,因為電纜在製造電纜的過程中於工廠被連接,所以彈性接頭也被稱為工廠接頭(factory joint)。因此,本發明之連接導體500和導體連接結構適用於當具有不同導體的電力電纜在工廠中大量製造並互相連接的情況。The elastic joint is suitable for mass-manufacturing power cables and connecting the power cables in the factory. Because the cables are connected in the factory during the process of manufacturing the cables, the elastic joint is also called a factory joint. Therefore, the connecting
類似地,如圖12所示,當第一電力電纜100A和第二電力電纜100B互相連接,且第一電力電纜100A和第二電力電纜100B具有不同直徑之不同類型的導體且由不同材料形成時,可以使用本發明之連接導體500來設置連接結構300。Similarly, as shown in FIG. 12, when the
也就是說,彈性接頭的直徑實質上與第一電力電纜100A的第一導體10A和第二電力電纜100B的第二導體10B的直徑相同,且可以由以下方式來形成:藉由電阻焊接來透過連接導體500使第一導體10A和第二導體10B彼此接合、由在第一導體10A和第二導體10B之間的交界面纏繞XLPE膠帶而透過重新放回絕緣層14來形成加強絕緣層314,以及依序以膠帶和熱收縮管的形式,來重新放回位於加強絕緣層314外側的半導體恢復層316、金屬護套恢復層318及電暈屏蔽320。In other words, the diameter of the elastic joint is substantially the same as the diameter of the
在圖12中的實施例中,第一導體10A和第二導體10B的直徑與連接導體500的直徑相同。連接導體500的直徑相同於第一導體10A和第二導體10B的直徑之一實施例將會參考圖15和圖16於下描述。In the embodiment in FIG. 12, the diameters of the
圖13和圖14繪示根據本發明另一實施例,用於連接不同導體的連接導體的製程。與上述參考圖1、圖2和圖6至圖9所述之連接導體500的製程相同的部分製程將不會於此贅述。13 and FIG. 14 illustrate the manufacturing process of connecting conductors for connecting different conductors according to another embodiment of the present invention. Part of the manufacturing process that is the same as the manufacturing process of the connecting
圖13和圖14中的連接導體500與圖1和圖2中的連接導體500相同,其用於連接具有不同直徑之第一電力電纜的第一導體和第二電力電纜的第二導體,連接導體500之第一金屬部510的接合面和第二金屬部560的接合面為扁平表面,為了電力電纜100A、100B之導體10A、10B的直徑之變化,傾斜部512為傾斜面並設置於連接導體500的外周面。圖13和圖14中的連接導體500不同於圖1、圖2和圖6至圖9中的連接導體500,其中第一金屬部510的傾斜部512位於接合面514之後。The connecting
此外,不像是圖1和圖2中的連接導體500,圖13和圖14中的連接導體500中,第一金屬部510的傾斜部512的位置係改變來防止接合失敗,例如係當第一金屬部510之接合面514的邊緣在摩擦焊接的過程中經壓力而彎曲所造成的失敗,且此改變係為了將一個點位設定於第一金屬部510之前或之後,其中具有高熔點的第一金屬部510將被固定或被支撐於此點位以進行摩擦焊接。In addition, unlike the connecting
圖15和圖16繪示根據本發明另一實施例之用於連接不同導體的連接導體500的製程。與上述參考圖1、圖2、圖6至圖9、圖13和圖14所述之連接導體500的製程相同的部分製程將不會於此贅述。15 and FIG. 16 show a manufacturing process of a connecting
先前的實施例關於用於連接第一電力電纜之第一導體和第二電力電纜之第二導體的連接導體500,其中第一導體和第二導體具有不同的直徑,而圖15和圖16中的實施例關於用於連接第一電力電纜之第一導體和第二電力電纜之第二導體的連接導體500,其中第一導體和第二導體具有相同的直徑。The previous embodiment relates to the connecting
根據電力電纜安裝的環境,在許多情況中,由不同材料形成並具有相同直徑的電力電纜係藉由中間連接物連接。舉例來說,電力電纜的安裝部位於潛艇中或水下時,熱不會造成問題。因此,具有鋁所構成的導體的電力電纜可以安裝於潛艇或水下的部分,而銅所構成的導體的電力電纜可以安裝於陸地上的部分。也就是說,當具有不同導體的電力電纜安裝於陸地上的部分時,導體直徑取決於是否產生熱量和是否導電,但鋁所構成的導體的直徑在此特殊環境中可能會降低。According to the environment in which the power cable is installed, in many cases, power cables formed of different materials and having the same diameter are connected by intermediate connectors. For example, when the installation part of the power cable is located in a submarine or underwater, heat does not cause a problem. Therefore, power cables with conductors made of aluminum can be installed on submarines or underwater parts, and power cables with conductors made of copper can be installed on land. In other words, when power cables with different conductors are installed on the land, the diameter of the conductor depends on whether it generates heat and conducts electricity, but the diameter of the conductor made of aluminum may be reduced in this special environment.
在此情況下,電力電纜的導體可以設定為具有相同直徑,連接導體500的第一金屬部510和第二金屬部560可以設定為具有相同直徑,且為傾斜面的傾斜部可以不設置於連接導體500。In this case, the conductors of the power cable may be set to have the same diameter, the
相似地,在圖15和圖16中的實施例中,可藉由下述步驟來設置一個接合部件530,藉以完成連接導體500:固定第一金屬部510、旋轉並加壓第二金屬部560,並進行摩擦焊接;或是固定第二金屬部560,旋轉並加壓第一金屬部510,並進行摩擦焊接,且前述步驟係在接合面514和接合面564互相接觸的狀態下所進行。Similarly, in the embodiment in FIGS. 15 and 16, a joining
如上所述根據本發明之用於連接不同導體之連接導體和電力電纜的連接結構能夠:在電力電纜的不同導體透過為金屬接合形式的連接導體連接時,提升電力電纜的連接之工作性(workability);藉由令導體或金屬部的接合面垂直於導體或金屬部連接的方向,來最小化導體連接結構的長度,進而使電力電纜的連接結構的長度最小化,從而使連接結構緊密;在不同導體之間提供與接合部件卡合的結構,藉以防止摩擦焊接進行於連接導體的金屬部時,連接導體的金屬部之分離,從而提高不同導體之接合部的機械接合強度。As described above, the connection structure for connecting the connecting conductors of different conductors and the power cable according to the present invention can: when the different conductors of the power cable are connected through the connecting conductor in the form of metal bonding, the workability of the connection of the power cable is improved. ); Minimize the length of the conductor connection structure by making the joint surface of the conductor or metal part perpendicular to the direction in which the conductor or metal part is connected, thereby minimizing the length of the power cable connection structure, thereby making the connection structure tight; Different conductors are provided with a structure for engaging with the joining parts to prevent separation of the metal parts of the connecting conductors when the friction welding is performed on the metal parts of the connecting conductors, thereby improving the mechanical joint strength of the joining parts of different conductors.
根據本發明之用於連接不同導體的連接導體和電力電纜的連接結構能夠在電力電纜的不同導體透過為金屬接合形式的連接導體連接時,提升電力電纜的連接之工作性(workability)。According to the connection structure of the connecting conductor for connecting different conductors and the power cable according to the present invention, the workability of the power cable connection can be improved when the different conductors of the power cable are connected through the connecting conductor in the form of metal bonding.
根據本發明之用於連接不同導體的連接導體和電力電纜的連接結構中,藉由令導體或金屬部的接合面垂直於導體或金屬部連接的方向來最小化導體連接結構的長度。In the connection structure for connecting conductors and power cables of different conductors according to the present invention, the length of the conductor connection structure is minimized by making the joint surface of the conductor or metal part perpendicular to the direction in which the conductor or metal part is connected.
根據本發明之用於連接不同導體的連接導體和電力電纜的連接結構能夠提升不同導體之間的接合部件的機械接合強度。The connection structure for connecting conductors and power cables for connecting different conductors according to the present invention can improve the mechanical bonding strength of the bonding parts between different conductors.
雖然根據本發明示例性的實施例已描述於上,應理解在不脫離本發明的範圍和技術概念下,本領域中具有通常知識者可以作多種變化和修改。因此只要包含在本發明的範圍中的元件,所有修改都涵蓋在本發明的技術範圍中。Although the exemplary embodiments according to the present invention have been described above, it should be understood that those skilled in the art can make various changes and modifications without departing from the scope and technical concept of the present invention. Therefore, as long as the elements are included in the scope of the present invention, all modifications are included in the technical scope of the present invention.
10:導體12:內半導體層14:絕緣層16:外半導體層18:金屬護套20:外夾套100:電力電纜100A:第一電力電纜100B:第二電力電纜10A:第一導體10B:第二導體500:連接導體510:第一金屬部511:插孔511e:插孔的內端512:傾斜部513:止擋槽514:接合面516:第一金屬部之接合面的一側面530:接合部件560:第二金屬部561:凸部561e:凸部的外端563:止擋凸部564:接合面566:第二金屬部之接合面的一側面200:殼體300:連接結構314:加強絕緣層316:半導體恢復層318:金屬護套恢復層320:電暈屏蔽330:第一電極330A:第一端部330B:第二端部340:第二電極350:套筒絕緣層360:套筒構件t1:插孔的深度t2:凸部的厚度d1:內端的寬度d2:外端的寬度P1、P2:絕緣層的表面到外表面的距離D1、D2:電力電纜的中心到外表面的距離L1、L2:電力電纜的中心到內表面的距離10: Conductor 12: Inner semiconducting layer14: Insulating layer 16: Outer semiconductor layer18: metal sheath 20: outer jacket100: Power cable 100A: First power cable100B: second power cable 10A: first conductor10B: second conductor 500: connecting conductor510: first metal part 511: jack511e: inner end of jack 512: inclined part513: Stop groove 514: Joint surface516: One side of the joint surface of the first metal part530: Joining member 560: Second metal part561: convex part 561e: outer end of the convex part563: Stop protrusion 564: Joint surface566: One side of the joint surface of the second metal part200: shell 300: connection structure314: Reinforced insulating layer 316: Semiconductor recovery layer318: metal sheath recovery layer 320: corona shielding330: first electrode 330A: first end330B: second end 340: second electrode350: Sleeve insulation layer 360: Sleeve membert1: the depth of the hole t2: the thickness of the convex partd1: the width of the inner end d2: the width of the outer endP1, P2: the distance from the surface of the insulating layer to the outer surfaceD1, D2: the distance from the center of the power cable to the outer surfaceL1, L2: the distance from the center of the power cable to the inner surface
圖1至圖5根據本發明一實施例繪示用於連接不同導體之連接導體的接合製程,以及分別將第一電力電纜的第一導體和第二電力電纜的第二導體接合到連接導體的第一金屬部和第二金屬部的製程。圖6至圖9根據本發明另一實施例繪示用於連接不同導體之連接導體的製程。圖10為根據本發明一實施例之具有銅或鋁所構成的導體和XLPE絕緣層的電力電纜的剖面立體圖。圖11為根據本發明一實施例之電力電纜的連接結構的剖面示意圖。圖12繪示根據本發明另一實施例之用於以具有相同直徑但為不同類型之導體來連接一對XLPE絕緣電力電纜的連接結構。圖13和圖14繪示根據本發明另一實施例之用於連接不同導體的連接導體的製程。圖15和圖16繪示根據本發明另一實施例之用於連接不同導體的連接導體的製程。FIGS. 1 to 5 illustrate a bonding process for connecting connecting conductors of different conductors according to an embodiment of the present invention, and bonding the first conductor of the first power cable and the second conductor of the second power cable to the connecting conductor, respectively The manufacturing process of the first metal part and the second metal part.6 to 9 illustrate the manufacturing process of connecting conductors for connecting different conductors according to another embodiment of the present invention.10 is a cross-sectional perspective view of a power cable with a conductor made of copper or aluminum and an XLPE insulation layer according to an embodiment of the present invention.Fig. 11 is a schematic cross-sectional view of a connection structure of a power cable according to an embodiment of the present invention.Fig. 12 shows a connection structure for connecting a pair of XLPE insulated power cables with conductors having the same diameter but different types according to another embodiment of the present invention.13 and FIG. 14 show a process of connecting conductors for connecting different conductors according to another embodiment of the present invention.15 and FIG. 16 show a process of connecting conductors for connecting different conductors according to another embodiment of the present invention.
500:連接導體500: connecting conductor
510:第一金屬部510: First Metal Division
512:傾斜部512: Inclined part
513:止擋槽513: Stop Groove
516:第一金屬部之接合面的一側面516: One side of the joint surface of the first metal part
530:接合部件530: Joining Parts
560:第二金屬部560: The second metal part
561:凸部561: Convex
563:止擋凸部563: stop convex
566:第二金屬部之接合面的一側面566: One side of the joint surface of the second metal part
| Application Number | Priority Date | Filing Date | Title |
|---|---|---|---|
| KR10-2018-0157594 | 2018-12-07 | ||
| KR1020180157594AKR102625955B1 (en) | 2018-12-07 | 2018-12-07 | Connecting Conductor For Connecting Different Conductor And Conneting Joint Of Power Cable |
| Publication Number | Publication Date |
|---|---|
| TW202023123A TW202023123A (en) | 2020-06-16 |
| TWI731316Btrue TWI731316B (en) | 2021-06-21 |
| Application Number | Title | Priority Date | Filing Date |
|---|---|---|---|
| TW108108927ATWI731316B (en) | 2018-12-07 | 2019-03-15 | Connection conductor for connecting different conductors and connection structure of power cables |
| Country | Link |
|---|---|
| KR (1) | KR102625955B1 (en) |
| TW (1) | TWI731316B (en) |
| WO (1) | WO2020116721A1 (en) |
| Publication number | Priority date | Publication date | Assignee | Title |
|---|---|---|---|---|
| US12381383B2 (en) | 2021-01-05 | 2025-08-05 | Ls Cable & System Ltd. | Different type power cable core connection device and different type power cable connection system comprising same |
| WO2022215826A1 (en) | 2021-04-05 | 2022-10-13 | 엘에스전선 주식회사 | Power cable system having different-type conductor junction, and power cable connection method using different-type conductors |
| CN114005577B (en)* | 2021-11-30 | 2022-08-30 | 中天科技海缆股份有限公司 | Submarine cable heterogeneous conductor and processing method thereof, submarine cable and preparation method thereof |
| US12300408B2 (en) | 2022-11-21 | 2025-05-13 | Nkt Hv Cables Ab | Power cable with bimetallic conductor |
| Publication number | Priority date | Publication date | Assignee | Title |
|---|---|---|---|---|
| GB1302626A (en)* | 1971-03-08 | 1973-01-10 | ||
| KR20000059157A (en)* | 2000-07-19 | 2000-10-05 | 진정아 | Friction welding method for different kind metals and welding materials |
| KR101107038B1 (en)* | 2010-05-10 | 2012-01-25 | 대한전선 주식회사 | Structure of conductor sleeve and corona shield for connecting dissimilar power cables, pre-mold junction box including the same, and method of connecting dissimilar power cables |
| DE102011086791A1 (en)* | 2011-11-22 | 2013-05-23 | Continental Automotive Gmbh | Closing method for closing bore of workpiece using bore closing device, involves placing bore in workpiece, where bore in area of workpiece near to surface has bigger diameter than in area of workpiece away from surface |
| WO2015135605A1 (en)* | 2014-03-13 | 2015-09-17 | Abb Technology Ltd | Power cable and method of manufacturing the same |
| CN105408963A (en)* | 2013-07-04 | 2016-03-16 | 住友电装株式会社 | Conductive line and wiring structure thereof |
| CN205325000U (en)* | 2015-12-31 | 2016-06-22 | 天津惠德汽车进气系统有限公司 | A work piece welding mechanism for spin welding |
| EP3261181A1 (en)* | 2016-06-21 | 2017-12-27 | Nexans | Conductor transition joint device and method |
| Publication number | Priority date | Publication date | Assignee | Title |
|---|---|---|---|---|
| JP2004111058A (en)* | 2002-09-13 | 2004-04-08 | Furukawa Electric Co Ltd:The | Terminals and connectors for aluminum wires |
| JP2005012915A (en)* | 2003-06-19 | 2005-01-13 | Sumitomo Electric Ind Ltd | Superconducting cable connection structure and insulation spacer for superconducting cable connection |
| KR101128106B1 (en)* | 2010-07-06 | 2012-03-29 | 대한전선 주식회사 | A Conductor Sleeve for Connecting Power Cables Having Different Conductors, A Conductor Sleeve for Connecting Aluminum Conductor Power Cable, A Method of Manufacturing the Same, and A Joint Box Having the Same |
| DE102014006244A1 (en)* | 2014-04-28 | 2015-10-29 | Rosenberger Hochfrequenztechnik Gmbh & Co. Kg | Crimp weld |
| KR20170105246A (en)* | 2016-03-09 | 2017-09-19 | 엘에스전선 주식회사 | Joint sleeve for cable connecting case and cable having joint sleeve |
| Publication number | Priority date | Publication date | Assignee | Title |
|---|---|---|---|---|
| GB1302626A (en)* | 1971-03-08 | 1973-01-10 | ||
| KR20000059157A (en)* | 2000-07-19 | 2000-10-05 | 진정아 | Friction welding method for different kind metals and welding materials |
| KR101107038B1 (en)* | 2010-05-10 | 2012-01-25 | 대한전선 주식회사 | Structure of conductor sleeve and corona shield for connecting dissimilar power cables, pre-mold junction box including the same, and method of connecting dissimilar power cables |
| DE102011086791A1 (en)* | 2011-11-22 | 2013-05-23 | Continental Automotive Gmbh | Closing method for closing bore of workpiece using bore closing device, involves placing bore in workpiece, where bore in area of workpiece near to surface has bigger diameter than in area of workpiece away from surface |
| CN105408963A (en)* | 2013-07-04 | 2016-03-16 | 住友电装株式会社 | Conductive line and wiring structure thereof |
| WO2015135605A1 (en)* | 2014-03-13 | 2015-09-17 | Abb Technology Ltd | Power cable and method of manufacturing the same |
| CN205325000U (en)* | 2015-12-31 | 2016-06-22 | 天津惠德汽车进气系统有限公司 | A work piece welding mechanism for spin welding |
| EP3261181A1 (en)* | 2016-06-21 | 2017-12-27 | Nexans | Conductor transition joint device and method |
| Publication number | Publication date |
|---|---|
| TW202023123A (en) | 2020-06-16 |
| WO2020116721A1 (en) | 2020-06-11 |
| KR20200069969A (en) | 2020-06-17 |
| KR102625955B1 (en) | 2024-01-16 |
| Publication | Publication Date | Title |
|---|---|---|
| TWI731316B (en) | Connection conductor for connecting different conductors and connection structure of power cables | |
| US4390745A (en) | Enclosures for electrical apparatus, cable and enclosure combinations, and kits and methods for their construction | |
| US4383131A (en) | Shielded electrical cable joints and terminations and sleeve and method for forming same | |
| Orton | History of underground power cables | |
| JP5158754B2 (en) | Optical cable shield layer connection | |
| KR102625952B1 (en) | Power Cable including Welding Part Of Different Conductors, Welding Method Of Different Conductors And Connecting Joint Of Power Cable | |
| US4079189A (en) | High voltage cable splice | |
| CN101902024A (en) | Flexible joint with resistive field grading material for HVDC cables and method of connection with HVDC cables | |
| US11881692B2 (en) | Intermediate connection structure of power cable | |
| JP7685607B2 (en) | Shield connection assembly, cable assembly, and method of manufacturing the cable assembly | |
| KR102457873B1 (en) | Joint sleeve and Connection structrue | |
| KR102776988B1 (en) | Connecting Structure of Power Cable Conductor And Connecting Box Of Power Cable Using The Same | |
| GB2042818A (en) | Enclosed for electrical apparatus | |
| EP3930129A1 (en) | Intermediate connection structure of power cable | |
| CN217689508U (en) | connection device | |
| EP4322351A1 (en) | Power cable system having different-type conductor junction, and power cable connection method using different-type conductors | |
| EP3446385B1 (en) | Multiple stress control device for cable accessories and methods and systems including same | |
| KR102625957B1 (en) | Connecting Conductor For Connecting Different Conductor, Manufacturing Method Of Connecting Conductor And Conneting Device Of Power Cable | |
| US12014843B2 (en) | Joining structure of different kinds of conductors, joining method of different kinds of conductors, and joint of power cables | |
| KR102625958B1 (en) | Connection structure of power cables having different conductors and method for manufacturin the same | |
| CA1197580A (en) | Water-proofing joint assembly for power cables | |
| GB2036460A (en) | Enclosure for cable termination or joint | |
| GB2111769A (en) | Enclosure for cable termination or joint | |
| CN114389061B (en) | High voltage cable connection method | |
| KR102304368B1 (en) | Apparatus and method for joining sleeve for cable joint assembly |