



本發明是有關於一種費用支付技術,且特別是有關於一種停車費的支付方法及支付系統。The present invention relates to a fee payment technology, and more particularly to a parking fee payment method and payment system.
目前停車費支付的主要方式有幾種:(1)露天開放式停車場,由管理單位開立費用通知單,使用者再持單據自行繳費、(2)封閉式停車場,則大多由停車場管理系統,依停車時間多寡來計算停車費,然後使用者再前往指定的停車費收費機台繳費,之後再領車出場、(3)在行動裝置上安裝特定的應用程式(APP),並由該APP提供的繳費功能來進行支付、(4)使用瀏覽器連上網際網路,在網站上查詢停車紀錄與費用後進行支付。At present, there are several main ways to pay parking fees: (1) Open-air parking lots, where the management unit issues a fee notice, and the user pays the fee by themselves with the receipt; (2) Closed parking lots, mostly by the parking lot management system. Calculate the parking fee based on the parking time, and then the user will go to the designated parking fee charging machine to pay, and then lead the car to the scene, (3) install a specific application (APP) on the mobile device and provide it by the APP (4) Use the browser to connect to the Internet and check the parking records and fees on the website to make the payment.
在技術文獻方面,亦有一些文件與停車費支付應用有關,如:台灣專利申請案「不停車收費系統以及不停車收費方法」(中國銀聯股份有限公司)、「費用支付方法及其系統」(裕勤科技)、「應用於戶外、建築物內之停車場的管理方法及其設備」(台灣國際物業管理顧問有限公司)、「智慧停車管理裝置」(XIAO, XIAO-JUN)及「智能停車場取車系統及其方法」(英業達),上述停車費支付之相關技術,各有其功用,但皆未指出如何藉由手機簡訊服務,來讓使用者完成停車費之繳付。In terms of technical literature, there are also some documents related to parking fee payment applications, such as: Taiwan patent application "Non-stop toll collection system and non-stop toll collection method" (China UnionPay Co., Ltd.), "Fee payment method and its system" ( Yuqin Technology), “Management Methods and Equipment for Parking Lots Applied to Outdoors and Buildings” (Taiwan International Property Management Consulting Co., Ltd.), “Smart Parking Management Device” (XIAO, XIAO-JUN) and “Smart Parking Access "Car system and its method" (Inventec), the above-mentioned parking fee payment related technologies have their own functions, but they have not pointed out how to use the mobile phone SMS service to allow users to complete the parking fee payment.
有鑑於此,本發明提供一種停車費的支付方法及支付系統,其可用以解決上述技術問題。In view of this, the present invention provides a parking fee payment method and payment system, which can be used to solve the above technical problems.
本發明提供一種停車費的支付方法,適於一支付系統,包括:取得一第一車號與一第一行動門號之間的一綁定關係;反應於從一停車場管理系統接收第一車號及關聯於第一車號的一第一停車資訊,依據綁定關係取得對應於第一車號的第一行動門號;基於第一停車資訊產生一停車費代繳通知,並透過一簡訊系統發送停車費代繳通知至對應於第一行動門號的一行動設備;反應於從行動設備接收到對應於停車費代繳通知的一確認訊息,依據確認訊息執行對應於第一車號的一停車費用支付操作;將停車費用支付操作的一處理結果通知停車場管理系統。The present invention provides a parking fee payment method suitable for a payment system, including: obtaining a binding relationship between a first vehicle number and a first mobile door number; responding to receiving the first vehicle from a parking lot management system Number and a first parking information associated with the first vehicle number, obtain the first action door number corresponding to the first vehicle number according to the binding relationship; generate a parking fee payment notification based on the first parking information, and send it through a text message The system sends a parking fee payment notice to a mobile device corresponding to the first mobile number; in response to receiving a confirmation message corresponding to the parking fee payment notification from the mobile device, executes the corresponding to the first car number according to the confirmation message 1. A parking fee payment operation; a processing result of the parking fee payment operation is notified to the parking lot management system.
本發明提出一種支付系統,其包括儲存電路及處理器。儲存電路儲存多個模組。處理器耦接儲存電路,並存取前述模組以執行下列步驟:取得一第一車號與一第一行動門號之間的一綁定關係;反應於從一停車場管理系統接收第一車號及關聯於第一車號的一第一停車資訊,依據綁定關係取得對應於第一車號的第一行動門號;基於第一停車資訊產生一停車費代繳通知,並透過一簡訊系統發送停車費代繳通知至對應於第一行動門號的一行動設備;反應於從行動設備接收到對應於停車費代繳通知的一確認訊息,依據確認訊息執行對應於第一車號的一停車費用支付操作;將停車費用支付操作的一處理結果通知停車場管理系統。The present invention provides a payment system, which includes a storage circuit and a processor. The storage circuit stores multiple modules. The processor is coupled to the storage circuit and accesses the aforementioned module to perform the following steps: obtain a binding relationship between a first vehicle number and a first mobile door number; respond to receiving the first vehicle from a parking lot management system Number and a first parking information associated with the first vehicle number, obtain the first action door number corresponding to the first vehicle number according to the binding relationship; generate a parking fee payment notification based on the first parking information, and send it through a text message The system sends a parking fee payment notice to a mobile device corresponding to the first mobile number; in response to receiving a confirmation message corresponding to the parking fee payment notification from the mobile device, executes the corresponding to the first car number according to the confirmation message 1. A parking fee payment operation; a processing result of the parking fee payment operation is notified to the parking lot management system.
為讓本發明的上述特徵和優點能更明顯易懂,下文特舉實施例,並配合所附圖式作詳細說明如下。In order to make the above-mentioned features and advantages of the present invention more comprehensible, the following specific embodiments are described in detail in conjunction with the accompanying drawings.
概略而言,本發明之目的在於藉由串接停車場管理系統、支付系統與簡訊系統,來提供一種不用排隊繳費、不用安裝額外的行動APP、或剛好身上沒帶錢,即使只有一支不具有網際網路能力的手機,亦能讓使用者的車輛在離場前,完成支付停車費的機制,以下將作進一步說明。In a nutshell, the purpose of the present invention is to provide a parking lot management system, a payment system, and a short message system in series to provide a way to pay without queuing, install additional mobile apps, or just don’t have money, even if there is only one Internet-capable mobile phones can also allow users to complete the parking fee payment mechanism before leaving the venue. This will be further explained below.
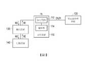
請參照圖1,其是依據本發明之一實施例繪示的停車費代繳系統的示意圖。如圖1所示,本發明的系統100包括支付系統110、停車場管理系統120、簡訊系統130及行動設備140。Please refer to FIG. 1, which is a schematic diagram of a parking fee payment system according to an embodiment of the present invention. As shown in FIG. 1, the system 100 of the present invention includes a payment system 110, a parking
在本發明的實施例中,停車場管理系統120例如是管理一或多個停車場(下稱第一停車場)的電子系統,並可具有辨識進入/離開第一停車場的車輛(下稱第一車輛)之車號的功能。在不同的實施例中,停車場管理系統120例如可透過攝影機拍攝第一車輛之車牌,並對其進行相關的影像辨識手段來辨識車牌中的車號(下稱第一車號CN)。此外,停車場管理系統120亦可在感應第一車輛上的電子標籤(例如eTag)之後,透過連線高速公路電子收費系統(ETC)來查詢第一車號CN。或者,停車場管理系統120亦可感應其他可取得第一車號CN資料之晶片、讀取內含第一車號CN資料之條碼等方式,來取得第一車號CN,但可不限於此。In the embodiment of the present invention, the parking
並且,在經由上述手段取得第一車輛的第一車號CN之後,停車場管理系統120還可相應地記錄關聯於第一車輛的第一停車資訊PI,例如第一車輛進入第一停車場的進場時間、第一停車場的名稱等,但可不限於此。Moreover, after obtaining the first vehicle number CN of the first vehicle through the above-mentioned means, the parking
簡訊系統130例如是由電信運營商所維護的MMS或SMS短訊息系統,但可不限於此。行動設備140例如是對應於第一行動門號PN的通訊裝置(例如手機)等,且其使用者可相同於上述第一車輛。為便於說明,行動設備140及第一車輛的使用者將以第一使用者代稱。The
在圖1中,支付系統110可包括儲存電路112及處理器114。儲存電路112例如是任意型式的固定式或可移動式隨機存取記憶體(Random Access Memory,RAM)、唯讀記憶體(Read-Only Memory,ROM)、快閃記憶體(Flash memory)、硬碟或其他類似裝置或這些裝置的組合,而可用以記錄多個程式碼或模組。In FIG. 1, the payment system 110 may include a
處理器114耦接於儲存電路112,並可為一般用途處理器、特殊用途處理器、傳統的處理器、數位訊號處理器、多個微處理器(microprocessor)、一個或多個結合數位訊號處理器核心的微處理器、控制器、微控制器、特殊應用積體電路(Application Specific Integrated Circuit,ASIC)、現場可程式閘陣列電路(Field Programmable Gate Array,FPGA)、任何其他種類的積體電路、狀態機、基於進階精簡指令集機器(Advanced RISC Machine,ARM)的處理器以及類似品。The
在本發明的實施例中,處理器114可存取儲存電路112中記錄的模組、程式碼來實現本發明提出的停車費支付方法,其細節詳述如下。In the embodiment of the present invention, the
請參照圖2,其是依據本發明之一實施例繪示的停車費支付方法流程圖。本實施例的方法可由圖1的支付系統110執行,以下即搭配圖1所示的元件說明圖2各步驟的細節。Please refer to FIG. 2, which is a flowchart of a parking fee payment method according to an embodiment of the present invention. The method of this embodiment can be executed by the payment system 110 in FIG. 1. The details of each step in FIG. 2 will be described below in conjunction with the components shown in FIG.
首先,在步驟S210中,處理器114可取得第一車號CN與第一行動門號PN之間的綁定關係。在一實施例中,處理器114可藉由提供特定的使用者資料管理頁來讓第一使用者將第一車號CN設定為綁定於第一行動門號PN。在其他實施例中,上述使用者資料管理頁亦可由其他的設備提供予使用者以建立第一車號CN與第一行動門號PN之間的綁定關係,藉以讓處理器114能夠直接從此設備取得第一車號CN與第一行動門號PN之間的綁定關係。First, in step S210, the
請參照圖3,其是依據本發明之一實施例繪示的使用者資料管理頁示意圖。在本實施例中,某使用者可於使用者資料管理頁300(其例如是一網頁)中輸入其所持有的門號以及欲綁定於此門號的車號。以圖3為例,使用者例如可將所示的車號1、車號2綁定於行動門號1。並且,在使用者完成上述設定之後,處理器114即可據以取得行動門號1與車號1的綁定關係,以及行動門號1與車號2的綁定關係,但可不限於此。在一實施例中,各行動門號與其對應的車號之間的綁定關係可記錄於一特定資料庫中。Please refer to FIG. 3, which is a schematic diagram of a user data management page according to an embodiment of the present invention. In this embodiment, a user can input his own car number and the car number to be bound to this car number in the user data management page 300 (which is, for example, a web page). Taking FIG. 3 as an example, the user can bind the vehicle number 1 and the vehicle number 2 to the mobile door number 1, for example. Moreover, after the user completes the above setting, the
基此,第一使用者亦可在使用者資料管理頁300中將第一車號CN設定為綁定於第一行動門號PN,而處理器114可相應地取得第一車號CN與第一行動門號PN之間的綁定關係。Based on this, the first user can also set the first car number CN to be bound to the first mobile number PN in the user
之後,如先前所提及的,當第一車輛進入停車場管理系統120所管理的第一停車場時,停車場管理系統120可取得第一車輛的第一車號CN及相關的第一停車資訊PI(例如進場時間、第一停車場的名稱等),並可將第一車號CN及第一停車資訊PI提供予支付系統110。After that, as mentioned earlier, when the first vehicle enters the first parking lot managed by the parking
在步驟S220中,反應於從停車場管理系統120接收第一車號CN及關聯於第一車號CN的第一停車資訊PI,處理器114可依據綁定關係取得對應於第一車號CN的第一行動門號PN。在一實施例中,處理器114例如可在上述特定資料庫中查詢是否存在綁定於第一車號CN的行動門號,若是即可將此行動門號視為第一行動門號PN,但可不限於此。In step S220, in response to receiving the first car number CN and the first parking information PI associated with the first car number CN from the parking
此外,在一實施例中,停車場管理系統120可預先從支付系統110取得一綁定清單,其中可記錄有已綁定於行動門號的各個車號。藉此,在停車場管理系統120辨識到記錄於綁定清單中的車號時,即可將車號提供予支付系統110。相反地,若停車場管理系統120辨識到的車號未記錄於綁定清單中,則可採用習知的方式向此車號的使用者收取停車費,但可不限於此。In addition, in one embodiment, the parking
之後,在步驟S230中,處理器114可基於第一停車資訊PI產生停車費代繳通知NO,並透過簡訊系統130發送停車費代繳通知NO至對應於第一行動門號PN的行動設備140。After that, in step S230, the
在一實施例中,停車費代繳通知NO可包括第一車號CN、上述進場時間、第一停車場的名稱、一次性認證碼及相關的停車費代繳說明文字。概略而言,上述停車費代繳說明文字可用以告知第一使用者可藉由回傳指定的一次性認證碼來授權支付系統110代為支付當次的停車費用。In one embodiment, the parking fee payment notice NO may include the first vehicle number CN, the aforementioned entry time, the name of the first parking lot, a one-time authentication code, and related parking fee payment instructions. In general, the above description text for parking fee payment can be used to inform the first user that the payment system 110 can be authorized to pay the parking fee for the time by returning a designated one-time authentication code.
在此情況下,若第一使用者欲授權支付系統110支付當次的停車費用,可直接以簡訊回傳停車費代繳通知NO中所提供的一次性認證碼,以告知支付系統110續行之後的停車費用代繳事宜,但可不限於此。In this case, if the first user wants to authorize the payment system 110 to pay the parking fee at the time, he can directly send back the one-time authentication code provided in the parking fee payment notice NO by SMS to inform the payment system 110 to continue the line Subsequent parking fee payment matters, but not limited to this.
因此,在一實施例中,處理器114可透過簡訊系統130接收來自行動設備140的第一訊息,其中第一訊息可包括訊息字串。之後,處理器114可判斷此訊息字串是否匹配於上述一次性認證碼。若是,即代表第一使用者已授權支付系統110代繳當次的停車費用,並可將第一訊息視為對應於停車費代繳通知NO的確認訊息RE。Therefore, in an embodiment, the
另一方面,若上述訊息字串未匹配於指定的一次性認證碼,即代表第一使用者可能不欲授權支付系統110支付當次的停車費用,故處理器114可逕行忽略第一訊息。此外,若第一使用者發生誤繕認證碼的情形,亦可能導致上述訊息字串未匹配於指定的一次性認證碼。因此,處理器114亦可向行動設備140提供相關的認證碼錯誤提示,以提示第一使用者重新輸入正確的一次性認證碼,但本發明可不限於此。On the other hand, if the message string does not match the designated one-time authentication code, it means that the first user may not want to authorize the payment system 110 to pay the parking fee at the time, so the
接著,在步驟S240中,反應於從行動設備140接收到對應於停車費代繳通知NO的確認訊息RE,處理器114可依據確認訊息RE執行對應於第一車號CN的停車費用支付操作。並且,在步驟S250中,處理器114可將停車費用支付操作的處理結果通知停車場管理系統120。Then, in step S240, in response to receiving the confirmation message RE corresponding to the parking fee payment notification NO from the
在不同的實施例中,本發明可採用不同的方式來依據確認訊息RE執行對應於第一車號CN的停車費用支付操作,以下將輔以第一、第二實施例說明。In different embodiments, the present invention can use different methods to execute the parking fee payment operation corresponding to the first vehicle number CN according to the confirmation message RE. The following will be supplemented by the first and second embodiments.
在第一實施例中,支付系統110可在第一車輛進入第一停車場後即向行動設備140發送停車費代繳通知NO,其中停車費代繳通知NO中的停車費代繳說明文字可向第一使用者告知可在欲離開第一停車場時再回傳包括一次性認證碼的確認訊息RE。In the first embodiment, the payment system 110 can send a parking fee payment notice NO to the
換言之,當支付系統110收到確認訊息RE時,即代表第一使用者已欲離開第一停車場。在此情況下,處理器114可取得確認訊息RE的發送時間,並依據進場時間及發送時間計算停車費用。之後,處理器114可取得對應於第一行動門號PN的支付工具資訊。在不同的實施例中,上述支付工具資訊例如包括自動轉帳扣繳、信用卡線上繳款、行動支付、有價之紅利分數或點數、電信帳單等,並可由第一使用者於使用者資料管理頁300所設定,但可不限於此。In other words, when the payment system 110 receives the confirmation message RE, it means that the first user wants to leave the first parking lot. In this case, the
在取得上述支付工具資訊之後,處理器114可調用對應於此支付工具資訊的支付子系統(例如信用卡繳費子系統、行動支付子系統等)以支付上述停車費用。接著,反應於判定已成功支付上述停車費用,處理器114可據以產生對應的處理結果(例如「繳費成功」),並提供至停車場管理系統120。此外,在一實施例中,在判定已成功支付上述停車費用之後,處理器114還可透過簡訊系統130向行動設備140發送一繳費成功訊息,以供第一使用者參考。相應地,當停車場管理系統120收到指示「繳費成功」的處理結果之後,可相應地允許第一車輛離開第一停車場。After obtaining the aforementioned payment tool information, the
為使以上概念更易於理解,以下另輔以圖4說明,其中圖4是依據本發明第一實施例繪示的停車費支付情境。在圖4情境中,第一使用者可先上網將第一車號CN綁定於第一行動門號PN。之後,當對應於第一車號CN的第一車輛410進入第一停車場時,第一使用者的行動設備140即可依據先前實施例的教示而收到停車費代繳通知NO。In order to make the above concept easier to understand, the following is supplemented with FIG. 4 for description, where FIG. 4 is a parking fee payment scenario according to the first embodiment of the present invention. In the scenario in Figure 4, the first user can first go online and bind the first vehicle number CN to the first mobile number PN. After that, when the first vehicle 410 corresponding to the first vehicle number CN enters the first parking lot, the
如圖4所示,停車費代繳通知NO可包括第一車號CN(例如ABC-1234)、第一停車場的名稱(例如「愛國停車場」)、進場時間(例如「2019/05/10 11:02」)、一次性代碼(例如85975)及停車費代繳說明文字(例如「若須代繳停車費,請於離場前回傳85975,完成繳費」)。As shown in Figure 4, the parking fee payment notice NO can include the first car number CN (for example, ABC-1234), the name of the first parking lot (for example, "Patriotic Parking Lot"), and the entry time (for example, "2019/05/10 11:02"), a one-time code (for example, 85975) and a description text for parking fee payment (for example, "If you need to pay for parking fees, please return 85975 to complete the payment before leaving the venue").
基此,當第一使用者欲駕駛第一車輛410離開第一停車場時,可回傳包括指定的一次性認證碼(即,85975)的確認訊息RE,以授權支付系統110代繳停車費用。並且,在支付系統110判定已成功支付上述停車費用之後,還可透過簡訊系統130向行動設備140發送繳費成功訊息M1,以告知第一使用者已完成停車費用的代繳事宜,但可不限於此。Based on this, when the first user wants to drive the first vehicle 410 out of the first parking lot, the confirmation message RE including the designated one-time authentication code (ie, 85975) can be returned to authorize the payment system 110 to pay the parking fee. Moreover, after the payment system 110 determines that the parking fee has been successfully paid, it can also send a payment success message M1 to the
此外,在第二實施例中,支付系統110可在第一車輛進入第一停車場後即向行動設備140發送停車費代繳通知NO,其中停車費代繳通知NO中的停車費代繳說明文字可向第一使用者告知若欲授權支付系統110代繳停車費用,可直接回傳包括一次性認證碼的確認訊息RE。換言之,與第一實施例不同之處在於,第二實施例中的第一使用者不需等到欲離開第一停車場時再回傳確認訊息RE,而可在進場到離場之間的任意時間點回傳確認訊息RE。In addition, in the second embodiment, the payment system 110 can send a parking fee payment notice NO to the
假設第一使用者依指示而回傳指定的一次性認證碼,則當第一使用者駕駛第一車輛離開第一停車場時,停車場管理系統120可在辨識到第一車號CN時,將對應的離場時間提供予支付系統110。Assuming that the first user returns the designated one-time authentication code according to the instructions, when the first user drives the first vehicle to leave the first parking lot, the parking
相應地,處理器114可依據進場時間及離場時間計算停車費用。之後,處理器114可取得對應於第一行動門號PN的支付工具資訊。在不同的實施例中,上述支付工具資訊例如包括自動轉帳扣繳、信用卡線上繳款、行動支付、有價之紅利分數或點數、電信帳單等,並可由第一使用者於使用者資料管理頁300所設定,但可不限於此。Correspondingly, the
在取得上述支付工具資訊之後,處理器114可調用對應於此支付工具資訊的支付子系統(例如信用卡繳費子系統、行動支付子系統等)以支付上述停車費用。接著,反應於判定已成功支付上述停車費用,處理器114可據以產生對應的處理結果(例如「繳費成功」),並提供至停車場管理系統120。此外,在一實施例中,在判定已成功支付上述停車費用之後,處理器114還可透過簡訊系統130向行動設備140發送一繳費成功訊息,以供第一使用者參考。相應地,當停車場管理系統120收到指示「繳費成功」的處理結果之後,可相應地允許第一車輛離開第一停車場。After obtaining the aforementioned payment tool information, the
此外,在一實施例中,本發明的停車費代繳通知NO中亦可包括當次的停車費用,並可在第一使用欲領車離場時才發送至行動設備140。藉此,第一使用者可在支付停車費用之前先行確認當次停車費用的金額。In addition, in one embodiment, the parking fee payment notice NO of the present invention can also include the current parking fee, and can be sent to the
綜上所述,本發明至少具有以下特點:(1)可讓使用者以簡訊做為停車費用之繳付管道;(2)在網路收訊不佳的地方,亦能利用簡訊進行停車費之線上繳付;(3)行動設備上不用安裝特定應用程式即可進行停車費之繳付。In summary, the present invention has at least the following features: (1) It allows users to use SMS as a payment channel for parking fees; (2) In places where the network reception is not good, SMS can also be used for parking fees (3) The parking fee can be paid without installing a specific application on the mobile device.
雖然本發明已以實施例揭露如上,然其並非用以限定本發明,任何所屬技術領域中具有通常知識者,在不脫離本發明的精神和範圍內,當可作些許的更動與潤飾,故本發明的保護範圍當視後附的申請專利範圍所界定者為準。Although the present invention has been disclosed in the above embodiments, it is not intended to limit the present invention. Anyone with ordinary knowledge in the technical field can make some changes and modifications without departing from the spirit and scope of the present invention. The scope of protection of the present invention shall be determined by the scope of the attached patent application.
100:系統100: System
110:支付系統110: payment system
112:儲存電路112: storage circuit
114:處理器114: processor
120:停車場管理系統120: Parking lot management system
130:簡訊系統130: SMS system
140:行動設備140: mobile device
300:使用者資料管理頁300: User data management page
CN:車號CN: Vehicle number
M1:繳費成功訊息M1: payment success message
NO:停車費代繳通知NO: Parking fee payment notice
PN:行動門號PN: Action door number
PI:停車資訊PI: Parking Information
RE:確認訊息RE: Confirmation message
S210~S250:步驟S210~S250: steps
圖1是依據本發明之一實施例繪示的停車費代繳系統的示意圖。 圖2是依據本發明之一實施例繪示的停車費支付方法流程圖。 圖3是依據本發明之一實施例繪示的使用者資料管理頁示意圖。 圖4是依據本發明第一實施例繪示的停車費支付情境。Fig. 1 is a schematic diagram of a parking fee payment system according to an embodiment of the present invention. Fig. 2 is a flowchart of a parking fee payment method according to an embodiment of the present invention. 3 is a schematic diagram of a user data management page according to an embodiment of the invention. Fig. 4 shows a parking fee payment scenario according to the first embodiment of the present invention.
S210~S250:步驟S210~S250: steps
| Application Number | Priority Date | Filing Date | Title |
|---|---|---|---|
| TW108145541ATWI714389B (en) | 2019-12-12 | 2019-12-12 | Payment method and payment system for parking fee |
| Application Number | Priority Date | Filing Date | Title |
|---|---|---|---|
| TW108145541ATWI714389B (en) | 2019-12-12 | 2019-12-12 | Payment method and payment system for parking fee |
| Publication Number | Publication Date |
|---|---|
| TWI714389Btrue TWI714389B (en) | 2020-12-21 |
| TW202123179A TW202123179A (en) | 2021-06-16 |
| Application Number | Title | Priority Date | Filing Date |
|---|---|---|---|
| TW108145541ATWI714389B (en) | 2019-12-12 | 2019-12-12 | Payment method and payment system for parking fee |
| Country | Link |
|---|---|
| TW (1) | TWI714389B (en) |
| Publication number | Priority date | Publication date | Assignee | Title |
|---|---|---|---|---|
| US20060212344A1 (en)* | 2005-03-09 | 2006-09-21 | Marcus J Cooper | Automated parking lot system, method, and computer program product |
| JP2008059309A (en)* | 2006-08-31 | 2008-03-13 | Oa System Sharp:Kk | Parking lot management system, portable terminal and management server |
| TWI340360B (en)* | 2007-08-10 | 2011-04-11 | Chunghwa Telecom Co Ltd | |
| CN103593879A (en)* | 2013-10-08 | 2014-02-19 | 南京爱沓信息技术有限公司 | Vehicle positioning integrated intelligent charge management system and method applied to same |
| TW201926261A (en)* | 2017-11-22 | 2019-07-01 | 台灣國際物業管理顧問有限公司 | Management method for outdoor and in-building parking lots and apparatus thereof capable of achieving effective vehicle management and facilitating easy search and payment for drivers |
| Publication number | Priority date | Publication date | Assignee | Title |
|---|---|---|---|---|
| US20060212344A1 (en)* | 2005-03-09 | 2006-09-21 | Marcus J Cooper | Automated parking lot system, method, and computer program product |
| JP2008059309A (en)* | 2006-08-31 | 2008-03-13 | Oa System Sharp:Kk | Parking lot management system, portable terminal and management server |
| TWI340360B (en)* | 2007-08-10 | 2011-04-11 | Chunghwa Telecom Co Ltd | |
| CN103593879A (en)* | 2013-10-08 | 2014-02-19 | 南京爱沓信息技术有限公司 | Vehicle positioning integrated intelligent charge management system and method applied to same |
| TW201926261A (en)* | 2017-11-22 | 2019-07-01 | 台灣國際物業管理顧問有限公司 | Management method for outdoor and in-building parking lots and apparatus thereof capable of achieving effective vehicle management and facilitating easy search and payment for drivers |
| Publication number | Publication date |
|---|---|
| TW202123179A (en) | 2021-06-16 |
| Publication | Publication Date | Title |
|---|---|---|
| CN113706780B (en) | Charging method and charging device for charging pile, charging pile and readable storage medium | |
| CN102509364B (en) | Automobile fee payment system and method capable of barrier-free access | |
| KR101556950B1 (en) | Parking lot managing method, handheld device and parking lot managing system | |
| CN106447799B (en) | extensive applicability and high efficiency parking lot charging system | |
| CN107578225B (en) | Method and apparatus for payment of highway vehicles | |
| WO2018166412A1 (en) | Traffic section fee payment method, fee system and payment system | |
| TW202013318A (en) | Methods and devices for entrance registration and exit toll collection of vehicles, and electronic equipment | |
| KR20190103925A (en) | Method, terminal and server for charging. vehicle | |
| CN111524383A (en) | Unlicensed vehicle management method and related equipment | |
| CN112819976A (en) | Parking lot control method and device | |
| WO2023060902A1 (en) | Riding method and apparatus of public transport means, device, storage medium, and computer program product | |
| CN105976439A (en) | Parking lot charging method and parking lot charging device | |
| CN111260800A (en) | Payment method, payment system, vehicle-mounted terminal and computer-readable storage medium | |
| WO2019062986A1 (en) | Highway toll collection method, server, system and storage medium | |
| CN115147102A (en) | Payment method, device and system for digital currency wallet and storage medium | |
| CN116071839A (en) | Method and device for deduction of vehicle expenses based on preferential deduction information, and client | |
| TWI714389B (en) | Payment method and payment system for parking fee | |
| CN107195002A (en) | Implementation method, server, mobile device and monitoring device that traffic is paid | |
| KR102350701B1 (en) | Method for parking fee payment | |
| CN112396409B (en) | Digital resource account binding method, device, equipment and medium | |
| TWM619395U (en) | Parking fee payment system | |
| CN115223256A (en) | Implementation method, system, medium and traffic system for roadside parking payment | |
| CN112053452A (en) | DCSM's management system | |
| US20180122151A1 (en) | Place management method and place management system | |
| CN113947817B (en) | Vehicle payment management method, system and device |
| Date | Code | Title | Description |
|---|---|---|---|
| MM4A | Annulment or lapse of patent due to non-payment of fees |