
































本發明是關於一種線路板,尤指一種整合元件及導線架之線路板及其製作方法。The invention relates to a circuit board, in particular to a circuit board integrating elements and lead frames and a manufacturing method thereof.
為了整合行動、通訊以及運算功能,半導體封裝產業面臨極大的散效能及尺寸的挑戰。現已廣泛地發展各種封裝技術,如球柵陣列封裝(BGA)、四方平面無引腳封裝(QFN)及晶圓級封裝(WLP),但卻尚未有任何技術能夠按成本滿足高效能的需求。舉例來說,微型球柵陣列封裝(microBGA)或四方平面無引腳封裝(QFN)的設計概念係使用堅固的金屬架結合習知打線技術,以達到降低尺寸及成本目的。由於蝕刻形成之金屬引線的繞線能力受限,故QFN或microBGA封裝並不適用於高效能、高輸入/輸出(I/O)元件。In order to integrate mobile, communication and computing functions, the semiconductor packaging industry is facing great challenges in terms of discrete performance and size. Various packaging technologies have been widely developed, such as ball grid array packaging (BGA), quad flat no-lead packaging (QFN) and wafer level packaging (WLP), but there is no technology that can meet the needs of high efficiency at cost . For example, the design concept of a micro ball grid array package (microBGA) or a quad flat no-lead package (QFN) uses a rugged metal frame combined with conventional wire bonding technology to reduce size and cost. Due to the limited winding capability of metal leads formed by etching, QFN or microBGA packages are not suitable for high-performance, high input/output (I/O) components.
將電性元件(如電阻器、電容器、電感器、記憶晶片或邏輯晶片)整合於電路板中可大幅改善半導體組體之電性效能並縮小尺寸。美國專利案號8,453,323、8,525,337、8,618,652及8,836,114即是基於此目的而揭露各種線路板。然而,由於樹脂類的線路板缺少剛強的支撐力,故熱膨脹係數不匹配的嵌埋式元件反而會導致不佳的結果,且於彎翹控制及錯位議題上導致嚴重問題。此外,由於該些線路板的垂直連接件通常是導電通孔或交錯設置的金屬化盲孔,所以會產生如訊號傳輸中斷及可靠度變差等重大問題。Integrating electrical components (such as resistors, capacitors, inductors, memory chips or logic chips) into the circuit board can greatly improve the electrical performance and reduce the size of the semiconductor assembly. US Patent Case Nos. 8,453,323, 8,525,337, 8,618,652, and 8,836,114 disclose various circuit boards for this purpose. However, due to the lack of strong supporting force of resin-based circuit boards, embedded components with mismatched thermal expansion coefficients may lead to poor results, and serious problems on warpage control and misalignment issues. In addition, since the vertical connectors of these circuit boards are usually conductive through holes or staggered metalized blind holes, major problems such as interruption of signal transmission and deterioration of reliability may occur.
為了上述理由及以下所述之其他理由,目前亟需發展一種具有嵌埋式元件之新式線路板,其將嵌埋式元件與周圍的導線架整合,以確保超高封裝密度、高信號完整度及低彎翹之需求。For the above reasons and other reasons described below, there is an urgent need to develop a new circuit board with embedded components that integrates the embedded components with the surrounding lead frame to ensure ultra-high packaging density and high signal integrity And the need for low warpage.
本發明之主要目的係提供一種線路板的核心基板,其設有環繞電性元件之導線架,且電性元件包括一第一路由電路、一嵌埋元件及一密封材,且可選擇性地更包括一系列垂直連接件及一第二路由電路。由於周圍導線架的金屬引線可提高核心基板的鋼度,故可降低板彎翹問題,因而改善生產良率及元件級 (device-level)可靠度。The main object of the present invention is to provide a core substrate of a circuit board, which is provided with a lead frame surrounding electrical components, and the electrical components include a first routing circuit, an embedded component, and a sealing material, and can be selectively It also includes a series of vertical connectors and a second routing circuit. Since the metal leads of the surrounding lead frame can increase the rigidity of the core substrate, the problem of board warpage can be reduced, thereby improving the production yield and device-level reliability.
本發明之線路板更包括一第一增層電路及一第二增層電路,其分別設置於核心基板之兩側上。第一路由電路及第一增層電路可對嵌埋元件提供兩階段的水平路由,而導線架的金屬引線則可對第一及第二增層電路提供垂直連接通道,進而可改善半導體組體之設計靈活度、信號完整度及電特性。The circuit board of the present invention further includes a first build-up circuit and a second build-up circuit, which are respectively disposed on both sides of the core substrate. The first routing circuit and the first build-up circuit can provide two-stage horizontal routing for the embedded component, and the metal leads of the lead frame can provide vertical connection channels for the first and second build-up circuits, which can improve the semiconductor assembly The design flexibility, signal integrity and electrical characteristics.
依據上述及其他目的,本發明提供一種線路板,其包括一第一路由電路、一半導體元件、一密封材、選擇性之一系列垂直連接件、選擇性之一第二路由電路、一導線架、一第一增層電路及一第二增層電路。在此,將第一路由電路、半導體元件、密封材、選擇性之垂直連接件及選擇性之第二路由電路整合成一電性元件,並使該導線架環繞該電性元件。於一較佳具體實施例中,位於電性元件外圍邊緣周圍的導線架可提供金屬引線,以作為第一增層電路與第二增層電路間之垂直連接通道;覆晶接置於第一路由電路上之半導體元件係封埋於密封材中;鄰接密封材一側之第一路由電路可對半導體元件提供初級路由/互連;鄰接密封材另一側之選擇性第二路由電路可提供進一步路由/互連;位於第一路由電路與第二路由電路間之選擇性垂直連接件可提供第一路由電路與第二路由電路間之電性連接;分別設於電性元件與導線架相反兩側上之第一增層電路及第二增層電路可藉由導線架之金屬引線,相互電性連接,且可將電性元件機械接合至導線架,並提供進一步的扇出路由。According to the above and other objects, the present invention provides a circuit board including a first routing circuit, a semiconductor element, a sealing material, a selective series of vertical connectors, a selective second routing circuit, and a lead frame , A first multi-layer circuit and a second multi-layer circuit. Here, the first routing circuit, the semiconductor element, the sealing material, the optional vertical connection and the optional second routing circuit are integrated into an electrical element, and the lead frame surrounds the electrical element. In a preferred embodiment, the lead frame located around the peripheral edge of the electrical component can provide metal leads as a vertical connection channel between the first build-up circuit and the second build-up circuit; the flip chip is placed on the first The semiconductor components on the routing circuit are embedded in the sealing material; the first routing circuit adjacent to one side of the sealing material can provide primary routing/interconnection to the semiconductor component; the optional second routing circuit adjacent to the other side of the sealing material can provide Further routing/interconnection; the selective vertical connection between the first routing circuit and the second routing circuit can provide electrical connection between the first routing circuit and the second routing circuit; they are respectively located on the electrical components opposite to the lead frame The first build-up circuit and the second build-up circuit on both sides can be electrically connected to each other through the metal leads of the lead frame, and the electrical components can be mechanically joined to the lead frame and provide further fan-out routing.
於另一態樣中,本發明提供一種線路板,其包括:一電性元件,其包含一半導體元件、一第一路由電路及一密封材,其中該半導體元件電性耦接至該第一路由電路,並被密封材側向覆蓋,且密封材具有面向第一路由電路之第一表面及相反於第一表面之第二表面;一導線架,其側向環繞該電性元件,並包含複數金屬引線及一接合樹脂,其中該接合樹脂填入金屬引線間之空間;一第一增層電路,其設置於第一路由電路上,並側向延伸於導線架上,其中第一增層電路包括交替形成之至少一介電層及至少一線路層,且第一增層電路之線路層電性耦接至第一路由電路及金屬引線;以及一第二增層電路,其設置於密封材之第二表面上,並側向延伸於導線架上,其中第二增層電路包括交替形成之至少一介電層及至少一線路層,且第二增層電路之線路層電性耦接至金屬引線。In another aspect, the present invention provides a circuit board, which includes: an electrical element including a semiconductor element, a first routing circuit, and a sealing material, wherein the semiconductor element is electrically coupled to the first The routing circuit is covered laterally by the sealing material, and the sealing material has a first surface facing the first routing circuit and a second surface opposite to the first surface; a lead frame that laterally surrounds the electrical component and includes A plurality of metal leads and a bonding resin, wherein the bonding resin fills the space between the metal leads; a first build-up circuit, which is disposed on the first routing circuit and extends laterally on the lead frame, wherein the first build-up layer The circuit includes at least one dielectric layer and at least one circuit layer formed alternately, and the circuit layer of the first build-up circuit is electrically coupled to the first routing circuit and the metal lead; and a second build-up circuit, which is disposed in the seal On the second surface of the material and extending laterally on the lead frame, wherein the second build-up circuit includes at least one dielectric layer and at least one circuit layer formed alternately, and the circuit layers of the second build-up circuit are electrically coupled To metal leads.
於再一態樣中,本發明提供一種線路板之製作方法,其包括以下步驟:提供一電性元件,其包含一半導體元件、一第一路由電路及一密封材,其中該半導體元件電性耦接至該第一路由電路,並被密封材側向覆蓋,且密封材具有面向第一路由電路之第一表面及相反於第一表面之第二表面;提供一導線架,其側向環繞電性元件,並包含複數金屬引線及一接合樹脂,其中該接合樹脂填入金屬引線間之空間;形成一第一增層電路,其設置於第一路由電路上,並側向延伸於導線架上,其中第一增層電路包括交替形成之至少一介電層及至少一線路層,且第一增層電路之線路層電性耦接至第一路由電路及金屬引線;以及形成一第二增層電路,其設置於密封材之第二表面上,並側向延伸於導線架上,其中第二增層電路包括交替形成之至少一介電層及至少一線路層,且第二增層電路之線路層電性耦接至金屬引線。In still another aspect, the present invention provides a method for manufacturing a circuit board, which includes the following steps: providing an electrical component including a semiconductor component, a first routing circuit, and a sealing material, wherein the semiconductor component is electrically Is coupled to the first routing circuit and is laterally covered by the sealing material, and the sealing material has a first surface facing the first routing circuit and a second surface opposite to the first surface; providing a lead frame, which surrounds laterally Electrical component, and includes a plurality of metal leads and a bonding resin, wherein the bonding resin fills the space between the metal leads; a first build-up circuit is formed, which is disposed on the first routing circuit and extends laterally on the lead frame Above, wherein the first build-up circuit includes at least one dielectric layer and at least one circuit layer formed alternately, and the circuit layer of the first build-up circuit is electrically coupled to the first routing circuit and the metal lead; and forming a second A build-up circuit, which is disposed on the second surface of the sealing material and extends laterally on the lead frame, wherein the second build-up circuit includes at least one dielectric layer and at least one circuit layer formed alternately, and the second build-up layer The circuit layer of the circuit is electrically coupled to the metal lead.
除非特別描述或步驟間使用”接著”字詞,或者是必須依序發生之步驟,上述步驟之順序並無限制於以上所列,且可根據所需設計而變化或重新安排。Unless the word "next" is used in particular descriptions or between steps, or steps that must occur sequentially, the order of the above steps is not limited to those listed above, and can be changed or rearranged according to the desired design.
本發明之線路板製作方法具有許多優點。舉例來說,形成環繞電性元件之導線架是特別具有優勢的,其原因在於,導線架之金屬引線可提供水平路由及第一增層電路與第二增層電路間之垂直連接路徑。將電性元件與導線架合併可提供一穩定的平台,供第一增層電路及第二增層電路形成於上。於第一路由電路上形成密封材之作法可對線路板提供一高模數之抗彎平台,藉此密封材及導線架之機械強度可避免移除犧牲載板後出現彎翹現象。此外,當需形成多層路由電路時,藉由多階段步驟以形成線路板之作法可避免發生嚴重的彎曲問題。The circuit board manufacturing method of the present invention has many advantages. For example, forming a lead frame surrounding electrical components is particularly advantageous because the metal leads of the lead frame can provide horizontal routing and a vertical connection path between the first build-up circuit and the second build-up circuit. Combining the electrical component and the lead frame can provide a stable platform for the first and second build-up circuits to be formed on it. The method of forming the sealing material on the first routing circuit can provide a high modulus bending platform for the circuit board, thereby the mechanical strength of the sealing material and the lead frame can avoid the warping phenomenon after removing the sacrificial carrier board. In addition, when a multi-layer routing circuit needs to be formed, the formation of a circuit board through multiple stages can avoid serious bending problems.
本發明之上述及其他特徵與優點可藉由下述較佳實施例之詳細敘述更加清楚明瞭。The above and other features and advantages of the present invention can be more clearly understood from the following detailed description of the preferred embodiments.
在下文中,將提供一實施例以詳細說明本發明之實施態樣。本發明之優點以及功效將藉由本發明所揭露之內容而更為顯著。在此說明所附之圖式係簡化過且做為例示用。圖式中所示之元件數量、形狀及尺寸可依據實際情況而進行修改,且元件的配置可能更為複雜。本發明中也可進行其他方面之實踐或應用,且不偏離本發明所定義之精神及範疇之條件下,可進行各種變化以及調整。In the following, an embodiment will be provided to explain the implementation of the present invention in detail. The advantages and effects of the present invention will be more prominent through the content disclosed in the present invention. The illustrations attached here are simplified and used as examples. The number, shape and size of the components shown in the drawings can be modified according to the actual situation, and the configuration of the components may be more complicated. The present invention can also be practiced or applied in other aspects, and various changes and adjustments can be made without departing from the spirit and scope defined by the present invention.
[實施例1][Example 1]
圖1-25為本發明第一實施態樣中,一種未裁切之線路板製作方法圖,其包括一電性元件、一導線架、一第一增層電路及一第二增層電路。1-25 are diagrams of a method for manufacturing an uncut circuit board in a first embodiment of the present invention, which includes an electrical component, a lead frame, a first multi-layer circuit and a second multi-layer circuit.
圖1及2分別為犧牲載板10上形成路由層211之剖視圖及頂部立體示意圖,其中路由層211係藉由金屬沉積及金屬圖案化製程形成。該犧牲載板10通常由銅、鋁、鐵、鎳、錫、不鏽鋼、矽或其他金屬或合金製成,但亦可使用任何其他導電或非導電材料製成。犧牲載板10之厚度較佳於0.1至2.0毫米之範圍。於本實施態樣中,該犧牲載板10係由含鐵材料所製成,且厚度為1.0毫米。路由層211通常由銅所製成,且可經由各種技術進行圖案化沉積而成,如電鍍、無電電鍍、蒸鍍、濺鍍或其組合,或者藉由薄膜沉積而後進行金屬圖案化步驟而形成。就具導電性之犧牲載板10而言,一般是藉由金屬電鍍方式沉積,以形成路由線層211。金屬圖案化技術包括濕蝕刻、電化學蝕刻、雷射輔助蝕刻及其組合,並使用蝕刻光罩(圖未示),以定義出路由層211。1 and 2 are a cross-sectional view and a top perspective schematic view of a
圖3及4分別為多層介電層214及多層導線層216交替輪流形成之剖視圖及頂部立體示意圖。介電層214一般可藉由層壓或塗佈方式沉積而成,其可由環氧樹脂、玻璃環氧樹脂、聚醯亞胺、或其類似物所製成。導線層216側向延伸於介電層214上,並包含有位於介電層214中之金屬化盲孔218。因此,導電層216間可藉由金屬化盲孔218相互電性耦接。同樣地,最內層的導線層216可藉由金屬化盲孔218,電性耦接至路由層211。3 and 4 are a cross-sectional view and a top perspective schematic view of alternate formation of a multilayer
每一導線層216可藉由各種技術沉積為單層或多層,如電鍍、無電電鍍、蒸鍍、濺鍍或其組合。舉例來說,導線層216可藉由下述方式進行沉積步驟。首先藉由將該結構浸入活化劑溶液中,使介電層214與無電鍍銅產生觸媒反應,接著以無電電鍍方式被覆一薄銅層作為晶種層,然後以電鍍方式將所需厚度之第二銅層形成於晶種層上。或者,於晶種層上沉積電鍍銅層前,該晶種層可藉由濺鍍方式形成如鈦/銅之晶種層薄膜。一旦達到所需之厚度,即可使用各種技術圖案化被覆層,以形成導線層216,其包括濕蝕刻、電化學蝕刻、雷射輔助蝕刻及其組合,並使用蝕刻光罩(圖未示),以定義出導線層216。Each
此階段已完成於犧牲載板10上形成第一路由電路21之製作。於此圖中,該第一路由電路21包含有路由層211、介電層214及導線層216。At this stage, the
圖5為形成陣列式垂直連接件23於第一路由電路21上之剖視圖。於此圖中,該些垂直連接件23是繪示成金屬柱,並電性連接至第一路由電路21之最外層導線層216,且與最外層導線層216接觸。FIG. 5 is a cross-sectional view of forming an array-type
圖6為半導體元件25電性耦接至第一路由電路21之剖視圖。半導體元件25(繪示成裸晶片)可藉由熱壓、迴焊、或熱超音波接合技術,經由凸塊253電性耦接至第一路由電路21之最外層導線層216。FIG. 6 is a cross-sectional view of the
圖7為形成密封材27於垂直連接件23、半導體元件25及第一路由電路21上之剖視圖,其中該密封材27可藉由如樹脂-玻璃層壓、樹脂-玻璃塗佈或模製(molding)方式形成。該密封材27係由上方覆蓋垂直連接件23、半導體元件25及第一路由電路21,且環繞、同形披覆並覆蓋垂直連接件23及半導體元件25之側壁。7 is a cross-sectional view of forming the sealing
圖8為垂直連接件23由上方顯露之剖視圖。可藉由研磨方式,將密封材27之上部區域移除。於此圖中,該些垂直連接件23之外露表面於上方與密封材27之外表面呈實質上共平面。FIG. 8 is a cross-sectional view of the
圖9為形成路由層291於密封材27上並電性耦接至垂直連接件23之剖視圖,其中該路由層291係藉由如下所述之金屬圖案化沉積法製成。首先,可藉由各種技術(如電鍍、無電電鍍、蒸鍍、濺鍍或其組合),對結構頂面進行金屬化,以形成單層或多層的導電層(通常為銅層)。該導電層可由Cu、Ni、Ti、Au、Ag、Al、其組合或其他合適的導電材料製成。一般而言,會於電鍍導電層至所需厚度前先於結構的最頂面形成晶種層,其中晶種層可由一擴散阻層及一電鍍載層(plating bus layer)所構成。該擴散阻層係用於抵消導電層(如銅)的氧化或侵蝕。於大多數的實例中,擴散阻層亦可做為下層材料的黏著加強層,並可藉由物理氣相沉積法(PVD)形成,例如,可濺鍍形成厚度約0.01 μm 至 0.1 μm的Ti或TiW層。然而,擴散阻層亦可由其他材料製成,如TaN或其他適用的材料,其厚度並不限於上述範圍。電鍍載層通常係由相同於導電層的材料製成,其厚度範圍約為0.1 μm至1 μm。舉例說明,若導電層為銅時,電鍍載層較佳為物理氣相沉積法或無電電鍍法所製成之銅薄膜。然而,電鍍載層亦可由其他適用的材料製成,如銀、金、鉻、鎳、鎢或其組合,其厚度並不限於上述範圍。9 is a cross-sectional view of forming a
於沉積晶種層後,於晶種層上形成光阻層(圖未示)。該光阻層可藉由濕式製程(如旋塗製程)或乾式製程(如壓合乾膜)而形成。於形成光阻層後,再對光阻層進行圖案化,以形成開孔,隨後於開孔中填滿披覆金屬(如銅),進而形成路由層291。鍍上金屬後,再透過蝕刻製程,以移除顯露的晶種層,進而形成彼此電隔離的導線。After depositing the seed layer, a photoresist layer (not shown) is formed on the seed layer. The photoresist layer can be formed by a wet process (such as a spin coating process) or a dry process (such as laminating a dry film). After the photoresist layer is formed, the photoresist layer is patterned to form an opening, and then the opening is filled with a cladding metal (such as copper) to form a
圖10為介電層294及導線層296交替輪流形成之剖視圖。介電層294接觸密封材27及路由層219,並由上方覆蓋且側向延伸於密封材27及路由層219上。導線層296側向延伸於介電層294上,並包含有位於介電層294中之金屬化盲孔298。因此,導線層296可藉由金屬化盲孔298,電性耦接至路由層291。10 is a cross-sectional view of alternate formation of the
此階段已完成第二路由電路29之製作,其藉由垂直連接件23,電性連接至第一路由電路21。於此圖中,第二路由電路29包含有路由層291、介電層294及導線層296。At this stage, the production of the
圖11為移除犧牲載板10之剖視圖。犧牲載板10可藉由各種方式移除,以由下方顯露第一路由電路21,其包括使用酸性溶液(如氯化鐵、硫酸銅溶液)或鹼性溶液(如氨溶液)之濕蝕刻、電化學蝕刻、或於機械方式(如鑽孔或端銑)後再進行化學蝕刻。於此實施態樣中,由含鐵材料所製成之犧牲載板10可藉由化學蝕刻溶液移除,其中化學蝕刻溶液於銅與鐵間具有選擇性,以避免移除犧牲載板10時導致銅路由層211遭蝕刻。11 is a cross-sectional view with the
圖12為將圖11之面板尺寸結構切割成個別單件之剖視圖。如圖所示,沿著切割線“L”,將面板尺寸結構單離成個別電性元件20。12 is a cross-sectional view of the panel size structure of FIG. 11 cut into individual pieces. As shown in the figure, the panel size structure is separated into individual
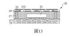
圖13為個別電性元件20之剖視圖,其中包括第一路由電路21、垂直連接件23、半導體元件25、密封材27及第二路由電路29。此圖中,該第一路由電路21及該第二路由電路29為多層增層路由電路,其分別位於密封材27之相反兩側,並藉由垂直連接件23相互電性連接。第一路由電路21位於密封材27之第一表面271,而第二路由電路29位於密封材27之第二表面272。半導體元件25係嵌埋於密封材27中,且電性耦接至第一路由電路21。該些垂直連接件23係封埋於密封材27中,並環繞半導體元件25,且由第一路由電路21延伸至密封材27之第二表面272。第二路由電路29電性耦接至垂直連接件23,因此可藉由垂直連接件23,電性連接至第一路由電路21。13 is a cross-sectional view of an individual
圖14及15分別為圖案化金屬板31之剖視圖及頂部立體示意圖。該圖案化金屬板31通常是由銅合金、鋼或合金42(alloy 42)製成,其可藉由對軋製金屬條(rolled metal strip)進行濕蝕刻或沖壓(stamping/punching)製程而形成,其中軋製金屬條具有約0.15毫米至約1.0毫米之厚度範圍。在此,可由單側或雙側進行蝕刻製程,以蝕穿金屬條,將金屬條製成具有預定整個圖案的圖案化金屬板31,其包括一金屬架32、複數金屬引線33、一金屬塊35及複數聯結桿36。該些金屬引線33係由金屬架32朝金屬架32內的中央區域側向延伸。因此,每一金屬引線33具有一外端331及一內端333,其中金屬引線33的外端331係一體成型地連接於金屬架32內側壁,而金屬引線33的內端333則朝內背離金屬架32。金屬塊35位於金屬架32內的中央區域,並藉由聯結桿36連接至金屬架32。此外,本具體實施例更進一步由圖案化金屬板31的底側進行選擇性半蝕刻製程。據此,金屬引線33具有階梯狀外圍邊緣,且每一金屬引線33具有一水平延伸部336及一垂直凸出部337。該垂直凸出部337係朝向下方向,由水平延伸部336的下表面凸出。14 and 15 are a cross-sectional view and a top perspective schematic view of the patterned
圖16及圖17分別為形成接合樹脂38之剖視圖及頂部立體示意圖。該接合樹脂38可透過將樹脂材料塗佈於金屬架32內的剩餘空間中而形成,其填滿金屬引線33間之空間以及金屬塊35與金屬引線33間之空間。該樹脂材料可藉由膠漿印刷(paste printing)、壓模成形(compressive molding)、轉注成形( transfer molding)、液態射出成形( liquid injection molding)、旋轉塗佈(spin coating)或其他適合方式塗佈而形成。接著,進行熱處理(或熱硬化製程),使樹脂材料硬化,以將樹脂材料轉化成固態模製化合物。據此,接合樹脂38覆蓋水平延伸部336的下表面、垂直凸出部337的側壁及金屬塊35的側壁。由於金屬引線33具有階梯狀的橫截面輪廓,故接合樹脂38可穩固地與金屬引線133相互接合,以避免金屬引線33沿垂直方向脫離接合樹脂38,並可避免於界面處沿垂直方向形成裂紋。於此圖中,藉由平坦化步驟,接合樹脂38之頂面會與金屬引線33及金屬塊35之頂側呈實質上共平面,而接合樹脂38之底面則與金屬引線33及金屬塊35之底側呈實質上共平面。16 and 17 are a cross-sectional view and a top perspective schematic view of the
接合樹脂38通常包括黏結樹脂、填充材、硬化劑、稀釋劑及添加劑。本發明所使用之黏結樹脂並無特殊限制。例如,黏結樹脂可選自由環氧樹脂、酚樹脂、聚醯亞胺(polyimide)樹脂、聚胺酯(polyurethane)樹脂、矽樹脂、聚酯樹脂、丙烯酸(acrylate)樹脂、雙馬來醯亞胺(bismaleimide, BMI)樹脂及其相等物所組群組中之至少一者。黏結樹脂可於附著材與填充材間提供緊密的黏結力。黏結樹脂亦可藉由填充材的鏈狀連結,以提供導熱度。此外,黏結樹脂亦可改善模製化合物的物理及化學穩定性。The
此外,本發明所使用之填充材並無特殊限制。例如,可使用導熱填充材,其選自由氧化鋁、氮化鋁、碳化矽、碳化鎢、碳化硼、二氧化矽及其相等物所組成之群組。更具體地說,若有適當的填充材分散其中,則接合樹脂38便可變成導熱或具有低熱膨脹係數(CTE)。舉例說明,氮化鋁(AlN)或碳化矽(SiC)具有相對高的導熱率、相對高的電阻及相對低的熱膨脹係數。據此,當接合樹脂38中使用該類材料作為填充材時,則接合樹脂38便可展現較佳的散熱效能、電絕緣效能,且其低CTE特性可避免電路或界面出現剝離或裂紋。導熱填充材的最大粒徑可為25 μm或小於25 μm。填充材的含量可於10至90重量百分比之範圍內。若導熱填充材的含量低於10重量百分比,則可能導致導熱度不足且黏度過低。低黏度表示,在塗佈或模製過程中,樹脂過於容易從工具流出,使得製程不易操作及控制。另一方面,若填充材的含量高於90重量百分比,則可能導致模製材料的黏著強度下降,且黏度過高。高黏度的模製材料會因為塗佈或模製過程中,樹脂無法由工具流出,因而導致可操作性不佳。此外,接合樹脂38可包括多於一種的填充材。例如,可使用聚四氟乙烯(PTFE)做為第二填充材,以進一步改善接合樹脂38的電絕緣特性。總之,接合樹脂38較佳係具有大於1.0 GPa的彈性模數及約5 x 10-6K-1至15 x 10-6K-1範圍內的線性熱膨脹係數。In addition, the filler used in the present invention is not particularly limited. For example, a thermally conductive filler material selected from the group consisting of aluminum oxide, aluminum nitride, silicon carbide, tungsten carbide, boron carbide, silicon dioxide, and equivalents can be used. More specifically, if an appropriate filler is dispersed therein, the
圖18及圖19分別為移除金屬塊35後的剖視圖及頂部立體示意圖。可藉由各種技術,以移除整個金屬塊35,如濕蝕刻、電化學蝕刻或雷射,藉此得以形成貫穿開口305,其中貫穿開口305是從接合樹脂38的頂面延伸至底面。據此,此階段已製作完成未裁切的導線架30,其包括金屬架32、金屬引線33、聯結桿36及接合樹脂38。18 and 19 are a cross-sectional view and a top perspective schematic view after removing the
圖20為電性元件20插入導線架30貫穿開口305中之剖視圖。在此,接合樹脂38之內側壁表面309係鄰近於電性元件20之外圍邊緣,但與電性元件20之外圍邊緣保持距離。因此,電性元件20與導線架30間具有位於貫穿開口305中的間隙307,其中導線架30側向環繞該間隙307,且間隙307側向環繞電性元件20。FIG. 20 is a cross-sectional view of the
圖21為第一介電層411及第二介電層511分別從上方及下方壓合或塗佈於電性元件20及導線架30上之剖視圖。第一介電層411由上方覆蓋且接觸第一路由電路21及導線架30,而第二介電層511由下方覆蓋且接觸第二路由電路29及導線架30。此外,第一介電層411及第二介電層511更延伸進入電性元件20與導線架30間之間隙307。因此,接合樹脂38之內側壁表面309可藉由第一介電層411及第二介電層511,接合至電性元件20之外圍邊緣。第一介電層411及第二介電層511可由環氧樹脂、玻璃環氧樹脂、聚醯亞胺、或其類似物所製成,其通常具有50微米的厚度。21 is a cross-sectional view of the
圖22為於第一介電層411中形成第一盲孔413且於第二介電層511中形成第二盲孔513之剖視圖。第一盲孔413延伸穿過第一介電層411,並對準第一路由電路21之路由層211及金屬引線33之選定部位。第二盲孔513延伸穿過第二介電層511,並對準第二路由電路29之導線層296及金屬引線33之選定部位。第一盲孔413及第二盲孔513可藉由各種技術形成,其包括雷射鑽孔、電漿蝕刻及微影技術,且通常具有50微米之直徑。可使用脈衝雷射提高雷射鑽孔效能。或者,可使用掃描雷射光束,並搭配金屬光罩。22 is a cross-sectional view of a first
參考圖23,藉由金屬沉積及金屬圖案化製程,分別於第一介電層411及第二介電層511上形成第一線路層415及第二線路層515。第一線路層415自第一路由電路21之路由層211及金屬引線33之水平延伸部336朝上延伸,並填滿第一盲孔413,以形成直接接觸第一路由電路21及金屬引線33之第一金屬化盲孔417,同時側向延伸於第一介電層411上。第二線路層515自第二路由電路29之導線層296及金屬引線33之垂直凸出部337朝下延伸,並填滿第二盲孔513,以形成直接接觸第二路由電路29及金屬引線33之第二金屬化盲孔517,同時側向延伸於第二介電層511上。Referring to FIG. 23, a
圖24為形成第三介電層431、第四介電層531、第三盲孔433及第四盲孔533之剖視圖,其中第三介電層431及第四介電層531分別層壓或塗佈於第一介電層411/第一線路層415及第二介電層511/第二線路層515上,而第三盲孔433及第四盲孔533分別形成於第三介電層431及第四介電層531中。第三介電層431接觸並覆蓋第一介電層411/第一線路層415。第四介電層531接觸並覆蓋第二介電層511/第二線路層515。第三介電層431及第四介電層531可由環氧樹脂、玻璃環氧樹脂、聚醯亞胺、或其類似物所製成,且通常具有50微米的厚度。於沉積第三介電層431及第四介電層531後,形成第三盲孔433及第四盲孔533,以分別由上方及下方顯露第一線路層415及第二線路層515之選定部分。第三盲孔433延伸穿過第三介電層431,並對準第一線路層415之選定部位。第四盲孔533延伸穿過第四介電層531,並對準第二線路層515之選定部位。如第一盲孔413及第二盲孔513所述,第三盲孔433及第四盲孔533亦可藉由各種技術形成,其包括雷射鑽孔、電漿蝕刻及微影技術,且通常具有50微米之直徑。24 is a cross-sectional view of forming a third
圖25為形成第三線路層435及第四線路層535之剖視圖,其中第三線路層435及第四線路層535可藉由金屬沉積及金屬圖案化製程分別形成於第三介電層431及第四介電層531上。第三線路層435自第一線路層415朝上延伸,並填滿第三盲孔433,以形成直接接觸第一線路層415之第三金屬化盲孔437,同時側向延伸於第三介電層431上。第四線路層535自第二線路層515朝下延伸,並填滿第四盲孔533,以形成直接接觸第二線路層515之第四金屬化盲孔537,同時側向延伸於第四介電層531上。因此,第一增層電路40及第二增層電路50分別形成於電性元件20與導線架30之相反兩側上。於此圖中,第一增層電路40包括第一介電層411、第一線路層415、第三介電層431及第三線路層435,而第二增層電路50包括第二介電層511、第二線路層515、第四介電層531及第四線路層535。此階段已完成未裁切線路板100之製作,其包括電性元件20、導線架30、第一增層電路40及第二增層電路50。FIG. 25 is a cross-sectional view of forming a
圖26為移除金屬架32、部分第一增層電路40及部分第二增層電路50後之裁切後線路板100剖視圖。將金屬架32自金屬引線33分離後,金屬引線33的外端331會位於裁切後線路板100的外圍邊緣處,且金屬引線33的外端331側面與接合樹脂38的外圍邊緣齊平。FIG. 26 is a cross-sectional view of the cut-out
圖27為半導體組體110之剖視圖,其頂部半導體元件61電性耦接至圖26所示之線路板100。該頂部半導體元件61(繪示成晶片)藉由導電凸塊613,接置於第一增層電路40上,並電性耦接至第三線路層435。FIG. 27 is a cross-sectional view of the
圖28為另一半導體組體120之剖視圖,其頂部半導體元件61電性耦接至圖26所示之線路板100,並熱性導通至散熱座81。該些頂部半導體元件61藉由導電凸塊613,接置於第一增層電路40上。散熱座81可由任何具有高導熱性之材料製成,如金屬、合金、矽、陶瓷或石墨,且貼附於頂部半導體元件61上,以進行散熱。FIG. 28 is a cross-sectional view of another
圖29為再一半導體組體130之剖視圖,其頂部半導體元件61、被動元件63、底部半導體元件62及焊球75電性耦接至圖26所示之線路板100。頂部半導體元件61電性耦接至第一增層電路40,而底部半導體元件65電性耦接至第二增層電路50。因此,頂部半導體元件61及底部半導體元件65可藉由電性元件20、導線架30、第一增層電路40及第二增層電路50,相互電性連接。為達到散熱,更可於頂部半導體元件61上貼附散熱座81。此外,被動元件63接置於第一增層電路40之第三線路層435上,以改善電性效能,而焊球75則接置於第二增層電路50之第四線路層535上,用以下一級連接。FIG. 29 is a cross-sectional view of still another
[實施例2][Example 2]
圖30為本發明第二實施態樣中,另一線路板之剖視圖。30 is a cross-sectional view of another circuit board in the second embodiment of the present invention.
為了簡要說明之目的,上述實施例1中任何可作相同應用之敘述皆併於此,且無須再重複相同敘述。For the purpose of brief description, any descriptions of the above-mentioned Embodiment 1 that can be used for the same application are incorporated herein, and there is no need to repeat the same descriptions.
該線路板200之電性元件20類似於圖13所示結構,差異在於,密封材27中未設置垂直連接件,且不具有電性耦接至第二增層電路50之第二路由線路。因此,第一增層電路40及第二增層電路50係藉由導線架30之金屬引線33,相互電性連接。The
圖31為半導體組體210之剖視圖,其頂部半導體元件61電性耦接至圖30所示之線路板200。該頂部半導體元件61藉由導電凸塊613,接置於第一增層電路40上,以藉由第一增層電路40及第一路由電路21,電性連接至嵌埋於密封材27中之半導體元件25。31 is a cross-sectional view of the
[實施例3][Example 3]
圖32為本發明第三實施態樣中,再一線路板之剖視圖。32 is a cross-sectional view of still another circuit board in the third embodiment of the present invention.
為了簡要說明之目的,上述實施例中任何可作相同應用之敘述皆併於此,且無須再重複相同敘述。For the purpose of brief description, any descriptions in the above embodiments that can be used for the same application are incorporated herein, and there is no need to repeat the same descriptions.
該線路板300之電性元件20類似於圖13所示結構,差異在於,密封材27與第二增層電路20間未設置第二路由電路。因此,第二增層電路50係藉由與垂直連接件23接觸之第二金屬化盲孔517,直接電性耦接至垂直連接件23。The
[實施例4][Example 4]
圖33為本發明第四實施態樣中,又一線路板之剖視圖。33 is a cross-sectional view of still another circuit board in the fourth embodiment of the present invention.
為了簡要說明之目的,上述實施例中任何可作相同應用之敘述皆併於此,且無須再重複相同敘述。For the purpose of brief description, any descriptions in the above embodiments that can be used for the same application are incorporated herein, and there is no need to repeat the same descriptions.
該線路板400類似於圖32所示結構,差異在於,電性元件20更包括一散熱座26,其貼附於半導體元件25之非主動面上。該散熱座26係藉由與散熱座26接觸並作為散熱管之額外第二金屬化盲孔518,與第二增層電路50熱性導通。據此,半導體元件25所產生的熱可藉由散熱座26及第二增層電路50散出。The
上述之線路板及組體僅為說明範例,本發明尚可透過其他多種實施例實現。此外,上述實施例可基於設計及可靠度之考量,彼此混合搭配使用或與其他實施例混合搭配使用。舉例來說,線路板可包括多個排列成陣列形狀之電性元件。此外,第一增層電路及第二增層電路亦可包括額外的導線,以接收並連接額外電性元件。The above-mentioned circuit boards and assemblies are only illustrative examples, and the present invention can still be implemented through various other embodiments. In addition, the above-mentioned embodiments can be mixed and matched with each other or with other embodiments based on design and reliability considerations. For example, the circuit board may include a plurality of electrical elements arranged in an array shape. In addition, the first build-up circuit and the second build-up circuit may also include additional wires to receive and connect additional electrical components.
如上述實施態樣所示,本發明建構出一種可展現較佳可靠度之獨特線路板,其包括電性元件、導線架、第一增層電路及第二增層電路。於一較佳實施態樣中,電性元件包括一第一路由電路、一半導體元件及一密封材,並可選擇性更包括垂直連接件及一第二路由電路。第一路由電路及選擇性的第二路由電路設置於導線架所環繞的空間內,而第一增層電路及第二增層電路則設置於導線架所環繞的空間外,並分別側向延伸至導線架之相反兩側上。為方便下文描述,在此將密封材第一表面所面向的方向定義為第一方向,而密封材第二表面所面向的方向定義為第二方向。第一路由電路係設置鄰接於密封材之第一表面,而第二路由電路則設置鄰接於密封材之第二表面。As shown in the above embodiments, the present invention constructs a unique circuit board that can exhibit better reliability, which includes electrical components, lead frames, a first build-up circuit and a second build-up circuit. In a preferred embodiment, the electrical component includes a first routing circuit, a semiconductor component, and a sealing material, and optionally further includes a vertical connection member and a second routing circuit. The first routing circuit and the optional second routing circuit are arranged in the space surrounded by the lead frame, while the first and second build-up circuits are arranged outside the space surrounded by the lead frame and extend laterally respectively To the opposite sides of the lead frame. For convenience of the following description, the direction that the first surface of the sealing material faces is defined as the first direction, and the direction that the second surface of the sealing material faces is defined as the second direction. The first routing circuit is disposed adjacent to the first surface of the sealing material, and the second routing circuit is disposed adjacent to the second surface of the sealing material.
半導體元件可為已封裝或未封裝之晶片。舉例來說,該半導體元件可為裸晶片,或是晶圓級封裝晶粒等。或者,該半導體元件可為堆疊晶片。於一較佳實施態樣中,該半導體元件係電性耦接至第一路由電路(第一路由電路係可拆分式地接置於一犧牲載板上) ,並選擇性被垂直連接件所側向環繞,隨後於第一路由電路上提供密封材,並選擇性地形成第二路由電路於密封材上,接著移除犧牲載板,以形成電性元件。此於態樣中,該半導體元件可藉由凸塊電性耦接至第一路由電路,且其主動面係朝向第一路由電路。較佳為,該電性元件是整體一起以面板尺寸製備,接著再切割成個別單件。此外,可於提供密封材前,將一散熱座貼附至半導體元件。據此,半導體元件所產生的熱可藉由該散熱座向外散逸。The semiconductor device may be a packaged or unpackaged chip. For example, the semiconductor device may be a bare chip or a wafer-level package die. Alternatively, the semiconductor element may be a stacked wafer. In a preferred embodiment, the semiconductor device is electrically coupled to the first routing circuit (the first routing circuit is detachably connected to a sacrificial carrier), and is selectively connected to the vertical component After being surrounded laterally, a sealing material is then provided on the first routing circuit, and a second routing circuit is selectively formed on the sealing material, and then the sacrificial carrier is removed to form an electrical component. In this aspect, the semiconductor device can be electrically coupled to the first routing circuit through the bump, and its active surface faces the first routing circuit. Preferably, the electrical component is prepared as a whole together in panel size, and then cut into individual pieces. In addition, before providing the sealing material, a heat sink can be attached to the semiconductor element. Accordingly, the heat generated by the semiconductor device can be dissipated outward through the heat dissipation seat.
該些選擇性包括的垂直連接件可被密封材側向覆蓋,用以提供下級電路連接之電性接點,且垂直連接件的厚度可實質上相等於或小於密封材的厚度。於一較佳實施態樣中,該些選擇性垂直連接件係位於第一路由電路與第二路由電路之間,且垂直連接件的相反兩側電性耦接至第一路由電路及第二路由電路。或者,於另一較佳實施態樣中,密封材之第二表面上並未形成第二路由電路,而垂直連接件則位於第一路由電路與第二增層電路之間,並電性耦接至第一路由電路及第二增層電路。The optional vertical connectors may be covered laterally by the sealing material to provide electrical contacts for the connection of the lower-level circuit, and the thickness of the vertical connectors may be substantially equal to or less than the thickness of the sealing material. In a preferred embodiment, the selective vertical connectors are located between the first routing circuit and the second routing circuit, and opposite sides of the vertical connector are electrically coupled to the first routing circuit and the second Routing circuit. Alternatively, in another preferred embodiment, the second routing circuit is not formed on the second surface of the sealing material, and the vertical connection member is located between the first routing circuit and the second build-up circuit and is electrically coupled Connected to the first routing circuit and the second multi-layer circuit.
第一路由電路可為不具核心層之多層增層電路,其包括至少一介電層及至少一導線層,其中導線層包含有位於介電層中之金屬化盲孔,並側向延伸於介電層上。介電層與導線層係連續輪流形成,且需要的話可重覆形成。例如,第一路由電路可包括路由層、一介電層及一導線層,其中路由層係位於犧牲載板上,介電層係位於路由層及犧牲載板上,而導線層則由路由層之選定部分延伸,並延伸貫穿介電層,以形成金屬化盲孔,同時側向延伸於介電層上。若需要更多的信號路由,第一路由電路可進一步包括額外的介電層及額外的導線層。於本發明中,可直接於犧牲載板上形成第一路由電路,或者分開形成第一路由電路後,再將第一路由電路可拆分地貼附於犧牲載板上,以完成於犧牲載板上形成第一路由電路的步驟。於一較佳實施態樣中,第一路由電路之平坦頂面可與導線架的平坦頂側呈實質上共平面,且第一路由電路之平坦頂面係接觸第一增層電路。The first routing circuit may be a multi-layer build-up circuit without a core layer, which includes at least one dielectric layer and at least one conductive layer, wherein the conductive layer includes a metalized blind hole in the dielectric layer and extends laterally to the dielectric On the electric layer. The dielectric layer and the wire layer are continuously formed in turn, and can be formed repeatedly if necessary. For example, the first routing circuit may include a routing layer, a dielectric layer, and a conductive layer, wherein the routing layer is located on the sacrificial carrier board, the dielectric layer is located on the routing layer and the sacrificial carrier board, and the conductive layer is formed by the routing layer The selected portion extends and extends through the dielectric layer to form a metalized blind hole, while extending laterally on the dielectric layer. If more signal routing is required, the first routing circuit may further include an additional dielectric layer and an additional wire layer. In the present invention, the first routing circuit can be formed directly on the sacrificial carrier board, or after forming the first routing circuit separately, the first routing circuit can be detachably attached to the sacrificial carrier board to complete the sacrificial carrier The step of forming the first routing circuit on the board. In a preferred embodiment, the flat top surface of the first routing circuit may be substantially coplanar with the flat top side of the lead frame, and the flat top surface of the first routing circuit contacts the first build-up circuit.
選擇性包含的第二路由電路係設置於密封材之第二表面上,且第二路由電路可包括側向延伸於密封材第二表面上並電性耦接至垂直連接件之一路由層。此外,第二路由電路可為不具核心層之多層增層電路,其更可包括至少一介電層及至少一導線層,其中導線層包含有位於介電層中之金屬化盲孔,並側向延伸於介電層上。介電層與導線層係連續輪流形成,且需要的話可重覆形成。第二路由電路中鄰接路由層之最內層導線層可藉由與路由層接觸之金屬化盲孔,電性耦接至路由層,而第二路由電路中鄰接第二增層電路之最外層導線層可提供下一級電路連接之電性接點。因此,第二路由電路可提供垂直連接件與第二增層電路間之電性連接The selectively included second routing circuit is disposed on the second surface of the sealing material, and the second routing circuit may include a routing layer extending laterally on the second surface of the sealing material and electrically coupled to the vertical connection member. In addition, the second routing circuit may be a multi-layer build-up circuit without a core layer, which may further include at least one dielectric layer and at least one conductive layer, wherein the conductive layer includes a metalized blind hole in the dielectric layer, and the side Extending on the dielectric layer. The dielectric layer and the wire layer are continuously formed in turn, and can be formed repeatedly if necessary. The innermost conductive layer adjacent to the routing layer in the second routing circuit can be electrically coupled to the routing layer through a metalized blind hole in contact with the routing layer, and the outermost layer adjacent to the second build-up circuit in the second routing circuit The wire layer can provide electrical contacts for the next level of circuit connection. Therefore, the second routing circuit can provide electrical connection between the vertical connector and the second build-up circuit
導線架包括複數金屬引線及一接合樹脂,且位於第一路由電路、密封材及選擇性第二路由電路之外圍邊緣周圍。於一較佳實施態樣中,導線架可藉由下述步驟製成:提供一金屬架及金屬引線,其中金屬引線係一體連接至金屬架,且每一金屬引線具有向內背離金屬架之內端;以及形成一接合樹脂,其填入金屬架內之剩餘空間。於形成接合樹脂後,可將金屬架自金屬引線分離。因此,金屬引線之外部側表面會與接合樹脂之外圍邊緣齊平。此外,於形成接合樹脂前,可於金屬架內提供一金屬塊。據此,於形成接合樹脂後再移除金屬塊,便可於導線架形成一貫穿開口。具體地說,導線架之貫穿開口係被接合樹脂側向環繞,並由接合樹脂之頂面延伸至接合樹脂之底面。於一較佳實施態樣中,該導線架之貫穿開口的內側壁表面係側向環繞電性元件之外圍邊緣,且與電性元件之外圍邊緣保持距離,並接合至電性元件之外圍邊緣。The lead frame includes a plurality of metal leads and a bonding resin, and is located around the peripheral edges of the first routing circuit, the sealing material, and the optional second routing circuit. In a preferred embodiment, the lead frame can be made by the following steps: providing a metal frame and a metal lead, wherein the metal lead is integrally connected to the metal frame, and each metal lead has an inward facing away from the metal frame Inner end; and forming a bonding resin, which fills the remaining space in the metal frame. After forming the bonding resin, the metal frame can be separated from the metal lead. Therefore, the outer side surface of the metal lead will be flush with the peripheral edge of the bonding resin. In addition, before forming the bonding resin, a metal block may be provided in the metal frame. According to this, after forming the bonding resin and then removing the metal block, a through opening can be formed in the lead frame. Specifically, the through opening of the lead frame is laterally surrounded by the bonding resin, and extends from the top surface of the bonding resin to the bottom surface of the bonding resin. In a preferred embodiment, the inner wall surface of the through opening of the lead frame laterally surrounds the peripheral edge of the electrical element, and keeps a distance from the peripheral edge of the electrical element, and is joined to the peripheral edge of the electrical element .
該些金屬引線可提供水平及垂直的信號傳導路徑,或者提供能量傳遞及返回之接地/電源面。該些金屬引線較佳為成型為一體的引線,且金屬引線之頂側及底側未被接合樹脂覆蓋。於一較佳實施態樣中,金屬引線的厚度範圍約為0.15 mm至1.0 mm,且金屬引線之周界較佳係至少側向延伸至與接合樹脂外圍邊緣一致。為使金屬引線與接合樹脂間穩固接合,金屬引線可具有與接合樹脂接合的階梯狀外圍邊緣。因此,接合樹脂於接觸金屬引線處亦具有階梯狀橫截面輪廓,以避免金屬引線沿垂直方向脫離接合樹脂,並可避免於界面處沿垂直方向形成裂紋。These metal leads can provide horizontal and vertical signal conduction paths, or provide a ground/power plane for energy transfer and return. The metal leads are preferably integrally formed leads, and the top and bottom sides of the metal leads are not covered by the bonding resin. In a preferred embodiment, the thickness of the metal lead is about 0.15 mm to 1.0 mm, and the periphery of the metal lead preferably extends at least laterally to coincide with the peripheral edge of the bonding resin. In order to firmly bond the metal lead and the bonding resin, the metal lead may have a stepped peripheral edge bonded to the bonding resin. Therefore, the bonding resin also has a stepped cross-sectional profile where it contacts the metal lead, to avoid the metal lead from detaching from the bonding resin in the vertical direction, and to avoid the formation of cracks at the interface in the vertical direction.
接合樹脂可提供金屬引線間之機械接合力,且接合樹脂之頂面可與金屬引線之頂側呈實質上共平面,而接合樹脂之底面則與金屬引線之底側呈實質上共平面。當電性元件中未設有第二路由電路時,接合樹脂底面及金屬引線底側較佳係與密封材之第二表面呈實質上共平面。或者,當電性元件於密封材第二表面上設有第二路由電路時,接合樹脂底面與金屬引線底側較佳係與第二路由電路之外表面呈實質上共平面。亦即,較佳為,該導線架具有與電性元件底面呈實質上共平面之平坦底側。此外,接合樹脂可具有大於1.0 GPa的彈性模數及範圍約為5 x 10-6K-1至15 x 10-6K-1的線性熱膨脹係數。再者,為具有足夠的導熱度及適當的黏度,該接合樹脂可包括10至90重量百分比之導熱填充材。例如,導熱填充材可由氮化鋁(AlN)、氧化鋁、碳化矽(SiC)、碳化鎢、碳化硼、二氧化矽或其類似物製成,且較佳具有相對高導熱度、相對高電阻率及相對低熱膨脹係數。據此,該接合樹脂可展現較佳的散熱效能、電絕緣效能,且其低CTE特性可避免沉積於上的第一增層電路及第二增層電路或界面出現剝離或裂紋。此外,導熱填充材的最大粒徑可為25 μm或小於25 μm。The bonding resin can provide mechanical bonding force between the metal leads, and the top surface of the bonding resin can be substantially coplanar with the top side of the metal lead, and the bottom surface of the bonding resin can be substantially coplanar with the bottom side of the metal lead. When the second routing circuit is not provided in the electrical component, the bottom surface of the bonding resin and the bottom side of the metal lead are preferably substantially coplanar with the second surface of the sealing material. Alternatively, when the electrical component is provided with a second routing circuit on the second surface of the sealing material, the bottom surface of the bonding resin and the bottom side of the metal lead are preferably substantially coplanar with the outer surface of the second routing circuit. That is, preferably, the lead frame has a flat bottom side that is substantially coplanar with the bottom surface of the electrical component. In addition, the bonding resin may have an elastic modulus greater than 1.0 GPa and a linear thermal expansion coefficient ranging from about 5 x 10-6 K-1 to 15 x 10-6 K-1 . Furthermore, in order to have sufficient thermal conductivity and proper viscosity, the bonding resin may include 10 to 90 weight percent of thermally conductive filler. For example, the thermally conductive filler can be made of aluminum nitride (AlN), aluminum oxide, silicon carbide (SiC), tungsten carbide, boron carbide, silicon dioxide, or the like, and preferably has a relatively high thermal conductivity and a relatively high resistance Rate and relatively low thermal expansion coefficient. Accordingly, the bonding resin can exhibit better heat dissipation performance and electrical insulation performance, and its low CTE characteristics can avoid peeling or cracking of the first and second build-up circuits or interfaces deposited on it. In addition, the maximum particle diameter of the thermally conductive filler may be 25 μm or less.
第一增層電路及第二增層電路分別可包含至少一介電層及至少一線路層。介電層與線路層係連續輪流形成,且需要的話可重覆形成。第一增層電路及第二增層電路之介電層分別於第一方向及第二方向上,覆蓋電性元件及導線架之相對兩側。此外,第一增層電路及第二增層電路之介電層更可進一步延伸進入電性元件外圍邊緣與導線架內側壁表面間之空間,以提供電性元件與導線架間之機械接合力。線路層延伸貫穿介電層,以形成金屬化盲孔,並側向延伸於介電層上。據此,第一增層電路可藉由與第一路由電路及金屬引線頂側接觸之金屬化盲孔,電性耦接至金屬引線及第一路由電路。同樣地,第二增層電路可藉由與金屬引線底側接觸之金屬化盲孔,電性耦接至金屬引線。當電性元件包含有垂直連接件時,第二增層電路更可藉由與垂直連接件接觸之額外金屬化盲孔,電性耦接至垂直連接件。或者,當電性元件包含有與垂直連接件電性連接之第二路由電路時,第二增層電路更可包括與第二路由電路接觸之額外金屬化盲孔,藉此,第二增層電路可藉由第二路由電路,電性連接至垂直連接件。第一增層電路及第二增層電路之最外層線路層可容置導電接點,例如凸塊、焊球,以與下一級組體或另一電子元件電性傳輸及機械性連接。The first build-up circuit and the second build-up circuit may include at least one dielectric layer and at least one circuit layer, respectively. The dielectric layer and the circuit layer are continuously formed in turn, and can be formed repeatedly if necessary. The dielectric layers of the first build-up circuit and the second build-up circuit respectively cover the opposite sides of the electrical component and the lead frame in the first direction and the second direction, respectively. In addition, the dielectric layers of the first build-up circuit and the second build-up circuit can further extend into the space between the peripheral edge of the electrical component and the inner sidewall surface of the lead frame to provide mechanical bonding force between the electrical component and the lead frame . The circuit layer extends through the dielectric layer to form a metalized blind hole, and extends laterally on the dielectric layer. Accordingly, the first build-up circuit can be electrically coupled to the metal lead and the first routing circuit through a metalized blind hole that contacts the first routing circuit and the top side of the metal lead. Similarly, the second build-up circuit can be electrically coupled to the metal lead through a metalized blind hole that contacts the bottom side of the metal lead. When the electrical component includes a vertical connector, the second build-up circuit can be electrically coupled to the vertical connector through an additional metalized blind hole in contact with the vertical connector. Alternatively, when the electrical component includes a second routing circuit electrically connected to the vertical connector, the second build-up circuit may further include an additional metalized blind hole in contact with the second routing circuit, whereby the second build-up layer The circuit can be electrically connected to the vertical connector through the second routing circuit. The outermost circuit layers of the first build-up circuit and the second build-up circuit can accommodate conductive contacts, such as bumps and solder balls, for electrical transmission and mechanical connection with the next-level assembly or another electronic component.
「覆蓋」一詞意指於垂直及/或側面方向上不完全以及完全覆蓋。例如,於一較佳實施態樣中,第二增層電路覆蓋密封材,不論另一元件例如第二路由電路是否位於密封材與第二增層電路之間。The term "coverage" means incomplete and complete coverage in the vertical and/or lateral direction. For example, in a preferred embodiment, the second build-up circuit covers the sealing material, regardless of whether another component such as the second routing circuit is located between the seal material and the second build-up circuit.
「接置於…上」及「貼附於…上」一詞包括與單一或多個元件間之接觸與非接觸。例如,於一較佳實施態樣中,散熱座可貼附於半導體元件上,不論此散熱座係接觸該半導體元件,或與該半導體元件以一導熱黏著劑相隔。The terms "connected to" and "attached to" include contact and non-contact with single or multiple components. For example, in a preferred embodiment, the heat sink can be attached to the semiconductor element, regardless of whether the heat sink contacts the semiconductor element or is separated from the semiconductor element by a thermally conductive adhesive.
「電性連接」、以及「電性耦接」之詞意指直接或間接電性連接。例如,於一較佳實施態樣中,垂直連接件直接接觸並電性連接至第一路由電路,而第二路由電路與第一路由電路保持距離,並且藉由垂直連接件而電性連接至第一路由電路。The terms "electrical connection" and "electrical coupling" mean direct or indirect electrical connection. For example, in a preferred embodiment, the vertical connector directly contacts and is electrically connected to the first routing circuit, while the second routing circuit maintains a distance from the first routing circuit, and is electrically connected to the The first routing circuit.
「第一方向」及「第二方向」並非取決於線路板之定向,凡熟悉此項技藝之人士即可輕易瞭解其實際所指之方向。例如,密封材之第一表面係面朝第一方向,而密封材之第二表面係面朝第二方向,此與線路板是否倒置無關。因此,該第一及第二方向係彼此相反且垂直於側面方向。再者,在第一增層電路外表面朝上之狀態,第一方向係為向上方向,第二方向係為向下方向;在第一增層電路外表面朝下之狀態,第一方向係為向下方向,第二方向係為向上方向。The "first direction" and "second direction" do not depend on the orientation of the circuit board, anyone who is familiar with this skill can easily understand the actual direction. For example, the first surface of the sealing material faces the first direction, and the second surface of the sealing material faces the second direction, regardless of whether the circuit board is turned upside down. Therefore, the first and second directions are opposite to each other and perpendicular to the side direction. Furthermore, in the state where the outer surface of the first build-up circuit is facing upward, the first direction is the upward direction, and the second direction is the downward direction; when the outer surface of the first build-up circuit is facing downward, the first direction is It is the downward direction, and the second direction is the upward direction.
本發明之線路板具有許多優點。舉例來說,藉由習知之覆晶接合製程例如熱壓或迴焊,將半導體元件電性耦接至第一路由電路,其可避免可堆疊式組體製程中使用黏著載體作為暫時接合時,會遭遇位置準確度問題。第一路由電路可對半導體元件提供第一級扇出/互連,而密封材上之第二路由電路則可提供第二級扇出/互連。分別於電性元件與導線架相反兩側上之第一增層電路及第二增層電路可提供第三級扇出/互連,並提供用於下一級板組裝之電性接點。導線架可提供第一增層電路與第二增層電路間之電性連接,並提供一抗彎平台,供雙增層電路形成其上,以避免線路板發生彎翹狀況。藉由此方法製備成的線路板係為可靠度高、價格低廉、且非常適合大量製造生產。The circuit board of the present invention has many advantages. For example, the semiconductor device is electrically coupled to the first routing circuit through a conventional flip chip bonding process such as hot pressing or reflow, which can avoid the use of an adhesive carrier as a temporary bonding in a stackable assembly process. Will encounter location accuracy problems. The first routing circuit can provide the first-level fan-out/interconnection to the semiconductor element, and the second routing circuit on the sealing material can provide the second-level fan-out/interconnection. The first build-up circuit and the second build-up circuit on the opposite sides of the electrical component and the lead frame can provide a third-level fan-out/interconnection, and provide electrical contacts for the next-level board assembly. The lead frame can provide electrical connection between the first multi-layer circuit and the second multi-layer circuit, and provide a bending-resistant platform for the double-layer circuit to be formed thereon to avoid the warpage of the circuit board. The circuit board prepared by this method is highly reliable, inexpensive, and very suitable for mass production.
本發明之製作方法具有高度適用性,且係以獨特、進步之方式結合運用各種成熟之電性及機械性連接技術。此外,本發明之製作方法不需昂貴工具即可實施。因此,相較於傳統技術,此製作方法可大幅提升產量、良率、效能與成本效益。The manufacturing method of the present invention has high applicability and uses a variety of mature electrical and mechanical connection technologies in a unique and progressive way. In addition, the manufacturing method of the present invention can be implemented without expensive tools. Therefore, compared with traditional technology, this manufacturing method can greatly improve the yield, yield, performance and cost-effectiveness.
在此所述之實施例係為例示之用,其中該些實施例可能會簡化或省略本技術領域已熟知之元件或步驟,以免模糊本發明之特點。同樣地,為使圖式清晰,圖式亦可能省略重覆或非必要之元件及元件符號。The embodiments described herein are for illustrative purposes, and these embodiments may simplify or omit elements or steps well known in the art to avoid obscuring the characteristics of the present invention. Similarly, in order to make the drawings clear, the drawings may omit repeated or unnecessary elements and element symbols.
100、200、300、400‧‧‧線路板110、120、130、210‧‧‧半導體組體10‧‧‧犧牲載板20‧‧‧電性元件21‧‧‧第一路由電路211、291‧‧‧路由層214、294‧‧‧介電層216、296‧‧‧導線層218、298‧‧‧金屬化盲孔23‧‧‧垂直連接件25‧‧‧半導體元件253‧‧‧凸塊26、81‧‧‧散熱座27‧‧‧密封材271‧‧‧第一表面272‧‧‧第二表面29‧‧‧第二路由電路30‧‧‧導線架305‧‧‧貫穿開口307‧‧‧間隙309‧‧‧內側壁表面31‧‧‧圖案化金屬板32‧‧‧金屬架33‧‧‧金屬引線331‧‧‧外端333‧‧‧內端336‧‧‧水平延伸部337‧‧‧垂直凸出部35‧‧‧金屬塊36‧‧‧聯結桿38‧‧‧接合樹脂40‧‧‧第一增層電路41‧‧‧第一介電層413‧‧‧第一盲孔415‧‧‧第一線路層417‧‧‧第一金屬化盲孔431‧‧‧第三介電層433‧‧‧第三盲孔435‧‧‧第三線路層437‧‧‧第三金屬化盲孔50‧‧‧第二增層電路511‧‧‧第二介電層513‧‧‧第二盲孔515‧‧‧第二線路層517‧‧‧第二金屬化盲孔531‧‧‧第四介電層533‧‧‧第四盲孔535‧‧‧第四線路層537‧‧‧第四金屬化盲孔61‧‧‧頂部半導體元件62‧‧‧底部半導體元件613‧‧‧導電凸塊63‧‧‧被動元件75‧‧‧焊球L‧‧‧切割線100, 200, 300, 400 ‧‧‧ circuit board110, 120, 130, 210 ‧‧‧ semiconductor assembly10‧‧‧Sacrifice Carrier Board20‧‧‧Electrical components21‧‧‧ First routing circuit211, 291‧‧‧ routing layer214, 294‧‧‧ dielectric layer216, 296‧‧‧ wire layer218, 298‧‧‧Metalized blind hole23‧‧‧Vertical connector25‧‧‧Semiconductor components253‧‧‧Bump26、81‧‧‧Cooling seat27‧‧‧Sealing material271‧‧‧First surface272‧‧‧Second surface29‧‧‧ Second routing circuit30‧‧‧ Lead frame305‧‧‧through opening307‧‧‧ gap309‧‧‧Inner side wall surface31‧‧‧ Patterned metal plate32‧‧‧Metal frame33‧‧‧Metal lead331‧‧‧ Outer end333‧‧‧Inner end336‧‧‧Horizontal extension337‧‧‧Vertical protrusion35‧‧‧Metal block36‧‧‧Coupling rod38‧‧‧bonding resin40‧‧‧The first multi-layer circuit41‧‧‧First dielectric layer413‧‧‧The first blind hole415‧‧‧ First circuit layer417‧‧‧First metalized blind hole431‧‧‧third dielectric layer433‧‧‧The third blind hole435‧‧‧ Third circuit layer437‧‧‧The third metallized blind hole50‧‧‧The second multi-layer circuit511‧‧‧Second dielectric layer513‧‧‧The second blind hole515‧‧‧ Second circuit layer517‧‧‧Second metalized blind hole531‧‧‧ Fourth dielectric layer533‧‧‧The fourth blind hole535‧‧‧ Fourth circuit layer537‧‧‧Metalized blind hole61‧‧‧Top semiconductor components62‧‧‧Bottom semiconductor components613‧‧‧conductive bump63‧‧‧Passive components75‧‧‧ solder ballL‧‧‧Cutting line
參考隨附圖式,本發明可藉由下述較佳實施例之詳細敘述更加清楚明瞭,其中:圖1及2分別為本發明第一實施態樣中,於犧牲載板上形成路由層之剖視圖及頂部立體示意圖;圖3及4分別為本發明第一實施態樣中,圖1及2結構上形成多層介電層及多層導線層以於犧牲載板上完成第一路由電路製作之剖視圖及頂部立體示意圖;圖5為本發明第一實施態樣中,圖3結構上形成垂直連接件之剖視圖;圖6為本發明第一實施態樣中,圖5結構上提供半導體元件之剖視圖;圖7為本發明第一實施態樣中,圖6結構上提供密封材之剖視圖;圖8為本發明第一實施態樣中,自圖7結構移除密封材頂部區域之剖視圖;圖9為本發明第一實施態樣中,圖8結構上提供路由層之剖視圖;圖10為本發明第一實施態樣中,圖9結構上提供介電層及導線層以於密封材上完成第二路由電路製作之剖視圖;圖11為本發明第一實施態樣中,自圖10結構移除犧牲載板之剖視圖;圖12為本發明第一實施態樣中,圖11之面板尺寸結構切割後之剖視圖;圖13為本發明第一實施態樣中,對應於圖12切離單元之電性元件剖視圖;圖14及15分別為本發明第一實施態樣中,圖案化金屬板之剖視圖及頂部立體示意圖;圖16及17分別為本發明第一實施態樣中,圖14及15結構上提供接合樹脂之剖視圖及頂部立體示意圖;圖18及19分別為本發明第一實施態樣中,圖16及17結構上形成貫穿開口以完成導線架製作之剖視圖及頂部立體示意圖;圖20為本發明第一實施態樣中,圖18結構上提供圖13所示電性元件之剖視圖;圖21為本發明第一實施態樣中,圖20結構上提供第一介電層及第二介電層之剖視圖;圖22為本發明第一實施態樣中,圖21結構上提供第一盲孔及第二盲孔之剖視圖;圖23為本發明第一實施態樣中,圖22結構上提供第一線路層及第二線路層之剖視圖;圖24為本發明第一實施態樣中,圖23結構上提供第三介電層、第四介電層、第三盲孔及第四盲孔之剖視圖;圖25為本發明第一實施態樣中,圖24結構上提供第三線路層及第四線路層以完成未裁切線路板製作之剖視圖;圖26為本發明第一實施態樣中,自圖25結構裁切而成之線路板剖視圖;圖27為本發明第一實施態樣中,圖26結構上提供頂部半導體元件之剖視圖;圖28為本發明第一實施態樣中,圖26結構上提供頂部半導體元件及散熱座之剖視圖;圖29為本發明第一實施態樣中,圖26結構上提供頂部半導體元件、被動元件、散熱座、底部半導體元件及焊球之剖視圖;圖30為本發明第二實施態樣中,線路板之剖視圖;圖31為本發明第二實施態樣中,圖30結構上提供頂部半導體元件之剖視圖;圖32為本發明第三實施態樣中,線路板之剖視圖;圖33為本發明第四實施態樣中,線路板之剖視圖。With reference to the accompanying drawings, the present invention can be made more clear by the following detailed description of the preferred embodiments, in which:1 and 2 are respectively a cross-sectional view and a top perspective view of a routing layer formed on a sacrificial carrier board in a first embodiment of the present invention;3 and 4 are respectively a cross-sectional view and a top perspective schematic view of the first embodiment of the present invention, in which a multilayer dielectric layer and a multilayer wiring layer are formed on the structure of FIGS.FIG. 5 is a cross-sectional view of a vertical connector formed on the structure of FIG. 3 in the first embodiment of the present invention;6 is a cross-sectional view of a semiconductor device provided in the structure of FIG. 5 in the first embodiment of the present invention;7 is a cross-sectional view of a sealing material provided on the structure of FIG. 6 in the first embodiment of the present invention;8 is a cross-sectional view of the top region of the sealing material removed from the structure of FIG. 7 in the first embodiment of the present invention;9 is a cross-sectional view of the routing layer provided on the structure of FIG. 8 in the first embodiment of the present invention;10 is a cross-sectional view of the first embodiment of the present invention, the structure of FIG. 9 is provided with a dielectric layer and a wire layer to complete the second routing circuit on the sealing material;11 is a cross-sectional view of the sacrificial carrier board removed from the structure of FIG. 10 in the first embodiment of the present invention;12 is a cross-sectional view of the panel size structure of FIG. 11 after cutting in the first embodiment of the present invention;13 is a cross-sectional view of an electrical element corresponding to the cut-off unit of FIG. 12 in the first embodiment of the present invention;14 and 15 are respectively a cross-sectional view and a top perspective schematic view of a patterned metal plate in the first embodiment of the present invention;16 and 17 are respectively a cross-sectional view and a top perspective schematic view of the bonding resin provided on the structure of FIGS. 14 and 15 in the first embodiment of the present invention;18 and 19 are respectively a cross-sectional view and a top perspective schematic view of the first embodiment of the present invention, in which the through openings are formed on the structure of FIGS. 16 and 17 to complete the production of the lead frame;20 is a cross-sectional view of the electrical component shown in FIG. 13 provided on the structure of FIG. 18 in the first embodiment of the present invention;21 is a cross-sectional view of the first dielectric layer and the second dielectric layer provided on the structure of FIG. 20 in the first embodiment of the present invention;22 is a cross-sectional view of the first blind hole and the second blind hole provided in the structure of FIG. 21 in the first embodiment of the present invention;23 is a cross-sectional view of the first circuit layer and the second circuit layer provided on the structure of FIG. 22 in the first embodiment of the present invention;24 is a cross-sectional view of a third dielectric layer, a fourth dielectric layer, a third blind hole, and a fourth blind hole provided on the structure of FIG. 23 in the first embodiment of the present invention;25 is a cross-sectional view of the first embodiment of the present invention, the structure of FIG. 24 provides a third circuit layer and a fourth circuit layer to complete the production of uncut circuit board;26 is a cross-sectional view of a circuit board cut from the structure of FIG. 25 in the first embodiment of the present invention;27 is a cross-sectional view of the top semiconductor device provided on the structure of FIG. 26 in the first embodiment of the present invention;28 is a cross-sectional view of the top semiconductor device and heat sink provided on the structure of FIG. 26 in the first embodiment of the present invention;FIG. 29 is a cross-sectional view of the top semiconductor device, passive device, heat sink, bottom semiconductor device, and solder balls provided on the structure of FIG. 26 in the first embodiment of the present invention;30 is a cross-sectional view of a circuit board in a second embodiment of the present invention;31 is a cross-sectional view of the top semiconductor device provided on the structure of FIG. 30 in the second embodiment of the present invention;32 is a cross-sectional view of a circuit board in a third embodiment of the present invention;33 is a cross-sectional view of the circuit board in the fourth embodiment of the present invention.
100‧‧‧線路板100‧‧‧ circuit board
20‧‧‧電性元件20‧‧‧Electrical components
21‧‧‧第一路由電路21‧‧‧ First routing circuit
23‧‧‧垂直連接件23‧‧‧Vertical connector
25‧‧‧半導體元件25‧‧‧Semiconductor components
27‧‧‧密封材27‧‧‧Sealing material
29‧‧‧第二路由電路29‧‧‧ Second routing circuit
30‧‧‧導線架30‧‧‧ Lead frame
32‧‧‧金屬架32‧‧‧Metal frame
33‧‧‧金屬引線33‧‧‧Metal lead
38‧‧‧接合樹脂38‧‧‧bonding resin
40‧‧‧第一增層電路40‧‧‧The first multi-layer circuit
411‧‧‧第一介電層411‧‧‧First dielectric layer
415‧‧‧第一線路層415‧‧‧ First circuit layer
431‧‧‧第三介電層431‧‧‧third dielectric layer
433‧‧‧第三盲孔433‧‧‧The third blind hole
435‧‧‧第三線路層435‧‧‧ Third circuit layer
437‧‧‧第三金屬化盲孔437‧‧‧The third metallized blind hole
50‧‧‧第二增層電路50‧‧‧The second multi-layer circuit
511‧‧‧第二介電層511‧‧‧Second dielectric layer
515‧‧‧第二線路層515‧‧‧ Second circuit layer
531‧‧‧第四介電層531‧‧‧ Fourth dielectric layer
533‧‧‧第四盲孔533‧‧‧The fourth blind hole
535‧‧‧第四線路層535‧‧‧ Fourth circuit layer
537‧‧‧第四金屬化盲孔537‧‧‧Metalized blind hole
| Application Number | Priority Date | Filing Date | Title |
|---|---|---|---|
| US15/919,847US10269722B2 (en) | 2014-12-15 | 2018-03-13 | Wiring board having component integrated with leadframe and method of making the same |
| US15/919847 | 2018-03-13 |
| Publication Number | Publication Date |
|---|---|
| TW201939679A TW201939679A (en) | 2019-10-01 |
| TWI690031Btrue TWI690031B (en) | 2020-04-01 |
| Application Number | Title | Priority Date | Filing Date |
|---|---|---|---|
| TW108101495ATWI690031B (en) | 2018-03-13 | 2019-01-15 | Wiring board having component integrated with leadframe and method of making the same |
| Country | Link |
|---|---|
| CN (1) | CN110277364A (en) |
| TW (1) | TWI690031B (en) |
| Publication number | Priority date | Publication date | Assignee | Title |
|---|---|---|---|---|
| TWI860724B (en)* | 2023-05-25 | 2024-11-01 | 先豐通訊股份有限公司 | Multilayer circuit board |
| Publication number | Priority date | Publication date | Assignee | Title |
|---|---|---|---|---|
| US20110278707A1 (en)* | 2010-05-17 | 2011-11-17 | Stats Chippac, Ltd. | Semiconductor Device and Method of Forming Prefabricated Multi-Die Leadframe for Electrical Interconnect of Stacked Semiconductor Die |
| US20110291288A1 (en)* | 2010-05-26 | 2011-12-01 | Taiwan Semiconductor Manufacturing Company, Ltd. | Package systems having interposers |
| US20120061814A1 (en)* | 2010-09-14 | 2012-03-15 | Stats Chippac, Ltd. | Semiconductor Device and Method of Forming Leadframe Interposer Over Semiconductor Die and TSV Substrate for Vertical Electrical Interconnect |
| US9240380B2 (en)* | 2009-08-21 | 2016-01-19 | Stats Chippac, Ltd. | Semiconductor device and method of forming interposer frame over semiconductor die to provide vertical interconnect |
| US9312218B2 (en)* | 2011-05-12 | 2016-04-12 | Stats Chippac, Ltd. | Semiconductor device and method of forming leadframe with conductive bodies for vertical electrical interconnect of semiconductor die |
| Publication number | Priority date | Publication date | Assignee | Title |
|---|---|---|---|---|
| JP2010034403A (en)* | 2008-07-30 | 2010-02-12 | Shinko Electric Ind Co Ltd | Wiring substrate and electronic component device |
| KR100913171B1 (en)* | 2009-04-27 | 2009-08-20 | 주식회사 이너트론 | Manufacturing method of stack package |
| SG10201400390YA (en)* | 2014-03-05 | 2015-10-29 | Delta Electronics Int L Singapore Pte Ltd | Package structure |
| US9842789B2 (en)* | 2015-05-11 | 2017-12-12 | Samsung Electro-Mechanics Co., Ltd. | Electronic component package and method of manufacturing the same |
| KR101922874B1 (en)* | 2015-12-21 | 2018-11-28 | 삼성전기 주식회사 | Electronic component package |
| Publication number | Priority date | Publication date | Assignee | Title |
|---|---|---|---|---|
| US9240380B2 (en)* | 2009-08-21 | 2016-01-19 | Stats Chippac, Ltd. | Semiconductor device and method of forming interposer frame over semiconductor die to provide vertical interconnect |
| US20110278707A1 (en)* | 2010-05-17 | 2011-11-17 | Stats Chippac, Ltd. | Semiconductor Device and Method of Forming Prefabricated Multi-Die Leadframe for Electrical Interconnect of Stacked Semiconductor Die |
| US20110291288A1 (en)* | 2010-05-26 | 2011-12-01 | Taiwan Semiconductor Manufacturing Company, Ltd. | Package systems having interposers |
| US20120061814A1 (en)* | 2010-09-14 | 2012-03-15 | Stats Chippac, Ltd. | Semiconductor Device and Method of Forming Leadframe Interposer Over Semiconductor Die and TSV Substrate for Vertical Electrical Interconnect |
| US9312218B2 (en)* | 2011-05-12 | 2016-04-12 | Stats Chippac, Ltd. | Semiconductor device and method of forming leadframe with conductive bodies for vertical electrical interconnect of semiconductor die |
| Publication number | Priority date | Publication date | Assignee | Title |
|---|---|---|---|---|
| TWI860724B (en)* | 2023-05-25 | 2024-11-01 | 先豐通訊股份有限公司 | Multilayer circuit board |
| Publication number | Publication date |
|---|---|
| CN110277364A (en) | 2019-09-24 |
| TW201939679A (en) | 2019-10-01 |
| Publication | Publication Date | Title |
|---|---|---|
| US10269722B2 (en) | Wiring board having component integrated with leadframe and method of making the same | |
| US10177130B2 (en) | Semiconductor assembly having anti-warping controller and vertical connecting element in stiffener | |
| US10177090B2 (en) | Package-on-package semiconductor assembly having bottom device confined by dielectric recess | |
| US10446526B2 (en) | Face-to-face semiconductor assembly having semiconductor device in dielectric recess | |
| CN104851812B (en) | Semiconductor element and manufacturing method thereof | |
| TW202034491A (en) | Chip packaging method and chip packaging structure | |
| US10546808B2 (en) | Methods of making wiring substrate for stackable semiconductor assembly and making stackable semiconductor assembly | |
| US20140251658A1 (en) | Thermally enhanced wiring board with built-in heat sink and build-up circuitry | |
| US20200091116A1 (en) | 3-d stacking semiconductor assembly having heat dissipation characteristics | |
| US20170018505A1 (en) | Wiring board with embedded component and integrated stiffener and method of making the same | |
| US20180261535A1 (en) | Method of making wiring board with dual routing circuitries integrated with leadframe | |
| US10217710B2 (en) | Wiring board with embedded component and integrated stiffener, method of making the same and face-to-face semiconductor assembly using the same | |
| US10242964B1 (en) | Wiring substrate for stackable semiconductor assembly and stackable semiconductor assembly using the same | |
| TWI657546B (en) | Wiring board with electrical isolator and base board incorporated therein and semiconductor assembly and manufacturing method thereof | |
| TW201937673A (en) | 3D stacking semiconductor assembly having heat dissipation characteristics | |
| US10211067B1 (en) | Methods of making wiring substrate for stackable semiconductor assembly and making stackable semiconductor assembly | |
| TWI690031B (en) | Wiring board having component integrated with leadframe and method of making the same | |
| TWI675424B (en) | Wiring substrate and stackable semiconductor assembly using the same and method of making the same | |
| CN110246836A (en) | Tool is embedded into wiring board, its preparation method and the semiconductor group body of formula component and enhancement layer | |
| CN110087393A (en) | Intermediary layer and electrical components and the wiring board preparation method in substrate plate | |
| TWI626719B (en) | Thermally enhanced semiconductor assembly with three dimensional integration and method of making the same | |
| US20250079307A1 (en) | Semiconductor packaging substrate with interconnect units bounded by dielectric frame | |
| TW201931532A (en) | Leadframe substrate with electronic component incorporated therein and semiconductor assembly using the same | |
| CN108400117A (en) | Three-dimensional integrated heat dissipation gain type semiconductor component and manufacturing method thereof |
| Date | Code | Title | Description |
|---|---|---|---|
| MM4A | Annulment or lapse of patent due to non-payment of fees |