








本揭示係關於廣告決定裝置、廣告決定方法、廣告決定程式及廣告發布系統。The present disclosure relates to an advertisement determination device, an advertisement determination method, an advertisement determination program, and an advertisement publishing system.
近年來,在飲食/流通/零售等業界,導入智慧型手機專用的應用程式的事例增大。如上所示之應用程式係被使用在供例如對顧客(使用者)提供優惠券、提供點數功能、推薦商品/服務的廣告等之用。In recent years, the number of applications dedicated to smartphones has increased in the catering, distribution, and retail industries. The applications shown above are used to provide customers (users) with coupons, point functions, and advertisements for recommended products and services.
例如,在專利文獻1中係揭示在攜帶式終端機裝置執行超級市場所提供的促銷APP(店舖APP)時,視需要在適當的時間點在攜帶式終端機裝置的畫面上顯示適於使用者的廣告的發明。 [先前技術文獻] [專利文獻]For example,
[專利文獻1]日本特開2019-159357號公報[Patent Document 1] Japanese Patent Application Publication No. 2019-159357
(發明所欲解決之問題)(Invent the problem you want to solve)
但是,在專利文獻1中,並未考慮到廣告對象的商品是否真的存在於店舖內,可能發生若被顯示出廣告的使用者去商品賣場看看時,卻沒有該商品的情形。此外,專利文獻1的上述發明係在店舖內僅使執行APP的攜帶式終端機裝置顯示廣告者,並非為對店舖外的使用者顯示廣告來促使購買者。However,
因此本揭示之目的之一係提供可實現一邊抑制計算量增大一邊考慮到特定的店舖的庫存的有效率的廣告發布的廣告決定裝置、廣告決定方法、廣告決定程式及廣告發布系統。 (解決問題之技術手段)Therefore, one of the purposes of this disclosure is to provide an advertisement decision device, an advertisement decision method, an advertisement decision program, and an advertisement publishing system that can realize efficient advertisement publishing while suppressing the increase in the amount of calculation and taking into account the inventory of a specific store.(Technical means for solving the problem)
本揭示之一態樣之廣告決定裝置係具有:取得部,其係根據用以特定店舖的資訊,取得該店舖中的商品的庫存的資訊;及控制部,其係根據前述庫存的資訊,選擇有庫存的商品的廣告。 (發明之效果)An advertisement determination device according to one aspect of the present disclosure comprises: an acquisition unit, which acquires information on the inventory of goods in a specific store based on information used to identify the store; and a control unit, which selects advertisements for goods in stock based on the aforementioned inventory information.(Effect of the invention)
藉由本揭示之一態樣,可實現一邊抑制計算量增大一邊考慮到特定的店舖的庫存的有效率的廣告發布。According to one aspect of the present disclosure, efficient advertising can be achieved while suppressing an increase in the amount of calculation and taking the inventory of a specific store into consideration.
以下參照所附圖面,詳細說明本揭示之實施形態。在以下說明中,對同一部係標註同一符號。同一部由於名稱、功能等相同,故不反覆詳細說明。The following is a detailed description of the embodiments of the present disclosure with reference to the attached drawings. In the following description, the same parts are marked with the same symbols. The same parts are not described in detail because of the same names, functions, etc.
在本揭示之一實施形態之廣告發布方法中,係在判定出實體店舖的商品庫存之後,可即時選定在自己公司APP所發布的廣告,且進行限定於對生活者而言在自己常去的店家所販賣者的廣告發布。In an advertising publishing method of one embodiment of the present disclosure, after determining the inventory of goods in a physical store, the advertisements to be published on one's own company's APP can be selected immediately, and the advertising publishing is limited to those sold in stores that are frequented by the living person.
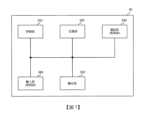
(廣告發布系統) 圖1係顯示本揭示之一實施形態之廣告發布系統的概略構成之一例的圖。圖1所示之廣告發布系統1係包含:設備10、廣告發布伺服器(亦可稱為AD伺服器)20、廣告決定伺服器30、店舖40、標牌(Signage)50、及購買資料/庫存資料管理伺服器60。(Advertisement publishing system)FIG. 1 is a diagram showing an example of a schematic structure of an advertisement publishing system of an embodiment of the present disclosure. The
設備10係根據使用者的操作等,事前安裝有預定的應用程式(APP、軟體)。該APP亦可稱為例如促銷APP、店舖APP等,可顯示所被發布的廣告。以下說明中的「APP」亦可意指該APP。The
設備10係藉由使用者的操作來執行APP的裝置。設備10亦可伴隨APP的動作,由AD伺服器20收訊廣告。其中,本揭示之廣告亦可在店舖40的收銀機被使用作為優惠券。The
設備10亦可為行動電話、智慧型手機、平板型終端機等攜帶式終端機(移動通訊終端機)。設備10亦可透過有線及/或無線(例如Long Term Evolution(LTE)、5th Generation New Radio(5G NR)、Wi-Fi(註冊商標)等)來與網路(網際網路等)進行通訊。The
AD伺服器20亦可為具有對設備10發布廣告的功能的裝置。廣告亦可藉由例如本文、畫像(靜止畫像、動態畫像)、聲音、其他媒體或該等的組合所構成。其中,AD伺服器20亦可將廣告以外的內容(contents)送訊至設備10。The
AD伺服器20亦可根據設備識別碼(Identifier (ID))來判斷發布對象的設備10。設備ID亦可為廣告ID、利用在預定的服務的識別碼(例如APP的登入ID等)等至少1個。The
在此,廣告ID亦可為例如可藉由使用者進行選擇退出(Opt-out)之匿名且單義的廣告發布用的識別碼(關於廣告的識別碼)。廣告ID亦可為關於保存在設備10的瀏覽器的小型檔案(網路餅乾(Cookie))的固有的網路餅乾ID(Cookie ID)。其中,網路餅乾ID亦可為按每個瀏覽器而分別不同的ID。廣告ID亦可稱為網路餅乾資訊等。Here, the advertisement ID may be, for example, an anonymous and unambiguous advertisement publishing identification code (advertising identification code) that can be opted out by the user. The advertisement ID may also be a unique cookie ID (cookie ID) of a small file (cookie) stored in the browser of the
此外,廣告ID亦可為由被安裝在設備10的應用程式所取得(可經由APP取得)的識別碼,亦可為例如IDFA(Identification(Identifier) For Advertisers)、ADID (Advertising ID)、其他廣告識別碼等。其中,IDFA、ADID等在攜帶式終端機主要使用的ID亦可稱為行動廣告ID、行動ID等。In addition, the advertising ID may also be an identification code obtained by an application installed in the device 10 (can be obtained through the APP), and may also be, for example, IDFA (Identification (Identifier) For Advertisers), ADID (Advertising ID), other advertising identification codes, etc. Among them, IDFA, ADID, etc., which are mainly used in portable terminals, may also be called mobile advertising ID, mobile ID, etc.
AD伺服器20亦可構成為包含Data Management Platform(資料管理平台)(DMP),亦可決定(選擇)使用DMP來發布的廣告。此外,AD伺服器20亦可為利用Demand Side Platform(廣告需求方平台)(DSP)的發布伺服器,亦可為DSP以外的廣告發布伺服器(AD伺服器)或利用AD伺服器的發布伺服器。The
AD伺服器亦可為利用特定的企業(例如,Twitter(註冊商標)公司、Facebook(註冊商標)公司等)所提供的API(Application Programming Interface,應用程式設計介面)(Ads-API)的發布伺服器。此外,AD伺服器亦可為發布線上動態畫像廣告的動態畫像廣告發布伺服器。此外,AD伺服器20亦可針對DSP、API、動態畫像廣告發布等,透過DMP(例如public DMP)來進行與AD伺服器的合作。The AD server may also be a publishing server that uses an API (Application Programming Interface) (Ads-API) provided by a specific enterprise (e.g., Twitter, Facebook, etc.). In addition, the AD server may also be a dynamic image advertisement publishing server that publishes online dynamic image advertisements. In addition, the
AD伺服器20亦可與廣告決定伺服器30合作,對使用者(設備10)發布關於對生活者而言在自己常去的店家所販賣者的廣告。The
廣告決定伺服器30亦可根據由設備10、購買資料/庫存資料管理伺服器60等所收集到的資訊,來決定對該設備10所發布的廣告。The
店舖40係非為數位上的實體店舖,為與上述APP關連的店舖(例如,與APP的提供者/管理者關連的店舖、利用APP的點數/個人ID的店舖)。以下,在本揭示中,為簡單起見,店舖40亦僅記載為店舖。The
標牌50係配置在店舖40內,顯示由AD伺服器20被發布的廣告的數位標牌。The
購買資料/庫存資料管理伺服器60係配置在店舖40內,收集/管理店舖40中的購買資料/庫存資料。每個店舖的購買資料/庫存資料的資訊亦可被送訊至廣告決定伺服器30且予以集中。The purchase data/inventory
關於設備10等、各裝置的功能構成及硬體構成之一例,容後詳述。An example of the functional configuration and hardware configuration of the
其中,該系統構成為一例,不限於此。例如,各裝置在圖1中形成為分別各包含1個的構成,惟各機器數並非侷限於此,亦可存在複數。此外,廣告發布系統1亦可形成為未包含一部分裝置的構成,亦可形成為藉由複數裝置來實現預定的裝置的功能的構成。The system configuration is an example and is not limited thereto. For example, each device in FIG. 1 is formed as a configuration including one each, but the number of each device is not limited thereto and may be plural. In addition, the
此外,亦可形成為藉由1個裝置來實現複數裝置的功能的構成。例如,AD伺服器20及廣告決定伺服器30亦可在1個伺服器上構裝。In addition, a configuration in which the functions of a plurality of devices are realized by one device may be adopted. For example, the
(廣告發布方法) 以下說明本揭示之一實施形態之廣告發布方法(廣告決定方法)。各廣告發布方法亦可適用於上述廣告發布系統。(Advertising publishing method)The following describes an advertising publishing method (advertising determination method) of one embodiment of the present disclosure. Each advertising publishing method can also be applied to the above-mentioned advertising publishing system.
其中,在本揭示中,商品亦可與商品/服務彼此改讀。在本揭示中,個人、顧客、生活者、使用者等亦可彼此改讀。In this disclosure, the word "product" can be read as "product/service" or "individual", "customer", "living person", "user" or the like.
圖2係顯示本揭示之一實施形態之廣告發布方法的流程圖之一例的圖。FIG. 2 is a diagram showing an example of a flow chart of an advertisement publishing method according to an embodiment of the present disclosure.
在步驟S101中,設備10係檢測藉由使用者的操作而顯示出APP畫面(或遷移到變得主動的(active)、出現在最前面、可由使用者視認的狀態等)的情形。In step S101, the
在步驟S102中,設備10係關於在APP畫面所顯示的頁面所包含的廣告版位,對AD伺服器20送訊廣告版位請求(廣告取得的請求)。設備10係連同廣告版位請求一起將使用者的個人ID送訊至AD伺服器20。In step S102, the
在步驟S103中,AD伺服器20係為了特定對上述廣告版位請求回覆的廣告,對廣告決定伺服器30送訊上述個人ID。其中,AD伺服器20亦可決定出稿(登載)在上述廣告版位的廣告主,對廣告決定伺服器30送訊該廣告主的資訊。In step S103, the
例如,AD伺服器20亦可將在已有對APP希望廣告出稿的廣告主的請求(亦可廣告決定伺服器30收訊且被轉送至AD伺服器20,亦可由AD伺服器20收訊)的廣告主之中滿足特定的條件的廣告主,決定作為出稿至上述廣告的廣告主。該特定的條件亦可為例如具有與目標曝光數(Impression)的背離最大的廣告的廣告主。若如上所示,可將在之後的步驟中作為出稿對象被選擇的廣告限定為特定的廣告主的廣告,而高速決定。此時,以下的「商品」亦可以該特定的廣告主的商品來改讀。For example, the
在步驟S104中,廣告決定伺服器30係根據上述個人ID,判斷對應個人ID的使用者的主店舖。其中,在本揭示中,主店舖亦可相當於使用者主要利用的(或假想會利用的)店舖。In step S104, the
主店舖亦可例如根據上述個人ID及購買資料來導出。關於主店舖的導出方法,容後敘述。上述購買資料亦可相當於關於與該APP相關連的店舖之中的全部或至少一部分的購買資料。此外,上述購買資料亦可包含關於針對全部使用者的個人單位的購買的資料,亦可稱為Identifier-Point of Sales(ID-POS)資料。The main store can also be derived, for example, based on the personal ID and purchase data. The method for deriving the main store will be described later. The purchase data can also be equivalent to the purchase data of all or at least part of the stores associated with the APP. In addition, the purchase data can also include purchase data for all users' personal units, which can also be called Identifier-Point of Sales (ID-POS) data.
圖3A及3B係顯示由購買資料被導出的主店舖之一例的圖。圖3A係顯示購買資料之一例。如圖所示,購買資料亦可包含個人ID、商品、店舖ID及時戳(例如,購入商品的日期時間)的組合的資訊。例如,在圖3A中係示出個人ID=111的使用者(以下亦僅稱為使用者111)在店舖ID=Aaa的店舖(以下亦僅稱為店舖Aaa)在3/22 15:00購入商品X。3A and 3B are diagrams showing an example of a main store derived from purchase data. FIG3A shows an example of purchase data. As shown in the figure, purchase data may also include information of a combination of a personal ID, a product, a store ID, and a timestamp (e.g., the date and time when the product was purchased). For example, FIG3A shows that a user with personal ID = 111 (hereinafter referred to as user 111) purchased product X at a store with store ID = Aaa (hereinafter referred to as store Aaa) at 15:00 on March 22.
圖3B係顯示由圖3A的購買資料被導出的主店舖之一例。在本例中,在圖3A的購買資料中,決定各使用者購入商品的次數最多的店舖作為主店舖。Fig. 3B shows an example of a main store derived from the purchase data of Fig. 3 A. In this example, in the purchase data of Fig. 3A, the store where each user purchased the most products is determined as the main store.
關於步驟S104中的主店舖的判斷處理的具體實施例,容後敘述。A specific implementation example of the main store determination process in step S104 will be described later.
在步驟S105中,廣告決定伺服器30係根據上述個人ID、購買資料及主店舖的庫存資料,判斷對對應個人ID的使用者所發布的廣告。廣告決定伺服器30亦可例如對使用者,若在該使用者的主店舖存在該廣告的商品的庫存,即決定該廣告(換言之為發布該廣告)。In step S105, the
圖4係顯示庫存資料之一例的圖。在本例中係示出圖3A中所示之店舖Aaa及Bbb的庫存資料,惟實際的庫存資料亦可按每個店舖個別分開存在(亦可以店舖單位予以參照)。庫存資料亦可根據商品的庫存的變動(例如商品購入、到貨等)予以逐次更新,時戳亦可表示商品的庫存作了最後變動的時刻(或參照庫存資料的時刻)。FIG4 is a diagram showing an example of inventory data. In this example, the inventory data of stores Aaa and Bbb shown in FIG3A is shown, but the actual inventory data may also be separately stored for each store (or may be referenced by store unit). The inventory data may also be updated sequentially according to the change of the inventory of the goods (such as the purchase of goods, arrival of goods, etc.), and the timestamp may also indicate the time when the inventory of the goods was last changed (or the time when the inventory data was referenced).
庫存資料亦可為Stock Keeping Unit(SKU)單位的資料,亦可為項目單位的資料。其中,在本揭示中,廣告決定伺服器30係可利用(參照)關於(至少一定的地域中的)複數店舖(例如全店舖)的庫存資料。The inventory data may be data in Stock Keeping Unit (SKU) units or item units. In the present disclosure, the
購買資料/庫存資料亦可按每個店舖予以收集/管理。此外,亦可根據由各店舖被送訊之關於購買資料/庫存資料的資訊,收集/管理包括全部該等的全國的購買資料/庫存資料。購買資料/庫存資料的收集/管理亦可在廣告決定伺服器30中進行,亦可在其他裝置中進行,亦可對廣告決定伺服器30僅提供購買資料/庫存資料的資訊。Purchase data/inventory data can also be collected/managed for each store. In addition, based on the information about purchase data/inventory data sent from each store, national purchase data/inventory data including all of them can be collected/managed. The collection/management of purchase data/inventory data can also be performed in the
其中,所發布的廣告亦可由藉由來自外部的輸入/資訊的收訊(根據廣告主的請求)所設定的廣告中作選擇。所被設定的廣告亦可設定在可發布的期間(例如日、月)、可發布的店舖、發布對象的使用者(對應個人ID的使用者)的購買履歷是否包含特定的商品等可發布的條件,若未滿足該條件,亦可由選擇對象除外。此外,若有複數滿足條件的廣告,亦可由其中選擇1個作為所被發布的廣告(例如,選擇庫存最多的商品的廣告等)。The advertisements to be published can be selected from advertisements set by receiving input/information from the outside (based on the advertiser's request). The set advertisements can also be set with publishing conditions such as the publishing period (e.g., day, month), the publishing store, and whether the purchase history of the user (the user corresponding to the personal ID) of the publishing target includes specific products. If the conditions are not met, the selected target can be excluded. In addition, if there are multiple advertisements that meet the conditions, one of them can be selected as the advertisement to be published (e.g., selecting the advertisement of the product with the most inventory, etc.).
在此,上述特定的商品亦可與所設定的廣告的商品(廣告對象的商品)相同,亦可不同。Here, the specific product may be the same as or different from the product of the advertisement (the product targeted by the advertisement).
若未滿足條件(例如,對未滿足條件的使用者),判斷沒有發布的廣告,亦可省略步驟S104中的主店舖的判斷處理、步驟S105中的廣告的判斷處理等。If the conditions are not met (for example, for users who do not meet the conditions), it is determined that the advertisement is not published, and the main store determination process in step S104 and the advertisement determination process in step S105 can be omitted.
關於步驟S105中的廣告的判斷處理,在第1實施例、第2實施例等中容後敘述。The advertisement determination process in step S105 will be described later in the first embodiment, the second embodiment, etc.
在步驟S106中,廣告決定伺服器30係對AD伺服器20送訊用以特定對對應個人ID的使用者所發布的廣告的資訊(亦可稱為廣告資訊)。在步驟S107中,AD伺服器20係根據上述廣告資訊,對設備10發布廣告。In step S106, the
其中,若在步驟S105中被判斷出沒有發布的廣告時,亦可在步驟S106中被通知表示沒有廣告的資訊作為廣告資訊(或取代廣告資訊),S107中的廣告的發布亦可省略。If it is determined in step S105 that there is no advertisement to be published, information indicating that there is no advertisement may be notified in step S106 as advertisement information (or replaces advertisement information), and the publication of advertisement in S107 may be omitted.
<第1實施例> 說明第1實施例。在本例中,假想所設定的廣告為商品X。此外,設定有該廣告可發布的期間為3月31日,對在3月購入商品X的使用者發布該廣告的條件。例如該廣告亦可為通知商品X的更新的廣告。<First embodiment>The first embodiment is described. In this example, it is assumed that the advertisement to be set is product X. In addition, the period during which the advertisement can be published is set to March 31, and the condition that the advertisement is published to users who purchase product X in March. For example, the advertisement may also be an advertisement that notifies the update of product X.
考慮使用者111在步驟S101中,在3月31日顯示出APP畫面的情形。經由步驟S102、S103,對廣告決定伺服器30送訊個人ID=111。Consider the case where
在本例中,在步驟S104中,假想根據圖3A的購買資料決定出圖3B的主店舖的情形。In this example, in step S104, it is assumed that the situation of the main store in FIG. 3B is determined based on the purchase data in FIG. 3A.
在步驟S105中,廣告決定伺服器30係根據上述購買資料,參照使用者111的購買履歷,確認使用者111在3月購入商品X(亦即,該使用者為上述廣告的發布對象)。In step S105, the
接著,廣告決定伺服器30係確認在使用者111的主店舖亦即店舖Aaa的庫存資料(假想為圖4)中存在商品X。亦即,由於在使用者111的主店舖有商品X的庫存,因此廣告決定伺服器30係選擇商品X的廣告,作為對使用者111所發布的廣告。Next, the
在步驟S106中,廣告決定伺服器30係對AD伺服器20送訊商品X的廣告資訊。在步驟S107中,AD伺服器20係根據上述廣告資訊,對使用者111的設備10發布商品X的廣告。In step S106, the
<第2實施例> 說明第2實施例。在本例中,假想所被設定的廣告為商品W。此外,設定有該廣告可發布的期間為3月31日,對在3月購入商品W的使用者發布該廣告的條件。<Second embodiment>The second embodiment is described. In this example, it is assumed that the advertisement to be set is product W. In addition, the period during which the advertisement can be published is set to March 31, and the condition that the advertisement is published to users who purchase product W in March.
考慮使用者111在步驟S101中,在3月31日顯示出APP畫面的情形。經由步驟S102、S103,對廣告決定伺服器30送訊個人ID=111。Consider the case where
在本例中,假想在步驟S104中,根據圖3A的購買資料決定出圖3B的主店舖的情形。In this example, it is assumed that in step S104, the situation of the main store in FIG. 3B is determined based on the purchase data in FIG. 3A.
在步驟S105中,廣告決定伺服器30係根據上述購買資料,參照使用者111的購買履歷,確認使用者111在3月購入商品W(亦即,該使用者為上述廣告的發布對象)。In step S105, the
接著,廣告決定伺服器30係確認在使用者111的主店舖亦即店舖Aaa的庫存資料(假想為圖4)中不存在商品W。亦即,由於在使用者111的主店舖沒有商品W的庫存,因此廣告決定伺服器30係決定沒有對使用者111所發布的廣告。Next, the
在步驟S106中,廣告決定伺服器30係對AD伺服器20送訊表示沒有廣告的資訊。在步驟S107中,AD伺服器20係根據上述資訊,對使用者111的設備10並未發布(商品W的)廣告。In step S106, the
<主店舖的決定> 以下說明主店舖的決定方法。該等說明時,假想廣告決定伺服器30在3月31日決定廣告的案例。<Determination of main store>The following describes the method of determining the main store. This description assumes a case where the
[決定方法1] 廣告決定伺服器30亦可根據由購買資料所取得的使用者的購買履歷,將在一定期間主要購物的(或主要利用的)店舖決定作為主店舖。根據圖3A的圖3B的主店舖的決定係相當於該決定方法。[Determination method 1]The
該一定期間亦可為包含可發布期間的期間(例如同月),亦可為實施步驟S104的處理的時序的最近的一定期間(例如N個月(N為整數))。N亦可藉由來自外部的輸入/資訊的收訊來設定。The certain period may be a period including the publishable period (e.g., the same month), or may be the most recent certain period (e.g., N months (N is an integer)) of the timing of executing the process of step S104. N may also be set by receiving input/information from the outside.
某使用者在一定期間主要購物的(或主要利用的)店舖亦可按每個店舖求取下列式1的值(亦可稱為店舖的利用率),來決定為該等之中成為最大值的店舖。 (式1) 經過一定期間的店舖中的該使用者的購買次數(或到店次數)÷經過一定期間的全店舖中的該使用者的總購買次數(或到店次數)The stores where a user mainly shops (or mainly uses) during a period of time can also be determined by calculating the value of the following
在圖3A中,若將一定期間設為3月的一個月期間,使用者111係在店舖Aaa購物2次、在店舖Bbb購物1次,因此上述利用率係店舖Aaa較高,使用者111的主店舖被決定為店舖Aaa。使用者222由於僅在店舖Bbb購物,因此使用者222的主店舖被決定為店舖Bbb。In FIG. 3A , if the fixed period is set to a month of March,
其中,某使用者在一定期間主要購物(或主要利用的)的店舖亦可按每個店舖求取該店舖中的該使用者的購買次數(或到店次數),且決定為該等之中成為最大值的店舖。The stores where a user mainly shops (or mainly uses) during a certain period of time can also be calculated for each store by calculating the number of purchases (or visits) made by the user in the store, and the store with the largest number among them can be determined.
主店舖亦可依商品來決定,亦可依商品的類型(例如,飲料全體、特定的飲料(酒精)、蔬菜全體、特定的蔬菜等)來決定。例如,在步驟S105中針對廣告決定伺服器30決定可否發布的廣告的商品的主店舖亦可使用將上述式1的「購買」以「該商品(或屬於該商品的類型的商品)的購買」改讀的式子來決定。若如上所示,可對應使用者在依商品/類型而異的店舖主要購買的情形。The main store may be determined by the product or by the type of product (e.g., all beverages, specific beverages (alcohol), all vegetables, specific vegetables, etc.). For example, in step S105, the main store of the product for which the
[決定方法2] 廣告決定伺服器30亦可根據藉由使用者所得之關於主店舖的設定資訊,來決定主店舖。使用者亦可透過設備10的APP,來輸入關於自身的主店舖的資訊(例如店舖名)。設備10亦可將個人ID、及所被輸入的關於主店舖的資訊(店舖名、或對應店舖名的店舖ID)送訊至廣告決定伺服器30。[Determination method 2]The
其中,在本揭示中,由設備10對廣告決定伺服器30送訊資訊亦可透過AD伺服器20,亦可未透過。此外,在本揭示中,由設備10對廣告決定伺服器30送訊資訊時,即使在未特別提及的情形下,亦可一併送訊個人ID。In this disclosure, the
廣告決定伺服器30亦可決定對應由設備10被送訊出的個人ID的主店舖與藉由從該設備10被送訊出的關於主店舖的資訊所示之店舖ID相關連。The
例如,若使用者111在設備10的APP中設定了自身的主店舖為Aaa時,廣告決定伺服器30亦可根據由該設備10被通知的資訊,判斷使用者111的主店舖為Aaa。For example, if the
[決定方法3] 廣告決定伺服器30亦可根據使用者的位置資訊履歷,將被認為在一定期間入店最多的店舖(以下亦稱為入店推定店舖)決定為主店舖。該一定期間亦可為與上述決定方法1中所述相同。[Determination method 3]The
例如,某使用者的主店舖亦可在一定期間,決定各店舖之中成為該使用者的入店推定店舖的數為最大的店舖。For example, the home store of a certain user may determine the store with the largest number of estimated visits by the user among all stores within a certain period of time.
其中,在本揭示中,位置資訊亦可包含使用測位系統(例如,衛星測位系統(Global Navigation Satellite System(全球衛星導航系統)(GNSS)、Global Positioning System(全球定位系統)(GPS)等))所得的資訊(例如,緯度、經度、高度)。In the present disclosure, location information may also include information (e.g., latitude, longitude, altitude) obtained using a positioning system (e.g., a satellite positioning system (Global Navigation Satellite System (GNSS)), Global Positioning System (GPS)), etc.)).
設備10的APP亦可周期性(或APP起動時/操作時)取得使用者的位置資訊,且送訊至廣告決定伺服器30。廣告決定伺服器30亦可以個人單位管理/記憶由各使用者被送訊出的位置資訊,藉由比較使用者的位置資訊及各店舖的位置資訊(店舖的位置資訊亦可預先記憶),來決定各使用者的入店推定店舖。例如,若由使用者的位置資訊所判斷的位置離由某店舖的位置資訊被判斷的位置位於一定範圍時,亦可決定該店舖為該使用者的入店推定店舖。The APP of the
此外,設備10的APP亦可周期性(或APP起動時/操作時)取得使用者的位置資訊,藉由比較該位置資訊及各店舖的位置資訊(店舖的位置資訊亦可預先記憶在APP),來決定使用者的入店推定店舖。設備10的APP亦可若決定出使用者的入店推定店舖,將關於該入店推定店舖的資訊送訊至廣告決定伺服器30。藉由該方法,與直接傳送位置資訊的情形相比,期待有關供設備10的入店推定店舖決定用的資訊的通訊負擔(Communication overhead)較小。In addition, the APP of the
其中,廣告決定伺服器30亦可將使用者的位置資訊由別的裝置(由例如合作的服務提供者的伺服器)收訊而使用在使用者的入店推定店舖的決定,來取代由設備10的APP收訊。The
廣告決定伺服器30亦可以個人單位管理/記憶所被決定出的或由各使用者被送訊出的入店推定店舖。廣告決定伺服器30亦可連同時戳(例如,決定出入店推定店舖的日期時間)一起記憶各使用者的入店推定店舖的履歷。The
圖5係顯示藉由決定方法3所決定的入店推定店舖之一例的圖。在本例中係示出3月的使用者111的入店推定店舖的履歷。如圖所示,入店推定店舖的履歷亦可包含個人ID、店舖ID及時戳的組合的資訊。FIG5 is a diagram showing an example of the estimated store visits determined by the determination method 3. In this example, the estimated store visits history of the
在圖5中,若將上述一定期間設為3月的一個月期間,使用者111係在店舖Aaa購物2次、在店舖Bbb購物3次,因此使用者111的主店舖被決定為店舖Bbb。In FIG. 5 , if the certain period is set as a month of March, the
[決定方法4] 廣告決定伺服器30亦可根據使用者的店舖檢索履歷來決定主店舖。[Determination method 4]The
例如,某使用者的主店舖亦可決定為在一定期間,各店舖之中被該使用者檢索數最多的店舖。該一定期間亦可與上述決定方法1中所述相同。For example, the home store of a certain user may be determined as the store with the most searches by the user among all stores during a certain period of time. The certain period of time may also be the same as described in the
此外,某使用者的主店舖亦可決定為在時間上最近被該使用者所檢索到的店舖。In addition, a user's home store may also be determined as the store that was most recently searched by the user.
其中,決定方法4中的檢索亦可意指圖2的流程圖中的APP上的檢索,亦可意指其他APP(例如瀏覽器)上的檢索,亦可包含雙方。The retrieval in determination method 4 may also refer to the retrieval on the APP in the flow chart of FIG. 2 , or may refer to the retrieval on other APPs (such as a browser), or may include both.
設備10的APP亦可周期性(或APP起動時/操作時)取得使用者的店舖檢索履歷的資訊,且送訊至廣告決定伺服器30。廣告決定伺服器30亦可以個人單位管理/記憶由各使用者被送訊出的店舖檢索履歷的資訊,且決定各使用者的主店舖。The APP of the
店舖檢索履歷的資訊亦可包含被檢索到的店舖的店舖ID、時戳(例如,檢索到店舖的日期時間)等。The store search history information may also include the store ID of the searched store, a timestamp (eg, the date and time when the store was searched), etc.
其中,廣告決定伺服器30亦可將使用者的店舖檢索履歷的資訊由別的裝置(例如,由合作的服務提供者的伺服器)收訊而使用在使用者的主店舖的決定,來取代由設備10的APP收訊。The
上述圖5亦可作為決定方法4中的店舖檢索履歷的資訊之一例來進行參照。在圖5中,若將上述一定期間設為3月的一個月期間,亦可使用者111係在店舖Aaa購物2次、在店舖Bbb購物3次,因此使用者111的主店舖被決定為店舖Bbb。此外,在圖5中,時間上最近被使用者111檢索到的店舖係在3/28 15:00被檢索到的店舖Aaa,亦可決定使用者111的主店舖為店舖Aaa。FIG. 5 can also be referred to as an example of information for determining the store search history in method 4. In FIG. 5 , if the above-mentioned certain period is set as a month of March,
[決定方法5] 廣告決定伺服器30亦可根據使用者的宅配利用履歷,來決定主店舖。[Determination method 5]The
宅配利用履歷亦可包含例如透過設備10的APP被下單的宅配的對象店舖(亦可稱為下單店舖)的履歷。該宅配亦可相當於所謂網路超市/網路便利商店等宅配服務,若藉由APP來指定對象店舖,亦可為從該對象店舖對任意場所配送商品的宅配。The home delivery usage history may also include, for example, the history of the target store (also referred to as the ordering store) of the home delivery ordered through the APP of the
宅配利用履歷亦可例如包含被使用者所指定的對象店舖(亦可稱為收取店舖)的履歷,俾供任意宅配公司的宅配便的收取之用。The delivery usage history may also include, for example, the history of target stores (also referred to as collection stores) designated by the user, so that the delivery can be collected by any delivery company.
例如,某使用者的主店舖亦可決定為在一定期間,各店舖之中被該使用者利用宅配(下單/接單)數最多的店舖。該一定期間亦可與上述決定方法1中所述相同。For example, the home store of a certain user may be determined as the store that has the most home deliveries (orders/orders) used by the user during a certain period of time. The certain period of time may also be the same as described in the
此外,某使用者的主店舖亦可決定為時間上最近被該使用者利用宅配的店舖。In addition, the home store of a certain user may be determined as the store that the user has used for home delivery most recently.
其中,決定方法5中的宅配亦可意指透過圖2的流程圖中的APP被指定下單/接單的宅配,亦可意指透過其他APP(例如瀏覽器)被指定下單/接單的宅配,亦可包含雙方。Among them, the home delivery in determination method 5 may also refer to the home delivery that is designated to place an order/receive an order through the APP in the flowchart of Figure 2, or it may refer to the home delivery that is designated to place an order/receive an order through other APPs (such as browsers), or it may include both parties.
設備10的APP亦可周期性(或APP起動時/操作時)取得使用者的宅配利用履歷的資訊,且送訊至廣告決定伺服器30。廣告決定伺服器30亦可以個人單位管理/記憶由各使用者被送訊出的宅配利用履歷的資訊,且決定各使用者的主店舖。The APP of the
宅配利用履歷的資訊亦可包含被利用在下單/接單的店舖的店舖ID、時戳(例如,被指定了下單/接單的日期時間)等。The information of the home delivery usage history may also include the store ID of the store used to place/receive the order, a timestamp (for example, the date and time when the order was placed/received), etc.
其中,廣告決定伺服器30亦可將使用者的宅配利用履歷的資訊由別的裝置(例如,由合作的服務提供者的伺服器)收訊而使用在使用者的主店舖的決定,來取代由設備10的APP收訊。The
上述圖5亦可作為決定方法5中的宅配利用履歷的資訊之一例來進行參照。在圖5中,若將上述一定期間設為3月的一個月期間,使用者111亦可將店舖Aaa利用在下單/接單2次、將店舖Bbb利用在下單/接單3次,因此使用者111的主店舖被決定為店舖Bbb。此外,在圖5中,亦可時間上最近被使用者111利用在下單/接單的店舖係在3/28 15:00被檢索到的店舖Aaa,使用者111的主店舖被決定為店舖Aaa。FIG. 5 described above can also be referred to as an example of information of the home delivery use history in determination method 5. In FIG. 5 , if the above-mentioned certain period is set as a month of March,
其中,在以上的決定方法3-5中,設備10的APP亦可根據使用者的位置資訊/店舖檢索履歷/宅配利用履歷而自己決定主店舖,且將所決定出的主店舖的資訊送訊至廣告決定伺服器30。藉此,可將廣告決定伺服器30決定各使用者的主店舖的負荷分散至各使用者的設備10。Among them, in the above determination methods 3-5, the APP of the
藉由以上說明的一實施形態,對使用者的設備10,可適當進行針對常去的店舖(主店舖)有庫存的商品的廣告發布,因此可抑制所謂「沒有在APP所廣告的商品」的使用者的失望。由於為針對主店舖的廣告,因此對使用者而言,便利性高。此外,藉由決定使用者的主店舖,不需要探索全店舖的庫存資料,廣告決定伺服器30可以低處理負荷探索庫存資料來決定廣告。According to the embodiment described above, advertisements for products that are in stock at the store that the user frequently visits (main store) can be appropriately posted on the user's
<變形例> 在上述實施形態中,係說明對設備10的APP被發布的廣告的決定方法,惟亦可根據稍微修正該方法的方法,來決定對店舖的標牌50所發布的廣告。<Variation>In the above embodiment, the method for determining the advertisements to be published for the APP of the
圖6係顯示本揭示之一實施形態的變形例之廣告發布方法的流程圖之一例的圖。關於亦可與圖2的流程圖相同的內容,不反覆說明。Fig. 6 is a diagram showing an example of a flow chart of an advertisement publishing method according to a variation of an embodiment of the present disclosure. The contents which may be the same as those in the flow chart of Fig. 2 will not be described repeatedly.
在步驟S202中,標牌50係關於自身顯示的廣告版位,對AD伺服器20送訊廣告版位請求。標牌50係連同廣告版位請求一起將店舖ID送訊至AD伺服器20。其中,在AD伺服器20中,若可特定有送訊廣告版位請求而來的標牌50的店舖,店舖ID亦可未被送訊。In step S202, the
在步驟S203中,AD伺服器20係為了特定對上述廣告版位請求回覆的廣告,對廣告決定伺服器30送訊上述店舖ID。其中,AD伺服器20係與關於圖2所述相同地,亦可決定出稿(登載)在上述廣告版位的廣告主,對廣告決定伺服器30送訊該廣告主的資訊。In step S203, the
在步驟S205中,廣告決定伺服器30係根據對應上述店舖ID的店舖的庫存資料,判斷對標牌50所發布的廣告。廣告決定伺服器30亦可若例如在有標牌50的店舖存在該廣告的商品的庫存時,決定對標牌50發布該廣告。In step S205, the
在步驟S206中,廣告決定伺服器30係對AD伺服器20送訊用以特定對標牌50所發布的廣告的資訊(亦可稱為廣告資訊)。在步驟S207中,AD伺服器20係根據上述廣告資訊,對標牌50發布廣告。In step S206, the
藉由以上說明的變形例,由於可在該店舖的標牌50顯示在店舖有庫存的商品的廣告,因此可抑制看了該廣告的使用者的「沒有在標牌所廣告的商品」的失望。此外,藉由根據店舖ID進行特定,廣告決定伺服器30可以低處理負荷探索庫存資料。According to the above-described modification, since advertisements of products in stock in the store can be displayed on the store's
<補充> 在本揭示中,「…ID」亦可與「用以特定…的資訊」、「與…建立關連的資訊」、「…的識別資訊」等彼此改讀。例如,本揭示之店舖ID亦可意指用以特定店舖的1個以上的資訊。<Supplement>In this disclosure, "…ID" can also be read interchangeably with "information used to identify…", "information associated with…", "identification information of…", etc. For example, the store ID in this disclosure can also mean one or more pieces of information used to identify a store.
(機器的構成) 圖7係顯示本揭示之一實施形態之廣告決定伺服器的功能構成之一例的圖。如本例所示,廣告決定伺服器30係具有:控制部310、記憶部320、通訊部330、輸入部340、及輸出部350。其中,在本例中係主要示出本實施形態中的特徵部分的功能區塊,廣告決定伺服器30亦可具有其他處理所需的其他功能區塊。此外,亦可形成為未包含一部分功能區塊的構成。(Machine structure)Figure 7 is a diagram showing an example of the functional structure of an advertisement determination server of an embodiment of the present disclosure. As shown in this example, the
控制部310係實施廣告決定伺服器30的控制。控制部310亦可實施根據上述廣告決定方法的處理。控制部310係可藉由根據在本揭示之技術領域的共通認識所說明的控制器、控制電路或控制裝置所構成。The
記憶部320係記憶(保持)在廣告決定伺服器30所利用的資訊。記憶部320係可藉由例如根據在本揭示之技術領域的共通認識所說明的記憶體、儲存體、記憶裝置等所構成。The
通訊部330係進行透過網路與其他通訊設備(機器、伺服器等)的通訊。通訊部330亦可對控制部310輸出所收訊到的各種資訊。The
通訊部330係可藉由根據在本揭示之技術領域的共通認識所說明的發送機/接收機、收送訊電路或收送訊裝置所構成。其中,通訊部330亦可由送訊部及收訊部所構成。The
輸入部340係藉由來自外部(例如人)的操作來受理輸入。此外,輸入部340亦可與預定的機器、記憶媒體等相連接,且受理資料的輸入。輸入部340亦可將輸入結果輸出至例如控制部310。The
輸入部340係可藉由根據在本揭示之技術領域的共通認識所說明的鍵盤、滑鼠、按鍵等輸入裝置、輸出入端子、輸出入電路等所構成。此外,輸入部340亦可形成為與顯示部成為一體的構成(例如觸控面板)。The
輸出部350係以可對外部有知覺的形式進行資料、內容(contents)等的輸出。例如,輸出部350亦可包含顯示畫像的顯示部、輸出聲音的聲音輸出部等來構成。The
顯示部係可藉由例如根據在本揭示之技術領域的共通認識所說明的顯示器、監視器等顯示裝置所構成。此外,聲音輸出部係可藉由根據在本揭示之技術領域的共通認識所說明的揚聲器等輸出裝置所構成。The display unit can be formed by a display device such as a display or a monitor according to the common knowledge in the technical field of the present disclosure. In addition, the sound output unit can be formed by an output device such as a speaker according to the common knowledge in the technical field of the present disclosure.
輸出部350係可包含例如根據在本揭示之技術領域的共通認識所說明的運算器、運算電路、運算裝置、播放器(Player)、畫像/影像/聲音處理電路、畫像/影像/聲音處理裝置、放大器等所構成。The
其中,通訊部330、輸入部340及控制部310的任一者或該等的組合亦可稱為取得部。Among them, any one of the
取得部亦可根據用以特定店舖的資訊(例如店舖ID),取得該店舖中的商品的庫存的資訊(庫存資料)。控制部310亦可根據前述庫存的資訊,選擇有庫存的商品的廣告。通訊部330亦可對AD伺服器20送訊被選擇出的廣告的資訊。The acquisition unit may also acquire information (inventory data) of the inventory of the goods in the store based on information for specifying the store (e.g., store ID). The
控制部310亦可若在根據用以特定個人的資訊(例如個人ID)所特定的個人的購買履歷(購買資料)包含特定的商品(例如廣告對象的商品)時,根據前述庫存的資訊,來選擇有庫存的商品的廣告。The
控制部310亦可決定根據用以特定個人的資訊所特定的個人主要利用或假想會利用的主店舖,來選擇在前述主店舖有庫存的商品的廣告。The
控制部310亦可根據前述個人的購買履歷,來決定被判斷在一定期間主要購物的店舖作為前述主店舖。The
控制部310亦可決定藉由關於前述個人的主店舖的設定資訊所示之店舖作為前述主店舖。The
控制部310亦可根據前述個人的位置資訊履歷,來決定被認為在一定期間入店最多的店舖作為前述主店舖。The
控制部310亦可根據前述個人的店舖檢索履歷,來決定前述主店舖。The
控制部310亦可根據前述個人的宅配利用履歷,來決定前述主店舖。The
關於設備10等其他裝置,亦可具有與圖7相同的構成。若為該領域熟習該項技術者,可適當改讀而理解圖7的說明中的廣告決定伺服器30關連記載。Other devices such as the
以下例示性地說明幾個部。其中,圖7的各功能區塊所對應的各裝置的符號係將表示各裝置的符號的最初一位數的數字(例如,若為設備10,「30」的最初一位數的「3」)適用於圖7的最初一位數的數字來表示。The following is an illustrative description of several parts. Among them, the symbols of each device corresponding to each functional block in FIG. 7 are represented by applying the first digit of the symbol representing each device (for example, if it is
設備10的通訊部130亦可對AD伺服器20送訊廣告版位請求、個人ID的資訊等。AD伺服器20的通訊部230亦可對廣告決定伺服器30送訊個人ID的資訊。The communication unit 130 of the
AD伺服器20的通訊部230亦可由廣告決定伺服器30收訊廣告資訊。AD伺服器20的控制部210亦可根據上述廣告資訊,特定對設備10所發布的廣告,藉由通訊部230來送訊該廣告。設備10的輸出部350亦可顯示設備10的通訊部130所收訊到的廣告。The communication unit 230 of the
(硬體構成) 其中,使用在說明上述實施形態的區塊圖係示出功能單位的區塊。該等功能區塊(構成部)係藉由硬體及/或軟體的任意組合來實現。此外,各功能區塊的實現手段並未特別限定。亦即,各功能區塊亦可藉由物理上所結合的1個裝置來實現,亦可將物理上分離的2個以上的裝置藉由有線或無線而相連接,且藉由該等複數裝置來實現。(Hardware configuration)Among them, the block diagram used to illustrate the above-mentioned implementation forms is a block showing a functional unit. These functional blocks (constituents) are implemented by any combination of hardware and/or software. In addition, the implementation means of each functional block is not particularly limited. That is, each functional block can also be implemented by a physically combined device, or two or more physically separated devices can be connected by wired or wireless, and implemented by these multiple devices.
例如,本揭示之一實施形態中的裝置(廣告決定伺服器30等)亦可形成為進行本揭示之廣告發布方法的處理的電腦來發揮功能。圖8係顯示一實施形態之廣告決定伺服器等硬體構成之一例的圖。上述廣告決定伺服器30、設備10等亦可在物理上形成為包含處理器1001、記憶體1002、儲存體1003、通訊裝置1004、輸入裝置1005、輸出裝置1006、匯流排1007等的電腦裝置來構成。For example, the device (
其中,在本揭示中,裝置、電路、設備、單元、伺服器等係可彼此改讀。廣告決定伺服器30、設備10等硬體構成亦可構成為包含1個或複數圖示之各裝置,亦可構成為不包含一部分裝置。In the present disclosure, the terms device, circuit, equipment, unit, server, etc. may be interchangeable. The hardware configuration of the
例如,處理器1001係僅圖示1個,亦可為複數處理器。此外,處理亦可由1處理器來執行,亦可同時逐次或使用其他手法,藉由2以上的處理器來執行處理。其中,處理器1001亦可藉由1以上的晶片來構裝。For example, only one
廣告決定伺服器30、設備10等中的各功能係藉由使預定的軟體(程式)讀入至處理器1001、記憶體1002等硬體上,藉此,處理器1001進行運算,且控制藉由通訊裝置1004所為之通訊、記憶體1002及儲存體1003中的資料的讀出及/或寫入等來實現。The functions of the
處理器1001係例如使作業系統進行動作來控制電腦全體。處理器1001亦可藉由包含與周邊裝置的介面、控制裝置、運算裝置、暫存器等的中央處理裝置(Central Processing Unit(CPU))來構成。其中,上述控制部310等的各部亦可藉由處理器1001來實現。The
此外,處理器1001係將程式(程式碼)、軟體模組、資料等,由儲存體1003及通訊裝置1004的至少一方讀出至記憶體1002,按照該等來執行各種處理。以程式而言,使用使電腦執行在上述實施形態中所說明的動作的至少一部分的程式。例如,控制部310亦可藉由被儲存在記憶體1002且在處理器1001進行動作的控制程式來實現,針對其他功能區塊,亦可同樣地實現。In addition, the
記憶體1002係電腦可讀取記錄媒體,亦可藉由例如ROM(Read Only Memory,唯讀記憶體)、EPROM (Erasable Programmable ROM,可抹除可程式化唯讀記憶體)、EEPROM(Electrically EPROM,電子可抹除可程式化唯讀記憶體)、RAM(Random Access Memory,隨機存取記憶體)、其他適當記憶媒體的至少1個所構成。記憶體1002亦可被稱為暫存器、快取、主記憶體(主記憶裝置)等。記憶體1002係可保存為了實施一實施形態之方法而可執行的程式(程式碼)、軟體模組等。The
儲存體1003係電腦可讀取記錄媒體,亦可藉由例如可撓性碟片、軟碟(floppy disk,註冊商標)、磁光碟(例如,光碟(CD-ROM(Compact Disc ROM)等)、數位多用途光碟機、Blu-ray(註冊商標)碟片)、抽取式磁碟、硬碟驅動器、智慧型卡片、快閃記憶體設備(例如卡(card)、條(stick)、隨身碟(key drive))、磁條、資料庫、伺服器、其他適當記憶媒體的至少1個所構成。儲存體1003亦可稱為輔助記憶裝置。其中,上述記憶部320亦可藉由記憶體1002及/或儲存體1003來實現。The
通訊裝置1004係用以透過有線網路及無線網路的至少一方來進行電腦間的通訊的硬體(收送訊設備),亦稱為例如網路設備、網路控制器、網路卡、通訊模組等。通訊裝置1004亦可包含SIM卡。其中,上述通訊部130亦可藉由通訊裝置1004來實現。The
輸入裝置1005係受理來自外部的輸入的輸入設備(例如鍵盤、滑鼠等)。輸出裝置1006係實施對外部的輸出的輸出設備(例如顯示器、揚聲器等)。其中,輸入裝置1005及輸出裝置1006亦可為成為一體的構成(例如觸控面板)。其中,上述輸入部340及輸出部350亦可分別藉由輸入裝置1005及輸出裝置1006來實現。The
此外,處理器1001、記憶體1002等各裝置係藉由用以將資訊進行通訊的匯流排1008而相連接。匯流排1007亦可藉由單一匯流排所構成,亦可由在裝置間不同的匯流排所構成。In addition, the
此外,廣告決定伺服器30等亦可包含微處理器、數位訊號處理器(Digital Signal Processor(DSP))、Application Specific Integrated Circuit(特定功能積體電路)(ASIC)、Programmable Logic Device(可程式化邏輯元件)(PLD)、Field Programmable Gate Array(現場可程式閘陣列)(FPGA)等硬體所構成,亦可藉由該硬體來實現各功能區塊的一部分或全部。例如,處理器1001亦可由該等硬體的至少1個來構裝。In addition, the
(變形例) 其中,關於在本揭示中所說明的用語及/或本揭示之理解所需用語,亦可與具有相同或類似涵義的用語作置換。(Variation)Among them, the terms described in this disclosure and/or the terms required for understanding this disclosure may also be replaced with terms having the same or similar meanings.
在本揭示中所說明的資訊、參數等亦可使用絕對值來表示,亦可使用由預定的值的相對值來表示,亦可使用對應的其他資訊來表示。此外,在本揭示中使用在參數等的名稱在任何方面亦非為具限定性者。The information, parameters, etc. described in this disclosure may be expressed using absolute values, relative values of predetermined values, or other corresponding information. In addition, the names of parameters, etc. used in this disclosure are not limiting in any way.
在本揭示中所說明的資訊、訊號等亦可使用各種不同技術的任一者來表示。例如,可遍及上述說明全體所提及的資料、命令、指令、資訊、訊號、位元、符號、晶片等亦可藉由電壓、電流、電磁波、磁場或磁性粒子、光場或光子、或該等的任意組合來表示。The information, signals, etc. described in this disclosure may also be represented using any of a variety of different technologies. For example, data, commands, instructions, information, signals, bits, symbols, chips, etc. mentioned throughout the above description may also be represented by voltage, current, electromagnetic waves, magnetic fields or magnetic particles, light fields or photons, or any combination thereof.
資訊、訊號等亦可透過複數網路節點來輸出入。被輸出入的資訊、訊號等亦可保存在特定的場所(例如記憶體),亦可使用表格來管理。被輸出入的資訊、訊號等係可進行覆寫、更新或追記。被輸出的資訊、訊號等亦可刪除。所被輸入的資訊、訊號等亦可被送訊至其他裝置。Information, signals, etc. can also be input and output through multiple network nodes. The input and output information, signals, etc. can also be saved in a specific place (such as memory), or can be managed using a table. The input and output information, signals, etc. can be overwritten, updated, or recorded. The output information, signals, etc. can also be deleted. The input information, signals, etc. can also be sent to other devices.
此外,預定的資訊的通知(例如,「為X」的通知)並非侷限於明示性的通知,亦可暗示性地(例如,藉由未進行該預定的資訊的通知或藉由別的資訊的通知)進行。In addition, notification of predetermined information (e.g., notification of "for X") is not limited to explicit notification, but may also be performed implicitly (e.g., by not performing notification of the predetermined information or by performing notification of other information).
軟體係不拘稱為軟體、韌體、中介軟體(middleware)、微碼(microcode)、硬體記述語言、或以其他名稱稱呼,應以意指命令、命令集、碼、碼段(code segment)、程式碼、程式、子程式、軟體模組、應用程式、軟體應用程式、軟體組套(software package)、常式、子常式、物件、可執行檔、執行線、順序、功能等的方式被廣為解釋。Software should be construed broadly to mean a command, a command set, a code, a code segment, a program code, a program, a subroutine, a software module, an application, a software application, a software package, a routine, a subroutine, an object, an executable file, a run line, a sequence, a function, etc., whether called software, firmware, middleware, microcode, a hardware description language, or by any other name.
此外,軟體、命令、資訊等亦可透過傳送媒體及訊號波形的至少1個來接收傳送。例如,若軟體使用有線技術(同軸纜線、光纖纜線、雙絞線、數位用戶線路(Digital Subscriber Line(DSL))等)及無線技術(紅外線、微波等)的至少一方而由網站、伺服器、或其他遙控源被送訊時,該等有線技術及無線技術的至少一方係包含在傳送媒體的定義內。In addition, software, commands, information, etc. may also be received and transmitted via at least one of a transmission medium and a signal waveform. For example, if software is transmitted from a website, server, or other remote source using at least one of a wired technology (coaxial cable, optical fiber cable, twisted pair, digital subscriber line (DSL), etc.) and a wireless technology (infrared, microwave, etc.), at least one of the wired technology and the wireless technology is included in the definition of transmission medium.
在本揭示中所說明的各態樣/實施形態亦可單獨使用,亦可組合使用,亦可伴隨執行而切換使用。此外,在本揭示中所說明的各態樣/實施形態的處理順序、序列、流程圖等只要沒有矛盾,可替換順序。例如,關於在本揭示中所說明的方法,使用例示性的順序,提示各種步驟的要素,並非限定於所提示的特定的順序。Each aspect/implementation described in this disclosure may be used alone, in combination, or switched during execution. In addition, the processing order, sequence, flow chart, etc. of each aspect/implementation described in this disclosure may be replaced as long as there is no contradiction. For example, regarding the method described in this disclosure, an exemplary order is used to indicate the elements of various steps, and it is not limited to the specific order indicated.
本揭示中所使用的「根據」等記載,只要未特別明記,非意指「僅根據」。換言之,「根據」等記載意指「僅根據」及「至少根據」之雙方。The words "based on" and the like used in this disclosure do not mean "only based on" unless otherwise specified. In other words, the words "based on" and the like mean both "only based on" and "at least based on".
對使用了本揭示中所使用的「第1」、「第2」等稱呼的要素的任何參照亦非全盤性限定該等要素的量或順序。該等稱呼係可在本揭示中使用,作為區分2個以上的要素間的便利方法。因此,第1及第2要素的參照並非意指可僅採用2個要素或以任何形式而第1要素必須在第2要素之前。Any reference to an element using the designations "first," "second," etc. used in this disclosure does not limit the quantity or order of such elements. Such designations may be used in this disclosure as a convenient method of distinguishing between two or more elements. Therefore, a reference to a first and second element does not mean that only two elements may be used or that the first element must precede the second element in any form.
在本揭示中,「A/B」及「A及B的至少一方」亦可彼此改讀。此外,在本揭示中,「A/B/C」亦可意指「A、B及C的至少1個」。In the present disclosure, "A/B" and "at least one of A and B" can be read interchangeably. In addition, in the present disclosure, "A/B/C" can also mean "at least one of A, B, and C."
在本揭示中,若使用「包括(include)」、「包含有(including)」及該等的變形,該等用語係與用語「具備(comprising)」同樣地,意圖為涵括地。此外,在本揭示中所使用的用語「或(or)」係意圖並非為邏輯互斥或。In this disclosure, if "include", "including" and variations thereof are used, these terms are intended to be inclusive, just like the term "comprising". In addition, the term "or" used in this disclosure is not intended to be a logically exclusive or.
在本揭示中,例如,若如英語中的a、an及the般藉由翻譯而追加冠詞時,本揭示亦可包含在該等冠詞之後所接續的名詞為複數形。In the present disclosure, for example, when an article is added by translation like a, an, and the in English, the present disclosure may also include that the noun following the article is in the plural form.
在本揭示中,「以下」、「未滿」、「以上」、「多於」、「相等」等亦可彼此改讀。In the present disclosure, “below,” “less than,” “above,” “more than,” “equal to,” etc. may be read interchangeably.
在本揭示中,「的(of)」、「用以(for)」、「關於(regarding)」、「有關(related to)」、「建立關連(associated with)」等亦可彼此改讀。In the present disclosure, “of,” “for,” “regarding,” “related to,” “associated with,” etc. may be read interchangeably.
以上詳細說明了本揭示之發明,惟對該領域熟習該項技術者而言,清楚可知本揭示之發明非限定於在本揭示中所說明的實施形態。本揭示之發明係可在無脫離依申請專利範圍的記載而定的發明的要旨及範圍的情形下作為修正及變更態樣來實施。因此,本揭示之記載係以例示說明為目的,並非對本揭示之發明帶來任何具限制性的涵義。The invention of the present disclosure is described in detail above. However, it is clear to those skilled in the art that the invention of the present disclosure is not limited to the embodiments described in the present disclosure. The invention of the present disclosure can be implemented as modified and altered forms without departing from the gist and scope of the invention as determined by the description of the patent application. Therefore, the description of the present disclosure is for the purpose of illustration and does not bring any restrictive meaning to the invention of the present disclosure.
本申請案係根據2022年6月30日申請的日本特願2022-105812。該內容全部包含在此。This application is based on Japanese Patent Application No. 2022-105812 filed on June 30, 2022. The entire contents are incorporated herein.
1:廣告發布系統 10:設備 20:廣告發布伺服器(AD伺服器) 30:廣告決定伺服器 40:店舖 50:標牌 60:購買資料/庫存資料管理伺服器 310:控制部 320:記憶部 330:通訊部 340:輸入部 350:輸出部 1001:處理器 1002:記憶體 1003:儲存體 1004:通訊裝置 1005:輸入裝置 1006:輸出裝置 1007:匯流排1: Advertising publishing system10: Equipment20: Advertising publishing server (AD server)30: Advertising decision server40: Store50: Signage60: Purchase data/inventory data management server310: Control unit320: Memory unit330: Communication unit340: Input unit350: Output unit1001: Processor1002: Memory1003: Storage1004: Communication device1005: Input device1006: Output device1007: Bus
[圖1]係顯示本揭示之一實施形態之廣告發布系統的概略構成之一例的圖。 [圖2]係顯示本揭示之一實施形態之廣告發布方法的流程圖之一例的圖。 [圖3A及3B]係顯示由購買資料被導出的主店舖之一例的圖。 [圖4]係顯示庫存資料之一例的圖。 [圖5]係顯示藉由決定方法3所決定的入店推定店舖之一例的圖。 [圖6]係顯示本揭示之一實施形態的變形例之廣告發布方法的流程圖之一例的圖。 [圖7]係顯示本揭示之一實施形態之廣告決定伺服器的功能構成之一例的圖。 [圖8]係顯示本揭示之一實施形態之廣告決定伺服器等硬體構成之一例的圖。[FIG. 1] is a diagram showing an example of a schematic configuration of an advertisement publishing system according to an embodiment of the present disclosure.[FIG. 2] is a diagram showing an example of a flowchart of an advertisement publishing method according to an embodiment of the present disclosure.[FIG. 3A and 3B] are diagrams showing an example of a main store derived from purchase data.[FIG. 4] is a diagram showing an example of inventory data.[FIG. 5] is a diagram showing an example of an estimated store for entry determined by determination method 3.[FIG. 6] is a diagram showing an example of a flowchart of an advertisement publishing method according to a variant of an embodiment of the present disclosure.[FIG. 7] is a diagram showing an example of a functional configuration of an advertisement determination server according to an embodiment of the present disclosure.[FIG. 8] is a diagram showing an example of a hardware configuration of an advertisement determination server, etc. according to an embodiment of the present disclosure.
1:廣告發布系統1:Advertising publishing system
10:設備10: Equipment
20:廣告發布伺服器(AD伺服器)20:Advertising publishing server (AD server)
30:廣告決定伺服器30:Advertising decision server
40:店舖40: Stores
50:標牌50:Signage
60:購買資料/庫存資料管理伺服器60: Purchase data/inventory data management server
| Application Number | Priority Date | Filing Date | Title |
|---|---|---|---|
| JP2022105812AJP7427719B2 (en) | 2022-06-30 | 2022-06-30 | Advertisement determination device, advertisement determination method, advertisement determination program, and advertisement distribution system |
| JP2022-105812 | 2022-06-30 |
| Publication Number | Publication Date |
|---|---|
| TW202416203Atrue TW202416203A (en) | 2024-04-16 |
| Application Number | Title | Priority Date | Filing Date |
|---|---|---|---|
| TW112120808ATW202416203A (en) | 2022-06-30 | 2023-06-05 | Advertisement determination device, advertisement determination method, advertisement determination program, and advertisement distribution system |
| Country | Link |
|---|---|
| JP (1) | JP7427719B2 (en) |
| TW (1) | TW202416203A (en) |
| WO (1) | WO2024004360A1 (en) |
| Publication number | Priority date | Publication date | Assignee | Title |
|---|---|---|---|---|
| JP2002259821A (en)* | 2001-03-06 | 2002-09-13 | Pia Corp | Method for distributing merchandise advertisement |
| JP5183982B2 (en)* | 2007-06-25 | 2013-04-17 | 楽天株式会社 | Information providing apparatus and method, program, and information providing system |
| WO2014024476A1 (en)* | 2012-08-10 | 2014-02-13 | パナソニック株式会社 | Electronic commerce method and electronic commerce system |
| JP6573596B2 (en)* | 2016-12-13 | 2019-09-11 | ヤフー株式会社 | Distribution device, distribution method, distribution program, terminal device, display method, and display program |
| JP6701257B2 (en)* | 2018-04-20 | 2020-05-27 | ヤフー株式会社 | Information processing apparatus, information processing method, information processing program, and display program |
| JP7527096B2 (en)* | 2019-03-07 | 2024-08-02 | ユニ・チャーム株式会社 | Providing device, providing method, providing program, and providing system |
| WO2020262172A1 (en)* | 2019-06-24 | 2020-12-30 | 株式会社Ginkan | Server, payment method, and payment program |
| JP7219741B2 (en)* | 2020-08-03 | 2023-02-08 | 三協立山株式会社 | Information processing device, program, system, and information processing method |
| JP6986176B1 (en)* | 2021-03-30 | 2021-12-22 | Kddi株式会社 | Information processing equipment |
| Publication number | Publication date |
|---|---|
| JP7427719B2 (en) | 2024-02-05 |
| WO2024004360A1 (en) | 2024-01-04 |
| JP2024005576A (en) | 2024-01-17 |
| Publication | Publication Date | Title |
|---|---|---|
| JP5980585B2 (en) | Customer relationship management method by multiplexed assignment of access point connection password, customer management server, and computer-readable recording medium | |
| JP4473339B1 (en) | Advertisement information providing server, advertisement information providing system, and advertisement information providing program | |
| US20140304075A1 (en) | Methods and systems for transmitting live coupons | |
| US20150127483A1 (en) | Systems and methods for optimizing and streamlining the shopping experience in a retail environment | |
| US20140351012A1 (en) | Methods and Systems for Managing Promotional Campaigns Based on Predicted Consumer Behavior | |
| JP2013200857A (en) | E-mail distribution system | |
| US20170300968A1 (en) | Method and system for disseminating information over a communication network | |
| JP2018045624A (en) | Decision program, decision method and decision device | |
| JP5893599B2 (en) | Information extraction apparatus, information extraction method, and information extraction program | |
| US10395265B2 (en) | Crowd sourcing coupon redemption information | |
| JP2015184808A (en) | Information management device, information management method, and information management program | |
| US20130204708A1 (en) | Providing targeted offers based on dynamic attributes of users | |
| KR20130102793A (en) | Server and method for providing mobile coupon service, and recording medium thereof | |
| JP5622629B2 (en) | Information processing system and program | |
| CN104123281A (en) | Method and system for providing suggestions by utilizing location information | |
| JP2018028818A (en) | Information processing device and information processing system | |
| JP6195950B1 (en) | Server apparatus and information processing system | |
| JP2020027515A (en) | Terminal control program, information processing device, terminal device, terminal control method, information processing method, and information processing program | |
| JP2011175551A (en) | Message distribution system and message distribution program | |
| JP5855039B2 (en) | Sales promotion system, sales product distribution method and program | |
| TW202416203A (en) | Advertisement determination device, advertisement determination method, advertisement determination program, and advertisement distribution system | |
| JP7214790B2 (en) | Incentive granting system and incentive granting method | |
| JP7572809B2 (en) | Information Providing Device | |
| JP2018097586A (en) | Information processing device | |
| US20160055536A1 (en) | Providing offers for purchase based on real-time user data |