


本發明關於一種收納裝置,尤指一種無線收納裝置及無線傳輸系統。The present invention relates to a storage device, in particular to a wireless storage device and a wireless transmission system.
目前市面上所販售的一種可攜式電子裝置(例如,藍牙耳機),為了方便攜帶及保管,通常會收納在一收納盒中。例如入耳式無線耳機及收納盒。透過將該入耳式無線耳機收納在該收納盒中,以透過該收納盒對該入耳式無線耳機進行充電。A portable electronic device (for example, a Bluetooth headset) currently sold in the market is usually stored in a storage box for convenience of carrying and storage. For example, in-ear wireless headphones and storage boxes. By storing the in-ear wireless earphone in the storage box, the in-ear wireless earphone is charged through the storage box.
當使用者將該可攜式電子裝置配戴在身上(例如,耳朵),且同時需要與一電腦設備配合使用(例如,遊戲主機、筆電、桌機、非智慧型手機及穿戴裝置),例如接收該電腦設備所播放的聲音時,需要額外準備一無線收發器(例如,具USB連接介面的藍牙收發器等),並將該無線收發器插設在該電腦設備。該電腦設備透過該無線收發器將即時資訊(例如,多媒體資訊)發送至使用者配戴的一可攜式電子裝置,使得該電腦設備上的即時資訊能同時在使用者配戴的可攜式電子裝置上播放。When the user wears the portable electronic device on the body (eg, ear), and needs to use it with a computer equipment (eg, game console, laptop, desktop, non-smart phone, and wearable device), For example, when receiving the sound played by the computer equipment, an additional wireless transceiver (eg, a Bluetooth transceiver with a USB connection interface, etc.) needs to be prepared, and the wireless transceiver is inserted into the computer equipment. The computer equipment sends real-time information (eg, multimedia information) to a portable electronic device worn by the user through the wireless transceiver, so that the real-time information on the computer equipment can be simultaneously displayed on the portable electronic device worn by the user. playback on electronic devices.
然而,現有技術對於使用者而言,由於需要攜帶多數產品及配件,常造成麻煩與困擾,尤其是配件體積小、容易遺失或遺漏,對於使用者而言較不方便。因此,如何能夠提升使用者的方便性、減少使用上的麻煩,確實有待提出更佳解決方案的必要性。However, the prior art often causes trouble and trouble for users to carry many products and accessories, especially accessories are small in size and easy to lose or miss, which is inconvenient for users. Therefore, it is indeed necessary to propose a better solution how to improve the convenience of the user and reduce the trouble in use.
有鑒於上述現有技術所存在的問題,本發明的至少一目的是提供一種無線收納裝置及無線傳輸系統。使用者透過將無線收納裝置分別與設備及可攜式電子裝置連接,使無線收納裝置作為二者之間進行訊號傳輸的媒介,而可不用攜帶額外的無線收發器。由於可以減少攜帶產品及配件的數量,亦可改善無線收發器因收納不易而造成遺失、遺漏的問題。藉此提升使用者的使用便利性兼具使用體驗的目的。In view of the above-mentioned problems in the prior art, at least one object of the present invention is to provide a wireless storage device and a wireless transmission system. By connecting the wireless storage device with the device and the portable electronic device respectively, the user makes the wireless storage device as a medium for signal transmission between the two, and does not need to carry an additional wireless transceiver. Since the number of products and accessories to be carried can be reduced, the problem of loss and omission of the wireless transceiver due to difficult storage can also be improved. In this way, the user's convenience and experience are improved.
為了達成上述目的所採取的一技術手段,是令前述無線收納裝置,用於收納一可攜式電子裝置以及與一電子設備連接。該無線收納裝置包括:一USB接口,用於連接該電子設備,以接收一電源訊號及一音訊資訊;一電源模組,連接該USB接口,該電源模組根據該電源訊號進行充電;一音訊處理模組,連接該USB接口,以接收該音訊資訊,並對應產生一驅動訊號;一無線傳輸模組,連接該音訊處理模組,並根據該驅動訊號,將該音訊資訊傳輸至該可攜式電子裝置。A technical means adopted to achieve the above objective is to use the aforementioned wireless storage device for storing a portable electronic device and connecting with an electronic device. The wireless storage device includes: a USB interface for connecting to the electronic device to receive a power signal and an audio information; a power module connected to the USB interface, the power module is charged according to the power signal; an audio a processing module, connected to the USB interface, to receive the audio information and correspondingly generate a driving signal; a wireless transmission module, connected to the audio processing module, and according to the driving signal, transmit the audio information to the portable electronic device.
為了達成上述目的所採取的另一技術手段,是令前述無線傳輸系統,用於連接一電子設備,該無線傳輸系統包括:一如上述的無線收納裝置;一可攜式電子裝置,接收該無線收納裝置發送的一無線音訊資訊。Another technical means adopted to achieve the above-mentioned purpose is to use the aforementioned wireless transmission system for connecting an electronic device, and the wireless transmission system includes: a wireless storage device as described above; a portable electronic device for receiving the wireless A wireless audio message sent by the storage device.
根據上述內容可知,使用者從該無線收納裝置中取出該可攜式電子裝置,並且配戴在身上(例如,耳朵)後,將該無線收納裝置分別與該電子設備及該可攜式電子裝置連接,以透過該無線收納裝置作為該電子設備將訊號傳輸至該可攜式電子裝置的媒介,而可不用攜帶額外的無線收發器。由於可以減少攜帶產品及配件的數量,亦可改善無線收發器因收納不易而造成遺失、遺漏的問題。藉此提升使用者的使用便利性兼具使用體驗的目的。According to the above content, after the user takes out the portable electronic device from the wireless storage device, and wears it on the body (for example, the ear), the wireless storage device is connected to the electronic device and the portable electronic device respectively. The connection is used to transmit the signal to the portable electronic device through the wireless storage device as a medium for the electronic device without carrying an additional wireless transceiver. Since the number of products and accessories to be carried can be reduced, the problem of loss and omission of the wireless transceiver due to difficult storage can also be improved. In this way, the user's convenience and experience are improved.
關於本發明無線傳輸系統的一實施例,請參考圖1所示,包括一無線收納裝置10及一可攜式電子裝置20。該無線收納裝置10用於與一電子設備連接,以及用於收納該可攜式電子裝置20。在一實施例中,該電子設備可由一電腦設備30所構成,可接收類比訊號、USB音訊之輸入。For an embodiment of the wireless transmission system of the present invention, please refer to FIG. 1 , which includes a
在一實施例中,該可攜式電子裝置20包括一無線耳機或一無線穿戴式裝置,其中例如但不限於一藍牙耳機、一Google眼鏡或一iWatch裝置等。In one embodiment, the portable
在一實施例中,該電腦設備30包括一遊戲主機、一筆記型電腦、一桌上型電腦、一非智慧型手機或一穿戴式裝置。In one embodiment, the
在一實施例中,請一併參考圖2所示,揭示該無線收納裝置10的架構。該無線收納裝置10包括一殼體11、一USB接口12、一電源模組13、一音訊處理模組14、一無線傳輸模組15。該USB接口12分別連接該電源模組13及該音訊處理模組14。該音訊處理模組14連接該無線傳輸模組15。其中,該USB接口12進一步亦可與該無線傳輸模組15連接。In an embodiment, please refer to FIG. 2 together to disclose the structure of the
該殼體11內設置有多數空間(圖未示),以用於容納該USB接口12、該電源模組13、該音訊處理模組14、該無線傳輸模組15及該可攜式電子裝置20。The
在一實施例中,該殼體11包括一耳機收納盒(例如,藍牙耳機盒)、一眼鏡收納盒(例如,Google眼鏡盒)或一無線穿戴裝置收納盒(iWatch收納盒)等。In one embodiment, the
該USB接口12透過一有線的方式,以一條USB傳輸線與該電腦設備30的一USB接口(圖未示)連接,以交換資訊。其中,該USB接口12經由該USB傳輸線接收該電腦設備30傳輸的一電源訊號以及一音訊資訊。The
具體來說,該USB接口12具有一通訊協定。當該USB接口12經由該USB傳輸線與該電腦設備30連接後,即可接收到該電腦設備30傳輸的一電源訊號。接著,當該電腦設備30播放一多媒體資訊時,該USB接口12經由該USB傳輸線並透過該通訊協定接收一音訊資訊。該USB接口12將該電源訊號分別傳輸至該電源模組13進行充電、該音訊處理模組14令其運作;此外,還可傳輸至該無線傳輸模組15令其運作。Specifically, the
其中,該USB接口12包括一USB1.0接口、一USB2.0接口、一USB3.0接口或更高規格的USB接口。該通訊協定包括一USB Audio協定或一類比訊號協定等。Wherein, the
該電源模組13根據該USB接口12所接收到的電源訊號進行充電。其中,該電源模組13包括一電源處理單元131以及相連接的一電池132。該電源處理單元131是將接收到的該電源訊號進行處理後,將處理後的電源訊號對該電池132進行充電。具體來說,是對電源訊號進行升壓處理、過電流保護處理、溫度監控處理等,並將處理後的電源訊號傳輸至該電池132進行充電。The
其中,當該可攜式電子裝置20收納在該無線收納裝置10內後,該可攜式電子裝置20中的多數充電端與該無線收納裝置10的電源模組13連接,以由該電池132經由該電源處理單元131,對該可攜式電子裝置20進行充電。Wherein, after the portable
此外,若該USB接口12經由該USB傳輸線與該電腦設備30連接,而未接收到該電源訊號時,亦可由該電源模組13對該音訊處理模組14、該無線傳輸模組15供電。In addition, if the
該音訊處理模組14接收該USB接口12傳輸的音訊資訊及電源訊號。該電源訊號是對該音訊處理模組14進行供電。該音訊處理模組14對該音訊資訊進行一音訊處理程序,以將處理後的音訊資訊傳輸至該無線傳輸模組15。其中,該音訊處理模組14包括一音訊處理器。The
該無線傳輸模組15是根據從該音訊處理模組14接收到的音訊資訊,傳輸一無線音訊資訊至該可攜式電子裝置20。其中,該無線傳輸模組15包括一處理單元151以及相連接的一傳輸單元152。該處理單元151包括一無線協定,該處理單元151是根據該無線協定、接收到的音訊資訊透過該傳輸單元152,傳輸該無線音訊資訊至該可攜式電子裝置20。The
其中,該無線傳輸模組15與該USB接口12連接,以透過該電源訊號對該無線傳輸模組15供電。或者,該音訊處理模組14亦可將接收到的電源訊號傳輸至該無線傳輸模組15,以對其供電。The
在一實施例中,該無線傳輸模組15包括一藍牙模組或一Wi-Fi模組。該處理單元151包括一無線傳輸處理器。該傳輸單元152包括一收發天線。該無線協定包括一Wi-Fi無線傳輸協定、一藍牙無線傳輸協定或一無線私有傳輸協定,具體而言該無線私有傳輸協定的一編碼格式包括SBC、LHDC或AAC。In one embodiment, the
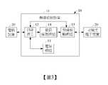
關於使用的方式,請一併參考圖3所示。使用者將該可攜式電子裝置20從該無線收納裝置10中取出,並配戴在身上(例如,耳朵),且該可攜式電子裝置20與該無線收納裝置10連接;然後,透過一USB傳輸線連接該無線收納裝置10的USB接口12,以及連接該電腦設備30的一USB接口。For the usage, please refer to Figure 3 together. The user takes out the portable
在使用上,當完成該無線收納裝置10、該可攜式電子裝置20與該電腦設備30之間的連接之後,使用者透過該電腦設備30進行操作,以播放一多媒體資訊,例如一影片、一音樂等。該無線收納裝置10的USB接口12透過該通訊協定經由該USB傳輸線接收到該音訊資訊。該音訊處理模組14接收該USB接口12所接收到的音訊資訊進行處理,以產生該驅動訊號,並將該驅動訊號及該音訊資訊傳送至該無線傳輸模組15。該無線傳輸模組15的處理單元151根據該無線協定、該音訊資訊進行處理,產生一無線音訊資訊,並透過該傳輸單元152發送至該可攜式電子裝置20,以供使用者透過該可攜式電子裝置20聽到該電腦設備30所播放的影片或音樂的聲音。In use, after completing the connection between the
此外,當使用者透過該可攜式電子裝置20進行操作,例如放大音量、縮小音量、切換下一首、切換上一首、暫停播放或停止播放時,由該可攜式電子裝置20發送一控制指令至該無線收納裝置10的無線傳輸模組15,該無線傳輸模組15透過該USB接口12經由該USB傳輸線將該控制指令傳送至該電腦設備30。該電腦設備30根據該控制指令對當前正在播放的多媒體資訊進行控制。In addition, when the user operates through the portable
根據上述內容,使用者可以將該無線收納裝置10分別與該可攜式電子裝置20、該電腦設備30連接,以作為二者之間傳輸訊號的媒介。所以,在使用上不需要額外攜帶其它的無線收發器。由於可以減少攜帶產品及配件的數量,亦可改善無線收發器因收納不易而造成遺失、遺漏的問題。藉此提升使用者的使用便利性兼具使用體驗的目的。According to the above content, the user can connect the
10:無線收納裝置 11:殼體 12:USB接口 13:電源模組 131:電源處理單元 132:電池 14:音訊處理模組 15:無線傳輸模組 151:處理單元 152:傳輸單元 20:可攜式電子裝置 30:電腦設備10: Wireless storage device 11: Shell 12:USB interface 13: Power Module 131: Power processing unit 132: Battery 14: Audio processing module 15: Wireless transmission module 151: Processing unit 152: Transmission unit 20: Portable Electronic Devices 30: Computer equipment
圖1是本發明一實施例的無線傳輸系統的架構示意圖。 圖2是本發明基於圖1所示的實施例的無線傳輸系統的無線收納裝置的架構示意圖。 圖3是本發明基於圖1和圖2所示的實施例的無線傳輸系統的應用示意圖。FIG. 1 is a schematic structural diagram of a wireless transmission system according to an embodiment of the present invention. FIG. 2 is a schematic structural diagram of a wireless storage device of the wireless transmission system based on the embodiment shown in FIG. 1 of the present invention. FIG. 3 is a schematic diagram of the application of the wireless transmission system based on the embodiments shown in FIG. 1 and FIG. 2 of the present invention.
10:無線收納裝置10: Wireless storage device
11:殼體11: Shell
12:USB接口12:USB interface
13:電源模組13: Power Module
131:電源處理單元131: Power processing unit
132:電池132: Battery
14:音訊處理模組14: Audio processing module
15:無線傳輸模組15: Wireless transmission module
151:處理單元151: Processing unit
152:傳輸單元152: Transmission unit
20:可攜式電子裝置20: Portable Electronic Devices
30:電腦設備30: Computer equipment
| Application Number | Priority Date | Filing Date | Title |
|---|---|---|---|
| TW109138620ATWI837436B (en) | 2020-11-05 | 2020-11-05 | Wireless storage device and wireless transmission system |
| Application Number | Priority Date | Filing Date | Title |
|---|---|---|---|
| TW109138620ATWI837436B (en) | 2020-11-05 | 2020-11-05 | Wireless storage device and wireless transmission system |
| Publication Number | Publication Date |
|---|---|
| TW202219689Atrue TW202219689A (en) | 2022-05-16 |
| TWI837436B TWI837436B (en) | 2024-04-01 |
| Application Number | Title | Priority Date | Filing Date |
|---|---|---|---|
| TW109138620ATWI837436B (en) | 2020-11-05 | 2020-11-05 | Wireless storage device and wireless transmission system |
| Country | Link |
|---|---|
| TW (1) | TWI837436B (en) |
| Publication number | Priority date | Publication date | Assignee | Title |
|---|---|---|---|---|
| TW200941955A (en)* | 2008-03-28 | 2009-10-01 | Asustek Comp Inc | Wireless dongle |
| DK3151582T3 (en)* | 2015-09-30 | 2020-10-12 | Apple Inc | HEADPHONE WITH CHARGING SYSTEM CASE |
| Publication number | Publication date |
|---|---|
| TWI837436B (en) | 2024-04-01 |
| Publication | Publication Date | Title |
|---|---|---|
| CN206790671U (en) | wireless headset | |
| US8213666B2 (en) | Headphones with embeddable accessories including a personal media player | |
| US20060046656A1 (en) | Bluetooth headset and bluetooth device connectable to audio equipment | |
| WO2020098054A1 (en) | Neckband headphones | |
| CN107666633A (en) | Bidirectional talkback monitoring and hearing-aid earphone system | |
| TWM590893U (en) | Earphone storage box device | |
| US20090047905A1 (en) | Stereo bluetooth headset | |
| JP2007336511A (en) | Externally mounted speaker system for portable ellectromagnetic equipment and wireless receiving pack therefor | |
| WO2020063499A1 (en) | Wireless earphones | |
| CN210807543U (en) | Earphone storage box device | |
| CN202435570U (en) | Earphone device | |
| TWI837436B (en) | Wireless storage device and wireless transmission system | |
| CN213547803U (en) | Wireless receiving device and wireless transmission system | |
| CN111479191A (en) | Wireless earphone, head-wearing earphone bracket and earphone assembly | |
| KR20180136629A (en) | Neck band type wireless earphone | |
| CN204046790U (en) | Bluetooth Speaker | |
| CN101123765A (en) | Rings with built-in electronic circuits | |
| US20100322433A1 (en) | Active noise cancellation earphone | |
| TWM607296U (en) | Wireless storage device and wireless transmission system | |
| CN114449395A (en) | Wireless receiving device and wireless transmission system | |
| CN101373993A (en) | Stereo bluetooth headset | |
| CN211860512U (en) | Wireless earphone, head-wearing earphone bracket and earphone assembly | |
| CN204377136U (en) | A kind of holographic audio frequency gathers playback reproducer | |
| CN212850954U (en) | TWS bluetooth headset's receiver | |
| CN114448459A (en) | Detachable wireless audio transmission system |