Movatterモバイル変換


[0]ホーム

URL:


RU51169U1 - LED HEADLIGHT - Google Patents

LED HEADLIGHT
Download PDF

Info

Publication number
RU51169U1
RU51169U1RU2005105633/22URU2005105633URU51169U1RU 51169 U1RU51169 U1RU 51169U1RU 2005105633/22 URU2005105633/22 URU 2005105633/22URU 2005105633 URU2005105633 URU 2005105633URU 51169 U1RU51169 U1RU 51169U1
Authority
RU
Russia
Prior art keywords
led
light
headlamp
protective housing
headlight according
Prior art date
Application number
RU2005105633/22U
Other languages
Russian (ru)
Inventor
Александр Владимирович Абрамов
Николай Германович Дерягин
Михаил Александрович Комаров
Геннадий Александрович Комаров
Евгений Михайлович Левченко
Владимир Владимирович Снисаренко
Леонид Борисович Фаерштейн
Владимир Алексеевич Хочинов
Original Assignee
Общество с ограниченной ответственностью "Белый свет"
Общество с ограниченной ответственностью "Фирма "Аэротест"
Общество с ограниченной ответственностью "Производственно-коммерческая фирма "Луч"
Priority date (The priority date is an assumption and is not a legal conclusion. Google has not performed a legal analysis and makes no representation as to the accuracy of the date listed.)
Filing date
Publication date
Application filed by Общество с ограниченной ответственностью "Белый свет", Общество с ограниченной ответственностью "Фирма "Аэротест", Общество с ограниченной ответственностью "Производственно-коммерческая фирма "Луч"filedCriticalОбщество с ограниченной ответственностью "Белый свет"
Priority to RU2005105633/22UpriorityCriticalpatent/RU51169U1/en
Application grantedgrantedCritical
Publication of RU51169U1publicationCriticalpatent/RU51169U1/en

Links

Landscapes

Abstract

Translated fromRussian

Светодиодная фара головного светильника относится к области индивидуального осветительного оборудования и может быть использована в качестве индивидуального осветительного прибора для подземных выработок шахт и рудников, опасных по газу и пыли, и в местах, содержащих взрывоопасные газы, а также при проведении аварийно-спасательных операций.The LED headlamp headlamp refers to the field of individual lighting equipment and can be used as an individual lighting device for underground workings of mines and mines hazardous in gas and dust, and in places containing explosive gases, as well as during emergency rescue operations.

Светодиодная фара головного светильника содержит защитный корпус с прозрачным окном, размещенный в защитном корпусе источник света, выполненный на основе светодиода. Полупроводниковый светоизлучающий кристалл светодиода, помещен в светопрозрачный отражающий корпус, выполненный в форме сплошного эллиптического параболоида с плоской световыводящей поверхностью. Полупроводниковый светоизлучающий кристалл расположен в центре фокальной плоскости отражающего корпуса, а сам корпус выполнен из материала с показателем преломления n≥ncp, где пcp - показатель преломления окружающей среды.The LED headlamp of the head lamp contains a protective housing with a transparent window, a light source located in the protective housing, based on the LED. The semiconductor light-emitting crystal of the LED is placed in a translucent reflective body made in the form of a continuous elliptical paraboloid with a flat light-output surface. The semiconductor light-emitting crystal is located in the center of the focal plane of the reflecting body, and the body itself is made of material with a refractive index of n≥ncp , where ncp is the refractive index of the environment.

Description

Translated fromRussian

Светодиодная фара головного светильника относится к области индивидуального осветительного оборудования и может быть использована в качестве индивидуального осветительного прибора для подземных выработок шахт и рудников, опасных по газу и пыли, и в местах, отличных от шахт, содержащих взрывоопасные газы, а также при проведении аварийно-спасательных операций, при тушении пожаров и для освещения в любых условиях, в том числе и там, где требуется повышенная герметичность фонаря, высокая сила света и ограниченный источник электроэнергии.The LED headlamp of a head lamp belongs to the field of individual lighting equipment and can be used as an individual lighting device for underground workings of mines and mines hazardous in gas and dust, and in places other than mines containing explosive gases, as well as during emergency rescue operations, when extinguishing fires and for lighting in any conditions, including those where increased tightness of the lamp, high light intensity and a limited source of electricity are required.

Известна фара головного светильника (см. патент Великобритании №2097521, МПК F 21 L 11/00, опубликован 03.11.1982 г.), содержащая герметичный корпус, линзовое кольцо с защитной пластиковой линзой, кварцевую галогенную лампу и люминесцентную лампу дневного света, которые индивидуально подключают к источнику электропитания. Люминесцентная лампа создает широкий конус света, а кварцевая галогенная лампа обеспечивает получение яркого светового пятна.Known headlight headlamp (see UK patent No. 2097521, IPC F 21 L 11/00, published 03.11.1982), containing a sealed housing, a lens ring with a protective plastic lens, a quartz halogen lamp and a fluorescent fluorescent lamp, which are individually connect to a power source. A fluorescent lamp creates a wide cone of light, and a quartz halogen lamp provides a bright light spot.

Использование лампы накаливания в известной фаре приводит к значительному энергопотреблению. Кроме того, использование ламп накаливания в головных рудничных светильниках является потенциально опасным. В первую очередь, это связано с тем, что места контакта лампы с подводящими к ней проводами могут служить источником возникновения искры. В аварийных условиях загазованности воздушной атмосферы шахты это может привести к взрыву или пожару. Кроме того, разогретая до высокой температуры спираль в случае разрушения корпуса лампы накаливания также несет в себе опасность взрыва или возникновения пожара.The use of an incandescent lamp in a known headlamp leads to significant energy consumption. In addition, the use of incandescent lamps in head mine luminaires is potentially dangerous. First of all, this is due to the fact that the contact points of the lamp with the wires leading to it can serve as a source of spark. In emergency conditions of gas contamination of the air atmosphere of the mine, this can lead to an explosion or fire. In addition, a spiral heated to a high temperature in the event of the destruction of the incandescent lamp housing also carries the risk of explosion or fire.

Известна фара головного светильника (см. патент РФ на полезную модель №20365, МПК F 21 L 4/00, опубликован 27.10.2001 г.) содержащаяKnown headlight headlamp (see RF patent for utility model No. 20365, IPC F 21 L 4/00, published October 27, 2001) containing

корпус, параболический отражатель с размещенным в его фокусе источником света и защитную линзу, выполненную из термопластического линейного полимера, выбранного из ряда поликарбонатов, при этом отражающая поверхность отражателя увеличена на величину д5, которую определяют расчетным путем.a casing, a parabolic reflector with a light source located at its focus and a protective lens made of a thermoplastic linear polymer selected from a number of polycarbonates, while the reflecting surface of the reflector is increased by d5, which is determined by calculation.

Использование увеличенной поверхности отражателя в такой конструкции фары способствует лучшему собиранию и фокусированию излучения лампы. Основным недостатком использования лампы накаливания в такой фаре является ее низкая светоотдача, которая составляет всего лишь ~10-12 лм/Вт и малый срок эксплуатации (~1000 час.). Это обуславливает низкий коэффициент полезного действия источника излучения и, как следствие этого, повышенное энергопотребление. Обычно в горно-рудничных светильниках используют лампы накаливания, которые имеют потребляемую мощность ~3,75 Вт при токе 1 А и напряжении 3.75 В. В результате, емкости обычно используемой аккумуляторной батареи едва хватает на одну рабочую смену. Недостатком применяемой в известной фаре лампы накаливания является и невозможность эффективного использования энергии, запасенной в аккумуляторной батарее. Хотя в самой аккумуляторной батарее после рабочей смены еще сохраняется запас энергии, но лампа накаливания при уменьшении потребляемого тока до величины 0,6-0,7 А уже практически перестает излучать в видимой области спектра. Такой недостаток лампы накаливания сильно затрудняет нахождение персонала в шахте в случае, например, необходимости по каким-то причинам задержки в забое дольше рабочей смены, и становится опасным для жизни в аварийных ситуациях, когда отключается общее освещение в выработке.The use of an enlarged reflector surface in this design of the headlight contributes to better collection and focusing of the radiation of the lamp. The main disadvantage of using an incandescent lamp in such a headlight is its low light output, which is only ~ 10-12 lm / W and a short life (~ 1000 hours). This leads to a low efficiency of the radiation source and, as a consequence of this, increased energy consumption. Usually, incandescent lamps are used in mining luminaires, which have a power consumption of ~ 3.75 W at a current of 1 A and a voltage of 3.75 V. As a result, the capacitance of a commonly used rechargeable battery is barely enough for one shift. A disadvantage of the incandescent lamp used in the known headlight is the inability to efficiently use the energy stored in the battery. Although the battery itself still retains energy after a shift, the incandescent lamp, when the current consumption decreases to a value of 0.6-0.7 A, almost ceases to emit in the visible region of the spectrum. Such a shortage of an incandescent lamp makes it very difficult for personnel to be in the mine if, for some reason, delays in the face are necessary for some reason longer than the work shift, and it becomes life threatening in emergency situations when the general lighting in the mine is turned off.

Известна светодиодная фара (см. патент США №6685336, МПК F 21 L 3/00, опубликован 03.02.2004 г.), включающая по меньшей мере один светодиод (СИД), помещенный в полый конический отражатель так, что излучение СИД падает на внутреннюю коническую поверхность отражателя и затем отражается в противоположном направлении.Known LED headlight (see US patent No. 6685336, IPC F 21 L 3/00, published 03.02.2004), comprising at least one LED (LED), placed in a hollow conical reflector so that the LED radiation is incident on the internal the conical surface of the reflector and then reflected in the opposite direction.

Использование СИД в известной фаре обеспечивает большую, чем у лампы накаливания светоотдачу, которая достигает величины ~30 лм/Вт, и имеет большой срок эксплуатации, превышающий 100 000 час. Повышенная светоотдача позволяет уменьшить в ~3 раза энергопотребление фонаря по сравнению с лампой накаливания и, соответственно, при той же емкости аккумуляторной батареи в ~3 раза увеличить продолжительность работы светильника. Кроме того, СИД, в отличие от лампы накаливания имеют свойство продолжать излучать видимый свет при очень малых значениях тока вплоть до значений 10-20 мА. Оценки показывают, что продолжительность горения светильника в аварийной ситуации в шахте за счет малого потребления энергии может быть увеличена до 10 дней. Несомненным достоинством применения СИД в качестве источника света является и тот факт, что их использование делает светильник абсолютно взрыво- и пожаробезопасным. В отличие от лампы накаливания, СИД не имеют разогретой до высокой температуры спирали, а в местах контактов электродов СИД с подводящими проводами невозможно возникновение искрения.The use of LEDs in a known headlamp provides greater light output than that of an incandescent lamp, which reaches ~ 30 lm / W, and has a long service life exceeding 100,000 hours. Increased light output allows you to reduce the power consumption of the lamp by ~ 3 times compared with an incandescent lamp and, accordingly, with the same battery capacity, increase the lamp operation time by ~ 3 times. In addition, LEDs, in contrast to incandescent lamps, have the property to continue to emit visible light at very low current values up to 10-20 mA. Estimates show that the duration of a lamp burning in an emergency in a mine due to low energy consumption can be increased up to 10 days. The undoubted advantage of using LEDs as a light source is the fact that their use makes the lamp absolutely explosion and fireproof. Unlike incandescent lamps, LEDs do not have a coil heated to a high temperature, and sparking is impossible at the points of contact between the LED electrodes and the lead wires.

Недостатком известной светодиодной фары является то, что в такой конструкции существуют неоправданные потери света за счет рассеяния при отражении от поверхности отражателя. Это вызвано тем, что даже на хорошо полированных поверхностях трудно добиться величины коэффициента отражения света больше 0,7. Т.Е. до 30% излучаемого СИД света бесполезно теряется.A disadvantage of the known LED headlights is that in such a design there are unjustified losses of light due to scattering during reflection from the surface of the reflector. This is because even on well-polished surfaces it is difficult to achieve a light reflectance greater than 0.7. THOSE. up to 30% of the emitted LED light is uselessly lost.

Известна фара универсального головного светодиодного светильника (см. патент РФ №2194212, МПК A 21 L 17/00, опубликован 10.12.2002 г.), совпадающая с заявляемым решением по наибольшему числу существенных признаков и принятая за прототип.Known headlight universal head LED lamp (see RF patent No. 2194212, IPC A 21 L 17/00, published December 10, 2002), which coincides with the claimed solution for the largest number of essential features and adopted as a prototype.

Известная фара-прототип содержит защитный корпус, в котором размещены источники света, рефлектор и оптическая система. Оптическая система содержит коллиматор, световод и линзу, в качестве источников света использованы СИД, расположенные на плате, изогнутой в виде параболоида так, что световой поток СИДKnown headlight prototype contains a protective housing in which light sources, a reflector and an optical system are placed. The optical system contains a collimator, a light guide and a lens. LEDs are used as light sources. They are located on a board curved in the form of a paraboloid so that the LED light flux

сконцентрирован на коллиматоре. При этом СИД вместе с платой расположены в сплошном отражающем пластмассовом корпусе, представляющем собой подобие сектора, выпуклая сторона которого имеет вид параболы, а узкая сторона усечена и сочленена с коллиматором или линзой.focused on the collimator. In this case, the LEDs together with the board are located in a continuous reflective plastic case, which is a kind of sector, the convex side of which has the form of a parabola, and the narrow side is truncated and articulated with a collimator or lens.

Несмотря на несомненные преимущества использования СИД в известной фаре, позволяющие снизить расход электроэнергии, повысить безопасность и надежность ее работы, известная конструкция фары головного светильника имеет и серьезные недостатки. Значительная часть излучения, испускаемого полупроводниковым кристаллом СИД, распространяется в боковом направлении, не попадает в апертуру фокусирующей линзы и бесполезно теряется. В результате не обеспечивается необходимая сила света светильника при использовании одного СИД. Чтобы компенсировать потери света и достичь требуемых светотехнических параметров, предъявляемых, например, к рудничному светильнику, (сила света ~1200 кд. и угол излучения 4-5°) в конструкции фары известной необходимо использовать несколько СИД. Использование большого количества СИД для изготовления светильника приводит к увеличению площади излучающей поверхности и, как следствие этого, увеличение геометрических размеров, сложности и стоимости изготовления светильника.Despite the undoubted advantages of using LEDs in a well-known headlight, which can reduce energy consumption, increase the safety and reliability of its operation, the well-known headlamp design of a head lamp has serious drawbacks. A significant part of the radiation emitted by the LED semiconductor crystal propagates in the lateral direction, does not fall into the aperture of the focusing lens, and is uselessly lost. As a result, the required luminous intensity of the lamp is not provided when using a single LED. In order to compensate for light losses and achieve the required lighting parameters required, for example, for a mine luminaire (luminous intensity ~ 1200 cd. And an emission angle of 4-5 °), several LEDs must be used in the design of the headlight known. The use of a large number of LEDs for the manufacture of the luminaire leads to an increase in the area of the emitting surface and, as a consequence, an increase in the geometric dimensions, complexity and cost of manufacturing the luminaire.

Задачей заявляемого технического решения являлась разработка такой светодиодной фары головного светильника, которая бы имела более простую конструкцию при повышенной эффективности использования светового потока, испускаемого СИД.The objective of the proposed technical solution was the development of such an LED headlamp headlamp, which would have a simpler design with increased efficiency of use of the light flux emitted by the LED.

Поставленная задача решается тем, что светодиодная фара головного светильника включает защитный корпус с прозрачным окном, размещенный в защитном корпусе источник света, выполненный на основе светоизлучающего диода, включающего полупроводниковый светоизлучающий кристалл, помещенный в сплошной прозрачный отражающий корпус, выполненный в форме эллиптического параболоида с плоской световыводящей поверхностью, при этом полупроводниковыйThe problem is solved in that the LED headlamp headlight includes a protective housing with a transparent window, a light source located in the protective housing, made on the basis of a light-emitting diode, including a semiconductor light-emitting crystal, placed in a solid transparent reflective housing, made in the form of an elliptical paraboloid with a flat light output semiconductor

светоизлучающий кристалл расположен в центре его фокальной плоскости, а прозрачный отражающий корпус выполнен из материала с показателем преломления n≥n, где ncp - показатель преломления окружающей среды.the light-emitting crystal is located in the center of its focal plane, and the transparent reflecting body is made of material with a refractive index of n≥ncp , where ncp is the refractive index of the environment.

Для присоединения светодиодной фары к защитной каске она может быть снабжена скобой, закрепленной на внешней поверхности защитного корпуса.To connect the LED headlamp to a protective helmet, it can be equipped with a bracket mounted on the outer surface of the protective housing.

Защитный корпус светодиодной фары может быть выполнен из полимерного материала, например из поликарбоната.The protective housing of the LED headlamp can be made of a polymer material, for example polycarbonate.

Защитный корпус светодиодной фары может быть выполнен герметичным.The protective housing of the LED headlamp can be sealed.

Прозрачное окно может быть выполнено в виде съемной крышки защитного корпуса.The transparent window can be made in the form of a removable cover of the protective housing.

Съемная крышка может быть выполнена, например, в виде навинчиваемой на защитный корпус гайки, внутренняя полость которой перекрыта стеклом из прозрачного поликарбоната, при этом гайка может быть снабжена кольцевым уплотнением.The removable cover can be made, for example, in the form of a nut screwed onto a protective case, the inner cavity of which is covered with transparent polycarbonate glass, and the nut can be provided with an o-ring.

Полупроводниковый светоизлучающий кристалл может быть покрыт слоем люминофора для получения белого света и снабжен теплоотводящим элементом, выполнен, например, в виде металлической пластины.The semiconductor light-emitting crystal may be coated with a phosphor layer to produce white light and provided with a heat-removing element, made, for example, in the form of a metal plate.

Отражающий корпус может быть выполнен из светопрозрачного полимера, например, из поликарбоната, эпоксидного оптического компаунда, полиметилметакрилата.The reflective body may be made of a translucent polymer, for example, polycarbonate, an epoxy optical compound, polymethyl methacrylate.

Отражающий корпус может быть выполнен усеченным по фокальной плоскости, параллельной его широкому основанию. В этом случае основание светоизлучающего кристалла располагается в этой фокальной плоскости, что упрощает изготовление фары.The reflective body can be truncated along the focal plane parallel to its wide base. In this case, the base of the light-emitting crystal is located in this focal plane, which simplifies the manufacture of the headlamp.

Такая конструкция светодиодной фары головного светильника позволяет изготовить осветитель, удовлетворяющий требованиям, предъявляемым к светотехническим параметрам горнорудного светильника, без использования внешних оптических фокусирующихSuch a design of the LED headlamp headlamp allows you to make a lighter that meets the requirements for lighting parameters of a mining lamp, without the use of external optical focusing

систем, при этом в конструкции светильника используется только один СИД.systems, while the design of the lamp uses only one LED.

Выполнение прозрачного отражающего корпуса в форме сплошного эллиптического параболоида с плоской световыводящей поверхностью, изготовление его из материала с показателем преломления n≥n, где n - показатель преломления окружающей среды, и расположение светоизлучающего кристалла в центре фокальной плоскости параболоида, обеспечивает полное отражение света (исключая всякое преломление и тем самым какие-либо потери), излучаемого полупроводниковым кристаллом, от боковой, не выводящей излучение, поверхности отражающего корпуса. В этом случае направление распространения света, выходящего из светоизлучающего кристалла, образует в точке падения на боковой поверхности отражающего корпуса угол с касательной плоскостью к этой точке, больше угла полного внутреннего отражения. При выполнении этого условия свет, выходящий из излучающего кристалла, испытывает только отражение и полностью выводится через плоскую световыводящую часть поверхности корпуса. В случае использования для изготовления отражающего корпуса СИД широко распространенного в настоящее время прозрачного эпоксидного оптического компаунда с показателем преломления n~1,5 этот угол составляет ~40°. В общем случае уравнение кривой, удовлетворяющей условиям получения полного внутреннего отражения света в любой точке, представлено в виде установленного в патенте (см. патент РФ №2055420, МПК H 01 L 33/00, опубликован 27.02.1996) соотношения. Чтобы эффективно использовать в осветителе весь свет, излучаемый полупроводниковым кристаллом, необходимо не только эффективное собирание, но и его фокусировка. Расположение светоизлучающего кристалла в центре фокальной плоскости параболоида обеспечивает наилучшую фокусировку излучаемого света. При этом регулировку угла излучения СИД легко осуществлять путем изменения места расположения излучающего кристалла на оси симметрии параболоида.The implementation of a transparent reflective body in the form of a continuous elliptical paraboloid with a flat light-output surface, its manufacture from a material with a refractive index n≥ncp , where ncp is the refractive index of the environment, and the location of the light-emitting crystal in the center of the focal plane of the paraboloid, provides full reflection of light ( excluding any refraction and thereby any loss) emitted by the semiconductor crystal from the side, non-radiation-emitting surface of the reflecting body. In this case, the direction of propagation of the light emerging from the light-emitting crystal forms an angle at the point of incidence on the side surface of the reflecting body with the tangent plane to this point, greater than the angle of total internal reflection. When this condition is fulfilled, the light emerging from the emitting crystal experiences only reflection and is completely removed through the flat light-emitting part of the housing surface. In the case of using a widely used transparent epoxy optical compound with a refractive index of n ~ 1.5 to produce an LED reflecting case, this angle is ~ 40 °. In the general case, the equation of a curve that satisfies the conditions for obtaining total internal reflection of light at any point is presented in the form specified in the patent (see RF patent No. 2055420, IPC H 01 L 33/00, published February 27, 1996). In order to effectively use all the light emitted by a semiconductor crystal in the illuminator, it is necessary not only to efficiently collect it, but also to focus it. The location of the light-emitting crystal in the center of the focal plane of the paraboloid provides the best focusing of the emitted light. In this case, the adjustment of the angle of emission of LEDs is easily carried out by changing the location of the emitting crystal on the axis of symmetry of the paraboloid.

Заявляемое техническое решение поясняется чертежами, где:The claimed technical solution is illustrated by drawings, where:

на фиг.1. приведен вид сбоку светодиодной фары головного светильника в продольном разрезе;in figure 1. a side view of the LED headlamp head lamp in longitudinal section;

на фиг.2. показана светодиодная фара, вид спереди:figure 2. LED headlight shown, front view:

на фиг.3. изображен в продольном разрезе один из вариантов отражающего корпуса и помещенного в него светоизлучающего кристалла;figure 3. depicted in longitudinal section one of the options of the reflecting body and placed in it a light emitting crystal;

на фиг.4 показан вид спереди отражающего корпуса, изображенного на фиг.3;figure 4 shows a front view of the reflective housing depicted in figure 3;

на фиг.5. изображен в продольном разрезе отражающий корпус с усеченной по фокальной плоскости вершиной и помещенный в него светоизлучающий кристалл;figure 5. a longitudinal section shows a reflective body with a vertex truncated along the focal plane and a light-emitting crystal placed in it;

на фиг.6 показан вид спереди отражающего корпуса, изображенного на фиг.5.in Fig.6 shows a front view of the reflective housing depicted in Fig.5.

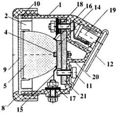
Светодиодная фара головного светильника включает (см. фиг.1, фиг.2) защитный корпус 1 с прозрачным окном 2, размещенный в защитном корпусе 1 источник света 3 (см. фиг.3-фиг.6), выполненный на основе светоизлучающего диода, включающего полупроводниковый светоизлучающий кристалл 4, помещенный в светопрозрачный отражающий корпус 5, выполненный в форме сплошного эллиптического параболоида с плоской световыводящей поверхностью 6. Отражающий корпус 5 выполнен из прозрачного для излучения источника света 3 полимера, например, из поликарбоната или эпоксидного оптического компаунда. Полупроводниковый светоизлучающий кристалл 4 расположен в центре 7 его фокальной плоскости. Отражающий корпус 5 выполнен из материала с показателем преломления n≥ncp, где пcp - показатель преломления окружающей среды. Прозрачное окно 2 выполнено в виде съемной крышки защитного корпуса 1, состоящей из навинчиваемой на защитный корпус 1 гайки 8, внутренняя полость которой перекрыта стеклом 9, прозрачным для излучения источника света 3. Стекло 9 выполняют, например, из прозрачного поликарбоната. Отражающий корпус 5 может быть усечен по фокальной плоскости,The LED headlamp of the head lamp includes (see FIG. 1, FIG. 2) a protective housing 1 with a transparent window 2, a light source 3 (see FIG. 3-FIG. 6) located on the basis of a light-emitting diode, including a semiconductor light-emitting crystal 4, placed in a translucent reflective body 5, made in the form of a continuous elliptical paraboloid with a flat light-emitting surface 6. The reflecting body 5 is made of a polymer transparent to radiation of the light source 3, for example, polycarbonate or epoch idnogo optical compound. The semiconductor light emitting crystal 4 is located in the center 7 of its focal plane. The reflecting body 5 is made of a material with a refractive index of n≥ncp , where pcp is the refractive index of the environment. The transparent window 2 is made in the form of a removable cover of the protective housing 1, consisting of a nut 8 screwed onto the protective housing 1, the inner cavity of which is covered by a glass 9 transparent to the radiation of the light source 3. The glass 9 is made, for example, of transparent polycarbonate. The reflecting body 5 may be truncated along the focal plane,

параллельной его широкому основанию, являющемуся плоской световыводящей поверхностью 6 (см. фиг.5). Защитный корпус 1 может быть выполнен герметичным, для чего гайка 8 снабжается кольцевым уплотнением 10. Корпус 1 может быть изготовлен из полимерного материала, например, из поликарбоната. На внешней поверхности защитного корпуса 1 винтом 11 закреплена скоба 12, предназначенная для присоединения фары к защитной каске. Светоизлучающий кристалл 4 может быть покрыт слоем люминофора 13 для получения белого света. Светоизлучающий кристалл 4 может быть снабжен теплоотводящим элементом 14. выполненным, например, в виде металлической пластины (см. фиг.5). Напряжение к светоизлучающему кристаллу 4 подают через контакты 15 и 16, соединенными соответственно с отрицательной клеммой 17 и положительной клеммой 18, соединенной, в свою очередь, с герметизированной контактной втулкой 19. Теплоотводящий элемент 14 источника света 3 прикреплен посредством винта 20 к металлической пластине 21, которая, в свою очередь, закреплена в корпусе 1 винтом 11 и положительной клеммой 18. Боковую поверхность 22 отражающего корпуса 5 полируют.parallel to its wide base, which is a flat light-output surface 6 (see figure 5). The protective housing 1 can be sealed, for which the nut 8 is provided with an annular seal 10. The housing 1 can be made of a polymeric material, for example, polycarbonate. On the outer surface of the protective housing 1, a screw 12 is fixed to the bracket 12, designed to connect the headlights to the protective helmet. The light emitting crystal 4 may be coated with a phosphor layer 13 to produce white light. The light-emitting crystal 4 may be provided with a heat-removing element 14. made, for example, in the form of a metal plate (see figure 5). The voltage to the light-emitting crystal 4 is supplied through the contacts 15 and 16, respectively connected to the negative terminal 17 and the positive terminal 18, which, in turn, is connected to the sealed contact sleeve 19. The heat sink element 14 of the light source 3 is attached by means of a screw 20 to the metal plate 21, which, in turn, is fixed in the housing 1 by a screw 11 and a positive terminal 18. The side surface 22 of the reflective housing 5 is polished.

Светодиодная фара головного светильника действует следующим образом. При подаче напряжения от источника электропитания, например, аккумулятора, через отрицательную клемму 17 и контакт 15, положительную клемму 18 и контакт 16 на кристалл 4, он начинает излучать свет, который распространяется в сплошной среде отражающего корпуса 5 и не испытывает никакого преломления до достижения границы корпуса 5 с воздухом. При этом свет, распространяющийся в боковом направлении, отражается от боковой поверхности 22 корпуса 5 и, так как излучающий кристалл 4 расположен в центре 7 фокальной плоскости корпуса 5, выходит сфокусированным пучком, близким к параллельному, через плоскую световыводящую поверхность 6. В такой оптической системе отсутствуют потери на рассеяние света за счет преломления на двух границах раздела с воздухом. Так как боковая поверхность 22 корпуса 5 выполнена гладко-полированной,LED headlamp head lamp operates as follows. When voltage is applied from a power source, for example, a battery, through the negative terminal 17 and terminal 15, the positive terminal 18 and terminal 16 to the crystal 4, it begins to emit light that propagates in a continuous medium of the reflecting body 5 and does not experience any refraction until it reaches the boundary body 5 with air. In this case, the light propagating in the lateral direction is reflected from the side surface 22 of the housing 5 and, since the emitting crystal 4 is located in the center 7 of the focal plane of the housing 5, it comes out with a focused beam close to parallel through a flat light-output surface 6. In such an optical system there are no losses due to light scattering due to refraction at two interfaces with air. Since the side surface 22 of the housing 5 is smoothly polished,

то весь свет, излучаемый полупроводниковым кристаллом 4, практически без потерь, выводится из корпуса 5 через поверхность 6. В случае расположения полупроводникового кристалла 4 в центре 7 фокальной плоскости отражающего корпуса 5, такая система позволяет получить, в зависимости от геометрических размеров корпуса 5, достаточно узкие углы излучения ~2-3°. При этом заданный угол излучения в фаре довольно просто получить, изменяя лишь месторасположение кристалла на оси симметрии корпуса 5.then all the light emitted by the semiconductor crystal 4, practically without loss, is removed from the housing 5 through the surface 6. In the case of the location of the semiconductor crystal 4 in the center 7 of the focal plane of the reflecting housing 5, such a system allows, depending on the geometric dimensions of the housing 5, to obtain narrow radiation angles ~ 2-3 °. In this case, the specified angle of radiation in the headlight is quite simple to obtain by changing only the location of the crystal on the axis of symmetry of the housing 5.

Все вышеприведенные преимущества заявляемой конструкции светодиодной фары при изготовлении горно-рудничного светильника в полной мере обеспечили получение требуемых светотехнических параметров (силы света ~1200 кд и угол излучения 5°) и создать при том же энергопотреблении светильник на основе всего лишь одного СИД белого света. Это позволило значительно упростить конструкцию светильника, уменьшить стоимость его изготовления и геометрические размеры.All of the above advantages of the claimed design of the LED headlight in the manufacture of a mining lamp fully provided the required lighting parameters (luminous intensity ~ 1200 cd and an emission angle of 5 °) and create a luminaire with the same energy consumption based on only one white LED. This allowed to significantly simplify the design of the lamp, reduce the cost of its manufacture and geometric dimensions.

Claims (15)

Translated fromRussian
1. Светодиодная фара головного светильника, включающая защитный корпус с прозрачным окном, размещенный в защитном корпусе источник света, выполненный на основе светоизлучающего диода, включающего полупроводниковый светоизлучающий кристалл, помещенный в светопрозрачный отражающий корпус, выполненный в форме сплошного эллиптического параболоида с плоской световыводящей поверхностью, при этом полупроводниковый светоизлучающий кристалл расположен в центре его фокальной плоскости, а упомянутый отражающий корпус выполнен из материала с показателем преломления n≥ncp, где ncp - показатель преломления окружающей среды.1. LED headlamp headlamp, including a protective casing with a transparent window, a light source located in the protective casing, made on the basis of a light-emitting diode, including a semiconductor light-emitting crystal, placed in a translucent reflective casing, made in the form of a solid elliptical paraboloid with a flat light-output surface, this semiconductor light-emitting crystal is located in the center of its focal plane, and said reflective body is made of material refractive index n≥ncp, where ncp - index of the surrounding medium.2. Светодиодная фара по п.1, отличающаяся тем, что она снабжена скобой, закрепленной на внешней поверхности упомянутого защитного корпуса.2. The LED headlamp according to claim 1, characterized in that it is equipped with a bracket fixed to the outer surface of said protective housing.3. Светодиодная фара по п.1, отличающаяся тем, что упомянутый защитный корпус выполнен из полимерного материала.3. The LED headlight according to claim 1, characterized in that said protective housing is made of a polymer material.4. Светодиодная фара по п.3, отличающаяся тем, что защитный корпус выполнен из поликарбоната.4. The LED headlight according to claim 3, characterized in that the protective housing is made of polycarbonate.5. Светодиодная фара по п.1, отличающаяся тем, что упомянутый защитный корпус выполнен герметичным.5. The LED headlight according to claim 1, characterized in that said protective housing is sealed.6. Светодиодная фара по п.1, отличающаяся тем, что прозрачное окно выполнено в виде съемной крышки защитного корпуса.6. The LED headlight according to claim 1, characterized in that the transparent window is made in the form of a removable cover of the protective housing.7. Светодиодная фара по п.6, отличающаяся тем, что упомянутая съемная крышка выполнена в виде навинчиваемой на защитный корпус гайки, внутренняя полость которой перекрыта стеклом из прозрачного поликарбоната.7. The LED headlamp according to claim 6, characterized in that the said removable cover is made in the form of a nut screwed onto a protective housing, the inner cavity of which is covered by transparent polycarbonate glass.8. Светодиодная фара по п.7, отличающаяся тем, что упомянутая гайка снабжена кольцевым уплотнением.8. The LED headlight according to claim 7, characterized in that said nut is provided with an annular seal.9. Светодиодная фара по п.1, отличающаяся тем, что упомянутый светоизлучающий кристалл покрыт слоем люминофора.9. The LED headlight according to claim 1, characterized in that said light-emitting crystal is coated with a phosphor layer.10. Светодиодная фара по п.1, отличающаяся тем, что упомянутый светоизлучающий кристалл снабжен теплоотводящим элементом.10. The LED headlight according to claim 1, characterized in that the said light-emitting crystal is equipped with a heat-removing element.11. Светодиодная фара по п.10, отличающаяся тем, что теплоотводящий элемент выполнен в виде металлической пластины.11. The LED headlamp of claim 10, characterized in that the heat sink element is made in the form of a metal plate.12. Светодиодная фара по п.1, отличающаяся тем, что упомянутый отражающий корпус выполнен из светопрозрачного полимера.12. The LED headlight according to claim 1, characterized in that the said reflective body is made of translucent polymer.13. Светодиодная фара по п.12, отличающаяся тем, что в качестве светопрозрачного полимера использован поликарбонат.13. The LED headlamp according to claim 12, characterized in that polycarbonate is used as a translucent polymer.14. Светодиодная фара по п.12, отличающаяся тем, что в качестве светопрозрачного полимера использован эпоксидный оптический компаунд.14. The LED headlamp according to claim 12, characterized in that an epoxy optical compound is used as a translucent polymer.15. Светодиодная фара по п.1, отличающаяся тем, что упомянутый отражающий корпус усечен по фокальной плоскости, параллельной его широкому основанию.
Figure 00000001
15. The LED headlight according to claim 1, characterized in that said reflective body is truncated along a focal plane parallel to its wide base.
Figure 00000001
RU2005105633/22U2005-02-182005-02-18 LED HEADLIGHTRU51169U1 (en)

Priority Applications (1)

Application NumberPriority DateFiling DateTitle
RU2005105633/22URU51169U1 (en)2005-02-182005-02-18 LED HEADLIGHT

Applications Claiming Priority (1)

Application NumberPriority DateFiling DateTitle
RU2005105633/22URU51169U1 (en)2005-02-182005-02-18 LED HEADLIGHT

Publications (1)

Publication NumberPublication Date
RU51169U1true RU51169U1 (en)2006-01-27

Family

ID=36048920

Family Applications (1)

Application NumberTitlePriority DateFiling Date
RU2005105633/22URU51169U1 (en)2005-02-182005-02-18 LED HEADLIGHT

Country Status (1)

CountryLink
RU (1)RU51169U1 (en)

Cited By (2)

* Cited by examiner, † Cited by third party
Publication numberPriority datePublication dateAssigneeTitle
RU2619745C1 (en)*2016-02-032017-05-17Закрытое акционерное общество "Научно-Производственный Комплекс "Альфа-М"Fog lamp
RU2682316C1 (en)*2018-04-142019-03-19Закрытое акционерное общество "Производственное объединение "Электроточприбор"Mine head lamp

Cited By (2)

* Cited by examiner, † Cited by third party
Publication numberPriority datePublication dateAssigneeTitle
RU2619745C1 (en)*2016-02-032017-05-17Закрытое акционерное общество "Научно-Производственный Комплекс "Альфа-М"Fog lamp
RU2682316C1 (en)*2018-04-142019-03-19Закрытое акционерное общество "Производственное объединение "Электроточприбор"Mine head lamp

Similar Documents

PublicationPublication DateTitle
KR100883344B1 (en) LED lighting lamp
US20050168994A1 (en)Back-reflecting LED light source
JP5373742B2 (en) Light emitting device, vehicle headlamp, lighting device, and laser element
CN101641550A (en)Light Emitting Diode (LED) based lighting system
CA2885424A1 (en)Device for scattering light
CN1459014A (en)LED flashlight
US8733982B2 (en)Internal collecting reflector optics for LEDs
CN101446392A (en)LED light source module
CA2418886A1 (en)Reflector/refractor light control luminaire
KR101194308B1 (en)Wide-angle illuminator
KR101055519B1 (en) Lighting assembly and equalizer with same
RU51169U1 (en) LED HEADLIGHT
KR100808669B1 (en) Lens and light bulb for focusing light of LED
CN201069078Y (en)Large power semi-conductor LED illuminating source device
RU165288U1 (en) LED HEADLIGHT
RU2187039C1 (en)Individual miner's lamp
RU172038U1 (en) LIGHT SOURCE WITH LASER EXCITATION OF LUMINOPHOR
CN213177921U (en)Novel aluminum-plastic LED floodlight
JP2015043345A (en) Light emitting device, vehicle headlamp and lighting device
KR101055438B1 (en) Lighting assembly and equalizer containing it
CN212057206U (en)Laser lighting device
CN209944081U (en)Anti-dazzling structure and spotlight applying same
RU2115860C1 (en)Small-size submersible luminaire
RU2194212C2 (en)Multi-purpose light-emitting diode lantern
RU12453U1 (en) MINERAL INDIVIDUAL LIGHT

Legal Events

DateCodeTitleDescription
MM1KUtility model has become invalid (non-payment of fees)

Effective date:20100219


[8]ページ先頭

©2009-2025 Movatter.jp