

Изобретение относится к железнодорожному транспорту и может быть использовано для диагностики и мониторинга условий движения и интервального регулирования движения поездов по перегону.The invention relates to railway transport and can be used to diagnose and monitor traffic conditions and interval regulation of the movement of trains on the stage.
Известна система интервального регулирования движения поездов на базе радиоканала, содержащая стационарные центры радиоблокировки, подключенные к диспетчерскому центру управления и соединенные между собой и с перегонными базовыми станциями радиоканала через сеть передачи данных, на вовлеченных в систему поездах бортовое оборудование, включающее локомотивное устройство безопасности, устройство управления торможением и тягой, устройство определения местоположения, устройство измерения скорости и пройденного расстояния, устройство расчета допустимой скорости, кривых торможения и обмена данными с центрами радиоблокировки по радиоканалу, бортовое радиопередающее оборудование, дисплей машиниста, а также подсистему контроля целостности поезда (журнал «Автоматика, Связь, Информатика», №8, 2006, Ходжаев У., статья «Система ITCS»).A known system of interval regulation of train movement on the basis of the radio channel, containing stationary centers of radio blocking, connected to the control center and connected to each other and with the distillation base stations of the radio channel via a data network, on-board equipment included in the train system, including a locomotive safety device, a control device braking and traction, positioning device, device for measuring speed and distance traveled, devices calculation of permissible speed, braking curves and data exchange with radio-blocking centers via radio channel, on-board radio-transmitting equipment, driver’s display, as well as a train integrity monitoring subsystem (Avtomatika, Svyaz, Informatika journal, No. 8, 2006, U. Khojaev, article “System” ITCS ").
Для повышения пропускной способности на загруженных линиях с интенсивным смешанным движением в этих системах предлагается использовать концепцию подвижных блок-участков. Эта концепция позволяет существенно повысить пропускную способность линий за счет гибкого регулирования интервалов попутного следования. При выдержке постоянства временного интервала попутного следования такая система позволяет динамически изменять дистанцию между поездами в зависимости от фактической скорости движения и тормозных характеристик поездов.To increase the throughput on busy lines with intensive mixed traffic, it is proposed to use the concept of moving block sections in these systems. This concept allows you to significantly increase the throughput of the lines due to the flexible regulation of intervals following the route. While maintaining the constancy of the time interval of the following route, such a system allows you to dynamically change the distance between trains depending on the actual speed and braking characteristics of the trains.
Известная система позволяет значительно повысить пропускную способность линии с существенным сокращением капитальных вложений и эксплуатационных расходов за счет простой напольной инфраструктуры. Для безопасного сближения поездов используют вычисления координат начала и конца составов поездов на рельсовом пути. Вычисление осуществляется на основе комплексного использования навигационных данных от различных бортовых приборов, таких как спутниковые навигаторы GPS, одометры, датчики измерения ускорений и др. В результате обработки этих данных с использованием алгоритмов оптимальной фильтрации (по Кальману или аналогичных) положение поездов определяется с минимальными разбросами для заданного уровня полноты безопасности. Однако исходные данные от навигационных приборов имеют переменную достоверность, зависящую от их исправности и переменных условий их работы. Точная работа спутниковых навигаторов GPS, например, зависит от количества используемых ими сигналов от спутников и наземных корректирующих станций (минимально требуются сигналы от 2 спутников. Точная работа механического одометра зависит от износа бандажей связанных с ним колес поезда, а также отсутствия при движении поезда юза и боксования колес и. т.д. Как результат неточной или неисправной работы навигационных приборов, данные которых комплексно учитываются, при определении места, занимаемого поездом (его "следа") на рельсовом пути, могут давать расчетную величину "следа", существенно превышающую реальную длину поезда. В этом случае для обеспечения безопасности соответственно приходится увеличивать реальный интервал времени попутного следования поездов, что снижает пропускную способность.The known system can significantly increase the throughput of the line with a significant reduction in capital investment and operating costs due to simple floor infrastructure. For safe rapprochement of trains, the coordinates of the beginning and end of train trains on the rail are used. The calculation is based on the integrated use of navigation data from various on-board devices, such as GPS satellite navigators, odometers, acceleration sensors, etc. As a result of processing these data using optimal filtering algorithms (according to Kalman or similar), the position of trains is determined with minimal scatter for preset safety integrity level. However, the initial data from navigation devices have a variable reliability, depending on their serviceability and variable conditions of their work. The exact operation of GPS satellite navigators, for example, depends on the number of signals they use from satellites and ground correction stations (minimum signals from 2 satellites are required. The exact operation of a mechanical odometer depends on the wear of the bandages of the train wheels associated with it, as well as the absence of a skid when moving the train wheel blocking, etc. As a result of inaccurate or malfunctioning navigation devices, the data of which are comprehensively taken into account, when determining the place occupied by a train (its “track”) on a rail track, my ut give the calculated value "track" substantially greater than the actual length of the train. In this case, to ensure safety must be increased accordingly real time interval passing the trains, which reduces throughput.
Для повышения достоверности определения координаты конца состава поезда в алгоритмах вычислений используют данные координат начала поезда по бортовым навигационным устройствам его локомотива, длины поезда (при осуществлении непрерывного контроля целостности его состава) и данные о параметрах маршрута движения из электронной карты рельсового пути. Дополнительно, в хвостовом вагоне состава поезда, для целей более достоверного определения "следа" и целостности состава, может устанавливаться дополнительный спутниковый навигатор.To increase the reliability of determining the coordinates of the end of the train composition in the calculation algorithms, we use the coordinates of the beginning of the train for the on-board navigation devices of its locomotive, the length of the train (while continuously monitoring the integrity of its composition) and data on the parameters of the route from the electronic map of the rail track. Additionally, in the tail carriage of the train, for the purpose of more reliable determination of the “track” and the integrity of the train, an additional satellite navigator can be installed.
Известные системы имеют ряд недостатков. Так, в процессе своей работы, из-за потери сигналов от спутников, спутниковые навигаторы могут порознь и одновременно сбиваться при определении координаты. После возобновления приема сигналов от спутников, для восстановления требуемого по безопасности движения уровня доверия к правильной работе спутниковых навигаторов, они должны быть проверены с помощью данных о текущих координатах, полученных от других независимых от них источников координатной информации (например, данными от путевых устройств с известными координатами). Пока бортовые устройства поезда не получат такие данные, положение поезда на перегоне становится не определенным или известным только с точностью до длины текущего блок участка. Поэтому для снижения потерь пропускной способности перегонов, при сбоях в работе локомотивных бортовых устройств навигации, важно быстрое получение надежных корректирующих данных. Это также предотвращает лишние экстренные и служебные торможения поездов. Кроме того, известные системы не обеспечивают достаточную полноту диагностики и мониторинга повреждений железнодорожного пути (провалы и выбросы земляного полотна, дефектные рельсы и их крепления). Использование рельсовых цепей для контроля свободности и целостности участков рельсового пути усложняет и удорожает эксплуатацию систем и не решает в полной мере задачи по обнаружению всех этих повреждений. Также в известных системах не решается задача своевременного обнаружения на пути различных других препятствий движению (автомобили, люди, крупные животные, упавшие деревья и грузы и. т.д). Все это снижает безопасность движения.Known systems have several disadvantages. So, in the process of their work, due to the loss of signals from satellites, satellite navigators can separately and at the same time go astray when determining the coordinates. After resuming the reception of signals from satellites, in order to restore the level of confidence required for traffic safety in the correct operation of satellite navigators, they should be checked using data on current coordinates received from other sources of coordinate information independent of them (for example, data from track devices with known coordinates). Until the on-board devices of the train receive such data, the position of the train on the stage becomes undefined or known only up to the length of the current block of the section. Therefore, to reduce the loss of throughput of hauls, in case of malfunctions of locomotive airborne navigation devices, it is important to quickly obtain reliable corrective data. It also prevents unnecessary emergency and service braking of trains. In addition, the known systems do not provide sufficient completeness of diagnosis and monitoring of damage to the railway track (dips and emissions of the subgrade, defective rails and their fastening). The use of rail chains to control the freedom and integrity of sections of the rail track complicates and increases the cost of operating systems and does not fully solve the problem of detecting all these damages. Also, in known systems, the problem of timely detection on the way of various other obstacles to movement (cars, people, large animals, fallen trees and loads, etc.) is not solved. All this reduces traffic safety.
Наиболее близкой к известной системе по совокупности существенных признаков является выбранная в качестве прототипа система интервального регулирования движения поездов на базе радиоканала, содержащая стационарные центры радиоблокировки, подключенные к ЭВМ центра диспетчерского контроля и управления и соединенные между собой и с перегонными базовыми станциями радиоканала через сеть передачи данных, а на перегоне между соседними станциями через оптоволоконный кабель и радиоканал, на вовлеченных в систему поездах - бортовое оборудование, включающее соединенные между собой через бортовой системный интерфейс локомотива обмена цифровыми данными комплексное локомотивное устройство безопасности, блок определения местоположения локомотива, выполненный на основе спутникового навигатора, блок измерения скорости и пройденного расстояния, блок расчета допустимой скорости, кривых торможения и обмена данными со стационарными центрами радиоблокировки по радиоканалу, вихретоковое устройство текущего контроля фактического состояния рельсов и уточненного измерения скорости, дисплей машиниста, а также подсистему контроля целостности поезда, блок головного полукомплекта непрерывного контроля целостности тормозной магистрали поезда, соединенный с блоком полукомплекта хвостового вагона состава поезда через тормозную магистраль поезда, а также через локомотивное радиоприемопередающее устройство и бортовой локальный радиоканал с радиоприемопередающим устройством блока полукомплекта хвостового вагона состава поезда, которое по цепи питания связано с первым выходом автономного источника электропитания, выполненного на базе пневмоэлектрогенератора, вход для подачи воздуха которого подключен к тормозной магистрали поезда, при этом второй выход автономного источника электропитания соединен с входом электропитания блока светового сигнала конца состава поезда (журнал «Автоматика, Связь, Информатика», №1, 2011, с. 22).The closest to the known system for the totality of essential features is the selected as a prototype system of interval control of train traffic on the basis of the radio channel, containing stationary centers of radio blocking, connected to the computer of the center of supervisory control and management and interconnected with distillation base stations of the radio channel through a data transmission network , and on the stretch between neighboring stations through a fiber optic cable and a radio channel, on the trains involved in the system - on-board equipment including a complex locomotive safety device interconnected via the on-board system interface of a digital data exchange locomotive, a locomotive location determining unit based on a satellite navigator, a speed and distance measurement unit, an allowable speed calculation unit, braking curves and data exchange with stationary centers radio blocking by radio channel, eddy current device for monitoring the actual condition of the rails and the updated speed measurement the driver’s display, as well as the subsystem for monitoring the integrity of the train, the head half-set unit for continuous integrity monitoring of the brake brake line of the train, connected to the half-set block of the tail carriage of the train through the brake line of the train, as well as through the locomotive radio transceiver and on-board local radio channel with the radio transceiver of the half-set unit the tail carriage of the train, which is connected along the power supply circuit to the first output of an autonomous power supply source based on a pneumatic electric generator, the air supply input of which is connected to the brake line of the train, while the second output of the autonomous power supply is connected to the power supply of the light signal unit of the end of the train (Journal of Automation, Communications, Informatics, No. 1, 2011, from. 22).
Известная система обеспечивает улучшенный контроль фактического состояния рельсов в моменты проследования над ними вихретокового устройства контроля целостности и фактического состояния рельсов, а также более точное и надежное измерение скорости и пройденного пути без влияния погрешностей от юза и боксования колесных пар локомотива, связанных с одометром. Кроме того, в системе имеется возможность визуального контроля участниками движения за последним вагоном состава поезда по световому сигналу конца состава поезда.The known system provides improved control of the actual condition of the rails at the moments when the eddy-current device for monitoring the integrity and actual condition of the rails follows them, as well as a more accurate and reliable measurement of speed and distance traveled without the influence of errors from the use and blocking of the locomotive wheel pairs associated with the odometer. In addition, the system has the ability to visually control the movement of the last carriage of train members by the light signal at the end of the train.
Однако известной системе, как и вышеописанному аналогу, присущи упомянутые основные недостатки по безопасности движения поездов и времени восстановлении пропускной способности после сбоев в работе бортовых навигационных устройств.However, the known system, as well as the above-described analogue, is characterized by the aforementioned main disadvantages in terms of the safety of train traffic and the time to recover throughput after malfunctions of on-board navigation devices.
Технический результат изобретения заключается в повышении безопасности и надежности системы.The technical result of the invention is to improve the security and reliability of the system.
Технический результат достигается тем, что в системе интервального регулирования движения поездов на базе радиоканала, содержащей стационарные центры радиоблокировки, подключенные к ЭВМ центра диспетчерского контроля и управления и соединенные между собой и с перегонными базовыми станциями радиоканала через сеть передачи данных, а на перегоне между соседними станциями через оптоволоконный кабель и радиоканал, на вовлеченных в систему поездах - бортовое оборудование, включающее соединенные между собой через бортовой системный интерфейс локомотива обмена цифровыми данными комплексное локомотивное устройство безопасности, блок определения местоположения локомотива, выполненный на основе спутникового навигатора, блок измерения скорости и пройденного расстояния, блок расчета допустимой скорости, кривых торможения и обмена данными со стационарными центрами радиоблокировки по радиоканалу, вихретоковое устройство текущего контроля фактического состояния рельсов и уточненного измерения скорости, дисплей машиниста, блок головного полукомплекта непрерывного контроля целостности тормозной магистрали поезда, соединенный с блоком полукомплекта хвостового вагона состава поезда через тормозную магистраль поезда, а также через локомотивное радиоприемопередающее устройство и бортовой локальный радиоканал с радиоприемопередающим устройством блока полукомплекта хвостового вагона состава поезда, которое по цепи питания связано с первым выходом автономного источника электропитания выполненного на базе пневмоэлектрогенератора, вход для подачи воздуха которого подключен к тормозной магистрали поезда, при этом второй выход автономного источника электропитания соединен с входом электропитания блока светового сигнала конца состава поезда, согласно изобретению оптоволоконный кабель выполнен в виде комбинированного сенсорного и связевого кабеля, уложенного на перегоне вдоль железнодорожного пути, с обеспечением передачи на его внешнюю оболочку воздействий внешних сил от конструктивных элементов железнодорожного пути и содержащего внутренние элементы механической связи между внешней оболочкой оптоволоконного кабеля и размещенными в нем сенсорными оптическими волокнами с изменяющимися оптическими параметрами при их деформации, при этом одним концом сенсорные оптические волокна соединены с первыми портами связи перегонных блоков формирования и анализа импульсных световых сигналов, вторые порты связи которых подключены к портам связи напольных блоков видеонаблюдения, в составе которых имеется блок автоматической регистрации светового сигнала конца состава поезда, а другими концами соединены с соответствующими первыми портами станционного блока формирования и анализа импульсных световых сигналов, второй порт связи которого через сеть передачи данных соединен с ЭВМ центра диспетчерского контроля и управления.The technical result is achieved by the fact that in the system of interval control of train traffic on the basis of a radio channel containing stationary radio blocking centers connected to a computer of the center of dispatch control and control and interconnected with distillation base stations of the radio channel via a data transmission network, and on a stretch between adjacent stations through fiber-optic cable and radio channel, on the trains involved in the system - on-board equipment, including interconnected via the on-board system inter ns of the locomotive of digital data exchange an integrated locomotive safety device, a locomotive location determination unit based on a satellite navigator, a unit for measuring speed and distance traveled, a unit for calculating permissible speed, braking curves and data exchange with stationary radio blocking centers over the air, eddy current device for monitoring the actual the condition of the rails and the refined measurement of speed, the driver’s display, the unit of the head half-set of continuous control For the integrity of the train brake line, connected to the half-set unit of the tail carriage of the train through the brake line of the train, as well as through the locomotive radio transceiver and the local radio channel with the radio-transmitting device of the half-set of the tail carriage of the train composition, which is connected via the power supply circuit to the first output of the autonomous power supply made on the basis of a pneumatic electric generator, the air inlet of which is connected to the brake line and, at the same time, the second output of the autonomous power source is connected to the power supply of the light signal block of the end of the train, according to the invention, the optical fiber cable is made in the form of a combined sensor and communication cable laid on a rail along the railway line, ensuring the transmission of external forces to its outer shell from structural elements of the railway track and containing internal elements of mechanical connection between the outer sheath of the fiber optic cable and sensor optical fibers with changing optical parameters during their deformation, with one end of which the optical fibers are connected to the first communication ports of the distillation units for generating and analyzing pulsed light signals, the second communication ports of which are connected to the communication ports of the outdoor video surveillance units, which include there is a block for automatic registration of the light signal of the end of the train, and the other ends are connected to the corresponding first ports of the station block and analysis of pulsed light signals, the second communication port of which is connected via a data transmission network to a computer of the center of supervisory control and management.
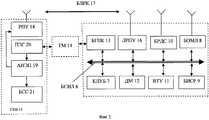
На чертежах приведены схемы бортового (фиг. 1) и стационарного (фиг. 2) оборудования системы интервального регулирования движения поездов.The drawings show the circuit board (Fig. 1) and stationary (Fig. 2) equipment of the interval control system for train traffic.
Система интервального регулирования движения поездов на базе радиоканала содержит стационарные центры 1 радиоблокировки (ЦРБ 1), подключенные к ЭВМ 2 центра диспетчерского контроля и управления (ЭЦДКУ 2) и соединенные между собой и с перегонными базовыми станциями 3 (БС 3) через сеть 4 передачи данных (СПД 4) по протоколу TCP/IP или аналогичному, а на перегоне между соседними станциями через оптоволоконный кабель 5 (ОВК 5) и радиоканал, на вовлеченных в систему поездах бортовое оборудование, включающее соединенные между собой, через бортовой системный интерфейс локомотива 6 (БСИЛ 6) обмена цифровыми данными, комплексное локомотивное устройство 7 безопасности (КЛУБ 7), блок 8 определения местоположения локомотива (БОМЛ 8), выполненный на основе спутникового навигатора, блок 9 измерения скорости и пройденного расстояния (БИСР 9), блок 10 расчета допустимой скорости, кривых торможения и обмена данными (БРДС 10) со стационарными центрами 1 радиоблокировки по радиоканалу, вихретоковое устройство 11 (ВТУ 11) текущего контроля фактического состояния рельсов и уточненного измерения скорости, дисплей 12 машиниста (ДМ 12), блок 13 головного полукомплекта непрерывного контроля (БГПК 13) целостности тормозной магистрали 14 (ТМ 14) поезда, соединенный с блоком 15 полукомплекта хвостового вагона (БПХВ 15) состава поезда, через тормозную магистраль 14 поезда, а также через локомотивное радиопередающее устройство 16 (ЛРПУ 16) и бортовой локальный радиоканал 17 (БЛРК 17) соединен с радиопередающим устройством 18 (РПУ 18) блока 15 полукомплекта хвостового вагона состава поезда, которое по цепи питания связано с первым выходом автономного источника электропитания 19 (АИЭП 19), выполненного на базе пневмоэлектрогенератора 20 (ПЭГ 20), вход для подачи воздуха которого подключен к тормозной магистрали 14 (ТМ) поезда, при этом второй выход автономного источника электропитания 19 соединен с входом электропитания блока 21 (БСС 21) светового сигнала конца состава поезда. Оптоволоконный кабель 5 конструктивно выполнен в виде комбинированного сенсорного и связевого кабеля, уложенного на перегоне вдоль железнодорожного пути, с обеспечением передачи на его внешнюю оболочку воздействий внешних сил от конструктивных элементов железнодорожного пути и содержащего внутренние элементы 22 механической связи (ВЭМС 22) между внешней оболочкой оптоволоконного кабеля 5 и размещенными в нем сенсорными оптическими волокнами 23 (СОВ 23), изменяющими свои оптические параметры при их деформации, при этом одним концом сенсорные оптические волокна 23 соединены с первыми портами связи перегонных блоков 24 формирования и анализа импульсных световых сигналов (ПБФАСС 24), вторые порты связи которых подключены к портам связи напольных блоков 25 видеонаблюдения (БВН 25), в составе которых имеется блок 26 автоматической регистрации светового сигнала конца состава поезда (БАРКП 26), а другими концами соединены с соответствующими первыми портами станционного блока 27 формирования и анализа импульсных световых сигналов (СБФАСС 27), второй порт связи которого через сеть 4 передачи данных соединен с ЭВМ 2 центра диспетчерского контроля и управления.The system of interval regulation of train traffic on the basis of the radio channel contains stationary centers 1 radio blocking (CRH 1), connected to a computer 2 of the center of supervisory control and management (EDSDKU 2) and connected to each other and to distillation base stations 3 (BS 3) through a data transmission network 4 (SPD 4) via TCP / IP or similar, and on the haul between neighboring stations through fiber optic cable 5 (HVAC 5) and the radio channel, on board equipment involved in the train, including interconnected equipment through the onboard systems interface of locomotive 6 (BSIL 6) for digital data exchange, integrated locomotive safety device 7 (CLUB 7), locomotive location determination unit 8 (BOML 8) based on the satellite navigator, speed and distance traveled measurement unit 9 (BISR 9), unit 10 for calculating the permissible speed, braking curves and data exchange (BRDS 10) with stationary centers 1 radio blocking over the air, eddy current device 11 (VTU 11) for monitoring the actual condition of the rails and the updated speed measurement, display 12 drivers (DM 12), block 13 of the head half-set of continuous monitoring (BGPK 13) of the integrity of the brake line 14 (TM 14) of the train, connected to the block 15 of the half-set of the tail carriage (БПХВ 15) of the train, through the
Система интервального регулирования движения поездов на базе радиоканала функционирует следующим образом.The system of interval regulation of train traffic on the basis of the radio channel operates as follows.
Сформированное в ЭВМ 2 центра диспетчерского контроля и управления задание на перемещение поездов преобразуют в стационарном центре 1 радиоблокировки в конкретные команды управления движением и по радиоканалу с антенн стационарного центра 1 радиоблокировки или антенн перегонных базовых станций 3 передаются на борты локомотивов, где они поступают на блоки 10 расчета допустимой скорости, кривых торможения и обмена данными со стационарными центрами 1 радиоблокировки. В обратном направлении блоки 10 передают в ЭВМ 2 центра диспетчерского контроля и управления измеренные текущие параметры движения поездов и состояние рельсов, оцененное с помощью вихретоковых устройств 11 текущего контроля фактического состояния рельсов и уточненного измерения скорости. Результаты текущего контроля фактического состояния рельсов необходимы для правильного технического содержания рельсов, но не позволяют предотвратить движение поездов по дефектному рельсовому пути и таким образом не обеспечивают необходимый уровень безопасности движения. Надежная связь между стационарным центром 1 радиоблокировки с перегонными базовыми станциями 3 обеспечивается по оптоволоконному кабелю 5. Каждая базовая станция 3 покрывает свою зону радиосвязи с поездами и соединена также по радиоканалу с соседними базовыми станциями 3. Электропитание базовых станций 3 и расположенных с ними в общей конструкции блоков 24 формирования и анализа импульсных световых сигналов и напольных блоков 25 видеонаблюдения для упрощения системы может осуществляется от общих источников электропитания. В частности, энергия электропитания может подаваться со станций, ограничивающих перегон, по оптоволоконному кабелю 5, если он является комбинированным, и наряду с оптоволоконными жилами для системы передачи данных и сенсорными оптическими волокнами, изменяющими свои оптические параметры при их деформации, содержит металлические проводники.The task for the movement of trains formed in the computer 2 of the dispatch control and control center in the stationary center 1 of the radio block is converted into specific traffic control commands and transmitted over the radio channel from the antennas of the stationary center 1 of the radio block or antennas of the distillation base stations 3 to the sides of the locomotives, where they are sent to blocks 10 calculation of permissible speed, braking curves and data exchange with stationary centers 1 radio blocking. In the opposite direction, blocks 10 transmit to the computer 2 of the center of supervisory control and control the measured current parameters of the movement of trains and the condition of the rails, estimated using eddy current devices 11 for monitoring the actual condition of the rails and the updated speed measurement. The results of the current control of the actual condition of the rails are necessary for the correct technical maintenance of the rails, but they do not prevent the movement of trains along the defective rail track and thus do not provide the necessary level of traffic safety. Reliable communication between the stationary center of the radio blocking 1 and the distillation base stations 3 is provided via a fiber
С помощью оптоволоконного кабеля 5 и связанной с ним дополнительной аппаратуры обеспечивается более высокий уровень безопасности и надежности при осуществлении контроля состояния и свободности пути на перегоне и управления движением поездов. Для этого перегонные блоки 24 формирования и анализа импульсных световых сигналов в отсутствие на соответствующих путевых участках перегона формируют импульсные световые сигналы, поступающие в соответствующие им сенсорные оптические волокна 23, и по затуханию этих сигналов станционный блок 27 формирования и анализа импульсных световых сигналов интегрально определяет степень исправности элементов рельсового пути, отсутствие на нем посторонних препятствий или поездов.Using fiber
Наличие повреждений, препятствий или появление поезда обуславливает возникновение внешних сил, воздействующих через конструктивные элементы железнодорожного пути на оболочку оптоволоконного кабеля 5. Воздействие этих сил через внутренние элементы механической связи 22 передаются на сенсорные оптические волокна 23, вызывая деформации кристаллической структуры оптоволокна, увеличение затухания для световых импульсных сигналов и появление отраженных импульсных световых сигналов. При обнаружении увеличения затухания система определяет границы местоположения и вид препятствий. Определения границ местоположения и определения вида препятствий выполняется на основе анализа характеристик отраженных последовательностей световых импульсов. При определении границ местоположения и вида препятствий световые импульсы поочередно с двух концов посылаются в сенсорные оптические волокна 23. Со стороны перегона они посылаются от перегонных блоков 24 формирования и анализа импульсных световых сигналов, а со стороны станции они посылаются станционным блоком 27 формирования и анализа импульсных световых сигналов. Работа этих блоков синхронизируется по оптоволоконной линии связи и по ней же данные об отражении световых импульсов, отправленных о стороны перегонных блоков 24 формирования и анализа импульсных световых сигналов, пересылаются от этих блоков в станционный блок 27 формирования и анализа импульсных световых сигналов. Этот блок 27 также формирует и передает импульсные световые сигналы в сенсорные оптические волокна 23, регистрирует и анализирует отраженные импульсные световые сигналы. Для лучшего распознавания и измерения параметров отраженных сигналов последовательности формируемых импульсных световых сигналов могут отличаться частотой, длительностью и поляризацией импульсов света.The presence of damage, obstacles or the emergence of a train causes the emergence of external forces acting through the structural elements of the railway track on the sheath of the
Режимы обнаружения границ препятствий система чередует с режимами отправки накопленной информации в ЭВМ 2 центра диспетчерского контроля и управления и обмена управляющими командами и данными с напольными блоками 25 видеонаблюдения. Данные от блоков 25 видеонаблюдения представляют собой кадры видеосъемки проблемных участков железнодорожного пути и данные от блоков 26 автоматической регистрации светового сигнала последнего вагона поезда 7. Когда фиксируется прохождение мимо блока 25 видеонаблюдения светового сигнала последнего вагона поезда, эта информация немедленно передается в ЭВМ 2 центра диспетчерского контроля и управления по радиоканалу и сети 4 передачи данных.The system alternates the detection of obstacle boundaries with the modes of sending the accumulated information to the computer 2 of the center for supervisory control and management and exchange of control commands and data with outdoor video surveillance units 25. The data from the video surveillance units 25 are video frames of the problematic sections of the railway track and the data from the automatic light signal recording units 26 of the last train car 7. When the light signal of the last train carriage is passed by the video surveillance unit 25, this information is immediately transmitted to the computer 2 of the control center and control over the radio channel and the data network 4.
Места подключения перегонных блоков 24 формирования и анализа импульсных световых сигналов к сенсорным оптическим волокнам 23 имеют постоянные и известные координаты и используются как дополнительные высоконадежные реперные точки. В моменты занятия и освобождения этих мест возникают сигналы, которые особенно надежно распознаются блоками формирования и анализа импульсных световых сигналов 27. Все результаты измерений и события снабжаются в системе метками глобального времени систем спутниковой навигации ГЛОНАС/GPS для целей синхронизации и возможности определения интервала времени, в котором данные сохраняют свою актуальность. После обработки данных о местоположении поездов и препятствий ЭВМ 2 центра диспетчерского контроля и управления через сеть 4 передачи данных и радиоканал передает на поезда управляющие приказы и уточненную координатную информацию, повышающие безопасность движения поездов и ускоряющие восстановление нормальной работы после сбоев в работе бортовых навигационных устройств. Для повышения точности в определении координат местоположения поезда блок 15 полукомплекта хвостового вагона состава поезда может содержать дополнительный приемник спутниковой навигации (на чертеже не показан), посредством которого при одновременной нормальной работе головного и хвостового приемников спутниковой навигации "след" занимаемый поездом, с учетом комплексного использования всех данных доступных из системы, вычисляется с минимальными разбросами при полноте уровня безопасности SIL4. Информация о развивающихся повреждениях железнодорожного пути используется для улучшения процессов технического обслуживания и ремонта. Световой сигнал конца состава поезда является необходимым для визуального контроля местоположения хвоста поезда для участников движения, а автоматизация его распознавания снижает влияние человеческого фактора на безопасность движения. Предлагаемая система также предотвращает случаи преждевременного размыкания путевых участков в системах АБ при потере шунта подвижной единицей, поскольку имеются параллельные независимые каналы определения наличия на пути подвижной единицы рельсового транспорта.The connection points of the distillation units 24 for the formation and analysis of pulsed light signals to the sensor
Преимущества предлагаемой системы состоят в том, что она заранее обнаруживает повреждения железнодорожного пути (провалы и выбросы земляного полотна, дефектные рельсы и их крепления) и различные другие препятствия движению (злоумышленники, автомобили, пешеходы, крупные животные, упавшие деревья и грузы и т.д.), а во время движения поездов регистрирует вибрации и удары неисправных элементов ходовой части поезда и рельсового пути. Система более надежно и быстро определяет отрыв хвостовой части состава, даже если часть тормозной магистрали перекрывается неисправным вентилем, так как сопоставляет расчетную координату хвоста поезда с реальной координатой места давления на путь последнего вагона поезда. Система позволяет также автоматически регистрировать проследование последнего вагона состава мимо пунктов установки камер видеонаблюдения. При этом безопасность и надежность системы существенно возрастают при малых затратах на получение этих результатов, так как используется уже необходимый для надежной системы передачи данных в радиоблокировке на основе радиоканала волоконно-оптический кабель. Дополнения заключаются только в изменении его конструкции и требований к месту и способу прокладки.The advantages of the proposed system are that it detects damage to the railway line in advance (dips and emissions of the subgrade, defective rails and their fastenings) and various other obstacles to movement (intruders, cars, pedestrians, large animals, fallen trees and cargo, etc. .), and during the movement of trains, it registers vibrations and shocks of faulty elements of the running gear of the train and the rail track. The system more reliably and quickly determines the separation of the tail of the train, even if part of the brake line is blocked by a faulty valve, as it compares the calculated coordinate of the tail of the train with the actual coordinate of the place of pressure on the path of the last train car. The system also allows you to automatically record the trace of the last carriage of the train past the points of installation of CCTV cameras. At the same time, the safety and reliability of the system increases significantly at low cost to obtain these results, since the fiber-optic cable that is already needed for a reliable data transmission system in radio blocking based on the radio channel is used. Additions consist only in a change in its design and requirements for the place and method of laying.
| Application Number | Priority Date | Filing Date | Title |
|---|---|---|---|
| RU2014114356/11ARU2556133C1 (en) | 2014-06-04 | 2014-06-04 | System of train separation at spans built around radio channel |
| Application Number | Priority Date | Filing Date | Title |
|---|---|---|---|
| RU2014114356/11ARU2556133C1 (en) | 2014-06-04 | 2014-06-04 | System of train separation at spans built around radio channel |
| Publication Number | Publication Date |
|---|---|
| RU2556133C1true RU2556133C1 (en) | 2015-07-10 |
| Application Number | Title | Priority Date | Filing Date |
|---|---|---|---|
| RU2014114356/11ARU2556133C1 (en) | 2014-06-04 | 2014-06-04 | System of train separation at spans built around radio channel |
| Country | Link |
|---|---|
| RU (1) | RU2556133C1 (en) |
| Publication number | Priority date | Publication date | Assignee | Title |
|---|---|---|---|---|
| RU2618660C1 (en)* | 2016-04-27 | 2017-05-05 | Открытое Акционерное Общество "Научно-Исследовательский И Проектно-Конструкторский Институт Информатизации, Автоматизации И Связи На Железнодорожном Транспорте" | Railway traffic interval regulation system based on radio channels |
| RU2678915C1 (en)* | 2018-04-12 | 2019-02-04 | Акционерное общество "Научно-исследовательский и проектно-конструкторский институт информатизации, автоматизации и связи на железнодорожном транспорте" | System for exchange of data of locomotive systems with control and management control centers |
| RU2685109C1 (en)* | 2018-07-11 | 2019-04-16 | Акционерное общество "Научно-исследовательский и проектно-конструкторский институт информатизации, автоматизации и связи на железнодорожном транспорте" | System for interval control of movement of trains based on radio channel |
| RU2737813C1 (en)* | 2020-06-03 | 2020-12-03 | Акционерное общество "Научно-исследовательский и проектно-конструкторский институт информатизации, автоматизации и связи на железнодорожном транспорте" | Train control system |
| RU2743103C1 (en)* | 2020-09-04 | 2021-02-15 | Акционерное общество "Научно-исследовательский и проектно-конструкторский институт информатизации, автоматизации и связи на железнодорожном транспорте" | System of interval regulation of train traffic |
| RU2746629C1 (en)* | 2020-09-07 | 2021-04-19 | Акционерное общество "Научно-исследовательский и проектно-конструкторский институт информатизации, автоматизации и связи на железнодорожном транспорте" | System for interval regulation of train traffic |
| RU2753990C1 (en)* | 2021-02-24 | 2021-08-25 | Акционерное общество "Научно-исследовательский и проектно-конструкторский институт информатизации, автоматизации и связи на железнодорожном транспорте" | System for interval regulation of train traffic |
| RU2761485C1 (en)* | 2021-04-13 | 2021-12-08 | Открытое Акционерное Общество "Российские Железные Дороги" | Interval train control system |
| RU2770040C1 (en)* | 2021-10-04 | 2022-04-14 | Акционерное общество "Научно-исследовательский и проектно-конструкторский институт информатизации, автоматизации и связи на железнодорожном транспорте" | Train interval control system |
| RU2811161C1 (en)* | 2023-09-06 | 2024-01-11 | Акционерное общество "Научно-исследовательский и проектно-конструкторский институт информатизации, автоматизации и связи на железнодорожном транспорте" | Train interval control system |
| Publication number | Priority date | Publication date | Assignee | Title |
|---|---|---|---|---|
| US20010045495A1 (en)* | 1999-03-31 | 2001-11-29 | Leslie E. Olson | Fiber optic rail monitoring apparatus and method |
| CN101475018A (en)* | 2008-10-22 | 2009-07-08 | 国营红峰机械厂 | Two dimensional space running orbit tester based on double-shaft optical fiber gyroscope |
| CN201980252U (en)* | 2010-12-16 | 2011-09-21 | 西安金和光学科技有限公司 | Rail monitoring and sensing device |
| RU2011118415A (en)* | 2011-05-06 | 2012-11-20 | Сименс Акциенгезелльшафт (DE) | METHOD FOR MONITORING RAILWAYS BASED ON FIBER OPTICS |
| EP2351680B1 (en)* | 2004-03-29 | 2012-12-12 | The Hong Kong Polytechnic University | System and process for monitoring railway tracks |
| Publication number | Priority date | Publication date | Assignee | Title |
|---|---|---|---|---|
| US20010045495A1 (en)* | 1999-03-31 | 2001-11-29 | Leslie E. Olson | Fiber optic rail monitoring apparatus and method |
| EP2351680B1 (en)* | 2004-03-29 | 2012-12-12 | The Hong Kong Polytechnic University | System and process for monitoring railway tracks |
| CN101475018A (en)* | 2008-10-22 | 2009-07-08 | 国营红峰机械厂 | Two dimensional space running orbit tester based on double-shaft optical fiber gyroscope |
| CN201980252U (en)* | 2010-12-16 | 2011-09-21 | 西安金和光学科技有限公司 | Rail monitoring and sensing device |
| RU2011118415A (en)* | 2011-05-06 | 2012-11-20 | Сименс Акциенгезелльшафт (DE) | METHOD FOR MONITORING RAILWAYS BASED ON FIBER OPTICS |
| Title |
|---|
| Ходжаев У., статья "Система ITCS" журнал "Автоматика, Связь, Информатика", N8, 2006, издательство ОАО " РОССИЙСКИЕ ЖЕЛЕЗНЫЕ ДОРОГИ".* |
| Publication number | Priority date | Publication date | Assignee | Title |
|---|---|---|---|---|
| RU2618660C1 (en)* | 2016-04-27 | 2017-05-05 | Открытое Акционерное Общество "Научно-Исследовательский И Проектно-Конструкторский Институт Информатизации, Автоматизации И Связи На Железнодорожном Транспорте" | Railway traffic interval regulation system based on radio channels |
| RU2678915C1 (en)* | 2018-04-12 | 2019-02-04 | Акционерное общество "Научно-исследовательский и проектно-конструкторский институт информатизации, автоматизации и связи на железнодорожном транспорте" | System for exchange of data of locomotive systems with control and management control centers |
| RU2685109C1 (en)* | 2018-07-11 | 2019-04-16 | Акционерное общество "Научно-исследовательский и проектно-конструкторский институт информатизации, автоматизации и связи на железнодорожном транспорте" | System for interval control of movement of trains based on radio channel |
| RU2737813C1 (en)* | 2020-06-03 | 2020-12-03 | Акционерное общество "Научно-исследовательский и проектно-конструкторский институт информатизации, автоматизации и связи на железнодорожном транспорте" | Train control system |
| RU2743103C1 (en)* | 2020-09-04 | 2021-02-15 | Акционерное общество "Научно-исследовательский и проектно-конструкторский институт информатизации, автоматизации и связи на железнодорожном транспорте" | System of interval regulation of train traffic |
| RU2746629C1 (en)* | 2020-09-07 | 2021-04-19 | Акционерное общество "Научно-исследовательский и проектно-конструкторский институт информатизации, автоматизации и связи на железнодорожном транспорте" | System for interval regulation of train traffic |
| RU2753990C1 (en)* | 2021-02-24 | 2021-08-25 | Акционерное общество "Научно-исследовательский и проектно-конструкторский институт информатизации, автоматизации и связи на железнодорожном транспорте" | System for interval regulation of train traffic |
| RU2761485C1 (en)* | 2021-04-13 | 2021-12-08 | Открытое Акционерное Общество "Российские Железные Дороги" | Interval train control system |
| RU2770040C1 (en)* | 2021-10-04 | 2022-04-14 | Акционерное общество "Научно-исследовательский и проектно-конструкторский институт информатизации, автоматизации и связи на железнодорожном транспорте" | Train interval control system |
| RU2811161C1 (en)* | 2023-09-06 | 2024-01-11 | Акционерное общество "Научно-исследовательский и проектно-конструкторский институт информатизации, автоматизации и связи на железнодорожном транспорте" | Train interval control system |
| Publication | Publication Date | Title |
|---|---|---|
| RU2556133C1 (en) | System of train separation at spans built around radio channel | |
| US11711707B2 (en) | Communication system and method for correlating wireless communication performance with vehicle system configurations | |
| RU2685109C1 (en) | System for interval control of movement of trains based on radio channel | |
| US9607446B2 (en) | System and method for identifying damaged sections of a route | |
| CN109664923B (en) | Urban rail transit train control system based on vehicle-vehicle communication | |
| US9469198B2 (en) | System and method for identifying damaged sections of a route | |
| US8224510B2 (en) | System and method to provide communication-based train control system capabilities | |
| US10000222B2 (en) | Methods and systems of determining end of train location and clearance of trackside points of interest | |
| RU2618660C1 (en) | Railway traffic interval regulation system based on radio channels | |
| US20090177344A1 (en) | Method for the Onboard Determination of Train Detection, Train Integrity and Positive Train Separation | |
| KR101653771B1 (en) | System for protectiing trains | |
| CN114684222B (en) | Train control method and system based on bidirectional transmission of transponder | |
| RU2561518C1 (en) | Railway traffic control at spans at ctc | |
| RU2560227C1 (en) | Train tracking system | |
| RU2675041C1 (en) | Train location control system | |
| RU2770040C1 (en) | Train interval control system | |
| RU2622524C1 (en) | Shunting locomotive control system | |
| RU2746629C1 (en) | System for interval regulation of train traffic | |
| KR101262762B1 (en) | railway vehicle's location error correction apparatus and method of the same | |
| US12371078B2 (en) | Vehicle monitoring system | |
| KR20200000201U (en) | Train operation support navigation device | |
| RU92642U1 (en) | MANEUVER LOCOMOTIVE MANAGEMENT SYSTEM | |
| RU2288856C2 (en) | System to prevent collision of train or locomotive with arriving or departing train | |
| RU48911U1 (en) | RAILWAY VEHICLE LOCATION CONTROL SYSTEM | |
| RU2811161C1 (en) | Train interval control system |