






Изобретения относятся к области радиотехники, в частности к способу и устройству частотно-временной синхронизации системы связи.The invention relates to the field of radio engineering, in particular to a method and apparatus for time-frequency synchronization of a communication system.
В системах связи каналы распространения сигнала между приемником и передатчиком данных являются многолучевыми и нестационарными. Эффективность систем связи во многом определяется способностью алгоритмов частотно-временной синхронизации обеспечить в многолучевых нестационарных каналах необходимую точность оценки временного положения сигнала и частотного рассогласования между частотой входного сигнала и частотой опорного генератора.In communication systems, the signal propagation channels between the receiver and the data transmitter are multipath and non-stationary. The effectiveness of communication systems is largely determined by the ability of time-frequency synchronization algorithms to provide in multipath non-stationary channels the necessary accuracy in estimating the temporal position of a signal and the frequency mismatch between the frequency of the input signal and the frequency of the reference oscillator.
В последнее время большое развитие получили системы связи с OFDM (Orthogonal Frequency Division Multiplexing). OFDM сигнал представляет собой последовательность OFDM символов. Каждый такой символ состоит из двух частей - префикса и многочастотного информационного символа. Многочастотный информационный символ представляет собой сумму модулированных гармоник. Под префиксом понимают некоторую последовательность отсчетов сигнала, которая непосредственно предшествует каждому многочастотному информационному символу и представляет собой часть этого символа. Как правило, длительность префикса меньше длительности информационного символа. Наличие префикса при обработке сигнала позволяет уменьшить или полностью устранить межсимвольную интерференцию (IEEE Std 802.11а - 1999, Прокис Дж., Цифровая связь. Перевод с английского. М., Радио и связь, 2000 г., с.593) [1].Recently, communication systems with OFDM (Orthogonal Frequency Division Division Multiplexing) have been greatly developed. An OFDM signal is a sequence of OFDM symbols. Each such symbol consists of two parts - a prefix and a multi-frequency information symbol. A multi-frequency information symbol is the sum of modulated harmonics. The prefix means a certain sequence of samples of the signal, which immediately precedes each multi-frequency information symbol and is a part of this symbol. As a rule, the prefix duration is less than the duration of the information symbol. The presence of a prefix during signal processing can reduce or completely eliminate intersymbol interference (IEEE Std 802.11a - 1999, Prokis J., Digital Communications. Translation from English. M., Radio and Communications, 2000, p. 593) [1].
Для начальной частотно-временной синхронизации обычно используют специальный сигнал - преамбулу, который предшествует информационному сообщению. В системе связи IEEE 802.11а (см. Supplement to IEEE Standard for Information technology. Part 11: Wireless LAN Medium Access Control (MAC) and Physical Layer (PHY) specifications: High-speed Physical Layer in. the 5 GHZ Band)[2] преамбула и информационное сообщение представляют собой OFDM (Orthogonal Frequency Division Multiplexing) сигнал. Структура преамбулы показана на Фиг.1.For the initial time-frequency synchronization, a special signal is usually used - the preamble that precedes the information message. In the IEEE 802.11a communication system (see Supplement to IEEE Standard for Information technology. Part 11: Wireless LAN Medium Access Control (MAC) and Physical Layer (PHY) specifications: High-speed Physical Layer in. The 5 GHZ Band) [2 ] the preamble and the information message are OFDM (Orthogonal Frequency Division Multiplexing) signals. The structure of the preamble is shown in FIG.
Преамбула состоит из двух частей.The preamble consists of two parts.
Первая часть преамбулы включает десять коротких обучающих многочастотных символов и служит для предварительной ("грубой") оценки временного положения и частотной расстройки входного сигнала. Вторая часть преамбулы включает два длинных обучающих многочастотных символа и защитный интервал (префикс). Вторая часть преамбулы служит для точной окончательной оценки временного положения и частотной расстройки входного сигнала при начальной синхронизации.The first part of the preamble includes ten short training multi-frequency symbols and serves as a preliminary (“rough”) estimate of the temporal position and frequency detuning of the input signal. The second part of the preamble includes two long training multi-frequency symbols and a guard interval (prefix). The second part of the preamble serves for an accurate final assessment of the temporal position and frequency detuning of the input signal during initial synchronization.
Известен способ частотной и временной синхронизации, описанный в работе Tufvesson F., Faulkne M., Hoeher P., Edfors О., OFDM Time and Frequency Synchronization by Spread Spectrum Pilot Technique // 8th IEEE Communication Theory Mini Conference in conjunction to ICC'99,. - June 1999. - P.115-119 [3]. В данной статье предложен способ частотной и временной синхронизации для OFDM систем, который базируется на использовании непрерывной кодовой последовательности. Кодовая последовательность добавляется к OFDM информационному сигналу или используется отдельно как сигнал преамбулы. Этот способ временной и частотной синхронизации заключается в следующем.There is a method of frequency and time synchronization described by Tufvesson F., Faulkne M., Hoeher P., Edfors O., OFDM Time and Frequency Synchronization by Spread Spectrum Pilot Technique // 8th IEEE Communication Theory Mini Conference in conjunction to ICC'99 ,. - June 1999. - P.115-119 [3]. This article proposes a method of frequency and time synchronization for OFDM systems, which is based on the use of a continuous code sequence. The code sequence is added to the OFDM information signal or used separately as a preamble signal. This method of time and frequency synchronization is as follows.
Входной сигнал обрабатывают в нескольких фильтрах, согласованных с различными частями известной кодовой последовательности. Выходные сигналы согласованных фильтров используют для формирования комплексной решающей функции. Каждое слагаемое решающей функции представляет собой сумму попарных произведений откликов согласованных фильтров на соответствующие им соседние комплексно-сопряженные отклики согласованных фильтров.The input signal is processed in several filters, consistent with various parts of the known code sequence. The output signals of matched filters are used to form an integrated decision function. Each term of the decisive function is the sum of the pairwise products of the responses of the matched filters to the corresponding adjacent complex conjugate responses of the matched filters.
Оценку временной задержки (положения) входного сигнала определяют по положению максимума квадрата модуля решающей функции. Оценку частотного сдвига между несущей частотой входного сигнала и частотой опорного сигнала определяют по значению аргумента решающей функции в точке, соответствующей оценке временной задержки.The estimate of the time delay (position) of the input signal is determined by the position of the maximum squared module of the decisive function. An estimate of the frequency shift between the carrier frequency of the input signal and the frequency of the reference signal is determined by the value of the argument of the decision function at the point corresponding to the estimate of the time delay.
Описанный способ предполагает одноэтапную процедуру частотно-временной синхронизации. Вследствие этого при больших величинах возможного частотного сдвига между несущей частотой входного сигнала и частотой опорного сигнала при реализации способа необходимо использовать фильтры, согласованные с более короткими частями известной кодовой последовательности. Это приводит к ухудшению точности оценки временной задержки и частотной расстройки и является главным недостатком данного способа синхронизации.The described method involves a one-stage procedure of time-frequency synchronization. As a result, with large values of the possible frequency shift between the carrier frequency of the input signal and the frequency of the reference signal, when implementing the method, it is necessary to use filters that are consistent with shorter parts of the known code sequence. This leads to a deterioration in the accuracy of estimating the time delay and frequency detuning and is the main disadvantage of this synchronization method.
Известен способ частотно-временной синхронизации, описанный в статье Schmidl Т.М., Сох D. С., Robust Frequency and TimingA known method of time-frequency synchronization described in the article Schmidl T.M., Sox D. C., Robust Frequency and Timing
В [4] предложен способ синхронизации параметров сигнала в OFDM (Orthogonal Frequency Division Multiplexing) системах, который основан на приеме преамбулы, состоящей из двух OFDM символов. В процессе синхронизации на первом этапе по первому символу определяют временное положение сигнала, а также осуществляют предварительную оценку частного рассогласования с точностью до n·π·Т, n=1, 2 ..., Т - длительность OFDM символа. Окончательную оценку частотного сдвига между несущей частотой входного сигнала и частотой опорного сигнала осуществляют на втором этапе с использованием второго OFDM символа.In [4], a method was proposed for synchronizing signal parameters in OFDM (Orthogonal Frequency Division Multiplexing) systems, which is based on the reception of a preamble consisting of two OFDM symbols. In the synchronization process at the first stage, the temporal position of the signal is determined from the first symbol, and a preliminary estimation of the partial mismatch is carried out with an accuracy of n · π · T, n = 1, 2 ..., T is the duration of the OFDM symbol. The final estimate of the frequency shift between the carrier frequency of the input signal and the frequency of the reference signal is carried out in a second step using a second OFDM symbol.
Первый OFDM символ состоит из двух идентичных частей, отличающихся при приеме фазовым сдвигом. Сначала формируют комплексную решающую функцию первого этапа как произведения выборок первой части символа на соответствующие комплексно-сопряженные выборки второй части символа. Оценку временной задержки входного сигнала определяют по положению максимума квадрата модуля решающей функции первого этапа. Предварительную оценку частотного сдвига между несущей входного сигнала и частотой опорного сигнала вычисляют по значению аргумента решающей функции первого этапа в точке, соответствующей оценке временной задержки.The first OFDM symbol consists of two identical parts, which differ in phase shift reception. First, the complex decisive function of the first stage is formed as the product of the samples of the first part of the symbol and the corresponding complex conjugate samples of the second part of the symbol. The estimate of the time delay of the input signal is determined by the position of the maximum squared module of the decisive function of the first stage. A preliminary estimate of the frequency shift between the carrier of the input signal and the frequency of the reference signal is calculated by the value of the argument of the decision function of the first stage at the point corresponding to the estimate of the time delay.
Для определения окончательной оценки частотного рассогласования формируют решающую функцию второго этапа для всевозможных значений n, используя оба OFDM символа. Оценку параметра n определяют по положению максимума решающей функции второго этапа.To determine the final estimate of the frequency mismatch, a decisive function of the second stage is formed for all possible values of n using both OFDM symbols. The estimate of the parameter n is determined by the position of the maximum of the decisive function of the second stage.
Недостатком описанного способа является невысокая точность оценки временного положения сигнала вследствие весьма широкой плоской вершины решающей функции первого этапа, ширина которой равна длительности префикса OFDM символа. Кроме того, недостатком является неполное использование ресурса преамбулы, а именно отказ от использования второго OFDM символа при оценке временного положения сигнала. Перечисленные недостатки приводят к низкой помехоустойчивости частотно-временной синхронизации системы связи.The disadvantage of the described method is the low accuracy of estimating the temporal position of the signal due to the very wide flat top of the decision function of the first stage, the width of which is equal to the duration of the OFDM symbol prefix. In addition, the disadvantage is the incomplete use of the preamble resource, namely the rejection of the use of the second OFDM symbol in estimating the temporal position of the signal. These disadvantages lead to low noise immunity of the time-frequency synchronization of the communication system.
В статье Chia-Sheng Peng, Chian-Himg Cho and К.A. Wen, Frame Synchronization and Digital AGC for OFDM Based WLAN Proceedings Vol.2 of European Wireless 2002, pp.835-839, Feb. 2002 [5] предлагается алгоритм временной синхронизации и AGC (Automatic Gain Control - автоматическая регулировка усиления) в системе связи IEEE 802.11а. В соответствии с предлагаемым в [5] алгоритмом начало фрейма и окончание первой части преамбулы определяют по пересечению порога следующей величинойIn an article by Chia-Sheng Peng, Chian-Himg Cho and K.A. Wen, Frame Synchronization and Digital AGC for OFDM Based WLAN Proceedings Vol. 2 of European Wireless 2002, pp. 835-839, Feb. 2002 [5] a time synchronization algorithm and AGC (Automatic Gain Control) are proposed in the IEEE 802.11a communication system. In accordance with the algorithm proposed in [5], the beginning of the frame and the end of the first part of the preamble are determined by the threshold crossing the following value
где s(n) - отсчеты принятого OFDM сигнала,where s (n) are the samples of the received OFDM signal,
Ng=16.Ng = 16.
Порог определяют на основе средней мощности сигнала, вычисленной в скользящем окне. После определения начала фрейма осуществляют AGC, используя модуль величины (1). После определения начала фрейма также выполняют символьную синхронизацию с помощью согласованного с коротким OFDM символом фильтра. Выходные отсчеты согласованного фильтра сравнивают с порогом. По окончании первой части преамбулы и превышению порога выходными отсчетами согласованного фильтра принимают решение о временной синхронизации.The threshold is determined based on the average signal power calculated in a sliding window. After determining the start of the frame, AGC is performed using the magnitude module (1). After determining the start of the frame, symbol synchronization is also performed using a filter consistent with the short OFDM symbol. The output samples of the matched filter are compared with a threshold. At the end of the first part of the preamble and the threshold is exceeded, the output samples of the matched filter decide on time synchronization.
Недостатком описанного способа синхронизации является отказ от некогерентной обработки при символьной (временной) синхронизации, что приводит к низкой помехоустойчивости временной синхронизации системы связи. Кроме того, в статье отсутствует описание процедуры частотной синхронизации.The disadvantage of the described synchronization method is the rejection of incoherent processing in symbolic (temporary) synchronization, which leads to low noise immunity of the time synchronization of the communication system. In addition, the article does not describe the frequency synchronization procedure.
В статье Н.Kobayashi, К.Mori, Т.Nagaosa. Proposal of Symbol Timing and Carrier Frequency Synchronization Method for Burst Mode OFDM Signal // IEICE Trans. Commun., Vol. E86-B, No.1, January 2003 [6] описан алгоритм частотно-временной синхронизации в OFDM системе связи, использующий сигнал преамбулы (аналогично представленной на Фиг.1).In the article by N. Kobayashi, K. Mori, T. Nagaosa. Proposal of Symbol Timing and Carrier Frequency Synchronization Method for Burst Mode OFDM Signal // IEICE Trans. Commun., Vol. E86-B, No.1, January 2003 [6] describes a time-frequency synchronization algorithm in an OFDM communication system using a preamble signal (similar to that shown in FIG. 1).
В соответствии с описанным алгоритмом для осуществления временной синхронизации сначала формируют произведения комплексно-сопряженных отсчетов входного сигнала на комплексные отсчеты входного сигнала, задержанные на один отсчет. Полученные произведения подают на коррелятор, опорный сигнал которого представляет собой произведение известных временных отсчетов преамбулы на комплексно-сопряженные отсчеты преамбулы, задержанные на один отсчет. С выхода коррелятора сигнал поступает на вход пикового детектора, который определяет временное положение сигнала преамбулы по положению максимума выходного сигнала коррелятора. Оценку частотного рассогласования предлагается производить в два этапа. На первом этапе формируют предварительную оценку частотного рассогласования, а на втором - точную оценку частотного рассогласования. На первом этапе, используя оценку временного положения сигнала преамбулы, сначала формируют произведения отсчетов входного сигнала на комплексно-сопряженные отсчеты известного сигнала преамбулы. Предварительную оценку частотного рассогласования получают по результату преобразования Фурье полученного произведения. Далее корректируют входной сигнал в соответствии с полученной оценкой. На втором этапе сначала выполняют преобразование Фурье OFDM символов скорректированного входного сигнала. Затем находят произведения комплексно-сопряженных результатов преобразования первого символа на соответствующие результаты преобразования второго OFDM символа входного сигнала. Точную оценку частотного рассогласования получают по результату корреляции полученного произведения с опорным сигналом.In accordance with the described algorithm for the implementation of time synchronization, first form the products of complex conjugate samples of the input signal to complex samples of the input signal delayed by one sample. The resulting products are fed to the correlator, the reference signal of which is the product of the known time samples of the preamble to the complex conjugate samples of the preamble, delayed by one sample. From the output of the correlator, the signal is fed to the input of the peak detector, which determines the temporary position of the preamble signal from the position of the maximum output signal of the correlator. Frequency mismatch estimation is proposed to be carried out in two stages. At the first stage, a preliminary estimate of the frequency mismatch is formed, and at the second, an accurate estimate of the frequency mismatch is formed. At the first stage, using the estimation of the temporal position of the preamble signal, the products of the samples of the input signal and the complex conjugate samples of the known preamble signal are first formed. A preliminary estimate of the frequency mismatch is obtained by the Fourier transform of the resulting product. Next, the input signal is adjusted in accordance with the obtained estimate. In a second step, the Fourier transform OFDM symbols of the corrected input signal are first performed. Then, the products of the complex conjugate results of the conversion of the first symbol to the corresponding conversion results of the second OFDM symbol of the input signal are found. An accurate estimate of the frequency mismatch is obtained by correlating the resulting product with a reference signal.
К недостаткам описанного способа частотно-временной синхронизации следует отнести отказ от когерентной обработки при временной синхронизации, отсутствие учета изменения уровня входного сигнала (в результате функционирования системы AGC). Перечисленные недостатки приводят к низкой помехоустойчивости частотно-временной синхронизации системы связи. К недостаткам также следует отнести большое время задержки вынесения решений, что требует усложнения аппаратуры (возникает необходимость в линиях задержки с большим объемом памяти).The disadvantages of the described method of time-frequency synchronization include the rejection of coherent processing during time synchronization, the lack of accounting for changes in the level of the input signal (as a result of the functioning of the AGC system). These disadvantages lead to low noise immunity of the time-frequency synchronization of the communication system. The disadvantages also include a large decision delay time, which requires hardware complexity (there is a need for delay lines with a large amount of memory).
Наиболее близким к заявляемому решению является способ частотно-временной синхронизации системы связи и алгоритм его реализации, приведенные в книге Nee R.Prasad R., OFDM for Wireless Multimedia Communication, London: «Artech House», 2000, Chapter 4. Synchronization. 4.6. Synchronization using Special Training Symbols, стр.86-88; Chapter 10. Applications of OFDM. 10.5.4 Training, стр.246-247 [7].Closest to the claimed solution is a method of time-frequency synchronization of a communication system and an algorithm for its implementation, described in the book Nee R. Prasad R., OFDM for Wireless Multimedia Communication, London: “Artech House”, 2000,
Этот способ частотно-временной синхронизации системы связи заключается в следующем:This method of time-frequency synchronization of a communication system is as follows:
входной сигнал фильтруют, усиливают, выполняют автоматическую регулировку усиления, вычисляя коэффициент усиления входного сигнала в зависимости от уровня мощности входного сигнала, переносят на видеочастоту, осуществляют его аналогово-цифровое преобразование и децимацию, формируя входной цифровой комплексный сигнал на видеочастоте;the input signal is filtered, amplified, automatic gain control is performed, calculating the gain of the input signal depending on the power level of the input signal, transfer to the video frequency, carry out its analog-to-digital conversion and decimation, forming the input digital complex signal at the video frequency;
частотно-временную синхронизацию осуществляют в два этапа:time-frequency synchronization is carried out in two stages:
на первом этапе определяют предварительную оценку частотного сдвига между несущей частотой входного сигнала и частотой опорного сигнала, для чего:at the first stage, a preliminary estimate of the frequency shift between the carrier frequency of the input signal and the frequency of the reference signal is determined, for which:
осуществляют согласованную с одним коротким многочастотным символом фильтрацию входного цифрового комплексного сигнала, формируя комплексные отклики первого этапа;filtering the input digital complex signal, consistent with one short multi-frequency symbol, forming complex responses of the first stage;
вычисляют квадраты модулей комплексных откликов первого этапа, формируя решающую функцию первого этапа;calculate the squares of the modules of the complex responses of the first stage, forming the decisive function of the first stage;
определяют временные положения локальных максимумов решающей функции первого этапа, превышающих заданный порог первого этапа H1;determine the temporary position of the local maxima of the decisive function of the first stage, exceeding a predetermined threshold of the first stage H1;
запоминают комплексные отклики первого этапа, соответствующие локальным максимумам решающей функции первого этапа;remember the complex responses of the first stage, corresponding to the local maxima of the decisive function of the first stage;
формируют предварительную оценку частотного сдвига по усредненной разности фаз комплексных откликов первого этапа, соответствующих локальным максимумам решающей функции первого этапа;form a preliminary estimate of the frequency shift by the averaged phase difference of the complex responses of the first stage, corresponding to the local maxima of the decisive function of the first stage;
на втором этапе осуществляют оценку временного положения преамбулы и окончательную оценку частотного сдвига между несущей входного сигнала и частотой опорного сигнала, для чего:at the second stage, the temporal position of the preamble is estimated and the final estimate of the frequency shift between the carrier of the input signal and the frequency of the reference signal is performed, for which:
корректируют фазу входного цифрового комплексного сигнала на интервале работы второго этапа с учетом предварительной оценки частотного сдвига между несущей частотой входного сигнала и частотой опорного сигнала;correcting the phase of the input digital complex signal in the interval of operation of the second stage, taking into account a preliminary estimate of the frequency shift between the carrier frequency of the input signal and the frequency of the reference signal;
осуществляют согласованную с одним длинным многочастотным символом фильтрацию скорректированного входного цифрового комплексного сигнала, формируя комплексные отклики второго этапа;filtering the corrected input digital complex signal, consistent with one long multi-frequency symbol, forming complex responses of the second stage;
вычисляют квадраты модулей комплексных откликов второго этапа, формируя решающую функцию второго этапа;calculate the squares of the modules of the complex responses of the second stage, forming the decisive function of the second stage;
сравнивают значения решающей функции второго этапа с заданным порогом второго этапа Н2, при непревышении порога полагают преамбулу необнаруженной;comparing the values of the decisive function of the second stage with a predetermined threshold of the second stage H2, if the threshold is not exceeded, the preamble is assumed to be undetected;
при превышении порога второго этапа Н2 полагают преамбулу обнаруженной, тогда:when the threshold of the second stage H2 is exceeded, the preamble is considered to be detected, then:
определяют оценку временного положения преамбулы по временному положению первого превышения порога второго этапа H2;determining an estimate of the temporary position of the preamble by the temporary position of the first exceeding the threshold of the second stage H2;
определяют временные положения локальных максимумов решающей функции второго этапа, превышающих заданный порог второго этапа Н2;determine the temporary position of the local maxima of the decisive function of the second stage, exceeding a predetermined threshold of the second stage H2;
определяют дополнительную оценку частотного сдвига по разности фаз двух комплексных откликов второго этапа, соответствующих локальным максимумам решающей функции второго этапа;determining an additional estimate of the frequency shift by the phase difference of the two complex responses of the second stage, corresponding to the local maxima of the decisive function of the second stage;
определяют окончательную оценку частотного сдвига между несущей частотой входного сигнала и частотой опорного сигнала как сумму предварительной и дополнительной оценки частотного сдвига.determine the final estimate of the frequency shift between the carrier frequency of the input signal and the frequency of the reference signal as the sum of the preliminary and additional estimates of the frequency shift.
Автоматическую регулировку усиления выполняют путем изменения коэффициента усиления аналогового усилителя. Коэффициент усиления формируется по оценке уровня (мощности) принимаемого сигнала (описание прототипа п.10.4 стр.235).Automatic gain control is performed by changing the gain of the analog amplifier. The gain is formed by assessing the level (power) of the received signal (prototype description p. 10.4 p. 235).
Оценку временного положения преамбулы, а именно начала преамбулы, определяют равной разности временного положения первого превышения порога второго этапа Н2 и суммы длительностей первой части преамбулы и префикса.The assessment of the temporary position of the preamble, namely the beginning of the preamble, is determined to be equal to the difference in the temporary position of the first exceeding the threshold of the second stage H2 and the sum of the durations of the first part of the preamble and the prefix.
Дополнительную оценку частотного сдвига определяют, например, как отношение разности фаз смежных комплексных откликов второго этапа к длительности длинного многочастотного символа.An additional estimate of the frequency shift is determined, for example, as the ratio of the phase difference of the adjacent complex responses of the second stage to the duration of a long multi-frequency symbol.
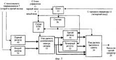
Заметим, что в упомянутом источнике информации структурная схема устройства частотно-временной синхронизации системы связи не приведена. Однако из описания алгоритма можно представить устройство, которое реализует способ-прототип. Устройство-прототип приведено на Фиг.2.Note that in the above-mentioned information source, the structural diagram of the time-frequency synchronization device of the communication system is not shown. However, from the description of the algorithm, you can imagine a device that implements the prototype method. The prototype device is shown in Fig.2.
Устройство-прототип (Фиг.2) содержит приемный тракт 1, первый 2 и второй 3 согласованные фильтры, осуществляющие на первом этапе согласованную с одним коротким многочастотным символом фильтрацию сформированного входного цифрового комплексного сигнала и формирующие комплексные отклики первого этапа, первый 4 и второй 5 перемножители, первый сумматор 6, комплексный перемножитель 7, блок 8 формирования гармоники, блок 9 расчета частотного сдвига, первый блок 10 сравнения с порогом, блок 11 управления, тактовый генератор 12, третий 13 и четвертый 14 согласованные фильтры, осуществляющие на втором этапе согласованную с одним длинным многочастотным символом фильтрацию скорректированного входного цифрового комплексного сигнала и формирующие комплексные отклики второго этапа, третий 15 и четвертый 16 перемножители, второй сумматор 17, второй блок 18 сравнения с порогом, блок 19 расчета дополнительного частотного сдвига, третий сумматор 20, при этом вход приемного тракта 1 является входом устройства, первый выход приемного тракта 1 соединен с входом первого согласованного фильтра 2 и первым входом комплексного перемножителя 7, второй выход приемного тракта 1 соединен со входом второго согласованного фильтра 3 и вторым входом комплексного перемножителя 7, выход первого согласованного фильтра 2 соединен с первым и вторым входами первого перемножителя 4 и вторым входом блока 9 расчета частотного сдвига, выход второго согласованного фильтра 3 соединен с первым и вторым входами второго перемножителя 5 и третьим входом блока 9 расчета частотного сдвига, выходы первого 4 и второго 5 перемножителей соединены соответственно с первым и вторым входами первого сумматора 6, выход которого соединен с первым входом первого блока 10 сравнения с порогом, второй вход которого объединен с четвертым входом 9 блока расчета частотного сдвига и соединен с первым выходом блока 11 управления, выход первого блока 10 сравнения с порогом соединен с первым входом блока 9 расчета частотного сдвига и первым входом блока 11 управления, второй выход которого является первым выходом устройства, четвертый выход блока 11 управления соединен с пятым входом блока 9 расчета частотного сдвига, а третий выход - с первым входом блока 19 расчета дополнительного частотного сдвига, второй вход блока 11 управления объединен со вторым входом блока 8 формирования гармоники и соединен с выходом тактового генератора 12, первый вход блока 8 формирования гармоники объединен с первым входом третьего сумматора 20 и соединен с выходом блока 9 расчета частотного сдвига, первый и второй выходы блока 8 формирования гармоники соединены соответственно с третьим и четвертым входами комплексного перемножителя 7, первый и второй выходы которого соединены соответственно со входами третьего 13 и четвертого 14 согласованных фильтров, выход третьего согласованного фильтра 13 соединен с первым и вторым входами третьего перемножителя 15 и вторым входом блока 19 расчета дополнительного частотного сдвига, выход четвертого согласованного фильтра 14 соединен с первым и вторым входами четвертого перемножителя 16 и третьим входом блока 19 расчета дополнительного частотного сдвига, выходы третьего 15 и четвертого 16 перемножителей соединены соответственно с первым и вторым входами второго сумматора 17, выход которого соединен с первым входом второго блока 18 сравнения с порогом, второй вход которого объединен с четвертым входом блока 19 расчета дополнительного частотного сдвига и соединен с пятым выходом блока 11 управления, выход второго блока 18 сравнения с порогом соединен с третьим входом блока 11 управления и пятым входом блока 19 расчета дополнительного частотного сдвига, выход блока 19 расчета дополнительного частотного сдвига соединен со вторым входом третьего сумматора 20, выход которого является вторым выходом устройства.The prototype device (Figure 2) contains a receiving path 1, the first 2 and second 3 matched filters, performing in the first stage matched with one short multi-frequency symbol filtering the generated input digital complex signal and forming complex responses of the first stage, the first 4 and second 5 multipliers , the first adder 6, a complex multiplier 7, a harmonic generation unit 8, a frequency shift calculation unit 9, a first threshold comparison unit 10, a control unit 11, a clock 12, a third 13 and a fourth 14 Glazed filters, performing the second stage filtering of the corrected digital input complex signal, consistent with one long multi-frequency symbol, and generating complex responses of the second stage, the third 15 and fourth 16 multipliers, the second adder 17, the second threshold comparison unit 18, the additional frequency shift calculation unit 19 , the third adder 20, while the input of the receiving path 1 is the input of the device, the first output of the receiving path 1 is connected to the input of the first matched filter 2 and the first input the complex multiplier 7, the second output of the receiving path 1 is connected to the input of the second matched filter 3 and the second input of the complex multiplier 7, the output of the first matched filter 2 is connected to the first and second inputs of the first multiplier 4 and the second input of the frequency shift calculation unit 9, the output of the second matched filter 3 is connected to the first and second inputs of the second multiplier 5 and the third input of the frequency shift calculation unit 9, the outputs of the first 4 and second 5 multipliers are connected respectively to the first and second the first inputs of the first adder 6, the output of which is connected to the first input of the first comparison unit 10 with a threshold, the second input of which is combined with the fourth input 9 of the frequency shift calculation unit and connected to the first output of the control unit 11, the output of the first comparison unit 10 with the threshold is connected to the first the input of the frequency shift calculation unit 9 and the first input of the control unit 11, the second output of which is the first output of the device, the fourth output of the control unit 11 is connected to the fifth input of the frequency shift calculation unit 9, and the third output with the first input of the additional frequency shift calculation unit 19, the second input of the control unit 11 is combined with the second input of the harmonic generation unit 8 and connected to the output of the clock generator 12, the first input of the harmonic generation unit 8 is combined with the first input of the third adder 20 and connected to the output of block 9 of calculating the frequency shift, the first and second outputs of the harmonics forming unit 8 are connected respectively to the third and fourth inputs of the complex multiplier 7, the first and second outputs of which are connected respectively with the inputs of the third 13 and fourth 14 matched filters, the output of the third matched filter 13 is connected to the first and second inputs of the third multiplier 15 and the second input of the additional frequency shift calculation unit 19, the output of the fourth matched filter 14 is connected to the first and second inputs of the fourth multiplier 16 and the third the input of block 19 for calculating the additional frequency shift, the outputs of the third 15 and fourth 16 multipliers are connected respectively to the first and second inputs of the second adder 17, the output of which is is dined with the first input of the second comparison unit 18 with a threshold, the second input of which is combined with the fourth input of the additional frequency shift calculation unit 19 and connected to the fifth output of the control unit 11, the output of the second comparison unit 18 with the threshold is connected with the third input of the control unit 11 and the fifth input block 19 calculating the additional frequency shift, the output of block 19 calculating the additional frequency shift is connected to the second input of the third adder 20, the output of which is the second output of the device.
Устройство частотно-временной синхронизации системы связи (Фиг.2) работает следующим образом.Device frequency-time synchronization of a communication system (Figure 2) works as follows.
На приемной стороне в приемном тракте 1 входной сигнал предварительно фильтруют, усиливают, переносят на видеочастоту, осуществляют его аналогово-цифровое преобразование, децимацию и т.д. В результате чего формируют входной цифровой комплексный сигнал на видеочастоте. Для частотно-временной синхронизации, которая состоит из двух этапов, используют сигнал преамбулы. При этом на первом этапе определяют предварительную оценку частотного сдвига между несущей частотой входного сигнала и частотой опорного сигнала. На втором этапе осуществляют оценку временного положения преамбулы и окончательную оценку частотного сдвига между несущей частотой входного сигнала и частотой опорного сигнала.On the receiving side in the receiving
На первом этапе синфазную и квадратурную составляющие входного цифрового комплексного сигнала с первого и второго выходов приемного тракта 1 подают соответственно на входы первого 2 и второго 3 согласованных фильтров и на первый и второй входы комплексного перемножителя 7.At the first stage, the in-phase and quadrature components of the input digital complex signal from the first and second outputs of the receiving
В согласованных фильтрах 2 и 3 на первом этапе осуществляют согласованную с одним коротким многочастотным символом фильтрацию соответственно синфазной и квадратурной компонент входного цифрового комплексного сигнала и формируют отклики для синфазной и квадратурной составляющих входного цифрового комплексного сигнала, которые поступают соответственно на первые и вторые входы перемножителей 4 и 5 и на второй и третий входы блока 9 расчета частотного сдвига. В перемножителях 4 и 5 вычисляют квадраты откликов для синфазной и квадратурной составляющих входного цифрового комплексного сигнала первого этапа, которые поступают на первый и второй входы первого сумматора 6. В первом сумматоре 6 путем суммирования соответствующих квадратов откликов синфазной и квадратурной составляющих входного цифрового комплексного сигнала вычисляют квадраты модулей комплексных откликов первого этапа, формируя решающую функцию первого этапа. Отклики первого этапа поступают с выхода первого сумматора 6 на первый вход первого блока 10 сравнения с порогом.In matched
В первом блоке 10 сравнения с порогом последовательно сравнивают результаты суммирования с выхода первого сумматора 6 с порогом первого этапа H1. Результаты сравнения с выхода первого блока 10 сравнения с порогом поступают на первый вход блока 9 расчета частотного сдвига и на первый вход блока 11 управления.In the
На второй вход первого блока 10 сравнения с порогом и на четвертый вход блока 9 расчета частотного сдвига с первого выхода блока 11 управления подают сигнал управления, соответствующий окончанию временной области превышения значениями решающей функции первого этапа порога H1. По этому сигналу в первом блоке 10 сравнения с порогом осуществляют установку первоначального (исходного) значения порога первого этапа и в блоке 9 расчета частотного сдвига запоминают синфазные и квадратурные составляющие комплексных откликов первого этапа, соответствующие локальному максимуму решающей функции первого этапа (поступившие на второй и третий входы блока 9 с согласованных фильтров 2 и 3).At the second input of the
В блоке 9 расчета частотного сдвига по сигналу превышения порога первого этапа и по управляющему сигналу окончания временной области превышения значениями решающей функции первого этапа порога H1 определяют временные положения, соответствующие локальным максимумам решающей функции первого этапа.In the
По сигналу окончания приема первой части преамбулы, который поступает с четвертого выхода блока 11 управления на пятый вход блока 9 расчета частотного сдвига, в блоке 9 по синфазным и квадратурным составляющим комплексных откликов первого этапа, соответствующим локальным максимумам решающей функции первого этапа, определяют предварительную оценку частотного сдвига. Предварительную оценку частотного сдвига формируют, например, как отношение усредненной разности фаз комплексных откликов первого этапа, соответствующих локальным максимумам, к длительности короткого многочастотного символа. Усредненную разность фаз формируют, например, следующим образом. Для временных позиций локальных максимумов решающей функции первого этапа формируют сумму произведений пар текущих комплексных откликов и предыдущих комплексно-сопряженных откликов. Значение аргумента полученного комплексного числа равно усредненной разности фаз. При этом отношение усредненной разности фаз к длительности короткого многочастотного символа равно предварительной оценке частотного сдвига.Based on the signal that the first part of the preamble is received from the fourth output of the
Оценку предварительного частотного сдвига подают с выхода блока 9 расчета частотного сдвига на первый вход блока 8 формирования гармоники и на первый вход третьего сумматора 20, и она соответствует значению предварительной оценки частотной расстройки. На второй вход блока 8 формирования гармоники и на второй вход блока 11 управления с выхода тактового генератора 12 подают сигнал тактовой частоты.An estimate of the preliminary frequency shift is supplied from the output of the frequency
В блоке 8 формирования гармоники по предварительной оценке частотного сдвига и сигналу с тактового генератора 12 формируют комплексный множитель единичной амплитуды, фаза которого равна произведению предварительной оценки частотного сдвига на временное положение текущих отсчетов, что соответствует стандартному экспоненциальному представлению комплексного множителя. Альтернативно, комплексный множитель может быть эквивалентно сформирован в виде синфазной и квадратурной компоненты. В этом случае синфазная часть комплексного множителя равна косинусу, а мнимая часть - синусу аргумента, который равен произведению предварительной оценки частотного сдвига на временное положение текущих отсчетов. Данное представление комплексного множителя легко реализуется в функциональном преобразователе на базе устройства памяти, в котором записаны значения соответствующих отсчетов функций синуса и косинуса.In block 8, the harmonics are generated from the preliminary estimate of the frequency shift and the signal from the
Сформированные квадратурные составляющие комплексного множителя с первого и второго выходов блока 8 формирования гармоники подают соответственно на третий и четвертый входы комплексного перемножителя 7.The generated quadrature components of the complex factor from the first and second outputs of the harmonics forming unit 8 are supplied to the third and fourth inputs of the complex multiplier 7, respectively.
В комплексном перемножителе 7 корректируют фазу входного цифрового комплексного сигнала для второго этапа синхронизации с учетом предварительной оценки частотного сдвига между несущей частотой входного сигнала и частотой опорного сигнала, полученной на первом этапе. Для этого в комплексном перемножителе 7 осуществляют известную операцию умножения отсчетов входного цифрового комплексного сигнала на комплексный множитель.In the complex multiplier 7, the phase of the input digital complex signal is corrected for the second synchronization stage, taking into account a preliminary estimate of the frequency shift between the carrier frequency of the input signal and the frequency of the reference signal obtained in the first stage. To do this, in the complex multiplier 7 carry out the well-known operation of multiplying the samples of the input digital complex signal by a complex factor.
Синфазную и квадратурную составляющие скорректированного входного цифрового комплексного сигнала с первого и второго выходов комплексного перемножителя 7 подают соответственно на входы третьего 13 и четвертого 14 согласованных фильтров.The in-phase and quadrature components of the adjusted input digital complex signal from the first and second outputs of the complex multiplier 7 are fed to the inputs of the third 13 and fourth 14 matched filters, respectively.
В согласованных фильтрах 13 и 14 для синфазной и квадратурной составляющих входного скорректированного цифрового комплексного сигнала осуществляют фильтрацию, согласованную с одним длинным многочастотным символом, и формируют соответственно синфазные и квадратурные отклики второго этапа. Сформированные синфазные и квадратурные составляющие откликов второго этапа с выходов согласованных фильтров 13 и 14 подают соответственно на первый и второй входы третьего 15 (синфазного) и четвертого 16 (квадратурного) перемножителей и на второй и третий входы блока 19 расчета дополнительного частотного сдвига. В перемножителях 15 и 16 формируют соответственно квадраты синфазной и квадратурной составляющих откликов второго этапа, которые поступают на первый и второй вход второго сумматора 17, где путем их суммирования вычисляют квадраты модулей комплексных откликов второго этапа, получая решающую функцию второго этапа. Вычисленные квадраты модулей комплексных откликов второго этапа с выхода второго сумматора 17 подают на первый вход второго блока 18 сравнения с порогом.In the matched filters 13 and 14, for the in-phase and quadrature components of the input corrected digital complex signal, filtering is performed, consistent with one long multi-frequency symbol, and the second-phase and common-mode and quadrature responses are generated respectively. The generated in-phase and quadrature components of the responses of the second stage from the outputs of the matched filters 13 and 14 are supplied respectively to the first and second inputs of the third 15 (in-phase) and fourth 16 (quadrature) multipliers and to the second and third inputs of the additional frequency
Во втором блоке 18 сравнения с порогом сравнивают значения квадратов модулей комплексных откликов второго этапа с порогом второго этапа Н2. Результат сравнения с выхода второго блока 18 сравнения с порогом подают на третий вход блока 11 управления и на пятый вход блока 19 расчета дополнительного частотного сдвига.In the
При непревышении порога Н2 полагают преамбулу необнаруженной и продолжают процедуру частотно-временной синхронизации.If the threshold H2 is not exceeded, the preamble is assumed to be undetected and the frequency-time synchronization procedure is continued.
При превышении порога Н2 полагают преамбулу обнаруженной. При этом по сигналам превышения порога в блоке 11 управления определяют оценку временного положения преамбулы как временное положение первого превышения порога второго этапа Н2. Полученную оценку со второго выхода блока 11 управления подают на первый выход устройства.If the threshold is exceeded, H2 is assumed to be detected. In this case, the signals for exceeding the threshold in the
Окончательную оценку временного положения преамбулы определяют равной разности временного положения первого превышения порога второго этапа Н2 и суммы длительностей первой части преамбулы и префикса.The final assessment of the temporary position of the preamble is determined to be equal to the difference in the temporary position of the first exceeding the threshold of the second stage H2 and the sum of the durations of the first part of the preamble and the prefix.
С пятого выхода блока 11 управления на второй вход второго блока 18 сравнения с порогом и на четвертый вход блока 19 расчета дополнительного частотного сдвига подают сигнал окончания приема второй части преамбулы, равный, например, логической единице.From the fifth output of the
В блоке 19 расчета дополнительного частотного сдвига по сигналу превышения порога и по управляющему сигналу окончания временной области превышения значениями решающей функции порога второго этапа определяют временные положения, соответствующие локальным максимумам решающей функции второго этапа.In
В блоке 19 расчета дополнительного частотного сдвига по сигналу окончания приема второй части преамбулы синфазные и квадратурные составляющие   комплексных  откликов второго этапа, соответствующие локальным максимумам решающей функции второго этапа, используют для определения дополнительного частотного сдвига.In
Оценку выполняют, например, следующим образом. Формируют разность фаз двух комплексных откликов второго этапа, соответствующих локальным максимумам, как произведение комплексно-сопряженного отклика на последующий комплексный отклик. В результате аргумент полученного комплексного числа соответствует оценке дополнительного фазового сдвига. Дополнительную оценку частотного сдвига определяют, например, как отношение оценки дополнительного фазового сдвига к длительности длинного многочастотного символа. Дополнительную оценку частотного сдвига с выхода блока 19 подают на второй вход третьего сумматора 20. В третьем сумматоре 20 определяют окончательную оценку частотного сдвига между несущей частотой входного сигнала и частотой опорного сигнала как сумму предварительной и дополнительной оценок частотного сдвига. Полученную окончательную оценку с выхода третьего сумматора 20 подают на второй выход устройства.Evaluation is performed, for example, as follows. The phase difference of two complex responses of the second stage, corresponding to local maxima, is formed as the product of the complex conjugate response to the subsequent complex response. As a result, the argument of the obtained complex number corresponds to an estimate of the additional phase shift. An additional estimate of the frequency shift is determined, for example, as the ratio of the estimate of the additional phase shift to the duration of the long multi-frequency symbol. An additional estimate of the frequency shift from the output of
К недостаткам способа-прототипа и устройства следует отнести отказ от предварительной оценки временного положения сигнала и, как следствие, от использования некогерентной обработки на первом этапе. Указанный недостаток обуславливает недостаточно высокую помехоустойчивость оценки временного положения и частотного рассогласования, особенно в условиях многолучевого распространения сигнала. Наличие префикса во второй части преамбулы может привести к возникновению аномальной ошибки при оценке временного положения на втором этапе.The disadvantages of the prototype method and device include the rejection of a preliminary assessment of the temporary position of the signal and, as a result, from the use of incoherent processing at the first stage. This drawback leads to insufficiently high noise immunity of the estimation of the temporary position and frequency mismatch, especially in conditions of multipath signal propagation. The presence of a prefix in the second part of the preamble may lead to an abnormal error in assessing the temporary position in the second stage.
Задача, которую решают предлагаемые изобретения, - это повышение помехоустойчивости частотно-временной синхронизации системы связи.The problem that the proposed invention solves is to increase the noise immunity of the time-frequency synchronization of the communication system.
Эта задача решается тем, что в способе частотно-временной синхронизации системы связи, заключающемся в том, чтоThis problem is solved in that in the method of time-frequency synchronization of a communication system, namely, that
входной сигнал фильтруют, усиливают, выполняют автоматическую регулировку усиления, вычисляя коэффициент усиления входного сигнала в зависимости от уровня мощности входного сигнала, переносят на видеочастоту, осуществляют его аналогово-цифровое преобразование и децимацию, формируя входной цифровой комплексный сигнал на видеочастоте,the input signal is filtered, amplified, automatic gain control is performed, calculating the gain of the input signal depending on the power level of the input signal, transfer to the video frequency, carry out its analog-to-digital conversion and decimation, forming the input digital complex signal at the video frequency,
частотно-временную синхронизацию выполняют в два этапа:time-frequency synchronization is performed in two stages:
на первом этапе определяют предварительную оценку частотного сдвига между несущей частотой входного сигнала и частотой опорного сигнала, для чего:at the first stage, a preliminary estimate of the frequency shift between the carrier frequency of the input signal and the frequency of the reference signal is determined, for which:
- осуществляют согласованную с одним коротким многочастотным символом фильтрацию входного цифрового комплексного сигнала, формируя комплексные отклики первого этапа,- carry out the filtering of the input digital complex signal, consistent with one short multi-frequency symbol, forming complex responses of the first stage,
- вычисляют квадраты модулей комплексных откликов первого этапа,- calculate the squares of the modules of the complex responses of the first stage,
- осуществляют сравнение с заданным порогом первого этапа,- carry out a comparison with a given threshold of the first stage,
- определяют предварительную оценку частотного сдвига между несущей частотой входного сигнала и частотой опорного сигнала,- determine a preliminary estimate of the frequency shift between the carrier frequency of the input signal and the frequency of the reference signal,
на втором этапе осуществляют оценку временного положения преамбулы и окончательную оценку частотного сдвига между несущей частотой входного сигнала и частотой опорного сигнала, для чего:at the second stage, the temporal position of the preamble is estimated and the frequency offset is finally estimated between the carrier frequency of the input signal and the frequency of the reference signal, for which:
- корректируют фазу входного цифрового комплексного сигнала на интервале работы второго этапа с учетом предварительной оценки частотного сдвига между несущей частотой входного сигнала и частотой опорного сигнала,- adjust the phase of the input digital complex signal on the interval of the second stage, taking into account a preliminary estimate of the frequency shift between the carrier frequency of the input signal and the frequency of the reference signal,
- осуществляют согласованную с одним длинным многочастотным символом фильтрацию скорректированного по фазе входного цифрового комплексного сигнала, формируя комплексные отклики второго этапа,- carry out the filtering of the phase-corrected input digital complex signal, consistent with one long multi-frequency symbol, forming complex responses of the second stage,
- вычисляют квадраты модулей комплексных откликов второго этапа,- calculate the squares of the modules of the complex responses of the second stage,
- осуществляют сравнение с заданным порогом второго этапа, при непревышении порога полагают преамбулу необнаруженной,- carry out a comparison with a given threshold of the second stage, if the threshold is not exceeded, the preamble is assumed to be undetected,
- при превышении порога второго этапа полагают преамбулу обнаруженной, тогда определяют окончательную оценку временного положения преамбулы по временному положению первого превышения порога второго этапа,- when the threshold of the second stage is exceeded, the preamble is considered to be detected, then the final estimate of the temporary position of the preamble is determined by the temporary position of the first excess of the threshold of the second stage,
- определяют оценку временного положения преамбулы по временному положению первого превышения порога второго этапа,- determine the assessment of the temporary position of the preamble by the temporary position of the first excess of the threshold of the second stage,
- определяют дополнительную оценку частотного сдвига по разности фаз комплексных откликов второго этапа,- determine an additional estimate of the frequency shift by the phase difference of the complex responses of the second stage,
определяют окончательную оценку частотного сдвига между несущей частотой входного сигнала и частотой опорного сигнала как сумму предварительной и дополнительной оценки частотного сдвига,determine the final estimate of the frequency shift between the carrier frequency of the input signal and the frequency of the reference signal as the sum of the preliminary and additional estimates of the frequency shift,
согласно изобретению:according to the invention:
при выполнении первого этапа частотно-временной синхронизации определяют предварительную оценку временного положения второй части преамбулы, для чего:when performing the first stage of the time-frequency synchronization, a preliminary estimate of the temporary position of the second part of the preamble is determined, for which:
вычисляют коэффициент коррекции уровня мощности сформированного входного сигнала,calculate the correction coefficient of the power level of the generated input signal,
корректируют сформированный входной цифровой комплексный сигнал, используя вычисленный коэффициент коррекции уровня мощности сформированного входного сигнала,correcting the generated input digital complex signal using the calculated correction coefficient of the power level of the generated input signal,
формируя комплексные отклики первого этапа, осуществляют фильтрацию скорректированного входного цифрового комплексного сигнала,forming the complex responses of the first stage, filter the corrected input digital complex signal,
запоминают комплексные отклики первого этапа,remember the complex responses of the first stage,
вычисляют суммы N квадратов модулей комплексных откликов первого этапа, взятых с интервалом, равным длительности короткого многочастотного символа,calculate the sum of N squares of the modules of the complex responses of the first stage, taken with an interval equal to the duration of the short multi-frequency symbol,
сравнивают полученные суммы с заданным порогом первого этапа, при превышении порога:compare the received amount with a given threshold of the first stage, if the threshold is exceeded:
временное положение начала преамбулы, соответствующее полученной сумме, полагают текущим временным положением преамбулы,the temporary position of the beginning of the preamble corresponding to the amount received is considered the current temporary position of the preamble,
формируют текущую оценку частотного сдвига по усредненной разности фаз смежных комплексных откликов первого этапа с n-го по (N-n+1)-й, соответствующих слагаемым суммирования, где n - целое число,,form the current estimate of the frequency shift by the averaged phase difference of adjacent complex responses of the first stage from the n-th to the (N-n + 1) -th corresponding to the summation terms, where n is an integer, ,
порог первого этапа устанавливают равным полученной сумме,the threshold of the first stage is set equal to the received amount,
если произошло хотя бы одно превышение порога первого этапа, а затем не происходит превышение порога первого этапа с момента времени последнего превышения порога в течение интервала, равного длительности короткого многочастотного символа, тоif at least one threshold is exceeded for the first stage, and then the threshold for the first stage is not exceeded from the time the last threshold was exceeded for an interval equal to the duration of the short multi-frequency symbol, then
определяют предварительную оценку временного положения второй части преамбулы по текущему временному положению преамбулы,determine a preliminary assessment of the temporary position of the second part of the preamble for the current temporary position of the preamble,
предварительную оценку частотного сдвига между несущей частотой входного сигнала и частотой опорного сигнала определяют как текущую оценку частотного сдвига,a preliminary estimate of the frequency shift between the carrier frequency of the input signal and the frequency of the reference signal is determined as the current estimate of the frequency shift,
порог первого этапа полагают равным первоначальному значению, а текущее временное положение преамбулы считают неопределенным;the threshold of the first stage is assumed to be equal to the initial value, and the current temporary position of the preamble is considered undefined;
на втором этапе осуществляют окончательную оценку временного положения преамбулы, для чего:at the second stage, a final assessment of the temporary position of the preamble is carried out, for which:
определяют априорный интервал временного положения второй части преамбулы по предварительной оценке временного положения второй части преамбулы,determine the a priori interval of the temporary position of the second part of the preamble by preliminary estimation of the temporary position of the second part of the preamble,
квадраты модулей комплексных откликов второго этапа сравнивают с заданным порогом второго этапа на априорном интервале временного положения второй части преамбулы,the squares of the modules of the complex responses of the second stage are compared with a predetermined threshold of the second stage on an a priori interval of the time position of the second part of the preamble,
по временному положению первого превышения порога второго этапа оценку временного положения преамбулы определяют как окончательную,according to the temporary position of the first excess of the threshold of the second stage, the assessment of the temporary position of the preamble is determined as final,
находят комплексные спектры длинных многочастотных символов скорректированного по фазе входного цифрового комплексного сигнала, временные положения которых определяются по временному положению первого превышения порога второго этапа,find complex spectra of long multi-frequency symbols of the phase-corrected input digital complex signal, the temporary positions of which are determined by the temporary position of the first threshold exceeding the second stage,
дополнительную оценку частотного сдвига определяют по усредненной разности фаз соответствующих элементов комплексных спектров длинных многочастотных символов.an additional estimate of the frequency shift is determined by the average phase difference of the corresponding elements of the complex spectra of long multi-frequency symbols.
Сформированный входной цифровой комплексный сигнал корректируют, например, путем умножения на отношение коэффициента усиления приемного тракта, при котором произошло первое превышение порога первого этапа, на текущий коэффициент усиления приемного тракта; если не произошло ни одного превышения порога первого этапа, то сформированный входной цифровой комплексный сигнал умножают на коэффициент, равный единице.The generated input digital complex signal is corrected, for example, by multiplying by the ratio of the gain of the receive path, at which the first threshold of the first stage is exceeded, by the current gain of the receive path; if not a single excess of the threshold of the first stage has occurred, then the generated input digital complex signal is multiplied by a factor equal to unity.
Текущую оценку частотного сдвига формируют, например, как отношение усредненной разности фаз комплексных откликов первого этапа к длительности короткого многочастотного символа.A current estimate of the frequency shift is formed, for example, as the ratio of the averaged phase difference of the complex responses of the first stage to the duration of a short multi-frequency symbol.
Начало априорного интервала временного положения второй части преамбулы определяют, например, равным сумме предварительной оценки временного положения второй части преамбулы, длительности (N-2)-х коротких многочастотных символа и длительности префикса, где N - количество коротких многочастотных символов в преамбуле.The beginning of the a priori time interval of the second part of the preamble is determined, for example, by the sum of the preliminary estimate of the temporary position of the second part of the preamble, the duration of the (N-2) x short multi-frequency symbol and the duration of the prefix, where N is the number of short multi-frequency symbols in the preamble.
Окончание априорного интервала временного положения второй части преамбулы определяют, например, равным сумме предварительной оценки временного положения второй части преамбулы, длительности (N+2)-x коротких многочастотных символа и длительности префикса, где N - количество коротких многочастотных символов в преамбуле.The end of the a priori time interval of the temporal position of the second part of the preamble is determined, for example, by the sum of the preliminary estimate of the temporal position of the second part of the preamble, the duration of (N + 2) -x short multi-frequency symbols and the duration of the prefix, where N is the number of short multi-frequency symbols in the preamble.
Фазу входного цифрового комплексного сигнала на интервале работы второго этапа корректируют, умножая отсчеты входного цифрового комплексного сигнала на комплексный множитель единичной амплитуды, фаза которого равна произведению предварительной оценки частотного сдвига на временные положения отсчетов.The phase of the input digital complex signal in the interval of operation of the second stage is adjusted by multiplying the samples of the input digital complex signal by a complex factor of unit amplitude, the phase of which is equal to the product of the preliminary estimate of the frequency shift by the time positions of the samples.
Дополнительную оценку частотного сдвига определяют, например, как отношение усредненной разности фаз соответствующих элементов комплексных спектров длинных многочастотных символов к длительности длинного многочастотного символа.An additional estimate of the frequency shift is determined, for example, as the ratio of the averaged phase difference of the corresponding elements of the complex spectra of long multi-frequency symbols to the duration of a long multi-frequency symbol.
Окончательную оценку временного положения преамбулы, а именно начала преамбулы, определяют равной разности временного положения первого превышения порога второго этапа и суммы длительностей первой части преамбулы и префикса.The final assessment of the temporary position of the preamble, namely the beginning of the preamble, is determined equal to the difference in the temporary position of the first threshold exceeding the second stage and the sum of the durations of the first part of the preamble and the prefix.
Поставленная задача решается также тем, что в устройство частотно-временной синхронизации системы связи, содержащееThe problem is also solved by the fact that in the device of the time-frequency synchronization of a communication system containing
приемный тракт, формирующий на выходах входной цифровой комплексный сигнал на видеочастоте, первый и второй согласованные фильтры, осуществляющие согласованную с одним коротким многочастотным символом фильтрацию соответственно синфазной и квадратурной компоненты сформированного входного цифрового комплексного сигнала, формируя комплексные отклики первого этапа, первый и второй перемножители, первый сумматор, комплексный перемножитель, блок формирования гармоники, блок расчета частотного сдвига, блок сравнения с порогом, блок управления, тактовый генератор, формирующий на выходе сигнал тактовых импульсов, третий и четвертый согласованные фильтры, осуществляющие согласованную с одним длинным многочастотным символом фильтрацию скорректированного по фазе входного цифрового комплексного сигнала, формируя комплексные отклики второго этапа, третий и четвертый перемножители, второй сумматор, блок расчета дополнительного частотного сдвига и третий сумматор, при этом вход приемного тракта является входом устройства, первый и второй выходы приемного тракта соединены соответственно с первым и вторым входами комплексного перемножителя, выходы первого и второго перемножителей соединены соответственно с первым и вторым входами первого сумматора, выход которого соединен с первым входом блока сравнения с порогом, второй вход которого соединен с первым выходом блока управления, выход блока сравнения с порогом соединен с первым входом блока расчета частотного сдвига, выход которого соединен с первым входом блока формирования гармоники и первым входом третьего сумматора, второй вход блока формирования гармоники соединен с выходом тактового генератора, первый и второй выходы блока формирования гармоники соединены соответственно с третьим и четвертым входами комплексного перемножителя, первый и второй выходы которого соединены соответственно со входами третьего и четвертого согласованных фильтров, выход третьего согласованного фильтра соединен с первым и вторым входами третьего перемножителя, выход четвертого согласованного фильтра соединен с первым и вторым входами четвертого перемножителя, выходы третьего и четвертого перемножителей соединены соответственно с первым и вторым входами второго сумматора, второй выход блока управления является первым выходом устройства, формирующего на этом выходе сигнал оценки временного положения преамбулы, третий выход блока управления соединен с первым входом блока расчета дополнительного частотного сдвига, выход которого соединен со вторым входом третьего сумматора, формирующего на выходе сигнал окончательной оценки частотного сдвига, выход третьего сумматора является вторым выходом устройства,the receiving path, which generates an input digital complex signal at the video frequency at the outputs, the first and second matched filters, filtering the common-phase and quadrature components of the generated input complex digital signal matched with one short multi-frequency symbol, forming complex responses of the first stage, the first and second multipliers, the first adder, complex multiplier, harmonic generation unit, frequency shift calculation unit, threshold comparison unit, control unit phenomena, a clock generator that generates a clock signal at the output, the third and fourth matched filters, filtering the phase-corrected input digital complex signal matched with one long multi-frequency symbol, forming complex responses of the second stage, third and fourth multipliers, second adder, calculation unit additional frequency shift and the third adder, while the input of the receiving path is the input of the device, the first and second outputs of the receiving path are connected respectively, with the first and second inputs of the complex multiplier, the outputs of the first and second multipliers are connected respectively to the first and second inputs of the first adder, the output of which is connected to the first input of the comparison unit with a threshold, the second input of which is connected to the first output of the control unit, the output of the comparison unit with a threshold connected to the first input of the frequency shift calculation unit, the output of which is connected to the first input of the harmonic generation unit and the first input of the third adder, the second input of the formation unit r rmonics is connected to the output of the clock generator, the first and second outputs of the harmonic generation unit are connected respectively to the third and fourth inputs of the complex multiplier, the first and second outputs of which are connected respectively to the inputs of the third and fourth matched filters, the output of the third matched filter is connected to the first and second inputs of the third multiplier, the output of the fourth matched filter is connected to the first and second inputs of the fourth multiplier, the outputs of the third and fourth multiply of the units is connected respectively to the first and second inputs of the second adder, the second output of the control unit is the first output of the device that generates an estimate signal for the temporal position of the preamble at this output, the third output of the control unit is connected to the first input of the additional frequency shift calculation unit, the output of which is connected to the second input the third adder, forming the output signal of the final assessment of the frequency shift, the output of the third adder is the second output of the device,
согласно изобретению дополнительно введены:according to the invention additionally introduced:
пятый и шестой перемножители для коррекции уровня мощности сформированного входного сигнала,fifth and sixth multipliers for correcting the power level of the generated input signal,
блок расчета коэффициента коррекции уровня мощности сформированного входного сигнала,a unit for calculating the coefficient of correction of the power level of the generated input signal,
первая и вторая линии задержки,first and second delay lines,
(N-1) первых и (N-1) вторых перемножителей,(N-1) first and (N-1) second multipliers,
блок определения границ априорного интервала, формирующий на первом выходе сигнал непревышения порога первого этапа с момента времени последнего превышения порога в течение интервала, равного длительности короткого многочастотного символа, на втором выходе - сигнал начала априорного интервала временного положения второй части преамбулы, на третьем выходе - сигнал окончания априорного интервала временного положения второй части преамбулы,a block for determining the boundaries of the a priori interval, which generates at the first output a signal of not exceeding the threshold of the first stage from the time of the last threshold exceeding for an interval equal to the duration of the short multi-frequency symbol, at the second output, the signal at the beginning of the a priori interval of the time position of the second part of the preamble, at the third output, a signal the end of the a priori time interval of the second part of the preamble,
ключ,key,
компаратор,comparator
при этом первый выход приемного тракта соединен с первым входом пятого перемножителя, второй выход приемного тракта соединен с первым входом шестого перемножителя, третий выход приемного тракта соединен с первым входом блока расчета коэффициента коррекции уровня мощности сформированного входного сигнала, второй вход которого объединен с первым входом блока определения границ априорного интервала и соединен с выходом блока сравнения с порогом,wherein the first output of the receiving path is connected to the first input of the fifth multiplier, the second output of the receiving path is connected to the first input of the sixth multiplier, the third output of the receiving path is connected to the first input of the block for calculating the power level correction coefficient of the generated input signal, the second input of which is combined with the first input of the block determining the boundaries of the a priori interval and is connected to the output of the comparison unit with a threshold,
выход блока расчета коэффициента коррекции уровня мощности сформированного входного сигнала соединен со вторыми входами пятого и шестого перемножителей,the output of the block for calculating the coefficient of correction of the power level of the generated input signal is connected to the second inputs of the fifth and sixth multipliers,
выход пятого перемножителя соединен со входом первого согласованного фильтра, осуществляющего фильтрацию скорректированного входного цифрового комплексного сигнала, выход первого согласованного фильтра соединен со входом первой линии задержки,the output of the fifth multiplier is connected to the input of the first matched filter, filtering the adjusted input digital complex signal, the output of the first matched filter is connected to the input of the first delay line,
выход шестого перемножителя соединен со входом второго согласованного фильтра, выход которого соединен со входом второй линии задержки,the output of the sixth multiplier is connected to the input of the second matched filter, the output of which is connected to the input of the second delay line,
N выходов первой линии задержки соединены с соответствующими им N первыми и N вторыми входами соответствующих им N первых перемножителей и N вторыми входами блока расчета частотного сдвига, выходы (N-1) первых перемножителей соединены с (N-1) дополнительными первыми входами первого сумматора,N outputs of the first delay line are connected to their respective N first and N second inputs of their respective N first multipliers and N second inputs of the frequency shift calculator, the outputs (N-1) of the first multipliers are connected to (N-1) additional first inputs of the first adder,
N выходов второй линии задержки соединены с соответствующими им N первыми и N вторыми входами соответствующих им N вторых перемножителей и N третьими входами блока расчета частотного сдвига, выходы (N-1) вторых перемножителей соединены с (N-1) дополнительными вторыми входами первого сумматора, формирующего на выходе сумму N квадратов модулей комплексных откликов первого этапа,N outputs of the second delay line are connected to their respective N first and N second inputs of their respective N second multipliers and N by the third inputs of the frequency shift calculator, the outputs (N-1) of the second multipliers are connected to (N-1) additional second inputs of the first adder, forming at the output the sum of N squares of the modules of the complex responses of the first stage,
второй и третий входы блока расчета дополнительного частотного сдвига соединены соответственно с первым и вторым выходами комплексного перемножителя,the second and third inputs of the block for calculating the additional frequency shift are connected respectively to the first and second outputs of the complex multiplier,
второй вход блока определения границ априорного интервала и четвертый вход блока расчета дополнительного частотного сдвига объединены и соединены с выходом тактового генератора,the second input of the block determining the boundaries of the a priori interval and the fourth input of the block for calculating the additional frequency shift are combined and connected to the output of the clock generator,
первый вход блока управления и третий вход блока сравнения с порогом объединены и соединены с первым выходом блока определения границ априорного интервала, второй и третий выходы которого соединены соответственно со вторым и третьим входами блока управления, формирующего на первом выходе сигнал управления, определяющий момент окончания или повторного запуска выполнения первого этапа, на третьем - сигнал наличия хотя бы одного превышения порога второго этапа, на четвертом выходе - сигнал управления, определяющий временной интервал, когда текущая временная задержка находится внутри априорного интервала временного положения второй части преамбулы, четвертый выход блока управления соединен с первым входом ключа,the first input of the control unit and the third input of the comparison unit with a threshold are combined and connected to the first output of the unit for determining the boundaries of the a priori interval, the second and third outputs of which are connected respectively to the second and third inputs of the control unit, which generates a control signal at the first output that determines the moment of completion or repeated start the execution of the first stage, at the third - a signal of the presence of at least one exceeding the threshold of the second stage, at the fourth output - a control signal that determines the time interval and the current time is within a delay interval priori temporal position of the second part of the preamble, the fourth output of the control unit is connected to the first input key,
второй вход ключа соединен с выходом второго сумматора, а выход - со входом компаратора, выход которого соединен с четвертым входом блока управления, второй выход которого соединен с пятым входом блока расчета дополнительного частотного сдвига.the second key input is connected to the output of the second adder, and the output to the comparator input, the output of which is connected to the fourth input of the control unit, the second output of which is connected to the fifth input of the additional frequency shift calculation unit.
Заявляемые способ частотно-временной синхронизации системы связи и устройство для его осуществления имеют существенные отличия от наиболее близких аналогов, обнаруженных при поиске из известного уровня техники.The inventive method of time-frequency synchronization of a communication system and a device for its implementation have significant differences from the closest analogues found when searching from the prior art.
Эти отличия заключаются в следующем: оценку временного положения сигнала преамбулы осуществляют в два этапа, причем на первом этапе формируют решающую функцию с широким полезным откликом, что увеличивает вероятность захвата успешной предварительной оценки временного положения, на втором этапе формируют решающую функцию с узким полезным откликом, что позволяет получить точную оценку временного положения сигнала преамбулы. Оценку частотного сдвига формируют также в два этапа, причем качество этой оценки - высокое, поскольку базируется на качественной оценке временного положения.These differences are as follows: the temporal position of the preamble signal is evaluated in two stages, and at the first stage, they form a decisive function with a wide useful response, which increases the likelihood of capturing a successful preliminary estimate of the temporal position, and at the second stage, they form a decisive function with a narrow useful response, which provides an accurate estimate of the temporal position of the preamble signal. The frequency shift estimate is also formed in two stages, and the quality of this estimate is high, because it is based on a qualitative assessment of the temporary position.
Изобретения поясняются примерами выполнения и чертежами:The invention is illustrated by examples and drawings:
На Фиг.1 показана структура преамбулы OFDM (Orthogonal Frequency Division Multiplexing) сигнала.Figure 1 shows the structure of the preamble of the OFDM (Orthogonal Frequency Division Division Multiplexing) signal.
На Фиг.2 приведена структурная схема устройства-прототипа.Figure 2 shows the structural diagram of the device of the prototype.
На Фиг.3 приведена структурная схема заявляемого устройства.Figure 3 shows the structural diagram of the inventive device.
На Фиг.4 приведена структурная схема блока 23 расчета коэффициента коррекции уровня мощности сформированного входного сигнала.Figure 4 shows the structural diagram of block 23 for calculating the coefficient of correction of the power level of the generated input signal.
На Фиг.5 приведена структурная схема блока 25 определения границ априорного интервала,Figure 5 shows the structural diagram of the block 25 for determining the boundaries of the a priori interval,
На Фиг.6 приведена структурная схема блока 10 сравнения с порогом.Figure 6 shows the structural diagram of the
На Фиг.7 приведена структурная схема блока 19 расчета дополнительного частотного сдвига.Figure 7 shows the structural diagram of
На Фиг.8 приведена структурная схема блока 11 управления.Fig. 8 shows a block diagram of a
Заявляемое устройство частотно-временной синхронизации (Фиг.3) содержит приемный тракт 1, первый 2 и второй 3 согласованные фильтры, первый 41 и второй 51 перемножители, первый сумматор 6, комплексный перемножитель 7, блок 8 формирования гармоники, блок 9 расчета частотного сдвига, блок 10 сравнения с порогом, блок 11 управления, тактовый генератор 12, третий 13 и четвертый 14 согласованные фильтры, третий 15 и четвертый 16 перемножители, второй сумматор 17, блок 19 расчета дополнительного частотного сдвига и третий сумматор 20, при этом вход приемного тракта 1 является входом устройства, первый и второй выходы приемного тракта 1 соединены соответственно с первым и вторым входами комплексного перемножителя 7, выходы первого 41 и второго 51 перемножителей соединены соответственно с первым и вторым входами первого сумматора 6, выход которого соединен с первым входом блока 10 сравнения с порогом, второй вход которого соединен с первым выходом блока 11 управления, выход блока 10 сравнения с порогом соединен с первым входом блока 9 расчета частотного сдвига, выход которого соединен с первым входом блока 8 формирования гармоники и первым входом третьего сумматора 20, второй вход блока 8 формирования гармоники соединен с выходом тактового генератора 12, первый и второй выходы блока 8 формирования гармоники соединены соответственно с третьим и четвертым входами комплексного перемножителя 7, первый и второй выходы которого соединены соответственно со входами третьего 13 и четвертого 14 согласованных фильтров, выход третьего согласованного фильтра 13 соединен с первым и вторым входами третьего перемножителя 15, выход четвертого согласованного фильтра 14 соединен с первым и вторым входами четвертого перемножителя 16, выходы третьего 15 и четвертого 16 перемножителей соединены соответственно с первым и вторым входами второго сумматора 17, второй выход блока 11 управления является первым выходом устройства, третий выход блока 11 управления соединен с первым входом блока 19 расчета дополнительного частотного сдвига, выход которого соединен со вторым входом третьего сумматора 20, выход третьего сумматора 20 является вторым выходом устройства, согласно изобретению дополнительно содержит: пятый 21 и шестой 22 перемножители, блок 23 расчета коэффициента коррекции уровня мощности сформированного входного сигнала, первая 24 и вторая 25 линии задержки, (N-1) первых 4i-4N и (N-1) вторых 5i-5N перемножителей, блок 25 определения границ априорного интервала, ключ 27 и компаратор 28, при этом первый выход приемного тракта 1 соединен с первым входом пятого перемножителя 21, второй выход приемного тракта 1 соединен с первым входом шестого перемножителя 22, третий выход приемного тракта 1 соединен с первым входом блока 23 расчета коэффициента коррекции уровня мощности сформированного входного сигнала, второй вход которого объединен с первым входом блока 25 определения границ априорного интервала и соединен с выходом блока 10 сравнения с порогом, выход блока 23 расчета коэффициента коррекции уровня мощности сформированного входного сигнала соединен с объединенными вторыми входами пятого 21 и шестого 22 перемножителей, выход пятого перемножителя 22 соединен со входом первого согласованного фильтра 2, выход которого соединен со входом первой линии задержки 24, выход шестого перемножителя 22 соединен со входом второго согласованного фильтра 3, выход которого соединен со входом второй линии задержки 25, N выходов первой линии задержки 24 соединены с соответствующими им N первыми и N вторыми входами соответствующих им N первых перемножителей 41-4N и N вторыми входами блока 9 расчета частотного сдвига, выходы (N-1) первых перемножителей соединены с (N-1) дополнительными первыми входами первого сумматора 6, N выходов второй линии задержки 25 соединены с соответствующими им N первыми и N вторыми входами соответствующих им N вторых перемножителей 51-5N и N третьими входами блока 9 расчета частотного сдвига, выходы (N-1) вторых перемножителей соединены с (N-1) дополнительными вторыми входами первого сумматора 6, второй и третий входы блока 19 расчета дополнительного частотного сдвига соединены соответственно с первым и вторым выходами комплексного перемножителя 7, второй вход блока 25 определения границ априорного интервала и четвертый вход блока 19 расчета дополнительного частотного сдвига объединены и соединены с выходом тактового генератора 12, первый вход блока 11 управления и третий вход блока 10 сравнения с порогом объединены и соединены с первым выходом блока 25 определения границ априорного интервала, второй и третий выходы которого соединены соответственно со вторым и третьим входами блока 11 управления, четвертый выход которого соединен с первым входом ключа 27, второй вход ключа 27 соединен с выходом второго сумматора 17, а выход - со входом компаратора 28, выход которого соединен с четвертым входом блока 11 управления, второй выход которого соединен с пятым входом блока 19 расчета дополнительного частотного сдвига.The inventive device of the time-frequency synchronization (Figure 3) contains a receiving path 1, the first 2 and second 3 matched filters, the first 41 and second 51 multipliers, the first adder 6, a complex multiplier 7, a harmonics generation unit 8, a frequency calculation unit 9 a shift, a threshold comparison unit 10, a control unit 11, a clock 12, a third 13 and a fourth 14 matched filters, a third 15 and a fourth 16 multipliers, a second adder 17, an additional frequency shift calculator 19 and a third adder 20, while the input of the receiving truck This 1 is the input of the device, the first and second outputs of the receiving path 1 are connected respectively to the first and second inputs of the complex multiplier 7, the outputs of the first 41 and second 51 multipliers are connected respectively to the first and second inputs of the first adder 6, the output of which is connected to the first input a comparison unit 10 with a threshold, the second input of which is connected to the first output of the control unit 11, the output of the comparison unit 10 with a threshold is connected to the first input of the frequency shift calculation unit 9, the output of which is connected to the first input ka 8 harmonic generation and the first input of the third adder 20, the second input of the harmonic generation unit 8 is connected to the output of the clock generator 12, the first and second outputs of the harmonic generation unit 8 are connected respectively to the third and fourth inputs of the complex multiplier 7, the first and second outputs of which are connected respectively with the inputs of the third 13 and fourth 14 matched filters, the output of the third matched filter 13 is connected to the first and second inputs of the third multiplier 15, the output of the fourth matched the filter 14 is connected to the first and second inputs of the fourth multiplier 16, the outputs of the third 15 and fourth 16 multipliers are connected respectively to the first and second inputs of the second adder 17, the second output of the control unit 11 is the first output of the device, the third output of the control unit 11 is connected to the first input of the unit 19 calculating an additional frequency shift, the output of which is connected to the second input of the third adder 20, the output of the third adder 20 is the second output of the device, according to the invention further comprises : fifth 21 and sixth 22 multipliers, block 23 for calculating the power factor correction coefficient of the generated input signal, the first 24 and second 25 delay lines, (N-1) first 4i -4N and (N-1) second 5i -5N multipliers, a priori interval boundary determination unit 25, a key 27 and a comparator 28, wherein the first output of the receive path 1 is connected to the first input of the fifth multiplier 21, the second output of the receive path 1 is connected to the first input of the sixth multiplier 22, the third output of the receive path 1 is connected to the first input of block 23 for calculating the correction coefficient the power level of the generated input signal, the second input of which is combined with the first input of the block for determining the boundaries of the a priori interval and connected to the output of the comparison unit 10 with a threshold, the output of the block 23 for calculating the correction factor of the power level of the generated input signal is connected to the combined second inputs of the fifth 21 and sixth multipliers, the output of the fifth multiplier 22 is connected to the input of the first matched filter 2, the output of which is connected to the input of the first delay line 24, the output of the sixth multiplier 22 s connected to the input of the second matched filter 3, the output of which is connected to the input of the second delay line 25, N outputs of the first delay line 24 are connected to their respective N first and N second inputs of their respective N first multipliers 41 -4N and N by the second inputs of block 9 for calculating the frequency shift, the outputs (N-1) of the first multipliers are connected to (N-1) additional first inputs of the first adder 6, N outputs of the second delay line 25 are connected to their corresponding N first and N second inputs of the corresponding N second multipliers th May1 -5N and N third inputs of the frequency offset calculating unit 9 outputs (N-1) second multipliers are connected to the (N-1) additional second inputs of the first adder 6, the second and third inputs additional frequency offset calculation unit 19 are respectively connected to with the first and second outputs of the complex multiplier 7, the second input of the block for determining the boundaries of the a priori interval and the fourth input of the additional frequency shift calculation unit 19 are combined and connected to the output of the clock generator 12, the first input of the control unit 11 and the third the input of the comparison unit 10 with the threshold is combined and connected to the first output of the unit for determining the boundaries of the a priori interval 25, the second and third outputs of which are connected respectively to the second and third inputs of the control unit 11, the fourth output of which is connected to the first input of the key 27, the second input of the key 27 is connected with the output of the second adder 17, and the output with the input of the comparator 28, the output of which is connected to the fourth input of the control unit 11, the second output of which is connected to the fifth input of the additional frequency shift calculation unit 19.
Блок 23 расчета коэффициента коррекции уровня мощности сформированного входного сигнала (Фиг.4) содержит первый 29 и второй 30 регистры, ключ 31, узел расчета отношения коэффициента усиления входного сигнала, соответствующего первому превышению порога первого этапа, к текущему значению коэффициента усиления приемного тракта 32, формирователь 33 импульса и схему 34 "НЕ", при этом первые входы первого регистра 29, ключа 31 и вход узла 32 объединены, образуя первый вход блока 23, второй вход первого регистра 29 соединен с выходом формирователя 33 импульса, вход которого объединен с входом схемы 34 «НЕ» и соединен с выходом второго регистра 30, первый и второй входы которого объединены, образуя второй вход блока 23, выход схемы 34 «НЕ» соединен со вторым входом ключа 31, выходы ключа 31 и первого регистра 29 соединены со вторым входом узла 32 расчета отношения коэффициента усиления входного сигнала, соответствующего первому превышению порога первого этапа, к текущему значению коэффициента усиления приемного тракта, выход которого является выходом блока 23 расчета коэффициента коррекции уровня мощности сформированного входного сигнала.Block 23 calculating the correction coefficient of the power level of the generated input signal (Figure 4) contains the first 29 and second 30 registers, a key 31, a node for calculating the ratio of the gain of the input signal corresponding to the first exceeding the threshold of the first stage to the current value of the gain of the receiving path 32, the pulse shaper 33 and the NOT circuit 34, wherein the first inputs of the first register 29, the key 31, and the input of the node 32 are combined to form the first input of the block 23, the second input of the first register 29 is connected to the output of the pulse shaper 33, the input of which is combined with the input of the “NOT” circuit 34 and connected to the output of the second register 30, the first and second inputs of which are combined to form the second input of the block 23, the output of the “NOT” circuit 34 is connected to the second input of the key 31, the outputs of the key 31 and the first register 29 are connected to the second input of the node 32 for calculating the ratio of the gain of the input signal corresponding to the first excess of the threshold of the first stage to the current value of the gain of the receive path, the output of which is the output of the block 23 for calculating the level correction coefficient ti generated input signal.
Блок 25 определения границ априорного интервала (Фиг.5) содержит последовательно соединенные первый регистр 35, первый ключ 36 и первый счетчик 37, последовательно соединенные второй регистр 38, второй ключ 39 и второй счетчик 40, последовательно соединенные третий регистр 41, третий ключ 42 и третий счетчик 43, при этом первый и второй входы первого 35, второго 38 и третьего 41 регистров, вторые входы первого 37, второго 40 и третьего 43 счетчиков объединены, образуя первый вход блока 25, вторые входы первого ключа 36, второго ключа 39 и третьего ключа 42 объединены, образуя второй вход блока 25, выход первого счетчика 37 является вторым выходом блока 25 и соединен с третьим входом первого регистра 35, выход второго счетчика 40 является вторым выходом блока 25 и соединен с третьим входом второго регистра 38, выход третьего счетчика 43 является первым выходом блока 25 и соединен с третьим входом третьего регистра 41.Block 25 for determining the boundaries of the a priori interval (Fig. 5) contains series-connected
Блок 10 сравнения с порогом (Фиг.6) содержит последовательно соединенные регистр 44, компаратор 45 и первый ключ 46, второй ключ 47 и третий ключ 48, при этом второй вход компаратора 45 и первый вход второго ключа 47 объединены, образуя первый вход блока 10 сравнения с порогом, второй вход первого ключа 46 образует второй вход блока 10, вход третьего ключа 48 является третьим входом блока 10, выход первого ключа 46 является выходом блока 10 сравнения с порогом и соединен со вторым входом второго ключа 47, выходы ключей 47 и 48 соединены со входом регистра 44.
Блок 19 расчета дополнительного частотного сдвига (Фиг.7) содержит первый 49, второй 50, третий 51 и четвертый 52 регистры, узел 53 расчета комплексного спектра сигнала, узел 54 расчета частотного сдвига, схему 55 «ИЛИ», счетчик 56 и ключ 57, при этом входы регистров 49 и 50 образуют соответственно второй и третий входы блока 19 расчета дополнительного частотного сдвига, выходы регистров 49 и 50 соединены соответственно с первым и вторым входами узла 53 расчета комплексного спектра сигнала, третий вход которого соединен с выходом схемы 55 «ИЛИ», первый выход узла 53 соединен с первыми входами третьего регистра 51 и узла 54 расчета частотного сдвига, второй выход узла 53 соединен с первым входом четвертого регистра 52 и вторым входом узла 54 расчета частотного сдвига, третий и четвертый входы которого соединены соответственно с выходами регистров 51 и 52, выход узла 54 расчета частотного сдвига является выходом блока 19 расчета дополнительного частотного сдвига, пятый вход узла 54 расчета частотного сдвига и второй вход схемы 55 "ИЛИ" объединены и соединены с выходом счетчика 56, вход которого соединен с выходом ключа 57, первый и второй входы которого соответственно образуют четвертый и первый входы блока 19 расчета дополнительного частотного сдвига, вход схемы 55 «ИЛИ» является пятым входом блока 19.Unit 19 for calculating the additional frequency shift (Fig. 7) contains the first 49, second 50, third 51 and fourth 52 registers, node 53 for calculating the complex spectrum of the signal, node 54 for calculating the frequency shift, circuit 55 "OR", counter 56 and key 57, the inputs of the registers 49 and 50 respectively form the second and third inputs of the additional frequency shift calculation unit 19, the outputs of the registers 49 and 50 are connected respectively to the first and second inputs of the complex spectrum signal calculation unit 53, the third input of which is connected to the output of the OR circuit 55 first exit at la 53 is connected to the first inputs of the third register 51 and the frequency shift calculation unit 54, the second output of the node 53 is connected to the first input of the fourth register 52 and the second input of the frequency shift calculation unit 54, the third and fourth inputs of which are connected respectively to the outputs of the registers 51 and 52, the output of the frequency shift calculation unit 54 is the output of the additional frequency shift calculation unit 19, the fifth input of the frequency shift calculation unit 54 and the second input of the OR circuit 55 are combined and connected to the output of the counter 56, the input of which is connected to the output th key 57, the first and second inputs of which respectively form the first and fourth inputs of the additional frequency offset calculation unit 19, the input circuit 55 "OR" is the fifth input of block 19.
Блок 11 управления (Фиг.8) содержит первую 58 и вторую 59 схемы «И», первую 60 и вторую 61 схемы «НЕ», схему 62 «ИЛИ», регистр 63 и формирователь 64 импульса, при этом первые входы первой схемы 58 «И» и второй схемы 59 «И» являются соответственно вторым и первым входами блока 11 управления, вход первой схемы 60 «НЕ» является третьим входом блока 11 управления, вторые входы первой 58 и второй 59 схем «И» объединены и соединены с выходом первой схемы 60 «НЕ», выход первой схемы 58 «И» является четвертым выходом блока 11 управления, выход второй схемы 59 «И» соединен с первым входом схемы 62 «ИЛИ», выход которой соединен со входом второй схемы 61 «НЕ», выход которой образует первый выход блока 11 управления, первый и второй входы регистра 63 образуют четвертый вход блока 11 управления, выход регистра 63 является третьим выходом блока 11 управления и соединен с объединенными вторым входом схемы 62 «ИЛИ» и входом формирователя 64 импульса, выход которого образует второй выход блока 11 управления и соответственно первый выход устройства.The control unit 11 (Fig. 8) contains the first 58 and second 59 of the "AND" circuit, the first 60 and second 61 of the "NOT" circuit, the OR circuit 62, the register 63 and the pulse shaper 64, while the first inputs of the first circuit 58 " AND ”and the second“ 59 ”circuits 59 are respectively the second and first inputs of the control unit 11, the input of the first“ NOT ”circuit 60 is the third input of the control unit 11, the second inputs of the first 58 and second 59“ I ”circuits are combined and connected to the output of the first circuit 60 "NOT", the output of the first circuit 58 "AND" is the fourth output of the control unit 11, the output of the second circuit 59 "AND" is connected to the first input of the OR circuit 62, the output of which is connected to the input of the second NOT circuit 61, the output of which forms the first output of the control unit 11, the first and second inputs of the register 63 form the fourth input of the control unit 11, the output of the register 63 is the third output of the block 11 control and connected to the combined second input of the OR circuit 62 and the input of the pulse shaper 64, the output of which forms the second output of the control unit 11 and, accordingly, the first output of the device.
Осуществляют заявляемый способ частотно-временной синхронизации системы связи следующим образом:Carry out the inventive method of time-frequency synchronization of a communication system as follows:
входной сигнал фильтруют, усиливают, выполняют автоматическую регулировку усиления, вычисляя коэффициент усиления входного сигнала в зависимости от уровня мощности входного сигнала, переносят на видеочастоту, осуществляют его аналогово-цифровое преобразование и децимацию, формируя входной цифровой комплексный сигнал на видеочастоте;the input signal is filtered, amplified, automatic gain control is performed, calculating the gain of the input signal depending on the power level of the input signal, transfer to the video frequency, carry out its analog-to-digital conversion and decimation, forming the input digital complex signal at the video frequency;
- частотно-временную синхронизацию выполняют в два этапа, при этом на первом этапе определяют предварительную оценку временного положения второй части преамбулы и предварительную оценку частотного сдвига между несущей частотой входного сигнала и частотой опорного сигнала, для чего:- time-frequency synchronization is performed in two stages, while at the first stage, a preliminary estimate of the temporary position of the second part of the preamble and a preliminary estimate of the frequency shift between the carrier frequency of the input signal and the frequency of the reference signal are determined, for which:
вычисляют коэффициент коррекции уровня мощности сформированного входного сигнала,calculate the correction coefficient of the power level of the generated input signal,
корректируют сформированный входной цифровой комплексный сигнал, используя вычисленный коэффициент коррекции уровня мощности сформированного входного сигнала,correcting the generated input digital complex signal using the calculated correction coefficient of the power level of the generated input signal,
осуществляют согласованную с одним коротким многочастотным символом фильтрацию скорректированного входного цифрового комплексного сигнала, формируя комплексные отклики первого этапа,filtering the corrected input digital complex signal, consistent with one short multi-frequency symbol, forming complex responses of the first stage,
запоминают комплексные отклики первого этапа,remember the complex responses of the first stage,
вычисляют квадраты модулей комплексных откликов первого этапа,calculate the squares of the modules of the complex responses of the first stage,
вычисляют суммы N квадратов модулей комплексных откликов первого этапа, взятых с интервалом, равным длительности короткого многочастотного символа,calculate the sum of N squares of the modules of the complex responses of the first stage, taken with an interval equal to the duration of the short multi-frequency symbol,
сравнивают полученные суммы с заданным порогом первого этапа, при превышении порога:compare the received amount with a given threshold of the first stage, if the threshold is exceeded:
временное положение начала преамбулы, соответствующее полученной сумме, полагают текущим временным положением преамбулы,the temporary position of the beginning of the preamble corresponding to the amount received is considered the current temporary position of the preamble,
формируют текущую оценку частотного сдвига по усредненной разности фаз смежных комплексных откликов первого этапа с n-го по (N-n+1)-ый, соответствующих слагаемым суммирования, где n - целое число,,form the current estimate of the frequency shift by the averaged phase difference of adjacent complex responses of the first stage from the n-th to the (N-n + 1) -th corresponding to the summation terms, where n is an integer, ,
порог первого этапа устанавливают равным полученной сумме,the threshold of the first stage is set equal to the received amount,
если произошло хотя бы одно превышение порога первого этапа, а затем не происходит превышение порога первого этапа с момента времени последнего превышения порога в течение интервала, равного длительности короткого многочастотного символа, тоif at least one threshold is exceeded for the first stage, and then the threshold for the first stage is not exceeded from the time the last threshold was exceeded for an interval equal to the duration of the short multi-frequency symbol, then
определяют предварительную оценку временного положения второй части преамбулы по текущему временному положению преамбулы,determine a preliminary assessment of the temporary position of the second part of the preamble for the current temporary position of the preamble,
определяют предварительную оценку частотного сдвига между несущей частотой входного сигнала и частотой опорного сигнала как текущую оценку частотного сдвига,determining a preliminary estimate of the frequency shift between the carrier frequency of the input signal and the frequency of the reference signal as the current estimate of the frequency shift,
порог первого этапа полагают равным первоначальному значению, а текущее временное положение преамбулы считают неопределенным;the threshold of the first stage is assumed to be equal to the initial value, and the current temporary position of the preamble is considered undefined;
переходят ко второму этапу,go to the second stage,
- на втором этапе осуществляют окончательную оценку временного положения преамбулы и окончательную оценку частотного сдвига между несущей частотой входного сигнала и частотой опорного сигнала, для чего:- at the second stage, a final assessment of the temporal position of the preamble and a final assessment of the frequency shift between the carrier frequency of the input signal and the frequency of the reference signal are carried out, for which:
определяют априорный интервал временного положения второй части преамбулы по предварительной оценке временного положения второй части преамбулы,determine the a priori interval of the temporary position of the second part of the preamble by preliminary estimation of the temporary position of the second part of the preamble,
корректируют фазу входного цифрового комплексного сигнала на интервале работы второго этапа с учетом предварительной оценки частотного сдвига между несущей частотой входного сигнала и частотой опорного сигнала,adjust the phase of the input digital complex signal in the interval of operation of the second stage, taking into account a preliminary estimate of the frequency shift between the carrier frequency of the input signal and the frequency of the reference signal,
осуществляют согласованную с одним длинным многочастотным символом фильтрацию скорректированного по фазе входного цифрового комплексного сигнала, формируя комплексные отклики второго этапа,filtering the phase-corrected input digital complex signal, consistent with one long multi-frequency symbol, provides complex responses of the second stage,
вычисляют квадраты модулей комплексных откликов второго этапа,calculate the squares of the modules of the complex responses of the second stage,
сравнивают квадраты модулей комплексных откликов второго этапа с заданным порогом второго этапа на априорном интервале временного положения второй части преамбулы, при непревышении порога полагают преамбулу необнаруженной,comparing the squares of the modules of the complex responses of the second stage with a given threshold of the second stage on an a priori interval of the time position of the second part of the preamble, if the threshold is not exceeded, the preamble is considered undetected,
при превышении порога второго этапа полагают преамбулу обнаруженной, тогдаwhen the threshold of the second stage is exceeded, the preamble is considered to be detected, then
определяют окончательную оценку временного положения преамбулы по временному положению первого превышения порога второго этапа,determine the final assessment of the temporary position of the preamble by the temporary position of the first excess of the threshold of the second stage,
находят комплексные спектры длинных многочастотных символов скорректированного по фазе входного цифрового комплексного сигнала, временные положения которых определяются по временному положению первого превышения порога второго этапа,find complex spectra of long multi-frequency symbols of the phase-corrected input digital complex signal, the temporary positions of which are determined by the temporary position of the first threshold exceeding the second stage,
определяют дополнительную оценку частотного сдвига по усредненной разности фаз соответствующих элементов комплексных спектров длинных многочастотных символов,determining an additional estimate of the frequency shift from the average phase difference of the corresponding elements of the complex spectra of long multi-frequency symbols,
определяют окончательную оценку частотного сдвига между несущей частотой входного сигнала и частотой опорного сигнала как сумму предварительной и дополнительной оценки частотного сдвига.determine the final estimate of the frequency shift between the carrier frequency of the input signal and the frequency of the reference signal as the sum of the preliminary and additional estimates of the frequency shift.
Сформированный входной цифровой комплексный сигнал корректируют, например, путем умножения на отношение коэффициента усиления приемного тракта, при котором произошло первое превышение порога первого этапа, на текущий коэффициент усиления приемного тракта; если не произошло ни одного превышения порога первого этапа, то сформированный входной цифровой комплексный сигнал умножают на коэффициент, равный единице.The generated input digital complex signal is corrected, for example, by multiplying by the ratio of the gain of the receive path, at which the first threshold of the first stage is exceeded, by the current gain of the receive path; if not a single excess of the threshold of the first stage has occurred, then the generated input digital complex signal is multiplied by a factor equal to unity.
Текущую оценку частотного сдвига формируют, например, как отношение усредненной разности фаз комплексных откликов первого этапа к длительности короткого многочастотного символа.A current estimate of the frequency shift is formed, for example, as the ratio of the averaged phase difference of the complex responses of the first stage to the duration of a short multi-frequency symbol.
Начало априорного интервала временного положения второй части преамбулы определяют, например, равным сумме предварительной оценки временного положения второй части преамбулы, длительности (N-1)-х коротких многочастотных символов и длительности префикса, где N - количество коротких многочастотных символов в преамбуле.The beginning of the a priori time interval of the temporal position of the second part of the preamble is determined, for example, by the sum of the preliminary estimate of the temporal position of the second part of the preamble, the duration of the (N-1) x short multi-frequency symbols and the duration of the prefix, where N is the number of short multi-frequency symbols in the preamble.
Окончание априорного интервала временного положения второй части преамбулы определяют, например, равным сумме предварительной оценки временного положения второй части преамбулы, длительности (N+2)-x коротких многочастотных символов и длительности префикса, где N - количество коротких многочастотных символов в преамбуле.The end of the a priori time interval of the temporal position of the second part of the preamble is determined, for example, by the sum of the preliminary estimate of the temporal position of the second part of the preamble, the duration of (N + 2) -x short multi-frequency characters and the duration of the prefix, where N is the number of short multi-frequency characters in the preamble.
Фазу входного цифрового комплексного сигнала на интервале работы второго этапа корректируют, умножая отсчеты входного цифрового комплексного сигнала на комплексный множитель единичной амплитуды, фаза которого равна произведению предварительной оценки частотного сдвига на временные положения отсчетов.The phase of the input digital complex signal in the interval of operation of the second stage is adjusted by multiplying the samples of the input digital complex signal by a complex factor of unit amplitude, the phase of which is equal to the product of the preliminary estimate of the frequency shift by the time positions of the samples.
Дополнительную оценку частотного сдвига определяют, например, как отношение усредненной разности фаз соответствующих элементов комплексных спектров длинных многочастотных символов к длительности длинного многочастотного символа.An additional estimate of the frequency shift is determined, for example, as the ratio of the averaged phase difference of the corresponding elements of the complex spectra of long multi-frequency symbols to the duration of a long multi-frequency symbol.
Окончательную оценку временного положения преамбулы, а именно начала преамбулы, определяют равной разности временного положения, соответствующего первому превышению порога второго этапа, и суммы длительностей первой части преамбулы и префикса.The final assessment of the temporary position of the preamble, namely the beginning of the preamble, is determined equal to the difference in the temporary position corresponding to the first exceeding of the threshold of the second stage and the sum of the durations of the first part of the preamble and the prefix.
Заявляемый способ реализуют на устройстве частотно-временной синхронизации системы связи, структурная схема которого приведена на Фиг.3.The inventive method is implemented on the device of the time-frequency synchronization of a communication system, a structural diagram of which is shown in Fig.3.
Сигнал преамбулы используют для частотно-временной синхронизации, которая состоит из двух этапов. При этом на первом этапе определяют предварительную оценку временного положения второй части преамбулы и предварительную оценку частотного сдвига между несущей частотой входного сигнала и частотой опорного сигнала. На втором этапе осуществляют окончательную оценку временного положения преамбулы и окончательную оценку частотного сдвига между несущей частотой входного сигнала и частотой опорного сигнала.The preamble signal is used for time-frequency synchronization, which consists of two stages. In this case, at the first stage, a preliminary estimate of the temporary position of the second part of the preamble and a preliminary estimate of the frequency shift between the carrier frequency of the input signal and the frequency of the reference signal are determined. At the second stage, a final estimate of the temporal position of the preamble and a final estimate of the frequency shift between the carrier frequency of the input signal and the frequency of the reference signal are carried out.
В приемном тракте 1 входной сигнал, который поступает на его вход, предварительно фильтруют, усиливают, выполняют автоматическую регулировку усиления, вычисляя коэффициент усиления входного сигнала в зависимости от уровня мощности входного сигнала, переносят на видеочастоту, осуществляют его аналогово-цифровое преобразование, децимацию и т.д. В результате чего формируют входной цифровой комплексный сигнал на видеочастоте.In the receiving
Синфазная и квадратурная составляющие входного цифрового сигнала с первого и второго выхода приемного тракта 1 поступают соответственно на первый и второй входы комплексного перемножителя 7 и соответственно на первые входы пятого 21 и шестого 22 перемножителей.The in-phase and quadrature components of the input digital signal from the first and second output of the receiving
Коэффициент усиления входного сигнала или величина, пропорциональная коэффициенту усиления, (которые изменяются в процессе приема сигнала под действием системы автоматической регулировки усиления) с третьего выхода приемного тракта 1 поступает на первый вход блока 23 расчета коэффициента коррекции уровня мощности сформированного входного сигнала, на второй вход которого поступает сигнал с выхода блока 10 сравнения с порогом.The gain of the input signal or a value proportional to the gain (which change during the reception of the signal by the automatic gain control system) from the third output of the receive
Рассчитанный коэффициент коррекции уровня мощности сформированного входного сигнала с выхода блока 23 поступает на вторые входы пятого 21 и шестого 22 перемножителей.The calculated correction coefficient of the power level of the generated input signal from the output of block 23 is supplied to the second inputs of the fifth 21 and sixth 22 multipliers.
С выхода пятого 21 и шестого 22 перемножителей скорректированные синфазная и квадратурная составляющие входного цифрового сигнала поступают на входы первого 2 и второго 3 согласованных фильтров.From the output of the fifth 21 and sixth 22 multipliers, the corrected in-phase and quadrature components of the input digital signal are fed to the inputs of the first 2 and second 3 matched filters.
В первом согласованном фильтре 2 осуществляют согласованную с одним коротким многочастотным символом фильтрацию синфазной компоненты входного сигнала. Во втором согласованном фильтре 3 осуществляют согласованную с одним коротким многочастотным символом фильтрацию квадратурной компоненты входного сигнала.In the first matched
На выходах первого 2 и второго 3 согласованных фильтров формируют корреляционные отклики соответственно для синфазной и квадратурной составляющих входного цифрового комплексного сигнала, которые поступают соответственно на входы первой 24 и второй 25 линий задержки для синфазной и квадратурной составляющих сигнала.The outputs of the first 2 and second 3 matched filters generate correlation responses, respectively, for the in-phase and quadrature components of the input digital complex signal, which are received respectively at the inputs of the first 24 and second 25 delay lines for the in-phase and quadrature components of the signal.
В первой 24 и второй 25 линиях задержки запоминают (записывают) отклики соответственно для синфазной и квадратурной составляющих с дискретом, например, равным отношению длительности короткого многочастотного символа к количеству поднесущих на интервале длительности N коротких многочастотных символов. Каждая линия задержки соответственно для синфазной и квадратурной составляющих имеет N выходов.In the first 24 and second 25 delay lines, responses for the in-phase and quadrature components with a discrete, for example, equal to the ratio of the duration of the short multi-frequency symbol to the number of subcarriers in the duration interval N of short multi-frequency symbols, are stored (recorded), respectively. Each delay line, respectively, for in-phase and quadrature components has N outputs.
В первых 41-4N и вторых 51-5N перемножителях вычисляют квадраты соответствующих откликов для синфазной и квадратурной составляющих первого этапа, которые поступают на соответствующие им первые и вторые входы первого сумматора 6.In the first 41 -4N and second 51 -5N multipliers, the squares of the corresponding responses for the in-phase and quadrature components of the first stage are calculated, which are fed to the corresponding first and second inputs of the first adder 6.
В первом сумматоре 6 путем суммирования соответствующих квадратов синфазной и квадратурной составляющих откликов вычисляют сумму N квадратов модулей комплексных откликов первого этапа, взятых с интервалом, равным длительности короткого многочастотного символа, которые поступают на первый вход блока 10 сравнения с порогом. На второй вход блока 10 сравнения с порогом с первого выхода блока 11 управления подают сигнал управления, определяющий момент окончания или повторного запуска выполнения первого этапа. На третий вход блока 10 сравнения с порогом и первый вход блока 11 управления с первого выхода блока 25 определения границ априорного интервала подают сигнал непревышения порога первого этапа в течение длительности короткого многочастотного символа (после последнего превышения порога первого этапа), по которому осуществляют установку первоначального (исходного) значения порога первого этапа. Эта установка необходима для начала очередного цикла работы первого этапа синхронизации.In the first adder 6, by summing the corresponding squares of the in-phase and quadrature components of the responses, the sum of N squares of the modules of the complex responses of the first stage, taken at intervals equal to the duration of the short multi-frequency symbol, which are received at the first input of the
На второй вход блока 11 управления со второго выхода блока 25 определения границ априорного интервала подают сигнал начала априорного интервала временного положения второй части преамбулы.To the second input of the
В блоке 10 сравнения с порогом последовательно сравнивают результаты суммирования с выхода первого сумматора 6 с порогом первого этапа H1. Результаты сравнения с выхода блока 10 сравнения с порогом поступают на первый вход блока 25 определения границ априорного интервала, на первый вход блока 9 расчета частотного сдвига и на второй вход блока 23 расчета коэффициента коррекции уровня мощности сформированного входного сигнала.In
При превышении порога первого этапа:If the threshold of the first stage is exceeded:
текущим временным положением преамбулы считают временное положение начала преамбулы, соответствующее результату суммирования;the current temporary position of the preamble is considered the temporary position of the beginning of the preamble corresponding to the result of the summation;
в блоке 9 расчета частотного сдвига формируют текущую оценку частотного сдвига;in the
в блоке 25 определения границ априорного интервала определяют начало априорного интервала временного положения второй части преамбулы и окончание априорного интервала временного положения второй части преамбулы;in block 25 for determining the boundaries of the a priori interval, the beginning of the a priori interval of the time position of the second part of the preamble and the end of the a priori interval of the time position of the second part of the preamble are determined;
текущую оценку частотного сдвига формируют в блоке 9 расчета частотного сдвига по усредненной разности фаз комплексных откликов первого этапа, поступающих на вторые и третьи входы блока 9.the current estimate of the frequency shift is formed in the
Усредненную разность фаз формируют, например, как сумму произведений комплексных откликов на комплексно-сопряженные соседние отклики. Причем (n-1) начальных и (n-1) последних корреляционных откликов не используют в формировании суммы. Значение аргумента полученного комплексного числа равно усредненной разности фаз. При этом отношение усредненной разности фаз к длительности короткого многочастотного символа равно оценке текущего частотного сдвига.The averaged phase difference is formed, for example, as the sum of the products of complex responses to complex conjugate neighboring responses. Moreover, the (n-1) initial and (n-1) last correlation responses are not used in the formation of the sum. The value of the argument of the obtained complex number is equal to the averaged phase difference. In this case, the ratio of the averaged phase difference to the duration of a short multi-frequency symbol is equal to the estimate of the current frequency shift.
Оценка текущего частотного сдвига поступает с выхода блока 9 на первый вход блока 8 формирования гармоники и на первый вход третьего сумматора 20 и соответствует текущей предварительной («грубой») оценке частотной расстройки. На второй вход блока 8 формирования гармоники, на второй вход блока 25 определения границ априорного интервала и на четвертый вход блока 19 расчета дополнительного частотного сдвига с выхода тактового генератора 12 поступает сигнал тактовой частоты.An estimate of the current frequency shift is received from the output of
Начало априорного интервала временного положения второй части преамбулы определяют в блоке 25 определения границ априорного интервала, например, равным сумме предварительной оценки временного положения второй части преамбулы, соответствующего последнему превышению порога первого этапа (после которого не произошло ни одного превышения порога первого этапа в течение длительности короткого многочастотного символа), длительности (N-2)-х коротких многочастотных символов и длительности префикса. Начиная с момента начала априорного интервала временного положения второй части преамбулы сигнал, равный, например, логической единице, со второго выхода блока 25 определения границ априорного интервала поступает на второй вход блока 11 управления.The beginning of the a priori interval of the time position of the second part of the preamble is determined in block 25 for determining the boundaries of the a priori interval, for example, equal to the sum of the preliminary estimate of the time position of the second part of the preamble corresponding to the last excess of the threshold of the first stage (after which there was no excess of the threshold of the first stage for a short multi-frequency symbol), duration (N-2) of short multi-frequency symbols, and prefix duration. Starting from the beginning of the a priori time interval of the second part of the preamble, a signal equal, for example, to a logical unit, from the second output of the a priori interval boundary determination unit 25 is supplied to the second input of the
Окончание априорного интервала временного положения второй части преамбулы определяют в блоке 25 определения границ априорного интервала, например, равным сумме предварительной оценки временного положения второй части преамбулы, длительности (N+2)-x коротких многочастотных символов и длительности префикса. Сигнал окончания априорного интервала поступает с третьего выхода блока 25 определения границ априорного интервала на третий вход блока 11 управления.The end of the a priori interval of the time position of the second part of the preamble is determined in block 25 for determining the boundaries of the a priori interval, for example, equal to the sum of the preliminary estimate of the time position of the second part of the preamble, the duration of (N + 2) -x short multi-frequency symbols and the duration of the prefix. The signal for the end of the a priori interval comes from the third output of the block for determining the boundaries of the a priori interval 25 to the third input of the
После каждого превышения порога первого этапа его значение устанавливают в блоке 10 сравнения с порогом равным результату суммирования в первом сумматоре 6.After each exceeding the threshold of the first stage, its value is set in
К моменту начала второго этапа в блоке 9 расчета частотного сдвига формируют предварительную оценку частотного сдвига между несущей входного сигнала и частотой опорного сигнала, которая равна последней текущей оценке частотного сдвига.By the time the second stage begins, in the frequency
В блоке 8 формирования гармоники по предварительной оценке частотного сдвига и сигналу с тактового генератора 12 формируют комплексный множитель единичной амплитуды, фаза которого равна произведению предварительной оценки частотного сдвига на временное положение текущих отсчетов. Квадратурные составляющие комплексного множителя с первого и второго выходов блока 8 формирования гармоники поступают соответственно на третий и четвертый входы комплексного перемножителя 7, в котором корректируют фазу входного цифрового комплексного сигнала на втором этапе. Для этого в комплексном перемножителе 7 осуществляют известную операцию умножения отсчетов входного цифрового комплексного сигнала на комплексный множитель.In block 8, the formation of harmonics according to a preliminary estimate of the frequency shift and the signal from the
В момент времени, соответствующий непревышению порога первого этапа, в течение длительности короткого символа (после последнего превышения порога первого этапа) в блоке 10 сравнения с порогом устанавливают порог первого этапа, равный первоначальному значению H1. С этого момента времени начинается второй этап, в течение которого осуществляют окончательную оценку временного положения преамбулы и окончательную оценку частотного сдвига между несущей входного сигнала и частотой опорного сигнала.At a point in time corresponding to not exceeding the threshold of the first stage, for the duration of the short symbol (after the last exceeding the threshold of the first stage), in the
На интервале работы второго этапа в комплексном перемножителе 7 постоянно корректируют фазу входного цифрового комплексного сигнала с учетом предварительной оценки частотного сдвига между несущей входного сигнала и частотой опорного сигнала, полученной на первом этапе.In the interval of operation of the second stage in the complex multiplier 7, the phase of the input digital complex signal is constantly adjusted taking into account a preliminary estimate of the frequency shift between the carrier of the input signal and the frequency of the reference signal obtained in the first stage.
Синфазная и квадратурная составляющие входного цифрового комплексного сигнала, скорректированные по фазе, с первого и второго выходов комплексного перемножителя 7 поступают соответственно на входы третьего 13 и четвертого 14 согласованных фильтров и соответственно на второй и третий входы блока 19 расчета дополнительного частотного сдвига.The in-phase and quadrature components of the input digital complex signal, phase-corrected, from the first and second outputs of the complex multiplier 7 are received respectively at the inputs of the third 13 and fourth 14 matched filters and, respectively, at the second and third inputs of the additional frequency
В третьем 13 и четвертом 14 согласованных фильтрах осуществляют согласованную фильтрацию с одним длинным многочастотным символом соответственно для синфазной и квадратурной составляющей входного скорректированного по фазе цифрового комплексного сигнала и формируют соответственно синфазные и квадратурные составляющие откликов второго этапа. Сформированные синфазные составляющие откликов второго этапа с выхода третьего согласованного фильтра 13 поступают на первые и вторые входы третьего перемножителя 15. Сформированные квадратурные составляющие откликов второго этапа с выхода четвертого согласованного фильтра 14 поступают на первый и второй входы четвертого перемножителя 16.In the third 13 and fourth 14 matched filters, matched filtering is performed with one long multi-frequency symbol, respectively, for the in-phase and quadrature components of the input phase-corrected digital complex signal and the in-phase and quadrature components of the responses of the second stage are formed respectively. The generated in-phase components of the responses of the second stage from the output of the third matched filter 13 are supplied to the first and second inputs of the third multiplier 15. The generated quadrature components of the responses of the second stage from the output of the fourth matched
В третьем 15 и четвертом 16 перемножителях формируют соответственно квадраты синфазной и квадратурной составляющих откликов второго этапа, которые поступают соответственно на первый и второй вход второго сумматора 17, где путем их суммирования вычисляют квадраты модулей комплексных откликов второго этапа.In the third 15 and fourth 16 multipliers, respectively, the squares of the in-phase and quadrature components of the responses of the second stage are formed, which arrive respectively at the first and second input of the second adder 17, where by summing them up, the squares of the modules of the complex responses of the second stage are calculated.
Вычисленные квадраты модулей комплексных откликов второго этапа с выхода второго сумматора 17 поступают на второй вход ключа 27. На первый вход ключа 27 с четвертого выхода блока 11 управления поступает сигнал управления, равный, например, логической единице, если текущая временная задержка находится внутри априорного интервала временного положения второй части преамбулы. С выхода ключа 27 квадраты модулей комплексных откликов второго этапа поступают на вход компаратора 28.The calculated squares of the second-stage complex response modules from the output of the second adder 17 go to the second input of the key 27. The control signal is equal to, for example, a logical unit if the current time delay is inside the a priori time interval from the fourth output of
В компараторе 28 для временных задержек на априорном интервале временного положения второй части преамбулы сравнивают значения квадратов модулей комплексных откликов второго этапа с порогом второго этапа Н2. Результат сравнения с выхода компаратора 28 поступает на четвертый вход блока 11 управления.In the comparator 28 for the time delays on the a priori time interval of the second position of the preamble, the squares of the modules of the complex responses of the second stage are compared with the threshold of the second stage H2. The comparison result from the output of the comparator 28 is fed to the fourth input of the
При непревышении порога Н2 на априорном интервале временного положения второй части преамбулы полагают преамбулу необнаруженной, на первом выходе блока 11 управления формируют сигнал повторного запуска первого этапа, который поступает на второй вход блока 10 сравнения с порогом, и процедуру частотно-временной синхронизации повторяют, начиная с первого этапа.If the threshold H2 is not exceeded in the a priori time interval of the second part of the preamble, the preamble is assumed to be undetected, the first stage restart signal is generated at the first output of the
При превышении порога Н2 (хотя бы однократном превышении) на априорном интервале временного положения второй части преамбулы преамбулу полагают обнаруженной. При этом по сигналам превышения порога в блоке 11 управления определяют окончательную оценку временного положения преамбулы как временное положение первого превышения порога второго этапа Н2. Полученная оценка со второго выхода блока 11 управления поступает на первый выход устройства и на пятый вход блока 19 расчета дополнительного частотного сдвига.If the threshold H2 is exceeded (at least once) in the a priori interval of the time position of the second part of the preamble, the preamble is considered to be detected. Moreover, the signals for exceeding the threshold in the
Окончательная оценка временного положения преамбулы (начало преамбулы) однозначно определяется временным положением первого превышения порога второго этапа Н2 и равна разности временного положения первого превышения порога второго этапа Н2 и суммы длительностей первой части преамбулы и префикса.The final assessment of the temporal position of the preamble (the beginning of the preamble) is uniquely determined by the temporal position of the first exceeding the threshold of the second stage H2 and is equal to the difference between the temporal position of the first exceeding the threshold of the second stage H2 and the sum of the durations of the first part of the preamble and prefix.
В блоке 19 расчета дополнительного частотного сдвига по управляющему сигналу наличия превышения порога второго этапа и по управляющему сигналу соответствующего временному положению первого превышения порога второго этапа, поступающим соответственно на его первый и пятый входы с третьего и второго выходов блока 11 управления, определяют временное положение, соответствующее длинным многочастотным символам. Момент времени первого превышения порога второго этапа соответствует окончанию первого многочастотного символа и началу второго многочастотного символа.In the
В блоке 19 расчета дополнительного частотного сдвига синфазные и квадратурные составляющие входного цифрового комплексного сигнала, скорректированные по фазе первого и второго длинных многочастотных символов, используют для определения дополнительной оценки частотного сдвига.In
Оценка выполняется, например, следующим образом. Формируют комплексные спектры двух длинных многочастотных символов, затем находят усредненную разность фаз соответствующих элементов комплексных спектров как сумму произведений комплексно-сопряженных элементов первого символа на соответствующие комплексные элементы спектра второго символа. В результате аргумент полученного комплексного числа равен усредненной разности фаз и определяет оценку дополнительного фазового сдвига. Дополнительную оценку частотного сдвига определяют, например, как отношение усредненной разности фаз элементов комплексных спектров к длительности длинного многочастотного символа. Дополнительная оценка частотного сдвига с выхода блока 19 поступает на второй вход третьего сумматора 20.Evaluation is performed, for example, as follows. Complex spectra of two long multi-frequency symbols are formed, then the average phase difference of the corresponding elements of the complex spectra is found as the sum of the products of the complex conjugate elements of the first symbol and the corresponding complex spectrum elements of the second symbol. As a result, the argument of the obtained complex number is equal to the averaged phase difference and determines the estimate of the additional phase shift. An additional estimate of the frequency shift is determined, for example, as the ratio of the averaged phase difference of the elements of complex spectra to the duration of a long multi-frequency symbol. An additional estimate of the frequency shift from the output of
В третьем сумматоре 20 определяют окончательную оценку частотного сдвига между несущей входного и частотой опорного сигнала как сумму предварительной и дополнительной оценки частотного сдвига. Полученная окончательная оценка с выхода третьего сумматора 20 поступает на второй выход устройства.In the
Для лучшего понимания реализации заявляемых способа частотно-временной синхронизации системы связи и устройства для его осуществления рассмотрим работу блока 23 расчета коэффициента коррекции уровня мощности сформированного входного сигнала, блока 10 сравнения с порогом, блока 25 определения границ априорного интервала, блока 19 расчета дополнительного частотного сдвига и блока 11 управления.For a better understanding of the implementation of the inventive method of time-frequency synchronization of a communication system and a device for its implementation, we consider the operation of the block 23 for calculating the correction coefficient of the power level of the generated input signal, the
Блок 23 расчета коэффициента коррекции уровня мощности сформированного входного сигнала (Фиг.4) работает следующим образом.Block 23 calculating the coefficient of correction of the power level of the generated input signal (Figure 4) works as follows.
На первый вход блока 23 поступает коэффициент усиления (или величина, пропорциональная ему) с выхода приемного тракта 1. С первого входа блока 23 сигнал поступает на объединенные первые входы первого регистра 29, ключа 31 и узла расчета отношения коэффициента усиления входного сигнала, соответствующего первому превышению порога первого этапа, к текущему значению коэффициента усиления приемного тракта 32.The first input of block 23 receives the gain (or a value proportional to it) from the output of the receiving
Со второго входа блока 23 на первый сигнальный вход и на второй вход записи второго регистра 30 поступает сигнал результата сравнения с заданным порогом первого этапа H1, по которому при наличии хотя бы одного превышения во второй регистр 30 записывают сигнал, равный логической единице. Выход второго регистра 30 соединен с входом формирователя 33 импульса и входом схемы 34 "НЕ". По выходному сигналу со второго регистра 30 на выходе формирователя 33 импульса формируется сигнал в виде импульса, временное положение которого соответствует первому превышению порога первого этапа. По этому сигналу в первом регистре 29 запоминают значение коэффициента усиления приемного тракта. С выхода первого регистра 29 значение коэффициента усиления приемного тракта, соответствующее первому превышению порога первого этапа, поступает на вход узла 32 расчета отношения коэффициента усиления входного сигнала, соответствующего первому превышению порога первого этапа, к текущему значению коэффициента усиления приемного тракта. С выхода узла 32 рассчитанный коэффициент коррекции уровня мощности сформированного входного сигнала поступает на выход блока 23. Если не было превышения порога первого этапа, в узле 32 формируется отношение, равное единице, т.к. в этом случае ключ 31 замкнут (с выхода первого регистра 29 сигнал не поступает), и в узле 32 делимое и делитель равны.From the second input of block 23, the signal of the comparison result with a predetermined threshold of the first stage H1 is received at the first signal input and at the second recording input of the second register 30, according to which, if there is at least one excess, a signal equal to a logical one is written to the second register 30. The output of the second register 30 is connected to the input of the
Вариант выполнения блока 25 определения границ априорного интервала показан на Фиг.5. Блок 25 работает следующим образом.An embodiment of block 25 for determining the boundaries of the a priori interval is shown in FIG. 5. Block 25 operates as follows.
В первом плече, содержащем первый регистр 35, первый ключ 36 и первый счетчик 37, формируют сигнал начала области априорного интервала второго этапа. Во втором плече, содержащем второй регистр 38, второй ключ 39 и второй счетчик 40, формируют сигнал окончания области априорного интервала второго этапа. Во третьем плече, содержащем третий регистр 41, третий ключ 42 и третий счетчик 43, формируют сигнал непревышения порога в течение интервала короткого символа (после последнего превышения порога первого этапа).In the first arm containing the
На первые и вторые входы первого 35, второго 38 и третьего 41 регистров и вторые входы первого 37, второго 40, третьего 43 счетчиков поступает сигнал сравнения с порогом первого этапа.The first and second inputs of the first 35, second 38 and third 41 registers and the second inputs of the first 37, second 40, third 43 counters receive a comparison signal with the threshold of the first stage.
С выхода первого счетчика 37 (начала) на третий вход сброса (обнуления) первого регистра 35 и на второй выход блока 25 поступает сигнал, равный логическому нулю до момента начала априорного интервала второго этапа и равный логической единице в противном случае.From the output of the first counter 37 (beginning) to the third input of reset (zeroing) of the
На третий вход сброса (обнуления) второго регистра 38 и на третий выход блока 25 с выхода второго счетчика 40 (окончания) поступает сигнал, равный логическому нулю до момента окончания априорного интервала второго этапа, и равный логической единице в противоположном случае.The third reset input (reset) of the second register 38 and the third output of block 25 from the output of the second counter 40 (end) receives a signal equal to logical zero until the end of the a priori interval of the second stage, and equal to a logical unit in the opposite case.
На третий вход сброса (обнуления) третьего регистра 41 и на первый выход блока 25 с выхода третьего счетчика 43 (окончания) поступает сигнал, равный логическому нулю до момента времени соответствующего не превышению порога первого этапа в течение короткого символа (после последнего превышения порога первого этапа) и равный логической единице в противоположном случае.The third reset input (reset) of the
При превышении порога первого этапа в первый 35, второй 38 и третий 41 регистры записывают сигнал, равный логической единице, который с выходов первого 35 и второго 38 и третьего 41 регистров поступает на первые управляемые входы соответственно первого 37, второго 40 и третьего 43 ключей. На вторые входы первого 37, второго 40 и третьего 43 ключей со второго входа блока 25 поступает сигнал с тактового генератора, который через первый ключ 36 поступает на вход первого счетчика 37, через второй ключ 39 - на первый вход второго счетчика 40, а через третий ключ 42 поступает на первый вход третьего счетчика 43.When the threshold of the first stage is exceeded, in the first 35, second 38 and third 41 registers record a signal equal to a logical unit, which from the outputs of the first 35 and second 38 and third 41 registers goes to the first controlled inputs of the first 37, second 40 and third 43 keys, respectively. The second inputs of the first 37, second 40 and third 43 keys from the second input of block 25 receives a signal from the clock generator, which through the first key 36 is fed to the input of the
По превышении порога первого этапа первый ключ 36 замыкается и первый счетчик 37 накапливает импульсы тактовой частоты. Он запрограммирован таким образом, что сигнал начала априорного интервала временного положения второй части преамбулы, равный логической единице, появляется на его выходе в момент времени, равный, например, сумме временного положения преамбулы соответствующего превышению порога первого этапа, длительности (N-2) коротких многочастотных символов и длительности префикса.When the threshold of the first stage is exceeded, the first key 36 closes and the
Сигнал начала априорного интервала временного положения второй части преамбулы, равный логической единице, с выхода первого счетчика 37 поступает на второй выход блока 25 и на третий вход первого регистра 35, по которому первый регистр 35 обнуляется.The signal of the beginning of the a priori time interval of the second part of the preamble, equal to a logical unit, from the output of the
При каждом превышении порога первого этапа сигнал, равный логической единице, поступает на входы сброса всех счетчиков, в результате они обнуляются.Each time the threshold of the first stage is exceeded, a signal equal to a logical unit is supplied to the reset inputs of all counters, as a result, they are reset.
Следует отметить, что каждое последующее превышение порога первого этапа соответствует большему отклику первого этапа. Поэтому последнее превышение порога первого этапа для предложенной процедуры приема определяет наибольший отклик первого этапа. Временное положение этого отклика в предлагаемой процедуре используют для формирования априорного интервала временного положения второй части преамбулы. В конечном итоге процедура определения априорного интервала временного положения второй части преамбулы заключается в определении временной позиции наибольшего отклика первого этапа.It should be noted that each subsequent excess of the threshold of the first stage corresponds to a greater response of the first stage. Therefore, the last excess of the threshold of the first stage for the proposed reception procedure determines the greatest response of the first stage. The temporary position of this response in the proposed procedure is used to form an a priori interval of the temporary position of the second part of the preamble. Ultimately, the procedure for determining the a priori time interval of the second part of the preamble is to determine the time position of the highest response of the first stage.
Предлагаемая процедура сброса счетчиков по сигналу превышения порога первого этапа обеспечивает формирование выходных сигналов по временному положению наибольшего отклика первого этапа.The proposed procedure for resetting counters by a signal that exceeds the threshold of the first stage ensures the formation of output signals according to the temporary position of the highest response of the first stage.
Второй счетчик 40 программируют таким образом, что сигнал окончания априорного интервала временного положения второй части преамбулы, равный логической единице, появляется на его выходе в момент времени, равный, например, сумме временного положения преамбулы соответствующего превышению порога первого этапа, длительности (N+2)-x коротких многочастотных символов и длительности префикса.The second counter 40 is programmed in such a way that the signal for the end of the a priori time interval of the second part of the preamble, equal to a logical unit, appears at its output at a point in time equal, for example, to the sum of the temporary position of the preamble corresponding to exceeding the threshold of the first stage, duration (N + 2) -x short multi-frequency characters and prefix durations.
Сигнал окончания априорного интервала временного положения второй части преамбулы, равный логической единице, с выхода второго счетчика 40 поступает на третий выход блока 25 и на третий вход второго регистра 38. По этому сигналу осуществляют обнуление второго регистра 38 и завершают процедуру формирования априорного интервала временного положения второй части преамбулы.The signal for the end of the a priori time interval of the second preamble’s second position, equal to a logical one, from the output of the second counter 40 is fed to the third output of block 25 and to the third input of the second register 38. This signal is used to reset the second register 38 and complete the procedure for generating the a priori time interval of the second parts of the preamble.
Третий счетчик 43 программируют таким образом, что сигнал непревышения порога, равный логической единице, появляется на его выходе в момент времени, равный, например, сумме текущего временного положения преамбулы, длительности одного короткого многочастотного символа.The
Сигнал непревышения порога в течение интервала короткого символа (после последнего превышения порога первого этапа), равный логической единице, с выхода третьего счетчика 43 поступает на первый выход блока 25 и на третий вход третьего регистра 41. По этому сигналу осуществляют обнуление третьего регистра 41.The signal does not exceed the threshold during the interval of a short symbol (after the last threshold is exceeded in the first stage), equal to a logical unit, from the output of the
Первый 37, второй 40 и третий 43 счетчики могут быть реализованы, например, на базе стандартных программируемых счетчиков типа 564ИЕ10 или подобных им.The first 37, second 40 and third 43 counters can be implemented, for example, on the basis of standard programmable counters such as 564IE10 or the like.
Рассмотрим работу блока 10 сравнения с порогом, структурная схема которого приведена на Фиг.6.Consider the operation of
На второй управляемый вход первого ключа 46 со второго входа блока 10 сравнения с порогом поступает сигнал управления, определяющий момент окончания или повторного запуска выполнения первого этапа синхронизации. На первый управляемый вход третьего ключа 48 с третьего входа блока 10 поступает сигнал непревышения порога в течение интервала короткого символа (после последнего превышения порога первого этапа).The second controlled input of the first key 46 from the second input of the
Предварительно при включении устройства приема на второй управляемый вход первого ключа 46 устанавливают сигнал, равный логической единице, по которому первый ключ 46 открывают (замыкают), и сигнал превышения порога с выхода компаратора 45 через первый ключ 46 поступает на выход блока 10 сравнения с порогом и на второй управляемый вход второго ключа 47. Предварительно в регистр 44 записывают первоначальное значение порога первого этапа H1. На второй управляемый вход третьего ключа 48 устанавливают сигнал, равный логическому нулю, по которому этот ключ закрывают (размыкают). Сигнал с выхода третьего ключа 48 или сигнал с выхода второго ключа 47 поступает на вход регистра 44, запоминается в нем и с выхода регистра 44 поступает на первый вход компаратора 45.Preliminarily, when the receiving device is turned on, a signal equal to a logical unit is set to the second controlled input of the first key 46, by which the first key 46 is opened (closed), and the threshold is exceeded from the output of the comparator 45 through the first key 46 to the output of the
На первый вход второго ключа 47 и второй вход компаратора 45 с первого входа блока 10 поступают квадраты модулей комплексных откликов первого этапа, которые сравниваются в компараторе 45 с порогом первого этапа.The first input of the second key 47 and the second input of the comparator 45 from the first input of
При превышении порога на выходе компаратора 45 формируется сигнал, равный логической единице, который через первый ключ 46 поступает на выход блока 10 сравнения с порогом и на второй управляемый вход второго ключа 47. По этому сигналу квадрат модуля текущего комплексного отклика через второй ключ 47 поступает на вход регистра 44, запоминается в нем и с его выхода поступает на первый вход компаратора 45 в качестве значения текущего порога первого этапа, и процедура сравнения с порогом повторяется.When the threshold is exceeded, the output of the comparator 45 generates a signal equal to a logical unit, which, through the first key 46, enters the output of the
Оканчивается процедура сравнения с порогом в момент прихода на второй управляемый вход первого ключа 46 сигнала управления, определяющего момент окончания или повторного запуска выполнения первого этапа (логический ноль). При этом первый ключ 46 блокируют (размыкают).The comparison procedure with the threshold ends at the moment the
По сигналу непревышения порога в течение интервала короткого символа (после последнего превышения порога первого этапа) (логическая единица), поступающему на первый управляемый вход третьего ключа 48, на вход регистра 44 с первого сигнального входа третьего ключа 48 подают сигнал, равный первоначальному значению порога первого этапа H1 (хранящегося внутри блока), и запоминают в регистре 44.The signal does not exceed the threshold during the interval of a short symbol (after the last threshold of the first stage is exceeded) (logical unit), which is fed to the first controlled input of the third key 48, and a signal equal to the initial value of the threshold of the first stage H1 (stored inside the block), and stored in the
Блок 19 расчета дополнительного частотного сдвига (Фиг.7) работает следующим образом.
На вход первого регистра 49 со второго входа блока 19 поступают синфазные компоненты входного скорректированного цифрового сигнала.The input of the first register 49 from the second input of
На вход второго регистра 50 с третьего входа блока 19 поступают квадратурные компоненты входного скорректированного цифрового сигнала.The input of the second register 50 from the third input of
На первый вход схемы 55 «ИЛИ» и вторые входы регистров 51 и 52 с пятого входа блока 19 поступает импульсный сигнал первого превышения порога второго этапа.The first input of the OR circuit 55 and the second inputs of the registers 51 and 52 from the fifth input of the
На первый вход ключа 57 с четвертого входа блока 19 поступает импульсный сигнал тактовой частоты. С выхода ключа 57 на вход счетчика 56 поступает сигнал тактовой частоты. На второй управляемый вход ключа с первого входа блока 19 поступает сигнал наличия превышения порога второго этапа.The first input of the key 57 from the fourth input of the
Первый 49 и второй 50 регистры (с последовательным входом и параллельным выходом) запоминают синфазные и квадратурные составляющие отсчеты входного цифрового сигнала на интервале длинного многочастотного символа.The first 49 and second 50 registers (with serial input and parallel output) store in-phase and quadrature components of the samples of the input digital signal in the interval of a long multi-frequency symbol.
По сигналу превышения порога второго этапа в узле 53 расчета комплексного спектра сигнала выполняют преобразование Фурье сигнала, записанного в регистрах (который соответствует первому длинному многочастотному символу), и запоминают результат преобразования в третьем 51 и четвертом 52 регистрах.The signal exceeding the threshold of the second stage in the
На второй вход ключа 57 поступает сигнал, равный логической единице, если было хотя бы одно превышение порога на априорном интервале временного положения второй части преамбулы. По этому сигналу с выхода ключа 57 на (счетный) вход счетчика 56 поступает сигнал тактовой частоты, который накапливается в нем. Счетчик 56 запрограммирован таким образом, что на его выходе формируется импульсный сигнал с периодом, равным длительности длинного многочастотного символа. По этому сигналу в узле 53 расчета комплексного спектра сигнала выполняют преобразование Фурье сигнала, записанного в регистрах 49 и 50 (который соответствует второму длинному многочастотному символу), и выполняют расчет частотного сдвига.At the second input of the key 57, a signal equal to a logical unit arrives if there was at least one excess of the threshold in the a priori interval of the time position of the second part of the preamble. According to this signal, from the output of the key 57 to the (counting) input of the counter 56, a clock signal is received, which accumulates in it. The counter 56 is programmed in such a way that a pulse signal is generated at its output with a period equal to the duration of a long multi-frequency symbol. The Fourier transform of the signal recorded in registers 49 and 50 (which corresponds to the second long multi-frequency symbol) is performed by this signal in the complex spectrum
По выходному сигналу счетчика 56 в узле 54 расчета частотного сдвига из М синфазных и квадратурных составляющих элементов первого (хранящихся в третьем и четвертом регистрах) и второго спектров длинных символов (на выходах узла 53 расчета комплексного спектра сигнала) реализуют процедуру вычисления оценки частотной расстройки w в соответствии с выражением:According to the output signal of the counter 56, in the
где Lδ - длительность длинного многочастотного символа,where Lδ is the duration of a long multi-frequency symbol,
Uk=Uck+jUsk, - комплексные элементы спектра первого символа,Uk = Uck + jUsk , - complex elements of the spectrum of the first symbol,
Uck, Usk, - соответственно синфазные и квадратурные составляющие элементов спектра первого символа,Uck , Usk , - respectively, in-phase and quadrature components of the spectrum elements of the first symbol,
Yk=Yck+jYsk, - комплексные элементы спектра второго символа,Yk = Yck + jYsk , - complex elements of the spectrum of the second symbol,
Yck, Ysk, - соответственно синфазные и квадратурные составляющие элементов спектра второго символа,Yck , Ysk , - respectively, in-phase and quadrature components of the spectrum elements of the second symbol,
(*) - операция комплексного сопряжения.(*) - complex conjugation operation.
Полученная дополнительная оценка частотной расстройки w с выхода узла 54 расчета частотного сдвига поступает на выход блока 19 расчета дополнительного частотного сдвига.The obtained additional estimate of the frequency detuning w from the output of the frequency
Регистры 49, 50 с последовательной записью и параллельным считыванием реализуются, например, на базе стандартных микросхем серии 561ПР1 или серии 1564ИР8, или подобных им.Registers 49, 50 with sequential recording and parallel reading are implemented, for example, on the basis of standard microcircuits of the 561PR1 series or 1564IR8 series, or the like.
Регистры 51 и 52 с параллельной записью и параллельным считыванием реализуются, например, на базе стандартных микросхем серии 561ИР6 или подобных им.Registers 51 and 52 with parallel writing and parallel reading are implemented, for example, on the basis of standard 561IR6 series microcircuits or the like.
Счетчик 56 может быть выполнен, например, на базе стандартных микросхем типа 564ИЕ10 или подобных им.The counter 56 can be performed, for example, on the basis of standard microcircuits of the type 564IE10 or the like.
Блок 11 управления для заявляемого устройства, структурная схема которого выполнена на Фиг.8, работает следующим образом.The
Со второго входа блока 11 управления на первый вход первой схемы 58 «И» поступает сигнал начала априорного интервала временного положения второй части преамбулы.From the second input of the
С третьего входа блока 11 управления на первый вход первой схемы 60 «НЕ» поступает сигнал окончания априорного интервала временного положения второй части преамбулы. Инверсный сигнал окончания априорного интервала временного положения второй части преамбулы с выхода первой схемы 60 «НЕ» поступает на второй вход первой схемы 58 «И» и на второй вход второй схемы 59 «И». Сигнал управления с выхода первой схемы 58 «И», равный, например, логической единице, если текущая временная задержка находится внутри априорного интервала временного положения второй части преамбулы, поступает на четвертый выход блока 11 управления.From the third input of the
С четвертого входа блока 11 управления на первый сигнальный вход и на второй вход записи регистра 63 поступает сигнал результата сравнения с заданным порогом второго этапа Н2, по которому при наличии хотя бы одного превышения в регистре 63 записывают сигнал, равный логической единице. Сигнал с выхода регистра 63 поступает на второй вход схемы 62 «ИЛИ», на вход формирователя 64 импульса и на третий выход блока 11 управления.From the fourth input of the
На выходе регистра 63 формируют сигнал, равный логической единице, если было хотя бы одно превышение порога второго этапа.At the output of register 63, a signal equal to a logical unit is generated if there was at least one excess of the threshold of the second stage.
По выходному сигналу с регистра 63 на выходе  формирователя 64 импульса формируется оценка временного положения первого превышения порога второго этапа Н2 в виде импульса, временное положение которого соответствует первому превышению порога второго этапа или сигналу луча с наименьшей временной задержкой. Выход формирователя 64 импульса является вторым выходом блока 11 управления.The output signal from the register 63 at the output of the pulse shaper 64 forms an estimate of the temporary position of the first threshold exceeding the second stage H2 in the form of a pulse, the temporary position of which corresponds to the first exceeding the threshold of the second stage or the beam signal with the least time delay. The output of the pulse shaper 64 is the second output of the
С первого входа блока 11 управления на первый вход второй схемы 59 «И» поступает сигнал, например, равный логической единице, если произошло хотя бы одно превышение порога первого этапа, а затем не происходит превышение порога первого этапа с момента времени последнего превышения порога в течение интервала, равного длительности короткого многочастотного символа.From the first input of the
Сигнал управления с выхода второй схемы 59 «И», равный, например, логической единице, если текущая временная задержка находится внутри интервала между моментом времени, соответствующим непревышению порога первого этапа в течение длительности короткого многочастотного символа, и временным положением окончания априорного интервала временного положения второй части преамбулы, поступает на первый вход схемы 62 «ИЛИ».The control signal from the output of the second AND
На выходе схемы 62 «ИЛИ» формируют сигнал, который равен логической единице, если было хотя бы одно превышение порога второго этапа или если текущая временная задержка находится внутри интервала между моментом времени, соответствующим непревышению порога первого этапа в течение длительности короткого многочастотного символа, и временным положением окончания априорного интервала временного положения второй части преамбулы, или если оба эти условия наблюдаются одновременно. В противном случае сигнал на выходе схемы 62 «ИЛИ» равен логическому нулю. Сигнал с выхода схемы 62 «ИЛИ» поступает на вход второй схемы 61 «НЕ».At the output of the OR circuit 62, a signal is generated that is equal to a logical unit if there was at least one excess of the threshold of the second stage or if the current time delay is within the interval between the time corresponding to the non-exceeding of the threshold of the first stage during the duration of a short multi-frequency symbol and the time the end position of the a priori time interval of the second part of the preamble, or if both of these conditions are observed simultaneously. Otherwise, the signal at the output of the OR circuit 62 is logic zero. The signal from the output of the circuit 62 "OR" is fed to the input of the second circuit 61 "NOT".
На выходе второй схемы 61 «НЕ» формируют сигнал управления, определяющий момент окончания или повторного запуска выполнения первого этапа. Выход второй схемы 61 «НЕ» является первым выходом блока 11 управления.The output of the second circuit 61 "NOT" form a control signal that determines the moment of completion or restart of the first stage. The output of the second NOT circuit 61 is the first output of the
Формирователь 64 импульса может быть реализован в виде известного генератора одиночного импульса на базе, например, стандартной микросхемы (триггера) 564ТМ2 или аналогичных ей.The pulse generator 64 can be implemented in the form of a well-known single-pulse generator based on, for example, a standard microcircuit (trigger) 564TM2 or similar.
Заявляемая группа изобретений - способ частотно-временной синхронизации системы связи и устройство для его осуществления, созданные в едином изобретательском замысле, по сравнению с известными техническими решениями в данной области техники обладает следующими преимуществами: оценку временного положения сигнала преамбулы осуществляют в два этапа, причем на первом этапе формируют решающую функцию с широким полезным откликом, что увеличивает вероятность правильного обнаружения сигнала преамбулы, на втором этапе формируют решающую функцию с узким полезным откликом, что позволяет получить точную оценку временного положения сигнала преамбулы; оценку частотного сдвига формируют также в два этапа, причем качество этой оценки - высокое, поскольку базируется на качественной оценке временного положения сигнала. Другой отличительной особенностью изобретений является возможность синхронизации при относительно больших начальных значениях частотного сдвига, что недоступно многим известным способам частотно-временной синхронизации.The claimed group of inventions is a method of time-frequency synchronization of a communication system and a device for its implementation, created in a single inventive concept, in comparison with the known technical solutions in the art has the following advantages: the temporal position of the preamble signal is evaluated in two stages, and in the first at the stage they form the decisive function with a wide useful response, which increases the probability of the correct detection of the preamble signal, at the second stage they form the decisive a function with a narrow useful response that allows you to get an accurate estimate of the temporal position of the preamble signal; the frequency shift estimate is also formed in two stages, and the quality of this estimate is high, because it is based on a qualitative estimate of the temporal position of the signal. Another distinguishing feature of the invention is the ability to synchronize at relatively large initial values of the frequency shift, which is not available to many known methods of time-frequency synchronization.
Предлагаемые изобретения существенно повышают помехоустойчивость частотно-временной синхронизации системы связи и расширяют область ее применимости.The proposed invention significantly increase the noise immunity of the time-frequency synchronization of the communication system and expand the scope of its applicability.
| Application Number | Priority Date | Filing Date | Title | 
|---|---|---|---|
| RU2003132515/09ARU2304359C2 (en) | 2003-11-10 | 2003-11-10 | Mode of time-and-frequency synchronization of the liason system and arrangement for its execution | 
| Application Number | Priority Date | Filing Date | Title | 
|---|---|---|---|
| RU2003132515/09ARU2304359C2 (en) | 2003-11-10 | 2003-11-10 | Mode of time-and-frequency synchronization of the liason system and arrangement for its execution | 
| Publication Number | Publication Date | 
|---|---|
| RU2003132515A RU2003132515A (en) | 2005-05-27 | 
| RU2304359C2true RU2304359C2 (en) | 2007-08-10 | 
| Application Number | Title | Priority Date | Filing Date | 
|---|---|---|---|
| RU2003132515/09ARU2304359C2 (en) | 2003-11-10 | 2003-11-10 | Mode of time-and-frequency synchronization of the liason system and arrangement for its execution | 
| Country | Link | 
|---|---|
| RU (1) | RU2304359C2 (en) | 
| Publication number | Priority date | Publication date | Assignee | Title | 
|---|---|---|---|---|
| RU2518757C2 (en)* | 2009-02-05 | 2014-06-10 | Сони Корпорейшн | Novel code pattern structure for multi-carrier systems | 
| RU227067U1 (en)* | 2024-04-17 | 2024-07-04 | Юрий Юрьевич Балега | Time-frequency synchronization device | 
| Publication number | Priority date | Publication date | Assignee | Title | 
|---|---|---|---|---|
| US8144819B2 (en)* | 2007-04-30 | 2012-03-27 | Telefonaktiebolaget L M Ericsson (Publ) | Synchronization for chirp sequences | 
| Publication number | Priority date | Publication date | Assignee | Title | 
|---|---|---|---|---|
| RU2105423C1 (en)* | 1990-11-30 | 1998-02-20 | Томсон-ЦСФ | Method for correction of local heterodynes of receiver and device which implements said method | 
| WO2000049782A2 (en)* | 1999-02-18 | 2000-08-24 | Usa Digital Radio, Inc. | A system and method for recovering symbol timing offset and carrier frequency error | 
| RU2157592C2 (en)* | 1995-05-05 | 2000-10-10 | Квэлкомм Инкорпорейтед | Method for reception and search of packet- switched signal | 
| EP1100237A2 (en)* | 1999-11-12 | 2001-05-16 | Lucent Technologies Inc. | Methods and apparatus for frame synchronization in a digital audio broadcasting system | 
| EP1124348A2 (en)* | 2000-02-11 | 2001-08-16 | Lucent Technologies Inc. | Uplink timing synchronization and access control | 
| RU2000100926A (en)* | 1997-06-17 | 2001-11-27 | Сименс Акциенгезелльшафт | METHOD, MOBILE STATION AND BASE STATION FOR FREQUENCY SYNCHRONIZATION FOR MOBILE STATION IN THE RADIO COMMUNICATION SYSTEM | 
| US20020196731A1 (en)* | 2001-06-19 | 2002-12-26 | Rajiv Laroia | Method and apparatus for time and frequency synchronization of OFDM communication systems | 
| RU2214687C2 (en)* | 1997-11-10 | 2003-10-20 | Квэлкомм Инкорпорейтед | Joint utilization of time quanta in access channel | 
| Publication number | Priority date | Publication date | Assignee | Title | 
|---|---|---|---|---|
| ES2183397T3 (en)* | 1997-06-17 | 2003-03-16 | Siemens Ag | PROCEDURE FOR THE SYNCHRONIZATION OF FREQUENCY FOR A MOBILE STATION IN RADIO COMMUNICATION SYSTEM. | 
| Publication number | Priority date | Publication date | Assignee | Title | 
|---|---|---|---|---|
| RU2105423C1 (en)* | 1990-11-30 | 1998-02-20 | Томсон-ЦСФ | Method for correction of local heterodynes of receiver and device which implements said method | 
| RU2157592C2 (en)* | 1995-05-05 | 2000-10-10 | Квэлкомм Инкорпорейтед | Method for reception and search of packet- switched signal | 
| RU2000100926A (en)* | 1997-06-17 | 2001-11-27 | Сименс Акциенгезелльшафт | METHOD, MOBILE STATION AND BASE STATION FOR FREQUENCY SYNCHRONIZATION FOR MOBILE STATION IN THE RADIO COMMUNICATION SYSTEM | 
| RU2214687C2 (en)* | 1997-11-10 | 2003-10-20 | Квэлкомм Инкорпорейтед | Joint utilization of time quanta in access channel | 
| WO2000049782A2 (en)* | 1999-02-18 | 2000-08-24 | Usa Digital Radio, Inc. | A system and method for recovering symbol timing offset and carrier frequency error | 
| EP1100237A2 (en)* | 1999-11-12 | 2001-05-16 | Lucent Technologies Inc. | Methods and apparatus for frame synchronization in a digital audio broadcasting system | 
| EP1124348A2 (en)* | 2000-02-11 | 2001-08-16 | Lucent Technologies Inc. | Uplink timing synchronization and access control | 
| US20020196731A1 (en)* | 2001-06-19 | 2002-12-26 | Rajiv Laroia | Method and apparatus for time and frequency synchronization of OFDM communication systems | 
| Title | 
|---|
| NEE V.R., PRASAD R. OFDM for Wireless Multimedia Communication. - London: Artech House, 2000, pp.86-88, 246-247.* | 
| Publication number | Priority date | Publication date | Assignee | Title | 
|---|---|---|---|---|
| RU2518757C2 (en)* | 2009-02-05 | 2014-06-10 | Сони Корпорейшн | Novel code pattern structure for multi-carrier systems | 
| RU227067U1 (en)* | 2024-04-17 | 2024-07-04 | Юрий Юрьевич Балега | Time-frequency synchronization device | 
| Publication number | Publication date | 
|---|---|
| RU2003132515A (en) | 2005-05-27 | 
| Publication | Publication Date | Title | 
|---|---|---|
| RU2235429C1 (en) | Method and device for time-and-frequency synchronization of communication system | |
| EP1530858B1 (en) | Method and device for frame detection and synchronizer | |
| CN106646546B (en) | A kind of satellite-signal multidimensional quick capturing method and system | |
| US7006587B1 (en) | Preamble aided synchronization | |
| RU2733419C1 (en) | Transmitter and receiver and corresponding methods | |
| US7616723B2 (en) | Method for symbol timing synchronization and apparatus thereof | |
| CN106506037B (en) | A kind of demodulation method of incoherent spread spectrum communication system | |
| GB2261560A (en) | Apparatus for detection of non-modulated signal and for frequency acquisition | |
| CN109104387B (en) | A Signal Synchronization Method Based on Dual-Zadoff-Chu Sequence in Underwater Acoustic OFDM Communication | |
| CN100433746C (en) | Frame synchronization | |
| CN109756968A (en) | The precise synchronization timing method and precise synchronization timing means of single carrier spread spectrum system | |
| CN119051824B (en) | Composite differential frame synchronization method for burst communication under high dynamic state | |
| TWI361588B (en) | Method and device for detecting a synchronization signal in a communication system | |
| GB2300093A (en) | Receiver for timing recovery and frequency estimation | |
| WO2018161505A1 (en) | Method and device for determining symbol position of primary synchronization signal, and storage medium | |
| US5247470A (en) | Method and apparatus for estimating signal components of a filter output | |
| RU2304359C2 (en) | Mode of time-and-frequency synchronization of the liason system and arrangement for its execution | |
| CN115296698B (en) | Signal Capture Method for High Dynamic Satellite Communication System | |
| Martinez et al. | A chirp-based frequency synchronization approach for flat fading channels | |
| JPH09214574A (en) | Phase detector for data synchronization device and its operating method | |
| CN114826860A (en) | Improved power line communication timing synchronization method | |
| RU2264045C2 (en) | Method for synchronization of signals and device for realization of said method | |
| Zhang et al. | Algorithm and performance analysis for frame detection based on matched filtering | |
| AU2005315883A1 (en) | Apparatus and method for determining a correlation value | |
| Seagraves et al. | Robust mobile WiMAX preamble detection | 
| Date | Code | Title | Description | 
|---|---|---|---|
| FA92 | Acknowledgement of application withdrawn (lack of supplementary materials submitted) | Effective date:20050623 | |
| FZ9A | Application not withdrawn (correction of the notice of withdrawal) | Effective date:20060111 | |
| FA92 | Acknowledgement of application withdrawn (lack of supplementary materials submitted) | Effective date:20060616 | |
| FZ9A | Application not withdrawn (correction of the notice of withdrawal) | Effective date:20060808 | |
| MM4A | The patent is invalid due to non-payment of fees | Effective date:20171111 |