







Настоящее изобретение касается громкоговорителей, и в первую очередь, хотя и не исключительно, громкоговорителей, укрепляемых на стене.The present invention relates to loudspeakers, and primarily, although not exclusively, loudspeakers mounted on a wall.
Плоские громкоговорители известны в течение многих лет, например произвольно устанавливаемые электростатические громкоговорители. Однако для обеспечения удовлетворительного уровня звука подобные громкоговорители должны были быть большими и вследствие этого громоздкими. Они были дорогими, а их полоса пропускания и диаграмма направленности звука оставляли желать лучшего.Flat speakers have been known for many years, for example randomly-mounted electrostatic speakers. However, to ensure a satisfactory sound level, such speakers had to be large and therefore bulky. They were expensive, and their bandwidth and sound pattern left much to be desired.
Было разработано множество разнообразных типов плоских громкоговорителей, предназначенных для установки на стену, но они тоже существенно страдали от некачественной полосы пропускания или не обеспечивали требуемого качества воспроизведения в стереофоническом режиме.Many different types of flat speakers designed for wall mounting have been developed, but they also suffered significantly from poor-quality bandwidth or did not provide the required stereo playback quality.
Одним из объектов настоящего изобретения, достигающим технического результата по устранению указанных недостатков, является громкоговоритель, включающий в себя переднюю относительно плоскую диафрагму, установленную с возможностью вибрации таким образом, чтобы излучать звук по крайней мере с одной из своих поверхностей, а также возбудителя, приводимого в действие изменяющимся электрическим током с целью приложения к передней диафрагме изменяющейся силы, величина которой зависит от величины электрического тока, при этом возбудитель в одной или нескольких точках соединяют непосредственно с передней диафрагмой или монтируют на элементе, который, в свою очередь, соединяют непосредственно с передней диафрагмой в одной или нескольких точках.One of the objects of the present invention, achieving a technical result to eliminate these drawbacks, is a loudspeaker comprising a front relatively flat diaphragm mounted with the possibility of vibration so as to emit sound from at least one of its surfaces, as well as the pathogen, driven in action by a varying electric current in order to apply a varying force to the front diaphragm, the magnitude of which depends on the magnitude of the electric current, while the pathogen one or more points are connected directly to the front diaphragm or mounted on an element, which, in turn, is connected directly to the front diaphragm at one or more points.
Материал диафрагмы должен быть анизотропным (иметь отличающиеся характеристики вдоль каждой из главных осей).The diaphragm material must be anisotropic (have different characteristics along each of the main axes).
Кроме того, материал диафрагмы (без отверстий) должен иметь значительно отличающиеся значения сопротивления на изгиб вдоль взаимно перпендикулярных направлений, выбираемых в плоскости материала.In addition, the diaphragm material (without holes) should have significantly different values of bending resistance along mutually perpendicular directions selected in the plane of the material.
Более того, для прямоугольных либо эллиптических плоскостей наилучшим образом подходит материал, у которого продольное сопротивление на изгиб примерно вдвое выше поперечного.Moreover, for rectangular or elliptical planes, a material is best suited for which the longitudinal bending resistance is approximately twice as high as the transverse.
Громкоговоритель включает в себя достаточно жесткую внешнюю раму, имеющую переднюю и заднюю поверхности, при этом передняя диафрагма укрепляется таким образом, чтобы полностью закрыть переднюю поверхность рамы, заднюю диафрагму укрепляют таким образом, чтобы полностью закрыть заднюю поверхность рамы, формируя таким образом внутреннее пространство громкоговорителя.The loudspeaker includes a sufficiently rigid external frame having front and rear surfaces, while the front diaphragm is strengthened so as to completely cover the front surface of the frame, the rear diaphragm is strengthened so as to completely cover the rear surface of the frame, thereby forming the inner space of the speaker.
Обычно возбудитель размещают внутри упомянутого пространства без связи с рамой.Usually the pathogen is placed inside the space without communication with the frame.
Возбудитель может размещаться вне упомянутого пространства без связи с рамой.The causative agent can be placed outside the mentioned space without communication with the frame.
Возбудитель соединяется с обоими упомянутыми диафрагмами таким образом, чтобы сила переменной величины, соответствующая значению изменяющегося электрического тока, воздействовала на упомянутые диафрагмы и вызывала колебания как минимум одной из них для излучения акустического сигнала с поверхности диафрагмы, внешней по отношению к громкоговорителю.The causative agent is connected to both said diaphragms in such a way that a variable force corresponding to the value of the changing electric current acts on said diaphragms and causes vibrations of at least one of them to emit an acoustic signal from the surface of the diaphragm external to the loudspeaker.
Обычно обе диафрагмы выполняют гибкими и возбудитель воздействует на них в дифференциальном режиме, т.е. обе диафрагмы одновременно движутся либо внутрь, либо наружу.Usually both diaphragms are flexible and the pathogen acts on them in differential mode, i.e. both diaphragms simultaneously move either inward or outward.
Одна из диафрагм может быть гибкой, а другая жесткой.One diaphragm can be flexible and the other rigid.
Обычно возбудитель соединяют с диафрагмой в упомянутых выше одной или нескольких точках, при этом упомянутые точки находятся на некотором удалении от внешней кромки диафрагмы.Typically, the pathogen is connected to the diaphragm at the aforementioned one or more points, wherein said points are located at some distance from the outer edge of the diaphragm.
Возбудитель может быть смонтирован на элементе, в свою очередь прикрепленном к диафрагме в упомянутых точках.The pathogen can be mounted on the element, in turn, attached to the diaphragm at the aforementioned points.
Указанные положения точек следует выбирать таким образом, чтобы не искажать кривизну диафрагмы в одном или более ее естественных режимах вибрации.The indicated positions of the points should be chosen so as not to distort the curvature of the diaphragm in one or more of its natural vibration modes.
Упомянутые передняя диафрагма и/или задняя диафрагма изготавливаются из полипропиленового сополимера с двойным покрытием и имеют толщину примерно 3 мм.Said front diaphragm and / or rear diaphragm are made of double-coated polypropylene copolymer and have a thickness of about 3 mm.
Обычно плотность материала, из которого изготавливают любую или каждую из диафрагм, должна составлять не более 500 граммов на квадратный метр, прочность на растяжение составлять не менее 28 МПа, а твердость по Шору не менее 67.Typically, the density of the material from which any or each of the diaphragms are made should be no more than 500 grams per square meter, tensile strength should be at least 28 MPa, and Shore hardness not less than 67.
Поверхность одной либо обеих диафрагм обрабатывают коронным разрядом для улучшения прилипания к их поверхности краски или бумаги, или для улучшения прилипания диафрагмы к раме.The surface of one or both diaphragms is treated with a corona discharge to improve adhesion of paint or paper to their surface, or to improve adhesion of the diaphragm to the frame.
Обычно одна либо обе диафрагмы имеют продольные ребра, частично формирующие их структуру, на одной из поверхностей, хотя в наиболее предпочтительном варианте эти ребра являются внутренними (т.е. скрытыми гладкими внутренней и внешней поверхностью). Ребра должны иметь сердечник из рифленого материала или подобного ему, и могут быть квадратными или прямоугольными, при этом длина каждой стороны составляет примерно 400 мм.Typically, one or both diaphragms have longitudinal ribs, partially forming their structure, on one of the surfaces, although in the most preferred embodiment, these ribs are internal (i.e., hidden smooth internal and external surfaces). The ribs should have a core of corrugated material or the like, and may be square or rectangular, with each side about 400 mm long.
Кроме того, возбудитель может включать в себя две коаксиальных звуковых обмотки, каждая из которых соединена с одной из диафрагм, при этом обе катушки взаимодействуют с магнитом, установленным вдоль их общей центральной оси.In addition, the pathogen may include two coaxial sound windings, each of which is connected to one of the diaphragms, with both coils interacting with a magnet mounted along their common central axis.
Обычно одна или обе диафрагмы снабжены пазами, или изготовлены из рифленого материала, или слегка изогнуты для достижения наилучших акустических характеристик громкоговорителя.Typically, one or both diaphragms are grooved, or made of corrugated material, or slightly curved to achieve the best acoustic performance of the speaker.
Внутреннее пространство громкоговорителя представляет собой герметизированную коробку. Однако в раме или в одной или в обеих из упомянутых диафрагм могут быть проделаны отверстия или каналы.The interior of the speaker is a sealed box. However, holes or channels can be made in the frame or in one or both of the diaphragms mentioned.
Передняя диафрагма изготовлена из листа прессованного пластика, который имеет непрерывную поверхность, и при этом внешние его слои соединены близкорасположенными параллельными перегородками, ориентированными по нормали к упомянутым поверхностям.The front diaphragm is made of pressed plastic sheet, which has a continuous surface, and at the same time its outer layers are connected by closely spaced parallel partitions oriented normal to said surfaces.
Другим объектом настоящего изобретения является громкоговоритель, включающий в себя относительно плоскую диафрагму, установленную с возможностью вибрации таким образом, чтобы излучать звук по крайней мере с одной из своих поверхностей, а также возбудитель, приводимый в действие изменяющимся электрическим током с целью приложения к передней диафрагме изменяющейся силы, величина которой зависит от величины электрического тока, при том, что диафрагма состоит из параллельных переднего и заднего листов материала, при этом упомянутые листы отделены друг от друга множеством перегородок, ориентированных по нормали к упомянутым листам, при этом перегородки параллельны друг другу либо имеют ромбоидальную, либо синусоидальную сжатую форму.Another object of the present invention is a loudspeaker comprising a relatively flat diaphragm that is vibrationally mounted so as to emit sound from at least one of its surfaces, as well as a pathogen driven by a varying electric current to apply a variable diaphragm force, the magnitude of which depends on the magnitude of the electric current, despite the fact that the diaphragm consists of parallel front and rear sheets of material, while said sheet separated by a plurality of partitions oriented normal to said sheet, with the septa are parallel to each other or have a rhomboidal or sinusoidal compressed form.
Диафрагма изготавливается из полипропиленового сополимера двухслойной конструкции с перегородками, расположенными по нормали к упомянутым параллельным листам.The diaphragm is made of a two-layer polypropylene copolymer with partitions located normal to the said parallel sheets.
Диафрагма может также изготавливаться из бумаги или картона, при этом упомянутые перегородки имеют рифленую форму и соединены с внутренними поверхностями параллельных листов при помощи клеящего вещества.The diaphragm can also be made of paper or cardboard, while the said partitions have a corrugated shape and are connected to the inner surfaces of the parallel sheets by means of an adhesive.
Возбудитель включает в себя магнит, один полюс которого магнитно неразрывен с якорем, а второй отделен от якоря воздушным зазором, через который и приводится в действие звуковая обмотка, прикрепленная к диафрагме для приведения последней в движение.The causative agent includes a magnet, one pole of which is magnetically inseparable from the armature, and the second is separated from the armature by an air gap, through which the sound winding is attached, attached to the diaphragm to set the latter in motion.
Постоянный магнит имеет цилиндрическую форму, якорь укрепляется соосно с ним, образуя кольцевой воздушный зазор. Желательно использовать мощный постоянный магнит, например, изготовленный из неодима.The permanent magnet has a cylindrical shape, the anchor is fixed coaxially with it, forming an annular air gap. It is advisable to use a powerful permanent magnet, for example, made of neodymium.
Якорь изготавливают из чистого низкокислородного железа, очень медленно отожженного в атмосфере водорода.An anchor is made of pure low-oxygen iron, very slowly annealed in a hydrogen atmosphere.
Число витков на единицу длины звуковой обмотки увеличивается по мере удаления от осевой части, которая находится в упомянутом воздушном зазоре, когда через катушку не протекает ток.The number of turns per unit length of the sound winding increases with distance from the axial part, which is located in the aforementioned air gap, when no current flows through the coil.
С этой целью звуковая обмотка делается однослойной с разрежением витков в указанной осевой части. Звуковая обмотка изготавливается из чистой меди (хотя можно использовать и алюминиевую проволоку).For this purpose, the sound winding is made single-layer with a rarefaction of turns in the specified axial part. The sound winding is made of pure copper (although you can use aluminum wire).
В качестве варианта или дополнения области обмотки удаленные от упомянутой осевой части могут содержать более чем один слой витков.Alternatively or in addition, the winding regions remote from said axial portion may comprise more than one layer of turns.
Еще одной особенностью настоящего изобретения является громкоговоритель, включающий в себя диафрагму, установленную с возможностью вибрации таким образом, чтобы излучать звук по крайней мере с одной из своих поверхностей, а также возбудитель, приводимый в действие изменяющимся электрическим током с целью приложения к диафрагме изменяющейся силы, величина которой зависит от величины электрического тока, при этом возбудитель соединяют с диафрагмой посредством панели, при этом упомянутая панель имеет такие размеры и изготовлена из такого материала, что на низком диапазоне звуковых частот звуковая обмотка и по крайней мере часть диафрагмы, прилегающей к панели, колеблются с одной амплитудой и фазой, а на высоком диапазоне звуковых частот по крайней мере упомянутая часть диафрагмы и прилегающая к ней часть панели колеблются с амплитудой, меньшей, чем амплитуда колебаний звуковой обмотки, и/или с фазой, отличающейся от фазы колебаний звуковой обмотки, при этом в упомянутом высокочастотном диапазоне существенная часть звуковых колебаний, производимых громкоговорителем, излучается с лицевой части панели, прилегающей к звуковой катушке.Another feature of the present invention is a loudspeaker, including a diaphragm mounted with the possibility of vibration so as to emit sound from at least one of its surfaces, as well as a pathogen driven by a varying electric current in order to apply a varying force to the diaphragm, the value of which depends on the magnitude of the electric current, while the pathogen is connected to the diaphragm by means of a panel, while the said panel has such dimensions and is made of about the material, that at a low range of sound frequencies, the sound winding and at least part of the diaphragm adjacent to the panel oscillate with the same amplitude and phase, and at a high range of sound frequencies at least the mentioned part of the diaphragm and the adjacent part of the panel oscillate with amplitude less than the amplitude of the vibrations of the sound winding, and / or with a phase different from the phase of the vibrations of the sound winding, while in the above-mentioned high-frequency range, a significant part of the sound vibrations produced by the speaker from radiated from the front of the panel adjacent to the voice coil.
Диафрагма преимущественно выполняют плоской.The diaphragm is predominantly flat.
Обычно неподвижную часть громкоговорителя соединяют посредством листа из демпфирующего материала с упомянутой панелью либо с упомянутой частью диафрагмы, прилегающей к этой панели.Typically, the fixed part of the loudspeaker is connected by means of a sheet of damping material to said panel or to said part of the diaphragm adjacent to this panel.
Демпфирующий материал изготавливаеют из ткани либо на основе ткани.The damping material is made of fabric or fabric-based.
Демпфирующий материал является пористым либо перфорированным для обеспечения воздухопроницаемости.The damping material is porous or perforated to provide breathability.
Настоящим описывается один вариант осуществления изобретения, исключительно на примере, со ссылками на прилагаемые чертежи, на которых:One embodiment of the invention is hereby described, solely by way of example, with reference to the accompanying drawings, in which:
Фиг.1 - фронтальный вид громкоговорителя согласно изобретению;Figure 1 is a front view of a speaker according to the invention;
Фиг.2 - поперечное сечение в вертикальной плоскости вдоль линии II-II, обозначенной на Фиг.1;Figure 2 is a cross section in a vertical plane along the line II-II, indicated in Figure 1;
Фиг.3 - представляет задний и боковой вид альтернативных вариантов осуществления изобретения;Figure 3 is a rear and side view of alternative embodiments of the invention;
Фиг.4 - частичный перспективный вид элемента громкоговорителя;Figure 4 is a partial perspective view of a loudspeaker element;
Фиг.5 - поперечное сечение дополнительного варианта осуществления изобретения;5 is a cross section of a further embodiment of the invention;
Фиг.6 - первый задний вид варианта осуществления изобретения,6 is a first rear view of a variant embodiment of the invention,
представленного на Фиг.5;presented in figure 5;
Фиг.7 - второй модифицированный задний вид элемента, представленного на Фиг.4;Fig.7 is a second modified rear view of the element shown in Fig.4;
Фиг.8 - поперечный разрез другого варианта осуществления изобретения;Fig. 8 is a cross-sectional view of another embodiment of the invention;
Фиг.9 - боковой вид звуковой обмотки, показанной в сечении на Фиг.8.Fig.9 is a side view of the sound winding shown in section in Fig.8.
Пример 1Example 1
На представленных чертежах плоский громкоговоритель 10 включает в себя квадратную внешнюю раму 11, изготавливаемую из древесноволокнистой плиты средней плотности. Каждая внешняя кромка рамы имеет длину 400 мм. Рама подвешивается за провода или шнуры, прикрепляемые к петлям или другим креплениям на верхней части рамы 11.In the drawings, the
Как можно видеть, в особенности на Фиг.2, внешняя часть громкоговорителя 10 представляет собой переднюю диафрагму 14, которая присоединена и герметично прикреплена к краям рамы 11 посредством подходящего клеящего вещества. Подобным же образом задняя сторона громкоговорителя 10 образована задней диафрагмой 15, которая присоединена и герметично прикреплена к задней части рамы 11 посредством клеящего вещества. Таким образом, внутреннее пространство громкоговорителя 10 представляет собой герметичную коробку. Для квадратного громкоговорителя со стороной 400 мм наиболее подходящее расстояние между внешней и внутренней поверхностями диафрагмы составляет 30 мм. Установлено, что подходящим материалом для изготовления передней и задней диафрагм 14, 15 является двусторонний лист из полипропиленового сополимера толщиной примерно 3 мм и плотностью 500 мг/м2 или менее. Лист имеет внутренние полости, имеет прочность на растяжение не менее 28 МПа и твердость по Шору не менее 67. Поверхность материала подвергается воздействию коронного электрического разряда для облегчения прилипания краски или обоев к внешним поверхностям диафрагм 14,15 и для улучшения прилипания внутренних поверхностей диафрагм 14, 15 к раме 11. Лист имеет слоистую структуру, включающую в себя сердечник, сформированный из ребер, трубок или уплотнений и т.д. Один из таких материалов известен как "core flute" (“плоеная основа”), названный так за форму внутренних продольных "полостей" или уплотнений - см. Фиг.4 (обсуждается ниже). Вторым материалом, применимым на практике, является легкий рифленый картон.As can be seen, in particular in FIG. 2, the outer part of the
Возбудитель 16 располагают таким образом, чтобы он прилегал к центру диафрагм 14, 15. Возбудитель принадлежит к тому же типу, что и обычные, используемые в конических громкоговорителях, и включает в себя магнит 17, который может быть как постоянным, так и электромагнитом, и действующую во взаимосвязи с ним звуковую обмотку 18. Концы звуковой обмотки 18 соединяют посредством отведений 19 с клеммами 20 на задней поверхности громкоговорителя 10. Магнит 17 крепится, например, к внутренней поверхности задней диафрагмы 15 посредством клеящего вещества, а звуковая обмотка 18 крепится к внутренней поверхности передней диафрагмы 14. Размеры возбудителя 16 и расстояние между передней и задней диафрагмами 14 и 15 подбираются таким образом, чтобы звуковая обмотка 18 находилась в работоспособном положении относительно магнита 17 и была соответствующим образом отцентрирована.The
В зависимости от требований, предъявляемых к акустическим качествам громкоговорителя 10, его внутреннее пространство может быть хотя бы частично заполнено волокнистым или другим звукопоглощающим материалом, либо оставлено пустым. С этой же целью в раме 11 либо в диафрагмах 14, 15 могут быть проделаны отверстия или каналы.Depending on the requirements for the acoustic qualities of the
Хотя громкоговоритель 10 представлен, как имеющий квадратную форму, он может быть выполнен круглым, эллиптическим, прямоугольным, многоугольным или любой другой подходящей формы. При необходимости внутри громкоговорителя 10 в подходящих позициях может быть установлено более одного возбудителя 16.Although the
В другом варианте реализации изобретения передняя диафрагма 14 или задняя диафрагма 15 могут быть изготовлены из достаточно жесткого материала. Более того, магнит 17 может крепиться к передней диафрагме 14, а звуковая обмотка 18 к задней диафрагме 15.In another embodiment, the
В некоторых реализациях возможна установка двух соосных звуковых обмоток 18, каждая из которых крепится к отдельной диафрагме 14, 15 и взаимодействует с неподвижно закрепленным вдоль их центральной оси магнитом 17. И наоборот, два магнита 17 могут укрепляться на диафрагмах 14, 15, взаимодействуя с неподвижно закрепленной звуковой обмоткой 18.In some implementations, it is possible to install two
Каждая поверхность каждой из диафрагм может быть слегка сплоена и вместо того, чтобы обе диафрагмы имели плоскую форму, они могут быть рифлеными или искривленными каким-либо другим образом для обеспечения модифицированных акустических характеристик громкоговорителя 10.Each surface of each diaphragm can be slightly flattened and instead of both diaphragms having a flat shape, they can be corrugated or curved in some other way to provide modified acoustic characteristics of the
Пример 2Example 2
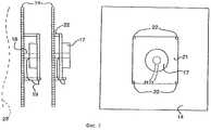
На Фиг.3 опущены рама 11 и задняя диафрагма 15. Магнит 17 смонтирован на пластине 21, которая, в свою очередь, соединена с диафрагмой 14 посредством стоек 22. Стойки 22 устанавливаются в строго определенные точки на диафрагме 14 таким образом, чтобы не искажать кривизну диафрагмы в одном или более ее естественных режимов вибрации, как показано, например, с помощью линии 23. Магнит 17 может быть смонтирован между пластиной 21 и диафрагмой 14, либо с тыльной стороны пластины 21, как показано на чертеже.In Fig. 3, the
Громкоговоритель, показанный на Фиг.3, может подвешиваться за верхнюю кромку диафрагмы 14, либо за пластину 21, либо за стойки 22.The loudspeaker shown in FIG. 3 can be suspended by the upper edge of the
На Фиг.4 показана конструкция передней диафрагмы 14. Она изготавливается экструзией из цельного полиэтилена толщиной примерно 3-5 мм и имеет две поверхности 25, 26, соединенные непрерывными продольными перегородками 27, пространство между которыми заполнено воздухом. В данной конструкции материал диафрагмы 14 является анизотропным и имеет продольное сопротивление на изгиб примерно вдвое выше поперечного. Таким образом, этот материал наилучшим образом подходит для громкоговорителей прямоугольной формы, например, имеющих стороны 200×100 мм. Данный материал может также применяться для изготовления громкоговорителя большего или меньшего размера.Figure 4 shows the design of the
Пример 3Example 3
На Фиг.5 показан громкоговоритель с жесткой задней панелью 28, изготовленной из древесины толщиной примерно 12 мм с магнитом 17, который жестко укрепляется в ее центре. Посредством рамы 11 передняя диафрагма укрепляется на расстоянии примерно 3-5 мм от передней поверхности панели 28. Звуковая обмотка жестко крепится к центральному отверстию диафрагмы 14 и удерживается в зазоре магнита 17. Отверстие закрывается вогнутым колпачком 29, имеющим сферическую форму поверхности, который крепится к звуковой обмотке 18.Figure 5 shows a loudspeaker with a
Для обеспечения необходимого диапазона колебаний диафрагмы 14 панель 28 (показана на Фиг.6) имеет совокупность сквозных отверстий или каналов 30. Местоположение и размеры каналов 30 тщательно выбираются для достижения гладкой амплитудно-частотной характеристики (АЧХ) громкоговорителя 10.To provide the necessary range of oscillations of the
Дополнительным средством модификации кривой АЧХ является приклеивание, увеличивающего массу материала 31, как показано на Фиг.7. Подходящим для этой цели материалом является битумный лист с внедренными частицами металла или минералов.An additional means of modifying the frequency response curve is gluing, increasing the mass of
Дополнительная регулировка частотных характеристик может быть осуществлена за счет прикрепления фрагментов звукопоглощающего материала 32 к диафрагме 14 или к передней поверхности панели 28, как показано на Фиг.7. Электрический сигнал подается на звуковую обмотку 18 по полоскам медной фольги, приклеенным к одной из поверхностей диафрагмы 14.Additional adjustment of the frequency characteristics can be carried out by attaching fragments of sound-absorbing
Пример 4Example 4
На Фиг.8 и Фиг.9 показан громкоговоритель 110, включающий в себя диафрагму 111, которая будет описана ниже. Внешняя кромка диафрагмы 111 охвачена внешней кромкой тарелки 112, изготавливаемой из жесткого металла или пластика. Для этого на тарелке делается плоский участок 113, на который опирается диафрагма 111, при этом диафрагма 111 удерживается поперечной стенкой 114 и прижимается кромочным участком 115 тарелки 112, который загнут или завернут вокруг внешней кромки диафрагмы 111. Центральная часть тарелки 112 сформирована в виде чаши 116, в которой монтируется цилиндрический якорь 117. Таким образом, тарелка 112 центрирует якорь 117, прикрепленный к ней посредством шурупа 119, относительно диафрагмы 111.Fig. 8 and Fig. 9 show a
Так как якорь 117 представляет собой часть магнитной цепи, его целесообразно изготавливать из чистого низкокислородного железа, медленно отожженного в атмосфере водорода. Постоянный магнит 118 посредством клеящего вещества укрепляется неподвижно соосно с якорем 117. Один полюс магнита 118 находится в магнитном контакте с верхней внутренней поверхностью якоря 117, а другой полюс прилегает к диску 135, который изготавливается из того же материала, и имеет такую же толщину, что и фланец 120 якоря 117. Таким образом, между фланцем 120 и верхней частью магнита 118 образуется кольцевой магнитный зазор 121. Цилиндрическая звуковая обмотка 122 помещается в зазор 121. Материал якоря удерживает линии напряженности магнитного потока в пределах якоря 117, что минимизирует нежелательные магнитные поля, а также концентрирует напряженность поля внутри зазора 121.Since the
В отверстии 123 диафрагмы 111 укрепляется панель 124 из тонкого материала, например алюминия толщиной 0.25 мм. Панель 124 имеет вывернутый наружу фланец 125, прикрепленный к диафрагме 111. Звуковая обмотка 122 укрепляется посредством клеящего вещества в пазу 126 панели 124 таким образом, что звуковая обмотка удерживается концентрически внутри зазора 121. Колебания центрального участка диафрагмы 111 демпфируются при помощи демпфирующего кольца 127, которое изготавливается из ткани либо на основе ткани, является рифленым и крепится посредством клеящего вещества к верхней поверхности фланца 120 и к фланцу 125 и/или диафрагме 111.In the
Тарелка 112 формирует воздухонепроницаемое пространство с помощью диафрагмы 111 и панели 124, но в случае необходимости тарелка 112 может быть перфорированной либо содержать отверстия. Внутреннее пространство громкоговорителя 110 может быть заполнено звукопоглощающим материалом из пластикового волокна либо пенопласта. Толщина и тип материала панели 124 выбираются таким образом, чтобы, например, на частотах до 1000 Гц панель 124 действовала как жесткий элемент и приводила в движение прилежащие к ней участки диафрагмы 111 при протекании переменного тока через витки 128 звуковой обмотки 122. На частотах от 5000 Гц и выше гибкость панели 124 должна быть такой, чтобы ее внешняя кромка и прилежащие к ней участки диафрагмы 111 колебались значительно меньше, чем звуковая обмотка 122 и центральная часть панели 124. Таким образом, на этих высоких частотах звуковые колебания излучаются практически полностью с центральной части панели 124. Между этими частотными пределами излучение звуковых колебаний происходит лишь с небольшого участка диафрагмы 111 и частично с панели 124.The
Для модификации АЧХ громкоговорителя 110 при большой амплитуде колебаний звуковой обмотки 122 число витков 128 на единицу длины обмотки ближе к краям обмотки должно быть выше, чем в центральной ее части. Этого можно достигнуть разрежением витков в центральной части обмотки либо их уплотнением ближе к краям, либо введением дополнительных слоев 129 ближе к краям обмотки. Витки наматываются на основу 136 с отверстиями 137.To modify the frequency response of the
Установлено, что подходящим материалом для изготовления диафрагмы 111 является двухсторонний лист из полипропиленового сополимера толщиной примерно 3 мм и плотностью 500 мг/м2 или менее. Диафрагма 111 имеет прочность на растяжение не менее 128 МПа и твердость по Шору не менее 67. Поверхность материала подвергается воздействию коронного электрического разряда для облегчения прилипания краски или обоев к диафрагме 111. Диафрагма 111 является слоистым материалом, включающим в себя сердечник, сформированный из пенообразного материала, ребер, трубок или уплотнений и т.д. Если заполнителем является пена, она не должна быть равномерной (либо внешние листы должны быть укреплены, либо им должна быть придана особая форма). Например, пенный заполнитель должен быть сформирован либо укреплен таким образом, чтобы изгибная жесткость вдоль одного направления была выше, чем в другом.It has been found that a suitable material for making the
Диафрагма 111 изготавливается экструзией из цельного полиэтилена толщиной примерно 3-5 мм и имеет две поверхности 130, 131, соединенные непрерывными продольными перегородками 132, пространство между которыми заполнено воздухом. В данной конструкции материал диафрагмы 111 является анизотропным и имеет продольное сопротивление на изгиб примерно вдвое выше поперечного. Таким образом, этот материал наилучшим образом подходит для громкоговорителей прямоугольной формы, например, имеющих стороны 200×100 мм.The
На Фиг.8 показано использование стопорного кольца 138, изготавливаемого из алюминия или подобного ему материала. На кольце 138 имеется фланец 139, который установлен таким образом, чтобы имелась возможность давления на внешнюю поверхность диафрагмы 111. Цельный цилиндрический фрагмент 140 может быть установлен между кромкой отверстия 123 и внешней поверхностью цилиндрической части панели 124, на которой имеется ребро 142, защелкивающееся в паз 141 на фрагменте 140 кольца 138. Расположение паза 141 и ребра 142 при необходимости может быть обратным.FIG. 8 shows the use of a
Настоящая конструкция проста в изготовлении.This design is easy to manufacture.
Хорошие акустические качества достигают при низкой стоимости.Good acoustic performance is achieved at low cost.
Легкий материал диафрагмы наилучшим образом подходит для изготовления прямоугольных либо эллиптических панелей.Lightweight diaphragm material is best suited for manufacturing rectangular or elliptical panels.
Громкоговорители либо диафрагмы могут быть изготовлены в самой различной форме и любого размера, а также может быть скрыты под видом других объектов.Loudspeakers or diaphragms can be made in a variety of shapes and sizes, and can also be hidden under the guise of other objects.
Это изобретение применимо для громкоговорителей с плоской панелью размера А5 или менее, которые наилучшим образом подходят для рынка мультимедийных средств, или для установки в приборные доски либо двери транспортных средств.This invention is applicable to flat panel speakers of size A5 or less that are best suited for the multimedia market, or for installation in dashboards or vehicle doors.
Они могут работать в любом положении и в зависимости от дизайна могут выполняться с ограничивающей рамой или без таковой.They can work in any position and, depending on the design, can be performed with or without a bounding frame.
В зависимости от размера диафрагмы в громкоговорителе может быть использован один или более возбудитель. Регулировка громкоговорителя может осуществляться за счет перфорации либо добавления веса. На чертежах представлены отверстия в задней панели (Фиг.6 и Фиг.7), но подобные отверстия могут также быть проделаны и в материале, из которого изготовлена диафрагма. Настройку панели можно производить при помощи порошка, например сахара, насыпанного на поверхность панели, находящейся в горизонтальном положении, чтобы можно было увидеть "узлы".Depending on the size of the diaphragm in the speaker, one or more exciters can be used. Loudspeaker adjustment can be done by punching or adding weight. The drawings show the holes in the rear panel (Fig.6 and Fig.7), but similar holes can also be made in the material of which the diaphragm is made. The panel can be set up using a powder, such as sugar, poured on the surface of the panel in a horizontal position so that you can see the "nodes".
Диафрагма может иметь любую форму (например, при необходимости они могут иметь и неправильные контуры). Диафрагма необязательно должна быть плоской, хотя данный вариант и является предпочтительным.The diaphragm can be of any shape (for example, if necessary, they can also have irregular contours). The diaphragm need not be flat, although this option is preferred.
Допустимо использование материалов, отличных от "core flute" и рифленого картона. Материал должен быть легким и жестким, но при этом гибким. В технических реализациях использовался стандартный экструзионный "core flute" (“плоеная основа”) толщиной 3 мм, но для большинства практических реализаций может применяться материал толщиной от 2 мм до 5 мм. Для больших панелей может потребоваться применение диафрагм из более толстого материала и установка нескольких возбудителей.Allowed to use materials other than "core flute" and corrugated cardboard. The material should be light and stiff, but flexible. In technical implementations, a standard extrusion “core flute” of 3 mm thickness was used, but for most practical implementations, material from 2 mm to 5 mm thick can be used. Larger panels may require the use of thicker diaphragms and the installation of several pathogens.
Громкоговоритель может быть замаскирован как часть транспортного средства, часть мебели, коробка или картина или как практически любой другой объект, так как отсутствуют ограничения на его форму и размер. В одной из реализаций плоские громкоговорители были встроены в приборную доску транспортного средства, а в другой в качестве громкоговорителя работала картина.The loudspeaker can be disguised as part of a vehicle, part of furniture, a box or a picture, or as almost any other object, since there are no restrictions on its shape and size. In one implementation, flat speakers were built into the dashboard of the vehicle, and in another, a picture worked as a loudspeaker.
К вышесказанному может быть добавлено множество других изменений и модификаций без выхода за рамки данного изобретения, определяемых прилагаемой формулой.To the above, many other changes and modifications may be added without departing from the scope of this invention defined by the attached claims.
| Application Number | Priority Date | Filing Date | Title |
|---|---|---|---|
| NZ330777ANZ330777A (en) | 1998-06-22 | 1998-06-22 | Loudspeaker with a planar diaphragm having a bending strength along one axis which is greater that along a second axis perpendicular to the first axis |
| NZ330777 | 1998-06-22 | ||
| NZ332328 | 1998-10-13 | ||
| NZ333833 | 1999-01-21 | ||
| NZ33383399 | 1999-01-21 |
| Publication Number | Publication Date |
|---|---|
| RU2001102586A RU2001102586A (en) | 2003-05-20 |
| RU2246802C2true RU2246802C2 (en) | 2005-02-20 |
| Application Number | Title | Priority Date | Filing Date |
|---|---|---|---|
| RU2001102586/28ARU2246802C2 (en) | 1998-06-22 | 1999-06-18 | Loudspeaker |
| Country | Link |
|---|---|
| RU (1) | RU2246802C2 (en) |
| Publication number | Priority date | Publication date | Assignee | Title |
|---|---|---|---|---|
| RU2450478C2 (en)* | 2007-01-22 | 2012-05-10 | Сони Эрикссон Мобайл Коммьюникейшнз Аб | Loud-speaker drive |
| RU2454824C2 (en)* | 2008-03-05 | 2012-06-27 | Генелек Ой | Composite dynamic head of loud speaker |
| RU2456764C2 (en)* | 2008-01-04 | 2012-07-20 | Эйрбас Оперэйшнз Гмбх | Oscillator for flat loudspeaker, flat loudspeaker and transport vehicle equipped with such loudspeaker |
| RU2485714C2 (en)* | 2008-07-24 | 2013-06-20 | Генелек Ой | Dynamic head of composite loudspeaker |
| US8542860B2 (en) | 2008-01-04 | 2013-09-24 | Airbus Operations Gmbh | Oscillator for a flat loudspeaker, flat loudspeaker and vehicle |
| RU2496254C1 (en)* | 2012-05-11 | 2013-10-20 | Борис Георгиевич Вигерь | Electric-arc loudspeaker |
| US8989430B2 (en) | 2007-04-26 | 2015-03-24 | Airbus Operations Gmbh | Flat speaker |
| Publication number | Priority date | Publication date | Assignee | Title |
|---|---|---|---|---|
| US4578613A (en)* | 1977-04-07 | 1986-03-25 | U.S. Philips Corporation | Diaphragm comprising at least one foil of a piezoelectric polymer material |
| US5343443A (en)* | 1990-10-15 | 1994-08-30 | Rowe, Deines Instruments, Inc. | Broadband acoustic transducer |
| US5701359A (en)* | 1995-04-06 | 1997-12-23 | Precision Power | Flat-panel speaker |
| Publication number | Priority date | Publication date | Assignee | Title |
|---|---|---|---|---|
| US4578613A (en)* | 1977-04-07 | 1986-03-25 | U.S. Philips Corporation | Diaphragm comprising at least one foil of a piezoelectric polymer material |
| US5343443A (en)* | 1990-10-15 | 1994-08-30 | Rowe, Deines Instruments, Inc. | Broadband acoustic transducer |
| US5701359A (en)* | 1995-04-06 | 1997-12-23 | Precision Power | Flat-panel speaker |
| Title |
|---|
| Справочник "Акустика", М.: Радио и связь, 1989, с.134.* |
| Publication number | Priority date | Publication date | Assignee | Title |
|---|---|---|---|---|
| RU2450478C2 (en)* | 2007-01-22 | 2012-05-10 | Сони Эрикссон Мобайл Коммьюникейшнз Аб | Loud-speaker drive |
| US8989430B2 (en) | 2007-04-26 | 2015-03-24 | Airbus Operations Gmbh | Flat speaker |
| RU2456764C2 (en)* | 2008-01-04 | 2012-07-20 | Эйрбас Оперэйшнз Гмбх | Oscillator for flat loudspeaker, flat loudspeaker and transport vehicle equipped with such loudspeaker |
| US8542860B2 (en) | 2008-01-04 | 2013-09-24 | Airbus Operations Gmbh | Oscillator for a flat loudspeaker, flat loudspeaker and vehicle |
| RU2454824C2 (en)* | 2008-03-05 | 2012-06-27 | Генелек Ой | Composite dynamic head of loud speaker |
| RU2485714C2 (en)* | 2008-07-24 | 2013-06-20 | Генелек Ой | Dynamic head of composite loudspeaker |
| RU2496254C1 (en)* | 2012-05-11 | 2013-10-20 | Борис Георгиевич Вигерь | Electric-arc loudspeaker |
| Publication | Publication Date | Title |
|---|---|---|
| US6411723B1 (en) | Loudspeakers | |
| KR100419334B1 (en) | Sound system | |
| CA1284837C (en) | Audio transducer | |
| EA004974B1 (en) | Acoustic device | |
| RU2246802C2 (en) | Loudspeaker | |
| NZ521767A (en) | Flat panel sound radiator with extended bass response and low self noise | |
| US20140314268A1 (en) | Planar speaker | |
| JP2003522429A (en) | Loudspeaker | |
| US6983819B2 (en) | Entertainment sound panels | |
| KR100492945B1 (en) | loudspeakers | |
| RU2001102586A (en) | Speaker | |
| WO2019234444A1 (en) | Product with integrally formed vibrating panel loudspeaker | |
| JP2002526003A (en) | Sound reproduction method and pillar / voice reproduction method | |
| GB2360665A (en) | Planar loudspeakers | |
| TW409483B (en) | Loudspeakers | |
| RU2746715C1 (en) | Flat low frequency loudspeaker | |
| CN210120664U (en) | Telephone receiver | |
| EP1100287A1 (en) | Loudspeaker | |
| JP2000059879A (en) | Speaker device | |
| JP2006526333A (en) | Speaker unit having an acoustic panel | |
| JP3099805U (en) | Panel speaker with composite laminate | |
| JP2003514471A (en) | Flat speaker | |
| JP2009232040A (en) | Passive radiator and speaker system | |
| HK1055528A (en) | Entertainment sound panels |
| Date | Code | Title | Description |
|---|---|---|---|
| MM4A | The patent is invalid due to non-payment of fees | Effective date:20060619 |